Advanced Radiotech ARCFLEXEX2 Industrial radio remote control systems User Manual User manaul 4EX
Advanced Radiotech Corporation Industrial radio remote control systems User manaul 4EX
Contents
- 1. User manaul 4EX
- 2. User manaul 6EX
- 3. User manaul 8EX
- 4. User manaul 12EX
User manaul 4EX

Industrial radio remote control systems
FLEX4EX
/4ES
Instruction Manual
Flex 4ES/EX Instruction Manual
September 2016
Page 2 of 37
PRODUCT MANUAL SAFETY INFORMATION
Advanced Radiotech Corporation (ARC) offers a broad range of radio remote control product for
material handling applications. This manual has been prepared by ARC to provide information and
recommendations for the installation, use, operation and service of ARC’s material handling products
and systems (ARC Products). Anyone who uses, operates, maintains, services, installs or owns ARC
Products should know, understand, and follow the instructions and safety recommendations in this
manual for ARC Products.
The recommendations in this manual do not take precedence over any of the following requirements
relating to cranes, hoists lifting devices or other material handling equipment which use or include
ARC Products:
x Instructions, manuals, and safety warnings of the manufacturers of the equipment where the
radio system is used.
x Plant safety rules and procedures of the employers and the owners of facilities where the
ARC Products are being used.
x Safety standards and practices for the industries in which ARC Products are used.
This manual does not include or address the specific instructions and safety warnings of these
manufacturers or any of the other requirements listed above. It is the responsibility of the owners,
users and operators of the ARC Products to know, understand and follow all of these requirements. It
is the responsibility of the employer to make its employees aware of all of the above listed
requirements and to make certain that all operators are properly trained. No one should use ARC
Products prior to becoming familiar with and being trained in these requirements and the
instructions and safety recommendations in this manual.
WARRANTY INFORMATION
For information on ARC’s product warranties, please contact ARC representative nearest to you or
visit www.advanced-radiotech.com.
FCC WARNINGS and CAUTIONS
z This equipment has been tested and found to comply with the limits for a Class B digital device,
pursuant to part 15 of the FCC Rules. These limits are designed to provide reasonable protection
against harmful interference in a residential installation. This equipment generates, uses and can
radiate radio frequency energy and, if not installed and used in accordance with the instructions,
may cause harmful interference to radio communications. However, there is no guarantee that
interference will not occur in a particular installation. If this equipment does cause harmful
interference to radio or television reception, which can be determined by turning the equipment off
and on, the user is encouraged to try to correct the interference by one or more of the following
measures:
ȹ Reorient or relocate the receiving antenna.
ȹ Increase the separation between the equipment and receiver.
ȹ Connect the equipment into an outlet on a circuit different from that to which the receiver is
connected.
ȹ Consult the dealer or an experienced radio/TV technician for help.
z ġAny changes or modifications not expressly approved by the party responsible for compliance
could void the authority to operate equipment.
z This device and its antenna must not be co-located or operating in conjunction with any other
antenna or transmitter.
z End-users and installers must be provided with antenna installation instructions and transmitter
operating conditions for satisfying RF exposure compliance.
z For product available in the USA/Canada market, only channel 1~ can be operated. Selection of
other channels is not possible
Flex 4ES/EX Instruction Manual
September 2016
Page 3 of 37
Table of Contents
Page
1. Introduction 4
2. Radio Controlled Safety 5
2.1. CRITICAL INSTALLATION CONSIDERATIONS 6
2.2. GENERAL 6
2.3. PERSONS AUTHORIZED TO OPERATE RADIO CONTROLLED CRANES 6
2.4. SAFETY INFORMATION AND RECOMMENDED TRAINING FOR RADIO CONTROLLED
EQUIPMENT OPERATORS 7
2.5. TRANSMITTER UNIT 8
2.6. PRE-OPERATION TEST 8
2.7. BATTERIES 8
3. General System Information 9
3.1. Transmitter 9
3.1.1. External Illustration 9
3.2. Receiver 10
3.2.1. External Illustration 10
4. Function Settings 11
4.1. Transmitter 11
4.1.1. Transmitter Firmware Version 11
4.1.2. Transmitter Channel Settings 11
4.1.3. Remote Pairing 13
4.1.4. Transmitter Start Function Settings 14
4.1.5. Transmitter Inactivity Timer Settings 14
4.1.6. Infrared Programming 15
4.1.7. Pushbutton Function Settings 15
4.1.8. Display Frequency Band 18
4.1.9. Output Feedback Settings 18
4.1.10. Infrared Function Settings 18
4.1.11. Zero-G Sensor Settings 18
4.2. Receiver 19
4.2.1. Receiver Channel Settings 19
4.2.2. Output Relay Configurations 19
4.2.3. Dipswitch Settings 23
4.2.4. Jumper Settings 25
4.2.5. Fuse Ratings 26
4.2.6. Indicator Light and Buzzer Installation 26
4.2.7. Other Function Output Relays Settings 26
4.2.8. System Channels Table 27
5. Receiver Installation 28
5.1. Output Relay Contact Diagrams 28
5.2. Pre-installation Precautions 29
5.3. Step-By-Step Installation 29
6. Operating Procedures 32
6.1. General Operation 32
6.2. A/B Pushbutton Select Operation 33
6.3. Pitch & Catch Operation 33
6.4. Changing Batteries 33
6.5. Battery Charging 34
6.6. System Status Light Indications 35
6.6.1. Transmitter Status Indications 35
6.6.2. Receiver Status Indications 36
6.6.3. Receiver Power Indications 36
6.6.4. Receiver COM Indications 36
7. General Specifications 37
Flex 4ES/EX Instruction Manual
September 2016
Page 4 of 37
1. Introduction
The Flex ES/EX radio remote control systems are designed for control of industrial
equipment and machinery such as overhead traveling cranes, jib cranes, gantry cranes, tower
cranes, electric hoists, winches, monorails, conveyor belts, mining equipment, and all other
material handling equipment where wireless control is preferred.
Each Flex ES/EX system consists of a transmitter handset and a receiver unit. Other
standard-equipped accessories include transmitter waist belt, vinyl pouch, pushbutton labels,
LED labels, output cable and instruction manual CD.
List of notable features include:
* Advanced Controls – the system utilizes dual advanced microprocessor controls with
32bit CRC and Hamming Code, providing ultra fast, safe, precise, and error-free encoding
and decoding.
* Frequency Hopping RF Transceiver – the system automatically search and lock onto a
free and uninterrupted channel at every system startup or during operation when
encountering radio interference. The system is also capable of two-way communication
between the transmitter and receiver and as well as receiver to receiver with system status
and relay output feedbacks.
* Programmable Transmitter Access Card (TAC) – the optional transmitter access card
feature (TAC) further guard against any unauthorized personnel from operating the
transmitter. The TAC can also be individually programmed unlocking any specific function
or functions on the transmitter allowing a more experienced or qualified user to operate.
TAC function is not available on the 4-button Flex 4ES/EX models.
* Zero-G Sensor Imbedded – the transmitter is embedded with a Zero-G sensor to guard
against any unintended control of the crane or equipment when transmitter is thrown or
dropped.
* Wireless Remote Pairing Function – system information can be transferred wirelessly
between two transmitters or between a transmitter and a receiver without the hassle of
resetting the spares.
* Reliable Pushbuttons – the pushbuttons have gold plated contacts and are rated for more
than two million press cycles. The defined snap-action steps provide positive tactile
feedback even wearing gloves.
* Low Power Consumption – requires only two “AA” alkaline batteries for more than 100
hours of uninterrupted operation between replacements.
* Durable Nylon and Fiberglass Composite Enclosures – highly resistance to breakage
and deformation even in the most abusive environments. The receiver enclosures and
output cables are UL94-V0 rated. The transmitter and receiver enclosures are IP66 rated.
* Full Compliance – all systems are fully complied with the FCC Part-15 Rules and
European Safety Standards.
* Other Optional Accessories and Features – transmitter magnet mount, transmitter belt
clip, transmitter lanyard, transmitter rubber guard, miniature indicator light and buzzer,
charging station, Ni-MH rechargeable batteries, and many others.

Flex 4ES/EX Instruction Manual
September 2016
Page 5 of 37
2. Radio Controlled Safety
WARNINGS and CAUTIONS
Throughout this document WARNING and CAUTION statements have been deliberately placed to highlight items
critical to the protection of personnel and equipment.
WARNING – A warning highlights an essential operating or maintenance procedure, practice, etc. which if
not strictly observed, could result in injury or death of personnel, or long term physical hazards.
Warnings are highlighted as shown below:
WARNING
CAUTION – A caution highlights an essential operating or maintenance procedure, practice, etc. which if
not strictly observed, could result in damage to, or destruction of equipment, or loss of functional
effectiveness. Cautions are highlighted as shown below:
CAUTION
WARNINGS and CAUTIONS SHOULD NEVER BE DISREGARDED.
The safety rules in this section are not intended to replace any rules or regulations of any applicable local, state,
or federal governing organizations. Always follow your local lockout and tagout procedure when maintaining any
radio equipment. The following information is intended to be used in conjunction with other rules or regulations
already in existence. It is important to read all of the safety information contained in this section before installing
or operating the Radio Control System.

Flex 4ES/EX Instruction Manual
September 2016
Page 6 of 37
2.1. CRITICAL INSTALLATION
CONSIDERATIONS
WARNING
PRIOR TO INSTALLATION AND OPERATION OF THIS EQUIPMENT, READ AND DEVELOP AN
UNDERSTANDING OF THE CONTENTS OF THIS MANUAL AND THE OPERATION MANUAL OF THE
EQUIPMENT OR DEVICE TO WHICH THIS EQUIPMENT WILL BE INTERFACED. FAILURE TO FOLLOW
THIS WARNING COULD RESULT IN SERIOUS INJURY OR DEATH AND DAMAGE TO EQUIPMENT.
ALL EQUIPMENT MUST HAVE A MAINLINE CONTACTOR INSTALLED AND ALL TRACKED CRANES,
HOISTS, LIFTING DEVICES AND SIMILAR EQUIPMENT MUST HAVE A BRAKE INSTALLED. FAILURE TO
FOLLOW THIS WARNING COULD RESULT IN SERIOUS INJURY OR DEATH AND DAMAGE TO EQUIPMENT.
AN AUDIBLE AND/OR VISUAL WARNING MEANS MUST BE PROVIDED ON ALL REMOTE CONTROLLED
EQUIPMENT AS REQUIRED BY CODE, REGULATION, OR INDUSTRY STANDARD. THESE AUDIBLE
AND/OR VISUAL WARNING DEVICES MUST MEET ALL GOVERNMENTAL REQUIREMENTS. FAILURE TO
FOLLOW THIS WARNING COULD RESULT IN SERIOUS INJURY OR DEATH AND DAMAGE TO EQUIPMENT.
FOLLOW YOUR LOCAL LOCKOUT TAGOUT PROCEDURE BEFORE MAINTAINING ANY REMOTE
CONTROLLED EQUIPMENT. ALWAYS REMOVE ALL ELECTRICAL POWER FROM THE CRANE, HOIST,
LIFTING DEVICE OR SIMILAR EQUIPMENT BEFORE ATTEMPTING ANY INSTALLATION PROCEDURES.
DE-ENERGIZE AND TAGOUT ALL SOURCES OF ELECTRICAL POWER BEFORE TOUCH-TESTING ANY
EQUIPMENT. FAILURE TO FOLLOW THIS WARNING COULD RESULT IN SERIOUS INJURY OR DEATH AND
DAMAGE TO EQUIPMENT.
THE DIRECT OUTPUTS OF THIS PRODUCT ARE NOT DESIGNED TO INTERFACE DIRECTLY TO TWO
STATE SAFETY CRITICAL MAINTAINED FUNCTIONS, I.E., MAGNETS, VACUUM LIFTS, PUMPS,
EMERGENCY EQUIPMENT, ETC. A MECHANICALLY LOCKING INTERMEDIATE RELAY SYSTEM WITH
SEPARATE POWER CONSIDERATIONS MUST BE PROVIDED. FAILURE TO FOLLOW THIS WARNING
COULD RESULT IN SERIOUS INJURY OR DEATH OR DAMAGE TO EQUIPMENT.
2.2. GENERAL
Radio controlled material handling equipment operates in several directions. Cranes, hoists, lifting devices and
other material handling equipment can be large, and operate at high speeds. Quite frequently, the equipment is
operated in areas where people are working in close proximity to the material handling equipment. The operator
must exercise extreme caution at all times. Workers must constantly be alert to avoid accidents. The following
recommendations have been included to indicate how careful and thoughtful actions may prevent injuries,
damage to equipment, or even save a life.
2.3. PERSONS AUTHORIZED TO OPERATE
RADIO CONTROLLED CRANES
Only properly trained persons designated by management should be permitted to operate radio controlled
equipment.
Radio controlled cranes, hoists, lifting devices and other material handling equipment should not be operated by
any person who cannot read or understand signs, notices and operating instructions that pertain to the equipment.
Radio controlled equipment should not be operated by any person with insufficient eyesight or hearing or by any
person who may be suffering from a disorder or illness, is taking any medication that may cause loss of
equipment control, or is under the influence of alcohol or drugs.

Flex 4ES/EX Instruction Manual
September 2016
Page 7 of 37
2.4. SAFETY INFORMATION AND
RECOMMENDED TRAINING FOR RADIO
CONTROLLED EQUIPMENT OPERATORS
Anyone being trained to operate radio controlled equipment should possess as a minimum the following
knowledge and skills before using the radio controlled equipment.
The operator should:
x have knowledge of hazards pertaining to equipment operation
x have knowledge of safety rules for radio controlled equipment
x have the ability to judge distance of moving objects
x know how to properly test prior to operation
x be trained in the safe operation of the radio transmitter as it pertains to the crane, hoist, lifting device or
other material handling equipment being operated
x have knowledge of the use of equipment warning lights and alarms
x have knowledge of the proper storage space for a radio control transmitter when not in use
x be trained in transferring a radio control transmitter to another person
x be trained how and when to report unsafe or unusual operating conditions
x test the transmitter emergency stop and all warning devices prior to operation; testing should be done on
each shift, without a load
x be thoroughly trained and knowledgeable in proper and safe operation of the crane, hoist, lifting device, or
other material handling equipment that utilizes the radio control
x know how to keep the operator and other people clear of lifted loads and to avoid “pinch” points
x continuously watch and monitor status of lifted loads
x know and follow cable and hook inspection procedures
x know and follow the local lockout and tagout procedures when servicing radio controlled equipment
x know and follow all applicable operating and maintenance manuals, safety procedures, regulatory
requirements, and industry standards and codes
The operator shall not:
x lift or move more than the rated load
x operate the material handling equipment if the direction of travel or function engaged does not agree
with what is indicated on the controller
x use the crane, hoist or lifting device to lift, support or transport people
x lift or carry any loads over people
x operate the crane, hoist or lifting device unless all persons, including the operator, are and remain clear
of the supported load and any potential pinch points
x operate a crane, hoist or lifting device when the device is not centered over the load
x operate a crane, hoist or lifting device if the chain or wire rope is not seated properly in the sprockets,
drum or sheave

Flex 4ES/EX Instruction Manual
September 2016
Page 8 of 37
x operate any damaged or malfunctioning crane, hoist, lifting device or other material handling equipment
x change any settings or controls without authorization and proper training
x remove or obscure any warning or safety labels or tags
x leave any load unattended while lifted
x leave power on the radio controlled equipment when the equipment is not in operation
x operate any material handling equipment using a damaged controller because the unit may be unsafe
x operate manual motions with other than manual power
x operate radio controlled equipment when low battery indicator is on
WARNING
THE OPERATOR SHOULD NOT ATTEMPT TO REPAIR ANY RADIO CONTROLLER. IF ANY PRODUCT
PERFORMANCE OR SAFETY CONCERNS ARE OBSERVED, THE EQUIPMENT SHOULD IMMEDIATELY BE
TAKEN OUT OF SERVICE AND BE REPORTED TO THE SUPERVISOR. DAMAGED AND INOPERABLE
RADIO CONTROLLER EQUIPMENT SHOULD BE RETURNED TO MAGNETEK FOR EVALUATION AND
REPAIR. FAILURE TO FOLLOW THIS WARNING COULD RESULT IN SERIOUS INJURY OR DEATH AND
DAMAGE TO EQUIPMENT.
2.5. TRANSMITTER UNIT
Transmitter switches should never be mechanically blocked ON or OFF. When not in use, the operator should
turn the transmitter OFF. A secure storage space should be provided for the transmitter unit, and the transmitter
unit should always be placed there when not in use. This precaution will help prevent unauthorized people from
operating the material handling equipment.
Spare transmitters should be stored in a secure storage space and only removed from the storage space after the
current transmitter in use has been turned OFF, taken out of the service area and secured.
2.6. PRE-OPERATION TEST
At the start of each work shift, or when a new operator takes control of the crane, operators should do, as
a minimum, the following steps before making lifts with any crane or hoist:
Test all warning devices.
Test all direction and speed controls.
Test the transmitter emergency stop.
2.7. BATTERIES
WARNING
KNOW AND FOLLOW PROPER BATTERY HANDLING, CHARGING AND DISPOSAL PROCEDURES.
IMPROPER BATTERY PROCEDURES CAN CAUSE BATTERIES TO EXPLODE OR DO OTHER SERIOUS
DAMAGE. FAILURE TO FOLLOW THIS WARNING COULD RESULT IN SERIOUS INJURY OR DEATH AND
DAMAGE TO EQUIPMENT.

Flex 4ES/EX Instruction Manual
September 2016
Page 9 of 37
3. General System Information
3.1. Transmitter
3.1.1. External Illustration
1. STOP Button 7. Pushbutton 4 (PB4)
2. Power Key Switch 8. Battery Cover Screw
3. Status LED Indicator 9. System Information
4. Pushbutton 1 (PB1) 10. Lanyard and Waist Belt
5. Pushbutton 2 (PB2) Attachment Slot
6. Pushbutton 3 (PB3)

Flex 4ES/EX Instruction Manual
September 2016
Page 10 of 37
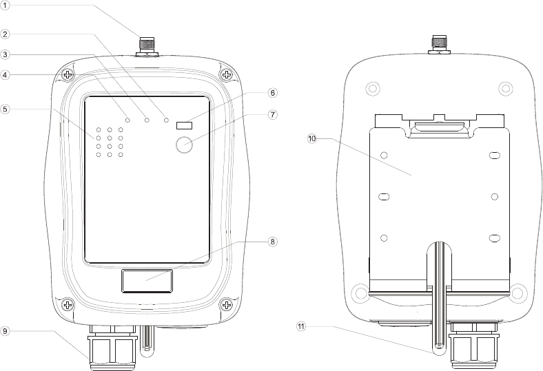
3.2. Receiver
3.2.1. External Illustration
1. External Antenna Port (optional) 7. Remote Pairing Button
2. COM LED Indicator 8. System Information
3. Status LED Indicator 9. Cord Grip
4. Power LED Indicator 10. Mounting Bracket
5. Output Relay LED Indicators 11. Mounting Bracket Release
6. Infrared Sensors

Flex 4ES/EX Instruction Manual
September 2016
Page 11 of 37
4. Function Settings
4.1. Transmitter
4.1.1. Transmitter Firmware Version
1) Rotate the power switch key to OFF ( 0 ) position.
2) With the STOP button elevated, press and hold PB1 and PB3
at the same time.
3) Rotate the power switch key to ON ( I ) position.
4) Let go PB1 and PB3 at the same time. The Status LED
displays firmware version with red, green and orange blinks.
5) Exit Firmware Version mode by rotate the power switch key to
OFF ( 0 ) position.
4.1.2. Transmitter Channel Settings
A. Unassigned Channel Scheme (no preset system channel)
When both transmitter and receiver is set to unassigned channel scheme (no
preset channel) the system automatically search and lock onto a free and
uninterrupted channel at every transmitter startup. Pitch & Catch, t-type, and multi-
receiver configurations can not set to unassigned channel scheme.
1) Rotate the power switch key to OFF ( 0 ) position.
2) With the STOP button elevated, press and hold PB1 and PB2
at the same time.
3) Rotate the power switch key to ON ( I ) position.
4) Let go PB1 and PB2 at the same time (entered Channel
Setting mode). The Status LED displays current channel
setting with red and green blinks. A green blink represents the
tens (+10) and a red blink represents the units (+1). For
example, 1 green blink followed by 5 red blinks is channel 15. Channel unassigned
is represented by constant orange on the Status LED.
5) Change transmitter channel to “channel unassigned” by pressing PB4 one time
(Status LED displays constant orange).
6) Transfer “channel unassigned” setting to the receiver by rotate and hold the power
switch key at START position until the Status LED turns to constant green (transfer
complete). Turn off the transmitter power if constant green is not shown on the
Status LED after more than 10 seconds (transfer incomplete); the transmitter will
revert back to its previous channel setting. Make sure the receiver power is turned
on and within the operating distance during the entire process. When transmitter is
set to “channel unassigned” the receiver must also set to “channel unassigned” in
order for the entire system to work.
7) Exit Channel Setting mode by rotate the power switch key to OFF ( 0 ) position.

Flex 4ES/EX Instruction Manual
September 2016
Page 12 of 37
B. Assigned Channel Scheme (preset system channel)
Both transmitter and receiver is assigned with a matching preset channel (channel
01~). Pitch & Catch, t-type, and multi-receiver configurations must set to
assigned channel scheme.
1) Rotate the power switch key to OFF ( 0 ) position.
2) With the STOP button elevated, press and hold PB1 and PB2
at the same time.
3) Rotate the power switch key to ON ( I ) position.
4) Let go PB1 and PB2 at the same time (entered Channel
Setting mode). The Status LED displays current channel
setting with red and green blinks. A green blink represents the
tens (+10) and a red blink represents the units (+1). For example, 1 green blink
followed by 5 red blinks is channel 15. Channel unassigned is represented by
constant orange on the Status LED.
5) Change transmitter channel by pressing PB1 to increment the units (+1) and PB2 to
increment the tens (+10). For example, press PB2 two times and then PB1 four
times is channel 24 (Status LED blinks 2 greens and 4 reds).
6) Transfer the newly selected channel to the receiver by rotate and hold the power
switch key at START position until the Status LED turns to constant green (transfer
complete). Turn off the transmitter power if constant green is not shown on the
Status LED after more than 10 seconds (transfer incomplete); the transmitter will
revert back to its previous channel setting. Make sure the receiver power is turned
on and within the operating distance during the entire process. Skip step 6 if
changing receiver channel is not required.
7) Exit Channel Setting mode by rotate the power switch key to OFF ( 0 ) position.
Note: When selecting a new channel, make sure each button press does not exceed 3 seconds.
Important Note:
Step 6 illustrated above is strictly required if you are intending to change the entire system
channel (both transmitter and receiver). The entire system no longer works if step 6 is skipped
because the transmitter and receiver channels are now different (new vs. old). In this case you
would have to redo step 1~4 and step 6 to transfer the newly selected transmitter channel to
the receiver.

Flex 4ES/EX Instruction Manual
September 2016
Page 13 of 37
4.1.3. Remote Pairing
A. Transmitter-to-Transmitter Pairing:
1) Rotate the power switch key to OFF ( 0 ) position.
2) With the STOP button elevated, press and hold PB1 and
PB3 at the same time.
3) Rotate the power switch key to ON ( I ) position.
4) Let go PB1 and PB3 at the same time (entered Remote
Pairing mode). The Status LED displays firmware version
with red, green and orange blinks.
5) Output data (original transmitter) by press and hold PB2 (Status LED off).
6) Receive data (new transmitter) by press and hold PB1 (Status LED blinks green).
7) When the Status LED (receiving data end) turns to constant green while both
pushbuttons are still pressed down the pairing is completed.
8) Exit Remote Pairing mode by rotate the power switch key to OFF ( 0 ) position.
Output data – original transmitter Receive data – new transmitter
(press and hold PB2) (press and hold PB1)
Note: During remote pairing make sure the distance between the two transmitters is within 1 meter.
B. Receiver-to-Transmitter Pairing:
JP8 Open Method: After the transmitter enters the Remote Pairing mode, output receiver data
by press and hold the PAIRING button located on the receiver cover and receive data by press
and hold PB3 on the transmitter, both at the same time. When the transmitter Status LED turns
to constant green while both pushbuttons are still pressed down the pairing is completed.
Set JP8 to “Open” Output data – receiver Receiving data – transmitter
(press and hold the Pairing button) (press and hold PB3)
JP8 Short Method (press Pairing button not required): After the transmitter enters the
Remote Pairing mode, press and hold PB3 on the transmitter until the Status LED turns to
constant green the pairing is completed. Make sure the pairing process is executed within
distance of 10 meters from one another and no other active receivers nearby. During pairing
process the receiver MAIN relays must be deactivated (relay open).
Flex 4ES/EX Instruction Manual
September 2016
Page 1 of 37
Service Information
Your New Radio Remote Control System
Thank you for your purchase of ARC Flex ES/EX radio remote control system. Without a doubt, our
Flex ES/EX system is the ultimate solution for providing precise, undeterred, and safe control of your
material.
If your product ever needs modification or service, please contact our representative in your country
or at the following location:
World Headquarter:
Advanced Radiotech Corporation
288-1, Hsin Ya Road, Chien Chen District
Kaohsiung, Taiwan
Telephone:
+886 7 812 8112
Fax Number:
+886 7 812 8119
Website:
www.advanced-radiotech.com
E-mails:
info@advanced-radiotech.com
sales@advanced-radiotech.com
All rights reserved. This notice applies to all copyrighted materials included with this product, including,
but not limited to, this manual and software embodied within the product. This manual is intended for
the sole use of the person(s) to whom it was provided, and any unauthorized distribution of the
manual or dispersal of its contents is strictly forbidden. This manual may not be reproduced in whole
or in part by any means whatsoever without the expressed written permission of ARC.

Flex 4ES/EX Instruction Manual
September 2016
Page 14 of 37
4.1.4. Transmitter Start Function Settings
When transmitter goes into sleep mode the system is temporarily deactivated (MAIN relays
opened). Execute the START command or press any pushbutton to wake up the system
(MAIN relays closed).
4.1.5. Transmitter Inactivity Timer Settings
Set how long the system enters the sleep mode when the transmitter is not in use (pushbutton
not pressed). When transmitter goes into sleep mode the receiver MAIN relays are deactivated.
Dipswitch
Settings Time
Dipswitch
Settings Time
1 xxx000xxxx 1 minute 5 xxx100xxxx 10 minutes
2 xxx001xxxx 20 seconds 6 xxx101xxxx 30 minutes
3 xxx010xxxx 3 minutes 7 xxx110xxxx 60 minutes
4 xxx011xxxx 5 minutes 8 xxx111xxxx
Constant On
(sleep mode
disabled)
Dipswitch
Settings Function
1 xxxxxxxxx0 START
Reactivation
2 xxxxxxxxx1 Any Button
Reactivation

Flex 4ES/EX Instruction Manual
September 2016
Page 15 of 37
4.1.6. Infrared Programming
Other custom functions and settings not listed in this manual can
be programmed via the infrared IR programmer unit, such as the
system serial number, frequency range, relay output status
feedback, new and updated functions, and many others. Please
contact ARC representative for more details.
4.1.7. Pushbutton Function Settings
1) Rotate the power switch key to OFF ( 0 ) position..
2) With the STOP button elevated, press and hold PB3 and PB4 at the
same time.
3) Rotate the power switch key to ON ( I ) position.
4) Let go PB3 and PB4 at the same time (entered Pushbutton Function mode).
5) The Status LED displays current pushbutton function setting with orange, green and
red blinks. An orange blink represents the hundreds (+100), a green blink represents
the tens (+010) and a red blink represents the units (+001). For example, 1 orange
blink followed by 2 green blinks and 5 red blinks is pushbutton function no.125.
Pushbutton function number with “0” is represented by no orange, green or red blink.
For example, 1 orange blink followed by 5 red blinks is pushbutton function no.105.
6) Set pushbutton function number by pressing PB3 to increment the hundreds (+100),
PB2 to increment the tens (+010), PB1 to increment the units (+001), and PB4 to reset
(000 - constant orange). For example, press PB3 one time, PB2 four times, PB1 six
times is pushbutton function no.146 (Status LED blinks 1 orange, 4 greens and 6 reds)
7) Exit Pushbutton Function mode by rotate the power switch key to OFF ( 0 ) position.
4.1.7.1. Toggled Pushbutton with LED Indication – Standard Right/Left
Pushbutton Configuration
Set pushbutton toggled function (latching output relay) with
LED indications. LED 1 ~ 4 shown inside the shaded box
illustrates which LED on the transmitter lights up when the
designated pushbutton is pressed.
* PB1…PB4 Pushbutton number.
* Normal Normal momentary contact.
* LED 1 ~ LED 4 Pushbutton toggled function with designated LED indication.
Function
Number Display Type PB1 PB2 PB3 PB4
1 1 Red Normal Normal Normal LED 4
2 2 Reds Normal Normal LED 3 LED 4
3 3 Reds Normal LED 2 LED 3 LED 4
4 4 Reds LED 1 LED 2 LED 3 LED 4

Flex 4ES/EX Instruction Manual
September 2016
Page 16 of 37
4.1.7.2. A/B Pushbutton Select with LED Indication – Standard Right/
Left Pushbutton Configuration
There are 4 different types of A/B selector sequence available. Choose one that is
most suitable for your application. Refer to section 5.1 output relay connections.
Type-A selector sequence : A B
Type-B selector sequence : Off A B
Type-C selector sequence : A B A+B
Type-D selector sequence : Off A B A+B
Function
Number Display Type PB1 PB2 PB3 PB4
29 2 Greens + 9 Reds Normal Normal A/1&2 Normal
30 3 Greens Normal Normal B/1&2 Normal
31 3 Greens + 1 Red Normal Normal C/1&2 Normal
32 3 Greens + 2 Reds Normal Normal D/1&2 Normal
33 3 Greens + 3 Reds Normal Normal Normal A/3&4
34 3 Greens + 4 Reds Normal Normal Normal B/3&4
35 3 Greens + 5 Reds Normal Normal Normal C/3&4
36 3 Greens + 6 Reds Normal Normal Normal D/3&4
37 3 Greens + 7 Reds Normal Normal A/1&2 A/3&4
38 3 Greens + 8 Reds Normal Normal A/1&2 B/3&4
39 3 Greens + 9 Reds Normal Normal A/1&2 C/3&4
40 4 Greens Normal Normal A/1&2 D/3&4
41 4 Greens + 1 Red Normal Normal B/1&2 B/3&4
42 4 Greens + 2 Reds Normal Normal B/1&2 C/3&4
43 4 Greens + 3 Reds Normal Normal B/1&2 D/3&4
44 4 Greens + 4 Reds Normal Normal C/1&2 C/3&4
45 4 Greens + 5 Reds Normal Normal C/1&2 D/3&4
46 4 Greens + 6 Reds Normal Normal D/1&2 D/3&4
* PB1…PB4 Pushbutton number.
* Normal Normal momentary contact.
* A/1&2 ~ D/3&4 A/B pushbutton select function with designated LED indication.

Flex 4ES/EX Instruction Manual
September 2016
Page 17 of 37
4.1.7.3. Toggled Pushbutton with LED Indication – Inline Top/Bottom
Pushbutton Configuration
Set pushbutton toggled function (latching output relay) with
LED indications. LED 1 ~ 4 shown inside the shaded box
illustrates which LED on the transmitter lights up when the
designated pushbutton is pressed. Refer to section 4.2.4
JP4/JP5 inline jumper settings.
* PB1…PB4 Pushbutton number.
* Normal Normal momentary contact.
* LED 1 ~ LED 4 Pushbutton toggled function with designated LED indication.
4.1.7.4. A/B Pushbutton Select with LED Indication – Inline Top/Bottom
Pushbutton Configuration
There are 4 different types of A/B selector sequence available. Choose one that is
most suitable for your application. Refer to section 4.2.4 JP4/JP5 inline jumper
settings and section 5.1 output relay connections.
Type-A selector sequence : A B
Type-B selector sequence : Off A B
Type-C selector sequence : A B A+B
Type-D selector sequence : Off A B A+B
Function
Number Display Type PB1 PB2 PB3 PB4
101 1 orange + 1 Red Normal Normal A/1&2 Normal
102 1 orange + 2 Reds Normal Normal B/1&2 Normal
103 1 orange + 3 Reds Normal Normal C/1&2 Normal
104 1 orange + 4 Reds Normal Normal D/1&2 Normal
33 3 Greens + 3 Reds Normal Normal Normal A/3&4
34 3 Greens + 4 Reds Normal Normal Normal B/3&4
35 3 Greens + 5 Reds Normal Normal Normal C/3&4
36 3 Greens + 6 Reds Normal Normal Normal D/3&4
105 1 orange + 5 Reds Normal Normal A/1&2 A/3&4
Function
Number Display Type PB1 PB2 PB3 PB4
1 1 Red Normal Normal Normal LED 4
17 1 Green + 7 Reds Normal Normal LED 3 LED 4
18 1 Green + 8 Reds Normal LED 2 LED 3 LED 4
19 1 Green + 9 Reds LED 1 LED 2 LED 3 LED 4

Flex 4ES/EX Instruction Manual
September 2016
Page 18 of 37
106 1 orange + 6 Reds Normal Normal A/1&2 B/3&4
107 1 orange + 7 Reds Normal Normal A/1&2 C/3&4
108 1 orange + 8 Reds Normal Normal A/1&2 D/3&4
109 1 orange + 9 Reds Normal Normal B/1&2 B/3&4
110 1 orange + 1 Green Normal Normal B/1&2 C/3&4
111 1 orange + 1 Green
+ 1 Red Normal Normal B/1&2 D/3&4
112 1 orange + 1 Green
+ 2 Reds Normal Normal C/1&2 C/3&4
113 1 orange + 1 Green
+ 3 Reds Normal Normal C/1&2 D/3&4
114 1 orange + 1 Green
+ 4 Reds Normal Normal D/1&2 D/3&4
* PB1…PB4 Pushbutton number.
* Normal Normal momentary contact.
* A/1&2 ~ D/3&4 A/B pushbutton select function with designated LED indication.
4.1.8. Display Frequency Band
1) Rotate the power switch key to OFF ( 0 ) position.
2) With the STOP button elevated, press and hold PB1 and PB3
at the same time.
3) Rotate the power switch key to ON ( I ) position.
4) Let go PB2 and PB4 at the same time (entered Frequency
Band Display mode).
5) The Status LED displays the preset transmitter frequency band
with orange, green and red blinks. An orange blink represents
the hundreds (+100), a green blink represents the tens (+010) and a red blink
represents the units (+001). For example, 4 orange blinks followed by 3 green
blinks and 3 red blinks is 433MHz.
6) Exit Frequency Band Display mode by rotate the power switch key to OFF ( 0 ) position.
4.1.9. Output Feedback Settings
Up to 4 assignable relay outputs can be programmed into the system and feedback to the
transmitter LED indicators during operation. These settings require using the infrared IR
programmer unit. Please contact ARC representative for more details.
4.1.10. Infrared Function Settings
The transmitter is embedded with infrared sensors for infrared start function. These settings
require using the infrared IR programmer unit. Please contact ARC representative for more
details.
4.1.11. Zero-G Sensor Settings
The transmitter is embedded with a Zero-G sensor to guard against any unintended control of
the crane or equipment when transmitter is thrown or dropped. When triggered, the receiver
MAIN relays are deactivated with the exception of the horn output that can be assigned to any

Flex 4ES/EX Instruction Manual
September 2016
Page 19 of 37
71 423 56 8
of the Function output relays (K25, K26 or K30). This horn output setting requires the infrared
IR programmer unit. Please contact ARC representative for more details.
4.2. Receiver
4.2.1. Receiver Channel Settings
Set the receiver channel by configuring the channel dipswitch
located on the decoder board, only the first 6 dip positions are
used for channel programming. The system channels table on
section 4.2.8 illustrates which dipswitch setting corresponds to
which channel. Once the receiver channel is altered do make
sure to change the transmitter channel as well. The channel on
both transmitter and receiver must be identical in order for the
system to work (refer to section 4.1.2 part B). When set to all
zeros (000000), the receiver becomes unassigned channel
scheme (refer to section 4.1.2 part A).
Example:
Top position “1”
Bottom position “0”
The above dipswitch setting “1 0 0 1 0 0” corresponds to “channel 36” in the system channels table
on section 4.2.8.
4.2.2. Output Relay Configurations
4.2.2.1. Output Relay Types
1. 2 output relays per motion – single speed only
Output relays with Forward (F) and Reverse (R) 1st speed only.
2. 3 output relays per motion – shared 2nd speed output relay
Output relays with Forward 1st speed (F1), Reverse 1st speed (R1) and
Forward/Reverse 2nd speed (F/R2). Forward and Reverse 2nd speed (F/R2) shared
the same output relay.
3. 4 output relays per motion – separate 1st and 2nd speed output relays
Output relays with Forward 1st speed (F1), Reverse 1st speed (R1), Forward 2nd speed
(F2) and Reverse 2nd speed (R2). Forward and Reverse 2nd speed are separate
output relays.

Flex 4ES/EX Instruction Manual
September 2016
Page 20 of 37
F1 F/R2R1 R1F1 F/R2
F1 R1 F2 R2R2F2R1F1
R2F2R1F1 R2F2R1F1
Fwd Rev Slow FastFwd Rev Slow Fast
4.2.2.2. Output Relay Actions at 2nd Speed (Flex 4EX only)
1. 3 output relays configuration with Closed/Closed contact at 2nd speed
F1 (or R1) output relay closed at 1st speed and F1 + F/R2 (or R1 + F/R2) output
relays closed at 2nd speed. Refer to section 4.2.3.1 on how to set to this function.
Forward 1st speed pushbutton pressed Forward 2nd speed pushbutton pressed
2. 4 output relays configuration with Opened/Closed contact at 2nd speed
F1 (or R1) output relay closed at 1st speed and F2 (or R2) output relay closed at 2nd
speed. Refer to section 4.2.3.1 on how to set to this function.
Forward 1st speed pushbutton pressed Forward 2nd speed pushbutton pressed
3. 4 output relays configuration with Closed/Closed contact at 2nd speed
F1 (or R1) output relay closed at 1st speed and F1 + F2 (or R1 + R2) output relays
closed at 2nd speed. Refer to section 4.2.3.1 on how to set to this function.
Forward 1st speed pushbutton pressed Forward 2nd speed pushbutton pressed
4. 4 output relays configuration with Slow and Fast output relays (Type A)
Fwd (or Rev) + Slow output relays closed at 1st speed and Fwd (or Rev) + Fast output relays
closed at 2nd speed. Refer to section 4.2.3.1 on how to set to this function.
Forward 1st speed pushbutton pressed Forward 2nd speed pushbutton pressed
ġ ġ ġ ġ ġ ġġ
ġġġġġ

Flex 4ES/EX Instruction Manual
September 2016
Page 21 of 37
Fwd Rev Slow Fast Fwd Rev Slow Fast
5. 4 output relays configuration with Slow and Fast output relays (Type B)
Fwd + Slow (or Rev + Slow) output relays closed at 1st speed and Fwd + Slow + Fast (or
Rev + Slow + Fast) output relays closed at 2nd speed. Refer to section 4.2.3.1 on how to set
to this function.
Forward 1st speed pushbutton pressed Forward 2nd speed pushbutton pressed
ġ ġ ġ ġ ġ ġġ
ġġġġġ
4.2.2.3. START + AUX Function
After executing the START command at transmitter startup
the same START position becomes an auxiliary function with
momentary contact connected through K25 Function output
relay. There are other types of auxiliary functions made
available for K25, K26 and K30 Function output relays (refer
to section 4.2.7). Please contact ARC representative if your
application requires other types of auxiliary function
connected to these Function output relays.
4.2.2.4. ON/OFF Pushbutton Function
The user can set any of the two adjacent pushbuttons on the
transmitter to behave like a mechanical ON & OFF rocker or
toggle switch. ON output relay closes when ON pushbutton
is pressed (OFF output relay opens) an d OFF output relay
closes when OFF pushbutton is pressed (ON output relay
opens). Refer to section 4.2.3.1 on how to set to this
function.
4.2.2.5. Magnet ON/OFF Pushbutton Function
The user can set any of the two adjacent pushbuttons on the
transmitter to control industrial magnet lift. Activate the
magnet by pressing the Magnet ON pushbutton. Deactivate
the magnet by first press and hold the Magnet ON
pushbutton and then press the Magnet OFF pushbutton.
Pressing the Magnet OFF pushbutton alone is unable to
deactivate the magnet. Refer to section 4.2.3.1 on how to
set to this function.
4.2.2.6. Brake Function (Flex 4EX only)
When the transmitter pushbutton is released from 2nd speed up to 1st speed, both 1st
and 2nd speed output relays will open for up to 1 second and then with 1st speed
output relay closed thereafter. Refer to section 4.2.3.1 on how to set to this function.
4.2.2.7. External Warning Function
The user can install an external warning device (rotating lights, horn, etc…) to the
K26 Function output relay located inside the receiver. The user can choose which
pushbutton pair (or pairs) triggers the external warning device when pressed. Refer
to section 4.2.3.1 on how to set to this function.

Flex 4ES/EX Instruction Manual
September 2016
Page 22 of 37
41 32 65 87
4132 65 87
42317856
41 2 3 65 78
4.2.2.8. Momentary Contact
When pushbutton is released the corresponding output relay will open or deactivate.
This type of relay action usually applies to external applications such as horn and
buzzer. Refer to section 4.2.3.2 on how to set to this function.
4.2.2.9. Toggled Contact
When pushbutton is released the corresponding output relay will maintained contact
or closure until next time the user presses the same pushbutton again. This type of
relay action usually applies to external application such as lights. Refer to section
4.2.3.2 on how to set to this function.
4.2.2.10. Pitch & Catch Function
This function allows two operators controlling from opposite ends of a crane or
equipment. When set to “Pitch & Catch” make sure the 2nd transmitter is set to the
next upper channel (channel X+1). For example, if the system is set to channel 01
then the newly added 2nd transmitter must be set to channel 02 with identical serial
number. Furthermore, the Channel dipswitch position #7 and #8 on the decoder
board must set to “10” for 2-channel scanning (scans channel 01 and 02). Refer to
section 4.2.2.11 and 4.2.3.2 on how to set to this function. Pitch & Catch function
must set to assigned channel scheme (refer to section 4.1.2 part B).
4.2.2.11. Receiver Channel Scanning Function
Receiver channel scanning function is applicable only when a preset channel is
assigned to the system (refer to section 4.1.2 part B).
(1) “00” manufacture preset (channel X)*
(2) “01” scans 2 channels (channel X and channel X+1)
(3) “10” scans 3 channels (channel X… channel X+2)
(4) “11” scans 4 channels (channel X… channel X+3)**
* Channel X channel set on the Channel dipswitch.
** Please contact ARC representative if your application requires scanning more
than 4 channels.

Flex 4ES/EX Instruction Manual
September 2016
Page 23 of 37
Example: If the first 6 dipswitch positions are set to channel 01 (000001), when set to 2-channel
scanning (type-2 above) the receiver will only scan channel 01 and 02.
4.2.3. Dipswitch Settings
4.2.3.1. Interlocked Pushbutton Pair
Interlocked means any pushbutton pair can not be pressed
simultaneously as it will cancel each other out. Interlocked
setting usually applies to electric motor’s forward & reverse
motion and On & Off switches. Each dipswitch on the
decoder board corresponds to a pushbutton pair.
Dip
Settings Function Descriptions # of Relays
Used
00000000 Single speed only 2
00000010 4 output relays Closed/Closed relay action at 2nd speed
(separate 2nd speed output relays) 4
00000100 3 output relays Closed/Closed relay action at 2nd speed
(shared 2nd speed output relay) 3
00000110 4 output relays Opened/Closed relay action at 2nd speed
(separate 2nd speed output relays) 4
00001000 Forward (or Reverse) + Fast output relays engaged at 2nd speed 4
00001010 Forward (or Reverse) + Slow + Fast output relays engaged at 2nd speed 4
00001100 On (right button) & Off (left button) 2
00010010
On + Start/Off + Start - For added safety, you must first
rotate and hold the power switch key at START position and
then press the On or Off pushbutton to activate the output relay.
2
00001110 Magnet Lift On & Off 2
00010100 FWD/REV toggled (latching) 2
00100000 Single speed + External warning* 2
00100010 4 output relays Closed/Closed relay action + External warning* 4
00100100 3 output relays Closed/Closed relay action + External warning* 3
00100110 4 output relays Opened/Closed relay action + External warning* 4
01000010 4 output relays Closed/Closed relay action + Brake 4
01000100 3 output relays Closed/Closed relay action + Brake 3
01000110 4 output relays Opened/Closed relay action + Brake 4
01100010 4 output relays Closed/Closed relay action + Brake + External warning* 4
01100100 3 output relays Closed/Closed relay action + Brake + External warning* 3
01100110 4 output relays Opened/Closed relay action + Brake + External warning* 4
* External warning function requires installing an external warning device such as horn and lights to
the K26 Function output relay.

Flex 4ES/EX Instruction Manual
September 2016
Page 24 of 37
1 324 756 8
4.2.3.2. None-Interlocked Pushbutton Pair
Non-interlocked setting allows the pushbutton pair be pressed simultaneously. It
usually applies to equipment’s auxiliary functions such as lights, horn or buzzer.
Each dipswitch on the decoder board corresponds to a pushbutton pair. Only the
first 7 dipswitch positions are used (counting from left to right), the 8th dipswitch
position (far right) is not used.
Function
Code
Dip
Position
#1
Dip Position
#2 ~ #4 (left button)
&
#5 ~ #7 (right button)
Function Description
A 1 000 Normal momentary contact
B 1 001 Toggled/latching contact (type A)
C 1 011
Toggled/latching contact (type B)
Output relay disconnects when STOP button is
pressed or transmitter power off
D 1 100
Normal + Start function
For added safety, must first rotate and hold
the power switch key at the START position
and then press the intended pushbutton to
activate the output relay
E 1 110 Pitch & Catch (type A)
F 1 101
Pitch & Catch (type B)
Receiver MAIN relays maintained closure
during switchovers
G 1 111
2 steps with Closed/Closed relay action
Example #1: Left button (set to function code A) / right button (set to function code B) 1 000 001
Example #2: Left button (set to function code C) / right button (set to function code D) 1 011 100

Flex 4ES/EX Instruction Manual
September 2016
Page 25 of 37
4.2.4. Jumper Settings
Jumper setting applies to functions such as the standard or
reversed logic A/B selector sequence, cable-free configurations,
transmitter inline pushbutton configurations, firmware version,
system testing and remote pairing methods.
Jumper Settings Function
JP3
(Opened)
Standard A/B selector sequence - Output
relay A activated at A position, output relay B activated at B position,
both relays activated at A+B position.
JP3
(Inserted)
Reversed logic A/B selector sequence - Output
relay B activated at A position, output relay A activated at B position,
both relays deactivated at A+B position.
JP4
(Opened)
JP5
(Opened) Receiver A setting for PB1 through PB4 (cable-free configuration)
JP4
(Inserted)
JP5
(Opened) Receiver B setting for PB5 through PB8 (cable-free configuration)
JP4
(Opened)
JP5
(Inserted) Receiver C setting for PB9 through PB12 (cable-free configuration)
JP4
(Inserted)
JP5
(Inserted) Inline top/bottom pushbutton configuration for PB1 to PB4
JP6
(Inserted) Display system firmware version
JP7
(Inserted) For system testing only (receiver MAIN relays disabled)
JP8
(Opened)
Receiver-to-transmitter remote pairing
(pressing the Pairing button required)
JP8
(Inserted)
Receiver-to-transmitter remote pairing
(pressing the Pairing button not required)
Cable-free configurations

Flex 4ES/EX Instruction Manual
September 2016
Page 26 of 37
4.2.5. Fuse Ratings
FUSE # 110~120VAC 220~240VAC 380~400VAC 410~460VAC 24VAC 42 &
48VAC 9~36VDC
F3 ~ F10 5.0A 5.0A 5.0A 5.0A 5.0A 5.0A 5.0A
F1 ~ F2 0.5A 0.5A 0.5A 0.5A 1.0A 1.0A 2.0A
4.2.6. Indicator Light and Buzzer Installation
The miniature indicator light and buzzer can be easily fitted
onto the receiver enclosure. The indicator light or the buzzer
works simultaneously with the receiver MAIN relays
(manufacture preset). When receiver MAIN relays are
activated the indicator light or the buzzer is also activated, or
vise versa. Make sure the indicator light or the buzzer is
connected to the K30 Function output relay CN11 port
located on the AC line filter/relay board inside the receiver.
Please contact ARC representative if you would like the
indicator light or the buzzer work differently than described
above.
4.2.7. Other Function Output Relays Settings
Listed below are other types of functions that can be outputted through the three Function output
relays (K25, K26 and K30) via the infrared IR programmer unit. Please contact ARC
representative for more details.
LV : Function relay closes when receiver voltage is low.
ID : Function relay works simultaneously with all motion commands.
NORMAL : START function + AUX with normal momentary output.
TOGGLE : START function + AUX with toggled/latching output.
TOG&E : START function + AUX with toggled/latching output. The relay opens when
STOP button is pressed down and transmitter power off.
S/P : Function relay closes when START command is executed and opens only when
transmitter power is turned off.
EXT : Function relay works simultaneously with the receiver MAIN relays.
TDM A+B : Function relay closes when selector switch is rotated to the A+B position
and opens when rotate to A or B positions (tandem monitoring output).
HORN : Function relay closes for up to 3 seconds when START command is executed at
transmitter power on and then becomes a normal momentary output thereafter.
G SENSOR : Function relay closes when Zero-G sensor is triggered (receiver MAIN relays
deactivated) and opens when receiver MAIN relays are reactivated.

Flex 4ES/EX Instruction Manual
September 2016
Page 28 of 37
5. Receiver Installation
5.1. Output Relay Contact Diagrams
Flex 4ES (single speed model)
Flex 4EX (dual speed model)
* For 9~36VDC power supply, wire #1 corresponds to the negative charge (-) and wire #3 corresponds
to the positive charge (+), wire #2 is GROUND.
* If PB3 (or PB4) is set to A/B pushbutton select function, connect output A to K5 (or K6) and output B to
K7 (or K8). Refer to section 4.1.8.2 on how to set to this function.

Flex 4ES/EX Instruction Manual
September 2016
Page 29 of 37
5.2. Pre-installation Precautions
1. Make sure the transmitter and receiver are with identical serial number and channel.
2. Make sure the receiver is not set to the same channel as any other systems in use in the
surrounding area.
3. Make sure the crane or equipment is working properly prior to installation.
4. Make sure the power source to the receiver is set correctly.
5. Switch off the main power source to the crane or equipment prior to installation.
5.3. Step-By-Step Installation
Mounting Bracket Type 1
Mounting Bracket Type 2

Flex 4ES/EX Instruction Manual
September 2016
Page 30 of 37
1. For best reception the location of the receiver should be visible
to the operator at all time.
2. The location selected should not be exposed to high levels of
electric noise. Mounting the receiver next to an unshielded
variable frequency drive may cause radio interference. Always
locate the receiver as far away from variable frequency drive and
electric motor as possible.
3. Ensure the selected location has adequate space to accommodate
the receiver. If an external antenna is used, to avoid the possibility
of antenna damage always locate the receiver where the antenna
is free from any obstacles.
4. When installing an external antenna make sure the MCX jack
located on the decoder board inside the receiver is connected and
jumper set to “EXT” position.
5. For better reception, make sure the receiver is in an upright position.
6. Drill four holes for mounting bracket type 1 and two holes for mounting bracket type 2
on the control panel, wall or location where the receiver is to be installed.
7. Make sure the screws, bolts or shock absorbers are tightened after installation (not
provided with the system).
!
Mounting Bracket Type 1 Mounting Bracket Type 2
!
!
!
!
!
!
!
!
!
!
!
!
!
!
!
!
!
!
!
!
8. Slide down the receiver along the guided track to secure the receiver to the mounting
bracket.
9. Remove the receiver by pressing down the bracket release and pull the receiver
upward until it clears the guided track.!
!
300 mm
Control
Panel

Flex 4ES/EX Instruction Manual
September 2016
Page 31 of 37
Install
!
!
Mounting Bracket Type 1 Mounting Bracket Type 2
!
!
!
!
!!
!
!
!
!
!
!
!
!
!
!
!
!
!
!
Remove
!
!
Mounting Bracket Type 1 Mounting Bracket Type 2
!
!
!
!
!
!
!
!
!
!
!
!
!
!
!
!
!
!
!
!
!
!
!
!
!
!

Flex 4ES/EX Instruction Manual
September 2016
Page 32 of 37
6. Operating Procedures
6.1. General Operation
a. Reset the STOP button located on the top left hand corner of the transmitter by
rotating it clockwise or counter clockwise, the button will pop up. Turn on the
transmitter power by inserting the power switch key and rotate to ON ( I ) position.
b. After turning on the transmitter power, check the Status LED on the transmitter for
any sign of system irregularities (refer to section 6.6.1 Transmitter Status
Indications). If the transmitter is in good working order the Status LED will display
constant green for up to 2 seconds at power on (no faults detected).
c. Rotate the power switch key further to the START position and hold it there for up
to 2 seconds (Status LED constant green). When the receiver MAIN relays are
activated the Status LED will change from constant green to constant orange
(system on). The power switch key will retract back to the ON ( I ) position when let
go. The same START position becomes an auxiliary function thereafter (refer to
section 4.2.2.3 START + AUX Function). Pressing any pushbutton prior to
executing the START command at system startup will result in no signals
transmitted (Status LED blinks orange).
d. Now press any pushbutton on the transmitter to begin operation. During
transmitter inactivity (pushbuttons not pressed), the transmitter will automatically
switch to standby mode, with an orange blink on the Status LED every 4-second
interval. Always turn off the transmitter power when not in use to save battery
power.
e. In case of an emergency, press down the STOP button to disconnect the receiver
MAIN relays (Status LED blinks 3 reds and then shuts off). To resume operation,
rotate the STOP button clockwise or counter clockwise, the button will pop up.
Then execute the START command to reconnect the receiver MAIN relays. For
safety, executing the START command is strictly required every time when the
transmitter is turned on or after every STOP button reset.

Flex 4ES/EX Instruction Manual
September 2016
Page 33 of 37
f. After 5 or 30 minutes of inactivity (pushbutton not pressed) the receiver MAIN relays
are temporarily disconnected (refer to section 4.1.5 Inactivity Timer Settings). The
Status LED blinks 3 reds and then shuts off. Press any pushbutton or execute the
START command to resume operation (refer to section 4.1.4 Start Function Settings).
g. Turn off the transmitter power by rotating the power switch key counter clockwise to
Off ( 0 ) position; it will disconnect the transmitter power and the receiver MAIN relays
altogether. Turn it further counter clockwise to release the key.
6.2. A/B Pushbutton Select Operation
Press the “A/B” pushbutton repeatedly toggles between output relay A, B
and A+B respectively. There are 4 different types of Select A/B sequence
available (refer to section 4.1.8.2).
Standard – Output relay A activated at A position, output relay B
activated at B position, both output relays activated at A+B
position.
Reversed logic - Output relay A activated at B position, output
relay B activated at A position, both output relays deactivated
at A+B position. Refer to section 4.2.4 JP3 jumper settings.
6.3. Pitch & Catch Operation
Press the “PITCH” pushbutton for up to 2 seconds to release
control of the receiver. After 2-second grace period, rotate the
power switch key to START position for up to 2 seconds to gain
control of the receiver. The 2nd operator is unable to take control
of the receiver unless the 1st operator presses the “PITCH”
pushbutton. Refer to section 4.2.2.10 and section 4.2.3.2 on
how to set to this function.
6.4. Changing Batteries
Changing transmitter batteries (“AA” alkaline battery x 2) by unscrewing the battery cover
located on the backside of the transmitter. During battery installation make sure the
batteries are installed correctly, with “+” to “+” charge and “–” to “–” charge. Also make
sure the screw is tightened after battery installation to avoid water, moisture, dirt, grease,
and other liquid penetration.

Flex 4ES/EX Instruction Manual
September 2016
Page 34 of 37
6.5. Battery Charging
The transmitter is designed to accept any off-the-shelf Ni-MH rechargeable batteries.
When charging both transmitter and individual batteries at the same time the priority
always goes to the transmitter charging. The individual battery charging begins only after
the transmitter charging is completed. Depending on the battery capacity the average
charging time is approximately 2.5 hours from completely drained to fully charged.
Constant red on the LED represents charging in progress, constant green represents
batteries fully charged, and LED off represents no batteries detected. Please do not use
any rechargeable lithium ion batteries as it will damage both the transmitter and the
charging station.

Flex 4ES/EX Instruction Manual
September 2016
Page 35 of 37
6.6. System Status Light Indications
6.6.1. Transmitter Status Indications
Type Display Type Indication
1 Constant red Voltage below 1.8V at initial power on or
during operation
2 3 red blinks and then off Voltage below 1.75V during operation
(receiver MAIN relays shut off)
3 1 red blink followed by a
2-second pause
Voltage below 1.85V during operation
(change batteries suggested)
4A 2 red blinks followed by a
2-second pause
Defective or jammed pushbutton detected
at initial power on
4B No light displayed
When defective pushbutton condition
occurs (2 red blinks, type 4A above), find
out which pushbutton is defective by
pressing all of them one at a time. If the
pushbutton is in good working order when
pressed, the Status LED is off. If the Status
LED maintained 2 red blinks then
the pushbutton is defective.
5 4 red blinks followed by a
2-second pause
Transmitter is unable to lock onto the
assigned channel
6 Constant green for up to
2 seconds Transmitter power on with no faults detected
7 Blinking green Transmission in progress
8 Blinking orange Pressing any pushbutton prior to executing
the START command at power on
9 2 orange blinks followed by a
2-second pause Receiver MAIN relays jammed or defective
10 3 orange blinks followed by a
2-second pause Decoding processors defective
11 3 slow red blinks STOP button pressed down

Flex 4ES/EX Instruction Manual
September 2016
Page 36 of 37
6.6.2. Receiver Status Indications
Type Display Type (Green & Red) Indication
1 Fast green blinks Decoding in process
2 Slow green blinks Decoding on standby
3 2 red blinks Receiver MAIN relays jammed or defective
4 3 red blinks Decoding processors defective
5 4 red blinks Receiving RF board defective
6 Fast red blinks Incorrect transmitter serial number
7 Constant red Receiver low voltage
8 No light displayed Decoding processors defective
9 3 slow red blinks followed by
slow green blinks STOP button pressed down
6.6.3. Receiver Power Indications
Type Display Type (Red) Indication
1 On Power to receiver
2 Off No power to receiver
6.6.4. Receiver COM Indications
Type Display Type (Red) Indication
1 On Power to relay Board
2 Off No power to relay board
Flex 4ES/EX Instruction Manual
September 2016
Page 37 of 37
7. General Specifications
Frequency Range : 433MHz ~ 440MHz
Number of Channels : channels
Channel Spacing : 50 KHz
Modulation : Digital Frequency Modulation based
on Manchester Code, 20bit address,
32bit CRC and Hamming Code.
Encoder & Decoder : Microprocessor-controlled
Transmitting Range : 烍100 Meters (300 feet)
Hamming Distance : 烍6
Frequency Control : Synthesized PLL
Receiver Type : Frequency Auto Scanning
Receiver Sensitivity : -116dBm
Spurious Emission : -50dB
Antenna Impedance : 50 ohms
Responding Time : 40mS (average)
Transmitting Power : 1.0mW
Enclosure Type : NEMA4
Enclosure Rating : IP66
Output Contact Rating : 250V @ 8 Amps
Transmitter Operating Voltage : 3.0VDC
Receiver Power Consumption : 8VA (max)
Available Receiver Voltages : 9~36VDC
24VAC
42VAC
48VAC
110~120VAC
220~240VAC
380~400VAC
410~460VAC
Operating Temperature : -25°C ~ 50°C / -13°F ~ 167ƱF
Transmitter Dimension : 152mm (L) x 70mm (W) x 44mm (H)
Receiver Dimension : 196mm (L) x 149mm (W) x 85mm (H)
Transmitter Weight : 249g / 8.8oz (include batteries)
Receiver Weight : 1.76kg / 3.8lb (include output cable)