COMPUTIME CTL3579A ZigBee Module User Manual

Computime Limited ZigBee Module

Users Manual

     Copyright © 2011 Computime Limited. All rights reserved.                                                       Rev. 2          ZigBee-Ready RF Transceiver Module (IEEE 802.15.4) CTL3576/7/8/9              The reproduction of this datasheet is NOT allowed without approval of Computime Limited.  All information and data contained in this datasheet are subject to change without notice. This publication supersedes and replaces all information previously supplied. Computime has no responsibility to the consequence of using the information described in this document.
    ZigBee- Ready RF Transceiver Module CTL3576/7/8/9 Copyright © 2011 Computime Limited. All rights reserved.                                                       Rev. 2   Revision Rev. Date  (DD-MM-YYYY) History 1 18-09-2011 First Release
    ZigBee- Ready RF Transceiver Module CTL3576/7/8/9 Copyright © 2011 Computime Limited. All rights reserved.                                                       Rev.2   Table of Contents  1. General Description...................................................................................................................................... 0 2. Applications .................................................................................................................................................. 0 3. Features ....................................................................................................................................................... 0 4. Absolute Maximum Ratings.......................................................................................................................... 1 5. Recommended Operating Conditions .......................................................................................................... 1 6. Electrical Specifications................................................................................................................................ 1 7. Typical application block .............................................................................................................................. 3 8. Pin Assignment............................................................................................................................................. 3 9. Pin Description ............................................................................................................................................. 4 10. Block Diagram......................................................................................................................................... 11 11. RF Frequency Detail............................................................................................................................... 12 12. PCB Layout Recommendations.............................................................................................................. 13 13. Mechanical Dimensions.......................................................................................................................... 14 14. Modules Differentia................................................................................................................................. 15
    ZigBee- Ready RF Transceiver Module CTL3576/7/8/9 Copyright © 2011 Computime Limited. All rights reserved.                                                       Rev. 1 1. General Description The CTL357x RF Transceiver Module is compact surface mounted Module specially designed for Ember ZigBee™ protocol stack for wireless networks, EmberZNet, based on IEEE 802.15.4 standard in the 2.4GHz world-wide ISM band. The complete module is only 32.4 x 25.4 x 4.1 mm. It integrated a 2.4GHz, IEEE 802.15.4-2003 compliant transceiver with a 32-bit network processor (ARM Cortex-M3 Processor) to run EmberZNet. They contain embedded Flash and integrated RAM for program and data storage.  It utilizes the non-intrusive SIF module for powerful software debugging and programming of the network processor. 2. Applications Home automation & building control Home appliances & alarms Monitoring of remote systems Security systems & lighting controls Sensor data capture in embedded networks         3. Features  Complete ZigBee-ready module with integrated PCB antenna   Integrated IEEE 802.15.4 PHY and MAC layer   Non-intrusive debug interface (SIF)    SPI interface for communication and controlled by the Host using the EmberZNet Serial Protocol (EZSP)    Internal RC oscillator for timer   High performance direct sequence spread spectrum (DSSS) RF transceiver   16 channels in the 2.4 GHz ISM band   On-chip regulator for 2.1-3.6V operation , three sleep low power modes   32-bit ARM® Cortex™-M3 processor  192KB FLASH ROM and 12KB RAM(EM357 internal) ,8Mb off chip Flash memory (CTL3577&CTL3579)   +20dBm transmission power   -98dBm excellent reception sensitivity. (Boost mode -101dBm)   Small footprint: 32.4 x 25.4 x 4.1 mm   Optional MMCX connector for external antenna   Extremely low Deep Sleep Current.
    ZigBee- Ready RF Transceiver Module CTL3576/7/8/9 Copyright © 2011 Computime Limited. All rights reserved.                                                       Rev. 1  4. Absolute Maximum Ratings Parameter  Test Conditions  Min.  Max.  UnitRegulator input voltage (VDD_PADS)   -0.3 +3.6 V RF Input Power (for max level for correct packet reception) RX signal into a lossless balun   +15 dBm Voltage on any GPIO (PA[7:0], PB[7:0], PC[7:0]), SWCLK, nRESET, VREG_OUT  -0.3 VDD_PADS+0.3 V Voltage on any GPIO pin (PA4, PA5, PB5, PB6, PB7, PC1), when used as an input to the general purpose ADC with the low voltage range selected  -0.3 2.0 V Voltage on OSCA, OSCB, NC   -0.3 VDD_PADSA+0.3 V Storage temperature   -40 +140 °C 5.  Recommended Operating Conditions  Parameter  Test Conditions  Min.  Typ.  Max. UnitRegulator input voltage (VDD_PADS)   2.7  3.6 V Operating temperature range   0  +70①°C  6. Electrical Specifications  T=25℃, VCC = 3.0V, Fo =2450MHZ, if nothing else stated. Parameter   Condition / Note   Min  Typ.  Max UnitOperating frequency   Programmable in 5MHz  steps, 5 MHz steps for IEEE 802.15.4 compliance   2.4  2.5 GHzNumber of channels   For IEEE 802.15.4 compliance     16     Channel spacing   For IEEE 802.15.4 compliance     5    MHzInput/output impedance       50    OhmFrequency stability         +/-40 ppmTransmit power   Programmable from firmware   -15    +20  dBm                                                      ① Operationg temperature range  from -40 to 85°C for module CTL3576 and CTL3578.
    ZigBee- Ready RF Transceiver Module CTL3576/7/8/9 Copyright © 2011 Computime Limited. All rights reserved.                                                       Rev. 1     Parameter   Condition / Note   Min   Typ.   Max  Unit  Sensitivity  PER = 1% PER, 20byte packet defined by IEEE 802.15.4 Boost mode  -98  dBm Adjacent channel rejection  +/-5 MHz   IEEE 802.15.4 compliance at -82 dBm   35/35  dB  Adjacent channel rejection +/-10 MHz   IEEE 802.15.4 compliance at -82 dBm   40/40   dB  Co-channel rejection       -6   dB Supply voltage     2.7    3.6  V  Max RX sensitivity (normal mode)     28    mA  Current consumption,  RX mode  Max RX sensitivity (boost mode)    30    mA  Current consumption, TX mode    190  mA  Deep sleep current    10②   μA Flash Memory      192③   KB MCU clock frequency       24    MHz                                                         ② Deep sleep current less than 5 uA for module CTL3576 and CTL3578. ③ Only CTL3577 and CTL3579 have 8Mb off chip flash memory on the RF module.
    ZigBee- Ready RF Transceiver Module CTL3576/7/8/9 Copyright © 2011 Computime Limited. All rights reserved.                                                       Rev. 1  7.  Typical application block  Figure 1: Example of application circuit 8. Pin Assignment  Figure 2: CTL357x pin assignment  CTL357x RF Module VDD_PADS=2.7- 3.6V  Debug and programming interface  HOST  MCU NREST PTI_EN PTI-DATA SIF_CLK SIF-MISO SIF-MOSI NSIF LOADLINK_ACTIVITY 8Mb flash32.768kHz24MHz
    ZigBee- Ready RF Transceiver Module CTL3576/7/8/9 Copyright © 2011 Computime Limited. All rights reserved.                                                       Rev. 1  9. Pin Description Pin#  CTL3576  CTL3577  CTL3578  CTL3579  Direction  Description JTCK JTCK JTCK JTCK  I JTAG clock input from debugger 1 SWCLK SWCLK SWCLK SWCLK  I/O Serial Wire Clock input/output with debugger PC2 PC2 PC2 PC2  I/O Digital I/O Enable with GPIO_DBGCFG[5] JTDO JTDO JTDO JTDO  O JTAG data out to debugger  2  SWO SWO SWO SWO  O Serial Wire Output asynchronous trace output to PC3 PC3 PC3 PC3  I/O Digital I/O Enable with GPIO_DBGCFG[5] 3 JTDI  JTDI  JTDI  JTDI  I  JTAG data in from debugger PC4 PC4 PC4 PC4  I/O Digital I/O Either Enable with GPIO_DBGCFG[5] JTMS JTMS JTMS JTMS  I JTAG mode select from debugger 4 SWDIO SWDIO SWDIO SWDIO  I/O Serial Wire bidirectional data to/from debugger PC0 PC0 PC0 PC0 I/O High current Digital I/O Either Enable with GPIO_DBGCFG[5] JRST JRST JRST JRST  I  JTAG reset input from debugger IRQD IRQD IRQD IRQD  I Default external interrupt source D 5 TRACEDATA1 TRACEDATA1 TRACEDATA1 TRACEDATA1 O  Synchronous CPU trace data bit 1 PB7 PB7 PB7 PB7 I/OHigh current  Digital I/O 6 ADC2 ADC2 ADC2 ADC2 Analog ADC input 2
    ZigBee- Ready RF Transceiver Module CTL3576/7/8/9 Copyright © 2011 Computime Limited. All rights reserved.                                                       Rev. 1 IRQC IRQC IRQC IRQC  I Default external interrupt source C TIM1C2  TIM1C2  TIM1C2  TIM1C2  O  Timer 1 channel 2 output TIM1C2  TIM1C2  TIM1C2  TIM1C2  1  Timer 1 channel 2 input PB6 PB6 PB6 PB6 I/O High current  Digital I/O ADC1 ADC1 ADC1 ADC1 Analog ADC input 1 IRQB IRQB IRQB IRQB  I External interrupt source B TIM1C1  TIM1C1  TIM1C1  TIM1C1  O  Timer 1 channel 1 output 7 TIM1C1  TIM1C1  TIM1C1  TIM1C1  I  Timer 1 channel 1 input  Pin#  CTL3576  CTL3577  CTL3578  CTL3579  Direction  Description PA7 PA7 PA7 PA7 I/O High current Digital I/O Disable REG_EN with GPIO_DBGCFG [4] TIM1C4  TIM1C4  TIM1C4  TIM1C4  O  Timer 1 channel 4 output TIM1C4  TIM1C4  TIM1C4  TIM1C4  I  Timer 1 channel 4 input 8 REG_EN REG_EN REG_EN REG_EN  O  External regulator open drain output PC1 PC1 PC1 PC1  I/O Digital I/O ADC3 ADC3 ADC3 ADC3 Analog  ADC input 3 SWO SWO SWO SWO  O Serial Wire Output asynchronous trace output to 9 TRACEDATA0 TRACEDATA0 TRACEDATA0 TRACEDATA0 O  Synchronous CPU trace data bit 0 10 GND GND GND GND
    ZigBee- Ready RF Transceiver Module CTL3576/7/8/9 Copyright © 2011 Computime Limited. All rights reserved.                                                       Rev. 1 PB3 PB3 PB3 PB3  I/O Digital I/O TIM2C3  TIM2C3  TIM2C3  TIM2C3  O  Timer 2 channel 3 output TIM2C3  TIM2C3  TIM2C3  TIM2C3  I  Timer 2 channel 3 input SC1nCTS SC1nCTS SC1nCTS SC1nCTS  I  UART CTS handshake of Serial Controller 1 SC1SCLK SC1SCLK SC1SCLK SC1SCLK  O  SPI master clock of serial Controller 1 11 SC1SCLK SC1SCLK SC1SCLK SC1SCLK  I  SPI slave clock of serial Controller 1 12 GND GND GND GND    PC6 PC6 PC6 PC6  I/O Digital I/O   OSC32B OSC32B I/O 32.768KHz crystal oscillator 13 NTX_ACTIVE  NTX_ACTIVE  NTX_ACTIVE NTX_ACTIVE O  Inverted TX_ACTIVE signal  PC7 PC7 PC7 PC7  I/O Digital I/O   OSC32A OSC32A I/O 32.768KHz crystal oscillator 14 OSC32_EXT OSC32_EXT OSC32_EXT OSC32_EXT I  Digital 32.768KHz clock input source 15 GND GND GND GND    16  VDD_PADS VDD_PADS VDD_PADS VDD_PADS  Power  Pads supply(2.1-3.6V) 17 nRESET nRESET nRESET nRESET  I  Active low chip reset(internal pull-up)   Pin#  CTL3576  CTL3577  CTL3578 CTL3579 Direction  Description 18  PA0 PA0 PA0 PA0  I/O Digital I/O
    ZigBee- Ready RF Transceiver Module CTL3576/7/8/9 Copyright © 2011 Computime Limited. All rights reserved.                                                       Rev. 1 TIM2C1  TIM2C1  TIM2C1  TIM2C1  O  Timer 2 channel 1 output TIM2C1  TIM2C1  TIM2C1  TIM2C1  I  Timer 2 channel 1 input SC2MOSI SC2MOSI SC2MOSI SC2MOSI O  SPI master data out of serial controller 2 SC2MOSI  SC2MOSI  SC2MOSI SC2MOSI I  SPI slave data in of serial controller 2  SI    SI  I Serial data in fot the 8Mb flash④ PA1 PA1 PA1 PA1  I/O Digital I/O TIM2C3  TIM2C3  TIM2C3  TIM2C3  O  Timer 2 channel 3 output TIM2C3  TIM2C3  TIM2C3  TIM2C3  I  Timer 2 channel 3 input SC2SDA SC2SDA SC2SDA SC2SDA  I/O  TWI data of serial controller 2 SC2MISO SC2MISO SC2MISO SC2MISO O  SPI slave data out of serial controller 2 SC2MISO SC2MISO SC2MISO SC2MISO I  SPI master data in of serial controller 2 19  SO  SO O Serial data out of the 8Mb flash PA2 PA2 PA2 PA2  I/O Digital I/O TIM2C4  TIM2C4  TIM2C4  TIM2C4  O  Timer 2 channel 4 output TIM2C4  TIM2C4  TIM2C4  TIM2C4  I  Timer 2 channel 4 input SC2SCL SC2SCL SC2SCL SC2SCL  I/O  TWI clock of serial controller 2 20 SC2SCLK SC2SCLK SC2SCLK SC2SCLK O  SPI master clock of serial controller 2                                                       ④ The SI,SO,SCK and CE# on the module pin18,19,20 and 23 are connected to the off chip 8Mbit SPI Serial Flash(SST25VF080B).Details information about the flash memory ,refers to its datasheet. It applys to the module CTL3577 and CTL3579.
    ZigBee- Ready RF Transceiver Module CTL3576/7/8/9 Copyright © 2011 Computime Limited. All rights reserved.                                                       Rev. 1 SC2SCLK  SC2SCLK  SC2SCLK SC2SCLK I  SPI slave clock of serial controller 2  SCK    SCK  I Clock in for the 8Mb flash PA6 PA6 PA6 PA6  I/O High current  Digital I/O TIM1C3  TIM1C3  TIM1C3  TIM1C3  O  Timer 1 channel 3 output 21 TIM1C3  TIM1C3  TIM1C3  TIM1C3  I  Timer 1 channel 3 input PB4 PB4 PB4 PB4  I/O Digital I/O TIM2C4  TIM2C4  TIM2C4  TIM2C4  O  Timer 2 channel 4 output TIM2C4  TIM2C4  TIM2C4  TIM2C4  i  Timer 2 channel 4 input SC1nRTS SC1nRTS  SC1nRTS SC1nRTS O  UART RTS handshake of serial controller 1 22 SC1nSSEL  SC1nSSEL  SC1nSSEL SC1nSSEL I  SPI slave select of serial controller 1    Pin#  CTL3576  CTL3577  CTL3578  CTL3579  Direction  Description PA3 PA3 PA3 PA3  I/O Digital I/O SC2Nssel SC2Nssel SC2Nssel SC2Nssel  I  SPI slave select of serial controller 2 TRACECLK TRACECLK TRACECLK TRACECLK  O  Synchronous CPU trace clock TIM2C2  TIM2C2  TIM2C2  TIM2C2  O  Timer 2 channel 2 output TIM2C2  TIM2C2  TIM2C2  TIM2C2  I  Timer 2 channel 2 input 23  CE#  CE# I Chip Enable for the 8Mb flash24  PA4 PA4 PA4 PA4  I/O Digital I/O
    ZigBee- Ready RF Transceiver Module CTL3576/7/8/9 Copyright © 2011 Computime Limited. All rights reserved.                                                       Rev. 1 ADC4 ADC4 ADC4 ADC4 Analog ADC input 4 PTI_EN PTI_EN PTI_EN PTI_EN  O Frame signal of packet trace interface TRACEDATA2 TRACEDATA2 TRACEDATA2 TRACEDATA2 O  Synchronous CPU trace data bit 2 PA5 PA5 PA5 PA5  I/O Digital I/O ADC5 ADC5 ADC5 ADC5 Analog ADC input 5 PTI_DATA PTI_DATA PTI_DATA PTI_DATA  O  Data signal of packet trace interface NBOOTMODE NBOOTMODE NBOOTMODE NBOOTMODE I  Embedded serial bootloader activation out of reset 25 TRACEDATA3 TRACEDATA3 TRACEDATA3 TRACEDATA3 O  Synchronous CPU trace data bit 3 PB1 PB1 PB1 PB1  I/O Digital I/O SC1MISO SC1MISO SC1MISO SC1MISO  O  SPI slave data out of serial controller 1 SC1MOSI SC1MOSI SC1MOSI SC1MOSI  O  SPI master data out of serial controller 1 SC1SDA SC1SDA SC1SDA SC1SDA  I/O  TWI data of serial controller 1SC1TXD SC1TXD SC1TXD SC1TXD  O  UART transmit data of serial controller 1 TIM2C1  TIM2C1  TIM2C1  TIM2C1  O  Timer 2 channel 1 output 26 TIM2C1  TIM2C1  TIM2C1  TIM2C1  I  Timer 2 channel 1 input      Pin#  CTL3576  CTL3577  CTL3578 CTL3579 Direction  Description 27  PB2 PB2 PB2 PB2  I/O Digital I/O
    ZigBee- Ready RF Transceiver Module CTL3576/7/8/9 Copyright © 2011 Computime Limited. All rights reserved.                                                       Rev. 1 SC1MISO SC1MISO SC1MISO SC1MISO I  SPI master data in of serial controller 1SC1MOSI  SC1MOSI  SC1MOSI SC1MOSI I  SPI slave data in of serial controller 1 SC1SCL SC1SCL SC1SCL SC1SCL  I/O  TWI clock of serial controller 1 SC1RXD SC1RXD SC1RXD SC1RXD  I  UART receive data of serial controller 1 TIM2C2  TIM2C2  TIM2C2  TIM2C2  O  Timer 2 channel 2 output TIM2C2  TIM2C2  TIM2C2  TIM2C2  I  Timer 2 channel 2 input PB5 PB5 PB5 PB5  I/O Digital I/O ADC0 ADC0 ADC0 ADC0  Analog ADC input 0 TIM2CLK TIM2CLK TIM2CLK TIM2CLK  I  Timer 2 external clock input 28 TIM1CLK TIM1CLK TIM1CLK TIM1CLK  I  Timer 1 external clock mask input PB0 PB0 PB0 PB0  I/O Digital I/O VREF VREF VREF VREF  Analog O  ADC reference output VREF  VREF  VREF  VREF  Analog I  ADC reference input IRQA IRQA IRQA IRQA  I  External interrupt source A TRACECLK  TRACECLK  TRACECLK TRACECLK O  Synchronous CPU trace clock TIM1CLK TIM1CLK TIM1CLK TIM1CLK  I  Timer 1 external clock input 29 TIM2MSK TIM2MSK TIM2MSK TIM2MSK  I  Timer 2 external clock mask input
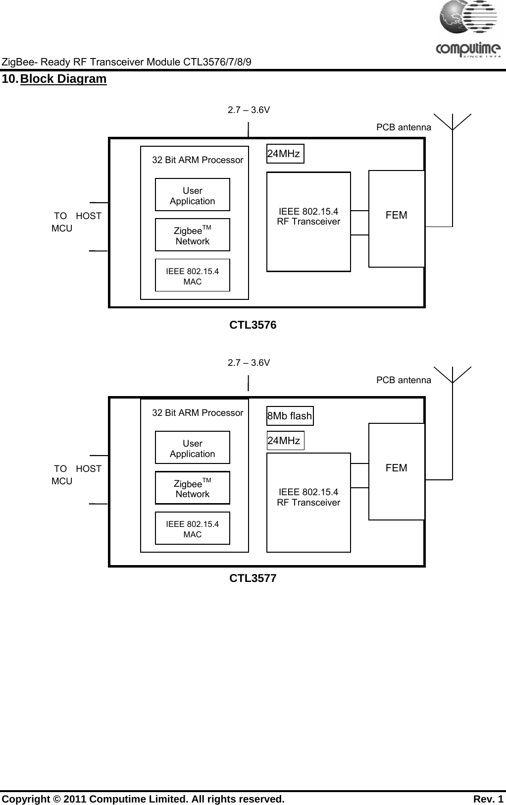
    ZigBee- Ready RF Transceiver Module CTL3576/7/8/9 Copyright © 2011 Computime Limited. All rights reserved.                                                       Rev. 1 10. Block  Diagram   CTL3576   CTL3577    PCB antenna  TO  HOST  MCU  User Application ZigbeeTM Network IEEE 802.15.4 MAC   IEEE 802.15.4 RF Transceiver 2.7 – 3.6V FEM 32 Bit ARM Processor  8Mb flash24MHzPCB antenna  TO  HOST  MCU  User Application ZigbeeTM Network IEEE 802.15.4 MAC   IEEE 802.15.4 RF Transceiver 2.7 – 3.6V FEM 32 Bit ARM Processor  24MHz
    ZigBee- Ready RF Transceiver Module CTL3576/7/8/9 Copyright © 2011 Computime Limited. All rights reserved.                                                       Rev. 1  CTL3578    CTL3579 Figure 3: Block Diagram 11. RF  Frequency Detail  The following table shows the RF channels as defined by the IEEE 802.15.4 standard.  RF channel  Frequency 11 2405MHz 12 2410MHz 13 2415MHz 14 2420MHz PCB antenna  TO  HOST  MCU  User ApplicationZigbeeTM NetworkIEEE 802.15.4 MAC   IEEE 802.15.4 RF Transceiver 2.7 – 3.6V FEM 32 Bit ARM Processor  32.768kHz24MHz PCB antenna  TO  HOST  MCU  User Application ZigbeeTM Network IEEE 802.15.4 MAC   IEEE 802.15.4 RF Transceiver 2.7 – 3.6V FEM 32 Bit ARM Processor  8Mb flash 32.768kHz 24MHz
    ZigBee- Ready RF Transceiver Module CTL3576/7/8/9 Copyright © 2011 Computime Limited. All rights reserved.                                                       Rev. 1 15 2425MHz 16 2430MHz 17 2435MHz 18 2440MHz 19 2445MHz 20 2450MHz 21 2455MHz 22 2460MHz 23 2465MHz 24 2470MHz 25 2475MHz 26 2480MHz  Note: the output power of EM357 should be configured lower than -15dBm for 2480M channel to Comply FCC requirement. The use of RF frequencies and maximum allowed RF power should according to different national regulations. The CTL3576 is complying with the applicable regulations for the world wide 2.4GHz ISM band.  12. PCB Layout Recommendations Please reference Mechanical Dimensions shown in next section for PCB layout.  The area underneath the module should be covered with solder mask in order to prevent short circuit on the test pads on the back side of the module. A solid ground plane under the module is preferred.  As the module integrated with onboard PCB trace antenna, the mounting position of the module will have great impact on the RF performance. There should not be any trace, ground plane or metal part underneath or nearby the area of the onboard PCB trace antenna. The figure below shows an example how the module positioned on the mother PCB.   Figure 4:  A recommended placement of the module on a main PCB
    ZigBee- Ready RF Transceiver Module CTL3576/7/8/9 Copyright © 2011 Computime Limited. All rights reserved.                                                       Rev. 1  13. Mechanical  Dimensions Figure 5: Mechanical Dimensions of CTL3576 .8   For further details on the SoC transceiver (Ember EM357), please consult the data sheet at http://www.ember.com  Pin 1 Pin 11
    ZigBee- Ready RF Transceiver Module CTL3576/7/8/9 Copyright © 2011 Computime Limited. All rights reserved.                                                       Rev. 1  14. Modules  Differentia  Computime Model No.  P.A.  32kHz Crystal  8Mbit Flash Memory CTL3576 Y  N  N CTL3577 Y  N  Y CTL3578 Y  Y  N CTL3579 Y  Y  Y
  FCC STATEMENT:  1. This device complies with part 15 of the FCC Rules. Operation is subject to the following two conditions:  (1) This device may not cause harmful interference, and  (2) this device must accept any interference received, including interference that may cause undesired operation. 2. Changes or modifications not expressly approved by the party responsible for compliance could void the user's authority to operate the equipment.  NOTE: This equipment has been tested and found to comply with the limits for a Class B digital device, pursuant to Part 15 of the FCC Rules. These limits are designed to provide reasonable protection against harmful interference in a residential installation. This equipment generates, uses and can radiate radio frequency energy and, if not installed and used in accordance with the instructions, may cause harmful interference to radio communications. However, there is no guarantee that interference will not occur in a particular installation. If this equipment does cause harmful interference to radio or television reception, which can be determined by turning the equipment off and on, the user is encouraged to try to correct the interference by one or more of the following measures: -- Reorient or relocate the receiving antenna. -- Increase the separation between the equipment and receiver. -- Connect the equipment into an outlet on a circuit different from that to which the receiver is connected. -- Consult the dealer or an experienced radio/TV technician for help.  FCC Radiation Exposure Statement The modular can be installed or integrated in mobile or fix devices only. This modular cannot be installed in any portable device, for example, USB dongle like transmitters is forbidden.  This modular complies with FCC RF radiation exposure limits set forth for an uncontrolled environment. This transmitter must not be co-located or operating in conjunction with any other antenna or transmitter. This modular must be installed and operated with a minimum distance of 20 cm between the radiator and user body.  If the FCC identification number is not visible when the module is installed inside another device, then the outside of the device into which the module is installed must also display a label referring to the enclosed module. This exterior label can use wording such as the following: “Contains Transmitter Module FCC ID: DI2-CTL3579A  when the module is installed inside another device, the user manual of this device must contain below warning statements; 1. This device complies with Part 15 of the FCC Rules. Operation is subject to the following two conditions:
 (1) This device may not cause harmful interference. (2) This device must accept any interference received, including interference that may cause undesired operation. 2. Changes or modifications not expressly approved by the party responsible for compliance could void the user's authority to operate the equipment.  The devices must be installed and used in strict accordance with the manufacturer's instructions as described in the user documentation that comes with the product.    Le présent appareil est conforme aux CNR d'Industrie Canada applicables aux appareils radio exempts de licence. L'exploitation est autorisée aux deux conditions suivantes : (1) l'appareil ne doit pas produire de brouillage, et (2) l'utilisateur de l'appareil doit accepter tout brouillage radioélectrique subi, même si le brouillage est susceptible d'en compromettre le fonctionnement.               IC RF warning statement                This equipment complies with IC radiation exposure limits set forth for an uncontrolled environment.                    This equipment should be installed and operated with minimum distance 20cm between the radiator &                        your body.                                                                                                                                                          If the IC identification number is not visible when the module is installed inside another device, then the outside of the device into which the module is installed must also display a label referring to the enclosed module. This exterior label can use wording such as the following: “Contains Transmitter Module IC: 1700D-CTL3579AIC: 1700D-CTL3579AModel No.:CTL3579, CTL3576, CTL3577, CTL3578Antenna type:intergal (SMT)Antenna gain:-0.32dBiAntenna impedance: 50ohmUnder Industry Canada regulations, this radio transmitter may only operate using an antenna of atype and maximum (or lesser) gain approved for the transmitter by Industry Canada. To reducepotential radio interference to other users, the antenna type and its gain should be so chosen thatthe equivalent isotropically radiated power (e.i.r.p.) is not more than that necessary for successfulcommunication. Canada information: This device complies with Industry Canada licence-exempt RSS standard(s). Operation is subject to the following two conditions: (1) this device may not cause interference, and (2) this device must accept any interference, including interference that may cause undesired operation of the device.
    ZigBee- Ready RF Transceiver Module CTL3576/7/8/9 Copyright © 2011 Computime Limited. All rights reserved.                                                       Rev. 1   Contact information  COMPUTIME CORPORATE HQ 17/F, Great Eagle Centre, 23 Harbour Road, Wanchai, Tel: +852.2260.0300 Fax: +852.2790.3996 e-mail: hq@computime.com  COMPUTIME NORTH AMERICA HQ,  4700 Duke Dr. Suite 200 Mason OH 45040 USA  Tel: +1(513).398.2579 Fax: +1(513).754.8955 e-mail: na@computime.com   CINCINNATI WIRELESS SOLUTIONS LTD 4700 Duke Dr. Suite 200 Mason OH 45040 USA Tel: +1(513).754.8935 Fax: +1(513).754.8955 e-mail: ctws@computime.com  COMPUTIME JAPAN 3-18-9 Roppongi Minatoku, Tokyo 106-0032, Japan Tel: (03).3583.8411 Fax: (03).3583.3799 e-mail: cj@computime.com    About Computime  Founded in 1974, Computime is a global technology, brand and manufacturing company providing innovative automation and control solutions to customers in commercial, industrial and consumer markets. The Company provides technologies and products that save energy and make people's lives more productive and comfortable.

Navigation menu