Control4 WK1O22 802.11ac Dual Band Access Point User Manual
Pakedge Device and Software Inc. 802.11ac Dual Band Access Point Users Manual
Control4 >
Contents
- 1. Users Manual
- 2. User manual
Users Manual

p
a
WK‐
1
802.
1
User
G
a
ke
d
1
,WK‐1
‐
1
1acD
u
G
uide–
V
d
ged
‐
B,WK‐
u
alBan
d
V
ersion
1
evice
1‐O
d
Acces
s
1
.0
&soft
w
s
Point
w
arei
n
n
c.

WK-1x User Manual
2
FCCDeclarationofConformity
PakedgeDevice&Software,3847BreakwaterAvenue,Hayward,CA94545,declaresundersoleresponsibilitythattheWK‐1xcomplieswith47
CFRParts2and15oftheFCCRulesasaClassBdigitaldevice.ThisdevicecomplieswithPart15ofFCCRules.Operationofthedeviceis
subjecttothefollowingtwoconditions:(1)Thisdevicemaynotcauseharmfulinterference,and(2)thisdevicemustacceptanyinterference
thatmaycauseundesiredoperation.
FCCComplianceClassBDigitalDevice
ThisequipmenthasbeentestedandfoundtocomplywiththelimitsforaClassBdigitaldevice,pursuanttoPart15oftheFCCRules.These
limitsaredesignedtoprovidereasonableprotectionagainstharmfulinterferenceinaresidentialenvironment.Thisequipmentgenerates,uses,
andcanradiateradiofrequencyenergyand,ifnotinstalledandusedinaccordancewiththeinstructions,maycauseharmfulinterferenceto
radiocommunications.However,thereisnoguaranteethatinterferencewillnotoccurinaparticularinstallation.Ifthisequipmentdoescause
harmfulinterferencetoradioortelevisionreception,whichcanbedeterminedbyturningtheequipmentoffandon,theuserisencouragedto
trytocorrecttheinterferencebyoneofthefollowingmeasures:
Reorientorrelocatethereceivingantenna.
Increasetheseparationbetweentheequipmentandreceiver.
Connecttheequipmentintoanoutletonacircuitdifferentfromthattowhichthereceiverisconnected.
Consultthedealeroranexperiencedradio/TVtechnicianforhelp.
WirelessLANandYourHealth
TheWK‐1x,likeotherradiodevices,emitsradiofrequencyelectromagneticenergy,butoperateswithintheguidelinesfoundinradiofrequency
safetystandardsandrecommendations.
FCCCertification
TheWK‐1xcontainsaradiotransmitter.Accordingly,ithasbeencertifiedascompliantwith47CFRPart15oftheFCCRulesforintentional
radiators.ProductsthatcontainaradiotransmitterarelabeledwithFCCIDandtheFCClogo.
RestrictionsonUseofWirelessDevices
Insomesituationsorenvironments,theuseofwirelessdevicesmayberestrictedbytheproprietorofthebuildingorresponsible
representativesoftheorganization.Forexample,thesesituationsmayinclude:
Usingwirelessequipmentonboardanairplane.
Usingwirelessequipmentinanyenvironmentwheretheriskofinterferencetootherdevicesorservicesisperceivedor
identifiedasharmful.
Theavailabilityofsomespecificchannelsand/oroperationalfrequencybandsarecountrydependentandarefirmware
programmedatfactorytomatchtheintendeddestination.Thefirmwaresettingisnotaccessiblebytheenduser.
Ifyouareuncertainoftheapplicablepolicyfortheuseofwirelessequipmentinaspecificorganizationorenvironment(suchasairports),you
areencouragedtoaskforauthorizationtousethedevicepriortoturningontheequipment.Themanufacturerisnotresponsibleforanyradio
ortelevisioninterferencecausedbyunauthorizedmodificationofthedevicesincludedwiththisproduct,orthesubstitutionorattachmentof
connectingcablesandequipmentotherthanspecifiedbythemanufacturer.Correctionofinterferencecausedbysuchunauthorized
modification,substitution,orattachmentistheresponsibilityoftheuser.Themanufactureranditsauthorizedresellersordistributorsarenot
liableforanydamageorviolationofgovernmentregulationsthatmayarisefromfailingtocomplywiththeseguidelines.

WK-1x User Manual
3
Caution:ExposuretoRadioFrequencyRadiation.
Thisequipmentmustbeinstalledandoperatedinaccordancewithprovidedinstructionsandtheantenna(s)usedforthistransmittermustbe
installedtoprovideaseparationdistanceofatleast20cmfromallpersonsandmustnotbeco‐locatedoroperatinginconjunctionwithany
otherantennaortransmitter.End‐usersandinstallersmustbeprovidewithantennainstallationinstructionsandtransmitteroperating
conditionsforsatisfyingRFexposurecompliance.
WARNING:TOPREVENTFIREORSHOCKHAZARD,DONOTEXPOSETHISPRODUCTTORAINORMOISTURE.THE
UNITMUSTNOTBEEXPOSEDTODRIPPINGORSPLASHINGWATER.CAUTION:DONOTOPENTHEUNIT.DO
NOTPERFORMANYSERVICINGOTHERTHANTHATCONTAINEDINTHEINSTALLATIONANDTROUBLESHOOTING
INSTRUCTIONS.REFERALLSERVICINGTOQUALIFIEDSERVICEPERSONNEL.CAUTION:THISDEVICEMUSTBE
INSTALLEDANDUSEDINSTRICTACCORDANCEWITHTHEMANUFACTURER’SINSTRUCTIONSASDESCRIBEDIN
THEUSERDOCUMENTATIONTHATCOMESWITHTHEPRODUCT.WARNING:POSTPONEINSTALLATIONUNTIL
THEREISNORISKOFTHUNDERSTORMORLIGHTNINGACTIVITYINTHEAREA.CAUTION:ANYCHANGESOR
MODIFICATIONSNOTEXPRESSLYAPPROVEDBYTHEGRANTEEOFTHISDEVICECOULDVOIDTHEUSER’S
AUTHORITYTOOPERATETHEEQUIPMENT.
SAFETYPRECAUTIONS:
Whenusingthisdevice,alwaysfollowbasicsafetyprecautions,toreducetheriskoffire,electricshock,andinjury
topersons,includingthefollowing:
Readalloftheinstructions(listedhereand/orintheusermanual)beforeyouoperatethisequipment.
Complywithallwarningandcautionstatementsintheinstructions.
Retaintheinstructionsforfuturereference.
Observeallwarningandcautionsymbolsthatareaffixedtothisequipment.
Complywithallinstructionsthataccompanythisequipment.
Uponcompletionofanyserviceorrepairstothisproduct,asktheservicetechniciantoperformsafetychecksto
determinethattheproductisinsafeoperatingcondition.
Installationofthisproductmustbeinaccordancewithnationalwiringcodesandconformtolocalregulations.
Avoidusingthisproductduringanelectricalstorm.Theremaybeariskofelectricshockfromlightning.For
addedprotectionforthisproductduringalightningstorm,orwhenitisleftunattendedandunusedforlong

WK-1x User Manual
4
periodsoftime,unplugthepowersupply,anddisconnecttheCAT5etotheWK‐1xatthePoE.Thiswillprevent
damagetotheproductduetolightningandpowersurges.
Giveparticularattentiontoallsafetyprecautions.
Operatethisproductonlyfromthetypeofpowersourceindicatedontheproduct’smarkinglabel.Ifyouarenot
sureofthetypeofpowersuppliedtoyourhome,consultyourdealerorlocalpowercompany.
ItisrecommendedthatthecustomerinstallanACsurgeprotectorintheACoutlettowhichthisdeviceis
connected.Thisistoavoiddamagetotheequipmentfromlightningstrikesandotherelectricalsurges.
PlacePOEInjectorunittoallowforeasyaccesswhendisconnectingthepowercord/adapterofthedevicefrom
theACwalloutlet.
Wipetheunitwithaclean,drycloth.Neverusecleaningfluidorsimilarchemicals.Donotspraycleaners
directlyontheunitoruseforcedairtoremovedust.
Keepthedeviceawayfromexcessiveheatandhumidityandkeepthedevicefreefromvibrationanddust.
Donotdirectlycoverthedevice,orblocktheairflowtothedevicewithinsulationoranyotherobjects.
“Hereby,PakedgeDeviceandSoftwareInc,declaresthatthiswirelessaccesspointisincompliancewiththeessentialrequirements
andotherrelevantprovisionsofDirective1999/5/EC.”

WK-1x User Manual
5
TABLEOFCONTENTS
INTRODUCTION.....................................................................................................................................................6
SYSTEMREQUIREMENTS..................................................................................................................................................8
HARDWAREINSTALLATION...............................................................................................................................................8
WK‐1XSTARTUP........................................................................................................................................................19
MENUOPTIONS...................................................................................................................................................21
NETWORK............................................................................................................................................................21
LAN......................................................................................................................................................................22
Wireless...............................................................................................................................................................24
Configuration.....................................................................................................................................................................24
Security..............................................................................................................................................................................25
GuestNetworksettings.....................................................................................................................................................26
WiFiScheduler.....................................................................................................................................................30
Advanced.............................................................................................................................................................31
MANAGEMENT....................................................................................................................................................32
TOOLS........................................................................................................................................................................33
PingTest..............................................................................................................................................................33
TracerouteTest....................................................................................................................................................34
SNMP.......................................................................................................................................................................34
MAINTENANCE....................................................................................................................................................35
SETTINGS....................................................................................................................................................................35
USERNAME/PASSWORD.................................................................................................................................................36
TIMEZONE..................................................................................................................................................................36
FIRMWARE..................................................................................................................................................................37
CONFIGURATION..........................................................................................................................................................37
REBOOT......................................................................................................................................................................38
APPENDIXA–SPECS............................................................................................................................................39
HARDWARESPECIFICATIONS...................................................................................................................................39
RFINFORMATION....................................................................................................................................................39
OPERATIONS............................................................................................................................................................41
MANAGEMENTANDSECURITY................................................................................................................................41
ENVIRONMENT........................................................................................................................................................42
MECHANICAL...........................................................................................................................................................42
APPENDIXB–TECHNICALSUPPORT....................................................................................................................42
APPENDIXC–LIMITEDWARRANTY.....................................................................................................................43

WK-1x User Manual
6
INTRODUCTION
ThankyouforpurchasingthePakedgeWK‐1x802.11acDualBandAccessPoint
Asthecentralcomponentofyourwirelessnetwork,theWK‐1canconnectmultiplecomputers,allowingyouto
sharefiles,audio,video,printers,ahigh‐speedInternetconnection,andotherresources.Youcaneasilyconnect
devicesthathaveawirelessadaptertotheWK‐1xtocreateasecure,high‐speedlinkbetweenyourcomputers,
PDAs,andotherelectronics;AndwiththeWK‐1xbeingabletobroadcastboth2.4GHzand5GHzsignals
simultaneously,5GHzcapablewirelessdevicesarenowfreetochoosethebestsignalwiththeleastnoiseand
interference,improvingtheoverallstability,reliabilityandperformanceofthewirelessnetwork.
Eachband(either2.4GHzor5GHz)oftheWK‐1xcanoperateinanyoneofthreemodes:
AccessPointMode:ThisisthetypicalconfigurationformostWi‐Finetworks.Inthismode,theWK‐1x
broadcaststwoWi‐Fisignals(2.4GHzand5GHz)thatclientscanassociatewith,asshowninthefigure
below.
ClientBridgeMode:Inthismode,youcanconnectoneWK‐1xtoaclientbyitsEthernetport,asshown
below.InClientBridgeMode,theWK‐1xcanreceiveawirelesssignalfromanAccessPointandsendthe
WK-1
Laptop
Laptop
Tablet
Smartphone
Panel

WK-1x User Manual
7
signalthroughitsEthernetporttoaclient.Thismodeisusedwhenyouneedtohavenetwork
connectivitytohardwireddevice(s)butareunabletoruncabletothem.
RepeaterMode–Normallyforrepeaterwork,thismodewillwithAnyAPsetupasthemainAPandthen
theWK‐1xwillrepeatofftheunit
WK-1
Laptop
WK-1
Ethernet Cable
WK-1
Laptop
Ethernet Cable
WK-1

WK-1x User Manual
8
BecausethefunctionalityoftheWK‐1xchangesdependingonitsoperatingmode,thismanualoffersbothgeneral
andmode‐specificcontent.
SYSTEMREQUIREMENTS
TheminimumsystemrequirementsfortheWK‐1xare:
PCorMacbookcompatiblewithanEthernetinterface
OperatingsystemthatsupportsanHTTPWebbrowser
HARDWAREINSTALLATION
Note:theproductisdesignedforspecificapplicationandmustbeprofessionallyinstalledbyaqualifiedpersonal
whohasRFandrelatedknowledge.
WK‐1/WK‐1‐BMountingOptions
UsingtheProvidedWallMount
If planning on mounting the WK-1x
A:DOUBLE‐GANGELECTRICALBOX,WALL

WK-1x User Manual
9
B:WALL,SINGLE‐GANGELECTRICALBOX,EUROPEANOUTLETBOXUS4”ROUNDJUNCTIONBOX,US3.5”ROUND
JUNCTIONBOX
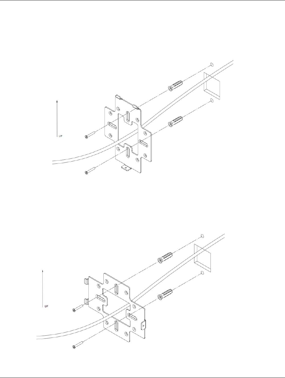
Verticalmount:SecuretheWallBrackettothewallanchorsusingtheincludedhardware.
Horizontalmount:Lineuptheslotsandsecurethewallbrackettothewallanchorsusingtheincludedhardware.

WK-1x User Manual
10
LinethetwotabsonthetopoftheWallBracketwiththetwopocketsonthebackoftheaccesspoint.
Attachtherecommendedplasticcableclip.RoutecablesalongthechannelonthebackoftheWAPandsecure
cablestotheplasticclipbypressingthecabletotheclip

WK-1x User Manual
11
PlacetheWAPfirmlyagainsttheWallBracket,ensuringthecablesaretuckedinthechannelonthebackofthe
WAPand/orbehindtheWallBracket

WK-1x User Manual
12
SlidetheWAPdownwarduntilthetoptwotabsontheWallBracketarelockedintoplace
SecuretheWAPtotheWallBracket’sbottomtabwiththeincludedsecurityscrew.

WK-1x User Manual
13
UsingprovidedT‐bar
1. PlacetheappropriatesizedT‐barbracketintotheslotsonthebackoftheWAPandlineupthetwoholes
ontheT‐BarBracketwiththetwomountingpointsonthebackoftheWAP.Usingthesuppliedhardware,
mounttheT‐BarBrackettotheWAP.
2. RotatetheWAPcounter‐clockwiseuntiltheT‐BarBracketissecuredtotheT‐Bar.

WK-1x User Manual
14
WK‐1‐OInstallation
1. Placetheunitinanappropriateplaceusingthemountingkit.
2. RunanEthernetcabletothedeviceandplugoneendoftheEthernetcableintotheWirelessAccessPoint.
3. PlugtheotherendoftheEthernetcableintoaPoEinjectororPoESwitch.
4. TheLEDlightswillbegintolightupandindicatethatWAPisconnected.
5. OncetheWAPfullybootsup,youmaylogintotheWAPandconfigurethesettings.RefertotheQuick
StartGuideforassistance.
Antennas
WeatherProofRJ‐45
BesuretoruntheEthernetcablethroughtheplasticelement,andsealittightlytoinsureweather‐proofing

WK-1x User Manual
15
WallMounting
PipeMounting

WK-1x User Manual
16
ThediagramsbelowdepicttheconfigurationusingaPoEinjectororaPoESwitchtopowertheWK‐1x
PowerusingPoEInjector
PowerusingPoESwitch

WK-1x User Manual
17
Powerusingtheincludedpoweradapter

WK-1x User Manual
18
TheWK‐1xcanbeconfiguredinClientBridge,WDSAccessPoint,orAccessPointmode.Whenshippedfromthe
factory,theWK‐1xissettoAccessPointmode.ThedefaultIPaddressoftheWK‐1xis192.168.1.250and
username/passwordofpakedge/pakedgea
InordertologintotheWK‐1x,youmustfirstconfiguretheTCP/IPsettingsofyourPC/Notebook.Followthese
steps:
1. Under“ControlPanel”,double‐click“NetworkConnections”anddouble‐clicktheconnectionof
yourNetworkInterfaceCard(NIC).TheLocalAreaConnectionPropertiesdialogappears:
2. Select“InternetProtocol(TCP/IP)”andclick“Properties”.TheInternetProtocol(TCP/IP)dialogappears
whereyoucanconfiguretheTCP/IPsettingsofyourPC.

WK-1x User Manual
19
3. Select“UsethefollowingIPAddress”andtypetheIPaddressandsubnetmask,asintheexamplebelow.(Be
suretheIPaddressandsubnetmaskareonthesamesubnetastheWK‐1x.)
WK‐1xIPaddress: 192.168.1.250
PCIPaddress: 192.168.1.10
PCsubnetmask: 255.255.255.0
4. Click“OK”toclosethedialog,andclick“OK”toclosetheLocalAreaConnectionPropertiesdialog.
WK‐1XSTARTUP
ToconfiguretheWK‐1xthroughaWebBrowser,intheaddressbarofthebrowsertypetheIPaddressof
theWK‐1x(default192.168.1.250)andpressEnter.

WK-1x U
NOTE:
M
address
o
TheWK‐
1
IntheU
s
TheWK‐
1
systemi
n
ID.The
2
wireless
displays
t
ser Manual
M
akesurethe
A
o
fyourcomp
u
1
xlogindialo
g
s
erNamebox
,
1
xmainmen
u
n
formations
u
2
.4GHz/5GHz
W
Channeland
P
t
hedetailsof
A
ccessPoint
a
u
ter,followt
h
g
appears.
,
typepaked
g
u
appears(se
e
u
chasDevice
W
irelesssecti
P
rofileSettin
g
eachSSID,a
n
a
ndyourco
m
h
estepsinth
e
g
e,andinthe
e
figurebelo
w
Name,MAC
a
ondisplayst
h
g
s.Becauset
h
n
dthesecurit
y
m
puterareco
n
e
previousse
c
Passwordbo
x
w
).Themain
m
a
ddress,Curr
e
h
edeviceope
h
eWK‐1xsup
p
y
settingsof
e
n
figuredont
h
c
tion.
x
typepaked
g
m
enudisplay
s
e
ntTime,Fir
m
ratingmode,
p
ortsmultipl
e
e
achSSID
h
esamesubn
e
g
ea,andclick
s
thecurrent
s
m
wareVersio
n
802.11mode
e
SSIDs,the
W
e
t.Toconfig
u
“Login”.
s
tatusofWK‐
1
n
andManag
e
,channelba
n
W
irelesssectio
2
0
u
retheIP
1
x,general
e
mentVLAN
n
dwidth,
nalso
0

WK-1x U
MENU
Thenavi
g
NETW
O
ser Manual
OPTIONS
g
ationbaron
Network
:All
o
Managemen
t
System:
Allo
w
configuratio
n
O
RK
thetophas
3
o
wuseracce
s
t
:Allowsuse
r
w
susertom
o
n
backandre
s
3
groups:
s
stoLAN,Wi
r
r
toaccessTo
o
o
difyAPsetti
n
s
tores.
r
eless,WiFiS
c
o
ls,modifyS
N
n
gsasinlogin
c
hedulerand
A
N
MPsettings
totheAP’s
w
A
dvancedset
t
w
ebinterface,
t
ings
firmwareup
d
2
1
d
ates,and
1

WK-1x User Manual
22
LAN
Wireless
WiFiScheduler
Advanced
LAN
HoveroverNetworkicon,click“LAN”.ThispagedisplaystheLANsettingsforWK‐1x.ToconfiguretheIPaddress
ofyourWK‐1x,youcanconfiguretheWK‐1xwithastaticIPaddress,orobtainanIPaddressautomaticallyusinga
DHCPclient.

WK-1x U
IPSettin
g
VLANM
a
Manage
m
betheV
L
mustbe
ser Manual
g
s
IPNetwork
S
YourWK‐1x
w
SpecifyanIP
appropriate
e
Severs
.
a
nagement
Ifyouenable
m
entIDfort
h
L
ANusedfor
m
192.168.3.X,
w
VLANIdfor
M
Inthe
VLANI
functionsof
t
Click
Accept
t
S
etting
:Ifyou
w
illbeassign
e
address(def
a
e
ntriesinthe
t
VLANtaggin
g
h
eWK‐1xtoa
c
m
anagement
w
hereXisan
y
M
anagement
:
d
textbox,ty
t
heWK‐1x.F
o
t
osaveyour
c
rWK‐1xisco
n
e
danIPaddr
e
a
ult):
Selectt
t
extboxesfo
r
g
intheWK‐1
x
c
cessthead
m
andthesub
n
y
valueinran
g
:
ToturnonV
petheIDnu
m
o
rexample,if
V
c
hanges.
n
nectedtoa
D
e
ssfromthe
D
hisoptionif
y
r
IPAddress
,
I
x
Wirelessse
c
m
inistrativefu
n
etrangefor
V
g
e.
LANManage
m
m
beroftheV
L
V
LAN3isuse
d
D
HCPserver
(
D
HCPpool(
N
o
y
ouwanttou
s
I
PSubnetMa
c
tionundera
n
nctionsofyo
u
V
LAN3is192
.
m
ent,selectt
L
ANyouwan
t
d
formanage
m
(
suchasarou
o
trecommen
d
s
eastaticIP
a
sk
,
Gateway,
n
yoftheSSID
u
rWK‐1x.Le
t
.
168.3.X.The
he
VLANId
b
u
t
toallowacc
e
m
ent,typein
ter),choose
“
d
ed
).
a
ddress.Type
and
UseCus
t
s,youcanch
o
t
’ssayyoupi
c
IPaddressfo
r
u
tton.
e
sstothead
m
3.
2
3
“
DHCPClient
”
the
t
om
DNS
o
oseaVLAN
c
kVLAN3to
r
theWK‐1x
m
inistrative
3
”
.

WK-1x U
WIRELE
CONFI
G
Hovero
v
Configur
ser Manual
SS
G
URATION
v
er“Network
”
ationtab.
”
andclickon“Wireless”,
y
y
ouwillbedirectedtowirelessconfigur
a
a
tionpageun
d
2
4
d
er
4

WK-1x User Manual
25
o OperationMode:Boththe2.4andthe5GHzbandhavethefollowingoperatingmodes:
AccessPointmode,clientbridgemode,andWDSAP.
o WirelessMode‐802.11Mode:Choosethesettingthatcorrespondstothetypeofwireless
clientsconnectedtoyournetwork:B,G,N,B/GorB/G/N(onthe2.4GHz)orN/AC(onthe
5GHz).Ifyouaren’tsurewhichtype(s)ofclientswillaccessthewirelessnetworks,it’s
recommendedtochooseB/G/NMixed(onthe2.4GHz)orAC(onthe5GHz)forbest
performance.
NOTE:WhensettoamixedmodeALLdevicesconnectedtothewirelesswillusethemode
thatiscompatibleforALLdevices.Example–Ifyouhavethe2.4GHzWirelesssettoB/G/N
MixedandadevicesconnectsusingG,alldeviceswillbeconnectedatGspeed.
o ChannelHTMode:Bydefault,the“ChannelMode”issetto20/40MHZ(whenusingN).
Selectingthe40MHzchannelmodeon2.4GHzwillallowforagreateroverallthroughputof
databutitwillalsoincreasethesizeofthechannel.
NOTE:Whenusing20MHzchannelwidthonthe2.4GHzradio,channel6wouldbleedinto
channels4,5,7and8givingyouthreenon‐overlappingchannels(1,6and11).Whenusing
40MHzchannelwidthonthe2.4GHzradio,channel6wouldbleedintochannels2,3,4,5,7,8,
9,and10givingyouonlyonechannelwithoutoverlap.
o Channel‐Inthedefaultsetting(Auto),theWK‐1xautomaticallyassociatestothechannel
withbestperformanceforthewirelessnetwork.Toselectachannelmanually,uncheckthe
“Auto”boxandselectachannelfromthedrop‐downlist.Thechanneloptionsonthelist
dependontheselectedcountry’sregulations.
SECURITY
UndertheSecuritytab,youwillbeabletoconfigurethewirelessSSID’sforboththe2.4GHzandthe5GHzband.
TheWK‐1giveyoutheoptiontosetupupto8SSID’sperband.
CurrentProfiles:Youcanconfigureuptoeightwirelessprofiles,perband,eachwithitsownVLANID.To
modifyandactivateaprofilecheck“Enable”andthenclick“Edit”toconfigurethesettings.
SSID:TheSSIDisthenameassociatedwiththeW7xWIFInetwork.Bydefault,theSSIDisbroadcastonthe
networkforeasyassociationbyclients.AnSSIDcannotexceed32characters.
WirelessSecurityProfile–thiswilladdthesecuritysetuptotheSSID.
PakedgeZone(VLAN):TypetheVLANIDassociatedwiththisprofileiftheSSIDwillbebroadcastinga
VLANotherthan1.

WK-1x U
GUEST
TheGue
s
withno
c
Firstyou
schemeI
BSSID,t
h
arecom
p
ser Manual
NETWORK
S
s
tNetworkis
c
ommunicati
o
willneedto
e
setto192.1
6
h
eIPaddress
p
leteclickAp
p
S
ETTINGS
designedfor
o
nwiththeo
t
e
nabletheG
u
6
8.200.X.You
iswill,distrib
p
lytosavech
routerthatd
o
t
herSSID/sor
u
estnetwork.
havetheopt
i
ute,subnet
a
anges.
o
notsupport
themainnet
Bydefaultth
e
i
ontochang
e
a
ndthestarti
n
VLAN’s.The
G
work.
e
guestnetw
o
e
thedefaults
n
gIPaddress
G
uestNetwo
r
o
rknameisP
a
etting,ifdesi
r
andendingI
P
r
kactsasits
o
a
kedge‐Gues
t
r
ed.Youcan
P
address.On
c
2
6
o
wnnetwork
t
andtheIP
changethe
c
echanges
6

WK-1x User Manual
27
WIRELESSSECURITYPROFILES
ThissectionyoucancreatesecuritysettingthatwillbeaddedtotheSSID.

WK-1x U
Youwill
n
profilen
a
Enterth
e
Security‐
ser Manual
n
amethePro
f
a
meSonos:
e
password
dropdown
m
f
ile<forexa
m
m
enuwillallo
w
m
pleyouhave
w
youtosele
c
anSSIDthat
c
tacertains
e
willbeonlyS
o
e
curityforyo
u
o
nosdevices.
u
rprofile.
Youcanhav
e
2
8
e
thesecurity
8

WK-1x U
Note:Th
e
securea
n
Equivale
n
device/c
l
support
W
devices
p
Letsayy
o
Afterth
e
SSID.Yo
u
ser Manual
e
mostsecur
e
n
discompati
b
n
tPrivacy(W
E
l
ientyouare
w
W
PA2securit
y
p
ecifications.
o
uselectthe
e
securitypro
f
u
canapplyth
e
andcommo
b
lewithallth
E
P)isthemo
s
w
orkingwith
f
y
.Also,some
WPA1‐PSKfo
f
ileissavedy
o
eprofiletob
o
nmodeisW
P
elatestdevic
s
twidely‐use
d
f
actorsintoi
t
devicesonly
rtheSonosp
o
uwillthenn
a
o
ththe2.4a
n
P
A2‐PSKwith
A
es.Anexam
p
d
WiFisecurit
y
t
ssecuritytyp
acceptacert
a
rofile,clicka
p
a
vigatetoth
e
n
dthe5Ghz
b
A
ESencrypti
o
p
leofalesss
e
y
algorithm,
m
es.Forexam
p
a
insecurityt
y
p
ply
e
settinggam
e
b
and
o
n.Thissecuri
e
curemodeis
m
eaningit’se
a
p
le,olderlap
t
y
pe.Youmay
e
andapplyt
h
tyisknownt
o
WEP.WEP
W
a
siertoexpl
o
t
opsorphon
e
wanttorefe
r
h
esecuritypr
o
2
9
o
bethemos
t
W
ired
o
it.The
e
sdonot
r
enceyour
o
filetoyour
9
t

WK-1x U
WIFIS
C
ser Manual
C
HEDULER
3
0
0

WK-1x User Manual
31
WiFiSchedulerallowsyoutosetaspecificdayandtimetoturnon/offaradioandSSID.BydefaultWiFiScheduler
isdisabled.ToenableWiFiScheduler,checkthe“Enable”box,thenselecttheproperWirelessRadioandSSIDthat
youwanttoenablethescheduler
IntheScheduleTablebelow,youcansettheavailabilityofRadioforeachdayoftheweekandtheduration.
ADVANCED

WK-1x User Manual
32
IntheAdvancedpage,youcanconfigure:
TransmitPower:Thepowerneededdependsonthedistanceofthedevicesinyourwirelessnetwork.
Fromthedrop‐downlist,selectthedesiredpower.Youcanusethisfeaturetolimitthecoverage
areaofthewirelessnetwork.
RTS/CTSThreshold:TypethepacketsizethresholdforRTS/CTS(RequesttoSend/Cleartosend)tooccur.
MANAGEMENT

WK-1x User Manual
33
Tools
SNMP
TOOLS
PINGTEST
HoveroverManagementandclickonTools,youwillbedirectedtopingtestunderthePingTesttab:
Ping–
o TargetIP:TypetheIPAddressofthedevicetocheck.
o PingPacketSize:Typethesizeofthepingpackets(InBytes).
o NumberofPings:Typethenumberofpingattempts.
o ClickStartPingtostartthetest.

WK-1x User Manual
34
TRACEROUTETEST
ClickonTracerouteTesttab
ATraceroutetestcanhelpyouidentifyobstaclesyoumayhaveinthenetwork.TheTraceroutetextmapsthepath
thatpacketstakebetweentheWK‐1xandthetargetdevice.TorunaTraceroutetest,typetheTracerouteTarget
IPandclick“Start”tobeginthetest.
SNMP
HoveroverManagementandclickonSNMP,theSNMPSettingspageappears,whereyoucanenteracommunity
nameandpasswordtomanagetheW7xdeviceremotely,usinganSNMPclient.

WK-1x User Manual
35
Location–EnterthelocationoftheWK‐1xforreferencebytheSNMPmanager.
Contact–EnterthecontactinformationfortheSNMPmanager.
Description‐whatisthisdescriptionfor?
MAINTENANCE
Settings
Username/Password
TimeZone
Firmware
Configuration
Reboot
SETTINGS
HoveroverMaintenanceandclickonSettings,onthispageyoucanconfiguretheHostnameandcontrolLEDlights.

WK-1x User Manual
36
USERNAME/PASSWORD
HoveroverMaintenanceandclickonUsername/Password.UndertheAdministrationpage,youcanchangethe
UsernameandPasswordforthedevice.
TIMEZONE
HoveroverMaintenanceandclickonTimeZone,thispageallowsyoutosetuptimezone.

WK-1x U
FIRM
W
Firmwar
e
CONFI
G
ser Manual
W
ARE
e
‐
FirmwareUp
g
ontotheunit
firmware,ch
e
complete.
G
URATION
g
rade–allow
andthencli
c
e
ckthe“Kee
p
youtoupda
t
c
kUpload.Ify
p
Settings”bo
t
ethefirmwa
r
ouwanttok
e
x,otherwise
t
r
efortheuni
t
e
epthesame
t
hesettings
w
t
.ClickBrows
settingsand
c
w
illresetback
eandupload
c
onfiguration
s
todefaultaf
t
3
7
thefirmwar
e
s
onthenew
t
eruploadis
7
e

WK-1x User Manual
38
HoveroverMaintenanceandclickonConfiguration:
DownloadBackup–clickonDownloadConfigurationtosaveandexportthecurrentsettings.
ResettoDefaults–clicktheFactoryDefaultbuttontoresetthedevicebacktooriginalfactorydefault
settings.
RestoreBackup–loadanexistingsavedconfiguration.
REBOOT
HoveroverMaintenanceandclickonReboot

WK-1x User Manual
39
UndertheRebootpage,clickingtheRebootButtonallowsyoutorebootthedevice.Afterthedevicerestarts,you
canaccesstheWK‐1xatthedefaultIPaddress:192.168.1.250andlogin:pakedge/pakedgea
APPENDIXA–SPECS
HARDWARESPECIFICATIONS
1x10/100/1000GigabitEthernetRJ‐45portwithIEEE802.3afPoweroverEthernet(PoE)support
ConfigurableLEDIndicatorsforPower,Ethernet,2.4GHzWirelessand5GHzWireless
PoweroverEthernet(PoE)IEEE802.3afcompliant48VDC/0.375A
PowerSupply:100to240VDC±10%,50/60Hz(dependsondifferentcountries)
DCinput:12V/1.5A
RFINFORMATION
FrequencyBand:
o 802.11B/G/Non2.4to2.462GHz,whichcanbeprogramedbasedoncountryregulations.
o 802.11A/N/ACon5to5.805GHz,whichcanbeprogramedbasedoncountryregulations.
OperatingChannels:
o 2.4GHz‐11forNorthAmerica,13forEurope,14forJapan
o 5GHz–24Channelsdependingoncountry

WK-1x User Manual
40
TransmitPower(Typical):
ReceiverSensitivity(Typical)

WK-1x U
OPERA
T
MANA
G
ser Manual
T
IONS
OperationM
o
o
2.4/
5
o
Acc
e
Upto16SSI
D
Supports802
SpanningTre
IPAuto‐confi
g
Transmission
O
2.4
G
O
5GH
G
EMENTA
N
o
des:
5
GHzHavein
e
ssPoint/Clie
n
D
.1qVLANs
eSupports8
0
g
uration–D
H
rateoptions:
G
HZ–NONLY
,
Z–NONLY,
A
N
DSECURI
T
dependento
p
n
tBridge/W
D
0
2.1dSpanni
n
H
CPclient
,
B/G/NMIX,
A
CONLY
T
Y
p
erationmod
D
SBridge/WD
S
n
gTreeProto
c
BONLY,GO
N
es.
S
AP/Repeate
c
ol
N
LY
r
4
1
1

WK-1x User Manual
42
UserPowerControlAdjustmentbydBm
Web‐basedconfiguration(HTTP)/Telnet
Upgradefirmwareviawebbrowser
Auto‐channelSelectsleastcongestedchannel
Backup&RestoresettingsthroughWebinterface
QoSWMM
WEP/WPA/WPA2/WPAMIXEDEncryption
WPA‐PSKusingTKIPorAES/WPA‐EAPusingTKIP
802.1xAuthenticator
SSIDbroadcastenable/disable
WLANL2Isolation(APmodeonly)
WirelessClientconnectedlist
ENVIRONMENT
TemperatureRange:0to50°C(32°to122°F)
Storage:‐20to60°C(‐4°to140°F)
Humidity(non‐condensing):
o Operating:90%orless
o Storage:90%ofless
MECHANICAL
Enclosure:9.81inchesX7.05inches
o Depth:1.44inches
o Base7.76inchesX5.55inches
APPENDIXB–TECHNICALSUPPORT
Please visit our website for up-to-date support information:
Website: www.pakedge.com
Email: support@pakedge.com
CONTACT INFORMATION:

WK-1x User Manual
43
Northern California Office
Pakedge Device & Software
3847 Breakwater Avenue
Hayward, CA 94545-3606
Southern California Office:
Pakedge Device & Software
17011 Beach Blvd.
Suite 600
Huntington Beach, CA 92647-5946
APPENDIXC–LIMITEDWARRANTY
MODELWK‐1X
Congratulations on your purchase of a Pakedge Device & Software wireless product! Pakedge designs and
manufactures the finest home networking products. With proper installation, setup, and care, you should enjoy
many years of unparalleled performance. Please read this consumer protection plan carefully and retain it with
your other important documents.
This is a LIMITED WARRANTY as defined by the U.S. Consumer Product Warranty and Federal Trade
Commission Improvement Act.
What Is Covered Under the Terms of This Warranty
SERVICE LABOR: Pakedge will pay for service labor by an approved Pakedge service center when needed as a
result of manufacturing defect for a period of one (3) year from the effective date of delivery to the end user.
PARTS: Pakedge will provide new or rebuilt replacement parts for parts that fail due to defects in materials or
workmanship for a period of one (1) year from the effective date of delivery to the end user. Such replacement
parts are then subsequently warranted for the remaining portion (if any) of the original warranty period.

WK-1x User Manual
44
What Is Not Covered Under the Terms of This Warranty
This warranty only covers failure due to defects in materials and workmanship that occur during normal use and
does not cover normal maintenance. This warranty does not cover any appearance item; any damage to living
structure; failure resulting from accident (for example: flood, electrical shorts, insulation); misuse, abuse, neglect,
mishandling, misapplication, faulty or improper installation or setup adjustments; improper maintenance, alteration,
improper use of any input signal and/or power, damage due to lightning or power line surges, spikes and
brownouts; damage that occurs during shipping or transit; or damage that is attributed to acts of God.
The foregoing limited warranty is Pakedge’ s sole warranty and is applicable only to Products sold as new by
Authorized Dealers. The remedies provided herein are in lieu of a) any and all other remedies and warranties,
whether expressed, implied or statutory, including but not limited to, any implied warranty of merchantability,
fitness for a particular purpose or non-infringement, and b) any and all obligations and liabilities of Pakedge for
damages including but not limited to incidental, consequential or special damages, or any financial loss, lost
profits or expense, or loss of network connection arising out of or in connection with the purchase, use or
performance of the Product, even if Pakedge has been advised of the possibility of such damages.
CAUTION: DAMAGE RESULTING DIRECTLY OR INDIRECTLY FROM IMPROPER INSTALLATION OR SETUP
IS SPECIFICALLY EXCLUDED FROM COVERAGE UNDER THIS WARRRANTY. IT IS IMPERATIVE THAT
INSTALLTION AND SETUP WORK BE PERFORMED ONLY BY AN AUTHORIZED PAKEDGE DEALER TO
PROTECT YOUR RIGHTS UNDER THIS WARRANTY. THIS WILL ALSO ENSURE THAT YOU ENJOY THE
FINE PERFORMANCE YOUR PAKEDGE PRODUCT IS CAPABLE OF PROVIDING.
Rights, Limits, and Exclusions
Pakedge limits its obligation under any implied warranties under state laws to a period not to exceed the warranty
period. There are no express warranties. Pakedge also excludes any obligation on its part for incidental or
consequential damages related to the failure of this product to function properly. Some states do not allow
limitations on how long an implied warranty lasts, and some states do not allow the exclusion or limitation of
incidental or consequential damages. In this case, the above limitations or exclusions may not apply to you. This
warranty gives you specific legal rights, and you may also have other rights that vary from state to state.
Effective Warranty Date
This warranty begins on the effective date of delivery to the end user. For your convenience, keep the original bill
of sale as evidence of the purchase date from your authorized dealer.

WK-1x User Manual
45
Important- Warranty Registration
Please register your product at www.pakedge.com. It is imperative that Pakedge knows how to reach you
promptly if we should discover a safety problem or product update for which you must be notified. In addition, you
may be eligible for discounts on future upgrades as new networking standards come about.
To Obtain Service, Contact Your Pakedge Dealer.
Repairs made under the terms of the Limited Warranty covering your Pakedge product will be performed by an
Authorized Pakedge Service Center. These arrangements must be made through the selling Pakedge Dealer. If
this is not possible, contact Pakedge directly for further instructions. Prior to returning a defective Product directly
to Pakedge, you must obtain a Return Material Authorization number and shipping instructions. Return shipping
costs will be the responsibility of the owner.
For additional information about this warranty, visit our website:
Northern California Office
Pakedge Device & Software
3847 Breakwater Avenue
Hayward, CA 94545-3606
Southern California Office:
Pakedge Device & Software
17011 Beach Blvd.
Suite 600
Huntington Beach, CA 92647-5946

WK-1x User Manual
46
pakedgedevice&softwareinc.
Northern California Office
Pakedge Device & Software
3847 Breakwater Avenue
Hayward, CA 94545-3606
Southern California Office:
Pakedge Device & Software
17011 Beach Blvd.
Suite 600
Huntington Beach, CA 92647-5946
VisitUsAt:
www.pakedge.com
©PakedgeDevice&SoftwareInc.2013–AllRightsReserved

WK-1x User Manual
47