Rockchip Developer Guide Linux I2C
Rockchip-Developer-Guide-Linux-I2C
User Manual:
Open the PDF directly: View PDF
.
Page Count: 11

ROCKCHIP I2C
发布版本: 1.0 作者邮箱:david.wu@rock-chips.com 日期: 2018.06 文档密级:公开文档
ROCKCHIP系列芯片为客户提供了标准I2C 总线,方便客户实现对不同外接设备的控制和访问。I2C总线控制
器通过串行数据(SDA)线和串行时钟 (SCL)线在连接到总线的器件间传递信息。每个器件都有一个唯一的地址
识别(无论是微控制器——MCU、LCD 驱动器、存储器或键盘接口),而且都可以作为一个发送器或接收器(由
器件的功能决定)。 Rockchip I2C 控制器支持下列功能︰
兼容 I2C 与 SMBus 总线
仅支持主模式下的 I2C 总线
软件可编程时钟频率支持到400kbps,部分芯片可高达 1000kbps
支持 7 位和 10 位寻址模式
一次中断或轮询至多32个字节的数据传输
下图为I2C总线的硬件连接方式,需要上拉电阻,改变上拉电阻大小可调节I2C总线的上拉强度。
ROCKCHIP I2C在不同芯片,不同内核版本上的驱动不一样,I2C可以跑的最高频率也有区别。

Driver Max Frequency
RK3066 3.x i2c-rockchip.c 400K
RK3066 4.4 i2c-rk3x.c 400K
RK3188 3.x i2c-rockchip.c 400K
RK3188 4.4 i2c-rk3x.c 400K
RK3288 3.10 i2c-rockchip.c 400K
RK3288 4.4 i2c-rk3x.c 400K
RK3036 3.10 i2c-rockchip.c 400K
RK3036 4.4 i2c-rk3x.c 400K
RK312x 3.10 i2c-rockchip.c 400K
RK312x 4.4 i2c-rk3x.c 400K
RK322x 3.10 i2c-rockchip.c 400K
RK322x 4.4 i2c-rk3x.c 400K
RK3368 3.10 i2c-rockchip.c 400K
RK3368 4.4 i2c-rk3x.c 400K
RK3366 4.4 i2c-rk3x.c 400K
RK3399 4.4 i2c-rk3x.c 1000K
RV1108 3.10 i2c-rk3x.c 1000K
RV1108 4.4 i2c-rk3x.c 1000K
RK3228H 3.10 i2c-rockchip.c 1000K
RK3328 4.4 i2c-rk3x.c 1000K
RK3326/PX30 4.4 i2c-rk3x.c 1000K
RK3308 4.4 i2c-rk3x.c 1000K
2018.06.08 V1.0 吴达超
本文档(本指南)主要适用于以下工程师: 技术支持工程师 软件开发工程师

ROCKCHIP I2C
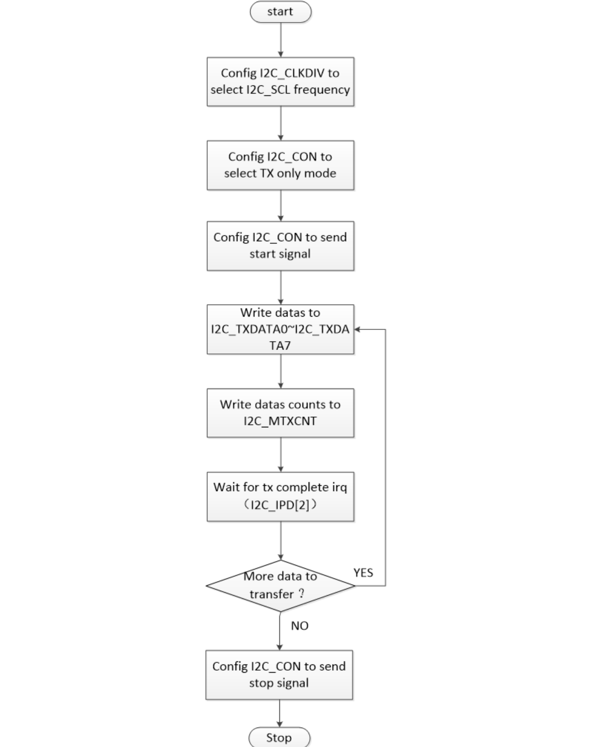
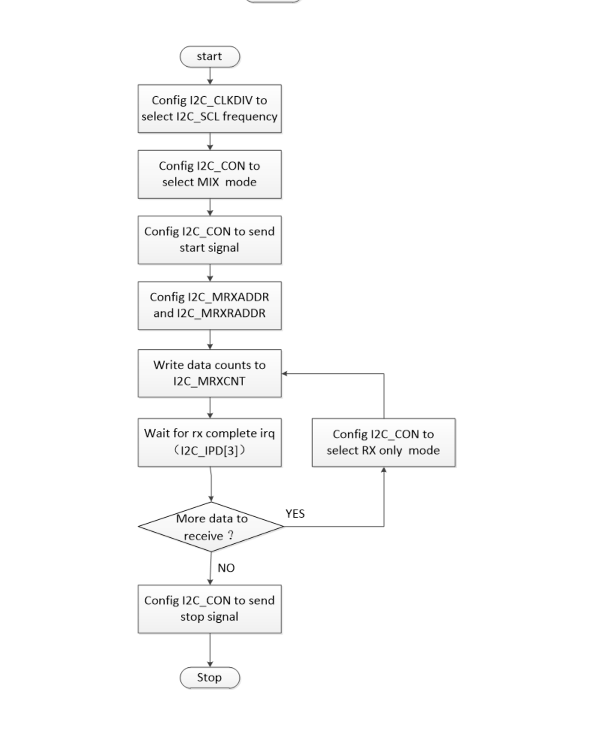
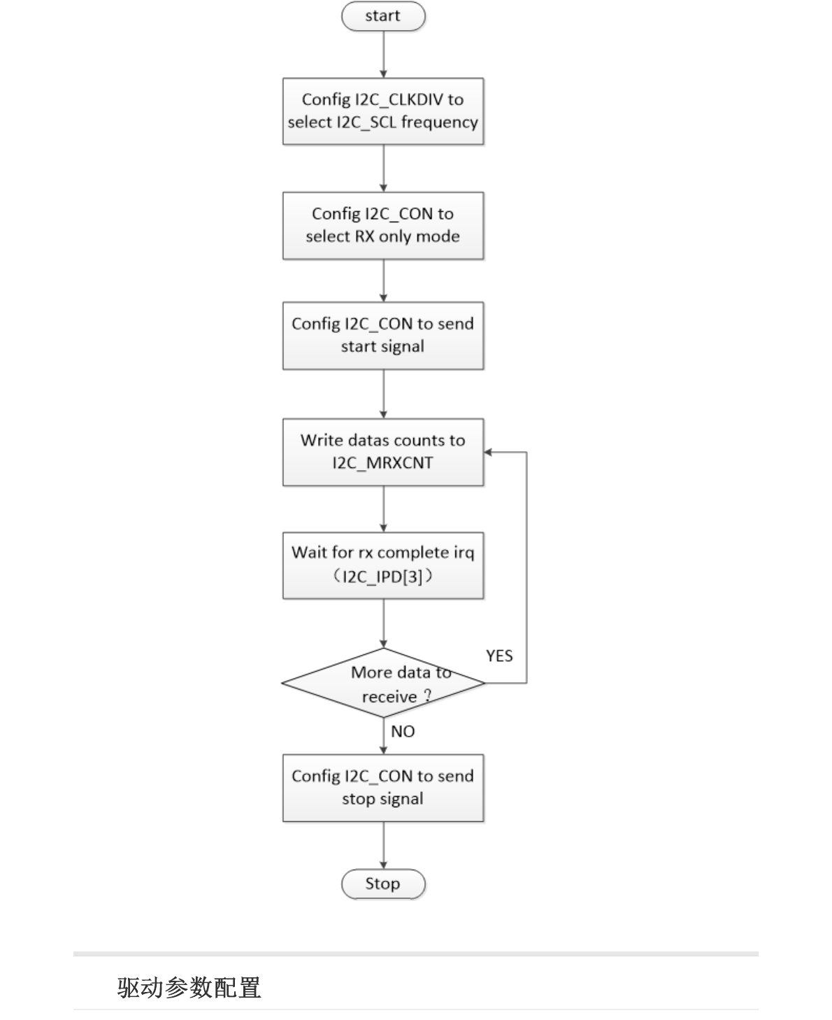
I2C 流程
1. Trasmint only mode(I2C_CON[1:0]=2’b00)
2. Mix mode (I2C_CON[1:0]=2’b01 or I2C_CON[1:0]=2’b11)
3. Receive only mode (I2C_CON[1:0]=2’b10)
I2C 驱动参数配置
1. i2c-rk3x.c 配置
2. i2c-rockchip.c 配置
I2C 使用
1. Kernel space
2. User space
I2C tools
GPIO 模拟 I2C
I2C 常见问题
1. i2c-rk3x.c 驱动:
2. i2c-rockchip.c 驱动:
3. Debug 之 I2C 波形:
I2C
I2C 的流程在两个驱动上大致是一样,写是单纯的 TX 模式 (I2C_CON[1:0]=2’b00),而读一般使用 TRX 模式
(I2C_CON[1:0]=2’b01)。下面的 I2C 控制器操作流程图是描述软件如何通过这个 I2C 控制器寄存器来配置和执行
I2C 任务。描述分为3部分, 传输模式, 混合模式和接收模式。
1. Trasmint only mode(I2C_CON[1:0]=2’b00)


I2C 的参数配置最主要就是 I2C 频率的配置,可配 I2C frequency 除了与芯片有关外,主要是由 I2C SCL rise time
决定的,因为 I2C 协议标准里面对上升沿和下降沿时间有规定要求特别是上升沿时间,如果超过了协议规定的最大
值,则 I2C 通讯可能失败,下面是协议里面规定的最大最小值范围,下图表示了二者之间的关系:
上升沿 Tr 和下降沿 Tf,需要用示波器测量,参考下面示图:
I2C 的驱动 i2c-rk3x.c 与 i2c-rockchip.c 两个配置方式是不一样的,区别如下:
1. i2c-rk3x.c
i2c-rk3x.c 驱动的配置都在 DTS,参考文件Documentation/devicetree/bindings/i2c/i2c-rk3x.txt。重点说明其中
配置项,i2c-scl-rising-time-ns,i2c-scl-falling-time-ns:
clock-frequency: 默认frequency 为100k 可不配置,其它 I2C 频率需要配置,最大可配置频率由 i2c-scl-
rising-time-ns 决定;例如配置400k,clock-frequency=<400000>。
i2c-scl-rising-time-ns:SCL 上升沿时间由硬件决定,改变上拉电阻可调节该时间,需通过示波器量测,参考
上图;例如测得 SCL 上升沿 365ns,i2c-scl-rising-time-ns=<365>。(默认可以不配置,但必须保证当前的上
升沿时间不能超过所配置频率下的 I2C 标准所定义的最大上升沿时间)
i2c-scl-falling-time-ns: SCL 下降沿时间, 一般不变, 等同于 i2c-sda-falling-time-ns。(默认也可以不配置)
&i2c1{
status="okay";
i2c‐scl‐rising‐time‐ns=<265>;
i2c‐scl‐falling‐time‐ns=<11>;
clock‐frequency=<400000>;
es8316:es8316@10{
#sound‐dai‐cells=<0>;
compatible="everest,es8316";
reg=<0x10>;
clocks=<&cruSCLK_I2S_8CH_OUT>;
clock‐names="mclk";
spk‐con‐gpio=<&gpio011GPIO_ACTIVE_HIGH>;
hp‐det‐gpio=<&gpio428GPIO_ACTIVE_LOW>;
};
1
2
3
4
5
6
7
8
9
10
11
12
13
14

2. i2c-rockchip.c
i2c-rockchip.c 驱动仍然遵循 I2C frequency 与 SCL 上升沿的约束关系,能否用更高的频率取决于 i2c-scl-rising-
time-ns;I2C 频率在代码上面配置,直接配置 i2c_msg 结构体上的 scl_rate 成员, 默认 frequency 仍为100k,例
如下面的 200K 配置配置:
I2C
对于 I2C 的使用说明在 Documentation/i2c/ 有比较详细的,查阅,下面重点提下读写部分:
1. Kernel space
Rockchip I2C 的读写通信都是使用的是 linux 的标准接口,请参考 kernel 下面的 Documentation/i2c/writing-
clients 文档说明,里面的 Sending and receiving 部分有系统的介绍。
2. User space
通常, I2C 设备由内核驱动程序控制。但也可以从用户态访问总线上的所有设备,通过 “/dev/i2c-%d” 接口来访问,
kernel 下面的 Documentation/i2c/dev-interface 文档有详细说明与示例。
I2C tools
I2C tool 是一个开源工具,需自行下载进行交叉编译,代码下载地址:
或者
编译后会生成 i2cdetect,i2cdump,i2cset,i2cget 等工具,可以直接在命令行上调试使用:
i2cdetect – 用来列举 I2C bus 和上面所有的设备
i2cdump – 显示 i2c 设备所有 register 的值
i2cget – 读取 i2c 设备某个 register 的值
i2cset – 写入 i2c 设备某个 register 的值
};
};
structi2c_msgxfer_msg;
xfer_msg[0].addr=client‐>addr;
xfer_msg[0].len=num;
xfer_msg[0].flags=client‐>flags;
xfer_msg[0].buf=buf;
xfer_msg[0].scl_rate=200*1000;/*200Ki2cclockfrequency*/
<https://www.kernel.org/pub/software/utils/i2c‐tools/>
<gitclonegit://git.kernel.org/pub/scm/utils/i2c‐tools/i2c‐tools.git>
15
16
1
2
3
4
5
6
7
1
1

I2C tool 都是开源的,编译与使用请参考里面的 README 与帮助说明。
GPIO I2C
I2C 用 GPIO 模拟,内核已经有实现,请参考文档: Documentation/devicetree/bindings/i2c/i2c-gpio.txt
下面是使用的例子,dts 下配置 I2C 节点。
一般不推荐使用 GPIO,效率不高。
I2C
因为我们有两个 i2c 驱动,所以仍然分两部分:
1. i2c-rk3x.c
如果调用 I2C 传输接口返回值为 -6(-ENXIO)时候,表示为 NACK 错误,即对方设备无应答响应,这种情况一
般为外设的问题,常见的有以下几种情况:
I2C 地址错误;
I2C slave 设备处于不正常工作状态,比如没有上电,错误的上电时序以及设备异常等;
I2C 时序不符合slave设备所要求也会产生 NACK 信号,比如 slave 设备需要的是 stop 信号,而不是
repeat start 信号的时候;
I2C 总线受外部干扰导致的,用示波器测量可以看到是一个ACK波形。
i2c@4{
compatible="i2c‐gpio";
gpios=<&gpio59GPIO_ACTIVE_HIGH>,/*sda*/
<&gpio58GPIO_ACTIVE_HIGH>;/*scl*/
i2c‐gpio,delay‐us=<2>;/*~100kHz*/
#address‐cells=<1>;
#size‐cells=<0>;
pinctrl‐names="default";
pinctrl‐0=<&i2c4_gpio>;
status="okay";
gt9xx:gt9xx@14{
compatible="goodix,gt9xx";
reg=<0x14>;
touch‐gpio=<&gpio511IRQ_TYPE_LEVEL_LOW>;
reset‐gpio=<&gpio510GPIO_ACTIVE_HIGH>;
max‐x=<1200>;
max‐y=<1900>;
tp‐size=<911>;
tp‐supply=<&vcc_tp>;
status="okay";
};
};
1
2
3
4
5
6
7
8
9
10
11
12
13
14
15
16
17
18
19
20
21
22
23

当出现 I2C 的 log:"timeout, ipd: 0x00, state: 1"时,此时 I2C 控制器工作异常,无法产生中断状态,start
时序无法发出,有以下几种可能:
I2C SCL或者SDA Pin 脚iomux错误;
I2C 的上拉电压不对,如电压不够或者上拉电源没有等;
I2C Pin 脚被外设拉住,电压不对;
I2C 时钟未开,或者时钟源太小;
I2C 同时配置了CON_START 和 CON_STOP 位。
当出现 I2C 的 log:"timeout, ipd: 0x10, state: 1"时,此时 I2C 控制器工作正常,但是 cpu 无法响应 I2C 中
断,此时可能cpu0被阻塞了(一般 I2C 中断都在 cpu0上面,通过cat /proc/interrups 可以查看),或者可能
是 I2C 中断位被关闭了。
当出现 I2C 的 log 类似:"timeout, ipd: 0x80, state: 1"时,看到 ipd 为 0x80 打印,可以说明当前 SCL 被
slave 拉住,要判断被哪个 slave 拉住:
一是排除法,适用于外设不多的情况,而且复现概率高;
二是需要修改硬件,在 SCL 总线上串入电阻,通过电阻两端产生的压差来确定,电压更低的那端外设为
拉低的 slave,电阻的选取以不影响 I2C 传输且可以看出压差为标准,一般上拉电阻的1/20 以上都可
以,如果是 host 拉低也可以看出。另外在此基础上通过示波器来抓取波形更加直观,比较不同 slave 和
host 的低电平大小,与最后出问题时的低电平大小比较,相等的就是拉低总线的”元凶“。
遇到比较多的情况是sda被拉低,证明是谁拉低的,同样参考上面 “SCL 被拉低" 的方法两种。
2. i2c-rockchip.c
如果调用 I2C 传输接口返回值为 -11(-EAGAIN )时候,表示为 NACK 错误,即对方设备无应答响应,这种情况
一般为外设的问题,常见的有以下几种情况:
I2C 地址错误;
I2C slave 设备处于不正常工作状态,比如没有上电,错误的上电时序以及设备异常等;
I2C 时序不符合slave设备所要求也会产生 NACK 信号,比如 slave 设备需要的是 stop 信号,而不是
repeat start 信号的时候;
I2C 总线受外部干扰导致的,用示波器测量可以看到是一个 ACK 波形。
当出现 I2C 的 log:"timeout, ipd: 0x00, state: 1"时,此时 I2C 控制器工作异常,无法产生中断状态,start
时序无法发出,有以下几种可能:
I2C SCL或者SDA Pin 脚iomux错误;
I2C 的上拉电压不对,如电压不够或者上拉电源没有等;
I2C Pin 脚被外设拉住,电压不对;
I2C 时钟未开,或者时钟源太小;
I2C 同时配置了CON_START 和 CON_STOP位。
当出现 I2C 的 log:"timeout, ipd: 0x10, state: 1"时,此时 I2C 控制器工作正常,但是 cpu 无法响应 I2C 中
断,此时可能 cpu0 被阻塞了(一般 I2C 中断都在 cpu0 上面,通过 cat /proc/interrups 可以查看),或者可
能是 I2C 中断位被关闭了。
当出现 I2C 的log类似:"timeout, ipd: 0x80, state: 1"时,看到 ipd 为 0x80 打印,或者看到"scl was hold by
slave”的打印,可以说明当前 SCL 被 slave 拉住,要判断被哪个 slave 拉住:
一是排除法,适用于外设不多的情况,而且复现概率高;
二是需要修改硬件,在 SCL 总线上串入电阻,通过电阻两端产生的压差来确定,电压更低的那端外设为
拉低的slave,电阻的选取以不影响 I2C 传输且可以看出压差为标准,一般上拉电阻的1/20以上都可以,
如果是 host 拉低也可以看出。另外在此基础上通过示波器来抓取波形更加直观,比较不同 slave 和
host 的低电平大小,与最后出问题时的低电平大小比较,相等的就是拉低总线的”元凶“。

遇到比较多的情况是 SDA 被拉低,证明是谁拉低的,同样参考上面 “ scl was hold by slave"的方法两种。
当出现 log “i2c is not in idle(state = ×)”的 log 时,表示 I2C 总线至少一个为低,解决办法参考上面:
“state=1” 表示 SDA 为低;
“state=2” 表示 SCL 为低;
“state=3” 表示 SCL 和 SDA 都为低。
3. Debug I2C
如果遇到的 I2C 问题以上情况都不是,最好的办法是抓取 I2C 出错时候的波形,通过波形来分析 I2C 问题,I2C 的
波形非常有用,大部分的问题都能分析出来;可以在出错的地方让 cpu 卡住(比如 while(1) 等),不发起新的 I2C
任务,最后抓到的波形应该就是出错的波形,如果需要过滤还可以加入设备 I2C 地址的判断条件等。

