Unigreen Minibar Users Manual Libretto Atomizzatori Trainati_NEW
Ventagli to the manual 4f686ba4-6347-4ad5-afd1-055452d370aa
2015-02-03
: Unigreen Unigreen-Minibar-Users-Manual-459142 unigreen-minibar-users-manual-459142 unigreen pdf
Open the PDF directly: View PDF
.
Page Count: 32
- Summary
- 1 USING AND KEEPING THE USE AND MAINTENANCE MANUAL
- 1.1 COMPOSITION OF THE MANUAL
- 1.2 GUARANTEE
- 1.3 PRODUCT RESPONSIBILITY
- 1.4 WARNING SIGNS IN THE MANUAL AND ON THE MACHINE
- 2 SAFETY REGULATIONS AND RESIDUAL RISKS
- 2.1 INTENDED USE
- 2.2 PROHIBITED USE
- 2.3 USING CHEMICAL PRODUCTS
- 2.3.1 REGULATIONS FOR THE USE OF CHEMICAL PRODUCTS
- 2.4 RECOMMENDATIONS
- 2.4.1 TAKING PRECAUTIONS AGAINST FIRE HAZARDS
- 2.5 WEATHER CONDITIONS
- 2.6 MACHINES DESIGNED TO BE USED ONLY WITH CLEAN WATER
- 2.7 DRIVING ON THE ROAD
- 3 CHARACTERISTICS AND SPECIFICATIONS
- 3.1 TABLES OF FITTINGS ALLOWED
- 3.2 NOISE LEVEL OF THE MACHINE
- 3.3 STANDARDS OF REFERENCE:
- 4 INSTRUCTIONS
- 4.1 DESCRIPTION OF THE MACHINE
- 4.1.1 WORK STATIONS
- 4.1.2 HAND WASHING TANKS
- 4.2 PRELIMINARY CHECKS
- 4.3 TRANSPORTING AND MOVING THE MACHINE
- 4.3.1 TOWED ATOMISERS
- 4.4 TRACTOR COUPLING
- 4.4.1 THREE-POINT COUPLING
- 4.4.5 HyDRAULIC CONNECTION TO THE DISTRIBUTORS
- 4.5 CARDAN SHAFT
- 4.6 PUMP
- 4.7 SUCTION FILTER
- 4.8 PRESSURE REGULATOR
- 4.8.1 COMPONENTS OF THE PRESSURE REGULATOR
- 4.8.2 GENERAL INSTRUCTIONS
- 4.8.3 DELIVERY FILTERS (ONLY EQUIPPED MODELS)
- 4.9 AUXILIARIES TAPS BLOCK
- 4.10 FILLING THE TANK
- 4.11 TEST WITH CLEAN WATER
- 4.12 MIXING
- 4.12.1 MANUAL PREMIXING
- 4.12.2 PREMIXER ON COVER (OPTIONAL):
- 4.12.2 PREMIXER ON COVER (OPTIONAL):
- 4.12.4 COVER WASHER FOR CHEMICAL CONTAINERS
- 4.13 WASHING THE ATOMISER
- 4.13.1 CIRCUIT WASHER AND TANK WASHER
- 5 BLOWER GROUP
- 5.1 MULTIPLIER - FAN UNIT
- 5.5 CLUTCH
- 5.3 DISTRIBUTOR ACCESSORIES
- 5.3.1 ventagli (FANs) CANOPY, AND ESPALIER DISTRIBUTORS
- 5.3.2 MINIBAR for ESPALIER
- 5.3.2 SUPER spalliera for ESPALIER
- 5.3.3 RV BOOM FOR GDC
- 5.4 HYDRAULICS
- 5.4.1 OIL FEED FROM TRACTOR
- 6 SPRAYING
- 6.1 DESCRIPTION OF THE DIFFUSERS
- 6.1.1 NON-DRIP VALVE
- 6.2 DESCRIPTION OF THE MFC® NOZZLES
- 6.3 MIXTURE CONCENTRATION
- 5 MISTBLOWER CALIBRATION
- 6.4.1 BATCHING TAPS (see picture 20)
- 6.4.2 CALIBRATED PLATES CP
- 7 HAND LANCES
- 8 MAINTENANCE
- 8.1 PROGRAMMED MAINTENANCE
- 8.2 ROUTINE MAINTENANCE
- 8.2.1 CLEANING THE NOZZLES
- 8.2.2 LUBRICATION
- 8.2.3 MULTIPLIER LUBRICATION
- 8.3 EXTRAORDINARY MAINTENANCE
- 8.4 REPAIRS
- 8.5 STORAGE IN A WAREHOUSE AND TRANSPORTATION
- 8.6 PUTTING BACK INTO SERVICE AFTER WINTER LAYUP
- 8.7 DEMOLITION AND DISPOSAL
- 8.7.1 MATERIALS FOR DEMOLITION
- 8.7.2 INDICATIONS FOR A SUITABLE TREATMENT OF WASTE
- 8.7.3 ELECTRICAL AND ELECTRONIC APPARATUS WASTE (EEAW)
- TABLES FOR CALIBRATING AIRDROP 2 VENTAGLI (FANS)
- TABLES FOR CALIBRATING AIRDROP 2 VENTAGLI + top diffusors
- TABLES FOR CALIBRATING AIRDROP MINIBAR
- TABLES FOR CALIBRATING AIRDROP RV-GDC
- TABLES FOR CALIBRATING AIRDROP SUPER SPALLIERA
- TABLE 4-5 TABLES OF DELIVERY OF NOZZLES FOR HAND LANCES
- TABLE 7 TABLE OF PROGRAMMED MAINTENANCE
- TAB.18a ALLOWED FITTINGS

09/2006
USE AND MAINTENANCE MANUAL
MISTBLOWERS AIRDROP - MFC®
MOUNTED MISTBLOWERS
serie AIRDROP P- MFC P:
Ventagli - Minibar - Super Spalliera - RV-GDC
Read this manual carefully before use.
GB
2 unigreen
Summary
1 USING AND KEEPING THE USE AND MAINTENANCE MANUAL ....................... 4
1.1 COMPOSITION OF THE MANUAL ...................................................................................... 4
1.2 GUARANTEE ....................................................................................................................... 4
1.3 PRODUCT RESPONSIBILITY ............................................................................................. 4
1.4 WARNING SIGNS IN THE MANUAL AND ON THE MACHINE ............................................ 4
2 SAFETY REGULATIONS AND RESIDUAL RISKS ................................................ 5
2.1 INTENDED USE .................................................................................................................. 6
2.2 PROHIBITED USE ...............................................................................................................6
2.3 USING CHEMICAL PRODUCTS ......................................................................................... 6
2.3.1 REGULATIONS FOR THE USE OF CHEMICAL PRODUCTS ............................................. 6
2.4 RECOMMENDATIONS ........................................................................................................ 6
2.4.1 TAKING PRECAUTIONS AGAINST FIRE HAZARDS .......................................................... 7
2.5 WEATHER CONDITIONS .................................................................................................... 7
2.6 MACHINES DESIGNED TO BE USED ONLY WITH CLEAN WATER................................... 7
2.7 DRIVING ON THE ROAD..................................................................................................... 7
3 CHARACTERISTICS AND SPECIFICATIONS........................................................ 7
3.1 TABLES OF FITTINGS ALLOWED ...................................................................................... 7
3.2 NOISE LEVEL OF THE MACHINE....................................................................................... 8
3.3 STANDARDS OF REFERENCE: .......................................................................................... 8
4 INSTRUCTIONS ...................................................................................................... 8
4.1 DESCRIPTION OF THE MACHINE ..................................................................................... 8
4.1.1 WORK STATIONS ................................................................................................................ 8
4.1.2 HAND WASHING TANKS ..................................................................................................... 8
4.2 PRELIMINARY CHECKS ..................................................................................................... 9
4.3 TRANSPORTING AND MOVING THE MACHINE ................................................................ 9
4.3.1 TOWED ATOMISERS .......................................................................................................... 9
4.4 TRACTOR COUPLING ...................................................................................................... 10
4.4.1 THREE-POINT COUPLING ............................................................................................... 10
4.4.5 HYDRAULIC CONNECTION TO THE DISTRIBUTORS ..................................................... 10
4.5 CARDAN SHAFT ............................................................................................................... 11
4.6 PUMP ................................................................................................................................ 11
4.7 SUCTION FILTER .............................................................................................................. 11
4.8 PRESSURE REGULATOR ................................................................................................. 12
4.8.1 COMPONENTS OF THE PRESSURE REGULATOR ........................................................ 12
4.8.2 GENERAL INSTRUCTIONS .............................................................................................. 12
4.8.3 DELIVERY FILTERS (ONLY EQUIPPED MODELS) .......................................................... 13
4.9 AUXILIARIES TAPS BLOCK .............................................................................................. 13
4.10 FILLING THE TANK............................................................................................................14
4.11 TEST WITH CLEAN WATER .............................................................................................. 14
4.12 MIXING .............................................................................................................................. 15
4.12.1 MANUAL PREMIXING ....................................................................................................... 15
4.12.2 PREMIXER ON COVER (OPTIONAL): .............................................................................. 15
4.12.2 PREMIXER ON COVER (OPTIONAL): .............................................................................. 15
4.12.4 COVER WASHER FOR CHEMICAL CONTAINERS .......................................................... 15
4.13 WASHING THE ATOMISER ............................................................................................... 16
4.13.1 CIRCUIT WASHER AND TANK WASHER.......................................................................... 16
5 BLOWER GROUP ................................................................................................. 17
5.1 MULTIPLIER - FAN UNIT ................................................................................................... 17
5.5 CLUTCH ............................................................................................................................ 17
5.3 DISTRIBUTOR ACCESSORIES ........................................................................................ 18
5.3.1 VENTAGLI (FANS) CANOPY, AND ESPALIER DISTRIBUTORS ....................................... 18
5.3.2 MINIBAR FOR ESPALIER .................................................................................................. 18
5.3.2 SUPER SPALLIERA FOR ESPALIER ................................................................................ 18
5.3.3 RV BOOM FOR GDC ......................................................................................................... 19
5.4 HYDRAULICS .................................................................................................................... 19
5.4.1 OIL FEED FROM TRACTOR ............................................................................................. 19
6 SPRAYING ............................................................................................................. 20
6.1 DESCRIPTION OF THE DIFFUSERS............................................................................... 20
6.1.1 NON-DRIP VALVE.............................................................................................................. 20
6.2 DESCRIPTION OF THE MFC® NOZZLES ........................................................................ 20
6.3 MIXTURE CONCENTRATION ........................................................................................... 20
5 MISTBLOWER CALIBRATION ........................................................................................... 20
unigreen 3
6.4.1 BATCHING TAPS (SEE PICTURE 20) ............................................................................... 21
6.4.2 CALIBRATED PLATES CP ................................................................................................. 21
7 HAND LANCES ..................................................................................................... 22
8 MAINTENANCE ..................................................................................................... 22
8.1 PROGRAMMED MAINTENANCE ...................................................................................... 22
8.2 ROUTINE MAINTENANCE ................................................................................................ 22
8.2.1 CLEANING THE NOZZLES ............................................................................................... 22
8.2.2 LUBRICATION ................................................................................................................... 22
8.2.3 MULTIPLIER LUBRICATION .............................................................................................. 23
8.3 EXTRAORDINARY MAINTENANCE .................................................................................. 23
8.4 REPAIRS ............................................................................................................................ 23
8.5 STORAGE IN A WAREHOUSE AND TRANSPORTATION ................................................. 23
8.6 PUTTING BACK INTO SERVICE AFTER WINTER LAYUP ............................................... 23
8.7 DEMOLITION AND DISPOSAL ......................................................................................... 24
8.7.1 MATERIALS FOR DEMOLITION ....................................................................................... 24
8.7.2 INDICATIONS FOR A SUITABLE TREATMENT OF WASTE ............................................. 24
8.7.3 ELECTRICAL AND ELECTRONIC APPARATUS WASTE (EEAW) .................................... 24
TABLES FOR CALIBRATING AIRDROP 2 VENTAGLI (FANS) ........................... 25
TABLES FOR CALIBRATING AIRDROP 2 VENTAGLI + TOP DIFFUSORS ....... 26
TABLES FOR CALIBRATING AIRDROP MINIBAR ............................................................. 27
TABLES FOR CALIBRATING AIRDROP RV-GDC ............................................................... 28
TABLES FOR CALIBRATING AIRDROP SUPER SPALLIERA ........................................... 28
TABLE 4-5 TABLES OF DELIVERY OF NOZZLES FOR HAND LANCES ......................... 29
TABLE 7 TABLE OF PROGRAMMED MAINTENANCE ...................................................... 30
TAB.18A ALLOWED FITTINGS ............................................................................................ 31

4 unigreen
Thank you for having chosen UNIGREEN.
The product you purchased has been designed and built with the greatest
attention to the safety of the operator and the environment, nevertheless there
are still some residual risks due to the nature of the product used.
For this reason we recommend reading all of this manual to avoid making
mistakes in the first period of use and to get the most out of the working life of
the sprayer in time, doing the programmed maintenance at regular intervals.
1 USING AND KEEPING THE USE AND MAINTENANCE MANUAL
The manual is an integral part of the machine and should be kept in a safe place
where it can be reached easily for consultation.
1.1 COMPOSITION OF THE MANUAL
This manual consists of various parts to make it easier to consult by subject and
to avoid repetitions; the following are part of the manual:
a) pump handbook
b) pressure regulator handbook (manual or electric)
c) spraying computer handbook (if fitted)
d) optional accessories handbooks (marker, premix, cardan shaft, etc.)
UNIGREEN reserves the right to make changes to the manual without prior
warning and the normal printing cycles may vary slightly.
1.2 GUARANTEE
The enclosed card indicates the conditions of the UNIGREEN guarantee. The
UNIGREEN guarantee covers the repair or replacement of parts considered
manufacturing flaws, according to the unquestionable judgement of UNIGREEN,
only after the authorised agent for that zone has verified the fault.
Ambit of the guarantee
The guarantee doesn’t cover cases of normal wear, negligent use, poor
maintenance and/or improper use.
The following materials subject to normal wear are not covered by the
guarantee: gaskets and seals, diaphragms, seal rings, tubes and pipes,
nozzles, pressure gauges, oil, tyres, friction material of the clutches.
Evident cases of negligence include: work speed over that indicated in the
spraying tables in the handbook (or too high for the conditions of the terrain),
use of herbicide booms without an auto-levelling system or with the auto-
levelling system blocked, power-takeoff speed over 540 rpm.
Mounted mistblowers: activation of the three-point elevator with cardan shaft en-
gaged and power-takeoff operational.
And anything else indicated in the present Use and Maintenance Manual.
Maintenance:
The guarantee is void if the maintenance indicated in the tables in this manual
isn’t respected, regarding the period and deadline of the interventions, washing
the machine and the circuit at the end of the treatment.
Improper use:
The use the UNIGREEN machines are designed for is indicated in this manual,
any other use is forbidden and makes the guarantee void.
1.3 PRODUCT RESPONSIBILITY
UNIGREEN spa is not responsible if:
a) During the working life of the machine the normal maintenance operations
aren’t performed and documented as indicated in this handbook, in the
enclosed handbooks of the pumps-motors-regulators-etc. and in any case as is
customary for the normal maintenance of mechanical machinery.
b) The machine is equipped with non original accessories or components or
parts that aren’t acknowledged by UNIGREEN as their own.
c) The machine is equipped with original accessories or components that are
unsuitable in the measurements, weight or version for the same.
Please consult the page of available and recommended fittings.
d) Not following the instructions in the manual whether totally or partially.
e) Modifications made to the machine that haven’t been authorised by
UNIGREEN.
1.4 WARNING SIGNS IN THE MANUAL AND ON THE MACHINE
Below you will find all of the pictograms on the machine (see FIG.1 for their
position), in order to illustrate the warnings, the prohibitions and the correct
method of use.
The operations that require particular attention are shown in the images beside
the text.
Composite handbook, consult the
specific files on the various
components

unigreen 5
2 SAFETY REGULATIONS AND RESIDUAL RISKS
In relation to safety, the following terms will be used:
Dangerous zones: any zone inside and/or near the machine where the
presence of a person exposed constitutes a risk for the safety and health of
the same person.
Person exposed: any person who has their body or any part of their body in a
dangerous zone.
Before starting the machine, the operator must check for any visible faults in
the safety devices and the machine itself.
Never start the machine until you have told anyone in the range of action of
the machine to move away and they have done so.
The protective devices must not be removed or disabled when the machine is
running.
It is obligatory to keep all the plates with danger and safety signs in perfect
conditions. If they get damaged or deteriorate, replace them in good time.
Replace parts believed to be faulty with others indicated by UNIGREEN.
NEVER try makeshift or hazardous solutions.
Don’t wear clothes, jewellery, accessories, or anything else that can get
caught in the moving machine members.
Pay the greatest attention to all the warning and danger signs on the machine.
Don’t use the machine for any other purpose other than that indicated in the
manual.
The machine has been designed and built with the appropriate devices to
guarantee the safety of the user.
In any case there are some residual risks associated with the improper use of
the machine by the operator; for this purpose danger signs and symbols and
prohibitions are applied near some parts of the machine (see previous
pictograms).
2019 2221
2
16
34 5
8
712
910 11
14
13 18
15 16 17
23
da 1 a 18
19+20
23
FIG.1
21+22
11+12
Key to the symbols
1- Read the Use and Maintenance manual
2- Stop the machine and read the manual before
every intervention
3- Don’t lubricate while running
4- Don’t drink
5- Don’t dispose of residue liquids in the
environment
6- No smoking
7- Danger, risk or injury, don’t get near the
machine until the moving machine members
have stopped
8- Danger of crushing, don’t get your hands near
the moving mechanical machine members
9- Danger, risk or injury caused by fluids under
pressure
10- Don’t climb on the machine during work or
transfers
11- Don’t climb on the tank
12- Don’t enter in the tank
13- Wearing earmuffs is obligatory
14- Wearing a face mask is obligatory
15- Wearing safety footwear is obligatory
16- Wearing protective gloves is obligatory
17- Wearing protective overalls is obligatory
18- Use a working pressure under that indicated
in red on the manometer.
19- Don’t get your hands near the moving cardan
shaft
20- Make sure power-takeoff of the tractor turns
in the right direction and runs at the right speed.
21- Don’t remove the protecting device with fan
moving.
22- Material shooting off the machine, stand at a
safe distance.
23- Don’t stand between the machine and the
tractor.
INDICATIVE POSITION OF THE WARNING SIGNS
ON THE MISTBLOWERS
NB: the position may vary on the basis of the
characteristics of the model.

6 unigreen
2.1 INTENDED USE
The sprayer in this series is built for agricultural use. The materials used are
resistant to normal chemical products used in agricultural spraying (or
herbicides) at the time of construction.
Any other use is not allowed and the manufacturer is not responsible for any
damage caused by aggressive, dense or sticky chemicals.
THE USE OF THE MACHINE BY PERSONS UNDER 18 YEARS OF AGE IS
STRICTLY FORBIDDEN
The use of liquid fertilizers in suspension is not allowed, while the use of the
same in a solution is possible if requested when the machine is ordered from
Unigreen and in any case changing some of the parts described in the
handbooks of the regulator, such as the manometer (stainless steel), the
nozzles (large diameter ceramic) and eliminating the fine mesh filters to
prevent blockages.
2.2 PROHIBITED USE
Using the machine with the following products is strictly forbidden:
= Paints of any kind and type
= Solvents or thinners for paints of any kind and type
= Combustibles or lubricants of any kind and type
= LPG or gas of any kind and type
= Flammable liquids of any kind and type
= Liquid foodstuffs, whether for animals or humans
= Liquids containing granules or consistent solids
= Mixtures of various incompatible chemical products
= Liquid fertilizer or manure in suspension with lumps and/or that is
particularly dense
= Liquids with a temperature of over 40°C
= Any products that aren’t suitable for the specific use of the machine.
2.3 USING CHEMICAL PRODUCTS
All pesticides or herbicides can be dangerous to humans and the
environment if used erroneously or inadvertently.
Therefore we recommend that only suitably trained persons should use these
products (license) and in any case only after having carefully read the
instructions on the container.
2.3.1 REGULATIONS FOR THE USE OF CHEMICAL PRODUCTS
Some recommendations for avoiding damage and accidents:
=Keep the machine in a suitable, protected place with no access for
children or strangers
=Handle the products with care, wearing rubber acid-proof gloves,
goggles- face masks or filtering helmets, overalls made of water-repellent
fabrics or TIVEK and boots made of rubber or similar materials.
=If chemical products or mixtures of product come into contact with the
eyes or are swallowed consult a doctor immediately, taking the label of the
product with you.
=Wash all clothes that come into contact with the chemical, whether
diluted or undiluted, thoroughly before using them again.
=Don’t smoke, drink or eat when preparing or spraying the mix or near or
in the fields treated.
= DON’T ENTER THE TANK: the residues of a chemical product can
cause poisoning and suffocation.
=When spraying, respect safe distances from residential areas, water
courses, roads, sports centres and public parks or paths.
=Thoroughly wash the containers of plant protection products using the
relevant accessories, rinsing several times with clean water. The liquids used
for washing can be used for treatment.
=Collect the washed containers and send them to the relevant collection
centres. Never dispose of them in the environment and don’t use them again
for any other purpose. It is good practice to knock a hole in the bottom of the
tins so they can’t be used again.
=When you have finished spraying, wash the sprayer thoroughly, diluting
the residues with a quantity of water at least 10 times that of the residues,
spraying the resulting mix over the treated field.
2.4 RECOMMENDATIONS
a) Refer to the present handbook for the use and maintenance of the
frame, tank, auto-levelling systems, elevators, mechanical and hydraulic
herbicide booms, spray booms and hose reels.

unigreen 7
Refer to the enclosed handbooks for the use and maintenance of the pump and
pressure regulator and any accessories or motors.
b) Please contact the agent in your zone, the nearest authorised workshop or
UNIGREEN S.p.A. directly for any repairs the user feels they aren’t capable of
performing alone. (see point 8.4)
c) Due to the complexity of the equipment and the variety of technologies used
(mechanical, hydraulic, oil-pressure and electrotechnical) operators must not
dismantle or modify the equipment. All of the relevant operations must be
performed by specialised personnel, authorised by UNIGREEN S.p.A.
2.4.1 TAKING PRECAUTIONS AGAINST FIRE HAZARDS
Don’t use naked flames or heat sources near the machines.
The mistblowers are made with many materials that derive from petroleum: tanks,
tubes, pipes and hoses, wheels and plastic parts; furthermore the presence of oils
of various nature and residues of chemical products make them potentially
flammable.
2.5 WEATHER CONDITIONS
We recommend spraying in the early hours of the morning or late in the afternoon,
avoiding the hottest time of day.
Never do any spraying if it’s raining or rain is forecast.
Don’t spray in strong wind or in any case, in winds above 3/5 m/second.
If you have to spray in windy conditions, use relatively low pressures to obtain
quite large drops that are less sensitive to drifting (being heavier the wind has less
effect). There are also special anti-drift nozzles available from UNIGREEN S.p.A.;
for information, please contact our offices.
2.6 MACHINES DESIGNED TO BE USED ONLY WITH CLEAN WATER
There are versions of the machines designed only to be used with a hose reel for
washing with cold clean water.
These machines cannot be used with chemical products as they don’t have some of
the devices or accessories that are needed to use these products safely.
These machines are identified by the word “washing” on the CE plate.
2.7 DRIVING ON THE ROAD
The towed mistblowers are not specifically designed for road use. Nevertheless,
many models are also available in the version homologated for road traffic with the
tank empty.
You should check with your local reseller on the correct couplings to use and use
tractors that meet the regulations in force.
3 CHARACTERISTICS AND SPECIFICATIONS
This handbook is valid for mounted and towed mistblowers with axial fans for
phytosanitary treatment in orchards and vineyards, in any case for arboreal
cultivation in rows of varying nature and type.
It is also valid for cannon mistblowers for the phytosanitary treatment of tall plants
and forest trees such as poplars or similar.
The axial mistblowers produce a mixed spray, breaking the drops with the
pressure and the speed of the air produced by the fan.
These mistblowers produced by UNIGREEN SPA are identified by the CE plate
(FIG. 2) bearing one of the marks indicated in the tables of the allowed fittings
(see the following paragraph).
3.1 TABLES OF FITTINGS ALLOWED
Table N° 18a let you identify the version of your machine indicating the basic
equipment and all the possible fittings available (optional).
You can also find the other fittings allowed or other versions to meet your
requirements in the future.
THE EQUIPMENT DEFINED IN THE TABLES OF THIS HANDBOOK (TAB: 18a,
page 31) SHOULD BE CONSIDERED BINDING FOR THE VALIDITY OF THE
DECLARATION OF CONFORMITY.
Other fittings or setups of basic components and/or optionals should be
considered unsafe and therefore are not covered by the guarantee and aren’t
UNIGREEN’s responsibility.
The same goes for fittings realised with components or accessories that aren’t
original UNIGREEN parts.
UNIGREEN accessories can easily be identified by the label with the yellow
background “ORIGINAL UNIGREEN ACCESSORY”
TYPE : .......................................................................
code: ........................................ N˚ ...........................
massa a vuoto: ..........................Kg. max press. : ........... bar
net mass
massa totale ammessa: .............................. Kg.
total mass
via Rinaldi, 105 - Reggio Emilia ITALIA
ANNO
YEAR
20 .......
made in
Italy
FIG.2

8 unigreen
3.2 NOISE LEVEL OF THE MACHINE
Use earmuffs to protect your ears when using the machine, below you will find the data on
the maximum noise levels during work.
Atomisers with centrifugal fan rotor (Airdrop)
ACOUSTIC POWER LEVEL emitted by the machine: 123,8 dBA in 2nd gear
ACOUSTIC POWER LEVEL AT THE OPERATOR’S POSITION emitted by the machine:
103,2 dBA in 2nd gear
Readings taken in accordance with the following standards:
Machines Directive 98/37/CE (Dir.89/392 CEDir. re-codified).
Legislative Decree D.Lgs. n°292 of the 4th of September 2002 concerning the environmental
acoustic emission of machines and equipment for use outdoors.
Legislative Decree D.Lgs. 277/91 on the subject of the protection of workers against the risks
deriving from exposure to chemical, physical and biological agents.
3.3 STANDARDS OF REFERENCE:
- MACHINES DIRECTIVE 98/37/CEE (Dir.89/392 CE Dir. re-codified).
- Directive 86/188/CEE: risks deriving from exposure to noise (implemented in Italy by
Legislative Decree D.L 277/1991)
- DPR 547/1955: Regulations for the prevention of accidents and hygiene at work.
- Legislative Decree D.Lgs. n°292 of the 4th of September 2002 concerning the
environmental acoustic emission of machines and equipment for use outdoors.
-UNI EN ISO 12100-1/Apr.2005 : Machinery safety - Fundamental concepts, general design
principles - Part 1: basic terminology, methodology
-UNI EN ISO 12100-2/Apr.2005 : Machinery safety - Fundamental concepts, general design
principles - Part 2: Technical principles
-UNI EN 294/July 1993: Machinery safety, safe distances to avoid reaching hazardous areas
with upper limbs.
-UNI EN 349/June 1994: Machinery safety, minimum spaces to prevent crushing of body
parts
-UNI EN 907/Nov.1998: Agricultural and forestry machinery - Sprayers and spreaders of
liquid fertilizers - Safety.
-UNI EN 954-1/Dec. 1998 : Machinery safety - Fundamental concepts, general design
principles
-UNI EN 982/July 1997: Machinery safety. Safety requisites relevant to systems and their
components for hydraulic and pneumatic transmissions. Hydraulics.
-UNI EN ISO 4254-1/June 2006: Agricultural machines - Safety - Part 1: General requisites
-ISO 11684/1995: Pictograms - general principles.
4 INSTRUCTIONS
To use the machine the personnel must be suitably trained on the basis of the regulations in
force on safety and hygiene at work.
THE USE OF THE MACHINE FOR PERSONS UNDER 18 YEARS OF AGE IS STRICTLY
FORBIDDEN
4.1 DESCRIPTION OF THE MACHINE
The mistblowers consist of a structural steel frame and a polyester tank reinforced with
fibreglass or high-density polyethylene. The frame is hot-galvanised. The tank is easy to
empty and this makes it possible to use the machine even on hillsides.
The pumps are generally diaphragm pumps but in some cases they are fitted with pistons.
The accessories for completing the fitting, non-drip jets and ceramic nozzles make the
UNIGREEN mistblower a highly qualified and efficient piece of equipment.
4.1.1 WORK STATIONS
The use of this machine does not envisage an operator standing constantly near the same,
the operator normally sits in the cab of the tractor.
During calibration and maintenance operations the operator will be working near the machine
at ground level (for all the calibration and maintenance operations refer to the relevant
chapters).
In some special models with controls above 1.5 metres there is a platform to make these
operations easier.
This platform must only be used with the machine stopped.
4.1.2 HAND WASHING TANKS
The mistblowers are supplied with an auxiliary hand-washing tank with clean water and a
hand tap.
This tank must always be supplied with water and the inside must be clean so you can wash
any parts of the body that come into contact with the chemical product used.
Never drink the liquid inside.
This symbol identifies the clean
water tank on the machine used
to wash your hands

unigreen 9
4.2 PRELIMINARY CHECKS
When you receive the machine, check that it is complete and no parts are
missing.
If there are any damaged parts, inform your local reseller or UNIGREEN
directly in good time.
When the machine is delivered, make sure you ask:
a) that the machine is delivered with all of its parts fitted and that the fitting
meets the requisites in table N° 18a (page 31).
This procedure is necessary because for reasons of space during
transportation the machine is often delivered partially dismantled.
b) that it is tested in your presence in particular checking:
=that the suction filter and the inside of the tank are clean and free of work
residues.
=that the connections are made correctly following the basic layout (FIG. N°
16, page 16).
=that the hose clips and all the unions and connections are tightened
properly.
=that all of the protective covers are fitted solidly to the machine, in
particular the protective cover of the power-takeoff of the pump.
=that the multiplier is sufficiently supplied with lubricant oil.
= that the zone where the fan turns hasn’t been bent by knocks during
transportation.
4.3 TRANSPORTING AND MOVING THE MACHINE
Every time you have to lift the machine, before starting the operation, always
make sure the lifting gear and the relevant tools and equipment (cables, hooks,
etc..) are suitable for lifting the load and check the stability of the same.
It is forbidden to unhook and move the machine with the tank full.
The dry weight of the machine at the maximum level of fitting and with all the
accessories allowed is stamped on the nameplate (FIG.2); use slings and
lifting gear with a adequate load-bearing capacity (FIG.3).
Never lift or move the mistblowers by hand if there is liquid in the tank. The
machine will weigh more and the movement of the liquid can change the centre
of gravity causing uncontrolled movements.
We recommend using slings as shown in the figure, the lifting points to use on
the machine are indicated with the relevant symbol.
Don’t lift the machine with the forks of a forklift truck because the machine can
tip over due to the overhanging weight of the blower group.
Don’t pass or stand under the machine when it is being lifted.
4.3.1 TOWED ATOMISERS
PARKING
Don’t stand the atomiser on unstable ground or steep slopes, the machine is
designed to be parked safely on compact ground with a slope of up to 8.5°
MOVING
To lift the machine, follow the instructions above.
FIG.3
This symbol
identifies the
coupling points
of the machine
Only move and lift the machine
with the tank empty

10 unigreen
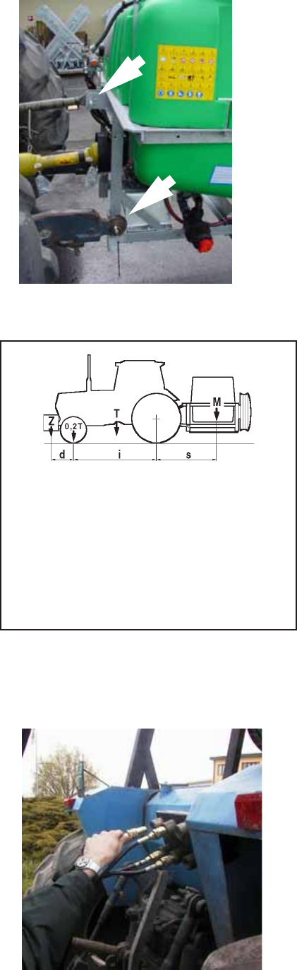
4.4 TRACTOR COUPLING
The tractor must have 1”3/8 ASAE DIN 9611/A power-takeoff that runs at 550
rpm. It must have a 3-point elevator suitable for safely supporting the weight of
the atomiser.
Check this by consulting the table of allowed fittings N° 18a (pages 31).
WARNING: make sure there are no persons or things near the atomiser
before starting the machine and while you are using it.
4.4.1 THREE-POINT COUPLING
a) We recommend carefully checking that the tractor is suitable for
supporting the weight of the fully loaded sprayer safely.
The total weight of the sprayer with all of its accessories and fittings is
indicated on the nameplate in FIG. 2 and also (in the version with the
maximum fittings allowed) in tables N° 18a (pages 31).
For verification use the formula shown here.
Non-observance can result in a very dangerous situation as the tractor will
lose steering sensitivity and can tip over when driving uphill or over bumps.
b) Check the diameter of the elevator coupling pins. If necessary position
the double diameter pins correctly; there are also appropriate adapter bushes
available.
c) Adjust the length of the third point tie-rod correctly so the sprayer is
perfectly vertical in normal working position.
d) Check for the presence of the safety pins that stop the arms of the
tractor jumping off the connecting pins.
4.4.5 HYDRAULIC CONNECTION TO THE DISTRIBUTORS
Machines that need a hydraulic connection to drive the movements of the
cannon are equipped with 1/2", “Push-Pull”, quick-fit male couplings. You can
connect the pipes by simply pushing them in, making sure you:
- do so only with the engine turned off;
- lower any tools connected to the elevator of the tractor;
- carefully clean the two parts that will be coupled
Warning: the hydraulic cylinders used are the “Double Effect” type.
Consult the use and maintenance manual of the tractor.
Tractor coupling
FIG.4
M x s < 0,2 T x i + Z x (d + i)
i = tractor wheelbase
d = distance from the front axis and the ballast
s = overhang from the rear axle of the
operating machine
T = mass of the tractor + operator (75kg)
Z = ballast mass
M = sprayer mass

unigreen 11
4.5 CARDAN SHAFT
In some models this is supplied on request.
The cardan shaft must bear the CE mark.
It must always have its own instructions that must be followed scrupulously and it
should come with a cover bearing the mark, integrated in every part.
You should have previously checked the length to avoid:
=if it is too long, DANGEROUS THRUST ON THE PUMP SHAFT
=if too short, the POSSIBILITY OF DANGEROUS BREAKAGES
THE MINIMUM OVERLAP OF THE TWO
TELESCOPIC TUBES MUST NEVER BE
LESS THAN 1/3 OF THE LENGTH OF
THE TUBES.
The power that can be transmitted by the
cardan shaft must be at least equal to
that required to run the mistblower.
These power ratings are indicated in
tables N° 18a (page 31).
a) Hook any safety chains to solid
anchor points
b) Check that the button or ringnut “E” (FIG. 6) is correctly engaged and
blocked both on the pump side and on the tractor side.
c) Don’t exceed an inclination of 30° in any direction for any reason
d) With the machine stopped, periodically grease the spiders and the pipes,
keeping the connecting zone particularly clean.
e) Avoid letting the end of the cardan shaft come into contact with the ground
with the machine stopped; use the relevant support on some versions for this, if
your machine has no support, hook the external safety chain to a part of the
frame of the machine (ex. control unit support).
f) For towed mistblowers with a steering drawbar, be very careful not to lift the
arms of the elevator too high to prevent the cardan shaft touching parts of the
drawbar.
l) For towed mistblowers, avoid very tight steering circles with the cardan shaft
turning (max 30°) as this could damage both the cardan shaft and the feet of the
pump (FIG. 7).
NEVER USE THE CARDAN TRANSMISSION IF THE FOLLOWING
PROTECTIVE COVERS ARE MISSING:
- TRACTOR POWER-TAKEOFF PROTECTIVE COVER
- CARDAN SHAFT PROTECTIVE COVER
- FIXED PROTECTIVE COVER ON THE PUMP SHAFT
4.6 PUMP
When using the pump scrupulously observe the instructions in the enclosed
handbook supplied by the manufacturer.
The pump can be identified by the ratings plate on the same; the main data on
the pressure and delivery are easy to find on this plate.
Normally the pumps mustn’t exceed 550 RPM; a higher speed won’t improve
performance but there is a risk of compromising the life and safety of the pump.
There is a safety valve on the pump, calibrated to prevent overpressure. Don’t
tamper with this valve for any reason and don’t block or obstruct the pipes
connected to it in any way.
4.7 SUCTION FILTER
The sprayer is fitted with a suction filter with filter cartridges that have roughly a
50-gauge mesh, which is equivalent to a hole of 0.4 at 0.35 mm.
An efficient filter lets the sprayer work properly.
You should periodically check that the filter cartridge is clean, this check should
be done more often if there are impurities in the liquid.
To inspect the filter cartridge wear rubber acid-proof gloves as the liquid in the
filter can come into contact with your hands when you open the filter.
Don’t perform this operation with the pump running as the depression produced
blocks the cover preventing the removal.
Before removing the cover of the filter, make sure that the same is isolated from
the tubing by unscrewing the relevant rear valve (FIG. N°8) or on the 3-way
deviator (FIG. N° 10, page 14).
After washing the cartridge, reassemble the cover making sure you connect the
same to the circuit again, using the valves described above in the opposite order.
WARNING!: Don’t disperse the washing residues in the environment!!
FIG. 7
FIG. 6
FIG. 8
Valve Filter

12 unigreen
4.8 PRESSURE REGULATOR
To use the pressure regulator, follow the instructions in the enclosed
handbook scrupulously. The pressure regulator controls all of the most
important spraying functions, the thorough knowledge of its functions makes
work easier and more precise.
The working pressure and the maximum pressure of the sprayer are
determined by the pressure regulator which also protects the circuit from
overpressure in any work conditions. (In serious but very rare cases, if the
connecting pipes get blocked the pressure relief valve lets the pressure off)
In some setups there may be a pump that can reach a pressure of 50 bar
controlled by a regulator designed for 20 bar. In this case the maximum
pressure that can be reached is 20 bar.
The regulators can be manual, mounted on the sprayer or at a distance to
make the controls easier to use; or electrical with a control panel in the cabin.
There are also regulator versions with mechanical remote controls with a
cable. If the tractor has a waterproof cabin the use of electrical controls is
obligatory.
4.8.1 COMPONENTS OF THE PRESSURE REGULATOR
Below you will find the indications for the main models fitted on Unigreen
products.
A main ON-OFF command: “open” lets the fluid flow into the circuit in use;
“closed” empties the tank.
B maximum pressure valve: adjusted by hand with the relevant knob (drains
the excess liquid when the set pressure is reached).
C jets section tap: opens the corresponding jet boom or drains to the
compensation regulator (G).
D auxiliary tap: can be used for various accessories (it is always manual).
E volumetric pressure valve (proportional):
(when present) it regulates the spraying pressure. The valve automatically
compensates variations in speed (within the scope of the same gear ratio),
keeping the quantity of liquid supplied per surface unit (litres/hectare)
unchanged.
F self-cleaning filter: filters the delivery liquid.
G compensation regulators: suitably regulated, these make it possible to
keep the pressure constant when one or more sections of jets is closed, they
don’t influence treatments with the boom fully open.
H manometer: indicates the working pressure.
Connections:
R1 supply union
R2 drain union
R3 volumetric drain union
R4 jets section delivery union
R5 auxiliary delivery union
Control box for GCP ELETTRICO electrical regulators
I1 main control valve switch
I2 volumetric pressure valve switch (proportional)
I3 jets section valves switches
4.8.2 GENERAL INSTRUCTIONS
When using the pressure regulator, scrupulously observe the instructions in
the enclosed handbook, below you will find generic indications for the major
models fitted by Unigreen.
All the regulation and adjustment tests must be carried out with clean
water.
Pressure regulators without a volumetric valve (GCP3-way - GRH-RVA)
Adjusting the maximum pressure valve
= put main control A in the drain position (“OFF”).
= loosen the hand wheel of maximum pressure valve B completely
(anticlockwise).
= start the pump by activating the power-takeoff of the tractor at 540rpm
= open main control A (position “ON”), the manometer will be activated
= open all of the section valves C (position “ON”)
Don’t use the sprayer
without having consulted
the enclosed handbook.

unigreen 13
= adjust maximum pressure valve B to the working value (in any case less
than the safe maximum pressure the system can reach).
Pressure regulators with a volumetric valve (GCP ELETTRICO)
Adjusting the maximum pressure valve
= put main control A in the drain position (“OFF”).
= loosen the hand wheel of maximum pressure valve B completely
(anticlockwise).
= open volumetric valve E completely.
= start the pump by activating the power-takeoff of the tractor at 540rpm
= open main control A (position “ON”), the manometer will be activated
= open the drain tap on filter F slightly (only GCP ELETTRICO).
= close volumetric valve E completely. If the pressure rises over the maximum
limit of the system, make sure maximum pressure valve B is open (see previous
indications)
= open all of the section valves C (position “ON”)
= adjust maximum pressure valve B to a value over that of the working
pressure (generally 10-14bar) and in any case lower than the safe maximum
pressure that the system can reach.
Adjusting the volumetric pressure.
= with the volumetric pressure valve E adjust the pressure to the value the
treatment will be done at (the pressure is indicated on the nozzles tables on the
basis of the tractor speed and litres/hectare to spray)
Warning! The working pressure must be adjusted with the volumetric valve
and not with the maximum pressure valve. In the case the working
pressure is too near to the calibrated pressure of the maximum pressure
valve, the proportional valve may not be able to compensate the speed
variations correctly.
Adjusting the compensated returns
= close only one tap of section C (position “OFF”).
= adjust the corresponding compensator G until you return to the pressure set
previously (displayed on the manometer).
= open and close the tap of section C and check that the pressure remains
constant.
= repeat the above operations for all the section taps.
If the types of nozzles aren’t changed the regulations carried out will guarantee a
constant spraying of the liquid also per treatments that are done at different
working pressures.
NB: if the type of nozzle is changed then the calibrating will have to be done
again.
4.8.3 DELIVERY FILTERS (ONLY EQUIPPED MODELS)
This is particularly useful when using small nozzles (low volume), they are
normally mounted on the jet booms and have a filter cartridge with a 40-gauge
mesh (the equivalent of a 0.4 mm hole).
At the end of each treatment cycle you should clean the cartridge: turn the jets to
the closed position, put the command under pressure and open the tap under
the filter to drain the tank for a few minutes.
You should clean the cartridge by hand periodically, on the basis of the product
used. Stop the pump to clean. Wear rubber gloves and the other personal
protective equipment when cleaning.
4.9 AUXILIARIES TAPS BLOCK
A collector is installed (FIG. 9) in the Airdrop machines with taps for the utilities
and accessories, which require a working pressure that is independent from the
spraying pressure:
- Tank washing jet: see paragraph 4.13.1
- Ejector: see paragraph 4.10
- Agitators (2 independent taps): see paragraph 4.12
The taps are identified by the relevant sticker and the methods of use are
described in the paragraphs indicated.
The pressure is normally regulated to 30-35 bar with the relevant valve (using a
yellow knob) and displayed on the manometer installed; opening the utilities
makes the pressure drop.
FIG. 9
Tank rinsing
Ejector
Agitator 1
Agitator 2

14 unigreen
4.10 FILLING THE TANK
The machines for defensive crop treatments, in consideration of the safety of
persons, animals and the protection of the environment, must only be filled
indirectly from open water courses and only by free-falling water from the
waterworks.
The pipe used for filling must never come into contact with the liquid inside the
tank and therefore the water must always fall over the upper edge of the filling
inlet and through the filter installed on it.
The tank is fitted with a transparent graduated band that shows the exact
quantity of liquid inside. This reading is precise if the tank is on flat ground; the
actual total capacity coincides with the highest number. All the filling systems
fitted by Unigreen on their production machines or on request are antipollution
and stop the liquid overflowing out of the tank.
a) FILLING WITH THE 3-WAY DEVIATOR (Fig. 10- Fig. 11).
It is possible to fill the tank using the pump and the floating filter kit G (cod.1002/
0080F) with 6 metres of rubber hose (the floating filter lets you always and only
suck up clean water).
= connect hose T to deviator D using the union hose adaptor supplied.
= turn the lever of deviator D to the filling position.
=place the other end of the hose, on which you fitted filter G, in the watering
point.
= start the power-takeoff leaving pressure regulator C in the draining position
(you don’t have to put the pump under pressure).
= the filling speed in litres/minute is equal to the delivery of pump P.
= visually check the level of the liquid in the tank and after filling stop the
pump and put the lever of deviator D back in the working position.
= disconnect pipe T from deviator D.
b) FILLING WITH THE SUCTION FILTER (Fig. 3- Fig. 11).
If the 3-way deviator isn’t fitted you can fill the tank using the coupling on the
cover of the suction filter. Unscrew the rear wing nut of the filter and using a
G1"1/2 threaded union, connect pipe T with the floating filter to the coupling.
Also in this case the filling speed in litres/minute is equal to the delivery of the
pump.
c) FILLING WITH THE ANTIPOLLUTION EJECTOR (Fig. 12)
If you are filling with an antipollution hydroejector (mounted as standard on
some models) then you should proceed as follows:
=put roughly 20-30 L of water in the tank and start the pump.
=remove the cap of ejector E and insert filling pipe T.
=place the other end of the hose, on which you fitted filter G, in the watering
point.
=open the tap that supplies the ejector (on auxiliary taps, see point 4.9).
=increase the pressure until it reaches a value which is sufficient to suck up
the liquid.
=visually check the level of the liquid inside the tank and after filling
disconnect pipe T from the ejector, close the tap and replace the cap.
4.11 TEST WITH CLEAN WATER
It is good practice to do a test with clean water (without chemical product in the
tank) before the first treatment to make sure the mistblower is working properly
and to get to know the controls. For instructions on how to proceed with the
treatment see the chapter SPRAYING.
FIG. 12
FIG. 10
WARNING: using the taps on the
pump or in any case on the front of the
machine puts the operator near the
cardan shaft. Despite the presence of
CE standard protective covers you
should take great care.
FIG. 11

unigreen 15
4.12 MIXING
The active principle can be mixed using the relevant stirrers before and
during the treatment. Correct mixing and stirring is the basis of the correct
distribution on the crops. We recommend some useful accessories such as
the premixer for powders and liquids (see the following paragraph).
The machines in the Airdrop-MFC range can be equipped with 2 hydro-
pneumatic agitators, supplied by the relevant taps in the auxiliaries taps block
(paragraph 4.9).
o mix the product in the tank run the stirrer (or ejector) for roughly 10-15
minutes at the maximum pressure available
4.12.1MANUAL PREMIXING
Dilute the active principle by hand before introducing it into the tank, (you
must wear suitable protective clothing such as rubber gloves, a mask or
goggles, overalls, etc.).
WARNING: the indications to follow for using chemical products are indicated
in paragraph 2.2.1.
4.12.2PREMIXER ON COVER (OPTIONAL):
Open the cover and pour all of the chemical powder into the filter, close the
cover and open the supply tap until all of the powder has dissolved.
4.12.2PREMIXER ON COVER (OPTIONAL):
Open the cover and pour all of the chemical powder into the filter, close the
cover and open the supply tap until all of the powder has dissolved.
4.12.4COVER WASHER FOR CHEMICAL CONTAINERS
The washer for chemical containers (FIG.15) is installed as standard in the
hatch on the entire Airdrop-MFC range.
To wash the container, proceed as follows:
-Lift the cover of the tank
-Open auxiliary tap (D) of the pressure regulator (see paragraph 4.8.1)
supplying it with a pressure of under 8 bar
- Introduce the tin into the hopper, inserting the washing pipe into the tin.
-Press the tin onto the pipe until it has been washed clean.
-At the end of the operations close the tap (D) of the pressure regulator
again.
FIG. 13
FIG. 15
Box washing device on cover

16 unigreen
4.13 WASHING THE ATOMISER
After every treatment, thoroughly clean the equipment, washing it with water
inside and out. Dirty equipment is very dangerous for people and in particular
for children.
Discharging the residues of washing in the environment without taking
precautions is forbidden as this pollutes water courses. Distribute the
residues on the field or the crops where they won’t cause any damage.
WARNING: the indications to follow for using chemical products are indicated
in paragraph 2.2.1.
4.13.1CIRCUIT WASHER AND TANK WASHER
Some machine models are fitted with a circuit washer tank (FIG.17). This
tank must be filled with clean water and used to rinse the entire circuit
including the suction, delivery, pump, pressure regulator, jets and nozzles.
Thanks to the practical rotary nozzle it also rinses the inside surfaces of the
tank.
NB: To completely clean the tank and the pipes of any residues of the various
active principles, we recommend adding 2kg of soda to the washing liquid for
every 100 L of water.
At the end of the treatment, wash the circuit and the tank.
a) Stop the diaphragm pump disengaging the power-takeoff.
b) Check you have filled the circuit washer tank (C).
c) Make sure the main control of the pressure regulator is OFF and that all
the boom sectors are closed.
d) Turn suction deviator A to the circuit washer position (H2O).
e) Start the diaphragm pump by engaging the power-takeoff.
f) Increase the engine speed until all of the liquid in circuit washer tank C
has been sucked up.
g) Turn the diaphragm pump off and turn deviator A to the work position
(TANK).
h) Turn the main control to ON, so there is pressure in the circuit.
i) Start the diaphragm pump again and use the tank washing tap on the
regulator (or on pump P) that supplies jet B.
j) After a few minutes you can close the tank washing tap
k) Distribute the washing residues over a portion of the field where it won’t
cause damage.
l) After you have finished washing, stop the diaphragm pump.
NB: at the end of the washing cycle, if there is the risk of frost, pour roughly
500 grams of normal antifreeze for auto vehicles into the tank.
FIG. 16
A
BC
F
P
This symbol identifies
the clean water tank
on the machine used
to wash the circuit
WARNING: using the taps on the pump or in any
case on the front of the machine puts the operator
near the cardan shaft. Despite the presence of CE
standard protective covers you should take great
care.

unigreen 17
5 BLOWER GROUP
All the mistblowers have a high speed fan rotor. You must take great
care and beware of the effects that this can provoke: such as the
aspiration and projection of foreign bodies which, although of a small
size, can be very dangerous especially for the eyes and face.
5.1 MULTIPLIER - FAN UNIT
The Airdrop range is fitted with two versions of a Ø500 centrifugal fan: STD
(max absorption 30 HP) and XP (max 50 HP).
The transmission of the drive from the pump to the fan is done through a
multiplier with one or two gears, plus neutral.
Normally the rotation speed of the fan is 3240 RPM in first gear and 3620
RPM in second in the 2-speed multiplier (multiplied ratios 1:6 - 1:6.7) with the
power takeoff running at 540 RPM.
You can change from one gear to the next with the lever on the multiplier,
made accessible through the opening on the side in the rear left part of the
machine or at a distance on the right side. The lever has 2 or 3 positions
depending on the number of gears and the central position is neutral (to use
only the pump without the fan).
WARNING: the gear change lever must only be used with the power-takeoff
disengaged and the fan stopped. If it is difficult to engage, turn the cardan
shaft slightly by hand to find the right position of the lever (make sure the
tractor is turned off).
For the maintenance of the multiplier (see point "Multiplier Lubrication"
5.5 CLUTCH
Fans have a centrifugal type clutch that makes it possible to engage the fan
rotor gradually.
This prevents jerky starts, due to the inertia of the fan rotor, which can have a
negative effect on the transmission.
For the centrifugal clutch to work properly the speed of the power-takeoff
mustn’t be less than 450 rpm, especially if you are using the first gear of the
multiplier.
Generally clutches with shoes/plates made of sintered material with a high
coefficient of friction are fitted, on some low power models rubber clutches
may be fitted.
WARNING! As there is a high multiplication ratio, the fan must be started
gradually. Suddenly engaging the power-takeoff clutch (at high speed) can
damage the gears.
Ø500 Nylon impeller with sinterized expansion
clutch.
Ø500 fan with multiplier, 2-speed plus
neutral.
WORK TEMPERATURE
Heat is generated by the friction between the
various moving components and on the basis
of the power transmitted. The temperature
of the multiplier or disengaging box depends
on the capacity to dissipate heat to the
surrounding environment and therefore the
surfaces involved in the heat exchange and
the environmental conditions.
The specifications refer to environmental
conditions with a temperature between
-10° +50°C (14°C -122°F).
The working temperature limit of the box
is 90°C (200°F) established to prevent the
ageing of the seals and guarantee a sufficient
viscosity of the oil. The heat makes the air in
the box expand and therefore increases the
pressure inside. The correct use of the oil
seals is guaranteed up to an internal pressure
of 0.5 bar. Boxes designed to be used for
particularly heavy duty work are equipped
with a breather cap that can be fitted
on any cast iron box on request.

18 unigreen
5.3 DISTRIBUTOR ACCESSORIES
Various configurations of accessories or distributors are fitted to the outlet of
the fans. At present these are:
2 Fans, Canopy and Espalier - Double espalier Minibar - RV espalier and GDC
- VL Espalier - FXF "Up and Over" boom for espalier.
WARNING: for all adjustments, always observe the safety indications in the
chapters relevant to maintenance and repair of this manual, as well as paragraph
2.3.1 relevant to the use of chemical products.
5.3.1 VENTAGLI (FANS) CANOPY, AND ESPALIER DISTRIBUTORS
These have been developed to adapt very simply to the type of vegetation to be
treated.
For dosing and distribution they are equipped with two DOSER-TAPS with 1-2-
3-4 calibration (see chapter 6 SPRAYING).
They turn on their own axis for the best distribution of the chemical product.
The air-outlet section is differentiated to guarantee a greater range and
distribution of the mixture to where it is required.
In this way, the simple inversion of the distributors makes the system suitable
for both the canopy and espalier versions; moving the left-hand distributor to
the right-hand and vice-a-versa. (the same inversion must be performed for the
two distributor taps 1-2-3-4).
For particularly high espaliers an upper, double distributor is available as an
OPTIONAL.
The Ventagli accessories are available with STD and XP fans.
5.3.2 MINIBAR FOR ESPALIER
Tangential flow head created to bring the diffusers closer to the areas to be
treated for specific and localised operations, the vertical construction positions
the distributors parallel to the vegetation area, guaranteeing uniform treatment.
The variable diffusers contribute to an improved distribution of the product in
relation to the requirements of the vegetation.
The Minibar accessory can be used with STD fans.
5.3.2 SUPER SPALLIERA FOR ESPALIER
With this accessory you can treat particular espaliers with thick vegetation. It is
especially indicated where you need to pass beyond the rows, using a lot of air
and power.
The variable diffusers let you direct the product in relation to the requirements
of the vegetation. All of the adjustments are done by hand using the knobs and
screws.
The SUPER ESPALIER accessory is used with XP fans.
VENTAGLI SPALLIERA
VENTAGLI TENDONE
MINIBAR SPALLIERA
SUPER SPALLIERA

unigreen 19
5.3.3 RV BOOM FOR GDC
This boom has lateral diffusers (variable and moveable) and two top
arms with hydraulic or manual adjustment, so the jets can be directed
onto the vegetation to be treated.
In the bottom part there are two adjustable, telescopic distributors for
GDC treatment.
The height of the structure can be adjusted by hand for different types
of vegetation.
The RV-GDC accessory is used with XP fans.
5.4 HYDRAULICS
The RV, VL, VLX, FXF and FXL model distributor accessories have
hydraulics that can be controlled by the operator directly from the seat in the
cab.
Check that no one and nothing is in the area where the booms will open;
particular attention should be paid to the presence of any electric power
lines.
The hydraulic plant can be fed from the hydraulic pump of the tractor.
The hydraulics can be controlled using the lever of the tractor (RV and VL) or
a hydraulic distributor with mechanical or electro-hydraulic command with
switches in the cabin (VLX, FXF and FXL).
- All of the controls on both versions are sustained action controls and each
lever or switch has a pictogram of the relevant operation it controls.
WARNING: with hydraulic booms, don’t stand in the range of action of the
machine.
Pay attention to the integrity and efficiency of the hydraulic components and
in particular to the pipes to prevent the risk of bursting.
Do a full check on the pipes and components at least once a year, we
recommend replacing hydraulic pipes every 3-4 years.
5.4.1 OIL FEED FROM TRACTOR
(for hydraulic systems)
Connect the delivery and discharge quick-fit coupling to the respective
connections, respecting the direction of flow.
The distributor inlet pipe is connected to the aluminium flow separator valve
next to the distributor.
The flow separator must be adjusted correctly so it sends less than 4-5 L/1°
to the distributor.
To prevent the cylinders moving at a dangerous speed, adjust the relevant
chokes near the cylinders. If the registration ringnuts aren’t visible then fixed
chokes are fitted. The chokes are fitted on the discharge line of the
movement to slow.
Any impurities in the oil could block the chokes and as a consequence block
the cylinder; remove the dirt if necessary. The maximum pressure valves of
the distributors are regulated to a pressure of around 150 bar.
To prevent the excessive heating of the oil we recommend supplying the
distributor of the sprayer only when the cylinders are being used.
We recommend having qualified personnel do any adjustments.
Pay attention to the integrity and efficiency of the hydraulic components and
in particular to the pipes to prevent the risk of bursting.
Do a full check on the pipes and components at least once a year, we
recommend replacing hydraulic pipes every 3-4 years.
RV per GDC

20 unigreen
6 SPRAYING
WARNING: the indications to follow when using chemical products are
indicated in paragraph 2.2.1.
6.1 DESCRIPTION OF THE DIFFUSERS
The distributor accessories of the AIRDROP range are equipped with
variable diffusers (FIG. 18) that let you direct the airflow (and as a
consequence the treatment) on the vegetation to treat, adapting to your
various needs.
According to the configuration of the accessory the diffusers have outlet
mouths with different shapes and sections, furthermore they are equipped
with a tap for turning the liquid on/off (R) so you can independently close one
or more diffusers in the case of scarce vegetation.
In the VENTAGLI version the diffuser is the fan itself.
6.1.1 NON-DRIP VALVE
There is a non-drip valve (V) on the distributors (FIG. 18) that limits and/stops
the mix dripping when the supply tap is closed. In any case we recommend
closing the delivery of the mix a few seconds before disconnecting the power
takeoff.
In versions with fans the valve is mounted immediately upstream of the dosing
taps (see paragraph 6.4.1)
6.2 DESCRIPTION OF THE MFC® NOZZLES
The Unigreen low-volume pneumatic atomization system uses MFC®
nozzles (FIG. 19) consisting of a steel wire supported by Nylon deflector
vanes that also act as collectors for the liquid. The high-speed action of the
air atomises the film of liquid on the wire; in this there is a high air/water
surface area in contact and not just a single atomisation point, which means
a big advantage in terms of uniformity and homogeneity of the jet.
6.3 MIXTURE CONCENTRATION
As you may know, the pneumatic equipment are
used for more or less concentrated treatments.
To prepare the mixture, it is necessary to follow
the instructions on the chemical product label. As
a general rule, the product quantity to be sprayed
on the hectare is the same as normal-volume
treatments (a 20%-reduction is also possible);
the water volume is reduced a lot even up to 9
times = 10 concentrations.
We will try to clear this concept as regards
concentration with an example for the correct
use both of equipment and products.
Imagine that in order to protect a normal-volume
culture hectare you use 15 ml. of mixture. If the
product dose recommended by the expert
amounts to 100 g/hl. (normal-volume dose
indicated on the label which is always to be
followed), for 15 hl. You will use 1,5 kg. of prod-
ucts. If you decide to reduce the water quantity
per hectare at 500-300-150 litres (that is to say
concentrating 3-5-10 times), in these new water
volumes we must always use 1,5 kg. of product and 1,2 kg. if necessary (for
reductions up to 20%). As a consequence, the mixture concentration can
vary according to the water quantity that you wish to use.
From this example, you can notice a reduction of 4 fillings and 12 ml. of
water.
5 MISTBLOWER CALIBRATION
The tables on pages 25 to 28 make it possible to determine the delivery in
litres/hectares of the various equipment having the following initial data:
- position of the batching tap levers (Ventagli - Fans)
- calibrated plate CP (all others diffusors)
- used pressure;
- working speed (in km/h);
- working length (in meters).
FIG. 18
V
R
FIG. 19

unigreen 21
For instance, having a mistblower with fans and knowing:
- the working length L = 4,0 meters;
- the forward speed of 5,0 km/h;
- the tap lever in position 2;
- the pressure adjusted at 2,0 bars
you will have a flow rate value of 7,0 l/min. and consequently of 210 l/ha.
Similarly, by knowing the l/ha value to be sprayed, as well as the working
speed and distance, we can obtain the lever position and the pressure which
is necessary for treatment.
As the speed values indicated in the tables will hardly correspond to the real
ones, at first it will be necessary to calibrate the speed by operating in the
following way. With the equipment in average working conditions (half-filled
tank), with power take-off at 500 r.p.m. and with the fan/s in operation (without
spraying), drive a measured base of 100 meters, possibly on the field on
which you have to work and measure the time (t) in seconds that you need to
drive it.
Then calculate speed according to the formula:
V = S x 3,6 (1)
t
whereas S is the distance in meters (in our case, 100 meters) and t is the
time necessary to drive it.
Example:
if t = 66 seconds, you will have V = 100 x 3,6 = 5,4 km/h
66
It is recommended to repeat the calibration with 2-3 different gears in order to
have more data relating to speed.
As - beyond forward speed - also working width may not correspond to the
ones indicated on the table, by using the flow rate in l/min. of the spraying
head (see last line of table No. 3), you may obtain the volume in l/ha
according to the following formula (2):
VOLUME in l/Ha. = 600 x l/min. (2)
working width (m) x working speed (km/h)
Therefore, if from the initial example only working speed is different from V =
5,4 km/h, you will have:
volume in l/ha = 600 x 7 = 194 l/ha
4 x 5,4
If also working width is different, for instance 3,5 m:
volume in l/ha = 600 x 7 = 222 l/ha
3,5 x 5,4
6.4.1 BATCHING TAPS (SEE PICTURE 20)
On the equipment VENTAGLI (FANS) there are two batching taps which can
be used to quickly change the flow rate to the jets; the long part of the lever
shows the position (f.i. picture 20 = pos. 4). Each tap can carry out four
different positions. In the range of each single mode, for four different
pressures set on the regulator, we obtain four different values of the litre
capacity per minute, for a total of 16 values as you can observe from table
pages 25-26. An increase in pressure means an increase in capacity; a
decrease in pressure means a decrease in capacity. For other types of heads,
the number of positions and the pressure value can be different, as you can
notice on the relevant tables.
6.4.2 CALIBRATED PLATES CP
In the accessories provided with an anti-dripping valve on each sprayer, on
the valve output there is a calibration plate which guarantees an
homogeneous distribution among the various sprayers.
According to the spraying table to be carried out, it is necessary to install the
plate indicated in the table.
NOTE: The plate must be mounted with the side bearing the initials towards
the liquid output (picture 21).
The values indicated on the tables are approximate; according to the mixture
concentration, spraying values can be slightly different. These differences can
be easily corrected by acting on the working pressure. Increasing pressure
means increasing spraying and vice versa.
posiz. Ømm Ø inch
1 Ø1,75 Ø0,07"
2 Ø2,25 Ø0,09"
3 Ø3,50 Ø0,14"
4 Ø4,25 Ø0,17"
4916-47
4916-51
4916-55
4916-70
N.B. to calculate the different ranges it is
sufficient to multiply the value lt/hectare by the
corresponding width indicated in the table and
divide it by the new width.
Example-
In the table: 907lt/ha with row distance 3m.
907x3 = 971 Lt/ha with row distance 2,8m
2,8
FIG. 20
FIG. 21
CALIBRATED PLATE
GASKET
ANTIDRIPPING VALVE
MARKED SIDE

22 unigreen
7 HAND LANCES
When using hand lances bear in mind the following notes:
=Don’t direct the jet of liquid towards electric power lines or zones where
there is electrical current, houses or where people might pass.
= Don’t point the jet at people or animals.
The jet can cause serious injuries simply due to the mechanical force of the
liquid under pressure.
=Never block the spraying lever of the lance in an open position because if
the lance falls it will be uncontrollable.
=At the end of work after you have stopped the pump, make sure that any
residual pressure in the pipes under pressure has been drained to avoid
unexpected jets when putting the lance away. There are various types of
lances; with a lever, mitra spray gun and pistol grip.
For further information please refer to the handbook in the package.
The lever lance is controlled by opening lever A which, depending on how much
it’s pressed, produces a conical spray or direct jet. The standard nozzle is Ø 1.5
The mitra spray gun can produce a direct jet or a conical spray and the type of
spray is selected by pushing lever B forwards or backwards. Use lever C to
open the jet. The standard nozzle is Ø 2.5
Replacement nozzles are available for all of the lances and the capacities are
indicated in the tables TAB.4 and TAB.5 ( page 29).
8 MAINTENANCE
All of the maintenance operations and repairs must be carried out with the
machine and cardan shaft stopped and the tank and circuit clean of any
residues of chemical products.
The maintenance of the mistblower is essential for maintaining a high level of
safety. Also consult the single handbooks of the main components of the
mistblower.
WARNING: the indications to follow for using chemical products are indicated in
paragraph 2.2.1.
8.1 PROGRAMMED MAINTENANCE
(TAB. N° 7, page 30)
We recommend using a table of programmed maintenance to follow in time to
keep the mistblower in an efficient working condition.
For major and important maintenance jobs we recommend using the normal
UNIGREEN assistance service available from your reseller, (if necessary)
replacing parts using original spare parts only.
8.2 ROUTINE MAINTENANCE
=After every treatment wash the inside of the tank and the entire circuit as
indicated in paragraph 4.13
=Periodically check that the suction and delivery filters are clean
=Check the oil level in the volumetric compensator of the pump
=The use of chemical products that are particularly damaging for a nitrile
rubber mix can cause the diaphragm to break before time.
In these conditions check the state of the components more often. There are
diaphragms made of special materials (viton and desmopan) that are available
on request.
= When doing treatments with copper hydroxide you should take great care
to thoroughly clean the system, washing it after each treatment because
hydroxides attack parts that aren’t painted or protected by hot galvanising.
To prevent chemical attacks we recommend spraying transparent paint on the
parts that are most exposed to the product and equipping the mistblower with
stainless steel pressure gauges.
8.2.1 CLEANING THE NOZZLES
Check the state of wear of the nozzles and replace them when the delivery is
over 30-35% of the theoretical level.
If you notice even a partial blockage of a nozzle proceed as follows:
- drain the pressure and stop the machine
- dismantle the screw or bayonet ringnuts holding the nozzles
- clean with a small brush or compressed air, don’t use nails, punches or
bradawls
- reassemble the nozzles and the ringnuts, replacing the filters and seals.
8.2.2 LUBRICATION
The moving mechanical components must be lubricated to prevent wear and
overheating. This lubrication can be done with grease or oil: oil allows
C
B
A
FIG. 22

unigreen 23
significantly higher speeds, in general grease is used to lubricate bearings with
a vertical or inclined axis as it stays in the zone for longer.
8.2.3 MULTIPLIER LUBRICATION
The multiplier and disengaging boxes are normally lubricated in an “oil bath”, in
special cases NLGI n.0 grease is used. The viscosity is an essential
characteristic of a lubricant oil and this is indicated by the SAE (SOCIETY OF
AUTO-MOTIVE ENGINEERS) classification of the oils for gearboxes and
differentials. Special additives improve the capacity of the oil to maintain a
lubricant film also at high pressures and temperatures. We recommended
using SAE 90 oil for the multiplier and disengaging boxes. The quantity of oil is
established by the level cap. A greater quantity of oil doesn’t improve the
conditions of lubrication and can cause overheating in the box. Changing the
oil protects the parts from the dangers associated with wear and the presence
of metallic particles that can be present, especially in the first period of use.
We recommend replacing the oil after the first 50 working hours and then
subsequently every 500 hours.
The quantity of oil needed is indicated on the sticker near the multiplier (FIG.
23)
WARNING: waste oil must not be dispersed in the environment, to dispo-
se of waste oil see paragraph 8.7.1.
8.3 EXTRAORDINARY MAINTENANCE
At the end of a season of intense use, or every two years of normal use, it is a
good idea to have a specialised service technician perform a general check on
the machine.
8.4 REPAIRS
We recommend having the normal UNIGREEN assistance service available
from our reseller perform any repairs or contact a specialised workshop.
During all of the repairs, in particular when welding, the machine and the
circuit must be clean of any residues of chemical product.
If the machine has to be lifted (for example to change a wheel) follow the
instructions in point 4.3 of the present handbook.
Also make sure the machine is stopped, connected to the tractor, and use the
relevant chocks to block the wheel still on the ground.
If you use a jack (manual or hydraulic) make sure you use a jack that is
suitable for the frame so it can’t slip and put it in the right position. The jack
must be placed under the main frame of the machine near the wheel to
change. Make sure the ground is compact: if necessary use wooden beams or
other sufficiently resistant material to broaden the supporting base of the jack.
8.5 STORAGE IN A WAREHOUSE AND TRANSPORTATION
The sprayer must be kept in a closed place away from excessive humidity and
protected from frost. Especially if electrical pressure regulators, electrical
motors, a spraying computer or similar components are fitted.
Before storing the machine, after you have washed it, apply a light coat of oil.
If the temperature might drop to below zero, drain any residual liquid or add
roughly 0.5 L of normal antifreeze for auto vehicles.
To transport the machine follow the instructions in point 4.3 of the present
handbook.
8.6 PUTTING BACK INTO SERVICE AFTER WINTER LAYUP
Before using the machine again after a long period of inactivity you should
perform some general checks, following the instructions in point 4.2 and drain
any antifreeze.
Never start the shaft of the pump if you think there may by ice inside. To
check this, make sure you can turn the shaft by hand without connecting
it to the tractor.
After you have connected the machine to the tractor (see point 4.4) following
the instructions in the present user’s handbook and in the enclosures of the
pump, pressure regulator and accessories.
FIG. 23

24 unigreen
8.7 DEMOLITION AND DISPOSAL
When the sprayer will be put out of service you should wash it with
great care to remove any residues of chemical product, follow the
instructions in point 4.13 of the present handbook.
ATTENTION: It is necessary to adopt appropriate Individual Protection
Devices in manipulating waste.
The disposal of waste deriving from the demolition of the machine
must be carried out respecting the environment, avoiding soil, air and
water pollution.
Local legislation in force in the matter must be respected in any case.
Remember that waste is understood as any substance or object that
enters into the categories shown in attachment A in part IV of Legisla-
tive Decree 152/2006, that the holder has destroyed, has decided or is
obliged to destroy.
Waste deriving from the demolition of the machine is classifiable as
special waste.
8.7.1 MATERIALS FOR DEMOLITION
Non-dangerous special waste is that which can be recovered,
according to the February 1998 Ministerial Decree:
· Iron, aluminium, stainless steel and copper materials
· Plastic materials
· Electronic cards
· Hydraulic oil
· Electrical plant
8.7.2 INDICATIONS FOR A SUITABLE TREATMENT OF WASTE
The Correct management of special waste envisages:
- stocking in suitable places, avoiding mixing dangerous waste with
the non-dangerous.
- ensuring that authorised carriers and receivers carry out its
transport and disposal/recovery.
Transport of one's waste to authorised collection centres is allowed
exclusively if you are enrolled in the Environmental Management
Register.
8.7.3 ELECTRICAL AND ELECTRONIC APPARATUS WASTE
(EEAW)
The Italian government has adopted the European Parliament
directives in the matter of the disposal of electrical and electronic
waste (EEAW) (2002/95/CE and 2003/108/CE Directives) with Legi-
slative Decree n° 151,July 25 2005).
The measures: in particular, the decree established measures and
procedures aimed at:
a) forestalling the production of EEAW;
b) promoting the re-use, recycling and other forms of EEAW recovery,
in order to reduce the quantity to send for disposal;
c) improving, in terms of the environment, the actions of the subjects
who participate in the life-cycle of these apparatuses (producers,
distributors, consumers and operators directly involved in the
treatment of EEAW);
d) reducing the use of dangerous substances in electrical and
electronic apparatus.
The decree imposes the limitation and elimination of several
substances present in EEAW: lead, mercury, cadmium, chrome,
hexavalent chrome, polybrominated biphenyl, polybrominated diphenyl
and polybrominated diphenyl ethers.
The machine has been designed and created in conformity with this
directive. Follow the indications shown below.
The symbol to the side, showing a barred garbage can on wheels,
indicates the separate collection of the electrical and electronic
apparatuses of the machine.
The user of the present machine can contact the collection centres
instituted by the Local Authorities or the UNIGREEN Company
directly, or request withdrawal by the dealer, in order to carry out
correct disposal of the waste.

unigreen 25
TABLES FOR CALIBRATING AIRDROP 2 VENTAGLI (FANS)
AIRDROP CALIBRATING TABLES
N.B. to calculate the different ranges it is sufficient to multiply the value lt/hectare by the corresponding width
indicated in the table and divide it by the new width (see chapter 6.4, page 21).
unigreen spa Tabella erogazione in Litri/ettaro per diffusori a ventaglio MFC ® system
Lt./ha spreading rate table - Fan diffusors
P O S I Z I O N E L E V E Lever Position
12 3 4
Larghezza di lavoro
PRESSIONE bar 1,522,51,522,511,522,511,522,5 working width
3,5 223 246 263 366 400 423 611 691 800 903 823 869 949 1063
4 195 215 230 320 350 370 535 605 700 790 720 760 830 930
5 156 172 184 256 280 296 428 484 560 632 576 608 664 744 3
6 130 143 153 213 233 247 357 403 467 527 480 507 553 620
7 111 123 131 183 200 211 306 346 400 451 411 434 474 531 3 m.
3,5 167 184 197 274 300 317 459 519 600 677 617 651 711 797
4 146 161 173 240 263 278 401 454 525 593 540 570 623 698
5 117 129 138 192 210 222 321 363 420 474 432 456 498 558 4
6 98 108 115 160 175 185 268 303 350 395 360 380 415 465
7 84 92 99 137 150 159 229 259 300 339 309 326 356 399 4 m.
3,5 134 147 158 219 240 254 367 415 480 542 494 521 569 638
4 117 129 138 192 210 222 321 363 420 474 432 456 498 558
5 94 103 110 154 168 178 257 290 336 379 346 365 398 446 5
6 78 86 92 128 140 148 214 242 280 316 288 304 332 372
7 67 74 79 110 120 127 183 207 240 271 247 261 285 319 5 m.
Litri/min. 3,9 4,3 4,6 6,4 7 7,4 10,7 12,1 14 15,8 14,4 15,2 16,6 18,6 Tab. 3215/0562F
Velocità Km/h
s
p
eed
Litri/haLitri/haLitri/ha
s
p
eed
Velocità Km/h
s
p
eed
Velocità Km/h

26 unigreen
Tabella erogazione in Litri/ettaro per diffusori a ventaglio + diffusori superiori MFC ® system
unigreen spa Lt./ha spreading rate table - Fan diffusors + optionals Top side diffusors CP 4916-47
P O S I Z I O N E L E V E Lever Position
12 3 4
Larghezza di lavoro
PRESSIONE bar 1,522,51,522,511,522,511,522,5 working width
3,5 420 462 494 591 647 686 871 982 1127 1262 1125 1195 1306 1454
4 367 404 432 517 566 600 762 859 986 1104 984 1045 1142 1272
5 294 324 346 414 453 480 610 687 789 883 787 836 914 1018 2,5
6 245 270 288 345 378 400 508 573 658 736 656 697 762 848
7 210 231 247 296 324 343 435 491 564 631 562 597 653 727 2,5 m.
3,5 350 385 411 493 539 571 726 818 939 1051 937 995 1088 1211
4 306 337 360 431 472 500 635 716 822 920 820 871 952 1060
5 245 270 288 345 378 400 508 573 658 736 656 697 762 848 3
6 204 225 240 287 315 333 423 477 548 613 547 581 635 707
7 175 193 206 246 270 286 363 409 470 526 469 498 544 606 3 m.
3,5 262 289 309 369 405 429 544 614 705 789 703 747 816 909
4 230 253 270 323 354 375 476 537 617 690 615 653 714 795
5 184 202 216 259 283 300 381 430 493 552 492 523 571 636 4
6 153 169 180 216 236 250 318 358 411 460 410 436 476 530
7 131 144 154 185 202 214 272 307 352 394 351 373 408 454 4 m.
Litri/min. 6,1 6,7 7,2 8,6 9,4 10,0 12,7 14,3 16,4 18,4 16,4 17,4 19,0 21,2 Litri/min. Totali
Litri/min. 3,9 4,3 4,6 6,4 7,0 7,4 10,7 12,1 14 15,8 14,4 15,2 16,6 18,6 Solo 2 ventagli
Litri/min. 2,2 2,4 2,6 2,2 2,4 2,6 2,0 2,2 2,4 2,6 2,0 2,2 2,4 2,6 Solo 2 diffusori
Litri/haLitri/haLitri/ha
s
p
eeds
p
eed
Velocità Km/h
s
p
eed
Velocità Km/h Velocità Km/h
Tabella erogazione in Litri/ettaro per diffusori a ventaglio + diffusori superiori MFC ® system
unigreen spa Lt./ha spreading rate table - Fan diffusors + optionals Top side diffusors CP 4916-40
P O S I Z I O N E L E V E Lever Position
12 3 4
Larghezza di lavoro
PRESSIONE bar 1,522,51,522,511,522,511,522,5 working width
3,5 359 399 436 531 584 628 816 922 1064 1204 1070 1134 1243 1396
4 314 349 382 464 511 550 714 806 931 1054 936 992 1087 1222
5 252 279 305 372 409 440 571 645 745 843 749 794 870 977 2,5
6 210 233 254 310 341 366 476 538 621 702 624 662 725 814
7 180 200 218 265 292 314 408 461 532 602 535 567 621 698 2,5 m.
3,5 299 333 363 442 487 523 680 768 887 1003 891 945 1035 1163
4 262 291 318 387 426 458 595 672 776 878 780 827 906 1018
5 210 233 254 310 341 366 476 538 621 702 624 662 725 814 3
6 175 194 212 258 284 305 397 448 517 585 520 551 604 679
7 150 166 182 221 243 262 340 384 443 502 446 473 518 582 3 m.
3,5 225 249 273 332 365 393 510 576 665 753 669 709 777 873
4 197 218 239 290 320 344 446 504 582 659 585 620 680 764
5 157 175 191 232 256 275 357 403 466 527 468 496 544 611 4
6 131 146 159 194 213 229 298 336 388 439 390 414 453 509
7 112 125 136 166 183 196 255 288 333 376 334 354 388 436 4 m.
Litri/min. 5,2 5,8 6,4 7,7 8,5 9,2 11,9 13,4 15,5 17,6 15,6 16,5 18,1 20,4 Litri/min. Totali
Litri/min. 3,9 4,3 4,6 6,4 7,0 7,4 10,7 12,1 14 15,8 14,4 15,2 16,6 18,6 Solo 2 ventagli
Litri/min. 1,34 1,52 1,76 1,34 1,52 1,76 1,2 1,34 1,52 1,76 1,2 1,34 1,52 1,76 Solo 2 diffusori
Litri/haLitri/haLitri/ha
Velocità Km/h
s
p
eed
Velocità Km/h
s
p
eed
Velocità Km/h
s
p
eed
TABLES FOR CALIBRATING AIRDROP 2 VENTAGLI + TOP DIFFUSORS
AIRDROP CALIBRATING TABLES
OPTIONAL
OPTIONAL
N.B. to calculate the different ranges it is sufficient to multiply the value lt/hectare by the corresponding width
indicated in the table and divide it by the new width (see chapter 6.4, page 21).

unigreen 27
TABLES FOR CALIBRATING AIRDROP MINIBAR
AIRDROP CALIBRATING TABLES
N.B. to calculate the different ranges it is sufficient to multiply the value lt/hectare by the corresponding width
indicated in the table and divide it by the new width (see chapter 6.4, page 21).
unigreen spa Tabella erogazione in Litri/ettaro per MINIBAR spalliera (6 diffusori) MFC ® system
Lt./ha spreading rate table - MINIBAR
PIASTRINA CALIBRATA Calibrated plate
4916/40 4916/47 4916/55 4916/70 Larghezza di lavoro
PRESSIONE bar 1,522,531,522,531,522,531,522,53 working width
3,5 276 313 362 395 456 504 536 572 539 597 646 692 892 990 1035 1107
4 241 274 317 346 399 441 469 501 472 523 565 606 780 866 905 969
5 193 219 253 276 319 353 375 401 378 418 452 484 624 693 724 775 2,5
6 161 182 211 230 266 294 313 334 315 348 377 404 520 577 604 646
7 138 156 181 197 228 252 268 286 270 299 323 346 446 495 517 554 2,5 m.
3,5 230 261 302 329 380 420 447 477 449 498 538 577 743 825 862 923
4 201 228 264 288 332 367 391 417 393 436 471 505 650 722 755 807
5 161 182 211 230 266 294 313 334 315 348 377 404 520 577 604 646 3
6 134 152 176 192 222 245 261 278 262 290 314 336 433 481 503 538
7 115 130 151 165 190 210 223 238 225 249 269 288 371 412 431 461 3 m.
3,5 197 223 259 282 326 360 383 409 385 427 461 494 637 707 739 791
4 172 195 226 247 285 315 335 358 337 373 403 433 557 619 647 692
5 138 156 181 197 228 252 268 286 270 299 323 346 446 495 517 554 3,5
6 115 130 151 165 190 210 223 238 225 249 269 288 371 412 431 461
7 98 112 129 141 163 180 191 204 193 213 231 247 318 354 370 395 3,5 m.
Litri/min. 4,02 4,56 5,28 5,76 6,65 7,34 7,82 8,35 7,87 8,71 9,41 10,1 13 14,4 15,1 16,1 TOTALE / total
Litri/min. 0,67 0,76 0,88 0,96 1,11 1,22 1,3 1,39 1,31 1,45 1,57 1,68 2,17 2,41 2,52 2,69 SINGOLA / single
Tab. 3215/0578F
Velocità Km/h
s
p
eed
Litri/haLitri/haLitri/ha
Velocità Km/h
s
p
eed
Velocità Km/h
s
p
eed
unigreen spa Tabella erogazione in Litri/ettaro per MINIBAR spalliera (8 diffusori) MFC ® system
Lt./ha spreading rate table - MINIBAR (8 diffusors)
PIASTRINA CALIBRATA Calibrated plate
4916/40 4916/47 4916/55 4916/70 Larghezza di lavoro
PRESSIONE bar 1,522,531,522,531,522,531,522,53 working width
3,5 368 417 483 527 608 671 715 763 719 797 861 923 1189 1320 1380 1476
4 322 365 422 461 532 588 625 668 629 697 753 807 1040 1155 1207 1292
5 257 292 338 369 425 470 500 534 503 558 602 646 832 924 966 1033 2,5
6 214 243 282 307 355 392 417 445 420 465 502 538 693 770 805 861
7 184 208 241 263 304 336 357 382 360 398 430 461 594 660 690 738 2,5 m.
3,5 306 347 402 439 507 560 596 636 599 664 717 769 991 1100 1150 1230
4 268 304 352 384 443 490 521 556 524 581 628 673 867 962 1006 1076
5 214 243 282 307 355 392 417 445 420 465 502 538 693 770 805 861 3
6 179 203 235 256 295 326 347 371 350 387 418 449 578 642 671 718
7 153 174 201 219 253 280 298 318 300 332 359 384 495 550 575 615 3 m.
3,5 263 298 345 376 434 480 511 545 514 569 615 659 849 943 985 1054
4 230 261 302 329 380 420 447 477 449 498 538 577 743 825 862 923
5 184 208 241 263 304 336 357 382 360 398 430 461 594 660 690 738 3,5
6 153 174 201 219 253 280 298 318 300 332 359 384 495 550 575 615
7 131 149 172 188 217 240 255 273 257 284 307 330 425 471 493 527 3,5 m.
Litri/min. 5,36 6,08 7,04 7,68 8,86 9,79 10,4 11,1 10,5 11,6 12,6 13,5 17,3 19,2 20,1 21,5 TOTALE / total
Litri/min. 0,67 0,76 0,88 0,96 1,11 1,22 1,3 1,39 1,31 1,45 1,57 1,68 2,17 2,41 2,52 2,69 SINGOLA / single
Tab. 3215/0578F
Litri/haLitri/haLitri/ha
Velocità Km/h
s
p
eed
Velocità Km/h
s
p
eed
Velocità Km/h
s
p
eed
OPTIONAL

28 unigreen
AIRDROP CALIBRATING TABLES
N.B. to calculate the different ranges it is sufficient to multiply the value lt/hectare by the corresponding width
indicated in the table and divide it by the new width (see chapter 6.4, page 21).
TABLES FOR CALIBRATING AIRDROP SUPER SPALLIERA
unigreen spa Tabella erogazione in Litri/ettaro per SUPER SPALLIERA (8 diffusori) MFC ® system
Lt./ha spreading rate table - SUPER SPALLIERA (8 diffusors)
PIASTRINA CALIBRATA Calibrated plate
4916/40 4916/47 4916/55 4916/70 Larghezza di lavoro
PRESSIONE bar 1,522,531,522,531,522,531,522,53 working width
3,5 368 417 483 527 608 671 715 763 719 797 861 923 1189 1320 1380 1476
4 322 365 422 461 532 588 625 668 629 697 753 807 1040 1155 1207 1292
5 257 292 338 369 425 470 500 534 503 558 602 646 832 924 966 1033 2,5
6 214 243 282 307 355 392 417 445 420 465 502 538 693 770 805 861
7 184 208 241 263 304 336 357 382 360 398 430 461 594 660 690 738 2,5 m.
3,5 306 347 402 439 507 560 596 636 599 664 717 769 991 1100 1150 1230
4 268 304 352 384 443 490 521 556 524 581 628 673 867 962 1006 1076
5 214 243 282 307 355 392 417 445 420 465 502 538 693 770 805 861 3
6 179 203 235 256 295 326 347 371 350 387 418 449 578 642 671 718
7 153 174 201 219 253 280 298 318 300 332 359 384 495 550 575 615 3 m.
3,5 230 261 302 329 380 420 447 477 449 498 538 577 743 825 862 923
4 201 228 264 288 332 367 391 417 393 436 471 505 650 722 755 807
5 161 182 211 230 266 294 313 334 315 348 377 404 520 577 604 646 4
6 134 152 176 192 222 245 261 278 262 290 314 336 433 481 503 538
7 115 130 151 165 190 210 223 238 225 249 269 288 371 412 431 461 4 m.
Litri/min. 5,36 6,08 7,04 7,68 8,86 9,79 10,4 11,1 10,5 11,6 12,6 13,5 17,3 19,2 20,1 21,5 TOTALE / total
Litri/min. 0,67 0,76 0,88 0,96 1,11 1,22 1,3 1,39 1,31 1,45 1,57 1,68 2,17 2,41 2,52 2,69 SINGOLA / single
Tab. 3215/000F
Litri/haLitri/haLitri/ha
Velocità Km/h
s
p
eed
Velocità Km/h
s
p
eed
Velocità Km/h
s
p
eed
MFC ® system
UNIGREEN S.p.A.
PIASTRINA CALIBRATA Calibrated plate
4916/34 4916/40 4916/47 4916/51 Larghezza di lavoro
PRESSIONE bar 1,5 2 2,5 3 1,5 2 2,5 3 1,5 2 2,5 3 1,5 2 2,5 3 working width
3,5 309 357 398 439 459 521 603 658 760 839 893 954 818 900 976 1041
4 270 312 348 384 402 456 528 576 665 734 782 835 716 788 854 911
5 216 250 278 307 322 365 422 461 532 588 625 668 573 630 684 729 2,5
6 180 208 232 256 268 304 352 384 443 490 521 556 477 525 570 607
7 154 178 199 219 230 261 302 329 380 420 447 477 409 450 488 520 2,5 m.
3,5 257 297 331 366 383 434 503 549 633 699 745 795 682 750 814 867
4 225 260 290 320 335 380 440 480 554 612 652 696 597 657 712 759
5 180 208 232 256 268 304 352 384 443 490 521 556 477 525 570 607 3
6 150 173 193 213 223 253 293 320 369 408 434 464 398 438 475 506
7 129 149 166 183 191 217 251 274 317 350 372 397 341 375 407 434 3 m.
3,5 193 223 249 274 287 326 377 411 475 525 558 596 511 563 610 651
4 169 195 218 240 251 285 330 360 416 459 489 522 447 492 534 569
5 135 156 174 192 201 228 264 288 332 367 391 417 358 394 427 455 4
6 113 130 145 160 168 190 220 240 277 306 326 348 298 328 356 380
7 96 111 124 137 144 163 189 206 237 262 279 298 256 281 305 325 4 m.
Litri/min. 4,5 5,2 5,8 6,4 6,7 7,6 8,8 9,6 11,1 12,2 13 13,9 11,9 13,1 14,2 15,2 TOTALE / total
Litri/min. 0,45 0,52 0,58 0,64 0,67 0,76 0,88 0,96 1,11 1,22 1,3 1,39 1,19 1,31 1,42 1,52 SINGOLA / single
Tab. 3215/0000
Litri/haLitri/haLitri/ha
Velocità Km/h
s
p
ee
d
Velocità Km/h
s
p
ee
d
Lt./ha spreading rate table RV -GDC (10 diffusors)
Tabella erogazione in Litri/ettaro per RV GDC (10 diffusori)
Velocità Km/h
s
p
ee
d
TABLES FOR CALIBRATING AIRDROP RV-GDC

unigreen 29
TABLE 4-5 TABLES OF DELIVERY OF NOZZLES FOR HAND LANCES
TABLE OF DELIVERY IN LITRES / MIN. OF THE CONICAL NOZZLES FOR MITRA SPRAY GUN
note: standard Ø2,5 nozzle
DIAMETER NOZZLE Ø 1,0 Ø 1,2 Ø 1,5 Ø 1,8 Ø 2,0 Ø 2,3 Ø 2,5 Ø 3,0
PRESSURE (BAR) JET CAPACITY ( Lt / min )
15 cone 2,45 3,60 4,60 5,90 6,90 8,10 9,20 11,5
direct jet 2,50 3,80 5,10 7,30 8,80 10,8 13,0 18,4
25 cone 3,00 4,25 5,70 7,20 8,10 10,2 11,4 14,4
direct jet 3,10 4,60 6,50 9,30 11,7 14,1 16,4 24,1
35 cone 3,40 4,70 6,60 8,50 10,2 12,9 14,0 18,0
direct jet 3,50 5,40 7,40 10,8 13,4 16,8 19,1 28,2
40 cone 3,55 5,20 6,90 9,20 10,9 13,7 14,5 18,8
direct jet 3,65 5,90 7,80 11,7 14,3 17,9 21,0 30,1
50 cone 4,00 5,60 7,70 10,5 12,5 14,9 16,4 20,9
direct jet 4,10 6,30 8,60 12,7 15,8 19,7 23,0 33,0
TABLE. 5
TABLE OF DELIVERY IN LITRES / MIN. OF THE CONICAL NOZZLES FOR LEVER LANCE
note: standard Ø1,5 nozzle
DIAMETER NOZZLE Ø 1,0 Ø 1,2 Ø 1,5 Ø 1,75 Ø 2,0 Ø 2,2 Ø 2,5
PRESSURE (BAR) JET CAPACITY ( Lt / min )
5cone 1,16 1,40 1,90 2,25 2,65 2,90 3,50
direct jet 1,40 1,70 2,50 3,95 4,7 6,00 7,70
8cone 1,40 1,80 2,60 2,80 3,40 3,65 4,45
direct jet 1,70 2,20 3,40 4,85 6,00 7,60 9,80
10 cone 1,50 1,96 2,90 3,10 3,90 4,10 5,00
direct jet 1,90 2,40 3,75 5,40 6,95 8,55 11,0
15 cone 1,88 2,40 3,40 3,80 4,50 5,00 6,10
direct jet 2,30 3,00 4,50 6,65 8,30 10,4 13,4
30 cone 2,60 3,40 4,80 5,40 6,30 7,10 8,70
direct jet 3,20 4,20 6,40 9,40 11,7 14,7 19,1
50 cone 3,40 4,40 6,20 6,80 8,10 9,20 11,2
direct jet 4,10 5,40 8,30 11,8 15,1 19,1 24,6
TABLE. 4

30 unigreen
TABLE 7 TABLE OF PROGRAMMED MAINTENANCE
OPERATION 8 h 50 h 300 h END
OF SEASON
Check the level and state of the oil 0
Check the accumulator pressure 0
Check the suction (hoses, pipes, unions) 0
Check and clean the suction 0
and delivery filters
Check the pump fixing feet 0
and screws in general
Check the diaphragm and the oil X (1) X (2)
and change if necessary
Check the suction/delivery valves X X
Check the pump screws and bolts are tight X
Check and clean the nozzles and the non-drip diaphragm 0
Check the wear of the nozzles 0
Check the hydraulic oil level 0
Check any failures or cracking of the welds, 0
especially on herbicide booms
Grease the articulated joints and the wheel hubs 0
Check the tyre pressure 0
NOTE: 0 Operation to be carried out by the operator
X Operation to be carried out by a specialised technician or in an authorised workshop
(1) First oil change
(2) Change at the same time a changing the diaphragm
TABLE 8 PROBLEMS, CAUSES AND SOLUTIONS
PROBLEMS CAUSES SOLUTIONS
The pump won’t charge Air suction Check the suction system
Adjustment valve closed Position the lever correctly
(Command group isn’t at
zero pressure)
Valves and/or valve seats Replace or clean ( * )
suction and delivery worn
or dirty
The pump doesn’t reach the set Valve and/or valve seat Replace ( * )
pressure adjustment worn
Valves and/or valve seats suction Replace or clean ( * )
and delivery worn or dirty
Insufficient rpm Bring speed up to correct rpm
always in the field of 350 ÷ 550 rpm.
The nozzles used are worn or have Replace
holes that are too big
Suction blocked Clean the cartridge of the
filter or remove the blockage
Irregular pressure (with impulses) Valves and/or valve seats Replace or clean ( * )
suction and delivery worn
or dirty
Air suction Check the suction system
Excessive vibrations at delivery Pressure accumulator discharged Bring the air pressure back up to the right
or incorrect air pressure value (see pump handbook) ( * )
Noisiness and the level of the oil Blocked suction Check the suction system
has dropped
Water in the oil Breakage of one or more diaphragms Replace ( * ) If the replacement isn’t
done immediately, drain the water out
of the pump and introduce clean oil
without water (also used) or diesel to
stop rust attacking the internalparts
No liquid comes out of the nozzles Delivery filter dirty Clean
Non-drip filters dirty
Nozzles blocked
NOTE: ( * ) Only specialised technician

unigreen 31
TAB.18A ALLOWED FITTINGS
2005 MOUNTED ATOMISERS
TYPE OF Polyethylene Tank
MACHINE
TAB. 18 a
FITTING
Nominal capacity (L.) 200 200 300 300 400 400 500 500 600 600
FANSTD Ø500 XXXXX
GROUPXP Ø500 XXXXX
PUMPS " " APS 51 XXXXXXXXXX
COMET " " APS 71 X X X X
" " APS 96
PRESSURE GCP 2 ELECTRIC X X X X X X X X X X
REGULATORGCP 2 ELECTRIC +PRESXXXXXXXXXX
NOZZLES MFC XXXXXXXXXX
DISTRIBUTOR2 VENTAGLI XXXXXXXXXX
ACCESSORIESMINIBAR XXXXX
SUPER SPALLIERA X X X X X
RV XXX
RV GDC XXX
OPTIONAL TOP DISTR for VENTAGLI X X X X X
MIXER LP83 XXXXXXXXXX
COMPUTER XXXXXX
TOTAL MASS EMPTY MAX FITINGS 270 270 280 280 370 450 380 460 390 470
in Kg FULL MAX FITINGS 530 530 640 640 920 1000 1030 1110 1140 1220
P HP POWER NECESSARY 27 59 27 59 27 59 27 59 27 59
AIRDROP - MFC
P400 P500 P600P300P200

Descriptions, indicative illustrations, UNIGREEN S.P.A. reserves the right to make variations or modifications without prior warning.
via Rinaldi, 105 - Loc. Cavazzoli (Reggio Emilia) - ITALY
Tel. +39 0522 369811
Fax. +39 0522 369898
e-mail: info@unigreen-spa.com
internet: www.unigreen-spa.com
member of the group
UNI 16100005F - GB Sett-06