ACE&EASTMAN Consew 277R Parts Book User Manual
2016-09-22
User Manual: ACE&EASTMAN Consew 277R Parts Book
Open the PDF directly: View PDF
.
Page Count: 34

,
- i
277RFS
PARTS
LIST
FOR
MODEL
277 SERIES
277R
" CONSOLIDATED SEWING MACHINE CORP,


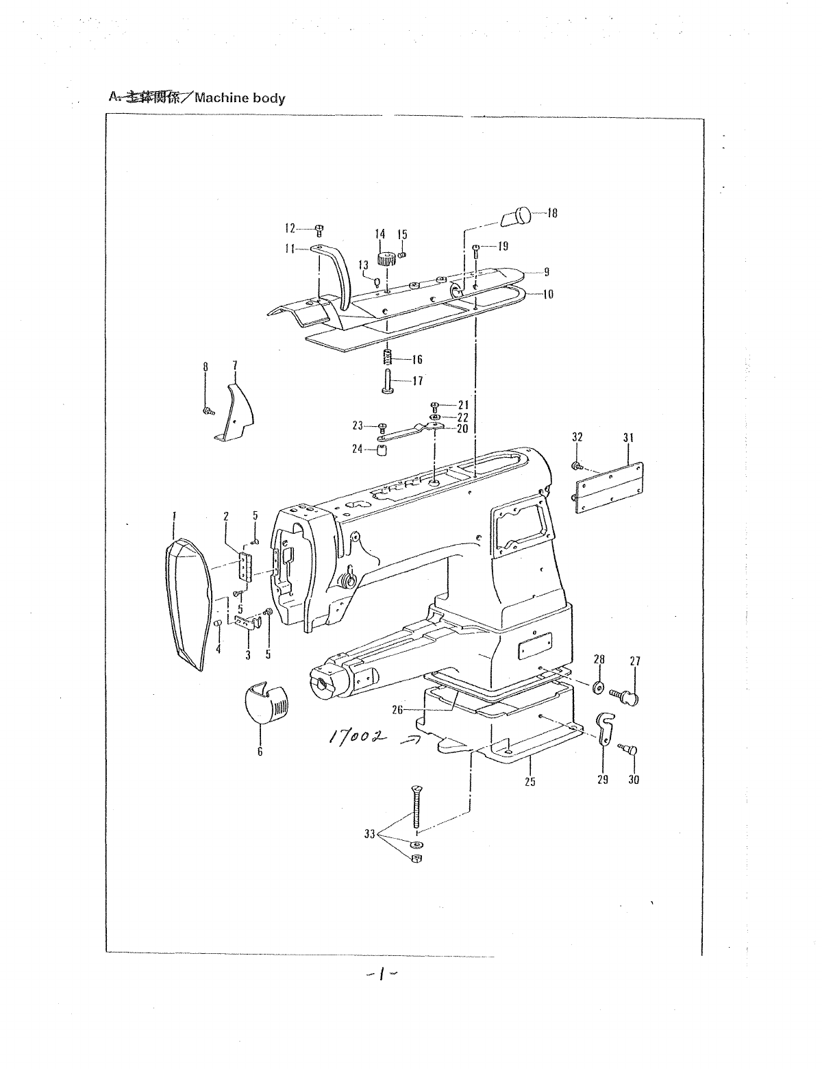
A.
Machine body
3::1*Mf*-
CONTENTS
B.
Upper
shaft
and
thread
take-up
mechanism
J:~·~t:JMffi
C. Needle
bar
rocking mechanism
tt~miJ.JOOffi
O.
Presser
foot
mechnism
:flIJIB!Jf*
E.
Upper
shaft
mechanism
J:~tJMffi
F.
lower
shaft
mechanism
l'fllIOOf*
G
1.
Feed
mechanism
~LJMf*
G2.
Feed
mechanism
~tJMf*
H.
Reverse
stitching mechanism
/\';I?Mf*-
11.
Thread
tension
*,~f-Mff-
12.
Thread
tension
<Thread Trimmer>
*,&q-1-00i*
<*,WLJ>
13.
Thread
tension
*,1!jjj-1-Mff-
J.
Thread
trimmer
mechanism
*,t1.J
L
JOOf*
K.
Belt
cover
.-{JL+7J/\-OOi*
l1.
Accessories
#L;;~B!Jffi
L2.
Accessories
#~~Mf*
GAUGE PARTS LIST
SPECIAL PARTS FOR 211RFS
SPECIAL PARTS FOR 217RBFS
SPECIAL PARTS FOR 277R
SPECIAL PARTS FOR 211RB
pages
1.2
3.4
5, 6
7.8
9.10
11,
12
13, 14
15, 16
17.18
19.20
19.20
21,22
23,24
25.26
27.
28
29.
30
31
32,33
34,35
36, 37
38,39

Machine
body
A~
____
~
~'~--9
-\0

A
..
±.'ltmIf*/Machine
body
-.-.-~--~.
REF.NO CODE Q'TY
t:/;<-{
NAME OF PARTS RMKS
--~--"--
---.-~-
~------.----.----~--~-~--.--
.--
--"-'~~---~'~--~------~----~-
-------~.-
*1
15035
;J.
/1:$1
FACE PLATE
'i(.A
;.:",,:: 15036
;J./1)73';I\>-
HINGE
*3
15037
;J.
>()i
1\:7, SPRING
*4
15038 1
;J./1)i::ib
RUBBER
*5
15039 6
'/
;J.
* y 3.18-44 SCREW 3.18-44
6 17094
'/
'J
/
:I~-
CYLINDER
7 10551
:t
1
'f-.
3
IT
1
-5
OIL STOPPER PLATE
8 10650
'/
;J.
-t,
y 340-36X6 SCREW 340X6
*9
17003
'7'71-7
UPPER PLATE
*10
15004
.)
'717
'/--
f-j,,/
q--
/7
UPPER SHEET PLATE PACKING
11
15258
T/C/7JI\-
THREAD TAKE-UP COVER
12
6031-02
1t5;1,
y 437-40X12 SCREW 437X12
13 15061
C/
PIN
14
15057
""
~
'7.:1,/
l'
:I
/:11
-\'
'f-.
LUBRICATION DIAL
15 8009
f-.
;J..
;1,
y 595-28X7 SET SCREW 595X7
16
15059 l\:t, SPRING
17
15058
"".l'7.:J.,/,\,:I/Y7
LUBRICATION DIAL STUD
18 11007 ;;j'1
'~If-Y?
1-"
Oil
GAUGE WINDOW
19
15007 7 '/;J.
;{.
y 3.57-40Xl0 SCREW 3.57X10
20
15086
171\;{.
SPRING PLATE
21
8040
f-.;J.
1':;
357-40X8 SCREW 357X8
22
11142
-If;tf
* WASHER
23 10597
'/;J.
* y 318-40X3 SCREW 318X3
24 11004
:t
1 )(,-7
3')
t'J
7J
'5-
OIL ADJUSTING COLLAR
25 17002
A;,'
-.A
BASE
26 17037
ri'5'7T
OIL RESERVOIR
27 17375 '/;J..;1.y SCREW
28 13008 '7
/1
q.
ij'jq.
SPRING WASHER
29 13006
7'/7
HOOK
30 10712
)/
/;1.
Y 675-24X6 STUD SCREW 375X6
31
13004
73'71\/
HINGE
32 13005 6 '/;J..;7,:; 6.75·24Xl0 SCREW 6.75Xl0
33 13096 4
1'Yt·/
" SCREW SET
271RBFS
6 I 175551 y 'J
/)/-
CYLINDER
11
15025 T
/c/7J/'i-
THREAD TAKE-UP COVER
271RB
6 17516
y'J
/5f-
CYLINDER
11
15025
T/C/iJI"-
THREAD TAKE·UP COVER
'"
;
-{
r-
* 'J /
THREAD
TRIMMER

8.
J:mm
.
5\::
t:':/fUH*/Upper
shaft
and
thread
take-up
mechanism
5
7 6
Z
36 37
. l
~l
I-I
-~
,
1->
1 f
rT
if
11-3
33
10
\'j
H
26
29-2~)
29-1~

B.
..t~1Il
.
~
!:::/mJ1*/Upper
shaft
and
thread
take-up
mechanism
.---
-------T
-'-~-------,
REF.NO CODE Q'TY t::;;>(-( NAME
OF
PARTS
RMKS
'---------------- ,---------
-,-_
..
_-----
-------.--.--.--------~-
----
..
-
-------~'-------~--,
-----_.-._-
1 17010C
7·/t:/~l2.
THREAD TAKE-UP ASSEMBLY
1-1
17010
T'/C'/
THREAD TAKE-UP
1-2 15013 l::"'/ PIN
1'3
10523
/\1);1";)
7
'/)
t::',/ NEEDLE BAR
CRANK
PIN
1-4 10529
7-
'/
1::"
> A
r,;'
I)
:J
THREAD TAKE· UP SLIDE
BLOCK
1-5 10528
/\
IJ
;I'
'7
? 7 > ? D';J F NEEDLE CRANI< ROD
2 11042 )
~
l:::
'E
6X6
WICK6X6
3 10524
f..
;I
*
')
675-24X6
SET
SCREW
675XG
4 10728 )
~
l:::'f 6X6
WICK6X6
5 10520
T'/I::'>77'/7
NEEDLE CRANK
G 10521
I·
;I
*
;;'
675-24X20
SET
SCREW
675X20
7 10522
f..;I:'{.
')
675·24X14 SET
SCREW
675X14
8 10524 "
;I
:'{.
')
675·24X6 SET
SCREW
675X6
9 10764 " ;f. *
')
675-24X4
SET
SCREW
675X4
10 10726 )
~
t::
'E
6X6 WICK 6X6
11
15038
::iLd!'/
RUBBER CAP
12
10506
;;
;I
*
')
785·20X6
SCREW
785X6
13 15033 7
~
l:::'E
12X12 WICK 12X12
14
17011
"J'7'))
UPPER SHAFT
15 10563
7-
'/
I::'
'/
) 7 > 7
I)
'/7
THREAD TAKE-UP
CRANK
RING
16 10562
''.1
'7
'))
;I
:$I
)[..L
UPPER
SHAFT
BUSH (L)
17 13058 1
f-
;I
1-
')
675·24X20 SET
SCREW
675X20
18 10725 2
7I)["
"
FELT
19 10729
'7
~
l:::-1:
WICK
20 17012
"J
'7')'7
;<
:$I
)[..M
UPPER SHAFT
BUSH
(M)
21
10571
f-
;<
:'(.
')
675-24X20
SET
SCREW
675X20
22 10725
7I)["/-
FELT
23 17014 1
'/'7')'7fJ7-
UPPER SHAFT
COLLAR
24 10766 2
''J7,)'7j)7-/-;I
UPPER SHAFT
COLLAR
STOPPER
25 10571 "
;I.
:'(.
')
675-24X20
SET
SCREW 675X20
26 11069
7I)["
f-
FELT
27 10566 I·
;I
*
')
634-32X5 SET SCREW 635X5
28 10577
1·;1.
:'(.
')
675-24X11 SET
SCREW
675X11
.:'9
17015C
'i'i'1J"-U)~
GEAR
COVER (U)
ASSEMBLY
29-1 17015
'fi'
fJ/\-U
GEAR
COVER (U)
29-2 17016 2
:/
;I.
*
')
357-40
SCREW
357-40
36 11012 ?:;.
l:::
'E
6X6
WICK6X6
37 15034 1
1:-:'=-)[../\17"
VINYL PIPE
30 17017C l
"J7,)7;f"i'-)~
UPPER SHAFT
GEAR
ASSEMBLY
30-1 17017
"J
'7
')7
'i'i'-
UPPER SHAFT
GEAR
30-2 17018A
7'
j-
f-
;f.
.'1"
')
6.35 SET
SCREW
6,35
30-3 17019A
7'r
f-;I. *
')
635-40X7 SET
SCREW
635X7
31
17013
"J
'7
')
?
;I.
:$I
)[..B
UPPER SHAFT BUSH
(8)
32 13423-A
;1.'1:
')
')
>?A
RING (A)
33 10540
7"-1)-
PULLEY
34 10576
f-;l.:7-
')
595-28X21
SET
SCREW 595X21
35 10579
f-
;I.
:'{.
')
595-28X20
SET
SCREW
595X20
277RBFS.
-RB
18244C I 1 I
7-,/!::''/7
~
THREAD TAKE-UP
ASSEMBLY
1-1
18244
7-,/1::>
THREAD TAKE
UP
1-4 15026
T>I::''/Ar,;'lj
::J
THREAD TAKE-UP
SUDE
BLOCK
-( 1-4") /
nH1EAD
TRIMMER
29 17304C 1 I
q:,\'1J/\-U7
.::.
GEAR
COVER
(U)
ASSEMBLY
29-1 17304
'i',\"
1J/\-U
GEAR
COVER (U)
29-2 17016 2 Y
y.
*
')
357-40
SCREW
357-40
30 17308C
"JfJ')?'i'V-)
.::.
UPPER
SHAFT
GEAR
ASSEMBLY
30-1 17308
"J
'J
')
7
'i'
'\'--
UPPER SHAFT
GEAR
30-2 1'7018A
7'r
";I.
t-~;
6,35 SET
SCREW
6,35
30,3 17019A I
7'
j-
~.
;f.
'?'
~)
635-40X7 SET SCHEW
6~i5X7
31
17307 'J '7
')
?
;I.
'51
)[..[3
urPEH
SHAFT BUSH
(8)
32 13423 A
;I.
'[
I)
IJ
>?/\
fliNG
(1\)
3"
30163
7"--1)
-PULLEY
34
10576
"y..:T.
')
595-28X19 SET
SCflEW
595X19
35 10579
f.;I.:7-:;
595-28X19
SET
SCREW 595X19

c.
~t~jiJHIDJmH~/Needle
bar rocking mechanism
--_._---------
._--
.----
~
,£JJ----19
~------18
~
...
--2Z
8
l'1Jj'
1
I 6
7
21
1
4
1---

c.
~N~fmiVJOO1*'/Needle
bar
rocking
mechanism
REF.NO CODE Q'TY
~~~--
----"-----~-~-
*1
17050
*2
17095
*3
17047
*4
10519
5 10581
6 11876
7 11877
*8
15110·A
*9
11875
10 10525
11
11042
12
10560
13 10561
14
10726
15
10531
16
10532
1"1
15032
18
15089
19
10535
*20
17049
*21
17048
217RFS.-RBFS,-RFSATC
!/>Jr")[J--;
F
~
;I. '7
E8
f::">*:;" 7.14
~;I.
t·:;"
675·24X17
r-
;I. *
:/
556·32X7
'/
'7
;f
'l
I)
:;
:7[:. > *
-;/
lJ'l-::J?
/\
I}
;ffo)
y-(
1\
1);t<'1y-{
:;'l
r-
;I. *
:;
675·24X9
'l
"-
l::
'f
6X6
1\
I)
of(
'/
Y
-{
7 v F ;I.
~
;I. *
:;
437-32X6
'l
"-
l::
'f
6X6
/\
I}
*'1
YoIr
~;I.
*:;
396·40X9
1\
1}*'1
/\
I)
;j('1
-(
"1J-T
~
;I.
:7,
:;
340·36X4
1//\-
'1
'7
;f
'l
I)
:;
'l
'l
"-
22
N0116 I 1 I
"-
~
>J\
I)
DPX17(#16)
277R.
-RB
22
NOl18
I
"-
~>/\I)
DPX17(#18)
* :
-1
1-4"-1)
/ THREAD TRIMMER
NAME
OF PARTS
CONNECTING ROD
SETSCREW
E8
PIN SCREW 7.14
SCREW 675X
17
SET SCREW 556X7
PIN SCREW
SLIDE
BLOCK
NEEDLE BAR BRACKET
NEEDLE BAR BRACKET
SHAFT
SET SCREW 675X9
WICK6X6
NEEDLE BAR BRACKET BRIDGING
SCREW 437X6
WICK6X6
CONNECTING STUD
SCREW 396X9
NEEDLE BAR
NEEDLE BAR THREAD
HOOK
SCREW 340X4
LEVER
UPPER FEED SHAFT ASSEMBLY
I NEEDLE DPX17(1I16)
NEEDLE DPX17(1118)
RMKS

mechanism
D.
jlpIIl'<!
Iln
_ _
IolHlv.
/Presser
foot
___
~
__
_
25-1
24
1
1 1
~'
f~l
26
~
11
~
10--
11-'-
15
19------
I)
~~
-
I I
3
'1
30
18
,
--7
-

D. W.::r.OOf*/Presser
foot
mechanism
"i:
,NO
...
G~:LQ"''-I
'"~"
7'
';;~;,
'"
~---~
*2
10~38
1
;j4jI:;f'JI:7}[,lJ
*3
10761 2
[--/;?-:/675-24X16
4 10540 1 ;;f 4J
I;f
'J
*5
10541
;j-.~
I;f{<)
7'
/f1
*6
10662
~
I
:?'
:/
396-40X6
7 10544-01
;;f4jI;f'77"j'
8 10545
~
I:?-:/
437-32X14
9 10546-A 1
[--.l}[,
11
:7
10
10547 -f
[--.lJ[,
II\:?,
*11
10519
~
/;?-
:/
675-24X8
*12
10549
;j-it::L:;f<)
~:3f
lid
3 10532
~
;I.
:?-
:;
396-40X9
14 10659
;j--lj-I7?"lr/\--
15
10660 t::..-;?-
:;
450-32X7
*16
10539-A
;j-4t
I:;f<);1.:7}['
D
*17
10761 1
[--
;I.
:?-
:/
675-24Xl1
18
10749 1
'./
[--;;f-lj- I
,,;I.
20 10705
;j--IjI-(
:$1/\:?-
21
10706
~
/:7,:/
675-24X13
22 11387
;j--lj-I/q,
23 10712
';i
/;?-
:;
675-24X6
24
11156
e'
/:7.
:/
635-32X44
25-1 13056-A
;j--lj-I7'~7'?"lrJ\-
26 13057 ;z
[--.:;
I~-
27 13084
f·:;
"6.75
28 13058
[--:7-;1.
:/
6.75
30 10937
71/T}-jj'-F
31
10677 oJ.:;
~.\,-
277RFS,-RBFS,-RFSATC
19
17083 1 I
'-'
,,;j-'4j
I
277R.-RB
19
10796
* :
-{
!--4") /
THREAD
TRIMMER
NAMEOF
PARTS RMKS
PRESSER
BNl
GUIDE BUSH
PRESSER BAR BUSH (U)
SET SCREW 675X16
PRESSER BAR
PRESSER BAR GUIDE
SCREW
396X6
PRESSER BAR LIFTER
SCREW
437X
14
THREAD RELEASE PLATE
THREAD RELEASE SPRING
STUD SCREW 675X8
PRESSER BAR CLAMP
SCREW
396X9
PRESSER FOOT LIFTER
PIN SCREW
450X7
PRESSER BAR BUSH (D)
SET SCREW
674Xl1
SETSCREW
SPRING PLATE
STUD SCREW 675X13
PRESSER SPRING
STUD SCREW 675X6
PIN SCREW 635X44
PRESSER FOOT LIFTER LEVER
STOPPER
NUT 6.75
SET SCREW 6.75
FINGER GUARD
WASHER
OUTER PRESSER
FOOT
OUTER PRESSER
FOOT

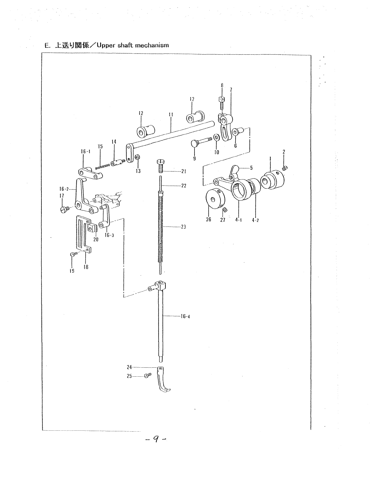
E.
.t.~
L)
IlHi/
Upper
sh
ft
____
a
mechanism
It
i---21
22
--23
-1-

E
ki!LJMfi/Upper
shaft
mechanism
---------------~.
REF,NO CODE Q'TY
[:::/)<1'
NAME
OF
PARTS
RMKS
--.----~--~-
.-----~-
----.~-----.~----.--
~----.---------
----.-~---
...
-
..
1 17100
;T
1;
;;j
it.l
:;;:3
'J
If
7J
1,
INNEFl
PRESSER FOOT VERTICAL CAM
2 10566 2
~
;(
.:{,
:;; 635-32XS' SET SCREW 635XS
4 10772C
,}
'7
of
7
I)
I.---
/
;1:1
/ 7
::.
UPPER
FEED
CONNECTING
HOD
ASSEMBLY
4-1
10772
'}
'7
:t
?
I)
A.
/
:,.
/
I.---
/
1;
/ ECCENTRIC WHEEL CONNECTiNG
ROO
4,2 10773
.:::.
-- F
Ji-«y
I)
/-:f
NEEDLE BEARING
5 10776
j-
'/
t-
556-32 NUT 556-32
6 10774
j)
5 COLLAR
7 16505
:;;
:3
"J
If
j)
h.
I.---
/1;-
,y
1.---1
\
--
VERTICAL CAM CONNECTING LEVER
8 10754
oF
Ji-
t-
675-24X16 BOLT 675X16
9 10775 ? /:-,.
:;
SS6-32X22 STUD SCREW 556X22
10
12136 -If
1i.:{.
WASHER
11
10515 1
"J
'7:t?
1):;;7
UPPER FEED SHAFT
12
10514 2
r}
'7
:t
7
I)
:;?
;( ? Ji- UPPER FEED
SHAFT
BUSH
13 10517
;T'/
t-
635-32 NUT 653-32
14
15053 t:
/.:{.
:;
6,35-32 PIN SCREW 6,35-32
15
10728
7::.e:'E
WICK
16
10558C
«}k77/7?~
CRANK ASSEMBLY
16-1
10557
",,'Jt-?
7 / 7
I)
/ 7
CRANK
RING
16-2 10558
"""1t-77/7
CRANK
16-3 10556
r}
'7
:t
7
I)
:t
i)
I
I)
/7
UPPER FEED PRESSER LINK
:>l<16-4
34713
j-:!J:t-t}I;f,"J
INNER PRESSER
FOOT
BAR
17
10559
:,.
;(
:t.
:;
450'32X8 SCREW 450X8
18
15117 71.---1'";(1? BRIDGING PLATE
19 8100 2 :,.;(
:t
:;
357-40X11 SCREW
357Xl1
20
15118 71.---1'";(;/]7::J7 BRIDGING SLIDE BLOCK
21
15060
~
;(
:-,.
:;
794-24X16 SCREW 794X
16
22 10553-A
j-
jJ
:t
it
I A
:t
I)
/ 7
oF
"J
INNER PRESSER BAR EXTENSION
23 17042
1\
:t
SPRING
25
10662
~
;(
;'{.
:;
396-40X6 SCREW
26 17014
;/)5--
COLLAR
27 10573 2
~
;(
;'(.
:;
556-32Xl1 SCREW 556X11
27m.
-RB
24
I 10795
j-
lJ"i
it
I INNER PRESSER FOOT
217RFS.
-RBFS
24
I 17086 1 I
T:fJ:tIJI9
I INNER PRESSER
FOOT
9
277RFSATC
24
I 17390 I INNER PRESSER FOOT
'*
:
l'
!'4"
I)
/ THREAD TRIMMER
-/0
~

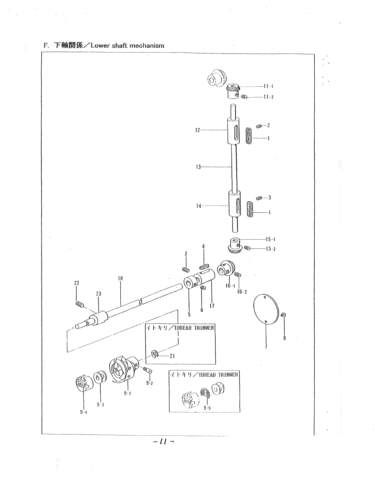
F.
"F~M{i/lower
shaft
mechanism
-------'-'--------------------
18
22
rrf1:-
\90
.
~---------I
J
-I
~
({fff:)---11-2
12----
13--
14-----
l 5
~
-(
I--.:t-
I)
/lIiHEAD
TIlIMMEH
r
--~
I
l·~~
-~
~
'~~21
,~
\
_:
-='1'
~-;:.;--1}/~~mIEAD
THIMblEli
~
_
9-2
@
__
~
',)
J:
9-1
;:>:10··
9-3
(hUt)
) "
I
.j)/
9-5
9 -4
-.------~--
______
..
__
,,
___
.,,
___
..1
-II
""'
1
8

F.
t~M{l/Lower
shaft
mechanism
-.~-.-
.-.~----
-'_0._-
.-
REF.NO CODE
QTY
1::2/;(-{
NAME OF PARTS RMKS
.~~---~--~-.
1-'-"---
---~-~---~--~~-~-------~~
-------
1 17026 2
TJI.
~
FELT
2 10761 1 ;l
1·
'/
675-24X
11
SET SCREW 675X
11
3 10571 2
1·;l
'/
675-24X20 SET SCREW 675X20
4 17030 1
TJI.
r-
FELT
5 17031 1
?:;77.17--
LOWER SHAFT COLLAR
6 7018 2
/-
;l
:'t.
'/
437-40X2 SET SCREW 437X2
7 17009 1
~'/
I--'l:>07J/'-
BED REAR COVER
8 8100 2 Y ;l
:'{.
:J
357 -40X6 SCREW 357X6
9 17033C 1
1]77
~
ROTARY HOOK ASSEMBLY
9-1
11033 1
'/
I--
lJY
'l
'f-
ti7
7
~
OUTER,
INNER
ROTARY
HOOt<
ASSEMBLY
9·2 17036 2
r-
;l
:'/.
:J
556·40X4 SET SCREW 556X4
9·3 17035 1
;j{I:':--
BOBBIN
9·4 17034 1
*1:'/T-A7~
BOBBIN CASE ASSEMBLY
11
17021C 1
~7:J?:r'ru?~
LENGTH
SHAFT
GEAR
UPPER
ASSEMBLY
11-1
17021 1
:)/7'/7:¥'-t'U
LENGTH SHAFT GEAR UPPER
11-2 17022 2 I--;l
-*:J
6.35 SET SCREW 6.35
12
17024 1 ?
7-
:J
7 ;l ? J(. U LENGTH SHAFT BUSH UPPER
13 17020 1 ? ·7·:J
'7
LENGTH SHAFT
14
17025 1 ?
7:J
'7
y.
? )(. 0 LENGTH SHAFT BUSH LOWER
15
17023C 1
?7'/'7:¥"V
0'7
~
LENGTH
SHAFT
GEAR
LOWER
ASSEMBLY
15-1
17023 1
?7:J-:7:¥'-t'0
LENGTH SHAFT GEAR LOWER
15·2 17022 2
/-
;l
:'t.
:J
6.35 SET SCREW 6.35
16 17028C 1
Y?
:J-:7:¥"r'7
~
LOWER SHAFT GEAR ASSEMBLY
16-1
17028 1
Y?'/'7:¥'-t'
LOWER SHAFT GEAR
16·2 17022 2
I--
;l
:'t.
:J
6.35 SET SCREW 6.35
17 17029 1 Y ?
'/
-:7
;l
? )(. B LOWER SHAFT BUSH (B)
18
17027 1
Y?'/?
LOWER SHAFT
277RFS
23 I 17032 1 I Y
:;.
:;.
'7
;l
~ }to A LOWER SHAFT BUSH (A)
271R
23 J 17225 1 I
Y~:J7;1.:)I
J[. A LOWER SHAFT BUSH (A)
277R FS
22 I 10522
/-
;l1·
'/
675-24x14 SET SCREW 675x14
23 17558 Y ?
;/
7 y( ? ,[. A LOWER SHAFT BUSH (A)
277RB
22 I 10522
f·
;I.:'{.:/
675-24x14
SET SCREW 675x14
23
il519
Y ?
'/?
y.
? )[. A LOWER SHAFT BUSH (A)
271RBFS.
-RB
9 17520C. 1
7J7?::"
ROTARY HOOK ASSEMBLY
9-1
17520 1
'/
/-}'i7'l'f-:ti7?
~
OUTER,
INNER
ROTARY
HOOt<
ASSEMBLY
9-2 11953 1
f-
;I.
:,/.:J 5.55-32x5.5 SET SCREW 5.55x5.5
9·3 18034 2
;jfl:':--
BOBBIN
9·4 17522
*t':--lr-7.?
~
BOBBIN CASE ASSEMBLY
18
35572
y:;.;/?
LOWER SHAFT
-(
r..:F
I)
/ THREAD TRIMMER
9 17318C 1
1J7?2.
ROTARY HOOK ASSEMBLY
9-1
17033 1
'/
f-
lj'7
'7
'f-}'i7
7
~
OUTER,INNER
ROTARY
HOOt<
ASSEMBLY
9-2 17036 1
f-
;I.
;t.
'/
556-40X4 SET SCREW 556X4
9·3 17320 2
*l:::>
BOBBIN
9-4 17318 1
*t':--T-7.?::"
BOBBIN CASE ASSEMBLY
9·5 17319 1
?'l7/;jf'l;"/'1;
ANTI-SPIN SPRING
11
17310C 1
?T:J7:¥'-t'U?~
LENGTH
SHAFT
GEAR
UPPER
ASSEMBLY
11-1
17310 1
:)I7:J?:¥'-t'
U LENGTH SHAFT GEAR UPPER
11-2 17022 1
f-
y(
i·
:;;
635-40X5 SET SCREW 635X5
12
17311 2 ?
7:J?
;l ? Jt. U LENGTH SHAFT BUSH UPPER
13
17309
:)IT'/?
LENGTH SHAFT
14 17312
97
'/?;I.?)[.
0 LENGTH SHAFT BUSH LOWER
15
17313C
?7:J?:¥,-\>
07
~
LENGTH
SHAFT
GEAR
LOWER
ASSEMBLY
15-1
17313
'l7'/?o¥'-t'O
LENGTH SHAFT GEAR LOWER
15-2 17022 1
f-
;I.
:'{.
'/
635-40X5
SET
SCREW 635X5
16
11326C
2
Y?'/?o¥'-t'?~
LOWER SHAFT GEAf1 ASSEMBL Y
16·1 17326 1
'/
/l
'/
?
cV'\"
LOWEFl SHAFT
GEAri
16·2 17022 1 " .'
1·
'/
6.35 SET SCFlEW 6.35
17
17327 2
'/
:J
'/?
j.
:'
)~
13
LOWEn
SHAn
BUSH
(13)
18 17324 1
'/~:;?
LOWEFl SHAFT
19 17320 1
*1:':--
BOBBIN
20 17318
;l't:'/T--A
~l
'"
BOBBIN CASE ASSEMBLY
21
11426
f-;I.
'}
STOP RING
-/'J..-

,.
$-9
28
-/3
-

G1.
~L)Mfi/Feed
mechanism
~-·--l
--------------
REF. NO CODE O'TV
!::/)<-{
NAME
OF
PARTS
RMKS
----
~~~---~--
~-~-,,~--
~---.-.~---.----~-.---~----~---
..
~
---_
..
_._----------_._--_._--.
__
._-----
---~--.-
1 12421 2
t--
J:1'-~.
4.37
SET
SCREW
4.37
2 17066 1
f-J7'~
MB
SETSCREWMB
3 17045 1 ;J
'7
'}
L/
/
IT
'')
'} /
'7
FEED CONNECTING LINK
4 17051 1 v
>7'')
'J
>'/
CONNECTING LINK
5 17046 2
:";(:1'-~M6
SCREWM6
6 4050 2
f-
J:1'-
~
6X8
SET
SCREW
6X8
7 17095 2
f-
;(
'7 E8
STOP
RING E8
8 17047 l::">:1'-
~
7.14 PIN
SCREW
7.14
9 17067 1
:;f
'/
I)
:3
'7
F 'J::Ie( FEED
ROCK
BLOCK
10 17072 1
l::'/:1'-~
PIN
SCREW
11
17076 2
:"
J
:1'-~'
318-44X4
SCREW
318X4
12 17068
:;f
'7
I}
'7
j'
FEED
ARM
13 17069 1 :;f'7 ')
'7T:I
1 FEED
ARM
BRACKET
14 17104 2
:,,;(
:1'-
~
437-40X6
SCREW
437X6
15 17071
1\;7-
SPRING
16 17070 -!fjj:1'-
WASHER
17 17064
:"
;(
:1'-
:;
437-40X6
SCREW
437X6
18 13256
y-7'7'>r1
TAPE
GUIDE
19 11142
-tfjj:'{.
WASHER
20 17104
:,,;(
7,
~
437-40X6
SCREW
437X6
21
2A-14-6
/'\1
>;1-
BINDER
22 17080 1
/\1
>:1-
t--
J
T':!
t--
NUT
23 17093 2 -if =;7·
:;
3.57
SCREW
3.57
>i<24
17340
::1Y1/\
FIXED KNIFE
>i<25
17338
::1Y1J.::zFJ
FIXED KNIFE
STOPPER
>i<26
8040
:"
J
7,
~ 357-40X8
SCREW
357X8
>i<27
17330
:;f'/
I)
:;
?-tf
15:',
FEED
SHAFT
WASHER
>i<28
17332
:;f'7')~''7
FEED
SHAFT
>i<29
17333 :;f
'7
I}
:;
'7
7;
=;
-FEED
SHAFT
COLLAR
>i<30
17334 :;f'7 '
)3'1
t"'7:11 FEED
ROCK
BRACKET
>i<31
17331
:"
J:'{.
~
595-28X100
SCREW
595X 1 00
>i<32
17339 1
/\
I)
1
:)I
'7 '7:1 1 NEEDLE PLATE
BRACKET
>i<33
6031
2
it
=;:'{.
~
437-40X5.5
SCREW437X5.5
277RFS
34 I 17073 i
'/
I)
/\
FEED DOG
35 17645C
:;f
'7
I)
1:-'[?
"-
FEED
PLATE ASSEMBLY
36 17089
/\
I)
1 :)I NEEDLE PLATE
271RBFS
32 17554
/\
I)
1:$1
'7'7:11
NEEDLE PLATE
BRACKET
34 17561
:;f?
IJ
/,
FEED DOG
35 17645C
i'7')1??"-
FEED PLATE ASSEMBLY
36 17089
/\
') 1
:$I
NEEDLE PLATE
271RFSATC
34 I 17073 1 I
i?
')
/\
FEED DOG
35 17078C
i?
')
1:)1?
"-
FEED
PLATE ASSEMBLY
36 17380
J\
I)
1 ? NEEDLE PLATE
* :
-{
I'::}
I)
/
THREAD
TRIMMER

9
10
11
~
14
12
13
17

G2.
m'1f~Hi/Feed
mechanism
t:::./)(-{
NAME
OF PARTS RMKS
277R
1 17221
)\
I)
1"
? NEEDLE PLATE
2 6344 2 -if
':7
i·
S;-
238-56X3 SCREW 238X3
3
H223
2 y j
i·
:;
357-40X11 SCREW 357X11
4 17222
)\1)1"
51
'7
'T:f1"
NEEDLE PLATE BRACKET
5
1722<1
) \
I)
1"
:j1
*
S;'
3
1"
:j1
NEEDLE PLATE SUB PLATE
6 8100 4 y;l.
:'?-
:;
357·40X6 SCREW 357X6
7
H202
1
""'Y
t",-'J'71"
51
BED UPPER PLATE
8 8016 4
if
':7:'?-:; 357-40X5 SCREW 357X5
9 17220
:of
7
1)/\6
FEED DOG 6
10 17232 y;l.:,?-:; SCREW
11
17218
:of
7
I):f
1"
SCREW FEED BRACKET
12 17226
:of
7
I)
t:)f
1"
A""
I)
1"
:$I
FEED BRACKET SLIDE PLATE
13 12347 2 y ;I.
'*
V 3.4-36X6.5 SCREW 3.4X6.5
14
17215A
:of
7
I)
V7
FEED SHAFT
15 17203
YI)'/:f.-1J/\-
CYLINDER COVER
16
12113 2 -if
':7
i.
V 3.4-36X4
SCREW3.4X4
17
17214 V 3 <)7:of 7
I}
:;
7 VERTICAL FEED
SHAFT
277RB
1 17513
/\
I)
1"51
NEEDLE PLATE
2 7041 2
if':7i·V
3.17-44X5.8 SCREW
3.
17X5.8
3 31092 4 y';;:
'*:/
SCREW
4 17514
1\
I)
1"
:j1
7
fT
-)i
1"
NEEDLE PLATE BRACKET
7 17502
""'Y
1'7
'7151
BED UPPER PLATE
8 8100 4
r-';;:
:'?-
V 3.57-40X6.5 SET SCREW 3.57X6.5
9 17512
:T7
'
))\
FEED DOG
10 17515 2
y.;;:i·V
SCREW
11
17510
:T
7
I)
["
-)i
1 FEED BASE
12 17511 1 ':1'7
I)
["-)i1
A""')
1"51
FEED BRACKET SLIDE PLATE
13 8100 2
,.
;I.
7-
V 3.57-40X6.5 SET SCREW 3.57X6.5
14
17507 ':17
I)
V7
FEED SHAFT
15 17516
yl),/;;-
CYLINDER
17
17056
:;
3 7 7:of 7
I)
V 7 VERTICAL FEED SHAFT

H.
"m
h· g mechams
t"tc
In
.,
nnhli:
/Reverse
S I
__
I\-:;?~~
29-1
s ---27
~
1
~-··--3
- . --29-2
-~-Z4
-
17-
-32

H.
I\'/~NH~/Reverse
stitching mechanism
REF.NO 1::/-.><-(
NAME
OF
PARTS
RMKS
17054
;oj
?
I)
T 3
'7
t
.y
51
-1
FEED
ADJUST
GRACKET
2 17058 1 i ? I}
.x
'E
I)
-1
? STITCH
LENGTH
CONTROL
PLATE
3 17093 2
1)
"5
;7,
:;-
3.57
SCREW
3.57
4 50174 2 7--1\1::":"-
4X20
TAPER PIN
4X20
5 12361 4 ;"';0(
:1'-
> 516-32X6
SCREW
516X6
6 17056
~
;I.
.1,
> 595-28X8
SET
SCREW
595X8
7 17060
~;o(
.1,~)
635-24Xll
SCREW
635Xl1
8 17005 1
/'-b3::J;i}I\-
ARM SIDE
COVER
9 8100 2
~;I.:1'-
> 357-40X6
SCREW
357X6
10 17103 ::t ? I) T 3
'7
t
';I
6
FEED
ADJUST
6
11
17055
1::>
PIN
12 17057
if;lj*
WASHER
13 17053
:'(,>
SCREW
14 4019
;"';0(
*>
5X12
SCREW
5X12
15 4135
T'),
f..
5
NUTS
16 17059
V/\-I\:'(,
'7
7:7,:;
SCREW
17 17061
t:":..-;{,:;
7.14 PIN
SCREW
18 13417
::t?
1}7-3
'7t';lI~-17"
FEED
ADJUST
PIPE
19 13416
T·)'
f..
7.14
NUT
7.14
20
8158
;j{
-It- BALL
21
8157
I\:'{-
SPRING
22 18027 ::t 7 I)
7-
3
'7
·tz
.y
vI
<:
-FEED
ADJUST
LEVER
23
18028 2
f..;1.:,(->
5X5
SET
SCREW
5X5
24 17043
7:7-;>:70·)'
F
FORKED
ROD
25
8105 T,),
f..
714-28
NUT
714-28
26
17207
V:"-7·Y
I):"-?
CONNECTING
LINK
27
10723 1 7
Ill-
f..
::t1}I
FELT
PRESSER
28
10766 2
f-
;0(
:?-
:;
635-32X7
SET
SCREW
635X7
29
17102C 7
:7
-;>
;,
I}
:..-? ::t ?
I)
1;
J.,.
7 "
FORKED
LINK
FEED
CAM
ASSEMBLY
29-1 17102
::t?I):hb6
FEED
CAM
6
29-2 17040
7:7?
51
1
)
>7
FORKED
LINK
30
18014
t:":..-:?-
> 714-28X10 PIN
SCREW
714XlO
31
17041
7Il"
f..
FELT
32
10806
I::'\'I\:'{-
SPRING
33
17209 I::':"-;{, > 7.14 PIN
SCREW
34
8105 T
')'
f..
714-28
NUT
714-28

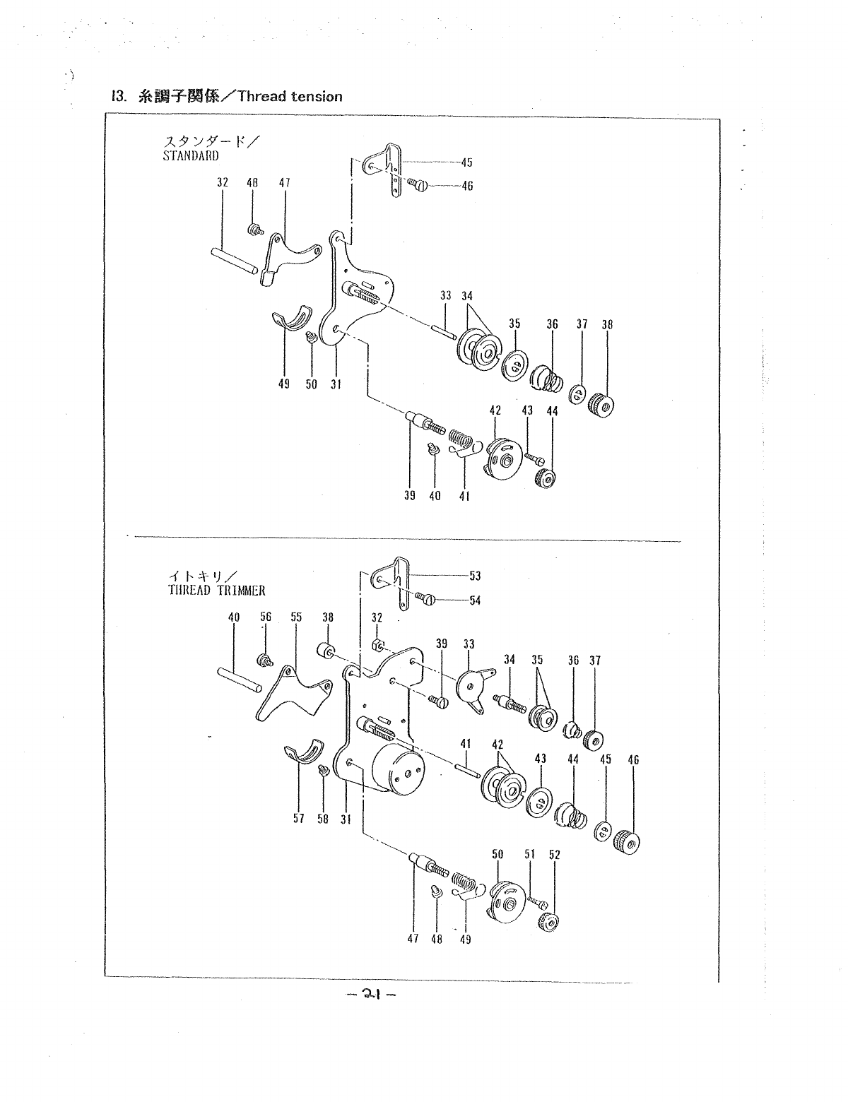
11.
*~.::r-mJfi/Thread
tension
-------_._
..
_-------_._------------
'-------------_.
__
._----_
..•..
12.
~~-rmHi/Thread
tension
~-------------------------------------------~
~
f'1
19
21
20
f'1
19
21
20
18-
er
i~,
22
19
23
15
13
12
11

11.
*IDlI.:::fOO{i/Thread tension
REF,NO CODE Q'TY 1::::::';)<-(
,------
NAME
OF
PARTS RMKS
--.-~-"------.
1 1100
G 1
7:$111--T/7-1
UPPER COVER THREAD GUIDE
._-
2 13076-0
2 1
T':;
f.
5.56 NUT 5.56
3 1503 8 1
;</-17::]iA
FACE PLATE RUBBER
4 1068
2 1
T-1,,-{
I--T/:7-1
ARM THREAD GUIDE
5 1068
5 3
-tJ
-;;;
:{.
Y 340-36X6 SCREW 340X6
6 1116
0 1
T-1"-{
f.7'/:7-1
M ARM THREAD GUIDE (M)
7 10759-A 1
T--1"-{
I--T/T1
D ARM THREAD GUIDE (D)
8 1076
0 1 T -
Ld
f.
T
>t-1
7 I Jt-
I--
ARM THREAD GUIDE FELT
-~--.--
12.
Kdj~Ff'~fH!/Thread
tension
REF. NO CODE Q'TV 1::::::';)<-(
NAME
OF
PARTS
RMKS
11
30006
-1
f..l}(";<
/'J
v J 1
~
THREAD RELEASE SOLENOID
12
30007 1 1
I--.lll,)1/'i·:;
of
/7
THREAD RELEASE PACKING
13
30008 1 1
I-
.lll--;<
7J
'7
_.-
THREAD RELEASE
COLLAR
14
10630 2
TT
I-
j.:'{.~;
318-40X5 SET
SCREW
318X5
15
30009
::]1
Jl--/\:'{.
COtLSPRING
16
30020 2
7'
.:;
7<\'
'7
;Z
I)
-7' SLEEVE
17 30021 2
if';;
I
/'f-
::1
-
7'
INSULATION TUBE
18
17369 1
*::]7::1-7'5
TUBE 5
19
30022 3
'r-7'}l--?
-;;;
//"
CABLE
CLAMP
20 8040 2
~
;<
cT·
y 357-40X8 SCREW 357X8
21
30025 2
?'7>J-1ltJ:?
WASHER
22 4137 1
T':Jf.4
NUT4
23
4124 -IJ'7cT·Y4X10 SCREW 4X10

· n
-
mlii/Thread
tenslO
___
_
13.
*~.:r
_

13_
*~'Ff-Mfi:/Thread
tension
--~--
REF.NO CODE O'TV
t:
::/)(-(
NAME OF PARTS RMKS
~--~---
'~-~~----------
--~
----~---------.---~--
----
..
_._._.
---_.
---~----
31
'10675
1
'J
'71
1-
'1-
3
r)
'/
'!
"-
UPPER THIlEAD TENSION
l\QQt=
m
32 10720
-1
[--~)[,)1
/7
THREAD HELEASE SHAFT
33 10793 1
1-~}[,)1
t:-:..--
TENSION RELEASE PIN
34
10691 2 1
t·
1-3
'j
,/-1)-5
THf1EAD TENSION DISK
35 10692 1 t-'f-.:J.'7:---tt'5 THREAD TENSION DISK
36 10693 1
H'3'7:--/q.
THREAD TENSION SPRING
37 28206
7J5-
COLLAR
38
37279 1 [--'7-3'7:--7-'/
[--
THREAD TENSION NUT
39 10792
1[--1-3'7:--*'7
THREAD TENSION STUD
40 15007
:--)1;7.
/
357-40Xl0
SCREW 357X10
41
10689
11-1-1)/\;7-
SPRING
42 10694 1
I- I-
I)
/\;7- T :"--1-1 SPRING GUIDE
43 10695
:--
;<
:1;
:;
238-80X6.5 SCREW 238X6.5
44 10697
11-1-3'7:--1-·:;
I--
THREAD TENSION NUT
45 15062
11-:/)T
THREAD GUIDE
46 15055 1 :--;<:1;:; 4.37 SCREW 4.37
47
10678 1 1
I-~}[,;<
v/\-
THREAD RELEASE LEVER
48 10679 2
-Ji.'
:..-:1;
:;
340-36X2 STUD SCREW 340X2
49 10690
11-1-
I
}/\:'j-
.
.A
I-'Y/~
SPRING STOPPER
50 10650
:--
)1
:1;
:;
340-36X6 SCREW 340X6
-(
I--
'f-IJ / THREAD TRIMMER
31
17377C
1-3'7:--:$117"-
TENSION BASE ASSEMBLY
32 10652
7'/
I-
437-40 NUT 437-40
33 38014
7"
') T
:..--
:--
3
:"--1
? PRETENSION PLATE
34 20223
:---Ji.1?1-3
'7:--#'7
LOWER TENSION STUD
35 20224
7J5~
COLLAR
36
20226-01
1-3'7:--/\;7·
S TENSION SPRING (S)
37 20225 -7-3'7 :--7-:;
I-
TENSION NUT
38 30014 -7-3'7:---f}5 TENSION DISK
39 15007
:--)1
*:;
357-40Xl0
SCREW
357Xl0
40 10720
1-1-~)[,,>(
:;')
THREAD RELEASE SHAFT
41
10793 1 1
1--~)v)1
t:-:..--
THREAD RELEASE PIN
42 10691 2 1 1--1-3'7
,/-tt5
THREAD TENSION DISK
43 10692 '7'3'):---<)
5;;f-tJI
TENSION DISK PRESSER
44
10693
11-'73'):--/(;7-
THREAD TENSION SPRING
45 28206
7J-5-
COLLAR
46 37279
11--1-3'7:--1--:;
I--
THREAD TENSION
NUT
47 10792
11--7-3'7:--#'7
THREAD TENSION STUD
48 15007
:--
)1
;7.
:;
357 -40X 1 0 SCREW 357X10
49 10689
11--1-,)/,;7-
SPRING
50
10694
11-
1-1)/"*7':"--1-1
SPRING GUIDE
51
10695
:--
)1
",.
:;
238-80X6.5 SCREW 238X6.5
52 10697
11-1-3'7:--1-';1
1-
THREAD TENSION NUT
53 35727
11-;l]T
THREAD HOOl<
54
15055 :--
j.
;7.
:;
4.37 SCREW 4.37
55 30010 1
1t--~}[,,>(1?
THREAD RELEASE PLATE
56 10679 2
:$f
:"--;7-
;;
340-36X2 STUD SCREW 340X2
57 10690 ,(
I-
I-
')
/\;7
• .A
1-.:;
/,
SPRING STOPPER
58
10G50
:--
,<
::j-.
;;
340-36XG
SCfiEW
340X6

J.
*t1Jt.)OOJ~/
_ J1I'
Thread
t .
nmm
_
er
mech..,. .
_
~
",OIsm

J.
~ ~
L)
mJ
ii/Thread
trimmer mechanism
------
~--.~
---
----
..
REF, NO CODE
a'TY
r.:/)<-{
NAME
OF
PARTS RMKS
~~--.~.---
-'---~---
,--
----~
~_~.
______
••
N
••
____
•
___
~~.
___
._._.
__
•
________
__
-~-~--
I 17348 1
;l.7?~'»?1"::,/1
KNIFE DRIVING SHAFT BASE
2 31021 2
7'f;f.JV
I' 6X16 BOLT 6X16
3 17349 1
)I:;'
'7
F'1
:J?
KNIFE DRIVING SHAFT
4 17344 1
'1
t"
'j
1\7
t--
''.I
H
--
MOVABLE KNIFE STOPPER
5 8040 2
:/
)I
i-
:;
357
+X8
SCREW 357X8
6 17354 1
:Jk11
F'1:
I"://\;?,
SP81NG
7 17350
)l7?~'7vl\-
KNIFE DRIVING LEVER
8 17353
"'j
~
/ PACKING
9 6031-01
If
'7
*
'/
437-40X8 SCREW 437X8
10 8145-02
v'\
:::IfJ LEVER ROLLER
11
17351
1//'I-:::IfJl:::'/
LEVER ROLLER PIN
12
11947
j)
7-
COLLAFl
13
10566
t--
)I
:7-
:;
635-32X5 SET
SCREW
635X5
14
10639 I'
)I
;?-
V'
635-32X8 SET
SCREW
635X8
15
17352
)l7"75/'7»'T
KNIFE
CRANK
GUIDE
16
4134
f-)l:7-:;5X13
SET
SCREW
5X13
17
4135
j-
';I
f-
5
NUT5
18
18065
7'f;f.JV
1--5X14
BOLT 5X14
19
50137
:":;l.
;?-
'/
476-28X21 SCREW 476X21
20 10813
j-
';I
f-
476-28 NUT 476X28
21
17363
;1.7'7
f'1'/'7t-.-/j)/
KNIFE
DRIVING
SHAFT
CONNECTING
ROD
22 18065
7'j-;f.Jf..
f-
5X14 BOLT 5X14
23 17364 'E f://'I;?- SPRING
24
17365 1\;?,tJ'T SPRING HOOK
25 17366 1
F»J\fJ
"I
f MOVABLE KNIFE ROD
26 13076
j-'j
t--
5_56
NUT
5_56
27 18343
::'i
/:7,
:;
5,56 STUD SCREW 5,56
28 31094
1-;1.
'7
E5 STOP RING E5
29 4839
f-
)I
'7
STOP RING
30 17368 1
F'1/\v/\---I:::"/
MOVABLE KNIFE LEVER PIN
31
17367 1
F')l\v/\-
MOVABLE KNIFE LEVER
32 10532
:/
)I
:7-
'/
396-40X9 SCREW 396X9
33 2067
t--;1.
;?-:; 437·40X6 SET SCREW 437X6
34
17343
11"'71\'1'T:;'7
MOVABLE KNIFE SHAFT
35 17346 1 F
'j
/\
MOVABLE KNIFE
36 17342
1F»I\I-;1.
MOVABLE KNIFE STOPPER
37 17345 1
f'7/\'1'T
MOVABLE KNIFE
BRACKET
38
17342 1
F»/\»'T
1-)1
MOVABLE KNIFE BRACKET STOPPER
39 17347 1
'7
F»tJJ.,.
DRIVING
CAM
40 140409 1
t--
)I
i·
:;
635·28X9 SET SCREW 635X9
41
17314 1
'P:;-:;'77i1
1"
LENGTH SHAFT GUIDE
42
12418 2 :/;1.
*:;
516·32X14 SCREW
516XI4
43 17358 1 ~
I)
j}I1:)!
SELECTOR PLATE
44
31088 1 ::'//:7.:; STUD SCREW
45
1'1359 1
:/
j.;?-:;
714-28X12 SCREW 714X12
46 8105 1 -j-
';I
f-
714-28 NUT 714-28
47 30124 2
t--
j. '7 E25 STOP RING E25
48 30105 1
/7/:/'1'-1:::'/
PLUNGER PIN
49 30102 1
:J
v./
1 F(24V) SOLENOID(24)
50 17357 1
:J
v
./
-(
I"
t--
I)
':;
",(
::'i<
SOLENOID
SETrING
PLATE
51
30122 4 :/;1.
*:;
3X6
SCREW3X6
52 6031 3
~f
7:7-:;
437-40X8 SCREW 437X8
53 30020 2
7'
';I
7'
"\'
'7 7
I)
-
7'
SLEEVE
54
30021 2
if':;
1/1-.2
--7"
INSULATION TUBE
55
17370 1
-{
r-~IJ:J-I"
THREAD TRIMMER
CORD
56 17371 1
*::17-.2-7"7
TUBE 7
57
30186 4 :::I;?-'7::'i<I:::"/
(;j"
7)
CONNECTOR PIN (MALE)
58
30151 1 :::1* '7:$l
0\-1'
';I
7'6PA
CONNECTOR CAP (6P
A)
59 30185 1
:::1:7-
'7::'i<
7'5-7
6P CONNECTOR (PLUG)
60 30022 2
:::1-1":/5//
CORD CLAMP
61
30025 1 -ifjj;?- 3,5 WASHER
62 8040 1
:/
j
;?-
:;
357-40X8 SCREW 357X8
63 31206 1
j-
''j
f-
4 NUT 4
64
31207 1
IfjJ*4
WASHER 4
65 30101 1 , :";1.
:7,
s:
M4
SCHEWM4
66
17031
Y?
:)'7
7)::;'- LOWEFl SHAFT COLLAR
67 7018 2
1-
)I
;{,
'/
43740X2
SET SCREW 437X2
72
30197
71
''j7--:J-'
t"?-". SWITCH CORD ASSEMBLY
7:3
:30149
71':;7-:1-1"'7-".
SWITCH CORD ASSEMBLY
-
?-L/
-

2-14
2-15
------_
..
_----------------------,
:J..:7':/:!/-F/
STANDAHD
'1'
I'.:\~
I) /
'llIHEAD
TIUMMEH
1--1-3
r
H6
tl-
17

~~,~O_
C~::;f
Q'7
-
--~~~I'
7J-;~--
t:_/--"'~
__
1-1
13426 1 "''(JI.-
1·1JJ\
U .
1-2
10559 2
~;I.:'{.;;-
516·32X14
1·3 13425 1
«-)(,/-jJ/'\-*:"-:)11
1·4 10559
~;I.:'{,:;
450-32X8
1-5
13427 2
«-JI.-J-.1J/\-J-.;l.j]j--)
16
14024 2
~;I.
ct
;;-
357-40X6
1-7
16287 2
if,j:'r
1-8
50103 2 T
';J
r-
4_76·32
1·9 10561 2
~;I.
,1·:; 437-32X6
1-10 11142 2 if7J:'{,
1·11 13428
r(Jl.-l--jj-I-"*::31j-1-"
1-12 11830
'y?
::::t::
1-13 15081 2
'E
'7:'{.;;-
1-14 16287 2 -Ij7J:'{.
1-15 13429
r()i.-
t-1J-
1-"*::31:>z
1-16 15081 2
'E
'7;7,;;-
1-17 16287 2
-lfhct
-(
"~I)
/ THREAD TRIMMER
2 17374C I «')1.-
I--
7J/\-
'7:::
2-1
17374
«')1.-
1--1J/\-
2·2 30165
/'()l-
t-
7Jl\-
U
2-3 12418 2
~;I.:'{.:;
516-32X14
2-4 11162 2
~
;I.
:t
:;
3.40-36
2·5 12294·4 ",-)1.-
f-iJl\'-
f-;I.
lr}-"j
2-6 16287 2
-l),h;7,
2-7 14024 2
:;
;I.
:'{.:;
437-32X6
2-8 13427 1 «'j!>
J-.7Jl\'-
f-;I.
1JT"j
2·9 10561 2
:;
;I.
:t
:;
476-40X6
2·10 16287 2
-jfni,
2-11 50103 2
-j-
';J
f-
476-32
2·12 17335
/'(}v
f-
:tj
F*::3n·-F
2·13 11830 1
")?::::'{,
:;
2-14 15081 2
'E'7:t:;
2·15 16287 2 if1J;'f.
2·16 13429
«')I-I-':1i-
F*:;31':>z
2-17 15081 2
'E71,:;
2-18 16287 2 V':1H
3 30168 'r:"-:;.J.
'Y
'If
if
if
:r.
4 50409 2
:h/
f-6
5 31206
T';J
" 4
6 31208
l\:'f.-tJ#:t
4
7 30046
:;;1.
1·:;
4X4
8 31613
:1-
1-"75:..--:/
277RBFS, --RB
17528C
«-)1.-1--7)/\-
-------------
----
NAME OF PARTS RMKS
BELT COVER
BELT COVER
(U)
SCREW 516X14
BELT COVER BODY
SCREW 450X8
STOPPER PLATE
SCREW 357X6
WASHER
NUT 4.76,32
SCREW
437X6
WASHER
GUARD
THUMB SCREW
WOOD SCREW
WASHER
SUPPORTING PLATE
WOOD SCREW
WASHER
BELT COVER ASSEMBLY
BELT COVER
BELT COVER (U)
SCREW 516X14
SCREW 3.40·35
STOPPER PLATE
WASHER
SCREW 437X6
STOPPER PLATE
SCREW 476X6
WASHER
NUT 476-32
GUARD
THUMB SCREW
WOOD SCREW
WASHER
SUPPORTING PLATE
WOOD SCREW
WASHER
SYNCHRONIZER
SUPPORT
NUT6
NUT4
SPRING WASHER 4
SCREW4X4
CORD CLAMP
BELT COVER

15
I 9
~~
J
-------.----_-=-_..J
26
U
~
~
l
30
.-$//A

U.
MlI~m1fi/
Accessories
---~---
REF.NO CODE Q'TY I::::;';)<-{
NAME
OF
PAnTS
RMKS
-----
-~~-,,----,-
--~~-~------~~~~
.----~-~.--
..
--~--~--
..•
~.---
_._---
1 8118
1''71/\-
DRIVER
2 8120
1''71/\-
DRIVER
3
8121
"--:71/\-
DRIVER
4 8132-A
"7
'J 7 t
/:t;
I)
"7
7 0 VINYL BAG
5 8124
1-')-:/1)/\--
HEAD COVER
G 8125
;)")
T1'7~
OILER
8 8180
+F'71/\~
DRIVER
9 10748
;J.
fit·
!..-->1- WRENCH
10
11193
T1Jl-:iJ/
OIL CAN
13
10734
11--?'f'f7~
BOBBIN WINDER ASSEMBLY
20 11969 6
:iJ7!..--/72.5
HEXAGONAL WRENCH 2.5
21
11487
6:iJ7!..--/T3
HEXAGONAL WRENCH 3
22
15571
6:iJ7!..--/T4
HEXAGONAL WRENCH 4
11
17082 7 -If
I)
CHAIN
12
17081
t
-lfy1ft!
';;
I--
KNEE LIFTER SETNEEDLE DPX17
27m.
-RB
15
NOl18 3
~
:,;//\I}
DPX17#18 NEEDLE DPX17 (#18)
17
17227C
::3<)-,\,1:$r7-":
GUIDE PLATE ASSEMBLY
17-1
17227 1J1 F1:$1' GUIDE PLATE
17-2 17228 1
jJ1
FO-7
GUIDE ROLLER
17-3 17229 1
7/:?-::
STUD SCREW
18
30025 2
'if
jJ;7.
3.5 WASHER 3.5
19
7047 2
'Y?
~
*::
357-40X12 SCREW 357X12
277RFS.-RBFS.~RFSATC
15
N0116 3
-":
~//\I)
DPX17lt16 NEEDLE DPX17
(1116)
277RFS.
~R
16
I 17035 6 l
;Fl::'/
BOBBIN
217RBFS.
-RB
16 I 18034 6 I
;f-t':,.
Bo
B8\l-J
277RFSATC
16
17320 6
;ft/
BOBBIN
23 17340
:]-,r1/\
FIXED KNIFE
24
17346 1
F<)/\
MOVABLE KNIFE
25 20226-02
73
<):';/\;?-' I. TENSION SPRING (I.)
26 30194 2
A-,r':;7"Jl-
STAPLE
27 30195
A1':;7
SWITCH
28 30196 1
A1':J77rJ-/j
SWITCH BRACKET
29
15081
2
-'1:7*:/4
SCREW 4
30 10747 6
:iJ
7 '-'
>f-
1.6 HEXAGONAL WRENCH 1.6

L2.
#"~OO{i/
Accessories
3'-Ct-

,NO CODE O'TV
I:::::/)<.{
NAME
OF PARTS
33 17037 1
T77'}1r
OIL PAN
34 35254 1 -{
f'
'i
'T
t!
';;
f'
THREAD STAND
277RFS,
-RBFS
35
"104"1
1
'/?
~
t· :; 35"1-40X12 SCREW
35"1X12
36 13260 1
'T
-- -;t'}
IT
1
'i
TAPE STAND
3"1
13261 1
'T--;t'7lr1
'i
7)7-
TAPE STAND COLLAR
38 13263 1
-r--;t'7lr1
:$1*'; TAPE STAND BAR
39 13264 1
'T--;t'}lr1:$1;f..'7T';;
f-.
TAPE STAND BAR NUT
I
L
______________
.
_
.....
_-_._----------.--.-
-.
30-
