ACE&EASTMAN Consew 339Rb 4 Parts Book User Manual
2016-09-22
User Manual: ACE&EASTMAN Consew 339Rb-4 Parts Book
Open the PDF directly: View PDF
.
Page Count: 30

P R S
liS
I~-\\
I)
~
339RB=4
CONSOliDATED
SEWING
MACHINE
CORP.
U.S.A'
JAPAN

INDEX
Pages
iii~&,
...t;j:,lj................................................................
1.
2
FACE PLATE, ARM TOP COVER
~
t'::,;,
...t~,
:i-I)
.....................................................
:3.
4-
TAKE
UP
LEVER, ARM SHAFT, MACHINE PULLEY
:t1flI.
t~,
r:p
tJfII.
~
. ..
..
..
. ..
..
. .
..
..
. .. .
..
. ..
..
. . . ..
..
. .. .
..
. . ..
..
. ..
..
. ...
5.
6
PRESSER BAR, VIBRATING PRESSER
BAR
iit~±
t:!J
')
~t.l5
Cl
'Y F
...................................................
"
7.
8
NEEDLE
BAR
ROCK FRAME, ROCK SHAFT CRANK CONNECTION
j::,i=j,
tIfII.~*fJj/\*·············································
........
9.10
KNEE LIFTER LIFTING LEVER, PRESSER
BAR
SPRING
-"F~,
-"F
~)I.;
t-:1-
I)
-*
I)
7J
-:('
..........................................
11.12
HOOK DRIVING SHAFT, SAFETY CLUTCH PULLEY, FEED DRIVING CAM
iitfJj,
~I)±-g.,
*I)~
..................................................
13.14-
THROAT PLATE, FEED BAR, FEED ROCK SHAFT
"
hi."
-.::-
~~
I)
L"
/\
'Y"/
v/\-,
1';tZS:
Cl
'Y
I~
.:
............................................
15.16
FEED REVERSING LEVER, FEED DRIVING ECCENTRIC CONNECTION
jJ-:('±t:!J(':t:i)
,
7J-::(
........................................•...........
···17.18
HOOK SADDLE (RIGHT) , HOOK
jJ
-::(
±
t:!J
(
1.:i:.
)
')
7J
-::(.
'"
.•..
,
...........
,
.................
,
................
19.20
HOOK SADDLE (LEFT) , HOOK
~.::f;fJj
.....................................................................
21.22
TENSION
*i5;!B
..................
:
....................................................
23.24-
LUBRICATION .
Bit
~.51
.....................................................................
25.26
ACCESSORIES AND ATTACHMENTS
l.}IJ:fC£
.....................................................................
27.28
PARTS AVAILABLE AT EXTRA CHARGE

Im
fEi
,
J:
fEi
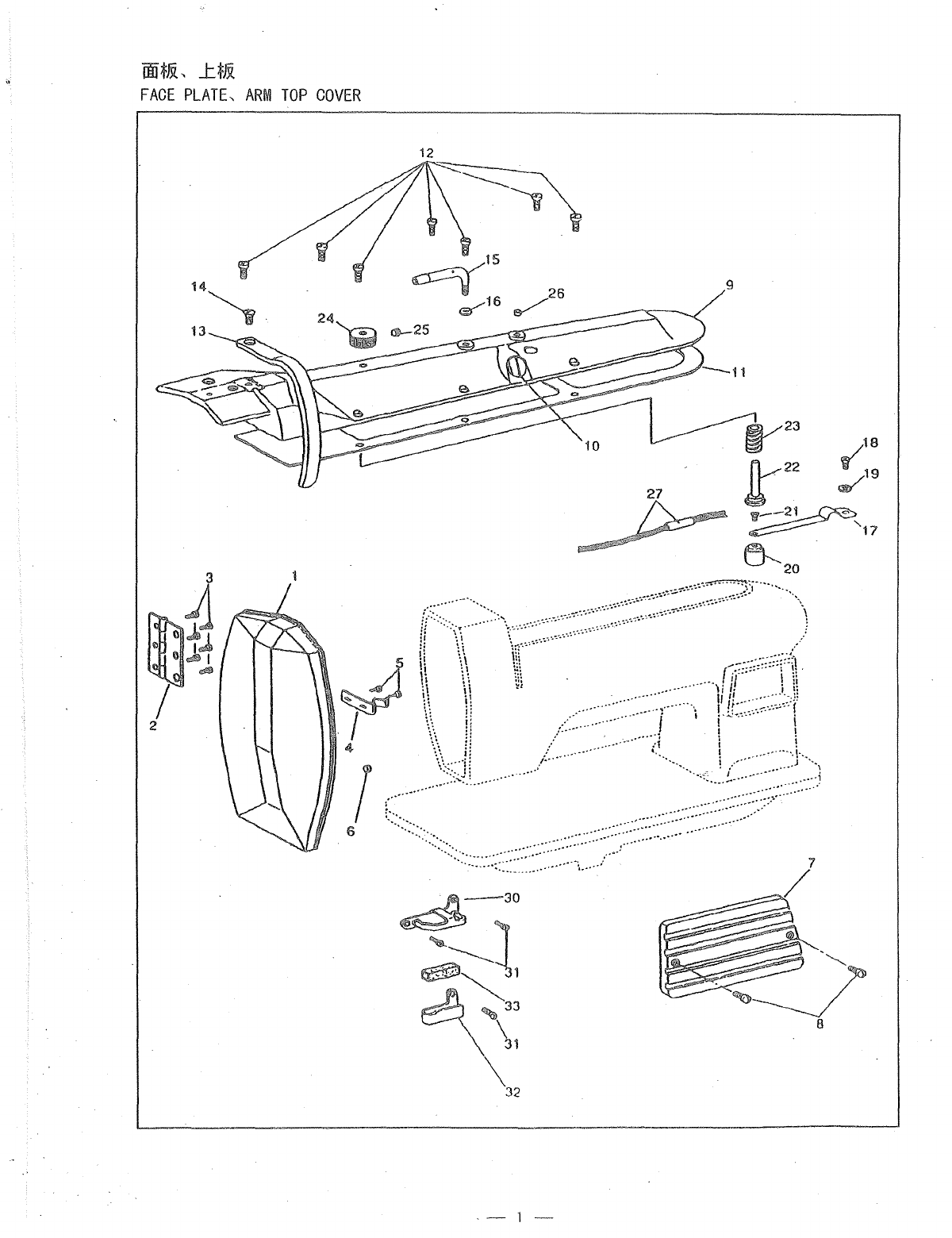
FACE
PLATE,
ARM
TOP
COVER
12
-----~
15
~
26
16
~
~
24~
~25
13
9
.,.
~23
~18
~22
~19
~-2~
~
'17
~20
5
~
I
!
6
7
----30
/
. - 1

D1if}ji,
Lf}ji
FACE
PLATE,
'ARM
TOP
COVER
NO
1m&'b*~
339RB-4
&'b~
PARTS
NAME
PART
NO
1
15035
1
OO;f&
FACE
PLATE
2
15036
1
~:m:
HINGE
3
15039
6
ltY):tlG
SCREW
1/8 X
44
L=3,
5
4
15037
1
OO;f&
tf
:tl
FACE
PLATE
SPRING
5
15039
2
ltY):tlG
SCREW
1/8 X
44
L=3,
5
6
15038
1
OO;f&
::J
L
RUBBER
7
13556
1
~;f&
ARM
TOP
COVER
8
8040
3
ltY):tlt:.
SCREW
9/64 X
4Q
L=8,
0
9
15003
1
J:;f&
ARM
TOP
COVER
i
10
11007
1
¥l!l
:it
~Jil
t'
%:i:
OIL
LEVER
INDICATOR
11
15004
1
J:;f&
~
-r
1\
-;;
"r
'/
GASKET
12
15007
7
ltY):tlt:.
SCREW
9/64X40 L=10,0
13
36708
1
Xffft
1"-
THREAD
TAKE
UP
COVER
14
6031-02 1
ltY):tlt:.
SCREW
11/64X40 L=9,0
15
11006
2
J:;f&~m
ARM
TOP
COVER
THREAD
GUIDE
16
13076-02 2 t
-;;
r
NUT
7/32X32
17
15086
1
¥l!liv.llllfJ;f&rx
:tl
OIL
CONTROL
SPRING
18
'
19
11142
1 'J
-;;
"" '" -
WASHER
20
11004
1
¥l!l
iv.lIllfl;f&:b"
{;
1J
OIL
REGULATOR
21
10597
1
ltY):tlt:.
SCREW
1/8 X
40
L=3,
3
22
15058
1
~¥l!lillt&TWll
OIL
REGULATING
STUD
23
15059
1
~¥l!lillt&T
;1.7'
i)
'/
7'
OIL
REGULATING
SPRING
24
15057
1
~;5-
¥l!l
illt
&T
57
-(
'"
)!.o
OIL
REGULATING
DIAL
25
8009
1 It Y) :tl
t:.
SET
SCREW
15/64 X
28
L=7,
5
26
27
15034C
1
1::'
=-
-)!.o
1-.2--
f,
¥l!l;5
(t.JD
OIL
TUBE
AND
OIL
WICK
COMPLETE
28
29
30
15054
1
oo~mrt
(J:)
THREAD
GUIDE
(UPPER)
31
10685
3 Jt Y) :tl
t:.
SCREW
3,
4 X
36
L=6,
5
32
10759-A
1
oo~mrt
en
THREAD
GUIDE
(LOWER)
33
10760
1
oo~mrt
7'<')!.o
r
FELT
-2-

~I:::'
/
TAKE
,L~m,
f-
'J
-
UP
LEVER
,
ARM
SHAFT
__
~:.:.::.~r,
MACH
I
NE
PULLEY
----
38
1i'iI/
37
49
~
V
50
t-24
9
8
16
21
-
3-

*-
t
2/
J:~m,
f -
I)
-
T
AI<E
UP
LEVER,
ARM
SHAFT,
MACH
I
NE
PULLEY
NO
rulr%'i'-i%
339RB-4
r%4?i
PARTS
NAME
PART
NO
1
15209
1
JJliIJ
ARM
SHAFT
2
15033
1
J:~iIJ~;0
OIL
WICK
3
10506
1
J:~~-Ittlr
OIL
STOP
SCREW
7,85X20
L=6,0
4
10577
1
7"
-
I)
-;jffl
L-
tl
r
PULLEY
ADJUST
I
NG
SCREW
6,
75
X
24
L=ll, 0
5
19414
1
77/7'£:-0/
3
/t.Jb.
NEEDLE
BAR
CRANK
6
19415
1
ifl
II'
1;1(
01)
tl
r
POSITION
SCREW
1/4X'28
L=20,
0
7
19416
1
1I::IJ)tlr
SET
SCREW
1/4X28 L=14,0
8
10563
1
J:~iIJ;(
!l
)~
(~tr)
'7
'/
0/
-'(
WASHER
9
10562
1
J:~iIJ;(
!l
)~
m)
ARM
SHAFT
BUSHING
(LEFT)
11
10524
1
1I::0I)tlr
SET
SCREW
6.75 X
24
L=6,5
13
10725
2
J:~;(
!l
)~
(~)
7
.L
}~
~
OIL
FELT
14
13074
1
J:~iIJ«
'7
I)
/
7'
7-:J.
ARM
SHAFT
BALL
BEARING
ADAPTOR
15
10567
1
J:~iIJ«
'7
I)
/
7'
ARM
SHAFT
BALL
BEARING
16
13361
1
J:~iIJ~"
'7
I)
/
7'
t.J
7-
ARM
SHAFT
BALL
BEARING
ADAPTOR
SLEEVE
17
19418
2
1I::0I)tlr
SET
SCREW
1/4 X
28
L=4,
5
18
10568
1
~t;,:L-I)/7'
BALL
BEARING
RETAINING
RING
19
10571
1
J:~«
'7
I)
/
7'
7 -
:J.
11::
01)
tl
r
SCREW
6.
75X24
L=20.0
20
10504
1
7'-1)-
MACHINE
PULLEY
21
10943
1
Jt¥
I)
';I 7'
FEED
INDICATING
(W/O
BELT
GUARD)
22
10566
1 Jt ¥
I)
';I
7'
tl
[;
SET
SCREW
1/4 X
32
L=5,
5
23
10576
1
iflj[;lROI)tl[;
POSITION
SCREW
15/64X28
L=21.
0
24
10579
1
ttOl)tl[;
SET
SCREW
15/64 X
28
L=20.
0
25
10569
1
",)~
~
7"
-
I)
-
ARM
SHAFT
CONNECTING
BELT
PULLEY
26
10574
2
~-.c:}~
~
7'
-
I)
-
I)
/
7'
BELT
PULLEY
SPRING
FLANGE
27
10571-G
1
",}~
~
7'
-
I)
-11::
01)
tl
[;
SET
SCREW
6,
75
X
24
L=20.
0
28
10570
1
",}t.-
~
7'
-
I)
-
t'
/
tl
r
POSITION
SCREW
6.
75X24
L=14.
5
29
10524-G
1
",}t.-
~
7' -
I)
-
t'
/
tl
[;
11::
tl
[;
POSITION
SCREW
SET
SCREW
6.75X24
L=6.
5
30
10621
1 !l
-{
~
/
7'
,,'}i.-
~
ARM
SHAFT
CONNECTING
BELT
31
15024C
1
xH
(~J])
THREAD
TAKE
UP
LEVER
COMPLETE
32
15024
1 x
*'1'
THREAD
TAKE
UP
LEVER
33
15026
1
xfHtJ.
i!<
THREAD
TAKE
UP
LEVER
DRIVING
STUD
34
10728
1
xHjtJ.
i!<
¥W;0
OIL
WICK
35
10528
1
lH*,77/7
NEEDLE
BAR
CONNECTING
LINK
36
15013
1
Xf'f
t'
/
THREAD
TAKE
UP
LEVER
HINGE
STUD
37
11042
1
xH
t'
/~;5
OIL
WICK
38
10524
1
xH
t'
/11::01)
tl
[;
SET
SCREW
6,
75
X
24
L=6,
5
39
10523
1
llit*,
7 7 / 7
t'
/
NEEDLE
BAR
CONNECTING
LINK
STUD
40
10726
1
llit*,
7
'7
/7
t'
/~;0
OIL
WICK
41
15038
1
~
:f
b.-It
RUBBER
OIL
STOPPER
42
19417
1
lH*,
7 7
/7
1:;'
/11::01)
tl
[;
(~)
SCREW
1/4X28
L=6,5
43
19418
1
llit*'
7
'7
/ 7
t'
/
11::
01)
tl
[; (ffi,)
SCREW
1/4 X
28
L=4.5
44
10551
1
XH~jtlt
THREAD
TAKE
UP
LEVER
OIL
GUARD
45
10650
1
Xn~jtIj1l::0I)tl[;
SCREW
3.
4 X
36
L=6,
0
46
10772C
1
J:JJ!iit°'/F
LIFTING
ECCENTRIC
CONNECTING
COMPLETE
47
10772
1
J:JJ!iit
O
'7F
LIFTING
ECCENTRIC
CONNECTION
48
10773
1
-=
-F
)~
« '7
I)
/
7'
NEEDLE
BEARING
49
19427
1 cp.jfjl.:tJ:·ft.J
b.
LIFTING
ECCENTRIC
50
19508
2
cp.jfjl.:tJ:rt.Jb.1I::0I)tl[;
SET
SCREW
1/4X40
L=5.5
51
11879
1
cp.jfjl.:tJ:rt.Jb.t.J7-
LIFTING
ECCENTRIC
COLLAR
52
10573
2
cp;jffl.:tJ:rt.Jb.t.J7-1I::0I)tlr
SET
SCREW
7/32 X
32
L=11,
0
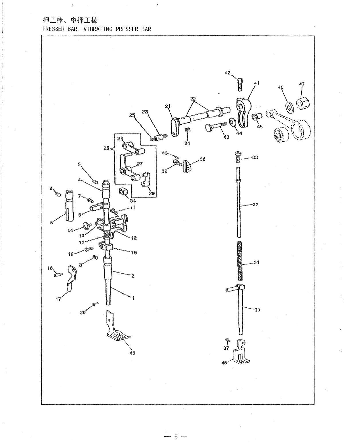
-4-

j£Plf*,
$j£PI
.
PRESSER
BAR
f!
,
VIBRATING
PRESSER
BAR
-5-
41
1_
33
32
30
~
37
43 -.

tfjlIf!,
!fltfjlIf!
PRESSER
BAR,
VIBRATING
PRESSER
BAR
NO
$r:\1:m=.!2i
339RB-4
r:\1~
PARTS
NAME
PART
NO
1
10540
1
:jifl.tW
PRESSER
BAR
2
10539-A
1 :jifl
.t
w
Cf)
)(
Y
J<-
PRESSER
BAR
BUSHING
(LOWER)
3
10761
1
l1::8)tlL;
SET
SCREW
6.
75X24 L=I1.0
4
10538
1
:jifl
.t
W
(JJ
;I. Y
J<-
PRESSER
BAR
BUSHING
(UPPER)
5
10761
1
l1::8)tlL;
SET
SCREW
6.
75
X
24
L=II. 0
6
10541
1
:jifl.tW~J*J
PRESSER
BAR
POSITION
GUIDE
BRACKET
7
10662
1
l1::8)tlL;
SCREW
5/32 X
40
L=6.
5
8
10543
1
~J*JW
PRESSER
BAR
POSITION
GUIDE
9
10761
1
l1::8)tlL;
SET
SCREW
6.75 X
24
L=11.
0
10
18479
1 :jifl;tWfPJ1><
PRESSER
BAR
LIFTING
BRACKET
11
19518
1
:jifl
;t
wt~
~di'fi
tl
L;
SCREW
11/64X40
L=14.
0
12
10546-A
1 f1jl.t
wj~
1><
'ftIX
TENSION
RELEASE
SLIDE
13
10547
1 :jifl
;t
wj~
'"
'ftIX
ff
tl
TENSION
RELEASE
SPRING
14
18480
1
(<C)¥l1::8)tlL;
LIFT
I
NG
BELL
CRANK
SCREW
11/64 X
40
L=8.
0
15
13360
1 :jifl.t
WfPJ
'" I)
/;;'
PRESSER
BAR
SPRING
BARCKET
16
13365
1 :jifl
;t
WfPJ
'"
I)
/;;'
*i'fi
tl
L;
PINCH
SCREW
M4XO.7
L=9.0
17
10659
1
:jifl.tJ:Wl--J\-
PRESSER
BAR
LIFTER
18
10660
1
:jifl.tJ:W
l--
)\-\::'
/
tl
L;
HINGE
SCREW
4.
5 X
32
19
20
10664
1
j~:jifl
;t
l1::
8)
tl
L;
SCREW
3.4 X
36
L=9.0
21
19425
1
~'III
LIFTING
ROCK
SHAFT
22
10514
2
~~;I.
YJ<-
LIFTING
ROCK
SHAFT
BASHING
23
16709
1
~'III
t'
/
tl
L;
SCREW
1/4 X
28
24
19516
1 m.1II
t:"
/
tl
L;
t y
NUT
1/4 X
28
25
10728
1
m.lllt:"/tlL;¥fll;e;:
OIL
WICK
26
10558C
1
(<C)¥-t'/~
LIFTING
BELL
CRANK
COMPLETE
27
10558
1
(<C)¥
LIFTING
BELL
CRANK
28
10557
1 <
<C)
¥J!,~
(:k)
LIFTING
BELL
CRANK
LINK
29
10556
1 (
<C)¥J!f.ii!i(+)
VIBRATING
PRESSER
BAR
CONNECTING
LINK
30
34713
1
!:):l:jifl;tw
VIBRATING
PRESSER
BAR
31
10554
1 !:):l:jifl.t
J.
7'
I)
/;;'
VIBRATING
PRESSER
BAR
EXTENSION
SPRING
32
10553-A
1 !:):l:jifl.t
J.
7'
I) /
;;'W
VIBRATING
PRESSER
BAR
EXTENSION
33
15060
1
!:):l:jifl.tW:jifl~tlL;
SCREW
5/16 X
24
L=16.
0
34
15118
1
ttt
nIl:
jfj
:li
VIBRATING
PRESSER
BAR
SLIDE
BLOCK
35
36
37
10662
1
!:):l:jifl.tl1::8)tlL;
PINCH
SCREW
11/64X40
L=6.0
38
10548-A
1
:jifl
,t
wj~
'"
ttt
n
l1::
8)
tIX
LIFTING
BRACKET
GUIDE
BLOCK
39
10519
1
Il:8)tlL;
PINCH
SCREW
6.75X24
L=17.
5
40
15111
1 t:":J
PIN
41
19419
1
J:
-r
;/J
b.
J!1.it
t-=
-?
i
LIFTING
ECCENTRIC
CONNECTING
CRANK
42
19420
1
J:-r
;/J)b.J!f.ii!it-=
-?
i
1.?~tl
t;
PINCH
SCREW
1/4X28
L=16.
0
43
10775
1
J:J!,~
lJ
y
t-
~
tl
L;
HINGE
SCREW
7/32 X
32
44
10703
1
J::i!!.f;!j
0
'7
j"
Ell:
tl
[;
'7
'7
~
'"
:.-
WASHER
45
10774
1 J:J!f.ii!i
lJ
'7
f-'){
1
7'
LIFTING
ECCENTRIC
CONNECTION
COLLAR
46
1
'7
Y
'/"\-
WASHER
47
1 t
'/
~
NUT
7/32X32
48
10285
1 !:):l:jifl,t
VIBRATING
PRESSER
FOOT
49
10185
1
j~:jijl.t
LIFTING
PRESSER
FOOT
.
-
6-

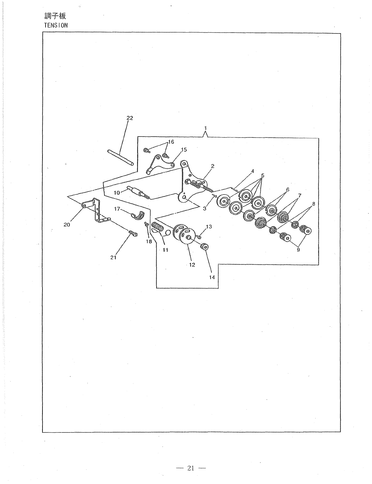
J::,t-l:;/::
±
i:i
JI~
0
'/
F .
ROCK
SHAFT
CRANK
CONNECT
ION
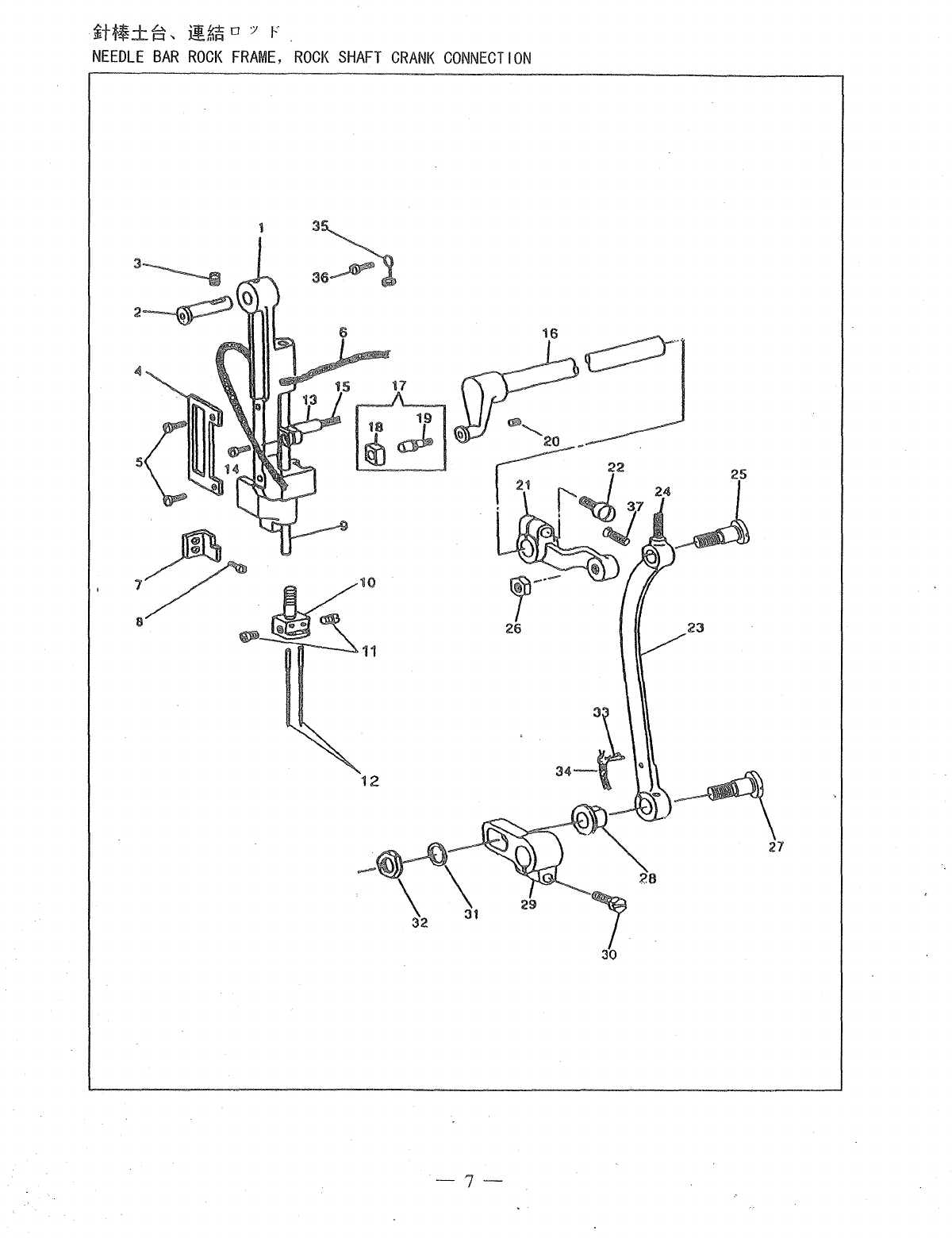
l1Z
'f~
'ROCK
FRA\MM~E,~~~:::....~
___
_
NEEDLE
BAR
::::
-7-

.t>t
±:.E
±
b.;
'Oli
~
(]
'/
F
iIi.
1~
I=l'
~",I=I
NEEDLE
BAR
ROCK
FRAME,
ROCK
SHAFT
CRANK
CONNECTION
NO
rm~1i-l§j
339RB-4
~~
PARTS
NAME
PART
..
NO
1
15110-A
1
;H~±J5'
NEEDLE
BAR
ROCK
FRAME
2
11875
1
;H~±J5'
1;:'
/
HINGE
STUD
3
10525
1
.Lt:N:Jtll;
SET
SCREW
6.
75
X
24
L=9.0
4
15117
1
11iUL
.Lt:;fft
SLIDE
BLOCK
PLATE
5
8100
2 ,*n.Lt:;fft.Lt:N:Jtll;
SCREW
9/64
X
40
L=6.
5
6
15031
1
;H~±J5'¥Ill;D
OIL
WICK
7
10560
1
-{
'7
-)v
NEEDLE
BAR
ROCK
FRAME
POSITION
BRACKET
8
10561
1
.Lt:N:Jtll;
LIFT
I
NG
BRACKET
GU
I
DE
SCREW
11/64
X
32
L=6.
5
9
H4724F8001
1
;it~
NEEDLE
BAR
10
15089
1
;ittt
THREAD
GUIDE
11
B140553
1 ;HJ.!:N:Jtll;
SCREW
118 X
40
L=4.
5
12
N0122
2 ;it
NEEDLE
13
19426
1
~t~tt2
~
NEEDLE
BAR
CONNECTING
STUD
14
13365
1
;it~m
~
~tl
I;
PINCH
SCREW
M4XO.
7
L=9.0
15
10726
1
;it~m~
¥Ill;D
OIL
WICK
16
10578
1
...t:i!I)~
NEEDLE
BAR
ROCK
FRAME
ROCK
SHAFT
17
11876C
1 ...t:i!
I)
~
Jfl
I (till)
SLEDE
BLOCK
COMPLETE
18
11877
1
...t:i!I)~JflI
SLIDE
BLOCK
19
11876
1
...t:i!1)
I;:'/tll;
SLIDE
BLOBK
STUD
20
10581
1 ...t:i!
I)
~
1;:'
/ tl
1;.Lt:
N:J
tl
I;
SET
SCREW
7/32
X
32
L=7.
0
21
15016
1
J!#.6
ROCK
SHAFT
CRANK
22
10519
1
J!
#.6
t;17i
N:J
tl
I;
PINCH
SCREW
6.
75X24
L=17.5
23
HE606E8001
1 J!#.6t:J'lF
ROCK
SHIFT
CRANK
CONNECTION
24
10728
1
J!#.6
t:J
'l
F
¥Ill
;r,;
OIL
WICK
25
HE608E8001
1
J!#.6
t:J
'l
F
Jlll
tl
I;
(I})
SCREW
9/32
X
28
L=23.
5
26
8105
1
J!#.6
t:J
'l
F
Jlll
tl
I;
(IN
t
'l
r
NUT
9/32X28
27
HE609E8001
1
J!f.f;!j
t:J
'7 F
Jlll
tl
I;
(::k)
SCREW
5/16
X
28
L=29.
5
28
HE610E8001
1 :i!
.)
~i1ff
I"
1 7',
NEEDLE
BAR
ROCK
FRAME
REGULATING
PIPE
29
15019
1 :i!
I)
~
1jt
f.:
J.,
i
FEED
ROCK
SHAFT
CRANK
30
10754
1 :i!
I)
~1jtt.:
J.,
i
~tl
I;
PINCH
SCREW
6.
75X24
L=16
31
1
'J
'l
""
"\
WASHER
32
1
J!#.6
t:J
'l
F
Jlll
tl
I;
(::k) t
'l
r
NUT
5/16X28
33
10779
1
¥Ill;Df!jl
A.
jIf~
l:
/
CLIP
34
10778
1
¥IllZ
OLK
WICK
35
4221
1
¥Ill;Df!jlA.
OLK
WICK
ETAINER
36
15007
1
*~::F~
(m).Lt:
N:J
tl
I;
SCREW
9/64X40
L=10.0
37
2 tl
I;
SCREW
9/64
X
40
L=12.
0
-
8-

7;:
i:5
~
1£f1I~7;:
KNEE
LIFTER
fJi
!"
;f,
LI
FT
I
NG
LEVER
~
PRESSER
BAR
SPRING
-9-

*'
i:5,
flllI,_**&
)'i'
l'
KNEE
LIFTER
LIFTING'LEVER,
PRESSER
BAR
SPRING
NO
$~ii.!i}
339RB-4
8lJ~
PARTS
NAME
PART
NO
1
10710
1 :*"3
KNEE
LIFTER
LIFTING
LEVER
2
10712
1
:*"3.11:.Y)tI(;
HINGE
SCREW
6.75X24
3
13059
1
"3tftl
SPRING
4
11154
1
"3
tf
tI
.1I:.Y)
tI
(;
SCREW
6.
75
X
24
5
10711
1
/J\
"3
KNEE
LIFTER
CONNECTING
LEVER
6
10712
1
/J\
CJ
.1I:.Y)
tI
(;
HINGE
SCREW
6,75X24
-(
7 15075 1 ffl')
~
KNEE
LIFTER
CONNECTING
LEVER
LIFTING
ROD
8
15076
1
ffl
I}
~.1I:.Y)
tI
(;
SET
RIN
9
10714
1 ffl')
~;(l
'7
LIFTING
ROD
COLLAR
10
10561
1
ffll)
~jJ
'7
-.1I:.Y)
tI
(;
LIFT
I
NG
BRACKET
GU
I
DE
SCREW
11/64
X
32
L=6.
5
11
10717C
1
ffl
I)
~
± il'
(#lV
LIFTING
ROD
ROLLAR
BRACKET
COMPLETE
12
10717
1 ffl')
~±
il'
LIFTING
ROD
ROLLAR
BRACKET
13
10718
1 ffl'}
~±il'Q-'7-
LIFTING
ROD
ROLLAR
14
10719
1
ffl')~±il'Q-'7-.1I:.Y)tI
(;
SCREW
3,
4 X
36
15
10561
1
ffl
I)
~
± il'
.1I:.Y)
tI
(;
LIFT
I
NG
BRACKET
GU
I
DE
SCREW
11/64
X
32
L=6,
5
16
10705
1
;fql
A..
~*t1Z
tf
tI
PRESSER
BAR
SPRING
(FLAT)
17
10706
1
*t1Z
tf
tI
~
tt
tI
(;
PRESSER
BAR
SPRING
SUPPORT
SCREW
18
11156
1
*t1Z
If
tI
~lri
tI
(;
PRESSER
BAR
SPRING
REGULATING
SCREW
",
",
-10-

1'~!tl~
1'«)lr
F 70
_ I)
-~
~
I)
1J
14
HOOK
DRIVING
SHAFT,
SAFETY
CLUTCH
PULLEY,
FEED
DRIVING
CAM
10
12
Cll
.......
39
33
!
35
45
rr~
49
48
\J~
26
5 26 I
~J"
2\
j3°~
\.
~0-
27
24
0
22
21
20
-11-
46
47

"f~lh,
1''''
J\,-
F
";i_I)
-,
~
I)
tJ
b.
HOOK
DRIVING
SHAFT,
SAFETY
CLUTCH
PULLEY,
FEED
DRIVING
CAM
NO
mhfMi~
339RB-4
~~
PARTS
NAME
PART
NO
1 1
p'iMl
HOOK
DRIVING
SHAFT
2
10950
1
p'~m
(Jltr)
;{
!J
)t.-
HOOK
DRIVING
SHAFT
BUS
I
ING(FRONT)
3
10571
1
Jl::d:>tlt;
SET
SCREW
6,
75
X
24
L=20.0
4
11080
1
P'iMl
(Jltr)
;{
!J
)t.-
7 X)t.- r
OILING
FELT
5
15526
1
P'iMl
(~)
;{
!J
)t.-
HOOK
DRIVING
SHAFT
BUS
I
ING(MIDDLE)
6
10522
2
Jl::d:>tll;
SET
SCREW
6,
75X24(L=14, 0
7
10729
1
;{
!J
)t.-~:5
OIL
WICK
1
8
30157
1
P'~m""
7
I)
/
7'
7-7-
HOOK
DRIVING
SHAFT
BUS
I
ING(BACK)
9
10571
1
Jl::d:>tll;
SET
SCREW
6,
75
X
24
L=20,
0
10
10609
3
:m
fi')
/
7'
Jl::
d:>
tl
I;
SCREW
3,4
X
36
L=5,
5
11
10567
1
P'iMl""
7
I)
/
7'
BALL
BEARING
12
10607
1
P'iMl""
7
I)
/
7'
JJ
'j-
COLLAR
13
10566
1
Jl::d:>tll;
SET
SCREW
i
/4
X
32
L=5,
5
14
10658
1
1tr:1l#cd:>tlt;
POSITION
SCREW
1/4X32
L=5,5
15
10608
1
:mig
I)
/
7'
BALL
BEARING
RETAINING
WASHER
16
10610-01
1
p'
",,)t.- r
7'
-
I)
-
SAFETY
CLUTCH
PULLEY
17
10574
1
7'-1)
-I)
/7'
PULLEY
SPRING
FLANGE
18
10611
1
p'
",,)t.- r
7"-
I)
-IL.'W
SAFETY
CLUTCH
COLLAR
19
10612
2
Jl::d:>tll;
SCREW
1/4X32
L=10,
5
20
10615
1
p''''')t.-
r
7--
I
)-;tR.ttl
SAFETY
CLUTCH
LOCKING
LEVER
SPRING
21
10614
1
P'
",,)~
r
7'-
I)
-¥Jt:
\::'
/
HINGE
PIN
22
10581
1 p' ",,)t.- r f -
I)
-131:
\::'
/
Jl::
Ii)
tl
I;
SCREW
7/32X32
L=7,O
23
10619
1
P'
",,)t.- r 7" -
I)
-
7-
7'
I)
/
7'
SAFE
CLUTCH
THROW
INLATCH
SPRING
24
10618
1 p' ",,)t.- r f -
I)
-/h!!~
SAFE
CLUTCH
RATCHET
CONNECTING
LINK
25
10616
1
P",,)t.-
r
7'-1)
-mit
SAFE
CLUTCH
LOCKING
LEVER
26
10613
1
:r
""
)t.-
,r
7'
-
I)
-mit
\::'
/
HINGE
STUD
27
10581
1
m:@:
\::'
/ Jl::
Ii)
tl
I;
SCREW
7/32 X
32
L=7,
0
28
10617
1
P'
«)t.-
r
7'
I)
-/j,
Jl\
SAFE
CLUTCH
RATCHET
29
10620
1 p' ",,)t.- r
7'
-
I)
-jlfU
\::'
/
SAFE
CLUTCH
THROW
INLATCH
PIN
30
,
31
10723
1
C~Jl::;{
J!iflii
C-
TYPE
STOP
Rl
NG
32
10722
1
iMl~
BEARING
33
34007
1
:i!5
I)
r:J
'7 F
FEED
CONNECTING
ROD
34
34010
1
j!1J~¥-i!
LINK
35
11953
1
tll;
SCREW
7/32 X
32
L=5,
5
36
34011
1
~m
SHAFT
37
34009
1
:i!5
I)
;Q
p.
FEED
ECCENTRIC
38
14114
1
Jl::li)tll;
SCREW
1/4X32
L=6,5
39
14116
1
Jl::li)tll;
SCREW
114
X
32
L=9,
5
40
41
42
34008
1
:j<jlL,I)/7'
FEED
REGULATING
STUD
43
10673
1
7-7'1)/7'
SPRING
44
10674
1 Jl::
Ii)
\::'
/
PIN
45
16708
1
:i!5
I)
iMl
Jltr
t.;'
-5
j;
FEED
ROCK
SHAFT
CRANK
46
19420
1
:i!5
I)
iMlJltr
t.;
-5
j;
**
tl
I;
PINCH
SCREW
1I4X28
L=16,
0
47
11953
1
:i!5
I)
ijim
Jltr
t.;'
-5
j;
\::'
/
Jl::
Ii)
tl
t;
SET
SCREW
7/32 X
32
L=5,5
48
11962
1
:i!5
I)
iMl
Jltr
t.;
-5
j;
\::'
/
FEED
ROCK
SHAFT
CRANK
STUD
49
11954
1
:i!5
I)
iMl
Jltr
t.;
-5
j;
\::'
/
~
:5
OIL
WICK
-
12-

ilit
f&,
:I2S
I) ± i:l,
:I2S
~
$Ib
THROAT
PLATE,FEED
BAR,FEED
ROCK
SHAFT
5 7
\
~
6
2
8
32
liz
27 28
25
30
13
-

iliH&,
~
'J
±
~,
~
'J
~m
THROAT
PLATE,FEED
BAR,FEED
ROCK
SHAFT
NO
i;~~~~
339RB-4
~~
PARTS
NAME
PART
NO
1 1 iftEZ
THROAT
PLATE
2 6031-01 2
iH<
Ii)
tl
t::
SCREW
11/64
X
40
L=9.0
3 11162 1
iH&#!:1i)
tl
t::
SCREW
3.
4 X
36
L=5. 4
4 11163 1 t· Y PIN
5
10061
1
JfJ
t&
(;fI)
BED
SLIDE(RIGHT)
6 1 m
tEZ
ll::
Z}IJ
tEZ
PLATE
7 2
ltli)tlt::
SCREW
11/64
X 40 L=6. 0
8 10042 1
jfj
tEZ
(6::)
BED
SL
I
DE
(LEFT)
9
11166C
1
I~
~tEZ
(~Jn
BED
SLIDE
(FRONT)
COMPLETE
10
13085 1
~
~
tEZll::
Ii)
tl
t::
SCREW
13/64
X
32
L=4.
3
11
10485 1
J!5
I)
tJIiC1I4)
FEED
DOG
12
10601
2
J!5
I) tJIill::li)
tl
t::
SCREW
1/8X40
L=7.0
13
11065 1
J!5
I)
±15
FEED
BAR
14
11066 1
J!5
I)
tJIi~
It
tl
t::
SCREW
1/8X40
L=12. 5
15
11067 1
;-
:l
f-
NUT
16
10595 1
;:r
0)
FEED
LIFTING
CAM
FORK
17
10596 1
;:r
0)
"f.
7
.:L)i-
f-
01
LI
NG
FELT
18
10597 1
l[1i)
tl
t::
SCREW
1/8
X
40
L=3.
3
19
70129 1
;:rO)"f.ltli)tlt::
SCREW
7/32
X
32
L=15. 0
20
10599 1
;:r
0)
'J'y-;,-><:-
WASHER
21
16704 1
J!5
I)
JIm
FEED
DRIVING
ROCK
FRAME
22
18065 2
J!5
I)
JIm#:;fI
tl
t::
PINCH
SCREW
M5XO. 8
L=14.0
23
16705 1
J!51)±l5t
Ytl
t::
FEED
BAR
HINGE
PIN
24
16706 1
J!51)±l5tYtlt::t7
r
NUT
1/4X28
25
11888 1
J!5
I)
fm
FEED
ROCK
SHAFT
26
10588 1
J!5
I)
fm;(
!l
)t.-
(lW)
BUSH
I
NG
(FRONT)
27
10522
1 ;(
!l
Ji-
(J1U)
It
Ii)
tl
t::
SCREW
6.
75
X
24
L=14. 0
28
11068
1
71;--
LINER
29
10761
1
;(
!l
Jt.-
(lW)
It
Ii)
tl
[;
(tJIHlb)
SET
SCREW
6.
75
X
24
L=ll.
0
30
10593 2
J!5
I)
f!Il:iJ
7 -
(lW)
COLLER
(FRONT)
31
10764
4
J[
Ii)
tl
[;
SET
SCREW
6,75
X
24
L=4,5
32
10763 1
J!5
I)
fm;(
!l
J~
({~)
BUSHING
(BACK)
33
10571
1 ;(
!l
J~
(1~)Jlli)
tl
[;
SCREW
6.75
X
24
L=20.0
34
11068 1
71t-
LINER
35
10525 1
;(
!l
J~
(1~)L1::
Ii)
tl
t::
(tJUlb)
SCREW
6.75
X
24
L=9.0
-
14-

}\' '/
'J
V
}\'-,
1'~
I)
[J
'/
""
FEED
REVERSING
LEVER,FEED
DRIVING
ECCENTRIC
CONNECTION
5
1
10
6
31
~~30
29
21
22
-
15-

},' '/
'J
V
}"-~
l'~
I)
a '/ F
FEED
REVERSING
LEVER,FEED
DRIVING
ECCENTRIC
CONNECTION
I
Nol
dMi~
T
NO
339RB-4
~~
PARTS
NAME
1
34031
1
1\
'/
'J
"
1\-
FEED
REVERSING
LEVER
2
10845
1
1\
'/
'J
"'{-~tI
I;
SCREW
15/64 X
28
L=18.
0
3
15208
1
,,'
'/
'J
"
1\-!fIll
FEED
REVERSING
LEVER
SHIFT
4
34019
1
1\
i,
SPRING
5
30618
1
Illi!
ARM
6
1365
1
til;
PINCH
SCREW
15/64 X
28
L=16.
0
7
28152
1
$Ill
SHAFT
8
34027
1
:i1i'Jil/iilfrjIJ'f.,.
FEED
REGULATOR
CAM
9
10519
1
:i1i
'J
il/iilfrj
Ii'
f.,.
tI
I;
SCREW
6.
75X24
L=17.
5
10
11409
1
f;j(~:ut~
ROUNDNESS
CONNECTER
11
11412
2
t'/
t-
NUT
12
34033
1
Jt~;f!j!
LINK
13
34035
1
til;
SET
SCREW
9/64 X
40
L=15.
0
14
34048
1
til;
SCREW
5/16 X
24
L=16.
6
15
34014
1
~jHI:lJQ~llli!r
REVERSE
SEWING
CRANK
16
1365
1
til;
PINCH
SCREW
15/64X28
L=16.0
17
1 :i!3:/il
REVERSE
BLOCK
18
34012
2
fUJi]
SQUARE
BLOCK
19
34013
2
~r*Jfi
QUIDE
PLATE
20
15055
4
7"'7"'1'1
til;
SCREW
11/64 X
40
L=8.
0
21
1
jJ'J-
COLLAR
22
11953
2
.itll)tll;
SET
SCREW
7/32 X
32
L=5.
5
23
34044
1
~r*Jfi
QUIDE
PLATE
24
15060
2
til;
SCREW
5/16 X
24
L=16.
0
25
34040
1
1\
i,
SPRING
26
34028
1
:i1i
'J
il/iil'Rn
:t,
;)
SCREW
BAR
27
18420
1
O'J
/
'1'
O-RING
28
34029
1
!/
1 "\
)v
DIAL
29
18417
1
til;
SCREW
11/64 X
32
L=8.
0
30
18418
1
t'
/
PIN
31
15729
1
'/
)"11;:
1\
:/'
SRRING
-16-

j]
~
±
~(::tl),
j]
~
HOOK
SADDLE.
HOOK
3~33
\&.
31
~
29
1
~~
30
32
23
1
2
3
4
r{44
~45
20~
21
~43
19 I
~42
r
46
~41
I
22~
18---1]
~::
. 6
~
~'4
~U
.~
17
-
17-
8
--------=.J
./
47
~
.
@/
L48
'~
391?~
40 \
38
36

tJ
7 ±€:I(:tl),
tJ
7
HOOK
SADDLE,
HOOK
NO
M~ii=-5
339RB-4
PART
NO
1
15090
1
2
15092
1
'3
15091
1
4
15007
7
5
15095
1
6
11176
1
7
8
10657
1
9
10658
1
10
10767
1
11
10644
1
12
15096
1
13
11176
1
14
15049
1
15
10651
1
16
10727
1
17
10652
1
18
11137
1
19
15050
1
20
10727· 1
21
10573
1
22
15051
1
23
15502
1
24
16407-01
1
25
16407-07 1
26
16407-08 1
27
16407-05 1
28
16407-06 1
29
15040-02 1
30
15040-10 1
31
15040-11
1
32
15040-12 1
33
15502-03 1
34
16407-04 1
35
15041
1
36
15052
1
37
11131
1
38
15093
1
39
15094
1
40
10629
1
41
15048
1
42
10677
1
43
10650
1
44
11145
1
45
11146
1
46
11144
1
47
10647
1
48
10646
1
~~
PARTS
NAME
:J.J
, ±
iJ'
(;tJ)
HOOK
SADDLE(RIGHT)
'/-r;'Yk/
PACKING
:J.J
'±iJ'¥!ll Y
/;7
(;tJ)
OIL
PRSERVIOR(RIGHT)
.Ltb')tll:
SCREW
9/64 X
40
L=10.
0
JJ
A ±
iJ';<
y )t.-
(J::.)
BUSH
I
NG
(UPPER)
.Ltb')tll:
SCREW
7/32 X
32
L7'5.
5
/J\
k'
>;;-
HOOK
DRIVING
PINION(SPIRAL)
-hL
'
IUR
b')
tl
l:
POSITION
SCREW
1I4X32
L=5.5
.Ltb')tll:
SET
SCREW
114
X
32
L=4.
5
7Y,/"(-
WASHER
.1J
b')
±
iJ';<
Y )t.- en
BUSH
I
NG
(LOWER)
11::b')tll:
SCREW
7/32 X
32
L=5.
5
or-7"t-±iJ'
BOBBIN
CASE
OPENER
LEVER
b')
1.><
tl
t' /
OPENER
LEVER
DRIVING
SCREW
STUD
b')
1.>'
tl t' / 7
.:t:.
)t.- r
FELT
t Y r
NUT
11164 X
40
or
-
7·
t
-±
iJ'
t·
/
;,
1
7·
NUT
11/64X41
or-7t-±iJ't/
OPERER
LEVER
HINGE
STUD
or
-7· t
-±
iJ'
t'
/7
.:t:.)t.-
r
FELT
.Ltb')tll:
SET
SCREW
7/32 X
32
L=II. 0
JJ
'
:i£M
;<
1.>'
:j,
BOBBIN
CASE
LEVER
LINK
.1J
'
(~JD
HOOK
COMPLETE
YI,:t;
,
*~1*J1I!Z
Jl::b')tll:
jek'
>;;-
HOOK
DRIVING
GFAR
ffi:lf.¥;k:b')tll:
POSITION
SCREW
1I4X40
L=4
.Ltb')tll:
SET
SCREW
1I4X40 L=6.5
*~.::y:tf
tl
*~.::y:
[;f
tl.Lt
b')
tl
l:
SET
SCREW
*~.::y:
[;f
tl~.::y:
tl
l:
CP:J.J'f/fl,t
HOOK
BIG
CP:J.J'f/fl,t.Ltb')tll:
HOOK
BIG
SCREW
* t' /
BOBBIN
;t
1 )t.-
'/-
oj
OIL
GAUGE
;t
1
)v
'j
-oj
OIL
GAUGE
GUIDE
TUBE
¥!ll~1frJ
!/
1
>;;
)t.-
OIL
REGULATING
SCREW
0')
/;7
O-RING
¥!ll~1frJ
!/
1
>;;
)v.Lt
b')
tl
l:
SET
SCREW1/8X40
L=8
* t'
/7-7-
;f-7t-
BOBBIN
CASE
LEVER
77
,/"(-
WASHER
;t
-
7·
t
-±
iJ'.Lt
b')
tl
l:
SCREW
3.
4 X
36
L=6.
0
JJ
' ±
iJ'
*!fiN
[t
:J.J
'7
-
(J::.)
PINCH
SLEEVE
(UPPER)
JJ
' ±
iJ'**i>J
[t
:J.J
'7
-
CF)
PINCH
SLEEVE
(UPPER)
JJ
' ±
iJ'#''li'iN
[t
tl
l:
PINCH
SLEEVE
SCREW
7/32 X
32
L=32.
0
7Y,/"(-
WASHER
JJ'±iJ'.Ltb')tll:
SCREW
6.
75
X
24
L=28.
0
-
18-

1J
-c:r
±
~(2i:)~
1J-c:r
HOOK
SADDLE~
HOOK
44
~36
45-----t:l
46~
37--0
2
3
l-~
27
38
4
-
19-

t.J"<
±~(:tc),
13"<
HOOK
SADDLE,
HOOK
NO
tm~jf~
339RB-4
PART
NO
1
15520
1
2
15092
1
3
15521
1
4
15007
7
5
15095
1
6
11176
1
7
8
10657
1
9
10658
1
10
10767
1
11
10644
1
12
15096
1
13
11176
1
14
15049
1
15
10651
1
16
10727
1
17
10652
1
18
11137
1
19
15050
1
20
10727
1
21
10573
1
22
15051
1
23
15502
1
24
16407-01
1
25
16407-07
1
26
16407-08
1
27
16407-05
1
28
16407-06
1
29
15040-02
1
30
15040-10
1
31
15040-11
1
32
15040-12
1.
33
15502-03
1
34
16407-04
1
35
15041
1
36
15052
1
37
11131
1
38
15093
1
39
15094
1
40
10629
1
41
15048
1
42
10677
1
43
10650
1
44
11145
1
45
11146
1
46
11144
1
47
10647
1
48
10646
1
~~
PARTS
NAME
:!J
"7
±
J§J
(E:)
HOOK
SADDLE(LEFT)
:/
- r
/~
7
'"
/'
PACKING
:!J
"7
±J§J¥m!l
/'
7
(E:)
OIL
PRSERVIOR(LEFT)
Itl1:>tlt;
SCREW
9/64X40
L=10.0
JJ
.b.
±
J§J..><
!l
Jt..
(1:)
BUSH
I
NG
(UPPER)
Itl1:>tlt;
SCREW
7/32 X
32
L=5.
5
+k'
-"'-
HOOK
DRIVING
PINION(SPIRAL)
lli:.i'~l1:>tlt;
POSITION
SCREW
1/4X32
L=5.5
Li::l1:>tlt;
SET
SCREW
1/4X32
L=4.5
77:/"\-
WASHER
JJ
11:>
±
J§J..><
!l
J("
en
BUSH
I
NG
(LOWER)
Itl1:>tlt;
SCREW
7/32 X
32
L=5.
5
;t
-7'
t
-±J§J
BOBBIN
CASE
OPENER
LEVER
11:>
fJ'
tl
1::"
/'
OPENER
LEVER
DRIVING
SCREW
STUD
11:>
fJ'
tl
1::"
/ 7 ..:L
J("
r
FELT
t 7 r
NUT
11/64 X
40
;t-7't-±J§JI::'
/'/~
17'
NUT
11/64X41
;t-7'
t-±J§J
I::
/'
OPERER
LEVER
HINGE
STUD
;t -
7'
t
-±
J§J
I::
/'7
.:c.
Jt..
r
FELT
Itl1:>tlt;
SET
SCREW
7/32 X
32
L=l1.
0
JJ
"7
:i!*t
..><
fJ'
:f'
BOBBIN
CASE
LEVER
LINK
JJ
"7
(~J3.)
HOOK
COMPLETE
:7~:!J
"7
*~i*J,fR
,tl1:>
tl
t;
:k.k'
-"'-
HOOK
DRIVING
GFAR
1fL
.i'
~
11:>
tl
t;
POSITION
SCREW
1/4X40
L=4
Itl1:>tlt;
SET
SCREW
1/4 X
40
L=6.
5
*~~Ii
tl
*~~
Ii
tlIt
11:>
tl
t;
SET
SCREW
*~~(ftl~~tlt;
CP:!J"7.jijl,t
HOOK
BIG
CP:!J"7.jijl,tItl1:>tlt;
HOOK
BIG
SCREW
if
1::'
/'
BOBBIN
;t 1
Jt..
'f
-
'/
OIL
GAUGE
;t 1
Jt..
'f
-
'/
OIL
GAUGE
GUIDE
TUBE
¥m~l1ff
'/
1
-'"
Jl.-
OIL
REGULATING
SCREW
0')
/'7
a-RING
¥m~l1ff
'/
1
-'"
Jv
It
11:>
tl
t;
SET
SCREW1/8X40
L=8
if
1::'
/'7--7-
;t-7"T-
BOBBIN
CASE
LEVER
77:/"\-
WASHER
;t-7't-±J§JItl1:>tlt;
SCREW
3.
4 X
36
L=6.
0
JJ
"7
±
J§J#'WH
It
:!J
:7
-
(1:)
PINCH
SLEEVE
(UPPER)
JJ"7
±
J§J,m'H
U
:!J
:7
-
en
PINCH
SLEEVE
(UPPER)
jJ
"7
±
J§Jf.?ri'i1i
It
tl
t;
PINCH
SLEEVE
SCREW
7/32 X
32
L=32.
0
77:"'''\-
WASHER
}J
"7
.±
J§JLt
11:>
tl
t;
SCREW
6.
75
X
24
L=28.0
-
20-

~~-r*&
TENSION
-
21-
14

~fflJTf&
TENSION
NO
'itIl&Mi~
PART
NO
1
10961-C
2
10961
3
10957
4
10952
5
19531
6
19532
7
19533
8
28206
9
19513
10
10962
11
10953
12
10694
13
B144682
14
19534
15
10678
16
19422
17
10690
18
10650
19
20
15517
21
15055
22
10720
339RB-4
1
1
1
1
4
2
2
2
2
1
1
2
1
1
1
2
1
1
1
1
1
&b~
PARTS
NAME
~IWf
;fR
fr.:i!
(<!J
l.
4)
TENSION
BRACKET
COMPLETE
~-=f;fR
TENSION
BRACKET
*:L
)v
;<
llil:
t:"
/
TENSION
RELEASE
PIN
*
:L
)v
;<
fR
t'
/ (-N: )
TENSION
RELEASE
PIN
(LONG)
~-=fJ1ll
TENSION
DISC
1l,-J1Il
TENSION
RELEASE
WASHER
'J
)v;g
(f
tl
SPRING
o-t--:>r1.r
'7
J'\-
THUMB
NUT
REVOLUTION
STOPPER
o-t--:>
I-j":>
r
THUMB
NUT
COMPLETE
*~T*,
( )
THREAD
CONTROLLER
STUD
*'711.7'1)
/7'
THREAD
TAKE-UP
SPRING
.=1!J1Il
PLATE
COMPLETE
.=1!IIlLLl:
/J)
tl
!;.
SCREW
3/32X56
L=6.0
o-t--:>rj":>r
NUT
*
:L
)v
;<
;fR
TENSION
RELEASE
PLATE
*
:L
)v
;<
;fR¥3:
tl
!;.
SCREW
1.fl)/7''Ji:..
STOPPER
A
7'
I)
/
7''Ji:...Ll:/J)
tl!;.
SCREW
SM9/64X40
L=6
**m
THREAD
RETAINER
**m.Ll:/J)tl[;.
SCREW
11164
X
32
L=9.0
*
:L
)v;<
t'
/
(-N:)
TENSION
RELEASE
PLATE
ROD
-
22-

~jm
TENSION
20~
21~
18~
1~
~,~
/ j
8
-
23-
~
.......
~(t©J
....
@
....
:;:.:
<;>~Qj24
@>
23
22

~jffl
TENSION
NO
$8MIf~
PART
NO
1 15063C
3
15087
4
6333
5 15067C
8
15088
9
6333
10
15085
11
6333
12
15064C
15
15097
16
6333
17
15077
18
11106
19
11108
20
11085
21
11069
22
11070
23
11071
24
11069
399RB-4
1
1
1
1
1
1
1
1
1
1
1
1
1
1
1
1
2
2
4
&&.%
PARTS
NAME
1::'
::::.
-
J"
1-
:J.
-
7'
(#J1)
OIL
TUBE
AND
OIL
WICK
1::'
::::'-J"
1-:J. 7'¥j3
,t
(A)
RETAINER
Ji<Y.>tll:
SCREW
9/64 X
40
L=6,
5
1::'
::::.
-
J"
1-
:>.
--
7'
(~)
OIL
TUBE
AND
OIL
WICK
1::'
::::.
-
J"
1-
:J.
-
7'
¥j3,t
(B)
RETAINER
Ji<Y.>tll:
SCREW
9/64 X
40
L=6,
5
1::'
::::.
-
J"
1-
:>.
-
7'
¥j3
,t
(C)
RETAINER
Ji<Y.>tll:
SCREW
9/64 X
40
L=6,
5
1::'
::::.
-
J"
1-
:>.
-
7'
(#JD
OIL
TUBE
AND
OIL
WICK
I::'::::'-J"
1-:>.
7"¥j3
,t
(D)
RETAINER
Ji<Y.>tll:
SCREW
1I4X32
L=13,0
",:),
~'nIl:Y:'-
7
BED
OIL
TUBE
CLAMP
nIl!J
:.-
7 7
:L
Jl--
~
OIL
FELT
Ji<Y.>tll:
SCREW
1I4X32
L=13,
0
r
$tlJ)I
!J
J"
nIl;ji
OIL
STOP
SCREW
7/16X28
r
$tlJ)I
!J
Jl--
7
:L
Jl--
~
OIL
FELT
:i!
I)
:oF)I
!J
J"
nIl;ji
OIL
STOP
SCREW
7/16X28
nIl;jiJ~
:)'
.\'-
:.-
PACKING
:is
I)
:oF)I
!J
Jl--
7
:L
Jl--
~
OIL
FELT
-
24-

~m~~
ACCESSORIES
AND
ATTACHMENTS
37
40
5
13
I A
\~
39
$
~
31
30
~
28
~8
32
36
12
-
25-

~11~J%
ACCESSORIES
AND
ATTACHMENTS
NO
Jm&1~-5
339RB-4
&~
PARTS
NAME
PART
NO
, 1
35254
1
Ji,.1L-C-t-;;
~
THREAD
UNWINDER
COMPLETE
2
11887
4
~::.-/~
MACHINE
REST
4
6055
4
~J
NAIL
5
11886
2
~y/t/PJt
MACHIN
HINGE
CONNECTION
CUSHION
6
6055
4
~J
NAIL
7
11885
2
~
y
/'
t/y
MACHIN
HINGE
CONNECTION
8
15080
1
t1lJ~(t
DRIP
9
15081
6 *tlL;
DRIP
PAN
NAIL
10
15082
1
t1lJ
U'
Iv
DRIP
PAN
DRAIN
JAR
11
10735
1 u
~
J:
(t
-t
'7
~
KNEE
LIFTER
COMPLETE
12
6052
3
*tlL;
KNEE
LIFTER
SCREW
13
15101
1
Ji,.;g
~
-t
-;;
F
BOBBIN
WINDER
COMPLETE
25
N0122
3
it
NEEDLE
26
15041
4
;t:
t"
;;
BOBBIN
27
8121
1 r
'7
1
IL
(+)
SCREW
DRIVER(SMALL)
28
8120
1 r
'7
1
""-(cp)
SCREW
DRIVER(MIDDLE)
29
8118
1 r
'7
1
,,"-
(:k)
SCREW
DRIVER(LARGE)
30
10747
1 /\ftJ
I.--
;;
1-
0/16
1
;;
1-)
WRENCH
31
11487
1
/\
ftJ
I.--
;;
1-
(3
~
I)
WRENCH
32
11969
1
7\ftJ
I.--
;;
1-
(2. 5
~
I)
WRENCH
34
8125
1
t1lJ;§:L-
OILER
36
11193
1
t1lJ
OIL
37
8132-B
1
fm.ffl£~
ACCESSORIES
PACK
38
10718
1 );1/::1,1.--;;1-
DOUBLE
HEAD
WRENCH
39
10730
1
YEm
CLOTH
EDGE
GUIDE
40
10731
1
YEmt.t<li.>tlL;
SCREW
13/64 X
32
-
26-

~f;J
~ ~
D
ATTACHMENTS
ACCESSORIES
AN
10
6
13
14
16
-
27-

~11~~
ACCESSORIES
AND
ATTACHMENTS
NO
tm&b~-'%
PART
NO
399RB-4
&b~
PARTS
NAME
1
15098
1
~)t.-
~
ii'
-
J-"
BELT
GUARD
2
11162
2
It
If>
tl
t;
(J:)
SCREW
3.
4 X
36
L=5.
4
3
10650
1
ltlf>
tl
t;
Cf)
SCREW
3.
4 X
36
L=6.
0
4
11142
1
r;'7,/~-
WASHER
5
15099
1
~)t,.
~
iI'-
r
(J:)
fJ
1"-
BELT
GUARD
(TOP)
COVER
6
12418
2
ltlf>tlt;
SCREW
13/64 X
32
L=9.
0
7
15121
1 ,,,)t.-
~
ii'
-r
("'f)
fJ
I{-
BELT
GUARD
(BOTTOM)
COVER
8
15122
1
~)t,.
~
iI'-
r
CF)fJ/{
(/J\ )
BELT
GUARD
(BOTTOM)
COVER
(SMALL)
9
11830
1
ltlf>tlt;
SCREW
9/64 X
40
10
15081
2
*tlt;
SCREW
11
16287
2
r;'7'/~-
WASHER
15
10937-01
1 7 1
/'
iI'-il'-
r
FINGER
GUARD
16
10749
1
ltlf>tlG
SCREW
3.
4 X
36
L=11.
0
17
10677
1
r;'7'/~-
WASHER
-
28-