ACE&EASTMAN Consew 756R 3 Parts Book User Manual
2016-09-22
User Manual: ACE&EASTMAN Consew 756R-3 Parts Book
Open the PDF directly: View PDF
.
Page Count: 26

£,11
Nt
;1
Ilii.B
L CONSOLIDATED SEWING MACHINE CORP.
PARTS
MANUAL
FOR
MODELS
756R·3 & 757R·3
Extra Heavy Duty, Single Needle
Lower, Needle & Upper Feed (Compound Feed)
Alternating Presser Feet Lockstitch Machine
Model 756R-3: Long Cylinder Arm (15-3/4")
Model 757R-3: Long Arm Flatbed (15-3/4")
Specifications subject to change without notice.
©2004
Consew -204- Printed
in
USA

PARTS MANUAL
FOR
CONSEW
MODELS
756R-3
AND
757R-3
Table
of
Contents
PAGE
A. -
FRAME
& MISOELLANEOUS
OOVER
OOMPONENTS- -
-'-
2-3
B.
-
MAIN
SHAFT
OOMPONENTS
-------------
-
4-5
c. --
NEEDLE
BAR'
UPPER
FEED
MEOHANISM
OOMPONENTS·-
6-15
D.
-
PRESSURE
BAR
OOMPONENTS
------------.-
16-17
E. -
FEED
MEOHANISM
OOMPONENTS
-----------.-
18-21
F.
-HOOK
DRIVING
SHAFT
COMPONENTS---------
-
22-25
G.
-TENSION POST
OOMPONENTS
------------
-
26-27
H
..
-THREAD
WINDER
&
THREAD
GUIDE
OOMPONENTS----
28-31
I.
-
KNEE
LIFTER
OOMPONENTS
- - - - - - - - - - - - - -
32-33
J.
-BELT
COVER
OOMPONENTS
-------------
-
34-35
K. -THREAD STAND
OOMPONENTS
------------ -
36-37
L. -TABLE OOMPONENTS
------------------
38-39
M. -AOCESSORIES PARTS COMPONENTS ----------
40-41
N.
-NUMERICAL
PARTS-LIST
---------------.
42-44

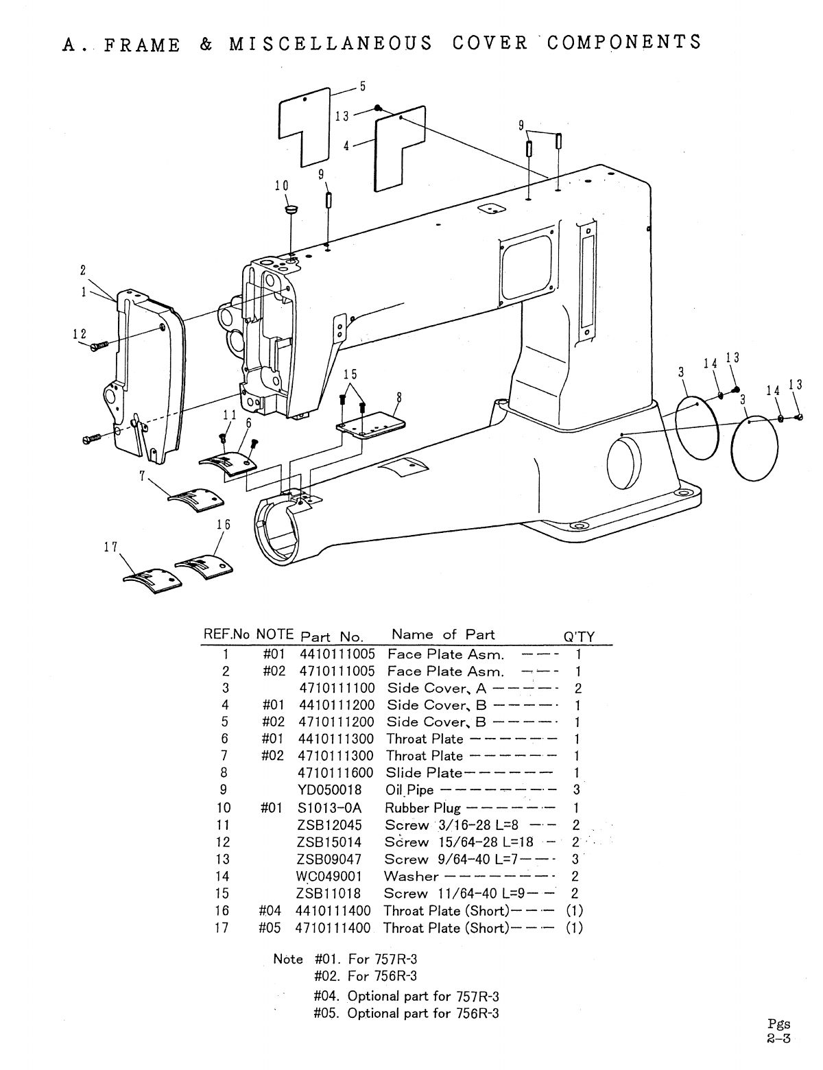
A.FRAME
&
MISCELLANEOUS
COVER
'COMPONENTS
REF.No NOTE
Part
No.
Name
of
Part
OTY
1 #01 4410111005
Face
Plate
Asm.
1
2
#02
4710111005
Face
Plate
Asm.
1
3
4710111100
Side
Cover,
A
-----
2
4 #01
4410111200
Side
Cover,
B
----.
1
5 #02
4710111200
Side
Cover,
B
----.
1
6
#01
4410111300
Throat
Plate
- - - - - - 1
7 #02
4710111300
Throat
Plate
- - - - - - 1
8
4710111600
Slide
Plate-
---
--
1
9 YD050018 Oil.Pipe
-------.-
3
10 #01
S1013-0A
Rubber
Plug -----
,-
1
11
ZSB12045
Screw'
3/16-28
L=8
-.-
2
12 ZSB15014
Sdrew
15/64-28 L=18
.-
2
.'
13
ZSB09047
Screw
9164-40
L=7
- - - 3
14 W.C049001
Washer
--------
2
15
ZSB11018
Screw
11164-40
L=9-
-2
16 #04 4410111400
Throat
Plate
(Short)-
-
.-
(1)
17
#05
4710111400
Throat
Plate
(Short)-
-
.-
(1)
Note #01.
For
757R-3
#02.
For
756R-3
#04. Optional
part
for 757
R-3
#05. Optional
part
for 756R-3 Pgs
2-3

B. MAIN
30
SHAFT COMPONENTS
.No
NOTE
Part
No.
Name
of
Part
Q'TY
1
2
3
4
5
6
#01
7 #02
8
9
10
11
12
13
14
15
16
17
18
19
20
21
22
23
24
25
25
32
26
29 26
-
28
27
#03
31
28
#03
29
30
31
32
15
4710120101 -
Main
Shaft----------
1
4710120201 -
Main
Shaft
Bushing,
Front
--
1
4710120300 -
Main
Shaft
Bushing,
Center
-1
4710120400 -
Main
Shaft
Bushing,
Rear
-.
1
4710191301 -
Thread
Take
Up
Cam------
1
4410121000 .
Needle
Bar
Crank
Rod-
-
---
1
4710121000
Needle
Bar
Crank
Rod-
-
---
1
4710121100
Crank
Plate
----------
1
4710121300
Needle
Bar
Crank
Shaft
-_
..
1
4710122000
Feed
Cam
----------
1
4710122100
Side
Plate
----------
1
4710122304
Hand
Wheel
Asm.
- - - - - .. 1
4710122500
Felt
------------
.. 3
4710122601
Thrust
Collar-
- - - - -
---
1
XA200160 Oil
Wick------------
2
ZSA15010·
Screw
15/64-28
L=15
----
3
ZSH16001
Screw
114-40
L=6
------
2
YB040045
Tapered
Pin
4.0X45
-----
1
ZSL18001
Nut
9/32-28
---------
1
ZSC18001
Screw
9/32-28
L=11
----- 2
ZSH15001
Screw
15/64-28
L=7
- - -
--
2
ZSC11007
Screw
11/64-40
-------
2
ZSD20003
Screw
5/16-24
L=21
-----
2
ZSA16025
Screw
114-40
L=6
- - - -
--
2
4710190100
Thread
Take
Up
Lever-
- -
-.
1
4710190200
Roller
------------
1
4710190220
Roller
------------
(1)
4710190230
Roller
------------
(1
)
4710190300
Roller
Stud-
- -
---
-
--'
1
ZSG20012
Hinge
Screw---------
1
REOOO040
E-Shaped
Snap
Ring
(4mm)- 1
ZSL18001
Nut
9/32-28
---------
1
Notes #01. For 757R-3
#02. For 756R-3
#03. Elective
part
Pgs
4-5

c.
NEEDLE
BAR·UPPER
FEED
MECHANISM
COMPONENTS
(For757R-3)
1 9
9
20
19
REF.No
NOTE
Part
No.
Name
of
Part
Q'TY
1
#01
4410142100 Driving
Shaft-
------
--
1
2
#01
4410145600 Driving
Shaft
Front Metal
---
3
#01
4710142201 Driving
Shaft
Rear
Metal -
--
4
#01
4410142300 Driving
Shaft
Rod,
Front-
--
5
#01
4410142400 Driving
Shaft
Rod,
Rear
-
--
6
#01
4410141900 Driving Shaft Rear
Arm
Pin
---
7
#01
4410143100 Frame Driving
Link
- - - - -
--
8
#01
ZSK18019
Hinge
Screw---------
2
9
#01
4410142000 Frame Driving
Rod
- - - - -
--
1
10
#01
LG4043-0A
Thrust
Collar
D=18
W=12
- - - 2
11
#01
ZSA16010
Screw
114-40
L=4.5
- - -
---
4
12
#01
ZSA15028
Screw
15/64-28
L=7
- - -
--
13
#01
ZSA15028
Screw
15/64-28
L=7
- - -
--
14
#01
ZSH16005
Screw
114-40
L=4.5
-----
15
#01
ZSB15015
Screw
15/64-28
L=14.5
----
16
#01
ZSD20011
Screw
5/16-18
L=23
-----
17
#01
ZSD20009
Screw
5/16-18
L=25
-----
1
18
#01
ZSK20009
Hinge
Screw---------
2
19
#01
REOOO080
E-Shaped
Snap
Ring
(8mm)-
2
20
#01
REOOO080
E-Shaped
Snap
Ring
(8mm)-
2 Notes #01. For 757R-3 Pgs
6-7

C.
NEEDLE
BAR-UPPER
FEED
MECHANISM
COMPONENTS
(For757R-3)
REF.
TE
No
NO
Part
No.
1
#01
4410140100
2
#01
4410270100
3
#01
4410140900
4
#01
IN794#230
5
#01
4410140200
6
#01
4410143700
7
#01
4410272300
8
#01
4410272200
9
#01
4410270200
10
#01
4410273000
11
#01
4410270400
12
#01
ZMH06005
13
#01
ZMH06010
14
#01
ZMH06005
15
#01
ZSB11022
16
#01
ZSH16005
17
#01
ZMH06005
24
Name
of
Part
30
1 9
Q'TY
RJ;;.
NOTE
Part
No.
1 18
#01
ZMJ06002
19
#01
ZSB11076
20
#01
ZSB15004
21
#01
XA200100
22
#01
4410150100
23
#01
4410143600
24
#01
4410143300
25
#01
4410151000
26
#01
4410142900
27
#01
ZSB11041
28
#01
ZSK18019
29
#01
REOOO080
30
#01
4410151100
31
#01
ZSB11042
1~
14
3
16
5
15
4
Name
of
Part
Q'TY
Screw
M6
L-21
-----
- 1
Screw
11/64-40
L=12
- -
--
Screw
15/64-28
L=1O.5
- -
-.
Oil
Wick----------·
Upper Feed Bar
-------.
L
Link
------------
Upper Feed Frame Driving
Link
-
Pressure
Foot - - - - - - - - 1
Upper Feed Bar Pin - - - - - - 1
Screw
11/64-40
L=7
- - - - - 1
Hinge
Screw--------
1
E -
Shaped
Snap
Ring
(8mm)· 1
Guide
Plate
--------
1
Screw
11/64-40
L=4.5
- - - - 3
Needle
Bar---------
Frame Driving Base - - - -
--
Needle
Bar
Connection-
--
Needle (794 Nm=230-4) - -
-.
Needle
Stopper
------
--
Pressure
Plate ------
--
Setting
Shaft
- - - - - - - - .
Setting
Plate
--
- - -
----
Frame Driving Base
Shaft
-
--
Frame Driving Base
Shaft
Metal -
Frame Driving
Base
Guide - - -
Screw
M6
L=12
------.
Screw
M6
L=10-------
Screw
M6
L=12
------.
Screw
11/64-40
L=7
---
--
Screw
1/4-40
L=4.5
-----2
Screw
M6L=12
-------
Notes #01. For 757R-3
Pgs
8-9

13
10
6
c.
NEEDLE
BAR·
UPPER
FEED
MECHANI
SM
COMPONENTS
(For
756R-3)
35
REF.No
NOTE
Part
No.
1
#02
4710140100
2 #02 4710140400
3 #02 4710140500
4 #02 4710140700
5 #02 4710140900
~12
6 #02 IN794#230
7 #02 4710141200
8 #02 4710141300
9 #02 ZSA15013
10
#02 ZSA 16039
11
#02 ZSB 15032
12
#02
ZSB11030
13
#02 ZSB11076
14
#02 4710142000
15
#02 4710142101
16
#02 4710142201
17
#02 4710142301
18
#02 4710142401
19
#02 4710142500
20
#02 4710142600
21
#02 4710142700
22
#02 4710142800
23
#02 4710142900
24
#02 4710143000
25
#02 4710143900
26
#02 ZSK20009
27
#02 4710140500
28
#02 LG4043-0A
29
#02 ZSA 16010
30 #02 ZSA 15028
31
#02
ZSH
16002
32 #02 ZSH16001
33
#02 ZMJ06002
34
#02 LG1274-0A
35 #02
ZSA
15028
36 #02
ZSA
15028
37
#02 YD025014
Notes
#02. For 756R-3 38 #02 ZSB11057
39
#02 ZSL11004
40
#02 RE000080
Name
of
Part
Q'TY
Needle
Bar
1
Needle
Bar
Bushing,
Upper-
1
Needle
Bar
Bushing,
Lower-
1
Needle
Bar
Thread
Guide
- - 1
Needle
Bar
Connection
- - - 1
Needle (794
Nm=230)
- - - - 1
Needle
Bar
Cover
- - - - - 1
CoverPlate---------
1
Screw
15/64-28
L=3.4
- - - - 1
Screw
114-40
L=2.5
- - - - - 1
Screw
15/64-28
L=14
- - - - 2
Screw
11/64-40
L=6.5
- - - - 1
Screw
11/64-40
L=12
- - - - 2
Lengthwise
Feed
Rod
- - - 1
Driving
Shaft
--------
1
Bushing,
Rear-
- - - - - - - 1
Driving
Shaft
Rod,
Front-
- - 1
Driving
Shaft
Rod,
Rear
- - - 1
Upper
Feed
Control
Bracket
- 1
Shaft
------------
1
Brock
------------
1
Screw
-----------.
1
Shaft
------------
1
Nut
-------------
1
Control
Lever
--------
1
Hinge
Screw---------
2
Bushing
----------
1
Thrust
Collar
D=18
W=10
- - - 1
Screw
114-40
L=4.5
- - - - - 2
Screw
15/64-28
L=7
- - - - - 1
Screw
114-40
L=8.5
- - - - - 1
Screw
114-40
L=6
------
1
Screw
M6
L=15
-------
1
Thrust
Collar
D=9.53
W=10
-
-.
1
Screw
15/64-28
L=7
- - - - - 2
Screw
15/64-28
L=7
-----
1
SpringPin2.8X14
------
1
Screw
11/64-40
L=24
- - -
-'
2
Nut
11/64-40
--------·2
E-Shaped
Snap
Ring
(8mm)-
2
29
40
Pgs
10-11

C.
NEEDLE
BAR·
UPPER
FEED
MECHANISM
COMPONENTS
(For
756R-3)
REF.No
NOTE
1 #02
2 #02
3 #02
4 #02
5 #02
6 #02
7 #02
8 #02
9 #02
10 #02
11
#02
12 #02
13
#02
14 #02
15
#02
16 #02
17 #02
18 #02
19
#02
20 #02
21
#02
22 #02
·23
#02
24 #02
19
22
10
1 8
1 2
5
1 7
~
Part
No.
Name
of
Part
4710143100
Rod
--------------.
4710143200
Upper
Feed
Rod
---------
4710143300
Upper
Feed
Link
A
-------
4710143400
Upper
Feed
Link
B
-------
4710143500
Upper
Feed
Link
Bracket
----
4710143600
Bracket
-------------
4710143700
Supporting
Plate
--------
4710143800
Walking
Foot
(Standard)-----
ZSK20006
Hinge
Screw-----------
ZSK18019
Hinge
Screw-----------
ZSK18019
Hinge
Screw-----------
4710144100
Spring
Guide
Bar
--------
ZSG11058
Hinge
Screw-----------
ZSF18001
Adjusting
Thumb
Screw
-----
ZSL18003
Nut
9/32-28
-----------
4710144200
Spring
-------------
E1288-0A
Retaining
Plate-
- - - - - - -
-.
REOOO080
E -
Shaped
Snap
Ring
(8mm)-
--
REOOO080
E-Shaped
Snap
Ring
(8mm)---
ZSK18019
Hinge
Screw-----------
ZS815005
Screw
15/64-28
L=12
------
REOOO080
E-Shaped
Snap
Ring
(8mm)---
ZS815005
Screw
15/64-28
L=12
------
ZS811026
Screw
11/64-40
L=9.5
- - - - - -
16
2
7
8
Q'TY
2
2
1
2
2
1
2
2 Notes #02. For 756R-3
2
1 Pgs
12-13

C.
NEEDLE
BAR·UPPER
FEED MECHANISM COMPONENTS
REF.No
NOTE
1
2
3
4
5
9
Part
No.
Name
of
Part
4710144401
Driving
Cam
-----------
4710144500
Connecting
Rod
--------
4710144600
Driving
Shaft
Arm,
Front
----
4710144700
Driving
Shaft
Arm,
Rear
----.
4710144800
Feed
Rocker
Shaft
- - - - -
--
6 4710144900
Bushing,
Front
--------
7 4710145000
Bushing,
Rear---------
Q'TY
8 4710145100
Rod
--------------
1·
9 ZSG22002
Hinge
Screw-
- - - - - - - -
-'
1
10
WH208005
Washer
------------
1
11
ZSK18019
Hinge
Screw--
- - - - -
--
-.
2
12
ZSA16025
Screw
114-40 L=6
--------
2
13
ZMJ06002
Screw
M6
L=21
---------
1
14
ZSD20011.
Screw
5/16-18
---------
1
15
ZSL22001
Nut
11132-28
----------
1
16
ZSA 15028
Screw
15/64-28
L=7
- - - - - - - 2
17
RE000080
E-Shaped
Snap
Ring
(8mm)--'
2
Pgs
14-15

D.
PRESSURE
BAR COMPONENTS
8
21
3
22
~
25
7
6
23
17
30
19
1
4
30
2
15
27
18
32
13
16
~
REF.
No.
NOTE
Part
No.
Name
of
Part
Q'TY
REF.
No.
NOTE
Part
No.
Name
of
Part
Q'TY
1 4710150100
Presser
Bar
-------
1
19
4710151700
Guide
Plate
-------
1
2 4710150200
Presser
Bar
Bushing-
--
1
20
4710151800
Thrust
Collar-
- - - -
--
1
3 4710150300
Screw
----------
1
21
4710151900
Roller
Follower-
- - - - - 1
4
#01
4410150400 Spring
----------
1 22 4710152000
Guide
Pin
--------
1
5 #02 4710150400 Spring
----------
1
23
ZSH16005
Screw
1/4-40
L=4.5
---~
2
6
#01
4410150500
Presser
Bar
Guide
Bracket
1
24
ZSA16039
Screw
1/4-40
L=2.5
----
1
7 #02 4710150500
Presser
Bar
Guide
Bracket
1
25
#01
ZS812002
Screw
3/16-28
L=12
---
2
8 4710150600
Hand
Lifter
Link
----- 1 26 #02 ZSH16001
Screw
1/4-40
L=6
-----
2
9 4710150700
Hand
Lifter
Cam
- - - - -
27
ZS809061
Screw
9/64-40
L=13.5
-
--
10
4710150800
Hand
Lifter
Lever-
- - - - 28 ZSL09001
Nut
9/64-40
-
--
----.
1
11
#01
4410143805 Pressure Foot (Standard) Asm. 1
29
ZSJ16001
Screw
1/4-40
L=6.5
----
1
12
#01
4410143800 Pressure Foot
(Standard)-
--
(1) 30 ZS812016
Screw
3/16-32
L=l
0-
-
--
2
13
#01
4410152500
Guard--
- - - - -
---
(1)
31
WA100009
Collar
----------
1
14
#02 4710151005 Pressure Foot (Standard) Asm. 1
32
Y0030020
Spring
Pin
3.0X20
---_.
1
15
#02 4710151000 Pressure Foot
(Standard)-
--
(1)
16
#02 4710152500
Guard----------
(1) Notes #01. For 757R-3
17
4710151500
Nut
-----------
1 #02. For 756R-3
18
4710151600
Grip-----------
1
Pgs
16-17

E.
FEED
MECHANISM
COMPONENTS
( 1 / 2)
1 0
~
1 7
1 8
1 6
1 9
R~[.
NOTE
Part
No.
Name
of
Part
Q'TY
1 4710160100
Feed
Bar
--------
1
2 4710160200
Feed
Bar
Link
------
1
3 4710160300
Driving
Shaft-
- - - - - - 1
4 4710160404
Feed
Rocker
Shaft
- -
--
1
5 4710160600
Bushing,
Front
-----
1
6 4710160700
Bushing,
Rear
- - - -
--
1
7
#01
4410160800
Feed
Rocker
Shaft
Crank-
1
8 #02 4710160800
Feed
Rocker
Shaft
Crank-
1
9
#01
4410161400 Feed
Dog
---------
1
10 #02 4710161400 Feed
Dog
--------·1
11
4710161700 Driving
Shaft
Metal-
- - - 1
12 4710162100
Feed
Bar
Presser
- - - - 1
13
ZSK20007
Hinge
Screw-------
1
14 ZSK20009
Hinge
Screw-
- - - - - - 1
15
ZSK20009
Hinge
Screw-------
1
16 ZSG16024
Hinge
Screw
D=7.94
L=8
- 1
17
ZSL 16004
Nut
114-24
-------·1
28 23
22
1 5
REF. P N
No
art
o.
Name
of
Part
Q'TY
18 ZSB11041
Screw
11/64-40
L=7
- - -
--
1
19
REOOO080
E-Shaped
Snap
Ring
(8mm) 1
20 ZSA15037
Screw
15/64-28
L=l
0.5
- - - - 1
21
ZMJ06004
Screw
M6
---------
2
22
REOOO080
E-Shaped
Snap
Ring
(8mm) 1
23
ZSA16029
Screw
1/4-40
L=3.5
- - -
--
4
24
ZSB11035
Screw
11164-40
L=6-
- - - - 2
25
ZSA15028
Screw
15/64-28
L=7
-----
1
26
ZSA15037
Screw
15/64-28
L=10.5----
1
27
LG4044-0A
Thrust
Collar
D=14.72
W=10--
28
LG4014-0A
Thrust
Collar
D=11.11
W=lO--
Notes #01. For 757R-3
#02. For 756R-3
Pgs
18-19

E,
FEED
MECHANISM
COMPONENTS
(2/2)
3
~
I
II
15
~
REF.No
1
2
3
4
5
6
7
8
9
10
11
12
13
14
15
16
17
18
Part
No.
4710160900
4710161000
4710161100
4710161200
4710161300
4710161600
4710161800
4710161900
4710162000
4710162200
4710162300
ZSK18018
ZSK18020
ZSL18001
ZSB12015
ZSB12036
ZSB15019
ZML08001
___
--1
I
I
I
I
5
I
12
(J
~-
17
q)h~
Name
of
Part
Q'TY
Rod
----------
Feed
Connecting
Link
-
Feed
Regulator
- -
--
Lever
---------
Side
Cover-
- - - -
--
Lever
Grip---
--
-
--
Lever
Shaft
------
..
Nut
-----------
Spring-
- - - - - - - -
Support
Plate
- - - -
--
Ball
----------.
Hinge
Screw,
A - - - -
..
Hinge
Screw,
B
----
1
Nut
9/32-28
-------
1
Screw
3/16-28
L=12
- - - 2
Screw
3/16-32
L=18
- - - 1
Screw
15/64-28
L=9
- - - 2
Nut
--.--------.
1
3
-4)
I
14
1
Pgs
20-21

F.
HOOK
DRIVING
SHAFT
COMPONENTS
(1/2
)
REF.
No.
NOTE
Part
No.
1 4710182500
2 4710182600
3 4710182700
4 4710180100
5 4710180300
6 4710180500
7 4410181600
8 4710181400
9 4710183200
10
4710183600
11
4710183700
12
4710183800
13
4710183900
14
4710184000
15
ZSG06004
16 4710181300
17
#03 4710184210
18
#03 4710184220
19
#03 4710184230
20
4710184200
21
#03 4710184240
22
#03 4710184250
23
#03 4710184260
24
ZSG12047
25
ZSA15010
26
ZSA15010
27
YB040016
28
ZMJ08003
29
ZSL18003
30 LG4044-0A
Notes #03. Elective
part
31
ZSA16029
1 3 2
Name
of
Part
Q'TY
Hook
Driving
Shaft
Crank
1
Crank
Slide
Block
- -
--
1
Slide
Block
Stud-
- -
--
1
Hook
Driving
Shaft-
-
--
1
Bushing,
Front-
- - -
--
1
Bushing,
Rear------
1
Shuttle
Driver
- - - -
--
1
Shuttle
Race
Body-
-
--
1
Bobbin
---------
1
Hook
Cover
-------
1
Hook
Cover
Spring-
-
--
2
Hook
Counter
Sprig
- -
-.
2
Oil
Felt
---------
2
Screw
----------
2
Hinge
Screw
D=2.6
L=2.7
-.
2
Hook
Cover
-------.
1
Distance
Piece-
- - - - - (1 )
Distance
Piece-
-:-
- - - - (1 )
Distance
Piece-
- - - - -
(1)
Distance
Piece
(Standard)
1 .
Distance
Piece-
- - - - - (1 )
Distance
Piece-
- - - - - (1 )
Distance
Piece:-
- - - - - (1 )
Screw----------·
2
Screw
15/64-28
L=15
---
1
Screw
15/64-28
L=
15
---
1
Tapered
Pin
4.0X16
----
1
Screw
M8
L=30
------
1
Nut
9/32-28
--------
1
Thrust
Collar
D=14.72 W=10- 1
Screw
1/4-40
L=3.5
- -
--
2 Pgs
22-23

F.
HOOK
DRIVING
SHAFT
COMPONENTS
(2/2)
9
6
---------
-
REF.
No.
Part
No.
Name
of
Part
Q'TY
1 4710181800
Connecting
Rod
-----
2 4710181900
Con-Rod
Eccentric
Cam-
3 4710182000
Cam
Side
Plate
-----
4 4710182200
Oscilating
Rock
Shaft
--
5 4710182300
Hjnge
Pin
--------
1
6 4710182400
Rock
Shaft
Bushing
-
--
1
7 4710182800
Slide
Plate
A
------
1
8 4710182900
Slide
Plate
B
------
1
9 4710183000
Con-Rod
Pin------
10
4710183100
Con-Rod
Pin
Wedge--
11
4710182100
Cage&Rolier
-------
12
ZSH15006
Screw
15/64-28
L=15
---
1 .
13
ZMJ06006
Screw
M8
L=30
------
2
14
ZSC11002
Screw
11/64-40
L=7-
-
--
2
15
ZSA15028
Screw
15/64-28
L=7
---- 1
16
XA300085 Oil
Wick---------·
1
17
LG1275-0A
Plug
2.9X3.2X3-------
1
18
ZSD11010
Screw-
- - - - - - - -
-.
2
19
ZSL11002
Nut
11164-40
-------
2
20
ZS812036
Screw
3/16-32L=18
----
1
21
ZSJ15001
Screw
15/64-28
L=10.7-
--
1
22
4710183400
PIN
----------
2
23
WA06008
Washer
._--------
2 Pgs
24-25

G.
TENSION
POST
COMPONENTS
3
REF.No
Part
No.
Name
of
Part
Q'TY
16
1 4710310100
Thread
Tension
Post-
- - - - - 1
2 A1025-0A
Tension
Disk----------
2
3 ZSN16004
Thread
Tension
Stud
Nut-
-
--
2
4 4710310400
Thread
Tension
Spring-
- -
--
2
5 4710310500
Thread
Tension
Post
Bracket--
6 4710310600
Thread
Tension
Guide
-----
1
7 4710310700
Thread
Releasing
Plate-
- -
--
1
8 4710310800
Spring
A------------
1
9 4710310900
Spring
B------------
1
10 4710311000
Spring
Support
Plate-
---
--
1
11
4710311100
Thread
Tension
Wheel
Post-
--
1
12 4710311200
Thread
Tension
Wheel
----- 1
13
XB123001
Wheel
Felt-----------
2
14 4710311400
Felt
Support
Plate
-----
--
2
15
4710311605
Arm
Thread
Guide
Bottom
Asm.
1
16 4710312000
Frame
Thread
Guide
- - - -
--
1
17
ZSL18003
Nut
9/32-28
----------
1
18 ZSG12046
Hinge
Screw
0=6.0
L=3.2
- - -
...,.
1
19
ZSL15002.
Nut
15/64-28
---------
1
20 ZS811011
Screw
11/64-40
L=9
- - - - - - . 2
21
ZS809014
Screw
9/64-40
L=6.0-
----- 1
22 ZSB09047
Screw
9/64-40
L=7-------
1
23 ZS009005
Screw
9/64-40
L=5-
- - - -
--
1
24 ZS809047
Screw
9/64-40
L=7-------
Pgs
25 4710113300
Thread
Guide
---------
26-27

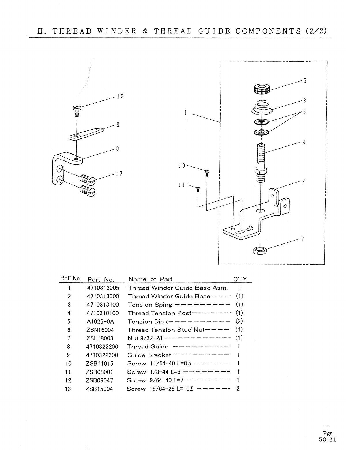
26
H.
THREAD
WINDER
&
THREAD
GUIDE
COMPONENTS
(1/2)
29
REF.No
1
2
3
4
5
6
7
8
9
10
11
12
13
14
15
16
17
18
19
20
21
22
23
24
25
26
27
28
29
30
i--------------T-------g------l
/ 3
~
8
I I
Part
No.
4710320100
ZSB
11
011
4710320805
4710320800
4710320900
4710321000
4710321100
4710321200
ZSB06008
ZSA08007
ZSL08001
4710321300
4710321400
4710322000
ZSG11059
4710321500
4710321600
4710321800
4710321900
ZSB11083
ZSG11057
ZSL
11007
ZSL11007
ZSA11003
4710320300
ZSB11071
4710320400
ZSB08008
4710320500
ZSA15028
12
Name
of
Part
Q'TY
Thread
Winder
Plate
- - - - -
-.
1
Screw
11164-40
L=9-------
4
Thread
Winder
Asm
.
------
1
Thread
Winder
Base
- - - -
--
(1)
Thread
Winder
Shaft-
- - - -
-.
(1)
Spacer
--------------.
(3)
Bobbin
Presser
---------
(1)
Bobbin
Presser
Spring-
- - - - .
(1
)
Screw
3/32-56
L=3.3- - - - -
--
(2)
Adjusting
Screw
------
--
(1)
Nut
1/8-44
-----------
(1)
Bobbin
Winder
Wheel
-----_.
(1)
Bobbin
Winder
Frame
- - - -
--
(1)
Wheel
Ring
----------
(1)
Hinge
Screw----------·
(1)
Bobbin
Winder
Tension
Bracket
(1)
Spring-
----------
--
(1)
Bobbin
Winder
Spring
- - - - -
..
(1
)
Thread
Winding
Shaft
Collar
-
--
(1)
Screw
11/64-40
L=18
------
(3)
Hinge
Screw
0=7.24
L=1.9
----
(1)
Nut
11/64-40
----------
(1)
Nut
11164-40
----------
(1)
Screw
11164-40
L=5
-------
(2)
Stopper
------------.
1
Screw
11/64-40
L=30
------
1
Thread
Cut
&
Clamp
Plate----
1
Screw
1/8-44
L=4
----,..----
2
Friction
Wheel-
-------
--
1
Screw
15/64-28
L=7
-------
2
1 0
7
I
~1fY21
~11
16
I
I
I
I
I
I
I
I
1 5 :
Pgs
I
I
I
I
I
I
I
28-29

H. T H
REA
D
WIN
DE R & T H
REA
D G U
IDE
COM
PO
N EN T S
(2/2)
1 2
8
9
13
REF.No
Part
No.
1 4710313005
2 4710313000
3 4710313100
4 4710310100
5 A1025-0A
6 ZSN16004
7 ZSL18003
8 4710322200
9 4710322300
10 ZSB11015
11
ZSB08001
12 ZSB09047
13
ZSB15004
1 0
11
1---------6-1
: I
I
__________
3 :
: 5 I
~
:
: I
I 4 :
: I
I :
: I
I 2 :
I
I
I
I 7 !
L
___________
J
Name
of
Part
Q'TY
Thread
Winder
Guide
Base
Asm.
Thread
Winder
Guide
Base-
-
-.
Tension
Sping
---------
Thread
Tension
Post-
- - - -
-.
Tension
Disk----------
Thread
Tension
Stud"
Nut-
-
--
Nut
9/32-28
--
-
--
- - - -
--
Thread
Guide
---------,
Guide
Bracket
---------
Screw
11/64-40
L=8.5
- - - -
--
Screw
1/8-44
L=6
--------
Screw
9164-40
L=7--------
Screw
15/64-28 L=10.5 - - - -
--
1
(0
(1
)
(0
(2)
(1
)
(1
)
2
Pgs
30-31

I.
KNEE
LIFTER
COMPONENTS
2
13
3
REF.No
Part
No.
1 4710340100
2 4710340200
3 4710340300
4 4710340400
5 4710340500
6 4710340600
7 4710340700
8 4710340800
9 ZSB15001
10
ZSG15045
11
. ZSG15045
12
ZSG15046
13
4710341200
14
ZSK11037
15
ZSB15001
16
ZSG16025
10
15
6
Name
of
Part
Q'TY
Presser
Bar
Lifting
Link
- - - - - 2
Presser
Bar
Lifting
Spring
- -
--
Presser
Bar
Lifting
Bar-
- - - - .
Side
Connecting
Bar-
- - - -
-.
Link
Base
-----------
Link
Plate
-----------
Link
Collar
----------.
S-Plug
------------
Screw
15/64-28
L
=6.5
- - - - - - 2
Hinge
Screw
0=7.94 L=4.3 - - - - 2
Hinge
Screw
0=7.94 L=4.3 - - - - 1
Hinge
Screw
0=7.94 L=4.3 - -
--
Hinge
Screw----------·
Spring
Suspension-
- - - -
--
Screw
15/64-28
L=6.5 - - - - - - 2
Hinge
Screw
0=8.0
L=3.4-
- -
--
Pgs
32-33

J. BELT
COVER
COMPONENTS
4
REF.No
Part
No.
Name
of
Part
1 4710335100
Belt
Cover
A - - - - - - - - - - .
2 4710335400
Direction
Lavel---------
3 4710335200
Belt
Cover
B----------·
4 4710335300
Belt
Cover
Stud
- - - - - - - - -
5 ZSB11008
Screw
11164-40 L=5
-------
6 ZSB15001
Screw
15/64-28
L=6.5 ------
7 ZMT05003
Wood
Screw
D=8.3 L=18 - - - - -
8 WA05900S
Washer
5X10.5X1
--------
Q'TY
2
5
2
2
2
2
1
7
8
Pgs
34-35

K.
THREAD
STAND
COMPONENTS
REF.No
Part
No.
Name
of
Part
Q'TY
1 A7050-0A
Shread
Stand
- - - - 1
2 ZMT05001
Wood
Screw
L=18
- 3
Pgs
36-37

L.
TABLE
COMPONENTS
REF.No
Part
No.
1 4710820100
2 0
1
2
Name
of
Part
Q'TY
Table
-----,
1
Stand
-----,
1
Pgs
38-39

M.
ACCESSORIES PARTS
COMPONENTS
1 7
11
2·
~~~~;
12
19
14
tel tel
tel
16
8
2°0
28~frf1
L-
__
-.:J
I
V9
REF.No
NOTE
Part
No.
Name
of
Part
Q'TY
1 A7001-0A
2 A7012-1A
3 ZMD10002
4 ZML10004
5 WA110003
6 4710341400
7 4710340800
8 4710113400
9 ZSL12003
10
4710911005
11
4710911100
12
4710911000
13
4710911200
14
4710911300
15
ZSL06001
16
ZSB09047
17
4710911400
18
ZSB15005
19
ZSA09005
20 A7000-0A
21
A7010-2A
22 A7010-0A
23
EH7141-5A
24
EH7141-6A
25
EH7141-4A
26
LG7200-0A
27
LG7201-0A
28 IN794#230
29
4710183200
30 #06 0
31
#03 0
32 #03 ZSL15004
1
1
4
4
8
1
1
1
Cover
-------------.
Oiler
Asm.
----------.
Screw
M10
L=65---------
NutM10
------------.
Washer
11X21X2 -
--
- -
---
Chain
-------------.
S-Plug
------------
Needle
Thread
Guide
Pin-
- -
-.
Nut
3/16-32
-----------
1
Oil
Pot
Asm.
----------
Oil
Pot
Cover
---------.
Oil
Pot
-------------
Frame
Thread
Guide
- - - -
--
Cover
Stopper-
--
--
- -
---
Nut
3/32-56
-----------
Screw
9/64-40
L=7-
-----
-.
Pin
---------------
Screw
15/64-28
L=12
- - - - - -
Screw
9/64-40
L=3.5
- - - -
--
Accessory
Box-
--------
Screw
Driver,
Large
- - - - -
--
Screw
Driver,
Small
- - - - - - -
Hexagonal
Wrench
Key(
5mm)
-.
Hexagonal
Wrench
Key(4mm)
-.
Hexagonal
Wrench
Key(3mm)
-.
Wrench
(11X14)
---------
Wrench
(9X10)---------·
Needle (794 Nm=230-4) - - - -
--
1
(1)
(1)
(1)
(1)
(1)
(1)
(1)
(1)
(1)
1
1
1
1
1
1
1
1
1
Bobbin
------------.
3
Motor
Connecting
Rod
Asm.
- -
(1)
Supporting
Arm
- - - - - - -
-.
(1)
Nut
15/64-28
----------
(1)
32
Notes #03
.....
Optional part
#06
.....
H & M only
Pgs
40-41

N.
NUMERICAL
PARTS-LIST
(113)
Part
No.
PAGE/#
Part
No.
PAGE/#
Part
No.
PAGE/#
4410111005
3-1
4710122500
5-13 4710151600 17-18
4410111200 3-4
4710140100
11-1
4710151700 17-19
4410111300 3-6
4710140400
11-2 4710151800 17-20
4410111400 3-16
4710140500
11-27 4710151900
17-21
4410121000 5-6
4710140500
11-3 4710152000 17-22
4410140100
9-1
4710140700
11-4 4710152500 17-16
4410140200 9-5
4710140900
11-5 4710160100
19-1
4410140900 9-3
4710141200
11-7 4710160200 19-2
4410141900 7-6
4710141300
11-8 4710160300 19-3
4410142000 7-9
4710142000
11-14 4710160404 19-4
4410142100
7-1
4710142101
11-15 4710160600 19-5
4410142300 7-4
4710142201
11-16 4710160700 19-6
4410142400 7-5
4710142301
11-17 4710160800 19-8
4410142900 9-26
4710142401
11-18 4710160900
21-1
4410143100 7-7
4710142500
11-19 4710161000 21-2
4410143300 9-24
4710142600
. 11-20 4710161100 21-3
4410143600 9-23
4710142700
11-21
4710161200 21-4
4410143700 9-6
4710142800
11-22 4710161300 21-5
4410143800 17-12
4710142900
11-23 4710161400 19-10
4410143805
17-11
4710143000
11-24 4710161600 21-6
4410145600 7-2
4710143100
13-1
4710161700
19-11
4410150100 9-22
4710143200
13-2 4710161800 21-7
4410150400 17-4
4710143300
13-3 4710161900 21-8
4410150500 17-6
4710143400
13-4 4710162000 21-9
4410151000 9-25
4710143500
13-5 4710162100 19-12
4410151100 9-30
4710143600
13-6 4710162200 21-10
4410152500 17-13
4710143700
13-7 4710162300 21-11
4410160800 19-7
4710143800
13-8 . 4710180100 23-4
4410161400 19-9
4710143900
11-25 4710180300 23-5
4410181600 23-7
4710144100
13-12 4710180500 23-6
4410270100 9-2
4710144200
13-16 4710181300 23-16
4410270200 9-9
4710144401
15-1
4710181400 23-8
4410270400
9-11
4710144500
15-2 4710181800
25-1
4410272200 9-8
4710144600
15-3 4710181900 25-2
4410272300 9-7
4710144700
15-4 4710182000 25-3
4410273000
9-10
4710144800
15-5 4710182100 25-11
4710111005
3-2
4710144900
15-6 4710182200 25-4
4710111100
3-3
4710145000
15-7 4710182300 25-5
4710111200
3-5
4710145100
15-8 4710182400 25-6
4710111300
3-7
4710150100
17-1
4710182500
23-1
4710111400
3-17
4710150200
17-2 4710182600 23-2
4710111600
3-8
4710150300
17-3 4710182700 23-3
4710113400
41-8
4710150400
17-5 4710182800 25-7
4710120300
5-3
4710150500
17-7 4710182900 25-8
4710120400
5-4
4710150600
17-8 4710183000 25-9
4710121000
5-7 4710150700 17-9 4710183100 25-10
4710121100
5-8
4710150800
17-10 4710183200 23-9
4710121300
5-9
4710151000
17-15 4710183200 41-29
4710122000
5-10
4710151005
17-14 4710183600 23-10
4710122100
5-11
4710151500
17-17 4710183700
23-11
4710122304
5-12
4710151600
17-18 4710183800 23-12
Pg42

N.
NUMERICAL
PARTS-LIST
(213)
Part
No.
PAGE/#
Part
No.
PAGE/#
Part
No.
PAGE/#
4710183900
23-13
4710335100
35-1
REOOO040
5-31
4710184000
23-14
4710335200
35-3
REOOO080
11-40
4710184200
23-20
4710335300
35-4
REOOO080
13-18
4710184210
23-17
4710335400
35-2
REOOO080
13-19
4710184220
23-18
4710340100
33-1
REOOO080
13-22
4710184230
23-19
4710340200
33-2
REOOO080
15-17
4710184240
23-21
4710340300
33-3
REOOO080
19-19
4710184250
23-22
4710340400
33-4
REOOO080
19-22
4710184260
23-23
4710340500
33-5
REOOO080
7-19
4710190100
5-25
4710340600
33-6
REOOO080
7-20
4710190200
5-26
4710340700
33-7
REOOO080
9-29
4710190220
5-27
4710340800
33-8 S1013-0A 3-10
4710190230
5-28
4710340800
41-7
WA059005
35-8
4710190300
5-29
4710341200
33-13
WA100009
17-31
4710191301
5-5
4710341400
41-6
WA110003
41-5
4710310100
27-1
4710820100
39-1
WC049001
3-14
4710310100
. 31-4
4710911000
41-12
WH208005
15-10
4710310400
27-4
4710911005
41-10
XA200100
9-21
4710310500
27-5
4710911100
41-11
XA200160
5-15
4710310600
27-6
4710911200
41-13
XA300085
25-16
4710310700
27-7
4710911300
41-14
XB123001
27-13
4710310800
27-8
4710911400
41-17
YB040016
23-27
4710310900
27-9
4710113300
27-25
YB040045
5-18
4710311000
27-10
4710120101
5-1
YD025014
11-37
4710311100
27-11
4710120201
5-2
YD030020
17-32
4710311200
27-12
4710122601
5-14
YD050018
3-9
4710311400
27-14
4710142201
7-3
ZMD10002
41-3
4710311605
27-15
A1025-0A
27-2
ZMH06005
9-12
4710312000
27-16
A1025-0A
31-5
ZMH06005
9-14
4710313000
31-2
A7000-0A
41-20
ZMH06005
9-17
4710313005
31-1
A7001-0A
41-1
ZMH06010
9-13
4710313100
31-3
A7010-0A
41-22
ZMJ06002
11-33
4710320100
29-1
A7010-2A
41-21
ZMJ06002
15-13
4710320300
29-25
A7012-1
A 41-2
ZMJ06002
9-18
4710320400
29-27
A7050-0A
37-1
ZMJ06004
19-21
4710320500
29-29
E1288-0A
13-17
ZMJ08003
23-28
4710320800· 29-4
EH7141-4A
41-25
ZMJ08003
25-13
4710320805
29-3
EH7141-5A
41-23
ZML10004
41-4
4710320900
29-5
EH7141-6A
41-24
ZMT05001
37-2
4710321000
29-6
IN794#230
11-6
ZMT05003
35-7
4710321100
29-7
IN794#230
41-28
ZSA08007
29-10
4710321200
29-8
IN794#230
9-4
ZSA09OO5
41-19
4710321300
29-12
LG1274-0A
11-34
ZSA11003
29-24
4710321400
29-13
LG1275-0A
25-17
ZSA15010
23-25
4710321500
29-16
LG4014-0A
19-28
ZSA15010
23-26
4710321600
29-17
LG4043-0A
11-28
ZSA15010
25-12
4710321800
29-18
LG4043-0A
7-10
ZSA15010
5-16
4710321900
29-)9
LG4044-0A
19-27
ZSA15013
11-9
4710322000
29-14
LG4044-0A
23-30
4710322200
31-8
LG7200-0A
41-26
4710322300
31-9
LG7201-0A
41-27
Pg43

N.
NUMERICAL
PARTS-LIST
(3/3)
Part
No.
PAGE/#
Part
No.
PAGE/#
Part
No.
PAGE/#
ZSA15028 11-30 ZS812015 21-15 ZSH16005 17-23
ZSA15028 11-35 ZS812016 17-30 ZSH16005
7-14
ZSA15028 11-36 ZS812036 21-16 ZSH16005
9-16
ZSA15028 15-16 ZS812036 25-20 ZSJ15001 25-21
ZSA15028 19-25 ZS812045 3-11 ZSJ16001 17-29
ZSA15028 25-15 ZS815001 33-15 ZSK11037
33-14
ZSA15028 29-30 ZS815001
33-9
ZSK18018
21-12
ZSA15028 5-21 ZS815001
35-6
ZSK18019 13-10
ZSA15028
7-12
ZS815004 31-13 ZSK18019 13-11
ZSA15028 7-13 ZS815004
9-20
ZSK18019 13-20
ZSA15037 19-20 ZS815005 13-21 ZSK18019 15-11
ZSA15037 19-26 ZS815005 13-23 ZSK18019
7-8
ZSA16010 11-29 ZS815005 41-18 ZSK18019
9-28
ZSA16010 7-11 ZS815014
3-12
ZSK18020 21-13
ZSA16025 15-12 ZS815015 7-15 ZSK20006 13-9
ZSA16025
5-24
ZS815019 21-17 ZSK20007 19-13
ZSA16029 19-23 ZS815032 11-11 ZSK20009
11-26
ZSA16029 23-31 ZSC09005 27-23 ZSK20009 19-14
ZSA16039 11-10 ZSC11002 25-14 ZSK20009 19-15
ZSA16039 17-24 ZSC11007
5-22
ZSK20009
7-18
ZS806008 29-9 ZSC18001
5-20
ZSL06001
41-15
ZS808001 31-11 ZSOl1010 25-18 ZSL08001 29-11
ZS808008 29-28 ZS020003
5-23
ZSL09001 17-28
ZS809014 27-21 ZS020009 7-17 ZSL11002 25-19
ZS809047 27-22 ZS020011 15-14 ZSL11004 11-39
ZS809047 27-24 ZS020011 7-16 ZSL11007
29-22
ZS809047 3-13 ZSF18001 13-14 ZSL11007 29-23
ZS809047 31-12 ZSG06004 23-15 ZSL12003
41-9
ZS809047 41-16 ZSG11057 29-21 ZSL15002 27-19
ZS809061 17-27 ZSG11058 13-13 ZSL15004
41-32
ZS811008 35-5 ZSG11059 29-15 ZSL16004 19-17
ZS811011 27-20 ZSG12046 27-18 ZSL18001 21-14
ZS811011
29-2
ZSG12047 23-24 ZSL18001
5-19
ZS811015 31-10 ZSG15045 33-10 ZSL18001
5-32
ZS811018 3-15 ZSG15045 33-11 ZSL18003 13-15
ZS811022 11-12 ZSG15046
33-12
ZSL18003 23-29
ZSL18003 27-17
ZS811022 9-15 ZSG16024
19-16
ZSU8003
31-7
ZS811026 13-24 ZSG16025
33-16
ZSL22001 15-15
ZS811035 19-24 ZSG20012
5-30
ZSN16004
27-3
ZS811041 19-18 ZSG22002
15-9
ZSN16004
31-6
ZS811041 9-27 ZSH16001
11-32
ZS811042 9-31 ZSH16001
17-26
ZS811057 11-38 ZSH16001
5-17
ZS811071 29-26 ZSH16002 11-31
ZS811076 11-13 ZSH16005 17-23
ZS811076 9-19 ZSH16005
7-14
ZS811083 29-20 ZSH16005
9-16
ZS812002 17-25
Pg44

Parts
Manual
for
Models
756R-3
&
757R-3
LDNSE~B
CONSOLIDATED SEWING MACHINE CORP.
L INDUSTRIAL
SEWING
& CUTIING EQUIPMENT
Main Office
131
West 25th Street
New York, NY 10001
Tel:
212-741-7788
Fax: 212-741-7787
Miami
Branch
Office
7855
N.W.
29th
St.(#166)
Miami,
FL
33122
Tel:
305-471-0200
Fax:
305-471-0243
West
Coast
Branch
Office
1400
South
Broadway
Los
Angeles,
CA
90015
Tel:
213-745-8844
Fax:
213-745-8855
e-mail:
consew@worldnet.att.net
web:
www.consew.com