00.I...K.....[.U.[.J.^...O1207 Organ Anatomy Of The Needle
2016-12-13
: ACE&EASTMAN Organ Anatomy Of The Needle organ anatomy of the needle ORGAN NEEDLES
Open the PDF directly: View PDF
.
Page Count: 1

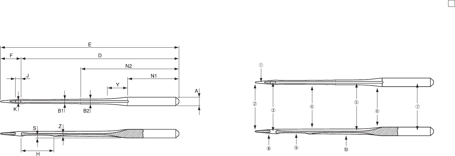
A:Shank diameter
B:Blade diameter
D:Butt to eye length
E:Total length
F:
Distance from end of eye to tip
S:Depth of scarf
H:Length of scarf
J:Length of eye
K:Eye width
N:Length of shank
Z:Depth of groove
Y:Length of shank taper
1
主 要 寸 法
MAIN DIMENSIONS
主 要 尺 寸
A:軸(シャンク)径
B:幹径
D:穴上寸法
E:全長
F:穴先寸法
S:エグリ深さ
H:エグリ長さ
J:穴縦寸法
K:穴横寸法
N:軸寸法
Z:溝深さ
Y:テーパー部寸法
A:針柄直徑
B:針杆直徑
D:針眼上方尺寸
E:全長
F:針眼下方尺寸
S:針冠深
H:針冠長
J:針眼長
K:針眼
N:針柄尺寸
Z:針槽深
Y:針肩尺寸
☆本カタログには、A, D, N, E寸法が記載されています。
(E寸法は「二重環縫い関係」のみの記載になります。)
☆The measurements A, D, N and E are given in this brochure.
(The measurement for E is shown in the "Double chainstitch" part only.)
☆本目錄登載了各种針的A・D・N・E尺寸。
(只有與「雙綫鎖縫紉」有關的產品登載了E尺寸。)
ミシン針の主要部位名称
ANATOMY OF THE NEEDLE
縫紉機針的各部名称
① Needle point
② Tip of the point
③ Needle eye
④ Blade
⑤ Long groove
⑥Shank taper
⑦ Shank
⑧ Point groove
⑨ Scarf
⑩ Short groove
①針
先部
②先端
③糸穴
④針幹
⑤表溝
⑥ テーパー部
⑦シャンク・軸
⑧短溝
⑨エグリ
⑩裏溝
① 針頭部
②針尖
③針眼
④針杆
⑤表槽
⑥ 針肩
⑦針柄
⑧短槽
⑨針冠
⑩裏槽