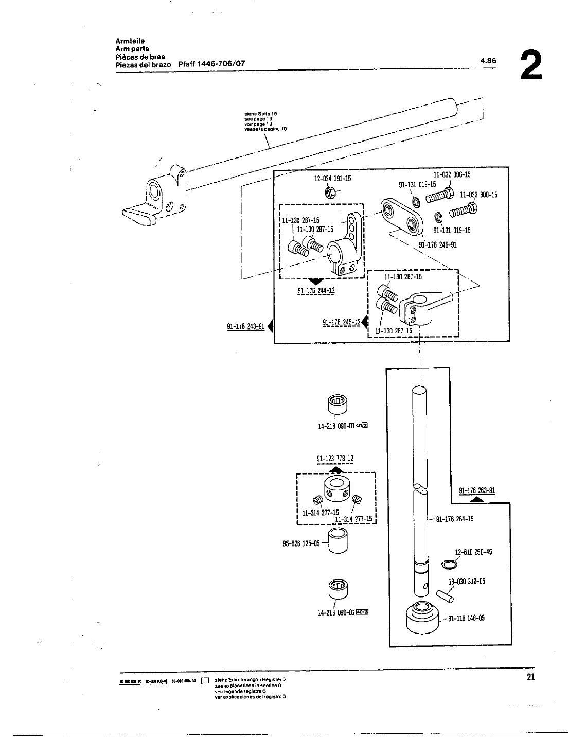
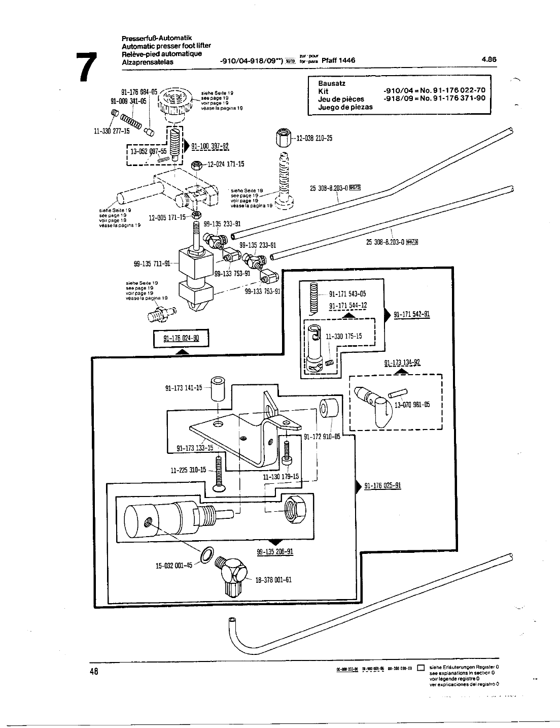
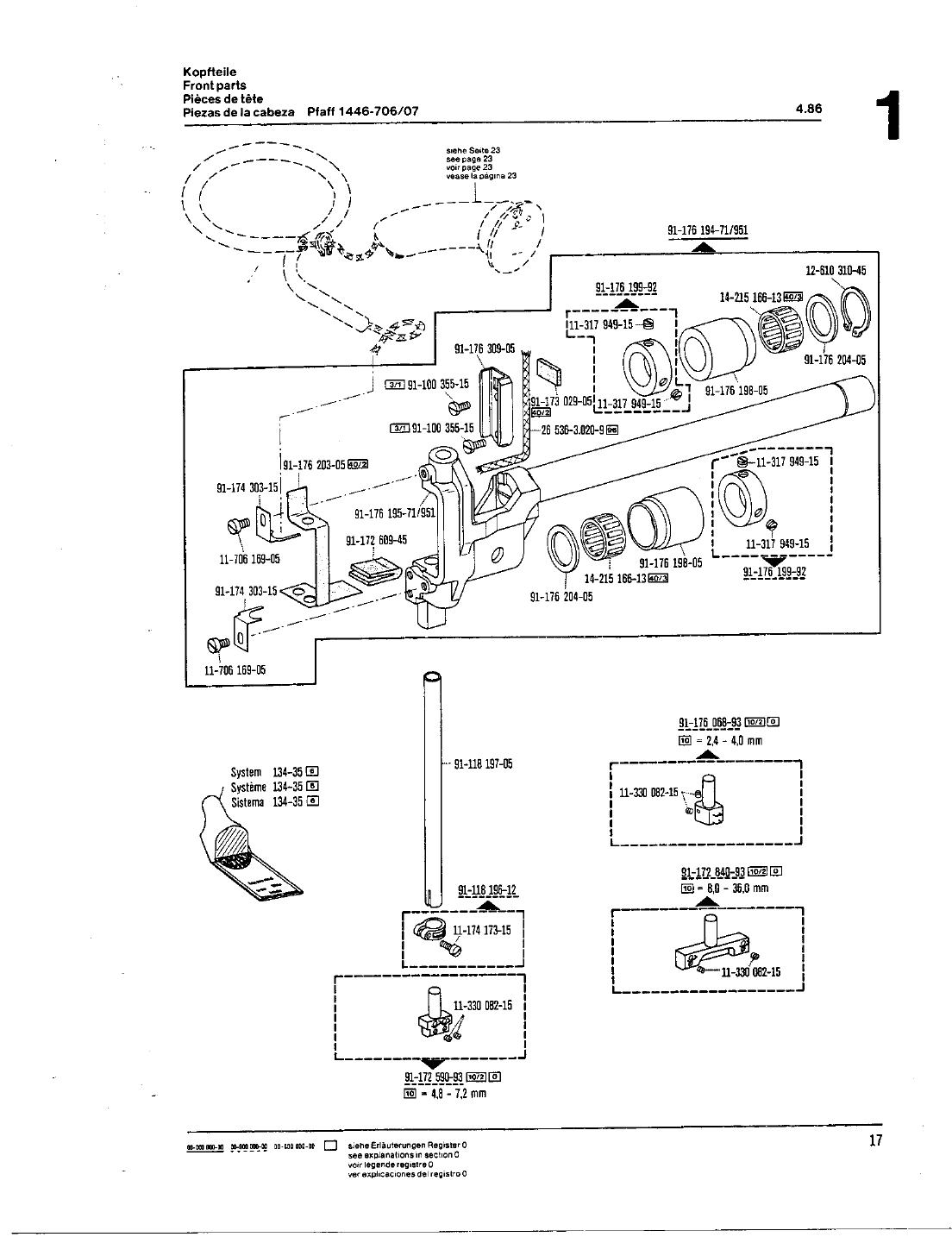
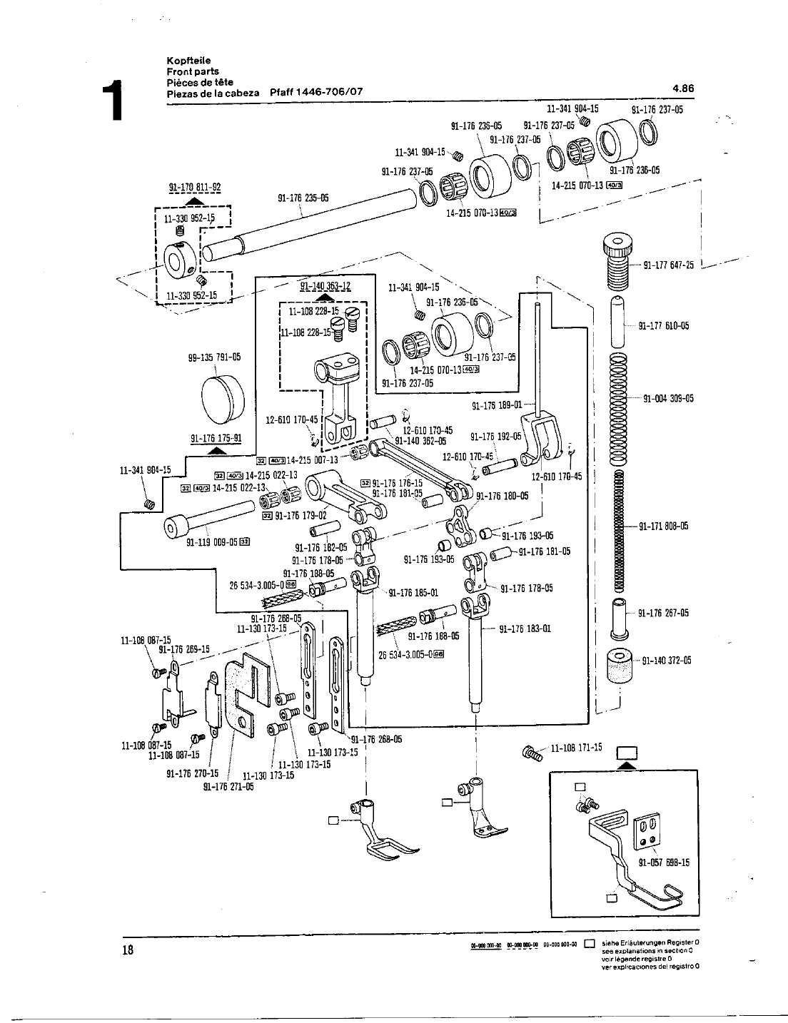
Pfaff 1446

2012-12-27

: ACE&EASTMAN Pfaff 1446 Pfaff 1446 Pfaff Parts Charts

Open the PDF directly: View PDF PDF.
Page Count: 69

Pfaff 1446

Navigation menu