Pfaff 3306
2012-12-27
: ACE&EASTMAN Pfaff 3306 Pfaff 3306 Pfaff Parts Charts
Open the PDF directly: View PDF
.
Page Count: 192 [warning: Documents this large are best viewed by clicking the View PDF Link!]

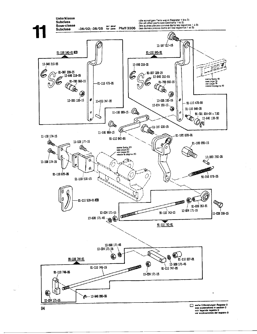
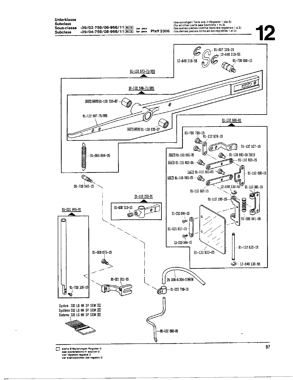
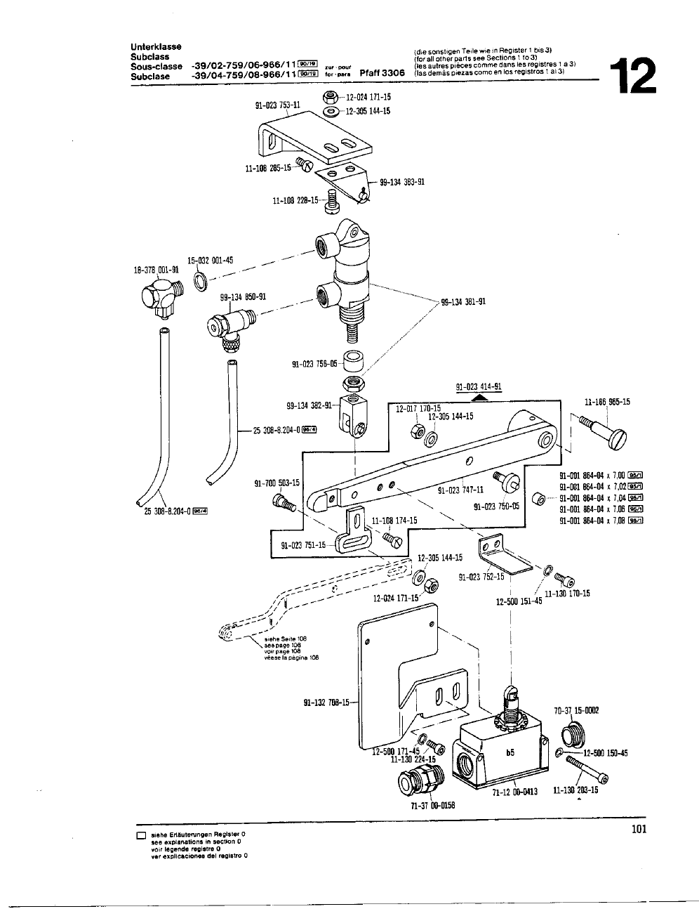
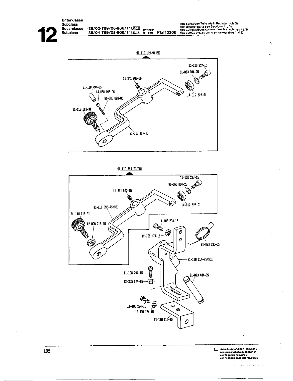
PFAFF
3306
Teiieliste
List of parts
Liste de
pikes
Lista
de
piezas






























































































































































































