W1500_1 W1500 PARTS BOOK
W1500 W1500
2016-12-01
: ACE&EASTMAN W1500 Parts Book W1500 PARTS BOOK PEG PARTS PEGASUS
Open the PDF directly: View PDF
.
Page Count: 64

W1500
Flatbed Interlock Stitch Machines
平型偏平縫いミシン
Parts Catalog

INTRODUCTION
This parts catalog covers the W1500 series
machine manufactured in June, 2003.
The components of W1500 series are arranged
according to the mechanism on pages 2-55. The
illustrations are on left pages and the part numbers
on right pages. The illustrated part and its part
number are assigned the same reference number.
"XXXXXX" indicates gauge part numbers which
vary depending on subclasses. Please refer to the
gauge part list (page 56).
The index of part numbers are listed at the back of
this book for quick reference.
To place an order for any part, please specify the
part number. Note that the contents of this book
are subject to change for improvement without prior
notice.
(Models inserted)
W1500 Series
W1562-01J BS,BT,CT
W1562-02G BS
W1562-05B BT,CT

1
TABLE OF CONTENTS
page
MACHINE BED FRAME ……………………………… 2 - 3
COVER (1)…………………………………………… 4 - 5
COVER (2)…………………………………………… 6 - 7
CRANKSHAFT DRIVE MECHANISM ……………… 8 - 9
ARM SHAFT MECHANISM …………………………10 - 11
NEEDLE BAR MECHANISM …………………………12 - 13
NEEDLE GUARD MECHANISM ……………………14 - 15
LOOPER DRIVE MECHANISM………………………16 - 17
FEED MECHANISM (1)………………………………18 - 19
FEED MECHANISM (2)………………………………20 - 21
PRESSER FOOT MECHANISM ……………………22 - 23
SPREADER MECHANISM……………………………24 - 25
THREAD TENSION MECHANISM …………………26 - 27
NEEDLE & SPREAD HANDLING ……………………28 - 29
LOOPER THREAD HANDLING………………………30 - 31
LUBRICATION MECHANISM (1)……………………32 - 33
LUBRICATION MECHANISM (2)……………………34 - 35
HR DEVICE ……………………………………………36 - 37
PARTS FOR SEMI-SUBMERGED INSTALLATION
……38 - 39
THREAD STAND ………………………………………40 - 41
SPECIFIC PARTS (1) W1562-01J,02G……………42 - 43
SPECIFIC PARTS (2) W1562-02G(TR10)…………44 - 45
SPECIFIC PARTS (3) W1562-05B…………………46 - 47
SPECIFIC PARTS (4) W1562-05B/FT0B……………48 - 49
SPECIFIC PARTS (5) W1562-05B(LR10)…………50 - 51
SPECIFIC PARTS (6) W1562-05B/MD0A…………52 - 53
SPECIFIC PARTS (7) W1562-05B/MD0A…………54 - 55
GAUGE PARTS LIST ……………………………………56
INDEX …………………………………………………57 - 58
アームベッド機構……………………………………… 2∼3
カバー機構(1)……………………………………… 4∼5
カバー機構(2)……………………………………… 6∼7
下軸機構………………………………………………… 8∼9
上軸機構……………………………………………… 10 ∼11
針棒機構……………………………………………… 12 ∼13
針受機構……………………………………………… 14 ∼15
ルーパー機構………………………………………… 16 ∼17
送り機構(1)……………………………………… 18 ∼19
送り機構(2)……………………………………… 20 ∼21
押え機構……………………………………………… 22 ∼23
飾り振り機構………………………………………… 24 ∼25
糸調子機構…………………………………………… 26 ∼27
針糸、飾り糸機構…………………………………… 28 ∼29
下糸繰り機構………………………………………… 30 ∼31
給油機構(1)……………………………………… 32 ∼33
給油機構(2)……………………………………… 34 ∼35
HR装置……………………………………………… 36 ∼37
半沈床式据付付属品………………………………… 38 ∼39
糸立台………………………………………………… 40 ∼41
専用部品(1) W1562-01J,02G………………… 42 ∼43
専用部品(2) W1562-02G(TR10)……………… 44 ∼45
専用部品(3) W1562-05B……………………… 46 ∼47
専用部品(4) W1562-05B/FT0B………………… 48 ∼49
専用部品(5) W1562-05B(LR10)……………… 50 ∼51
専用部品(6) W1562-05B/MD0A……………… 52 ∼53
専用部品(7) W1562-05B/MD0A……………… 54 ∼55
ゲージパーツ表……………………………………………56
インデックス………………………………………… 57 ∼58

2

3
REF.NO. PART NO. DESCRIPTION QT.
アームベッド機構 MACHINE BED FRAME
1 2400010 RING 1
2 2501480 FILTER 1
3 2501170 BED PIN 4
4 2065900 OIL SIGHT GAUGE 1
5 2050881 PLUG 1
6 2400520 PLUG 3
7 2401100 PLUG 1
8 2081731 PLUG 3
9 2402270 PLUG 1
10 2500200 COVER 1
11 007017A0 SCREW 2
12 2106790 PIN 2
13 2106790 PIN 4
14 007018A0 SCREW 1
15 3034480 WASHER 1
16 9A30670 CAUTION LABEL 1
17 9A30690 CAUTION LABEL 1
18 9A30710 EARTH LABEL 1

4
附属品に梱入
を除く
を除く

5
REF.NO. PART NO. DESCRIPTION QT.
カバー機構(1) COVER (1)
1 260044-TD0 ARM COVERLEFT1
2 0073790 SCREW 1
3 2600750 WASHER 1
4 2600730 O RING 1
5 007021A0 SCREW 4
6 260048-PD0 ARM COVERTOP1
7 2402261 PLUG 1
8 179107-050 OIL SIGHT WINDOW 1
9 2600560 O RING 1
10 007021A0 SCREW 7
11 9A31261 SEAL 1
12 260057-PB0 COVER 1
13 0045430 SCREW 1
14 0070890 SCREW 1
15 2600460 BRACKET 1
16 007019A0 SCREW 1
17 2600470 BRACKET 1
18 2103070 WASHER 2
19 0070660 SCREW 1
20 2600450 EYE GUARD 1
21 0070090 SCREW 2
22 2028750 WASHER 2
23 2500510 FLAT SPRING 1
24 007018A0 SCREW 2
25 007023A0 SCREW 2
26 260049-TB0 BELT COVER 1
27 004016-HU0 SCREW 2
28 9A30690 CAUTION LABEL 1

6

7
REF.NO. PART NO. DESCRIPTION QT.
カバー機構(2) COVER (2)
1 250074APD1 BED COVERRIGHT1
2 007021A0 SCREW 4
3 007021A0 SCREW 2
4 0070430 SCREW 1
5 260078-9P0 SIDE COVER ASSEMBLY 1
6 2600760 RUBBER CUSHION 1
7 007022A0 SCREW 4
8 250071-910 COVER 1
9 2500030 TOP COVER (RIGHT) 1
10 2500040 GASKET 1
11 0070840 BOLT 4
12 250069A0 TOP COVER (LEFT) 1
13 2500490 GASKET 1
14 0070840 BOLT 4
15 251007L0 BRACKET 1
16 007019A0 SCREW 2
17 0070820 SCREW 1
18 2401230 RUBBER CUSHION 1

8
を除く

9
REF.NO. PART NO. DESCRIPTION QT.
下軸機構 CRANKSHAFT DRIVE MECHANISM
1 261024-911 CRANKSHAFT ASSEMBLY 1
2 252009-920 CONNECTION ASSEMBLY 1
3007015A03.54 SCREW4
4 252008-920 CRANK 1
5 0045340 BOLT 1
6 0045450 SCREW 1
7 2505060 JOINT 1
8 0045550 SCREW 1
9 0045470 SCREW 3
10 250508-910 BUSHING 1
11 0045470 SCREW 2
12 2068370 O RING 1
13 261026-910 BALL BEARING ASSEMBLY 1
14 0045470 SCREW 1
15 2610280 WORM 1
16 0045470 SCREW 2
17 261029-910 GEAR ASSEMBLY 1
18 0045470 SCREW 4
19 261032-910 BEARING ASSEMBLY 1
20 0045550 SCREW 1
21 2505140 SET PLATE 1
22 0070820 SCREW 2
23 261034-TD0 PULLEY 1
24 0045410 SCREW 1
25 0045560 SCREW 1
26 2042930 SPRING WASHER 1
27 0045230 BOLT 1
28 2705260 PULLEY CAP 1
29 2610350 SHAFT 1
30 2610361 TIMMING BELT 1
31 2505250 ADJUSTING BAR 1
32 261044-910 OIL SEAL ASSEMBLY 1
33 0045390 SCREW 2
34 2068370 O RING 1
35 2610330 SPACER 1
36 201074A0 GUIDE 1
37 2022860 WASHER 1
38 0040190 SCREW 1

10

11
REF.NO. PART NO. DESCRIPTION QT.
1 250526B910 MOTION ASSEMBLY 1
2 0045920 SCREW 1
3 0070280 SCREW 2
4 0071530 SCREW 1
5 0071520 SCREW 1
6 0072680 SCREW 1
7 2610030 SHAFT 1
8 2505060 JOINT 1
9 0045550 SCREW 2
10 0045470 SCREW 2
11 2610370 SHAFT 1
12 261038-910 BEARING ASSEMBLY 1
13 0045550 SCREW 1
14 2610400 GEARTOP1
15 0045470 SCREW 4
16 261041-910 BEARING ASSEMBLY 1
17 0045470 SCREW 1
18 2610430 COLLAR 1
19 0045470 SCREW 1
20 2505240 BALANCE WEIGHT 1
21 0045140 SCREW 2
上軸機構 ARM SHAFT MECHANISM

12
2本針 3本針

13
REF.NO. PART NO. DESCRIPTION QT.
針棒機構 NEEDLE BAR MECHANISM
"xxxxxx" represents the gauge part.
Please refer to the gauge part list (page 56).
1 4S003700000 NEEDLE BAR 1
2 2402290 PLUG 1
3 1B001400000 SCREW 1
4 261500-920 NEEDLE BAR CLAMP 1
5 0070200 SCREW 1
6 2615060 LINK 1
7 2060530 PIN 1
8 240098-20 NEEDLE BEARING 1
9 2401010 WASHER 1
10 2060630 BLOCK 1
11 2510171 GUIDE 1
12 007021A0 SCREW 2
13 2510180 LATCH 1
14 179040-050 SPONGE 1
15 2065240 OIL STRING RETAINER 1
16 2121860 STRING 1
17 XXXXXX NEEDLE HOLDER 1
18 0045540 SCREW 2
19 0045540 SCREW 3
20 XXXXXX NEEDLE PLATE 1
21 005373-HC0 SCREW 2

14

15
"xxxxxx" represents the gauge part.
Please refer to the gauge part list (page 56).
REF.NO. PART NO. DESCRIPTION QT.
針受機構 NEEDLE GUARD MECHANISM
1 XXXXXX NEEDLE GUARDREAR1
2 251505-920 LEVER ASSEMBLY 1
3 0045000 BOLT 1
4 3030670 SPRING WASHER 1
5 0070170 SCREW 1
6 2515030 SHAFT 1
7 2079240 WASHER 1
8 2009830 RING 1
9 2615040 LEVER 1
10 0045140 SCREW 1
11 2615050 BLOCK 1
12 251500-911 BRACKET 1
13 0070810 SCREW 1
14 0070190 SCREW 3
15 XXXXXX NEEDLE GUARDFRONT1
16 0070310 SCREW 1

16
を除く
Tタイプ針板使用時
Sタイプ針板使用時

17
REF.NO. PART NO. DESCRIPTION QT.
"xxxxxx" represents the gauge part.
Please refer to the gauge part list (page 56).
ルーパー機構 LOOPER DRIVE MECHANISM
1 XXXXXX LOOPER 1
2 1K302900000 SPACER 1
3 0070780 SCREW 1
4 262015-920 LOOPER HOLDER ASSEMBLY 1
5 0070860 SCREW 1
6 0045010 BOLT 1
7 3030670 SPRING WASHER 1
8 252006B0 SHAFT 1
9 2105860 OIL SEAL 1
10 262011-920 ECCENTRIC ASSEMBLY 1
11 0045390 SCREW 2
12 2520100 BALANCE WEIGHT 1
13 0070110 SCREW 2
14 262013-920 CONNECTION ASSEMBLY 1
15 007023A0 SCREW 2
16 252002A0 CRANK 1
17 0045390 SCREW 1
18 2520340 SCREW 1
19 2400620 WASHER 1
20 0048050 NUT 1
21 2520030 BLOCK PIN 1
22 2080280 WASHER 1
23 2620160 COLLAR 1
24 0070180 SCREW 1
25 0048020 NUT 1
26 2520040 SHAFT 1
27 2050610 RING 1
28 2401020 WASHER 1

18

19
"xxxxxx" represents the gauge part.
Please refer to the gauge part list (page 56).
REF.NO. PART NO. DESCRIPTION QT.
送り機構(1) FEED MECHANISM (1)
1 252500-910 MAIN FEED BAR 1
2 2625370 SCREW 1
3 2061190 BUSHING 1
4 2065630 GUIDE BLOCK 1
5 2000980 WASHER 1
6 0048320 NUT 1
7 252502-910 DIFFERENTIAL FEED BAR 1
8 262537A0 SCREW 1
9 2065660 BUSHING 1
10 2065650 RING 1
11 2065640 DIFFERENTIAL FEED LINK 1
12 2000980 WASHER 1
13 0048320 NUT 1
14 252504A0 GUIDE(RIGHT) 1
15 0045390 SCREW 1
16 2525070 GUIDE (LEFT) 1
17 0070190 SCREW 2
18 2525080 GUIDE (LOWER) 1
19 007020A0 SCREW 2
20 2525090 COVER 1
21 2061330 OIL SHIELD 2
22 XXXXXX MAIN FEED DOG 1
23 0055900 SCREW 1
24 XXXXXX DIFFERENTIAL FEED DOG 1
25 0055900 SCREW 1
26 206128-20 NEEDLE BEARING 1
27 2065620 LINK (MAIN FEED) 1
28 2065690 PIN 1
29 0045460 SCREW 1
30 206125-20 NEEDLE BEARING 1
31 2525100 SHAFT 1
32 0045390 SCREW 1
33 2065710 BUSHING 1
34 0045390 SCREW 1
35 2401190 SPACER 1
36 2021750 OIL STRING 1
37 2073580 FELT 2
38 2525160 SCREW 1
39 2096730 SHAFT 1
40 0045390 SCREW 1
41 2096720 PIN 1
42 0045430 SCREW 1
43 2058570 BLOCK (FEED BAR GUIDE) 1
44 204439A0 WASHER 1
45 0070410 SCREW 1
46 2525190 BLOCK 1
47 2525200 WASHER 1
48 2525210 ECCENTRIC 1
49 2525220 REGULATOR 1
50 252523-910 ECCENTRIC RETAINER 1
51 2401250 SPRING WASHER 5
52 2525250 SPACER 1
53 2525430 NUT 1
54 0045140 SCREW 1
55 2525260 PIN 1
56 2005550 RING 1
57 2045850 WASHER 1
58 2063660 O RING 1
59 2401220 SPRING 1
60 252527-910 CRANK 1
61 0070310 SCREW 1

20

21
REF.NO. PART NO. DESCRIPTION QT.
送り機構(2) FEED MECHANISM (2)
1 252539B910 BRACKET ASSEMBLY 1
2 2401290 O RING 1
3 007019A0 SCREW 5
4 2401621 PLUG 1
5 252533-920 LEVER 1
6 0045310 BOLT 1
7 2625410 BLOCK GUIDE 1
8 0070580 SCREW 1
9 2525310 BLOCK 1
10 262535-910 LEVER ASSEMBLY 1
11 2625420 COLLAR 1
12 0070360 SCREW 2
13 2525360 SPRING 1
14 0070660 SCREW 1
15 2625250 NUT 1
16 0073870 SCREW 1
17 2113010 SPRING WASHER 1
18 2625280 GUIDE PLATE 1
19 2401240 SPACER 2
20 007021A0 SCREW 2
21 2526580 STOPPER 2
22 3034480 WASHER 2
23 0070190 SCREW 2

22
を除く

23
"xxxxxx" represents the gauge part.
Please refer to the gauge part list (page 56).
REF.NO. PART NO. DESCRIPTION QT.
押エ機構 PRESSER FOOT MECHANISM
1 263008-910 ADJUSTING BAR 1
2 2530031 NUT 1
3 2402530 SPRING 1
4 2402520 SPRING 1
5 2530260 PRESSER BAR 1
6 2530180 OIL SHIELD 1
7 263007-920 PRESSER BAR CLAMP ASSY. 1
8 0070210 SCREW 1
9 253005-910 GUIDE 1
10 007025A0 SCREW 2
11 2405850 OIL SEAL 1
12 2530280 FINGER GUARD 1
13 2404740 WASHER 1
14 0070100 SCREW 1
15 XXXXXX PRESSER FOOT ASSEMBLY 1
16 263000-910 LEVER 1
17 2630030 SPRING 1
18 2630040 LEVER 1
19 274003-921 COLLAR 1
20 0045340 BOLT 1
21 2630050 LINK 1
22 2061570 LINK 1
23 0070941 SCREW 2
24 2740080 SPRING 1
25 2630060 LEVER 1
26 007060A0 SCREW 1
27 253015A1 BRACKET 1
28 007019A0 SCREW 2
29 0045810 SCREW 1
30 0048050 NUT 1
31 001170-30 SCREW 1

24

25
"xxxxxx" represents the gauge part.
Please refer to the gauge part list (page 56).
REF.NO. PART NO. DESCRIPTION QT.
飾り振り機構 SPREADER MECHANISM
1 263306-920 ECCENTRIC 1
2 0045140 SCREW 2
3 2405780 WASHER 1
4 0070390 SCREW 1
5 2633000 CONNECTION 1
6 263301-920 CRANK 1
7 0045340 BOLT 1
8 2633050 SCREW 1
9 2400620 WASHER 1
10 0048050 NUT 1
11 2710030 SHAFT 1
12 2082350 WASHER 1
13 2025770 RING 1
14 263303-920 CRANK 1
15 0045340 BOLT 1
16 2082350 WASHER 1
17 2545070 BLOCK 1
18 2545180 CRANKSHAFT 1
19 2079250 FELT 2
20 2021760 OIL STRING 1
21 2105860 OIL SEAL 1
22 2405760 COLLAR 1
23 0070080 SCREW 2
24 254516-920 LEVER ASSEMBLY 1
25 0070220 SCREW 1
26 0070200 SCREW 1
27 XXXXXX SPREADER 1
28 2405840 WASHER 1

26

27
REF.NO. PART NO. DESCRIPTION QT.
糸調子機構 THREAD TENSION MECHANISM
1 263500-910 LEVER ASSEMBLY 1
2 2540220 COLLAR 1
3 007022A0 SCREW 1
4 254003B910 CRANK 1
5 0045310 BOLT 1
6 2028680 WASHER 1
7 263548-9T0 TENSIONER ASSEMBLY 1
8 254019C0 BRACKET 1
9 2540210 THREAD RELEASER 1
10 263542A9T0 TENSION SPRING ASSEMBLY 3
11 001817-2A0 SCREW STUD 3
12 2103190 TENSION DISC 6
13 263544-TA0 SPRING SHIELD 3
14 2010370 SPRING (HEAVY) 3
15 2084480 RATCHET 3
16 263543-TA0 NUT 3
17 263542B9T0 TENSION SPRING ASSEMBLY 1
18 2010860 SPRING (MEDIUM) 1
19 263542C9T0 TENSION SPRING ASSEMBLY 1
20 2010680 SPRING (LIGHT) 1
21 2635490 THREAD GUIDE 5
22 2062020 SPACER 5
23 3063010 SPRING 1
24 0054470 SCREW 1
25 2635500 THREAD GUIDE 1
26 007017A0 SCREW 2
27 007019A0 SCREW 2

28

29
REF.NO. PART NO. DESCRIPTION QT.
針糸、飾り糸機構 NEEDLE & SPREAD HANDLING
1 2635280 THREAD GUIDE 1
2 007019A0 SCREW 1
3 2635270 THREAD GUIDE 1
4 0070520 SCREW 1
5 2635160 BRACKET 1
6 007019A0 SCREW 1
7 2635170 THREAD TAKE-UP 1
8 0071540 SCREW 1
9 2635540 THREAD SUPPORT 1
10 0070620 SCREW 1
11 263518-920 BRACKET 1
12 0070541 SCREW 1
13 263519-910 THREAD GUIDE ASSEMBLY 1
14 0071190 SCREW 1
15 2635220 BRACKET 1
16 007019A0 SCREW 2
17 2635230 THREAD GUIDE 1
18 210955A0 WASHER 1
19 007018A0 SCREW 2
20 2635240 THREAD GUIDE 3
21 2405740 WASHER 3
22 0070310 SCREW 3
23 2635250 THREAD GUIDE 1
24 3034480 WASHER 2
25 0070190 SCREW 2
26 2635260 BRACKET 1
27 0070410 SCREW 2
28 1371080 TENSION DISC 2
29 2113880 SPRING 1
30 0071671 SCREW 1
31 2750340 KNOB 1
32 2635520 THREAD GUIDE 1
33 263529-910 THREAD GUIDE ASSEMBLY 1
34 0045540 SCREW 1
35 2635530 THREAD GUIDE 1
36 2535110 THREAD GUIDE 1
37 0045540 SCREW 1

30

31
REF.NO. PART NO. DESCRIPTION QT.
下糸繰り機構 LOOPER THREAD HANDLING
1 253691-910 THREAD TAKE-UP 1
2 0045140 SCREW 2
3 2635470 BRACKET 1
4 2535250 SHAFT 1
5 2401150 SPRING 1
6 3038650 O RING 2
7 2005550 RING 1
8 0045540 SCREW 1
9 2535260 SHAFT 1
10 0045540 SCREW 1
11 2005550 RING 1
12 2535270 STOPPER 1
13 2535280 SPRING 1
14 0070870 SCREW 1
15 007023A0 SCREW 1
16 007019A0 SCREW 1
17 3034480 WASHER 2
18 2536120 BRACKET 1
19 2536140 THREAD GUIDE 1
20 3034480 WASHER 1
21 0043250 BOLT 1
22 2536130 THREAD SUPPORT 1
23 0045540 SCREW 1
24 2635510 BRACKET 1
25 2103531 THREAD GUIDE 1
26 0070080 SCREW 1
27 253533D0 THREAD GUIDE 2
28 2105850 WASHER 2
29 0070310 SCREW 2
30 1371080 TENSION DISC 2
31 0071671 SCREW 1
32 2113880 SPRING 1
33 2750340 KNOB 1
34 0070430 SCREW 2
35 2635560 THREAD GUIDE 1
36 007018A0 SCREW 1
37 2536150 THREAD GUIDE 1

32

33
REF.NO. PART NO. DESCRIPTION QT.
給油機構(1) LUBRICATION MECHANISM (1)
1 2550030 PIPE 1
2 2401360 FELT 1
3 2107660 PIN 1
4 0045140 SCREW 1
5 2530180 OIL SHIELD 1
6 2550210 FELT 1
72550390 PIPE 1
82550050 LATCH 1
9007018A0 SCREW 1
10 2401430 TUBE 1
11 1L700200000 TUBE 1
12 2640030 OIL RELEASE PLATE 1
13 007018A0 SCREW 2
14 264004-910 OIL SPLASH PIPE 1
15 0048210 NUT 1
16 2400060 TUBE 1
17 2021990 CLAMP 1
18 255010A910 OIL SPLASH PIPE 1
19 007018A0 SCREW 1
20 2068400 TUBE 1
21 2021990 CLAMP 1
22 2001360 JOINT 2
23 2021990 CLAMP 2
24 2745860 JOINT SCREW 1

34

35
REF.NO. PART NO. DESCRIPTION QT.
給油機構(2) LUBRICATION MECHANISM (2)
1 255000-920 OIL RESERVOIR 1
2 005138B0 SCREW 1
3 202287A0 WASHER 1
4 0045040 BOLT 5
5 2551550 O RING 1
6 264013-910 PUMP ASSEMBLY 1
7 2550240 SHAFT 1
8 2550250 ROTOR 1
9 2550260 ROTOR 1
10 2550270 ROTOR 2
11 2640320 COVER 1
12 0071050 SCREW 2
13 0070260 SCREW 2
14 2550190 WORM WHEEL 1
15 0045140 SCREW 2
16 209408A0 FILTERINSIDE1
17 209409A0 FILTEROUTSIDE1
18 2094100 CLAMP 1
19 0070110 SCREW 1
20 0048000 NUT 1
21 0045310 BOLT 2
22 2745920 JOINT 1

36

37
REF.NO. PART NO. DESCRIPTION QT.
HR装置 HR DEVICE
1 2550130 NEEDLE COOLER (LOWER) 1
2 0070100 SCREW 2
3 2550140 FELT 1
4 2107660 PIN 1
5 2401170 TUBE 1
6 2061150 BRACKET 1
7 007017A0 SCREW 1
8 2021750 OIL STRING 1
9 2001550 CLAMP 2
10 2550150 SILICONE OIL RESERVOIR (LOWER) 1
11 2550160 CAP 1
12 004210-HU0 SCREW 1
13 264016-910 SILICONE OIL RESERVOIR ASSY. 1
14 2403670 SPRING PIN 2
15 2070680 FELT 1
16 0049280 SCREW 2

38

39
REF.NO. PART NO. DESCRIPTION QT.
半沈床式据付付属品
PARTS FOR SEMI-SUBMERGED INSTALLATION
1 2063380 RUBBER CUSHION 4
2 2590000 REST BOARD 2
3 0045120 BOLT 4
4 0070930 SCREW 4
5 2054670 SPACER 4
6 2057640 RUBBER CUSHION 4
7 2057650 LINER 4
8 2063360 NUT 4
9 2063370 WASHER 12
10 2063290 TREADLE CHAIN GUIDE 1
11 0070270 SCREW 2

40
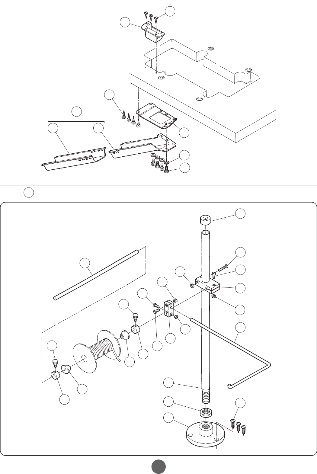
取付説明書
附属品に梱入

41
REF.NO. PART NO. DESCRIPTION QT.
糸立台 THREAD STAND
1 000100A9P0 THREAD STAND ASSY.(5-SPOOL) 1
2 000101-PA0 COLUMN PIPE (UPPER) 1
3 000102-PA0 COLUMN PIPE (LOWER) 1
4 0001030 JOINT 1
5 004066-HU0 SCREW 2
6 004067-HU0 NUT 2
7 000104-PA0 BRACKET (3-SPOOL) 1
8 000104APA0 BRACKET (2-SPOOL) 1
9 0001160 HOLDER 2
10 004068-HU0 SCREW 2
11 0001050 SPOOL PIN 5
12 303067A0 SPRING WASHER 5
13 004067-HU0 NUT 5
14 000106-PA0 SPOOL TRAY 5
15 0001070 CUSHION 5
16 000108-PA0 SPOOL RETAINING FIN 5
17 000109-PA0 BRACKET 1
18 0041130 SCREW 1
19 0048030 NUT 1
20 0001100 THREAD GUIDE BAR 1
21 004065-HU0 SCREW 1
22 0048030 NUT 1
23 000111-PA0 BRACKET 1
24 004065-HU0 SCREW 1
25 0048030 NUT 1
26 000112A0 THREAD GUIDE BAR (5-SPOOL) 1
27 004065-HU0 SCREW 1
28 0048030 NUT 1
29 000104-PA0 BRACKET (3-SPOOL) 1
30 000104APA0 BRACKET (2-SPOOL) 1
31 0001160 HOLDER 2
32 004068-HU0 SCREW 2
33 0001130 THREAD GUIDE 5
34 0001140 ROD CAP 1
35 0001150 WASHER 2
36 0001170 SPRING WASHER 1
37 007370-HU0 NUT 1

42
特別注文品
附属品に梱入
附属品に梱入
附属品に梱入
附属品に梱入

43
REF.NO. PART NO. DESCRIPTION QT.
専用部品(1) SPECIFIC PARTS (1)
1 260051-PD0 BED COVERLEFT1
2 258013-910 FABRIC GUIDE 1
3 007020A0 SCREW 2
4 3034480 WASHER 2
5 2645020 FABRIC GUIDERIGHT1
6 2645030 FABRIC GUIDELEFT1
7 260059-PB0 FRONT COVER (LEFT) 1
8 007019A0 SCREW 1
9 007021A0 SCREW 1
10 260063-PD0 FRONT COVER ASSEMBLY 1
11 2500130 SCREW 1
12 2401980 PIN 1
13 2011910 SPRING WASHER 3
14 0045390 SCREW 2
15 2100250 CUSHION 2
16 2502630 BRACKET 1
17 0070090 SCREW 2
18 260069-910 AUXILIARY COVER 1
19 0070340 SCREW 2
20 2045850 WASHER 2
21 250052BPD1 BED COVERRIGHT1
22 260062-PB0 FRONT COVERLEFT1
23 007019A0 SCREW 1
24 007021A0 SCREW 1
25 260067-PD0 FRONT COVER ASSEMBLY 1
26 2500130 SCREW 1
27 2401980 PIN 1
28 2011910 SPRING WASHER 3
29 0045390 SCREW 2
30 250050APD0 FRONT COVERSMALL1
31 0070270 SCREW 2
32 206601A0 FABRIC GUARD 1
33 0070790 SCREW 2
34 2064390 FABRIC GUARD 1
35 2045850 WASHER 2
36 0070790 SCREW 2
37 2019130 CLAMP PLATE 1
38 0051130 SCREW 2
39 0055400 SCREW 1
40 2019140 TAPE BINDER BRACKET 1
41 2064600 WASHER 1
42 0070280 SCREW 2
43 257718A0 GUIDE 1
44 0071200 SCREW 1

44
附属品に梱入

45
REF.NO. PART NO. DESCRIPTION QT.
専用部品(2) SPECIFIC PARTS (2)
1 000257A9S0 TAPE GUIDE ASSEMBLY 1
2 000247-SA0 TAPE BASE 1
3 0002700 WASHER 1
4 0002530 SHAFT 1
5 0002500 BRACKET 1
6 0014480 SCREW 1
7 000251-SA0 BRACKET 1
8 0049130 SCREW 3
9 0002520 SCREW 2
10 3030670 SPRING WASHER 2
11 0002260 NUT 2
12 2045850 WASHER 2
13 0002530 PIN 2
14 0002540 HOLDER 2
15 0051610 SCREW 4
16 0002550 BRACKET 1
17 000256-SA0 HOLDER 1
18 007023A0 SCREW 2
19 0048030 NUT 2

46

47
REF.NO. PART NO. DESCRIPTION QT.
専用部品(3) SPECIFIC PARTS (3)
1 2530290 FINGER GUARD 1
2 250052CPD1 BED COVER (LEFT) 1
3 5C000609200 ECCENTRIC ASSEMBLY 1
4 0045390 SCREW 2
5 6G006909T00 BELT COVER ASSY. 1
6 2403050 RUBBER CUSHION 1
7260060-PB0 FRONT COVERLEFT1
8007021A0 SCREW 3
96C00070PD00 FRONT COVER ASSEMBLY 1
10 2500130 SCREW 1
11 2401980 PIN 1
12 2011910 SPRING WASHER 3
13 0045390 SCREW 2
14 2100250 CUSHION 1
15 250025-ME0 FRONT COVER (SMALL) 1
16 007018A0 SCREW 2
17 2500260 BRACKET 1
18 0070280 SCREW 1
19 2500270 SHAFT 1
20 3069200 PIN 1
21 0045140 SCREW 1
22 2500280 STOPPER 1
23 007018A0 SCREW 2
24 2023400 SPRING 1
25 2500660 PLUG 1
1
26 6K002800000 FABRIC GUARD 1
27 2091730 WASHER 2
28 0070190 SCREW 2

48

49
REF.NO. PART NO. DESCRIPTION QT.
専用部品(4)
FT装置 SPECIFIC PARTS (4)
FT DEVICE
1 4B001109200 CONNECTION 1
2 007023A0 SCREW 2
3 4C000700000 CRANK 1
4 0045390 SCREW 2
5 2710010 PIN 1
6 0045380 SCREW 1
7 2555020 SHAFT 1
8 2067480 FELT 3
9 2021760 OIL STRING 1
10 2400970 PLUG 1
11 2403110 WASHER 1
12 2050610 RING 1
13 204052A0 OIL SEAL 1
14 255503-920 LEVER ASSEMBLY 1
15 0045010 BOLT 1
16 2021740 OIL WICK 1
17 2021750 OIL WICK 1
18 2555040 LATCH 1
19 0070090 SCREW 1
20 0045450 SCREW 1
21 2555050 BLOCK 1
22 2079250 FELT 3
23 6A006809100 BRACKET ASSEMBLY 1
24 2400990 NEEDLE BEARING 2
25 255508-20 SHAFT 1
26 0045150 BOLT 2
27 3061050 SPRING 1
28 2625420 COLLAR 1
29 0045430 SCREW 1
30 2025220 RING 1
31 2070450 WASHER 1
32 255507-910 UPPER KNIFE HOLDER ASSEMBLY 1
33 0045470 SCREW 1
34 3063940 UPPER KNIFE 1
35 0051090 SCREW 1
36 2555090 LOWER KNIFE HOLDER 1
37 0070360 SCREW 1
38 2041610 LOWER KNIFE 1
39 2555100 LOWER KNIFE CLAMP 1
40 0070280 SCREW 1
41 2555130 SCREW 1
42 2555110 GUIDE 1
43 0070100 SCREW 1
44 2555150 CHIP GUARD 1
45 0070080 SCREW 2

50
附属品に梱入
附属品に梱入

51
REF.NO. PART NO. DESCRIPTION QT.
専用部品(5) SPECIFIC PARTS (5)
1 306473-UA0 WASTE CHUTE TOP 1
2 0049040 SCREW 3
3 306474A0 BRACKET 1
4 0049050 SCREW 4
5 009050-9U0 WASTE CHUTE SET 1
6 205468-UA0 WASTE CHUTE TOP (A) 1
7 205469-UA0 WASTE CHUTE TOP (B) 1
8 3034480 WASHER 4
9 0040120 SCREW 4
10 306469A9S0 REEL STAND ASSEMBLY 1
11 306468ASA0 THREAD STAND BASE 1
12 0049130 SCREW 3
13 306466ASA0 COLUMN PIPE 1
14 0048350 NUT 1
15 000383-SA0 BRACKET 1
16 0040140 SCREW 1
17 0048030 NUT 1
18 0040120 SCREW 1
19 0048030 NUT 1
20 3064640 SHAFT 1
21 3064630 COLLAR 2
22 0012850 SCREW 2
23 3064620 REEL GUIDE 2
24 000233-SA0 BRACKET 1
25 0040120 SCREW 2
26 0048030 NUT 2
27 3064670 ROD 1
28 0003860 ROD CAP 1

52

53
REF.NO. PART NO. DESCRIPTION QT.
専用部品(6)
MD装置(1) SPECIFIC PARTS (6)
MD DEVICE (1)
1 4B001609100 CONNECTION ASSEMBLY 1
2 4B001209200 CONNECTION 1
3 007023A0 SCREW 2
4 4C000800000 BALL STUD 1
5 1J600400000 CONNECTING ROD 1
6 0048060 NUT 1
7 1D000200000 NUT 1
8 0045470 SCREW 2
9 3062380 BUSHING 1
10 3062390 NEEDLE BEARING 1
11 4W000100000 BALANCE WEIGHT 1
12 0070830 SCREW 2
13 4C001309100 CRANK ASSEMBLY 1
14 2560460 SLEEVE 1
15 0045470 SCREW 2
16 0045480 SCREW 1
17 2560120 CLUTCH 2
18 3065000 PIN 6
19 3062430 GUIDE PLATE ASSEMBLY 6
20 240114B0 SPRING 12
21 4C000900000 CRANK 1
22 0070830 SCREW 3
23 2560410 SCREW 1
24 2560420 SET PLATE 1
25 0070100 SCREW 2
26 2560080 PIN 1
27 2560090 INDICATOR 1
28 2040230 WASHER 1
29 2560480 BUTTERFLY NUT 1
30 256011A0 COVER 1
31 0070830 SCREW 3
32 4S001100000 PIN 1
33 2045850 WASHER 1
34 0070270 SCREW 1
35 0045140 SCREW 1
36 6A008000000 BRACKET 1
37 2103070 WASHER 2
38 0070660 SCREW 1
39 3034480 WASHER 1
40 2502570 EYE GUARD 1
41 2028750 WASHER 2
42 0070090 SCREW 2
43 6G003909T00 MD COVER ASSEMBLY 1
44 0070200 SCREW 3

54
附属品に梱入

55
REF.NO. PART NO. DESCRIPTION QT.
専用部品(7)
MD装置(2) SPECIFIC PARTS (7)
MD DEVICE (2)
1 6A007509P00 BRACKET 1
2 3063640 BUSHING 2
3 2560250 SHAFT 1
4 2560220 ROLLER 1
5 6A007400000 BRACKET 2
6 0045140 SCREW 4
7 4S001000000 BRACKET 1
8 5K000800000 GUIDE 2
9 4S001200000 SHAFT 1
10 0045540 SCREW 4
11 2024330 WASHER 2
12 2560240 LEVER 1
13 0070100 SCREW 2
14 3511880 LEVER 1
15 0070100 SCREW 2
16 6A007700000 BRACKET 1
17 007019A0 SCREW 2
18 3511910 BRACKET 1
19 2016290 RING 1
20 3511900 BRACKET 1
21 3511890 SPRING 1
22 2079240 WASHER 1
23 2105330 SPRING 1
24 2105320 THUMB NUT 1
25 0052920 SCREW 2
26 256019-910 ROLLER ASSEMBLY 1
27 0045350 SCREW 4
28 6A007800000 BRACKET 1
29 007019A0 SCREW 2
30 256034A910 BRACKET 1
31 2109300 SPRING WASHER 2
32 0045280 BOLT 1
33 0048030 NUT 1
34 2560380 STOPPER 1
35 0045730 SCREW 1
36 2560390 LACE GUIDE 1
37 0045540 SCREW 1
38 256039A0 LACE GUIDE 1
39 0045540 SCREW 1
40 6A00790PD00 BRACKET 1
41 0040260 BOLT 3
42 0045030 BOLT 1
43 256063-910 SHAFT ASSEMBLY 1
44 2560140 SHAFT 1
45 2401020 WASHER 1
46 2025770 RING 1
47 0070740 SCREW 2
48 2560310 SCREW 2
49 1J600500000 GUIDE 1
50 2011850 WASHER 2
51 007019A0 SCREW 2

56
W1500 W1500 GAUGE PARTS LIST
()()
MACHINE TYPE
/SPEC GAUGE NEEDLE
HOLDER
NEEDLE
PLATE
MAIN FEED
DOG
DIFF. FEED
DOG
PERSSER
FOOT LOOPER NEEDLE GUARD SPREADER NEEDLE
FRONT REAR
W1562-01JBT 232 257541-321 257191B320 257206-16F0 257258-16F0 257471B320 257550-910 2575531 257551B0 257565C0 UY128GAS
#9S
240 401 400 400
W1562-01JBS 356 259620B560
364 257018B640
W1562-01JCT 356 257542-561 259672C560 257206-16F0 257258-16F0 257472B560 257550-910 2575531 257551B0 257565C0 UY128GAS
#10S
364 641 257192C641 257207-16F0 257259-16F0 640
257542-561 257206-16F0 257258-16F0 257472B560 257550-910 2575531 257551B0 257565C0 UY128GAS
#10S
641 257207-16F0 257259-16F0 640
W1562-02GBS
232 257541-321 259628B320 257278-16F0 257282-16F0 257317A320
257550-910 2575531 257551B0 257565C0
UY128GAS
#9S
240 401 259629B400 257279-16F0 257284-16F0 257318A400
248 481 480 480
356 257542-561 259632B560 257280-16F0 257297-16F0 257321A560 UY128GAS
#10S
364 641 640 640
W1562-05BBT 232 257541-321 2Q0004B2320 257220-16F0 257266-16F0 257327A320 257550-910 2575531 257551B0 257565C0 UY128GAS
#9S
240 401 259659B400 257221-16F0 257267-16F0 257328A400
W1562-05BCT 356 257542-561 259660C561 257222-16F0 257268-16F0 257331A560 257550-910 2575531 257551B0 257565C0 UY128GAS
#10S
364 641 259660C641 640

PART NO. PAGE REF.NO. PART NO. PAGE REF.NO. PART.NO. PAGE REF.NO. PART.NO. PAGE REF.NO. PART.NO PAGE REF.NO.
INDEX
57
000100A9P0 41 1 0045390 19 15 0070100 49 43 0070660 5 19 2050610 17 27
000101-PA0 41 2 0045390 19 32 0070100 53 25 0070660 21 14 2050610 49 12
000102-PA0 41 3 0045390 19 34 0070100 55 13 0070660 53 38 2050881 3 5
0001030 41 4 0045390 19 40 0070100 55 15 0070740 55 47 2054670 39 5
000104APA0 41 8 0045390 43 14 0070110 17 13 0070780 17 3 205468-UA0 51 6
000104APA0 41 30 0045390 43 29 0070110 35 19 0070790 43 33 205469-UA0 51 7
000104-PA0 41 7 0045390 47 4 0070170 15 5 0070790 43 36 2057640 39 6
000104-PA0 41 29 0045390 47 13 007017A0 3 11 0070810 15 13 2057650 39 7
0001050 41 11 0045390 49 4 007017A0 27 26 0070820 7 17 2058570 19 43
000106-PA0 41 14 0045410 9 24 007017A0 37 7 0070820 9 22 2060530 13 7
0001070 41 15 0045430 5 13 0070180 17 24 0070830 53 12 2060630 13 10
000108-PA0 41 16 0045430 19 42 007018A0 3 14 0070830 53 22 2061150 37 6
000109-PA0 41 17 0045430 49 29 007018A0 5 24 0070830 53 31 2061190 19 3
0001100 41 20 0045450 9 6 007018A0 29 19 0070840 7 11 206125-20 19 30
000111-PA0 41 23 0045450 49 20 007018A0 31 36 0070840 7 14 206128-20 19 26
000112A0 41 26 0045460 19 29 007018A0 33 9 0070860 17 5 2061330 19 21
0001130 41 33 0045470 9 9 007018A0 33 13 0070870 31 14 2061570 23 22
0001140 41 34 0045470 9 11 007018A0 33 19 0070890 5 14 2062020 27 22
0001150 41 35 0045470 9 14 007018A0 47 16 0070930 39 4 2063290 39 10
0001160 41 9 0045470 9 16 007018A0 47 23 0070941 23 23 2063360 39 8
0001160 41 31 0045470 9 18 0070190 15 14 0071050 35 12 2063370 39 9
0001170 41 36 0045470 11 10 0070190 19 17 0071190 29 14 2063380 39 1
0002260 45 11 0045470 11 15 0070190 21 23 0071520 11 5 2063660 19 58
000233-SA0 51 24 0045470 11 17 0070190 29 25 0071530 11 4 2064390 43 34
000247-SA0 45 2 0045470 11 19 0070190 47 28 0071540 29 8 2064600 43 41
0002500 45 5 0045470 49 33 007019A0 5 16 0071671 29 30 2065240 13 15
000251-SA0 45 7 0045470 53 8 007019A0 7 16 0071671 31 31 2065620 19 27
0002520 45 9 0045470 53 15 007019A0 21 3 0072680 11 6 2065630 19 4
0002530 45 4 0045480 53 16 007019A0 23 28 007370-HU0 41 37 2065640 19 11
0002530 45 13 0045540 13 18 007019A0 27 27 0073790 5 2 2065650 19 10
0002540 45 14 0045540 13 19 007019A0 29 2 0073870 21 16 2065660 19 9
0002550 45 16 0045540 29 34 007019A0 29 6 009050-9U0 51 5 2065690 19 28
000256-SA0 45 17 0045540 29 37 007019A0 29 16 1371080 29 28 2065710 19 33
000257A9S0 45 1 0045540 31 8 007019A0 31 16 1371080 31 30 2065900 3 4
0002700 45 3 0045540 31 10 007019A0 43 8 179040-050 13 14 206601A0 43 32
000383-SA0 51 15 0045540 31 23 007019A0 43 23 179107-050 5 8 2067480 49 8
0003860 51 28 0045540 55 10 007019A0 55 17 1B001400000 13 3 2068370 9 12
001070-30 23 31 0045540 55 37 007019A0 55 29 1D000200000 53 7 2068370 9 34
0012850 51 22 0045540 55 39 007019A0 55 51 1J600400000 53 5 2068400 33 20
0014480 45 6 0045550 9 8 0070200 13 5 1J600500000 55 49 2070450 49 31
001817-2A0 27 11 0045550 9 20 0070200 25 26 1K302900000 17 2 2070680 37 15
0040120 51 9 0045550 11 9 0070200 53 44 1L700200000 33 11 2073580 19 37
0040120 51 18 0045550 11 13 007020A0 19 19 2000980 19 5 2079240 15 7
0040120 51 25 0045560 9 25 007020A0 43 3 2000980 19 12 2079240 55 22
0040140 51 16 0045730 55 35 0070210 23 8 2001360 33 22 2079250 25 19
004016-HU0 5 27 0045810 23 29 007021A0 5 5 2001550 37 9 2079250 49 22
0040190 9 38 0045920 11 2 007021A0 5 10 2005550 19 56 2080280 17 22
0040260 55 41 0048000 35 20 007021A0 7 2 2005550 31 7 2081731 3 8
004065-HU0 41 21 0048020 17 25 007021A0 7 3 2005550 31 11 2082350 25 12
004065-HU0 41 24 0048030 41 19 007021A0 13 12 2009830 15 8 2082350 25 16
004065-HU0 41 27 0048030 41 22 007021A0 21 20 2010370 27 14 2084480 27 15
004066-HU0 41 5 0048030 41 25 007021A0 43 9 2010680 27 20 2091730 47 27
004067-HU0 41 6 0048030 41 28 007021A0 43 24 201074A0 9 36 209408A0 35 16
004067-HU0 41 13 0048030 45 19 007021A0 47 8 2010860 27 18 209409A0 35 17
004068-HU0 41 10 0048030 51 17 0070220 25 25 2011850 55 50 2094100 35 18
004068-HU0 41 32 0048030 51 19 007022A0 7 7 2011910 43 13 2096720 19 41
0041130 41 18 0048030 51 26 007022A0 27 3 2011910 43 28 2096730 19 39
004210-HU0 37 12 0048030 55 33 007023A0 5 25 2011910 47 12 2100250 43 15
0043250 31 21 0048050 17 20 007023A0 9 3 2016290 55 19 2100250 47 14
0045000 15 3 0048050 23 30 007023A0 17 15 2019130 43 37 2103070 5 18
0045010 17 6 0048050 25 10 007023A0 31 15 2019140 43 40 2103070 53 37
0045010 49 15 0048060 53 6 007023A0 45 18 2021740 49 16 2103190 27 12
0045030 55 42 0048210 33 15 007023A0 49 2 2021750 19 36 2103531 31 25
0045040 35 4 0048320 19 6 007023A0 53 3 2021750 37 8 2105320 55 24
0045120 39 3 0048320 19 13 007025A0 23 10 2021750 49 17 2105330 55 23
0045140 11 21 0048350 51 14 0070260 35 13 2021760 25 20 2105850 31 28
0045140 15 10 0049040 51 2 0070270 39 11 2021760 49 9 2105860 17 9
0045140 19 54 0049050 51 4 0070270 43 31 2021990 33 17 2105860 25 21
0045140 25 2 0049130 45 8 0070270 53 34 2021990 33 21 2106790 3 12
0045140 31 2 0049130 51 12 0070280 11 3 2021990 33 23 2106790 3 13
0045140 33 4 0049280 37 16 0070280 43 42 2022860 9 37 2107660 33 3
0045140 35 15 0051090 49 35 0070280 47 18 202287A0 35 3 2107660 37 4
0045140 47 21 0051130 43 38 0070280 49 40 2023400 47 24 2109300 55 31
0045140 53 35 005138B0 35 2 0070310 15 16 2024330 55 11 210955A0 29 18
0045140 55 6 0051610 45 15 0070310 19 61 2025220 49 30 2113010 21 17
0045150 49 26 0052920 55 25 0070310 29 22 2025770 25 13 2113880 29 29
0045230 9 27 005373-HC0 13 21 0070310 31 29 2025770 55 46 2113880 31 32
0045280 55 32 0054470 27 24 0070340 43 19 2028680 27 6 2121860 13 16
0045310 21 6 0055400 43 39 0070360 21 12 2028750 5 22 2400010 3 1
0045310 27 5 0055900 19 23 0070360 49 37 2028750 53 41 2400060 33 16
0045310 35 21 0055900 19 25 0070390 25 4 2040230 53 28 2400520 3 6
0045340 9 5 0070080 25 23 0070410 19 45 204052A0 49 13 2400620 17 19
0045340 23 20 0070080 31 26 0070410 29 27 2041610 49 38 2400620 25 9
0045340 25 7 0070080 49 45 0070430 7 4 2042930 9 26 2400970 49 10
0045340 25 15 0070090 5 21 0070430 31 34 204439A0 19 44 240098-20 13 8
0045350 55 27 0070090 43 17 0070520 29 4 2045850 19 57 2400990 49 24
0045380 49 6 0070090 49 19 0070541 29 12 2045850 43 20 2401010 13 9
0045390 9 33 0070090 53 42 0070580 21 8 2045850 43 35 2401020 55 45
0045390 17 11 0070100 23 14 007060A0 23 26 2045850 45 12 2401020 17 28
0045390 17 17 0070100 37 2 0070620 29 10 2045850 53 33 2401100 3 7

PART NO. PAGE REF.NO. PART NO. PAGE REF.NO. PART.NO. PAGE REF.NO. PART.NO. PAGE REF.NO. PART.NO PAGE REF.NO.
INDEX
58
240114B0 53 20 252533-920 21 5 260062-PB0 43 22 2740080 23 24
2401150 31 5 2525360 21 13 260063-PD0 43 10 2745860 33 24
2401170 37 5 252539B910 21 1 260067-PD0 43 25 2745920 35 22
2401190 19 35 2525430 19 53 260069-910 43 18 2750340 29 31
2401220 19 59 2526580 21 21 2600730 5 4 2750340 31 33
2401230 7 18 2530031 23 2 2600750 5 3 3030670 15 4
2401240 21 19 253005-910 23 9 2600760 7 6 3030670 17 7
2401250 19 51 253015A1 23 27 260078-9P0 7 5 3030670 45 10
2401290 21 2 2530180 23 6 2610030 11 7 303067A0 41 12
2401360 33 2 2530180 33 5 261024-911 9 1 3034480 3 15
2401430 33 10 2530260 23 5 261026-910 9 13 3034480 21 22
2401621 21 4 2530280 23 12 2610280 9 15 3034480 29 24
2401980 43 12 2530290 47 1 261029-910 9 17 3034480 31 17
2401980 43 27 2535110 29 36 261032-910 9 19 3034480 31 20
2401980 47 11 2535250 31 4 2610330 9 35 3034480 43 4
2402261 5 7 2535260 31 9 261034-TD0 9 23 3034480 51 8
2402270 3 9 2535270 31 12 2610350 9 29 3034480 53 39
2402290 13 2 2535280 31 13 2610361 9 30 3038650 31 6
2402520 23 4 253533D0 31 27 2610370 11 11 3061050 49 27
2402530 23 3 2536120 31 18 261038-910 11 12 3062380 53 9
2403050 47 6 2536130 31 22 2610400 11 14 3062390 53 10
2403110 49 11 2536140 31 19 261041-910 11 16 3062430 53 19
2403670 37 14 2536150 31 37 2610430 11 18 3063010 27 23
2404740 23 13 253691-910 31 1 261044-910 9 32 3063640 55 2
2405740 29 21 254003B910 27 4 261500-920 13 4 3063940 49 34
2405760 25 22 254019C0 27 8 2615040 15 9 3064620 51 23
2405780 25 3 2540210 27 9 2615050 15 11 3064630 51 21
2405840 25 28 2540220 27 2 2615060 13 6 3064640 51 20
2405850 23 11 2545070 25 17 262011-920 17 10 306466ASA0 51 13
2500030 7 9 254516-920 25 24 262013-920 17 14 3064670 51 27
2500040 7 10 2545180 25 18 262015-920 17 4 306468ASA0 51 11
2500130 43 11 255000-920 35 1 2620160 17 23 306469A9S0 51 10
2500130 43 26 2550030 33 1 2625250 21 15 306473-UA0 51 1
2500130 47 10 2550050 33 8 2625280 21 18 306474A0 51 3
2500200 3 10 255010A910 33 18 262535-910 21 10 3065000 53 18
250025-ME0 47 15 2550130 37 1 2625370 19 2 3069200 47 20
2500260 47 17 2550140 37 3 262537A0 19 8 3511880 55 14
2500270 47 19 2550150 37 10 2625410 21 7 3511890 55 21
2500280 47 22 2550160 37 11 2625420 21 11 3511900 55 20
2500490 7 13 2550190 35 14 2625420 49 28 3511910 55 18
250050APD0 43 30 2550210 33 6 263000-910 23 16 4B001109200 49 1
2500510 5 23 2550240 35 7 2630030 23 17 4B001209200 53 2
250052BPD1 43 21 2550250 35 8 2630040 23 18 4B001609100 53 1
250052CPD1 47 2 2550260 35 9 2630050 23 21 4C000700000 49 3
2500660 47 25 2550270 35 10 2630060 23 25 4C000800000 53 4
250069A0 7 12 2550390 33 7 263007-920 23 7 4C000900000 53 21
250071-910 7 8 2551550 35 5 263008-910 23 1 4C001309100 53 13
250074APD1 7 1 2555020 49 7 2633000 25 5 4S001000000 55 7
2501170 3 3 255503-920 49 14 263301-920 25 6 4S001100000 53 32
2501480 3 2 2555040 49 18 263303-920 25 14 4S001200000 55 9
2502570 53 40 2555050 49 21 2633050 25 8 4S003700000 13 1
2502630 43 16 255507-910 49 32 263306-920 25 1 4W000100000 53 11
2505060 9 7 255508-20 49 25 263500-910 27 1 5C000609200 47 3
2505060 11 8 2555090 49 36 2635160 29 5 5K000800000 55 8
250508-910 9 10 2555100 49 39 2635170 29 7 6A006809100 49 23
2505140 9 21 2555110 49 42 263518-920 29 11 6A007400000 55 5
2505240 11 20 2555130 49 41 263519-910 29 13 6A007509P00 55 1
2505250 9 31 2555150 49 44 2635220 29 15 6A007700000 55 16
250526B910 11 1 2560080 53 26 2635230 29 17 6A007800000 55 28
251007L0 7 15 2560090 53 27 2635240 29 20 6A00790PD00 55 40
2510171 13 11 256011A0 53 30 2635250 29 23 6A008000000 53 36
2510180 13 13 2560120 53 17 2635260 29 26 6C00070PD00 47 9
251500-911 15 12 2560140 55 44 2635270 29 3 6G003909T00 53 43
2515030 15 6 256019-910 55 26 2635280 29 1 6G006909T00 47 5
251505-920 15 2 2560220 55 4 263529-910 29 33 6K002800000 47 26
252002A0 17 16 2560240 55 12 263542A9T0 27 10
2520030 17 21 2560250 55 3 263542B9T0 27 17 9A30670 3 16
2520040 17 26 2560310 55 48 263542C9T0 27 19 9A30690 3 17
252006B0 17 8 256034A910 55 30 263543-TA0 27 16 9A30690 5 28
252008-920 9 4 2560380 55 34 263544-TA0 27 13 9A30710 3 18
252009-920 9 2 2560390 55 36 2635470 31 3 9A31261 5 11
2520100 17 12 256039A0 55 38 263548-9T0 27 7
2520340 17 18 2560410 53 23 2635490 27 21
252500-910 19 1 2560420 53 24 2635500 27 25
252502-910 19 7 2560460 53 14 2635510 31 24
252504A0 19 14 2560480 53 29 2635520 29 32
2525070 19 16 256063-910 55 43 2635530 29 35
2525080 19 18 258013-910 43 2 2635540 29 9
2525090 19 20 2590000 39 2 2635560 31 35
2525100 19 31 260044-TD0 5 1 2640030 33 12
2525160 19 38 2600450 5 20 264004-910 33 14
2525190 19 46 2600460 5 15 264013-910 35 6
2525200 19 47 2600470 5 17 264016-910 37 13
2525210 19 48 260048-PD0 5 6 2640320 35 11
2525220 19 49 260049-TB0 5 26 2645020 43 5
252523-910 19 50 260051-PD0 43 1 2645030 43 6
2525250 19 52 2600560 5 9 2705260 9 28
2525260 19 55 260057-PB0 5 12 2710010 49 5
252527-910 19 60 260059-PB0 43 7 2710030 25 11
2525310 21 9 260060-PB0 47 7 274003-921 23 19

PEGASUS SEWING MACHINE MFG. CO., LTD.
5-7-2, Sagisu, Fukushima-ku, Osaka 553-0002, Japan.
Phone :(06)6458-4739
Telefax
: (06)6454-8785
Cat. No. 9B600800000 △
1 June 2003
© 2002 PEGASUS SEWING MACHINE MFG. CO., LTD.
The description in this PARTS CATALOG is subject to change without prior notice.