AEE Technology AEEDW120001 WIFI REPEATER User Manual
Shenzhen AEE Technology CO., LTD. WIFI REPEATER Users Manual
Users Manual

WIFI REPEATER
DW12
User manual
1 Preparing the Repeater
DW12 repeater is a wireless communication device that works in the 2.4GHz frequency
band, and is used to increase the effective communication distance between the mobile
device and AP10. Communication distance is affected by the surrounding environment, such
as blockages due to trees, signal reflection by buildings, interference by other same
frequency bands, etc., affecting effective communication distance. Before flight, make sure
the repeater works properly, otherwise the connection cannot be established between the
mobile device and AP10.
5.1 Introduction
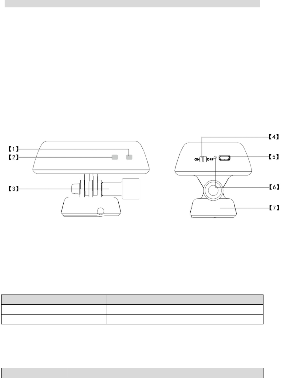
[1] Power Indicator [2] WiFi Indicator [3] Lock screw [4] Power Switch
[5] Charging Port (Micro USB port) [6] Pairing Button [7] Base
WiFi indicator
Indicates Repeater’s WiFi status
WiFi Indicator Description
Blue light remains ON for 30 seconds WiFi repeater is working properly.
Blue light blinks slowly WiFi repeater is successfully paired
Power Indicator
Indicates Repeater’s power supply status
Power Indicator Description

Green light remains ON Repeater power supply is normal.
Red light blinks Repeater is charging, or repeater power is running out, please charge as
soon as possible.
Red light remains ON Charging is completed.
※ It is not recommended to turn on the repeater while it is charging.
Pairing Button
When the repeater is on, long press the Pairing button for 2 seconds, the repeater will automatically
restart for code re-pairing. Short press the Pairing button to check repeater power level
Short press Pairing
button
Press Pairing button once:
If Power Indicator blinks once, indicates that repeater has over 80%
charge remaining.
If Power Indicator blinks twice, indicates that repeater has over 50%
charge remaining.
If Power Indicator blinks three times, indicates that repeater is running
out of power.
Long press Pairing
button (2 seconds)
Repeater restarts and you can re-pair codes.
5.2 How to use
Charging the Repeater
Connect the repeater to the Micro USB port through the repeater adapter to charge the repeater. It
takes about 2 hours to fully charge.
※ Before each flight, make sure the repeater has sufficient charge.
Switching on the Repeater
(1) Toggle repeater power switch to ON to switch on the repeater.
(2) Wait until the WiFi indicator blinks blue, indicating that the repeater works properly.
(3) While using this process, ensure the repeater’s LED side faces you, and try to ensure that
visibility between the repeater and quadcopter is unobstructed, to obtain maximum
communication distance.
※ After the flight is completed, in addition to switching off the quadcopter and transmitter, be
sure to turn off the repeater, or else the repeater’s battery will be depleted.

Check battery status
In AEE AP APP camera interface, you can display and view AP10 power information.
You can see AP10 power information on the upper left corner of the camera interface.
AP10 with FCC ID: YVV-AEEAP100001.
Video
FCC Information and Copyright
This equipment has been tested and found to comply with the limits for a Class B digital device,
pursuant to part 15 of the FCC Rules.
These limits are designed to provide reasonable protection against harmful interference in a residential
installation. This equipment generates,
uses and can radiate radio frequency energy and, if not installed and used in accordance with the
instructions, may cause harmful interference
to radio communications. However, there is no guarantee that interference will not occur in a particular
installation. If this equipment does
cause harmful interference to radio or television reception, which can be determined by turning the
equipment off and on, the user is
encouraged to try to correct the interference by one or more of the following measures:
—Reorient or relocate the receiving antenna.
—Increase the separation between the equipment and receiver.
—Connect the equipment into an outlet on a circuit different from that to which the receiver is
connected.
—Consult the dealer or an experienced radio/TV technician for help.
This device complies with part 15 of the FCC Rules. Operation is subject to the
following two conditions:
(1)This device may not cause harmful interference, and
(2) this device must accept any interference received, including interference that may
cause undesired operation.
changes or modifications not expressly approved by the party responsible for compliance could
void the user's authority to operate the equipment.
This equipment complies with FCC radiation exposure limits set forth for an uncontrolled
environment .This equipment should be installed and operated with minimum distance 20cm
between the radiator& your body. This transmitter must not be co-located or operating in
conjunction with any other antenna or transmitter.