AEG 76730 ÖKO LAVAMAT_76730.bk User Manual To The B5111d17 F7cc 4b22 820f 9d6cd15995ed
User Manual: AEG 76730 to the manual
Open the PDF directly: View PDF .
Page Count: 56

ÖKO-LAVAMAT 76730 update
The Environmentally-Friendly Washing
Machine
User Information

2
Dear customer,
Please read this user information carefully.
In particular, pay attention to the section ”Safety” on the first pages.
Keep this user information in a safe place for later reference. Pass it on
to any subsequent owners of the unit.
1 Points which are necessary for your safety or which are important for
the unit's functional capability are highlighted by a warning triangle
and/or signal words (Warning!, Caution!, Attention!). Always remem-
ber.
0 1. This symbol guides you step by step in operating the unit.
2. ...
3 After this symbol you will find detailed information on operation and
practical use of the unit.
2 The clover leaf indicates tips and information on the economical and
environmentally-responsible use of the unit.
This user information contains information on remedying any faults
which may occur, see the section ”What to do if ...”.
If these instructions are not sufficient, our After-Sales Service is at your
disposal at any time:
ELGROEP & AEG SERVICE
Bergensesteenweg 719
1502 Lembeek
Tel.: 02/3630444
Here you will receive an answer to any question concerning the fea-
tures and use of your unit. Of course, we are also pleased to receive any
requests, suggestions and criticism. Our aim is to further improve our
products and services for the benefit of our customers.
In the event of technical problems, our factory customer service in your
area is at your disposal at all times. Also refer to the section ”Service”.
Printed on recycled paper.
Those who think ecologically act ecologically ...

Contents
3
CONTENTS
Instructions for use . . . . . . . . . . . . . . . . . . . . . . . . . . . . . . . . . . . . . . . . 6
Safety . . . . . . . . . . . . . . . . . . . . . . . . . . . . . . . . . . . . . . . . . . . . . . . . . . . . . . . . 6
Disposal . . . . . . . . . . . . . . . . . . . . . . . . . . . . . . . . . . . . . . . . . . . . . . . . . . . . . . 8
Environment Tips . . . . . . . . . . . . . . . . . . . . . . . . . . . . . . . . . . . . . . . . . . . . . . 8
Unit Description . . . . . . . . . . . . . . . . . . . . . . . . . . . . . . . . . . . . . . . . . . . . . . . 9
Front View . . . . . . . . . . . . . . . . . . . . . . . . . . . . . . . . . . . . . . . . . . . . . . . . . . . . 9
Drawer for Washing Powder and Care Agent . . . . . . . . . . . . . . . . . . . . . . . 9
Control Panel . . . . . . . . . . . . . . . . . . . . . . . . . . . . . . . . . . . . . . . . . . . . . . . . . 10
Program Selector . . . . . . . . . . . . . . . . . . . . . . . . . . . . . . . . . . . . . . . . . . . . 10
Additional Program Buttons . . . . . . . . . . . . . . . . . . . . . . . . . . . . . . . . . . . 12
Consumption Values and Time Requirements . . . . . . . . . . . . . . . . . . . . . 13
What Does ”Update” Mean? . . . . . . . . . . . . . . . . . . . . . . . . . . . . . . . . . . . . 14
Water Protection Aqua Control . . . . . . . . . . . . . . . . . . . . . . . . . . . . . . . . . 14
Before the First Wash . . . . . . . . . . . . . . . . . . . . . . . . . . . . . . . . . . . . . . . . . . 15
Prepare the Washing Cycle . . . . . . . . . . . . . . . . . . . . . . . . . . . . . . . . . . . . . 15
Sort and Prepare the Washing . . . . . . . . . . . . . . . . . . . . . . . . . . . . . . . . . . . . 15
Washing Types and Care Codes . . . . . . . . . . . . . . . . . . . . . . . . . . . . . . . . . . . 16
Washing Detergents and Care Agents . . . . . . . . . . . . . . . . . . . . . . . . . . . . . . 17
Which washing detergent and care agent? . . . . . . . . . . . . . . . . . . . . . . 17
How much washing detergent and care agent? . . . . . . . . . . . . . . . . . . . 17
Water Softener . . . . . . . . . . . . . . . . . . . . . . . . . . . . . . . . . . . . . . . . . . . . . . . . . 17
Run a Washing Cycle . . . . . . . . . . . . . . . . . . . . . . . . . . . . . . . . . . . . . . . . . . 18
Brief Instructions . . . . . . . . . . . . . . . . . . . . . . . . . . . . . . . . . . . . . . . . . . . . . . . 18
Set the Washing Program . . . . . . . . . . . . . . . . . . . . . . . . . . . . . . . . . . . . . . . . 19
Change Spin Speed / Select Rinse Hold . . . . . . . . . . . . . . . . . . . . . . . . . . . . . 20
Set the Delay Timer/Soaking Duration . . . . . . . . . . . . . . . . . . . . . . . . . . . . . 20
Opening and Closing the Filling Door . . . . . . . . . . . . . . . . . . . . . . . . . . . . . . 22
Add the Washing . . . . . . . . . . . . . . . . . . . . . . . . . . . . . . . . . . . . . . . . . . . . . . . 22
Add Washing Detergent/Care Agent . . . . . . . . . . . . . . . . . . . . . . . . . . . . . . . 23
Start the Washing Program . . . . . . . . . . . . . . . . . . . . . . . . . . . . . . . . . . . . . . 24
Completion of the Washing Program . . . . . . . . . . . . . . . . . . . . . . . . . . . . . . 25
Changing a Washing Program . . . . . . . . . . . . . . . . . . . . . . . . . . . . . . . . . . . . 26
Washing Cycle Ended/Remove Washing . . . . . . . . . . . . . . . . . . . . . . . . . . . . 27

Contents
4
Program Tables . . . . . . . . . . . . . . . . . . . . . . . . . . . . . . . . . . . . . . . . . . . . . . . . 28
Washing . . . . . . . . . . . . . . . . . . . . . . . . . . . . . . . . . . . . . . . . . . . . . . . . . . . . . . 28
Separate Conditioning/Starching/Impregnating . . . . . . . . . . . . . . . . . . . . 30
Separate Rinse . . . . . . . . . . . . . . . . . . . . . . . . . . . . . . . . . . . . . . . . . . . . . . . . . 30
Separate Spin . . . . . . . . . . . . . . . . . . . . . . . . . . . . . . . . . . . . . . . . . . . . . . . . . . 30
Cleaning and Care . . . . . . . . . . . . . . . . . . . . . . . . . . . . . . . . . . . . . . . . . . . . . 31
Control Panel . . . . . . . . . . . . . . . . . . . . . . . . . . . . . . . . . . . . . . . . . . . . . . . . . . 31
Washing Detergent Drawer . . . . . . . . . . . . . . . . . . . . . . . . . . . . . . . . . . . . . . 31
Washing Drum . . . . . . . . . . . . . . . . . . . . . . . . . . . . . . . . . . . . . . . . . . . . . . . . . 32
Filling Door . . . . . . . . . . . . . . . . . . . . . . . . . . . . . . . . . . . . . . . . . . . . . . . . . . . . 32
What to do if ... . . . . . . . . . . . . . . . . . . . . . . . . . . . . . . . . . . . . . . . . . . . . . . . 33
Remedying Faults . . . . . . . . . . . . . . . . . . . . . . . . . . . . . . . . . . . . . . . . . . . . . . . 33
If the washing result is not satisfactory . . . . . . . . . . . . . . . . . . . . . . . . . . . . 37
Carry Out an Emergency Emptying Operation . . . . . . . . . . . . . . . . . . . . . . . 38
Clean the Solution Pump . . . . . . . . . . . . . . . . . . . . . . . . . . . . . . . . . . . . . . . . 39
Emergency Unlocking of the Filling Door . . . . . . . . . . . . . . . . . . . . . . . . . . . 40
Additional Rinse (RINSE+/SPOELEN+/RINCAGE+) . . . . . . . . . . . . . . . . . . . . 41
Child Safety Feature . . . . . . . . . . . . . . . . . . . . . . . . . . . . . . . . . . . . . . . . . . . 42
Setting up and connection instructions . . . . . . . . . . . . . . . . . 43
Safety Instructions for Installation . . . . . . . . . . . . . . . . . . . . . . . . . . . . . . 43
Setting Up the Unit . . . . . . . . . . . . . . . . . . . . . . . . . . . . . . . . . . . . . . . . . . . . 44
Transporting the Unit . . . . . . . . . . . . . . . . . . . . . . . . . . . . . . . . . . . . . . . . . . . 44
Remove the Transport Safeguard . . . . . . . . . . . . . . . . . . . . . . . . . . . . . . . . . . 44
Prepare the Installation Location . . . . . . . . . . . . . . . . . . . . . . . . . . . . . . . . . . 46
Setting Up on a Concrete Pedestal . . . . . . . . . . . . . . . . . . . . . . . . . . . . . 46
Setting Up on a Vibrating floor . . . . . . . . . . . . . . . . . . . . . . . . . . . . . . . . 46
Compensate for Floor Unevenness . . . . . . . . . . . . . . . . . . . . . . . . . . . . . . . . . 47

Contents
5
Electrical Connection . . . . . . . . . . . . . . . . . . . . . . . . . . . . . . . . . . . . . . . . . . 48
Water Connection . . . . . . . . . . . . . . . . . . . . . . . . . . . . . . . . . . . . . . . . . . . . . 48
Permissible Water Pressure . . . . . . . . . . . . . . . . . . . . . . . . . . . . . . . . . . . . . . . 48
Water Inflow . . . . . . . . . . . . . . . . . . . . . . . . . . . . . . . . . . . . . . . . . . . . . . . . . . 49
Water Drainage . . . . . . . . . . . . . . . . . . . . . . . . . . . . . . . . . . . . . . . . . . . . . . . . 50
Delivery Heads over 1m . . . . . . . . . . . . . . . . . . . . . . . . . . . . . . . . . . . . . . . . . 51
Technical Data . . . . . . . . . . . . . . . . . . . . . . . . . . . . . . . . . . . . . . . . . . . . . . . . 51
Dimensions . . . . . . . . . . . . . . . . . . . . . . . . . . . . . . . . . . . . . . . . . . . . . . . . . . 51
Index . . . . . . . . . . . . . . . . . . . . . . . . . . . . . . . . . . . . . . . . . . . . . . . . . . . . . . . . 54
Service . . . . . . . . . . . . . . . . . . . . . . . . . . . . . . . . . . . . . . . . . . . . . . . . . . . . . . 55

Instructions for use
6
INSTRUCTIONS FOR USE
1 Safety
The safety of AEG electrical appliances conforms to the recognised
technical regulations and the legislation covering the safety of appli-
ances. However, as manufacturers, we still regard it as our responsibility
to inform you of the following safety information.
Before Putting into Operation for the First Time
•Refer to the ”Installation and Connection Instructions” later in this
user information.
•When the unit is delivered in winter months with minus tempera-
tures: Store the washing machine for 24 hours at room temperature
before putting it into operation.
Correct Use
•The washing machine is only designed for normal domestic washing.
If the unit is used for purposes other than that for which it is
designed, the manufacturer can accept no liability for any resulting
damages.
•For safety reasons, conversions or modifications to the washing
machine are not permissible.
•Use only detergents which are suitable for washing machines. Follow
the washing detergent manufacturer's instructions.
•The washing must not contain any flammable solvents. Also remem-
ber this when washing pre-cleaned washing.
•Do not use the washing machine for chemical cleaning.
•Dyes/dye removers may only be used in washing machines if the
manufacturer expressly allows these products. We cannot be held lia-
ble for any resulting damage.
•Use only water from the water mains. Use rainwater or service water
only if it meets the requirements outlined in DIN1986 and DIN1988.
•Frost damage is not covered by the warranty! If the washing machine
is in a room which is at risk from frost, an emergency emptying oper-
ation must be carried out when there is a frost risk (see the section
”Carry Out Emergency Emptying”).

Instructions for use
7
Child Safety
•Packaging components (e.g. films, polystyrene) can be hazardous to
children. Risk of suffocation! Keep packaging away from children.
•Children often cannot recognise the hazards associated with handling
electrical appliances. Therefore, ensure the necessary supervision dur-
ing operation and do not allow children to play with the washing
machine – there is a risk that children can get trapped inside.
•Ensure that children or small animals cannot climb into the washing
machine's drum.
•When disposing of the washing machine: Pull out the mains plug,
destroy the door lock, cut off the electrical supply lead and throw
away the plug and the left-over cable. This means that children at
play cannot shut themselves inside and in so doing be in danger.
General Safety
•Repairs to the washing machine may only be carried out by skilled
persons. Incorrect repairs can cause significant hazards. If repairs are
necessary, consult our Customer Service or your specialist dealer.
•Never put the washing machine into operation if the mains cable is
damaged or if the control panel, work top or base area are damaged
in such a way that the inside of the unit is open and accessible.
•Switch off the washing machine before carrying out cleaning, care
and maintenance work. Also pull the mains plug out of the socket or,
–if it is permanently connected, – switch off the LS switch in the
fuse box or completely unscrew the screw-in fuse.
•Never pull the cable to remove the plug from the socket. Always pull
the plug itself.
•Multiple connectors, couplings and extension cables must not be
used. There is a fire risk with overheating!
•Do not spray down the washing machine with a water jet. Electric
shock risk!
•The glass in the filling door becomes hot in the case of washing pro-
grams with high temperatures. Do not touch!
•Allow the washing solution to cool down before emergency emptying
of the unit, before cleaning or before emergency opening of the fill-
ing door.
•Small animals can chew the power cables and water hoses. Risk of
electric shock and danger of water damage! Keep small animals away
from the washing machine.

Instructions for use
8
2 Disposal
Dispose the packing material!
Dispose of your washing machine's packaging correctly. All packaging
materials are environmentally compatible and can be disposed of with-
out risk or incinerated at a refuse combustion plant.
The plastics can also be reused:
•The outer sleeve and the bags are made of polyethylene (code >PE<).
•The cushioned parts are made of foamed, CFC-free polystyrene
(code >PS<).
The card parts were made from recylced paper and should also be
returned in the waste paper collection.
Dispose the old appliance!
When you finally put your appliance out of operation,
please bring it to your nearest recycling centre or to your dealer.
2 Environment Tips
•The pre-wash cycle is not required for averagely dirty washing. This
saves washing powder/liquid, water and time (and does not harm the
environment).
•The washing machine is especially economical when you fully utilise
the stated filling quantities.
•For small amounts of washing, use only half to two thirds the recom-
mended amount of washing powder/liquid.
•Suitable pretreatment enables stains and small amounts of dirt to be
removed. You can then wash at a lower temperature.
•Use the energy-saving program to wash garments which are lightly to
moderately dirty.
•There is often no need for conditioner. Try it once! If you use a dryer,
your washing will become soft and velvety even without conditioner.
•In the case of medium to high water hardness, (hardness range II or
higher, see ”Washing and Care Agents”), you should use water sof-
tener.
The washing powder/liquid can then always be metered for hardness
range I (= soft).

Instructions for use
9
Unit Description
Front View
Drawer for Washing Powder and Care Agent
Drawer for
washing
powder and
care agent
Filling door
Screw feet
(height-adjustable);
rear left:
Automatic
adjustment foot
Control panel
Flap in front of
solution pump
Rating plate
(behind filling
door)
Pre-wash
detergent/
soaking agent
or water-softener
Main detergent
(powder) and
water-softener if
required
In-wash stain treatment
Liquid care agent
(conditioner,
finisher, starch)

Instructions for use
10
Control Panel
Program Selector
The program selector determines
the type of washing cycle (e.g.
water level, drum movement,
number of rinses, spin speed)
according to the type of gar-
ments being washed, and also the
washing solution.
OFF (UIT, ARRET)
Switches off the washing
machine. All other positions are
"switched on".
COTTONS/LINEN
(WITTE/BONTE WAS, BLANC/COULEURS)
Main washing cycle Cottons/Linen at 30 °C to 95 °C.
2 ENERGY SAVING position (E-STAND, ECO): Energy-saving program at
approx. 67 °C for slightly to normally dirty cottons, extended washing
time (cannot be combined with QUICK WASH/KORT/COURT).
Spin button / RINSE HOLD
DELAY TIMER
button
Additional program
buttons
OVER DOSING display
Program sequence display
DOOR display
Multidisplay
Program selector
Button
START/
PAUSE

Instructions for use
11
EASY-CARES (KREUKHERSTELLEND, DEFROISSABLE)
Main washing cycle for easy-care textiles (mixed fabrics) at 40 °C to
60 °C.
EASY IRON position (STRIJKVRIJ, SANS REPASSAGE): Main washing
cycle at 40 °C for easy-care textiles which, with the aid of this program,
only have to be either gently ironed or not ironed at all.
DELICATES (FIJNE WAS, LINGE DELICAT)
Main washing cycle for delicates at 30 °C or 40 °C.
WOOLLENS (WOL, LAINE)/P (Handwash)
Main washing cycle (cold up to 40 °C) for machine-washable woollens
and for hand-washable wool textile and silk with the care symbol
ï(handwash).
GENTLE RINSE (FIJN SPOELEN, RINC. DELICAT)
Separate gentle rinse e.g. for rinsing hand-washed textiles (2 rinses, liq-
uid care agent from rinsing compartment w is added, short spin).
STARCHING (STIJVEN, AMIDON.)
Separate starching, separate conditioner, separate impregnation of
damp washing (1 rinse, liquid care agent from the rinsing compartment
w is added, spin).
PUMP OUT (POMPEN, VIDANGE)
Pumping off the water after a rinse hold (without spin).
3 Rinse hold means: The washing remains lying in the last rinsing water.
It is not spun.
SPIN (CENTRIFUG., ESSORAGE)
Pumping off the water after a rinse hold and spin, or separate spin of
hand-washed cottons/linen.
SHORT SPIN (KORT CENTRIFUG., ESSOR. DELICAT)
Pumping off the water after a rinse hold and short spin or separate
short spin of sensitive textiles (easy-care washing, delicates, woollens).

Instructions for use
12
Additional Program Buttons
The additional program buttons are for adapting
the washing program to the dirtiness of the wash-
ing. Additional programs are not required for
washing which is not excessively dirty.
Various functions can be combined with each
other, depending on the program.
PRE WASH (VOORWAS, PRELAV.)
Warm pre wash before the main washing cycle
which follows on automatically; with intermediate
spin for COTTONS/LINEN (WITTE/BONTE WAS,
BLANC/COULEURS), without intermediate spin for EASY-CARES
(KRUEKHERSTELLEND, DEFROISSABLE) and DELICATES (FIJNE WAS,
LINGE DELICAT).
SOAKING (INWEKEN, TREMPAGE)
Approximately 50 minutes at 30°C water temperature. Extendable with
the button DELAY TIMER (STARTTIJDKEUZE, DEPART DIFFERE) to max.
10 hours and approx. 20 minutes. This is followed automatically by the
main wash.
QUICK WASH (KORT, COURT)
Shorter washing cycle for slightly dirty washing.
STAIN (VLEKKEN, TACHES)
For treating very dirty washing or stained washing. (In-wash stain
treatment is added during the program on a time-optimized basis).
3 With the WOOLLENS (WOL, LAINE) program/P (handwash), it is not
possible to select the additional programs (any pressed buttons have no
effect).
VOORWAS
PRELAV.
INWEKEN
TREMPAGE
KORT
COURT
VLEKKEN
TACHES

Instructions for use
13
Consumption Values and Time Requirements
The values for selected programs in the following tables were deter-
mined under normal conditions. However, there is a helpful orientation
aid for domestic operation.
Program Selector/
Temperature
Filling Quantity
in kg
Water
in Litres
Energy
in kWh
Time
in Minutes
COTTONS/LINEN 95
(WITTE/BONTE WAS,
BLANC/COULEURS)
545 1.70 144
COTTONS/LINEN 601)
(WITTE/BONTE WAS,
BLANC/COULEURS)
1) Note: Program setting for a test in accordance with EN 60 456. The consumption
values can deviate from the stated values depending on the water pressure,
hardness, inlet temperature, room temperature, type and quantity of washing,
the washing powder/liquid used, fluctuations in the mains voltage and selected
additional functions.
542 0.94 129
COTTONS/LINEN 40
(WITTE/BONTE WAS,
BLANC/COULEURS)
549 0.60 128
EASY-CARES 40
(KREUKHERSTELLEND,
DEFROISSABLE)
2.5 54 0.50 81
DELICATES 30
(FIJNE WAS, LINGE DELICAT) 2.5 50 0.30 54
WOOLLENS/P (Handwash) 30
(WOL, LAINE) 148 0.20 55

Instructions for use
14
What Does ”Update” Mean?
The washing programs of your washing machine are controlled by soft-
ware.
New types of textiles or new washing powders/liquids could, in the
future, require new washing programs. The software can be adapted to
these in most cases.
When new washing programs are available, you can also use them in
your washing machine by having the software updated.
For further information on the ”Update”, consult the Customer Service.
You can also ask the Customer Service about the costs of an ”Update”.
Water Protection Aqua Control
In the event of damage to the supply hose, the system blocks the fur-
ther supply of water to the unit directly st the water tap.
If water escapes elsewhere, the drainage pump automatically pumps
off – even if the unit is switched off. The washing machine merely has
to be connected to the electricity mains.

Instructions for use
15
Before the First Wash
0 Carry out a washing operation without washing (COTTONS/WITTE WAS,
BLANC 95 °C, with half the quantity of washing powder/liquid).
This removes residues left over from production on the drum and solu-
tion container.
Prepare the Washing Cycle
Sort and Prepare the Washing
•Sort the washing according to care codes and type (see ”Washing
Types and Care Codes”).
•Empty pockets.
•Remove metal parts (paper clips, safety pins etc.).
•To prevent washing damage and washing snags: Close zip fasteners,
button closed bed covers and pillow cases, and tie together ribbons,
e.g. on aprons.
•Use clothing made of double-layer fabric (sleeping bag, anorak etc.).
•On knitted, coloured textiles and on wool and textiles with fitted
decorations: Turn inside out.
•Wash small and sensitive items (baby socks, stockings, tights, bras
etc.) in a washing net, a cushion with a zip fastener or in larger socks.
•Treat curtains with particular care. Remove small metal rollers or
small, burred rollers or tie them in a net or in a bag. We cannot
accept any liability for damage.
•Do not wash coloureds and whites together in one washing cycle.
Otherwise, whites will discolour or turn grey.
•New coloureds often contain surplus dye. It is best to wash such
items separately the first time.
•Mix small and large items of washing! This speeds up theeffect of
washing and the washing is more favourably distributed during spin-
ning.
•Loosen up the washing before loading it into the washing machine.
•Put the washing into the drum folded out.
•Pay attention to the care instructions ”Wash separately” and ”Wash
separately several times”!

Instructions for use
16
Washing Types and Care Codes
The care codes help you choose the correct washing program. The
washing should be sorted according to type and care code. The temper-
atures stated in the care codes are all maximum values.
Cottons ç
Textiles made of cotton and linen with this care code are insensitive to
mechanical stress and high temperatures. The program COTTONS/LINEN
(WITTE/BONTE WAS, BLANC/COULEURS) is suitable for this type of
washing.
Linen èë
Textiles made of cotton and linen with this care code are insensitive to
mechanical stresses. The program COTTONS/LINEN (WITTE/BONTE WAS,
BLANC/COULEURS) is suitable for this type of washing.
Easy-Care Garments êí
Textiles such as finished cottons, cotton mixtures, viscose and synthet-
ics with this care code require mechanically more mild treatment. The
program EASY-CARES/EASY IRON (KREUKHERSTELLEND, DEFROISSA-
BLE/STRIJKVRIJ, SANS REPASSAGE) is suitable for this type of washing.
Delicates ì
Textiles such as layered fibres, microfibres, viscose, synthetics and cur-
tains with this care code require very gentle treatment. The program
DELICATES (FIJNE WAS, LINGE DELICAT) is suitable for this type of
washing.
Wool and Very Sensitive Washing 9ìï
Textiles such as wool, wool mixtures and silk with this care code are
especially sensitive to mechanical stresses. The program WOOLLENS
(WOL, LAINE)/P (handwash) is suitable for this type of textiles.
Attention! Textiles with the care codeñ (Do not wash!) must not be
washed in the washing machine!

Instructions for use
17
Washing Detergents and Care Agents
Which washing detergent and care agent?
Use only washing detergents and care agents which are suitable for use
in washing machines. Always follow the manufacturer's instructions.
How much washing detergent and care agent?
The amount to be used depends on:
•the dirtiness of the washing
•the hardness category of the mains water supply
•the filling quantity
2 If the detergent manufacturer gives no details of the dosing quantities
for minimum loads, add one third less for half loads and, in the case of
very small loads and for EASY IRON (STRIJKVRIJ, SANS REPASSAGE),
only half the amount of detergent recommended for a full load.
Refer to the detergent/care agent manufacturer's instructions on use
and dosage.
Water Softener
For medium to high water hardness (hardness category II or higher) you
should use water softener. Pay attention to the manufacturer's instruc-
tions. Always then meter detergent for hardness category I (= soft). The
responsible water works can provide information on the local water
hardness.
2 Since the water softener is added before the main washing detergent,
(water pre-softening), eighty percent of the softener quantity stated on
the package is sufficient.
Water Hardness Details
Hardness Category
Water Hardness °dH
(degrees German
hardness)
Water Hardness in mmol / l
(millimol per litre)
I – soft 0 - 7 up to 1.3
II – medium hard 7 - 14 1.3 - 2.5
III – hard 14 - 21 2.5 - 3.8
IV – very hard over 21 over 3.8

Instructions for use
18
Run a Washing Cycle
Brief Instructions
A washing cycle is run in the following steps:
0 1. Set the correct washing program:
–Set the program and temperature with the program selector
–Set any additional program(s)
2. Change the spin speed if necessary / select RINSE HOLD (GEEN CENTR.,
SANS ESSOR.).
3. Set DELAY TIMER (STARTTIJDKEUZE, DEPART DIFFERE) if necessary.
4. Open the filling door and fill with washing.
5. Close the filling door.
6. Add washing detergent/care agent.
7. Start the washing program.
After the Washing Program Ends:
Attention! If the washing cycle ended with Rinse Hold, before opening
the filling door carry out PUMP (POMPEN, VIDANGE), SPIN (CEN-
TRIFUG., ESSORAGE) or SHORT SPIN (KORT CENTRIFUG., ESSOR. DELI-
CAT).
8. Open the filling door and remove the washing.
9. Switch off the washing machine: Set the program selector to OFF (UIT,
ARRET).

Instructions for use
19
Set the Washing Program
3 For a suitable program, the right temperature and possible additional
programs for the relevant washing type, refer to the ”Program Tables”.
0 1. Set the program selector to the
required washing program with
the required temperature.
The probable duration of the set
program in minutes is shown in
the multi-display.
2. Select any additional programs:
The indicator for the selected additional program
lights up.
–Press another button to make different selection.
–Press the button again to deselect.
VOORWAS
PRELAV.
INWEKEN
TREMPAGE
KORT
COURT
VLEKKEN
TACHES

Instructions for use
20
Change Spin Speed / Select Rinse Hold
0 If necessary, change the spin speed for the final
spin / select RINSE HOLD (GEEN CENTR., SANS
ESSOR.):
Press the button Spin speed/RINSE HOLD (GEEN
CENTR., SANS ESSOR.) as often as necessary until
the display for the required spin speed (or of RINSE
HOLD/GEEN CENTR., SANS ESSOR.) lights up.
If RINSE HOLD (GEEN CENTR., SANS ESSOR.) is
selected, the washing remains in the last rinsing water and is not spun.
3 If you do not change the spin speed, the final spin is automatically
adapted depending on the washing program:
The speed of the intermediate spin depends on the selected program
and cannot be changed.
Set the Delay Timer/Soaking Duration
Delay Timer
The button DELAY TIMER (STARTTIJDKEUZE, DEPART DIFFERE) allows the
start of a washing program to be advanced by 1 to a maximum of
19 hours.
0 To do this, press the button DELAY TIMER
(STARTTIJDKEUZE, DEPART DIFFERE) as often
as necessary until the required start delay is
shown in the multidisplay, e.g.12h in the
form for a program start delay of 12 hours.
If19h is shown and you press again, 0h and
afterwards the run time of the set washing
program appears (display in minutes, e.g.129).
In this state, the delay timer is not set.
–COTTONS/LINEN
(WITTE/BONTE WAS, BLANC/COULEURS)
1600 revolutions
per minute
–EASY-CARES/EASY IRON
(KREUKHERSTELLEND, DEFROISSABLE/
STRIJKVRIJ, SANS REPASSAGE)
900 revolutions
per minute
–DELICATES
(FIJNE WAS, LINGE DELICAT)
700 revolutions
per minute
–WOOLLENS (WOL, LAINE)/P (Handwash) 900 revolutions
per minute
LOOPTIJD
TEMPS
RESTANT
STARTTIJDKEUZE
DEPART DIFFERE

Instructions for use
21
Soaking Duration
With the SOAKING (INWEKEN, TREMPAGE) button pressed, you can
extend the soaking duration with the button DELAY TIMER (STARTTIJD-
KEUZE, DEPART DIFFERE) (maximum 10 hours and approx. 20 min.).
3 Without delay timer, the soaking duration is approx. 30 minutes, plus a
pre-wash time of approx. 20 minutes.
0 To set, press the button DELAY TIMER (STARTTIJDKEUZE, DEPART
DIFFERE) as often as necessary until the required soaking duration is
shown in the multidisplay, e.g.1h (= 1 hour).
After approx. 2 seconds, the multidisplay
shows the run time in minutes.
This run time is comprised as follows:
3 While SOAKING (INWEKEN, TREMPAGE) is running, PRE WASH (VOOR-
WAS, PRELAV.) lights up on the program sequence display.
selected soaking period e.g. 1h =60 minutes
+ heating up/prewash period e.g. approx. 20 minutes
+ run time of the selected washing program e.g. approx. 129 minutes
=displayed value e.g. approx. 209 minutes

Instructions for use
22
Opening and Closing the Filling Door
0 Open: Pull on the handle of the filling door.
0 Close: Press the filling door firmly closed.
The displays DOOR (DEUR/PORTE) and START/
PAUSE (START/PAUZE, MARCHE/PAUSE) show
whether the door can be opened while the
appliance is switched on:
3 If
–the display DOOR (DEUR, PORTE) flashes red
–then the error code E40 flashes in the multidisplay
–and the display MAIN WASH (HOOFDWAS, LAVAGE) flashes
you tried to start a washing program without first closing the main
door properly. In this case push the door shut firmly and restart the
washing program.
Add the Washing
3 For the maximum filling quantities, refer to the ”Program Tables”.
For information on the correct preparation of the washing, see ”Sort
and Prepare the Washing”.
0 1. Sort and prepare the washing according to type.
2. Open the filling door: Pull on the handle of the filling door.
3. Fill with washing.
Attention! When closing the door, make sure no items of washing get
stuck! This could damage textiles and the unit.
4. Close the filling door securely.
Display DOOR
(DEUR, PORTE)
Display START/PAUSE
(START/PAUZE, MARCHE/PAUSE)
Opening door
possible?
Glows green Flashes red Yes
Glows green Glows red
Yes, after pressing button
START/PAUSE (START/
PAUZE, MARCHE/PAUSE)
Is off Flashes or glows red No1)
1) The main door is locked because of a high water level or a high temperature.

Instructions for use
23
Add Washing Detergent/Care Agent
3 Refer to the information on washing detergents and care agents, see
section ”Washing Detergents and Care Agents”.
0 1. Open the washing detergent drawer:
grip inside the flap on the drawer at the
bottom (1) and pull out the drawer as
far as it will go (2).
2. Fill with washing detergent/
care agent
3. Push the drawer fully in.
3 If using Liquid Detergent/Tabs:
Add liquid detergent/tabs in the amount recommended by the washing
detergent industry. Follow the instructions on the detergent package.
Compartment for in-wash stain
treatment
Compartment for main washing
powder
(If you use water softener and need the
right compartment for the pre-wash /
soaking agent, add the water softener
to the main washing detergent in the
left compartment.)
Compartment for liquid care agent
(Conditioner, finisher, starch)
Attention! Fill the compartment up
to the MAX mark. If necessary, dilute
viscous agent up to the MAX mark,
and dissolve powder starch.
Compartment for pre-wash agent/soaking agent
(only for additonal programs PRE WASH/VOORWAS, PRELAV.
and SOAKING/INWEKEN, TREMPAGE)
or for water softener

Instructions for use
24
Start the Washing Program
0 1. Check that the water valve is open.
2. Start the washing program: Press the button
START/PAUSE (START/PAUZE, MARCHE/PAUSE).
The washing program is started or it starts after
the set time expires.
3 The filling door is not correctly closed if, when the button START/PAUSE
(START/PAUSE, MARCHE/PAUSE) is pressed,
–the indicator DOOR (DEUR, PORTE) flashes red
–the fault code E40 in the multidisplay flashes
–and the indicator MAIN WASH (HOOFDWAS, LAVAGE) flashes.
In this case, press the filling door firmly closed and again press the but-
ton START/PAUSE (START/PAUZE, MARCHE/PAUSE).
If the time preselection is set:
A set time preselection runs and the remaining time until the program
start is displayed (in each case in full hours, e.g. 5h). During this time
you can load washing or change/abort the time preselection.
•Load washing: Press the button START/PAUSE (START/PAUZE,
MARCHE/ PAUSE). The filling door can be opened. Next, close the
door and again press the button START/PAUSE (START/PAUZE,
MARCHE/PAUSE).
•Change or abort time preselection: Press the button DELAY TIMER
(STARTTIJDKEUZE, DEPART DIFFERE) as often as necessary until the
required time is displayed; when the program run time is displayed
(display in minutes, e.g.129), the washing program starts without
delay.

Instructions for use
25
Completion of the Washing Program
Program Sequence Display
Before the start, the program steps to be carried out are
displayed by the program sequence display. Ther current
program step is displayed during the washing program.
Multi-Display
The expected remaining time (in minutes) is
shown up to the program end in the multi-dis-
play.
3 With automatic program adaptation by the controller of the washing
machine (quantity of washing, type of washing, imbalance recognition,
special rinse etc.), it is possible to stop or correct the counting of the
remaining run time.

Instructions for use
26
Changing a Washing Program
Changing or aborting a program
0 1. Press button START/PAUSE (START/PAUZE, MARCHE/PAUSE).
2. Turn programme knob to OFF (UIT, ARRET). The washing program is
aborted.
3. If required, set a new washing program. Otherwise turn the programme
knob to PUMP OUT (POMPEN, VIDANGE) and then press the button
START/PAUSE (START/PAUZE, MARCHE/PAUSE).
3 The washing program can be interrupted at any time with the button
START/PAUSE (START/PAUZE, MARCHE/PAUSE) and continued by press-
ing the button again. Changing the washing program is possible only
after the programme knob was turned to OFF (UIT, ARRET).
Select the Additional Program
The additional programs QUICK WASH (KORT, COURT) or STAIN
(VLEKKEN, TACHES) can also be selected after the program start.
0 1. Press the button START/PAUSE (START/PAUZE, MARCHE/PAUSE).
2. Press the button QUICK WASH (KORT, COURT) or the button STAIN
(VLEKKEN, TACHES).
3. Press the button START/PAUSE (START/PAUZE, MARCHE/PAUSE) again.
The washing program is continued.
Change the Spin Speed
During the washing program, the spin speed can still be changed or
RINSE HOLD (GEEN. CENTR., SANS ESSOR.) can be set.
0 1. Press the button START/PAUSE (START/PAUZE, MARCHE/PAUSE).
2. Change the speed with the button Spin/RINSE HOLD (GEEN CENTR.,
SANS ESSOR.).
3. Press the button START/PAUSE (START/PAUZE, MARCHE/PAUSE) again.
The washing program is continued.

Instructions for use
27
Washing Cycle Ended/Remove Washing
After a washing program has ended, END (EINDE, FIN) lights up on the
program sequence display.
If you selected RINSE HOLD (GEEN CENTR., SANS ESSOR.), the indicator
next to the button START/PAUSE (START/PAUZE, MARCHE/PAUSE)
flashes.
0 1. After a rinse hold, it is first necessary to pump off the water:
–Press either the button START/PAUSE (START/PAUZE, MARCHE/
PAUSE) (water is pumped off and the washing is spun according to
the program which has just run; after pressing the button START/
PAUSE (START/PAUZE, MARCHE/PAUSE) again, the spin speed can also
still be changed during spinning),
or
–turn the program selector to PUMP (POMPEN, VINDAGE) and press
the button START/PAUSE (START/PAUZE, MARCHE/PAUSE) (water is
pumped off without spinning)
or
–turn the program selector to SPIN (CENTRIFUG., ESSORAGE) or SHORT
SPIN (KORT CENTRIFUG., ESSOR. DELICAT) and press the button
START/ PAUSE (START/PAUZE, MARCHE/PAUSE) (water is pumped off
and the washing is spun or gently spun).
After the end of this program step, the indicator END (EINDE, FIN)
lights up.
2. Open the filling door.
As soon as the indicator DOOR (DEUR, PORTE) lights up green, the fill-
ing door can be opened.
3. Remove the washing.
4. Turn the program selector to OFF (UIT, ARRET).
5. After washing, pull out the washing detergent drawer slightly so that it
can dry out. Only lean the door against the washing machine so that
the latter can air out.
3 If the display OVER DOSING (OVERDOS., SURDOSAGE)
lights up, too much washing detergent was used in the
washing program just ended. During the next wash, pay
attention to the dosing information of the washing detergent
manufacturer and pay attention to the filling quantity!
Attention! If the washing machine is not used for a long time:
Close the water tap and disconnect the washing machine from the
electricity mains. (The Aqua Control water protection does not function
if the power supply is interrupted).
OVERDOS.
SURDOSAGE

Instructions for use
28
Program Tables
Washing
Not all possible settings are listed below - only the ones most com-
monly used in everyday operation and the most appropriate ones.
Type of Washing,
Care Codes
Max.
Filling Quantity
(dry weight)1)
Program Selector
Temperature
Possible
Additional
Programs
Cottons
ç5kg
COTTONS/LINEN
(WITTE/BONTE WAS,
BLANC/COULEURS)
95
PRE WASH
(VOORWAS,
PRELAV.)
SOAKING
(INWEKEN,
TREMPAGE)
QUICK WASH
(KORT, COURT)
STAIN
(VLEKKEN,
TACHES)
Energy-Saving
Program:
Cottons ç5kg
COTTONS/LINEN
(WITTE/BONTE WAS,
BLANC/COULEURS)
ENERGY SAVING
(E-STAND, ECO)
PRE WASH
(VOORWAS,
PRELAV.)
SOAKING
(INWEKEN,
TREMPAGE)
STAIN
(VLEKKEN,
TACHES)
Linen
èë 5kg
COTTONS/LINEN
(WITTE/BONTE WAS,
BLANC/COULEURS)
30 to 60
PRE WASH
(VOORWAS,
PRELAV.)
SOAKING
(INWEKEN,
TREMPAGE)
QUICK WASH
(KORT, COURT)
STAIN
(VLEKKEN,
TACHES)

Instructions for use
29
Easy-Cares
êí
2.5kg
EASY-CARES
(KREUKHERSTELLEND,
DEFROISSABLE)
40 to 60
PRE WASH
(VOORWAS,
PRELAV.)
SOAKING
(INWEKEN,
TREMPAGE)
QUICK WASH
(KORT, COURT)
STAIN
(VLEKKEN,
TACHES)
1kg
EASY IRON2)
(STRIJKVRIJ,
SANS REPASSAGE)
40
Delicates
ì
2.5kg
(or 15-20m2
curtains)
DELICATES
(FIJNE WAS, LINGE DELICAT)
30, 40
PRE WASH
(VOORWAS,
PRELAV.)
SOAKING
(INWEKEN,
TREMPAGE)
QUICK WASH
(KORT, COURT)
STAIN
(VLEKKEN,
TACHES)
Woollens/
Handwash
9ìï 2kg
P
WOOLLENS
(WOL, LAINE),
COLD (KOUD, FROID) to 40
1) A 10-litre bucket holds approx. 2.5kg of dry washing (cottons).
2) Only if a filling quantity of 1kg is observed are creases in the washing largely
avoided.
5 to 7 easy-care men's shirts are equivalent to about 1kg of dry washing.
Type of Washing,
Care Codes
Max.
Filling Quantity
(dry weight)1)
Program Selector
Temperature
Possible
Additional
Programs

Instructions for use
30
Separate Conditioning/Starching/Impregnating
Separate Rinse
Separate Spin
Type of Washing Max. Filling Quantity
(dry weight) Program Selector
Cottons/Linen 5kg STARCHING
(STIJVEN, AMIDON.)
Type of Washing Max. Filling Quantity
(dry weight) Program Selector
Cottons/Linen 5kg
GENTLE RINSE
(FIJN SPOELEN,
RINC. DELICAT)
Easy-Cares 2.5kg
Delicates 2.5kg
Woollens/Handwash 2kg
Type of Washing Max. Filling Quantity
(dry weight) Program Selector
Cottons/Linen 5kg SPIN
(CENTRIFUG., ESSORAGE)
Easy-Cares 2.5kg SHORT SPIN
(KORT CENTRIFUG.,
ESSOR. DELICAT)
Delicates 2.5kg
Woollens/Handwash 2kg

Instructions for use
31
Cleaning and Care
Control Panel
Attention! For cleaning panels and control parts, do not use furniture
polish or any aggressive cleaning agents.
0 Wipe off control panels with a damp cloth. Use warm water to do this.
Washing Detergent Drawer
The washing detergent drawer should be cleaned from time to time.
0 1. Pull out the washing detergent drawer as far as it will go.
2. Remove the washing detergent drawer with a firm pull.
3. Remove the softener insert from
the middle compartment.
4. Clean the softener insert under
running water.
5. Clean the compartments from the
rear with warm water.
It is best to use a bottle brush.
6. Push on the softener insert as far
as it will go so that it is secure.

Instructions for use
32
7. Use a brush to clean the entire
rinsing-in part of the washing
machine, especially the nozzles on
the top side of the rinsing-in
chamber.
8. Insert the washing detergent
drawer into the guide rails and
push it in.
Washing Drum
The washing drum is made of high-quality stainless steel. Rust deposits
on the drum can occur due to foreign bodies in the washing which can
cause rust.
Attention! Do not clean the stainless steel drum with acidic antiliming
agents, scouring agents containing chlorine or iron or steel wool. Our
Customer Service Department has suitable agents available.
0 Remove any rust deposits on the drum using a stainless steel cleaning
agent.
Filling Door
0 Check regularly whether there are deposits or foreign bodies in the
rubber sleeve behind the filling door and, if so, remove them.

Instructions for use
33
What to do if ...
Remedying Faults
In the event of a fault, try to solve the problem yourself with the aid of
the information provided here. If you call Customer Service to deal
with one of the faults listed here or to remedy an operating fault, the
customer service technician's visit will not be free of charge, even dur-
ing the warranty period.
•If the fault code E10, E20 or E40 is shown in
the multidisplay, you may be able to remedy
the fault yourself (see Faults Table below).
After remedying the fault, press the button START/PAUSE (START/
PAUZE, MARCHE/PAUSE). If the fault code is shown again, inform
Customer Service.
•In the case of all other displayed faults (E and number or letter),
please inform the Customer Service and state the fault code.
Problem Possible Cause Remedy
The washing machine
does not work.
The mains plug is not
plugged in. Plug in the mains plug.
The fuse of the building's
wiring is not in order. Replace the fuse.
The filling door is not cor-
rectly closed.
Close the filling door; the
lock must engage audibly.
The button START/PAUSE
(START/ PAUZE, MARCHE/
PAUSE) was not pressed for
long enough.
Press the button START/
PAUSE (START/ PAUZE,
MARCHE/PAUSE) until the
program begins.
The filling door cannot
be closed. The child lock is set.
Cancel the child lock
(see section „Child Safety
Feature").
Fault code E40
appears. The indicator
MAIN WASH (HOOFD-
WAS, LAVAGE) flashes.
The filling door is not
correctly closed.
Close the filling door cor-
rectly. Restart the program.

Instructions for use
34
No water runs in.
Fault code E10
appears. The indicator
RINSE+ (SPOELEN+,
RINCAGE+) flashes.
Water valve is closed. Open the water valve.
Filter in screw connection of
the intake hose is blocked.
Close the water valve.
Unscrew the hose from the
water valve, remove the filter
and clean it under running
water.
The washing machine
vibrates during opera-
tion or it is on an une-
ven surface.
The height-adjustable screw
feet are not correctly set.
Adjust in accordance with
the installation and connec-
tion instructions.
There is not much washing in
the drum (e.g. only one
dressing gown).
This does not impair the
function.
The water could not be com-
pletely pumped off before
spinning because the drain-
age hose is bent
or
the solution pump is blocked.
Check the laying of the
drainage hose and eliminate
the bend if necessary, or
clean the solution pump and,
if required, remove foreign
bodies from the pump hous-
ing.
The washing solution
of the main wash
froths up a lot.
Too much detergent was
probably used.
Meter the detergent exactly
in accordance with the
manufacturer's information.
Water runs out under
the washing machine.
The screw connection on the
intake hose is leaky.
Tighten the intake hose
screw connection.
The drainage hose is leaky. Check the drainage hose and
replace it if necessary.
The washing solution pump
cover is not correctly closed. Close cover correctly.
Washing stuck in the filling
door.
Stop the program, remove
washing from the filling
door, start a new program.
The emergency drain hose is
not properly shut off or it is
not water-tight.
Shut the emergency drain
hose off properly (see section
"Performing an Emergency
Drain"). Call your after-sales
service if the emergency
drain hose is not water-tight.
Problem Possible Cause Remedy

Instructions for use
35
Fault code EF0
appears.
The anti-flood system Aqua
Control has responded.
Close the water tap. Turn the
programme knob to OFF (UIT,
ARRET). Call your after-sales
service.
Conditioner not added,
compartment w for
care agent full of
water.
Softener insert in the com-
partment for care agent not
correctly attached or is
blocked.
Clean the detergent drawer
and firmly attach the sof-
tener insert.
Washing heavily
creased.
Too mush washing probably
put in.
Pay attention to the maxi-
mum filling quantity (see
Program Tables). For easy-
care textiles, select the pro-
gram EASY IRON (STRIJKVRIJ,
SANS REPASSAGE).
Washing not well spun.
Residual water still vis-
ible in the drum.
Fault code E20
appears. The indicator
RINSE (SPOELEN,
RINCAGE) flashes.
Drainage hose bent. Remove the bend.
Maximum pump head (outlet
head 1m from unit's floor
surface) exceeded.
Consult Customer Service.
They can supply a retrofit kit
as a special accessory for
delivery heads of more than
1m.
Solution pump blocked.
Switch off the unit and pull
out the mains plug. Clean
the solution pump.
If a siphon is connected:
Siphon blocked. Clean the siphon.
The main door cannot
be opened while the
appliance is turned on.
The main door is locked
because of a high water level
or a high temperature. The
display DOOR (DEUR, PORTE)
is not lit.
Wait until the display DOOR
(DEUR, PORTE) lights up
green.
Should it nevertheless be
necessary to open the main
door:
Turn the programme knob to
OFF (UIT, ARRET); turn the
programme knob to PUMP
OUT (POMPEN, VIDANGE).
Press button START/PAUSE
(START/PAUZE, MARCHE/
ARRET). The main door can
be opened after the water
has been pumped out.
Problem Possible Cause Remedy

Instructions for use
36
Washing detergent
residues form in the
washing detergent
drawer.
Water valve not fully opened. Open the water valve fully.
Filter in the screw connec-
tion of the intake hose on
the water valve or on the
unit is blocked.
Close the water valve.
Unscrew the intake hose
from the water tap and from
the unit. Clean the filter.
The rinsing water is
murky.
The cause is probably a
detergent with a high silicate
content.
No negative influence on the
rinsing result, use liquid
detergent if necessary.
The corresponding dis-
play does not light up
when one of the addi-
tional program but-
tons is pressed.
The selected additional pro-
gram cannot be combined
with the set program.
Make another selection.
Problem Possible Cause Remedy

Instructions for use
37
If the washing result is not satisfactory
If the washing is grey and limescale forms in the drum
•Not enough washing detergent added.
•The right washing detergent was not used.
•Special types of stain were not pretreated.
•Program or temperature incorrectly set.
•If binary wahing detergents were used, the individual components
were not added in the correct ratio.
If there are still grey stains on the washing
•Washing contaminated with creams, grease or oils was washing with
too little detergent.
•Washing at too low temperature.
•A frequent cause is that conditioner – particularly concentrated
form, ended up on the washing. Wash out such stains as quickly as
possible and carefully use the right conditioner.
If foam is still visible after the final rinse
•Modern washing detergents can still produce foam, even in the final
rinse. The washing is still sufficiently rinsed.
If there are white residues on the washing
•These are the insoluble components of modern detergents.
They are not the result of an insufficient rinsing effect.
Shake or brush off the washing. Perhaps in future you should turn
the washing before washing it. Check the choice of detergent and use
a liquid detergent if necessary.

Instructions for use
38
Carry Out an Emergency Emptying Operation
•When the washing machine no longer pumps off the washing solu-
tion, an emergency emptying operation must be carried out.
•When the washing machine is in a room where there is a frost risk, an
emergency emptying operation must be carried out when there is a
frost risk.
Also: Unscrew the intake hose from the water tap and lay it on the
floor. Empty the drainage hose.
1 Warning! Switch off the washing machine before carrying out an
emergency emptying operation and pull out the mains plug.
Caution! The washing solution running out of the emergency emptying
hose can be hot. Risk of scalding! Allow the washing solution to cool
down before carrying out emergency emptying.
0 1. Provide a flat collecting vessel to catch the washing solution as it runs
out.
2. Open the flap downwards in the right
part of the base panel and pull it off.
3. Remove the emergency emptying hose
from the holder.
4. Place the collecting vessel underneath.
5. Release and pull out the plug of the
emergency emptying hose by turning it
anticlockwise.
The washing solution drains off.
Depending on the amount of solution, it
may be necessary to empty the collect-
ing vessel several times. To do this, tem-
porarily close the emergency emptying
hose again with the plug.

Instructions for use
39
When all the washing solution has drained off:
6. Firmly push the plug into the emergency emptying hose and turn it
tight clockwise.
7. Put the emergency emptying hose back into the holder.
8. Insert the flap into the base panel and close.
Clean the Solution Pump
1 Warning! Before cleaning the solution pump, switch off the washing
machine and pull out the mains plug!
0 1. First carry out an emergency emptying (see the above section ”Carry
Out Emergency Emptying”).
2. Place a wiping cloth on the floor in front of the cover of the solution
pump. Residual water can run out.
3. Unscrew the solution pump cover anti-
clockwise and pull it out.
4. Remove any foregin bodies from the
pump housing.
5. Replace the cover. Insert the webs on
the cover laterally into the guide slots
and screw the cover firmly into place
clockwise.
6. Close the emergency emptying hose and
place it in the holder.
7. Close the flap.

Instructions for use
40
Emergency Unlocking of the Filling Door
When the filling door can no longer be opened, it can be opened with
the aid of the emergency unlocking facility.
0 1. If you can see water in the viewing window of the filling door, first
carry out an emergency eptying operation (see section ”Emergency
Emptying”).
2. Open the flap downwards in the right
part of the base panel.
3. Turn the rotary knob clockwise slightly
with the aid of a coin. And hold it in
this position.
4. Next, open the filling door by pulling on
the door handle.

Instructions for use
41
Additional Rinse (RINSE+/SPOELEN+/RINCAGE+)
The washing machine is set for extremely economical water consump-
tion. However, for persons who suffer from allergies, it can be helpful
to rinse with more water.
3 If RINSE+ (SPOELEN+, RINCAGE+) is set, an additional rinse is per-
formed in the case of the programs COTTONS/LINEN (WITTE/BONTE
WAS, BLANC/COULEURS), EASY-CARES (KREUKHERSTELLEND,
DEFROISSABLE)/EASY IRON (STRIJKVRIJ, SANS REPASSAGE) and
DELICATES (FIJNE WAS, LINGE DELICAT).
No additional rinse is set when the unit is delivered.
Set Additional Rinse:
0 1. Turn the program selector to COTTONS/LINEN (WITTE/BONTE WAS,
BLANC/COULEURS), EASY-CARES/EASY IRON (KREUKHERSTELLEND,
DEFROISSABLE/STRIJKVRIJ, SANS REPASSAGE) or DELICATES (FIJNE
WAS, LINGE DELICAT) with any temperature.
2. Simultaneously keep the button PRE WASH (VOORWAS, PRELAV.) and
the button QUICK WASH (KORT, COURT) pressed for at least 2 seconds.
RINSE+ (SPOELEN+, RINCAGE+) lights up on the program run indicator.
The additional rinse is set. It remains saved until you cancel it again.
3 The additional rinse increases water consumption and the program run
time.
Cancel Additional Rinse:
0 1. Again turn the program selector to COTTONS/LINEN (WITTE/BONTE
WAS, BLANC/COULEURS), EASY-CARES/EASY IRON (KREUKHERSTEL-
LEND, DEFROISSABLE /STRIJKVRIJ, SANS REPASSAGE) or DELICATES
(FIJNE WAS, LINGE DELICAT).
2. Simultaneously keep the button PRE WASH (VOORWAS, PRELAV.) and
the button QUICK WASH (KORT, COURT) pressed for at least 2 seconds.
RINSE+ (SPOELEN+, RINCAGE+) goes out in the program run indicator.
The additional rinse is cancelled.

Instructions for use
42
Child Safety Feature
When the child safety feature is
used, the filling door can no
longer be closed and no more
washing programs can be started.
Setting the Child Safety
Feature:
0 Use a coin to turn the rotary knob
(on the inside of the filling door)
clockwise as far as it will go.
1 Warning! The rotary knob must
not be pressed in following adjust-
ment, otherwise the child safety
feature is not active. The rotary
knob must project as shown in the
diagram.
Cancelling the Child Safety
Feature:
0 Turn the rotary knob anticlockwise
as far as it will go.

Setting up and connection instructions
43
SETTING UP AND CONNECTION
INSTRUCTIONS
Safety Instructions for Installation
•Do not tilt the washing machine onto its front or onto its right side
(looking from the front). Electrical components could get wet!
•Check the washing machine for transport damage. Never connect a
damaged unit. Consult your supplier in the event of damage.
•Ensure that all parts of the transport safeguard have been removed
and that the splash guard is fitted to the unit, see ”Removing the
Transport Safeguard”. Otherwise, damage to the unit or to adjacent
furniture could occur during spinning.
•Always insert the plug into a correctly installed PE socket.
•In the case of permanent installation: A permanent installation may
only be made by an authorised specialist.
•Before putting the unit into operation, ensure that the rated voltage
and current type shown on the unit's rating plate are the same as the
mains voltage and current type at the installation location. The
required electrical fuse is also shown on the rating plate.
•The mains cable may only be replaced by the Customer Service or by
an authorised specialist.

Setting up and connection instructions
44
Setting Up the Unit
3 Washing machines with curved panels are not suitable for substruc-
tures.
Transporting the Unit
•Do not place the washing machine on its front side or on its right side
(looking from the front). Otherwise the electrical components can get
wet.
•Never transport the unit without using the transport safeguard. Do
not remove the transport safeguard until you reach the installation
site. Transporting the unit without the transport safeguard can result
in damage to the unit.
•Never lift the unit by the open filling door or by its base.
When transporting the unit with a sack trolley:
•Attach the sack trolley only at the side. The scoop of the sack trolley
must not be longer than 24cm, otherwise the float switch can be
destroyed.
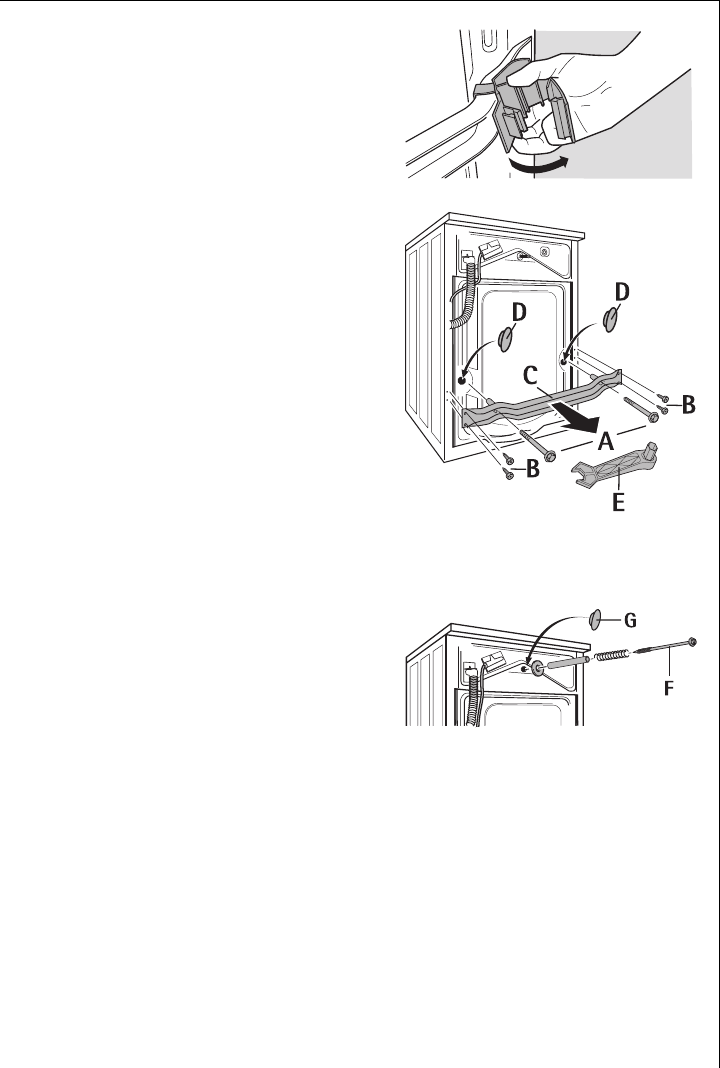
Remove the Transport Safeguard
Attention! It is essential to
remove the transport safeguard
before putting the unit into oper-
ation! Keep all parts of the trans-
port safeguard in a safe place for
possible later transport (moving
house).
0 1. Open both hose holders on the
rear of the unit and remove the
hoses and the mains cable.

Setting up and connection instructions
45
2. Firmly pull both hose holders off
the unit.
3 The special button E and the plug
caps D (2 ea.) and G (1 ea.) are
supplied with the unit.
3. Unscrew the two screws A using
the special button E.
4. Unscrew the four screws B using
the special button E.
5. Remove the transport rail C.
6. Screw the four screws B back in.
7. Close off the two large holes with
the plug caps D.
Attention! Push in the plug caps
so firmly that they engage in the
rear panel (this protects the inside
of the unit against splash water).
8. Remove the screw F, including the
sleeve, compression spring and
washer, with the special button E.
9. Close off the hole with the plug
cap G.
Attention! Push in the plug cap
so firmly that it engages in the
rear panel (this protects the inside
of the unit against splash water).

Setting up and connection instructions
46
Prepare the Installation Location
•The installation surface must be clean, dry and free of floor wax resi-
due and other lubricating coatings so that the unit does not slide
away. Do not use any lubricants as sliding aids.
•It is not recommended to set up the washing machine on deep-pile
carpets or on floor coverings with soft foam underlays, as this would
mean that the stability of the unit would not be guaranteed.
•Use ordinary rubber mats as underlays in locations with small-format
tiles.
•Never use wood, card or similar underlays to compensate for minor
floor unevenness. Always use the adjustable screw-type feet of the
machine.
•If, for reasons of space, it is not possible to avoid setting up the unit
next to a gas cooker or coal stove: Insert a thermally-insulating panel
between the washing machine and the cooker (85 x 57cm). This panel
must have an aluminium foil on the side against the cooker.
•The washing machine must not be set up in a room where there
is a danger of frost. Frost damage!
•The intake and drainage hoses must not be bent or pinched.
Setting Up on a Concrete Pedestal
When setting up the washing machine on
a concrete pedestal, it is essential for
safety reasons to fit stand plates in which
the washing machine is then adjusted.
The stand plates are available from the
Customer Service under spare part
number 645 425 058.
Setting Up on a Vibrating floor
In the case of vibrating floors, especially wooden beam floors with flex-
ible boards, securely screw a water-resistant wooden panel at least
15mm thick onto at least 2 of the floor beams. If possible, set up the
unit in a corner of the room where the wooden floor is best firmly
installed and is therefore least likely to be susceptible to vibrations.

Setting up and connection instructions
47
Compensate for Floor Unevenness
3 Automatic Adjustment Foot: Your washing machine's rear left foot is
of a spring leg design. This guarantees good stability of the unit, even
at high spinning speeds.
If the washing machine still does not stand firmly enough during spin-
ning, proceed as follows:
0 1. Adjust the three adjustment feet
to the setpoint 10mm. To do this,
use the supplied special button to
remove the transport safeguard.
If the automatic adjustment foot
still does not reach the floor:
2. Manually extend the automatic
adjustment foot (rear left) by the
necessary amount.
3. If necessary, check the setting
with a spirit level.
Attention! Never use wood, card
or similar underlays to compen-
sate for minor floor unevenness. Always use the adjustable screw-type
feet of the machine.

Setting up and connection instructions
48
Electrical Connection
Refer to the rating plate for details
of the mains voltage, current type
and the necessary fuses. The rating
plate is located at the top behind
the filling door.
; This unit conforms to the following
EU directives:
–the ”Low Voltage Directive" 73/23/EU with changes
–the ”EMC Directive" 89/336/EWG with changes
Water Connection
3 The washing machine has safety features which prevent contamination
of the drinking water and which conform to the legal regulations of
the water authorities (e.g. for Germany: DVGW regulations). Other pro-
tection measures in the installation are therefore not necessary.
Attention!
–Units for connection to cold water must not be connected to hot
water!
–Use only new sets of hoses for connection!
Permissible Water Pressure
The water pressure must be at least 1bar (= 10N/cm2 = 0.1MPa), maxi-
mum 10bar (= 100 N/cm2 = 1MPa).
•In the case of more than 10bar: Connect a pressure-reducing valve
upstream.
•In the case of less than 1bar: Unscrew the intake hose on the unit
side on the inlet solenoid valve and remove the flow regulator (to do
this, remove the filter with pointed pliers and remove the rubber
washer behind). Replace the filter.

Setting up and connection instructions
49
Water Inflow
A pressure hose 1.5m in length is supplied.
If a longer inflow hose is required, only a VDE-approved, complete set
of hoses with fitted hose screw connections offered by our Customer
Service is permissible.
–Sets of hoses in lengths of 2.2m, 3.5m and 5m are available for
washing machines without Aqua-Control.
–Sets of hoses in lengths of 2.0m, 2.9m and 3.9m are available for
washing machines with Aqua-Control.
Attention! Never cut into pieces in order to extend the hoses!
3 Sealing rings are supplied either in the plastic
nuts of the hose screw connection or in the
enclosed pack. Do not use other seals!
0 1. Connect the hose with the angled connection to
the machine.
Attention!
–Do not lay the supply hose
vertically downwards. Rather,
turn it to the right or left as
shown in the diagram.
–Only tighten the screw
connection manually.
2. Connect the hose with the
straight connection to a water tap with a screw
thread of R 3/4 (inches).
Attention! Only tighten the screw connection
manually.
3. By slowly opening the water tap before putting
the washing machine into operation, check
whether the connection is free of leaks.

Setting up and connection instructions
50
Water Drainage
The drainage hose can either be connected to a siphon or hung in a
wash basin or bath tub.
Only original hoses may be used for extension purposes (max. 3m on
the floor and then up to 80cm high). The Customer Service stocks hoses
in lengths of 2.7 and 4m.
Attention! It is absolutely essential to install the drainage hose free of
pinches.
Water Drainage into a Siphon
The grommet on the end of the hose fits
all commonly used siphon types.
0 Secure the grommet/siphon connecting
point with a hose clamp.
Draining the water into a basin
Attention!
–Small basins are not suitable for
draining the water into them.
Water could overflow!
–It is not permitted to submerge the
end of the drainage hose into the
pumped-off water. Water could be
sucked up into the hose!
–When hooked into a wash-basin or a
bath tub the drainage hose must be
protected from slipping out of place
by the supplied slip-on elbow. Other-
wise the repelling power of the drain-
ing water can press the hose out of the
sink.
0 Fix the elbow to the water tap or to the
wall with string.

Setting up and connection instructions
51
Delivery Heads over 1m
To pump off the washing / rinsing agent, every washing machine has a
pump which transports liquids via the drainage hose up to a height of
1m, calculated from the machine's floor.
For delivery heads over 1m, consult the Customer Service.
Technical Data
Dimensions
(Measurements in mm)
Height adjustment Approx. +10/-5mm
Filling quantity
(program-dependent)
max. 5kg
Use Domestic
Drum speed, spin see rating plate
Water pressure 1-10bar
(=10–100N/cm2 = 0.1–1.0MPa)

52

53

Index
54
INDEX
A
Aqua Control . . . . . . . . . . . . . . . . . . . . .14, 27
Automatic adjustment foot . . . . . . . . . .9, 47
C
Care agent . . . . . . . . . . . . . . . . .9, 17, 18, 23
Child safety feature . . . . . . . . . . . . . . .33, 42
Conditioner . . . . . . . . . . . . . 8, 9, 11, 23, 30
Cottons . . . . . . . . . . . . . . . . . . .10, 16, 28, 30
Curtains . . . . . . . . . . . . . . . . . . . . . . . . .15, 29
Customer service . . . . . . . . . . . . . . 14, 32, 33
D
Delay timer . . . . . . . . . . . . . . .10, 12, 20, 24
Delicates . . . . . . . . . . . . . . . . . . . . . 11, 16, 29
Detergent . . . . . . . . . . . . . . . . . . . . . 9, 17, 23
Door opening . . . . . . . . . . . . . .22, 27, 35, 40
E
Easy iron . . . . . . . . . . . . . . . . . .11, 16, 29, 35
Easy-cares . . . . . . . . . . . . . . . . . . . 11, 16, 29
Emergency emptying . . . . . . . . . . . . . . . . . 38
Emergency unlocking . . . . . . . . . . . . . . . . . 40
Energy saving . . . . . . . . . . . . . . . . . . . .10, 28
F
Filling quantity . . . . . . . . . . . . . . . . . . .13, 28
Frost hazard . . . . . . . . . . . . . . . . . . . . . . .6, 38
G
Gentle rinse . . . . . . . . . . . . . . . . . . . . . .11, 30
H
Handwash . . . . . . . . . . . . . . . . . . . 11, 29, 30
I
In-wash stain treatment . . . . . . . . . . . .9, 23
L
Linen . . . . . . . . . . . . . . . . . . . . .10, 16, 28, 30
M
Multidisplay . . . . . . . .10, 20, 24, 25, 33, 55
O
Over-dosed . . . . . . . . . . . . . . . . . . . . . . . . . 27
P
Pre wash . . . . . . . . . . . . . .12, 19, 23, 28, 29
Pre-wash detergent . . . . . . . . . . . . . . . . 9, 23
Program aborting . . . . . . . . . . . . . . . . . . . . .26
Program changing . . . . . . . . . . . . . . . . . . . .26
Program sequence display . . . . . . . . . . . . . .25
Pump off water . . . . . . . . . . . . . . . . . . 11, 27
Pump out . . . . . . . . . . . . . . . . . . . . . . . 11, 27
Q
Quick wash . . . . . . . . . . . .12, 19, 26, 28, 29
R
Rating plate . . . . . . . . . . . . . . . . . . .9, 48, 55
Rinse hold . . . . . . . . . . . . . . . . . . . .11, 20, 27
Run time . . . . . . . . . . . . . . . . . . . . . . . . . . . .21
S
Silk . . . . . . . . . . . . . . . . . . . . . . . . . . . . . 11, 16
Soaking . . . . . . . . . . . 12, 19, 21, 23, 28, 29
Soaking agent . . . . . . . . . . . . . . . . . . . . 9, 23
Solution pump . . . . . . . . . . . . . . . . . . . . 9, 39
Spin . . . . . . . . . . . . . . . . . . . . . 11, 20, 26, 30
Stain . . . . . . . . . . .8, 12, 19, 26, 28, 29, 37
Starching . . . . . . . . . . . . . . . . . . . . . . . . 11, 30
U
Update . . . . . . . . . . . . . . . . . . . . . . . . . . . . . .14
W
Warranty . . . . . . . . . . . . . . . . . . . . . . . . . 6, 33
Washing
averagely dirty . . . . . . . . . . . . . . . . . . . . . .8
coloured . . . . . . . . . . . . . . . . . . . . . . . . . .15
sensitive . . . . . . . . . . . . . . . . . . . . . . 15, 16
slightly dirty . . . . . . . . . . . . . . . . . . . . 8, 12
Washing powder . . . . . . . . . . . 9, 17, 18, 23
Washing powder drawer . . . . . . . . . . . . 9, 23
Water hardness . . . . . . . . . . . . . . . . . . . 8, 17
Water softener . . . . . . . . . . . . . . 8, 9, 17, 23
Woollens . . . . . . . . . . . . . . . . . 11, 16, 29, 30
hand-washable . . . . . . . . . . . . . . . . . 11, 29

Service
55
SERVICE
In the section ”What to do if ...” there is a list of some faults which you
can remedy yourself. Look there first if a fault occurs. If you find no
information there, please consult your Customer Service Centre.
Always prepare in advance for the discussion. By doing so you will sim-
plify the diagnosis and the decision on whether customer service is
necessary.
Note the PNC-number and the
S-number. Both can be found on the
rating plate on the inside of the door
on your washing machine.
Answer as precisely as possible:
•What form does the fault take?
•Under what circumstances does the fault occur?
•Does the multidisplay show an error message?
When do you incur costs even during the warranty period?
–if you could have dealt with the fault yourself with the aid of the
Faults Table (see the section ”What to do if ...”) ,
–if several trips by the customer service technician are necessary
because he had not received all the necessary information before his
visit and must now e.g. fetch spare parts. These multiple trips can be
avoided if you prepare your phone call as described above.
PNC .....................................................
S-No. .....................................................
AEG Hausgeräte GmbH
Postfach 1036
D-90327 Nürnberg
http://www.aeg.hausgeraete.de
© Copyright by AEG
822 942 244 -02 - 0400-03