ASUSTeK Computer DL101 Smart Door Lock User Manual DL101 UserMan 20151020
ASUSTeK Computer Inc Smart Door Lock DL101 UserMan 20151020
(DL101) UserMan_20151020

E10650
First Edition
October 2015
ASUS DL101
User Manual
COPYRIGHT INFORMATION
No part of this manual, including the products and software described in it, may be reproduced, transmitted,
transcribed, stored in a retrieval system, or translated into any language in any form or by any means, except
documentation kept by the purchaser for backup purposes, without the express written permission of ASUSTeK
COMPUTER INC. (“ASUS”).
ASUS PROVIDES THIS MANUAL “AS IS” WITHOUT WARRANTY OF ANY KIND, EITHER EXPRESS OR IMPLIED,
INCLUDING BUT NOT LIMITED TO THE IMPLIED WARRANTIES OR CONDITIONS OF MERCHANTABILITY OR FITNESS
FOR A PARTICULAR PURPOSE. IN NO EVENT SHALL ASUS, ITS DIRECTORS, OFFICERS, EMPLOYEES OR AGENTS BE
LIABLE FOR ANY INDIRECT, SPECIAL, INCIDENTAL, OR CONSEQUENTIAL DAMAGES (INCLUDING DAMAGES FOR
LOSS OF PROFITS, LOSS OF BUSINESS, LOSS OF USE OR DATA, INTERRUPTION OF BUSINESS AND THE LIKE), EVEN
IF ASUS HAS BEEN ADVISED OF THE POSSIBILITY OF SUCH DAMAGES ARISING FROM ANY DEFECT OR ERROR IN
THIS MANUAL OR PRODUCT.
Products and corporate names appearing in this manual may or may not be registered trademarks or
copyrights of their respective companies, and are used only for identication or explanation and to the owners’
benet, without intent to infringe.
SPECIFICATIONS AND INFORMATION CONTAINED IN THIS MANUAL ARE FURNISHED FOR INFORMATIONAL USE
ONLY, AND ARE SUBJECT TO CHANGE AT ANY TIME WITHOUT NOTICE, AND SHOULD NOT BE CONSTRUED AS A
COMMITMENT BY ASUS. ASUS ASSUMES NO RESPONSIBILITY OR LIABILITY FOR ANY ERRORS OR INACCURACIES
THAT MAY APPEAR IN THIS MANUAL, INCLUDING THE PRODUCTS AND SOFTWARE DESCRIBED IN IT.
Copyright © 2015 ASUSTeK COMPUTER INC. All Rights Reserved.
LIMITATION OF LIABILITY
Circumstances may arise where because of a default on ASUS’ part or other liability, you are entitled to recover
damages from ASUS. In each such instance, regardless of the basis on which you are entitled to claim damages
from ASUS, ASUS is liable for no more than damages for bodily injury (including death) and damage to real
property and tangible personal property; or any other actual and direct damages resulted from omission
or failure of performing legal duties under this Warranty Statement, up to the listed contract price of each
product.
ASUS will only be responsible for or indemnify you for loss, damages or claims based in contract, tort or
infringement under this Warranty Statement.
This limit also applies to ASUS’ suppliers and its reseller. It is the maximum for which ASUS, its suppliers, and
your reseller are collectively responsible.
UNDER NO CIRCUMSTANCES IS ASUS LIABLE FOR ANY OF THE FOLLOWING: (1) THIRD-PARTY CLAIMS AGAINST
YOU FOR DAMAGES; (2) LOSS OF, OR DAMAGE TO, YOUR RECORDS OR DATA; OR (3) SPECIAL, INCIDENTAL,
OR INDIRECT DAMAGES OR FOR ANY ECONOMIC CONSEQUENTIAL DAMAGES (INCLUDING LOST PROFITS OR
SAVINGS), EVEN IF ASUS, ITS SUPPLIERS OR YOUR RESELLER IS INFORMED OF THEIR POSSIBILITY.
SERVICE AND SUPPORT
Visit our multi-language web site at http://support.asus.com
2
Table of Contents
Contents
Package contents
Product overview
Front View ..........................................................................................................................5
Back View ...........................................................................................................................6
Safety notices ...................................................................................................................8
Getting started
Determining door status ..............................................................................................9
Preparing your door ......................................................................................................10
Installing your ASUS DL101 ........................................................................................ 13
Connecting to your HG 100 ........................................................................................ 19
Unlocking the ASUS DL101 ......................................................................................... 19
Locking the ASUS DL101 ............................................................................................. 21
Programming the ASUS DL101 ................................................................................. 22
Resetting to factory settings ...................................................................................... 26
Tips and FAQs
Drilling template (70 mm lockbolt)
Drilling template (60 mm lockbolt)
3

Package contents
NOTE:
• Ifanyofthefollowingitemsisdamagedor
missing, contact your retailer.
• Theillustrateditemsbelowareforreference
only.
• Specicationssubjecttochangewithoutnotice.
ASUS DL101
interior unit
ASUS DL101
exterior unit
ASUS DL101
interior unit cover
Mounting plate
Strike plate
Key
Four 1.5V AA batteries (optional)
Deadbolt Bag of screws
OPEN
4

Product overview
Front View
Keyhole
Touchscreen panel
NOTE: Use your palm to touch the touchscreen
panel, or place your nger on the NFC logo for at
least 1 second to activate the keypad.
5

Back View
Thumbturn lever
LED status indicator
Join button
Reset button
Battery compartment
NOTE: Refer to LED information section for more
details on the LED status indicator.
6

LED information
The LED status indicator helps identify the current status of
your ASUS DL101. Refer to the following table for details:
Color Status Description
Solid Blue
Battery inserted LED lights up for 2 seconds
Disconnected
with gateway
Press Join button for 5 seconds to reset
(LED lights up for 5 seconds)
Identifying
device
Use companion app to identify which
device is connected to the gateway
Blinking Blue Connected with
gateway
Press Join button for 1 second
(LED blinks for 5 seconds)
Blinking Red Low battery
warning Blinks for 5 seconds after unlocking
7
Safety notices
• Replace all batteries immediately when the low-battery
warning sounds.
• DO NOT mix old batteries with new batteries.
• DO NOT mix batteries from dierent brands.
• DO NOT mix alkaline and carbon-zinc batteries.
• Insert the batteries according to the correct polarity.
• DO NOT attempt to repair the product yourself.
• Change your codes regularly.
• Minimize the exposure to moisture including wet hands
and direct contact with liquids.
• Use soft, dry cloth to clean and avoid cleaning with
water, alcohol or other chemicals.
• DO NOT exert excessive force or use sharp objects on
the touchscreen panel.
8

Getting started
Determining door status
Take note of which direction your door will be opened before
installing your ASUS DL101, the orientation will be dierent
for left-handed doors and right-handed doors.
Left-handed door when
viewed from the outside.
Right-handed door when
viewed from the outside.
Setting lock direction
Enter master
password
(default: 0000)
then press <OK>
Press <0> then
press <OK>
NOTE: Set the lock direction after your ASUS DL101
is installed. When the ASUS DL101 is unlocked,
touch the panel, then press <OK> to enter
programming mode.
9

Preparing your door
NOTE: The installation steps shown in this manual is
for a left-handed door and for reference only.
1. Adjust the lockbolt
length to t your
door by rotating it
clockwise or anti-
clockwise.
2 - 3/4”(70mm)
2. Attach the drilling
template to the door
and mark it with a
pen.
10

3. Drill the cross bore
hole and bore hole
as indicated on the
template.
NOTE: The center of the cross bore hole will vary
per thickness of the door.
4. Insert the deadbolt
into the door and
mark the face plate.
11

4. Chisel out a 4 mm
recess for the face
plate along the
marked lines.
5. Insert the deadbolt
again and close the
door, then mark the
door frame with the
lock bolt and the face
plate.
6. Chisel out a 2 mm
recess for the strike
plate along the
marked lines, then drill
a hole deep enough
for the locking bolt (at
least 2.5 mm).
12

Installing your ASUS DL101
NOTE: The installation steps shown in this manual is
for a left-handed door and for reference only.
1. Insert the strike plate
into the door frame,
then secure it with the
bundled short screws.
2. Insert the deadbolt
into the door, then
secure it with the
bundled short screws.
13

3. Align the blade and insert it into the cross shaped
opening on the deadbolt, then pass the cable through
the opening on top of the deadbolt.
14

4. Align the mounting plate and install it, then secure the
mounting plate with the bundled long screws.
NOTE: Ensure to pass the blade through the blade
opening, and pass the cable through the cable
opening.
15

5. Locate the opening labeled OPEN on the cover, then
insert your key into the opening and tilt it downwards
to release the cover.
OPEN
16

6. Connect the cable of the exterior unit to the interior
unit, then align the interior unit and install it.
NOTE:
• Ensuretoconnectthecableinthecorrect
orientation (black to black and red to red).
• Ensurethatthethumbturnleverisintheopen
position.
OPEN
OPEN
Right-handed door
Left-handed door
17

7. Secure the interior unit with the bundled medium
screws, then install four 1.5V AA batteries and the cover.
NOTE: Ensure the batteries are installed in the
correct polarity.
18

Connecting to your ASUS Smart Home
1. Remove the cover on your interior unit.
2. Launch the ASUS Smart Home companion app.
3. Navigate to the Add Device page and tap Add Device.
4. Locate the Join button on your device.
5. Short press the Join button and follow the onscreen
instructions.
NOTE: Ensure that your device is within 50 meters
of your HG 100, and there are no obstructions such
as thick solid walls or other electronic devices that
may cause interference.
19

Unlocking the ASUS DL101
You can unlock the ASUS DL101 with a user password, one
time password (OTP), user card, key, or the companion app.
When an incorrect password has been entered for ve times,
the alarm in the ASUS DL101 will go o, the touchscreen
panel will be locked for two (2) minutes, and a warning
message will be sent to all the family members connected to
the HG 100.
The DL101 comes with an anti-lock picking mechanism,
when the micro sensors on either side of the cylinder is
pressed for 10 seconds, the alarm in the ASUS DL101 will go
o for thirty (30) seconds. Use an user password, user card, or
the companion app to disable the alarm.
NOTE: Refer to Setting up passwords section for
more details on setting a password.
20

Unlocking with a key
Insert your key
into the keyhole Turn the key
Unlocking with a password
Touch the panel
Press the
illuminated
numbers (two to
four numbers)
Enter user
password Press
1 2 3
4 5 6
7
OK
8
0
9
Unlocking with a user card
Touch the panel Touch the panel
with your user
card
Unlocking with the companion app
Launch the ASUS
Smart Home
companion app
Navigate to the
ASUS DL101
device
Move the slider
to unlock
21

Locking the ASUS DL101
Locking with a key
Insert your key
into the keyhole Turn the key
Locking with the touch panel
Touch the panel Press
1 2 3
4 5 6
7
OK
8
0
9
Locking with the companion app
Launch the ASUS
Smart Home
companion app
Navigate to the
ASUS DL101
device
Move the slider
to lock
Locking automatically
You can set the ASUS DL101 to automatically lock after it is
closed for thirty (30) seconds.
NOTE: Refer to Setting locking mode section for
more details on setting the locking mode.
22

Programming the ASUS DL101
The ASUS DL101 can register one (1) master password and
nine (9) passwords (user password, one time password (OTP),
and user card). You can also congure the settings of the
DL101 to suit your needs.
NOTE: When the ASUS DL101 is unlocked, touch
the panel, then press <OK> to enter programming
mode.
Setting a new master password
Enter old master
password
(default: 0000)
then press <OK>
Press <1> then
press <OK>
Enter new master
password (four
to eight digits)
then press <OK>
NOTE: The master password is for programming the
ASUS DL101 only and cannot be used to unlock.
Setting a new user password
Enter master
password
(default: 0000)
then press <OK>
Press <2> then
press <OK>
Enter a new user
password (four
to ten digits)
then press <OK>
Panel will
repeat the
user password
sequentially
23

Setting a new user card
Enter master
password
(default: 0000)
then press <OK>
Press <2> then
press <OK>
Touch the panel
with your user
card then press
<OK>
Panel will
show the slot
number this card
occupies
NOTE:
• TheASUSDL101supportsusercardswith
MIFARE, Felica, and smartphones with NFC.
• NFCfunctiononAndroidsmartphonesvaryper
manufacturer, download the ASUS Smart Door
Lock app to help set up your smart phone for
the rst time.
Deleting an user password
Enter master
password
(default: 0000)
then press <OK>
Press <3> then
press <OK>
Enter the user
password you
want to delete
then press <OK>
24

Deleting an user card
Enter master
password
(default: 0000)
then press <OK>
Press <3> then
press <OK>
Enter card slot
number you
want to delete
then press <OK>
Deleting all user passwords and user cards
Enter master
password
(default: 0000)
then press <OK>
Press <4> then
press <OK>
Setting an one time password (OTP)
Enter master
password
(default: 0000)
then press <OK>
Press <5> then
press <OK>
Enter OTP
password (four
to ten digits)
then press <OK>
NOTE:
• YoucanonlyhaveoneOTPatatime.
• Theonetimepasswordcannotbethesameas
the user password or the emergency password.
• Theonetimepasswordcanonlybeusedonce,
set an one time password if you need it again.
25

Setting an emergency password
Enter master
password
(default: 0000)
then press <OK>
Press <6> then
press <OK>
Enter emergency
password (four
to ten digits)
then press <OK>
NOTE:
• Youcanonlyhaveoneemergencypasswordata
time.
• Theemergencypasswordcannotbethesameas
the user password or the one time password.
• Theemergencypasswordcanbeused
repeatedly, you can change the emergency
password if needed.
Disabling the ASUS DL101 temporarily
Enter master
password
(default: 0000)
then press <OK>
Press <7> then
press <OK>
NOTE: When you disable the ASUS DL101, the ASUS
DL101 can only be unlocked by using the key or the
companion app.
26

Enabling/Disabling automatic locking
Enter master
password
(default: 0000)
then press <OK>
Press <8> then
press <OK>
NOTE:
• Thisfunctionisdisabledbydefault.
• Whenyouenablethisfunction,thedoorwill
automatically lock after it is closed for thirty (30)
seconds.
• Todisablethisfunction,repeattheabovesteps.
Enabling/Disabling keypad sound
Enter master
password
(default: 0000)
then press <OK>
Press <9> then
press <OK>
Resetting to factory settings
1. Locate the Reset button on your device.
2. Press and hold the Reset button for at least ve (5)
seconds until the blue LED lights up.
3. Wait till the blue LED goes out to complete the reset.
27
Troubleshooting
1. After installing and inserting batteries for the rst
time, pressing <OK> does not lock the door.
(short beep)
Problem: The lock direction is not set up yet.
Resolution: Ensure to set the lock direction rst after your ASUS DL101 is
installed.
2. After installing and inserting batteries for the rst
time, there is no response when I press any key.
(no beep and no panel light)
Problem: The batteries are faulty or the cable is not in the correct
orientation.
Resolution: Ensure the batteries are inserted in the correct polarity and
the cable is in the correct orientation.
3. I cannot set the lock direction.
(motor turns, door cannot open, long beep)
Problem: The lock direction in the memory is incorrect or dierent
from the door (such as installing the lock to a new door).
Resolution: Locate the Reset button and perform a factory reset.
28

4. I can set the lock direction, but door would not lock.
(red LED light blinks, three long beeps, motor turns
slowly, lockbolt stuck, thumbturn lever jammed)
Problem: The batteries are low.
Resolution: Replace the batteries.
5. I can lock the door, but I cannot unlock the door
when I enter my password.
(long beep)
Problem: The micro mechanisms are faulty.
Resolution: Unlock the door with your keys and contact your retailer.
6. When the door is closed, pressing
1 2 3
4 5 6
7
OK
8
0
9
locks the door,
but a long beep goes o. When the door is open,
pressing
1 2 3
4 5 6
7
OK
8
0
9
locks the door, and no beep goes o.
Problem: •The hole for the locking bolt is not deep enough.
•The lockbolt is misaligned with the strike plate.
Resolution: •Drill the hole deep enough for the locking bolt
(at least 2.5 mm).
•Adjust the strike plate position.
29

Federal Communications Commission Interference
Statement
This equipment has been tested and found to comply with the limits for a Class B digital
device, pursuant to part 15 of the FCC Rules. These limits are designed to provide reasonable
protection against harmful interference in a residential installation. This equipment generates,
uses and can radiate radio frequency energy and, if not installed and used in accordance with
the instructions, may cause harmful interference to radio communications. However, there is
no guarantee that interference will not occur in a particular installation. If this equipment does
cause harmful interference to radio or television reception, which can be determined by turning
the equipment off and on, the user is encouraged to try to correct the interference by one or
more of the following measures:
-Reorient or relocate the receiving antenna.
-Increase the separation between the equipment and receiver.
-Connect the equipment into an outlet on a circuit different from that to which the receiver is
connected.
-Consult the dealer or an experienced radio/ TV technician for help.
CAUTION! Any changes or modications not expressly approved by the grantee
of this device could void the user’s authority to operate the equipment.
This device complies with Part 15 of the FCC Rules. Operation is subject to the following two
conditions: (1) this device may not cause harmful interference, and (2) this device must accept
any interference received, including interference that may cause undesired operation.
RF exposure warning
This equipment must be installed and operated in accordance with provided instructions and
the antenna(s) used for this transmitter must be installed to provide a separation distance of at
least 20 cm from all persons and must not be co-located or operating in conjunction with any
other antenna or transmitter. End-users and installers must be provide with antenna installation
instructions and transmitter operating conditions for satisfying RF exposure compliance.
30
Informations concernant l’exposition aux
fréquences radio (RF)
La puissance de sortie émise par l’appareil de sans l est inférieure à la limite d’exposition aux
fréquences radio d’Industry Canada (IC). Utilisez l’appareil de sans l de façon à minimiser les
contacts humains lors du fonctionnement normal.
Ce périphérique a également été évalué et démontré conforme aux limites d’exposition aux RF
d’IC dans des conditions d’exposition à des appareils mobiles (antennes sont supérieures à 20
cm à partir du corps d’une personne).
Radio Frequency (RF) Exposure Information
The radiated output power of the Wireless Device is below the Industry Canada (IC) radio
frequency exposure limits. The Wireless Device should be used in such a manner such that the
potential for human contact during normal operation is minimized.
This device has also been evaluated and shown compliant with the IC RF Exposure limits under
mobile exposure conditions. (antennas are greater than 20cm from a person’s body).
Canada, avis d’Industry Canada (IC)
Cet appareil est conforme avec Industrie Canada exemptes de licence RSS standard(s).
Son fonctionnement est soumis aux deux conditions suivantes : (1) cet appareil ne doit pas
causer d’interférence et (2) cet appareil doit accepter toute interférence, notamment les
interférences qui peuvent affecter son fonctionnement.
Canada, Industry Canada (IC) Notices
This device complies with Canada licence-exempt RSS standard(s).
Operation is subject to the following two conditions: (1) this device may not cause interference,
and (2) this device must accept any interference, including interference that may cause
undesired operation of the device.
31

Regional notice for California
WARNING! This product may contain chemicals known to the State of California to cause
cancer, birth defects or other reproductive harm. Wash hands after handling.
ASUS Recycling/Takeback Services
ASUS recycling and takeback programs come from our commitment to the highest standards for
protecting our environment. We believe in providing solutions for you to be able to responsibly
recycle our products, batteries, other components as well as the packaging materials. Please
go to http://csr.asus.com/english/Takeback.htm for detailed recycling information in different
regions.
NCC警語:
經型式認證合格之低功率射頻電機,非經許可,公司、商號或使用者均不得擅自變更頻率、加大
功率或變更原設計之特性及功能。
低功率射頻電機之使用不得影響飛航安全及干擾合法通信;經發現有干擾現象時,應立即停用,
並改善至無干擾時方得繼續使用。
前項合法通信,指依電信法規定作業之無線電通信。低功率射頻電機須忍受合法通信或工業、科
學及醫療用電波輻射性電機設備之干擾。
32
English AsusTek Inc. hereby declares that this device is in compliance with the essential requirements and other relevant
provisions of CE Directives. Please see the CE Declaration of Conformity for more details.
Français AsusTek Inc. déclare par la présente que cet appareil est conforme aux critères essentiels et autres clauses
pertinentes des directives européennes. Veuillez consulter la déclaration de conformité CE pour plus d’informations.
Deutsch AsusTek Inc. erklärt hiermit, dass dieses Gerät mit den wesentlichen Anforderungen und anderen relevanten
Bestimmungen der CE-Richtlinien übereinstimmt. Weitere Einzelheiten entnehmen Sie bitte der CE-Konformitätserklärung.
Italiano AsusTek Inc. con la presente dichiara che questo dispositivo è conforme ai requisiti essenziali e alle altre
disposizioni pertinenti alle direttive CE. Per maggiori informazioni fate riferimento alla dichiarazione di conformità CE.
Компания ASUS заявляет, что это устройство соответствует основным требованиям и другим соответствующим
условиям европейских директив. Подробную информацию, пожалуйста, смотрите в декларации соответствия.
Български С настоящото AsusTek Inc. декларира, че това устройство е в съответствие със съществените изисквания
и другите приложими постановления на директивите CE. Вижте CE декларацията за съвместимост за повече
информация.
Hrvatski AsusTek Inc. ovim izjavljuje da je ovaj uređaj sukladan s bitnim zahtjevima i ostalim odgovarajućim odredbama
CE direktiva. Više pojedinosti potražite u CE izjavi o sukladnosti.
Čeština Společnost AsusTek Inc. tímto prohlašuje, že toto zařízení splňuje základní požadavky a další příslušná ustanovení
směrnic CE. Další podrobnosti viz Prohlášení o shodě CE.
Dansk AsusTek Inc. Erklærer hermed, at denne enhed er i overensstemmelse med hovedkravene and andre relevante
bestemmelser i CE-direktiverne. Du kan læse mere i CE-overensstemmelseserklæring.
Nederlands AsusTek Inc. verklaart hierbij dat dit apparaat compatibel is met de essentiële vereisten en andere relevante
bepalingen van CE-richtlijnen. Raadpleeg de CE-verklaring van conformiteit voor meer details.
Eesti Käesolevaga kinnitab AsusTek Inc., et see seade vastab CE direktiivide oluliste nõuetele ja teistele asjakohastele
sätetele. Vt üksikasju CE vastavusdeklaratsioonist.
Suomi AsusTek Inc. vakuuttaa täten, että tämä laite on CE-direktiivien olennaisten vaatimusten ja muiden asiaan
kuuluvien lisäysten mukainen. Katso lisätietoja CE-vaatimustenmukaisuusvakuutuksesta.
Ελληνικά Με το παρόν, η AsusTek Inc. Δηλώνει ότι αυτή η συσκευή συμμορφώνεται με τις θεμελιώδεις απαιτήσεις και
άλλες σχετικές διατάξεις των Οδηγιών της ΕΕ. Για περισσότερες λεπτομέρειες ανατρέξτε στην Δήλωση Συμμόρφωσης ΕΕ.
Magyar Az AsusTek Inc. ezennel kijelenti, hogy a készülék megfelel a CE-irányelvek alapvető követelményeinek és ide
vonatkozó egyéb rendelkezéseinek. További részletekért tekintse meg a CE-megfelelőségi nyilatkozatot.
Latviski Līdz ar šo AsusTek Inc. paziņo, ka šī ierīce atbilst būtiskajām prasībām un citiem saistošajiem nosacījumiem, kas
norādīti CE direktīvā. Lai uzzinātu vairāk, skatiet CE Atbilstības deklarāciju.
Lietuvių Šiuo dokumentu bendrovė „AsusTek Inc.“ pareiškia, kad šis įrenginys atitinka pagrindinius CE direktyvų
reikalavimus ir kitas susijusias nuostatas. Daugiau informacijos rasite CE atitikties deklaracijoje.
Norsk AsusTek Inc. erklærer herved at denne enheten er i samsvar med hovedsaklige krav og andre relevante forskrifter i
CE-direktiver. Du nner mer informasjon i CE-samsvarserklæringen.
Polski Niniejszym AsusTek Inc. deklaruje, że to urządzenie jest zgodne z istotnymi wymaganiami oraz innymi powiązanymi
zaleceniami Dyrektyw CE. W celu uzyskania szczegółów, sprawdź Deklarację zgodności CE.
Português A AsusTek Inc. declara que este dispositivo está em conformidade com os requisitos essenciais e outras
disposições relevantes das Diretivas da CE. Para mais detalhes, consulte a Declaração de Conformidade CE.
Română Prin prezenta, AsusTek Inc. declară faptul că acest dispozitiv respectă cerinţele esenţiale şi alte prevederi
relevante ale directivelor CE. Pentru mai multe detalii, consultaţi declaraţia de conformitate CE.
33

Srpski AsusTek Inc. ovim izjavljuje da je ovaj uređaj u saglasnosti sa ključnim zahtevima i drugim relevantnim odredbama
CE Direktiva. Molimo vas, pogledajte CE Deklaraciju o usklađenosti za više detalja.
Slovensky Spoločnosť AsusTek Inc. týmto prehlasuje, že toto zariadenie vyhovuje príslušným požiadavkám a ďalším
súvisiacim ustanoveniam smerníc ES. Viac podrobností si pozrite v prehlásení o zhode ES.
Slovenščina AsusTek Inc. tukaj izjavlja, da je ta naprava skladna s temeljnimi zahtevami in drugimi relevantnimi določili
direktiv CE. Za več informacij glejte Izjavo CE o skladnosti.
Español Por la presente, AsusTek Inc. declara que este dispositivo cumple los requisitos básicos y otras disposiciones
relevantes de las directivas de la CE. Consulte la Declaración de conformidad de la CE para obtener más detalles.
Svenska AsusTek Inc. förklarar härmed att denna enhet är i överensstämmelse med de grundläggande kraven och andra
relevanta bestämmelser i CE-direktiven. Se CE-försäkran om överensstämmelse för mer information.
Українська AsusTek Inc. заявляє, що цей пристрій відповідає основним вимогам відповідних Директив ЄС. Будь
ласка, див. більше подробиць у Декларації відповідності нормам ЄС.
Türkçe AsusTek Inc., bu aygıtın temel gereksinimlerle ve CE Yönergelerinin diğer ilgili koşullarıyla uyumlu olduğunu beyan
eder. Daha fazla ayrıntı için lütfen CE Uygunluk Beyanına bakın.
Bosanski AsusTek Inc. ovim potvrđuje da je ovaj uređaj usklađen s osnovnim zahtjevima i drugim relevantnim propisima
Direktiva EK. Za više informacija molimo pogledajte Deklaraciju o usklađenosti EK.
Manufacturer ASUSTek COMPUTER INC.
Address, City 4F, No. 150, LI-TE RD., PEITOU,
TAIPEI 112, TAIWAN
Authorized
Representative
in Europe
ASUS COMPUTER GmbH
Address, City HARKORT STR. 21-23, 40880 RATINGEN
Country GERMANY
34

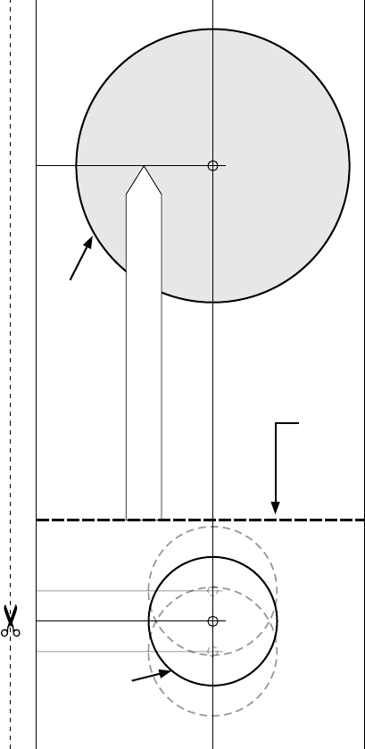
Drilling template (70 mm lockbolt)
Fold along this line and align it
to the corner edge of the door.
The center of the cross bore hole
will vary per thickness of the door.
Bore hole Ø54 mm (2-1/8”)
Cross bore hole
Ø25.4 mm (1”)
Lockbolt length 70 mm (2-3/4”)

Drilling template (60 mm lockbolt)
Fold along this line and align it
to the corner edge of the door.
The center of the cross bore hole
will vary per thickness of the door.
Bore hole Ø54 mm (2-1/8”)
Lockbolt length 60 mm (2-3/8”)
Cross bore hole
Ø25.4 mm (1”)