Acer Aspire 4253G Users Manual SG_JE40_BZ (ZQE)_FD_122310
4253G to the manual 85c019ca-5727-4669-bcdd-c023ceaffb9d
2015-01-25
: Acer Acer-Aspire-4253G-Users-Manual-211092 acer-aspire-4253g-users-manual-211092 acer pdf
Open the PDF directly: View PDF
.
Page Count: 226 [warning: Documents this large are best viewed by clicking the View PDF Link!]
- Aspire 4253/4253G Service Guide
- Chapter 1: Hardware Specifications
- Table of Contents
- Features
- Notebook Tour
- Specification Tables
- Computer specifications
- Processor
- CPU Fan True Value Table)
- GPU Fan True Value Table)
- System Memory
- Video Interface
- BIOS
- Keyboard
- Hard Disk Drive (AVL components)
- Hard Disk Drive (AVL components) (Continued)
- Hard Disk Drive (AVL components) (Continued)
- LCD Inverter (not available with this model)
- Display Supported Resolution (LCD Supported Resolution)
- Display Supported Resolution (GPU Supported Resolution)
- 3G Card (not available in this model)
- Audio Interface
- Battery
- VRAM
- AC Adapter
- Card Reader
- System DMA Specification
- Chapter 2: System Utilities
- Chapter 3: Machine Maintenance Procedures
- Table of Contents
- Introduction
- General Information
- Recommended Equipment
- Maintenance Flowchart
- Getting Started
- Battery Pack Removal
- Battery Pack Installation
- Dummy Card Removal
- Dummy Card Installation
- Keyboard Removal
- Keyboard Installation
- ODD (Optical Disk Drive) Module Removal
- ODD Module Installation
- Lower Cover Removal
- Lower Cover Installation
- DIMM (Dual In-line Memory Module) Module Removal
- DIMM Module Installation
- WLAN (Wireless Local Area Network) Module Removal
- WLAN Module Installation
- USB Module Removal
- USB Module Installation
- RTC Battery Removal
- RTC Battery Installation
- Bluetooth Module Removal
- Bluetooth Module Installation
- Thermal Module Removal
- Thermal Module Installation
- HDD (Hard Disk Drive) Module Removal
- HDD Module Installation
- Mainboard Removal
- Mainboard Installation
- LCD (Liquid Crystal Display) Module Removal
- LCD Module Installation
- Speaker Removal
- Speaker Installation
- LCD Bezel Removal
- LCD Bezel Installation
- Camera Module Removal
- Camera Module Installation
- LCD Panel Removal
- LCD Panel Installation
- LCD Bracket Removal
- LCD Bracket Installation
- LVDS Cable Removal
- LVDS Cable Installation
- WLAN Antenna Removal
- WLAN Antenna Installation
- Chapter 4: Troubleshooting
- Chapter 5: Jumper and Connector Locations
- Chapter 6: FRU (Field Replaceable Unit) List
- Chapter 7: Model Definition and Configuration
- Chapter 8: Test Compatible Components
- Chapter 9: Online Support Information
- Exit

Aspire 4253/4253G
SERVICEGUIDE

ii
Revision History
Refer to the table below for the updates made to the Aspire 4253/4253G service guide.
Service guide files and updates are available on the ACER/CSD Website. For more
information, go to http://csd.acer.com.tw.
The information in this guide is subject to change without notice.
There are no representations or warranties, either expressed or implied, with respect to the
contents hereof and specifically disclaims any warranties of merchantability or fitness for any
particular purpose. The software described in this manual is sold or licensed "as is". Should
the programs prove defective following their purchase, the buyer (not the manufacturer,
distributor, or its dealer) assumes the entire cost of all necessary servicing, repair, and any
incidental or consequential damages resulting from any defect in the software.
Copyright
© 2010 by Acer Incorporated. All rights reserved. No part of this publication may be
reproduced, transmitted, transcribed, stored in a retrieval system, or translated into any
language or computer language, in any form or by any means, electronic, mechanical,
magnetic, optical, chemical, manual or otherwise, without the prior written permission of Acer
Incorporated.
Conventions
The following conventions are used in this manual:
WARNING:
!
Indicates a potential for personal injury.
CAUTION:
!
Indicates a potential loss of data or damage to equipment.
IMPORTANT:
+Indicates information that is important to know for the proper completion of a
procedure, choice of an option, or completing a task.
The following typographical conventions are used in this document:
Book titles, directory names, file names, path names, and program/process names are shown in
italics.
Example:
the DRS5 User's Guide
/usr/local/bin/fd
the /TPH15spool_M program
Date Chapter Updates

iii
Computer output (text that represents information displayed on a computer screen, such as
menus, prompts, responses to input, and error messages) are shown in constant width.
Example:
[01] The server has been stopped
User input (text that represents information entered by a computer user, such as command
names, option letters, and words) are shown in constant width bold.
Variables contained within user input are shown in angle brackets (< >).
Example:
At the prompt, type run <file name> -m
Keyboard keys are shown in bold italics.
Example:
After you enter the data, press Enter.

iv
General information 0
This service guide provides all technical information relating to the basic configuration for
Acer global product offering. To better fit local market requirements and enhance product
competitiveness, your regional office may have decided to extend the functionality of a
machine (such as add-on cards, modems, or extra memory capabilities). These localized
features are not covered in this generic service guide. In such cases, contact your regional
offices or the responsible personnel/channel to provide further technical details.
When ordering FRU parts:
Check the most up-to-date information available on your regional Web or channel. If, for
whatever reason, a part number change is made, it may not be noted in this printed service
guide.
Acer-authorized Service Providers:
Your Acer office may have a different part number code than those given in the FRU list in this
service guide. The list provided by your regional Acer office must be used to order FRU parts
for repair and service of customer machines.

v
CHAPTER 1
Hardware Specifications
Features . . . . . . . . . . . . . . . . . . . . . . . . . . . . . . . . . . . . . . . . . . . .1-5
Operating System. . . . . . . . . . . . . . . . . . . . . . . . . . . . . . . . . . 1-5
Platform . . . . . . . . . . . . . . . . . . . . . . . . . . . . . . . . . . . . . . . . . 1-5
System Memory . . . . . . . . . . . . . . . . . . . . . . . . . . . . . . . . . . . 1-5
Display. . . . . . . . . . . . . . . . . . . . . . . . . . . . . . . . . . . . . . . . . . . 1-5
Audio Subsystem . . . . . . . . . . . . . . . . . . . . . . . . . . . . . . . . . . 1-5
Graphics . . . . . . . . . . . . . . . . . . . . . . . . . . . . . . . . . . . . . . . . . 1-6
Storage Subsystem . . . . . . . . . . . . . . . . . . . . . . . . . . . . . . . . . 1-6
Privacy Control . . . . . . . . . . . . . . . . . . . . . . . . . . . . . . . . . . . . 1-6
Optical Media Drive . . . . . . . . . . . . . . . . . . . . . . . . . . . . . . . . 1-7
Communication . . . . . . . . . . . . . . . . . . . . . . . . . . . . . . . . . . . 1-7
Dimension and Weight . . . . . . . . . . . . . . . . . . . . . . . . . . . . . 1-7
Power Adapter and Battery. . . . . . . . . . . . . . . . . . . . . . . . . . 1-7
Special Keys and Controls . . . . . . . . . . . . . . . . . . . . . . . . . . . 1-8
I/O Ports. . . . . . . . . . . . . . . . . . . . . . . . . . . . . . . . . . . . . . . . . . 1-8
Optional Items . . . . . . . . . . . . . . . . . . . . . . . . . . . . . . . . . . . . 1-8
Warranty. . . . . . . . . . . . . . . . . . . . . . . . . . . . . . . . . . . . . . . . . 1-8
Environment. . . . . . . . . . . . . . . . . . . . . . . . . . . . . . . . . . . . . . 1-8
Software . . . . . . . . . . . . . . . . . . . . . . . . . . . . . . . . . . . . . . . . . 1-9
Notebook Tour. . . . . . . . . . . . . . . . . . . . . . . . . . . . . . . . . . . . . . .1-10
Touchpad Basics . . . . . . . . . . . . . . . . . . . . . . . . . . . . . . . . . . . 1-17
Using the Keyboard . . . . . . . . . . . . . . . . . . . . . . . . . . . . . . . . 1-18
Windows Keys. . . . . . . . . . . . . . . . . . . . . . . . . . . . . . . . . . . . . 1-19
Hotkeys . . . . . . . . . . . . . . . . . . . . . . . . . . . . . . . . . . . . . . . . . . 1-20
Specification Tables. . . . . . . . . . . . . . . . . . . . . . . . . . . . . . . . . . .1-23
Computer specifications . . . . . . . . . . . . . . . . . . . . . . . . . . . . . 1-23
Processor. . . . . . . . . . . . . . . . . . . . . . . . . . . . . . . . . . . . . . . . . 1-24
Processor Specifications . . . . . . . . . . . . . . . . . . . . . . . . . . . . . 1-24
CPU Fan True Value Table) . . . . . . . . . . . . . . . . . . . . . . . . . . 1-25
GPU Fan True Value Table) . . . . . . . . . . . . . . . . . . . . . . . . . . 1-25
System Memory. . . . . . . . . . . . . . . . . . . . . . . . . . . . . . . . . . . . 1-25
Memory Combinations. . . . . . . . . . . . . . . . . . . . . . . . . . . . . . . 1-26
Video Interface. . . . . . . . . . . . . . . . . . . . . . . . . . . . . . . . . . . . . 1-26
BIOS . . . . . . . . . . . . . . . . . . . . . . . . . . . . . . . . . . . . . . . . . . . . 1-26
LAN Interface. . . . . . . . . . . . . . . . . . . . . . . . . . . . . . . . . . . . . . 1-27
Keyboard . . . . . . . . . . . . . . . . . . . . . . . . . . . . . . . . . . . . . . . . . 1-27
Hard Disk Drive (AVL components). . . . . . . . . . . . . . . . . . . . . 1-28
Hard Disk Drive (AVL components) (Continued). . . . . . . . . . . 1-29
Hard Disk Drive (AVL components) (Continued). . . . . . . . . . . 1-30
Super-Multi Drive. . . . . . . . . . . . . . . . . . . . . . . . . . . . . . . . . . . 1-31
Super-Multi Drive (Continued) . . . . . . . . . . . . . . . . . . . . . . . . . 1-32
Super-Multi Drive (Continued) . . . . . . . . . . . . . . . . . . . . . . . . . 1-33

vi
LED 14.0”. . . . . . . . . . . . . . . . . . . . . . . . . . . . . . . . . . . . . . . . . 1-34
LCD Inverter (not available with this model) . . . . . . . . . . . . . . 1-34
Display Supported Resolution (LCD Supported Resolution) . . 1-35
Display Supported Resolution (GPU Supported Resolution). . 1-35
Mini Card . . . . . . . . . . . . . . . . . . . . . . . . . . . . . . . . . . . . . . . . . 1-37
3G Card (not available in this model) . . . . . . . . . . . . . . . . . . . 1-37
Audio Codec and Amplifier . . . . . . . . . . . . . . . . . . . . . . . . . . . 1-38
Audio Interface. . . . . . . . . . . . . . . . . . . . . . . . . . . . . . . . . . . . . 1-39
Battery . . . . . . . . . . . . . . . . . . . . . . . . . . . . . . . . . . . . . . . . . . . 1-39
VRAM . . . . . . . . . . . . . . . . . . . . . . . . . . . . . . . . . . . . . . . . . . . 1-39
USB Port . . . . . . . . . . . . . . . . . . . . . . . . . . . . . . . . . . . . . . . . . 1-40
AC Adapter . . . . . . . . . . . . . . . . . . . . . . . . . . . . . . . . . . . . . . . 1-40
System Power Management . . . . . . . . . . . . . . . . . . . . . . . . . . 1-41
Card Reader . . . . . . . . . . . . . . . . . . . . . . . . . . . . . . . . . . . . . . 1-41
System LED Indicator . . . . . . . . . . . . . . . . . . . . . . . . . . . . . . . 1-42
System DMA Specification . . . . . . . . . . . . . . . . . . . . . . . . . . . 1-42
CHAPTER 2
System Utilities
BIOS Setup Utility. . . . . . . . . . . . . . . . . . . . . . . . . . . . . . . . . . . . .2-3
Navigating the BIOS Utility . . . . . . . . . . . . . . . . . . . . . . . . . . 2-3
BIOS . . . . . . . . . . . . . . . . . . . . . . . . . . . . . . . . . . . . . . . . . . . . . . .2-4
Information. . . . . . . . . . . . . . . . . . . . . . . . . . . . . . . . . . . . . . . 2-4
Main . . . . . . . . . . . . . . . . . . . . . . . . . . . . . . . . . . . . . . . . . . . . 2-6
Security . . . . . . . . . . . . . . . . . . . . . . . . . . . . . . . . . . . . . . . . . . 2-8
Boot. . . . . . . . . . . . . . . . . . . . . . . . . . . . . . . . . . . . . . . . . . . . . 2-12
Exit. . . . . . . . . . . . . . . . . . . . . . . . . . . . . . . . . . . . . . . . . . . . . . 2-13
BIOS Flash Utilities. . . . . . . . . . . . . . . . . . . . . . . . . . . . . . . . . . . .2-14
DOS Flash Utility. . . . . . . . . . . . . . . . . . . . . . . . . . . . . . . . . . . 2-15
WinFlash Utility . . . . . . . . . . . . . . . . . . . . . . . . . . . . . . . . . . . 2-17
Clearing BIOS Passwords . . . . . . . . . . . . . . . . . . . . . . . . . . . . . . .2-18
Removing BIOS Passwords. . . . . . . . . . . . . . . . . . . . . . . . . . . 2-19
Miscellaneous Tools. . . . . . . . . . . . . . . . . . . . . . . . . . . . . . . . . . .2-21
Using DMITools. . . . . . . . . . . . . . . . . . . . . . . . . . . . . . . . . . . . 2-21
Using the LAN MAC EEPROM Utility. . . . . . . . . . . . . . . . . . . 2-25
Crisis Disk Recovery . . . . . . . . . . . . . . . . . . . . . . . . . . . . . . . . 2-26

vii
CHAPTER 3
Machine Maintenance Procedures
Introduction . . . . . . . . . . . . . . . . . . . . . . . . . . . . . . . . . . . . . . . . .3-5
General Information . . . . . . . . . . . . . . . . . . . . . . . . . . . . . . . . . .3-5
Recommended Equipment . . . . . . . . . . . . . . . . . . . . . . . . . . . . .3-5
Maintenance Flowchart. . . . . . . . . . . . . . . . . . . . . . . . . . . . . . . .3-6
Getting Started . . . . . . . . . . . . . . . . . . . . . . . . . . . . . . . . . . . . . .3-7
Battery Pack Removal. . . . . . . . . . . . . . . . . . . . . . . . . . . . . . . 3-8
Battery Pack Installation . . . . . . . . . . . . . . . . . . . . . . . . . . . . 3-8
Dummy Card Removal . . . . . . . . . . . . . . . . . . . . . . . . . . . . . . 3-9
Dummy Card Installation. . . . . . . . . . . . . . . . . . . . . . . . . . . . 3-9
Keyboard Removal. . . . . . . . . . . . . . . . . . . . . . . . . . . . . . . . . 3-10
Keyboard Installation. . . . . . . . . . . . . . . . . . . . . . . . . . . . . . . 3-11
ODD (Optical Disk Drive) Module Removal . . . . . . . . . . . . . 3-12
ODD Module Installation. . . . . . . . . . . . . . . . . . . . . . . . . . . . 3-13
Lower Cover Removal . . . . . . . . . . . . . . . . . . . . . . . . . . . . . . 3-14
Lower Cover Installation . . . . . . . . . . . . . . . . . . . . . . . . . . . . 3-15
DIMM (Dual In-line Memory Module) Module Removal. . . 3-16
DIMM Module Installation. . . . . . . . . . . . . . . . . . . . . . . . . . . 3-17
WLAN (Wireless Local Area Network) Module Removal . . . 3-18
WLAN Module Installation . . . . . . . . . . . . . . . . . . . . . . . . . . 3-19
USB Module Removal. . . . . . . . . . . . . . . . . . . . . . . . . . . . . . . 3-20
USB Module Installation . . . . . . . . . . . . . . . . . . . . . . . . . . . . 3-20
RTC Battery Removal . . . . . . . . . . . . . . . . . . . . . . . . . . . . . . . 3-21
RTC Battery Installation . . . . . . . . . . . . . . . . . . . . . . . . . . . . . 3-21
Bluetooth Module Removal. . . . . . . . . . . . . . . . . . . . . . . . . . 3-22
Bluetooth Module Installation . . . . . . . . . . . . . . . . . . . . . . . 3-23
Thermal Module Removal . . . . . . . . . . . . . . . . . . . . . . . . . . . 3-24
Thermal Module Installation. . . . . . . . . . . . . . . . . . . . . . . . . 3-25
HDD (Hard Disk Drive) Module Removal . . . . . . . . . . . . . . . 3-27
HDD Module Installation. . . . . . . . . . . . . . . . . . . . . . . . . . . . 3-28
Mainboard Removal. . . . . . . . . . . . . . . . . . . . . . . . . . . . . . . . 3-29
Mainboard Installation . . . . . . . . . . . . . . . . . . . . . . . . . . . . . 3-30
LCD (Liquid Crystal Display) Module Removal . . . . . . . . . . . 3-31
LCD Module Installation . . . . . . . . . . . . . . . . . . . . . . . . . . . . 3-32
Speaker Removal . . . . . . . . . . . . . . . . . . . . . . . . . . . . . . . . . . 3-33
Speaker Installation . . . . . . . . . . . . . . . . . . . . . . . . . . . . . . . . 3-34
LCD Bezel Removal. . . . . . . . . . . . . . . . . . . . . . . . . . . . . . . . . 3-35
LCD Bezel Installation . . . . . . . . . . . . . . . . . . . . . . . . . . . . . . 3-36
Camera Module Removal. . . . . . . . . . . . . . . . . . . . . . . . . . . . 3-37
Camera Module Installation . . . . . . . . . . . . . . . . . . . . . . . . . 3-38

viii
LCD Panel Removal. . . . . . . . . . . . . . . . . . . . . . . . . . . . . . . . . 3-39
LCD Panel Installation . . . . . . . . . . . . . . . . . . . . . . . . . . . . . . 3-40
LCD Bracket Removal. . . . . . . . . . . . . . . . . . . . . . . . . . . . . . . 3-41
LCD Bracket Installation. . . . . . . . . . . . . . . . . . . . . . . . . . . . . 3-41
LVDS Cable Removal . . . . . . . . . . . . . . . . . . . . . . . . . . . . . . . 3-42
LVDS Cable Installation . . . . . . . . . . . . . . . . . . . . . . . . . . . . . 3-43
WLAN Antenna Removal. . . . . . . . . . . . . . . . . . . . . . . . . . . . 3-44
WLAN Antenna Installation. . . . . . . . . . . . . . . . . . . . . . . . . . 3-44
CHAPTER 4
Troubleshooting
Introduction . . . . . . . . . . . . . . . . . . . . . . . . . . . . . . . . . . . . . . . . .4-3
General Information . . . . . . . . . . . . . . . . . . . . . . . . . . . . . . . . . .4-3
Power On Issues . . . . . . . . . . . . . . . . . . . . . . . . . . . . . . . . . . . 4-4
No Display Issues. . . . . . . . . . . . . . . . . . . . . . . . . . . . . . . . . . . 4-5
LCD Failure . . . . . . . . . . . . . . . . . . . . . . . . . . . . . . . . . . . . . . . 4-7
Keyboard Failure . . . . . . . . . . . . . . . . . . . . . . . . . . . . . . . . . . 4-8
Touchpad Failure . . . . . . . . . . . . . . . . . . . . . . . . . . . . . . . . . . 4-9
Internal Speaker Failure. . . . . . . . . . . . . . . . . . . . . . . . . . . . . 4-10
Microphone Failure . . . . . . . . . . . . . . . . . . . . . . . . . . . . . . . . 4-12
USB Failure . . . . . . . . . . . . . . . . . . . . . . . . . . . . . . . . . . . . . . . 4-13
Other Functions Failure . . . . . . . . . . . . . . . . . . . . . . . . . . . . . 4-14
Intermittent Problems. . . . . . . . . . . . . . . . . . . . . . . . . . . . . . . . .4-15
Undetermined Problems . . . . . . . . . . . . . . . . . . . . . . . . . . . . . . .4-15
Post Codes . . . . . . . . . . . . . . . . . . . . . . . . . . . . . . . . . . . . . . . . . .4-16
CHAPTER 5
Jumper and Connector Locations
Mainboard Jumper and Connector Locations . . . . . . . . . . . . . .5-3
Clearing Password Check and BIOS Recovery . . . . . . . . . . . . . .5-5
Clearing Password Check. . . . . . . . . . . . . . . . . . . . . . . . . . . . 5-5
Clear CMOS Jumper . . . . . . . . . . . . . . . . . . . . . . . . . . . . . . . . 5-6
BIOS Recovery by Crisis Disk. . . . . . . . . . . . . . . . . . . . . . . . . . 5-6

ix
CHAPTER 6
FRU (Field Replaceable Unit) List
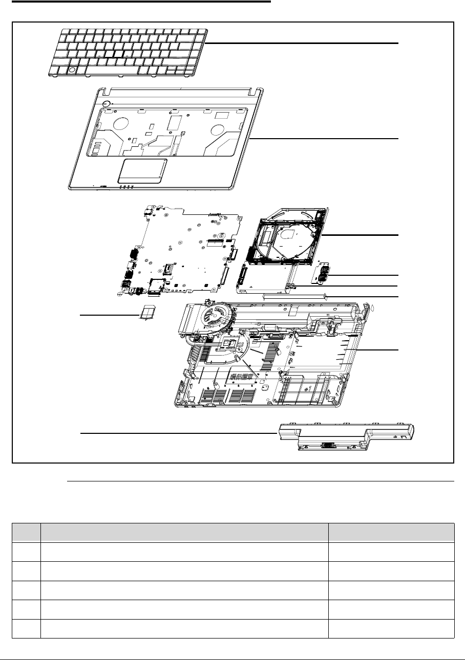
Exploded Diagrams . . . . . . . . . . . . . . . . . . . . . . . . . . . . . . . . . . .6-4
FRU List. . . . . . . . . . . . . . . . . . . . . . . . . . . . . . . . . . . . . . . . . . . . .6-7
Screw List . . . . . . . . . . . . . . . . . . . . . . . . . . . . . . . . . . . . . . . . . . .6-20
CHAPTER 7
Model Definition and Configuration
Acer 4255 . . . . . . . . . . . . . . . . . . . . . . . . . . . . . . . . . . . . . . . . . . .7-1
Aspire 4253G . . . . . . . . . . . . . . . . . . . . . . . . . . . . . . . . . . . . . . . .7-22
CHAPTER 8
Test Compatible Components
Microsoft® Windows® 7 Environment Test . . . . . . . . . . . . . . .8-4
CHAPTER 9
Online Support Information
Introduction . . . . . . . . . . . . . . . . . . . . . . . . . . . . . . . . . . . . . . . . .9-3

x

CHAPTER 1
Hardware Specifications

1-2
Features . . . . . . . . . . . . . . . . . . . . . . . . . . . . . . . . . . . . . . . . . . . . 1-5
Operating System. . . . . . . . . . . . . . . . . . . . . . . . . . . . . . . . . . .1-5
Platform . . . . . . . . . . . . . . . . . . . . . . . . . . . . . . . . . . . . . . . . . .1-5
System Memory . . . . . . . . . . . . . . . . . . . . . . . . . . . . . . . . . . . .1-5
Display. . . . . . . . . . . . . . . . . . . . . . . . . . . . . . . . . . . . . . . . . . . .1-5
Audio Subsystem . . . . . . . . . . . . . . . . . . . . . . . . . . . . . . . . . . .1-5
Graphics . . . . . . . . . . . . . . . . . . . . . . . . . . . . . . . . . . . . . . . . . .1-6
Storage Subsystem . . . . . . . . . . . . . . . . . . . . . . . . . . . . . . . . . .1-6
Privacy Control . . . . . . . . . . . . . . . . . . . . . . . . . . . . . . . . . . . . .1-6
Optical Media Drive . . . . . . . . . . . . . . . . . . . . . . . . . . . . . . . . .1-7
Communication . . . . . . . . . . . . . . . . . . . . . . . . . . . . . . . . . . . .1-7
Dimension and Weight . . . . . . . . . . . . . . . . . . . . . . . . . . . . . .1-7
Power Adapter and Battery. . . . . . . . . . . . . . . . . . . . . . . . . . .1-7
Special Keys and Controls . . . . . . . . . . . . . . . . . . . . . . . . . . . .1-8
I/O Ports. . . . . . . . . . . . . . . . . . . . . . . . . . . . . . . . . . . . . . . . . . .1-8
Optional Items . . . . . . . . . . . . . . . . . . . . . . . . . . . . . . . . . . . . .1-8
Warranty. . . . . . . . . . . . . . . . . . . . . . . . . . . . . . . . . . . . . . . . . .1-8
Environment. . . . . . . . . . . . . . . . . . . . . . . . . . . . . . . . . . . . . . .1-8
Software . . . . . . . . . . . . . . . . . . . . . . . . . . . . . . . . . . . . . . . . . .1-9
Notebook Tour. . . . . . . . . . . . . . . . . . . . . . . . . . . . . . . . . . . . . . . 1-10
Touchpad Basics . . . . . . . . . . . . . . . . . . . . . . . . . . . . . . . . . . . .1-17
Using the Keyboard . . . . . . . . . . . . . . . . . . . . . . . . . . . . . . . . .1-18
Windows Keys. . . . . . . . . . . . . . . . . . . . . . . . . . . . . . . . . . . . . .1-19
Hotkeys . . . . . . . . . . . . . . . . . . . . . . . . . . . . . . . . . . . . . . . . . . .1-20
Specification Tables. . . . . . . . . . . . . . . . . . . . . . . . . . . . . . . . . . . 1-23
Computer specifications. . . . . . . . . . . . . . . . . . . . . . . . . . . . . . . . . . . . . . . . 1-23
Processor. . . . . . . . . . . . . . . . . . . . . . . . . . . . . . . . . . . . . . . . . . . . . . . . . . . 1-24
Processor Specifications . . . . . . . . . . . . . . . . . . . . . . . . . . . . . . . . . . . . . . . 1-24
CPU Fan True Value Table). . . . . . . . . . . . . . . . . . . . . . . . . . . . . . . . . . . . . 1-25
GPU Fan True Value Table) . . . . . . . . . . . . . . . . . . . . . . . . . . . . . . . . . . . . 1-25
System Memory . . . . . . . . . . . . . . . . . . . . . . . . . . . . . . . . . . . . . . . . . . . . . . 1-25
Memory Combinations . . . . . . . . . . . . . . . . . . . . . . . . . . . . . . . . . . . . . . . . . 1-26
Video Interface. . . . . . . . . . . . . . . . . . . . . . . . . . . . . . . . . . . . . . . . . . . . . . . 1-26
BIOS. . . . . . . . . . . . . . . . . . . . . . . . . . . . . . . . . . . . . . . . . . . . . . . . . . . . . . . 1-26
LAN Interface . . . . . . . . . . . . . . . . . . . . . . . . . . . . . . . . . . . . . . . . . . . . . . . . 1-27
Keyboard . . . . . . . . . . . . . . . . . . . . . . . . . . . . . . . . . . . . . . . . . . . . . . . . . . . 1-27
Hard Disk Drive (AVL components) . . . . . . . . . . . . . . . . . . . . . . . . . . . . . . . 1-28
Hard Disk Drive (AVL components) (Continued) . . . . . . . . . . . . . . . . . . . . . 1-29
Hard Disk Drive (AVL components) (Continued) . . . . . . . . . . . . . . . . . . . . . 1-30
Super-Multi Drive . . . . . . . . . . . . . . . . . . . . . . . . . . . . . . . . . . . . . . . . . . . . . 1-31
Super-Multi Drive (Continued) . . . . . . . . . . . . . . . . . . . . . . . . . . . . . . . . . . . 1-32
Super-Multi Drive (Continued) . . . . . . . . . . . . . . . . . . . . . . . . . . . . . . . . . . . 1-33
LED 14.0”. . . . . . . . . . . . . . . . . . . . . . . . . . . . . . . . . . . . . . . . . . . . . . . . . . . 1-34
LCD Inverter (not available with this model) . . . . . . . . . . . . . . . . . . . . . . . . 1-34
Display Supported Resolution (LCD Supported Resolution) . . . . . . . . . . . . 1-35
Display Supported Resolution (GPU Supported Resolution). . . . . . . . . . . . 1-35
Mini Card . . . . . . . . . . . . . . . . . . . . . . . . . . . . . . . . . . . . . . . . . . . . . . . . . . . 1-37
3G Card (not available in this model). . . . . . . . . . . . . . . . . . . . . . . . . . . . . . 1-37
Audio Codec and Amplifier . . . . . . . . . . . . . . . . . . . . . . . . . . . . . . . . . . . . . 1-38

1-3
Audio Interface. . . . . . . . . . . . . . . . . . . . . . . . . . . . . . . . . . . . . . . . . . . . . . . 1-39
Battery . . . . . . . . . . . . . . . . . . . . . . . . . . . . . . . . . . . . . . . . . . . . . . . . . . . . . 1-39
VRAM. . . . . . . . . . . . . . . . . . . . . . . . . . . . . . . . . . . . . . . . . . . . . . . . . . . . . . 1-39
USB Port . . . . . . . . . . . . . . . . . . . . . . . . . . . . . . . . . . . . . . . . . . . . . . . . . . . 1-40
AC Adapter. . . . . . . . . . . . . . . . . . . . . . . . . . . . . . . . . . . . . . . . . . . . . . . . . . 1-40
System Power Management . . . . . . . . . . . . . . . . . . . . . . . . . . . . . . . . . . . . 1-41
Card Reader. . . . . . . . . . . . . . . . . . . . . . . . . . . . . . . . . . . . . . . . . . . . . . . . . 1-41
System LED Indicator . . . . . . . . . . . . . . . . . . . . . . . . . . . . . . . . . . . . . . . . . 1-42
System DMA Specification. . . . . . . . . . . . . . . . . . . . . . . . . . . . . . . . . . . . . . 1-42

1-4

Hardware Specifications and Configurations 1-5
Hardware Specifications and Configurations
Features 0
Below is a summary of the computer’s features:
Operating System 0
Genuine Windows® 7 Home Premium 64-bit
Genuine Windows® 7 Home Basic 64-bit
Platform 0
AMD E-Series processor E-240/E-350 (512 KB / 1 MB L2 cache, 1.50/1.60 GHz, DDR3
1066 MHz, 18 W)
AMD A50M Fusion™ Controller Hub
System Memory 0
Single-channel DDR3 SDRAM, supports 2 DIMMS:
Up to 4 GB of DDR3 system memory, upgradable to 8 GB using two soDIMM
modules
Display 0
14" HD 1366 x 768 pixel resolution, high-brightness (200-nit) Acer CineCrystal™
LED-backlit TFT LCD
Mercury-free, environment-friendly
16:9 aspect ratio
Audio Subsystem 0
High-definition audio support
Built-in mono speaker
MS-Sound compatible
Built-in microphone

1-6 Hardware Specifications and Configurations
Graphics 0
Aspire 4253
ATI Radeon™ HD 6310 Graphics with 256 MB of dedicated system memory,
supporting Unified Video Decoder 3 (UVD3), OpenCL™ 1.1, OpenGL® 3.1, OpenEXR
High Dynamic-Range (HDR) technology, Shader Model 5.0, Microsoft® DirectX® 11
External resolution / refresh rates:
VGA port up to 2560 x 1600: 60 Hz
HDMI® port up to 1920 x 1080: 60 Hz
Aspire 4253G
AMD Radeon™ HD 6470M with 512 MB of dedicated DDR3 VRAM, supporting Unified
Video Decoder 3 (UVD 3), OpenEXR High Dynamic-Range (HDR) technology, Shader
Model 5.0, Microsoft® DirectX®, OpenGL® 3.1, OpenCL™ 1.1
Microsoft® DirectX® Video Acceleration (DXVA) application interface (API)
External resolution / refresh rates:
VGA port up to 2048 x 1536: 85 Hz
HDMI® port up to 1920 x 1080: 60 Hz
Aspire 4253/4253G
Dual independent display support
16.7 million colors
MPEG-2/DVD decoding
VC-1 and H.264 (AVC) decoding
MPEG-4 Part 2 DivX® and Xvid decoding
HDMI® (High-Definition Multimedia Interface) with HDCP (High-bandwidth Digital
Content Protection) support
Storage Subsystem 0
Hard disk drive:
250/320/500/640/750 GB or larger
2-in-1 card reader:
Supports Secure Digital™ (SD) Card and MultiMediaCard™ (MMC)
Privacy Control 0
BIOS user, supervisor, HDD passwords
Kensington lock slot

Hardware Specifications and Configurations 1-7
Optical Media Drive 0
8X DVD-Super Multi double-layer drive:
Read: 24X CD-ROM, 24X CD-R, 24X CD-RW, 8X DVD-ROM, 8X DVD-R, 8X DVD+R,
6X DVD-ROM DL, 6X DVD-R DL, 6X DVD+R DL, 6X DVD-RW, 6X DVD+RW, 5X
DVD-RAM
Write: 24X CD-R, 16X CD-RW, 8X DVD-R, 8X DVD+R, 4X DVD-R DL, 4X DVD+R DL,
6X DVD-RW, 8X DVD+RW, 5X DVD-RAM
Communication 0
Acer Video Conference:
Acer Crystal Eye webcam, 1280 x 1024 resolution
WLAN:
Acer InviLink™ Nplify™ 802.11b/g/n Wi-Fi CERTIFIED™
Acer InviLink™ 802.11b/g Wi-Fi CERTIFIED™
Supporting Acer SignalUp™ wireless technology
WPAN:
Bluetooth® 3.0+HS
Bluetooth® 2.1+EDR
LAN:
Gigabit Ethernet, Wake-on-LAN ready
Dimension and Weight 0
Dimensions:
342 (W) x 249 (D) x 28.5/33.5 (H) mm (13.68 x 9.96 x 1.14/1.34 inches)
Weight:
2.2 kg (4.86 lbs.) with 6-cell battery pack
Power Adapter and Battery 0
ACPI 3.0 CPU power management standard: supports Standby and Hibernation
power-saving modes
Power adapter
3-pin 65 W AC adapter:
95 (W) x 50 (D) x 25.4 (H) mm (3.74 x 1.96 x 1 inches)
216 g (0.47 lbs.) with 180 cm DC cable
Battery
48.8 Wh 4400 mAh 6-cell Li-ion standard battery pack
Battery life: 4.5 hours
ENERGY STAR®

1-8 Hardware Specifications and Configurations
Special Keys and Controls 0
Keyboard
86-/87-/91-key Acer FineTip keyboard with international language support
Touchpad
Multi-gesture touchpad, supporting two-finger scroll, pinch, rotate, flip
Media keys
Media control keys (printed on keyboard): play/pause, stop, previous, next, volume up,
volume down
I/O Ports 0
2-in-1 card reader (SD™, MMC)
Three USB 2.0 ports
HDMI® port with HDCP support
External display (VGA) port
Headphone/speaker/line-out jack
Microphone-in jack
Ethernet (RJ-45) port
DC-in jack for AC adapter
Optional Items 0
1/2/4 GB DDR3 soDIMM module
6-cell Li-ion battery pack
3-pin 65 W AC adapter
Warranty 0
One-year International Travelers Warranty (ITW)
Environment 0
Temperature:
Operating: 41 F to 95 F (5 C to 35 C)
Non-operating: -4 F to -149 F (20 C to 65 C)
Humidity (non-condensing):
Operating: 20% to 80%
Non-operating: 20% to 80%

Hardware Specifications and Configurations 1-9
Software 0
Productivity
Acer Backup Manager
Acer ePower Management
Acer eRecovery Management
Adobe® Flash® Player 10.1
Adobe® Reader® 9.1
Barnes & Noble Desktop Reader (US only)
Bing™ Bar
eSobi™
Microsoft® Office 2010 preloaded (purchase a product key to activate)
Microsoft® Office Starter 2010
New York Times Reader (US only)
Norton™ Online Backup
Security
McAfee® Internet Security Suite Trial
MyWinLocker® (except China, Hong Kong)
Multimedia
Cyberlink® PowerDVD™
NTI Media Maker™
Gaming
Oberon GameZone (except US, Canada, Hong Kong, Korea)
WildTangent® (US, Canada only)
Communication and ISP
Acer Crystal Eye
Microsoft® Silverlight™
Skype™
Windows Live™ Essentials
Web links and utilities
Acer Accessory Store (Belgium, France, Germany, Italy, Netherlands, Spain, Sweden,
UK only)
Acer Identity Card
Acer Registration
Acer Updater
eBay® shortcut 2009 (Canada, France, Germany, Italy, Mexico, Spain, UK, US only)
Netflix shortcut (US only)

1-10 Hardware Specifications and Configurations
Notebook Tour 0
Figure 1-1. Top View
Table 1-1. Top View
#Icon Item Description
1 Acer Crystal Eye
webcam Web camera for video communication. (only for
certain models)
2 Display screen Also called Liquid-Crystal Display (LCD), displays
computer output (configuration may vary by model).
3 Power button Turns the computer on and off.
4 Keyboard For entering data into your computer
5 Touchpad Touch-sensitive pointing device which functions like
a computer mouse.
1
3
2
4
5
6
8
7
9
10

Hardware Specifications and Configurations 1-11
6 Click buttons
(left, and right)
The left and right buttons function like the left and
right mouse buttons.
7 Microphone Internal microphone for sound recording.
8 Power indicator Indicates the computer's power status.
Battery indicator Indicates the computer's battery status.
1. Charging: The light shows amber when the
battery is charging.
2. Fully charged: The light shows blue when in AC
mode.
HDD indicator Indicates when the hard disk drive is active.
Communication
indicator Indicates the computer’s wireless connectivity
device status.
9 Palmrest Comfortable support area for your hands when you
use the computer.
10 Speaker Delivers audio output.
Table 1-1. Top View
#Icon Item Description

1-12 Hardware Specifications and Configurations
Figure 1-2. Closed Front View
Table 1-2. Closed Front View
#Icon Item Description
1 Microphone jack Accepts inputs from external microphones.
Headphone/speaker/li
ne-out jack Connects to audio line-out devices (e.g.,
speakers, headphones).
12

Hardware Specifications and Configurations 1-13
Figure 1-3. Rear View
Table 1-3. Rear View
#Icon Item Description
1 Battery bay Houses the computer's battery pack.
1

1-14 Hardware Specifications and Configurations
Figure 1-4. Left View
Table 1-4. Left View
#Icon Item Description
1 Kensington lock slot Connects to a Kensington-compatible computer
security lock.
Note: Wrap the computer security lock cable
around an immovable object such as a table or
handle of a locked drawer. Insert the lock into
the notch and turn the key to secure the lock.
Some keyless models are also available.
2 DC-in jack Connects to an AC adapter.
3 Ventilation slots Enable the computer to stay cool,
even after prolonged use.
4 External display
(VGA) port Connects to a display device (e.g., external
monitor, LCD projector).
5 Ethernet (RJ-45) port Connects to an Ethernet 10/100/1000-based
network.
6 HDMI port Supports high-definition digital video
connections.
7 USB 2.0 port Connects to USB 2.0 devices (e.g., USB mouse,
USB camera).
2134567

Hardware Specifications and Configurations 1-15
Figure 1-5. Right View
Table 1-5. Right View
#Icon Item Description
1 USB 2.0 ports Connect to USB 2.0 devices
(e.g., USB mouse, USB camera).
2 Optical drive Internal optical drive; accepts CDs or
DVDs.
3 Optical disk access
indicator
Lights up when the optical drive is
active.
4 Optical drive eject
button Ejects the optical disk from the drive.
21345

1-16 Hardware Specifications and Configurations
Figure 1-6. Base View
Table 1-6. Base View
#Icon Item Description
1 Battery bay Houses the computer's battery pack.
2 Battery lock Locks the battery in position.
3 Ventilation slots Enable the computer to stay cool, even after
prolonged use.
4 Battery release latch Releases the battery for removal.
1
2
3
4

Hardware Specifications and Configurations 1-17
Touchpad Basics 0
Figure 1-7. Touchpad
Move your finger across the Touchpad (1) to move the cursor.
Press the left (2) and right (3) buttons located beneath the Touchpad to perform
selection and execution functions. These two buttons are the equivalent of the left and
right buttons on a mouse. Tapping on the Touchpad is the same as clicking the left
button.
Function Main Touchpad (1) Left Button (2) Right Button (3)
Execute Tap twice (at the same speed as
double-clicking a mouse button). Quickly click
twice.
Select Tap once. Click once.
Drag Tap twice (at the same speed as
double-clicking a mouse button);
rest your finger on the Touchpad on
the second tap and drag the cursor.
Click and hold,
then use finger on
the Touchpad to
drag the cursor.
Access context
menu Click once.
NOTE
:
When using the Touchpad, keep it - and fingers - dry and clean. The Touchpad is sensitive to
finger movement; hence, the lighter the touch, the better the response. Tapping too hard will
not increase the Touchpad’s responsiveness.
1
23

1-18 Hardware Specifications and Configurations
Using the Keyboard 0
The computer has a close-to-full-sized keyboard and an embedded numeric keypad, separate
cursor, lock, function and special keys.
Figure 1-8. Keyboard Lock Keys
Lock Keys 0
The keyboard has three lock keys which can be toggled on and off.
Embedded Numeric Keypad
The embedded numeric keypad functions like a desktop numeric keypad. It is indicated by
small characters located on the upper right corner of the key caps. To simplify the keyboard
legend, cursor-control key symbols are not printed on the keys.
Table 1-7. Embedded Numeric Keypad
Lock key Description
Caps Lock When Caps Lock is on, all alphabetic characters typed are in uppercase.
Num Lock
<Fn> + <F11> When Num Lock is on, the embedded keypad is in numeric mode. The keys
function as a calculator (complete with the arithmetic operators +, -, *, and /).
Use this mode when doing a lot of numeric data entry. A better solution would
be to connect an external keypad.
Scroll Lock
<Fn> + <F12> When Scroll Lock is on, the screen moves one line up or down when the up or
down arrow keys are pressed respectively. Scroll Lock does not work with
some applications.
Desired access Num Lock on Num Lock off
Number keys on embedded
keypad Type numbers in a normal
manner.
Cursor-control keys on
embedded keypad Hold <Shift> while using
cursor-control keys. Hold <Fn> while using
cursor-control keys.
Main keyboard keys Hold <Fn> while typing letters
on embedded keypad. Type the letters in a normal
manner.

Hardware Specifications and Configurations 1-19
Windows Keys 0
The keyboard has two keys that perform Windows-specific functions.
Windows Logo key
Application key
Key Description
Windows Logo
key Pressed alone, this key has the same effect as clicking on the Windows Start
button; it launches the Start menu. It can also be used with other keys to
provide a variety of functions.
Functions supported by Windows XP, Windows Vista, and Windows 7:
< >: Open or close the Start menu
< > + <R>: Open the Run dialog box
< > + <M>: Minimizes all windows
<SHIFT> + < > + M: Undo minimize all windows
< > + <F1>: Show the help window
< > + <E>: Open Windows Explorer
< > + <F>: Search for a file or folder
< > + <D>: Show the desktop
<CTRL> + < > + <F>: Search for computers (if you are on a network)
< > + <L>: Lock your computer (if you are connected to a network
domain), or switch users (if you're not connected to a network domain)
<CTRL> + < > + <TAB>: Moves focus from Start menu, to the Quick
Launch toolbar, to the system tray (use RIGHT ARROW or LEFT ARROW to
move focus to items on the Quick Launch toolbar and the system tray)
< > + <TAB>: Cycle through programs on the taskbar
< > + <BREAK>: Display the System Properties dialog box
Functions supported by Windows XP:
< > + <BREAK>: Show the System Properties dialog box
< > + <U>: Open Ease of Access Center
Application key This key has the same effect as clicking the right mouse button; it opens the
application's context menu.

1-20 Hardware Specifications and Configurations
Hotkeys 0
The computer employs hotkeys or key combinations to access most of the computer's
controls like screen brightness and volume output.
Figure 1-9. Keyboard Hotkeys
To activate hotkeys, press and hold the <Fn> key before pressing the other key in the hockey
combination.
Hot key Icon Function Description
<Fn> + <F3> Communication Enables/disables the computer’s
communication devices.
(Communication devices may
vary by configuration.)
<Fn> + <F4> Sleep Puts the computer in Sleep
mode.
<Fn> + <F5> Display toggle Switches display output between
the display screen, external
monitor (if connected) and both.
<Fn> + <F6> Display off Turns the display screen
backlight off to save power. Press
any key to return.
<Fn> + <F7> Touchpad toggle Turns the touchpad on and off.
<Fn> + <F8> Speaker toggle Turns the speakers on and off.
<Fn> + <Z>Brightness up Increases the screen brightness.
<Fn> + <Y > Brightness down Decreases the screen brightness.

Hardware Specifications and Configurations 1-21
<Fn> + <U > Volume up Increases the sound volume.
<Fn> + <V > Volume down Decreases the sound volume.
<Fn> + <Home> Play/Pause Plays or pauses media files
<Fn> + <Pg Up> Stop Stops media file
<Fn> + <Pg Dn> [Previous Plays the previous media file
<Fn> + <End> Next Plays the next media file
Hot key Icon Function Description

1-22 Hardware Specifications and Configurations
System Block Diagram
Figure 1-10. System Block Diagram
Keyboard
TouchPad
LAN
Atheros
AR8151L rev.B
RJ45
HT3
P0
(10/100/1000)
Speaker CN
Winbond KBC
LPC
19mmX19mm 413pin BGA
Azalia
Zacate
AMD Brazos
Blue Tooth
on board x1
Hudson-M1
AMD
DDR3- SODIMM1
USB2.0 Port
P9
SPI ROM
DDR3
Channel A
Audio CODEC
Mini PCI-E
Card
(Wireless LAN) 23mmX23mm, 605pin BGA
(H.P./ MIC)
INT MIC AUDIO CONN
P2
P0
PCI-Expresss
NPCE791L
SYSTEM DIAGRAM
AMD CPU CORE (ISL6265)
NB_CORE (UP6111AQDD)
Discharge /Thermal protec
1.1V(UP6111AQDD)
SYSTEM 5V/3V (RT8206)
0.9V/DDR 1.5V(RT8207)
Web-Camera
P13
USB2.0 Ports x3
CardReader
P10
USB BOARD
Mini Card
P4
CPU
NB
SATA0 150MB
SATA - ODD
SATA1 150MB
SATA - HDD
FFC
AU6437
CHARGER (ISL88731A)
CPU SideBand TemperatureSense I2C
CPU SideBand TemperatureSense I2C
WLAN & Debug
Conexant 20584
CLK_PCI_775
PCLK_DEBUG
12MHz
25MHz
TDP~4.7W
1.8GHz
ȼȽƛȾȿɀ
TDP~18W
HDMI
LVDS
CRT
HDMI
LVDS
CRT
HDMI
LVDS
CRT
ȼȽƛȾȿɀ
CPU THERMAL
SENSOR
E.C. (CPUFAN#)
CPU (PROCHOT)
PWM FAN SCH.
(Reserve Only)
32.768KHz 25MHz
DDR3- SODIMM2
64MX16X8,128 bit
64MX16X4,64 bit
VRAM
ATI
Seymour XT
128-bit M2 Pkg
800MHz
DDR3
29mm X 29mm
PCI-Express 4X
VGA AMD Seymour XT
UMA/Muxless
DIG

Hardware Specifications and Configurations 1-23
Specification Tables 0
Computer specifications
Item Metric Imperial
Dimensions
Length 245 mm 9.64 in
Width 342 mm 13.46 in
Height
(front to rear)
19.4/25.4 mm 0.76/0.99 in
Weight (equipped with optical
drive, flash drive, and battery) 2.15 kg with 6-cell battery 4.73 lbs with 6-cell battery
Input power
Operating voltage 19V
Operating current 3.42A
Temperature
Operating (not writing to
optical disc) 0°C to 35°C 32°F to 95°F
Operating (writing to optical
disc) 0°C to 40°C 32°F to 104°F
Nonoperating -20°C to 60°C -4°F to 140°F
Relative humidity
Operating 20% to 80%
Nonoperating 20%to 80%
Maximum altitude (unpressurized)
Operating -15 to 3,048m -50 to 10,000ft
Nonoperating -15 to 12,192m -50 to 40,000ft
Shock
Operating 105G, 2 ms, half-sine
Nonoperating 220 G, 2 ms, half-sine
Random vibration
Operating 0.6G/5~500HZ/30min per axis
Nonoperating 1.5G/5~500HZ/30 min per axis
NOTE
:
Applicable product safety standards specify thermal limits for plastic surfaces. The computer
operates well within this range of temperatures.

1-24 Hardware Specifications and Configurations
System Board Major Chips
Processor
Processor Specifications
Item Specification
Core logic AMD Brazos platform Hudson-M1
VGA ATI
Seymour XT
LAN Atheros 8151
USB 2.0 Hudson-M1
Super I/O controller Hudson-M1
Bluetooth Atheros AR3011/ Broadcom BCM2070/ Broadcom BCM2046
Wireless Atheros HB93/HB95/ HB97, Broadcom 943225/43225/ 4313/ 4312,
RTL8192
PCMCIA N/A
Audio codec Conexant 20584
Card reader AU6437-GBL
eSata N/A
Item Specification
CPU type Zacate TDP-18W
CPU package 413pin BGA
Core Logic Two execution cores
A 32-KB instruction and 32-KB data first cache (L1) for each core
A 256-KB shared instruction/data second-level cache (L2) for each core
Up to 4-MB shared instruction/data third-level cache (L3), shared among all
cores
Chipset Hudson-M1
Item CPU
Speed
(GHz)
Cores/
Threads Bus
Speed
(FSB/
DMI/QBI)
Mfg
Tech
(nm)
Cache
Size Package Voltage
E-350 1.6 2 500 MHz 40 1MB L2 FT1 BGA 0.875V~
.11V
C-50 1.0 2 280 MHz 40 1MB L2 FT1 BGA 0.875V~
.11V

Hardware Specifications and Configurations 1-25
CPU Fan True Value Table)
GPU Fan True Value Table)
System Memory
Temperature (°C) Fan Speed (RPM) SPL Spec (dBA)
Fan on = 45C; Fan Off = 42C 2350 28
Fan on = 50C; Fan Off = 48C 2800 31
Fan on = 58C; Fan Off = 56C 3100 34
Fan on = 63C; Fan Off = 61C 3500 37
Fan on = 82C; Fan Off = 80C 3850 40
Fan on = 92C; Fan Off = 85C 5V N/A
Throttling 50%: On =95C; Off=90C
OS Shut down: 100C
H/W Shut down: 105C
Temperature (°C) Fan Speed (RPM) SPL Spec (dBA)
Fan on = 45C; Fan Off = 42C 2350 28
Fan on = 50C; Fan Off = 48C 2800 31
Fan on = 58C; Fan Off = 56C 3100 34
Fan on = 63C; Fan Off = 61C 3500 37
Fan on = 82C; Fan Off = 80C 3850 40
Fan on = 92C; Fan Off = 85C 5V N/A
Throttling 50%: On =95C; Off=90C
OS Shut down: 100C
H/W Shut down: 105C
Item Specification
Memory controller Built in at CPU
Memory size DDRIII 1333 512 MB, 1 GB, 2 GB, 4 GB
DIMM socket number 2 sockets
Supports memory size per socket 4 GB
Supports maximum memory size 8 GB
Supports DIMM type SDRAM memory interface design
Note: Processor supports up to 1066 Mhz only
Supports DIMM Speed 800/1066 SDRAM
Support DIMM voltage 1.5V
Supports DIMM package Standard 204P

1-26 Hardware Specifications and Configurations
Memory Combinations
Video Interface
BIOS
Slot 1 (MB) Slot 2 (MB) Total Memory (MB)
0 1024 1024
1024 0 1024
1024 1024 2048
0 2048 2048
2048 0 2048
2048 2048 4096
4096 0 4096
0 4096 4096
4096 4096 8192
Item Specification
Chipset ATI
Seymour XT
64-bit
Package M2 Pkg
Interface PCIE X4
Compatibility Fully compliant with the electrical specifications of
ANSI/TIA/EIA-644
Sampling rate 115MHz
Item Specification
BIOS vendor Insyde
BIOS Version 0.07
BIOS ROM type MX25L3205A, MX25L3206A, W25X32A, W25Q32BV,
EN25F32, Atmel26DF321
BIOS ROM size 4MB
Features Insyde code base
Flash ROM 4 MB
Support ISIPP

Hardware Specifications and Configurations 1-27
LAN Interface
Keyboard
Item Specification
LAN Chipset Atheros 8151
LAN connector type RJ45
LAN connector location JRJ45 at the left side
Features Supports 10/100/1000
Item Specification
Type New Acer TM7T flat keyboard
Total number of keypads 105-US/106-UK key
Windows logo key Yes
Internal & external keyboard
work simultaneously Plug USB keyboard to the USB port directly: Yes
Features Phantom key auto detect
Overlay numeric keypad
Support independent pgdn/pgup/pgup/home/end keys
Support reverse T cursor keys
Factory configurable different languages by OEM customer

1-28 Hardware Specifications and Configurations
Hard Disk Drive (AVL components)
Item Specification
Vendor &
Model Name
Hitachi
HTS545016B9A300,
HTS545016B9SA00,
Seagate
ST9160314AS,
ST9160314ASG,
ST9160301AS
Hitachi
HTS545025B9A300,
HTS545025B9SA00,
Seagate
ST9250315AS,
ST9250315ASG
Hitachi
HTS545032B9A300,
HTS545032B9SA00,
Seagate
ST9320325AS,
ST9320325ASG
Capacity (GB) 160 250 320
Bytes per sector 512
Data heads 2 2 3
Drive Format
Disks 1 1 2
Spindle speed
(RPM) 5400
Performance Specifications
Buffer size 8MB
Interface SATA
Fast data transfer
rate
(Gbits / sec, max)
3.0, 3.0, 1.175, 1.175,
1.175, 3.0, 3.0, 1.175, 1.175 3.0, 3.0, 1.175, 1.175
Media data transfer
rate
(Mbytes/sec max)
845, 300, 300, 300 875, 875, 300, 300 875, 875, 300, 300
DC Power Requirements
Voltage tolerance 5V ±5%

Hardware Specifications and Configurations 1-29
Hard Disk Drive (AVL components) (Continued)
Item Specification
Vendor &
Model Name
Hitachi
HTS545040B9A300/H
TS545040B9SA00,
Seagate
ST9400326AS
Hitachi
HTS545050B9A300,
HTS545050B9SA00
Seagate
ST9500325AS,
ST9500325ASG
WD
WD5000BPVT
WD
WD6400BPVT
Capacity (GB) 400 500 640
Bytes per sector 512
Data heads 4 4, 4, 4, 4, 3 4
Drive Format
Disks 2
Spindle speed
(RPM) 5400
Performance Specifications
Buffer size 8MB
Interface SATA
Fast data transfer
rate
(Gbits / sec, max)
3.0, 3.0, 1.175, 1.175 3.0, 3.0, 1.175, 1.175,
3.0 3.0
Media data transfer
rate
(Mbytes/sec max)
875, 875, 300, 300 875, 875, 300, 300, 97 97
DC Power Requirements
Voltage tolerance 5V ±5%

1-30 Hardware Specifications and Configurations
Hard Disk Drive (AVL components) (Continued)
Item Specification
Vendor &
Model Name
Toshiba
MK7559GSXP
WD
WD7500BPVT
Capacity (GB) 750
Bytes per sector 512
Data heads 4
Drive Format
Disks 2
Spindle speed
(RPM) 5400
Performance Specifications
Buffer size 8MB
Interface SATA
Fast data transfer
rate
(Gbits / sec, max)
3.0
Media data transfer
rate
(Mbytes/sec max)
584.3-1195.5, 97
DC Power Requirements
Voltage tolerance 5V ±5%

Hardware Specifications and Configurations 1-31
Super-Multi Drive
Item Specification
Vendor &
Model name
HLDS
GT32N
Panasonic
UJ890
Performance
Specification With CD
Diskette
With DVD
Diskette With CD
Diskette
With DVD
Diskette
Transfer rate
(KB/sec) Sustained:
Max 3.6 (24x)
Sustained:
Max 11.08 (8x)
Sustained:
Max 3.6 (24x)
Sustained:
Max 10.8 (8x)
Buffer Memory 1 MB
Interface SATA
Applicable disc
format
DVD:
DVD-ROM: 4.7GB (Single Layer) 8.5GB
(Dual Layer) DVD-R: 3.95GB (Ver. 1.0:
read only) 4.7GB (Ver. 2.0 for Authoring:
read only) 4.7GB (Ver. 2.1 for General:
read & write) (DL) 8.5GB (Ver. 3.0)
DVD-RW: 4.7GB (Ver. 1.2/ Rev 1.0, 2.0,
3.0), DVD-RAM: 4.7GB/side (Ver. 2.2),
DVD+R: 4.7GB (Ver. 1.3) (DL) 8.5GB
(Ver. 1.1), DVD+RW: 4.7GB (Vol.1
Ver.1.3)
CD:
CD-ROM Mode-1 data disc, CD-ROM
Mode-2 data disc, CD-ROM XA, CD-I,
Photo-CD Multi- Session, Video CD,
CD-Audio Disc
Mixed mode, CD-ROM disc (data and
audio), CD-Extra, CD-Text, CD-R
(Conforming to “Orange Book Part 2”:
read & write), CD-RW (Conforming to
“Orange Book Part 3”: read & write)
DVD:
DVD-VIDEO, DVD-ROM,
DVD-R(4.7GB), DVD-R DL,
DVD-RW(Ver.1.1/1.2), DVD+R,
DVD+R DL, DVD+RW,
DVD-RAM(4.7GB)
CD:
CD-DA, CD-ROM, CD-ROM XA,
PhotoCD (multisession), Video CD,
Cd-Extract (CD+), CD-text
Loading
mechanism Electrical Release (Release Button)
Release by ATAPI command
Emergency Release
Power Requirements
Input Voltage 5 V +/- 5% (Operating) DC 5V +/- 0.25V

1-32 Hardware Specifications and Configurations
Super-Multi Drive (Continued)
Item Specification
Vendor &
Model name
Pioneer
DVR-TD10RS PLDS
DS-8A5SH
Performance
Specification With CD
Diskette
With DVD
Diskette With CD
Diskette
With DVD
Diskette
Transfer rate
(KB/sec) Sustained:
- CD-ROM inside
1.5
- CD-ROM outside
3.6
Sustained:
- DVD-R inside 2.7
- DVD-R outside
10.8
- DVD+R inside
3.24
- DVD+R outside
10.8
Sustained:
- CD-ROM inside
1.45
- CD-ROM outside
3.5
Sustained:
- DVD-ROM inside
3.7
- DVD-ROM
outside 10
Buffer Memory 1.5 MB
Interface SATA
Applicable disc
format KODAK PhotoCD Single and
Multi-session
CD Extra (CDPLUS)
Video CD
CD text data (Read/Write)
CD-R discs (Read/Write)
CD-RW discs (Read/Write)
DVD-ROM
DVD-R Ver.2.0 &2.1 for General
(Read/Write)
DVD-R DL Ver.3.0 (Read/Write)
DVD-RW Ver.1.0&1.1&1.2
(Read/Write) DVD+R
Ver.1.3 (Read/Write)
DVD+R DL Ver1.0&1.1 (Read/Write)
DVD+RW
Ver.1.3 (Read/Write)
DVD+RW high speed Ver.1.0
(Read/Write)
DVD-RAM Ver.2.0&2.1&2.2 (*1)
DVD:
DVD-ROM (4.7G/8.54G) single layer
on single/double side (Read Only),
DVD-ROM dual layer (PTP/OTP) on
single/double side (Read Only),
DVD-RW, DVD+RW, DVD-R (4.7G
for General), DVD+R, DVD+R9,
DVD-R9, DVD-RAM(4.7G)
CD:
CD-ROM, CD-R and CD-RW
Loading
mechanism Electrical Release (Release Button)
Release by ATAPI command
Emergency Release
Manual load
Plunger system
Power Requirements
Input Voltage 5V +/- 5% (Operating)

Hardware Specifications and Configurations 1-33
Super-Multi Drive (Continued)
Item Specification
Vendor &
Model name
Sony
AD-7585H
TSST
TS-L633F
Performance
Specification With CD
Diskette
With DVD
Diskette With CD
Diskette
With DVD
Diskette
Transfer rate
(KB/sec) Sustained:
- CD-ROM inside
1,571
- CD-ROM outside
3,650
Sustained:
- DVD-ROM inside
4,574
- DVD-ROM
outside 10,993
Sustained:
Max 3.6 (24x)
Sustained: Max
10.08Mbytes/sec
Buffer Memory 2 MB 1.5 MB
Interface SATA
Applicable disc
format DVD:
DVD-ROM (DVD-5, DVD-9, DVD-10,
DVD-18), DVD-Video, DVD-Audio,
SACD (Hybrid), UDF DVD, DVD-R,
DVD-R DL, DVD-R 3.95 GB, DVD-R
Authoring, DVD-R Multi-Border,
DVD-R Download (DVD-R CSS,
Qflix), DVD-RW, DVD-RW DL,
DVD+R, DVD+R DL, DVD+R
Multi-Session, DVD+RW, DVD-RAM
V1.0, DVD-RAM V2.0 & 2.1 &2.2
CD:
CD-DA, CD-ROM Mode-1,
CD-ROM/XA Mode-2 Form-1 and
Mode-2 Form-2, CD-i, CD-i Bridge,
Video-CD (MPEG-1), Karaoke CD,
Photo-CD, Enhanced CD, CD Plus,
CD Extra, itrax CD, CD-Text, UDF
CD, CD-R, and CD-RW
DVD:
DVD-ROM (Book 1.02), DVD-Dual
DVD-Video (Book 1.1) DVD-R (Book
1.0, 3.9G) DVD-R (Book 2.0, 4.7G) -
General & Authoring DVD+R
(Version 1.0) DVD+RW DVD-RW
(Non CPRM & CPRM) DVD±R Dual
DVD-RAM
CD:
CD-DA (Red Book) - Standard Audio
CD & CD-TEXT CD-ROM (Yellow
Book Mode1 & 2) - Standard Data
CD-ROM XA (Mode2 Form1 & 2) -
Photo CD, Multi-Session CD-I
(Green Book, Mode2 Form1 & 2,
Ready, Bridge) CD-Extra/ CD-Plus
(Blue Book) - Audio & Text/Video
Video-CD (White Book) - MPEG1
CD-R (Orange Book Part ‡U)
CD-RW & HSRW (Orange Book
Part‡V Volume1 & Volume2) Super
Audio CD (SACD) Hybrid type US &
US+ RW (US 32X CD-RW Disc
recording disable)
Loading
mechanism Horizontal & Vertical, Motorized
Tray-type loading Drawer (Solenoid Open)
Power Requirements
Input Voltage DC +5V ± 5% DC +5V ± 5%

1-34 Hardware Specifications and Configurations
LED 14.0”
LCD Inverter (not available with this model)
Item Specification
Vendor & Model name AUO B140XW01
LG LP140WH1
LG LP140WH4
Samsung LTN140AT01-G03
Chimei BT140GW01
Screen Diagonal (mm) 354.95
Active Area (mm) 309.4 X173.95
Display resolution (pixels) 1366 x 768
Pixel Pitch (mm) 0.2265X0.2265
Typical White Luminance (cd/m2)
also called Brightness
200 typ. (5 points average)
170 min. (5 points average)
Contrast Ratio 500 typ
Response Time (Optical Rise
Time/Fall Time) msec 8 typ / 16 Max
Typical Power Consumption (watt) 3.8 max. (Include Logic and Blu power)
Weight (without inverter) 350 max.
Physical Size (mm) 324 (L) x 192.5 (W) x 5.2 (D)
Electrical Interface 1 channel LVDS
Viewing Angle (degree)
Horizontal (Right)
CR = 10 (Left)
Vertical (Upper)
CR = 10 (Lower)
40 min / 45 typ
40 min / 45 typ
10 min / 15 typ
30 min / 35 typ
Item Specification
Vendor & Model name
Brightness conditions
Input voltage (v)
Input current (mA)
Output voltage (V, RMS)
Output current (mA, RMS)
Output voltage frequency
(KHz)

Hardware Specifications and Configurations 1-35
Display Supported Resolution (LCD Supported Resolution)
Graphics Controller
Display Supported Resolution (GPU Supported Resolution)
Bluetooth Interface
Resolution 16 bits 32 bits Intel NVIDIA ATI
800x600p/60Hz 16:9 Yes Yes Yes Yes Yes
1024x768p/60Hz 16:9 Yes Yes Yes Yes Yes
1280x600/60Hz 16:9 Yes Yes Yes N/A N/A
1280x720/60Hz 16:9 Yes Yes Yes Yes Yes
1280x768/60Hz 16:9 Yes Yes Yes Yes Yes
1360x768/60Hz 16:9 Yes Yes Yes Yes Yes
1366x768/60Hz 16:9 Yes Yes Yes Yes Yes
Item Specification
VGA Chip ATI
Seymour XT
Supports No
Resolution 16 bits 32 bits Intel NVIDIA ATI
800x600p/60Hz 16:9 Yes Yes Yes Yes Yes
1024x768p/60Hz 16:9 Yes Yes Yes Yes Yes
1280x600/60Hz 16:9 Yes Yes Yes N/A N/A
1280x720/60Hz 16:9 Yes Yes Yes Yes Yes
1280x768/60Hz 16:9 Yes Yes Yes Yes Yes
1360x768/60Hz 16:9 Yes Yes Yes Yes Yes
1366x768/60Hz 16:9 Yes Yes Yes Yes Yes
Item Specifications
Chipset Atheros AR3011 Broadcom
BCM2070 Broadcom
BCM2046 Broadcom
BU12 BT2.1/
Data throughput TX 1.2Mbits/sec, RX 1.2Mbits/sec
Protocol 2.1+EDR 2.1 + EDR 2.1+EDR 2.1/3.0+EDR
Interface USB 2.0
Connector type 8 pin narrow pitch
connector JST
SM06B-XSRK-E
TB
JST SM08B SURS
- TF 6 pin narrow
pitch connector
Supported protocol
2.1 2.1 2.1 2.1, 3.0

1-36 Hardware Specifications and Configurations
Bluetooth Module
Item Specifications
Controller AR3011
Feature Single-chip Bluetooth v2.1/3.0 + EDR integrated solution
USB 2.0 full-speed device interface with support for Device
Firmware Upgrade (DFU)
SPI interface supports external serial flash devices
Two on-chip 1.2V linear voltage regulators
Integrated 32-bit CPU with 32KB data RAM and 256KB
program RAM
On-board PLL
On-chip low power oscillator (LPO)
WLAN coexistence interface
Standard USB HCI interface
Controller BCM2070
Features Bluetooth 2.1 compliant
Point-to-multipoint operation
External USB interface for data
Onboard antenna and SMA RF connector
Coexistence support
Controller BCM2046
Features Fully Qualified Bluetooth v2.1 with Class 2 specification RF
output power
Enhanced Data Rate (EDR) compliant
Full Piconet and Scatternet operation
Integrated PIFA Antenna with better RF performance
USB 2.0 compliant interface
F/W upgradable via Flash downloads
Very low power consumption
Support Coexistence with Intel WCS (Wireless Coexistence
System) & AFH (Adaptive Frequency Hopping)
Controller BU12
Features Single-chip Bluetooth v2.1/3.0+EDR integrated solution
USB 2.0 full-speed device interface with support for Device
Firmware Upgrade (DFU)
SPI interface supports external serial flash devices
Two on-chip 1.2V linear voltage regulators
Integrated 32-bit CPU with 32KB data RAM and 256KB
program RAM
On-board PLL
On-chip low power oscillator (LPO)
Standard USB HCI interface

Hardware Specifications and Configurations 1-37
Camera
Mini Card
3G Card (not available in this model)
Item Specification
Vendor &
Model Chicony 1.3 MB
CNFA130, CNF9157
Suyin 1.3MB
HF1316, HF1315
Liteon 1.3MB
09P2SF119, 10P2TF103
Type CMOS image sensor
with SXGA CMOS image sensor
S5K6A1GX03 CMOS image sensor
with SXGA
Item Specification
Number supported 1
Features 1 mini card slot (for WLAN or WLAN/WiMax)
Item Specification
Features

1-38 Hardware Specifications and Configurations
Audio Codec and Amplifier
Item Specification
Audio Controller Conexant 20584
Features 24-bit, 2 pairs of independent DACs and 3 pairs of independent ADCs
ProCoustic headphone driver delivers 50 mW into 32 ohm load with no
pop, eliminating the need for an external amplifier and DC-blocking
capacitors
Integrated 5 V to 3.3 V low-dropout voltage regulator for improved audio
performance, eliminating need for external regulator or power transistor.
Integrated 3.3 V to 1.8 V low-dropout voltage regulator, used to power
digital blocks
Integrated 2 WRMS (per channel) class-D stereo speaker amplifier with
Spread Spectrum and 10-kV ESD withstand capability
Digital Microphone interface with internal MIC boost supporting 2 digital
microphone elements
Works with all digital microphones.
Internal microphone boost
Digital: 0, 12, 24, 36, 48 dB
Analog: 0, 10, 20, 30, 40 dB
Microphone Security Control
Please contact Conexant Sales/FAE for additional confidential document
to disable the bit in microphone from the BIOS.
Exceeds Windows Vista and Windows 7 Desktop and Notebook Premium
Logo
Requirements, WLP4.0
D-Flex power management exceeds Intel ECR 15B requirements, and
features Wake-On-PCBeep functionality
Hardware Headphone limiter bit (supports GS Mark EN50332-2)
Compliant with Intel High Definition Audio Specification Rev. 1.0
Supports both 1.5 V and 3.3 V signaling with the core logic chipset
Retaskable ports
Configure between Headphone and Line-out or between Mic and Line-in
Independent sampling rate for DAC and ADC; supports audio formats
ranging from 16-bit, 44.1 kHz to 24-bit, 192 kHz for DACs, and from 16-bit,
44.1 kHz to 24-bit, 96 kHz for ADCs.
Pop Shield: pops and clicks reduction circuitry, including class-D speaker
outputs
Jack sense detects up to 8 jacks using only two sense pins
Dual Sony Philips Digital Interface (S/PDIF) outputs
Digital Mixer
Simultaneous DAC and SPDIF engines
+3.3 V analog and I/O operation; uses Vaux for power management
modes
Amplifier CX20584 embedded amplifier

Hardware Specifications and Configurations 1-39
Audio Interface
Wireless Module 802.11b/g/n
Battery
VRAM
Item Specification
Audio Controller Conexant 20584
Audio onboard or optional On board
Mono or Stereo Mono
Resolution Support 16/24bit PCM
Compatibility HD audio Interface
Sampling rate Sample rate up to 192Khz resolution VSR (Variable Sampling
Rate)
Internal microphone Yes
Internal speaker/quantity Yes/(1W speakers x1)
Item Specification
Chipset Atheros HB97 BCM943225HM
Data throughput 11-54 Mbps, up to 300 Mbps for Draft-N 11-54 Mbps, up to 300 Mbps for Draft-N
Protocol b, g, n b, g, n
Interface PCI-E PCI-E
Item Specification
Vendor & Model name Panasonic AS10D51, Samsung AS2010D, Sanyo 3UR18650,
Simplo AS2010D, Sony AS10D41
Battery Type Lithium-Ion
Pack capacity 4400mAh
Number of battery cell 6
Package configuration 2P3S
Item Specification
Chipset Hynix / Samsung
Memory size 1G to 2G
Interface Standard define

1-40 Hardware Specifications and Configurations
USB Port
HDMI Port
AC Adapter
Item Specification
USB compliance level Universal Serial Bus 2.0
EHCI 2
Number of USB port(s) 3
Location 1 left side, 2 right side
Output Current 1.05V
Item Specification
Compliance level HDMI1.3a
Data throughput Up to 16.7 million colors
Number of HDMI port(s) 1
Location 1 left side
Item Specification
Input rating 100-240V~1.7A(1,7A) 50-60Hz
Maximum input AC current 264 Vrms
Inrush current 264 Vac (Cold/Hot start) No damage; meet fuse and bridge
diode I2t de-rating.
Efficiency Meets EPA 2.0 level V requirement. The adapter efficiency
shall be more than 87%, that is the average value of 25%,
50%, 75% and 100% load with both 115Vac/60Hz and
230Vac/50Hz input voltage condition.

Hardware Specifications and Configurations 1-41
System Power Management
Card Reader
Item Specification
Mech. Off (G3) Al devices in the system are turned off completely.
Soft Off (G2/S5) OS initiated shutdown. All devices in the system are turned off
completely.
Working (G0/S0) Individual devices such as the CPU and hard disc may be
power managed in this state.
Suspend to RAM (S3) CPU set power down
VGA Suspend
PCMCIA Suspend
Audio Power Down
Hard Disk Power Down
CD-ROM Power Down
Super I/O Low Power mode
Save to Disk (S4) Also called Hibernation Mode. System saves all system states
and data onto the disc prior to power off the whole system.
Item Specification
Chipset AU6437
Package LQFP 48P
Maximum supported size 16G
Features 2 in 1 card reader, supporting:
Secure Digital™ (SD) Card, MultiMediaCard™ (MMC)
Storage cards with adapter: miniSD™

1-42 Hardware Specifications and Configurations
System LED Indicator
System DMA Specification
Item Specification
Lock Caps Lock on = Blue
Caps Lock on = Blue
System state Blue color on: System on
Blue color and amber color off: System off
Amber color on: S3
HDD access state HDD access active = Blue
Wireless state Wifi on = Amber
Power button backlight Blue color solid on: System on
Blue color off: System off
Battery state Full charging = Blue
Battery charging = Amber
Back up state Back up active = Blue
Arcade module state Arcade module active = Blue
Finger print module state Finger print module active = Blue
Legacy Mode Power Management
DMA0 N/A
DMA1 N/A
DMA2 N/A
DMA3 N/A
DMA4 Direct memory access controller
DMA5 Available for ExpressCard
DMA6 Not Assigned
DMA7 Not Assigned
*ExpressCard controller can use DMA 1, 2, or 5.

Hardware Specifications and Configurations 1-43
System Interrupt Specification
Hardware IRQ System Function
IRQ0 System timer
IRQ1 Standard 101-/102-Key or Microsoft® Natural Keyboard
IRQ2 Cascaded
IRQ3 Hudson-M1 define
IRQ5* Conexant AC-Link Audio Intel 82801DB/DBM SMBus
Controller-24C3 Data Fax
Modem with SmartCP
IRQ6 Diskette drive
IRQ7* Parallel port
IRQ8 System CMOS/real-time clock
IRQ9* Microsoft ACPI-compliant system
IRQ10* Intel USB UHCI controller-24C2
Intel 82852/82855 GM/GME Graphic Controller
Realtek RTL8139 Family PCI Fast Ethernet Controller
IRQ11 Intel USB EHCI controller-24CD
Intel USB UHCI controller-24C4
Intel USB UHCI controller-24C7
Intel Pro/Wireless 2200BG
TI OHCI 1394 host controller
TI PCI1410 CardBus controller
IRQ12 Synaptics PS/2 Touchpad
IRQ13 Numeric data processor
IRQ14 Primary IDE channel
IRQ15 Secondary IDE channel
*Default configuration; audio possible configurations are IRQ5, IRQ7, IRQ9, IRQ10, or none.
NOTE: Express Cards may assert IRQ3, IRQ4, IRQ5, IRQ7, IRQ9, IRQ10, IRQ11, or IRQ15. Either the
infrared or the serial port may assert IRQ3 or IRQ4.

1-44 Hardware Specifications and Configurations
System IO Address Map
I/O address (hex) System Function (shipping configuration)
000 - 00F DMA controller no. 1
010 - 01F Unused
020 - 021 Interrupt controller no. 1
022 - 024 Opti chipset configuration registers
025 - 03F Unused
02E - 02F 87334 "Super I/O" configuration for CPU
040 - 05F Counter/timer registers
044 - 05F Unused
060 Keyboard controller
061 Port B
062 - 063 Unused
064 Keyboard controller
065 - 06F Unused
070 - 071 NMI enable/RTC
072 - 07F Unused
080 - 08F DMA page registers
090 - 091 Unused
092 Port A
093 - 09F Unused
0A0 - 0A1 Interrupt controller no. 2
I/O Address (hex) System function (shipping configuration)
0A2 - 0BF Unused
0C0 - 0DF DMA controller no. 2
0E0 - 0EF Unused
0F0 - 0F1 Coprocessor busy clear/reset
0F2 - 0FF Unused
100 - 16F Unused
170 - 177 Secondary fixed disk controller
178 - 1EF Unused
1F0 - 1F7 Primary fixed disk controller
1F8 - 200 Unused
201 JoyStick (decoded in ESS1688)
202 - 21F Unused

Hardware Specifications and Configurations 1-45
System I/O Address Specifications
I/O address (hex) System Function (shipping configuration)
220 - 22F Entertainment audio
230 - 26D Unused
26E - 26 Unused
278 - 27F Unused
280 - 2AB Unused
2A0 - 2A7 Unused
2A8 - 2E7 Unused
2E8 - 2EF Reserved serial port
2F0 - 2F7 Unused
2F8 - 2FF Infrared port
300 - 31F Unused
320 - 36F Unused
370 - 377 Secondary diskette drive controller
378 - 37F Parallel port (LPT1/default)
380 - 387 Unused
388 - 38B FM synthesizer-OPL3
38C - 3AF Unused
3B0 - 3BB VGA
3BC - 3BF Reserved (parallel port/no EPP support)
3C0 - 3DF VGA
3E0 - 3E1 ExpressCard controller in CPU
3E2 - 3E3 Unused
3E8 - 3EF Internal modem
3F0 - 3F7 "A" diskette controller
3F8 - 3FF Serial port (COM1/default)
CF8 - CFB PCI configuration index register
(PCIDIVO-1) CFC - CFF PCI configuration data register

1-46 Hardware Specifications and Configurations

CHAPTER 2
System Utilities

2-2
BIOS Setup Utility. . . . . . . . . . . . . . . . . . . . . . . . . . . . . . . . . . . . . 2-3
Navigating the BIOS Utility . . . . . . . . . . . . . . . . . . . . . . . . . . .2-3
BIOS . . . . . . . . . . . . . . . . . . . . . . . . . . . . . . . . . . . . . . . . . . . . . . . 2-4
Information. . . . . . . . . . . . . . . . . . . . . . . . . . . . . . . . . . . . . . . .2-4
Main . . . . . . . . . . . . . . . . . . . . . . . . . . . . . . . . . . . . . . . . . . . . .2-6
Security . . . . . . . . . . . . . . . . . . . . . . . . . . . . . . . . . . . . . . . . . . .2-8
Boot. . . . . . . . . . . . . . . . . . . . . . . . . . . . . . . . . . . . . . . . . . . . . .2-12
Exit. . . . . . . . . . . . . . . . . . . . . . . . . . . . . . . . . . . . . . . . . . . . . . .2-13
BIOS Flash Utilities. . . . . . . . . . . . . . . . . . . . . . . . . . . . . . . . . . . . 2-14
DOS Flash Utility. . . . . . . . . . . . . . . . . . . . . . . . . . . . . . . . . . . .2-15
WinFlash Utility . . . . . . . . . . . . . . . . . . . . . . . . . . . . . . . . . . . .2-17
Clearing BIOS Passwords . . . . . . . . . . . . . . . . . . . . . . . . . . . . . . . 2-18
Removing BIOS Passwords. . . . . . . . . . . . . . . . . . . . . . . . . . . .2-19
Miscellaneous Tools. . . . . . . . . . . . . . . . . . . . . . . . . . . . . . . . . . . 2-21
Using DMITools. . . . . . . . . . . . . . . . . . . . . . . . . . . . . . . . . . . . .2-21
Using the LAN MAC EEPROM Utility. . . . . . . . . . . . . . . . . . . .2-25
Crisis Disk Recovery . . . . . . . . . . . . . . . . . . . . . . . . . . . . . . . . .2-26

System Utilities 2-3
System Utilities
BIOS Setup Utility 0
This utility is a hardware configuration program built into a computer’s BIOS (Basic
Input/Output System).
The utility is pre-configured and optimized so most users do not need to run it. If configuration
problems occur, the setup utility may need to be run. Refer to Chapter 4, Troubleshooting
when a problem arises.
To activate the utility, press F2 during POST (power-on self-test) when prompted at the bottom
of screen.
The default parameter of F12 Boot Menu is set to Disabled. To change the boot device
without entering BIOS Setup Utility, set the parameter to Enabled.
To change the boot device without entering the BIOS SETUP, press F12 during POST to
enter the multi-boot menu.
Navigating the BIOS Utility 0
Six menu options are:
Information
Main
Security
Boot
Exit
To navigate through the following:
Menu - use the left and right arrow keys
Item - use the up and down arrow keys
Change parameter value - press F5 or F6.
Exit - Press Esc
Load default settings - press F9. Press F10 to save changes and exit BIOS Setup
Utility
NOTE:
NOTE
:
Parameter values can be changed if enclosed in square brackets open the
DIMM door open the DIMM door[ ]. Navigation keys appear at the bottom of the
screen. Read parameter help carefully when making changes to parameter
values. Parameter help is found in the Item Specific Help area of the screen.
NOTE:
NOTE
:
System information is subject to specific models.

2-4 System Utilities
BIOS 0
The following is a description of the tabs found on the InsydeH20 BIOS Setup Utility screen:
NOTE:
NOTE
:
The screens provided are for reference only. Actual values may differ by model.
Information 0
The Information tab shows a summary of computer hardware information.
Figure 2-1. BIOS Information
Table 2-1 describes the parameters shown in Figure 2-1
Table 2-1. BIOS Information
Parameter Description
CPU Type CPU (central processing unit) type and speed of system
CPU Speed Speed of the CPU
HDD Model Name Model name of HDD (hard disk drive) installed on primary IDE
master
HDD Serial Number Serial number of HDD installed on primary IDE master
ATAPI Model Name Model name of Optical device installed in system
System BIOS Version System BIOS version
3.5
CPU Type:
CPU Speed:
HDD Model Name:
HDD Serial Number:
ATAPI Model Name:
System BIOS Version:
VGA BIOS Version:
Serial Number:
Asset Tag Number:
Product Name:
Manufacturer Name:
UUID:
AMD Engineering Sample
1600 MHz
Hitachi HTS545016B9A300
100513PBPB04ECCYXROL
TSSTcorp CDDVDW TS-L633F
V1.04
ATI VERO12.036.000.003.039043
123456789
Acer
20D4DD9869FEDF11802C60EB698FC1A8

System Utilities 2-5
VGA BIOS Version VGA (video graphics array) firmware version of system
Serial Number Serial number of unit
Asset Tag Number Asset tag number of system
Product Name Product name of the system
Manufacturer Name Manufacturer of system
UUID Universally Unique Identifier
Table 2-1. BIOS Information (Continued)
Parameter Description

2-6 System Utilities
Main 0
The Main tab allows the user to set system time and date, enable or disable boot option and
enable or disable recovery.
Figure 2-2. BIOS Main
Table 2-2 describes the parameters shown in Figure 2-2.
Table 2-2. BIOS Main
Parameter Description Format/Option
System Time BIOS system time in 24-hour format Format: HH:MM:SS
(hour:minute:second)
System Date BIOS system date Format MM/DD/YYYY
(month/day/year)
Total Memory Total memory available N/A
Video Memory Available memory for video N/A
Graphic Mode Shows graphic mode options Option: Switchable or
Discrete
Quiet Boot Shows OEM (original equipment manufacturer)
screen during system boot instead of traditional
POST screen
Option: Enabled or
Disabled
Network Boot Option to boot system from LAN (local area
network) Option: Enabled or
Disabled
System Time [02:44:56]
System Date
Total Memory
Video Memory
Quiet Boot
Network Boot
F12 Boot Menu
D2D Recovery
SATA Mode
[10/18/2010]
2048 MB
384 MB
<Enabled>
<Enabled>
<Disabled>
<Enabled>
<AHCI Mode>
Item Specific Help
This is the help for the hour
field. Valid range is from 0 to
23. REDUCE/INCREASE:
F5/F6
3.5
Graphic Mode <Switchable>

System Utilities 2-7
F12 Boot Menu Option to use boot menu during POST Option: Enabled or
Disabled
D2D Recovery Option to use D2D Recovery function Option: Enabled or
Disabled
SATA Mode Option to set SATA controller mode Option: AHCI or IDE
Table 2-2. BIOS Main (Continued)
Parameter Description Format/Option

2-8 System Utilities
Security 0
The Security tab shows parameters that safeguard and protect the computer from
unauthorized use.
Figure 2-3. BIOS Security
Table 2-3 describes the parameters shown in Figure 2-3.
Table 2-3. BIOS Security
Parameter Description Option
Supervisor Password Is Supervisor password setting Clear or Set
User Password Is User password setting Clear or Set
HDD Password Is HDD password setting Clear or Set
Set Supervisor Password Option to set supervisor password N/A
Set User Password Option to set user password N/A
Set HDD Password Option to set HDD password N/A
Password on Boot Shows if password is required during system boot
CAUTION:
!
If Power-on-Password authentication is
enabled, the BIOS password can only be
cleared by initiating the Crisis Disk Recovery
procedure. Refer to Crisis Disk Recovery.
Disabled or
Enabled
Supervisor Password Is: Clear
Item Specific Help
Install or Change the password
and the length of password
must be greater than one word.
User Password Is:
HDD Password Is:
Set Supervisor Password
Set User Password
Set HDD Password
Power on Password
Clear
Clear
<Disabled>
3.5

System Utilities 2-9
NOTE:
NOTE
:
When prompted to enter password, three attempts are allowed before system
halts. Resetting BIOS password may require computer be returned to dealer.
Setting a Password 0
Perform the following to set user or supervisor passwords:
1. Use the ↑ and ↓ keys to highlight the Set Supervisor Password parameter and press
Enter. The Set Supervisor Password dialog box appears.
NOTE:
NOTE
:
To change an existing password, refer to Changing a Password.
Figure 2-4. Set Supervisor Password
2. Type a new password in the Enter New Password field. Passwords are not case
sensitive and the length must not exceed 12 alphanumeric characters (A-Z, a-z, 0-9).
Retype the password in the Confirm New Password field.
IMPORTANT:
+Use care when typing a password. Characters do not appear on the screen.
3. Press Enter. After setting the password, the computer sets the User Password
parameter to Set.
NOTE:
NOTE
:
Password on Boot must be set to Enabled to activate password feature.
4. Press F10 to save changes and exit BIOS Setup Utility.
Removing a Password 0
Perform the following:
1. Use the ↑ and ↓ keys to highlight Set Supervisor Password and press Enter. The
Set Supervisor Password dialog box appears:
Figure 2-5. Set Supervisor Password

2-10 System Utilities
2. Type current password in Enter Current Password field and press Enter.
3. Press Enter twice without typing anything in Enter New Password and Confirm New
Password fields. Computer will set Supervisor Password parameter to Clear.
4. Press F10 to save changes and exit the BIOS Setup Utility.
Changing a Password 0
1. Use the ↑ and ↓ keys to highlight Set Supervisor Password and press Enter. The
Set Supervisor Password dialog box appears.
Figure 2-6. Set Supervisor Password
2. Type current password in Enter Current Password field and press Enter.
3. Type new password in Enter New Password field. Retype new password in Confirm
New Password field.
4. Press Enter. Computer sets Supervisor Password parameter to Set.
NOTE:
NOTE
:
Password on Boot must be set to Enabled to activate the password feature.
5. Press F10 to save changes and exit BIOS Setup Utility.
If the verification is OK, the screen will show as follows.
Figure 2-7. Setup Notice
The password setting is complete after the user presses Enter.
If the password entered does not match the current password, the screen shows the Setup
Warning dialog. (Figure 2-8)

2-12 System Utilities
Boot 0
The Boot tab allows changes to the order of boot devices used to load the operating system.
Bootable devices include the:
USB diskette drives
Onboard hard disk drive
DVD drive in the module bay
Use ↑ and ↓ keys to select a device and press F5 or F6 to change the value.
Figure 2-10. BIOS Boot
Boot priority order:
Item Specific Help
Use <↑> or <↓> to select a
1. HDD0: Hitachi HTS54501689A300
2. ATAPI CDROM: TSSTcorp CDDVDW TS-L633F
3. USB FDD:
4. Network Boot: Atheros Boot Agent
5. USB HDD:
6. USB CDROM:
3.5
device, then press <F5> to
move it down the list, or <F6>
to move it up the list. Press
<Esc> to escape the menu

System Utilities 2-13
Exit 0
The Exit tab allows users to save or discard changes and quit the BIOS Setup Utility.
Figure 2-11. BIOS Exit
Table 2-4 describes the parameters in Figure 2-11.
Table 2-4. Exit Parameters
Parameter Description
Exit Saving Changes Exit BIOS utility and save setup item changes to system.
Save Change Without
Exit Save setup item changes to system without exiting.
Exit Discarding Changes Exit BIOS utility without saving setup item changes to system.
Load Optimal Defaults Load optimal default values for all setup items.
Load Custom Defaults Load custom default values for all setup items.
Save Custom Defaults Save setup item changes to system.
Discard Changes Load previous values of all setup items.
Exit Saving Changes
Item Specific Help
Exit System Setup and save
3.5
your changes.
Exit Discarding Changes
Load Setup Defaults
Discard Changes
Save Changes

2-14 System Utilities
BIOS Flash Utilities 0
BIOS Flash memory updates are required for the following conditions:
New versions of system programs
New features or options
Restore a BIOS when it becomes corrupted.
Use the Flash utility to update the system BIOS Flash ROM.
NOTE:
NOTE
:
If a Crisis Recovery Disc is not available, create one before Flash utility is used.
NOTE:
NOTE
:
Do not install memory related drivers (XMS, EMS, DPMI) when Flash is used.
NOTE:
NOTE
:
Use AC adaptor power supply when running Flash utility. If battery pack does not
contain power to finish loading BIOS Flash, do not boot system.
Perform the following to run Flash.
1. Prepare a bootable USB HDD.
2. Copy Flash utilities to bootable USB HDD.
3. Boot system from bootable USB HDD.
NOTE:
NOTE
:
Flash utility has auto execution function.

System Utilities 2-15
DOS Flash Utility 0
Perform the following to use the DOS Flash Utility:
1. Press F2 during boot to enter Setup Menu.
2. Select Boot Menu to modify boot priority order.
Example: If using USB HDD to Update BIOS, move USB HDD to position 1.
Figure 2-12. BIOS Boot
3. Insert the USB HDD and reboot computer.
4. Execute XEWX100.BAT to update BIOS. Flash process begins as shown in Figure 2-13.
Boot priority order:
Item Specific Help
Use <↑> or <↓> to select a
1. HDD0: Hitachi HTS54501689A300
2. ATAPI CDROM: TSSTcorp CDDVDW TS-L633F
3. USB FDD:
4. Network Boot: Atheros Boot Agent
5. USB HDD:
6. USB CDROM:
3.5
device, then press <F5> to
move it down the list, or <F6>
to move it up the list. Press
<Esc> to escape the menu
C:\>zq8_006t
Reading le...
Flash package mode.
Option: /bios /ecbp
Please do not remove the AC power!
Insyde Flash Utility for InsydeH20
Version 1.3z
Initializing
Current BIOS Model name : ZQ8
New BIOS Model name : ZQ8
Current BIOS version: V0.06t
New BIOS version: V0.06t
Updating Block at FFE85000

2-16 System Utilities
Figure 2-13. DOS Flash Process
5. Flash is complete when the message, Flash Programming Complete is shown.
System will restart automatically when finished.
NOTE:
NOTE
:
If AC power is not connected, the following message is shown (Figure 2-14). Plug in the
AC power to continue.
Figure 2-14. AC Power Warning

2-18 System Utilities
Clearing BIOS Passwords 0
CAUTION:
!
If Power-on Password authentication is enabled, the BIOS password can only be
cleared by initiating the Crisis Disk Recovery procedure or flashing the BIOS. See
Crisis Disk Recovery.
This section provides details about removing HDD/BIOS passwords.
Clear the BIOS Password as follows:
NOTE:
NOTE
:
If the BIOC password is incorrectly entered three times, an error is generated.
(Figure 2-16)
Figure 2-16. Password Error Status
To reset the BIOS password, perform the following:
1. Press any key to exit the menu.
2. In DOS mode, execute ClearSuPw.exe.
Figure 2-17. Clear BIOS Password
76776356

System Utilities 2-19
Removing BIOS Passwords 0
(Hardware method) To clear User or Supervisor passwords, remove lower cover and use a
metal instrument to short the CMOS jumper.
Figure 2-18. CMOS Jumper
(Software method) If wrong supervisor password is entered three times, the message
System will halt! is displayed on screen.
Figure 2-19. Supervisor Password Error
Table 2-5. CMOS Jumper
Item Description
1 Clear CMOS Jumper
1

2-20 System Utilities
If user is unable to obtain correct password then it must be removed. There are two methods
to do this.
Method 1: 0
If BIOS menu item Power on Password is set to Enabled, then Crisis Recovery disc
must be used.
Method 2: 0
If BIOS menu item Power on Password is set to Disabled.
1. Boot to DOS and execute ClearSuPw.exe. (Figure 2-20)
Figure 2-20. Clear Supervisor Password Utility
2. When message Clear the SU Pws completely is displayed, supervisor password
has been removed.

System Utilities 2-21
Miscellaneous Tools 0
Using DMITools 0
The DMI (Desktop Management Interface) Tool copies BIOS information to EEPROM
(Electrically Erasable Programmable Read-Only Memory). Used in the DMI pool for hardware
management.
When the BIOS shows Verifying DMI pool data, it is checking that the table correlates
with the hardware before sending information to the operating system (Windows, etc.).
To update the DMI Pool, perform the following:
1. Boot to DOS.
2. Execute qdmi30a.exe. To execute a specific function, select the associated menu number.
Figure 2-21. DMI Tools Main Menu Screen

2-22 System Utilities
3. Press 1 to modify the asset tag key.
Figure 2-22. Asset Tag Menu Item
4. Press 2 to modify the product number key.
Figure 2-23. Product Name Menu Item

System Utilities 2-23
5. Press 3 to modify serial number key.
Figure 2-24. Serial Number Menu Item
6. Press 4 to modify the 1394 GUID number key.
Figure 2-25. 1394 GUID Number Menu Item
7. Press 0 to exit.

2-24 System Utilities
8. At the command prompt, type VEEPROM to write any changes in the data to the EEPROM.
Figure 2-26. VEEPROM Command Prompt
NOTE:
NOTE
:
When using any of the write options, restart the system to make the new DMI
data effective.

System Utilities 2-25
Using the LAN MAC EEPROM Utility 0
Perform the following steps to write MAC (Media Access Control) information to EEPROM:
Use theP.BAT utility to write the MAC.CFG file to the EEPROM under DOS mode.
1. Use a text editor (Ex: Notepad) to open the MAC.CFG file. See the MAC.CFG contents in
Figure 2-27
Figure 2-27. LAN MAC EEPROM
2. Enter into DOS.
3. Run the P.BAT file to write MAC values to EEPROM.
4. Reboot the system when the process has completed.
Table 2-6. LAM MAC EEPROM
Parameter Description
WriteData = ‘001122334455' MAC value
StartAddr=7A MAC address
WriteLeng=6 MAC value length
KeepByte=0 Value not important

2-26 System Utilities
Crisis Disk Recovery 0
1. Plug in the USB flash disk.
2. Select the Fast Format option and click Start. Then click Next.
Figure 2-28. USB Flash Crisis Disk
3. Click Format and then Exit to complete the operation.
Figure 2-29. USB Flash Crisis Disk

System Utilities 2-27
4. Copy the BIOS HM40X64.bin file to the USB flash disk root directory.
NOTE:
NOTE
:
Do not place any other *.fd files to the USB flash disk root directory.
5. Plug in the USB Flash Disk without AC plug.
6. Press Fn + Esc keys and hold them down, then plug in AC power. The power button
flashes orange.
7. Press Power button and the system will enter crisis mode to flash the BIOS.

2-28 System Utilities

CHAPTER 3
Machine Maintenance Procedures

3-2
Introduction . . . . . . . . . . . . . . . . . . . . . . . . . . . . . . . . . . . . . . . . . 3-5
General Information . . . . . . . . . . . . . . . . . . . . . . . . . . . . . . . . . . 3-5
Recommended Equipment . . . . . . . . . . . . . . . . . . . . . . . . . . . . . 3-5
Maintenance Flowchart. . . . . . . . . . . . . . . . . . . . . . . . . . . . . . . . 3-6
Getting Started . . . . . . . . . . . . . . . . . . . . . . . . . . . . . . . . . . . . . . 3-7
Battery Pack Removal. . . . . . . . . . . . . . . . . . . . . . . . . . . . . . . .3-8
Battery Pack Installation . . . . . . . . . . . . . . . . . . . . . . . . . . . . .3-8
Dummy Card Removal . . . . . . . . . . . . . . . . . . . . . . . . . . . . . . .3-9
Dummy Card Installation. . . . . . . . . . . . . . . . . . . . . . . . . . . . .3-9
Keyboard Removal. . . . . . . . . . . . . . . . . . . . . . . . . . . . . . . . . .3-10
Keyboard Installation. . . . . . . . . . . . . . . . . . . . . . . . . . . . . . . .3-11
ODD (Optical Disk Drive) Module Removal . . . . . . . . . . . . . .3-12
ODD Module Installation. . . . . . . . . . . . . . . . . . . . . . . . . . . . .3-13
Lower Cover Removal . . . . . . . . . . . . . . . . . . . . . . . . . . . . . . .3-14
Lower Cover Installation . . . . . . . . . . . . . . . . . . . . . . . . . . . . .3-15
DIMM (Dual In-line Memory Module) Module Removal. . . .3-16
DIMM Module Installation. . . . . . . . . . . . . . . . . . . . . . . . . . . .3-17
WLAN (Wireless Local Area Network) Module Removal . . . .3-18
WLAN Module Installation . . . . . . . . . . . . . . . . . . . . . . . . . . .3-19
USB Module Removal. . . . . . . . . . . . . . . . . . . . . . . . . . . . . . . .3-20
USB Module Installation . . . . . . . . . . . . . . . . . . . . . . . . . . . . .3-20
RTC Battery Removal . . . . . . . . . . . . . . . . . . . . . . . . . . . . . . . .3-21
RTC Battery Installation . . . . . . . . . . . . . . . . . . . . . . . . . . . . . .3-21
Bluetooth Module Removal. . . . . . . . . . . . . . . . . . . . . . . . . . .3-22
Bluetooth Module Installation . . . . . . . . . . . . . . . . . . . . . . . .3-23
Thermal Module Removal . . . . . . . . . . . . . . . . . . . . . . . . . . . .3-24
Thermal Module Installation. . . . . . . . . . . . . . . . . . . . . . . . . .3-25
HDD (Hard Disk Drive) Module Removal . . . . . . . . . . . . . . . .3-27
HDD Module Installation. . . . . . . . . . . . . . . . . . . . . . . . . . . . .3-28
Mainboard Removal. . . . . . . . . . . . . . . . . . . . . . . . . . . . . . . . .3-29
Mainboard Installation . . . . . . . . . . . . . . . . . . . . . . . . . . . . . .3-30
LCD (Liquid Crystal Display) Module Removal . . . . . . . . . . . .3-31
LCD Module Installation . . . . . . . . . . . . . . . . . . . . . . . . . . . . .3-32
Speaker Removal . . . . . . . . . . . . . . . . . . . . . . . . . . . . . . . . . . .3-33
Speaker Installation . . . . . . . . . . . . . . . . . . . . . . . . . . . . . . . . .3-34
LCD Bezel Removal. . . . . . . . . . . . . . . . . . . . . . . . . . . . . . . . . .3-35
LCD Bezel Installation . . . . . . . . . . . . . . . . . . . . . . . . . . . . . . .3-36
Camera Module Removal. . . . . . . . . . . . . . . . . . . . . . . . . . . . .3-37
Camera Module Installation . . . . . . . . . . . . . . . . . . . . . . . . . .3-38
LCD Panel Removal. . . . . . . . . . . . . . . . . . . . . . . . . . . . . . . . . .3-39
LCD Panel Installation . . . . . . . . . . . . . . . . . . . . . . . . . . . . . . .3-40
LCD Bracket Removal. . . . . . . . . . . . . . . . . . . . . . . . . . . . . . . .3-41
LCD Bracket Installation. . . . . . . . . . . . . . . . . . . . . . . . . . . . . .3-41

3-3
LVDS Cable Removal . . . . . . . . . . . . . . . . . . . . . . . . . . . . . . . .3-42
LVDS Cable Installation . . . . . . . . . . . . . . . . . . . . . . . . . . . . . .3-43
WLAN Antenna Removal. . . . . . . . . . . . . . . . . . . . . . . . . . . . .3-44
WLAN Antenna Installation. . . . . . . . . . . . . . . . . . . . . . . . . . .3-44

3-4

Machine Maintenance Procedures 3-5
Machine Maintenance Procedures
Introduction 0
This chapter contains general information about the computer, a list of tools needed to do the
required maintenance and step by step procedures on how to remove and install components
from the computer.
General Information 0
The product previews seen in the following procedures may not represent the final product
color or configuration. Cable paths and positioning may also differ from the actual model.
During the removal and installation of components, make sure all available cable channels
and clips are used and that the cables are installed in the same position.
All prerequisites must be completed prior to starting maintenance.
Recommended Equipment 0
The following equipment are recommended to do the following maintenance procedures:
Wrist grounding strap and conductive mat
Flat screwdriver
Philips screwdriver
Plastic tweezers
Flat plastic pry
Table 3-1. Screw List
Size Quantity Acer Part No.
M2.5*6.0 18 86.ARE07.001
M2.0*3.0 12 86.ARE07.002
M2.5*3.0 Ni 2 86.R6Z07.001
M2.5*4.0 14 86.PSR07.001
M2.0*2.0 1 86.W4107.002
M3.0*3.0 Ni 4 86.N1407.007

3-6 Machine Maintenance Procedures
Maintenance Flowchart 0
The flowchart in Figure 3-1 shows a graphic representation of the module removal and
installation sequences. It shows information on what components may need to be removed
and installed during servicing.
Figure 3-1. Maintenance Flow
Battery
Keyboard ODD Module
USB
Board
Lower Cover
WLAN
Module
Bluetooth
Module
Mainboard
RTC
Battery
SD Dummy
Card
Thermal
Module
HDD Module
LCD Module
LCD Bezel
LCD Panel
Speaker
Camera
Antennas
DIMM
Modules
LCD Brackets
LVDS Cable

Machine Maintenance Procedures 3-7
Getting Started 0
Flowchart Figure 3-1 identifies sections for the removal and install sequence. Follow the order
of the sequence to avoid damage to any of the hardware components.
Do the following prior to starting any maintenance procedures:
1. Remove power (A) from the system and peripherals.
2. Remove all cables from system.
Figure 3-2. AC Adapter Outlet
3. Put system on a stable work surface.
A

3-8 Machine Maintenance Procedures
Battery Pack Removal 0
1. Put computer on flat surface, battery side up.
2. Push battery lock/unlock latch (A) to unlock position (Figure 3-3).
3. Push and hold battery release latch (B) to release position (Figure 3-3).
4. Lift battery pack (C) from battery bay (Figure 3-3).
Figure 3-3. Battery
IMPORTANT:
+Follow local regulations for battery (C) disposal (Figure 3-3).
Battery Pack Installation 0
1. Hold latch (B) in release position and install battery (C) (Figure 3-3).
2. Lock battery lock/unlock latch (A) (Figure 3-3).
C
A
B

3-10 Machine Maintenance Procedures
Keyboard Removal 0
Prerequisite:
Battery Pack Removal
1. Release seven (7) latches from the keyboard (Figure 3-5).
Figure 3-5. Keyboard Latches
2. Turn the keyboard over so that the keys are face down on the palm rest (C) (Figure 3-6).
3. Disconnect keyboard FPC (A) from mainboard connector (B) (Figure 3-6).
Figure 3-6. Keyboard FPC
A
B
C

Machine Maintenance Procedures 3-11
CAUTION:
!
Keyboard FPC (Flexible Printed Circuit) can be damaged if removed while
mainboard connector is locked.
Keyboard Installation 0
1. Put the keyboard face down on the palm rest (C). Refer to Figure 3-6.
2. Connect keyboard FPC (A) to mainboard connector (B). Refer to Figure 3-6.
3. Turn the keyboard over and align the keyboard with the indentation in the upper cover.
4. Press down to secure the latches on the upper cover. Refer to Figure 3-5.
5. Install battery.

3-12 Machine Maintenance Procedures
ODD (Optical Disk Drive) Module Removal 0
Prerequisite:
Battery Pack Removal
1. Remove one (1) screw (A) from lower cover (Figure 3-7).
Figure 3-7. ODD Module in Lower Cover
2. Remove ODD module (B) from ODD bay (Figure 3-7).
3. Remove two (2) screws (C) from ODD module (Figure 3-8).
4. Remove ODD bracket (D) from ODD module.
5. Remove ODD bezel (E) from ODD module.
Figure 3-8. ODD Module
A
B
D
D
E
E
C
C

Machine Maintenance Procedures 3-13
ODD Module Installation 0
1. Install ODD bezel (E) on ODD module (Figure 3-8).
2. Install ODD bracket (D) on ODD module.
3. Secure two (2) screws (C).
4. Insert ODD module (B) into ODD module bay. Refer to Figure 3-7.
5. Install and secure screw (A) to lower cover.
6. Install battery.
ID Size Quantity Screw Type
A M2.5*6.0 1
C M2.0*3.0 2

Machine Maintenance Procedures 3-15
2. Grasp the lower cover by the ODD bay (A) and the fan duct (B) and lift the lower cover from the
upper cover (Figure 3-10).
Figure 3-10. Lower Cover Removal
Lower Cover Installation 0
1. Align and lower cover onto the device (Figure 3-10).
2. Install and secure twenty three (23) screws to lower cover. Refer to Figure 3-9.
3. Install ODD.
ID Size Quantity Screw Type
Green
Call out M2.0*3.0 6
Red
Call out M2.5*6.0 17
A
B
B

Machine Maintenance Procedures 3-17
3. Disconnect DIMM out of mainboard connector (B). Refer to Figure 3-12.
4. Repeat steps 2 and 3 for remaining modules.
DIMM Module Installation 0
1. Connect DIMM into mainboard connector (B). Refer to Figure 3-12.
2. Push down on DIMM until module clips (A) lock in position. Refer to Figure 3-12.
3. Repeat steps 2 and 3 for remaining modules.
4. Install lower cover.

3-18 Machine Maintenance Procedures
WLAN (Wireless Local Area Network) Module Removal 0
Prerequisite:
Lower Cover Removal
1. Find WLAN module (C) on lower cover. Refer to Figure 3-11.
2. Disconnect main (A) and auxiliary (B) antenna cables from module (Figure 3-13).
Figure 3-13. WLAN Module
3. Remove antenna cables from cable guides on the thermal module (Figure 3-14).
Figure 3-14. WLAN Cable Routing
C
A
B
D

Machine Maintenance Procedures 3-19
4. Remove one (1) screw (C) from mainboard. Refer to Figure 3-13.
5. Remove module from mainboard connector (D). Refer to Figure 3-13.
WLAN Module Installation 0
1. Put module into mainboard connector (D). Refer to Figure 3-13.
2. Install and secure one (1) screw (C) to mainboard. Refer to Figure 3-13.
3. Put antenna cables into the cable guides on the thermal module. Refer to Figure 3-14.
4. Install main (A) and auxiliary (B) antenna cables on WLAN module. Refer to Figure 3-13.
5. Install lower cover.
ID Size Quantity Screw Type
C M2.5*4.0 1

3-20 Machine Maintenance Procedures
USB Module Removal 0
Prerequisite:
Lower Cover Removal
1. Find USB module (F) on lower cover as shown on Figure 3-11.
2. Disconnect USB module FFC (A) from USB module connector (B) (Figure 3-15).
3. Disconnect and remove USB module FFC (A) from mainboard connector (C)
(Figure 3-15).
Figure 3-15. USB module
4. Remove screw (D) from lower cover (Figure 3-15).
5. Remove USB module from lower cover.
USB Module Installation 0
1. Install USB module (F) on lower cover. Refer to Figure 3-11.
2. Install and secure screw (D) to lower cover (Figure 3-15).
3. Connect USB module FFC (A) to module connector (B) (Figure 3-15).
4. Connect USB module FFC (A) to mainboard connector (C) (Figure 3-15).
5. Install lower cover.
ID Size Quantity Screw Type
D M2.5*3.0 1
D
BA C

Machine Maintenance Procedures 3-21
RTC Battery Removal 0
Prerequisite:
Lower Cover Removal
1. Find RTC battery (B) on mainboard as shown on Figure 3-11.
2. Using plastic tweezers, push the RTC battery through the gap in the mainboard connector
(A) to release the battery (Figure 3-16).
Figure 3-16. RTC Battery
IMPORTANT:
+Follow local regulations for battery (Figure 3-16) disposal.
3. Remove RTC battery from mainboard connector.
RTC Battery Installation 0
1. Put RTC battery (A) into the mainboard connector and press down to secure it. Refer to
Figure 3-16.
2. Install lower cover.
A

3-22 Machine Maintenance Procedures
Bluetooth Module Removal 0
Prerequisite:
Lower Cover Removal
1. Find Bluetooth module (E) on upper cover. Refer to Figure 3-11.
2. Disconnect Bluetooth cable (C) from mainboard connector (Figure 3-17).
3. Release the Bluetooth board (A) from the board guide (B) (Figure 3-17).
Figure 3-17. Bluetooth Module
4. Lift the Bluetooth module from the upper cover (Figure 3-18).
Figure 3-18. Bluetooth Module
A
BC

Machine Maintenance Procedures 3-23
5. Disconnect Bluetooth cable (A) from Bluetooth module connector (B) (Figure 3-19).
Figure 3-19. Bluetooth Module
Bluetooth Module Installation 0
1. Connect Bluetooth cable (B) to Bluetooth module (A) (Figure 3-19).
2. Install and secure Bluetooth module (A) to upper cover.
3. Put Bluetooth cable along the opening in the mainboard (Figure 3-18).
4. Connect Bluetooth cable (C) to mainboard connector (Figure 3-18).
5. Install lower cover.
A
B
B

3-24 Machine Maintenance Procedures
Thermal Module Removal 0
Prerequisite:
Lower Cover Removal
1. Find thermal module (A) on mainboard. Refer to Figure 3-11.
2. Remove the WLAN antennas from cable guides. Refer to Figure 3-14.
3. Loosen four (4) captive screws (A). Refer to Figure 3-20.
4. Loosen one (1) captive screw (B) (Figure 3-20).
5. Remove one (1) screw (C) from mainboard (Figure 3-20).
Figure 3-20. Thermal Module
6. Disconnect the thermal module cable from the mainboard connector (D) (Figure 3-20).
A
A
C
B
D

Machine Maintenance Procedures 3-25
7. Remove thermal module from mainboard as shown in Figure 3-21.
Figure 3-21. Thermal Module
Thermal Module Installation 0
IMPORTANT:
+Apply approved thermal grease and ensure all heat pads are in position
before replacing module.
CAUTION:
!
Use caution when applying thermal grease. Thermal grease may cause damage
to the mainboard.
The following thermal grease types are approved for use:
Silmore GP50
Honeywell
Jet Motor 7762
The following thermal pads are approved for use:
Eapus XR-PE
1. Remove all traces of thermal grease from CPU using a lint-free cloth or cotton swab and
Isopropyl Alcohol, Acetone, or other approved cleaning agent.
2. Apply small amount of thermal grease to center of CPU.
NOTE:
NOTE
:
Force used during installation of thermal module is sufficient to spread grease evenly
over CPU top.
3. Install and secure four (4) non-captive screws (A) in numerical order from one (1) to four
(4) to mainboard. Refer to Figure 3-20.
4. Install and secure one (1) non-captive screws (B) to mainboard.
5. Secure one (1) captive screws (C).
6. Connect thermal module cable to mainboard connector (D). Refer to Figure 3-20.
7. Install WLAN cables into cables guides. Refer to Figure 3-14.
8. Install lower cover.

3-26 Machine Maintenance Procedures
ID Size Quantity Screw Type
C M2.5*3.0 Ni 1

3-28 Machine Maintenance Procedures
3. Remove HDD module from mainboard connector (C). Refer to Figure 3-23.
4. Remove HDD module from upper cover.
5. Remove four (4) screws (D) from HDD bracket (E) (Figure 3-24).
Figure 3-24. HDD Module
6. Remove HDD bracket (B) from HDD module.
HDD Module Installation 0
1. Put HDD brackets onto HDD module (Figure 3-24).
2. Install four (4) screws (D) and secure HDD brackets (E) to HDD module (Figure 3-24).
3. Put HDD module onto upper cover. Refer to Figure 3-22.
4. Connect HDD module to mainboard connector (C). Refer to Figure 3-23.
5. Install one (1) screw (B) and secure HDD module to upper cover. Refer to Figure 3-23.
6. Install USB board.
ID Size Quantity Screw Type
B M2.0*2.0 1
D M3.0*3.0 4
B
EB
E
DD
D
D

Machine Maintenance Procedures 3-29
Mainboard Removal 0
Prerequisite:
Thermal Module Removal
1. Find mainboard (A) on lower cover (Figure 3-25).
Figure 3-25. Mainboard Location
2. Disconnect speaker cable from mainboard connector (C) (Figure 3-25).
3. Disconnect Bluetooth cable from mainboard connector (B) (Figure 3-25).
4. Disconnect LVDS cable from mainboard connector (D) (Figure 3-25).
5. Remove one (1) screw (E) from the mainboard (Figure 3-25).
6. Remove mainboard by lifting it from upper cover.
CAUTION:
!
Make sure all cables are moved away from the device to avoid damage during
removal.
E
A
BC
D

3-30 Machine Maintenance Procedures
Figure 3-26. Mainboard
IMPORTANT:
+Circuit boards >10 cm² have been highlighted with a yellow rectangle as
shown in Figure 3-26. Remove the Circuit board and follow local regulations
for disposal.
Mainboard Installation 0
1. Put mainboard onto upper cover (Figure 3-25).
2. Install and secure one (1) screw (E) to mainboard (Figure 3-25).
3. Connect LVDS cable (D) to mainboard connector (Figure 3-25).
4. Connect Bluetooth cable (B) to mainboard connector (Figure 3-25).
5. Connect speaker cable (C) to mainboard connector (Figure 3-25).
6. Install thermal module.
ID Size Quantity Screw Type
E M2.5*3.0 Ni 1

3-32 Machine Maintenance Procedures
CAUTION:
!
Make sure all cables are moved away from the device to avoid damage during
removal.
LCD Module Installation 0
1. Align LCD hinges with the hinge guides on the upper cover.
2. Install and secure four (4) screws (A). Refer to Figure 3-27.
3. Install mainboard.
ID Size Quantity Screw Type
A M2.5*4.0 4

Machine Maintenance Procedures 3-33
Speaker Removal 0
Prerequisite:
Mainboard Removal
1. Find speaker (A) on upper cover as shown on Figure 3-29.
2. Remove four (4) screws (B,C) from the speaker cable bracket (Figure 3-29).
3. Remove speaker bracket (D) from upper cover (Figure 3-29).
Figure 3-29. Speaker
4. Loosen two (2) captive screws (E) from speaker (Figure 3-30).
Figure 3-30. Speaker
5. Remove speaker cable (F) from cable guides (Figure 3-30).
C
B
D
A
E
F

3-34 Machine Maintenance Procedures
Speaker Installation 0
1. Put speaker cable (F) into cable guides (Figure 3-30).
2. Put speaker into the upper cover (Figure 3-30).
3. Secure speaker with two (2) captive screws (E) (Figure 3-30).
4. Install speaker bracket (D) onto upper cover. Refer to Figure 3-29.
5. Install and secure four (4) screws to speaker bracket. Refer to Figure 3-29.
6. Connect module FFC (A) to mainboard connector (C). Refer to Figure 3-29.
7. Install mainboard.
ID Size Quantity Screw Type
C M2.0*2.0 3
E M2.5*4.0 1

Machine Maintenance Procedures 3-35
LCD Bezel Removal 0
Prerequisite:
LCD (Liquid Crystal Display) Module Removal
1. Remove two (2) screws (A) from the LCD module (Figure 3-31).
Figure 3-31. LCD Bezel
2. Lift the bottom of the bezel up releasing it from the latches (Figure 3-32).
Figure 3-32. LCD Bezel
AA

3-36 Machine Maintenance Procedures
3.
Continue along the sides of the bezel until all the latches have been released (Figure 3-33).
Figure 3-33. LCD Bezel
4. Lift the bezel from LCD module.
LCD Bezel Installation 0
1. Put LCD bezel on the LCD module. Refer to Figure 3-31.
2. Press along the edges of the LCD bezel to secure the latches on the LCD module.
3. Install and secure two (2) screws (A) to the LCD bezel. Refer to Figure 3-31.
4. Install LCD module.
ID Size Quantity Screw Type
A M2.5*4.0 2

Machine Maintenance Procedures 3-37
Camera Module Removal 0
Prerequisite:
LCD Bezel Removal
1. Find the camera module (A) in the LCD module (Figure 3-34).
Figure 3-34. Camera Module Location
2. Disconnect the camera cable (A) from connector (B) (Figure 3-35).
NOTE:
NOTE
:
Use care not to damage the cable.
Figure 3-35. Camera Cable
3. Lift the camera module from the LCD cover.
A
A B

Machine Maintenance Procedures 3-39
LCD Panel Removal 0
Prerequisite:
LCD Bezel Removal
1. Remove the six (6) screws (A) from the LCD panel (Figure 3-36).
Figure 3-36. LCD Panel
2. Remove the LVDS cable (C) from the cable guides (Figure 3-37).
Figure 3-37. LVDS Cable
3. Lift the LCD panel (B) from LCD cover (Figure 3-36).
AA
A
A
B
C

3-40 Machine Maintenance Procedures
LCD Panel Installation 0
1. Put LCD panel on the LCD cover. Refer to Figure 3-36.
2. Put LVDS cable (C) in the cable guides. Refer to Figure 3-37.
3. Install and secure six (6) screws (A) to the LCD panel. Refer to Figure 3-36.
4. Install LCD bezel.
ID Size Quantity Screw Type
A M2.5*4.0 6

Machine Maintenance Procedures 3-41
LCD Bracket Removal 0
Prerequisite:
LCD Panel Removal
1. Remove the four (4) screws (A) (Figure 3-38).
Figure 3-38. LCD Bracket
2. Remove LCD bracket from the LCD panel.
LCD Bracket Installation 0
1. Put LCD bracket on the LCD panel (Figure 3-38).
2. Install and secure four (4) screws (A) to the LCD bracket (Figure 3-38).
3. Install LCD panel.
ID Size Quantity Screw Type
A M2.0*3.0 4
A
A
A
A

3-42 Machine Maintenance Procedures
LVDS Cable Removal 0
Prerequisite:
LCD Panel Removal
1. Remove LVDS cable (A) from the adhesive on the rear of the LCD panel (Figure 3-39).
Figure 3-39. LVDS Cable
2. Remove the yellow tape (B) securing the LVDS cable to the LCD panel connector
(Figure 3-40).
Figure 3-40. LVDS Cable
A
B

Machine Maintenance Procedures 3-43
3. Starting from the top, remove the clear mylar tape (C) and disconnect the LVDS cable from
the LCD panel connector (D) (Figure 3-41).
Figure 3-41. LVDS Cable
LVDS Cable Installation 0
1. Put LVDS cable into the LCD panel connector (D) and secure clear mylar tape
(Figure 3-41).
2. Put yellow tape (C) on the LVDS cable to secure it. Refer to Figure 3-40.
3. Put LVDS cable (A) on the rear of the LCD panel. Refer to Figure 3-39.
4. Install LCD panel.
C
D

3-44 Machine Maintenance Procedures
WLAN Antenna Removal 0
Prerequisite:
LCD Panel Removal
1. Remove black (A) and white (B) WLAN antennas.
Figure 3-42. WLAN Antenna
2. Remove antenna cables from cable guides.
WLAN Antenna Installation 0
1. Put antenna cables into cable guides. Refer to Figure 3-42.
2. Put black (A) and white (B) antennas onto LCD cover. Refer to Figure 3-42.
3. Install LCD panel.
AB

CHAPTER 4
Troubleshooting

4-2
Introduction . . . . . . . . . . . . . . . . . . . . . . . . . . . . . . . . . . . . . . . . . 4-3
General Information . . . . . . . . . . . . . . . . . . . . . . . . . . . . . . . . . . 4-3
Power On Issues . . . . . . . . . . . . . . . . . . . . . . . . . . . . . . . . . . . .4-4
No Display Issues. . . . . . . . . . . . . . . . . . . . . . . . . . . . . . . . . . . .4-5
LCD Failure . . . . . . . . . . . . . . . . . . . . . . . . . . . . . . . . . . . . . . . .4-7
Keyboard Failure . . . . . . . . . . . . . . . . . . . . . . . . . . . . . . . . . . .4-8
Touchpad Failure . . . . . . . . . . . . . . . . . . . . . . . . . . . . . . . . . . .4-9
Internal Speaker Failure. . . . . . . . . . . . . . . . . . . . . . . . . . . . . .4-10
Microphone Failure . . . . . . . . . . . . . . . . . . . . . . . . . . . . . . . . .4-12
USB Failure . . . . . . . . . . . . . . . . . . . . . . . . . . . . . . . . . . . . . . . .4-13
Other Functions Failure . . . . . . . . . . . . . . . . . . . . . . . . . . . . . .4-14
Intermittent Problems. . . . . . . . . . . . . . . . . . . . . . . . . . . . . . . . . 4-15
Undetermined Problems . . . . . . . . . . . . . . . . . . . . . . . . . . . . . . . 4-15
Post Codes . . . . . . . . . . . . . . . . . . . . . . . . . . . . . . . . . . . . . . . . . . 4-16

Troubleshooting 4-3
Troubleshooting
Introduction 0
This chapter contains information about troubleshooting common problems associated with
the notebook.
General Information 0
The following procedures are a guide for troubleshooting computer problems. The step by
step procedures are designed to be performed as described.
NOTE:
NOTE
:
The diagnostic tests are intended for Acer products only. Non-Acer products, prototype
cards, or modified options can give false errors and invalid system responses.
1. Obtain as much detailed information as possible about the problem.
2. If possible, verify the symptoms by re-creating the failure through diagnostic tests or
repeating the operation that led to the problem.
3. Use Table 4-1 with the verified symptom to determine the solution.
4. If the Issue is still not resolved, refer to Online Support Information.
NOTE:
NOTE
:
Do not replace non-defective FRU parts.
Table 4-1. Common Problems
Symptoms (Verified)
Power On Issues
No Display Issues
LCD Failure
Keyboard Failure
Touchpad Failure
Internal Speaker Failure
Microphone Failure
USB Failure
Other Functions Failure
Intermittent Problems
Undetermined Problems

4-4 Troubleshooting
Power On Issues 0
If the system does not power on, perform the following:
Figure 4-1. Power On Issue
Computer Shuts Down Intermittently 0
If the system powers off at intervals, perform the following.
1. Makes sure the power cable is properly connected to the computer and the electrical outlet.
2. Remove all extension cables between the computer and the outlet.
3. Remove all surge protectors between the computer and the electrical outlet. Plug the
computer directly into a known serviceable electrical outlet.
4. Disconnect the power and open the casing to check the thermal unit and fan airways are
free of obstructions.
5. Remove all external and non-essential hardware connected to the computer that are not
necessary to boot the computer to the failure point.
6. Remove any recently installed software.
7. If the Issue is still not resolved, refer to Online Support Information.

Troubleshooting 4-5
No Display Issues 0
If the Display does not work, perform the following:
Figure 4-2. No Display Issue
No POST or Video 0
If the POST or video does not appear, perform the following:
1. Make sure that internal display is selected. Switching between internal and external by
pressing Fn+F5. Reference product pages for specific model procedures.
2. Make sure the computer has power by checking for one of the following:
Fans start up
Status LEDs illuminate
If no power, refer to Power On Issues.
3. Drain stored power by removing the power cable and battery. Hold the power button for 10
seconds.
START
Power On? No Power On Issues
Replace
Ext. DDR RAM
module
No
No Fasten Screw
Replace
M/B
Check
connection
No
LCD module
OK?
No
Replace
LCD panel/
LCD cable
Ext. DDRRAM
module well
connected?
Ext. DDRRAM
module OK?
CPU thermal
module well
screw?

4-6 Troubleshooting
4. Connect the power and reboot the computer.
5. Connect an external monitor to the computer and switch between the internal display and
the external display is by pressing Fn+F5.
6. If the POST or video appears on the external display only, refer to LCD Failure.
7. Disconnect power and all external devices including port replicators or docking stations.
Remove any memory cards and CD/DVD discs.
8. Start the computer. If the computer boots correctly, add the devices one by one until the
failure point is discovered.
9. Reseat the memory modules.
10. Remove the drives (refer to Maintenance Flowchart).
11. If the Issue is still not resolved, refer to Online Support Information.
Abnormal Video 0
If the video appears abnormal, perform the following:
1. Boot the computer.
If permanent vertical/horizontal lines or dark spots appear in the same location, the
LCD is faulty and should be replaced. Refer to Disassembly Process.
If extensive pixel damage is present (different colored spots in the same locations on
the screen), the LCD is faulty and should be replaced. Refer to Maintenance Flowchart.
NOTE:
NOTE
:
Make sure that the computer is not running on battery alone as this may reduce display
brightness.
2. Adjust the brightness to its highest level. Refer to the User Manual for instructions on
adjusting the settings. If the display is too dim at the highest brightness setting, the LCD is
faulty and should be replaced. Refer to Disassembly Process.
3. Check the display resolution is correctly configured:
Minimize or close all Windows.
If display size is only abnormal in an application, check the view settings and
control/mouse wheel zoom feature in the application.
If desktop display resolution is not normal, right-click on the desktop and select
Personalize Display Settings.
Click and drag the Resolution slider to the desired resolution.
Click Apply and check the display. Readjust if necessary.
4. Roll back the video driver to the previous version if updated.
5. Remove and reinstall the video driver.
6. Check the Device Manager to determine that:
The device is properly installed. There are no red Xs or yellow exclamation marks
There are no device conflicts
No hardware is listed under Other Devices
7. If the Issue is still not resolved, refer to Online Support Information.
8. Run the Windows Memory Diagnostic from the operating system DVD and follow the
on-screen prompts.
9. If the issue is still not resolved, refer to Online Support Information.

Troubleshooting 4-7
LCD Failure 0
If the LCD fails, perform the following:
Figure 4-3. LCD Failure

4-8 Troubleshooting
Keyboard Failure 0
If the Keyboard fails, perform the following:
Figure 4-4. Keyboard Failure
No
No
START
Keyboard FPC
well connected?
Connect
it well
Keyboard OK? Replace
keyboard
Replace M/B

Troubleshooting 4-9
Touchpad Failure 0
If the Touchpad fails, perform the following:
Figure 4-5. Touchpad Failure
Start
OK
NG
OK
NG
Check M/B
T/P FFC
Re-assemble the
T/P FFC to M/B
Check
To u c h Pa d
Swap/Reassemble
the T/P board or
T/P FFC
Swap M/B

4-10 Troubleshooting
Internal Speaker Failure 0
If internal Speakers fail, perform the following:
Figure 4-6. Internal Speaker Failure
Sound Problems 0
Perform the following, one at a time.
1. Boot the computer.
2. Navigate to Start
´
Control Panel
´
System and Maintenance
´
System
´
Device
Manager. Check the Device Manager to determine that:
The device is properly installed
There are no red Xs or yellow exclamation marks
There are no device conflicts
No hardware is listed under Other Devices
3. If updated recently, roll back the audio driver to the previous version.
4. Remove and reinstall the audio driver.
5. Make sure that all volume controls are set mid range:
Click the volume icon on the taskbar
Drag the slider to 50. Confirm that the volume is not muted.
Click Mixer to verify that other audio applications are set to 50 and not muted.
6. Navigate to Start
´
Control Panel
´
Hardware and Sound
´
Sound. Confirm that
Speakers are selected as the default audio device (green check mark).

Troubleshooting 4-11
NOTE:
NOTE
:
If Speakers does not show, right-click on the Playback tab and select Show
Disabled Devices (clear by default).
7. Select Speakers and click Configure to start Speaker Setup. Follow the on-screen
prompts to configure the speakers.
8. Remove any recently installed hardware or software.
9. Restore system and file settings from a known good date using System Restore.
10. If the issue is remains, repeat step 9, selecting an earlier time and date.
11. Reinstall the operating system.
12. If the issue is still not resolved, refer to Online Support Information.

4-12 Troubleshooting
Microphone Failure 0
If internal or external Microphones fail, perform the following:
Figure 4-7. Microphone Failure
1. Check that the microphone is enabled. Navigate to Start
´
Control Panel
´
Hardware
and Sound
´
Sound and select the Recording tab.
2. Right click on the Recording tab and select Show Disabled Devices (clear by
default). The microphone appears on the Recording tab.
3. Right click on the microphone and select Enable.
4. Select the microphone then click Properties. Select the Levels tab.
5. Increase the volume to the maximum setting and click OK.
6. Test the microphone hardware:
Select the microphone and click Configure.
Select Set up microphone.
Select the microphone type from the list and click Next.
Follow the on-screen prompts to complete the test.
7. If the Issue is still not resolved, refer to Online Support Information.

Troubleshooting 4-13
USB Failure 0
If the USB fails, perform the following:
Figure 4-8. USB Failure
Start
Check USB/B to
M/B cable
Re-assemble the
USB/B cable to M/B
OK
NG
Check USB/B
OK
Swap USB/B and
USB cable
OK
NG
Swap M/B

4-14 Troubleshooting
Other Functions Failure 0
1. Check if drives are functioning correctly.
2. Check if external modules are functioning correctly.
3. Change mainboard to check if current one is defective.

Troubleshooting 4-15
Intermittent Problems 0
Intermittent system hang problems can be caused by a variety of reasons that have nothing to
do with a hardware defect, such as: cosmic radiation, electrostatic discharge, or software
errors. FRU replacement should be considered only when a recurring problem exists.
When analyzing an intermittent problem, perform the following:
1. Run the advanced diagnostic test for the system board in loop mode at least 10 times.
2. If no error is detected, do not replace any FRU.
3. If an error is detected, replace the FRU. Rerun the test to verify that there are no more
errors.
Undetermined Problems 0
The diagnostic problems do not identify which adapter or device failed, which installed
devices are incorrect, whether a short circuit is suspected, or whether the system is
inoperative.
Perform the following procedures to isolate the failing FRU (do not isolate non-defective FRU).
NOTE:
NOTE
:
Verify that all attached devices are supported by the computer.
NOTE:
NOTE
:
Verify that the power supply being used at the time of the failure is operating correctly.
(Refer to Power On Issues).
1. Remove power from the computer.
2. Visually check components for damage. If any problems are found, replace the FRU.
3. Remove or disconnect all of the following devices:
Non-Acer devices
Printer, mouse, and other external devices
Battery pack
Hard disk drive
DIMM
CD-ROM/Diskette drive Module
PC Cards
4. Apply power to the computer.
5. Determine if the problem has changed.
6. If the problem does not recur, connect the removed devices one at a time until failing FRU
is found.
7. If the problem remains, replace the following FRUs:
System board
LCD assembly

4-16 Troubleshooting
Post Codes 0
The following are the InsydeH2O™ Functionality POST code tables. The components of the
POST code table includes: SEC phase, PEI phase, DXE phase, BDS phase, CSM functions,
S3 functions and ACPI functions.
Table 4-2. POST Code Range
Phase POST Code Range
SEC 0x01 - 0x0F
PEI 0x70 - 0x9F
DXE 0x40 - 0x6F
BDS 0x10 - 0x3F
SMM 0xA0 - 0xBF
S3 0xC0 - 0xCF
ASL 0x51 – 0x55
0xE1 – 0xE4
PostBDS 0xF9 – 0xFE
InsydeH2ODDT™ Reserve 0xD0 – 0xD7
OEM Reserve 0xE8 – 0xEB
Reserved 0xD8 – 0xE0
0xE5 – 0xE7
0xEC – 0xF8
Table 4-3. SEC Phase POST Code Table
Functionality Name (Include\
PostCode.h) Phase PostCode Description
SEC_SYSTEM_POWER_ON
SEC 01 CPU power on and switch to
Protected mode
SEC_BEFORE_MICROCODE_PATCH
SEC 02 Patching CPU microcode
SEC_AFTER_MICROCODE_PATCH
SEC 03 Setup Cache as RAM
SEC_ACCESS_CSR*
SEC 04 PCIE MMIO Base Address initial
SEC_GENERIC_MSRINIT*
SEC 05 CPU Generic MSR initialization
SEC_CPU_SPEEDCFG*
SEC 06 Setup CPU speed
SEC_SETUP_CAR_OK
SEC 07 Cache as RAM test
SEC_FORCE_MAX_RATIO*
SEC 08 Tune CPU frequency ratio to
maximum level

Troubleshooting 4-17
SEC_GO_TO_SECSTARTUP
SEC 09 Setup BIOS ROM cache
SEC_GO_TO_PEICORE
SEC 0A Enter Boot Firmware Volume
* 3rd party relate functions – Platform dependence.
Table 4-4. PEI Phase POST Code Table
Functionality Name (Include\
PostCode.h) Phase Post Code Description
PEI_SIO_INIT
PEI 70 Super I/O Initialization
PEI_CPU_REG_INIT
PEI 71 CPU Early Initialization
PEI_CPU_AP_INIT*
PEI 72 Multi-processor Early Initial
PEI_CPU_HT_RESET*
PEI 73 HyperTransport Initialization
PEI_PCIE_MMIO_INIT
PEI 74 PCIE MMIO BAR Initialization
PEI_NB_REG_INIT
PEI 75 North Bridge Early Initialization
PEI_SB_REG_INIT
PEI 76 South Bridge Early Initialization
PEI_PCIE_TRAINING*
PEI 77 PCIE Training
PEI_TPM_INIT
PEI 78 TPM Initialization
PEI_SMBUS_INIT
PEI 79 SMBUS Early Initialization
PEI_PROGRAM_CLOCK_GEN
PEI 7A Clock Generator Initialization
PEI_IGD_EARLY_INITIAL *
PEI 7B Internal Graphic device early
Initialization
PEI_HECI_INIT*
PEI 7C HECI Initialization
PEI_WATCHDOG_INIT*
PEI 7D Watchdog timer Initialization
PEI_MEMORY_INIT
PEI 7E Memory Initial for Normal boot.
PEI_MEMORY_INIT_FOR_CRISIS
PEI 7F Memory Initial for Crisis Recovery
PEI_MEMORY_INSTALL
PEI 80 Simple Memory test
PEI_TXTPEI*
PEI 81 TXT function early Initialization
PEI_SWITCH_STACK
PEI 82 Start to use Memory
PEI_MEMORY_CALLBACK
PEI 83 Set cache for physical memory
PEI_ENTER_RECOVERY_MODE
PEI 84 Recovery device Initialization
PEI_RECOVERY_MEDIA_FOUND
PEI 85 Found Recovery image
PEI_RECOVERY_MEDIA_NOT_FOUND
PEI 86 Recovery image not found
PEI_RECOVERY_LOAD_FILE_DONE
PEI 87 Load Recovery Image completed
Table 4-3. SEC Phase POST Code Table
Functionality Name (Include\
PostCode.h) Phase PostCode Description

4-18 Troubleshooting
PEI_RECOVERY_START_FLASH
PEI 88 Start Flash BIOS with Recovery
image
PEI_ENTER_DXEIPL
PEI 89 Loading BIOS image to RAM
PEI_FINDING_DXE_CORE
PEI 8A Loading DXE core
PEI_GO_TO_DXE_CORE
PEI 8B Enter DXE core
* 3rd party relate functions – Platform dependence.
Table 4-5. DXE Phase POST Code Table
Functionality Name (Include\
PostCode.h) Phase Post
Code Description
DXE_TCGDXE* DXE 40 TPM initial in DXE
DXE_SB_SPI_INIT* DXE 41 South bridge SPI initialization
DXE_CF9_RESET* DXE 42 Setup Reset service
DXE_SB_SERIAL_GPIO_INIT* DXE 43 South bridge Serial GPIO
initialization
DXE_SMMACCESS* DXE 44 Setup SMM ACCE SS service
DXE_SIO_INIT* DXE 46 Super I/O DXE initialization
DXE_LEGACY_REGION* DXE 47 Setup Legacy Region service
DXE_SB_INIT* DXE 48 South Bridge Middle initialization
DXE_IDENTIFY_FLASH_DEVICE* DXE 49 Identify Flash device
DXE_FTW_INIT DXE 4A Fault Tolerant Write verification
DXE_VARIABLE_INIT DXE 4B Variable Service initialization
DXE_VARIABLE_INIT_FAIL DXE 4C Fail to initial Variable Service
DXE_MTC_INIT DXE 4D MTC Initial
DXE_CPU_INIT DXE 4E CPU Middle Initialization
DXE_MP_CPU_INIT DXE 4F Multi-processor Middle
Initialization
DXE_SMBUS_INIT DXE 50 SMBUS Driver Initialization
DXE_SMART_TIMER_INIT DXE 51 8259 Initialization
DXE_PCRTC_INIT DXE 52 RTC Initialization
DXE_SATA_INIT* DXE 53 SATA Controller early Initialization
DXE_SMM_CONTROLER_INIT* DXE 54 Setup SMM Control service
DXE_LEGACY_INTERRUPT* DXE 55 Setup Legacy Interrupt service
Table 4-4. (Continued)PEI Phase POST Code Table
Functionality Name (Include\
PostCode.h) Phase Post Code Description

Troubleshooting 4-19
DXE_RELOCATE_SMBASE DXE 56 Relocate SMM BASE
DXE_FIRST_SMI DXE 57 SMI test
DXE_VTD_INIT* DXE 58 VTD Initial
DXE_BEFORE_CSM16_INIT DXE 59 Legacy BIOS Initialization
DXE_AFTER_CSM16_INIT DXE 5A Legacy interrupt function
Initialization
DXE_LOAD_ACPI_TABLE DXE 5B ACPI Table Initialization
DXE_SB_DISPATCH* DXE 5C Setup SB SMM Dispatcher service
DXE_SB_IOTRAP_INIT* DXE 5D Setup SB IOTRAP Service
DXE_SUBCLASS_DRIVER* DXE 5E Build AMT Table
DXE_PPM_INIT* DXE 5F PPM Initialization
DXE_HECIDRV_INIT* DXE 60 HECIDRV Initialization
* 3rd party relate functions – Platform dependence.
Table 4-6. BDS Phase POST Code Table
Functionality Name (Include\
PostCode.h) Phase Post
Code Description
BDS_ENTER_BDS BDS 10 Enter BDS entry
BDS_INSTALL_HOTKEY BDS 11 Install Hotkey service
BDS_ASF_INIT* BDS 12 ASF Initialization
BDS_PCI_ENUMERATION_START BDS 13 PCI enumeration
BDS_BEFORE_PCIIO_INSTALL BDS 14 PCI resource assign complete
BDS_PCI_ENUMERATION_END BDS 15 PCI enumeration complete
BDS_CONNECT_CONSOLE_IN BDS 16 Keyboard Controller, Keyboard
and Mouse initialization
BDS_CONNECT_CONSOLE_OUT BDS 17 Video device initialization
BDS_CONNECT_STD_ERR BDS 18 Error report device initialization
BDS_CONNECT_USB_HC BDS 19 USB host controller initialization
BDS_CONNECT_USB_BUS BDS 1A USB BUS driver initialization
BDS_CONNECT_USB_DEVICE BDS 1B USB device driver initialization
BDS_NO_CONSOLE_ACTION BDS 1C Console device initial fail
BDS_DISPLAY_LOGO_SYSTEM_INFO BDS 1D Display logo or system
information
Table 4-5. (Continued)DXE Phase POST Code Table
Functionality Name (Include\
PostCode.h) Phase Post
Code Description

4-20 Troubleshooting
BDS_START_IDE_CONTROLLER BDS 1E IDE controller initialization
BDS_START_SATA_CONTROLLER BDS 1F SATA controller initialization
BDS_START_ISA_ACPI_CONTROLLER BDS 20 SIO controller initialization
BDS_START_ISA_BUS BDS 21 ISA BUS driver initialization
BDS_START_ISA_FDD BDS 22 Floppy device initialization
BDS_START_ISA_SEIRAL BDS 23 Serial device initialization
BDS_START_IDE_BUS BDS 24 IDE device initialization
BDS_START_AHCI_BUS BDS 25 AHCI device initialization
BDS_CONNECT_LEGACY_ROM BDS 26 Dispatch option ROMs
BDS_ENUMERATE_ALL_BOOT_OPTION
BDS 27 Get boot device information
BDS_END_OF_BOOT_SELECTION BDS 28 End of boot selection
BDS_ENTER_SETUP BDS 29 Enter Setup Menu
BDS_ENTER_BOOT_MANAGER BDS 2A Enter Boot manager
BDS_BOOT_DEVICE_SELECT BDS 2B Try to boot system to OS
BDS_EFI64_SHADOW_ALL_LEGACY_RO M
BDS 2C Shadow Misc Option ROM
BDS_ACPI_S3SAVE BDS 2D Save S3 resume required data
in RAM
BDS_READY_TO_BOOT_EVENT BDS 2E Last Chipset initial before boot
to OS
BDS_GO_LEGACY_BOOT BDS 2F Start to boot Legacy OS
BDS_GO_UEFI_BOOT BDS 30 Start to boot UEFI OS
BDS_LEGACY16_PREPARE_TO_BOOT BDS 31 Prepare to Boot to Legacy OS
BDS_EXIT_BOOT_SERVICES* BDS 32 Send END of POST Message
to ME via HECI
BDS_LEGACY_BOOT_EVENT BDS 33 Last Chipset initial before boot
to Legacy OS.
BDS_ENTER_LEGACY_16_BOOT BDS 34 Ready to Boot Legacy OS.
BDS_RECOVERY_START_FLASH BDS 35 Fast Recovery Start Flash.
* 3rd party relate functions – Platform dependence.
Table 4-6. (Continued)BDS Phase POST Code Table
Functionality Name (Include\
PostCode.h) Phase Post
Code Description

Troubleshooting 4-21
Table 4-7. S3 Functions POST Code Table
Functionality Name (Include\
PostCode.h) Phase Post
Code Description
S3_RESTORE_MEMORY_CONTROLLER
PEI C0 Memory initial for S3 resume
S3_INSTALL_S3_MEMORY
PEI C1 Get S3 resume required data
from memory
S3_SWITCH_STACK
PEI C2 Start to use memory during S3
resume
S3_MEMORY_CALLBACK
PEI C3 Set cache for physical memory
during S3 resume
S3_ENTER_S3_RESUME_PEIM
PEI C4 Start to restore system
configuration
S3_BEFORE_ACPI_BOOT_SCRIPT
PEI C5 Restore system configuration
stage1
S3_BEFORE_RUNTIME_BOOT_SCRIPT
PEI C6 Restore system configuration
stage2
S3_BEFORE_RELOCATE_SMM_BASE
PEI C7 Relocate SMM BASE during S3
resume
S3_BEFORE_MP_INIT
PEI C8 Multi-processor initial during S3
resume
S3_BEFORE_RESTORE_ACPI_CALLBACK
PEI C9 Start to restore system
configuration in SMM
S3_AFTER_RESTORE_ACPI_CALLBACK
PEI CA Restore system configuration in
SMM complete
S3_GO_TO_FACS_WAKING_VECTOR
PEI CB Back to OS
Table 4-8. ACPI Functions POST Code Table
Functionality Name (Include\
PostCode.h) Phase Post
Code Description
ASL_ENTER_S1 ASL 51 Prepare to enter S1
ASL_ENTER_S3 ASL 53 Prepare to enter S3
ASL_ENTER_S4 ASL 54 Prepare to enter S4
ASL_ENTER_S5 ASL 55 Prepare to enter S5
ASL_WAKEUP_S1 ASL E1 System wake up from S1
ASL_WAKEUP_S3 ASL E3 System wake up from S3
ASL_WAKEUP_S4 ASL E4 System wake up from S4

4-22 Troubleshooting
Table 4-9. SMM Functions POST Code Table
Functionality Name (Include\
PostCode.h) Phase Post
Code Description
SMM_IDENTIFY_FLASH_DEVICE
SMM 0xA0 Identify Flash device in SMM
SMM_SMM_PLATFORM_INIT SMM 0xA2 SMM service initial
SMM_ACPI_ENABLE_START SMM 0xA6 OS call ACPI enable function
SMM_ACPI_ENABLE_END SMM 0xA7 ACPI enable function complete
SMM_S1_SLEEP_CALLBACK SMM 0xA1 Enter S1
SMM_S3_SLEEP_CALLBACK SMM 0xA3 Enter S3
SMM_S4_SLEEP_CALLBACK SMM 0xA4 Enter S4
SMM_S5_SLEEP_CALLBACK SMM 0xA5 Enter S5
SMM_ACPI_DISABLE_START SMM 0xA8 OS call ACPI disable function
SMM_ACPI_DISABLE_END SMM 0xA9 ACPI disable function complete
Table 4-10. InsydeH2ODDT Debugger POST Code Table
Functionality Name
(Include\ PostCode.h) PostC
ode Description
Used by Insyde debugger 0x0D Waiting for device connect
Used by Insyde debugger 0xD0 Waiting for device connect
Used by Insyde debugger 0xD1 InsydeH2ODDT Ready
Used by Insyde debugger 0xD2 EHCI not found
Used by Insyde debugger 0xD3 Debug port connect low speed device
Used by Insyde debugger 0xD4 DDT Cable become low speed device
Used by Insyde debugger 0xD5 DDT Cable Transmission Error (Get descriptor fail)
Used by Insyde debugger 0xD6 DDT Cable Transmission Error (Set Debug mode fail)
Used by Insyde debugger 0xD7 DDT Cable Transmission Error (Set address fail)

CHAPTER 5
Jumper and Connector Locations

5-2
Mainboard Jumper and Connector Locations . . . . . . . . . . . . . . 5-3
Clearing Password Check and BIOS Recovery . . . . . . . . . . . . . . 5-5
Clearing Password Check. . . . . . . . . . . . . . . . . . . . . . . . . . . . .5-5
Clear CMOS Jumper . . . . . . . . . . . . . . . . . . . . . . . . . . . . . . . . .5-6
BIOS Recovery by Crisis Disk. . . . . . . . . . . . . . . . . . . . . . . . . . .5-6

Jumper and Connector Locations 5-3
Jumper and Connector Locations
Mainboard Jumper and Connector Locations 0
Figure 5-1. Mainboard Top
Table 5-1. Mainboard Top
Item Description Item Description
1 Card Reader Connector 3 Keyboard Connector
2 Touchpad Connector 4 Bluetooth Connector
11
2
3
4

5-4 Jumper and Connector Locations
Figure 5-2. Mainboard Bottom
Table 5-2. Mainboard Bottom
Item Description Item Description
1 Battery Connector 8 VGA Connector
2 Mini Card Connector 9 LAN Connector
3 ODD Connector 10 HDMI Connector
4 HDD Connector 11 USB Connector
5 DC/IN Connector 12 Headphone/SPDIF Connector
6 LCD Connector 13 Speaker Connector
7 Fan Connector 14 Mini Card Connector
1
2
3
4
13 14
5
6
7
8
9
10
11
12

Jumper and Connector Locations 5-5
Clearing Password Check and BIOS Recovery 0
This section provides users with the standard operating procedures of clearing password and
BIOS recovery for the Aspire 4253/4253G. The machine provides one Hardware Open Gap
on main board for clearing password check, and one hot key for enabling BIOS Recovery.
Clearing Password Check 0
NOTE:
NOTE
:
The following procedure is only for clearing BIOS Password (Supervisor Password and
User Password).
Steps for Clearing BIOS Password Check 0
If users set BIOS Password (Supervisor Password and/or User Password) for a security
reason, BIOS will ask the password during systems POST or when systems enter to BIOS
Setup menu. However, once it is necessary to bypass the password check, users need to
short the HW Gap to clear the password by the following steps:
1. Remove power from the system.
2. Remove battery.
3. Remove lower cover.
4. Disconnect the RTC battery
5. Locate the CMOS jumper.
6. Use an electric conductivity tool to short the two points of the CMOS jumper.
7. Plug in AC, keeping the CMOS jumper shorted.
8. Press Power Button until BIOS POST is finished, then remove the conductivity tool from
the CMOS jumper.
9. Restart the system. Press F2 to enter BIOS Setup menu.
10. If there is no Password request, BIOS Password is cleared.
11. If a password is requested, repeat Steps 1 through 9.

5-6 Jumper and Connector Locations
Clear CMOS Jumper 0
Figure 5-3. CMOS Jumper
BIOS Recovery by Crisis Disk 0
BIOS Recovery Boot Block 0
BIOS Recovery Boot Block is a special block of BIOS. It is used to boot up the system with
minimum BIOS initialization. Users can enable this feature to restore the BIOS firmware to a
successful one once the previous BIOS flashing process failed.
BIOS Recovery Hot Key 0
The system provides a function hot key, <Fn+Esc>, for enable BIOS Recovery process when
system is powered on during BIOS POST. To use this function, it is strongly recommended to
have the AC adapter and Battery present. If this function is enabled, the system will force the
BIOS to enter a special BIOS block, called Boot Block.
Table 5-3. CMOS Jumper
Item Description
1 Clear CMOS Jumper
1

Jumper and Connector Locations 5-7
Steps for BIOS Recovery from USB Storage 0
NOTE:
NOTE
:
Prior to performing the recovery, prepare a Crisis USB key. The Crisis USB key is
created by executing the Crisis Disk program on another system with Windows 7 OS.
To Create a Crisis USB key, perform the following:
1. Format the USB storage disk using the Fast Format option.
2. Save ROM file (file name: BIOS HM40X64.bin) to the root directory of USB storage. Make
sure that there is no other BIOS file saved in the same directory.
3. Plug USB storage into USB port.
4. Press <Fn + ESC> button then plug in AC power.
5. The Power button flashes once.
6. Press Power button to initiate system CRISIS mode.
7. When CRISIS is complete, the system auto restarts with a workable BIOS.
8. Update the latest version BIOS for this machine by regular BIOS flashing process.

5-8 Jumper and Connector Locations

CHAPTER 6
FRU (Field Replaceable Unit) List

FRU (Field Replaceable Unit) List 6-3
FRU (Field Replaceable Unit) List
This chapter provides users with a FRU (Field Replaceable Unit) listing in global
configurations for the Aspire 4253/4253G. Refer to this chapter whenever ordering for parts to
repair or for RMA (Return Merchandise Authorization).
NOTE:
NOTE
:
WHEN ORDERING FRU PARTS, check the most up-to-date information available on
the regional web or channel. Part number changes will not be noted on the printed
Service Guide. For ACER AUTHORIZED SERVICE PROVIDERS, the Acer office may
have a DIFFERENT part number code from those given in the FRU list of this printed
Service Guide. Users MUST use the local FRU list provided by the regional Acer office
to order FRU parts for repair and service of customer machines.
NOTE:
NOTE
:
To scrap or to return the defective parts, users should follow the local government
ordinance or regulations on how to dispose it properly, or follow the rules set by the
regional Acer office on how to return it.

6-4 FRU (Field Replaceable Unit) List
Exploded Diagrams 0
Figure 6-1. Upper & Lower Cover Exploded Diagram
Table 6-1. Upper & Lower Cover Exploded Diagram
No. Description Acer Part No.
1 Keyboard KB.I140A.204
2 Upper Case 60.R6Z07.001
3 ODD Module 6M.RDX07.001
4 USB Board 55.R6Z07.001
5 HDD Module KH.16001.045
1
2
3
4
5
6
7
9
8

FRU (Field Replaceable Unit) List 6-5
6 USB to Mainboard FFC 50.R6Z07.001
7 Lower Case 60.R6Z07.007
8 Battery BT.00603.111
9 Dummy Card 42.PSR07.002
Table 6-1. Upper & Lower Cover Exploded Diagram
No. Description Acer Part No.

6-6 FRU (Field Replaceable Unit) List
Figure 6-2. LCD Assembly Exploded Diagram
Table 6-2. LCD Assembly Exploded Diagram
No. Description Acer Part No.
1 LCD Bezel 60.R6Z07.010
2 LCD Bracket (Left) 33.R6Z07.004
3 LED Panel 6M.RDX07.002
4 LVDS Cable 50.R6Z07.004
5 Camera AM.21400.067
6 LCD Bracket (Right) 33.R6Z07.005
7 LCD Cover 60.R6Z07.009
1
2
3
4
6
7
5

FRU (Field Replaceable Unit) List 6-7
FRU List 0
Table 6-3. FRU List
Category Description Acer Part No.
ADAPTER
Adapter DELTA 65W 19V 1.7x5.5x11 Yellow
ADP-65JH DB A, LV5 LED LF AP.06501.026
Adapter LITE-ON 65W 19V 1.7x5.5x11 Yellow
PA-1650-22AC LV5 LED LF AP.06503.024
Adapter HIPRO 65W 19V 1.7x5.5x11 Yellow
HP-A0652R3B 1LF, LV5 LED LF AP.0650A.012
Adapter DELTA 65W 19V 1.7x5.5x11 Yellow
ADP-65VH BA, LV5, Low profile LED LF AP.06501.033
Adapter LITE-ON 65W 19V 1.7x5.5x11 Yellow
PA-1650-69AW, LV5, Low profile LED LF AP.06503.029
Adapter Chicony Power 65W 19V 1.7x5.5x11
Yellow CPA09-A065N1, LV5, low profile LED LF AP.0650A.017
BATTERY
Battery SANYO AS10D Li-Ion 3S2P SANYO 6
cell 4400mAh Main COMMON ID:AS10D31 BT.00603.111
Battery SONY AS10D Li-Ion 3S2P SONY 6 cell
4400mAh Main COMMON ID:AS10D41 BT.00604.049
Battery PANASONIC AS10D Li-Ion 3S2P
PANASONIC 6 cell 4400mAh Main COMMON
ID:AS10D51
BT.00605.062
Battery SAMSUNG AS10D Li-Ion 3S2P
SAMSUNG 6 cell 4400mAh Main COMMON
ID:AS10D61
BT.00606.008
Battery SIMPLO AS10D Li-Ion 3S2P
PANASONIC 6 cell 4400mAh Main COMMON
ID:AS10D71
BT.00607.125
Battery SIMPLO AS10D Li-Ion 3S2P LGC 6 cell
4400mAh Main COMMON ID:AS10D73 BT.00607.126
Battery SIMPLO AS10D Li-Ion 3S2P
SAMSUNG 6 cell 4400mAh Main COMMON
ID:AS10D
BT.00607.127
Battery SANYO AS10D Li-Ion 3S2P SANYO 6
cell 4400mAh Main COMMON new IC BQ8055 BT.00603.124

6-8 FRU (Field Replaceable Unit) List
BOARD
Foxconn Wireless LAN Atheros HB95BG (HM)
T77H121.10 NI.23600.077
Liteon Wireless LAN Atheris HB97 2x2 BGN
(HM) WN6603AH NI.23600.073
Foxconn Wireless LAN Atheros HB97 2x2 BGN
(HM) NI.23600.072
Foxconn Wireless LAN Broadcomm 43225 2x2
BGN (HM) T77H103.00 NI.23600.066
Foxconn Bluetooth BRM 2070 (T77H114.01) BH.21100.007
Foxconn Bluetooth BRM 2070 (T77H114.01) BH.21100.010
Foxconn Bluetooth ATH BU12(2.1) BH.21100.012
Foxconn Bluetooth ATH BU12(3.0) BH.21100.011
USB BOARD 55.R6Z07.001
CABLE
POWER CORD(EU) 1.8M 3PBLACK
FM010008-010 27.TATV7.001
POWER CORD UK 3PIN 27.A03V7.004
POWER CORD PRC 3P Y536B30001218008 27.TATV7.004
POWER CORD US 3PIN ROHS 27.TAXV7.001
PWR CORD(ISR)1.8M 3PBLK FZ0I0008-038 27.TATV7.005
PWR CORD V50CB3T3012180QD TW-110V,3P 27.A99V7.002
POWER CORD(SWI)1.8M 3PBLACK
FZ010008-011 27.A99V7.004
POWER CORD(IT) 1.8M 3PBLACK
FZ010008-008 27.A99V7.005
Table 6-3. FRU List
Category Description Acer Part No.

FRU (Field Replaceable Unit) List 6-9
POWER CORD(S.A) 1.8M 3BLACK
FZ010008-006 27.T48V7.001
POWER CORD(EU) 1.8M 3PBLACK
FM010008-010 27.TATV7.001
POWER CORD BRAZIL IMETRO 3 PIN 27.S0607.001
PWR CORD V943B30001218008 DANISH 3P 27.A03V7.006
BLUETOOTH CABLE (6P FOR BT3.0
BRM2070) 50.TVM07.002
BLUETOOTH CABLE 50.PSR07.001
FFC- USB TO M/B 50.R6Z07.001
CASE/COVER/BRACKET ASSEMBLY
UPPER CASE W/ SPK,TP, TP FFC - BLACK 60.R6Z07.001
UPPER CASE W/ SPK,TP, TP FFC - BROWN 60.R6Z07.002
UPPER CASE W/ SPK,TP, TP FFC - RED 60.R6Z07.003
LOWER CASE 60.R6Z07.007
HINGE SUPPORT BRACKET FOR UPPER
CASE 33.R6Z07.001
DUMMY CARD 42.PSR07.002
CPU SUPPORT BRACKET 33.RDX07.001
Table 6-3. FRU List
Category Description Acer Part No.

6-10 FRU (Field Replaceable Unit) List
DVD RW DRIVE
DVD/RW SUPER MULTI SATA MODULE 6M.RDX07.001
ODD TOSHIBA Super-Multi DRIVE 12.7mm
Tray DL 8X TS-L633F LF W/O bezel SATA (HF
+ Windows 7)
KU.00801.040
ODD HLDS Super-Multi DRIVE 12.7mm Tray
DL 8X GT32N (R5-2) LF W/O bezel SATA with
Renesas solution + PCC LD (HF + Windows 7)
KU.0080D.055
ODD PLDS Super-Multi DRIVE 12.7mm Tray
DL 8X DS-8A5SH LF+HF W/O bezel SATA With
TI + Rohm Solution (HF + Windows 7)
KU.0080F.014
ODD SONY Super-Multi DRIVE 12.7mm Tray
DL 8X AD-7585H LF W/O bezel SATA (HF +
Windows 7)
KU.0080E.027
ODD PIONEER Super-Multi DRIVE 12.7mm
Tray DL 8X DVR-TD10RS LF W/O bezel 1.00
SATA
KU.00805.049
ODD HLDS Super-Multi DRIVE 12.7mm Tray
DL 8X GT34N LF W/O bezel SATA Zero Power
Supported, PCC LD (HF + Windows 7)
KU.0080D.057
ODD PANASONIC Super-Multi DRIVE 12.7mm
Tray DL 8X UJ890A LF W/O bezel SATA (HF +
Windows 7)
KU.00807.064
ODD TOSHIBA Super-Multi DRIVE 12.7mm
Tray DL 8X TS-L633F LF W/O bezel SATA (HF
+ Windows 7)
KU.00801.040
ODD BEZEL - SUPER MULTI 60.R6Z07.008
ODD BRACKET 33.PUM07.001
HDD/HARD DISK DRIVE
HDD SEAGATE 2.5" 5400rpm 160GB
ST9160314AS,9HH13C-189, Seagate(new pcb)
SATA 8MB LF F/W:0001SDM1
KH.16001.045
Table 6-3. FRU List
Category Description Acer Part No.

FRU (Field Replaceable Unit) List 6-11
HDD HGST 2.5" 5400rpm 160GB
HTS545016B9A300 Panther B SATA LF
F/W:C60F Disk imbalance criteria = 0.014g-cm
KH.16007.026
HDD TOSHIBA 2.5" 5400rpm 160GB
MK1665GSX, Capricorn BS, 320G/P SATA 8MB
LF F/W:GJ001J
KH.16004.008
HDD WD 2.5" 5400rpm 160GB
WD1600BEVT-22A23T0, WD, ML320S SATA
8MB LF F/W:01.01A01
KH.16008.027
HDD TOSHIBA 2.5" 5400rpm 250GB
MK2565GSX, Capricorn BS, 320G/P SATA 8MB
LF F/W:GJ001J
KH.25004.005
HDD HGST 2.5" 5400rpm 250GB
HTS545025B9A300 Panther B SATA LF
F/W:C60F Disk imbalance criteria = 0.014g-cm
KH.25007.016
HDD SEAGATE 2.5" 5400rpm 250GB
ST9250315AS, 9HH132-189, Wyatt with new
pcb SATA 8MB LF F/W:0001SDM1
KH.25001.019
HDD WD 2.5" 5400rpm 250GB
WD2500BEVT-22A23T0, WD, ML320S SATA
8MB LF F/W:01.01A01.
KH.25008.025
HDD WD 2.5" 5400rpm 250GB
WD2500BPVT-22ZEST0,ML320S-AF, 4K drive
SATA 8MB LF F/W:01.01A01 4K drive
KH.25008.029
HDD SEAGATE 2.5" 5400rpm 250GB
ST92503010AS, Sapta 1, 7mmZH, 250G/P
SATA 8MB LF F/W:0001SDM1
KH.25001.018
HDD TOSHIBA 2.5" 5400rpm 320GB Capricorn
BS,MK3265GSX SATA 8MB LF F/W:GJ001J KH.32004.004
HDD HGST 2.5" 5400rpm 320GB
HTS545032B9A300 Panther B SATA LF
F/W:C60F Disk imbalance criteria = 0.014g-cm
KH.32007.008
HDD WD 2.5" 5400rpm 320GB
WD3200BPVT-22ZEST0, ML320S, 4K drive
SATA 8MB LF F/W: 01.01A01
KH.32008.022
HDD SEAGATE 2.5" 5400rpm 320GB
ST9320310AS,9RN132-188, Cameron 320G/P
SATA 8MB LF F/W:0001SDM1
KH.32001.019
HDD TOSHIBA 2.5" 5400rpm 500GB
MK5065GSX,Capricorn BS, 320G/P SATA 8MB
LF F/W:GJ001J
KH.50004.002
Table 6-3. FRU List
Category Description Acer Part No.

6-12 FRU (Field Replaceable Unit) List
HDD HGST 2.5" 5400rpm 500GB
HTS545050B9A300 Panther B SATA LF
F/W:C60F Disk imbalance criteria = 0.014g-cm
KH.50007.010
HDD WD 2.5" 5400rpm 500GB
WD5000BEVT-22A0RT0, ML320M,WD SATA
8MB LF F/W:01.01A01
KH.50008.017
HDD SEAGATE 2.5" 5400rpm 500GB
ST9500325AS,9HH134-189, Wyatt with new
pcb SATA 8MB LF F/W:0001SDM1
KH.50001.017
HDD WD 2.5" 5400rpm 500GB
WD5000BPVT-22HXZT1,ML375_AF, 4K drive
SATA 8MB LF+HF F/W:01.01A01
KH.50008.021
HDD WD 2.5" 5400rpm 640GB
WD6400BEVT-22A0RT0, ML320 SATA 8MB LF
F/W:01.01A01
KH.64008.004
HDD TOSHIBA 2.5" 5400rpm 640GB
MK6465GSX,Capricorn BS,320G/P SATA 8MB
LF F/W:GJ002J
KH.64004.001
HDD WD 2.5" 5400rpm 640GB
WD6400BPVT-22HXZT1, ML375M SATA 8MB
LF F/W: 01.01A01(4K)
KH.64008.005
HDD WD 2.5" 5400rpm 750GB
WD7500BPVT-22HXZT1, ML375M, 4K drive
SATA 8MB LF F/W:01.01A01
KH.75008.009
HDD TOSHIBA 2.5" 5400rpm 750GB
MK7559GSX, 375G/P, Capricorn BS, 4K drive
SATA 8MB LF+HF F/W:GNDD3J
KH.75004.001
HDD SEAGATE 2.5" 5400rpm 750GB
ST9750423AS,9ZW14G-188, Desaru5(4K),
375G/P. SATA 8MB LF+HF F/W:0001SDM1
KH.75001.011
HDD HGST 2.5" 5400rpm 750GB
HTS547575A9E384, 0J15083, Jet B(4K),
375G/P SATA 8MB LF F/W:DA3872
KH.75007.004
HDD BRACKET 33.R6Z07.002
HDD FRONT BRACKET 33.R6Z07.003
Table 6-3. FRU List
Category Description Acer Part No.

FRU (Field Replaceable Unit) List 6-13
KEYBOARD
Keyboard ACER AC4T_A10B AC4T 86KS
Black Arabic Texture KB.I140A.204
Keyboard ACER AC4T_A10B AC4T 87KS
Black Belgium Texture KB.I140A.205
Keyboard ACER AC4T_A10B AC4T 87KS
Black Brazilian Portuguese Texture KB.I140A.206
Keyboard ACER AC4T_A10B AC4T 87KS
Black CZ/SK Texture KB.I140A.207
Keyboard ACER AC4T_A10B AC4T 86KS
Black Chinese Texture KB.I140A.208
Keyboard ACER AC4T_A10B AC4T 87KS
Black Danish Texture KB.I140A.209
Keyboard ACER AC4T_A10B AC4T 87KS
Black FR/Arabic Texture KB.I140A.210
Keyboard ACER AC4T_A10B AC4T 87KS
Black French Texture KB.I140A.211
Keyboard ACER AC4T_A10B AC4T 87KS
Black German Texture KB.I140A.212
Keyboard ACER AC4T_A10B AC4T 86KS
Black Greek Texture KB.I140A.213
Keyboard ACER AC4T_A10B AC4T 87KS
Black Hungarian Texture KB.I140A.214
Keyboard ACER AC4T_A10B AC4T 87KS
Black Italian Texture KB.I140A.215
Keyboard ACER AC4T_A10B AC4T 91KS
Black Japanese Texture KB.I140A.216
Keyboard ACER AC4T_A10B AC4T 86KS
Black Korean Texture KB.I140A.217
Keyboard ACER AC4T_A10B AC4T 87KS
Black Nordic Texture KB.I140A.218
Keyboard ACER AC4T_A10B AC4T 87KS
Black Norwegian Texture KB.I140A.219
Keyboard ACER AC4T_A10B AC4T 87KS
Black Portuguese Texture KB.I140A.220
Keyboard ACER AC4T_A10B AC4T 86KS
Black Russian Texture KB.I140A.221
Table 6-3. FRU List
Category Description Acer Part No.

6-14 FRU (Field Replaceable Unit) List
Keyboard ACER AC4T_A10B AC4T 87KS
Black SLO/CRO Texture KB.I140A.222
Keyboard ACER AC4T_A10B AC4T 87KS
Black Spanish Texture KB.I140A.223
Keyboard ACER AC4T_A10B AC4T 87KS
Black Sweden Texture KB.I140A.224
Keyboard ACER AC4T_A10B AC4T 87KS
Black Swiss/G Texture KB.I140A.225
Keyboard ACER AC4T_A10B AC4T 86KS
Black Thailand Texture KB.I140A.226
Keyboard ACER AC4T_A10B AC4T 87KS
Black Turkish Texture KB.I140A.227
Keyboard ACER AC4T_A10B AC4T 87KS
Black UK Texture KB.I140A.228
Keyboard ACER AC4T_A10B AC4T 86KS
Black US International Texture KB.I140A.229
Keyboard ACER AC4T_A10B AC4T 86KS
Black US International w/ Hebrew Texture KB.I140A.230
Keyboard ACER AC4T_A10B AC4T 87KS
Black US w/ Canadian French Texture KB.I140A.231
LCD
LCD MODULE 14" LED GLARE IMR W/CCD,
ANTENNA*2 - BLACK 6M.RDX07.002
LED LCD SAMSUNG 14" WXGA Glare
LTN140AT01-G04 LF 220nit 8ms 500:1 LK.14006.015
LED LCD LPL 14" WXGA Glare
LP140WH1-TLA2 LF 220nit 8ms 500:1 LK.14008.004
LED LCD SAMSUNG 14" WXGA Glare
LTN140AT01-G03 LF 220nit 8ms 500:1 LK.14006.011
LED LCD AUO 14" WXGA Glare B140XW01 V8
0A LF 220nit 8ms 500:1 (power saving) LK.14005.010
LED LCD CMI 14" WXGA Glare BT140GW01
V6 LF 220nit 8ms 600:1 LK.1400D.008
LCD COVER W/ ANT - IMR BLACK 60.R6Z07.009
Table 6-3. FRU List
Category Description Acer Part No.

FRU (Field Replaceable Unit) List 6-15
LCD BEZEL FOR CCD 60.R6Z07.010
LCD BRACKET W/ HINGE - L 33.R6Z07.004
LCD BRACKET W/ HINGE - R 33.R6Z07.005
LCD CABLE 50.R6Z07.004
Chicony 1.3M CH9665SN (CNF9157) AM.21400.067
Suyin 1.3M SY9665SN AM.21400.068
Liteon 1.3M LT9665AL (09P2SF119) AM.21400.069
LCD
LCD MODULE 14" LED GLARE IMR W/CCD,
ANTENNA*2 - BROWN 6M.RDX07.003
LED LCD LPL 14" WXGA Glare
LP140WH1-TLA2 LF 220nit 8ms 500:1 LK.14008.004
LED LCD SAMSUNG 14" WXGA Glare
LTN140AT01-G03 LF 220nit 8ms 500:1 LK.14006.011
LED LCD AUO 14" WXGA Glare B140XW01 V8
0A LF 220nit 8ms 500:1 (power saving) LK.14005.010
LED LCD SAMSUNG 14" WXGA Glare
LTN140AT01-G04 LF 220nit 8ms 500:1 LK.14006.015
LED LCD CMI 14" WXGA Glare BT140GW01
V6 LF 220nit 8ms 600:1 LK.1400D.008
LCD COVER W/ ANT - IMR BROWN 60.R6Z07.011
Table 6-3. FRU List
Category Description Acer Part No.

6-16 FRU (Field Replaceable Unit) List
LCD BEZEL FOR CCD 60.R6Z07.010
LCD BRACKET W/ HINGE - L 33.R6Z07.004
LCD BRACKET W/ HINGE - R 33.R6Z07.005
LCD CABLE 50.R6Z07.004
Chicony 1.3M CH9665SN (CNF9157) AM.21400.067
Suyin 1.3M SY9665SN AM.21400.068
Liteon 1.3M LT9665AL (09P2SF119) AM.21400.069
LCD
LCD MODULE 14" LED GLARE IMR W/CCD,
ANTENNA*2 - RED 6M.RDX07.002
LED LCD LPL 14" WXGA Glare
LP140WH1-TLA2 LF 220nit 8ms 500:1 LK.14008.004
LED LCD SAMSUNG 14" WXGA Glare
LTN140AT01-G03 LF 220nit 8ms 500:1 LK.14006.011
LED LCD AUO 14" WXGA Glare B140XW01 V8
0A LF 220nit 8ms 500:1 (power saving) LK.14005.010
LED LCD CMI 14" WXGA Glare BT140GW01
V6 LF 220nit 8ms 600:1 LK.1400D.008
LED LCD SAMSUNG 14" WXGA Glare
LTN140AT01-G04 LF 220nit 8ms 500:1 LK.14006.015
LCD COVER W/ ANT - IMR RED 60.R6Z07.012
Table 6-3. FRU List
Category Description Acer Part No.

FRU (Field Replaceable Unit) List 6-17
LCD BEZEL FOR CCD 60.R6Z07.010
LCD BRACKET W/ HINGE - L 33.R6Z07.004
LCD BRACKET W/ HINGE - R 33.R6Z07.005
LCD CABLE 50.R6Z07.004
Chicony 1.3M CH9665SN (CNF9157) AM.21400.067
Suyin 1.3M SY9665SN AM.21400.068
Liteon 1.3M LT9665AL (09P2SF119) AM.21400.069
MAINBOARD
MAIN BOARD UMA E350 1.6G, W/CARD
READER,MIC MB.RDT06.001
MAIN BOARD SEYMOUR_XT E350 1.6G,
W/CARD READER,MIC MB.RDW06.00
1
MEMORY
Memory ELPIDA SO-DIMM DDRIII 1333 1GB
EBJ10UE8BDS0-DJ-F LF 128*8 0.065um KN.1GB09.015
Memory SAMSUNG SO-DIMM DDRIII 1333
1GB M471B2873FHS-CH9 LF 128*8 46nm KN.1GB0B.035
Memory HYNIX SO-DIMM DDRIII 1333 1GB
HMT112S6TFR8C-H9 LF 128*8 0.055um KN.1GB0G.026
Memory KINGSTON SO-DIMM DDRIII 1333
1GB ACR128X64D3S1333C9 LF 128*8
0.065um
KN.1GB07.004
Memory UNIFOSA SO-DIMM DDRIII 1333 1GB
GU672203EP0200 LF 128*8 0.065um KN.1GB0H.017
Table 6-3. FRU List
Category Description Acer Part No.

6-18 FRU (Field Replaceable Unit) List
Memory KINGSTON SO-DIMM DDRIII 1333
2GB ACR256X64D3S1333C9 LF 128*8
0.065um
KN.2GB07.004
Memory SAMSUNG SO-DIMM DDRIII 1333
2GB M471B5673FH0-CH9 LF 128*8 46nm KN.2GB0B.023
Memory SAMSUNG SO-DIMM DDRIII 1333
2GB M471B5773CHS-CH9 LF 256*8 46nm KN.2GB0B.026
Memory HYNIX SO-DIMM DDRIII 1333 2GB
HMT125S6TFR8C-H9 LF 128*8 0.055um KN.2GB0G.016
Memory KINGSTON SO-DIMM DDRIII 1333
2GB ACR256X64D3S1333C9 LF 128*8
0.065um
KN.2GB07.004
Memory NANYA SO-DIMM DDRIII 1333 2GB
NT2GC64B88B0NS-CG LF 256*8 0.055um KN.2GB03.021
Memory MICRON SO-DIMM DDRIII 1333 2GB
MT8JSF25664HZ-1G4D1 LF 256*8 0.055um KN.2GB04.017
Memory HYNIX SO-DIMM DDRIII 1333 2GB
HMT325S6BFR8C-H9 LF 256*8 46nm KN.2GB0G.018
Memory SAMSUNG SO-DIMM DDRIII 1066
4GB M471B5273BH1-CF8 LF 256*8 0.055um KN.4GB0B.007
HEATSINK
THERMAL MODULE UMA 18W 60.RDX07.001
THERMAL MODULE DIS 18W 60.RDX07.002
SPEAKER
SPEAKER 23.R6Z07.001
Table 6-3. FRU List
Category Description Acer Part No.

FRU (Field Replaceable Unit) List 6-19
MISCELLANEOUS
RUBBER FOOT - REAR 47.PSR07.003
LOWER CASE RUBBER FOOT - F 47.PSR07.001
LCD RUBBER - UP 47.R6Z07.001
LCD RUBBER - MID 47.R6Z07.002
LCD SCREW MYLAR 47.R6Z07.003
TP PROTECT MYLAR 47.R6Z07.004
Table 6-3. FRU List
Category Description Acer Part No.

6-20 FRU (Field Replaceable Unit) List
Screw List 0
Table 6-4. Screw List
CATEGORY Description Acer Part No.
SCREW M2-0.4*2-I(BNI)(NYLOK)IRON 86.W4107.002
SCREW M2.0*3.0-I(BKAG)(NYLOK IRON 86.ARE07.002
SCREW M3*0.5+3.5I 86.N1407.007
SCREW M2.5*4.0-I(NI)(NYLOK) 86.R6Z07.001
SCREW M2.0*5-I(NI)(NYLOK) 86.T23V7.010
SCREW M2.0*3.95-I(BNI)(NYLOK) 86.R6Z07.002
SCREW M2.5*6.5-I(BZN(NYLOK-RED) 86.ARE07.001
SCREW M2.5*4.0-I(BKAG)(NYLOK)IRON 86.PSR07.001

CHAPTER 7
Model Definition and Configuration

Model Definition and Configuration 7-1
Model Definition and Configuration
Acer 4255 0
Table 7-1. RO, Description
Model RO Country Acer Part No Description
AS4253-E35
1G32Mncc AAP Indonesia LX.RDU08.001 AS4253-E351G32Mncc EM
W7ST32EMASID1 MC
UMACcc_3
1*1G/320/6L2.2/2R/CB_bgn_1.
3C_GEc_ID21
AS4253-E35
1G32Mncc AAP Indonesia LX.RDU0C.004 AS4253-E351G32Mncc
LINPUSAID1 UMACcc_3
1*1G/320/6L2.2/2R/CB_bgn_1.
3C_GEc_ID22
AS4253-E35
1G32Mncc AAP Thailand LX.RDU0C.005 AS4253-E351G32Mncc
LINPUSATH3 UMACcc_3
1*1G/320/BT/6L2.2/2R/CB_bgn
_1.3C_GEc_EN11
AS4253-E35
1G32Mncc AAP Thailand LX.RDU0C.006 AS4253-E351G32Mncc
LINPUSATH1 UMACcc_3
1*1G/320/BT/6L2.2/2R/CB_bgn
_1.3C_GEc_TH51
AS4253-E35
1G32Mncc AAP Thailand LX.RDU0C.007 AS4253-E351G32Mncc
LINPUSATH4 UMACcc_3
1*1G/320/BT/6L2.2/2R/CB_bgn
_1.3C_GEc_ES61
AS4253-E35
1G32Mnkk AAP Indonesia LX.RDT08.002 AS4253-E351G32Mnkk EM
W7ST32EMASID1 MC
UMACkk_3
1*1G/320/BT/6L2.2/2R/CB_bgn
_1.3C_GEk_ID21
AS4253-E35
1G32Mnkk AAP Indonesia LX.RDT08.003 AS4253-E351G32Mnkk EM
W7ST32EMASID1 MC
UMACkk_3
1*1G/320/6L2.2/2R/CB_bgn_1.
3C_GEk_ID21
AS4253-E35
1G32Mnkk AAP Indonesia LX.RDT0C.006 AS4253-E351G32Mnkk
LINPUSAID1 UMACkk_3
1*1G/320/6L2.2/2R/CB_bgn_1.
3C_GEk_ID22

7-2 Model Definition and Configuration
AS4253-E35
1G32Mnkk AAP Thailand LX.RDT0C.008 AS4253-E351G32Mnkk
LINPUSATH4 UMACkk_3
1*1G/320/BT/6L2.2/2R/CB_bgn
_1.3C_GEk_ES61
AS4253-E35
1G32Mnkk AAP Thailand LX.RDT0C.009 AS4253-E351G32Mnkk
LINPUSATH3 UMACkk_3
1*1G/320/BT/6L2.2/2R/CB_bgn
_1.3C_GEk_EN11
AS4253-E35
1G32Mnkk AAP Thailand LX.RDT0C.010 AS4253-E351G32Mnkk
LINPUSATH1 UMACkk_3
1*1G/320/BT/6L2.2/2R/CB_bgn
_1.3C_GEk_TH51
AS4253-E35
1G32Mnrr AAP Thailand LX.RDV0C.004 AS4253-E351G32Mnrr
LINPUSATH4 UMACrr_3
1*1G/320/BT/6L2.2/2R/CB_bgn
_1.3C_GEr_ES61
AS4253-E35
1G32Mnrr AAP Thailand LX.RDV0C.005 AS4253-E351G32Mnrr
LINPUSATH3 UMACrr_3
1*1G/320/BT/6L2.2/2R/CB_bgn
_1.3C_GEr_EN11
AS4253-E35
1G32Mnrr AAP Thailand LX.RDV0C.006 AS4253-E351G32Mnrr
LINPUSATH1 UMACrr_3
1*1G/320/BT/6L2.2/2R/CB_bgn
_1.3C_GEr_TH51
AS4253-E35
2G25Mnkk PA ACLA-Spanish LX.RDT0C.001 AS4253-E352G25Mnkk
LINPUSAEA1 UMACkk_3
1*2G/250/6L2.2/2R/CB_bgn_1.
3C_GEk_ESG2
AS4253-E35
2G32Mncc CHINA China LX.RDU01.001 AS4253-E352G32Mncc
W7HB64SCASCN1 MC
UMACcc_3
1*2G/320/6L2.2/2R/CB_bgn_1.
3C_GEc_SC11
AS4253-E35
2G32Mncc CHINA China LX.RDU0C.008 AS4253-E352G32Mncc
LINPUSACN1 UMACcc_3
1*2G/320/6L2.2/2R/CB_bgn_1.
3C_GEc_EN91
AS4253-E35
2G32Mncc AAP Indonesia LX.RDU01.002 AS4253-E352G32Mncc EM
W7HB64EMASID1 MC
UMACcc_3
1*2G/320/BT/6L2.2/2R/CB_bgn
_1.3C_GEc_ID21
Table 7-1. RO, Description (Continued)
Model RO Country Acer Part No Description

Model Definition and Configuration 7-3
AS4253-E35
2G32Mncc AAP Malaysia LX.RDU0C.009 AS4253-E352G32Mncc
LINPUSAMY1 UMACcc_3
1*2G/320/BT/6L2.2/2R/CB_bgn
_1.3C_GEc_EN11
AS4253-E35
2G32Mnkk PA ACLA-Spanish LX.RDT01.001 AS4253-E352G32Mnkk EM
W7HB64EMASEA1 MC
UMACkk_3
1*2G/320/6L2.2/2R/CB_bgn_1.
3C_GEk_PT22
AS4253-E35
2G32Mnkk PA ACLA-Spanish LX.RDT08.001 AS4253-E352G32Mnkk EM
W7ST32EMASEA1 MC
UMACkk_3
1*2G/320/6L2.2/2R/CB_GN_1.3
C_GEk_PT22
AS4253-E35
2G32Mnkk CHINA China LX.RDT01.002 AS4253-E352G32Mnkk
W7HB64SCASCN1 MC
UMACkk_3
1*2G/320/6L2.2/2R/CB_bgn_1.
3C_GEk_SC11
AS4253-E35
2G32Mnkk CHINA China LX.RDT0C.011 AS4253-E352G32Mnkk
LINPUSACN1 UMACkk_3
1*2G/320/6L2.2/2R/CB_bgn_1.
3C_GEk_EN91
AS4253-E35
2G32Mnkk AAP Indonesia LX.RDT01.003 AS4253-E352G32Mnkk EM
W7HB64EMASID1 MC
UMACkk_3
1*2G/320/BT/6L2.2/2R/CB_bgn
_1.3C_GEk_ID21
AS4253-E35
2G32Mnkk AAP Malaysia LX.RDT0C.012 AS4253-E352G32Mnkk
LINPUSAMY1 UMACkk_3
1*2G/320/BT/6L2.2/2R/CB_bgn
_1.3C_GEk_EN11
AS4253-E35
2G32Mnrr CHINA China LX.RDV01.001 AS4253-E352G32Mnrr
W7HB64SCASCN1 MC
UMACrr_3
1*2G/320/6L2.2/2R/CB_bgn_1.
3C_GEr_SC11
AS4253-E35
2G32Mnrr AAP Malaysia LX.RDV0C.007 AS4253-E352G32Mnrr
LINPUSAMY1 UMACrr_3
1*2G/320/BT/6L2.2/2R/CB_bgn
_1.3C_GEr_EN11
AS4253-E35
2G50Mncc AAP Thailand LX.RDU08.002 AS4253-E352G50Mncc EM
W7ST32EMASTH1 MC
UMACcc_3
1*2G/500_L/BT/6L2.2/2R/CB_b
gn_1.3C_GEc_TH71
Table 7-1. RO, Description (Continued)
Model RO Country Acer Part No Description

7-4 Model Definition and Configuration
AS4253-E35
2G50Mncc AAP Thailand LX.RDU08.003 AS4253-E352G50Mncc EM
W7ST32EMASTH3 MC
UMACcc_3
1*2G/500_L/BT/6L2.2/2R/CB_b
gn_1.3C_GEc_ES61
AS4253-E35
2G50Mncc AAP Thailand LX.RDU08.004 AS4253-E352G50Mncc EM
W7ST32EMASTH4 MC
UMACcc_3
1*2G/500_L/BT/6L2.2/2R/CB_b
gn_1.3C_GEc_ES61
AS4253-E35
2G50Mncc AAP Thailand LX.RDU0C.001 AS4253-E352G50Mncc
LINPUSATH3 UMACcc_3
1*2G/500_L/BT/6L2.2/2R/CB_b
gn_1.3C_GEc_EN11
AS4253-E35
2G50Mncc AAP Thailand LX.RDU0C.002 AS4253-E352G50Mncc
LINPUSATH1 UMACcc_3
1*2G/500_L/BT/6L2.2/2R/CB_b
gn_1.3C_GEc_TH51
AS4253-E35
2G50Mncc AAP Thailand LX.RDU0C.003 AS4253-E352G50Mncc
LINPUSATH4 UMACcc_3
1*2G/500_L/BT/6L2.2/2R/CB_b
gn_1.3C_GEc_ES61
AS4253-E35
2G50Mnkk CHINA China LX.RDT0C.013 AS4253-E352G50Mnkk
LINPUSACN1 UMACkk_3
1*2G/500_L/6L2.2/2R/CB_bgn_
1.3C_GEk_EN91
AS4253-E35
2G50Mnkk AAP Thailand LX.RDT08.004 AS4253-E352G50Mnkk EM
W7ST32EMASTH1 MC
UMACkk_3
1*2G/500_L/BT/6L2.2/2R/CB_b
gn_1.3C_GEk_TH71
AS4253-E35
2G50Mnkk AAP Thailand LX.RDT08.005 AS4253-E352G50Mnkk EM
W7ST32EMASTH3 MC
UMACkk_3
1*2G/500_L/BT/6L2.2/2R/CB_b
gn_1.3C_GEk_ES61
AS4253-E35
2G50Mnkk AAP Thailand LX.RDT08.006 AS4253-E352G50Mnkk EM
W7ST32EMASTH4 MC
UMACkk_3
1*2G/500_L/BT/6L2.2/2R/CB_b
gn_1.3C_GEk_ES61
AS4253-E35
2G50Mnkk AAP Thailand LX.RDT0C.003 AS4253-E352G50Mnkk
LINPUSATH3 UMACkk_3
1*2G/500_L/BT/6L2.2/2R/CB_b
gn_1.3C_GEk_EN11
Table 7-1. RO, Description (Continued)
Model RO Country Acer Part No Description

Model Definition and Configuration 7-5
AS4253-E35
2G50Mnkk AAP Thailand LX.RDT0C.004 AS4253-E352G50Mnkk
LINPUSATH1 UMACkk_3
1*2G/500_L/BT/6L2.2/2R/CB_b
gn_1.3C_GEk_TH51
AS4253-E35
2G50Mnkk AAP Thailand LX.RDT0C.005 AS4253-E352G50Mnkk
LINPUSATH4 UMACkk_3
1*2G/500_L/BT/6L2.2/2R/CB_b
gn_1.3C_GEk_ES61
AS4253-E35
2G50Mnrr CHINA China LX.RDV0C.008 AS4253-E352G50Mnrr
LINPUSACN1 UMACrr_3
1*2G/500_L/6L2.2/2R/CB_bgn_
1.3C_GEr_EN91
AS4253-E35
2G50Mnrr AAP Thailand LX.RDV08.001 AS4253-E352G50Mnrr EM
W7ST32EMASTH1 MC
UMACrr_3
1*2G/500_L/BT/6L2.2/2R/CB_b
gn_1.3C_GEr_TH71
AS4253-E35
2G50Mnrr AAP Thailand LX.RDV08.002 AS4253-E352G50Mnrr EM
W7ST32EMASTH3 MC
UMACrr_3
1*2G/500_L/BT/6L2.2/2R/CB_b
gn_1.3C_GEr_ES61
AS4253-E35
2G50Mnrr AAP Thailand LX.RDV08.003 AS4253-E352G50Mnrr EM
W7ST32EMASTH4 MC
UMACrr_3
1*2G/500_L/BT/6L2.2/2R/CB_b
gn_1.3C_GEr_ES61
AS4253-E35
2G50Mnrr AAP Thailand LX.RDV0C.001 AS4253-E352G50Mnrr
LINPUSATH4 UMACrr_3
1*2G/500_L/BT/6L2.2/2R/CB_b
gn_1.3C_GEr_ES61
AS4253-E35
2G50Mnrr AAP Thailand LX.RDV0C.002 AS4253-E352G50Mnrr
LINPUSATH1 UMACrr_3
1*2G/500_L/BT/6L2.2/2R/CB_b
gn_1.3C_GEr_TH51
AS4253-E35
2G50Mnrr AAP Thailand LX.RDV0C.003 AS4253-E352G50Mnrr
LINPUSATH3 UMACrr_3
1*2G/500_L/BT/6L2.2/2R/CB_b
gn_1.3C_GEr_EN11
AS4253-E35
3G32Mnkk PA ACLA-Spanish LX.RDT02.001 AS4253-E353G32Mnkk EM
W7HP64EMASEA1 MC
UMACkk_3
2G+1G/320/6L2.2/2R/CB_bgn_
1.3C_GEk_PT22
Table 7-1. RO, Description (Continued)
Model RO Country Acer Part No Description

7-6 Model Definition and Configuration
AS4253-E35
3G32Mnkk PA ACLA-Spanish LX.RDT0C.002 AS4253-E353G32Mnkk
LINPUSAEA1 UMACkk_3
2G+1G/320/6L2.2/2R/CB_bgn_
1.3C_GEk_ESG2
AS4253-E35
4G50Mnkk PA ACLA-Spanish LX.RDT0C.007 AS4253-E354G50Mnkk
LINPUSAEA1 UMACkk_3
2*2G/500_L/6L2.2/2R/CB_GN_
1.3C_GEk_ESG2
Table 1-2. CPU, LCD
Model Country Acer Part No CPU LCD
AS4253-E35
1G32Mncc Indonesia LX.RDU08.001 AMDE350B NLED14WXGAG
AS4253-E35
1G32Mncc Indonesia LX.RDU0C.004 AMDE350B NLED14WXGAG
AS4253-E35
1G32Mncc Thailand LX.RDU0C.005 AMDE350B NLED14WXGAG
AS4253-E35
1G32Mncc Thailand LX.RDU0C.006 AMDE350B NLED14WXGAG
AS4253-E35
1G32Mncc Thailand LX.RDU0C.007 AMDE350B NLED14WXGAG
AS4253-E35
1G32Mnkk Indonesia LX.RDT08.002 AMDE350B NLED14WXGAG
AS4253-E35
1G32Mnkk Indonesia LX.RDT08.003 AMDE350B NLED14WXGAG
AS4253-E35
1G32Mnkk Indonesia LX.RDT0C.006 AMDE350B NLED14WXGAG
AS4253-E35
1G32Mnkk Thailand LX.RDT0C.008 AMDE350B NLED14WXGAG
AS4253-E35
1G32Mnkk Thailand LX.RDT0C.009 AMDE350B NLED14WXGAG
AS4253-E35
1G32Mnkk Thailand LX.RDT0C.010 AMDE350B NLED14WXGAG
AS4253-E35
1G32Mnrr Thailand LX.RDV0C.004 AMDE350B NLED14WXGAG
AS4253-E35
1G32Mnrr Thailand LX.RDV0C.005 AMDE350B NLED14WXGAG
AS4253-E35
1G32Mnrr Thailand LX.RDV0C.006 AMDE350B NLED14WXGAG
Table 7-1. RO, Description (Continued)
Model RO Country Acer Part No Description

Model Definition and Configuration 7-7
AS4253-E35
2G25Mnkk ACLA-Spanish LX.RDT0C.001 AMDE350B NLED14WXGAG
AS4253-E35
2G32Mncc China LX.RDU01.001 AMDE350B NLED14WXGAG
AS4253-E35
2G32Mncc China LX.RDU0C.008 AMDE350B NLED14WXGAG
AS4253-E35
2G32Mncc Indonesia LX.RDU01.002 AMDE350B NLED14WXGAG
AS4253-E35
2G32Mncc Malaysia LX.RDU0C.009 AMDE350B NLED14WXGAG
AS4253-E35
2G32Mnkk ACLA-Spanish LX.RDT01.001 AMDE350B NLED14WXGAG
AS4253-E35
2G32Mnkk ACLA-Spanish LX.RDT08.001 AMDE350B NLED14WXGAG
AS4253-E35
2G32Mnkk China LX.RDT01.002 AMDE350B NLED14WXGAG
AS4253-E35
2G32Mnkk China LX.RDT0C.011 AMDE350B NLED14WXGAG
AS4253-E35
2G32Mnkk Indonesia LX.RDT01.003 AMDE350B NLED14WXGAG
AS4253-E35
2G32Mnkk Malaysia LX.RDT0C.012 AMDE350B NLED14WXGAG
AS4253-E35
2G32Mnrr China LX.RDV01.001 AMDE350B NLED14WXGAG
AS4253-E35
2G32Mnrr Malaysia LX.RDV0C.007 AMDE350B NLED14WXGAG
AS4253-E35
2G50Mncc Thailand LX.RDU08.002 AMDE350B NLED14WXGAG
AS4253-E35
2G50Mncc Thailand LX.RDU08.003 AMDE350B NLED14WXGAG
AS4253-E35
2G50Mncc Thailand LX.RDU08.004 AMDE350B NLED14WXGAG
AS4253-E35
2G50Mncc Thailand LX.RDU0C.001 AMDE350B NLED14WXGAG
AS4253-E35
2G50Mncc Thailand LX.RDU0C.002 AMDE350B NLED14WXGAG
AS4253-E35
2G50Mncc Thailand LX.RDU0C.003 AMDE350B NLED14WXGAG
AS4253-E35
2G50Mnkk China LX.RDT0C.013 AMDE350B NLED14WXGAG
Table 1-2. CPU, LCD (Continued)
Model Country Acer Part No CPU LCD

7-8 Model Definition and Configuration
AS4253-E35
2G50Mnkk Thailand LX.RDT08.004 AMDE350B NLED14WXGAG
AS4253-E35
2G50Mnkk Thailand LX.RDT08.005 AMDE350B NLED14WXGAG
AS4253-E35
2G50Mnkk Thailand LX.RDT08.006 AMDE350B NLED14WXGAG
AS4253-E35
2G50Mnkk Thailand LX.RDT0C.003 AMDE350B NLED14WXGAG
AS4253-E35
2G50Mnkk Thailand LX.RDT0C.004 AMDE350B NLED14WXGAG
AS4253-E35
2G50Mnkk Thailand LX.RDT0C.005 AMDE350B NLED14WXGAG
AS4253-E35
2G50Mnrr China LX.RDV0C.008 AMDE350B NLED14WXGAG
AS4253-E35
2G50Mnrr Thailand LX.RDV08.001 AMDE350B NLED14WXGAG
AS4253-E35
2G50Mnrr Thailand LX.RDV08.002 AMDE350B NLED14WXGAG
AS4253-E35
2G50Mnrr Thailand LX.RDV08.003 AMDE350B NLED14WXGAG
AS4253-E35
2G50Mnrr Thailand LX.RDV0C.001 AMDE350B NLED14WXGAG
AS4253-E35
2G50Mnrr Thailand LX.RDV0C.002 AMDE350B NLED14WXGAG
AS4253-E35
2G50Mnrr Thailand LX.RDV0C.003 AMDE350B NLED14WXGAG
AS4253-E35
3G32Mnkk ACLA-Spanish LX.RDT02.001 AMDE350B NLED14WXGAG
AS4253-E35
3G32Mnkk ACLA-Spanish LX.RDT0C.002 AMDE350B NLED14WXGAG
AS4253-E35
4G50Mnkk ACLA-Spanish LX.RDT0C.007 AMDE350B NLED14WXGAG
Table 1-3. VGA Chip, VRAM 1
Model Country Acer Part No VGA Chip VRAM 1
AS4253-E35
1G32Mncc Indonesia LX.RDU08.001 UMA N
AS4253-E35
1G32Mncc Indonesia LX.RDU0C.004 UMA N
Table 1-2. CPU, LCD (Continued)
Model Country Acer Part No CPU LCD

Model Definition and Configuration 7-9
AS4253-E35
1G32Mncc Thailand LX.RDU0C.005 UMA N
AS4253-E35
1G32Mncc Thailand LX.RDU0C.006 UMA N
AS4253-E35
1G32Mncc Thailand LX.RDU0C.007 UMA N
AS4253-E35
1G32Mnkk Indonesia LX.RDT08.002 UMA N
AS4253-E35
1G32Mnkk Indonesia LX.RDT08.003 UMA N
AS4253-E35
1G32Mnkk Indonesia LX.RDT0C.006 UMA N
AS4253-E35
1G32Mnkk Thailand LX.RDT0C.008 UMA N
AS4253-E35
1G32Mnkk Thailand LX.RDT0C.009 UMA N
AS4253-E35
1G32Mnkk Thailand LX.RDT0C.010 UMA N
AS4253-E35
1G32Mnrr Thailand LX.RDV0C.004 UMA N
AS4253-E35
1G32Mnrr Thailand LX.RDV0C.005 UMA N
AS4253-E35
1G32Mnrr Thailand LX.RDV0C.006 UMA N
AS4253-E35
2G25Mnkk ACLA-Spanish LX.RDT0C.001 UMA N
AS4253-E35
2G32Mncc China LX.RDU01.001 UMA N
AS4253-E35
2G32Mncc China LX.RDU0C.008 UMA N
AS4253-E35
2G32Mncc Indonesia LX.RDU01.002 UMA N
AS4253-E35
2G32Mncc Malaysia LX.RDU0C.009 UMA N
AS4253-E35
2G32Mnkk ACLA-Spanish LX.RDT01.001 UMA N
AS4253-E35
2G32Mnkk ACLA-Spanish LX.RDT08.001 UMA N
AS4253-E35
2G32Mnkk China LX.RDT01.002 UMA N
Table 1-3. VGA Chip, VRAM 1 (Continued)
Model Country Acer Part No VGA Chip VRAM 1

7-10 Model Definition and Configuration
AS4253-E35
2G32Mnkk China LX.RDT0C.011 UMA N
AS4253-E35
2G32Mnkk Indonesia LX.RDT01.003 UMA N
AS4253-E35
2G32Mnkk Malaysia LX.RDT0C.012 UMA N
AS4253-E35
2G32Mnrr China LX.RDV01.001 UMA N
AS4253-E35
2G32Mnrr Malaysia LX.RDV0C.007 UMA N
AS4253-E35
2G50Mncc Thailand LX.RDU08.002 UMA N
AS4253-E35
2G50Mncc Thailand LX.RDU08.003 UMA N
AS4253-E35
2G50Mncc Thailand LX.RDU08.004 UMA N
AS4253-E35
2G50Mncc Thailand LX.RDU0C.001 UMA N
AS4253-E35
2G50Mncc Thailand LX.RDU0C.002 UMA N
AS4253-E35
2G50Mncc Thailand LX.RDU0C.003 UMA N
AS4253-E35
2G50Mnkk China LX.RDT0C.013 UMA N
AS4253-E35
2G50Mnkk Thailand LX.RDT08.004 UMA N
AS4253-E35
2G50Mnkk Thailand LX.RDT08.005 UMA N
AS4253-E35
2G50Mnkk Thailand LX.RDT08.006 UMA N
AS4253-E35
2G50Mnkk Thailand LX.RDT0C.003 UMA N
AS4253-E35
2G50Mnkk Thailand LX.RDT0C.004 UMA N
AS4253-E35
2G50Mnkk Thailand LX.RDT0C.005 UMA N
AS4253-E35
2G50Mnrr China LX.RDV0C.008 UMA N
AS4253-E35
2G50Mnrr Thailand LX.RDV08.001 UMA N
Table 1-3. VGA Chip, VRAM 1 (Continued)
Model Country Acer Part No VGA Chip VRAM 1

Model Definition and Configuration 7-11
AS4253-E35
2G50Mnrr Thailand LX.RDV08.002 UMA N
AS4253-E35
2G50Mnrr Thailand LX.RDV08.003 UMA N
AS4253-E35
2G50Mnrr Thailand LX.RDV0C.001 UMA N
AS4253-E35
2G50Mnrr Thailand LX.RDV0C.002 UMA N
AS4253-E35
2G50Mnrr Thailand LX.RDV0C.003 UMA N
AS4253-E35
3G32Mnkk ACLA-Spanish LX.RDT02.001 UMA N
AS4253-E35
3G32Mnkk ACLA-Spanish LX.RDT0C.002 UMA N
AS4253-E35
4G50Mnkk ACLA-Spanish LX.RDT0C.007 UMA N
Table 1-4. Memory 1, Memory 2, HDD 1
Model Country Acer Part No Memory 1
Memory 2
HDD 1(GB)
AS4253-E35
1G32Mncc Indonesia LX.RDU08.001
SO1GBIII10
N
N320GB5.4KS
_4K
AS4253-E35
1G32Mncc Indonesia LX.RDU0C.004
SO1GBIII10
N
N320GB5.4KS
AS4253-E35
1G32Mncc Thailand LX.RDU0C.005
SO1GBIII10
N
N320GB5.4KS
AS4253-E35
1G32Mncc Thailand LX.RDU0C.006
SO1GBIII10
N
N320GB5.4KS
AS4253-E35
1G32Mncc Thailand LX.RDU0C.007
SO1GBIII10
N
N320GB5.4KS
AS4253-E35
1G32Mnkk Indonesia LX.RDT08.002
SO1GBIII10
N
N320GB5.4KS
_4K
AS4253-E35
1G32Mnkk Indonesia LX.RDT08.003
SO1GBIII10
N
N320GB5.4KS
_4K
AS4253-E35
1G32Mnkk Indonesia LX.RDT0C.006
SO1GBIII10
N
N320GB5.4KS
AS4253-E35
1G32Mnkk Thailand LX.RDT0C.008
SO1GBIII10
N
N320GB5.4KS
AS4253-E35
1G32Mnkk Thailand LX.RDT0C.009
SO1GBIII10
N
N320GB5.4KS
Table 1-3. VGA Chip, VRAM 1 (Continued)
Model Country Acer Part No VGA Chip VRAM 1

7-12 Model Definition and Configuration
AS4253-E35
1G32Mnkk Thailand LX.RDT0C.010
SO1GBIII10
N
N320GB5.4KS
AS4253-E35
1G32Mnrr Thailand LX.RDV0C.004
SO1GBIII10
N
N320GB5.4KS
AS4253-E35
1G32Mnrr Thailand LX.RDV0C.005
SO1GBIII10
N
N320GB5.4KS
AS4253-E35
1G32Mnrr Thailand LX.RDV0C.006
SO1GBIII10
N
N320GB5.4KS
AS4253-E35
2G25Mnkk ACLA-Spanish LX.RDT0C.001
SO2GBIII10
N
N250GB5.4KS
AS4253-E35
2G32Mncc China LX.RDU01.001
SO2GBIII10
N
N320GB5.4KS
_4K
AS4253-E35
2G32Mncc China LX.RDU0C.008
SO2GBIII10
N
N320GB5.4KS
AS4253-E35
2G32Mncc Indonesia LX.RDU01.002
SO2GBIII10
N
N320GB5.4KS
_4K
AS4253-E35
2G32Mncc Malaysia LX.RDU0C.009
SO2GBIII10
N
N320GB5.4KS
AS4253-E35
2G32Mnkk ACLA-Spanish LX.RDT01.001
SO2GBIII10
N
N320GB5.4KS
_4K
AS4253-E35
2G32Mnkk ACLA-Spanish LX.RDT08.001
SO2GBIII10
N
N320GB5.4KS
_4K
AS4253-E35
2G32Mnkk China LX.RDT01.002
SO2GBIII10
N
N320GB5.4KS
_4K
AS4253-E35
2G32Mnkk China LX.RDT0C.011
SO2GBIII10
N
N320GB5.4KS
AS4253-E35
2G32Mnkk Indonesia LX.RDT01.003
SO2GBIII10 N N320GB5.4KS
_4K
AS4253-E35
2G32Mnkk Malaysia LX.RDT0C.012
SO2GBIII10 N N320GB5.4KS
AS4253-E35
2G32Mnrr China LX.RDV01.001
SO2GBIII10 N N320GB5.4KS
_4K
AS4253-E35
2G32Mnrr Malaysia LX.RDV0C.007
SO2GBIII10 N N320GB5.4KS
AS4253-E35
2G50Mncc Thailand LX.RDU08.002
SO2GBIII10 N N500GB5.4KS
AS4253-E35
2G50Mncc Thailand LX.RDU08.003
SO2GBIII10 N N500GB5.4KS
AS4253-E35
2G50Mncc Thailand LX.RDU08.004
SO2GBIII10 N N500GB5.4KS
Table 1-4. Memory 1, Memory 2, HDD 1 (Continued)
Model Country Acer Part No Memory 1
Memory 2
HDD 1(GB)

Model Definition and Configuration 7-13
AS4253-E35
2G50Mncc Thailand LX.RDU0C.001
SO2GBIII10 N N500GB5.4KS
AS4253-E35
2G50Mncc Thailand LX.RDU0C.002
SO2GBIII10 N N500GB5.4KS
AS4253-E35
2G50Mncc Thailand LX.RDU0C.003
SO2GBIII10 N N500GB5.4KS
AS4253-E35
2G50Mnkk China LX.RDT0C.013
SO2GBIII10 N N500GB5.4KS
AS4253-E35
2G50Mnkk Thailand LX.RDT08.004
SO2GBIII10 N N500GB5.4KS
AS4253-E35
2G50Mnkk Thailand LX.RDT08.005
SO2GBIII10 N N500GB5.4KS
AS4253-E35
2G50Mnkk Thailand LX.RDT08.006
SO2GBIII10 N N500GB5.4KS
AS4253-E35
2G50Mnkk Thailand LX.RDT0C.003
SO2GBIII10 N N500GB5.4KS
AS4253-E35
2G50Mnkk Thailand LX.RDT0C.004
SO2GBIII10 N N500GB5.4KS
AS4253-E35
2G50Mnkk Thailand LX.RDT0C.005
SO2GBIII10 N N500GB5.4KS
AS4253-E35
2G50Mnrr China LX.RDV0C.008
SO2GBIII10 N N500GB5.4KS
AS4253-E35
2G50Mnrr Thailand LX.RDV08.001
SO2GBIII10 N N500GB5.4KS
AS4253-E35
2G50Mnrr Thailand LX.RDV08.002
SO2GBIII10 N N500GB5.4KS
AS4253-E35
2G50Mnrr Thailand LX.RDV08.003
SO2GBIII10 N N500GB5.4KS
AS4253-E35
2G50Mnrr Thailand LX.RDV0C.001
SO2GBIII10 N N500GB5.4KS
AS4253-E35
2G50Mnrr Thailand LX.RDV0C.002
SO2GBIII10 N N500GB5.4KS
AS4253-E35
2G50Mnrr Thailand LX.RDV0C.003
SO2GBIII10 N N500GB5.4KS
AS4253-E35
3G32Mnkk ACLA-Spanish LX.RDT02.001
SO2GBIII10 SO1GBIII10 N320GB5.4KS
_4K
AS4253-E35
3G32Mnkk ACLA-Spanish LX.RDT0C.002
SO2GBIII10 SO1GBIII10 N320GB5.4KS
AS4253-E35
4G50Mnkk ACLA-Spanish LX.RDT0C.007
SO2GBIII10 SO2GBIII10 N500GB5.4KS
Table 1-4. Memory 1, Memory 2, HDD 1 (Continued)
Model Country Acer Part No Memory 1
Memory 2
HDD 1(GB)

7-14 Model Definition and Configuration
Table 1-5. ODD, Extra SW1, Card Reader
Model Country Acer Part No ODD Extra SW1 Card
Reader
AS4253-E35
1G32Mncc Indonesia LX.RDU08.001 NSM8XS McAfee 2-in-1 card
reader
AS4253-E35
1G32Mncc Indonesia LX.RDU0C.004 NSM8XS N 2-in-1 card
reader
AS4253-E35
1G32Mncc Thailand LX.RDU0C.005 NSM8XS N 2-in-1 card
reader
AS4253-E35
1G32Mncc Thailand LX.RDU0C.006 NSM8XS N 2-in-1 card
reader
AS4253-E35
1G32Mncc Thailand LX.RDU0C.007 NSM8XS N 2-in-1 card
reader
AS4253-E35
1G32Mnkk Indonesia LX.RDT08.002 NSM8XS McAfee 2-in-1 card
reader
AS4253-E35
1G32Mnkk Indonesia LX.RDT08.003 NSM8XS McAfee 2-in-1 card
reader
AS4253-E35
1G32Mnkk Indonesia LX.RDT0C.006 NSM8XS N 2-in-1 card
reader
AS4253-E35
1G32Mnkk Thailand LX.RDT0C.008 NSM8XS N 2-in-1 card
reader
AS4253-E35
1G32Mnkk Thailand LX.RDT0C.009 NSM8XS N 2-in-1 card
reader
AS4253-E35
1G32Mnkk Thailand LX.RDT0C.010 NSM8XS N 2-in-1 card
reader
AS4253-E35
1G32Mnrr Thailand LX.RDV0C.004 NSM8XS N 2-in-1 card
reader
AS4253-E35
1G32Mnrr Thailand LX.RDV0C.005 NSM8XS N 2-in-1 card
reader
AS4253-E35
1G32Mnrr Thailand LX.RDV0C.006 NSM8XS N 2-in-1 card
reader
AS4253-E35
2G25Mnkk
ACLA-Spanish
LX.RDT0C.001 NSM8XS N 2-in-1 card
reader
AS4253-E35
2G32Mncc China LX.RDU01.001 NSM8XS McAfee 2-in-1 card
reader
AS4253-E35
2G32Mncc China LX.RDU0C.008 NSM8XS N 2-in-1 card
reader
AS4253-E35
2G32Mncc Indonesia LX.RDU01.002 NSM8XS McAfee 2-in-1 card
reader
AS4253-E35
2G32Mncc Malaysia LX.RDU0C.009 NSM8XS N 2-in-1 card
reader

Model Definition and Configuration 7-15
AS4253-E35
2G32Mnkk
ACLA-Spanish
LX.RDT01.001 NSM8XS McAfee 2-in-1 card
reader
AS4253-E35
2G32Mnkk
ACLA-Spanish
LX.RDT08.001 NSM8XS McAfee 2-in-1 card
reader
AS4253-E35
2G32Mnkk China LX.RDT01.002 NSM8XS McAfee 2-in-1 card
reader
AS4253-E35
2G32Mnkk China LX.RDT0C.011 NSM8XS N 2-in-1 card
reader
AS4253-E35
2G32Mnkk Indonesia LX.RDT01.003 NSM8XS McAfee 2-in-1 card
reader
AS4253-E35
2G32Mnkk Malaysia LX.RDT0C.012 NSM8XS N 2-in-1 card
reader
AS4253-E35
2G32Mnrr China LX.RDV01.001 NSM8XS McAfee 2-in-1 card
reader
AS4253-E35
2G32Mnrr Malaysia LX.RDV0C.007 NSM8XS N 2-in-1 card
reader
AS4253-E35
2G50Mncc Thailand LX.RDU08.002 NSM8XS McAfee 2-in-1 card
reader
AS4253-E35
2G50Mncc Thailand LX.RDU08.003 NSM8XS McAfee 2-in-1 card
reader
AS4253-E35
2G50Mncc Thailand LX.RDU08.004 NSM8XS McAfee 2-in-1 card
reader
AS4253-E35
2G50Mncc Thailand LX.RDU0C.001 NSM8XS N 2-in-1 card
reader
AS4253-E35
2G50Mncc Thailand LX.RDU0C.002 NSM8XS N 2-in-1 card
reader
AS4253-E35
2G50Mncc Thailand LX.RDU0C.003 NSM8XS N 2-in-1 card
reader
AS4253-E35
2G50Mnkk China LX.RDT0C.013 NSM8XS N 2-in-1 card
reader
AS4253-E35
2G50Mnkk Thailand LX.RDT08.004 NSM8XS McAfee 2-in-1 card
reader
AS4253-E35
2G50Mnkk Thailand LX.RDT08.005 NSM8XS McAfee 2-in-1 card
reader
AS4253-E35
2G50Mnkk Thailand LX.RDT08.006 NSM8XS McAfee 2-in-1 card
reader
AS4253-E35
2G50Mnkk Thailand LX.RDT0C.003 NSM8XS N 2-in-1 card
reader
Table 1-5. ODD, Extra SW1, Card Reader (Continued)
Model Country Acer Part No ODD Extra SW1 Card
Reader

7-16 Model Definition and Configuration
AS4253-E35
2G50Mnkk Thailand LX.RDT0C.004 NSM8XS N 2-in-1 card
reader
AS4253-E35
2G50Mnkk Thailand LX.RDT0C.005 NSM8XS N 2-in-1 card
reader
AS4253-E35
2G50Mnrr China LX.RDV0C.008 NSM8XS N 2-in-1 card
reader
AS4253-E35
2G50Mnrr Thailand LX.RDV08.001 NSM8XS McAfee 2-in-1 card
reader
AS4253-E35
2G50Mnrr Thailand LX.RDV08.002 NSM8XS McAfee 2-in-1 card
reader
AS4253-E35
2G50Mnrr Thailand LX.RDV08.003 NSM8XS McAfee 2-in-1 card
reader
AS4253-E35
2G50Mnrr Thailand LX.RDV0C.001 NSM8XS N 2-in-1 card
reader
AS4253-E35
2G50Mnrr Thailand LX.RDV0C.002 NSM8XS N 2-in-1 card
reader
AS4253-E35
2G50Mnrr Thailand LX.RDV0C.003 NSM8XS N 2-in-1 card
reader
AS4253-E35
3G32Mnkk
ACLA-Spanish
LX.RDT02.001 NSM8XS McAfee 2-in-1 card
reader
AS4253-E35
3G32Mnkk
ACLA-Spanish
LX.RDT0C.002 NSM8XS N 2-in-1 card
reader
AS4253-E35
4G50Mnkk
ACLA-Spanish
LX.RDT0C.007 NSM8XS N 2-in-1 card
reader
Table 1-6. Wireless LAN1, Bluetooth, NB Chipset
Model Country Acer Part No Wireless
LAN1
Bluetooth
NB Chipset
AS4253-E35
1G32Mncc Indonesia LX.RDU08.001 3rd WiFi 2x2
BGN NAMD A50M
FCH
AS4253-E35
1G32Mncc Indonesia LX.RDU0C.004 3rd WiFi 2x2
BGN NAMD A50M
FCH
AS4253-E35
1G32Mncc Thailand LX.RDU0C.005 3rd WiFi 2x2
BGN BT 2.1 AMD A50M
FCH
AS4253-E35
1G32Mncc Thailand LX.RDU0C.006 3rd WiFi 2x2
BGN BT 2.1 AMD A50M
FCH
AS4253-E35
1G32Mncc Thailand LX.RDU0C.007 3rd WiFi 2x2
BGN BT 2.1 AMD A50M
FCH
Table 1-5. ODD, Extra SW1, Card Reader (Continued)
Model Country Acer Part No ODD Extra SW1 Card
Reader

Model Definition and Configuration 7-17
AS4253-E35
1G32Mnkk Indonesia LX.RDT08.002 3rd WiFi 2x2
BGN BT 3.0 AMD A50M
FCH
AS4253-E35
1G32Mnkk Indonesia LX.RDT08.003 3rd WiFi 2x2
BGN NAMD A50M
FCH
AS4253-E35
1G32Mnkk Indonesia LX.RDT0C.006 3rd WiFi 2x2
BGN NAMD A50M
FCH
AS4253-E35
1G32Mnkk Thailand LX.RDT0C.008 3rd WiFi 2x2
BGN BT 2.1 AMD A50M
FCH
AS4253-E35
1G32Mnkk Thailand LX.RDT0C.009 3rd WiFi 2x2
BGN BT 2.1 AMD A50M
FCH
AS4253-E35
1G32Mnkk Thailand LX.RDT0C.010 3rd WiFi 2x2
BGN BT 2.1 AMD A50M
FCH
AS4253-E35
1G32Mnrr Thailand LX.RDV0C.004 3rd WiFi 2x2
BGN BT 2.1 AMD A50M
FCH
AS4253-E35
1G32Mnrr Thailand LX.RDV0C.005 3rd WiFi 2x2
BGN BT 2.1 AMD A50M
FCH
AS4253-E35
1G32Mnrr Thailand LX.RDV0C.006 3rd WiFi 2x2
BGN BT 2.1 AMD A50M
FCH
AS4253-E35
2G25Mnkk
ACLA-Spanish
LX.RDT0C.001 3rd WiFi 2x2
BGN NAMD A50M
FCH
AS4253-E35
2G32Mncc China LX.RDU01.001 3rd WiFi 2x2
BGN NAMD A50M
FCH
AS4253-E35
2G32Mncc China LX.RDU0C.008 3rd WiFi 2x2
BGN NAMD A50M
FCH
AS4253-E35
2G32Mncc Indonesia LX.RDU01.002 3rd WiFi 2x2
BGN BT 3.0 AMD A50M
FCH
AS4253-E35
2G32Mncc Malaysia LX.RDU0C.009 3rd WiFi 2x2
BGN BT 2.1 AMD A50M
FCH
AS4253-E35
2G32Mnkk
ACLA-Spanish
LX.RDT01.001 3rd WiFi 2x2
BGN NAMD A50M
FCH
AS4253-E35
2G32Mnkk
ACLA-Spanish
LX.RDT08.001 3rd WiFi 2x2
BGN NAMD A50M
FCH
AS4253-E35
2G32Mnkk China LX.RDT01.002 3rd WiFi 2x2
BGN NAMD A50M
FCH
AS4253-E35
2G32Mnkk China LX.RDT0C.011 3rd WiFi 2x2
BGN NAMD A50M
FCH
AS4253-E35
2G32Mnkk Indonesia LX.RDT01.003 3rd WiFi 2x2
BGN BT 3.0 AMD A50M
FCH
Table 1-6. Wireless LAN1, Bluetooth, NB Chipset (Continued)
Model Country Acer Part No Wireless
LAN1
Bluetooth
NB Chipset

7-18 Model Definition and Configuration
AS4253-E35
2G32Mnkk Malaysia LX.RDT0C.012 3rd WiFi 2x2
BGN BT 2.1 AMD A50M
FCH
AS4253-E35
2G32Mnrr China LX.RDV01.001 3rd WiFi 2x2
BGN NAMD A50M
FCH
AS4253-E35
2G32Mnrr Malaysia LX.RDV0C.007 3rd WiFi 2x2
BGN BT 2.1 AMD A50M
FCH
AS4253-E35
2G50Mncc Thailand LX.RDU08.002 3rd WiFi 2x2
BGN BT 3.0 AMD A50M
FCH
AS4253-E35
2G50Mncc Thailand LX.RDU08.003 3rd WiFi 2x2
BGN BT 3.0 AMD A50M
FCH
AS4253-E35
2G50Mncc Thailand LX.RDU08.004 3rd WiFi 2x2
BGN BT 3.0 AMD A50M
FCH
AS4253-E35
2G50Mncc Thailand LX.RDU0C.001 3rd WiFi 2x2
BGN BT 2.1 AMD A50M
FCH
AS4253-E35
2G50Mncc Thailand LX.RDU0C.002 3rd WiFi 2x2
BGN BT 2.1 AMD A50M
FCH
AS4253-E35
2G50Mncc Thailand LX.RDU0C.003 3rd WiFi 2x2
BGN BT 2.1 AMD A50M
FCH
AS4253-E35
2G50Mnkk China LX.RDT0C.013 3rd WiFi 2x2
BGN NAMD A50M
FCH
AS4253-E35
2G50Mnkk Thailand LX.RDT08.004 3rd WiFi 2x2
BGN BT 3.0 AMD A50M
FCH
AS4253-E35
2G50Mnkk Thailand LX.RDT08.005 3rd WiFi 2x2
BGN BT 3.0 AMD A50M
FCH
AS4253-E35
2G50Mnkk Thailand LX.RDT08.006 3rd WiFi 2x2
BGN BT 3.0 AMD A50M
FCH
AS4253-E35
2G50Mnkk Thailand LX.RDT0C.003 3rd WiFi 2x2
BGN BT 2.1 AMD A50M
FCH
AS4253-E35
2G50Mnkk Thailand LX.RDT0C.004 3rd WiFi 2x2
BGN BT 2.1 AMD A50M
FCH
AS4253-E35
2G50Mnkk Thailand LX.RDT0C.005 3rd WiFi 2x2
BGN BT 2.1 AMD A50M
FCH
AS4253-E35
2G50Mnrr China LX.RDV0C.008 3rd WiFi 2x2
BGN NAMD A50M
FCH
AS4253-E35
2G50Mnrr Thailand LX.RDV08.001 3rd WiFi 2x2
BGN BT 3.0 AMD A50M
FCH
AS4253-E35
2G50Mnrr Thailand LX.RDV08.002 3rd WiFi 2x2
BGN BT 3.0 AMD A50M
FCH
Table 1-6. Wireless LAN1, Bluetooth, NB Chipset (Continued)
Model Country Acer Part No Wireless
LAN1
Bluetooth
NB Chipset

Model Definition and Configuration 7-19
AS4253-E35
2G50Mnrr Thailand LX.RDV08.003 3rd WiFi 2x2
BGN BT 3.0 AMD A50M
FCH
AS4253-E35
2G50Mnrr Thailand LX.RDV0C.001 3rd WiFi 2x2
BGN BT 2.1 AMD A50M
FCH
AS4253-E35
2G50Mnrr Thailand LX.RDV0C.002 3rd WiFi 2x2
BGN BT 2.1 AMD A50M
FCH
AS4253-E35
2G50Mnrr Thailand LX.RDV0C.003 3rd WiFi 2x2
BGN BT 2.1 AMD A50M
FCH
AS4253-E35
3G32Mnkk
ACLA-Spanish
LX.RDT02.001 3rd WiFi 2x2
BGN NAMD A50M
FCH
AS4253-E35
3G32Mnkk
ACLA-Spanish
LX.RDT0C.002 3rd WiFi 2x2
BGN NAMD A50M
FCH
AS4253-E35
4G50Mnkk
ACLA-Spanish
LX.RDT0C.007 3rd WiFi 2x2
BGN NAMD A50M
FCH
Table 1-7. Battery, Adapter, Camera
Model Country Acer Part No Battery Adapter Camera
AS4253-E35
1G32Mncc Indonesia LX.RDU08.001 6CELL2.2 65W 1.3M
AS4253-E35
1G32Mncc Indonesia LX.RDU0C.004 6CELL2.2 65W 1.3M
AS4253-E35
1G32Mncc Thailand LX.RDU0C.005 6CELL2.2 65W 1.3M
AS4253-E35
1G32Mncc Thailand LX.RDU0C.006 6CELL2.2 65W 1.3M
AS4253-E35
1G32Mncc Thailand LX.RDU0C.007 6CELL2.2 65W 1.3M
AS4253-E35
1G32Mnkk Indonesia LX.RDT08.002 6CELL2.2 65W 1.3M
AS4253-E35
1G32Mnkk Indonesia LX.RDT08.003 6CELL2.2 65W 1.3M
AS4253-E35
1G32Mnkk Indonesia LX.RDT0C.006 6CELL2.2 65W 1.3M
AS4253-E35
1G32Mnkk Thailand LX.RDT0C.008 6CELL2.2 65W 1.3M
AS4253-E35
1G32Mnkk Thailand LX.RDT0C.009 6CELL2.2 65W 1.3M
Table 1-6. Wireless LAN1, Bluetooth, NB Chipset (Continued)
Model Country Acer Part No Wireless
LAN1
Bluetooth
NB Chipset

7-20 Model Definition and Configuration
AS4253-E35
1G32Mnkk Thailand LX.RDT0C.010 6CELL2.2 65W 1.3M
AS4253-E35
1G32Mnrr Thailand LX.RDV0C.004 6CELL2.2 65W 1.3M
AS4253-E35
1G32Mnrr Thailand LX.RDV0C.005 6CELL2.2 65W 1.3M
AS4253-E35
1G32Mnrr Thailand LX.RDV0C.006 6CELL2.2 65W 1.3M
AS4253-E35
2G25Mnkk
ACLA-Spanish
LX.RDT0C.001 6CELL2.2 65W 1.3M
AS4253-E35
2G32Mncc China LX.RDU01.001 6CELL2.2 65W 1.3M
AS4253-E35
2G32Mncc China LX.RDU0C.008 6CELL2.2 65W 1.3M
AS4253-E35
2G32Mncc Indonesia LX.RDU01.002 6CELL2.2 65W 1.3M
AS4253-E35
2G32Mncc Malaysia LX.RDU0C.009 6CELL2.2 65W 1.3M
AS4253-E35
2G32Mnkk
ACLA-Spanish
LX.RDT01.001 6CELL2.2 65W 1.3M
AS4253-E35
2G32Mnkk
ACLA-Spanish
LX.RDT08.001 6CELL2.2 65W 1.3M
AS4253-E35
2G32Mnkk China LX.RDT01.002 6CELL2.2 65W 1.3M
AS4253-E35
2G32Mnkk China LX.RDT0C.011 6CELL2.2 65W 1.3M
AS4253-E35
2G32Mnkk Indonesia LX.RDT01.003 6CELL2.2 65W 1.3M
AS4253-E35
2G32Mnkk Malaysia LX.RDT0C.012 6CELL2.2 65W 1.3M
AS4253-E35
2G32Mnrr China LX.RDV01.001 6CELL2.2 65W 1.3M
AS4253-E35
2G32Mnrr Malaysia LX.RDV0C.007 6CELL2.2 65W 1.3M
AS4253-E35
2G50Mncc Thailand LX.RDU08.002 6CELL2.2 65W 1.3M
AS4253-E35
2G50Mncc Thailand LX.RDU08.003 6CELL2.2 65W 1.3M
AS4253-E35
2G50Mncc Thailand LX.RDU08.004 6CELL2.2 65W 1.3M
Table 1-7. Battery, Adapter, Camera (Continued)
Model Country Acer Part No Battery Adapter Camera

Model Definition and Configuration 7-21
AS4253-E35
2G50Mncc Thailand LX.RDU0C.001 6CELL2.2 65W 1.3M
AS4253-E35
2G50Mncc Thailand LX.RDU0C.002 6CELL2.2 65W 1.3M
AS4253-E35
2G50Mncc Thailand LX.RDU0C.003 6CELL2.2 65W 1.3M
AS4253-E35
2G50Mnkk China LX.RDT0C.013 6CELL2.2 65W 1.3M
AS4253-E35
2G50Mnkk Thailand LX.RDT08.004 6CELL2.2 65W 1.3M
AS4253-E35
2G50Mnkk Thailand LX.RDT08.005 6CELL2.2 65W 1.3M
AS4253-E35
2G50Mnkk Thailand LX.RDT08.006 6CELL2.2 65W 1.3M
AS4253-E35
2G50Mnkk Thailand LX.RDT0C.003 6CELL2.2 65W 1.3M
AS4253-E35
2G50Mnkk Thailand LX.RDT0C.004 6CELL2.2 65W 1.3M
AS4253-E35
2G50Mnkk Thailand LX.RDT0C.005 6CELL2.2 65W 1.3M
AS4253-E35
2G50Mnrr China LX.RDV0C.008 6CELL2.2 65W 1.3M
AS4253-E35
2G50Mnrr Thailand LX.RDV08.001 6CELL2.2 65W 1.3M
AS4253-E35
2G50Mnrr Thailand LX.RDV08.002 6CELL2.2 65W 1.3M
AS4253-E35
2G50Mnrr Thailand LX.RDV08.003 6CELL2.2 65W 1.3M
AS4253-E35
2G50Mnrr Thailand LX.RDV0C.001 6CELL2.2 65W 1.3M
AS4253-E35
2G50Mnrr Thailand LX.RDV0C.002 6CELL2.2 65W 1.3M
AS4253-E35
2G50Mnrr Thailand LX.RDV0C.003 6CELL2.2 65W 1.3M
AS4253-E35
3G32Mnkk
ACLA-Spanish
LX.RDT02.001 6CELL2.2 65W 1.3M
AS4253-E35
3G32Mnkk
ACLA-Spanish
LX.RDT0C.002 6CELL2.2 65W 1.3M
AS4253-E35
4G50Mnkk
ACLA-Spanish
LX.RDT0C.007 6CELL2.2 65W 1.3M
Table 1-7. Battery, Adapter, Camera (Continued)
Model Country Acer Part No Battery Adapter Camera

7-22 Model Definition and Configuration
Aspire 4253G 0
Table 1-8. RO, Description
Model RO Country Acer Part No Description
AS4253G-E3
52G50Mncc AAP Thailand LX.RDX08.001 AS4253G-E352G50Mncc EM
W7ST32EMASTH1 MC
SEYMOUR_XT512Ccc_3V3
1*2G/500_L/BT/6L2.2/2R/CB_b
gn_1.3C_GEc_TH71
AS4253G-E3
52G50Mncc AAP Thailand LX.RDX08.002 AS4253G-E352G50Mncc EM
W7ST32EMASTH3 MC
SEYMOUR_XT512Ccc_3V3
1*2G/500_L/BT/6L2.2/2R/CB_b
gn_1.3C_GEc_ES61
AS4253G-E3
52G50Mncc AAP Thailand LX.RDX08.003 AS4253G-E352G50Mncc EM
W7ST32EMASTH4 MC
SEYMOUR_XT512Ccc_3V3
1*2G/500_L/BT/6L2.2/2R/CB_b
gn_1.3C_GEc_ES61
AS4253G-E3
52G50Mncc AAP Thailand LX.RDX0C.001 AS4253G-E352G50Mncc
LINPUSATH3
SEYMOUR_XT512Ccc_3V3
1*2G/500_L/BT/6L2.2/2R/CB_b
gn_1.3C_GEc_EN11
AS4253G-E3
52G50Mncc AAP Thailand LX.RDX0C.002 AS4253G-E352G50Mncc
LINPUSATH1
SEYMOUR_XT512Ccc_3V3
1*2G/500_L/BT/6L2.2/2R/CB_b
gn_1.3C_GEc_TH51
AS4253G-E3
52G50Mncc AAP Thailand LX.RDX0C.003 AS4253G-E352G50Mncc
LINPUSATH4
SEYMOUR_XT512Ccc_3V3
1*2G/500_L/BT/6L2.2/2R/CB_b
gn_1.3C_GEc_ES61
AS4253G-E3
52G50Mnkk AAP Thailand LX.RDW08.001 AS4253G-E352G50Mnkk EM
W7ST32EMASTH1 MC
SEYMOUR_XT512Ckk_3V3
1*2G/500_L/BT/6L2.2/2R/CB_b
gn_1.3C_GEk_TH71
AS4253G-E3
52G50Mnkk AAP Thailand LX.RDW08.002 AS4253G-E352G50Mnkk EM
W7ST32EMASTH3 MC
SEYMOUR_XT512Ckk_3V3
1*2G/500_L/BT/6L2.2/2R/CB_b
gn_1.3C_GEk_ES61

Model Definition and Configuration 7-23
AS4253G-E3
52G50Mnkk AAP Thailand LX.RDW08.003 AS4253G-E352G50Mnkk EM
W7ST32EMASTH4 MC
SEYMOUR_XT512Ckk_3V3
1*2G/500_L/BT/6L2.2/2R/CB_b
gn_1.3C_GEk_ES61
AS4253G-E3
52G50Mnkk AAP Thailand LX.RDW0C.001 AS4253G-E352G50Mnkk
LINPUSATH3
SEYMOUR_XT512Ckk_3V3
1*2G/500_L/BT/6L2.2/2R/CB_b
gn_1.3C_GEk_EN11
AS4253G-E3
52G50Mnkk AAP Thailand LX.RDW0C.002 AS4253G-E352G50Mnkk
LINPUSATH1
SEYMOUR_XT512Ckk_3V3
1*2G/500_L/BT/6L2.2/2R/CB_b
gn_1.3C_GEk_TH51
AS4253G-E3
52G50Mnkk AAP Thailand LX.RDW0C.003 AS4253G-E352G50Mnkk
LINPUSATH4
SEYMOUR_XT512Ckk_3V3
1*2G/500_L/BT/6L2.2/2R/CB_b
gn_1.3C_GEk_ES61
AS4253G-E3
52G50Mnrr AAP Thailand LX.RDY08.001 AS4253G-E352G50Mnrr EM
W7ST32EMASTH1 MC
SEYMOUR_XT512Crr_3V3
1*2G/500_L/BT/6L2.2/2R/CB_b
gn_1.3C_GEr_TH71
AS4253G-E3
52G50Mnrr AAP Thailand LX.RDY08.002 AS4253G-E352G50Mnrr EM
W7ST32EMASTH3 MC
SEYMOUR_XT512Crr_3V3
1*2G/500_L/BT/6L2.2/2R/CB_b
gn_1.3C_GEr_ES61
AS4253G-E3
52G50Mnrr AAP Thailand LX.RDY08.003 AS4253G-E352G50Mnrr EM
W7ST32EMASTH4 MC
SEYMOUR_XT512Crr_3V3
1*2G/500_L/BT/6L2.2/2R/CB_b
gn_1.3C_GEr_ES61
AS4253G-E3
52G50Mnrr AAP Thailand LX.RDY0C.001 AS4253G-E352G50Mnrr
LINPUSATH3
SEYMOUR_XT512Crr_3V3
1*2G/500_L/BT/6L2.2/2R/CB_b
gn_1.3C_GEr_EN11
AS4253G-E3
52G50Mnrr AAP Thailand LX.RDY0C.002 AS4253G-E352G50Mnrr
LINPUSATH1
SEYMOUR_XT512Crr_3V3
1*2G/500_L/BT/6L2.2/2R/CB_b
gn_1.3C_GEr_TH51
Table 1-8. RO, Description (Continued)
Model RO Country Acer Part No Description

7-24 Model Definition and Configuration
AS4253G-E3
52G50Mnrr AAP Thailand LX.RDY0C.003 AS4253G-E352G50Mnrr
LINPUSATH4
SEYMOUR_XT512Crr_3V3
1*2G/500_L/BT/6L2.2/2R/CB_b
gn_1.3C_GEr_ES61
AS4253G-E3
52G64Mncc AAP Philippines LX.RDX0C.004 AS4253G-E352G64Mncc
LINPUSAPH1
SEYMOUR_XT512Ccc_3V3
1*2G/640/BT/6L2.2/2R/CB_bgn
_1.3C_GEc_EN11
AS4253G-E3
52G64Mnkk AAP Philippines LX.RDW0C.004 AS4253G-E352G64Mnkk
LINPUSAPH1
SEYMOUR_XT512Ckk_3V3
1*2G/640/BT/6L2.2/2R/CB_bgn
_1.3C_GEk_EN11
AS4253G-E3
52G64Mnrr AAP Philippines LX.RDY0C.004 AS4253G-E352G64Mnrr
LINPUSAPH1
SEYMOUR_XT512Crr_3V3
1*2G/640/BT/6L2.2/2R/CB_bgn
_1.3C_GEr_EN11
Table 1-9. CPU, LCD
Model Country Acer Part No CPU LCD
AS4253G-E3
52G50Mncc Thailand LX.RDX08.001 AMDE350B NLED14WXGAG
AS4253G-E3
52G50Mncc Thailand LX.RDX08.002 AMDE350B NLED14WXGAG
AS4253G-E3
52G50Mncc Thailand LX.RDX08.003 AMDE350B NLED14WXGAG
AS4253G-E3
52G50Mncc Thailand LX.RDX0C.001 AMDE350B NLED14WXGAG
AS4253G-E3
52G50Mncc Thailand LX.RDX0C.002 AMDE350B NLED14WXGAG
AS4253G-E3
52G50Mncc Thailand LX.RDX0C.003 AMDE350B NLED14WXGAG
AS4253G-E3
52G50Mnkk Thailand LX.RDW08.001 AMDE350B NLED14WXGAG
AS4253G-E3
52G50Mnkk Thailand LX.RDW08.002 AMDE350B NLED14WXGAG
AS4253G-E3
52G50Mnkk Thailand LX.RDW08.003 AMDE350B NLED14WXGAG
Table 1-8. RO, Description (Continued)
Model RO Country Acer Part No Description

Model Definition and Configuration 7-25
AS4253G-E3
52G50Mnkk Thailand LX.RDW0C.001 AMDE350B NLED14WXGAG
AS4253G-E3
52G50Mnkk Thailand LX.RDW0C.002 AMDE350B NLED14WXGAG
AS4253G-E3
52G50Mnkk Thailand LX.RDW0C.003 AMDE350B NLED14WXGAG
AS4253G-E3
52G50Mnrr Thailand LX.RDY08.001 AMDE350B NLED14WXGAG
AS4253G-E3
52G50Mnrr Thailand LX.RDY08.002 AMDE350B NLED14WXGAG
AS4253G-E3
52G50Mnrr Thailand LX.RDY08.003 AMDE350B NLED14WXGAG
AS4253G-E3
52G50Mnrr Thailand LX.RDY0C.001 AMDE350B NLED14WXGAG
AS4253G-E3
52G50Mnrr Thailand LX.RDY0C.002 AMDE350B NLED14WXGAG
AS4253G-E3
52G50Mnrr Thailand LX.RDY0C.003 AMDE350B NLED14WXGAG
AS4253G-E3
52G64Mncc Philippines LX.RDX0C.004 AMDE350B NLED14WXGAG
AS4253G-E3
52G64Mnkk Philippines LX.RDW0C.004 AMDE350B NLED14WXGAG
AS4253G-E3
52G64Mnrr Philippines LX.RDY0C.004 AMDE350B NLED14WXGAG
Table 1-10. VGA Chip, VRAM 1
Model Country Acer Part No VGA Chip VRAM 1
AS4253G-E3
52G50Mncc Thailand LX.RDX08.001 SEYMOUR_XT 512M-DDR3
(64*16*4)
AS4253G-E3
52G50Mncc Thailand LX.RDX08.002 SEYMOUR_XT 512M-DDR3
(64*16*4)
AS4253G-E3
52G50Mncc Thailand LX.RDX08.003 SEYMOUR_XT 512M-DDR3
(64*16*4)
AS4253G-E3
52G50Mncc Thailand LX.RDX0C.001 SEYMOUR_XT 512M-DDR3
(64*16*4)
AS4253G-E3
52G50Mncc Thailand LX.RDX0C.002 SEYMOUR_XT 512M-DDR3
(64*16*4)
AS4253G-E3
52G50Mncc Thailand LX.RDX0C.003 SEYMOUR_XT 512M-DDR3
(64*16*4)
Table 1-9. CPU, LCD (Continued)
Model Country Acer Part No CPU LCD

7-26 Model Definition and Configuration
AS4253G-E3
52G50Mnkk Thailand LX.RDW08.001 SEYMOUR_XT 512M-DDR3
(64*16*4)
AS4253G-E3
52G50Mnkk Thailand LX.RDW08.002 SEYMOUR_XT 512M-DDR3
(64*16*4)
AS4253G-E3
52G50Mnkk Thailand LX.RDW08.003 SEYMOUR_XT 512M-DDR3
(64*16*4)
AS4253G-E3
52G50Mnkk Thailand LX.RDW0C.001 SEYMOUR_XT 512M-DDR3
(64*16*4)
AS4253G-E3
52G50Mnkk Thailand LX.RDW0C.002 SEYMOUR_XT 512M-DDR3
(64*16*4)
AS4253G-E3
52G50Mnkk Thailand LX.RDW0C.003 SEYMOUR_XT 512M-DDR3
(64*16*4)
AS4253G-E3
52G50Mnrr Thailand LX.RDY08.001 SEYMOUR_XT 512M-DDR3
(64*16*4)
AS4253G-E3
52G50Mnrr Thailand LX.RDY08.002 SEYMOUR_XT 512M-DDR3
(64*16*4)
AS4253G-E3
52G50Mnrr Thailand LX.RDY08.003 SEYMOUR_XT 512M-DDR3
(64*16*4)
AS4253G-E3
52G50Mnrr Thailand LX.RDY0C.001 SEYMOUR_XT 512M-DDR3
(64*16*4)
AS4253G-E3
52G50Mnrr Thailand LX.RDY0C.002 SEYMOUR_XT 512M-DDR3
(64*16*4)
AS4253G-E3
52G50Mnrr Thailand LX.RDY0C.003 SEYMOUR_XT 512M-DDR3
(64*16*4)
AS4253G-E3
52G64Mncc Philippines LX.RDX0C.004 SEYMOUR_XT 512M-DDR3
(64*16*4)
AS4253G-E3
52G64Mnkk Philippines LX.RDW0C.004 SEYMOUR_XT 512M-DDR3
(64*16*4)
AS4253G-E3
52G64Mnrr Philippines LX.RDY0C.004 SEYMOUR_XT 512M-DDR3
(64*16*4)
Table 1-11. Memory 1, Memory 2, HDD 1
Model Country Acer Part No Memory 1
Memory 2
HDD 1(GB)
AS4253G-E3
52G50Mncc Thailand LX.RDX08.001
SO2GBIII10 N N500GB5.4KS
AS4253G-E3
52G50Mncc Thailand LX.RDX08.002
SO2GBIII10 N N500GB5.4KS
AS4253G-E3
52G50Mncc Thailand LX.RDX08.003
SO2GBIII10 N N500GB5.4KS
Table 1-10. VGA Chip, VRAM 1 (Continued)
Model Country Acer Part No VGA Chip VRAM 1

Model Definition and Configuration 7-27
AS4253G-E3
52G50Mncc Thailand LX.RDX0C.001
SO2GBIII10 N N500GB5.4KS
AS4253G-E3
52G50Mncc Thailand LX.RDX0C.002
SO2GBIII10 N N500GB5.4KS
AS4253G-E3
52G50Mncc Thailand LX.RDX0C.003
SO2GBIII10 N N500GB5.4KS
AS4253G-E3
52G50Mnkk Thailand LX.RDW08.001
SO2GBIII10 N N500GB5.4KS
AS4253G-E3
52G50Mnkk Thailand LX.RDW08.002
SO2GBIII10 N N500GB5.4KS
AS4253G-E3
52G50Mnkk Thailand LX.RDW08.003
SO2GBIII10 N N500GB5.4KS
AS4253G-E3
52G50Mnkk Thailand LX.RDW0C.001
SO2GBIII10 N N500GB5.4KS
AS4253G-E3
52G50Mnkk Thailand LX.RDW0C.002
SO2GBIII10 N N500GB5.4KS
AS4253G-E3
52G50Mnkk Thailand LX.RDW0C.003
SO2GBIII10 N N500GB5.4KS
AS4253G-E3
52G50Mnrr Thailand LX.RDY08.001
SO2GBIII10 N N500GB5.4KS
AS4253G-E3
52G50Mnrr Thailand LX.RDY08.002
SO2GBIII10 N N500GB5.4KS
AS4253G-E3
52G50Mnrr Thailand LX.RDY08.003
SO2GBIII10 N N500GB5.4KS
AS4253G-E3
52G50Mnrr Thailand LX.RDY0C.001
SO2GBIII10 N N500GB5.4KS
AS4253G-E3
52G50Mnrr Thailand LX.RDY0C.002
SO2GBIII10 N N500GB5.4KS
AS4253G-E3
52G50Mnrr Thailand LX.RDY0C.003
SO2GBIII10 N N500GB5.4KS
AS4253G-E3
52G64Mncc Philippines LX.RDX0C.004
SO2GBIII10 N N640GB5.4KS
AS4253G-E3
52G64Mnkk Philippines LX.RDW0C.004
SO2GBIII10 N N640GB5.4KS
AS4253G-E3
52G64Mnrr Philippines LX.RDY0C.004
SO2GBIII10 N N640GB5.4KS
Table 1-11. Memory 1, Memory 2, HDD 1 (Continued)
Model Country Acer Part No Memory 1
Memory 2
HDD 1(GB)

7-28 Model Definition and Configuration
Table 1-12. ODD, Extra SW1, Card Reader
Model Country Acer Part No ODD Extra SW1 Card
Reader
AS4253G-E3
52G50Mncc Thailand LX.RDX08.001 NSM8XS McAfee 2-in-1 card
reader
AS4253G-E3
52G50Mncc Thailand LX.RDX08.002 NSM8XS McAfee 2-in-1 card
reader
AS4253G-E3
52G50Mncc Thailand LX.RDX08.003 NSM8XS McAfee 2-in-1 card
reader
AS4253G-E3
52G50Mncc Thailand LX.RDX0C.001 NSM8XS N 2-in-1 card
reader
AS4253G-E3
52G50Mncc Thailand LX.RDX0C.002 NSM8XS N 2-in-1 card
reader
AS4253G-E3
52G50Mncc Thailand LX.RDX0C.003 NSM8XS N 2-in-1 card
reader
AS4253G-E3
52G50Mnkk Thailand LX.RDW08.001 NSM8XS McAfee 2-in-1 card
reader
AS4253G-E3
52G50Mnkk Thailand LX.RDW08.002 NSM8XS McAfee 2-in-1 card
reader
AS4253G-E3
52G50Mnkk Thailand LX.RDW08.003 NSM8XS McAfee 2-in-1 card
reader
AS4253G-E3
52G50Mnkk Thailand LX.RDW0C.001 NSM8XS N 2-in-1 card
reader
AS4253G-E3
52G50Mnkk Thailand LX.RDW0C.002 NSM8XS N 2-in-1 card
reader
AS4253G-E3
52G50Mnkk Thailand LX.RDW0C.003 NSM8XS N 2-in-1 card
reader
AS4253G-E3
52G50Mnrr Thailand LX.RDY08.001 NSM8XS McAfee 2-in-1 card
reader
AS4253G-E3
52G50Mnrr Thailand LX.RDY08.002 NSM8XS McAfee 2-in-1 card
reader
AS4253G-E3
52G50Mnrr Thailand LX.RDY08.003 NSM8XS McAfee 2-in-1 card
reader
AS4253G-E3
52G50Mnrr Thailand LX.RDY0C.001 NSM8XS N 2-in-1 card
reader
AS4253G-E3
52G50Mnrr Thailand LX.RDY0C.002 NSM8XS N 2-in-1 card
reader
AS4253G-E3
52G50Mnrr Thailand LX.RDY0C.003 NSM8XS N 2-in-1 card
reader
AS4253G-E3
52G64Mncc Philippines LX.RDX0C.004 NSM8XS N 2-in-1 card
reader

Model Definition and Configuration 7-29
AS4253G-E3
52G64Mnkk Philippines LX.RDW0C.004 NSM8XS N 2-in-1 card
reader
AS4253G-E3
52G64Mnrr Philippines LX.RDY0C.004 NSM8XS N 2-in-1 card
reader
Table 1-13. Wireless LAN1, Bluetooth, NB Chipset
Model Country Acer Part No Wireless
LAN1
Bluetooth
NB Chipset
AS4253G-E3
52G50Mncc Thailand LX.RDX08.001 3rd WiFi 2x2
BGN BT 3.0 AMD A50M
FCH
AS4253G-E3
52G50Mncc Thailand LX.RDX08.002 3rd WiFi 2x2
BGN BT 3.0 AMD A50M
FCH
AS4253G-E3
52G50Mncc Thailand LX.RDX08.003 3rd WiFi 2x2
BGN BT 3.0 AMD A50M
FCH
AS4253G-E3
52G50Mncc Thailand LX.RDX0C.001 3rd WiFi 2x2
BGN BT 2.1 AMD A50M
FCH
AS4253G-E3
52G50Mncc Thailand LX.RDX0C.002 3rd WiFi 2x2
BGN BT 2.1 AMD A50M
FCH
AS4253G-E3
52G50Mncc Thailand LX.RDX0C.003 3rd WiFi 2x2
BGN BT 2.1 AMD A50M
FCH
AS4253G-E3
52G50Mnkk Thailand LX.RDW08.001 3rd WiFi 2x2
BGN BT 3.0 AMD A50M
FCH
AS4253G-E3
52G50Mnkk Thailand LX.RDW08.002 3rd WiFi 2x2
BGN BT 3.0 AMD A50M
FCH
AS4253G-E3
52G50Mnkk Thailand LX.RDW08.003 3rd WiFi 2x2
BGN BT 3.0 AMD A50M
FCH
AS4253G-E3
52G50Mnkk Thailand LX.RDW0C.001 3rd WiFi 2x2
BGN BT 2.1 AMD A50M
FCH
AS4253G-E3
52G50Mnkk Thailand LX.RDW0C.002 3rd WiFi 2x2
BGN BT 2.1 AMD A50M
FCH
AS4253G-E3
52G50Mnkk Thailand LX.RDW0C.003 3rd WiFi 2x2
BGN BT 2.1 AMD A50M
FCH
AS4253G-E3
52G50Mnrr Thailand LX.RDY08.001 3rd WiFi 2x2
BGN BT 3.0 AMD A50M
FCH
AS4253G-E3
52G50Mnrr Thailand LX.RDY08.002 3rd WiFi 2x2
BGN BT 3.0 AMD A50M
FCH
AS4253G-E3
52G50Mnrr Thailand LX.RDY08.003 3rd WiFi 2x2
BGN BT 3.0 AMD A50M
FCH
Table 1-12. ODD, Extra SW1, Card Reader (Continued)
Model Country Acer Part No ODD Extra SW1 Card
Reader

7-30 Model Definition and Configuration
AS4253G-E3
52G50Mnrr Thailand LX.RDY0C.001 3rd WiFi 2x2
BGN BT 2.1 AMD A50M
FCH
AS4253G-E3
52G50Mnrr Thailand LX.RDY0C.002 3rd WiFi 2x2
BGN BT 2.1 AMD A50M
FCH
AS4253G-E3
52G50Mnrr Thailand LX.RDY0C.003 3rd WiFi 2x2
BGN BT 2.1 AMD A50M
FCH
AS4253G-E3
52G64Mncc Philippines LX.RDX0C.004 3rd WiFi 2x2
BGN BT 2.1 AMD A50M
FCH
AS4253G-E3
52G64Mnkk Philippines LX.RDW0C.004 3rd WiFi 2x2
BGN BT 2.1 AMD A50M
FCH
AS4253G-E3
52G64Mnrr Philippines LX.RDY0C.004 3rd WiFi 2x2
BGN BT 2.1 AMD A50M
FCH
Table 1-14. Battery, Adapter, Camera
Model Country Acer Part No Battery Adapter Camera
AS4253G-E3
52G50Mncc Thailand LX.RDX08.001 6CELL2.2 65W 1.3M
AS4253G-E3
52G50Mncc Thailand LX.RDX08.002 6CELL2.2 65W 1.3M
AS4253G-E3
52G50Mncc Thailand LX.RDX08.003 6CELL2.2 65W 1.3M
AS4253G-E3
52G50Mncc Thailand LX.RDX0C.001 6CELL2.2 65W 1.3M
AS4253G-E3
52G50Mncc Thailand LX.RDX0C.002 6CELL2.2 65W 1.3M
AS4253G-E3
52G50Mncc Thailand LX.RDX0C.003 6CELL2.2 65W 1.3M
AS4253G-E3
52G50Mnkk Thailand LX.RDW08.001 6CELL2.2 65W 1.3M
AS4253G-E3
52G50Mnkk Thailand LX.RDW08.002 6CELL2.2 65W 1.3M
AS4253G-E3
52G50Mnkk Thailand LX.RDW08.003 6CELL2.2 65W 1.3M
AS4253G-E3
52G50Mnkk Thailand LX.RDW0C.001 6CELL2.2 65W 1.3M
AS4253G-E3
52G50Mnkk Thailand LX.RDW0C.002 6CELL2.2 65W 1.3M
Table 1-13. Wireless LAN1, Bluetooth, NB Chipset (Continued)
Model Country Acer Part No Wireless
LAN1
Bluetooth
NB Chipset

Model Definition and Configuration 7-31
AS4253G-E3
52G50Mnkk Thailand LX.RDW0C.003 6CELL2.2 65W 1.3M
AS4253G-E3
52G50Mnrr Thailand LX.RDY08.001 6CELL2.2 65W 1.3M
AS4253G-E3
52G50Mnrr Thailand LX.RDY08.002 6CELL2.2 65W 1.3M
AS4253G-E3
52G50Mnrr Thailand LX.RDY08.003 6CELL2.2 65W 1.3M
AS4253G-E3
52G50Mnrr Thailand LX.RDY0C.001 6CELL2.2 65W 1.3M
AS4253G-E3
52G50Mnrr Thailand LX.RDY0C.002 6CELL2.2 65W 1.3M
AS4253G-E3
52G50Mnrr Thailand LX.RDY0C.003 6CELL2.2 65W 1.3M
AS4253G-E3
52G64Mncc Philippines LX.RDX0C.004 6CELL2.2 65W 1.3M
AS4253G-E3
52G64Mnkk Philippines LX.RDW0C.004 6CELL2.2 65W 1.3M
AS4253G-E3
52G64Mnrr Philippines LX.RDY0C.004 6CELL2.2 65W 1.3M
Table 1-14. Battery, Adapter, Camera (Continued)
Model Country Acer Part No Battery Adapter Camera

7-32 Model Definition and Configuration

CHAPTER 8
Test Compatible Components

Test Compatible Components 8-3
Test Compatible Components
This computer’s compatibility is tested and verified by Acer’s internal testing department. All
of its system functions are tested under Windows® 7 environment.
Refer to the following lists for components, adapter cards, and peripherals which have passed
these tests. Regarding configuration, combination and test procedures, please refer to the
Aspire 4253/4253G. Compatibility Test Report released by the Acer Mobile System Testing
Department.

8-4 Test Compatible Components
Microsoft® Windows® 7 Environment Test 0
Table 1-1. Test Compatible Components
Vendor Type Description Acer Part No.
Adapter
10001023
LITE-ON 65W Adapter LITE-ON 65W 19V
1.7x5.5x11 Yellow PA-1650-69AW,
LV5, Low profile LED LF
AP.06503.029
10001081 DELTA 65W Adapter DELTA 65W 19V
1.7x5.5x11 Yellow ADP-65VH BA,
LV5, Low profile LED LF
AP.06501.033
60016453
CHICONY
POWER
65W Adapter Chicony Power 65W 19V
1.7x5.5x11 Yellow CPA09-A065N1,
LV5, low profile LF
AP.0650A.017
Audio Codec
PLM00004
Conexant Conexant
CX-20584 Conexant Audio Codec CX-20584 LZ.21000.086
Battery
10001063 SONY 6CELL2.2 Battery SONY AS10D Li-Ion 3S2P
SONY 6 cell 4400mAh Main
COMMON ID:AS10D41
BT.00604.049
60001535
PANASONIC 6CELL2.2 Battery PANASONIC AS10D Li-Ion
3S2P PANASONIC 6 cell 4400mAh
Main COMMON ID:AS10D51
BT.00605.062
60001921 SANYO 6CELL2.2 Battery SANYO AS10D Li-Ion 3S2P
SANYO 6 cell 4400mAh Main
COMMON new IC BQ8055
BT.00603.124
60002162 SIMPLO 6CELL2.2 Battery SIMPLO AS10D Li-Ion
3S2P PANASONIC 6 cell 4400mAh
Main COMMON ID:AS10D71
BT.00607.125
60002162 SIMPLO 6CELL2.2 Battery SIMPLO AS10D Li-Ion
3S2P LGC 6 cell 4400mAh Main
COMMON ID:AS10D73
BT.00607.126
60002162 SIMPLO 6CELL2.2 Battery SIMPLO AS10D Li-Ion
3S2P SAMSUNG 6 cell 4400mAh
Main COMMON ID:AS10D
BT.00607.127
60013145
SAMSUNG SDI 6CELL2.2 Battery SAMSUNG AS10D Li-Ion
3S2P SAMSUNG 6 cell 4400mAh
Main COMMON ID:AS10D61
BT.00606.008

Test Compatible Components 8-5
Bluetooth
10001018 HON
HAI BT 2.1 Foxconn Bluetooth ATH BU_12 BH.21100.012
10001018 HON
HAI BT 3.0 Foxconn Bluetooth BRM 2070
(T77H114.01) BT 3.0 BH.21100.010
10001018 HON
HAI BT 3.0 Foxconn Bluetooth ATH BU12 BH.21100.011
23707801
FOXCONN TW BT 2.1 Foxconn Bluetooth BRM 2070
(T77H114.01) BH.21100.007
Camera
10001023
LITE-ON 1.3M Liteon 1.3M LT9665AL
(09P2SF119) AM.21400.069
10001044
CHICONY 1.3M Chicony 1.3M CH9665SN
(CNF9157) AM.21400.067
PLM00012 Suyin 1.3M Suyin 1.3M SY9665SN AM.21400.068
Card Reader
10000981 MISC 2-in-1 card
reader 2-in-1 card reader CR.21500.030
CPU
60002168 AMD AMDC50B CPU AMD - C50 BGA 1.0G / 9W KC.C0002.500
60002168 AMD AMDE240B CPU AMD - E240 BGA 1.5G 18W KC.E0002.240
60002168 AMD AMDE350B CPU AMD - E350 BGA 1.6G 18W KC.E0002.350
HDD
60001922
TOSHIBA DIGI
N250GB5.4KS
HDD TOSHIBA 2.5" 5400rpm
250GB MK2565GSX, Capricorn BS,
320G/P SATA 8MB LF F/W:GJ002J
KH.25004.005
60001922
TOSHIBA DIGI
N320GB5.4KS
HDD TOSHIBA 2.5" 5400rpm
320GB Capricorn BS,MK3265GSX
SATA 8MB LF F/W:GJ002J
KH.32004.004
60001922
TOSHIBA DIGI
N500GB5.4KS
HDD TOSHIBA 2.5" 5400rpm
500GB MK5065GSX,Capricorn BS,
320G/P SATA 8MB LF F/W:GJ002J
KH.50004.002
60001922
TOSHIBA DIGI
N640GB5.4KS
HDD TOSHIBA 2.5" 5400rpm
640GB MK6465GSX,Capricorn
BS,320G/P SATA 8MB LF
F/W:GJ002J
KH.64004.001
Table 1-1. Test Compatible Components
Vendor Type Description Acer Part No.

8-6 Test Compatible Components
60001922
TOSHIBA DIGI
N750GB5.4KS
HDD TOSHIBA 2.5" 5400rpm
750GB MK7559GSXP, 375G/P,
Capricorn BS, 4K drive SATA 8MB
LF+HF F/W:GN003J
KH.75004.001
60001994 WD
N250GB5.4KS
HDD WD 2.5" 5400rpm 250GB
WD2500BPVT-22ZEST0,ML320S-
AF, 4K drive SATA 8MB LF
F/W:01.01A01 4K drive
KH.25008.029
60001994 WD N320GB5.4KS_
4K HDD WD 2.5" 5400rpm 320GB
WD3200BPVT-22ZEST0, ML320S,
4K drive SATA 8MB LF F/W:
01.01A01
KH.32008.022
60001994 WD
N500GB5.4KS
HDD WD 2.5" 5400rpm 500GB
WD5000BPVT-22HXZT1,ML375_A
F, 4K drive SATA 8MB LF+HF
F/W:01.01A01
KH.50008.021
60001994 WD
N640GB5.4KS
HDD WD 2.5" 5400rpm 640GB
WD6400BPVT-22HXZT1, ML375M
SATA 8MB LF F/W: 01.01A01
KH.64008.005
60001994 WD
N750GB5.4KS
HDD WD 2.5" 5400rpm 750GB
WD7500BPVT-22HXZT1, ML375M, 4K
drive SATA 8MB LF F/W:01.01A01
Brazil
KH.750B8.009
60002005 HGST
SG
N250GB5.4KS
HDD HGST 2.5" 5400rpm 250GB
HTS545025B9A300 Panther B
SATA LF F/W:C60F Disk imbalance
criteria = 0.014g-cm
KH.25007.016
60002005 HGST
SG
N320GB5.4KS
HDD HGST 2.5" 5400rpm 320GB
HTS545032B9A300 Panther B
SATA LF F/W:C60F Disk imbalance
criteria = 0.014g-cm
KH.32007.008
60002005 HGST
SG
N320GB5.4KS
HDD HGST 2.5" 5400rpm 320GB
HTS543232A7A384,0J11523,
Eagle B7 SATA 8MB LF F/W:A60W
7mmzh
KH.32007.012
60002005 HGST
SG
N500GB5.4KS
HDD HGST 2.5" 5400rpm 500GB
HTS545050B9A300 Panther B
SATA LF F/W:C60F Disk imbalance
criteria = 0.014g-cm
KH.50007.010
60002005 HGST
SG
N750GB5.4KS
HDD HGST 2.5" 5400rpm 750GB
HTS547575A9E384, 0J15083, Jet
B, 375G/P SATA 8MB LF
F/W:DA3872
KH.75007.004
Table 1-1. Test Compatible Components
Vendor Type Description Acer Part No.

Test Compatible Components 8-7
60002036
SEAGATE
N250GB5.4KS
HDD SEAGATE 2.5" 5400rpm
250GB ST9250315AS,
9HH132-189, Wyatt with new pcb
SATA 8MB LF F/W:0001SDM1
KH.25001.019
60002036
SEAGATE
N320GB5.4KS
HDD SEAGATE 2.5" 5400rpm
320GB
ST9320310AS,9RN132-188,
Cameron 320G/P SATA 8MB LF
F/W:0001SDM1
KH.32001.019
60002036
SEAGATE
N500GB5.4KS
HDD SEAGATE 2.5" 5400rpm
500GB
ST9500325AS,9HH134-189, Wyatt
with new pcb SATA 8MB LF
F/W:0001SDM1
KH.50001.017
60002036
SEAGATE
N750GB5.4KS
HDD SEAGATE 2.5" 5400rpm
750GB
ST9750423AS,9ZW14G-188,
Desaru5, 375G/P. SATA 8MB
LF+HF F/W:0001SDM1
KH.75001.011
Keyboard
60004864
DARFON AC4T_A10B Keyboard ACER AC4T_A10B AC4T
Internal 14 Standard Black Y2010
Acer Legend Texture
KB.I140A.202
LAN
10017383 Atheros AR8151L Atheros AR8151L NI.22400.048
LCD
10001022 CMI
NLED14WXGAG
LED LCD CMI 14" WXGA Glare
BT140GW01 V6 LF 220nit 8ms
600:1
LK.1400D.008
60002215
SAMSUNG
NLED14WXGAG
LED LCD SAMSUNG 14" WXGA
Glare LTN140AT01-G04 LF 220nit
8ms 500:1
LK.14006.015
60003089 LG
NLED14WXGAG LED LCD LPL 14" WXGA Glare
LP140WH1-TLA2 LF 220nit 8ms
500:1
LK.14008.004
60003316 AUO
NLED14WXGAG
LED LCD AUO 14" WXGA Glare
B140XW01 V8 0A LF 220nit 8ms
500:1 (power saving)
LK.14005.010
Memory
60001993 NANYA SO2GBIII13 Memory NANYA SO-DIMM DDRIII
1333 2GB NT2GC64B88B0NS-CG
LF 256*8 0.055um
KN.2GB03.021
Table 1-1. Test Compatible Components
Vendor Type Description Acer Part No.

8-8 Test Compatible Components
60001993 NANYA SO4GBIII13 Memory NANYA SO-DIMM DDRIII
1333 4GB NT4GC64B8HB0NS-CG
LF 256*8 0.055um
KN.4GB03.005
60002000
UNIFOSA SO1GBIII13 Memory UNIFOSA SO-DIMM
DDRIII 1333 1GB
GU672203EP0200 LF 128*8
0.065um
KN.1GB0H.017
60002041
QIMONDA SO1GBIII10 Memory NONE REG-ECC DDRIII
1066 1GB phantom p/n LF KN.1GB00.003
60002045 HYNIX SO2GBIII13 Memory HYNIX SO-DIMM DDRIII
1333 2GB HMT325S6BFR8C-H9
LF 256*8 46nm
KN.2GB0G.018
60002050
MICRON SG SO2GBIII13 Memory MICRON SO-DIMM DDRIII
1333 2GB
MT8JSF25664HZ-1G4D1 LF 256*8
0.055um
KN.2GB04.017
60002215
SAMSUNG SO1GBIII13
Memory SAMSUNG SO-DIMM
DDRIII 1333 1GB
M471B2873FHS-CH9 LF 128*8 46nm
KN.1GB0B.035
60002215
SAMSUNG SO2GBIII10 Memory NONE SO-DIMM DDRIII
1066 2GB dummy 1066 LF KN.2GB00.001
60002215
SAMSUNG SO2GBIII13 Memory SAMSUNG SO-DIMM
DDRIII 1333 2GB
M471B5773DH0-CH9 LF 256*8
KN.2GB0B.030
60002215
SAMSUNG SO4GBIII10 Memory SAMSUNG SO-DIMM
DDRIII 1066 4GB
M471B5273BH1-CF8 LF 256*8
0.055um
KN.4GB0B.007
60024207
KINGSTON SO1GBIII13 Memory KINGSTON SO-DIMM
DDRIII 1333 1GB
ACR128X64D3S1333C9 LF 128*8
0.065um
KN.1GB07.004
60024207
KINGSTON SO2GBIII13
Memory KINGSTON SO-DIMM
DDRIII 1333 2GB
ACR256X64D3S1333C9 LF 128*8
0.065um
KN.2GB07.004
NB Chipset
60002168 AMD
AMD A50M FCH
AMD NB Chipset A50M KI.22600.055
ODD
10001070 PHILIPS NSM8XS ODD PLDS Super-Multi DRIVE
12.7mm Tray DL 8X DS-8A5SH
LF+HF W/O bezel SATA With TI +
Rohm Solution (HF + Windows 7)
KU.0080F.014
Table 1-1. Test Compatible Components
Vendor Type Description Acer Part No.

Test Compatible Components 8-9
60001535
PANASONIC NSM8XS
ODD PANASONIC Super-Multi
DRIVE 12.7mm Tray DL 8X UJ890A
LF W/O bezel SATA (HF + Windows
7)
KU.00807.070
60001535
PANASONIC NSM8XS ODD PANASONIC Super-Multi
DRIVE 12.7mm Tray DL 8X UJ8A0
LF W/O bezel SATA (HF + Windows
7) Foxconn Yentai Factory
KU.00807.075
60001922
TOSHIBA DIGI NSM8XS ODD TOSHIBA Super-Multi DRIVE
12.7mm Tray DL 8X TS-L633F LF
W/O bezel SATA (HF + Windows 7)
KU.00801.040
60001939
PIONEER NSM8XS ODD PIONEER Super-Multi DRIVE
12.7mm Tray DL 8X DVR-TD10RS
LF W/O bezel 1.00 SATA
KU.00805.049
60003901
HITACHI EAST NSM8XS ODD HLDS Super-Multi DRIVE
12.7mm Tray DL 8X GT34N LF W/O
bezel SATA Zero Power Supported,
PCC LD (HF + Windows 7)
KU.0080D.057
610105 HLDS NSM8XS ODD HLDS Super-Multi DRIVE
12.7mm Tray DL 8X GT32N (R5-2)
LF W/O bezel SATA with Renesas
solution + PCC LD (HF + Windows
7)
KU.0080D.055
SB Chipset
9999995 ONE
TIME VENDER N N KI.22800.011
Software
10000981 MISC McAfee Antivirus application McAfee SR.23900.001
VGA Chip
22554573 AMD UMA UMA (AMD) KI.23200.154
60002168 AMDISS SEYMOUR_XT VGA Chip AMD SEYMOUR_XT
40nm 29mm*29mm M2 package KG.SEY0A.001
VRAM
10000981 MISC 512M-DDR3
(64*16*4) 512M-DDR3 64*16*4 KI.23300.019
60002045 HYNIX VR1GbIII8 VRAM HYNIX Graphic DDRIII 800
1Gb H5TQ1G63BFR-12C LF VR.1GB0G.004
60002045 HYNIX VR1GbIII9
VRAM HYNIX Graphic DDRIII 900
1Gb H5TQ1G63DFR-11C LF 64*16
46nm
VR.1GB0G.006
Table 1-1. Test Compatible Components
Vendor Type Description Acer Part No.

8-10 Test Compatible Components
60002215
SAMSUNG VR1GbIII9 VRAM SAMSUNG Graphic DDRIII
900 1Gb K4W1G1646G-BC11 LF
64*16 35nm
VR.1GB0B.008
9999995 ONE
TIME VENDER N N no VRAM KI.23300.014
WiFi Antenna
10000105 WNC PIFA PIFA LZ.23500.006
Wireless LAN
10001023
LITE-ON 3rd WiFi 2x2
BGN Liteon Wireless LAN Atheris HB97
2x2 BGN (HM) WN6603AH NI.23600.073
23707801
FOXCONN TW 3rd WiFi 2x2
BGN Foxconn Wireless LAN Broadcomm
43225 2x2 BGN (HM) T77H103.00 NI.23600.066
23707801
FOXCONN TW 3rd WiFi 2x2
BGN Foxconn Wireless LAN Atheros
HB97 2x2 BGN (HM) NI.23600.072
23707801
FOXCONN TW 3rd WiFi BG Foxconn Wireless LAN Atheros
HB95BG (HM) T77H121.10 NI.23600.077
Table 1-1. Test Compatible Components
Vendor Type Description Acer Part No.

CHAPTER 9
Online Support Information

Online Support Information 9-3
Online Support Information
Introduction 0
This section describes online technical support services available to help users repair their
Acer Systems.
For distributors, dealers, ASP or TPM, please refer the technical queries to a local Acer
branch office. Acer Branch Offices and Regional Business Units may access our website.
However some information sources will require a user i.d. and password. These can be
obtained directly from Acer CSD Taiwan.
Acer's Website offers convenient and valuable support resources.
In the Technical Information section users can download information on all of Acer's
Notebook, Desktop and Server models including:
Service guides for all models
Bios updates
Software utilities
Spare parts lists
TABs (Technical Announcement Bulletin)
For these purposes, we have included an Acrobat File to facilitate the problem-free
downloading of our technical material.
Also contained on this website are:
Detailed information on Acer's International Traveller’s Warranty (ITW)
Returned material authorization procedures
An overview of all the support services we offer, accompanied by a list of telephone, fax
and email contacts for all technical queries.
We are always looking for ways to optimize and improve our services, so do not hesitate to
direct any suggestions or comments to us.

9-4 Online Support Information











