Advance Security T34 Car Alarm Transmitter User Manual TRX950 XT90S Manual
Advance Security Inc Car Alarm Transmitter TRX950 XT90S Manual
Users Manual

1
TRX950;XT90S
PROFESSIONAL REMOTE CAR STARTER
WITH ALARM SYSTEM
&
2-WAY LCD COMMUNICATION
OPERATION MANUAL
THIS PRODUCT IS DESIGNED FOR PROFESIONAL INSTALLATION ONLY

2
TABLE OF CONTENTS:
LCD REMOTE TRANSMITTER:
A. REMOTE TRANSMITTER OPERATION…………………………….…4
B. BATTERY REPLACEMENT ………………………………………..….. 5
C. THE REMOTE LCD ICONS WITH FUNCTION ……………..…...…....6
C. PROGRAMMING OF THE LCD REMOTE TRANSMITTER ………...7
1. Screen Lamp ON
2. Power Save Mode
3. Clear The Flash Icon and Melody Sound
4. Stop The Melody Sound.
5. Button Lock
6. Vibration / Melody Mode
7. Enable / Disable Bi Sound While Pressing Button:
8. Low Battery Indication.
9. Set Up Fixed Count Down Timer
10. Out Of The Range Check
D.CLOCK & TIMER SETTING. …………………………………….……….8
1. Timer Setting.
2. Alert Alarm Timer Setting
3. Count Down Timer Setting
4. Time Set-Up For “Daily Timer Start”
A. REMOTE TRANSMITTER OPERATION …………………….………. 11
B. BUTTON LOCK ……………………………………………….…….….. 12
C. LED DISPLAY .……………..……..……………………….……………..13
D. CHIRP INDICATOR ..………..………..……………………………..…. 13
E. PARKING LIGHT ………..………………………………………..….…. 13
F. ALARM OPERATION CONDITION .…..…………………………...…. 13
G. ACTIVE ARMING – ARM & LOCK .……..……………...……………. 13
Defective Sensor Reminder
Silent Arming / Disarming
Shock Sensor By-Pass
H. PASSIVE ARMING .………………………………………….…………. 14
Passive Arming with Passive Door Locking
Passive Arming By-Pass
I. ACTIVE DISARMING – UNLOCK & DISARM .………………………..14
Tamper Disarming
Pathway Illumination
Two Steps Door Unlock
Automatic Re-Arm
J. DISARMING WITHOUT A TRANSMITTER .…………….………...…. 15
Overrides the Alarm without Password Pin Code
Overrides the Alarm With Password Pin Code
K. VALET MODE .………………………………………….…………...……16
Enter Valet Mode
Exit Valet Mode
L. CAR LOCATOR .……………………………………………………….....16

3
M. PANIC FUNCTION .…………………….……………..….……….….….16
N. TRIGGER THE SYSTEM ..……..………………..………….….……...17
Clear The Trigger Icons and Melody Sound
Stop The Melody Sound Only
Noise Abatement Circuit
O. ANTI CAR- JACKING .………………………………………….……...18
Active Anti Car Jacking
Passive Anti Car Jacking
Trigger The Anti Car Jacking Mode
Override The System To Turn Off Anti Car Jacking
P. SYSTEM’S TRIGGER CHECK …………………….….….…..….…...19
Q. SYSTEM’S STATUS CHECK …………………..……….…….….…..19
R.DRIVER PAGING (OPTION)…………..…………………….………....19
S. DOME LIGHT CONVENIENCE DELAY & SUPERVISION ……..….20
T. IGNITION CONTROL THE DOOR LOCK/UNLOCK. ……….….…..20
U. TRUNK RELEASE (CHANNEL 3) OUTPUT ………..……….………20
V. CHANNEL 4 TIMER CONTROL OUTPUT ………..…………………20
W. CHANNEL 5 TIMER CONTROL OUTPUT ………..……………….. 20
X. CHANNEL 6 TIMER CONTROL OUTPUT ………..………………... 20
Y. SECOND VEHICLE SECURITY OPERATION……………………….21
Z. POWER ON MEMORY: ………..…………...………….…….…….…. 21
REMOTE START OPERATION:
A. TO REMOTE START THE VEHICLE ………..…………..……………22
Safe Start (Child safety mode)
B. TO OPERATE THE VEHICLE WHILE RUNNING ON THE REMOTE
START…………………………………………………………………….22
C. TEMPORARY STOP FEATURE …………………..………...….……..22
D. TURBO TIMER START FEATURE ……………………………………23
E. TIMER / TEMPERATURE START ……………….………..…………..23
3 Hours Timer Start With Temperature-Control Off
3 Hours Timer Start With Temperature-Control
Daily Timer Start
Exit the Timer Start
F. TEMPERATURE CHECK …………………….….……….…….…..… 24
G. TO TURN OFF THE REMOTE START ………………………..…....… 24
H. SHUT-DOWN INPUT FOR REMOTE STARTER ………...…….....… 24
I. DISABLING THE REMOTE START SYSTEM …………………......…. 25
WARRANTY PROVISSIONS……………………………………………….26
WARRANTY CARD…………………………………………………………..27

4
WARNINGS:
As with any product that performs automatic functions, there are certain safety
precautions that you must
practice and be aware of.
1. Keep the transmitter out of children’s reach.
2. Do not leave anyone in the vehicle while running on remote control.
3. Alert servicing personnel that the vehicle can be started automatically.
4. Do not start the vehicle by remote while it’s in an enclosed area or garage.
5. Always apply the parking brake and lock the vehicle as you exit the vehicle.
6. The vehicle windows must be rolled up.
7. Should the unit malfunction, disconnect the fuse until the problem is
corrected.
8. The use and operations of this system is the sole responsibility of the
operator.
9. Some areas may have local ordinances that prohibit leaving a vehicle
running on public streets.
10.Do not start the vehicle by remote while the standard transmission vehicle is
parked at a steep place.
LCD REMOTE CONTROL TRANSMITTER:
Note: If the system is interfered by stronger radio
frequency around, sources of high voltage electric
power or such Obstacles like tall buildings and so
on, the transmission range may get shorter as the
system uses low out put powered frequency.

5
A. BATTERY REPLACEMENT:
This transmitter uses one (1) 3-
volt
lithium ion battery (#CR2032) that is
placed with the (+) side facing upward.
To replace the battery, you will need to
use a small flat blade screwdriver and a
small Philips screwdriver. Remove the
small Philips head screw. Then locate
the small notch on the lower right side of
the transmitt
er case next to the key ring.
Using the flat blade screwdriver, carefully
pry the top case from the bottom case.
It should snap apart after breaking the
seal. Before removing the battery note
the direction of the positive (+) terminal.
Place the new ba
ttery in exactly the same
manner, being careful not to bend or
damage the contact terminal. Snap the
cases back together and then test the
transmitter to insure it arms and disarms
the alarm. Reinstall the Philips screw to
finalize the battery replacement.

6
B. THE REMOTE LCD ICONS WITH FUNCTION:
Door Lock
Your vehicle doors are
locked
Door Unlock
Your vehicle doors are
unlocked and the system
is Disarmed
Armed Mode
Your vehicle is in armed
mode
Valet Mode
All the function shall be
temporarily on hold.
Remote
Transmission
You are transmitting the
signal to control unit
In – Range Indicator
Your are within the remote
control range.
Door Open Warning
Doors are illegally
opened (Zone 3)
Trunk/Hood Trigger
Trunk or Hood is illegally
opened (Zone 2)
Shock Sensor
Trigger
Trigger on Shock
Sensor (Zone 4)
Warn Away trigger
Trigger on Shock Sensor
(Zone 1)
Engine Starting
Your vehicle engine
starting by remote
control
Engine Running
Your vehicle's engine is
running
Timer Control Start
Start the Engine
automatically at the
same time next day or
every 3-hour.
Temperature Monitor
Indoor temperature of your
vehicle
Time Monitor
Alert Alarm
You have set morning call
alarm
Count Down Timer
Reminder when time is
up for parking
Power Save Mode
Save the battery power
Vibration Mode
Remote Control vibrates
when the system is
triggered
Button Lock
Disable the transmission
function temporarily
Driver paging
Someone is paging you
in front of your vehicle
Low Battery
You have to replace the
battery of remote control.

7
C: PROGRAMMING OF THE LCD REMOTE TRANSMITTER:
Transmitter Button Description Operation
(1 second) LCD screen lamp turns on
for
5 seconds.
Press and hold for 1 second
1 melody sound to confirm
enters.
(3 seconds) Timer Programming Mode. Press and hold for 3
seconds
2-melody sounds to confirm
enter.
(5 seconds) Power Save Mode Press and hold for 5
seconds
1 melody sound to confirm
enters.
- - Clear the Flash Icon and
Melody Sound on the LCD
Screen Transmitter
Press within 3 seconds
- (2-second)
Button Lock () enable /
disable
Press within 3 seconds
- (2-second)
Melody / Vibration ( )
Mode
Press within 3 seconds
- (2-second)
Program Count Down Timer
( ) (10-Minute / 20M / 30
M /1Hour /1.5H / 2.0H)
Within 3 seconds press the
button until desired
time is set, then flashes
- (2-second)
Enable / Disable Bi Sound
(Bi) While Pressing Button
1. Screen Lamp ON: Press and hold the button one second, with one
melody sound and the LCD
screen lamp will turns on for 5 seconds
2. Power Save Mode: While the power save mode, the LCD remote
transmitter uses “0” current to save the battery power.
Entry: 1. Press & hold the button for 5 seconds, with one
melody sound and icon on the LCD screen to indicate
entry the “power save mode”.
2. Under the “Active Arming Mode” and Disarm mode. Turn the
ignition switch to on, the LCD remote transmitter will automatically
entry the “Power Save Mode”
Exit: Press any button of the LCD remote transmitter to exit the
“Power Save Mode”.
3. Clear the Flash Icon and Melody Sound: Press the button 3

8
times within 3 seconds will clear the
flash icon and melody sound on the LCD screen transmitter
4. Stop The Trigger Melody Sound: While triggering the alarm the LCD
screen will alert user through melody sound and flashing trigger icon, press
any button on the LCD remote transmitter to stop melody sound only.
5. Button Lock: It is useful if you want to disable the
transmission function of the remote control temporarily to
prevent from any inadvertent pressing of buttons by others.
Press the button first, within 3 seconds press and hold
the () button for 2 seconds to activate or cancel the
button lock function, the icon will displayed on the LCD
screen to show the LCD remote transmitter is on “Button
Lock”.
6. Vibration / Melody Mode:
It is useful when you are in a noisy place an
d difficult to hear
beep sound from the remote control. The remote control in
this mode will vibrate when your security system is
triggered.
Press the button first, within 3 seconds press and
hold the ( ) button for 2 seconds to select the mode
of vibration or melody, the icon will displayed
on the LCD screen to show the LCD remote transmitter is
on vibration mode.
7. Enable / Disable Bi Sound While Pressing Button:
It has a short “bi” sound while pressing the button of the LCD screen
transmitter
If you want mute the “bi” sound mute always while press button. Press the
button first, within 3 seconds press and hold the (Bi) button for 2
seconds to disable the “bi” sound.
8. Low Battery Indication:
When the power of the battery weakens, it has two short “bi” sound and flash
icon while pressing the button of the LCD screen transmitter.
9. Set Up Fixed Count Down Timer:
1. Press the button first, within 3 seconds press and hold the
() button for 2 seconds, the LCD screen will shows icon and timer (i.e.
0:10),

9
2. Press the () button again showing next order time on the screen
(ie.0: 20), press them again (ie.0: 30)…and so on.
3. Leave the buttons starting count down then icon flashes
Note: 1.The count down period is fixed as 10 minutes, 20 minutes, 30
minutes, 1 hour, 1.5 hours and 2 hours maximum.
a. When count down timer showing 0:00 means to turn off the timer.
b. Press button for real time indication when the timer is counting
down.
10. Out Of Range Indication:
1. If within the range, the icon will display on the LCD screen.
2. If you are out of range, the icon will disappear on the LCD screen.
D. CLOCK & TIMER SETTING:
Transmitter Button Description Press Transmitter
Button
1
Press & Hold the
button until hour flashes
Clock Setting (Hour)
*Flash digit for adjusting for – and
for +
Press the button
once
Time setting (Minute)
*Flash digit for adjusting for – and
for +
2
Press the button
once.
Alert Alarm Time Setting
(Hour)
*Flash digit for adjusting
for – and
for +
Press the button
once
Alert Alarm Time Setting
(Minute)
*Flash digit for adjusting
for – and
for +
Press the button
once Alert Alarm Setting ON / OFF
for OFF and
for ON
3
Press the button
once
Count Down Timer
Setting (Hour)
*Flash digit for adjusting
(Max.19 hours 59 minutes)
for – and
for +
Press the button
once
Count down Timer Setting
(Minute)
*Flash digit for adjusting
for – and
for +
Press the button
once
Count down Timer Setting
ON / OFF for OFF and
for ON
4
Press & hold the
button for 2 seconds.
Daily Timer Start Timer
Setting Flash /
icon and “Hours” for
adjusting
for – and
for +
EXIT: Press and hold the button for 2 seconds or leave it for 10seconds,
the system will exit the
programming mode.

10
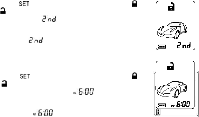
1. Clock Setting: Example to AM10:30
1. Press & hold the button for 3 seconds, with two-melody sound and
the “Hours” digit flashes for adjusting.
2. Press the or button to decrease or increase the “Hour” digit until
AM10:xx
3. Press the button once again then the “Minute” digit flashes for
adjusting.
4. Press the or button to decrease or increase the “Minutes” digit
until AM 10:30
5. Press the button for 2 seconds with one-melody sound to confirm
exit the timer program mode.
2. Alert Alarm Timer Setting: Example to PM 6:30
1. Press & hold the button for 3 seconds, with two-melody sound and the
“Hours” digit flashes for adjusting.
2. Press the button twice, the LCD screen will shows icon and
“Hours” digit is flashing for adjustment.
3. Press the or button to decrease or increase the “Hour” digit until
PM 6:xx
4. Press the button once again then the “Minutes” digit flashes for
adjusting.
5. Press the or button to decrease or increase the “Minutes” digit until
PM 6:30
6. Press the button once again then icon flashes for alert alarm “ON /
OFF” setting
7. Press the button to start the “Alert Alarm Timer”, and the “ON” icon will
show on the LCD screen. Press the button to stop the “Alert Alarm Timer”,
and the “OFF” icon will show on the LCD screen.
8. Press button for 2 seconds with one-melody sound to confirm exit the
timer program mode.
3. Count Down Timer Setting: Example Set count down timer at 2:30
1. Press & hold the button for 3 seconds, with two-melody sound and
the “Hours” digit flashes for
adjusting.
2. Press the button 5 times, the LCD screen will shows icon and

11
“Hours” digit is flashes for
adjusting.
3.Press the or button to decrease or increase the “Hour” digit
until 2:xx
4.Press the button once again then the “Minutes” digit flashes for
adjusting.
5. Press the or button to decrease or increase the “Minute” digit
until 2:30
6. Press the button once again then icon flashes for alert alarm
“ON / OFF” setting
7. Press the button to start the count down timer, and the “ON” icon
will show on the LCD screen.
Press the button to stop the count down timer, and the “OFF” icon
will show on the LCD screen.
8. Press the button for 2 seconds with one-melody sound to confirm
exit the timer program mode.
Note: Maximum is 19 hours.
4. Time Set-Up For “Daily Timer Start”: Example to AM 6:30
1. Press & hold the button for 3 seconds, with two-melody sound
and the “Hours” digit flashes for
adjusting.
2. Press & hold the button for 2 seconds, the LCD screen will flash
/ icon and “Hours” digit for Hour set-up.
3. Press the or button to decrease or increase the hour digit
until AM 6:00
4. Press the button once again then the minute digit flashes.
5. Press the or button to decrease or increase the minutes digit
until AM 6:30
6. Press the button for 2 seconds with one-melody sound to
confirm exit the timer program mode.
OPERATION:
A. REMOTE TRANSMITTER OPERATION:
Transmitter
Button System Function Remark
Lock Doors & Arm System
Panic function Press and Hold for 3 seconds.
Car Locator Under armed mode
- Arm and Delete The 2 Stage
Shock Sensor. Press twice within 3 seconds

12
+ Silent Arming / Disarming Ignition in "off" position.
+ Active Anti Car-Jacking
Mode
Ignition in "on" position press and hold for
2 seconds
Unlock Doors & Disarm
System
- Two Steps Door Unlock &
Disarm System Press twice within 3 seconds.
Trunk Release (Channel 3) Press and Hold for 2 seconds
-
Passive Arming By-pass While the system Disarmed.
- Arm System and Hidden
Alarm Function
Under disarm mode, press within 3
seconds and Hold button
Activate or Turn Off The
Remote Start Press twice within 3 seconds.
+ Channel # 4 Timer Output (4)
+ Channel # 5 Timer Output (5)
+ Channel # 6 Timer Output (6)
LCD DISPLAY TRANSMITTER OPERATION ONLY:
Transmitter Button System Function Remark
- (C) System’s Trigger Record
Check Press within 3 seconds
- -
(C) System’s Status Check Press within 3 seconds
- ( ) Button Lock
Press within 3 seconds and
Hold
button for 2 seconds
- ( ) Optional Driving Pager Press within 3 seconds
- ( ) Monitor Indoor Temperature Press within 3 seconds
- ( ) Daily Timer Start Press within 3 seconds
LCD screen lamp turns on for
5 seconds. Press and hold for 1 second
- -
Clear the Flash Icon and
Melody Sound on the LCD
Screen Transmitter
Press within 3 seconds
Warning: Press the button two times when the battery
compartment is empty, then insert the new battery.
B. BUTTON LOCK:
It is useful if you want to disable the transmission function of the remote
control temporarily to prevent from any inadvertent pressing of buttons by
others.

13
1. The XT-85s Standard transmitter:
Press the button first, within 3 seconds press and hold the ()
button for 2 seconds to activate or cancel the button lock function. The “Red
LED” will pause flash for few seconds to indicate the remote control
transmitter is on “Button Lock” mode when pressing the transmitter button.
2. The 2-way LCD transmitter:
Press the button first, within 3 seconds press
and hold the
() button for 2 seconds to activate
or cancel the button lock function.
The icon will be displayed on the LCD screen to
confirm that the LCD remote transmitter is in the
“Button Lock” mode.
C. LED display:
LED Function
LED Function
Off Disarmed
Zone 1 / Warn-Away Trigger
Slow
Flash Armed
2 flashes...
pause Zone 2 / Trigger on Trunk/Hood
Flash Passive Starter Disable
3 flashes...
pause Zone 3 / Trigger on Door Switch
Fast Flash
Passive Arming
4 flashes...
pause
Zone 4 / Trigger on Shock
Sensor
On (Solid)
Valet Mode
5 flashes...
pause
Zone 5 / Trigger on Ignition
Switch
D. CHIRP INDICATORS: E. PARKING LIGHT:
Chirp Function
Parking light
Function
1 chirp Arm
1 flash Arm
2 chirps
Disarm
2 flashes Disarm
3 chirps
Defective Reminder
3 flashes Disarm / Triggered
4 chirps
Disarm / Triggered
12 flashes Car Locator
6 chirps
Car Locator
Constant On Under Remote
Start
F. ALARM OPERATING CONDITION:
Siren / Horn
Parking LED Doors Starter
Dome Light

14
Light
1. Arming 1 or 3 Chirps
1 Flash Slow
Flash Locking
Disable
2. Disarming
2 or 4 Chirps
2 or 3
Flashes Unlocking
Turns on for 30
-second
3. Trigger Alarming Flashes Slow
Flash Disable
Flashes
4. Passive
Starter
Disable
Fast
Flash Disable
5. Panic Alarming Flashes Flashes
6. Car-Jacking
Alarming Flashes Disable
Flashes
7. Car Locator
6 Chirps 12 Flashes
Locking
G. ACTIVE ARMING – LOCK & ARM:
1. Press button on the transmitter.
2.The siren will chirp once and parking light will flash once indicating that the
system is now armed. The vehicle door will lock upon arming when
interfaced with the security system.
System Arm
Door Ajar
Trunk / Hood Ajar
Clear The Flash Icon:
Press the
button
3
times within 3 seconds
will clear the flash icon
on
the LCD screen
transmitter.
DEFECTIVE SENSOR REMINDER: If the siren sounds 3 chirps, then you have
left a door, trunk, or hoodlid ajar.
SILENT ARMING / DISARMING: Press the transmitter and button at
the same time will arm or disarm your security sys tem, No chirp sound will
be heard, arm / disarm confirmation will be through the vehicles parking
lights only.
SHOCK SENSOR BY-PASS: Press the button on the transmitter two times
within 3 seconds will arm the security system and by-pass the shock sensor.
The system will chirp one additional time to confirm the sensor bypass mode
was activated. The sensor bypass feature is programmed to activate for one
arming cycle only. The security system will return to normal operation during
the next arming cycle.
H. PASSIVE ARMING
Active arming / disarming is controlling your security system via the remote
transmitter. This security system is equipped with an optional Passive

15
Arming feature, which allows the security system to arm 30 seconds after the
last door is closed. Operation is as follows.
1. Turn the ignition to the “OFF” position and exit the vehicle.
2. After all entrances are closed, the security system LED will flash fast for 30
seconds. If you reopen any door / hood / trunk, the security system LED will
stop flashing. It will begin flashing again once all vehicle entrances are
closed.
3. After 30-second timer has elapsed, the security system will automatically
“ARM”. The siren will chirp [1] time and the parking lights will flash [1] time.
PASSIVE ARMING WITH PASSIVE DOOR LOCKING:
The vehicle doors will automatically lock after passive arming cycle has
been completed.
PASSIVE ARMING BY-PASS: While the system is disarmed, Press the
buttons twice, the system will respond with [1] chirp and LED will turn “ON”.
The security system will remain in this temporary state for as long as you
wish. To exit passive by-pass, press the transmitter or button and
the system will return to normal status.
I. ACTIVE DISARMING – UNLOCK & DISARM:
1. Press button on the transmitter.
2. The siren will chirp twice and parking light flash twice to indicating that
the security system is now disarmed. The vehicle’s door will unlock and
dome light turns on for 30 seconds upon disarming when interfaced with
the security system.
System Disarm
Doors Trigger
Trunk/HoodTrgr
Warn away Trigger
Shock SensorTrgr
Ignition Trigger
Clear The Flash Icon:
Press the button 3
times within 3 seconds will
clear the flash icon on the
LCD screen transmitter.
TAMPER DISARMING: If alarm is triggered upon disarm, the systems siren
will chirp 4 times, and parking light flash 3 times.
PATHWAY ILLUMINATION: This feature turns the parking light “ON” for 30
seconds upon a unlock signal and for 10 seconds upon the lock signal.

16
TWO STEPS DOOR UNLOCK:
This feature will independently unlock the driver’s door only when disarming
the security system. Pushing the button a second time within 3 seconds
will unlock the other doors.
AUTOMATIC RE-ARM:
If this feature is selected, the security system will automatically re-arm itself in
60 seconds after disarming with remote transmitter. Automatic rearm will
cancel if any door is opened before the 60 seconds timer has elapsed.
J. DISARMING WITHOUT A TRANSMITTER
OVERRIDES THE ALARM WITHOUT PASSWORD PIN CODE:
(Factory Default Setting)
The Override function may be used if the remote transmitter is lost or
inoperative.
1. Enter the vehicle and turn the ignition switch to 'ON’ position.
2. (Alarm will sound.)
3. Within 10 seconds push and release the valet switch, The alarm will stop
sounding and enter the disarm mode. You can now start and operate the
vehicle normally.
OVERRIDE THE ALARM WITH PASSWORD PIN CODE:
Unlike valet switch easily found, and defeated, this security system allows the
consumer to program a password pin code. Offering a higher level of
security.
1. Enter the vehicle and turn the ignition switch to 'ON’ position. (Alarm will
sound.)
2. Within 5 seconds, enter your chosen the first digit code by pressing and
releasing the Valet Switch. (When finished above procedures, system's
siren stop alarming, lights stop flashing, but the vehicle can’t be started.)
3. Within 15 seconds of the last digit code enter (the 1st code), turn the
Ignition Switch “OFF” and then “ON”.
4. Within 15 seconds, enter your chosen of the second digit code by pressing
and releasing the Valet Switch.
5. Turn the ignition switch “OFF” position. 4] Chirps form siren/horn, [3] flash
from parking light to indicate the system was disarmed.
Note 1: You must override the alarm within 60 seconds. If not, the system will
automatically re-arm.
EXAMPLE: To Override The System With The Password Code 83,
1. Enter the vehicle and turn the ignition switch to 'ON’ position.
(Alarm will sound.)
2. Within 5 seconds, Press and Release the Valet Switch 8 times, (When
finished above procedures, system's siren stops alarming, lights stop flashing,
and sensor stops trigger, but the vehicle can not be started or driven away.)
3. Within 15 seconds of the last digit code enter (the 1st code), turn the Ignition
Switch “Off” and then “ON”.
4. Within 15 seconds, Press and Release the Valet Switch 3 times
5. Turn the Ignition Switch to “Off” position. [4] Chirps form siren/horn, [3] flash
from parking light to indicate the system was disarmed.

17
K. VALET MODE: (System in Disarm or Valet mode)
The valet switch allows you to temporarily bypass all alarm function,
eliminating the need to hand your transmitter to parking attendants or
garage mechanics. When the system is in valet mode, all alarm functions
and remote start functions are bypassed, however the remote panic feature
and remote door locks will remain operational. To use the valet mode, the
system must first be disarmed either by using your remote transmitter, or by
operating the Manual override sequence.
Enter Valet Mode:
1.
From the disarmed condition,
turn the ignition to “ON” position.
2.
Push and hold valet switch for 2
seconds until the LED turns on.
The LED wills remain on as long
as the system is in 'valet mode'.
Remote Door Lock
Remote Door Unlock
Exit Valet Mode:
1.Return to normal operation, turn ignition 'on'.
2.Push and hold valet switch for 2 seconds, The LED will turn off indicating
the system is exiting the valet mode.
L. CAR LOCATOR
Under armed mode, press the
button to active
car locator function. The siren will chirp 6 times.
The parking light will flash 12 times, for you to
easily locate your car.
M. PANIC FUNCTION:
The transmitter can be used as a remote panic switch to manually trigger the
alarm in case emergency.
1. Press and hold the button for 3 second. The alarm
will immediately sound.
2. During panic mode, the normal function of this
transmitter button will be disabled. The transmitter
and buttons can be used to lock and unlock the
door (if the option is installed), however once the
button is pressed, the vehicle’s starter disable device,
(where installed) will be disengaged allowing the
vehicle to start.
3. To stop the alarm, press and hold the transmitter or button on the
transmitter again for 3 seconds. Also if any transmitter button other than
or button is pressed and released, the panic mode will be turned
off immediately.

18
4. If the button is not pressed, the alarm will automatically stop after 30
seconds.
N. TRIGGER THE SYSTEM
When armed, your vehicle is protected as follows:
1. Light impact will trigger the warn-away signal.
2. Heavy impacts / Doors open / Hood open / Trunk open / Turning on the
ignition key will trigger the programmed sequence.
The starter disable relay (if installed) prevents the vehicle’s starter from
cranking. The siren, horn, parking lights, and dome light will turn on to
alerting of an intrusion for 30 seconds. Then it will stop and automatic reset
and re-arm. If the one of sensors or detectors still active, the alarm system
will sound a maximum of 3 times of 30 seconds cycles.
Door Trigger
Trunk/Hood Trigger
Warn-away
Trigger
Shock Sensor
Trigger
Ignition Trigger
CLEAR THE FLASH ICON AND MELODY SOUND: While
triggering the alarm the LCD screen will alert user through
melody sound and flashing trigger icon, press the
button 3 times within 3 seconds will clear the flash icon
and stop melody sound on the LCD screen transmitter.
STOP THE MELODY SOUND ONLY: While triggering the
alarm the LCD screen will alert user through melody
sound and flashing trigger icon, press any button on the
LCD remote transmitter to stop melody sound only
NOISE ABATEMENT CIRCUIT: You system has “Noise Abatement Circuit”. It
prevents annoying repetitive trigger sequences due to faulty door pin
switches or environmental condition such as thunder, jackhammers airport
noise, etc.
Here’s how “Noise Abatement Circuit” works: The alarm triggers 3 times.
Each time, the same sensor or switch is triggering the alarm. “Noise
Abatement Circuit” will interpret this pattern of triggers as false alarm. After
the third trigger, “Noise Abatement Circuit” ignores, or bypasses, that sensor
or switch until the other sensor or switch is trigger.
“Noise Abatement Circuit” covers doors (Hood/Trunk) differently: If the alarm
is triggered by an open door for three full cycles, the doors will be bypassed
until the trigger ceases.
O. ANTI CAR- JACKING
Warning: If you don't need the car jacking function in this alarm system, be
sure to set car jacking feature “OFF”. This system is default setting all
car-jacking “OFF”.
ACTIVE ANTI CAR JACKING:

19
1. Press and hold the transmitter and button at the same time for 2
seconds while the vehicle’s ignition is ON. The parking lights will turns on
for 1.5 seconds to indicate this enter.
2. Once the system is armed, If you are forced from the vehicle, the system
will trigger when the door is opened and closed while the ignition is “ON”.
PASSIVE ANTI CAR- JACKING:
It operate as below:
1. Turn the ignition switch to the “ON” position; the system will arm.
2. Once the system is armed, If you are forced from the vehicle, the system
will trigger when the door is opened and closed while the ignition is “ON”.
TRIGGER THE ANTI CAR -JACKING MODE:
3-timer circuits will function as follows:
First timer:
a. 50 seconds after the system has been triggered. The siren will start
chirping for 15 seconds.
b. During this 15 seconds period of chirping, you will be alerting to push
the valet switch once to turn off the car-jacking feature.
c. If not, it will enter second timer car jacking.
Second timer:
65 seconds after the system has been triggered. The siren starts alarming
and the parking light starts flashing.
Third timer:
90 seconds after the system has been triggered
a. The siren still alarming and the parking light flashing, and
b. The starter disable will activate to prevent the vehicle from starting.
c. It will remain active until the vehicle's battery power exhausted.
OVERRIDE THE SYSTEM TO TURN OFF ANTI CAR- JACKING:
Turn the ignition switch from OFF to ON, and within 10 seconds push valet
switch, the siren will stop and the system disarmed
Note: If you use password pin code to double protect the vehicle security, you
will need to use it to completely disarm the system.
P. SYSTEM’S TRIGGER CHECK
Press the transmitter first, within 3 seconds
press (C) button. It responds with one melody sound
and all trigger’s records will immediately displayed on
the LCD screen.

20
Q. SYSTEM’S STATUS CHECK
When you want to check the system’s present status
through the LCD screen, Press the transmitter
button twice, within 3 seconds press (C) button.
It responds with one melody sound.
R. DRIVER PAGING
It is useful the event that someone wants to page the driver of the parked
vehicle.
In Car Driver Paging
Under the ignition switch “off” condition, press and hold the valet switch for 2
seconds to page the driver, one chirp sound shall be emitted from the vehicle
and the paging melody sound continues sounding from you Remote LCD
Transmitter and “ ” indication flashes on the LCD screen.
Out of Car Driver Paging
If someone tries to page you by tapping the paging (knock) sensor (optional)
which is usually mounted on the bottom part of front window, the paging
melody sound continues sounding from you Remote LCD Transmitter and
“” indication flashes on the LCD screen.
1. Press the transmitter button first, within 3
seconds press () button to activate outdoor
driver paging function, It responds with chirps of the
vehicle, a melody sound and " " indication flashes
on the LCD screen to confirm the function is on.
2. When tapping the paging (knock) sensor, one chirp
sound shall be emitted from the vehicle and the
paging melody sound continues sounding from you
Remote LCD Transmitter and “ ” indication flashes
on the LCD screen.
3.Turn on the ignition switch; OR press the button to
arm the system; OR press the button to
disarm the system, this outdoor driver paging function
will exit.
S. DOME LIGHT CONVENIENCE DELAY & SUPERVISION
The alarm with a unique feature which will turn on your vehicle dome light as
following:
1. Upon disarming, the interior light will remain on for 30 seconds.
2. If the vehicle is intruded, the interior light will flash for the same duration as
the siren.

21
Note: Turn on the ignition switch or arm the alarm will turn off the dome light.
T. IGNITION CONTROL DOOR LOCK/UNLOCK.
If the vehicles door locks have been interfaced to the security system, the
system will automatically lock the vehicle's doors when the ignition is turned
“ON” and /or unlock the vehicle’s doors when the ignition is turned “OFF”.
U. TRUNK RELEASE (CHANNEL 3) OUTPUT.
Press and hold button on the transmitter for two
seconds to remote control the trunk release or other
electric devices.
V. CHANNEL 4 TIMER CONTROL OUTPUT
Press the transmitter (4) and (4) button at the
same time to active Channel 4 function. Channel 4 is
user-programmable timer output. You may program the
built-in timer to send a ground signal for any time duration
from 1 second to 120 seconds. For instance, this timer
output may be used to turn on the headlight, power window
or sunroof. (Factory defaults setting at momentary output.)
W. CHANNEL 5 TIMER CONTROL OUTPUT
Press the transmitter (5) and (5) buttons at the
same time to active Channel 5 function. Channel 5 is
user-programmable timer output. You may program the
built-in timer to send a ground signal for any time duration
from 1 second to 120 seconds. For instance, this timer
output may be used to turn on the headlight, power
window or sunroof. (Factory defaults setting at momentary
output.)
X. CHANNEL 6 TIMER CONTROL OUTPUT
Press the transmitter (6) and (6) buttons at the
same time to active Channel 6 function. Channel 6 is
user-programmable timer output. You may program the
built-in timer to send a ground signal for any time duration
from 1 second to 120 seconds. For instance, this timer
output
may be used to turn on the headlight, power window or
sunroof.
(Factory defaults setting at momentary output.)
Y. SECOND VEHICLE SECURITY OPERATION:

22
Your 5-button remote transmitter can be utilized to control a second vehicle
security system, To program the remote control transmitter to a second
vehicle, follow the instructions for Transmitter programming.
Programming the Transmitter to 2nd Car
Enter:
1. Turn the ignition key ON 3 times. (Finishing in the ON position)
2. Press valet switch 2 times, holding in on the 2nd push, you will hear a
long siren chirp. (Release the valet switch)
3. Press the shift button of the Car 2 transmitter.
** LCD transmitter must be put in 2nd car mode to program for 2nd car.
(See next page)
4. Press the lock button on the transmitter; you will hear 1 siren chirp.
Turn OFF the ignition switch; you will hear 3 long siren chirps to confirm
programming and exit transmitter programming
** For 2-way LCD Display Transmitter:
2nd Car Operation:
1. Press first, within 3 seconds press and hold
and
buttons at the same time for 2 seconds.
Two beeping
sound and the “ ” icon will be displayed
on the LCD
screen to indicate the second transceiver pin code is
programmed.
2. While the “ ” icon is displayed on the LCD screen,
you
can remote control
and communicate with a second vehicle
security system. It has two short “bi” sounds
while pressing
the button of the LCD screen transceiver.
Back to 1st Car Operation:
1. Press first, within 3 seconds press and hold
and
buttons at the same time for 2 seconds. One long
beeping sound and the “ ” timer icon will
be
displayed
on the LCD screen indicating the system is back
to the first transceiver pin code.
2. While the “ ” timer icon is displayed
on the LCD
screen, you can remote control
and communicate with the
first vehicle security system. It has one short “bi” so
und while
pressing the button of the LCD screen transceiver.
Z. POWER ON MEMORY:
This security system is equipped with circuitry that will allow the unit to
remember its alarm state if the power is lost and then reconnected

23
. REMOTE START OPERATION:
A. TO REMOTE START THE VEHICLE:
When you want to start your vehicle,
1. Press button once on the transmitter.
2. The parking light will activate to indicate the remote start
received the signal.
3. The engine will start approximately 5 seconds.
4. Once the engine is running, after couple seconds the parking
light will turn on again and climate controls will activate and adjust
the vehicles interior temperature to your preset setting. (While the
vehicle is running, the “minutes” digit on the LCD screen will flash
and the will indicate count down timer based on the 5, 10, 20 or
30 minute run time set up by your installation center.)
5. The vehicle will run for 5 to 30 minute cycle automatically shut
down. (When the unit shuts off the count down timer will turn off
and the transmitter will play a melody.)
NOT E: The Remote Start Unit will not start the vehicle if any one of the
following conditions exists:
1. The hood is opened.
2. The brake pedal is pressed.
3. Move the optional remote start enable toggle switch to OFF
position. (If installed)
4. The gear selector is in any gear other then “PARK” or
“NEUTRAL”
Activate Remote
Start
Engine Running
SAFE START (Child safety mode)
Factory defaults setting to press the button twice on the transmitter to
start the vehicle. Programming this feature to eliminate an accidental remote
start,
1. The user presses the transmitter buttons twice within 3 seconds to
start the vehicle. or
2. The user presses the transmitter and buttons at the same time to
start the vehicle.
B. TO OPERATE THE VEHICLE WHILE RUNNING ON THE REMOTE
START:
To operate the vehicle while the engine is running on the remote start,
1. Insert the ignition key and turn it to “ON” (not the start) position.
2. Press the brake pedal.
Note: If the brake pedal is pressed before the key is in the ON position, the
engine will shut down.
C. TEMPORARY STOP FEATURE:
This feature allows the vehicle to remain running after the key has been
removed from the ignition. This feature is useful for occasions when you wish

24
to exit and lock the vehicle for short periods of time, but would like to leave the
motor running and the climate control on.
1.Before turning off the engine, press the button twice on the transmitter
and the LED indicator will flash 3 times to confirm enter.
2.Turn the ignition key to OFF position. (The engine will stay running.)
3.The engine will run until the pre-programmed time elapsed or shutdown
input is received.
D: TURBO CHARGE MODE:
Turbo charge mode keeps the engine running after arriving at your
destination for a programmable period of 1, 3 or 5 minutes, This allows the
vehicle’s engine time to conveniently cool down the turbo after you have left
the vehicle. To activate:
1. While the engine is running, pull up the hand brake and place the
transmission gear in the park position.
2. Before turning off the engine, press and release and buttons at the
same time.
-- The LED will flash indicating the remote start has entered the turbo
charge mode.
3. Take the “Ignition Key” from the key cylinder.
-- Engine keeps running. --
4. Exit and secure the vehicle.
-- Engine continues running until the pre-programmed time elapsed. --
NOTE: This feature only applies to vehicles with Turbo Engines.
E. TIMER / TEMPERATURE START:
This unit can be programmed to start and run the engine every 3 hours or
punctually at the same time next morning, the engine will run for the
programmed running time and then shut down.
IMPORTANT: Timer Start should be used only in open areas, never start and run the
vehicle in on enclosed space such as a garage or carport.
3 hours timer start with Temperature-control OFF: This feature is design for
an extreme cold climate usage. The system will auto start the vehicle every 3
hours, to prevent engine freezing and hard to start.
A MAXIMUM OF SIX CYCLES CAN OCCUR.
3 hours timer start with Temperature-control:
If you installed the optional Temperature Sensor and programmed the
temperature ON to operate. The system can be programmed to automatically
start the vehicle engine whenever the temperature inside the vehicle reaches
or drops below the preprogrammed temperature level. The system will
monitor the air temperature every 3 hour and will only start the engine during
extreme cold temperatures. There are three temperature levels to choose
from.

25
Daily Timer Start: The feature is very useful for the driver who wants to run
the vehicle punctually at the same time next morning. Before set-up of the
“Daily Timer Start”, you should set you time for engine start.( see Timer
Setting / Timer set-up for “Daily Timer Start, page 16)
ENTER:
1. Press the button once to remote start the vehicle.
2. Immediately depress the button once, within 2 seconds
3-a. 3 Hours Timer Start: Rapidly depresses the button (or depresses
+ buttons, if you program + buttons = Start / Stop button.) The
parking light will flash (3) times. The siren or horn chirps (3) times. The vehicle
is now programmed to start every (3) hours.
3-b. Daily Timer Start: Depress the transmitter button first,
within 3 seconds press and hold button for two seconds.
The parking light will flash (6) times. The siren chirps (6)
times. The vehicle is now programmed to start at the real
time of the next day. Your set time for the next day engine
start flashes for approx. 3 seconds on the LCD screen. After
3 seconds the icon stays displayed on the LCD screen.
4. Press the brake pedal to stop the vehicle running.
Exit the timer start: Timer start can be exited manually as follows:
1. Make sure the remote start system is not operating the engine.
2. Turn the ignition on. The LED and parking light will flash (4) times. The horn
chirps (4) times. Or
F. TEMPERATURE CHECK (OPTIONAL)
If you installed the optional temperature sensor, you can monitor,
through the LCD screen, the present indoor temperature of the
passenger compartment before cooling or heating your vehicle.
Press the transmitter buttons first, within 3 seconds press
the ( ) button, the in-door temperature will be shown on the
LCD screen. This reading may be higher than actual ambient
temperature due to the greenhouse and is relative only the inside
vehicle temperature.
G. TO TURN OFF THE REMOTE START:
When the engine is running (by remote start), if you want to stop it,
1. Press
button once on the remote transmitter under remote
start mode.
2.
Move the optional remote start enable toggle switch to OFF
position. (If installed)
3.
Press the brake pedal The vehicle will shut down and turn off the
parking light to indicate engine stopped

26
H. SHUT-DOWN INPUT FOR REMOTE STARTER:
If any of the following conditions exist while the system is operating, the
engine will not start or will shut down immediately:
1. The hood is opened.
2. The brake pedal is pressed.
3. Engine is over-revved. {“Tachometer checking type” only}
4. The pre-programmed run time (5 /10 / 20 / 30 minutes) has elapsed.
5. Press button once on the remote transmitter under remote start mode.
6. Move the optional remote start enable toggle switch to OFF position. (If
installed)
7. The vehicle refused to start running after {3} unsuccessful attempts.
I. DISABLING THE REMOTE START SYSTEM: (If installed)
This feature allows your system’s remote start unit to be temporarily disabled
to prevent the vehicle from being remote started accidentally. This feature is
useful if the vehicle is being serviced or stored in an enclosed area. To
disable the remote start, move the optional remote start enable toggle switch
to the OFF position.
27
LIMITED LIFETIME WARRANTY PROVISIONS
( U.S. ,Continental U.S. and Canada Only)
1. Auto Page, Inc. WARRANTS that this new unit has been thoroughly inspected and
tested at the factory prior to delivery. Your Auto Page equipment is guaranteed for
“life” to the original purchaser/user of the equipment and the original vehicle in which it
was installed by an authorized installer under the following conditions: If the product
proves defective (according to Auto Page's testing) within the first year, the defective
unit may be exchanged or repaired free of charge. “Proof of Purchase” (dated sales
receipt) must accompany all warranty returns; otherwise, your return will be
rejected and sent back. After one (1) year, the purchaser should ship the unit prepaid
to Auto Page with a money order in the amount of $30.00 to cover shipping and
handling charges. Note: The enclosed Warranty Card may be required to receive
warranty services.
2. This WARRANTY will be considered void if the equipment has been misused, neglected,
improperly serviced or installed, altered, dropped or damaged by water, contrary to the
Auto Page OPERATIONS MANUAL. Or, if used with accessories not approved by
Auto Page, which may have contributed to the defect. See note below regarding
product installation**.
3. The purchaser’s remedies under this WARRANTY shall be limited to the repair or
replacement of electronic components only. THE FOLLOWING IS NOT
COVERED: Damages or deterioration to cases, batteries, covers and cabinets; the cost
of repairs, replacement and labor of which shall be borne by the purchaser even if
occurring during the WARRANTY period.
4. Any equipment or parts which are claimed to be defective under this WARRANTY must
be sent to the Auto Page Service center with “proof of purchase” at the purchaser’s
expense prior to such return, a Return Authorization Number should be obtained. Auto
Page will return the equipment, charges prepaid. Warranty Service can be provided
through the dealer where the equipment is originally purchased.

28
5. Any unexpired WARRANTY shall be applicable to equipment and parts in the
possession of the original purchaser only.
6. THIS WARRANTY IS IN LIEU OF ANY AND ALL OTHER WARRANTIES,
EXPRESSED OR IMPLIED, INCLUDING BUT NOT LIMITED TO ANY
WARRANTY OF MERCHANTABILITY OR FITNESS FOR A PARTICULAR
PURPOSE.
7. Auto Page shall not be liable, under the foregoing WARRANTIES or otherwise, for: Any
personal injury of any kind to the purchaser, its employees or agents or anyone else
whomsoever resulting directly or indirectly from the use or presence of the equipment or
parts; Consequential damages of any kind; any inability of the purchaser to use the
equipment.
The attached WARRANTY CARD is for your record. However, Auto Page reserves the
right to request you to submit this WARRANTY CARD, which must have complete
information to receive warranty service. Please keep this card in a secured place.
**IMPORTANT NOTE: Any damages to the alarm system resulting from an
installation performed by anyone other than a professional installation
technician authorized by a dealer of Auto Page will void the product’s limited
lifetime warranty.
This WARRANTY CARD is for your record. However, Autopage reserves the
right to request you to submit this WARRANTY CARD, which must have
complete information to receive warranty service. Please keep this card in a
secured place.
AUTOPAGE WARRANTY SERVICE CARD
Model: _______________
Serial # _______________
CUSTOMER TO COMPLETE DEALER TO COMPLETE
Mr./Mrs./Ms.
___________________________ ________________________________
Your Name (Please Print) Company Name
___________________________ ________________________________
Address Dealer’s Address
___________________________ ________________________________
29
City, State, Zip Code City, State, Zip Code
___________________________ ________________________________
Telephone Number Dealer’s Telephone Number
___________________________ ________________________________
Year / Make / Model of Vehicle Date of Installation / Purchase
________________________________
Dealer’s Signature
“Proof of Purchase” which includes the store name and date of purchase must
accompany all warranty returns.
It is the purchaser’s responsibility to keep this card for any future warranty
service.
This device complies with part 15 of the FCC rules. Operation is subject to the
following two conditions.
1) This device may not cause harmful interference, and
2) This device must accept any interference received, including interference
that may cause undesired operation.
Per FCC 15.21, you are cautioned that changes or modifications not expressly
approved by the part responsible for compliance could void the user’s authority
to operate the equipment.

30
960 Knox Street Unit B
Torrance, California 90502
Main Office: 310-323-1800
Customer Service: 800-262-2527 Ext. 462
www.autopageusa.com