Advanced Card Systems ACM1281 Smart Card Reader Module User Manual Rev
Advanced Card Systems Limited Smart Card Reader Module Users Manual Rev
Users Manual Rev

Subject to change without prior notice info@acs.com.hk
www.acs.com.hk
ACM1281 NFC Reader Module Technical
Reference Information V1.00
ACM1281 NFC Reader
Module Reference
Information

ACM1281 NFC Reader Module Reference Information info@acs.com.hk
1.00 www.acs.com.hk
Page 2 of 7
Version History
Date By Changes Version
2015-03-16 ● 1.00
●

ACM1281 NFC Reader Module Reference Information info@acs.com.hk
1.00 www.acs.com.hk
Page 3 of 7
Table of Contents
1.0. Description............................................................................................................... 4
2.0. Features ................................................................................................................... 4
3.0. Absolute Maximum Ratings .................................................................................... 5
4.0. Recommended Operation Conditions .................................................................... 5
5.0. Pin Descriptions ...................................................................................................... 5
6.0. Antenna .................................................................................................................... 5
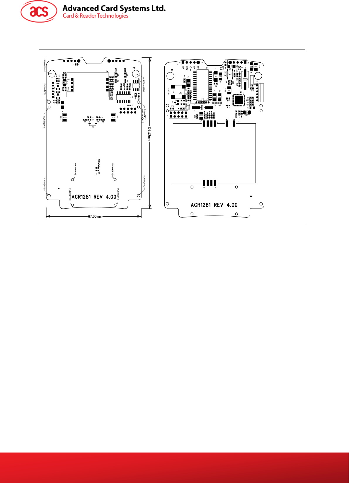
7.0. Mechanical Dimensions .......................................................................................... 6
8.0. Notice ....................................................................................................................... 6
9.0. Labeling of end‐user equipment ............................................................................ 7

ACM1281 NFC Reader Module Reference Information info@acs.com.hk
1.00 www.acs.com.hk
Page 4 of 7
1.0.
Description
The ACM1281 NFC Reader module is a 13.56MHz transceiver designed to read Radio Frequency
Identification (RFID) tags. This module is based on an NXP Semiconductors RC531 completely
integrated for all kinds of passive contactless communication methods and protocols at 13.56MHz.
The ACM1281’s antenna is integrated into the circuit board so there is no external antenna required.
2.0. Features
USB 2.0 Full Speed Interface
Contactless Smart Card Reader:
o 13.56MHz Carrier Frequency
o Read/Write speed of up to 848 kbps
o Built-in antenna for contactless tag access, with card reading distance of up to 50 mm
(depending on tag type)
o Supports ISO 14443 Part 4 Type A and B cards and MIFARE® Classic series
o Built-in anti-collision feature (only one tag is accessed at any time)
o Supports extended APDU (max. 64 kbytes)
o Integrated Antenna
Contact Smart Card Reader:
o Supports ISO 7816 Class A, B and C (5 V, 3V and 1.8 V)
o Supports CAC (Common Access Card)
o Supports PIV (Personal Identity Verification Card)
o Supports microprocessor cards with T=0 or T=1 protocol
o Supports memory cards
o ISO 7816 compliant SAM slot
Built-in Peripherals:
o Two user-controllable LEDs
o User-controllable buzzer
USB Firmware Upgradability
Supports AndroidTM OS 3.1 and above
Compliant with the following standards:
o ISO 14443
o ISO 7816
o CE
o FCC
o PC/SC
o CCID
o Microsoft® WHQL
o RoHS

ACM1281 NFC Reader Module Reference Information info@acs.com.hk
1.00 www.acs.com.hk
Page 5 of 7
3.0. Absolute Maximum Ratings
SYMBOL Description Min Max Units
VDD Support Voltage to J7’s Pin 1 and Pin 4 4 6 V
Tamb,abs Storage Temperature Range -40 85 ℃
Stress beyond those listed under the Absolute Maximum Ratings may cause permanent damage to
device. These are stress ratings only and functional operation of the device at these or any other
conditions beyond those indicated under Recommended Operating Conditions are not implied.
Exposure to absolute‐maximum‐rated conditions for extended periods may affect device reliability
4.0. Recommended Operation Conditions
SYMBOL Description Min Normal
Max Units
VDD Support Voltage to J7’s Pin 1 and Pin 4 4.75 5 5.25 V
Tstorage Storage Temperature Range -10 25 60 ℃
Toperation Operation Temperature Range 0 25 50 ℃
Humidity Humidity Range - - 90 %
Fc Carrier Frequency Range 13.553
13.56 13.567
MHz
Ioperation Current Consumption - 100 200 mA
5.0. Pin Descriptions
The ACM1281 has a five pins connector interface between the module and the host, identified by ref
J7. Pins assignment are given in the table below
PIN NAME Type Description
1 UVCC Power Supply Voltage
2 D- Input/output Differential data lines that conform to the
USB v2.0 standard
3 D+ Input/output Differential data lines that conform to the
USB v2.0 standard
4 UGND Power Power Ground
5 GND Power Shielding Ground
6.0. Antenna
The integrated antenna is etched in the copper on the layer 2 and layer 3 of the circuit board. The
antenna consists of three loops of 0.03” wide copper with 0.03” spacing.

ACM1281 NFC Reader Module Reference Information info@acs.com.hk
1.00 www.acs.com.hk
Page 6 of 7
7.0. Mechanical Dimensions
8.0. Notice
This equipment has been tested and found to comply with the limits for a Class B digital device,
pursuant to part 15 of the FCC/IC rules. These limits are designed to provide reasonable protection
against harmful interference in a residential installation. This equipment generates, uses, and can
radiate radio frequency energy and, if not installed and used in accordance with the instructions, may
cause harmful interference to radio communications. However, there is no guarantee that interference
will not occur in a particular installation.
The device complies with Part 15 of the FCC Rules.
Operation is subject to the following two conditions:
(1) This device may not cause harmful interference, and
(2) This device must accept any interference received, including interference that may cause
undesired operation
Warning: Changes or modifications not expressly approved by the Advanced Card Systems Ltd.
could void the user's authority to operate the equipment.
Installation in end‐user equipment
This device has been modularly approved and is intended solely for use in Advanced Card Systems
Ltd. products. Advanced Card Systems Ltd. will retain control over the final installation of the device,
such that compliance in the end‐user equipment is assured. The end‐user equipment will be tested
for spurious and radiated emissions to ensure the end device complies with FCC Part 15 limits.

ACM1281 NFC Reader Module Reference Information info@acs.com.hk
1.00 www.acs.com.hk
Page 7 of 7
9.0. Labeling of end‐user equipment
This device has been modularly approved. The manufacturer, product name, and FCC this product
must appear on the outside label of the end‐user equipment as follows:
FCC ID: V5MACM1281
Product Code: ACM1281