Alliance Laundry Systems Jcd32Dg Users Manual Drying Tumblers Parts
jcd32dg 1b5a1dcd-9331-4f55-ae6c-f723348ba297 Alliance Laundry Systems Clothes Dryer JCD32DG User Guide |
2015-02-05
: Alliance-Laundry-Systems Alliance-Laundry-Systems-Jcd32Dg-Users-Manual-506453 alliance-laundry-systems-jcd32dg-users-manual-506453 alliance-laundry-systems pdf
Open the PDF directly: View PDF
.
Page Count: 59
- Cover
- Model Identification
- Table of Contents
- Parts Ordering Information
- Nameplate Location
- Single Coin Drop
- Dual Coin Drop
- Cover Plate
- Microprocessor
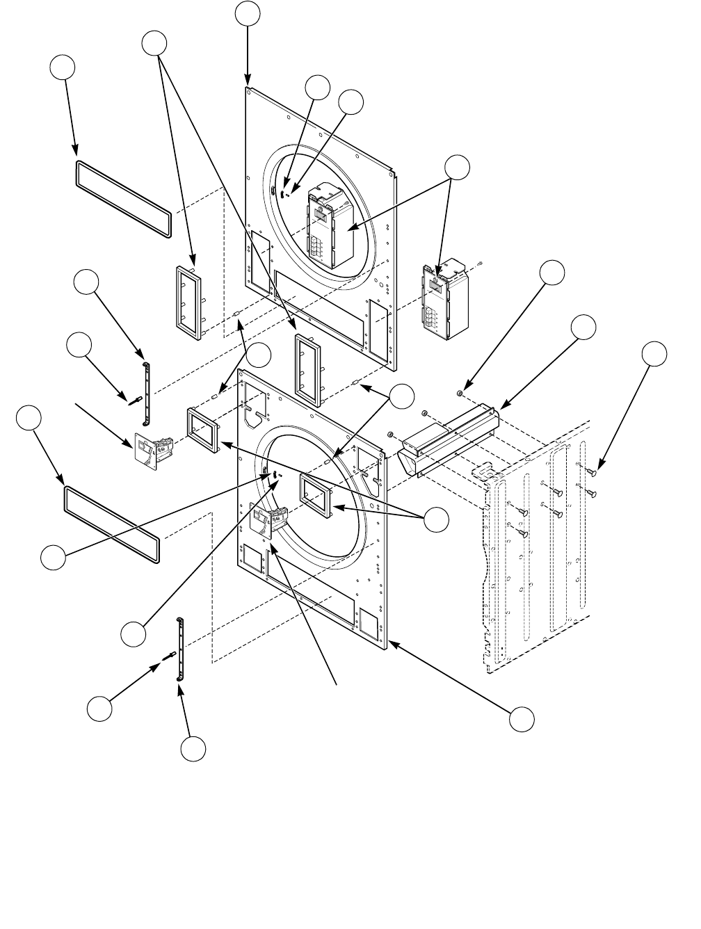
- Front Panel Assembly
- Front Panel Assembly
- Side Panels
- Loading Door
- Lint Drawer
- Cylinder
- Drive Shaft
- Drive Shaft
- Blower Housing and Fan
- Motor and Belt Guard
- Thermostat and Burner
- Gas Valve
- Gas Valve Coils
- Orifice Sizing for Stacked Tumbler Gas Valves
- 120/208-240 Volt, 60 Hertz Junction Box
- 240 Volt, 50 Hertz Junction Box
- 120/208-240 Volt, 60 Hertz Junction Box
- 240 Volt, 50 Hertz Junction Box
- Stickers and Labels – Front
- Stickers and Labels – Rear
- Coin Drop Assemblies
- Wire Harnesses
- Parts Index
- Assoc. Bulletins

Parts
Drying Tumblers
Stacked 30 Pound Capacity
(Models Prior to Serial DTCK9401011756)
Refer to Page 3 for Model Numbers
Part No. M411988R1
April 2000
www.comlaundry.com

© Copyright 2000, Alliance Laundry Systems LLC
All rights reserved. No part of the contents of this book may be reproduced or transmitted in any form or by any means without
the expressed written consent of the publisher.
M411988 1
Table of Contents
Title Page
Parts Ordering Information ....................................................................................................................... 2
Nameplate Location.................................................................................................................................. 2
Model Identification................................................................................................................................... 3
Single Coin Drop....................................................................................................................................... 4
Dual Coin Drop ......................................................................................................................................... 6
Cover Plate ............................................................................................................................................... 8
Microprocessor ....................................................................................................................................... 10
Front Panel Assembly............................................................................................................................. 12
Front Panel Assembly............................................................................................................................. 14
Side Panels............................................................................................................................................. 16
Loading Door .......................................................................................................................................... 18
Lint Drawer ............................................................................................................................................. 20
Cylinder................................................................................................................................................... 22
Drive Shaft .............................................................................................................................................. 24
Drive Shaft .............................................................................................................................................. 26
Blower Housing and Fan ........................................................................................................................ 28
Motor and Belt Guard ............................................................................................................................. 30
Thermostat and Burner........................................................................................................................... 32
Gas Valve ............................................................................................................................................... 34
Gas Valve Coils ...................................................................................................................................... 36
Orifice Sizing for Stacked Tumbler Gas Valves...................................................................................... 38
120/208-240 Volt, 60 Hertz Junction Box ............................................................................................... 40
240 Volt, 50 Hertz Junction Box ............................................................................................................. 42
120/208-240 Volt, 60 Hertz Junction Box ............................................................................................... 44
240 Volt, 50 Hertz Junction Box ............................................................................................................. 46
Stickers and Labels – Front .................................................................................................................... 48
Stickers and Labels – Rear..................................................................................................................... 50
Coin Drop Assemblies ............................................................................................................................ 52
Wire Harnesses ...................................................................................................................................... 53
Parts Index.............................................................................................................................................. 55
© Copyright, Alliance Laundry Systems LLC – DO NOT COPY or TRANSMIT

M411988
2
Parts Ordering Information
If literature or replacement parts are required, contact
the source from whom the machine was purchased or
contact Alliance Laundry Systems LLC at (920) 748-3950
for the name and address of the nearest authorized
parts distributor.
For technical assistance, call (920) 748-3121.
Nameplate Location
When calling or writing about your product, be sure to
mention model and serial numbers. Model and serial
numbers are located on nameplate(s) as shown.
NOTICE
NOTICE
WARNING
WARNING
T278P
NAMEPLATE
© Copyright, Alliance Laundry Systems LLC – DO NOT COPY or TRANSMIT

M411988 3
Model Identification
Information in this manual is applicable to these stacked drying tumblers:
JTD32DG
JCD32DG
STD32DG
SCD32DG
© Copyright, Alliance Laundry Systems LLC – DO NOT COPY or TRANSMIT

M411988 7
Dual Coin Drop
REF PART NO. DESCRIPTION COMMENTS
1430664 Key
2430671 Lock
381312J Push Button
481312K Spring
581312L Cover Plate
681312G Coin Switch
781312D Rejector
8M412095 Coin Switch
9M412094 Rejector
10 430535 Clip
11 430343 Wire Harness
© Copyright, Alliance Laundry Systems LLC – DO NOT COPY or TRANSMIT

M411988 9
Cover Plate
For Manual Start Kit
REF PART NO. DESCRIPTION COMMENTS
430974 Outer Front Plate Used to close off coin vault opening
430837 Carriage Bolt Prior to Serial No. DTCK0728885ZH
431114 Retaining Bolt Starting with Serial No. DTCK0728885ZH
20275 Hex Nut Prior to Serial No. DTCK0728885ZH
M401930 Square Nut Starting with Serial No. DTCK0728885ZH
1M406303 Instruction Plate
281637 Switch Plate 2 Required
302377 Lockwasher 2 Required
4430799 Manual Start Assembly Replaces Coin Drop
DTCK0728885ZH was Serial No. for models with angled Coin Vault located below Coin Drop.
Single Coin Drops did not change with Coin Vault change.
© Copyright, Alliance Laundry Systems LLC – DO NOT COPY or TRANSMIT

M411988
10
Microprocessor
UPPER DRYER
OPERATING INSTRUCTIONS
AVAILABLE
MORE COINS
DRYING
COOLING
DOOR OPEN
COTTONS
MED TEMP
DELICATES
Check inside machine for children,
pets, and foreign objects before
loading and starting.
Load dryer and close door.
Insert proper coins.
Adding coins before dryer stops
adds time.
Select temperature setting desired.
To dry cottons, select "HIGH TEMP."
To dry perm press, select "MED. TEMP."
To dry delicates, select "LOW TEMP."
Push and release START button.
To change temperature, simply select
new temperature setting.
1.
2.
3.
4.
5.
6.
7.
T280P
1
3
5
6
7
8
10
9
11
4
2
© Copyright, Alliance Laundry Systems LLC – DO NOT COPY or TRANSMIT

M411988 11
Microprocessor
REF PART NO. DESCRIPTION COMMENTS
1430664 Key
2430832 Lock
3430274 Gasket
4430291 Program Instructions
5430562 Service Soon Light Prior to Serial No. DTCK9211033714
6430596 Sticker
7430561 Lens Prior to Serial No. DTCK9211033714
8430330P Wire Harness Kit
9430640P Microprocessor
10 430905 Microprocessor Door Assembly Left
430907 Microprocessor Door Assembly Right
11 430906 Graphics Panel Left
430908 Graphics Panel Right
© Copyright, Alliance Laundry Systems LLC – DO NOT COPY or TRANSMIT

M411988
12
Front Panel Assembly
(Prior to Serial No. DTCK0728885ZH)
OPERATING INSTRUCTIONS
AVAILABLE
MORE COINS
DRYING
COOLING
DOOR OPEN
COTTONS
MED TEMP
DELICATES
Check inside machine for children,
pets, and foreign objects before
loading and starting.
Load dryer and close door.
Insert proper coins.
Adding coins before dryer stops
adds time.
Select temperature setting desired.
To dry cottons, select "HIGH TEMP."
To dry perm press, select "MED. TEMP."
To dry delicates, select "LOW TEMP."
Push and release START button.
To change temperature, simply select
new temperature setting.
1.
2.
3.
4.
5.
6.
7.
OPERATING INSTRUCTIONS
AVAILABLE
MORE COINS
DRYING
COOLING
DOOR OPEN
COTTONS
MED TEMP
DELICATES
Check inside machine for children,
pets, and foreign objects before
loading and starting.
Load dryer and close door.
Insert proper coins.
Adding coins before dryer stops
adds time.
Select temperature setting desired.
To dry cottons, select "HIGH TEMP."
To dry perm press, select "MED. TEMP."
To dry delicates, select "LOW TEMP."
Push and release START button.
To change temperature, simply select
new temperature setting.
1.
2.
3.
4.
5.
6.
7.
25
25
10
10
25
25
10
10
T281P
1
23
4
5
6
10
11
12
13
14
3
2
15
17
18
8
7
9
16
16
12
15
14
DUAL COIN DROP
(Refer to Page 52)
DUAL COIN DROP
(Refer to Page 52)
© Copyright, Alliance Laundry Systems LLC – DO NOT COPY or TRANSMIT

M411988 13
Front Panel Assembly
(Prior to Serial No. DTCK0728885ZH)
REF PART NO. DESCRIPTION COMMENTS
1431323* Front Panel – Upper Painted
431169 Front Panel – Upper Stainless Steel
2M401223 Catch Included with Front Panel
3M400003 Rivet Included with Front Panel
4430640P Microprocessor
5430228 Coin Chute
6430452 Coin Chute Bracket Left
430451 Coin Chute Bracket Right
7430460 Plug
8430489 Rivet
9430382 Coin Vault Bracket
10 430449 Screw
11 431324* Front Panel – Lower Painted
431170 Front Panel – Lower Stainless Steel
12 M400972 Clip
13 430548 Coin Vault Shadow Box
14 431000* Hinge Bracket Painted, included with Front Panel
431044 Hinge Bracket Stainless Steel, included with Front Panel
15 M410762 Rivet Included with Front Panel
16 430638 Seal Included with Front Panel
17 431326 Microprocessor Shadow Box
18 430995 Coin Drop Shadow Box
* Add letter to designate color: L - Almond W - White V - Orange K - Red
B - Battina Green H - Harvest Gold X - Electric Blue P - Turquoise
© Copyright, Alliance Laundry Systems LLC – DO NOT COPY or TRANSMIT

M411988
14
Front Panel Assembly
(Serial No. DTCK0728885ZH through Serial No. DTCK9312664705)
OPERATING INSTRUCTIONS
AVAILABLE
MORE COINS
DRYING
COOLING
DOOR OPEN
COTTONS
MED TEMP
DELICATES
Check inside machine for children,
pets, and foreign objects before
loading and starting.
Load dryer and close door.
Insert proper coins.
Adding coins before dryer stops
adds time.
Select temperature setting desired.
To dry cottons, select "HIGH TEMP."
To dry perm press, select "MED. TEMP."
To dry delicates, select "LOW TEMP."
Push and release START button.
To change temperature, simply select
new temperature setting.
1.
2.
3.
4.
5.
6.
7.
OPERATING INSTRUCTIONS
AVAILABLE
MORE COINS
DRYING
COOLING
DOOR OPEN
COTTONS
MED TEMP
DELICATES
Check inside machine for children,
pets, and foreign objects before
loading and starting.
Load dryer and close door.
Insert proper coins.
Adding coins before dryer stops
adds time.
Select temperature setting desired.
To dry cottons, select "HIGH TEMP."
To dry perm press, select "MED. TEMP."
To dry delicates, select "LOW TEMP."
Push and release START button.
To change temperature, simply select
new temperature setting.
1.
2.
3.
4.
5.
6.
7.
25
T282P
1
23
4
5
6
9
10
11
3
2
12
11
10
12
14
13
13
8
7
SINGLE COIN
DROP
(Refer to Page 52)
SINGLE COIN
DROP
(Refer to Page 52)
© Copyright, Alliance Laundry Systems LLC – DO NOT COPY or TRANSMIT

M411988 15
Front Panel Assembly
(Serial No. DTCK0728885ZH through Serial No. DTCK9312664705)
REF PART NO. DESCRIPTION COMMENTS
1431142* Front Panel – Upper Painted
431221 Front Panel – Upper Stainless Steel
2M401223 Catch Included with Front Panel
3M400003 Rivet Included with Front Panel
4430640P Microprocessor
523951 Nut 6 Required
6430982* Coin Vault Left
430972* Coin Vault Right
7431027 Screw 6 Required
8430548 Coin Vault Shadow Box
9431143* Front Panel – Lower Painted
431222 Front Panel – Lower Stainless Steel
10 431000* Hinge Bracket Painted, included with Front Panel
431044 Hinge Bracket Stainless Steel, included with Front Panel
11 M410762 Rivet Included with Front Panel
12 430638 Seal Included with Front Panel
13 M400972 Clip
14 431326 Microprocessor Shadow Box
* Add letter to designate color: L - Almond W - White V - Orange K - Red
B - Battina Green H - Harvest Gold X - Electric Blue P - Turquoise
© Copyright, Alliance Laundry Systems LLC – DO NOT COPY or TRANSMIT

M411988 17
Side Panels
REF PART NO. DESCRIPTION COMMENTS
1M402542 Bushing
2430581 Bracket
3430043 Insulation
4430447 Bracket
5431049 Side Panel and Insulation Right
627196 Hex Head Screw
431167 Torx Head Screw
7431045 Speed Nut
828193 Screw
9M406103 Door Switch Located on front panel prior to Serial No.
DTCK0728885ZH
10 431118 Door Switch Bracket
11 M400063 Leveling Leg
12 431048 Side Panel and Insulation Left
© Copyright, Alliance Laundry Systems LLC – DO NOT COPY or TRANSMIT

M411988 19
Loading Door
REF PART NO. DESCRIPTION COMMENTS
1430476 Door Assembly
2M406129 Door Gasket
323951 Nut
4430497 Screw
5430432 Door Switch Tab
6M400044 Screw
7M400653 Hinge Pin
8M401223 Catch
9M400003 Rivet
10 M406103 Door Switch Located on side panel starting with
Serial No. DTCK0728885ZH
11 431000* Hinge Bracket Painted, included with Front Panel
431044 Hinge Bracket Stainless Steel, included with Front Panel
12 M410762 Rivet
13 M402714* Door Hinge Painted
M400514 Door Hinge Stainless Steel
14 M400675 Nylon Washer
15 M400784 Door Glass
16 M409385 Screw
17 430459 Door Handle
18 M400962 Door Glass Seal
19 430649 Plug
20 430756 Screw
21 M400661 Screw
* Add letter to designate color: L - Almond W - White V - Orange K - Red
B - Battina Green H - Harvest Gold X - Electric Blue P - Turquoise
© Copyright, Alliance Laundry Systems LLC – DO NOT COPY or TRANSMIT

M411988 21
Lint Drawer
REF PART NO. DESCRIPTION COMMENTS
1430664 Key
2430429 Lock and Key
3430482 Lint Screen Prior to Serial No. DTCK9308000527
431215 Lint Screen Starting with Serial No. DTCK9308000527
451780 Screw
5430126 Bracket
6430638 Seal
7430490 Lint Drawer Prior to Serial No. DTCK9308000527
431248 Lint Drawer Starting with Serial No. DTCK9308000527
8430757 Screw
9430540 Switch
10 430473 Lint Drawer Switch and Plate Prior to Serial No. DTCK9308000527
11 431159 Lint Drawer Switch Starting with Serial No. DTCK9308000527
12 430385 Upper Front Plate
13 430527 Label
14 431001 Extension Starting with Serial No. DTCK9308000527
15 430386 Lower Front Plate Prior to Serial No. DTCK9308000527
431003 Lower Front Plate Starting with Serial No. DTCK9308000527
16 430489 Rivet
17 431275 Actuator Starting with Serial No. DTCK9308000527
© Copyright, Alliance Laundry Systems LLC – DO NOT COPY or TRANSMIT

M411988 23
Cylinder
REF PART NO. DESCRIPTION COMMENTS
1430844P Front Seal and Strap Kit
252310 Spring
3430099 Cylinder Rib
4430580 Cylinder and Trunnion Assembly
5430355 Seal Strap
6M402144 Felt Pad
7430219 Trunnion Assembly
8430352 Stud Plate
902834 Washer
10 02428 Jam Nut
11 M400022 Nut
12 M400034 Pal Nut
13 M400991 Washer
14 430260 Cylinder Support Bearing Assembly
15 M401930 Nut
16 M410947 Washer
17 M401402 Shim
18 430105P Rear Cylinder Seal with Adhesive
19 431198 Bumper
20 430884P Sweep Sheet Kit
21 M400003 Rivet
22 33561 Screw
23 430886 Speed Nut 4 Required
24 70061 Retaining Ring 2 Required
25 430427 Washer 2 Required
26 430019 Roller 2 Required
27 430576 Forge Nut 2 Required
28 431314 Retainer 2 Required
29 431315 Roller Shaft 2 Required
30 430954 Spring
31 430155 Rib Rod
32 430845 Seal Strap
© Copyright, Alliance Laundry Systems LLC – DO NOT COPY or TRANSMIT

M411988 25
Drive Shaft
(Prior to Serial No. DTCK0696605YF)
REF PART NO. DESCRIPTION COMMENTS
1430648 Cap Screw
2430619 Idler Wheel
3431381 Shoulder Screw
456156 Nut
5430263 Idler Arm
6430782 Washer
752566 Nut
802422 Screw
991093 Washer
10 430800P Pulley with Set Screw
11 430054 Belt
12 430193 Bracket
13 01355 Screw
14 02834 Washer
15 430104 Belt
16 430050P Sheave
17 430301 Spring
© Copyright, Alliance Laundry Systems LLC – DO NOT COPY or TRANSMIT

M411988 27
Drive Shaft
(Starting with Serial No. DTCK0696605YF)
REF PART NO. DESCRIPTION COMMENTS
1430648 Cap Screw
2430619 Idler Wheel
3431381 Shoulder Screw
456156 Nut
5430263 Idler Arm
6430782 Washer
752566 Nut
802422 Screw
991093 Washer
10 80116 Nut
11 430800P Pulley with Set Screw
12 M400034 Pal Nut
13 M400022 Nut
14 430054 Belt
15 430862 U-Bolt Clamp
16 430857 Rear Reinforcement Plate
17 430867 Drive Shaft Assembly
18 430856 Front Reinforcement Plate
19 M401327 Key
20 430104 Belt
21 430050P Sheave
22 430301 Spring
23 M400993 Key
24 430193 Bracket
25 01355 Screw
26 02834 Washer
© Copyright, Alliance Laundry Systems LLC – DO NOT COPY or TRANSMIT

M411988 29
Blower Housing and Fan
REF PART NO. DESCRIPTION COMMENTS
1430958 Bearing Housing and Shaft Assembly
202834 Washer
302428 Nut
4430875 Nut
5430849 Sheave
6430339 Cover
729443 Felt Washer
8430536 Thimble and Vane Assembly
9430534 Vane 2 Required
10 M400745 Rubber Bumper
11 430346 Shoulder Screw
12 430648 Screw
13 430619 Idler Wheel
14 430263 Idler Arm
15 430193 Bracket
16 430252 Spring
17 430251 Tab
18 27196 Screw
19 430850 Spacer
20 M400034 Pal Nut
21 M400022 Jam Nut
22 M410088P Fan
23 430061 Blower Housing
24 23962 Screw
25 M409114 Temperature Sensor
26 430338 Side and Back Cover
27 M406412 Limit Thermostat
28 430782 Washer
© Copyright, Alliance Laundry Systems LLC – DO NOT COPY or TRANSMIT

M411988 31
Motor and Belt Guard
REF PART NO. DESCRIPTION COMMENTS
1430054 Belt
2430067 Motor Pulley 60 Hertz
430668 Motor Pulley 50 Hertz
3430497 Screw
4431159 Belt Guard Switch Starting with Serial No. DTCK9308000527
5430525 Belt Guard Cover
6430542 Belt Guard Switch Prior to Serial No. DTCK9308000527
702834 Lockwasher
801355 Bolt
9M400080 Washer
10 431275 Motor 60 Hertz
430426 Motor 50 Hertz
© Copyright, Alliance Laundry Systems LLC – DO NOT COPY or TRANSMIT

M411988 35
Gas Valve
REF PART NO. DESCRIPTION COMMENTS
1431206 Nipple
2431182A O-Ring
3431182P Gas Shut-Off Valve and Union Starting with Serial No. DTCK930702934
4430481 Gas Valve Spud
5M401549 Union Nut Prior to Serial No. DTCK930702934
6M406439 Union Nipple Prior to Serial No. DTCK930702934
7431182P Gas Shut-Off Valve
8M400605 Anti-Torque Ring Prior to Serial No. DTCK930702934
9430586 Gas Valve Gasket
10 23962 Screw
11 430293 Gas Valve Bracket
12 M402542 Bushing
13 430257 High Voltage Lead
© Copyright, Alliance Laundry Systems LLC – DO NOT COPY or TRANSMIT

M411988 37
Gas Valve Coils
REF PART NO. DESCRIPTION COMMENTS
1M409253 Single Input Gas Valve Coils Starting with Serial No. DTCK9211033714
2430690 Dual Input Gas Valve Coils 60 Hertz, Prior to Serial No. DTCK9211033714
430691 Dual Input Gas Valve Coils 50 Hertz, Prior to Serial No. DTCK9211033714
© Copyright, Alliance Laundry Systems LLC – DO NOT COPY or TRANSMIT

M411988
38
Orifice Sizing for Stacked Tumbler Gas Valves
† Check Gas Valve Cavity Number for proper outer orifice part number. (Refer to illustration on next page.)
FIRING RATE
VALVE TYPE 75,000 BTU
DUAL INPUT VALVES 63,000 BTU
DUAL INPUT VALVES
63,000 BTU
SINGLE INPUT
VALVES
Natural Gas
Valves
60 Hertz/Natural Gas Valve Part No. 430650
50 Hertz/Natural Gas Valve Part No. 430657
60 Hertz/Natural Gas Valve Part No. 430894
50 Hertz/Natural Gas Valve Part No. 430896
60 Hertz/Nat. Gas Valve
Part No. 431072
50 Hertz/Nat. Gas Valve
Part No. 431074
L.P. (Liquefied
Petroleum)
Valves
60 Hertz/L.P. Gas Valve Part No. 430656
50 Hertz/L.P. Gas Valve Part No. 430658
60 Hertz/Natural Gas Valve Part No. 430895
50 Hertz/Natural Gas Valve Part No. 430897
60 Hertz/L.P. Gas Valve
Part No. 431073
50 Hertz/Nat. Gas Valve
Part No. 431075
Prior to Serial No. DTCK0714594ZA Serial No. DTCK0714594ZA
through DTCK9211033713
Starting with Serial No.
DTCK9211033714
Gas
Type
Alti-
tude
Outer
Orif.
Dec.
Size
Part
No.
Inner
Orif.
Dec.
Size
Part
No.
Outer
Orif.
Dec.
Size
Part
No.
Inner
Orif.
Dec.
Size
Part
No.
Outer
Orif.
Dec.
Size
Part
No.
Nat.
Gas
0 –
2000 #13 (.1850) 430773 1/8"(.1250) 430654 † #30 (.1285) 430898 #24 (.1520) 431191
2001 –
4000 #16 (.1770) 430960 #31 (.1200) 430760 #21 (.1590) 430935 1/8" (.1250) 430654 #26 (.1470) 431192
4001 –
6000 #17 (.1730) 430961 #32 (.1160) 430763 #22 (.1570) 430936 #31 (.1200) 430760 #27 (.1440) 430938
6001 –
8000 #18 (.1695) 430933 #33 (.1130) 430963 #25 (.1495) 430937 #32 (.1160) 430763 #28 (.1405) 431207
8001 –
10000 #20 (.1610) 430962 #34 (.1110) 430765 #27 (.1440) 430938 #34 (.1110) 430765 #29 (.1360) 431193
L.N.G.
L.N.G.
0 –
2000
– #22 (.1570) 430936 #31 (.1200) 430760 #27 (.1440) 430938
Town
Gas
Town
Gas
(L.P.) 0
– 2000
– #V (.3770) 431174 – – – #V (.3770) 431174
L.P.
0 –
2000 #37 (.1040) 430736 #47 (.0785) 430655 3/32" (.0938) 431010 #45 (.0820) 430893 3/32" (.0938) 431010
2001 –
4000 #39 (.0995) 430768 #48 (.0760) 430761 #43 (.0890) 430892 #47 (.0785) 430655 #43 (.0890) 430892
4001 –
6000 #41 (.0960) 430770 #49 (.0730) 430762 #43 (.0890) 430892 #48 (.0760) 430761 #43 (.0890) 430892
6001 –
8000 #42 (.0935) 430772 #50 (.0700) 430764 #44 (.0860) 430939 #48 (.0760) 430761 #44 (.0860) 430939
8001 –
10000 #43 (.0890) 430774 #51 (.0670) 430766 #46 (.0810) 430941 #49 (.0730) 430762 #46 (.0810) 430941
Town
Gas
Town
Gas 0
– 2000
– #A (.2340) 431130 – – – – – –
Gas
Conversion
Kits
Dual Input Valves Dual Input Valves Single Input Valves
Nat. Gas to
L.P. 474P3 514P3 563P3
L.P. to Nat.
Gas 475P3 513P3 550P3
© Copyright, Alliance Laundry Systems LLC – DO NOT COPY or TRANSMIT

M411988 39
CAVITY NO. ORIFICE PART NO. ORIFICE SIZE
#12
#13
#14
430993
430891
430891
#18 Drill (.1695)
#19 Drill (.1660)
#19 Drill (.1660)
14
T298P
CAVITY
NUMBER
© Copyright, Alliance Laundry Systems LLC – DO NOT COPY or TRANSMIT

M411988
40
120/208-240 Volt, 60 Hertz Junction Box
(Prior to Serial No. DTCK9211033714)
12
14
131516
10
91
112
6578
34
T299P
2
3
8
9
7
6
5
3
4
1
(REFER TO PAGE 53 FOR
WIRE HARNESS INFO) (REFER TO PAGE 53 FOR
WIRE HARNESS INFO)
(REFER TO PAGE 53 FOR
WIRE HARNESS INFO)
© Copyright, Alliance Laundry Systems LLC – DO NOT COPY or TRANSMIT

M411988 41
120/208-240 Volt, 60 Hertz Junction Box
(Prior to Serial No. DTCK9211033714)
REF PART NO. DESCRIPTION COMMENTS
191024 Fuse Holder Located in Upper Junction Box only
2M409997 Fuse Located in Upper Junction Box only
3M402542 Bushing
4430528 Relay
5430639 Jumper Block
6430641 Terminal Block 120 Volt
430642 Terminal Block 208-240 Volt
7H88213574 Screw
8430554 Cover
9M406789 IEI Control
© Copyright, Alliance Laundry Systems LLC – DO NOT COPY or TRANSMIT

M411988
42
240 Volt, 50 Hertz Junction Box
(Prior to Serial No. DTCK9211033714)
12
14
131516
10
91
112
6578
34
T299P
2
3
8
9
7
6
5
3
4
(REFER TO PAGE 53 FOR
WIRE HARNESS INFO) (REFER TO PAGE 53 FOR
WIRE HARNESS INFO)
(REFER TO PAGE 53 FOR
WIRE HARNESS INFO)
1
© Copyright, Alliance Laundry Systems LLC – DO NOT COPY or TRANSMIT

M411988 43
240 Volt, 50 Hertz Junction Box
(Prior to Serial No. DTCK9211033714)
REF PART NO. DESCRIPTION COMMENTS
430739 Capacitor Located in Upper Junction Box only
430743 Capacitor Boot Located in Upper Junction Box only
430740 Capacitor Bracket Located in Upper Junction Box only
430789 Terminal Block
430738 Transformer Located in Upper Junction Box only
430746 Relay
191024 Fuse Holder Located in Upper Junction Box only
2M409997 Fuse Located in Upper Junction Box only
3M402542 Bushing
4430528 Relay
5430639 Jumper Block
6430641 Terminal Block
7H88213574 Screw
8430554 Cover
9M406789 IEI Control
© Copyright, Alliance Laundry Systems LLC – DO NOT COPY or TRANSMIT

M411988
44
120/208-240 Volt, 60 Hertz Junction Box
(Starting with Serial No. DTCK9211033714)
T293P
1
2
3
8
7
6
5
3
4
(REFER TO PAGE 53 FOR
WIRE HARNESS INFO)
(REFER TO PAGE 53 FOR
WIRE HARNESS INFO)
(REFER TO PAGE 53 FOR
WIRE HARNESS INFO)
(REFER TO PAGE 53 FOR
WIRE HARNESS INFO)
© Copyright, Alliance Laundry Systems LLC – DO NOT COPY or TRANSMIT

M411988 45
120/208-240 Volt, 60 Hertz Junction Box
(Starting with Serial No. DTCK9211033714)
REF PART NO. DESCRIPTION COMMENTS
191024 Fuse Holder Located in Upper Junction Box only
2M409997 Fuse Located in Upper Junction Box only
3M402542 Bushing
4431331 Jumper Block
5430641 Terminal Block 120 Volt
430642 Terminal Block 208-240 Volt
6H88213574 Screw
7430554 Cover
8M406789 IEI Control
© Copyright, Alliance Laundry Systems LLC – DO NOT COPY or TRANSMIT

M411988
46
240 Volt, 50 Hertz Junction Box
(Starting with Serial No. DTCK9211033714)
T293P
2
3
7
6
5
3
4
8
(REFER TO PAGE 53 FOR
WIRE HARNESS INFO)
(REFER TO PAGE 53 FOR
WIRE HARNESS INFO)
(REFER TO PAGE 53 FOR
WIRE HARNESS INFO)
(REFER TO PAGE 53 FOR
WIRE HARNESS INFO)
1
© Copyright, Alliance Laundry Systems LLC – DO NOT COPY or TRANSMIT

M411988 47
240 Volt, 50 Hertz Junction Box
(Starting with Serial No. DTCK9211033714)
REF PART NO. DESCRIPTION COMMENTS
430739 Capacitor Located in Upper Junction Box only
430743 Capacitor Boot Located in Upper Junction Box only
430740 Capacitor Bracket Located in Upper Junction Box only
430789 Terminal Block
430738 Transformer Located in Upper Junction Box only
430746 Relay
191024 Fuse Holder Located in Upper Junction Box only
2430836 Fuse Located in Upper Junction Box only
3M402542 Bushing
4431331 Jumper Block
5430641 Terminal Block
6H88213574 Screw
7430554 Cover
8M406789 IEI Control
© Copyright, Alliance Laundry Systems LLC – DO NOT COPY or TRANSMIT

M411988 49
Stickers and Labels – Front
REF PART NO. DESCRIPTION COMMENTS
1M410892 Drying Warning Located on front panel behind door
2430596 Microprocessor Display Temperature
Label Located on back of micro door
3430291 Microprocessor Programming Label Located on back of micro door
4500316 Warning Located under lint drawer
© Copyright, Alliance Laundry Systems LLC – DO NOT COPY or TRANSMIT

M411988
50
Stickers and Labels – Rear
WARNING
Never operate the war
the washer with the front
panel removed Never aa
the washer with the front
panel removed
Never operate the front panel
Never operate
with the front
Never aathe
the front panel
NOTICE
NOTICE
Operate the washer
This unit requires
a SINGLE power
source.
Make electrical
connections
through top
junction box.
NOTICE
Remove junction
box cover to
make electrical
connections.
Replace junction
box cover after
making electrical
connections.
NOTICE
WARNING
NOTICE
Operate the washer
Never operate the war with
the front panel bfb removed.
Never operate the washer
with the front panel removed
Never aathe washer with
the front panel removed
WARNING AVERTISSEMENT
WARNING AVERTISSEMENT
WARNING AVERTISSEMENT
WARNING AVERTISSEMENT
Never operate the war with
the front panel bfb removed.
Never operate the washer
with the front panel removed
Never aathe washer with
the front panel removed
Never operate
the front panel
Never operate
with the front
Never aathe
the front panel
NOTICE
T295P
3
1
2SERIAL
PLATE GAS SUPPLY
PIPE TAG
4
5
2
GAS SUPPLY
PIPE TAG
2
6
7
8
9
1
9
2
7
© Copyright, Alliance Laundry Systems LLC – DO NOT COPY or TRANSMIT

M411988 51
Stickers and Labels – Rear
REF PART NO. DESCRIPTION COMMENTS
1430138R1 Installation Notice
2500316 Warning Sticker
3430444 Junction Box Notice
4M403047 Electrical Ground Marker
5M405159 Wire Marker
6430445 Single Power Source Notice
7430377 Belt Guard Warning
8M411815 Venting Warning Label
9430446 Thimble Notice
© Copyright, Alliance Laundry Systems LLC – DO NOT COPY or TRANSMIT

M411988
52
Coin Drop Assemblies
PART NO. DESCRIPTION COMMENTS
431029 Dime and Quarter (U.S.) Dual Drop
431032 20 Pence and 50 Pence (England) Dual Drop
431034 20c and 50c (Australian) Dual Drop
431037 Five Belgian Franc and 20 Belgian Franc Dual Drop
431038 Quarter and Dollar [Loon] (Canadian) Dual Drop
430467 Quarter (U.S.) Single Drop
430605 Token STD – 118 – 1 (.800DiaX.065) Single Drop
430606 Quarter (Canadian) Single Drop
430607 100 Yen (Japan) Single Drop
430609 Two French Franc Single Drop
430866 $5.00 Piece (Hong Kong) Single Drop
430874 Token STD – 118 – 5 (.990DiaX.064) Single Drop
431126 500 Won (Korea) Single Drop
© Copyright, Alliance Laundry Systems LLC – DO NOT COPY or TRANSMIT

M411988 53
Wire Harnesses
(For all Model D32DG-MC Manufactured before January 1, 1994)
PART NO. DESCRIPTION SERIAL NO. RANGE
431063 Air Flow Switch Harness DTCK9211033714 through DTCK9401011756
431061 Cabinet High Limit Harness DTCK9211033714 through DTCK9401011756
430343 Dual Coin Drop Harness All through DTCK9401011756
430257 High Voltage Lead All through DTCK9401011756
430223 IEI Board Harness All through DTCK9401011756
430727 Main Lower Harness – 120 Volt, 50-60 Hertz All through DTCK0728884ZH
431082 Main Lower Harness – 120 Volt, 50-60 Hertz DTCK9211033714 through DTCK9302024774
431053 Main Lower Harness – 208-240 Volt, 60 Hertz All through DTCK9211033713
431088 Main Lower Harness – 208-240 Volt, 60 Hertz DTCK9211033714 through DTCK9302040179
431306 Main Lower Harness – 208-240 Volt, 60 Hertz DTCK9308000527 through DTCK9401011756
430787 Main Lower Harness – 240 Volt, 50 Hertz All through DTCK0728884ZH
431055 Main Lower Harness – 240 Volt, 50 Hertz DTCK0728885ZH through DTCK9211033713
431067 Main Lower Harness – 240 Volt, 50 Hertz DTCK9211033714 through DTCK9302014184
431308 Main Lower Harness – 240 Volt, 50 Hertz
430726 Main Upper Harness – 120 Volt, 50-60 Hertz All through DTCK0728884ZH
430966 Main Upper Harness – 120 Volt, 50-60 Hertz DTCK0728885ZH through DTCK9211033713
431081 Main Upper Harness – 120 Volt, 50-60 Hertz DTCK9211033714 through DTCK9302024774
431251 Main Upper Harness – 120 Volt, 50-60 Hertz DTCK9302024775 through DTCK9308000526
430566 Main Upper Harness – 208-240 Volt, 60 Hertz All through DTCK0728884ZH
431052 Main Upper Harness – 208-240 Volt, 60 Hertz DTCK0728885ZH through DTCK9211033713
431090 Main Upper Harness – 208-240 Volt, 60 Hertz DTCK9211033714 through DTCK9302040179
431305 Main Upper Harness – 208-240 Volt, 60 Hertz
430786 Main Upper Harness – 240 Volt, 50 Hertz All through DTCK0728884ZH
431054 Main Upper Harness – 240 Volt, 50 Hertz DTCK0728885ZH through DTCK9211033713
431066 Main Upper Harness – 240 Volt, 50 Hertz DTCK9211033714 through DTCK9302014184
431307 Main Upper Harness – 240 Volt, 50 Hertz
430221 Motor Harness – 120 Volt, 50-60 Hertz All through DTCK9401011756
430222 Motor Harness – 208-240 Volt, 60 Hertz All through DTCK9401011756
430788 Motor Harness – 240 Volt, 50 Hertz All through DTCK9211033713
431257 Motor Harness – 240 Volt, 50 Hertz DTCK9211033714 through DTCK9401011756
430843 Safety Switch Harness All through DTCK9211033713
430613 Single Coin Drop Harness All through DTCK9401011756
431062 Stove High Limit Harness DTCK9211033714 through DTCK9401011756
© Copyright, Alliance Laundry Systems LLC – DO NOT COPY or TRANSMIT

M411988 55
Parts Index
A
Actuator
431275 .................................................................... 21
Air Flow Switch
430371 .................................................................... 33
Air Flow Switch Assembly
430369 .................................................................... 33
Air Flow Switch Cover
430367 .................................................................... 33
Air Flow Switch Vane
430372 .................................................................... 33
Anti-Torque Ring
M400605 ................................................................. 35
B
Bearing Housing and Shaft Assembly
430958 .................................................................... 29
Belt 430054 ........................................................ 25, 27, 31
430104.............................................................. 25, 27
Belt Guard Cover
430525 .................................................................... 31
Belt Guard Switch
430542 .................................................................... 31
431159 .................................................................... 31
Belt Guard Warning
430377 .................................................................... 51
Blower Housing
430061 .................................................................... 29
Bolt 01355 ...................................................................... 31
Bracket
430126 .................................................................... 21
430193........................................................ 25, 27, 29
430447 .................................................................... 17
430581 .................................................................... 17
Bumper
431198 .................................................................... 23
Burner430506 .................................................................... 33
Burner Plate Cover
430375 .................................................................... 33
Bushing
M402542 ......................................... 17, 35, 41, 43, 47
C
Cap Screw
430648.............................................................. 25, 27
Capacitor
430739.............................................................. 43, 47
Capacitor Boot
430743.............................................................. 43, 47
Capacitor Bracket
430740.............................................................. 43, 47
Carriage Bolt
430837 ......................................................................9
Catch M401223 .....................................................13, 15, 19
Clip M400972 ...........................................................13, 15
430535 ..................................................................5, 7
Coin Chute
430228 ....................................................................13
Coin Chute Bracket
430451 ....................................................................13
430452 ....................................................................13
Coin Drop Assembly
430467 ....................................................................52
430605 ....................................................................52
430606 ....................................................................52
430607 ....................................................................52
430609 ....................................................................52
430866 ....................................................................52
430874 ....................................................................52
431029 ....................................................................52
431032 ....................................................................52
431034 ....................................................................52
431037 ....................................................................52
431038 ....................................................................52
431126 ....................................................................52
Coin Drop Shadow Box
430995 ....................................................................13
Coin Switch
M412095 ...............................................................5, 7
81312G......................................................................7
Coin Vault
430972 ....................................................................15
430982 ....................................................................15
Coin Vault Bracket
430382 ....................................................................13
Coin Vault Shadow Box
430548 ..............................................................13, 15
Cotter Pin
02470 ......................................................................33
Cover M400845 .................................................................33
430339 ....................................................................29
430550 ....................................................................33
430554 ........................................................41, 43, 47
Cover Plate
81312L ..................................................................5, 7
Cylinder and Trunnion Assembly
430580 ....................................................................23
Cylinder Rib
430099 ....................................................................23
Cylinder Support Bearing Assembly
430260 ....................................................................23
D
Door Assembly
430476 ....................................................................19
Door Gasket
M406129 .................................................................19
© Copyright, Alliance Laundry Systems LLC – DO NOT COPY or TRANSMIT

M411988
56
Door Glass
M400784 ................................................................. 19
Door Glass Seal
M400962 ................................................................. 19
Door Handle
430459 .................................................................... 19
Door Hinge
M400514 ................................................................. 19
M402714 ................................................................. 19
Door Switch
M406103 ........................................................... 17, 19
Door Switch Bracket
431118 .................................................................... 17
Door Switch Tab
430432 .................................................................... 19
Drive Shaft Assembly
430867 .................................................................... 27
Drying Warning
M410892 ................................................................. 49
Dual Input Gas Valve Coils
430690 .................................................................... 37
430691 .................................................................... 37
E
Electrical Ground Marker
M403047 ................................................................. 51
Extension
431001 .................................................................... 21
F
Fan M410088P............................................................... 29
Felt Pad
M402144 ................................................................. 23
Felt Washer
29443 ...................................................................... 29
Forge Nut
430576 .................................................................... 23
Front Panel – Lower
431143 .................................................................... 15
431170 .................................................................... 13
431222 .................................................................... 15
431324 .................................................................... 13
Front Panel – Upper
431142 .................................................................... 15
431169 .................................................................... 13
431221 .................................................................... 15
431323 .................................................................... 13
Front Reinforcement Plate
430856 .................................................................... 27
Front Seal and Strap Kit
430844P.................................................................. 23
Fuse M409997 ........................................................... 41, 43
430836 .................................................................... 47
Fuse Holder
91024.......................................................... 41, 43, 47
G
Gas Shut-Off Valve
431182P ..................................................................35
Gas Shut-Off Valve and Union
431182P ..................................................................35
Gas Valve Bracket
430293 ....................................................................35
Gas Valve Gasket
430586 ....................................................................35
Gas Valve Spud
430481 ....................................................................35
Gasket430274 ....................................................................11
Graphics Panel
430906 ....................................................................11
430908 ....................................................................11
H
Hex Head Screw
27196 ......................................................................17
430497 ....................................................................33
Hex Nut
H88410030..............................................................33
20275 ........................................................................9
High Limit Thermostat
430387 ....................................................................33
431177 ....................................................................33
High Voltage Lead
430257 ....................................................................35
Hinge Bracket
431000 ........................................................13, 15, 19
431044 ........................................................13, 15, 19
Hinge Pin
M400653 .................................................................19
I
Idler Arm
430263 ........................................................25, 27, 29
Idler Wheel
430619 ........................................................25, 27, 29
IEI Control
M406789 .....................................................41, 43, 47
Igniter 430317 ....................................................................33
Installation Notice
430138R1................................................................51
Instruction Plate
M406303 ...................................................................9
Insulation
H96418728..............................................................33
430043 ....................................................................17
© Copyright, Alliance Laundry Systems LLC – DO NOT COPY or TRANSMIT

M411988 57
J
Jam Nut
M400022 ................................................................. 29
02428 ...................................................................... 23
Jumper Block
430639.............................................................. 41, 43
431331 .................................................................... 47
Junction Box Notice
430444 .................................................................... 51
K
Key M400993 ................................................................. 27
M401327 ................................................................. 27
430664...................................................... 5, 7, 11, 21
L
Label 430527 .................................................................... 21
Lens 430561 .................................................................... 11
Leveling Leg
M400063 ................................................................. 17
Limit Thermostat
M406412 ................................................................. 29
Lint Drawer
430490 .................................................................... 21
431248 .................................................................... 21
Lint Drawer Switch
431159 .................................................................... 21
Lint Drawer Switch and Plate
430473 .................................................................... 21
Lint Screen
430482 .................................................................... 21
431215 .................................................................... 21
Lock 430671.................................................................. 5, 7
430832 .................................................................... 11
Lock and Key
430429 .................................................................... 21
Lockwasher
H88512561 ............................................................. 33
02377 ........................................................................ 9
02834 ...................................................................... 31
Lower Front Plate
430386 .................................................................... 21
431003 .................................................................... 21
M
Manual Start Assembly
430799 ...................................................................... 9
Microprocessor
430640P...................................................... 11, 13, 15
Microprocessor Display Temperature Label
430596 .................................................................... 49
Microprocessor Door Assembly
430905 ....................................................................11
430907 ....................................................................11
Microprocessor Programming Label
430291 ....................................................................49
Microprocessor Shadow Box
431326 ..............................................................13, 15
Motor 430426 ....................................................................31
431275 ....................................................................31
Motor Pulley
430067 ....................................................................31
430668 ....................................................................31
N
Nipple 431206 ....................................................................35
Nut M400022 ...........................................................23, 27
M401930 .................................................................23
02428 ......................................................................29
23951 ................................................................15, 19
430875 ....................................................................29
52566 ................................................................25, 27
56156 ................................................................25, 27
80116 ......................................................................27
Nylon Washer
M400675 .................................................................19
O
O-Ring
431182A ..................................................................35
Outer Front Plate
430974 ......................................................................9
P
Pal Nut
M400034 .....................................................23, 27, 29
Plug 430460 ....................................................................13
430649 ....................................................................19
Program Instructions
430291 ....................................................................11
Pulley with Set Screw
430800P............................................................25, 27
Push Button
81312J...................................................................5, 7
R
Rear Cylinder Seal with Adhesive
430105P ..................................................................23
Rear Reinforcement Plate
430857 ....................................................................27
Rejector
M412094 ...............................................................5, 7
81312D......................................................................7
© Copyright, Alliance Laundry Systems LLC – DO NOT COPY or TRANSMIT

M411988
58
Relay 430528 .............................................................. 41, 43
430746.............................................................. 43, 47
Reset Thermostat
430539 .................................................................... 33
Retainer
431314 .................................................................... 23
Retaining Bolt
431114 ...................................................................... 9
Retaining Ring
70061 ...................................................................... 23
Rib Rod
430155 .................................................................... 23
Rivet M400003 ............................................... 13, 15, 19, 23
M410762 ..................................................... 13, 15, 19
430489.............................................................. 13, 21
Roller 430019 .................................................................... 23
Roller Shaft
431315 .................................................................... 23
Round Head Screw
M401938 ................................................................. 33
S
Screw H88213574 ................................................. 41, 43, 47
M400044 ................................................................. 19
M400661 ................................................................. 19
M409385 ................................................................. 19
01355................................................................ 25, 27
02422................................................................ 25, 27
23962................................................................ 29, 35
27196 ...................................................................... 29
28193 ...................................................................... 17
33561 ...................................................................... 23
430449 .................................................................... 13
430497.............................................................. 19, 31
430648 .................................................................... 29
430756 .................................................................... 19
430757 .................................................................... 21
431027 .................................................................... 15
51780 ...................................................................... 21
56693 ...................................................................... 33
Seal 430638 ........................................................ 13, 15, 21
Seal Strap
430355 .................................................................... 23
430845 .................................................................... 23
Service Soon Light
430562 .................................................................... 11
Sheave
430050P............................................................ 25, 27
430849 .................................................................... 29
Shim M401402 ................................................................. 23
Shoulder Screw
431381.............................................................. 25, 27
Side and Back Cover
430338 ....................................................................29
Side Cover
430549 ....................................................................33
Side Panel and Insulation
431048 ....................................................................17
431049 ....................................................................17
Single Input Gas Valve Coils
M409253 .................................................................37
Single Power Source Notice
430445 ....................................................................51
Spacer
430850 ....................................................................29
Speed Nut
430886 ....................................................................23
431045 ....................................................................17
Spring430252 ....................................................................29
430301 ..............................................................25, 27
430954 ....................................................................23
52310 ......................................................................23
81312K..................................................................5, 7
Square Nut
M401930 ...................................................................9
Step Down Thermostat
430729 ....................................................................33
Sticker430596 ....................................................................11
Stud Plate
430352 ....................................................................23
Sweep Sheet Kit
430884P ..................................................................23
Switch430540 ....................................................................21
Switch Plate
81637 ........................................................................9
T
Tab 430251 ....................................................................29
Temperature Sensor
M409114 .................................................................29
Ter minal Block
430641 ........................................................41, 43, 47
430642 ....................................................................41
430789 ..............................................................43, 47
Thimble and Vane Assembly
430536 ....................................................................29
Thimble Notice
430446 ....................................................................51
Torx Head Screw
431167 ....................................................................17
431287 ....................................................................33
Tran sfo r me r
430738 ..............................................................43, 47
Trunnion Assembly
430219 ....................................................................23
© Copyright, Alliance Laundry Systems LLC – DO NOT COPY or TRANSMIT

M411988 59
U
U-Bolt Clamp
430862 .................................................................... 27
Union Nipple
M406439 ................................................................. 35
Union Nut
M401549 ................................................................. 35
Upper Front Plate
430385 .................................................................... 21
V
Vane 430534 .................................................................... 29
Venting Warning Label
M411815 ................................................................. 51
W
Warning
500316 .................................................................... 49
Warning Sticker
500316 .................................................................... 51
Washer
M400080 ................................................................. 31
M400991 ................................................................. 23
M410947 ................................................................. 23
02834.................................................... 23, 25, 27, 29
430427 .................................................................... 23
430782........................................................ 25, 27, 29
91093................................................................ 25, 27
Wire Harness
430343 ...................................................................... 7
430613 ...................................................................... 5
Wire Harness Kit
430330P.................................................................. 11
Wire Marker
M405159 ................................................................. 51
© Copyright, Alliance Laundry Systems LLC – DO NOT COPY or TRANSMIT















