Amabilia Dorfc 1 Users Manual 2100 518(B) (2012 04)
DOUBLE O-RING GEOTHERMAL FLOW CENTERS DORFC-2 2100-518
dorfc1 4bba9a5b-a7ba-4e1e-8923-1bdc93edd28c AMABILIA Vacuum Cleaner DORFC-1 User Guide |
2015-02-05
: Amabilia Amabilia-Dorfc-1-Users-Manual-507499 amabilia-dorfc-1-users-manual-507499 amabilia pdf
Open the PDF directly: View PDF
.
Page Count: 30

Manual 2100-518B
Page 1 of 30
WARNING: After ushing is complete, but prior to pump motor start-up, loosen the large screw in
the center of the pump motor(s) to allow air to escape. Once water has seeped out around the screw,
re-tighten. Failure to perform this step will likely result in premature pump motor failure!
PUMP MOTOR REPLACEMENT: Bard Part #8300-003 (UP26-99F)
Manual: 2100-518B
Supersedes: 2100-518A
File: Volume I, Tab 8
Date: 04-23-12
INSTALLATION
INSTRUCTIONS
DOUBLE O-RING
GEOTHERMAL
FLOW CENTERS
Models:
DORFC-1 DORFC-2
BMC, Inc.
Bryan, Ohio 43506
DORFC-1 DORFC-2

Manual 2100-518B
Page 2 of 30
CONTENTS
Getting Other Informations and Publications .........3
General Information
Flow Center Nomenclature .......................................4
Application
Description ................................................................ 4
Safety .................................................................4
Danger .................................................................4
Warning .................................................................4
Caution .................................................................4
Notice .................................................................4
Flow Center Mounting Instructions
Notice .................................................................7
Stud Wall .................................................................7
Concrete/Masonry Wall .............................................7
Side of Unit ...............................................................7
Piping Installation
Description .............................................................. 10
Actual Photo Images .......................................... 10-11
Multiple Unit to Single Loop Connection
Description .............................................................. 12
Flow Center Wiring
Description .............................................................. 16
Flushing & Charging
General ...............................................................18
Procedures for Adding Antifreeze ...........................18
Flushing & Filling Earth Loop & Units .....................22
Flushing Earth Loop Only .......................................22
Flushing Unit Only ...................................................23
Flow Center Initial Startup
General ...............................................................24
Procedures for Pressurizing the System .................24
Pressure/Temperature Plugs ..................................24
Troubleshooting
Troubleshooting Table ............................................. 27
Antifreeze Selection & Use
General ...............................................................28
Methanol ...............................................................28
Ethanol ...............................................................28
Propylene Glycol .....................................................29
Potassium Acetate (GS4) ........................................29
Antifreeze Verication ............................................. 30
Figures
Figure 1A Performance Model DORFC-1 .................5
Figure 1B Performance Model DORFC-2 .................5
Figure 2 Flow Center Dimensions .......................... 6
Figure 3 Pump Horizontal Applications .................. 8
Figure 4A Mounting - Studded Wall .......................... 9
Figure 4B Mounting - Masonry Wall .......................... 9
Figure 5A Flow Center Connection to GV Series ...12
Figure 5B Flow Center Connection to GT Series ...13
Figure 5C Flow Center Connection to QW Series ..14
Figure 6 Multiple Unit Connection to Singular ...... 15
Figure 7 Electrical Connections ............................17
Figure 8 Connecting Flush Cart to Flow Center ... 19
Figure 9A Positioning - Flush Loop .........................20
Figure 9B Positioning - Flush Loop & Unit ..............20
Figure 9C Positioning - Flush Unit ..........................21
Figure 9D Positioning - Operation ...........................21
Figure 10 Pressure Temperature Ports ..................25
Figure 11 Density Verication - Solution Strength ....30
Tables
Table 1 Fusion or Barbed Fittings ....................... 10
Table 2 Electrical Ratings ...................................16
Table 3A GV Series Coil Pressure Drop ...............25
Table 3B GT Series Coil Pressure Drop ................26
Table 3C QW Series Coil Pressure Drop ..............26
Table Troubleshooting......................................27
Table 4 Fluid Volume ..........................................29
Table 5 Percentages by Volume .........................29
Table 6 Propylene Glycol Specic Gravity .......... 30
Table 7 Methanol Specic Gravity ......................30

Manual 2100-518B
Page 3 of 30
GETTING OTHER INFORMATION AND PUBLICATIONS
These publications can help you install the air
conditioner or heat pump. You can usually nd these
at your local library or purchase them directly from the
publisher. Be sure to consult current edition of each
standard.
National Electrical Code .......................ANSI/NFPA 70
Standard for the Installation ...............ANSI/NFPA 90A
of Air Conditioning and Ventilating Systems
Standard for Warm Air ....................... ANSI/NFPA 90B
Heating and Air Conditioning Systems
Load Calculation for Residential ......ACCA Manual J
Winter and Summer Air Conditioning
Duct Design for Residential .............. ACCA Manual D
Winter and Summer Air Conditioning and Equipment
Selection
Closed-Loop/Ground Source Heat Pump ........IGSHPA
Systems Installation Guide
Grouting Procedures for Ground-Source .........IGSHPA
Heat Pump Systems
Soil and Rock Classication for ......................IGSHPA
the Design of Ground-Coupled Heat Pump Systems
Ground Source Installation Standards .............IGSHPA
Closed-Loop Geothermal Systems ..................IGSHPA
– Slinky Installation Guide
FOR MORE INFORMATION, CONTACT
THESE PUBLISHERS:
ACCA Air Conditioning Contractors of America
1712 New Hampshire Avenue
Washington, DC 20009
Telephone: (202) 483-9370
Fax: (202) 234-4721
ANSI American National Standards Institute
11 West Street, 13th Floor
New York, NY 10036
Telephone: (212) 642-4900
Fax: (212) 302-1286
ASHRAE American Society of Heating Refrigerating,
and Air Conditioning Engineers, Inc.
1791 Tullie Circle, N.E.
Atlanta, GA 30329-2305
Telephone: (404) 636-8400
Fax: (404) 321-5478
NFPA National Fire Protection Association
Batterymarch Park
P.O. Box 9101
Quincy, MA 02269-9901
Telephone: (800) 344-3555
Fax: (617) 984-7057
IGSHPA International Ground Source
Heat Pump Association
490 Cordell South
Stillwater, OK 74078-8018

Manual 2100-518B
Page 4 of 30
GEOTHERMAL FLOW CENTERS NOMENCLATURE
FLOW CENTER DESCRIPTION
The DORFC Series Flow Centers are a compact, easy to
mount polystyrene cabinet that contains 3-way valves and
pump(s) with connections for ushing, lling and pumping
uids for geothermal closed loop systems. The proven
design is foam insulated to prevent condensation and full
ow service valves minimize pressure drop.
One or two Grundfos pump models UP26-99 are available
based upon ow requirements and loop design.
Unit and loop connections are designed for double o-ring
ttings with several varieties of connections available
(fusion, threaded, barbed and sweat). Pump motor(s) are
230VAC, 60 Hz, 1-phase.
An attractive light gray polystyrene cabinet (that matches
geothermal unit) with black pump(s) provides an
aesthetically pleasing enclosure for pump(s) and valves.
SAFETY
Warnings, cautions and notices appear throughout this
Manual. Read these items carefully before attempting any
installation, service or troubleshooting of the equipment.
DANGER
Indicates an immediate hazardous situation which, if not
avoided, will result in death or serious injury. DANGER
labels on unit access panels must be observed.
WARNING
Indicates a potentially hazardous situation which, if not
avoided, will result in death or serious injury.
CAUTION
Indicates a potentially hazardous situation or an unsafe
practice which, if not avoided, could result in minor or
moderate injury or product or property damage.
NOTICE
Notication of installation, operation or maintenance
information, which is important, but which is not hazard-
related.
DORFC 2
1 = 1-Pump Version, 208/230V, 60 Hz, 1-phase, 22’ HD @ 16 GPM
2 = 2-Pump Version, 208/230V, 60 Hz, 1-phase, 44’ HD @ 16 GPM
Double
O-Ring
Flow
Center
WARNING
Failure to do so could cause property
damage, bodily harm or death.
CAUTION
Failure to do so could cause property
damage, bodily harm or death.

Manual 2100-518B
Page 5 of 30
Manual 2100-518A
Page 5 of 30
0
10
20
30
40
50
60
70
0 5 10 15 20 25 30 35
Flow (GPM)
Head (Feet)
FIGURE 1B
PERFORMANCE MODEL DORFC-2 FLOW CENTER
0
5
10
15
20
25
30
35
0 5 10 15 20 25 30 35
Flow (GPM)
Head (Feet)
FIGURE 1A
PERFORMANCE MODEL DORFC-1 FLOW CENTER
FLOW CENTER PERFORMANCE
FLOW CENTER PERFORMANCE

Manual 2100-518B
Page 6 of 30
GF
B
D
H
MIS-2658
11.431.5 5.1 6.7 12.719.1
A B C D E F G H
INCHES 13.5 10.3 7.5 12.4 2.0 2.6 5.0 4.7
CM 34.3 26.2
TYPE SHIPPING WEIGHT
DORFC-1 26 LBS
DORFC-2 31 LBS
C
A
DIMENSIONAL DRAWING
FIGURE 2
FLOW CENTER DIMENSIONS

Manual 2100-518B
Page 7 of 30
NOTICE
The Flow Center must be mounted with the pump shaft in
the horizontal position. In other words, it should always be
mounted in a vertical position (not on its back or mounted to
the ceiling). See Figure 3.
The pump should be located as close to the unit as possible
to limit the length of rubber hose kit or interconnect piping
and thus its associated pressure drop.
STUD WALL
Mounting on stud wall with or without drywall can be
accomplished by using two (2) lag bolts through the top and
bottom center holes directly into the stud. See Figure 4A.
CONCRETE/MASONRY WALL
Mounting onto a concrete wall can be accomplished
typically using four (4) 1/4" diameter tapcon cement screws
in the four (4) outer corner mounting holes. See Figure 4B.
SIDE OF UNIT
Mounting on the side of the unit is possible, but
not necessarily recommended because it can inhibit
serviceability and also lead to vibration of the sheet
metal casing. It could also lead to puncturing an internal
refrigerant or water pipe. If necessary, however, the ow
center can be mounted to the sheet metal casing utilizing
four (4) self-drilling screws. (Pay close attention not to
puncture internal components.)
FLOW CENTER MOUNTING
CAUTION
The following instructions represent
industry accepted installation practices for
closed-loop earth coupled (ground loop)
installations. Instructions are provided to
assist the contractor in installing trouble
free ground loops. These instructions are
recommendations only. State/provincial and
local codes MUST be followed and installation
MUST conform to ALL applicable codes. It is
the responsibility of the installing contractor
to determine and comply with ALL applicable
codes and regulations.

Manual 2100-518B
Page 8 of 30
OK
HORIZONTAL
OK
IMPELLER SHAFT
HORIZONTAL
IMPELLER SHAFT
MIS-2659
NO
IMPELLER SHAFT
CAN NOT BE
VERTICAL
FIGURE 3
PUMP HORIZONTAL APPLICATIONS

Manual 2100-518B
Page 9 of 30
1/4" TAPCON SCREWS
MIS-2660
1/4" LAG BOLTS
DIRECTLY INTO STUD
FIGURE 4
MOUNTING
FIGURE 4A
Studded Wall Mounting
FIGURE 4B
Masonry Wall Mounting

Manual 2100-518B
Page 10 of 30
The Flow Center features Double O-Ring ttings for
installation exibility and ease of installation – maintaining
a reliable connection. Table 1 illustrates the connection
options available for Flow Centers. Pressure drop in
piping systems should be calculated to ensure adequate
ow through the unit. All piping should be properly
insulated with closed cell insulation of 1/2" wall thickness.
Piping insulation should be glued and sealed to prevent
condensation using closed cell insulation glue. The swivel
connectors on the ow center and at the unit are designed
to be hand-tightened only.
NOTE: Apply petroleum jelly to O-Rings to prevent
damage and aid in insertion.
Loop side piping is typically polyethylene piping directly into
the ow center. Connection to the ow center can be made
with either a fusion or barbed tting as shown in Table 1.
Connection between the ow center and the geothermal
heat pump typically would be made using the hose kit
(DORLFCK-1), which contains all ttings necessary for
connection between the heat pump and the ow center as
shown in Figure 5. Other variety of materials may also be
used for this connection - such as PE or copper piping.
1-1/4" Socket Fusion X
Double O-ring
DORF125-S
1" Hose Barb X
Double O-ring
DORB1-S-4HC
1" MPT X Double O-ring
DORMP1-S
Description Part Number
1-1/4" PE Fusion X Double O-Ring DORF125-S
Double O-Ring Loop Flow Center Kit DORLFCK-1
1" Barb X Double O-Ring (includes {4} hose clamps) DORB1-S-4HC
1" MPT X Double O-Ring DORMP1-S
1" FPT X Double O-Ring DORFP1-S
1" Copper Sweat X Double O-Ring (includes {2} P/T ttings) DORS1-S
1" Hose Barb X Double O-Ring 90° Elbow (includes {4} hose clamps and {2} P/T ttings) DORB1-90-4HC
1" MPT X Double O-Ring, 90° Elbow (includes {2} P/T ttings) DORMP1-90
Quick Connect Cam Lock X Double O-Ring 90° Elbow DORCL1-90
Male Garden Hose Thread X Double O-Ring (1-piece per box) DORGHMT
PIPING INSTALLATION
TABLE 1
NOTE: All
ttings boxed in pairs (2-pieces each) will exception of DORGHMT.

Manual 2100-518B
Page 11 of 30
1" Swivel X Double O-ring
DORFP1-S
1" Copper Sweat X Double O-ring with 1/4"
FPT Port & Pressure/Temperature Test Plugs
DORS1-S
Elbow, 1" Hose Barb X Double
O-ring with 1/4" Port and Pressure/
Temperature Test Plugs
DORB1-90-4HC
Elbow, 1" MPT X Double
O-ring with 1/4" Port and
Pressure/Temperature Test Plugs
DORMP1-90
1" Cam Lever Male X
Double O-ring
DORCL1-90
Garden Hose Male X O-ring
(single) Adapter
DORGHMT
PIPING INSTALLATION (CONTINUED)
NOTES:
1. Apply petroleum jelly to O-Rings to prevent damage and aid in insertion.
2. Use two (2) stainless steel clamps per connection (included quantities of hose clamps with ttings and hose kits are
per this recommendation).
3. Adaptors required from 1" MPT, 1" FPT, Copper, etc. provided by others.

Manual 2100-518B
Page 12 of 30
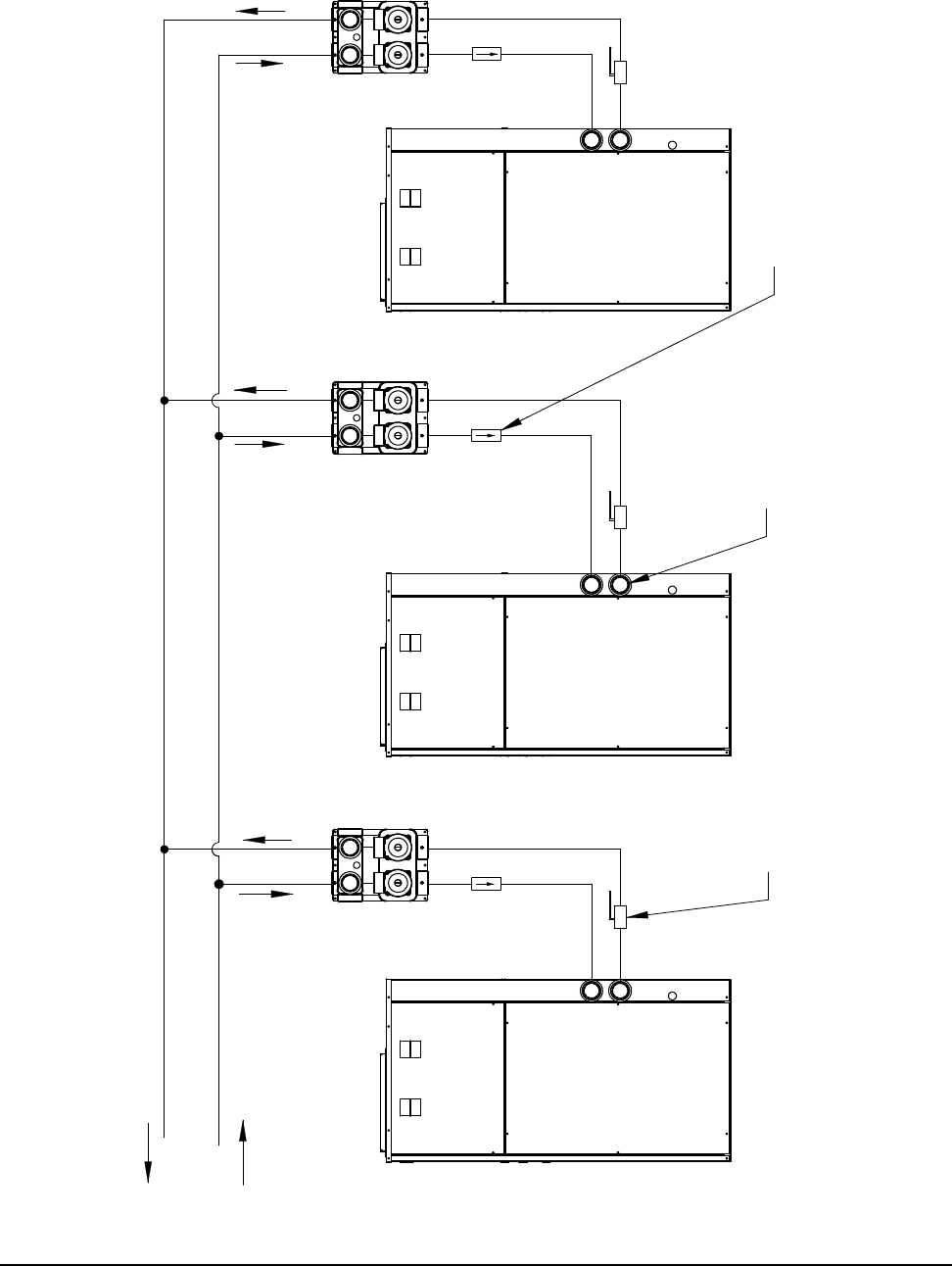
MULTIPLE UNIT TO SINGLE LOOP
CONNECTION
In instances where multiple units are connected to a singular
loop, our recommendation is to apply a ow center to each
individual system with full-port balancing valves installed
on each unit. See Figure 6.
FIGURE 5A
FLOW CENTER CONNECTION TO GV SERIES MODEL
MIS-2621 A
PUMP
WALL BRACKET
FIELD-FABRICATED
WATER IN
HOSE CLAMPS
PIPE TO GROUND LOOP
PIPE FROM
STRAIGHT BARBED
BRASS ADAPTERS
MODULE
WATER OUT
1" FLEXIBLE HOSE
GROUND LOOP
OPTIONAL VISUAL
FLOW METER
NOTE: IF USED
SUPPORT WITH A
NOTE: APPLY PETROLEUM JELLY
TO O-RINGS TO PREVENT DAMAGE
AND AID IN INSERTION.

Manual 2100-518B
Page 13 of 30
FIGURE 5B
FLOW CENTER CONNECTION TO GT SERIES MODEL
NOTE: APPLY PETROLEUM JELLY
TO O-RINGS TO PREVENT DAMAGE
AND AID IN INSERTION
WATER IN
WATER OUT
GOUND LOOP
PIPE FROM GROUND LOOP
PIPE TO
BRASS ADAPTERS
NOTE: IF USED SUPPORT
WALL BRACKET
WITH A FIELD FABRICATED
1" FLEXIBLE HOSE
HOSE CLAMPS
FLOW METER
OPTIONAL VISUAL
STRAIGHT BARBED
PUMP MODULE
MIS-2827 A

Manual 2100-518B
Page 14 of 30
FIGURE 5C
FLOW CENTER CONNECTION TO QW SERIES MODEL
NOTE: Apply petroleum
jelly to o-rings to prevent
damage and aid in insertion
MIS-2748 A
FLEXIBLE HOSE
for Model No.)
(See Spec Sheet
GROUND LOOP
PIPE FROM
PUMP MODULE
PIPE TO
GROUND
LOOP
WATER
OUT

Manual 2100-518B
Page 15 of 30
GROUND
FULL PORT BALL
VALVE FOR BALANCING
LOOP
4. All units must include P/T ports for flow rate measure and balancing.
FIELD SUPPLIED
MIS-2664
NOTES:
1. Piping is shown schematically. Actual pipe diameter and layout must be determined before installation.
2. Pressure drop calculation must be made to verify that parallel pumping arrangement provides enough head to deliver design flow rate to each unit
when all units are operating.
3. Flow controller should be mounted close enough to unit to maintain short (aprox. 10 ft., 3m) hose kit from Flow Controller to unit.
FIELD SUPPLIED
CHECK VALVE TO
PREVENT SHORT CYCLING
EACH HEAT PUMP
MUST INCLUDE P/T
PORTS TO VERIFY
FLOW RATES
FIGURE 6
MULTIPLE UNIT CONNECTION TO SINGULAR GROUND LOOP

Manual 2100-518B
Page 16 of 30
Power wiring to the Flow Center should conform to all applicable codes. Figure 7 shows the required wiring between the
geothermal heat pump and the ow center. NOTE: the ow center is only available in 208/230 Volt, 60 Hz, 1-phase. The ow
center electrical connection interior of the heat pump control panel is circuit breaker protected (both L1 and L2 power lines).
See Table 2 for the electrical requirements.
MODEL PUMP
QUANTITY VOLTS AMPS HP
DORFC-1 1 230 1.07 1/6
DORFC-2 2 230 2.14 1/3
FLOW CENTER WIRING
WARNING
To avoid possible injury or death due to
electrical shock, open the power supply
disconnect switch and secure it in an open
position during installation.
CAUTION
Use only copper conductors for eld installed
electrical wiring. Unit terminals are not
designed to accept other types of conductors.
TABLE 2
ELECTRICAL RATINGS

Manual 2100-518B
Page 17 of 30
L2
L1
3
PUSH
3
PUSH
Terminal Block
FLOW CENTER
CONNECTION
FLOW CENTER
ELECTRICAL
ENTRANCE
MIS-2665
38
Circuit Breakers
Red
37
Black
2
FIGURE 7
ELECTRICAL CONNECTIONS

Manual 2100-518B
Page 18 of 30
All Flushing of earth loops should be performed using a
1.5 HP or larger pump (as specied by IGSHPA). Flushing
can be accomplished using three different methods. The
rst ushing method applies a one-step installation of the
loop, unit and inside piping. The second method allows a
Loop Contractor to use ush cart when installing the loop,
and at a later date, the dealer can install the unit to the
loop using only domestic water to ush the unit. The third
procedure shown is used when replacing the pump, coaxial
refrigerant to water coil, or unit. The following are step-by-
step procedures. Be careful not to rotate the 3-way valves
into a position where air can be introduced into the loop.
Reushing will be required if this occurs. Valve position
can be veried by looking on the end of the valve stem for
the pattern position.
Consult the IGSHPA for more complete ushing and
antifreeze instructions.
Flush in one direction for one hour, deadheading
in increments - checking site glass for air pockets.
Reverse ow in opposite direction, again for one hour,
deadheading in increments - checking site glass for air
pockets.
The presence of air can be detected by “deadheading” the
pump. To deadhead the pump, close off the return to the
pump and watch the water level site glass. Once you have
no more than 1/2" to 3/4" drop in the site glass, you will
have achieved complete air removal.
Power ushing can be achieved using the home’s city water
supply (or well water) connected to the ush cart. This
uses the combined pressure of the ush cart pump and the
home’s water system for faster ushing.
After ushing is complete, but prior to unit start up,
remove the large screw from the center of the ow center
pump(s) to allow air to escape (water will drip out).
Replace the screw after pump has lled with uid.
For nal pressurization, run the unit in heating or cooling
for a period of 20 minutes. Following this 20 minute run
time, pressurize the loop using the ush cart to 50-75 psig in
winter or 40-50 psig in summer.
In areas where entering loop temperatures drop below
40°F (5°C) or where piping will be routed through areas
subject to freezing, antifreeze is needed to prevent the loop
from freezing inside the pipe or heat exchanger. Alcohols
and glycols are commonly used as antifreeze, however,
you should consult with your distributor for assistance in
selecting the antifreeze best suited for your region.
PROCEDURES FOR ADDING
ANTIFREEZE
1. Flush cart should be half full of water.
2. Add measured amount of antifreeze through hose
below the water level (calculate based upon loop).
3. Add antifreeze to loop side only (see valve position in
Figure 9A).
4. Pump and dump (discharge).
5. Turn off pump; close discharge valve.
6. Repeat the procedure to add remaining antifreeze to
loop.
FLUSHING & CHARGING

Manual 2100-518B
Page 19 of 30
SUPPLY
RETURN
MIS-2661
FLUSHING & CHARGING (CONTINUED)
FIGURE 8
CONNECTING FLUSH CART TO FLOW CENTER

Manual 2100-518B
Page 20 of 30
MIS-2662
FLUSH LOOP ONLY
FLUSH LOOP&UNIT TOGETHER
FLUSHING & CHARGING (CONTINUED)
FIGURES 9A & 9B
FLOW CENTER VALVE POSITIONING

Manual 2100-518B
Page 21 of 30
FLUSH UNIT ONLY
OPERATION
MIS-2663
FLUSHING & CHARGING (CONTINUED)
FIGURES 9C & 9D
FLOW CENTER VALVE POSITIONING

Manual 2100-518B
Page 22 of 30
FLUSHING & FILLING EARTH LOOP AND
UNIT(S) TOGETHER
All air and debris must be removed from the earth loop
piping system before operation. Flush the loop with a high
volume of water at a high velocity (2 fps in all piping in
accordance with IGSHPA guidelines).
1. Connect the unit and loop to the ow center.
2. Connect the ush cart hoses to the front port of the
ow center (see Figure 8).
3. Fill closed loop (outside) evenly with domestic water
and discharge the return water by adding water to the
ush cart until water returns to the reservoir. The
return water should be ltered or discharged to
remove debris.
4. Fill the ush cart two-thirds full for initial ushing.
5. Flush the lowest portion of the system rst.
Depending upon the individual layout, this could be
the loop or the unit. (If unit is lowest part of system,
set valve position as shown in Figure 9C. If loop is
lowest part of system, set ow center valve position
as shown in Figure 9A.)
6. Restart the pump. Once you have a steady ow of
water on the return side from the system, deadhead
the pump by closing the ball valve on the hose
returning to the reservoir. This will generate the
maximum pressure on the system. While the return
ball valve is closed, note the uid level in the
reservoir. If all the air is purged from the system, the
level will drop only 1/2" to 3/4" in the ush cart site
glass, since water is not compressible. This is the
only way to tell if the air is purged from the system.
Open valve quickly, wait one minute, then deadhead
again. Repeat this process until all air is purged from
the system.
7. Reverse the ow direction with the ush cart and
repeat Step #6.
8. Repeat Step #6 for the higher elevation side of the
system. (If unit is highest part of system, set valve
position as shown Figure 9C. If loop is highest part
of system, set ow center valve position as shown in
Figure 9A.)
9. After ushing both sides of the system, reset ow
control valves to ush the entire system. Set valve
position as shown in Figure 9B and repeat Step #7.
FLUSHING EARTH LOOP ONLY
1. Connect loop to ow center.
2. Connect the unit side connections of the ow center
together with a jumper hose.
3. Remove caps and plugs from ow center front access
ports.
4. Connect ush cart hoses to access ports.
5. Position valve stems as shown in Figure 9A.
6. Fill the ush cart two-thirds full for initial ushing.
7. Restart the pump. Once you have a steady ow of
water on the return side from the system, deadhead
the pump by closing the ball valve on the hose
returning to the reservoir. This will generate the
maximum pressure on the system. While the return
ball valve is closed, note the uid level in the
reservoir. If all the air is purged from the system, the
level will drop only 1/2" to 3/4" in the ush cart site
glass, since water is not compressible. This is the
only way to tell if the air is purged from the system.
Open valve quickly, wait one minute, then deadhead
again. Repeat this process until all air is purged from
the system.
8. Reverse the ow direction with the ush cart and
repeat Step #7.
9. Rotate the ow center valves to isolate the ush cart
from the rest of the system (see Figure 9C).
10. Turn off ush cart pump, relieve pressure on the
hoses and remove them.
11. Replace ow center access plugs and caps.
12. Rotate valves back to position as shown in Figure 9B.
13. Remove jumper from unit connection ports.
FLUSHING & CHARGING (CONTINUED)

Manual 2100-518B
Page 23 of 30
FLUSHING UNIT ONLY (ALSO USED
WHEN REPLACING UNIT, COAXIAL
COIL, HOSE KIT OR PUMP)
1. Connect unit to ow center.
2. Rotate 3-way valve to position shown in Figure 9C.
3. Remove access port caps and plugs and connect either
ush cart or Bard DORGHMT tting (service only -
not intended for primary ush).
4. Attach garden hose to domestic water supply.
5. Purge air from garden hose before connecting to port
in ow center.
6. Attach another length of garden hose to the other port
in the ow center, leading to drain.
7. Flush ow center and unit with domestic water until
air is removed.
8. Close drain valve on discharge hose and pressurize
system to domestic water pressure (approx. 4-75
psig).
9. Remove bleed screw(s) from ow center pump
motors to purge air and replace screw(s).
10. Close valve on supply hose to trap pressure in the
system.
11. Rotate 3-way valves back to normal operating
position (see Figure 9D).
12. Remove water supply hose from ow center and
replace access port caps/plugs.
FLUSHING & CHARGING (CONTINUED)

Manual 2100-518B
Page 24 of 30
1. Check to make sure the loop and unit isolation valves
are completely open and the ush ports are closed and
sealed (see Figure 9D).
2. Geothermal units have two low pressure switches
installed. One switch is intended for Ground Water
Applications (default factory wired - blue wires), and
the second is intended for Ground Loop Applications
(yellow wires). Remove the “blue” wires from the
LPS terminals of the compressor control module
internal of the control panel of the geothermal heat
pump and replace with the yellow low pressure switch
wires (see unit wiring diagram).
3. Check and record the earth loop pressure (use P/T
ports at geothermal heat pump).
Loop Pressure_____IN_____OUT
4. Check and record ow rate.
FLOW RATE - _____GPM
5. Check performance of unit. (Refer to Geothermal
Heat Pump Installation Manual.)
PROCEDURE FOR PRESSURIZING THE
SYSTEM
1. Once system is completely ushed and antifreeze is
added, it can then be pressurized. Perform this by
deadheading the pump by closing the return hose ball
valve. This will increase the pressure on the loop via
the ush cart pump. As the pressure will uctuate
with the seasons (set higher in winter and lower in
summer), it is suggested that the initial loop pressure
be 50-75 psig in winter and 40-50 psig in summer. If
you cannot reach these pressures with the ush cart
pump alone, turn on the fresh water feed to the cart
while still deadheading the pump. The potable water
pressure, along with the pump, will increase the
amount of pressure in the loop.
2. Bleed any air from the inside of the pump. This can
be done by removing the bleed screw from the center
of the pump motor head, allowing a small amount of
uid to drip out. Replace the bleed screw.
3. Rotate the ow center valves to isolate the ush cart
from the rest of the system (see Figure 9D).
4. Turn off the ush cart pump, relieve the pressure on
the hoses and remove them.
5. Replace ow center access plugs and caps.
NOTE: If the ow center is mounted in the horizontal
position, the supply hose must be connected to the lower
ushing port to allow air to pass out of the upper port
during the nal ushing.
PRESSURE/TEMPERATURE PLUGS
The pressure/temperature plugs (P/T plugs) supplied with
the ground water connectors are provided as a means of
measuring ow and temperature (see Figure 10). The
waterow through the unit can be checked by measuring
the incoming water pressure at the supply pressure P/T and
subtracting the leaving water pressure at the return water
P/T plug. Comparing the differential to the pressure drop/
ow chart (Table 3) will determine the ow rate through
the heat pump.
Example: Model GV51S1 with a measured pressure
drop of 5.1 psig is equivalent to 9 GPM ow.
GPM rates higher than the required minimum ow rates will
not be detrimental to performance. However, insufcient
ow can signicantly reduce capacity, efciency and create
nuisance trips of safety controls, and possibly damage to
components in extreme conditions.
NOTE: Pressure/Temperature probes should be lubricated
with a water-based lubricant prior to gently pushing the
probes into the P/T ports to prevent internal damage.
Thermometers, probes and gauges are available for
conducting these tests.
FLOW CENTER INITIAL STARTUP

Manual 2100-518B
Page 25 of 30
10
120
110
100
90
80
70
60
50
40
30
20
0
Retaining cap, hand tighten only
Pete's test plug
Test plug cap
Barbed 90° adapter
MIS-2622 A
NOTE: Slide retaining cap back to expose
double o-rings. Apply petroleum jelly to o-rings
to prevent damage and aid in insertion
with guage adaptor
Dial face pressure guage
Thermometer
Model
GPM
GV27S1 GV38S1 / GV51S1 GV61S1 GV71S1
PSID Ft. Hd. PSID Ft. Hd. PSID Ft. Hd. PSID Ft. Hd.
3 0.1 0.23
4 0.5 1.15 0.9 2.08
5 1.2 2.77 1.4 3.23
6 1.7 3.92 2.3 5.31
7 2.3 5.31 3.2 7.38 2 4.61
8 3.1 7.15 4.1 9.46 2.5 5.77 2 4.61
9 4.1 9.46 5.1 11.77 3.2 7.38 2.4 5.54
10 6.1 14.07 3.9 9.00 2.8 6.46
11 7.1 16.38 4.7 10.84 3.4 7.84
12 8.2 18.92 5.5 12.69 3.9 9.00
13 9.4 21.69 6.4 14.76 4.5 10.38
14 10.6 24.45 7.3 16.84 5.2 12.00
15 8.1 18.69 5.9 13.61
16 9 20.76 6.7 15.46
17 9.9 22.84 7.4 17.07
18 8.4 19.38
FIGURE 10
PRESSURE TEMPERATURE PORTS
TABLE 3A
GV SERIES COIL PRESSURE DROP
P/T

Manual 2100-518B
Page 26 of 30
TABLE 3B
GT SERIES COIL PRESSURE DROP
TABLE 3C
QW SERIES COIL PRESSURE DROP
Model
GPM
GTC36S1 GTC48S1 GTC60S1
PSID Ft. Hd. PSID Ft. Hd. PSID Ft. Hd.
3 0.1 0.23
4 0.5 1.15 0.9 2.08
5 1.2 2.77 1.4 3.23
6 1.7 3.92 2.3 5.31
7 2.3 5.31 3.2 7.38 2 4.61
8 3.1 7.15 4.1 9.46 2.5 5.77
9 4.1 9.46 5.1 11.77 3.2 7.38
10 6.1 14.07 3.9 9.00
11 7.1 16.38 4.7 10.84
12 8.2 18.92 5.5 12.69
13 9.4 21.69 6.4 14.76
14 10.6 24.45 7.3 16.84
15 8.1 18.69
16 9 20.76
17 9.9 22.84
18
Model
GPM
QW2S1 & QW3S1 QW4S1 QW6S1
PSID Ft. Hd. PSID Ft. Hd. PSID Ft. Hd.
3 0.1 0.23
4 0.5 1.15 0.9 2.08
5 1.2 2.77 1.4 3.23
6 1.7 3.92 2.3 5.31
7 2.3 5.31 3.2 7.38 2 4.61
8 3.1 7.15 4.1 9.46 2.5 5.77
9 4.1 9.46 5.1 11.77 3.2 7.38
10 6.1 14.07 3.9 9.00
11 7.1 16.38 4.7 10.84
12 8.2 18.92 5.5 12.69
13 9.4 21.69 6.4 14.76
14 10.6 24.45 7.3 16.84
15 8.1 18.69
16 9 20.76
17 9.9 22.84
18

Manual 2100-518B
Page 27 of 30
Problem Possible Causes Checks & Corrections
Water Drips Out Condensation Insulate piping, check for insulation gaps.
Water Leak Inspect/tighten ttings.
Low Flow / No Flow
Power Loss Check power supply from the heat pump.
Blown Circuit Breaker Reset circuit breaker for ow center in heat pump control box.
Broken or Loose Wires Replace or tighten wires.
Pump Shaft Stuck Remove the indication plug and ensure that shaft is rotating.
Air Lock Flush loop to eliminate air.
Improperly Sized Pump Add pump capacity.
Defective Pump Replace.
No Positive Pressure Check for leaks, add uid, ush as required and pressurize.
Viscous Solution Change type of antifreeze.
Loop Freezing or Frozen Switch thermostat to A/C operation to see if ow improves at warmer temperature.
Add antifreeze and measure freeze protection.
Kink in Loop Straighten or Replace.
Noisey
Defective Pump Replace.
Air in Loop Flush loop again.
Vibration Check mounting.
Pressure Loss
Leak Repair.
Temperature Change Not a problem; pressure should vary as temperature changes.
Pipe Expansion Not a problem; plastic piping relaxing.
Unit Trips Out on Water Flow
(Low Pressure or High Pressure) Low Flow / No Flow See Low Flow / No Flow.
TROUBLESHOOTING

Manual 2100-518B
Page 28 of 30
Selection of antifreeze solutions for ground loop
applications requires consideration of many important
factors, which may have long-term implications in regards
to performance and system component life. Each area
of concern leads to a different antifreeze solution. The
fact that there is no “ideal” antifreeze and any choice will
require compromises in one area or another. Some of these
considering factors include:
Safety – The toxicity and ammability of the
antifreeze solution.
Thermal Performance – The heat transfer and
viscosity effects of the antifreeze.
Cost – The prices vary widely.
Corrosiveness – System materials must be compatible
with the antifreeze solution.
Stability – Will the solution require periodic change
out or maintenance?
Convenience – Is the solution readily available and
easy to transport and install?
Codes – Will the solution meet local/regional/state/
national regulatory standards?
It is highly recommended to utilize pre-mixed antifreeze
solutions where possible to alleviate many installation
problems and extra labor.
The following are some general observations about the
types of antifreeze materials presently being applied in the
geothermal ground loop markets:
Methanol – Considered toxic in pure form, good heat
transfer, low to mid-price, ammable in concentrations
greater than 25%, non-corrosive and low viscosity.
Methanol has delivered outstanding performance in ground
loop applications for over 20 years. Its only drawbacks
are toxicity and ammability. Although methanol enjoys
widespread consumer use as windshield washer uid in even
higher concentrations, some local codes may limit its use in
ground loops. (Note: Do NOT use automotive windshield
washer uid as antifreeze. Most washer uids contain
chemicals that will cause foaming.) To increase safety, a
pre-mixed form should be used on the jobsite to increase
the safety factor. Pure methanol can be purchased from any
chemical supplier.
Ethanol – Good heat transfer (lower than methanol),
high price, ammable in concentrations greater than 10%,
non-corrosive and low viscosity. Ethanol in pure form is
considered non-toxic and shows promise as a geothermal
heat transfer uid. However, the U.S. Bureau of Alcohol,
Tobacco & Firearms (ATF) limit its distribution. All non-
beverage ethanol is required to be denatured and rendered
unt to drink. Generally, this is done by adding a small
percentage of toxic substances such as methanol, benzene
or gasoline as a denaturant. Many of the denaturants are
difcult to identify by the casual user, and many are not
compatible with polyethylene pipe. Only denatured ethanol
can be purchased for commercial use. The use of ethanol
is not recommended because of the unknown denaturants
included in the solution and their possible toxicity
and damage resulting to polyethylene piping systems.
Denaturing agents that are petroleum based can damage
polyethylene pipe.
ANTIFREEZE SELECTION & USE

Manual 2100-518B
Page 29 of 30
Propylene Glycol – Non-toxic, non-corrosive,
expensive, hard to handle when cold, poorest heat transfer,
has formed “slime-type” coatings inside system piping.
Propylene Glycol is acceptable in systems anticipating
loop temperatures no colder than 40°F (4.4°C). These
systems typically use antifreeze because of low ambient
conditions (outside plumbing or cooling tower, etc.).
When loop temperatures are below 40°F, the uid becomes
very difcult to pump and heat transfer characteristics
suffer greatly. Only food grade propylene glycol is
recommended to prevent the corrosion inhibitors from
reacting with local water causing “slime-type” coatings
inside heat exchangers. If propylene glycol must be
used (code requirements), careful consideration of loop
Reynolds numbers, pump selection and pressure drop must
be considered.
Potassium Acetate (GS4) – Non-toxic, good heat
transfer, high price, non-corrosive with added inhibitors,
low viscosity. Due to its low surface tension, Potassium
Acetate has been known to leak through mechanical
ttings and certain thread sealants. A variant of the salt
family, it can be extremely corrosive when exposed to air.
Potassium Acetate is not recommended in ground loop
applications due to the leaking and (ultimately) corrosion
problems associated with it.
NOTE: Consult with your local distributor if you have
questions regarding antifreeze selection and any comments
to report about problems or success with any particular
methods in your area.
TYPE SIZE VOLUME
(U.S. GALLON/100'PIPE) VOLUME
(LITERS/10 METERS)
Copper 1" CTS 4.1 15.5
Copper 1-1/4" CTS 6.4 24.2
Copper 1-1/2" CTS 9.2 34.8
Polyethylene 3/4" - IPS SDR 11 3.0 11.4
Polyethylene 1" - IPS SDR 11 4.7 17.8
Polyethylene 1-1/4" - IPS SDR 11 7.5 28.4
Polyethylene 1-1/2" - IPS SDR 11 9.8 37.1
Polyethylene 2" - IPS SDR 11 15.4 58.3
Type Minimum Temperature for Freeze Protection
10°F (-12.2°C) 15°F (-9.4°C) 20°F (-6.7°C) 25°F (-3.9°C)
Methanol 25% 21% 16% 10%
Ethanol * 29% 25% 20% 14%
100% USP
Food Grade
Propylene
Glycol
27% 24% 20% 13%
ANTIFREEZE SELECTION & USE (CONTINUED)
TABLE 4
FLUID VOLUME
TABLE 5
PERCENTAGES BY VOLUME
Approximate Fluid Volume per 100’ (10 Meters) of Pipe
Antifreeze Percentages by Volume
* Must not be denatured with any petroleum based product.

Manual 2100-518B
Page 30 of 30
ANTIFREEZE VERIFICATION
Both Glycol and Alcohol based antifreeze solutions can
be veried to the specic percentage of volume within the
ground loop system. One of the easiest ways to check this
is through use of a Hydrometer to check the specic density
of the ground loop uid and comparing these to the charts
supplied by the antifreeze manufacturer (see Figure 11).
Hydrometers can be purchased from your local distributor
and are also available through national wholesalers.
Manual 2100-518A
Page 30 of 30
ANTIFREEZE VERIFICATION
Both Glycol and Alcohol based antifreeze solutions can be
verified to the specific percentage of volume within the
ground loop system. One of the easiest ways to check this
is through use of a Hydrometer to check the specific
density of the ground loop fluid and comparing these to the
charts supplied by the antifreeze manufacturer (see Figure
11).
Hydrometers can be purchased from your local distributor
and are also available through national wholesalers.
MIS-2666
WARNING
Always use properly marked vehicles (D.O.T.
placards) and clean/suitable/properly marked
identified containers for handling flammable
antifreeze mixtures. Post and advise those
on the jobsite of chemical use and potential
dangers of handling and storage.
CAUTION
Always obtain MSDS (material safety data
sheets) for all chemicals used in ground loop
applications - including chemicals used as
antifreeze.
FIGURE 11
DENSITY VERIFICATION
for SOLUTION STRENGTH
TABLE 6 TABLE 7
It is recommended that IGSHPA design and specifications are utilized for Loop Design, Pipe Manifolding and Hot Fusion
operations.
There are many available software programs available to aid with loop design parameters. Your local loop material or
equipment supplier may have this technology available. Technical Service has the capability to assist you in this area as well,
but it is on a first come - first serve basis.
MIS-2666
WARNING
Always use properly marked vehicles (D.O.T.
placards) and clean/suitable/properly marked
identied containers for handling ammable
antifreeze mixtures. Post and advise those
on the jobsite of chemical use and potential
dangers of handling and storage.
CAUTION
Always obtain MSDS (material safety data
sheets) for all chemicals used in ground loop
applications - including chemicals used as
antifreeze.
FIGURE 11
DENSITY VERIFICATION
for SOLUTION STRENGTH
It is recommended that IGSHPA design and specications are utilized for Loop Design, Pipe Manifolding and Hot Fusion
operations.
There are many available software programs available to aid with loop design parameters. Your local loop material or equipment
supplier may have this technology available. Technical Service has the capability to assist you in this area as well, but it is on a
rst come - rst serve basis.