Amana Air Conditioner Rcb18C2Cp1247513C Users Manual RPT Parts Cover
RCB18C2CP1247513C to the manual aeb0c939-2f4d-45b4-a24e-b8482a5e6285
2015-02-04
: Amana Amana-Amana-Air-Conditioner-Rcb18C2Cp1247513C-Users-Manual-361084 amana-amana-air-conditioner-rcb18c2cp1247513c-users-manual-361084 amana pdf
Open the PDF directly: View PDF
.
Page Count: 13

This manual is to be used by qualified appliance technicians only.
RP6111003
Revision 2
August 2004
RCB*C2A/B/C 10 SEER Remote
Condensing Units
This manual replaces RP6111003 Rev. 1.
Amana is a trademark of Maytag Corporation and used under
license to Goodman Company, L.P. All rights reserved.
Service Parts
Copyright © 2004 Goodman Company, L.P.
Models and manufacturing
numbers in this manual
RCB18C2CP1247513C
RCB24C2CP1247514C
RCB30C2CP1247515C
RCB36C2CP1247516C
RCB42C2CP1247517C
RCB48C2CP1256403C
RCB60C2CP1256404C
P1247501CRCB18C2A
P1247508CRCB18C2B
P1247502CRCB24C2A
P1247509CRCB24C2B
P1247503CRCB30C2A
P1247510CRCB30C2B
P1247504CRCB36C2A
P1247511CRCB36C2B
P1247505CRCB42C2A
P1247512CRCB42C2B
P1247506CRCB48C2A
P1256401CRCB48C2B
P1247507CRCB60C2A
P1256402CRCB60C2B

Important Information
Goodman Company, L.P. is not responsible for personal injury or property damage resulting from improper service.
Review all service information before beginning repairs.
Warranty service must be performed by an authorized technician, using authorized factory parts. If service is
required after the warranty expires, Goodman Company, L.P. also recommends contacting an authorized
technician and using authorized factory parts.
For assistance within the U.S.A. contact:
Consumer Affairs Department
Goodman Company, L.P.
7401 Security Way
Houston, Texas 77040
877-254-4729-Telephone
713-863-2382-Facsimile
International Division
Goodman Company, L.P.
7401 Security Way
Houston, Texas 77040
713-861-2500-Telephone
713-863-2382-Facsimile
For assistance outside the U.S.A. contact:
2Copyright © 2004 Goodman Company, L.P. RP6111003 2Rev.

Index
Functional Parts List
Revision 1: Adds Manufacturing #s P1247508C, P1247509C, P1247510C, P1247511C, P1247512C,
P1256401C, and P1256402C.
Revision 2: Adds new RCB*C*C models. Paint color of cabinet changed to grey. Corrects capaictor part number
for RCB60C2B P1256402C.
Illustration and Parts
...................................................................................................
...................................................................................................
Views shown are for parts illustrations only, not servicing procedures.
6 - 13
4 - 5
AR - As Required
NA - Not Available
NS - Not Shown
00000000 - See Note
QTY - Quantity Example (QTY 3) (If Quantity not shown, Quantity = 1)
M - Model Example (M1) (If M Code not shown, then part is used on all Models)
Text Codes:
Example
M1 - Model#1 P__________
M2 - Model#2 P__________
M3 - Model#3 P__________
Expanded Model Nomenclature:
3RP6111003 2Rev.

Functional Parts
Part
No: Description:
D6789048 CAPACITOR 25/5/370 (M1, M8, M15)
D6789051 CAPACITOR 30/5/370 (M2, M9, M16)
D6789049 CAPACITOR 35/5/370 (M3, M10, M17)
D6789025 CAPACITOR 35/5/440 (M4)
D6789024 CAPACITOR 40/5/370 (M6)
D6789028 CAPACITOR 40/5/440 (M5, M12, M13, M19)
B94575600 CAPACITOR 40/5/440 (M20)
D6789043 CAPACITOR 50/5/370 (M11, M18)
D6789046 CAPACITOR 60/5/370 (M7, M14, M21)
CR16K6PFV920 COMPRESSOR, CR16KF-PFV-220*, OLD PN# 10481828 (M1, M8, M15)
SERVICE COMPRESSOR MAY BE DIFFERENT THAN PRODUCTION
CR22KFPFV920 COMPRESSOR, CR22KF-PFV-220 (M2, M9, M16)
CR28K6PFV920 COMPRESSOR, CR28K6-PFV-220, OLD PN#10481823 (M3, M10, M17)
10481817 COMPRESSOR, CR32K6-PFV-230 (M4)
CR34K6PFV920 COMPRESSOR, CR34K6-PFV-220 (M11, M18)
CR38K6PFV920 COMPRESSOR, CR38K6-PFV-220, OLD PN# 10481824 (M5, M19)
CR42K6PFV920 COMPRESSOR, CR42K6-PFV-223 (M13, M20)
ZR40KCPFV930 COMPRESSOR, ZR40KC-PFV-230, OLD PN# 11012513 (M12)
ZR45KCPFV935 COMPRESSOR, ZR45KC-PFV-235, OLD PN# 11012511 (M6)
ZR57KCPFV950 COMPRESSOR, ZR57KC-PFV-250, OLD PN# B9266355 (M7, M14, M21)
20435901 CONDENSING ASSY (M3)
20435905 CONDENSING ASSY (M18)
20411406 CONDENSING ASSY (M17)
20436001 CONDENSING ASSY (M4, M5)
20435501 CONDENSING ASSY (M2)
20410005 CONDENSING ASSY (M8, M15)
20411003 CONDENSING ASSY (M9, M16)
20435903 CONDENSING ASSY (M11)
20424803 CONDENSING ASSY (M12, M19)
20433701 CONDENSING ASSY (M1)
20437201 CONDENSING ASSY (M6, M7)
20411405 CONDENSING ASSY (M10)
11163807 CONDENSING ASSY-PPNT (M13)
11163808 CONDENSING ASSY-PPNT (M21)
11163809 CONDENSING ASSY-PPNT (M20)
11163806 CONDENSING ASSY-PPNT (M14)
10625716 FAN-CONDENSER 3BLADE,CW,27DEG (M1, M2, M8, M9)
10625703 FAN-CONDENSER 3BLADE,CW,28DEG (M11, M12)
10625706 FAN-CONDENSER 3BLADE,CW,33DEG (M4, M5, M6, M7, M13, M14)
10625717 FAN-CONDENSER 3BLADE,CW,37DEG (M3, M10)
10651509 HARNESS-COMPRESSOR (M7)
10651507 HARNESS-COMPRESSOR (M1, M2)
20430101 HARNESS-COMPRESSOR (M14, M21)
20462503 HARNESS-COMPRESSOR (M5, M6, M12, M13, M19, M20)
10651517 HARNESS-COMPRESSOR (M3, M4, M8, M9, M10, M11, M15, M16, M17, M18)
10584307 MOTOR-COND 1/2HP, 230V,825RPM (M1, M2, M8, M9, M11, M12)
10584313 MOTOR-COND 1/4HP, 230V,830RPM (M4, M5, M6, M7, M13, M14)
10584308 MOTOR-COND 1/6HP, 230V,825RPM (M3, M10)
20272613 PISTON 0530 BAG ASSY (M1, M8, M15)
20272603 PISTON 0591 BAG ASSY (M2, M9)
20272611 PISTON 0650 BAG ASSY (M3, M10)
20272612 PISTON 0710 BAG ASSY (M4, M11, M18)
20272607 PISTON 0760 BAG ASSY (M5, M12, M19)
4RP6111003 2Rev.
Expanded Model Nomenclature
M1 - RCB18C2A P1247501C
M2 - RCB24C2A P1247502C
M3 - RCB30C2A P1247503C
M4 - RCB36C2A P1247504C
M5 - RCB42C2A P1247505C
M6 - RCB48C2A P1247506C
M7 - RCB60C2A P1247507C
M8 - RCB18C2B P1247508C
M9 - RCB24C2B P1247509C
M10 - RCB30C2B P1247510C
M11 - RCB36C2B P1247511C
M12 - RCB42C2B P1247512C
M13 - RCB48C2B P1256401C
M14 - RCB60C2B P1256402C
M15 - RCB18C2C P1247513C
M16 - RCB24C2C P1247514C
M17 - RCB30C2C P1247515C
M18 - RCB36C2C P1247516C
M19 - RCB42C2C P1247517C
M20 - RCB48C2C P1256403C
M21 - RCB60C2C P1256404C

Functional Parts
Part
No: Description:
20272614 PISTON 0820 BAG ASSY (M13, M20)
20272608 PISTON 0846 BAG ASSY (M6)
20272609 PISTON 0925 BAG ASSY (M7, M14, M21)
B1443829 RESTRICTOR 053 (M1)
B1443823 RESTRICTOR 059 (M2)
B1443821 RESTRICTOR 065 (M3)
B1443822 RESTRICTOR 071 (M4)
B1443817 RESTRICTOR 076 (M5)
B1443805 RESTRICTOR 084 (M6)
B1443810 RESTRICTOR 092 (M7)
B1219225 SINGLE-FLOW FILTER-DRIER (M6, M7, M12, M13, M14, M19, M20, M21)
B1219212 SINGLE-FLOW FILTER-DRIER (M1, M2, M3, M4, M5, M8, M9, M10, M11, M15, M16, M17, M18)
B1104807 START-CAPACITOR (M5, M20)
B1104806 START-CAPACITOR (M1, M2, M3, M4, M8, M9, M10, M11, M15, M16, M17, M18)
10142317 START-RELAY (M4, M11, M18)
10142307 START-RELAY (M1, M8, M15)
10142305 START-RELAY (M2, M3, M5, M9, M10, M16, M17, M20)
5RP6111003 2Rev.
SPECIAL PARTS
RT6111006 MANUAL TECHNICAL
10652423S MANUAL-INSTAL
10659202S MANUAL-OWNERS
RS6200003 MANUAL-SERVICE
RP6111003 PARTS MANUAL
PDB-RCB PRODUCT DATA BOOK (M8, M9, M10, M11, M12, M13, M14, M15, M16, M17, M18, M19, M20, M21)
20451201 RCB18C2A SPEC SHT (M1)
20451202 RCB24C2A SPEC SHT (M2)
20451203 RCB30C2A SPEC SHT (M3)
20451204 RCB36C2A SPEC SHT (M4)
20451205 RCB42C2A SPEC SHT (M5)
20451206 RCB48C2A SPEC SHT (M6)
20451207 RCB60C2A SPEC SHT (M7)
20490503S WARRANTY (M8, M9, M10, M11, M12, M13, M14, M15, M16, M17, M18, M19, M20, M21)
20315606S WARRANTY (M1, M2, M3, M4, M5, M6, M7)
Expanded Model Nomenclature
M1 - RCB18C2A P1247501C
M2 - RCB24C2A P1247502C
M3 - RCB30C2A P1247503C
M4 - RCB36C2A P1247504C
M5 - RCB42C2A P1247505C
M6 - RCB48C2A P1247506C
M7 - RCB60C2A P1247507C
M8 - RCB18C2B P1247508C
M9 - RCB24C2B P1247509C
M10 - RCB30C2B P1247510C
M11 - RCB36C2B P1247511C
M12 - RCB42C2B P1247512C
M13 - RCB48C2B P1256401C
M14 - RCB60C2B P1256402C
M15 - RCB18C2C P1247513C
M16 - RCB24C2C P1247514C
M17 - RCB30C2C P1247515C
M18 - RCB36C2C P1247516C
M19 - RCB42C2C P1247517C
M20 - RCB48C2C P1256403C
M21 - RCB60C2C P1256404C

Control/Cover/Cabinet
242
282
212
222
262
392
342
192 192
62
91
11
11
141
171 131 11
Image 1
Image 2
202
6RP6111003 2Rev.

Control/Cover/Cabinet
Ref.
No:
Part
No: Description:
Ref.
No:
Part
No: Description:
Image 1:
SCREW-SM (M1, M2, M3, M4, M5, M6, M7)
M0220816
11
SCREW-SM (M20, M21)
M0229303
11
COVER-BEND CONTROL (M15, M16, M19)
20160411
91
COVER-BEND CONTROL (M17, M18)
20160412
91
COVER-CONT PNT (M20, M21)
10589926PDG
91
COVER-CONTROL (M13, M14)
10589920
91
COVER-CONTROL (M1, M2, M8, M9, M12)
20160405
91
COVER-CONTROL (M3, M4, M5, M6, M7, M10, M11)
20160406
91
FLOW CHECK PISTON K (M16)
B1789859
131
FLOW CHECK PISTON K (M17)
B1789865
131
PISTON 0530 BAG ASSY (M1, M8, M15)
20272613
131
PISTON 0591 BAG ASSY (M2, M9)
20272603
131
PISTON 0650 BAG ASSY (M3, M10)
20272611
131
PISTON 0710 BAG ASSY (M4, M11, M18)
20272612
131
PISTON 0760 BAG ASSY (M5, M12, M19)
20272607
131
PISTON 0820 BAG ASSY (M13, M20)
20272614
131
PISTON 0846 BAG ASSY (M6)
20272608
131
PISTON 0925 BAG ASSY (M7, M14, M21)
20272609
131
PANEL-SRVC VLV (M3)
20160202
141
PANEL-SRVC VLV (M1, M2, M4, M5, M8, M9, M10)
20160209
141
PANEL-SRVC VLV (M11)
20160210
141
PANEL-SRVC VLV (M6, M7, M12)
20160211
141
PANEL-SRVC VLV (M13, M14)
20289710
141
PANEL-SRVC VLV PNT (M15, M16, M17)
20160215PDG
141
PANEL-SRVC VLV PNT (M18)
20160216PDG
141
PANEL-SRVC VLV PNT (M19)
20160217PDG
141
PANEL-VALVE PNT (M20, M21)
20289711PDG
141
RESTRICTOR 053 (M1)
B1443829
171
RESTRICTOR 059 (M2)
B1443823
171
RESTRICTOR 065 (M3)
B1443821
171
RESTRICTOR 071 (M4)
B1443822
171
RESTRICTOR 076 (M5)
B1443817
171
RESTRICTOR 084 (M6)
B1443805
171
RESTRICTOR 092 (M7)
B1443810
171
FILLER-CONTROL (M13, M14)
10597408
NS
NAME PLATE, AMANA
20187902
NS
Image 2:
GRILLE-FORMED (M1, M2, M8, M9)
20440001
62
GRILLE-FORMED (M3, M11)
20440002
62
GRILLE-FORMED (M4, M5)
20440003
62
GRILLE-FORMED (M6, M7)
20440004
62
GRILLE-FORMED (M15, M16)
20440005
62
GRILLE-FORMED (M18)
20440006
62
GRILLE-FORMED (M13, M14)
20449305
62
GRILLE-FORMED (M10)
20449307
62
GRILLE-FORMED (M12)
20449308
62
GRILLE-FORMED (M20, M21)
20449315
62
GRILLE-FORMED (M17)
20449317
62
GRILLE-FORMED (M19)
20449318
62
SCREW-SM (M1, M2, M3, M4, M5, M6, M7, M8, M9,
M10, M11, M12, M13, M14)
M0220816
192
TOP (M13, M14)
10576104
202
TOP (M20, M21)
10576105
202
TOP (M1, M2, M3)
20160501
202
TOP (M8, M9, M10, M11, M12)
20160503
202
TOP (M4, M5, M6, M7)
20161204
202
TOP-PNT (M15, M16, M17, M18, M19)
20160505PDG
202
GRILLE-FAN (M1, M2, M3, M8, M9, M10, M11, M12)
20440501
212
GRILLE-FAN (M4, M5, M6, M7, M13, M14)
20440502
212
GRILLE-FAN (M15, M16, M17, M18, M19)
20515001
212
GRILLE-FAN (M20, M21)
20515002
212
MOTOR (M20, M21)
B13400270
222
MOTOR, 1/6HP, 230V, (M15, M16, M17, M18, M19)
B13400252
222
MOTOR-COND 1/2HP, 230V,825RPM (M1, M2, M8, M9,
M11, M12)
10584307
222
MOTOR-COND 1/4HP, 230V,830RPM (M4, M5, M6, M7,
M13, M14)
10584313
222
MOTOR-COND 1/6HP, 230V,825RPM (M3, M10)
10584308
222
NUT, ACORN (5/16 HEX) (M8, M9, M10, M11, M12,
M13, M14)
B1783803
242
NUT-HEX (M1, M2, M3, M4, M5, M6, M7, M15, M16,
M17, M18, M19, M20, M21)
M0280801
242
DISK-LOGO CL
20164301
262
SCREW-SM (QTY AR)
M0216517
282
WASHER-LOCK (M1, M2, M3, M4, M5, M6, M7, M15,
M16, M17, M18, M19, M20, M21)
M0272803
282
FAN-CONDENSER 3BLADE,CW,27DEG (M1, M2, M8,
M9)
10625716
342
FAN-CONDENSER 3BLADE,CW,28DEG (M11, M12)
10625703
342
FAN-CONDENSER 3BLADE,CW,33DEG (M4, M5, M6,
M7, M13, M14)
10625706
342
FAN-CONDENSER 3BLADE,CW,37DEG (M3, M10)
10625717
342
FAN-CONDENSER BLADE 18" ALUM (M15, M16, M17,
M18, M19)
10625730
342
FAN-CONDENSER BLADE 22" ALUM (M20, M21)
10625733
342
SCREW-SM (QTY 6)
M0229303
392
Expanded Model Nomenclature
M1 - RCB18C2A P1247501C
M2 - RCB24C2A P1247502C
M3 - RCB30C2A P1247503C
M4 - RCB36C2A P1247504C
M5 - RCB42C2A P1247505C
M6 - RCB48C2A P1247506C
M7 - RCB60C2A P1247507C
M8 - RCB18C2B P1247508C
M9 - RCB24C2B P1247509C
M10 - RCB30C2B P1247510C
M11 - RCB36C2B P1247511C
M12 - RCB42C2B P1247512C
M13 - RCB48C2B P1256401C
M14 - RCB60C2B P1256402C
M15 - RCB18C2C P1247513C
M16 - RCB24C2C P1247514C
M17 - RCB30C2C P1247515C
M18 - RCB36C2C P1247516C
M19 - RCB42C2C P1247517C
M20 - RCB48C2C P1256403C
M21 - RCB60C2C P1256404C
7RP6111003 2Rev.

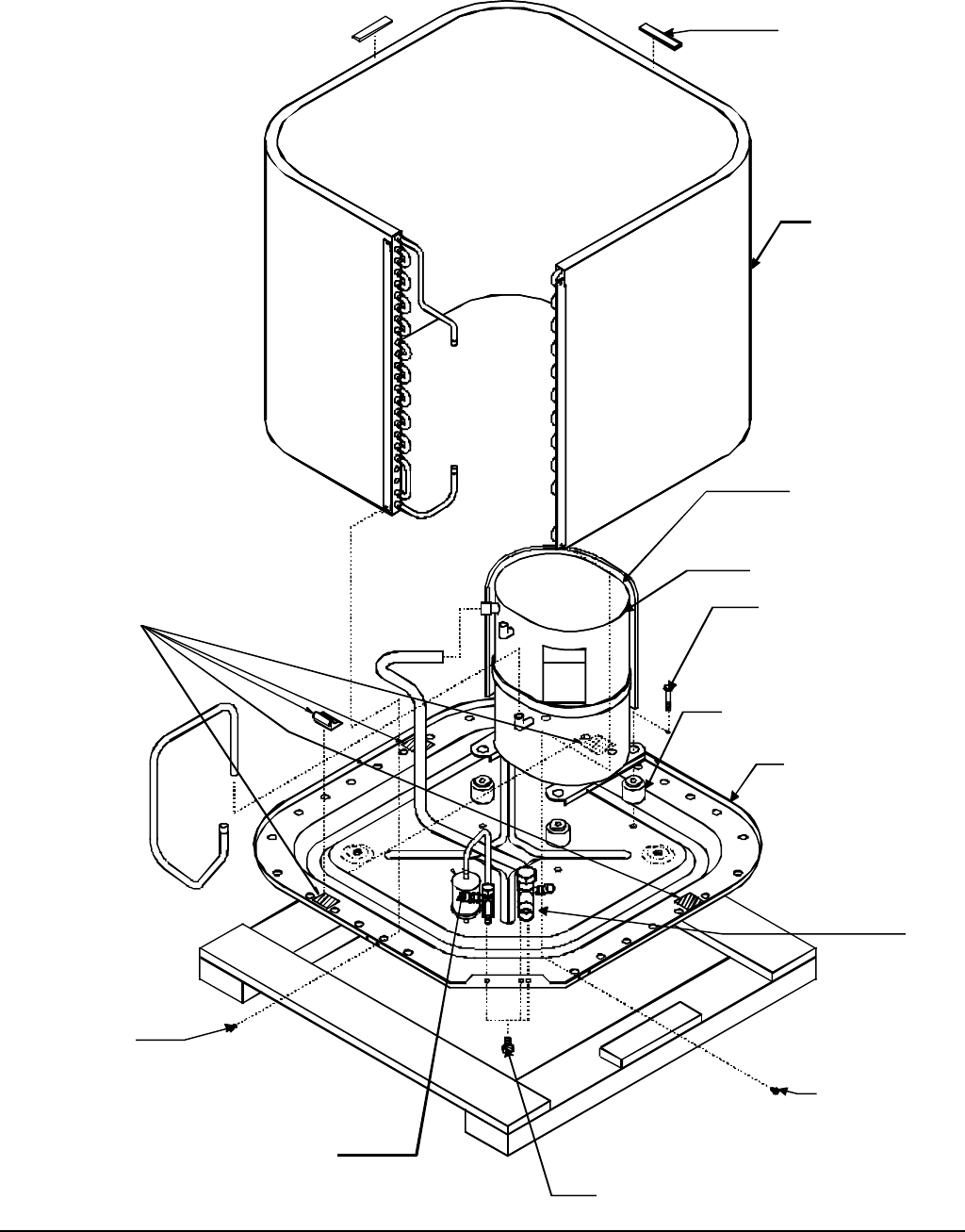
Compressor/Tubing
381
81
411
31
51
41
11
191
191
191
291
371
21
Image 1
8RP6111003 2Rev.

Compressor/Tubing
Ref.
No:
Part
No: Description:
Ref.
No:
Part
No: Description:
Image 1:
BASEPAN (M4, M5, M6, M7)
20160003
11
BASEPAN REM (M13, M14)
10258304
11
BASEPAN REM (M20, M21)
10258306
11
BASEPAN REM (M1, M2, M3, M8, M9, M10, M11, M12)
20159903
11
BASEPAN REM (M15, M16, M17, M18, M19)
20159905
11
COMPRESSOR, CR16KF-PFV-220*, OLD PN#
10481828 (M1, M8, M15)
CR16K6PFV920
31
SERVICE COMPRESSOR MAY BE DIFFERENT THAN
PRODUCTION
COMPRESSOR, CR22KF-PFV-220 (M2, M9, M16)
CR22KFPFV920
31
COMPRESSOR, CR28K6-PFV-220, OLD PN#10481823
(M3, M10, M17)
CR28K6PFV920
31
COMPRESSOR, CR32K6-PFV-230 (M4)
10481817
31
COMPRESSOR, CR34K6-PFV-220 (M11, M18)
CR34K6PFV920
31
COMPRESSOR, CR38K6-PFV-220, OLD PN#
10481824 (M5, M19)
CR38K6PFV920
31
COMPRESSOR, CR42K6-PFV-223 (M13, M20)
CR42K6PFV920
31
COMPRESSOR, ZR40KC-PFV-230, OLD PN#
11012513 (M12)
ZR40KCPFV930
31
COMPRESSOR, ZR45KC-PFV-235, OLD PN#
11012511 (M6)
ZR45KCPFV935
31
COMPRESSOR, ZR57KC-PFV-250, OLD PN#
B9266355 (M7, M14, M21)
ZR57KCPFV950
31
GROMMET-COMP FOOT (M6, M7, M12, M14, M21)
10107301
41
GROMMET-COMP FOOT (M1, M2, M3, M4, M5, M8, M9,
M10, M11, M13, M15, M16, M17, M18, M19, M20)
B1315401
41
SCREW-SHOULDER TF (QTY 4)
M0221641
51
CONDENSING ASSY (M8, M15)
20410005
81
CONDENSING ASSY (M9, M16)
20411003
81
CONDENSING ASSY (M10)
20411405
81
CONDENSING ASSY (M17)
20411406
81
CONDENSING ASSY (M12, M19)
20424803
81
CONDENSING ASSY (M1)
20433701
81
CONDENSING ASSY (M2)
20435501
81
CONDENSING ASSY (M3)
20435901
81
CONDENSING ASSY (M11)
20435903
81
CONDENSING ASSY (M18)
20435905
81
CONDENSING ASSY (M4, M5)
20436001
81
CONDENSING ASSY (M6, M7)
20437201
81
CONDENSING ASSY-PPNT (M14)
11163806
81
CONDENSING ASSY-PPNT (M13)
11163807
81
CONDENSING ASSY-PPNT (M21)
11163808
81
CONDENSING ASSY-PPNT (M20)
11163809
81
SCREW-SM (M1, M2, M3, M4, M5, M6, M7)
M0220816
191
LIQUID VALVE ASM (M1, M2, M3, M4, M5)
20460201
291
LIQUID VALVE ASM (M6, M7)
20460202
291
TUBE WELD-LVLV (M8, M9, M10, M11)
20414901
291
TUBE WELD-LVLV (M12)
20414904
291
TUBE WELD-LVLV (M13, M14)
20422701
291
TUBE WELD-LVLV (M15, M16, M17, M18)
20521201
291
TUBE WELD-LVLV (M19)
20521202
291
TUBE WELD-LVLV (M20, M21)
22303002
291
SUPPORT-COIL (M1, M2, M3, M4, M5, M6, M7, M8, M9,
M10, M11, M12, M15, M16, M17, M18, M19)
20206601
371
SUPPORT-COIL (M13, M14, M20, M21)
20328901
371
GASKET-.062X.50
10839819
381
COMPRESSOR SOUND BLANKET (M6, M7, M14, M21)
B1488806
411
COMPRESSOR SOUND BLANKET (M12)
B1488807
411
COMPRESSOR SOUND BLANKET (M4, M5, M11, M13,
M18, M19, M20)
B1488815
411
COMPRESSOR SOUND BLANKET (M1, M2, M3, M8,
M9, M10, M15, M16, M17)
B1488817
411
SINGLE-FLOW FILTER-DRIER (M1, M2, M3, M4, M5,
M8, M9, M10, M11, M15, M16, M17, M18)
B1219212
NS
SINGLE-FLOW FILTER-DRIER (M6, M7, M12, M13,
M14, M19, M20, M21)
B1219225
NS
Expanded Model Nomenclature
M1 - RCB18C2A P1247501C
M2 - RCB24C2A P1247502C
M3 - RCB30C2A P1247503C
M4 - RCB36C2A P1247504C
M5 - RCB42C2A P1247505C
M6 - RCB48C2A P1247506C
M7 - RCB60C2A P1247507C
M8 - RCB18C2B P1247508C
M9 - RCB24C2B P1247509C
M10 - RCB30C2B P1247510C
M11 - RCB36C2B P1247511C
M12 - RCB42C2B P1247512C
M13 - RCB48C2B P1256401C
M14 - RCB60C2B P1256402C
M15 - RCB18C2C P1247513C
M16 - RCB24C2C P1247514C
M17 - RCB30C2C P1247515C
M18 - RCB36C2C P1247516C
M19 - RCB42C2C P1247517C
M20 - RCB48C2C P1256403C
M21 - RCB60C2C P1256404C
9RP6111003 2Rev.

Tubing
32
101
22
Image 1
Image 2
10RP6111003 2Rev.

Tubing
Ref.
No:
Part
No: Description:
Ref.
No:
Part
No: Description:
Image 1:
TUBE-DISCHARGE (M6)
20206901
101
TUBE-DISCHARGE (M3)
20219402
101
TUBE-DISCHARGE (M2)
20232001
101
TUBE-DISCHARGE (M1)
20232002
101
TUBE-DISCHARGE (M7)
20443801
101
TUBE-DISCHARGE (M4, M5)
20445301
101
TUBE-DISCHARGE (M14)
20494001
101
TUBE-DISCHARGE (M8, M15)
20504301
101
TUBE-DISCHARGE (M9, M16)
20504308
101
TUBE-DISCHARGE (M10)
20504309
101
TUBE-DISCHARGE (M11)
20504310
101
TUBE-DISCHARGE (M17)
20504312
101
TUBE-DISCHARGE (M18)
20504313
101
TUBE-DISCHARGE (M13, M20)
20504402
101
TUBE-DISCHARGE (M12)
20523401
101
TUBE-DISCHARGE (M21)
20523403
101
TUBE-DISCHARGE (M19)
22311701
101
Image 2:
VALVE-SERVICE 3/4 (M3, M4, M10, M11, M17, M18)
20163902
22
VALVE-SERVICE 3/8
20163801
22
VALVE-SERVICE 5/8 (M1, M2, M8, M9, M15, M16)
20163901
22
VALVE-SERVICE 7/8 (M5, M6, M7, M12, M13, M14,
M19, M20, M21)
20163903
22
SUCT/SWT WELD (M20)
22303501
92
TUBE WELD-SUCTION (M14, M21)
20423301
92
TUBE WELD-SUCTION (M1, M2)
20434301
92
TUBE WELD-SUCTION (M3)
20435801
92
TUBE WELD-SUCTION (M4)
20436301
92
TUBE WELD-SUCTION (M5)
20436501
92
TUBE WELD-SUCTION (M6, M7)
20438701
92
TUBE WELD-SUCTION (M12)
20505401
92
TUBE WELD-SUCTION (M13)
20505801
92
TUBE WELD-SUCTION (M8, M9, M15, M16)
20521501
92
TUBE WELD-SUCTION (M10)
20523601
92
TUBE WELD-SUCTION (M11, M17, M18)
20523602
92
TUBE WELD-SUCTION (M19)
20523603
92
Expanded Model Nomenclature
M1 - RCB18C2A P1247501C
M2 - RCB24C2A P1247502C
M3 - RCB30C2A P1247503C
M4 - RCB36C2A P1247504C
M5 - RCB42C2A P1247505C
M6 - RCB48C2A P1247506C
M7 - RCB60C2A P1247507C
M8 - RCB18C2B P1247508C
M9 - RCB24C2B P1247509C
M10 - RCB30C2B P1247510C
M11 - RCB36C2B P1247511C
M12 - RCB42C2B P1247512C
M13 - RCB48C2B P1256401C
M14 - RCB60C2B P1256402C
M15 - RCB18C2C P1247513C
M16 - RCB24C2C P1247514C
M17 - RCB30C2C P1247515C
M18 - RCB36C2C P1247516C
M19 - RCB42C2C P1247517C
M20 - RCB48C2C P1256403C
M21 - RCB60C2C P1256404C
11 RP6111003 2Rev.

Control Panel
61
291
41
61
61
241
31
21
261
151
51
71
14171 51
61
61
281
111
61
11
121
181
62
312
752
52
252
112
32
102
312
32
82
92
32
312
12
312
Image 1
Image 2
12RP6111003 2Rev.

Control Panel
Ref.
No:
Part
No: Description:
Ref.
No:
Part
No: Description:
Image 1:
CONTROL BOX 14.5 (M1, M2, M8, M9, M12)
20187204
11
CONTROL BOX 16.5 (M3, M4, M5, M6, M7, M10, M11)
20187304
11
PANEL-CONT 14.5 REM (M15, M16, M19)
20187205
11
PANEL-CONT 16.5 REM (M17, M18)
20187305
11
GROMMET (M1, M2, M3, M4, M5, M6, M7, M8, M9, M10,
M11, M12, M15, M16, M17, M18, M19, M21)
A4603801
21
CAPACITOR 25/5/370 (M1, M8, M15)
D6789048
31
CAPACITOR 30/5/370 (M2, M9, M16)
D6789051
31
CAPACITOR 35/5/370 (M3, M10, M17)
D6789049
31
CAPACITOR 35/5/440 (M4)
D6789025
31
CAPACITOR 40/5/370 (M6)
D6789024
31
CAPACITOR 40/5/440 (M20)
B94575600
31
CAPACITOR 40/5/440 (M5, M12, M13, M19)
D6789028
31
CAPACITOR 50/5/370 (M11, M18)
D6789043
31
CAPACITOR 60/5/370 (M7, M21)
D6789046
31
CONTACTOR, 25FLA,125L (M8, M9, M10, M11, M12,
M15, M16, M17, M18, M19)
B1360321
41
CONTACTOR-25A (M1, M2, M3, M4, M5, M6)
C6170004
41
LUG-GROUND
A9015201
51
SCREW-SM (QTY AR)
M0216515
61
SCREW-SM
M0216529
71
START-RELAY (M2, M3, M5, M9, M10, M16, M17)
10142305
111
START-RELAY (M1, M8, M15)
10142307
111
START-RELAY (M4, M11, M18)
10142317
111
START-CAPACITOR (M1, M2, M3, M4, M8, M9, M10,
M11, M15, M16, M17, M18)
B1104806
121
START-CAPACITOR (M5)
B1104807
121
TIE-ELEC
M0322201
141
CLIP-GUIDE (M1, M2, M3, M4, M5, M6, M7, M8, M9,
M10, M11, M12, M15, M16, M17, M18, M19)
M0118702
151
STRAP-CAPACITOR (M1, M2, M3, M4, M5, M6, M7)
C6300508
181
STRAP-CAPACITOR (M15, M16, M17, M18, M19)
20520901
241
STRAP-CAPACITOR (M1, M2, M3, M8, M9, M10, M11)
C6300508
241
STRAP-CAPACITOR (M4, M5, M6, M7, M12)
C6300513
241
BOTTOM-CNTRL PNL (M1, M2, M3, M4, M5, M6, M7,
M8, M9, M10, M11, M12, M15, M16, M17, M18, M19)
20161101
261
SCREW-SM
M0216517
281
BUSHING-SNAP
A4554807
291
GASKET-CONT PANEL (M1, M2, M3, M4, M5, M6, M7,
M8, M9, M10, M11, M12, M15, M16, M17, M18, M19)
20164001
NS
Image 2:
CONTROL BOX-1PC (M13, M14, M20, M21)
11174704
12
SCREW-SM (M13, M14, M20)
M0216517
32
LUG-GROUND
A9015201
52
GROMMET (M13, M14, M20)
A4603801
62
STRAP-CAPACITOR (M13)
C6300508
82
STRAP-CAPACITOR (M14)
C6300512
82
CAPACITOR 40/5/440 (M20)
B94575600
92
CAPACITOR 60/5/370 (M14)
D6789046
92
CONTACTOR, 25FLA,125L (M13, M20)
B1360321
102
CONTACTOR-40A (M7, M14, M21)
C6170005
102
BARRIER-LOW VOLT (M13, M14)
11156901
112
BARRIER-LOW VOLTAGE (M20, M21)
20521001
112
RELAY-START (M20)
10142305
112
CAPACITOR-START (M20)
B1104807
122
STRAP-CAPACITOR (M20, M21)
20520901
242
SCREW-SM (M13, M14, M20)
M0216529
252
SCREW-SM (QTY AR)
M0216515
312
BUSHING-SNAP
A4554807
752
Expanded Model Nomenclature
M1 - RCB18C2A P1247501C
M2 - RCB24C2A P1247502C
M3 - RCB30C2A P1247503C
M4 - RCB36C2A P1247504C
M5 - RCB42C2A P1247505C
M6 - RCB48C2A P1247506C
M7 - RCB60C2A P1247507C
M8 - RCB18C2B P1247508C
M9 - RCB24C2B P1247509C
M10 - RCB30C2B P1247510C
M11 - RCB36C2B P1247511C
M12 - RCB42C2B P1247512C
M13 - RCB48C2B P1256401C
M14 - RCB60C2B P1256402C
M15 - RCB18C2C P1247513C
M16 - RCB24C2C P1247514C
M17 - RCB30C2C P1247515C
M18 - RCB36C2C P1247516C
M19 - RCB42C2C P1247517C
M20 - RCB48C2C P1256403C
M21 - RCB60C2C P1256404C
13 RP6111003 2Rev.