Amana Oven Acf3325A Users Manual
dcf3305a f3684b98-8e2a-4be2-ac18-0cff63d3ba69 Amana Oven DCF3305A User Guide |
2015-02-04
: Amana Amana-Amana-Oven-Acf3325A-Users-Manual-361255 amana-amana-oven-acf3325a-users-manual-361255 amana pdf
Open the PDF directly: View PDF
.
Page Count: 60

Owners Manual
Contents
Important Safety Information ......... 3
Adjusting Burner Flame ................. 6
Cookware Suggestions ................. 8
Using the Range............................ 9
Custom Features ......................... 12
Displays and Signals ................... 13
Using the Oven Control ............... 14
Cooking
Baking ...................................... 19
Broiling ..................................... 22
Roasting ................................... 23
Braising .................................... 24
Care and Cleaning....................... 25
Troubleshooting ........................... 28
Amana Warranty ......................... 30
Manuel du propriétaire ................. 31
TM
Gas Range
Keep instructions for future reference.
Be sure manual stays with range.
36-32076801-0
Covering DCF3305A
and TMACF3325A

2
Recognize Safety Symbols, Words, Labels
DANGER
!
DANGERImmediate hazards which WILL result in severe personal
injury or death.
WARNING
!
WARNINGHazards or unsafe practices which COULD result in severe
personal injury or death.
CAUTION
!
CAUTIONHazards or unsafe practices which COULD result in minor
personal injury or product or property damage.
What You Need to Know
about Safety Instructions
Warning and Important Safety
Instructions appearing in this manual
are not meant to cover all possible
conditions and situations that may
occur. Common sense, caution, and
care must be exercised when installing,
maintaining, or operating range.
Always contact your dealer, distributor,
service agent, or manufacturer about
problems or conditions you do not
understand.
Please take the time to complete the registration card and return promptly.
If registration card is missing, call Amana Consumer Affairs Department.
When contacting Amana, provide product information from serial plate found
on right side of storage door opening:
Model Number __________________________________
Manufacturing (P) Number _________________________
Serial Number (S/N) ______________________________
Purchase Date __________________________________
Dealer Name ___________________________________
Dealer Address _________________________________
Dealer Phone ___________________________________
Keep this manual and your sales receipt together in a safe place for
future reference or if warranty service is required.
For answers to questions or to locate an authorized servicer, call
1-800-NAT-LSVC (1-800-628-5782) inside USA or 319-622-5511 outside
USA. Warranty service must be performed by an authorized servicer.
Amana Appliances also recommends contacting an authorized servicer if
service is required after warranty expires.
To register your product electronically, get more
information on your range or other Amana products,
visit our Web site
www.amana.com
or
call Consumer Affairs Department at
1-800-843-0304
Asure Extended
Service Plan
Amana Appliances offers long-term
service protection for this new range.
Asure™ Extended Service Plan,
covering functional parts, labor, and
travel charges, is specially designed to
supplement a strong warranty.
Call 1-800-528-2682 for information.
Parts and Accessories
Purchase replacement parts and
additional accessories such as cleaning
supplies by phone. To order accessories
for your Amana product, call
1-800-843-0304 inside USA or
319-622-5511 outside USA.
Save Time and Money
If something seems unusual, please
check “Troubleshooting” section,
which is designed to help you solve
problems before calling service.
If you have a question, call us at
(800) 843-0304 or write us at:
Consumer Affairs Department
Amana Appliances
2800 - 220th Trail
Amana, Iowa 52204
Remember to include model number
of your appliance and your phone
number.
Thank you for buying an Amana Range!
5DWLQJ
3ODWH

3
IMPORTANT SAFETY INFORMATION
SAVE THESE INSTRUCTIONS
WARNING
!
To reduce risk of the appliance tipping, it must be secured by a
properly installed anti-tip bracket. To verify bracket has been
installed properly, remove the storage drawer or panel and look
under the range with a flashlight. Bracket must be engaged in
the rear corner of the range.
WARNING
!
To avoid personal injury, do not
sit, stand or lean on oven door
or oven drawer.
WARNING
!
To avoid risk of electrical shock,
personal injury, or death, verify
your range has been properly
grounded and always
disconnect it from main power
supply before servicing.
ALL RANGES CAN TIP
INJURY TO PERSONS
COULD RESULT
INSTALL ANTI-TIP
BRACKET PACKED
WITH RANGE
REFER TO
INSTALLATION
INSTRUCTIONS WARNING
!
If the information in this manual is
not followed exactly, a fire or
explosion may result causing
property damage, personal injury
or death.
Do not store or use gasoline or
other flamable vapors and
liquids in the vicinity of this or
any other appliance.
What To Do If You
Smell Gas
Do not try to light any
appliance.
Do not touch any electrical
switch.
Do not use any phone in your
building.
Immediately call your gas
supplier from a neighbors
phone. Follow the gas
suppliers instructions.
If you cannot reach your gas
supplier, call the fire
department.
Installation and service must
be performed by a qualified
installer, service agency or the
gas supplier.
CAUTION
!
DO NOT TOUCH SURFACE BURNERS OR AREAS NEAR BURNERS
Areas near surface burners may become hot enough to cause burns.
During and after use do not touch, let clothing or other flammable
materials touch or contact surface burners or areas near surface burners
until they have had enough time to cool. These areas include the
rangetop and backguard.
CAUTION
!
DO NOT TOUCH GAS BURNERS OR INTERIOR SURFACES OF
OVENInterior surfaces of an oven become hot enough to cause burns.
During and after use do not touch, let clothing or other flammable
materials touch, or contact heated interior surfaces of the oven until they
have had enough time to cool. Other range surfaces that may become
hot enough to cause burns are the oven door and oven vent at the
backguard.
CAUTION
!
To avoid fire or smoke damage,
remove any flammable materials from storage drawer. Items like
plastic containers and paper manuals can melt or burn.
clean excess spills before starting a self-clean cycle.

4
ALL APPLIANCES
1. Proper InstallationBe sure your
appliance is properly installed and
grounded by a qualified technician.
2. Never Use Your Appliance for
Warming or Heating the Room.
3. Do Not Leave Children Alone
Children should not be alone or
unattended in the area where the appliance is in
use. They should never be allowed
to sit or stand on any part of the appliance.
4. Wear Proper ApparelLoose fitting or hanging
garments should never be worn while using
appliance.
5. User ServicingDo not repair or replace any part
of the appliance unless specifically recommended
in the manual. All other servicing should be referred
to a qualified technician.
6. Storage in or on ApplianceFlammable materials
should not be stored in an oven or near surface
units.
7. Do Not Use Water On Grease FiresSmother fire
or flame, or use dry chemical or foam-type
extinguisher.
8. Use Only Dry PotholdersMoist or damp potholders
on hot surfaces may result in burns from steam.
Do not let potholder touch elements. Do not use a
towel or other bulky cloth.
SURFACE BURNERS
1. Use Proper Pan SizeThis
appliance is equipped with one
or more surface burners of different sizes. Select
utensils having flat bottoms large enough to cover
the surface burner. The use of undersized utensils
will expose a portion of the burner to direct contact
and may result in ignition of clothing. Use of
oversized utensils concentrates heat on cooking
surface and can cause damage to range. Proper
relationship of utensil to burner improves efficiency.
2. Never Leave Surface Burners UnattendedBoilover
causes smoking and greasy spillovers that may ignite.
3. Make Sure Reflector Pans or Drip Bowls Are in
PlaceAbsence of these pans or bowls during
cooking may subject wiring or components
underneath to damage.
4. Protective LinersDo not use aluminum foil to line
surface burner drip bowls or oven bottom, except as
suggested in the manual. Improper installation of these
liners may result in a risk of electric shock, or fire.
5. Glazed Cooking UtensilsOnly certain types of
glass, ceramic, earthware, or other glazed utensils
are suitable for rangetop service without breaking
due to sudden change in temperature.
6. Utensil Handles Should Be Turned Inward and Not
Extended Over Adjacent Surface BurnersTo
reduce the risk of burns, ignition of flammable
materials, and spillage due to unintentional contact
with the utensil, the handle of a utensil should be
positioned so that it is turned inward, and does not
extend over adjacent surface burners.
IMPORTANT SAFETY INFORMATION (contd)
SAVE THESE INSTRUCTIONS
CAUTION
!
Do not store items of interest to children in
cabinets above a range or on the backguard of a
rangechildren climbing on the range to reach items
could be seriously injured.
California Safe Drinking Water
and Toxic Enforcement Act (Proposition 65)
The Governor of California is required to publish a
list of substances known to the state of California to
cause cancer or reproductive harm and requires
businesses to warn customers of potential exposures
to such substances.
This appliance may contain or produce a chemical or
chemicals which can cause death or serious illness
and which are known to the State of California to
cause cancer, birth defects, or other reproductive
harm. To reduce the risk from substances in the fuel
or from fuel combustion, make sure this appliance is
installed, operated and maintained according to the
instructions provided.
CAUTION
!
To avoid delayed or improper ignition, do not obstruct
the flow of combustion or ventilation air.

5
OVENS
1. Use Care When Opening
DoorLet hot air or steam
escape before removing or
replacing food.
2. Do Not Heat Unopened Food
ContainersBuild-up of
pressure may cause container to burst and
result in injury.
3. Keep Oven Vent Ducts Unobstructed.
4. Placement of Oven RacksAlways place oven
racks in desired location while oven is cool. If rack
is removed while oven is hot, do not let potholder
contact hot heating element in oven.
5. Protective LinersDo not use aluminum foil to line
drip bowls, oven racks or oven bottoms. Improper
installation of these liners may result in a risk of
electrical shock, or fire.
SELF-CLEANING OVENS
1. Do Not Clean Door GasketThe door gasket is
essential for a good seal. Care should be taken
not to rub, damage, or move the gasket.
2. Do Not Use Oven CleanersNo commercial oven
cleaner or oven liner protective coating of any kind
should be used in or around any part of the liner.
3. Clean Only Parts Listed in Manual.
4. Before Self-Cleaning the OvenRemove broiler pan,
oven racks, and other utensils.
5. Remove All Items From Rangetop and Backguard.
VENTILATION HOODS
1. Clean Ventilating Hoods FrequentlyGrease should
not be allowed to accumulate on hood or filter.
2. When flaming foods under the hood, turn the fan on.
In Case of Fire
Fires can occur as a result of over
cooking or excessive grease. Though a
fire is unlikely, if one occurs, proceed as
follows:
Surface Burner Fire
1. Smother the fire with a nonflammable lid or baking
soda, or use a Class ABC or BC extinguisher.
Not water. Not salt. Not flour.
2. As soon as it is safe to do so, turn the surface
controls to OFF. Turn off power at main circuit
breaker or fuse box. Turn off gas supply.
Oven Fires
1. If you see smoke from your oven, do not open
oven door.
2. Turn off oven.
3. As an added precaution, turn off power at main
circuit breaker or fuse box. Turn off gas supply.
4. Turn on vent to remove smoke.
5. Allow food or grease to burn itself out in oven.
6. If smoke and fire persist, call fire department.
7. If there is any damage to components, call an
authorized servicer before using range.
IMPORTANT SAFETY INFORMATION (contd)
SAVE THESE INSTRUCTIONS
!Precautions
Do not cook food directly on
rangetop surface, always use
cookware.
Do not mix household cleaning products. Chemical
mixtures may interact with objectionable or even
hazardous results.
Do not put plastic items on warm cooking areas.
They may melt and stick.
Oven door contains a glass window. While the
window is built to be sturdy and strong, it is still glass
and needs to be treated with care.
Do not lift or move range by grasping oven door
handle. This can result in window glass breaking or
shattering.
Do not slide rough metal objects across rangetop
surface. Scratching or metal marking can result.
Do not leave fat heating unless you remain nearby.
Fat can ignite if overheated by spilling onto hot
surfaces.
Do not allow pots to boil dry as this can cause
damage to cooking surface and pan.
Do not use rangetop surface as a cutting board.
Do not use range for storage or as a display counter.
DELAYED IGNITION
Surface burners
Burner should ignite within 4 seconds. If burner does not
ignite within 4 seconds, turn control knob to OFF and
follow directions for installing burner caps in Adjusting
Surface Burners. Try again. If burner still does not ignite
within 4 seconds, contact an authorized servicer.
Bake and broil burner flame
Allow no more than 40-60 seconds before burner ignites
and heat is felt. To check for heat, open oven door to first
stop and place hand over oven door. If heat is not felt,
turn temperature control knob to OFF. If burner
repeatedly fails to ignite, contact an authorized servicer.

6
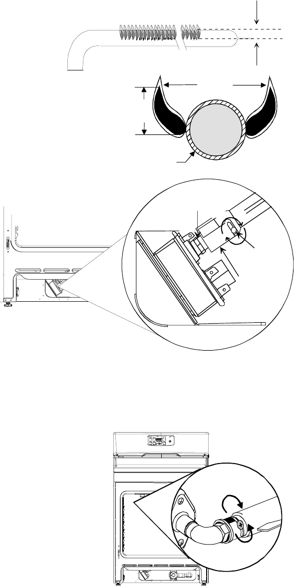
Adjusting Surface Burner Flame
Placing burner caps
Burner cap must be correctly seated on the burner base for proper operation
of the burner. Verify cap is properly aligned and leveled by moving the burner
cap around on burner base while rangetop is cool.
The cap should not be loose.
The pegs in the burner base should fit into the recess on the underside
of burner cap.
Cap should be the correct size for each burner base.
Cap must be clean and dry for proper ignition.
Place grate over cap and burner base once cap is properly placed.
EXUQHUNQRE
SLYRWSRLQW
RULILFHKRRG
DLUVKXWWHU
Testing and adjusting surface burner flame
A properly adjusted surface burner on a high setting has flames that are
clean and blue with a distinct inner cone approximately 1/4" to 1/2" inch long.
Some yellow flame is normal when burning LP/Propane.
See Delayed Ignition section in Important Safety Information for safety
warnings and procedures.
Flames will not be a uniform size around the cap. This distribution
around the cap and grate allows for optimal heating.
If burner flame is blowing or noisy, airflow should be reduced to
the burner (close air shutter).
If burner flame is weak and does not hold its shape, airflow should be
increased to the burner (open air shutter).
Adjusting the surface burners air shutter
1. Disconnect electrical supply
2. Turn off all surface burners.
3. Remove burner control knobs from range.
2 screws are visible on the burner control panel.
4. Remove both screws from burner control panel.
Panel will drop slightly after screws are removed.
5. While grasping bottom of burner control panel, gently lift and pull
out panel until it is clear of burner valve stems.
After burner control panel clears the valve stems, continue to roll
the panel until free from the range. Set aside.
Both gas valve and orifice hood are visible after burner control panel is removed.
6. Slide air shutter open or closed depending on the appearance of burner flame.
Air shutter should be moved by 1/16" to 1/8" at a time.
7. Connect electrical supply.
8. Check flame adjustment.
Slide knob onto valve shaft and turn to lite surface
burner.
Flame should be blue with a distinct inner cone
1/4" to 1/2" long.
Shut off burner after flame is viewed. Remove knob.
Disconnect electrical supply if further adjustments are
needed.
Repeat air shutter adjustments as necessary.
9. Reassemble burner control panel in reverse order.
%XUQHU
Adjustments must conform to all local, municipal and state building
codes, and local utility regulations.
open close

7
Testing and adjusting the bake
and broil burner flames
Properly adjusted oven burner flames are blue with a distinct
blue inner cone approximately 1/2" long. When using natural gas,
flame should not have any yellow flame when burning. Some
yellow flame when burning LP/Propane gas is normal.
Flame should not be visible in oven cavity when burning and should not
extend into the oven cavity beyond the removable oven bottom.
See Delayed Ignition section in Important Safety Information for safety
warnings and procedures.
Adjusting Oven Burner Flame
Adjusting bake burners air shutter
1. Disconnect electrical supply.
2. Remove oven bottom while still cool.
3. Remove storage drawer.
4. From front of range, locate bake burner air
shutter.
5. Loosen air shutter lock screw and open or
close air shutter.
Air shutter should be moved by 1/16" to 1/8" at
a time.
If burner flame is blowing or noisy, reduce
airflow to the burner (close air shutter)
If burner flame is yellow and does not hold its shape, increase airflow to
the burner (open air shutter).
6. Tighten air shutter screw.
7. Connect electrical supply.
8. Test oven bake burner flame for proper adjustment. If not adjusted
properly, disconnect electrical supply and repeat steps 5, 6 and 7.
9. Replace storage drawer.
10. When oven is again cool, replace oven bottom.
Adjusting broil burners air shutter
1. Disconnect electrical supply.
2. Open oven door.
3. Loosen air shutter lock screw and open or close the air shutter.
Air shutter should be moved by 1/16" to 1/8" at a time.
If burner flame is blowing or noisy, reduce airflow to the burner.
If burner flame is yellow and does not hold its shape, increase
airflow to the burner.
4. Tighten air shutter screw.
5. Reconnect electrical supply.
6. Test oven broil burner flame for proper adjustment. If not adjusted
properly, disconnect electrical supply and repeat steps 3 and 4.
7. Close oven door.
Adjustments must conform to all local, municipal and state building
codes, and local utility regulations.
1/2"
1
/2"
long
Burner
Flame
RULILFH
KRRG
DLU
VKXWWHU
DLUVKXWWHU
ORFNVFUHZ
FORVH
RSHQ
DLU
VKXWWHU
open
close

8
Cookware Recommendations
COOKWARE
MATERIAL USES
Aluminum Heats and cools quickly. Use for frying, braising,
and roasting.
Stainless Steel Heats and cools at moderate rate. Use for soups,
sauces, vegetables, general cooking.
Copper Clad /
Tin Lined Heats and cools quickly. Use for gourmet cooking,
wine sauces, egg dishes.
Cast Iron Heats and cools slowly. Use for low heat cooking,
frying.
Enamelware Heating speed depends on base metal in the
cookware. Use for low heat cooking.
Ceramic (Glass) Heats and cools slowly. Use for low heat cooking.
Flat Pan Test
For best cooking results, use a pan
with a flat bottom. To determine if
pan has a flat bottom:
1. Rotate a ruler along bottom
of pan. If pan is not flat, gaps
between bottom of pan and
edge of ruler can be seen.
2. A small groove or mark on a
pan does not affect cooking
times. However, if a pan has
a gap, formed rings, or an
uneven bottom, it does not
cook efficiently and in some
cases may not boil liquid.
Can I can?
Canning is not recommended with
any of the Amana gas ranges or
cooktops due to the intense heat and
large cookware required to can.
The high, sustained heat generated by
the canning cookware overheats both
the burners and the surface of the range
or cooktop. This may cause damage to
burners, knobs, or finish, and may even
cause overheating of surrounding walls.
Damage incurred by canning, or
attempting to can, is not covered under
warranty.
What Should You Consider in Cookware?
SELECT AVOID
Flat bottomed cookware. Cookware with rounded or warped bottoms.
Heavy gauge metal cookware. Light gauge metal cookware.
Handles that are secure, that are not
heavy enough to tilt pan. Cookware with loose or broken handles or
heavy handles that tip pan when empty.
Proper pan size. Cookware that is smaller than or greater than
burner grate by 1 inch.
Flat bottomed wok Wok with a ringstand on bottom.
More than 1 inch
overhang
Does not cover burner

9
Using the Range
WARNING
!
To avoid risk of serious personal
injury, property damage, or fire,
do not leave surface burners
unattended while in operation.
Grease and spillovers can ignite
causing a fire.
Setting Surface Burner Controls
Burner should ignite within 4 seconds. If burner does not ignite within
4 seconds, turn control knob to OFF position and follow directions in
Placing Burner Caps section.
1. Push in and turn knob to LITE.
Burner should ignite within 4 seconds.
2. After gas ignites, turn control to desired setting.
Knobs do not have distinct clicks.
Use HI to bring food to boiling temperatures.
When food is boiling temperature setting
should be reduced.
After lighting burner do not operate for long
periods of time without cookware on grate.
The finish on the grate can chip without cookware to absorb the heat.
Flame size should match the size of the pan. Do not allow the flame
to extend up the sides of the pan. This can cause clothing to ignite,
make the handle hot, or cause burns.
3. When finished cooking, turn control to OFF position.
During a Power Outage
Although the system that lights the
burners is electric, surface burners can
be ignited during a power outage. Never
attempt to light bake or broil burners
(oven burners) during a power
failure.
1. Hold match at base of desired
surface burner.
2. Push in burner control knob and
turn to LITE position.
3. After gas ignites, remove match
from burner and turn burner control
knob to desired setting.
Adjusting Burner Flame Size
While turning burner control knob, watch the burner flame.
Flame size should match the size of the pan.
Flames that extend up the sides of the pan can ignite clothing,
making the handle hot, or cause burns.
If These Controls Are
Different From Yours
The control descriptions are
intended to show the variety of features
that are available in the product line. If
your range does not have all the features
that are shown, it is not a mistake. The
information provided applies to several
of the available models.
SURFACE BURNER
CONTROL SETTINGS WHEN TO USE SETTING
LO Use to prepare food at less than boiling
temperatures or to simmer.
MED
Use to maintain boiling of larger
amounts of food, low temperature frying
and to maintain correct pressure in a
pressure cooker.
HI
Use to bring food to boiling
temperatures. When food is boiling
temperature setting should be reduced
to LO through MED.
<
G
O
F
F
E
D

10
Oven Racks and Rack Positions
Your range has 5 oven rack positions to accommodate all type of cooking
and cookware. Top oven rack position must not be used.
Oven Rack Placement
Position oven rack before turning oven on.
1. Pull rack forward to stop position.
2. Raise front edge of rack and pull
until rack is out of oven.
3. Place rack in new rack position.
Curved edge of rack must be
toward rear of oven.
Aluminum Foil
WARNING
!
To avoid risk of personal injury,
property damage or fire, do not
line oven bottom, racks, or broiler
pan and grid with aluminum foil or
any other material.
When placed on the oven bottom or
racks, aluminum foil not only creates
a hazard, but also affects cooking
performance. To minimize spills in
the oven, place a shallow pan or
cookie sheet underneath food items
that drip or spill.
Using the Range (contd)
Broiling Hints
• Broiling does not require
preheating.
• Remove excess fat from meat
before broiling.
• Cut edges of meat to prevent
curling.
• Place food on a cold ungreased
broiling pan. If pan is hot, food
sticks.
• All food except fish should be
turned at least one time.
• Begin broiling with skin side
down.
• Season meat after it has browned.
• Begin cooking using suggested
rack levels in Cooking:Broiling
section in the back of this manual
to test broiler results. If food is not
brown enough, cook on a higher
rack position. If food is too brown,
cook on a lower rack position.
• Oven door must be closed.
RACK POSITION GUIDELINES FOR BAKING, ROASTING, BRAISING
Rack Position Food Type
2Puff pastry products, streudles, casseroles, muffins,
small pork poin, and Eye of Round roast.
3Halved chickens, whole pork tenderloin, Cornish hens,
pot pies, frozen pizzas, quick breads (corn bread,
biscuits).
4Roast tenderloin of beef, whole chicken, whole pork loin,
roasted vegetables such as spaghetti or acorn squash.
5Whole turkey, capons, tip roasts and dressings.
6Large cuts of roasts meats such as top round, standing
rib roast, crown roast of lamb and boston butts. Baked
and sweet potatoes, flat breads and cobblers.
RACK POSITION GUIDELINES FOR BROILING
Rack Position Food Type
2
Boneless pork chops, boneless skinless chicken breast,
fish fillets, tuna steaks. Use a flat or shallow edged tray.
1/2 to 3/4” thick beef or tuna steaks, or pork chops.
London Broil.
3 1 to 1 1/2” thick steaks, 1 to 2” thick pork chops.
Lobster tails.
2
3
4
5
6

11
Placing the oven bottom
The oven bottom in your range has been screwed in to prevent any shifting
during moving or cooking. The oven bottom protects the recessed bake
burner area during baking or broiling.
It is necessary to remove the oven bottom for routine cleaning. The oven
bottom, burner baffle, and bake burner recess will need to be cleaned of any
excess grease or soil before a self-clean cycle is started.
To remove the oven bottom:
1. Verify all controls are in the OFF position.
2. Oven must be cool to the touch.
3. Open oven door and adjust any low oven racks to a higher rack position,
or remove racks temporarily from oven.
4. Locate two thumb screws holding oven bottom in place in rear of oven
cavity.
Remove thumb screws and retain for later use.
5. Carefully remove oven bottom from oven cavity.
Lift at rear sides and slide from front frame.
Oven bottom can be washed of excessive grease using a mild soap
and water.
6. Wipe out bake burner recess with a cloth dampened with soapy water.
7. Dry thoroughly.
8. Replace oven bottom and secure with thumb screws.
Place front edge of oven bottoms under front frame.
Lower rear of oven bottom into position and install thumb screws.
Do not overtighten thumb screws.
Oven bottom must be in place for oven to be used or for a self-clean
cycle to be run.
9. If oven racks were removed, replace oven racks.
WARNING
!
To avoid risk of personal injury,
property damage, or fire, clean
excess grease and soil from bake
recess before beginning a self-
clean cycle.
WARNING
!
To avoid risk of personal injury,
property damage or fire, do not
line oven bottom, racks, or broiler
pan and grid with aluminum foil.
CAUTION
!
To avoid risk of personal injury
wear gloves to protect hands
from possible sharp edges.
Using the Range (contd)

12
Features
12-hour automatic cancel
This safety feature prevents oven from continuing to operate if it has been
left on for over 12 hours. If a cooking function continues longer than 12 hours
without any options on oven control being touched, this feature turns oven
off. Any time an option is touched, 12-hour automatic cancel is reset.
Oven temperature control adjustment
Your range is calibrated at the factory for proper temperature. Due to
individual variances and preferences, it may be necessary to adjust oven
once it has been installed.
When first using the oven, follow recipe times and temperatures. Before
adjusting oven baking temperature, test a recipe by setting oven temperature
higher or lower than the suggested temperature. The baking results should
help you to decide how much of a temperature adjustment is required.
An accurate digital thermometer is necessary to calibrate the oven. Store
purchased oven thermometers do not accurately measure oven temperature.
Oven temperature can be increased or decreased by 35°F. To avoid over
adjusting the oven, only adjust the temperature by 5°F each time.
NOTE: Remove aluminum foil from racks and oven bottom as this will alter
oven performance. Check for blocked heat vents. If it still appears
oven is not performing as expected, a calibration may be done.
1. Turn oven temperature knob to OFF.
2. Press and hold both arrow pads for approximately 5 seconds.
3. A double digit will display ranging from -35°F to 35°F.
4. Immediately, press either:
to increase oven temperature by 5°F
to decrease oven temperature by 5°F
When temperature is adjusted to a cooler setting, a minus sign (-) will
display with the offset temperature.
5. When desired temperature change is displayed, release control and
change will be automatically saved after a few seconds. Control will
return to time of day display.
Offset temperature change will be retained through a power failure.
Service codes and tones
Electronic oven control is equipped with a self-diagnostic system.
Self-diagnostic system alerts you if there is an error or problem with the unit.
If electronic range control sounds a series of short, rapid beeps for over 16
seconds and the display shows an F-code, record F-code shown. Some
F-codes can be cleared by disconnecting power to the range for
approximately 3 minutes. If the code continues to reoccur disconnect
electrical supply to range and contact an authorized servicer.
F-
code Possible Meaning
F1 Control failure
F2 Oven over temperature
F3 Sensor open or shorted
F9 Door latch circuit failure
DOOR Door has not latched.

13
LIGHTS DESCRIPTION
&/2&. Clock pad light remains on while time of day is set.
7,0(5212)) Timer On/Off pad light remains on while the timer
counts down.
&22.&/($1
7,0(
Cook/Clean Time light is turned on when entering
cook or clean time. Light remains on during the cook
or clean cycle.
67$57
&22.&/($1
Start Cook/Clean light turns on when entering the
time a cooking or cleaning cycle is to start.
35(+($7
Preheat light turns on and remains on while oven
is heating to selected temperature. Light shuts off
when oven reaches and maintains temperature.
/2&.('
Locked light turns on and remains on when oven
door is locked. Locked light flashes when door is
automatically locking or unlocking.
29(121
Oven On light turns on and remains on while
oven is in use. Oven light does not monitor oven
cavity temperature.
29(1/,*+7 Turns on when OVEN LIGHT pad is pressed.
DISPLAY DESCRIPTION
%5/ Displays when oven is broiling or set to broil.
&/1 Displays when oven is self cleaning or
is set to self clean.
(1' Displays when oven has reached the end of a
baking or cleaning cycle.
Timer Signal
When time elapses, timer beeps
a single, three second tone.
Preheat Signal
After setting oven to bake and selecting
a temperature, oven preheats. When
oven reaches set temperature, oven
signals a one second beep and the
preheat light shuts off.
End-of-Cycle Signal
When a timed cooking cycle is
complete, the oven will beep four tones
approximately one second apart,
followed by a continuous series of one
second beeps every ten seconds until
the oven knob is turned to OFF.
Display and Signals
Clock also
displays oven
temperature.
350

14
Using the Oven Control
Setting Electronic Clock
The 12 hour clock does not display AM, PM or military time. When power
is connected or restored, display flashes until
RECALL OVEN TEMP/CLOCK pad is pressed or
temperature knob is turned.
1. Press RECALL OVEN TEMP/CLOCK pad.
2. Press + or pads until correct time-of-day
displays.
3. Time is set after 5 seconds of no adjustment.
Setting Minute Timer
The timer is a timer only. Electronic timer does not control bake, broil or
self-clean function. Timer can be set up to 11 hours and 59 minutes.
1. Press TIMER ON/OFF pad.
2. Press + or pad until desired amount of time
displays.
Time increases in 1 minute and 10 minute
increments.
Timer begins counting down automatically
after time is entered.
To view clock while timer counts down,
press RECALL OVEN TEMP/CLOCK pad. Timer will return after
3 seconds of no input.
3. Press and hold TIMER ON/OFF pad to cancel timer signal.
After time elapses, timer beeps a single, three second tone.
Resetting and Canceling Timer
To reset the time when remaining time is displayed, press
TIMER ON/OFF pad, then + or pad until new time displays.
To cancel timer when remaining time is displayed or when signal is
beeping, press and hold TIMER ON/OFF pad.
Flashing Display
When power is connected
or interrupted, oven display flashes.
Press CLOCK to reset display.
Clock may need to be reset.
Making the Numbers
Increase at a Faster Rate
Time increases in larger increments
the longer the + or pad is held.
Timer Signal
When time elapses, beep will sound.
Press TIMER ON/OFF pad to stop timer
and return to clock display.
Preheat Signal
After setting oven to bake and selecting
a temperature, oven preheats. When
oven reaches set temperature, signal
sounds. The preheat light will shut off
and remain off after oven has reached
the selected temperature.

15
Using the Oven Control (contd)
Preheating
In most cases, you should preheat the
oven before baking. After the range
control is set, the oven temperature
will begin to rise until the desired
cooking temperature is reached.
When cooking temperature is reached
oven signal beeps. For delicate
baking, preheat approximately 15–20
minutes before placing food inside
oven or wait 10 minutes after oven
signal beeps before placing food in
oven. The extra time creates a more
stable oven temperature.
How High or Low Can I
Set the Temperature?
Oven bake temperature can be set from
170°F to 550°F . Some minor smoking is
normal when using oven for first time.
WARNING
!
To avoid risk of personal injury,
property damage or fire, do not
line oven bottom, racks, or
broiler pan and grid with
aluminum foil.
WARNING
!
To avoid risk of personal injury,
property damage or fire, never
leave oven unattended while
broiling.
Broiling
Broiling sears in natural juices and provides charbroiled flavor.
To broil, center food on broiling grid and pan and place on proper rack in
oven. Do not place aluminum foil over boiling pan, oven rack or oven
bottom. Oven door must be fully closed. Broiling does not require
preheating so you can place food in oven while it is still cool.
1. Adjust oven racks to desired position.
2. Turn oven temperature knob to BROIL.
Oven indicator light will turn on and
remain on.
BRL will display.
Display will return to time of day
approximately 15 seconds after
broiling begins.
To recall oven temperature, press
RECALL OVEN TEMP/CLOCK pad.
2. Close oven door.
If oven door is ajar for more than
3 minutes, broil cycle will stop.
If oven stops broiling due to an open door, close oven door and
wait for the ignitor to lite broil burner.
3. After broiling, remove food and turn oven temperature knob to OFF.
Baking
While oven is still cool, remove any stored items from the oven cavity.
1. Place racks in desired position and close oven door.
2. Push and turn oven temperature knob to desired temperature.
Oven indicator light will turn on
and stay on.
Temperature is displayed in the clock
area in 5 degree increments.
Temperature range is 170°F to 550°F.
Display will return to time of day after
approximately 15 seconds.
To recall oven temperature, press
RECALL OVEN TEMP/CLOCK pad.
3. PREHEAT light will turn on during the
preheat cycle. PREHEAT light shuts off
when oven has reached desired temperature and oven beeps.
4. Open door carefully and place food in oven.
5. After cooking time elapses, remove food and turn oven temperature
knob to OFF.

16
Using the Oven Control (contd)
CAUTION
!
To reduce risk of food poisoning
due to bacterial growth and
production of toxins, never hold
meat, milk, fish, or eggs for more
than 2 hours before cooking.
Timed Baking
Set oven to cook for desired amount of time. Follow recipe directions for
preheating the oven.
1. Place food in oven.
2. Press COOK/CLEAN TIME pad.
3. Press or pad until desired length of time is
displayed.
Cook time can be set up to 11 hours and 59 minutes.
4. Push and turn the temperature control knob.
Temperature displays in 5° increments starting at 170°F.
Clock will return to time of day after approximately 15 seconds.
To recall oven temperature, press RECALL OVEN TEMP/CLOCK pad.
5. Oven will automatically begin to heat.
To adjust cook time, press COOK/CLEAN TIME pad while the
remaining cook time is displayed. Cook time can then be adjusted.
When cooking time has elapsed an end of cycle signal sounds
and END will be displayed. Oven signal sounds 4 times, then
once every 10 seconds until oven control knob is turned to OFF.
6. Turn knob to OFF to cancel baking.
Delayed Baking
Set oven to begin baking at a later time.
1. Place food in oven.
2. Press START COOK/CLEAN button.
Default time displayed is current time of day.
3. Press or pad until desired time displays.
Start time can be set up to 11 hours and
59 minutes ahead of current time of day.
4. Press COOK/CLEAN TIME pad.
5. Press or pad until desired cooking time
displays.
1 minute minimum cooking time.
END will be displayed when cooking time has
elapsed.
6. Push and turn oven temperature control knob to desired
temperature.
Temperature displays in 5° increments starting at 170°F.
Display will return to time of day after 5 seconds of no input.
START TIME and COOK TIME lights will remain on, but
OVEN ON light will not turn on until cooking begins.
7. Oven will automatically begin to heat at selected start time.
OVEN ON light will turn on when oven begins to heat.
To adjust cook time, press COOK/CLEAN TIME pad while the
remaining cook time is displayed. Cook time can then be
adjusted.
When cooking time has elapsed an end of cycle signal sounds
and END will be displayed. Oven signal sounds 4 times, then
once every 10 seconds until oven control knob is turned to OFF.
8. Turn knob to OFF to cancel baking.
What's the difference
between TIMED and
DELAYED cooking?
When using TIMED cooking, the oven
begins to heat immediately after the
oven control is set. Then, the oven
cooks for the desired length of time set.
When using DELAYED cooking, the
oven begins to cook later in the day. Set
the time that you want to begin cooking
and the how long you want to cook. The
oven begins to heat when at the selected
time and cooks for the specified length
of time.
How Far Ahead Can I Set
the Time?
Cook time and start time can be set up
to 11 hours and 59 minutes ahead.
To view cook time, press and hold
COOK TIME pad. When cooking time
has elapsed, an end of cycle signal
sounds, oven automatically turns off and
display returns to time of day. Oven
signal sounds 4 times, then once every
10 seconds until knob is turned to OFF.
Broil can not be set to Timed or
Delayed.
How much time is left?
For a delayed bake cycle, the cook time
can be viewed by pressing the COOK
pad. For a timed bake cycle, the stop
time can be viewed by pressing the
STOP pad.

17
Using the Oven Control (contd)
WARNING
!
To avoid risk of personal injury,
do not touch oven vents, or area
around vents, during self-
cleaning. These areas can
become hot enough to cause
burns.
CAUTION
!
To avoid fire or smoke damage,
remove any flammable
materials from storage drawer.
Items like plastic containers
and paper manuals can melt or
burn.
clean excess spills before
starting a self-clean cycle.
Do I need to prepare?
To get the best results from the
self-clean cycle, follow these steps:
• Clean excess spills from oven
interior and oven burner
thoroughly.
•Remove birds or animals
susceptible to smoke or other
fumes from the room or
adjoining room.
• Open window if possible.
• Make sure oven light cover is
properly in place. Do not use
cleaning cycle if it is not.
• Remove oven racks and all cooking
utensils from oven.
• Remove items from range top,
backguard and storage drawer.
These areas can become hot during
self-cleaning cycle.
• The range vents from the center
bottom of the backguard. Make
sure this area is unobstructed by
removing all items from backguard
and range top.
Self-cleaning
Self-clean feature uses high oven temperature to clean oven interior.
For the oven to operate through a complete self-clean cycle, the self-
clean must be set when the oven is cool.
1. Prepare oven for self-cleaning (see below left).
2. Close door.
3. Push and turn oven temperature knob to
CLEAN position.
The default self-clean cycle length of 3
hours will display.
4. Set cycle length for self-clean.
Use arrow keys to adjust time as
necessary before oven indicator light
turns on.
Clean cycle can be set from two to four
hours in five minute increments.
Default setting for the cycle is three
hours.
5. Self-clean begins.
OVEN ON indicator light will be on and will remain on until the end
of the cycle.
At the end of the self-clean cycle, the OVEN ON indicator light will
shut off.
The LOCKED indicator light will remain on until oven reaches a
cooler temperature. LOCKED light will flash while door is
unlocking, and then shut off when door has unlocked. Oven cavity
will be hot to the touch. DO NOT attempt to open door prior to
LOCKED indicator light shutting off.
Interrupting the self-clean cycle
To stop a self-clean cycle that has already started follow these steps.
If the interruption occurs mid cycle, the oven will remain locked, even
though the cycle has stopped, until the oven cavity has cooled to a
lower temperature.
1. Turn oven temperature knob to OFF position.
2. When oven has cooled to a lower temperature, LOCKED light
turns off. Door can be unlocked. DO NOT force door.
This can cause damage to the latch.
Operating surface burners during a self-clean cycle.
Your range is equipped with a safety feature to prevent it from overheating
during a self-clean cycle. A special temperature sensor shuts off the self-
clean cycle if the range becomes too hot. Depending on the range and the
length of cooking time on the surface burners, the sensor may or may not
shut off the self-clean cycle. To prevent any self-clean cycle disruption, it is
best not to use the range surface burners during a self-clean cycle.

18
Using the Oven Control (contd)
Delayed Self-clean Cycle
Self-clean feature uses high oven temperature to clean oven interior.
Set oven to begin and end cleaning at later time. Range control begins
the self-clean at your specified start time.
1. Prepare oven for self-cleaning (see below right).
2. Close door.
3. Press START COOK/CLEAN pad.
4. Set starting time for the cleaning cycle.
Default time is current time of day.
Start time can be set from current time to
current time plus 11 hours and 59 minutes.
5. Turn oven temperature knob to CLEAN.
Default self-clean cycle length of 3 hours will display.
6. Set cycle length for self-clean.
Use arrow keys to adjust time as necessary.
Clean cycle can be set from two to four hours in five minute
increments.
Default setting for the cycle is three hours.
7. Self-clean cycle is set.
Oven cannot be used until completion of the self-clean cycle.
Self-clean cycle will begin at selected start time.
To view start time, press the START COOK/CLEAN pad.
OVEN ON indicator light will turn on when the self-clean cycle
begins and will remain on until the end of the cycle.
To view the clean cycle time, press the COOK/CLEAN TIME pad.
At the end of the self-clean cycle, OVEN ON indicator light shuts
off.
The LOCKED indicator light will remain on until oven reaches a
cooler temperature. LOCKED light will flash while door is
unlocking, and then shut off when door has unlocked. Oven
cavity will be hot to the touch. DO NOT attempt to open door
prior to LOCKED indicator light shutting off.
Interrupting the self-clean cycle
To stop a self-clean cycle that has already started follow these steps.
If the interruption occurs mid cycle, the oven will remain locked, even
though the cycle has stopped, until the oven cavity has cooled to a safe
temperature.
1. Turn oven temperature knob to OFF position.
2. When oven has cooled to a lower temperature, LOCKED light
shuts off. Door can be unlocked. DO NOT force door. This can
cause damage to the latch.
Do I need to prepare?
To get the best results from the
self-clean cycle, follow these steps:
• Clean excess spills from oven
interior and oven burner well.
•Remove birds or animals
susceptible to smoke or other
fumes from the room or
adjoining room.
• Open window if possible.
• Make sure oven light cover is
properly in place. Do not use
cleaning cycle if it is not.
• Remove oven racks and all cooking
utensils from oven.
• Remove items from range top
backguard and storage drawer.
These areas can become hot during
self-cleaning cycle.
• The range vents from the center
bottom of the backguard. Make
sure this area is unobstructed by
removing all items from backguard
and range top.
WARNING
!
To avoid risk of personal injury, do
not touch oven vents, or area
around vents, during self-cleaning.
These areas can become hot
enough to cause burns.
CAUTION
!
To avoid fire or smoke damage,
remove any flammable
materials from storage drawer.
Items like plastic containers and
paper manuals can melt or burn.
clean excess spills before
starting a self-clean cycle.

19
Bake Pan Placement
Keep pans and baking sheets 2 inches from oven
walls.
Stagger pans placed on different racks so one is
not directly over the other.
Cooking
BAKING TIME GUIDELINES
Cake Pan
Type Pan size Cups of
batter Oven
Temp. Minutes
Oval 7 ¾” x 5 ¾” 2 ½350°F 25 to 30
13” x 9 ¾” 8 350°F 25 to 30
Round,
2” layer 6”2 350°F 25 to 30
8 “3 350°F 30 to 35
14”10 350°F 50 to 55
Round,
3” layer 8”5 325°F 60 to 65
12”11 325°F 75 to 80
Half Round,
2” layer 18”9 325°F 60 to 65
Half Round,
3” layer 18”12 325°F 60 to 65
Square 6”2 350°F 25 to 30
10”6 350°F 35 to 40
16”15 1/2 350°F 45 to 50
Baking Guidelines
When baking with a new oven, keep in mind temperatures vary from oven to oven. Store-bought thermometers are
generally not accurate and should not be used to calibrate oven temperatures.
Hints for Cookies,
Shiny, flat cookie sheets should
be used. Avoid cookie pans with
high sides - this will cause
uneven browning on the top.
Cookie sheet should not touch
the sides of the oven or door.
Cakes,
Follow recipes directions for
pan size. Shiny pans work best
for cakes.
Cake baked in too large a pan
will be thin and dry. Too small a
pan will be undercooked or
unevenly cooked and may spill.
Pies
Pies should be baked in dark or
dull pans to increase browning.
Frozen pies should be heated
on an aluminum cookie sheet.
BAKEWARE GUIDELINES
Dark or dull pans Absorb more heat
and result in darker
browning.
Recommended for
pies and breads.
Shiny pans (no
sides) Recommended for
cookies.
Shiny pans
(sides) Recommended for
cakes
Glass pans Lower
recommended
oven temperature
by 25°F.
Preheating
In most cases, you should preheat the oven before baking. After the range control is
set, the oven temperature will begin to rise until the desired cooking temperature is
reached (approximately 8 to 10 minutes). When cooking temperature is reached
oven signal beeps. For delicate baking (such as puff pastries or souffles),
preheat approximately 15–20 minutes before placing food inside oven or wait
10 minutes after oven signal beeps before placing food in oven. The extra time
creates a more stable oven temperature.

20
Cooking (contd)
3UREOHP &DXVH
Lopsided cakes
(bake unevenly) Pans touching each other or oven walls.
Batter spread unevenly in pan.
Uneven heat distribution in oven.
Oven is not level.
Cakes, cookies, biscuits
too brown on bottom or top Oven not preheated.
Pans touching each other or oven walls.
Using glass, darkened, warped or dull
finish metal pans.
Rack position too high or low.
Incorrect use of aluminum foil.
Oven temperature too high.
Pies don’t brown Incorrect rack position.
Using shiny metal pans.
Temperature set too low.
Cakes not done in center Temperature too high.
Pan too small.
Baking time too short.
Pan not centered in oven.
Cakes fall Too much shortening or sugar.
Too much or too little liquid.
Temperature too low.
Old or too little baking powder.
Pan too small.
Oven door opened frequently (peeking).
Insufficient baking.
Excessive shrinkage Too little leavening.
Mixing batter too long.
Pan too large.
Oven temperature too high.
Baking time too long.
Cakes high in middle
or cracked Temperature set too high.
Overmixing.
Too much flour.
Pans touching each other or oven walls.
Common Baking Problems
If you begin to notice consistent problems refer to the chart below for possible solutions. If results are still poor,
contact Amana Consumer Affairs at (800) 843-0304.
Test your cakes for doneness
It may not be the oven
Cake problems may be in the mixing of
the batter. Overbeating can cause cake
structure to break down and excessive
shrinkage of the cake. Underbeating
can result in lumpy cakes that may not
be cooked thoroughly. All ingredients
should be at room temperature—not
out of the refrigerator. Make sure to
follow the recipes directions for how
long the batter should be mixed.
Cake stuck?
Allow cake to cool in cake pan on a rack
for 10 minutes before removing. Larger
cakes (over 14 inches in diameter) may
take 15 minutes. If the cake has cooled
too long, reheat in the oven at 250°F for
a few minutes.
Better with butter
Make sure to follow recipe directions
and use butter or margarine when it is
listed. Using a low fat substitute will
cause a recipe to fail.
While they are still in the oven. Because
of variances across individual ovens, it
is best to test for the proper consistency
rather than solely relying on time and
visual appearance as an indicator.
21
Cooking (contd)
Meat Basics
While cooking has always been a talent, it is now becoming a science, also. Amana provides this information as a
guide to aid in preparation. For specific questions regarding meat preparation, handling, or storage contact
USDA (United States Department of Agriculture) Meat & Poultry Hotline at (800) 535-4555.
Handling Hints
When shopping, put meat in its
own separate plastic sack to
keep drips off other foods.
Defrost frozen meats in
refrigerator, not at room
temperature.
Keep meat cool and covered
until it is time to cook.
Wash hands with warm soapy
water before and after handling
meat or raw egg.
Thoroughly wash any surface or
utensil raw meat or egg touched.
Do not put cooked meat on the
same plate that held raw meat.
Cooking Tips
Marinate meat in the
refrigerator. Throw out excess
marinade that came into contact
with meat.
Use an oven-proof meat
thermometer.
Cook meat to internal
temperature recommended by
USDA.
When reheating foods, heat to
an internal temperature of at
least 165 °F.
While cooking meats, turn over
at least once.
Storage Safety
Once carved, refrigerate unused
portion immediately.
Keep hot foods hot and cold
foods cold when serving meals.
Separate cooked foods into
small portions for fast cooling.
Do not store cooked ground
meats or meals containing
ground meats for longer than
3 to 4 days in the refrigerator.
Do not allow cooked or
uncooked meat juices to come
into contact with ready-to-eat
foods such as fruits or
vegetables.
Using a Meat Thermometer
When using a meat thermometer, remember to insert it at a slight angle, in
the thickest part of the meat, away from fat and bone. The meat should be
removed when 5°F below the desired final temperature. While the meat sits
before carving, it will continue to cook internally, raising the last 5°F by itself.
A meat thermometer can
Take the guesswork out of cooking to a desired doneness.
Help reduce the risk of foodborne illness.
Oven-safe Thermometer
Inserted before the meat is placed in the oven, this thermometer stays
with the meat while it cooks.
The internal temperature will rise slowly as the meat cooks.
Instant-read Thermometer
Not oven safe, these thermometers are placed in the meat when it is
removed from the oven.
While times may vary, an accurate temperature is normally displayed
within one to two minutes.
When using an instant-read, remember to clean the thermometer stem
with warm, soapy water between readings.
Tenderizing
Braising is only one way to tenderize
less tender cuts. Before cooking, you
may pound, cube, marinate, or use
commercially prepared meat
tenderizers. You may then use a dry
method to cook the meat.
Marinades are acidic liquids such
as wine, citrus, or vinegar.
Marinades soften meat fibers but
only penetrate about one-fourth of
an inch into the interior of the
meat. Do not marinate meat for
longer than 24 hours.
•Pounding with a heavy meat
mallet breaks down the connective
tissue to tenderize meat.
•Cubing breaks down the structure
more than pounding. Cubing is
done at the meat counter.
•Commercial tenderizers are
primarily enzymes that work on the
outer fourth inch on a meat cut.
Make sure to follow the
manufacturer’s directions.

22
Broiling Guidelines
Broiling is a dry heat cooking method that allows a restaurant quality
charbroiled flavor. Meat is exposed directly to the heating element at high
temperatures.
1. Place meat on rack in broiler pan, with the surface of cuts the specified
distance from the heating element (specified below).
2. Broil for half the recommended time, or until the surface is browned.
3. Turn meat and continue broiling to desired internal temperature.
4. Season, if desired.
All times and recommended temperatures are provided by the USDA, the Beef Industry Council, the National Pork Producer’s
Council, and the American Sheep Industry Council.
Cooking (contd)
Meat Cut Recommended Internal
Temperature Thickness
(inches) Weight
(pounds)
Distance
From Heat
(inches)
Approximate
Cooking Time
(minutes)
BEEF
Chuck Shoulder Steak ¼
1
¼ to 1
1 to 1 ¼
2 to 3
3 to 4 12 to 14
8 to 12
Rib Eye Steak ¾
1
1 ½
½
½ to ¾
¾ to 1
2 to 3
3 to 4
4 to 5
8 to 12
10 to 15
20 to 25
Sirloin Steak ¾
1
1 ½
1 to 1 ¾
1 ½ to 3
2 ¼ to 4
2 to 3
3 to 4
4 to 5
10 to 15
16 to 21
21 to 25
Porterhouse Steak ¾
1
1 ½
¾ to 1
1 ½ to 2
2 to 3
2 to 3
3 to 4
4 to 5
8 to 12
10 to 15
20 to 25
Filet Mignon (Tenderloin) ¼ to ½ 2 to 4 10 to 15
Flank Steak
Very Rare 130°F
Rare 140°F
Medium Rare 145°F
Medium 160°F
Well Done 170°F
Very Well Done 180°F
1 to 1 ½ 2 to 3 12 to 14
Ground Beef Patties 160°F minimum ¾ to 1 1 3 to 4 10 to 15
PORK
Chops, bone in ¾ 4 6 to 8
Chops, boneless ¾ 4 6 to 8
Tenderloin
All pork must be cooked to an
internal temperature of at least
160°F to reduce the likelihood of
Trichinosis. ½ to 1 4 15 to 25
Kabobs 1 inch cubes 4 10 to 20
Lean Ground Pork Patties
Failing to cook the meat to this
temperature could result in
personal injury or illness. ½ 4 8 to 10
LAMB
Loin Chops 1 3 to 4 10 to 15
Rib Chops 1 3 to 4 10 to 15
Sirloin Steaks 1 3 to 4 12 to 15
Top Round Steaks 1 3 to 4 12 to 15
Center Leg Steaks 1 3 to 4 15 to 20
Cubes for Kabobs 1 ¼ pieces 3 to 4 10 to 15
Lamb Patties
Medium 160°F
Well Done 170°F
½ x 4 inches ¼ each 3 to 4 12

23
Cooking (contd)
Roasting Guidelines
Tender cuts such as rib and loin cuts are best cooked by dry heat methods,
such as roasting. To roast:
1. Heat oven to desired temperature.
2. Place roast directly from refrigerator fat side up in a shallow roasting
pan.
3. Insert ovenproof meat thermometer so tip is centered in thickest part of
roast. Make sure thermometer does not rest in fat or on bone.
4. Remove roast 5°F below desired degree of finished internal
temperature.
5. Transfer roast to carving board and tent loosely with aluminum foil for
approximately 15 minutes.
All times and recommended temperatures are provided by the USDA, the Beef Industry Council, the National Pork Producer’s
Council, and the American Sheep Industry Council.
Meat Cut Recommended Internal Temperature Oven
Temperature Weight
(pounds)
Approximate
Cooking Time
(minutes)
BEEF
Boneless Rump Roast 325°F 4 to 6 25 to 30
Tip Roast 325°F 3 ½ to 4 30 to 40
Eye Round Roast 325°F 4 to 6 20 to 30
Tenderloin Roast 425°F 2 to 3
4 to 6 35 to 45
45 to 60
Rib Roast 325°F 4 to 6
6 to 8 26 to 42
23 to 35
Rib Eye Roast
Very Rare 130°F
Rare 140°F
Medium Rare 145°F
Medium 160°F
Well Done 170°F
Very Well Done 180°F
350°F 4 to 6 18 to 24
PORK
Loin Roast, bone-in 350°F 3 to 5
Rib Roast, boneless 350°F 2 to 4
Tenderloin 450°F ½ to 1
Ham bone-in, cook-before-eating
All pork must be cooked to an internal
temperature of at least 160°F to reduce
the likelihood of Trichinosis and other
food-borne illnesses. 325°F 7 to 8
20 minutes
per pound
LAMB
Shoulder 325°F 3 ½ to 6 35 to 40
Rib Roast 375°F 1 ½ – 2 ½ 30 to 35
Rib Crown Roast, not stuffed 375°F 2 to 3 25 to 30
Loin Roast 325°F 1 ¼ to 1 ¾ 45 to 55
Leg, Frenched Style or Half Shank
Medium-Rare 150°F
Medium 160°F
Well Done 170°F
325°F 5 to 7
7 to 9 15 to 20
20 to 25
POULTRY (unstuffed)
Capon 325 to 350°F 4 to 8 20 to 30 min/lb.
Cornish Hens, whole 325 to 350°F 1 ¼ to 1 ½ 50 to 60 total
Duck, whole 325 to 350°F 18-20 min/lb.
Goose, whole 325 to 350°F 20 to 25 min/lb.
Pheasant, whole 325 to 350°F 2 30 min/lb.
Quail, whole 325 to 350°F — 20 minutes total
Turkey
To reduce the risk of food-borne illnesses,
poultry must be cooked to an internal
temperature of 180°F.
325°F 8 to 16 3 ½ to 5 ½ hours

24
Braising Guidelines
Less tender cuts such as those from the round, chuck, brisket and shank
require moist cooking. A longer cooking time at lower temperatures with
moisture helps soften the meat.
1. Brown meat with a small amount of oil in heavy pan.
2. Pour off excessive drippings, season, if desired.
3. Add small amount of liquid (1/2 to 2 cups) and cover tightly.
Simmer gently over low heat on top of the range or in a 325°F oven,
until meat is fork tender.
All times and recommended temperatures are provided by the USDA, the Beef Industry Council, the National Pork Producer’s
Council, and the American Sheep Industry Council.
Cooking (contd)
Meat Cut Recommended Internal Temperature Oven
Temperature Weight (pounds)
OR Thickness
Approximate
Cooking Time
(hours)
BEEF
Blade Pot Roast 325°F 3 to 5 1 ½ to 2
Arm Pot Roast 325°F 3 to 5 2 to 3
Chuck Roast (boneless) 325°F 3 to 5 2 to 3
Short Ribs 325°F 2 inches
x 2 inches
x 4 inches thick 1 ½ to 2 ½
Round Steak 325°F ¾ to 1 inch thick 1 to 1 ½
Flank Steak
Meat should be cooked to a
temperature of at least 160°F
to reduce the likelihood of food-
borne illnesses.
325°F 1 ½ to 2 inches
thick 1 ½ to 2 ½
LAMB
Shoulder Chops, Round Bone or
Blade 325°F 1 inch thick 1 to 1 ¼
Riblets 325°F 3 pounds 1 ½ to 2
Shanks 325°F 3 pounds 1 to 1 ½
Stew Cubes
Meat should be cooked to a
temperature of at least 160°F
to reduce the likelihood of food-
borne illnesses.
325°F 1 inch pieces
1 ¼ lbs. 1 ¼ to 1 ½

25
Care and Cleaning
Cleaning Oven Door
Not all areas of the oven are cleaned
by the self-clean cycle. The oven
door, the gasket and area
surrounding the gasket will not be
cleaned effectively by the self-clean
cycle. DO NOT use spray cleaners
to clean the outside or inside of the
oven door.
DO NOT clean the gasket. Do not
wet, rub, soak or use any type of
cleaning material to clean the oven
gasket. Any damage or defects
occurring from attempting to clean or
remove the gasket are not covered
by warranty.
To clean the area around the gasket
make sure oven is cool to the touch.
Using a cloth with a mild soap wipe
area needing to be cleaned. Avoid
gasket. Gasket should not be
removed while cleaning. Do not allow
water or cleaning solution to spill or
drip onto gasket.
Removing Storage
Drawer
1. Slide drawer out until it stops.
2. Remove stored items.
3. Grasp drawer sides near back of
drawer.
4. Lift up and out. Reverse to
reinstall.
Door Gasket
CAUTION
!
To avoid personal injury or
property damage, handle oven
door with care.
Do not lift door by handle.
Door is heavy and can be
damaged if dropped.
Screwdriver can scrape or
chip range or oven finish.
Do not scratch or chip glass
or twist door. Glass may break
suddenly.
Removing Oven Door
1. Fully open oven door.
2. Push hinge locks down toward door
frame, to the unlocked position.
This may require a flatblade
screwdriver.
3. Firmly grasp both sides of top of oven
door.
4. Close door to first stop position.
5. Lift door up until hinge arm is clear of
the slot.
Replacing Oven Door
1. Grasping door top firmly, seat indentation of hinge arm into bottom edge
of the hinge slot.
Door should be at the first stop position angle.
2. Fully open oven door.
3. Push hinge locks up against the front frame of the oven cavity to locked
position.
4. Close oven door.
+LQJH/RFN
2YHQ
'RRU
2YHQ)UDPH

26
Care and Cleaning (contd)
CAUTION
!
Wear gloves to protect hands
from accidental bulb breakage.
Replacing Oven Light
1. Disconnect electrical supply.
2. Remove oven door if desired.
3. While wearing protective gloves,
unscrew counterclockwise the
light bulb cover located in rear of
oven cavity. Then turn light bulb
counterclockwise to remove.
4. Replace light bulb with 120-volt, 40-watt appliance bulb.
Do not over tighten bulb or cover or they may be difficult to
remove later.
5. Replace light bulb cover and oven door before use.
6. Reconnect power supply.
WARNING
!
To avoid risk of burns or electrical
shock:
disconnect electrical supply to
oven before changing light bulb.
before replacing light bulb make
sure oven and bulb are cool.
do not operate oven without
bulb and cover in place.
PART GENERAL DIRECTIONS
Burner caps and grates Cool before cleaning. Frequent cleaning with soap and water and a non abrasive pad prolongs time between
deep cleanings. Be sure to dry thoroughly.
For deep cleaning, place burner claps and grates in plastic bag with ½ cup ammonia. DO NOT pour ammonia
into bag or allow ammonia to touch grates or caps. Close bag tightly and allow to sit overnight. Open bag
pointed away from face to avoid fumes. Remove grates and caps and wash normally.
Burner base Allow to cool. Clean with warm soapy water and a clean cloth. If ports are clogged, clean with a toothbrush or a
straight pin. Do not use a toothpick. Replace burner caps and turn on burners to check for proper operation.
Electrode
Cool and remove burner grates and caps. Clean area around ceramic electrode with non-metallic utensil such
as platic pick, plastic straw or old toothbrush. Be sure there is no debris, burned fragments, or grease that may
divert the spark or cause poor ignition. Do not pry on ceramic electrode
Broiler pan and grid
Drain fat, cool pan and grid slightly. (Do not stand soiled pan and grid in oven to cool.) Sprinkle with soap. Fill
the pan with warm water. Let pan and grid stand for a few minutes
Control knobs
Pull off knobs. Wash gently with mild soap and water but do not soak. Dry and return knobs to oven, making
sure to match flat area on the knob to the flat area on the shaft.
Outside finish
Wash all glass with cloth dampened in soapy water. Rinse and polish with a dry cloth. If knobs are removed, do
not allow water to run down inside surface while cleaning.
Oven racks
For heavy soil, place oven racks in large plastic bag with ammonia and water in cup. Seal tightly and allow to
stand overnight. Wash and rinse, dry thoroughly.
Storage drawer
For heavy soil, clean by hand and rinse thoroughly. Remove drawer for ease in cleaning. Be sure drawer is dry
before replacing.
<
G
A
S
O
N
O
F
F
L
O
M
E
D
H
I
L
I
T
E

27
Care and Cleaning (contd)
Cleaning Stainless Steel
Damage to stainless steel finish due to improper use of cleaning
products, or using non-recommended cleaning products, is not
covered under warranty. For Amana recommended products, call
Consumer Affairs at 1(800) 843-0304 or online at www.amana.com.
Our stainless steel appliances have been factory finished for high shine
and luster. To maintain this quality appearance:
Abrasive powders or liquids
Citrus based cleaners
Ammonia
Steel wool pads
Abrasive cloths
Oven cleansers
Acidic or vinegar based
cleaners
Warm soapy water for routine
cleaning
Soft clean cloths to dry or polish
Stainless steel cleaner designed
for appliances such as Amana
Cleaning Polish and
Conditioner for Stainless Steel
(#31960801)
Can I use liquid
cleaners on my stainless
steel?
Just because a cleaner is a
liquid does not mean it is non-abrasive.
Many liquid cleansers designed to be
gentle on tile and smooth surfaces still
damage stainless steel. Cosmetic
damage from using non-recommended
products is not covered under warranty.
Citric Acid
Citric acid permanently
discolors stainless steel.
To prevent damage to
the finish of your stainless steel
appliance, do not allow these
substances to remain on the steel
finish:
mustard
tomato juice
marinara sauce
citrus based sauces
citrus based products
For best cleaning results
1. Wash surfaces with warm soapy water and a soft, clean cloth or
sponge.
2. Rinse surfaces with warm water. Dry surfaces with a soft, clean cloth.
DO NOT use the following harsh cleaners:
abrasive or acidic cleaners (ammonia, chlorine bleach, vinegar-based
product, etc.)
citrus-based cleaners
scouring pads (metal, textured plastic, etc.)
These items can scratch, discolor, or permanently tarnish surfaces.
3. Follow up rinsing by immediately drying with a soft, clean cloth. This will
avoid water spotting on stainless steel finish.
Questions? Comments?
Concerns? Contact us!
www.amana.com
or call Consumer Affairs at
1-800-843-0304
DO NOT USE: DO USE:

28
Troubleshooting
You may save time and money by checking items below before calling for service. List includes common concerns
that are not the result of defective workmanship or materials. If your question is not explained below, contact Amana
Consumer Affairs Department at 800-843-0304.
7RSLF 3RVVLEOH&DXVH 6ROXWLRQ
OPERATION
Appliance not working Power outage
Oven door locked
Make sure appliance is plugged in.
Verify that circuit breaker is not tripped.
Replace household fuse but do not change fuse capacity.
Allow oven to cool for automatic lock to disengage. Once
oven has unlocked, set oven to desired temperature.
Self clean shuts off during cycle Using surface burners during
self clean cycle Surface burners should not be used during a self clean
cycle. Set self clean cycle to delay when range does not
need to be used.
Surface burner does not ignite Poor cap placement
Dirt or debris on electrode
Turn control to OFF and follow directions in Placing
Burner Cap section.
Turn control to OFF and folow directions in Care and
Cleaning section.
Broil cycle stops Oven door open Oven door must be closed during a broil cycle. Close
oven door and broil cycle should resume normally.
Clock and timer not working Power outage Make sure appliance is plugged in. Verify that circuit
breaker is not tripped. Replace fuse but do not change
fuse capacity.
Oven light not working Loose bulb
Burnt out bulb Check for loose bulb. Tighten.
Check for burnt out bulb. Replace if necessary with an
appliance bulb.
Oven door will not unlock Oven is self-cleaning
Oven still hot
Allow cycle to complete or cancel function.
Will not unlatch until a certain cooler temperature has
been reached. Do not force door open—will void
warranty. May blow cooler air on latch with hair dryer at
cool setting to quicken process.
Oven not clean after a self clean cycle Too much soil, grime left in
oven
Soot remains in oven after
cycle
Wipe out and remove excess soil prior to running
self-clean cycle.
Normal. Wipe out with damp cloth.
Pans rock on surface burner grates Warped pans See Utensil section to check pan for flat bottom.
Locked light displayed Door locked If oven is hot, allow to cool rather than trying to force door
latch open.
Display flashing Power failure reset clock Press CLOCK.
F-(numeric) display Service code Shut off power to oven for one to two minutes by
switching off circuit breaker. Reset breaker. If continues,
contact service department.
Oven smokes the first few times used Normal Minor smoking is normal the first few times the oven is
used.

29
Troubleshooting (contd)
COOKING
Food not baking properly Various causes See Cooking, Common Baking Problems
Food not roasting properly Various causes See Cooking, Roasting
Food not broiling properly Various causes See Cooking, Broiling
Oven temperature too hot or cold Calibrate oven temperature See Using the Oven Control, Oven
Temperature Control Adjustment
Oven has strong odor Normal Ovens will have a ‘new’ odor.
Run a self-clean cycle to remove the odor.
Not boiling or cooking fast enough Improperly sized cooking utensils Make sure pans fit heating elements.
See Cookware Requirements.
NOISE
Frequent cycling off and on of oven. Normal To maintain a temperature for baking, the oven
cycles on and off.
Surface burners all click at once. Normal Ignitor sparks all burners when lighting a surface
burner.
Cracking or popping sound Normal Wet cooking utensils or possible spillage.
Expansion or contraction of oven during heating
cycle. May be louder when using LP/Propane.

Ó 2001 Amana Appliances
Amana, Iowa 52204
Part No.36-32076801-0
Printed in U.S.A.09/01
Amana Warranty
Full ONE Year Warranty
Amana Appliances will repair or replace, including related labor and travel, any part (f.o.b. Amana Iowa) which
proves defective as to workmanship or materials.
Limited Warranty
After one year from the date of original retail purchase, Amana will provide a replacement part, as listed below,
that fails due to a defect in materials or workmanship. The owner will be responsible for paying all other costs
including labor, mileage, and transportation.
Second through Fifth Year
Amana will provide replacement gas surface burners, part only (f.o.b. Amana Iowa) which prove defective as to
workmanship or materials.
What is not covered by these
warranties
Replacement of household fuses, resetting of
circuit breakers, or correction to household wiring
or plumbing.
Normal product maintenance and cleaning,
including light bulbs.
Products with original serial numbers removed,
altered, or not readily determined.
Products purchased for commercial, industrial,
rental, or leased use.
Products located outside of the United States
or Canada.
Premium service charges, if the servicer is
requested to perform service in addition to normal
service or outside normal service hours or area.
Adjustments after the first year.
Repairs resulting from the following:
Improper installation, exhaust system, or
maintenance.
Any modification, alteration, or adjustment not
authorized by Amana.
Accident, misuse, abuse, fire, flood, or
acts of nature.
Connections to improper electrical current,
voltage supply, or gas supply.
Use of improper pans, containers, or accessories
that cause damage to the product.
To Receive Warranty Service
Service must be performed by an authorized Amana
service representative. To schedule service, contact
the Amana dealer where you purchased your appliance
or contact Amana Appliances Factory Service.
Amana Appliances Factory Service
1-800-628-5782 inside USA
For more information,
Amana Appliances Consumer Services
Amana Appliances
2800 220th Trail
Amana, Iowa 52204
1-800-843-0304 inside USA
(319) 622-5511 worldwide
When contacting Amana Appliances please
include the following information:
Your name, address, and telephone number.
Model number and serial number of your appliance
(found on right side of storage drawer opening).
The name and address of your dealer and the date
of purchase.
A clear description of the problem.
Proof of purchase (sales receipt).
Amana Appliances Online http://www.amana.com
IN NO EVENT SHALL AMANA BE LIABLE FOR INCIDENTAL OR CONSEQUENTIAL DAMAGES.
This warranty gives you specific legal rights, and you may have others which vary from state to state. For example, some states
do not allow the exclusion or limitation of incidental or consequential damages, so this exclusion may not apply to you.

Manuel du propriétaire
Modèle DCF3305A et
TMACF3325A
Table des matières
Renseignements de
sécurité importants ......................... 33
Réglage de la flamme du brûleur ..... 36
Poêles et casseroles conseillées .... 38
Utilisation de la cuisinière ................ 39
Caractéristiques ................................ 42
Affichage et signaux .......................... 43
Utilisation des commandes
du four .............................................. 44
Cuisson
Cuisson au four ............................. 49
Cuisson au gril .............................. 52
Rôtissage ...................................... 53
Braisage ........................................ 54
Nettoyage et entretien ....................... 55
Dépannage........................................ 58
Garantie Amana ................................ 60
Cuisinière à gaz avec four
TM
Conserver ces instructions pour référence ultérieure.
Si lappareil change de propriétaire, sassurer que ce
manuel accompagne la cuisinière.

32
Il est important de savoir reconnaître les
symboles, les termes et les étiquettes de sécurité.
DANGER
!
DANGERIndique un danger immédiat qui RÉSULTERA en une blessure ou un
décès.
MISE EN GARDE
!
MISE EN GARDEIndique un danger ou une manuvre non sécuritaire qui
RISQUE de causer une blessure ou un décès.
ATTENTION
!
ATTENTIONIndique un danger ou une manuvre non sécuritaire qui RISQUE
de causer une blessure mineure, des dégâts matériels ou
dendommager le produit.
Ce quil faut savoir à
propos des consignes
de sécurité
Les consignes de sécurité et les mises en
garde présentées dans ce manuel ne couvrent
pas toutes les situations possibles. Faire
preuve de jugement, de prudence et
d’attention lors de l’installation, de l’entretien
et de l’utilisation de la cuisinière.
Lorsque survient un problème ou une
situation inhabituelle, toujours communiquer
avec le détaillant, le distributeur, le technicien
agréé ou le fabricant.
Veuillez prendre quelques instants pour remplir la carte denregistrement et nous
la retourner sans tarder. Si elle ne se trouve pas dans la documentation, veuillez
appeler le service à la clientèle dAmana. Lors de tout contact avec Amana, il
faudra donner les renseignements nécessaires sur lappareil. Ceux-ci se trouvent
sur la plaque signalétique située dans le coin supérieur gauche
de louverture de la porte de rangement:
Numéro de modèle : ________________________________
Numéro de fabrication : ______________________________
Numéro de série : __________________________________
Date dachat : ______________________________________
Nom du détaillant : __________________________________
Adresse du détaillant : _______________________________
Numéro de téléphone du détaillant : ____________________
Garder ce manuel ainsi quune copie du récépissé de vente en lieu sûr pour
référence ultérieure ou si une réparation sous garantie savère nécessaire.
Pour toute question ou pour connaître ladresse dun prestataire de service après-
vente agréé, appeler le 1-800-NAT-LSVC (1-800-628-5782) des États-Unis ou le
319-622-5511 de lextérieur des États-Unis. Les prestations de garantie doivent
être effectuées par un prestataire de service après-vente agréé. Amana
recommande également de contacter un prestataire de service après-vente agréé
en cas de réparations après expiration de la garantie.
Pour enregistrer votre appareil électroniquement et
vous procurer de plus amples renseignements sur
cet appareil et sur les autres produits Amana, visiter
notre site Web à ladresse
www.amana.com
ou
appeler le service à la clientèle au
1-800-843-0304
Programme dentretien
prolongé AsureTM
Amana Appliances est heureuse de proposer
un programme d’entretien à long terme pour
cette nouvelle cuisinière. Le programme
d’entretien prolongé AsureTM, qui couvre les
pièces, la main-d’œuvre et les frais de
déplacement, est conçu pour fournir un
complément à notre excellente garantie.
Pour de plus amples renseignements, appeler
le 1-800-528-2682.
Pièces et accessoires
Les pièces de rechange et tous accessoires
supplémentaires peuvent être achetés par
téléphone. Pour commander des accessoires
pour tout appareil Amana, appeler le
1-800-843-0304 des États-Unis ou le
1-319-622-5511 de l’extérieur des
États-Unis.
Pour gagner du temps et
épargner de largent
Prière de consulter la section « Avant
d’appeler le technicien » pour résoudre les
problèmes les plus courants. Pour toute
question, appeler le (800) 843-0304 ou nous
écrire à l’adresse suivante :
Consumers Affairs Department
Amana Appliances
2800 - 220th Trail
Amana, Iowa 52204
États-Unis
Ne pas oublier d’indiquer le numéro de
modèle de l’appareil ainsi que votre
numéro de téléphone.
Merci davoir acheté une cuisinière Amana !
SODTXH
QRPLQDOH

33
RENSEIGNEMENTS DE SÉCURITÉ IMPORTANTS
CONSERVER CES INSTRUCTIONS
MISE EN GARDE
!
Pour réduire les risques que lappareil ne bascule, celui-ci doit être fixé en
place au moyen dun ou de plusieurs supports de stabilisation. Pour
sassurer que le support a été installé correctement, enlever le tiroir de
rangement et regarder sous la cuisinière avec une lampe de poche. Le ou les
supports doivent être introduits dans le coin arrière de la cuisinière.
TOUTES LES CUISINIÈRES
PEUVENT BASCULER.
DES BLESSURES PEUVENT
EN RÉSULTER.
INSTALLER LE OU LES
SUPPORTS ANTI-
BASCULANTS EMBALLÉ(S)
AVEC LA CUISINIÈRE.
VOIR LES INSTRUCTIONS
DINSTALLATION.
ATTENTION
!
NE PAS TOUCHER LES BRÛLEURS NI LES SURFACES SE TROUVANT À
PROXIMITÉ DES BRÛLEURS DE LA SURFACE DE CUISSON - Les surfaces
se trouvant à proximité des brûleurs de la surface de cuisson peuvent devenir
brûlantes et provoquer des brûlures. Pendant et après lutilisation de la
cuisinière, ne pas toucher ni laisser de vêtements ou autre tissu inflammable
entrer en contact avec les brûleurs de la surface de cuisson ou toute surface à
proximité, notamment le dessus de la cuisinière et le dosseret, avant quils
aient refroidi.
ATTENTION
!
NE PAS TOUCHER LES BRÛLEURS NI LES SURFACES INTÉRIEURES DU
FOURLes surfaces intérieures du four peuvent devenir brûlantes et causer
des brûlures. Pendant et après lutilisation de la cuisinière, ne pas toucher ni
laisser de vêtements ou autre tissu inflammable entrer en contact avec
surfaces intérieures du four avant quelles aient suffisamment refroidi.
Dautres surfaces de la cuisinière peuvent devenir assez chaudes pour
causer des brûlures, notamment la porte du four et lévacuation dair chaud du
four sous le dosseret.
ATTENTION
!
Pour éviter incendie ou les dégâts matériels causés par la fumée,
retirer tout matériel inflammable du tiroir de rangement. Les articles tels
que les récipients en plastique et les manuels en papier peuvent fondre ou
brûler.
nettoyer tout excès de liquide qui a pu déborder avant de commencer un
cycle dautonettoyage.
MISE EN GARDE
!
Afin déviter toute blessure, ne
jamais sasseoir, se tenir debout ni
sappuyer sur la porte du four ni le
tiroir de rangement.
MISE EN GARDE
!
Pour éviter tout risque délectro-
cution, de blessure, voire de décès,
veiller à ce que la cuisinière soit
correctement mise à la terre et
toujours la débrancher du secteur
électrique au niveau du compteur
avant tout dépannage.
MISE EN GARDE
!
Afin déviter décès, blessures ou
dégâts matériels causés par un
incendie ou une explosion, suivre
attentivement les instructions
contenues dans ce manuel.
Ne pas entreposer ni utiliser
dessence ni dautres liquides ou
gaz inflammables à proximité de
cet appareil ou de tout autre
appareil électro-ménager.
En cas dodeur de gaz:
Ne pas allumer dappareil.
Ne pas actionner dinterrupteur
électrique.
Ne pas utiliser de téléphone dans
le bâtiment.
Appeler immédiatement le
fournisseur de gaz en lui
téléphonant de chez un voisin.
Suivre ses instructions.
Sil nest pas possible de joindre
le fournisseur de gaz, appeler les
pompiers.
La mise en service et les
réparations doivent toujours être
effectuées par un installateur ou
un service de dépannage agréés
ou encore un fournisseur de gaz.

34
TOUS APPAREILS
1. Mise en service correcte: veiller
à ce que lappareil soit
correctement mis en service et
relié à la terre par un technicien
qualifié.
2. Ne jamais utiliser lappareil
comme appareil de chauffage.
3. Ne pas laisser les enfants seuls: ne pas laisser les
enfants seuls ou sans surveillance dans une pièce où
lappareil est en service. Ne jamais leur permettre de
sasseoir ni de se tenir debout sur quelque partie de
lappareil que ce soit.
4. Porter des vêtements appropriés: ne jamais porter de
vêtements amples ou à manches pendantes lors de
lutilisation de lappareil.
5. Réparations par lutilisateur: ne pas réparer ni changer
de pièces autres que celles indiquées spécifiquement
dans ce manuel. Toute autre réparation doit être
effectuée par un technicien qualifié.
6. Rangement sur lappareil ou dans le four: ne jamais
ranger de produits inflammables dans le four, dans le
tiroir de rangement ni à proximité des brûleurs.
7. Ne pas utiliser deau pour éteindre des corps gras en
combustion. Étouffer lincendie ou les flammes ou
utiliser un extincteur à poudre chimique ou à mousse.
8. Utiliser des poignées sèches uniquement: une poignée
humide ou mouillée peut provoquer des brûlures par la
vapeur. Ne pas permettre le contact de la poignée avec
les brûleurs. Ne pas utiliser de serviette ni de linge
épais.
SURFACES DE CUISSON
1. Utiliser la taille de casserole ou de
poêle appropriée. Lappareil est
muni dune ou de plusieurs
surfaces de cuisson de différentes
tailles. Utiliser des ustensiles pourvus dun fond plat
suffisamment grand pour couvrir la surface du brûleur.
Lutilisation dustensiles trop petits exposera une partie
du brûleur au contact direct et peut mettre le feu aux
vêtements. Lutilisation dustensiles trop grands a pour
effet de concentrer la chaleur sur la surface de cuisson
et cela peut endommager la cuisinière. Un rapport
convenable entre le diamètre de lustensile et le brûleur
améliorera lefficacité de lappareil.
2. Ne jamais laisser les brûleurs sans surveillance. Les
liquides qui débordent cause de la fumée et la graisse
renversée pourrait prendre feu.
3. Sassurer que les cuvettes de propreté et les ramasse-
gouttes sont en place. Leur absence pendant la cuisson
peut endommager le câblage ou les composantes
situés en dessous.
4. Revêtement de protection. Ne pas utiliser de papier
aluminium pour recouvrir les cuvettes de propreté ou le
fond du four, sauf tel que conseillé dans ce manuel.
Linstallation inadéquate de ces garnitures peut
occasionner un risque dincendie.
5. Récipients de cuisine émaillés. Seuls certains types de
verre, de céramique, de faïence, ou autres récipients
émaillés conviennent à ce genre de cuisinière et ne se
briseront pas suite au changement soudain de
température.
6. Tourner les poignées des récipients vers lintérieur et ne
pas les laisser dépasser sur les surfaces de cuisson
adjacentes. Afin de réduire le risque de brûlures, la
combustion de matières inflammables et les liquides
renversés suite à un contact involontaire avec le
récipient, toujours placer la poignée des récipients de
façon à ce quelle pointe vers lintérieur et à ce quelle ne
dépasse pas sur les surfaces de cuisson adjacentes.
RENSEIGNEMENTS DE SÉCURITÉ IMPORTANTS (suite)
CONSERVER CES INSTRUCTIONS
ATTENTION
!
Pour éviter des brûlures graves ou autres blessures,
ne pas ranger dobjets pouvant intéresser les enfants
au-dessus de la plaque de cuisson ou sur le dosseret
de la cuisinière. Les enfants qui grimpent sur la plaque
de cuisson pour atteindre des objets peuvent se blesser
gravement.
California Safe Drinking Water and Toxic Enforcement Act
(Proposition 65)
Le Gouverneur de la Californie est tenu de publier une liste
des substances susceptibles de provoquer le cancer ou des
malformations congénitales et dexiger que les entreprises
préviennent leurs clients des risques potentiels suite à
lexposition à de telles substances.
Ce four peut contenir ou produire une ou plusieurs
substances chimiques qui peuvent provoquer le décès ou
des maladies graves, ou qui sont reconnues dans létat de
Californie comme pouvant provoquer le cancer, des
malformations congénitales ou dautres maladies de
lappareil reproducteur. Afin de réduire les risques présentés
par les substances présentes dans le gaz ou les produits de
combustion, veiller à ce que ce four soit mis en service,
utilisé et entretenu suivant les indications de ce manuel.
ATTENTION
!
Pour éviter tout problème dallumage, ne pas obstruer le
passage de lair de combustion ni daération.

35
FOURS
1. Ouvrir la porte avec soin. Laisser lair
chaud ou la vapeur séchapper avant
denlever les aliments du four ou de
les y remettre.
2. Ne pas chauffer des récipients de
nourriture qui ne sont pas ouverts.
Laccumulation de pression peut
faire éclater le récipient et causer des blessures.
3. Garder les conduits de ventilation non obstrués.
4. Installation des grillesToujours placer les grilles du four
dans la position désirée lorsque le four est froid. Si une
grille est retirée alors que le four est chaud, ne pas laisser la
poignée venir en contact avec lélément de cuisson.
5. Revêtement de protection. Ne pas utiliser de papier
aluminium pour recouvrir les lèchefrites ou le fond du four.
Linstallation inadéquate de ces garnitures peut
occasionner un risque dincendie ou délectrocution.
FOURS AUTONETTOYANTS
1. Ne pas nettoyer le joint de la porte. Le joint de porte est
essentiel pour assurer une bonne étanchéité. Prendre soin
de ne pas le frotter, lendommager, ou le déplacer.
2. Ne pas utiliser de nettoyants à four. Nutiliser aucun
nettoyant à four du commerce et aucune couche de protec-
tion dans ou autour dune partie du revêtement intérieur.
3. Ne nettoyer que les pièces figurant dans le manuel.
4. Avant deffectuer lautonettoyage du four. Enlever la
lèchefrite, les grilles ainsi que tous récipients ou autre qui
pourraient se trouver à lintérieur.
5. Retirer tous les articles se trouvant sur le dessus de la
cuisinière et sur le dosseret.
HOTTES DE VENTILATION
1. Nettoyer fréquemment les hottes de ventilation. Ne pas
permettre à la graisse de saccumuler sur la hotte ou sur
le filtre.
2. Si des aliments sont flambés sous la hotte, allumer le
ventilateur.
En cas dincendie
Les incendies peuvent se produire à cause de
dépassement du temps de cuisson ou de la
présence dexcès de graisse. Même si un
incendie est peu probable, sil sen produit un,
procéder de la façon suivante:
Incendie au niveau dun brûleur de la surface
de cuisson
1. Étouffer le feu avec un couvercle ininflammable ou du
bicarbonate de soude, ou utiliser un extincteur de
classe ABC ou BC. Ne pas utiliser deau, de sel ni de
farine.
2. Dès quil est sécuritaire de le faire, tourner le bouton de
commande des brûleurs pour les fermer. Couper
lalimentation au disjoncteur principal ou à la boîte de
fusibles. Couper lalimentation en gaz.
Incendie au niveau du four
1. Lorsque de la fumée séchappe du four, ne pas ouvrir
la porte.
2. Éteindre le four.
3. Comme précaution supplémentaire, couper le courant
au disjoncteur principal ou à la boîte de fusibles.
Couper lalimentation en gaz.
4. Allumer le ventilateur pour dissiper la fumée.
5. Laisser la nourriture et la graisse se consumer dans le
four.
6. Si la fumée et le feu persistent, appeler les pompiers.
7. Si les composants sont endommagés, appeler le
service de réparations avant dutiliser la cuisinière.
RENSEIGNEMENTS DE SÉCURITÉ IMPORTANTS (suite)
CONSERVER CES INSTRUCTIONS
!Précautions
Ne pas faire cuire daliments
directement sur la surface de cuisson
de la cuisinière; toujours utiliser des
poêles ou casseroles.
Ne pas mélanger les produits nettoyants. Les mélanges
chimiques peuvent produire des résultats désagréables
et même dangereux.
Ne pas placer darticles en plastique sur les endroits
chauds réservés à la cuisson. Ils pourraient coller et
fondre.
La porte du four comprend une vitre. Bien que celle-ci soit
robuste et rigide, il faut faire attention car cela demeure du
verre.
Ne pas soulever ou déplacer la cuisinière en saisissant
la poignée de porte du four car cela pourrait faire casser
la vitre.
Ne pas faire glisser les objets de métal présentant des
aspérités sur la surface de la cuisinière. Des éraflures et
des marques métalliques pourraient en résulter.
Ne pas laisser chauffer du gras à moins de demeurer
près de la cuisinière. Celui-ci peut senflammer sil est
surchauffé et quil éclabousse sur les surfaces brûlantes.
Ne pas laisser les récipients bouillir jusquà ce que tout
le liquide sévapore, ce qui pourrait endommager la
surface de cuisson ainsi que le récipient.
Ne pas utiliser le dessus de la cuisinière comme planche
à découper.
Ne pas utiliser la cuisinière comme comptoir ou espace
de rangement.
ALLUMAGE À RETARDEMENT
Brûleurs
Le brûleur doit sallumer dans un délai de 4 secondes. Si le
brûleur ne sallume pas dans un délai de 4 secondes, tourner
le bouton de commande à la position « OFF » (arrêt) et suivre
les directives de la rubrique «Réglage des brûleurs» pour
installer les capuchons de brûleur. Essayer à nouveau
dallumer le brûleur. Si le brûleur ne sallume toujours pas,
appeler un prestataire de service après-vente agréé.
Flamme du brûleur de cuisson
au four et au gril
Ne pas attendre plus de 40 à 60 secondes avant que le
brûleur sallume et que de la chaleur se produise. Pour
vérifier la présence de chaleur, ouvrir la porte du four au
premier butoir et placer la main au-dessus de la porte du
four. Sil ny a pas de sensation de chaleur, appuyer sur
CANCEL (annuler) pour éteindre le four. Si le brûleur ne
sallume pas après plusieurs essais, appeler un prestataire
de service après-vente agréé.

36
Réglage de la flamme du brûleur de la surface de cuisson
Placement des capuchons de brûleur
Le capuchon du brûleur doit être correctement posé sur la base du brûleur pour
assurer le bon fonctionnement de celui-ci. Vérifier que le capuchon du brûleur est
bien aligné et mis de niveau en le déplaçant autour de la base du brûleur lorsque
la surface de cuisson a refroidi.
Le capuchon du brûleur ne doit pas avoir de jeu.
Les chevilles de la base du brûleur doivent sinsérer dans le creux du
dessous du couvre-brûleur.
Le capuchon du brûleur doit être de taille appropriée pour chaque base de
brûleur.
Le capuchon du brûleur doit être propre et sec pour assurer un allumage
adéquat.
Mettre la grille sur le brûleur une fois le capuchon correctement sur la base.
Essai et réglage de la flamme du brûleur de la
surface de cuisson
Un brûleur de la surface de cuisson correctement réglé à plein feu présente une
flamme bleue et un cône bien défini denviron ¼ à ½ pouce (7 à 13 mm) de long.
Un peu de jaune dans la flamme est normal lorsque lon utilise du GPL/propane.
Voir la rubrique Allumage à retardement dans Informations de sécurité
importantes pour prendre connaissance des procédures et des mises en
garde.
Les flammes ne sont pas uniformes autour du capuchon du brûleur. Cette
répartition autour du capuchon du brûleur et de la grille favorise un
chauffage optimal.
Si la flamme se détache du brûleur ou est bruyante, réduire lapport dair au
brûleur (fermer lobturateur dair).
Si la flamme est jaune et ne garde pas sa forme, augmenter lapport dair au
brûleur (ouvrir lobturateur dair).
Ouvrir Fermer
ERXWRQGXEUOHXU
SRLQWGHSLYRW
FDSXFKRQG·RULILFH
REWXUDWHXU
G·DLU
Réglage de lobturateur dair des brûleurs de la surface de cuisson
1. Débrancher lappareil.
2. Fermer tous les brûleurs de la surface de cuisson.
3. Retirer les boutons de commande des brûleurs de la cuisinière.
2 vis sont visibles sur le panneau de commande du brûleur.
4. Retirer les deux vis du panneau de commande du brûleur.
Le panneau descend légèrement après le retrait des vis.
5. Tout en saisissant le bas du panneau de commande du brûleur, soulever
doucement le panneau et le tirer jusquà ce quil soit dégagé des tiges du
robinet des brûleurs.
Après avoir dégagé le panneau de commande des tiges des robinets
des brûleurs, continuer de rouler le panneau jusquà ce quil soit dégagé de la cuisinière. Le mettre de côté.
Le robinet de gaz et le capuchon dorifice sont visibles après le retrait du panneau de commande.
6. Fermer ou ouvrir lobturateur dair en fonction de lapparence de la flamme.
Lobturateur dair doit être déplacé de 1/16 à 1/8 po
(1,5 à 3 mm) à la fois.
7. Brancher lappareil.
8. Vérifier le réglage de la flamme.
Insérer le bouton sur la tige du robinet de gaz et le tourner
pour allumer le brûleur de la surface de cuisson.
La flamme doit être bleue et présenter un cône bien défini
denviron ¼ à ½ pouce (7 à 13 mm) de long.
Fermer le brûleur après avoir vu la flamme. Retirer le
bouton. Débrancher lappareil si de plus amples réglages
sont nécessaires.
Répéter la procédure de réglage de lobturateur dair si
nécessaire.
9. Assembler le panneau de commande du brûleur en
procédant dans lordre inverse.
%UOHXU
Les réglages doivent être conformes à tous les codes locaux, municipaux et
régionaux du bâtiment, ainsi quaux règlements des compagnies locales de
services publics.

37
Les réglages doivent être conformes à tous les codes locaux, municipaux et
régionaux du bâtiment, ainsi quaux règlements des compagnies locales de
services publics.
Essai et réglage des flammes des
brûleurs de cuisson au four et du gril
Un brûleur de four correctement réglé à plein feu présente une
flamme bleue et un cône bien défini denviron ½ pouce (13 mm) de
long. Lorsque du gaz naturel est utilisé, la flamme ne doit pas
comporter de jaune. Un peu de jaune dans la flamme est normal
lorsque lon utilise du GPL/propane.
La flamme ne doit pas être visible dans louverture du four lorsquelle brûle et ne
doit pas dépasser dans la cavité du four au-delà du fond amovible du four.
Voir la rubrique Allumage à retardement dans Informations de sécurité importantes
pour prendre connaissance des procédures et des mises en garde.
Réglage de la flamme du brûleur du four
Réglage de lobturateur dair du brûleur de
cuisson au four
1. Débrancher lappareil.
2. Retirer le fond amovible du four lorsquil a refroidi.
3. Retirer le tiroir de rangement.
4. À partir de lavant de la cuisinière, repérer lobturateur dair du
brûleur de cuisson.
5. Desserrer la vis de verrouillage de
lobturateur dair et ouvrir ou fermer celui-ci.
Lobturateur dair doit être déplacé de 1/16 à
1/8 po (1,5 à 3 mm) à la fois.
Si la flamme se détache du brûleur ou est
bruyante, réduire lapport dair au brûleur
(fermer lobturateur dair).
Si la flamme est jaune et ne garde pas sa
forme, augmenter lapport dair au brûleur
(ouvrir lobturateur dair).
6. Serrer la vis de lobturateur dair.
7. Rebrancher lappareil.
8. Allumer le four pour vérifier si la flamme du brûleur de cuisson au four est
bien réglée. Si elle ne lest pas, débrancher lappareil et répéter les étapes
5, 6 et 7.
9. Remettre le tiroir de rangement en place.
10. Lorsque le four a refroidi, remettre le fond amovible du four en place.
Réglage de lobturateur dair du
brûleur de cuisson au gril
1. Débrancher lappareil.
2. Ouvrir la porte du four.
3. Desserrer la vis de verrouillage de lobturateur dair et ouvrir ou fermer
celui-ci.
Lobturateur dair doit être déplacé de 1/16 à 1/8 po (1,5 à 3 mm) à la
fois.
Si la flamme se détache du brûleur ou est bruyante, réduire lapport
dair au brûleur.
Si la flamme est jaune et ne garde pas sa forme, augmenter lapport
dair au brûleur.
4. Serrer la vis de lobturateur dair.
5. Rebrancher lappareil.
6. Allumer le gril pour vérifier si la flamme du brûleur de cuisson au gril est
bien réglée. Si elle ne lest pas, débrancher lappareil et répéter les
étapes 3 et 4.
7. Fermer la porte du four.
1/2 po
(13 mm)
1/2 po
(13mm)
de long
Brûleur
Flamme
DLU
VKXWWHU
ouvert
fermé

38
Recommandations pour les plats de cuisson
MATÉRIAUX DES
PLATS DE CUISSON USAGES
Aluminium Chauffe et refroidit rapidement. Friture, braisage,
rôtis
Acier inoxydable Chauffe et refroidit à une vitesse modérée. Soupes,
sauces, légumes, cuisson générale.
Cuivre étamé Chauffe et refroidit rapidement. Gastronomie,
sauces au vin, plats aux oeufs
Fonte Chauffe et refroidit rapidement. Cuisson à feu doux,
friture
Métal émaillé Dépend du métal de base. Cuisson à feu doux
Vitro-céramique Chauffe et refroidit rapidement. Cuisson à feu doux
Test pour vérifier si le
fond du récipient est plat
Pour de meilleurs résultats de
cuisson, utiliser un récipient à fond
plat. Pour déterminer si le plat
possède un fond plat:
1. Faire tourner une règle le long du
fond du récipient. Sil nest pas
plat, des espaces entre le fond
du récipient et le rebord de la
règle apparaîtront.
2. Une petite rainure ou marque sur
le récipient naffecte pas les
durées de cuisson. Cependant,
sil y a un espace, des cercles ou
que le fond du récipient est
inégal, la cuisson est inefficace
et dans certains cas, leau ne
bourra pas.
Puis-je faire de la mise
en conserves?
Il n’est pas recommandé de faire de la
mise en conserves sur les cuisinières à gaz
ou les surfaces de cuisson Amana en
raison de la chaleur intense qui se dégage
et de la nécessité d’utiliser de grands plats
de cuisson.
La chaleur élevée et soutenue produite par les
conserves cause une surchauffe des brûleurs
et de la surface de cuisson ou de la cuisinière.
Ceci peut endommager les brûleurs, les
boutons ou le fini, et peut même causer une
surchauffe des parois autour de la cuisinière.
Les dommages causés par la mise en
conserve, ou toute tentative de mise en
conserve, n’est pas couverte par la garantie.
Quels sont les plats de cuisson à utiliser?
More than 1 inch
overhang
Does not cover burner
SÉLECTIONNER ÉVITER
Plat de cuisson à fond plat. Plat de cuisson avec fond arrondi ou tordu.
Plat de cuisson en métal épais. Plat de cuisson en métal mince.
Poignées sécuritaires qui ne soient pas si
lourdes qu’elles pourraient faire basculer
le plat.
Plat de cuisson avec poignées brisées ou
desserrées ou poignées lourdes qui peuvent
faire basculer le plat lorsqu’il est vide.
Plat de taille appropriée. Plat de cuisson 1 po (2,5 cm) plus petit ou
plus grand que la grille du brûleur.
Wok à fond plat. Wok avec anneau de support.
Ne couvre pas le brûleur
Dépasse de plus
dun pouce (2,5 cm)

39
Utilisation de la cuisinière
Réglage des commandes de
brûleur de surface
Le brûleur doit sallumer dans un délai de 4 secondes.
Si le brûleur ne sallume pas dans le délai prévu, tourner
le bouton de commande sur OFF (arrêt) et suivre les
consignes de la rubrique Placement des capuchons de
brûleurs.
Voir la rubrique Allumage à retardement retardé dans
Renseignements de sécurité importants pour connaître
les procédures et les mises en garde.
1. Enfoncer et tourner le bouton sur LITE (lumière).
Le brûleur doit sallumer dans un délai de 4
secondes.
2. Une fois le brûleur allumé, tourner le bouton de commande au réglage
désiré.
Les boutons ne possèdent pas de déclics distincts.
Utiliser le réglage HI (eléle) pour amener la nourriture à ébullition. À ce
moment, le feu devra être baissé.
Une fois le brûleur allumé, ne pas le faire fonctionner pendant de longues
périodes de temps sans récipient sur la grille. Le fini de la grille peut
craqueler sil ny a pas de récipient dessus pour absorber la chaleur.
La taille de la flamme doit êtreégale à celle du récipient. Ne pas laisser la
flamme dépasser les côtés du récipient car les vêtements pourraient
prendre feu, la poignée pourrait devenir brûlante et cela pourrait causer
des brûlures.
3. Lorsque la cuisson est terminée, tourner le bouton de commande sur la
position OFF (arrêt).
RÉGLAGES DES
COMMANDES DE
BRÛLEUR DE SURFACE QUAND UTILISER UN RÉGLAGE
LO (lumière) Utiliser pour préparer la nourriture à une température
inférieure à l’ébullition ou pour faire mijoter.
MED (moyen) Utiliser pour maintenir l’ébullition de grandes quantités
de nourriture, pour la friture à basse température et
pour maintenir la pression appropriée dans une
casserole sous pression.
HI (eléve) Utiliser pour amener la nourriture à la température
d’ébullition. Lorsque la nourriture bout, la température
doit être abaissée à LO (lumière) ou MED (moyen) .
Que faire lors dune
panne de courant ?
Bien que le système qui allume les brûleurs
soit électrique, les brûleurs de surface peuvent
être allumés durant une panne de courant. Ne
jamais chercher à allumer les brûleurs de
cuisson au four ou au gril (brûleurs du
four) durant une panne de courant.
1. Tenir une allumette à la base du brûleur
de surface désiré.
2. Enfoncer le bouton de commande du
brûleur et le tourner à la position LITE
(lumière).
3. Une fois le gaz enflammé, retirer
l’allumette du brûleur et tourner le
bouton de commande au réglage désiré.
Réglage de la flamme des brûleurs
Tout en tournant le bouton de commande du brûleur, en surveiller
la flamme.
La taille de la flamme doit correspondre à celle du plat.
Les flammes qui dépassent les côtés du plat peuvent faire
prendre feu aux vêtements, rendre la poignée brûlante ou
causer des brûlures.
Que faire si les
commandes sont
différentes
Les descriptions des commandes ont pour
objet de démontrer les diverses
caractéristiques de la gamme de produits. Si la
cuisinière ne comporte pas toutes ces
caractéristiques, ce n’est pas une erreur. Les
renseignements fournis s’appliquent à
plusieurs modèles disponibles.
MISE EN GARDE
!
Pour éviter tout risque de blessures
graves, de dégâts matériels ou
dincendie, ne pas laisser les
brûleurs de surface sans
surveillance pendant leur
fonctionnement. La graisse et les
liquides qui débordent peuvent
causer un incendie.
<
G
O
F
F
E
D

40
Position des grilles du four
Cette cuisinière est dotée de 5 hauteurs de grille pour faciliter tous les types de
cuisson et de plats. La grille supérieure du four ne doit pas être utilisée.
Placement des grilles du four
Placer la grille du four avant de mettre le
four en marche.
1. Tirer la grille vers lavant jusquà ce
quelle sarrête.
2. Soulever le rebord avant de la grille
et tirer jusquà ce que celle-ci soit
sortie du four.
3. Placer la grille à sa nouvelle
position.
Le rebord relevé de la grille doit
être vers larrière du four.
Papier daluminium
MISE EN GARDE
!
Pour éviter tous risques de
blessures, de dégâts matériels ou
dincendie, ne pas recouvrir la
partie inférieure du four, les grilles
ou le gril de papier daluminium ou
autre matériau de ce type.
Lorsque lon recouvre les grilles ou la
partie inférieure du four de papier
daluminium, cela crée non seulement
des risques, mais cela affecte
également le rendement de la cuisson.
Pour réduire au minimum les
éclaboussures dans le four, déposer un
plat peu profond ou une tôle à biscuits
sous la nourriture qui ségoutte.
Utilisation de la cuisinière (suite)
Conseils pour la
cuisson au gril
La cuisson sur le gril ne nécessite
aucun préchauffage.
Couper lexcédent de gras de la
viande avant de la faire cuire.
Couper les rebords de la viande
pour ne pas quils se relèvent.
Placer la nourriture sur un plat de
cuisson au gril froid et non
graisseux. Si le plat est chaud, la
nourriture colle.
Tous les aliments sauf le poisson
doivent être retournés au moins
une fois.
Le côté peau doit être cuit en premier.
Assaisonnez la viande après
quelle a bruni.
Commencer la cuisson en utilisant
les hauteurs de grille suggérées
dans la rubrique Cuisson au gril à
la fin de ce manuel pour vérifier les
résultats de la cuisson au gril. Si
la nourriture na pas suffisamment
bruni, la faire cuire à une position
de grille plus élevée. Si la
nourriture a trop bruni, la faire cuire
à une position plus basse.
CONSEILS RELATIFS À LA POSITION DES GRILLES
POUR LA CUISSON AU GRIL
Position de la grille Type de nourriture
2
Côtelettes de porc désossées, poitrine de poulet sans peau
désossée, filets de poisson, steaks de thon. Utiliser un plat
à rebords peu profond ou plat.
Bœuf de 1/2 à 3/4 po (6 à 13 mm) d'épaisseur ou
côtelettes de porc. Bifteck de flanc roulé.
3 Biftecks de 1 à 1 1/2 po (13 à 19 mm) d'épaisseur,
côtelettes de porc de 1 à 2 po (13 à 26 mm) d'épaisseur.
Queues de homard.
CONSEILS RELATIFS À LA POSITION DES GRILLES POUR LA CUISSON AU
FOUR, LE RÔTISSAGE ET LE BRAISAGE
Position de la grille Type de nourriture
2 Pâtisseries, strudels, ragoût en cocotte, muffins, petit carré
de porc, noix-de-ronde.
3 Demi-poulets, filet mignon de porc entier, cornouailles,
pâtés, pizzas surgelées, pains (pain de maïs, biscuits).
4 Filet de rôti de bœuf, poulet entier, carré de porc, légumes
grillés comme les courges spaghetti ou gland.
5 Dinde entière, chapons, pointes de rôti et sauces.
6 Grosses coupes de viandes grillées telles que la ronde, le
rôti de côtes de boeuf, la couronne d'agneau et le rôti de
soc, pommes de terre et patates douces, galettes et
tourtes aux fruits.
2
3
4
5
6

41
Placement de la partie inférieure
du four
La partie inférieure du four de la nouvelle cuisinière a été vissée afin de ne pas se
trouver déplacée au cours dun déménagement ou de la cuisson. La partie
inférieure du four protège la surface du brûleur pendant la cuisson au four ou au gril.
Il est nécessaire de retirer la partie inférieure du four afin de procéder à lentretien
normal. La partie inférieure du four, le déflecteur du brûleur et le logement du
brûleur doivent être nettoyés pour enlever lexcédent de graisse ou de saleté avant
de démarrer un cycle dautonettoyage.
Retrait de la partie inférieure du four :
1. Vérifier que toutes les commandes sont à la position OFF (arrêt).
2. Le four doit avoir refroidi au toucher.
3. Ouvrir la porte du four et retirer temporairement les grilles du four.
4. Repérer les deux vis retenant la partie inférieure du four à larrière.
Retirer les vis et les conserver pour usage ultérieur.
5. Retirer doucement la partie inférieure du four.
Soulever larrière par les côtés et faire glisser vers larrière de la cuisinière
pour dégager le devant.
Lexcédent de graisse de la partie inférieure du four peut être nettoyé avec
du savon doux et de leau.
6. Essuyer le logement du brûleur avec un linge humide.
7. Bien sécher.
8. Remettre la partie inférieure du four en place et la visser.
Placer le rebord avant de la partie inférieure du four sous la structure avant.
Abaisser larrière de la partie inférieure du four en position et poser les vis.
Ne pas trop serrer les vis.
La partie inférieure du four doit être en place avant dutiliser le four ou la
fonction dautonettoyage.
9. Si les grilles du four doivent être retirées, remettre les grilles du four en
place.
Ne pas remettre les grilles du four en place si un cycle dautonettoyage
doit débuter.
MISE EN GARDE
!
Pour éviter tout risque de blessures,
de dégâts matériels ou dincendie,
nettoyer lexcédent de graisse et de
saleté dans le logement du brûleur
avant dutiliser la fonction
dautonettoyage.
Utilisation de la cuisinière (suite)
MISE EN GARDE
!
Pour éviter tout risque de blessure,
de dégâts matériels ou dincendie,
ne pas recouvrir la partie inférieure
du four, les grilles ou la lèchefrite et
la grille intérieure de papier
daluminium.
ATTENTION
!
Pour éviter tout risque de blessures,
porter des gants afin de se protéger
les mains contre les rebords
potentiellement coupants.

42
Annulation automatique de 12 heures
Cette fonction de sécurité empêche le four de continuer à fonctionner sil demeure
allumé pendant plus de 12 heures. Si une fonction de cuisson est réglée pour une
période de plus de 12 heures et quaucune autre commande du four nest
actionnée pendant ce temps, cette fonction arrête le four. Chaque fois que lon
touche à une commande, la fonction dannulation automatique de 12 heures est
réinitialisée.
Fonctionnalités
Réglage du thermostat du four
La cuisinière est étalonnée en usine à la température appropriée. En raison des
variations et des préférences individuelles, il peut être nécessaire de régler le
four une fois celui-ci mis en service.
Lorsque le four est utilisé pour la première fois, suivre les durées et les
températures des recettes. Avant de régler la température de cuisson au four,
essayer la recette en augmentant ou en diminuant la température du four. Les
résultats obtenus à la cuisson aident à déterminer lajustement de température
nécessaire.
Un thermomètre numérique précis est nécessaire pour étalonner le four. Les
thermomètres vendus dans le commerce ne sont pas toujours précis. La
température peut être augmentée ou diminuée de 35 oF. Pour éviter de trop ajuster
la température du four, la régler par incréments de 5 oF à la fois.
REMARQUE: Retirer le papier daluminium des grilles ou de la partie inférieure
du four car cela pourrait nuire au rendement du four. Vérifier si les
conduits de chaleur sont bloqués. Si le four ne semble toujours
pas fonctionner selon les attentes, un étalonnage peut savérer
nécessaire.
1. Tourner le bouton du thermostat à OFF.
2. Appuyer sur les deux touches fléchées de façon continue pendant environ 5
secondes.
3. Deux chiffres indiquant la température seront affichés entre -35 oF à 35 oF.
4. Appuyer immédiatement:
pour augmenter la température par incréments de 5 oF à la fois.
pour diminuer la température par incréments de 5 oF à la fois.
Lorsque la température est diminuée, un signe (-) apparaît à laffichage
pour indiquer la diminution.
5. Lorsque la température désirée est affichée, relâcher la commande et le
changement est automatiquement enregistré après quelques secondes.
Laffichage indique alors de nouveau lheure du jour.
Le changement demeure en mémoire pendant une panne de courant.
Codes et signaux indicateurs de problèmes
La commande de la cuisinière électronique possède un système dauto-
diagnostic. Celui-ci émet une série de sons brefs et rapides durant plus de 16
secondes et fait apparaître un code F sur laffichage pour signaler un problème.
Prendre note du code F indiqué. Certains codes F peuvent être effacés en
appuyant sur la touche CANCEL (annuler) ou en coupant lalimentation en
électricité de la cuisinière pendant environ 3 minutes. Si le code apparaît toujours,
couper lalimentation en électricité de la cuisinière et contacter un prestataire de
service après-vente agréé.
Code
FSignification possible
F1 Commande défectueuse
F2 Température trop élevée
F3 Capteur ouvert ou court-
circuité
F9 Panne de circuit de
verrouillage de la porte
DOOR La porte n’est pas verrouillée.

43
Affichage et signaux
350
Lhorloge affiche également
la température du four.
VOYANT DESCRIPTION
&/2&. Le voyant de la touche Clock demeure allumé
pendant le réglage de l’heure du jour .
7,0(5212)) Le voyant de la touche Timer On/Off demeure
allumé pendant le décompte de la minuterie.
&22.&/($1
7,0(
Le voyant Cook/Clean Time s’allume pendant la
programmation de la durée de cuisson ou du
nettoyage . Le voyant demeure allumé pendant le
cycle de cuisson ou de nettoyage.
67$57
&22.&/($1
Le voyant Start Cook/Clean s’allume pendant la
programmation de l’heure de début du cycle de
cuisson ou de nettoyage.
35(+($7
Le voyant Preheat s’allume et demeure allumé
pendant que le four chauffe à la température
sélectionnée. La lumière s’éteint lorsque le four
atteint et maintient la température sélectionnée.
/2&.('
Le voyant Locked s’allume et demeure allumé
lorsque la porte du four est verrouillée. Le voyant
Locked clignote lorsque la porte est
automatiquement verrouillée ou déverrouillée.
29(121
Le voyant Oven On s’allume et demeure allumé
lorsque le four est utilisé. Le voyant OVEN LIGHT
ne mesure pas la température intérieure du four.
29(1/,*+7 S’allume à l’enfoncement de la touche OVEN LIGHT.
AFFICHAGE DESCRIPTION
%5/ BRL est affiché lorsque le four effectue la cuisson
au gril ou a été réglé pour la cuisson au gril.
&/1 CLN est affiché lorsque le four exécute le cycle
d’autonettoyage ou a été réglé pour l’autonettoyage.
(1' END est affiché lorsque le cycle de cuisson au four
ou de nettoyage est terminé.
Signal de la minuterie
Lorsque le temps est écoulé, la minuterie
émet un signal sonore de trois secondes.
Signal de préchauffage
Après avoir réglé le four pour la cuisson au
four et sélectionné une température, le four
préchauffe. Lorsque le four atteint la
température désirée, il émet un signal
sonore d’une seconde et le voyant
PREHEAT (préchauffage) s’éteint.
Signal de fin de cycle
Lorsqu’un cycle de cuisson minuté est
terminé, le four émet quatre signaux
sonores espacés d’environ une seconde
chacun, suivis d’une série de signaux
sonores d’une seconde toutes les dix
secondes jusqu’à ce que le bouton du four
soit réglé à OFF.

44
Utilisation de la commande du four
Réglage de lhorloge électronique
Lhorloge de 12 heures naffiche pas A.M., P.M. ou lheure militaire. Lorsque
lappareil est branché ou que lalimentation est restituée, laffichage clignote
jusquà ce que lon appuie sur la touche RECALL OVEN TEMP/CLOCK ou
que lon tourne le bouton du thermostat.
1. Appuyer sur RECALL OVEN TEMP/CLOCK.
2. Appuyer sur + ou sur les touches jusquà ce
que lheure exacte soit affichée.
3. Lheure est réglée après un délai de 5 secondes.
Réglage de la minuterie
La minuterie ne commande pas les fonctions de cuisson au four, de
cuisson au gril ou dautonettoyage. La minuterie peut être réglée jusquà un
maximum de 11 heures et 59 minutes.
1. Appuyer sur TIMER ON/OFF.
2. Appuyer sur + ou sur les touches jusquà ce
que lheure désirée soit affichée.
Lheure peut être réglée en incréments de 1 et
10 minutes.
La minuterie commence le compte à rebours
automatiquement une fois la durée entrée.
Pour visualiser lhorloge pendant que la
minuterie effectue le compte à rebours, appuyer sur RECALL OVEN
TEMP/CLOCK. La minuterie réapparaît au bout denviron 3
secondes sans entrée de données.
3. Appuyer sur la touche TIMER ON/OFF de façon continue pour annuler
le signal de la minuterie.
Une fois le compte à rebours de la minuterie terminé, le four émet
un signal sonore de trois secondes.
Réinitialisation et annulation de la minuterie
Pour modifier la durée minutée pendant le compte à rebours, appuyer sur
TIMER ON/OFF, puis sur +ou sur les touches jusquà ce que la nouvelle
heure soit affichée. Pour annuler la minuterie pendant le compte à rebours
ou pendant que le signal sonore retentit, appuyer sur la touche TIMER ON/
OFF pendant environ 3 secondes.
Affichage clignotant
Lorsque l’alimentation est établie ou
interrompue, l’affichage clignote. Appuyer sur
CLOCK pour réinitialiser l’affichage.
L’horloge peut devoir être réinitialisée.
Comment régler lheure ou
la minuterie plus rapidement
Pour régler l’heure ou la minuterie plus
rapidement, appuyer plus longtemps sur + ou
sur la touche.
Signal sonore de la
minuterie
Lorsque le compte à rebours est terminé, la
minuterie émet un signal sonore. Appuyer sur
la touche TIMER ON/OFF pour arrêter la
minuterie et retourner à l’affichage de
l’horloge.
Signal de préchauffage
Après avoir réglé le four pour la cuisson au
four et sélectionné une température, le four
préchauffe. Lorsque le four atteint la
température désirée, il émet un signal sonore.
Le voyant PREHEAT (préchauffage) s’éteint
et demeure éteint après que le four a atteint la
température sélectionnée.

45
Utilisation des commandes du four (suite)
MISE EN GARDE
!
Pour éviter tout risque de blessures,
de dégâts matériels ou dincendie,
ne pas recouvrir la partie inférieure
du four, les grilles ou la lèchefrite et
la grille intérieure de papier
daluminium.
MISE EN GARDE
!
Pour éviter tout risque de blessures,
de dégâts matériels ou dincendie,
ne jamais laisser le four sans
surveillance pendant la cuisson au
gril.
Préchauffage
Dans la plupart des cas, il faut préchauffer le
four avant de commencer la cuisson au four.
Après avoir réglé les commandes de la
cuisinière, la température du four augmente
graduellement jusqu’au niveau désiré.
Lorsque la température de cuisson est atteinte,
un signal sonore retentit. Pour toute cuisson
au four délicate, préchauffer le four pendant
environ 15 à 20 minutes avant de placer la
nourriture dans le four ou attendre 10 minutes
après que le signal ait retenti avant de placer
de la nourriture dans le four. La durée
supplémentaire crée une température plus
stable dans le four.
À quels extrêmes de
température peut-on
régler le four ?
La température de cuisson du four peut être
réglée entre 170 oF et 550 oF (77 °C et 288
°C). Il est normal que de la fumée se dégage
lorsque le four est utilisé pour la première
fois.
Cuisson au four
Lorsque le four est froid, retirer tout article rangé dans celui-ci.
1. Placer les grilles à la hauteur désirée et fermer la porte du four.
2. Appuyer sur le bouton du thermostat et le
tourner jusquà la température désirée.
Le voyant du four sallume et demeure
allumé.
La température est affichée dans lespace
réservé à lhorloge en incréments de 5
degrés.
La plage de températures se situe entre 170
oF et 550 oF (77 °C et 288 °C).
Laffichage retourne à lheure du jour après
environ 15 secondes.
Pour connaître la température du four,
appuyer sur RECALL OVEN TEMP/CLOCK.
3. Le voyant PREHEAT sallume pendant le cycle
de préchauffage. Le voyant PREHEAT séteint lorsque le four a atteint la
température désirée et le four émet un signal sonore.
4. Ouvrir la porte avec précaution et placer la nourriture dans le four.
5. Une fois la durée de cuisson écoulée, retirer la nourriture et tourner le
bouton du thermostat à OFF.
Cuisson au gril
La cuisson au gril saisit la pièce à cuire pour retenir les jus naturels et
procure une saveur de cuisson sur charbon de bois.
Pour cuire au gril, centrer la nourriture sur la grille intérieure de la lèchefrite et
placer celle-ci sur la grille appropriée du four. Ne pas placer de papier
daluminium sur la lèchefrite, la grille du four ou la partie inférieure du four.
La porte du four doit être complètement fermée. La cuisson au gril ne
requiert pas de préchauffage. La nourriture peut donc être mise dans le four
pendant que celui-ci est encore froid.
1. Ajuster les grilles du four à la position
désirée.
2. Tourner le bouton du thermostat du four à
BROIL.
Le voyant du four sallume et demeure
allumé.
BRL apparaît à laffichage.
Laffichage indique de nouveau lheure du
jour environ 15 secondes après le début
de la cuisson au gril.
Pour connaître la température du four,
appuyer sur RECALL OVEN TEMP/CLOCK.
3. Fermer la porte du four.
Si la porte du four demeure entrouverte pendant plus de 3 minutes,
le cycle de cuisson au gril sera interrompu.
Si le cycle de cuisson au gril est interrompu parce que la porte est
demeurée ouverte trop longtemps, fermer la porte du four et attendre
que le brûleur du gril se réallume.
4. Après la cuisson au gril, retirer la nourriture et tourner le bouton du
thermostat à OFF.

46
Utilisation des commandes du four (suite)
ATTENTION
!
Pour éviter tout risque
dempoisonnement alimentaire
causé par la croissance de
bactéries et la production de
toxines, ne jamais laisser de
viande, de lait, de poisson ou
dufs sur le comptoir plus de 2
heures avant de les faire cuire.
Quelle est la différence entre
la cuisson DIFFÉRÉE et la
cuisson MINUTÉE ?
Lorsque la cuisson MINUTÉE est utilisée,
le four commence à chauffer immédiatement
une fois la commande du four réglée.
Ensuite, la nourriture cuit pendant la période
de temps désirée. Lorsque la cuisson
DIFFÉRÉE est utilisée, la nourriture
commence à cuire plus tard durant la
journée. Régler l’heure à laquelle la cuisson
doit débuter ainsi que la durée de cuisson
désirée. Le four commence à chauffer à
l’heure sélectionnée et la nourriture cuit
pendant la période de temps désirée.
Combien de temps à lavance
peut-on régler lheure ?
La durée de cuisson et l’heure du début de la
cuisson peuvent être réglées jusqu’à 11
heures 59 minutes à l’avance. Lorsque la
durée de cuisson est écoulée, un signal de
fin de cycle retentit, le four s’éteint
automatiquement et l’affichage indique à
nouveau l’heure. Le signal du four retentit 4
fois, puis une fois toutes les 10 secondes,
jusqu’à ce que le four soit éteint. La cuisson
au gril ne peut être différée ou minutée.
Cuisson minutée
Régler le four selon la durée de cuisson désirée. Suivre la recette pour
connaître la durée de préchauffage du four.
1. Placer la nourriture dans le four.
2. Appuyer sur COOK/CLEAN TIME.
3. Appuyer sur ou sur la touche jusquà la
durée de cuisson désirée soit indiquée.
La durée de cuisson peut être réglée jusquà
11 heures 59 minutes.
4. Appuyer sur le bouton du thermostat et le tourner.
· La température est affichée par incréments de 5 oF à partir de 170 oF
(77 °C).
Laffichage indique de nouveau lheure du jour environ 15 secondes
après le début de la cuisson au gril.
Pour connaître la température du four, appuyer sur RECALL OVEN
TEMP/CLOCK.
5. Le four commence automatiquement à chauffer.
Pour modifier la durée de cuisson, appuyer sur COOK/CLEAN TIME
pendant que la durée de cuisson qui reste est affichée. La durée de
cuisson peut ensuite être modifiée.
Une fois la durée de cuisson écoulée, un signal de fin de cycle
retentit et END est affiché. Le signal du four retentit 4 fois, puis une
fois toutes les 10 secondes jusquà ce que le bouton du thermostat
soit tourné à OFF.
6. Tourner le bouton à OFF pour annuler la cuisson au four.
Cuisson différée
Régler le four pour commencer et terminer la cuisson à un moment ultérieur.
1. Placer la nourriture dans le four.
2. Appuyer sur START COOK/CLEAN.
Lheure affichée par défaut est lheure courante.
3. Appuyer sur ou sur la touche jusquà la
durée de cuisson désirée soit indiquée.
Lheure de fin de cuisson peut être jusquà 11
heures 59 minutes en avance de lheure actuelle.
4. Appuyer sur COOK/CLEAN TIME.
5. Appuyer sur ou sur la touche jusquà ce que
la durée de cuisson désirée soit affichée.
La durée de cuisson minimum est de 1 minute.
END est affiché lorsque la durée de cuisson est
écoulée.
6. Appuyer sur le bouton du thermostat et le tourner à
la température désirée.
La température est affichée par incréments de 5 oF à partir
de 170 oF (77 °C).
Laffichage indique de nouveau lheure du jour après 5 secondes.
Les voyants START TIME et COOK TIME demeurent allumés, mais le
voyant OVEN ON sallume lorsque le four commence à chauffer.
7. Le four commence à chauffer automatiquement à lheure sélectionnée.
Le voyant OVEN ON sallume lorsque le four commence à chauffer.
Pour régler la durée de cuisson, appuyer sur COOK/CLEAN TIME
pendant que la durée qui reste est affichée. La durée de cuisson peut
ensuite être programmée.
Une fois la durée de cuisson écoulée, un signal de fin de cycle
retentit et END est affiché. Le signal du four retentit 4 fois, puis une
fois toutes les 10 secondes jusquà ce que le bouton du thermostat
soit tourné à OFF.
8. Tourner le bouton à OFF pour annuler la cuisson au four.

47
MISE EN GARDE
!
Pour éviter tout risque de
blessures, ne pas toucher au
dessus de la cuisinière, à la porte,
aux conduits daération du four ou
à la surface entourant les conduits
durant lautonettoyage. Ces
surfaces peuvent devenir
suffisamment chaudes pour
causer des brûlures.
Utilisation des commandes du four (suite)
ATTENTION
!
Pour éviter tout risque dincendie ou
dommage causé par la fumée,
retirer tout article inflammable du
tiroir de rangement tels que les
récipients en plastique et les
manuels en papier car ceux-ci
peuvent fondre ou brûler.
nettoyer tout liquide ayant
débordé avant de débuter un
cycle dautonettoyage.
Que faut-il préparer ?
Pour obtenir des résultats optimums du cycle
d’autonettoyage, procéder comme suit :
•Nettoyer les débordements provenant de
l’intérieur du four et le puits du brûleur
du four.
•Retirer les oiseaux ou les animaux
que pourrait incommoder la fumée ou
autres vapeurs de la pièce ou de la
pièce adjacente.
•Si possible, ouvrir la fenêtre.
• S’assurer que le couvre-ampoule du four
est bien installé. Dans le cas contraire, ne
pas utiliser le cycle de nettoyage.
•Retirer les grilles, les casseroles et tous
les plats de cuisson du four.
•Retirer les articles du dessus de la
cuisinière, du tiroir de rangement et du
dosseret. Ces surfaces peuvent devenir
brûlantes durant le cycle d’autonettoyage.
•La ventilation du four s’effectue à partir
du centre du dosseret. S’assurer que ce
secteur n’est pas obstrué en retirant tous
les articles se trouvant sur le dosseret et
le dessus de la cuisinière.
Autonettoyage
La fonction dautonettoyage chauffe le four à une température élevée pour
en nettoyer lintérieur. Pour que le four effectue un cycle complet
dautonettoyage, cette fonction doit être réglée lorsque le four est froid.
1. Préparer le four pour lautonettoyage (voir à gauche).
2. Fermer la porte.
3. Appuyer sur le bouton du thermostat et le
tourner à la position CLEAN.
La durée par défaut du cycle
dautonettoyage de 3 heures est affichée.
4. Régler la durée du cycle pour lautonettoyage.
Utiliser les touches fléchées pour régler
lheure si nécessaire avant que le voyant
du four ne sallume.
Le cycle de nettoyage peut être réglé entre
deux et quatre heures par incréments
dune minute.
La durée par défaut du cycle
dautonettoyage est de 3 heures.
5. Lautonettoyage débute.
Le voyant OVEN ON sallume et demeure allumé jusquà la fin du
cycle.
À la fin du cycle dautonettoyage, le voyant OVEN ON séteint.
Le voyant LOCKED demeure allumé jusquà ce que le four ait
refroidi. Le voyant LOCKED clignote pendant le déverrouillage de la
porte, puis séteint une fois la porte déverrouillée. Le four est chaud
au toucher. NE PAS chercher à ouvrir la porte avant que le voyant
LOCKED ne se soit éteint.
Interruption du cycle dautonettoyage
Pour arrêter le cycle dautonettoyage lorsque celui-ci est déjà commencé,
procéder comme suit. Si linterruption survient au milieu du cycle, le four
demeure verrouillé, même si le cycle est interrompu, jusquà ce que le four
ait refroidi.
1. Tourner le bouton du thermostat à la position OFF.
2. Lorsque le four a refroidi, le voyant LOCKED séteint. La porte peut
être déverrouillée. NE PAS forcer la porte car cela pourrait
endommager le loquet.
Utilisation des brûleurs de surface pendant le
cycle dautonettoyage
La cuisinière est dotée dune fonction de sécurité pour lempêcher de surchauffer
pendant le cycle dautonettoyage. Un capteur de température interrompt le cycle
dautonettoyage si la cuisinière devient trop chaude. Selon le modèle de cuisinière
et la durée de cuisson sur les brûleurs de surface, le capteur peut parfois
interrompre le cycle dautonettoyage. Pour empêcher toute interruption du cycle
dautonettoyage, il est préférable de ne pas utiliser les brûleurs de surface durant
le cycle dautonettoyage.

48
Utilisation des commandes du four (suite)
Que faut-il préparer ?
Pour obtenir des résultats optimums du cycle
d’autonettoyage, procéder comme suit :
•Nettoyer les liquides qui ont débordé
dans le four et le puits du brûleur du
four.
•Retirer les oiseaux ou les animaux
susceptibles d’être incommodés par la
fumée ou autres vapeurs de la pièce
ou de la pièce adjacente.
•Si possible, ouvrir la fenêtre.
• S’assurer que le couvre-ampoule du four
est bien installé. Dans le cas contraire, ne
pas utiliser le cycle de nettoyage.
•Retirer les grilles, les casseroles et tous
les plats de cuisson du four.
•Retirer les articles du dessus de la
cuisinière, du tiroir de rangement et du
dosseret. Ces surfaces peuvent devenir
brûlantes durant le cycle d’autonettoyage.
•La ventilation du four s’effectue à partir
du centre du dosseret. S’assurer que ce
secteur n’est pas obstrué en retirant tous
les articles se trouvant sur le dosseret et
sur le dessus de la cuisinière.
MISE EN GARDE
!
Pour éviter tout risque de
blessures, ne pas toucher au
dessus de la cuisinière, à la porte,
aux conduits daération du four ou
à la surface entourant les conduits
durant lautonettoyage. Ces
surfaces peuvent devenir
suffisamment chaudes pour
causer des brûlures.
ATTENTION
!
Pour éviter tout risque dincendie ou
de dommages causés par la fumée,
retirer tout article inflammable du
tiroir de rangement tels que les
récipients en plastique et les
manuels en papier car ceux-ci
peuvent fondre ou brûler.
nettoyer tout liquide qui a débordé
avant de débuter un cycle
dautonettoyage.
Autonettoyage retardé
La fonction dautonettoyage chauffe le four à une température élevée pour
nettoyer lintérieur du four. Régler le four afin de commencer et de terminer le
nettoyage à un moment ultérieur. La commande du four calcule
automatiquement lheure de mise en marche.
1. Préparer le four pour lautonettoyage (voir à droite).
2. Fermer la porte.
3. Appuyer sur START COOK/CLEAN.
4. Programmer lheure du début du cycle
dautonettoyage.
Lheure affichée par défaut est lheure
courante.
Lheure de fin de cycle peut être réglée à
partir de lheure actuelle jusquà lheure
actuelle plus 11 heures 59 minutes.
5. Tourner le bouton du thermostat du four à
CLEAN.
La durée par défaut du cycle
dautonettoyage de 3 heures est affichée.
6. Régler la durée du cycle pour
lautonettoyage.
Utiliser les touches fléchées pour régler lheure si nécessaire avant
que le voyant du four ne sallume.
Le cycle de nettoyage peut être réglé entre deux et quatre heures par
incréments dune minute.
La durée par défaut du cycle dautonettoyage est de 3 heures.
7. Le cycle dautonettoyage est programmé.
Le four ne peut pas être utilisé avant la fin du cycle dautonettoyage.
Le cycle dautonettoyage débute à lheure sélectionnée.
Pour savoir à quelle heure le cycle dautonettoyage débute, appuyer
sur START COOK/CLEAN.
Le voyant OVEN ON sallume et demeure allumé jusquà la fin du cycle.
Pour connaître la durée du cycle de nettoyage, appuyer sur COOK/
CLEAN TIME.
À la fin du cycle dautonettoyage, le voyant OVEN ON séteint.
Le voyant LOCKED demeure allumé jusquà ce que le four ait refroidi.
Le voyant LOCKED clignote pendant le déverrouillage de la porte,
puis séteint une fois la porte déverrouillée. Le four est chaud au
toucher. NE PAS chercher à ouvrir la porte avant que le voyant
LOCKED ne se soit éteint.
Interruption du cycle dautonettoyage
Pour arrêter le cycle dautonettoyage lorsque celui-ci est déjà commencé,
procéder comme suit. Si linterruption survient au milieu du cycle, le four
demeure verrouillé, même si le cycle est interrompu, jusquà ce que le four
ait refroidi.
1. Tourner le bouton du thermostat à la position OFF.
2. Lorsque le four a refroidi, le voyant LOCKED séteint. La porte peut être
déverrouillée. NE PAS forcer la porte car cela pourrait endommager le
loquet.

49
Placement du plat
Garder les plats et les tôles à 2 pouces (5,1 cm)
des parois du mur.
Empiler les plats sur différentes grilles de façon à
ce quils ne soient pas directement les uns au-
dessus des autres.
Cuisson
CONSEILS POUR LA DURÉE DE CUISSON
Type de moule
à gâteaux Taille
du plat Tasses
de pâte Température
du four
Minutes
Oval 7 ¾ po x
5 ¾ po
(19,7 cm x 14,6 cm)
2 ½ 350°F (177 oC) 25 à 30
13 po x
9 ¾ po
(33 cm x 24,8 cm)
8 350°F (177 oC) 25 à 30
Rond, couche de
2 po (5,1 cm) 6 po (15,2 cm) 2 350°F (177 oC) 25 à 30
8 po (20,3 cm) 3 350°F (177 oC) 30 à 35
14 po (35,6 cm) 10 350°F (177 oC) 50 à 55
Rond, couche de
3 po (7,6 cm) 8 po (20,3 cm) 5 325°F (163 oC) 60 à 65
12 po (30,5 cm) 11 325°F (163 oC) 75 à 80
Demi-rond,
couche de 2 po
(5,1 cm)
18 po (45,7 cm) 9 325°F (163 oC) 60 à 65
Demi-rond,
couche de 3 po
(7,6 cm)
18 po (45,7 cm) 12 325°F (163 oC) 60 à 65
Carré 6 po (15,2 cm) 2 350°F (177 oC) 25 à 30
10 po (25,4 cm) 6 350°F (177 oC) 35 à 40
16 po(40,6 cm) 15 ½ 350°F (177 oC) 45 à 50
Conseils relatifs à la cuisson
Lorsquun four neuf est utilisé, il ne faut pas oublier que les températures varient dun four à lautre. Les thermomètres
vendus dans le commerce ne sont pas toujours précis et ne doivent donc pas être utilisés pour étalonner la température du
four.
Conseils pour la cuisson
de biscuits
•Utiliser des tôles à biscuits plates et
brillantes. Éviter les moules à biscuits
dont les rebords sont élevés car cela
pourrait les empêcher de brunir de façon
uniforme.
•La tôle à biscuits ne doit pas entrer en
contact avec les parois du four ou la porte.
•Pour des résultats optimums, utiliser
seulement une tôle à biscuits à la fois.
Gâteaux
•Suivre la recette pour connaître la taille
du plat à utiliser. Les plats brillants sont
préférables pour les gâteaux.
•Un gâteau cuit dans un plat trop grand
sera mince et sec. Si le plat est trop petit,
il ne sera pas assez cuit ou cuira de façon
inégale et pourra déborder.
Tartes
•Les tartes doivent être cuites dans des
plats foncés ou de couleur terne pour
mieux brunir.
•Les tartes surgelées doivent être
réchauffées sur une tôle à biscuits en
aluminium.
CONSEILS POUR LA CUISSON
Plats foncés ou
ternes Absorbent plus de
chaleur, ce qui
accentue le
brunissage.
Recommandés
pour les tartes et
les pains.
Plats brillants
(aucun rebord) Recommandés
pour les biscuits.
Plats brillants
(avec rebord) Recommandés
pour les gâteaux.
Plats en verre Diminuer la
température de
25 oF (14 oC).

50
Cuisson (suite)
3UREOqPH &DXVH
Gâteaux de forme
irrégulière (cuits de
façon inégale)
Les plats se touchent ou touchent aux
parois du four.
Le mélange est réparti inégalement dans le plat.
La chaleur est mal distribuée dans le four.
Le four n’est pas de niveau.
Gâteaux et biscuits trop
bruns sur le dessus ou
le dessous
Le four n’a pas préchauffé.
Les plats se touchent ou touchent aux parois du
four.
Utilisation de plats en métal terni, déformés,
noircis ou en verre.
La grille est trop élevée ou trop basse.
Usage incorrect du papier d’aluminium.
La température du four est trop élevée.
Les tartes ne
brunissent pas Position incorrecte de la grille.
Utilisation de plats en métal reluisant.
Température trop basse.
Les gâteaux ne cuisent
pas au centre Température trop élevée.
Plat trop petit.
Durée de cuisson trop courte.
Plat non centré dans le four.
Les gâteaux tombent Trop de shortening ou de sucre.
Trop ou pas assez de liquide.
Température trop basse.
Poudre à pâte trop vieille ou en quantité
insuffisante.
Plat trop petit.
Porte du four ouverte fréquemment
(vérification).
Cuisson insuffisante.
Rétrécissement excessif Pas assez de levain.
Mélange brassé trop longtemps.
Plat trop grand.
Température trop élevée.
Durée de cuisson trop longue.
Gâteaux élevés au centre
ou craqués Température trop élevée.
Mélange brassé trop longtemps.
Trop de farine.
Les plats se touchent ou touchent aux
parois du four.
Problèmes de cuisson courants
Si des problèmes se répètent constamment, consulter le tableau ci-dessous pour trouver les solutions possibles. Si la
situation ne saméliore pas, communiquer avec le service à la clientèle Amana au 800-843-0304.
Vérifier si les gâteaux sont
bien cuits
Pendant qu’ils sont dans le four. En raison des
différences d’un four à l’autre, il est préférable
de vérifier la consistance plutôt que de
simplement se fier sur le temps et l’apparence.
Le four nest peut-être
pas responsable
Les problèmes de cuisson des gâteaux
résident parfois dans le mélange. Une pâte
trop mélangée peut casser et faire rétrécir le
gâteau. Une pâte insuffisamment mélangée
peut causer des grumeaux qui ne cuiront pas
bien. Tous les ingrédients doivent être
mélangés à la température ambiante et
doivent avoir été sortis du réfrigérateur
auparavant. Bien suivre la recette pour savoir
combien de temps mélanger la pâte.
Le gâteau est coincé ?
Laisser le gâteau refroidir dans le plat pendant
10 minutes avant de le retirer. Les plus grands
gâteaux (plus de 14 pouces de diamètre)
peuvent prendre 15 minutes. Si le gâteau a
refroidi trop longtemps, le réchauffer dans le
four à 250 oF (121 oC) pendant quelques
minutes.
51
Cuisson (suite)
Conseils relatifs à la viande
Bien que la cuisine ait toujours été un talent, elle est maintenant en cours de devenir une science. Amana fournit ces conseils
à titre dinformation. Pour toutes questions particulières concernant la préparation, la manipulation ou le rangement de la
viande, communiquer avec la ligne dassistance téléphonique sur la viande et la volaille de la USDA (Ministère américain
de lagriculture) au 800-535-4555.
Conseils pour la
manipulation
À lépicerie, placer la viande dans
un sac en plastique séparé pour
éviter quelle dégoutte sur dautres
aliments.
Décongeler la viande au
réfrigérateur et non à température
ambiante.
Garder la viande au frais et
couverte jusquau moment de la
faire cuire.
Se laver les mains avec de leau
chaude savonneuse avant et
après avoir manipulé de la viande
ou des ufs crus.
Bien laver toute surface, récipient
ou ustensile qui a été en contact
avec de la viande ou des ufs
crus.
Ne pas placer de la viande cuite
dans une assiette où il y a eu de la
viande crue.
Conseils pour la
cuisson
Mariner la viande dans le
réfrigérateur. Jeter lexcédent de
marinade qui est entré en contact
avec la viande.
Utiliser un thermomètre à viande
résistant à la chaleur du four.
Cuire la viande à la température
interne recommandée par la
USDA.
Pour réchauffer les aliments,
chauffer jusquà ce quils
atteignent une température interne
dau moins 165 oF (74 °C).
Lors de la cuisson de viande, la
retourner au moins une fois.
Sécurité lors du
rangement
Une fois dépecée, réfrigérer la
portion inutilisée immédiatement.
Garder les aliments chauds avec
les aliments chauds et les
aliments froids avec les aliments
froids dans les plats de service.
Séparer les aliments cuits en
petites portions pour les aider à
refroidir rapidement.
Ne pas conserver de viandes
hachées cuites ou de repas
contenant de la viande hachée
pendant plus de 3 ou 4 jours au
réfrigérateur.
Ne pas laisser le jus de viande
cuite ou crue entrer en contact
avec les aliments prêts à manger
tels que les fruits ou les légumes.
Utilisation dun thermomètre à viande
Lorsquun thermomètre à viande est utilisé, toujours linsérer légèrement en biais
dans la partie la plus épaisse de la viande, loin du gras et des os. La viande doit
être retirée lorsque sa température est de 5 oF (1,8 °C) inférieure à la température
finale désirée. Pendant que la viande repose sur le plat avant dêtre dépecée, elle
continue de cuire à lintérieur, ce qui augmente sa température de 5 oF (1,8 °C)
sans apport de chaleur supplémentaire.
Le thermomètre à viande peut
Rendre plus précise lévaluation de la durée de cuisson jusquà ce que la
viande soit bien cuite.
Aider à réduire le risque dempoisonnement alimentaire.
Thermomètre pouvant être utilisé au four
Lorsquil est inséré avant de placer la viande dans le four, ce thermomètre
demeure dans la viande tout au long de la cuisson.
La température interne augmentera lentement pendant que la viande cuit.
Thermomètre à lecture instantanée
Ces thermomètres ne supportent pas la température élevée du four et
doivent être insérés dans la viande lorsque celle-ci est retirée du four.
Bien que les durées varient, une température précise est généralement
affichée dans un délai de 1 ou 2 minutes.
Lors de lutilisation dun thermomètre à lecture instantanée, toujours nettoyer
la tige du thermomètre avec de leau chaude savonneuse entre les mesures.
Attendrissement
Le braisage n’est qu’une des façons
d’attendrir les bas morceaux de viande. Avant
de la faire cuire, on peut piler, dépecer en
cubes ou faire mariner la viande, ou utiliser
des attendrisseurs de viande vendus dans le
commerce. On peut ensuite utiliser une
méthode sèche pour faire cuire la viande.
•Les marinades sont des liquides acides
tels que le vin, le citron ou le vinaigre.
Les marinades ramollissent les fibres de
la viande mais ne pénètrent qu’environ
¼ de pouce (7 mm) à l’intérieur de la
viande. Ne pas mariner la viande pendant
plus de 24 heures.
•Le pilage avec un maillet lourd brise les
tissus afin d’attendrir la viande.
•Le dépeçage en cubes brise la structure
davantage que le pilage. Le dépeçage est
effectué au comptoir des viandes.
•Les attendrisseurs de viande vendus
dans le commerce sont des enzymes qui
agissent sur le quatrième de pouce
extérieur d’une coupe de viande. Bien
suivre le mode d’emploi du fabricant.

52
Conseils pour la cuisson au gril
La cuisson au gril est une méthode de cuisson à chaleur sèche qui permet
dobtenir une saveur de charbon de bois comparable à celle des restaurants. La
viande est exposée directement à lélément chauffant à des températures élevées.
1. Placer la viande sur la grille de la lèchefrite avec la surface des coupes à la
distance spécifiée de lélément chauffant (indiquée ci-dessous).
2. Griller pendant la moitié de la durée recommandée, ou jusquà ce que la
surface ait bruni.
3. Tourner la viande et continuer la cuisson au gril jusquà la température
interne désirée.
4. Assaisonner si désiré.
Toutes les durées et les températures recommandées sont fournies par la USDA, le Conseil de l’Industrie du Bœuf, le Conseil National des
Producteurs de Porc, et l’American Sheep Council.
Cuisson (suite)
Coupe de viande Température interne
recommandée Épaisseur
(pouces) Poids
(livres)
Distance de la
chaleur
(pouces)
Durée de
cuisson
approximati
ve (minutes)
BŒUF
Steak - tranche d’épaule ¼ (0,6)
1 (2,5)
¼ à 1 (0,11 à 0,45)
1 à 1 ¼ (0,45 à 0,56)
2 à 3 (5,1 à 7,6)
3 à 4 (7,6 à 10,2)
12 à 14
8 à 12
Steak de faux-filet
¾ (1,9)
1 (2,5)
1 ½ (3,8
½ (0,22)
½ à ¾ (0,22 à 0,33)
¾ à 1 (0,33 à 0,45)
2 à 3 (5,1 à 7,6)
3 à 4 (7,6 à 10,2)
4 à 5 (10,2 à 12,7)
8 à 12
10 à 15
20 à 25
Steak de surlonge
¾ (1,9)
1 (2,5)
1 ½ (3,8)
1 à 1 ¾ (0,45 à 0,78)
1 ½ à 3 (0,67 à 1,35)
2 ¼ à 4 (1,0 à 1,8)
2 à 3 (5,1 à 7,6)
3 à 4 (7,6 à 10,2)
4 à 5 (10,2 à 12,7)
10 à 15
16 à 21
21 à 25
Steak d’aloyau
¾ (1,9)150
1 (2,5)
1 ½ (3,8)
¾ à 1 (0,33 à 0,45)
1 ½ à 2 (0,67 à 0,9)
2 à 3 (0,9 à 1,35)
2 à 3 (5,1 à 7,6)
3 à 4 (7,6 à 10,2)
4 à 5 (10,2 à 12,7)
8 à 12
10 à 15
20 à 25
Filet mignon (filet) ¼ à ½ (0,11 à 0,22) 2 à 4 (5,1 à 10,2) 10 à 15
Flanc
Très saignant 130 °F
Saignant 140 °F
Medium saignant 145 °F
À point 160 °F
Bien cuit 170 °F
Très bien cuit 180 °F
1 à 1 ½ (0,45 à 0,67) 2 à 3 (5,1 à 7,6) 12 à 14
Steak haché 160 oF (71 °C) minimum ¾ à 1 (1,9 à 2,5) 1 (0,45) 3 à 4 (7,6 à 10,2) 10 à 15
PORC
Côtelettes avec os ¾ (1,9) 4 (10,2) 6 à 8
Côtelettes désossées ¾ (1,9) 4 (10,2) 6 à 8
Filet
Le porc doit toujours être cuit à
une température interne d’au
moins 160 oF (71 °C) pour
réduire les risques de trichinose. ½ à 1
(0,22 à 0,45) 4 (10,2) 15 à 25
Brochettes cubes de 1 po
(2,5 cm) 4 (10,2) 10 à 20
Porc haché en portions
Le non-respect de cette consigne
peut causer des lésions ou des
maladies. ½ (0,22) 4 (10,2) 8 à 10
AGNEAU
Côtelettes de filet 1 (2,5) 3 à 4 (7,6 à 10,2) 10 à 15
Côtelettes 1 (2,5) 3 à 4 (7,6 à 10,2) 10 à 15
Steaks de surlonge 1 (2,5) 3 à 4 (7,6 à 10,2) 12 à 15
Steaks de ronde 1 (2,5) 3 à 4 (7,6 à 10,2) 12 à 15
Steaks de gigot 1 (2,5) 3 à 4 (7,6 à 10,2) 15 à 20
Cubes pour brochettes morceaux de
1 ¼ po (3,2) 3 à 4 (7,6 à 10,2) 10 à 15
Agneau haché en portions
À point 160 °F
Bien cuit 170 °F
½ x 4 po (1,3 x
10,2 cm) ¼ chaque (0,11) 3 à 4 (7,6 à 10,2) 12

53
Cuisson (suite)
Guide de rôtissage
Les morceaux tendres telles que les côtes et les longes doivent être
préférablement cuites selon des méthodes de cuisson à sec comme le rôtissage.
Pour rôtir:
1. Chauffer le four à la température désirée.
2. Placer le rôti directement à sa sortie du réfrigérateur, côté gras sur le
dessus, dans un plat de rôtissage peu profond.
3. Insérer un thermomètre à viande conçu pour le four de façon à ce que la
pointe se trouve dans la partie la plus épaisse du rôti. Sassurer que le
thermomètre nest pas inséré dans du gras ou contre los.
4. Retirer le rôti lorsque la température atteinte est de 5 oF (1,8 oC) inférieure à
la température interne désirée.
5. Transférer le rôti sur une planche à découper et le recouvrir sans serrer de
papier daluminium pendant environ 15 minutes.
Toutes les durées et les températures recommandées sont fournies par la USDA, le Conseil de l’Industrie du Bœuf, le Conseil National des
Producteurs de Porc, et l’American Sheep Council.
Coupe de viande Température interne recommandée Température
du four Poids (livres)
Durée
approximative
de cuisson
(minutes)
BŒUF
Rôti de croupe désossé 325 oF (163 oC) 4 à 6 (1,8 à 2,7) 25 à 30
Rôti d’aloyau 325 oF (163 oC) 3 ½ à 4 (1,6 à 1,8) 30 à 40
Rôti de noix de ronde 325 oF (163 oC) 4 à 6 (1,8 à 2,7) 20 à 30
Filet 425 oF (218 oC) 2 à 3 (0,9 à 1,35)
4 à 6 (1,8 à 2,7) 35 à 45
45 à 60
Rôti de côtes 325 oF (163 oC) 4 à 6 (1,8 à 2,7)
6 à 8 (2,7 à 3,6) 26 à 42
23 à 35
Rôti de faux filet
Très saignant 130 °F
Saignant 140 °F
Medium saignant 145 °F
À point 160 °F
Bien cuit 170 °F
Très bien cuit 180 °F 350 oF (177 oC) 4 à 6 (1,8 à 2,7) 18 à 24
PORC
Rôti de longe avec os 350 oF (177 oC) 3 à 5
Rôti de côtes désossé 350 oF (177 oC) 2 à 4
Filet 450 oF (232 oC) ½ à 1
Jambon avec os, cuire avant de
servir
Le porc doit toujours être cuit à une
température interne d’au moins 160 oF
pour réduire les risques de trichinose et
autres empoisonnements alimentaires. 325 oF (163 oC) 7 à 8
20 minutes
par livre
AGNEAU
Épaule 325 oF (163 oC) 3 ½ à 6 (1,6 à 2,7) 35 à 40
Rôti de côtelettes 375 oF (191 oC) 1½ - 2 ½ (0,7 à 1,1) 30 à 35
Carré d’agneau non farci 375 oF (191 oC) 2 à 3 (0,9 à 1,35) 25 à 30
Rôti de longe 325 oF (163 oC) 1¼ à 1 ¾ (0,6 à 0,8) 45 à 55
Gigot, à manche ou avec jarret
À point-saignant 150°F
À point 160°F
Bien cuit 170°F
325 oF (163 oC) 5 à 7 (2,3 à 3,2)
7 à 9 (3,2 à 4,0) 15 à 20
20 à 25
VOLAILLE (non farcie)
Capon 325 à 350 oF (163 à 177 oC) 4 à 8 (1,8 à 3,6) 20 à mn/lb
Poule entière 325 à 350 oF (163 à 177 oC) 1 ¼ à 1 ½ (0,6 à 0,7) 50 à 60 total
Canard entier 325 à 350 oF (163 à 177 oC) 18-20 mn/lb.
Oie entière 325 à 350 oF (163 à 177 oC) 20 à 25 mn/lb
Faisan entier 325 à 350 oF (163 à 177 oC) 2 (0,9) 30 mn/lb
Caille entière 325 à 350 oF (163 à 177 oC) — 20 minutes total
Dinde
Pour réduire le risque d’empoisonnement
alimentaire, la volaille doit être cuite à une
température interne de 180 oF.
325 oF (163 oC) 8 à 16 (3,6 à 7,2) 3 ½ à 5 ½ heures

54
Toutes les durées et les températures recommandées sont fournies par la USDA, le Conseil de l’Industrie du Bœuf, le Conseil National des
Producteurs de Porc, et l’American Sheep Council.
Cuisson (suite)
Conseils de braisage
Les coupes moins tendres comme le gîte à la noix, le bloc dépaule, la pointe de poitrine et
le jarret nécessitent une cuisson dans un liquide. Une durée de cuisson prolongée à des
températures plus basses avec un liquide contribuent à attendrir la viande.
1. Faire revenir la viande avec une petite quantité dhuile dans une poêle
à fond épais.
2. Jeter lexcédent de gras , assaisonner si désiré.
3. Ajouter une petite quantité de liquide (1/2 à 2 tasses) (118 à 473 ml)
et couvrir hermétiquement.
Faire mijoter à feu doux sur le dessus de la cuisinière ou au four à
325 oF (163°C) jusquà ce que la viande soit tendre.
Coupe de viande Température interne recommandée Température
du four Poids (livres)
OU épaisseur
Durée de
cuisson
approximative
(heures)
BŒUF
Palette braisée 325 oF (163 oC) 3 à 5 (1,35 à 2,25) 1 ½ à 2
Épaule braisée 325 oF (163 oC) 3 à 5 (1,35 à 2,25) 2 à 3
Rôti de bas de paleron
(désossé) 325 oF (163 oC) 3 à 5 (1,35 à 2,25) 2 à 3
Bout de côtes 325 oF (163 oC) 2 po x 2 po x 4 po
d’épaisseur
(5,1 x 5,1 x 10,2 cm) 1 ½ à 2 ½
Steak de ronde 325 oF (163 oC) ¾ po à 1 po
d’épaisseur
(1,9 à 2,5 cm) 1 à 1 ½
Steak de flanc
Pour réduire le risque
d’empoisonnement alimentaire,
la viande doit être cuite à une
température d’au moins 160 oF.
325 oF (163 oC) 1 ½ po à 2 po
d’épaisseur
(3,8 à 5,1 cm) 1 ½ à 2 ½
AGNEAU
Côtelettes d’épaule, petite
épaule ou épaule 325 oF (163 oC) 1 po d’épaisseur
(2,5 cm) 1 à 1 ¼
Côtes d’épaule levées 325 oF (163 oC) 3 lb (1,35 kg) 1 ½ à 2
Jarrets 325 oF (163 oC) 3 lb (1,35 kg) 1 à 1 ½
Viande en cubes
Pour réduire le risque
d’empoisonnement alimentaire,
la viande doit être cuite à une
température d’au moins 160 oF
(71 °C).
325 oF (163 oC) morceaux de 1 po
(2,5 cm) 1 ¼ à 1 ½

55
Nettoyage et entretien
Retrait de la porte du four
1. Ouvrir la porte complètement.
2. Pousser les loquets des charnières
vers le cadre de la porte, en position
de déverrouillage.
Ceci peut requérir lutilisation
dun tournevis à lame plate.
3. Saisir fermement les deux côtés
au haut de la porte du four.
4. Fermer la porte jusquà la
première butée de porte.
5. Soulever la porte jusquà ce que le
bras de la charnière soit dégagé
de louverture.
ATTENTION
!
Pour éviter tout risque de blessures
ou de dégâts matériels, manipuler
la poignée du four avec prudence.
Ne pas soulever la porte par la
poignée.
La porte est lourde et peut être
endommagée si on la laisse
échapper.
Un tournevis peut égratigner ou
écailler la finition du four ou de la
cuisinière.
Ne pas égratigner ou écailler le
verre ni fausser la porte. Le verre
peut se briser soudainement.
Remplacer la porte en verre si
elle est endommagée.
Nettoyage de la porte
du four
Toutes les surfaces du four ne sont pas
nettoyées au cours du cycle
dautonettoyage. Le joint détanchéité de
la porte et la surface avoisinant le joint
ne peuvent être nettoyés efficacement
par le cycle dautonettoyage. NE PAS
utiliser de produits nettoyants à
vaporiser pour nettoyer lextérieur ou
lintérieur de la porte du four.
NE PAS nettoyer le joint détanchéité.
Ne pas mouiller, frotter, faire tremper ni
utiliser de produit ou article de
nettoyage pour nettoyer le joint
détanchéité du four. Tous dommages
ou défectuosités survenant suite au
nettoyage ou retrait du joint ne sont pas
couverts par la garantie.
Pour nettoyer la surface autour du joint
détanchéité, sassurer que le four a
refroidi. À laide dun linge et de savon
doux, nettoyer la surface sale. Le joint
détanchéité ne doit pas être retiré
pendant le nettoyage. Ne pas laisser
leau ou la solution de nettoyage
éclabousser le joint ni couler dessus.
Retrait du tiroir de
rangement
1. Faire glisser le tiroir jusquà ce
quil sarrête.
2. Retirer les articles qui y sont
rangés.
3. Saisir les côtés du tiroir près de
larrière de celui-ci.
4. Soulever et tirer. Procéder à
linverse pour le remettre en place.
Remise en place de la porte du four
1. Saisir fermement le haut de la porte, insérer lindentation du bras de la
charnière dans le rebord inférieur de louverture de la charnière.
La porte doit être à la première position de la butée.
2. Ouvrir la porte complètement.
3. Pousser les loquets des charnières contre le cadre avant du four en position
de verrouillage.
4. Fermer la porte du four.
Joint de la porte
/RTXHWV
ODSRUWH
GXIRXU
-RLQWGHODSRUWH

56
Nettoyage et entretien (suite)
Remplacement de lampoule du four
1. Couper lalimentation.
2. Enlever la porte du four si désiré.
3. Mettre des gants protecteurs et dévisser le couvre-ampoule (dans
le sens antihoraire) se trouvant à larrière de louverture du four.
Tourner ensuite lampoule dans le
sens antihoraire pour lenlever.
4. Remplacer lampoule électrique par
une autre de 40 watts, 120 volts,
pour appareils électroménagers.
Ne pas trop serrer lampoule car il
pourrait être difficile de la dévisser
plus tard.
5. Replacer le couvre ampoule et la
porte du four avant usage.
6. Brancher lappareil.
PIÈCE GÉNÉRALITÉS
Capuchons et grilles
de brûleurs
Laisser refroidir avant de nettoyer. Le nettoyage fréquent à l'eau savonneuse à l'aide d'un tampon à récurer non
abrasif permet d'espacer les nettoyages à fond. Veiller à bien sécher.
Pour un nettoyage à fond, placer les capuchons et les grilles de brûleurs dans un sac en plastique avec ½ tasse
(125 ml) d'ammoniaque. NE PAS verser l'ammoniaque dans le sac ni permettre son contact avec les capuchons et les
grilles de brûleurs. L'ammoniaque doit rester dans la tasse. Fermer hermétiquement le sac et laisser l'ammoniaque
agir jusqu'au lendemain. Au moment d'ouvrir le sac, détourner le visage pour éviter de respirer les vapeurs
d'ammoniaque ou leur contact avec les yeux. Retirer les grilles et les capuchons de brûleurs et les laver normalement.
l’électrode Laisser refroidir les grilles de brûleurs et les capuchons de brûleurs. Nettoyer la surface autour de l’électrode en
céramique avec un ustensile non métallique tel qu’un pic en plastique, une paille en plastique ou une vieille
brosse à dents. S’assurer qu’il n’y a pas de débris, de fragments brûlés ou de graisse susceptibles de détourner
l’étincelle ou de nuire à l’allumage. Ne pas faire levier sur l’électrode en céramique pour l’enlever.
Base du brûleur Laisser refroidir. Nettoyer avec de l’eau chaude savonneuse et un linge propre. Si les ports sont obstrués, nettoyer
avec une brosse à dents ou une broche. Ne pas utiliser de cure-dents. Remettre les couvre-brûleurs en place et
allumer les brûleurs pour en vérifier le bon fonctionnement.
Lèchefrite et grille Éliminer la graisse, laisser la lèchefrite et la grille refroidir légèrement. (Ne pas laisser la lèchefrite et la grille sales
refroidir dans le four.) Mettre un peu de savon. Remplir la lèchefrite d'eau tiède. Laisser la lèchefrite et la grille
reposer quelques minutes.
Boutons de réglage Enlever les boutons. Les laver avec douceur dans un mélange de savon doux et d’eau, sans les faire tremper. Les
sécher et les remettre en place en veillant à les placer de façon à ce que la partie plate de l'orifice du bouton
corresponde à la partie plate de la tige.
Fini extérieur
Nettoyer toutes les surfaces en verre avec un linge humidifié d'eau savonneuse. Rincer et faire briller à l'aide d'un
linge sec. Si les boutons sont enlevés, ne pas faire couler d'eau derrière la surface.
Grilles du four
Pour la saleté incrustée, placer les grilles du four dans un sac en plastique avec de l’ammoniaque et de l’eau dans
une tasse. Sceller hermétiquement et laisser agir toute la nuit. Laver et rincer, sécher à fond.
Tiroir de rangement
Pour la saleté incrustée, nettoyer à la main et rincer à fond. Retirer le tiroir pour faciliter le nettoyage. S’assurer que le
tiroir est sec avant de le remettre en place.
<
G
A
S
O
N
O
F
F
L
O
M
E
D
H
I
L
I
T
E
MISE EN GARDE
!
Pour éviter tous risques de brûlures
ou délectrocution, couper
lalimentation de la cuisinière avant
de remplacer lampoule électrique:
Débrancher lappareil avant de
changer lampoule.
Avant de remplacer lampoule
électrique, sassurer quelle a refroidi.
Ne pas faire fonctionner le four
sans que lampoule et le couvre-
ampoule ne soient bien en place.
ATTENTION
!
Pour éviter les risques de blessures,
porter des gants afin de se protéger
les mains en cas de bris de
lampoule.

57
Nettoyage et entretien (suite)
Nettoyage de lacier inoxydable
Les dommages causés au fini en acier inoxydable en raison dun usage
impropre de produits de nettoyage ou dune utilisation de produits de nettoyage
non recommandés, ne sont pas couverts par la garantie. Pour connaître les
produits recommandés par Amana, appeler le service à la clientèle au
(800) 843-0304.
Le fini des cuisinières en acier inoxydable a été produit en usine pour leur donner
éclat et lustre. Pour maintenir cette apparence de qualité :
Acide citrique
Lacide citrique décolore
en permanence lacier
inoxydable. Pour éviter
dendommager le fini de
la cuisinière en acier inoxydable, ne
pas laisser ces substances adhérer au
fini en acier :
moutarde
jus de tomate
sauce marinara
sauces à base dagrumes
produits à base dagrumes
UTILISER :
Eau chaude savonneuse pour le
nettoyage courant lorsque la
cuisinière a refroidi.
Sécher avec un linge doux et
propre.
Pour la saleté incrustée,
SEULEMENT un produit de
nettoyage conçu pour les
appareils ménagers en acier
inoxydable.
NE PAS UTILISER :
Poudres ou liquides abrasifs
Produits de nettoyage à base
dagrumes
Ammoniaque
Tampons métalliques
Linges abrasifs
Produits de nettoyage pour le four
Produits de nettoyage acides ou à
base de vinaigre
Puis-je utiliser des
produits de nettoyage
liquides sur lacier
inoxydable ?
Ce n’est pas parce qu’un produit de nettoyage
est liquide qu’il n’est pas abrasif. Un grand
nombre de produits de nettoyage liquides
conçus pour la tuile et les dessus de cuisinière
peuvent endommager l’acier inoxydable. Les
dommages cosmétiques causés par
l’utilisation de produits non recommandés ne
sont pas couverts par la garantie.
Pour commander des produits
Amana, visiter notre Web à :
www.amana.com
ou appeler le service à la clientèle au :
1-800-843-0304

58
Avant dappeler le service de dépannage
Pour économiser temps et argent, vérifier les points suivants avant dappeler le service de dépannage. La liste comprend des
problèmes courants qui ne résultent pas dun défaut de pièce ou de main-duvre. Pour toute question demeurant sans
réponse ci-dessous, communiquer avec le service à la clientèle dAmana au 800-843-0304.
3UREOqPH &DXVHVSUREDEOHV 6ROXWLRQ
FONCTIONNEMENT
L’appareil ne fonctionne pas Panne de courant
La porte du four est
verrouillée
S’assurer que l’appareil est branché.
Vérifier que le disjoncteur ne s’est pas déclenché.
Remplacer le fusible par un fusible de capacité identique.
Laisser le four refroidir pour désenclencher le verrouillage
automatique. Une fois la porte du four déverrouillée, régler
le four à la température désirée.
L’autonettoyage s’éteint durant le cycle Utilisation des brûleurs de
surface pendant le cycle
d’autonettoyage
Les brûleurs de surface ne doivent pas être utilisés durant
un cycle d’autonettoyage. Différer le cycle d’autonettoyage à
un moment où la cuisinière n’est pas en opération.
Le brûleur de surface ne s’allume pas Capuchon mal installé
Saleté ou débris sur
l’électrode
Tourner la commande sur OFF (arrêt) et suivre les
consignes de la rubrique Placement des capuchons.
Tourner le bouton de commande sur OFF et suivre les
consignes dans la rubrique Nettoyage et entretien.
Le cycle de cuisson au gril s’arrête La porte du four est ouverte La porte du four doit demeurer fermée durant le cycle de
cuisson au gril. Fermer la porte du four et le cycle
recommencera normalement.
L’horloge et la minuterie ne
fonctionnent pas Panne de courant S’assurer que l’appareil est branché. Vérifier que le
disjoncteur ne s’est pas déclenché. Remplacer le fusible par
un fusible de capacité identique.
La lumière du four ne fonctionne pas Ampoule desserrée
Ampoule brûlée Vérifier si l’ampoule est desserrée. Serrer. Vérifier si
l’ampoule est brûlée. Remplacer l’ampoule si nécessaire.
La porte du four ne se déverrouille pas Le four est autonettoyant
Le four est encore chaud
Laisser le cycle se terminer ou annuler la fonction.
Ne se déverrouille pas avant d’avoir atteint une température
plus froide. Ne pas forcer la porte pour l’ouvrir car cela
annule la garantie. Possibilité de faire souffler de l’air plus
frais sur le loquet avec un séchoir à cheveux à un réglage
frais pour accélérer le processus.
Le four n’est pas propre après le cycle
d’autonettoyage Trop de saleté dans le four
Il reste de la suie dans le four
après le cycle
Essuyer et retirer l’excédent de saleté avant de mettre le
cycle d’autonettoyage en marche.
Normal. Essuyer avec un linge humide.
Les plats font bascule sur la surface
de cuisson Plats tordus Voir la rubrique Plats de cuisson pour vérifier si les plats
ont un fond plat.
Le voyant indiquant le verrouillage
est alluméLa porte est verrouillée Si le four est chaud, le laisser refroidir plutôt que de
s’essayer de forcer la porte pour ouvrir le loquet.
L’affichage clignote Réinitialisation de l’horloge
après une panne de courant Appuyer sur CLOCK (horloge).
Affichage F+chiffre Code de panne Couper le courant pendant une ou deux minutes en fermant
le disjoncteur. Réinitialiser le disjoncteur. Si la panne
continue, communiquer avec le service à la clientèle.
De la fumée se dégage lors des premiers
allumages du four. Ceci est normal Il est normal qu’il se dégage de la fumée lors des premiers
allumages du four.

59
CUISSON
Les pains et pâtisseries ne cuisent
pas adéquatement Causes variées Voir la rubrique Cuisson, problèmes courants de
cuisson.
La nourriture ne rôtit pas adéquatement Causes variées Voir la rubrique Cuisson, rôtissage.
La nourriture ne cuit pas adéquatement
au gril Causes variées Voir la rubrique Cuisson au gril.
La température du four est trop chaude ou
trop froide Étalonner la température
du four Voir la rubrique Utilisation des commandes du four,
réglage du thermostat du four.
Le four dégage une odeur forte Ceci est normal Les fours neufs dégagent toujours une odeur.
Exécuter un cycle d’autonettoyage pour éliminer l’odeur.
La nourriture ne bout pas ou ne cuit pas
assez rapidement Plats de cuisson de taille
inappropriée S’assurer que les plats conviennent aux éléments de
cuisson. Voir les exigences relatives à la cuisson.
BRUIT
Le four s’allume et s’éteint fréquemment Ceci est normal Le four s’allume et s’éteint pour maintenir la
température de cuisson sélectionnée.
Le dispositif d’allumage de tous les
brûleurs « clique » en même temps Ceci est normal Le dispositif d’allumage « clique » au niveau de
tous les brûleurs lorsqu’on allume un brûleur de
surface.
Craquement Ceci est normal Plats de cuisson humides ou débordement
possible.
Expansion ou contraction du four pendant le cycle
de chauffage. Peut être plus bruyant avec le gaz
propane/GPL.
Dépannage (suite)

© 2001 Amana Appliances
Amana, Iowa 52204, États-Unis
Référence no 36-32076801-0
Imprimé aux États-Unis 09/01
Garantie Amana
Garantie complète dUN an
Amana Appliances réparera ou remplacera, sans aucun frais, toute pièce (f.a.b. Amana, Iowa) savérant défectueuse
en raison des matériaux ou de la main-duvre.
Garantie limitée
Au bout dun an suivant la date de lachat dorigine, Amana fournira gratuitement la pièce qui convient, indiquée dans la
liste ci-dessous, pour remplacer toute pièce qui savère défectueuse en raison des matériaux ou de la main-duvre.
Le propriétaire sera responsable de tous les autres coûts, dont les frais de kilométrage et de transport.
Deuxième à cinquième année
Amana remplacera, sans aucun frais, toute surface de cuisson en vitrocéramique, pièce seulement (f.a.b. Amana,
Iowa), savérant défectueuse en raison des matériaux ou de la main-doeuvre. Amana remplacera, sans aucun frais,
tous éléments de surface électriques ou brûleurs à gaz de surface, pièce seulement (f.a.b. Amana, Iowa), savérant
défectueux en raison des matériaux ou de la main-doeuvre.
Ce qui nest pas couvert par ces
garanties
Remplacement de fusibles, réinitialisation des
disjoncteurs ou réparation du câblage ou de la
plomberie du logement.
Entretien et nettoyage normaux de lappareil,
notamment les ampoules.
Les appareils dont le numéro de série original a été
enlevé, modifié ou qui est difficile à identifier.
Les appareils achetés à des fins commerciales,
industrielles ou locatives.
Les appareils situés à lextérieur des États-Unis ou du
Canada.
Les frais de réparation supplémentaires. Si le
technicien doit effectuer une réparation
supplémentaire ou en dehors des heures ouvrables
ou de la région couverte.
Réglages après la première année.
Réparations causés par :
Mise en service, système dévacuation ou entretien
inadéquats.
Toute modification ou tout réglage non autorisé par
Amana.
Accident, usage impropre, abus, incendie,
inondation ou catastrophes naturelles.
Raccordement à une prise de courant, une tension
ou une alimentation en gaz inadéquate.
Usage impropre de casseroles, récipients ou
accessoires ayant endommagé lappareil.
Pour obtenir des prestations de
garantie
Toute réparation doit être effectuée par un technicien agréé
par Amana. Pour prendre rendez-vous, communiquer avec
le détaillant Amana où lappareil a été acheté ou avec
lusine dAmana Appliances.
Usine dAmana Appliances
1-800-628-5782 (des États-Unis)
Pour de plus amples renseignements, communiquer
avec le service à la clientèle dAmana Appliances
Amana Appliances
2800 220th Trail
Amana, Iowa 52204
États-Unis
1-800-843-0304 (des États-Unis)
(319) 622-5511 de partout dans le monde
Lors de toute communication avec Amana
Appliances, prière dindiquer les
renseignements suivants :
Nom, adresse et numéro de téléphone.
Numéro du modèle et numéro de série de lappareil
(inscrits dans le coin supérieur gauche de louverture
du tiroir de rangement).
Nom et adresse du détaillant et date dachat.
Une description claire du problème.
Preuve dachat (reçu de caisse).
Site Web dAmana Appliances http://www.amana.com
EN AUCUN CAS AMANA NE PEUT ÊTRE TENUE RESPONSABLE DES DOMMAGES INDIRECTS OU ACCESSOIRES.
La présente garantie vous donne des droits spécifiques et vous pouvez jouir dautres droits qui varient dune province à
lautre. Par exemple, dans certaines provinces, il est interdit dexclure ou dapporter des restrictions aux dommages indirects
ou accessoires. Il se peut donc que les restrictions énoncées ci-dessus ne sappliquent pas à vous.