Ampt 31570014 DC/DC converter for use in Photovoltaic applications User Manual Ampt Manual

Ampt LLC DC/DC converter for use in Photovoltaic applications Ampt Manual

User manual

       Ampt V1000 String Optimizer  Installation Manual 57070009-1  v20151023 hdpv.org
     © Ampt, LLC. All rights reserved.  Ampt Confidential and Proprietary 3  Copyright 2015 Ampt LLC. All rights reserved. No part of this document may be reproduced, retransmitted, or copied in any form without the expressed and written permission of Ampt. Read This First This document contains information needed to install and commission an Ampt optimizer (including Smart String Technology™ optimizers, String Stretch® optimizers, Ampt Mode® optimizers, and String View® optimizers) within a grid-tied photovoltaic (PV) installation. To help avoid problems during the system installation, familiarize yourself in advance with the installation process by reading this entire document before starting the installation.  Risk of electric shock, do not remove covers. No user serviceable parts inside. Refer servicing to qualified service personnel. When the photovoltaic array is exposed to light, it supplies a dc voltage to this equipment.   Le risqué de décharge électirque n’enlènvent pas la couverture. Aucunes pieces utiles d’utilisateur à l’intérieur. Référez-vous l’entretien au personnel de service qualifiè. Quand la range photovoltaïque est exposée à la lumière. Il fournit une tension CC à cet équipement.    Hot surfaces – to reduce the risk of burns – do not touch.   Les surfaces chaudes - pour réduire le risque de brûlures - ne se touchent pas. Important Safety Information This manual contains important instructions for Ampt optimizers (including Smart String Technology™ optimizers, String Stretch® optimizers, Ampt Mode® optimizers, and String View® optimizers) that shall be followed during installation and maintenance. The optimizer has been designed and tested according to international safety requirements, but requires certain precautions are observed when installing and/or operating the optimizer. To reduce the risk of personal injury and to ensure the safe installation and operation of the optimizer, please be sure you carefully read and follow all instructions and safety messages in this manual.
 4 Ampt Confidential and Proprietary  Safety Message Types The following messaging is used to identify a hazard to equipment or personnel:  DANGER  Indicates a hazardous situation which, if not avoided, will result in death or serious injury.  WARNING Indicates a hazardous situation which, if not avoided, could result in death or serious injury.  CAUTION Indicates a hazardous situation which, if not avoided, could result in minor or moderate injury. NOTICE Indicates information considered important but not hazard, or personal injury, related - for example, property damage. General Safety Installation should be performed only by qualified persons. Installers should assume the risk of all injury that might occur during installation including, without limitation, the risk of electric shock. Follow your safety procedures and protocols. All electrical installations must be done in accordance with the local and National Electrical Code ANSI/NFPA 70, or the applicable standards, codes, and regulations for your region. The Ampt product contains no user-serviceable parts. All repairs and maintenance should be handled in accordance with the instructions and terms contained in the product warranty.  Before installing or using the Ampt optimizer, read all of the instructions and safety messages on the optimizer and in this manual. Follow the safety precautions for this product as well as the other components in the PV system. PV modules produce electrical energy when exposed to light and thus can create an electrical shock hazard. Wiring of the PV modules should only be performed by qualified personnel. Keep this manual.
     © Ampt, LLC. All rights reserved.  Ampt Confidential and Proprietary 5  Disclaimer of Liability Ampt makes no representations, expressed or implied, that with respect to this documentation or any of the equipment and/or software it may describe, including (with no limitation) any implied warranties of utility, merchantability, or fitness for any particular purpose. All such warranties are expressly disclaimed. Ampt shall not be liable for any indirect, incidental, or consequential damages under any circumstances. (The exclusion of implied warranties may not apply in all cases under some statutes, and thus the above exclusion may not apply.) The following information is subject to change without notice, even though every attempt has been made to make this document complete, accurate and up-to-date. Readers are cautioned, however, that Ampt reserves the right to make changes without notice and shall not be responsible for any damages, including indirect, incidental or consequential damages, caused by reliance on the material presented, including, but not limited to, omissions, typographical errors, arithmetical errors or listing errors in the content material.   WARNING Any use of the Ampt String Optimizer that is not expressly authorized in this manual or associated documentation is expressly prohibited by Ampt. Ampt disclaims any responsibility or liability for such prohibited use.
     © Ampt, LLC. All rights reserved.  Ampt Confidential and Proprietary 7  Table of Contents Read This First ...............................................................................................................................3 Important Safety Information .............................................................................................................................. 3 Safety Message Types .......................................................................................................................................... 4 General Safety ...................................................................................................................................................... 4 Disclaimer of Liability ........................................................................................................................................... 5 Chapter 1:  Introduction ......................................................................................................... 9 General Description .......................................................................................................................9 Dimensional Drawings ................................................................................................................. 10 Physical Overview ........................................................................................................................ 11 Bar Code Label ............................................................................................................................. 11 Specifications ............................................................................................................................... 12 Chapter 2:  Understanding String Optimizer Installation ....................................................... 15 Overview ..................................................................................................................................... 15 Distinguishing Input Strings from Strings ...................................................................................... 16 Understanding Input String Configurations ................................................................................... 16 Acceptable Input String Configurations ............................................................................................................. 16 Unacceptable Input String Configurations ......................................................................................................... 17 Acceptable Parallel Strings ................................................................................................................................. 17 Understanding Electrical Connections ........................................................................................... 18 Ungrounded PV Systems .................................................................................................................................... 18 Grounded PV Systems ........................................................................................................................................ 18 Inter-row Shading Wiring Example .................................................................................................................... 18 Understanding Cabling Connectors ............................................................................................... 19 Chapter 3:  Installing the Ampt String Optimizer .................................................................. 21 Getting Started ............................................................................................................................ 21 Parts and Tools Needed ..................................................................................................................................... 21 Mounting and Grounding the String Optimizer ............................................................................. 22 Steps ................................................................................................................................................................... 22 Making Electrical Connections ...................................................................................................... 23 Steps ................................................................................................................................................................... 23 Verifying Electrical Connections .................................................................................................... 26 Verify String Voltages: ........................................................................................................................................ 26 Verify Operational Currents and/or Output Power ........................................................................................... 26
 8 Ampt Confidential and Proprietary  Uninstalling an Optimizer from the Array ..................................................................................... 27 Steps ................................................................................................................................................................... 27 Appendix ............................................................................................................................. 28 Compliance .................................................................................................................................. 28 Model Numbering System ................................................................................................................................. 28 Markings............................................................................................................................................................. 29 FCC Compliance .................................................................................................................................................. 30 Avis IC ................................................................................................................................................................. 31
 Chapter 1: Introduction Appendix      © Ampt, LLC. All rights reserved.  Ampt Confidential and Proprietary 9    Chapter 1:  Introduction  General Description Ampt String Optimizers are DC/DC converters that feature String Stretch technology and place dual MPP trackers on each string. String Optimizers are used in conjunction with inverters operating in Ampt Mode® to deliver differentiated value. String Stretch – Ampt's patented String Stretch technology puts output voltage and current limits on each string. With output voltage limits, string lengths are no longer limited by the PV module's open circuit voltage on the coldest day allowing PV designers to double the number of modules per string - for example, 40 modules (72-cell) per string on a 1000 volt system. The output current limit removes the need for system designers to build in current carrying capacity margin for “over sun” conditions when specifying cable thickness, fuse and other component ratings while still complying with safety codes. This means smaller conductor sizing per kilowatt delivered. With Ampt, system designers save up to 50% on electrical BOS costs. Dual MPPT per string - Ampt String Optimizers put two maximum power point trackers on each 1000 volt string. By distributing MPPT throughout the array, Ampt optimized systems mitigate or eliminate mismatch losses to deliver more energy under changing environmental and system conditions over the lifetime of the power plant. Ampt Mode® – Inverters operating in Ampt Mode® have a higher and narrower input voltage operating range. With more modules per string, the inverter’s input voltage increases. This allows the inverter to deliver a higher minimum AC output voltage at the same current which raises the rated output power of the inverter to lower the inverter's cost per watt.
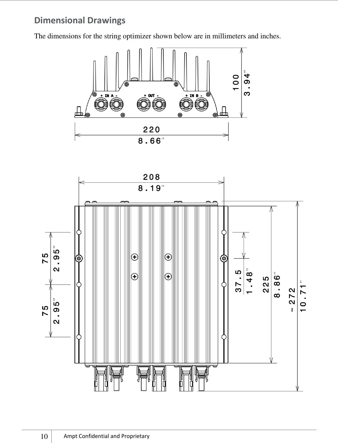
   10 Ampt Confidential and Proprietary  Dimensional Drawings The dimensions for the string optimizer shown below are in millimeters and inches.
 Chapter 1: Introduction Appendix      © Ampt, LLC. All rights reserved.  Ampt Confidential and Proprietary 11  Physical Overview   Figure 1: Physical overview of the string optimizer. Bar Code Label The image below shows the bar code label with model and serial numbers.    Figure 2: Bar code tag with the model and serial numbers.   Mounting holes (6.5 mm) x 6 Input A connectors Input B connectors Output connectors Grounding stud (10-32) x 2 Bar code label
   12 Ampt Confidential and Proprietary  Specifications  V850-12 V875-12 V900-12 V925-12 Model Number 31570014-0850 31570014-0875 31570014-0900 31570014-0925 Electrical Input Maximum input string voltage 1 V 1000 1000 1000 1000 Maximum input string current 2 A 11.5 11.5 11.5 11.5 MPP tracking voltage range V 400 – 850 400 – 850 400 – 850 400 – 850 Number of input strings  2 2 2 2 Typical power per optimizer 3  kWp 10 – 13 10 – 13 10 – 13 10 – 13 Output   Output voltage range   V 0 – 850 0 – 875 0 – 900 0 – 925 Maximum output current A 12 12 12 12 Max continuous output power kWdc 9.7 10.0 10.3 10.6 Efficiency (max, CEC, Euro) % 99.5, 99.3, 99.2   Mechanical Input & output connector type H4 Dimensions 10.71" x 8.66" x 3.94" (272 mm x 220 mm x 100 mm) Weight 10.6 lbs. (4.8 kg) Ambient temperature operating range -40 °F to + 167 °F (-40 °C to +75 °C) Cooling Convection General Maximum system voltage 1000 V (UL and IEC) Compliance ETL to UL 1741; IEC 61000-6-1, 61000-6-3,  62109; CE Ingress protection IP 66 1. Voc at cold design temperature - refer to system design guide for string sizing, system sizing, and calculating maximum system voltage. 2. Module Imp at standard test condition (STC) - irradiation level of 1000 W/m2 at 25°C. 3. Power ratings listed are at STC - refer to system design guide for recommended input power per optimizer.
 Chapter 1: Introduction Appendix      © Ampt, LLC. All rights reserved.  Ampt Confidential and Proprietary 13   V950-12 V975-12 V1000-12 Model Number 31570014-0950 31570014-0975 31570014-1000 Electrical Input Maximum input string voltage 1 V 1000 1000 1000 Maximum input string current 2 A 11.5 11.5 11.5 MPP tracking voltage range V 400 – 850 400 – 850 400 – 850 Number of input strings  2 2 2 Typical power per optimizer 3  kWp 10 – 13 10 – 13 10 – 13 Output   Output voltage range   V 0 – 950 0 – 975 0 – 1000 Maximum output current A 12 12 12 Max continuous output power kWdc 10.9 11.2 11.4 Efficiency (max, CEC, Euro) % 99.5, 99.3, 99.2   Mechanical Input & output connector type H4 Dimensions 10.71" x 8.66" x 3.94" (272 mm x 220 mm x 100 mm) Weight 10.6 lbs. (4.8 kg) Ambient temperature operating range -40 °F to + 167 °F (-40 °C to +75 °C) Cooling Convection General Maximum system voltage 1000 V (UL and IEC) Compliance ETL to UL 1741; IEC 61000-6-1, 61000-6-3,  62109; CE Ingress protection IP 66 1. Voc at cold design temperature - refer to system design guide for string sizing, system sizing, and calculating maximum system voltage. 2. Module Imp at standard test condition (STC) - irradiation level of 1000 W/m2 at 25°C. 3. Power ratings listed are at STC - refer to system design guide for recommended input power per optimizer.
 Chapter 2: Understanding String Optimizer Installation Appendix      © Ampt, LLC. All rights reserved.  Ampt Confidential and Proprietary 15    Chapter 2:  Understanding String Optimizer Installation  Overview Ampt String Optimizers distribute MPPT throughout the array and add voltage and current limits to each string. These features allow systems with Ampt to go beyond the limitations of traditional system design. This chapter addresses the following topics:  Distinguishing Strings from Input Strings  Understanding Input String Configurations  Understanding Electrical Connections  Understanding Cabling Connectors
   16 Ampt Confidential and Proprietary  Distinguishing Input Strings from Strings Each Ampt String Optimizer has two inputs. Modules connected to either Input A or Input B of the optimizer are referred to as input strings. In this manual, the term string refers to the circuit consisting of the optimizer as well as all of the modules on the input strings as illustrated below. The string lengths shown are representative only.  Figure 3: An input string is highlighted on Input A of String Optimizer 1. A string is highlighted on String Optimizer n and consists of the optimizer as well as all of the modules on both input strings. Understanding Input String Configurations The input string configuration criteria described here applies to 60 or 72 cell c-Si/p-Si modules. If you are using another type of module (e.g. thin-film), please contact Ampt for configuration rules. The string lengths in the figures that follow are representative. Determining the actual string lengths is described in the Design Guide for your Ampt String Optimizer. Acceptable Input String Configurations It is common for input strings A and B to be the same length (A = B). However, if the input string lengths are different, then input string A must be longer than input string B and only by one module (A = B + 1).   Figure 4: Input string lengths can be the same as illustrated in String Optimizer 1, or input A can be longer than input B by one module as shown in String Optimizer 2. The actual number of modules per string is determined in the Design Guide. Input String String  A = B A = B + 1
 Chapter 2: Understanding String Optimizer Installation Appendix      © Ampt, LLC. All rights reserved.  Ampt Confidential and Proprietary 17  Unacceptable Input String Configurations The figure below illustrates input string configurations that do not meet the criteria described in the section above.    Figure 5: Unacceptable input string configurations. Acceptable Parallel Strings The input string lengths between parallel strings can vary within an array so long as they meet the criteria above and fall within the minimum and maximum limits determined by following the Design Guide for the Ampt String Optimizer – a separate document. An example is shown below.  Figure 6: Input string lengths between parallel optimizer pairs can vary so long as they are within the minimum and maximum limits determined in the Design Guide and follow the input string configuration criteria.      Input string A is not longer than input string B   Input string A is longer than input string B by more than one module
   18 Ampt Confidential and Proprietary  Understanding Electrical Connections The electrical connection of the string optimizer is done after mounting and grounding the unit. The electrical connections depend on the grounding configuration of your PV system.  Ungrounded PV Systems  Figure 7: Electrical connections for an ungrounded PV system. Grounded PV Systems  Figure 8: Electrical connections for a grounded PV system (similar fusing is used for a positively grounded system). Inter-row Shading Wiring Example When inter-row shading is expected, the best practice is to wire the two input strings of the Ampt String Optimizer on the same row as shown below.   Figure 9: Wiring example when inter-row shading is expected.   Ampt String Optimizer not to scale to combiner to combiner
 Chapter 2: Understanding String Optimizer Installation Appendix      © Ampt, LLC. All rights reserved.  Ampt Confidential and Proprietary 19  Understanding Cabling Connectors The figure below shows the mating connectors and polarities for the input and output of the String Optimizer.   Figure 10: Mating connectors and associated polarity for the two inputs and the output of the String Optimizer  to combiner/inverter
 Chapter 3: Installing the Ampt String Optimizer Appendix      © Ampt, LLC. All rights reserved.  Ampt Confidential and Proprietary 21    Chapter 3:  Installing the Ampt String Optimizer  Getting Started This chapter addresses the proper mounting and installation of the Ampt String Optimizer. Read the entire chapter before starting the procedures, and then conduct each task in the order given. Parts and Tools Needed  The hardware you will need varies on the type of PV module mounting rail you have.  If you are using Ampt’s standard H4 connectors, you may wish to have the Amphenol unlocking tool (Amphenol p/n: H4TR0000 or H4TU0000). Follow all safety practices when disconnecting from a PV module.  General purpose anti-seize compound
   22 Ampt Confidential and Proprietary  Mounting and Grounding the String Optimizer  WARNING Read the warning statements below: Installation should be performed only by qualified persons. Installers should assume the risk of all injury that might occur during installation including, without limitation, the risk of electric shock. Follow your safety procedures and protocols. All electrical installations must be done in accordance with the local and National Electrical Code ANSI/NFPA 70, or the applicable standards, codes, and regulations for your region. The Ampt optimizer is to be installed so that it is not expected to be contacted by unauthorized or unqualified persons.  CAUTION Keep connectors dry and clean. Do not install Ampt String Optimizers in a location where they might be immersed in water.  Steps 1. Mount the string optimizer to the rack using the mounting holes provided.  a. See Dimensional Drawings on page 10 b. The recommended practice is to mount the unit parallel to the PV modules with the connectors facing downward. c. Ensure sufficient spacing such that the safety icons as well as the serial and model numbers on the bar code label can be read by maintenance personnel. 2. Ground the string optimizer as required by your local codes using one of the grounding studs provided, or with a listed bonding washer.  Figure 11: Ampt String Optimizer mounted and grounded
 Chapter 3: Installing the Ampt String Optimizer Appendix      © Ampt, LLC. All rights reserved.  Ampt Confidential and Proprietary 23  Making Electrical Connections  WARNING Read the warning statements below: Installation should be performed only by qualified persons. Installers should assume the risk of all injury that might occur during installation including, without limitation, the risk of electric shock. Follow your safety procedures and protocols. Do not make or break connections under load.  Ensure that there are no parallel connections to the string while series connections are being made.  Voltage may be present on the output terminals when an input terminal is connected. Voltage builds as modules are connected in series.   CAUTION Read the caution statements below: To reduce the risk of fire, connect the outputs of the Ampt equipment only to conductors with sufficient ampacity based on the maximum output fault current (maximum optimizer output current) for the chosen optimizer.  Over-current protection devices and conductors shall be sized in accordance with the National Electrical Code (ANSI/NFPA 70). Ampt requires over current protection for the DC output circuit in the installation. Ampt recommends that a disconnect switch be included in the installation for the DC output.  Steps 1. Read the warning and caution statements above. 2. Ensure the string optimizer is mounted and grounded. a. See Mounting and Grounding the String Optimizer on page 22. 3. Make sure you are familiar with the electrical connections for the String Optimizer in your system.  a. See Understanding Electrical Connections on page 18 and Understanding Cabling Connectors on page 19.
   24 Ampt Confidential and Proprietary  4. Connect the appropriate cables to the output (OUT) of the String optimizer. See Understanding Electrical Connections on page 18 and Understanding Cabling Connectors on page 19.    Figure 12: Connecting the output connectors 5. Ensure the planned input string connections meet the acceptable criteria. See Understanding Input String Configurations on page 16. 6. Connect the modules in series for each input string by following your procedures and safety protocols. 7. Validate PV string functionality by following your procedures and safety protocols. 8. Connect input string A to the Input A terminal (IN A) of the String Optimizer.  Note: While it should always be assumed that voltage may be present on the output terminals whenever an input terminal is connected, the engine of the String Optimizer is powered from modules connected to Input B. Therefore, if modules are only connected to Input A and there is no output voltage detected, this is considered to be normal behavior.  Figure 13: Connecting Input A (In A)  to combiner/inverter to combiner/inverter
 Chapter 3: Installing the Ampt String Optimizer Appendix      © Ampt, LLC. All rights reserved.  Ampt Confidential and Proprietary 25   9. Connect input string B to the Input B terminal (IN B) of the String Optimizer.  Figure 14: Connecting Input B (In B) 10. Ensure that the locking mechanisms on all connectors are fully engaged.  Figure 15: Verify that the connectors are fully engaged    to combiner/inverter to combiner/inverter
   26 Ampt Confidential and Proprietary  Verifying Electrical Connections  WARNING Installation should be performed only by qualified persons. Installers should assume the risk of all injury that might occur during installation including, without limitation, the risk of electric shock. Follow your safety procedures and protocols.  WARNING Do not make or break connections under load.  NOTICE Because Ampt String Optimizers alter the I-V curve of the array, curve tracers are not recommended during commissioning. Verify String Voltages: 1. Read the warning statements above. 2. Verify the output voltage of the String Optimizers by measuring the string voltage at the combiner. Reference Specifications on page 12. a. Expect to see the upper limit of the output voltage range for the appropriate String Optimizer model. Note: The output voltage of a String Optimizer can never exceed the sum of its input voltages. Verify Operational Currents and/or Output Power 1. Read the warning statements above. 2. Because the String Optimizers effectively change strings from current sources to power sources, they are able to deliver full power at a variety of voltages and currents. Therefore, both the output voltage and current must be known to validate output performance under load.  There are two ways to validate performance: a. If all string voltages are the same, then the string currents will be proportional to the sum of the input string powers at the time of the measurement.  b. If string voltages are different at the time of measurement, then the product output voltage x output current = output power may be used to compare to the sum of the measured or predicted input string powers.
 Chapter 3: Installing the Ampt String Optimizer Appendix      © Ampt, LLC. All rights reserved.  Ampt Confidential and Proprietary 27  Uninstalling an Optimizer from the Array  WARNING Read the warning statements below: Maintenance should be performed only by qualified persons. Maintenance personnel should assume the risk of all injury that might occur during installation including, without limitation, the risk of electric shock. Follow your safety procedures and protocols. Do not perform any servicing other than that specified in these instructions. Do not make or break connections under load. Ensure that there are no parallel connections to the string while series connections are being made.  Voltage may be present on the output terminals when an input terminal is connected.  CAUTION Read that caution statements below: The Ampt product contains no user-serviceable parts. All repairs and maintenance should be handled in accordance with the instructions and terms contained in the product warranty. The surface of the heat sink may be hot. Steps 1. Read the warning and caution statements above. 2. Ensure the String Optimizer is not under load by following your safety procedures and protocols. 3. Disconnect Input(s) B (IN B) 4. Disconnect Input(s) A (IN A) 5. Disconnect the output(s) (OUT)
   28 Ampt Confidential and Proprietary    Appendix Compliance *** The box is not meant to be user serviced or opened in any way. *** Model Numbering System  The model numbers for Ampt V1000 String Optimizers are in the following format: 31570014-xxxx.   “31570014” denotes V1000 series   “xxxx” is the maximum output voltage for that model. For example: if the maximum output voltage is 925 volts, then this code is “0925”
 Appendix Appendix      © Ampt, LLC. All rights reserved.  Ampt Confidential and Proprietary 29   Markings    V850-12  V875-12 V900-12 V925-12 Ampt model number 31570014-0850 31570014-0875 31570014-0900 31570014-0925 Maximum input string voltage (Vdc) 1100 1100 1100 1100 Input string operating voltage range (Vdc) 350 – 900 350 – 900 350 – 900 350 – 900 Maximum input string current (Imp@STC) (Adc) 11.5 11.5 11.5 11.5 Output voltage range (Vdc) 0 – 850 0 – 875 0 – 900 0 – 925 Maximum output current (Adc) 12 12 12 12 Maximum continuous output power (W) 9700 10000 10300 10600 Enclosure type IP 66 IP 66 IP 66 IP66   V950-12 V975-12  V1000-12 Ampt model number 31570014-0950 31570014-0975 31570014-1000 Maximum input string voltage (Vdc) 1100 1100 1100 Input string operating voltage range (Vdc) 350 – 900 350 – 900 350 – 900 Maximum input string current (Imp@STC) (Adc) 11.5 11.5 11.5 Output voltage range (Vdc) 0 – 950 0 – 975 0 – 1000 Maximum output current (Adc) 12 12 12 Maximum continuous output power (W) 10900 11200 11400 Enclosure type IP66 IP 66 IP 66
   30 Ampt Confidential and Proprietary   FCC Compliance This device complies with part 15 of the FCC Rules. Operation is subject to the following two conditions: (1) This device may not cause harmful interference, and (2) this device must accept any interference received, including interference that may cause undesired operation.  This equipment complies with radiation exposure limits set forth for uncontrolled environment. The antenna(s) used for this transmitter must be installed to provide a separation distance of at least 20 cm from all persons.  IMPORTANT! Changes or modifications not expressly approved by Ampt, LLC could void the user’s authority to operate the equipment.  NOTE: This equipment has been tested and found to comply with the limits for a Class A digital device, pursuant to part 15 of the FCC Rules. These limits are designed to provide reasonable protection against harmful interference when the equipment is operated in a commercial environment. This equipment generates, uses, and can radiate radio frequency energy and, if not installed and used in accordance with the instruction manual, may cause harmful interference to radio communications. Operation of this equipment in a residential area is likely to cause harmful interference in which case the user will be required to correct the interference at his own expense.  FCC ID # X3R-31570014 Model Number: 31570014
 Appendix Appendix      © Ampt, LLC. All rights reserved.  Ampt Confidential and Proprietary 31   Avis IC 31570014 a été testé et entre dans la catégorie des appareils numériques de Classe B, selon la Section 15 de la réglementation de la IC. Ces limites ont été conçues pour protéger les installations domestiques contre les interferences néfastes. Cet équipement génère, utilise et émet de l'énergie sous forme de fréquences radio et, en cas de non-respect des instructions d'installation et d'utilisation, risque de provoquer des interférences radio. Il n'existe cependant aucune garantie contre ces interférences.  En cas d'interférences radio ou télévisuelles, pouvant être vérifiées en allumant, puis en éteignant l'équipement, l'utilisateur est invité à essayer de résoudre le problème de l'une des façons suivantes:  Eloigner l'équipement du poste de réception;  Brancher l'équipement sur une prise appartenant à un circuit différent de celui du récepteur;  Demander de l'aide auprès du revendeur ou d'un technicien radio/TV Exigences en matière d'étiquetage OEM: ATTENTION! Le fabricant d'équipement d'origine (OEM) doit veiller à ce que les exigences en matière d'étiquetage de la FCC / IC soient respectées. Cela comprend une etiquette clairement visible sur l'extérieur de l'enceinte du produit final qui affiche le contenu ci-dessous. Contient le model 31570014, IC: 8399A-31570014 Cet appareil respecte le(s) standard(s) RSS de l'Industry Canada sans license. Pour cela le sujet doit respecter les deux conditions suivantes: 1. cet appareil ne doit pas causer des interférences, et 2. cet appareil doit supporter toute interférence, incluant des interférences pouvant déclencher des fonctionnements indésirables de l’appareil
 32 Ampt Confidential and Proprietary         Ampt, LLC 4850 Innovation Drive Fort Collins, CO 80525 970-372-6950 Technical Support: support@ampt.com

Navigation menu