Amtran Technology Co M220NV-WL WLAN USB CARD WN7511E 2-LF-MT User Manual
Amtran Technology Co Ltd WLAN USB CARD WN7511E 2-LF-MT
User Manual

Product Specification
1
Product Specification
WN7511E 2-LF-MT
IEEE 802.11n USB2.0 Adapter
v.04

Product Specification
2
Table of Contents
Chapter 1 Introduction________________________________________________________ 4
1. Introduction ________________________________________________________ 4
1.1 Product Features____________________________________________________ 4
1.2 Applications _______________________________________________________ 4
Chapter 2 Hardware_______________________________________________________ 5
2.1 General Overview __________________________________________________ 5
2.2 Hardware Architecture _______________________________________________ 5
2.3 Main Chipset Information ____________________________________________ 5
2.6 Pin Define_________________________________________________________7
2.7 Antenna Cable______________________________________________________8
Chapter 3 Software ______________________________________________________ 11
3.1 Operating System Supported _________________________________________ 11
3.2 Wireless Mode Supported ___________________________________________ 11
3.3 Security__________________________________________________________ 11
3.4 Configuration _____________________________________________________ 11
Chapter 4 Appearance ____________________________________________________ 12
Chapter 5 Specifications __________________________________________________13
Table 1: Modulation Scheme and Nominal Transmit Power _________________________15

Product Specification
3
Revision History
Edition # Reason for revision Issue date Written by
V 0.1 ♦ Initial Document 2009/0918 Troy Chen
V 0.2 ♦ Update PCB outline & Antenna cable 2009/12/11 Andre Lin
V 0.3 ♦ Update photo for Chapter 2.6 2010/02/10 Andre Lin
V 0.4 Edited photo for Chapter 2.6 2010/03/09 Andre Lin

Product Specification
4
Chapter 1 Introduction
1. Introduction
WN7511E is a wireless 1x1 802.11n USB Adapter which enables wireless networking
systems to attain data communication speeds up to 150 megabits-per-second (Mbps), while
remaining backward compatible to the existing installed base of Wi-Fi systems worldwide. It
supports operation to the IEEE 802.11b and IEEE 802.11g ,and draft IEEE 802.11n standards.
WN7511E will enable a next generation of high-data-rate platforms for operation in the 2.4
GHz band that deliver a five-fold speed increase. The cost and performance advantages will
make it an ideal solution for high bandwidth enterprise applications, such as wireless video
conferencing and large file transfers. It is compatible with 802.11g standard's mandatory
modulation schemes—Complementary Code Keying (CCK), which is used in 802.11b, and
Orthogonal Frequency Division Multiplexing (OFDM), used in 802.11g and draft 802.11n.
Using CCK ensures backward-compatibility with the installed Wi-Fi 802.11b base, while
OFDM provides the speed required for today's high-bandwidth applications.
1.1 Product Features
♦ High speed for wireless LAN connection, RX up at 150 Mbps data rate.
♦ Backward compatible to the existing IEEE 802.11b/g WLAN infrastructure.
♦ Support USB2.0
1.2 Applications
♦ WiFi Module for TV

Product Specification
5
Chapter 2 Hardware
2.1 General Overview
♦ USB 2.0 Interface and 802.11 n chipset-on-board design.
♦ 1 antenna connector
2.2 Hardware Architecture
BRCM 4319
2.3 Main Chipset Information
BRCM 4319: Dual-band 2.4 GHz 802.11 b, g, and n. integrated with MAC/Baseband/RF

Product Specification
6
2.6 Pin define

Product Specification
7
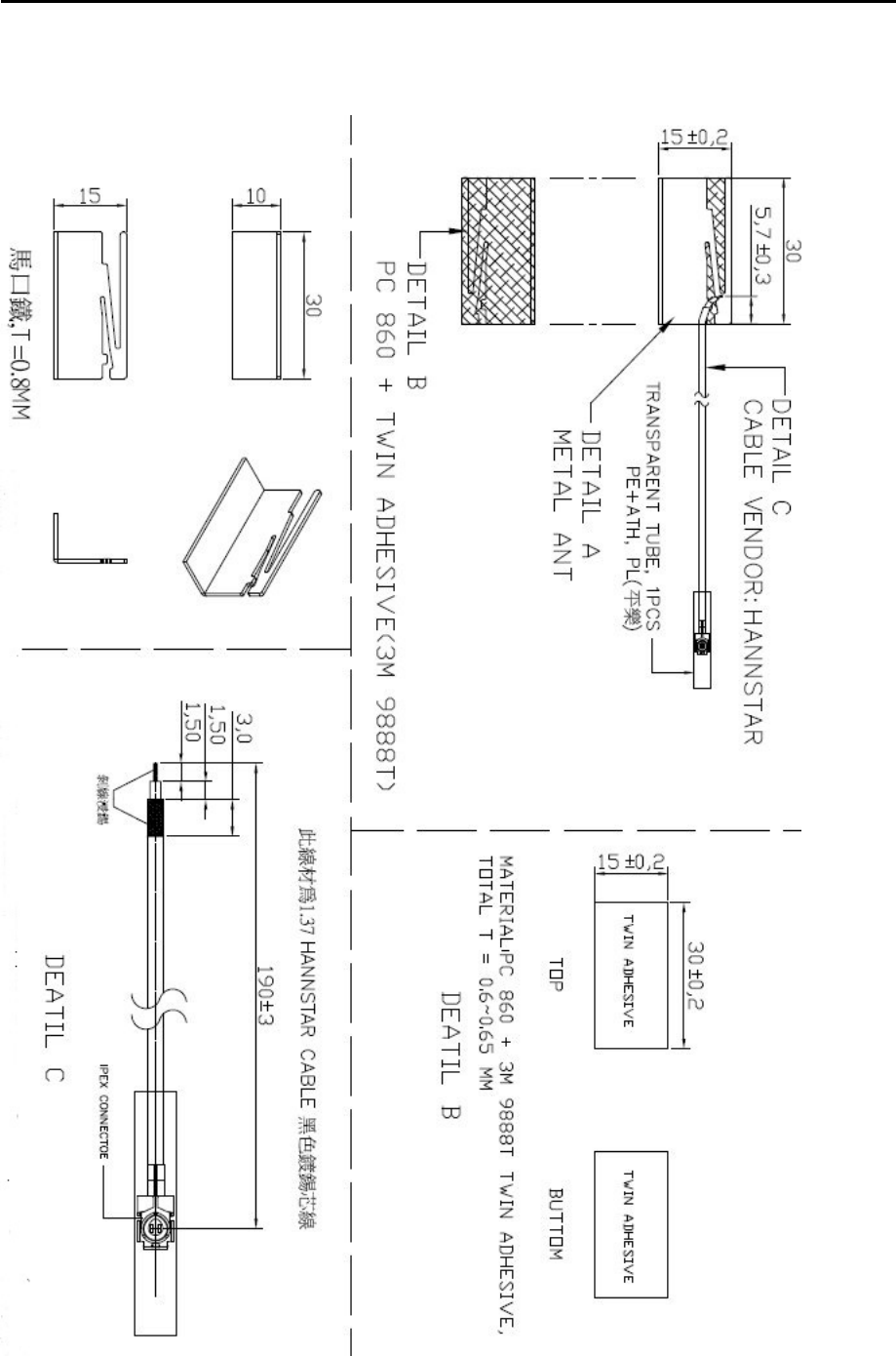
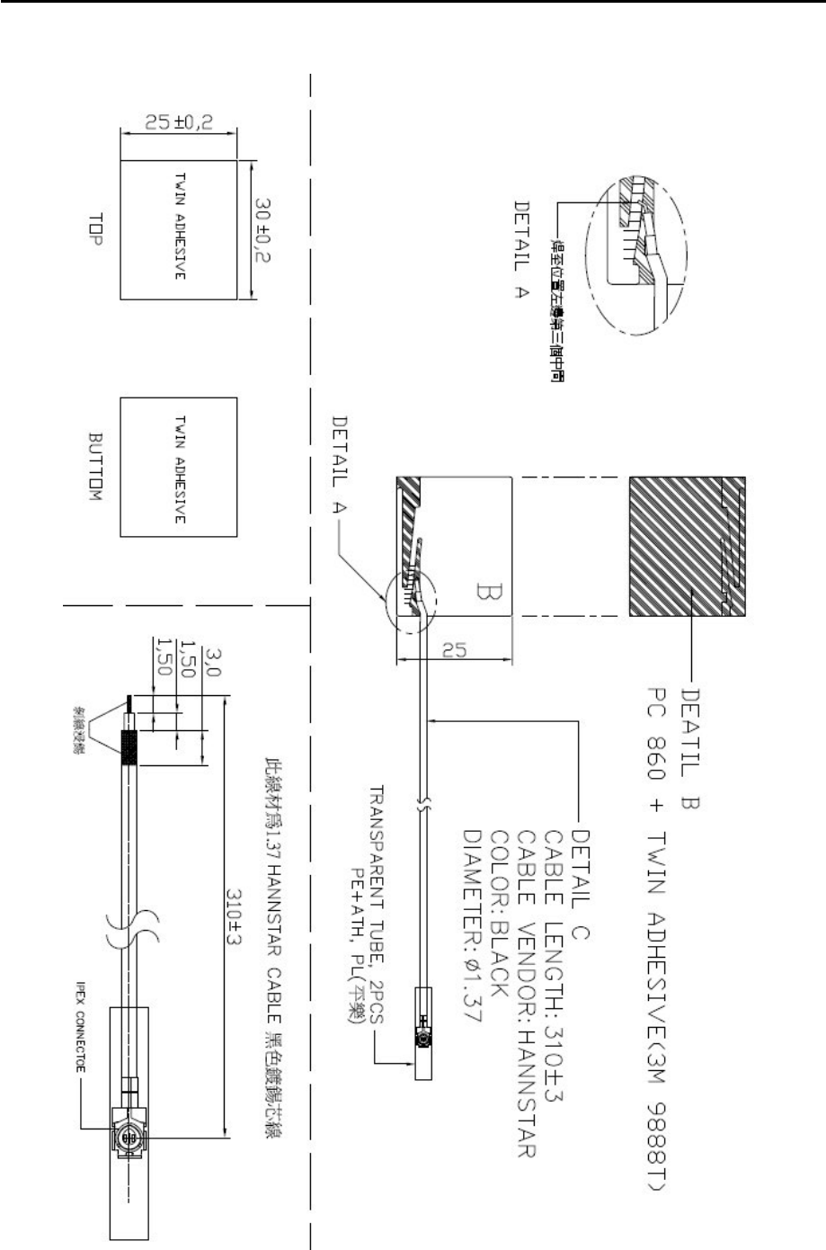
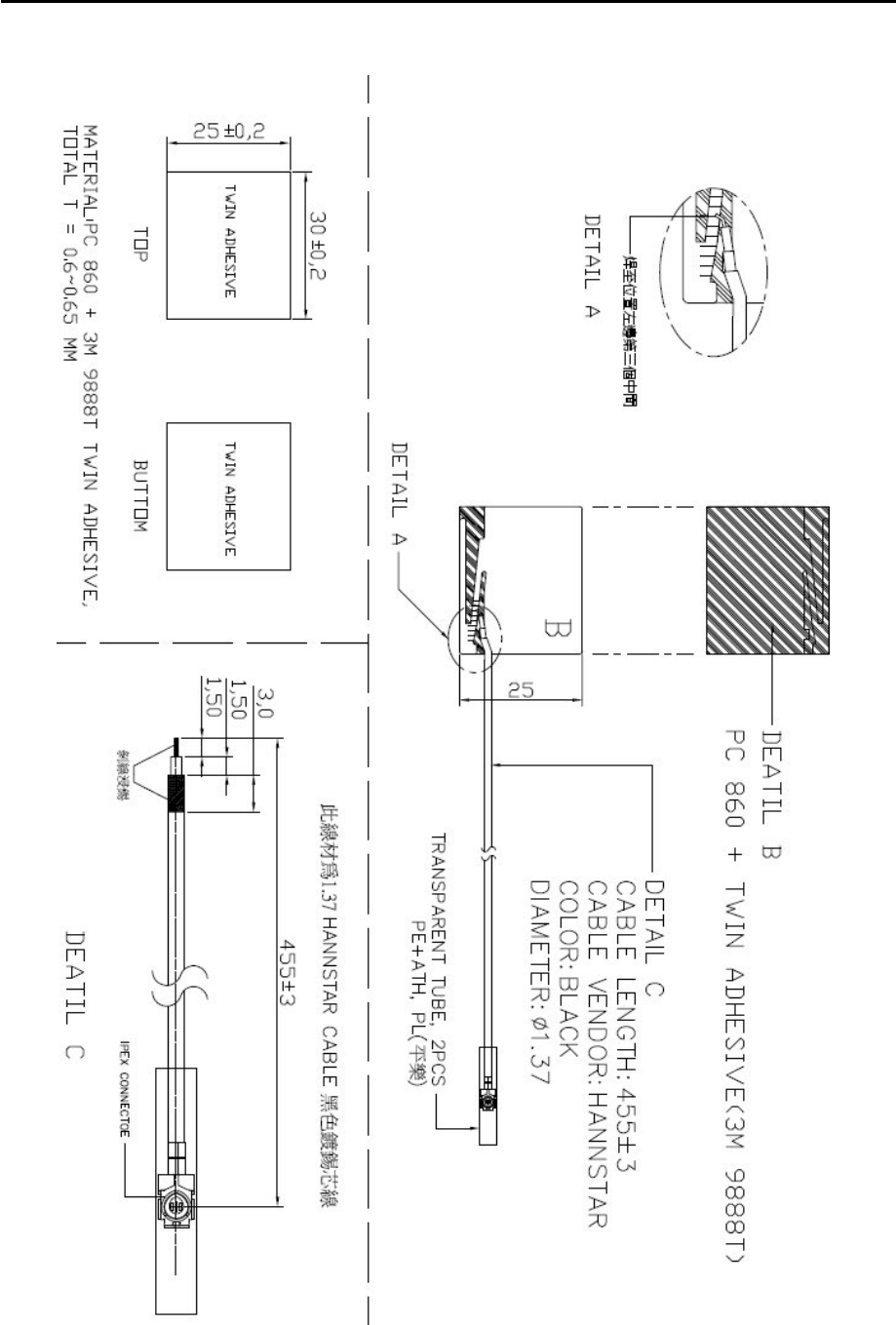
2.7 Antenna Cable
M22

Product Specification
8
M47

Product Specification
9
M55

Product Specification
10
Chapter 3 Software
3.1 Operating System Supported
♦ Windows 2000, XP, Vista
3.2 Wireless Mode Supported
♦ AP (Infrastructure) Client mode
3.3 Security
♦ AP (Infrastructure) mode supports
♦ Static WEP that support both 64 and 128 bit keys.
♦ WPA(TKIP) with PSK
♦ Ad-hoc mode supports
♦ None (plaintext)
♦ Static WEP that supports both 64 and 128 bit keys.

Product Specification
11
Chapter 4 Appearance
TBD

Product Specification
12
Chapter 5 Specifications
♦ Frequency Band:
Draft 802.11n Radio: 2.4 GHz
802.11g Radio: 2.4 GHz
802.11b Radio: 2.4 GHz
USA – FCC 2412~2462MHz (Ch1~Ch11)
Canada – IC 2412~2462MHz (Ch1~Ch11)
Europe – ETSI 2412~2472MHz (Ch1~Ch13)
Japan – STD-T66/STD-33 2412~2484MHz (Ch1~Ch14)
♦ Operating Channels:
IEEE 802.11b/g/n compliant:
11 channels (US, Canada)
13 channels (ETSI)
14 channels (Japan)
♦ Transmit Power and Sensitivity:
TX Output Power:(Typical)
11g 16.5 +/- 1 dBm
11n 12 +/- 1 dBm
Rx Sensitivity:(Typical)
-88 dBm @6 Mbps
-87 dBm @9 Mbps
-84 dBm @12 Mbps
-81dBm @18 Mbps
-79dBm @24 Mbps
-75dBm @36 Mbps
-71dBm @48 Mbps
-70 dBm @54 Mbps
-64 dBm @64-QAM, 20MHz channel spacing
-61 dBm @64-QAM, 40MHz channel spacing
♦ Modulation
DBPSK @1Mbps
DQPSK@2Mbp
CCK@5.5/11Mbps

Product Specification
13
BPSK@6/9 Mbps
QPSK@12/18Mbps
16-QAM@24Mbps
64-QAM@48/54Mpb and above, RX up to 150Mbps
♦ Current consumption(5V DC):
TX: 170mA, HT20; 180mA, HT40 at 3.3V
RX: 160mA, HT20; 160 mA HT40 at 3.3V
Idle: 90mA
Radio off 52mA
♦ Operating Temperature: 0 ~ 40 oC ambient
♦ Storage Temperature: -10 ~ 70 oC ambient
♦ Humidity: 5 ~ 90% and must be non-condensing
♦ Regulation and certification compliance available:
♦ WHQL
♦ ETSI/CE
♦ ESD: EN61000-4-2, which specifies 4kV contact and 8kV air discharge.

Product Specification
14
References
♦ BRCM Reference Design Functional Specification
♦ IEEE 802.11b Standard Specification
♦ IEEE 802.11g Standard Specification
♦ IEEE 802.11n draft Standard Specification
The drawings, specifications and the data contain herein are the exclusive property of Arcadyan
Technology Corp. issued in strict confidence and shall not, without the prior written permission of
Arcadyan Technology Corp., be reproduced, copied or used, in parts or as a whole, for any purpose
whatsoever, except the manufacture of articles for Arcadyan Technology Corp.
Arcadyan makes no warranties with respect to the correctness, accuracy or wholeness of this
specification. The information in this document is subject to change without notice. Arcadyan
reserves the right to make revisions to this document and the product described herein without
obligation to notify any person or entity of any such changes.
Federal Communication Commission Interference Statement
This equipment has been tested and found to comply with the limits for a Class B
digital device, pursuant to Part 15 of the FCC Rules. These limits are designed to

Product Specification
15
provide reasonable protection against harmful interference in a residential installation.
This equipment generates, uses and can radiate radio frequency energy and, if not
installed and used in accordance with the instructions, may cause harmful
interference to radio communications. However, there is no guarantee that
interference will not occur in a particular installation. If this equipment does cause
harmful interference to radio or television reception, which can be determined by
turning the equipment off and on, the user is encouraged to try to correct the
interference by one of the following measures:
● Reorient or relocate the receiving antenna.
● Increase the separation between the equipment and receiver.
● Connect the equipment into an outlet on a circuit different from that to which the
receiver is connected.
● Consult the dealer or an experienced radio/TV technician for help.
FCC Caution: Any changes or modifications not expressly approved by the party
responsible
for compliance could void the user’s authority to operate this equipment.
This device complies with Part 15 of the FCC Rules. Operation is subject to the following two
conditions: (1) This device may not cause harmful interference, and (2) this device must
accept any interference received, including interference that may cause undesired operation.
For product available in the USA/Canada market, only channel 1~11 can be operated.
Selection of other channels is not possible.
This device and its antenna(s) must not be co-located or operation in conjunction with any
other antenna or transmitter.
IMPORTANT NOTE:
FCC Radiation Exposure Statement:
This equipment complies with FCC radiation exposure limits set forth for an
uncontrolled environment. This equipment should be installed and operated with
minimum distance 20cm between the radiator & your body.

Product Specification
16
IMPORTANT NOTE:
This module is intended for OEM integrator. The OEM integrator is still
responsible for the FCC compliance requirement of the end product, which
integrates this module.
20cm minimum distance has to be able to be maintained between the antenna
and the users for the host this module is integrated into. Under such
configuration, the FCC radiation exposure limits set forth for an
population/uncontrolled environment can be satisfied.
Any changes or modifications not expressly approved by the manufacturer
could void the user's authority to operate this equipment.
USERS MANUAL OF THE END PRODUCT:
In the users manual of the end product, the end user has to be informed to
keep at least 20cm separation with the antenna while this end product is
installed and operated. The end user has to be informed that the FCC
radio-frequency exposure guidelines for an uncontrolled environment can be
satisfied. The end user has to also be informed that any changes or
modifications not expressly approved by the manufacturer could void the user's
authority to operate this equipment. If the size of the end product is smaller
than 8x10cm, then additional FCC part 15.19 statement is required to be
available in the users manual: This device complies with Part 15 of FCC rules.
Operation is subject to the following two conditions: (1) this device may not
cause harmful interference and (2) this device must accept any interference
received, including interference that may cause undesired operation.
LABEL OF THE END PRODUCT:
The final end product must be labeled in a visible area with the following "
Contains TX FCC ID: MDZM220NV-WL ". If the size of the end product is
larger than 8x10cm, then the following FCC part 15.19 statement has to also
be available on the label: This device complies with Part 15 of FCC rules.
Operation is subject to the following two conditions: (1) this device may not
cause harmful interference and (2) this device must accept any interference
received, including interference that may cause undesired operation.