Arcade Sega Rally 2 Twin Manual 1.Rally2Twin User
2013-11-25
User Manual: Arcade Sega Rally 2 Twin Manual
Open the PDF directly: View PDF
.
Page Count: 106 [warning: Documents this large are best viewed by clicking the View PDF Link!]

1st PRINTING MAR 98
MANUAL NO. 4200-6374-03
TWIN TYPE
OWNER’S MANUALOWNER’S MANUAL
OWNER’S MANUALOWNER’S MANUAL
OWNER’S MANUAL
SEGA ENTERPRISES, USA
INTRODUCTION OF THE OWNERS MANUAL
GENERAL PRECAUTIONS
1. PRECAUTIONS TO BE HEEDED FOR OPERATION
2. NAME OF PARTS
3. ACCESSORIES
4. ASSEMBLY AND INSTALLATION
5. PRECAUTIONS TO BE HEEDED WHEN MOVING MACHINE
6. CONTENTS OF GAME
7. EXPLANATION OF TEST AND DATA DISPLAY
7-1 SWITCH UNIT AND COIN METER
7-2 TEST MODE
7-3 MEMORY TEST
7-4 STEERING REACTION TEST
7-5 INPUT TEST
7-6 OUTPUT TEST
7-7 SOUND TEST
7-8 C.R.T. TEST
7-9 GAME ASSIGNMENTS
7-10 COIN ASSIGNMENTS
7-11 BOOKKEEPING
7-12 BACKUP DATA CLEAR
8. HANDLE MECHA
8-1 REMOVING THE CONTROL PANEL
8-2 REPLACING AND ADJUSTING THE HANDLE’S VR
8-3 GREASING
9. SHIFT LEVER
9-1 REMOVING THE SHIFT LEVER
9-2 SWITCH REPLACEMENT
10. ACCEL & BRAKE(S)
10-1 ADJUSTING AND REPLACING THE VR
10-2 GREASING TO FOOT BRAKE AND ACCEL
10-3 GREASING TO HAND BRAKE
10-4 REPLACING THE MICROSWITCH ON HAND BRAKE
11. COIN SELECTOR
12. MONITOR
13. REPLACEMENT OF FLUORESCENT LAMP AND LAMPS
13-1 REPLACEMENT OF FLUORESCENT LAMP
13-2 REPLACEMENT OF LAMPS
14. PERIODIC INSPECTION TABLE
15. TROUBLESHOOTING
16. GAME BOARD
16-1 REMOVING THE GAME BOARD
16-2 REPLACMENT OF FUSE
16-3 COMPOSITION OF THE GAME BOARD
16-4 ERROR DISPLAY
17. COMMUNICATION PLAY
17-1 INSTALLATION PRECAUTIONS
17-2 CONNECTING THE COMMUNICATION CABLES
17-3 SETTING FOR COMMUNICATION PLAY
18. DESIGN RELATED PARTS
19. PARTS LIST
20. WIRING DIAGRAMS
1
2~3
4~5
6
7~8
9~15
16
17~21
22~32
23
24
24
25
26
26
27
27
28
29~31
32
32
33
33
34
35
36~37
36
37
38~40
38
39
40
40
41~43
44~46
47~48
47
48
49
50
51~55
51
52
53
54~55
56~59
56
56~58
59
60~61
62~103
XXX
TABLE OF CONTENTS

Warranty
Your new Sega Product is covered for a period of 90 days from the date of shipment. This certifies
that the Printed Circuit Boards, Power Supplies and Monitor are to be free of defects in workman-
ship or materials under normal operating conditions. This also certifies that all Interactive Control
Assemblies are to be free from defects in workmanship and materials under normal operating condi-
tions. No other product in this machine is hereby covered.
Sellers sole liability in the event a warranted part described above fails shall be, at its option, to
replace or repair the defective part during the warranty period. For Warranty claims, contact your
Sega Distributor.
Should the Seller determine, by inspection that the product was caused by Accident, Misuse, Ne-
glect, Alteration, Improper Repair, Installation or Testing, the warranty offered will be null and void.
Under no circumstances is the Seller responsible for any loss of profits, loss of use, or other dam-
ages.
This shall be the exclusive written Warranty of the original purchaser expressed in lieu of all other
warranties expressed or implied. Under no circumstance shall it extend beyond the period of time
listed above.

1
SPECIFICATIONS
Installation space: 68 in.(L) x 66 in.(W)
Height: 85 in.
Weight: Approx. 1171 lbs.
Power maximum current: 7.9 Amp AC 120V 60 Hz
MONITOR: 29” NANAO MONITOR (X2)
SEGA ENTERPRISES, LTD., has for more than 30 years been supplying various innovative and
popular amusement products to the world market. This Owners Manual is intended to provide
detailed descriptions together with all the necessary installation, game settings and parts ordering
information related to the RALLY 2 TWIN VERSION, a new SEGA product.
This manual is intended for those who have knowledge of electricity and technical expertise, espe-
cially in ICs, CRTs, microprocessors, and circuit boards. Read this manual carefully to acquire
sufficient knowledge before working on the machine. Should there be a malfunction, non-technical
personnel should under no circumstances touch the interior system. Should the need arise, contact
our main office, or the closest branch office listed below.
SEGA ENTERPRISES, INC. (USA)
Customer Service
45133 Industrial Drive
Fremont, CA 94538
Phone 650-802-1750
Fax 650-802-1754
7:30 am - 4:00 pm, Pacific Standard Time
Monday thru Friday
INTRODUCTION OF THE OWNERS MANUAL

2
General Precautions
Follow Instructions: All operating and use instructions should be followed.
Attachments: Do not use attachments not recommended by the product manufacturer as they may cause hazards.
Accessories: Do not place this product on an unstable cart, stand, tripod, bracket, or table. The product may fall,
causing serious injury to a child or adult, and serious damage to the product. Use only with a cart, stand, tripod, bracket, or
table recommended by the manufacturer, or sold with the product. Any mounting of the product should follow the
manufacturer’s instructions, and should use only mounting accessories recommended by the manufacturer.
Moving the Product: This product should be moved with care. Quick stops, excessive force, and uneven surfaces
may cause the product to overturn.
Ventilation: Slots and openings in the cabinet are provided for ventilation, to ensure reliable operation of the product
and to protect it from overheating; these openings must not be blocked or covered. The openings should never be blocked
by placing the product in a built-in installation such as a bookcase or rack unless proper ventilation is provided or the
manufacturer’s instructions have been adhered to.
Power Sources: This product should be operated only from the type of power source indicated on the marking label.
If you are not sure of the type of power supply to your location, consult your local power company. For products intended
to operate from battery power or other sources, refer to the operating instructions.
Grounding or Polarization: This product is equipped with a three-wire grounding-type plug, a plug having a third
(grounding) pin. This plug will only fit into a grounding-type power outlet. This is a safety feature. If you are unable to
insert the plug into the outlet, contact your electrician to replace your obsolete outlet. Do not defeat the safety purpose of the
grounding-type plug.
Power Cord Protection: Power-supply cords should be routed so that they are not likely to be walked on or pinched
by items placed upon or against them, paying particular attention to cords at plugs, convenience receptacles, and the point
where they exit from the product.
Overloading: Do not overload wall outlets, extension cords, or integral convenience receptacles as this can result in
a risk of fire or electric shock.
Object and Liquid Entry: Never push objects of any kind into this product through openings as they may touch
dangerous voltage points or short-out parts that could result in a fire or electric shock. Never spill liquid of any kind on the
product.
Servicing: Do not attempt to service this product yourself as opening or removing covers may expose you to danger-
ous voltage or other hazards. Refer all servicing to qualified service personnel.
Damage Requiring Service: Unplug this product from the wall outlet and refer servicing to qualified service person-
nel under the following conditions:
a) If the power cord or plug is damaged;
b) If liquid has been spilled, or objects have fallen into the product;
c) If the product has been exposed to rain or water;
d) If the product does not operate normally when following the operating instructions. Adjust only those controls that
are explained in the operating instructions. An improper adjustment of other controls may result in damage and will
often require extensive work by a qualified technician to restore the product to its normal operation;
e) If the product has been dropped or damaged in any way;
f) When the product exhibits a distinct change in performance; this indicates a need for service.
Replacement Parts: When replacement parts are required, be sure the service technician has used replacements parts
specified by the manufacturer or that have the same characteristics as the original part. Unauthorized substitutions may
result in fire, electric shock, or other hazards.

3
Safety Check: Upon completion of any service or repairs to this product, ask the service technician to perform safety
checks to determine that the product is in proper operating condition.
Heat: The product should be situated away from heat sources such as radiators, heat registers, stoves, or other prod-
ucts (including amplifiers) that produce heat.
Lithium Battery- Dispose of batteries only in accordance with the battery manufacturer’s recommen-
dations. Do not dispose in an open flame condition, since the battery may explode.
Cleaning: When cleaning the monitor glass, use water or glass cleaner and a soft cloth. Do not apply chemicals such
as benzine, thinner, etc.
Location: This an indoor game machine, DO NOT install it outside. To ensure proper usage, avoid installing indoors
in the places mentioned below:
• Places subject to rain/water leakage, or condensation due to humidity;
• In close proximity to a potential wet area;
• Locations receiving direct sunlight;
• Places close to heating units or hot air;
•In the vicinity of highly inflammable/volatile chemicals or hazardous matter;
• On sloped surfaces;
• In the vicinity of emergency response facilities such as fire exits and fire extinguishers;
• Places subject to any type of violent impact;
• Dusty places.
INSTALLATION PRECAUTIONS
• Verify the amperage of the branch circuit outlet before plugging in the power plug. Do not over-
load the circuit.
• Avoid using an extension cord. If one is required, use an extension cord of type SJT, 16/3 AWG
rated min. 120 VAC, 7A.
• Moving this unit requires a minimum clearance (of doors, etc.) of 32” (W) by 77” (H).
• For the operation of this machine, secure a minimum area of 32” (W) by 42”(D).
REGULATORY APPROVALS
This game has been tested and found to comply with the Federal Communications Commission Rules.
This device complies with Part 15 of the FCC Rules. Operation is subject to the following two conditions: (1) This
device may not cause harmful interference, and (2) this device must accept any interference received, including interference
that may cause undesired operation.
This game has been tested and listed by Underwriters Laboratories, Inc., to ANSI/UL22.
LISTED
UL
®
5K92
AMUSEMENT MACHINE

4
In order to avoid accidents, check the following before starting the operation:
Check if all of the adjusters are in contact with the surface. If they are not,
the cabinet can move and cause an accident.
Do not climb on the product. Climbing on the product can cause falling
down accidents. To check the top portion of the product, use a step.
To avoid electric shock, check to see if door & cover parts are closed.
To avoid electric shock, short circuit and or parts damage, do not put the
following items on or in the periphery of the product:
Flower vases, flower pots, cups, water tanks, cosmetics, and receptacles/
containers/vessels containing chemicals and water.
1 . PRECAUTIONS TO BE HEEDED FOR OPERATION
PRECAUTIONS TO BE HEEDED FOR OPERATION BEFORE STARTING THE OPERATION
In order to prevent accidents, be sure to comply with the following points before and during operation.
To avoid injury, be sure to provide sufficient space by considering the
potentially crowded situation at the installation location. Insufficient instal-
lation space can cause the player to come into contact with or hit others
and result in injury or trouble.

5
PRECAUTIONS TO BE HEEDED DURING OPERATION
To avoid injury and accidents, those who fall under the following catagories are not
allowed to play the game:
* Intoxidated persons
* Those who have high blood pressure or heart problems.
* Those who have experienced muscle convulsion or loss of consciousness when playing
video games, etc.
* Persons susceptible to motion sickness.
* Persons whose acts runs counter to the products warning displays.
* Instruct those who wear high-heeled shoes to refrain from
playing the game by explaining that playing the game with high-
heeled showes is very dangerous and likely to cause a potentially
hazardous situation.
To avoid electric shock and short circuit, do not allow customers to put hands and fingers
or extraneous matter in openings of the product or small openings in or around doors.
To avoid electric shock and short circuit, do not allow the customers to unplug the power
plug without a justifiable reason.
Although this product has the accident preventive covering attached to potentially hazard-
ous places where hand and fingers could be caught, small children are unable to perceive
hazards. Use care so that small children do not come close to the product when in play.
Immediately stop such violent acts as hitting and kicking the product. Such violent acts can
cause parts damage and/or falling down, resulting in injury due to fragments and falling
down.

6
2 . NAME OF PARTS
GAME SPECIFICATIONS
BILLBOARD
WHEN ASSEMBLED
COCKPIT (PER SEAT)
COIN CHUTE TOWER
WIDTH LENGTH HEIGHT WEIGHT
Weight-DURING SHIPPING
1172 LBS.
514 LBS.
105 LBS.
~ 1250 LBS.
All measurements are in inches
64” X 27” X 24”
33” X 66” X 61”
12.5” X 18” X 23”
66” X 68” X 85”
33 LBS.

7
3 . ACCESSORIES

8
“CHECK SIDE” Display
FILTER BOARD
CARTON BOX
601-8928 (1)
Used for transporting the GAME BOARD.
{SUPPLIED WITH YOUR GAME}
DO NOT SHIP GAME BOARD WITHOUT
THIS BOX AS IT MAY DAMAGE THE GAME
BOARD AND VOID YOUR WARRANTY.
!!NEVER SHIP MODEL 3 GAME BOARDS
!!NEVER SHIP MODEL 3 GAME BOARDS
OUTSIDE OF CAGE!!
OUTSIDE OF CAGE!!
THE SHIPMENT METHOD DESCRIBED BELOW ONLY
APPLIES TO ‘MODEL 3’ BOARDS CONTAINED IN THE
FOLLOWING GAMES:
NO OTHER GAMES BOARDS ARE TO BE SHIPPED IN THE CAGE AS
THEY MAY BE DAMAGED BEYOND REPAIR. PLEASE SHIP THEM
WITHOUT CAGE PROPERLY PROTECTED DURING SHIPPING.
LOST WORLD, VIRTUA FIGHTER 3, SUPER GT, SEGA BASS FISHING, STRIKER 2
HARLEY DAVIDSON, RALLY 2

9
4 . ASSEMBLING AND INSTALLATION
Note that the tools such as a phillips screwdriver and wrench for M16 hexagon bolt w/24 mm width
across flats are required for the assembly work.
When carrying out the assembly work, follow the procedure in the following 7-item sequence:
ASSY OF THE REAR CABI (COCKPIT)
ASSY OF BILLBOARD
SECURING IN PLACE (ADJUSTER ADJUSTMENT)
POWER SUPPLY
ASSEMBLING CHECK
Assembling should be performed as per this manual. Since this is a
complex machine, erroneous assembling may cause damage to the
machine, or malfunctioning to occur.
When assembling, be sure to perform work by plural persons.
Depending on the assembly work, there are some cases in which
performing the work by a single person can cause personal injury or
parts damage.
1
2
3
4
Permanantly tightening
the hex bolts should
not be completed until
the leg levelers are
adjusted properly.
1 ASSY OF REAR CABI (COCKPIT)
5

10
1Place the two cockpits side by side. Position the 1P cabinet, which has the power cord at the left hand side, as
shown in the diagram.
Install the coin chute tower in between the two cabinets. Open the coin chute door and cashbox door to secure
with the 4 hex bolts from are fastened temporarily.
2

11
2ASSY OF THE BILLBOARD
Mount Billboard on tbothcabinets and secure with the 4 hexgaonal bolts for each cabinet.
Connect all of the 4 connectors inside the Billboard box.
Install Wire Cover L&R with 5 screws for each.
Due to its large size, it is very difficult for one person alone to install the billboard,
Make sure 2 or more persons are available to perform this work. Attempting to
perform the installation alone can cause an accident.
1
2
3

12
SECURING IN PLACE (ADJUSTER ADJUSTMENT)
Move the machine to the installation position.
Attach the joint plate for the two internal leg
adjusters prior to causing all of the leg adjusters
to make contact with the floor. By using a
wrench, make adjustments in the height of the
leg adjusters to ensure that the machine's
position is level.
After making adjustments, fasten the leg
adjuster nut upward and secure the height of the
leg adjuster.
This machine has 8 each of casters and adjusters (shown below). When the installation position is determined, cause
the adjusters to come into contact with the floor directly, make adjustments in a manner so that the casters will be
raised approximately 5mm. from the floor and make sure that the machine position is level.
Be sure to have all the Adjusters make contact with the surface. Un-
less the Adjusters come into contact with the surface, the Cabinet
can move of itself, causing an accident.
3
3
2
1

13
POWER SUPPLY
Turning the AC unit’s main switch on will cause the machine
to start the power check and network check automatically.
In the Power On check, the steering wheel turns left and right,
and then returns to the centering position and stops. In this
check, the values of the VR inside the control panel are
corrected.
Until this check is finished, and the steering wheel stops, do
not touch the steering wheel or play the game.
If you do, the steering reaction during the game (reaction at
the time of course-out or crash) can not be obtained correctly.
In the case of an abnormal reaction during the game, turn
power on again from the beginning and complete the power on
check.
During Network checking, “NETWORK CHECKING”
flashes on the screen. When network checking is finished, the
demo mode will appear on the monitor screen. After 10
seconds, if the network check is not finished, check the
communications connections.
4
Connect the game to the power supply and turn on power to the game. Before connecting power supply be sure that
power switch is off
Ensure that the power cord is not exposed on the surface (passage,
etc.). If exposed, they can be caught and are susceptible to damage.
If damaged, the cord can cause an electric shock or short circuit.
Ensure that the wiring position is not in the customer's passage way
or the wiring has protective covering.

14
Selecting the INPUT TEST on the menu screen in the test
mode to display the screen on which each SW and Volume is
tested. Press each switch. (To check the Coin SW, insert a
Coin from the inlet with the Coin Chute Door being opened.)
If the display beside each switch is ON, the switch and wiring
connection are satisfactory. Check the display of each Volume
value. The Volume could have an irregularity caused by
differences between machines and vibration during transporta-
tion. Set the Volume values by referring to Section ?
In the output test mode, carry out lamp test to ascertain that
each lamp lights up satisfactorily.
Selecting the MEMORY TEST on the test mode menu screen
causes the on-board memory to be tested automatically. The
game board is satisfactory if the display beside each IC No.
shows GOOD.
ASSEMBLING CHECK
5
The TEST MENU allows for each part of the cabinet to be checked, the Monitor to be adjusted, and the coin and
game related various functions to be performed.
MEMORY TEST
IC ** GOOD IC ** GOOD IC ** GOOD
IC ** GOOD IC ** GOOD IC ** GOOD
IC ** GOOD IC ** GOOD
IC ** GOOD IC ** GOOD IC ** GOOD
IC ** GOOD IC ** GOOD IC ** GOOD
IC ** GOOD IC ** GOOD IC ** GOOD
IC ** GOOD IC ** GOOD IC ** GOOD
IC ** GOOD IC ** GOOD
PRESS TEST BUTTON TO EXIT
INPUT TEST
STEERING WHEEL **H
GAS PEDAL **H
BRAKE PEDAL **H
SHIFT UP OFF
SHIFT DOWN OFF
VIEW 1 (ZOOM IN) OFF
VIEW 2 (ZOOM OUT) OFF
START OFF
COIN CHUTE #1 OFF
COIN CHUTE #2
SERVICE-SW OFF
TEST-SW OFF
PRESS TEST BUTTON TO EXIT
OUTPUT TEST
START LAMP OFF
VIEW 1 (ZOOM IN) LAMP OFF
VIEW 2 (ZOOM OUT) LAMP OFF
LEADER LAMP OFF
CENTERING LEVEL OFF
>EXIT
SELECT WITH SERVICE BUTTON
PRESS TEST BUTTON TO EXIT

15
C.R.T. TEST 1/2
RED
GREEN
BLUE
WHITE
PRESS TEST BUTTON TO CONTINUE
In the TEST mode menu, selecting C.R.T. TEST allows the
screen (on which the projector is tested) to be displayed.
Although the projector adjustments have been made at the
same time of shipment from the factory, color deviation,
etc., may occur due to the effect caused by geomagnitism,
the location building’s steel frames and other game ma-
chines in the periphery. By watching the test mode screen,
make judgement as to whether an adjustment is needed. If it
is neccessary, adjust the projector by refering to Section 9.
In the TEST mode, selecting SOUND TEST causes the
screen, on which sound related BD and wiring connec-
tions are tested, to be displayed. be sure to check if the
sound is satisfactorily emitted from each of speaker and
the sound volume is appropriate.
Perform the above inspections also at the time of monthly inspection.
C.R.T. TEST 2/2
PRESS TEST BUTTON TO CONTINUE
SOUND TEST
EFFECT : SE_CHECK1
VOICE : VO_30
B.G.M. : BM_ADV1
SPEAKER : VO_FRONT
BGM VOLUME LEVEL 9/15
SOUND OFF
>EXIT
SELECT WITH SERVICE BUTTON
PRESS TEST BUTTON TO EXIT

16
When moving the machine, be sure to pull out the plug from
the power supply. Moving the machine with the plug as is
inserted can damage the power cord and cause a fire or elec-
tric shock.
When moving the machine on the floor, retract the Adjusters
and ensure that Casters make contact with the floor. During
transportation, pay careful attention so that Casters do not
tread power cords. Damaging the power cords can cause an
electric shock and/or short circuit.
When lifting the cabinet, be sure to hold the catch portions or
bottom part. Lifting the cabinet by holding other portions can
damage parts and installation portions, due to the empty
weight of the cabinet, and cause personal injury.
Use care when handling glass made parts. When the glass is dam-
aged, fragments of glass can cause injury
5 . PRECATIONS TO BE HEEDED WHEN MOVING THE MACHINE

17
6 . CONTENTS OF GAME
The following explanations apply to the case the product is functioning satisfactorily. Should there be any moves
different from the following contents, some sort of faults may have occured. Immediately look into the cause of the
fault and eliminate the cause thereof to ensure satisfactory operation. During the Advertise mode, the Billboard’s
Decoration Lamp lights up periodically. When the machine is energized, the Billboard’s Fluorescent Lamp is always lit.
The Steering Wheel repeats centering action periodically. Automatic centering will apply to the Steering Wheel if it is
not centered. During the Advertise Mode, sound is emitted fromt e Speaker beside the Monitor.
HOW TO PLAY
Get in the machine. the seat position is adjustable
forward and backward. Facing the monitor, you will find
the Lever on the lower right-hand side. Pull the Lever to
adjust the seat position.
Insert a coin(s). Insert one play worth of coins to have
the Select Mode appear. Up to 9 credits can be counted
at a time. Coins inserted after counting 9 will not be
counted or rejected. Credits will not be displayed after
Select Mode.
When a coin is inserted in one of the linked seats, the
monitor(s) of the other seat(s) will be in the entry
acceptance mode and countdown starts. For entry, insert
a coin during countdown.
In the case of 1P play, in the SELECT mode, choose either of CHAMPIONSHIP MODE or PRACTICE MODE. Turn
the Steering Wheel to select and confirm by stepping on the Accelerator. In the communication play, PRACTICE
MODE is selected compulsorily.
When the SELECT mode is displayed, countdown starts. When countdown reaches 0, the course and car being
selected will automatically be decided.
After stepping on the Accelerator to confirm, you will proceed to the next SELECT mode in the middle of the count-
down by further stepping on the Accelerator.
1
2
3
4

18
1
2
3
Note: In the interactive play, CHAMPIONSHIP MODE
can not be selected.
The car select mode appears. Select from among 6
types. Depending on the type of car, your operat-
ing sensation may somewhat vary. Choose the
desired car by turning the Steering Wheel, and
confirm with the Accelerator Pedal.
TRANSMISSION SELECT mode appears. Turn
the Steering Wheel and select either AT (AUTO-
MATIC) or MT (MANUAL, 4 SHIFTS), and
confirm with pedal.
The NAME ENTRY MODE appears. Turn the
Steering Wheel to choose input characters, and
confirm with pedal. After inputing the 3 charac-
ters, game starts.
WHEN PLAYING IN TH ECHAMPIONSHIP MODE

19
On the upper left portion of the screen, total time & lap time are displayed. The remaining time is shown at the top
center and navigation icon is seen at the loer part of the top center. on the upper right-hand side, the present player’s
position as well as the stage’s top 3 times are displyed. the lower left portion shows tachometer and shift speed. the
lower right-hand portion indicates the selected car and the driver’s name entered.
After game start, time decreases. Passing a mid-course checkpoint increases time and game continues. Failing to
pass the checkpoint within the time limit causes game over. Finishing the GOAL in each stage will let you proceed
to the next stage.
In the Championship mode, you proceed starting from DESERT (novice) sequentially to MOUNTAIN (intermedi-
ate), SNOWY (expert) with one lap for each, and RIVIERA (expert) with 2 laps.
Finishing the RIVIERA (expert) course results in GAME CLEAR and the game ends.
4
5
6
7
The Steering Wheel and the Cabinet will react depending on the road surface status and car condition during play. Press
the View Change Button to shift to a different view.

20
WHEN PLAYING IN THE PRACTICE MODE
The Course Select mode appears. Turn the Steering Wheel to select and confirm with pedal. In case of communica-
tion play, the course is selected by majority.
The Car Select Mode appears. Select from
among the 6 types. Depending on the type of
car, your operating sensation may somewhat
vary. Select the desired car with the Steering
Wheel. Step on the Accelerator to confirm.
The Transmission Select Mode appears. Turn
the Steering Wheel to choose either of AT
(AUTOMATIC) or MT (MANUAL, 4
SHIFTS), and confirm with the Accelerator
Pedal.
1
2
3

21
The NAME ENTRY MODE appears. Turn the
Steering Wheel to choose input characters, and
confirm with pedal. After inputing the 3 characters,
game start
On the upper left portion of the screen, total time & lap time are displayed. The remaining time is shown at the top
center and navigation icon is seen at the loer part of the top center. on the upper right-hand side, the present
player’s position as well as the stage’s top 3 times are displyed. the lower left portion shows tachometer and shift
speed. the lower right-hand portion indicates the selected car and the driver’s name entered.
After game start, time decreases. Passing a mid-course checkpoint increases time and game continues. Failing to
pass the checkpoint within the time limit causes game over. Finishing the GOAL in each stage will let you proceed
to the next stage.
In the Championship mode, you proceed starting from DESERT (novice) sequentially to MOUNTAIN (intermedi-
ate), SNOWY (expert) with 3 laps for each, and RIVIERA (expert) with 5 laps.
Finishing the RIVIERA (expert) course results in GAME CLEAR and the game ends.
4
5
6
7

22
INSTALLATION
OF MACHINE
7 - 6
2. In the INPUT TEST mode, check each SW and VR.
3. In the OUTPUT TEST mode, check each of lamps.
4. In the MEMORY TEST mode, check ICs on the IC Board.
Choose MEMORY TEST in the MENU mode to allow the
MEMORY test to be performed. In this test, PROGRAM
RAMs, ROMs, and ICs on the IC Board are checked.
Periodically perform the following:
1. MEMORY TEST
2. Ascertain each setting.
3. In the INPUT TEST mode, test the CONTROL device
4. In the OUTPUT TEST mode, check each of lamps.
1. In the INPUT TEST mode, check each SW and VR.
2. Adjust or replace each SW and VR.
3. If the problem can not be solved yet, check the CONTROL’s moves.
In the MONITOR ADJUSTMENT mode, check to see if the
MONITOR adjustment is appropriately made.
1. MEMORY TEST
2. In the SOUND TEST mode, check the sound related ROMs.
Check such data as game play time and histogram to adjust the
difficulty level, etc
1. Check to see that each setting is as per standard setting made
at the time of shipment.
PERIODIC
SERVICING
MEMORY
MONITOR
DATA CHECK
CONTROL
SYSTEM
7 - 10, 7 - 11
7 - 6
7 - 7
7 - 3, 7 - 4
7 - 3, 7 - 4
7 - 10, 7 - l1
7 - 7
When the machine is installed, perform the following:
IC BOARD
7 - 6
8
TABLE 7 EXPLANATION OF TEST MODE
7 - 9
7 - 8
7 - 15
8
7 . EXPLANATION OF TEST AND DATA DISPLAY
ITEMS DESCRIPTION SECTIONS
When you enter the test mode, the Handlebar and Bike Body are unlocked. Do not lean against
the BikeBody when you press the test button. Failure to observe this can cause violent falling
down accidents as the Bike Body will bank. When you finish the test mode, the handlebar and
Bike Body will be locked.
In the case where plural machines are linked for communication play, if even one seat enters
the test mode, all of the linked seats will enter the test mode. Therefore, if any one of the
linked machines is in play, use care so as not to use the test mode.
The contents of the setting changes made will not be effective unless the test mode is
finished in the test mode. When the setting is changed, be sure to “EXIT” in the menu mode.
Do not press the TEST BUTTON during network check at the time of turning the power on or
exiting from the test mode. If anyone of the linked machines uses the test mode during
network check, all other Seats will continue network checking. Cause all of the Seats to
reenter the test mode and then have all of the Seats exit from the test mode simultaneously.
CAUTIONS TO BE HEEDED WHEN USING THE TEST MODE:
By operating the switch unit, periodically perform the tests and data check. When installing the machine intitally or
collecting cash, or when the machine does not function correctly, perform checking in accordance with the explanations
given in this section. The following shows tests and modes that should be utilized as applicable.

23
Open COIN CHUTE DOOR, and the switch unit shown appears. The function of
each switch is as follows:
7 - 1 SWITCH UNIT AND COIN METER
Never touch places other than those specified. Touching places not
specified can cause electric shock and short circuit.
Adjust to the optimum sound volume by considering the environmental
requirements of the installation location.
If the COIN METER and the game board are electrically disconnected,
game play is not possible.
SOUND VOLUME
Controls the speaker volume
of the right/left speakers on the
coin chute tower.
TEST BUTTON (TEST SW)
For the handling of the TEST BUTTON,
refer to the section on test mode.
SERVICE BUTTON (SERVICE SW)
Gives credits without registering on the coin
meter.
2
1
3
SWITCH UNIT

24
This mainly checks if the operation of the game BD is accurate, and allows for COIN
ASSIGNMENTS/GAME ASSIGNMENTS setting and Projector adjustments.
7 - 2 TEST MODE
7 - 3 MEMORY TEST
The MEMORY TEST mode is for checking the
on-BD memeory IC functioning.
“GOOD” is displayed for normal ICs and “BAD”
is displayed for abnormal ICs
This test starts immediately after selection from
the menu in the test mode. When in execution, the
“TESTING NOW” message will be displayed at
the lower part to the screen. Press the Test Button
to Exit.
FIG. 7.2 TEST MENU
FIG. 7.3 MEMORY TEST
Push the TEST BUTTON to cause the follow-
ing TEST MENU to appear:
By pushing the SERVICE BUTTON, bring the
“>” mark to the desired item and press the
TEST BUTTON. This will select the item’s
test.
After the test is complete, move the “>” mark
to “EXIT” and press the TEST BUTTON to
return to game mode.
3
1
2
TEST MENU
MEMORY TEST
STEERING REACTION TEST
COCKPIT REACTION TEST
INPUT TEST
OUTPUT TEST
SOUND TEST
C.R.T. TEST
GAME ASSIGNMENTS
COIN ASSIGNMENTS
BOOKKEEPING
BACKUP DATA CLEAR
>EXIT
SELECT WITH SERVICE BUTTON
AND PRESS TEST BUTTON
The Following FIGURES/TABLES show the factory recommended settings.The Following FIGURES/TABLES show the factory recommended settings.
The Following FIGURES/TABLES show the factory recommended settings.The Following FIGURES/TABLES show the factory recommended settings.
The Following FIGURES/TABLES show the factory recommended settings.
MEMORY TEST
IC ** GOOD IC ** GOOD IC ** GOOD
IC ** GOOD IC ** GOOD IC ** GOOD
IC ** GOOD IC ** GOOD
IC ** GOOD IC ** GOOD IC ** GOOD
IC ** GOOD IC ** GOOD IC ** GOOD
IC ** GOOD IC ** GOOD IC ** GOOD
IC ** GOOD IC ** GOOD IC ** GOOD
IC ** GOOD IC ** GOOD
PRESS TEST BUTTON TO EXIT

25
FIG. 7.4 STEERING REACTION TEST
STEERING REACTION TEST
CENTERING OFF
RIGHT OFF
LEFT OFF
FORCE OFF
>EXIT
PRESS TEST BUTTON TO CONTINUE
7 - 4 STEERING REACTION TEST This test allows Steering Wheel reaction mechanism to be
tested and eaction force to be set. Press the Service Button to
bring the arrow to the desitred item to be selected, and press the
Test Button to enter the selected item.
CENTERING
Press the Test Button or the Start Button to apply automatic
centering to Steering Wheel.
RIGHT
The Steering Wheel turns up to the RIGHT maximum value.
LEFT
The Steering Wheel turns up to the LEFT maximum value.
FORCE Adjusts the Steering Wheel’s reaction force.
0/15 (minimum)<--->15/15 (maximum)
This on-screen adjustment will be effective whent he Test Mode is exited. Turning power off while the on-screen
display is shown will have the pre-adjustment reaction force remain as it is.

26
Select INPUT TEST to have the screen shown below appear and to observe the status of each switch and the
Control Panel’s each V.R. Value. Periodically check the status of each switch and V.R. on this screen.
7 -5 INPUT TEST
FIG. 7.5 INPUT TEST
By pressing each switch, if the display onthe right-hand side
of the name of each switch changes to ON from OFF, the SW
and the wiring connections are satisfactory.
To check CHUTE 1 & CHUTE 2 coin switches, open the
COIN CHUTE DOOR and insert a coin(s) in the slot.
Press either the TEST BUTTON or the START BUTTON +
VIEW CHANGE BUTTON to return to the test menu.
GEAR POSITION indicates which shift and SHIFT LEVER
is in. “N” means neutral.
INPUT TEST
STEERING WHEEL **H
GAS PEDAL **H
BRAKE PEDAL **H
SHIFT UP OFF
SHIFT DOWN OFF
VIEW 1 (ZOOM IN) OFF
VIEW 2 (ZOOM OUT) OFF
START OFF
HAND BRAKE OFF
GEAR POSITION N
COIN CHUTE #1 OFF
COIN CHUTE #2
SERVICE-SW OFF
TEST-SW OFF
PRESS TEST BUTTON TO EXIT
Choose OUTPUT TEST to cause the following lower screen
to appear. In this test, check the status of each lamp.
Pressing the TEST BUTTON causes “ON” to be
displayed and the corresponding lamp lights up.
Pressing the TEST BUTTON again cuases “OFF” to be
displayed and the lamp goes off.
Press the test Button to return to the MENU MODE.
FIG. 7.6 OUTPUT TEST
7 - 6 OUTPUT TEST
OUTPUT TEST
START LAMP OFF
VIEW 1 (ZOOM IN) OFF
VIEW 2 (ZOOM OUT) OFF
DECORATION LAMP OFF
>EXIT
PRESS TEST BUTTON TO EXIT
THE APPROPRIATE VALUES OF EACH V.R.

27
Select C.R.T. TEST to cause the MONITOR to display the
screen shown left, allowing MONITOR adjustment status
to be checked.
Periodically check the MONITOR adjustment status on
this screen.
The screen (1/2) enables color adjustment check to be
performed. The color bar of each of the 4 colors, i.e.,red,
green, blue, and white, is the darkest at the extreme left and
becomes brighter towards the extreme right.
Press the TEST BUTTON to shift to the next screen (2/2).
The screen (2/2) allows screen size and distortion to be
tested.
Check if the CROSSHATCH FRAME LINE goes out of
the screen and if the crosshatch lines are distorted.
Press the TEST BUTTON to return to the MENU mode.
C.R.T. TEST 2/2
PRESS TEST BUTTON TO EXIT
7 - 8 C.R.T. TEST
FIG. 7.8 C.R.T. TEST
C.R.T. TEST 1/2
RED
GREEN
BLUE
WHITE
PRESS TEST BUTTON TO CONTINUE
This enables sound used in the game to be checked.
Sound related memory and each speaker are checked.
EFFECT:
Sound effects during game.
VOICE:
Voice of announcement and naration.
SPEAKER:
SE speaker check. Checking front/back and left/right is
possible.
BGM VOLUME LEVEL:
BGM sound level. 0/15 (low)~15/15 (high)
Bring the “>” to EXIT and press the TEST BUTTON to
return to the MENU MODE.
7 - 7 SOUND TEST
FIG. 7.7 SOUND TEST
SOUND TEST
EFFECT : SE_CHECK1
VOICE : VO_30
B.G.M. : BM_ADV1
SPEAKER : VO_FRONT
BGM VOLUME LEVEL 9/15
SOUND OFF
>EXIT
SELECT WITH SERVICE BUTTON
PRESS TEST BUTTON TO EXIT

28
7 - 9 GAME ASSIGNMENTS
Selecting the GAME ASSIGNMENTS in the MENU mode causes the present game settings
to be displayed and also the game settings changes (game difficulty, etc.) can be made. Each
item displays the following content.
SETTING CHANGE PROCEDURE
Press the SERVICE BUTTON to move the “>” to the desired item.
Choose the desired setting change item by using the TEST BUTTON.
To return to the MENU mode, move the arrow to EXIT and press the TEST BUTTON.
1
2
ADVERTISE SOUND
Determines wether ADVERTISE SOUND is to
be emitted or not by the setting to ON when
emitting it and to OFF when not emitting it.
3
Setting changes cannot be stored unless the TEST BUTTON is pressed
while the arrow is on EXIT.
The Following FIGURES/TABLES show the factory recommended settings.The Following FIGURES/TABLES show the factory recommended settings.
The Following FIGURES/TABLES show the factory recommended settings.The Following FIGURES/TABLES show the factory recommended settings.
The Following FIGURES/TABLES show the factory recommended settings.
GAME DIFFICULTY
Sets the Game Difficulty in 5 catagories from 1 to
8. The greater the number is, the higher the
difficulty level becomes. Alternately it may
display each catagory by name;
Very Easy, Easy, Normal, Hard, Very Hard
DISPLAY URL
Web Page Address indication during advertise.
ENGINE VOLUME
Engine Volume adjustment
GAME MODE
Setting of Laps.
NORMAL (normal lap setting)
SPECIAL (special setting for more laps-A long-time game mode for for events etc..)
CABINET TYPE
Set to DELUXE or STANDARD as applicable. Setting to wrong type can causefailure be sure to
set correctly. (i.e. In communication Play Race Leader Lamp does not light up/flash/light out.
The Cabinet appearing in the operation explanation mode differs from the type used.)
GAME ASSIGNMENTS
ADVERTISE SOUND ON
DIFFICULTY NORMAL
GAME MODE NORMAL
DEFAULT VIEW DRIVER
SPEED KM/H
DISPLY URL OFF
CABINET TYPE TWIN
LINK TYPE MASTER (CAR1)
>EXIT
SELECT WITH SERVICE BUTTON
AND PRESS TEST BUTTON

29
The “COIN ASSIGNMENTS” mode permits you to set the start number of credits, as well as the basic numbers
of coins and credits. This mode expresses “how many coins correspond to how many credits.”
SETTING CHANGE PROCEDURE
Press the SERVICE BUTTON to move the arrow to the desired item.
Choose the desired setting change item by using the TEST BUTTON.
To return to the MENU mode, move the arrow to EXIT and press the TEST BUTTON.
COIN CHUTE TYPE
Sets the combination of the number of COIN CHUTEs and
the number of players as applicable. In the case that the
COIN CHUTE is changed, be sure the setting is made in a
manner meeting the replaced coin chute.
7 - 10 COIN ASSIGNMENTS
COIN/CREDIT SETTING
Sets the CREDITS increase increment per coin insertion. There are 27 setings from #1 to #27, expressed in
XX CREDIT as against XX COINS inserted. (TABLE 7.11a, 7.11b) #27 refers to FREE PLAY.
When the COIN CHUTE TYPE is set to INDIVIDUAL, there are some setting numbers not displayed as
indicated in TABLE 7.11b.
MANUAL SETTING
This allows credit increase setting as against coin insertion to be further set in the manner finer than COIN/
CREDIT SETTING (refer to TABLE 7.11c).
1
2
3
COIN ASSIGNMENTS
COIN/CREDIT SETTING #12
CHUTE#1 1 COIN 1 CREDIT
CHUTE#2 1 COIN 1 CREDIT
MANUAL SETTING
>EXIT
SELECT WITH SERVICE BUTTON
AND PRESS TEST BUTTON
Setting changes cannot be stored unless the TEST BUTTON is pressed
while the arrow is on EXIT.

30
TABLE 7.10a COIN/CREDIT SETTING (COIN CHUTE COMMON TYPE)
SETTING FUNCTIONING OF CHUTE#1
SETTING #1 1 COIN 1 CREDIT
SETTING #2 1 COIN 2 CREDITS
SETTING #3 1 COIN 3 CREDITS
SETTING #4 1 COIN 4 CREDITS
SETTING #5 1 COIN 5 CREDITS
SETTING #6 1 COIN 2 CREDITS
SETTING #7 1 COIN 5 CREDITS
SETTING #8 1 COIN 3 CREDITS
SETTING #9 1 COIN 4 CREDITS
SETTING #10 1 COIN 5 CREDITS
SETTING #11 1 COIN 6 CREDITS
SETTING #12 2 COINS 1 CREDIT
SETTING #13 1 COIN 1 CREDIT
SETTING #14 1 COIN 2 CREDITS
SETTING #15 1 COIN 1 CREDIT
2 COINS 3 CREDITS
SETTING #16 1 COIN 3 CREDITS
SETTING #17 3 COINS 1 CREDIT
SETTING #18 4 COINS 1 CREDIT
SETTING #19 1 COIN 1 CREDIT
2 COINS 2 CREDITS
3 COINS 3 CREDITS
4 COINS 5 CREDITS
SETTING #20 1 COIN 5 CREDITS
SETTING #21 5 COINS 1 CREDIT
SETTING #22 1 COIN 2 CREDITS
SETTING #23 2 COINS 1 CREDIT
4 COINS 2 CREDITS
5 COINS 3 CREDITS
SETTING #24 1 COIN 3 CREDITS
SETTING #25 1 COIN 1 CREDIT
2 COINS 2 CREDITS
3 COINS 3 CREDITS
4 COINS 4 CREDITS
5 COINS 6 CREDITS
SETTING #26 1 COIN 1 CREDITS
SETTING #27 FREE PLAY

31
MANUAL SETTING
Selecting MANUAL SETTING in the COIN ASSIGNMENTS mode displays the following screen.
FIG. 7.10sb MANUAL SETTING
BONUS ADDER NO BONUS ADDER
2 COINS GIVE 1 EXTRA COIN
3 COINS GIVE 1 EXTRA COIN
4 COINS GIVE 1 EXTRA COIN
5 COINS GIVE 1 EXTRA COIN
6 COINS GIVE 1 EXTRA COIN
7 COINS GIVE 1 EXTRA COIN
8 COINS GIVE 1 EXTRA COIN
9 COINS GIVE 1 EXTRA COIN
Table 7.10c MANUAL SETTING
Determines Coin/Credit setting.
This sets how many coins should be inserted to obtain one Service Coin.
This sets how many tokens one coin represents.
COIN TO CREDIT 1 COIN 1 CREDIT
2 COINS 1 CREDIT
3 COINS 1 CREDIT
4 COINS 1 CREDIT
5 COINS 1 CREDIT
6 COINS 1 CREDIT
7 COINS 1 CREDIT
8 COINS 1 CREDIT
9 COINS 1 CREDIT
COIN CHUTE MULTIPLIER 1 COIN COUNTS AS 1 COIN
1 COIN COUNTS AS 2 COINS
1 COIN COUNTS AS 3 COINS
1 COIN COUNTS AS 4 COINS
1 COIN COUNTS AS 5 COINS
1 COIN COUNTS AS 6 COINS
1 COIN COUNTS AS 7 COINS
1 COIN COUNTS AS 8 COINS
1 COIN COUNTS AS 9 COINS
MANUAL SETTING
COIN TO CREDIT 1 COIN 1 CREDIT
BONUS ADDER NO BONUS ADDER
COIN CHUTE #1 MULTIPLIER
1 COIN COUNTS AS 1 COIN
COIN 1 2 3 4 5 6 7 8 9
CREDIT 1 2 3 4 5 6 7 8 9
COIN CHUTE #2 MULTIPLIER
1 COIN COUNTS AS 1 COIN
COIN 1 2 3 4 5 6 7 8 9
CREDIT 1 2 3 4 5 6 7 8 9
>EXIT
SELECT WITH SERVICE BUTTON
AND PRESS TEST BUTTON
1
2
3
3
1
2

32
Clears the contents of BOOKKEEPING and high
score player ranking entry.
When clearing, bring the arrow to “YES” and when
not clearing, to “NO”, by using the SERVICE
BUTTON, and push the TEST BUTTON.
When the data has been cleared, “COMPLETED”
will be displayed. Bring the arrow to “NO” and
press the TEST BUTTON to cause the MENU
mode to return on to the screen.
Note that the contents of the GAME SETTING,
COIN SETTING, and BOARD SETTING are not
affected by BACKUP DATA CLEAR operation.
BACKUP DATA CLEAR
YES (CLEAR)
>NO (CANCEL)
SELECT WITH SERVICE BUTTON
PRESS TEST BUTTON TO EXIT
7 - 12 BACKUP DATA CLEAR
FIG. 7.12 BACKUP DATA CLEAR
On page (2/2), each play frequency is displayed. When
setting difficulty levels, the frequency can be refered to as a
standard.
When in the PAGE 2/2 mode, press the TEST BUTTON to
return to the MENU mode.
7 - 11 BOOKKEEPING
Choosing BOOKKEEPING in the MENU mode displays the data of operating status up to the present are shown on 2
pages. Press the TEST BUTTON to proceed to PAGE 2/2.
BOOKKEEPING PAGE1/2
COIN CHUTE #1 XXXXXXXXXXX
COIN CHUTE #2 XXXXXXXXXXX
TOTAL COINS XXXXXXXXXXX
COIN CREDITS XXXXXXXXXXX
SERVICE CREDITS XXXXXXXXXXX
TOTAL CREDITS XXXXXXXXXXX
NUMBER OF GAMES XXXXXXXXXXX
TOTAL TIME XDXXHXXMXXS
PLAY TIME XDXXHXXMXXS
AVERAGE PLAY TIME XXMXXS
LONGEST PLAY TIME XXMXXS
SHORTEST PLAY TIME XXMXXS
TIME HISTOGRAM
0M 0S - 1M59S--------------->XXXXXXX
2M 0S - 2M59S--------------->XXXXXXX
OVER 6M30S----------------->XXXXXXX
PRESS TEST BUTTON TO CONTINUE
FIG. 7.11a BOOKKEEPING (1/2)
COIN CHUTE#*:
Number of coins put in each Coin Chute.
TOTAL COINS:
Total number of activations of Coin Chutes.
COIN CREDITS:
Number of credits registered by inserting coins.
SERVICE CREDITS:
Credits registered by the SERVICE BUTTON.
TOTAL CREDITS:
Total number of credits (COIN CREDITS+SERVICE
CREDITS).
TOTAL TIME:
The total energized time.
BOOKKEEPING PAGE 2/2
CAR SELECT
IMPREZA XXXXXXX
STRATIOS XXXXXXX
COROLLA XXXXXXX
ESCORT XXXXXXX
LANCER XXXXXXX
PEUGEOT XXXXXXX
TRANSMISSION SELECT
AUTOMATIC XXXXXXX
MANUAL XXXXXXX
PRESS TEST BUTTON TO EXIT
FIG. 7.11b BOOKKEEPING (2/2)

33
8. HANDLE MECHA
In order to prevent an electric shock and short circuit, be sure to turn power off
before performing work by touching the interior parts of the product.
Be careful so as not to damage wirings. Damaged wiring can cause an electric shock
or short circuit accident.
1
2
In the test mode, if the steering whell’s VR variations are not within the allowable range, the VR installation
position adjustments or VR replacement is needed. Also, be sure to apply grease to the VR gear portion once
every 3 months.
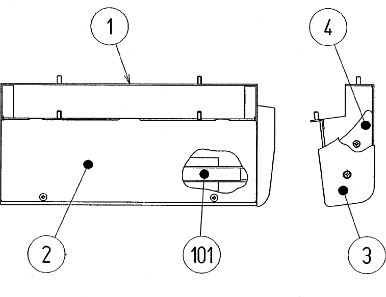
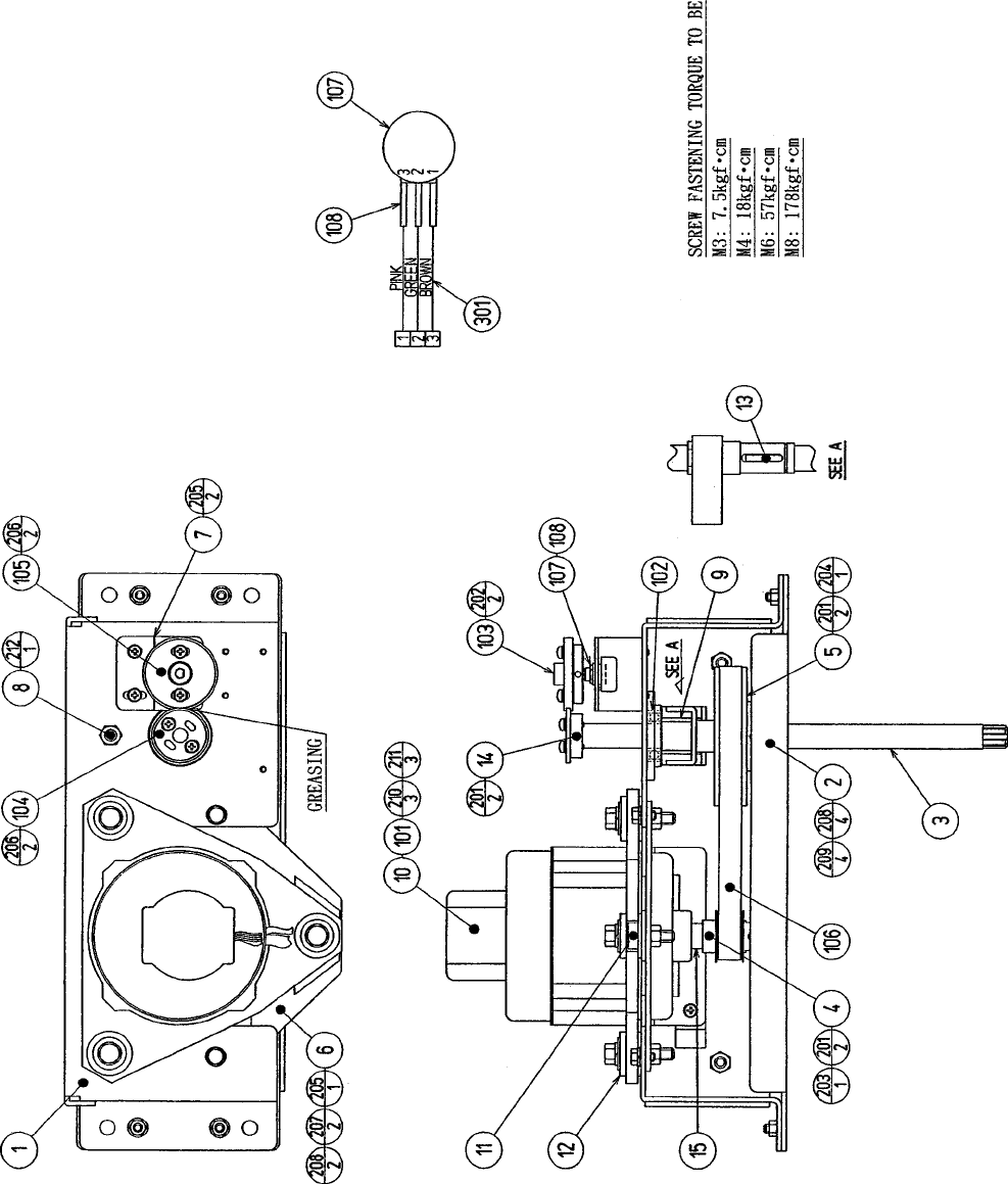
8 - 1 REMOVING THE CONTROL PANEL
Turn the power switch off.
Remove a total of 4 tamperproof screws from both sides of the control panel’s front.
Remove the two tamperproof screws fromthe underside of the control panel.
Wiring connectors are connected inside the control panel. Carefully draw the control panel in a mnner so as not to
damage wiring.
Disconnect the wiring connector.
3
4
5

34
1
2
Turn off the power.
Disconnect the connector.
Take out the 2 screws which secure the volume Bracket and remove the Volume Bracket.
Take out the 2 screws to remove the Volume Gear and replace the Volume.
After replacing the Volume, perform Volume setting in the Volume Setting Mode.
3
4
5
ADJUSTING THE VOLUME
8 - 2 REPLACING AND ADJUSTING THE HANDLE’S VR
Never touch places other than those specified. Touching places not specified can
cause electric shock and/or short circuit.
After the replacement or adjustment of the VR, be sure to set the variable value of
the VR in the test mode’s Volume Setting.
REPLACING THE VOLUME
1
2
In the Test Mode, have the Volume value indicating screen displayed.
Loosen the 2 screws which secure the Volume Bracket to disengage Gear Mesh.
With the Steering Wheel in the centering position, cause gears to be engaged in the manner so that the Volume
Shaft is in the status shown below.
Fasten screws which secure the Volume Bracket.
Perform Volume setting as per the Volume Setting Mode.
3
4
5

35
8 - 3 GREASING
Never touch places other than those specified. Touching places not specified can
cause electric shock and/or short circuit.
After the replacement or adjustment of the VR, be sure to set the variable value of
the VR in the test mode’s Volume Setting.
Apply greasing to the Volume gear mesh portion every 3 months.
For spray greasing, use Grease Mate (Part No. 090-0066).

36
In order to prevent electric shock and short circuit, be sure to turn off the power
before performing work on the interior parts of the product.
Be careful not to damage wiring. Damaged wiring can cause electric shock or short
circuit.
Do not touch places other than those specified. Touching places other than those
specified can cause an electric shock or short circuit accident.
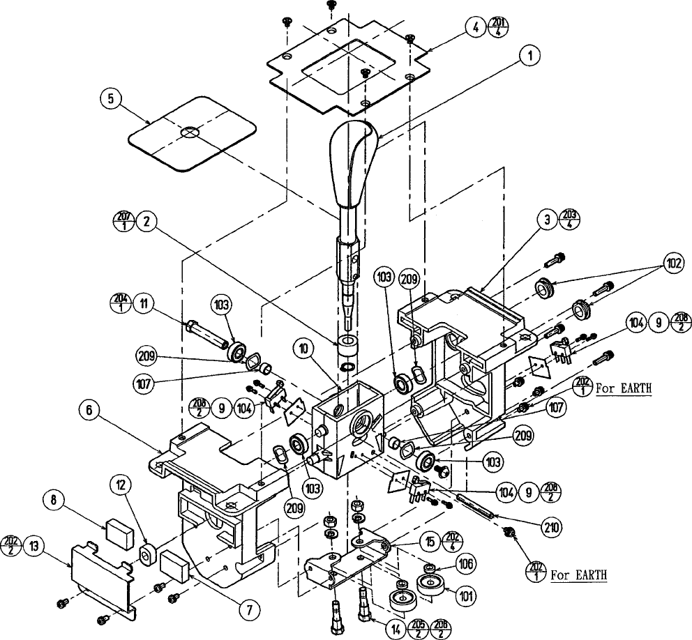
If the Shift Lever operation is not satisfactory, remove the Shift Lever in the following procedure and replace the
microswitch.
9 - 1 REMOVING THE SHIFT LEVER
9. SHIFT LEVER
1
2
Turn Power off.
Take off the 4 screws and remove SHIFT COVER A.
Take out the 4 SPECIAL BOLTS and pull the SHIFT LEVER UNIT upward by paying careful attention so as not
to damage the wiring.
Disconnect the 2 connectors to allow the unit to be removed.
3
4

37
9 - 2 SWITCH REPLACEMENT
Each microswitch is secured with 2 screws. Remove the 2 screws and replace the Microswitch.
After replacing the Switch, check to see if the switch is inputted as per Shift Lever operation in the Test Mode.d

38
In order to prevent an electric shock and short circuit, be sure to turn power off
before performing work by touching the interior parts of the product.
Be careful so as not to damage wirings. Damaged wiring can cause an electric
shock or short circuit accident.
Do not touch places other than those specified. Touching places not specified can
cause an electric shock or short circuit accident.
If Accel and Brake operation is not satisfactory, adjustment of Volume installation position or Volume replacement is
needed. Also, be sure to apply greasing to the gear mesh portion once every three months.
1
2
Take out the 2 truss screws and remove the Front Cover
from the Accel. & Brake unit.
Loosen the screw which secures the Potentiobase, and
adjust the Volume Value by moving the Base.
Secure the Potentiobase.
Perform Volume setting in the Volume Setting Mode.
3
10 - 1 ADJUSTING AND REPLACING THE V.R.
4
10. ACCEL & BRAKE(S)
Check Volume values in the Test Mode.
Since work is performed inside the energized cabinet, be very careful so as not to touch undesignated portions. Touch-
ing places not specified can cause an electric shock or short circuit.

39
1
2
Take out the 2 truss screws and remove the Front Cover
from the Accel. & Brake unit.
Loosen the screw which secures the Potentiobase, and
adjust the Volume Value by moving the Base.
Secure the Potentiobase.
Perform Volume setting in the Volume Setting Mode.
3
4
Check Volume values in the Test Mode.
Since work is performed inside the energized
cabinet, be very careful so as not to touch
undesignated portions. Touching places not
specified can cause an electric shock or short
circuit.
Be sure to use designated grease. Using undesignated grease can
cause parts damage.
Once every 3 months, apply greasing to the Spring and Gear Mesh portion. For spray greasing, use GREASE MATE
(PART No. 090-0066).
10 - 2 GREASING

40
In order to prevent an electric shock and short circuit, be sure to turn power off
before performing work byt ouching the interior parts of the product.
Be careful so as not to damage wirings. Damaged wiring can cause an electric shock or
short circuit accident.
Do not touch places other than those specified. Touching places not specified can
cause an electric shock or short circuit accident.
Once every 3 months, apply greasing to the Spring inside the Hand Brake. For spray greasing, use GREASE MATE
(PART No. 090-0066)
1
2
Turn power off.
Take out the 9 screws and remove the Side Cover B.
Apply greasing to the Spring Portion.
3
1
Be sure to use designated grease. Using undesignated grease can cause parts
damage.
Turn power off.
Replace the Microswitch inside Side Cover
B by taking out the 2 screws.
2
10 - 4 REPLACING THE HAND BRAKE MICROSWITCH
10 - 3 GREASING TO THE HANDBRAKE

41
The coin selector should be cleaned
once every 3 months. When cleaning,
follow the procedure below:
Turn the power for the machine OFF.
Open the coin chute door.
Open the gate and dust off by using a
soft brush (made of wool, etc.).
Remove and cleen smears by using a
soft cloth dipped in water or diluted
chemical detergent and then squeezed
dry.
Remove the CRADLE.
When removing the retaining ring(E-
ring), be very careful so as not to bend
the shaft.
Remove stain from the shaft and pillow
portions by wiping off with a soft cloth,
etc.
After wiping as per #5 above, further
apply a dry cloth, etc. to cause the coin
selector to dry completely.
Once a month, when performing the COIN SW
TEST, simultaneously check the following:
Does the Coin Meter count satisfactorily?
Does the coin drop into the Cashbox correctly?
Is the coin rejected when inserted while keeping
the REJECT BUTTON is pressed down?
If the coin is not rejected when the REJECT BUTTON is pressed, open the coin chute door
and open the selector gate. After removing the jammed coin, put a normal coin in and check
to see that the selector correctly functions.
1
2
3
4
5
6
COIN INSERTION TEST
HANDLING THE COIN JAM
CLEANING THE COIN SELECTOR
11 . COIN SELECTOR
Never apply machine oil, etc. to
the coin selector
After cleaning the Coin Selecting,
Insert a regular coin in the normal
working status and ensure that
the Selector correctly functions.
GATE
FIG. 9a
FIG.9b
COIN METER
FIG. 9c
CRADLE
Insert a coin
while keeping
the Reject
Button pressed
down and check
if it is
rejected.

42
OPTIONAL DOLLAR BILL ACCEPTOR
THE COIN DOOR ASSEMBLY USED ON RALLY 2 Twin Version RALLY 2 Twin Version
RALLY 2 Twin Version RALLY 2 Twin Version
RALLY 2 Twin Version
COMES EQUIPPED TO ACCEPT A DOLLAR BILL ACCEPTOR. ALL
NEEDED WIRING CONNECTIONS ARE CONVIENENTLY LOCATED INSIDE
THE GAME FOR THIS APPLICATION.
THE COIN DOOR CAN ACCCOMMODATE THE FOLLOWING
VALIDATORS:
HOLE POSITION#1 Mars 2000 series
(FORWARD-MOST POSITION)
HOLE POSITION#2 Mars 2000 series
DBV45 (JCM)
HOLE POSITION #3 CURRENTLY NOT USED
HOLE POSITION #4 DSI01*
*The back flange on the chute can be removed for hold position #4.
If the flange is not removed, it may interfere with the back of the
cabinent.
The frame and cashbox enclosure on this coindoor has been modified to accomodate a Mars 2000 series
upstacker. A 2000 series stacker can be added by simply removing the top two entry door and replacing it with a one
entry door with a cut-out for a stacker. This one entry door can be ordered through Coin Controls or one of Coin Controls
authorized distributors. The part number is 91-4000-01. The Mars stacker can be obtained through an autherized Mars
distibutor.

43

44
12. MONITOR
When performing such work as installing and removing the monitor, inserting and disconnect-
ing the external connectors to and from monitor, be sure to disconnect the power connector
(plug) before starting work. Proceeding the work without following this instruction can cause
electric shock of malfunctioning.
Using the monitor by converting it without obtaining a prior permission is not allowed. SEGA
shall not be liable for any malfunctioning and accident caused by said conversion.
Primary side and secondary sidePrimary side and secondary side
Primary side and secondary sidePrimary side and secondary side
Primary side and secondary side
The monitor’s circuit which is divided into the Primary
side and secondary side, is electrically isolated. Do
not touch the primary side and the secondary side
simultaneously. Failing to observe the instruction can
cause electric shock, and this is very dangerous.
When making monitor adjustments, use a non-
conductive driver and make adjustment without
touching any other part other than the Adjustment
V.R. and Knob. Also, be sure not to cause a short-
circuit to the Primary side and the Secondary side. If
short-circuited, it can cause electric shock or mal-
functioning, which is very dangerous.
High tension VoltageHigh tension Voltage
High tension VoltageHigh tension Voltage
High tension Voltage
Some of the parts inside the monitor are subject to high-tension voltage in excess of 20,000
volts and very dangerous. Therefore, do not touch the monitor interior. Should soldering &
paper wastes, etc. be mixed in the monitor, turn the power off so as not to cause malfunc-
tioning or fire hazard.
Connecting the CRT and PCBConnecting the CRT and PCB
Connecting the CRT and PCBConnecting the CRT and PCB
Connecting the CRT and PCB
For combining the CRT and PCB, use the specified part No. to maintain the status of adjust-
ments made at the factory. The anode of the CRT itself will be accumulitavly charged as time
elapses, generating high tension voltage which is very dangerous. The monitor should be used
with the Chassis, CRT and PCB assembled. When repair, etc. is required at the time of malfunc-
tioning, be sure to send it in an “as assembled” condition. If these are dissassembled, what’s
charged to said high tension voltage can be discharged, cuasing a very hazardous situation.
Therefore, under no circumstances should it be dissasembled.
Static ElectricityStatic Electricity
Static ElectricityStatic Electricity
Static Electricity
Touching the CRT surface sometimes cuases you to slightly feel electricity. this is because the
CRT surfaces are subject to static and will not adversly affect the human body.
Installation and removalInstallation and removal
Installation and removalInstallation and removal
Installation and removal
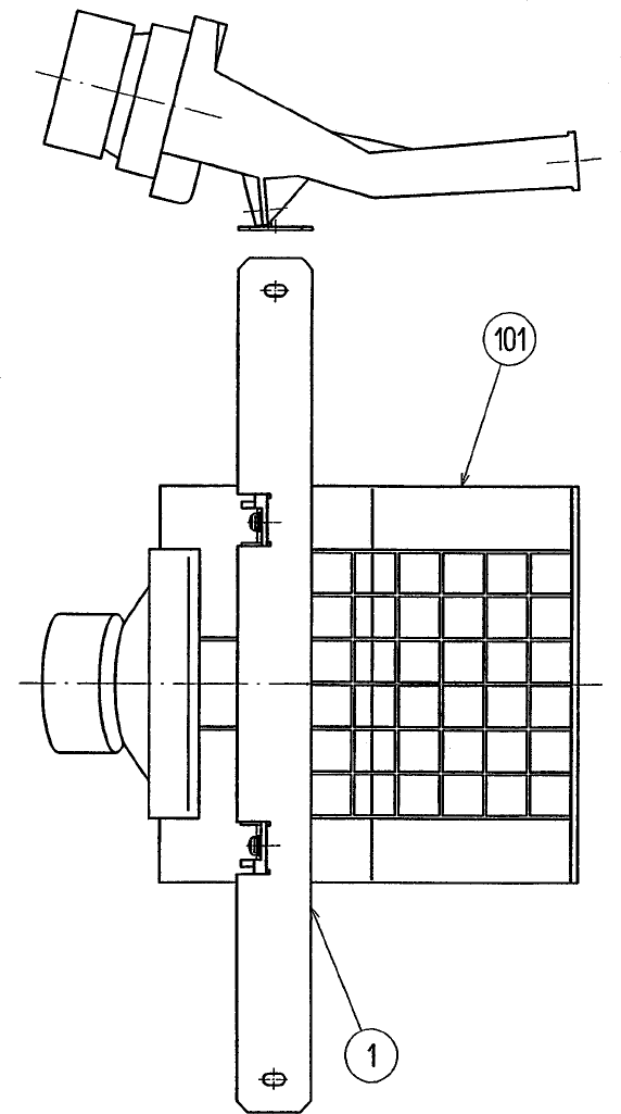
Ensure that the Magnetizer Coil, FBT (Fly-Back Transformer), Anode Lead and Focus Lead are
not positioned close to the sheet metal work’s sharp edges, etc. and avoid damaging the
insulated portions so as no to cause an electric shock and malfunctioning. (For the name of
parts, refer to the above figures.)

45
For the purpose of static prevention,
special coating is applied to the CRT
face of this product. To protect the
coating, pay attention to the following
points. Damaging the coating film can
cause electric shock to the customers.
For the caution to be heeded when
clearing, refer to the Section of Periodic
inspection Table.
Do not apply or rub with a hard item (a
rod with pointed edge, pen, etc.) to or
on C.R.T. surfaces.
Avoid applying stoickers, seals, etc. on
the C.R.T. face.
Do not remove aluminum foils from the
C.R.T. corners. Removing the aluminum
foils can cause static prevention effects
to be lowered.
Monitor adjustments have been made at the time of shipment. There-
fore do not make further adjustment without a justifiable reason.
Adjusting the monitor which contains high tension parts is dangerous
work. Also, an erroneous adjustment can cause deviated synchroniza-
tion and image fault, resulting in malfunctioning.
When making adjustment, utilize a resinous Alignment Rod. Servicing
with bare hands or using conductive tools can cause electric shock.

46

47
13. REPLACEMENT OF FLUORESCENT LAMP AND LAMPS
When performing the work, be sure to turn power off. Working
with power on can cause an electric shock or short circuit acci-
dent.
The Fluorescent Lamp, when it gets hot, can cause burns. Be
very careful when replacing the Fluorescent Lamp.
To perform work safely and securely, be sure to prepare a step which is in a
secure and stable condition. Not using a step or using an unstable step can
cause violent falling down accidents.
13 -1 REPLACEMENT OF FLUORESCENT LAMP
Take out the 2 screws to remove the FL
Cover Plate, and replace the Fluorescent
Lamp. (FRONT)
Take out the 3 screws to remove Billboard
Lid, and replace Fluorescent Lamp.
(REAR)
1
2

48
Remove Wire Covers A and B
Disconnect the connector, take out the screw to remove the Lamp Unit, and replace the lamp.
13 - 2 LAMP REPLACEMENT
1
2

49
The items listed below require periodic check and maintenance to retain the performance of
this machine and ensure safe operation.
14. PERIODIC INSPECTION TABLE
Be sure to check once a year to see if Power Cords are damaged, the plug is
securley inserted, dust is accumulated between the Socket Outlet and the Power
Plug, etc. Using the product with dust as is accumulated can cause a fire or
electrical shock.
Periodically once a year, request the place of contact herin stated or the Distrib-
uter, etc. where the product was purchased from, as regards to the interior
cleaning. Using the product with dust as is accumulated in the interior without
cleaning can cause a fire or short circuit accident. Note that cleaning the interior
parts can be performed on a pay-basis.
CLEANING CABINET SURFACES
If the cabinet is badly stained, use a cloth which is dipped in the chemical detergent liquid diluted with water and then
squezzed dry. Do not use thinner, benzine, alcohol or chemical dustcloth as these can damage Cabinet surfaces.
SEAT (Greasing to Seat Rail Portion)
Move the Seat to the rearmost portion and apply spray greasing to the
portion shown at the right once every 3 months by using NOK KLUBER
L60 or GREASE MATE SEGA PART No. 090-0066. After greasing, move
seat a few times forward and backward so as to allow the grease to be
applied all over uniformly. Be sure to wipe grease which attaches to the
surfaces of the PROTECT RUBBER on the seat Rail, or any excess grease.

50
15. TROUBLESHOOTING
PROBLEMS CAUSE COUNTERMEASURES
With Main SW Power is not supplied. Plug in correctly
ON, no activation Power supply/voltage is not correct. Make sure that power supply/voltage is
correct.
AC main fuse causes the Check fuse. Remove the cause of
power to be cut off due to momentary overload and replace fuse
overload.
Operation is Volume Setting Failure Perform Volume setting
unsatisfactory Adjust or replace V.R.
Poor mesh of V.R. gear. Adjust Gear mesh..
Spring failure due to secular change
of Accelerator and Brake Mecha. Replace the Spring.
Irregular sound Greasing to gear mesh portion is not Apply greasing or eliminate extraneous
emitted from satisfactory, or extraneous matter matter.
inside Rear Cabinet mixed in.
The color of the Connector connections are defective. Check the connection for the RGB and
image on PROJ. SYNC connectors of the PROJ. TERM.
screen is incorrect. BD and VPM BUFFER BD.
The image on PROJ. Affected by the magnetic field of Make CONVERGENCE adjustment.
screen has color installation location. (Refer to Section 9.)
deviation.
No sound is emitted. Sound Volume adjustment is not Adjust sound volume. (see Section 6).
appropriate.
Sound BD and speaker are Perform sound test to find and replace
malfunctioning. defective parts.(Refer to Section 6).
NETWORK check Communication cable’s connection Perform V.R. setting, Adjustment.
will not finish. failure.
Communication play Communication cable’s connection Check for Communication cable
is not possible. failure. disconnection
Communication Play setting is wrong. Correctly set in test mode.
No sound from In correct Cabinet Type Setting. Correct Cabinet Type Setting.
Cockpit.
The Fluorescent The Fluorescent tube is burnt out. Replace the Fluorescent tube
lamp does not (Refer to Section 10).
light up.
Shift operation is not Shift SW malfunctioning. Replace SW
is not satisfactory in
Manual transmission.
Should trouble occur, first check connector connections.

51
16. GAME BOARD
In order to prevent an electrical shock, be sure to turn power off before
performing work by touching the interior parts of the product.
Be careful so as not to damage wirings. Damaged wiring can cause an
electric shock or short circuit accident.
Do not expose the Game BD, etc. without a good reason. In this product,
setting changes are made during the test mode. The Game BD need not be
operated. Use the Game BD, etc. as is with the same setting made at the
time of shipment.
16 -1 REMOVING THE GAME BOARD
To replace the IC Board or to change dip switch settings, take out the IC board using the following procedure;
1
2
3
Turn main switch off.
Unlock the base, and remove the 2 truss screws from the side of the base.
Turn the knob to unlock. The seat can be inclined in the direction shown. When inclining the seat, be careful not to
damage seat parts. Carefully rest the backrest portion of the seat on the ground.
If neccessary, protect the seat from damage by using a cloth or blanket on the floor.
Take off the 3 screws to remov eth case lid. The game board is inside the shield case.
Take off a total of 4 screws from both sides with the seat being inan inclined state and remove the base lid F.
Removing base lid F allows the elec base to be seen.
4
5
6

52
Incline the Seat and remove the Base Lid to view the Base interior. The composition of the Base interior is as shown
below. There is a fuse on each of the Connect BD. and Motor Drive BD. When replacing the fuse, be sure to use the
specified one.
In order to prevent an electric shock, be sure to turn power off before performing
work by touching the interior parts of the product.
Be careful so as not to damage wirings. Damaged wiring can cause an electric shock
or short circiut accident
After eliminating the cause of the blowing of fuse, replace the fuse.
Depending on the cause of the fuse blowing, using the fuse as is blown can cause
generation of heat resulting in fire.
16 - 2 REPLACEMENT OF FUSE

53
16 - 3 COMPOSITION OF GAME BOARD
NOTE: THIS PICTURE IS FOR REFERENCE ONLY!! UNIT IS NOT TO BE OPENED. EXPOSING THE GAME
BD FOR ANY REASON MAY VOID WARRANTY.
GAME BD SRT TWIN (833-13373)

54
If an irregularity occurs inthe Drive Control Board, etc., the ERROR message is shown ont he screen and the 7-SEG
display ont he Drive Control Board. Take countermeasures in the manner corresponding to the ERROR message. Note
that even at the time of error occurence, game play is possible without Steering Wheel reaction.
Among the ERROR display as per the Table listed below, each Er 01, 02, 20, and 22 is displayed if an irregularity is
found during initialization setting movements when power is turned on and at the time Test Mode is finished.
From among error displays as per the Table shown below, Er 23, 24, and 25 indicate On-Board 7-SEG error display
when an irregularity is found during game and ADVERTISE MODE. If an irregularity is found during game, game play
can be continued without Steering Wheel reaction.
Be Careful so as not to damage wirings. Damaged wirings can cause an electric shock
or short circuit accident.
Do not touch places other than those specified. Touching places not specified can
cause an electric shock or short circuit accident.
16 - 4 ERROR DISPLAY (DRIVE CONTROL BOARD)

55
If ERROR display is shown on the screen, incline the Seat WITHOUT TURNING POWER OFF, and remove Back
Lid B to check the 7-SEG display ont he Drive Control Board. At this time, if the power is turned off, each of the Er 23,
24, and 25 which could have occured during operation may not be displayed.

56
Before performing between-cabinets connection work, be sure to turn the Power
SW OFF and unplug the power plug from the wall socket. Failure to observe this
can cause electric shock and/or short circuit accidents.
Perform assembling as shown in this manual. Erroneous assembling can cause
electric shock accidents and malfunctioning.
17. COMMUNICATION PLAY
By linking 4 machines, up to 4 persons can play simultaneously. Although accessory parts are to be installed for
communication play, some of the parts will remain as spares.
17 - 1 INSTALLATION PRECAUTIONS
Simple multiple machines are to be linked, sufficient
power corresponding to the number of machines used
need to be supplied. As standard, amperage is 15A
(AC100~110~120V area).
Due to the parts used for communication play, interval
between machines is 20 cm. If parts are not installed,
adjascent players will come into contact with each other
and this can cause accidents and trouble.
The Communication Cable is optic-fiber made and will break if excessively bent.
Handle with care.
17 - 2 CONNECTING THE COMMUNICATION CABLES
The Protect Tube is used to link plural machine units and the communication cables are caused to pass through the
Protect Tube. Depending on the number of machine units to be linked, connect the communication cables in the manner
descibed on page 58.
1
2

57
To assemble your Rally 2 Twin Game locate the Left Cabinet (side with on/off switch), Cash Box Tower, and Right
Side Cabinet. In the parts bag located in the cash box, locate the Opto Cable. this will be needed later, to connect
together the opto connections on the rear of the Cash Box Tower. The hardware needed to assemble your Rally 2
Twin game has been threaded into the proper holes. This was done to insure the bolts thread properly into the T
nuts in the Cabinet.
At this time remove the rear cover of the Cash Box Tower.
Notice the wire harness taped to both sides of the cabinets and Cash Box Tower. On the wireharness connections
Black is for the left side, yellow is for the right side viewed from the front. Locate left side cabinet (on/off switch)
and Cash Box Tower. Connect the 15, 4 and 2 position connectors together. At this time connect the Opto cable
(without white lable) to the Opto connection nearest to the left side of cabinet (viewed from the front). These Opto
connections are in the rear of the Cash Box Tower.
You may elect no to connect the connector at this time, but carefully push connectors in the hole so they are still
accessible from the outside of the cabinet.
There are 4 bolts in the NON SLOTTED HOLES, on the side of the cabinet, the 2 on top under the the ledge must
be removed. The 2 on the bottom must be loosened about 1/4 inch. Lift up the Cash Box Tower and using the 2
lower slotted holes on the bottom of the Cash Box slip them over the lower protruding bolts and slide the cash box
into place. Open the Coin Door and install the 2 upper bolts through the cash box into the cabinet. tighten all 4
bolts.
The Right side of the cabinet gets installed the same way as the left side.
1
2
3
4
5
6

58

59
During communication play, if communication is interrupted due to a certain
cause, ERROR MESSAGE will be displayed, then NETWORK check mode appears on
the screen automatically.
Cause all of the seats to enter the Test Mode and change the GAME ASSIGNMENTS of each seat for communication
play. Refer to the section on Explanation of Test and Data display for changing procedure.
Press the TEST button to enter the test mode and choose “GAME ASSIGNMENTS”.
Bring the arrow to LINK TYPE and press the TEST BUTTON and set plural numnber of machines sequentially
to CAR 1, CAR2, CAR3 and CAR4 as applicable starting fromthe extreme left facing the monitor’s front side. I f
the same number is set for 2 or more cabinets, or if the sequential order is incorrect, the game display, etc. will be
confused (different fromthe actual status). Therefore, be careful of this point.
In case of communication play, only the settings of GAME DIFFICULTY and GAME MODE need to be
performed by the MASTER seat. All other seats (SLAVE) are subject to the setting made by the MASTER CAR1
seat. The above setting change made by any SLAVE seat is not effective and will not be reflected on the game.
17 - 3 SETTING FOR COMMUNICATION PLAY
GAME ASSIGNMENTS
ADVERTISE SOUND ON
DIFFICULTY NORMAL
GAME MODE NORMAL
DEFAULT VIEW DRIVER
SPEED KM/H
DISPLY URL OFF
CABINET TYPE TWIN
LINK TYPE MASTER (CAR1)
>EXIT
SELECT WITH SERVICE BUTTON
AND PRESS TEST BUTTON
1
2
3

60
18. DESIGN RELATED PARTS

61
DESIGN RELATED PARTS

62
19. PARTS LIST
TOP ASSYSEGA RLLY 2 TWIN
63
TOP ASSY SEGA RALLY2 TWIN
ITEM NO. PART NO. DESCRIPTION
1 SRT-10001 ASSY COCKPIT 1P
2 SRT-11001 ASSY COCKPIT 2P
3 SRT-0200 ASSY BILLBOARD
4 SRT-0300 ASSY COIN CHUTE TOWER
5 422-0663-01 SUB INSTR SH SRT TWIN ENG
15 421-8543 STICKER CABINET L
16 421-8544 STICKER CABINET R
17 421-7308~ DENOMINATION SHEET 1GAME~
19 RAL-0006 BLIND CAP
20 SPG-0006 AC COVER A
21 DYN-0006X AC COVER B
22 INY-0004 BACK LID INY
23 DYN-0008 BACK LID B
24 DYN-0009 HOLE LID
25 DYN-0011 DENOMI PLATE W/O ORIGINAL
101 600-6275-0500 ASSY FIBER CABLE 5 0500CM

64
ITEM NO. PART NO. DESCRIPTION
1 SRT-0201-01 BILLBOARD FRAME EXP
2 SRT-0202 ASSY BILLBOARD BOX
3 SRT-0206 ASSY LIGHT COVER
4 SRT-0215 ASSY FL BOX L
5 SRT-0218 WIRE COVER A
6 SRT-0219 WIRE COVER B
8 SRT-0221 WIRE COVER L
9 SRT-0222 WIRE COVER R
10 SRT-0227 ASSY FL BOX R
ASSY BILLBOARD (SRT-0200)

65
ITEM NO. PART NO. DESCRIPTION
1 SRT-0203 BILLBOARD CASE
2 SRT-0204 BILLBOARD LID
3 SRT-0205 BILLBOARD
4 253-5457 FL HOLDER
101 LOCAL PURCHASE ASSY FL 20W EX W/CONN HIGH S
ASSY BILLBOARD BOX (SRT-0202)

66
ASSY LIGHT COVER (SRT-0206)
ITEM NO. PART NO. DESCRIPTION
1 SRT-0207 LIGHT COVER
2 SRT-0208 LIGHT COVER BASE
3 SRT-0209 L BRKT
4 SRT-0210 LIGHT COVER BRKT
5 SRT-0211 LENS HOLDER
6 SRT-0212 LIGHT BRKT
7 SRT-0213 LAMP UNIT
101 253-5461 LIGHT COVER CIBIE
102 275-0134 LENS
103 105-5325 REFLECTOR
104 280-5328 RUBBER PACKING

67
LAMP UNIT (SRT-0213)
ITEM NO. PART NO. DESCRIPTION
1 SRT-0214 LAMP BRKT
101 390-6567 LAMP 110V 15W YELLOW
102 214-0110 BULB SKT

68
ASSY FL BOX L (SRT-0215)
ITEM NO. PART NO. DESCRIPTION
1 SRT-0216 FL BOX L
2 SRT-0217 FL COVER PLATE
3 SRT-0223 SIDE COVER L
4 SRT-0225 SIDE COVER BRKT L
101 LOCAL PURCHASE ASSY FL 6W SD W/CONN S

69
ITEM NO. PART NO. DESCRIPTION
1 SRT-0220 FL BOX R
2 SRT-0217 FL COVER PLATE
3 SRT-0224 SIDE COVER R
4 SRT-0226 SIDE COVER BRKT R
101 LOCAL PURCHASE ASSY FL 6W SD W/CONN S
ASSY FL BOX R (SRT-0227)

70
ASSY COINCHUTE TOWER (SRT-0300)
71
ITEM NO. PART NO. DESCRIPTION
1 SRT-0350 SW UNIT
2 SPG-0301 COIN CHUTE TOWER
3 DYN-0302Y COIN METER BRKT
4 DP-1167 TNG LKG
5 BOX-CASH CASH BOX
10 DYN-0305 TOWER BRKT
11 105-5202 HOLE COVER
12 SPG-0302 WIRE BOX
13 SPG-0303 WIRE BOX LID
101 220-5237-92 ASSY C.C. 2DR
102 220-5412 MAG CNTR W/CONN
103 220-5412-01 MAG CNTR W/CONN BLACK
104 220-5574 CAM LOCK W/KEYS
105 220-5575 CAM LOCK MASTER W/O KEY
ASSY COINCHUTE TOWER (SRT-0300)

72
ITEM NO. PART NO. DESCRIPTION
1 UCQ-1035 SWITCH BRKT
101 509-5028 SW PB 1M
102 220-5296 VOL CONT 5KOHMx2 +/-10% RV24G
103 601-0042 KNOB 22MM
SW UNIT (SRT-0350)

73
ASSY COCKPIT 1P (SRT-10001)
ASSY COCKPIT 2P (SRT-11001)
74
ITEM NO. PART NO. DESCRIPTION
1 SRT-20001 ASSY MAIN BASE 1P
SRT-21001 ASSY MAIN BASE 2P
2 SRT-1030 ASSY MONITOR COVER L 1P
SRT-1040 ASSY MONITOR COVER L 2P
3 SRT-1035 ASSY MONITOR COVER R 1P
SRT-1045 ASSY MONITOR COVER R 2P
4 SRT-12001-01 ASSY CONTROL PANEL TWIN EXP
5 SRT-1001 MONITOR STAND
6 SRT-1002 WIRE COVER BOX
7 INY-1016 MONITOR SUPPORT
8 SPG-1008 ROOF LID
9 TTR-1067X MONITOR MASK
10 SPG-1005 MASK HOLDER
11 DYN-1025 RUBBER CUSHION
12 INY-1015 CRT ADJUST PANEL
14 SRT-4550 ASSY DRIVE BD TWIN
101 200-5242-24-04 ASSY CLR DSPL 29 TYPE 100V
200-5243-24 ASSY CLR DSPL 29 TYPE 24K 100V
105 280-5112 BUSH FOR TV
106 280-5113 COLLAR FOR TV
107 280-5114 SPACER 6.4-25x2
108 280-5185-6 SPACER TUBE L=6
109 601-6231-C100 EDGING NEW TYPE
ASSY COCKPIT 1P (SRT-10001)
ASSY COCKPIT 2P (SRT-11001)

75
ASSY MONITOR COVER L 1P (SRT-1030)
ASSY MONITOR COVER L 2P (SRT-1040)
ITEM NO. PART NO. DESCRIPTION
1 SRT-1031 COVER PANEL L 1P
SRT-1031-A COVER PANEL L BLANK
2 SPG-1100 ASSY SPEAKER
3 DYN-1032 MASK BRKT

76
ASSY MONITOR COVER R 1P (SRT-1035)
ASSY MONITOR COVER R 2P (SRT-1045)
ITEM NO. PART NO. DESCRIPTION
1 SRT-1046-A COVER PANEL R BLANK
SRT-1046-01 COVER PANEL R 2P EXP
2 SPG-1100 ASSY SPEAKER
3 DYN-1032 MASK BRKT

77
ITEM NO. PART NO. DESCRIPTION
1 INY-1701 SPEAKER BRKT
101 130-5152 SPKR BOX MINI DOME 12W
ASSY SPEAKER (SPG-1100)

78
ASSY CONTROL PANEL TWIN EXP (SRT-12001-01)
79
ITEM NO. PART NO. DESCRIPTION
1 SPG-2001 STEERING WHEEL
2 DYN-1209X HANDLE COLLAR
3 SPG-2002 STEERING EMBLEM
4 SRT-1201-01 CONTROL PANEL COVER ENG
5 SPG-1205 CONTROL PANEL BRKT
6 DYN-1222 SHIFT COVER A
7 DYN-1223X SHIFT COVER B
8 SPG-1203 FAN BRKT
9 SPG-1204 SPL BLT M8
10 SPG-2500 ASSY HANDLE MECHA
11 SPG-2150 ASSY 4 SPEED SHIFTER
12 SRT-1290 ASSY VIRTUAL BUTTON TWIN
13 SPG-2039 SPACER RING
14 601-8543 FAN GUARD
101 260-0011-02 AXIAL FLOW FAN AC 100V 50-60HZ
ASSY CONTROL PANEL TWIN EXP (SRT-12001-01)

80
ASSY HANDLE MECHA (SPG-2500)
81
ASSY HANDLE MECHA (SPG-2500)
ITEM NO. PART NO. DESCRIPTION
1 SPG-2501 HANDLE BASE
2 SPG-2502 BASE LID
3 SPG-2503 HANDLE SHAFT
4 SPG-2504 PULLEY 20 S5M
5 SPG-2505 PULLEY 60 S5M
6 SPG-2506 MOTOR BRKT
7 SPG-2507 VR BRKT
8 SPG-2108 STOPPER BOLT
9 SPG-2109 STOPPER RUBBER
10 SPG-2453 KEY 4X4X40
11 ASK-3502 MOTOR SPACER
12 ASK-3503 MOTOR COLLAR
13 DYN-1270 STOPPER KEY
14 SLC-1130 ADJUST RING
15 SPG 2454 MOTOR SHAFT COLLAR
101 350-5448-01 SERVO MOTOR 500W NEW
102 100-5112 BEARING 17
103 601-8966 GEAR HOLDER
104 601-6172 GEAR 48
105 601-6959 GEAR 64
106 601-9173 TIMING BELT
107 220-5484 VOL CONT B-5K OHM
108 310-5029-F20 SUMITUBE F F 20MM

82
ASSY 4 SPEED SHIFTER (SPG-2150)
83
ASSY 4 SPEED SHIFTER (SPG-2150)
ITEM NO. PART NO. DESCRIPTION
1 SPG-2151 SHIFT KNOB
2 SPG-2152 STOPPER RUBBER
3 SPG-2153 FRONT BASE
4 SPG-2154 SLIDE COVER
5 SPG-2155 SLIDE PLATE
6 SPG-2156 REAR BASE
7 SPG-2157 RUBBER BLOCK 45
8 SPG-2158 RUBBER BLOCK 65
9 SPG-2159 INSULATOR SHEET
10 SPG-2160 SHAFT CASE
11 SPG-2161 SHAFT BOLT
12 SPG-2162 CENTERING BLOCK
13 SPG-2163 RUBBER CASE
14 SPG-2164 ROLLER BOLT
15 SPG-2165 ROLLER SUPPORT
101 100-5252 BEARING ROLLER 25
102 100-5193 GROMMET 11
103 100-5170 BEARING 8
104 509-5636 SW MICRO TYPE SS-5GL2T
106 280-5306 SPACER FAI 6X30
107 280-5307 SPACER FAI 8X55
201 000-F00406 M SCR FH M4X6
202 000-O00410-W M SCR PH W/FS M4X10
203 000-P00420-W M SCR PH W/FS M4X20
204 000-P00508-W M SCR PH W/FS M5X8
205 050-H00600 HEX NUT M6
206 060-S00600 SPR WSHR M6
207 065-S010S0-Z STP RING BLK OZ S10
208 FAS-00033 M SCR PH W/FS M2.3X12
209 FAS-650008 WAVE WSHR 12.7-18.1X2.5
210 FAS-450006 SPR PIN WAVE STN 5X45

84
ITEM NO. PART NO. DESCRIPTION
1 RAL-1291 VR BUTTON BRKT
2 171-6478B PC BD LIGHTING SWX5
101 212-5205-12 CONN JST M 12P RTA
102 509-5205-Y PB SW W/L 6V 1L Y
103 509-5561-S PB SW W/L 6V 5L S
ASSY VIRTUAL BUTTON TWIN (SRT-1290)

85
ASSY MAIN BASE 1P (SRT-20001)
ASSY MAIN BASE 2P (SRT-21001)
86
ASSY MAIN BASE 1P (SRT-20001)
ASSY MAIN BASE 2P (SRT-21001)
ITEM NO. PART NO. DESCRIPTION
1 SRT-1500 ASSY BASE BOX
2 SRT-1600 ASSY SEAT TWIN 1P
SRT-1700 ASSY SEAT TWIN 2P
3 SPG-2200 ASSY ACCEL&BRAKE
4 SRT-4400 ASSY MAIN BD BASE
5 SRT-4500 ASSY ELEC BASE
6 SRT1-0400-01 AC UNIT MAIN EXP (1P)
7 SPG-1502 PEDAL BASE
8 RAL-2007 RUBBER HOLDER R TWIN
9 RAL-2008 RUBBER HOLDER L TWIN
10 SPG-1503 FAN BRKT
101 260-0011 AXIAL FLOW FAN AC100V 50-60 HZ
102 600-6275-0150 ASSY FIBER CABLE 5 0150CM

87
TEM NO. PART NO. DESCRIPTION
1 SPG-0401X AC BRKT
101 600-5843-25 CA & PLUG ASSY 15A W/F-L=2.5M
102 280-5134-6N34 BUSHING STRAIN RELIEF 6N34
103 LOCAL PURCHASE FUSE 7A Slo
105 509-5453-91-V-B SW ROCKER J8 V-B
107 280-0417 TERMINAL BINDING POST BLACK
108 211-5479 CONN OPT JOINT
AC UNIT MAIN (SRT-0400)

88
ITEM NO. PART NO. DESCRIPTION
1 DYN1-2002 MAIN BASE
2 DYN1-2003 BASE LID F
3 DYN1-2004 LOCK TNG
4 DYN1-2005 FLOOR MAT
5 DYN1-2006 HINGE 480
6 DYN1-2010 BASE LID R
7 DYN1-2007 LID EDGE L
8 DYN1-2008 LID EDGE R
101 999-0168 CAM LOCK MASTER W/O KEY
ASSY BASE BOX (SRT1-1500)

89
ITEM NO. PART NO. DESCRIPTION
1 SRT-1501-A MIAN BASE BLANK
2 SRT-1501-B STICKER BASE L
3 SRT-1501-C STICKER BASE R
4 999-0167 LEG ADJUSTER BOLT 1/2X13X3
5 999-0169 CASTER 2 1/2"
MAIN BASE (SRT0-1501)

90
ASSY SEAT TWIN 1P (SRT-1600)
ASSY SEAT TWIN 2P (SRT-1700)
91
ITEM NO. PART NO. DESCRIPTION
1 STC-1650 ASSY WOOFER
2 SPG-2401 UPPER SEAT
3 SPG-2402 LOWER SEAT
4 SRT-1604 SEAT BASE
5 STC-1604 SEAT FRAME
6 SRT-1601 SEAT REAR COVER 1P
SRT-1701 SEAT REAR COVER 2P
7 STC-1606 SEAT MOUNT TRAY
8 STC-1607 SP MOUNT BRKT
9 STC-1608 SPEAKER NET L
10 STC-1609 SPEAKER NET R
11 STC-1610 SAFETY GUARD
12 STC-1611 CABLE BEAR BRKT
13 STC-1612 PROTECT RUBBER
14 STC-1613 SAFETY GUARD F
15 INY-1302-B MASK CUSHION SIDE
16 SPG-2404 SEAT FRAME BRKT
17 SRT-2200 ASSY HAND BRAKE
101 601-9059 SEAT RAIL L
102 601-9060 SEAT RAIL R
103 130-5159 GULL BOX SPEAKER 80OHM 5W
105 601-6563-188 BUSH 2.4T
106 601-6563-100 BUSH 2.4T
107 280-5297 SCRIVET 8 1K31
201 000-P00410-W M SCR PH W/FS M4X10
203 030-000816-S HEX BLT W/S M8X16
205 050-H00800 HEX NUT M8
206 060-S00800 SPR WSHR M8
210 000-T00616-0B M SCR TH BLK M6X16
212 030-000820-SB HEX BLT W/S BLK M8X20
213 060-F00800-0B FLT WSHR BLK M8
ASSY SEAT TWIN 1P (SRT-1600)
ASSY SEAT TWIN 2P (SRT-1700)

92
ITEM NO. PART NO. DESCRIPTION
1 STC-1651 WOOFER BRKT F
2 STC-1652 WOOFER BRKT R
101 130-5160 SUB WOOFER 4 OHM 30W
ASSY WOOFER (STC-1650)

93
ASSY HAND BRAKE (SRT-2200)
94
ASSY HAND BRAKE (SRT-2200)
ITEM NO. PART NO. DESCRIPTION
1 SRT-2201 PIPE SHAFT
2 SRT-2202 PIPE HOLDER
3 SRT-2203 HOLDER SHAFT
4 SRT-2204 STOPPER SHAFT N
5 SRT-2205 STOPPER SHAFT
6 SRT-2206 SPRING
7 SRT-2207 SENSOR STAY
8 SRT-2208 PIPE GUIDE
9 SRT-2209 GUIDE BRKT
10 SRT-2210 FRONT COVER
11 SRT-2211 SIDE COVER A
12 SRT-2212 SIDE COVER B
13 SRT-2213 UNDER COVER
14 SRT-2214 MECHA BRKT
15 SRT-2215 STAY
16 SRT-2216 STOPPER RUBBER
17 SRT-2217 STOPPER RUBBER N
18 SRT-2218 DAMPER STAY
19 SRT-2219 INSULATOR SHEET
101 100-5319 BEARING 10
102 509-5636 SW MICRO TYPE SS-5GL2T
103 601-5564 STOPPER
104 280-5029-F15 CORD CLAMP SR10
201 FAS-450012 SPR PIN BLK OZ 5X30
202 065-E00800 E RING 8MM
203 065-E01000 E RING 10MM
204 020-000508-OZ HEX SKT H CAP SCR BLK M5X8
205 060-S00500-OB SPR WSHR BLK M5
206 000-P00516-S M SCR PH W/S M5X16
207 FAS-000049 M SCR TH BLK M4X5
208 FAS-000050 M SCR PH W/FS M2.3X10
209 FAS-000051 M SCR TH BLK M5X10

95
ASSY ACCEL&BRAKE (SPG-2200)
96
ASSY ACCEL&BRAKE (SPG-2200)
ITEM NO. PART NO. DESCRIPTION
1 SPG-2201 BASE
2 SPG-2202 ACCEL PEDAL
3 SPG-2203 BRAKE PEDAL
4 SPG-2204 ACCEL SPRING
5 SPG-2205 BRAKE SPRING
6 SPG-2206 SHAFT
7 SPG-2207 ACCEL GEAR
8 SPG-2208 BRAKE GEAR
9 SPG-2209 NUETRAL STOPPER
10 SPG-2210 VR PLATE ACCEL
11 SPG-2211 VR PLATE BRAKE
12 SPG-2212 AMPL GEAR
13 SPG-2213 GEAR SHAFT
14 SPG-2214 STOPPER
15 SPG-2215 RUBBER CUSHION
16 SPG-2216 COVER
17 SPG-2217 VR COVER
19 SPG-2219 GEAR STAY
20 SPG-2220 WSHR
21 SPG-2221 NUETRAL STOPPER
101 100-5263 BEARING 12
102 220-5484 VOL CONT B-5K OHM
104 601-7944 GEAR 15
105 310-5029-F15 SUMI TUBE F F 15MM
106 280-0419 HARNESS LUG
201 028-A00304-P SET SCR HEX SKT CUP P M3X4
202 020-000520-0Z HEX SKT H CAP SCR BLK M5X20
203 000-P00420 M SCR PH M4X20
204 000-P00508-W M SCR PH W/FS M5X8
205 000-T00408-0C M SCR TH CRM M4X20
206 FAS-450005 SPR PIN BLK OZ 6X10
207 000-P00405 M SCR PH M4X5
208 FAS-000001 M SCR TH CRM M3X6
209 050-H00500 HEX NUT M5
210 060-F00400 FLT WSHR M4

97
ITEM NO. PART NO. DESCRIPTION
1 SRT-4401 WOODEN BASE
2 SRT-4600 ASSY SHIELD CASE
3 105-5241 SHIELD CASE BRKT
101 400-5330-02-91 SW REGU FOR MODEL 3
ASSY MAIN BD BASE (SRT-4400)

98
ASSY ELEC BASE (SRT-4500)
NOTE: ITEM #103 MAY BE INSTALLED PERPENDICULAR TO THIS BOARD TO ALLOW ROOM FOR DRIVE
BOARDS.
99
ASSY ELEC BASE (SRT-4500)
ITEM NO. PART NO. DESCRIPTION
1 SRT-4501 WOODEN BASE ELEC
2 SRT-4700 ASSY SHIELD CASE MPEG
3 105-5317 SHIEDL CASE BRKT MPEG
101 560-5359 PWR XFMR 100V 6.5A 12.5V 6Ax2
102 838-10801 CONN BD B
103 838-11650-38 EQ. PWR AMP SRT TWIN F
105 838-11651-91 LOWPASS AMP
106 839-0542 AUDIO MIX BD
107 LOCAL PURCHASE FUSE 7A SLO
108 839-0542-02 AUDO MIX BD R

100
ITEM NO. PART NO. DESCRIPTION
1 105-5315 SHIELD CASE MPEG
2 105-5316 SHIELD CASE LID MPEG
3 837-13376 SOUND BD SRT TWIN
4 839-1021 FLT BD DIGITAL SOUND
ASSY SHIELD CASE MPEG (SRT-4700)

101
ASSY DRIVE BD TWIN (SRT-4550)
ITEM NO. PART NO. DESCRIPTION
1 SRT-4551 WOODEN BASE DRIVE TWIN
2 838-12912-01 SERVO MOTOR DRIVE BD NEW
3 838-13366 DRIVE BD SRT

Come see Sega GameWorks Service Department’s Homepage
