Arcade Storm Racer G User Manual
2014-04-28
User Manual: Arcade Storm Racer G
Open the PDF directly: View PDF
.
Page Count: 107 [warning: Documents this large are best viewed by clicking the View PDF Link!]

Ver.2.00
Please keep this manual properly for convenient reference as needed.
For safety reasons, please read the manual first before plugging in machine.
WARNING
OWNER
’
S MANUAL

About This Manual
Thank you for purchasing this product.
The manual describes how to install, set up, use and maintain the product.
The main purpose of the manual is to instruct how to operate the product
correctly and safely. Please follow all the safety and warning instructions in
the manual to avoid personal injury and product damage.
This product may only be maintained by a technician. A technician mainly
refers to a person who has obtained a certificate of senior middle school
related to mechanical engineering, electrical engineering or at a level equal
to that of technical senior middle school graduates, and is engaged routinely
in the maintenance, management, repair of amusement machine.
Please keep this manual properly for easy reference as needed. Moreover,
if the operator entrust another party to operate, move, transport, install,
maintain and repair the machine, please read relevant content and instruct
concerned party to observe all the instructions and precautions in this manual
regarding the particular action to be taken.
When transferring the ownership of this product, be sure to provide this
manual with the machine.
For further information about the game and repair (including consumables),
please contact our company.
© GuangZhou Wahlap Technology Limited All Rights Reserved.
© GuangZhou Wahlap Technology Limited All Rights Reserved.
Unauthorized reproduction of this document or any of its contents in
any form is strictly forbidden.

3. Game Description ...............................................14
4. Test and Setting .................................................16
3.1 Appearance Design.......................................................14
3.3 How to Play.............................................................14
3.4 Multiplayer Description ...................................................15
3.2 Game Introduction .......................................................14
4.3.1 Arcade Operation Mode ..............................................34
4.2.1 Front-End MENU ...................................................20
4.2.2 In-Game MENU ....................................................27
4.2.3 Back-End MENU ....................................................31
4.1.1 GAME FEATURE ...................................................16
4.1.2 GAME CONTENT ...................................................17
4.3.2 Languages ........................................................35
4.3.3 Master Volume .....................................................35
4.3.4 Idle Volume ........................................................36
4.3.5 First Round Coins ..................................................36
4.3.6 Second Round Coins ................................................37
4.3.7 Winner Bonus ......................................................37
4.3.8 Clock ..... .......................................................38
4.3.9 Income ..... ......................................................39
4.3.10 Record ..... .....................................................39
4.1 Game Description .......................................................16
4.3 Operator MENU .........................................................34
4.2 Game FLOW ...........................................................20
2.5 Packing List.............................................................11
2.6 Install Direction .........................................................12
2.7 Warranty ...............................................................13
Table of Contents
About This Manual
1. Safety Precautions ...............................................1
2. Product Description ..............................................6
1.1 Warning Stickers .........................................................1
2.1 Product Specification ......................................................6
2.2 Overview ...............................................................7
2.3 Spare Parts ..............................................................8
2.4 Shipment List ............................................................9
1.2 Placing Site .............................................................1
1.3 Safety Precautions ........................................................2
1.4 Precaution during Play .....................................................3
1.5 Transporting and Moving ..................................................3
1.6 Installing and Placing .....................................................4
1.7 Caution & Warning Stickers ................................................5

4.3.11 Sound Testing ....................................................40
4.3.12 Light Testing .....................................................40
4.3.13 Button Testing ....................................................41
4.3.14 Calibration Steering (Auto)...........................................42
4.3.15 Calibration Foot Pedal (Manual) ......................................43
4.3.16 Video Split Number ......... . . ....................................44
4.3.17 Video ID .......................... . . . ...........................44
4.3.18 Patch... .........................................................45
4.3.19 IO ... ..... . .....................................................45
4.3.20 Reset... .........................................................46
4.3.21 Save ... .........................................................46
5. Maintenance and Service .........................................47
5.1 Maintenance and Service .................................................47
5.2 Part Replacement .......................................................48
5.2.1 Replacement of acrylic signboard .....................................48
6.2.1 Main wooden frame assembly .........................................55
6.2.2 Main frame assembly ................................................57
6.2.3 Motor assembly ....................................................58
6.2.4 Power box assembly .................................................59
6.2.5 Transformer board assembl ...........................................60
6.2.6 Service board assembly .............................................61
6.2.7 Speaker assembly ..................................................62
6.2.8 Right small light assembly ............................................63
6.2.9 Left small light assembly .............................................64
6.2.10 Plastic step box assembly ...........................................65
6.2.11 PCB board assembl ................................................66
6.3.1 Seat wooden crate assembly .........................................68
6.3.2 Upper assembly of seat ..............................................69
6.3.3 Mainframe assembly ................................................70
6.3.4 Backrest horn assembly ..............................................71
6.4.1 Console keyboard assembly ..........................................73
5.2.2 Replacement of fluorescent plate.......................................48
5.2.3 Replacement of top light box ..........................................49
5.2.4 Key replacement ....................................................50
5.2.5 Replacement of pick-up head .........................................50
5.2.6 Replacement of coin acceptor .........................................51
6. Assembly .......................................................52
6.1 Assembly tree diagram ...................................................52
6.3 Seat assembly ...........................................................67
6.4 Plastic console assembly ..................................................72
6.2 General assembly .......................................................53

7. Printing Pattern ..................................................93
8. Wiring Diagram ..................................................96
9. After-Sales Service...............................................99
6.10 Left side light assembly ..................................................79
6.11 Push rod assembly .....................................................80
6.12 Coin door assembly .....................................................87
6.13 Stepping cover assembly ................................................88
6.14 Pedal assembly ........................................................89
6.15 Upper assembly of back door plate ........................................90
6.16 Intermediate assembly of back door plate ...................................91
6.17 Steeling wheel assembly .................................................92
6.5 LCD assembly ...........................................................74
6.6 LCD glass assembly ......................................................75
6.7 Pick-up head assembly ....................................................76
6.8 Billboard Assembly ......................................................77
6.11.1 Handle assembly ..................................................81
6.11.2 Left side plate assembly ............................................82
6.11.3 Right side plate assembly ...........................................83
6.11.4 Drive shaft assembly ...............................................84
6.11.5 Electromagnet assembly ...........................................85
6.11.6 Suction block assembly ............................................86
6.9 Right side light assembly .................................................78

1.1 Warning Stickers
1.2 Placing Site
In order to avoid injury to related people and damage to property, please
observe the followings:
PLEASE READ FIRST
PLEASE READ FIRST
The following marks can be used to indicate the magnitudes of risk and
damage caused by ignorance or improper operation:
Warning
Warning
Caution
Caution
means “may result in serious injury or death”
means “may result in minor injury or property
damage”
Serious Injury
Serious Injury
: refers to the situations in which hospital treatment or long-term treatment
will be accepted because of losing sight, getting hurt, getting burnt, electric
shock, fracture or intoxication.
Minor Injury
Minor Injury
: refers to the cases that there is no need to go to hospital or accept long-term
treatment.
Property Damage
Property Damage
: refers to the damage of house, facility, or hurt of livestock and pet
1. Safety Precautions
Warning
Warning
This machine is designed for indoor use only. Never install the machine
outdoors. Meanwhile, please avoid the following locations indoor:
please make sure the place line has been grounded before product
installation, setup, testing, operation or repair
The rear part has the vent for heat emission from PC or screen.
Don’t place anything nearby to avoid game failure.
Provide a space of minimum 30cm between the rear of the machine
and the wall for good ventilation and heat emission
Direct sunlight, water leakage, damp and high temperature places.
Near Flammable, volatile, or/and dangerous substance.
Slope, unstable places or locations subject to frequent vibration.
Near emergency exit, fire extinguisher or similar equipment.

1.3 Safety Precautions
Warning
Warning
The owner shall pay attention to the followings when placing, checking
and repairing machine to insure player’s security and avoid damage:
Make sure to plug the game into 110V or 220V main outlet to avoid fire
and electric shock.
please check the voltage is 110V or 220V before the machine connectes
to the power supply,or it may cause a fire or electric shock.
Do not unplug or plug the plug instantly.
Don’t touch the power plug with a wet hand to avoid electric shock.
Don’t expose the power cord/grounding line on the passageway.
Failure to do this will damage the power cord, causing electric shock
or short circuit.
Don’t lay anything near the power cord to avoid fire.
Do not pull the power cord when unplugging, please hold the plug to
avoid power cord damage, causing fire or electric shock.
Only use fuse and spare parts specified by our company
Connect the connector firmly and tighten the screws.
Do not dismount, replace or convert the product without our permission
in order to avoid damage and human injury due to improper operation.
Check and maintain the machine regularly.
Keep “Warning stickers” clean and legible. Replace it immediately
when the words are not legible or the dirt can’t be removed.
Please contact our service center when performing any work that is
not described in this manual, and follow the instruction provided.
Make sure to turn off the power when performing maintenance and
service to avoid electric shock or short circuit.
In case of power cord damage, please contact the local distributor for
replacement

Transporting
Transporting
When transporting the machine with an elevator, be sure to employ “Lift Point”
to prevent accident and damage to the machine.
To prevent movement when transporting the machine on a vehicle, please fix the
casters and fully retract the adjusters. Failure to do this may cause damage to the
machine.
When carrying the machine with a forklift, be sure to insert the fork to fork position
and lift stably. If not, it may cause accident and damage to the machine.
The glass and LCD screen are fragile. Avoid violent vibration or shock when
transporting.
Moving
Moving
Before moving the machine, unplug the power plug to prevent accident.
Don’t damage the cord.
Pay attention to the obstructions and uneven surface when moving the machine
to prevent accident and damage to the machine.
Fully retract all adjusters before moving to prevent accident and hazard.
Make sure to use at least two persons to conduct the above work to avoid accident
and injury
Pay attention to the moving direction, see fig.
1.4 Precautions during Play
Caution
Caution
Caution
Caution
Person with poor health condition, such as hypertension or heart disease.
When a player feels uncomfortable during play, remind the person to have
a break, or stop playing.
Make sure the player reads the warning labels and other indications, and
plays in accordance with the instructions to avoid accidents such as electric
shock and short circuit.
Bystander shall not operate any button when the player is playing the game
to avoid unnecessary trouble.
In order to avoid injury and accident during play, the following people shall
not play the game:
People who are injured or less mobile.
Person wearing high-heeled or slippery shoes.
Person who can’t touch the pedal.
Pregnant woman, drunk people.
1.5 Transporting and Moving

Use the adjusters to fix the machine (See diagram 1)
1.Loosen the nuts for the adjusters (clockwise), tighten the bolts with a wrench (clockwise).
2.Tighten the nut firmly(counter clockwise) and fix it well.
Diagram (1)
Diagram (2)
Provide a space of minimum 30cm between the rear of the machine and
the wall for good ventilation and heat emission (See diagram 2).
Wall
bracket
Lock nut
Lock place
Caster Adjuster Bolt
Caution
Caution
1.6 Installing and Placing
Pay attention to the following when placing the machine.
Place the machine on the flat and slip resistant area.

1.7 Caution & Warning Stickers
SRF-P0039
SRF-P0040
雷动G
680
270
Or
Inside
6A Power
680
270
220

6
6
2. Product Description
2.1 Product Specification
Indoor Only
220V
50Hz
680W
270kg
Location
Dimension
Rated Voltage
Frequency
Power Consumption
Weight
Temperature Range 5~40 。
C
Front View Side View
1050mm
2075mm
1050(W)×1730D)×2075H)
1730mm

7
7
Rear View
Bottom View
2.2 Overview
Side View
Top View

8
8
2.3 Spare Parts
Pick-up head
light box
Display
console
seat
Base
service door
handle
side decorative
acryl
steering wheel
top decorative acryl
speaker

9
9
2.4 Shipment List
Packing Carton 1
6 SRF-9901E05 框体限位木条02 实木 20*40*1077 1
5 SRF-9901E04 框体限位木条01 实木 20*40*400 1
4 SRF-9901E03 框体天盖 耐水3C1100G T-10 1
3 SRF-9901E02 框体围框 耐水3C1100G T-10 1
2 SRF-9901E01 框体地台 1
1 SRF-0100000-A 主框体组件 1
序号 图 号 名 称 材料/规格 数量 备注
2
1
6
1
5
1
1
1
3
1
4
1
1147×1094×2240
Complete Unit
STORM RACER G
270 kg
2
1条形码粘贴处

10
Packing Carton 2
7附属品箱 345*255*110mm 1
6 SRF-0000A01 框体连接铁 SPCC-1.5T 2
5 SRF-0200000
座位组件
1
4 SRF-9902E04 座位限位木条02实木 20*40*865 1
3 SRF-9902E03 座位限位木条01实木 20*40*565 1
2 SRF-9902E02
座位无底半页箱
耐水3C1100G T-10 1
1 SRF-9902E01
座位地台
1
序号 图 号 名 称 材料/规格 数量
备注
1
1
4
1
3
1
5
1
2
1
7
1
6
2
905×685×1490
85 kg
2
2
Chair、Accessary Carton
条形码粘贴处
STORM RACER G

11
1
16
16
16
1
1
2
2.5 Packing List
Please check the following items after purchasing our product. If any part
missing or damaged, please contact our sales person!
DescriptionSpecification Quantity Remarks
Powerline
Flatgasket
Spring gasket
Outer hexagon
Reticle
3m(1.0m㎡) 250V
5555 keyKey
Φ6*Φ20*2.0
M6
M6*40
AMP gigabit 10M
OWNER’S MANUAL

12
12
2.6 Install Direction
Steps
、 After opening the packing cartons 1 and 2, find the carton of accessories and outer
hexagon M6*40 with flat spring washer shown as following figure.
、Assemble the machine by using the method shown in following figure.
outer hexagon M6*40
Special attention:when special case occurs in shipment, please check “Installation guide” in attachment box of
shipment, and make assembly according to installation guide; special supplement will not be
made in this instruction.

Damage caused by force majeure such as god will.
Failure caused by carelessness, such as water contact, falling down,
toppling, knocking.
Failure caused by disobeying the instructions in this manual.
Failure caused by operating the machine on inappropriate site.
Change the original design and configuration for the game without notice.
Failure to perform regular service and clean.
Failure to fix the product in line with the manual’s requirement.
Malfunction or part damage caused by electromagnetic interference other
electronic equipments generated.
Non-warranty Consumables
Light tube and bulb
Button lamp and switch
Fragile items
Solenoid
Other spare parts
13
13
2.7 Warranty
Scope
Inquiry regarding product can be assisted for free.
The warranty scope for consumables and durables may differ from product
to product. Please contact our after-sales service center for detailed
information. The right of final interpretation is reserved.
Exclusive

14
14
3. Game Description
This machine has fashionable and beautiful appearance. The whole machine uses blue and
black color tone and acrylic decoration permeable to light is used on its sides to let the blue light
be visible when light is on, while the racing game is shown on the top decorative acryl, without
excessive decoration on the whole machine, so that the machine gives a stylish and elegant
feeling. With respect to the operation, continue the usual mode of operation in racing game so
that it is easier for the player to use and manipulate it.
3.2 Game introduction
Thunderous racing is a racing game, which uses 37inch LCD display, possesses 720DP HD screen
with 60 frames per second; the whole game has six characteristic scenes, 12 race tracks, four difficulty
levels of primary, intermediate, higher and extreme; support the multiplayer of at most 8 persons; in
game, the sports car has strong individuality, with highly sensitive control performance and new
thunderous acceleration system, so that different sports cars possess different operational advantages
on different race tracks.
3.3 How to play
1、Use the traditional mode of operation including steeling wheel+pedal, at the same time, add
the unique accelerator handle;
2、The game rules: after coin, press START (START) key or step on the gas to enter into the
screen of selecting the race track, turn the steeling wheel for left and right selection, after the
race track is determined, select the sports car by using the same method, after pressing START
key, the game has begun and the sports car is ready, by stepping on the gas, you can play the
game; the condition of accelerometer is shown on bottom right corner of screen, after certain
thunderous value is collected, push the manual gear lever forward to enable the acceleration
function of sports car.
3.1 Appearance Design

15
15
3.4 Multiplayer Description
if the multiplayer game is played in the store, please refer to the following figure (take the connection
of four machines as the example) and connect the network cables of mainframes of all machines to
the jacks of broadband router. For broadband router,
Remarks:
2. This wiring diagram is only for reference and the actual connection method is possibly different
due to network environment.
1. Please confirm the model of broadband .
1P 2P 3P
Wide Band Router
4P

16
16
4. Test and Setting
4.1 Game Description
• Up to 8 Players (LAN)
• HD 720p Resolution
• 30”inches screen
• 60 Frames per Second; High Sense of Speed with Fluent Game Play
• Online Patching /Upgrade Support
• Cloud-based Server
-Advantage: Stable Internet Speed for All Regions
• Classic Arcade Racing Style
• Auto/Manual Drift Mode for Beginner/Expert
• Competitive AI
• Full Force Feedback Steering Wheel
• Unique Throttle for Boost
• 4.1 Sound System
• Vibration Speakers under the Seat simulate Car Response
• Intense Game Play Embedded with Camera Kit
• Compatible Low Maintenance Cost PC with Sandy Bridge Standard
• Total of 12 Tracks with 6 Hidden Tracks; Total of 14 Cars with 7 Hidden Cars
4.1.1 GAME FEATURE

17
17
Tracks
Tracks
There are total of 12 tracks in 4 difficulties: Beginner, Advance, Expert and Extreme (appears in
Reverse Tracks)..The game will begin with 6 Tracks –
• Circuits Of Rivers
• Ruin Temple
• The Heights
• Pearl City
• Stone Forest
• Snow Mountain
6 Hidden Tracks could be unlocked by counting how many G Coins the player has gained in every game.
4.1.2 GAME CONTENT

18
18
How to Unlock Hidden Tracks?
How to Unlock Hidden Tracks?
An energy bar is shown to show the player how many G Coins he has gained in the last game and how
many more he has to achieve in order to unlock certain hidden tracks.
Single-Play Mode:
Single-Play Mode:
• A new hidden track will be unlocked by counting how many G Coins the player has gained in
every game.
Multi-Play Mode:
Multi-Play Mode:
• A new hidden track will be unlocked by counting how many G Coins by all players have gained
in every multi-play game.
For example: 4players finished a game- track Circuits of River
Player Player 1 Player 2 Player 3 Player 4 Total Unlock Track
Posion 1st 2
nd 4
th 6
th
110
G Coins gained 50 30 15 15
Circults of
River

19
19
Cars
Cars
How to Unlock Hidden Cars?
How to Unlock Hidden Cars?
Single-Play Mode & Multi-Play Mode:
Single-Play Mode & Multi-Play Mode:
• A new hidden car will be unlocked in every game by random.
• 2 new hidden cars will be unlocked by The Champion in every game by random.
There are a total of 14 cars. The game will begin with 7 Main Cars.
7 Hidden Cars could be unlocked by random.
7 Main Cars are in different levels: Beginner, Advance and Expert.

20
20
Scene 1: Logo
Scene 1: Logo
Logo of Wahlap and Insoft will be appeared in the beginning.
4.2 Game FLOW
4.2.1 Front-End MENU

21
21
Scene 2: Intro Video (with learning video)
Scene 2: Intro Video (with learning video)
The Game Introduction video will be played. Learning videos will be appeared in between.

22
22
Scene 3: Insert Coins
Scene 3: Insert Coins
Scene 4: Selecting Track
Scene 4: Selecting Track
A screen of insert coins will appear to ask player to start the game.
In the Track Selection screen, there are a total of 12 tracks with 6 hidden tracks (to be unlocked).
Tracks are divided into four difficulty levels: Beginner, Intermediate, Superior and Extreme,
allowing players to challenge different difficulty levels.
Please use the steering wheel to turn left and right to select and then press the [START] button or
step on the accelerator.

23
23
Scene 5: Selecting Car
Scene 5: Selecting Car
In the Car Selection screen, there are a total of 14 cars with 7 hidden cars (to be unlocked). Cars are
divided into three levels: Entry, Medium and Professional, drift and turn Bay deceleration is
different at different levels.
Cars are presented in four different numerical rating to show their unique performance advantages:
1: Boost Gauge (that can influence the thunderous value, the value of thunderous acceleration
forces)
2: Maximum Speed (The maximum speed in the general case)
3: Steering (there will be some advantage in a variety of Bay Road on the track)
4: Acceleration (speed of accelerate and overcome the rugged track)
Please use the steering wheel to turn left and right to select and then press the [START] button or
step on the accelerator.

24
24
Scene 6: Camera
Scene 6: Camera
Players will be invited to take icon photos which will be displayed in the race.
A photo is shot after a count down from 5 to 1.

25
25
Scene 7: “Free to Join” Multi-Players Race Status Screen
Scene 7: “Free to Join” Multi-Players Race Status Screen
In a multi-player race, after selecting tracks and cars, a status screen will pop up to show the data of
each player of this race (cars selected, own photo icons, level of players).
Players who are still selecting cars will be displayed as “Getting Ready” instead of his own data.
The selected track will be displayed in the middle as well.
Scene 8: Loading Screen
Scene 8: Loading Screen
Learning Messages will be shown as loading screen.

26
26
1. LAP: No. of Laps
2. TIME: Count Down (in seconds)
3. POSITION: Ranking of player
1-3 will change to RED in color in the last 60 seconds of the race.
4. Map: represents Player
represents other Players
Scene 9: In-Game Screen
Scene 9: In-Game Screen
Game START
Game START
Race starts at once right after the loading is finished.
UI Screen (I)
UI Screen (I)
When the Race begins, data of the Race will be displayed around four sides of the screen.
4.2.2 In-Game MENU
12
3
4

27
27
UI Screen (II)
UI Screen (II)
When the Race begins, data of the Race will be displayed around four sides of the screen.
5. Display of curve player will pass.
6. Data of player(s) in front.
7. Display of all players ranking.
8. Tips of reminding player to turn on the Nitrogen Meter Boost.
9. Data of player(s) behind.
10. Nitrogen Meter.
Status of Nitrogen Meter Boost: Normal, Charging and Full (from left to right)
5
6
7
8
910

28
28
Multi-Play Mode – Free Join
Multi-Play Mode – Free Join
In the first 30 seconds* of the battle, other players can join the race.
Race will start all over again if new player is joined. All players will select tracks and cars again.

29
29
Scene 10: FINISH Game
Scene 10: FINISH Game
The race is over when time is up.
Position of the player will be shown.

30
30
Scene 11: Race Ranking
Scene 11: Race Ranking
After the race is finished, a Final Ranking of all players will be shown.
1. Ranking of the tournament
• Levels: S 、A、 B、C
• S as the Supreme ranking; C as the lowest ranking
2. Tournament Data
a. Photo of player
b. Selected Car
c. Total Time
d. Medals obtained
3. Medals obtained
4.2.3 Back-End MENU

31
31
Scene 12: Unlocked Item
Scene 12: Unlocked Item
A page of unlocked items will be shown.
Players can show if any cars or tracks have been unlocked successfully in the race they just finished.
New track is unlocked:
New car is unlocked:

32
32
Scene 13: Continue
Scene 13: Continue
-For Winner: Bonus Round (Discount Game)
-For Winner: Bonus Round (Discount Game)
-For Other Players: Game Over, Continue to Play
-For Other Players: Game Over, Continue to Play
Winner of the tournament will be awarded to continue the game with discount.
Players will be invited to continue the race to challenge and become the Winner.

33
33
1. Under the Demo screen, press the [Test] key of the coin control box to enter the [Arcade
Operator], the main menu is shown below.
2. Enter the menu screen, use the arrow keys to select a menu item, press the [Test] key to enter
the sub-menu, follow the screen prompt message at the bottom-right side.
3. After the setup is completed, select [Save] in the main menu, then press the [START] button
or press the [services] to exit the user interface.
4.3 Operator MENU
4.3.1 Arcade Operation Mode

34
34
You can select the operating language in [Language].
1. Enter the [Arcade Operator] > [Language], use the left and right arrow keys to switch to the
desired language.
4.3.2 Languages
In [Master Volume], you can set the outputs of the volume of sounds by the arcade machine.
1. Enter the [Arcade Operator] > [Master Volume], the inputs of the volume are set between 0-1.
4.3.3 Master Volume

35
35
In [First Round Coins], you can set the number of coins per game need to invest per race.
1. Enter the [Arcade Operator] > [First Round Coins], the inputs of the number of coins inserted
set between 0-10.
4.3.5 First Round Coins
In [Idle Volume], you can set the outputs of the volume of sounds by the arcade machine.
1. Enter the [Arcade Operator] > [Idle Volume], the inputs of the volume are set between 0-1.
4.3.4 Idle Volume

36
36
In [Winner Bonus], you can whether to give a Winner Bonus per race or not.
1. Enter the [Arcade Operator] > [Winner Bonus], choose “Yes” to turn on the Winner Bonus
system and “No” to turn it off.
4.3.7 Winner Bonus
In [Second Round Coins], you can set the number of coins per game need to invest per race.
1. Enter the [Arcade Operator] > [Second Round Coins], the inputs of the number of coins
inserted set between 0-10.
4.3.6 Second Round Coins

37
37
• Use the arrow keys to select [Clock], and then press the [START] button to expand the
options of time setting.
2. Use the arrow keys to select the item you want to set, and then use the left and right arrow
keys to switch the setting value, after the setup is complete, select [Settings] save [Clock]
is set.
3. After the setup is saved, select [Clock] again to hide the setting projects, and continue to
operate.
In [Clock], you can set the system time.
1. Enter the [Arcade Operator] > [Clock].
4.3.8 Clock

38
38
In the page [Record], you can set the machine's operating system settings.
1. Enter the [Arcade Operator] > [Record], selection screen is as follows:
• [Records] records all tournament games which have been completed.
• Left Hand Side: Vehicle models: the frequency of use
• Right Hand Side: Tracks Name: the frequency of selection
• Left Hand Side: Revenue record of the week, from Sunday to Saturday.
• Right Hand Side: Revenue record of the year, from January to December.
4.3.10 Record
In the page [Income], you can go through the revenue-related information of the machine.
1. Enter the [Arcade Operator] > [Income], selection screen is as follows:
4.3.9 Income

39
39
In the page [Sound Testing], you can set the machine's operating system settings.
1. Enter the [Arcade Operator] > [Sound Testing], selection screen is as follows:
2. In [Sound Testing], use the left and right arrow keys to select the item you want to test, selected
speakers (RED light) will play the test automatically and continuously.
• Normal Playback: Use the left and right arrow keys to select the set of speakers (1 to 6) you
want to test with.
• If there is no sound, check whether the volume buttons are set at the minimum level, if there
is still no sound, please operate the speaker troubleshooting.
4.3.11 Sound Testing
In the page [Light Testing], you can test if each set of lights (1 to 7) is in normal condition.
1. Enter the [Arcade Operator] > [Light Testing], selection screen is as follows:
2. In [Light Testing], use the left and right arrow keys to select the item you want to test.
• This test can operate a total of eight options, from 0-7.
• The selected item (RED light) will automatically light for testing.
4.3.12 Light Testing

40
40
In the page [Button Testing], you can test if buttons are in normal condition.
1. Enter the [Arcade Operator] > [Button Testing], selection screen is as follows:
2. In [Button Testing], use the left and right arrow keys to select the item you want to test. This
test has a total of four options.
• [START] button y function
• [VIEW] button function
• Accelerator handle - Push function
• Accelerator handle - Pull function
3. Press the button which is needed to be tested, the button displayed on the screen will light up
in RED for normal condition.
4.3.13 Button Testing

41
41
In the page [Calibration Steering (Auto)], you can test and proofread the sensitivity of the steering
wheel and handling.
1. Enter the [Arcade Operator] > [Calibration Steering (Auto)], selection screen is as follows:
2. In [Calibration Steering (Auto)], the steering wheel will calibrate automatically to show the test value.
• This calibration project is divided into three categories:
Left in Most-Valued: Left-turn torque of the steering wheel
Center: the steering wheel in the median position;
Right in Most-Valued: Right-turn torque of the steering wheel
3. When turning the steering wheel, numerical changes with the rotation rate. When turning to the
Most-Right, the indicated value is about 255; 0 when turning to the Most-Right.
4. The value of the steering wheel is displayed in the Calibration Result column. The First column
is the Actual-calibrated value; the Second column is the Ideal-calibration value.
5. The calibration value must be in the range of 5% of the ideal value, or criticized as sub-standard.
6. The lowest column will be displaying the Rating Symbol:
“ ” tick as qualified; " " cross as sub-standard, adjustment is required.
4.3.14 Calibration Steering (Auto)
✔X

42
42
2. There are two projects in this calibration operation:
• Throttle: By stepping the throttle, the value will be changed. By stepping the throttle to the most, the
value should be around 255; If the throttle is not be stepped, the value should be around 0.
• Brake: By stepping the brake, the value will be changed. By stepping the brake to the most, the value
should be around 255; If the throttle is not be stepped, the value should be around 0.
3. The maximum and minimum values of the throttle and brake should be within 10% of the ideal
value.
The lowest column will be displaying the Rating Symbol:
“ ” tick as qualified; " " cross as sub-standard, adjustment is required.
In the page [Calibration Foot Pedal (Manual)], you can test and proofread the sensitivity of the
foot Pedal.
1. Enter the [Arcade Operator] > [Calibration Foot Pedal (Manual)], selection screen is as follows:
4.3.15 Calibration Foot Pedal (Manual)
✔X

43
43
In the page [Video Split Number], you can choose how many machines you want to split the
video as display.
1. Enter the [Arcade Operator] > [Video Split Number], selection from 1 to 8 machines.
2. There are three displays in this operation:
• Machine: The machine number.
• Video: The sequence of video in the machine.
• Network: The network status: On or Off
2. There are three displays in this operation:
• Machine: The machine number.
• Video: The sequence of video in the machine.
• Network: The network status: On or Off
4.3.16 Video Split Number
In the page [Video ID], you can set the video ID of the machine.
1. Enter the [Arcade Operator] > [Video ID], selection from 1 to 8 machines.
4.3.17 Video ID

44
44
In the page [Patch], you can do the patching.
1. Enter the [Arcade Operator] > [Patch], selection screen is as follows:
4.3.18 Patch
In the page [IO], you can check if there is any IO device.
1. Enter the [Arcade Operator] > [IO], selection screen is as follows:
4.3.19 IO

45
45
In the page [Reset], you can set up to restore all settings to the original settings.
1. Enter the [Arcade Operator] > [Reset], selection screen is as follows:
4.3.20 Reset
In the page [Save], you can save all the settings in the setup.
1. Enter the [Arcade Operator] > [Save], selection screen is as follows:
2. Select [Save] and then press the [START] button, all settings will be saved.
2. Select [Reset] and then press the [START] button in the arcade. All settings will be restored to
default, all arcade records will be cleared.
4.3.21 Save

46
46
In the below of the [Game-Play screen], 2 pieces of information about the game and machine is
shown.
1. Down Left-corner.
2. Down Right-corner
Main Version: 1.5.9
Build Version: 1786
4.3.22 Game-Play Screen Information
V – Video ID: 1
M – No. of machines connected LAN: 1
R : (for development purpose)

47
47
Even though the machine works normally for a long time, the fault will occur. Therefore,
please perform routine check and maintenance concerning the following to ensure a
long-term use.
External Inspection
Stick “Warning” stickers correctly, keep it legible.
Firmly tighten the bolt for each adjuster.
Tighten screws for speaker assembly.
Tighten the signboard firmly.
Check if the screws fixing the parts loose.
Check if the connectors loose or missing.
Operation Inspection (With power on)
Sound is normally emitted from the speakers or not.
Fluorescent lamps and button lamps light up or not
Coin acceptor works properly or not.
Lifting and falling devices work properly or not.
YZ sensor works properly or not.
After completing all the checks, operate the game again and check the above
items with full care!
Servicing (conducted by a technician only)
Cut off the main power supply to avoid injury or electric shock when performing
maintenance.
Please contact our service center when performing any work that is not specified in this
Manual, and follow the instruction provided by the service center.
For consumables and spare parts (including screws), please use products specified by
Wahlap Technology.
Even though the main power is cut off, there is still high temperature and high pressure
in the power board and the monitor. The person will be burnt or get an electric shock if
he touches such parts. Please pay full attention to avoid contact.
Be sure to cut off the main power when you alter a spare part or unplug a connector.
5. Maintenance and Service
5.1 Maintenance and service

48
48
5.2 Part Replacement
5.2.1 Replacement of acrylic signboard
5.2.2 Replacement of fluorescent plate
1.Remove the screws on the acrylic signboard for replacement.
1. Open the back door shown in the figure.
2. Reverse the opened back door and find the fluorescent tube requiring being replaced
for replacement.

49
49
1. After removing the screws used to fix the light box on the top of the machine,
open the back door of the machine.
2. Find the connecting wire of the light box, pull out the rubber seat terminals and
remove the light box.
3. Remove the fluorescent plate on the light box for replacement.
5.2.3 Replacement of top light box
LED

50
50
1. Remove the fixing screws of key board.
2. Remove the keyboard, pull out the terminals and replace the key.
5.2.4 Key replacement
1. After removing the acrylic panel, remove the fixing screws on the pick-up head.
2. Open the back door and remove the fixing screws on the rear cover of the pick-up head.
3. Remove the pick-up head and fixing components and replace the pick-up head after
removing the fixing screws.
5.2.5 Replacement of pick-up head

51
51
1. Remove the fixing screws with the slotted screwdriver, take out the stop plate, remove
the coin acceptor, pull out the terminals and replace the coin acceptor.
5.2.6 Replacement of coin acceptor

6.1 Assembly tree diagram
6. Assembly
- --
---
-
-
-
-
-
-
--
-
---
-
----
----
--
-
-
-
-
-
-
--
--
--
-
-
-
--
--
--
---
--
--
--
-
--
--

6.2 General assembly(一)
53
53
23 十字大扁头螺丝 M4*20(镀黑) 22
22 极速赛车2代脚踏组件 1
21 SRF-0000C02 方向盘装饰块 蓝色ABS 1形状同极速3
20 SRF-0000C01 挡位塑胶 黑色ABS 1
19 SRF-0000B01 后门板下 HDF-15.0T 1
18 SRF-0000A02 控台塑胶固定铁 1
17 SRF-0000A01
框体连接铁
SPCC-1.5T 2
16 SRF-1600000 方向盘组件 1
15 SRF-1500000 后门板中组件 1
14 SRF-1400000 后门板上组件 1
13 SRF-1300000 脚踏组件 1
12 SRF-1200000 垫脚盖板组件 1
11 SRF-1100000 投币门框组件 1
10 SRF-1000000 推杆组件 1
9 SRF-0900000 左侧灯组件 1
8 SRF-0800000 右侧灯组件 1
7 SRF-0700000 广告板组件 1
6 SRF-0600000 摄像头组件 1
5 SRF-0500000 液晶玻璃组件 1
4 SRF-0400000 液晶组件 1
3 SRF-0300000 控台塑胶组件 1
2 SRF-0200000
座位组件
1
1 SRF-0100000
主木框组件
1
序号 图 号 名 称 材料/规格 数量
备注
12 6
43 5
365
421
A
B
C
D
C
D
B
A
2
1
1
1
5
1
23
6
7
1
6
1
23
4
9
1
8
1
24
6
24
6
13
1
23
4
22
129
427
428
4
16
1
21
1
36
1
35
1
32
4
17
229
16 27
16 31
22
注:宽边在上

General assembly(二)
54
54
12 6
43 5
365
421
A
B
C
D
C
D
B
A
23
4
3
133
10
30
2
4
129
627
631
22
10
1
37
4
11
125
426
4
12
1
23
4
14
1
15
1
19
1
30
4
30
4
20
1
34
4
33
4
18
1

55
55
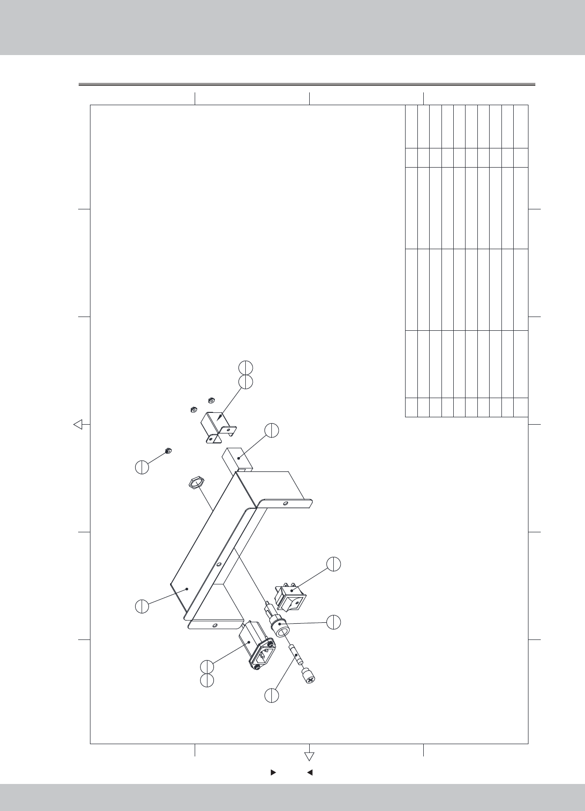
6.2.1 Main wooden frame assembly (一)
12 6
43 5
365
421
A
B
C
D
C
D
B
A
27 喇叭组合音箱 6.5吋 低音炮音箱(极速用) 1
26 sr1-0000a03 喇叭固定铁 SPCC-1.5 2
25 SRF-0100D01 灯箱压克力 PMMA-3.0T 1
24 SRF-0100A14 控台下盖铁 1
23 SRF-0100A13 摄像头挡光板 SPCC-1.0T 1
22 SRF-0100A12 低音喇叭网 SPCC-1.2T 1
21 SRF-0100A11 脚踏下盖板 SPCC-1.2T 1
20 SRF-0100A10 塑胶边固定小铁 SPCC-1.2T 1
19 SRF-0100A09 控台加固铁右 SPCC-2.0T 2
18 SRF-0100A08 控台加固铁左 SPCC-2.0T 2
17 SRF-0100A07 控台固定铁 1
16 SRF-0100A06 玻璃固定横梁 SPCC-1.2T 1
15 SRF-0100A05 变压器板卡铁 SPCC-1.5T 1
14 SRF-0100A04 液晶下固定角铁 SPCC-2.0T 2
13 SRF-0100A03 左侧柱铁 SPCC-1.2T 1
12 SRF-0100A02 右侧柱铁 SPCC-1.2T 1
11 SRF-0100A01
护角铁
SPCC-1.2T 1
10 SRF-0110000 PCB板组件 1
9 SRF-0109000
挡位塑胶盒组件
1
8 SRF-0108000 左小灯合组件 1
7 SRF-0107000
右小灯合组件
1
6 SRF-0106000 音箱组件 2
5 SRF-0105000 服务板组件 1
4 SRF-0104000
变压器板组件
1
3 SRF-0103000
电源盒组件
1
2 SRF-0102000
马达组件
1
1 SRF-0101000
主框架组件
1
序号 图 号 名 称 材料/规格 数量
备注
2
1
46
6
45
6
47
6
1
1
4
1
42
25
136
4
6
2
38
8
8
1
7
1
36
4
36
4
9
136
244
8
11
1
37
2
13
1
35
8
15
1
38
2
16
1
38
4
17
1
38
4
32
8
18
2
19
2
41
6
35
4
41
6
35
4
20
138
2
21
137
4
22
1
36
4
24
1
42
4
43
2
48
1
注:固定控台加固铁后固定
25
136
6
29
1
40
2

56
56
Main wooden frame assembly(二)
34
433
4
10
1
27
1
40
2
49
450
4
3
136
3
12
135
8
14
2
39
4
23
1
37
426
228
238
4
31
130
2
12 6
43 5
365
421
A
B
C
D
C
D
B
A
50 六角法兰面螺母 M6(镀彩) 4
49 双头防震螺丝 M6*14/M6*25 4
48
十字沉头螺丝
M4*12(镀黑) 1
47
平垫片
φ8*φ22*2.0(镀黑) 6
46
外六角螺丝
M8*16(镀黑) 6
45
弹簧垫圈
M8(镀黑) 6
44
十字圆头三组合螺丝
M4*8(镀黑) 8
43
十字大扁头螺丝
M4*8(镀黑) 2
42
十字大扁头螺丝
M4*30(镀黑) 6
41 十字大扁头螺丝 M5*30(镀黑) 12
40 十字沉头螺丝 M4*16(镀黑) 4
39 十字圆头三组合螺丝 M6*25(镀黑) 4
38 十字圆头三组合螺丝 M4*16(镀黑) 24
37
十字大扁头自攻螺丝
M4*12(镀黑) 10
36
十字大扁头螺丝
M4*20(镀黑) 27
35 十字大扁头螺丝 M5*20(镀黑) 24
34 十字圆头螺丝 M4*70(镀铬) 4
33
六角法兰面螺母
M4(镀彩) 4
32 十字圆头三组合螺丝 M5*12(镀黑) 8
31 风扇含轴承 120*120/AC220V 1
30 风扇网 120*120 2
29 塑胶钱箱 1
28 EVA海棉(单面胶) 3*20mm 10米/卷 2

57
57
6.2.2 Main frame assembly
1
1
4
2
5
46
2
7
2
3
4
2
2
8
24
12 6
43 5
365
421
A
B
C
D
C
D
B
A
8十字圆头三组合螺丝 M6*35(镀铬) 24
7六角螺母 M16(镀彩) 2
6地脚螺丝 M16*Y100(镀彩) 2
5活动脚轮 2.5吋低重心型 4
4 WAH-0000A06 M16地脚螺母固定铁1 SPCC-2.0T 2
3 WAH-0000A05 2.5吋重型活动脚轮固定铁
SPCC-2.0T 4
2 WAH-0000A04 地脚螺丝固定铁2 SPCC-2.0T 2
1 SRF-0101B01 主木箱 HDF 1
序号 图 号 名 称 材料/规格 数量
备注

58
58
6.2.3 Motor assembly
1
1
2
1
7
1
5
1
6
1
8
2
9
1
11
1
12
1
13
1
16
4
17
4
18
4
16
3
17
3
18
3
19
1
3
2
4
1
15
2
15
2
10
1
14
3
12 6
43 5
365
421
A
B
C
D
C
D
B
A
19 无头内六角螺丝 M5*6(镀黑) 1
18 外六角螺丝 M8*20(镀黑) 7
17 弹簧垫圈 M8(镀黑) 7
16 平垫片 φ8*φ22*2.0(镀黑) 7
15 十字圆头三组合螺丝 M4*8(镀黑) 4
14 十字圆头三组合螺丝 M3*8(镀黑) 3
13 轴承 PF205 1
12 旋转式电位器 B-5KΩ 270度(外购件) 1
11 马达(DC) 112ZY100-40 1
10 仪表灯板 WL_PCBO_0001_0010 1
9 SR1-0501A07 电位器固定板 SPCC-1.0 1
8 SR1-0501A05 摆动轴胶垫 优力胶 2
7 SR1-0501A04 马达摆动轴 45 1
6 SR1-0501A03 摆动轴键 45 1
5 SR1-0501A02 马达轴套 45 1
4 SRF-0102A04 仪表灯板铁上 SPCC-1.2T 1
3 SRF-0102A03 仪表灯板铁 SPCC-1.2T 2
2 SRF-0102A02 马达因定板 SPCC-3.0T 1
1 SRF-0102A01 转轴前支铁 SPCC-3.0T 1
序号 图 号 名 称 材料/规格 数量 备注

59
59
6.2.4 Power box assembly
1
1
4
1
3
1
6
1
5
1
7
1
2
19
2
9
1
8
2
12 6
43 5
365
421
A
B
C
D
C
D
B
A
9六角法兰面螺母 M3(镀彩) 3
8十字圆头三组合螺丝 M3*12(镀黑) 2
7网线转接头 双头 1
6保险丝管 F6A/6*30 250V 1
5船形开关 4P KCD7-2211N 1
4滤波器 15GEEG3E 10A/250V 1
3保险丝筒 平头 F15A/125V 1
2 SRC-0401UK 网络接口五金 SPCC-1.0 1
1 SRF-0103A01 电源盒 SPCC-1.2T 1
序号 图 号 名 称 材料/规格 数量 备注

60
60
6.2.5 Transformer board assembl
12 6
43 5
365
421
A
B
C
D
C
D
B
A
7十字大扁头自攻螺丝 M3*12(镀铬) 3
6十字圆头三组合螺丝 M4*16(镀黑) 12
5电源盒 S-150-12 (12V/12.5A)
1
4变压器 400W 110V-220V/110V-13V 1动感板专用
3环形变压器
220V/110V转16-0-16V 250W
1功放板专用
2变压器 HL1100W 220V/110V 1
1 SRF-0104B01 变压器固定板 HDF-15.0T 1
序号 图 号 名 称 材料/规格 数量 备注
1
1
3
1
2
1
5
1
6
4
6
4
7
3
4
1
6
12

61
61
6.2.6 Service board assembly
12 6
43 5
365
421
A
B
C
D
C
D
B
A
5电位器旋钮 Ф13mm 3
4音量VR组件 VR-B10KΩ 3
3圆形卡式按键 三和 红色SDP-103C-22RB 4
2计数器 DC 5V 1
1 SRF-0105A01 服务按键板 SPCC-1.2T 1
序号 图 号 名 称 材料/规格 数量
备注
1
1
4
3
5
3
3
4
2
1

62
62
6.2.7 Speaker assembly
1
1
2
2
3
1
4
1
6
4
7
4
5
4
12 6
43 5
365
421
A
B
C
D
C
D
B
A
7十字圆头三组合螺丝 M4*12(镀黑) 4
6十字大扁头自攻螺丝 M4*12(镀黑) 4
5十字圆头三组合螺丝 M4*8(镀黑) 4
4圆形防磁喇叭(中高音)
4吋 4Ω/25W 全音域、双声(黑色)
1
3 SR1-0503B01 控台喇叭盒 MDF-9.0T 1
2 SR1-0503A01 喇叭盒固定铁 SPCC-1.2 2
1 SRF-0106A01 喇叭座铁 SPCC-1.2T 1
序号 图 号 名 称 材料/规格 数量 备注

63
63
6.2.8 Right small light assembly
1
1
3
1
4
1
2
1
5
4
6
4
7
2
12 6
43 5
365
421
A
B
C
D
C
D
B
A
7
十字圆头三组合螺丝
M4*8(镀黑) 2
6
十字圆头三组合螺丝
M3*8(镀黑) 4
5
六角法兰面螺母
M3(镀彩) 4
4
灯箱灯板
WL_PCBO_0001_0009 1
3 SR1-0701D01 灯箱LED盖 珠仔花压克力 1
2 SRF-0107A02 小灯盒固定铁右 SPCC-1.2T 1
1 SRF-0107A01 小灯盒右 SPCC-1.0T 1
序号 图 号 名 称 材料/规格 数量
备注

64
64
6.2.9 Left small light assembly
4
16
4
12 6
43 5
365
421
A
B
C
D
C
D
B
A
7
十字圆头三组合螺丝
M4*8(镀黑)
2
6
十字圆头三组合螺丝
M3*8(镀黑)
4
5
六角法兰面螺母
M3(镀彩)
4
4
灯箱灯板
WL_PCBO_0001_0009
1
3 SR1-0701D01
灯箱LED盖
珠仔花压克力
1
2 SRF-0108A02 小灯盒固定铁左 SPCC-1.2T 1
1 SRF-0108A01 小灯盒左 SPCC-1.0T 1
序号 图 号 名 称 材料/规格
数量 备注
7
22
1
5
4
1
1
3
1

65
65
6.2.10 Plastic step box assembly
3
1
2
1
5
6
1
1
4
1
12 6
43 5
365
421
A
B
C
D
C
D
B
A
5十字圆头三组合螺丝 M4*8(镀黑) 6
4 SRF-0109A04 挡位固定铁左 SPCC-1.5T 1
3 SRF-0109A03 挡位固定铁右 SPCC-1.5T 1
2 SRF-0109A02 挡位固定铁上 SPCC-1.5T 1
1 SRF-0109A01 挡位固定铁下 SPCC-1.2T 1
序号 图 号 名 称 材料/规格 数量
备注

66
66
6.2.11 PCB board assembl
12 6
43 5
365
421
A
B
C
D
C
D
B
A
8
十字大扁头自攻螺丝
M3*12(镀铬) 16
7
十字圆头三组合螺丝
M3*8(镀黑) 16
6
L型脚座
M3mm 16
5
震动喇叭驱动板
GKP-VSB--2013-0503 1
4功放板(贴片) GKP-AMP6S-2013-0505 1
3动感板 GKP-Vibrator-2013-0502 1
2
IO板
GKP-IO-2013-0501 1
1 SRF-0110B01
PCB固定板
MDF-15.0T 1
序号 图 号 名 称 材料/规格 数量
备注
1
1
2
1
4
1
5
1
3
1
7
16
8
16
6
16

6.3 Seat assembly
67
67
12 6
43 5
365
421
A
B
C
D
C
D
B
A
1
1
2
111
612
4
3
110
49
4
4
2
7
8
5
1
11
6
6
1
8
6
12 十字大扁头螺丝 M4*8(镀黑) 4
11
十字大扁头螺丝
M4*20(镀黑) 12
10 六角法兰面螺母 M6(镀彩) 4
9双头防震螺丝 M6*14/M6*25 4
8塑胶螺丝 6
7十字圆头三组合螺丝 M4*12(镀黑) 8
6座椅后盖 ABS-3 1
5 SRF-0200A01 后座通风口 SPCC-1.2T 1
4 SRF-0204000 靠背喇叭组件 2
3 SRF-0203000 主机组件 1
2 SRF-0202000
座位上组件
1
1 SRF-0201000
座位木箱组件
1
序号 图 号 名 称 材料/规格 数量
备注

68
68
6.3.1 Seat wooden crate assembly
1
1
4
2
5
4
6
2
7
2
8
8
8
16
3
4
2
2
12 6
43 5
365
421
A
B
C
D
C
D
B
A
8十字圆头三组合螺丝 M6*35(镀铬) 24
7
六角螺母
M16(镀彩) 2
6
地脚螺丝
M16*Y100(镀彩) 2
5
活动脚轮
2.5吋低重心型 4
4 WAH-0000A06 M16地脚螺母固定铁1 SPCC-2.0T 2
3 WAH-0000A05 2.5吋重型活动脚轮固定铁
SPCC-2.0T 4
2 WAH-0000A04 地脚螺丝固定铁2 SPCC-2.0T 2
1 SRF-0201B01
后座木箱
1
序号 图 号 名 称 材料/规格 数量
备注

69
69
6.3.2 Upper assembly of seat
20 十字圆头三组合螺丝 M4*16(镀黑) 4
19 十字大扁头自攻螺丝 M4*8(镀铬) 10
18 十字圆头三组合螺丝 M4*12(镀黑) 8
17 外六角螺丝 M8*50(镀黑) 8
16 外六角螺丝 M8*20(镀黑) 4
15 六角法兰面螺母 M8(镀彩) 8
14 弹簧垫圈 M8(镀黑) 20
13 平垫片 φ8*φ22*2.0(镀黑) 20
12 低频振动器 4Ω/50W 1
11 滑轨(右) 1
10 滑轨(左) 1
9座椅喇叭网-右 极速2代 1
8座椅喇叭网-左 极速2代 1
7 SD3-07-01-01 座位弯管 方管30×2/Q235 2
6 1170 座位架前挡铁 SPCC-1.0 1
5 1160 座位架后挡铁 SPCC-1.0 1
4 1150-C 座位架 1
3 SRF-0202C02 座椅靠背 蓝色ABS 1
2 SRF-0202C01 座椅座垫 蓝色ABS 1
1 SRF-0202A01 座椅底座盖铁 SPCC 1
序号 图 号 名 称 材料/规格 数量 备注
12 6
43 5
365
421
A
B
C
D
C
D
B
A
5
1
1
1
13
4
14
4
15
4
2
113
414
417
4
3
1
17
4
14
4
13
4
11
1
10
1
4
115
414
413
4
6
1
18
4
18
4
7
2
13
4
14
4
16
4
8
1
19
5
9
119
5
12
120
4

70
70
6.3.3 Mainframe assembly
1
1
2
1
3
8
12 6
43 5
365
421
A
B
C
D
C
D
B
A
3十字圆头三组合螺丝 M4*12(镀黑) 8
2主机组件 研华 1
1 SRF-0203B01 主机固定板 HDF-12.0T 1
序号 图 号 名 称 材料/规格 数量 备注

71
71
6.3.4 Backrest horn assembly
12 6
43 5
365
421
A
B
C
D
C
D
B
A
5十字大扁头自攻螺丝 M4*16(镀黑) 10
4椭圆形防磁喇叭
3*5吋 8Ω/15W(椅背处用)
1
3座椅喇叭罩 极速2代 1
2座椅喇叭盖 极速2代 1
16100 靠背喇叭固定铁 SPCC-1.5 1
序号 图 号 名 称 材料/规格 数量 备注
4
1
3
1
2
1
1
1
5
10

72
72
6.4 Plastic console assembly
10 六角法兰面螺母 M3(镀彩) 6
9十字沉头螺丝 M4*12(镀黑) 2
8六角法兰面螺母 M4(镀彩) 5
7十字大扁头螺丝 M4*12(镀黑) 8
6 SRF-0300A02 控台喇叭网左 SPCC-1.2T 1
5 SRF-0300D01 仪表板压克力 PMMA-5.0T 1
4 SRF-0300C01 控台塑胶 黑色ABS 1
3 SRF-0300A03 按键固定铁 SPCC-1.5T 1
2 SRF-0300A01 控台喇叭网左 SPCC-1.2T 1
1 SRF-0301000 控台按键板组件 1
序号 图 号 名 称 材料/规格 数量 备注
2
1
6
1
3
1
4
1
5
1
10
3
10
3
9
2
7
58
5
1
17
3
12 6
43 5
365
421
A
B
C
D
C
D
B
A

73
73
6.4.1 Console keyboard assembly
12 6
43 5
365
421
A
B
C
D
C
D
B
A
3圆形带灯按键(含灯座、蓝灯) WLP-002 1
2圆形带灯按键(含灯座、红灯) WLP-001 1
1 SRF-0301D01
控台按键板
PMMA-3.0T 1
序号 图 号 名 称 材料/规格 数量
备注
2
1
3
1
1
1

6.5 LCD assembly
74
74
1
1
5
6
12 6
43 5
365
421
A
B
C
D
C
D
B
A
5
十字圆头三组合螺丝
M6*12(镀黑) 6
4黑色电工胶布 3M 1
3 SRF-0400A02 液晶右支架 SPCC-2.5T 1
2 SRF-0400A01 液晶左支架 SPCC-2.5T 1
1液晶显示器 37寸LCD带架 1
序号 图 号 名 称 材料/规格 数量
备注
4
1
3
1
2
1

6.6 LCD glass assembly
75
75
12 6
43 5
365
421
A
B
C
D
C
D
B
A
4EVA海棉(单面胶) 3*20mm 10米/卷 2
3EVA海棉(单面胶) 3*20mm 10米/卷 1
2 SRF-0500A01 玻璃压条 SPCC-1.2T 2
1 SR1-0600C01
液晶玻璃
908*575.5*5 1
序号 图 号 名 称 材料/规格 数量
备注
3
1
1
1
2
2
4
2

6.7 Pick-up head assembly
76
76
12 6
43 5
365
421
A
B
C
D
C
D
B
A
1
1
5
1
2
1
6
1
4
1
7
1
3
2
8
1
9
4
9
1
9
1
8
4
9六角法兰面螺母 M3(镀彩) 6
8十字圆头三组合螺丝 M3*8(镀黑) 5
7摄像头灯板 Blue, 20mm 1
6方块摄像头 SP043 1
5 SRF-0600D01 闪光灯压克力 雾白 PMMA-3.0T 1
4 SRF-0600A04 闪光灯板铁 SPCC-1.2T 1
3 SRF-0600A03 摄像头压铁 SPCC-1.2T 2
2 SRF-0600A02 摄像头调整铁 SPCC-1.2T 1
1 SRF-0600A01 摄像头固定座 1
序号 图 号 名 称 材料/规格 数量 备注

6.8 Billboard Assembly
77
77
1
1
2
4
3
44
4
12 6
43 5
365
421
A
B
C
D
C
D
B
A
4内六角圆柱头螺丝 M4*12(镀铬) 4
3 sd3-08-00-04
看板固定块
S45C 4
2 sr1-0700a02
压克力支撑轴
45 4
1 SRF-0700D01 广告板 PMMA-5.0T 1
序号 图 号 名 称 材料/规格 数量
备注

6.9 Right side light assembly
78
78
12 6
43 5
365
421
A
B
C
D
C
D
B
A
4十字圆头三组合螺丝 M4*12(镀黑) 4
3贴片灯带 5050RGB60灯80cm 1
2 SRF-0800D01 两侧压克力 PMMA-8.0T 1
1 SRF-0800A01 长灯固定铁右 SPCC-1.2T 1
序号 图 号 名 称 材料/规格 数量 备注
2
1
3
1
1
1
4
4

6.10 Left side light assembly
79
79
2
1
3
1
1
1
4
4
12 6
43 5
365
421
A
B
C
D
C
D
B
A
4
十字圆头三组合螺丝
M4*12(镀黑)
4
3
贴片灯带
5050RGB60灯80cm
1
2 SRF-0800D01
两侧压克力
PMMA-8.0T
1
1 SRF-0900A01
长灯固定铁左
SPCC-1.2T
1
序号 图 号 名 称 材料/规格
数量 备注

6.11 Push rod assembly
80
80
18
1
19
1
23
2
22
2
注:要加螺丝胶
注:安装双联齿轮后
安装主齿轮
23 弹簧垫圈 M6(镀黑) 2
22 内六角圆柱头螺丝 M5*16(镀黑) 2
21 十字圆头三组合螺丝 M5*12(镀黑) 4
20 六角法兰面螺母 M5(镀彩) 8
19 十字圆头三组合螺丝 M4*8(镀黑) 7
18 平垫片 Φ4*Φ16*1.0(镀黑) 2
17 平垫片 Φ4*Φ10*1.0(镀黑) 1
16 轴用弹性挡圈 GB/T 894.1-1986 10 2
15 开口挡圈(E型扣) M6(镀黑) 8
14 SRF-1000C04 凸轮 白色POM 1
13 SRF-1000C03 双联齿轮 白色POM 1
12 SRF-1000C02 主齿轮 白色POM 1
11 SRF-1000C01 限位套 优力胶 2
10 SRF-1000A04 钢板弹簧压板 SPCC-2.0T 1
9 SRF-1000A03 定位轴 45 4
8 SRF-1000A02 中间轴 45 1
7 SRF-1000A01 长弹簧轴 45 3
6 SRF-1006000 吸块组件 1
5 SRF-1005000 电磁铁组件 1
4 SRF-1004000 传动轴组件 1
3 SRF-1003000 右侧板组件 1
2 SRF-1002000 左侧板组件 1
1 SRF-1001000 手把组件 1
序号 图 号 名 称 材料/规格 数量 备注
12 6
43 5
365
421
A
B
C
D
C
D
B
A
1
1
3
1
2
1
4
15
1
6
1
7
3
8
1
9
4
10
1
11
2
12
1
13
1
14
1
21
4
16
219
4
15
6
15
2
20
818
119
1
17
119
1

81
81
6.11.1 Handle assembly
10 内六角大扁头螺丝 M4*12(镀铬) 4
9
六角螺母
M4(镀铬) 4
8
十字圆头三组合螺丝
M3*8(镀黑) 4
7 SRF-1001C06
推杆外壳
黑色ABS 1
6 SRF-1001C05
装饰盖板
黑色ABS 1
5 SRF-1001C04
手把灯盖
蓝色PC 1
4 SRF-1001C03
手把装饰边
蓝色ABS+PC 1
3 SRF-1001C02
手把侧盖
黑色ABS 1
2 SRF-1001C01
包胶手把
1
1 SRF-1001A01
安装板
SPCC-2.0T 1
序号 图 号 名 称 材料/规格 数量
备注
12 6
43 5
365
421
A
B
C
D
C
D
B
A
1
1
7
1
2
1
4
1
6
1
3
1
5
1
8
2
9
4
10
4
8
2

82
82
6.11.2 Left side plate assembly
12 6
43 5
365
421
A
B
C
D
C
D
B
A
8
无头内六角螺丝
M3*6(镀黑) 1
7
十字圆头三组合螺丝
M3*8(镀黑) 2
6
轴承
F618-8 1
5
轴承
F61900 1
4
旋转式电位器
B-5KΩ 270度(外购件)
1
3
阻力轮
LF-38A(阻值范围500-600) 1
2 SRF-1002C01
电位器齿轮
白色POM 1
1 SRF-1002A01
左侧板
SPCC-2.0T 1
序号 图 号 名 称 材料/规格 数量
备注
1
1
4
1
2
1
8
1
7
2
3
1
6
1
5
1

6.11.3 Right side plate assembly
83
83
2
1
3
1
4
1
5
2
12 6
43 5
365
421
A
B
C
D
C
D
B
A
5
十字圆头三组合螺丝
M3*12(镀黑) 2
4
轴承
F61900 1
3
轴承
F618-8 1
2
弯片微动开关
3P KW3A 1
1 SRF-1003A01
右侧板
SPCC-2.0T 1
序号 图 号 名 称 材料/规格 数量
备注
1
1

6.11.4 Drive shaft assembly
84
84
3
1
4
2
5
2
2
1
1
1
12 6
43 5
365
421
A
B
C
D
C
D
B
A
5开口挡圈(E型扣) M6(镀黑) 2
4轴用弹性挡圈 GB/T 894.1-1986 10 2
3 SRF-1004A03 短弹簧轴 45 1
2 SRF-1004A02 拉伸弹簧 弹簧钢 1
1 SRF-1004A01 传动轴焊件 1
序号 图 号 名 称 材料/规格 数量 备注

85
85
6.11.5 Electromagnet assembly
2
1
1
1
3
1
12 6
43 5
365
421
A
B
C
D
C
D
B
A
3十字圆头三组合螺丝 M5*12(镀黑) 1
2
电磁铁
H2520 DC12V/2.8W 1
1 SRF-1005A01
电磁铁安装板
SPCC-2.0T 1
序号 图 号 名 称 材料/规格 数量
备注

86
86
6.11.6 Suction block assembly
1
1
2
1
3
2
12 6
43 5
365
421
A
B
C
D
C
D
B
A
3
六角法兰面螺母
M3(镀彩) 2
2 SRF-1006A02
连接块
SPCC-3.0T 1
1 SRF-1006A01
钢板弹簧
SUS304-1.2T 1
序号 图 号 名 称 材料/规格 数量
备注

6.12 Coin door assembly
87
87
3
1
5
1
1
1
6
1
2
2
4
1
12 6
43 5
365
421
A
B
C
D
C
D
B
A
6
电子直立式投币器
TW-800Ⅲ 1
5
杂号锁(含锁匙)
M7-K 1
4
同号锁
5555锁-K 1
3单投币门框(黑色) 单投币式 1
2 SRF-1100A02 锁片 SPCC-2.0T 2
1 SRF-1100A01 投币门框固定铁 SPCC-1.5T 1
序号 图 号 名 称 材料/规格 数量
备注

6.13 Stepping cover assembly
88
88
12 6
43 5
365
421
A
B
C
D
C
D
B
A
6
十字大扁头螺丝
M4*20(镀黑) 4
5
EVA海棉(单面胶)
3*20mm 10米/卷 1
4 SRF-1200A03 铝板压铁02 SPCC-1.2T 1
3 SRF-1200A02 铝板压铁01 SPCC-1.2T 1
2 SRF-1200A01 花纹铝板 AL 1
1 SRF-1200B01 垫脚板 HDF-18.0T 1
序号 图 号 名 称 材料/规格 数量
备注
1
1
2
1
3
1
4
1
5
1
6
2
6
2

6.14 Pedal assembly
89
89
1
1
2
13
6
12 6
43 5
365
421
A
B
C
D
C
D
B
A
3十字大扁头螺丝 M4*8(镀黑) 6
2 sr1-0400a02
脚踏盖板
SUS304-1.5 1
1 SRF-1300A01 脚踏盖板固定铁 SPCC-1.2T 1
序号 图 号 名 称 材料/规格 数量
备注

6.15 Upper assembly of back door plate
90
90
12 6
43 5
365
421
A
B
C
D
C
D
B
A
3十字大扁头自攻螺丝 M4*12(镀黑) 6
2一体化荧光灯 T8 18W/AC220V 3
1 SRF-1400B01 后门板上 HDF-15.0T 1
序号 图 号 名 称 材料/规格 数量 备注
1
1
2
33
6
注: 布线也尽量靠里以免压线

6.16 Intermediate assembly of back door plate
91
91
6
47
4
8
1
12 6
43 5
365
421
A
B
C
D
C
D
B
A
8塑胶扣手 黑色-木箱用 1
7
六角法兰面螺母
M4(镀彩) 4
6
十字圆头螺丝
M4*70(镀铬) 4
5
风扇含轴承
120*120/AC220V 1
4
风扇网
120*120 2
3
斜弯锁片
(001号) 1
2
同号锁
5555锁-K 1
1 SRF-1500B01 后门板中 HDF-15.0T 1
序号 图 号 名 称 材料/规格 数量
备注
1
1
5
1
2
1
3
1
4
2

6.17 Steeling wheel assembly
92
92
2
1
1
1
3
1
5
4
4
3
12 6
43 5
365
421
A
B
C
D
C
D
B
A
5
内六角圆柱头螺丝
M4*12(镀铬) 4
4
十字圆头三组合螺丝
M4*12(镀黑) 3
3 SR1-1300C02
方向盘下壳
ABS黑色-2.5 1
2 SR1-1300C01
方向盘上盖
ABS黑色-2.5 1
1 SR1-1300A01
方向盘
1
序号 图 号 名 称 材料/规格 数量
备注

93
93
1/3
7. Printing Pattern
SRFE-P0004E
SRF-P0001M SRF-P0001E
SRF-P0024
SRF-P0023
SRF-P0013
SRF-P0012E
SRF-P0012M
SRF-P0036E
SRF-P0037E
SRF-P0005
SRF-P0006
SRF-P0007
SRF-P0022
SRF-P0032
SRF-P0030
SRF-P0028 SRF-P0029

94
94
2/3
SRF-P0031
SRF-P0003
SRF-P0021 SRF-P0019
SRF-P0026
SRF-P0035
SRF-P0010 SRF-P0011
SRF-P0017
SRF-P0015

95
95
3/3
SRF-P0002
SRF-P0018 SRF-P0020
SRF-P0016
SRF-P0008
SRF-P0009
SRF-P0014
SRF-P0025
SRF-P0033
SRF-P0027
SRF-P0034
SRF-P0038

96
96
8. Wiring Diagram

97
97
87654321
2 876543
1
本图说明:
K1 VL3P
蓝
AC盒部分 网口转接头
GND
R
L
白
红
黑
GND
R
L
白
红
黑
GND
R
L
白
红
黑
双音频头Φ3.5
双音频头Φ3.5
双音频头Φ3.5
K57
K61
K59
USB
K52 USB-A
AC110V
EARTH
AC110VRET
L
N
G
L
N
G
K8 3P INRET
绿黄
白
灰
F
C
R
主机部分
研华
T8 18W 一体化荧光灯
T8 18W 一体化荧光灯
T8 18W 一体化荧光灯
1
2
3
1
2
3
油门VR1(5K)
刹车VR2(5K)
1
2
3
1
2
3
4
红
紫
黑
红
蓝
黑
K30
K31
刹车、油门组件
椭圆形防磁喇叭
3*5吋 8Ω/15W 1
2
1
2
椭圆形防磁喇叭
3*5吋 8Ω/15W 1
2
1
2
+
+
绿
黑
黑
蓝
黑
蓝
K71
YL2P
K72
YL2P
+
R
G
B
+
R
G
B
LED L
LED R
4
2
1
3
4
2
1
3
4
2
1
3
4
2
1
3
橙
红
蓝
绿
橙
红
蓝
绿
橙
红
蓝
绿
橙
红
蓝
绿
K47
SM4P
K46
SM4P
RGB三色灯带
RGB三色灯带
USB KEYUSB
网口
+
低频振动器
4Ω/50W
-
座椅部分
1
3
2
绿黄
1
3
2
棕
蓝
绿黄
棕
蓝
T1 VL3P
变压器 350W
变压器
AC110V
0V
AC110V
0V
0V
14V
变压器 250W
变压器
AC220V
0V
AC16V
AC16V
0V
FG
FG
S-150-12
12V 150W
EARTH
L
COM
+12V
N
黑
橙
COM
+12V
黑
橙电源盒
白
灰
绿黄
AC110V
变压器
1100W 变压器
AC220V
0V
AC110V
0V
FG
L
N
G
L
N
G
AC220V
EARTH
AC220VRET
绿黄
蓝
棕
INRET 3P
电脑电源线 芯线18#
1
2
3
1
2
3
VL3P K3
棕
绿黄
蓝
棕
蓝
绿黄
1
2
3
1
2
3
VL3P K2
棕
绿黄
蓝
棕
蓝
绿黄
显示器风扇
120*120/AC110V
1
2
3
4
5
6
1
2
3
4
5
6
K6 VL6P
电脑电源线 芯线18#
1
2
3
1
2
3
VL3P K8
白
绿黄
灰
白
灰
绿黄
1
3
2
绿黄 1
3
2
白
灰
绿黄
白
灰
K12 VL3P
方块摄像头
SP043
1
3
2
绿黄 1
3
2
白
灰
绿黄
白
灰
K9 VL3P
1
3
2
1
3
2
白
灰
绿黄
白
灰
K13 VL3P
1
2
1
2
K16 VL2P
1
2
1
2
K17 VL2P
AC110V
0V
VIDEO
DVI
DVI接头
VIDEO
DVI接头 DVI
USB
K50 USB-A
USB接头
1
2
3
4
K18
1
2
3
4
K21
1
2
3
4
K22
1
2
3
4
5
6
K23
1
2
3
4
37寸LED
1
2
1
2
1
2
3
4
1
2
变压器风扇
120*120/AC110V
K4
白
绿黄
灰
白
绿黄
灰
白
灰
白
灰
绿黄
绿黄
1
3
2
绿黄 1
3
2
白
灰
绿黄
白
灰
K7 VL3P
VLR-04V
VLP-04V
YLP-06V
YLP-04V
K51
白
灰
白
灰
白
灰
白
灰
蓝
黑
白
灰
蓝
黑
蓝
橙
橙
橙
橙
橙
橙
黑
黑
黑
黑
橙
红
蓝
绿
K42
YLP-04V
K73
YLR-04V
绿
黑
绿
黑
黑
蓝
K76
YL2P
YLP-02V
K75
绿
黑
绿
黑
绿
黑
YLP-04V
YLP-03V
1
K26
VLP-01V
AC盒FG
绿黄
2/2 E8
2/2 E8
2/2 B8
2/2 C8
2/2 A8
2/2 C8
2/2 D8
2/2 D8
2/2 C8
2/2 C8
2/2 B8
2/2 B8
2/2 B8
(F)
(C)
(R)
2/2 B8
显示器

98
98
87654321
2 876543
1
本图说明:
粗实线指定的线号、绿黄粗实线为16#、粗实线为18#、细实线为22#
此配线图仅供参考,如有变更恕不另行通知
1
2
3
4
5
6
1
2
3
4
5
6
7
8
7
白
红
黑
白
红
黑
白
红
黑
白
红
黑
K54
K55
K56
SM6P
SM7P
SM8P
1
2
1
2
1
2
3
4
5
6
1
2
3
4
5
6
绿
灰
蓝
紫
白
黑
绿
黑
K27 YL2P
K24 YL6P
UP
TEST
SERVICE
绿
灰
DOWN
投币码表
服务面板
1
2
3
5
4
6
音量VR组件 VR-B10KΩ
1
2
3
4
5
6
1
2
3
5
4
6
音量VR组件 VR-B10KΩ
1
2
3
5
4
6
音量VR组件 VR-B10KΩ
3
2
13
2
1
3
2
1
HIGH 1
2
1
2
1
2
1
2
K29 YL3P
K49 VL2P
K34 YL2P
1
2
1
2
+12V
PWM
K39
XH2P
加速档
GND
RL
白
红
黑
GND
RL
GND
RL
白
红
黑
白
红
黑
双音频头Φ3.5
双音频头Φ3.5
双音频头Φ3.5
K58
K62
K60
INRET
AC16V
0V
AC16V
1
2
3
4
1
2
3
4
K66
VH4P
M-
M+
蓝
黑
蓝
F
C
R
功放板
棕
黑
1
2
3
4
5
6
1
2
3
4
5
6
1
2
3
4
5
6
7
8
7
白
红
黑
白
红
黑
白
红
黑
白
红
黑
白
红
黑
白
红
黑
棕
-+
黑
低音音箱
1
2
3
4
K21
VLR-04V
蓝
黑
蓝
1
2
3
4
1
2
3
4
K33 YL4P
START KEY
VIEW KEY
1
2
1
2
K38 YL2P
1
2
1
2
K36 YL2P
LED(蓝)
START
LED(红)
VIEW
控台部分
1
2
1
2
+
K68 YL2P
圆形防磁喇叭(中高音)
4吋 4Ω/25W 全音域
1
2
1
2
+
圆形防磁喇叭(中高音)
4吋 4Ω/25W 全音域
K69 YL2P
仪表灯板
1
2
3
4
电子投币器
5
6
1
2
3
4
5
6
TW-800III
K28
XHP-6
方向VR(5K)
1
2
3
4
5
6
1
2
3
4
5
6
K25 YL6P
FG
5
6
7
5
6
7
8
9
10
8
9
10
J1 XHP-10
J2
9
8
7
6
5
4
3
9
8
7
6
5
4
3
2
1
2
1
XHP-9
3
1
2
6
4
5
K23
YLR-06V
1
2
3
4
1
2
3
4
12V
GND
J11VHR-4N
电磁铁
H2520(DC12V、12W) 1
2
1
2
K37 YL2P
1
2
3
4
1
2
3
4
GND
IO板
3
2
1
3
2
1
K32 YL3P
3
2
1
手柄VR(5K)B-5KΩ 270度
M+M-
马达
1 5 6 7 8 15 16 17 18 19 20
1 5 6 7 8 15 16 17 18 19 20
5557-20R
J10
1 2 3 4 5678 9 10 11 12 13 14 15
1 2 3 4 5 6 78 9 10 11 12 13 14 15
XHP-15
J5
USB-B公头
K53
1
2
3
4
5
6
7
1
2
3
4
5
6
7
8
9
8
9
16
16
J8
5557-16R
1
2
3
4
K22
YLR-04V
橙
橙
橙
橙
1
2
1
2
K74VHR-2N
1
2
1
2
K43 XHP-2
GND
PWM
INRET
AC16V
0V
AC16V
蓝
黑
蓝
1
2
3
4
1
2
3
4
PWM
LEFT
RIGHT
+12V
XHP-4K41
4
3
2
1
4
3
2
1
0V
0V
AC110V
AC14V
K19
VHR-4N
动感板
1
2
1
2
K48 VHR-2N
+
-
1
2
1
2
+12V
PWM
K35
XH2P
摄像头LED灯
1
2
1
2
K40 XH2P K44 XH2P
1
2
1
2
1
2
1
2
K45 XH2P
1
2
1
2
绿
橙
绿
橙
射灯 LED
1
2
3
4
K42
YLR-04V
1
2
3
4
K18
VLP-04V
1
3
2
1
3
2
K20 VL3P
1
2
YLR-02V
K75
绿
黑
绿
黑
1
2
3
4
K73
YLP-04V
绿
黑
黑
蓝
1
2
3
4
绿
黑
黑
蓝
1
2
3
4
绿
黑
黑
蓝
YL4PK70
1
2
3
1
2
3
4
红
紫
黑
红
蓝
黑
K30
K31
YLR-04V
YLR-03V
1234567 8 9 10
1234567 8 9 10
FL FR FR CCRL RL RR RR
VH10P -FL
+-+-+-+-+
K67
1
K26
VLR-01VF
FG
COIN
DOWN
UP
TEST
SERVICE
+12V
棕
绿
蓝
紫
白
橙
棕棕
绿
蓝
紫
白
黑
黑
棕
绿黄绿黄
绿黄
绿
灰
橙
黑
绿
灰
橙
黑
绿
灰
橙
黑
橙
黑
黑
棕START KEY
红VIEW KEY
蓝加速档HIGH
棕
红
棕
红
黑
黑
黑
黑
蓝
蓝
黑
黑
橙
黑
黑
橙
黑
黑
黑红
白黑红
蓝黑红
紫黑红
绿
GND
加速档VR
3.3V
GND
刹车VR
3.3V
GND
油门VR
3.3V
GND
方向VR
3.3V
黑
白
红
黑
白
红
黑
绿
红
黑
绿
红
白棕绿紫
蓝白
绿
棕
白
绿
浅
马达板(R)
摄像头LED
VIEW LED
马达板(L)
电磁铁
START LED
仪表灯板
射灯LED
白棕
白绿
粉红
橙
棕
绿绿
蓝蓝
紫紫
白
浅绿
橙
橙
橙
橙橙
橙
橙
橙
橙
黑白 黑白
棕
棕
红
绿
蓝
粉红
GND
R
G
B
PWM
PWM
红
绿
蓝
橙
K63 XHP-6
K64 XHP-6
K65 XHP-6
白
红
黑
白
红
黑
白
红
黑
白
红
黑
白
红
黑
白
红
黑
白
红
黑
白
红
黑
黑棕黑红黑绿黑蓝
黑
棕
黑
棕
黑
红
黑
红
红
黑
红
黑
红
黑
1/2 C1
1/2 E1
1/2 E1
1/2 D1
1/2 D1
1/2 D8
1/2 E8
1/2 A8
1/2 C8
1/2 B8
1/2 B8
1/2 B8
1/2 C8
(F)
(C)
(R)
1/2 C8
蓝
黑
蓝
蓝
黑
蓝
振动喇叭
驱动板
蓝
黑
白
灰
蓝
黑
白
灰
GND
SIGNAL

87654321
2 876543
F
E
D
C
B
A
F
E
D
C
B
A
1
Used On:
Designed By:
Checked By:
Approved By:
Sheet:Scale:View:
图号
:
名称
:
SRF-L0000
配线总图
广州华立科技有限公司
Wahlap(GuangZhou)Technology Co.,Ltd.
Storm Racer G(SRF)
L
N
G
L
N
G
NOISE
LINE LOAD
FIL
L
N
G
YL
PL
GN/YL
1
3
2
GN/YL
1
3
2
Power Line
SW1 FUSE 6A
BN
BU GN/YL
AC220V
BN BN
BU
K1 VL3P
BU
Internet Connector
GND
R
L
WT
RD
BK
GND
R
L
WT
RD
BK
GND
R
L
WT
RD
BK
Double Audio
Frequency
Φ3.5
Double Audio
Frequency
Φ3.5
Double Audio
Frequency
Φ3.5
K57
K61
K59
USB K52 USB-A
AC110V
EARTH
AC110VRET
L
N
GL
N
G
K8 3P INRET
GN/YL
WT
GY
F
C
R
PC
T8 18W
Fluorescent lamp
T8 18W
Fluorescent lamp
T8 18W
Fluorescent lamp
1
2
3
1
2
3
Accelerator VR1(5K)
Brake VR2(5K)
1
2
3
1
2
3
4
RD
PL
BK
ED
BU
BK
K30
K31
Brake & Accelerator
Speaker
3*5" 8Ω/15W
1
2
1
2
3*5" 8Ω/15W
1
2
1
2
+
+
GN
BK
BK
BU
BK
BU
K71YL2P
K72
YL2P
+
R
G
B
+
R
G
B
LED L
LED R
4
2
1
3
4
2
1
3
4
2
1
3
4
2
1
3
OG
RD
BU
GN
OG
RD
BU
GN
OG
RD
BU
GN
OG
RD
BU
GN
K47SM4P
K46SM4P
RGB
RGB
USB KEYUSB
网口
+
Low-Frequency Oscillator
4Ω/50W
-
Seat
1
3
2
GN/YL
1
3
2
BN
BU GN/YL
BN
BU
T1 VL3P
Transformer
350W
AC110V
0V
AC110V
0V
0V
14V
Transformer
250W
AC220V
0V
AC16V
AC16V
0V
FG
FG
S-150-12
12V 150W
EARTH
L
COM
+12V
N
BL
OG
COM
+12V
BL
OG
Power Pack
WT
GY
GN/YL
AC110V
Transformer
1100W
AC220V
0V
AC110V
0V
FG
L
N
G
L
N
GAC220V
EARTH
AC220VRET
GN/YL
BU
BN
INRET 3P
电脑电源线 芯线18#1
2
3
1
2
3
VL3P K3
BN
GN/YL
BU BN
BU
GN/YL
1
2
3
1
2
3
VL3P K2
BN
GN/YL
BU BN
BU
GN/YL
Fan for monitor 1
120*120/AC110V
1
2
3
4
5
6
1
2
3
4
5
6
K6 VL6P
PC Power Line
1
2
3
1
2
3
VL3P K8
WT
GN/YL
GY
WT
GY
GN/YL
1
3
2
GN/YL
1
3
2
WT
GY GN/YL
WT
GY
K12 VL3P
Camera
1
3
2
GN/YL
1
3
2
WT
GY GN/YL
WT
GY
K9 VL3P
1
3
21
3
2
WT
GY GN/YL
WT
GY
K13 VL3P
1
21
2
K16 VL2P
1
21
2
K17 VL2P
AC110V
0V
VIDEO
DVI
DVI
VIDEO
DVI DVI
USB
K50 USB-A
USB
1
2
3
4
K18
1
2
3
4
K21
1
2
3
4
K22
1
2
3
4
5
6
K23
1
2
3
4
37"LED
1
2
1
2
1
2
3
4
1
2
Fan for Transformer
120*120/AC110V
K4
WT
GN/YL
GY
WT
GN/YL
GY
WT
GY
WT
GY
GN/YL
GN/YL
1
3
2
GN/YL
1
3
2
WT
GY GN/YL
WT
GY
K7 VL3P
VLR-04V
VLP-04V
YLP-06V
YLP-04V
K51
WT
GY
WT
GY
WT
GY
WT
GY
BU
BK
WT
GY
BU
BK
BU
OG
OG
OG
OG
OG
OG
BK
BK
BK
BK
OG
RD
BU
GN
K42
YLP-04V
K73
YLR-04V
GN
BK GN
BK
BK
BU
K76YL2P
YLP-02V
K75
GN
BK
GN
BK GN
BK
YLP-04V
YLP-03V
1
K26
VLP-01V
AC盒FG
GN/YL
2/2 E8
2/2 E8
2/2 B8
2/2 C8
2/2 A8
2/2 C8
2/2 D8
2/2 D8
2/2 C8
2/2 C8
2/2 B8
2/2 B8
2/2 B8
(F)
(C)
(R)
2/2 B8
Monitor
Fan for monitor 2
120*120/AC110V
Speaker

87654321
2 876543
F
E
D
C
B
A
F
E
D
C
B
A
1
Used On:
Designed By:
Checked By:
Approved By:
Sheet:Scale:View:
图号
:
名称
:配线总图
广州华立科技有限公司
Wahlap(GuangZhou)Technology Co.,Ltd.
SRF-L0000
Storm Racer G(SRF)
1
2
3
4
5
6
1
2
3
4
5
6
7
8
7
WT
RD
BK
WT
RD
BK
WT
RD
BK
WT
RD
BK
K54
K55
K56
SM6P
SM7P
SM8P
1
2
1
2
1
2
3
4
5
6
1
2
3
4
5
6
GN
GY
BU
PL
WT
BK
GN
BK
K27 YL2P
K24 YL6P
UP
TEST
SERVICE
GN
GY
DOWN
Stopwatch (Coin)
Service Pannel
1
2
3
5
4
6
Volume VR-B10KΩ
1
2
3
4
5
6
1
2
3
5
4
6
VR-B10KΩ
1
2
3
5
4
6
VR-B10KΩ
3
2
1
3
2
1
3
2
1
HIGH
1
2
1
2
1
21
2
K29 YL3P
K49 VL2P
K34 YL2P
1
2
1
2
+12V
PWM
K39XH2P
Boost Controller
GND
RL
WT
RD
BK
GND
RL
GND
RL
WT
RD
BK
WT
RD
BK
Double Audio
Frequency
Φ3.5
Double Audio
Frequency
Φ3.5
Double Audio
Frequency
Φ3.5
K58
K62
K60
INRET
AC16V
0V
AC16V
1
2
3
4
1
2
3
4
K66
VH4P
M-
M+
BU
BK
BU
F
C
R
Amplifier Board
BN
BK
1
2
3
4
5
6
1
2
3
4
5
6
1
2
3
4
5
6
7
8
7
WT
RD
BK
WT
RD
BK
WT
RD
BK
WT
RD
BK
WT
RD
BK
WT
RD
BK
BN
-+
BK
Bass
1
2
3
4
K21
VLR-04V
BU
BK
BU
1
2
3
4
1
2
3
4
K33 YL4P
START KEY
VIEW KEY
1
2
1
2
K38 YL2P
1
2
1
2
K36 YL2P
LED(BU)START
LED(RD)
VIEW
Control Panels
1
2
1
2
+
K68 YL2P
Speaker
4" 4Ω/25W
1
2
1
2
+
K69 YL2P
1
2
3
4
Coin Selector
5
6
1
2
3
4
5
6
TW-800III
K28XHP-6
Steering wheel VR(5K)
1
2
3
4
5
6
1
2
3
4
5
6
K25 YL6P
FG
5
6
7
5
6
78
9
10
8
9
10
J1
XHP-10
J2
9
8
7
6
5
4
3
9
8
7
6
5
4
3
2
12
1
XHP-9
3
1
2
6
4
5
K23
YLR-06V
1
2
3
4
1
2
3
4
12V
GND
J11VHR-4N
Electromagnet
H2520(DC12V、12W)
1
2
1
2
K37 YL2P
1
2
3
4
1
2
3
4
GND
IO Board
3
2
1
3
2
1
K32 YL3P
3
2
1
M+M-
Motor
1 5 6 7 8 15 16 17 18 19 20
1 5 6 7 8 15 16 17 18 19 20
5557-20R
J10
1 2 3 4 5 6 7 8 9 10 11 12 13 14 15
1 2 3 4 5 6 7 8 9 10 11 12 13 14 15
XHP-15
J5
USB-B
K53
1
2
3
4
5
6
7
1
2
3
4
5
6
78
9
8
9
1616
J8
5557-16R
1
2
3
4
K22
YLR-04V
OG
OG
OG
OG
1
21
2
K74VHR-2N
1
21
2
K43 XHP-2
GND
PWM
INRET
AC16V
0V
AC16V
BU
BK
BU
1
2
3
4
1
2
3
4
PWM
LEFT
RIGHT
+12V
XHP-4K41
4
3
2
1
4
3
2
1
0V
0V
AC110V
AC14V
K19
VHR-4N
1
2
1
2
K48
VHR-2N
+
-
1
2
1
2
+12V
PWM
K35XH2P
Camera LED
1
21
2
K40 XH2P K44 XH2P
1
21
21
21
2
K45 XH2P
1
21
2
GN
OG GN
OG
LED
1
2
3
4
K42
YLR-04V
1
2
3
4
K18
VLP-04V
1
3
21
3
2
K20 VL3P
1
2
YLR-02V
K75
GN
BK
GN
BK
1
2
3
4
K73
YLP-04V
GN
BK
BK
BU
1
2
3
4
GN
BK
BK
BU
1
2
3
4
GN
BK
BK
BU
YL4PK70
1
2
3
1
2
3
4
RD
PL
BK
RD
BU
BK
K30
K31
YLR-04V
YLR-03V
1 2 3 4 5 6 7 8 9 10
1 2 3 4 5 6 7 8 9 10
FL FR FR C C RL RL RR RR
VH10P
-FL
+ - +-+-+-+
K67
1
K26
VLR-01VF
FG
COIN
DOWN
UP
TEST
SERVICE
+12V
BN
GN
BU
PL
WT
OG
BNBN
GN
BU
PL
WT
BK
BK
BN GN/YLGN/YL
GN/YL
GN
GY
OG
BK
GN
GY
OG
BK
GN
GY
OG
BK
OG
BK
BK
BN
START KEY
RD
VIEW KEY
BU
BN
RD
BN
RD
BK
BK
BK
BK
BUBU BK
BK
OG
BK
BK
OG
BK
BK
BK RDWT BK RDBU BK RDPL BK RDGN
GND
Boost Controller VR
3.3V
GND
Brake VR
3.3V
GND
Accelerator VR
3.3V
GND
Steering wheel VR
3.3V
BK
WT
RD
BK
WT
RD
BK
GN
RD
BK
GN
RD
WT BN GN PL
BU WT GN
BN WT
GN LT
Dynamic panels(R)
Camera LED
VIEW LED
Dynamic panels(L)
Electromagnet
START LED
LED for control Panel
LED
WTBN
WTGN
PK
OG
BN
GNGN
BUBU
PLPL
WT
LTGN
OG
OG
OG
OGOG
OG
OG
OGOG
BKWT BKWT
BN
BN
RD
GN
BU
PK
GND
R
G
B
PWM
PWM
RD
GN
BU
OG
K63 XHP-6
K64 XHP-6
K65 XHP-6
WT
RD
BK
WT
RD
BK
WT
RD
BK
WT
RD
BK
WT
RD
BK
WT
RD
BK
WT
RD
BK
WT
RD
BK
BK BN BK RD BK GN BK BU
BK
BN
BK
BN
BK
RD
BK
RD
RD
BK
RD
BK
RD
BK
1/2 C1
1/2 E1
1/2 E1
1/2 D1
1/2 D1
1/2 D8
1/2 E8
1/2 A8
1/2 C8
1/2 B8
1/2 B8
1/2 B8
1/2 C8
(F)
(C)
(R)
1/2 C8
BU
BK
BU
BU
BK
BU
Vibrator Horn
Driver Board
BU
BK
WT
GY
BU
BK
WT
GY
GND
SIGNAL
FUSE 5A
1
Piezoresistor 391KD10
1
Volume
Volume
4" 4Ω/25W
Speaker
Light board
for control
panels Dynamic
Panels
Boost cont
-roller
HIGH
Boost Controller
VR(5K)B-5KΩ
270°

Honorable customer !
Thank you for purchasing our product !
For your benefits, if you find any fault during the operation of the
product, please use a technician who obtains a certificate related
to mechanical engineering, electrical engineering or who engages
in routine maintenance, repair and management of amusement
machine to check the machine and inform us the fault in a timely
manner. Our company will take corresponding measures to assist
you to solve the problem promptly.
NOTICE
NOTICE
:Do not dismount or replace any part of the machine without
our technician’s permission, or you will solely undertake the
consequence !
Please pay attention to our contact information as follow:
GuangZhou Wahlap Technology Limited
9. After-sales Service
99
99

The specifications and operation instructions in this Manual are subject
to change without notice for reasons such as performance.