Arris TG1672G NA User Manual NA: Guide NA+Telephony+Gateway+User's+Guide STANDARD+1.1.unlocked
User Manual: Arris TG1672G-NA TG1672G-NA: User Guide
Open the PDF directly: View PDF
.
Page Count: 52
- Patent Notice
- Overview
- Safety Requirements
- Getting Started
- Battery Installation and Removal
- Installing and Connecting your Telephony Gateway
- Configuring Your Ethernet Connection
- Using the Telephony Gateway
- Troubleshooting
- The Telephony Gateway is plugged in, but the Power light is Off
- I'm not getting on the Internet (all connections)
- I'm not getting on the Internet (Ethernet)
- I'm not getting on the Internet (Wireless)
- My wireless Internet connection stops working sometimes
- I can get on the Internet, but everything is slow
- I don't have a dial tone when I pick up the phone - why?
- Glossary

Touchstone TG1672 Telephony
Gateway
User Guide
Release 16 STANDARD 1.1 August 2016
August 2016
Touchstone TG1672 Telephony Gateway User Guide
Release 16 STANDARD 1.1
ARRIS Copyrights and Trademarks
© 2015-2016 ARRIS Enterprises LLC. All Rights Reserved. No part of this publication may be
reproduced in any form or by any means or used to make any derivative work (such as
translation, transformation, or adaptation) without written permission from ARRIS
Enterprises LLC. (“ARRIS”). ARRIS reserves the right to revise this publication and to make
changes in content from time to time without obligation on the part of ARRIS to provide
notification of such revision or change.
ARRIS and the ARRIS logo are all trademarks of ARRIS Enterprises LLC. Other trademarks and
trade names may be used in this document to refer to either the entities claiming the marks
and the names of their products. ARRIS disclaims proprietary interest in the marks and
names of others.
ARRIS provides this guide without warranty of any kind, implied or expressed, including, but
not limited to, the implied warranties of merchantability and fitness for a particular purpose.
ARRIS may make improvements or changes in the product(s) described in this manual at any
time.
The capabilities, system requirements and/or compatibility with third-party products
described herein are subject to change without notice.
Patent Notice
Protected under one or more of the following U.S. patents: http://www.arris.com/legal
Other patents pending.

Release 16 STANDARD 1.1 August 2016 Touchstone TG1672 Telephony Gateway User Guide
© 2015-2016 ARRIS Enterprises LLC. All Rights Reserved. 3
Table of Contents
1. Overview ................................................................................................................ 5
Introduction ....................................................................................................................... 5
Getting Support ................................................................................................................. 6
2. Safety Requirements ............................................................................................... 7
FCC Part 15 ........................................................................................................................ 8
RF Exposure ............................................................................................................... 9
Industry Canada Compliance ............................................................................................. 9
For Mexico ......................................................................................................................... 9
3. Getting Started ..................................................................................................... 10
About Your New Touchstone TG1672 Telephony Gateway ............................................ 10
What's in the Box ............................................................................................................. 10
Items You Need ............................................................................................................... 11
Getting Service ................................................................................................................. 12
System Requirements ...................................................................................................... 12
Recommended Hardware ....................................................................................... 13
Windows ................................................................................................................. 13
Mac OS .................................................................................................................... 13
Linux/Unix ............................................................................................................... 13
About this Manual ........................................................................................................... 14
What About Security? ...................................................................................................... 14
Ethernet or Wireless? ...................................................................................................... 15
4. Battery Installation and Removal .......................................................................... 17
Introduction ..................................................................................................................... 17
Basic Battery Installation and Replacement .................................................................... 18
Extended Battery Installation and Replacement ............................................................. 20
Battery Usage and Storage Conditions ............................................................................ 22
Battery Disposal Guidelines .................................................................................... 22
Getting Battery Status ..................................................................................................... 22
5. Installing and Connecting your Telephony Gateway ............................................... 23
Front Panel ...................................................................................................................... 24
Rear Panel ........................................................................................................................ 25
Selecting an Installation Location .................................................................................... 25
Factors Affecting Wireless Range ........................................................................... 26
Mounting the Telephony Gateway .................................................................................. 27

Release 16 STANDARD 1.1 August 2016 Touchstone TG1672 Telephony Gateway User Guide
© 2015-2016 ARRIS Enterprises LLC. All Rights Reserved. 4
Tools and Materials ................................................................................................ 27
Location ................................................................................................................... 27
Wall Mounting Instructions .................................................................................... 27
Desktop Mounting Instructions .............................................................................. 29
Connecting the Telephony Gateway ............................................................................... 30
Configuring Your Wireless Connection ............................................................................ 31
Accessing the Configuration Interface .................................................................... 31
Setting Parental Controls ................................................................................................. 32
Finding the MAC Address of a Computer ............................................................... 32
Making Your Parental Control Settings................................................................... 32
6. Configuring Your Ethernet Connection ................................................................... 35
Requirements .................................................................................................................. 35
How to use this Chapter .................................................................................................. 35
TCP/IP Configuration for Windows Vista ......................................................................... 35
TCP/IP Configuration for Windows 7, Windows 8, or Windows 10 ................................ 36
TCP/IP Configuration for Mac OS X ................................................................................. 36
7. Using the Telephony Gateway ............................................................................... 38
Setting up Your Computer to Use the Telephony Gateway ............................................ 38
Indicator Lights for the TG1672 ....................................................................................... 39
Wiring Problems ..................................................................................................... 39
Patterns: Normal Operation (LAN and Telephone) ................................................ 40
Patterns: Normal Operation (WAN and Battery) .................................................... 40
Patterns: Startup Sequence .................................................................................... 41
Using the Reset Button ........................................................................................... 42
Resetting the Router to Factory Defaults ............................................................... 43
Booting from Battery .............................................................................................. 43
8. Troubleshooting .................................................................................................... 45
The Telephony Gateway is plugged in, but the Power light is Off .................................. 45
I'm not getting on the Internet (all connections) ............................................................ 45
I'm not getting on the Internet (Ethernet) ...................................................................... 45
I'm not getting on the Internet (Wireless)....................................................................... 46
My wireless Internet connection stops working sometimes .......................................... 46
I can get on the Internet, but everything is slow ............................................................ 46
I don't have a dial tone when I pick up the phone - why? .............................................. 46
9. Glossary ................................................................................................................ 48

Release 16 STANDARD 1.1 August 2016 Touchstone TG1672 Telephony Gateway User Guide
© 2015-2016 ARRIS Enterprises LLC. All Rights Reserved. 5
Chapter 1
Overview
Introduction
Get ready to experience the Internet’s express lane! Whether you’re checking out streaming
media, downloading new software, checking your email, or talking with friends on the phone,
the Touchstone TG1672 Telephony Gateway brings it all to you faster and more reliably. All
while providing toll quality Voice over IP telephone service and both wired and wireless
connectivity. It also provides a Lithium-Ion battery backup to provide continued telephone
service during power outages.
The Touchstone TG1672 Telephony Gateway provides four Ethernet connections for use as
the hub of your home/office Local Area Network (LAN). The TG1672 also provides
802.11a/b/g/n wireless connectivity for enhanced mobility and versatility. In addition, the
TG1672 provides for up to two separate lines of telephone service.
The Telephony Gateway also offers integrated MoCA 1.1 home networking providing Internet
access and transfer of multimedia content between devices over coaxial cable in the home.
Installation is simple and your service provider will provide assistance to you for any special
requirements.

Chapter 1: Overview
Release 16 STANDARD 1.1 August 2016 Touchstone TG1672 Telephony Gateway User Guide
© 2015-2016 ARRIS Enterprises LLC. All Rights Reserved. 6
Getting Support
If you need assistance with your ARRIS product please contact your service provider.
For additional technical information and product User Guides please visit the ARRIS Support
website at http://www.arris.com/consumers.

Release 16 STANDARD 1.1 August 2016 Touchstone TG1672 Telephony Gateway User Guide
© 2015-2016 ARRIS Enterprises LLC. All Rights Reserved. 7
Chapter 2
Safety Requirements
The ARRIS Telephony Gateway complies with the applicable requirements for performance,
construction, labeling, and information when used as outlined below:
CAUTION
Potential equipment damage
Potential loss of service
Connecting the Telephony Gateway to existing telephone wiring should only be performed by
a professional installer. Physical connections to the previous telephone provider must be
removed and the wiring must be checked; there must not be any voltages. Cancelation of
telephone service is not adequate. Failure to do so may result in loss of service and/or
permanent damage to the Telephony Gateway.
CAUTION
Risk of shock
Mains voltages inside this unit. No user serviceable parts inside. Refer service to qualified
personnel only!
CAUTION
Risk of explosion
Replacing the battery with an incorrect type, heating a battery above 75°C, or incinerating a
battery, can cause product failure and a risk of fire or battery explosion. Do not dispose of in
fire. Recycle or dispose of used batteries responsibly and in accordance with local ordinances.
The Telephony Gateway is designed to be connected directly to a telephone.
Connecting the Telephony Gateway to the home’s existing telephone wiring should only
be performed by a professional installer.
Do not use product near water (i.e. wet basement, bathtub, sink or near a swimming pool,
etc.), to avoid risk of electrocution.
Do not use the telephone to report a gas leak in the vicinity of the leak.
The product shall be cleaned using only a damp, lint-free, cloth. No solvents or cleaning
agents shall be used.
Do not use spray cleaners or aerosols on the device.
Avoid using and/or connecting the equipment during an electrical storm, to avoid risk of
electrocution.
Do not locate the equipment within 6 feet (1.9 m) of a flame or ignition source (i.e. heat
registers, space heaters, fireplaces, etc.).

Chapter 2: Safety Requirements
Release 16 STANDARD 1.1 August 2016 Touchstone TG1672 Telephony Gateway User Guide
© 2015-2016 ARRIS Enterprises LLC. All Rights Reserved. 8
Use only the AC power adapter (if provided) and power cord included with the equipment.
Equipment should be installed near the power outlet and should be easily accessible.
The shield of the coaxial cable must be connected to earth (grounded) at the entrance to
the building in accordance with applicable national electrical installation codes. In the U.S.,
this is required by NFPA 70 (National Electrical Code) Article 820. In the European Union
and in certain other countries, CATV installation equipotential bonding requirements are
specified in IEC 60728-11, Cable networks for television signals, sound signals and
interactive services, Part 11: Safety. This equipment is intended to be installed in
accordance with the requirements of IEC 60728-11 for safe operation.
If the equipment is to be installed in an area serviced by an IT power line network, as is
found in many areas of Norway, special attention should be given that the installation is in
accordance with IEC 60728-11, in particular Annex B and Figure B.4.
In areas of high surge events or poor grounding situations and areas prone to lightning
strikes, additional surge protection may be required (i.e. PF11VNT3 from American Power
Conversion) on the AC, RF, Ethernet and Phone lines.
When the Telephony Gateway is connected to a local computer through Ethernet cables,
the computer must be properly grounded to the building/residence AC ground network.
All plug-in cards within the computer must be properly installed and grounded to the
computer frame per the manufacturer’s specifications.
Ensure proper ventilation. Position the Telephony Gateway so that air flows freely around
it and the ventilation holes on the unit are not blocked.
Do not mount the Telephony Gateway on surfaces that are sensitive to heat and/or which
may be damaged by the heat generated by the modem, its power supply, or other
accessories.
FCC Part 15
This equipment has been tested and found to comply with the requirements for a Class B
digital device under Part 15 of the Federal Communications Commission (FCC) rules. These
requirements are intended to provide reasonable protection against harmful interference in a
residential installation. This equipment generates, uses and can radiate radio frequency
energy and, if not installed and used in accordance with the instructions, may cause harmful
interference to radio communications. However, there is no guarantee that interference will
not occur in a particular installation. If this equipment does cause harmful interference to
radio or television reception, which can be determined by turning the equipment off and on,
the user is encouraged to try to correct the interference by one or more of the following
measures:
Reorient or relocate the receiving antenna.
Increase the separation between the equipment and receiver.
Connect the equipment into an outlet on a circuit different from that to which the receiver
is connected.
Consult the dealer or an experienced radio/TV technician for help.

Chapter 2: Safety Requirements
Release 16 STANDARD 1.1 August 2016 Touchstone TG1672 Telephony Gateway User Guide
© 2015-2016 ARRIS Enterprises LLC. All Rights Reserved. 9
WARNING
Changes or modifications to this equipment not expressly approved by the party responsible
for compliance could void the user’s authority to operate the equipment.
RF Exposure
This equipment complies with FCC radiation exposure limits set forth for an uncontrolled
environment. This equipment should be installed and operated with minimum distance of
11.8 inches (30 cm) between the radiator and your body. This transmitter must not be co-
located or operating in conjunction with any other antenna or transmitter.
Industry Canada Compliance
Under Industry Canada regulations, this radio transmitter may only operate using an antenna
of a type and maximum (or lesser) gain approved for the transmitter by Industry Canada. To
reduce potential radio interference to other users, the antenna type and its gain should be so
chosen that the equivalent isotropically radiated power (e.i.r.p.) is not more than that
necessary for successful communication.
This device complies with Industry Canada license-exempt RSS standard(s). Operation is
subject to the following two conditions: (1) this device may not cause interference, and (2)
this device must accept any interference, including interference that may cause undesired
operation of the device.
For Mexico
The operation of this equipment is subject to the following two conditions: (1) This equipment
or device cannot cause harmful interference and (2) this equipment or device must accept any
interference, including interference that may cause some unwanted operation of the
equipment.

Release 16 STANDARD 1.1 August 2016 Touchstone TG1672 Telephony Gateway User Guide
© 2015-2016 ARRIS Enterprises LLC. All Rights Reserved. 10
Chapter 3
Getting Started
About Your New Touchstone TG1672 Telephony
Gateway
The Touchstone TG1672 Telephony Gateway is DOCSIS compliant with the following features:
Speed: much faster than dialup or ISDN service; up to sixteen times faster than DOCSIS 2.0
cable modems.
Convenience: supports Ethernet and 802.11a/b/g/n/ac wireless connections; both can be
used simultaneously
Flexibility: provides two independent lines of telephone service as well as high speed data
Compatibility:
• Data services: DOCSIS 3.0 compliant and backward-compatible with DOCSIS 2.0 or 1.1;
supports tiered data services (if offered by your service provider)
• Telephony services: PacketCable™ 1.5 or 1.0 compliant
The TG1672 provides:
Wireless 802.11a/b/g/n/ac connectivity
Four Ethernet ports for connections to non-wireless devices
Up to two lines of telephone service
DOCSIS 3.0 compliant with Li-Ion backup battery
One USB host port (future support for external USB devices)
What's in the Box
Make sure you have the following items before proceeding. Call your service provider for
assistance if anything is missing.
Telephony Gateway
Power Cord
Battery (not included with all models)
Wireless Connection Configuration Guide
Ethernet Cable
End User License Agreement

Chapter 3: Getting Started
Release 16 STANDARD 1.1 August 2016 Touchstone TG1672 Telephony Gateway User Guide
© 2015-2016 ARRIS Enterprises LLC. All Rights Reserved. 11
Items You Need
If you are installing the Telephony Gateway yourself, make sure you have the following items
on hand before continuing:
Telephony Gateway package: see What's in the Box (page 10) for a list of items in the
package.
Coaxial cable (coax): This is a round cable with a connector on each end. It is the same
kind of wire used to connect to your television for cable TV. You can buy coax from any
electronics retailer and many discount stores; make sure it has connectors on both ends.
There are two types of connectors, slip-on and screw-on; the screw-on connectors are
best for use with your Telephony Gateway. The coax should be long enough to reach from
your Telephony Gateway to the nearest cable outlet.
Phone Cable: This is a standard phone cable with standard phone connectors (RJ11 type)
on both ends. You can buy phone cables from any electronics retailer and many discount
stores.
Splitter (optional): provides an extra cable connection by splitting a single outlet into two.
You may need a splitter if you have a TV already connected to the cable outlet that you
want to use. You can buy a splitter from any electronics retailer and most discount stores;
you may also need a short piece of coax cable (with connectors); use it to connect the
splitter to the cable outlet and then connect the Telephony Gateway and TV to the
splitter.

Chapter 3: Getting Started
Release 16 STANDARD 1.1 August 2016 Touchstone TG1672 Telephony Gateway User Guide
© 2015-2016 ARRIS Enterprises LLC. All Rights Reserved. 12
Note: A splitter effectively cuts the signal in half and sends each half to its two outputs.
Using several splitters in a line may deteriorate the quality of your television, telephone,
and/or internet connection.
Wall-mounting Bracket (optional): if you want to wall-mount your Telephony Gateway,
you need to obtain two drywall anchors or wood screws and order a wall-mounting
bracket from your service provider.
Information packet: your service provider should furnish you with a packet containing
information about your service and how to set it up. Read this information carefully and
contact your service provider if you have any questions.
Getting Service
Before trying to use your new Telephony Gateway, contact your local service provider to
establish an Internet account and telephone service. When you call, have the following
information ready:
the Telephony Gateway serial number and cable MAC addresses of the unit (printed on a
sticker on the bottom of the Telephony Gateway)
the model number of the Telephony Gateway
If the Telephony Gateway was provided by your service provider, they already have the
required information.
In addition, you should ask your service provider the following questions:
Do you have any special system requirements or files that I need to download after I am
connected?
When can I start using my Telephony Gateway?
Do I need a user ID or password to access the Internet or my e-mail?
Will my phone number(s) change?
What new calling features will I have and how do I use them?
System Requirements
The Touchstone Telephony Gateway operates with most computers. The following describes
requirements for each operating system; see the documentation for your system for details
on enabling and configuring networking.
To use the Telephony Gateway, you need DOCSIS high-speed Internet service from your
service provider. Telephone service requires that the service provider has PacketCable
support.

Chapter 3: Getting Started
Release 16 STANDARD 1.1 August 2016 Touchstone TG1672 Telephony Gateway User Guide
© 2015-2016 ARRIS Enterprises LLC. All Rights Reserved. 13
Recommended Hardware
The following hardware configuration is recommended. Computers not meeting this
configuration can still work with the TG1672, but may not be able to make maximum use of
TG1672 throughput.
CPU: P4, 3GHz or faster
RAM: 1GB or greater
Hard drive: 7200 RPM or faster
Ethernet: Gig-E (1000BaseT)
Windows
Windows Vista, Windows 7, Windows 8, or Windows 10. A supported Ethernet or wireless
LAN connection must be available.
Mac OS
System 7.5 to Mac OS 9.2 (Open Transport recommended) or Mac OS X. A supported Ethernet
or wireless LAN connection must be available.
Linux/Unix
Hardware drivers, TCP/IP, and DHCP must be enabled in the kernel. A supported Ethernet or
wireless LAN connection must be available.

Chapter 3: Getting Started
Release 16 STANDARD 1.1 August 2016 Touchstone TG1672 Telephony Gateway User Guide
© 2015-2016 ARRIS Enterprises LLC. All Rights Reserved. 14
About this Manual
This manual covers the Touchstone TG1672 Telephony Gateway. The model number is on the
label affixed to the Telephony Gateway.
1. Model Number
2. Security Label
What About Security?
Having a high-speed, always-on connection to the Internet requires a certain amount of
responsibility to other Internet users—including the need to maintain a reasonably secure
system. While no system is 100% secure, you can use the following tips to enhance your
system’s security:
Keep the operating system of your computer updated with the latest security patches.
Run the system update utility at least weekly.
Keep your email program updated with the latest security patches. In addition, avoid
opening email containing attachments, or opening files sent through chat rooms,
whenever possible.
Install a virus checker and keep it updated.
Avoid providing web or file-sharing services over your Telephony Gateway. Besides certain
vulnerability problems, most cable companies prohibit running servers on consumer-level
accounts and may suspend your account for violating your terms of service.

Chapter 3: Getting Started
Release 16 STANDARD 1.1 August 2016 Touchstone TG1672 Telephony Gateway User Guide
© 2015-2016 ARRIS Enterprises LLC. All Rights Reserved. 15
Use the service provider’s mail servers for sending email.
Avoid using proxy software unless you are certain that it is not open for abuse by other
Internet users (some are shipped open by default). Criminals can take advantage of open
proxies to hide their identity when breaking into other computers or sending spam. If you
have an open proxy, your service provider may suspend your account to protect the rest
of the network.
The TG1672 ships with wireless LAN security set by default (for the same reasons that you
should run only secured proxies). See the security label on your product for the factory
security settings. If you need to modify the default wireless security settings, see
Configuring Your Wireless Connection (page 31).
Ethernet or Wireless?
There are two ways to connect your computer (or other equipment) to the Telephony
Gateway. The following will help you decide which is best for you:
Ethernet
Ethernet is a standard method of connecting two or more computers into a Local Area
Network (LAN). You can use the Ethernet connection if your computer has built-in Ethernet
hardware.
Note: To connect more than four computers to the TG1672 through the Ethernet ports, you
need an Ethernet hub (available at computer retailers).
The Telephony Gateway package comes with one 4-foot (1.2m) Ethernet cable (the
connectors look like wide telephone connectors); you can purchase more cables if necessary
at a computer retailer. If you are connecting the Telephony Gateway directly to a computer,
or to an Ethernet hub with a cross-over switch, ask for Category 5e (CAT5e) straight-through
cable. CAT5e cable is required for gigabit Ethernet (Gig-E), not regular CAT5 cable.
Wireless
Wireless access lets you connect additional (wireless-capable) devices to Telephony Gateway.
The 802.11 wireless LAN standard allows one or more computers to access the TG1672 using a
wireless (radio) signal. These connections are in addition to the connections supported via
Ethernet.

Chapter 3: Getting Started
Release 16 STANDARD 1.1 August 2016 Touchstone TG1672 Telephony Gateway User Guide
© 2015-2016 ARRIS Enterprises LLC. All Rights Reserved. 16
Note: You can use the wireless connection if your computer has a built-in or aftermarket plug-
in wireless adapter. To learn more about which wireless hardware works best with your
computer, see your computer dealer.
Both
If you have two or more computers, you can use Ethernet for up to four devices and wireless
for the others. To connect five or more computers to the Ethernet ports, you will need an
Ethernet hub (available at computer retailers.)

Release 16 STANDARD 1.1 August 2016 Touchstone TG1672 Telephony Gateway User Guide
© 2015-2016 ARRIS Enterprises LLC. All Rights Reserved. 17
Chapter 4
Battery Installation and Removal
Introduction
The TG1672 Telephony Gateway supports a Lithium-Ion backup battery to provide continued
telephone service during power outages. The battery backup is not intended to take the place
of AC power.
Note: The battery is intended only to provide emergency telephone service in the case of a
power outage. Wireless data and wired data service will not be available during a power
outage. In addition, LED operation is reduced when the Telephony Gateway is operating on
battery power.
Note: For safety and regulatory purposes, batteries are shipped outside of the Telephony
Gateway and must be installed.
The TG1672 supports the following battery models:
Basic backup battery: provides up to 4 hours of backup time, depending on your
Telephony Gateway model and usage. It may be green or black.
Basic Backup Battery (Green) Basic Backup Battery (Black)
Refer to Basic Battery Installation and Replacement (page 18).
Extended backup battery: provides up to 8 hours of backup time, depending on model and
usage. It has a strap between the battery guides.

Chapter 4: Battery Installation and Removal
Release 16 STANDARD 1.1 August 2016 Touchstone TG1672 Telephony Gateway User Guide
© 2015-2016 ARRIS Enterprises LLC. All Rights Reserved. 18
Extended Backup Battery
Refer to Extended Battery Installation and Replacement (page 20).
Your service provider may include a backup battery with your Telephony Gateway. If you wish,
you can purchase an additional battery at http://shop.surfboard.com/. The website will list the
recommended battery type for your Telephony Gateway.
Note: The backup times shown here are only an estimate and assume that your battery is fully
charged. If your battery is partially discharged (for example, if it is in the middle of a self-test
or is not yet fully charged), then your backup time will be reduced.
Basic Battery Installation and Replacement
This model of the Telephony Gateway has the ability to provide continued telephone service
during power outages. The battery backup is not intended to take the place of AC power.
Use this procedure to install and to replace the backup battery.
1. Press down and pull back on the latch holding the battery door (on the bottom of the
Telephony Gateway). Pull the door toward you. Set the door aside in a safe place.
1 - Latch End
CAUTION
Risk of equipment damage
Improperly inserting the battery may damage the battery connector in the Telephony
Gateway. Carefully follow the instructions in the next step to avoid damage.

Chapter 4: Battery Installation and Removal
Release 16 STANDARD 1.1 August 2016 Touchstone TG1672 Telephony Gateway User Guide
© 2015-2016 ARRIS Enterprises LLC. All Rights Reserved. 19
2. Hold the battery pack so that the guides on the battery align with the slots on the
Telephony Gateway and slide the battery into the bay.
1 - Battery Slots
2 - Battery Guides
Note: Batteries will not insert completely into the Telephony Gateway if not oriented
correctly. The battery should slide into the bay without significant force. Line up the
guides on the battery with the slots in the battery bay.
3. Push the battery pack into the bay until it seats into place. If you are taking the battery
out of the Telephony Gateway, position your finger in the battery opening area and use
leverage to dislodge the battery while pulling it straight back.
Note: The Telephony Gateway will not begin operating until you apply AC power.
4. Replace the door. To do so, place the hinge tabs of the battery door into the receiver slots
inside the Telephony Gateway battery compartment on the -opposite end of the battery
opening. Rotate the door toward the unit until the latch snaps back into place.

Chapter 4: Battery Installation and Removal
Release 16 STANDARD 1.1 August 2016 Touchstone TG1672 Telephony Gateway User Guide
© 2015-2016 ARRIS Enterprises LLC. All Rights Reserved. 20
1 - Battery Compartment
2 - Receiver Slot
3 - Hinge Tab
Note: Telephony Gateways use a Lithium-Ion battery pack. Please recycle or dispose of the
battery responsibly and in accordance with local ordinances.
Extended Battery Installation and Replacement
This model of the Telephony Gateway has the ability to provide continued telephone service
during power outages. The battery backup is not intended to take the place of AC power.
Use this procedure to install or replace the backup battery.
1. Press down and pull back on the latch holding the battery door (on the bottom of the
Telephony Gateway). Pull the door toward you. Set the door aside in a safe place.
1 - Latch End
CAUTION
Risk of equipment damage
Improperly inserting the battery may damage the battery connector in the Telephony
Gateway. Carefully follow the instructions in the next step to avoid damage.

Chapter 4: Battery Installation and Removal
Release 16 STANDARD 1.1 August 2016 Touchstone TG1672 Telephony Gateway User Guide
© 2015-2016 ARRIS Enterprises LLC. All Rights Reserved. 21
2. Hold the battery pack so that the guides on the battery align with the slots on the
Telephony Gateway and slide the battery into the bay.
1 - Battery Slots
2 - Battery Guides
3 - Battery Pull Strap
Note: Batteries will not insert completely into the Telephony Gateway if not oriented
correctly. The battery should slide into the bay without significant force. Line up the slots
in the battery bay with the guides on the battery and apply even pressure on both ends of
the battery.
3. Push the battery pack into the bay until it latches into place. If you are taking the battery
out of the Telephony Gateway, use the battery pull strap to dislodge the battery.
Note: The Telephony Gateway will not begin operating until you apply AC power.
4. Replace the door. To do so, place the tabs of the battery door into the slot inside the
Telephony Gateway battery compartment. Rotate the door toward the front of the
Telephony Gateway until the latch snaps back into place.

Chapter 4: Battery Installation and Removal
Release 16 STANDARD 1.1 August 2016 Touchstone TG1672 Telephony Gateway User Guide
© 2015-2016 ARRIS Enterprises LLC. All Rights Reserved. 22
1 - Battery Compartment
2 - Receiver Slot
3 - Hinge Tab
Note: Telephony Gateways use a Lithium-Ion battery pack. Please recycle or dispose of the
battery responsibly and in accordance with local ordinances.
Battery Usage and Storage Conditions
The life expectancy of your battery should be several years, provided that it was
purchased from an approved source.
Your battery goes through a calibration procedure when it is first installed or replaced.
This procedure can take up to 72 hours to complete and is repeated every six months.
If your battery becomes fully drained during a power outage, the calibration procedure
will need to be repeated.
Your battery should be installed in your Telephony Gateway and kept there at all times. Do
not store the battery separately from the Telephony Gateway for any prolonged period of
time.
Battery Disposal Guidelines
To ensure compliance with current and future rechargeable battery take-back laws, ARRIS has
joined Call2Recycle, a collection program for rechargeable batteries throughout North
America. US and Canadian customers should visit http://www.call2recycle.org to properly
recycle your lithium-ion battery backup units (BBUs).
Getting Battery Status
To assess whether the battery needs to be replaced, the Telephony Gateway charges,
discharges, and recharges the battery pack as part of a battery test. The Telephony Gateway
re-tests the battery periodically afterwards, usually every 180 days. The Battery LED and the
Registration Status screen indicate the status of the battery.
To view the Registration Status screen:
1. Using a web browser, access http://192.168.0.1/ and click the HSD tab at the top of the
page.
2. Click the CM State link below the ARRIS banner.
3. Scroll down, if necessary, to see the Power Supply Telemetry and Battery Test State
information at the bottom of the page. The expected states are:
• Power Supply Telemetry: TELEMETRY NORMAL
• Battery Test State: Not Currently Under Battery Test

Release 16 STANDARD 1.1 August 2016 Touchstone TG1672 Telephony Gateway User Guide
© 2015-2016 ARRIS Enterprises LLC. All Rights Reserved. 23
Chapter 5
Installing and Connecting your Telephony
Gateway
Before you start, make sure that:
You have contacted your service provider and verified that they provide data and
telephone service using standard DOCSIS technology.
You have all the Items You Need (page 11).
Cable, phone, and power outlets are available near the computer. If a cable outlet is not
conveniently located, your service provider can install a new one.
If you have ordered service, your service provider should configure the Telephony Gateway
automatically. You need only follow the instructions in this section to install and connect the
Telephony Gateway.
CAUTION
Risk of equipment damage
Only qualified installation technicians should connect the Telephony Gateway to house wiring.
Incumbent telephone service must be physically disconnected at the outside interface box
before making any connections.

Chapter 5: Installing and Connecting your Telephony Gateway
Release 16 STANDARD 1.1 August 2016 Touchstone TG1672 Telephony Gateway User Guide
© 2015-2016 ARRIS Enterprises LLC. All Rights Reserved. 24
Front Panel
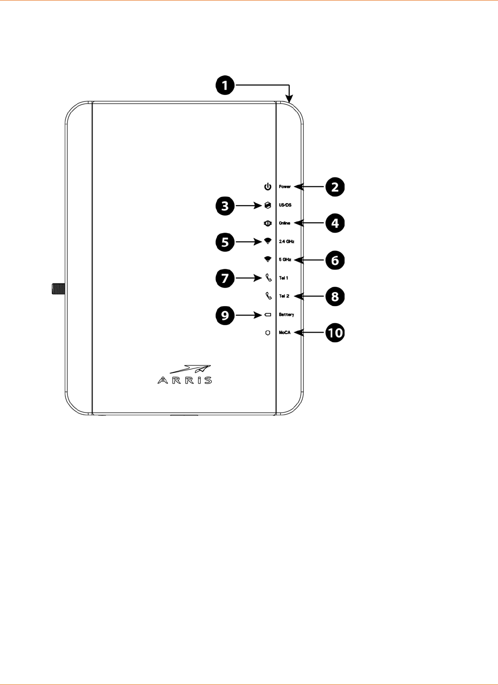
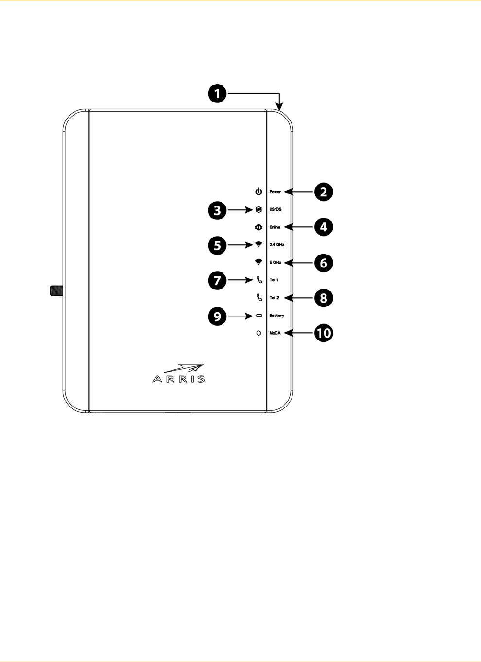
The front of the Telephony Gateway has the following indicators.
1. WPS Button/LED: begins associating the Telephony Gateway with a wireless device. LED
indicates Wireless Protected Setup (WPS) is active.
2. Power: indicates whether AC power is available to the unit.
3. US/DS: indicates upstream/downstream connectivity.
4. Online: indicates internet data transmission status.
5. 2.4 GHz: indicates the status of the 2.4 GHz wireless LAN.
6. 5 GHz: indicates the status of the 5 GHz wireless LAN.
7. Tel 1: indicates the status of telephone line 1.
8. Tel 2: indicates the status of telephone line 2.
9. Battery: indicates the battery status.
10. MoCA: indicates connectivity between the Telephony Gateway and other home devices
connected via the MoCA network.

Chapter 5: Installing and Connecting your Telephony Gateway
Release 16 STANDARD 1.1 August 2016 Touchstone TG1672 Telephony Gateway User Guide
© 2015-2016 ARRIS Enterprises LLC. All Rights Reserved. 25
Rear Panel
The rear of the Telephony Gateway has the following connectors and controls.
1. Reset button: resets the Telephony Gateway as if you power cycled the unit. Use a
pointed non-metallic object to press this button.
2. Telephone 1: connector for the first phone line.
3. Telephone 2: connector for the second phone line.
4. USB: USB host connector - future support for external USB devices
5. Ethernet (1 - 4): connectors for use with a computer LAN port.
6. Cable: connector for the coaxial cable.
7. Power: connector for the power cord.
Selecting an Installation Location
There are a number of factors to consider when choosing a location to install your Telephony
Gateway:
Is an AC outlet available nearby? For best results, the outlet should not be switched and
should be close enough to the Telephony Gateway that extension cords are not required.

Chapter 5: Installing and Connecting your Telephony Gateway
Release 16 STANDARD 1.1 August 2016 Touchstone TG1672 Telephony Gateway User Guide
© 2015-2016 ARRIS Enterprises LLC. All Rights Reserved. 26
Is a cable jack available? For best performance, keep the number of splitters between the
jack and cable drop to a minimum. Each splitter attenuates (reduces) the signal available
to the Telephony Gateway. A large number of splitters can slow down the Internet
connection and even affect your telephone service.
Can you easily run cables between the Telephony Gateway’s location and the phones?
If you are connecting devices to the Ethernet ports, can you easily run cables between the
Telephony Gateway’s location and those devices?
If you want to mount the Telephony Gateway on a wall, does the location provide a solid
surface for secure attachment? For best results when mounting the Telephony Gateway
on drywall, position the Telephony Gateway so at least one of the screws are fastened to a
stud. This may prevent the Telephony Gateway from pulling out of the wall in the future.
If you want to install the Telephony Gateway on a desktop, is there enough space on
either side to keep the vents clear? Blocking the vents may cause overheating.
How close are your wireless devices? The Telephony Gateway wireless connection range is
typically 100–200 feet (30m–65m). A number of factors can affect connection range, as
described below.
Factors Affecting Wireless Range
A number of factors can affect the usable range for wireless connections.
Increases range Raising the unit above the devices (for example, installing th
e Telephony
Gateway in the upper floor of a multi-story dwelling)
Adding a wireless extender to the network
Decreases range Lowering the unit below the devices (for example, installing the
Telephony Gateway in a basement)
Metal or concrete walls between the Telephony Gateway and other
devices
Large metal appliances, aquariums, or metal cabinets between the
Telephony Gateway and other devices
Interference and RF noise (2.4 GHz wireless phones, microwave ovens,
or other wireless networks)
Note: Note that decreasing the range of your wireless network may be beneficial, as long as
the decreased range is sufficient for your needs. By limiting your network’s range, you reduce
interference with other networks and make it harder for unwanted users to find and connect
to your network.
Note: Setting the transmit power level to High increases the range. Setting it to Medium or
Low decreases the range proportionately.

Chapter 5: Installing and Connecting your Telephony Gateway
Release 16 STANDARD 1.1 August 2016 Touchstone TG1672 Telephony Gateway User Guide
© 2015-2016 ARRIS Enterprises LLC. All Rights Reserved. 27
Mounting the Telephony Gateway
You can either mount the Telephony Gateway on a wall or place it on a desktop. For wall-
mount applications, you can mount the Telephony Gateway with the indicators facing upward
(vertical) or to the side (horizontal).
Tools and Materials
For wall-mounted installations, make sure you have the following tools and materials before
proceeding:
for mounting on drywall: Two 1/4” (6mm) drywall anchors (not included), two #6 x 1.5”
(38.1 mm) self-tapping panhead screws (not included), and a drill with 1/4” (6mm) bit (not
included)
for mounting on plywood or studs: two #6 x 1.5” (38.1 mm) self-tapping panhead wood
screws (not included)
screwdriver (flat-blade or Phillips, depending on what kind of screws you use)
wall-mounting bracket (order from your service provider)
Location
Always position the Telephony Gateway:
within reach of an AC outlet. The power cord must reach the outlet without stretching and
without adding extension cords.
near a cable outlet (to avoid long cable runs).
Wall Mounting Instructions
Note: When mounting the Telephony Gateway on drywall, try to position the Telephony
Gateway so at least one of the screws is fastened to a stud. This may prevent the Telephony
Gateway from pulling out of the wall in the future. To prevent overheating of the Telephony
Gateway, do not block the ventilation holes on the sides of the unit.
1. Position the mounting bracket on the surface where you intend to mount the Telephony
Gateway and mark the two holes with a pencil.

Chapter 5: Installing and Connecting your Telephony Gateway
Release 16 STANDARD 1.1 August 2016 Touchstone TG1672 Telephony Gateway User Guide
© 2015-2016 ARRIS Enterprises LLC. All Rights Reserved. 28
2. Drill holes for the mounting screws through the marked locations.
3. If using drywall anchors, set them into the wall. Then, drive the screws into the wall
leaving a gap of about 1/8” (3 mm) between the screw head and the wall. If not using
anchors, just drive the screws.
4. Slip both mounting slots in the back of the mounting bracket over the screws, then slide
the bracket down until the narrow end of the keyhole slot contacts the screw shaft.
5. Hang the Telephony Gateway on the wall by inserting the six tabs on the mounting bracket
into the six slots in the back of the Telephony Gateway and sliding the Telephony Gateway
down until it drops in place on the bracket.

Chapter 5: Installing and Connecting your Telephony Gateway
Release 16 STANDARD 1.1 August 2016 Touchstone TG1672 Telephony Gateway User Guide
© 2015-2016 ARRIS Enterprises LLC. All Rights Reserved. 29
6. Proceed to Connecting the Telephony Gateway (page 30).
Desktop Mounting Instructions
1. Position the Telephony Gateway so that:
• it stands vertically on its base (Do not lay it flat on its side.)
• air flows freely around it
• the back faces the nearest wall
• it will not fall to the floor if bumped or moved
• the ventilation holes on the sides of the unit are not blocked
2. Proceed to Connecting the Telephony Gateway (page 30).

Chapter 5: Installing and Connecting your Telephony Gateway
Release 16 STANDARD 1.1 August 2016 Touchstone TG1672 Telephony Gateway User Guide
© 2015-2016 ARRIS Enterprises LLC. All Rights Reserved. 30
Connecting the Telephony Gateway
WARNING
Risk of injury or equipment damage
Connecting the Telephony Gateway to the home’s existing telephone wiring should only be
performed by a professional installer. Physical connections to the previous telephone provider
must be removed and the wiring must be checked; there must not be any voltage. Cancelation
of telephone service is not adequate. Failure to do so may result in loss of service and/or
permanent damage to the Telephony Gateway.
1. Connect one end of the coax cable to the cable outlet or splitter, and the other end to the
Telephony Gateway’s Cable connector (6). Tighten the connections by hand, then tighten
an additional 1/8 turn with a wrench.
Note: For best performance, use high-quality coax cable and minimize or eliminate
splitters between the cable jack and the Telephony Gateway. If you are using MoCA for
your home network, MoCA filters must be installed on any legacy client devices. Your
service provider will install these filters for you.
2. Insert the plug from the power cord into the Power connector on the back of the
Telephony Gateway (7) and insert the power cord into a convenient AC outlet.

Chapter 5: Installing and Connecting your Telephony Gateway
Release 16 STANDARD 1.1 August 2016 Touchstone TG1672 Telephony Gateway User Guide
© 2015-2016 ARRIS Enterprises LLC. All Rights Reserved. 31
The Power light on the front of the Telephony Gateway lights up, then flashes once (refer
to the LED tables shown in Using the Telephony Gateway (page 38)). See Troubleshooting
(page 45) if the Power light does not turn on.
3. Connect one end of the Ethernet cable to any Ethernet port on the back of the Telephony
Gateway, (5) and the other end to the Ethernet port on a computer, hub, or broadband
router.
Note: If you are connecting to a computer, use the Ethernet cable included in the
Telephony Gateway package.
4. Connect one end of the telephone cable to the telephone port on the back of the
Telephony Gateway (2 or 3). Connect the other end to the telephone.
Configuring Your Wireless Connection
The TG1672 ships with wireless LAN security set by default. See the security label on your
product for the factory security settings: network name (SSID), encryption method, network
key, and WPS PIN.
Note: You must set up your computer and other client devices to work with the security
settings on the TG1672. Refer to the documentation for your client device for instructions on
setting security. On most computer systems you only need to select the network name (SSID)
device and enter the encryption key. If your computer or client device supports Wi-Fi Alliance
WPS (Wireless Protected Setup), activate WPS on your computer or client device and the
TG1672 simultaneously to easily set up your system security.
If you need to modify the Telephony Gateway’s default wireless security settings, or if you
want to configure any other wireless LAN settings, refer to the following instructions.
Accessing the Configuration Interface
Follow these steps to access the configuration interface. You should have already set up the
TG1672 as described in Installing and Connecting your Telephony Gateway (page 23).
1. If security has been properly set up on your computer to access the wireless LAN on the
TG1672, use the connection utility for your operating system to connect to the wireless
LAN using its network name (SSID), as shown on the security label.
2. If you cannot access the wireless LAN, you must first establish a wired Ethernet connection
between your computer and the TG1672.
3. In your web browser, open the page http://192.168.0.1/ to access the wireless router
setup.
The Login screen displays.
Note: The default user name is “admin”. The default password is “password”, in lower
case letters.

Chapter 5: Installing and Connecting your Telephony Gateway
Release 16 STANDARD 1.1 August 2016 Touchstone TG1672 Telephony Gateway User Guide
© 2015-2016 ARRIS Enterprises LLC. All Rights Reserved. 32
4. Enter the user name and password and click the Apply button to log in.
The System Basic Setup screen displays.
5. Use the online help information to set configuration parameters as required.
Note: Most configuration parameters that you may want to set can be accessed on the
System Basic Setup screen, including the security mode and setting a system password.
Setting Parental Controls
The Parental Control feature allows you to block specified keywords and web sites from being
accessed and also to specify trusted computers in the network. Trusted computers are not
affected by the parental control settings.
Finding the MAC Address of a Computer
In order to set up trusted computers you must first determine the MAC address of those
computers.
Use the operating system of your computer to find its MAC address, as follows:
Windows: from the Start menu, find and select the Control Panel. Double-click Network &
Sharing Center. Then double-click either “Wireless Network Connection” for a wireless
connection, or “Local Area Connection” for an Ethernet connection. Next click the Details
button. The “Physical Address” line shows the MAC address.
MacOS X: open System Preferences and click the Network icon. To find the Ethernet MAC
address, select Built-in Ethernet from the Show drop-down, then click the Ethernet tab. The
“Ethernet ID” field shows the MAC address. To find the wireless MAC address, select Airport
from the Show drop-down, then click the Airport tab. The “Airport ID” field shows the MAC
address.
Linux: open a shell window and type /sbin/ifconfig (and press Enter). The wireless
interface is eth1 (unless there is no Ethernet adapter, in which case the interface is eth0).
Making Your Parental Control Settings
Follow these steps to set up your Parental Controls:
1. Access and log into the wireless configuration interface as explained in Accessing the
Configuration Interface (page 31).
2. Click the Firewall tab and then click Parental Controls in the side menu to display the
Parental Controls screen.

Chapter 5: Installing and Connecting your Telephony Gateway
Release 16 STANDARD 1.1 August 2016 Touchstone TG1672 Telephony Gateway User Guide
© 2015-2016 ARRIS Enterprises LLC. All Rights Reserved. 33
3. Check the Enable Parental Controls checkbox and click the Apply button.
4. Configure any or all of the following parental controls:
Trusted MAC Addresses:
Enter the MAC addresses of any “trusted” computers on the network and click the Apply
button. You can add two trusted computers. Once added, these trusted computers will
not be affected by the parental control settings. For example, you may want the
computers of the father and mother to be trusted, while the childrens’ computers have
parental controls in effect.
Note: Refer to the Finding the MAC Address of a Computer (page 32) for information on
determining the MAC address of your computer.
Keyword and Web Site Filtering:
You can add a list of keywords and web sites that you want to block. To add a keyword or
web site to the list, click the respective Add button. To delete a keyword or web site from
the list, first click its check box and then click the Delete button.
Add Keyword Filter Dialog Box

Chapter 5: Installing and Connecting your Telephony Gateway
Release 16 STANDARD 1.1 August 2016 Touchstone TG1672 Telephony Gateway User Guide
© 2015-2016 ARRIS Enterprises LLC. All Rights Reserved. 34
Add Web Site Filter Dialog Box
Adding a Keyword or Web Site Filter
a. Enter the keyword in the Keyword field or web site URL address in the Web Site field.
b. Click the checkboxes for the days you want access blocked, or click the All Week
checkbox for all week.
c. Set the start time and end time during the specified days (24-hour clock). (0:00 until
0:00 indicates all day, or just click the All Day checkbox.)
d. Click the Add Keyword Filter or Add Web Site Filter button respectively. Then click the
Apply button.

Release 16 STANDARD 1.1 August 2016 Touchstone TG1672 Telephony Gateway User Guide
© 2015-2016 ARRIS Enterprises LLC. All Rights Reserved. 35
Chapter 6
Configuring Your Ethernet Connection
If your computer is equipped with a LAN card providing an Ethernet connection, you may have
to configure your computer’s TCP/IP settings. The steps that follow will guide you through
setting your computer’s TCP/IP settings to work with the Telephony Gateway.
Requirements
Make sure you have the following before attempting to configure your Ethernet connection:
Computer with Ethernet interface
Ethernet cable (supplied)
IP address, subnet, gateway, and DNS information for installations not using DHCP
How to use this Chapter
The following list shows the procedures for modifying the TCP/IP settings on the computer.
The procedure is slightly different depending on the operating system that you are using.
Please ensure you are using the correct steps for the operating system on your computer.
Follow the links below for instructions to configure your Ethernet connection on your
operating system.
TCP/IP Configuration for Windows Vista (page 35)
TCP/IP Configuration for Windows 7, Windows 8, or Windows 10 (page 36)
TCP/IP Configuration for Mac OS X (page 36)
TCP/IP Configuration for Windows Vista
Follow these steps to configure the Ethernet interface on a Windows Vista operating system.
1. Open the Vista Control Panel.
2. Double-click Network and Sharing Center to display the Network and Sharing Center
Window.
3. Click Manage network connections. If prompted for a connection, choose Local Area
Connection.
The Network Connections window displays.
4. Double-click the Local Area Connection to open the Properties window:
Note: If Windows requests permission to continue, click Continue.

Chapter 6: Configuring Your Ethernet Connection
Release 16 STANDARD 1.1 August 2016 Touchstone TG1672 Telephony Gateway User Guide
© 2015-2016 ARRIS Enterprises LLC. All Rights Reserved. 36
5. Double-click Internet Protocol Version 4 (TCP/IPv4) to configure TCP/IPv4.
Note: If your cable provider requires TCP/IP version 6, double-click Internet Protocol
Version 6 (TCP/IPv6) to configure TCP/IPv6.
The TCP/IP properties window for the version you selected displays.
6. For either TCP/IPv4 or TCP/IPv6, select Obtain an IP address automatically and Obtain
DNS server address automatically, unless instructed otherwise by your cable provider.
7. Click OK to accept the new settings and close the Properties window.
TCP/IP Configuration for Windows 7, Windows 8,
or Windows 10
Follow these steps to configure the Ethernet interface on a Windows 7, Windows 8, or
Windows 10 operating system.
1. Click the Start menu and type network and sharing into the Search box.
2. Select Network and Sharing Center when it appears.
3. Click Change adapter settings from the left-side menu.
4. Right-click on your local area connection icon and select Properties to open the Properties
window.
5. Select Internet Protocol Version 4 (TCP/IPv4) and click Properties to configure TCP/IPv4.
Note: If your cable provider requires TCP/IP version 6, select Internet Protocol Version 6
(TCP/IPv6) and click Properties to configure TCP/IPv6.
The TCP/IP properties window for the version you selected displays.
6. For either TCP/IPv4 or TCP/IPv6, select Obtain an IP address automatically and Obtain
DNS server address automatically, unless instructed otherwise by your cable provider.
7. Click OK to accept the new settings and close the Properties window. Then click Close to
back out of the remaining setup screens.
TCP/IP Configuration for Mac OS X
Follow these steps to configure the Ethernet interface on a Mac OS X operating system.
1. Open System Preferences, either by choosing System Preferences from the Apple menu or
by clicking the System Preferences icon in the dock.
2. Click the Network icon.
3. Choose Automatic from the Location drop-down menu, and Built-in Ethernet from the
Show menu.

Chapter 6: Configuring Your Ethernet Connection
Release 16 STANDARD 1.1 August 2016 Touchstone TG1672 Telephony Gateway User Guide
© 2015-2016 ARRIS Enterprises LLC. All Rights Reserved. 37
4. Choose the TCP/IP tab, if necessary.
If you are using TCP/IPv4, go to step 5.
If your cable provider requires TCP/IPv6, go to step 8.
5. Choose Using DHCP from the Configure IPv4 menu.
6. If necessary, click the Renew DHCP Lease button.
7. Close the System Properties application.
TCP/IPv4 configuration is completed.
8. If you are using TCP/IPv6, click Configure IPv6 near the bottom of the previous window.
9. Choose Automatically from the Configure IPv6 drop-down menu and click OK.
10. Close the System Properties application.

Release 16 STANDARD 1.1 August 2016 Touchstone TG1672 Telephony Gateway User Guide
© 2015-2016 ARRIS Enterprises LLC. All Rights Reserved. 38
Chapter 7
Using the Telephony Gateway
This chapter describes the controls and features available on the Telephony Gateway, and
covers basic troubleshooting procedures.
Setting up Your Computer to Use the Telephony Gateway (page 38)
Indicator Lights for the TG1672 (page 39)
Using the Reset Button (page 42)
Setting up Your Computer to Use the Telephony
Gateway
Follow the instructions in the information packet supplied by your service provider. Contact
your service provider if you need help setting up your computer.

Chapter 7: Using the Telephony Gateway
Release 16 STANDARD 1.1 August 2016 Touchstone TG1672 Telephony Gateway User Guide
© 2015-2016 ARRIS Enterprises LLC. All Rights Reserved. 39
Indicator Lights for the TG1672
The Telephony Gateway has LED indicator lights to assist in troubleshooting.
1. WPS Button/LED
2. Power
3. US/DS
4. Online
5. 2.4 GHz WiFi
6. 5 GHz Wi-Fi
7. Tel 1
8. Tel 2
9. Battery
10. MoCA
Wiring Problems
If the Telephony Gateway begins flashing all its lights for more than 10 seconds, this indicates
a problem with the telephone wiring — the red and green wires may be shorted (touching), or
there may be undesired voltage on the lines. If this pattern persists for more than 10 seconds,
disconnect the telephone lines from the Telephony Gateway, then call a wiring technician for
assistance.

Chapter 7: Using the Telephony Gateway
Release 16 STANDARD 1.1 August 2016 Touchstone TG1672 Telephony Gateway User Guide
© 2015-2016 ARRIS Enterprises LLC. All Rights Reserved. 40
Patterns: Normal Operation (LAN and Telephone)
The following table shows light patterns for the Ethernet, MoCA and wireless LANs, and the
telephones, during normal operation.
Mode Ethernet
(LEDs on rear
panel connector)
2.4G Wi-Fi /
5G Wi-Fi
Tel 1 / Tel 2 MoCA
AC Power Green LED On =
Computer with
1Gbps port
connected
Amber LED On =
Computer with
100
Mbps/10Mbps
port connected
Amber/Green
LED Flash =
Computer activity
Both LEDs Off =
Computer not
connected
On = Wi-Fi enabled
Flash = Computer
activity
Off = Wi-Fi disabled
On = On-hook
Flash = Off-hook
Off = disabled
On = MoCA
enabled and
MoCA network
device attached
Flash = MoCA
network device
activity/traffic
Off = MoCA
disabled or no
MoCA network
device attached
No AC
Power
Off Off On = On-hook
Flash = Off-hook
Off = disabled
Off
Firmware
Upgrade
(normal
operation)
(normal operation) (normal
operation)
(normal
operation)
Patterns: Normal Operation (WAN and Battery)
The following table shows light patterns during normal operation.

Chapter 7: Using the Telephony Gateway
Release 16 STANDARD 1.1 August 2016 Touchstone TG1672 Telephony Gateway User Guide
© 2015-2016 ARRIS Enterprises LLC. All Rights Reserved. 41
Mode Power US/DS Online Battery
AC Power Good On Yellow1 =
Connected to the
-Internet (high
speed)
Green1 =
Connected to the
Internet (ultra-
high speed)
Flash = Not
connected to the
Internet
On = Internet
available
Off = Internet not
available
On = Battery
good or low
Off = Battery
missing
Flash = Battery
bad
No AC Power,
Battery Installed
Flash Off Off Off = Battery
power
Flash = Battery
bad
No AC Power,
No Battery
Off Off Off Off
Firmware
Upgrade
On Flash On (normal
operation)
Note 1: Your service provider may configure the Telephony Gateway to always display the
US/DS indicator in green regardless of the connection speed or swap the meaning (speed
indication) of yellow and green.
Patterns: Startup Sequence
The following tables show the Telephony Gateway light patterns during each phase of the
startup sequence. There are two phases of startup; the telephony phase and the cable
modem phase. Both are outlined below.
Telephony Startup Sequence
Power, US/DS,
Online
Telephone 1 Telephone 2 Battery Description
Off Off Off Off No power to modem
Flash Flash Flash Flash Power-on Self Test

Chapter 7: Using the Telephony Gateway
Release 16 STANDARD 1.1 August 2016 Touchstone TG1672 Telephony Gateway User Guide
© 2015-2016 ARRIS Enterprises LLC. All Rights Reserved. 42
Power, US/DS,
Online
Telephone 1 Telephone 2 Battery Description
See Cable Modem Startup Sequence (page 42)
On Flash Off Off Retrieving telephone
network information
On Off Flash Off Retrieving telephone
line information
On Flash Flash Off Activating telephone
service
Normal Operation
Note: The US/DS indicator flashes yellow during startup, and turns green if the Telephony
Gateway establishes an ultra-high speed connection. For some cable companies these colors
may be reversed.
Cable Modem Startup Sequence
US/DS Online Description
Slow Flash
(1/second)
Off Downstream acquisition in progress
On
(until Upstream
acquisition starts)
Off Downstream acquisition completed
Fast Flash
(3/second)
Off Upstream acquisition in progress
On
Slow Flash (during
acquisition)
On (when modem IP
address obtained)
Upstream acquisition completed, ready
for service
Using the Reset Button
Use the Reset button, on the back of the Telephony Gateway, to reset the modem and
perform initialization as if you power cycled the unit. You may need to reset the Telephony
Gateway if you are having problems connecting to the Internet. Using this button will be rare.

Chapter 7: Using the Telephony Gateway
Release 16 STANDARD 1.1 August 2016 Touchstone TG1672 Telephony Gateway User Guide
© 2015-2016 ARRIS Enterprises LLC. All Rights Reserved. 43
Use a pointed non-metallic object to press this button. The Reset button is recessed to
prevent accidental resets.
1. Reset button
2. Telephone 1
3. Telephone 2
4. USB
5. Ethernet (1 - 4)
6. Cable
7. Power
Resetting the Router to Factory Defaults
To reset the router to factory defaults, press and hold the Reset button on the back of the
Telephony Gateway for more than fifteen seconds. This restores the wireless setup
configuration and router configuration parameters to the factory defaults. You may need to
do this if a misconfiguration has locked out all access.
Booting from Battery
The TG1672 supports a “Boot from Battery” feature that allows the Telephony Gateway to
provide continued telephone service during power outages.

Chapter 7: Using the Telephony Gateway
Release 16 STANDARD 1.1 August 2016 Touchstone TG1672 Telephony Gateway User Guide
© 2015-2016 ARRIS Enterprises LLC. All Rights Reserved. 44
To start the TG1672 from its battery, follow these steps:
1. If a battery is already installed in the Telephony Gateway, remove it.
2. Re-insert the battery into the Telephony Gateway. See Battery Installation and Removal
(page 17) for details.
3. Press the Reset button; the Power light should turn on immediately.
Note: If the Telephony Gateway does not turn on, the battery may not be charged.

Release 16 STANDARD 1.1 August 2016 Touchstone TG1672 Telephony Gateway User Guide
© 2015-2016 ARRIS Enterprises LLC. All Rights Reserved. 45
Chapter 8
Troubleshooting
The Telephony Gateway is plugged in, but the
Power light is Off
Check all power connections. Is the power cord plugged in firmly at both ends?
If you plugged the power cord into a power strip, make sure the strip is switched on.
Try to plug the power cord into a different outlet. If the outlet is controlled by a wall switch,
make sure the switch is on.
Finally, check the fuse or circuit breaker panel.
I'm not getting on the Internet (all connections)
It may take over 30 minutes to establish a connection the first time you power up your
Telephony Gateway, especially when many people are online. Always leave your Telephony
Gateway plugged into AC power and connected to the cable system.
Check the front panel lights:
The Power and Online lights should be on.
If the Power light blinks for more than 30 minutes, call your service provider for
assistance.
Check your cable connections. Connectors should be tight. The coax cable should not be
pinched, kinked, or bent sharply—any of these can cause a break or short in the cable (you
may have to replace the cable). If you have one or more splitters between the Telephony
Gateway and CATV outlet, remove the splitters and connect the Telephony Gateway directly
to the outlet.
Proceed to the Ethernet or wireless solutions if necessary.
I'm not getting on the Internet (Ethernet)
If you are using a hub, is the hub turned on?
Are you using the right type of Ethernet cable? Use the supplied cable for direct connection to
a computer; use a cross-over cable for connection to a hub.
Press the Reset button on the back of the Telephony Gateway.

Chapter 8: Troubleshooting
Release 16 STANDARD 1.1 August 2016 Touchstone TG1672 Telephony Gateway User Guide
© 2015-2016 ARRIS Enterprises LLC. All Rights Reserved. 46
A misconfiguration could lock out all access to the Telephony Gateway router. If you think this
has happened, see Resetting the Router to Factory Defaults (page 43).
I'm not getting on the Internet (Wireless)
Check the indicator lights, see Using the Telephony Gateway (page 38) — the Wi-Fi light
should be on.
Does your connection utility discover your wireless LAN? If you turned off “Broadcast SSID”
you need to manually enter the name of your wireless LAN in the connection utility.
Change your security mode to “disabled”. Enable one of the other security modes as soon as
you find the problem.
A misconfiguration could lock out all access to the Telephony Gateway router. If you think this
has happened, see Resetting the Router to Factory Defaults (page 43).
My wireless Internet connection stops working
sometimes
This is usually caused by interference. Two common sources are 2.4GHz “remote” telephones
and microwave ovens. If you cannot remove the interfering product, try using a different
channel or setting Protected Mode.
I can get on the Internet, but everything is slow
If the Web site you are visiting is very popular, that site may be having trouble servicing all the
requests. If other sites download quickly, wait for a few minutes and try again. Usage during
peak hours may also affect the connection speed.
Other communications on the LAN, or interference with wireless connections, may slow down
the connection.
I don't have a dial tone when I pick up the phone -
why?
In order for telephone service to be functional on the Telephony Gateway, telephone service
must have been purchased from the service provider and configured on your Telephony
Gateway. The following steps should help in identifying the source of the problem.
1. Is the Power LED lit?
• If not, check to make sure the Telephony Gateway is plugged in and the outlet has
power. Use only the external AC power adapter (if provided) and power cord included
with the equipment.

Chapter 8: Troubleshooting
Release 16 STANDARD 1.1 August 2016 Touchstone TG1672 Telephony Gateway User Guide
© 2015-2016 ARRIS Enterprises LLC. All Rights Reserved. 47
• If the LED is lit, go to the next step.
2. Is the Online LED lit?
• If not, check the coax connection at the Telephony Gateway and the wall. Ensure they
are connected and tight. If they are and you do not have dial tone, contact your
service provider.
• If the Online LED is lit, go to the next step.
3. Is the Telephone (Tel 1 or Tel 2) LED lit?
• If not, phone service has not been set up on that line. Contact your service provider.
• If it is blinking, there is a phone off hook somewhere in the house. Find that phone and
hang it up.
• If it is lit, go to the next step.
4. Is the phone plugged directly into the Telephony Gateway?
• Make sure the phone is plugged into the port on the back of the Telephony Gateway
labeled “Tel 1” for line 1, and “Tel 2” for line 2.
• If so, try a different phone. Make sure the new phone is a working phone.
• If a known good phone is used and you still don’t have dial tone, try a different phone
cable. If a new phone and cable do not restore dial tone, call your service provider.
5. Is the Telephony Gateway plugged into a wall outlet?
• If so, unplug the phone connector at the back of the Telephony Gateway and plug in a
known working phone. If you now have dial tone, the problem is with the house
wiring. Contact your service provider or a qualified wiring technician to correct the
house wiring. If you still do not have dial tone, contact your service provider.

Release 16 STANDARD 1.1 August 2016 Touchstone TG1672 Telephony Gateway User Guide
© 2015-2016 ARRIS Enterprises LLC. All Rights Reserved. 48
Glossary
A
Amp-Hour
A measure of battery capacity. For
example, a 1.0Ah battery can nominally
supply one Ampere of current for one
hour.
C
Category 5e (Cat5e)
A high-quality type of cable, used for
gigabit Ethernet (1000BaseT) connections.
When purchasing Ethernet cables, always
look for Category 5e cable.
Coaxial cable (coax)
A thin wire, used to connect your television
and Telephony Gateway to the cable TV
system. You can buy coax from any
electronics retailer and many discount
stores.
CPE
Customer Premise Equipment. This is the
equipment that is plugged in to the
Telephony Gateway; typically a computer
or hub.
Cross-over
An Ethernet cable used to connect two
hubs (or a hub and a cable modem)
together. Also, some Ethernet hubs may
have built-in cross-over on one or more
ports (which eliminates the need for a
cross-over cable).
D
DHCP
Dynamic Host Configuration Protocol. An
IP protocol used to provide an IP address
and location of services (such as DNS and
TFTP) needed by a device connecting to
the network. DHCP allows the cable
company to configure your computer’s
networking software for you.
DNS
Domain Name Service (Server). An IP
service that associates a domain name
(such as www.example.com) with an IP
address.
DOCSIS
Data Over Cable System Interface
Specification. The interoperability
standards used for data communications
equipment on an HFC network.
Downstream
In an HFC network, the direction from the
head-end to the subscriber. Some older
cable documentation may refer to this as
the forward path.
E
EMTA
Embedded Multimedia Terminal Adapter.
An MTA device that is integrated with a
cable modem.
Ethernet
A standard method of connecting two or
more computers into a Local Area Network
(LAN).
EuroDOCSIS
The European version of DOCSIS.
Event
An informational message used for
monitoring network status.
F
F-connector
The type of connector used on coax cable.
There are two common types of F-
connector, slip-on and screw-on. Use coax
with screw-on connectors for connecting
your Telephony Gateway.
Firewall
A hardware or software device that
prevents unauthorized access to a private
network from the Internet. The TG1672
provides a built-in firewall.
G
Gateway
The device, usually a router, that connects
devices on a given IP subnet to other IP
subnets.
H
Headend
The “central office” in an HFC network. The
headend houses both video and data
equipment. In larger cable networks, a
“master” headend often feeds several
“remote” headends to provide distributed
services.
HTTP
HyperText Transfer Protocol.
Hub
A box with several Ethernet connectors.
Ethernet hubs provide a common point of
contact for all connected devices.
I
IP address
A number assigned to your computer by
your service provider, used to identify your
computer to other systems on the
Internet.
ISDN
Integrated Services Digital Network. A
digital telephony standard that provides
communication speeds about twice as fast
as standard dialup.
L
LAN
Local Area Network. A network that allows
computers in a single location (such as a
building) to communicate with one
another.
LED
Light Emitting Diode. A semi-conductor
diode that emits light when current is
passed through it.
M
MAC address
A number that uniquely identifies any
device connected to a network. Your
service provider uses your Telephony
Gateway’s MAC address to authorize
access to the Internet. The MAC address is
printed on a label on the bottom of your
Telephony Gateway.
P
Protocol
A set of rules and formats that determines
the communication behavior of network
entities at a given layer.

Release 16 STANDARD 1.1 August 2016 Touchstone TG1672 Telephony Gateway User Guide
© 2015-2016 ARRIS Enterprises LLC. All Rights Reserved. 50
Proxy
A device or program that stands in
between a server (for example, a web site)
and a client (your browser), providing a
way to relieve some of the burden from
the server. For example, your service
provider may have a web proxy that keeps
copies of popular web pages; the proxy can
send you those pages instead of fetching
them directly from the web site, resulting
in faster page loading and less network
congestion.
R
RF
Abbreviation for Radio Frequency. Some
literature refers to coax as “RF cable” and
the connectors as “RF connectors.”
RJ-11
A standard 2-conductor modular
connector, commonly used in North
America for connecting telephones.
RJ-45
A standard 8-conductor modular
connector, commonly used on Ethernet
cable. An RJ-45 connector looks like a wide
RJ-11 (telephone) connector.
S
Splitter
A small box with three cable connectors:
one input and two outputs. You may need
a splitter if you have a TV already
connected to the cable outlet that you
want to use for your Telephony Gateway.
You can buy a splitter from any electronics
retailer and most discount stores.
SSID
Service Set IDentifier. A string of text (up to
32 characters long) that uniquely identifies
a wireless LAN.
Switched outlet
A power outlet that may be turned on and
off using a wall switch. Usually intended
for lamps. Avoid plugging your computer
or Telephony Gateway into a switched
outlet to avoid disruptions.
T
TCP/IP
Transmission Control Protocol/Internet
Protocol. The protocols used to facilitate
communications across one or more
connected networks.
TDMA
Time Division Multiple Access. A method
used by DOCSIS-compliant cable modems
for sending upstream data with minimal
interference.
U
Upstream
The path from a subscriber device to the
headend. Some older cable documentation
may refer to this as the return path or
reverse path.
W
WEP
Wired Equivalent Privacy. A common
standard for encrypting data sent over a
wireless LAN.
WPA
Wi-fi Protected Access. A standard for
encrypting data sent over a wireless LAN.
WPA offers improved security over WEP.

Corporate Headquarters
ARRIS · Suwanee · Georgia · 30024 · USA
T: 1-678-473-2000 F: 1-678-473-8470
www.arris.com