Arrow Storage Products Rh1014 C1 Users Manual English 714880808
2015-02-05
: Arrow-Storage-Products Arrow-Storage-Products-Rh1014-C1-Users-Manual-510982 arrow-storage-products-rh1014-c1-users-manual-510982 arrow-storage-products pdf
Open the PDF directly: View PDF
.
Page Count: 34

* Size rounded off to the nearest foot
BUILDING DIMENSIONS
CAUTION: SOME PARTS HAVE SHARP EDGES. CARE
MUST BE TAKEN WHEN HANDLING THE VARIOUS PIECES
TO AVOID A MISHAP. FOR SAFETY SAKE, PLEASE READ
SAFETY INFORMATION PROVIDED IN THIS MANUAL
BEFORE BEGINNING CONSTRUCTION. WEAR GLOVES
WHEN HANDLING METAL PARTS.
714880808
Model No. RH1014-C1 697.68615-A1
Owner's Manual & Assembly Instructions
SS01
Exterior Dimensions Interior Dimensions Door
*Approx. Foundation Storage Area (Roof Edge to Roof Edge) (Wall to Wall) Opening
Size Size Sq. Ft. Cu. Ft. Width Depth Height Width Depth Height Width Height
10' x 14' 121" x 160 1/4" 129 952 123 1/4" 162 3/4" 97 1/8" 118 1/4" 157 1/2" 95 7/8" 55 1/2" 69 1/4"
3,0m x 4,0m 307cm x 407cm 12,0m2 27,0m3 313cm 413cm 247cm 300cm 400cm 244cm 141cm 176cm

2
Owner's Manual
Before beginning construction, check local building codes regarding footings, location
and other requirements. Study and understand this owner's manual.
Important information and helpful tips will make your construction easier and more
enjoyable.
Assembly Instructions: Instructions are supplied in this manual and contain all
appropriate information for your building model. Review all instructions before you begin,
and during assembly, follow the step sequence carefully for correct results.
Foundation and Anchoring: Your storage building must be anchored to prevent wind
damage. A foundation is also necessary as a base in order to construct a square and level
building. Anchoring and foundation materials are not included with your building. We
recommend the combined use of an Arrow Floor Frame Kit and an Arrow Anchoring
Kit as an effective method of securing your building to the ground (Available by mail order
or at your local dealer) or you may construct a foundation and anchoring system of your
choice. Your assembly instructions provide information on a few methods commonly used
to secure and level a storage building.
Parts and Parts List: Check to be sure that you have all the necessary parts for your
building.
•All part numbers can be found on the parts. All of these numbers (before the -) must agree with the
numbers on the parts list. The parts list is located on page 12.
•If you find that a part is missing, include the model number of your building and contact:
Arrow Group Industries, Inc. Customer Service Department
Route 50 East Breese, Illinois 62230
1-800-851-1085
•Separate contents of the carton by the part number while reviewing parts list. The first few steps
show how to join related parts to make larger sub assemblies which will be used later.
•Familiarize yourself with the hardware and fasteners for easier use during construction. These are
packaged within the carton. Note that extra fasteners have been supplied for your convenience.
BEFORE YOU BEGIN....
A2

3
Selecting and Preparing Your Site: Before assembly, you will want to decide on
a location for your building. The best location is a level area with good drainage.
•Allow enough working space for ease of moving parts into position during assembly. Be sure there
will be enough space at entrance for doors to open fully and enough space around the building to
be able to fasten the panel screws from the outside.
•Before you begin the first steps in assembling your parts, a foundation should be constructed and
an anchoring system should be ready to use.
Watch the Weather: Be sure the day you select to install your building is dry and calm.
Do not attempt to assemble your building on a windy day. Be careful on wet or muddy ground.
Teamwork: Whenever possible, two or more people should work together to assemble
your building. One person can position parts or panels while the other is able to handle the
fasteners and the tools.
Tools and Materials: These are some basic tools and materials you will need for the
construction of your building. Decide which method of anchoring and the type of foundation
you wish to use in order to form a complete list of the materials you will need.
Foundation Preparation
• Hammer and Nails
• Spade or Shovel
• Hand Saw / Power Saw
• Lumber and/or Concrete
Optional Time-Savers
• Wrench / Nut Driver
• Electric / Cordless Drill
• Square
• String (for squaring frame)
Required
• Work Gloves
• Step Ladder
• Utility Knife / Scissors
• Pliers
• Carpenter's Level
• Tape Measure
Required
• Eye Goggles
• No. 2 Phillips Screwdriver
(With Hardened Magnetic Tip)
Note: A power screwdriver or vari-
able speed drill with Phillips-tip at-
tachment can speed assembly by
as much as 40%.
PLAN AHEAD....
A3

4
Safety precautions are important to follow throughout the construction of your building.
•Care must be taken when handling various
pieces of your building since some contain
sharp edges. Please wear work gloves, eye
protection and long sleeves when assembling
or performing any maintenance on your build-
ing.
•Practice caution with the tools being used in the
assembly of this building. Be familiar with the
operation of all power tools.
•Never concentrate your total weight on the
roof of the building. When using a step ladder
make sure that it is fully open and on even
ground before climbing on it.
•Keep children and pets away from worksite to
avoid distractions and any accidents which
may occur.
•Do not attempt to assemble the building if parts
are missing because any building left partially
assembled may be seriously damaged by light
winds. Call 1-800-851-1085
•Do not attempt to assemble the building on a
windy day, because the large panels acting as a
"sail", can be whipped about by the wind making
construction difficult and unsafe.
SAFETY FIRST....
A4
safety edge
safety edge
sharp edge
sharp edge

Finish: For long lasting finish, periodically clean and wax the exterior surface. Touch-
up scratches as soon as you notice them on your unit. Immediately clean the area with
a wire brush; wash it and apply touch-up paint per manufacturer's recommendation.
Roof: Keep roof clear of leaves and snow with long handled, soft-bristled broom. Heavy
amounts of snow on roof can damage building making it unsafe to enter. In snow country,
Roof Strengthening Kits are available for most Arrow Buildings for added protection
against heavy snow accumulation.
Doors: Always keep the door tracks clear of dirt and other debris that prevent them from
sliding easily. Lubricate door track annually with furniture polish or silicone spray. Keep
doors closed and locked to prevent wind damage.
Fasteners: Use all washers supplied to protect against weather infiltration and to protect
the metal from being scratched by screws. Regularly check your building for loose screws,
bolts, nuts, etc. and retighten them as necessary.
Moisture: A plastic sheet (vapor barrier) placed under the entire floor area with good
ventilation will reduce condensation.
Other Tips....
• Wash off inked part numbers on coated panels with soap and water.
• Silicone caulking may be used for watertight seals throughout the building.
Do not store swimming pool chemicals in your building. Combustibles and
corrosives must be stored in air tight approved containers.
Keep this Owner's Manual and Assembly Instructions for future reference.
5
CARE & MAINTENANCE....
A5 Web

ACCESSORIES....
A6 WEB
6
* Some drilling required to fit buildings without mid-wall bracing.
Model No. SS404
• Makes 8" to 12" (20-30cm)
wide shelves in any length.
• Brackets, braces,
hardware included.
Lumber is not included.
Model No. SS900-A
• Grey color
• 3 shelves
• Holds up to 85 lbs. (38kg)
(even weight distribution)
Heavy-duty, galvanized steel shelf units help organize storage
space. They easily mount on the wall or sit on the floor. Fits all
Arrow buildings.*
SHELF UNITS
Must be drilled for use as workbench in Estator.
+ Even weight distribution.
10' Long, 250 lb. (113kg) load+
Fits all Arrow 10' wide buildings.
16 lbs. (7kg)
AT101
Model No. Fits Shipping Weight
ATTIC KIT / WORKBENCH KIT
Heavy-duty galvanized steel bars that
fit all 10' wide Arrow buildings. They
install quickly and easily to help
organize space and create more
useable space as an attic or
workbench. Will hold up to 250 lbs.
(113kg) evenly distributed.
Model No. AK100
New concrete anchor system permits
anchoring any size Arrow building
directly to a concrete slab. Each kit
contains heavy-duty, hot-dipped
galvanized steel corner gussets and
perimeter clips which fit over the floor
frame and lag bolt into a concrete slab.
Full assembly instructions and a 1/4"
masonary drill bit are included.
TOOL HANGING RACK
Model No. TH100
The perfect tool organizer. Twin
25 1/2" (65cm) steel channels
plus five heavy-duty snap-in
hangers and a small tool holder for
screwdrivers, pliers, etc. Holders
slide along channel for fully
adjustable spacing. Great for
garage, basement, or the back
of any door. Fits all Arrow
storage buildings.
ROOF STRENGTHENING
(heavy snow load) KITS
Extra roof beams and gable braces
designed for added protection against
heavy snow accumulation. Increases
the strength of your roof by 50%.
ANCHOR KITS
Model No. AK4
Anchor Kit contains heavy-duty steel
augers, 60' (18m) of steel cable and 4 cable
clamps. No digging or concrete
pouring, just insert cable under roof,
over roof beams, into augers and twist
augers into the ground. For buildings
larger than 10'x9', use 2 kits.
FLOOR FRAME KITS
MODELS FB47410, FB5465, FB106-A
FB109-A and FB1014-A
A simple new floor frame system made of heavy-duty, hot-dipped
galvanized steel. Use as foundation for plywood, sand or stone.
Model No. AK600
Earth Anchor Kit anchors any size
Arrow building to the ground.
Each kit contains heavy duty,
hot-dipped galvanized steel
corner gussets and 4 earth anchors.

THIS
PAGE
WAS
LEFT
BLANK
INTENTIONALLY
7

THIS
PAGE
WAS
LEFT
BLANK
INTENTIONALLY
8

The Foundation For Your Building
9
FRONT
(DOOR)
FRONT
(DOOR)
Foundation
F09
Note: Finished Slab dimensions, with lumber removed.
OPTION 1: ARROW FLOOR FRAME KIT: (Order No. FB1014-A or 68387-A)
Arrow has the best base for your building in this simple kit. It keeps stored items above the ground.
This kit should be used with one of the following:
A. To support a plywood deck B. To be filled with sand. We recommend the combined use of
1. an ARROW FLOOR FRAME KIT and 2. an ARROW ANCHORING KIT as an effective method of securing the building to the ground.
Allow 1 - 2 hours for construction.
OPTION 2: Wood Platform
If you decide to build your own foundation, be sure to select the appropriate materials.
These are the recommended materials for your foundation:
● 2 x 4's (5cm x 10cm) Pressure Treated Lumber ● 5/8" (1,5cm) 4 x 8 (122cm x 244cm) Plywood-exterior grade
● 10 & 4 penny Galvanized Nails ● Concrete Blocks (optional)
The platform should be level and flat (free of bumps, ridges etc.)
to provide good support for the building. The necessary materials
may be obtained from your local lumber yard.
To construct the foundation follow instructions and diagram.
Construct frame (using 10 penny galvanized nails)
Measure 16"/24" (40,6cm/61cm) sections to construct
inside frame (see diagram)
Secure plywood to frame (using 4 penny galvanized nails)
Allow 6 - 7 hours for construction.
OPTION 3: Concrete Slab
The slab should be at least 3" to 4" (8-10cm) thick. It must be level and flat to provide good support for the frame.
The following are the recommended materials for your foundation.
● 1 x 4's (2,5cm x 10cm) (will be removed once the concrete cures)
● Concrete ● Sheet of 6 mil plastic
● We recommend for a proper strength concrete to use a mix of:
1 part cement ● 3 parts pea sized gravel ● 2 1/2 parts clean sand
Prepare the Site/Construct a Foundation
1. Dig a square, 6" (15cm) deep into the ground (remove grass).
2. Fill up to 4" (10cm) in the square with gravel and tamp firm.
3. Cover gravel with a sheet of 6 mil plastic.
4. Construct a wood frame using four planks of 1x4 (2,5cm x 10cm)
lumber.
5. Pour in concrete to fill in the hole and the frame giving a
total of 4" (8-10cm) thick concrete. Be sure surface is level.
Allow 3 - 5 hours for construction and a week for concrete curing time.
Note: Platform/Slab will extend 9/16" (1,4cm) beyond floor
frame on all four sides. Seal this 9/16" of wood with a
roofing cement (not included), or bevel this 9/16" of
concrete when pouring, for good water drainage.
16"/24"
40,6cm/61cm
160 1/4"
4,1m
121"
3,1m
160 1/4"
4,1m
121"
3,1m

It is important that the entire floor frame be anchored after the building is erected.
Below are recommended ways of anchoring.
Anchoring Down The Building
Anchoring
A10
Arrow Anchoring Kit: (Model No. AK100 or 68383)
Recommended for use with the concrete foundation.
Contains: Corner gussets, perimeter clips, hardware,
1/4" masonary drill bit and installation instruction.
Anchoring into Concrete:
1. For poured concrete slab or footing or patio blocks:
Use 1/4" x 2" Lag Screws.
2. For Anchor Post of Concrete poured after building is
erected: Use 1/4" x 6" Lag Screws.
Arrow Anchoring Kit: (Model No. AK4 or 60298)
Recommended for use with any suggested base.
Contains: 4 Anchors with Cable, Clamps and
installation instruction.
Anchoring into Wood/Post:
Use 1/4" Wood Screws. There are 1/4" (0,63cm) dia.
holes provided in the frames for proper anchoring.
10
OVER THE BEAMS
AND INTO THE GROUND
1. 2.
1. 2.

11
Remove from bag of screws
and save for the last step
67545 21'
Weather Stripping (1)
66382
Lower Door Guide (4)
66183
Roof Trim Cap
(2 right & 2 left)
66045
Handle (2)
66646
Washer (368)
(11 sheets of 40)
67468
Peak Cap (6)
(Arrow Logo)
65004
#8Ax5/16" Screw (454)
65923
#8-32x3/8" Bolt (217)
65900A
#10Bx1/2" Black Screw (8)
(Packed with Screws)
65103
#8-32 Hex Nut (217)
Hardware
SS11
6228
Track Support (2)
67293 10'
Weather Stripping (1)
66769
Door Slide (4)

Assembly Part Part Quantity Check
Key No. Number Description in Carton List
1 6114 Small Right Gable 2
2 6115 Small Left Gable 2
3 10497 Horizontal Door Brace 4
4 7858 Large Right Gable 2
5 7859 Large Left Gable 2
6 7861 Roof Panel 8
7 7862 Right Roof Panel 2
8 7863 Left Roof Panel 2
9 6301 Vertical Door Brace 2
10 5285 Left Corner Post 2
11 5284 Right Corner Post 2
12 7311 Door Jamb 2
13 5287 Rear Splice Post 1
14 5283 Side Splice Post 2
15 8736 Rear Siding (5 board) 6
16 8737 Front Siding (5 board) 6
17 10472 Left Door 1
18 10472 Right Door 1
19 9193 Side Siding (5 board) 12
20 67521 Edge Trim 2
21 3719 Door Handle Brace 2
22 6015 Side Roof Trim 2
23 6403 Door Track Splice 1
24 6797 Ridge Cap 6
25 6869 Ridge Cap 3
26 6892 Right Side Roof Trim 2
27 6893 Left Side Roof Trim 2
28 9366 Door Track 2
29 5986 Rear Wall Angle 2
30 6085 Roof Beam Bracket 4
31 6227 Roof Beam Brace 2
32 10386 Roof Beam 12
33 6636 Gable Brace 2
34 7860 Mid Gable Brace 4
35 10391 Side Wall Angle 4
36 8936 Rear Floor Frame 2
37 10387 Side Floor Frame 4
38 9344 Stud 10
39 9365 Front Wall Channel 2
40 9367 Front Floor Frame 2
41 8934 Ramp 1
Parts List
SS12
12

13
Assembly by Key No.
SS13
1
1
2
2
3
3
3
3
4
4
5
56
6
6
6
6
6
6
6
77
8
8
9
9
10
10
11
11
12
12
13
14
14
15
15
15
15
16
16
16
16
16
16
17
18
19
19
19
19
19
19
19
19
19
19
20
20
21
21
22
23
22
24
24
25
24
25
24
24
25
26
26
24
27
27
28
28
29 30
30
30
30
31
32
32
32
32
32
32
33
33
34
34
34
34
31
35
35
35
36
37
37
37
39
39
40
40
41
38
38
38
38
38 38
38
38
38
38
15

The front floor frame is made up of
three pieces. The side floor frames
and the rear floor frame are made up
of two pieces. The holes in these
pieces will align when the pieces are
positioned with correct amount of
overlap. The illustrations below show
the proper overall length for the sides,
rear and front. Proceed as follows:
1 Place the front floor frames as
shown. Center the ramp, with drain
holes facing outside, on top of the two
front floor frames. Join the frames by
inserting eight screws.
2 Overlap the side floor frames and
the rear floor frames as shown. The
holes in these pieces will align when
the pieces are positioned with cor-
rect amount of overlap. See the illus-
trations below for the proper overall
length of the side and rear floor frames.
Join the frames by inserting four/five
bolts into each frame set as shown.
3 Double check the length of each
and set these pieces aside for later
use.
Step 1
SO14
● Parts Needed For ●
Floor Frame Assemblies
●●
●●
● 8934 Ramp (1)
●●
●●
● 9367 Front Floor Frame (2)
●●
●●
● 8936 Rear Floor Frame (2)
●●
●●
● 10387 Side Floor Frame (4)
14
9367
STEP
1
8934
9367
DRAIN HOLES FACE
OUTSIDE
Front Floor
Frame Assembly
119 3/8" 3,0m
8936
10387
9367
8934
9367
10387
10387
Side Floor Frame 158 5/8" 4,0m
8936 8936
Rear Floor Frame 119 3/8"
3,0m
STEP
2
STEP
3
158 5/8" 4,0m
158 5/8" 4,0m
119 3/8" 3,0m
Front & Rear
119 3/8" 3,0m
Sides

Step 2
SS15
15
● Parts Needed For ●
Frame Assemblies
The main frame pieces reinforce the
walls. These piece will later be in-
stalled at the top edge of the side
walls and the rear wall. Proceed as
follows:
1 Overlap the rear wall angle pieces
as shown in the figure and fasten
them together with
one bolt in the
center hole.
2 Make two side wall angles by
overlapping the side wall angle
pieces as shown. Fasten each set
together with
one bolt thru the sec-
ond large hole from the end of each
part.
3 Set the assemblies aside. You will
use them later.
●●
●●
● 5986 Rear Wall Angle (2)
●●
●●
● 10391 Side Wall Angle (4)
STEP
1
STEP
2
Rear Wall Angle
118 1/8" 3,0m
5986
5986
10391 Side Wall Angles
157 3/8" 4,0m
Rear Wall Angle 118 1/8" 3,0m
Side Wall Angles 157 3/8" 4,0m (2 Assemblies)
10391

16
The roof beams join the two gables
and support the roof panels. The main
roof beam is made up of four pieces
overlapped back to back at the cen-
ter. The left and right roof beam as-
semblies are made up of two pieces.
Hint: These pieces are force-fitted,
so you may have to press hard to join
them together.
1 Place one end of a roof beam
inside another roof beam so that the
six holes in each piece align. Make
six sets of roof beams by repeating
this procedure.
Do not insert bolts
yet.
2 Take two of the pressed-together
roof beams and join them as shown
to form the main roof beam assembly.
Hold the assembly together and fas-
ten with 14 bolts. Build
only one
Doubled Beam Assembly.
3 Fasten the other four pressed-
together roof beams with eight bolts
to make the left and right roof beam
assemblies.
4 Set these pieces aside for later
assembly.
Step 3
SS16
● Parts Needed For ●
Roof Beam Assemblies
●●
●●
● 10386 Roof Beam (12)
10386
STEP
1
Roof Beam 159 3/8" 4,0m
Build
one
Doubled Main Roof
Beam Assembly for Peak in Roof
END
VIEW
159 3/8"
4,0m
10386
Build
four
Single Beam
Assemblies for Break in Roof
STEP
2
STEP
3
10386
10386
10386
10386
ASSEMBLED
159 3/8"
4,0m

17
NOTE:
Door Track Splice (painted part)
Step 4
A17
● Parts Needed For ●
Door Track Assembly
●●
●●
● 6403 Door Track Splice (1)
●●
●●
● 9366 Door Track (2)
66769
STEP
3
118 1/8" 3m
STEP
4
END VIEW
STEP
1
9366
STEP
2
6403
9366
Long Leg
on Top
Short Leg
on Bottom
9366
9366
6403
66769
118 1/8" 3m
118 1/8" 3m
The door track assembly supports
the sliding doors and reinforces the
front wall. It is made up of three pieces.
1 Using the door track splice,
(painted), join the door track
(galvanized) pieces end-to-end as
shown.
2 Insert four screws
from the under-
side only.
Hint: The holes in the top side of the
door track assembly are for fastening
the gable to the top of the front wall in
a later step.
3 Position door slides onto the
legs, from the end of door track
assembly, as shown in the end view.
4 Set this piece aside for later use.

●●
●●
● Front Floor Assembly (1)
●●
●●
● Side Floor Assembly (2)
●●
●●
● Rear Floor Assembly (1)
● Parts Needed For ●
Floor Frame
Step 5
SO18
The floor frame
must be square
and level
or holes will not align.
18
1 Place the floor frame pieces that
you assembled earlier on the foun-
dation. Assemble the four corners of
the floor frame using two screws at
each corner as shown. At the front
corners fasten bolts through from
the bottom with nuts on top.
2 Measure the floor frame diago-
nally. When the diagonal measure-
ments are equal, the floor frame is
square.
NOTE
If using a wood platform or
concrete slab do not fasten the
floor frames to your base at this
time. You will anchor the
building after it is erected.
NOTE
If you have purchased a Floor
Frame Kit you need to
install it at this time.
STEP
1
10387
RIGHT
REAR
8936
Level
10387
RIGHT
FRONT
9367
STEP
2
When Diagonal Measurements
are Equal the Floor Frame
is Square.
FRONT

1 Position right & left corner posts
at the corners of the floor frame as
shown. The angled end of each post
must be placed on top of all four
corners. Fasten the corner post to the
floor frame with two screws.
Support the corner posts with stakes
until top frames are attached.
2 Fasten the door track assembly
(holes on top) behind the top of the
front corner posts using screws. See
the figure.
3 Fasten the rear wall angle behind
the top of the rear posts using screws.
●●
●●
● 5284 Right Corner Post (2)
●●
●●
● 5285 Left Corner Post (2)
●●
●●
● Door Track Assembly (1)
●●
●●
● Rear Wall Angle Assembly (1)
●●
●●
● Side Wall Angle Assemblies (2)
Step 6
SS19
● Parts Needed For ●
Posts/Top Frames
NOTE
The remainder of the building assembly
requires many hours and more than one
person. Do not continue beyond this point
if you do not have enough time to com-
plete the assembly today. A partially
assembled building can be severely
damaged by light winds.
The top frame pieces give rigidity to
the side walls and provide a surface
for attaching the gables which sup-
port the roof.
4 Fasten the side wall angles be-
hind the top of the side posts using
screws. Side wall angles overlap
rear wall angle in corners.
The floor frame
must be square
and level
or holes will not align.
19
STEP
1
5285
STEP
3
STEP
2
STEP
4
5284
5284
5285
REAR
FRONT
SIDE
SIDE
10391
9366
Wall Angles
Must Face
Inside
Building
5986
Long Leg
On Top
Short Leg
on Bottom
Opening
Facing In
FRONT
Door Track Assembly
10391
TOP VIEW

The splice posts support the walls.
1 Position a rear splice post at the
center of the rear wall and fasten
using 2 nuts and bolts into rear wall
angle and 2 screws into rear floor
frame.
Hint: Measure or count holes to de-
termine if post is centered on rear.
2 Fasten side splice posts to the
sides of building using screws into
side wall angles and side floor frames.
Angled end of post must be on top.
●●
●●
● 5287 Rear Splice Post (1)
●●
●●
● 5283 Side Splice Post (2)
● Parts Needed For ●
Splice Post
Step 7
SS20
20
5283
STEP
FRONT
ANGLED END OF
SPLICE POST MUST
BE ON TOP
5283
5287
2
STEP
1
5287

The door jambs reinforce the door
opening and provide an attractive
trim.
●●
●●
● 7311 Door Jamb (2)
● Parts Needed For ●
Door Jamb
Step 8
SS21
21
7311
1
STEP
NOTCHED EDGE
MUST FACE CENTER
OF BUILDING
FRONT
Washer
7311
1 Fasten the top of the door jambs
to the door track with two screws. Do
the same for the bottom into frame.
Notched edge faces toward center of
building.

2 Rest bottom tab (large hole) out-
side floor frame. Do not fasten tab at
this time. Repeat procedure for the
remaining studs around the building.
3 Fasten front wall channel to the
door jamb and corner post using
screws.
●●
●●
● 9344 Siding Stud (10)
●●
●●
● 9365 Front Wall Channel (2)
● Parts Needed For ●
Studs/Front Channel
Step 9
SS22
22
DO NOT FASTEN TAB
AT THIS TIME
29 3/16" 74 cm
9344
9365
1 Following dimensions, place
studs between corner and splice
post. Position stud inside top angle
and fasten with a screw.
48 13/16" 124 cm
9365
28 1/4"
72 cm
1
STEP
2
STEP
3
STEP

Each screw in the wall requires a
washer.
1 Slide side siding (5 board) into
channels of corner and splice posts,
flat edge upward, slotted edge down
resting on floor frame. Always follow
this pattern. Fasten lower edge and
tab of stud to floor frame using screws.
Fasten center to stud with screws.
Do not fasten top edge yet.
2 Install side siding (5 board) as
before. Note how the slot in lower
edge must overlap flat edge of last
siding. Fasten both siding panels to
stud at this overlap.
3 Install side siding (5 board) to the
top as before. Remove and reuse
screw in angle to fasten top siding.
4 From inside building, fasten siding
to corner posts and splice post using
screws.
5 Install rear siding and front sid-
ing as before. Note that the front
siding is only fastened from inside.
NOTE
Be careful to install the correct
panel in each position as shown.
The floor frame must be square
and level or holes will not align.
●●
●●
● 9193 Side Siding (5 board) (12)
●●
●●
● 8736 Rear Siding (5 board) (6)
●●
●●
● 8737 Front Siding (5 board) (6)
● Parts Needed For ●
Side/Rear/Front Siding
Step 10
SS23
23
STEP
3
1
STEP
4
STEP
2
(5 board)
(5 board)
Siding Chart
Front Siding Side Siding Rear Siding
(5 board) (5 board) (5 board)
8737 9193 8736
STEP
Washer
(5 board)
(5 board)
(5 board)
(5 board)
Fasten Top
Center of Last
Siding to Stud
Fasten Siding
to Corner & Splice
Posts From Inside

24
The gables go on top of the front and
rear walls to support the roof beams.
NOTE
The gables are packed nested
together and might be mistaken
as one piece. Carefully separate
them before continuing.
1 Apply edge trim to the edge of the
large left gable and the large right
gable, cut to length.
2 Join the large gables to the small
gables on the left and right sides
using four bolts, washers and nuts on
each side. This part of the gable is
called the
outer gable leg
.
3 Attach the four roof beam
brackets to the outer gable legs us-
ing two bolts in the two bottom holes
of each bracket.
4 Attach the four mid gable braces
to the gables using three bolts, wash-
ers and nuts.
NOTE
Mounting leg of brace must face
toward center of gable
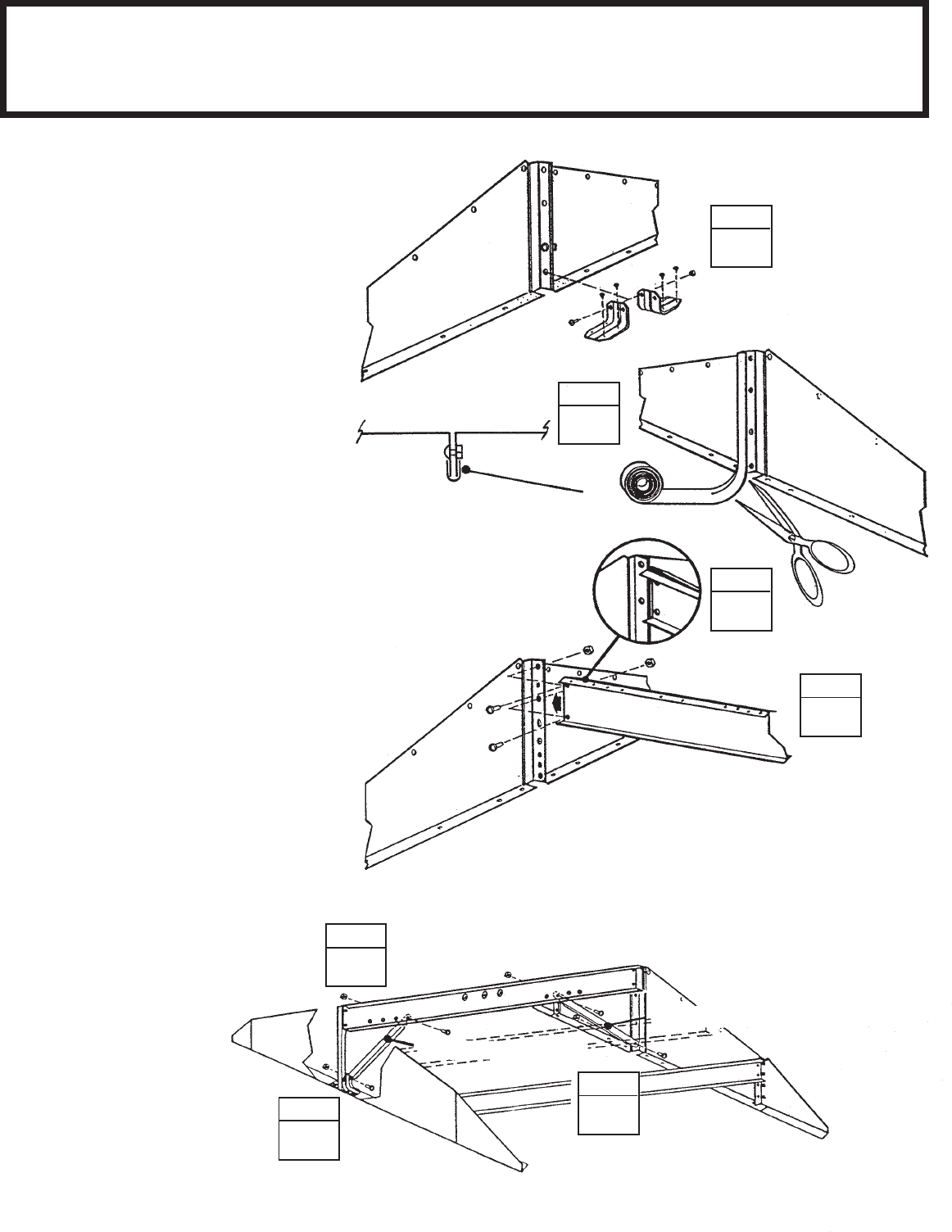
● Parts Needed For ●
Gable Assemblies
Step 11
ST24
●●
●●
● 7858 Large Right Gable (2)
●●
●●
● 7859 Large Left Gable (2)
●●
●●
● 6114 Small Right Gable (2)
●●
●●
● 6115 Small Left Gable (2)
●●
●●
● 6085 Roof Beam Bracket (4)
●●
●●
● 7860 Mid Gable Brace (4)
STEP
1
STEP
2
Washer
6085
Roof Beam Brackets
7859
6115
67521 Edge Trim
(Plastic Piece)
FRONT
STEP
3
STEP
4
7860
7858
6114

● Parts Needed For ●
Gables/Roof Beams
Step 12
ST25
●●
●●
● Left Gable Assemblies (2)
●●
●●
● Right Gable Assemblies (2)
●●
●●
● Single Roof Beam Assemblies (4)
●●
●●
● 6636 Gable Brace (2)
25
1 Lift and fasten a right and left
gable, under angle at corner, to the
door track and rear wall angle with
screws.
Hint: On the front gable, leave out 2
screws closest to center gable leg.
On the rear gable, use a bolt and nut
at the overlapping rear wall angle.
2 Fasten a single roof beam,
small
holes on top,
to the outer gable leg
and mid gable brace as shown using
bolts and nuts.
Repeat Step 1 for the opposite side of
building.
3 Join the left and right gables
together with a gable brace using a
bolt in the second hole from the
bottom
only
. Do this step for both
front and rear gables.
Repeat Step 2 for the opposite side of
building.
STEP
3
6636 Gable Brace
STEP
1
Single Roof Beam Assembly
STEP
2
Gable

● Parts Needed For ●
Roof Beam/Braces
Step 13
SS26
●●
●●
● Main Roof Beam Assembly (1)
●●
●●
● 6227 Roof Beam Brace (2)
26
1 Fasten the track supports to the
front gable assembly only, as shown.
2 Wrap the weather stripping along
the mating edge of the large left and
right gables as shown. Cut the
weather stripping to length.
3 Spread the two halves of the double
roof beam and fasten to the gable
brace of the front gable.
STEP
6
STEP
2
Roof Beam Brace 6227
STEP
7
Roof Beam (Double)
4 Fasten the other end of the double
roof beam to the gable brace of the
rear gable.
5 Fasten a roof beam brace to the
double roof beam behind the front
gable by placing the tab on the end of
the brace
between
the roof beams.
Align the tab with the
fourth
hole and
fasten the brace with a bolt and nut.
6 Fasten the lower end of the roof
beam brace to the track support
with a bolt and nut.
7 Fasten a roof beam brace be-
tween the rear gable and the roof
beam at the
third
hole, as shown. STEP
5
STEP
4
STEP
3
Spread Two Halves
Of Roof Beams
STEP
1
Track Supports 6228
Weather Stripping
Roof Beam Brace 6227

27
Step 14
ST27
● Parts Needed For ●
Right Roof Panel ●●
●●
● 7862 Right Roof Panel (1)
Installing the roof panels is best done
with a step ladder. Begin installing
roof panels at the back right corner of
the building. Each screw and bolt in
the roof requires a washer.
NOTE
Measure the building diagonally
again and make adjustments to
make sure the building is square
and level. This will make the roof
panels fit better, and holes will
align. Don't anchor the floor frame.
NOTE
If a Roof Beef-Up Kit was
purchased, assemble prior to
attaching the roof panels.
1 Locate all the roof panels by their
numbers and place them on the
ground alongside the building in their
proper positions.
2 Position the right roof panel at the
back right corner and fasten to the
gable and roof beams using screws
and bolts as shown.
Do not fasten
the lower end of the panels to the side
wall angles at this time.
Hint: Follow the fastener sequence
shown, for proper alignment.
STEP
2
STEP
1
FRONT
Washer
Bolt
(7)
Gable
Nut
1
8 thru 10 11 thru 13
5
2
34
6
7
14 thru 16
7
5
3
1
4
6
2
8
7863
7861
7861
7862
7861
7861
7861
7861
7861
7862
7861
7863
10
12
9
11
FRONT
7862 Right
Roof Panel

1 Install a left roof panel at the left
rear corner of the roof.
2 Install two roof panels in the se-
quence shown on previous page.
Follow fastener sequence while fas-
tening roof panels.
NOTE
Narrow roof panel rib (with bead
on it) is always overlapped by
wide rib of adjacent panel.
3 Cover the joint at the peak with
weather stripping tape (large roll).
Unroll the tape and press it down
over the opening at the ridge as you
install each roof panel. Do not cut the
tape until entire roof is completed.
4 Cut the weather stripping tape
(small roll) into 34 pieces, each piece
about 3" (8cm) long. Fold lower por-
tion of roof panels down. Press 10
pieces firmly over the notched areas
of the roof panels.
5 Install three ridge caps 6797 on
the roof section using bolts and nuts.
6 Fasten the roof panel ribs, peak
caps and ridge caps together using
bolts and nuts.
●●
●●
● 7863 Left Roof Panel (1)
●●
●●
● 7861 Roof Panel (2)
●●
●●
● 6797 Ridge Cap (3)
Step 15
ST28
● Parts Needed For ●
Roof Assembly
STEP
1
Screws To
Roof Beam
7861
Screws To
Roof Beam
STEP
7863
4
Weather Stripping Tape
28
Do not fasten
at this time
7861
6797
6797
STEP
2
STEP
6
STEP
5
STEP
3
6797

29
Step 16
ST29
1 Install four roof panels as you
unroll the weather stripping tape, and
press it down, install the second ridge
caps 6869 overlapping the first ridge
caps. Cover the notched areas of the
roof panels with strips of weather
stripping tape. Align the holes and
fasten using bolts and nuts.
NOTE
If roof beam holes do not line up
with the roof panel holes, shift the
building from left to right.
If this does not help, your building
may not be level. Shim the
corners until holes line up.
● Parts Needed For ●
Roof Assembly
●●
●●
● 7861 Roof Panel (4)
●●
●●
● 6869 Ridge Cap (3)
6869
Weather Stripping Tape
6869
6869
7861
7861
7861
7861

1 Install two roof panels, left roof
panel, three ridge caps 6797 and
right roof panel on the front of the
roof as before.
2 Fasten the roof panel ribs, peak
caps and ridge caps together using
bolts and nuts.
3 Fasten the lower end of the panels
to the side wall angles using screws
and washers.
Reducing Large Gable Bulge
Loosen eight bolts and nuts shown.
Apply pressure with one hand at the
peak of the gable and tighten bolt #1.
Keeping pressure on the gable work
down the slope tightening each bolt.
Excess material will overlap smaller gable
at seam. Once material bulge is worked
out tighten four vertical bolts that con-
nect the large and small gables.
●●
●●
● 7861 Roof Panel (2)
●●
●●
● 7863 Left Roof Panel (1)
●●
●●
● 6797 Ridge Cap (3)
●●
●●
● 7862 Right Roof Panel (1)
Step 17
ST30
● Parts Needed For ●
Roof Assembly
STEP
1
7862
STEP
7863
STEP
2
3
30
6797
7861
Cut
Weather Stripping
and Fold Under
6797
7861
#1
#2
#3
#4
6797
Peak Cap

1 Attach the right and left side roof
trim to the lower end of the roof pan-
els on each side of the building using
screws at each panel overlap.
NOTE
A single screw fastens both trim
pieces at the overlap.
2 Using your thumb and index fin-
ger, overbend the bottom flange of
the roof panel trim at the corner
inward enough so the right and left
roof trim caps fit onto right and left
corners.
3 Fasten the roof trim caps to the
side trim using a screw.
●●
●●
● 6893 Left Side Roof Trim (2)
●●
●●
● 6892 Right Side Roof Trim (2)
●●
●●
● 6015 Side Roof Trim (2)
Step 18
ST31
● Parts Needed For ●
Roof Trim
STEP
STEP
3
6892
Tuck Flange
Inward to Fit
Inside of
Roof Trim Cap
31
2
STEP
1
6015
6893
6893
6015
6892
Roof Trim Cap
Roof Trim

32
●●
●●
● 3719 Door Handle Brace (2)
●●
●●
● 10472 Right and Left Doors (2)
●●
●●
● 10497 Horizontal Door Brace (4)
●●
●●
● 6301 Vertical Door Brace (2)
● Parts Needed For ●
Door Assembly
Step 19
SS32
The steps on this page tell how to
assemble the right door. You will
perform exactly the same procedures
for the left door. Each bolt and screw
in the door requires a washer. Pro-
ceed as follows:
1 Attach the door handle brace and
handle to the door with 1 bolt as
shown.
Don't tighten the bolt yet.
2 Swing the door handle brace up to
the hole in the center of the door and
insert a screw.
3 Hold the vertical door brace
against the center of the inside sur-
face of the door and turn the screw to
hold the vertical door brace and door
handle brace in place. Fasten to
door above and below center
connection using 2 screws.
4 Insert a second bolt in the door
handle and tighten both bolts.
5 Put a horizontal door brace onto
the top edge and bottom edge and
fasten
with 1 bolt in the center.
6 Attach the lower door guides and
bolts as shown.
7 Repeat steps 1 through 6 for the
left door.
STEP
1
66382
66382
STEP
10497
STEP
5
66045
3719
STEP
66045
3719
10497
10497
2
66382
END VIEW
SHOWING:
Horizontal
Door Brace Door
Washer
Guide
STEP
6
6301
4
STEP
3
6301
10472 Right Door
10472 Left Door

33
Step 20
SQ33
● Parts Needed For ●
Door Installation & Adjustment
●●
●●
● Right Door Assembly (1)
●●
●●
● Left Door Assembly (1)
1 From inside the building, put the
bottom of the right door assembly (on
your left when you are inside the
building) behind door jamb into the
front frame track.
2 Position the top of the door so that
the holes in the door line up with the
holes in the door slides.
3 Fasten the door to the door slides
using two #10Bx1/2" screws per door
slide.
NOTE
The holes in the door slides allow
you to adjust the doors. Place the
door in the middle holes.
4 Repeat steps 1 through 3 for the
left door.
STEP
2
Horizontal Door Brace
STEP
1
Gable
STEP
3
#10Bx1/2" Screw
Door Slide
Adjustment Holes
Adjustment Holes Allow
Doors to Meet Evenly
Along Their Length
Right Door Left Door STEP
4
Front Floor Frame Assembly
Door Track
Door Slide
Door
Keep this Owner's Manual and Assembly Instructions for future reference.

SOME FACTS ABOUT RUST
Rusting is a natural oxidizing process that occurs
when bare metal is exposed to moisture. Problem
areas include screw holes, unfinished edges, or
where scrapes and nicks occur in the protective
coating through normal assembly, handling and
use. Identifying these natural rusting problem areas
and taking some simple rust protection precautions
can help to stop rust from developing, or stop it
quickly as soon as it appears.
1. Avoid nicking or scraping the coating surface,
inside and out.
2. Use all the washers supplied. In addition to pro-
tecting against weather infiltration, the washers pro-
tect the metal from being scraped by the screws.
3. Keep roof, base perimeter and door tracks free of
debris and leaves which may accumulate and retain
moisture. These can do double damage since they
give off acid as they decay.
4. Touch up scrapes or nicks and any area of visible
rust as soon as possible. Make sure the surface is
free of moisture, oils, dirt or grime and then apply an
even film of high quality touch-up paint.
34
SOME FACTS ABOUT RUST
SO34