Ativa Ks02 Users Manual KS02_Manual_ 20090811 EN
ks02 7244ca3a-1b1f-48ec-b3ee-2ddd051a2342 Ativa MP3 Player KS02 User Guide |
2015-02-02
: Ativa Ativa-Ks02-Users-Manual-393197 ativa-ks02-users-manual-393197 ativa pdf
Open the PDF directly: View PDF
.
Page Count: 39


MP3 Player
KS02
User’s Manual

i
TABLE OF CONTENTS
Introduction.............................................................................................................................................................................................1
Regulatory Information: FCC Part 15 ...................................................................................................................................................2
Important Safety Precautions................................................................................................................................................................4
Main Features .........................................................................................................................................................................................6
Overview..................................................................................................................................................................................................7
Connecting with the Computer .............................................................................................................................................................8
System requirements ...........................................................................................................................................................................8
Copy Files from computer ....................................................................................................................................................................8
Charging the battery.............................................................................................................................................................................9
Using the MP3 Player ...........................................................................................................................................................................10
Turning on ..........................................................................................................................................................................................10
Adjusting the volume ..........................................................................................................................................................................10
Pausing and playing music tracks......................................................................................................................................................10
Skipping to the next/previous music track..........................................................................................................................................11
Fast rewind/forward within a track......................................................................................................................................................11
Setting equalizer................................................................................................................................................................................. 11
Shuffle or Repeat all songs ................................................................................................................................................................ 11
Locking all buttons..............................................................................................................................................................................12
Turning off ..........................................................................................................................................................................................12
Resetting the player ...........................................................................................................................................................................12

ii
Troubleshooting ...................................................................................................................................................................................13
Specification .........................................................................................................................................................................................14
Product Warranty .................................................................................................................................................................................15

1
Introduction
Thank you for purchasing this MP3 Player.
This manual contains important safety information and operation instructions, so please read all the instructions carefully
before using the player and keep it for future reference.
This manual will help you use all of the exciting features to make your player more enjoyable.
We have done our best to produce a complete and accurate manual; however, we cannot ensure
there are no errors or omissions. We also have no responsibility for damages or loss of data caused
by improper operation.
The instruction manual is subject to change for improvement without notice.
Trademarks and trade names used in this user’s manual are owned by their respective companies
or organizations.

2
Regulatory Information: FCC Part 15
This device complies with part 15 of the FCC rules. Operation is subject to the following two conditions:
(1) this device may not cause harmful interference, and
(2) this device must accept any interference received, including interference that may cause undesired operation.
Note:
This equipment has been tested and found to comply with the limits for a Class B digital device, pursuant to part 15 of the
FCC Rules. These limits are designed to provide reasonable protection against harmful interference in a residential
installation.
This equipment generates, uses and can radiate radio frequency energy and, if not installed and used in accordance with the
instructions, may cause harmful interference to radio communications. However, there is no guarantee that interference will
not occur in a particular installation. If this equipment does cause harmful interference to radio or television reception, which
can be determined by turning the equipment off and on, the user is encouraged to try to correct the interference by one or
more of the following measures:
y Reorient or relocate the receiving antenna.
y Increase the separation between the equipment and receiver.
y Connect the equipment into an outlet on a circuit different from that to which the receiver is connected.
y Consult the dealer or an experienced radio/TV technician for help.

3
WARNING: THE MANUFACTURER IS NOT RESPONSIBLE FOR ANY RADIO OR TV INTERFERENCE CAUSED BY
UNAUTHORIZED MODIFICATIONS TO THE DEVICE. ANY SUCH MODIFICATIONS COULD VOID THE USER'S
AUTHORITY TO OPERATE THE EQUIPMENT.

4
Important Safety Precautions
Always follow these basic safety precautions when using your player. This will reduce the risk of product damage and
personal injury.
y Do not disassemble, repair or modify the player by yourself. Refer servicing to qualified personnel.
y Do not dispose of the player in fire to avoid explosion because the player has built-in battery.
y Do not touch the player with bare hands if the built-in battery is leaking. In this case, contact service center for help
since the liquid may remain in the player. If your body or clothes has contacted with the battery liquid, wash it off
thoroughly with water. Also, if some of liquid gets into your eyes, do not rub your eyes but immediately wash them with
clean water, and consult a doctor.
y Keep the player away from direct sunlight and heat source.
y Do not expose the unit to rain or moisture to avoid any malfunction.
y Do not use the player in rather dry environment to avoid static.
y Never apply heavy impact on the player like dropping it or placing it on the magnet.
y Route USB cable so that people and pets are not likely to trip over or accidentally pull on them as they move around
or walk through the area.
y Disconnect the USB cable from the computer when you do not use the player for a long time.
y Clean only with dry cloth. Make sure the player is turned off before cleaning. Do not use liquid cleanser.
y Be sure to back up your files. We will not be liable for the loss of data due to improper operation, repair or other
causes.

5
Precautions in using the earphone
y Do not use the earphone while driving an automobile or riding a bicycle. It is not only dangerous, but also against the
law. To avoid an accident, do not turn up the volume of the earphones too high while walking.
y It’s not recommended that you use the earphones at a high volume for an extended time as this may cause hearing
damage.

6
Main Features
y Clip design, good quality
y Built-in rechargeable Li-polymer battery
y USB 2.0 high speed transmission
y Supports playback of MP3, WMA music files
y 6 preset equalizers (Normal, Jazz, Rock, Classic, Pop, Bass) and SRS sound effect to suit the type of audio output
y Lock up function

7
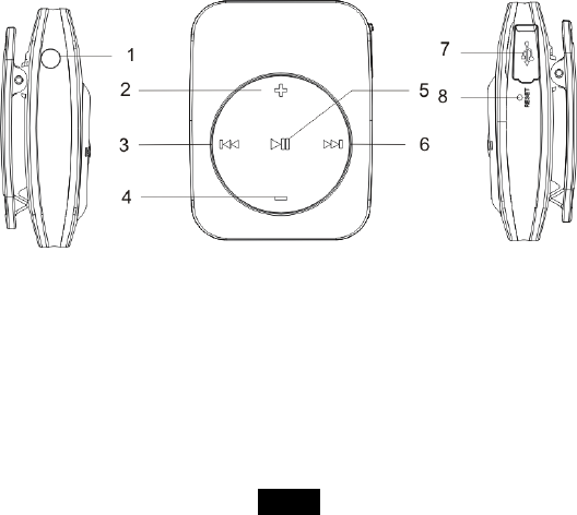
Overview
1. Earphone Jack
2. [+] Volume up; press and hold to switch
between EQ modes
3. [] Previous button; press and hold to fast
rewind
4. [-] Volume down; press and hold to Lock/Unlock
buttons
5. [ ]Play/Pause button; pres and hold to Power
On/Off
6. [] Next button; press and hold to fast forward
7. Mini-USB connection
8. RESET hole

8
Connecting with the Computer
System requirements
Your computer system must meet the following requirements:
y Pentium 200MHz or above
y Microsoft Windows 2000/ME/XP/Vista and up to Mac 10.5
y 120MB of available hard disk space
y USB port supported
Copy Files from computer
Files can be transferred directly into the player by using the USB data cable.
1. Make sure that your computer has been started before you start.
2. Connect the mini plug of the USB cable to the mini USB port on the player, and push the other end into a free USB port
on your computer.
3. The computer system detects “New hardware” and starts to install the driver automatically. Wait for the system to finish
the installation. When it has finished, a new “Removable Disk” will be created in “My Computer”.
4. Drag and drop the files on your computer to the “Removable Disk”.
5. To disconnect the USB cable from the computer, double click the Safely Remove Hardware icon on the task bar. Click
the USB Mass Storage Device, and then click OK. Then you can unplug the player safely.

9
Note:
y Please do not disconnect the USB cable during loading. It may cause malfunction of the player and the files.
y There is a folder named “Manual” in the “Removable Disk”. You can find manual for the player in the folder. If you
delete the folder accidentally in the future, you also can download it at www.ativaproducts.com.
Charging the battery
y The battery of the player is charging automatically when the player is connected to the computer. Make sure the
computer has been started.
y The battery of the player is 80-percent charged in about three hours and fully charged in about five hours. If you
charge the player while loading files to the player, it might take longer.
y During charging, the indicator flashes slowly. When the player is fully charged, the indicator will stop flashing and light,
and go out after about 2 hours.
Important:
y Recommended temperature for battery charging is 0
℃
to 35
℃
.
y Fully charge it before you use the player for the first time or when you haven’t used it for a long time.
y Do not over charge or discharge the player. Over charging or discharging will shorten the battery life.
y The battery could be over discharged if the player is not used for a long time (over three months). To avoid over
discharge, fully charge the player every three months and always keep the voltage of the battery above 50%.
y If the player is not used for a long time, keep it under the temperature of 23
±
5
℃
and the moisture of 65
±
20% RH to
maintain the performance of the battery
.

10
Using the MP3 Player
Turning on
1. Make sure the battery is charged enough and connect the earphone supplied.
2. To turn on the player, press and hold the [ ] button. The indicator will illuminate and then flash. After a short pause
the first music track on the MP3 Player starts playing automatically (File stored in the root directory are played first
followed by alphabetic order). The indicator will flash slowly during playback.
Adjusting the volume
y To increase the volume, press the [+] button while music playing.
y To decrease the volume, press the [-] button while music playing.
Pausing and playing music tracks
1. To pause playback, press the [ ] button once. The indicator will stop flashing and illuminate permanently.
2. To resume playback, press the [ ] button again. The indicator will flash slowly during playback.

11
Skipping to the next/previous music track
1. To skip to the next music track, press the [] button once. Repeat this until the desired music track is found.
2. To skip to the previous music track, press the [] button once. Repeat this until the desired music track is found.
Fast rewind/forward within a track
1. To fast forward with a track, press and hold the [] button. Once you release the pressed button, it will play from the
searched point.
2. To fast rewind with a track, press and hold the [] button. Once you release the pressed button, it will play from the
searched point.
Setting equalizer
There are six preset equalizers (Normal, Jazz, Rock, Classic, Pop, Bass) and SRS sound effect on the player. You can select the
desired equalizer to suit the type of audio output.
y To select an equalizer, press and hold the [+] button while music playing. Once you release the button, the equalizer
can be heard.
Shuffle or Repeat all songs
You can set the play mode for the player. While music playing is paused, you can:
y Press the [+] button, then press the [ ] button to resume playing. The player will repeat all songs.
y Press the [-] button, then press the [ ] button to resume playing. The player will shuffle all songs.

12
Locking all buttons
This prevents you from accidental pressing the buttons when using the MP3 player on the move.
1. To enable the lock function, press and hold the [-] button.
2. To disable the lock function, press and hold [-] button again.
Turning off
To turn off the MP3 player at any time, press and hold the [ ] button for 2 seconds. Once the pressed button is released,
the indicator and MP3 player will turn off.
Note:
y When the MP3 player is turned on again, it will continue playing the track that was playing when the MP3 player was
turned off.
y The MP3 player will turn off automatically if the battery is exhausted.
Resetting the player
If a malfunction of the player occurs, take a metal pin, e.g. the end of a paper clip, and press it into the RESET hole to re-initialize
the player.

13
Troubleshooting
If you have problems in operating your player, please check the points below before sending it to service center.
Cannot power on
y The battery may be exhausted. Please recharge the battery.
Files cannot be downloaded
y Check if the driver is installed correctly in the computer.
y Check the connection between the player and PC.
No sound from the earphone
y Please ensure the volume is not 0, and the connection of earphone is no problem.
y Check if the format of music file is supported by the player.
The buttons do not work
y The key may be locked. Press and hold the [-] button to disable the lock function.
y Press the reset hole with metal pin to re-initialize the player.

14
Specification
Audio Format MP3/WMA Size 45x34.4x16.8mm (include
clip)
MP3 bit Rate 8Kbps–320Kbps weight Around 25
WMA bit rate 32Kbps–384Kbps Frequency response 20Hz~20KHz
S/N rate >91dB (without A-weight) Dynamic current <18mA
Dynamic range >80db(1KHZ) Power off current <0.3mA
Distortion <0.05% Storage condition Humidity <90%, Normal
temperature
Battery MP3/WMA playback around 8hrs Working condition Humidity <85%,-10~40℃
EQ Normal/Jazz/Rock/Classic/Pop/Bass Power out 2*5mW

15
Product Warranty
Swinton Avenue Trading, Inc.
Limited One Year Product Warranty
This limited warranty covers the original purchase of new product used for normal commercial, personal or household use.
Swinton Avenue Trading, Inc. (SAT) warrants its products will be free from defects in materials and workmanship (normal
wear and tear excepted), for one (1) year from the date of purchase, except as provided below. SAT, at its option, will replace
with a comparable product, free of charge, any product which fails under normal use as a result of such defect. This warranty
does not apply to damage caused by fire, accident, negligence, misuse, improper cleaning or other circumstances not
directly attributable to manufacturing defects.
Proof of purchase is required in the form of a receipt (copy or original) to validate warranty. If you do not have a copy of your
store receipt and paid using a check or a major credit card, a copy can be obtained from Office Depot’s receipt retrieval
department at 1-800-721-6592.
If SAT chooses to provide a refund for such product, it will be fulfilled in the form of an Office Depot Merchandise card.
Claims fulfilled in this manner take approximately 90 days to process.
SAT PROVIDES THIS LIMITED WARRANTY IN LIEU OF ALL OTHER WARRANTIES EITHER EXPRESS OR IMPLIED.
EXPRESSLY EXCLUDED ARE ALL WARRANTIES OF FITNESS FOR A PARTICULAR PURPOSE OR

16
MERCHANTABILITY. SAT’S SOLE OBLIGATION AND THE USER’S EXCLUSIVE REMEDY UNDER THIS WARRANTY
SHALL BE LIMITED TO THE REPAIR OR REPLACEMENT AT SAT’S SOLE DISCRETION AND COST, OF PRODUCT OR
COMPONENTS.
IN NO EVENT SHALL SAT, ITS AFFILIATES, SUBSIDIARIES OR PARENT COMPANIES BE RESPONSIBLE FOR
CONSEQUENTIAL, SPECIAL, OR INCIDENTAL DAMAGES ARISING OUT OF A CLAIM OF
DEFECTIVE PRODUCT EVEN IF SAT HAS BEEN ADVISED OF THE POSSIBILITY OF SUCH DAMAGES.
SOME STATES OR PROVINCES DO NOT ALLOW THE EXCLUSION OF IMPLIED WARRANTIES OR LIMITATIONS ON
HOW LONG AN IMPLIED WARRANTY LASTS OR THE EXCLUSION OR LIMITATION OF INCIDENTIAL OR
CONSEQUENTIAL DAMAGES SO THE ABOVE LIMITATIONS MAY NOT APPLY TO YOU. THIS WARRANTY GIVES YOU
SPECIFIC LEGAL RIGHTS, AND YOU MAY ALSO HAVE
OTHER RIGHTS WHICH MAY VARY BY STATE OR PROVINCE.
THIS WARRANTY APPLIES ONLY TO THE U.S. AND CANADA.
Return Instructions
Please call 1-877-777-HELP (1-877-777-4357) for warranty service or product support.)

Reproductor MP3
KS02
Manual del Usuario

i
INDICE DE CONTENIDOS
Introducción............................................................................................................................................................................................1
Información reguladora: Apartado 15 de las reglas FCC ...................................................................................................................2
Precauciones de seguridad importantes .............................................................................................................................................4
Funciones principales............................................................................................................................................................................6
Vista general ...........................................................................................................................................................................................7
Conexión al ordenador ..........................................................................................................................................................................8
Necesidades del Sistema.....................................................................................................................................................................8
Copiar archivos desde el PC................................................................................................................................................................8
Cargar la batería ..................................................................................................................................................................................9
Usar el reproductor MP3......................................................................................................................................................................10
Encender ............................................................................................................................................................................................10
Ajustar el volumen..............................................................................................................................................................................10
Hacer una pausa y reanudar la reproducción de pistas de música ...................................................................................................10
Saltar a la pista de música siguiente/anterior..................................................................................................................................... 11
Rebobinado/Avance rápido dentro de una pista ................................................................................................................................ 11
Configurar el ecualizador ...................................................................................................................................................................11
Desordenar o Repetir todas las canciones ........................................................................................................................................ 11
Bloquear los botones..........................................................................................................................................................................12
Apagar el reproductor.........................................................................................................................................................................12
Recuperar los parámetros del reproductor.........................................................................................................................................12

ii
Resolución de problemas....................................................................................................................................................................13
Especificaciones técnicas ...................................................................................................................................................................14
Garantía del Producto ..........................................................................................................................................................................15

1
Introducción
Le agradecemos la compra de este Reproductor MP3.
Este manual contiene información sobre seguridad e instrucciones de funcionamiento importantes, así que por favor lea
estas instrucciones detenidamente antes de usar el reproductor y consérvelas para futuras referencias.
Este manual le ayudará a usar todas las emocionantes funciones que le harán disfrutar más de su reproductor.
Hemos hecho todo lo posible para editar un completo y preciso manual; sin embargo, no podemos
asegurar que exista algún error u omisión. Tampoco nos hacemos responsables de los daños o
pérdidas de datos causados por una utilización inadecuada.
El manual de instrucciones está sujeto cambios por mejora sin previo aviso.
Las marcas y nombres comerciales usados en este manual del usuario son propiedad de sus
respectivas empresas u organizaciones.

2
Información reguladora: Apartado 15 de las reglas FCC
Este aparato cumple con la Apartado 15 de la Normas FCC. Su uso está sujeto a las dos condiciones siguientes:
(1) Este aparato no puede provocar interferencias dañinas, y
(2) este reproductor debe aceptar cualquier interferencia recibida, incluyendo interferencias que puedan provocar
funcionamiento no deseado.
Nota:
Este equipo ha sido probado y cumple con los límites de los aparatos digitales de Clase B, de acuerdo con el Apartado 15
de las Normas FCC. Estos límites están designados para proporcionar una protección razonable ante interferencias
perjudiciales en una instalación residencial.
Este equipo genera, usa, y puede radiar energía de radiofrecuencia y, si no es instalado y usado de acuerdo con las
instrucciones, puede provocar interferencias perjudiciales a las comunicaciones radio. Sin embargo, no hay garantía de que
no habrá interferencias en una instalación específica. Si este equipo causa interferencias perjudiciales para la recepción de
radio o televisión, lo que puede determinarse encendiendo y apagando el equipo, se anima al usuario a intentar corregirlas
mediante una de las siguientes medidas:
y Cambiar de orientación o de ubicación la antena receptora.
y Aumentar la separación entre el equipo y el receptor.
y Conectar el equipo en una toma de corriente de un circuito diferente al que está conectado el receptor.
y Consultar al vendedor o un técnico experto en radio y televisión.

3
ADVERTENCIA: EL FABRICANTE NO ES REPONSABLE DE NINGUNA INTERFERENCIA SOBRE RADIOS O
TELEVISIONES PROVOCADAS POR MODIFICACIONES DEL APARATO NO AUTORIZADAS. CUALQUIERA DE ESTAS
MODIFICACIONES PUEDEN ANULAR LA AUTORIDAD DEL USUARIO A USAR EL EQUIPO.

4
Precauciones de seguridad importantes
Siga siempre estas precauciones de seguridad básicas cuando use su reproductor. Esto reducirá el riesgo de dañar el
producto y de sufrir lesiones.
y No desmonte, repare o modifique el reproductor usted mismo. Para efectuar mantenimientos llévelo al personal
cualificado.
y No tire el reproductor al fuego para evitar explosiones debido a la batería integrada en el reproductor.
y No toque el reproductor con las manos desprotegidas en el caso de que la batería integrada comience a gotear. En
este caso, contacte con el centro de reparaciones para ayuda, ya que puede quedar líquido en el reproductor. Si el
líquido entra en contacto con su cuerpo o con su ropa, lávelo a conciencia con agua. Además, si el líquido entra en
sus ojos, no los restriegue pero lávelos inmediatamente con agua limpia y consulte con un médico.
y Mantenga el reproductor alejado de la luz directa del sol y de las fuentes de calor.
y No exponga la unidad a la lluvia o humedad para evitar fallos de funcionamiento.
y No use el reproductor en ambientes extremadamente secos para evitar la electricidad estática.
y No golpee con fuerza el reproductor, como al dejarlo caer o al colocarlo sobre un imán.
y Coloque el cable USB de manera que las personas o animales no se puedan enganchar accidentalmente con él
cuando se encuentren en sus proximidades.
y Desconecte el cable USB de su PC cuando no lo vaya a usar durante un largo periodo de tiempo.
y Limpie el reproductor solamente con un trapo seco. Asegúrese de que esté apagado antes de limpiarlo. No utilice
líquido limpiador.
y Recuerde siempre hacer una copia de seguridad de sus archivos. No nos responsabilizaremos de la pérdida de
datos debido al uso, reparaciones u otras causas inadecuadas.

5
Precauciones al usar auriculares
y No utilice auriculares cuando conduzca un vehículo o vaya en bicicleta. No sólo es peligroso, sino que además va en
contra de la ley. Para evitar accidentes, no tenga el volumen de los auriculares demasiado alto mientras camina.
y No es aconsejable que use los auriculares a un volumen alto durante largos periodos de tiempo ya que esto puede
generar lesiones de oído.

6
Funciones principales
y Diseño en clip, gran calidad
y Batería recargable de polímero de Litio integrada
y Transmisión USB 2.0 de alta velocidad
y Permite la reproducción de archivos MP3, WMA.
y 6 ecualizadores pre-programados (Normal, Jazz, Rock, Clásica, Pop, Graves) 7 efecto sonido SRS para que se
ajuste a cualquier tipo de salida de audio.
y Función de bloqueo

7
Vista general
1. Conector para auriculares
2. [+] subir volumen; mantener pulsado para
cambiar el modo de EQ
3. [] botón anterior; mantener pulsado para
rebobinado rápido
4. [-] bajar volumen; mantener pulsado para
Bloquear/Desbloquear los botones
5. [ ]botón Reproducir/Pausa; mantener pulsado
para Encender/Apagar
6. [] botón siguiente; mantener pulsado para
avance rápido
7. Mini-conector USB
8. Orificio RESET

8
Conexión al ordenador
Necesidades del Sistema
Su PC debe cumplir con las siguientes especificaciones:
y Pentium 200MHz o superior
y Microsoft Windows 2000/ME/XP/Vista and up to Mac 10.5
y 120MB de espacio libre en el disco duro
y Puerto USB libre
Copiar archivos desde el PC
Los archivos pueden transferirse directamente al reproductor usando un cable de datos USB.
1. Compruebe que tiene el PC está encendido antes de empezar.
2. Conecte el cable mini-USB al puerto mini-USB del reproductor e introduzca el otro extremo en un puerto USB libre de
su PC.
3. El sistema de su PC detecta “Nuevo Hardware” e inicia la instalación del controlador automáticamente. Espere a que
el sistema complete la instalación. Cuando haya terminado, se creará una unidad "Disco Extraíble" en “Mi PC”.
4. Arrastre y suelte los archivos desde su PC hasta el "Disco Extraíble".
5. Para desconectar el cable USB del PC, haga doble-‘clic’ en el icono de “Retirar Hardware con seguridad” en la barra
de tareas. Haga ‘clic’ sobre Dispositivo de almacenamiento masivo USB, y luego haga ‘clic’ en OK. Entonces
puede desconectar con seguridad el reproductor.

9
Nota:
y Por favor, no desconecte el aparato del puerto USB durante la carga de archivos. Puede provocar fallos de
funcionamiento en el reproductor y en los archivos.
y Existe una carpeta llamada “Manual” en el Disco Extraíble. Usted puede encontrar el manual del reproductor en esta
carpeta. Si usted elimina la carpeta accidentalmente en el futuro, también puede descargarlo en
www.ativaproducts.com.
Cargar la batería
y La batería del reproductor se recarga automáticamente cuando está conectado al PC. Compruebe que tiene el PC
encendido.
y La batería estará cargada aproximadamente al 80 % en unas dos horas y completamente cargada después de cuatro
horas. Si usted carga el reproductor mientras descarga archivos, puede tardar más tiempo.
y Durante la carga, el indicador parpadea lentamente. Cuando el reproductor está totalmente cargado, el indicador deja
de parpadear y se ilumina, apagándose después de unas 2 horas.
Importante:
y La temperatura recomendada para la carga de la batería es entre 0ºC y 35ºC.
y Cargue completamente la batería antes del primer uso del reproductor o cuando lleve sin usarlo mucho tiempo.
y No sobrecargue ni sobre-descargue el reproductor. La sobrecarga y la sobre-descarga acortará la vida de la batería.
y La batería podría tener una sobre-descarga si el reproductor no se usa durante largos periodos de tiempo (más de
tres meses). Para evitar la sobre-descarga, cargue completamente el reproductor cada tres meses y mantenga la
carga de la batería por encima del 50%.
y Si no utiliza el reproductor durante largos periodos de tiempo, guárdelo a una temperatura de 23±5
℃
y a unos
niveles de humedad relativa del 65±20%, para mantener el rendimiento de la batería.

10
Usar el reproductor MP3
Encender
1. Asegúrese de que la batería tiene suficiente carga y que tiene conectados los auriculares suministrados.
2. Para encender el reproductor, mantenga pulsado el botón [ ]. El indicador se ilumina y luego empieza a parpadear.
Tras una breve pausa, la primera pista del reproductor MP3 empieza a sonar automáticamente (Los archivos en el
directorio raíz se reproducen primero por orden alfabético). El indicador parpadea lentamente durante la
reproducción.
Ajustar el volumen
y Para subir el volumen, pulse el botón [+] mientras oye música.
y Para bajar el volumen, pulse el botón [-] mientras oye música.
Hacer una pausa y reanudar la reproducción de pistas de música
1. Para hacer una pausa durante la reproducción, pulse el botón [ ] una vez. El indicador deja de parpadear y
permanece iluminado.
2. Para reanudar la reproducción presione el botón [ ] otra vez. El indicador parpadea lentamente durante la
reproducción.

11
Saltar a la pista de música siguiente/anterior
1. Para saltar a la siguiente pista de música, pulse el botón [] una vez. Repita esto hasta que encuentre la pista de
música que desea.
2. Para saltar a la pista de música anterior, pulse el botón [] una vez. Repita esto hasta que encuentre la pista de
música que desea.
Rebobinado/Avance rápido dentro de una pista
1. Para avanzar rápido dentro de una pista, mantenga pulsado el botón []. Una vez que suelte el botón, la
reproducción se reanuda desde el punto alcanzado.
2. Para rebobinar rápido dentro de una pista, mantenga pulsado el botón []. Una vez que suelte el botón, la
reproducción se reanuda desde el punto alcanzado.
Configurar el ecualizador
Hay seis ecualizadores pre-programados (Normal, Jazz, Rock, Clásica, Pop, Graves) y efecto sonido SRS en el reproductor.
Usted puede seleccionar el ecualizador deseado para que se ajuste a la salida de audio.
y Para seleccionar un ecualizador, mantenga pulsado el botón [+] mientras suena la música. Una vez que suelta el
botón, se puede oír el ecualizador.
Desordenar o Repetir todas las canciones
Usted puede ajustar el modo de reproducción para el reproductor. Con la reproducción de música en pausa, usted puede:
y Pulsar el botón [+], y luego pulsar el botón [ ] para reanudar la reproducción. El reproductor repetirá todas las
canciones.
y Pulsar el botón [-], y luego pulsar el botón [ ] para reanudar la reproducción. El reproductor reproducirá todas las
canciones de modo aleatorio.

12
Bloquear los botones
Esto evitará que usted pulse accidentalmente los botones al usar el reproductor MP3 mientras se desplaza.
1. Para activar la función de bloqueo, mantenga pulsado el botón [-].
2. Para desactivar la función de bloqueo, mantenga pulsado el botón [-] otra vez.
Apagar el reproductor
Para apagar el reproductor en cualquier momento, mantenga pulsado el botón [ ] durante 2 segundos. Una vez que
suelte el botón pulsado, el indicador y el reproductor MP3 se apagarán.
Nota:
y Cuando vuelva a encender el reproductor MP3, continuará la reproducción en la pista que estaba reproduciendo
cuando apagó el reproductor MP3.
y El reproductor MP3 se apagará automáticamente si la batería está agotada.
Recuperar los parámetros del reproductor
Si el reproductor funciona mal, use un alambre sin punta como el extremo de un clip, y presione con él dentro del orificio RESET
para recuperar el sistema de su reproductor.

13
Resolución de problemas
Si tiene problemas con el funcionamiento de su reproductor, por favor compruebe los siguientes puntos antes de ponerse en
contacto con el Centro de reparaciones.
No se puede encender
y La batería puede estar agotada. Por favor, cargue la batería.
No puede descargar archivos
y Compruebe que el controlador del aparato está instalado correctamente en el PC.
y Compruebe la conexión entre el reproductor y el PC.
No hay sonido en los auriculares
y Por favor, compruebe que el volumen no está en 0, y que no hay problemas en la conexión de los auriculares.
y Compruebe que el formato de los archivos de música está soportado por el reproductor.
Los botones no funcionan
y El teclado puede estar bloqueado. Mantenga pulsado el botón [-] para desbloquear los botones.
y Introduzca un pin metálico en el orificio RESET para reiniciar el sistema de su reproductor.

14
Especificaciones técnicas
Formato de
Audio MP3, WMA Tamaño 45x34,4x16,8mm
(incluyendo la pinza)
Tasa de bits
MP3 8Kbps –320Kbps peso Alrededor de 25 gr
Tasa de bits
WMA 32Kbps–384Kbps Respuesta de
Frecuencia 20Hz~20KHz
Relación
Señal/Ruido >91dB (sin compensación A) Corriente dinámica <18mA
Rango
Dinámico >80db(1KHZ) Corriente de apagado <0,3mA
Distorsión <0.05% Condiciones para
guardar el aparato
Humedad <90%,
temperatura normal
Batería Unas 8 horas de reproducción MP3/WMA Condiciones de
funcionamiento Humedad <85%,-10~40℃
ECUALIZADOR Normal, Rock, jazz, Clásica, Pop y Graves. Potencia de salida 2 x 5mW

15
Garantía del Producto
Swinton Avenue Trading, Inc.
Garantía limitada del producto de Un Año
Esta garantía limitada cubre la compra original de un producto nuevo utilizado para uso comercial, personal o doméstico
normal. Swinton Avenue Trading, Inc. (SAT) garantiza que sus productos está libres de defectos materiales y de mano de
obra (desgaste y deterioro normal por el uso exceptuados), por un (1) año desde la fecha de compra, excepto en las
siguientes condiciones. SAT, a su discreción, reemplazará con un producto comparable, sin coste alguno, cualquier
producto que falle en condiciones normales de uso como resultado de un defecto. Esta garantía no se aplica a daños
causados por fuego, accidentes, negligencia, mal uso, limpieza indebida u otras circunstancias no atribuidas directamente a
defectos de fabricación.
La prueba de compra es necesaria en forma de recibo (original o copia) para validar la garantía. Si usted no tiene una copia
del recibo de la tienda u pagó usando un cheque o una tarjeta de crédito conocida, puede obtener una copia del
Departamento de recuperación de recibos del Office Depot llamando al 1-800-721-6592.
Si SAT elige devolverle el dinero de dicho producto, será cumplimentado en un formulario de una tarjeta de Office Depot
Merchandise. Las reclamaciones cumplimentadas de este modo tardan aproximadamente 90 días en procesarse.
SAT PROPORCIONA ESTA GARANTÍA LIMITADA SUSTITUYENDO A CUALQUIER OTRA GARANTÍA TANTO EXPRESA

16
COMO IMPLÍCITA. EXPRESAMENTE EXCLUÍDAS ESTÁN TODAS LAS GARANTÍA ACOGIDAS A PROPÓSITOS
PARTICULARES O DE COMERCIALIDAD. LA ÚNICA OBLIGACIÓN DE SAT Y EL ÚNICO REMEDIO DEL USUARIO BAJO
ESTA GARANTÍA ESTARÁN LIMITADOS A LA REPARACIÓN O SUSTITUCIÓN A LA EXCLUSIVA DISCRECIÓN DE DAT Y
AL COSTE DEL PRODUCTO O COMPONENTES.
EN NINGÚN CASO SAT, SUS AFILIADOS, SUBSIDIARIOS O COMPAÑÍAS MATRICES SERÁN RESPONSABLESDE LOS
DAÑOS CONSECUENTES, ESPECIALES O INCIDENTALES QUE SURGIERAN COMO RECLAMACIÓN DE UN
PRODUCTO DEFECTUOSO, INCLUSO SI SAT HA SIDO INFORMADA DE LA POSIBILIDAD DE TALES DAÑOS.
EN ALGUNOS ESTADOS O PROVINCIAS NO SE PERMITE LA EXCLUSIÓN DE GARANTÍAS O LIMITACIONES
IMPLÍCITAS DE DAÑOS INCIDENTALES O CONSECUENTES SOBRE LA DURACIÓN DE UNA GARANTÍA IMPLÍCITA O
LA EXCLUSIÓN O LIMITACIÓN DE DAÑOS INCIDENTALES O CONSECUENTES DE MANERA QUE LAS LIMITACIONES
ANTERIORES PUEDEN NO TENER APLICACIÓN SOBRE USTED. ESTA GARATÍA LE DA A USTEDDERECHOS
LEGALES ESPECÍFICOS, Y USTED PUEDE TAMBIÉN TENER OTROS DERECHOS QUE PUEDEN VARIAS SEGÚN EL
ESTADO O LA PROVINCIA.
ESTA GARANTÍA ES SÓLO DE APLICACIÓN EN LOS EE.UU. Y CANADÁ.
Instrucción de devolución
Por favor llame al 1-877-777-HELP (1-877-777-4357) para servicio de garantía y apoyo al producto.