Audio Technica T5000AC HANDHELD WIRELESS MIC User Manual
Audio-Technica Corporation HANDHELD WIRELESS MIC Users Manual
Users Manual

1 | P a g e
Artist Elite 4000 & 5000 “a” Series Owner’s Manual copy v2 2-19-10
Cover:
Artist Elite 4000 & 5000 Series
Professional UHF Wireless Systems
Installation and Operation
Inside:
Professional UHF Wireless Systems
Installation and Operation
This device complies with part 15 of the FCC Rules. Operation is subject to the condition that this device
does not cause harmful interference.
This device complies with INDUSTRY CANADA R.S.S. 210, en conformité avec IC: RSS-210/CNR210.
Operation is subject to the following conditions: 1) This device may not cause harmful interference and 2)
this device must accept any interference received, including interference which may cause undesired
operation.
CAUTION! The circuits inside the receiver and transmitter have been precisely adjusted for optimum
performance and compliance with federal regulations. Do not attempt to open the receiver or
transmitter. To do so will void the warranty, and may cause improper operation.
CAUTION
RISK OF ELECTRIC SHOCK
DO NOT OPEN
To prevent electric shock, do not remove the cover. There are no user-serviceable parts inside. Internal
adjustments are for qualified professionals only. Refer all servicing to qualified service personnel.
AVIS
RISQUE DE CHOC ÉLECTRIQUE
NE PAS OUVRIR
Pour prévenir un choc électrique, ne pas ouvrir le couvercle. Il n’y aucune pièces de rechanges à
l’intérieur. Tout ajustement interne doit être fait par une personne qualifié seulement. Référez tout
réparation au personnel qualifié.
WARNING: This apparatus must be grounded.
This product is a safety class 1 product. There must be an uninterruptible safety earth ground from the
main power source to the product’s AC input. Whenever it is likely that the protection has been impaired,
disconnect the power cord until the ground has been restored.
ATTENTION: Cet appareil doit être mise à la terre.
Cet appareil est de classe de sûreté 1. Il doit y avoir un ininterrompable de mise à la terre de sécurité
provenant de la source principale de courant de l’appareil de l’entrée du courant alternatif. Quand la
protection a été affaiblie, débrancher le fil de courant jusqu’à la mise à terre a bien été réétablie.

2 | P a g e
The detachable IEC type power cords supplied are intended for use in regions with mains voltage in the
range of 100–125VAC only. Use only the furnished power cord that includes the appropriate NEMA 5-
15P/ANSI C73.11 type attachment plug.
For use in geographical areas with mains voltage outside of the range 100–125VAC, it is necessary for the
user to utilize a power cord rated and configured for operation in their region. Replace the supplied
power cord with a cord rated for correct voltage operation.
Warning: To prevent fire or shock hazard, do not expose this appliance to rain or moisture.
Attention: Pour prévenir feu ou choc électrique, ne pas exposé l’appareil à la pluie ou à l’humidité.
CAUTION: For continued protection against fire hazard, replace only with same type/rating of fuse.
AVIS: Pour poursuivre la protection contre le feu, replacez la fusible de même type/cote.
WARNING: There are some sharp edges inside. To reduce the risk of injury, do not remove cover.
ATTENTION: Bord tranchant à l’intérieur. Pour réduire le risqué de blessure, ne pas ouvir le couvercle.
Notice to individuals with implanted cardiac pacemakers or AICD devices:
Any source of RF (radio frequency) energy may interfere with normal functioning of the implanted
device. All wireless microphones have low-power transmitters (less than 0.05 watts output) which are
unlikely to cause difficulty, especially if they are at least a few inches away. However, since a “body-pack”
mic transmitter typically is placed against the body, we suggest attaching it at the belt, rather than in a
shirt pocket where it may be immediately adjacent to the medical device. Note also that any medical-
device disruption will cease when the RF transmitting source is turned off. Please contact your physician
or medical-device provider if you have any questions, or experience any problems with the use of this or
any other RF equipment.
Contents
Contents
Introduction ...................................................................................................................................
System Configurations ............................................................................................................
Operating Frequencies ............................................................................................................
Receivers .................................................................................................................................
Multi-channel Systems ............................................................................................................
Transmitters ..............................................................................................................................
Receiver Installation.......................................................................................................................
Location ...................................................................................................................................
Output Connections..................................................................................................................
Antennas .................................................................................................................................
Antenna Power ........................................................................................................................
Front-mount Antennas..............................................................................................................
Headphone Jack ......................................................................................................................
Power Connections ..................................................................................................................
“Link” Connections ..................................................................................................................
Ethernet Connections (AEW-R5200 only) ..............................................................................
Receiver Controls and Functions ................................................................................................

3 | P a g e
AEW-R5200 Front Panel Controls and Functions ..................................................................
AEW-R5200 Rear Panel Controls and Functions ....................................................................
AEW-R4100 Front Panel Controls and Functions ..................................................................
AEW-R4100 Rear Panel Controls and Functions ....................................................................
Common Receiver Controls ........................................................................................................
Power On/Off ........................................................................................................................
Level Alert Light (LED)............................................................................................................
LCD Window ..........................................................................................................................
Mode/Set Button ....................................................................................................................
Up/Down Arrow Buttons ........................................................................................................
Changing Receiver Settings ........................................................................................................
Menu Mode ............................................................................................................................
Edit Mode ..............................................................................................................................
Quitting and Saving Changes ................................................................................................
Receiver Controls and Functions ................................................................................................
IntelliScan™ Channel Assignment System ..............................................................................
Receiver Locks ......................................................................................................................
Antenna Power ......................................................................................................................
Digital Tone Lock™ Squelch ....................................................................................................
Meter Hold.............................................................................................................................
Using “PRESET” Store and Recall ........................................................................................
Receiver Functions (Chart) ..........................................................................................................
Transmitter Controls and Functions............................................................................................
LCD Window ..........................................................................................................................
Power/Mute Button ................................................................................................................
Power On/Off ........................................................................................................................
Mute On/Off ..........................................................................................................................
Power/Mute Locks ................................................................................................................
Audio Input Selector (UniPak™ Transmitter) ............................................................................
Setting Audio Input Level ......................................................................................................
Preset/Default Settings ..........................................................................................................
UniPak Transmitter Functions (Chart) ........................................................................................
Handheld Transmitter Functions (Chart) ....................................................................................
Transmitter Setup..........................................................................................................................
Battery Selection and Installation ..........................................................................................
Battery Condition Indicator ....................................................................................................
UniPak Transmitter Input Connection ....................................................................................
UniPak Transmitter Antenna ..................................................................................................
Handheld Transmitter Antenna ..............................................................................................
UniPak Transmitter Mounting Clip ..........................................................................................
System Operation ........................................................................................................................
Selecting/Setting Receiver Frequency....................................................................................
Setting Receiver Frequency Manually ....................................................................................
Setting Receiver Frequency Using IntelliScan™ ......................................................................
Setting Transmitter Frequency................................................................................................
Setting Transmitter Audio Input Level ....................................................................................
RF Power Adjustment ............................................................................................................
RF Interference ......................................................................................................................

4 | P a g e
Specifications ...............................................................................................................................
Optional System Accessories ......................................................................................................
Artist Elite Wireless Operating Frequencies/Groups ................................................................
Serial Number Log ........................................................................................................................
Warranty Statement ....................................................................................................................
Guide to Illustrations
Guide to Illustrations
Receiver Location (Figure A)..................................................................................................
Connecting Linked Receivers (Figure B)................................................................................
AEW-R5200 Front Panel Controls and Functions (Figure C)................................................
AEW-R5200 Rear Panel Controls and Functions (Figure D) ................................................
AEW-R4100 Front Panel Controls and Functions (Figure E)................................................
AEW-R4100 Rear Panel Controls and Functions (Figure F) ................................................
Receiver LCD Window (Figure G)........................................................................................
Transmitter LCD Window (Figure H)....................................................................................
UniPak™ Transmitter Exterior (Figure J)................................................................................
Handheld Transmitter Exterior (Figure K) ............................................................................
UniPak™ Transmitter Battery Door (Figure L) ......................................................................
Installing Batteries in UniPak™ Transmitter (Figure M) ........................................................
Opening Handheld Transmitter (Figure N) ..........................................................................
Handheld Transmitter Interior Controls (Figure P) ..............................................................
Installing Batteries in Handheld Transmitter (Figure Q) ......................................................
Receiver Frequency/Group Display (Figure R) ....................................................................
Introduction
Thank you for choosing an Audio-Technica professional wireless system. You have joined thousands of
other satisfied customers who have chosen our products because of their quality, performance and
reliability. This Audio-Technica wireless microphone system is the successful result of years of design and
manufacturing experience.
Recent advances in the quality and sophistication of professional live-sound systems have been nothing
short of revolutionary. Tours, clubs, broadcast events, corporate facilities and worship venues sound
better than ever, utilizing better system design and better components in the audio chain.
That’s why Audio-Technica has been partnering with industry professionals on the front line of this
revolution – the top touring companies, award show designers, FOH and monitor engineers, audio
consultants and artists – to learn what it takes to make the best-sounding, most reliable and consistent
microphones for the live-sound industry.
We listened carefully. Then, we applied this knowledge to the creation of the Artist Elite® line of high-
performance microphones and wireless systems. Our ultimate design goal was this: Each model must
extend the performance of a sound system, not limit it.
Artist Elite Receivers
Artist Elite 4000 Series and 5000 Series wireless systems by Audio-Technica share a range of transmitters
in common, both body-pack and handheld types. The difference between the two series is simply in the
choice of receiver:

5 | P a g e
4000 Series AEW-R4100 half-rack single receiver with multi-unit, multi-channel control
linking.
5000 Series AEW-R5200 full-rack independent dual receiver with multi-unit, multi-channel
control linking, plus Ethernet computer-control connection, and software for
graphical user interface.
IntelliScan™ Channel Assignment System
The IntelliScan™ automatic channel assignment system, provided on both the 4000 and 5000 Series
receivers, greatly simplifies the selection of usable frequencies in a multi-channel wireless system. The
receivers are first linked together with included communication cables. The selected “Master” receiver
then “knows” how many total channels it is looking for. It can scan the available frequencies, checking for
local interference sources, selecting a group of channels that will all work together (using a built-in
frequency plan), and automatically setting the other receivers accordingly. Once this procedure is
completed, it’s just a matter of setting the transmitter frequencies to match those of the receivers.
Artist Elite Transmitters
Transmitter models in the Artist Elite Series include:
A UniPak™ body-pack transmitter:
AEW-T1000a UniPak™ body-pack transmitter
Four handheld mic/transmitters with different Artist Elite microphone capsules:
AEW-T3300a Handheld mic/transmitter with AEW-C3300 cardioid condenser capsule
AEW-T4100a Handheld mic/transmitter with AEW-C4100 cardioid dynamic capsule
AEW-T5400a Handheld mic/transmitter with AEW-C5400 cardioid condenser capsule
AEW-T6100a Handheld mic/transmitter with AEW-C6100 hypercardioid dynamic capsule
All components in the 4000/5000 Series may be used together in a variety of unit combinations and
system configurations to create extremely flexible and powerful solutions for a variety of applications.
Introduction
4000 Series System Configurations
System Receiver Transmitter
UniPak™ Handheld
Body-pack Condenser Dynamic
Body-pack System
AEW-4110a AEW-R4100 AEW-T1000a — —
Handheld Systems
AEW-4230a AEW-R4100 — AEW-T3300a —
AEW-4240a AEW-R4100 — — AEW-T4100a
AEW-4250a AEW-R4100 — AEW-T5400a —
AEW-4260a AEW-R4100 — — AEW-T6100a
Two-Transmitter Systems
AEW-4313a AEW-R4100 AEW-T1000a AEW-T3300a —
AEW-4314a AEW-R4100 AEW-T1000a — AEW-T4100a
AEW-4315a AEW-R4100 AEW-T1000a AEW-T5400a —
AEW-4316a AEW-R4100 AEW-T1000a — AEW-T6100a
Note: All model numbers have an additional letter at the end to indicate frequency band.

6 | P a g e
5000 Series System Configurations
System Receiver Transmitter
UniPak™ Handheld
Body-pack Condenser Dynamic
Dual Body-pack System
AEW-5111a AEW-R5200 AEW-T1000a (2) — —
Dual Handheld Systems
AEW-5233a AEW-R5200 — AEW-T3300a (2) —
AEW-5244a AEW-R5200 — — AEW-T4100a (2)
AEW-5255a AEW-R5200 — AEW-T5400a (2) —
AEW-5266a AEW-R5200 — — AEW-T6100a (2)
Dual Systems with Body-pack and Handheld Transmitters
AEW-5313a AEW-R5200 AEW-T1000a AEW-T3300a —
AEW-5314a AEW-R5200 AEW-T1000a — AEW-T4100a
AEW-5315a AEW-R5200 AEW-T1000a AEW-T5400a —
AEW-5316a AEW-R5200 AEW-T1000a — AEW-T6100a
Dual Systems with Pairs of Body-pack and Handheld Transmitters
AEW-5413a AEW-R5200 AEW-T1000a (2) AEW-T3300a (2) —
AEW-5414a AEW-R5200 AEW-T1000a (2) — AEW-T4100a (2)
AEW-5415a AEW-R5200 AEW-T1000a (2) AEW-T5400a (2) —
AEW-5416a AEW-R5200 AEW-T1000a (2) — AEW-T6100a (2)
Note: All model numbers have an additional letter at the end to indicate frequency band.
Operating Frequencies
4000/5000 Series systems and components operate on 996 frequencies in one of two 25 MHz-wide UHF
frequency ranges:
• Band C 541.500–566.375 MHz (TV Channels 25–30)
• Band D 655.500–680.375 MHz (TV Channels 44–49)
For simplicity, model numbers used throughout this manual will reference only the basic model number
without the “C” or “D” band indications.
Artist Elite Series components feature an advanced digital Tone Lock™ squelch system and unique Dual
Compander design (patents pending). As a result, Artist Elite Series transmitters and receivers must be
used together in Tx-Rx pairs and should not be mixed with components from other Audio-Technica
wireless systems, or with those of other manufacturers.
All Artist Elite Series components feature soft-touch controls for quick, easy access to a formidable range
of functions; a backlit LCD information display in each unit provides convenient visual indication of unit
settings and operation. Digital data sent by the transmitters is available for display on the receivers.
Receivers
Both Artist Elite receiver models feature True Diversity reception. Two antennas feed two completely
independent RF sections on the same frequency; automatic logic circuitry continuously compares and

7 | P a g e
selects the superior received signal, providing better sound quality and reducing the possibility of
interference and dropouts.
Both receivers offer a choice of 996 operating frequencies in a 25 MHz-wide UHF frequency range. 25 khz
frequency spacing enables the systems to easily find an open frequency in crowded RF environments.
(For operation of two or more systems at the same time, use the IntelliScan™ function for frequency
selection or, if setting the frequencies manually, use frequencies that are within the same IntelliScan
groups listed on page [--].)
AEW-R4100: A single synthesized UHF receiver in a half-rack 1U case. Its power supply operates on 100–
240V 50/60 Hz AC power worldwide with the appropriate IEC-type power input cordset.
AEW-R5200: Two independent synthesized UHF receiver channels in a full-rack 1U case. Its common
power supply operates on 100–240V 50/60 Hz AC power worldwide with the appropriate IEC-type power
input cordset. In addition, a “pass-through” AC outlet on each receiver with included AC jumper cable
permits daisy-chaining of an entire AEW-R5200 receiver stack, freeing AC outlets for other equipment.
Multi-channel Systems
Artist Elite systems provide extensive monitoring and control facilities. Transmitter data, in addition to
being available at the transmitter, is conveyed in digital form to and displayed on the associated receiver.
Linked systems: Both Artist Elite receivers provide linking jacks and cables. AEW-R4100 and AEW-R5200
receivers may be combined in linked multi-channel systems, if desired.
Ethernet-based monitoring and control (AEW-R5200): Some wireless systems on the market offer
remote control/monitoring of the receiver via a serial interface, but the Audio-Technica AEW-R5200
receiver takes this a significant step further by including control over IP using standard networking
protocol and Ethernet interfacing. This permits receivers in a system to be integrated, monitored and
controlled from a single computer in real-time. And not only can an individual channel of an individual
receiver be examined and its settings modified: if the transmitter on that channel is activated, thanks to
the digital data link, data from the associated transmitter can also be monitored.
Because standard control over IP is used, Ethernet-connected AEW systems can range from a single
laptop controlling a free-standing multi-channel system, to local area network-based systems, to systems
controlled via the Internet, even from great distances. Complete setup and operating information for
computer-connected AEW systems will be found in the separate Computer Interface manual provided
with AEW-R5200 receivers and 5000 Series systems.
Transmitters
The versatile AEW-T1000a UniPak™ body-pack transmitter features a metal case and includes field-
replaceable helical and flexible-wire antennas. It has both low- and high-impedance inputs plus a bias
connection, for use with dynamic and electret condenser microphones, as well as Hi-Z instrument
pickups. In addition to its programmable functions, the transmitter includes a three-position sliding
control cover to limit access, if desired, to only the Power/Mute button, or to no controls at all, as
appropriate for the application and/or user.

8 | P a g e
The handheld microphone/transmitters feature metal-body construction. Four models are available,
incorporating a variety of capsules from the Artist Elite wired-microphone series created for professional
live-sound venues.
All Artist Elite Series transmitters use two 1.5V AA batteries for economical operation and wide
availability. The receiver and both transmitters have “fuel gauge” battery condition indicators with low-
battery warnings.
Please note that in multiple-system applications there must be a transmitter-receiver combination set to
a separate frequency for each input desired (only one transmitter for each receiver). Because the
wireless frequencies are within UHF TV frequency bands, only certain operating frequencies may be
usable in a particular geographic area. Also, only certain of the available operating frequencies may be
used together. Operating frequencies and IntelliScan frequency groupings will be found on pages [--].
(Use of the IntelliScan channel assignment system will determine and set appropriate frequencies
automatically.)
Receiver Installation
Receiver Installation
Location
For best operation the receiver should be at least 3 ft. (1 m) above the ground and at least 3 ft. away
from a wall or metal surface to minimize reflections. The transmitter should be at least 3 ft. from the
receiver, as shown in Figure A. Keep antennas away from noise sources such as digital equipment,
motors, automobiles and neon lights, as well as away from large metal objects.
Output Connections
There are two audio outputs on the back panel: an XLR Mic Output and a 1/4" (6.3 mm) phone jack
Instrument Output. The two isolated audio outputs permit simultaneous feeds to two different inputs.
AEW-R4100: This receiver offers a balanced XLR Mic jack and an unbalanced Instrument 1/4" TS phone
jack. Output levels of both are adjusted by the rear-panel Attenuator (ATTN) switch.
AEW-R5200: Since there are two independent channels of receiver in the AEW-R5200, there are two sets
of output jacks. All audio outputs on the AEW-R5200 are transformer-isolated and balanced. The ground
connections of both outputs on each receiver channel may be interrupted (“lifted”) by use of their
associated Ground Lift switch. This permits feeding mixers with different ground levels without an
additional external splitter. The Instrument output is a balanced 1/4" TRS jack with “audio +” on the Tip,
“audio –” on the Ring and ground (shield) on the Sleeve. The rear-panel Attenuator (ATTN) switch for
each receiver channel adjusts levels of both outputs in its channel. Use the appropriate shielded audio
cable for connections between the receiver and the input(s) of the mixer or other equipment.
Antennas
Attach a pair of UHF antennas to the antenna input jacks. The antennas are normally positioned in the
shape of a “V” (both 45° from vertical) for best reception. In addition to rotating at the connector, the
included half-wave antennas pivot from straight to right-angle.
Antennas can be remotely located from the receiver. However, due to signal loss in cables at UHF
frequencies, use the lowest-loss RF cables practical for any cable runs over 25 feet. RG8- type is a good

9 | P a g e
choice. Use only copper-shielded cable, not CATV-type foil-shielded wire. Audio-Technica offers auxiliary
antennas, and quality RF cables in four lengths.
Antenna Power
The antenna input jacks also can provide +12V DC output on their center pins to power inline RF devices.
A maximum of 20 mA can be drawn from each of the jacks. While an accidental short-circuit will not harm
the internal 12V supply, make certain that an antenna cable shield does not contact the center
conductor. Antenna Power (“ANT.PWR”) is selected (switched on or off) from the LCD menu. (On the
AEW-R5200, Antenna Power will be found in the menu on Channel 1 only.)
Figure A
Receiver Installation (Continued)
Front-mount Antennas
AEW-R4100: Provision has been made to move the antenna jacks from the rear to the front of the
receiver. However, because this involves opening the receiver case and exposing AC power circuitry,
instructions are not included in this manual. A qualified service technician must perform this
modification.
AEW-R5200: BNC-to-BNC connectors and jumper cables are included with the unit to permit mounting
antennas on the front panel.
BNC-BNC through-panel connectors: Remove the nut and lock-washer from each connector.
Install the connectors from the front into the two panel holes. Note that the flat on the threaded
section must be aligned with the flat in each panel hole. Secure each connector from the back
with its lock-washer and nut, tightening the nut firmly.
BNC-BNC cable jumpers: Connect the jumpers to the rear antenna jacks first; then attach them to
the BNC connectors on the front panel. Make certain the bayonet twist-rings are fully latched on
the connectors at both ends.
Headphone Jack
A headphone jack on the front panel provides monitoring of the receiver’s output. The 1/4" TRS jack is
intended for use with stereo headphones. The Phones Level control affects the headphone jack only.
Note: On an operating unit, be careful not to press the Power switch accidentally when inserting a
headphone jack or adjusting the headphone level. In addition to interrupting receiver operation, even a
momentary loss of power to a single unit within a linked multi-channel system will cause the loss of
linking connection to the affected receiver and all those “downstream” from it.
AEW-R5200: Press and release the Phones Level control knob to switch headphone monitoring from
Channel 1 to Channel 2 and back again. Small, lighted indicators just above the knob show which receiver
channel is being monitored.

10 | P a g e
Power Connections
The switching power supply is designed to operate properly from any AC power source 100–240V, 50/60
Hz without user adjustment. Simply connect the receiver to a standard AC power outlet, using only an
IEC-type input cordset approved for the country of use. Power to the unit is controlled by the front-panel
Power switch.
AEW-R5200: An auxiliary AC “jumper” (pass-through) outlet is provided on the rear panel, and a
”jumper” power cordset is included, to simplify power connections by “daisy-chaining” an array of AEW-
R5200’s. Maximum output from the auxiliary outlet is 5 Amperes, which will easily handle a full
complement of AEW-R5200 units.
“Link” Connections
Artist Elite Series multi-channel systems can comprise all AEW-R4100, all AEW-R5200, or combinations of
AEW-R4100 and AEW-R5200 receivers. The exclusive IntelliScan™ channel assignment system provides
easy, automatic scanning of the RF spectrum and assignment of usable, compatible frequencies to all
linked AEW receiver channels.
Both AEW receiver models can be interconnected using Link In/Out jacks and included link cables. In
addition, the AEW-R5200 offers a built-in Ethernet 10 BaseT connection, with interface software provided
on CD-ROM. See the separate AEW Control Interface manual provided with AEW-R5200 receivers and
5000 Series systems.
All AEW receivers in a linked multi-channel system should be interconnected with included link cables.
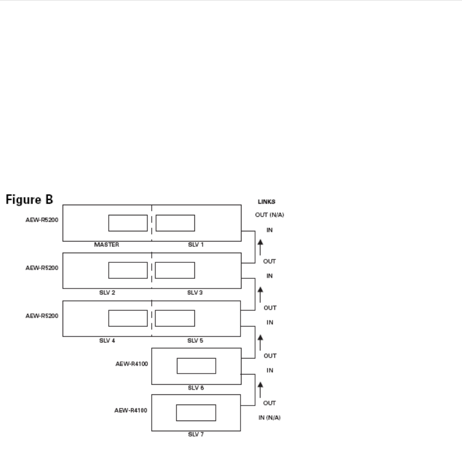
When the system is properly configured, the “slave” units will “link data in” to the “Master” unit. (See
Figure B for an example.)
1. First, decide which receiver will be the “Master” unit. Connect a link cable to the Link In jack only.
(In an AEW-R5200, the Channel 1 unit is the Master and Channel 2 becomes the first “slave.”)
2. Connect the free end of the link cable from the Master unit (in #1 above) to the Link Out jack of
the desired “next” unit.
3. Connect one end of a new link cable to the Link In jack of the unit in #2 above.
4. Connect the free end of the link cable from the unit in #2 above to the Link Out jack of the
desired “next” unit.
5. Continue this process of “daisy-chaining” the system’s receivers together with link cables. The
“last” unit in the system will have a cable connected to its Link Out jack, but no connection to its
Link In jack.
Installing link cables starting with the last slave unit and working toward the Master unit is also
acceptable practice.
The attachment order of link cables establishes the numerical order of the receivers in the multi-channel
system, from the selected Master unit through all the slave units. (In the case of AEW-R5200 receivers, a
unit’s Channel 1 always comes before its Channel 2.) In a multi-channel system that includes both models

11 | P a g e
of receivers, it’s common practice to position all the AEW-R5200 units first in the chain; followed any
AEW-R4100 units.
Note 1: For the receiver linking to work, all receivers in the system must have AC power applied at the
same time, or the Master receiver must be turned on last.
Note 2: In addition, if AC power is interrupted or a link connection is broken at any receiver in a linked
system, even for an instant, receivers from that unit onward are no longer linked to the system. When all
power and linking have been restored, the system must be restarted by turning all the receivers Off, then
On (all turned on simultaneously, or the Master receiver must be turned on last). This will re-initialize the
system and re-establish all the data links.
Figure B
Ethernet connections (AEW-R5200): An RJ-45 jack on the rear panel of each AEW-R5200 provides an
Ethernet 10 BaseT data/control connection from both of its channels to an external computer system.
Data monitored includes actual, real-time “RF” and “AF” levels for receiver channels with direct Ethernet
connections to the associated computer. All other linked receivers in a system supply control-function
access and all their data – except for “RF” and “AF” levels – to the computer connected to the Master
receiver.
Multiple AEW-R5200 receivers in a system can each provide real-time “RF” and “AF” levels to the
associated computer if each AEW-R5200 has its own Ethernet connection, through an Ethernet hub, to
the computer.
Other than being able to “see” the “RF” and “AF” levels, all functions of all receivers in a linked system
can be monitored and controlled from the computer connected to the Master receiver.

12 | P a g e
Details of the computer setup and operation will be found in a separate AEW Control Interface manual
provided with AEW-R5200 receivers and 5000 Series systems.
Receiver Installation (Continued)
Receiver Controls and Functions
Figure C AEW-R5200 Receiver Front Panel
Front Panel Controls and Functions (Fig. C)
1 POWER SWITCH: Press Power switch in and the receiver readouts will light.
2 HEADPHONE OUTPUT: 1/4" (6.3 mm) TRS (“stereo”) phone jack. Plug in either a mono or "stereo"
headphone to monitor receiver signal.
3 HEADPHONE LEVEL CONTROL / CHANNEL SWITCH: Adjusts the level of the headphone jack only; it does
not affect receiver audio output. Press-and-release the knob to switch between Channel 1 and Channel 2.
4 HEADPHONE CHANNEL INDICATOR: Shows which receiver channel is feeding the monitor headphones.
Channel 1 / Channel 2
5 / 9 ALERT INDICATOR: The Alert Indicator lights:
(a) When the receiver is in the Mute mode,
(b) When no RF signal is received from the transmitter,
(c) When only one or two RF signal-strength bars are on,
(d) When the transmitter is in the Mute mode,
(e) When audio modulation level from the transmitter is close to the clipping point (AF +6 bar), or
(f) When the “LOW BAT” warning appears in the LCD (transmitter battery is weak).
Receiver Controls and Functions
6 / 10 LCD WINDOW: Liquid Crystal Display indicates control settings and operational readings. See Figure
G on page [--] for details.
7 / 11 UP/DOWN BUTTONS: Press Up or Down arrow button, in conjunction with the Mode/Set button,
to step through menus, select operating frequency and edit receiver function choices.
8 / 12 MODE/SET BUTTON: Use in conjunction with the Up/Down arrow buttons to step through menus,
choose operating frequency and select receiver function options.
13 FRONT-MOUNT ANTENNAS: Cables and panel connectors are included with the AEW-R5200 to permit
attaching antennas at the front panel.
Figure D AEW-R5200 Receiver Rear Panel
Rear Panel Controls and Functions (Fig. D)

13 | P a g e
14 ANTENNA INPUT JACK: BNC-type antenna connector for Tuner “B.” Attach the antenna directly, or
extend it with a low-loss antenna cable. See the ”Antennas” section on page [--] for more details.
Antenna power at +12 volts is available at both antenna jacks; select it via the LCD menu on Channel 1.
15 / 22 EXTERNAL MUTE: Permits manual and absolute muting of the receiver via a 1/4" TS phone jack
and a user-provided external switch. “Shorting” the jack (closing the switch connection) mutes the
receiver channel. When External Mute has been applied, the only way to un-mute the receiver is to open
the External Mute switch connection.
16 / 23 INSTRUMENT OUTPUT JACK: 1/4" transformer-isolated TRS balanced phone jack output. Tip:
“audio +”; Ring: “audio –”; Sleeve: ground (shield). Can be connected to an aux-level input of a mixer,
guitar amp or tape recorder. Using the associated Ground Lift switch permits feeding equipment with
different ground levels.
17 / 24 AF OUTPUT ATTENUATOR: Three-position switch adjusts audio output level of both audio output
jacks, with attenuation of 0 dB, –6 dB or –12 dB.
18 / 25 MIC OUTPUT JACK: XLRM-type connector. Pin 1: ground (shield); Pin 2: “audio +”; Pin 3: “audio -”.
A standard 2-conductor shielded cable can be used to connect the receiver output to a balanced
microphone-level input on a mixer or integrated amplifier. This output is transformer-isolated from the
1/4" TRS Instrument output jack.
19 / 26 GROUND LIFT SWITCH: Disconnects the ground of both the Mic and Instrument output jacks on
the associated receiver channel. Normally, the switch should be to the right (ground connected). If hum
caused by a ground loop occurs, slide switch to the left (ground lifted).
20 NETWORK INTERFACE CONNECTOR: An Ethernet connection on the AEW-R5200 provides full
communication and monitor/control by an associated computer. See the separate AEW Control Interface
manual for computer setup and operation.
21 ANTENNA INPUT JACK: Connector for Tuner “A.” Attach the antenna directly, or extend it with a low-
loss antenna cable.
27 LINK IN JACK: Connect the provided cable to this jack with the index mark on the plug aligned toward
the screw head to the right of the jack. The receiver with a Link In and no Link Out connection is the
“Master” unit. (With an AEW-R5200 in the Master position, its Channel 1 is the system’s Master and its
Channel 2 is the first “slave.”)
28 LINK OUT JACK: Connect the provided cable to this jack with the index mark on the plug aligned
toward the screw head to the right of the jack. The receiver with a Link Out and no Link In connection is
the last slave in a multi-unit system.

14 | P a g e
29 AUXILIARY AC OUTLET: An auxiliary AC pass-through outlet and included “jumper” power cordset
simplify making power connections to an array of AEW-R5200’s. Maximum output from the auxiliary AC
outlet is 5 Amperes.
30 AC POWER INPUT: IEC-type connector for 100V–240V AC, 50/60 Hz power input. No adjustment for
mains voltage/ frequency is necessary.
31 REAR RACK MOUNT: Mounts are provided at the rear of the side panels to permit attachment to rear
rack rails in racks so equipped. The additional support is especially helpful when equipment is
transported.
Receiver Controls and Functions (Continued)
Figure E AEW-R4100 Receiver Front Panel
31 14 15 16 17 18 19 20 21 22 23 24 25 26 27 28 31
Front Panel Controls and Functions (Fig. E)
32 POWER SWITCH: Press Power switch in and the receiver readouts will light.
33 HEADPHONE OUTPUT: 1/4" (6.3 mm) TRS (“stereo”) phone jack. Plug in either a mono or “stereo”
headphone to monitor receiver signal.
34 HEADPHONE LEVEL CONTROL: Adjusts the level of the headphone jack only; it does not affect receiver
audio output.
35 ALERT INDICATOR: The Alert Indicator lights:
(a) When the receiver is in the Mute mode,
(b) When no RF signal is received from the transmitter,
(c) When only one or two RF signal-strength bars are on,
(d) When the transmitter is in the Mute mode,
(e) When audio modulation level from the transmitter is close to the clipping point (AF +6 bar), or
(f) When the “LOW BAT” warning appears in the LCD (transmitter battery is weak).
36 LCD WINDOW: Liquid Crystal Display indicates control settings and operational readings. See Figure G
on page [--] for details.
37 UP/DOWN BUTTONS: Press Up or Down arrow buttons, in conjunction with the Mode/Set button, to
step through menus, select operating frequency and edit receiver function choices.
38 MODE/SET BUTTON: Use in conjunction with the Up/Down arrow buttons to step through menus,
choose operating frequency and select receiver function options.

15 | P a g e
39 MOUNTING ADAPTERS: For mounting the receiver in any standard 19" rack. Attach to the receiver
with the screws supplied. (Use an optional AT8628a joining-plate kit to mount two AEW-R4100 receivers
side by side.)
Receiver Controls and Functions (Continued)
Figure F AEW-R4100 Receiver Rear Panel
42 43 44 45 46 47 48
Rear Panel Controls and Functions (Fig. F)
40 ANTENNA INPUT JACK: BNC-type antenna connector for Tuner “B.” Attach the antenna directly, or
extend it with a low-loss antenna cable. See the “Antennas” section on page [--] for more details.
41 INSTRUMENT OUTPUT JACK: 1/4" phone jack. Can be connected to an aux-level input of a mixer,
guitar amp or tape recorder. On the AEW-R4100, this is an unbalanced TS phone jack.
42 AF OUTPUT ATTENUATOR: Three-position switch adjusts audio output level of both audio output jacks
with attenuation of 0 dB, –6 dB or –12 dB.
43 MIC OUTPUT JACK: XLRM-type connector. A standard 2-conductor shielded cable can be used to
connect the receiver output to a balanced microphone-level input on a mixer or integrated amplifier.
44 GROUND LIFT SWITCH: Disconnects the ground pin of the balanced output jack (43) from ground.
Normally, the switch should be to the right (ground connected). If hum caused by a ground loop occurs,
slide switch to the left (ground lifted).
45 LINK IN JACK: Connect provided cable to this jack with the index mark on the plug aligned toward the
screw head above the jack. The receiver with a Link In and no Link Out connection is the “Master” unit.
46 LINK OUT JACK: Connect provided cable to this jack with the index mark on the plug aligned toward
the screw head above the jack. The receiver with a Link Out and no Link In connection is the last unit in a
multi-unit system.
47 ANTENNA INPUT JACK: Connector for Tuner “A.” Attach the antenna directly, or extend it with a low-
loss antenna cable.
48 AC POWER INPUT: IEC-type connector for 100V–240V AC, 50/60 Hz power input. No adjustment for
mains voltage/ frequency is necessary.
50 54 55 56
Figure G Receiver LCD Window

16 | P a g e
49 RF SIGNAL LEVEL INDICATOR: Shows the strength of the RF signal received from the transmitter. Also
indicates which Tuner (A or B) has the better reception and is in operation. When the METER HOLD
function is on, the lowest-level RF signal received from the transmitter is indicated by a flashing bar.
50 ALPHANUMERIC DISPLAY: Shows Receiver Name (57), Transmitter Name (57), or Link Address
(MASTER, or SLV and the slave number). The factory setting displays “DEF” in Receiver Name mode (“RX
NAME”). Once the settings have been changed, the unit will display the last setting and mode selected.
Also flashes the “LOW.BAT” warning when the associated transmitter’s batteries are weak.
51 TRANSMITTER BATTERY INDICATOR: Displays a maximum of four bar segments, with four bars
indicating full power.
52 FREQUENCY DISPLAY: Indicates the current frequency setting in MHz.
53 “EDIT”: Appears and flashes when the receiver is in edit mode.
54 TRANSMITTER RF POWER DISPLAY: Indicates either “TX LO” or “TX HI”.
55 “TX LOCK”: Appears when the transmitter is in one of its three lock settings (ALL.LOC, MUT.LOC or
PWR.LOC).
56 “RX LOCK”: Appears when the receiver is in one of its three lock settings (ALL.LOC, PC.LOC or RX.LOC).
57 TX/RX NAME: Indicates whether the transmitter name or the receiver name is displaying in the top
line of the LCD display.
58 “MUTE”: Appears when the receiver or transmitter is muted, when the receiver is not receiving an
audio signal, or when the receiver is externally muted by use of the EXTERNAL MUTE jack.
59 AF LEVEL INDICATOR: Shows the audio modulation level of the received signal. When the METER
HOLD function is on, the bar corresponding to the highest level reached will stay lit.
Receiver Controls and Functions (Continued)
Receiver Controls
Power On/Off
Press the power switch to turn the receiver on. After a short power-up sequence, the display shows the
operating frequency and the alert light is illuminated (if no active transmitters are present on this
frequency). The receiver may also display a system position (i.e., “MASTER”, “SLV-#”) or an assigned

17 | P a g e
transmitter or receiver name (if this feature has been set up—the display recalls the setting from the last
time power was applied). Refer to page [--] on setting up receiver names or page [--] on setting up
transmitter names.
Level
This control is used to set a comfortable listening level for the headphone jack. Turn the control clockwise
to increase the level.
LCD Window
The LCD (Liquid Crystal Display) window provides visual indication of key operating and configuration
parameters. It is also used in conjunction with the Mode/Set and Up/Down arrow buttons to change
user-configurable functions.
Alert Light (LED)
The alert light illuminates to indicate to the user that something needs attention; for example, the
transmitter batteries are low, or the transmitter is muted or turned off. Refer to page [--] for a complete
description of alert light indications.
Mode/Set Button
The Mode/Set button has different functions depending on the status of the receiver. Two distinct
operations are associated with this button:
Touch: A momentary press of the Mode/Set button. It is used to enter Menu mode, to enter Edit
mode, or to Escape without making any changes to current settings.
Hold: A press and hold (about two seconds) of the Mode/Set button. It is used to accept a new
setting when the receiver is in Edit mode or to save the current settings to one of the five user-
defined name presets or the internal memory location (“NAME?”).
Up/Down Arrow Buttons
The Up/Down arrow buttons are used in conjunction with the Mode/Set button to scroll through the
function menu in Menu mode or through the available choices for a given function in Edit mode.
When the receiver is in normal operating mode, the Up/Down arrow buttons scroll through Receiver
Address (“MASTER” or “SLV-#”), Receiver Preset Name, or Transmitter Preset Name.
How to change receiver settings
Enter Menu mode
With the receiver in the normal operating mode, touch the Mode/Set button. The top line of the receiver
display shows “FRQ” preceded by one, two, or three asterisks.
Touch the Up/Down arrow buttons to scroll through the available functions that may be changed. (See
the chart on page [--] for a list of functions and display indication.) Note that the display’s lower line
indicates the current setting for a given function.
Enter Edit mode
When the function to be edited is displayed, touch the Mode/Set button. The small word “EDIT” flashes
in the bottom of the display, indicating Edit mode.

18 | P a g e
Touch the Up/Down arrow buttons to scroll through the available choices for the function, stopping on
the desired choice.
Hold the Mode/Set button to accept the new choice. “STORED” appears in the display when the choice is
accepted. The receiver then reverts to Menu mode.
Continue this process until all desired function-setting changes are complete.
Note: To escape from Edit mode without making any changes, touch the Mode/Set button. “ESCAPE”
appears briefly in the display, and the receiver reverts to Menu mode.
Quitting and saving changes
The receiver has several methods of saving function settings. Each receiver has five loadable user presets
that may be given individual names (up to six characters), along with a special, non-loadable memory
location called “NAME?” that can store the most recent settings until they are changed.
To save a set of receiver function settings, use the Up/Down arrow buttons to scroll until the display
shows “QUIT.” The procedure for saving the current settings depends upon the desired location:
Saving to the “NAME?” location
If the current receiver settings do not need to be identified with a name, the special “NAME?” location
may be used to store them. As with the “last number redial” function on a telephone, these settings
remain stored in the receiver even if power is turned off. They disappear only if one of the settings is
modified.
To store settings in the “NAME?” location, touch the Mode/Set button. The display shows “NAME?” for
the receiver name.
Saving updated settings to the currently loaded user
“PRESET#” location
To update the receiver settings in the currently loaded user preset that is already named, hold the
Mode/Set button. The display shows “STORE XXXXXX” (where XXXXXX indicates the preset’s name).
Hold the Mode/Set button a second time. The first character of the name flashes.
Hold the Mode/Set button a third time. The display briefly shows “STORED”, and the receiver reverts to
normal operation.
Receiver Controls and Functions (Continued)
Saving to a different user PRESET# location
To store settings to a different user preset location, hold the Mode/Set button. The receiver shows
“STORE XXXXXX” (where XXXXXX indicates the loaded preset’s name).
Touch the Up/Down buttons to scroll to another preset location (the display shows the user-defined
name for each location, or “PRESET#” if no name has been assigned).
At the desired preset location, hold the Mode/Set button. The first character of the name becomes the
cursor and flashes.

19 | P a g e
Touch the Up/Down arrow buttons to scroll through the characters until the desired character is
displayed. Touch the Mode/Set button to accept the character and advance to the next character. To
advance the cursor without changing the character, touch the Mode/Set button.
After setting the last character, hold the Mode/Set button to store the name and revert to normal
operation. Holding the Mode/Set button at any time during the naming process while the cursor is
flashing will store the setting and return the receiver to normal operation.
Note: To escape the naming process, touch the Mode/Set button repeatedly until the last character is
flashing, and then touch the Mode/Set button again to escape. At the flashing “ESCAPE” display, touch
the Mode/Set button to go back to the beginning of the name, or hold the Mode/Set button to return to
“QUIT.”
Note: While the receiver is in Edit mode, no action (no buttons pressed) for approximately 30 seconds
causes the receiver to revert to Menu mode.
While the receiver is in Menu mode, no action for approximately 30 seconds causes the receiver to revert
to normal operating mode. Any setting changes stored will remain in the “NAME?” memory location, and
the receiver will display “NAME?” because the settings were not saved to a user preset. This will occur
even if a user preset was previously loaded.
Receiver Functions
IntelliScan™ Channel Assignment System
The IntelliScan™ channel assignment system, provided on both the AEW-R4100 and AEW-R5200
receivers, eliminates the trouble and frustration normally encountered while attempting to find and
select usable, compatible frequencies in a multichannel system. The Artist Elite receivers are simply
connected together with included communication link cables. A “Master” receiver then “knows” how
many total channels it is looking for. It can scan the available frequencies, checking for local interference
sources, selecting a group of channels that will all work together (using a built-in frequency plan), and
automatically setting the other linked AEW receivers accordingly. Once this procedure is completed, the
transmitter frequencies must be set to match the receiver frequencies.
Receiver Locks
Programmable locks restrict the ability to change receiver settings, reducing the possibility of
unauthorized access or unintended changes during performances.
Setting Description
NO.LOC Receiver functions and frequency settings can be edited from the receiver’s front panel
or from an associated computer via an Ethernet connection to a linked AEW-R5200.
ALL.LOC Receiver functions and frequency settings cannot be edited from the front panel or from
a computer via an Ethernet connection to a linked AEW-R5200. ALL.LOC must be changed
via the receiver’s Menu before other settings can be changed.

20 | P a g e
PC.LOC Receiver functions and frequency settings can be edited from the receiver’s front panel,
but they cannot be edited from an associated computer (via an Ethernet connection to a
linked AEW-R5200).
RX.LOC Receiver functions and frequency settings can be edited from an associated computer
(via an Ethernet connection to a linked AEW-R5200), but they cannot be edited from the
receiver’s front panel.
When any lock condition is applied to a receiver (ALL., RX. or PC.), the LCD window displays a small “RX
LOCK” just to the right of the frequency. If an action is attempted that currently is locked out, the LCD will
briefly display “LOCKED”, then return to its previously displayed contents.
Note: Locks remain in place even when receiver power is turned off. However, locks may be removed by
using the Menu.
Antenna Power
This function turns on the 12V AC antenna power for use with powered antennas or accessories.
Digital Tone Lock™ Squelch
The Artist Elite Series employs a unique digital Tone Lock squelch system that provides enhanced
rejection of interference. In addition to providing highly effective control of unwanted noise, the Tone
Lock signal from the transmitter also conveys data with the transmitter’s name (Tx Name), battery
condition, mute status and lock status back to the receiver for display. In addition to displaying in the
receiver’s LCD window, the data are also displayed on an Ethernet-connected computer.
The squelch level is adjustable in fifteen 2 dB steps, providing a 30 dB range. Increasing the squelch level
– also called “tightening the squelch” – can cause a reduction in usable range of the wireless transmitter,
so use the lowest value that reliably mutes the unwanted RF signals. (If interference is a problem, first
consider trying a different frequency, either manually or by scanning.)
Receiver Controls and Functions (Continued)
Meter Hold
When activated (“METER HOLD”), this function permits the bar meters in the LCD window to capture and
display the highest-level “AF” audio modulation (a solid bar) and the lowest-level “RF” signal (a flashing
bar) received from the transmitter. This is particularly useful when setting up the system initially,
performing a sound-check, or diagnosing operating problems. The default setting is Off (“METER
NORMAL”).
When the Meter Hold is On, it is possible to reset it – to obtain a new set of RF and AF readings – without
turning it off-and-on using the Menu/Edit functions. Simply press the transmitter’s Power/Mute button
once (to mute the transmitter) and wait until the receiver’s Alert light comes on, indicating the Mute
condition. Then press the transmitter’s Power/Mute button once again, to un-mute the transmitter. After
the Alert light goes out, a new set of min/max RF/AF readings will be indicated on the bar meters. (Note
that, depending upon the digital updating-and-confirming sequence of the Mute condition data from the
transmitter, it can take from a few to many seconds for the Alert light condition to change. The Meter
Hold readings are not reset until the Alert light has turned on, then off.)
Note: Any or all of these receiver functions may be stored to, or loaded from, one of the five user presets.

21 | P a g e
Using "PRESET" Store and Recall
There are two aspects to Preset operation: Storing a particular collection of settings for future use
(“STORE”), and recalling a stored collection of settings (“LOAD”). All Artist Elite receivers and transmitters
permit the storing and recalling of up to five user-defined Preset combinations—with customized names,
if desired—plus the recalling of the factory-defined Default (“DEF”) settings.
While the standard Preset names (“PRSET1” – “PRSET5”) can be used, customized receiver and
transmitter identification can simplify system operation, especially in larger systems. For example, a
guitar channel’s Rx Name could be “GUITAR”, while the transmitters for the performer’s two different
guitars could be named “GTR-1” and “GTR-2”.
To store Preset configurations:
1. Touch the Mode/Set button once to move to Menu mode.
2. Touch the Up arrow twice to move to “PRESET” in the LCD window. (The second line of LCD will show
currently loaded presets.)
3. Touch the Mode/Set button once. “LOAD” (or “STORE”) appears in the LCD.
4. Touch the Up or Down arrow once, if needed, to change the selection to “STORE.”
5. Hold the Mode/Set button until “PRSET1” (or the name of the currently loaded Preset) appears on the
second line of the LCD.
6. If desired, touch the Up or Down arrow to cycle through the available choices: “PRSET1” through
“PRSET5” (or their previously changed names).
7. Accept or enter a name for the Preset:
a. To accept the standard name “PRSET1“ – “PRSET5” (or previously stored name) for a new
Preset configuration and to update (overwrite) any previously stored configuration choices:
a1. At the desired choice, hold Mode/Set until the first character blinks, giving an
opportunity to change the name.
a2. To accept the standard (or existing) name, hold the Mode/Set button again until
“STORED” appears in the window. This stores the standard or existing Preset name with
the associated function choices and returns the unit to normal operation. The name of
the stored preset will appear in the top line of the display.
b. To enter a custom name for a Preset:
b1. At the desired choice, hold the Mode/Set button. The first character blinks.
b2. Using the Up or Down arrow, move through the available characters (see box below)
until the desired character is reached. Touch an arrow button for single steps, or hold it
down to scroll through the characters at increasing speed.
b3. Touch the Mode/Set button once to accept the first character and move to the
second character, which now is blinking. Use an Up/Down arrow button to find the

22 | P a g e
desired second character; touch the Mode/Set button once to accept it and move to the
third position. Repeat this selection process until the character for the sixth position has
been selected.
b4. Once the sixth character has been selected as desired, hold the Mode/Set button
until “STORED” appears in the window. This stores the custom Name with the associated
function choices and returns the unit to normal operation. The display shows the custom
name in the top line.
Note: If a correction or change is desired while entering characters, simply touch the Mode/Set button
once when the sixth (last) character has been reached. The window will flash “ESCAPE.” Touch the
Mode/Set button once more to start the name-entry process over at the first character. (To leave any
characters as they are, simply touch Mode/Set once to skip over them.)
Available receiver Name character choices:
A …through… Z,
__ (underscore) … (space) …
[ (left bracket) … ] (right bracket),
* … + … -- … / ,
0 …through… 9,
| … < … > … ?
Receiver Controls and Functions (Continued)
To load (recall) a Preset:
1. Touch the Mode/Set button once to move to Menu mode.
2. Touch the Up arrow twice. LCD top line shows “PRESET.”
3. Touch the Mode/Set button once. “LOAD” (or “STORE”) appears in the LCD.
4. If needed, touch the Up arrow once to change the selection to “LOAD.”
5. Hold the Mode/Set button. The name of the currently loaded Preset appears on the second line of the
LCD.
6. Touch the Up or Down arrow to cycle through the available choices, stopping on the desired choice.
7. Hold the Mode/Set button until “LOADED” appears briefly in the LCD. The receiver reverts to normal
operation with the selected preset’s functions loaded. The top display line indicates the loaded preset
and the bottom line the current frequency.

23 | P a g e
To revert to factory-default values:
1. Touch the Mode/Set button once to move to Menu mode.
2. Touch the Up arrow twice. “PRESET” shows in the LCD window.
3. Touch the Mode/Set button once. “LOAD” (or “STORE”) appears in the LCD.
4. Touch the Up arrow once, if needed, to change the selection to “LOAD.”
5. Hold the Mode/Set button. The name of the currently loaded Preset appears on the second line of the
LCD.
6. Touch the Up/Down arrow buttons to cycle through the available choices until “DEF” appears in the
display.
7. Hold the Mode/Set button to load the factory default settings. “LOADED” appears briefly in the LCD.
The receiver then reverts to normal operation at factory-default values. “DEF” appears in the upper line
of the LCD.
Note: Loading the default setting will also revert the receiver frequency to the default value of 541.500
(Band C) or 655.500 (Band D).
Receiver Functions
Function Menu Default Value Choices (Edit) Wrap-around*
Frequency Lowest in band† 996 discrete frequencies Yes
Scan**/*** No value Scan start --
Lock NO.LOC NO.LOC ALL.LOC PC.LOC RX.LOC Yes
Antenna Power** OFF OFF ON Yes
Squelch - (one bar) 15 steps, 2 dB each No
Meter NORMAL NORMAL HOLD Yes
Preset PRESET Press once, then select LOAD or STORE Yes
LOAD: DEF DEF (default), PRSET1 through PRSET5 Yes
STORE: PRSET1 PRSET1 through PRSET5 Yes
Quit (exit Menu) QUIT Press Mode/Set once to exit --
* Continue in the same Up/Down direction and choices “wrap around” to the other end of the range.
** AEW-R5200: Scan and Antenna Power selections in LCD menu on Channel 1 only.
*** Scan selection is not available when the receiver has been linked as a slave unit.
† Band C: 541.500 MHz; Band D: 655.500 MHz
Table 1. Receiver Functions
Transmitter Controls and Functions
Refer to Figures H through Q for an overview of transmitter functions and controls.
Touch: A momentary press of the Mode/Set button. It is used to enter Menu mode, to enter Edit mode,
or to Escape without making any changes to current settings.

24 | P a g e
Hold: A press and hold (about two seconds) of the Mode/Set button. It is used to accept a new setting
when the receiver is in Edit mode or to save the current settings to one of the five user-defined name
presets or the internal memory location (“NAME?”).
LCD Window
The backlit Liquid Crystal Display presents a great deal of setup and operating information clearly and
conveniently (Figure H). The LCD in the transmitters is designed for greatest contrast and best viewing
with the window rotated somewhat away from the viewer (about 30 degrees), not straight-on, for a
more convenient holding/viewing position.
Power/Mute Button
The transmitters have a combination Power and Mute switch (Figure J/K). When used in combination
with the programmed choices explained below, the various functions available to the transmitter user
may be tailored to fit personal preferences or particular situations.
Power On/Off
To turn the transmitter on, hold the Power/Mute button until the dual-color Power/Mute LED lights
green and the backlit LCD window comes on (about 1–2 seconds). The operating frequency shows in the
window after the power-up sequence.
To turn the transmitter off, hold the Power/Mute button again, until the dual-color Power/Mute LED and
the LCD window are extinguished (about 1–2 seconds). The LCD window shows “PWR.OFF” before
shutdown.
Mute On/Off
When the transmitter is muted, it produces RF with no audio signal modulation. When the transmitter is
un-muted, it produces both RF and audio.
To mute the transmitter (cut off the audio, but continue the RF output), touch the Power/Mute button
once. The Power/Mute LED turns red, and a small “MUTE” appears in the LCD window, just below the
frequency (Figure H-2).
To un-mute the transmitter (restore the audio), touch the Power/Mute button once again. The
Power/Mute LED turns green, and the “MUTE” disappears from the LCD window.
[Change to copy in Figure H: Add an “a” after the product number (AEW-T1000a) in figure H]

25 | P a g e
[Changes to Figure J: Add an “a” after product number (AEW-T1000a – on transmitter) in figure j;
illustrate new battery door; at top, callout should read Power/Mute LED not Power-on LED.]
smitter Controls and
[Change to Figure K: At bottom on figure K, callout should read Power/Mute LED not Power-on LED]
Transmitter Controls and Functions (Continued)
Power/Mute Locks
Programmable Power/Mute Locks limit the functioning of the Power/Mute button as desired for
particular users and/or applications. Power can be locked On; Mute can be locked Off. Selection of the
desired locks, if any, is made through the function menu:

26 | P a g e
Setting Description
NO.LOC The normal Power and Mute functions are fully operational.
ALL.LOC Power is locked On and Mute is locked Off when “ALL.LOC” is applied. When in
the ALL.LOC mode, the transmitter may be turned off by (1) re-accessing the .LOC
Menu and changing the setting, (2) pressing and holding the Up arrow button
and the Set button at the same time, until the power goes off, or (3) removing
and re-installing the batteries. When the transmitter is turned on again, it will
power up in the NO.LOC mode. [Note; item 2 is not working in our sample.]
MUT.LOC In this mode, the audio cannot be muted (Mute function is locked Off). The
Power functioning is unaffected.
“Mute” Note: If ALL.LOC or MUT.LOC is applied while the transmitter is muted,
pressing the Power/Mute button once will return the transmitter to un-muted
operation; thereafter the Mute function is disabled (Mute Off) until the .LOC
setting is changed again.
PWR.LOC Power is locked On when “PWR.LOC” is applied. The Mute functioning is
unaffected. When in the PWR.LOC mode, the transmitter may be turned off by:
(1) Re-accessing the .LOC Menu and changing the setting, (2) Pressing and
holding the Up arrow button and the Set button at the same time, until the
power goes off, or (3) Removing and re-installing the batteries. When the
transmitter is turned on again, it will power up in the NO.LOC mode. [Note: item
2 is not working in our sample.]
Note: Only the ALL.LOC or PWR.LOC Power function will change when batteries
are removed; NO.LOC and MUT.LOC settings remain stored in memory.
If an action is attempted that currently is locked out, the transmitter LCD will briefly display “LOCKED”,
then return to its previously displayed contents.
Whenever any lock condition is applied to a transmitter, its associated receiver will display a small “TX
LOCK” in the LCD window, just to the right of the frequency.
Audio Input Selector
The UniPak™ body-pack transmitter provides input connections for both low-impedance (Lo-Z)
microphones and high-impedance (Hi-Z) instruments. A wide range of Audio-Technica Wireless
Essentials® microphones and cables is available pre-terminated with the appropriate professional
latching connector. (See page [--].)
Selection of the desired input – microphone or instrument – is made through the function menu.
Depending upon the input selected, a small “MIC” or “INST” will continue to show in the LCD window,
just below the frequency. (In the handheld transmitters, “MIC” will always show in the LCD window.)
Setting Audio Input Level

27 | P a g e
AEW-T1000a UniPak: A 10-position audio input gain setting, selected through the function menu, serves
to match the audio input level to the transmitter for best modulation with minimum distortion. Available
choices are +12 dB to –6 dB in 2 dB steps. The default value is +6 dB.
AEW-T4100a and AEW-T6100a Dynamic Handhelds:
A 4-position audio input gain setting, selected through the function menu, serves to match the audio
input level to the transmitter for best modulation with minimum distortion. Available choices are +12 dB
to –6 dB in 6 dB steps. The default value is +6 dB.
AEW-T3300a and AEW-T5400a Condenser Handhelds:
A 3-position audio input gain setting, selected through the function menu, serves to match the audio
input level to the transmitter for best modulation with minimum distortion. Available choices are +12 dB,
+6 dB and 0 dB. The default value is +6 dB. In addition, a mechanical pad switch on the condenser capsule
(inside the screw-on wire mesh grille) can provide another 6 dB of attenuation. For best performance,
adjust the input level using the function menu choices, keeping the capsule’s mechanical switch at 0 dB. If
more audio attenuation is needed than the menu provides, then set the capsule’s pad switch to –6 dB.
For all transmitters: Select the highest audio level setting that does not result in over-modulation with
the highest audio/ instrument input levels (an AF indication on the receiver no higher than “+3”); watch
the receiver’s “AF” meter “+6” indication and the Alert light to make certain they are not triggered often
by the highest audio levels.
The transmitter’s dual-color Power/Mute LED, which is on during normal operation, will blink off if the
peak audio input reaches overload level.
Preset/Default Settings
A “PRESET” selection in the menu permits the storing of up to five different user-definable
configurations. Customized names, using letters, numbers and symbols, can also be created and stored
for Presets 1–5. In addition, a Default (“DEF”) choice permits returning all transmitter functions to their
factory-default settings.
To store Preset configurations:
1. Touch the Set button once to move to Menu mode.
2. Touch the Up arrow twice to move to “PRESET” in the LCD window.
3. Touch the Set button once and “LOAD” (or “STORE”) will appear in the LCD.
4. Touch the Up or Down arrow once, if needed, to change the selection to “STORE”.
5. Hold the Set button until “STORE” changes to “PRSET1” (or the name of the currently loaded Preset).
6. If desired, touch the Up or Down arrow to cycle through the available choices: “PRSET1” through
“PRSET5” (or their previously changed names).
7. Accept or enter a name for the Preset:
a. To accept the standard name (PRSET1 – PRSET5, or the previously stored name) for a new
Preset configuration and to update (overwrite) any previously stored configuration choices:
a1. At the desired Preset, hold the Set button until the first character blinks.

28 | P a g e
a2. Hold the Set button again until “STORED” appears in the window. This stores the
standard Preset name with the associated function choices and returns the transmitter to
normal operation.
b.To enter a custom name for a Preset:
b1. At the desired Preset, hold the Set button until the first character blinks.
b2. Using the Up or Down arrow, move through the available characters (see box below)
until the desired character is reached. Touch an arrow button for single steps, or hold it
down to scroll through the characters at increasing speed.
b3. Touch the Set button once to accept the first character and move to the second
character, which now is blinking. Use an Up/Down arrow to find the desired second
character; touch the Set button once to accept it and move to the third position. Repeat
this selection process until the character for the sixth position has been selected. (It is
not necessary to change or step through all six characters before storing the result. At
any point in the process, simply hold the Set button until “STORED” appears in the
window.)
b4. Once the sixth character has been selected as desired, hold the Set button until
“STORED” appears in the window. This stores the custom Name with the associated
function choices and returns the transmitter to normal operation.
Note: If a correction or change is desired while entering characters, simply touch the Set button once
when the sixth (last) character has been reached. The window will flash “ESCAPE.” Touching the Set
button once more will start the name-entry process over at the first character. (To leave any characters as
they are, simply touch the Set 20 button once to skip over them.)
Available transmitter Name character choices (listed in the Up-arrow direction):
A …through… Z,
__ (underscore) … (space),
[ (left bracket) … ] (right bracket),
* … + … -- … /,
0 …through… 9,
| … < … > … ?
To load (recall) a Preset:
1. Touch the Set button once to move to Menu mode. (The window changes to frequency, if Name had
been displayed.)
2. Touch the Up arrow twice to move to “PRESET” in the LCD window.
3. Touch the Set button once. “LOAD” (or “STORE”) appears in the LCD.

29 | P a g e
4. If needed, touch the Up or Down arrow once, to change the selection to “LOAD.”
5. Hold the Set button until “LOAD xxxxxx” (the current Preset) appears in the LCD.
6. Touch the Up or Down arrow to change the selection from “xxxxxx” to the desired Preset.
7. Hold the Set button until “LOADED” appears briefly in the LCD. The transmitter reverts to normal
operation with the selected preset’s settings loaded. To toggle between transmitter name and frequency,
touch an Up or Down arrow button.
To revert to factory-default values:
1. Touch the Set button once to move to Menu mode.
2. Touch the Up arrow twice. “PRESET” shows in the LCD window.
3. Touch the Set button once. “LOAD” (or “STORE”) appears in the LCD.
4. Touch the Up or Down arrow once, if needed, to change the selection to “LOAD.”
5. Hold the Set button. The current Preset appears in the LCD.
6. Touch the Up or Down arrow buttons to cycle through the available choices until “DEF” appears in the
display.
7. Hold the Set button to load the factory default settings. “LOADED” appears briefly in the LCD. The
transmitter reverts to normal operation at the default settings.
Note: Loading the default settings resets the transmitter frequency to the default value of 541.500 (Band
C) or 655.500 (Band D).
UniPak Transmitter Functions
Function Menu Default Value Choices (Edit) Wrap-around*
Frequency Lowest in band† 996 discrete frequencies Yes
RF Power RF LOW RF LOW RF HI Yes
Audio Input Level +6 dB –6 dB to +12 dB in 2 dB steps No
Power/Mute Locks NO.LOC NO.LOC ALL.LOC MUT.LOC PWR.LOC Yes
Input Select MIC MIC INSTR Yes
Preset Configurations PRESET LOAD STORE Yes
LOAD: DEF DEF (default), PRSET1 through PRSET5 Yes
STORE: PRSET1 PRSET1 through PRSET5 Yes
Quit (exit Menu) QUIT Press Set once to exit --
* Continue in the same Up/Down direction and choices “wrap around” to the other end of the range.
† Band C: 541.500; Band D: 655.500 MHz
Table 2. UniPak Transmitter Functions
Transmitter Controls and Functions (Continued)
Handheld Transmitter Functions
Function Menu Default Value Choices (Edit) Wrap-around*
Frequency Lowest in band† 996 discrete frequencies Yes
RF Power RF LOW RF LOW RF HI Yes
Audio Input Level
Dynamic +6 dB –6 dB 0 dB +6 dB +12dB No
Condenser** +6 dB 0 dB +6 dB +12dB No
Power/Mute Locks NO.LOC NO.LOC ALL.LOC MUT.LOC PWR.LOC Yes
Preset Configurations PRESET LOAD STORE Yes

30 | P a g e
LOAD: DEF DEF (default), PRSET1 through PRSET5 Yes
STORE: PRSET1 PRSET1 through PRSET5 Yes
Quit (exit Menu) QUIT Press Set once to exit --
* Continue in the same Up/Down direction and choices “wrap around” to the other end of the range.
** Additional 6 dB pad switch on capsule.
† Band C: 541.500; Band D: 655.500 MHz
Table 3. Handheld Transmitter Functions
Transmitter Setup
Battery Selection and Installation
Each transmitter uses two 1.5V AA batteries, not included. Alkaline type is recommended. Always replace
both batteries. Make certain the transmitter power is Off before replacing batteries.
UniPak™ Transmitter Battery Installation
1.Open the battery compartment door as follows: Slide door lock down to the unlocked position. Pinch the
release arrows together to open the compartment. (Fig. L)
2. Observe correct polarity as marked on the metal contacts on the door and carefully insert two fresh
1.5V AA alkaline batteries (Figure M).
3. Close the door, making certain the latch clicks securely in place.
4. Slide the door lock up to the locked position.
Figure L [NOTE: This is new – from 3000 Series owner’s manual]
Figure M [NOTE: This is new – from 3000 Series owner’s manual]

31 | P a g e
NOTE: Change Figure P: callout should read Power/Mute LED not Power-on LED
Handheld Transmitter Battery Installation
1. While holding the lower body cover (near the LCD window), grasp the upper part of the transmitter
body just below the grille and unscrew it at least four complete turns (Figure N); then slide the lower
body cover down until it stops (Figure P). Once the cover has been lowered, turn the transmitter over to
reveal the battery compartment on the side opposite the LCD window.
2. Observe correct polarity as marked inside the battery compartment and carefully insert two fresh 1.5V
AA alkaline batteries (Figure Q). Insert the first battery and slide it down. Then insert the second battery,
bottom first, into the space remaining. Make certain the batteries are fully seated in the battery
compartment.

32 | P a g e
3. Slide the lower body cover back up the body, then screw the housing together. Do not overtighten.
Note: Remove batteries from the handheld transmitter starting at the bottom (– end) of the top battery
(Figure Q). The top (+ end) of the top battery is captured in a recess and will not come straight out.
Battery Condition Indicator
After the batteries are installed, turn the power on by pressing and holding the Power/Mute button. The
small dual-color Power/Mute LED (see Figure J/K on page [--].) should light and the LCD window should
come on. If this does not happen, the batteries are installed incorrectly or they are dead. The
transmitter’s “fuel gauge” battery indicator displays a maximum of four bar segments. When the LCD
flashes “LOW.BAT”, the batteries should be replaced immediately to ensure continued operation. (The
receiver also displays the transmitter’s battery condition in the LCD window with bar segments; the Alert
indicator and a flashing “LOW.BAT” come on to warn of a low-battery condition.)
Transmitter Setup (Continued)
UniPak Transmitter Input Connection
Connect an audio input device (microphone or guitar cable) to the audio input jack on the transmitter. A
number of Audio-Technica professional microphones and cables are available separately, pre-terminated
with a UniPak input connector. The cable connector latches automatically when inserted into the
transmitter jack. To unlatch and remove the connector, simply pull up on the connector’s knurled metal
collar.
UniPak Transmitter Antenna
The AEW-T1000a transmitter includes two field-replaceable antennas. A flexible-wire antenna is supplied
mounted on the transmitter, while a separate short, helical antenna is supplied with the accessories.
Either antenna simply screws into the transmitter’s antenna fitting. Check the installed antenna
occasionally to make certain it is snugly attached (only finger-tight). The helical antenna is more
convenient physically but may not have the operating range of the wire antenna. The wire antenna
should extend, at its full length, from the transmitter. If the received signal is marginal, experiment with
different transmitter positions on your body or instrument; try the wire antenna; or try repositioning the
receiver. Do not attempt to modify either transmitting antenna. Replace them only with the same parts,
available from the Audio-Technica Service Department.
Handheld Transmitter Antenna
The antenna for the handheld mic/transmitter is in the black, non-metallic section at the bottom of the
unit (see Figure K on page [--]). For best results, hold the mic/transmitter naturally, around its painted
metal case. Holding or otherwise covering the antenna housing may reduce operating range.
UniPak Transmitter Mounting Clip
The UniPak transmitter’s mounting clip may be installed with the case positioned either “up” or “down,”
depending upon which is preferred for the particular application. To turn the clip around, spring the ends
of the clip out of the two holes on the sides of the transmitter case (see Figure J on page [--]) and reinstall
it facing in the opposite direction.
System Operation
Artist Elite wireless receivers and transmitters are extremely versatile components with many operating
features and functions, some of which are not obvious. As a result, we suggest the following approaches
to assure a “comfort level” with any new equipment:

33 | P a g e
1. Begin using a single receiver/transmitter pair at their Default (“DEF”) settings, to become familiar with
equipment functions and operation before doing any customizing. (If the Default frequency is not usable
in your area, change the frequency to one that is suitable.)
2. Before installing/starting up a large multi-channel system, explore the functions and operation of only
two or three receiver/transmitter pairs together.
The details of setting up and operating a multi-channel system vary greatly in complexity, depending
upon the number of receivers and nature of the system. Because the feature-rich nature of AEW units
can greatly increase this complexity, we suggest starting with a simpler, straightforward setup and use to
become familiar with the equipment and its capabilities.
Single AEW-R4100 receiver system:
Begin using a receiver and transmitter at their Default (“DEF”) settings, to become familiar with
equipment functions and operation before doing any customizing. (If the Default frequency is not usable
in your area, manually change only the frequency to one that is suitable.)
Single AEW-R5200 receiver system (two channels):
Start out using only Channel 1, treating this the same as the single AEW-R4100 above.
Multiple-receiver system with link cables only:
The link cables provide data and control between receivers. The IntelliScan™ feature scans for clear
channels and assigns non-conflicting frequencies to all linked receivers. (If IntelliScan is not used, the
receiver frequencies may all be set individually/manually, as with any standard receiver, selecting
frequencies that are within the same IntelliScan groups listed on page [--].)
Multiple-receiver system with Ethernet-connected computer interface:
Refer to the separate AEW Control Interface manual for setup and operation of a computer-based
system. Basic hardware aspects of the receivers, and all transmitter setup/operating information, are in
the manual you are now reading.
Basic Operation – Single AEW-R4100 receiver system:
Turn down the AF Level of the mixer or amplifier. Switch on the receiver. Do not switch on the
transmitter yet.
Turning on the Receiver
The Alert indicator and the LCD window lights up; the normal operation LCD display appears after 1–2
seconds. If any of the bars show in the “RF” bar-graph meters, there may be RF interference in the area.
If this occurs, select another frequency as explained below. (If the Meter Hold function has been
selected, one of the RF bars in each column will be flashing, indicating the lowest RF levels received.)
Selecting/Setting Receiver Frequency
Selection of the desired operating frequency is made through the function menus. There must be no local
interference on that frequency. If the Default frequency (lowest in band) happens not to be usable, the
receiver frequency may be set manually, or by using the IntelliScan function.

34 | P a g e
• Manual frequency selection: Adjust the receiver frequency as detailed in the next section.
• IntelliScan frequency selection: The receiver’s IntelliScan function may be employed to select a
usable operating frequency automatically, as detailed in the section following on page [--].
Note: Once the receiver frequency is set, the associated transmitter must be set manually to the
receiver’s exact frequency. See page [--] for the correct procedure.
Setting Receiver Frequency Manually
Touch: A momentary press of the Mode/Set button. It is used to enter Menu mode, to enter Edit mode,
or to Escape without making any changes to current settings.
Hold: A press and hold (about two seconds) of the Mode/Set button. It is used to accept a new setting
when the receiver is in Edit mode or to save the current settings to one of the five user-defined name
presets or the internal memory location (“NAME?”).
1. Touch the Mode/Set button once. “FRQ” appears on the first line of the LCD window with the
current frequency setting on the second line. (The receiver is now in Menu mode.)
2. Touch the Mode/Set button again. The small flashing word “EDIT” appears at the bottom of
the window. (The receiver is now in Edit mode.)
3. Use the Up/Down arrow buttons to change the first three digits (MHz) to the desired
frequency. Choose a frequency appropriate for your area, avoiding frequencies with active TV
channels. Press either arrow for single steps, or hold down either arrow for rapid cycling through
the band. Frequencies “wrap around” to the other end of the range when the top or bottom of
the band is reached.
4. Press the Mode/Set button once to set the first three digits to the desired frequency.
5. Use the Up/Down arrow buttons to change the second three digits (kHz) to the desired
frequency. Again, be certain to choose a frequency appropriate for your area, avoiding
frequencies with active TV channels.
6. To activate this frequency selection, hold the Mode/Set button until the word “STORED”
appears in the receiver’s window. (If you do not wish to complete this particular selection, just
press the Mode/Set button once. The word “ESCAPE” will appear briefly in the window and the
receiver will return to the Menu mode.)
Note: The top line of the LCD indicates when frequencies belong to IntelliScan groups. Asterisks (*) are
displayed in front of “FRQ” to indicate membership in one of more of the three groups (Figure R on page
[--]). See page [--] for frequency group listings.
7. When finished entering a frequency, touch the Up arrow button once. The display reads
“QUIT.”
There are several ways to quit, depending on whether the current Name is to be retained or the
frequency stored to a user preset. See page [--] for help with Quitting and saving changes.

35 | P a g e
To quickly store the new frequency into the “NAME?” location, touch the Mode/Set button. The
receiver shows “NAME?” in the top line and the new frequency in the bottom line.
Note: You must now set the transmitter to the exact same frequency for the system to operate!
System Operation (Continued)
Note: An asterisk in two or more locations indicates this frequency is in more than one group.
Setting Receiver Frequency Using IntelliScan
Single-receiver systems (either an AEW-R4100 or an AEW-R5200):
Turn down the AF level of the associated mixer or amplifier.
Make certain that any AEW transmitters are turned off. (Other RF-generating devices in the area should
be turned on, if possible.)
1. Touch the Mode/Set button once to enter the Menu mode. (On an AEW-R5200, use Channel 1 to
perform the IntelliScan for both channels.)
2. Touch the Down arrow once. The display shows “SCAN.”
3. Hold the Mode/Set button to start the scan. The second line displays “------” during the scan and then
briefly displays “SCAN OK” when the scan is successfully completed.
4. The display on the receiver then shows “RESET NAMES.” The receiver remains in this state (system is
muted) until one of the following steps is completed:
a. To accept and use this frequency with the currently loaded/named preset, touch the Mode/Set
button. The LCD briefly displays “STORED” and reverts to normal operation. At this point, the
display shows the receiver name/preset currently loaded. (Note: This frequency is now stored
with the associated named preset and is recalled when that preset is reloaded.)
b.To accept and use this frequency and store it in the special “NAME?” location, hold the
Mode/Set button. The LCD displays “NAME?” on the top line. (Note: Doing this allows a new
frequency to be used without affecting previously stored preset data. However, the receiver
shows “NAME?” instead of the preset’s name.) To store this frequency along with other settings
into one of the user presets, refer to the instructions on page [--].

36 | P a g e
IMPORTANT! If one of the above steps (a or b) is not completed, the receiver will remain in the “RESET
NAMES” state indefinitely (system is muted), and it will not automatically back out to normal operating
mode.
Multiple-receiver systems:
Turn down the AF level of the associated mixer or amplifier. Make certain that any AEW transmitters are
turned off. (Other RF-generating devices in the area should be turned on, if possible.)
1. Make certain all the receivers are connected (daisy-chained) with link cables. The receiver with only a
Link In (no Link Out connection) becomes the Master receiver. (See “Link connections” on page [--].)
2. Switch on all the slave receivers first; switch on the Master receiver last. Alternatively, all receivers can
be turned on simultaneously, as when using AC power plug strips controlled by a single AC switch. (If an
AC power or link connection is interrupted, even briefly, all receivers must be turned off and the power-
up sequence repeated to assure complete system control.)
3. Using controls on the Master receiver, follow all the steps listed for single-receiver systems to assign
compatible frequencies for all receivers by using IntelliScan.
4. The display on the Master shows “RESET NAMES”, and the display on each slave shows “SCAN” and the
new frequency. The receivers remain in this state (system is muted) until one of the following steps is
completed to accept the new frequency plan:
a. To accept and use this frequency plan with the currently loaded/named presets, touch the
Mode/Set button. If a user preset was previously loaded on the receiver, the LCD briefly displays
“STORED” and reverts to normal operation. The LCD then displays the previously loaded user
preset or receiver name and the new frequency. (Note: This frequency is now stored with the
associated named preset and is recalled when that preset is reloaded.) If no user preset was
loaded (i.e., the default settings were in effect), the LCD shows “NAME?” and the new frequency.
b.To accept and use this frequency and store it in the special “NAME?” location, hold the
Mode/Set button. The LCD displays “NAME?” on the top line. (Note: Doing this allows a new
frequency to be used without affecting previously stored preset data. However, the receiver
shows “NAME?” instead of the preset’s name.)
To store this frequency along with other settings into one of the user presets, refer to the instructions on
page [--].
Note: These changes affect all linked receivers.
IMPORTANT! If one of the above steps (a or b) is not completed, the Master and all linked slave receivers
will remain in the “RESET NAMES” state indefinitely (system is muted) and will not automatically back out
to normal operating mode.
Note: A “SCAN ERROR” message may be attributable to one or more of the following:
The link connection was broken somewhere in the chain.
The power to one or more of the linked receivers was turned off.
Not enough available frequencies existed for IntelliScan to assign all receivers a frequency. If
IntelliScan cannot locate enough available frequencies, it will set as many as it can on the linked
receivers.

37 | P a g e
System Operation (Continued)
Turning on the Transmitter
Turn on the transmitter by holding the Power/Mute button (see Figure J/K on page [--]) for a second or
two, until the dual-color Power/Mute indicator lights green and the backlit LCD display comes on. (When
using a handheld transmitter, unscrew and slide down the lower body cover, as shown in Figures N/P on
page [--].)
Setting Transmitter Frequency
Touch: A momentary press of the Mode/Set button. It is used to enter Menu mode, to enter Edit mode,
or to Escape without making any changes to current settings.
Hold: A press and hold (about two seconds) of the Mode/Set button. It is used to accept a new setting
when the receiver is in Edit mode or to save the current settings to one of the five user-defined name
presets or the internal memory location (“NAME?”).
1. Touch the Set button once. The small word “MENU” appears above the frequency. Touch the Set
button again and the small flashing word “EDIT” appears to the right of “MENU.”
2. Use the Up/Down arrow buttons to change the first three digits (MHz) to the desired frequency.
3. Press Set button once to set the first three digits to the desired frequency.
4. Use the Up/Down arrow buttons to change the second three digits (kHz) to the desired frequency.
5. To activate this frequency selection, press and hold the Set button until the word “STORED” appears in
the transmitter’s window. (If you do not wish to complete this particular selection, just press the Set
button once. The word “ESCAPE” will appear briefly in the window and the transmitter will return to the
Menu mode.)
6. When finished entering a frequency, touch the Up arrow button once to move to “QUIT.” Then touch
the Set button once to exit the menu. The word “MENU” in the transmitter window disappears,
indicating the return to normal operation.
7. If desired, assign a standard or custom Preset Name at this time as described on page [--] (To store
Preset configurations), so this particular configuration can be recalled in the future. If a new name is not
assigned, the transmitter will continue to operate on this frequency (and with these settings) until some
other change in settings is made.
When the transmitter is switched on and in normal operation, the receiver’s two “RF” signal-level bar
meters will display from bottom to top, with more bars indicating increased signal reception. For
optimum performance, at least four bars, and preferably five or more bars, on at least one of the RF
indicators should be displayed at all times.
Setting Levels
Correct adjustment of transmitter audio input, receiver audio output, and mixer/amplifier input and
output levels is important for optimum system performance.

38 | P a g e
Setting Transmitter Audio Input Level
Multiple-position audio input gain settings, selected through the function menu, serve to match the
audio input level to the transmitter for best modulation and highest signal-to-noise ratio with minimum
distortion.
Select the highest setting that does not result in over-modulation with the highest audio/instrument
input levels (an AF indication on the receiver no higher than “+3”); watch the receiver’s “AF” bar-graph
“+6” indication and the Alert light to make certain that they are not triggered by the highest audio levels.
Also, the transmitter’s dual-color LED Power/Mute indicator, which is on during normal operation, will
blink off if the peak audio input reaches overload level.
Available Level Settings
AEW-T1000a UniPak™: Choices are +12 dB to –6 dB in 2 dB steps. The default setting is +6 dB.
AEW-T4100a/6100a Dynamic Handhelds: Choices are +12 dB, +6 dB, 0 dB and –6 dB. The default setting
is +6 dB.
AEW-T3300a/5400a Condenser Handhelds: Choices are +12 dB, +6 dB and 0 dB. The default setting is +6
dB. A mechanical switch on the condenser capsule activates a 6 dB pad. For best performance, adjust the
input level using the function menu choices first, keeping the capsule’s pad switch at 0 dB. If more audio
attenuation is needed, set the capsule’s switch to –6 dB.
RF Power Adjustment
RF power may be set to “RF HI” (35 mW nominal) or “RF LOW” (10 mW nominal) through the function
menu. The default setting is “RF LOW.” While the Hi setting normally provides maximum operating range,
the Low setting will help extend battery life. The Low setting may also be preferred when using multi-
channel systems, or when operating very close to the receiver, to reduce the possibility of interference or
overload.
RF Interference
Wireless frequencies are shared with other radio services. According to Federal Communications
Commission regulations, “Wireless microphone operations are unprotected from interference from other
licensed operations in the band. If any interference is received by any Government or non-Government
operation, the wireless microphone must cease operation....” If you need assistance with operation or
frequency selection, please contact your dealer or the Audio-Technica professional division. Extensive
information on using wireless microphones is also available on the Audio-Technica Web site at
www.audio-technica.com.
AEW Specifications [NOT FINAL – Created 2/4/10, before TP stage]
AEW Specifications
OVERALL SYSTEM
UHF Operating Frequencies
Frequency Range
Number of
Frequencies
Band C:
541.500 to
566.375 MHz
996
Band D:
655.500 to
996

39 | P a g e
680.375 MHz
Band E:
795.500 to
820.000 MHz
981
Band F:
840.125 to
864.900 MHz
953
Band G:
721.500 to
746.375 MHz
996
Band KR:
740.000 to
752.000 MHz
480
Not all frequency bands available in all areas. Please check with
local regulations.
Minimum Frequency Step
25 kHz
Modulation Mode
FM
Maximum Deviation
±40 kHz
Dynamic Range
113 dB (A-weighted), typical
Total Harmonic Distortion
< 1% (at 1 kHz, ±20 kHz deviation)
Operating Range
100 m (300'), typical
Open range environment with no interfering
signals.
Operating Temperature Range
-5 ºC to +45 ºC
23 º F to 113 ºF
Battery and LCD performance may be
reduced at very low temperatures.
Frequency Response
70 Hz to 15 kHz (+1 dB, -3 dB)
Simultaneous Use (Recommended)
21 Channels per band
For assistance with multi-band operation or other frequency coordination issues, please contact your
regional audio-technica customer service representitive.
AEW-R5200 DUAL RECEIVER
Receiving System
True Diversity
Image Rejection
60 dB typical
RF Sensitivity
20 dBuV at 70 dB S/N ratio (50
ohms termination)
Maximum Output Level
XLR, balanced:
+9 dBV
¼" (6.3 mm),
balanced:
+15 dBV
Both outputs are transformer
isolated and balanced.
Audio Output Attenuator
(ATTN)
Three position switch: 0 / -6 / -12
dB
Headphone Output
Connector
6.3 mm (¼") TRS stereo phone
jack
Headphones switchable between
Channel 1 and Channel 2.
Maximun Headphone Output Power
220 mW at
32ohms
External Mute
6.3 mm (¼") TS unbalanced phone
jack, each channel
Antenna Input
BNC-type, 50 ohms
Bias voltage 12V DC, 20 mA, each
Computer Interface
Type:
Ethernet, 10BaseT mode
Connector:
RJ-45

40 | P a g e
Proprietary
Software:
supplied on CD-
ROM
Power Supply
100-240V AC 50/60 Hz, 15W
Pass-through AC Power
Outlet
100-240V AC 50/60 Hz, 5A
maximum
Dimensions
210.0 mm (8.27") W x 275.5 mm
(10.85") D x
44.0 mm (1.74")
H
Not including BNC
connectors or feet.
Net Weight
4.0 kg (141.1 oz), without
accessories
Accessories Included
Detachable IEC-type AC power
cable
Two flexible UHF half wave
antennas;
Link cable
IEC type AC pass-through cable
Front-mount antenna cables and
connectors
CD-ROM with computer control
interface software
AEW-R4100 RECEIVER
Receiving System
True Diversity
Image Rejection
60 dB typical
RF Sensitivity
20 dBuV at 70 dB S/N ratio (50
ohms termination)
Maximum Output Level
XLR, balanced:
+5 dBV
¼" (6.3 mm),
unbalanced:
+11 dBV
Audio Output Attenuator
(ATTN)
Three position switch: 0 / -6 / -12
dB
Headphone Output
Connector
6.3 mm (1/4") TRS Stereo Phone
Jack
Headphone Output Power
220 mW at
32ohms
Antenna Input
BNC-type, 50 ohms
Bias voltage 12V DC, 20 mA, each
Power Supply
100-240V AC 50/60 Hz, 8W
Dimensions
210.0 mm (8.27") W x 275.5 mm
(10.85") D x
44.0 mm (1.74")
H
Not including BNC
connectors or feet.
Net Weight
4.0 kg (141.1 oz), without
accessories
Accessories Included
Detachable IEC-type AC power
cable

41 | P a g e
Two flexible UHF half wave
antennas;
Link cable
Rack-mount adapters
UNIPAK TRANSMITTER
RF Output Power
High: 35 mW, Low: 10 mW
(switchable), at 50 ohms
Spurious Emissions
Following federal and national
regulations
Input Connection
Four-pin Locking Connector
Pin 1: GND
Pin 2: INST
INPUT
Pin 3: MIC INPUT
Pin 4: DC
BIAS +9V
Batteries
Two 1.5V AA, not included
Battery Life
High: 8 hours
(alkaline)
Low: 10 hours
(alkaline)
Depending on battery type and use pattern.
Dimensions
66.0 mm (2.60") W x 24.0 mm
(0.94") D x
87.0 mm (3.43") H
Net Weight
125 g (4.4 oz), without batteries
Accessory Included
Soft protective
pouch
HANDHELD
TRANSMITTERS
RF Output Power
High: 35 mW, Low: 10 mW
(switchable), at 50 ohms
Spurious Emissions
Following federal and national
regulations
Microphone Element
AEW-T3300a
Cardioid
Condenser
AEW-T4100a
Cardioid Dynamic
AEW-T5400a
Cardioid
Condenser
AEW-T6100a
Hypercardioid
Dynamic
Batteries
Two 1.5V AA, not included
Battery Life
High: 6 hours
(alkaline)
Low: 8 hours
(alkaline)
Depending on battery type and use pattern.
Dimensions
AEW-T3300a
239.0 mm (9.41") long, 50.0 mm
(1.97") diameter
AEW-T4100a
237.0 mm (9.33") long, 48.0 mm
(1.89") diameter

42 | P a g e
AEW-T5400a
239.0 mm (9.41") long, 50.0 mm
(1.97") diameter
AEW-T6100a
237.0 mm (9.33") long, 48.0 mm
(1.89") diameter
Net Weight
AEW-T3300a
270 g (9.5 oz), without batteries
AEW-T4100a
276 g (9.7 oz), without batteries
AEW-T5400a
285 g (10.0 oz), without batteries
AEW-T6100a
275 g (9.7 oz), without batteries
Accessory Included
AT8456a Quiet-Flex™ stand
clamp
Soft protective
pouch

43 | P a g e
Optional System Accessories
[include 5-year warranty]