Autel Intelligent Technology MAXISYSMY905 MaxiSys Mini User Manual
Autel Intelligent Tech. Corp., Ltd. MaxiSys Mini
User manual


ii
Trademarks
Autel®, MaxiSysTM, MaxiDAS®, MaxiScan®, MaxiTPMS®, MaxiVideoTM, MaxiRecorderTM,
and MaxiCheckTM are trademarks of Autel Intelligent Technology Co., Ltd, registered in
China, the United States and other countries. All other marks are trademarks or
registered trademarks of their respective holders.
Copyright Information
No part of this manual may be reproduced, stored in a retrieval system or transmitted,
in any form or by any means, electronic, mechanical, photocopying, recording, or
otherwise, without the prior written permission of Autel.
Disclaimer of Warranties and Limitation of Liabilities
All information, specifications and illustrations in this manual are based on the latest
information available at the time of printing. Autel reserves the right to make changes at
any time without notice. While information of this manual has been carefully checked
for accuracy, no guarantee is given to the completeness and correctness of the
contents, including but not limited to the product specifications, functions, and
illustrations.
Autel will not be liable for any direct damages or for any special, incidental, or indirect
damages or for any economic consequential damages (including lost profits).
IMPORTANT: Before operating or maintaining this unit, please read this manual
carefully, paying extra attention to the safety warnings and precautions.
For Services and Support:
pro.auteltech.com
www.auteltech.com
1-855-288-3587/1-855-AUTELUS (North America)
0086-755-86147779 (China)
Support@auteltech.com
For technical assistance in all other markets, please contact your local selling agent

iii
Safety Information
For your own safety and the safety of others, and to prevent damage to the device and
vehicles upon which it is used, it is important that the safety instructions herein
presented throughout this manual be read and understood by all persons operating, or
coming into contact with, the device.
There are various procedures, techniques, tools, and parts for servicing vehicles, as
well as in the skill of the person doing the work. Because of the vast number of test
applications and variations in the products that can be tested with this equipment, we
cannot possibly anticipate or provide advice or safety messages to cover every
circumstance. It is the automotive technician’s responsibility to be knowledgeable of the
system being tested. It is crucial to use proper service methods and test procedures. It
is essential to perform tests in an appropriate and acceptable manner that does not
endanger your safety, the safety of others in the work area, the device being used, or
the vehicle being tested.
Before using the device, always refer to and follow the safety messages and applicable
test procedures provided by the manufacturer of the vehicle or equipment being tested.
Use the device only as described in this manual. Read, understand, and follow all
safety messages and instructions in this manual.
Safety Messages
Safety messages are provided to help prevent personal injury and equipment damage.
All safety messages are introduced by a signal word indicating the hazard level.
DANGER: Indicates an imminently hazardous situation which, if not avoided, will
result in death or serious injury to the operator or to bystanders.
WARNING: Indicates a potentially hazardous situation which, if not avoided,
could result in death or serious injury to the operator or to bystanders.
Safety Instructions
The safety messages herein cover situations Autel is aware of. Autel cannot know,
evaluate or advise you as to all of the possible hazards. You must be certain that any
condition or service procedure encountered do not jeopardize your personal safety.
DANGER: When an engine is operating, keep the service area WELL
VENTILATED or attach a building exhaust removal system to the engine exhaust
system. Engines produce carbon monoxide, an odorless, poisonous gas that
causes slower reaction time and can lead to serious personal injury or loss of
life.

Safety Information Important Safety Instructions
iv
WARNINGS:
Always perform automotive testing in a safe environment.
Wear safety eye protection that meets ANSI standards.
Keep clothing, hair, hands, tools, test equipment, etc. away from all
moving or hot engine parts.
Operate the vehicle in a well ventilated work area, for exhaust gases are
poisonous.
Put the transmission in PARK (for automatic transmission) or NEUTRAL
(for manual transmission) and make sure the parking brake is engaged.
Put blocks in front of the drive wheels and never leave the vehicle
unattended while testing.
Use extreme caution when working around the ignition coil, distributor cap,
ignition wires and spark plugs. These components create hazardous
voltages when the engine is running.
Keep a fire extinguisher suitable for gasoline, chemical, and electrical fires
nearby.
Do not connect or disconnect any test equipment while the ignition is on or
the engine is running.
Keep the test equipment dry, clean, free from oil, water or grease. Use a
mild detergent on a clean cloth to clean the outside of the equipment as
necessary.
Do not drive the vehicle and operate the test equipment at the same time.
Any distraction may cause an accident.
Refer to the service manual for the vehicle being serviced and adhere to
all diagnostic procedures and precautions. Failure to do so may result in
personal injury or damage to the test equipment.
To avoid damaging the test equipment or generating false data, make
sure the vehicle battery is fully charged and the connection to the vehicle
DLC is clean and secure.
Do not place the test equipment on the distributor of the vehicle. Strong
electro-magnetic interference can damage the equipment.

v
Contents
SAFETY INFORMATION ........................................................................................... III
CHAPTER 1 USING THIS MANUAL ...................................................................... 1
1.1 CONVENTIONS .................................................................................................... 1
1.1.1 Bold Text .................................................................................................. 1
1.1.2 Terminology ............................................................................................ 1
1.1.3 Notes and Important Messages .............................................................. 1
1.1.4 Hyperlinks ................................................................................................ 1
1.1.5 Procedures ............................................................................................... 2
CHAPTER 2 GENERAL INTRODUCTION ............................................................... 3
2.1 MAXISYS DISPLAY TABLET ..................................................................................... 3
2.1.1 Functional Description ............................................................................. 3
2.1.2 Power Sources ......................................................................................... 5
2.1.3 Technical Specifications ........................................................................... 6
2.2 VCI – BLUETOOTH DIAGNOSTIC INTERFACE .............................................................. 7
2.2.1 Functional Description ............................................................................. 7
2.2.2 Technical Specifications ........................................................................... 8
2.2.3 Power Sources ......................................................................................... 8
2.3 ACCESSORY KIT ................................................................................................... 8
2.3.1 Main Cable .............................................................................................. 8
2.3.2 Other Accessories .................................................................................... 9
CHAPTER 3 GETTING STARTED ......................................................................... 10
3.1 POWERING UP .................................................................................................. 10
3.1.1 Application Buttons ............................................................................... 11
3.1.2 Locator and Navigation Buttons ............................................................ 12
3.1.3 System Status Icons ............................................................................... 13
3.2 POWERING DOWN ............................................................................................ 13
3.2.1 Reboot System ....................................................................................... 14
3.3 INSTALLING COMPUTER SOFTWARE ....................................................................... 14
3.3.1 Printing Operation ................................................................................. 15
CHAPTER 4 DIAGNOSTICS OPERATIONS ........................................................... 16
4.1 ESTABLISHING VEHICLE COMMUNICATION .............................................................. 16
4.1.1 Vehicle Connection ................................................................................ 16
4.1.2 VCI Connection ...................................................................................... 18
4.1.3 No Communication Message ................................................................ 19
4.2 GETTING STARTED ............................................................................................. 20

vi
4.2.1 Vehicle Menu Layout ............................................................................. 20
4.3 VEHICLE IDENTIFICATION ..................................................................................... 22
4.3.1 Auto VIN Scan ........................................................................................ 22
4.3.2 Manual VIN Input .................................................................................. 23
4.3.3 Manual Vehicle Selection ...................................................................... 24
4.3.4 Alternative Vehicle Identification .......................................................... 27
4.4 NAVIGATION ..................................................................................................... 27
4.4.1 Diagnostics Screen Layout ..................................................................... 27
4.4.2 Screen Messages ................................................................................... 30
4.4.3 Making Selections ................................................................................. 30
4.5 MAIN MENU .................................................................................................... 31
4.6 DIAGNOSIS ....................................................................................................... 31
4.6.1 ECU Information .................................................................................... 35
4.6.2 Read Codes ............................................................................................ 36
4.6.3 Erase Codes ........................................................................................... 37
4.6.4 Live Data................................................................................................ 37
4.6.5 Active Test ............................................................................................. 44
4.6.6 Special Functions ................................................................................... 45
4.7 SERVICE ........................................................................................................... 46
4.7.1 Function Descriptions ............................................................................ 46
4.8 PROGRAMMING AND CODING .............................................................................. 47
4.9 GENERIC OBD II OPERATIONS ............................................................................. 51
4.9.1 General Procedure ................................................................................. 51
4.9.2 Function Descriptions ............................................................................ 53
4.10 EXITING DIAGNOSTICS .................................................................................... 56
CHAPTER 5 DATA MANAGER OPERATIONS ....................................................... 57
5.1 OPERATIONS..................................................................................................... 57
5.1.1 Image Files ............................................................................................ 57
5.1.2 PDF Files ................................................................................................ 59
5.1.3 Review Data .......................................................................................... 60
5.1.4 Apps Manager (Coming soon) ............................................................... 60
5.1.5 Message (Coming soon) ........................................................................ 61
5.1.6 Data Logging (Coming soon) ................................................................. 61
CHAPTER 6 MAXIFIX OPERATIONS ................................................................... 62
6.1 NAVIGATION ..................................................................................................... 62
6.1.1 Terminology ........................................................................................... 64
6.2 OPERATIONS..................................................................................................... 65
6.2.1 Home ..................................................................................................... 65
6.2.2 Your Cloud ............................................................................................. 66

vii
6.2.3 Search Fix .............................................................................................. 68
6.2.4 Q&A ....................................................................................................... 69
6.2.5 Support .................................................................................................. 69
CHAPTER 7 SETTINGS OPERATIONS ................................................................. 70
7.1 OPERATIONS..................................................................................................... 70
7.1.1 Unit ........................................................................................................ 70
7.1.2 Language ............................................................................................... 71
7.1.3 Printing Setting ...................................................................................... 71
7.1.4 Push Message ........................................................................................ 71
7.1.5 About ..................................................................................................... 72
7.1.6 System Settings ..................................................................................... 72
CHAPTER 8 SHOP MANAGER OPERATIONS ...................................................... 73
8.1 VEHICLE HISTORY .............................................................................................. 74
8.1.1 Historical Test Record ............................................................................ 75
8.2 WORKSHOP INFORMATION .................................................................................. 76
8.3 CUSTOMER MANAGER ....................................................................................... 77
8.3.1 History Notes ......................................................................................... 79
CHAPTER 9 UPDATE OPERATIONS .................................................................... 81
CHAPTER 10 VCI MANAGER OPERATIONS .......................................................... 83
10.1 BLUETOOTH PAIRING ...................................................................................... 83
CHAPTER 11 REMOTE DESK OPERATIONS .......................................................... 85
11.1 OPERATIONS ................................................................................................. 85
CHAPTER 12 SUPPORT OPERATIONS .................................................................. 87
12.1 PRODUCT REGISTRATION ................................................................................. 87
12.2 SUPPORT SCREEN LAYOUT ............................................................................... 88
12.3 MY ACCOUNT ............................................................................................... 89
12.4 USER COMPLAINT .......................................................................................... 89
12.5 SUPPORT COMMUNITIES ................................................................................. 92
12.6 TRAINING CHANNELS ...................................................................................... 94
12.7 FAQ DATABASE ............................................................................................. 95
CHAPTER 13 REMOTE PROGRAM OPERATIONS (COMING SOON) ...................... 96
CHAPTER 14 TRAINING OPERATIONS ................................................................. 96
CHAPTER 15 QUICK LINK OPERATIONS .............................................................. 98

viii
CHAPTER 16 DIGITAL INSPECTION OPERATIONS ................................................ 99
16.1 ADDITIONAL ACCESSORIES ............................................................................. 100
16.2 OPERATIONS ............................................................................................... 102
CHAPTER 17 SCOPE OPERATIONS (COMING SOON) ..........................................104
CHAPTER 18 MAINTENANCE AND SERVICE .......................................................105
18.1 MAINTENANCE INSTRUCTIONS........................................................................ 105
18.2 TROUBLESHOOTING CHECKLIST ....................................................................... 106
18.3 ABOUT BATTERY USAGE ................................................................................ 106
18.4 SERVICE PROCEDURES ................................................................................... 107
CHAPTER 19 WARRANTY ..................................................................................109

1
Chapter 1 Using This Manual
This manual contains device usage instructions.
Some illustrations shown in this manual may contain modules and optional equipment
that are not included on your system. Contact your sales representative for availability
of other modules and optional tools or accessories.
1.1 Conventions
The following conventions are used.
1.1.1 Bold Text
Bold emphasis is used to highlight selectable items such as buttons and menu
options.
Example:
Tap OK.
1.1.2 Terminology
The term “select” means highlighting a button or menu item and tapping it to
confirm the selection.
1.1.3 Notes and Important Messages
The following messages are used.
Notes
A NOTE provides helpful information such as additional explanations, tips,
and comments.
Important
IMPORTANT indicates a situation which, if not avoided, may result in damage
to the test equipment or vehicle.
1.1.4 Hyperlinks
Hyperlinks, or links, that take you to other related articles, procedures, and
illustrations are available in electronic documents. Blue colored text indicates
a selectable hyperlink.

Using This Manual Conventions
2
1.1.5 Procedures
An arrow icon indicates a procedure.
Example:
To use the camera:
1 Tap the Camera button. The camera screen opens.
2 Focus the image to be captured in the view finder.
3 Tap the blue circle. The view finder now shows the captured picture
and auto-saves the taken photo.

3
Chapter 2 General Introduction
The MaxiSys MiniTM is an evolutionary smart wireless diagnostic device developed for
customers looking for a tool with ultra mobility and modern design while still delivering
ultimate performance. Featuring the powerful A9 quad-core 1.40GHz processor, a 8.0
inch LED capacitive touch screen, and long-distance wireless communication, based
on the multitasking mobile operating system, and combined with the best possible
coverage of OE-level diagnostics, the MaxiSys Mini is the ideal solution to manage your
repair jobs smartly and conveniently with greater mobility.
There are two main components to the MaxiSys system:
MaxiSys Display Tablet -- the central processor and monitor for the system
Vehicle Communication Interface (VCI) -- the device for accessing vehicle data
This manual describes the construction and operation of both the devices and how they
work together to deliver diagnostic solutions.
2.1 MaxiSys Display Tablet
2.1.1 Functional Description
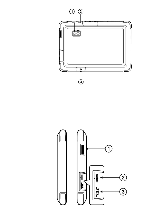
Figure 2-1 MaxiSys Tablet Front View
1. 8.0” LED Capacitive Touch Screen
2. Ambient Light Sensor – detects ambient brightness
3. Microphone

General Introduction MaxiSys Display Tablet
4
Figure 2-2 MaxiSys Tablet Back View
1. Camera Flash
2. Camera Lens
3. Mini SD (secure digital) Card Slot (optional module)
Figure 2-3 MaxiSys Tablet Left Side
1. Audio Speaker
2. HDMI (high-definition multimedia interface) Port
3. DC Power Supply Input Port

General Introduction MaxiSys Display Tablet
5
Figure 2-4 MaxiSys Tablet Top View
1. Lock/Power Button – turns the MaxiSys tool on and off with long press, or
locks the screen with short press
2. Volume Key
3. USB Port
4. Mini USB OTG Port
5. Head Phone Jack
2.1.2 Power Sources
The MaxiSys Display Tablet can receive power from any of the following
sources:
Internal Battery Pack
AC/DC Power Supply
Vehicle Power
Internal Battery Pack
The display tablet can be powered with the internal rechargeable battery,
which if fully charged can provide sufficient power for about 6 hours of
continuous operation.
AC/DC Power Supply
The display tablet can be powered from a wall socket using the AC/DC power
adapter. The AC/DC power supply also charges the internal battery pack.
Vehicle Power
The display tablet can be powered from the cigarette lighter or other suitable
power port on the test vehicle through a direct cable connection. The vehicle
power cable connects to the DC power supply port on the top side of the
display unit.

General Introduction MaxiSys Display Tablet
6
2.1.3 Technical Specifications
Item
Description
Operating System
AndroidTM 4.0, Ice Cream Sandwich
Processor
Samsung Exynos Quad-Core Processor 1.4GHz
Memory
2GB RAM & 32GB On-board Memory
Display
8.0 inch LED capacitive touch screen with
1024x768P resolution
Connectivity
Wi-Fi (802.11 a/b/g/n)
USB: 2.0
Bluetooth v.2.1 + EDR
Camera (rear)
Rear-facing, 5.0 Megapixel, AF with Flashlight
Sensors
Gravity Accelerometer, Ambient Light Sensor
(ALS)
Audio Input/Output
Microphone
Dual Speakers
4-Band 3.5 mm stereo/standard headset jack
Power and Battery
4900 mAh 3.8 V lithium-polymer battery
Charging via 12 V AC/DC power supply
Input Voltage
12 V (9-24 V)
Power Consumption
3.9 W
Operating
Temperature
-10 to 55°C (14 to 131°F)
Storage Temperature
-20 to 70°C (-4 to 158°F)
Housing
Strong plastic housing with protective rubber boot
Dimensions (W x H x D)
221 mm (8.7”) x 160 mm (6.3”) x 20 mm (0.78”)
Weight
NW: 0.67 kg (1.48 lb), GW: 8.534 kg (18.81 lb)
Protocols
ISO 9142-2, ISO 14230-2, ISO 15765-4, K/L lins,
Flashing Code, SAE-J1850 VPW, SAE-J1850
PWM, CAN ISO 11898, Highspeed, Middlespeed,
Lowspeed and Singlewire CAN, GM UART, UART
Echo Byte Protocol, Honda Diag-H Protocol, TP
2.0, TP 1.6, SAE J1939, SAE J1708,
Fault-Tolerant CAN

General Introduction VCI – Bluetooth Diagnostic Interface
7
2.2 VCI – Bluetooth Diagnostic Interface
2.2.1 Functional Description
Figure 2-5 Bluetooth Diagnostic Interface
1. Vehicle Data Connector (DB15-Pin)
2. Power LED - illuminates solid green when powered on
3. Vehicle LED - flashes green when communicating with the vehicle’s
network
4. Error LED - illuminates solid red when serious hardware failure occurs;
also flashes red when performing software/firmware update
5. Bluetooth LED - illuminates solid green when connected with the
MaxiSys display tablet through Bluetooth communication; also flashes
green when transmitting data between the vehicle and the display tablet
6. USB LED – illuminates solid green when the device is properly
connected and communicating with the MaxiSys display tablet via the
USB cable
7. USB Port
Communication
The Bluetooth Diagnostic Interface supports both Bluetooth and USB
communication. It can transmit vehicle data to the MaxiSys Display Tablet with
or without a physical connection. The working range of the transmitter through
Bluetooth communication is about 755 feet (about 230 m). A signal lost due to
moving out of range automatically restores itself when the display unit is
brought closer to the VCI unit.

General Introduction Accessory Kit
8
2.2.2 Technical Specifications
Item
Description
Communications
Bluetooth V.2.1 + EDR
USB 2.0
Wireless Frequency
2.4 GHz
Input Voltage Range
12 VDC
Supply Current
200 mA @ 12 VDC
Operating Temperature
0°C to 50°C (ambient)
Storage Temperature
-20°C to 70°C (ambient)
Dimensions (L x W x H)
147.5 mm (5.80”) x 85.5 mm (3.37”) x 29.0 mm
(1.14”)
Weight
0.215 kg (0.473 lb)
2.2.3 Power Sources
The Bluetooth Diagnostic Interface operates on 12-volt vehicle power, which it
receives through the vehicle data connection port. The unit powers on
whenever it is connected to an OBD II/EOBD compliant data link connector
(DLC).
2.3 Accessory Kit
2.3.1 Main Cable
The VCI device can be powered through the Main Cable when connected to
an OBD II/EOBD compliant vehicle. The Main Cable connects the VCI device
to the vehicle’s data link connector (DLC), through which the VCI device can
transmit vehicle data to the MaxiSys display tablet.
Figure 2-6 Main Cable – 1.5 m in length

General Introduction Accessory Kit
9
2.3.2 Other Accessories
Standard 2.0 USB Cable
Connects the display tablet to the VCI unit.
Mini USB Cable
Connects the display tablet to the PC.
AC/DC External Power Adapter
Connects the display tablet to the external DC power
port for power supply.
Compact Disc (CD)
Includes the User Manual, Printing Services Program
and Update Application, etc.
Stylus Pen
Provides precise touch and control, while protecting
your touch screen from scratching.
Cigarette Lighter
Provides power to the display tablet through
connection to the vehicle’s cigarette lighter receptacle,
as some non-OBD II vehicles cannot provide power
via the DLC connection.
Mini Case
Fixes all four corners of the device with the straps, and
provides a hand belt allowing you to hold the device
freely without fear of dropping.

10
Chapter 3 Getting Started
Make sure the MaxiSys Display Tablet has a charged battery or is connected to the DC
power supply (see 2.1.2 Power Sources on page 5).
3.1 Powering Up
Press the Lock/Power button on the top left side of the display tablet to switch
the unit on. The system boots up, and shows the lock screen. Press and drag
the inner ring to the edge of the circle to unlock the screen; the MaxiSys Job
Menu is shown.
Figure 3-1 Sample MaxiSys Job Menu
1. Application Buttons
2. Locator and Navigation Buttons
3. Status Icons
NOTE: The screen is locked by default when you first turn on the display tablet.
It is recommended to lock the screen to protect information in the system and
reduce battery usage.
Almost all operations on the display tablet are controlled through the touch
screen. The touch screen navigation is menu driven, which allows you to
quickly locate the test procedure, or data that you need, through a series of
choices and questions. Detailed descriptions of the menu structures are found
in the chapters for the various applications.

Getting Started Powering Up
11
3.1.1 Application Buttons
The Application buttons configure the MaxiSys for the type of operation or
activity to be performed. The table below gives brief descriptions of the
available applications.
Use the stylus pen or your finger tip to select an application from the Job
Menu.
Table 3-1 Applications
Name
Button
Description
Diagnostics
Configures the unit to operate as a diagnostic
tool. See Diagnostics Operations on page 16.
Data
Manager
Opens the organization system for saved data
files. See Data Manager Operations on page 57。
MaxiFix
Launches the MaxiFix platform which provides the
most compatible and abundant repair techniques
and diagnostics database. See MaxiFix
Operations on page 62.
Settings
Allows you to set the MaxiSys system settings,
and to view the general information about the
Display Tablet. See Settings Operations on page
70.
Shop
Manager
Allows you to edit and save workshop information
and customer data, as well as reviewing test
vehicle history records. See Shop Manager
Operations on page 73.
Update
Checks for the latest update available for the
MaxiSys system, and performs updating
procedures. See Update Operations on page 81.
VCI
Manager
Establishes and manages Bluetooth connection
to the VCI device. See VCI Manager Operations
on page 83.
Remote
Desk
Configures your unit to receive remote support
using the TeamViewer application program. See
Remote Desk Operations on page 85.
Support
Launches the Support platform which
synchronizes Autel’s on-line service base station
with the MaxiSys tablet. See Support Operations
on page 87.

Getting Started Powering Up
12
Name
Button
Description
Remote
Program
Configures your unit to operate as a PassThru
interface to allow remote control for vehicle
diagnosis and ECU reprogramming. See Remote
Program Operations (Coming soon)on page 96.
(Coming Soon)
Training
Allows you to store and play technical tutorial and
training videos about the device usage or vehicle
diagnostic techniques. See Training Operations
on page 96.
Quick Link
Provides associated website bookmarks to allow
quick access to product update, service, support
and other information. See Quick Link Operations
on page 98.
Digital
Inspection
Configures the unit to operate as a video scope
device by connecting to an Imager head cable for
close vehicle inspections. See Digital Inspection
Operations on page 99.
Scope
Configures the unit to operate as a lab scope,
graphing multimeter, or digital multimeter. See
Scope Operations (Coming soon)on page 104.
(Coming Soon)
3.1.2 Locator and Navigation Buttons
Operations of the Navigation buttons at the bottom of the screen are described
in the table below:
Table 3-2 Locator and Navigation Buttons
Name
Button
Description
Locator
Indicates the location of the screen. Swipe the
screen left or right to view the previous or next
screen.
Back
Returns to the previous screen.
Home
Returns to Android System’s Home screen.
Recent Apps
Displays a list of applications that are currently
working. To open an app, touch it. To remove
an app, swipe it to the right.

Getting Started Powering Down
13
Name
Button
Description
Chrome
Launches the Chrome browser.
Camera
Opens the camera.
Display & Sound
Allows you to adjust the brightness of the
screen and the volume of the audio output.
VCI
Opens the VCI Manager application. The tick
icon at the bottom right corner indicates the
display tablet is communicating with the VCI
device, otherwise a cross icon displays.
MaxiSys
Shortcut
Returns to the MaxiSys operation interface
from other Android applications.
To use the camera:
1. Tap the Camera button. The camera screen opens.
2. Focus the image to be captured in the view finder.
3. Tap the inner blue circle. The view finder now shows the captured
picture and auto-saves the taken photo.
4. Tap the thumbnail image on the top right corner of the screen to view
the stored image.
5. Tap the Back or Home button to exit the camera application.
Refer to Android documentation for additional information.
3.1.3 System Status Icons
These are the standard status icons of the Android operating system. Your
MaxiSys display tablet is a fully functional Android Pad. Refer to Android
documentation for additional information.
3.2 Powering Down
All vehicle communications must be terminated before shutting down the
MaxiSys display tablet. A warning message displays if you attempt to shut
down while the VCI unit is communicating with the vehicle. Forcing a shut
down while communicating may lead to ECM problems on some vehicles. Exit
the Diagnostics application before powering down.

Getting Started Install Computer Software
14
To power down the MaxiSys tablet:
1. Press and hold the Lock/Power Button.
2. Tap OK; the tablet will turn off in a few seconds.
3.2.1 Reboot System
In case of system crash, press and hold the Lock/Power button for 8 seconds
to reboot the system.
3.3 Installing Computer Software
The MaxiSys Diagnostic Platform allows you to realize some of its functions
on a computer to enhance capabilities and improve user experience. To
realize these functions on a computer, you need to install certain software.
There are two Setup.exe program packages contained in the CD provided
with the MaxiSys tool kit. The packages include the following applications:
1. PC Link – launches a Printing Services program which receives and
allows editing the files sent from the MaxiSys tablet for printing
2. Driver Program - setup driver program for the VCI device
3. Update Agent – firmware update agent for the VCI device
To install the Setup.exe program
1. Insert the CD into the CD-ROM of the computer. The driver
installation wizard will load momentarily.
2. Click on Next on the welcome page.
3. Click the Change button, and select a destination folder to install the
program, and click Next to continue. Or directly click Next to
continue without changing the default installation folder.
4. Click Install and the Setup.exe program will be installed onto the
computer.

Getting Started Install Computer Software
15
3.3.1 Printing Operation
This section describes how to receive file from the MaxiSys tablet and perform
printing through the computer:
To perform printing through the computer
1. Install the PC Link (Printing Services program) to the computer.
2. Make sure the display tablet is connected to the computer network,
either via Wi-Fi or LAN, before printing. See 7.1.3 Printing Setting on
page 71 for more information.
3. Run the Printing Services program on the computer.
4. Tap the Print button on the toolbar displayed in various applications
of the MaxiSys system. A temporary file will be created and sent to
the computer for printing.
5. Click the Printer Server tab on the top of the program interface on
the computer, and wait for the printing file to load.
6. Click the Print button to start printing.
NOTE: Make sure the computer installed with the Printing Services program is
connected to a printer.
Refer to the accompanied user manual for the corresponding VCI device for
detailed information about the operation of the network configuration program
and/or the update agent.

16
Chapter 4 Diagnostics Operations
By establishing a data link to the electronic control systems of the vehicle being
serviced through the VCI device, the Diagnostics application allows you to retrieve
diagnostic information, view live data parameters, and perform active tests. The
Diagnostics application can access the electronic control module (ECM) for various
vehicle control systems, such as engine, transmission, antilock brake system (ABS),
airbag system (SRS) and more.
4.1 Establishing Vehicle Communication
The Diagnostics operations require connecting the MaxiSys Diagnostic
Platform to the test vehicle through the VCI device using the main cable, and
test adapters (for non-OBD II vehicles). To establish proper vehicle
communication to the MaxiSys display tablet, you need to perform the
following steps:
1. Connect the VCI device to the vehicle’s DLC for both communication and
power source.
2. Connect the VCI device to the MaxiSys display tablet via Bluetooth
pairing or USB connection.
3. When these are done, check the VCI navigation button at the bottom bar
on the screen, if the button displays a green tick icon at the lower right
corner, the MaxiSys Mini diagnostic platform is ready to start vehicle
diagnosis.
4.1.1 Vehicle Connection
The method used to connect the VCI device to a vehicle’s DLC depends on
the vehicle’s configuration as follows:
A vehicle equipped with an On-board Diagnostics Two (OBD II)
management system supplies both communication and 12-volt power
through a standardized J-1962 DLC.
A vehicle not equipped with an OBD II management system supplies
communication through a DLC connection, and in some cases supplies
12-volt power through the cigarette lighter receptacle or a connection to
the vehicle battery.

Diagnostics Operations Establishing Vehicle Communication
17
OBD II Vehicle Connection
This type of connection only requires the main cable without any additional
adapter.
To connect to an OBD II vehicle
1. Connect the main cable’s female adapter to the Vehicle Data
Connector on the VCI device, and tighten the captive screws.
2. Connect the cable’s 16-pin male adapter to the vehicle’s DLC, which
is generally located under the vehicle dash.
NOTE: The vehicle’s DLC is not always located under the dash; refer to
the user manual of the test vehicle for additional connection information.
Non-OBD II Vehicle Connection
This type of connection requires both the main cable and a required OBD I
adapter for the specific vehicle being serviced.
To connect to a Non-OBD II Vehicle
1. Connect the main cable’s female adapter to the Vehicle Data
Connector on the VCI device, and tighten the captive screws.
2. Locate the required OBD I adapter and connect its 16-pin jack to the
main cable’s male adapter.
3. Connect the attached OBD I adapter to the vehicle’s DLC.
NOTE: Some adapters may have more than one adapter or may have
test leads instead of an adapter. Whatever the case, make the proper
connection to the vehicle’s DLC as required.
After the VCI device is successfully connected to the vehicle, the Power
LED on the device illuminates, and a brief beep sound will be heard.
Some DLC connection only supplies communication and power is to be
supplied via the cigarette lighter connection.
To connect the cigarette lighter
1. Plug the DC power connector of the cigarette lighter into the DC
power supply input port on the device.
2. Connect the male connector of the cigarette lighter into the vehicle’s
cigarette lighter receptacle.

Diagnostics Operations Establishing Vehicle Communication
18
4.1.2 VCI Connection
After the VCI device is properly connected to the vehicle, the Power LED on
the VCI device illuminates solid green light, and is ready to establish
communication with the MaxiSys display tablet.
The Bluetooth Diagnostic Interface supports 2 communication methods with
the MaxiSys display tablet: Bluetooth and USB.
Pairing Up via Bluetooth
Bluetooth pairing is recommended as the first choice for the communication
between the MaxiSys display tablet and the VCI device. The working range for
Bluetooth communication is about 755 feet (230 m); this means you can
perform vehicle diagnosis freely around the workshop with greater
convenience.
If you use more than one VCI device to connect to the test vehicles when
customers are many, you can perform vehicle diagnosis on various vehicles
conveniently, by pairing the MaxiSys display tablet separately to each of the
VCI devices connected to the different test vehicles, via Bluetooth, without the
need to repeat the plugging and unplugging procedure, which is unavoidable
through traditional wired connection, thus saves you more time and provides
more efficiency.
To pair up the MaxiSys display tablet with the VCI device via
Bluetooth
1. If not already done, power up the MaxiSys display tablet.
2. Select the VCI Manager application from the MaxiSys Job Menu.
3. When the VCI Manager application is opened, the device
automatically starts scanning for available VCI devices around for
Bluetooth pairing. The found devices are listed in the Setting
section on the right side of the screen.
NOTE: If no VCI device is found, this may indicates that the signal
strength of the transmitter is too weak to be detected. In this case try to
get closer to the device, or reposition the VCI device, and remove all
possible objects that causes signal interference. When these are done,
tap the Scan button at the top right corner to start searching again.
4. Depending on the VCI type you use, the device name may display
as Maxi suffixed with a serial number. Select the required device for
pairing.

Diagnostics Operations Establishing Vehicle Communication
19
5. When paring is successfully done, the connection status displayed
to the right of the device name is shown as Paired.
6. Wait for a few minutes, and the VCI button on the system
Navigation bar at the bottom of the screen shall display a green tick
icon, indicating the display tablet is connected to the VCI device,
and is ready to perform vehicle diagnosis.
Refer to 10.1 Bluetooth Pairing on page 83 for additional information.
USB Cable Connection
The USB cable connection is a simple and quick way to establish
communication between the MaxiSys display tablet and the VCI device. After
properly connecting the USB cable from the tablet to the VCI device, the VCI
navigation button at the bottom bar of the screen shows a green tick icon in a
few seconds, and the USB LED on the VCI device illuminates solid green light,
indicating the connection between the devices is successful. The MaxiSys
diagnostic platform is now ready to perform vehicle diagnosis.
NOTE: When both the communication methods are applied at the same time,
the MaxiSys system will use the USB communication as the default priority.
4.1.3 No Communication Message
A. If the MaxiSys Display Tablet is not connected to the VCI device, an
“Error” message displays. An “Error” message indicates the display
tablet is not communicating with the VCI device, and so cannot gain
access to the vehicle control module. In this case, you need to do the
following check-ups:
Check if the VCI device is powered on.
In case of wireless connection, check if the network is configured
correctly, or if the right device has been paired.
If during the diagnosis process, the communication is suddenly
interrupted due to the loss of signal, check if there is any object that
causes signal interruption.
Check if the VCI device is properly positioned. It is recommended to
put the VCI device with the front side up.
Try standing closer to the VCI device to obtain more stable signals,
and faster communication speed.

Diagnostics Operations Getting Started
20
In case of wired connection, check the cable connection between
the display tablet and the VCI device.
Check if the green LED on the VCI device is illuminated for
Bluetooth or USB.
Check if the Error LED on the VCI device is on, this may indicate
there is a communication error between the devices, in this case try
re-establishing the connection again; if this does not work, there
may be a hardware problem with the device, in this case contact for
technical support.
B. If the VCI device is unable to establish a communication link, a prompt
message displays with check instructions. The following conditions are
the possible causes for this massage to display:
The VCI device is unable to establish a communication link with the
vehicle.
You’ve selected a system for testing that the vehicle is not equipped
with.
There is a loose connection.
There is a blown vehicle fuse.
There is a wiring fault on the vehicle, or the data cable or adapter.
There is a circuit fault in the data cable or adapter.
Incorrect vehicle identification was entered.
4.2 Getting Started
Prior to first use of the Diagnostics application, the VCI device must be
synchronized with the MaxiSys Display Tablet to establish a communication
link. See VCI Manager Operations on page 83.
4.2.1 Vehicle Menu Layout
When the VCI device is properly connected to the vehicle, and paired to the
MaxiSys Display Tablet, the platform is ready to start vehicle diagnosis. Tap on

Diagnostics Operations Getting Started
21
the Diagnostics application button on the MaxiSys Job Menu, the screen then
opens the Vehicle Menu.
Figure 4-1 Sample Vehicle Menu Screen
1. Top Toolbar Buttons
2. Manufacturers Buttons
Top toolbar Buttons
The operations of the Toolbar buttons at the top of the screen are listed and
described in the table below:
Table 4-1 Top Toolbar Buttons
Name
Button
Description
Home
Returns to the MaxiSys Job Menu.
VIN Scan
Touching this button opens a dropdown list; tap
Auto Detect for auto VIN detection; tap Manual
Input to enter VIN manually.
All
Displays all the vehicle makes in the vehicle
menu.
History
Displays the stored test vehicle history records.
This option provides you direct access to the
previously tested vehicle recorded during
previous test sessions. See 8.1 Vehicle History
on page 74.
USA
Displays the USA vehicle menu.

Diagnostics Operations Vehicle Identification
22
Name
Button
Description
Europe
Displays the European vehicle menu.
Asia
Displays the Asian vehicle menu.
Domestic
Displays the Domestic vehicle menu.
Search
Touching this button opens the virtual keyboard,
allowing you to manually enter the specific
vehicle make required.
Cancel
Touching this button exits the search screen, or
cancels an operation.
Manufacturers Buttons
The Manufacturers buttons display the various vehicle logos and the brand
names. Select the required manufacturer button after the VCI device is
properly connected to the test vehicle to start a diagnostic session.
The small envelop icon displays beside the vehicle brand name is tappable,
touching which displays an attached PDF file, showing relevant information,
such as vehicle coverage and function list etc for the corresponding vehicle
make.
4.3 Vehicle Identification
The Maxisys diagnostic system supports four methods for Vehicle
Identification.
1. Auto VIN Scan
2. Manual VIN Input
3. Manual Vehicle Selection
4. OBD Direct Entry
4.3.1 Auto VIN Scan
The MaxiSys diagnostic system features the latest VIN-based Auto VIN Scan
function to identify CAN vehicles in just one touch, which allows the technician
to quickly detect vehicles, scan all the diagnosable ECUs on every vehicle and
run diagnostics on the selected system.

Diagnostics Operations Vehicle Identification
23
To perform Auto VIN Scan
1. Tap the Diagnostics application button from the MaxiSys Job Menu.
The Vehicle Menu displays. (Figure 4-1)
2. Tap the VIN Scan button on the top toolbar.
3. Select Auto Detect. The tester starts VIN scanning on the vehicle’s
ECU. Once the test vehicle is successfully identified, the system will
guide you to the Vehicle Diagnostics screen directly.
Figure 4-2 Sample Vehicle Diagnostics Screen
4.3.2 Manual VIN Input
For some vehicles that do not support the Auto VIN Scan function, the
MaxiSys diagnostic system allows you to enter the vehicle VIN manually, or
simply take a photo of the VIN sticker for quick vehicle identification.
To perform Manual VIN Input
1. Tap the Diagnostics application button from the MaxiSys Job Menu.
The Vehicle Menu displays. (Figure 4-1)
2. Tap the VIN Scan button on the top toolbar.
3. Select Manual Input.
4. Tap the input box and enter the correct VIN.

Diagnostics Operations Vehicle Identification
24
Figure 4-3 Manual VIN Input
5. Tap Done. The vehicle will be identified in a few seconds, and once
the matching is successful, the system will guide you to the Vehicle
Diagnostics screen directly. (Figure 4-2)
6. Tap Cancel to exit Manual Input.
4.3.3 Manual Vehicle Selection
When the vehicle’s VIN is not automatically retrievable through the vehicle's
ECU, or the specific VIN is unknown, you can choose to select the vehicle
manually.
There are generally three ways to enter the vehicle information:
A. Step-by-step Vehicle Selection
This mode of vehicle selection is menu driven; you simply follow the screen
prompts and make a series of choices. Each selection you make advances
you to the next screen. A Back button at the lower right corner of the screen
returns you to the previous screen. Exact procedures may vary somewhat by
various vehicles being serviced.

Diagnostics Operations Vehicle Identification
25
B. Manual Vehicle Entry
This mode allows you to manually enter and save specific vehicle information,
such as PCM Part Number, Vehicle Calibration Number, or Tear Tag. This
function enables direct access to the vehicle's ECM and saves your time of
doing step-by-step entry selections.
To perform Manual Vehicle Entry - take Ford for example
1. Tap the Diagnostics application button from the MaxiSys Job Menu.
The Vehicle Menu displays. (Figure 4-1)
2. Tap the USA or the All button on the top toolbar.
3. Select the Ford button from the vehicle menu.
4. Select Manual Vehicle Entry from the Vehicle Selection Menu.
(Figure 4-4) A series of information screen displays, tap Yes to
continue.
Figure 4-4 Sample Vehicle Selection Menu
5. Select one of the three entries in the option screen - PCM Part
Number, Calibration Number or Tear Tag.
6. Take the PCM Part Number entry for example; you need to fill up
the accurate vehicle information in the input boxes.

Diagnostics Operations Vehicle Identification
26
Figure 4-5 PCM Part Number Input Screen
7. Tap OK to continue when the input is done. A confirming screen
showing the Vehicle Information displays.
8. Check if the vehicle information is correct, and then from the
confirming screen, select:
a) Yes to continue.
b) No to return to the vehicle selection menu.
9. Select Yes and the vehicle diagnostics screen displays.(Figure 4-2)
C. Auto Vehicle Entry
Some vehicles provide an auto scan feature, which allows you to skip the
step-by-step vehicle identification procedure and retrieve the specific vehicle
information from the vehicle’s ECU directly.
To perform Auto Vehicle Entry - take Ford for example
1. Tap the Diagnostics application button from the MaxiSys Job
Menu. The Vehicle Menu displays. (Figure 4-1)
2. Tap the USA or the All button on the top toolbar.
3. Select the Ford button from the vehicle menu.
4. Select Start New Session from the vehicle selection menu. A
confirming screen showing the Vehicle Information displays.

Diagnostics Operations Navigation
27
5. Check if the vehicle information is correct, and then from the
confirming screen, select:
a) Yes to continue.
b) No to return to the vehicle selection menu.
6. Select Yes and the Vehicle Diagnostics screen displays. (Figure
4-2)
4.3.4 Alternative Vehicle Identification
Occasionally, you may identify a test vehicle that the tester does not recognize;
the database does not support, or has some unique characteristics that
prevent it from communicating with the tester through the normal channels. In
these instances, you are provided with the OBD direct entry, through which
you can perform generic OBD II or EOBD tests. See 4.9 Generic OBD II
Operations on page 51 for additional information.
4.4 Navigation
This section describes how to navigate the Diagnostics interface and select
test options.
4.4.1 Diagnostics Screen Layout
The Diagnostics screens typically include four sections. (Figure 4-6)
Figure 4-6 Sample Diagnostics Screen

Diagnostics Operations Navigation
28
1. Diagnostics Toolbar
2. Status Information Bar
3. Main Section
4. Functional Buttons
Diagnostics Toolbar
The Diagnostics toolbar contains a number of buttons that allow you to print or
save the displayed data and make other controls. The table below provides a
brief description for the operations of the Diagnostics toolbar buttons:
Table 4-2 Diagnostics Toolbar Buttons
Name
Button
Description
Home
Returns to the MaxiSys Job Menu.
Vehicle
Swap
Touching this button allows you to exit the
diagnostic session of the currently identified test
vehicle, and returns you to the vehicle menu screen
to select another vehicle for testing.
Settings
Opens the setting screen. See Settings Operations
on page 70.
Print
Saves and prints a copy of the displayed data. See
3.3.1 Printing Operation for additional information
on page 15.
Help
Provides instructions or tips for operations of
various diagnostic functions.
Save
Tapping this button opens a submenu, on which
there are 3 options available to save the displayed
data.
Tap Save This Page to take a screenshot
image
Tap Save All Data to save a PDF file (mostly
used to save data that cover more than 1
page)
Tap Start Saving to record a video clip (only
available for recording Live Data or special
graph data)
All saved data are stored in the Data Manager
application for later reviews. See Data Manager
Operations on page 57.

Diagnostics Operations Navigation
29
Name
Button
Description
Data
Logging
Records the communication data and ECU
information of the test vehicle. The saved data can
be reported and sent to the technical center via the
internet. (Coming soon)
To perform data printing in Diagnostics
1. Tap the Diagnostics application button from the MaxiSys Job Menu.
The Print button on the diagnostic toolbar is available throughout
the whole Diagnostics operations.
2. Tap Print whenever you want to make a printing. A drop-down menu
appears.
a) Print This Page – prints a screenshot copy of the current
screen
b) Print All Page – prints a PDF copy of all displayed data
3. A temporary file will be created and send to the computer for
printing.
4. When the file is transferred successfully, a confirmation message
displays.
NOTE: Make sure the display tablet is connected to the computer network,
either via Wi-Fi or LAN, before printing. For more instructions on printing, see
3.3.1 Printing Operation on page 15 for detailed information.
Status Information Bar
The Status Information Bar at the top of the Main Section displays the
following items:
1. Menu Title – indicates the menu subject of the Main Section
2. VCI Icon – indicates the communication status between the tablet and
the VCI device
3. Battery Icon – indicates the battery status of the VEHICLE
Main Section
The Main Section of the screen varies depending on the stage of operations.
The main section can show vehicle identification selections, the main menu,
test data, messages, instructions and other diagnostic information.

Diagnostics Operations Navigation
30
Functional Buttons
The displayed Functional Buttons at this section of the screen varies
depending on the stage of operations. They can be used to navigate, save or
clear the diagnostic data, exit scanning as well as make other functional
controls. The functions of these buttons will be introduced respectively in the
following sections of the corresponding test operations.
4.4.2 Screen Messages
Screen messages appear when additional input is needed before proceeding.
There are mainly three types of on-screen messages as to their purposes:
Confirmation, Warning, and Error.
Confirmation Messages
This type of messages usually displays as an “Information” screen, which
informs you when you are about to perform an action that cannot be reversed
or when an action has been initiated and your confirmation is needed to
continue.
When a user-response is not required to continue, the message displays
briefly before automatically disappearing.
Warning Messages
This type of messages informs you when completing the selected action may
result in an irreversible change or loss of data. The typical example for this is
the “Erase Codes” message.
Error Messages
Error messages inform you when a system or procedural error has occurred.
Examples of possible errors include a disconnected cable or communication
interruption due to certain reasons.
4.4.3 Making Selections
The Diagnostics application is a menu driven program that presents a series
of choices one at a time. As you select from a menu, the next menu in the
series displays. Each selection narrows the focus and leads to the desired test.
Use your fingertip or the stylus pen to make menu selections.

Diagnostics Operations Diagnosis
31
4.5 Main Menu
The Diagnostics application allows you to establish a data link to the electronic
control system of the test vehicle via the VCI device for vehicle diagnosis,
service or programming. You can operate functional tests, retrieve vehicle
diagnostic information such as trouble codes, event codes and live data, and
perform ECU reprogramming, for various vehicle control systems, such as
engine, transmission, ABS and more.
The Vehicle Diagnostics screen (Figure 4-2) has three main options:
1. Diagnosis – a comprehensive section which includes all available
functions: reading, clearing, saving and printing diagnostic information,
as well as performing active tests and special functions
2. Service – a separate section designed to perform vehicle scheduled
service and maintenance, such as to reset the service lights and perform
calibration for various systems
3. Programming/Coding – a separate section designed for quick access
to ECU reprogramming operations
NOTE: The accompanied Bluetooth Diagnostic Interface does not support the
ECU programming function. Autel’s J2534 ECU programming device is the
ideal device to perform this function, which is available for your choice.
After a section is selected and the tablet establishes communication with the
vehicle via the VCI device, the corresponding function menu or selection
menu displays.
4.6 Diagnosis
There are two options available when accessing the Diagnosis section:
1. Auto Scan – starts auto scanning for all the available systems on the
vehicle
2. Control Units – displays a selection menu of all available control units of
the test vehicle
Auto Scan
The Auto Scan function performs a comprehensive scanning over all the
systems on the vehicle’s ECU in order to locate fault systems and retrieve
DTCs. The sample operation interface of Auto Scan displays as below:

Diagnostics Operations Diagnosis
32
Figure 4-7 Sample Auto Scan Operation Screen
1. Navigation Bar
2. Main Section
3. Functional Buttons
Navigation Bar
1. List Tab – displays the scanned data in list format
2. Tree Tab – display the scanned data in system distribution diagram
format
3. Progress Bar – indicates the test progress
Main Section
A. List Tab
Column 1 - displays the system numbers
Column 2 - displays the scanned systems
Column 3 - displays the diagnostic marks indicating different conditions of
the test result:
-!-: Indicates that the scanned system may not support the code
reading function, or there is a communication error between the tester
and the control system.

Diagnostics Operations Diagnosis
33
-?-: Indicates that the vehicle control system has been detected, but
the tester cannot accurately locate it.
Fault | #: Indicates there is/are detected fault code(s) present; “#”
indicates the number of the detected faults.
Pass | No Fault: Indicates the system has passed the scanning
process and no fault has been detected.
B. Tree Tab
The tree tab screen displays a system distribution diagram of the vehicle
control modules. The scanned system which has passed scanning with no
fault is shown in blue font; whereas the scanned system that has been
detected with fault present is shown in red font.
Tab the ○
> button to the right of the system item, on which you want to
perform further diagnosis and other test activities. A Function Menu
screen (Figure 4-8) shall then display.
Functional Buttons
The table below provides a brief description of the Functional Buttons’
operations in Auto Scan:
Table 4-3 Functional Buttons in Auto Scan
Name
Description
Back
Returns to the previous screen or exit Auto Scan.
Pause
Suspends scanning and changes to show the Continue
button.
OK
Confirms the test result, and continues to the system
diagnosis after selecting the required system by tapping
the item in the Main Section.
Quick Erase
Deletes codes. A warning message screen will display
to inform you of possible data loss when this function is
selected.
Report
Displays the diagnostic data in the report form.
Save
Saves the diagnostic session as a history record, this
allows you to quickly restore access to the test systems.

Diagnostics Operations Diagnosis
34
Control Units
This option allows you to manually locate a required control system for testing
through a series of choices. You simply follow the menu driven procedure, and
make proper selection each time; the program will guides you to the diagnostic
function menu after a few choices you’ve made.
Figure 4-8 Sample Function Menu Screen
The Function Menu options vary slightly by different vehicles. The function
menu may include:
ECU Information – provides the retrieved ECU information in detail.
Selecting opens an information screen.
Read Codes – displays detailed information of DTC records retrieved
from the vehicle control module.
Erase Codes – erases DTC records and other data from the ECM.
Live Data – retrieves and displays live data and parameters from the
vehicle’s ECU.
Active Test – provides specific subsystem and component tests. This
selection may appear as Actuators, Actuator Test, or Function Tests,
etc., and the tests options vary depending on the manufacturer and
model.

Diagnostics Operations Diagnosis
35
Special Functions – provides component adaptation or variant coding
functions for custom configurations, and also allows you to reprogram
adaptive values for certain components after making repairs. Depending
on the test vehicle, this selection may sometimes appear as Control
Unit Adaptations, Special Functions, Variant Coding, Configuration
or something similar.
NOTE: With the diagnostic toolbar on top of the screen throughout the whole
diagnostic procedures, you are allowed to make various controls of the
diagnostic information at anytime, such as printing and saving the displayed
data, get help information, or perform data logging, etc.
To perform a diagnostic function
1. Establish communication with the test vehicle via the VCI device.
2. Identify the test vehicle by selecting from the menu options.
3. Select the Diagnosis section.
4. Locate the required system for testing by Auto Scan or through
menu driven selections in Control Units.
5. Select the desired test from the Function Menu.
4.6.1 ECU Information
This function retrieves and displays the specific information for the tested
control unit, including unit type, version numbers and other specifications. The
sample ECU Information screen displays as below:
Figure 4-9 Sample ECU Information Screen

Diagnostics Operations Diagnosis
36
1. Diagnostics Toolbar Buttons – see Table 4-2 Diagnostics Toolbar
Buttons on page 28 for detailed descriptions of the operations for each
button.
2. Main Section – the left column displays the item names; the right
column shows the specifications or descriptions.
3. Functional Button – In this case, only a Back (or sometimes an ESC)
button is available; tap it to exit after viewing.
4.6.2 Read Codes
This function retrieves and displays the DTCs from the vehicle’s control
system. The Read Codes screen varies for each vehicle being tested, on
some vehicles, freeze frame data can also be retrieved for viewing. The
sample Read Codes screen displays as below:
Figure 4-10 Sample Read Codes Screen
1. Diagnostics Toolbar Buttons – see Table 4-2 Diagnostics Toolbar
Buttons on page 28 for detailed descriptions of the operations for each
button.
2. Main Section
Code Column – displays the retrieved codes from the vehicle.

Diagnostics Operations Diagnosis
37
Status Column – indicates the status of the retrieved codes.
Description Column – detailed descriptions for the retrieved codes.
Snowflake Icon – only displays when freeze frame data is available
for viewing; Selecting displays a data screen, which looks very
similar to the Read Codes interface, therefore same operation
method may be applied.
3. Functional Button – in this case, only a Back (or sometimes an ESC)
button is available; tap it to return to the previous screen or exit the
function.
4.6.3 Erase Codes
After reading the retrieved codes from the vehicle and certain repairs have
been carried out, you can decide to erase the codes from the vehicle using
this function. Before performing this function, make sure the vehicle’s ignition
key is in the ON (RUN) position with the engine off.
To erase codes
1. Tap Erase Codes from the Function Menu.
2. A warning message displays to inform you of data loss when this
function is applied.
a) Tap Yes to continue. A confirming screen displays when the
operation is successfully done.
b) Tap No to exit.
3. Tap ESC on the confirming screen to exit Erase Codes.
4. Check the Read Codes function again to ensure the operation is
successful.
4.6.4 Live Data
When this function is selected, the screen displays the data list for the
selected module. The items available for any control module vary from one
vehicle to another. The parameters display in the order that they are
transmitted by the ECM, so expect variation between vehicles.

Diagnostics Operations Diagnosis
38
Gesture scrolling allows you to quickly move through the data list. Simply
touch the screen and drag your finger up or down to reposition the parameters
being displayed if the data covers more than one screen. The figure below
shows a typical Live Data screen:
Figure 4-11 Sample Live Data Screen
1. Diagnostics Toolbar Buttons – tap the drop-down button at the top
center of the screen displays the toolbar buttons. See Table 4-2
Diagnostics Toolbar Buttons on page 28 for detailed descriptions of the
operations for each button.
2. Main Section
Name Column – this column displays the parameter names.
a) Check Box - tap the check box at the left side of the parameter
name to make selection of an item. Tap the check box again to
deselect the item.
b) Drop-down Button – tapping the drop-down button at the right
side of the parameter name opens a submenu, which provides
various choices for data display mode.
Value Column – displays the values of the parameter items.
Range Column - displays the minimum and the maximum limit
value.
Unit Column – displays the unit for the parameter values.

Diagnostics Operations Diagnosis
39
To change the unit mode, tap the Setting button on the top toolbar
and select a required mode. See 7.1.1 Unit on page 70 for more
information.
3. Display Mode
There are 4 types of display modes available for data viewing, allowing
you to view various types of parameters in the most suitable way for
better data check-ups.
Tapping the drop-down button on the right side of the parameter name
opens a submenu. There are 4 buttons to configure the data display
mode, plus one Help button on the right, tappable when additional
information is available for your reference.
Each parameter item displays the selected mode independently.
Analog Gauge Mode – displays the parameters in form of an analog
meter graph
Text Mode – this is the default mode which displays the parameters in
texts and shows in list format
NOTE: Reading of status parameters, such as a switch reading, which
are mostly in word form, like ON, OFF, ACTIVE, and ABORT, etc., can
only be displayed in Text Mode. Whereas reading of value parameters,
such as a sensor reading, can be displayed in text mode and other graph
modes.
Waveform Graph Mode – displays the parameters in waveform graphs
When displaying this mode, three control buttons will appear on the right
side of the parameter item, allowing you to manipulate the display status.
Text Button – resumes Text Display Mode
Scale Button – changes the scale values, which are displayed
below the waveform graph. There are 4 scales available: x1, x2,
x4 and x8.
Zoom-in Button – tap once to display the selected data graph in
full screen
Digital Gauge Mode– displays the parameters in form of a digital gauge
graph
Full Screen Display – this option is only available in the waveform graph
mode, and mostly used in Graph Merge status for data comparison.
There are three control buttons available on the top right side of the
screen under this mode.

Diagnostics Operations Diagnosis
40
Edit Button – tapping this button opens an edit window, on which
you can set the waveform color and the line thickness displayed
for the selected parameter item.
Scale Button - changes the scale values, which are displayed
below the waveform graph. There are 4 scales available: x1, x2,
x4 and x8.
Zoom-out Button – exits full screen display.
To edit the waveform color and line thickness in a data graph
1. Select 1 to 3 parameter items to display in Waveform Graph mode.
2. Tap the Zoom-in Button on the right to display the data graph in
full screen.
3. Tap the Edit Button, an edit window appears.
4. Select a parameter item on the left column.
5. Select a desired sample color from the second column.
6. Select a desired sample line thickness from the right column.
7. Repeat step 4-7 to edit the waveform for each parameter item.
8. Tap Done to save the setting and exit, or tap Cancel to exit without
saving.
4. Functional Buttons
The operations of all the available functional buttons on Live Data screen
are described below:
Back – returns you to the previous screen or exit the function.
Record – starts recording the retrieved live data; the recorded data is
then stored as a video clip in the Data Manager application for future
reviews. This function could be triggered automatically at preset threshold
value or manually as you choose, and the triggering mode and record
duration can be configured in the Setting mode of Live Data.
Freeze – displays the retrieved data in freeze mode.
Previous Frame – Moves to the previous frame in the freeze data.
Next Frame – Moves to the next frame in the freeze data.
Resume – this button appears when the Record or Freeze function is
applied. Tapping this button stops data recording, or exit freeze data
mode, and resumes normal data display mode.

Diagnostics Operations Diagnosis
41
Flag – this button appears when the Record function is applied. Tapping
this button sets flags for the recorded data at points wherever you choose,
when playing back the recorded video clip later in Data Manager, the
preset flag will enable a popup to allow input of text to take notes.
Clear Data –tapping which clears all previously retrieved parameter
values at a cutting point whenever you choose.
To Top – moves a selected data item to the top of the list.
Graph Merge – tap this button to merge selected data graphs (for
Waveform Graph Mode only). This function is very useful when making
comparison for different parameters.
NOTE: This mode supports Graph Merge for 2 to 3 parameter items only,
so select no less than 2 or more than 3 items each time when making
graph merge.
To cancel Graph Merge mode, tap the drop-down button on the
right side of the parameter name, and select a data display mode.
Show Selected/Show All – tap this option to exchange between the two
options; one displays the selected parameter items, the other displays all
the available items.
Setting – tapping this button opens a setting screen, which allows you to
set the trigger mode, recording duration, and various threshold values for
data recording, and make other controls.
Figure 4-12 Sample Setting Mode in Live Data

Diagnostics Operations Diagnosis
42
There are four navigation buttons on top of the Setting mode screen.
Range Button – displays the configuration screen on which you can
set the threshold values, an upper limit and a lower limit, for
triggering the buzzer alarm. This function is only applied to the
Waveform Graph display mode.
a) MIN – tapping which opens a virtual keyboard, allows you to
enter the required lower limit value
b) MAX – tapping which opens a virtual keyboard, allows you to
enter the required upper limit value
c) Buzzer Alarm – switches the alarm on and off. The alarm
function makes a beep sound as a reminder whenever the data
reading reaches the preset minimum or maximum point
To set threshold limits for the parameter values
1. Tap the Setting functional button at the bottom of the Live Data
screen.
2. Tap the Range navigation button.
3. Select a parameter item on the left column, or enter the item
name in the Search bar.
4. Tap on the right side of the MIN button, and enter the required
minimum value.
5. Tap on the right side of the MAX button, and enter the required
maximum value.
6. Tap the ON/OFF button on the right side of the Buzzer Alarm
button to turn it on or off.
7. Tap Done to save the setting and return to the Live Data screen;
or tap Cancel to exit without saving.
If the threshold limits are successfully set, two horizontal lines now
appear on each of the data graphs (when Waveform Graph Mode is
applied) to indicate the alarming point. The threshold lines are shown
in different colors than the waveform of the parameters for distinction.
Record Button – displays the configuration screen for Record
Setting, on which you can set the trigger type, duration and trigger
point for the data recording function.

Diagnostics Operations Diagnosis
43
a) Trigger Type – sets the trigger mode for data recording, mainly
of two kinds: Manual and Auto. There are four options available:
1) Manual – allows you to manually start and stop data
recording
2) DTC – auto triggers data recording when any DTC is
detected
3) DTC Check Mode – auto triggers data recording when
certain pre-selected DTC types are detected
4) Parameter – auto triggers data recording when any
parameter value reaches the preset threshold
b) Duration – sets the recording time (for Auto trigger mode only)
c) Trigger Point – reserves a relative percentage of a record
length before the data recording start point for reference (for
Auto trigger mode only)
To perform setting for live data record
1. Tap the Setting functional button at the bottom of the Live Data
screen.
2. Tap the Record navigation button.
3. Tap the ○
> button on the right of Trigger Type bar and select
the required trigger mode.
4. Tap the ○
> button on the right of Duration bar and select a
length of time.
5. Tap the ○
> button on the right of Trigger Point bar and select
a relative percentage of a record length to be reserved before
the data recording start point.
6. Tap Done to save the setting and return to the Live Data
screen; or tap Cancel to cancel without saving and exit Setting.
Done Button - confirms and saves the setting, and returns you to
the Live Data screen.
Cancel Button – cancel the setting operation, and returns you to
the Live Data screen.

Diagnostics Operations Diagnosis
44
4.6.5 Active Test
The Active Test function is used to access vehicle-specific subsystem and
component tests. Available test vary by manufacturer, year, and model, and
only the available tests display in the menu.
During an active test, the tester outputs commands to the ECU in order to
drive the actuators. This test determines the integrity of the system or parts by
reading the engine ECU data, or by monitoring the operation of the actuators,
such as switching a solenoid, relay, or switch, between two operating states.
Selecting Active Test opens a menu of test options that varies by make and
model. Selecting a menu option activates the test. Follow all screen
instructions while performing tests. How and what information is presented on
the screen varies according to the type of test being performed. Some toggle
and variable control tests display Active Test Controls at the top of the screen
with data stream information below, or vice versa.
Figure 4-13 Sample Active Test Screen
The functional buttons at the lower right corner of the Active Test screen
manipulate the test signals. The operational instructions are displayed on the
main section of the test screen. Simply follow the on-screen instructions and
make appropriate selections to complete the tests. Each time when an
operation is successfully executed, message such as “Command Finished”,
“Activation Successful”, or something similar displays.
Tap the ESC functional button to exit the test when finished.

Diagnostics Operations Diagnosis
45
4.6.6 Special Functions
These functions perform various component adaptations, allowing you to
recalibrate or configure certain components after making repairs or
replacement.
The main section of the Adaptation Operation screen displays a list of
operational and vehicle status information, which mainly consists of four parts:
1. The first part in the top line shows the description of the operation being
performed, and the execution status is displayed on the right, such as
Completed, or Activated, etc.
2. The second part shows the preconditions or requirements for executing
the operation being selected.
3. The third part displays the current conditions of the vehicle control module
being learned for comparison to the preconditions suggested by the
second part. If the current condition of the control module is out of the
suggested limit value, you must adjust the vehicle condition to meet the
requirement.
4. The last part displays the instruction of how to use the functional button at
the lower right corner of the screen to manipulate the teach-in operations.
Figure 4-14 Sample Adaptation Operation Screen

Diagnostics Operations Service
46
Read the information carefully and check the vehicle condition accordingly,
when you are sure that the vehicle is ready to perform the adaptation, simply
follow the instruction provided to make appropriate selections. When the
operation is done, an execution status message such as Completed, Finished
or Successful, displays.
Tap the ESC button to exit the function.
4.7 Service
The Service section is specially designed to provide you quick access to the
vehicle systems for various scheduled service and maintenance performances.
The typical service operation screen is a series of menu driven executive
commands. By following the on-screen instructions to select appropriate
execution options, enter correct values or data, and perform necessary
actions, the system will guide you through the complete performance for
various service operations.
The most commonly performed service functions include:
Oil Reset Service
TPMS Programming Service
EPB Service
ABS/SRS Services
SAS Calibration Service
DPF Regeneration Service
4.7.1 Function Descriptions
This section describes the main functions for vehicle service:
Oil Reset Service
This function allows you to perform reset for the Engine Oil Life system, which
calculates an optimal oil life change interval depend on the vehicle driving
conditions and climate. The Oil Life Reminder must be reset every time the oil
is changed, so the system can calculate when the next oil change is required.
Tire Pressure Monitor System (TPMS) Service
This function allows you to quickly look up the tire sensor IDs from the
vehicle’s ECU, as well as to perform TPMS programming and reset
procedures after tire sensors are replaced.

Diagnostics Operations Programming and Coding
47
Electric Parking Brake (EPB) Service
This function has a multitude of usages to maintain the electronic braking
system safely and effectively. The applications include deactivating and
activating the brake control system, assisting with brake fluid control, opening
and closing brake pads, and setting brakes after disc or pad replacement, etc.
ABS/SRS Services
This function allows you to perform various bi-directional tests to check the
operating conditions of both the Anti-lock Braking System and the
Supplemental Restraint System, such as Automated Bleeding, Pump Motor
Test, and checking Module information, etc.
Steering Angle Sensor (SAS) Service
This service function allow you to perform calibration for the Steering Angle
Sensor, which permanently stores the current steering wheel position as the
straight-ahead position in the steering angle sensor EEPROM. On successful
completion of the calibration, the steering angle sensor fault memory is
automatically cleared.
DPF Regeneration Service
The Diesel Particulate Filter service function performs the regeneration
procedure which is the DPF cleaning operation to clear the blockage through
continuous burning of the particulate matter captured in the DPF filter. If the
DPF light on the vehicle comes on and you successfully complete a DPF
regeneration cycle, you will notice that the DPF light will automatically turn off.
4.8 Programming and Coding
Since the introduction of OBD II and leading up to modern Hybrids and EVs,
computers and software in cars have been expanding at an exponential rate.
In-car software is becoming one of the leading needs for service, and updating
software may be the only way to fix some of these issues:
Drivability
Fuel Efficiency
Power Loss
Fault Codes
Durability of Mechanical Parts

Diagnostics Operations Programming and Coding
48
The Programming and Coding function is used to re-flash the vehicle control
modules, it allows you to update the computer software on the vehicle to the
latest version, as well as to reprogram adaptive data for certain components
after making repairs or replacements.
NOTE: The programming function can only be applied through connection
with Autel’s J2534 programming device, which serves as a PassThru interface
to establish communication with and transfer data to the vehicle’s ECU.
Available programming or coding operations vary by the test vehicle, and only
the available operations display in the menu.
There are two general types of programming operations:
A. Coding – also known as Teach-in Program, Component Adaptation or
something similar, is used to reprogram adaptive data for vehicle control
modules after repairs or replacements of vehicle parts.
B. Reprogramming Operations – downloads new version of software
subscription from the on-line server database through internet access
(this procedure is done automatically when the MaxiSys display tablet is
connected to the internet, so there is no need to check for software
subscriptions yourself), and reprograms the newest software version to
the vehicle’s ECU.
NOTE: Ensure that the display tablet is connected to the Internet before
applying the ECU programming function, so that the display tablet is able to
obtain access to the manufacturer’s server for update service.
Selecting the Programming or Coding function opens a menu of operation
options that varies by make and model. Selecting a menu option either shows
a programming interface or opens another menu of additional choices. Follow
all screen instructions while performing the programming or coding operations.
How and what information is presented on the screen varies according to the
type of operation being performed.

Diagnostics Operations Programming and Coding
49
Variant Coding
Figure 4-15 Sample Variant Coding Screen
The main section of the Variant Coding screen displays a list of vehicle
components and the coding information which mainly consists of three parts:
1. The top line on the list displays the instruction of how to use the
functional button at the lower right corner of the screen to manipulate the
coding operations.
2. The second part under the top line of the list displays all available
systems for coding on the left side, and the coding data or value on the
right side.
3. The bottom line of the main section displays the functional buttons, which
allow you to manipulate the operation.
Check the vehicle condition and the coding information carefully, and use the
functional button to edit Codes for the corresponding components, tap Send
when you finish edit for all the items. When the operation is done, an
execution status message such as Completed, Finished or Successful, may
display.
Tap the ESC button to exit the function.

Diagnostics Operations Programming and Coding
50
Reprogramming Operation
Typical reprogramming operations require you to input and validate VIN
number first. Tap the input box and enter the correct number, the programming
interface then displays.
Figure 4-16 Sample Reprogramming Operation Screen
The main section of the reprogramming interface provides you certain
hardware version, and current software versions’ information, as well as the
information of the newest software versions to be programmed to the control
units.
Throughout the programming procedure, a series of on-screen operational
instructions will display to guide you through.
Carefully read the on-screen information and follow the instruction to execute
the programming procedure.
Re-flash Errors
IMPORATANT: When reprogramming onboard, always make sure the vehicle
battery is fully charged and in good working condition. During reprogramming
there is a risk of having the operation failure if voltage falls below the proper
operation voltage. Sometimes a failed operation can be recovered, but there is
a chance that failed reprogramming could ruin the control module. We
recommend connecting an external battery charger to the vehicle to ensure a
successful operation.

Diagnostics Operations Generic OBD II Operations
51
Occasionally a flash update procedure may not complete properly. Common
causes of flash errors include poor cable connections between the display
tablet, VCI, and vehicle, turning off the vehicle ignition switch before the flash
procedure is complete, or low vehicle battery voltage.
If the process crashes, recheck all the cable connections to assure good
communications and reinitialize the flash procedure. The programming
procedure will automatically repeat if the previous operation does not
succeed.
4.9 Generic OBD II Operations
A fast-access option for OBD II/EOBD vehicle diagnosis is available on the
Vehicle Menu screen (Figure 4-1). This option presents a quick way to check
for DTCs, isolate the cause of an illuminated malfunction indicator lamp (MIL),
check monitor status prior to emissions certification testing, verify repairs, and
perform a number of other services that are emissions-related. The OBD
direct access option is also used for testing OBD II/EOBD compliant vehicles
that are not included in the Diagnostics database.
Functions of the diagnostics toolbar buttons at the top the screen are the
same as those available for specific vehicle diagnostics. See Table 4-2
Diagnostics Toolbar Buttons on page 28 for details.
4.9.1 General Procedure
To access the OBD II/EOBD diagnostics functions
1. Tap the Diagnostics application button from the MaxiSys Job
Menu. The Vehicle Menu displays.
2. Tap the EOBD button. There are two options to establish
communication with the vehicle.
Auto Scan – When this option is selected the diagnostic tool
attempts to establish communication using each protocol in
order to determine which one the vehicle is broadcasting on.
Protocol – When this option is selected the screen opens a
submenu of various protocols. A communication protocol is a
standardized way of data communication between an ECM
and a diagnostic tool. Global OBD may use several different
communication protocols.

Diagnostics Operations Generic OBD II Operations
52
3. Select a specific protocol if the Protocol option is selected. Wait for
the OBD II Diagnostic Menu to appear.
Figure 4-17 Sample OBD II Diagnostic Menu
NOTE: The ○
i button displayed beside the function name is tappable,
tapping which opens a bubble with additional function information.
4. Select a function option to continue.
DTC & FFD
I/M Readiness
Live Data
O2 Sensor Monitor
On-Board Monitor
Component Test
Vehicle Information
Vehicle Status
NOTE: Some functions are supported only on certain vehicle makes.

Diagnostics Operations Generic OBD II Operations
53
4.9.2 Function Descriptions
This section describes the various functions of each diagnostic option:
DTC & FFD
When this function is selected, the screen displays a list of Stored Codes and
Pending Codes. When the Freeze Frame data of certain DTCs are available
for viewing, a snowflake button will display on the right side of the DTC item.
The Erase Codes function can be applied by tapping the functional button at
the lower bottom of the screen.
Figure 4-18 Sample DTC & FFD Screen
Stored Codes
Stored codes are the current emission related DTCs from the ECM of the
vehicle. OBD II/EOBD Codes have a priority according to their emission
severity, with higher priority codes overwriting lower priority codes. The
priority of the code determines the illumination of the MIL and the codes
erase procedure. Manufacturers rank codes differently, so expect to see
differences between makes.
Pending Codes
These are codes whose setting conditions were met during the last drive
cycle, but need to be met on two or more consecutive drive cycles before
the DTC actually sets. The intended use of this service is to assist the
service technician after a vehicle repair and after clearing diagnostic
information, by reporting test results after a single driving cycle.

Diagnostics Operations Generic OBD II Operations
54
a) If a test failed during the driving cycle, the DTC associated with that
test is reported. If the pending fault does not occur again within 40 to
80 warm-up cycles, the fault is automatically cleared from memory.
b) Test results reported by this service do not necessarily indicate a
faulty component or system. If test results indicate another failure
after additional driving, then a DTC is set to indicate a faulty
component or system, and the MIL is illuminated.
Freeze Frame
In most cases the stored frame is the last DTC that occurred. Certain
DTCs, those that have a greater impact on vehicle emission, have a
higher priority. In these cases, the highest priority DTC is the one for
which the freeze frame records are retained. Freeze frame data includes
a “snapshot” of critical parameter values at the time the DTC is set.
Erase Codes
This option is used to clear all emission related diagnostic data such as,
DTCs, freeze frame data and manufacturer specific enhanced data from
the vehicle’s ECM, and resets the I/M Readiness Monitor Status for all
vehicle monitors to Not Ready or Not Complete status.
A confirmation screen displays when the clear codes option is selected to
prevent accidental loss of data. Select Yes on the confirmation screen to
continue, or No to exit.
I/M Readiness
This function is used to check the readiness of the monitoring system. It is an
excellent function to use prior to having a vehicle inspected for compliance to
a state emissions program. Selecting I/M Readiness opens a submenu with
two choices:
Since DTCs Cleared – displays the status of monitors since the last time
the DTCs are erased.
This Driving Cycle – displays the status of monitors since the beginning
of the current drive cycle.

Diagnostics Operations Generic OBD II Operations
55
Live Data
This function displays the real time PID data from ECU. Displayed data
includes analog inputs and outputs, digital inputs and outputs, and system
status information broadcast on the vehicle data stream.
Live data can be displayed in various modes, see 4.6.4 Live Data on page 37
for detailed information.
O2 Sensor Monitor
This option allows retrieval and viewing of O2 sensor monitor test results for
the most recently performed tests from the vehicle’s on-board computer.
The O2 Sensor Monitor test function is not supported by vehicles which
communicate using a controller area network (CAN). For O2 Sensor Monitor
tests results of CAN-equipped vehicles, refer to On-Board Monitor.
On-Board Monitor
This option allows you to view the results of On-Board Monitor tests. The tests
are useful after servicing or after erasing a vehicle’s control module memory.
Component Test
This service enables bi-directional control of the ECM so that the diagnostic
tool is able to transmit control commands to operate the vehicle systems. This
function is useful in determining how well the ECM responds to a command.
Vehicle Information
The option displays the vehicle identification number (VIN), the calibration
identification, and the calibration verification number (CVN), and other
information of the test vehicle.
Vehicle Status
This item is used to check the current condition of the vehicle, including
communication protocols of OBD II modules, retrieved codes amount, status
of the Malfunction Indicator Light (MIL), and other additional information may
be displayed.

Diagnostics Operations Exiting Diagnostics
56
4.10 Exiting Diagnostics
The Diagnostics application remains open as long as there is an active
communication with the vehicle. You must exit the diagnostics operation
interface to stop all communications with the vehicle before closing the
Diagnostics application.
NOTE: Damage to the vehicle electronic control module (ECM) may occur if
communication is disrupted. Make sure the all connections, such as data
cable, USB cable, and wireless or wired network, are properly connected at all
times during testing. Exit all tests before disconnecting the test cable or
powering down the tool.
To exit the Diagnostics application
1. From an active diagnostic screen, tap the Back or ESC functional
button to exit a diagnostic session step-by-step; Or
2. Tap the Vehicle Swap button on the diagnostics toolbar to return to
the Vehicle Menu screen.
3. From the vehicle menu screen, tap the Home button on the top
toolbar; or tap the Back button on the navigation bar at the bottom of
the screen. Or
4. Tap the Home button on the diagnostics toolbar to exit the
application directly to the MaxiSys Job Menu.
Now, the Diagnostics application is no longer communicating with the vehicle
and it is safe to open other MaxiSys applications, or exit the MaxiSys
Diagnostic System and return to the Android System’s Home screen.

57
Chapter 5 Data Manager Operations
The Data Manager application is used to store, print, and review the saved files. Most
operations are controlled through the toolbar.
Selecting the Data Manager application opens the file system menu. Different file types
are sorted separately under different options, there are six types of information files to
be viewed or played back.
Figure 5-1 Sample Data Manager Main Screen
5.1 Operations
Data Manager Operations are based on toolbar controls, details are explained
in the following sections.
5.1.1 Image Files
The Image section is a JPG database containing all captured screenshot
images.

Data Manager Operations Operations
58
Figure 5-2 Sample Image Database Screen
1. Toolbar Buttons – used to edit, print and delete the image files. See
Table 5-1 Toolbar Buttons in JPG Database on page 58 for detailed
information.
2. Main Section – displays the stored images.
Table 5-1 Toolbar Buttons in JPG Database
Name
Button
Description
Back
Returns to the previous screen.
Enter Edit
Touching this button shows the editing toolbar
to print, delete or view image information.
Cancel
Touching this button close the editing toolbar
or cancels file search.
Search
Quickly locates the image file by entering the
vehicle name, test path, file name or file info.
Info
Touching this button opens a window
displaying the detail information of the image.
Print
Touching this button prints the selected image.
Delete
Touching this button deletes the selected
image.

Data Manager Operations Operations
59
To edit image information
1. Select Data Image application from the MaxiSys Job Menu.
2. Select Image to access the JPG database.
3. Select an image to display it in full screen.
4. Tapping the screen once displays the editing toolbar.
5. Tap the Info button to open a window displaying the image
information.
6. Tap the Edit button on the top right corner of the window. The editing
screen displays.
7. Edit the image information by entering the new file name, and file
information.
8. Tap Done to save the information and exit, or tap Cancel to exit
without saving.
To delete selected images
1. Select Data Image application from the MaxiSys Job Menu.
2. Select Image to access the JPG database.
3. Tap the Enter Edit button to display the editing toolbar.
4. Select the images that need to be deleted by tapping the thumbnail
images, the selected thumbnail displays a tick icon at the bottom
right corner.
5. Tap the Delete button, and then Delete Selected, now the selected
images are deleted.
5.1.2 PDF Files
The PDF section stores and displays all PDF files of saved data. After entering
the PDF database, select a PDF file to view the stored information.
This section uses the standard Adobe Reader application for file viewing and
editing, please refer to the associated Adobe Reader manual for more detailed
instructions.

Data Manager Operations Operations
60
5.1.3 Review Data
The Review Data section allows you to playback the recorded data frames of
live data streams.
On the Review Data main screen, select a record file to playback.
Figure 5-3 Sample Data Playback Screen
1. Drop-down Toolbar – tap the button at the top center of the screen to
open the Drop-down Toolbar
2. Main Section – displays the recorded data frames
3. Navigation Toolbar – allows you to manipulate data playback
Use the Navigation Toolbar buttons to playback the record data from frame to
frame.
Tap Back to exit data playback.
5.1.4 Apps Manager (Coming soon)
This section allows you to manage the applications installed on the MaxiSys
Diagnostics System. Selecting this section opens a managing screen, on
which you can check all the available vehicle applications, and make various
controls, such as uninstalling, forcing stop, or clearing data, etc.

Data Manager Operations Operations
61
5.1.5 Message (Coming soon)
The MaxiSys System receives regular service or notification messages from
the on-line server through the Internet. All messages that have been received
and read are stored in this section automatically for later reviews.
5.1.6 Data Logging (Coming soon)
The Data Logging function records communication data and ECU information
when malfunction occurred during testing procedures. The recorded data will
be sent to the technical center via the Internet for troubleshooting. The
technical center then feedbacks a fix file to the user, usually within 48 hours.
An update for the patch will later be submitted and posted on-line for all users
to download.

62
Chapter 6 MaxiFix Operations
The MaxiFix application launches the on-line troubleshooter database, which not only
provides you virtually all common diagnostic trouble code (DTC) database for most
vehicles, but also serves as a forum allowing you to network with other MaxiSys users,
and gives you access to a vast database of repair and diagnostic tips along with proven
filed fixes.
While the MaxiFix provides the abundant troubleshooter information available, the
database keeps growing with daily troubleshooting resources by recording the reported
solution cases, and the advisory reports of the MaxiSys users from all over the world.
Information in the MaxiFix database is organized into a series of diagnostic tips that are
designed to quickly lead you to the root cause of a particular problem on the test vehicle,
which will help you quickly find solution for various diagnostic problems.
6.1 Navigation
You need to register the device to your online account before launching the
MaxiFix platform, see 12.1Product Registration on page 87 for details.
Figure 6-1 Sample MaxiFix Home Page

MaxiFix Operations Navigation
63
The MaxiFix interface has 3 main areas:
1. Header Bar – located across the top of the page, is used to select
vehicles and perform keyword searches.
2. Navigation Bar – located along the left-hand side of the page is used to
access the main features of MaxiFix.
3. Main Screen – The center portion of the page presents content based on
the vehicle attributes and keywords selected. The main screen also has
tabs that allow you to switch between functions. Which tabs are available
depend on which function is selected on the Navigation Bar.
Header Bar
The Header Bar, which runs across the top of the page, features:
A Change Vehicle button to open the vehicle identification window, and
vehicle information bar displaying the active vehicle information, for
example “2013 > Honda > Crosstour > EX”.
A search field used for entering keywords, codes, or symptoms.
Change Vehicle Button
The “Change Vehicle” button, located on the Header Bar, is used to identify
which vehicle you want to reference on MaxiFix. Vehicle attributes are
selected from a sequence of option lists. Make a selection to advance through
the lists. This data is used to filter searches so that only information that
applies to the identified vehicle is shown.
To select a vehicle
1. Tap the “Change Vehicle” button on the Header Bar at the top of the
page.
2. Select the year of the vehicle from the list that displays.
3. Select the make of the vehicle from the list that displays.
4. Select the model of the vehicle from the list that displays.
5. Select the submodel of the vehicle from the list that displays.
6. Select the engine of the vehicle from the list that displays.
7. After making a full selection by choosing all vehicle attributes, the
screen refreshes and the selected vehicle is now shown on the
Header Bar.

MaxiFix Operations Navigation
64
6.1.1 Terminology
MaxiFix Tip
MaxiFix Tips are concise and complete descriptions of a real fix for a particular
vehicle repair issue. A MaxiFix Tip is a combination of proven fixes and vehicle
specific data we have collected and analyzed into an all-in-one information
source to help you fix vehicle problems quickly and easily.
On MaxiFix you can search for Tips or enter your own Tip to help other
community members resolve vehicle issues.
MaxiFix Tips consist of 3 types of Tips:
1. Autel Certified Tips – these tips have gone through rigorous review by
experts.
2. Real Fix Tips – these tips are gathered from actual shop repair orders
and are presented in an easy to understand Complaint, Cause,
Correction format.
3. MaxiFix Community Tips – these are Tips that have been created by
the MaxiFix Community Members.
To search for a MaxiFix Tip
1. Tap the Change Vehicle button on the Header Bar at the top of the
page to select a specific vehicle.
2. Enter a search term into the input field of the search bar which is
located on the Main Screen.
3. The search results are displayed in a list. Find a subject that
interests you; tap it to view the full details.
Fixed It!
The “Fixed It!” designation that appears in the head line of a Tip indicates that
the Tip in question has actually helped at least one technician in the
community repair a vehicle. Anytime you read a Tip you are given the
opportunity to add to the Fixed It! count if the Tip helped you repair a problem.
Each time someone taps “Fixed It!” in the tip, one is added to the total number
of Fixed It! for the tip. The Fixed It! count lets you easily see what tips are
actually helping to resolve vehicle issues.

MaxiFix Operations Operations
65
6.2 Operations
The Navigation Bar is on the left side of the screen. Buttons on the Navigation
Bar launch the main sections of MaxiFix. Available Navigation Bar selections
include:
Home – shows the recently viewed questions and fixes, along with the
Leaderboard.
Your Cloud – shows all your posts including Questions and Tips in the
community, and allows you to ask a question and enter a tip.
Search Fix – allows you to search for information from all available
resources on MaxiFix, including: Open Questions, Tips, and Real Fixes,
and displays search results.
Q&A – displays the latest questions and fixes.
Support – opens the FAQ page, or a message box for contacting
Customer Service by email.
6.2.1 Home
Home, is the first option on the Navigation Bar along the left side of the screen,
opens the home page on MaxiFix. There are two functions available.
Leaderboard – shows the top ranked MaxiFix community members.
My Recently Viewed – shows a list with links to the Questions, Tips, and
Real Fixes that you recently visited.
Leaderboard
The Leaderboard shows the top ranked MaxiFix community members.
Community members are awarded points for answering questions, and those
who gather the most points show on the MaxiFix Leaderboard. The more
points you have the better the chance you have to get on the Leaderboard.
To show on the Leaderboard the community members must answer questions
to get points.

MaxiFix Operations Operations
66
Points System
1 point is awarded for answering a question.
5 points are awarded if your answer is rated as “Good Answer” by the
MaxiFix community member who asked the question.
10 points are awarded if your answer is rated as the “Best Answer” by
the MaxiFix community member who asked the question.
6.2.2 Your Cloud
Your Cloud, the second option on the Navigation Bar along the left side of the
screen, opens your personal MaxiFix page. To access the features on Your
Cloud page you can either select from the tabs or use the links on the top of
the page:
Opened Questions – opens a list with links to the opened questions that
you have posted to the community
Closed Questions – opens a list with links to the closed questions that
you have posted to the community
Your Tips – opens a list with links to tips that you have contributed to the
community
Ask the Experts – allows you to post a question to the community
Enter a Tip – allows you to share your personal repair experience with
the community
Tap Your Cloud on the Navigation Bar along the left side of the screen, to
display all questions and tips that you have contributed to the community.
To ask a question on MaxiFix
1. If not already done, tap Change Vehicle on the Header Bar and
enter the identifying attributes of the vehicle you would like to ask a
question about.
2. Tap Your Cloud on the Navigation Bar along the left-side of the
screen to open the Your Cloud page.
3. On the Your Cloud page find Ask the Experts; tap this link to open
the Question Page.
The Question page has 4 sections:
Subject – this is where you enter a brief subject for the
question.

MaxiFix Operations Operations
67
Symptoms – this is where you describe how the vehicle is
behaving.
Diagnostics Steps Performed/Parts Replaced – include any
previous diagnostic tests that you performed, including the
results of the tests. Also list any parts that were replaced during
previous diagnostic work.
Your Question – ask a clear and concise question that you
want to ask the community. Be sure to be descriptive and
concise when asking your question.
4. Tap the Cancel button at the right-side bottom of the page to delete
your question and return to the Your Cloud page. Or,
5. Tap the Submit button at the right-side bottom of the page to ask
your question of the community.
“Good Answer” or “Best Answer” ratings
Rating answers is one way to give back to the MaxiFix community. The
member that originally asked the question gets to select a “Good Answer” and
a “Best Answer” from all of the responses. The community member that
provided the Good Answer or Best Answer to a question is recognized for their
contribution.
About Good Answers and/or Best Answers:
Only one answer can be rated “Best Answer”.
More than one answer can be rated “Good Answer”.
Only the MaxiFix community member who asked the question can rate
the answers.
Close a Question
Questions that you post to the community need to be closed once the vehicle
repair issue has been resolved. You are encouraged to document the fix, and
an important part doing so is providing information on what actually fixed the
vehicle so that other MaxiFix community members can use the information as
well. To close a question click the “Close Question” button on the right side of
your question. Your question is now converted to a MaxiFix Community Tip. As
part of closing the question, if you haven’t already, you will be asked to award
Best Answer and Good Answers ratings to reward those community members
that helped you by giving them Leaderboard points.

MaxiFix Operations Operations
68
Create a Tip
If you have a new fix to a specific vehicle problem please share! Create a
MaxiFix community Tip to share your expertise with other technicians in the
MaxiFix community.
A MaxiFix community Tip is a short yet complete description of the repair for a
particular vehicle problem.
To ceate a new MaxiFix Tip
1. Select Your Cloud from the Navigation Bar.
2. Tap Change Vehicle from the Header Bar and enter the identifying
attributes of the vehicle you are writing the Tip about.
3. On the Your Cloud page find Enter a Tip; tap this link to open the Tip
Page.
4. Enter the Tip Title in the Title field.
5. Compose your Tip in the Content field. Includes as much information
as possible, while keeping the information concise and to the point.
A Tip should provide accurate information that is easy to read,
understand, and follow.
6. Tap the Cancel button at the right-side bottom of the page to delete
your tip and return to the Your Cloud page. Or,
7. Tap the Submit button at the right-side bottom of the page to
contribute your tip to the community.
6.2.3 Search Fix
Search Fix, the third option on the Navigation Bar along the left side of the
screen, presents search results for the active vehicle. Search results are listed
in various categories:
All – includes all search results, including related Questions, Tips, and
Real Fixes to your search.
Questions – presents a list of open Question discussed in the
community that may be pertinent to your search.
Tips – presents a list of Tips that directly correlate to your search criteria.
Select a Tip from the list to open and review the complete Tip.

MaxiFix Operations Operations
69
Real Fixes – presents a list of Tips that have been gathered from actual
shop repair orders and are presented in an easy to understand
Complaint, Cause, Correction format.
6.2.4 Q&A
Q&A, the fourth option on the Navigation Bar along the left side of the screen,
presents the latest updated questions and tips in MaxiFix community. There
are two tabs available to look up:
Latest Questions – displays a list of latest posted questions. Select a
question from the list to join the discussion or submit an answer to
contribute your expertise.
Latest Tips – displays a list of latest posted tips. Select a tip from the list
to find out the repair advice and tip contributed by a community member.
If you find the tip is helpful to solve your repair problem, you can give the
tip one Fixed It! point by tapping it.
6.2.5 Support
Support, the last option on the Navigation Bar along the left side of the screen,
opens a page that provides 2 ways to gain support from MaxiFix:
1. A message form to contact the administrator of MaxiFix.
2. A Frequently Asked Questions (FAQ) link that answers the most frequent
questions we hear from MaxiFix community members.
If you wish to contact the administrator of this site please use the contact form.
Select “Support” from the Navigation Bar to open the comment window. To
allow the administrator to respond to your question or issue, the following
information should be provided:
Your name
A contact email address
A contact phone number

70
Chapter 7 Settings Operations
Selecting Settings application opens a setup interface, on which you can adjust default
setting and view information about the MaxiSys system. There are seven options
available for the MaxiSys system settings:
Unit
Language
Printing Setting
Wired Network
Push Message
About
System Settings
7.1 Operations
This section describes the operation procedures for the settings.
7.1.1 Unit
This option allows you to adjust the measurement unit for the diagnostic
system.
To adjust the unit setting
1. Tap the Settings application on the MaxiSys Job Menu.
2. Tap the Unit option on the left column.
3. Select the required measurement unit, Metric or English. A tick icon
will display to the right of the selected unit.
4. Tap the Home button on the top left corner to return to the MaxiSys
Job Menu. Or select another setting option for the system setup.

Settings Operations Operations
71
7.1.2 Language
This option allows you to adjust the display language for the MaxiSys system.
To adjust the language setting
1. Tap the Settings application on the MaxiSys Job Menu.
2. Tap the Language option on the left column.
3. Select the required language. A tick icon will display to the right of
the selected language.
4. Tap the Home button on the top left corner to return to the MaxiSys
Job Menu. Or select another setting option for the system setup.
7.1.3 Printing Setting
This option provides three options for printer connection, allowing you to print
any data or information anywhere and anytime via Wi-Fi connection. For more
information about printing, see 3.3.1 Printing Operation on page 15.
To setup the printer connection
1. Tap the Settings application on the MaxiSys Job Menu.
2. Tap the Printing Setting option on the left column.
3. Tap the Print to Network item to activate the printing function, which
enables the device to send files to the printer through the PC via
Wi-Fi connection.
4. Tap the Home button on the top left corner to return to the MaxiSys
Job Menu. Or select another setting option for the system setup.
7.1.4 Push Message
This option allows you to turn the Push Message function on or off. The Push
Message function configures the MaxiSys tablet to receive regular on-line
messages from the server for system update notifications or other service
information via the Internet. It is highly recommended to keep this function on
all the time, so you won’t miss out any new update for MaxiSys or event from
Autel. Internet access is required for receiving on-line messages.

Settings Operations Operations
72
To enable the Push Message function
1. Tap the Settings application on the MaxiSys Job Menu.
2. Tap the Push Message option on the left column.
3. Tap the ON/OFF button to enable or disable the Push Message
function. If the function is enabled the button turns blue, or if
disabled the button turns gray.
4. Tap the Home button on the top left corner to return to the MaxiSys
Job Menu. Or select another setting option for the system setup.
When the Push Message function is turned on, and new messages are
received by the MaxiSys device, a notification message displays on the
MaxiSys Job Menu. Press on the message bar and drag it down, and the
received messages are shown in the list, slide the list up or down to view all if
the message list covers more than one screen.
Tapping a specific message launches the corresponding application. For
example, if you tap on an Update notification message, the Update application
will be launched.
7.1.5 About
The About option provides information of the MaxiSys diagnostic device
regarding the product name, version, hardware, and serial number, etc.
To check the MaxiSys product information in About
1. Tap the Settings application on the MaxiSys Job Menu.
2. Tap the About option on the left column. The product information
screen displays on the right.
3. Tap the Home button on the top left corner to return to the MaxiSys
Job Menu, or select another setting option for the system setup,
after viewing.
7.1.6 System Settings
This option provides you a direct access to the Android background system
setting interface, on which you can adjust various system settings for the
Android system platform, regarding wireless and networks settings, various
device settings such as sound and display, as well as system security settings,
and check the associated information about the Android system, etc. Refer to
Android documentation for additional information.

73
Chapter 8 Shop Manager Operations
The Shop Manager application helps you to manage the workshop information,
customer information records, and keep test vehicle history records, which can be a
great assist in dealing with daily workshop business and improves customer service.
There are three main functions available:
Vehicle History
Workshop Information
Customer Manager
The operations of these functions of the Shop Manager application are mainly
manipulated by the toolbar buttons, which are listed and described in the table below:
Table 8-1 Top Toolbar Buttons in Shop Manager
Name
Button
Description
Back
Returns to the previous screen.
Diagnostics
Touching this button directs you to the vehicle’s
Diagnostics screen to activate a direct test session.
Enter Edit
Touching this button shows the editing toolbar to
print or delete the selected file.
Delete
Touching this button deletes the selected vehicle
record item from the list.
Search
Quickly locates the vehicle record by entering the
vehicle name or test path.
Cancel
Touching this button to cancel edit or file search.
Edit
Touching this button allows you to edit information
for the displayed file.
Add Account
Touching this button to create a new customer
account file.

Shop Manager Operations Vehicle History
74
Name
Button
Description
History Notes
Touching this button opens a note form, which
allows you to create audio record, attach picture or
video, or edit text notes, etc.
Vehicle
History
Touching this button opens the Vehicle History
screen which displays the correlated test vehicle
records.
Done
Complete editing and save the file.
8.1 Vehicle History
This function stores records of test vehicle history, including vehicle
information and the retrieved DTCs from previous diagnostic sessions, and
displays all information in an easy-to-check table list, on which you can view
summarized details and manually input other information about the test
vehicle and diagnostic loggings, etc. The Vehicle History also provides direct
access to the previously tested vehicle and allows you to restart a diagnostic
session without the need to do vehicle identification again.
Figure 8-1 Sample Vehicle History Screen
1. Top Toolbar Buttons – navigates and make various controls of the
application.
2. Main Section – displays all the vehicle history records information.

Shop Manager Operations Vehicle History
75
To activate a test session for the recorded vehicle
1. Tap the Shop Manager application on the MaxiSys Job Menu.
2. Select Vehicle History
3. Tap the Diagnostics button at the bottom of the thumbnail of a
vehicle record item. Or,
4. Select a vehicle record item by tapping the thumbnail.
5. A Historical Test record sheet displays, check the recorded
information of the recorded test vehicle, and tap the Diagnostics
button on the upper right corner.
6. The vehicle’s Diagnostics screen displays, now a new diagnostic
session is activated, see 4.6 Diagnosis on page 31 for detailed
instructions on vehicle diagnostic operations.
8.1.1 Historical Test Record
The Historical Test record sheet of the tested vehicle is a detailed data form,
which includes all general information of the vehicle such as vehicle year,
make and model, etc., and the diagnostic trouble codes retrieved from the
previous test sessions, as well as other service details which can be added
manually by the technician himself.
Figure 8-2 Sample Historical Test Record Sheet

Shop Manager Operations Workshop Information
76
To edit the Historical Test record sheet
1. Tap the Shop Manager application on the MaxiSys Job Menu.
2. Select Vehicle History.
3. Select the specific vehicle history record thumbnail from the main
section. The Historical Test record sheet displays.
4. Tap the Edit button to start editing.
5. Tap on each item to input the corresponding information or add
attaching files or images.
NOTE: The vehicle VIN number, or license and the customer information
account are correlated by default. Adding one of the information will
automatically associate the other item in the record sheet, provided that
the later one exists.
6. Tap Add to Customer to correlate the Historical Test record sheet to
an existing customer account, or add a new associating account to
be correlated with the test vehicle record. See 8.3 Customer
Manager on page 77 for more information.
7. Tap Done to save the updated record sheet, or tap Cancel to exit
without saving.
8.2 Workshop Information
The Workshop Information form allows you to edit, input and save the detailed
workshop information, such as shop name, address, phone number and other
remarks, which, when printing vehicle diagnostic reports and other associated
test file, will appear as the header of the printed documents.

Shop Manager Operations Customer Manager
77
Figure 8-3 Sample Workshop Information Sheet
To edit the Workshop Information sheet
1. Tap the Shop Manager application on the MaxiSys Job Menu.
2. Select Workshop Information.
3. Tap the Edit button on the top toolbar.
4. Tap on each field to input the appropriate information.
5. Tap Done to save the updated workshop information sheet, or tap
Cancel to exit without saving.
8.3 Customer Manager
The Customer Manager function allows you to create and edit customer
accounts. It helps you to save and organize all customer information accounts
that are correlated with the associated test vehicle history records, which is a
great support for the arrangement of daily workshop business.
To create a customer account
1. Tap the Shop Manager application on the MaxiSys Job Menu.
2. Select Customer Manager.
3. Tap the Add Account button. An empty information form displays,
tap each field to input the appropriate information.
NOTE: The items that must be filled are indicated as required fields.

Shop Manager Operations Customer Manager
78
4. Tap the □
+ photo frame beside the Name chart to add a photo. A
sub menu displays, select Take Photo to take a new photo for the
account, or select Choose Photo to choose from the existing files.
5. Some customers may have more than one vehicle for service; you
can always add new vehicle information to the account to be
correlated. Tap Add New Vehicle Information, and then fill in the
vehicle information. Tap the ○
x button to cancel adding.
6. Tap Done to save the account, or tap Cancel to exit without saving.
To edit a customer account
1. Tap the Shop Manager application on the MaxiSys Job Menu.
2. Select Customer Manager.
3. Select a customer account by tapping the corresponding name card.
A Customer Information sheet displays.
4. Tap the Edit button on the top toolbar to start editing.
5. Tap on the input field where needs to be altered or supplemented,
and enter updated information.
6. Tap Done to save the updated information, or tap Cancel to exit
without saving.
To delete a customer account
1. Tap the Shop Manager application on the MaxiSys Job Menu.
2. Select Customer Manager.
3. Select a customer account by tapping the corresponding name card.
A Customer Information sheet displays.
4. Tap the Edit button on the top toolbar to start editing.
5. Tap the Delete Customer Information button. A confirmation
message displays.
6. Tap OK to confirm the command, and the account is deleted. Tap
Cancel to cancel the request.

Shop Manager Operations Customer Manager
79
8.3.1 History Notes
The History Notes function allows you to add audio and video records, text
notes and photos, to keep multi-media work logs for the associated customer
account, which can be very helpful when dealing with repeat customers.
Keeping notes for each vehicle serviced for each customer will keep you
always on track and well organized in business.
To access History Notes
1. Tap the Shop Manager application on the MaxiSys Job Menu.
2. Select Customer Manager or Vehicle History.
3. Select a customer account by tapping the corresponding name card.
A Customer Information sheet displays (if Customer Manager is
selected). Or, select a vehicle history record item to open the
Historical Test record sheet (if Vehicle History is selected).
4. Tap the History Notes button on the top bar. Now the History Notes
screen displays.
Figure 8-4 Sample History Notes Screen
1. Functional Buttons – navigates and make various controls of the
function
2. Main Section – displays the note list on the left column and the detail
information of the selected note on the right column

Shop Manager Operations Customer Manager
80
Table 8-2 Function Buttons in History Notes
Name
Button
Description
Back
Returns to the previous screen.
Delete
Touching this button deletes the selected note.
Search
Quickly locates the required note by entering
the note title.
Cancel
Touching this button to cancel edit or file
search.
Edit
Touching this button opens an edit window
allowing you to edit notes and attach files.
Add Notes
Touching this button to add new note in History
Notes.
Audio
Record
Performs audio recording and creates audio
files.
Add Photos
Opens the image file for selection, and adds
the selected photos to History Notes.
Take a Video
Records a video and adds the file to History
Notes.
Take a Photo
Takes photos and adds the files to History
Notes.
Save
Saves notes.
To add a note in History Notes
1. Access History Notes.
2. Tap the Add Notes button. An edit window displays.
3. Tap on the Title bar to input a note title.
4. Tap on the blank space below to edit a text note or remark.
5. Select a function button on the top to add files in any form you
choose.
6. Tap Save to save the note; tap Discard or Cancel to exit without
saving.

81
Chapter 9 Update Operations
The internal programming of the MaxiSys Diagnostic System, known as the firmware,
can be updated using the Update application. Firmware updates increase the MaxiSys
applications’ capabilities, typically by adding new tests, new models, or enhanced
applications to the database.
The display device automatically searches for available updates for all of the Maxisys
components when it is connected to the internet. Any updates that are found can be
downloaded and installed on the device. This section describes installing an update to
the MaxiSys Diagnostic System firmware. A notification message displays if an update
is available when the Push Message function is enabled in the Settings application
(See 7.1.4 Push Message on page 71 for details).
Figure 9-1 Sample Update Screen
1. Navigation and Controls
Home Button – returns to the MaxiSys Job Menu
Update All – updates all available updates
Search Bar – search specific update item by inputting the file name, for
example: a vehicle make
2. Status Bar
Left Side – displays the MaxiSys device model information and serial number
Right Side – displays an update progress bar indicating the completion status

Update Operations Operations
82
3. Main Section
Left Column – displays vehicle logos and update firmware version information;
tap the About button displays a function list in PDF showing more details
about the firmware
Middle Column – displays a brief introduction about the new changes to the
firmware operation or capabilities. Tap ○
i button to open an information
screen to view more details, and tap the dim area around to close the window.
Right Column – according to the operation status of each firmware item, the
button displays differently.
a) Tap Update to update the selected item.
b) Tap Pause to suspend the updating procedure.
c) Tap Continue to go on updating the suspended update.
To update the firmware
1. Power up the MaxiSys Display Tablet, and ensure that it is connected to a
power source and with steady internet connection.
2. Tap the Update application button from the MaxiSys Job Menu; or tap the
update notification message when received one. The Update application
screen displays.
3. Check all available updates:
If you decide to update all the items, tap the Update All button.
If you only want to update some individual items, tap the Update button
on the right column of the specific item.
4. Tap the Pause button to suspend the updating process. When you tap
Continue to renew the update, the updating process will resume from the
break point.
5. When the updating process is completed, the firmware will be installed
automatically. The new version will replace the original version if there is
one.

83
Chapter 10 VCI Manager Operations
This application allows you to pair up the MaxiSys Display Tablet with the VCI device,
either the J2534 Programming Device or the Bluetooth Diagnostic Interface, and to
check the communication status.
Figure 10-1 Sample VCI Manager Screen
1. Connection Mode
Bluetooth Paring – when paired to a Bluetooth device, the connection state
displays as Paired; otherwise it displays as Unpaired.
2. Bluetooth Setting – this section allows you to manage the wireless pairing
operation.
The Bluetooth Setting screen displays the type and a partial serial number for all of
the devices available for pairing. Tap a required device to start pairing. The
Bluetooth status icon displayed to the left of the device name indicates the
received signal strength.
10.1 Bluetooth Pairing
The VCI device needs to be either connected to a vehicle or to an available
power source, so that it is powered up during the synchronization procedure.
Make sure the MaxiSys Display Tablet has a charged battery or is connected
to an AC/DC power supply.

VCI Manager Operations Bluetooth Pairing
84
To pair the VCI device with the Display Tablet
1. Power on the MaxiSys Display Tablet.
2. Connect the 16-pin end of the data cable to the vehicle data link
connector (DLC).
3. Connect the 26-pin end of the data cable to the J2534 ECU
Programming Device’s vehicle data connector.
4. Tap the VCI Manager application on the MaxiSys Job Menu of the
display tablet.
5. Select Bluetooth from the connection mode list.
6. Tap the Scan button at the top right corner. Now the device starts
searching for available pairing units.
7. Depending on the VCI type you use, the device name may display
as Maxi suffixed with a serial number. Select the required device for
pairing.
8. When paring is successfully done, the connection status displayed
to the right of the device name is shown as Paired.
9. Wait a few seconds, and the VCI button on the system Navigation
bar at the bottom of the screen shall display a green tick icon,
indicating the display tablet is connected to the VCI device.
10. Tap the paired device again to unpair it.
11. Tap the Back button on the top left to return to the MaxiSys Job
Menu.
NOTE: A VCI device can be paired to only one Display Tablet each time,
and once it’s been paired, the device will not be discoverable for any
other unit

85
Chapter 11 Remote Desk Operations
The Remote Desk application launches the TeamViewer Quick Support program, which
is a simple, fast and secure remote control interface. You can use the application to
receive ad-hoc remote support from Autel’s support centre, colleagues, or friends, by
allowing them to control your MaxiSys tablet on their PC via the TeamViewer software.
11.1 Operations
If you think of a TeamViewer connection as a phone call, the TeamViewer ID
would be the phone number under which all TeamViewer Clients can be
reached separately. Computers and mobile devices that run TeamViewer are
identified by a globally unique ID. The first time the Remote Desk application
is started, this ID is generated automatically based on the hardware
characteristics and will not change later on.
Make sure the MaxiSys Display Tablet is connected to the Internet before
launching the Remote Desk application, so that the Display Tablet is
accessible to receive remote support from the third party.
Figure 11-1 Sample Remote Desk Screen

Remote Desk Operations Operations
86
To receive remote support from a partner
1. Power on the MaxiSys Display Tablet.
2. Tap the Remote Desk application on the MaxiSys Job Menu. The
TeamViewer interface displays and the device ID is generated and
shown.
3. Your partner must install the Remote Control software to his/her
computer by downloading the TeamViewer full version program
online (http://www.teamviewer.com), and then start the software on
his/her computer at the same time, in order to provide support and
take control of the display tablet remotely.
4. Provide your ID to the partner, and wait for him/her to send you a
remote control request.
5. A popup displays to ask for your confirmation to allow remote control
on your device.
6. Tap Allow to accept, or tap Deny to reject.
Refer to the associated TeamViewer documents for additional information.

87
Chapter 12 Support Operations
This application launches the Support platform which synchronizes Autel’s on-line
service base station with the MaxiSys display tablet. In order to synchronize the device
to your on-line account, you need to register the product through the Internet when you
use it for the first time. The Support application is connected to Autel’s service channel
and on-line communities which provides the quickest way for problem solutions,
allowing you to submit complaints or sent help requests to obtain direct services and
supports.
12.1 Product Registration
In order to get access to the Support platform and obtain update and other
services from Autel, you are required to register the MaxiSys Diagnostic
Device the first time you use it.
To register the diagnostic device
1. Visit the website: http://pro.auteltech.com.
2. On the Sign In page, input your account ID and other information to
log in, if you already have an account.
3. If you are a new member to Autel and do not have an account yet,
click the Create Autel ID button on the left side.
4. Enter the required information in the input fields, read through
Autel’s Terms and Conditions and tick on Agree, and then click
Create Autel ID at the bottom to continue.
5. The online system will automatically send a confirmation email to the
registered email address. Validate your account by clicking the link
provided through the mail. A product registration screen opens.
6. Find out the device’s serial number and password from the About
section of the Settings application on the MaxiSys Display Tablet.
7. Select the product model of your device, enter the product serial
number and password on the Product Registration screen, and click
Submit to complete the registration procedure.

Support Operations Support Screen Layout
88
12.2 Support Screen Layout
The Support application interface is navigated by 4 simple buttons on the top
navigation bar, operation of each is described below in turn from left to right:
Home Button – returns to the MaxiSys Job Menu.
Back – returns to the previous screen, each press takes you back one
step.
Forward – each press moves forward one screen until you’ve reached
the last screen visited.
Refresh – reload and update the screen.
Figure 12-1 Sample Support Application Screen
The main section of the Support screen is divided into two sections. The
narrow column on the left is the main menu; selecting one subject from the
main menu displays the corresponding functional interface on the right.

Support Operations My Account
89
12.3 My Account
The My Account screen displays the comprehensive information of the user
and the product, which is synchronized with the on-line registered account,
including User Info, Device Info, Update Info and Service Info.
Personal Info
The User Info and Device Info are both included under the Personal Info
section.
User Info - displays detailed information of your registered on-line Autel
account, such as your Autel ID, Name, Address and other contact
information, etc.
Device Info – displays the registered product information, including the
Serial Number, Registration Date, Expire Date, and Warranty Period.
Update Info
The Update Info section displays a detailed record list of the product’s
software update history, including the product serial number, software version
or name, and the update time.
Service Info
The Service Info section displays a detailed record list of the device’s service
history information. Every time the device has been sent back to Autel for
repair, the device’s serial number and the detailed repair information, such as
the fault type, changed components, or system reinstallation, etc, will be
recorded and updated to the associated online product account, which will be
synchronized to the Service Info section.
12.4 User Complaint
The User Complaint screen allows you to establish a new complaint case, as
well as to view historical complaint records.

Support Operations User Complaint
90
Screen Layout
Figure 12-2 Sample Complaint Screen
The User Complaint screen consists of two parts.
1. Option Bar
Period Filter – displays only the complaint records within the
defined period on the list
Status Filter – displays the corresponding complaint records
according to the selected case status
New Complaint Button – starts a new complaint case.
2. Complaint List
The complaint list normally displays all the complaint records of all time
and all status by default. The summary information for each complaint
item includes the Subject Name, Ticket ID, User’s Account ID, Date, and
the Case Status.
There are four kinds of the case status:
Open – indicates the complaint case has been started but not
processed yet
Suspended – indicates the complaint case is being processed

Support Operations User Complaint
91
Waiting Customer Reply – indicates the complaint has been
replied by the service personnel, and requires feedback from the
customer
Closed – indicates the complaint case has been processed, solved,
and ended
To view the detailed complaint session, tap the ○
> button on the
right side of the case item.
To establish a new complaint session
1. Register the product online.
2. Tap the Support application on the MaxiSys Job Menu. The device
information is automatically synchronized with the online account.
3. Tap Complaint on the Main Menu.
4. Tap the New Complaint button at the upper right corner. A
selection menu with a category of service channels displays.
5. Select your target service channel and click Next to continue. A
standard complaint form displays, on which you are allowed to
enter detailed information, such as personal information, vehicle
information, and device information, you can also attach image or
PDF files with the form.
6. Enter in each input field the appropriate information, in order to
settle the complaint more efficiently, it is recommended to fill out the
complaint form as detailed as possible.
7. Select the required processing time on the last section according to
the urgency of the case.
8. Tap Submit to send the completed form to Autel’s online service
center, or tap Reset to refill it. The submitted complaints will be
carefully read and handled by the service personnel, and the
respond speed may depend on the processing time you’ve
required.
To make a reply in a complaint session
1. Register the product online.
2. Tap the Support application on the MaxiSys Job Menu. The device
information is automatically synchronized with the online account.

Support Operations Support Communities
92
3. Tap Complaint on the Main Menu.
4. Select an existing complaint case item on the record list by tapping
the ○
> button on its right side. The screen displays the complaint
session details.
5. Tap the Post Reply button on the upper right side after viewing, to
make a reply. An edit screen displays.
6. Input the content in the input field, and if necessary, upload an
attaching file.
7. Tap Submit to post the reply.
8. Tap the States selection drop-down menu to reset a case state.
9. Tap the Update button to commit the newest update.
12.5 Support Communities
The Support Communities section launches and synchronizes with the
Technical Forums on Autel’s official website http://pro.auteltech.com, where
you are allowed to discuss technical topics or share information with, as well
as ask for technical advices or offer technical supports to all other members in
Autel’s online support communities.
Figure 12-3 Sample Communities Home Screen

Support Operations Support Communities
93
To start a discussion
1. Tap Start a discussion on the Communities Home screen. A list of
the major forums is displayed.
2. Select a desired group according to the subject you are about to
discuss. For example, if you are going to ask a question about the
MaxiSys tablet, tap MaxiSys to start a discussion.
3. Enter your topic and the discussion content in the appropriate input
field.
4. Select a category or edit tags for the discussed post. This will help
other members with similar interest to find your post.
5. Tap OK to submit the post.
To join and reply to a discussion post
1. Select a forum group that you are interested in, whether by the
product or the features, on the Communities Home screen. A list of
the latest posts is displayed.
2. Select a specific category on the Categories menu to better pinpoint
the topics you are most interested with.
3. Tap the ○
> button on the right side of the topic item to view the
discussion. The posts contents are displayed.
4. Browse through all the posts by sliding the screen up and down. Tap
Go to original post when reaching the end of the discussion to
return to the first post.
5. Tap Reply to reply a specific post, or tap Reply to original post to
join and continue the whole discussion.
6. Enter your comment in the input field, and tap OK to submit your
post.
User Profile
The User Profile section allows you to set personal Avatar, check your
member status and other information, as well as to review your personal posts
in the communities.
Tap the Avatar image on the Communities screen to open the User Profile.

Support Operations Training Channels
94
Figure 12-4 Sample User Profile Screen
Profile – displays the user’s personal information and member status.
The Related links allow you to check the Top Users (ranked according
to their points and levels) in the communities, as well as to find out other
online users.
Avatar – allows you to select an image to set as your personal Avatar to
be displayed in the communities.
Stuff – displays all the discussions you’ve posted at various forums in a
list.
12.6 Training Channels
The Training section provides quick links to Autel’s online video accounts.
Select a video channel by the language to see all the available online tutorial
videos from Autel for various technical supports, such as product usage
techniques and vehicle diagnostics practice, etc, may be available for your
interests.

Support Operations FAQ Database
95
12.7 FAQ Database
The FAQ section provides you comprehensive and abundant references for all
kinds of questions frequently asked and answered about the use of Autel’s
online member account, and shopping and payment procedures.
Account – displays questions and answers about the use of Autel’s
online user account.
Shopping & Payment – displays questions and answers about online
product purchase and payment methods or procedures.

96
Chapter 13 Remote Program Operations
(Coming soon)
The Remote Program application configures the MaxiSys diagnostic device to perform
as a PassThru programming interface, it allows remote supports from the computer of a
third party to perform vehicle ECU flash reprogramming. This unique technology
enables you to find professional support on vehicle reprogramming operation issues, at
any time through the internet. Whether it is from Autel’s technical support personnel or
any professionals in this field, by using the Remote Program function, they are allowed
to access and reprogram the test vehicle from anywhere, simply via the MaxiSys
Diagnostic Platform via the Internet.
Chapter 14 Training Operations
The Training application provides and allows you to play various tutorial videos stored
on the device. The stored training materials mainly consists of product usage tutorials
and vehicle diagnostic training videos, all produced by top-notch technicians and
product experts. The application also allows you to download or watch more associated
videos online, by providing quick links to Autel’s online video database.
Figure 14-1 Sample Training Application Screen

Training Operations Operations
97
1. Navigation Buttons – allows you to navigate the application interface.
Home Button – returns to the MaxiSys Job Menu
Online Button– opens the quick link page and provides access to Autel’s
online video database
All Button – displays all available video files
Product Button – displays video files for product usage tutorial
Diagnostic Button – displays video files for vehicle diagnostic training class
2. Main Section – displays the available video files for watching
To play a video
1. Tap the Support application on the MaxiSys Job Menu. The Training
application screen displays.
2. Select a video file from the main section.
3. Tap the Play button on the left side.
4. Select a Player from the popup window if necessary. Now you can watch the
video, it is played in full screen mode.

98
Chapter 15 Quick Link Operations
The Quick Link application provides you with convenient access to Autel’s official
website and many other well-known sites in automotive service, which offers you
abundant information and resources, such as technical help, knowledge base, forums,
training, and expertise consultations, etc.
Figure 15-1 Sample Quick Link Screen
To open a quick link
1. Tap the Quick Link application on the MaxiSys Job Menu. The Quick Link
application screen displays.
2. Select a website thumbnail from the main section. The Chrome browser is
launched and the selected website is opened.
3. Now you can start exploring the website!

99
Chapter 16 Digital Inspection Operations
The Digital Inspection application configures the MaxiSys Diagnostic Device to operate
as a digital video scope by simply connecting the tablet to an additional Imager head
Cable. This function allows you to examine difficult-to-reach areas normally hidden from
sight, with the ability to record digital still images and videos, which offers you an
economical solution to inspect machinery, facilities, and infrastructure in a safe and
quick way.
WARNINGS & IMPORTANTS:
Follow these instructions to reduce the risk of injury from electric shock,
entanglement and other causes and prevent tool damage.
Do not place the imager head and cable into anything or anywhere that
may contain a live electric charge or moving parts, which increases the risk
of electric shock or entanglement injuries.
Do not use the imager head cable to modify surroundings, clear pathways
or clogged areas.
When inspection is completed, carefully withdraw the imager head and
cable from the inspection area.
The imager head cable were waterproof to a depth of 3m (10’), greater
depths may cause leakage into the imager head cable and cause electric
shock or damage the tool.
The working temperature of the imager head is between 32 °F (30 °C) and
113 °F (45 °C).
Check-Ups:
FOR AUTOMOBILES: Ensure the automobile is not running during
inspection. Metal and liquid under the hood may be hot. Don’t get oil or gas
on the imager head.
FOR PIPES: If you suspect a metal pipe could contain an electric charge,
have a qualified electrician to check the pipe before using.
FOR WALLS: For inspecting the inside walls, be sure to shut off the circuit
breaker to the whole house before using the tool.
WORK AREA: Ensue the work area has sufficient light.

Digital Inspection Operations Additional Accessories
100
16.1 Additional Accessories
The Imager head Cable and its fittings are the additional accessories. Both
sizes (8.5 mm and 5.5 mm) of the imager head are optional and available for
purchase along with the standard MaxiSys tool kit.
Figure 16-1 Imager Head Cable
Imager Head Cable – connects to the display tablet when performing Digital
Inspections for image and video viewing
Figure 16-2 8.5mm Imager Head Accessories
1. Magnet – picks up small metal objects, such as dropped rings or screws
2. Hook – unclogs obstacles and picks up wires in the pipes or confined
areas
3. Mirror – helps to look around corners and see the unreachable areas
Figure 16-3 5.5mm Imager Head Accessories
1. Mirror – helps to look around corners and see the unreachable areas
2. Magnet - picks up small metal objects, such as dropped rings or screws

Digital Inspection Operations Additional Accessories
101
Accessory Assembly
For 8.5mm Imager Head
The three accessories, including the Magnet, Hook, and Mirror (Figure 16-2),
can be attached to the Imager Head with the same manner described below:
1. Hold the accessory and the imager head.
2. Slip the end of the accessory over the imager head and then fix the
accessory.
For 5.5mm Imager Head
The two accessories, including the Magnet and Mirror (Figure 16-3), can be
attached to the Imager Head with the same manner described below:
1. Hold the accessory and the imager head.

Digital Inspection Operations Operations
102
2. Screw the thread part of the accessory over the imager head to fix the
accessory.
16.2 Operations
Before performing the Digital Inspection application, the Imager Head Cable
must be connected to the MaxiSys display tablet through the USB port. Install
the correct imager head accessories for use in the appropriate application.
NOTE: When in operation, the imager head cable can be bent into a certain
shape. This may help you operate the cable into confined areas.
To take pictures using the Digital Inspection application
1. Connect the Imager Head Cable to the USB port on the top side of
the MaxiSys Display Tablet.
2. If not already done, power up the MaxiSys Display Tablet.
3. Tap the Digital Inspection application on the MaxiSys Job Menu.
The Digital Inspection application interface displays, showing a
camera operating screen. The default camera is now the Imager
head.
4. Select the camera icon at the lower right corner to take photos.
5. Focus the image to be captured in the view finder by adjusting and
properly locating the imager head cable.
6. Tap the blue ring on the operating screen. The view finder now
shows the captured picture and auto-saves the taken photo.
7. Tap the thumbnail image on the top right corner of the screen to view
the stored image, slide the screen left and right to view the images
one by one.

Digital Inspection Operations Operations
103
8. Tap on the selected image and the edit toolbar instantly displays.
9. Tap the appropriate button to share, delete, or edit the image.
10. Tap the Back or Home button on the Navigation bar at the bottom of
the screen to exit the Digital Inspection application.
To record a video using the Digital Inspection application
1. Connect the Imager Head Cable to the USB port on the top side of
the MaxiSys Display Tablet.
2. If not already done, power up the MaxiSys Display Tablet.
3. Tap the Digital Inspection application on the MaxiSys Job Menu.
The Digital Inspection application interface displays, showing a
camera operating screen. The default camera is now the Imager
head.
4. Select the video icon at the lower right corner to record a video.
5. Properly locate the imager head cable to focus the inspection scene
for recording.
6. Tap the red ring on the operating screen to start recording.
7. Tap the red circle again to stop recording. The recorded video is
automatically saved to the system Gallery.
8. Tap the thumbnail image on the top right corner to review the
recorded video.
9. Tap the Play button to play the video.
10. Tap on the selected video and the edit toolbar instantly displays.
11. Tap the appropriate button to share, delete, or edit the video.
12. Tap the Back or Home button on the Navigation bar at the bottom of
the screen to exit the Digital Inspection application.
To configure various settings for the work mode of the imager head. Tap
button at the bottom edge of the circle, and select each item to
make appropriate adjustments.
For more tips and detailed information about the camera application, please
refer to associated Android documentations.

Scope Operations Coming Soon
104
Chapter 17 Scope Operations (Coming soon)
When use in conjunction with various leads, clips, and adapters the Scope application
provides all the features needed for performing electrical and electronic circuit tests and
for monitoring signal and circuit activity. This function offers you fast and accurate
solution to vehicle electrical system diagnostics.

105
Chapter 18 Maintenance and Service
To ensure that the MaxiSys diagnostic tablet and the combined VCI unit perform at their
optimum level, we advise that the product maintenance instructions covered in this
section is read and followed.
18.1 Maintenance Instructions
The following shows how to maintain your devices, together with precautions
to take.
Use a soft cloth and alcohol or a mild window cleaner to clean the touch
screen of the tablet.
Do not use any abrasive cleansers, detergent, or automotive chemicals
to the tablet.
Maintain the devices in dry conditions and keep them within normal
operating temperatures.
Dry your hands before using the tablet. The touch screen of the tablet
may not work if the touch screen is moist, or if you tap the touch screen
with wet hands.
Do not store the devices in humid, dusty or dirty areas.
Check the housing, wiring, and connectors for dirt and damage before
and after each use.
At the end of each work day, wipe the device housing, wiring, and
connectors clean with a damp cloth.
Do not attempt to disassemble your tablet or the VCI unit.
Do not drop or cause severe impact to the devices.
Use only authorized battery chargers and accessories. Any malfunction
or damage caused by the use of unauthorized battery charger and
accessories will void the limited product warranty.
Ensure that the battery charger does not come in contact with conductive
objects.
Do not use the tablet beside microwave ovens, cordless phones and
some medical or scientific instruments to prevent signal interference.

Maintenance and Service Troubleshooting Checklist
106
18.2 Troubleshooting Checklist
A. When the display tablet does not work properly:
Make sure the tablet has been registered online.
Make sure the system software and diagnostic application software
are properly updated.
Make sure the tablet is connected to the Internet.
Check all cables, connections, and indicators to see if the signal is
being received.
B. When battery life is shorter than usual:
This may happen when you are in an area with low signal strength.
Turn off your device if is not in use.
C. When you cannot turn on the tablet:
Make sure the tablet is connected to a power source or the battery is
charged.
D. When you are unable to charge the tablet:
Your charger maybe out of order. Contact your nearest dealer.
You may be attempting to use the device in an overly hot/cold
temperature. Try changing the charging environment.
Your device may have not been connected to the charger properly.
Check the connector.
NOTE: If your problems persist, please contact Autel’s technical support
personnel or your local selling agent.
18.3 About Battery Usage
Your tablet is powered by a built-in Lithium-ion Polymer battery. This means
that, unlike other forms of battery technology, you can recharge your battery
while some charge remains without reducing your tablet’s autonomy due to
the “battery memory effect” inherent in those technologies.
DANGER: The built-in Lithium-ion Polymer battery is factory replaceable only;
incorrect replacement or tampering with the battery pack may cause an
explosion.

Maintenance and Service About Battery Usage
107
Do not use a damaged battery charger.
Do not disassemble or open crush, bend or deform, puncture or shred.
Do not modify or remanufacture, attempt to insert foreign objects into the
battery, expose to fire, explosion or other hazard.
Make sure to use the charger and USB cables only that come together in
the package. If you use the other charger and USB cables, you might
incur malfunction or failure of the device.
Only use the charging device that has been qualified with device per the
standard. Use of an unqualified battery or charger may present a risk of
fire, explosion, leakage, or other hazard.
Avoid dropping the tablet. If the tablet is dropped, especially on a hard
surface, and the user suspects damage, take it to a service center for
inspection.
The closer you are to your network’s base station, the longer your tablet
usage time because less battery power is consumed for the connection.
The battery recharging time varies depending on the remaining battery
capacity.
Battery life inevitably shortens over time.
Since over charging may shorten battery life, remove the tablet from its
charger once it is fully charged. Unplug the charger, once charging is
complete.
Leaving the tablet in hot or cold places, especially inside a car in summer
or winter, may reduce the capacity and life of the battery. Always keep
the battery within normal temperatures.
18.4 Service Procedures
This section introduces information for technical support, repair service, and
application for replacement or optional parts.
Technical Support
If you have any question or problem on the operation of the product, please:

Maintenance and Service Service Procedures
108
Call 1-877-288-3587/1-877-AUTELUS (North America), or
0086-755-86147779 (China).
Contact the local distributer or agent.
Visit our website http://pro.auteltech.com or http://www.maxidas.com.
Repair Service
If it becomes necessary to return your device for repair, please download the
repair service form from http://www.maxidas.com, and fill in the form. The
following information must be included:
Contact name
Return address
Telephone number
Product name
Complete description of the problem
Proof-of-purchase for warranty repairs
Preferred method of payment for non-warranty repairs
NOTE: For non-warranty repairs, payment can be made with Visa, Master
Card, or with approved credit terms.
Send the device to your local agent, or to the below address:
Rm. 106, 107, 109, 114, SZICC Bldg.,
Chaguang Road Southside, Xili Town,
Nanshan District, Shenzhen
518055, P.R. China
Other Services
You can purchase the optional accessories directly from Autel’s authorized
tool suppliers, and/or your local distributor or agent.
Your purchase order should include the following information:
Contact information
Product or part name
Item description
Purchase quantity

109
Chapter 19 Warranty
12-Month Limited Warranty
Autel Intelligent Technology Co., Ltd (the Company) warrants to the original retail
purchaser of this MaxiSys Diagnostic Device, that should this product or any part
thereof during normal consumer usage and conditions, be proven defective in material
or workmanship that results in product failure within twelve (12) months period from the
date of delivery, such defect(s) will be repaired, or replaced (with new or rebuilt parts)
with Proof of Purchase, at the Company’s option, without charge for parts or labor
directly related to the defect(s).
The Company shall not be liable for any incidental or consequential damages arising
from the use, misuse, or mounting of the device. Some states do not allow limitation on
how long an implied warranty lasts, so the above limitations may not apply to you.
This warranty does not apply to:
a) Products subjected to abnormal use or conditions, accident, mishandling, neglect,
unauthorized alteration, misuse, improper installation or repair or improper
storage;
b) Products whose mechanical serial number or electronic serial number has been
removed, altered or defaced;
c) Damage from exposure to excessive temperatures or extreme environmental
conditions;
d) Damage resulting from connection to, or use of any accessory or other product
not approved or authorized by the Company;
e) Defects in appearance, cosmetic, decorative or structural items such as framing
and non operative parts.
f) Products damaged from external causes such as fire, dirt, sand, battery leakage,
blown fuse, theft or improper usage of any electrical source.
IMPORTANT: All contents of the product may be deleted during the process of repair.
You should create a back-up copy of any contents of your product before delivering the
product for warranty service.

FCC Compliance FCC ID: WQ8MAXISYSMY905
This equipment has been tested and found to comply with the limits for a Class B digital
device, pursuant to Part 15 of the FCC Rules. These limits are designed to provide
reasonable protection against harmful interference in a residential installation. This
equipment generates uses and can radiate radio frequency energy and, if not installed
and used in accordance with the instructions, may cause harmful interference to radio
communications. However, there is no guarantee that interference will not occur in a
particular installation. If this equipment does cause harmful interference to radio or
television reception, which can be determined by turning the equipment off and on, the
user is encouraged to try to correct the interference by one or more of the following
measures:
Reorient or relocate the receiving antenna.
Increase the separation between the equipment and receiver.
Consult the dealer or an experienced radio/TV technician for help.
This device complies with part 15 of the FCC Rules. Operation is subject to the
following two conditions:
(1) This device may not cause harmful interference, and (2) this device must accept any
interference received, including interference that may cause undesired operation.
Changes or modifications not expressly approved by the party responsible for
compliance could void the user’s authority to operate the equipment.
SAR:
The radiated output power of this device is below the FCC radio frequency exposure
limits. Nevertheless, the device should be used in such a manner that the potential for
human contact is minimized during normal operation.
The exposure standard for wireless devices employs a unit of measurement known as
the Specific Absorption Rate, or SAR. The SAR limit set by the FCC is 1.6 W/Kg. Tests
for SAR are conducted using standard operating positions accepted by the FCC with
the device transmitting at its highest certified power level in all tested frequency bands.
Although the SAR is determined at the highest certified power level, the actual SAR
level of the device while operating can be well below the maximum value. This is
because the device is designed to operate at multiple power levels so as to use only the
power required to reach the network. To avoid the possibility of exceeding the FCC
radio frequency exposure limits, human proximity to antenna should be minimized.
Device operating in 5150 -5250 MHz will be restricted to indoor operations only.

110