Baron Weather DSSR-250C Pulsar Digital Solid-State Radar System User Manual

Baron Services Inc Pulsar Digital Solid-State Radar System

Processing Algorithms

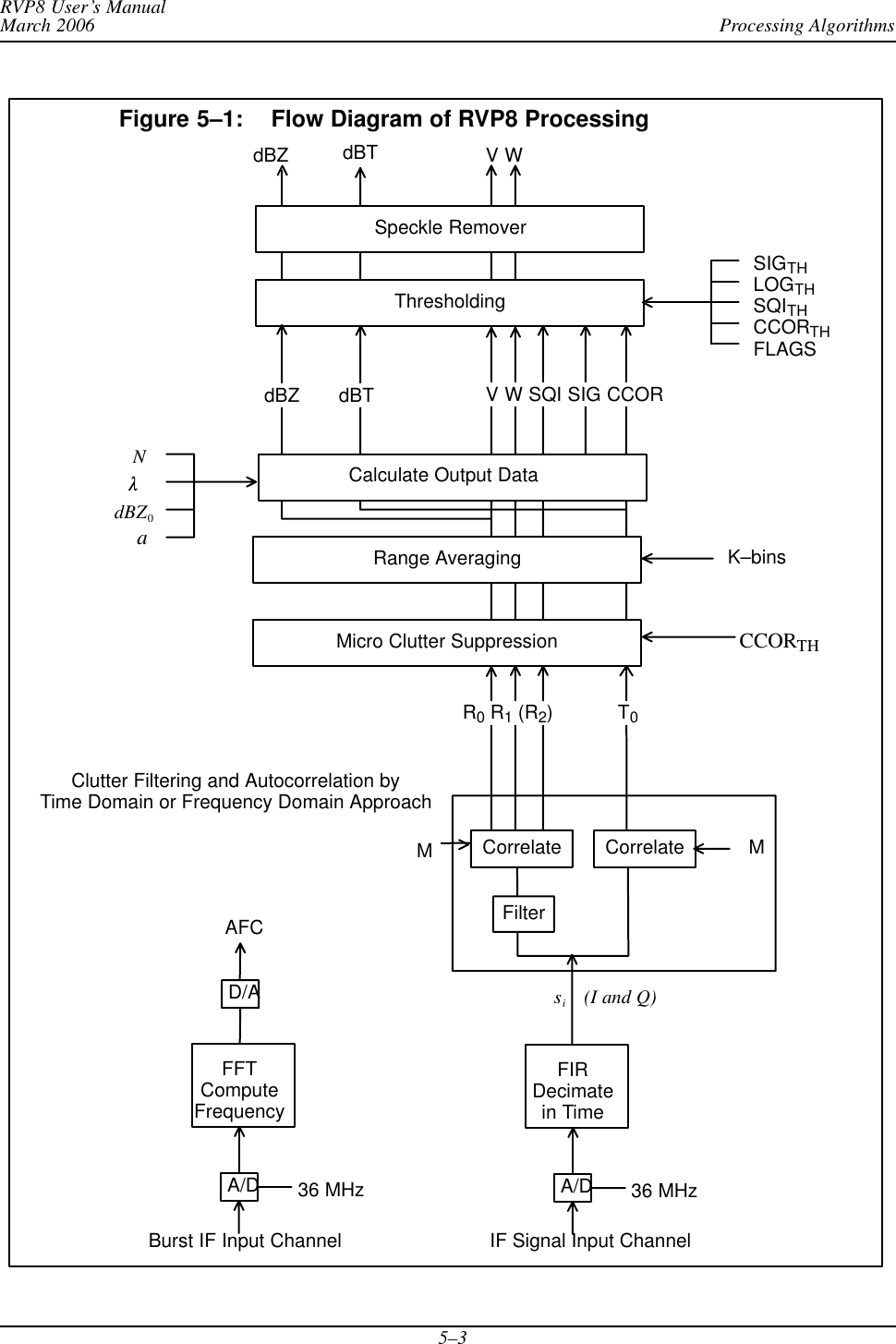
Processing AlgorithmsRVP8 User’s ManualMarch 20065–15. Processing AlgorithmsNote: Optional dual polarization processing algorithms are described in Appendix B.This chapter describes the processing algorithms implemented within the RVP8 signal processor.The discussion is confined to the mathematical description of these algorithms. Figure 5–1shows the overall process by which the RVP8 converts the IF signal into corrected reflectivity,velocity, and width.  Table 5–1 summarizes the quantities that are measured and computed by theRVP8.  The type of the quantity (i.e., real or complex) is also given. Subscripts are sometimesused to denote successive samples in time from a given range bin. For example, sn denotes the“I” and “Q” time series or “video” sample from the n’th pulse from a given range bin. In caseswhere it is obvious, the subscripts denoting the pulse (time) are dropped. The descriptions of allthe data processing algorithms are phrased in terms of the operations performed on data from asingle range bin- identical processing then being applied to all of the selected ranges. Thus, thereis no need to include a range subscript in this data notation.It is frequently convenient to combine two simultaneous samples of “I” and “Q” into a singlecomplex number (called a phaser) of the form:s+I)jQwhere “j” is the square root of –1. Most of the algorithms presented in this chapter are defined interms of the operations performed on the “s”’s, rather than the “I”’s and “Q”’s. The use of thecomplex terms leads to a more concise mathematical expression of the signal processingtechniques being used. In actual operation, the complex arithmetic is simply broken down intoits real-valued component parts in order to be computed by the RVP8 hardware. For example,the complex product:s+W Yis computed asReal{s}+Real{W}Real{Y}*Imag{W}Imag{Y}Imag{s}+Real{W}Imag{Y})Imag{W}Real{Y}where “Real{}” and “Imag{}” represent the real and imaginary parts of their complex-valuedargument. Note that all of the expanded computations are themselves real-valued.In addition to the usual operations of addition, subtraction, division, and multiplication ofcomplex numbers, we employ three additional unary operators: “||”, “Arg” and “*”. Given anumber “s” in the complex plane, the magnitude (or modulus) of s is equal to the length of thevector joining the origin with “s”, i.e. by Pythagoras:|s|+Real{s}2)Imag{s}2ǸThe signed (CCW positive) angle made between the positive real axis and the above vector is:ë+Arg{s}+arctanƪImag{s}Real{s}ƫ
Processing AlgorithmsRVP8 User’s ManualMarch 20065–2where this angle lies between *p  and )p  and the signs of Real{s} and Imag {s} determinethe proper quadrant. Note that this angle is real, and is uniquely defined as long as |s| isnon-zero. When |s| is equal to zero, Arg{s} is undefined. Finally, the “complex conjugate” of “s”is that value obtained by negating the imaginary part of the number, i.e.,s*+Real{s}*jImag{s}.Note that Arg{s*} = –Arg{s}. The reader is referred to any introductory text on complexnumbers for clarification of these points.Table 5–1: Algebraic Quantities Within the RVP8 ProcessorpInstantaneous IF-receiver data sample RealbInstantaneous Burst-pulse data sample RealI,QInstantaneous quadrature receiver components Reals Instantaneous time series phaser value ComplexsȀTime series after clutter filter ComplexT0Zeroth lag autocorrelation of A values RealR0Zeroth lag autocorrelation of AȀ values RealR1First lag autocorrelation of AȀ values ComplexR2Second lag autocorrelation of AȀ values ComplexSQI Signal Quality Index RealV Mean velocity RealW Spectrum Width RealCCOR Clutter correction RealLOG (Signal+Noise)/Noise ratio for thresholding RealSIG Signal power of weather RealC Clutter power RealN Noise power RealZCorrected Reflectivity factor RealTUnCorrected Reflectivity factor RealThe following sections cover the various parts of the diagram shown in Figure 5–1, i.e.,SIF Signal ProcessingSI/Q processing and clutter filteringSRange averaging and clutter microsuppressionSMoment calculations (reflectivity, velocity, spectrum width)SThresholding for data quality and Speckle FilteringSReflectivity CalibrationSSpecial algorithms for ambiguity resolution (dual PRF, dual PRT, Random Phase)SCalibration and Testing
Processing AlgorithmsRVP8 User’s ManualMarch 20065–3Speckle RemoverThresholdingCalibrate MomentsRange AveragingMicro Clutter SuppressiondBZ dBT V WV W SQI SIG CCORSIGTHLOGTHSQITHCCORTHFLAGSdBZ       dBTK–binsNldBZ0aCCORTHCorrelate CorrelateFilterR0 R1 (R2) T0siMM36 MHzFigure 5–1: Flow Diagram of RVP8 ProcessingCalculate Output DataFIRDecimatein TimeA/D36 MHzBurst IF Input ChannelFFTComputeFrequencyA/DD/AAFC(I and Q)Clutter Filtering and Autocorrelation byTime Domain or Frequency Domain ApproachIF Signal Input Channel
Processing AlgorithmsRVP8 User’s ManualMarch 20065–45.1 IF Signal Processing The starting point for all computations within the RVP8 are the instantaneous IF-receiversamples pn and, the instantaneous burst-pulse or COHO reference samples bn.  These data areavailable at a very high sampling rate (typically 36MHz), which makes possible the digitalimplementation of functions that are traditionally performed by discrete components in ananalog receiver.  The RVP8’s all-digital approach replaces a great deal of analog hardware,avoids problems of aging and maintenance, and makes it easy to tune-up the receiver and alterits parameters.This section describes these IF signal processing steps. Please refer to Figure 1-3 for a blockdiagram of the IF processing that is performed.5.1.1 FIR (Matched) FilterThe RVP8 implements a digital version of the “matched” filter that is found in the traditionalanalog radar receiver.  The equivalent Finite-Impulse-Response (FIR) filter is designed using aninteractive graphical procedure described in Section 4.4.  The filter length (number of taps),center frequency, and bandwidth are all adjustable.  The design procedure computes two sets offilter coefficients  fin and  fqn such that the instantaneous quadrature samples at a given bin are:I+ȍN*1n+0fin pn,Q+ȍN*1n+0fqn pnwhere N is the length of the filter.  The input samples  pn are centered on the range bin to whichthe (I,Q) pair is assigned.  Note that some of the  pn are likely to overlap among adjacent bins,i.e., the filter length may be chosen to be greater than the bin spacing.  Such an overlapintroduces a slight correlation between successive bins, but the longer length allows a betterfilter to be designed.The sums above for I and Q are computed on the RVP8/Rx board using dedicated FIR chips (forrevisions A and B) that can perform up to 576 million sums of products per second.  The Rev CRVP8/Rx uses a more flexible FPGA. The  pn are represented as 16-bit signed integers, and thefin and  fqn are represented as 10-bit (Rev.A/B) or 16-bit (Rev.C) signed integers.  A numericaloptimization procedure is used to quantize the ideal filter coefficients into their hardware values.The overall spectral purity of the FIR filter will typically be greater than 66dBc (Rev.A/B) and84dBc (Rev.C).The reference phase for each transmitted pulse is computed using the same two FIR sums,except with bn substituted for the  pn.  For a magnetron system the  Nbn samples are centeredon the transmitted burst; for a Klystron system they may be obtained from the burst pulse(recommended) or from the CW COHO.  If the Klystron is phase modulated by an externalphase shifter (as opposed to the RVP8/Tx digital transmitter board), then the samples should befrom the modulated COHO.The fin coefficients are computed as:fin+ln sinƪp4)2pfIFfSAMP ǒn*N*12Ǔƫ,n+0AAA N*1
Processing AlgorithmsRVP8 User’s ManualMarch 20065–5where fIF  is the radar intermediate frequency,  fSAMP  is the RVP8/IFD crystal samplingfrequency, and ln are the coefficients of an N-point symmetric low-pass FIR filter that ismatched to the bandwidth of the transmitted pulse.  The multiplication of the ln terms by thesin() terms effectively converts to the low-pass filter to a band-pass filter centered at the radar IF.The formula for the  fqn coefficients is identical except that sin() is replaced with cos().The phase of the sinusoid terms, and the symmetry of the ln terms, has been carefully chosen tohave a valuable overall symmetry property when n is replaced with (N–1)–n, i.e., the sequence isreversed:fi(N*1)*n+l(N*1)*n sinƪp4)2pfIFfSAMP ǒ((N*1) *n)*N*12Ǔƫfi(N*1)*n+ln cosƪp4)2pfIFfSAMP ǒn*N*12Ǔƫfi(N*1)*n+fqnThus, the coefficients needed to compute I are merely the reversal of the coefficients needed tocompute Q; if you know  fin, then you also know  fqn.5.1.2 RVP8/Rx Receiver ModesThe RVP8 supports six fundamental IFD and RVP8/Rx configurations which allow you tochoose the best style of IF processing for your particular site.  The following table summarizesthe options where, BW is the net IF sampling rate (full 72MHz, or halfband filtered 36MHz),DynR is the dynamic range (normal single channel, or extra wide dual channel), Pol is thenumber of polarizations, Freq is the number of distinct intermediate frequencies, and IFD is thenumber of IFD’s, along with their corresponding RVP8/Rx cards.#   BW   DynR  Filt  Pol  Freq  IFD       Description–  ––––  ––––  ––––  –––  ––––  –––  ––––––––––––––––––––––0  Full  Norm  Norm   1     1    1   Standard single channel1  Full  Norm  Norm   2     2    1   Dual Pol on two frequencies2  Full  Norm  Norm   2     1    2   Dual Pol on separate IFDs3  Half  Norm  Norm   2     1    1   Dual Pol on single IFD4  Half  Wide  Norm   1     1    1   Extra wide dynamic range5  Half  Norm  Long   1     1    1   Extra long/fast FIR filtersThe first three modes were already supported in the previous RVP7 processor.  The last threemodes are unique to the RVP8 and bring some exciting additional capabilities to the signalprocessor.  The six receiver modes are summarized below.  Please  see the  Discussion ofHalfband Filtering (Section 5.1.2.1) as it applies to Modes 3-5, and the  Discussion of WideDynamic Range (Section 5.1.2.2)for additional details on using Mode-4.Mode-0: Standard Single Channel  This is the most common “vanilla” mode that is used bysingle-polarization CW-pulsed radars whose front-end LNA has a dynamic range less than92dB.  The (I,Q) data are computed from IF samples at their full acquisition rate (32MHz forRev.D IFDs, and 72MHz for Rev.F), and the resulting dynamic range from 14-bit IFD samples iswell matched to the RF components.
Processing AlgorithmsRVP8 User’s ManualMarch 20065–6Mode-1: Dual-Pol On Two Frequencies  This was the original dual-Pol configuration used bythe RVP7 several years ago.  A single IFD A/D converter receives the “H” and “V” channelsusing two distinct intermediate frequencies.  Two different STALOs are required in thisconfiguration, making the RF/IF components a bit more expensive, but only one IFD is required.Mode-2: Dual-Pol On Separate IFDs  This mode was introduced into the RVP8 in 2003, andprovides dual polarization data using two IFDs connected to two RVP8/Rx cards in the same PCIchassis.  A single intermediate frequency is used, hence only one STALO is required.Mode-3: Dual-Pol On Single IFD  This is the recommended dual polarization mode for all newRVP8 installations.  The “H” and “V” channels are fed into the Primary and Secondary IFDinputs using a single intermediate frequency.  System cost  and complexity are both optimized inthis design since only a single IFD, RVP8/Rx card, and STALO are required to process bothpolarization channels.Mode-4: Extra Wide Dynamic Range  Radars having very high performance front-end LNAscan preserve the full benefit of that investment by running two separate IF signals into thePrimary (HiGain) and Secondary (LoGain) IFD inputs.  A nominal channel separation of25–30dB might be used to achieve an overall dynamic range of up to 110dB.Mode-5: Extra Long/Fast FIR Filters  This mode is intended for pulse compression systemsthat require unusually long filters (up to 80μsec), or finer range resolution in order to employhigher compressed bandwidths without the risk of missing echoes between bins.  For example, a30μsec pulse could be processed at an incoming range resolution of 50 meters and then rangeaveraged down to 150meter output spacing.5.1.2.1 Discussion of Halfband Filtering Modes 3-5Traditionally, the IFD used by the RVP7 and RVP8 has sent raw 14-bit A/D samples fromits Burst and IF inputs directly to either the RVP7/Main or RVP8/Rx cards for FIR filteringand conversion into complex (I,Q) values.  The IFD would function simply as a waveformsampling device (hence the acronym IF Digitizer), and all of the front-end signal processingtook place downstream of it.This model has changed with the introduction of the Rev.F  IFD which has the ability to carryout several billion multiply-accumulate cycles per second.  This means that IF samples frommultiple signals can be preprocessed entirely within the IFD and then encoded without lossonto the fixed bandwidth of its digital downlink.  The new receiver modes 3 through 5 relyon this hardware capability and use a method known as “Halfband Filtering” to effectivelydouble the downlink data rate.Section 2.2.7 of the RVP8 User’s Manual  contains a detailed account of how A/D quantiza-tion noise affects the dynamic range of the IFD.  Briefly, for the Rev.F A/D converter whichruns at 72MHz, the contribution of A/D quantization noise within any given 1MHz intervalis 72 times smaller than the total noise of the converter itself.  This is an important propertyof all wideband sampling systems: the noise floor after processing, and hence the dynamicrange, are improved by increasing the fundamental A/D sampling rate.Normally the IFD sends 72MHz A/D samples from a single input channel directly down tothe RVP8/Rx PCI card.  The samples are sent at full speed in order to realize maximum reduc-
Processing AlgorithmsRVP8 User’s ManualMarch 20065–7tion of the final (I,Q) noise floor.  But suppose we wanted to send two A/D waveforms downthe same data link by interleaving the samples together.  Each channel would have to bedown-sampled to 36MHz in order to fit within this format, but that would cause its (I,Q)noise floor to increase by 3dB.To avoid this, we do not create the 36MHz streams merely by discarding every other A/Dsample, but rather, by passing the original 72MHz data through a halfband digital filter andthen discarding every other point of this filtered A/D stream.  The difference is important.Since the halfband filter has removed all of the A/D quantization noise from half of the origi-nal Nyquist interval, there will be no increase in noise density within the passband of the(I,Q) filter when the halfband stream is down sampled to 36MHz.  Thus, the A/D noise thatwould normally have folded into the (I,Q) data at 36MHz is first removed by the halfbandfilter so that we’re left with a 36MHz stream having the same dynamic range of the original72MHz samples.The IFD halfband filter is a 49-Tap equiripple FIR filter having 40dB of stopband rejectionand 0.175dB of passband ripple.  The passband extends either from 0–16.5MHz when con-figured as a lowpass filter, or 19.5–36MHz when configured for highpass.  The RVP8 auto-matically selects the correct type of filter depending on the intermediate frequency specifiedin the Mb menu.  The halfband filter has linear phase and is therefore non-dispersive.  Thismeans that it is totally suitable for handling compressed pulses and other wideband Tx/Rxwaveforms.5.1.2.2 Discussion of Wide Dynamic Range Mode-4When a two channel IFD is used as an extended dynamic range receiver there are some im-portant decisions to make with respect to setting up the RF/IF levels that drive the IFD.The first of these is the amount of signal level separation between the high gain and the lowgain IFD inputs.  There is an absolute minimum and absolute maximum channel separationthat still allows the IFD to capture the full dynamic range of the receiver.  If a signal levelseparation is made that is outside of these absolute limits valuable receiver dynamic rangewill be lost.SThe absolute minimum separation  of the channels is equal to the total dynamicrange of the receiver minus the dynamic range of a single channel of the IFD.Generally, the total dynamic range of the receiver is set by the LNA.  Forexample, if we are considering a 1μsec pulse (1MHz bandwidth), the dynamicrange of the LNA may be about 105dB, and the dynamic range of a singlechannel of the IFD is about 84dB (from –78dBm to +6dBm).  In this case, theminimum separation would be 21dB. At minimum separation, the overlap of thelow gain channel and the high gain channel will be maximized, and that overlapis equal to the dynamic range of a signal channel of the IFD minus the separation.In this case, the overlap is ( 84dB – 21dB ) = 63dB.SThe absolute maximum separation  of the channels is simply the dynamic rangeof a single channel of the IFD.  In the above example this would be 84dB.  At
Processing AlgorithmsRVP8 User’s ManualMarch 20065–8maximum separation, the overlap of the low gain channel and the high gainchannel is zero -- we begin using one as soon as the other has begun to saturate.We see that there can be a large difference between the absolute minimum and maximumsignal level separations; thus additional criteria must be considered to choose an optimumvalue that is between these diverse limits.Choosing a proper separation value is a tradeoff of several factors.  If the separation valueis too low, the IFDs may end up operating very close to their noise floors.  And if the separa-tion is too high, then the overlap between the two channels is reduced which makes it difficultfor the IFD to make a smooth transition as it combines the data from both channels.  Too higha separation may also result in receiver components that are not practical to build.As a rule of thumb, channel separations in the 22–30dB range provide a good balance of theabove criteria.  In the case of a 1μsec pulse this results in an overlap interval of approximately55-63dB, which is sufficient for good IFD transitions and also leads to receiver componentsthat are practical to build.Once a separation value has been chosen, one must consider how to build the receiver toachieve this.  The basic receiver will take the form of an LNA and a mixer followed by asplitter resulting in a low gain channel and a high gain channel.  We know the gain differencein the two channels (the separation value), but we must find the actual gain to use in eachchannel.If we consider the total system dynamic range as generally set by the LNA (105dB in theabove example), we can estimate the minimum detectable signal input to the LNA as wellas the maximum usable linear level at the IFD.  If the LNA has a noise figure of 1dB andwe are using a 1μsec pulse, the minimum detectable signal at the LNA input is –113dBm,and thus the maximum signal is 105dB above this, or –8dBm.  If we add to these numberthe gain of the LNA and the conversion loss of the mixer (and any other losses experiencedthrough the power splitter for the low gain and high gain channels), we can use this informa-tion to determine the signal values of the components in these two channels.For example, if the LNA has a gain of 17dB, the mixer has a conversion loss of 7dB, thereis 1dB miscellaneous losses and 3dB loss in the power  splitter, then the signal level at theoutput of the power splitter is ( –113 + 18 – 7 – 1 – 3 ) = –106dBm for the minimum signal,and and –1dBm for the maximum signal.  In the low gain channel, we need to bring the–1dBm up to the maximum input value of the IFD (+6dBm).  To do this we need about 8dBof amplification  (7dB plus one more deciBel to account for the anti–alias filter loss of theIFD).  If we assume 25dB of channel separation, on the high gain channel we require about+33dB of amplification. Finally, this tells us that on the low gain channel, the minimum andmaximum signals presented to the IFD are ( –106 + 8 ) = –98dBm and ( –1 + 8 ) = 7dBm.For the high gain channel, the signal levels are ( –106 + 33 ) = –73dBm and ( –1 + 33 ) =+32dBm.  Note that as +32dBm is above the maximum input level tolerated by the IFD, theamplifier on the high gain channel must limit its output to less than +16dBm.  Thus an ampli-fier with an output saturation value of between +10dBm and +15dBm should be used.
Processing AlgorithmsRVP8 User’s ManualMarch 20065–95.1.3 Automatic Frequency Control (AFC)AFC is used on magnetron systems to tune the STALO to compensate for magnetron frequencydrift. It is not required for Klystron systems. The STALO is typically tuned 30 or 60 MHz awayfrom the magnetron frequency.  The maximum tuning range of the AFC feedback isapproximately 7MHz on each side of the center frequency.  This is limited by the analog filtersthat are installed just before the signal and burst IF inputs on the IFD. It is important that thesystem’s IF frequency is at least 4MHz away from any multiple of half the digital samplingfrequency, i.e., 18, 36, 54, or 72MHz.The RVP8 analyzes the burst pulse samples from each pulse, and produces a running estimate ofthe power-weighted center frequency of the transmitted waveform.  This frequency estimate isthe basis of the RVP8’s AFC feedback loop, whose purpose is to maintain a fixed intermediatefrequency from the radar receiver.The instantaneous frequency estimate is computed using four autocorrelation lags from each setof Nbn samples.  This estimate is valid over the entire Nyquist interval (e.g., 18MHz to36MHz), but becomes noisy within 10% of each end.  Since the span of the burst pulse samplesis only approximately one microsecond, several hundred estimates must be averaged together toget an estimate that is accurate to several kiloHertz.  Thus, the AFC feedback loop will typicallyhave a time constant of several seconds or more.Most of the burst pulse analysis routines, including the AFC feedback loop, are inhibited fromrunning immediately after making a pulsewidth change.  The center-of-mass calculations areheld off according to the value of  Settling time (to 1%) of burst frequency estimator, and theAFC loop is held off by the Wait time before applying AFC (Mb Section 3.2.6).  This preventsthe introduction of transients into the burst analysis algorithms each time the pulsewidthchanges.Additional information about using AFC can be found in Sections 2.2.11, 2.4, and 3.2.6.5.1.4 Burst Pulse TrackingThe RVP8 has the ability to track the power-weighted center-of-mass of the burst pulse, and toautomatically shift the trigger timing so that the pulse remains in the center of the burst analysiswindow of the Pb plot.  This means that external sources of drift in the timing of the transmittedpulse (temperature, aging, etc.) will be tracked and nulled out during normal operation; so thatfixed targets will remain fixed in range, and clean Tx phase measurements will always beavailable on every pulse.The Burst Pulse Tracker feedback loop makes changes to the trigger timing in response to themeasured position of the burst.  Timing changes will generally be made only when the RVP8 isnot actively acquiring data, in the same way that AFC feedback is held off for similar “quiet”times.  However, if the center-of-mass has drifted more than 1/3 the width of the burst analysiswindow, then the timing adjustment will be made right away.  Also, there will be anapproximately 5ms interruption in the normal trigger sequence whenever any timing changes aremade.
Processing AlgorithmsRVP8 User’s ManualMarch 20065–10The Burst Pulse Tracker and AFC feedback loop are each fine-tuning servos that keep the burstpulse “centered” in time and frequency.  These servos have been expanded to include acombined “Hunt Mode” that will track down a missing burst pulse when we are uncertain ofboth its time and frequency.  This coarse-tuning mode is especially valuable for initializing thetwo fine-tuning servos in radar systems that drift significantly with time and temperature.When the radar transmitter is On but the burst pulse is missing, it may be because either of thefollowing have happened:SIt is misplaced in time, i.e., the Tx pulse is outside of the window displayed in the Pbplotting command.  In this case, the trigger timing needs to be changed in order to bringthe center of the pulse back to the center of the window.SIt is mistuned in frequency, i.e., the AFC feedback is incorrect and has caused the burstfrequency to fall outside of the passband of the RVP8 anti-alias filters.  In this case theAFC (or DAFC) needs to be changed so that proper tuning is restored.The Hunt Mode performs a 2-dimensional search in time and frequency to locate the burst;searching across a +20msec time window, and across the entire AFC span.  If a valid Tx pulse(i.e., meeting the minimum power requirement) can be found anywhere within those intervalsthen the Burst Pulse Tracker and AFC loops will be initialized with the time and frequencyvalues that were discovered.  The fine servos then commence running with a good burst signalstarting from those initial points.Depending on how the hunting process has been configured in the Mb menu, the wholeprocedure may take several seconds to complete.  The RVP8’s host computer interface remainscompletely functional during this time, but any acquired data would certainly be questionable.GPARM status bits in word #55 indicate when the hunt procedure is running, and whether it hascompleted successfully.  The BPHUNT (Section 6.26) opcode allows the host computer toinitiate Hunt Mode when it knows or can sense that a burst pulse should be present5.1.5 Interference FilterThe interference filter is an optional processing step that can be applied to the raw (I,Q) samplesthat emerge from the FIR filter chips.  The intention of the filter is to remove strong but sporadicinterfering signals that are occasionally received from nearby man-made sources.  The techniquerelies on the statistics of such interference being noticeably different from that of weather.For each range bin at which (I,Q) data are available, the interference filter algorithm uses thereceived power (in deciBels) from the three most recent pulses:Pn*2,Pn*1, and Pnwhere:Pn+10 log10ǒI2n)Q2nǓ .If the three pulse powers have the property that:ŤPn*1*Pn*2ŤtC1   and    ŤPn*Pn*1ŤuC2                          (Alg.1)
Processing AlgorithmsRVP8 User’s ManualMarch 20065–11then (In,Qn)  is replaced by (In*1,Qn*1) .  Here C1 and C2 are constants that can be tuned bythe user to match the type of interference that is anticipated, and the error rates that can betolerated.  For certain environments it may be the case that good results can be obtained withC1+C2; but the RVP8 does not force that restriction.This 3-pulse algorithm is only intended to remove interference that arrives on isolated pulses,and for which there are at least two clear pulses in between.  Interference that tends to arrive inbursts will not be rejected.Two variations on the fundamental algorithm are also defined.  The CFGINTF command(Section 6.23) allows you to choose which of these algorithms to use, and to tune the twothreshold constants.  You may also do this directly from the Mp setup menu (Section 3.2.2).ŤPn*1*Pn*2ŤtC1   and    Pn*Pn*1uC2                                (Alg.2)ŤPn*1*Pn*2ŤtC1   and    Pn*LinAvg(Pn*1,Pn*2)uC2     (Alg.3)Where LinAvg() denotes the deciBel value of the linear average of the two deciBel powers.  TheAlg.2 and Alg.3 algorithms also include the receiver noise level(s) as part of their decisioncriteria.  Whenever power levels are intercompared in the algorithms, any power that is less thanthe noise level is first set equal to that noise level.  This makes the filters much more robust andproperly tunable, so that interference is more successfully rejected on top of blank receivernoise.Optimum values for C1 and C2 will vary from site to site, but some guidance can be obtainedusing numerical simulations.  The results shown below were obtained when the algorithms wereapplied to realistic weather time series having a spectrum width = 0.1 (Nyquist), SNR = +10dB,and an intermittent additive interference signal that was 16dB stronger than the weather.  Theinterference arrived in isolated single pulses with a probability of 2%.Performance of the three algorithms is summarized in the first three columns of Table 5–2, forwhich C1 and C2 have the common value shown.  The fourth column also uses Algorithm #3,but with the value of C1 raised by 2dB.  The “Missed” rate is defined as the percentage ofinterference points that manage to get through the filtering process without being removed.  The“False” (false alarm) rate is the percentage of non-interference points that are incorrectlymodified when they should have been left alone.Table 5–2: Algorithm Results for +16dB Interference            Alg.1          Alg.2          Alg.3      Alg.3, C1+=2dB C1,C2   Missed/False   Missed/False   Missed/False   Missed/False –––––   ––––––––––––   ––––––––––––   ––––––––––––   –––––––––––– 6.0dB   17.8% 10.91%   17.8%  4.06%   17.8%  3.48%   10.3%  4.15% 8.0dB   10.5%  6.57%   10.5%  2.42%   10.4%  1.71%    6.1%  1.92% 9.0dB    8.5%  5.09%    8.5%  1.81%    8.3%  1.16%    5.4%  1.28%10.0dB    7.3%  4.01%    7.3%  1.42%    7.5%  0.79%    5.4%  0.85%11.0dB    8.9%  3.14%    8.9%  1.06%    8.3%  0.51%    6.5%  0.54%12.0dB   11.6%  2.53%   11.6%  0.85%   11.3%  0.33%    9.9%  0.35%13.0dB   17.0%  2.07%   17.0%  0.67%   16.3%  0.22%   15.3%  0.23%14.0dB   23.5%  1.70%   23.5%  0.54%   22.4%  0.14%   21.6%  0.15%16.0dB   39.2%  1.21%   39.2%  0.35%   39.6%  0.06%   38.9%  0.06%20.0dB   67.3%  0.65%   67.3%  0.14%   72.5%  0.01%   72.4%  0.01%
Processing AlgorithmsRVP8 User’s ManualMarch 20065–12It is important to minimize both types of errors.  If too much interference is missed, then thefilter is not doing an adequate job of cleaning up the received signal.  If the false alarm rate istoo high, then background damage is done at all times and the overall signal quality (especiallysub-clutter visibility) may be compromised.  We suggest that you try to keep the false alarm ratefairly low, perhaps below 1%; and then let the missed percentage fall where it may.To summarize the numerical results in Table 5–2:SThe “Missed” rates of Alg.1 and Alg.2 are identical, but the “False” rate of Alg.1 ismuch higher.  Alg.1 clearly does not perform as well for additive interference, but it isincluded in the suite for historical reasons.SThe “Missed” error rate for Alg.3 is nearly identical to that of Alg.2, but Alg.3 has asignificantly lower false alarm rate.  This is because of the somewhat improved statisticsthat result when the linear mean of Pn*2 and Pn*1 is used in the second comparison,rather than just Pn*1 by itself.  We recommend that Alg.3 generally be chosen inpreference to the other two.SAlg.3 can be further tuned by allowing the two constants to differ.  For example, byraising C1 slightly above C2 (fourth column), we can trade off a decrease in the“Missed” rate for an increase in the “False” rate.  Lowering C1 would have the oppositeeffect.Keep in mind that optimum tuning will depend on the type of interference you are trying toremove.  In the previous example, where the interfering signal is only 16dB stronger than theweather, there was a close tradeoff between the “Missed” and “False” error rates.  However,Table 5–3 shows the results that would be obtained if the interference dominates by 26db.Table 5–3: Algorithm Results for +26dB Interference            Alg.1          Alg.2          Alg.3      Alg.3, C2+=5dB C1,C2   Missed/False   Missed/False   Missed/False   Missed/False –––––   ––––––––––––   ––––––––––––   ––––––––––––   –––––––––––– 6.0dB   17.8% 10.75%   17.8%  3.95%   17.8%  3.44%   17.8%  0.34% 8.0dB    9.9%  6.48%    9.9%  2.31%    9.9%  1.68%    9.9%  0.15% 9.0dB    7.4%  4.99%    7.4%  1.75%    7.4%  1.14%    7.4%  0.10%10.0dB    5.9%  3.91%    5.9%  1.36%    5.9%  0.76%    5.9%  0.06%11.0dB    4.8%  3.06%    4.8%  1.06%    4.8%  0.50%    4.8%  0.04%12.0dB    3.2%  2.37%    3.2%  0.83%    3.2%  0.33%    3.2%  0.03%13.0dB    2.6%  1.83%    2.6%  0.62%    2.6%  0.20%    2.8%  0.01%14.0dB    1.9%  1.45%    1.9%  0.50%    1.9%  0.12%    2.6%  0.01%16.0dB    1.3%  0.90%    1.3%  0.30%    1.3%  0.05%    5.8%  0.00%20.0dB    3.1%  0.39%    3.1%  0.12%    2.0%  0.01%   31.5%  0.00%Notice that we can now re-tune the constants and operate with C1+13dB and C2+18dB(fourth column); which yields a low 2.8% “Missed” rate, and an extremely low 0.01% falsealarm rate.  Since the false alarm rate is (approximately) independent of the interference power,these filter settings would leave all “clean” weather virtually untouched, i.e., we would have avery safe filter that is intended only to remove fairly strong interference.  Such a filter could beleft running at all times without too much worry about side effects.
Processing AlgorithmsRVP8 User’s ManualMarch 20065–135.1.6 Large-Signal LinearizationThe RVP8 is able to recover the signal power of targets that saturate the IF-Input A/D converterby as much as 4–6 deciBels.  This is possible because an overdriven IF waveform still spendssome of its time in the valid range of the converter, and thus, it is still possible to deduceinformation about the signal.Figure 5–2 shows actual signal generator test measurements with normal A/D saturation (lowerline), and with the extrapolation algorithms turned on (upper line).  The high-end linear rangebegins to roll off at approximately +10dBm versus +5dBm, and thus has been extended by 5dB.–4–3–2–10123456789101112–4–3–2–10123456789101112Figure 5–2: Linearization of Saturated Signals Above +4.5dBm (Rev B/C IFD)The roll off starts at +4.5 dBm for the Rev. B&C IFD, and at +6 dBm for the Rev. D.5.1.7 Correction for Tx Power FluctuationsThe RVP8 can perform pulse-to-pulse amplitude correction of the digital (I,Q) data stream basedon the amplitude of the Burst/COHO input.  The technique computes a (real valued) correctionfactor at each pulse by dividing the mean amplitude of the burst by the instantaneous amplitudeof the burst.  The (I,Q) data for that pulse are then multiplied by this scale factor to obtaincorrected time series.  The amplitude correction is applied after the Linearized SaturationHeadroom correction.The mean burst amplitude is computed by an exponential average whose (1/e) time constant isselected as a number of pulses (See Section 3.2.2).  A short time constant will settle faster, butwill not be as thorough in removing amplitude variations (since the mean itself will be varying).
Processing AlgorithmsRVP8 User’s ManualMarch 20065–14Longer time constants do a better job, but will require a second or two before valid data isavailable when the transmitter is first turned on.  The default value of 70 will give excellentresults in almost all cases.Whenever the RVP8 enters a new internal processing mode (time series, FFT, PPP, etc.), theburst power estimator is reinitialized from the level of the first pulse encountered, and anadditional pipeline delay is introduced to allow the estimator to completely settle.  Thus, validcorrected data are produced even when the RVP8 is alternating rapidly between different dataacquisition tasks, e.g., in a multi-function ASCOPE display.  The additional pipeline delay willnot affect the high-speed performance when the RVP8 runs continuously in any single mode.For amplitude correction to be applied, the instantaneous Burst/COHO signal level must exceedthe minimum valid burst power specified in the “Mb” setup section.  If that level is not met, e.g.,if the transmitter is turned off, then no correction is performed.  Thus, the amplitude correctionfeature conveniently “gets out of the way” when receiver-only tests are being performed.The maximum correction that will ever be applied is 5dB.  If the burst power in a given pulseis more than 5dB above the mean, or less than 5dB below it, then the correction is clamped atthose limits.  The power variation of a typical transmitter will easily be contained within thisinterval (it is typically less than 0.3dB).Instantaneous amplitude correction is a unique feature of the RVP8 digital receiver.  Bench testswith a signal generator reveal that an amplitude modulated waveform having 2.0dB ofpulse-to-pulse variation is reduced to less than 0.02dB RMS of (I,Q) variation after applying theamplitude correction.
Processing AlgorithmsRVP8 User’s ManualMarch 20065–155.2 Time Series (“I” and “Q”) Signal Processing5.2.1 Time Series Processing OverviewThis section describes the processing of the radar time series data (also called linear “video” or“I” and “Q”)  to obtain the meteorologically significant “moment” parameters: reflectivity, totalpower, velocity, width, signal quality index, clutter power correction, and optional polarizationvariables.Recall that the time series synthesized by the FIR filter consist of an array of complex numbers:sm+[Im)jQm]for m+1, 2, 3, AAA,Mwhere “j” is *11ń2.  The time series,  are the starting point for all calculations performedwithin the RVP8. There are several excellent references on the details of I and Q processing. Thereader is referred to Doviak and Zrnic’s text on the subject. The top part of Figure 5–3 shows Iand Q values for a simulated time series using the ascope utility.There are two broad categories of time series signal processing:STime Domain Processing using the I and Q samples directly to calculate“autocorrelations” and then using the autocorrelations to compute the moments. This isused by many systems since the algorithms are very efficient requiring minimal storageand computational power. However, time domain algorithms are generally not adaptiveor very flexible.SFrequency Domain Processing using the I and Q samples to calculate a Doppler powerspectrum and then applying algorithms, such as clutter filtering or 2nd trip echofiltering/extraction, in the frequency domain. The Doppler spectrum is then inverted toobtain the autocorrelation functions and these are used to calculate the moments. Thefrequency domain is well suited to more complex adaptive algorithms, i.e., where theprocessing algorithm is optimized for the data.The RVP8 supports the concept of “major modes” or processing modes to process the timeseries. Currently the following major modes are supported by SIGMET:SDFT/FFT Mode is a frequency domain approach which is used for most operationalprocessing applications. There are a variety of clutter filtering options, including theGMAP algorithms (Gaussian Model Adaptive Processing).SPulse Pair Processing or PPP Mode is a time domain approach that is used primarily fordual polarization  applications.SRandom Phase Mode or RPHASE is a frequency domain approach similar to theDFT/FFT, except that filtering and extraction of both the first and second trip echoes issupported.SBatch Mode during which a small batch of low PRF pulses is transmitted (e.g., for 0.1degree of scanning) followed by a large batch of higher PRF pulses (e.g., for 0.9 degreesof scanning) to determine which ranges are likely contaminated by second trip echo. This
Processing AlgorithmsRVP8 User’s ManualMarch 20065–16was developed to support a US WSR88D legacy requirement. It is not supported inSIGMET’s IRIS software.The time and frequency domain approaches are described in the sections below.Figure 5–3: Example of time series and Doppler power spectrumWhite NoiseGround ClutterWeather TargetsVelocity0+VuĆVuPowerTime series of I and Q and the corre-sponding Doppler power spectrum ob-tained from the ascope utility using thebuilt-in simulator. The Doppler spec-trum displays the radial velocity on theX-axis over the unambiguous range or“Nyquist” interval and the power in dBrelative to saturation on the y-axis.Note that for illustration, this exampleis based on 256 time series points (onepoint per pulse) which yields 256 spec-trum components. This is more than isusually processed in actual operation.The spectrum shows the three majorcomponents of the Doppler spectrum:* White noise.* Ground clutter at zero radial velocity.* A spectrum of the weather targetshaving a Gaussian shape characterizedby the weather power, mean velocityand width (standard deviation), i.e., thespectrum moments.Mean VelocitySpectrumWidthTimeAmplitudeAmplitudeIQDopplerSpectrumσv
Processing AlgorithmsRVP8 User’s ManualMarch 20065–175.2.2 Frequency Domain Processing- Doppler Power Spectrum The Doppler power spectrum, or simply the “Doppler spectrum”, is the easiest way to visualizethe meteorological information content of the time series. The bottom part of Figure 5–3 showsan example of a Doppler power spectrum for the time series shown in the upper part of thefigure. The figure above shows the various components of the Doppler spectrum, i.e., typicallythere is white noise, weather signal and ground clutter. Other types of targets such as sea clutter,birds, insects, aircraft, surface traffic, second trip echo, etc. may also be present.The “Doppler power spectrum” is obtained by taking the magnitude squared of the input timeseries, i.e. for a continuous time series,S(w)+|F{s(t)}|2Here S denotes the power spectrum as a function of frequency ω, and F denotes the Fouriertransform of the continuous complex time series s(t).  The Doppler power spectrum isreal-valued  since it is the magnitude squared of the complex Fourier transform of s(t).In practice a pulsed radar operates with discrete rather than continuous time series, i.e., there isan I and Q value for each range bin for each pulse. In this case we use the discrete Fouriertransform or DFT to calculate the discrete power spectrum. Note that in the special case whenwe have 2n input time series samples (e.g., 16, 32, 64, 128, ...), we use the fast Fourier transformalgorithm (FFT), so called because it is significantly faster than the full DFT.The DFT has the form:Sk+|DFTk{wmsm}|2+ŤȍMm+0wmsme*j(2pńM)mkŤ2Typically a weighting function or “window” wm is applied to the input time series sm to mitigatethe effect of the DFT assumption of periodic time series. The RVP8 supports different windowssuch as the Hamming, Blackman, Von Han, Exact Blackman and of course the rectangularwindow for which all spectral components are weighted equally. The typical form of a spectrum
Processing AlgorithmsRVP8 User’s ManualMarch 20065–18window is shown in the figure below which illustrates how the edge points of the time series arede–emphasized and the center points are over emphasized. The dashed line would correspond tothe rectangular window. Note that the “gain” of the window is set to preserve the total power.Time/Sample IndexWeight1M0RectangularFigure 5–4: Typical form of a time series windowEven though the window gain can be adjusted to conserve the total power, there is an effectivereduction in the number of samples which increases the variance (or uncertainty) of the momentestimates. For example the variance of the total power is greater when computed from aspectrum with Blackman weighting as compared to using a rectangular window. This is becausethere are effectively fewer samples because of the de-emphasis of the end points. This is anegative side to using a window.The DFT of the window itself is known as its impulse response which shows all of thefrequencies that are generated by the window itself. A generic example is shown in Figure 5–5below which illustrates that these “side lobe” frequencies can have substantial power. This is nota problem for weather signals alone, but if there is strong clutter mixed in, then the side lobepower from the clutter can obscure the weaker weather signals. The rectangular window has theworst sidelobes, but the narrowest window width. However, the rectangular window provides the
Processing AlgorithmsRVP8 User’s ManualMarch 20065–19lowest variance estimates of the moment parameters (in the absence of clutter. More“aggressive” windows have lower side lobe power at the expense of a broader impulse responseand an increased variance of the moment estimates.FrequencyPowerM/20Side LobesĆM/2Window WidthFigure 5–5: Impulse response of a typical windowSo in summary of the DFT approach and spectrum windows:SWhen the clutter is strong, an aggressive spectrum window is required to contain theclutter power so that the side lobes of the window do not mask the weather targets. Theside lobe levels of some common windows are:Rectangular 12 dBHamming 40 dBBlackman 55 dBSMore aggressive windows typically have a wider impulse response. This effectivelyincreases the spectrum width. Rectangular is narrow, Hamming intermediate andBlackman the widest.SWindows effectively reduce the number of samples resulting in higher variance momentestimates. Rectangular is the best case, Hamming is intermediate and Blackman providesthe highest variance moment estimates.These facts suggest the best approach is to use the least aggressive window possible in order tocontain the clutter power that is actually present- i.e., an adaptive approach is the best.
Processing AlgorithmsRVP8 User’s ManualMarch 20065–205.2.3 AutocorrelationsThe final spectrum moment calculation (for total power or SNR, mean velocity and spectrumwidth) in all processing modes is based on autocorrelation moment estimation techniques.Typically the first three lags are calculated, denoted as R0, R1 and R2. However, there are twoways to calculate these, i.e., time domain or frequency domain calculation. In the PPP mode fordual polarization, the autocorrelations are computed directly in the time domain while in theDFT mode, they are computed by taking the inverse DFT the Doppler power spectrum in thefrequency domain. Note that only the first three terms need be calculated in the inverse DFTcase. The time domain and frequency domain techniques are nearly identical except that themethod of taking the inverse DFT of the power spectrum relies on the assumption that the timeseries is periodic. Another difference is that for time domain calculation only a rectangularweighting is used.The time domain calculation of the autocorrelations and the corresponding physical models are:Parameter and Definition Physical ModelTo+1MȍMn+1sn*sngrgt(S)C))NRo+1MȍMn+1sȀ*nsȀngrgtS)NR1+1M*1ȍM*1n+1sȀ*nsȀn)1grgtSejpVȀ*p2W2ń2R2+1M*2ȍM*2n+1sȀ*nsȀn)2grgtSej2pVȀ*2p2W2where M is the number of pulses in the time average. Here, sȀ denotes the clutter-filtered timeseries, s denotes the original unfiltered time series and the * denotes a complex conjugate. gr andgt represent the transmitter and receiver gains, i.e., their product represents the total system gain.Since the RVP8 is a linear receiver, there is a single gain number that relates the measuredautocorrelation magnitude to the absolute received power. However, since many of thealgorithms do not require absolute calibration of the power, the gain terms will be ignored in thediscussion of these. To  for the unfiltered time series is proportional to the sum of themeteorological signal S, the clutter power C and the noise power N. R0 is equal to the sum ofthe meteorological signal S and noise power N which is measured directly on the RVP8 byperiodic noise sampling. To and R0 are used for calculating the dBZ values- the equivalent radarreflectivity factor which is a calibrated measurement. The physical models for R0,R1 and R2correspond to a Gaussian weather signal and white noise as shown in Figure 5–3. W is thespectrum width and V’ the mean velocity, both for the normalized Nyquist interval on [–1 to 1].The autocorrelation lags above and the corresponding physical models have five unknowns: N,S, C, V’, W. Because the R1 and R2 lags are complex, this yields, effectively, five equations infive unknowns using the constraint provided by the argument of R1.  This closed system ofequations can be solved for the unknowns which is the basis for calculating the moments fromthe autocorrelations.
Processing AlgorithmsRVP8 User’s ManualMarch 20065–215.2.4 Angle SynchronizationThe exact value of M that is used for each time average will generally be the “Sample Size” thatis selected by the SOPRM command (See Section 6.3).  However, when the RVP8 is in PPPmode and antenna angle synchronization is enabled, the actual number of pulses used may belimited by the number that fit within each ray’s angular limits at the current antenna scan rate.The value of M will never be greater than the SOPRM Sample Size, but it may sometimes beless.  For example, at 1KHz PRF, 20_/sec scan rate, 1_ ray synchronization, and a Sample Sizeof 80, there will be 50 pulses used for each ray (not 80).  Note, however, that the number ofpulses used in the “batched” (non-PPP) modes will always be exactly equal to the Sample Size,since those modes are allowed to use overlapping pulses.5.2.5 Clutter Filtering ApproachesEach major mode implements clutter filtering as follows:SDFT Mode uses frequency domain clutter filters.SPPP Mode, used only for dual polarization. No clutter filtering is done in the PPP modesince this will typically damage the polarization information.SRandom Phase Mode uses frequency domain clutter filters.SBatch Mode uses a simple DC removal for the small batch clutter filter. The high PRFlarge batch is then processed using the DFT mode.In previous versions of SIGMET processors, an IIR (infinite implodes response) filter wasoffered. The IIR filter, while requiring minimal storage and computation, has three majordrawbacks:SThe infinite impulse response requires a settling time when a transient occurs such as aPRF change, or a spike clutter target. During the settling time, the transient responsedegrades the performance of the filter.SThe filter is fixed width in the Nyquist interval. This means that it may be sufficientlywide to remove moderate or weak clutter, but may not be wide enough to remove all ofthe clutter when the clutter power is very strong and consequently wider in the Nyquistinterval. This causes operators to select wider filters than necessary so that strongestclutter is adequately removed.SThe filter does significant damage to overlapped (zero velocity) weather signals, i.e.,these will be significantly attenuated by the filter.With the advent of the high speed processors such as the RVP8, there is sufficient storage andcomputational power to implement frequency domain filters that, in some cases, are adaptive.Because of the superiority of these filters, the legacy time domain IIR approach is no longer usedin the RVP8. The only mode that uses time domain filtering is the Batch mode for the low PRFpulses (subtraction of the average I and Q to remove the DC component).The various frequency domain filters available in the RVP8 are configured using the “mf” setupcommand (Section 3.2.3). These are:
Processing AlgorithmsRVP8 User’s ManualMarch 20065–22SType 0: Fixed width filters with interpolationSType 1:Variable width single slope adaptive processingSType 2: Gaussian model adaptive processing (GMAP)These filters are described in in the sections detail below.
Processing AlgorithmsRVP8 User’s ManualMarch 20065–235.2.5.1 Fixed Width Clutter FiltersThis filter, illustrated in Figure 5–6, removes  a specified number of spectrum components(5 in the example) and then interpolates across the gap using the minimum of a specifiednumber of “edge points” (2 in the example) to anchor the interpolation at each end of the gap.This is a fairly simple legacy approach that uses interpolation to repair the damage causedby the removal of components.Figure 5–6: Example of fixed widthSpectrum with ground clutter-20-40-600dB PowerVelocity0+Vu-VuRemove 5 interior points-20-40-600dB PowerFind minimum of 2 edge pointsInterpolate across 5 center points-20-40-600dB PowerThis procedure attempts to preserve the noise level and/or overlapped weather targets. The resultis that more accurate estimates of dBZ are obtained. In extreme cases when the weatherspectrum is very narrow, there can still be some attenuation of weather of a broad filter isselected.
Processing AlgorithmsRVP8 User’s ManualMarch 20065–245.2.5.2 Variable Width Clutter FilterThis is similar in many ways to the fixed width filter except that the algorithm attempts toextend the boundary of the clutter by determining which is the first component outside theclutter region to increase in power. The filter is illustrated in the figure below.Figure 5–7: Variable Width Clutter FilterSpectrum with ground clutter-20-40-600dB PowerVelocity0+Vu-VuRemove 3 interior points-20-40-600dB PowerUse slope to extend the clutter boundĆary. Then find the minimum of the 2edge points and interpolate.-20-40-600dB PowerIn the example above, the minimum number of points to reject is set to 3. The filter startsat zero velocity and checks the slope to determine the point at which the power starts to in-crease. In the example, this results in the filter being extended by one point on the right. Notethat there is a selectable maximum number of points that the filter will “hunt”. The use ofthe edge points for interpolation is identical to the fixed width case.This filter allows users to specify a narrower nominal filter than the fixed width case and thenwhen the clutter is strong, this width is extended by the algorithm (the “hunt”). The interpola-tion attempts to preserve any overlapped clutter and weather.
Processing AlgorithmsRVP8 User’s ManualMarch 20065–255.2.5.3 Gaussian Model Adaptive Processing (GMAP) GMAP is a new adaptive technique developed at SIGMET that is possible on a high-speedprocessor such as the RVP8. GMAP has the following advantages as compared to fixed widthfrequency domain filters or time domain filtering such as the IIR approach:SThe width adapts in the frequency domain to adjust for the effects of PRF, number ofsamples and the absolute amplitude of the clutter power. This means that minimaloperator intervention is required to set the filter.SIf there is no clutter present, then GMAP does little or no filtering.SGMAP repairs the damage to overlapped (near zero velocity) weather targets.SThe DFT window is determined automatically to be the least aggressive possible toremove the clutter. This reduces the variance of the moment estimates.The GMAP algorithm is described below.GMAP Model AssumptionsGMAP makes several assumptions about the model for clutter, weather and noise, i.e.,SThe spectrum width of the weather signal is greater than that of the clutter. This is afundamental assumption required of all Doppler clutter filters.SThe Doppler spectrum consists of ground clutter, a single weather target and noise.Bi-modal weather targets, aircraft  or birds mixed with weather would violate thisassumption.SThe width of the clutter is approximately known. This is determined primarily by thescan speed and to a lesser extent by the climatology of the local clutter targets. Theassumed width is used to determine how many interior clutter points are removed.SThe shape of the clutter is approximately Gaussian. This shape is used to calculate howmany interior clutter points are removed.SThe shape of the weather is approximately Gaussian. This shape is used to reconstructfiltered points in overlapped weather.GMAP Algorithm StepsThe steps used to implement the GMAP approach are shown schematically in Figure 5–8and summarized below.SStep 1: Window and DFTFirst a Hamming window weighting function is applied to the IQ values and a discreteFourier transform (DFT) is then performed. This provides better spectrum resolution thana fast Fourier Transform (FFT) which requires that the number of IQ values be a powerof 2.  Note that if the requested number of samples is exactly a power of 2, then an FFTis used.
Processing AlgorithmsRVP8 User’s ManualMarch 20065–26Step 1: Window and DFTApply window and DFT the input time series to obtain the Dopplerpower spectrum. A Hamming window is used for the first trial.Step 3: Remove clutter pointsUse the total power of the three central spectrum points (indicated by thethree open circles) to fit a Gaussian having the selected nominal spec-trum width in m/s (a function of the number of spectrum samples, PRFand wavelength). The points within the intersection of the Gaussian clut-ter and the noise level (the “Clutter Region”) are discarded (indicated bythe dashed lines).Percentage of spectrum points having power < I0 100%dB Power, INoise RegionSignal/ClutterRegionVu–VuPower dB0Vu–VuPower dB0Vu–VuPowerClutterRegion Step 4: Replace clutter pointsDynamic Noise Case: Using the components which have been deter-mined to be neither clutter nor noise (indicated by the filled circles), fita Gaussian and fill-in the clutter points that were removed in the previousstep (indicated by the open circles). Then re-fit the Gaussian with the re-placement values inserted. Repeat the iteration until the computed powerdoes not change by more than 0.2dB AND the velocity does not changeby more than  0.5% of the Nyquist velocity.Fixed Noise Case: Similar except the spectrum points that are  larger thanthe noise level are used.Step 2 (Optional): Dynamic noise powerIf the noise level is not known, or if GMAP is recalculated using theBlackman window for CSR>40 dB, then this step is performed. Re-or-ganize the spectrum components in ascending order of intensity. Thetheoretical relationship for noise is the curved line. The sum of thepower in the range 5% to 40% is calculated. This is used to determinethe noise level by comparing with the sum value corresponding to thetheoretical curve. Next, the power is summed beyond the 40% pointfor both the actual and theoretical rank spectra. The point where the ac-tual power sum exceeds the theoretical value by 2 dB determines theboundary between the noise region and the signal/clutter region.NoiseLevelNoiseLevelStep 5: Recompute GMAP with optimal windowDetermine if the optimal window was used based on the clutter-to-signal ratio (CSR)     IF CSR > 40 dB repeat GMAP using a Blackman window and dynamic noise calculation.     IF CSR > 20 dB repeat GMAP using a Blackman window. Then if CSR>25dB use Blackman results.     IF CSR <  2.5 dB repeat GMAP using a rectangular window. Then if CSR < 1 dB use rectangular re-sults.     ELSE accept the Hamming window result.Figure 5–8: GMAP Algorithm Steps
Processing AlgorithmsRVP8 User’s ManualMarch 20065–27SAs mentioned in Section 5.2.2, when there is no or very little clutter, use of a rectangularweighting function leads to the lowest-variance estimates of intensity, mean velocity andspectrum width. When there is a very large amount of clutter, then the aggressiveBlackman window is required to reduce the “spill-over” of power from the clutter targetinto the sidelobes of the impulse response function. The Hamming window is used as thefirst guess. After the first pass GMAP analysis is complete, a decision is made to eitheraccept the Hamming results, or recalculate for either rectangular or Blackman dependingon the clutter-to-signal ratio (CSR) computed from the Hamming analysis. Therecalculated results are then checked to determine whether to use these or the originalHamming result (see Figure 5–8 for details).SStep 2: Determine the noise powerIn general, the spectrum noise power is known from periodic noise power measurements.Since the receiver is linear and requires no STC or AGC, the noise power iswell–behaved at all ranges. The only time that the spectrum noise power will differ fromthe measured noise power is for very strong clutter targets. In this case, the cluttercontributes power to all frequencies, essentially increasing the spectrum noise level. Thisoccurs for two reasons: 1) In the presence of very strong clutter, even a small amount ofphase noise causes the spectrum noise level to increase, and 2) There is significant powerthat occurs in the window side-lobes. For a Hamming window, the window side lobes aredown by 40 dB from the peak at zero velocity. Thus 50 dB clutter targets will havespectrum noise that is dominated by the window sidelobes in the Hamming case. Themore aggressive Blackman window has approximately 55 dB window sidelobes at theexpense of having a wider impulse response and larger negative effect on the variance ofthe estimates.SWhen the noise power is not known, it is optionally computed using a dynamic approachsimilar to that of Hildebrand and Sekhon (1974). The Doppler spectrum components arefirst sorted in order of their power. As shown in Figure 5–8, the sorting places theweakest component on the left and the strongest component on the right. The verticalaxis is the power of the component. The horizontal axis is the percentage of componentsthat have power less than the y-axis power value. Plotted on a dB scale, Poissondistributed noise has a distinct shape, as shown by the curved line in Figure 5–8. Thisshape shows a strong singularity at the left associated with taking the log of numbers nearzero, and a strong maximum at the right where there is always a finite probability that afew components will have extremely large values.SThere are generally two regions: a noise region on the left (weaker power) and asignal/clutter region on the right (stronger power). The noise level and the transitionbetween these two regions is determined by first summing the power in the range 5% to40%. This sum is used to determine the noise level by comparing with the sum valuecorresponding to the theoretical curve. Next, the power is summed beyond the 40% pointfor both the actual and theoretical rank spectra. The point where the actual power sumexceeds the theoretical value by 2 dB determines the boundary between the noise regionand the signal/clutter region.
Processing AlgorithmsRVP8 User’s ManualMarch 20065–28SFinally there are two outputs from this step: a spectrum noise level and a list ofcomponents that are  either signal or clutterSStep 3: Remove the clutter pointsThe inputs for this step are the Doppler power spectrum, the assumed clutter width in m/sand the noise level, either known from noise measurement or optionally calculated fromthe previous step. First the power in the three central spectrum components is summed(DC ±1 component) and compared to the power that would be in the three centralcomponents of a normalized Gaussian spectrum having the specified clutter width anddiscretized in the identical manner. This serves as a basis for normalizing the power inthe Gaussian to the observed power. The Gaussian is extended down to the noise leveland all spectral components that fall within the Gaussian curve are removed. The powerin the components that are removed is the “clutter power”.SA subtle point is the use of the three central points to do the power normalization of theactual vs the idealized spectrum of clutter. This is more robust than using a single pointsince for some realizations of clutter targets viewed with a scanning antenna, the DCcomponent is not necessarily the maximum. Averaging over the three central componentsis a more robust way to characterize the clutter power.SThe very substantial algorithmic work that has been done thus far is to eliminate theproper number of central points. The operator only has to specify a nominal clutter widthin m/s. This means that the operator does not need to consider the PRF, wavelength ornumber of spectrum points- GMAP accounts for these automatically.SA key point is that in the event that the sum of the three central components is less thanthe corresponding noise power, then it is assumed that there is no clutter and all of themoments are then calculated using a rectangular window.  If the power in the threecentral components is only slightly larger than the noise level, then the computed widthfor clutter removal will be so narrow that only the central (DC) point shall be removed.This is very important since, if there is no clutter then we want to do nothing or at worstonly remove the central component.SBecause of this behaviour, there is no need to do a clutter bypass map, i.e., turn-off theclutter filter at specific ranges, azimuths and elevation for which the map declares thatthere is no clutter. Because of the day-to-day variations in the clutter and the presence ofAP, the clutter map will often be incorrect. Since GMAP determines the no-filter caseautomatically and then processes accordingly, a clutter map is not required.SStep 4: Replace clutter pointsThe assumption of a Gaussian weather spectrum now comes into play to replace thepoints that have been removed by the clutter filter. There are two cases depending onhow the noise level is determined under Step 2, i.e., the dynamic noise case and the fixednoise level case.SDynamic noise level case: From Step 2, we know which spectrum components arenoise. From Step 3 we know which spectrum components are clutter. Presumably,everything that is left is weather signal. An inverse DFT using only these components is
Processing AlgorithmsRVP8 User’s ManualMarch 20065–29performed to obtain the autocorrelation at lags 0, 1. This is very computationally efficientsince there are typically few remaining points and only the first two lags need becalculated. The pulse pair mean velocity and spectrum width are calculated using theGaussian model (e.g., see Doviak and Zrnic, 1993). Note that since the noise has alreadybeen removed, there is no need to do a noise correction. The Gaussian model is thenapplied using the calculated moments to determine a substitution value for each of thespectrum components that were removed in Step 3.SIn the case of overlapped weather as shown in the Figure 5–8 example,  the replacementpower is typically too small. For this reason, the algorithm recomputes R0 and R1 usingboth the observed and the replacement points and computes new replacement points. Thisprocedure is done iteratively until the power difference between two successive iterationsis less than 0.2 dB and the velocity difference is less than 0.5% of the Nyquist interval.SIn summary of this step, the Gaussian weather model is used to repair the filter bias, i.e.,the damage that is caused by removing the clutter points. An IIR filtering approachmakes no attempt to repair filter bias, rather the filter simply “digs a hole” intooverlapped weather.SStep 5: Check for appropriate window and recalculate the moments if necessary. The clutter power is known from the spectrum components that were removed in Step 3.Since the weather spectrum moments and the noise are also known from Step 4, the CSRcan be calculated. The value of the CSR,  is used to decide whether the Hammingwindow is the most appropriate. The scenarios are described in Figure 5–8. The endresult is that  very weak clutter is processed using a rectangular window, moderate cluttera Hamming window, while severe clutter requires a Blackman window. Note that if noclutter were removed in Step 3, then the spectrum is processed with a rectangularwindow.SThe benefit of adaptive windowing is that the least aggressive window is used for thecalculation of the spectrum moments, resulting in the minimum variance of the momentestimates.GMAP Configuration The ’mf’ command in the dspx TTY setups is used to configure GMAP filters. In the sectionfor the spectrum filters select filter “Type 2” and specify the width of the ground clutter inm/s. This width is determined largely by your antenna rotation rate so you will want to con-figure several widths to deal with the different rotation rates in your operational scenario.An example might be filters indexed 1-5 corresponding to widths from 0.1 to 0.5.A good practice is to make a scan on a clear day while using ascope or other utility and ob-serve what the actual width of the clutter is for your various scan rates. You will need to turn-off the clutter filtering to do this (pick “filter 0” for the all pass filter).Example of ImplementationGMAP has undergone extensive evaluation for use in the US WSR88D ORDA network up-grade (Ice et al, 2004). They conclude that GMAP meets the ORDA requirements. Their
Processing AlgorithmsRVP8 User’s ManualMarch 20065–30study was based on a built-in simulator that is provided as part of the RVP8 and the ascopeutility. The simulator allows users to construct Doppler spectra, process them and evaluatethe results (Sirmans and Bumgarner, 1975). This is an essential tool for evaluating the systemperformance.Figure 5–9 shows an example of the simulations for the very difficult case when the weatherhas zero velocity, i.e., it is perfectly overlapped with clutter. The upper left graph shows theweather signal with –40 dB power without any clutter and without any GMAP filtering. Thegraph at the upper right shows the same spectrum with 0 dB of clutter power added for a clut-ter width of 0.012 (0.3 m/s at S band, 1000 Hz PRF).  This is a CSR of 40 dB. The panel atthe lower left shows the weather signal after GMAP filtering.In each of the moment plots, there are several values that are displayed. The  left-most num-ber shows the value at the range cursor which is positioned as indicated by the vertical line.To the right, the “m” value is the mean and the “s” value the standard deviation as averagedover all range bins (1000 in this example). For velocity these are in normalized units ex-pressed as a fraction of the Nyquist interval. For reflectivity the values are in dB. Some key points are:SThe mean velocity is correctly recovered as expected (the “m” value in the plot), but thestandard deviation is higher (0.06 vs 0.04 in normalized units).SThe “Cor dBZ” shows 40.2 dB of “C.Rej”. This is the difference between the “Tot dBZ”and the “Cor dBZ” values.  The expected value is 40 dB in this case.  This indicates thatGMAP has recovered the weather signal in spite of the aggressive clutter filtering that isrequired.SThe standard deviation of the “Tot dBZ” is greater in the weather plus clutter (4.35normalized units) as compared to the weather-only case. This is caused by thefluctuations in the clutter power in the Gaussian clutter model.SThe standard deviation of the Cor dBZ after GMAP filtering, while not as low as for theweather-only case are lower than the weather plus clutter case. In other words, theGMAP processing removes some of the high variance in the dBZ estimates that is causedby clutter, but is not quite as good as doing nothing.
Processing AlgorithmsRVP8 User’s ManualMarch 20065–31Weather only Weather plus clutterSimulation Characteristics   Clutter Weather UnitsPower 0 –40 dBVel 0     0 AnyWidth 0.012  0.1  NormalizedPRF 1000 Hz Window BlackmanModeFFT Samples 64“Mag Spec”: Doppler Spectrum in dB Units spanningthe Nyquist interval.“Velocity”: Mean velocity of the spectrum in over Ny-quist interval. Mean “m” and standard deviation values“s” are for the normalized interval  ±1.“Tot dBZ”: Power in dB of weather and clutter. Mean“m” and standard deviation values “s” are in dB.“Cor dBZ”: Power in dB after GMAP filtering. Mean“m” and standard deviation values “s” are in dB.“<m: ...s: ...>” mean and standard deviation over allranges, in this case 1000 range bins.Figure 5–9: GMAP example
Processing AlgorithmsRVP8 User’s ManualMarch 20065–325.2.6 Range averaging and Clutter Microsuppression The next step (optional) is to perform range averaging. Range averaging can be performed over2, 3, ..., 16 bins.  This is accomplished by simply averaging the T0,R0,R1 and R2 values.  Thisreduces the number of bins in the final output to save processing both in the RVP8 and in thehost computer.At the user’s option, the range averaged data can be restricted to include only those bins whichhave an estimated clutter-to-signal ratio that falls within the CCOR threshold interval.  Byexcluding isolated point clutter targets from the range average the sub-clutter visibility of theaveraged data is increased.  Specifically, the Doppler test that is applied to each bin in order thatit contribute to the overall sum is:10 log R0*10 log T0uCCORthresh  .5.2.7 Reflectivity The corrected reflectivity Z is output using a log scale based on the following equation:dBZ +10 logƪT0*NNƫ)dBZo)20 log r)ar )CCORThis equation is simply a dB version of the familiar radar equation for distributed targets. Therelationship between the measured autocorrelation function, the received signal and the noise canbe expressed as:To+gtgrS)Nwhere gt  and gr represent the transmitter and receiver gains, S is the average back scatteredpower from the targets and N is the measured average noise power. Neglecting attenuation andthe contribution of ground clutter (for the moment), the radar equation can be written as.Z+CSr2+ƪCr20Ngrgtƫƪr2r2oƫƪTo*NNƫwhere C is the radar constant and ro is a reference range which we will later set to 1 km. This isidentical to the first three terms of the dB version of the equation with the definition that:Zo+Cr2oNgrgt+Cr2oIowhere Io+NgrgtZo is called the calibration reflectivity factor. It is the equivalent radar reflectivity factor at thereference range when the return signal power is equal to the noise power (SNR=0 dB). It issometimes called the minimum detectable dBZ at 1 km, though it is more correct to call it the0dB SNR detection level (See Figure 5–10). The parameter Io is the measured noise power at IFwith appropriate calibration for the system gain. Calibration of the RVP8 involves defining theradar constant C and measuring the value of Io. This is discussed in detail in Section 5.4.
Processing AlgorithmsRVP8 User’s ManualMarch 20065–33Essentially, the measurement of Io is based on the measurement of the system noise at the timeof calibration. However, if the receiver gain were to change after calibration, the use of periodicnoise sampling properly corrects for this. For example, if the receiver gain were to change by afactor k, then we would measure a noise value of kN and an autocorrelation value of kTo, i.e.,Z+CSr2+ƪCr20Ngrgtƫƪr2r2oƫƪkTo*kNkN ƫThus the k’s cancel to give us the same result for Z. This makes the approach robust to systemgain fluctuations. Another way of saying this is that as long as the system sensitivity (noisefigure) does not change, then the system does not require re-calibration.The individual terms in the dB form of the equation are summarized below.1st Term : 10 logƪT0*NNƫ: Signal to Noise RatioThe effect of this term is to subtract the measured noise and then divide by that noise.  Theresult is a Signal-to-Noise ratio.2rd Term: dBZo : Calibration Reflectivity (see discussion above)dBZo is the minimum detectable dBZ at a reference range ro=1 km,3th Term: 20 log r : Range NormalizationThis term is the ƪrroƫ2 range normalization expressed in dB form.4th Term: ar : Gaseous Attenuation CorrectionThis term accounts for gaseous attenuation. The constant a is set in the RVP8 EEROM sinceit is a function of wavelength.  For a C-band system the default value is 0.016 dB per km (fortwo-way path attenuation).5th Term: CCOR: Clutter CorrectionThis term corrects for the measured ground clutter. It’s derivation is discussed in section5.2.11.
Processing AlgorithmsRVP8 User’s ManualMarch 20065–345.2.8 VelocityFor a Doppler power spectrum that is symmetric about its mean velocity, the velocity is obtaineddirectly from the argument of the autocorrelation at the first lag, i.e.,V+l4ptsq1    where    q1+arg NJR1Nj.l is the radar wavelength, ts is the sampling time (1/PRF).  q1 is constrained to be on theinterval [*p,p].   When  q1+" p , then  V+" Vu  where the unambiguous velocity is ,Vu+l4ts .If the absolute value of the true velocity of the scatterers is greater than Vu , then the velocitycalculated by the RVP8 is folded into the interval  ƪ*Vu,Vuƫ , which is called the Nyquistinterval. Folding is usually easily recognized on a color display by a discontinuous jump invelocities. For example, if the true velocity is Vu)DV,  then the velocity calculated by theRVP8 is  *Vu)DV,  which is  2Vu away from the true mean velocity.For 8-bit outputs, rather than calculating the absolute velocity in scientific units, the RVP8calculates the mean velocity for the normalized Nyquist interval [–1,1], i.e., the output valuesare,VȀ+q1p.For example, an output value of –0.5 corresponds to a mean velocity of *Vuń2. Thenormalized velocity VȀ is more efficient use of the limited number of bits.5.2.9 Spectrum Width AlgorithmsThe spectrum width is a measure of the combined effects of shear and turbulence. To a lesserextent, the antenna rotation rate can also effect the spectrum width. At high elevation angles, thefall speed dispersion of the scatterers also effects spectrum width.There are two choices for the spectrum width algorithm used in the RVP8, depending on thespeed and accuracy that are required for the application:R0,R1 “fast” algorithm valid when SNR >> 10 dBR0,R1,R2 “accurate” algorithm for SNR >> 0 to 5 dBThe approach used is selected in the SOPRM command. The two approaches are described below:R0,R1Width AlgorithmGiven samples of the Doppler autocorrelation function, numerous estimates of spectral vari-ance can be computed (Passarelli & Siggia, 1983). The particular estimator used by theRVP8 employs the magnitudes of  R0 and  R1 and assumes that the Doppler spectrum isGaussian (usually an acceptable assumption) and that the signal-to-noise ratio is large. Spe-cifically we have (similar to Srivastava, et al 1979):Variance +2lnƪRo|R1|ƫ+*2ln[SQI]
Processing AlgorithmsRVP8 User’s ManualMarch 20065–35where “ln” represents the natural logarithm. This can be compared to the expression in thepreceding section for SQI to illustrate that this expression for the variance is only valid when:SNRSNR )1[1which occurs when the SNR is large.This variance estimator is normalized to the Nyquist interval in units of [*p,p]. Thus, forexample, a variance of p2ń25 would be obtained from a Gaussian spectrum having a stan-dard deviation equal to one fifth of the total width of the plotted spectral distribution. Forscientific purposes, the spectrum width (standard deviation) is more physically meaningfulthan the variance, since it scales linearly with the severity of wind shear and turbulence. Forthese reasons, the width W is output by the RVP8:W+VarianceǸpAgain, for efficient packing in 8-bits, width is normalized to the Nyquist interval [–1, 1 ].For the example given above, the output width W would be (1/5). To obtain the width in me-ters per second, one multiplies the output width by Vu .R0,R1,R2 Width AlgorithmThe width algorithm in this case is similar except that the addition of  R2 extends the validityof the width estimates to weak signals. In this case the variance is:Variance +23lnƪ|R1||R2|ƫThe output width W is then defined as in the previous section.5.2.10 Signal Quality Index (SQI threshold) An important feature of the RVP8 is its ability to eliminate signals which are either too weak tobe useful, or which have widths too large to justify further analysis. This is done via the signalquality index (SQI) which is defined as:SQI +|R1|R0The SQI is the normalized magnitude of the autocorrelation at lag 1 and varies between 0 for anuncorrelated signal (white noise) to 1 for a noise-free zero-width signal (pure tone). Meanvelocity estimates are degraded when the spectrum, width is large or when the signal-to-noiseratio is weak. The SQI is a good measure of the uncertainty in the velocity estimates and is aconvenient screening parameter to compute. In terms of the Gaussian model, the SQI is :SQI +SNRSNR )1e*p2W22where the SNR is the signal-to-noise ratio. For very large SNR’s the SQI is a function of thespectrum width only. For a zero-width pure tone (W=0), the SQI is a function of the SNR only(e.g., for W=0, an SNR of 1 corresponds to SQI=0.5). The SQI threshold is typically set to avalue of 0.4 to 0.5.
Processing AlgorithmsRVP8 User’s ManualMarch 20065–365.2.11 Clutter Correction (CCOR threshold) In addition to calculating the R0,R1 and optional  R2 autocorrelation terms, which are based onfiltered time series data, the RVP8 also computes  T0 which is the total unfiltered power. Bycomparing the total filtered and unfiltered powers at each range bin, a clutter power, and hence aclutter correction, for that bin can be derived. The clutter correction is defined as,CCOR +10 log SC)S+10 log 1CSR )1where S is the weather signal power,  C is the clutter power and CSR is the clutter-to-signalratio.  The algorithm for calculating CCOR depends on whether the optional  R2 autocorrelationlag is computed as described below.R0,R1 Clutter CorrectionIn this case CCOR is estimated from,CCORest +10 logƪR0T0ƫ+10 logƪS)NC)S)Nƫ+10 logƪ1)1SNRCSR )1)1SNRƫHere, the expression is strictly valid only when the signal-to-noise ratio (SNR=S/N) is large.Thus when the 2-lag approach is used, the clutter corrections are not as accurate for weakweather signals. However, the error is typically less than 3 dB.R0,R1,R2 Clutter CorrectionIn this case there is enough information to compute the clutter signal and noise power inde-pendently. The algorithm for CCOR is:CCORest +10 log SC)S+10 log 1CSR )1The clutter power is computed from:C+To*Ro+ƪC)S)Nƫ*ƪS)NƫThe signal power S is then computed from:S+|R1| exp p2W22W is the width that has been previously calculated. This approach yields more accurate re-sults for the clutter correction in the case of a low SNR.
Processing AlgorithmsRVP8 User’s ManualMarch 20065–375.2.12 Weather Signal Power (SIG threshold) A parameter called SIG is also calculated to provide an estimate of the weather signal-to-noiseratio in dB for thresholding.  The SIG calculation is different depending on the whether theoptional R2 autocorrelation is computed.R0,R1  CalculationIn this case the SIG is computed as follows:SIG +10 log ƪT0*NNƫ)CCORThis term represents the SNR after the removal of clutter.  The CCOR value is the one de-scribed for R0,R1 in the previous section.R0,R1,R2  CalculationIn this case the SIG is computed based on the SNR which is:SIG +10 log ƪ2pSR0*2pSƫwhere the signal power S is determined as described in the preceding section.5.2.13 (Signal+Noise)/Noise Ratio (LOG threshold)A threshold parameter called LOG is also calculated to provide a signal strength estimate that isuseful for qualifying reflectivity.  For historical reasons, the LOG threshold is not the true SNR(whose dB representation can be both positive and negative) but rather, the ratio of Signal plusNoise to Noise, which always has a positive representation in dB.  Specifically:LOG +10 logƪT0Nƫ(when applied to the dBT parameter)LOG +10 logƪR0Nƫ(when applied to all other parameters)
Processing AlgorithmsRVP8 User’s ManualMarch 20065–385.3 ThresholdingAn important feature of the RVP8 is its ability to accept or reject incoming data based on derivedproperties of the signals themselves.  Typically, “rejected” data are not displayed by the user’ssoftware, thus making for very clean weather presentations.5.3.1 Threshold QualifiersFor data quality control, each RVP8 output parameter can be qualified, i.e., either accepted orrejected for output, based on four threshold criteria:ID Criterion Name Pass CriterionLOG (Signal+Noise)-to-Noise Ratio LOG > thresholdSQI Signal Quality Index SQI > thresholdCCOR Clutter Correction CCOR > thresholdSIG Weather Signal Power SIG > thresholdThe calculation of the measured levels (e.g., SQI) for each of these qualifications has beendescribed in previous sections of this chapter. All four qualification criteria can be switched onand off independently, and the threshold levels (e.g., SQIthresh ) can each be set independently.Further, each qualifier test can be AND’d and OR’d with any other. This allows very complexthresholds criteria to be constructed as required.  The four threshold qualifiers are summarizedbelow.LOG This is a measure of signal strength that is usually used for the thresholding ofreflectivity data. The default LOG threshold value is 0.5 dB.SQI The SQI threshold is typically used for velocity and width thresholding since it is ameasure of the coherency. It is a number between 0 and 1 (dimensionless) where 0 isperfect white noise and 1 is a pure tone (perfect Doppler signal). The default SQIthreshold value is 0.5.CCOR The clutter correction threshold is typically used to reject measurements when theclutter in a range bin is very strong (i.e., when the calculated CCOR is a largenegative number in dB). The appropriate value depends on the coherency of the radarsystem. The default threshold is set to –25 dB. Threshold values less than this (morenegative) reject fewer clutter bins. Threshold values closer to zero reject more clutterbins.SIG This is typically used only for thresholding the spectrum width to assure that thesignal power is strong enough for an accurate width measurement. The defaultthreshold value is 10 dB. If R2 processing is used, this can usually be reduced to 5 dBfor width thresholding.The following are the default threshold combinations for each of the parameters that can beselected for output from the RVP8:
Processing AlgorithmsRVP8 User’s ManualMarch 20065–39Parameter  Description            Threshold       dBZ Reflectivity with clutter correction LOG and CCORdBT Reflectivity without clutter correction LOGV Mean velocity SQI and CCORW Spectrum width SQI and CCOR and SIGZDR Differential reflectivity LOG5.3.2 Adjusting Threshold QualifiersThe effect of the various threshold qualifiers for each output parameter are discussed in thissection.  In optimizing thresholds for your application, it is recommended that you change onlyone parameter (level or criterion) at a time so that you can verify the effect. Some hints foroptimizing the levels for the default criteria are provided below:LOG To optimize the LOG level, display dBT or dBZ and select the lowest value of thethreshold that eliminates the display noise. If the LOG level is set too high you losesensitivity. Note that if you average more pulses or ranges, then the threshold levelcan usually be reduced.SQI To optimize the SQI level, display velocity and select the lowest value of thethreshold that eliminates the display noise. If the SQI level is set too high you losesensitivity. In general, you should see a greater area covered by velocity thanreflectivity since the velocity is more sensitive. If you do not, you should reduce yourSQI threshold.  Note that if you average more pulses or ranges, then the thresholdlevel can usually be reduced.CCOR This is used to eliminate clutter targets that are very strong. It should not be set toeliminate all clutter targets on a clear day since this means that you are losingsensitivity. To optimize the CCOR threshold it is best to know your system coherencyin terms of dB of clutter cancelation. Start at a value of 10 dB greater (closer to 0)than this. Now display a PPI of dBZ at an antenna elevation of ~1 degree.  Thedisplay should be relatively clean of any clutter targets since most will be rejected.Now reduce the CCOR (more negative) to increase the number of clutter targets onthe display until the number of clutter targets does not increase. The optimum valueof the CCOR is approximately 5 dB more (closer to zero) than this point. Forexample, if the number of clutter targets is a maximum at –35 dB, then set the CCORto ~–30 dB. Note that your clutter filter selection will effect the result.SIG This should be done last. To optimize the SIG level, display the width W and selectthe lowest value of the threshold that eliminates the display noise. If the SIG level isset too high you lose sensitivity. Note that if you average more pulses or ranges, thenthe threshold level can usually be reduced.When thresholding dBZ and dBT reflectivity data with SQI, the comparison value for acceptingthose data is the secondary SQI threshold that is defined via a slope and offset from the primaryuser value (see Mf command).  This secondary threshold is more permissive (lower valued), and
Processing AlgorithmsRVP8 User’s ManualMarch 20065–40is traditionally used to qualify LOG data only in the Random Phase processing mode.  But thesecondary SQI threshold is applied uniformly in all processing modes whenever reflectivity dataare specified as being thresholded by SQI.This gives you more freedom in applying an SQI threshold to your LOG data, because the cutoffvalue for reflectivity can be chosen independently from the cutoff value for the other Dopplerparameters.  The full SQI test would not normally be applied to LOG data because of theso-called “black hole” problem, i.e., loss of LOG data within regions of high shear, even thoughthe reflectivity itself was strong.  You may experiment with applying a secondary SQI thresholdto help cleanup the LOG data, but without introducing any significant black holes.5.3.3 Speckle FiltersA speckle filter is a final pass over each output ray, wherein isolated bins are removed. There aretwo speckle removers in the RVP8.S1D single-ray speckle filter. This can be used for any output parameter.S2D 3x3 speckle filter. If enabled, this is applied only to T, V, Z and W.The 1D speckle filter is the default technique. The 2D 3x3 filter is enabled by selection in themp TTY setups:2D Final Speckle/Unfold “User” or “Always”Both of these speckle filters remove isolated data points that are likely to be noise, interference,aircraft, birds or other point targets. Meteorological targets typically occupy multiple range binsso are not effected by the speckle filter. There are two primary benefits derived from using aspeckle filter:SDisplays look “cleaner” to observers.SThresholds can be set slightly more sensitive without increasing the number of noisepixels.The 2D 3x3 filter actually performs data filling of “missing speckles” as well as eliminatingisolated speckle bins. The two algorithms are discussed below.1D Speckle FilterA ray is the basic azimuth unit of the RVP8 (e.g., 1 degree) over which the samples are averagedto obtain the output base data (T, Z, V, W). For this filter, a speckle is defined as any single,valid bin (not thresholded), having thresholded bins on either side of it in range. Any suchisolated bin in a ray is set to “threshold”.  The algorithm is shown schematically below. Note that there are two independent 1D speckle removers– one for the reflectivity data (dBT,dBZ and ZDR) and one for the Doppler data (V and W). Each one should be switched on or off,depending on the specific nature of the targets being observed. For example, when making aclutter map of the area, one would certainly want to switch both speckle filters off.
Processing AlgorithmsRVP8 User’s ManualMarch 20065–41Input Ray Indicates  Thresholded Bin1D Speckle FilteringOutput RayRangeXXX Indicates SpeckleIndicates Valid Bin2D 3x3 Speckle FilterThe 2D filter examines three adjacent range bins from three successive rays in order to assign avalue to the center point. Thus, for each output point, its eight neighboring bins in range andtime are available to the filter. Only the dBZ, dBT, Vel , and Width data are candidates for thisfiltering step; all other parameters are processed using the default 1D speckle filter.The rules for the filter are as follows:Center Point ActionAssign Threshold ElseValid Center Point If there are no or only oneother valid point in the 3x3. Do Nothing. Pass the centerpoint value as-is.Thresholded Center Point If there are 5 or fewer validneighbors in the 3x3. If there are 6 or more validneighbors in the 3x3, averageto fill the center point.Thus the 2D 3x3 filter performs 2 functions:SFilling by interpolation.SThresholding of isolated noise bins.Some examples are shown graphically in the figure below.For dBZ, dBT, and Width, the interpolated value for filling is computed as the arithmeticaverage of all available neighbors. For Vel , it is not possible to define a meaningful average in asimple way; so the  nearest  valid neighbor is simply filled in.The filter has some interesting properties when combined with other algorithms.Dual PRF UnfoldingDual–PRF velocity unfolding is computed within the 3x3 filter whenever both are enabled.There are two steps to the process:SStep 1: The most recent and the previous ray are used. For every valid point in the mostrecent ray, the algorithm performs a search among the three nearest neighbors in theprevious ray to find a valid velocity. The search pattern is shown at the bottom of theprevious figure. This larger selection of alternate–PRF bins makes it more likely that thealgorithm will find the pairs of Low/High PRF data that are required for unfolding.
Processing AlgorithmsRVP8 User’s ManualMarch 20065–42RangeAzimuth0-1101-1Zoutput00 +ThresholdThreshold if center point is valid but there are no or only one valid neighbor.Z00Z0*1RangeAzimuth0-1101-1Fill thresholded center point with average if there 6 or more valid neighbors.Z0*1Z*11 Z01Zoutput00 +[Z*11 )Z01 )Z11 )Z10 )Z*1*1)Z0*1]6RangeAzimuth00-11-12D Velocity Unfolding Step 1: Search pattern for valid second velocityPRF2PRF1V200231V11*1Z11Z10Z*1*1Indicates Thresholded Bin2D 3x3 Filtering ConceptsSStep 2: The unfolded velocities are then subjected to the standard 3x3 filtering.Dual PRF, Random Phase ProcessingIn random phase processing, the “seam” at the start of the second trip is always problematicsince the transmitter main bang and nearby clutter will virtually always wipe out the first few2nd trip range bins. At a constant PRF the 2nd trip seam is always at the same range, but indual PRF random phase mode, the seam is different each ray. Thus thresholded bins at theseam of the high PRF can be surrounded on either side by valid bins taken at the low PRF.The 3x3 filter has the effect of interpolating the reflectivity and width data over the bins atthe 2nd trip seam. Velocity data will also be filled–in using the nearest neighbor. Thus the
Processing AlgorithmsRVP8 User’s ManualMarch 20065–432D filter mitigates much of the damage that is caused at the 2nd trip seam to make a nearlyseamless display.
Processing AlgorithmsRVP8 User’s ManualMarch 20065–445.4 Reflectivity Calibration The calculation of reflectivity described in Section 5.2.7 required the calibration reflectivitydBZo. This section describes it’s derivation. You can use the zauto utility to perform thecalibration.  (See the IRIS/RDA Utilities Manual.)RVP8 Measured Power (2dB per Major Div)Power at Antenna Feed (2dB per Major Division)Figure 5–10 Model Intensity Curve1.2dB DetectionThreshold (LOG)10Log(Io)–5dB SNRMin Detectable10Log(N)5.4.1 Plot Method for Calibration of  IoThis approach generates the curve shown above (red) which determines the value of  Io. Thegeneral procedure is to connect a calibrated signal generator to the radar receiver and injectknown power levels to generate a calibration plot of measured power vs the inserted power at theantenna feed, similar to that in Figure 5–10.  The calibration reflectivity dBZo is computed fromthe radar constant and the value of Io, which is  the intercept of the straight line fit (green) withthe Noise level.Why does this geometric construction yield the value of Io ?  Let GdB represent the overall gainof the RF and IF components leading up to the RVP8.  The green line can be interpreted as theresponse of an ideal noise-free amplifier having gain GdB, while the red curve is the response ofthe real-world amplifier(s) whose equivalent front-end noise is Io :(Red) 10 log10(POUT )+GdB )10 log10(PIN )Io)(Green) 10 log10(POUT )+GdB )10 log10(PIN )
Processing AlgorithmsRVP8 User’s ManualMarch 20065–45The measured receiver noise is the horizontal asymptote of the red curve, i.e., the value of thered curve when the input power PIN is zero:10 log10(N)+GdB )10 log10(Io) .Intersecting this measured noise level with the green straight line gives:GdB )10 log10(Io)+GdB )10 log10(PIN )From which we see that the input power at the point of intersection is, indeed, Io .Note that Io is the received signal level that will produce 0dB SNR, i.e., signal power equal tonoise power.  This should not be confused with the minimum detectable power PMDS whichtypically will be several dB lower, depending on processor settings.  In the above example, a1.2dB LOG detection threshold is shown (horizontal blue line) for the received signal.  If theRVP8 is applying sufficient range and time averaging so that thermal noise alone produces veryfew false alarms above 1.2dB, then PMDS will be a full 5dB lower than Io.  We would expect adetection rate of roughly 50% for echoes arriving at this “minimum detectable” level.Typically a CW test signal is used to generate the test curve shown in Figure 5–10. Follow theinstructions provided by the radar manufacturer for injecting a test signal. During calibration, theradar should be fully operational, so that all sources of noise are present. Ideally the transmittershould be turned on during calibration.Important:  Verify with the radar manufacturer that no damage will occur to the signalgenerator if the transmitter is running during the calibration.To perform the calibration, insert signals at steps of 5 or 10 dB over the entire range of thesystem.  Draw the plot shown in figure 5–10.  You can utilize fine resolution steps at the ends ofthe scale to observer the details of the roll off.  Be sure to raise the antenna up a few degrees toavoid ground thermal noise.  Also tune the frequency of the signal generator using the setupcommand “pr”, and displaying the received signal spectrum.  Be sure to check the tuning at theend of the calibration to make sure the signal generator and IFD have not drifted apart.Each time that a new signal level is injected, the measured power values are obtained by firstinvoking the SNOISE command and then reading-back the results using the GPARM command.The Log of Measured Noise Level (Word 6) from GPARM should be used. This procedureaverages many samples together. For IRIS users, this is all handled by the zauto utility.Finally turn it all the way down and make one more sample to measure the noise level N. Io isobtained from the intercept of the horizontal line at N and the straight line fit to the linearportion of the curve. This value must be corrected for losses as discussed in the section below.5.4.2 Single-Point Direct Method for Calibration of  IoThis calibration method requires no support software. The approach uses the TTY setupscommands. Again the signal generator output must be calibrated in absolute dBm. Use a powermeter to check the calibration.
Processing AlgorithmsRVP8 User’s ManualMarch 20065–46STurn the radiate off and connect the signal generator to the test signal injection point.SRaise the antenna to at least 20 degrees, and set the azimuth to point away from anyknown RF sources including the sun.SSelect the pulse width using the mt command.SSelect the pr command and use the commands to set the following:   Plotting Received Power Spectrum...    Rx:Pri,  Zoom:x1–x8,  Navg:25,  Start:100.01 usec (14.99 km),  Span:50 usecSSet the signal generator to the approximate radar RF frequency with a power levelcorresponding to a strong signal (30 dB above the noise), and use a CW signal (not apulse). This signal should be visible as a peak in the spectrum display. Adjust the siggenRF signal frequency so that produces the precise IF frequency (e.g., IF frequency of 30MHz).STurn the signal generator off and record the “Filtered” power level. Note that because ofthe large averaging it will require several seconds for the average to stabilize.STurn the signal generator on, verify that the peak is still at the IF frequency and adjustthe power level to obtain precisely 3 dB more “Filtered” power than was observed withthe noise only. Again, allow several seconds for the averaging to stabilize after you makeeach amplitude adjustment.This is the value of  Io, i.e., the test signal signal power equals the noise power. The next step isto correct the value of Io for losses as discussed in the section below.5.4.3 Treatment of Losses in the CalibrationIn the calibration of the dBm level of the test signal, be sure to account for any losses that mayoccur between the antenna feed and the injection point, and in the cable and coupler that is usedto connect the signal generator to the injection point. Figure 5–11 illustrates the nomenclature ofthe various losses that are involved in the calibration. The relationship between the injected testsignal and the value of the received power relative to the feed is:dBmFeed +dBmInjected )dBLFeed:CouplerdBmFeed +dBmSiggen *dBLCoupler *dBLCable )dBLFeed:CouplerFor example, assume the following:Loss between the feed and the coupler dBLFeed:Coupler 3 dBLoss caused by the coupler dBLCoupler 30 dBLoss in the cable from siggen to coupler dBLCable 2 dBThen if the test signal generator output is –50 dBm, the injected power isdBmInjected = –50–[30+2]= –82 dBm.
Processing AlgorithmsRVP8 User’s ManualMarch 20065–47The equivalent power at the feed is then 3 dB more than thisdBmFeed  = –82+3 = –79 dBm.During the calibration, there are several ways to handle the losses using these equations. Twoexamples are:SEach signal generator value can be corrected for losses so that the calibration plot showsIFD measured power vs received power at the feed. This is recommended for manualcalibration.SThe signal generator values can be plotted directly and the intercept power Io can becorrected for losses so that it is properly referenced to power at the feed. This is theapproach used by the IRIS zauto utility.Figure 5–11: Illustration of Losses that Affect LOG CalibrationTransmitterPtCoupler ReceiverSig GendBmsiggenRVP7IFDLtLFeed:CouplerFeedReceive PathTransmitPathdBmFeedLCableLCouplerPt Feed5.4.4 Determination of  dBZoThe calibration reflectivity is determined from the radar equation as follows:dBZo+10 log ƪCr2oIoƫwhere Io is in mW (corrected for receive losses), the reference range  ro is 1 km, and the radarconstant C is:C+2.69  1016l2PttqfG2Lt
Processing AlgorithmsRVP8 User’s ManualMarch 20065–48where,lRadar wavelength in cm.PtTransmitted peak power in kW.LtTransmit loss (e.g., 3 dB corresponds to Lt+2)tPulse width in microseconds.qHorizontal half-power full beamwidth.fVertical half-power full beamwidth.GAntenna gain (dimensionless) on beam axis.The radar constant is determined from the characteristics of your radar (check with themanufacturer if you are unsure of the values). Note that transmit losses are accounted for in theradar constant, while receiver loss is usually included in the calculation of Io.Finally, if the value of  Io calculated above was not based on loss-corrected dBm values, correctIo as follows:dBIo corrected +dBIo*dBLCoupler *dBLCable )dBLFeed:CouplerExample Calculation of dBZo:This sample calculation is provided so that programmers can check their arithmetic. The radarparameters:lRadar wavelength in cm. 5 cm.PtTransmitted power in kW. 500 kWLtTransmit Loss 2 (3 dB)tPulse width in microseconds 1 microsecondqHorizontal half-power beamwidth in degrees 1 degreefVertical half-power beamwidth in degrees 1 degreeGAntenna gain (dimensionless) on beam axis  19,953 (43.0 dB)The radar constant for this example is,C+2.69  1016l2PttqfG2Lt+(2.69  1016)(5)2(500)(1)(1)(19, 953)2(2.0)+6.76  106ƪmm6m*3km*2mW*1ƫAssume that Io with loss correction is calculated to be –105 dBm (3.16  10*11  mW), thendBZo is,dBZo+10 logƪCr2oIoƫ+10 logƪ(6.76  106)(1)2(3.16  10*11)ƫ+*36.7dB (mm6m*3)This value would be down-loaded to the signal processor using the SOPRM command.
Processing AlgorithmsRVP8 User’s ManualMarch 20065–495.5 Dual PRT Processing ModeThe RVP8 supports two major modes for Dual PRT processing, i.e., algorithms using triggersthat consist of alternate short and long periods.  Most of the Doppler parameters are available ineach of these modes.  You may also request time series data in both cases; the samples will beorganized so that the first pulse of a short PRT pair always comes first.5.5.1 DPRT-1 ModeThe DPRT-1 trigger consists of a very short PRT from which Doppler data are obtained,followed by a much longer PRT whose purpose is to limit the average duty cycle of thetransmitter.  No information is extracted from the long PRT pair, but Dual-PRF techniques canstill be used by varying the short period from ray to ray.  The “-1” suffix in the name for thismode is a reminder that Doppler parameters are computed from the short PRT only.  TheDPRT-1 mode is intended for millimeter wavelength radars that must run at a very high effectivePRF (up to 20KHz) to get an acceptable unambiguous velocity, but which also have a muchlower duty cycle constraint on the average number of pulses transmitted each second.In DPRT-1 mode the requested PRF from the host computer will generally be quite large (up to20KHz); and the reciprocal of this “effective instantaneous PRF” will determine the trigger’sshort PRT interval.  In this way, all subsequent physical calculations will be scaled correctly,e.g., unambiguous velocity, maximum first trip range, etc., are all supposed to be based on theshort PRT interval.  The host computer must therefore be configured so that it can ask for thesevery high trigger rates.The duration of the long PRT interval is not specified directly by the host computer.  Rather, theRVP8’s “Maximum number of Pulses/Second” setup parameter is used to compute how muchdelay to insert in order to insure that the transmitter’s duty cycle is not exceeded.  This specialtreatment applies only in DPRT mode; all other modes that have uniform triggers continue tointerpret the RVP8’s trigger bound as a simple “Maximum PRF”.Since DPRT-1 mode uses only the short pairs of pulses, it is not possible to run the “R2” momentestimation algorithms.  The RVP8 will return the GPARM “Invalid Processor Configuration” bitif “R2” is requested in DPRT mode.  The error bit will also be returned if the number of pulsesrequested (sample size) is not even.  All other error conditions are the same as FFT mode.Warning: Since the RVP8’s “Maximum number of Pulses/Sec” is used to enforcethe duty cycle limit, it is essential that it not be overwritten by the hostcomputer’s upper PRF limit, which typically will be much higher.  To insurethis, you must make sure that the PWINFO command is disabled in the RVP8“Mc” setup menu.  You will have no duty cycle protection if you do not do this.Note: You may still choose to run Dual-PRF velocity unfolding within theDPRT-1 mode.  What will happen is that the short PRT will vary in the selected3:2, 4:3, or 5:4 ratio, but the overall duty cycle will remain constant.  Thecombination of Dual–PRF and DPRT-1 is tremendously effective in extendingthe radar’s unambiguous velocity interval.
Processing AlgorithmsRVP8 User’s ManualMarch 20065–505.5.2 DPRT-2 ModeThe trigger consists of alternating short and long period pulses, where the ratio of the periods isdetermined by the velocity unfolding ratio that has been selected.  Doppler data are extractedfrom both the short and long pulse pairs (hence the “-2” suffix), and unfolded velocities aremade available on each ray based on the combined PRT data from that ray alone.  DPRT-2 modeis intended for rapidly scanning radars where the ray-to-ray spatial continuity assumptions of thetraditional Dual-PRF algorithms do not apply.The DPRT-2 velocity unfolding algorithm uses a modified version of the standard Dual-PRFalgorithm.  Both start by computing a simple velocity difference as a first approximation of theunfolded result.  The standard algorithm uses that difference to unfold the velocity from the mostrecent ray, which yields a lower variance estimate than the difference itself.  The DPRT-2algorithm is similar, except that the folded velocity from both PRTs are unfolded independentlyand then averaged together.In addition to the above, the RVP8 also computes the DC average of the (I,Q) data within eachbin.  This is used as a simple estimate of clutter power, so that corrected reflectivities areavailable in DPRT-2 mode whenever a non-zero clutter filter is selected.  DPRT-1 mode is thesame in this respect.  However, the DPRT-2 widths use an improved algorithm based on the twodifferent PRTs, and which avoids the SNR sensitivity of the DPRT-1 width estimator.
Processing AlgorithmsRVP8 User’s ManualMarch 20065–515.6 Dual PRF Velocity UnfoldingFor a radar of wavelength  l operating at a fixed sampling period  ts+1ńPRF , the unambiguousvelocity and range intervals are given by:Vu+l4ts     and     Ru+cts2where “c” is the speed of light. Often these intervals do not fully cover the span of velocity andrange that one would like to measure. The problem is generally worse for short wavelengthradars, since that unambiguous velocity span is directly proportional to l for a given ts. If theunambiguous range interval is made sufficiently large by increasing ts , then the resultingvelocity span may be unacceptably small.The RVP8 provides a built-in mechanism for extending the unambiguous velocity span by afactor of two, three, or four beyond that given above. The technique, called Dual PRF velocityunfolding, uses two pulse periods rather than one, and relies on the extra information thusobtained to correct (i.e. unfold) the mean velocity measurement from each individual period.The Dual PRF trigger pattern consists of alternating (N+k)-pulse intervals where the period ineach interval is either tl  (for the low-PRF) or th (for the high-PRF). Here “N” is the samplesize, and “k” represents a delay that permits the clutter filter to equilibrate to the new PRF aftereach change.  The clutter filter impulse response lengths vary according to which filter isselected.The two trigger periods tl and th must be chosen in either a 3:2, 4:3, or 5:4 ratio. These ratiosgive factors of two, three, and four times velocity expansion over the th period alone.  Theunfolding algorithm makes use of the following results.  Suppose that the radar observes a targetwith mean velocity V at each of the two trigger periods. The measured phase angles  for the  R1autocorrelations at the two PRFs are:ql+4pVtll      and      qh+4pVthlwhere angles outside the basic [*p,p] interval are returned to that interval by appropriateadditions of "2p. These angles correspond to the ordinary single-PRF Doppler velocitymeasurements, and the "2p  uncertainties reflects the fact that each measurement is foldedinto its own unambiguous interval:Vul +l4tl      and      Vuh +l4thIf we define f to be the difference between the two measured phases then:f+ql*qh+4plƪtl*thƫwhich can be interpreted as a phase angle within the unfolded interval:Vu unfold +l4(tl*th)
Processing AlgorithmsRVP8 User’s ManualMarch 20065–52Now if tl  and figureth are in a 3:2 ratio, then:tl*th+tl3+th2and thus Vu unfold +3Vul +2VuhThe angle f represents a velocity phase angle in [*p,p] , but with respect to an enlargedunambiguous interval. Thus, by simply differencing the folded angles from the high and lowPRFs, we obtain an angle that is unfolded to a larger velocity span.  Similar reasoning shows thatthe 4:3 ratio gives a factor of three improvement over Vuh  , and 5:4 gives a factor of four.In practice, the unfolded angle f is not in itself a suitable velocity estimator. The reason is thatthe variance of f is equal to the sum of the variances of each of its components, i.e., twice thatof the individual measurements alone. If the target is at all noisy, then this increase in variancecan be severe. Rather than use f directly, the RVP8 uses it only as a rough estimate indetermining how to unfold the individual velocity measured from each PRF.Figure 5–12: Dual PRF Conceptsql*qhResultqlń3Region IIIRegion IIRegion ILow PRF Case High PRF CaseRegion IRegion IIql*qhResultqhń2This technique is illustrated in Figure 5–12. The figure shows how the low-PRF and high-PRFangles are unfolded based on the difference angle.  The diagrams show phase planes representingthe large unfolded velocity interval, and the locations of various vectors on those planes.Referring first to the right figure, the difference angle is plotted, and the plane is divided intotwo equal size regions, one of which is centered on the difference vector. The high-PRF angle isthen divided by two and plotted. The resultant unfolded velocity angle must either be this vector,or this vector plus p. Since adding p places the vector into acceptance Region 1 where it is
Processing AlgorithmsRVP8 User’s ManualMarch 20065–53nearest the difference angle, we conclude that this is the correct unfolding. Likewise, on the leftdiagram we unfold the low-PRF angle by dividing the plane into thirds centered on thedifference angle. The result angle is eitherql3,ql3)2p3or ql3)4p3depending on which one falls into the acceptance Region 1. Note that the resultant angle is thesame in each case.The RVP8 makes efficient use of the incoming data by unfolding velocities from both the lowand the high-PRF data, making use each time of information in the previous ray. When low-PRFdata are taken the derived velocities are unfolded by combining information from the previoushigh-PRF interval. Likewise, when high-PRF data are acquired the velocities are unfolded basedon the previous low-PRF interval. Thus, when operating in the Dual PRF mode, the RVP8outputs one data ray for each (N+k)-pulse interval. However, the velocity data in the Dual PRFrays are unfolded, so that the [–1,+1] interval now represents either two or three times the priorvelocity range. Put another way, the data are still interpreted as described in the section on meanvelocity estimation, except that Vu is now larger.The width data are also modified somewhat during Dual PRF unfolding. Although valid widthsare obtained independently on all rays, those measured at low-PRF are larger than those athigh-PRF. This is simply because the dimensionless width units are with respect to a largervelocity interval in the latter case. To compensate for this, low-PRF widths are multiplied byeither 2/3 or 3/4 before being output. This puts them in the same scale as the high-PRF values,and thus, the widths do not vary on alternate pulses. A useful consequence of this is that widthdata can be sent directly to a color display generator without having to plot every other ray in adifferent scale.There are a few words of caution that should be kept in mind when using the RVP8 in the DualPRF processing modes. The unfolding algorithms make the assumption that targets aremore-or-less continuous from ray to ray. Otherwise, it would not make sense to use data from aprevious ray to unfold velocities in the current ray. Users must therefore assure that their antennascan rate and beamwidth are such that each target is illuminated, at least partially, over each full2(N+k)-pulse interval. In practice, a certain amount of decorrelation from ray to ray isacceptable, since the previous rays are used only to decide into which unfolded interval thecurrent ray should be placed.  Small errors in the previous ray data, therefore, cause no error inthe output. However, large previous-ray errors would lead to incorrect unfolding.A more subtle side effect of Dual PRF processing arises from clutter filtering because clutternotches now appear at several locations in the unfolded velocity span, rather than just at zerovelocity. These additional rejection points come about because the original velocity intervals aremapped some integer number of times to create the unfolded interval. Since each originalinterval has a clutter notch at DC, it follows that the final expanded velocity interval will haveseveral such notches. For example, in the 3:2 case, in addition to removing DC the clutter filterremoves velocities at *2Vuń3,)2Vuń3, and Vu.Unfortunately, these clutter filter “images” are a fundamental consequence of the Dual PRFprocessing technique and are not easily removed. They can cause trouble not only for thevelocity unfolding itself, but because the computed clutter corrections to be wrong at the image
Processing AlgorithmsRVP8 User’s ManualMarch 20065–54points. However, there is a useful work-around in the RVP8 to minimize their impact — turningthe clutter filter off at far ranges where little clutter is expected and using a narrow clutter filterminimizes the effects of the clutter filter on weather targets.The 4:3 and 5:4 PRF unfolding ratios are more susceptible to unfolding errors in cases where thespectrum width is large and/or the SNR is low. The user should experiment with these ratios todetermine which provides the best results for their particular application.  Although the RVP8trigger generator can produce any trigger frequency, only the 3:2, 4:3, and 5:4 ratios can be usedwith the built-in unfolding algorithms. The RVP8 still permits other PRT ratios to be explored,but the unfolding technique must then be manually programmed on the user’s host computer.Oscilloscope observations of Dual PRF triggers can sometimes be confusing.  Figure 5–13 showsseven possible scope traces (and their associated probabilities) for the RVP8 trigger during DualPRF operation.   The PRF ratio is 4:3, and the sample size is 50 pulses at the high PRF, and 37pulses at the low PRF.  The signal labelled “SCOPE” is the composite of these traces, and is whatwould actually be seen on an oscilloscope.  Notice that there are a number of low probability pulses.The exact details of the sample sizes and the trigger hold off time can make the low probabilitypulses appear to come and go randomly.  This is normal, and is no cause for alarm.Figure 5–13: Example of Dual PRF Trigger Waveforms47.0%47.3%1.0%1.0%1.0%1.3%1.3%SCOPE100% 50% 50% 49% 2.3% 48.6% 48% 2.3% 2.3% 94.3% 2.3% 2.3%
Processing AlgorithmsRVP8 User’s ManualMarch 20065–555.7 Random Phase 2nd Trip Processing5.7.1 OverviewSecond trip echoes can be a serious problem for applications when the radar is operated at highPRF (e.g., >500 Hz). Second trip echoes are caused by the range aliasing of targets. They appearas false echoes on the display, usually elongated in the radial direction. On Klystron systemsthey will have valid Doppler velocities. On magnetron systems, the Doppler velocities are notvalid, but the noise from the 2nd trip echoes can obscure valid first trip velocity information.The RVP8 has optional random phase processing for the filtering and recovery of second tripechoes. Details of the technique are proprietary to SIGMET, Inc. However, the general principleis described here, along with a discussion of the various configuration options to optimize thealgorithm performance.The information that is used to separate the first and second trip echoes is the phase. For amagnetron radar, the phase of each pulse is different. This means that when 1st. and 2nd tripechoes are received simultaneously, the phase of the first trip return is different from the phaseof the second trip return. For a magnetron radar, the RVP8 measures the phase of the transmittedpulse and the phase locking is done digitally as opposed to the traditionally locking COHO. Fora Klystron radar, the phase is controlled by the RVP8 via a digital phase shifter that is preciselycalibrated. Typically the Klystron COHO is phase shifted so that each transmit pulse has adifferent phase. The sequencing is controlled by the RVP8.5.7.2 AlgorithmFigure 5–14 shows a schematic of the data processing for random phase. The figure shows theDoppler spectra for the 1st. and 2nd trip in the various processing stages. The vertical scale is indB and the horizontal scale is velocity. In this example, the second trip echo is shown as beingstronger than the first trip echo (usually the reverse is true).Ideal 1st and 2nd Trip EchoesThe ideal 1st and 2nd trip echoes represent the echoes as they would appear individually. Theideal 1st trip echo is the echo that would be measured if there were no 2nd trip echo interference.The ideal 2nd trip echo represents what would be measured if there were no 1st trip echointerference. If there is no interference from the other trip, a standard Klystron system canmeasure the ideal spectra, but there is no way to know whether the echoes are in the 1st or 2ndtrip.Raw 1st and 2nd Trip EchoesThis figure shows how the echoes from the first trip and second trip interfere with each other.For the case of a standard magnetron system, the first trip echo is coherent, while the second tripecho is incoherent (white noise) since the phase of the second trip echo is random. This isbecause the receiver is phase locked only to the first trip.
Processing AlgorithmsRVP8 User’s ManualMarch 20065–56Another way to implement a magnetron system is to let the COHO free-run (rather than phaselocking to the transmit pulse), measure the phase of each transmit pulse and digitally correctingfor the transmit phase. Using this digital phase locking technique, the RVP8 can phase lock or“cohere” to either the first or the second trip.Using this technique alone, it is possible to distinguish between 1st and 2nd trip echoes for thecase when the echoes are not overlapped. In other words, the echoes will appear as the idealized1st and 2nd trip echoes. This range de-aliasing effectively doubles the range of the radar. Theproblem is that when echoes are overlapped, the noise contamination from the stronger echo willmake it impossible to measure the weaker echo. This is illustrated in the figure. Thus if the firsttrip echo has a good signal-to-noise ratio of 10 dB, then the 2nd trip echo will have a signal-tonoise-ratio no better than –10 dB. This is the fundamental problem with using phase alone toseparate the 1st and 2nd trip echoes.Filtered 1st and 2nd Trip EchoesSince the strong echo generates noise that obscures the weaker echo, the approach used in theRVP8 is to filter the echo from the other trip — the whitening filter. This is shown in the figure.The adaptive whitening filter removes both the clutter and the weather. All of the phaseinformation for the other trip is then contained in the white noise portion of the spectrum. Notethat the phase information under the coherent echo that is removed will be dominated by thecoherent echo, i.e., the other trip phase information will be contaminated. For this reason, thefiltering should effect as small a region of the spectrum as possible.5.7.3 Tuning for Optimal PerformanceThe Random Phase algorithms are controlled by the same collection of setup and operationalparameters that apply to all of the other processing modes, e.g., choice of sample size, clutterfilter, angle sync, calibration, etc.  However, a few parameters are special to Random Phasemode, and these are described below.Secondary SQI ThresholdIn standard Doppler processing, an SQI threshold is normally not applied to Reflectivity databecause it would cause those data to be rejected in regions of high spectral width.  In RandomPhase mode we need to relax this convention because reflected power can only be assigned to aparticular trip when it is coherent within that trip.  Incoherent echoes, regardless of theirstrength, can not be placed into either trip.Thus, an SQI threshold is required to qualify Reflectivity data in Random Phase mode.  TheRVP8 defines a secondary SQI threshold SQI2 which is computed from the standard thresholdvalue simply as:SQI2+Offset )(Slope  SQI)Where Slope and Offset are the Random Phase SQI threshold parameters defined in the Mfsetup section.  The factory default values are (Slope +0.50)  and (Offset +*0.05), i.e., thesecondary threshold is a little less than half of the standard value.  The Random Phase
Processing AlgorithmsRVP8 User’s ManualMarch 20065–57algorithms check whether the SQI of each recovered trip is less than the secondary SQIthreshold, and if so, the LOG portion of the data are rejected.  This SQI test is necessary for aclean LOG picture, but we need to use a more permissive (lower) threshold value than wouldusually be applied to the Doppler data alone.The Slope and Offset values should be adjusted so that the density of speckles in Random PhaseLOG data is approximately the same as the density of speckles in FFT velocity data for a givenprimary SQI value.  You may then adjust the primary SQI threshold to achieve the appropriatetradeoff of speckles vs. sensitivity for your system in all modes of operation.  Even with properadjustment, it is normal for Random Phase dBZ and dBT  data to show “holes” in regions ofweather that have high turbulence or shear.  These dropouts will usually match up with similargaps in the velocity and width data, both of which are traditionally thresholded by SQI.Maximum Power Ratio Between TripsThe adaptive filtering that is performed on the data for each trip greatly extends the visibility ofa weak echo that is overlapped with a much stronger one.  In practice, the filtering process isoften able to remove 25-35dB of dominant power in order to reveal a much weaker echo in theother trip.  The performance depends on many factors, primarily the spectral width of thedominant echo, and the overall stability of the radar system.The difficulties of removing a dominant “other trip” echo from a weather signal are analogous tothe challenge of removing a dominant clutter target from that same signal.  In both cases we aretrying to extract a weak weather signature using a filtering procedure that relies on the spectralconfinement of the stronger signal.  The RVP8 already has a parameter that can be adjusted tocontrol sub-clutter visibility, i.e., the Clutter-to-Signal Ratio (CSR).  Just as the CSR applies tothe clutter filters,  it can likewise be used to place similar limits on the depth of visibility of theadaptive filters.As an example, suppose that the RVP8 is operating in Random Phase mode at a PRF of 1500Hz,and is observing widespread weather having uniform intensity in both the first 100Km trip andthe second 100Km trip.  If the CSR were set too conservatively at only 15dB, then the algorithmwould generally be blind to second-trip weather in the range interval from 100km to 117.8km.The explanation for this can be found in the 1ńr2 geometric correction for weather echointensity.  At ranges less than 17.8km, the first trip weather would generally dominate the secondtrip weather by more than 15dB.  Thus, the initial 17.8km ring of second trip data would berejected by the CSR criteria.  However, if the CSR were increased to 30dB, then the size of thismissing ring would be reduced to only 3.2km.If the CSR is set too low you will notice an abrupt ring of missing data in the beginning of thesecond trip.  If set too high, there will be speckles and other spurious effects within this sameinterval.  The optimum setting should strike a balance between these two effects.R1 vs. R2 AlgorithmsThe Random Phase algorithms for adaptive filtering and separation of trips relies on having thebest possible information about the weather’s SNR and spectral width.  Thus, the “R2” Doppleralgorithms are always used, regardless of the setting of the R1/R2 flag in the user’s operationalparameters.
Processing AlgorithmsRVP8 User’s ManualMarch 20065–58Random Phase and Dual PRFThe random phase processing works seamlessly with the dual PRF processing to provideadvanced range and velocity ambiguity resolution. Both the first and 2nd trip echoes can berecovered and displayed to a maximum range of 2X the unambiguous range corresponding to thehigh PRF.For optimum performance, the 2D 3x3 speckle filter should be used to smooth the 2nd tripseams that occur for each ray. In fact, this smoothing of the 2nd trip seam makes the dual PRFrandom phase  mode work even better than the single PRF random phase.
Processing AlgorithmsRVP8 User’s ManualMarch 20065–59Figure 5–14: Random Phase Processing AlgorithmIdeal 1st Trip Ideal 2nd TripRaw 1st Trip with  Raw 2nd Trip withFiltered 1st Trip Filtered 2nd TripInverse Transfrom2nd Trip Noise Contamination 1st Trip Noise Contaminationand ReĆCohereRecovered 1st Trip Recovered 2nd Trip
Processing AlgorithmsRVP8 User’s ManualMarch 20065–605.8 Signal Generator Testing of the AlgorithmsThis section describes a variety of IF signal generator tests that can be used to verify correctnessof the RVP8 processing algorithms.  These tests are routinely performed at SIGMET whenevernew algorithms and/or major modes are added to the processor.  We have include a few of thetest descriptions here so that they can be used by customers who need to debug their systems, orwho want to better understand how they work.  Additional tests for receiver sensitivity anddynamic range can be found in Appendix D.5.8.1 Linear Ramp of Velocity with RangeSuppose that a continuous-wave IF waveform has an instantaneous frequency  f(t) in Hertz(cycles/sec). Consider a range bin located at time tbin within a set of pulses that are separated byts+1ńPRF.  The phase measured at that bin on the nth pulse will be the integral of the frequencywithin that pulse starting from range zero (since the RVP8 is phase locked to range zero):Fn+ŕnts)tbinntsf(t)dtIf we assume that the input frequency is a linear Frequency Modulation (FM) at the rate of Mcycles/sec/sec on top of a base frequency To, then:Fn)1*Fn+ŕ(n)1)ts)tbin(n)1)ts(To)Mt)dt *ŕnts)tbinnts(To)Mt)dt +(Mts)tbinwhich, remarkably, is independent of both To and n.  Thus, a linear FM input signal produces afixed (I,Q) phase difference from pulse-to-pulse at any given range.  The magnitude of the phasedifference is proportional to the range, and the slope is (ĂMĂtsĂ) cycles for each second of delay inrange.  For example, if the test signal generator is sweeping 100KHz every two seconds, then thevelocity observed at a range of 300km at 250Hz PRF will be:Fn)1*Fn+ǒ100 KHz2 sec Ǔ ǒ1250 sec Ǔ (300 km ) ǒ6.6 msec1km Ǔ+0.40 cyclesWe would thus observe a velocity of (0.8  Vu) at 300km, where VuĂ is the unambiguousDoppler velocity in meters/sec.  Note that these phase difference calculations have made noassumptions about the RVP8 processing mode, and thus are valid in all major modes (PPP, FFT,DPRT, RPH), as well as in all Dual-PRF unfolding modes.Interestingly, this simple FM signal generator will also produce valid second trip velocities thatcan be seen during Random Phase processing.  This follows from the above analysis becausewe’ve never assumed that tbin was smaller than ts, i.e., it is fine for the range bin to be locatedin any higher-order trip.
Processing AlgorithmsRVP8 User’s ManualMarch 20065–615.8.2 Verifying PHIDP and KDPThe PHIDP and KDP processing algorithms can be tested using CW signal sources at IF.  In thealternating-transmitter single-receiver case, a single FM signal generator is modulated with anRVP8 polarization select line so that slightly different frequencies are generated for the H and Vpulses.  A maximum FM depth of several kilohertz is all that is required.  In the dual-receivercase, two (unmodulated) signal generators are used for each of the H and V intermediatefrequencies, and one or the other is detuned slightly from its correct center frequency.  In eithercase the frequency difference that produces a KDP value of 1.0 degree/km will be:(1.0 degreekm ) (1360cyclesdegree ) ( 299792 kmsecond )+833 cyclessecond5.8.3 Verifying RHOH, RHOV, and RHOHVThese three terms measure the normalized cross-channel covariance in a polarization radar.They all are computed in essentially the same way having the form:RHOAB +tsnAsnB*uts2Aut s2BuǸWhere the snA and snB are complex (I,Q) vectors from two receiver channels A and B, and “<>”denotes expected value.  This suggests that some form of amplitude modulation (AM) of theinput signal might be helpful.Suppose that the snA and snB samples are coming from two signal generators installed on adual-receiver system, and that only the B-Channel is AM modulated so that:|snA|+{SA,SA,SA,SA,SaAAA },|snB|+{SB,0,SB,0,SBAAA }Then the above estimator reduces to:RHOAB +(12)SASBS2A (12)S2BǸ++0.707A simple way to create these data is to set the A-Channel siggen for 95% AM depth, and use asinusoidal modulation source of, perhaps, 400Hz.  The reason for not choosing 100% depth isthat we would loose the Burst phase reference when the amplitude became smallest.  The 26dBreduction in SB is a close enough approximation to zero in the above formula.If we now observe the two receive channels with the RVP8 at a PRF of 800Hz, we will see thevarious RHOAB terms varying with range; reaching a high value of 1.00, and a low value of0.707.  The plots will be nearly stationary on the ascope screen because the PRF is almostprecisely twice the modulation rate (though they are free-running relative to each other).Adjusting the amplitude of either signal generator will not affect the ò terms, but it will have aninteresting effect on SQI.  If (T,Z,V,W) are being computed from both channels combined, thenthe SQI is:SQI +S2AS2A)(12)S2B
Processing AlgorithmsRVP8 User’s ManualMarch 20065–62If we solve this equation for SQI=0.5 we find that the individual SA terms must have twice thepower of the individual SB terms.  This can be checked by adjusting either signal generator untilthe minimum plotted SQI is 0.5, and then verifying that the average H and V powers areidentical; or, equivalently, that ZDR, LDRH and LDRV are zero.The linear FM ramp described in Section 5.8.1 can also be used as a test of RHOAB in adual-receiver system.  With one siggen modulated and the other fixed, one receive channel willappear to be rotating relative to the other.  If the FM modulation is such that 1/N of a fullrevolution occurs per pulse at a given range, then if the sample size is N pulses we will observeRHOAB +0 at that range.  In fact, the plot of RHOAB will show a characteristic sin(x)ńx behavioras a function of range.

Navigation menu