Beckett AFII150 User Manual BURNER Manuals And Guides L0805079
BECKETT Burner, Furnace Manual L0805079 BECKETT Burner, Furnace Owner's Manual, BECKETT Burner, Furnace installation guides
AFII 100 L0805079
User Manual: Beckett AFII150 AFII150 BECKETT BURNER - Manuals and Guides View the owners manual for your BECKETT BURNER #AFII150. Home:Heating & Cooling Parts:Beckett Parts:Beckett BURNER Manual
Open the PDF directly: View PDF
.
Page Count: 16

AFII 85, AFII I00,AFII 150
Types 'HLX' & 'FBX' Air Tube Combinations
Voltage: 120 volts AC/60 Hz
AFli Burner with
Type 'HLX' Air Tube
Potential for Fire, Smoke and Asphyxiation Hazards
incorrect installation, adjustment, or misuse of this burner could result in death, severe
personal injury, or substantial property damage.
To the Homeowner or Equipment Owner:
• Please read and carefully follow all instructions
provided in this manual regarding your responsi-
bilities in caring for your heating equipment.
• Contact a professional, qualified service agency
for installation, start-up or service work.
To the Professional, Qualified Installer or
Service Agency:
• Please read and carefully follow all instructions
provided in this manual before installing, starting,
or servicing this burner or heating system.
• The installation must be made in accordance with
all state and local codes having jurisdiction.
RWB 6104 BAFII R01 Page 1

Page2 RWB 6104 BAFII R01

Table of Contents
General Information
Hazard Definitions ........................................................................................................................................ 4
Owner's Responsibility ................................................................................................................................ 4
=
Information To Be Used Only Bv Qualified Service Technicians
General information .........................................................................................................................................5
General Specifications ........................................................................................................................ 5
Notice Special Requirements ........................................................................................................................... 5
Inspect/Prepare installation Site ................................................................................................................. 5
Clearances to Burner and Appliance ............................................................................................................... 5
Inspect Chimney or Direct Vent System ......................................................................................................... 6
Combustion Air Supply. .................................................................................................................................... 6
Direct/Sidewall Venting Application ................................................................................................................ 6
Fuel Line Installation ......................................................................................................................................... 6
Fuel Line Valves and Filters ............................................................................................................................. 6
Prepare the Burner ........................................................................................................................................... 7
General ......................................................................................................................................................... 7
Low Fire Rate Baffle (if specified) .................................................................................................................... 7
Mount Burner on Appliance ............................................................................................................................. 7
Connect Fuel Lines ........................................................................................................................................... 7
Wiring Connection Diagram ............................................................................................................................. 8
Start the Burner and Set Combustion ......................................................................................................8
Start=up Burner .................................................................................................................................................. 8
Set Combustion with Test Instruments ........................................................................................................... 8
Trained Service Technician's Regular Maintenance ........................................................................ lo
Removing Nozzle Line for Service ................................................................................................................. 10
Nozzle installation ........................................................................................................................................... 11
Check/Adjust Electrodes ................................................................................................................................ 13
Blower Wheel Replacement ........................................................................................................................... 13
Replacement Parts ................................................................................................................. 14
Replacement Parts Diagram ........................................................................................................................... 14
Replacement Parts List ................................................................................................................................... 15
Beckett Limited Warranty Information ................................................................................................... 16
RWB 6104 BAFll R01 Page 3

Genera| information
Genera! information
To the Owner:
Thank you for purchasing a Beckett burner for
use with your heating appliance. Please pay attention
to the Safety Warnings contained within this instruction
manual. Keep this manual for your records and provide
it to your qualified service agency for use in profession-
ally setting up and maintaining your burner
Your burner will provide years of efficient operation if it
is professionally installed and maintained by a qualified
service technician. If at any time the burner does not
appear to be operating properly, immediately contact
ou_o_Egualified service _ for consultation.
We recommend annual inspection/service of your
oil heating system by a qualified service agency.
*Hazard Definitions
Indicates an imminently haz-
ardous situation, which, if not
avoided, will result in death, serious injury, or
property damage.
Indicates a potentially
hazardous situation, which,
if not avoided, could result in death, severe
personal injury, and/or substantial property
damage.
Indicates a potentially haz-
CAUTION ardous situation, which, if
not avoided, may result in personal injury or
property damage.
Within the boundaries of the hazard warning,
there will be information presented describing
consequences if the warning is not heeded and
instructions on how to avoid the hazard.
NOTICE i
intended to bring special attention to information, but not
related to personal injury or property damage.
Page 4
Owner's Responsibility
incorrect installation, adjustment,
and use of this burner could result in
severe personal injury, death, or sub-
stantial property damage from fire,
carbon monoxide poisoning, soot or explosion.
Contact a professional, qualified service agency for the
installation, adjustment and service of your oil heating
system. This work requires technical training, trade ex-
perience, licensing or certification in some states and the
proper use of special combustion test instruments.
Please carefully read and comply with the following in-
structions:
* Never store or use gasoline or other flammable
liquids or vapors near this burner or appliance.
* Never attempt to burn garbage or refuse in this
appliance.
* Never attempt to light the burner/appliance by
throwing burning material into the appliance.
* Never attempt to burn any fuel not specified and
approved for use in this burner.
* Never restrict the air inlet openings to the burner
or the combustion air ventilation openings in the
room.
Professional Service
Required
Incorrect installation, adjustment,
and use of this burner could result
in severe personal injury, death, or
substantial property damage from
fire, carbon monoxide poisoning, soot or explo-
sion.
Please read and understand the manual supplied with
this equipment. This equipment must be installed, adjust-
ed and put into operation only by a qualified individual or
service agency that is:
* Licensed or certified to install and provide technical
service to oil heating systems.
* Experienced with all applicable codes, standards and
ordinances.
* Responsible for the correct installation and commis-
sion of this equipment.
* Skilled in the adjustment of oil burners using combus-
tion test instruments.
The installation must strictly comply with all applicable
codes, authorities having jurisdiction and the latest revi-
sion of the National Fire Protection Association Standard
for the installation of Oil-burning Equipment, NFPA 31 (or
CSA B139 and B140 in Canada).
Regulation by these authorities take precedence over the
general instructions provided in this installation manual.
RWB 6104 BAFII R01

Genera| information
•General Specification
Table 1-Burner Specifications
Capacity 'HLX' Heads
Firing rate: - 0.40 - 1.50 GPH
Input: Min./Max - 56,000/210,000 Btu/h
'FBX' Heads
Firing rate: - 0.40 - 1.35 GPH
Input: Min./Max. - 56,000/189,000 Btu/h
Certification/ UL certified to comply with ANSI/UL296 &
Approvals tested to CSA B140.0
Fuels U. S No. 1 or No. 2 heating oil only (ASTM
D396)
Canada No. 1 stove oil or No. 2 furnace oil
only
Electrical Power supply - 120 volts AC, 60 Hz, single
phase
Operating load - 5.8 Amps max
Motor - 1/7 hp, 3450 rpm, NEMA 48M
frame PSC rotation CCW when
facing shaft end
Ignition - Continuous duty solid-state igniter
Fuel pump Outlet pressure - Note 1
Air tube ATC code - See Table 2
Dimensions Height (maximum) - 13 inches
(with cover) Width (maximum) - 14 inches
Depth - 6-11/16 inches
Air tube diameter 3-1/2 inches
• Notice Special Requirements
For recommended installation practice in Canada,
refer to the latest version of CSA Standard B139 &
B140.
Concealed damage -- If you discover damage to
the burner or controls during unpacking, notify the
carrier at once and file the appropriate claim.
When contacting Beckett for service information --
Please record the burner serial number (and have
available when calling or writing). You will find the
serial number on the silver label located on the left
rear of the burner. Refer to Figure 1.
inspect/Prepare installation Site
,Clearances to Burner and Appliance
Provide space around burner and appliance for
ease of service and maintenance. Check the mini-
mum clearances against those shown by the ap-
pliance manufacturer and by applicable building
codes.
*Note 1. See appliance manufacturer's burner specifications for
recommended outlet pressure.
Table 2-Air Tube Combinations (ATC) &Dimensions
ATC codes for usable air tube lengths dim. "A" (Figure 3) Firing rate range (gph)Min-Max
3" 5" 7" 9" ATC Code Head AFII 85 AFII 100 AFII 150
-u HLX30 HLX50 HLX70 HLX90 HB AF2-6 0.4-0.85 gph 0.65-1.00 gph 0.75-1.35 gph
_e o_e _- HLX30 HLX50 HLX70 HLX90 HC AF2-9 N/A 0.65-1.00 gph 0.75-1.50 gph
_ OI ob
"d HLX30 HLX50 HLX70 HLX90 HD AF2-6 0.40-0.85 gph 0.65-1.00 gph 0.75-1.10 gph
o HLX30 HLX50 HLX70 HLX90 HE AF2-9 N/A 0.65-1.00 gph 0.75-1.35 gph
_- FBX30 FBX50 FBX70 FBX90 HFXS FB0 0.40-0.65 gph 0.55-0.75 gph 0.75-1.00 gph
-o FBX30 FBX50 FBX70 FBX90 HGXS FB3 0.55-0.85 gph 0.55-1.10 gph 0.85-1.20 gph
-u _ FBX30 FBX50 FBX70 FBX90 HHXS FB4 N/A 0.75-1.10 gph 1.10-1.25 gph
® FBX30 FBX50 FBX70 FBX90 HIXS FB6 N/A 0.85-1.15 gph 1.15-1.35 gph
I
HB 6 slot
'!
1
HC 9 slot
3-5/32" I I
I,D,
]_
2-15/16"
I.D.
1
HD 6 slot HE 9 slot
RWB 6104 BAFII R01 Page 5

Inspect/Prepare |nstal|ation Site
Figure 1. Burner label location
Generalmodel
Informaton
Seria number,
incuding date code
and fJel ail
Model AFII
Seres OI Burner
SERAL NUMBER
000405 62756
[lllHllll[llll]llllil[l
01L I_URNER NO P I00001
MFR'SSETTINGS
_TC:
STC _LT:
NOZZI;:
P_MPPRS:
BJBS001R00
000405-62756
4 _ TES÷ SPEC
sU_TESTSPEC
6 ULTESTSPEC
7 ULTESTSPEC
a _ T_S_ SPEC
'--- R,W. Beckett
m0nufocturer's settings
.........R.W. Beckett spec[fieot}on
number and revision
'--Can be custamized by
ind;v dual specification
State and local approvals
• Inspect Chimney or Direct Vent System
Inspect the chimney or vent. Make sure it is properly
sized and in good working condition. Follow the in-
structions supplied by the appliance manufacturer.
• Combustion Air Supply Information
Adequate Combustion
and Ventilation Air Supply
Required
Failure to provide adequate air supply could se-
riously affect the burner performance and result
in damage to the equipment, asphyxiation, ex-
plosion or fire hazards.
• The burner cannot properly burn the fuel if it is not
supplied with a reliable combustion air source.
• Follow the guidelines in the latest editions of the
NFPA 31 and CSA-B139 regarding providing ad-
equate air for combustion and ventilation.
See NFPA Standard 31 for complete details.
Appliances located in confined spaces: All
confined spaces should have two (2) permanent
openings; one near the top of the enclosure and
one near the bottom of the enclosure. Each open-
ing must have a free area of not less than one (1)
square inch per 1,000 BTU's per hour of the total
input rating of all appliances within the enclosure.
The openings should have free access to the build-
ing interior, which should have adequate infiltration
from the outside.
Exhaust fans and other air=using devices: Size
air openings large enough to supply all air-using
devices in addition to the minimum size required
for combustion air. If there is any possibility of the
equipment room developing a negative pressure
due to exhaust fans, clothes dryers, etc., either
pipe combustion air directly to the burner or provide
a sealed enclosure for the burner and supply it with
its own combustion air supply.
Page 6
Figure 2. Outside Air Connection
4 inch Duct --,
\\
\\ \
Air
Inlet
Elbow
/
/'
/
Yi
Inlet Ring
1/4"
Mesh
Screen
SK8810
Direct/Sidewall Venting Application
When sidewall venting appliances, carefully follow
appliance and power venter instructions for instal-
lation and wiring.
AFII burners are equipped with a removable air in-
let to allow use of a 4" duct to supply outside air
for combustion. Do not exceed 70 equivalent feet.
Allow 6 feet for each elbow.
1. Remove the inlet cover.
2. Insert 4" duct into the inlet ring.
3. Fasten duct into place using at least 3 sheet met-
al screws evenly spaced around the inlet ring.
Refer to Figure 2.
4. Remove the barometric draft control unless it is
in the same atmospheric pressure zone as the
inlet.
On the outside of the home use a 90° elbow pointed
downward with a 1/4" mesh screen over its opening.
The air inlet elbow must be located above the snow
line and in such a way as to prevent leaves and/or
other debris from blocking the air flow. Such debris
will prevent proper operation of the burner. Refer to
local codes for proper location of inlet.
RWB 6104 BAFII R01

• Fuel Line Installation
CAUTION Do Not Use Teflon Tape
Damage to the pump could cause impaired burn-
er operation, oil leakage and appliance soot-up.
• Never use Teflon tape on fuel oil fittings.
• Tape fragments can lodge in fuel line components
and fuel unit, damaging the equipment and pre-
venting proper operation.
• Use oil-resistant pipe sealant compounds.
For fuel line installation, continuous lengths of heavy
wall copper tubing are recommended. Always use
flare fittings. Never use compression fittings.
Always install fittings in accessible locations. To
avoid vibration noise, fuel lines should not run
against the appliance or ceiling joists.
•Fuel Line Valves and Filter
Install two high quality oil duty rated shutoff valves
in accessible locations on the oil supply line. Locate
one close to the tank and the other close to the
burner, upstream of the filter.
For protection in the event of fire, some states require the
shutoff valves to be a fusible-handle design. R.W. Beck-
ett Corporation recommends this design as good industry
practice for all installations.
To further protect the fuel supply system and reduce noz-
zle orifice plugging with firing rates below 0.75 gph, a dual
filtration system can be installed. This typically consists of
a 50 micron primary filter, located near the fuel tank and a
secondary filter rated for at least 10 microns located near
the burner.
Also install a generous capacity filter, rated for 50
microns or less, inside the building between the
fuel tank shutoff valve and the burner. Locate both
the filter and the valve close to the burner for ease
of servicing.
Inspect/Prepare installation
Prepare the Burner
• General
Site
In most cases, the burner is ready to mount to the
appliance. There can be situations where the burn-
er needs to be reconfigured to perform properly in
the appliance. Review the appliance manufactur-
er's specifications prior to installing to determine if
any modification is required to properly configure
the burner.
Instruction on how to perform the following burner
preparation tasks can be found in the Professional
Maintenance section.
Remove /install burner nozzle
Check head/air adjusting plate
Mount Burner on Appliance
Verify that the air tube installed on the burner pro-
vides the correct insertion depth. Refer to Figure
3.
The end of the air tube should normally be 1/4"back
from the inside wall of the combustion chamber.
Never allow the leading edge of the retention ring
to extend into the chamber, unless otherwise speci-
fied by the appliance manufacturer.
Bolt the burner to the appliance using the factory-
welded flange.
Figure 3. =Mounting Burner in Appliance
DIMENSION "A" -
1/4"
2" _ MINIMUM
RWB 6104 BAFll R01 Page 7

Start the Burner and Set Combustion
•Connect Fuel Lines
Do Not Install By=pass Plug
with 1-Pipe System
Failure to comply could cause immediate pump
seal failure, pressurized oil leakage and the po-
tential for a fire and injury hazard.
The R7184 primary control with valve-on delay and
burner motor-off delay, shown in Figure 4, requires
a constant 120 volt AC power source supplied to
the black wire on the control. (Refer to the appli-
ance manufacturer's instructions. The red wire
goes to the appliance limit circuit. Please note that
other control manufacturers may use different wire
colors for power and limit connections.
• The burner is shipped without the by-pass plug in-
stalled.
• Install the by-pass plug in two-pipe oil supply systems
ONLY.
Start the Burner and Set Combustion
•Startup burner
The burner is supplied with either a one-stage
pump or a two-stage pump based on the oil supply
system requirements. Consult the instructions pro-
vided with the pump for installation specifications.
-&CAUTION Oil Supply Pressure
B_ Control Required
Damage to the filter or pump seals could cause
oil leakage and a fire hazard.
• The oil supply inlet pressure to the burner cannot
exceed 3 psig.
• Insure that a pressure limiting device is installed
in accordance with the latest edition of NFPA 31.
• Gravity Feed Systems: Always install an anit-
siphon valve in the oil supply line or a solenoid
valve (RWB Part # 2182602U) in the pump/noz-
zle discharge tubing to provide backup oil flow
cut-off protection.
When installing a one-pipe system, connect the
inlet line to the pump inlet. The fuel pump may be
Explosion and Fire Hazard
Failure to follow these instructions
could lead to equipment malfunc-
tion and result in heavy smoke
emission, soot=up, hot gas puff-
back, fire and asphyxiation hazards.
•Do not attempt to start the burner when excess oil
has accumulated in the appliance, the appliance
is full of vapor, or when the combustion chamber
is very hot.
•Do not attempt to re-establish flame with the
burner running if the flame becomes extinguished
during start-up, venting, or adjustment.
•Vaz0or-Filled Aoj01iance: Allow the unit to cool off
and all vapors to dissipate before attempting an-
other start.
•Oil=Flooded A liance: Shut off the electrical
power and the oil supply to the burner and then
clear all accumulated oil before continuing.
• If the condition still appears unsafe, contact the
Fire Department. Carefully follow their directions.
•Keep a fire extinguisher nearby and ready for
use.
installed with gravity feed or lift. The maximum al-
lowable lift for a single pipe installation is 8 ft.
When installing a two-pipe system, remove the
1/16" pipe by-pass plug from plastic bag attached
to fuel unit. Remove 1/4" plug from return port.
Insert and tighten the by-pass plug. Attach return
and inlet lines. The return line should terminate ap-
proximately 3 to 4 inches above supply line inlet.
Failure to do this may introduce air into the system
and could result in loss of prime.
Wiring Connections Diagram
Refer to the appliance manufacturer's wiring dia-
gram prior to connecting the burner wiring. All wir-
ing must be in accordance with the latest revision of
National Electric Code NFPA 70 and all local codes
and regulations.
1. Open the shutoff valves in the oil supply line to
the burner.
2. Open the air dial. This is an initial air setting for
the pump bleeding procedure only. Additional ad-
justments must be made with instruments.
3. Set the thermostat substantially above room tem-
perature.
.Close the line voltage switch to start the burner.
If the burner does not start immediately you may
have to reset the safety switch of the burner pri-
mary control.
.Bleed air from the fuel unit as soon as burner mo-
tor starts rotating. To bleed the fuel unit, attach
a clear plastic hose over the vent fitting. Loosen
the fitting and catch the oil in an empty container.
Tighten the fitting when all air has been purged
from the oil supply system.
Page 8 RWB 6104 BAFII R01

Start the Burner and Set Combustion
Figure 4. -Typical Wiring, R7184 Primary Control
120 VAC BURNER
START WIRE
FROM APPLIANCE
(FROM LIMIT CIRCUIT)
. L1
2°VACl :
FROM 2
APPLIANCE
EQUIPMENT
GROUND
(HOT)
(NEUTRAL)
__GROUNDSCREW RED
BLACK
WHITE
WHITE
WHITE
WHITE
VIOLET
BLUE /
WHITE STRIPE
ORANGE
YELLOW
YELLOW
¢
¢
¢
¢
¢
¢
¢
¢
¢
¢
LIMIT
L1
L2
R7184
SERIES
PRIMARY
CONTROL
A O_----
VALVE
AO i -
IGNITION
MOTOR T 0"--"
CAD CELL T 0"--"
CAD CELL SK9359
TO REMOTE
LOW VOLTAGE
AC ALARM
_ CIRCUIT
(IF USED)
24 VAC
THERMOSTAT
BURNER JUNCTION BOX
.... =120 VAC FIELD WIRING
120 VAC FACTORY WIRING
- LOW VOLTAGE FIELD WIRING
- LOW VOLTAGE FACTORY WIRING /_ = WtRENUT _ =WIRE WITH 1/4"
QUICK CONNECT
RECEPTACLE
1. STANDBY. The burner is idle, waiting for a call for
heat. When a call for heat is initiated, there is a 3-
10 second delay while the control performs a safe
start check.
2, VALVE-ON DELAY. The ignition and motor are
turned on for a 15 second valve-on delay.
3. TRIAL FOR IGNITION (TFI). The fuel valve is
opened. A flame should be established within the
15 second lockout time.
4. LOCKOUT. If flame is not sensed by the end of
the TFI, the control shuts down on safety lockout
and must be manually reset. If the control locks out
three times in a row, the control enters restricted
lockout.
5. IGNITION CARRYOVER. Once flame is estab-
lished, the ignition remains on for 10 seconds to
ensure flame stability before turning off. If the con-
trol is wired for intermittent duty ignition, the ignition
unit stays on the entire time the motor is running.
6. RUN. The burner runs until the call for heat is sati-
fled. The burner is then sent to burner motor off
delay, if applicable, or it is shut down and sent to
standby.
Control System Features
Feature Interrupted Limited reset, Diagnostic LED, Valve-on
ignition Limited recycle cad cell indicator delay
R7184A YES YES YES --
R7184B YES YES YES YES
R7184P YES YES YES YES
7. RECYCLE. If the flame is lost while the burner is
firing, the control shuts down the burner, enters a 60
second recycle delay, and then repeats the above
ignition sequence. If flame is lost three times in a
row, the control locks out to prevent cycling with
repetitious flame loss due to poor combustion.
8. BURNER MOTOR-OFF DELAY. The fuel valve
is closed and the burner motor is kept on for the
selected motor-off delay time before the control re-
turns the burner to standby.
PSTANOBY
RUN
Burner motor
off delay
YES
I
L_LOCKOUT I
I
i 61351
Alarm Con-
tacts
Optional
RWB 6104 BAFII R01 Page 9

Trained Service Technician's Regular Maintenance
.
• If the burner locks out on safety during bleed-
ing, reset the safety switch and complete the
bleeding procedure. Note -- Electronic safety
switches can be reset immediately; others may
require a three- to five-minute wait.
• If burner stops after flame is established, addi-
tional bleeding is probably required. Repeat the
bleeding procedure until the pump is primed
and a flame is established when the vent fitting
is closed.
• For R7184 primary controls, see Technician's
Quick Reference Guide, part number 61351 or
61465, for special pump priming sequence.
• Prepare for combustion tests by drilling a 1/4"
sampling hole in the flue pipe between the ap-
pliance and the barometric draft regulator.
Initial air adjustment -- Using a smoke tester,
adjust the air dial (and change firing pin on HLX
ATC's, if necessary) to obtain a clean flame. Now
the additional combustion tests with instruments
can be made.
Set combustion with instruments
1. Allow the burner to run for approximately 5 to 10
minutes.
.
.
Set the stack or over-fire draft to the level speci-
fied by the appliance manufacturer.
Natural Draft Applications; typically over-fire
draft is -0.01" or -0.02" w.c.
• Direct Venting; typically may not require draft
adjustment.
• High Efficiency/Positive PressureApplianc-
es; also vary from traditional appliances (see
manufacturer's recommendations).
Follow these four steps to properly adjust the
burner:
Step 1: Adjust the air dial until a trace of smoke is
achieved.
Step 2: At the trace of smoke level, measure the
CO2 (or 02) . This is the vital reference point for
further adjustments. Example: 13.5% CO2 (2.6%
02)
Step 3: Increase the air to reduce the CO2 by 1.5
to 2 percentage points. (02 will be increased by
approximately 2.0 to 2.7 percentage points.) Ex-
ample: Reduce CO2 from 13.5% to 11.5% (2.6%
to 5.3% 02).
Step
Ii
4: Recheck smoke level. It should be Zero.
This procedure provides a margin of
reserve air to accommodate variable
conditions.
If the draft level has changed, recheck the
smoke and CO2 levels and readjust the burner
if necessary
.
.
Once combustion is set, tighten all fasteners on
air dial, rear access door, and escutcheon plate.
Start and stop the burner several times to ensure
satisfactory operation. Test the primary control
and all other appliance safety controls to verify
that they function according to the manufactur-
er's specifications.
Trained Service Technician's Regular
Maintenance
Annual Professional Ser-
vice Required
Tampering with or making incorrect
adjustments could lead to equip-
ment malfunction and result in
asphyxiation, explosion or fire.
• Do not tamper with the burner or controls or
make any adjustments unless you are a trained
and qualified service technician.
• To ensure continued reliable operation, a quali-
fied service technician must service this burner
annually.
• More frequent service intervals may be required
in dusty or adverse environments.
• Operation and adjustmentofthe burnerrequires
technical training and skillful use of combustion
test instruments and other test equipment.
The following guidelines are provided for routine
maintenance.
CI Replace the oil supply line filter. The line filter
cartridge must be replaced to avoid contamina-
tion of the fuel unit and nozzle.
CI Inspect the oil supply system. All fittings should
be leak-tight. The supply lines should be free of
water, sludge and other restrictions.
CI Remove and clean the pump strainer if appli-
cable.
CI Replace the nozzle with an exact replacement
as specified by the appliance manufacturer.
CI Clean and inspect the electrodes for damage,
replacing any that are cracked or chipped.
CI Check electrode tip settings. Replace elec-
trodes if tips are rounded.
CI Inspect the igniter cables and connections.
CI Clean the cad cell grid surface, if necessary.
CI Inspect all gaskets. Replace any that are dam-
aged or would fail to seal adequately.
CI Inspect the combustion head and air tube. Re-
move any carbon or foreign matter. Replace all
damaged units with exact parts.
CI Clean the blower wheel, air inlet, air guide,
burner housing and nozzle line assembly of
any lint or foreign material.
Page 10 RWB 6104 BAFII R01

Trained Service
[::3If motor is not permanently lubricated, oil motor
with a few drops of SAE 20 nondetergent oil at
each oil hole. DO NOT over oil motor. Exces-
sive oiling can cause motor failure.
[::3Check motor current. The amp draw should
not exceed the nameplate rating by more than
10%.
[::3Check all wiring for secure connections or in-
sulation breaks.
[::3Check the pump pressure and cutoff function.
[::3Check primary control safety lockout timing.
[::3Check ignition system for proper operation.
[::3Inspect the vent system and chimney for soot
accumulation or other restriction.
[::3Clean the appliance thoroughly according to
the manufacturer's recommendations.
[::3Check the burner performance. Refer to the
section "Set combustion with test instruments".
[::3It is good practice to make a record of the ser-
vice performed and the combustion test re-
sults.
, Removing Nozzle Line for Service
Correct Nozzle and Flow
Rate Required
Incorrect nozzles and flow rates
could result in impaired cornbus=
tion, under-firing, over-firing, soot=
ing, puff-back of hot gases, smoke
and potential fire or asphyxiation hazards.
Use only nozzles having the brand, flow rate (gph), spray
angle and pattern specified by the appliance manufactur-
er or Beckett Residential Burner OEM Spec Guide, Part
#6711.
Follow the appliance manufacturer's specifications for the
required pump outlet pressure for the nozzle, since this
affects the flow rate.
• Nozzle manufacturers calibrate nozzle flow rates
at 100 psig.
• This burner utilizes pressures higher than 100
psig, so the actual nozzle flow rate will be greater
than the gph stamped on the nozzle body. (Exam-
ple:A 1.00 gph nozzle @ 140 psig = 1.18 gph)
For typical nozzle flow rates at various pressures see ac-
companying chart.
1. Turn off power to burner before proceeding.
2. Disconnect copper oil connector tube from noz-
zle line.
3. Loosen the screw that fastens the rear access
door.
4. Remove splined nut.
Technician's Regular Maintenance
.Remove the nozzle line assembly from the burn-
er, being careful not to damage the electrodes or
insulators while handling. Stop halfway to remove
igniter/transformer wires.
.To replace the nozzle assembly, reverse the
above steps. "HLX" head air tubes - Be sure stop
screw is fastened securely. Seat stop screw on
back of choke ring to set the position of the head.
"FBX" head air tubes - Use T gauge to set the "Z"
dimension to 1-1/8" +/- 1/32"
Nozzle Installation
Perform the following steps when replacing a noz-
zle.
.
.
.
.
Remove the nozzle line assembly to gain access
to the nozzle.
Use a 3/4" open-end wrench to hold the nozzle
adapter. DO NOT attempt to remove or replace
the nozzle without securing the adapter, as noz-
zle alignment could be seriously affected.
Do not squeeze the electrodes when handling
the nozzle line assembly. Excessive force could
change the electrode tip settings or damage the
ceramic electrode insulators.
Use a 5/8" open-end wrench to carefully remove
the existing nozzle.
Nozzle Flow Rate by Size
Nozzle flow rate U. S. gallons per hour of No. 2 fuel oil when
pump pressure (psig) is:
Nozzle 125 140 psi 150
size psi (factory psi
(rated std.)
at 100
psig)
0.40 0.45 0.47 0.49
0.50 0.56 0.59 0.61
0.60 0.67 0.71 0.74
0.65 0.73 0.77 0.80
0.75 0.84 0.89 0.92
0.85 0.95 1.01 1.04
0.90 1.01 1.07 1.10
1.00 1.12 1.18 1.23
1.10 1.23 1.30 1.35
1.20 1.34 1.42 1.47
1.25 1.39 1.48 1.53
1.35 1.51
175 200
psi psi
0.53 0.56
0.66 0.71
0.79 0.85
0.86 0.92
0.99 1.06
1.13 1.20
1.19 1.27
1.32 1.41
1.46 1.56
1.59 1.70
RWB 6104 BAFII R01 Page 11

Trained Service Technician's Regular Maintenance
Figure 5a. HLX Air Tube * Check/Adjust Electrodes
AR /UBE__ /SFOP SCREW
f SEE SP_ C_
ASSY FOI_, __ /
hLX IIEADS _...... ............. ....
Lll_11._jK I I .............................................................3
SK9639
Figure 5b. FBX Air Tube
RETAINING,_ /1/4" HEX
CLIPS _ /HEAD
./
HEAD
INSULATOR "Z"= 1.125_+.015
FJAIR TUBE
HEADS
_SxY FOR
E _ FBX-HEAD
"<_ SK9641
Check the electrode tip settings, as shown in Figure
6a or 6b. If necessary, adjust by loosening the elec-
trode clamp screw and slide/rotate the electrodes
as necessary. When the adjustment is complete,
securely tighten the clamp screw.
Figure 6a. Electrode Settings-HLX Air Tube Com-
binations
Do NOT overtighten
lamp Screw ,,
/32
1/4"
SK8263 Nozzle e to back of head
.
.
.
.
.
10.
Page 1
Inspect the nozzle adapter before installing the
new nozzle. If it is grooved or scratched on the
sealing surface, replace the nozzle line assem-
bly. If the surface is damaged, oil could leak at
the nozzle to adapter joint, causing serious com-
bustion problems.
Protect the nozzle orifice and strainer when in-
stalling. If the orifice gets dirt in it or is scratched,
the nozzle will not function properly.
To install a new nozzle, place a 3/4" open-end
wrench on the nozzle adapter. Insert the nozzle
into the adapter and secure finger tight. Finish
tightening with a 3/8" open-end wrench. Use care
to avoid bending the burner head support legs or
electrodes.
Do not over-torque the nozzle when install-
ing. This will cause deep grooves in the nozzle
adapter, preventing a seal when a new nozzle is
installed.
Carefully check and realign the electrode tips af-
ter replacing a nozzle, ensuring the electrode set-
tings comply with Figure 6a or 6b.
If the head was removed when replacing the
nozzle, carefully reconnect the head to the noz-
zle adapter. Push the head support until it stops
against the nozzle shoulder. Verify the dimen-
sion between the nozzle face and the back of the
head is 5/32".
2
Figure 6b. Electrode Settings-FBX Air Tube Com-
binations
5/52" go N°zZles_°c;_P rI/16"
nozzle center
SK9461
Blower Wheel Re-
placement
For installation or re-
placement of a blower
wheel, insure that there
is a space between the
blower wheel and the
motor face of 0.062"
(1/16"+ 1/64"). Refer to
Figure 7.
Figure 7. = Blower
Wheel Replacement
RWB 6104 BAFII R01

HLX Firing Rate
Trained Service Technician's Regular Maintenance
FBX Firing Rate
Stop AFII 85 AFII 100 AFII 150
Screw
0 0.40-0.65 0.5-0.65 0.75-1.00
1 0.6-0.75 0.85-1.10
2 0.65-0.80 0.95-1.15
3 0.60-0.75 0.65-0.90 0.95-1.20
4 0.75-0.95 1.10-1.25
5 0.70-0.85 0.85-1.00 1.15-1.35
6 0.95-1.10 1.15-1.40
7 - 1.25-1.50
8 - 1.30-1.50
HLX Air Dial Setting
Firing Rate AFII 85 AFII 100 AFII 150
@ 140 psig
0.40-0.65 3 -
0.60-0.75 4 3
0.70-0.85 5 4
0.75-1.00 5 2
0.95-1.20 - 3
1.15-1.35 - 4
1.25-1.50 - 5
Head AFII 85 AFII 100 AFII 150
FB0 0.40-0.65 0.55-0.75 0.75-1.00
FB3 0.55-0.85 0.55-1.10 0.85-1.20
FB4 0.75-1.10 1.10-1.25
FB6 0.85-1.15 1.15-1.35
FBX Air Dial Setting
Firing Rate @ AFII 85 AFII 100 AFII 150
140 psig
0.40-0.65 3
0.60-0.75 4 3 -
0.70-0.85 5 4 -
0.75-1.00 5 2
0.95-1.20 3
1.15-1.35 4
1.25-1.50 5
RWB 6104 BAFll R01 Page 13

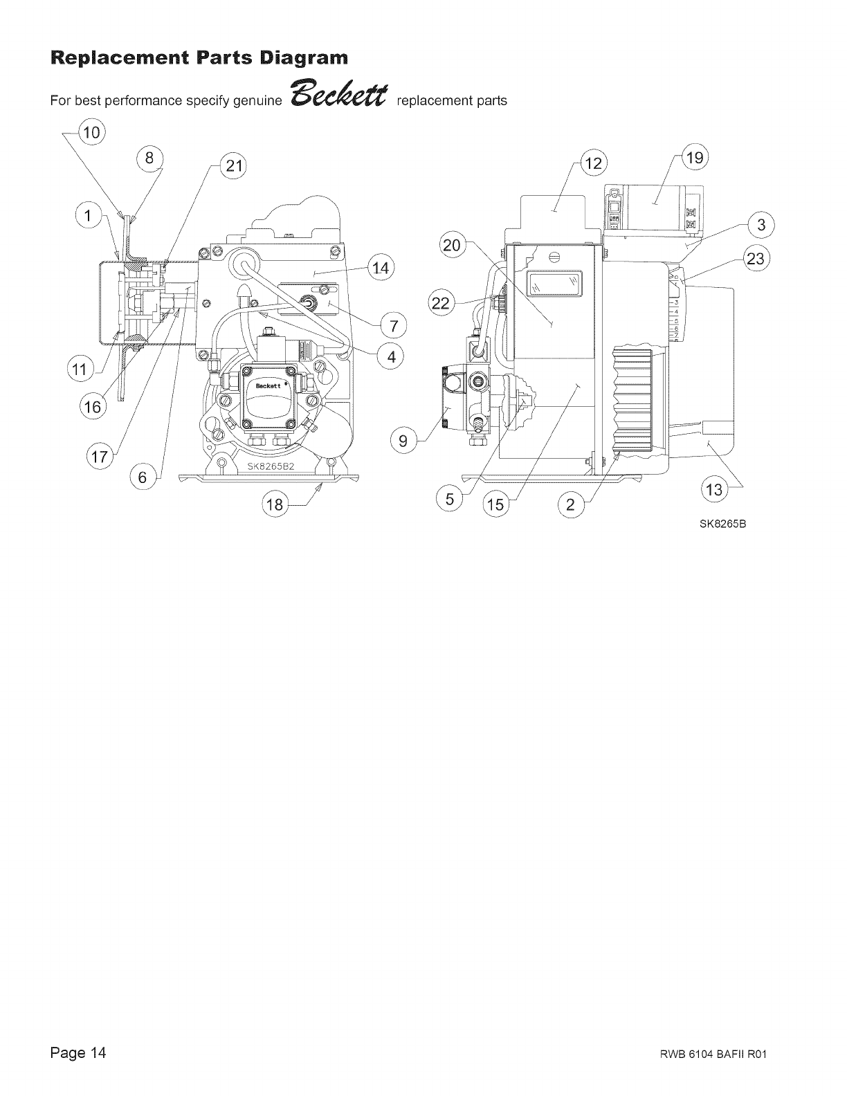
Replacement Parts Diagram
For best performance specify genuine _:;__ replacement parts
SK8265B
Page 14 RWB 6104 BAFII R01

Replacement Parts Diagram
Replacement Parts List
Item Kit No.
1 Speci_
2 21439U
21438U
21438U
3 30613BK
4 5394U
5 21437U
6 51484U
51670U
7 31623
3162302
8 51480
9
10
11
Description
Air tube combination
Blower Wheel: AFII 85 (4-1/4")
AFII 100 (4=1/2")
AFII 150 (4=1/2")
Electrical box
Connector tube, 8" Copper
Coupling, Motor to Pump
Electrodes: HLX Heads
FBX Heads
Escutcheon Plate: AFII Blank
AFII 140psi
Flange Kit, (adjust. 3=1/2" ID w/gas-
ket)
Fuel Pump: Cleancut
Gasket, flange
Head: FBX:FB0, FB3, FB4, or FB6
HLX: AF2 6 Slot Head
AF2 9 Slot Head
Head insulator Kit (FB0, 3, 4, 6 only)
2184404U
31658
Speci_
51671U
51672U
51685
Item Kit No.
12 51805U
13 51485
14 51584U
51476U
15 21444U
16 213
17 Speci_
18 51481
19
20
21
22
23
Description
Igniter, Electronic
Inlet air scoop, plastic, sound insu-
lated
Housing ass'y: AFII 85 & 100
AFII 150
Motor: 1/7 hp, 3450 rpm, 115V/60Hz
Nozzle adapter
Nozzle Line Electrode Head ass'y
Pedestal Kit, AFII Mounting
Primary control
R7184A Interrupted ignition
R7184B Valve-on Delay
R7184P Valve-on/Motor-off Delay
R7184P With Alarm Contacts
Rear Access Door
Stop Screw, Replacement kit
Splined Nut
Dial, Air Adjustment (UL approved)
7455U
7456U
7457U
7458U
51424U
51483
3666
187
RWB 6104 BAFII R01 Page 15

Limited Warranty Information
Limited
WARRANTY
For Residential, Commercial and Specialty Burners
The R. W. BECKETT CORPORATION ("Beckett") warrants to persons who purchase its Beckett burners from Beckett _r resale or _r
incorporation into a product _r resale ("Customers") that its equipment is fi'ee from defects in material and workmanship under normal use and
service t\_r 60 months from the date of manufacture t_r Residential Burners and 18 months from the date of manufacture _r Commercial and
Specialty Burners. Residential bz_rner models, inch_de: AF, AFG, AFII, NX, SF, SR and SMG. Commercial bz_rner models, ineh_de: CF375,
CF500, CFS00, CF1400, CF2300A, CF2500, CF3500A, CG10, CG15, CG25 and CG50. 3_eeia[ O bzcrner models' inch€de: ADC, ADCP, ARV,
SDC and SM. The provisions of this wmTanty are extended to individual major burner components as t\_llows:
a) 60 months from date of manut:acture £\_r all Beckett-branded major components, except £\_r 12 Vdc components.
b) 18 months from date of manufacture t\_r all non-Beckett-branded major components and Beckett branded 12 Vdc components.
Note: Normal ser',ice items t\_und to be def¢cti'_ e upon receipt by the customer are co'_ ered by this warranty.
THIS WARRANTY DOES NOT EXTEND TO EQUIPMENT SUBJECTED TO MIS[ SE, NEGLECT, OR ACCIDENT: NOR DOES THIS _2&RRANTY APPLY
UNLESS THE PRODUCT COVERED BY IT IS PROPERLY INSTALLED BY A QUALIFIED, COMPETENT TECHNICIAN, 'WHO IS LICENSED WHERE
STATE AND LOCAL CODES REQ[ IRE, AND WHO IS EXPERIENCED IN MAKING SUCH INSTALLATIONS, IN ACCORDANCE 'WITH THE LATEST
EDITION OF NFPA NO. 31 OF THE NATIONAL FIRE PROTECTION ASSOCIATION, THE LATEST EDITION OF THE NATIONAL FILL GAS CODE (NFPA
NO. $4) AND IN ACCORDANCE WITH ALL APPLICABLE LOCAL, STATE :kND NATIONAL (;ODES HA_TNG 31TRISDICTIONAL AUTHORITY.
Equipment, which is detective in material or workmanship and within the warranty period, may be returned for credit as follows:
Beckett Burners, Beckett-branded major components and non-Beckett-branded major components that came as original equipment on a Beckett burner
or were sold as a replacement part by Beckett should be returned, freight prepaid, to Beckett's home office. Credit will be issued to the customer unless
the returned equipment is detemlined by Beckett to be out of warranty or damaged by user, in which case the equipment will be scrapped.
Note: Beckett is not responsible for any labor cost for removal and replacement of equipment.
THIS WARRANTY IS LIMITED TO THE PRECISE TERMS SET FORTH ABOVE, AND PROVIDES EXCLUSIYE REMEDIES EXPRESSLY IN LIEU OF ALL OTHER
REMEDIES AND IN PARTICULAR THERE SHALL BE EXCLUDED THE IMPLIED WARRANTIES OF MERCHANT_MBILITY AND FITNESS FOR A PARTICULAR
PURPOSE. IN NO EVENT WILL BECKETT BE LIABLE FOR ANY INCIDENTAL OR CONSEQUENTIAL DAMAGE OF ANW NATURE. Beckett neither assumes nor
authorizes any person to assume _\_r Beckett any other liability or obligation in colmection with the sale of this equipmenL Beckett's liability and Customer's
exclusive remedy being limited to credit as set _brth above.
Form No61545 R72905
The Oilheat Manufacturers' Association supports the use of low sulfur fuels as defined by ASTM D396, Grades No. 1 Low Sulfur
and No. 2 Low Sulfur, as the preferred heating fuel for the following reasons:
Low sulfur fuels reduce deposits on heat exchanger surfaces, extending the service interval between cleanings.
The reduced deposits increase the efficiency of the appliance.
• Low sulfur fuels reduce particulate emissions.
R.W. BECKETT CORPORATION
U.S.A.: P.O. Box 1289. Elyria, Ohio 44036
www.beckettcorp.com
Canada: R.W. Beckett Canada, Ltd.. Unit #3,430 Laird Road • Guelph, Ontario N1G 3X7
Form Number 6104 BAFII R01
Printed in USA- 9/06
Page 16 RWB 6104 BAFII R01