Bendix Bw2799 Users Manual SmarTire Operator's Manual_RELEASED
2015-03-12
: Bendix Bendix-Bw2799-Users-Manual-651537 bendix-bw2799-users-manual-651537 bendix pdf
Open the PDF directly: View PDF
.
Page Count: 80

1
Operator’s Manual
2

3
OPERATOR’S MANUAL
SMARTIRE
™
TIRE PRESSURE MONITORING SYSTEM BY BENDIX CVS
Thank you for purchasing the SmarTire™ Tire Pressure Monitoring System (TPMS). With SmarTire™
TPMS onboard, your vehicle is equipped with a wireless communication network allowing seamless
integration of wireless sensing technology.
The SmarTire™ TPMS application is an advanced tire pressure monitoring system specifically designed
for commercial vehicles. The system constantly monitors the pressure and temperature of each tire on
your vehicle in order to provide real-time, on-demand tire status information and to warn the driver of a
tire-related problem before it becomes dangerous.
SMARTIRE™ TPMS:
Extends tire life,
Reduces maintenance costs and time,
Maximizes fuel economy by ensuring tires are properly inflated,
Reduces vehicle downtime, and
Reduces accident risk caused by a tire blowout or tire fire.
FEATURES OF SMARTIRE™:
Temperature compensated alert: know when your tires are at risk no matter how long you’ve
been driving.
Real-time tire information while you drive.
Tire alerts provide instant visual and optional audible alert of a tire problem.
3 types of alerts: Pressure Deviation Alert, Critical Low Pressure Alert, and High Temperature
Alert.
Can be linked to the J1939 communication network for seamless vehicle integration.
IMPORTANT NOTICE: PLEASE READ
SmarTire™ tire sensors can be broken when mounting and dismounting a tire unless
specific instructions are followed. If tire work is done by a non-Bendix authorized facility,
please let them know that a tire pressure monitoring system is installed on the vehicle
before they remove a tire from a wheel.

4
WARNING! PLEASE READ AND FOLLOW THESE INSTRUCTIONS TO AVOID
PERSONAL INJURY OR DEATH:
When working on or around a vehicle, the following general precautions should be observed at all times.
1. Park the vehicle on a level surface, apply the parking brakes, and always block the wheels.
Always wear safety glasses.
2. Stop the engine and remove ignition key when working under or around the vehicle. When
working in the engine compartment, the engine should be shut off and the ignition key should be
removed. Where circumstances require that the engine be in operation, EXTREME CAUTION
should be used to prevent personal injury resulting from contact with moving, rotating, leaking,
heated or electrically charged components.
3. Do not attempt to install, remove, disassemble or assemble a component until you have read and
thoroughly understand the recommended procedures. Use only the proper tools and observe all
precautions pertaining to use of those tools.
4. If the work is being performed on the vehicle’s air brake system, or any auxiliary pressurized air
systems, make certain to drain the air pressure from all reservoirs before beginning ANY work on
the vehicle. If the vehicle is equipped with an AD-IS® air dryer system or a dryer reservoir module,
be sure to drain the purge reservoir.
5. Following the vehicle manufacturer’s recommended procedures, deactivate the electrical system
in a manner that safely removes all electrical power from the vehicle.
6. Never exceed manufacturer’s recommended pressures.
7. Never connect or disconnect a hose or line containing pressure; it may whip. Never remove a
component or plug unless you are certain all system pressure has been depleted.
8. Use only genuine Bendix® replacement parts, components and kits. Replacement hardware,
tubing, hose, fittings, etc. must be of equivalent size, type and strength as original equipment and
be designed specifically for such applications and systems.
9. Components with stripped threads or damaged parts should be replaced rather than repaired. Do
not attempt repairs requiring machining or welding unless specifically stated and approved by the
vehicle and component manufacturer.
10. Prior to returning the vehicle to service, make certain all components and systems are restored to
their proper operating condition.
11. For vehicles with Automatic Traction Control (ATC), the ATC function must be disabled (ATC
indicator lamp should be ON) prior to performing any vehicle maintenance where one or more
wheels on a drive axle are lifted off the ground and moving.
5
TABLE OF CONTENTS
SmarTire
™
Tire Pressure Monitoring System by Bendix CVS...................................................... 3
SmarTire™ TPMS: .................................................................................................................... 3
Features of SmarTire™: ............................................................................................................ 3
IMPORTANT NOTICE: PLEASE READ .................................................................................. 3
WARNING! Please read and follow these instructions to avoid personal injury or death:....... 4
Section A: System Overview .............................................................................7
1.0 System Overview................................................................................................................... 8
1.1 System Components.......................................................................................................... 8
1.2 Maintenance Tools............................................................................................................. 9
1.3 How Does The SmarTire™ TPMS System Work?............................................................ 10
1.4 Why is Temperature Monitoring Important?..................................................................... 10
2.0 Tire Maintenance ................................................................................................................. 13
Section B: System Programming ....................................................................14
3.0 Configuring & Customizing Your SmarTire™ System .......................................................... 16
3.1 Pre-Configured Settings................................................................................................... 16
3.2 SmarTire™ Sensor Learn Instructions .............................................................................. 16
Section C: SmarTire™ Display Operation........................................................23
4.0 Display Overview: Alerts..................................................................................................... 24
4.1 Power, Mounting, and Environmental Requirements....................................................... 24
4.2 J1939 Connector Pin Descriptions................................................................................... 24
5.0 Using SmarTire™ TPMS....................................................................................................... 25
5.1 Getting Started ................................................................................................................. 25
5.2 Checking Tire Temperature, Pressure, and Pressure Deviation ..................................... 25
5.3 Audible and Visual Alerts ................................................................................................. 26
5.4 Reacting to Audible and Visual Alerts.............................................................................. 28
5.5 Diagnostic Trouble Code Message Overview.................................................................. 29
5.6 Setup Mode – For Use When SmarTire™ Diagnostics Software Is Not Available ........... 30
Section D: System Installation - Electrical .....................................................39
6.0 System Installation: Electrical .............................................................................................. 40
6.1 Tools Required................................................................................................................. 40
6.2 Getting Started ................................................................................................................. 40
6.3 Step 1: Installing the Receiver and Display...................................................................... 43
6.4 Step 2: Assembling and Installing the Antenna(s) ........................................................... 47
6.5 Wireless Gateway Receiver Specifications...................................................................... 50
6.6 SmarTire™ Display Specifications .................................................................................... 51
6.7 Vehicle Wiring Harness: Light .......................................................................................... 53
6.8 Wiring Harness: Trailer.....................................................................................................54
Section E: System Installation – Tire Sensors ...............................................55
7.0 System Installation: Tire Sensors ........................................................................................ 56
7.1 Sensor Overview.............................................................................................................. 56
IMPORTANT NOTICE: PLEASE READ ................................................................................ 56
7.2 Tools Required................................................................................................................. 57
7.3 Tire Sensor Installation..................................................................................................... 57
7.4 Re-Mounting Tires After a Sensor has been Installed ..................................................... 58
7.5 Removing a Tire That Has a SmarTire™ Sensor Installed ............................................... 61
7.6 Tire Sensor Specifications................................................................................................ 62
6
Section F: Troubleshooting .............................................................................63
8.0 Troubleshooting Guide......................................................................................................... 64
8.1 SmarTire™ Gauge Display Q&A....................................................................................... 64
8.2 SmarTire™ Receiver Q&A ................................................................................................ 66
8.3 SmarTire™ System Q&A................................................................................................... 68
8.4 Diagnosing a Defective, Missing, or Misplaced sensor.................................................... 72
8.5 SmarTire™ Hand Tool Troubleshooting............................................................................ 73
8.6 Quick Reference Guide to SmarTire™ System Troubleshooting...................................... 74
Appendix 1: Replacement Parts ......................................................................75
9.0 Replacement Parts .............................................................................................................. 76
Appendix 2: System Scope of Use & Alerts ...................................................77
10.0 System Scope of Use and Alerts....................................................................................... 78
10.1 System Installation and Usage....................................................................................... 78
10.2 Use of Chemicals ...........................................................................................................78
10.3 Reacting to Alerts........................................................................................................... 78
10.4 FCC Notice..................................................................................................................... 78

7
SmarTire™ Tire Pressure Monitoring System
by Bendix CVS
Section A: System Overview
S E C T I O N

8
1.0 SYSTEM OVERVIEW
1.1 SYSTEM COMPONENTS
The Wireless Gateway Receiver forms the "brain" of the
SmarTire™ platform. The receiver captures data transmissions
from tire sensors mounted on each wheel which is then analyzed
against programmed user-defined settings and, if it determines
that a tire is under-inflated or running over temperature, an alert is
triggered. Robust and weatherproof in design, the Wireless
Gateway Receiver can be conveniently mounted directly to the
vehicle's chassis. It also interfaces with the vehicle's J1939
network for seamless integration.
Real-time tire pressure and temperature information is available to
the driver on demand via the SmarTire™ display. If the system
detects a tire that is under-inflated or overly hot, the display will
alert the driver to the condition before it becomes dangerous.
Industrially designed for the harsh environment of a commercial
truck tire, the tire sensor measures internal tire pressure and
temperature every 12 seconds and transmits data every three to
five minutes. If the system detects a pressure change of 3 PSI
(0.206 bar) or greater, it breaks its regular schedule and transmits
data immediately. Each tire sensor is mounted in a break away
cradle so that in the event of in-field damage, the sensor remains
unbroken.
Tire sensors are mounted to the surface of the rim using a
stainless steel strap. Installed by Bendix on hundreds of
thousands of wheels world wide, strap mounting is the most
reliable and universal method of sensor installation available.
Wireless signals from tires on the front axle are captured by the
wireless gateway directly. Signals from the rear axles and the
trailer are captured by an antenna mounted at the rear of the
vehicle. An external antenna ensures signal reception reliability so
that SmarTire™ TPMS always has up-to-date tire status
information accessible at the push of a button.
When a tire problem occurs on a towed trailer, the trailer lamp will
clearly indicate it to the driver. The lamp illuminates at the first
sign of trouble, as well as flashes to indicate the type of problem
found.

9
1.2 MAINTENANCE TOOLS
Maintaining tires in the yard is just as important as real-time tire
information for the driver, but most TPMS systems don't take
maintenance personnel into account. The SmarTire™ universal hand
tool acts like an 'electronic billy-club' allowing maintenance personnel to
wirelessly 'ping' a tire to measure its pressure and temperature. The
SmarTire™ hand tool improves inflation accuracy and reduces
diagnostic time in order to keep every tire rolling safely and cost
effectively. (Maintenance Tool comes with a separate manual).
The LF Tool allows the user to wirelessly 'ping' a tire and can be used
instead of a Hand Tool to add tires to the system configuration, either
during the initial setup or when tires are changed.

10
1.3 HOW DOES THE SMARTIRE™ TPMS SYSTEM WORK?
1. The SmarTire™ Wireless Gateway receiver creates a wireless bubble around a vehicle
allowing various sensing technologies to seamlessly interact.
2. Tire sensors mounted on each wheel measure tire pressure and temperature every 12
seconds and wirelessly transmit tire data every three to five minutes.
3. Industrially designed for the rugged requirements of a commercial vehicle chassis, the
wireless gateway can monitor up to 20 wheel positions and is able to handle the most
complex commercial and off-highway vehicle configurations.
4. Real-time tire pressure and temperature information is available to the driver on demand
via the SmarTire™ display. Ranging from a simple illuminated light to an easy to read and
simple to use interactive gauge that provides real-time tire status information, the
SmarTire™ display will alert the driver to a low pressure or high temperature condition
before it becomes dangerous.
5. Trailer tires can also be monitored using a stand-alone system and/or trailer lamp.
6. The SmarTire™ universal hand tool acts like an ‘electronic billy-club’ allowing
maintenance personnel to wirelessly ‘ping’ a tire to measure its real-time tire pressure.
The SmarTire™ maintenance hand tool improves inflation accuracy and reduces
diagnostic time in order to keep every tire rolling cost effectively.
1.4 WHY IS TEMPERATURE MONITORING IMPORTANT?
THE PRESSURE TEMPERATURE RELATIONSHIP
Tire manufacturers specify that tire pressures should be checked and adjusted when a tire is
“cold”, but most people may not know why, or even what a “cold tire” is. The temperature of a tire
actually has a significant impact on its inflation pressure.
According to tire manufacturers, a tire is considered to be “cold” when its temperature is 65°F
(18°C). The inflation values provided by vehicle manufacturers, fleet maintenance personnel or
industry published load inflation tables are called ‘Cold Inflation Pressures’ (CIP) because they
represent the correct amount of pressure a tire should be inflated to when it is “cold”. The reason
that tires have cold inflation pressures set at specific temperatures is because a tire’s pressure
will change relative to its temperature.
Air naturally expands when heated and contracts when cooled. Inside a contained vessel such as
a tire, this expansion and contraction causes a change in contained air pressure. As a tire heats
up, its pressure will naturally increase and as it cools down, its pressure will naturally decrease.

11
For example, a tire inflated to a CIP of 105 PSI at 65°F will increase in pressure to 125 PSI at
152°F and decrease in pressure to 97 PSI at 32°F. The SmarTire™ tire monitoring system
considers these changes in temperature and pressure as part of normal operation and adapts
accordingly to provide more accurate information while helping to prevent false alerts.
Tire manufacturers never recommend inflating a tire to less than the specified cold inflation
pressure. In extreme cases, the beads of a commercial tire can unseat if its pressure gets too low
resulting in a catastrophic tire failure.
Always refer to the vehicle manufacturer’s recommendations for minimum cold inflation
pressures.
The charts below illustrate the equivalent inflation values for a series of cold inflation pressures at
various temperatures. The temperature values represent the temperature of the air contained
inside the tire. This temperature can be estimated for a cold tire using the outside, ambient
temperature.

12
The charts above are to be used as a guide only. Always refer to the tire / vehicle
manufacturer’s recommendations for minimum cold inflation pressures.
Thermal Equilibrium
As a vehicle moves, its tires naturally heat up due to friction from the road and the flexing of its
side-walls. Weight, vehicle speed and a tire’s starting inflation pressure all have an impact on how
much and how quickly heat is generated.
As the tire generates heat, its pressure increases, causing a reduction in side-wall flexing. Less
side-wall flexing and road resistance combined with air rushing past the tire as the vehicle moves
effectively counteracts the conditions that cause the tire to heat up. As a result, the temperature
increase tapers off until the tire reaches a point of balance called Thermal Equilibrium.
Tire “Thermal Equilibrium” is the point where the heat being generated is equal to the heat being
dissipated. Tires are designed with the principles of temperature and pressure in mind in order for
them to achieve Thermal Equilibrium. Once a properly inflated tire reaches Thermal Equilibrium, it
will operate at its peak; providing the best performance, handling, tire life and fuel economy.
SmarTire™ TPMS Temperature Compensation
Since a tire’s contained air pressure naturally increases as a vehicle moves, it can be difficult to
tell if a hot tire is under-inflated. Without some form of temperature compensation, a hot tire that
is under-inflated might appear to be fine because its contained air pressure is at or above its cold
inflation pressure (CIP).
For example, a tire correctly inflated to a CIP of 105 PSI at 65°F will reach thermal equilibrium
when its temperature increases to 152°F and its pressure increases to 125 PSI. A tire starting at
95 PSI at 65°F (10 PSI under inflated) would have to reach 202°F for it to reach thermal
13
equilibrium (125 PSI). The tire will then be running 50°F hotter than it should be, causing more
tire wear and the potential for a catastrophic failure or tire fire.
When checked using a handheld gauge or a tire monitoring system that does not measure
operating temperature, this 10 PSI under-inflated tire can appear to be normal. When equipped
with tire sensors that mount inside the tire, SmarTire™ TPMS measures both tire pressure and
temperature in order to provide “Temperature Compensated” pressure deviation values and
alerts. By measuring the operating temperature of a tire and comparing it to the cold inflation
pressure (CIP) value programmed into the system, the SmarTire™ system will know what a tire’s
pressure is supposed to be in relation to its operating temperature.
The system is able to warn the driver of an under-inflated tire even if that tire’s actual contained
air pressure is at or above its CIP.
The advantages of temperature compensation are even more dramatic when a tire has a slow
leak. A tire that is constantly losing pressure will not be able to reach thermal equilibrium because
the contained air simply can not expand enough to generate the required pressure, regardless of
how hot the tire becomes. Since the leak is slow, the tire may appear over an extended period of
time to be properly inflated when it is actually dangerously under-inflated and operating well
above its temperature capacity.
As air leaks from the tire, increased side-wall flexing and rolling resistance cause the tire’s
temperature and pressure to increase. The pressure increase will soon plateau and begin to
slowly decrease while the tire’s temperature continues to increase. Eventually, the tire will
become so hot that its structure will degrade and then fail in the form of a blow-out and / or tire
fire.
2.0 TIRE MAINTENANCE
Proper tire maintenance is critically important for keeping tires rolling smoothly. When properly
maintained and inflated, tires will provide shorter stopping distances, better vehicle handling in
emergency situations and better fuel economy.
Maintenance Tips for Long Tire Life:
Keep tires properly inflated at all times.
Visually inspect tires for injuries prior to each trip.
Match dual tires for size and keep pressures within 5 PSI (0.344 bar).
Re-tread tire before wear causes excessive belt damage or fatigue.

14
SmarTire™ Tire Pressure Monitoring System
by Bendix CVS
Section B: System Programming
S E C T I O N

15
IMPORTANT
READ THESE INSTRUCTIONS PRIOR TO INSTALLATION
This SmarTire™ kit is pre-programmed and ready to use, subject to your application:
Sensors have been PRE-ASSIGNED TO WHEEL POSITIONS and are identified on each
unit with a position label (P1, P2, P3, etc.) – install the sensors as per the diagram below.
Default values have been assigned to each axle for the following:
o Cold Inflation Pressure (CIP) – 100 PSI
o First Alert Level (FAL) – set to a deviation of ±15% from CIP
o Second Alert Level (SAL) – set to -20% from CIP
o High temperature alert (optional) – ITEC specific kits set to OFF, all other kits
set to 85°C
Installation steps:
1. Install the receiver, display, antenna and harnesses on the vehicle, following the
instructions in “Section D – Installation Electrical” section of the SmarTire™ manual.
2. Install the sensors in the pre-programmed locations as above, following the instructions in
“Section E – Installation Tire Sensors” section of the SmarTire™ manual.
3. Adjust any system parameters as required, following “Section B – System
Programming” section of the SmarTire™ manual.

16
3.0 CONFIGURING & CUSTOMIZING YOUR SMARTIRE™ SYSTEM
During the installation process, the default settings for SmarTire™ TPMS should be customized to
the vehicle by the installer. At any time, alert thresholds can be made more or less sensitive and
system settings can be adjusted to accommodate vehicle changes and use.
Replacing vehicle tires or installing the system on a new vehicle may also require adjustment of
pre-configured settings. The following section describes how to adjust the pre-configured settings
of your SmarTire™ TPMS.
3.1 PRE-CONFIGURED SETTINGS
Generally, the SmarTire™ TPMS is pre-configured with the default settings listed below.
Depending on your vehicle, your system may have a different initial setup.
Cold Inflation Pressure (CIP):
o 6-Wheel (4x2 Configuration)
Steer Axle: 100 PSI (6.89 bar)
Drive Axle: 100 PSI (6.89 bar)
o 10-Wheel or 6-Wheel with Super Singles
Steer Axle: 100 PSI (6.89 bar)
Drive Axle: 100 PSI (6.89 bar)
First Alert Level (FAL) Pressure Deviation Alert: CIP +/- 15%
Second Alert Level (SAL) Critical Low Pressure Alert: CIP -20%
High Temperature Alert: 185°F (85°C)
Default cold inflation pressure settings should always be customized to the vehicle. Check the
vehicle’s owner’s manual, placard or the industry published load inflation table to determine the
recommended cold inflation pressure settings. Bendix recommends setting the Second Alert
Level (SAL) critical low pressure alert at 20% below the recommended cold inflation pressure for
your vehicle. Bendix also does not recommend changing the First Alert Level (FAL) pressure
deviation alert setting.
3.2 SMARTIRE™ SENSOR LEARN INSTRUCTIONS
This section contains the instructions to program vehicle sensors into the SmarTire™ system
using the SmarTire™ Diagnostic Tool software.
3.2.1 Equipment
Hardware
On-Vehicle J1939 Diagnostic Port
J1939 CAN Adaptor (e.g. Vansco DLA, USBLink)
SmarTire™ Vehicle Harness
J1939 Wireless Gateway Receiver
(Optional) LF Initiator; SmarTire™ Maintenance Hand Tool; or SmarTire™ LF Tool
Software
SmarTire™ Diagnostic Software (Version 1.0.25 or higher – download at
http://www.smartire.com/support/manuals)
PC with Microsoft Windows XP

17
3.2.2 Communications Setup
To setup communications over J1939:
1. Connect the Gateway connector on the SmarTire™ harness to the vehicle’s Gateway.
2. Connect the J1939 Diagnostic port of the harness to your PC-to-CAN adaptor (i.e.
RP1210A).
3. Connect the harness’ VIN1 and GND1 wires to 12-24VDC.
4. Apply power to the hardware.
5. Run SmarTire™ Diagnostic Tool.exe on your PC.
6. Select your J1939 Adaptor on the menu bar. If it doesn’t appear in the Adaptor drop-
down list, ensure you have the appropriate drivers installed on your computer.
7. Click ‘Connect J1939’ to start the interface communicating over J1939.

18
8. If the adaptor is correctly installed and identified, the TPM system details will be filled in
at the bottom of the screen with information from the SmarTire™ Wireless Gateway.
3.2.3 Configuring Your Vehicle
There are two steps to having the Gateway Receiver learn your vehicle’s configuration:
1. Axle/Tire configuration
2. Sensor Programming
Axle/Tire Configuration
During this step, we must tell the Gateway Receiver how many tires there are on the vehicle and
their locations. Also, we will program the Cold Inflation Pressures (CIP) and Alert Levels. The
alert levels can be changed at anytime later without affecting the vehicle layout, but it is best to
put a default value in at this time.
1. With the SmarTire™ Diagnostic Tool setup and running, click on the Setup tab (or press
the F6 key).

19
2. To specify how many axles are present on the vehicle, click on the check mark after the
last axle on your vehicle. Darkened axles and tires are active and can be programmed.
Grayed out axles and tires are disabled.
3. Next, ensure that all active axles have the correct number of tires assigned. Use the
‘Dual Wheel’ check box under each axle to configure this. Note: Steps two and three
must be carried out each time the software is restarted, regardless of the saved
configuration in the receiver.
4. When you’ve completed setting up the vehicle’s axles, adjust the CIP values for each
axle. If you would like to change the units being displayed, click the ‘Units of Measure’
button on the left side of the window (or press ALT-6).
5. Now we will check the Alert levels to ensure they are the right values for your system.
Click the ‘System Parameters’ button (or press ALT-4). Bendix recommends that you
use the default values that came programmed with the Wireless Gateway, but you can
change them here if desired.
6. Click the Axle Configuration button (or press ALT-1) to return to the Axle Configuration
screen.

20
7. To save the settings you’ve entered into the Wireless Gateway Receiver, click ‘Save
Configuration’ on the Axle Configuration screen.
To save the settings for use on another vehicle, click the ‘Load/Save Configuration’ button (or
press ALT-5). On this screen, click ‘Save Configuration’ and choose the filename and location to
save this file. Included in the saved file is:
Axle layout
Axle CIP levels
Alert Levels
All Sensor IDs
Once you’ve saved a configuration, when you start the Diagnostic Tool the next time, you must
simply go to the ‘Load/Save Configuration’ screen and click ‘Load Configuration’ to restore the
complete profile you were working on previously. You can then proceed to programming the
sensors into the new Gateway Receiver.
Learning Sensors
After setting up or loading a profile, you can begin programming sensors into the Gateway.
1. On the Setup tab, select the ‘Sensor Configuration’ button.

21
2. Select the tire you wish to program.
3. Each sensor has a unique ID that the Gateway Receiver uses to identify it. You can
either enter this ID into the Gateway Receiver manually, or trigger the sensor to identify
itself and have the Gateway Receiver automatically learn it.
Having the Gateway Receiver identify the sensor is a slower method than manually
entering the ID, but it is particularly useful if a sensor has already been installed in a tire.
Manual Sensor Learn
a. To do a manual sensor learn enter the ID of the sensor into the green dashed
text box. The ID for the sensor is the 7 digit code on the top label of the sensor
(i.e. 101-1-4-#######).
b. Now click ‘Assign Selected Sensor’. The sensor ID will then appear on the tire
map.

22
Gateway Sensor Learn
a. To have the Gateway Receiver detect a sensor’s ID, click the ‘Learn Selected
Sensor’ button in the SmarTire™ Diagnostics Software.
b. You now need to trigger a Learn transmission from the tire within the next two
minutes (or press ESC to cancel). This can be done using the LF Initiator Tool,
LF Tool, or Maintenance Hand Tool.
Press the Learn button with the device in the appropriate position shown below.
Check the manual for the tool you are using to select the Learn function.
c. Once triggered, it can take up to 30 seconds for the Gateway to receive the
transmission and complete the learn process. When successful, the sensor icon
in the tire map will turn green and the detected ID will be displayed.
4. Perform the above steps for each sensor on the tire map.
5. Sensor programming is now complete and the sensors are stored on the Gateway
receiver.

23
SmarTire™ Tire Pressure Monitoring System
by Bendix CVS
Section C: SmarTire™ Display Operation
S E C T I O N

24
4.0 DISPLAY OVERVIEW: ALERTS
SMARTIRE™ Display Dual Light Display
Note: If you are using a 3rd party display to view SmarTire™ information, please refer to the
respective user manual or contact your vehicle vendor for instructions.
4.1 POWER, MOUNTING, AND ENVIRONMENTAL REQUIREMENTS
Operating voltage range 8.5 – 36V
Typical current consumption (with no external loads) 30mA
Connector type: 1062-16-0122-Deutsch
Lock: W6S-Deutsch
Plugs: DT06-6S-Deutsch
SAE J1939 protocol compliant, 250 kbps
Overall depth of unit (back of bezel to the end of the connector): 2.55 in.
Bezel thickness: 0.240 in (6.069 mm).
Bezel diameter: 2.29 in (58.166 mm).
Panel Cutout: Std SAE 2 in. gauge panel cutout
Mounting (clamp ring and wave spring): 0.050 to 0.130 in (1.27 mm to 3.302 mm).
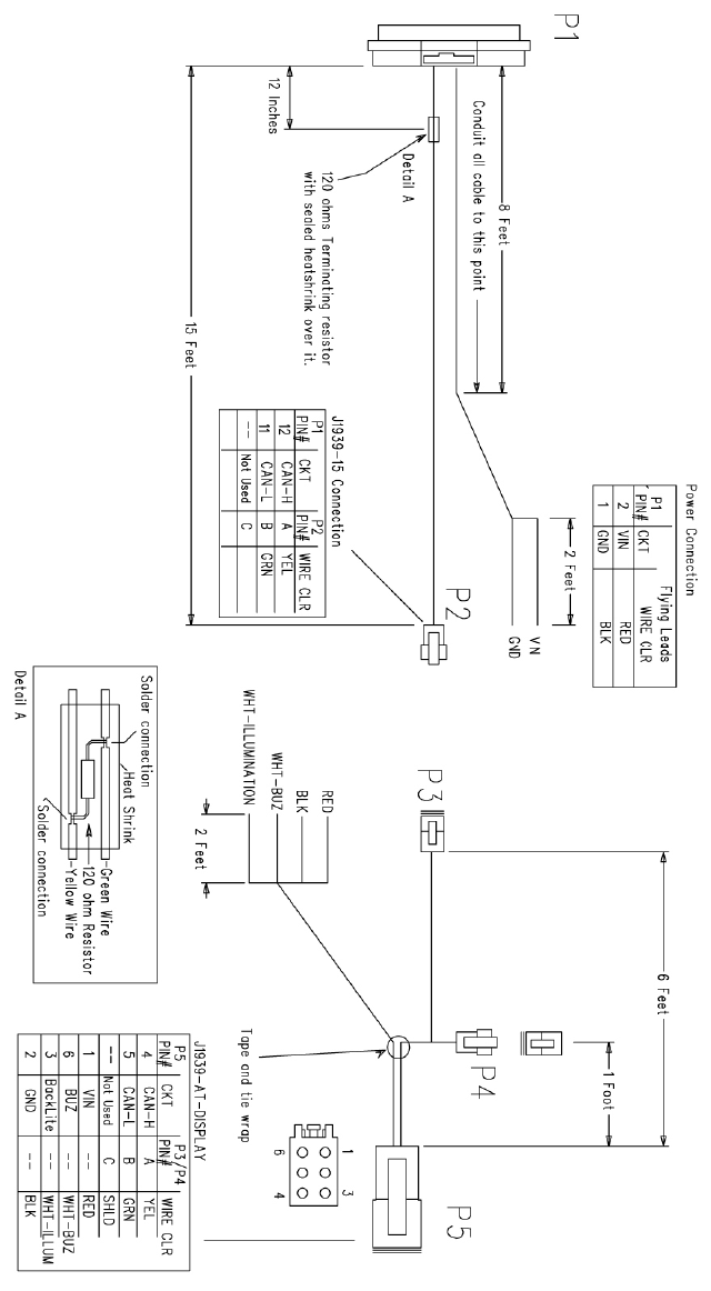
4.2 J1939 CONNECTOR PIN DESCRIPTIONS
Check the back of the 6-pin Deutsch connector for numbering.
Line Colors versus Pin Numbers for Standard SmarTire™ Harnesses (White wires are
labeled for Display connector):
Pin 1 2 3 4 5 6
Line
Color Red Black White Yellow Green White
Vin
GND
Backlight
6 1
5 2
4 3
(Buzzer) Output
CAN - L
CAN - H

25
5.0 USING SMARTIRE™ TPMS
5.1 GETTING STARTED
When the vehicle’s ignition switch is turned on, the SmarTire™ system will power up and the
display will indicate that the system is Initializing. During initialization, the display receives vehicle
configuration data and tire pressure/temperature parameters from the receiver. After
approximately 10 seconds, the display will show the “TPMS Ready” screen indicating that the
system is ready to receive tire data from the sensors. When showing the TPMS Ready screen,
the display will show TPMS Ready and a tire icon. If a Dual Light Display or Trailer Lamp is
installed, they will flash once as the SmarTire™ system is powered up to indicate their TMPS
Ready status.
When the vehicle is driven over 14 mph (24 km/h), the tire sensors will activate and SmarTire™
TPMS will begin to receive tire data. While the vehicle is in motion, the sensors will measure tire
pressure and temperature every 12 seconds and transmit tire data approximately every 3 - 5
minutes.
If an Alert icon (triangle with an exclamation mark) is displayed on
the TPMS Ready screen, a tire pressure or temperature condition
has been detected and should be investigated / corrected before the
vehicle is driven. Bendix recommends that tire pressure and
temperature conditions always be corrected before a vehicle is
driven to ensure the safety of the driver, vehicle and cargo.
If the TPMS ready screen shows an alert icon but no tire icon, the
display has not received any tire programming information from the
receiver.
NOTE: Standard tire sensors transmit data once every 15
minutes while stationary. They contain a motion switch and will send data regularly once
the vehicle reaches a speed of approximately 14 mph (22 km/h).
5.2 CHECKING TIRE TEMPERATURE, PRESSURE, AND PRESSURE DEVIATION
At the push of a button, SmarTire™ TPMS will provide the driver with real-time tire pressure and
temperature information for each tire on their vehicle. Please check tires only when the vehicle is
stopped and in a safe location. Never check tire status when the vehicle is in motion and the
driver’s attention is on the road.
SmarTire™ TPMS displays tire status information by axle using various axle screens. Each axle
programmed in the display has a corresponding axle screen. The diagram on the next page
outlines the different screen elements of the axle screens.
4.1

26
To check your tire pressure, temperature, and pressure deviation:
1. Starting from the TPMS Ready screen, press the right button once and the display will
show the first axle screen starting at the front of the vehicle with one tire position
highlighted. The pressure, temperature and pressure deviation information displayed is
for the selected tire.
2. To move to the next wheel on the vehicle, press the right button once. The next tire in
sequence will be highlighted and its pressure, temperature and pressure deviation
reading will be displayed. Each time the right button is pushed, the next tire in sequence
will be selected and its information displayed. Pressing the right button when the last tire
on the axle is selected will re-select the first tire on that axle.
3. To move to the next axle on the vehicle, press the left button once. Once again, pressing
the right button will scroll the display to the next tire on that axle. Each time the left button
is pressed the display will show the next axle on the vehicle. When the left button is
pressed from the last axle screen programmed in the display, the first axle will once again
be shown.
4. Repeat steps 1, 2 and 3 until all desired wheel positions and axles have been checked.
5. To exit back to the “TPMS Ready” screen, press the center button once.
5.3 AUDIBLE AND VISUAL ALERTS
Pressure Deviation Alert
The Pressure Deviation Alert is the first indicator of an under-
inflated tire. If a tire deviates 10% from its “proper” inflation
pressure, the driver is alerted to the condition by an indicator light
and an audible alarm (optional). SmarTire™ calculates a tire’s
“proper” inflation pressure by first mathematically calculating the
amount of pressure that is supposed to be in the tire based on its
operating temperature and its cold inflation pressure setting, and
then comparing this calculated value to the actual, measured
pressure value of the tire. The pressure deviation value that is
displayed is the difference between the actual pressure and the
calculated “correct” pressure. This temperature compensation
calculation enables SmarTire™ TPMS to provide pressure deviation
values and alerts even when a tire is hot.

27
The default setting triggers the pressure deviation alert when a tire is 10% under- or over-inflated.
This setting can be customized by the user. The alert can also be customized to be a fixed
pressure alert rather than a temperature compensated alert. The units of measure can also be
customized to PSI, bar, or kPa. The acronym for the Pressure Deviation Alert is FAL for First Alert
Level.
Critical Low Pressure Alert
The Critical Low Pressure Alert is the second indication of an under-
inflated tire. It alerts the driver when a tire’s pressure falls 20% below
the programmed Cold Inflation Pressure (CIP) value. This visual and
audible (optional) alert is intended to alert the driver to a critical tire
condition in order for them to take immediate precautions.
Unlike the Pressure Deviation Alert, the default setting for the Critical
Low Pressure Alert does not include the temperature compensation
calculation. As such, if a tire’s pressure falls below the default
setting, the tire is critically under-inflated and should be addressed
immediately.
Like the Pressure Deviation Alert, the default settings for the Critical
Low Pressure Alert can be customized by the user. The alert can also be set to be temperature
compensated. The acronym for the Critical Low Pressure Alert is SAL for Second Alert Level.
High Temperature Alert
The High Temperature Alert warns the driver when a tire’s
temperature exceeds 195°F (90°C). High tire temperatures are
typically caused by under-inflation and the SmarTire™ system will
usually provide a Pressure Deviation Alert and a Critical Low
Pressure Alert well in advance of a High Temperature Alert. If
triggered on its own, the High Temperature Alert can be an indication
of an alternative problem, such as a dragging brake or a bearing
failure. Like the other two alerts, the default High Temperature Alert
setting can be customized by the user. The acronym for the high
temperature alert is Over Temp.
Sensor Diagnostic Trouble Code Alert
A Sensor Diagnostic Trouble Code Alert will be issued for any
programmed sensor that has not reported its data to the Gateway
receiver within 35 minutes of the last transmission. Sensor
Diagnostic Trouble Code Alerts are self-clearing as soon as data is
received from the given sensor. Prolonged Sensor Diagnostic
Trouble Codes can indicate damaged or missing sensors and should
be examined further.

28
Low Sensor Battery Alert
A Low Sensor Battery Alert will be displayed for a given sensor when
it is near the end of its battery life. Typically, a low sensor battery
alert will be triggered when the battery reaches 2.1 Volts and below.
The sensor should be replaced as soon as possible to avoid a
continuous sensor Diagnostic Trouble Code from being issued by
the same tire location.
No Tires Programmed Alert
The “No Tires Programmed” message will be displayed after the
startup sequence if the Gateway receiver unit has not been
programmed with any axle and wheel configurations. The Gauge’s
Profile Definition mode or the SmarTire™ Diagnostics software can
be used to program new axle and tire combinations into the receiver.
A SmarTire™ LF Hand tool is also required for this step.
5.4 REACTING TO AUDIBLE AND VISUAL ALERTS
It is important to always react to the audible and visual alerts provided by the SmarTire™ TPMS
system. When an alert is triggered, immediately bring the vehicle to a stop in a safe location in
order to asses the nature of the problem. Tire conditions should always be corrected before the
vehicle is driven.
SmarTire™ Gauge
When a SmarTire™ tire alert is triggered, the indicator light will illuminate, an audible alarm will
sound (optional), and an icon will appear on the TPMS Ready screen. To access the alert, press
the left button once. For both pressure alerts, the affected tire and axle will be indicated along
with a number indicating the amount of pressure the tire has lost. The same will be shown for the
high temperature alert except the number will indicate the temperature of the affected tire. Below
are images that show on the screen for each alert.
Pressure Deviation Critical Low Pressure High Temperature

29
Dual Light Display
Light Appearance Alarm
On Solid Critical Low Pressure
Flashing Pressure Deviation
Top
Off No Alarm
On Solid High Temperature
Flashing Sensor or System
Diagnostic Trouble
Code
Bottom
Off No Alarm
Trailer Lamp
Appearance Alarm
On Solid Critical Low Pressure
Flashing Rapidly Pressure Deviation
Flashing (Twice,
then long delay) Sensor or System
Diagnostic Trouble Code
5.5 DIAGNOSTIC TROUBLE CODE MESSAGE OVERVIEW
The chart below outlines the six diagnostic trouble code messages that can be displayed by
SmarTire™ TPMS.
Message Cause & Solution
SENSOR
DIAGNOSTIC
TROUBLE CODE
Cause: No signal has been received from a sensor for 35 minutes. If
the SENSOR diagnostic trouble code persists after the vehicle is driven,
then a signal reception problem has been detected.
Solution: This problem is frequently due to the removal of the tire with
the programmed sensor. If the correct tire is still installed, this may be
caused by a malfunctioning antenna, sensor or receiver. Contact your
authorized dealer for assistance.
NO TIRES
PROGRAMMED Cause: Indicates the receiver was not programmed with any tire
locations during the initial programming stage.
Solution: The SmarTire™ Diagnostics Tool will need to be interfaced to
the Wireless Gateway for proper tire programming. Contact your
authorized dealer for additional information.
AMB SENSOR
DIAGNOSTIC
TROUBLE CODE
Cause: The Ambient Pressure sensor has not been received for 35
minutes.
Solution: A default ambient pressure value of 14.7 PSI (1.013 bar) or
the last received ambient reading will be substituted until new ambient
data is received. This may be caused by a malfunctioning antenna,
sensor or receiver. Contact your authorized dealer for assistance.

30
Message Cause & Solution
ERROR – RE-ENTER
VALUE Cause: The value being entered was not accepted due to increased
network traffic.
Solution: The user will be returned to the original menu upon pressing
any button in order to re-enter the value.
SENSOR
DIAGNOSTIC
TROUBLE CODE -
Dual Light Display &
Trailer Lamp Only
(lower light flashes
twice followed by a 5
second pause,
repeated)
Cause: No signal has been received from a sensor for 35 minutes as a
result of a broken sensor or wireless reception issue. If the diagnostic
trouble code is intermittent, it is usually caused by inconsistent
reception. If the diagnostic trouble code is consistent after the vehicle is
driven, the sensor may be broken.
Solution: This problem is frequently due to the removal of the tire with
the programmed sensor. If the correct tire is still installed, reception
quality and/or sensor functionality must be diagnosed. Contact your
authorized dealer for assistance.
SYSTEM
DIAGNOSTIC
TROUBLE CODE -
Dual Light Display &
Trailer Lamp Only
Cause: Improper programming, program corruption, electrical problems,
and component failures can cause a system diagnostic trouble code.
Solution: Contact your authorized dealer for assistance if this diagnostic
trouble code persists for more than an hour of driving the vehicle.
5.6 SETUP MODE – FOR USE WHEN SMARTIRE™ DIAGNOSTICS SOFTWARE IS NOT
AVAILABLE
SmarTire™ TPMS can be configured by accessing its Setup Mode. Follow the steps below to
access the Setup Mode:
1. The Setup Mode can only be accessed from the TPMS Ready screen. Press the center
button repeatedly until the TPMS Ready screen is displayed (screen shows TPMS Ready
and tire icon).
2. Press and hold the center button for two seconds and the display will show a password
entry screen. NOTE: If the password function has not been activated, the setup mode will
be entered directly.
3. To enter a password, press the left button to scroll the first digit from 9 to 0. When the
correct digit is displayed, press the right button to move to the next digit in sequence.
4. Repeat step three until all four digits are entered correctly and then push the right button
to enter the password. If the password is correct, the display will enter Setup Mode. If the
password is incorrect, the display will indicate that the wrong password was entered and
return to the password entry screen.

31
Below is a list of menu items available in Setup Mode and their application:
Menu Item Application
Change Units Use this menu item to change the units of measure from imperial to metric
or from PSI to Bar to kPa.
Vehicle Params Use this menu item to adjust alert thresholds.
Axle Params Use this menu item to program the cold inflation pressures (CIP) per axle.
Altitude Adjust Use this menu item to add or remove altitude compensation (requires
ambient pressure sensor).
Screen Contrast Use this menu item to increase or decrease screen contrast.
Buzzer Use this menu item to customize the audible alert (requires audible alert
module).
Learn Sensors Use this menu item to program new sensors into the receiver or change the
wheel position assigned to a sensor.
Profile Definition Use this menu item to select the number of axles and wheels per axle for a
new vehicle profile definition. This menu item will also overwrite the
existing definition and relearn all sensors after a new profile definition has
been completed.
Change Password Use this menu item to change the password for accessing the setup mode.
To scroll to the next menu item on the list, press the left button. To select a menu item, press the
right button. Below is a description of each menu item.
5.6.1 Changing the Units of Measure
The default "units of measure" setting is usually customized for the region in which the SmarTire™
system was sold. Use the steps below to customize the units of measure.
1. Enter the Setup Mode using the steps outlined in section 5.6.
2. When in the Setup Mode, press the left button until “Change Units” is highlighted. Then
press the right button to select the function.
3. Temperature and Pressure options will then be displayed along with the corresponding
unit of measure. Press the left button to scroll between Temperature and Pressure and
press the right button to select the highlighted option for customization.
4. Press the left button to scroll between the different units of measure options. For
pressure, the options are PSI, Bar, and kPa. For temperature, the options are degrees
Fahrenheit and degrees Celsius.
5. Select the desired option by pressing the right button and the display will revert to the
Temperature and Pressure option screen.
6. Repeat steps 3 – 5 should further customization be required.
7. To save the changes and exit the “Change Unit” function, press the center button once.
Press the center button again to exit Setup Mode.

32
5.6.2 Changing the Alert Thresholds
The “Vehicle Parameters” (vehicle params) function is used to adjust the default thresholds for
the pressure deviation, critical low pressure and high temperature alerts. The acronyms for each
alert along with the instructions for alert threshold customization are outlined below:
Pressure Deviation Alert = FAL: First Alert Level
Critical Low Pressure Alert = SAL: Second Alert Level
High Temperature Alert = Over Temp
Follow the instructions below to customize the thresholds for each alert:
1. Enter the Setup Mode using the steps outlined in section 5.6.
2. When in the Setup Mode, press the left button until “Vehicle Params” is highlighted. Then
press the right button to select the function.
3. The alert thresholds for each alert will be displayed. Press the left button to highlight an
alert and the right button to select it for customization.
4. Press the left button to increase the number or the right button to decrease the number
until the desired value is shown. Hold down either button to quickly increase or decrease
the number. When the desired value is displayed, press the center button to save the
value.
5. Repeat steps 3 and 4 to continue customizing the alert thresholds until all values are
programmed correctly.
6. To save the changes and exit the “Vehicle Params” function, press the center button
once. Press the center button again to exit Setup Mode.
NOTE: The High Temperature Alert setting applies to all axle locations.
5.6.3 Changing the Cold Inflation Pressure (CIP) Value for Each Axle
The “Axle Parameters” (axle params) function is used to adjust the default cold inflation pressure
setting for each axle on the vehicle. Follow the instructions below to modify the CIP values for
each axle:
1. Enter the Setup Mode using the steps outlined in section 5.6.

33
2. When in the Setup Mode, press the left button until “Axle Params” is highlighted. Then
press the right button to select the function.
3. The first axle will then be displayed along with its CIP value. Press the left button to scroll
to each programmed axle on the vehicle. Each time the left button is pressed, the axle
designator will change to the next axle in sequence and the CIP for that axle will be
displayed. Press the right button to select the axle for programming.
4. Press the left button to increase the number or the right button to decrease the number
until the desired value is shown. Hold down either button to quickly increase or decrease
the number. When the desired value is displayed, press the center button to save the
value.
5. Repeat steps 3 and 4 to continue customizing the CIP values for each axle until all axles
are programmed correctly.
6. To save the changes and exit the “Axle Params” function, press the center button once.
Press the center button again to exit Setup Mode.
5.6.4 Altitude Compensation (Optional)
SmarTire™ TPMS can be made to compensate for the pressure changes caused by elevation. To
compensate for elevation, the system uses an ambient pressure sensor. The primary use of this
feature is for off-highway equipment located in elevations other than sea level for extended
periods of time. Unless an ambient pressure sensor has been installed on the vehicle, the Altitude
Adjust setting should be set to “OFF”. Follow the instructions below to modify the Altitude Adjust
setting:
1. Enter the Setup Mode using the steps outlined in section 5.6.
2. When in the Setup Mode, press the left button until “Altitude Adjust” is highlighted. Then
press the right button to select the function.
3. The display will then show “Altitude Comp” with either ON or OFF highlighted. Press
either the left or right buttons to scroll between the ON and OFF setting.
4. When the desired setting is highlighted, press the center button once to save the value.
Press the center button again to exit Setup Mode.

34
5.6.5 Display Contrast
Follow the instructions below to modify the contrast of the display:
1. Enter the Setup Mode using the steps outlined in section 5.6.
2. When in the Setup Mode, press the left button until “Screen Contrast” is highlighted. Then
press the right button to select the function.
3. The display will then show “Contrast Adjust” and a bar indicating the level of contrast.
Press the right button to increase the contrast and the left button to decrease the
contrast. Each time the right button is pushed, an additional box on the contrast bar will
darken and the contrast will increase. Each time the left button is pushed, one less box
on the contrast bar will be dark and the contrast will decrease.
4. When the desired level of contrast is attained, press the center button once to save the
setting. Press the center button again to exit Setup Mode.
5.6.6 Audible Alert Settings
SmarTire™ TPMS has an optional Audible Alert (part number 255.0077) to compliment the Visual
Alert light that is triggered during a tire pressure or temperature alert. If the system was installed
with the audible alert module, the alert can be disabled and customized by the user. Follow the
instructions below to modify the audible alert settings:
1. Enter the Setup Mode using the steps outlined in section 5.6.
2. When in the Setup Mode, press the left button until “Buzzer” is highlighted. Then press
the right button to select the function.
3. The display will then show a “Startup” setting and an “Alarm” setting along with their
preset values. Press the left button to scroll between the two programmable functions
and the right button to select the function for programming.
4. Once selected, press the down button to scroll between setting the function to ON or
OFF. When the “Startup” function is set to ON, SmarTire™ TPMS will make a noise on
start up. When the Alarm function is set to ON, the system will emit an audible alarm
when an alert is triggered. When the desired value is displayed, press the right button to
select it.
5. Repeat steps 3 and 4 until all settings are correct. To save the new settings, press the
center button once.
6. Press the center button again to exit Setup Mode.

35
5.6.7 Learning Sensors into the Wireless Gateway Receiver
In order for the display to show information specific to a given tire location, the Wireless Gateway
Receiver is programmed with a sensor ID number for each sensor on the vehicle and each
number is associated with a specific wheel position. Every sensor has a unique ID number
specific to it so that when fully programmed, the SmarTire™ system will recognize only sensors
associated with the vehicle and will know the specific wheel positions for each sensor.
If a wheel is moved to a different location on the vehicle or a sensor is broken and needs to be
replaced, the Wireless Gateway Receiver must be reprogrammed. Otherwise, when a tire alert is
generated, the display will not show the correct wheel position for the affected tire. When
programming a single sensor ID number into the Wireless Gateway Receiver, use the “Learn”
function as described below. When programming more than one sensor ID number or performing
a tire rotation, use the “Walk-Around Learn” function in the SmarTire™ Maintenance Tool (see
Maintenance Tool manual) and/or SmarTire™ Diagnostics Tool.
Exercise caution when proceeding with the following
steps! Loss of power to the SmarTire™ TPMS during
Learn Sensor operations will cause sensor location to be
deleted. Do not proceed without the use of SmarTire™ LF
Tool or SmarTire™ Maintenance Tool!
1. Enter the Setup Mode using the steps outlined in section 5.6.
2. When in Setup Mode, scroll to the “Learn Sensors” menu item. Press the
right button to select the Learn Sensor function.
3. The first axle on the vehicle and “Select Tire To Learn” will then be
displayed. Press the right button to scroll to the next tire on the axle and
the left button to move to the next axle on the vehicle.
4. When the desired wheel position is highlighted, press and hold the center
button for two seconds to delete the ID stored for that tire. The screen will
then show “Deleting Tire” and the selected wheel position will flash.
5. When the ID for the selected tire has been deleted, the screen will show
“Learn in Progress”. The sensor inside the tire for the wheel position to be
programmed must now be provoked to transmit its ID. This can be done
using the SmarTire™ Maintenance Hand Tool, SmarTire™ LF Tool, or LF
Initiator.
A. If using an LF Initiator Tool (obsolete):
Turn the LF Initiator ‘ON’ (push switch upward)
Hold the LF Initiator pointed towards the tire’s sidewall adjacent to sensor’s
location approximately 2" away from the tire’s surface. The sensor should be
located at the valve stem with a rim label indicating its location. Do not touch the
side of the tire or the edge of the rim.
Press “Learn” button once & hold LF Initiator tool in position for 5 seconds (until -
diagnostic light turns off). Do not hold down the “Learn” button.

36
B. If using the SmarTire™ LF Tool:
Turn the SmarTire™ LF Tool ON by pressing and holding the On/Off/Mode Select
button for 2 seconds.
Press the On/Off/Mode Select button once more to toggle the tool mode to the
Learn sensor function. The LED under the head with the question mark must
now be ON.
Point the SmarTire™ LF Tool towards the tire’s sidewall adjacent to sensor’s
location approximately 2" away from the tire’s surface. The sensor should be
located at the valve stem with a rim label indicating its location. Do not touch the
edge of the rim with the tool.
Press and release the Initiate/Learn button once & hold the LF Initiator tool in
position for 5 seconds until 4 rapid beeps are heard. Do not hold down the
Initiate/Learn button.
C. If using the SmarTire™ Maintenance Tool:
Turn the SmarTire™ Maintenance Tool ‘ON’ (Press and release the red button).
Button functionality:
o Left Button: Initiate Function
o Center Button: Setup Menu
o Right Button: Learn Function
Hold the SmarTire™ Maintenance Tool pointed towards the tire’s sidewall
adjacent to sensor’s location approximately 2" away from the tire’s surface. The
sensor should be located at the valve stem with a rim label indicating its location.
Do not touch the side of the tire or the edge of the rim.
Press right button (learn function) once & hold tool in position until the screen is
updated. Do not continue to press the button.
6. When completed correctly, the screen will show “Learn Complete”.
Repeat steps 3 – 5 until all wheel positions are programmed. If the
screen shows:
Learn Time Out: A Learn transmission was not provoked
fast enough and the system timed out. Repeat the Learn
process.
Duplicate Sensor ID: The sensor ID that was programmed to the wheel position
is also programmed to another wheel position.
7. When all wheel positions are correctly programmed, press the center button once to save
the changes and exit the “Learn” function. Press the center button again to exit Setup
Mode.

37
5.6.8 Selecting a new Vehicle Profile Definition
If the vehicle profile definition changes, for example, in the event of converting from a rear dually-
wheel axle to single, wide-base tires; this option gives access to change the number of axles
used on the vehicle and the amount of tires mounted per axle.
1. Enter the Setup Mode using the steps outlined in section 5.6.
2. When in the Setup Mode, press the left button until “Profile Definition” is highlighted.
Then press the right button to select the function.
3. Select the number of axles required for the vehicle profile by
pressing the left button. Press the right button after selecting the
number of axles to gain access to the axle definition screen.
4. Using the left button, select the axle that needs to be defined as a
single, dually or spare tire axle. Press the right button to open the
axle profile screen.
5. Press the left button to toggle the axle profile option from single to
dually or S for Spare. Once you have selected the required axle
profile, press the center button to save your selection and return to
the axle selection screen.
6. Repeat steps 4 and 5, until all axles have been given a profile.
Press the center button to exit the axle selection screen. This will
prompt the “Ready to Learn All Tires?” confirmation screen. Press
the left button to select ‘Yes’ or press the right button to select ‘No’.
If ‘No’ is selected, the profile will remain unchanged from the
original and any button can be pressed again to exit to the Setup
menu.
7. If ‘Yes’ is selected in step 6, the “Overwrite Existing Profile?”
screen is entered. Pressing the left button for ‘No’ will exit the
Vehicle Profile Definition mode, with no changes to the current
profile. Press any button after the notice appears, to exit back to
the Setup menu. Pressing the right button for ‘Yes’ will initialize the
new profile and erase all previous axle and wheel combinations.
This process can take several minutes and the display will prompt
not to cycle power for the system during this time.
8. The display will now enter the Walk Around Learn Mode for the
axle and tires previously selected in the profile definition process.
Each tire will be marked in black for learn in a specific order. To
learn the marked tire into the system, follow steps 5 to 7 in the
Learn Mode procedure under section 5.6.7.
9. After all locations have been learned successfully, the gauge will
restart and the new vehicle profile definition will be in effect. In the
event that the process had to be canceled or power was lost to the
system, the gauge will assign placeholder IDs to each unlearned
location. After restarting, each of the previously missed locations
can be accessed individually via the Learn Sensor menu and be
reprogrammed.

38
5.6.9 Changing the Password
A four digit, numerical password is required to enter the Setup Mode. The default password is
‘0000’. Follow the instructions below to customize the password:
1. Enter the Setup Mode using the steps outlined in section 5.6.
2. When in the Setup Mode, press the left button until “Change Password” is highlighted.
Then press the right button to select the function.
3. The display will then show “Enter Password” and four digits. Before a new password can
be set, the original password must be confirmed. To enter a password, press the left
button to scroll the first digit from 9 to 0. When the correct digit is displayed, press the
right button to move to the next digit in sequence.
4. Repeat step three until all four digits are entered correctly and then push the right button
to enter the password.
5. If the password that was entered was correct, the display will show “Enter New
Password” and four digits. Again, press the left button to scroll the first digit from 9 to 0.
When the desired digit is displayed, press the right button to move to the next digit in
sequence.
6. Repeat step five until all four digits are entered as desired and then push the right button.
7. The screen will then prompt to “Save Password” with a choice of YES or NO. If the
password entered is correct, press the right button to save it as the new password. Press
the left button or the center button to reject the password and enter a new one.
8. Press the center button once to exit to the Setup menu and again to exit Setup Mode.

39
SmarTire™ Tire Pressure Monitoring System
by Bendix CVS
Section D: System Installation - Electrical
S E C T I O N

40
6.0 SYSTEM INSTALLATION: ELECTRICAL
6.1 TOOLS REQUIRED
Installing the Receiver
1. Two ¼ -20 (M6X1) flange head cap screws with lock washers and nuts
2. Wrenches for tightening cap screw
Installing the Display
1. Power drill & 2 1/8" (54mm) hole saw
2. 1 Ring terminal 22-18 AWG, stud size 8-10 for grounding*
Installing the Antennas
1. Power drill & bits *
2. Silicone sealant *
3. 1" open ended wrench or crescent wrench
4. 2 small self-tapping screws for antenna bracket to fit 3/16" holes*
5. 15 medium sized, black cable ties
6. Electrical tape
* Tool may not be required
6.2 GETTING STARTED
Like all integrated systems, the installation location of each component is dependant upon the
location of the other components in the system. As such, it is best to select the overall location of
each component before starting.
The following diagrams show common vehicle system configurations:
Truck with Trailer
1. Dash-mounted display connects to Wireless Gateway Receiver.
2. Wireless Gateway Receiver connects to underside of vehicle.
3. Antenna at rear axle(s) connects to Wireless Gateway Receiver.
4. 2nd Wireless Gateway Receiver mounts to the trailer at its rear axle(s).
5. Trailer lamp mounts within view of the driver and connects to the Wireless Gateway
Receiver.
6. Sensors mount to the wheels.

41
Straight Trucks, Buses, OTR Vehicles
1. Dash-mounted display connects to Wireless Gateway Receiver.
2. Wireless Gateway Receiver connects to underside of vehicle.
3. Antenna at rear axle(s) connects to Wireless Gateway Receiver.
4. Sensors mount to the wheels.
6.2.1 Guidelines and Best Practices
Use the guidelines below to help select the best installation location for the Wireless Gateway
Receiver and the antenna(s). Guidelines are also provided for routing antenna cables.
Antenna Placement
DO:
Choose a location for the antenna that is within the allowable cable length for connection
to the Wireless Gateway Receiver (e.g. 40 ft antenna cable will not reach a straight-line
point 40 ft away on a given vehicle).
Choose a location in which the antenna whip does not contact the vehicle. The antenna
should only contact the vehicle at its mounting base.
Orient the antenna so that it has clear line of sight to the tires. If it is pointed downward, a
minimum of 1.5 feet (46 cm) is required between the tip of the antenna and the ground. If
it is pointed upward, it can not be shielded by any metal on the underside of the vehicle.
In general, a horizontal antenna orientation along the center line of the vehicle yields the
best results.
When placing the antenna near the front axle, choose a location that offers protection in
the driving direction e.g. if placed on the front cross member, face the antenna rearward
on the rear-most vertical side of the cross member.
When placing an antenna near or on suspension supports, make sure there is enough
room to allow the suspension to travel to its full compression.
DO NOT:
Do not place the antenna near large concentrations of metal e.g. steel I-beam support,
axle differentials, etc.
Do not place antenna near large concentrations of electrical wiring, generators, amplifiers
or pre-existing transceiver assemblies (e.g. GPS/Telematics systems, CB Radio, Data
Loggers, etc).
Do not place the antenna on or near moving parts such as steering linkages, drive shafts,
or suspension assemblies.

42
Avoid placing the antenna close to the ground or having it point downwards – instead
face the antenna horizontally or point it up into the vehicle if the ground clearance is less
than 1.5 ft (46 cm).
Antenna Cable Routing
DO:
Choose the proper cable length for the given antenna location.
Protect the cable from heat and sharp edges e.g. keep adequate distance from exhaust
pipes and avoid potential chafing on sharp metal.
Route the cable along existing cable tree on the underside of vehicle (i.e. along I-beams
for tractor trailer).
Provide some slack in the cable (a few feet depending on vehicle application) at each
end point of cable / antenna to allow for slight repositioning if needed.
Route “head first” for hole-through & magnetic mount antennas when passing cable
through frame holes and tight access points (route small cable end first always).
Apply cable ties every 2 feet (61 cm) to ensure secure attachment – avoid chafing by not
over tightening.
Secure antenna cable with cable ties on both sides of the connectors for extensions,
splitters and antenna mounts.
Make sure all connections are properly locked and secured.
For TNC Hex heads, apply 17 to 23 inch-pounds of torque.
DO NOT:
Do not strain the cable and its connectors if length barely reaches – choose a longer
cable (chassis-flex during driving may tear an already tight cable).
Do not subject the cable to sharp bends – try to allow for a natural cable path flow.
Do not route over or under moving parts like steering linkages and shock mounts.
Do not over-tighten cable ties.
Receiver Placement
For outside mounting, Wireless Gateway Receiver must be properly secured via bolt-on
faceplate, heavy duty straps, or custom mount.
Mount the Wireless Gateway Receiver ‘away’ from forward driving direction e.g. if
possible, have object between receiver box and open road surface such as a cross
member.
Preferred mounting orientation to shed water is vertical (Connector side facing down).
Apply the same precautions described under “Antenna Placement” since Wireless
Gateway Receiver has built-in antenna.
Caution: Make sure all power input lines are fitted with 5
Amp fuses for proper protection of the SmarTire™ system
components. If the Gateway Receiver, Gauge, and
Diagnostics port are hooked to the same power line, only
one 5 Amp fuse is required before the line branches to
each part.

43
6.3 STEP 1: INSTALLING THE RECEIVER AND DISPLAY
1. The Wireless Gateway Receiver has a built-in antenna capable of receiving wireless
signals from various sensor types, including tire sensors. It should be externally mounted
to the vehicle’s chassis or frame rail near the front of the vehicle and in a position as
close to the vehicle’s centerline as possible. The Receiver can be mounted with the
connectors facing downwards or upwards (to protect cables from ground effects damage)
and it must always be within clear line of sight of the front wheels.
Using the integrated bolt holes and two ¼ -20 (M6X1) Flange Head Cap screws, attach
the receiver to the vehicle. The supplied mounting plate (PN 264.0318) can be used with
existing bolts / bolt holes to mount the receiver (see picture). Torque to 7-10 FT/LBS (13
Nm). For location testing, heavy-duty safety straps may also be temporarily used.
Note: To protect the receiver input cables from any ground effects damage it is also permissible
to mount the receiver upside down as seen below (cables exiting out the top):
2. With the vehicle’s power turned OFF, connect the wiring harness to the main connector
on the receiver (see P1 in vehicle wiring harness: Light – 260.0309 diagram). Route the
J1939 bus and power line through the chassis towards the driver’s cab and dashboard
area. Identify Power line VIN and Ground line GND in the vehicle wiring harness diagram
and connect the power line to a 5 Amp fuse protected, ignition keyed 12 or 24 Volt
power source. Ensure that this power source is properly grounded through the GND
line.
For more information, please refer to the circuit diagram in your vehicle specific manual.
3. Run the display cable (see P5 in vehicle wiring harness: Light – 260.0309 diagram) from
the wiring harness to the desired location on the dash or consol (may require drilling a
hole in the dash). For systems using a 2" SmarTire™ display, use the dashboard lock ring
and metal spring to secure the display in the dash (may require the cutting of a 2-1/8" (54
mm) port hole in the dash – see picture, also cut a small notch into the bottom of the hole
to create a turn stop. Insert the gauge so that the tab at the bottom fits into the notch. If
the lock ring cannot be engaged, either remove the metal spring completely or bend it flat

44
for a better fit. For systems using a dual-light display, identify connector P7 in the vehicle
wiring harness diagram - 260.0275 (not included under section 5 of the SmarTire™
manual). Use a spare rocker switch on the dashboard to situate the dual-light display.
4. Connect P5 of the Light vehicle wiring harness to the back of the 2" SmarTire™ Display /
P7 to the back of the dual-light display. Locate the Display power and ground line on the
harness diagram (see back of 6-pin Display connector, printed on wire) and plug them
into a spare outlet on the vehicle’s fuse box with a 5 Amp fuse protection. Ensure that
the ground line is properly connected – it is possible to use the same ground point as in
Step 2.
For more information, please refer to the circuit diagram in your vehicle specific manual.
6.3.1 Trailer Specific Installation
1. For installations on commercial trailers, position the receiver on the centerline of the
trailer if possible, between the two rear axles (if 3-axle trailer, position near center axle)
and within a clear line of sight to the trailer’s wheels. Using the integrated bolt holes and
two ¼ -20 (M6X1) Flange Head Cap screws, attach the receiver to a frame bracket or a
mounting plate and torque to 7-10 FT/LBS (13 Nm).
2. Attach supplied antenna to the external TNC antenna port.

45
3. Locate the ABS ECU power supply line or junction box
on the trailer chassis. Plug the ABS Power Splice from
the trailer harness into the power supply line at P11
and P12 (see wiring harness: Trailer – 260.297/98). If
no ABS breakout is present, route line F of the
trailer harness directly into the junction box via a 5
Amp fuse connector. This may require cutting line F
before P11/12.
For more information, please refer to the circuit
diagram in your vehicle specific manual.
4. Plug the TPMS Indicator Lamp output P13 into the existing trailer lamp (see wiring
harness: Trailer – 260.297/98). If an auxiliary lamp is not already installed, refer to the
Bendix optional trailer indicator lamp part number 200.0188. Position the lamp alongside
the trailer in an area that is easily viewable from either the left or right rear view mirror.
Use the mounting hardware that is supplied with the Lamp module to secure it on the
trailer. Run additional 18 gauge cable (not included) from the lamp output of the
SmarTire™ harness to the location of the lamp on the trailer.
5. Connect P1 (see wiring harness:
Trailer – 260.0297/98) to the
receiver module and secure the
diagnostics port P8 and P9
(optional) in a convenient location
along the trailer chassis using a
medium sized P-clamp around the
back of the connector (not
included).
6. Interface the SmarTire™ Diagnostics Software Tool to port P8 (see wiring harness: Trailer
– 260.297/98) to program the trailer’s Wireless Gateway Receiver. Refer to the
diagnostics tool manual for additional setup information.

46
Note: For sliding suspension trailers, route all cables along the vehicle’s existing umbilical
harness to avoid damage when the slider is moved.
Note: Trailers manufactured prior to 1998 do not have an auxiliary power line populated within
the 7 pin connector box at the front of the trailer. The auxiliary power is usually on a blue pin/line
and would run the length of the trailer. For trailers manufactured prior to 1998, the aux power
cable must be installed before the SmarTire™ harness can be properly connected at the rear.
This can be a time-consuming process and should be assessed before the installation of a
SmarTire™ trailer system.

47
6.4 STEP 2: ASSEMBLING AND INSTALLING THE ANTENNA(S)
1. The Wireless Gateway Receiver has an internal antenna that will pick up wireless signals
from the front axle. Mount the second antenna at the rear axle. If there are two axles at
the rear of the vehicle, mount the antenna between the two axles.
2. Since wireless signals are reflected by metal surfaces, the antenna(s) require a clear line-
of-sight to the tires. Mount the antenna / bracket to the underside of the vehicle in a
location that is open and unobstructed with as much ground clearance as possible. The
bracket / antenna should be installed as close to the axle as possible along the vehicle’s
centerline and should be attached to frame rails, sub frames, brackets, or face plates as
required.
3. Pod Antenna (part #s: 240.0159; 264.0254-bracket; 260.0231-hole mount cable):
A. Attach the bracket using 2 self-tapping screws (need to fit 3/16" holes) or existing
bolts. The mounting holes on the bracket may need to be enlarged to fit existing
bolts. If necessary, the bracket can also be flattened with a hammer.
B. Once the bracket has been installed, assemble the antenna.
Remove the red rubber cap from the threaded connector on the
antenna base assembly and unscrew the 1 inch locknut. Be careful
not to lose or damage the thin, rubber seal that is pressed into the
locknut.
Pass the threaded connector through the main hole in the bracket and
orient the base assembly so that the TNC cable naturally points in the
direction of the cable it will connect to without being bent. The base
assembly MUST be properly centered in the hole so that the grooved
tabs prevent it from being pulled through when the locknut is
tightened.
With the rubber seal pressed into the locknut and facing the bracket,
screw the locknut back onto the connector using a 1 inch adjustable
wrench.
Press the rubber base seal against the base of the antenna. When
assembled correctly, the rubber base seal will adhere to the antenna
base on its own.
Carefully thread the antenna onto the locknut and, using one hand to
tighten the antenna and the other to ensure the antenna base
assembly does not turn, hand tighten the antenna until it is firmly
assembled (can not be turned further using one hand) and the rubber
base seal slightly overlaps the edges of the metal bracket on all sides.
4. Whip Antenna (part #: 240.0132):
A. Slide the metal retainer over the
antenna whip and pull it tight so
that the rubber boot fits snugly in
the retainer.
B. Install the rubber washer and
screw the antenna whip / metal
retainer on to the antenna base
ensuring that the retainer is not
cross threaded. Tighten the
assembly using a wrench.
C. Completed assembly.

48
5. PIFA Antenna (part #: 240.0162):
A. Remove PIFA from plastic bag and uncoil 2ft TNC connector cable.
B. Following step 2, locate a spot along the vehicle underside which will leave a
minimum of 3 inches of clearance from any metal object on all sides of the PIFA
(except the mounting side).
C. Use a minimum of 2 of the 4 integrated mounting holes to bolt the antenna to the
frame or a bracket. Do NOT enlarge the mounting holes in the antenna
body! Use only matching bolts and washers. Do NOT over tighten the
bolts as this may cause damage to the integrated bolt hole sleeves.
D. Mount PIFA with flat side facing the forward driving direction along the centerline
of the vehicle, close to the axles for best results. This will also prevent the
trapping of mud and debris in the base angle of the antenna.
6. Tape up the TNC connectors on both ends of the antenna cable extension to prevent any
dirt or grease from entering the connector during the cable routing process. Ensure that
the proper end is routed from the receiver to the antenna. Run the cable the length of the
vehicle and connect it to the external antenna port on the Wireless Gateway Receiver.
Secure the antenna cable every 2 feet (61 cm) along the chassis with cable ties and
allow for additional cable flex at bend points. Be sure that the cables avoid moving parts
and excessive heat. The following pictures are examples of proper cable routing and
antenna placement.
Vehicle
Direction

49
NOTE: These antenna locations are only suggestions as every vehicle is different.

50
6.5 WIRELESS GATEWAY RECEIVER SPECIFICATIONS
6.5.1 Power, Mounting, and Environmental Requirements
Operating voltage range 8.5 – 36V
Typical current consumption (with no external loads) 0.12A
5A fuse is required between the main power line of the receiver and the vehicle
battery
Preferred mounting orientation to shed water is vertical (Connector side facing down)
Preferred Mounting hardware: ¼ -20 (M6X1) Flange Head CAPSCREW, torque to
7-10 FT/LBS (13 Nm)
Mating Connector: Plug Tyco Amp 1473712-1
Operating temperature range: -40°F to +185°F (-40°C to +85°C); Sealed to
IP67;Tested to SAE J1455, J1113
Frequency 433.92 MHz
Communication Interface: RS-232 (diagnostic interface port via harness); SAE J1939
protocol compliant, 250 kbps
6.5.2 Wireless Gateway Dimensions (inches)

51
6.5.3 Wireless Gateway Connector Pin Description
Line Colors versus Pin Numbers for SmarTire™ Harnesses (configuration may vary by
harness in terms of populated pins):
Pin 1 2 3 4 5 6 7 8 9 10 11 12 13
Line
Color Black Red Orange Red Grey Pink White
&Red Purple White Blue Green Yellow Black
Pin 14 15 16 17 18 19 20 21 22 23 24 25 26
Line
Color Black Red Black N/A N/A N/A N/A N/A N/A N/A Black Clear
or
White Black
The general purpose I/O lines are:
3 digital inputs, 0 – 32V (pins 4, 5 and 6)
2 high-side drivers, 2A max each (pins 7 and 8)
1 low-side LED driver, 0.15A max (Pin 3)
Pins 1, 14, 24, 26, 13: Common Grounds
6.6 SMARTIRE™ DISPLAY SPECIFICATIONS
6.6.1 Power, Mounting, and Environmental Requirements
Operating voltage range 8.5 – 36V
Typical current consumption (with no external loads) 30mA
Connector type: 1062-16-0122-Deutsch
Lock: W6S-Deutsch
Plugs: DT06-6S-Deutsch
SAE J1939 protocol compliant, 250 kbps

52
Overall depth of unit (back of bezel to the end of the connector): 2.55 in.
Bezel thickness: 0.240 in (6.069 mm).
Bezel diameter: 2.29 in (58.166 mm).
Panel Cutout: Std SAE 2 in. gauge panel cutout
Mounting (clamp ring and wave spring): 0.050 to 0.130 in (1.27 mm to 3.302 mm).
6.6.2 J1939 Connector Pin Descriptions
Check the back of the 6-pin Deutsch connector for numbering.
Line Colors versus Pin Numbers for Standard SmarTire™ Harnesses (White wires are
labeled for Display connector):
Pin 1 2 3 4 5 6
Line
Color Red Black White Yellow Green White
Vin
GND
Backlight
6 1
5 2
4 3
(Buzzer) Output
CAN - L
CAN - H

53
6.7 VEHICLE WIRING HARNESS: LIGHT
Part No: 260.0309

54
6.8 WIRING HARNESS: TRAILER
Part No: 260.0297/98

55
SmarTire™ Tire Pressure Monitoring System
by Bendix CVS
Section E: System Installation – Tire Sensors
S E C T I O N

56
7.0 SYSTEM INSTALLATION: TIRE SENSORS
7.1 SENSOR OVERVIEW
SmarTire™ TPMS offers two types of tire sensors; a standard tire sensor (orange) that has a
battery saving “stationary mode”, and an “always on” tire sensor (yellow) that does not. The
standard sensor’s stationary mode is initiated when the vehicle is stopped or consistently
traveling less than 14 mph (22 km/h) for 15 minutes. In stationary mode, the standard tire sensor
measures and transmits tire pressure and temperature every 15 minutes. When the vehicle
moves 14 mph (22 km/h), a centrifugal switch activates the standard sensor causing it to sense
tire pressure and temperature every 12 seconds and transmit tire data every 3 – 5 minutes. If a
pressure change of 3 PSI or a major temperature change is detected, the sensor breaks its
regular schedule and transmits tire data immediately. Estimated battery life for the standard tire
sensor is 5 - 7 years or 1 million miles.
The “always on” tire sensor does not have a sleep mode. It senses tire pressure and temperature
every 12 seconds and transmits tire data every 3 – 5 minutes. When equipped with the always on
tire sensor, SmarTire™ TPMS will provide tire data without having to move the vehicle. This tire
sensor also accommodates vehicles that seldom travel 14 mph (22 km/h). Without the battery
saving sleep mode, always on tire sensors have an estimated battery life of 5 years.
7.1.1 Break Away Cradle
If proper care is not taken when removing or installing a tire on a rim that has a tire sensor
installed, damage can occur. Each SmarTire™ tire sensor is conveniently mounted in a break-
away cradle so that if damage accidentally occurs, the inexpensive cradle is broken instead of the
sensor.
IMPORTANT NOTICE: PLEASE READ
Please read this section carefully and follow each step precisely to ensure
that you do not damage a sensor and the sensors are installed in the
correct, pre-programmed locations.
SmarTire™ tire sensors can be broken when mounting and dismounting a
tire unless specific instructions are followed. If tire work is done by an
unauthorized facility, please let them know that a tire pressure monitoring
system is installed on the vehicle before they remove a tire from a wheel.
Exercise caution when cutting strap (Section 6.2 step 2.). May result
in sharp edges!

57
7.2 TOOLS REQUIRED
Installing the Sensors
1. 5/16" or 8 mm hexagon driver
2. Metal cutter
3. Torque wrench*
4. Tire changing equipment
5. Tire balancing equipment
* Tool may not be required
7.3 TIRE SENSOR INSTALLATION
1. Remove the wheel from the vehicle and then remove the tire.
2. Wrap the strap around the rim in the lowest point of the drop center well and mark it 1"
(2.5 cm) past the worm gear. Cut the strap at the mark. Excess strap must be removed or
it will potentially break-off and damage the tire.
3. Slide on the sensor.
4. With the strap and sensor positioned in the lowest point of
the drop center well, feed the end of the strap into the worm
gear and pull it tight. Orient the sensor so that it is positioned
at the valve with the worm gear 4" (10 cm) away from the
edge of the sensor. The sensor must always be installed at
the valve in order to know its approximate location after the
tire has been mounted.
5. Hand-tighten the strap using a 5/16" (8 mm) hexagon driver
until the sensor can not be moved. CAUTION: Do not over
tighten the strap. Reference torque: 35 in-lbs (4 Nm).
6. Indicate the location of the sensor by applying the supplied rim label to a clean and dry
location on the rim.

58
7.4 RE-MOUNTING TIRES AFTER A SENSOR HAS BEEN INSTALLED
Please read this section carefully and follow each step precisely to ensure you do not damage the
sensor when mounting the tire. If steps are not taken to avoid the sensor located in the drop
center well of the rim, it can be damaged by tire beads as the tire is mounted.
7.4.1 Internal Tire Sensor Servicing
SmarTire™ tire sensors are designed to be serviceable if damage occurs during the mounting or
de-mounting process. Each sensor is mounted inside a break-away cradle that is designed to
absorb the impact of damage during the tire mounting / de-mounting process. If damage occurs,
the inexpensive cradle will break instead of the tire sensor.
If a sensor cradle is damaged, it along with the mounting strap must be replaced. Carefully
remove the tire sensor from the damaged cradle, re-insert it into a new cradle, and then continue
the mounting process.
7.4.2 Re-Mounting Tires Using Tire Irons
To avoid damaging the sensor, simply mount the tire so that the last part of the bead to slip over
the flange happens directly at the sensor. Start at one end of the tire and work towards the
opposite end with the tire oriented so that the beads are first pushed under the rim flange directly
opposite the sensor (1) and then worked over the flange toward the sensor (2). The bead will
finally slip over the rim flange at the sensor without contacting it (3). Repeat for the remaining
bead.
7.4.3 Re-Mounting Commercial Tires Using a Vertical Tire Machine
1. Place the rim on the machine so that the rim flange clamp is at the 12 o’clock position,
the sensor is at the 2 o’clock position and the mounting hook is at the 8 o’clock position.
Sensor
Rim Flange Clamp

59
2. Advance the wheel clockwise to pass both beads over the rim flange simultaneously. The
tire should mount onto the wheel without contacting the sensor.
7.4.4 Re-Mounting Commercial Vehicle Tires Using A Center Post Tire Machine
1. Place the rim on the machine with the mounting shoe at the 9 o’clock position and the
sensor at the 5 o’clock position.
2. Place the tire on the rim with the bottom bead under the flange at the 6 o’clock position
with the mounting shoe at the 9 o’clock position.
3. Advance the mounting shoe clockwise to pass the lower bead over the rim flange.
4. Return the mounting shoe to the 9 o’clock position, depress the upper bead under the rim
flange at the 6 o’clock position and advance the mounting shoe clockwise until the
second bead is completely mounted.
Mounting Shoe
Sensor
Mounting Hook

60
7.4.5 Dual Wheel Assemblies
In order to accommodate SmarTire™ system programming, dual wheels MUST always be
mounted on the vehicle with the valve stems 180° apart or as close as possible to opposite each
other.
7.4.6 Re-Mounting Light Truck Tires Using a Tire Machine
1. Place the rim on the turn-table of a tire mounting
machine with the sensor at the 7 o’clock position
and the mount head at the 12 o’clock position.
2. Starting from the mount head, manually depress
the bottom bead of the lubricated tire on the rim
and into the drop center well until its pinch point is
approximately 3" (7.5 cm) before the sensor.
(Note: The pinch point, also known as a traction
point is the position on the rim where the tire bead
encounters resistance when trying to slip over the
rim flange.)
3. Advance the turn-table clockwise using the mount head to guide the rest of the bottom
bead over the flange and on to the rim. When assembled correctly, the bead will slip over
the flange without contacting the sensor.
4. Repeat for the top bead. Do not allow the pinch
point to slip as the rim rotates or the sensor
could be broken.
5. Finish the tire installation as normal (seat the
beads, install the valve core, inflate to the
recommended cold inflation pressure, balance tires and mount wheels in specified
locations).

61
7.5 REMOVING A TIRE THAT HAS A SMARTIRE™ SENSOR INSTALLED
This section outlines the correct methods for removing a tire from a wheel that is equipped with a
SmarTire™ sensor. Instructions for using both tire irons and a tire mounting machine are provided.
Please read these instructions carefully and follow each step precisely to ensure you do
not damage a sensor when dismounting the tire. If steps are not taken to avoid the sensor
located in the drop center well of the rim, it can be crushed by the beads as the tire is
removed.
7.5.1 Using Tire Irons
1. After removing the deflated tire / wheel
assembly from the vehicle, lay the assembly
on a floor mat and unseat both beads
directly opposite the sensor. The sensor
should be located at the valve stem (the rim
mounted decal should also indicate the
sensor’s location). Do not unseat the bead
at or near the sensor / valve stem.
2. Ensure that the mounting side of the wheel
is facing upward and both the bead and
wheel flange are properly lubricated.
3. Starting near the sensor, lift the top bead
over the wheel flange using tire irons and progressively work away from the sensor until
the top bead is free. Be careful not to contact the sensor with the tire irons.
4. Again starting near the sensor, repeat the process for the bottom bead until the tire is free
from the wheel.
7.5.2 Using a Tire Mounting Machine
1. After removing the deflated tire / wheel assembly from the vehicle, unseat the beads
directly opposite the sensor and valve stem. The sensor should be located at the valve
stem (the rim mounted decal should also indicate the sensor’s location). Do not break the
bead at or near the sensor / valve stem.
2. Position the lubricated tire / wheel assembly on the machine so that the dismount head
and the sensor are approximately aligned.
3. Lift the bead over the rim flange with the bead lifting bar and then advance the assembly /
dismount head clockwise to remove the top bead.
4. Repeat steps 2 and 3 to remove the bottom bead.
NOTE: This information should be provided to tire installers that are not authorized
SmarTire™ TPMS dealers to ensure a sensor is not broken when a tire is dismounted.

62
7.6 TIRE SENSOR SPECIFICATIONS
Standard Tire Sensor
(with cradle) Always On Tire Sensor
(with cradle)
Power Internal Lithium Battery Internal Lithium Battery
Weight 1.89 oz (58.7 g) 1.89 oz (58.7 g)
Dimensions 3.58 x 1.65 x 1.34 in.
(91 x 42 x 34 mm) 3.58 x 1.65 x 1.34 in. (91 x
42 x 34 mm)
Operating Temperature -40 ºF to 257 ºF
(-40 ºC to 125 ºC) -40 ºF to 257 ºF
(-40 ºC to 125 ºC)
Pressure Accuracy +/- 2.39 PSI (0.65 bar)
at 0ºC to 50 ºC +/- 2.39 PSI (0.65 bar)
at 0ºC to 50 ºC
Maximum Cold Inflation
Pressure 160 PSI (11.03 bar) 160 PSI (11.03 bar)
Maximum Sensing
Pressure 188 PSI (13.0 bar) 188 PSI (13.0 bar)
Battery Life 6 years at 10 hours
driving per day 5 years operational, 5 year
shelf

63
SmarTire™ Tire Pressure Monitoring System
by Bendix CVS
Section F: Troubleshooting
S E C T I O N

64
8.0 TROUBLESHOOTING GUIDE
8.1 SMARTIRE™ GAUGE DISPLAY Q&A
8.1.1 Q: The Gauge only displays dashes for the tire information; there is no pressure,
temperature, or deviation value.
A: Depending on the type of tire sensor purchased, the vehicle may need to be driven above
fifteen (15) mph to wake up the sensors. If the vehicle is stationary with the ignition on, a time
interval of up to 15 minutes may be required for all tire locations to be registered on the Gauge.
To facilitate the display or information, use the LF Initiator, SmarTire™ LF Tool, or SmarTire™
Hand Tool and initiate each of the tires that have not reported to the Gauge. On the LF Initiator,
press initiate as you hold it against the tire sidewall above the valve stem (default sensor
location). Hold the LF Initiator in place until the green light turns off. On the SmarTire™ Hand
Tool, press the left-most button as you point the tool’s antenna into the tire sidewall above the
valve stem (default sensor location). Remember, that both the LF Initiator and SmarTire™ Hand
Tool are capable of activating the inner tire on a dual tire assembly from the outboard tire
position. For use of the SmarTire™ LF Tool, please refer to manual 710.0089.
In cases where no transmissions were received from a specific tire, move the LF Initiator or Hand
Tool 5 inches in a clockwise or counterclockwise direction and try again. Should the problem
persist, a defective, missing, or misplaced sensor may need to be diagnosed – see section 8.4.
8.1.2 Q: There is no audible alarm when the Gauge shows a deviation or severe under-
inflation alert.
A: Make sure the optional buzzer is connected to the SmarTire™ harness and that the buzzer
option is set to ‘ON’ in the Gauge setup menu. Please refer to section ‘5.6.6 Audible Alert
Settings’ for instructions on how to enable the buzzer.
Follow the steps below to access the Setup Mode:
1. The Setup Mode can only be accessed from the TPMS Ready screen. Press the center
button until the TPMS Ready screen is displayed (screen shows TPMS Ready and tire
icon).
2. Press and hold the center button for two seconds and the display will show a password
entry screen. If a password has not been set for the system, go to (5). To obtain the
password number it may be necessary to talk to the maintenance manager, or similar, to
find out the code. There is no default password set for the gauge so if this function is
enabled it will be specific to the fleet.

65
3. To enter the password, press the left button to scroll the first digit from 9 to 0. When the
correct digit is displayed, press the right button to move to the next digit in sequence.
4. Repeat step three until all four digits are entered correctly and then push the right button
to enter the password. If the password is correct, the display will enter Setup Mode. If the
password is incorrect, the display will indicate that the wrong password was entered and
returned to the password entry screen.
5. When in the Setup Mode, press the left button until “Buzzer” is highlighted. Then press
the right button to select the function.
6. The display will then show a “Startup” setting and an “Alarm” setting along with their
preset values. Press the left button to scroll between the two programmable functions
and the right button to select the function for programming.
7. Once selected, press the down button to scroll between setting the function to ON or
OFF. When the “Startup” function is set to ON, SmarTire™ TPMS will make a noise on
start up. When the Alarm function is set to ON, the system will emit an audible alarm
when an alert is triggered. When the desired value is displayed, press the right button to
select it.
8. Repeat steps 3 and 4 until all settings are correct. To save the new settings, press the
center button once.
9. Press the center button again to exit Setup Mode.
8.1.3 Q: When the Gauge first powers up, the alert lamp is blinking and an exclamation
mark is displayed. A few minutes later the alert clears and the display returns to normal.
Was there an alert?
A: During the start up sequence, the Gauge may clear itself of a previous alert condition or issue
a momentary alert if a tire sensor has not reported in. As soon as
the tire sensors report their latest readings and they do not
constitute an alert condition, the Gauge will clear the alert.
Ensure that the user keeps an eye on the particular alert until it is
cleared. If the alert does not clear itself, the user may indeed have
an alert condition that needs to be checked further. Updating the
given tire position with new information by using the LF Initiator or
Hand Tool (press “Initiate”), would clear the alert faster, unless an
alert condition does exist or the sensor is malfunctioning.

66
Vin
GND
Backlight
6 1
5 2
4 3
(Buzzer) Output
CAN - L
CAN - H
8.1.4 Q: The Gauge appears to turn itself on and off, flicker repeatedly, or does not turn on
at all when the ignition is on.
A: Check the Gauge power and ground wire hook ups in the fuse box to ensure they are properly
seated in their respective sockets. In cases where terminal rings are used, ensure that the
terminal screws are properly fastened. If the problem persists, please contact your local
SmarTire™ product representative.
Also check the 6-pin Deutsch connector at the back of the Gauge for any damage and a proper
fit. Unplug the connector and check the pins in the Gauge socket as well as on the connector.
Check the back of the 6-pin Deutsch connector for numbering.
Line Colors versus Pin Numbers for Standard SmarTire™ Harnesses (White wires are
labeled for Display connector):
Pin 1 2 3 4 5 6
Line
Color Red Black White Yellow Green White
Check the voltage on pin 1 to be either 12V or 24V when ignition is turned on using a Voltmeter.
In addition, locate the SmarTire™ Receiver power supply splice in either the engine compartment
or in-cab fuse panel and also check for a 12V to 24V power supply during ignition on. When
checking the engine compartment for the power splice location, follow the receiver harness from
the frontal underbody up into the engine bay to identify on which side of the engine bay the splice
is located. Usual splice points are near headlight and auxiliary device cable looms.
Example of harness routed towards right-hand frame rail with power splice at auxiliary driving
light in front right corner of engine bay:
8.2 SMARTIRE™ RECEIVER Q&A

67
8.2 SMARTIRE™ RECEIVER Q&A
8.2.1 Q: The Gauge or Diagnostics software is not receiving any information from the
receiver.
A: Check to make sure the LED indicator light on the front of the receiver lights up when the
ignition is switched on. The receiver LED will turn on at the same time the ignition key is turned
and remain on for 2 seconds, then turn off or blink depending on its configuration. If the light
does not turn on at all, check the power supply connections and 5 Amp fuse, if installed, in the
fuse panel that connects to the receiver power line. If the receiver continues to be unresponsive,
please contact your local SmarTire™ product representative.
Also, make sure that the CAN High (yellow) and CAN Low (Green) lines are properly connected
on the back of the Gauge, as well as on the Tyco P1 Superseal connector at the receiver.
Check to make sure the Tyco P1 Superseal connector is fully locked (top two, white tabs are
pushed all the way down and flush with the female 26 pin panel) and that it is completely seated
in the receiver (listen for the ‘Click’ of the locking tab as the connection is made). If the tabs are
not fully locked then the pins can be pushed back when the connector is engaged.
TNC Connector On-Board LED
Fully Locked - Correct Unlocked - Incorrect
1473711-1

68
In cases where the LED indicator light is blinking multiple times with a pattern and there is no
data being transmitted from the receiver, but the display is powered and has initialized, check the
blink code table below for reference:
Note: Flash patterns will have periods of 0.3 second on and 0.3 second off repeating every 6
seconds. The number of high pulses in each 6–second window will be determined by a code. For
example if the flash code is 2, the pattern will be 0.3 second on, 0.3 second off, 0.3 second on,
5.1 seconds off and then repeated.
8.3 SMARTIRE™ SYSTEM Q&A
8.3.1 Q: Several tires on the rear axle(s) are reporting sensor diagnostic trouble codes.
A: Check the condition of the rear antenna to ensure it has not been damaged, bent, or moved.
Also, check the condition of the antenna cable leading to the front of the vehicle as well as the
connection of the antenna cable to the receiver. If the sensor diagnostic trouble codes continue
to show up, please contact your local SmarTire™ product representative.
If a cluster of tire sensors continues to issue sensor diagnostic trouble codes, the cause is most
likely a malfunctioning rear antenna or antenna cable as described above since it would be
responsible for receiving tire sensors on the entire rear section of the vehicle.
Check for above mentioned physical damage and verify the receiver programming using the
SmarTire™ Diagnostics Software. In addition, check the following connections in more detail if no
external damage can be found:
Alarms Priority On Board LED Solution
NO ALARMS 0 Off
SECOND LEVEL LOW PRESSURE (SAL) 13 Off
PREVIOUS SAL 13 Off
SAL CLEARED 0 Off
FIRST LEVEL HIGH PRESSURE (FAL) 11 Off
FIRST LEVEL LOW PRESSURE (FAL) 11 Off
PREVIOUS FAL 11 Off
FAL CLEARED 0 Off
HIGH TEMPERATURE 9 Off
PREVIOUS HIGH TEMPERATURE 9 Off
HIGH TEMPERATURE CLEARED 0 Off
RF SUBSECTION ERROR 7 Pattern flashing code: 7 Replace Receiver
INTERNAL ERROR 7 Pattern flashing code: 7 Replace Receiver
ROM TO BOTH COPY PERFORMED 5 Pattern flashing code: 5 Check Settings with DDT
SET UP ERROR 5 Pattern flashing code: 5 Check Settings with DDT
SENSOR ERROR SET 3 Pattern flashing code: 3 Diagnose Sensor Error
PREVIOUS SENSOR ERROR 3 Pattern flashing code: 3 Diagnose Sensor Error
SENSOR ERROR CLEARED 0 Off
FACTORY TO CUSTOM COPY PERFORMED 1 Pattern flashing code: 1 Normal Operation
CUSTOM TO FACTORY COPY PERFORMED 1 Pattern flashing code: 1 Normal Operation
BLACK BOX INITIALIZED 1 Pattern flashing code: 1 Normal Operation
WATCHDOG RESET 1 Pattern flashing code: 1 Normal Operation
AUTOLEARN COMPLETE 1 Pattern flashing code: 1 Normal Operation

69
1. Disconnect the antenna from the TNC connector at the front of the receiver unit and check for
water ingress, dirt, pin & connector corrosion on the inside, and a bent center pin. Taking safety
precautions, including eye protection, blow air into both connectors to clean out any coarse dirt or
water. Should the center pin be bent or damaged, a new connector may need to be crimped on.
2. Disconnect the 12 inch hole mount adaptor cable at the rear of the vehicle, just before the
pod/whip antenna. Perform the same check as step 1.
3. Unscrew the antenna pod/whip from the hole-mount base and check for water ingress, dirt and
corrosion. Ensure that the rubber sealant ring is intact. Clean any rust or dirt residue off the
center contact area on the hole-mount base and the flat metal contact on the antenna pod. You
may use 400-grit sandpaper and lightly brush each surface (see picture below). Secure the pod
back on its base without cross threading the socket and apply silicone sealant around the base of
the antenna in case the rubber seal was damaged. Check to make sure the antenna pod or whip
is securely fastened to the hole-mount base.
Advanced Check:
In cases where the above steps did not solve the problem, perform an electrical continuity test on
the TNC antenna extension cable between the receiver and 12" hole-mount. Follow the steps
below:
a. Disconnect the pod antenna from its base at the back of the vehicle.
b. Disconnect the TNC extension from the TNC connector at the receiver on the
front of the vehicle.
c. Use a Multimeter to check the resistance between the inside pin and outside
jacket – it should be in the Mega ohm range i.e. no numbers are displayed below
the 2M scale; should this NOT be the case the cable will have to be replaced;
you may also perform this check at the antenna base between the brass center
and outer lock nut.

70
d. If step C was successful, connect a 9V battery to the antenna base assembly by
taping one contact across the brass center and the other along the outer locking
nut.
e. Use the Multimeter to measure the voltage on the brass center. You may also
choose to measure the voltage at the end-of-line TNC connector that connects to
the receiver. If there is no significant change in the battery voltage reading, the
problem lies elsewhere. Otherwise the 30 ft TNC extension cable and possibly
the antenna base assembly must be replaced.
Field Tip: Use the 9V battery out of the LF Tool or LF Initiator for step D.
8.3.2 Q: A tire continues to show a deviation value/alert although it was aired up properly.
A: Check the CIP value in the Gauge to make sure it matches that of the intended inflation value
for the tire in question. To do so, please refer to section 5.6.3 in the SmarTire™ system manual
as well as the inflation tables under section 1.4. If the CIP value is matched to the recommended
inflation pressure for the vehicle and the prevailing ambient temperature but the deviation value
continues to show up, the tire is exhibiting a slow leak. Take appropriate steps to have the tire
inspected for any damage or leaks.
Follow the steps below to access the Setup Mode:
1. The Setup Mode can only be accessed from the TPMS Ready screen. Press the center
button until the TPMS Ready screen is displayed (screen shows TPMS Ready and tire
icon).
2. Press and hold the center button for two seconds and the display will show a password
entry screen. If a password has not been set for the system then go to (5). To obtain the
password number it may be necessary to talk to the maintenance manager, or similar, to
find out the code. There is not a default password set for the gauge so if this function is
enabled it will be specific to the fleet.
3. To enter a password, press the left button to scroll the first digit from 9 to 0. When the
correct digit is displayed, press the right button to move to the next digit in sequence.
4. Repeat step three until all four digits are entered correctly and then push the right button
to enter the password. If the password is correct, the display will enter Setup Mode. If the
password is incorrect, the display will indicate that the wrong password was entered and
return to the password entry screen.
5. When in the Setup Mode, press the left button until “Axle Params” is highlighted. Then
press the right button to select the function.
6. The first axle will then be displayed along with its CIP value. Press the left button to scroll
to each programmed axle on the vehicle. Each time the left button is pressed, the axle
designator will change to the next axle in sequence and the CIP for that axle will be
displayed. Press the right button to select the axle for programming.

71
7. Press the left button to increase the number or the right button to decrease the number
until the desired value is shown. Hold down either button to quickly increase or decrease
the number. When the desired value is displayed, press the center button to save the
value.
8. Repeat steps 3 and 4 to continue customizing the CIP values for each axle until all axles
are programmed correctly.
9. To save the changes and exit the “Axle Params” function, press the center button once.
Press the center button again to exit Setup Mode.
8.3.3 Q: Pressure readings at a tire location do not change on the gauge when air is added,
or removed, to correct tire pressure value.
A: When the transmitters are in stationary mode they sense pressure and transmit every 15
minutes. Wait for a new transmission to be received or initiate a transmission with the LF Initiator,
SmarTire™ LF Tool, or SmarTire™ Hand Tool.
Transmitters will transmit data every 3 to 5 minutes. In cases where no transmission was
received from the specific tire, move the LF Initiator, Hand Tool, or LF Tool 5 inches in a
clockwise or counterclockwise direction and try again. Should the problem persist, a defective,
missing, or misplaced sensor may need to be diagnosed – see section 8.4.
8.3.4 Q: Pressure readings at a tire location do not change on the gauge when air is added,
or removed, to correct tire pressure, and a new transmission has been received.
A: Tire / Wheel assemblies may have been relocated on the vehicle without the receiver being
updated. Cycle power to the receiver, initiate a transmission from that tire location and note the
location where pressure is registered on the display. Correct the preprogrammed tire locations as
necessary using the Gauge or Diagnostics Software and Hand Tool, LF Tool, or LF Initiator.
The sensor location correction can be made using the Gauge and LF Tool, SmarTire™
Maintenance Tool, or LF Initiator by going through the single tire learn process for each affected
tire location. In the case of a sensor location mismatch, at least 2 tire positions need to be
corrected.
Follow the steps below when using the Gauge Display – IMPORTANT – DO NOT POWER
DOWN THE SYSTEM DURING STEPS a. to c. OR THE DATA IN THE RECEIVER COULD BE
CORRUPTED.
a. The first tire must be deleted and cannot be learned right away since it will cause
a “Duplicate Sensor” error. Abort the learn process by pressing the Setup button
and then reenter the learn menu and select the second tire for learn. At this
point, press the setup button to delete the second tire and now learn the correct
tire (i.e. the tire that was deleted earlier) using the LF Initiator, LF Tool or Hand
Tool.
b. Upon completion, return to the first tire location and learn the new sensor ID by
pressing the setup button to yet again delete the tire and then learn the new
position using the LF Initiator, LF Tool or Hand Tool.

72
c. Exit the Learn Mode using the setup button and press it once more to return to
the TPMS Ready screen.
When using the SmarTire™ Diagnostics Software, simply enter the correct ID numbers under the
Setup/Sensor configuration tab (write down the ID numbers of the affected tires before assigning
them to new tire locations). If more than 2 tires are affected, you may also choose to carry out a
complete relearn of all tires.
8.4 DIAGNOSING A DEFECTIVE, MISSING, OR MISPLACED SENSOR
In the event that a tire sensor does not report to the display after having gone through the
steps above, the following sensor checks should also be performed:
a. Try to initiate the sensor opposite of the valve stem. There are times when the
tire installer accidentally places the sensor 180 degrees opposite of the valve by
misreading the instructions (sensors are required to be placed 180 degrees
opposite of each other for dual wheel assemblies). Check for new data on the
Gauge for the affected wheel position.
b. If step a. was unsuccessful, try to initiate the
sensor at the bottom of the wheel, no matter
where the valve stem is located. If this
attempt updated the display screen, rotate
the wheel 180 degrees forward and initiate
the sensor again at the BOTTOM of the
wheel. If the second initiation also provided
new data (cycle power between tries to
empty the screen, not necessary when

73
using SmarTire™ Hand Tool), it is evidence of a broken cradle and/or strap. The
sensor is simply falling to the lowest point in the wheel after each rotation.
Remove the tire and replace the cradle and strap. Depending on the damage
done to the sensor itself, it may simply be pressed into a new cradle for reuse.
Avoid reusing the strap – worm gear could be damaged internally.
c. If points a. and b. did not yield any results, the sensor is either missing or has
been damaged. Remove the wheel carefully and inspect the inside tire lining for
any damage if the sensor, strap, and cradle are found to have been damaged
and non-operational. Replace strap, cradle, and sensor. Program new ID into
system using either the SmarTire™ Diagnostics Software, Single Tire Auto Learn
feature, or the Gauge and SmarTire™ Hand Tool, LF Tool or LF Initiator.
8.5 SMARTIRE™ HAND TOOL TROUBLESHOOTING
8.5.1 Q: The Tool does not power up or turns off when the “Activate” button is pressed.
A: Replace Batteries.
8.5.2 Q: No tire pressure sensor data is received.
A: Make sure the Activate Antenna is held within 6" of the tire pressure sensor and positioned
before the “Activate” button is momentarily pressed and that the tool is held in that position for at
least 3.5 to 5 seconds. Try to activate and receive tire pressure sensor data from another tire
pressure sensor.

8.6 QUICK REFERENCE GUIDE TO SMARTIRE™ SYSTEM TROUBLESHOOTING
Dashes
displayed
on gauge
X
X
X
X
X
X
8.1.1
There is
no
audible
alarm
during
Gauge
Alerts
X
X
X
X
8.1.2
Gauge
Alert
Lamp is
blinking
X
X
X
X
X
X
X
X
8.1.3
Gauge
turns on
and off
or does
not turn
on at all
X
X
X
8.1.4
Gauge is
not
Initializing
X
X
X
X
X
X
8.2.1
Sensor
DTC
message
X
X
X
X
X
X
X
X
X
8.3.1
Gauge
shows
Deviation
Alert for
properly
aired up
tire
X
X
X
X
X
X
8.3.2
Tire
pressure
reading is
not being
updated on
gauge
X
X
X
X
X
X
X
8.3.3
Tire pressure
reading is not
being updated
after pressure
correction and
signal reception
X
X
X
X
8.3.4
Check J1939 lines (CAN
Low, CAN High)
Check antenna cable &
connectors
Verify receiver with
SmarTire diagnostic
software
Adjust actual tire pressure
Possible broken sensor
Turn Ignition off & on
Check supply voltage at
source
Check harness wiring
Check gauge alert for FAL,
SAL, Temp
Verify wheel position
matches gauge display
Troubleshooting guide
section reference
Check component
connector
Check fuse
Check receiver LED
Check rear antenna
Check affected tire
Check CIP/Ambient Temp
chart vs. Placard
Drive the vehicle
Wait 15 minutes
LF-initiate the tire sensors
Check gauge settings,
press & hold center button
Incident
taken
to be
Action

SmarTire™ Tire Pressure Monitoring System
by Bendix CVS
Appendix 1: Replacement Parts
APPENDIX

9.0 REPLACEMENT PARTS
DESCRIPTION Original Part
Number Current Bendix
Part Number
Bolt Kit for Receiver Mounting Plate 090.0017 090.0017N
SmarTire™ Display 200.0179 200.0179N
Wireless Gateway Receiver V3.0 200.0184 200.0184N
SmarTire™ LF Tool (without LCD Screen) 090.0021 090.0021
SmarTire Maintenance Tool Kit 090.0011 090.0011N
Standard Tire Sensor with Cradle 201.0003 201.0003N
Ambient Pressure Sensor with Cradle (3 pt) 201.0006 201.0006N
Always on Tire Sensor with Cradle 201.0007 201.0007N
Trailer Indicator Lamp with Mount 201.0008 201.0008
Low Profile Pod Antenna 240.0159 240.0159N
PIFA Antenna 240.0162 240.0162N
Antenna bolt kit (PIFA) 090.0020 090.0020N
Dual Light Display 256.0035 256.0035N
Dual Light Warning Kit 108.9002 108.9002N
Dual Light Warning Add-on Harness 260.0325 260.0325N
12 inch hole mount adaptor with Male TNC connector 260.0231 260.0231N
30ft Male TNC to Female TNC extension cable 260.0266 266.0266N
Trailer Harness Full/ABS+SMTR/ABS+J1939 260.0297 260.0297N
Trailer Harness Full/ABS+SMTR/ABS+J1939 260.0298 260.0298N
Vehicle Wiring Harness: Light 260.0309 260.0309N
Diagnostic Add-on Harness Kit for 260.0309 108.9003 108.9003N
Add-on Diagnostic Harness 260.0310 260.0310N
Cradle - Low Profile 264.0133 264.0133
Cradle - High 264.0228 264.0228N
Receiver Mounting Plate 264.0318 264.0318N
Contact Bendix Dealer for Parts Pricing
Note: The parts in the table above are for reference purposes only during ordering of spare and
replacement components. The table does not represent the contents of any kit.

SmarTire™ Tire Pressure Monitoring System
by Bendix CVS
Appendix 2: System Scope of Use & Alerts
APPENDIX
10.0 SYSTEM SCOPE OF USE AND ALERTS
This tire monitoring system does not in any way replace the need for regular maintenance of the
tire pressures and visual inspection of tires for damages.
10.1 SYSTEM INSTALLATION AND USAGE
Warranty of the SmarTire™ system requires that it has been properly installed and programmed
by qualified personnel according to Bendix documentation. This includes all manuals and any
supplementary installation instructions included with system components.
10.2 USE OF CHEMICALS
Use of temporary resealing or re-inflation products containing internal sealers or propellants in
any tire/wheel assembly may adversely affect the operation of the Sensor/Transmitters and void
the warranty.
10.3 REACTING TO ALERTS
When an alert is detected, reduce vehicle speed to an appropriate, safe level and proceed to a
safe stopping location or facility where the tire can be inspected and serviced.
10.4 FCC NOTICE
This device complies with part 15 of the FCC rules. Operation is subject to the following two
conditions:
1. This device may not cause harmful interference, and
2. This device must accept any interference received, including interference that may cause
undesired operation. This equipment has been tested and found to comply with the limits
for a class B digital device, pursuant to part 15 of the FCC rules. These limits are
designed to provide reasonable protection against harmful interference in a residential
installation. This equipment generates, uses and can radiate radio frequency energy and,
if not installed and used in accordance with the instructions, may cause harmful
interference to radio communications. However, there is no guarantee that interference
will not occur in a particular installation.
If this equipment does cause harmful interference to radio or television reception, which can be
determined by turning the equipment off and on, the user is encouraged to try to correct the
interference by one or more of the following measures:
Reorient or relocate the receiving antenna,
Increase the separation between the equipment and receiver,
Connect the equipment into an outlet on a circuit different from that to which the receiver
is connected,
Consult the dealer or an experienced radio/tv technician for help.
Changes or modifications to this device without the express approval of Bendix may void the
user’s authority to use this device.

Duplication of this document in whole or in part for any purposes other than those for which it was originally intended,
without the written approval of Bendix Commercial Vehicle Systems LLC is strictly prohibited.
The information provided in this manual is for informational purposes only and is subject to change without notice and
should not be construed as a commitment by Bendix. Bendix assumes no responsibility or liability for any errors or
inaccuracies that may appear in this publication.
Trademarks
The SMARTIRE trademark is owned by Bendix Commercial Vehicle Systems LLC. Any references in this catalog to
MICROSOFT, WINDOWS and any other company or trademark are solely for identification purposes. The trademarks are
the property of their respective companies and are not affiliated with or endorsing Bendix Commercial Vehicle Systems
LLC. Bendix Commercial Vehicle Systems LLC does not represent any parts shown as products manufactured or
remanufactured by the companies so named herein.
901 Cleveland Street • Elyria, Ohio 44035 • 1-800-AIR-BRAKE (1-800-247-2725)
13151 Vanier Place • Suite 150 • Richmond, British Columbia, Canada V6V 2J1 • 604-276-9884
BW2799 ©2010 Bendix Commercial Vehicle Systems LLC, a member of the Knorr-Bremse Group
6/10 • All Rights Reserved • www.bendix.com