Billy Goat Bc2401 Users Manual
BC2401HE to the manual acaba499-cfc6-4989-9c96-64f3f20da600
2015-02-02
: Billy-Goat Billy-Goat-Bc2401-Users-Manual-481503 billy-goat-bc2401-users-manual-481503 billy-goat pdf
Open the PDF directly: View PDF
.
Page Count: 12

Part No. 500264 Form No. F071300A
Page 1 of 12
Operator Owner's Manual
Thank You for Selecting
1
3Specifications
The Powerful BC2401 SELF-PROPELLED BRUSH CUTTER
UNIT SIZE: OVERALL LENGTH: 82.5"(2.09 m) OVERALL WIDTH 32.0" (0.81m) OVERALL HEIGHT43" (1.09m)
ACCESSORIES
NUT REPLACEMENT KIT
P/N 500208.
To replace stripped or
damaged insert nuts in
engine base.
BLADE BC2401
P/N 500210.
Original Equipment Blade
for replacement.
BELT TRACTION DRIVE
P/N 500119.
Traction Drive Belt
for BC2401
BELT BLADE DRIVE
P/N 500237.
Blade Drive Belt
for BC2401
BC2401, BC2401H, BC2401HE
BC2401 BC2401H BC2401HE
ENGINE: H.P. 8.0 (5.96 kW) 11 (8.20 kW) 11 (8.20 kW)
ENGINE: TYPE B&S HONDA HONDA
ENGINE MODEL NO: 195702-0450-E1 GXV340K1DX3 GXV340K1DE33
ENGINE: FUEL CAP. 3.0 qt. (2.84 L) 2.3 qt. (2.18 L) 2.3 qt. (2.18 L)
ENGINE: OIL CAP. 1.10 qt. (1.04 L) 1.20 qt. (1.13 L) 1.20 qt. (1.13 L)
WEIGHT: UNIT 269# (122.3 kg) 278# (126.1 kg) 282# (127.9 kg)
WEIGHT: SHIPPING 291# (132.3 kg) 306# (138.8 kg) 310# (140.6 kg)
ENGINE WEIGHT: 53.0# (24.04 kg) 70.5# (32.0 kg) 72.5# (32.9 kg)
MAX. OPERATING SLOPE 15°20°20°
2
BLADE HIGH LIFT
BC2401
P/N 500102.
Optional blade for
replacement

Part No. 500264 Form No. F071300A
21. DO NOT touch hot muffler, cylinder, or
fins because contact may cause burns.
22. DO NOT run engine without air cleaner
or air cleaner cover.
23. DO NOT operate during excessive
vibration!
24. DO NOT leave machine unattended
while in operation.
25. DO NOT park machine on a steep grade
or slope.
WARNING: DO
1. ALWAYS DO remove the wire from the
spark plug when servicing the engine or
equipment TO PREVENT ACCIDENTAL
STARTING.
2. DO keep cylinder fins and governor
parts free of grass and other debris
which can affect engine speed.
3. DO pull starter cord slowly until resis-
tance is felt. Then pull cord rapidly to avoid
kickback and prevent hand or arm injury.
4. DO examine muffler periodically to be
sure it is functioning effectively. A worn or
leaking muffler should be repaired or
replaced as necessary.
5. DO use fresh gasoline. Stale fuel can
gum carburetor and cause leakage.
6. DO check fuel lines and fittings frequently
for cracks or leaks. Replace if necessary
7. Follow engine manufacturer operating
and maintenance instructions.
8. Inspect machine and work area before
starting unit.
SAFETY INSTRUCTIONS
GENERAL SAFETY
ASSEMBLY
LIT. BAG & CONTROLS
LABELS
OPERATION
MAINTENANCE
PARTS DRAWING & LIST
TROUBLESHOOTING
WARRANTY PROCEDURE
WARNING: DO NOT
1. DO NOT run engine in an enclosed
area. Exhaust gases contain carbon
monoxide, an odorless and deadly poison.
2. DO NOT place hands or feet near
moving or rotating parts.
3. DO NOT store, spill or use gasoline
near an open flame, or devices such as a
stove, furnace, or water heater which use
a pilot light or devices which can create a
spark.
4. DO NOT refuel indoors where area is
not well ventilated. Outdoor refueling is
recommended.
5. DO NOT fill fuel tank while engine is
running. Allow engine to cool for 2
minutes before refueling. Store fuel in
approved safety containers.
6. DO NOT remove fuel tank cap while
engine is running.
7. DO NOT operate engine when smell of
gasoline is present or other explosive
conditions exist.
8. DO NOT operate engine if gasoline is
spilled. Move machine away from the spill
and avoid creating any ignition until the
gasoline has evaporated.
9. DO NOT transport unit with fuel in tank.
10. DO NOT smoke when filling fuel tank.
11. DO NOT choke carburetor to stop
engine. Whenever possible, gradually
reduce engine speed before stopping.
12. DO NOT run engine at excessive
speeds. This may result in injury
& /or damage to unit.
Page 2 of 12
TABLE OF CONTENTS
10 - 12
12
12
6 - 8
4
4
3
3
2
OPERATOR
VIBRATION
SOUND TESTS VIBRATION LEVEL 1.1g
Vibration levels at the operators handles were
measured in the vertical, lateral, and longitudinal
directions using calibrated vibration test equipment.
Tests were performed on 05/19/95 under the
conditions listed:
WIND SPEED:
WIND DIRECTION:
HUMIDITY:
TEMPERATURE:
BAROMETRIC PRESSURE:
GENERAL CONDITION:
SOUND
Sound tests conducted were in accordance
with 79/113/EEC and were performed on 05/19/
95 under the conditions listed:
GENERAL CONDITION:
30.06" Hg (763mm Hg)
67%
South
5 MPH (8 kmh) WIND SPEED:
WIND DIRECTION:
HUMIDITY:
TEMPERATURE:
BAROMETRIC PRESSURE:
Sunny
30.06" Hg (763mm Hg)
67 %
S.W.
5 MPH (8 kmh)
72 °F (22.2 °C)
Sunny
6
7 8
THIS SYMBOL MEANS WARNING OR CAUTION. DEATH, PERSONAL INJURY AND/OR PROPERTY
DAMAGE MAY OCCUR UNLESS INSTRUCTIONS ARE FOLLOWED CAREFULLY.
BEFORE STARTING ENGINE, READ AND UNDERSTAND THE “ENTIRE OPERATOR'S MANUAL &
ENGINE MANUAL.”
13. DO NOT tamper with governor springs,
governor links or other parts which may
change the governed engine speed.
14. DO NOT tamper with the engine speed
selected by the engine manufacturer.
15. DO NOT check for spark with spark plug
or spark plug wire removed. Use an
approved tester.
16. DO NOT crank engine with spark plug
removed. If engine is flooded, place throttle
in “FAST” position and crank until engine
starts.
17. DO NOT strike flywheel with a hard
object or metal tool as this may cause
flywheel to shatter in operation. Use proper
tools to service engine.
18. DO NOT operate engine without a
muffler. Inspect periodically and replace, if
necessary. If engine is equipped with
muffler deflector, inspect periodically and
replace, if necessary, with correct deflector.
19. DO NOT operate engine with an
accumulation of grass, leaves, dirt or other
combustible material in the muffler area.
20. DO NOT use this engine on any forest
covered, brush covered, or grass covered
unimproved land unless a spark arrester is
installed on the muffler. The arrester must
be maintained in effective working order by
the operator. In the State of California the
above is required by law (Section 4442 of
the California Public Resources Code).
Other states may have similar laws.
Federal laws apply on federal lands.
5IN THE INTEREST OF SAFETY
WARNING: The Engine Exhaust from this product contains chemicals known
to the State of California to cause cancer, birth defects or other reproductive harm.
L
A
p
82
L
A
62 °F (16.7 °C)
5, 9

Part No. 500264 Form No. F071300A
Page 3 of 12
For your safety and the safety of others, these directions should be followed:
Do not operate this machine without first reading
owner's manual and engine manufacturer's manual.
Use of Eye and Breathing protection is recom-
mended when using this machine.
·DO NOT place hands or feet beneath cutting deck, near
debris outlet or near any moving parts.
·DO NOT start engine or operate unit with bystanders in or
near the work area.
·DO NOT start or operate machine with blade or drive clutch
engaged.
PUT OIL IN ENGINE BEFORE STARTING.
Read all safety and operating instructions
before assembling or starting this unit.
·DO NOT operate during excessive vibration.
·DO NOT perform any maintenance or inspection until engine has
been turned off and has come to a complete stop, and the spark
plug has been removed
·DO NOT operate machine with guards removed.
·DO NOT use this machine for cutting areas containing rock,
glass, string like material, wire, rags, cans, metal, or other non-
organic material.
·DO NOT operate this machine on slopes greater than specified
on page 1.
·DO NOT operate machine near any hot or burning debris, or any
toxic or explosive material.
·DO NOT allow children to operate this equipment.
GENERAL SAFETY
ASSEMBLY
Your Billy Goat Brush Cutter is shipped from the
factory in one carton, completely assembled except
for the upper handle, and front guard bar.
Literature
Assy
Check
Literature Assy
500263
Per Model
PACKING CHECKLIST
9
10
11
Check
Briggs & Stratton
1. REMOVE unit from carton and allow upper handle (item 40) to lay on
ground behind unit. Set guard bar(Item 31) to the side for now.
2. REMOVE hardware items 115, 117, 141, 143, & 144 from temporary
storage positions on lower handle (items 51, & 52).
3. ATTACH upper handle to lower as shown below, and securely tighten
all fasteners. For easy alignment of handles during installation, loosen
the four screws that secure the lower handles. Line up and hand tighten
all handle hardware before final tightening. Note: Be sure the engine
starter rope is properly installed in the starter rope guide (item 145)
before tightening the corresponding fasteners.
4. REMOVE hardware items 102, 103, 117, 119, 124, 141, & 152 from
temporary storage positions on deck and skid assy at front of unit
(items 2, 155, & 156)
5. ATTACH guard bar(Item 31) to deck as shown below. Install the center
bolts(Item 153) first, and install the bolts that fasten through the sides of
the deck last. Securely tighten all fasteners. Note: Hardware items 117,
119, & 141 are used to secure both the front skid attachment and the
sides of the guard bar. Be sure both are securely attached.
6. CONNECT spark plug wire to spark plug.
Engine
Manual
Check
Honda(English)
Use of Ear Protection is recommended while
operating this machine.
These items should be included in your carton. If any
of these parts are missing, contact your dealer.
DISCONNECT SPARK PLUG WIRE
BEFORE ASSEMBLING UNIT.
Check
Bar Support WA
500235
Check
Handle Upper
Assembly
500256
Check
Honda W/Electric
Start (English)

Part No. 500264 Form No. F071300A
Page 4 of 12
INSTRUCTION LABELS
CONTROLS
Throttle Control
Owner's
Manual
Check Owner's
Manual
500264
Warranty
Card
Check Warranty
Card
400972
Check EU Declaration
of Conformity &
EU Distributor
List 500265
EU Declaration
of Conformity
& EU
Distributor List
Literature Checklist
These labels should be included on your Brush Cutter. If any of these
labels are damaged, replace them before putting this equipment into
operation. Item and part numbers are given to help in ordering replace-
ment labels..
Label Do Not Fill While
Engine Is Hot
Item 63 Part No.400268
EXPLOSIVE FUEL
STOP ENGINE AND ALLOW TO
COOL BEFORE REFUELING.
400268
WARNING
12 13
14
LITERATURE ASSY P/N 500263
ENGINE LABELS
15
Label Read Owner's
Manual Item No. 187
Part No. 890301
DANGER
810736
Label Danger Keep Hands and
Feet Away
Item 180 PartNo.400424
Label Danger Flying
Material Item 184
Part No.810736
WARNING
900327
Label Warning Guards
Item 185 Part No.900327
890254
Label Ear Eye Breathing Item
No. 188 Part No. 890254
Label Chock Wheels Item No. 189 Part No. 500168
WHEELS MUST BE CHOCKED
OR BLOCKED WHEN UNIT IS
PARKED ON A SLOPE.
500168
500176
Label Clutch Drive
Item 191
Part No.500176
Briggs and Honda engines have a choke type carburetor that is operated by moving
the throttle control to the full start position. See STARTING section, see page 5.
STOP
START
500177
Label Clutch Blade
Item 192
Part No.500177
Briggs & Stratton
Read Owner’s Manual Before Operating.
Lire le manuel d’utilisation avant la mise en route.
Vor Inbetriebnahme Bedienungs - und Wartungsanleitung lesen.
Favor leer las instrucciones de operacion antes de operar el motor.
Consultare il Manuale Uso e Manutenzione prima dell utilizzo.
Las Skotselinstruktionen Innan Start.
'
'
'
..
..
Honda
Label Shift BC2400
Item No. 186
Part No. 500202
R
1
N
32
Ty Wrap 900407
Qty: (4)
Label Patent No
Item 190 Part No.500279
US DESIGN PATENT
NO: D386768
PART NO. 500279
BRIGGS &
STRATTON
HONDA
OFF
RUN
STARTING:
PULL OUT FOR CHOKE
AND TURN TO LOCK
AFTER STARTING:
RELEASE FROM
CHOKE AND ADJUST
ENGINE TO DESIRED
SPEED
PULL OUT
PUSH IN
NOTE: WHEN ADJUSTING THROTTLE CONTROL TURN
THROTTLE CONTROL HANDLE CLOCKWISE TO LOCK,
THEN TURN COUNTER CLOCKWISE 1/4 TURN TO
RELEASE BEFORE ADJUSTING SPEED.
PART NO. 500309
TM
START (PULL UP)
OFF
RUN
STARTING:
PULL OUT FOR CHOKE
AND TURN TO LOCK
AFTER STARTING:
RELEASE FROM
CHOKE AND ADJUST
ENGINE TO DESIRED
SPEED
PULL OUT
PUSH IN
NOTE: WHEN ADJUSTING THROTTLE CONTROL TURN
THROTTLE CONTROL HANDLE CLOCKWISE TO LOCK,
THEN TURN COUNTER CLOCKWISE 1/4 TURN TO
RELEASE BEFORE ADJUSTING SPEED.
PART NO. 500314
TM
Pull Start Electric Start

Part No. 500264 Form No. F071300A
ENGINE: See engine manufacturer’s instructions
for type and amount of oil and gasoline used.
Engine must be level when checking and filling oil and
gasoline.
ENGINE SPEED: Controlled by throttle lever on the handle.
FUEL VALVE: Move fuel valve to "ON" position (when
provided on engine).
CHOKE: Operated by remote throttle on handle. To choke
engine move the throttle to full fast position.
NOTE: HONDA MODELS ONLY: Pull the control lever out
completely and turn clockwise to lock the control in choke.
After starting the engine, unlock the t-handle by turning
counter clockwise, and push in to set the desired engine
speed and lock in place.
THROTTLE: Move remote throttle control to fast position.
Pull starting rope to start engine.
ELECTRIC START: Choke the engine if necessary. Pull up
on the sleeve on the toggle switch, push it up to start
position and hold until engine starts, then release switch and
it will return to the run position.
IF YOUR UNIT FAILS TO START:
See Troubleshooting on page 12.
Page 5 of 12
GENERAL OPERATION: To engage the blade, depress
the operator's left hand control lever against operator's handle.
The blade is disengaged by releasing this lever.(See Fig. 1.1)
To engage the wheel drive, lift the operator's right hand
control lever against operator's handle. The drive is disen-
gaged by releasing this lever.(See Fig. 1.2) Ground speed
can be varied by shifting gears as described on page 9. To
begin cutting engage the blade lever, allow the blade to spin
up to speed, and engage the wheel drive to begin moving
forward into the material to be cut.
CUTTING OPERATION
PUT OIL IN ENGINE BEFORE STARTING.
OPERATION
16
16.1 STARTING
16.2
INTENDED USE: This is not a lawn mower. The BC2401 is
designed for cutting overgrown weeds, brush, and other
types of organic growth to a height of 3-1/2". The unit may
also be used to clear small saplings 1-1/2" in dia. or less. It
does not provide the cut quality of a finish cut lawn mower.
The unit is designed for use in rural areas, and should not
be used in settings where conditions require that the unit be
operated in tight or confined areas. Be sure to inspect work
area and machine before operating. Make sure that all
operators of this equipment are trained in general machine
use and safety.
Do not operate if excessive vibration occurs. If excessive
vibration occurs, shut engine off immediately and check for
damaged or worn blade, loose blade bolt, loose blade adapter
key, loose engine or lodged foreign objects. Note: See parts list
for proper blade bolt torque specifications. (See trouble shooting
section on page 12).
The Brush Cutter blade clutch is controlled by an operator
presence control. To engage the blade, depress the operator's
left hand control lever against operator's handle. The blade is
disengaged by releasing this lever.(See Fig. 1.1)
NOTE: The blade clutch must be either fully engaged for cutting
or fully disengaged to bring the blade to a stop. Do not operate
the unit with the blade clutch partially engaged. Premature belt
wear and clutch failure will result from improper operation of the
clutch.
BLADE CLUTCH
CAUTION: Use extreme care when operating the
blade. Inspect the work area for foriegn objects
that could cause damage to the unit or injure the
operator if struck by the blade. Never operate the
blade with bystanders in the work area.
Lever
Down
Engages
Clutch
Lever Up
Disengages
Clutch
Lever
Handle
Fig. 1.1
The best performance is achieved when cutting in dry
conditions. If the deck becomes choked with grass or debris
during operation, back unit off of debris allowing machine to
clear itself and continue cutting, or shut the unit off and clear the
clog by hand (See below). A drop in engine RPM or a notice-
able change in engine sound is usually a good indicator of a
clogged discharge or other interference.
Under most conditions cutting should be done in first or
second gear. Third gear should be reserved for conditions
where weeds and brush are thinned out or not as tall. The
quality of the cut produced is directly related to the unit's ground
speed during cutting. If the quality of the cut is not satisfactory
(i.e. material left standing) you should shift into a lower gear
during cutting. For improved control in confined areas, this
machine can be pushed forward or backward by releasing the
operator's clutch lever, placing the transaxle in neutral, and
pushing the machine.
CLEARING A CLOGGED CUTTING DECK:
Turn engine off and wait for blade to stop completely.
Disconnect spark plug wire. Wearing durable gloves,
remove clog.
Danger, the clog may contain sharp materials.
Reconnect spark plug wire.
Like all mechanical tools, reasonable care must
be used when operating machine. Do not operate
unit in areas where bystanders may be present.
NOTE: Do not engage blade during transport between work
sites. The blade should remain disengaged at all times when
work is not being performed.

Part No. 500264 Form No. F071300A
Page 6 of 12
PARTS DRAWING
18
BC2401HE, BC2401H, BC2401

Part No. 500264 Form No. F071300A
Page 7 of 12
19 PARTS
LIST
ITEM BC2401HE BC2401H BC2401
NO. DESCRIPTION Part No QTY Part No QTY Part No QTY
1 Deck Assembly with labels 500239 1 500239 1 500239 1
2 Deck WA BC2401 500266 1 500266 1 500266 1
3 Deflector Front BC2400 500125 1 500125 1 500125 1
4 Base Assembly with labels 500240 1 500240 1 500240 1
5 Handle Brace Left 500196 1 500196 1 500196 1
6 Handle Brace Right 500200 1 500200 1 500200 1
7 Door Base Engine 500233 1 500233 1 500233 1
8 Transaxle 3 SPD BC2400 500100 1 500100 1 500100 1
9 Pulley 5.0" OD ‘A’ Sec. 830180 1 830180 1 830180 1
10 Belt Traction Drive 500119 1 500119 1 500119 1
11 Plate Pivot Idler / Shifter 500122 1 500122 1 500122 1
12 Shifter Pivot WA 500169 1 500169 1 500169 1
13 Pulley Idler 800260 1 800260 1 800260 1
14 Wheel & Tire 16" AG SP LH 500103 1 500103 1 500103 1
15 Wheel & Tire 16" AG SP RH 500104 1 500104 1 500104 1
16 Arm Idler WA 500170 1 500170 1 500170 1
17 Cable Clutch Blade BC2400 500259 1 500259 1 500259 1
18 Cable Clutch Drive BC2400 500146 1 500146 1 500146 1
19 Bar Shift T-axle 500121 1 500121 1 500121 1
20 Angle Support T-axle 500127 1 500127 1 500127 1
21 Rod Link Shifter 500144 1 500144 1 500144 1
22 Tube Shift With Grip 500171 1 500171 1 500171 1
23 Clutch Brake BC2401 500258 1 500258 1 500258 1
24 Grip 3/4 ID - Black 610102 1 610102 1 610102 1
25 Tube Pointer 500184 1 500184 1 500184 1
26 Plate Mount Idler WA 500228 1 500228 1 500228 1
27 Pulley Idler 4.5" OD X 3/8 500270 1 500270 1 500270 1
28 Shaft Traction Drive 500226 1 500226 1 500226 1
29 Belt Blade Drive 500237 1 500237 1 500237 1
30 Spacer Spindle BC2401 500232 1 500232 1 500232 1
31 Bar Guard WA BC2401 500235 1 500235 1 500235 1
32 Bushing Shifter 500130 1 500130 1 500130 1
33 Spacer Crank BC2401 500260 1 500260 1 500260 1
34 Spindle WA BC2400 500174 1 500174 1 500174 1
35 Bearing 7/8" ID Sealed Press 500101 2 500101 2 500101 2
36 Shaft Drive Blade 500107 1 500107 1 500107 1
37 Spacer Spindle Bearing 500115 1 500115 1 500115 1
38 Pulley 7" OD x 7/8" BORE 500253 1 500253 1 500253 1
39 Lever Control Blade 500312 1 500312 1 500312 1
40 Handle Upper BC2400 500243 1 500243 1 500243 1
41 Grip Handle 1 ID x 7.5 500267 2 500267 2 500267 2
42 Lever Control Clutch 500142 1 500142 1 500142 1
43 Bushing Lever Control 500152 4 500152 4 500152 4
44 Fitting Mount Cable 500187 2 500187 2 500187 2
45 Engine 11 HP Honda GXV340 Electric Start 500294 1 - - - -
Engine 11 HP Honda GXV340 - - 620100 1 500216 1
Engine 8.0 HP B & S - - - - 500216 1
46 Pulley Drive Traction BC2401 500238 1 500238 1 500238 1
47 Spacer Engine WA 2401 500262 1 500262 1 500262 1
48 Control Throttle BC2400 500308 1 500308 1 500213 1
49 Tube Cable Cover 500186 2 500186 2 500186 2
50 Blade 24" BC2400 500210 1 500210 1 500210 1
51 Handle Lower RH BC2400 500140 1 500140 1 500140 1
52 Handle Lower LH BC2400 500141 1 500141 1 500141 1
53 Adapter Blade WA 500191 1 500191 1 500191 1
54 Washer Friction Blade 500108 1 500108 1 500108 1
55 Guard Hand BC2401 500257 2 500257 2 500257 2
56 Screwcap 8x3/8 HWH Type B 100121 2 100121 2 100121 2
100 Washer Lock 5/16 Twist. Tooth 8177011 2 8177011 2 8177011 2
101 Bolt Carraige 1/4 - 20 x 3/4 8024021 4 8024021 4 8024021 4
102 Nut Lock 1/4 - 20 *8160001 14 *8160001 10 *8160001 10
103 Screw Cap 5/16 - 18 x 1 1/4 *8041029 18 *8041029 18 *8041029 18
104 Washer Lock 5/16 split *8177011 7 *8177011 7 *8177011 7
105 Plate Impeller Washer 850443 1 850443 1 850443 1
106 Screw Cap 7/16-20 X 3" 500269 1 500269 1 500269 1
107 SCREWCAP 5/16-18 X 1" *8041028 5 *8041028 4 *8041028 4
108 Screw Cap 5/16 - 18 x 2 3/4 *8041035 6 *8041035 6 *8041035 6
109 Bolt Carraige 5/16 - 18 x 3/4 8024039 2 8024039 2 8024039 2
110 Washer Flat 1/2" 900230 1 900230 1 900230 1
111 Pin Cotter 3/32 x 3/4" *8197016 1 *8197016 1 *8197016 1

Part No. 500264 Form No. F071300A
Item Description BC2401HE Qty. BC2401H Qty. BC2401 Qty.
No. Part No. Part No. Part No.
112 Bolt Shoulder 1/2 x 1 500114 1 500114 1 500114 1
113 Nut Lock 3/8-16 *8160003 3 *8160003 3 *8160003 3
114 Bolt Idler 800888 1 800888 1 800888 1
115 Screw Cap 5/16 x 2" *8041032 5 *8041032 5 *8041032 5
116 Nut Jam 5/16 - 18 *8142002 3 *8142002 3 *8142002 3
117 Nut Lock 5/16 - 18 *8160002 29 *8160002 28 *8160002 30
118 Bolt Carraige 5/16 - 18 x 1 *8024040 6 *8024040 6 *8024040 6
119 Screw Cap 5/16 x 1 1/2 *8041030 4 *8041030 4 *8041030 4
120 Washer 3/8 FC *8171004 1 *8171004 1 *8171004 1
121 Terminal Piggyback 3/16 890010 1 890010 1 - -
122 Screw Cap 1/4 - 28 x 1/2 GR5 850408 1 850408 1 850408 1
123 Washer Lock 1/4 Split *8177010 1 *8177010 1 *8177010 1
124 Washer 1/4 FC *8171002 5 *8171002 5 *8171002 5
125 Screw Self Tap 5/16 *8123128 1 *8123128 1 *8123128 1
126 Pin Hair Cotter 900471 2 900471 2 900471 2
127 Washer 5/16 SAE *8172008 2 *8172008 2 *8172008 2
128
129 Washer 3/4 SAE *8172015 2 *8172015 2 *8172015 2
130 Washer 0.765 x 1.250 x 0.060 850238 2 850238 2 850238 2
131 Plate Control Box 500305 1 500305 1 - -
132 Ring Snap 0.750 850230 2 850230 2 850230 2
133 Key 3/16 x 2 1/8 9201087 2 9201087 2 9201087 2
134 Washer Fender 1/4" 8172019 4
135 Screw Cap 7/16 - 20 x 1 1/4 GR8 800554 1 800554 1 800554 1
136 Washer 1.25 x 0.882 x 0.125 500182 1 500182 1 500182 1
137 Ty Wrap 900407 4 900407 4 900407 4
138 Key Sq 3/16 x 5/8 9201072 2 9201072 2 9201072 2
139 Screw Cap 7/16 - 20 x 2 GR8 500188 1 500188 1 500188 1
140 Washer Lock 7/16 Tw. Tooth 850132 3 850132 3 850132 3
141 Washer 5/16 FC *8171003 27 *8171003 27 *8171003 23
143 Screw Cap 5/16 - 18 x 1 3/4 *8041031 7 *8041031 7 *8041031 9
144 Screw Cap 5/16 - 18 x 2 1/2 *8041034 1 *8041034 1 *8041034 1
145 Guide Rope 830533 2 830533 2 830533 2
146 Grip Lever 500181 2 500181 2 500181 2
147 Key 1/4 x 1" 9201113 1 9201113 1 9201113 1
148 Spacer Engine Honda SP VQ 830113 1 830113 1 830113 1
149 Guide Belt LH 500230 1 500230 1 500230 1
150 Guide Belt RH 500231 1 500231 1 500231 1
151 Screw Cap 5/16 - 24 x 1 *400164 2 *400164 2 *400164 2
152 Screw Cap 1/4 - 20 x 1 1/4 *8041007 7 *8041007 3 *8041007 3
153 Screw Cap 1/4 - 20 x 2 3/4 *8041013 1 *8041013 1 *8041013 1
154 Screwcap 1/4-20 x 2” *8041010 2 *8041010 2 *8041010 2
155 Skid RH BC v-cup WA 500291 1 500291 1 500291 1
156 Skid LH BC v-cup WA 500292 1 500292 1 500292 1
157 Switch Box Assy BC 500310 1 500310 1 500283 1
158 Switch Toggle 500307 1 500311 1 500281 1
159 Harness Assy 500306 1 890442 1 890442 1
160 Bushing Strain Relief 500282 1 500282 1 500282 1
161 Label Throttle 500314 1 500309 1 810656 1
162 Cable Battery Red W/Charge 500304 1
163 Cable Battery Black 10" 790133 1
164 Lid Box Battery 500301 1
165 Box Battery Drilled 500299 1
166 Plate Guard Bottom Battery 500303 1
167 Strap Battery 500302 1
168 Bracket Mount Battery Wa 500297 1
169 Bar Support Battery 500298 1
180 Label OPEI 400424 2 400424 2 400424 2
184 Label Flying Debris 810736 1 810736 1 810736 1
185 Label Guards 900327 2 900327 2 900327 2
186 Label Shift BC2400 500202 1 500202 1 500202 1
187 Label Read 890301 1 890301 1 890301 1
188 Label Ear Eye Breathe 890254 1 890254 1 890254 1
189 Label Chock Wheels 500168 1 500168 1 500168 1
190 Label Patent No 500279 1 500279 1 500279 1
191 Label Clutch Drive 500176 1 500176 1 500176 1
192 Label Clutch Blade 500177 1 500177 1 500177 1
Page 8 of 12
Parts List
continued from
page 9.
19
* Denotes standard
hardware item, that
may be purchased
locally.

Part No. 500264 Form No. F071300A
Page 9 of 12
OPERATION continued
16
Never store engine indoors or in enclosed poorly ventilated
areas with fuel in tank, where fuel fumes may reach an open
flame, spark or pilot light, as on a furnace, water heater, clothes
dryer or other gas appliance.
If engine is to be unused for 30 days or more, prepare as
follows:
Be sure engine is cool. Do not smoke. Remove all
gasoline from carburetor and fuel tank to prevent gum deposits
from forming on these parts and causing possible malfunction of
engine. Drain fuel outdoors, into an approved container, away
from open flame. Run engine until fuel tank is empty and
engine runs out of gasoline.
Using three people to lift machine is recommended. Lift holding the
handle and front of deck. Secure in place during transport.
NOTE: Fuel stabilizer (such as Sta-Bil) is an acceptable
alternative in minimizing the formation of fuel gum deposits
during storage. Add stabilizer to gasoline in fuel tank or storage
container. Always follow mix ratio found on stabilizer container.
Run engine at least 10 min. after adding stabilizer to allow it to
reach the carburetor.
CAUTION: Wheels must be chocked or blocked
when unit is parked on a slope.
STORAGE
HANDLING & TRANSPORTING:
16.5
16.6
GROUND SPEED can be varied by selecting a higher or lower
gear using the gear shift lever at the rear of the machine(See
Fig. 2), or by changing the engine rpm. To shift the Brush
Cutter into reverse, release all controls and rotate the shift lever
to the left, when the lever stops lift it up and continue to turn it to
the left until it stops again.
Under most conditions cutting should be done in first or second
gear. Third gear should be reserved for conditions where
weeds and brush are thinned out or not as tall. The quality of
the cut produced is directly related to the unit's ground speed
during cutting. If the quality of the cut is not satisfactory (i.e.
material left standing) you should shift into a lower gear during
cutting. For improved control in confined areas, this machine
can be pushed forward or backward by releasing the operator's
clutch lever, placing the transaxle in neutral, and pushing the
machine.
This Brush Cutter is self-propelled, and is controlled by an
operator presence control. To engage the wheel drive, lift the
operator's right hand control lever against operator's handle. The
drive is disengaged by releasing this lever.(See Fig. 1.2)
16.3 PROPULSION
Fig. 2
R
1
N
32
Fig. 1.2
Handle
Lever
Lever Up
Engages
Clutch
SHIFT LEVER
890254
WARNING
900327
US DESIGN PATENT
NO: D386768
PART NO. 500279
16.4 CUTTING HEIGHT ADJUSTMENT
Cutting height can be adjusted to allow a 1” lower cutting
height. This is particularly useful for cutting grasses that lay
over when over grown. (i.e. Bermuda, Johnson, etc.)
Note: When cutting brush and normal field grasses it is
strongly recommended that you operate your brush cutter at the
standard (top) cutting height.

Part No. 500264 Form No. F071300A
When replacing one belt the other should be inspected for wear and
replaced if worn. It is good practice to change both belts when either
is worn beyond use. Use only original equipment belts for replace-
ment. Billy Goat uses only premium quality, kevlar corded and coated
belts in your unit. Substitute belts do not meet the design and
performance requirements for your unit , and will greatly reduce
machine performance and belt life.
Page 10 of 12
Use only a qualified mechanic for
any adjustments, disassembly or
any kind of repair .
WARNING: TO AVOID PERSONAL INJURY, ALWAYS
TURN MACHINE OFF, MAKE SURE ALL MOVING
PARTS COME TO A COMPLETE STOP.
17 MAINTENANCE
RECONNECT SPARK PLUG WIRE,
AND ALL GUARDS BEFORE START-
ING ENGINE.
DISCONNECT SPARK PLUG WIRE
BEFORE SERVICING UNIT.
Note: Blade, and drive belts are normal wear items.
These should be inspected on a regular basis and
replaced if worn.
BELT REPLACEMENT
17.2
BLADE REMOVAL / SHARPENING
17.1
ENGINE
When servicing engine refer to specific manufacturers engine
owner's manual. All engine warranty is covered by the specific
engine manufacturer. If your engine requires warranty or other
repair work contact your local servicing engine dealer. When
contacting a dealer for service it is a good idea to have your
engine model number available for reference(See table page 11).
If you can not locate a servicing dealer in your area you can
contact the manufacturers national service organization.
To reach:
Briggs & Stratton: 800-233-3723 Fax: 414-259-5249
American Honda: 770-497-6000 Fax: 770-497-6011
Blade Drive Belt
NOTE: When sharpening the blade it is a good idea to check
the balance of the blade. A properly balanced blade will
increase life of the bearings and other components.
Tools required: 5/8 inch socket, torque wrench, adequate
support.
1. Disconnect spark plug wire.
2. Support front of unit to allow access to the blade. Note: Unit
is heavy. Be sure support is adequate to prevent personal
injury.
3. Block the blade to prevent it from rotating during removal.
4. Remove the blade bolt (Item 139), lockwasher (140), and
large friction washer (54).
5. Remove the blade (50) and, replace or sharpen the blade.
NOTE: When replacing the blade use only B.G.I. Part no.
500210.
6.Replace the blade using all fasteners in the exact order
they were removed. Torque blade screw to 60 ft-lbs. NOTE:
Before installing the fasteners inspect them for wear and
replace as necessary.
Tools required: 1/2 inch socket, 1/2 inch universal extension bar, pry bar
or long screw driver, adequate support for machine.
1. Disconnect spark plug wire.
2. Support rear of unit to allow access to underside of the machine
towards the rear. Note: Unit is heavy. Be sure support is adequate to
prevent personal injury.
3. Remove the two screws (103) and washers (141) holding the engine
base door (7), and remove the door.
4. Loosen but do not remove the two nuts (116) holding the plate mount
idler (item 26) in place. This will release the tension on the blade drive
belt (29). NOTE: It may be necessary to apply some force to the pulley
to slide it over from it’s tight position and release the belt.
5. Working from the underside of the machine, loosen but do not
remove the four screws (103) holding the two belt guides(Items 149 &
150) in place next to the crankshaft drive pulley (9) at the rear of the
machine. This will loosen the belt guides(Items 149 & 150) and allow
them to move to the side. NOTE: This step requires the use of a
universal joint or universal extension bar to reach the screws(103)
holding the belt guide(149). If universal joint is not available you may
remove the “neutral stop bolt”(Item 115) and associated nuts (116 &
117) to allow the idler arm to swing back and allow access to the
screws(103) holding the belt guide(149).
Transaxle Drive Belt
Tools required: 1/2 inch socket, 1/2 inch universal extension bar, pry
bar or long screw driver, adequate support for machine.
1. Disconnect spark plug wire.
2. Support rear of unit to allow access to underside of the machine
towards the rear. Note: Unit is heavy. Be sure support is adequate to
prevent personal injury.
3. Loosen but do not remove the two nuts (116) holding the plate mount
idler (item 26) in place. This will release the tension on the blade drive
belt (29). NOTE: It may be necessary to apply some force to the pulley
to slide it over from it’s tight position and release the belt.
4. Working from the underside of the machine, loosen but do not
remove the four screws (103) holding the two belt guides(Items 149 &
150) in place next to the crankshaft drive pulley (9) at the rear of the
machine. This will loosen the belt guides(Items 149 & 150) and allow
them to move to the side. NOTE: This step requires the use of a
universal joint or universal extension bar to reach the screws(103)
holding the belt guide(149). If universal joint is not available you may
remove the “neutral stop bolt”(Item 115) and associated nuts (116 &
117) to allow the idler arm to swing back and allow access to the
screws(103) holding the belt guide(149).
5. With the guides loose slip the transaxle drive belt(Item 10) out of the
groove on the drive pulley and down past the pulley.
6. Slip the old belt(10) up and over the pulley on the transaxle (Item 9)
and remove belt from machine.
7. Install new belt in groove on transaxle pulley(Item 9) and slip into
groove on transaxle drive pulley(46).
8. Tighten four screws(103) to secure belt guides(149 & 150) in place.
Note: With clutch levers engaged, be sure belt guides do not touch
belts after installation.
9. Reconnect spark plug wire.

Part No. 500264 Form No. F071300A
Page 11 of 12
MAINTENANCE continued
17
Transaxle
Drive Belt
Blade Drive Belt
Fig. 3
Belt in top groove
of engine pulley Belt in bottom groove
of engine pulley
Engine (See Engine Manual)
Check for excessive vibration
Inspect for loose parts
Maintenance Operation
Follow these hourly
maintenance intervals.
Maintenance Schedule
Inspect for worn or damaged parts
Every
Use
Every 50
hrs
Every 5 hrs
or (Daily)
Every 25
hrs
Sharpen Blade
Inspect belts for wear
Replace blade and traction belts
Check blade clutch cable tension
MAINTENANCE HISTORY
Service Performed
Date of Service
Every
100-150 hrs
1. Disconnect spark plug wire.
2. Remove the two screws holding the engine base door (item 7),
and remove the door.
3. Examine the condition of the belt and note the position of the idler
assembly and the amount of tension on the blade belt.
3. Loosen the two nuts (Item 117) on top of the engine base, holding
the idler arm assembly (Item 26) in place .
4. Reset tension on belt by reaching in through top of engine base
with a long screwdriver or other pry bar and pushing the idler pulley
over against the belt to increase tension. While holding the belt
under tension tighten the two screws that hold the idler arm in place.
5. Replace engine base door and verify blade belt tension setting by
operating the unit in the conditions that caused it to slip
originally.NOTE: If belt continues to slip it may be worn out and
require replacement before proper operation can resume.
BLADE DRIVE BELT TENSION ADJUSTMENT
6. With the guides loose slip the blade drive belt(29) out of the
groove on the drive pulley and down past the pulley. Note: It is
necessary to remove the transaxle drive belt(10) from its groove to
allow removal of the blade drive belt.
7. Pull the belt back through the hole in the top of the engine base
and remove it from the machine. NOTE: Removal of the belt from the
blade drive pulley requires some force to walk the belt past the front
portion of the pulley.
8. Install new belt into groove on blade drive pulley. Push remaining
length of belt back through engine base toward clutch/brake drive
pulley.
9. Reach through from rear of machine and pull new belt through and
install it in the groove on the clutch/brake drive pulley. NOTE: Make
sure the blade belt is properly seated in the clutch/brake drive
pulley(Item 23) and not resting in the gap between the clutch/brake
pulley(23) and the transaxle drive pulley(46)
10. Tighten four screws to secure belt guides (item 149 & 150) in
place. NOTE: Be sure belt is correctly routed when replacing. (See
Fig. 3)
11. Set tension on belt by reaching in through top of engine base with
a long screwdriver or other pry bar and pushing the idler pulley over
against the belt to increase tension. While holding the belt under
tension tighten the two screws (107) that hold the idler arm in place.
Note: Proper belt tension can be verified by checking the tight side
(non-idler side)belt deflection. The belt should deflect 3/16”-1/4” with
force applied perpendicular to the belt after tensioning.
12. Replace engine base door (item 7) and tighten screws to hold it in
place
13. Reconnect spark plug.
Inspect battery for damage or leak
Check battery terminal for corrosion
STARTER SWITCH WIRING Lubricate throttle control cable and
linkage.

Part No. 500264 Form No. F071300A
Page 12 of 12
Purchased
from
Purchase
Date
Engine Service and Warranty
Contact your nearest engine manufacturer's authorized
servicing dealer.
22.1
21 Serial Plate Record your machine model, serial number and
date-of-purchase and where purchased
22
R
min-1
Operator
BILLY GOAT INDUSTRIES INC.
1803 S.W. JEFFERSON STREET LEE'S SUMMIT, MO 64082 / USA
PHONE: 816-524-9666 FAX: 816-524-6983 www.billygoat.com
WARRANTY PROCEDURE
Please fill in the WARRANTY CARD and send the upper part to Billy Goat.
The WARRANTY terms are stated on the lower part which remains with the
user. Whenever a Billy Goat Machine is faulty due to a defect in material
and / or workmanship, the owner should make a warranty claim as follows:
The Machine should be taken to the dealer from whom it was
purchased or to an authorized Billy Goat dealer.
The owner should present the remaining half of the Warranty
Registration Card, or, if this is not available, the invoice or receipt.
The Warranty Claim will be filled in by the authorized Billy Goat Dealer,
who will send it with the faulty part to Billy Goat headquarters.
The Quality / Service department at Billy Goat headquarters will study
the claim and parts and will notify their conclusions.
The decision by the Quality / Service department at Billy Goat
headquarters to approve or reject a Warranty claim is final and
binding.
Note: To process a Warranty Claim, it is necessary to quote the Model
& Serial number who are printed on the Billy Goat Serial Plate.
MAINTENANCE continued
17
L
A
p
82
L
A
Solution
Problem Possible Cause
Will not cut or has poor
cutting performance.
Unclog deck (see page 5). Sharpen blade.
Check engine RPM.(see page 11 for settings)
Dull Blade. Clogged deck. Excessive quantity of debris built up or
blocking blade. Engine RPM set too low.
Belt slips or smokes.
Operator's clutch lever not releasing clutch. Broken or out of
adjustment clutch cable. Worn or broken belt.
Belt tension too low . Belt worn or stretched. Pulleys worn or
damaged.
Abnormal vibration. Loose or out of balance blade or loose engine. Check blade and replace if required. Check Engine.
Increase tension at idler(see page 11). Replace belt. Replace
pulleys
Adjust clutch cable. Replace any worn, damaged or malfunctioning
parts.
TROUBLESHOOTING Before Requesting Service Review These Suggestions
20
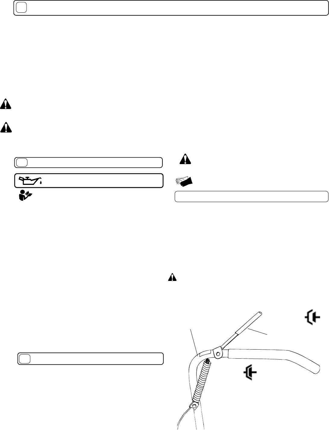
CLUTCH ADJUSTMENT
17.3
Clutch/Brake Adjustment:
As the clutch/brake wears, adjustments may be required to
maintain proper control cable tension, and clutch engagement.
If the clutch/brake begins slipping or squealing during normal
operation it may require an adjustment to increase the clutch
cable tension. A properly adjusted blade clutch should require a
minimum of 10 lbs. of force to completely depress the end of the
clutch lever.(See Fig. 4) Adjust by tightening or by loosening
clutch cable adjusting nut as required, located at the rear of the
engine base. When adjusting cable tension on blade control
cable be sure to leave slack in cable to allow for engagement of
blade brake. Replacement of cable or clutch/brake may be
necessary if adjustment will not allow for proper clutch and
brake engagement.
1803 S.W. Jefferson
Lee's Summit,
MO 64082 / USA
Tel (816) 524-9666
Fax (816) 524-6983
Model Serial No.
Unit(Weight) Engine Power
lbs. kg kW rpm
WARNING: If the clutch begins to squeal or slip, do not
continue to operate your unit until adequate adjustment or repair
has been performed.
Improper adjustment can cause clutch to slip and overheat,
greatly reducing machine performance and clutch life.
MOVE ADJUSTER OUT TO
INCREASE CABLE TENSION
MOVE ADJUSTER IN TO
DECREASE CABLE
TENSION
MINIMUM FORCE = 3 LBS.
WHEN FULLY DEPRESSED
Fig. 4
Remove debris (see page 5 ). Contact an engine servicing dealer
for engine problems.(see page 10)
Adjust clutch cable. See page 12 Clutch Adjustment.
Self propelled drive will not
release . Clutch cable out of adjustment.
Engine is locked, will not
pull over.
Debris locked against blade. Engine problem.
No self propelling.
Clutch slips or squeals. Clutch cable tension too low . Clutch worn or damaged. Increase clutch cable tension (see above). Replace clutch/brake
Blade brake will not engage. Inadequate slack in clutch cable . Clutch worn or damaged. Adjust or replace cable (see above). Replace clutch/brake
The engine will not stop
The engine will not start
Damaged stop switch. Stop switch wire is disconnected. Stop switch
wire is worn or damaged.
Stop switch is off. Throttle is not in ON position. Out of gasoline. Bad
or old gasoline. Spark plug wire disconnected. Dirty air cleaner.
Replace stop switch. Connect stop switch wire. Replace stop switch
wire.
Check switch, throttle, & gasoline. Check for spark with an approved
tester. Clean or replace air cleaner. Contact service dealer.
Starter does not turn
(Electric start unit only)
Battery is too low or dead. Battery cable is disconnected or battery
terminal is corroded. Bad starter switch or wire harness. Bad starter.
Charge battery or replace with a new one. Clean battery terminals.
Replace starter switch. Replace Wire harness. Contact service dealer.