Biostar Tz75A Owners Manual IZ77B AHT & IZ75C AHT_120410
2014-07-31
: Biostar Biostar-Tz75A-Owners-Manual biostar-tz75a-owners-manual biostar pdf
Open the PDF directly: View PDF
.
Page Count: 65

TZ77A/TZ75A Setup Manual
FCC Information and Copyright
This equipment has been tested and found to comply with the limits of a Class
B digital device, pursuant to Part 15 of the FCC Rules. These limits are designed
to provide reasonable protection against harmful interference in a residential
installation. This equipment generates, uses, and can radiate radio frequency
energy and, if not installed and used in accordance with the instructions, may
cause harmful interference to radio communications. There is no guarantee
that interference will not occur in a particular installation.
The vendor makes no representations or warranties with respect to the
contents here and specially disclaims any implied warranties of merchantability
or fitness for any purpose. Further the vendor reserves the right to revise this
publication and to make changes to the contents here without obligation to
notify any party beforehand.
Duplication of this publication, in part or in whole, is not allowed without first
obtaining the vendor’s approval in writing.
The content of this user’s manual is subject to be changed without notice and
we will not be responsible for any mistakes found in this user’s manual. All the
brand and product names are trademarks of their respective companies.
Dichiarazione di conformità
sintetica
Ai sensi dell’art. 2 comma 3 del D.M.
275 del 30/10/2002
Si dichiara che questo prodotto è
conforme alle normative vigenti e
soddisfa i requisiti essenziali richiesti
dalle direttive
2004/108/CE, 2006/95/CE e
1999/05/CE
quando ad esso applicabili
Short Declaration of conf ormity
We declare this product is complying
with the laws in force and meeting all
the essential requirements as specified
by the directives
2004/108/CE, 2006/95/CE and
1999/05/CE
whenever these laws may be applied

Table of Contents
Chapter 1: Introduction ........................................ 1
1.1 Before You Start......................................................................................... 1
1.2 Package Checklist..................................................................................... 1
1.3 Motherboard Features.............................................................................. 2
1.4 Rear Panel Connectors.............................................................................. 4
1.5 Motherboard Layout................................................................................. 5
Chapter 2: Hardware Installation .......................... 6
2.1 Installing Central Processing Unit (CPU) ............................................... 6
2.2 FAN Headers .............................................................................................. 8
2.3 Installing System Memory ........................................................................ 9
2.4 Connectors and Slots................................................................................ 11
Chapter 3: Headers & Jumpers Setup .................. 15
3.1 How to Setup Jumpers............................................................................. 15
3.2 Detail Settings.......................................................................................... 15
Chapter 4: RAID / AHCI Functions....................... 20
4.1 Operating System.................................................................................... 20
4.2 Raid Arrays............................................................................................... 21
4.3 How RAID Works..................................................................................... 22
4.4 Smart Response Technology................................................................... 26
Chapter 5: T-Series UEFI BIOS & Software........... 27
5.1 T-Series UEFI BIOS ................................................................................... 27
5.2 T-Series Software...................................................................................... 30
Chapter 6: Useful Help ........................................ 40
6.1 Driver Installation Note.......................................................................... 40
6.2 Extra Information.................................................................................... 41
6.3 AMI BIOS Post Code................................................................................. 42
6.4 Troubleshooting....................................................................................... 44
Appendix: SPEC In Other Languages ................... 46
German.................................................................................................................. 46
French .................................................................................................................... 48
Italian..................................................................................................................... 50
Spanish ................................................................................................................... 52
Portuguese ............................................................................................................ 54
Polish...................................................................................................................... 56
Russian ................................................................................................................... 58
Arabic..................................................................................................................... 60
Japanese ................................................................................................................ 62

TZ77A/TZ75A
1
CHAPTER 1: INTRODUCTION
1.1 BEFORE YOU START
Thank you for choosing our product. Before you start installing the
motherboard, please make sure you follow the instructions below:
Prepare a dry and stable working environment with
sufficient lighting.
Always disconnect the computer from power outlet
before operation.
Before you take the motherboard out from anti-static
bag, ground yourself properly by touching any safely
grounded appliance, or use grounded wrist strap to
remove the static charge.
Avoid touching the components on motherboard or the
rear side of the board unless necessary. Hold the board
on the edge, do not try to bend or flex the board.
Do not leave any unfastened small parts inside the
case after installation. Loose parts will cause short
circuits which may damage the equipment.
Keep the computer from dangerous area, such as heat
source, humid air and water.
The operating temperatures of the computer should be
0 to 45 degrees Celsius.
1.2 PACKAGE CHECKLIST
Serial ATA Cable X 4
Rear I/O Panel for ATX Case X 1
User’s Manual X 1
Fully Setup Driver DVD X 1
Note: The package contents may be different due to area or your motherboard version.

Motherboard Manual
2
1.3 MOTHERBOARD FEATURES
SPEC
CPU
Socket 1155
Intel Core i7 / i5 / i3 / Pent ium / C ele ron
processor
Supports Execute Disable B it / Enhanced Intel
SpeedStep® / Intel Architecture-64 / Extended
Memory 64 Technology / Virtualization Technology /
Hyp er Thread ing
Chipset
Intel Z77 (TZ77A)
Intel Z75 (TZ75A)
Super I/O
IT8728
Provides the most commonly used legacy
Super I/O functionality.
Low Pin Count Interface
Environment Control in it iatives,
Hardware Monitor Controller
Fan Speed Contro ller
ITE's "S mart Guardian " function
Main
Memory
DDR3 DIMM Slots x 4
Max Memory Capacity 32GB
Each DIMM supports 512MB/
1GB/2GB/4GB/8GB DDR3
Dual Channel Mode DDR3 memory modu le
Supports DDR3 1066 / 1333
Supports DDR3 1600 / 1866 (OC) / 2133 (OC)
Registered D IMM and ECC DIMM is not supported
SATA 2 & 3 Integrated Serial ATA Controller
Data transfer rates up to 3.0 Gb/s / 6.0 Gb/s.
SATA Version 2.0 / 3.0 specification compliant
RAID 0,1,5,10, SRT (TZ77A) support
LAN Realtek RTL 8111E
10 / 100 Mb/s / 1Gb/s auto negotiation
Half / Full duplex capability
Sound
Codec ALC892
7.1 channels audio out
High Definition Audio
USB3.0 Z77 (TZ77A) / Z75 (TZ75A) Data transfer rates up to 600 MB/s
PCI slot x2 Supports PCI expansion cards
PCI Express Gen3 x 16 slot
(Depending on CPU) x1
Supports PCI-E Gen3 x16 expansion card
PCI Express Gen2 x 16 slot(x4) x1 Supports PCI-E Gen2 x16 expansion card
Slots
PCI Express Gen2 x 1 slot x2 Supports PCI-E Gen2 x1 expansion cards

TZ77A/TZ75A
3
SPEC
SATA3 Connector x2 Each connector supports 1 SATA3 devices
SATA2 Connector x4 Each connector supports 1 SATA2 devices
Front Panel Connector x1 Supports front panel facilities
Front Audio Connector x1 Supports front panel audio function
CPU Fan Header x1 CPU Fan power supply (with Smart Fan function)
System Fan Header x2 System Fan Power supply
Clear CMOS Header x1 Restore CMOS dat a to factory default
USB2.0 Connector x2 Each connector supports 2 front panel USB2.0 ports
USB3.0 Connector x1 Each connector supports 2 front panel USB3.0 ports
Consumer IR Connector x1 Supports infrared function
Serial Port Connector x1 Connects to RS-232 Port
S/PDIF out Connector x1 Supports digital audio out function
Power Connector (24pin) x1 Connects to Power supply
On Board
Connectors
Power Connector (8pin) x1 Connects to Power supply
Back Panel
I/O
PS/2 Keyboard x1
HDMI Port x1
VGA Port x1
DVI Port x1
LAN port x1
USB2.0 Port x4
USB3.0 Port x2
Audio Jack x6
Connects to PS/2 Keyboard
Connects to HDMI cable
Connect to D-SUB monitor
Connect to DVI monitor
Connect to RJ-45 ethernet cable
Connect to USB2.0 devices
Connect to USB3.0 devices
Provide Audio-In/Out and Mic. connection
Board Size 244 (W) x 305 (L) mm ATX
OS Support
Windows XP / Vista / 7
Biostar reserves the right to add or remove support
for any OS with or without notice

Motherboard Manual
4
1.4 REAR PANEL CONNECTORS
Line In
Line Out
Mic In
Cen ter
Rear
Side
US B3. 0X2 USB2.0X 2
LAN
HDMI
VGA
DV I- D
PS/2
Keyboard
US B2 .0 X 2
NOTE: USB3.0 ports (only supported by Windows 7) are backward compatible with
USB2.0/USB1.X de vices.
NOTE: Maximum resolution:
HDMI: 1920 x 1200 @60Hz, compliant with HDMI 1.4a
DVI: 1920 x 1200 @60Hz
VGA: 2048 x 1536 @75Hz
NOTE: This motherboard supports dual video output:
Display Devices VGA DVI-D HDMI
VGA X A A
DVI-D A X S1, C, E
HDMI A S1, C, E X
z A = Single Pipe Single Display, Intel® Dual Display Clone (Only
24-bpp), or Extended Desktop Mode
z C = Clone Mode
z E = Extended Desktop Mode
z S
1 = Single Pipe Single Display With One Display Device
Disabled
z X = Unsupported / Note Applicable

TZ77A/TZ75A
5
1.5 MOTHERBOARD LAYOUT
USB_KBMS1
HDMI1 DVI 1
VGA1
USB3_0
RJ45USB1
AUDIO1
ATXPWR2
PEX16_1
PEX16_2
PEX1_1
PCI1
PCI2
PEX1_2
LA N
CODEC
F_AUDIO1
JSPDIFOUT1
CIR1
SYS_FAN1 J_COM1 F_USB1 F_U SB 2 SW_RST1
SW_PWR1
PAN E L1
JFRONT _U SB3_1
JCMOS1
SATA3SATA5
SATA4SATA6
SATA2SATA1
Super
I/O
BAT1
Intel
Z77/
Z75
DDR3_A1
DDR3_A2
DB2DR3_
DDR3_B1
CPU_FAN1
Socket 1155
CPU1
BIOS
SYS_FAN2
ATXPWR1
Note: represents the 1■st pin.

Motherboard Manual
6
CHAPTER 2: HARDWARE INSTALLATION
2.1 INSTALLING CENTRAL PROCESSING UNIT (CPU)
Notice:
1. Remove Pin Cap before installation, and make good preservation for future use.
When the CPU is removed, cover the Pin Cap on the empty socket to ensure pin
legs won’t be damaged.
2. The motherboard might equip with two different types of pin cap. Please refer
below instruction to remove the pin cap.
Step 1: Pull the socket locking lever out from the socket and then raise
the lever up.
Step 2: Remove the Pin Cap.

TZ77A/TZ75A
7
Step 3: Hold processor with your thumb and index fingers, oriented as
shown. Align the notches with the socket. Lower the processor
straight down without tilting or sliding the processor in the socket.
Step 4: Hold the CPU down firmly, and then lower the lever to locked
position to complete the installation.
Step 5: Put the CPU Fan and heatsink assembly on the CPU and buckle it
on the retention frame. Connect the CPU FAN power cable into
the CPU_FAN1 to complete the installation.

Motherboard Manual
8
2.2 FAN HEADERS
These fan headers support cooling-fans built in the computer. The fan
cable and connector may be different according to the fan manufacturer.
Connect the fan cable to the connector while matching the black wire to
pin#1.
CPU_FAN1: CPU Fan Header
Pin
Assignment
1 Ground
2 +12V
3 FAN RPM rate
sense
41
4 Smart Fan
Control
SYS_FAN1/SYS_FAN2: System Fan Headers
Pin
Assignment
1 Ground
2 +12V
13
SYS_FAN2
SYS_FAN1
3
1
3 FAN RPM rate
sense
Note:
The SYS_FAN1/SYS_FAN2 support 3-pin head connectors; the CPU_FAN1 supports
4-pin head connector. When connecting with wires onto connectors, please note that the
red wire is the positive and should be connected to pin#2, and the black wire is Ground
and should be connected to GND.

TZ77A/TZ75A
9
2.3 INSTALLING SYSTEM MEMORY
A. Memory Modules
DDR3_A1
DDR3_B1
DDR3_A2
DDR3_B2
1. Unlock a DIMM slot by pressing the retaining clips outward. Align a
DIMM on the slot such that the notch on the DIMM matches the
break on the Slot.
2. Insert the DIMM vertically and firmly into the slot until the retaining
chip snap back in place and the DIMM is properly seated.
Note:
If the DIMM does not go in smoothly, do not force it. Pull it all the way out and try again.

Motherboard Manual
10
B. Memory Capacity
DIMM Socket
Location DDR3 Module Total Mem ory
Size
DDR3_A1 512MB/1GB/2GB/4GB/8GB
DDR3_A2 512MB/1GB/2GB/4GB/8GB
DDR3_B1 512MB/1GB/2GB/4GB/8GB
DDR3_B2 512MB/1GB/2GB/4GB/8GB
Max is 32GB.
C. Dual Channel Memory Installation
Please refer to the following requirements to activate Dual Channel function:
Install memory module of the same density in pairs, shown in the table.
Dual Channel Status DDR3_A1 DDR3_A2 DDR3_B1 DDR3_B2
Enabled O X O X
Enabled X O X O
Enabled O O O O
Enabled O X X O
Enabled X O O X
(O means memory installed, X means memory not installed.)
The DRAM bus width of the memory module must be the same (x8 or
x16)

TZ77A/TZ75A
11
2.4 CONNECTORS AND SLOTS
SATA1/SATA2: Serial ATA3.0 Connectors
The motherboard has a PCI to SATA Controller with 2 channels SATA interface,
it satisfies the SATA 3.0 spec and with transfer rate of 6.0Gb/s.
Pin
Assignment
1 Ground
2 TX+
3 TX-
4 Ground
5 RX-
6 RX+
1
4
7
SATA 1 S ATA 2
7 Ground
SATA3 ~ 6: Serial ATA2.0 Connectors
The motherboard has a PCI to SATA Controller with 4 channels SATA2 interface,
it satisfies the SATA 2.0 spec and with transfer rate of 3.0Gb/s.
Pin
Assignment
1 Ground
2 TX+
3 TX-
4 Ground
5 RX-
6 RX+
1
4
7
SATA 6 S ATA 4
SATA5 SATA 3
7 Ground

Motherboard Manual
12
PEX16_1: PCI-Express Gen3 x16 Slot
- PCI-Express 3.0 compliant.
- Maximum theoretical realized bandwidth of 16GB/s simultaneously per
direction, for an aggregate of 32GB/s totally.
- PCI-E 3.0 is supported by Core i7-3xxx / i5-3xxx CPU.
PEX16_2: PCI-Express Gen2 x4 Slot
- PCI-Express 2.0 compliant.
- Maximum theoretical realized bandwidth of 2GB/s simultaneously per
direction, for an aggregate of 4GB/s totally.
PEX1_1/PEX1_2: PCI-Express Gen2 x1 Slot
- PCI-Express 2.0 compliant.
- Data transfer bandwidth up to 500MB/s per direction; 1GB/s in total.
PEX16_1
PEX1_1
PEX16_2
PEX1_2

TZ77A/TZ75A
13
PCI1/PCI2: Peripheral Component Interconnect Slots
This motherboard is equipped with 2 standard PCI slots. PCI stands for
Peripheral Component Interconnect, and it is a bus standard for expansion
cards. This PCI slot is designated as 32 bits.
PCI2
PCI1
ATXPWR2: ATX Power Source Connectors
These connectors provide +12V to CPU power circuit. If the CPU power plug is
4-pin, please plug it into Pin 1-2-5-6 of ATXPWR2.
Pin
Assignment
1 +12V
2 +12V
3 +12V
4 +12V
5 Ground
6 Ground
7 Ground
1
48
5
8 Ground
Note:
When system is overclocked, it is recommended to plug in both ATXPWR2 for stability.

Motherboard Manual
14
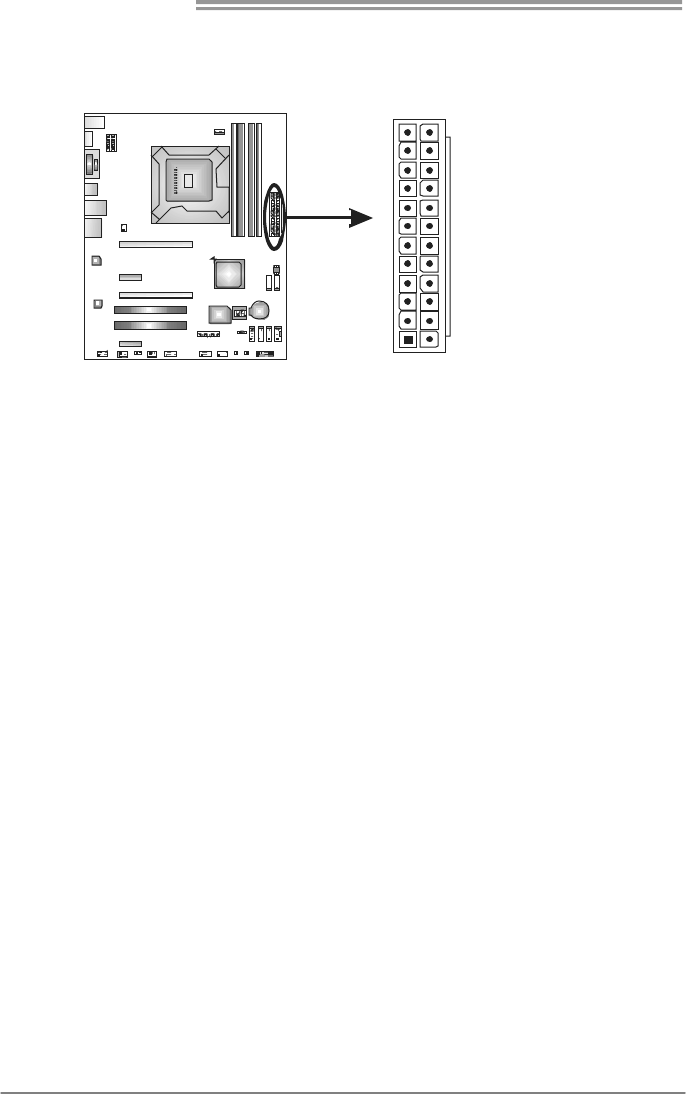
ATXPWR1: ATX Power Source Connector
This connector allows user to connect 24-pin power connector on the ATX
power supply.
1
12
13
24
Pin Assignment Pin Assignment
13 +3.3V 1 +3.3V
14 -12V 2 +3.3V
15 Ground 3 Ground
16 PS_ON 4 +5V
17 Ground 5 Ground
18 Ground 6 +5V
19 Ground 7 Ground
20 NC 8 PW_OK
21 +5V 9 Standby Voltage+5V
22 +5V 10 +12V
23 +5V 11 +12V
24 Ground 12 +3.3V
Note:
Before you power on the system, please make sure that ATXPWR1 and ATXPWR2
connectors have been well plugged-in.

TZ77A/TZ75A
15
CHAPTER 3: HEADERS & JUMPERS SETUP
3.1 HOW TO SETUP JUMPERS
The illustration shows how to set up jumpers. When the jumper cap is
placed on pins, the jumper is “close”, if not, that means the jumper is
“open”.
Pin opened Pin closed Pin1-2 closed
3.2 DETAIL SETTINGS
PANEL1: Front Panel Header
This 16-pin connector includes Power-on, Reset, HDD LED, Power LED, and
speaker connection. It allows user to connect the PC case’s front panel switch
functions.
1
9
8
16
POW _LED
On/Off
RST
HLED
SPK
++
+
-
-
Pin Assignment Function Pin Assignment Function
1 +5V 9 N/A
2 N/A 10 N/A N/A
3 N/A 1 1 N/A N/A
4 Speaker
Speaker
Connector
12 Power LED (+)
5 HDD LED (+) 13 Power LED (+)
6 HDD LED (-)
Hard drive
LED 14 Power LED (-)
Power LED
7 Ground 15 Power button
8 Reset control Reset button 16 Ground Power-on button

Motherboard Manual
16
F_USB1/F_USB2: Headers for USB 2.0 Ports at Front Panel
These headers allow user to connect additional USB cable on the PC front panel,
and also can be connected with internal USB devices, like USB card reader.
Pin
Assignment
1 +5V (fused)
2 +5V (fused)
3 USB-
4 USB-
5 USB+
6 USB+
7 Ground
8 Ground
9 Key
1
2
9
10
F_ USB2USB1 F_
10 NC
JFRONT_USB3_1: Header for USB 3.0 Ports at Front Panel
This header allows user to connect additional USB cable on the PC front panel,
and also can be connected with internal USB devices, like USB card reader.
1
20 11
10
Pin Assignment Pin Assignment
1 VBUS0 11 D2+
2 SSRX1- 12 D2-
3 SSRX1+ 13 Ground
4 Ground 14 SSTX2+
5 SSTX1- 15 SSTX2-
6 SSTX1+ 16 Ground
7 Ground 17 SSRX2+
8 D1- 18 SSRX2-
9 D1+ 19 VBUS1
10 ID 20 Key
NOTE: USB3.0 is only supported by Windows 7.

TZ77A/TZ75A
17
F_AUDIO1: Front Panel Audio Header
This header allows user to connect the front audio output cable with the PC front
panel. This header supports HD and AC’97 audio front panel connector.
Pin
Assignment
1 Mic Left in
2 Ground
3 Mic Right in
4 GPIO
5 Right line in
6 Jack Sense
7 Front Sense
8 Key
9 Left line in
1
2
9
10
10 Jack Sense
JSPDIFOUT1: Digital Audio-out Connector
This connector allows user to connect the PCI bracket SPDIF output header.
Pin
Assignment
1 +5V
2 SPDIF_OUT
31
3 Ground
CIR1: Consumer IR Connector
This header is for infrared remote control and communication.
Pin Assignment
1 IrDA serial input
2 Ground
3 Ground
4 Key
5 IrDA serial output
6 IR Power
1
2
5
6

Motherboard Manual
18
JCMOS1: Clear CMOS Header
Placing the jumper on pin2-3 allows user to restore the BIOS safe setting and
the CMOS data. Please carefully follow the procedures to avoid damaging the
motherboard.
13
Pin 1-2 Close:
Normal Operation (default).
13
13
Pin 2-3 Close:
Clear CMOS data.
※ Clear CMOS Procedures:
1. Remove AC power line.
2. Set the jumper to “Pin 2-3 close”.
3. Wait for five seconds.
4. Set the jumper to “Pin 1-2 close”.
5. Power on the AC.
6. Reset your desired password or clear the CMOS data.
J_COM1: Serial Port Connector
The motherboard has a Serial Port Connector for connecting RS-232 Port.
Pin
Assignment
1 Carrier detect
2 Received data
3 Transmitted data
4 Data terminal ready
5 Signal ground
6 Data set ready
7 Request to send
8 Clear to send
9 Ring indicator
19
210
10 NC

TZ77A/TZ75A
19
BIOS POST Code/CPU Temperature Indicator
This indicator will show POST code while booting. After the booting sequence,
it will show current CPU temperature through hexadecimal figure. Please
refer to Chapter 6.3 for all the BIOS POST codes.
On-Board Buttons
There are 2 on-board buttons.
SW_RST1
SW_PWR1
SW_RST1: Reset button.
SW_PWR1: Power Switch button.

Motherboard Manual
20
CHAPTER 4: RAID / AHCI FUNCTIONS
4.1 OPERATING SYSTEM
CHIP
SATA
Controller
Configuration
Supporting OS
Intel Z77 / Z75
SATA1/SATA2/
SATA3/SATA4/
SATA5/SATA6
AHCI Windows XP SP2 (32 and 64 bit)
Windows Vista SP2 (32 and 64 bit)
Windows 7 (32 and 64 bit)
Intel Z77 / Z75
SATA1/SATA2/
SATA3/SATA4/
SATA5/SATA6
RAID Windows XP SP2 (32 and 64 bit)
Windows Vista SP2 (32 and 64 bit)
Windows 7 (32 and 64 bit)
The 'F6 Method'+ to enable RAID / AHCI Driver when installing Windows XP
1. Before you start Windows installation, copy the proper files for the Windows
version on USB floppy.
Windows XP 32 Windows XP 64
SATA1/SATA2/
SATA3/SATA4/
SATA5/SATA6
AHCI/RAID Driver
Path
x:\Driver\Chipset\Intel\SATA\7
\F6flpy32\Driver\
x:\Driver\Chipset\Intel\SATA\7
\F6flpy64\Driver\
2. When the operating system installation starts, follow Windows indication by
pressing F6 to load the driver.

TZ77A/TZ75A
21
Enable RAID / AHCI Driver when installing Windows 7/Vista
1. Before you start Windows installation, copy the proper files for the Windows
version to any USB storage.
Windows 7 32 Windows 7 64 Windows Vista 32 Windows Vista 64
SATA1/SATA2/
SATA3/SATA4/
SATA5/SATA6
AHCI/RAID
Driver Path
x:\Driver\Chipset\
Intel\SATA\7\F6flpy
32\Driver\
x:\Driver\Chipset\
Intel\SATA\7\F6flpy
64\Driver\
x:\Driver\Chipset\
Intel\SATA\7\F6flpy
32\Driver\
x:\Driver\Chipset\
Intel\SATA\7\F6flpy
64\Driver\
2. Follow Windows 7 / Vista indication to load the driver in the installation process.
4.2 RAID ARRAYS
CONNECTOR BY CHIP SPEED Support
SATA1/SATA2 Intel Z77 / Z75 6 Gb/s. RAID 0 / 1 / 5 / 10
SATA3/SATA4/SATA5/SATA6 Intel Z77 / Z75 3 Gb/s. RAID 0 / 1 / 5 / 10
RAID supports the following types of RAID arrays:
RAID 0: RAID 0 defines a disk striping scheme that improves disk read and write
times for many applications.
RAID 1: RAID 1 defines techniques for mirroring data.
RAID 10: RAID 10 combines the techniques used in RAID 0 and RAID 1.
RAID 5: RAID 5 provides fault tolerance and better utilization of disk capacity.

Motherboard Manual
22
4.3 HOW RAID WORKS
RAID 0:
The controller “stripes” data across multiple drives in a RAID 0 array system. It breaks
up a large file into smaller blocks and performs disk reads and writes across multip le
drives in parallel. The size of each block is determined by the stripe size parameter,
which you set during the creation of the RAID set based on the system environment. This
technique reduces overall disk access time and offers high bandwidth.
Features and Benefits
Drives: Minimum 2, and maximum is up to 6 or 8. Depending on the
platform.
Uses: Intended for non-critical data requiring high data throughput, or any
environment that does not require fault tolerance.
Benefits: provides increased data throughput, especially for large files. No
capacity loss penalty for parity.
Drawbacks: Does not deliver any fault tolerance. If any drive in the array
fails, all data is lost.
Fault Tolerance: No.
Block 1
Block 3
Block 5
Block 2
Block 4
Block 6

TZ77A/TZ75A
23
RAID 1:
Every read and write is actually carried out in parallel across 2 disk drives in a RAID 1
array system. The mirrored (backup) copy of the data can reside on the same disk or on a
second redundant drive in the array. RAID 1 provides a hot-standby copy of data if the
active volume or drive is corrupted or becomes unavailable because of a hardware failure.
RAID techniques can be applied for high-availability solutions, or as a form of automatic
backup that eliminates tedious manual backups to more expensive and less reliable
media.
Features and Benefits
Drives: Minimum 2, and maximum is 2.
Uses: RAID 1 is ideal for small databases or any other application that
requires fault tolerance and minimal capacity.
Benefits: Provides 100% data redundancy. Should one drive fail, the
controller switches to the other drive.
Drawbacks: Requires 2 drives for the storage space of one drive.
Performance is impaired during drive rebuilds.
Fault Tolerance: Ye s .
Block 1
Block 2
Block 3
Block 1
Block 2
Block 3

Motherboard Manual
24
RAID 10:
RAID 1 drives can be stripped using RAID 0 techniques. Resulting in a RAID 10
solution for improved resiliency, performance and rebuild performance.
Features and Benefits
Drives: Minimum 4, and maximum is 6 or 8, depending on the platform.
Benefits: Optimizes for both fault tolerance and performance, allowing for
automatic redundancy. May be simultaneously used with other RAID levels
in an array, and allows for spare disks.
Drawbacks: Requires twice the available disk space for data redundancy,
the same as RAID level 1.
Fault Tolerance: Ye s .
Block 1
Block 3
Block 5
Block 2
Block 4
Block 6
Block 1
Block 3
Block 5
Block 2
Block 4
Block 6

TZ77A/TZ75A
25
RAID 5:
RAID 5 stripes both data and parity information across three or more drives. It writes
data and parity blocks across all the drives in the array. Fault tolerance is maintained by
ensuring that the parity information for any given block of data is placed on a different
drive from those used to store the data itself.
Features and Benefits
Drives: Mini mum 3.
Uses: RAID 5 is recommended for transaction processing and general
purpose service.
Benefits: An ideal combination of good performance, good fault tolerance,
and high capacity and storage efficiency.
Drawbacks: Individual block data transfer rate same as a single disk. Write
performance can be CPU intensive.
Fault Tolerance: Yes.
Disk 1
DATA 3
PA R IT Y
DATA 7
DATA 1
DATA 9
PA R IT Y
Disk 2
PA R IT Y
DATA 5
DATA 8
DATA 2
PA R IT Y
DATA 11
Disk 3
DATA 4
DATA 6
PA R IT Y
PA R IT Y
DATA 10
DATA 12

Motherboard Manual
26
4.4 SMART RESPONSE TECHNOLOGY
With Intel(R) Smart Response Technology, the performance of RAID with an Intel
SSD drive can be improved better. This function is only for TZ77A.
Installing Smart Response Technology
1. Install RAID drives (RAID 0, 1, 5) and an Intel SSD.
2. Activate RAID mode from BIOS, and install operating system.
3. Insert the Setup DVD to the optical drive, and Install all drivers (including
Intel(R) Smart Response Technology Driver). After all processes finish,
reboot the system.
4. Intel(R) SRT service icon will show in notification area. Double click it to
open the main windows.
5. Select “Accelerate” page, and make sure the status of accelerated device
has been enabled accelerated.

TZ77A/TZ75A
27
CHAPTER 5: T-SERIES UEFI BIOS & SOFTWARE
5.1 T-SERIES UEFI
BIOS
T-Series UEFI BIOS Features
Overclocking Navigator Engine (O.N.E.)
Self Recovery System (S.R.S)
Smart Fan Function
BIO-Flasher: Update UEFI BIOS file from USB Flash Drive
A. Overclocking Navigator Engine (O.N.E.)
O.N.E provides 4 systems allowing users to customize personal overclock
settings: Manual CPU System, Manual Memory System, Manual PWM
System, and Manual Voltage System.
Notice:
Not all types of Intel CPU perform above overclock setting ideally; the difference will be based on the
selected CPU model.
!! WARNING !!
For better system performance, the UEFI BIOS firmware is being
continuously updated. The UEFI BIOS information described below
in this manual is for your reference only and the actual UEFI BIOS
information and settings on board may be different from this
manual. For further information of setting up the UEFI BIOS,
p
lease refer to the UEFI BIOS Manual in the Setu
p
D
V
D.

Motherboard Manual
28
B. Self Recovery System (S.R.S.)
This function can’t be seen under UEFI BIOS setup, and is always on whenever
the system starts up.
However, it can prevent system hang-up due to inappropriate overclock
actions.
When the system hangs up, S.R.S. will automatically log in the default UEFI
BIOS setting, and all overclock settings will be re-configured.
C. Smart Fan Function
Smart Fan Function is under “Smart Fan Control” in “Advanced Menu”.
This is a brilliant feature to control CPU/System Temperature vs. Fan speed.
When enabling Smart Fan function, Fan speed is controlled automatically by
CPU/System temperature.
This function will protect CPU/System from overheat problem and maintain the
system temperature at a safe level.
↓
NOTE
Overclock is an optional process, but not a “must-do” process; it is not
recommended for inexperienced users. Therefore, we will not be responsible
for any hardware damage which may be caused by overclocking. We also
would no t
g
uarantee an
y
overclockin
g
p
erformance.

TZ77A/TZ75A
29
CPU Smart FAN
This item allows you to control the CPU Smart Fan function.
CPU FAN Calibrate
Press [ENTER] to calibrate CPU FAN.
Control Mode
This item provides several operation modes of the fan.
Fan Ctrl OFF(℃)
When CPU temperature is lower than this value, the CPU fan will keep
lowest RPM. The range is from 0~127, with an interval of 1.
Fan Ctrl On(℃)
When CPU temperature is higher than this value, the CPU fan controller
will turn on. The range is from 0~127, with an interval of 1.
Fan Ctrl Start Value
This item sets CPU FAN Start Speed Value. The range is from 0~127, with
an interval of 1.
Fan Ctrl Sensitive
The bigger the numeral is, the higher the FAN speed is. The range is from
0~127, with an interval of 1.

Motherboard Manual
30
5.2 T-SERIES SOFTWARE
Installing T-Series Software
6. Insert the Setup DVD to the optical drive. The driver installation program
would appear if the Auto-run function has been enabled.
7. Select Software Installation, and then click on the respective software
title.
8. Follow the on-screen instructions to complete the installation.
Launching T-Series Software
After the installation process is completed, you will see the software icon
showing on the desktop. Double-click the icon to launch it.
TOverclocker
TOverclocker presents a simple Windows-based system performance
enhancement and manageability utility. It features several powerful and easy
to use tools such as Overclocking for enhancing system performance, also for
special enhancement on CPU and Memory. Smart-Fan management and PC
health are for monitoring system status. This utility also allows you to make
overclocking profiles saving unlimitedly, and pre-set OC modes are for easy
OC. (The illustration below is for reference only)

TZ77A/TZ75A
31
The CPU tab provides information on the CPU and motherboard.
The Memory tab provides information on the memory module(s).
You can select memory module on a specific slot to see its information.
The OC Tweaker tab allows you to change system clock settings and voltages
settings. It also provides six pre-set modes for you:

Motherboard Manual
32
3 Pre-set Modes: V6, V12, AUTO for different overclocking experience.
The HW Monitor tab allows you to monitor hardware voltage, fan speed, and
temperature. Besides, you also can set related values for CPU Smart Fan.

TZ77A/TZ75A
33
Pressing TOVERCLOCKER logo
displays information about
manufacturer and software version.
You can upd ate current version by
clicking the button “Live Update.”
Green Power II Utility
BIOSTAR G.P.U II (Green Power Utility) is a new function. The utility enhances
energy efficiency by disabling extra phases while CPU is on light loading; it
features 4+1 power phases, current power saving, and toal power saving. This
tool integrates a friendly GUI to monitor your CPU Usage, CPU Watt, and CPU
Temperature. Moreover, it optimizes power saving and best power efficiency
on your system. (The illustration below is for reference only)
Displa
y
manufacturer &
software version information
Display CPU
information
Reset Time &
C onsu m ption
Auto P hase Mode
Maxi-Energy Mode
Typical Mode
Medium Mode
Performance
Mode

Motherboard Manual
34
G.P.U Mode Setting
This utility provides five modes, upon your requirements, to improve
system performance or to save power consumption.
Note: Even if the modes saving more power consumption are chosen, the
system still can keep excellent performance.
Auto Phase Mode
System switches the mode automatically according to current system
loading condition.
Performance Mode
This is the mode saving power consumption most. Least energy will
be used in the system.
Typical Mode
Compared with that in Performance Mode, energy consumption in this
mode is a little bit more.
Medium Mode
This is the standard system power saving mode.
Maxi-Energy Mode
This is the best system performance mode.

TZ77A/TZ75A
35
eHot-Line (Optional)
eHot-Line is a convenient utility that helps you to contact with our
Tech-Support system. This utility will collect the system information which is
useful for analyzing the problem you may have encountered, and then send
these information to our tech-support department to help you fix the problem.
Before you use this utility, please set Outlook Express as your default e-mail client application program.
This block will show
the information which
would be collected in
the mail.
Provide the e-mail
address that you would
like to send the copy to.
Provide the name of
the power supply
manufacturer and the
model no.
Send the mail out.
Save these information to a .txt fil
e
Exit this dialog.
Select your area or
the area close to you.
*
Provide the name of
the memory module
manufactu rer.
*
Describe condition
of your system.
*
*
represents important
information that you
must provide. Withou t
this informat ion, you may
not be able to send out
the mail.
After filling up this information, click “Send”
to send the mail out. A warning dialog would
appear asking for your confirmation; click
“Send” to confirm or “Do Not Send” to cancel.
If you want to save this information to a .txt file, click “Save As…” and then you
will see a saving dialog appears asking you to enter file name.

Motherboard Manual
36
Enter the file name and then click
“Save”. Your system information
will be saved to a .txt file.
Open the saved .txt file, you will see
your system information including
motherboard/BIOS/CPU/video/
device/OS information. This
information is also concluded in the
sent mail.
We will not share customer’s data with any other third parties,
so please feel free to provide your system information while using
eHot-Line service.
If you are not using Outlook Express as your default e-mail client
application, you may need to save the system information to a .txt file
and send the file to our tech support with other e-mail application.

TZ77A/TZ75A
37
BIOS Update
BIOS Update is a convenient utility which allows you to update your
motherboard BIOS under Windows system.
Update BIOS
with a BIOS file
Clear CMOS function
(On ly for AWARD BIOS)
Show current BIOS information
Save cur rent BIOS
to a .bin file
AWARD BIOS AMI BIOS
<Backup BIOS>
Once click on this button, the saving
dialog will show. Choose the
position to save file and enter file
name. (We recommend that the file
name should be English/number
and no longer than 7 characters.)
Then click Save.

Motherboard Manual
38
<Update BIOS>
Before doing this, please download the proper BIOS file from the website.
For AWARD BIOS, update BIOS procedure
should be run with Clear CMOS function, so
please check on Clear CMOS first.
Then click Update BIOS button, a
dialog will show for asking you backup
current BIOS. Click Yes for BIOS
backup and refer to the Backup BIOS
procedure; or click No to skip this
procedure.
After the BIOS Backup procedure, the
open dialog will show for requesting the
BIOS file which is going to be updated.
Please choose the proper BIOS file for
updating, then click on Open.
The utility will update BIOS with the
proper BIOS file, and this process may
take minutes. Please do not open any
other applications during this process.
After the BIOS Update process, click on
OK to restart the system.
While the system boots up and the full screen logo shows, press <Delete>
key to enter BIOS setup.
In the BIOS setup, use the Load Optimized Defaults function and then Save and
Exit Setup to exit BIOS setup. BIOS Update is completed.
All the information and content above about the T-Series software are subject to be
changed without notice. For better performance, the software is being continuously
updated. The information and pictures described above are for your reference only.
The actual information and settings on board may be slightly different from this
manual.

TZ77A/TZ75A
39
BIOScreen Utility (Optional)
This utility allows you to personalize your boot logo easily. You can choose
JPG or BMP as your boot logo so as to customize your computer.
Please follow the following instructions to update boo logo:
1. Load Image:Choose the picture as the boot logo.
2. Transform:Transform the picture for BIOS and preview the result.
3. Update Bios:Write the picture to BIOS Memory to complete the update.

Motherboard Manual
40
CHAPTER 6: USEFUL HELP
6.1 DRIVER INSTALLATION NOTE
After you installed your operating system, please insert the Fully Setup
Driver DVD into your optical drive and install the driver for better system
performance.
You will see the following window after you insert the DVD
The setup guide will auto detect your motherboard and operating system.
Note:
If this window didn’t show up after you insert the Driver DVD, please use file browser to
locate and execute the file SETUP.EXE under your optical drive.
A. Driver Installation
To install the driver, please click on the Driver icon. The setup guide will
list the compatible driver for your motherboard and operating system.
Click on each device driver to launch the installation program.
B. Software Installation
To install the software, please click on the Software icon. The setup guide
will list the software available for your system, click on each software title
to launch the installation program.
C. Manual
Aside from the paperback manual, we also provide manual in the Driver
DVD. Click on the Manual icon to browse for available manual.
Note:
You will need Acrobat Reader to open the manual file. Please download the latest version
of Acrobat Reader software from
http://www.adobe.com/products/acrobat/readstep2.html

TZ77A/TZ75A
41
6.2 EXTRA INFORMATION
CPU Overheated
If the system shutdown automatically after power on system for
seconds, that means the CPU protection function has been activated.
When the CPU is over heated, the motherboard will shutdown
automatically to avoid a damage of the CPU, and the system may not
power on again.
In this case, please double check:
1. The CPU cooler surface is placed evenly with the CPU surface.
2. CPU fan is rotated normally.
3. CPU fan speed is fulfilling with the CPU speed.
After confirmed, please follow steps below to relief the CPU protection
function.
1. Remove the power cord from power supply for seconds.
2. Wait for seconds.
3. Plug in the power cord and boot up the system.
Or you can:
1. Clear the CMOS data.
(See “Close CMOS Header: JCMOS1” section)
2. Wait for seconds.
3. Power on the system again.

Motherboard Manual
42
6.3 AMI BIOS POST CODE
Checkpoint Description
03
Disable NMI, Parity, video for EGA, and DMA controllers. Initialize BIOS,
POST, Runtime da ta area. Also initiali ze B IOS modules on POST entry and
GPNV area. Initialized CMOS as mentioned in the Kernel Variable
"wCMOSFlags."
04
Check CMOS diagnostic byte to determine if battery power is OK and
CMOS checksum is OK. Verify CMOS checksum manually by reading
storage area. If the CMOS checksum is bad, update CMOS with power-on
default values and clear passwords. Initialize status register A.
Initializes data variables that are based on CMOS setup questions.
Initializes both the 8259 compatible PICs in the system
05 Initializes the interrupt controlling hardware (generally PIC) and interrupt
vector table.
06
Do R/W test to C H-2 count reg. Initiali ze CH-0 as system timer. Install the
POSTINT1Ch handler. E nable IRQ-0 in P IC for system timer interrupt.
Traps INT1Ch vector to "POSTINT1ChHandlerBlock."
07 Fixes CPU POST interface calling pointer.
08
Initializes the CPU. The BAT test is bei ng done o n KBC. Program the
keyboard controller command byte is being done after Auto detection of
KB/MS using AMI KB-5.
C0 Early CPU Init Start -- Disable Cache – Init Local APIC.
C1 Set up boot strap processor Information.
C2 Set up boot strap processor for POST.
C5 Enumerate and set up application processors.
C6 Re-enable cache for boot strap processor.
C7 Early CPU Init Exit.
0A Initializes the 8042 compatible Key Board Controller.
0B Detects the presence of PS/2 mouse.
0C Detects the presence of Keyboard in KBC port.
0E
Testing and initialization of different Input Devices. Also, update the Kernel
Variables.
Traps the INT09 h vector, so that the POST INT09 h ha nd ler ge ts control for
IRQ1. Uncompress all available language, BIOS logo, and Silent logo
modules.
13 Early POST initialization of chipset registers.
20 Relocate System Management Interrupt vector for all CPU in the system.
24 Uncompress and i nitialize a ny pla tform specific B IOS modules. GPNV is
initialized at this checkpoint.
2A Initializes different devices through DIM.
See DIM Code Checkpoints section of document for more information.
2C Initializes different devices. Detects and initializes the video adapter
installed in the system that have optional ROMs.
2E Initializes all the output devices.
31
Allocate memory for ADM module and uncompress it. Give control to ADM
module for initialization. Initialize language and font modules for ADM.
Activate ADM module.
33 Initializes the silent boot module. Set the window for displaying text
information.

TZ77A/TZ75A
43
Checkpoint Description
37 Displaying sign-on message, CPU information, setup key message, and any
OEM specific information.
38
Initializes different devices through DIM. See DIM Code Checkpoints section
of document for more information. USB controllers are initialized at this
point.
39 Initializes DMAC-1 & DMAC-2.
3A Initialize RTC date/time.
3B Test for total memory installed in the system. Also, Check for DEL or ESC
keys to limit memory test. Display total memory in the system.
3C Mid POST initialization of chipset registers.
40
Detect different devices (Parallel ports, serial ports, and coprocessor in
CPU, etc.) successfully installed in the system and update the BDA,
EBDA…etc.
52
Updates CMOS memory size from memory found in memory test. Allocates
memory for Extended BIOS Data Area from base memory. Programming the
memory hole or any kind of implementation that needs an adjustment in
system RAM size if needed.
60 Initializes NUM-LOCK status and programs the KBD typematic rate.
75 Initialize Int-13 and prepare for IPL detection.
78 Initializes IPL devices controlled by BIOS and option ROMs.
7C Generate and write conte nts of ESCD in NVRam.
84 Log errors encountered during POST.
85 Display errors to the user and gets the user response for error.
87 Execute BIOS setup if needed / requested. Check boot password if installed.
8C Late POST initialization of chipset registers.
8D Build ACPI tables (if ACPI is supported).
8E Program the peripheral parameters. Enable/Disable NMI as selected.
90 Initialization of system management interrupt by invoking all handlers.
Please note this checkpoint comes right after checkpoint 20h.
A1 Clean-up work needed before booting to OS.
A2
Takes care of runtime image preparation for different BIOS modules. Fill the
free area in F000h segment with 0FFh. Initializes the Microsoft IRQ Routin
g
Table. Prepares the runtime language module. Disables the system
configuration display if needed.
A4 Initialize runtime language module. Display boot option popup menu.
A7 Displays the system configuration screen if enabled. Initialize the CPU’s
before boot, which includes the programming of the MTRR’s.
A9 Wait for user input at config display if needed.
AA Uninstall POST INT1Ch vector and INT09h vector.
AB Prepare BBS for Int 19 boot. Init MP tables.
AC End of POST initialization of chipset registers. De-initializes the ADM
module.
B1 Save system context for ACPI. Prepare CPU for OS boot including final
MTRR values.
00 Passes control to OS Loader (typically INT19h).

Motherboard Manual
44
6.4 TROUBLESHOOTING
Probable Solution
1. There is no power in the system.
Power LED does not shine; the
fan of the power supply does not
work
2. Indicator light on keyboard does
not shine.
1. Make sure power cable is
securely plugged in.
2. Replace cable.
3. Contact technical support.
System is inoperative. Keyboard lights
are on, power indicator lights are lit,
and hard drives are running.
Using even pressure on both ends of
the DIMM, press down firmly until the
module snaps into place.
System does not boot from a hard disk
drive, but can be booted from optical
drive.
1. Check cable running from disk to
disk controller board. Make sure
both ends are securely plugged
in; check the drive type in the
standard CMOS setup.
2. Backing up the hard drive is
extremely important. All hard
disks are capable of breaking
down at any time.
System only boots from an optical
drive. Hard disks can be read,
applications can be used, but system
fails to boot from a hard disk.
1. Back up data and applications
files.
2. Reformat the hard drive.
Re-install applications and data
using backup disks.
Screen message shows “Invalid
Configuration” or “CMOS Failure.”
Review system’s equipment. Make sure
correct information is in setup.
System cannot boot after user installs a
second hard drive.
1. Set master/slave jumpers
correctly.
2. Run SETUP program and select
correct drive types. Call the drive
manufacturers for compatibility
with other drives.

TZ77A/TZ75A
45
This page is intentionally left blank.

Motherboard Manual
46
APPENDIX: SPEC IN OTHER LANGUAGES
GERMAN
Spezif ikationen
CPU
Socket 1155
Intel Core i7 / i5 / i3 / Pent ium / C ele ron
Prozessoren
Unterstützt Execute Disable Bit / Enhanced Intel
SpeedStep® / Intel Architecture-64 / Extended
Memory 64 Technology / Virtualization Technology /
Hyp er Thread ing
Chipsatz Intel Z77 (TZ77A)
Intel Z75 (TZ75A)
Super E/A
IT8728
Bietet die häufig verwendeten alten Sup er
E/A-Funktionen.
Low Pin Count-Schnittstelle
Umgebungskontrolle,
Hardware-Überwachung
Lüfterdrehzahl-Controller/-Überwachung
"Smart Guardian"-Funktion von ITE
Arbeitsspeich
er
DDR3 DIMM-Steckplätze x 4
Max. 32GB Arbeitsspeicher
Jeder DIMM unterstützt 512MB/
1GB/2GB/4GB/8GB DDR3.
Dual-Kanal DDR3 Speichermodul
Unterstützt DDR3 1066 / 1333
Unterstützt DDR3 1600 / 1866(OC) / 2133(OC)
registrierte DIMMs. ECC DIMMs werden nicht
unterstützt.
SATA 2 & 3 Integrierter Serial ATA-Controller
Datentransferrate bis zu 3.0Gb/s / 6.0Gb/s.
Konform mit der SATA-Spezifikation Version 2.0 / 3.0
Unterstützt RAID 0,1,5,10, SRT (TZ77A)
LAN Realtek RTL 8111E 10 / 100 / 1000 Mb/s Auto-Negotiation
Halb-/ Vollduplex-Funktion
HD
Audio-Unters
tützung
ALC892 Unterstützt High-Definition Audio
7.1-Kanal-Audioausgabe
USB3.0 Z77 (TZ77A) / Z75 (TZ75A) Datenübertragungsraten bis zu 600 MB / s
PCI-Steckplatz x2
PCI Express Gen3 x16 Steckplatz x1
PCI Express Gen2 x16 Steckplatz(x4) x1
Steckplätze
PCI Express Gen2 x 1-Steckplatz x2
SATA3-Anschluss x2 Jeder Anschluss unterstützt 1 SATA3-Laufwerk
SATA2-Anschluss x4 Jeder Anschluss unterstützt 1 SATA2-Laufwerk
Fronttafelanschluss x1 Unterstützt die Fronttafelfunktionen
Onboard-Ans
chluss
Front-Audioanschluss x1 Unterstützt die Fronttafel-Audioanschlussfunktion

TZ77A/TZ75A
47
Spezif ikationen
CPU-Lüfter-Sockel x1
CPU-Lüfterstromversorgungsanschluss (mit Smart
Fan-Funktio n )
System-Lüfter-Sockel x2 System-Lüfter-Stromversorgungsanschluss
"CMOS löschen"-Sockel x1
USB2.0-Anschluss x2 Jeder Anschluss unterstützt 2
Fronttafel-USB2.0-Anschlüs se
USB3.0-Anschluss x1 Jeder Anschluss unterstützt 2
Fronttafel-USB3.0-Anschlüs se
Verbraucher-IR Anschluss x1
Serieller Anschluss x1
S/PDIF Ausgangsanschluss x1 Unterstützt die digitale Audioausgabefunktion
Stromanschluss (24-polig) x1
Stromansch lus s (8-polig ) x1
Rückseiten-E
/A
PS/2-Tastatur x1
HDMI-Anschluss x1
VGA-Anschluss x1
DVI-Anschluss x1
LAN-Anschluss x1
USB2.0-Anschluss x4
USB3.0-Anschluss x2
Audioanschluss x6
Platinengröße
244 mm (B) X 305 mm (L) ATX
OS-Unterstüt
zung
Windows XP / Vista / 7
Biostar behält sich das Recht vor, ohne Ankündigung
die Unterstützung für ein Betriebssystem
hinzuzufügen oder zu entfernen.

Motherboard Manual
48
FRENCH
SPEC
UC
Socket 1155
Processeurs Intel Core i7 / i5 / i3 / Pent ium /
Celeron
Prend en charge les techno logies d'exécution de bit
de désactivation / Intel SpeedStep® optimisée/
d'archit ecture Intel 64 / de mémoire étendue 64 / de
virtualisation / Hyper Threading
Chipset Intel Z77 (TZ77A)
Intel Z75 (TZ75A)
Super E/S
IT8728
Fournit la fonctionnalité de Super E/S
patrimoniales la plus utilisée.
Interface à faib le co mpte de b roches
Initiatives de contrôle environnementales,
Moniteur d e mat ériel
Contrôleur /moniteur de vitesse de ventilateur
Fonction "Gardien intelligent" de l'ITE
Mémoire
principale
Fentes DDR3 DIMM x 4
Capacité mémo ire max imale de 32 Go
Chaque DIMM prend en charge des DDR3 de
512Mo/1Go/2Go/4Go/8Go
Module d e mémo ire DDR3 à mode à double vo ie
Prend en charge la DDR3 1066 / 1333
Prend en charge la DDR3 1600 / 1866 (OC) / 2133
(OC)
Les DIMM à registres et DIMM avec code correcteurs
d'erreurs ne sont pas prises en charge
SATA 2 & 3
Contrôleur Serial ATA
int égré :
Taux de transfert jusqu'à 3.0Go/s / 6.0Go/s.
Conforme à la spécification SATA Version 2.0 / 3.0
Prise en charge RAID 0,1,5,10, SRT (TZ77A)
LAN Realtek RTL 8111E 10 / 100 / 1000 Mb/s négociation automatique
Half / Full duplex capability
Prise en
charge
audio HD
ALC892 Prise en charge de l'audio haut e définition
Sortie audio à 7.1 vo ies
USB3.0 Z77 (TZ77A) / Z75 (TZ75A) Taux de transfert de données jusqu'à 600 Mo / s
Fente PCI x2
Fente PCI Express Gen3 x16 x1
Fente PCI Express Gen2 x16(x4) x1
Fentes
Fente PCI Express Gen2 x1 x2
Connecteur SATA3 x2 Chaque connecteur prend en charge 1 périphérique
SATA3
Connecteur SATA2 x4 Chaque connecteur prend en charge 1 périphérique
SATA2
Connecteur
embarqué
Connecteur du panneau avant x1 Prend en charge les équipements du panneau avant

TZ77A/TZ75A
49
SPEC
Connecteur Aud io du panneau avant x1 Prend en charge la fonction audio du panneau avant
Embase de ventilateur UC x1 Alimentation électrique du ventilateur UC (avec
fonction de ventilateur intelligent)
Embase de ventilateur système x2 Alimentation électrique du ventilateur système
Embase d'effacement CMOS x1
Connecteur USB2.0 x2 Chaque connecteur prend en charge 2 ports USB2.0
de panneau avant
Connecteur USB3.0 x1 Chaque connecteur prend en charge 2 ports USB3.0
de panneau avant
Connecteur de IR du consommateur x1
Port série x1
Connecteur de sortie S/PDIF x1 Prend en charge la fonction de sortie audio
numérique
Connecteur d'aliment ation x1
(24 broches)
Connecteur d'aliment ation x1
(8 broch es)
E/S du
panneau
arrière
Clavier PS/2 x1
Port HDMI x1
Port VGA x1
Port DVI x1
Port LAN x1
Port USB2.0 x4
Port USB3.0 x2
Fiche audio x6
Dimensions
de la carte
244 mm (l) X 305 mm (H) ATX
Support SE Windows XP / Vista / 7 Biostar se réserve le droit d'ajouter ou de supprimer
le support de SE avec ou sans préavis

Motherboard Manual
50
ITALIAN
SPECIFICA
CPU
Socket 1155
Proces sore Intel Core i7 / i5 / i3 /
Pentium / Celeron
Supporto di Execute Disable Bit / Enhanced
Intel SpeedStep® / Architettura Intel 64 /
Tecnologia Extended Memory 64 / Tecnologia
Virtualization / Hyper Threading
Chipset Intel Z77 (TZ77A)
Intel Z75 (TZ75A)
Super I/O
IT8728
Fornisce le funzionalità legacy Super I/O
usate più comunemente.
Interfaccia LPC (Low Pin Count)
Funzioni di controllo dell’ambiente:
Monitoraggio hardware
Controller / Monitoraggio ve locità ventolina
Funzione "Smart Guardian" di ITE
Memoria
principale
Alloggi DIMM DDR3 x 4
Capacità massima della memoria 32GB
Ciascun DIMM supporta DDR3
512MB/1GB/2GB/4GB/8GB
Modulo di memoria DDR3 a canale doppio
Supporto di DDR3 1066 / 1333
Supporto di DDR3 1600 / 1866 (OC) / 2133
(OC)
DIMM registrati e DIMM ECC non sono
supportati
SATA 2 & 3
Controller Ser ial ATA integrato
Velocità di trasferimento dei dati fino a 3.0Gb/s
/ 6.0Gb/s.
Compatibile specifiche SATA Versione 2.0/3.0
Supporto RAID 0,1,5,10, SRT (TZ77A)
LAN Realtek RTL 8111E Negoziazione automatica 10 / 100 / 1000 Mb/s
Capacità Half / Full Duplex
Supporto
audio HD ALC892 Supporto audio High-Definition (HD)
Uscita audio 7.1 canali
USB3.0 Z77 (TZ77A) / Z75 (TZ75A) Velocità di trasferimento dati fino a 600 MB / s
Alloggio PCI x2
Alloggio PCI Express Gen3 x16 x1
Alloggio PCI Express Gen2 x16(x4) x1
Alloggi
Alloggio PCI Express Gen2 x1 x2
Connettore SATA3 x2 Ciascun connettore supporta 1 unità SATA3
Connettore SATA2 x4 Ciascun connettore supporta 1 unità SATA2
Connettore pannello frontale x1 Supporta i servizi del pannello frontale
Connettori
su scheda
Connettore audio frontale x1 Supporta la funzione audio pannello frontale

TZ77A/TZ75A
51
SPECIFICA
Collettore ventolina C PU x1 Alimentazione ventolina CPU (con funzione
Smart Fan)
Collettore ventolina sistema x2 Alimentazione ventolina d i sistema
Collettore cancellaz ione CMOS x 1
Connettore USB2.0 x2 Ciascun connettore supporta 2 porte USB2.0
pannello frontale
Connettore USB3.0 x1 Ciascun connettore supporta 2 porte USB3.0
pannello frontale
Connettore IR del consumatore x1
Porta seriale x1
Connettore output S/PDIF x1 Supporta la funzione d’output audio digitale
Connettore alimentazione x1
(24 pin)
Connettore alimentazione x1
(8 pin)
I/O
pannello
posteriore
Tas t ier a PS/2 x 1
Porta HDMI x1
Porta VGA x1
Porta DVI x1
Porta LAN x1
Porta USB2.0 x4
Porta USB3.0 x2
Connettore audio x6
Dimension
i scheda
244 mm (larghezza) x 305 mm
(altezza) ATX
Sistemi
operativi
supportati
Windows XP / Vista / 7
Biostar si riserva il diritto di aggiungere o
rimuovere il supporto di qualsiasi sistema
operativo senza preavviso.

Motherboard Manual
52
SPANISH
Especificación
CPU
Socket 1155
Procesador Intel Core i7 / i5 / i3 / Pent iu m /
Celeron
Admite Bit de deshabilitación de ejecución / Intel
SpeedStep® Mejorado / Intel Architecture-64 /
Tecno logía Extended Memory 64 / Tecnología d e
virtualización / Hyper Threading
Conjunto de
chips
Intel Z77 (TZ77A)
Intel Z75 (TZ75A)
Súper E/S
IT8728
Le ofrece las funcionalidades heredadas de
uso más comú n Súper E/S.
Interfaz de cuenta Low Pin
In iciat ivas de control d e entorno,
Monitor hardware
Controlador/monitor de velocidad de ventilador
Función "Guardia inteligente" de ITE
Memoria
principal
Ranuras DIMM DDR3 x 4
Capacidad máxima de memoria de 32GB
Cada DIMM admite DDR de
512MB/1GB/2GB/4GB/8GB
Módulo de memoria DDR3 de canal Doble
Admite DDR3 de 1066 / 1333
Admite DDR3 de 1600 / 1866(OC) / 2133(OC)
No admite DIMM registrados o DIMM compatibles
con ECC
SATA 2 & 3 Controlador ATA Serie Integrado
Tasas de transferencia de hasta 3.0 Gb/s / 6.0 Gb/s.
Compat ib le con la versión SATA 2.0 / 3.0.
Admite RAID 0,1,5,10, SRT (TZ77A)
Red Local Realtek RTL 8111E Negociación de 10 / 100 / 1000 Mb/s
Funciones Half / Full dúplex
Soporte de
sonido HD
ALC892 Soporte de sonido de Alta Definición
Salida de sonido de 7.1 canales
USB3.0 Z77 (TZ77A) / Z75 (TZ75A) Tasas de transferencia de datos hasta 600 MB / s
Ranura PCI X2
Ranura PCI Express Gen3 x16 X1
Ranura PCI Express Gen2 x16(x4) X1
Ranuras
Ranura PCI Express Gen2 x 1 X2
Conector SATA3 X2 Cada conector soporta 1 dispositivos SATA3
Conector SATA2 X4 Cada conector soporta 1 dispositivos SATA2
Conector de p anel f rontal X1 Soporta instalaciones en el p anel frontal
Conector de sonido frontal X1 Soporta funciones de sonido en el panel frontal
Cabecera de ventilador de CPU X1 Fuente de alimentación de ventilador de CPU (con
función Smart Fan)
Conectores
en placa
Cabecera de ventilador de sistema X2 Fuente de alimentación de ventilador de sistema

TZ77A/TZ75A
53
Especificación
Cabecera de borrado de CMOS X1
Conector USB2.0 X2 Cada conector soporta 2 puertos USB2.0 frontales
Conector USB3.0 X1 Cada conector soporta 2 puertos USB3.0 frontales
Conector de IR del consumidor X1
Puerto serie X1
Conector de salida S/PDIF X1 Soporta función de salida de sonido digital
Conector de alimentación X1
(24 patillas)
Conector de alimentación X1
(8 patillas)
Panel
trasero de
E/S
Tec l ado PS /2 X 1
Puerto HDMI x1
Puerto VGA X1
Puerto DVI X1
Puerto de red local X1
Puerto USB2.0 X4
Puerto USB3.0 X2
Conector de sonido X6
Ta mañ o d e
la placa
244 mm. (A) X 305 Mm. (H) ATX
Soporte de
sistema
operativo
Windows XP / Vista / 7 Biostar se reserva el derecho de añadir o retirar el
soporte de cualquier SO con o sin aviso previo.

Motherboard Manual
54
PORTUGUESE
ESPECIFICAÇÕES
CPU
Socket 1155
Processador Intel Core i7 / i5 / i3 / Pent iu m /
Celeron
Suporta as tecno logias Execute Disable B it /
Enhanced Intel Sp eedStep® / Intel Arqu itecture -64
/ Extended Memory 64 / V irtualization / Hyper
Threading
Chipset Intel Z77 (TZ77A)
Intel Z75 (TZ75A)
Especificaçã
o Super I/O
IT8728
Proporciona as funcionalidades mais
utilizadas em termos da especificação Super
I/O.
Interface LPC (Low Pin Count).
In iciat ivas par a contro lo do amb iente
Monitorização do hardware
Controlador/Monitor da velocidade da ventoinha
Função "S mart Guardian" d a ITE
Memória
principal
Ranhuras DIMM DDR3 x 4
Capacidad e máx ima d e memór ia: 32 GB
Cada módulo DIMM suporta uma memória
DDR3 de 512MB/ 1GB/2GB/4GB/8GB
Módulo de memória DDR3 de canal duplo
Suporta módulos DDR3 1066 / 1333
Suporta módulos DDR3 1600 / 1866 (OC) / 2133
(OC)
Os módulos DIMM registados e os DIMM ECC não
são suportados
SATA 2 & 3 Controlador Serial ATA integrado
Velocidades de transmissão de dados até 3.0 Gb/s /
6.0 Gb/s.
Compat ibilidade com a especificação SATA versão
2.0 / 3.0.
Suporta as funções RAID 0,1,5,10, SRT (TZ77A)
LAN Realtek RTL 8111E Auto negociação de 10 / 100 / 1000 Mb/s
Capacidade semi/full-duplex
Suporte
para áudio
de alta
definição
ALC892 Suporta a especificação High-Definition Audio
Saída de áudio de 7.1 canais
USB3.0 Z77 (TZ77A) / Z75 (TZ75A) Taxas de transferência de dados até 600 MB / s
Ranhura PCI x2
Ranhura PCI Express Gen3 x16 x1
Ranhura PCI Express Gen2 x16(x4) x1
Ranhuras
Ranhura PCI Express Gen2 x 1 x2
Conector SATA3 x2 Cada conector suporta 1 dispositivo SATA3
Conector SATA2 x4 Cada conector suporta 1 dispositivo SATA2
Conectores
na placa
Conector do painel frontal x1 Para suporte de várias funções no painel frontal

TZ77A/TZ75A
55
ESPECIFICAÇÕES
Conector de áudio frontal x1 Suporta a função de áudio no painel frontal
Conector da ventoinha da CPU x1 Alimentação da ventoinha da CPU (com a função
Smart Fan)
Conector da ventoinha do s istema x2 Alimentação da ventoinha do sistema
Conector para limpeza do CMOS x1
Conector USB2.0 x2 Cada conector suporta 2 portas USB2.0 no painel
frontal
Conector USB3.0 x1 Cada conector suporta 2 portas USB3.0 no painel
frontal
Conector de IR do consumidor x1
Porta série x1
Conector de saíd a S/PDIF x1 Suporta a saída de áudio dig ital
Conector de alimentação x1
(24 pinos)
Conector de alimentação x1
(8 p inos)
Entradas/S
aídas no
painel
traseiro
Tec l ado PS /2 x 1
Porta HDMI x1
Porta VGA x1
Porta DVI x1
Porta LAN x1
Porta USB2.0 x4
Porta USB3.0 x2
Tomada de áudio x6
Tamanho
da placa
244 mm (L) X 305 mm (A) ATX
Sistemas
operativos
suportados
Windows XP / Vista / 7
A Biostar reserva-se o direito de adicionar ou
remover suporte para qualquer sistema operativo
com ou sem aviso prévio.

Motherboard Manual
56
POLISH
SPEC
Procesor
Socket 1155
Procesor Intel Core i7 / i5 / i3 / Pent ium /
Celeron
Obsługa Execute Disable B it / Enhanced Intel
SpeedStep® / Intel Architecture-64 / Extended
Memory 64 Technology / Virtualization Technology /
Hyp er Thread ing
Chipset Intel Z77 (TZ77A)
Intel Z75 (TZ75A)
Pamięć
główna
Gniazda DDR3 DIMM x 4
Maks. wielkość pamięci 32GB
Każde gniazdo DIMM obsługuje moduły
512MB/1GB/2GB/4GB/8GB DDR3
Modu ł pamięci DDR3 z trybem podwójnego kanału
Obsługa DDR3 1066 / 1333
Obsługa DDR3 1600 / 1866 (OC) / 2133 (OC)
Brak obsługi Registered DIMM oraz ECC DIMM
Super I/O
IT8728
Zapewnia najbardziej powszechne funkcje
Super I/O.
Interfejs Low Pin Count
Funkcje kontroli warunków pracy,
Monitor H/W
Kontroler/Monitor prędkości wentylatora
Funkcja ITE "Smart Guard ian"
SATA 2 & 3 Zintegrowany kontroler Serial ATA
Transfer danych do 3.0 Gb/s / 6.0 Gb/s.
Zgodność ze specyfikacją SATA w wersji 2.0 / 3.0.
Obsługa RAID 0,1,5,10, SRT (TZ77A)
LAN Realtek RTL 8111E
10 / 100 / 1000 Mb/s z automatyczną negocjacją
szybkości
Działanie w tryb ie połowicznego / pełnego dupleksu
Obsługa
audio HD
ALC892 Obsługa High-Def inition Aud io
7.1 kanałowe wyjście audio
USB3.0 Z77 (TZ77A) / Z75 (TZ75A) Cena transferu danych do 600 MB / s
Gniazdo PCI x2
Gniazdo PCI Express Gen3 x16 x1
Gniazdo PCI Express Gen2 x16(x4) x1
Gniazda
Gniazdo PCI Express Gen2 x 1 x2
Złącze SATA3 x2 Każde złącze obs ługuje 1 urządzenie SATA3
Złącze SATA2 x4 Każde złącze obs ługuje 1 urządzenie SATA2
Złącze panela przedniego x1 Obsługa elementów panela przedniego
Przedn ie złącze aud io x1 Obsługa funkcji audio na panelu przednim
Złącza
wbudowane
Złącze głó wkowe wentylatora
procesora x1
Zasilanie wentylatora procesora (z funkcją Smart
Fan )

TZ77A/TZ75A
57
SPEC
Złącze głó wkowe wentylatora
systemowego x2
Zasilanie wentylatora systemowego
Złącze głó wkowe kasowania CMOS x1
Złącze USB2.0 x2 Każde złącze obs ługuje 2 porty USB2.0 na panelu
przednim
Złącze USB3.0 x1 Każde złącze obs ługuje 2 porty USB3.0 na panelu
przednim
Złącze Konsument IR x1
Port szeregowy x1
Złącze wyjścia S/PDIF x1 Obsługa funkcji cyfrowego wyjścia aud io
Złącze zasilania (24 pinowe) x1
Złącze zas ilania (8 p inowe) x1
Back Panel
I/O
Klawiatura PS/2 x1
Port HDMI x1
Port VGA x1
Port DVI x1
Port LAN x1
Port USB2.0 x4
Port USB3.0 x2
Gniazdo audio x6
Wymiary
płyty
244 mm (S) X 305 mm (W) ATX
Obsluga
systemu
operacyjne
go
Windows XP / Vista / 7
Biostar zastrzega sobie prawo dodawania lub
odwoływania obsług i dowo ln ego systemu
operacyjnego bez powiado mienia.

Motherboard Manual
58
RUSSIAN
СПЕЦ
CPU
(центральн
ый
процессор)
Socket 1155
Процессор Intel Core i7 / i5 / i3 / Pent iu m /
Celeron
Поддержка технологий Execute Disable B it /
Enhanced Intel SpeedStep® / Intel Architecture-64
/ Extended Memory 64 Technology / технологии
виртуализация / Hyper Threading
Набор
микросхем
Intel Z77 (TZ77A)
Intel Z75 (TZ75A)
Основная
память
Слоты DDR3 DIMM x 4
Максимальная ёмкость памяти 32 ГБ
Каждый модуль DIMM поддерживает
512МБ /1ГБ/2ГБ/4ГБ/8 ГБ DDR3
Модуль памяти с двухканальным режимом DDR3
Поддержка DDR3 1066 / 1333
Поддержка DDR3 1600 / 1866(OC) / 2133(OC)
Не поддерживает зарегистрированные модули
DIMM and ECC DIMM
Super I/O
IT8728
Обеспечивает наиболее используемые
действующие фун кц иональны е
возможности Super I/O.
Интерфейс с низким количеством выводов
Инициативы по охране окружающей среды,
Аппаратный монитор
Регулятор скорости вентилятора/ монитор
Функция ITE "Smart Guard ian"
(Интеллектуальная защита)
SATA 2 & 3 Встроенное последовательное устройство
управления ATA
скорость передачи данных до 3.0 гигабит/с /
6.0 гигабит/с.
Соответствие спецификации SATA версия 2.0/3.0
Поддержка RAID 0,1,5,10, SRT (TZ77A)
Локальная
сеть
Realtek RTL 8111E
Автоматическое согласование 10 / 100 / 1000
Мб/с
Частичная / полная дуплексная способность
Звуковая
поддержка
жесткого
диска
ALC892 Звуковая поддержка High-Def in ition
7.1канальный звуковой выход
USB3.0 Z77 (TZ77A) / Z75 (TZ75A) скорости передачи данных до 600 МБ / с
Слот PCI x2
Слот PCI Express Gen3 x16 x1
Слот PCI Express Gen2 x16(x4) x1
Слоты
Слот PCI Express Gen2 x 1 x2
Разъём SATA3 x2 Каждый разъём поддерживает 1 устройство SATA3
Разъём SATA2 x4 Каждый разъём поддерживает 1 устройство SATA2
Разъём на лицевой панели x1 Поддержка устройств на лицевой панели
Встроенны
й разъём
Входной звуковой разъём x1
Поддержка звуко вых функций на лицевой
панели

TZ77A/TZ75A
59
СПЕЦ
Контактирующее приспособление
вентилятора центрального процессора x1
Источник питания для вентилятор а центрального
процессора (с функц ией интеллектуального
вентилятора)
Контактирующее приспособление
вентилятора системы x2
Источник питания для вентилятора системы
Открытое контактирующее
приспособление CMOS x1
USB2.0-разъём x2
Каждый разъём поддерживает 2 USB2.0-порта на
лицевой панели
USB3.0-разъём x1
Каждый разъём поддерживает 2 USB3.0-порта на
лицевой панели
Разъём едока ИКЫЙ x1
Последовательный порт x1
Разъём вывода для S/PDIF x1 Поддержка вывода цифровой звуковой функц ии
Разъем питания (24 вывод) x1
Разъем питания (8 вывод) x1
Задняя
панель
средств
ввода-выв
ода
Клавиатура PS/2 x1
Порт HD MI x1
Порт VGA x1
Порт DVI x1
Порт LAN x1
USB2.0-порт x4
USB3.0-порт x2
Гнездо для подключения
наушников x6
Размер
панели
244 мм (Ш) X 305 мм (В) ATX
Поддержка
OS
Windows XP / Vista / 7
Biostar сохраняет за собой право добавлять или
удалять средства обеспечения для OS с или без
предварительного уведомления.

Motherboard Manual
60
ARABIC
تﺎﻔﺻاﻮﻤﻟا
تﺎﻴﻨﻘﺗ ﻢﻋﺪﺗExecute Disable Bit / Enhanced Intel
SpeedStep® / Intel Architecture-64 / Extended
Memory 64 Technology / Virtualization Technology /
Hyp er Thread ing
Socket 1155
تﺎﺠﻟﺎﻌﻣIntel Cor e i7 / i5 / i3 / Pentiu m /
Celeron ﺑ ددﺮﺘ ی ﻰﻟإ ﻞﺼ
ةﺪﺣو ﺔﺠﻟﺎﻌﻤﻟا
ﺔیﺰآﺮﻤﻟا
Intel Z77 (TZ77A)
Intel Z75 (TZ75A) ﺔﻋﻮﻤﺠﻣ ﺢﺋاﺮﺸﻟا
ﺔﺤﺘﻓDDR3 DIMM دﺪﻋ4
ىﻮﺼﻗ ةﺮآاذ ﺔﻌﺳ32 ﺖیﺎﺑ ﺎﺠﻴﺝ
ﺔﺤﺘﻓ ﻞآ ﻢﻋﺪﺗDIMM عﻮﻥ ﻦﻣ ةﺮآاذ ﻢﻋﺪﺗ DDR3 ﺔﻌﺳ /512 و ﺖیﺎﺑ ﺎﺠﻴﻣ 1/
و2/و 4/و 8 ﺎﺠﻴﺝﺖیﺎﺑ
ةﺮآاذ ةﺪﺣوDDR3 ﻘﻟا ﺔﺝودﺰﻣةﺎﻨ
ا ﻢﻋﺪﺗ عﻮﻥ ﻦﻣ ةﺮآاﺬﻟ DDR3 تﺎﻌﺳ 1066 / 1333ﺖیﺎﺑ ﺎﺠﻴﻣ
ﻢﻋﺪﺗ ةﺮآاﺬﻟا ﻦﻣ عﻮﻧ DDR3 تﺎﻌﺳ 1866 (OC) / 2133
(OC) / 1600 ﺎﺠﻴﻣ ﺖیﺎﺑ
ةﺮآاﺬﻟا ﻖﺋﺎﻗر ﻢﻋﺪﺗ ﻻDIMM ﻊﻣ ﻖﻓاﻮﺘﺗ ﻻ ﻲﺘﻟا ﻚﻠﺗو ECC
ةﺮآاﺬﻟا ﺔﻴﺴﻴﺋﺮﻟا
ﻞﺋﺎﺳو ﻢﻜﺤﺘﻟا ﻲﻓ ﺔﺌﻴﺒﻟا:
ﺐﻗاﺮﻣ ﺔﻓﺮﻌﻤﻟ ﺔﻟﺎﺣ ةﺰﻬﺝﻷا
ﺐﻗاﺮﻣ ﻲﻓ ﺔﻋﺮﺳ اﺔﺣوﺮﻤﻟ
ﺔﻔﻴﻇو"Smart Guard ian" ﻦﻣ ITE
IT8728
ﺮﻓﻮﺗ ﺔﻔ ﻴﻇو Super I/O ﺮﺜآﻷا ًﺎ ﻣ ا ﺪ ﺨﺘ ﺳ ا.
ﺗﻢﻋﺪ ﺔﻴﻨﻘﺗ Low Pin Count Interface
Super I/O
ﻞﻘﻧ تﺎﻧﺎﻴﺒﻟا تﺎﻋﺮﺴﺑ ﻞﺼﺗ ﻰﻟإ 3.0 ﺖﺑﺎﺠﻴﺝ/ ﺔﻴﻧﺎﺛ / 6.0
ﺖﺑﺎﺠﻴﺝ/ ﺔﻴﻧﺎﺛ.
ﺔﻘﺑﺎﻄﻣ تﺎﻔﺹاﻮﻤﻟ SATA راﺪﺹﻹا 2.0 / 3.0.
ﺔﻴﻨﻘﺗ ﻢﻋﺪﺗRAID 0,1,5,10, SRT (TZ77A)
ﻢﻜﺤﺘﻣ Serial ATA ﻞﻣﺎﻜﺘﻣ
SATA 2 & 3
ضوﺎﻔﺗ ﻲﺋﺎﻘﻠﺗ 10/100 ﺎﺠﻴﻣ ﺖیﺎﺑ /ﺔﻴﻥﺎﺙ و1ﺎﺠﻴﺝ ﺖﺑ/ﺔﻴﻥﺎﺙ
ﺔﻴﻥﺎﻜﻣإ ﻞﻘﻨﻟا جودﺰﻤﻟا ﻞﻣﺎﻜﻟا/ﻲﻔﺼﻨﻟا
Realtek RTL 8111E
ﺔﻜﺒﺵ ﺔﻴﻠﺥاد
ﻢﻋﺪﺗ ﺔﻴﻨﻘﺗ تﻮﺼﻟا ﻲﻟﺎﻋ ﻒیﺮﻌﺘﻟا ﻦﻣ
7.1 تاﻮﻨﻗ جﺮﺨﻟ تﻮﺼﻟا
ALC892
ﻢﻋد تﻮﺼﻟا ﻲﻟﺎﻋ
ﻌﺘﻟاﻒیﺮ
تﻻﺪﻌﻣ ﻞﻘﻧ تﺎﻧﺎﻴﺑ ﻞﺼﺗ ﻰﻟإ 600 ﺎﻐﻴﻣ ﺖیﺎﺑ / ﺔﻴﻧﺎﺛ
Z77 (TZ77A) / Z75 (TZ75A)
USB3.0
ﺔﺤﺘﻓPCI دﺪﻋ2
ﺔﺤﺘﻓGen3 x16 PCI Express دﺪﻋ1
ﺔﺤﺘﻓGen2 (x4)x16 PCI Express دﺪﻋ1
ﺔﺤﺘﻓPCI Express Gen2 x 1 دﺪﻋ2
تﺎﺤﺘﻔﻟا
ةﺰﻬﺝأ ﻦﻣ ﺪﺣاو ﺬﻔﻨﻣ ﻞآ ﻢﻋﺪیSATA3 ﺬﻔﻨﻣSATA3 دﺪﻋ2
ةﺰﻬﺝأ ﻦﻣ ﺪﺣاو ﺬﻔﻨﻣ ﻞآ ﻢﻋﺪیSATA2 ﺬﻔﻨﻣSATA2 دﺪﻋ4
ﺔﻴﻣﺎﻣﻷا ﺔﺣﻮﻠﻟا تاﺰﻴﻬﺠﺗ ﻢﻋﺪی ﺔﻴﻣﺎﻣﻷا ﺔﺣﻮﻠﻟا ﺬﻔﻨﻣ دﺪﻋ1
ﺔﻴﻣﺎﻣﻷا ﺔﺣﻮﻠﻟﺎﺑ تﻮﺼﻟا ﺔﻔﻴﻇو ﻢﻋﺪی ﻲﻣﺎﻣﻷا تﻮﺼﻟا ﺬﻔﻨﻣ دﺪﻋ1
ﺬﻓﺎﻨﻤﻟا ﻰﻠﻋ ﺢﻄﺳ
ﺔﺣﻮﻠﻟا

TZ77A/TZ75A
61
تﺎﻔﺻاﻮﻤﻟا
ﺔﻔﻴﻇو ﻊﻣ ﺔﺠﻟﺎﻌﻤﻟا ةﺪﺣو ﺔﺣوﺮﻤﻟ ﺔﻗﺎﻄﻟا ﻞﻴﺹﻮﺘﻟSmart Fan ﺔیﺰآﺮﻤﻟا ﺔﺠﻟﺎﻌﻤﻟا ةﺪﺣو ﺔﺣوﺮﻣ ﺔﻠﺹو دﺪﻋ1
مﺎﻈﻨﻟا ﺔﺣوﺮﻤﻟ ﺔﻗﺎﻄﻟا ﻞﻴﺹﻮﺘﻟ مﺎﻈﻨﻟا ﺔﺣوﺮﻣ ﺔﻠﺹو دﺪﻋ2
ﺢﺴﻣ ﺔﻠﺹوCMOS دﺪﻋ1
ﻲﺘﺤﺘﻓ ﺬﻔﻨﻣ ﻞآ ﻢﻋﺪیUSB2.0ﺔﻴﻣﺎﻣﻷا ﺔﺣﻮﻠﻟﺎﺑ ﺬﻔﻨﻣUSB2.0 دﺪﻋ2
ﻲﺘﺤﺘﻓ ﺬﻔﻨﻣ ﻞآ ﻢﻋﺪیUSB3.0ﺔﻴﻣﺎﻣﻷا ﺔﺣﻮﻠﻟﺎﺑ ﺬﻔﻨﻣUSB3.0 دﺪﻋ1
ﺬﻔﻨﻣم ﺔﻜﻠﻬﺘﺳ ﺖﺤﺗ ﺮﻤﺣﻷا دﺪﻋ1
ﻲﻠﺴﻠﺴﺗ ﺬﻔﻨﻣ دﺪﻋ1
ﻲﻤﻗﺮﻟا تﻮﺼﻟا جﺮﺥ ﺔﻔﻴﻇو ﻢﻋﺪی جﺮﺥ ﺬﻔﻨﻣS/PDIF دﺪﻋ1
ﺔﻗﺎﻄﻟا ﻞﻴﺹﻮﺗ ﺬﻔﻨﻣ)24سﻮﺑد( دﺪﻋ1
ﺔﻗﺎﻄﻟا ﻞﻴﺹﻮﺗ ﺬﻔﻨﻣ)8ﺲﻴﺑﺎﺑد( دﺪﻋ1
ﺢﻴﺗﺎﻔﻣ ﺔﺣﻮﻟPS/2 دﺪﻋ1
ﺬﻓﺎﻨﻣHDMI دﺪﻋ1
ﺬﻓﺎﻨﻣVGA دﺪﻋ1
ﺬﻓﺎﻨﻣDVI دﺪﻋ1
ﺔﻴﻠﺤﻣ لﺎﺼﺗا ﺔﻜﺒﺵ ﺬﻔﻨﻣ دﺪﻋ1
ﺬﻓﺎﻨﻣUSB2.0 دﺪﻋ4
ﺬﻓﺎﻨﻣUSB3.0 دﺪﻋ2
تﻮﺹ ﺲﺒﻘﻣ دﺪﻋ6
ﺬﻓﺎﻨﻣ ﻞﺧد/جﺮﺧ
ﺔﺣﻮﻠﻟا ﺔﻴﻔﻠﺨﻟا
ATX 244 ﻢﻣ)ضﺮﻋ (X 305 ﻢﻣ)عﺎﻔﺗرا( ﻢﺠﺣ ﺔﺣﻮﻠﻟا
ﻆﻔﺘﺤﺗ Biostar ﺎﻬﻘﺤﺑ ﻲﻓ ﺔﻓ ﺎﺿإ وأ ﺔﻟازإ ﻢﻋﺪﻟا يﻷ مﺎﻈﻧ ﻞﻴﻐﺸﺗ رﺎﻄﺧﺈﺑ وأ
نوﺪﺑ رﺎﻄﺧإ. Windows XP / Vista / 7 ﻢﻋد ﺔﻤﻈﻧأ ﻞﻴﻐﺸﺘﻟا

Motherboard Manual
62
JAPANESE
仕様
CPU
Socket 1155
Intel Cor e i7 / i5 / i3 / Pent iu m / C eleron プロ
セッサ
Execute Disable Bit / Enhanced Intel Sp eedStep® /
Intel Architecture-64 / Extended Memory 64
Technology / Virtualization Technology / Hyper
Threadingをサポートします
チップセット Intel Z77 (TZ77A)
Intel Z75 (TZ75A)
メインメモリ
DDR3 DIMMスロット x 4
最大メモリ容量32GB
各DIMMは 512MB/1GB/2GB/4GB/8GB DDR3
をサポート
デュアル チャンネルモードDDR3メモリモジュール
DDR3 1066 / 1333 をサポート
DDR3 1600 / 1866(OC) / 2133(OC) をサポート
登録済みDIMMとECC DIMMはサポートされません
Super I/O
IT8728
もっとも一般に使用されるレガシーSuper I/O機
能を採用しています。
低ピンカウントインターフェイス
環境コントロールイニシアチブ、
H/Wモニター
ファン速度コントローラ/ モニター
ITEの「スマートガーディアン」機能
SATA 2 & 3 統合シリアルATA コントローラ
最高3.0 Gb/秒 / 6.0 Gb/秒のデータ転送速度
SATAバージョン2.0 / 3.0仕様に準拠。
RAID 0,1,5,10, SRT (TZ77A)のサポート
LAN Realtek RTL 8111E 10 / 100 / 1000 Mb/秒のオートネゴシエーション
半/全二重機能
HDオーディ
オのサポート
ALC892
ハイデフィニションオーディオのサポート
7.1 チャンネルオーディオアウト
USB3.0 Z77 (TZ77A) / Z75 (TZ75A) データ転送速度最大600 MB /秒の
PCIスロット x2
PCI Express Gen3 x16スロット x1
PCI Express Gen2 x16スロット(x4) x1
スロット
PCI Express Gen2 x 1スロット x2
SATA3コネクタ x2 各コネクタは1つのSATA3デバイスをサポートします
SATA2コネクタ x4 各コネクタは1つのSATA2デバイスをサポートします
フロントパネルコネクタ x1 フロントパネル機能をサポートします
フロントオーディオコネクタ x1 フロントパネルオーディオ機能をサポートします
オンボードコ
ネクタ
CPUファンヘッダ x1 CPUファン電源装置(スマートファン機能を搭載)

TZ77A/TZ75A
63
仕様
システムファンヘッダ x2 システムファン電源装置
CMOSクリアヘッダ x1
USB2.0コネクタ x2
各コネクタは2つのフロントパネルUSB2.0ポートをサポ
ートします
USB3.0コネクタ x1
各コネクタは2つのフロントパネルUSB3.0ポートをサポ
ートします
消費者IR コネクタ x1
シリアルポート x1
S/PDIFアウトコネクタ x1 デジタルオーディオアウト機能をサポートします
電源コネクタ(24ピン) x1
電源コネクタ(8ピン) x1
背面パネル
I/O
PS/2キーボード x1
HDMIポート x1
VGAポート x1
DVI-Dポート x1
LANポート x1
USB2.0ポート x4
USB3.0ポート x2
オーディオジャック x6
ボードサイズ 244 mm (幅) X 305 mm (高さ) ATX
OSサポート Windows XP / Vista / 7 Biostarは事前のサポートなしにOSサポートを追加または
削除する権利を留保します。
2012/04/10