Black Box Network Hardware Acs4004A R2 Users Manual
ACS4002A-R2-MM to the manual d65e9d1b-7d97-4a5f-9e54-7f3febb42376
2015-02-02
: Black-Box Black-Box-Black-Box-Network-Hardware-Acs4004A-R2-Users-Manual-482099 black-box-black-box-network-hardware-acs4004a-r2-users-manual-482099 black-box pdf
Open the PDF directly: View PDF
.
Page Count: 56

BL A C K B OX®
Extend DVI-D and USB HID or USB 2.0 over
affordable CATx cable.
Transmit KVM and DVI-D video signals
up to 460 feet over backbone cabling.
DVI-D CATx/Fiber KVM Extenders
ACS4002A-R2 ACS4004A-R2 ACS4011A-R2
ACS4002A-R2-MM ACS4004A-R2-MM ACS4011A-R2-MM
ACS4002A-R2-SM ACS4004A-R2-SM ACS4011A-R2-SM
Order toll-free in the U.S.: Call 877-877-BBOX (outside U.S. call 724-746-5500)
FREE technical support 24 hours a day, 7 days a week: Call 724-746-5500 or fax 724-746-0746
Mailing address: Black Box Corporation, 1000 Park Drive, Lawrence, PA 15055-1018
Web site: www.blackbox.com • E-mail: info@blackbox.com
Customer
Support
Information

724-746-5500 | blackbox.com
Page 2
724-746-5500 | blackbox.com
FCC Statement
Federal Communications Commission and Industry Canada Radio Frequency Interference
Statements
This equipment generates, uses, and can radiate radio-frequency energy, and if not installed and used properly, that is, in strict
accordance with the manufacturer’s instructions, may cause inter ference to radio communication. It has been tested and found to
comply with the limits for a Class A computing device in accordance with the specifications in Subpart B of Part 15 of FCC rules,
which are designed to provide reasonable protection against such interference when the equipment is operated in a commercial
environment. Operation of this equipment in a residential area is likely to cause interference, in which case the user at his own
expense will be required to take whatever measures may be necessary to correct the interference.
Changes or modifications not expressly approved by the party responsible for compliance could void the user’s authority to
operate the equipment.
This digital apparatus does not exceed the Class A limits for radio noise emis sion from digital apparatus set out in the Radio
Interference Regulation of Industry Canada.
Le présent appareil numérique n’émet pas de bruits radioélectriques dépassant les limites applicables aux appareils numériques de
la classe A prescrites dans le Règlement sur le brouillage radioélectrique publié par Industrie Canada.
We‘re here to help! If you have any questions about your application
or our products, contact Black Box Tech Support at 724-746-5500
or go to blackbox.com and click on “Talk to Black Box.”
You’ll be live with one of our technical experts in less than 30 seconds.
ACS4002A-R2

724-746-5500 | blackbox.com
724-746-5500 | blackbox.com Page 3
NOM Statement
Instrucciones de Seguridad
(Normas Oficiales Mexicanas Electrical Safety Statement)
1. Todas las instrucciones de seguridad y operación deberán ser leídas antes de que el aparato eléctrico sea operado.
2. Las instrucciones de seguridad y operación deberán ser guardadas para referencia futura.
3. Todas las advertencias en el aparato eléctrico y en sus instrucciones de operación deben ser respetadas.
4. Todas las instrucciones de operación y uso deben ser seguidas.
5. El aparato eléctrico no deberá ser usado cerca del agua—por ejemplo, cerca de la tina de baño, lavabo, sótano mojado o cerca
de una alberca, etc.
6. El aparato eléctrico debe ser usado únicamente con carritos o pedestales que sean recomendados por el fabricante.
7. El aparato eléctrico debe ser montado a la pared o al techo sólo como sea recomendado por el fabricante.
8. Servicio—El usuario no debe intentar dar servicio al equipo eléctrico más allá a lo descrito en las instrucciones de operación.
Todo otro servicio deberá ser referido a personal de servicio calificado.
9. El aparato eléctrico debe ser situado de tal manera que su posición no interfiera su uso. La colocación del aparato eléctrico
sobre una cama, sofá, alfombra o superficie similar puede bloquea la ventilación, no se debe colocar en libreros o gabinetes
que impidan el flujo de aire por los orificios de ventilación.
10. El equipo eléctrico deber ser situado fuera del alcance de fuentes de calor como radiadores, registros de calor, estufas u otros
aparatos (incluyendo amplificadores) que producen calor.
11. El aparato eléctrico deberá ser connectado a una fuente de poder sólo del tipo descrito en el instructivo de operación, o como
se indique en el aparato.
12. Precaución debe ser tomada de tal manera que la tierra fisica y la polarización del equipo no sea eliminada.
13. Los cables de la fuente de poder deben ser guiados de tal manera que no sean pisados ni pellizcados por objetos colocados
sobre o contra ellos, poniendo particular atención a los contactos y receptáculos donde salen del aparato.
14. El equipo eléctrico debe ser limpiado únicamente de acuerdo a las recomendaciones del fabricante.
15. En caso de existir, una antena externa deberá ser localizada lejos de las lineas de energia.
16. El cable de corriente deberá ser desconectado del cuando el equipo no sea usado por un largo periodo de tiempo.
17. Cuidado debe ser tomado de tal manera que objectos liquidos no sean derramados sobre la cubierta u orificios de ventilación.
18. Servicio por personal calificado deberá ser provisto cuando:
A: El cable de poder o el contacto ha sido dañado; u
B: Objectos han caído o líquido ha sido derramado dentro del aparato; o
C: El aparato ha sido expuesto a la lluvia; o
D: El aparato parece no operar normalmente o muestra un cambio en su desempeño; o
E: El aparato ha sido tirado o su cubierta ha sido dañada.
ACS4002A-R2

724-746-5500 | blackbox.com
Page 4
724-746-5500 | blackbox.com
Trademarks
Trademarks Used in this Manual
Black Box and the Double Diamond logo are registered trademarks of BB Technologies, Inc.
Any other trademarks mentioned in this manual are acknowledged to be the property of the trademark owners.
ACS4002A-R2

724-746-5500 | blackbox.com
724-746-5500 | blackbox.com Page 5
Table of Contents
Table of Contents
Specifications ...............................................................................................................................................................................................6
1.0 Quick Setup ..................................................................................................................................................................................7
2.0 Overview .......................................................................................................................................................................................8
2.1 Introduction ....................................................................................................................................................................9
2.2 Glossary ..........................................................................................................................................................................9
2.3 Features ........................................................................................................................................................................ 11
2.4 Product Range .............................................................................................................................................................. 12
2.5 How to Use This Guide ................................................................................................................................................. 13
3.0 Installation ..................................................................................................................................................................................14
3.1 What‘s Included ............................................................................................................................................................14
3.2 Interconnection Cable Requirements ............................................................................................................................. 15
3.3 System Setup ................................................................................................................................................................16
3.4 Diagnostic LEDs ............................................................................................................................................................21
4.0 Service Setup...............................................................................................................................................................................22
4.1 Setup at the Local Unit ..................................................................................................................................................23
4.2 Setup at the Remote Unit ..............................................................................................................................................25
4.3 Setup for the On Screen Display (OSD—ACS4011A-R2 only) .........................................................................................26
4.4 Setup for VGA Input (ACS4011A-R2 Family) ..................................................................................................................36
5.0 Troubleshooting ..........................................................................................................................................................................38
5.1 Monitor Errors ..............................................................................................................................................................38
5.2 USB Keyboard and USB Mouse Errors ............................................................................................................................38
5.3 USB-HID Device Errors ..................................................................................................................................................39
5.4 Other Errors ..................................................................................................................................................................39
Appendix A: Sample Applications ..............................................................................................................................................................40
Appendix B: Rackmount Options ...............................................................................................................................................................42
Appendix C: Technical Support ..................................................................................................................................................................46
Appendix D: Supported Video Modes ........................................................................................................................................................48
Appendix E: Information in Internal DDC ...................................................................................................................................................50
Appendix F: Connectors ............................................................................................................................................................................ 51
ACS4002A-R2

724-746-5500 | blackbox.com
Page 6
724-746-5500 | blackbox.com
Specifications
Specifications
Distance — Maximum, CATx AWG 24: 400 ft. (120 m), CATx S/UTP cable, EIA/TIA 56A, TSB 36 or digital STP 17-03170, four
pairs 24 AWG wiring, EIA/TIA 568A (1000BASET);
Maximum, CATx patch cable 26/7 AWG 200 ft. (60 m), CATx S/UTP cable, EIA/TIA 56A, TSB 36 or Digital STP 17-03170, four
pairs 26/7 AWG wiring EIA/TIA 568A (1000BASET).
Attenuation Detect Accuracy — ±0.05 dB/dB
CE Approval — Yes
RoHS — Yes
Connectors — Video source: DVI-D up to 1920 x 1200 @ 60 Hz;
VGA: up to 1600 x 1200 @ 60 Hz; (ACS401A family only);
Monitor: DVI-D up to 1920 x 1200 @ 60 Hz;
Keyboard: USB;
Mouse: USB 2-/3-button and wheel mouse;
LC (Fiber): 1000 Mbps, Gigabit Ethernet;
RJ-45: 1000 Mbps, EIA/TIA 568B Gigabit Ethernet.
Operating Environment — Temperature: 41 to 113° F (5 to 45° C);
Humidity: 0 to 80%, noncondensing
Power — Voltage: 100-240 VAC, 0.5A, 47-63 Hz/5 VDC-2000 mA
Local Units, Maximum: 1A @ 240V; 2A @ 100V;
Remote Units, Maximum: 1A @ 240V; 2A @ 100V
Size — Local and remote: 1.7"H x 4"W x 5.6"D x (4.3 x 10.3 x 14.3 cm)
Shipping Size: 8.7"H x 4.3"W x 2.7"D (22 x 11 x 7 cm)
Weight — Local and remote: 1.3 lb. (0.6 kg);
Shipping: 3.5 lb. (1.6 kg)
ACS4002A-R2

724-746-5500 | blackbox.com
724-746-5500 | blackbox.com Page 7
Chapter 1: Setup
1.0 Quick Setup
This section briefly describes how to install your KVM extender system. Unless you are an experienced user, we recommend that
you follow the full procedures described in the rest of this manual.
Figure 1-1. Quick Setup.
ACS4002A-R2
Check PSUs and connection to
power outlet
Check the CATx – Fiber cable,
and its connectors
Check settings of the graphic
card or boot CPU

724-746-5500 | blackbox.com
Page 8
724-746-5500 | blackbox.com
Chapter 2: Overview
2.0 Overview
With the DVI-D/-I CATx/Fiber KVM-Extender, you can remotely locate monitors, keyboards and mice up to 140 m (459.3 ft.)
away from your CPU over CATx, or up to 10 km (6.2 mi) with single-mode fiber.
Wherever long distances are required, e.g. airports, industrial plants, call-centers or in distributed computer centers, the DVI-D/-I
CATx/Fiber KVM-Extenders are the ideal way to remotely locate your console. We offer two families with three different types:
one family with devices for DVI-I (DVI-D/-I + VGA) and one family with USB 2.0 transparent support – CATx, multimode and
single-mode.
The product codes covered in this manual are:
ACS4002A-R2: KVM Extender DVI-D, USB-HID + USB 2.0, CATx
ACS4002A-R2-MM: KVM Extender DVI-D, USB-HID + USB 2.0, Multimode
ACS4002A-R2-SM: KVM Extender DVI-D, USB-HID + USB 2.0, Single-mode
ACS4004A-R2: KVM Extender DVI-D, DVI-D with 4 USB HID PORTS
ACS4004A-R2-MM: KVM Extender DVI-D, DVI-D with 4 USB HID PORTS, Multimode
ACS4004A-R2-SM: KVM Extender DVI-D, DVI-D with 4 USB HID PORTS, Single-mode
ACS4011A-R2: KVM Extender DVI-I (VGA), USB HID, CATx
ACS4011A-R2-MM: KVM Extender DVI-I (VGA), USB HID, Multimode
ACS4011A-R2-SM: KVM Extender DVI-I (VGA), USB HID, Single-mode
NOTE: Other models are available. For details, call Tech Support.
ACS4002A-R2

724-746-5500 | blackbox.com
724-746-5500 | blackbox.com Page 9
Chapter 2: Overview
2.1 Introduction
A CATx/Fiber KVM Extender enables you to mount a CPU in a secure rack/cabinet or data center and access it from a remote
location, up to 140 meters away. A basic KVM extension system is comprised of a local unit and a remote unit. The local unit
connects directly to the computer (or a KVM switch system) using the supplied cable(s). The user console (keyboard, mouse,
and monitor) attaches to the remote unit. The remote and local units communicate video and data information along the
interconnecting cables. Local units offer dual access, allowing the connection of a second monitor close to the computer.
A CATx/Fiber KVM Extender is used to extend the maximum distance between a CPU and a keyboard/monitor/mouse. In
addition, a KVM extender is beneficial in installations in electromagnetic hazardous environments (EMI). Regular KVM extender
cables (and extenders using traditional cables) have inherent distance limitations, and EMI interference may reduce the maximum
distance and/or reliability. With a DVI-D/-I CATx Extender system, these limitations are no longer an issue.
2.2 Glossary
The following terms are used in this guide:
Table 2-1. Glossary
Term Definition
CATx
Any Category 5, 5e, 6, or higher cable, solid 24 AWG. Although flexible 27/7 AWG cables can
be used too, the lengths of flexible cables count twice in the calculation of the total distance.
Fiber 9-μ Single-mode or 50-μ/62.5-μ Multimode fiber cable.
KVM Keyboard, video, and mouse.
Console Keyboard, mouse, and monitor
Dual Access A system allowing connection of local and remote user consoles.
Single-Head An extender system that supports one monitor and keyboard/mouse
Dual-Head An extender system that supports two monitors and keyboard/mouse
DVI
Digital video standard, installed by Digital Display Working Group (www.ddwg.org) R, G, B,
CLOCK in a data stream with up to 3x 1.6 Gbps. Signals are TMDS Level.
PSU The desktop power supply connected to the local/remote unit.
HID
Human interface devices (HIDs) are units which are used for human access to the CPU. They are
a USB-device class of their own (e.g. memory devices etc.). In addition to keyboards and mice, it
includes touchscreens, light pens, fingerprint sensors, graphics tablets, etc.
ACS4002A-R2

724-746-5500 | blackbox.com
Page 10
724-746-5500 | blackbox.com
Chapter 2: Overview
USB Connection
USB Connection
Receiver/Remote Unit
Transmitter/Local Unit
CATx or Fiber Cable
CPU
Figure 2-1: DVI-D/-I CATx – KVM Extender system (example)
ACS4002A-R2

724-746-5500 | blackbox.com
724-746-5500 | blackbox.com Page 11
Chapter 2: Overview
2.3 Features
All extenders have the following features:
• Support for DVI-D graphics cards
• Support for USB keyboards and mice (USB-HID)
NOTE: Devices with USB-HID support only keyboard and mice. It’s possible that other HIDs like touchscreens, graphics
tablets, bar-code readers or similar are supported – but that isn’t guaranteed. If you have questions, call our FREE Tech Support.
The DVI-D/-I CATx/Fiber KVM-Extender for USB-HID is not suitable for use with other USB devices like scanners, webcams, flash
drives, etc.
NOTE: The USB-HID device never supports more than two devices – keyboard and mouse or keyboard and touchscreen, etc.,
but not, for example, keyboard, mouse and touchscreen simultaneously. A hub is allowed but does not increase the number of
supported devices.
Maximum resolution: DVI-D: 1920 x 1200 @ 60 Hz over all allowed distances all resolutions below of 1600 x 1200 with refresh
rates of at least 75 Hz.
• Supporting 16-bit/24-bit auto switching or fixed 24-bit color depth (user selectable)
• Status indicator LEDs on each device.
• Small footprint chassis.
• CPU cables and adapters included.
• Rackmount kit available.
ACS4002A-R2 family:
• Additional USB 2.0 transparent high-speed transmission (requiring an additional CATx cable or fiber pair). Four devices can be
attached directly at the Remote Unit—more by using regular USB hubs.
ACS4004A-R2 family:
• Support for DVI-D video and (4) USB HID devices.
ACS4011A-R2 family
• Support for DVI-I input—either DVI-D or VGA input.
• Built-in scaler enables you to resize the input frame to fit to the attached monitor.
NOTE: Other models are available but may not be shown in this user manual.
ACS4002A-R2

724-746-5500 | blackbox.com
Page 12
724-746-5500 | blackbox.com
Chapter 2: Overview
2.4 Product Range
There are nine products in the range and various upgrade kits:
Table 2-2. Products
Product Definition
ACS4002A-R2 KVM Extender DVI-D, USB-HID + USB 2.0, CATx
ACS4002A-R2-MM
KVM Extender DVI-D, USB-HID + USB 2.0, Multimode
ACS4002A-R2-SM KVM Extender DVI-D, USB-HID + USB 2.0, Single-Mode
ACS4004A-R2 KVM Extender DVI-D, USB-HID CATx
ACS4004A-R2-MM KVM Extender DVI-D, USB-HID, Multimode
ACS4004A-R2-SM KVM Extender DVI-D, USB-HID, Single-Mode
ACS 4 011A - R 2 KVM Extender DVI-I (VGA), USB-HID, CATx
ACS 4 011A - R 2- M M
KVM Extender DVI-I (VGA), USB-HID, Multimode
ACS 4 011A - R 2-S M
KVM Extender DVI-I (VGA), USB-HID, Single-Mode
ACS1009A-RMK
19"/1U/24 IV rackmount kit to mount four 1.1"H devices
ACS2209A-RMK
19"/1U rackmount- kit to mount four devices 1.7"H
ACS4002A-R2

724-746-5500 | blackbox.com
724-746-5500 | blackbox.com Page 13
Chapter 2: Overview
2.5 How to Use This Guide
This guide describes the installation and configuration of the DVI-D/-I CATx/Fiber – Extender Series. Although the connection and
operation of the system is relatively straightforward, you should consider the following before getting started:
Connection and Compatibility
If you have purchased an Extender Kit, this will contain all the cables required to connect the local unit to your PC or KVM switch.
Please see also: 3.1 What‘s Included.
For information about connection and installation, see 3.2 Interconnection Cable Requirements.
DDC information
Normally it is not necessary to make any adjustments to the DVI-D/-I CATx/Fiber- Extender. However, in some circumstances, it
may be necessary to redefine the source of DDC information for the CPU. By default, the DVI-D/-I CATx/Fiber KVM-Extender uses
its own internal DDC table. If this setting does not satisfy your requirements, the DDC table can either be switched to the locally
attached screen or could be downloaded from a remotely located screen and stored in the internal DDC table.
To modify the DDC setup, see 4.0 Service Setup.
Selecting the moment of switching to the next frame
The transmission of screen data is not synchronous to the screen change of the graphics card. Normally, the transmission is
terminated during displaying a frame on the screen. If the device switches to the new frame during the displaying period of the
old frame (somewhere on the screen), it’s possible, and that you can see horizontal screen breaks in the moment of switching
(default). On the other hand, the device must idle, until the actual frame is displayed completely (until VSYNC) -> the number of
frames per second transmitted sinks.
To modify the switching behavior, see 4.0 Service Setup.
Selection of color reduction for transfer acceleration
You can select, whether always 24-bit colors (=full color depth) are transmitted or whether the compression algorithm
automatically switches between 16- and 24-bit colors to accelerate the data transfer (default). Normally the difference between
24-bit and 16-bit is not recognizable but under some special circumstances, e.g. in photo processing installations, there might be
disturbing color aberrations. However, the automatic color switching enhances the frame count transmitted per second; fixed
24-bit color depth gives smooth color grades under all circumstances. Choose the one that’s best for your application.
To modify the color depth, see 4.0 Service Setup.
ACS4002A-R2

724-746-5500 | blackbox.com
Page 14
724-746-5500 | blackbox.com
Chapter 3: Installation
3.0 Installation
For first-time users, we recommend that you carry out a test placement, confined to a single room, before doing a full
installation. This will enable you to identify and solve any cabling problems, and experiment with the KVM extender system more
easily.
3.1 What‘s included
All:
• DVI-D/-I CATx/Fiber KVM-Extender pair (local and remote units)
• (2) US power cords
• (2) 5-VDC power supplies
• 6-ft. (1.8-m) USB cable
• 6-ft. (1.8-m) DVI-D video cable
• User‘s manual with quick-install guide
ACS4004A-R2 family (also includes):
• 6-ft. (1.8-m) USB cable
ACS4011A-R2 family (also includes):
• 6-ft. (1.8-m) VGA-to-DVI-D video cable
ACS4002A-R2

724-746-5500 | blackbox.com
724-746-5500 | blackbox.com Page 15
Chapter 3: Installation
3.2 Interconnection Cable Requirements
To connect the Local and Remote units you will need:
• USB: Connect the supplied USB CPU cable to your CPU (KVM switch, etc.). Make sure that the connection is tension-free.
• DVI: Connect the supplied DVI CPU cable to your CPU (KVM switch, etc.). Make sure that the connection is tension-free.
• VGA/DVI: Connect the supplied VGA to DVI CPU cable to your CPU (KVM, switch, etc.). Make sure that the connection is
tension-free.
• CATx cable: Recommended cable: S/UTP (CATx) according EIA/TIA 56A, TSB 36 or Digital STP 17-03170. Four-pair 24 AWG
connection according EIA/TIA 568A (10BASE-T). Use of cables from a higher category (CAT5e, CAT6, CAT7) is possible.
NOTE: The use of unshielded CATx Cable is possible, but because of the higher electromagnetic noise/sensitivity the device class
may not be reached.
NOTE: The use of flexible cables (patch cable) 26 or 27 AWG is possible. Because of the higher loss of the stranded cables, the
maximum distance is reduced to approximately half the value of solid cables.
NOTE: A point-to-point connection is required. Having one or more patch panels in the line is possible and allowed. Not allowed
is a connection from the CATx link interface (RJ-45) to any other products, especially telecommunications or network equipment.
• Fiber cable: Two strands of fiber are required for single-head devices, four strands for dual-head devices.
NOTE: The maximum distance will depend on device type and on fiber type used.
Recommended cables:
ACSxxxxA-MM: 50-µ multimode distance approximately 1312 ft. (400 m)
ACSxxxxA-MM: 62.5-µ multimode distance approximately 656 ft. (200 m)
ACSxxxxA-SM: Single-mode distance approximately 32,808 ft. (10 km)
A point-to-point connection is required. You can have one or more patch panels in the line. You can’t have a connection from the
fiber link interface (LC) to any other products, especially telecommunications or network equipment.
Single-mode devices often work well on multimode fibers, but the reverse isn’t true. In addition, however, single-mode devices
on multimode fibers may possibly double the distance on multimode fibers. There is no guarantee of this, and users are asked to
perform tests within their own environments.
• Power supply: Connect the supplied 5-VDC power supplies to the plug terminal on the rear of both local and remote units.
ACS4002A-R2

724-746-5500 | blackbox.com
Page 16
724-746-5500 | blackbox.com
Chapter 3: Installation
3.3 System Setup
To install your DVI-D/-I CATx/Fiber – Extender system:
1. Switch off all devices.
2. Connect your keyboard, monitor(s), and mouse to the remote unit
3. Using the supplied CPU cable(s), connect the USB and monitor connectors on the computer (or KVM switch).
4. Connect the interconnect cable to the INTERCONNECT socket(s).
5. Connect the 5-V power supply to power the unit.
CAUTION: Only use the power supply originally supplied with this equipment or a manufacturer-approved replacement.
6. To attach a local (USB) keyboard/mouse, use additional USB port(s) at your CPU or use a USB hub between the CPU and local
unit’s USB connector.
7. Power up the system.
to CPU: DVI
Connect to CPU:
secondary USB
Connect to local
DVI- monitor Connect to CPU:
USB
Figure 3-1. ACS4002A-R2/ACS4002A-R2-xx local unit with 2x USB-HID + 4x USB-2.0.
ACS4002A-R2

724-746-5500 | blackbox.com
724-746-5500 | blackbox.com Page 17
Chapter 3: Installation
4x remote secondary
USB 2.0 port.
Remote DVI-monitor port—
connect to remote console monitor.
Remote keyboard/
mouse port.
Figure 3-2. ACS4002A-R2/ACS4002A-R2-xx remote unit with 2x USB-HID + 4x USB-2.0.
This port carries USB 2.0—connect
to local/remote unit with CATx cable.
Connect to 5V power supply. This port carries video and data signals—connect
it to a local or remote unit with CATX cable.
Figure 3-3. ACS4002A-R2-xx, local/remote unit: rear view CATx.
ACS4002A-R2

724-746-5500 | blackbox.com
Page 18
724-746-5500 | blackbox.com
Chapter 3: Installation
Connect to 5V power supply. This port carries video and data signals. Connect it to a
local or remote unit with fiber cable.
This connector carries USB 2.0. Connect it
to a local or remote unit with fiber cable.
Figure 3-4. ACS4002A-R2-xx local/remote unit: rear view fiber.
‘Eye‘ for IR-RC Connect to CPU: DVI-I port
(DVI-D or VGA)
Programming
Connect to CPU: USB.
Connect to local DVI-
monitor.
Figure 3-5. ACS4002A-R2/ACS4011A-R2-xx, local unit with DVI-I input (DVI-D + VGA).
ACS4002A-R2

724-746-5500 | blackbox.com
724-746-5500 | blackbox.com Page 19
Chapter 3: Installation
Remote DVI- monitor port.
Connect to remote console monitor. Remote keyboard and mouse
ports.
Figure 3-6. ACS40011A-R2 /ACS40011A-R2-xx remote unit.
Connect to 5-V power supply.
This port carries video and data signals.
Connect to the local/remote unit with
CATx cable.
Figure 3-7. ACS40011A-R2-xx local unit (CATx): rear view.
Connect to 5V power supply. Connect to local/remote unit with
fiber cable.
Figure 3-8. ACS40011A-R2-xx local unit (fiber): rear view.
ACS4002A-R2

724-746-5500 | blackbox.com
Page 20
724-746-5500 | blackbox.com
Chapter 3: Installation
This port carries video and data signals.
Connect to the local/eremote unit wtih
CATx cable.
Connect to 5V power supply.
Figure 3-9. ACS40011A-R2-xx remote unit (CATx): rear view.
Connect to 5V power supply. Connect to local/remote unit with
fiber cable.
Figure 3-10. ACS40011A-R2-xx remote unit (fiber): rear view.
ACS4002A-R2

724-746-5500 | blackbox.com
724-746-5500 | blackbox.com Page 21
Chapter 3: Installation
3.4 Diagnostic LEDs
Each DVI-D/-I CATx KVM-Extender has indicator LEDs for Power, Video OK, Data Error, and Link Status. The Power LEDs are built
into the Power switch. The location of the LEDs is shown below:
Diagnostic LED:
Power.
Diagnostic LED:
Data Error.
Diagnostic LED:
Link Status.
Figure 3-11. Power, Data, and Link LEDs.
Diagnostic LED:
“Video is OK“.
Figure 3-12. Diagnostic Video LED.
Table 3-1. LED Information
LED Appearance Diagnostics
Power LED
(Red LED)
Off
On
Device not ready
Device ready
Video OK
(Green LED)
Off
On
No signal or invalid video signal detected
Device ready
Power LED
(Green LED)
Blinking
On
No CATx connection
Device ready
Power LED
(Green LED)
Off
Blinking/on
Device ready
Errors through data transmission over CATx cable
(Cable too long, too high attenuation or too much EMI interference)
ACS4002A-R2

724-746-5500 | blackbox.com
Page 22
724-746-5500 | blackbox.com
Chapter 4: Service Setup
4.0 Service Setup
For standard applications, you should not need to make any adjustments to your DVI-D KVM Extender. However, in certain
circumstances, you may need to open the Local Unit and/or the Remote Unit. To open one of the units, unscrew the Philips-type
screws at both sides at the bottom of the device. Unscrew the UNC-type screws on each side of the monitor connectors. Carefully
separate the lower and upper shells of the case.
Fastening screws
on the base.
Fastening screws
on the base.
Figure 4-1. Location of fastening screws.
4.1 Setup at the Local Unit
After unscrewing and opening the upper shell, place the device so the CATx connectors are on the right and the electrical
connectors are on the left. The main circuit board then will look like this:
Location of jumpers:
indicated as JP1, JP3, JP3.
Figure 4-2. Schematic of the interior of the local unit. Note the position of the jumpers.
ACS4002A-R2

724-746-5500 | blackbox.com
724-746-5500 | blackbox.com Page 23
Chapter 4: Service Setup
DDC
You can select whether the DDC is taken from the internal DDC table or from a local monitor. Or the DDC information could be
downloaded from a remote monitor and stored into an internal table.
LED Diagnostics
From internal table
From local monitor
Loading the DDC Information from the
Remote Monitor into the internal DDC
Table (see also below: Loading the DDC
Information from the Remote Monitor into
the internal DDC Table) (default))
Table 4-1. DDC Information
Loading the DDC Information from the Remote Monitor(s) into the internal DDC Table
To load the DDC information from the remote monitor(s) into the internal DDC table:
• Power up the CPU, the local unit, the remote (cables to the CPU connected) and the monitor.
• Pull the monitor cable(s) from the remote unit; for dual-head devices, remove the cables from both monitors.
• Make sure all monitors are turned on.
• Plug the video cable of the remote monitor(s) into the remote unit and any local units.
• The DDC information from the remote monitors will be read automatically, transferred to the local units and stored into the
DDC EPROM.
• After a successful programming of the DDC EPROM, the “Video-OK“ LED at the local unit will blink rapidly for approximately
one second, indicating that you are finished.
ACS4002A-R2

724-746-5500 | blackbox.com
Page 24
724-746-5500 | blackbox.com
Chapter 4: Service Setup
Selection of Color Depth
You may select between the Autoselect setting (the default setting), in which the system chooses whether 16- or 24-bit color
(64 K or 16 M colors) is transmitted, or 24-bit color (16 M color).
Autoselect mode optomizes the bandwidth between speed and color depth. When Autoselect is selected, 24 bit colors are
transmitted as the screen content permits high data compression. When the video data does not allow reducing data, the colors
are automatically reduced to 16 bit. This is auto selected in each line of the screen picture at any time. This mode makes the best
compromise between speed and color depth.
For the highest color depth at all times (with possibly reduced frame rates), select the 24-bit setting.
Table 4-2. Color Depth Settings
Color Depth JP3
16-bit/24-bit Autoselect setting. (Default).
Otimizes the color depth based on screen content.
24-bit
ACS4002A-R2

724-746-5500 | blackbox.com
724-746-5500 | blackbox.com Page 25
Chapter 4: Service Setup
4.2 Setup at the Remote Unit
After unscrewing and opening the upper shell, place the device so the CATx connectors are on the right and the electrical
connectors are on the left. The main circuit board then will look like this:
Location of jumpers:
JP1, JP2, JP3
Figure 4-3. Schematic of the interior of the remote unit. Note the position of the jumpers.
Selecting the moment to switch to the next frame
The transmission of screen data is not synchronous to the screen change of the graphics card. Normally, the transmission is
terminated while a frame on the screen is displayed. If the device switches to the new frame while the old frame is being
displayed (somewhere on the screen), it is possible that you will see horizontal screen breaks during the switch.
On the other hand, the device must idle until the frame is displayed completely (until VSYNC) -> at which point the number of
frames per second transmitted may be reduced significantly. In this case, it is possible that you will see a stepping of the frames.
Table 4-3. Color Depth Settings
Moment to Switch JP3 Behavior
Switching during HSYNC
(default)
Switching during VSYNC
Higher frame rate, but horizontal breaks may
possibly be detectable.
Lower frame rate, but no horizontal breaks
detectable; possibility of stepping pictures.
ACS4002A-R2

724-746-5500 | blackbox.com
Page 26
724-746-5500 | blackbox.com
Chapter 4: Service Setup
4.3 Setup for the ACS4011A-R2 On-screen Display (OSD)
The following table summarizes the remote control sequence used in system configuration and video tuning on the ACS4011A-R2
family.
Exit OSD
Select next position/increase parameter
Select previous position/decrease parameter
Enter OSD
Direct brightness control
Direct contrast control
Reset to factory defaults
(press twice)
Back to the menu selection
Figure 4-4. Infrared Remote Control (IR-RC).
ACS4002A-R2

724-746-5500 | blackbox.com
724-746-5500 | blackbox.com Page 27
Chapter 4: Service Setup
On-Screen Display (OSD) Utility
If you are using a VGA format stored in the internal table, no adjustment should be required. In other cases, you may need to
optimize the output using the integrated VGA to DVI Converter’s on-screen display (OSD).
Version Information
Main menu icons
Submenu/command icons
Screen resolution and refresh rate
of the video source
Menu title
Figure 4-5. On-Screen display utility.
You can adjust the following properties using the IR-Remote Control directly (no OSD required):
• Brightness/contrast
• Reset to factory defaults
You can adjust the following properties using the OSD:
• Auto Configuration ON/OFF
• Color, color temperature adjustments
• Brightness/contrast
• Input image sizing
• Output image scaling and sizing
• OSD operation, factory reset
ACS4002A-R2

724-746-5500 | blackbox.com
Page 28
724-746-5500 | blackbox.com
Chapter 4: Service Setup
Using the OSD
You can access the OSD by using the Infrared Remote Control (IR-RC) unit.
More brightness
Less brightness
More contrast
Less contrast
Press twice to reset to
factory defaults
(from flash)
Figure 4-6. Using the IR-RC.
ESC Key: Exit the OSD
without saving values.
Left Arrow:
Navigate to the left
[Parameter (-)].
Enter Key: Pop up the
OSD, selection functions
and submenus, and store
modified parameters.
Right Arrow:
Navigate to the right
[Parameter (-)].
Figure 4-7. Navigating within the OSD using the IR-RC.
Icons
The OCD is an icon-based utility.
These symbols, which appear across the top of the OCD display, show the main menu categories:
Input Select:
Specify whether the
input is VGA or DVI.
Scale Mode:
Select the screen
resolution of the
attached display
and select one of
four scaling modes.
Brightness/Contrast:
Adjust brightness or
contrast or reset to
default values.
Image:
Adjust the pixel clock
and phase. Define
picture size and
position.
Tools:
Set the OSD position
and size, and the
factory reset.
Color:
Adjust color calibra-
tion, temperature,
flesh/skin tone, hue,
and saturation.
Figure 4-8. OSD menu icons.
ACS4002A-R2

724-746-5500 | blackbox.com
724-746-5500 | blackbox.com Page 29
Chapter 4: Service Setup
Navigating the OSD Utility
1. Use the left and right arrow, shown in Figures 4-3 and 4-7 to highlight the icon you want. The OSD displays additional icons
relating to commands in the selected menu category.
2. Press the Enter key. The OSD highlights the first command icon.
3. Use the Left and Right arrow keys to highlight the command or submenu you want. In the case of the latter, your selection will
cause the OSD to display additional command icons (Color Temperature commands, for example).
4. Press the Enter key to accept a highlighted command. If this requires the increase or decrease of a value (Contrast, for
example), the OSD displays a value bar:
Figure 4-9. OCD Value Bar.
5. Use the left and right arrow keys to change the value.
6. In many cases, after you have chosen a new setting, the OSD displays the following confirmation message:
Figure 4-10. Confirmation Dialog
7. Highlight the “Yes“ button and press the Enter key to confirm your choice. Or, highlight the “No“ button and press the Enter
key to discard the new setting and restore the previous value.
8. Select the Exit icon to close a submenu.
9. Press the Esc key to close the OSD, saving all settings, and restore normal mouse and keyboard functions.
The table below summarizes the keyboard actions and icons used to navigate the OSD utility, and to select and adjust the VGA to
DVI Converter’s parameters:
Key or Icon, IR-RC Action
Close the OSD, and restore normal keyboard and mouse
functions.
Return to the previous menu selection.
Open the highlighted menu or submenu; also, accept the
command.
Select the previous menu or command icon; decrease the
highlighted parameter.
Select the next menu or command icon; increase the selected
parameter.
Table 4-4. DDC Information
ACS4002A-R2

724-746-5500 | blackbox.com
Page 30
724-746-5500 | blackbox.com
Chapter 4: Service Setup
Menu Item: Input Selection
From the main menu, select this “Input Select“ icon to choose the type of input source:
Select VGA Source
Select DVI Source
Return to main menu
(Actual source is
noted with a
check mark.)
Figure 4-11. Input selection.
Menu Item: Brightness/Contrast
From the main menu, select the “Brightness/Contrast“ icon to adjust the brightness and contrast of the video image, or to adjust
the black level of a display:
Adjust Brightness
Adjust Contrast
Adjust Black level
Return to main menu
Figure 4-12. Brightness/Contrast adjustment.
ACS4002A-R2

724-746-5500 | blackbox.com
724-746-5500 | blackbox.com Page 31
Chapter 4: Service Setup
Menu Item: Scale Mode
From the main menu, select the Scale Mode icon to to specify the physical resolution of the attached screen. These settings
enable you to best match the pictures on a TFT screen. Use “output scaling“ to stretch the picture to the maximum available
screen space.
No change to the resolution/refresh
rate. The output resolution/refresh rate
is the same as the input refresh rate
Choose from among three fixed screen
resolutions: 800x600; 1024x786; and
1280x1024
Return to main menu
Figure 4-13. Scale Mode adjustment.
NOTE: There is no altering in refresh rates possible. If sourcing 50 Hz or 75 Hz, make certain your monitor is able to process these
refresh rates. Otherwise, select 60-Hz refresh rate from your graphics card. Note that rescaling any 16:9 resolution to a 4:3
resolution will cause a misalignment in aspect ratio.
NOTE: If using DVI-D input and the scaling function for downsizing the picture resolution, note, that there are limits for resizing:
The input pixel clock must remain below 1.9x output pixel clock.
This means:
For output of 800 x 600, the maximum input resolution is 1024 x 768.
For output of 1024 x 768, the maximum input resolution is 1680 x 1050 (Reduced Blanking).
For output of 1280 x 1024, all maximum input resolutions are possible.
With VGA input signals, there are no limits for up- or downscaling.
ACS4002A-R2

724-746-5500 | blackbox.com
Page 32
724-746-5500 | blackbox.com
Chapter 4: Service Setup
Menu Item: Color
From the main menu, select the “Color“ icon to adjust the color balance of the video image. The menu provides a number of
options including automatic calibration, manual adjustment in RGB or CMY color space, along with hue and saturation adjust-
ment and the setup of flesh tones.
Automatic color calibration
Standard RGB color selection
View Color temperature
submenu, below.
Adjust flesh tones
Set up colors in CMY space;
automatically adjusts settings
in RGB space.
Hue Saturation Back to main menu
Figure 4-14. Color adjustment.
Menu Item: Color Temperature submenu
From the main menu, select the Color Temperature submenu to set up the color profile in the RGB color space, or by using one
of five pre-defined color temperatures. To view this submenu, select the Colors icon from the main menu, and then select the
Color Temperature icon as shown here.
Set up colors in RGB space. Automatically
adjusts settings in CMY space.
Back to Color menu
Choice of five color temperature settings: 4200 k,
5000 k, 6500 k, 7500 k, and 9300 k.
Figure 4-15. Color Temperature submenu.
ACS4002A-R2

724-746-5500 | blackbox.com
724-746-5500 | blackbox.com Page 33
Chapter 4: Service Setup
Menu Item: Image
From the main menu, select the “Image“ menu to adjust the vertical and horizontal screen position and to set the pixel clock and
phase.
Automatic detection of the number of pixels
per line and the best phase (best point for A/D
conversion within each pixel).
Manually adjust the number of pixels per line
(pixel clock).
Manually adjust the best phase (best point for
A/D conversion within each pixel).
Back to main menu.
Manually adjust the vertical picture position.
Manually adjust the horizontal picture position.
Figure 4-16. Image menu.
Menu Item: Tools
From the main menu, select the “Tools“ menu to set the position and size of the OSD window, to adjust the sharpness for a fixed
resolutioini setting, to reset the VGA to DVI Converter system to its factory defaault setting or to provide a test pattern.
Calling Factory Reset submenu.
Adjust sharpness (only when doing scaling
to fixed resolutions). When resolution is
changed by an imposed fixed resolution,
sharpness can be affected. Use this option to
switch between three settings for optimum
sharpness..
Choose whether to automatically adjust pixels
per line and pixels phase after a mode change.
(See Navigating the OCD Utility in 4.3 Setup).
Back to main menu.
Display a ‘burst‘ pattern for monitor setup.
(See 4.4 Setup Instructions for VGA Input).
Selecting color depth (HiColor/LoColor).
Set the position of the OSD window.
Figure 4-17. Tools menu.
ACS4002A-R2

724-746-5500 | blackbox.com
Page 34
724-746-5500 | blackbox.com
Chapter 4: Service Setup
Menu Item: OSD submenu
From the Tools menu, select the “OSD“ submenu, to define the position and size of the OSD window.
Manually adjust the horizontal position of
the OSD window.
Back to Tools menu.
Manually adjust the vertical position of the
OSD window.
Toggle the size of the OSD window between
single and double size.
Figure 4-18. The OSD submenu, from the Tools menu.
Menu Item: Auto Configuration submenu
From the Tools menu, select the Auto Configuration icon. Use the Auto Configuration submenu to define whether the Converter
carries out automatic detection of the number of pixels per line and the best phase after a mode change (a change of screen
resolution and/or refresh rate at the graphics source). Using automatic detection (while displaying an appropriate test pattern)
ensures an optimized image but the procedure introduces a delay in the picture appearing on the attached console screen. If you
want the picture to appear as fast as possible, you may want to disable this feature. Auto Configuration is disabled in the default
factory settings.
Disable automatic detection of pixels per line
and phase after a mode change.
Back to Tools menu.
Enable automatic detection of pixels per line and
phase after a mode change.
Figure 4-19. The Auto Configuration submenu, from the Tools menu.
ACS4002A-R2

724-746-5500 | blackbox.com
724-746-5500 | blackbox.com Page 35
Chapter 4: Service Setup
Menu Item: DDC Configuration Menu
From the main menu, select the DDC Configuration menu, to define which DDC information is transmitted to the graphics card.
As long as there is no transparent DDC communication, there is a “virtual DDC“ built into the local unit (See Appendix E:
Information in Internal DDC). You can either provide the DDC information of the secondary monitor attached to the local unit or
the information from the internal DDC table.
Use the information from the internal
DDC table.
Back to main menu.
Connect DDC lines directly from a locally
attached monitor.
Create a VGA-DDC from the DVI DDC in the
internal table.
Figure 4-20. The DDC Configuration menu.
NOTE: It is possible to load the DDC information of the remotely attached monitor into the internal DDC table. Refer to DDC
Information in 2.5 How to Use This Guide. Under some circumstances, the local unit should identify itself as a “VGA monitor“
providing DDC information like a VGA screen (DVI-DDC and VGA-DDC are different). In this case, you can convert the internal
DDC table to a VGA-DDC by hitting the “Create VGA“ button.
ACS4002A-R2

724-746-5500 | blackbox.com
Page 36
724-746-5500 | blackbox.com
Chapter 4: Service Setup
4.4 Setup Instructions for VGA Input (ACS4011A-R2 Family)
When converting from analog to digital signal, this extender will give you options to adjust and compensate in order to achieve
the best possible video output. This procedure is designed to correct discrepancies in the video signal from analog/digital video
conversion by the VGA to DVI Converter.
1. Display from your graphics source a picture with as much detail as possible. If possible, display a “burst-pattern“ (see Figure
4-21)—a picture with alternating, 1-pixel wide, black-and-white, vertical stripes.
If you are unable to view the test card, display some black text on a white background. For example, you could open Notepad,
maximize it to full screen, and fill the page with letter ‘I’s in a 12-pt. sans serif font. Proceed with Step 2.
2. Display the OSD.
3. Select the Image menu option:
4. Select the first command icon:
Automatic detection of number of pixels per line and the best phase.
5. Assess the desktop test pattern. If the vertical stripes are sharp and without jitter or smearing, the adjustment has been
successful. Go to Step 9.
6. If the picture quality is not acceptable after the automatic adjustment, you will have to manually adjust the pixel clock and pixel
phase (in this order).
7. With a poorly adjusted pixel clock you may see one or more vertical areas, where the lines are smeared:
Figure 4-21. If, after allowing the OSD to automatically adjust the pixel phase, the picture quality is not successful, you may
see this type of distortion. In this case, you will need to manually adjust both the pixel clock and pixel phase.
a. Return to the OSD utility and select this menu command:
Manually adjust the number of pixels per line (pixel clock) from the Image menu.
b. Adjust the pixel clock value until all stripes have disappeared.
c. Confirm the setting.
ACS4002A-R2

724-746-5500 | blackbox.com
724-746-5500 | blackbox.com Page 37
Chapter 4: Service Setup
8. Problems with the pixel phase will cause horizontal noise, horizontal wave-formed lines, flicker, or smearing with a zebra-
pattern:
Figure 4-22. When manually adjusting the pixel phase, you may see the type of noise that's shown here.
You can use the OCD command Manually adjust the best phase to remove this distortion.
a. From the OSD’s Image menu, select the menu command: Manually adjust the best phase
(best point for A/D conversion within each pixel).
b. Modify the phase until all distortions have disappeared.
c. Confirm the setting.
9. If necessary, adjust the size of the visible part of the picture.
(The horizontal and vertical size is displayed in numeric values
for exact adjustment.)
10. If necessary, adjust the position of the visible part of the screen.
It may be necessary to adjust the picture size (Step 9) again.
11. If appropriate, re-attach your TFT monitor and adjust its image according to the manufacturer’s instructions.
ACS4002A-R2

724-746-5500 | blackbox.com
Page 38
724-746-5500 | blackbox.com
Chapter 5: Troubleshooting
5.0 Troubleshooting
5.1 Monitor Errors
There isn‘t a picture
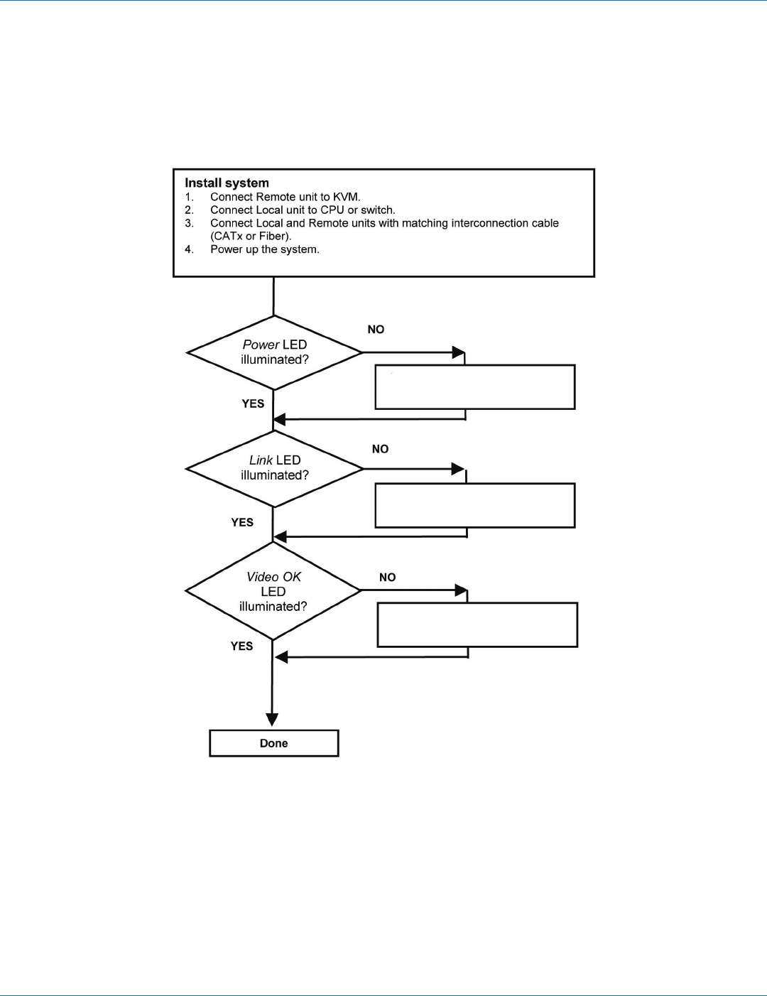
Check the power supply connection at the local and remote units. Is the Power (red LED) at the local unit illuminated? (See 3.4
Diagnostic LEDs.) If not, the internal power supply may be damaged or there may be an internal error.
Check that the interconnection cable is connected at the local unit and the remote unit. Is the Link Status LED illuminated?
(See 3.4 Diagnostic LEDs.) If not, there may be a problem with the interconnection cable.
Are there errors through data transmission over CATx cable—cable too long, too high attenuation or too much EMI interference?
Is the Data Error LED illuminated or blinking? (See 3.4 Diagnostic LEDs.) If yes, check cable length and environment.
Video OK LED is dark: CPU does not provide a video signal. Check the settings of the graphics card. Connect a monitor to the
local output to see whether there is a signal or not.
“Stepping“ pictures on displaying videos
On high resolutions, the amount of data transmitted each second expires the capability of the data link. Therefore the data
has to be reduced before transmitting. This is done in a first step by an RLE (=Run Length Encoding) algorithm. If this (loss less)
compression does not reach the required amount, frames are dropped: the frame actually transmitted is transmitted
completely even if the graphics card generates a new frame. This new frame is discarded. Because of this behavior, the count
of frames per second (fps) may be reduced to a value, where “stepping“ pictures are seen.
How to solve the problem: Use a lower resolution, which is slightly higher than the resolution of the recorded movie. Most
movies only have a resolution of approximately 720 x 480 (NTSC) or 704 x 576 (PAL) or even 320 x 256 (VHS). If the monitor
provides a higher resolution, it may scale these pictures. The picture quality is the same if the monitor or the CPU does the
scaling.
How to solve the problem: Set the color depth to 16-/24-bit AUTOSELECT. On moving pictures, the human eye is not able to
see differences between so many colors. A reduction to 16-bit reduces the amount of data without (visible) effects.
5.2 USB Keyboard and USB Mouse Errors
Your USB keyboard or mouse does not work
Although we designed the devices to be as transparent as possible, we can’t ensure that all devices will be compatible.
Your mouse is “stepping“ on your screen
On high resolutions, the amount of data transmitted each second exceeds the capability of the data link. Therefore the data rate
must be reduced before transmitting. This is done by using an RLE (Run Length Encoding) algorithm. If this (lossless)
compression is not sufficient, frames are dropped, and as a result, you will see “stepping“ mouse movements.
How to solve the problem: Use a lower resolution or use a desktop background that is better suitable for compression: avoid
photos for background or horizontally graduated colors. Or better yet, use monochrome backgrounds, which allow for higher
compression -> higher frame rates.
ACS4002A-R2

724-746-5500 | blackbox.com
724-746-5500 | blackbox.com Page 39
Chapter 5: Troubleshooting
Your mouse is moving like it’s “hanging on a rubber band“
This problem is usually a combination of things, which adds up to a delay between the true mouse movement and the
movement of the mouse pointer on the screen. Delays of up to 100–150 msec can be annoying.
The total delay comes from (time values are approximate values):
• 5 to 15 msec for mouse movement and data transmission to the CPU
• 50 to 70 msec data processing time in the CPU until the refreshed data reach the graphics card output connector
• 15 to 45 msec for transferring the graphics data into the local unit of the extender system and for transmitting to the remote
unit (60 to 20 fps)
• 10 to 100 msec data processing time in the display until the data is displayed on the screen (where 15 msec is normally only
reached by CRT tubes)
Total delay times between 85 to 230 msec are possible. Most of this delay is NOT caused by the extender system. The extender-
based delay is 5 to 15 msec of data transfer to the CPU and 15 to 45 msec of frame transfer to the remote unit—a total of 20 to
60 msec. Even a step from a 100 msec delay to a 140 msec (i.e. by inserting an extender system to a CPU-monitor link) may
cause visible effects.
Please note that even a monitor directly connected to a CPU has a delay of 70 to 175 msec. So (under special conditions) even
the bare CPU/monitor link can have this problem. If you then add an extender system, the problem may worsen and is falsely
attributed to the extender system, even though the extender is only a small part of the total problem.
How to solve the problem: Use a display with a low delay time (NOTE: This is NOT the reaction time indicated by the
manufacturer. This reaction time is only the time the display needs to switch a black pixel to get white or vice versa, but not how
long it takes from receiving the data on the connector until they are displayed on the screen.) Use a lower resolution or use a
desktop background that is better suited for compression: Avoid photos for background or horizontally graduated colors. It’s
better to use monochrome backgrounds. They allow higher compression -> higher frame rates. If the link has frame dropping, a
reduction from 30 fps to 60 fps saves 17 msec and from 20 fps to 60 fps saves 34 msec.
5.3 USB-HID Device Errors
Your USB-HID device does not work
Although our interface supports HID devices, we can't ensure that every connected device is supported. If you have problems,
contact our FREE Tech Support.
5.4 Other Errors
Your USB- device does not work
You have connected a non-HID device to the HID port. For these ports, only HID devices are supported. (For example, on the
ACS4002A-R2 model, there are six total USB ports at the remote unit. The two ports in the lower row are USB-HID only.
Reconnect your USB device to one of the ports in the upper row.)
ACS4002A-R2

724-746-5500 | blackbox.com
Page 40
724-746-5500 | blackbox.com
Appendix A: Sample Applications
Appendix A: Sample Applications
USB Devices
USB Connection
Receiver/Remote Unit
CATx or Fiber Cable
Transmitter/Local Unit
CPU
USB Connection
Figure A-1. DVI-D CATx KVM Extender with USB 2.0 support.
ACS4002A-R2

724-746-5500 | blackbox.com
724-746-5500 | blackbox.com Page 41
Appendix A: Sample Applications
USB Connection
USB Connection
Receiver/Remote Unit
Transmitter/Local Unit
CATx or Fiber Cable
Figure A-2. DVI-D CATx KVM Extender supporting VGA and DVI-D.
ACS4002A-R2

724-746-5500 | blackbox.com
Page 42
724-746-5500 | blackbox.com
Appendix B: Rackmount Options
Appendix B: Rackmount Options
The DVI-D CATx KVM Extender units can be mounted in a standard 19“ rack using the mounting kit either of two different
rackmount kits: the ACS1009A-RMK for single-head devices, and ACS2209A-RMK for dual-head devices.
Mounting the ACS1009A-RMK Rackmount-Kit
Using the ACS1009A-RMK rackmount kit, you can mount up to four 4"H x 5.6"W x 1.1"D (10.3 x 14.3 x 2.9 cm) single-head
devices into a 19" server rack. The rackmount kit requires 1U of rack space. Blank plates enable you to cover unused device
positions.
Base PlateM2, 5x2 Spacers
3 Blank Plates
M2, 5x5 Philips
countersunk screws
Figure B-1. Rackmount Kit.
Mounting Instructions:
• Align the holes on the base plate with the vacant screw holes on the base of the device.
• Fasten the base of the unit to the plate of the mounting kit.
• Close the remaining gaps with blanking plates.
NOTE: Use only the supplied short screws to prevent damages on the PCBs
ACS4002A-R2

724-746-5500 | blackbox.com
724-746-5500 | blackbox.com Page 43
Appendix B: Rackmount Options
The Rackmount Kit (ACS1009A-RMK) enables mounting of up to four devices:
Figure B-2. Mounting for one or two devices.
Figure B-3. Mounting for three or four devices.
NOTE: In the leftmost position, you can install a rackmountable PSU, ACS2209A-PS instead of an extender device. This PSU will
enable you to power up to three single- or dual-head devices.
Figure B-4. Mounting the optional ACS2209A-PS.
ACS4002A-R2

724-746-5500 | blackbox.com
Page 44
724-746-5500 | blackbox.com
Appendix B: Rackmount Options
Mounting the ACS2209A-RMK Rackmount Kit
Using the ACS2209A-RMK rackmount kit, you can mount up to four 4"H x 5.6"W x 1.7"D (10.3 x 14.3 x 4.2 cm) dual-head
devices into a 19" server rack. The rackmount kit requires 1U of rack space. Blank plates enable you to cover unused device
positions.
Base Plate
M2, 5x2 Spacers
3 Blank Plates
M2, 5x5 Philips
countersunk screws
Figure B-5. Mounting with the ACS2209A-RMK Rackmount Kit.
Mounting Instructions:
• Align the holes on the base plate with the vacant screw holes on the base of the device.
• Fasten the base of the unit to the plate of the mounting kit.
• Close the remaining gaps with blank plates.
NOTE: Use only the supplied short screws to prevent damages on the circuit boards.
ACS4002A-R2

724-746-5500 | blackbox.com
724-746-5500 | blackbox.com Page 45
Appendix B: Rackmount Options
The ACS2209A-RMK rackmount kit enables mounting of up to four devices in the following manner:
Figure B-6. Mounting for one or two devices.
Figure B-7. Mounting for three or four devices.
NOTE: In the leftmost position, you can install a rackmountable power supply unit (PSU) (ACS2209A-PS) instead of an extender
device. This PSU will enable you to power up to three single- or dual-head devices.
Figure B-8. Mounting the optional ACS2209A-PS.
ACS4002A-R2

724-746-5500 | blackbox.com
Page 46
724-746-5500 | blackbox.com
Appendix C: Technical Support
Appendix C: Technical Support
If you determine that your DVI-D/-I KVM Extender is malfunctioning, do not attempt to alter or repair it. It contains no user-
serviceable parts. Contact Technical Support at Black Box.
Before you call, make a record of the history of the problem. We will be able to provide more efficient and accurate assistance if
you have a complete description, including:
• The firmware-revision level printed on the bottom of the extender (very important, especially for keyboard and mouse
problems); The DVI-D/-I- KVM extender’s firmware revision level:
Version Number Format:
Board: xxLO/RE Myyy Pzzz Auuu Gvvvvvv
Transceiver: C/M/S xx Pyy Mzz
Keyboard/Mouse: P/U xx Vyyy
• The nature and duration of the problem.
• When the problem occurs.
• The components involved in the problem—what type of computers, what type of keyboard, brand of mouse, make and model
of monitor, type and make of cable, etc.
• Any particular application that, when used, appears to create the problem or make it worse.
• The results of any testing you’ve already done.
To solve some problems, it might be necessary to upgrade the extender’s firmware. Our Tech Support technicians will arrange for
you to receive the new firmware and will tell you how to install it.
Shipping and Packaging
If you need to transport or ship your DVI-D/-I- KVM Extender:
• Package it carefully. We recommend that you use the original container.
• If you are shipping it for repair, please include the exender’s external power supplies. If you are returning it, please include
everything you received with it. Before you ship the extender back to Black Box for repair or return, contact Tech Support to
get a return authorization (RA) number.
ACS4002A-R2

724-746-5500 | blackbox.com
724-746-5500 | blackbox.com Page 47
Appendix C: Technical Support
Black Box Technical Support
Table C-1. Black Box Technical Support Contact Information.
Country Web Site and Email Phone Fax
US
www.blackbox.com
info@blackbox.com 724 -746-5500 724-746 -0746
Austria
www.black-box.at
support@black-box.at +43 1 256 98 56 +43 1 256 98 56
Belgium
www.blackbox.be
support.english@blackbox.be
support.french@blackbox.be
support.nederlands@blackbox.be +32 2 725 85 50 +32 2 725 92 12
Denmark
www.blackbox.dk
blackbox@blackbox.dk +45 56 63 30 10 +45 56 65 08 05
Finland
www.blackbox.fi
tuki@blackbox.fi +358 201 888 800 +358 201 888 808
France
www.blackbox.fr
tech@blackbox.fr +33 820 07 09 11 +33 820 05 07 09
Germany
www.black-box.de
techsupp@black-box.de +49 811 5541 110 +49 811 5541 499
Ireland
www.blackbox.co.uk
techhelp@blackbox.co.uk +353 1 662 2466 +353 1 662 2477
Italy
www.blackbox.it
supporto.tecnico@blackbox.it +39 02 27 404 700 +39 02 27 400 219
Netherlands
www.blackbox.nl
techsupport@blackbox.nl +31 30 241 7799 +31 30 241 4746
Norway
www.blackboxnorge.no
support@blackboxnorge.no +47 55 300 710 +47 55 300 701
Spain
www.blackbox.es
tecnico@blackbox.es +34 916590732 +34 916239784
Sweden
www.blackboxab.se
support@blackboxab.se +46 8 44 55 890 +46 08 38 04 30
Switzerland
www.black-box.ch
support@black-box.ch +41 55 451 70 71 +41 55 451 70 75
UK
www.blackbox.co.uk
techhelp@blackbox.co.uk +44 118 965 6000 +44 118 965 6001
ACS4002A-R2

724-746-5500 | blackbox.com
Page 48
724-746-5500 | blackbox.com
Appendix D: Supported Video Modes
Appendix D: Supported Video Modes
Table D-1. Supported Video Modes.
Description Hres pixels Vres lines V-freq HZ Hfreq kHz DotClk Mhz
DOS Graphic Mode 640 350 69.6 31.3 25.0
VESA Standard
640
350
85.1 37.9 31.5
VGA 640
400 56.3 24.7 21.0
VGA 640
400 69.6 31.3 25.0
VESA
Standard 640
400 85.1 37.9 31.5
VESA
Standard 640
480 60.2 31.5 25.3
Mac Mode 640
480 67.0 35.0 31.5
VESA
Standard 640
480 72.8 37.9 31.5
VESA
Standard 640
480 75.0 37.5 31.5
VESA
Standard 640
480 85.0 43.3 36.0
DOS Text Mode
720 400 69.6 31.5 28.1
VESA
Standard
720 400 85.0 37.9 35.5
NTSC progressive
720 480 59.9 31.5 27.0
PAL progressive
720 576 50.0 31.3 37.0
VESA
Standard
800 600 56.3 35.2 36.0
VESA
Standard
800 600 60.3 37.9 40.0
VESA Standard
800 600 72.2 48.1 50.0
VESA Standard
800 600 75.0 46.9 49.5
VESA Standard
800 600 85.1 53.7 56.3
Mac Mode
832 624 75.1 49.7 55.5
VESA Standard
1024 768 60.0 48.4 65.0
VESA Standard
1024 768 70.1 56.5 75.0
SUN Mode
1024 768 72.2 57. 8 75.2
VESA Standard
1024 768 72.0 60.0 78.8
VESA Standard
1024 768 85.0 68.7 94.5
DM T1185
1152 864 70.0 63.8 100.0
Mode
1152 864 70.0 63.8 94.5
VESA Standard
1152 864 75.0 67.5 108.0
SUN Mode
1152 900 66.0 61.8 94.5
VESA CVT 16:9
1280 720 60.0 44.8 74.5
WXGA
1280 768 60.0 48.1 81.2
WXGA
1280 768 60.2 47. 8 80.0
WXGA 16:10 CVT
1280 800 59.8 49.7 83.5
VESA Standard
1280 960 60.0 60.0 108.0
DMT127A
1280 960 75.0 75.0 126.0
VESA Standard
1280 960 85.0 85.9 148.5
ACS4002A-R2

724-746-5500 | blackbox.com
724-746-5500 | blackbox.com Page 49
Appendix D: Supported Video Modes
Table D-1. Supported Video Modes, continued.
Description Hres pixels Vres lines V-freq HZ Hfreq kHz DotClk Mhz
TV 1280 1024 50.0 53.4 90.0
VESA Standard
1280 1024 60.0 64.0 108.0
SUN Mode 1280 1024
66.0 71.7 115.8
SGI 1280 1024
72.0 76.7 128.8
HG Workstation B123L 1280 1024
72.0 78.1 135.0
VESA Standard 1280 1024 75.0 80.0 1325.0
VESA Standard 1280 1024 85.0 91.1 157.5
TV Mode 16:9
1360 765 60.1 47.6 84.5
Plasma TV 16:9
1360 768 60.0 47.7 85.5
NVIDIA 4:3
1400 1050 59.8 65.2 121.5
TV Mode 16:10
1440 900 60.0 55.6 89.0
TV Mode 16:9
1600 900 59.9 55.8 118 . 8
SGI
1600 1024 72.0 77.6 158.3
USGA genlocked
1600 1200 50.0 75.0 138.0
VESA Standard 1600 1200 60.0 75.0 162.0
USGA reduced blank 1600 1200 60.1 75.4 140.6
WSXGA+16:10 DVI
1680 1050 59.9 64.7 119.0
WSXGA+ 16:10 VGA
1680 1050 60.0 65.3 146.3
TV Mode 16:9
1920 1080 50.0 56.4 148.5
TV Mode 16:9
1920 1080 59.9 66.6 138.5
EIA861B16:9
1920 1080 60.0 67.5 148.5
WUXGA
1920 1200 60.0 74.0 154.0
ACS4002A-R2

724-746-5500 | blackbox.com
Page 50
724-746-5500 | blackbox.com
Appendix E: Information in Internal DDC
Appendix E: Information in Internal DDC
Table E-1. Standard Timings.
Resolution Refresh Rate Standard
720 x 400 70 Hz IBM VGA
720 x 400 88 Hz IBM XGA2
640 x 480 60 Hz IBM VGA
640 x 480 67 Hz Apple Mac II
640 x 480 72 Hz VESA
640 x 480 75 Hz VESA
800 x 600 56 Hz VESA
800 x 600 60 Hz VESA
800 x 600 72 Hz VESA
800 x 600 75 Hz VESA
832 x 624 75 Hz Apple Mac II
1024 x 768 60 Hz VESA
1024 x 768 70 Hz VESA
1024 x 768 75 Hz VESA
1280 x 1024 75 Hz VESA
1152 x 870 75 Hz Apple Mac II
1280 x 1024 60 Hz VESA STD
1280 x 1024 60 Hz VESA STD
1280 x 1024 60 Hz VESA STD
1360 x 765 60 Hz VESA STD
1400 x 1050 60 Hz VESA STD
1600 x 900 60 Hz VESA STD
Native/Preferred Timing: 1024 x 768 @ 60 Hz, VESA
Table E-2. Detailed Timings.
Resolution Refresh Rate Bandwidth
1280 x 800
60 Hz 83.5 MHz
1360 x 768
60 Hz 85.5 MHz
1680 x 1050
60 Hz 119 MHz
1600 x 1200
60 Hz 162 MHz
1920 x 1200
50 Hz 148.5 MHz
1920 x 1200
60 Hz 148.5 MHz
1920 x 1200
60 Hz 154 MHz
ACS4002A-R2

724-746-5500 | blackbox.com
724-746-5500 | blackbox.com Page 51
Appendix F: Connectors
Appendix F: Connectors
DVI-D/-I CATx/Fiber KVM-Extender Connector Pinouts
1
17 24
8C1 C2
C3 C4
C5
Figure F-1. DVI-I female connector (Output connector for all devices and Input connector
for the ACS4002A-R2 device - local unit).
Table F-1. DVI-I Female Connector.
Pin Signal Pin Signal Pin Signal
1
TMDS data 2- 9TMDS data 1- 17 TMDS data 0-
2
TMDS data 2+ 10 TMDS data 1+ 18 TMDS data 0+
3
TMDS data 2 ground 11 TMDS data 1 ground 19 TMDS data 0 ground
4
n.c. 12 n.c. 20 n.c
5
n.c. 13 n.c. 21 n.c
6
DDC Input (SCL) 14 +5V high impedance 22 TDMS clock ground
7
DDC Output (SDA) 15 Ground 23 TDMS clock +
8
Internal use 16 Hot plug recognition 24 TDMS clock -
C1
Internal use C3 Internal use
C2
n.c. C5 Ground C4 Internal use
ACS4002A-R2

724-746-5500 | blackbox.com
Page 52
724-746-5500 | blackbox.com
Appendix F: Connectors
DVI-I Female Input Connector for the ACS4011A-R2 Local Unit
1
17 24
8C1 C2
C3 C4
C5
Figure F-2. DVI-I female connector (Input connector for the ACS4002A-R2 local unit).
Table F-2. DVI-I Female Connector.
Pin Signal Pin Signal Pin Signal
1
TMDS data 2- 9TMDS data 1- 17 TMDS data 0-
2
TMDS data 2+ 10 TMDS data 1+ 18 TMDS data 0+
3
TMDS data 2 ground 11 TMDS data 1 ground 19 TMDS data 0 ground
4
n.c. 12 n.c. 20 n.c
5
n.c. 13 n.c. 21 n.c
6
DDC Input (SCL) 14 +5V high impedance 22 TDMS clock ground
7
DDC Output (SDA) 15 Ground 23 TDMS clock +
8
Analog VSYNC 16 Hot plug recognition 24 TDMS clock -
C1
Analog Red C3 Analog Blue
C2
Analog Green C5 Analog Ground C4 Analog HSYNC
ACS4002A-R2

724-746-5500 | blackbox.com
724-746-5500 | blackbox.com Page 53
Appendix F: Connectors
USB Connector, USB Type B (Connector at the Local Unit)
1 2
3 4
Figure F-3. USB Connector at the Local Unit, USB Type B.
Table F-3. USB Connector at the Local Unit.
Pin Signal
1
VCC (+5V) Red
2
Data - White
3
Data + Green
4
Ground Black
USB Connector, USB Type A (Connector at the Remote Unit)
1 2 3 4
Figure F-4. USB Connector at the Remote Unit, USB Type A.
Table F-4. USB Connector at the Remote Unit.
Pin Signal
1
VCC (+5V) Red
2
Data - White
3
Data + Green
4
Ground Black
ACS4002A-R2

724-746-5500 | blackbox.com
Page 54
724-746-5500 | blackbox.com
Appendix F: Connectors
CATx- Interface: Pinout according to EIA/TIA 568A (1000BASE-T)
1 8
Figure F-5. 1000BASE-T Pinout.
Table F-5. USB Connector at the Remote Unit.
Pin Pin
1
D1+ 5D3-
2
D1- 6D3+
3
D2+ 7D4+
4
D2- 8D4-
Programming Port
Figure F-6. Programming Port.
Table F-6. Programming Port Pinout.
Pin Signal
1
TxD (to PC RxD)
2
RxD (from PC TxD)
3
DTR from PC
4
Ground-
ACS4002A-R2

724-746-5500 | blackbox.com
724-746-5500 | blackbox.com Page 55
Notes
ACS4002A-R2

724-746-5500 | blackbox.com
About Black Box
Black Box Network Services is your source for an extensive range of networking and infrastructure products. You’ll find everything
from cabinets and racks and power and surge protection products to media converters and Ethernet switches all supported by
free, live 24/7 Tech support available in 30 seconds or less.
© Copyright 2011. All rights reserved
BLACK BOX®
Black Box Tech Support: FREE! Live. 24/7.
Tech support the
way it should be.
Great tech support is just 30 seconds away at 724-746-5500 or blackbox.com.
ACS4002A-2, version 1