Bosch Power Tools Duh Users Manual LI2WVB_gb.p65
DUH to the manual 459ae16b-8e2d-42e9-8187-24bbc373654f
2015-02-02
: Bosch-Power-Tools Bosch-Power-Tools-Duh-Users-Manual-484213 bosch-power-tools-duh-users-manual-484213 bosch-power-tools pdf
Open the PDF directly: View PDF
.
Page Count: 32

Bosch ventilation installation
manual
DUH Models
2
PLEASE READ ENTIRE INSTRUCTIONS BEFORE PROCEEDING.
INSTALLATION MUST COMPLY WITH ALL LOCAL CODES.
IMPORTANT: Save these Instructions for the Local Electrical Inspector’s use.
INSTALLER: Please leave these Instructions with this unit for the owner.
OWNER: Please retain these instructions for future reference.
Safety Warning: Turn off power circuit at service panel and lock out panel, before wiring this appliance.
Requirement: 120 V AC, 60 Hz. 15 or 20 A Branch Circuit
APPROVED FOR RESIDENTIAL APPLIANCES
FOR RESIDENTIAL USE ONLY
READ AND SAVE THESE INSTRUCTIONS

3
IMPORTANT SAFETY INSTRUCTIONS
Read All Instructions Before Using the Appliance.
READ AND SAVE THESE INSTRUCTIONS
WARNING
TO REDUCE THE RISK OF FIRE, ELECTRIC
SHOCK, OR INJURY TO PERSONS, OBSERVE
THE FOLLOWING:
A. Use this unit only in the manner intended by the
manufacturer. If you have questions, contact
the manufacturer.
B. Before servicing or cleaning the unit, switch
power off at service panel and lock service
panel disconnecting means to prevent power
from being switched on accidentally. When the
service disconnecting means cannot be locked,
securely fasten a prominent warning device,
such as a tag, to the service panel.
C. Installation Work and Electrical Wiring Must Be
Done By Qualified Person(s) In Accordance
With All Applicable Codes & Standards,
Including Fire-rated Construction.
D. Sufficient air is needed for proper combustion
and exhausting of gases through the flue
(chimney) of fuel burning equipment to prevent
back- drafting. Follow the heating equipment
manufacturers guideline and safety standards
such as those published by the National Fire
Protection Association (NFPA), the American
Society for Heating, Refrigeration and Air
Conditioning Engineers (ASHRAE), and the
local code authorities.
E. When cutting or drilling into wall or ceiling, do
not damage electrical wiring and other hidden
utilities.
F. Ducted systems must always be vented to the
outdoors.
WARNING
CAUTION
FOR GENERAL VENTILATING USE ONLY. DO
NOT USE TO EXHAUST HAZARDOUS OR
EXPLOSIVE MATERIALS OR VAPORS.
CAUTION
To reduce risk of fire and to properly exhaust
air, be sure to duct air outside - do not vent
exhaust air into spaces within walls, ceilings,
attics, crawl spaces, or garages.
WARNING
TO REDUCE THE RISK OF FIRE, USE ONLY
METAL DUCT WORK.
Install this hood in accordance with all
requirements specified.
WARNING
To Reduce The Risk Of Fire Or Electric Shock,
Do Not Use This Hood With Any External Solid
State Speed Control Device.
OPERATION
a. Always leave safety grills and filters in place.
Without these components, operating blowers
could catch onto hair, fingers and loose clothing.
The manufacturer declines all responsibility in the
event of failure to observe the instructions given
here for installation, maintenance and suitable use
of the product. The manufacturer further declines
all responsibility for injury due to negligence and
the warranty of the unit automatically expires due to
improper maintenance.
This unit is manufactured for indoor use only. Do not use this unit outdoors.

4
Electrical requirements
IMPORTANT
Observe all governing codes and ordinances.
It is the customer’s responsibility:
To contact a qualified electrical installer.
To assure that the electrical installation is adequate
and in conformance with National Electrical Code,
ANSI/NFPA 70 — latest edition*, or CSA Standards
C22.1-94, Canadian Electrical Code, Part 1 and
C22.2 No.0-M91 - latest edition** and all local
codes and ordinances.
If codes permit and a separate ground wire is used,
it is recommended that a qualified electrician
determine that the ground path is adequate.
Do not ground to a gas pipe.
Check with a qualified electrician if you are not sure
range hood is properly grounded.
Do not have a fuse in the neutral or ground circuit.
IMPORTANT
Save Installation Instructions for electrical
inspector’s use.
The range hood must be connected with copper
wire only.
The range hood should be connected directly to the
fused disconnect (or circuit breaker) box through
metal electrical conduit.
Wire sizes must conform to the requirements of the
National Electrical Code ANSI/NFPA 70 — latest
edition*, or CSA Standards C22.1-94, Canadian
Electrical Code Part 1 and C22.2 No. 0-M91 - latest
edition** and all local codes and ordinances.
A U.L.- or C.S.A.-listed conduit connector must be
provided at each end of the power supply conduit
(at the range hood and at the junction box).
Copies of the standards listed may be obtained from:
* National Fire Protection Association Batterymarch Park
Quincy, Massachusetts 02269
** CSA International 8501 East Pleasant Valley Road
Cleveland, Ohio 44131-5575
IMPORTANT SAFETY INSTRUCTIONS
Read All Instructions Before Using the Appliance.
READ AND SAVE THESE INSTRUCTIONS

5
Parts Included with your Hood
• Hood Canopy Assembly with Round Metal
Transition installed.
• Rectangular Metal Transition with Back draft
dampers.
• Care & Use /Installation Instructions
• 2 Filters
• Fitting Screws.
Parts Not Included with your
Hood
• Duct Tape
• 1/2" Conduit
• Wire Nuts
• Round or Rectangular Duct.
• Charcoal filters
• Round back draft damper
• Wiring clamp
• Models DUH30252UC and DUH36252UCOnly:
CAUTION! Lamps are not supplied, use
ONLY 120 Volt, 50 Watt (maximum) 50°
halogen light made or a GU10 base.
Tools required
Flat blade and Phillips screwdrivers
Pencil
Metal snips (in some applications)
Electric drill
Saw (saber or keyhole)
Duct tape
Pliers
Level
Caulking
Tape measure
1/4.pivoting hex socket
Flashlight
Wire stripper
1/4. Nutdriver
Small hammer
INSTALLING THE HOOD
•For the most efficient air flow exhaust, use a
straight run or as few elbows as possible.
CAUTION: Vent unit to outside of
building, only.
•One person is necessary for installation.
On avarage 2 hours are necessary to complete
installation (without considering cut to be done
on wall and or on cabinet, installation of ducts ,
conduit and electrical connections to the mains).
16 installation steps are required.
•The hood is fitted with Screws and Drywall
Anchors suitable for most surfaces, consult a
Qualified Installer, check if they perfectly fit with
your cabinet/wall.
•Do not use flex ducting.
•COLD WEATHER installations should have an
additional backdraft damper installed to
minimize backward cold air flow and a
nonmetallic thermal break to minimize
conduction of outside temperatures as part of
the ductwork. The damper should be on the
cold air side of the thermal break.
The break should be as close as possible to
where the ducting enters the heated portion of
the house.
•Remote blowers require a five wire installation.
•Make up air: Local building codes may require
the use of Make-Up Air Systems when using
Ducted Ventilation Systems greater than
specified CFM of air movement.
The specified CFM varies from locale to locale.
Consult your HVAC professional for specific
requirements in your area.
• Typical installation
Min installation height from the countertop to the
bottom of the hood is 24” to 30“.These hoods
are not recommended to be used over indoor
grills.

6
1. Choose vent options
Vent Exhaust Option
The hood is designed for vertical or horizontal
discharge or can be installed in a recirculating
ductless version:
Vertical discharge:
Use a rectangular duct 3 1/4” x 10”.....
....or use a round 7” duct
Horizontal discharge:
Use a rectangular duct 3 1/4” x 10”
Recirculating (non vented ductless)
Examples of possible ducting
Horizontal dischargeVertical dischargeRecirculating

7
TOTAL (of both columns)=

8
TABLE 2. DUCTWORK
INSTALLATION GUIDELINES
For safety reasons, ducting should vent directly
outdoors (not into an attic, underneath the
house, into the garage or into any enclosed
space).
Keep duct runs as short and straight as
possible.
Duct fittings (elbows and transitions) reduce air
flow efficiency.
Back to back elbows and „S“ turns give very
poor delivery and are not recommended.
A short straight length of duct at the inlet of the
remote blower gives the best delivery.
Transition to duct from the integral blower or
remote duct transition as close to the downdraft
as is pos-sible.
In order of preference, use
1st. 10" round duct
2nd. 8" round duct
3rd. 3-1/4" x 14" duct
4th. 7" round duct
5th. 3-1/4" x l0" duct
6th. 6" round duct
The use of flexible metal round duct should
only be used when no other duct fitting exists.
Limit use to short lengths and do not crush
when making corners.
After having choosen the vent option, proceed
as follows:
2. Remove the round transition from its seat by
unscrewing the its fixing screws (save the
screws).
7" Round
Transition
3. Remove the grease filters.
4. Remove the junction box cover.
J-Box
Cover
Remove either the top or the back wiring knockout
according the preference and install an approved
wiring clamp
wiring
clamp
5. Remove the duct knockouts using a flat blade
screwdriver and a small hammer.
Use the screwdriver by knocking out the pannel in
similar fashion to a scalpel.
Take care of sharp edges.
Attention!
If is intended to use the hood in recirculating version do
not remove any duct knockouts and order the necessary
charcoal filter from your supplier.
Rectangular
vertical
discharge
Rectangular
horizontal
discharge
Round
vertical
discharge
R1
R1
R2
R1= Remove rectangular duct knockout only.
R2 = Remove semicircular and rectangular duct
knockouts.

9
6. For rectangular ducted discharge installations
only (otherwise skip to next step)
Attach exhaust adaptor/damper over knockout
opening with two exhaust adaptor screws. Make sure
damper pivot is nearest to top/back edge of hood.
Remove tape from damper flap.
Exhaust
transition/damper
Pivot
Top/back
edge
NOTE: The exhaust adaptor/damper can be
installed up to 1 inch on either side of the hood
center to accommodate off-center ductwork. In
extreme off-center installations, one end of the duct
connector may need to be trimmed to clear the
electrical cable clamp.
7. For round ducted discharge installations only
Re-install the round transition with its screws.
7" Round
Transition
NOTE: The round transition can be installed up to 1
inch on either side of the hood center to
accommodate off-center ductwork. In extreme off-
center installations, one end of the duct connector
may need to be trimmed to clear the electrical cable
clamp.

10
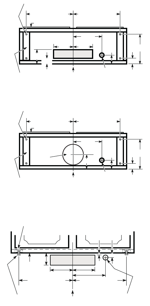
8. Mark holes
Select the vent option that your installation will
require and proceed to that section:
Outside top exhaust
(Vertical duct– 3 1/4”x 10” Rectangular)
Use the diagram or the hood as a template and
mark the locations on the cabinet for ductwork,
electrical wiring and keyhole screw slots.
Outside top exhaust
(Vertical duct–7” Round)
Use the diagram or the hood as a template and
mark the locations on the cabinet for ductwork,
electrical wiring and keyhole screw slots.
Outside rear exhaust
(Horizontal duct– 3 1/4”x 10” Rectangular)
•Use the diagram or the hood as a template and
mark the locations on the cabinet for ductwork,
electrical wiring and keyhole screw slots.
Recirculating
Use the hood as a template and mark the locations
on the cabinet for the electrical wiring and keyhole
screw slots.
Since the hood is to be recirculated (not to be
vented outside), do not cut out any vent openings in
the wall or cabinet bottom.
Hood mounting screws (4)
1 1/4"
"
"
"
Center
line
Electrical access hole
(in cabinet bottom)
Wood shims (recessed
bottom cabinets only)
Vertical duct
access hole
13 15/16" (30" Hood)
16 15/16" (36" Hood)
13 15/16" (30" Hood)
16 15/16" (36" Hood)
Cabinet front
10 1/2"
Electrical access hole
(in cabinet bottom)
5"
1 1/4"
Cabinet Bottom 12 9/16"
5 1/4" 5 1/4" 2"
Hood mounting screws (4)
1 1/2"
"
Center
line
Electrical access hole
(in cabinet bottom)
Wood shims (recessed
bottom cabinets only)
13 15/16" (30" Hood)
16 15/16" (36" Hood)
13 15/16" (30" Hood)
16 15/16" (36" Hood)
Cabinet front
10 1/2"
Electrical access hole
(in cabinet bottom)
Cabinet Bottom 12 1/2"
2 1/4"
8" DIA.
HOLE 5"
Access
hole for 7"
round duct
Center line
Hood mounting screws (4)
Wood shims (recessed
bottom cabinets only)
Cabinet front
Electrical access hole
(in wall)
Cabinet
bottom
1/8" 7/16"
13 15/16" (30" Hood)
16 15/16" (36" Hood)
13 15/16" (30" Hood)
16 15/16" (36" Hood)
Horizontal duct
access hole
5 1/4" 5 1/4"
12 7/16"
3 3/4"

11
9. Choose Venting Option
The hood can be set to vent outside or to
recirculate air back into the kitchen.
The plastic vent lever is located near the center
of the hood opening.
To vent to the outside, make sure the plastic
vent lever is in the HORIZONTAL position (flat
against the metal top of the hood).
To recirculate air into the kitchen, make sure
the plastic vent lever is in the VERTICAL
position (flat against the plastic blower housing).
NOTE: In order to change the vent lever
position, you will need to pull the lever out
slightly to clear the plastic tabs.
10.For recessed bottom cabinet only
If the cabinets have front, side or back trim,
make 2 wood shims the width of the trim and
attach them to the cabinet bottom recess on
both sides. See previous page for marking
locations.
11.Cut holes at marked locations for duct and
electrical wiring. For the vertical duct, cut out 3/
4” extra toward the front of the cabinet so you
can move the duct freely when installing the
hood.
It may also ease installation by cutting the hole
10 1/2” instead of 10”.
12.Drive a mounting screw (from the hardware
packet) partway into each center of the narrow
neck of the keyhole slots marked on the cabinet
bottom.
13.Fix the wiring conduit to the hood.
14.Slide the hood back against the wall. Tighten
the mounting screws. Be sure the screw heads
are in the narrow neck of the keyhole slot.
Connect Ductwork to hood.
15.WIRING THE HOOD
WARNING
Electrical Shock Hazard
Warning: Turn off power at the service panel
before wiring this unit.
120 VAC, 15 or 20 Amp circuit required.
ELECTRICAL GROUNDING INSTRUCTIONS
THIS APPLIANCE IS FITTED WITH AN
ELECTRICAL JUNCTION BOX WITH 3 WIRES,
ONE OF WHICH (GREEN/YELLOW) SERVES TO
GROUND THE APPLIANCE. TO PROTECT YOU
AGAINST ELECTRIC SHOCK, THE GREEN AND
YELLOW WIRE MUST BE CONNECTED TO THE
GROUNDING WIRE IN YOUR
HOME ELECTRICAL SYSTEM, AND IT MUST
UNDER NO CIRCUMSTANCES BE CUT OR
REMOVED.
Set for
outside venting Set for
recirculating
Stop tab
Stop tab
Hood shown Lying upside down
Failure to do so can result in death or electrical
shock.
•If not already done, install 1/2” conduit
connector in j-box.
•Run black (live), white (neutral), and green
(earth) wires (#14 AWG) according to the
National Electrical Code or CSA Standards and
local codes and ordinances in 1/2” conduit from
power supply to j-box.
•Connect black, white, and green wires from
power supply to black (live), white (neutral), and
green/yellow (earth) wires in j-box respectively.
• These connections should be done always
making reference to the electrical diagram
found inside the hood.
•Close j-box cover.
Final installation steps
16.Replace filters as described in the Care & Use
section of this manual.
Models DUH30252UC and DUH36252UCOnly:
Install the lamps on proper housings.
Note: Lamps are not supplied, use ONLY 120
Volt, 50 Watt (maximum) 50° halogen light
made for a GU10 base, suitable for use in
open luminarie.
Turn power on at service panel. Check
operation of the hood.
Wood shims
12
MERCI DE LIRE TOUTES LES INSTRUCTIONS AVANT DE PROCéDER AU MONTAGE.
L’INSTALLATION DOIT êTRE CONFORME AUX RéGLEMENTATIONS LOCALES.
IMPORTANT : Conserver ces instructions pour l’organisme de contrôle des installations électriques.
L’INSTALLATEUR doit laisser ce manuel d’instructions de l’appareil au propriétaire.
LE PROPRIéTAIRE doit conserver ces instructions pour toute consultation ultérieure.
Information relative à la sécurité : Couper le courant au niveau de la boîte à fusible et verrouiller cette dernière avant de
raccorder cet appareil.
Spécifications : 120 V AC, 60 Hz. Circuit électrique de 15 ou 20 A.
HOMOLOGUÉ POUR LES APPAREILS À USAGE MÉNAGER
POUR USAGE MÉNAGER
LIRE ET CONSERVER CES INSTRUCTIONS

13
AVERTISSEMENT
POUR DIMINUER LE RISQUE D’INCENDIE, DE CHOC
ÉLECTRIQUE OU DE BLESSURE, SUIVRE LES
INDICATIONS SUIVANTES :
A. Utiliser cet appareil uniquement pour l’usage prévu
par le fabriquant. Si vous avez des questions,
contacter le fabriquant.
B. Avant d’entretenir ou de nettoyer l’appareil, couper
le courant au niveau de la boîte à fusible et verrouiller
cette dernière pour éviter qu’on remette le courant
accidentellement. Lorsque la boîte à fusible ne peut
être verrouillée, appliquer un message
d’avertissement bien visible sur cette dernière.
C. L’installation et le montage électrique doivent être
effectués par du personnel qualifié en accord avec
les standards et les réglementations locales, y
compris les normes anti-incendie.
D. Pour prévenir des problèmes de tirage, il est
nécessaire d’apporter suffisamment d’air pour
assurer la combustion et l’élimination des gaz par
la cheminée. Suivre les lignes de conduite et les
standards de sécurité des fabricants de chauffage,
comme ceux publiés par la National Fire protection
Association (NFPA), l’American Society for Heating,
les Refrigeration and Air Conditioning Engineers
(ASHRAE) et les réglementations locales.
E. Lorsque vous coupez ou forez dans un mur ou un
plafond, ne pas endommager le circuit électrique
ou d’autres installations cachées.
F. Les conduits d’évacuation doivent toujours avoir
une sortie extérieure.
AVERTISSEMENT
ATTENTION
PRÉVU SEULEMENT POUR UNE ASPIRATION
GÉNÉRALE. NE PAS UTILISER POUR ASPIRER
DES MATIÈRES OU DES VAPEURS DANGEREUSES
OU EXPLOSIVES.
ATTENTION
Pour limiter le risque d’incendie et pour évacuer
efficacement l’air, s’assurer que le système de
conduits évacue vers l’extérieur et qu’il ne pousse
pas l’air dans des espaces intra muraux, plafonds,
greniers, des trous ou bien dans le garage.
AVERTISSEMENT
POUR DIMINUER LE RISQUE D’INCENDIE, UTILISER
SEULEMENT DES TUBES D’EVACUATION EN METAL.
Installer cette hotte en accord avec ses spécifications.
AVERTISSEMENT
Pour diminuer le risque d’incendie ou de choc électrique,
ne pas utiliser cette hotte avec des instruments de
contrôle de la vitesse extérieurs.
MODE OPÉRATOIRE
a) Toujours laisser les grilles de sécurité et les filtres
à leur place. Sans la présence de ces derniers, les
parties aspirantes pourraient attirer les cheveux, les
doigts ou les vêtements.
Le fabricant décline toute responsabilité si les
informations détaillées dans ce manuel pour l’installation,
l’entretien et l’utilisation adéquate du produit ne sont pas
observées. Le fabriquant décline en outre toute
responsabilité pour d’éventuelles blessures dues à des
négligences; en outre, la garantie de l’appareil sera
annulée suite à des conditions d’entretien inappropriées.
Cet appareil est fabriqué pour un usage interne. Ne pas utiliser cet appareil à l’extérieur.
INFORMATIONS IMPORTANTES
RELATIVES A LA SÉCURITÉ
LIRE TOUTES LES INSTRUCTIONS AVANT D’UTILISER L’APPAREIL.
LIRE ET CONSERVER CES INSTRUCTIONS

14
IMPORTANT
Conserver ces instructions de montage pour
l’organisme de contrôle des installations électriques
.
La hotte doit être raccordée uniquement avec du fil
électrique en cuivre.
La hotte doit être raccordée directement à la boîte des
fusibles (ou interrupteur de circuit) par un conduit
métallique.
La dimension des fils électriques utilisés doit être
conforme aux réglementations de la National Electric
Code, ANSI/NFPA 70 – dernière révision*, ou aux CSA
Standards C22.1-94, au Canadien Electric Code,
Partie 1 et C22.2 n° 0-M91 – dernière révision** et à
toutes les réglementations nationales et décrets
locaux.
Utiliser le matériel électrique recommandé dans la
liste de l’AUL – ou du CSA.
Des copies de cette liste de recommandation peut être obtenue
auprès de:
* National Fire Protection Association Batterymarch Park Quincy,
Massachusetts 02269
** CSA International 8501 East Plant Valley Cleveland, Ohio
44131-5575
INFORMATIONS IMPORTANTES
RELATIVES A LA SÉCURITÉ
Lire Toutes les Instructions Avant d’Utiliser l’Appareil.
LIRE ET CONSERVER CES INSTRUCTIONS
Spécifications électriques
IMPORTANT
Suivre toutes les réglementations nationales et les
décrets locaux.
Il est de la responsabilité du client :
De contacter un électricien qualifié.
De s’assurer que l’installation électrique fonctionne et
est conforme aux réglementations de la National
Electric Code, ANSI/NFPA 70 – dernière révision*, ou
aux CSA Standards C22.1-94, au Canadien Electric
Code, Partie 1 et C22.2 n° 0-M91 – dernière révision**
et à toutes les réglementations nationales et décrets
locaux.
Si la réglementation le permet et si une mise à la terre
séparée est utilisée, il est recommandé qu’un
électricien qualifié détermine si le raccord est correct.
Ne pas raccorder la terre à un tuyau du gaz.
Si vous n’êtes pas sûr que la hotte soit raccordée à la
terre, vérifier avec un électricien qualifié.
Ne pas placer de fusible sur le circuit de terre.

15
Éléments compris avec votre hotte
• Le corps de la hotte assemblé et le raccord
métallique circulaire en place.
• Un raccord métallique rectangulaire avec soupape
de tirage
• Manuel d’entretien et utilisation/ Manuel
d’installation
• 2 filtres
• Vis de montage.
Éléments non compris avec votre
hotte
• Toile isolante
• Un conduit de 1/2"
• Écrous métalliques
• Conduits rectangulaires et circulaires
• Filtres à charbon
• Soupape de tirage ronde
• Seulement pour les modèles DUH30252UC et
DUH36252U:
ATTENTION! Les ampoules ne sont pas
fournies avec la hotte, utiliser UNIQUEMENT des
ampoules halogènes 120 Volt, 50 Watt
(maximum) 50° pour une base GU 10, prévus
pour une utilisation dans des lampadaires.
Outils nécessaires
• Tournevis fin ou visseuse Philips
• Crayon
• Petits ciseaux en métal (dans certains cas)
• Foreuse électrique
• Scie
• Toile isolante
• Tenailles
• Niveau
• Burin
• Mètre ruban
• Prise pivotante à ¼
• Lampe de poche
• Dénudeur de fil électrique
• Clé de ¼
• Petit marteau
INSTALLATION DE LA HOTTE
• Pour une aspiration optimale, utiliser un conduit
d’évacuation le plus droit possible en évitant les
coudes.
ATTENTION : Mettre l’évacuation
uniquement à l’extérieur du bâtiment.
• Une personne suffit pour l’installation.
• En moyenne, 2 heures sont nécessaires pour
effectuer une installation complète (sans considérer
d’éventuels travaux aux murs ou aux meubles de
cuisine, l’installation de tuyaux, conduits et
connexions électriques supplémentaires).
Il y a 16 étapes pour l’installation.
• La hotte est fixée à l’aide de vis et d’attaches
adaptées à la plupart des supports, consulter un
ouvrier qualifié et vérifier si elles sont compatibles
avec la qualité de vos murs et meubles.
• Ne pas utiliser de conduit flexible.
• En situation de CLIMAT FROID, l’installation doit
prévoir un clapet de sortie supplémentaire pour
minimiser les courants d’air froids et un raccord
thermique non métallique pour diminuer l’entrée
d’air froid vers l’intérieur. Le clapet doit se trouver du
côté froid du raccord thermique.
Le raccord doit être le plus proche possible de
l’endroit où le tuyau entre dans la partie chauffée du
bâtiment.
• Les hottes encastrées nécessitent une installation
à 5 fils.
• Conditionneurs d’air : Certaines réglementations
locales peuvent nécessiter l’utilisation d’un
conditionneur d’air quand on utilise un système de
ventilation surdimensionné pour le CFM du
mouvement de l’air. Le CFM varie et est spécifique
d’un local à l’autre. Consulter un professionnel
HVAC pour évaluer le système le plus adapté à
votre cas.
•Installation classique
La hauteur minimale d’installation de votre hotte par
rapport à la partie supérieure de votre cuisinière est
de 61 cm (24"). Cette hotte n’est pas recommandée
pour l’utilisation sur des grills internes.

16
Évacuation horizontale Évacuation verticaleRecyclage d’air
Étape 1. Choisir le type d’évacuation
Possibilité d’évacuation
La hotte est prévue pour une évacuation verticale ou
horizontale ou bien pour le recyclage d’air en
l’absence de conduits:
Évacuation verticale:
Utiliser un conduit rectangulaire de 3
¼»x10"…..
....ou utiliser un conduit circulaire de 7".
Évacuation horizontale :
Utiliser un conduit rectangulaire de 3 ¼»x10"
Recyclage d’air (pas de conduit nécessaire).
Différentes possibilités de pose des conduits

17
6 po
7 po
8 po
10 po
3-1/4 po x 10 po
3-1/4 po x 14 po
8 po
7 po
6 po
6 po
8 po
7 po
6 po
7 po
6 po
6 po
6 po
7 po
7 po
7 po
po
po
po
pi
pi
pi
pi
pi
pi
pi
pi
pi
pi
pi
pi
pi
pi
pi
pi
pi
pi
pi
pi
pi
pi
pi
pi
pi
pi
pi
pi
pi
pi
pi
pi
pi
pi
TOTAL (2 colonnes)=

18
Étape 4
Enlever le couvercle de la boîte de dérivation.
J-Box
Cover
Enlever la partie supérieure ou arrière prédécoupée suivant
votre préférence et installer une attache électrique
homologuée.
wiring
clamp
Étape 5
Enlever les parties prédécoupées pour les conduits en
utilisant un fin tournevis et un petit marteau.
Utiliser le tournevis à la façon d‘un biseau.
Faire attention aux parties blessants.
Attention !
En cas d’utilisation de la hotte avec recyclage d’air, ne pas
enlever les parties prédécoupées pour les conduits et
commander les filtres à charbon nécessaires chez votre
revendeur.
Rectangular
vertical
discharge
Rectangular
horizontal
discharge
Round
vertical
discharge
R1
R1
R2
R1 = Enlever uniquement les parties prédécoupées pour les
conduits rectangulaires.
R2 = Enlever les parties prédécoupées pour les conduits
semi-circulaires et rectangulaires.
TABLEAU 2. RECOMMANDATIONS
POUR L’INSTALLATION DES CONDUITS.
Pour des raisons de sécurité, l’évacuation doit
s’effectuer directement vers l’extérieur (pas dans un
grenier, sous la maison, dans le garage ou dans tout
autre endroit dans le bâtiment). Utiliser les conduits
les plus droits et les plus courts possible.
Les courbures de conduits (coudes et raccords)
réduisent le flux d’évacuation d’air.
La superposition de coudes et les profils en « S »
diminuent fortement les performances de l’appareil et
ne sont pas recommandés.
Un court morceau de tuyau placé directement à la
sortie de la hotte donne les meilleurs résultats.
Le raccord entre le conduit et le corps de la hotte et
les autres raccords doivent être le plus droits possibles.
Utiliser par ordre de préférence:
Premièrement un conduit circulaire de 10"
Deuxièmement un conduit circulaire de 8"
Troisièmement un conduit rectangulaire de 3 ¼» x 14"
Quatrièmement un conduit circulaire de 7"
Cinquièmement un conduit rectangulaire de 3 ¼» x 10"
Sixièmement un conduit circulaire de 6"
Les tubes circulaires flexibles ne doivent être utilisés
que si aucun autre système de conduits n’est possible.
Limiter l’utilisation à de courts tronçons et être attentif
à ne pas écraser le flexible lors des courbures.
Après avoir choisi le type d’évacuation, procéder
comme suit:
Étape 2
Détacher le raccord circulaire des conduits d’évacuation
en dévissant les vis qui le fixent (conserver les vis).
7" Round
Transition
Étape 3
Enlever les filtres à graisse.
Raccord
circulaire de 7”
Couvercle
de la boîte
de dérivation
Attache électrique
Evacuation
verticale
rectangulaire
Evacuation
verticale
circulaire
Evacuation
horizontale
rectangulaire

19
Étape 6
Pour les évacuations avec conduits rectangulaires
uniquement (autrement, passer à l’étape suivante)
Attacher le joint ou la soupape d’évacuation sur
l’ouverture préformée à l’aide des deux vis prévues à cet
effet. S’assurer que les éléments soient le plus proche
possible de la partie arrière de votre hotte. Enlever la
protection du clapet.
Exhaust
transition/damper
Pivot
Top/back
edge
NOTE : Le joint/soupape d’évacuation peut être installé
jusqu’à 2,5 cm (1 inch) de part et d’autre du centre de la
hotte pour permettre le décentrage des conduits. Dans le
cas de systèmes d’évacuation très décentrés, la partie
terminale du conduit d’évacuation peut être modifiée pour
dégager l’attache du fil électrique.
Étape 7
Pour les évacuations avec conduits circulaires
uniquement
Réinstaller le raccord circulaire des conduits d’évacuation
à l’aide des vis.
7" Round
Transition
NOTE : Le raccord circulaire peut être installé jusqu’à 2,5
cm (1 inch) de part et d’autre du centre de la hotte pour
permettre le décentrage des conduits. Dans le cas de
systèmes d’évacuation très décentrés, la partie terminale
du conduit d’évacuation peut être modifiée pour dégager
l’attache du fil électrique.
Pivot
Arrière de la hotte
Joint/soupape
d’évacuation
Raccord
circulaire de 7”

20
Étape 8
Emplacement des trous
Sélectionner le type d’évacuation choisi pour votre
hotte et procéder:
Évacuation extérieure par le dessus de la hotte
(Conduit vertical rectangulaire de 3 1/4 « x 10»)
Utiliser le schéma ou la hotte comme patron et indiquer
sur l’armoire l’emplacement des conduits, des fils
électriques et les fentes réglables pour les vis.
Évacuation extérieure par le dessus de la hotte
(Conduit vertical circulaire de 7")
Utiliser le schéma ou la hotte comme patron et indiquer
sur l’armoire l’emplacement des conduits, des fils
électriques et les fentes réglables pour les vis.
Évacuation extérieure par l’arrière de la hotte
(Conduit horizontal rectangulaire de 3 1/4 « x 10»)
•Utiliser le schéma ou la hotte comme patron et
indiquer sur l’armoire l’emplacement des conduits,
des fils électriques et les fentes réglables pour les vis.
Recyclage d’air
Utiliser le schéma ou la hotte comme patron et indiquer
sur l’armoire l’emplacement des fils électriques et les
fentes réglables pour les vis.
Puisque la hotte va recycler l’air (il n’y a pas d’évacuation
vers l’extérieur), ne pas prévoir d’ouverture dans le mur
ou l’armoire pour le passage des conduits.
Vis de fixation de la hotte (4)
1 1/4"
"
"
"
Ligne
centrale
Morceaux en bois
(pour armoire
encastrée
uniquement)
Trou pour le passage
du conduit vertical
13 15/16" (Hotte de 30")
16 15/16" (Hotte de 36")
Face avant
de larmoire
10 1/2"
Accès au circuit
électrique (à larrière
du meuble)
5"
1 1/4"
Fond de
larmoire
12 9/16"
5 1/4" 5 1/4" 2"
13 15/16" (Hotte de 30")
16 15/16" (Hotte de 36")
Vis de fixation de la hotte (4)
1 1/2"
"
10 1/2"
12 1/2"
2 1/4"
Trou de 8"
de
diamètre 5"
Trou pour le
passage du tube
circulaire de 7"
Fond de
larmoire
13 15/16" (Hotte de 30")
16 15/16" (Hotte de 36")
13 15/16" (Hotte de 30")
16 15/16" (Hotte de 36")
Morceaux en bois
(pour armoire
encastrée
uniquement)
Ligne
centrale
Accès au circuit
électrique (à larrière
du meuble)
Face avant de larmoire
Vis de fixation de la hotte (4) Accès au circuit
ùélectrique (dans le mur)
1/8" 7/16"
5 1/4" 5 1/4"
12 7/16"
3 3/4"
Fond de
larmoire
13 15/16" (Hotte de 30")
16 15/16" (Hotte de 36")
13 15/16" (Hotte de 30")
16 15/16" (Hotte de 36")
Face avant
de larmoire
Morceaux en bois
(pour armoire
encastrée
uniquement)
Ligne
centrale
Trou pour le passage
du conduit horizontal

21
Set for
outside venting Set for
recirculating
Stop tab
Stop tab
Hood shown Lying upside down
Morceaux en bois
Étape 9
Sélectionner le type d’évacuation choisie pour
votre hotte
La hotte peut être installée pour évacuer l’air à l’extérieur
ou pour recycler l’air dans la cuisine.
Le levier de ventilation en plastique est situé près du
centre de l’ouverture de la hotte.
Pour évacuer vers l’extérieur, s’assurer que le
levier de ventilation en plastique est en position
HORIZONTALE (à plat contre la partie supérieure
métallique de la hotte).
Pour recycler l’air dans la cuisine, s’assurer que le
levier de ventilation en plastique est en position
VERTICALE (à plat contre la protection en plastique
de la soufflerie).
NOTE : Pour changer la position du levier de ventilation,
il est nécessaire de pousser légèrement le levier pour
dégager les parties en plastique.
Étape 10
Pour armoires encastrées uniquement
Si les armoires ont une garniture à l’avant, sur le côté
ou à l’arrière, réaliser 2 morceaux de bois de la largeur
des garnitures et les attacher à l’armoire encastrée sur
les 2 côtés. Pour les emplacements des marques, se
référer aux indications à la page précédente.
Étape 11
Réaliser les trous pour les conduits et les fils électriques
aux emplacements indiqués. Pour le conduit vertical,
agrandir le trou de 3/4" vers le devant de l’armoire pour
pouvoir bouger le conduit plus librement lors de la mise
en place de la hotte. L’installation sera également plus
facile si le trou fait 10 ½» au lieu de 10".
Étape 12
Serrer une vis de fixation (se trouvant dans le kit de
montage) dans chaque petite ouverture des crochets
marqués sur le fond de l’armoire.
Étape 13
Raccorder le tube électrique à la hotte.
Étape 14
Replacer la hotte contre le mur. Serrer les vis de
fixation. S’assurer que la tête des vis est bien dans la
partie plus étroite des fentes des crochets.
Raccorder les conduits à la hotte.
Étape 15
RACCORDER LA HOTTE AU CIRCUIT ÉLECTRIQUE
ATTENTION
Danger de choc électrique
Attention : Couper le circuit électrique à la boîte
à fusible avant de raccorder cet appareil.
Circuit de 120 VAC, 15 ou 20 CAmp indispensable.
INSTRUCTIONS POUR LE RACCORDEMENT À LA
TERRE
CET APPAREIL EST FOURNI AVEC UNE BOÎTE DE
DÉRIVATION À 3 FILS, UN DE CEUX-CI (JAUNE ET
VERT) SERT À LA MISE À LA TERRE. POUR VOUS
PROTÉGER D’UN CHOC ÉLECTRIQUE, LE FIL JAUNE
ET VERT DOIT ÊTRE RACCORDÉ A LA MISE EN
TERRE DE VOTRE INSTALLATION ÉLECTRIQUE,
ET IL NE DOIT ÊTRE COUPÉ OU ENLEVÉ SOUS
AUCUN PRÉTEXTE.
Tout manquement à ces instructions peut conduire
à un choc électrique ou la mort.
•Si ce n’est encore fait, installer un tube de1/2"dans
la boîte de dérivation.
• Faire passer les fils noir (phase), blanc (neutre)
et vert (terre) (#14AWG) , en respectant les
normes du code national de l’électricité ou les
normes de CSA, ainsi que les codes et les
ordonnances en vigueur dans votre région,dans
un tube de 1/2" de l’alimentation vers la boîte de
dérivation.
•Raccorder respectivement les fils noir (phase),
blanc (neutre) et vert (terre) de l’alimentation aux fils
noir, blanc et vert/jaune de la boîte de dérivation.
• Effectuer les connections en suivant le schéma
électrique positionné à l‘intérieur de la hotte.
•Fermer la boîte de dérivation.
Étape 16.
Étape finale d’installation
Replacer les filtres comme indiqué dans le manuel
d’utilisation et d’entretien.
Seulement pour les modèles DUH30252UC et
DUH36252U:
Installer les ampoules.
Note : Les ampoules ne sont pas fournies avec la
hotte, utiliser UNIQUEMENT des ampoules
halogènes 120 Volt, 50 Watt (maximum) 50° pour
une base GU 10, prévus pour une utilisation
dans des lampadaires.
Remettre le courant dans la boîte à fusibles. Vérifier
que la hotte fonctionne.
Pour programmer
l’évacuation
extérieure
Pour programmer
le recyclage
d’air
Bloquer
l’attache
Bloquer
l’attache
Hotte présentée avec la partie inférieure au-dessus
22
LEER LAS INSTRUCCIONES ANTES DEL USO
LA INSTALACION DEBE ACORDAR CON TODOS LOS CODIGOS LOCALES
IMPORTANTE.: CONSERVAR estas instrucciones para ser usadas por el Inspector Local
INSTALADOR: por favor dejar estas instrucciones con esta unidad para el propietario
PROPIETARIO: por favor conservar estas instrucciones para referencias futuras
Aviso de seguridad. Apagar el circuito en el panel de servicio y bloquear el panel, antes de conectar este
aparato. Requisitos: circuito de bifurcación 120 V AC, 60 Hz. 15 o 20 A
APROBADO PARA APLICACIONES RESIDENCIALES
SÓLO PARA EL USO RESIDENCIAL
LEER Y CONSERVAR ESTAS INSTRUCCIONES

23
ADVERTENCIA
ATENCION
SOLO PARA USO GENERAL DE VENTILACIÓN.
NO USAR PARA EXTRAER MATERIALES
EXPLOSIVOS, O VAPORES PELIGROSOS.
ATENCIÓN
Para reducir el riesgo de incendios y para una
adecuada descarga del aire, asegurarse que el aire
vaya hacia afuera - no proveer salida al aire de
descarga hacia los espacios con paredes, techos,
áticos, espacios de arrastramiento, o garajes.
ADVERTENCIA
PARA REDUCIR EL RIESGO DE INCENDIOS, SÓLO
USAR EL TRABAJO DEL CONDUCTO DE METAL.
Instalar esta campana de acuerdo con todos los
requisitos especificados.
ADVERTENCIA
Para Reducir El Riesgo De Incendios O Descarga
eléctrica, No Usar Esta Campana Con Cualquier
Dispositivo de Mando de Velocidad Sólido Externo
FUNCIONAMIENTO
a. Dejar siempre las parrillas de seguridad y filtros en
su lugar.
Sin estos componentes, los aspiradores que operan
podrían atrapar pelos, dedos y ropa suelta. El
fabricante rechaza toda la responsabilidad en caso
en que las instrucciones proveídas no sean
respetadas para la instalación, mantenimiento y
uso adecuado del producto.
El fabricante declina cualquier responsabilidad en
caso de lesiones debidas a la negligencia y la garantía
de la unidad expira automáticamente a causa del
mantenimiento impropio.
IMPORTANTES INSTRUCCIONES DE
SEGURIDAD
LEER TODAS LAS INSTRUCCIONES ANTES DE USAR EL APARATO
LEER Y CONSERVAR ESTAS INSTRUCCIONES
Esta unidad es fabricada sólo para el uso interior. No usar esta unidad al aire libre.
ADVERTENCIA
PARA REDUCIR EL RIESGO DE INCENDIO,
DESCARGA ELÉCTRICA, LESIONES A PERSONAS,
OBSERVAR LO SIGUIENTE:
A. Usar esta unidad sólo como establecido por el
fabricante. Si tiene algunas preguntas, contacte el
fabricante
B. Antes de efectuar servicio o de limpiar el aparato,
desconectar la alimentación en el panel de servicio
y bloquear el panel de servicio para evitar que la
alimentación se conecte accidentalmente. Cuando
el medio de desconexión del servicio no pueda
bloquearse, Ajustar de forma segura un dispositivo
de advertencia destacado, como por ejemplo, una
señal en el panel de servicio.
C. El trabajo de Instalación y la conexión eléctrica,
deben ser llevados a cabo por personas calificadas,
de acuerdo con los códigos y los estándares
aplicables, incluyendo la construcción contra-
incendios.
D. Se necesita una cantidad de aire suficiente para la
combustión apropiada y escape de gases a través
de la chimenea del equipo de quemado de
combustible para evitar el retorno del aire. Seguir las
indicaciones de fabricación del equipo calorífico y
las normas de seguridad publicadas por la Asociación
Nacional Protección contra el Fuego (NFPA),
E. Si es necesario cortar o taladrar la pared o el techo,
no dañar la instalación eléctrica y otras instalaciones
ocultas.
F. Los sistemas de conducto, deben siempre ventilar
hacia el exterior.

24
IMPORTANTE
Guardar las Instrucciones de Instalación para el uso
del inspector eléctrico .
La campana de cocina debe conectarse sólo con
alambre de cobre.
La campana de cocina debe conectarse directamente
a la caja del fusible desconectado (o cortacircuitos) a
través del conducto eléctrico metálico.
Los tamaños del alambre deben ser conforme con los
requisitos del Código Eléctrico nacional ANSI/NFPA
70 – la última edición *, o Normas de CSA C22.1-94,
canadiense, El Código eléctrico Parte 1 y C22.2 No.
0-M91 – la última edición * * y todos los códigos
locales y ordenanzas.
U.L. - o C.S.A. - el tubo conector listado, debe ser
dado a cada fin del conducto de alimentación eléctrica
(a la campana de cocina y en la caja de conexión).
* Asociación de Protección contra Incendios Batterymarch
Park Quincy, Massachusetts 02269
** CSA International 8501 East Pleasant Valley Road
Cleveland, Ohio 44131-5575
IMPORTANTES INSTRUCCIONES DE
SEGURIDAD
Leer Todas las Instrucciones Antes de Usar el Aparato.
LEER Y CONSERVAR ESTAS INSTRUCCIONES
Requisitos eléctricos
IMPORTANTE
Observar todos los códigos actuales y ordenanzas.
Es responsabilidad del cliente:
Contactar un instalador eléctrico calificado.
Asegurarse que la instalación eléctrica sea adecuada
y en conformidad con el Código Eléctrico Nacional,
ANSI/NFPA 70 - la última edición *, o Normas de CSA
C22.1-94, el Código Eléctrico canadiense, Parte 1 y
C22.2 No.0-M91 - la última edición * * y todos los
los códigos y ordenanzas locales.
Si el permiso de los códigos y se usa una conexión de
tierra, se recomienda que electricista calificado
determine que la trayectoria de tierra sea adecuada.
No conectar una cañería de gas.
Verificar con un electricista calificado si no está
seguro, que la campana esté conectada propiamente.
No tener un fusible en el circuito neutro o de tierra.

25
Partes Incluidas con la Campana
• Montaje campana y metal transición de redondo
instalado.
• Montaje campana con bombillas de alumbrado y
metal de transición redondo instalado.
• metal de transición rectangular con compuertas de
contratiro
• Cura y Uso / Instrucciones de Instalación
• 2 filtros
• dos tornillos ajustados.
Partes no incluidas con la campana
• cinta adhesiva de tela
• Conducto 1/2"
• conectores para alambre
• Conducto Redondo o Rectangular
• Filtros de carbón
• compuerta de contratiro redonda
• Solo modelos DUH30252UC y DUH36252UC:
¡ADVERTENCIA! Lámparas no
proveídas , usar SOLO lámparas de halógeno de
120 V, 50 W (máximo) 50° para una base de
GU10, apropiada para el uso en luminarias
abiertas.e, suitable for use in open
luminarie.
Herramientas necesarias
Desatornilladores Philips y de punta plana
Lápiz
Alicate para cortar( en algunas aplicaciones)
Taladro eléctrico
Sierra de calar o de sable
Cinta adhesiva
Alicates
Nivel
Calafateo
Cinta de medir
1/4.llave macho hexagonal
Linterna eléctrica
Pelador de cable
Llave de tuerca 1/4
Martillo pequeño
INSTALAR LA CAMPANA
•Para una descarga del flujo del aire más eficaz,
usar una línea recta con pocos codos.
PRECAUCIÓN: Proveer la salida del aire solo
hacia fuera del edificio.
•Una persona es necesaria para la instalación. 2 horas
son necesarias para completar la instalación (sin
considerar el corte que debe ser hecho en la pared o
en el gabinete, la instalación de conductos, la
canalización y las conexiones eléctricas principales).
Se requieren 16 pasos para la instalación
•La campana encaja bien con los tornillos y anclas
adecuadas para la mayoría de superficies, consultar
un instalador calificado, controlar si encajan
perfectamente con su gabinete/pared.
•no usar conductos flexibles
•TIEMPO FRÍO: las instalaciones deben tener una
compuerta de contratiro adicional instalada, para
minimizar el flujo de aire frío hacia atrás y una grieta
térmica no metálica, para minimizar la conducción
de temperaturas externas como parte del trabajo
del conducto. La compuerta debe estar en el lado
del aire frío de la grieta térmica. La grieta, debería
estar tan cerca como posible a donde el conducto
entra en la parte calentada de la casa.
•Los aspiradores remotos, requieren una instalación
de cinco alambres.
•Make up air- Manejadoras de Aire: Los códigos del
edificio local pueden requerir el uso de Manejadoras
de Aire. Los Sistemas cuando usan los Sistemas
de Ventilación de Conducto mayores que el
especifico CFM de movimiento aéreo.
El CFM especifico varía de sitio a sitio.
Consulte a un profesional de HVAC para, los
requisitos específicos en su área.
• Instalación típica
La altura min. de instalación desde la parte superior
del contador hasta el final de la campana es de
24". Estas campanas no son recomendadas para
ser usadas encima de los grills interiores.

26
1. Escoger las opciones de descarga de los gases
de combustión
La campana ha sido diseñada para una descarga
vertical u horizontal o puede ser instalada en una
versión de recirculación sin conducto:
Descarga vertical:
Usar un conducto rectangular 3 1/4" x 10".....
... o un conducto redondo de 7"
Descarga horizontal:
Usar un conducto rectangular de 3 1/4" x 10"
Recirculación (sin conducto de descarga)
Descarga HorizontalDescarga VerticalRecirculación
Ejemplos posibles de propagación guiada

27 27
TOTAL (de ambas columnas)=

28
4Quitar el revestimiento de la tapa de la caja
J-Box
Cover
Quitar la parte superior o la parte de atrás del disco removible
según su preferencia e instalar una abrazadera
wiring
clamp
5. Quitar las piezas removibles del conducto usando un
desatornillador plano y un martillo pequeño.
De unos pequeños golpes para remover la cubierta,
utilizando el martillo y el desatornillador de forma
similar a la que se hace con un cincel.
Ponga atención a los filos cortantes.
¡ Atención!
Si se piensa usar la campana en versión de recirculación, no
quitar ninguna pieza removible del conducto y pedir el filtro
de carbón necesario a su proveedor.
Rectangular
vertical
discharge
Rectangular
horizontal
discharge
Round
vertical
discharge
R1
R1
R2
R1 = Quitar sólo las piezas removibles del conducto
rectangular. .
R2 = Quitar sólo las piezas removibles de los conductos
rectangulares y semicirculares.
TABLA 2. DIRECTRICES DE INSTALACIÓN
DEL TRABAJO DEL CONDUCTO
Por motivos de seguridad, la propagación guiada
debe dar salida directamente al aire libre (no en un
ático, debajo de la casa , en el garaje o en cualquier
espacio asociado). Hacer si que el conducto sea
lo más corto y lo más derecho posible.
Los montajes del conducto (los codos y transiciones)
reducen la eficacia del flujo del aire.
Los codos y los giros a “S” no permiten una salida
correcta del aire y por este motivo no se recomiendan.
Una longitud recta y corta del conducto a la entrada
del aspirador remoto, ofrece una mejor salida.
La transición desde el conducto del aspirador íntegro
o la transición del conducto remoto lo más cerca
posible de la ráfaga descendiente.
En el orden de preferencia, usar
1. 10" conducto redondo
2. 8" conducto redondo
3. 3-1/4" x 14" conducto
4. 7" conducto redondo
5. 3-1/4" “l0 de x el conducto
6. 6" conducto redondo
Los conductos redondos de metal flexible deben ser
usados sólo cuando no hay ningún otro conducto
encajado. Limitar el uso en longitudes cortas y no
aplastar cuando se hacen las esquinas.
Después de haber escogido la opción de descarga,
proceder como sigue:
2. quitar la transición redonda de su lugar, destornillando
sus tornillos (guardar los tornillos).
7" Round
Transition
3Quitar los filtros de grasa
7” transición
redonda
tapa caja -j
gancho
metálico
Descarga
rectangular
vertical
Descarga
redonda
vertical
Descarga
rectangular
horizontal

29
6 Sólo para las instalaciones de descarga con conducto
rectangular (de otra manera pasar al siguiente paso)
Adjuntar el adaptador /humidificador encima de las
piezas removibles con dos tornillos del adaptador de
descarga. Asegúrese que el pivote esté más cerca en
la parte superior/parte de atrás de la campana.
Quitar la cinta de la tapa del humidificador.
Exhaust
transition/damper
Pivot
Top/back
edge
NOTA: El adaptador /humidificador puede ser instalado
hasta 1 pulgada adelante en cualquier lado del centro de la
campana para acomodar el trabajo del conducto
descentrado. En las instalaciones extremas descentradas,
un fin del conector del conducto, podría ser arreglado para
aclarar la abrazadera del cable eléctrico.
7.Sólo para las instalaciones de descargas de
conductos redondos
Re-instalar la transición redonda con sus tornillos.
7" Round
Transition
NOTA: La transición redonda puede instalarse a 1 pulgada
en cualquier lado del centro de la campana para acomodar
el trabajo del conducto descentrado. En las instalaciones
extremas descentradas, un fin del conector del conducto,
podría ser arreglado para aclarar la abrazadera.
pivote
transición
de escape/
compuerta
de contratiro
borde parte superior/
reverso
Transición
redonda 7”

30
8 Marcar los orificios
Seleccionar la opción de descarga que requiere su
instalación y proceder a esa sección:
Extractor superior exterior
(Conducto vertical - 3 1/4"x 10" Rectangular)
Usar el diagrama o la campana como plantilla y
marcar los puntos en el gabinete para el trabajo del
conducto, la instalación eléctrica y las ranuras del
tornillo de la cerradura.
Extractor superior exterior
(Conducto vertical- 7” Redondo)
Usar el diagrama o la campana como plantilla y
marcar los puntos en el gabinete para el trabajo del
conducto, la instalación eléctrica y las ranuras del
tornillo de la cerradura.
Extractor posterior exterior
( Conducto Horizontal 3 1/4”x 10” Rectangular)
Usar el diagrama o la campana como plantilla y
marcar los puntos en el gabinete para el trabajo del
conducto, la instalación eléctrica y las ranuras del
tornillo de la cerradura.
Recirculación: Usar el diagrama o la campana
como plantilla y marcar los puntos en el gabinete
para el trabajo del conducto, la instalación eléctrica
y las ranuras del tornillo de la cerradura. Ya que
la campana será recirculada (para no descargar
hacia afuera), no abrir ninguna abertura en la
pared o en el fondo del gabinete.
pernos de montaje de la campana (4)
1 1/4"
"
"
"
línea
central
cunas de madera
(solo gabinetes ahuecados
en la parte inferior)
orificio de acceso
del conducto vertical
13 15/16" (30" Campana)
16 15/16" (36" Campana)
13 15/16" (30" Campana)
16 15/16" (36" Campana)
parte anterior
del gabinete
10 1/2"
orificio de acceso
eléctrico ( en la parte
inferior del gabinete)
5"
1 1/4"
parte inferior
del gabinete
12 9/16"
5 1/4" 5 1/4" 2"
pernos de montaje de la campana (4)
1 1/2"
"
10 1/2"
12 1/2"
2 1/4"
8" DIA.
Orificio 5"
orificio de acceso
para conducto
redondo de 7
cunas de madera
(solo gabinetes ahuecados
en la parte inferior)
línea
central
orificio de acceso
eléctrico ( en la parte
inferior del gabinete)
parte inferior
del gabinete
13 15/16" (30" Campana)
16 15/16" (36" Campana)
13 15/16" (30" Campana)
16 15/16" (36" Campana)
parte anterior del gabinete
pernos de montaje de la campana (4)
orificio de acceso
eléctrico (en la pared)
1/8" 7/16"
5 1/4" 5 1/4"
12 7/16"
3 3/4"
cunas de madera
(solo gabinetes ahuecados
en la parte inferior)
parte anterior
del gabinete
parte inferior
del gabinete
línea
central
13 15/16" (30" Campana)
16 15/16" (36" Campana)
13 15/16" (30" Campana)
16 15/16" (36" Campana)
orificio de acceso
del conducto posterior

31
Set for
outside venting Set for
recirculating
Stop tab
Stop tab
Hood shown Lying upside down
cunas de
madera
9. Escoger la Opción de Descarga :
La campana puede ser ajustada para dar salida
hacia afuera o hacer circular el aire en la cocina.
La palanca plástica de salida de ventilación se
localiza cerca del centro de la abertura de la
campana.
Para la descarga al exterior, asegúrese que la
palanca plástica de salida de ventilación esté en la
posición HORIZONTAL (la parte llana contra la
cima de metal de la campana).
Para recircular el aire en la cocina, asegúrese
que la palanca plástica de salida de ventilación
esté en la posición VERTICAL (la parte llana
contra el aspirador plástico que aloja).
NOTA: Para cambiar la palanca plástica de salida
de ventilación, será necesario tirar la palanca
ligeramente para aclarar las etiquetas plásticas.
10.Sólo para gabinetes ahuecados :
Si los gabinetes tienen ajuste frontal, lateral o
trasero, hacer 2 cunas de madera de la anchura de
la guarnición y átelos al hueco del fondo en ambos
lados. Ver la página anterior para marcar los puntos.
11.Cortar los agujeros en los puntos marcados para el
conducto y la instalación eléctrica. Para el conducto
vertical, recorte 3 / 4" extra hacia el frente del
gabinete para poder mover el conducto libremente
al instalar la campana.
12.Atornillar un perno de montaje (del paquete
de piezas) dividir las partes en cada centro en el
cuello estrecho de las hendeduras del ojo de la
cerradura marcado en el fondo del gabinete
13.Fijar la canalización de la instalación eléctrica en
la campana.
14.Deslizar la campana atrás contra la pared. Apretar
los pernos de montaje. Asegurarse que las cabezas
del tornillo estén en el cuello estrecho de la ranura
de la cerradura marcado en el fondo del gabinete.
Conectar el conducto a la campana.
15. ADVERTENCIAS CABLEADO CAMPANA
¡Atención! Riesgo de descarga eléctrica
Advertencia: apagar el panel de servicio antes
de conectar esta unidad.
Circuito requerido de 120 VAC, 15 o 20 Amp.
INSTRUCCIONES DE CONEXIÓN ELÉCTRICA
ESTE APARATO TIENE UNA CAJA DE CONEXIÓN
ELÉCTRICA CON 3 ALAMBRES, UNO DE LOS
CUALES (VERDE/AMARILLO) SIRVE A TIERRA EL
APARATO. PARA PROTEGERLE CONTRA
DESCARGA ELÉCTRICA, EL ALAMBRE VERDE Y
EL ALAMBRE AMARILLO DEBEN SER
CONECTADOS AL ALAMBRE DE TIERRA EN EL
SISTEMA ELÉCTRICO DE SU CASA, Y BAJO
NINGUNA CIRCUNSTANCIA DEBEN SER CORTADO
O QUITADO.
Si no se cumple con lo que ha sido detallado, se
corre el riesgo de muerte o descarga eléctrica
•Si no ha sido ya hecho, instalar el conducto
conector de1/2" a la caja de conexiones.
• Pasar los cables negro (linea), blanco (neutro) y
verde(tierra) (#14 AWG) de acuerdo al código
eléctrico nacional, la normativa CSA o normas y
disposiciones legales locales; por el tubo de
corriente eléctrica de 1/2”, desde el suministro
de corriente eléctrica hasta la caja de
conexiones en la campana.
•Conectar los cables negros (linea), blancos (neutro)
y verdes (tierra) desde el suministro de poder hacia
los cables negros, blancos y verdes
respectivamente en la caja de conexiones.
• Estas conexiones deben ser realizadas siempre
haciendo referencia al diagrama eléctrico que se
encuentra dentro la campana.
•Cerrar la caja de conexiones.
16.Últimos pasos para la instalación:
reemplazar los filtros así como descrito en la
sección Cura y Manutención de este manual.
Solo modelos DUH30252UC y DUH36252UC:
Instalar las lamparas.
Nota: Lámparas no proveídas usar SOLO
lámparas de halógeno de 120 V, 50W (máximo)
50° para una base de GU10, apropiada para
el uso en luminarias abiertas.
Apagar el panel de servicio- Controlar el
funcionamiento de la campana.
PREPARADO PARA
VENTILACIÓN HACIA EL
EXTERIOR
PREPARADO PARA
RECIRCULACIÒN
CAMPANA MOSTRADA AL REVES
PARAR
LENGÜETA
PARAR
LENGÜETA

5551 McFadden Avenue, Huntington Beach, CA 92649 • 800-944-2904• www.boschappliances.com
9000086300 • 10061 Rev B • 06/05 © BSH Home Appliances Corporation 2005 • Litho U.S.A.
LI2WVB