Boss Audio Systems Dr 670 Users Manual
DR-670 to the manual 947d5160-00e3-4f9d-b998-c53115c2dd1b
2015-02-03
: Boss-Audio-Systems Boss-Audio-Systems-Dr-670-Users-Manual-475965 boss-audio-systems-dr-670-users-manual-475965 boss-audio-systems pdf
Open the PDF directly: View PDF
.
Page Count: 1
- USING THE UNIT SAFELY
- Main Features
- IMPORTANT NOTES
- Panel Descriptions
- Quick Start
- Chapter 1 Before Composing Rhythm Patterns and Songs
- Chapter 2 Playing Patterns (Pattern Play Mode)
- Chapter 3 Recording and Editing Patterns (Pattern Edit Mode)
- Before You Start Recording
- <1> Select an Unrecorded Pattern
- <2> Select the Beat
- <3> Select the Measures
- <4> Select the Drum Kit
- <5> Set the Quantization
- <6> Record the Basic Pattern
- <7> Record the Fill Pattern
- Erasing Patterns (Pattern Clear)
- Copying Patterns
- Replacing Drum Kits
- Changing the Key of the Bass Part (Key Transpose)
- Chapter 4 Recording and Editing Songs (Song Edit Mode)
- Before You Start Recording
- <1> Select an Unrecorded Song
- <2> Select the Tempo (Initial Tempo)
- <3A> Do Realtime Recording
- <3B> Do Step Recording
- Adding Patterns In the Song (Insert)
- Deleting Patterns (Delete)
- Removing Unneeded Song (Song Clear)
- Copying Song
- Connecting Multiple Songs Into One Song (Song Chain)
- Chapter 5 Performing Songs (Song Play Mode)
- Chapter 6 Assigning Patterns to the Key Pads (DPP Assign Mode)
- Chapter 7 Customizing Your Setup (Utility Mode)
- Chapter 8 Creating Your Own Favorite Drum Kits (Drum Kit Edit Mode)
- Before Changing the Settings (Editing)
- Editing the Drum Parts
- Selecting the Sounds Assigned to the Key Pads (Instrument)
- Setting the Volume (Level)
- Setting the Pitch (Pitch)
- Lengthening and Shortening the Reverberation (Decay)
- Obtaining Tonal Changes Relative to Strike Position (Nuance)
- Setting the Position of the Sound (Pan)
- Determining Whether Or Not Sounds Overlap (Assign Type)
- Editing the Bass Part
- Copying Drum Kits
- Chapter 9 Connecting and Using External MIDI Devices (MIDI Mode)
- What is MIDI?
- About MIDI Mode
- Synchronizing Performances with a Digital Recorder or MIDI Sequencer (Sync Mode)
- Using An External MIDI Device to Play the DR-670/ Using the DR-670 to Play An External MIDI Device
- Transmitting the DR-670’s Data to an External MIDI Device/ Returning Transmitted Data to the DR-670
- Returning Transmitted Data to the DR-670 (Bulk Load)
- Using in Combination with the BR-8
- Error Message List
- Troubleshooting
- Operation List
- Parameter List
- Instrument/Bass Tone List
- Preset Drum Kit List
- Preset Pattern List
- MIDI Implementation Chart
- Specifications
- Index

Owner’s Manual
G6017449 ’00-xx-xx-xxx
Thank you, and congratulations on your choice of the BOSS DR-670 Dr. Rhythm.
Before using this unit, carefully read the sections entitled:
• USING THE UNIT SAFELY (page 2–4)
• IMPORTANT NOTES (page 10–11)
These sections provide important information concerning the proper operation of the unit.
Additionally, in order to feel assured that you have gained a good grasp of every feature provided by
your new unit, Owner's manual should be read in its entirety. The manual should be saved and kept
on hand as a convenient reference.
■
Printing Conventions in This Manual
• Text or numerals enclosed in square brackets [ ] indicate bottons.
[START] START button
[REC] REC button
• Reference such as (p. **) indicate pages in this manual to which you can refer.
Copyright © 2001 BOSS CORPORATION
All rights reserved. No part of this publication may be reproduced in any form without the written permission of BOSS
CORPORATION.

This product complies with the requirements of European Directive 89/336/EEC.
For EU Countries
For EU Countries
Apparatus containing
Lithium batteries
ADVARSEL!
Lithiumbatteri - Eksplosionsfare ved
fejlagtig håndtering.
Udskiftning må kun ske med batteri af
samme fabrikat og type.
Levér det brugte batteri tilbage til
leverandøren.
VARNING
Explosionsfara vid felaktigt batteribyte.
Använd samma batterityp eller en
ekvivalent typ som rekommenderas av
apparattillverkaren.
Kassera använt batteri enligt
fabrikantens instruktion.
CAUTION
Danger of explosion if battery is
incorrectly replaced.
Replace only with the same or
equivalent type recommended by the
manufacturer.
Discard used batteries according to the
manufacturer’s instructions.
ADVARSEL
Eksplosjonsfare ved feilaktig skifte av
batteri.
Benytt samme batteritype eller en
tilsvarende type anbefalt av
apparatfabrikanten.
Brukte batterier kasseres i henhold til
fabrikantens instruks joner.
VAROITUS
Paristo voi räjähtää, jos se on
virheellisesti asennettu.
Vaihda paristo ainoastaan
laitevalmistajan suosittelemaan
tyyppiin. Hävitä käytetty paristo
valmistajan ohjeiden mukaisesti.
For Canada
This Class B digital apparatus meets all requirements of the Canadian Interference-Causing Equipment Regulations.
Cet appareil numérique de la classe B respecte toutes les exigences du Règlement sur le matériel brouilleur du Canada.
NOTICE
AVIS
For the USA
FEDERAL COMMUNICATIONS COMMISSION
RADIO FREQUENCY INTERFERENCE STATEMENT
This equipment has been tested and found to comply with the limits for a Class B digital device, pursuant to Part 15 of the
FCC Rules. These limits are designed to provide reasonable protection against harmful interference in a residential
installation. This equipment generates, uses, and can radiate radio frequency energy and, if not installed and used in
accordance with the instructions, may cause harmful interference to radio communications. However, there is no guarantee
that interference will not occur in a particular installation. If this equipment does cause harmful interference to radio or
television reception, which can be determined by turning the equipment off and on, the user is encouraged to try to correct the
interference by one or more of the following measures:
– Reorient or relocate the receiving antenna.
– Increase the separation between the equipment and receiver.
– Connect the equipment into an outlet on a circuit different from that to which the receiver is connected.
– Consult the dealer or an experienced radio/TV technician for help.
This device complies with Part 15 of the FCC Rules. Operation is subject to the following two conditions:
(1) This device may not cause harmful interference, and
(2) This device must accept any interference received, including interference that may cause undesired operation.
Unauthorized changes or modification to this system can void the users authority to operate this equipment.
This equipment requires shielded interface cables in order to meet FCC class B Limit.
2
USING THE UNIT SAFELY
001
• Before using this unit, make sure to
read the instructions below, and the
Owner’s Manual.
..................................................................................................
002c
• Do not open (or modify in any way)
the unit or its AC adaptor.
..................................................................................................
003
• Do not attempt to repair the unit, or
replace parts within it (except when
this manual provides specific instruc-
tions directing you to do so). Refer all
servicing to your retailer, the nearest
Roland Service Center, or an autho-
rized Roland distributor, as listed on
the "Information" page.
..................................................................................................
004
• Never use or store the unit in places
that are:
• Subject to temperature extremes (e.g.,
direct sunlight in an enclosed vehicle,
near a heating duct, on top of heat-
generating equipment); or are
• Damp (e.g., baths, washrooms, on
wet floors); or are
• Humid; or are
• Exposed to rain; or are
• Dusty; or are
• Subject to high levels of vibration.
..................................................................................................
007
• Make sure you always have the unit
placed so it is level and sure to remain
stable. Never place it on stands that
could wobble, or on inclined surfaces.
..................................................................................................
008b
• Use only the specified AC adaptor
(PSA series), and make sure the line
voltage at the installation matches the
input voltage specified on the AC
adaptor’s body. Other AC adaptors
may use a different polarity, or be
designed for a different voltage, so
their use could result in damage,
malfunction, or electric shock.
..................................................................................................
009
• Do not excessively twist or bend the
power cord, nor place heavy objects
on it. Doing so can damage the cord,
producing severed elements and short
circuits. Damaged cords are fire and
shock hazards!
..................................................................................................
Used for instructions intended to alert
the user to the risk of injury or material
damage should the unit be used
improperly.
* Material damage refers to damage or
other adverse effects caused with
respect to the home and all its
furnishings, as well to domestic
animals or pets.
Used for instructions intended to alert
the user to the risk of death or severe
injury should the unit be used
improperly.
The ● symbol alerts the user to things that must be
carried out. The specific thing that must be done is
indicated by the design contained within the circle. In
the case of the symbol at left, it means that the power-
cord plug must be unplugged from the outlet.

3
010
• This unit, either alone or in combi-
nation with an amplifier and
headphones or speakers, may be
capable of producing sound levels that
could cause permanent hearing loss.
Do not operate for a long period of
time at a high volume level, or at a
level that is uncomfortable. If you
experience any hearing loss or ringing
in the ears, you should immediately
stop using the unit, and consult an
audiologist.
..................................................................................................
011
• Do not allow any objects (e.g.,
flammable material, coins, pins); or
liquids of any kind (water, soft drinks,
etc.) to penetrate the unit.
..................................................................................................
\012c
• Immediately turn the power off,
remove the AC adaptor from the
outlet, and request servicing by your
retailer, the nearest Roland Service
Center, or an authorized Roland
distributor, as listed on the “Infor-
mation” page when:
• The AC adaptor or the power-
supply cord has been damaged; or
• Objects have fallen into, or liquid
has been spilled onto the unit; or
• The unit has been exposed to rain
(or otherwise has become wet); or
• The unit does not appear to operate
normally or exhibits a marked
change in performance.
..................................................................................................
013
• In households with small children, an
adult should provide supervision until
the child is capable of following all the
rules essential for the safe operation of
the unit.
..................................................................................................
014
• Protect the unit from strong impact.
(Do not drop it!)
..................................................................................................
015
• Do not force the unit’s power-supply
cord to share an outlet with an unrea-
sonable number of other devices. Be
especially careful when using
extension cords—the total power used
by all devices you have connected to
the extension cord’s outlet must never
exceed the power rating (watts/
amperes) for the extension cord.
Excessive loads can cause the
insulation on the cord to heat up and
eventually melt through.
..................................................................................................
016
• Before using the unit in a foreign
country, consult with your retailer, the
nearest Roland Service Center, or an
authorized Roland distributor, as
listed on the “Information” page.
..................................................................................................
019
• Batteries must never be recharged,
heated, taken apart, or thrown into fire
or water.
..................................................................................................

4
101b
• The unit and the AC adaptor should
be located so their location or position
does not interfere with their proper
ventilation.
..................................................................................................
102d
• Always grasp only the plug or the
body of the AC adaptor when
plugging into, or unplugging from, an
outlet or this unit.
..................................................................................................
103b
• Whenever the unit is to remain
unused for an extended period of
time, disconnect the AC adaptor.
..................................................................................................
104
• Try to prevent cords and cables from
becoming entangled. Also, all cords
and cables should be placed so they
are out of the reach of children.
..................................................................................................
106
• Never climb on top of, nor place heavy
objects on the unit.
..................................................................................................
107d
• Never handle the AC adaptor body, or
its plugs, with wet hands when
plugging into, or unplugging from, an
outlet or this unit.
..................................................................................................
108b
• Before moving the unit, disconnect the
AC adaptor and all cords coming from
external devices.
..................................................................................................
109b
• Before cleaning the unit, turn off the
power and unplug the AC adaptor
from the outlet (p. 14 ).
..................................................................................................
110b
• Whenever you suspect the possibility
of lightning in your area, disconnect
the AC adaptor from the outlet.
..................................................................................................
111: Selection
• If used improperly, batteries may
explode or leak and cause damage or
injury. In the interest of safety, please
read and observe the following
precautions (p. 16 ).
1
• Carefully follow the installation
instructions for batteries, and make
sure you observe the correct
polarity.
2
• Avoid using new batteries together
with used ones. In addition, avoid
mixing different types of batteries.
3
• Remove the batteries whenever the
unit is to remain unused for an
extended period of time.
5
• If a battery has leaked, use a soft
piece of cloth or paper towel to
wipe all remnants of the discharge
from the battery compartment.
Then install new batteries. To avoid
inflammation of the skin, make sure
that none of the battery discharge
gets onto your hands or skin.
Exercise the utmost caution so that
none of the discharge gets near
your eyes. Immediately rinse the
affected area with running water if
any of the discharge has entered the
eyes.
6
• Never keep batteries together with
metallic objects such as ballpoint
pens, necklaces, hairpins, etc.
..................................................................................................
112
• Used batteries must be disposed of in
compliance with whatever regula-
tions for their safe disposal that may
be observed in the region in which you
live.
..................................................................................................

5
Main Features
Plays Bass Parts
The DR-670 plays bass parts that are synchronized with the drum parts. This lets you enjoy
backing performances with rhythm patterns using various combinations of drum and bass sounds.
High-Quality Sound Generator
The DR-670 features high-quality internal instrument sounds, including 256 drum part
sounds and sixteen bass part sounds.
This lets you perform in various styles such as Rock, Jazz and Latin.
Large Screen–Current Pattern Indicated
The large-size custom liquid crystal display makes it extremely easy to read the performance
and editing data that’s presented on screen. In addition, you can confirm which performance
pattern is currently being played just by checking for the dot.
Dynamic-Response Key Pads
The DR-670 is equipped with dynamics-sensitive key pads, so you can readily obtain
changes in volume in response to the force with which you tap them. Use this feature to
achieve realistic volume changes when playing rolls.
Synchronized Performance with Digital Recorders and Sequencers
Using MIDI allows you to synchronize performances with the BR-8 and other digital
recorders and with MIDI sequencers.
Fill-In Function
Each rhythm pattern features a corresponding fill pattern that is perfectly matched to it;
these fills can be inserted in the pattern at the press of a single button.
Foot Switch Control
You can connect two foot switches and use them for foot control of various other operations,
such as for starting and stopping performances, adding fills, and more.
Setting the Tempo with Tap Tempo Function
You can set tempos just by tapping the button at the desired timing.
DPP Function (Direct Pattern Play)
You can directly select a rhythm pattern number and initiate its playback simply by tapping a key pad.
TEMPO Dial Situated on Top Panel
The placement of the TEMPO dial right on the DR-670’s top panel allows you to make
changes to the tempo directly, anytime you want.
Play Rhythm Patterns and Songs
In addition to 200 different preset rhythm patterns, you can also create another 200 original
rhythm patterns of your own.
You can also compose up to 100 songs by connecting these rhythm patterns together.
Enjoy connecting and repeating your songs using the Song Chain and Song Repeat functions.
Compact Body
The DR-670 is lightweight, compact, and very portable. And since the unit can be powered
with batteries, you can use it just about anywhere.
Easy Operation
You can hold down the [SHIFT] button in combination with other buttons to easily call up
commonly used parameters and editing functions. Making changes in settings is also simple
with the TEMPO/VALUE dial.

6
Contents
Main Features ......................................................................................... 5
IMPORTANT NOTES............................................................................. 10
Panel Descriptions ............................................................................... 12
Front Panel................................................................................................................. 12
Rear Panel.................................................................................................................. 14
Quick Start ............................................................................................ 16
Install batteries.......................................................................................................... 16
Making Connections................................................................................................. 17
Turning On the Power............................................................................................. 18
Turning Off the Power...................................................................................... 18
Reset to Default Factory Settings (Factory Reset)................................................ 19
Listen to the Demo Song.......................................................................................... 20
Using the Key Pads to Play Sounds....................................................................... 21
Specialized Performance Techniques (Roll)................................................... 22
Adding Character to Performances (Flam).................................................... 23
Playing Different Sounds (Switching Pad Drum Banks)............................. 24
Playing Bass Sounds.......................................................................................... 25
Performing Rhythm Patterns.................................................................................. 26
Selecting and Performing Patterns.................................................................. 26
Selecting and Performing Patterns (DPP Function) ..................................... 28
Adjusting the Tempo......................................................................................... 30
Changing the tempo using the Tap Tempo function ................................... 31
Inserting Fill-Ins................................................................................................. 32
Using the Foot Switches.................................................................................... 34
Playing a Pattern Using a Different Sound (Switching Drum Kits)........... 36
Chapter 1 Before Composing Rhythm Patterns and Songs............ 38
How the Work Progresses....................................................................................... 38
About Operational Modes....................................................................................... 40
Drum Kits and Pad Performances.......................................................................... 42
Drum Kits............................................................................................................ 42
Pad Performances.............................................................................................. 43
How to View the Scale/Pattern Display............................................................... 44
Pattern Display................................................................................................... 44
Switching the Instrument................................................................................. 44
Scale Display ...................................................................................................... 45
Changing the Scale............................................................................................ 45
Using [SHIFT]............................................................................................................ 46
Chapter 2 Playing Patterns (Pattern Play Mode) .............................. 47
Playing Sounds with the Key Pads........................................................................ 47
Selecting a Drum Kit......................................................................................... 47
Selecting the Drum Bank.................................................................................. 47
Playing the Bass Sounds................................................................................... 47
Changing the Bass Pitch (Fret Shift) ............................................................... 48
Playing with Special Performance Techniques.................................................... 48
Playing Rolls....................................................................................................... 48
Playing Flams..................................................................................................... 48
Playing Patterns........................................................................................................ 49

7
Contents
Playing Patterns with the DPP Function........................................................ 49
Adjusting the Tempo................................................................................................ 50
Adjusting the Tempo with the Tap Tempo Function................................... 50
Inserting Fill-Ins........................................................................................................ 50
Adding Fill-Ins While the Pattern is Playing................................................. 50
Playing a Fill Pattern at the Beginning of the Following Pattern............... 51
Starting Performances from the Fill Pattern.................................................. 51
Chapter 3 Recording and Editing Patterns (Pattern Edit Mode) ..... 52
Before You Start Recording..................................................................................... 52
<1> Select an Unrecorded Pattern.......................................................................... 53
<2> Select the Beat.................................................................................................... 53
<3> Select the Measures........................................................................................... 54
<4> Select the Drum Kit........................................................................................... 54
<5> Set the Quantization......................................................................................... 55
<6> Record the Basic Pattern .................................................................................. 55
(6-1A) Do Realtime Recording......................................................................... 55
(6-1B) Do Step Recording ................................................................................. 57
(6-2) Confirm the Recorded Sounds................................................................ 59
<7> Record the Fill Pattern...................................................................................... 59
(7-1) Select the Fill Pattern................................................................................ 59
(7-2A) Do Realtime Recording......................................................................... 59
(7-2B) Do Step Recording ................................................................................. 59
(7-3) Confirm the Fill-In.................................................................................... 59
Erasing Patterns (Pattern Clear)............................................................................. 60
Copying Patterns ...................................................................................................... 61
Replacing Drum Kits................................................................................................ 62
Changing the Key of the Bass Part (Key Transpose)........................................... 62
Chapter 4 Recording and Editing Songs (Song Edit Mode)............ 63
Before You Start Recording..................................................................................... 63
<1> Select an Unrecorded Song.............................................................................. 64
<2> Select the Tempo (Initial Tempo).................................................................... 64
<3A> Do Realtime Recording................................................................................. 65
Using the DPP Function in Realtime Recording........................................... 66
Switching Recorded Patterns........................................................................... 66
Starting Realtime Recording Within a Song.................................................. 67
Adding Patterns at the End of a Song............................................................. 67
<3B> Do Step Recording.......................................................................................... 68
Switching Recorded Patterns........................................................................... 68
Adding Patterns at the End of a Song............................................................. 68
Adding Patterns In the Song (Insert)..................................................................... 69
Deleting Patterns (Delete)........................................................................................ 69
Removing Unneeded Song (Song Clear)............................................................... 70
Copying Song............................................................................................................ 70
Connecting Multiple Songs Into One Song (Song Chain)................................... 71
Chapter 5 Performing Songs (Song Play Mode)............................... 72
Performing Songs ..................................................................................................... 72
Starting a Song From a Point Other Than the Beginning ................................... 73
Repeating Performances of Songs (Song Repeat) ................................................ 73
Performing Multiple Songs In One Sequence (Song Chain) .............................. 74

8
Contents
Checking the Song Chain Settings.................................................................. 74
Creating Performances Combining the Repeat and Chain Functions.............. 74
Checking a Song’s Initial Tempo............................................................................ 74
Chapter 6
Assigning Patterns to the Key Pads (DPP Assign Mode)
.. 75
Chapter 7 Customizing Your Setup (Utility Mode) ........................... 76
Procedure................................................................................................................... 76
Switching the Sounding/Muting of Drum Parts and Bass Parts (Output Part)
..... 76
Assigning Functions to the Foot Switches ............................................................ 77
Changing the Roll Settings (Roll Type)................................................................. 77
Changing the Flam Settings .................................................................................... 78
Adjusting the Key Pad Sensitivity (Pad Sens)...................................................... 78
Changing the Metronome Settings......................................................................... 78
Tuning the Bass Part................................................................................................. 78
Chapter 8
Creating Your Own Favorite Drum Kits (Drum Kit Edit Mode)
... 79
Before Changing the Settings (Editing)................................................................. 79
Select the Drum Kit to Edit............................................................................... 79
Editing Procedure.............................................................................................. 80
Editing the Drum Parts............................................................................................ 80
Selecting the Sounds Assigned to the Key Pads (Instrument).................... 80
Setting the Volume (Level)............................................................................... 80
Setting the Pitch (Pitch)..................................................................................... 80
Lengthening and Shortening the Reverberation (Decay)............................ 81
Obtaining Tonal Changes Relative to Strike Position (Nuance)................. 81
Setting the Position of the Sound (Pan).......................................................... 81
Determining Whether Or Not Sounds Overlap (Assign Type).................. 82
Editing the Bass Part................................................................................................. 83
Selecting the Tone (Bass Tone)......................................................................... 83
Setting the Volume (Level)............................................................................... 83
Adjusting the Envelope (Attack, Decay, Release)......................................... 83
Positioning the Sound (Pan)............................................................................. 84
Copying Drum Kits.................................................................................................. 84
Chapter 9

9
Contents
Error Message List ............................................................................... 92
Troubleshooting ................................................................................... 94
Operation List ....................................................................................... 95
Parameter List....................................................................................... 97
Instrument/Bass Tone List .................................................................. 99
Preset Drum Kit List........................................................................... 102
Preset Pattern List.............................................................................. 110
MIDI Implementation Chart................................................................ 112
Specifications ..................................................................................... 114
Index .................................................................................................... 115

10
IMPORTANT NOTES
291a
In addition to the items listed under “USING THE UNIT SAFELY” on page 2–4, please read and
observe the following:
Power Supply:
Use of Batteries
301
• Do not use this unit on the same power circuit
with any device that will generate line noise
(such as an electric motor or variable lighting
system).
302
• The AC adaptor will begin to generate heat
after long hours of consecutive use. This is
normal, and is not a cause for concern.
303a
• The use of an AC adaptor is recommended as
the unit’s power consumption is relatively
high. Should you prefer to use batteries,
please use the alkaline type.
304a
• When installing or replacing batteries, always
turn off the power on this unit and disconnect
any other devices you may have connected.
This way, you can prevent malfunction and/
or damage to speakers or other devices.
306b
• Batteries are supplied with the unit. The life
of these batteries may be limited, however,
since their primary purpose was to enable
testing.
307
• Before connecting this unit to other devices,
turn off the power to all units. This will help
prevent malfunctions and/or damage to
speakers or other devices.
Placement
351
• Using the unit near power amplifiers (or
other equipment containing large power
transformers) may induce hum. To alleviate
the problem, change the orientation of this
unit; or move it farther away from the source
of interference.
352
• This device may interfere with radio and
television reception. Do not use this device in
the vicinity of such receivers.
354a
• Do not expose the unit to direct sunlight,
place it near devices that radiate heat, leave it
inside an enclosed vehicle, or otherwise
subject it to temperature extremes. Excessive
heat can deform or discolor the unit.
355
• To avoid possible breakdown, do not use the
unit in a wet area, such as an area exposed to
rain or other moisture.
Maintenance
401a
• For everyday cleaning wipe the unit with a
soft, dry cloth or one that has been slightly
dampened with water. To remove stubborn
dirt, use a cloth impregnated with a mild,
non-abrasive detergent. Afterwards, be sure
to wipe the unit thoroughly with a soft, dry
cloth.
402
• Never use benzine, thinners, alcohol or
solvents of any kind, to avoid the possibility
of discoloration and/or deformation.

11
IMPORTANT NOTES
Repairs and Data
452
• Please be aware that all data contained in the
unit’s memory may be lost when the unit is
sent for repairs. Important data should
always be backed up in another MIDI device
(e.g., a sequencer), or written down on paper
(when possible). During repairs, due care is
taken to avoid the loss of data. However, in
certain cases (such as when circuitry related
to memory itself is out of order), we regret
that it may not be possible to restore the data,
and Roland assumes no liability concerning
such loss of data.
Memory Backup
501b
• This unit contains a battery which powers the
unit’s memory circuits while the main power
is off. When this battery becomes weak, the
message shown below will appear in the
display. Once you see this message, have the
battery replaced with a fresh one as soon as
possible to avoid the loss of all data in
memory. To have the battery replaced,
consult with your retailer, the nearest Roland
Service Center, or an authorized Roland
distributor, as listed on the “Information”
page.
“BAK BATTERY LOW”
Additional Precautions
551
• Please be aware that the contents of memory
can be irretrievably lost as a result of a
malfunction, or the improper operation of the
unit. To protect yourself against the risk of
loosing important data, we recommend that
you periodically save a backup copy of
important data you have stored in the unit’s
memory in another MIDI device (e.g., a
sequencer).
552
• Unfortunately, it may be impossible to restore
the contents of data that was stored in the
unit’s memory once it has been lost. Roland
Corporation assumes no liability concerning
such loss of data.
553
• Use a reasonable amount of care when using
the unit’s buttons, sliders, or other controls;
and when using its jacks and connectors.
Rough handling can lead to malfunctions.
554
• Never strike or apply strong pressure to the
display.
556
• When connecting / disconnecting all cables,
grasp the connector itself—never pull on the
cable. This way you will avoid causing shorts,
or damage to the cable’s internal elements.
558a
• To avoid disturbing your neighbors, try to
keep the unit’s volume at reasonable levels.
You may prefer to use headphones, so you do
not need to be concerned about those around
you (especially when it is late at night).
559a
• When you need to transport the unit, package
it in the box (including padding) that it came
in, if possible. Otherwise, you will need to use
equivalent packaging materials.

12
Panel Descriptions
Front Panel
fig.00-001
1
Display
2
TEMPO/VALUE Dial
Selects patterns and songs.
You can set tempos by rotating the dial while holding down the TAP TEMPO button.
This is also used during editing to input settings values.
3
TAP TEMPO Button
This is tapped in time to input the tempo.
4
FILL Button
You can use this to add fill-ins.
5
DPP (Direct Pattern Play) Button
Press when using the DPP function (p. 28).
6
DRUM A/B Button
Pressing this button allows you to change the drum sound to be played with the key pad.
By holding down SHIFT while pressing this button you can switch the drum kit currently
being played.
2
9
12
14
3
8
17
11
151013 16
18
4
5
6
7
19
1

13
Panel Descriptions
7
BASS Button
Pressing this button allows you to play bass sounds with the key pad.
By holding down SHIFT while pressing this button you can change the pitch of the bass
sound with the key pad.
8
Numeric Keys
Used for entering song numbers and pattern numbers.
By holding down SHIFT while pressing the numeric keys, you can access a variety of editing
functions and make changes in parameter settings.
9
SHIFT Button
Used in conjunction with other buttons.
10
VOICE Button
By holding down this button and pressing the key pads, you can confirm tone names and
switch tones for performance patterns indicated with the “
●
”symbol.
11
/ Button
In Step Recording, this specifies the step number.
During editing, this switches parameters.
12
REC (Recording) Indicator
Illuminated while Realtime Recording is in progress; blinks on and off during Step Recording.
13
REC (Recording) Button
Press this button when using Realtime Recording.
14
Tempo Indicator
Blinks in sync with the tempo of the song.
15
START Button
Starts playback.
16
STOP/CONT (Continue) Button
Stops playback.
You can also press this to resume playback of the performance from the point where it was
previously stopped.
17
Key Pad
Plays the drum and bass sounds.
When the DPP function (p. 28) is in use, you can select patterns with the key pad.
18
ROLL Pad
When a drum sound is playing, you can perform rolls by holding down the ROLL pad and
then pressing another of the pads.
When a bass sound is playing, this is used as an ordinary pad.
19
FLAM Pad
When a drum sound is playing, you can perform flams by holding down the FLAM pad and
then pressing another of the pads.
When a bass sound is playing, this is used as an ordinary pad.

14
Panel Descriptions
Rear Panel
fig.00-002
20
MIDI Connector IN/OUT
External MIDI devices can be connected to these connectors.
21
FOOT SW (Switch) Jack
By connecting a foot switch, you can obtain pedal control over the start and stop of
performances, the addition of fills, or other actions.
22
OUTPUT Jack R/L (MONO)
Provides output of the audio signals. Connect to your amp, stereo system, or similar
equipment.
For monaural output use the L (MONO) jack.
23
PHONES (Headphones) Jack
A set of headphones can be connected to this jack.
24
VOLUME Knob
Adjusts the volume from the OUTPUT jack and PHONES jack.
25
POWER Switch
Switches the power on and off.
26
AC Adaptor Jack
You can use a separately sold AC adapter (BOSS PSA series).
27
Security Slot ( )
http://www.kensington.com/
20 2221
27
23 24 25 26

15
Memo ...

16
Quick Start
Install batteries
1
Make sure that the power is turned off.
2
Remove the battery cover on the unit’s underside.
* When turning the unit upside-down, get a bunch of newspapers or magazines, and place them under
the four corners or at both ends to prevent damage to the buttons and controls. Also, you should try to
orient the unit so no buttons or controls get damaged.
* When turning the unit upside-down, handle with care to avoid dropping it, or allowing it to fall or tip
over.
3
Insert six AA batteries in the battery case, taking care to ensure that the positive (+) and
negative (-) terminals are not reversed.
* We recommend the use of alkaline batteries for extended battery life.
* Do not mix new batteries with partially used batteries, and do not mix batteries of differing types.
fig.00-01
4
Close the battery cover.
When the battery power begins to run low, “DRY BATTERY LOW” appears in
the display when the power is turned on. When this occurs, replace with new (six
AA) batteries.

17
Quick Start
Quick Start
Making Connections
The DR-670 is not equipped with an internal amp or speakers. To hear sound, either connect
an amplifier and speakers or use stereo headphones.
Audio cables, MIDI cables, Stereo headphones, and foot switches are not included. You will
need to purchase these items from your dealer.
1
Before you begin making connections, confirm the following.
• Is the volume level of the DR-670 or connected amp turned all the way down?
• Is the power to the DR-670 or connected amp turned off?
To prevent malfunction and/or damage to speakers or other devices, always turn down the
volume, and turn off the power on all devices before making any connections with the DR-
670.
fig.00-02
2Connect the amp and audio gear as shown in the diagram.
If necessary, connect headphones and foot switches.
In order to take full advantage of the DR-670’s sound we recommend that you play it in
stereo.
When using the system in mono, connect to the OUTPUT L (MONO) jack.
* For instructions on connecting to the MIDI connectors, refer to p. 85.
* For instructions on connecting to the FOOT SW jack, refer to p. 34.

18
Quick Start
Turning On the Power
Once the connections have been completed (p. 17), turn on power to your various devices in
the order specified. By turning on devices in the wrong order, you risk causing malfunction
and/or damage to speakers and other devices.
1Before you turn the power on, make sure of the following points.
• Are external devices connected correctly?
• Is the volume level of the DR-670 or connected amp turned all the way down?
2Turn on the POWER switch located on the rear panel of the DR-670.
fig.00-03
3Turn on the power of the amp.
4While tapping the key pad, rotate the VOLUME knob on the rear panel to adjust the DR-
670’s volume level.
fig.00-04
Also adjust the volume levels for amps and other connected gear.
* This unit is equipped with a protection circuit. A brief interval (a few seconds) after power up is
required before the unit will operate normally.
■Turning Off the Power
1Before turning off the DR-670’s power, make sure that:
• Is the volume level of the DR-670 or connected amp turned all the way down?
2Switch off any amps and other external equipment.
3Turn off the power of the DR-670.

19
Quick Start
Quick Start
Reset to Default Factory Settings (Factory Reset)
If changes are made to the settings after purchase of the DR-670, you may be unable to operate the
unit as described in the Quick Start manual. If this occurs, then follow the instructions below to
restore the unit to the original factory settings (Factory Reset), then proceed to read Quick Start.
When Factory Reset is carried out, all data stored in the DR-670 is returned to the settings in effect
when the unit was shipped from the factory. If you already have important data saved in the DR-
670, save the data to an external MIDI device (such as a sequencer) using the bulk dump
procedure (p. 89), then carry out Factory Reset.
fig.00-05
1While holding down [REC] and [STOP/CONT], turn on the DR-670’s power.
fig.00-06
2Press [ ].
Along with an “OK,” a message confirming that you want to proceed with Factory Reset is displayed.
fig.00-07
If you want to cancel Factory Reset at this point, just turn off the power.
3Press [ ] once more.
“DONE” appears in the display once the Factory Reset has been completed.
4Turn off the power.
When the power is turned on again, the settings revert to those in effect when the unit was
shipped from the factory.
1,4
2,31

20
Quick Start
Listen to the Demo Song
The DR-670 features internal demo songs that exhibit the special capabilities of the
instrument. Here’s how to listen to the demo song.
fig.00-09
1Hold down [SHIFT] and press Key Pad 4 (DEMO).
fig.00-10
2Press [START] to begin playback.
3Press [STOP/CONT] to stop playback.
When [STOP/CONT] is pressed once more, playback of the performance starts from the
point where it was stopped (this is referred to as continued play).
Press [START] to have playback start from the beginning of the performance.
After the demo song is played to the end, the performance then starts again from the
beginning.
* All rights reserved. Unauthorized use of this material for purposes other than private, personal
enjoyment is a violation of applicable laws.
* No data for the music that is played will be output from MIDI OUT.

21
Quick Start
Quick Start
Using the Key Pads to Play Sounds
Let’s try playing the DR-670’s internal rhythm instrument sounds by tapping the key pads.
fig.00-11
1Hold down [SHIFT] and press Key Pad 5 (PATTERN PLAY).
fig.00-12
2Tapping the key pads now plays the instruments assigned to each of the pads.
The key pads feature dynamic response, so the volume and sound change according to the
force used to tap them.
21

23
Quick Start
Quick Start
■Adding Character to Performances (Flam)
What is a Flam?
A flam is produced by striking the snare or other drum simultaneously with the two sticks
held in the hands, but with a slight difference in force used in playing each stick.
fig.00-14
1While pressing [FLAM], press a key pad.
1
◆You can change the flam interval and force.
Refer to “Changing the Flam Settings” (p. 78).

24
Quick Start
■Playing Different Sounds (Switching Pad Drum Banks)
You can have different instruments sound, even when the same key pad is tapped, by
switching the pad’s drum bank.
Pad drum banks are collections of drum instrument sounds that are assigned as a single
group to the sixteen key pads. There are two drum banks, Bank A and Bank B.
For more detailed information, refer to “Drum Kits and Pad Performances” (p. 42).
fig.00-15
1Press [DRUM A/B].
Each time the button is pressed, A and B alternately switch in the display, indicating the
switch between Drum Banks A and B.
fig.00-16
When the drum bank is switched, the sounds (the instruments) played by tapping the key
pads are also switched.

25
Quick Start
Quick Start
■Playing Bass Sounds
fig.00-17
1You can play bass sounds with the key pads by pressing [BASS].
fig.00-18
When a key pad is pressed, a bass sound plays at the pitch predetermined for that key pad.
The bass sound stops playing when the key pad is released.
Pitches are assigned to the key pads in such a way as to simulate the frets of a bass guitar.
* You cannot play two or more bass sounds simultaneously.
* Rolls and flams cannot be played when using the key pads to play bass sounds.

26
Quick Start
Performing Rhythm Patterns
The DR-670 comes with 200 different Preset Patterns and 200 User Patterns for you to use.
Use the following procedure to perform these patterns and listen to the sounds.
Pattern refers to a one- to two-measure rhythm performance pattern.
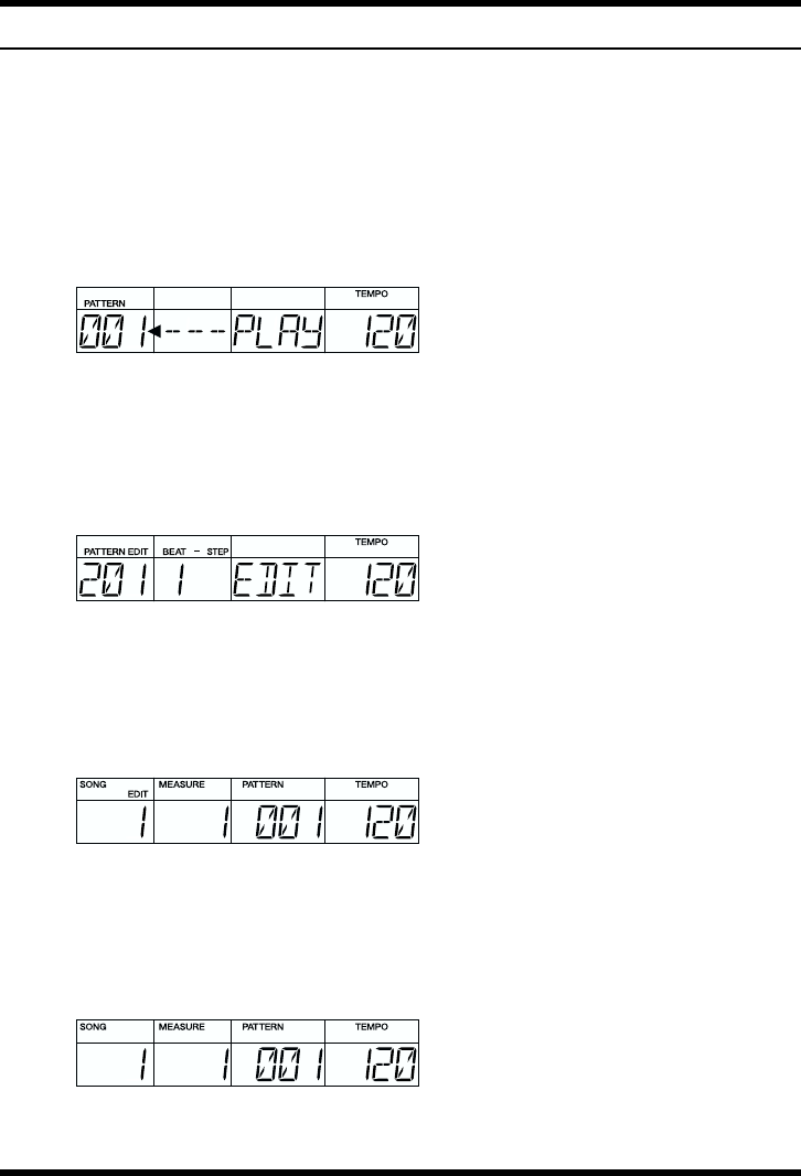
■Selecting and Performing Patterns
fig.00-18a

27
Quick Start
Quick Start
1Hold down [SHIFT] and press Key Pad 5 (PATTERN PLAY).
fig.00-18b
2Rotate the TEMPO/VALUE dial to select the pattern number.
fig.00-18c
3Press [START] to begin playback.
The Tempo indicator flashes once each beat.
Turning the TEMPO/VALUE dial while a performance is in progress sets up the pattern
number for the next pattern to be played. When the current pattern finishes playing, the next
preselected pattern then begins to play.
fig.00-18d
4When [STOP/CONT] is pressed, playback of the performance stops.
Press [START] to begin the performance of the most recently selected pattern.
Pattern being played
Next pattern to be performed
◆You can select patterns with the numeric keys.
Refer to “Playing Patterns” (p. 49).

28
Quick Start
■Selecting and Performing Patterns (DPP Function)
Ordinarily, tapping the key pads plays the instruments assigned to those pads, but with DPP
(Direct Pattern Play), you can instead trigger the playback of the patterns that are assigned to
the key pads.
With DPP, you can instantly perform desired patterns by tapping the pads.
Here, we suggest that you try using the DPP function to play the patterns that were assigned
at the factory to the key pads, and see for yourself how useful this feature is.
fig.00-19
1Hold down [SHIFT] and press Key Pad 5 (PATTERN PLAY).
fig.00-20
2Press [DPP] to turn the DPP function on.
fig.00-21

29
Quick Start
Quick Start
3When you tap the key pad, performance of the assigned pattern begins.
The Tempo indicator flashes once each beat.
The pattern number for the pattern currently being played appears in the display.
fig.00-22a
When you tap a different key pad while the pattern is still being played, the performance of
the current pattern stops, and the performance of the pattern assigned to the pad that was
tapped then begins.
fig.00-22b
4When [STOP/CONT] is pressed, playback of the performance stops.
When the key pad is pressed once more, playback of the pattern starts again.
Press [START] to begin the performance of the most recently selected pattern.
5To turn off the DPP function, press [DRUM A/B] or [BASS].
Pattern being played
Next pattern to be performed
◆For instructions on assigning patterns to the key pads, refer to “Assigning Patterns to
the Key Pads” (p. 75).

30
Quick Start
■Adjusting the Tempo
Try changing the tempo used for performing the pattern.
fig.00-23
1Hold down [TAP TEMPO] and rotate the TEMPO/VALUE dial to change the tempo.
fig.00-24
The tempo can be changed with in the range from 20 to 260 beats per minute.

31
Quick Start
Quick Start
■Changing the tempo using the Tap Tempo function
You can determine the tempo by the timing with which you press [TAP TEMPO].
fig.00-25
1Press [TAP TEMPO] at least three or four times in a row at the desired timing; the tempo
will be set to the same timing you’ve just used for your tapping.
The tempo can be changed with in the range from 20 to 260 beats per minute.

32
Quick Start
■Inserting Fill-Ins
With the DR-670, you can add fill-ins to a pattern being played at whatever timing you want.
fig.00-26

33
Quick Start
Quick Start
1Hold down [SHIFT] and press Key Pad 5 (PATTERN PLAY).
fig.00-28
2Press [START] to start the performance of the pattern.
3Press [FILL] at the points where you want a fill-in added.
The fill-in pattern is played instantly after [FILL] is pressed.
fig.00-29
When the fill-in pattern is played to the end, the performance reverts to the original pattern.
fig.00-30
4Press [STOP/CONT] to stop the performance.
◆By pressing [FILL] during the final beat of a pattern, you can have the fill-in pattern
play at the beginning of the next pattern.
For more details, refer to “Inserting Fill-Ins” (p. 50).

34
Quick Start
■Using the Foot Switches
You can use up to two foot switches (such as the optional FS-5U) to start and stop
performance and insert fill-ins.
* When only one foot switch is connected, the foot switch only starts and stops performances.
* A special PCS-31 cable (optional) is required when connecting two foot switches.
fig.00-31
Foot switches connected with plugs that have a white stripe are used for starting and
stopping performances; foot switches connected with plugs that have a red stripe are used
for fill-ins.
To prevent malfunction and/or damage to speakers or other devices, always turn down the
volume, and turn off the power on all devices before connecting a foot switch.
When connecting the foot switch (the optional FS-5U) to the FOOT SW jack, set the polarity
switch as shown in the following figure.
fig.00-32
PCS-31: option
White Red
(
Start/Stop performance
) (Fill-Ins)
Polarity Switch

35
Quick Start
Quick Start
1Hold down [SHIFT] and press Key Pad 5 (PATTERN PLAY).
2When the foot switch connected with a plug that has a white stripe is pressed while the
performance is stopped, the performance then starts.
fig.00-34
3Pressing the foot switch connected with a plug that has a red stripe while the performance
is in progress inserts a fill-in.
fig.00-35
When the fill-in pattern is played to the end, the performance reverts to the original pattern.
4When the foot switch connected with a plug that has a white stripe is pressed while the
performance is in progress, the performance then stops.
◆You can assign functions other than starting/stopping the performance and inserting
fill-ins can be assigned to the foot switches.
Refer to “Assigning Functions to the Foot Switches” (p. 77).

36
Quick Start
■Playing a Pattern Using a Different Sound
(Switching Drum Kits)
Even when using the same pattern, you can change the mood (the performance and the way
it is played) of the pattern by altering the instruments from which the pattern is made up.
Here, try playing the same pattern with various different instrument, changing drum kits
while the performance is in progress.
A drum kit is a collection of 32 drum instruments and one bass tone that is selected as a
single set.
The DR-670 features 64 Preset Drum Kits along with 64 additional User Drum Kits whose
settings you can change.
For more details, refer to “Drum Kits and Pad Performances” (p. 42).
fig.00-36
1Hold down [SHIFT] and press Key Pad 5 (PATTERN PLAY).
2Press [START] to start the performance of the pattern.
fig.00-38
5
3
6 12
4

37
Quick Start
Quick Start
3Hold down [SHIFT] and press [DRUM A/B] (DRUM KIT).
Keep [SHIFT] held down.
fig.00-39
4While continuing to hold down [SHIFT], rotate the TEMPO/VALUE dial to select the
drum kit number.
Try switching among the drum kits and listening to the different sounds.
fig.00-40
5Release [SHIFT].
This completes the selection of the drum kit.
fig.00-41
6Press [STOP/CONT] to stop the performance.
Current drum kit
◆For more on the Preset Drum Kits, refer to “Preset Drum Kit List” (p. 102).
◆When you want to make changes to the drum kit settings, refer to “Chapter 8 Creating
Your Own Favorite Drum Kits” (p. 79).
You Can Create Songs
With the DR-670, you can compose and perform songs by arranging sequences of
rhythm pattern performances.
For more detailed information, refer to “Chapter 1 Before Composing Rhythm Patterns
and Songs” (p. 38) and “Chapter 4 Recording and Editing Songs” (p. 63).

38
Chapter 1 Before Composing Rhythm Patterns and Songs
This section provides a summary description of the DR-670.
How the Work Progresses
The process of creating one song’s worth of rhythm patterns can be divided broadly into two
steps: creating the patterns, then composing the song.
fig.01-01
Composing the Rhythm Patterns
Compose (record) the performance patterns that constitute the sections or parts of the song.
You can create up to 200 of your own User Patterns.
There two different recording methods are shown below.
Realtime Recording
With this method, the key pads are played in time with a metronome count, with the pattern
being recorded just as it is performed. Even if there is a little unevenness in the timing used
in tapping the key pads, the Quantize function allows you to record with the timing
corrected. (Refer to “Set the Quantization” p. 55)
Step Recording
With this recording method, the timing for playing instrument sounds (steps), volume levels,
and other aspects of the pattern are specified one by one. This allows patterns to be recorded
accurately, even those that are hard to record using Realtime Recording.
You can also record patterns using both Realtime and Step Recording.
After recording the basic pattern using Step Recording, finish creating the Pattern by using
Realtime Recording to add sounds in a freer ad-lib style.
Realtime
Recording Step
Recording
Pattern Recording
User Pattern Preset Pattern
Realtime
Recording Step
Recording
Song Recording
Song

39
Chapter 1 Before Composing Rhythm Patterns and Songs
Chapter
1
Composing the Song
Compose (record) the song by stringing together a sequence of performances using your
User Patterns and the 200 Preset Patterns. There are two methods used for recording songs as
well.
Realtime Recording
Here, the song is recorded just by selecting and playing patterns. This allows quick and easy
recording of songs.
Step Recording
With this method, the individual patterns to be played and the points where they are played
in the sequence (the parts) are specified one by one. This allows accurate recording of songs,
even those that are difficult to record using Realtime Recording and those involving complex
combinations of patterns.

40
Chapter 1 Before Composing Rhythm Patterns and Songs
About Operational Modes
The DR-670 features numerous functions for creating patterns and songs and for Editing
sounds. These functions are categorized into the following nine different modes.
Pattern Play mode
(Refer to Chapter 2 Playing Patterns; p. 47)
Used for performing rhythm patterns.
To go into Pattern Play mode, hold down [SHIFT] and press Key Pad 5 (PATTERN PLAY)
while the performance is stopped.
The DR-670 will initially be in the Pattern Play mode each time it is powered up.
fig.01-03
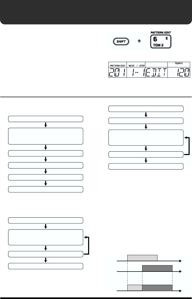
Pattern Edit mode
(Refer to Chapter 3 Recording and Editing Patterns; p. 52)
Used for recording and editing rhythm patterns.
To go into Pattern Edit mode, hold down [SHIFT] and press Key Pad 6 (PATTERN EDIT)
while the performance is stopped.
fig.01-04
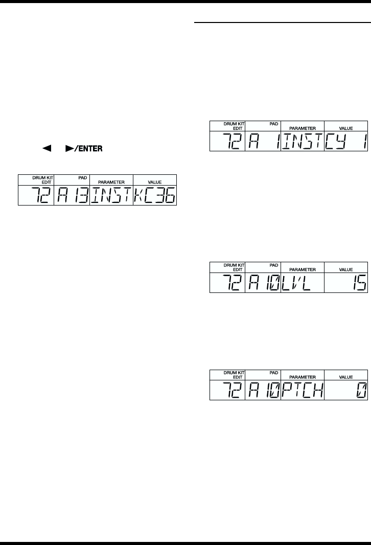
Song Edit mode
(Refer to Chapter 4 Recording and Editing Songs; p. 63)
Used for recording and editing songs.
To go into Song Edit mode, hold down [SHIFT] and press Key Pad 2 (SONG EDIT) while the
performance is stopped.
fig.01-05
Song Play mode
(Refer to Chapter 5 Performing Songs; p. 72)
Used for performing songs.
To go into Song Play mode, hold down [SHIFT] and press Key Pad 1 (SONG PLAY) while
the performance is stopped.
fig.01-06

41
Chapter 1 Before Composing Rhythm Patterns and Songs
Chapter
1
Drum Kit Edit mode
Used for making drum kit settings, assigning sounds to the key pads, and for setting the way
sounds are played.
To go into Drum Kit Edit mode, hold down [SHIFT] and press Key Pad 9 (DRUM KIT EDIT)
while the performance is stopped.
fig.01-07
DPP Assign mode
Used for assigning rhythm patterns to the key pads when the DPP (Direct Pattern Play)
function is used.
To go into DPP Assign mode, hold down [SHIFT] and press Key Pad 10 (DPP ASSIGN)
while the performance is stopped.
fig.01-08
Utility mode
Used for setting the output part, metronome, foot switches, rolls, flams, pad sensitivity, and
master tuning.
To go into Utility mode, hold down [SHIFT] and press Key Pad 13 (UTILITY) while the
performance is stopped.
fig.01-09
MIDI mode
Used for making settings to synchronize performances with the BR-8 or other external MIDI
devices. Also used for transmission and reception of the DR-670’s internal data with respect
to an external MIDI sequencer (Bulk function).
To go into MIDI mode, hold down [SHIFT] and press Key Pad 14 (MIDI) while the
performance is stopped.
fig.01-10
Demo mode
Used for playing the demo songs.
To go into Demo mode, hold down [SHIFT] and press Key Pad 4 (DEMO) while the
performance is stopped.
fig.01-11

42
Chapter 1 Before Composing Rhythm Patterns and Songs
Drum Kits and Pad Performances
■Drum Kits
The DR-670 includes 256 internal drum sounds (instruments) and sixteen internal bass
sounds (bass tones). A “drum kit” is a single set containing 32 of these drum sounds and one
of the bass sounds.
fig.01-12
●The DR-670 comes with 64 Preset Drum Kits (Numbers 1–64), and 64 User Drum Kits
(Numbers 65–128), whose settings you can change.
●You can modify the sound (change the volume, pitch, and other settings) of instruments
assigned to the User Drum Kits, thus enabling you to handle such sounds as new
instruments distinct from the internal instruments.
●On the DR-670 you can use only one drum kit when creating any one pattern. You cannot
use multiple drum kits simultaneously to make one pattern.
●The number of the drum kit used when creating a pattern is stored within the pattern.
As a result, during playback of patterns, a switch is made to the relevant drum kit whenever
you switch patterns.
1
2
3
4
254
255
256
1
2
16
Instruments
Drum Kits
A1
A2
A3
No.128
No.2
A1
A2
A3
No.1
B1
B2
Bass Tones
B16
Bass

43
Chapter 1 Before Composing Rhythm Patterns and Songs
Chapter
1
■Pad Performances
Drum sounds are divided into two banks, Drum Bank A and Drum Bank B, each of which
contains sixteen sounds, with one of the sixteen sounds each being assigned to a key pad.
fig.01-13
With the DR-670, you can elect to have either Drum Bank A or B, or bass sounds played
when the key pads are tapped.
fig.01-14
Bass
Drum Kit
A1
A2
A3
B16
1234
5678
9
10 11 12
13 14 15 16
Drum Bank B
1234
5678
9
10 11 12
13 14 15 16
Drum Bank A
CY 1
CY 2
CY 9
PC12
Drum Kit
A1
A2
A3
A16
B1
B16
Instrument of
Pad number A1–A16
Instrument of
Pad number B1–B16
Drum Bank A
1234
5678
9
10 11 12
13 14 15 16
G#AA#B
D# E F F#
A# B C C#
FF# GG#
G
D
A
E
Drum Bank B
1234
5678
9
10 11 12
13 14 15 16
Bass Tone
Bass
About Polyphony
The DR-670 features 20-voice polyphony; that is, a maximum of twenty sounds (voices)
can be played simultaneously. However, some instruments use two voices each time
they sound, so when playing such instruments, the actual number of simultaneous
notes may be less than twenty.
To find the number of voices used by each instrument, refer to the “Instrument/Bass
Tone List” (p. 99).

44
Chapter 1 Before Composing Rhythm Patterns and Songs
How to View the Scale/Pattern Display
■Pattern Display
The content of any one of the instruments or the bass tone for the currently selected pattern is
indicated in the pattern display.
The following shows the relationship between the pattern and what is indicated.
fig.01-20
The DR-670 uses patterns that are composed of either one or two measures. When a two-
measure pattern is selected, it is indicated as shown below.
fig.01-21
■Switching the Instrument
When you want to display the information for a different instrument, hold down [VOICE]
and press the key pad for the instrument whose information you want to display.
* To switch drum banks, press [DRUM A/B].
The name of the selected instrument appears in the display.
fig.01-22
* To display bass tone information, hold down [VOICE] and press [BASS].
first measure
second measure

45
Chapter 1 Before Composing Rhythm Patterns and Songs
Chapter
1
■Scale Display
The “▼” mark in the scale display indicates the timing of the quarter notes.
fig.01-23
When there are too many beats to allow all of the notes from the beginning to the end of the
pattern to be displayed at one time, “ ” appears, indicating that there are steps that are not
being displayed.
fig.01-24
■Changing the Scale
By changing the scale (the length of individual steps = a single square), you can have patterns
containing many notes be shown in their entirety, as well as display the content of more
complex patterns.
(Example)
fig.01-25
Operation
1. Hold down [SHIFT] and press [8] (SCALE).
2.
While continuing to hold down [SHIFT], turn the TEMPO/VALUE dial to change the scale setting.
For example, when set to “16,” the length of a step becomes a sixteenth note.
Valid Settings: 32, 16 (triplets), 16, 8 (triplets), 8
fig.01-26
* Changing the scale settings does not change the performance data.
SCALE: 32BEAT: 4/4
SCALE: 16
SCALE: 8

46
Chapter 1 Before Composing Rhythm Patterns and Songs
Using [SHIFT]
With the DR-670, by holding down [SHIFT] while pressing another button or key pad, you
can switch modes and use a variety of convenient functions for editing songs and rhythm
patterns.
The text (or symbols) printed above the buttons and key pads on the DR-670’s panel indicate
the functions selected when [SHIFT] is held down while they are pressed.
fig.01-16

47
Chapter
2
Chapter 2 Playing Patterns (Pattern Play Mode)
Patterns are played in Pattern Play mode.
You can also tap the key pads to play drum
sounds and bass sounds.
◆
To switch to Pattern Play mode, hold down
[SHIFT] while the performance is stopped
and press Key Pad 5 (PATTERN PLAY).
fig.02-01
fig.02-02
Playing Sounds with
the Key Pads
You can tap the key pads to play the sounds of
the instruments assigned to them.
The volume and tone of the sound will change
depending on how hard you strike a key pad.
The sensitivity of the key pads is
adjustable. Refer to “Adjusting the
Key Pad Sensitivity” (p. 78).
■Selecting a Drum Kit
1. Hold down [SHIFT] and press [DRUM A/
B] (DRUM KIT).
2. Hold down [SHIFT] and rotate the TEMPO/
VALUE dial to select a drum kit.
Preset: 1–64
User: 65–128
fig.02-03
3. Once the drum kit has been selected,
release your finger from [SHIFT].
You’re returned to the Pattern Play Mode
screen.
“Preset Drum Kit List” (p. 102)
■Selecting the Drum Bank
You can switch between Drum Banks A and B.
1. Press [DRUM A/B].
This button is pressed to toggle between
Banks A and B.
fig.02-04
* You cannot change instruments recorded to
patterns by pressing [DRUM A/B].
■Playing the Bass Sounds
Follow the procedure below to play bass sounds.
1. Press [BASS].
fig.02-05
2. Press a key pad.
The bass sound plays at the predetermined
pitches assigned to the key pads.
The bass sound stops when you release the
key pad.
Pitches assigned to the key pads correspond
to the fret arrangement of the bass guitar.
* You cannot have more than one bass sound play
at a time.
* You cannot play rolls and flams when playing
bass sounds with the key pads.
Holding down
Drum Bank A
Drum Bank B

48
Chapter 2 Playing Patterns (Pattern Play Mode)
■Changing the Bass Pitch
(Fret Shift)
You can shift the entire tuning of the bass sound.
1. Hold down [SHIFT] and press [BASS]
(FRET SHIFT).
2. Hold down [SHIFT] and rotate the TEMPO/
VALUE dial to select the number of frets
you want to shift by.
fig.02-06
Setting a negative value (-) shifts the pitch
down; setting a positive value (+) shifts the
pitch up.
One fret is equivalent to a half-step change
in pitch; any value from -5 to +16 can be set.
To play the pitches of the fifth string of
a five-string bass (low B), set Fret Shift
to -5. You can then use Key Pads E, 13–
16 to perform the fifth string’s low notes
(from open string to the fourth fret).
fig.02-07
3. Once Fret Shift has been set, release
[SHIFT].
You’re returned to the Pattern Play Mode
screen.
* The Fret Shift function is not enabled during
pattern playback.
Playing with Special
Performance Techniques
You can play rolls and flams when using the
key pads to play drum sounds.
Roll:
This is a technique where the same
sound is continuously repeated with the
same timing or interval between the sounds.
Flam:
In this performance technique, a stick
is held in each hand, and each stick strikes
the snare (or other instrument) with a very
slight difference in timing and force.
* You cannot use roll and flam performances with
bass sounds.
■Playing Rolls
1. While holding down [ROLL], press a key
pad.
fig.02-08
■Playing Flams
1. While holding down [FLAM], press a key
pad.
fig.02-09

49
Chapter 2 Playing Patterns (Pattern Play Mode)
Chapter
2
Playing Patterns
You can select from 200 Preset and 200 User
patterns to play.
Patterns 001–200 are Preset patterns, and
Patterns 201–400 are User patterns.
* When the unit left the factory, the User patterns
were empty of all data.
1. Select the pattern to be played.
Turn the TEMPO/VALUE dial to select the
pattern number.
Use the following procedure when selecting
the pattern number with the numeric keys.
Press the numeric keys to input the number.
fig.02-09a
Press [ ] to set the pattern number.
fig.02-09b
* If you make a mistake in pressing a numeric key,
press [ ] and then reinput with the correct
numeric key.
2. Press [START] to start the performance.
The tempo indicator flashes on each beat.
◆If a pattern number is entered while the
performance of a different pattern is in
progress, the pattern with the newly-input
number begins after the performance of the
pattern currently being played is finished.
fig.02-10
3. Pressing [STOP/CONT] stops the
performance.
When [START] is pressed again, the
performance starts from the beginning of the
pattern.
■Playing Patterns with the
DPP Function
With the DPP (Direct Pattern Play) function, you
can play patterns assigned to the key pads (1–16).
1. Press [DPP]; “DPP” appears in the display.
fig.02-11
2. Press any of the key pads.
The pattern assigned to the key pad starts to
play, with the tempo indicator flashing on
each beat.
The pattern number for the pattern being
played appears in the display.
fig.02-12
◆If a key pad is pressed while the
performance of a different pattern is in
progress, the pattern assigned to the pressed
key pad will begin after the performance of
the pattern currently being played has
finished.
3. Pressing [STOP/CONT] stops the
performance.
When a key pad is pressed again, the
performance starts from the beginning of the
pattern.
When [START] is pressed, the most recently
selected pattern starts playing from the
beginning.
4. To switch the DPP function off, press
[DRUM A/B] or [BASS].
Pattern being played
Next pattern to be performed

50
Chapter 2 Playing Patterns (Pattern Play Mode)
Adjusting the Tempo
1. Hold down [TAP/TEMPO] and rotate the
TEMPO/VALUE dial to adjust the tempo.
You can adjust the tempo within the range
from 20 to 260.
fig.02-13
■
Adjusting the Tempo with
the Tap Tempo Function
You can set the tempo to the interval at which
[TAP TEMPO] is pressed.
1. Press [TAP TEMPO] at least three or four
times in a steady rhythm.
The tempo is set to the same timing you’ve
just used when tapping [TAP TEMPO].
You can adjust the tempo this way within
the range from 20 to 260.
fig.02-15
Inserting Fill-Ins
With the DR-670, you can add fill-in patterns at
any point in a pattern while the performance is
in progress.
Each pattern features a fill-in prepared for use
with that pattern. These fill-in patterns are called
“fill patterns,” whereas the original pattern on
which these are based are called “basic patterns.”
You can also create one fill-in pattern
for each of the User patterns.
For more details, refer to “Record the
Fill Pattern” (p. 59).
fig.02-16
■Adding Fill-Ins While the
Pattern is Playing
By pressing [FILL] while the basic pattern is in
progress, you can go directly to the performance
of the fill pattern and insert the fill-in.
fig.02-19
1. Press [START] to start the performance of
the pattern.
fig.02-20
Basic
Pattern
Patterns
Fill
Pattern
Basic
Pattern Basic
Pattern
Fill
Pattern
Basic
Pattern Basic
Pattern

51
Chapter 2 Playing Patterns (Pattern Play Mode)
Chapter
2
2.
Press [FILL] at the time you want to have the
fill pattern inserted.
You are moved to the fill pattern the
moment [FILL] is pressed.
fig.02-21
When the fill pattern plays to the end, you
are returned to the basic pattern.
fig.02-22
3. Press [STOP/CONT] to stop the
performance.
■Playing a Fill Pattern at
the Beginning of the
Following Pattern
By pressing [FILL] while the final beat of the
basic pattern is playing, you can have the fill
pattern play at the beginning of the next pattern.
fig.02-23
■Starting Performances
from the Fill Pattern
When you press [FILL] while performance of the
pattern stopped, the fill pattern plays at the
moment you press [START], and the
performance then goes on to the basic pattern
once the fill pattern is finished playing.
fig.02-24
Basic
Pattern Basic
Pattern
Fill
Pattern
Basic
Pattern Basic
Pattern
Basic
Pattern Basic
Pattern
Fill
Pattern
Basic
Pattern Basic
Pattern
Using the Foot Switch for
Performances
With a foot switch connected, you can then
use the foot switch to carry out the
[START], [STOP/CONT], and [FILL]
operations.
This allows you to use pedal operations to
start and stop performances and fill-ins.
◆You can assign functions other than
starting and stopping performances
and fill-ins.
Refer to “Assigning Functions to the
Foot Switches” (p. 77).

52
Chapter 3 Recording and Editing Patterns (Pattern Edit Mode)
This section describes the procedures used for
recording (Realtime Recording and Step) and
editing User patterns.
These operations are carried out in Pattern Edit
mode.
◆To switch to Pattern Edit mode, hold
down [SHIFT] while the performance is
stopped and press Key Pad 6 (PATTERN
EDIT).
fig.03-01
fig.03-01a
Before You Start Recording
When creating a new pattern, proceed through
the following steps for the recording.
fig.03-02a
Use the procedures below to record the basic
pattern and fill pattern.
fig.03-02b
fig.03-02c
* The Beat, Measure, and Drum Kit settings are
common to both the basic pattern and the fill
pattern.
* When you use Realtime Recording or Step
Recording to a pattern which has already been
recorded, the sounds are layered without the
previously recorded sounds being erased.
* With the drum part, you cannot record multiple
notes from the same pad number at the same step
(timing).
* Bass parts are monophonic. Even if multiple
notes are layered in a recording, only one sound
is played.
fig.03-02d
Holding Down
<1> Select an Unrecorded Pattern
<2> Select the Beat
<3> Select the Measures
<4> Select the Drum Kit
<5> Set the Quantization
<6> Record the Basic Pattern
<7> Record the Fill Pattern
Pattern is Finished
<6> Record the Basic Pattern
(6-2) Confirm the Recorded Sounds
Basic Pattern is Finished
(6-1A) Do Realtime Recording
or
(6-1B) Do Step Recording
(7-1) Copy the Basic Pattern
<7> Record the Fill Pattern
(7-3) Confirm the Fill-In
Fill Pattern is Finished
(7-2A) Do Realtime Recording
or
(7-2B) Do Step Recording
Record
Play
Time

53
Chapter 3 Recording and Editing Patterns (Pattern Edit Mode)
Chapter
3
<1>
Select an Unrecorded
Pattern
1. With the performance stopped, select a
User pattern (201–400).
Turn the TEMPO/VALUE dial to select the
pattern number.
* You can also select the pattern by inputting the
pattern number with the numeric keys and
pressing [ ].
The following appears in the display when
an unrecorded pattern (a pattern which
contains no data) is selected.
fig.03-03
You can also use patterns after erasing
them.
Refer to “Erasing Patterns (Pattern
Clear)” (p. 60).
* You cannot record or edit the Preset patterns (1–
200).
“PRESET” appears in the display if you try to
record or edit a Preset pattern.
If you want to record or edit a Preset pattern,
first copy the pattern to a User pattern, then
proceed with recording or editing.
<2> Select the Beat
1. Hold down [SHIFT] and press [9] (BEAT).
* Continue to hold down [SHIFT].
fig.03-04
“●” is displayed when the length is one
measure.
* “ ” is indicated to the right of the pattern
when the measure is too long to be displayed at
once.
To show the entire measure, change the scale
setting. For more details, refer to “How to View
the Scale/Pattern Display” (p. 44).
2. While still holding down [SHIFT], rotate
the TEMPO/VALUE dial to select the beat.
2/4, 3/4, .... 8/4,
4/8, 5/8, .... 16/8
3. Release [SHIFT].

54
Chapter 3 Recording and Editing Patterns (Pattern Edit Mode)
<3>
Select the Measures
This setting determines whether a one-measure
or two-measure pattern is recorded.
1. Hold down [SHIFT] and press [0]
(MEASURE).
* Continue to hold down [SHIFT].
fig.03-06
2. While still holding down [SHIFT], rotate
the TEMPO/VALUE dial to select a one-
measure or two-measure pattern.
3. Release [SHIFT].
* When a two-measure pattern is selected, you
cannot set different beats for the first and second
measures.
In some recorded data, reducing the
number of beats or measures after
recording instruments may end up
changing the beat length.
Furthermore, once beats or measures
have been reduced, you may not be
able to restore the original data
correctly, even by adding beats or
measures again.
Always be sure to confirm settings
after making changes.
<4> Select the Drum Kit
1. Hold down [SHIFT] and press [DRUM A/
B] (DRUM KIT).
* Continue to hold down [SHIFT].
fig.03-08
2. While still holding down [SHIFT], rotate
the TEMPO/VALUE dial to select a drum
kit.
1–64: Preset Drum Kits
65–128: User Drum Kits
For more on the Preset drum kits, refer
to “Preset Drum Kit List” (p. 102).
3. Release [SHIFT].
You can check the beat, measure, and
drum kit settings in modes such as the
Pattern Play mode and Song Play mode.
Hold down [SHIFT] and press [9] (BEAT),
[0] (MEASURE), or [DRUM A/B] (DRUM
KIT).
The values of settings are displayed while
[SHIFT] is held down.

55
Chapter 3 Recording and Editing Patterns (Pattern Edit Mode)
Chapter
3
<5>
Set the Quantization
Using Quantize in Realtime Recording corrects
any timing discrepancies made while tapping
the key pads during recording. Normally, this is
set to the smallest note unit to be recorded.
To record without the quantization, set this to
“OFF.” When this is turned off, the key pads are
recorded at the exact timing at which they are
played.
When using Quantize in Step Recording, you
can set how precisely the beat is to be divided.
* When Quantize is set to “OFF” during Step
Recording, one step is set to a 32nd note.
1. Hold down [SHIFT] and press [8] (SCALE).
* Continue to hold down [SHIFT].
fig.03-09
2. While still holding down [SHIFT], rotate
the TEMPO/VALUE dial to set the
quantization.
fig.03-10
3. Release [SHIFT].
<6> Record the Basic
Pattern
■(6-1A)
Do Realtime Recording
Rehearsing
It can be helpful to rehearse your performance
before carrying out Realtime Recording.
1. Press [START].
The metronome sound begins, and the
tempo indicator flashes in time with the
count.
2. Press [DRUM A/B] or [BASS] to select the
drum bank or bass part for the instrument
to be recorded.
3. Rehearse the performance, tapping the key
pads in time with the metronome.
* Even though you are tapping the key pads, they
are not being recorded.
◆If you want to speed up (or slow down) the
metronome tempo, adjust the tempo by
holding down [TAP TEMPO] and rotating
the TEMPO/VALUE dial.
* The tempo set here is temporary, and is not
recorded to the pattern.
4. When you have finished rehearsing, press
[STOP] to stop the metronome.
You can change the metronome
volume and beat (count interval).
Refer to “Changing the Metronome
Settings” (p. 78).
(no quantize)
(32nd note)
(16th note triplets)
(16th note)
(8th note triplets)
(8th note)
Recording Using a Foot Switch
With a foot switch connected, you can then
use the foot switch to start and stop
playback and to start recording.
For more information on setting the
functions used with the foot switch, refer to
“Assigning Functions to the Foot Switches”
(p. 77).

56
Chapter 3 Recording and Editing Patterns (Pattern Edit Mode)
Realtime Recording of the Drum Part
1. Hold down [REC] and press [START].
The REC indicator lights, and the
metronome begins playing. The metronome
sound begins, and the tempo indicator
flashes in time with the count. The BEAT
display follows the count.
fig.03-11
2. Press [DRUM A/B] to select the drum bank
for the instrument to be recorded.
3. Tap the key pad for the instrument being
recorded in time with the metronome.
At this time, the force used to tap the key
pads is recorded as velocity data.
The recorded performance is repeated.
◆You can check a sound, playing but not
recording it, by holding down [VOICE] and
pressing the corresponding key pad. The
instrument indicated in the pattern display
is specified simultaneously.
◆
You can record rolls and flams by holding down
[ROLL] or [FLAM] while tapping the key pads.
* When playing rolls, even if the roll sound is
extremely rapid, it is recorded at the same note
division as the Quantize setting for the
recording. If you want to record rolls with the
precision (Roll Type; p. 77) exactly as set, turn
Quantize to “OFF.”
* Sounds may be delayed or omitted in the
recording when rapid rolls are played at fast
tempos. If this occurs, record at a slower tempo.
* When playing flams, the flam settings (Flam
Interval/Ratio; p. 78) are not recorded. Changing
these settings after recording also changes the
way the flam sounds.
4. Repeat Steps 2 and 3 as needed.
5. Press [STOP] to stop recording.
The REC indicator goes out.
Realtime Recording of the Bass Part
1. Hold down [REC] and press [START].
The REC indicator lights, and the
metronome begins playing. The metronome
sound begins, and the tempo indicator
flashes in time with the count.
2. Press [BASS] to select the bass part.
3. Tap the key pad with the name of the
instrument to be recorded in time with the
metronome.
At this time, the force used to tap the key
pads is recorded as velocity, and the length
of time starting when you press the key pad
until you release it (when the sound stops) is
recorded as the note length.
The recorded sounds are repeated.
◆You can check a sound, playing but not
recording it, by holding down [VOICE] and
pressing the corresponding key pad.
* You cannot play rolls and flams in bass parts.
* Bass parts are monophonic. Even if multiple
notes are layered in a recording, only one sound
is played (most recently specified one given
priority).
4. Repeat Steps 2 and 3 as needed.
5. Press [STOP] to stop recording.
The REC indicator goes out.
To Erase Previously Recorded Sounds
As You Record
Hold down [SHIFT] and press [2]
(DELETE), then while still holding down
[SHIFT], press the key pad to which the
instrument you want to erase is assigned.
The sounds are erased as long as you hold
down [SHIFT] and the key pad.

57
Chapter 3 Recording and Editing Patterns (Pattern Edit Mode)
Chapter
3
■(6-1B) Do Step Recording
Step Recording of the Drum Part
1. Press [REC].
The REC indicator flashes, and the dot “●”
in the Pattern display flashes as well. The
flashing dot is for the step being recorded.
Either “A” or “B” flashes according to
whether the step being recorded is in the
first or second measure.
fig.03-13
2. Press [DRUM A/B] to select the drum bank
for the instrument to be recorded.
3. Press [ ] [ ] to specify the
step to be recorded.
Holding down [SHIFT] and pressing
[ ] lets you jump to the first step.
Jump to the final step by holding down
[SHIFT] and pressing [ ].
4. Tap the key pad for the instrument to be
recorded.
At this time, the force used to tap the key
pads is recorded as velocity.
The recording automatically advances by
one step.
◆You can check a sound, playing but not
recording it, by holding down [VOICE] and
pressing the corresponding key pad. The
instrument indicated in the pattern display
is specified simultaneously.
◆You can record rolls and flams by holding
down [ROLL] or [FLAM] while tapping the
key pads.
* When recording rolls in Step Recording, the roll
settings (Roll Type; p. 77) are disabled, and the
steps in the interval from the time you press a key
pad to the moment you release it are recorded one
sound at a time.
* When playing flams, the flam settings (Flam
Interval/Ratio; p. 78) are not recorded. Changing
these settings after recording also changes the
way the flam sounds.
* You cannot record multiple notes to the same pad
number at the same step.
5. Repeat Steps 2 through 4 as needed.
* If necessary, change the Quantize settings for
recording (p. 55).
6. Press [STOP] to stop recording.
The REC indicator goes out.
* Note that pressing [START] during Step
Recording (while the REC indicator is lit)
switches the DR-670 to Realtime Recording.
Step Recording of the Bass Part
1. Press [REC].
The REC indicator flashes, and the dot “●”
in the Pattern display flashes as well. The
flashing dot is for the step being recorded.
Either “A” or “B” flashes according to
whether the step being recorded is in the
first or second measure.
2. Press [BASS] to select the bass part.
To Erase Previously Recorded Sounds
As You Record
Hold down [SHIFT] and press [2]
(DELETE), then while still holding down
[SHIFT], press one key pad.
All of the sounds, regardless of the pitch,
are erased as long as you hold down
[SHIFT] and the key pad.
* When erasing long note sounds, press the
key pad at the point the sound begins to
play. Regardless of the length of the note, the
entire sound recorded at that time is erased.
To Erase Previously Recorded Sounds
As You Record
a. Press [ ] [ ] to move to
the step to be deleted.
b. Hold down [SHIFT] and press [2]
(DELETE), then while still holding
down [SHIFT], press the key pad to
which the instrument you want to erase
is assigned.

58
Chapter 3 Recording and Editing Patterns (Pattern Edit Mode)
3. Press [ ] [ ] to specify the
step to be recorded.
Holding down [SHIFT] and pressing
[ ] lets you jump to the first step.
4. Tap the key pad with the note to be
recorded.
At this time, the velocity (the force used to
tap the key pad) is also recorded.
The recording automatically advances by
one step.
“To Record Long Notes in the Bass
Part” (p. 58)
◆You can record over a wide range of pitches
by using the Fret Shift function (p. 48).
◆You can check a sound, playing but not
recording it, by holding down [VOICE] and
pressing the corresponding key pad.
* You cannot play rolls and flams in bass parts.
* You cannot record multiple notes to the same pad
number at the same step.
* Bass parts are monophonic. Even if multiple
notes are layered in a recording, only one sound
is played (with the last selected note played).
5. Repeat Steps 3 and 4 as needed.
* If necessary, change the Quantize settings for
recording (p. 55).
6. Press [STOP] to stop Step Recording.
The REC indicator goes out.
To Record Long Notes in the Bass Part
a. Press [ ] [ ] to specify the
steps to be recorded.
fig.03-14
b. Hold down the key pad with the note to be
recorded.
c. Press [ ], and continue pressing
until the step where you want the sound to
stop playing.
fig.03-15
d. Release the key pad.
This sets the length of the note.
fig.03-16
(Example)
When using Step Recording to
record a quarter note starting at the
second beat in the pattern, with
Quantize set to sixteenth notes
fig.03-17
a.
Press [ ] [ ] to specify Step 2-1.
fig.03-18
To Erase Previously Recorded Sounds
As You Record
a. Press [ ] [ ] to move to
the step to be deleted.
b. Hold down [SHIFT] and press [2]
(DELETE), then while still holding
down [SHIFT], press one key pad.
* When erasing a long bass sound, erase the
sound in the step that contains the sound
(the step in which the sound begins to play).
Regardless of the length of the note, the
entire sound is erased.
Step at which recording begins
Step at which recording ends
Note length
Next step to be recorded

59
Chapter 3 Recording and Editing Patterns (Pattern Edit Mode)
Chapter
3
b. Tap a key pad, and continue holding it
down instead of releasing it.
c. While continuing to hold down the key pad,
press [ ] to specify Step 2-4.
fig.03-19
d. Release the key pad.
fig.03-20
■(6-2)
Confirm the Recorded
Sounds
1. If recording is in progress, press [STOP] to
stop the recording.
The REC indicator goes out.
2. When you press [START], the recorded
pattern is played.
3. Press [STOP] to stop the performance.
<7>
Record the Fill Pattern
* The Beat, Measure, and Drum Kit settings are
common to both the basic pattern and the fill
pattern.
■(7-1)
Select the Fill Pattern
1. With the performance stopped, press
[FILL].
If there is no data recorded to that fill
pattern, check whether or not the basic
pattern has been copied.
fig.03-21
2. When copying, press [ ].
When recording a new pattern instead of
copying, press [ ].
■(7-2A)
Do Realtime Recording
■(7-2B) Do Step Recording
These operations are identical to the recording
operations for the basic pattern.
Refer to p. 55–59.
■(7-3) Confirm the Fill-In
When you have finished recording the fill
pattern, try using the Fill-In function (p. 50) to
check that the performances of the basic pattern
and the fill pattern join together smoothly.
* To return to recording of basic patterns, either
press [FILL] once more, or directly select the
pattern by entering the pattern number.

60
Chapter 3 Recording and Editing Patterns (Pattern Edit Mode)
Erasing Patterns
(Pattern Clear)
You can clear unneeded User patterns.
* The Preset patterns (1–200) cannot be cleared.
1. With the performance stopped, select the
User pattern to be cleared.
Turn the TEMPO/VALUE dial to select the
pattern number.
* You can also select the pattern by inputting the
pattern number with the numeric keys and
pressing [ ].
* When selecting a fill pattern, press [FILL].
2. Hold down [SHIFT] and press [3] (CLEAR).
* Continue to hold down [SHIFT].
fig.03-22
3. While continuing to hold down [SHIFT],
rotate the TEMPO/VALUE dial to select the
data to be cleared.
When Selecting Basic Patterns
([FILL] Not Pressed)
ALL: All pattern data (the beat,
measures, drum kit, recorded
basic pattern data, recorded fill
pattern data)
BSC: Basic pattern
BSC DRUM:
Basic pattern drum part only
BSC BASS:
Basic pattern bass part only
When Selecting Fill Patterns
([FILL] Is Pressed)
FIL: Fill pattern
FIL DRUM:
Fill pattern drum part only
FIL BASS:
Fill pattern bass part only
4. If you are sure you want to clear the data,
while still holding down [SHIFT], press
[].
Deletion of the User pattern is executed, and
when it is finished the display will indicate
“DONE.”
5. When the data is all cleared, release
[SHIFT].
* To cancel the operation, release [SHIFT].
* If the selected pattern has not been recorded yet
(has no data recorded to it), “DATA EMPT” is
displayed without the deletion being executed.
Data to be cleared

61
Chapter 3 Recording and Editing Patterns (Pattern Edit Mode)
Chapter
3
Copying Patterns
This copies User and Preset patterns to other
User patterns.
* Note that when a pattern is recorded to a copy
destination, the data previously occupying the
copy destination is discarded.
1. With the performance stopped, select the
User pattern you want to copy.
Turn the TEMPO/VALUE dial to select the
pattern number.
* You can also select the pattern by inputting the
pattern number with the numeric keys and
pressing [ ].
* When selecting a fill pattern, press [FILL].
2. With the performance still stopped, hold
down [SHIFT] and press [4] (COPY).
* Continue to hold down [SHIFT].
fig.03-24
3. While continuing to hold down [SHIFT],
rotate the TEMPO/VALUE dial to select the
data to be copied.
When Selecting Basic Patterns
([FILL] Not Pressed)
ALL: All pattern data (the beat,
measures, drum kit, recorded
basic pattern data, recorded fill
pattern data)
BSC: Basic pattern
BSC DRUM:
Basic pattern drum part only
BSC BASS:
Basic pattern bass part only
When Selecting Fill Patterns
([FILL] Is Pressed)
FIL: Fill pattern
FIL DRUM:
Fill pattern drum part only
FIL BASS:
Fill pattern bass part only
4. When you have finished determining
which data is to be copied, then while still
holding down [SHIFT], press [ ].
The display switches to the copy-destination
User pattern selection screen.
fig.03-25
5. Hold down [SHIFT] and rotate the TEMPO/
VALUE dial to select the copy-destination
User pattern.
You can also enter the pattern number with
the numeric keys. When the number is
entered, press [ ] to set it.
◆When selecting anything other than “ALL”
as the data to be copied, you then need to
select whether to have the data copied to the
basic pattern or the fill pattern.
You can switch between basic and fill
patterns by pressing [FILL].
fig.03-25a
6. If you are sure you want to copy the data,
hold down [SHIFT] and press
[].
The copy of the User pattern is executed,
and when it is finished the display will
indicate “DONE.”
* To cancel the operation, release [SHIFT].
7. When the copy is completed, release
[SHIFT].
* When anything other than ALL is selected for
copying, the performance data may not play back
correctly if the number of beats and measures in
the copy source and copy destination differ.
Be sure to check it after copying the data.
* If the selected pattern has not been recorded yet
(has no data recorded to it), “DATA EMPT” is
displayed without the copying being executed.
Data to be copied
Copy destination
Basic Pattern Fill Pattern

62
Chapter 3 Recording and Editing Patterns (Pattern Edit Mode)
Replacing Drum Kits
You can substitute a drum kit selected in
recording with a different drum kit.
* You cannot select different drum kits for the
basic pattern and the fill pattern.
1.
Select the User pattern with the replacement
drum kit.
Turn the TEMPO/VALUE dial to select the
pattern number.
* You can also select the pattern by inputting the
pattern number with the numeric keys and
pressing [ ].
2. Hold down [SHIFT] and press [DRUM A/
B] (DRUM KIT).
* Continue to hold down [SHIFT].
fig.03-26
3. Still holding down [SHIFT], rotate the
TEMPO/VALUE dial to select the drum kit.
You can select from the Preset drum kits (1–
64) and the User drum kits (65–128).
“Preset Drum Kit List” (p. 102)
4. Release [SHIFT].
Changing the Key of the
Bass Part (Key Transpose)
With the “Key Transpose” function, you can
change (transpose) the key of the bass part
during playback.
* Key Transpose settings are disregarded when
recording and playing back patterns in Pattern
Edit mode. Confirm that Key Transpose is
enabled in Pattern Play mode.
* You cannot select different Key Transpose
settings for the basic pattern and the fill pattern.
1. With the performance stopped, select the
User pattern with the bass part whose key
you want to change.
Turn the TEMPO/VALUE dial to select the
pattern number.
* You can also select the pattern by inputting the
pattern number with the numeric keys and
pressing [ ].
2. Hold down [SHIFT] and press [5] (KEY
TRANS).
* Continue to hold down [SHIFT].
fig.03-27
3. Still holding down [SHIFT], rotate the
TEMPO/VALUE dial to select the new key.
Settings range: -12– +12
You can set the transposition in semitone
steps up to a ±1 octaves up or down.
4. Release [SHIFT].

63
Chapter
4
Chapter 4 Recording and Editing Songs (Song Edit Mode)
This section describes the procedures used for
recording (Realtime/Step) and editing User
patterns.
These operations are carried out in Song Edit
mode.
◆ To switch to Song Edit mode, hold down
[SHIFT] while the performance is stopped
and press Key Pad 2 (SONG EDIT).
fig.04-00
fig.04-01
◆Select a song to create or edit when in
Song Edit mode.
1. With the performance stopped, hold down
[SHIFT] and then press Key Pad 2 (SONG
EDIT) to switch to Song Edit mode.
* Continue to hold down [SHIFT].
2. Hold down [SHIFT] and rotate the TEMPO/
VALUE dial to select the song.
* You can also select the song by inputting the
number with the numerical keys and pressing
[].
fig.04-01A
3. Release [SHIFT].
fig.04-01b
Before You Start Recording
When creating a new song, proceed through the
following steps for the recording.
fig.04-02
● You can record up to a maximum of 100
songs.
● You can record up to a maximum of 250
patterns in one song, with a maximum
total number of 3,000 patterns for all the
songs together.
Holding down
<1> Select an Unrecorded Song
<2> Select the Tempo (Initial Tempo)
<4>
Edit the Song (Insert/Delete/Copy)
<5> Confirm the Recorded Song
Song is Finished
<3A> Do Realtime Recording
or
<3B> Do Step Recording

64
Chapter 4 Recording and Editing Songs (Song Edit Mode)
<1>
Select an Unrecorded
Song
1. Switch to Song Edit mode.
With the performance stopped, press Key
Pad 2 (SONG EDIT).
* Continue to hold down [SHIFT].
fig.04-02a
2. Select the song.
Hold down [SHIFT] and rotate the TEMPO/
VALUE dial to select the song.
* You can also select the song by inputting the
number with the numerical keys and pressing
[].
The following appears in the display when
an unrecorded song (a song which contains
no data) is selected.
fig.04-03
3. Release [SHIFT].
You can also remove previously
recorded songs and use them for
recording new songs.
Refer to “Removing Unneeded Songs
(Song Clear)” (p. 70).
<2> Select the Tempo
(Initial Tempo)
This sets the initial tempo, the basic tempo used
to play the song.
1. Hold down [SHIFT] and press [VOICE]
(INIT TEMPO).
* Continue to hold down [SHIFT].
fig.04-04
2. While still holding down [SHIFT], rotate
the TEMPO/VALUE dial to select the initial
tempo.
When set to “OFF,” the song is played at the
tempo selected at the time.
3. Release [SHIFT].
* You can check the initial tempo settings in Song
Play mode.
Hold down [SHIFT] and press [VOICE] (INIT
TEMPO).
The initial tempo settings are displayed while
[SHIFT] is held down.
Holding down

65
Chapter 4 Recording and Editing Songs (Song Edit Mode)
Chapter
4
<3A> Do Realtime
Recording
Here, select the pattern and then record it as it is
being performed.
* When recording over a song that has already
been recorded, the newly recorded data
overwrites the previously recorded data, which is
discarded.
1. With the performance stopped, select the
first pattern to be recorded.
Turn the TEMPO/VALUE dial to select the
pattern number.
* You can also select the pattern by inputting the
pattern number with the numeric keys and
pressing [ ].
fig.04-05
◆ When you want to begin the recording
with the performance of a fill pattern,
press [FILL] after selecting the pattern.
fig.04-06
2. Hold down [REC] and press [START] to
start recording.
The first selected pattern simultaneously
starts to play.
The tempo indicator flashes on each beat.
* When a fill pattern is selected, the fill pattern is
played until the end, and then the performance
returns to the basic pattern.
* The same pattern continues to be recorded until
the next pattern is selected.
3. Select the next pattern to be recorded.
Turn the TEMPO/VALUE dial to select the
pattern number.
* You can also select the pattern by inputting the
pattern number with the numeric keys and
pressing [ ].
◆ You can record fill patterns by pressing
[FILL] during recording.
The fill pattern is played until the end, and
then the performance returns to the basic
pattern.
In addition, by pressing [FILL] while the
final beat of a pattern is being played, you
can have the fill pattern recorded from the
beginning of the next pattern.
* Although the fill pattern is played when [FILL] is
pressed at the time of recording, the fill pattern is
played at the beginning of the pattern during
playback.
4. Repeat Step 3 as needed to record one
song’s worth of patterns.
* When Pattern 250 is reached, the message “PTN
FULL” appears, and recording is ended
automatically.
5. Press [STOP/CONT] to stop the recording.
* If recording is stopped in a pattern's second
measure, the measure number is reduced by one
after such stoppage, and that number then
becomes the number of the starting measure for
the pattern.
Recording Using a Foot Switch
With a foot switch connected, you can then
use the foot switch to carry out the [START],
[STOP/CONT], and [FILL] operations.
For more information on setting the
functions used with the foot switch, refer to
“Assigning Functions to the Foot Switches”
(p. 77).

66
Chapter 4 Recording and Editing Songs (Song Edit Mode)
■Using the DPP Function in
Realtime Recording
1. Press [DPP]; “DPP” appears in the display.
fig.04-08a
2. With the song stopped, press the key pad to
which the first pattern to be recorded is
assigned.
3. Hold down [REC] and press [START] to
start recording.
The first selected pattern simultaneously
starts to play.
The tempo indicator flashes on each beat.
4. Press a key pad to select the next pattern to
be recorded.
* You can also select patterns by rotating the
TEMPO/VALUE dial or pressing the numeric
keys and [ ].
5. Repeat Step 4 as needed.
6. Press [STOP/CONT] to stop the recording.
■
Switching Recorded Patterns
* To switch the pattern in the first measure, select
the substitute pattern before carrying out Step 1.
1. Hold down [REC] and press [START] to
start Realtime Recording.
The prerecorded pattern starts to play.
The tempo indicator flashes on each beat.
2. When you reach the measure before the one
you want to substitute, select the next
pattern to be recorded.
Turn the TEMPO/VALUE dial to select the
pattern number.
* You can also select the pattern by inputting the
pattern number with the numeric keys and
pressing [ ].
◆You cannot select with the key pads when
[DPP] is pressed and the DPP function is
turned on.
3. When you have finished recording the
replacement pattern, press [STOP/CONT]
to finish the recording.
* If no pattern number is entered as the replacement
pattern, then the pattern already recorded is played.
fig.04-08c
◆You can replace the pattern being recorded
by pressing [FILL] during recording.
After the fill pattern is played to the end, the
recording returns to the basic pattern.
* Although the fill pattern is played when [FILL] is
pressed at the time of recording, the fill pattern is
played at the beginning of the pattern during playback.
Pattern 1
A
1234567
12345678
BABAAB
Pattern 2
Pattern
3Pattern 4
Pattern 1
ABABABAB
Pattern 2 Pattern 5 Pattern 4
AB
Pattern 5
Input the Pattern Number
measure
measure

67
Chapter 4 Recording and Editing Songs (Song Edit Mode)
Chapter
4
■Starting Realtime
Recording Within a Song
You can start Realtime Recording from a point
other than the beginning of the song.
This is convenient when you want to insert
patterns in lengthy songs.
1. With the performance stopped, press [ ]
[ ] to specify the measure where
recording is to begin.
* When recording two-measure patterns, you
cannot specify the second measure of each
pattern.
fig.04-08b
2. Hold down [REC] and press [START].
Recording begins from the currently selected
measure.
The tempo indicator flashes on each beat.
3. When you reach the measure before the one
you want to substitute, select the next
pattern to be recorded.
Turn the TEMPO/VALUE dial to select the
pattern number.
* You can also select the pattern by inputting the
pattern number with the numeric keys and
pressing [ ].
4. When the replacement pattern is recorded,
press [STOP/CONT] to end recording.
* If no pattern number is entered as the
replacement pattern, then the pattern already
recorded is played.
■Adding Patterns at the
End of a Song
You can start Realtime Recording at the end of a
recorded song to add more patterns to the song.
1. With the performance stopped, hold down
[SHIFT] and press [ ].
This lets you jump to the measure following
the last measure of the song.
2. Select a pattern to add.
Turn the TEMPO/VALUE dial to select the
pattern number.
* You can also select the pattern by inputting the
pattern number with the numeric keys and
pressing [ ].
3. Hold down [REC] and press [START].
Recording begins from the measure number
following the last measure of the song, while
the additional pattern you selected starts to
play.
The tempo indicator flashes on each beat.
* The same pattern continues to be recorded until
the next pattern is selected.
4. Select the next pattern to be recorded.
5. Repeat Step 4 as needed to record
additional patterns.
* When Pattern 250 is reached, the message “PTN
FULL” appears, and recording is ended
automatically.
6. Press [STOP/CONT] to stop the recording.
A
1
Measures You Can Specify
234567
BABAAB
Pattern 1 Pattern 2
Pattern
3Pattern 4
measure

68
Chapter 4 Recording and Editing Songs (Song Edit Mode)
<3B>
Do Step Recording
This lets you record the song by specifying
patterns one at a time in the order they are to be
played.
1.
With the performance stopped, press [REC].
The DR-670 is put in Step Recording mode,
and the REC indicator flashes.
2. Select a pattern to record.
Rotate the TEMPO/VALUE dial to select the
pattern.
When you press [ ], the pattern is
recorded, and the measure number
advances automatically.
* When using the numeric keys for input, the
pattern is recorded and the measure number
advances automatically when you press
[ ] after inputting the number.
◆You cannot select with the key pads when
[DPP] is pressed and the DPP function is
turned on.
After pressing a key pad to select a pattern,
press [ ] to set the pattern.
◆After selecting the pattern, you can then
select the fill pattern by pressing [FILL] and
then [ ].
* During Step Recording, you cannot switch to a
fill pattern while a recording of another pattern is
in progress.
3. Repeat Step 2 as needed to record one
song’s worth of patterns.
4. Press [STOP/CONT] to stop the recording.
■
Switching Recorded Patterns
1. With the performance stopped, press [REC]
to start Step Recording.
The REC indicator flashes.
2. Press [ ] [ ] to select the
measure with the pattern to be switched.
3. Select the pattern to be switched.
Rotate the TEMPO/VALUE dial to select the
pattern.
When you press [ ], the pattern is
recorded, and the measure number
advances automatically.
* When using the numeric keys for input, the
pattern is recorded and the measure number
advances automatically when you press
[ ] after inputting the number.
4. Repeat Step 3 as needed.
5. When you have finished recording the
substitute pattern, press [STOP/CONT] to
stop the recording.
■Adding Patterns at the
End of a Song
1. With the performance stopped, hold down
[SHIFT] and press [ ].
This lets you jump to the measure following
the last measure of the song.
2. Press [REC] to start Step Recording.
The REC indicator flashes.
3. Select a pattern to add.
Rotate the TEMPO/VALUE dial to select the
pattern.
When you press [ ], the pattern is
recorded, and the measure number
advances automatically.
* When using the numeric keys for input, the
pattern is recorded and the measure number
advances automatically when you press
[ ] after inputting the number.
4. Repeat Step 3 as needed.
5. When you have finished recording
additional patterns, press [STOP/CONT] to
end the recording.
When you hold down [SHIFT] and press
[START] during Step Recording, the selected
pattern is played. This allows you to check
the content of patterns to be recorded.
The pattern stops playing when you release
[SHIFT].
* Pressing [START] without holding down
[SHIFT] starts Realtime Recording.

69
Chapter 4 Recording and Editing Songs (Song Edit Mode)
Chapter
4
Adding Patterns In the Song
(Insert)
This operation inserts a pattern at a point within
the song.
fig.04-08
* When the pattern to be inserted is two measures,
you cannot insert only one measure.
Furthermore, you cannot insert material between
the measures of a two-measure pattern being
recorded.
1. With the performance stopped, press [ ]
[ ] to specify the measure where
the pattern is to be inserted.
2.
Hold down [SHIFT] and press [1] (INSERT).
* Continue to hold down [SHIFT].
3. Select the pattern to insert.
Continue holding down [SHIFT] and rotate
the TEMPO/VALUE dial to select the
pattern number. Press [ ] to set
the number.
* You can also input the pattern number by
holding down [SHIFT] and pressing the numeric
keys. When you have decided on the pattern,
press [ ] to set the pattern.
The pattern is inserted, and when it is
finished the display will indicate “DONE.”
4. When the insertion is finished, release
[SHIFT].
* To cancel the operation, release [SHIFT].
Deleting Patterns
(Delete)
This deletes unneeded patterns from songs.
fig.04-09
1. With the performance stopped, press [ ]
[ ] to specify the measure to be
deleted.
2. Hold down [SHIFT] and press [2]
(DELETE).
* Continue to hold down [SHIFT].
3. While continuing to hold down [SHIFT],
press [ ].
The pattern is deleted, and when it is
finished the display will indicate “DONE.”
4. When the deletion is finished, release
[SHIFT].
* To cancel the deletion, release [SHIFT].
Pattern 1
A
1
measure
measure
2345678
12345678910
BABABAB
Pattern 2 Pattern 3 Pattern 4
Pattern 1
ABABABAB
Pattern 2 Pattern 5 Pattern 3
AB
Pattern 4
AB
Pattern 5
Insert
Pattern 1
ABABABAB
Pattern 2 Pattern 4 Pattern 5
Pattern 1
ABABABAB
Pattern 2 Pattern 3 Pattern 4
AB
Pattern 5
Delete
measure
measure
12345678910
12345678
Measure to be specified

70
Chapter 4 Recording and Editing Songs (Song Edit Mode)
Removing Unneeded Song
(Song Clear)
This erases content of the cullently selected
Song.
1. Hold down [SHIFT] and press [3] (CLEAR).
* Continue to hold down [SHIFT].
fig.04-12
2. If you are sure you want to clear the song,
while still holding down [SHIFT], press
[].
The song is erased, and when it is finished
the display will indicate “DONE.”
3. When the song is cleared, release [SHIFT].
* If the selected pattern has not been recorded yet
(has no data recorded to it), “DATA EMPT” is
displayed without the clear being executed. If this
occurs, first release [SHIFT] and carry out the
procedure again from the beginning.
* To cancel the operation, release [SHIFT].
Copying Song
This copies content of the cullently selected Song
to other Song.
* Note that when a song is recorded to a copy
destination, the data that was in the copy
destination is discarded.
1. Hold down [SHIFT] and press [4] (COPY).
* Continue to hold down [SHIFT].
fig.04-13
2. Select the copy-destination song number.
Hold down [SHIFT] and rotate the TEMPO/
VALUE dial to select the song, then press
[ ] to confirm the selection
* You can also input the song number by pressing
the numeric keys, and select the song by pressing
[].
fig.04-14
3. If you are sure you want to copy the song,
hold down [SHIFT] and press
[].
The song is copied, and when it is finished
the display will indicate “DONE.”
4. When the copy is completed, release
[SHIFT].
* If the copied song has not been recorded yet (has
no data recorded to it), “DATA EMPT” is
displayed without the copy being executed. If this
occurs, first release [SHIFT] and carry out the
procedure again from the beginning.
* To cancel the operation, release [SHIFT].
Copy source Copy destination

71
Chapter 4 Recording and Editing Songs (Song Edit Mode)
Chapter
4
Connecting Multiple Songs
Into One Song (Song Chain)
You can have a number of songs performed in
one connected sequence. This function is called
“Song Chain.”
Each song is assigned the song number of the
song that is to follow it—you can chain up to 100
songs this way.
fig.04-15
The procedure for making the Song Chain
setting for the currently selected song is as
follows.
1. Hold down [SHIFT], and press [6]
(CHAIN).
* Continue to hold down [SHIFT].
fig.04-16
2. Select the next song to be played.
Hold down [SHIFT] and rotate the TEMPO/
VALUE dial to select the song number.
* You can also input the song number by holding
down [SHIFT] and pressing the numeric keys,
and select the song by pressing [ ].
Set to “OFF” at the last song to be played in
the sequence.
3. When you have finished making the
settings, release [SHIFT].
4. Switch the currently selected song to
continue adding to the song chain as
needed.
Set the final song to be played in the chain to
“OFF.”
Song 1
Song Chain: 2
Song 2
Song Chain: 3
Song 3
Song Chain: OFF
Creating Songs Featuring
Tempo Changes
You can use the Song Chain
function to create songs that have
changes in tempo.
Create songs to be positioned both before and
after the tempo change, making the necessary
initial tempo settings for each song.
When you use the Song Chain function to
connect the performances of the two songs, it
allows you to create a performance in which
the tempo changes in the middle of the song.
fig.04-17
Initial Tempo: 120
Song Chain: 2
Song 1
Initial Tempo: 90
Song Chain: 3
Song 2
Initial Tempo: 120
Song Chain: OFF
Song 3

72
Chapter 5 Performing Songs (Song Play Mode)
In Song Play mode, you can play the songs that
have been created.
◆To switch to Song Play mode, hold down
[SHIFT] while the performance is stopped
and press Key Pad 1 (SONG PLAY).
fig.05-01
Performing Songs
1. Select a song to play.
Turn the TEMPO/VALUE dial to select the
song.
* You can also input the number by pressing the
numeric keys, and select the song by pressing
[].
fig.05-02
* The following appears in the display if the
selected song contains no data.
fig.05-03
2. Press [START].
The song is played from the beginning.
The tempo indicator flashes with each beat,
and the measure currently being played is
displayed.
fig.05-04
3. Press [STOP/CONT] to stop the song.
When you press [STOP/CONT] once again,
the song starts playing again from the point
where it was stopped.
* You can change the tempo settings, even while a
song is being played, by holding down [TAP
TEMPO] and rotating the TEMPO/VALUE dial
or by tapping [TAP TEMPO] in rhythm.
Holding down
Pattern Measure

73
Chapter 5 Performing Songs (Song Play Mode)
Chapter
5
Starting a Song From a Point
Other Than the Beginning
You can start playing a song from a specified
measure. This is convenient when you want to
start playing a song containing many measures
from some point within the song.
1. With the performance stopped, press [ ]
[ ] to specify the starting
measure.
fig.05-05
◆Hold down [SHIFT] and press [ ] to
jump to the first measure of the song.
When a song is set as part of a chain, you can
hold down [SHIFT] and press [ ]
to jump to the next song.
2. Press [STOP/CONT].
The song is played from the specified measure.
Repeating Performances
of Songs (Song Repeat)
You can have songs be played repeatedly. This
function is called “Song Repeat.”
fig.05-06
1. With the performance stopped, hold down
[SHIFT] and press [7] (REPEAT).
* Continue to hold down [SHIFT].
fig.05-07
2. Hold down [SHIFT] and rotate the TEMPO/
VALUE dial to set the Song Repeat
function to on or off.
“SONG REPEAT” appears in the display
when the Song Repeat function is on.
fig.05-08
3. Release [SHIFT].
* Song Repeat settings are not saved when the
power is turned off. The function is always
turned off when the DR-670’s power is turned
off.
Pattern
1
Pattern
2
Pattern
3
Pattern
15
Pattern
16

74
Chapter 5 Performing Songs (Song Play Mode)
Performing Multiple Songs In
One Sequence (Song Chain)
“SONG CHAIN” appears in the display when
the currently selected song is specified in “Song
Chain” (p. 71).
fig.05-09
■Checking the Song Chain
Settings
You can confirm the Song Chain settings in Song
Play mode.
1. Hold down [SHIFT] and press [6] (CHAIN).
As you continue to hold down [SHIFT], the
following appears in the display.
fig.05-10
For instructions on making settings for
the Song Chain function, refer to
“Connecting Multiple Songs Into One
Song (Song Chain)” (p. 71).
Creating Performances
Combining the Repeat and
Chain Functions
You can repeatedly play performances of
multiple songs by setting Song Repeat to “ON”
for songs set using the Song Chain function.
fig.05-11
Checking a Song’s
Initial Tempo
You can check the Initial Tempo (p. 64) setting
for a song in Song Play mode.
1. Hold down [SHIFT] and press [VOICE]
(INIT TEMPO).
As you continue to hold down [SHIFT], the
following appears in the display.
fig.05-12
For instructions on making the Initial
Tempo settings, refer to “Select the
Tempo (Initial Tempo)” (p. 64).
* If you change the tempo settings after selecting a
song, the performance is played at the changed
tempo when the song is started. If you want to
restore the initial tempo, reselect the song.
Song 1
Song Chain: 2
Song 3
Song Chain: OFF
Song 2
Song Chain: 3
Song Repeat: ON
Using a Foot Switch to Play Songs
With a foot switch connected, you can then
use the foot switch to carry out the [START]
and [STOP/CONT] operations.
For more information on setting the
functions used with the foot switch, refer to
“Assigning Functions to the Foot Switches”
(p. 77).

75
Chapter
6
Chapter 6 Assigning Patterns to the Key Pads (DPP Assign Mode)
Here, patterns are assigned to the key pads (1–
16) for DPP (Direct Pattern Play).
1. With the performance stopped, hold down
[SHIFT] and press Key Pad 10 (DPP
ASSIGN).
The DR-670 switches to DPP Assign mode.
fig.06-01
fig.06-02
2. Press a key pad to which you wish to assign
a pattern.
3. Rotate the TEMPO/VALUE dial to select
the pattern.
* You can also enter the pattern number with the
numeric keys. When the number is entered, press
[ ] to set the number.
* You cannot assign the fill pattern.
4. Repeat Steps 2 and 3 as needed.
5. Hold down [SHIFT] and press Key Pad 5
(PATTERN PLAY).
The DR-670 switches to Pattern Play mode.
The DPP function turns on automatically,
allowing you to use Direct Pattern Play.
You can also check the DPP Assign settings in
Pattern Play mode.
1. While in Pattern Play mode, press [DPP] to
turn on the DPP function.
2. Press [VOICE]; the DPP assignment is
displayed while [VOICE] is held down.
fig.06-05
3. To check another pad, continue to hold
down [VOICE] and press the pad you want
to check.
Holding down
Pattern Number
Key Pad assigned to pattern
Pad Number
Pattern Number

76
Chapter 7 Customizing Your Setup (Utility Mode)
You can make the following settings in Utility mode.
●Switch the sounding/muting of drum parts
and bass parts (Output Part)
●Assign functions to the foot switches
●Change the roll interval (Roll Type)
●Change the flam settings
(Flam Interval, Flam Ratio)
●Adjust the key pad sensitivity (Pad Sens)
●Change the metronome settings
(Click Level, Click Beat)
●Tune the bass part (Master Tune)
Procedure
1. With the performance stopped, hold down
[SHIFT] and press Key Pad 13 (UTILITY).
The DR-670 switches to Utility mode.
fig.07-02
2. Press [ ] [ ] to select the
parameter with the settings you want to
change.
fig.07-03
3. Rotate the TEMPO/VALUE dial to change
the value of the setting.
4. Repeat Steps 2 and 3 as needed.
Switching the Sounding/
Muting of Drum Parts and
Bass Parts (Output Part)
fig.07-04
ALL: Both the drum part and the bass part
are played
DRUM: The drum part is played, and the bass
part is muted
BASS: The bass part is played, and the drum
part is muted
* Output Part settings are not saved. The function
always reverts to “ALL” when the DR-670’s
power is turned off.
* The Output Part settings are effective only with
respect to the playback of patterns. The Output
Part settings have no effect on the output when
you perform by playing the pads.
(Foot Switch 2)
(Roll Type)
(Flam Interval)
(Flam Ratio)
(Pad Sensitivity)
(Click Level)
(Click Beat)
(Master Tune)
(Foot Switch 1)
(Output Part)

77
Chapter 7 Customizing Your Setup (Utility Mode)
Chapter
7
Assigning Functions to
the Foot Switches
Settings for the functions controlled with the
foot switches 1 and 2.
fig.07-05
STRT:
Used for starting the pattern or song from
the beginning and stopping the pattern or
song.
Same operations achieved by pressing
[START] and [STOP/CONT].
FILL:
Switches to the fill pattern.
Same operation achieved by pressing [FILL].
CONT:
Controls Continue Start/Stop.
Same operation achieved by pressing
[STOP/CONT].
RSET:
Resets the song or pattern (jumps to the
beginning).
Same operation achieved by holding down
[SHIFT] and pressing [ ].
REC:
Starts Realtime Recording.
Same operation achieved by holding down
[REC] and pressing [START].
* This is enabled in Pattern Edit mode and Song
Edit mode.
CHAS:
When the DPP function is off, this function
selects the pattern with the number one
greater than the currently selected pattern
number. If Pattern Number 400 is currently
selected, then Pattern Number 1 is the next
pattern selected.
When the DPP function is on, this function
selects the pad with the number one higher
than the currently selected pad. If Pad
Number 16 is currently selected, then Pad
Number 1 is selected next.
* This is enabled in Pattern Play mode and Song
Edit mode.
PD 1–PD16, PD G, PD D, PD A, PD E:
Performs the same operations achieved by
pressing the pads with the specified
numbers (1–16, G, D, A, E).
Functions according to the currently selected
pad function (DRUM A, DRUM B, BASS,
DPP).
Changing the Roll Settings
(Roll Type)
Sets the note length for rolls.
fig.07-05a
fig.07-05b
Foot Switch 1
Foot Switch 2
(32nd note)
(16th note triplets)
(16th note)
(8th note triplets)
(8th note)

78
Chapter 7 Customizing Your Setup (Utility Mode)
Changing the Flam Settings
By changing the flam interval and flam ratio
settings, you can change the way the flam sounds.
* Changing the flam settings only changes the way
flams are played in patterns that have already
been recorded.
fig.07-06
Flam Interval (0–31)
Sets the difference in time of the two sounds making
up the flam. When set to 0, no flam is produced.
fig.07-07
Flam Ratio (0–10)
Sets the relative force (velocity) of the first and
second strikes. No grace note is played when
this is set to 0.
fig.07-08
Adjusting the Key Pad
Sensitivity (Pad Sens)
The lower the value you select, the lower the
sensitivity becomes. While this means that
strong accents are unobtainable unless the pads
are hit with a considerable amount of force, it
does make it easier to produce subtle changes.
Sensitivity increases as the settings value is
raised. Although this lets you add strong accents
even if the pads are tapped lightly, it becomes
more difficult to get subtle changes.
Valid Settings:0–10
fig.07-09
Changing the
Metronome Settings
Click Level (0–15)
Adjusts the volume of the metronome during
Realtime Recording of patterns.
fig.07-10
Click Beat
Sets the beat of the metronome during Realtime
Recording of patterns.
fig.07-11
8: 8th note
4: 4th note
Tuning the Bass Part
Sets the basic pitch for the bass part.
* The drum parts (Includes Instruments BS1–
BS5) cannot be changed.
Valid Settings:438–445
fig.07-12
* The pitch of the sound being played does not
change. This goes into effect from the sound
played after the settings are made.
Velocity
Time
Flam Interval
(Main note)
(Grace note)
When Flam Ratio
is set to “10”

79
Chapter
8
Chapter 8 Creating Your Own Favorite Drum Kits (Drum Kit Edit Mode)
In Drum Kit Edit mode, you can select drum and
bass instruments, change the way they sound,
and make other changes to drum kit settings to
create up to 64 original User drum kits.
◆To switch to Drum Kit Edit mode, hold
down [SHIFT] while the performance is
stopped and press Key Pad 9 (DRUM KIT
EDIT).
fig.08-00
fig.08-01
Before Changing the Settings (Editing)
Use the procedure below to change (edit) the
drum kit settings.
fig.08-02
* When the unit left the factory, the User drum
kits (65–128) contained the same settings as the
Preset drum kits (1–64).
■
Select the Drum Kit to Edit
1. Hold down [SHIFT] and press [DRUM A/
B] (DRUM KIT).
* Continue to hold down [SHIFT].
2. While holding down [SHIFT], rotate the
TEMPO/VALUE dial to select the drum kit
to be edited.
3. Release [SHIFT].
Holding down
Specify the Key Pads
Change the Settings
(Parameters)
Change the Settings
(Parameters)
Select the Drum Kit to Edit
User Drum Kit Finished
(
Editing the
)
Drum Parts
(
Editing the
)
Bass Part
You cannot edit the Preset drum kits.
If you want to base a new kit on a Preset
drum kit, you can copy the Preset to a User
drum kit first, then edit it to your liking.
For instructions on copying drum kits, refer
to “Copying Drum Kits” (p. 84).

80
Chapter 8 Creating Your Own Favorite Drum Kits (Drum Kit Edit Mode)
■Editing Procedure
1. If editing a drum part, press [DRUM A/B]
then specify Drum Bank A or B. If editing a
bass part, press [BASS] to specify the bass
part.
2. If editing a drum part, specify the key pad
to be edited by pressing that key pad.
This step is not required if you are editing a
bass part.
* You cannot edit individual key pads for the bass
part.
3. Press [ ] [ ] to specify the
setting (parameter) you want to change.
fig.08-04
4. Rotate the TEMPO/VALUE dial to change
the value of the setting.
5. Repeat Steps 3 and 4 as needed.
When editing drum parts, start from Step 2
if you are editing other key pads.
Editing the Drum Parts
■
Selecting the Sounds Assigned
to the Key Pads (Instrument)
This selects the instruments to be assigned to the
key pads.
For more on the instruments that can be
selected, refer to the “Instrument/Bass Tone
List” (p. 99).
fig.08-05
* You cannot select bass tones for the drum parts.
■
Setting the Volume (Level)
This sets the volume (the level) for each
instrument. The velocity when you actually tap
the key pads is changed within the level range
set here.
Valid Settings: 0–15
fig.08-06
■Setting the Pitch (Pitch)
This sets the pitch of each instrument in units of
10 cents.
Valid Settings: -1200– +1200
fig.08-07
Positive (+) Values:
The pitch is raised as the value increases;
an increase of 100 cents raises the pitch a
half step (semitone).
0: The original pitch is used.
Negative (-) Values:
The pitch is lowered as the value
increases; an increase of 100 cents lowers
the pitch a half step (semitone).
* With some instruments, the pitch may not
change properly when the value is positive (set to
“+”).

81
Chapter 8 Creating Your Own Favorite Drum Kits (Drum Kit Edit Mode)
Chapter
8
■
Lengthening and Shortening
the Reverberation (Decay)
This lengthens and shortens the reverberation of
the sound (the decay) for each instrument.
Valid Settings: -32– +31
fig.08-08
Positive (+) Values:
As the value increases, the
decay is lengthened relative to the original decay.
0: The original decay time is used.
Negative (-) Values:
As the value increases, the
decay is shortened relative to the original decay.
fig.08-09
* With some instruments, it may seem that the amount
of change when using a positive setting is slight.
■
Obtaining Tonal Changes Relative
to Strike Position (Nuance)
When playing percussion, the tone changes
depending on where you hit the instrument. For
example, when playing a cymbal, the tone around
the center differs from the tone at the edge.
With the instruments in the “Instrument/Bass
Tone List” (p. 99) that have * or ** added to the
name, you can change the Nuance settings,
which allow you to obtain tonal changes relative
to the position the instrument is struck.
Settings Values: -7– +7
fig.08-10
Instruments Appended with an Asterisk (*)
Positive (+) Values:
As the value increases, the
low frequency components of the sound increase
(sound from striking closer to the center).
0: Original nuance
Negative (-) Values:
As the value increases, the
low frequency components of the sound
decrease (sound from striking the outside part).
fig.08-11
Instruments Appended with a Double Asterisk
(**) (Hi-Hat, Ride Cymbal, Etc.)
Positive (+) Values:
As the value increases, the
sound appears to come more from the interior
(sound from striking the interior part).
0: Original nuance
Negative (-) Values:
As the value increases, the
sound appears to come more from the outside
(sound from striking the outside part).
fig.08-12
The Nuance settings are disabled on instruments
that are not marked with a single or double
asterisk (*, **).
■Setting the Position of
the Sound (Pan)
This sets the placement (Pan) of each instrument,
with seven degrees of adjustment.
Settings Values: L3–CNTR–R3
fig.08-13
fig.08-14
* The Pan settings of instruments in the
“Instrument/Bass Tone List” (p. 99) that are
marked with three asterisks (***) are disabled.
Level
Time
Decay
CNTR R3L3 L1 R1

82
Chapter 8 Creating Your Own Favorite Drum Kits (Drum Kit Edit Mode)
■
Determining Whether Or Not
Sounds Overlap (Assign Type)
This sets the way each instrument sounds (the
assign type) when one or more instruments
continue to be played.
Settings Values: POLY, EX1P–EX7P, MONO,
EX1M–EX7M
fig.08-15
POLY
When one instrument continues playing, the new
sound overlaps the previously sounded instrument
without that earlier instrument’s sound being
stopped. This is effective with cymbals and other
instruments with long decay times.
fig.08-16
EX1P (POLY EXC1)–EX7P (POLY EXC7)
The sounds of the same instrument are allowed
to overlap, but the sound of another instrument
sharing the same number (EX*M, EX*P) is not
allowed to overlap. This is effective with sounds
that normally are not heard at the same time
(such as the open and closed hi-hat sounds), but
which do produce overlapping sounds when
one of them is being sounded consecutively.
fig.08-17
MONO
When one instrument sound is played
consecutively, the previous sound is stopped
when a new sound is played.
fig.08-18
EX1M (MONO EXC1)–EX7M (MONO EXC7)
The sounds of instruments with the same
number (EX*M, EX*P) are not layered.
Furthermore, instrument sounds with the same
number are not layered even when played
continuously. This is effective with sounds that
normally are not played simultaneously, such as
Guiro short and Guiro long sounds.
fig.08-19
Level
Time
Mixed
Level
Time
Mixed
Not mixed
EXC1 EXC1 EXC2
Level
Time
Mixed
Level
Time
Not Mixed
Level
Time
MixedNot mixed
EXC1 EXC1 EXC2
Level
Time
Not mixed

83
Chapter 8 Creating Your Own Favorite Drum Kits (Drum Kit Edit Mode)
Chapter
8
Editing the Bass Part
■
Selecting the Tone (Bass Tone)
This selects the tone for the bass part (the bass tone).
For more on the bass tones you can select, refer
to the “Instrument/Bass Tone List” (p. 99).
fig.08-20
* You cannot select drum instruments for use in
bass parts.
■
Setting the Volume (Level)
This sets the volume (level). The velocity when
you actually tap the key pads is changed within
the level range set here.
Valid Settings: 0–15
fig.08-21
■Adjusting the Envelope
(Attack, Decay, Release)
This adjusts the envelope of the bass sound.
fig.08-22
Sharpness in the Rise of the Sound (Attack)
Valid Settings: 0–15
fig.08-23
0: Original nuance
1–15: The attack gets duller as the value
increases.
fig.08-23a
Decay Time for the Sound (Decay)
Valid Settings: -31– +31
fig.08-24
Positive (+) Values:
The more the value is increased, the
more the decay slows relative to the
original decay.
0: Original nuance
Negative (-) Values:
The more the value is decreased, the
more the decay quickens relative to the
original decay.
fig.08-24a
Level Attack
Note On
Decay Release
Time
Note Off
Level
Time
Note On Note Off
015
Level
Time
Note On Note Off
+
–

84
Chapter 8 Creating Your Own Favorite Drum Kits (Drum Kit Edit Mode)
Decay Time After Note Off (Release)
Valid Settings: -7– +7
fig.08-25
Positive (+) Values:
The release gets longer than the original
as the value increases.
0: Original nuance
Negative (-) Values:
The release gets shorter than the original
as the value increases.
fig.08-25a
■
Positioning the Sound (Pan)
This sets the placement of the sound, with seven
degrees of adjustment.
Valid Settings: L3–CNTR–R3
fig.08-26
fig.08-14
Copying Drum Kits
This copies the currently selected drum kit to
one of the User drum kits (65–128).
* If the drum kit you want to copy is not the one
that is currently selected, first select the drum kit
that you do want to copy before continuing.
1. Hold down [SHIFT] and press [4] (COPY).
* Continue to hold down [SHIFT].
fig.08-27
2. While holding down [SHIFT], rotate the
TEMPO/VALUE dial to select the copy-
destination drum kit.
* You cannot select 1–64 (the Preset drum kits).
3. If you are sure you want to copy the drum
kit, hold down [SHIFT] and press
[].
The drum kit copying process starts.
* To cancel the operation, release [SHIFT].
4. Once the copy has been completed, release
your finger from [SHIFT].
Level
Time
Note On Note Off
+–
CNTR R3L3 L1 R1
Copy source Copy destination

85
Chapter
9
Chapter 9 Connecting and Using External MIDI Devices (MIDI Mode)
What is MIDI?
MIDI (Musical Instrument Digital Interface) is a
universal standard that allows for the exchange
of performance data and other information
among electronic musical instruments and
computers. Once MIDI cables are used to
connect together devices equipped with MIDI
connectors, each device can send data to, or
receive data from any of the others.
MIDI Connectors
The DR-670 is equipped with a MIDI IN
connector and MIDI OUT connector.
fig.09-01
MIDI IN
Receives data from an external MIDI device.
Connect to the MIDI OUT connector on the
external MIDI device.
MIDI OUT
Transmits the DR-670’s data. Connect to the
MIDI IN connector on the external MIDI device.
* Do not connect the MIDI IN connector directly
to the own MIDI OUT connector.
* When making a looped connection with other
MIDI devices, do not set the connected devices to
THRU (SOFT THRU). Otherwise, malfunction
could result.
MIDI OUT
Connector MIDI IN
Connector
MIDI Implementation Chart
In order to exchange MIDI data, the data
transmitted by the MIDI devices must be
common to both. The owner’s manuals for a
MIDI device always includes a MIDI
Implementation Chart, which allows you to
quickly check the compatibility of that
device with other devices. By comparing
the MIDI Implementation Charts of each
device you are using, you can confirm
which kinds of data can be exchanged.
* A separate publication titled “MIDI
Implementation” is also available. It
provides complete details concerning the
way MIDI has been implemented on this
unit. If you should require this publication
(such as when you intend to carry out byte-
level programming), please contact the
nearest Roland Service Center or
authorized Roland distributor.

86
Chapter 9 Connecting and Using External MIDI Devices (MIDI Mode)
About MIDI Mode
With the DR-670, you can use MIDI data to do
the following.
●Synchronize performances with a digital
recorder or MIDI sequencer
●Use an external MIDI device to play the DR-
670, and use the DR-670 to play an external
MIDI device
●Transmit data from the DR-670 to an
external MIDI device and return the
transmitted data to the DR-670
In MIDI mode, you can make the necessary
parameter settings for handling MIDI data.
You can also transmit data in MIDI mode.
◆To switch to MIDI mode, hold down
[SHIFT] while the performance is stopped
and press Key Pad 14 (MIDI).
fig.09-02a
fig.09-03
■Procedure
1. Switch to MIDI mode.
2. Press [ ] [ ] to select the
parameter to be set.
fig.09-04
3.
Change values in the Sync Mode, MIDI
Channel (Drum), and Device ID settings
screens by rotating the TEMPO/VALUE dial.
Synchronizing Performances
with a Digital Recorder or
MIDI Sequencer (Sync Mode)
You can synchronize the DR-670’s performances
with digital recorders, MIDI sequencers, rhythm
machines, and other such devices.
Master and Slave
When synchronizing two or more devices, one is
made the “master” device and all others “slaves.”
fig.09-05
When the master device is started or stopped, a
MIDI message for that operation is transmitted.
The slave or slaves then start or stop in
accordance with the transmitted MIDI message.
Furthermore, timing clock data corresponding to
the tempo is transmitted by the master device.
Slave devices synchronize their performances to
this timing clock.
Other data transmitted from the master device
to slave devices includes song numbers (Song
Select) and the position of song performances
(Song Position Pointer).
Holding down
(Sync Mode)
(MIDI Channel: Drum)
(MIDI Channel: Bass)
(Device ID)
(Bulk Dump)
(Bulk Load)
MIDI OUT
Master
MIDI IN
Slave (DR-670)

87
Chapter 9 Connecting and Using External MIDI Devices (MIDI Mode)
Chapter
9
Data Synchronized with the DR-670
The following MIDI messages are handled
during synchronization with the DR-670.
●Start
●Timing Clock
●Continue
●Song Select
●Stop
●Song Position Pointer
* Song Select and Song Position Pointer data are
not output in Song Edit mode.
* For more information on the MIDI messages
handled by the devices you are connecting, refer
to the owner’s manual for each device.
■Setting Sync Mode
Select whether the DR-670 is to be the master or
slave in Sync mode.
fig.09-06
AUTO:
Master and slave are switched
automatically.
While the DR-670 normally functions as the
master, when the performance is stopped
and a Start message is input from an
external MIDI device, the DR-670
automatically switches to slave.
INT:
The DR-670 functions as the master.
Operating the DR-670 starts and stops
performances, and performances play at the
tempo set in the DR-670.
MIDI:
The DR-670 functions as a slave device.
The DR-670 starts and stops according to the
messages input from an external MIDI
device, and performances are synchronized
to the timing clock transmitted by the
external MIDI device.
* Sync mode settings are not saved. The function is
always set to “AUTO” when the DR-670’s
power is turned off.
Tempo Display with the DR-670 as Slave
When the DR-670 is functioning as a slave
device, the tempo appears in the display as
shown below, and the tempo cannot be
controlled from the DR-670.
fig.09-07
If no timing clock is being transmitted by the
external source when [START] is pressed, then
the tempo indicator lights and remains lit, and
the start of the performance is put on hold until
the timing clock arrives.
* You cannot switch modes while the DR-670 is in
this state. To switch modes, press [STOP/
CONT], then proceed to switch the mode after
the tempo indicator has gone out.

88
Chapter 9 Connecting and Using External MIDI Devices (MIDI Mode)
Using An External MIDI
Device to Play the DR-670/
Using the DR-670 to Play An
External MIDI Device
You can use performance data transmitted from
an external MIDI device to play the DR-670, or
operate the DR-670 to control performances of
external MIDI devices.
fig.09-08a
MIDI Channels
In order to exchange performance data between
an external MIDI device and the DR-670, the
MIDI channel settings must be the same for both
devices. Performance data can be exchanged
successfully only when the MIDI channels match.
Performance Data Handled by
the DR-670
Note Messages
These are messages that convey the performance
status of drum parts and bass parts. These are
equivalent to the performance data for keys on a
keyboard. The different kinds of Note messages
are shown below.
Note Number: Key pad number to which an
instrument or bass tone is assigned
Note On: Key pad is tapped
Note Off: Key pad is released
Velocity: Force used to tap the key pad
◆This correspondence of the DR-670’s key
pads to Note Number as shown below.
fig.09-08b
When you tap one of the DR-670’s key pads, the
Note Number for that key pad is transmitted.
When a Note Number is received from an
external MIDI device, the instrument or bass
tone assigned to the key pad corresponding to
that Note Number is played.
* Note Numbers that do not correspond to any of
the key pads are disregarded if received.
Program Change
This message switches the drum kit.
* Program Change messages are not output in
Song Edit mode.
* For more information on the messages that can be
handled by the devices you are connecting, refer
to the owner’s manual for each device.
■Setting the MIDI Channel
In order to have the performance data be
transmitted and received correctly, the
transmitting and receiving devices must be set to
the same channel.
Settings Values: 1–16, OFF
fig.09-09
When set to “OFF,” Note and Program Change
messages are not transmitted or received.
* Program Change messages are transmitted and
received on the drum part MIDI channel.
MIDI Sound Module
Pad Controller
DR-670
MIDI IN MIDI OUT
MIDI IN
MIDI OUT

89
Chapter 9 Connecting and Using External MIDI Devices (MIDI Mode)
Chapter
9
Transmitting the DR-670’s Data
to an External MIDI Device/
Returning Transmitted Data to
the DR-670
Transmitting the DR-670’s data to a MIDI
sequencer or another DR-670 is known as “Bulk
Dump.”
Conversely, returning data saved to a MIDI
sequencer back to the DR-670, or receiving data
transmitted from another DR-670 is referred to
as “Bulk Load.”
■Setting the Device ID
Although patterns, drum kits, and other device-
specific data are transmitted and received in
“Bulk Dump” and “Bulk Load” as “Exclusive
messages,” the number used by the devices to
recognize each other (the Device ID number)
must match.
fig.09-10
Settings Values: 17–32
■
Transmitting the DR-670’s
Data (Bulk Dump)
fig.09-11
Use the following procedure in MIDI mode
when carrying out Bulk Dump.
1. Press [ ] [ ] to select “TX
BULK.”
fig.09-12
2. Rotate the TEMPO/VALUE dial to select
the data to be transmitted.
ALL: All of the DR-670’s data
SEQ: Data recorded in the User patterns
and songs
UTIL: Utility mode, MIDI mode and DPP
assign settings data
KIT: All of the User drum kits
3. Press [START].
Bulk Dump starts, and the tempo indicator
lights up.
After a few moments, the tempo indicator
goes out, and the Bulk Dump is completed.
* If you do inadvertently start Bulk Dump, you
can cancel transmission by pressing [STOP/
CONT]. Do not use the data from the cancelled
operation.
* When executing Bulk Dump with “ALL”
selected, the memory of the receiving device may
become filled, and any data following that will
not be received.
If this occurs, change the setting for the
transmitted data to “SEQ,” “UTIL,” or “KIT,”
then execute Bulk Dump.
MIDI OUT
Receive device
(MIDI Sequencer etc.)
MIDI IN
Transmit device
(DR-670)

90
Chapter 9 Connecting and Using External MIDI Devices (MIDI Mode)
Returning Transmitted Data
to the DR-670 (Bulk Load)
fig.09-13
To carry out Bulk Load, perform the following
procedure from MIDI mode.
1. Press [ ] [ ] to select “RX
BULK.”
fig.09-14
2. Transmit the data from the connected MIDI
device.
Bulk Load starts, and the REC indicator
lights up.
After a few moments, the REC indicator
goes out, and the Bulk Load is completed.
Using in Combination
with the BR-8
The following is an introduction to using the
DR-670 in combination with the BR-8.
Connecting
fig.09-15
■
Synching the DR-670’s Patterns
and Songs with the BR-8
This synchronizes the performances of the DR-
670’s songs and patterns to songs recorded on
the BR-8.
In this case, the BR-8 is the master, and the DR-
670 is the slave.
Making the BR-8 Settings
Use the following procedure to make the
settings for the BR-8.
1. Press [UTILITY].
2. Press CURSOR [ ] [ ] to select the Sync
icon, then press [ENTER].
3. Use [CURSOR] and the TIME/VALUE dial
to set “Gen.” to “MIDI CLOCK.”
4. Press [EXIT] enough times to return to the
Level Meter screen.
MIDI OUT
Transmit device
(MIDI Sequencer etc.)
MIDI IN
Receive device
(DR-670)

91
Chapter 9 Connecting and Using External MIDI Devices (MIDI Mode)
Chapter
9
Making the DR-670 Settings
On the DR-670, select the song (Song Play mode)
or pattern (Pattern Play mode) to use.
* You can use the DR-670’s MIDI settings with
the power left on. If you mistakenly make
changes to the Sync mode settings (p. 87), set the
DR-670 to “AUTO” or “MIDI.”
Performing
When you have finished making the settings,
start the performance of the song on the BR-8
from the beginning of the song.
The performance of the DR-670 is synchronized
to the song.
■
Playing the BR-8’s Rhythm
Guide Sound as a DR-670 Drum
Sound
When playing the BR-8’s internal Rhythm Guide
sound, you can have the guide sound converted
to a DR-670 drum sound.
Making the BR-8 Settings
Use the following procedure to make the
settings for the BR-8.
1. Press [UTILITY].
2. Press CURSOR [ ] [ ] to select the
MIDI icon, then press [ENTER].
fig.09-16
3.
Press CURSOR [ ] to move the cursor to
“Rhythm MIDI ch.,” then rotate the TIME/
VALUE dial to select the MIDI channel (1–16).
Set this to 10 here.
4. Press [EXIT] enough times to return to the
Level Meter screen.
Making the DR-670 Settings
Use the following procedure to make the
settings for the BR-8.
1. Hold down [SHIFT] and press key pad 14
(MIDI).
The DR-670 switches to MIDI mode.
2. Confirm that you have switched to the Sync
mode settings screen, then rotate the
TEMPO/VALUE dial to set the Sync mode
to “INT.”
fig.09-15a
3. Press [ ] to select “CH DRUM.”
The drum part’s MIDI channel selection
screen appears in the display.
fig.09-18
4. Rotate the TEMPO/VALUE dial to set the
MIDI channel.
Set this to 10 here.
5. Hold down [SHIFT] and press key pad 5
(PATTERN PLAY).
The DR-670 switches to Pattern Play mode.
6. Hold down [SHIFT] and press [DRUM A/
B] (DRUM KIT). Then, while continuing to
hold down [SHIFT], rotate the TEMPO/
VALUE dial to select the drum kit you want
to use.
7. Release [SHIFT].
Performing
When you have finished making the settings,
start the performance of the song on the BR-8
from the beginning.
The BR-8’s Rhythm Guide pattern is played
using a DR-670 sound.

92
Error Message List
Error messages are displayed when there is an error in an operation or when an operation cannot be executed
properly. Take the actions suggested in the error messages that are displayed.
fig.10-01
●The DR-670’s batteries are running low.
❍Use the AC adapter, or change the batteries
promptly.
Press [STOP/CONT] to clear the message.
Sounds may become distorted, or the DR-
670 may not operate correctly if you
continue to use it in this condition.
fig.10-02
●The DR-670’s memory backup battery is
nearly depleted (this message appears when
the power is turned on).
❍Have the battery replaced as soon as
possible.
For information on replacing the battery,
consult Roland Service.
Although you can press [STOP/CONT] to
clear the message and continue using the
DR-670, the recorded pattern and song data
may be lost if the power is turned off.
fig.10-03
●Data stored in the DR-670 is corrupted;
resetting the data is necessary (this message
appears when the power is turned on).
❍
Press [ ] to restore the factory
settings.
fig.10-04
●Memory is full. No more patterns or songs
can be recorded.
❍Press [STOP/CONT].
To continue recording, first delete unneeded
patterns or songs (p. 60, 70).
fig.1fig.10-04a
●The number of patterns recorded in the song
exceeded 250.
❍Press [STOP/CONT].
You cannot record any further to the song
currently being edited. To continue, create a
new song, then use Song Chain (p. 71).
0-05
●Copy source and cleared patterns and song
data are not being recorded during copying
and clearing of the pattern or song.
❍Confirm the pattern numbers and song
numbers of the copy source, or the data to be
cleared.
fig.10-05a
●A MIDI Active Sensing error has occurred.
A abnormality has been detected in the
device or cable connected to MIDI IN.
❍Check the device or cable connected to MIDI
IN.
fig.10-06
●Too many MIDI messages were received all
at once, and the DR-670 was unable to
process all of them.
❍Press [STOP/CONT].
Reduce the volume of the MIDI messages
being sent by the transmitting device.

93
Error Message List
Appendices
fig.10-07
●MIDI Exclusive messages could not be
received correctly.
❍Press [STOP/CONT], then try the operation
again.
fig.10-07c
●Reception of data during Bulk Load was
cancelled before the operation was
completed.
❍Press [STOP/CONT], then try carrying out
Bulk Load again.
fig.10-07a
●The system attempted to concurrently
process abnormally large amounts of data,
but was unable to succeed.
❍Press [STOP/CONT]. Make sure that the
unit is not being forced to handle an overly
large amount of data (in patterns, or
received MIDI messages) all at once, and try
to reduce the amount of data.
fig.10-07b
●An unknown error has occurred in the
system.
❍Immediately stop using the unit, and consult
your dealer or nearest Roland Service
Center.

94
Troubleshooting
If you find the DR-670 is not operating correctly, check the items listed below.
If the DR-670 still does not work properly after you check these points, consult your local Roland
Service or your dealer.
No Sound
❏Is the volume turned down (p. 18)?
❏Is the output part set to “DRUM” or “BASS”
(p. 76)?
❏Is the instrument’s level set to “0” (p. 80)?
❏Have you selected a pattern or song
containing no performance data?
Sounds Drop Out
❏Are you playing too many sounds
simultaneously?
The DR-670 has a maximum polyphony of
20 sounds (voices). Some instruments use
two voices each time they are played, so
using such instruments results in reducing
polyphony to fewer than 20 voices.
With some kinds of patterns, you can reduce
the number of voices that sound
simultaneously by setting the Assign Type
to MONO. This would be effective, for
example, in a pattern where a lengthy
cymbal sound is triggered on every beat.
❏Could there be a mistake in the Assign Type
settings (p. 82)?
Can’t Play Rolls/Flams
❏Could there be a mistake in the Flam
Interval or Flam Ratio settings (p. 78)?
❏Are you trying to play a roll or flam with a
bass part?
Performance Does Not Start
When [START] Is Pressed
❏Is “MIDI” selected in Sync mode (p. 87)?
❏Have you selected a pattern or song
containing no performance data?
REC Indicator Does Not Flash
When [REC] Is Pressed

95
Appendices
Operation List
Operations Common to All Modes
Operation Purpose
[START] Start/Stop Performances
[STOP/CONT] Stop Performance/Continue Play
[TAP TEMPO] + [TEMPO/VALUE] Adjust Tempo
[REC] Step Recording
[REC] + [START] Realtime Recording
[TAP TEMPO] Tap Tempo
[FILL] Fill-In
[DPP] Direct Pattern Play On
[DRUM A/B] Switch Drum Banks A/B
[BASS] Play Bass Tone with the key pads
[SHIFT] + [DRUM A/B] (DRUM KIT) Switch Drum Kit
[SHIFT] + [BASS] (FRET SHIFT) Fret Shift Settings
[VOICE] Confirm Instrument/Bass Tone
[SHIFT] + [8] (SCALE) Scale/Quantize Settings
[ ] Move/Select Parameter
[ ] Move/Select Parameter/Set Value
[SHIFT] + [ ] Jump to Beginning
Key Pad Pad Performances/Direct Pattern Play
[ROLL] + Key Pad Play Roll
[FLAM] + Key Pad Play Flam
Song Play Mode
Operation Purpose
[TEMPO/VALUE] Select Song
Numeric Keys ➔ [ ] Select Song
[SHIFT] + [6] (CHAIN) Confirm Song Chain Settings
[SHIFT] + [7] (REPEAT) Song Repeat
[SHIFT] + [VOICE] (INIT TEMPO) Confirm Initial Tempo

96
Operation List
Song Edit Mode
Operation Purpose
[SHIFT] + (Key Pad 2 (SONG EDIT)
➔ [TEMPO/VALUE]) Select Song
[SHIFT] + (Key Pad 2 (SONG EDIT)
➔ Numeric Keys ➔ [ ]) Select Song
[SHIFT] + [6] (CHAIN) Song Chain
[SHIFT] + [7] (REPEAT) Song Repeat
[SHIFT] + [VOICE] (INIT TEMPO) Initial Tempo
[SHIFT] + [1] (INSERT) Insert Pattern
[SHIFT] + [2] (DELETE) Delete Pattern
[SHIFT] + [3] (CLEAR) Clear Song
[SHIFT] + [4] (COPY) Copy Song
[SHIFT] + [START] Start Performance
Pattern Play Mode
Operation Purpose
[TEMPO/VALUE] Select Pattern
Numeric Keys ➔ [ ] Select Pattern
[SHIFT] + [5] (KEY TRANS) Confirm Key Transpose Settings
[SHIFT] + [9] (BEAT) Confirm Beat
[SHIFT] + [0] (MEASURE) Confirm Measures
Pattern Edit Mode
Operation Purpose
[TEMPO/VALUE] Select Pattern/Change Values
Numeric Keys ➔ [ ] Select Pattern
[SHIFT] + [5] (KEY TRANS) Key Transpose Settings
[SHIFT] + [9] (BEAT) Beat Settings
[SHIFT] + [0] (MEASURE) Measure Settings
[SHIFT] + [2] (DELETE) Delete Instrument
[SHIFT] + [3] (CLEAR) Clear Pattern
[SHIFT] + [4] (COPY) Copy Pattern
DPP Assign Mode
Operation Purpose
[TEMPO/VALUE] Select Pattern

97
Appendices
Parameter List
Parameters marked with an asterisk (*) are not saved. These are reset each time the DR-670’s power is turned on.
Parameter Display Value
Reset Value
System
Mode*
SONG PLAY, SONG EDIT, PATTERN PLAY,
PATTERN EDIT, DRUM KIT EDIT,
DPP ASSIGN, UTILITY, MIDI, DEMO
PATTERN
PLAY
Pattern Number* 1–400 1
Song Beat* RPT OFF, ON OFF
Drum Kit KIT 1–128 9
Pad* DRUM A, DRUM B, BASSS, DPP DRUM A
Scale*
SCAL 32, 16 (triplets), 16, 8 (triplets), 8 16
Quantize*
QNTZ OFF, 32, 16 (triplets), 16, 8 (triplets), 8 16
Fred Shift* FRET -5– +16 0
Song
Song Chain CHN OFF, 1–100 OFF
Initial Tempo INIT OFF, 20–260 OFF
Pattern
Beat BEAT 2/4–8/4, 4/8–16/8 4/4
Measure MEAS 1, 2 2
Drum Kit KIT 1–128
Key Transpose KEY -12– +12 0
Drum Kit (Drum Part)
Instrument INST Refer to Instrument List (p. 99)
Level LVL 0–15
Pitch PTCH -1200– +1200 (step:10)
Decay DCAY -31– + 31
Nuance NUAN -7– + 7
Pan PAN L3–CNTR–R3
Assign ASGN POLY, EX1P–EX7P, MONO,
EX1M–EX7M
Drum Kit (Bass Part)
Tone TONE Refer to Bass Tone List (p. 101)
Level LVL 0–15
Attack ATCK 0–15
Decay DCAY -31– +31
Release RELS -7– +7
Pan PAN L3–CNTR–R3

98
Parameter List
DPP Assign (Pads 1–16)
Pattern Number 1–400
Utility
Output Part* OUT PART ALL, DRUM, BASS ALL
Foot Switch 1 FT SW 1 STRT, FILL, CONT, RSET, REC, CHAS,
PD 1–PD16, PDG, PDD, PDA, PDE
STRT
Foot Switch 2 FT SW 2 STRT, FILL, CONT, REC, RSET, CHAS,
PD 1–PD16, PDG, PDD, PDA, PDE
FILL
Roll Type ROL TYPE 32, 16 (triplets), 16, 8 (triplets), 8 32
Flam Interval FLM INT 0–31 16
Flam Ratio FLM RATI 0–10 5
Pad Sensitivity PAD SENS 0–10 5
Clock Level CLK LVL 0–15 15
Click Beat* CLK BEAT 8, 4 4
Master Tune MST TUNE 438–445 440
MIDI
Sync Mode* SYNC AUTO, INT, MIDI AUTO
Drum Part MIDI Channel CH DRUM 1–16, OFF OFF
Bass Part MIDI Channel CH BASS 1–16, OFF OFF
Device ID DEV ID 17–32 17
Bulk Damp TX BLK ALL, SEQ, UTIL, KIT
Bulk Road RX BLK

99
Instrument
Display Instrument Voice Display Instrument Voice
Appendices
Instrument/Bass Tone List
* KC1 attack kick 2
KC2 real dry kick 1
* KC3 dry kick 2
* KC4 dry medium kick 2
* KC5 dry hard kick 2
* KC6 heavy kick 2
* KC7 pillow kick 2
* KC8 vintage kick 1 2
* KC9 vintage kick 2 2
* KC10 jazz kick 1 2
* KC11 jazz kick 2 2
* KC12 maple kick 2
* KC13 maple pillow kick 2
* KC14 maple reverb kick 2
* KC15 real kick 2
* KC16 26" deep kick 2
KC17 medium kick 1 1
* KC18 medium kick 2 2
* KC19 big low kick 2
* KC20 wood beater kick 2
* KC21 hybrid kick 1 2
KC22 hybrid kick 2 1
* KC23 ambient kick 2
KC24 boomer kick 1
KC25 comp kick 1 1
KC26 comp kick 2 1
* KC27 deep kick 2
KC28 reverb kick 1 1
* KC29 reverb kick 2 2
* KC30 room kick 2
* KC31 deep room kick 2
* KC32 mondo reverb kick 2
* KC33 mondo deep kick 2
* KC34 easy kick 2
* KC35 soft acoustic kick 2
* KC36 solid kick 2
* KC37 electronic kick 1 2
* KC38 electronic kick 2 2
* KC39 house kick 2
* KC40 dance kick 2
* KC41 rap kick 1 2
* KC42 rap kick 2 2
KC43 plastic kick 1
* KC44 gubba kick 2
KC45 jungle kick 1
* KC46 TR-808 kick 1 2
* KC47 TR-808 kick 2 2
* KC48 808 electronic kick 2
* KC49 808 boom kick 2
* KC50 TR-909 kick 1 2
KC51 TR-909 kick 2 1
* KC52 909 hard kick 2
* SN1 medium snare soft 2
* SN2 medium snare rim shot 2
* SN3 steel snare hard 2
* SN4 steel snare rim shot 2
* SN5 beech snare soft 2
* SN6 beech snare rim shot 2
* SN7 piccolo snare soft 2
* SN8 piccolo snare Hard 2
* SN9 high piccolo snare 2
* SN10 open rim shot snare 2
* SN11 slam dry snare soft 2
*** SN12 slam dry snare hard 2
*** SN13 slam room snare soft 2
*** SN14 slam room snare hard 2
*** SN15 dry hard snare 2
*** SN16 ring hard snare 2
*** SN17 rock-on snare 2
*** SN18 funk snare 2
SN19 sharp snare 1
*** SN20 warm hard snare 2
SN21 dry fat snare 1
SN22 snappy snare 1
SN23 dry snare soft 1
SN24 dry snare hard 1
*** SN25 wet snare 2
* SN26 L.A.fat snare 2
* SN27 acoustic rim shot snare 2
* SN28 ambient snare 2
* SN29 attack snare 2
* SN30 big shot snare 2
* SN31 hall snare 2
* SN32 hard snare 2
* SN33 light maple snare 2
* SN34 loose snare 2
SN35 natural snare 1
SN36 power snare 1
* SN37 rockin’ snare 2
* SN38 rock rim shot snare 2
* SN39 real snare 2
*** SN40 rock snare 1 2

100
Instrument/Bass Tone List
Display Instrument Voice Display Instrument Voice
* SN41 rock snare 2 2
* SN42 ring maple snare 2
SN43 brush roll snare 1 1
* SN44 brush roll snare 2 2
* SN45 brush slap snare 1 2
* SN46 brush slap snare 2 2
* SN47 brush slap snare 3 2
* SN48 brush swish snare 2
* SN49 reggae snare 2
* SN50 swing snare 2
* SN51 90’s snare 2
* SN52 dance snare 2
* SN53 dopin’ snare 2
* SN54 house snare 2
* SN55 house dopin’ snare 2
SN56 jungle tiny snare 1
* SN57 electronic snare 1 2
* SN58 electronic snare 2 2
* SN59 TR-808 snare 1 2
SN60 TR-808 snare 2 1
* SN61 TR-909 snare 2
STK1 ambient cross stick 1
*** STK2 hall cross stick 2
STK3 natural cross stick 1
STK4 metal cross stick 1
STK5 TR-808 cross stick 1
STK6 TR-909 cross stick 1
* TM1 studio tom 1 soft 2
* TM2 studio tom 1 hard 2
* TM3 studio tom 2 soft 2
* TM4 studio tom 2 hard 2
* TM5 vintage tom 1 2
* TM6 vintage tom 2 2
* TM7 jazz tom 1 2
* TM8 jazz tom 2 2
* TM9 fusion tom 1 2
* TM10 fusion tom 2 2
* TM11 bowl tom 1 2
* TM12 bowl tom 2 2
* TM13 ambient tom 1 2
* TM14 ambient tom 2 2
* TM15 brush slap tom 1 2
* TM16 brush slap tom 2 2
* TM17 double head tom 1 2
* TM18 double head tom 2 2
* TM19 light tom 1 2
* TM20 light tom 2 2
* TM21 real tom 1 2
* TM22 real tom 2 2
* TM23 ring tom1 2
* TM24 ring tom2 2
* TM25 room tom 1 2
* TM26 room tom 2 2
* TM27 rock tom 1 2
* TM28 rock tom 2 2
* TM29 electronic tom 1 2
* TM30 electronic tom 2 2
* TM31 TR-808 tom 2
* TM32 TR-909 tom 2
** HH1 pure closed hi-hat 2
** HH2 pure open hi-hat 2
** HH3 pedal closed hi-hat 2
** HH4 16" closed hi-hat 2
** HH5 16" half open hi-hat 2
HH6 16" open hi-hat 1
HH7 16" pedal closed hi-hat 1
** HH8 pop closed hi-hat 2
** HH9 pop open hi-hat 2
** HH10 real closed hi-hat 2
** HH11 real open hi-hat 2
HH12 brush closed hi-hat 1
HH13 brush open hi-hat 1
** HH14 TR-808 closed hi-hat 2
** HH15 TR-808 open hi-hat 2
HH16 TR-909 closed hi-hat 1
HH17 TR-909 open hi-hat 1
HH18 CR-78 closed hi-hat 1
HH19 CR-78 open hi-hat 1
CY1 crash cymbal 1 1
CY2 crash cymbal 2 1
CY3 crash cymbal 3 1
CY4 soft crash cymbal 1
** CY5 pgy crash cymbal 2
CY6 splash cymbal 1
CY7 chinese cymbal 1
** CY8 ride cymbal 1 2
** CY9 ride cymbal 2 2
** CY10 sizzle ride cymbal 2
** CY11 ride bell cymbal 1 2
** CY12 ride bell cymbal 2 2
CY13 brush crash cymbal 1
CY14 brush ride cymbal 1
CY15 large gong 1
CY16 TR-808 cymbal 1
CY17 TR-606 cymbal 1
** PC1 cowbell 2

101
Instrument/Bass Tone List
Display Instrument Voice Display Instrument Voice
Appendices
PC2 tambourine 1
PC3 sleigh bell 1
PC4 castanet 1
PC5 triangle open 1
PC6 woodblock 1
* PC7 bongo high 2
* PC8 bongo low 2
* PC9 conga high mute 2
* PC10 conga high slap 2
* PC11 conga high open 2
* PC12 conga low open 2
* PC13 timbale high 2
* PC14 timbale low 2
PC15 timbale side 1
* PC16 claves 2
PC17 vibraslap 1
PC18 guiro short 1
PC19 guiro long 1
PC20 maracas 1
PC21 shaker 1
PC22 cabasa 1
PC23 samba whistle short 1
PC24 samba whistle long 1
** PC25 agogo 2
PC26 cuica high 1
PC27 cuica low 1
* PC28 surdo mute 2
* PC29 surdo open 2
** PC30 tabla 1 2
PC31 tabla 2 1
** PC32 tabla 3 2
PC33 real clap 1
PC34 DR-55 claves 1
PC35 CR-78 cowbell 1
PC36 CR-78 metallic beat 1
PC37 CR-78 guiro 1
PC38 CR-78 tambourine 1
PC39 CR-78 maracas 1
* PC40 TR-808 conga 2
PC41 TR-808 claves 1
PC42 TR-808 maracas 1
PC43 TR-808 hand clap 1
PC44 TR-808 cowbell 1
** FX1 scratch 1 2
** FX2 scratch 2 2
** FX3 scratch snare 2
FX4 jungle hat 1
** FX5 high-Q 2
FX6 tape rewind 1
FX7 philly hit 1
FX8 dance shaker 1
** FX9 beam high-Q 2
FX10 metal sweep 1
** FX11 analog bird 2
** FX12 sound effect 2
** FX13 reverse snare 2
** FX14 reverse tom 2
FX15 reverse cymbal 1
*** FX16 kick ambience 2
*** FX17 snare ambience 2
*** FX18 tom ambience 2
*** FX19 long reverb 2
*** FX20 gate reverb 2
* BS1 acoustic bass 2
BS2 fingered bass 1
BS3 slap bass 1
BS4 TB-303 bass 1
BS5 bass glissando 1
Bass Tone
Display Instrument Voice
FNG1 Fingered Bass 1 1
FNG2 Fingered Bass 2 1
MTB Mute Bass 1
FRLS Fretless Bass 1
PIC1 Picked Bass 1 1
PIC2 Picked Bass 2 1
ACO1 Acoustic Bass 1 1
ACO2 Acoustic Bass 2 1
SLAP Slap Bass 1
STCK Stick 1
MGB MG Bass Pedal 1
OBB OB Bass 1
101 101 Bass 1
SLD Solid Bass 1
PLCK Pluck Bass 1
SINE Sine Wave Bass 1
* The sound will alter depending on the
strength you strike the pads or the Nuance
setting (p. 81).
** The sound will alter depending on the
Nuance setting.
*** The Pan setting (p. 81) will be ignored.

102
Preset Drum Kit List
Pad No.
A 1
A 2
A 3
A 4
A 5
A 6
A 7
A 8
A 9
A10
A11
A12
A13
A14
A15
A16
B 1
B 2
B 3
B 4
B 5
B 6
B 7
B 8
B 9
B10
B11
B12
B13
B14
B15
B16
BASS
No. 1
Standrd
Instrument
CY1
CY2
CY12
CY9
TM1
TM1
TM1
TM3
STK3
SN1
PC1
HH3
KC4
SN2
HH1
HH2
PC22
CY7
PC20
PC17
PC25
PC25
PC18
PC19
PC7
PC8
PC14
PC13
PC2
PC9
PC11
PC12
FNG1
No. 2
Room 1
Instrument
CY1
CY3
CY12
CY9
TM25
TM25
TM25
TM26
STK1
CY6
PC1
HH3
KC30
SN37
HH10
HH11
PC22
PC16
PC20
PC17
PC25
PC25
PC18
PC19
PC7
PC8
PC14
PC13
KC27
PC9
PC11
PC12
PIC1
No. 3
Power 1
Instrument
CY1
CY2
CY12
CY9
TM13
TM13
TM13
TM14
CY7
CY15
PC1
HH7
KC33
SN41
HH5
HH6
PC22
PC16
PC20
PC17
PC25
PC25
PC18
PC19
PC7
PC8
PC14
PC13
PC2
SN30
PC11
PC12
PIC1
No. 4
Elctro1
Instrument
CY1
CY17
CY11
CY9
TM29
TM29
TM29
TM29
STK6
PC43
SN58
HH14
KC37
SN57
HH14
HH15
PC22
PC16
PC20
PC17
PC25
PC25
PC18
PC19
PC7
PC8
PC14
PC13
PC2
PC9
PC11
PC12
OBB
No. 5
TR808 1
Instrument
CY16
CY17
CY12
CY9
TM31
TM31
TM31
TM31
STK5
PC43
PC44
HH15
KC46
SN59
HH14
HH15
PC22
PC41
PC42
PC17
PC25
PC25
PC37
PC37
PC7
PC8
PC14
PC13
PC38
PC40
PC40
PC40
101
No. 6
Jazz 1
Instrument
CY4
CY2
CY11
CY10
TM7
TM7
TM8
TM8
STK3
SN27
PC1
HH3
KC11
SN34
HH1
HH2
PC22
PC16
PC20
PC17
PC25
PC25
PC18
PC19
PC7
PC8
PC14
PC13
SN7
PC9
PC11
PC12
ACO1
No. 7
Brushes
Instrument
CY13
CY14
CY11
CY14
TM15
TM15
TM15
TM16
STK3
SN45
SN44
HH3
KC10
SN48
HH12
HH13
PC22
PC16
PC20
PC17
PC25
PC25
PC18
PC19
PC7
PC8
PC14
PC13
KC35
PC9
PC11
PC12
ACO1
No. 8
Ambient
Instrument
CY1
CY2
CY12
CY8
TM27
TM27
TM28
TM28
STK1
SN32
PC1
HH7
KC36
SN29
HH4
HH6
PC22
PC16
PC20
CY7
FX18
FX18
FX18
FX18
BS5
FX17
PC14
PC13
FX16
FX17
PC11
PC12
FNG2

103
Preset Drum Kit List
Appendices
Pad No.
A 1
A 2
A 3
A 4
A 5
A 6
A 7
A 8
A 9
A10
A11
A12
A13
A14
A15
A16
B 1
B 2
B 3
B 4
B 5
B 6
B 7
B 8
B 9
B10
B11
B12
B13
B14
B15
B16
BASS
No. 9
Big
Instrument
CY1
CY2
CY11
CY9
TM5
TM5
TM6
TM6
STK3
SN5
PC1
HH7
KC16
SN6
HH4
HH5
PC22
PC16
PC20
PC17
PC25
PC25
PC18
PC19
PC7
PC8
PC14
PC13
PC2
PC9
PC11
PC12
STCK
No. 10
Exprsn
Instrument
CY1
CY2
CY11
CY9
TM2
TM2
TM2
TM4
STK1
SN8
PC1
HH3
KC3
SN2
HH1
HH2
CY4
CY4
CY11
CY9
TM1
TM1
TM1
TM3
STK1
SN7
PC1
HH3
KC12
SN1
HH1
HH2
FNG2
No. 11
Power 2
Instrument
CY1
CY2
CY12
CY9
TM2
TM2
TM2
TM4
STK2
CY7
PC1
HH7
KC28
SN28
HH5
HH6
PC22
PC16
PC20
PC17
PC25
PC25
PC18
PC19
PC7
PC8
PC14
PC13
KC24
PC9
PC11
PC12
PIC2
No. 12
Loud
Instrument
CY1
CY3
CY11
CY7
TM27
TM27
TM28
TM28
STK2
SN12
PC1
HH3
KC1
SN20
HH1
HH2
PC22
PC16
PC20
PC17
PC25
PC25
PC18
PC19
PC7
PC8
PC14
PC13
PC2
PC9
PC11
PC12
PIC1
No. 13
Studio
Instrument
CY1
CY2
CY12
CY9
TM2
TM2
TM2
TM4
STK3
SN1
PC1
HH7
KC9
SN10
HH4
HH6
PC22
CY6
CY7
CY8
PC25
PC25
PC18
PC19
KC5
SN35
PC14
PC13
PC2
PC9
PC11
PC12
FNG1
No. 14
Power 3
Instrument
CY1
CY2
CY12
CY9
TM21
TM21
TM21
TM22
STK1
SN30
PC1
HH7
KC18
SN25
HH5
HH6
CY1
CY2
CY12
CY7
TM13
TM13
TM13
TM14
PC7
PC8
PC14
PC13
PC2
PC9
PC11
PC12
PIC1
No. 15
TR808 2
Instrument
CY16
HH19
CY12
CY9
TM31
TM31
TM31
TM31
STK5
PC43
PC44
HH15
KC47
SN60
HH14
HH15
PC22
PC41
PC42
PC17
PC25
PC25
PC37
PC37
PC7
PC8
PC14
PC13
PC38
PC40
PC40
PC40
MTB
No. 16
TR909
Instrument
CY17
CY16
CY12
CY9
TM32
TM32
TM32
TM32
STK6
SN50
PC44
HH17
KC52
SN61
HH16
HH17
PC22
PC41
PC42
PC17
PC25
PC25
PC37
PC37
PC7
PC8
PC14
PC13
PC38
PC40
PC40
PC40
MTB

104
Preset Drum Kit List
Pad No.
A 1
A 2
A 3
A 4
A 5
A 6
A 7
A 8
A 9
A10
A11
A12
A13
A14
A15
A16
B 1
B 2
B 3
B 4
B 5
B 6
B 7
B 8
B 9
B10
B11
B12
B13
B14
B15
B16
BASS
No. 17
Dance 1
Instrument
CY3
CY3
CY12
CY9
TM2
TM2
TM2
TM2
STK1
PC43
PC35
HH14
KC39
SN54
HH18
HH19
PC22
PC16
PC20
PC17
PC25
PC25
PC18
PC19
PC7
PC8
PC14
PC13
PC2
PC9
PC10
PC12
SLD
No. 18
Rock
Instrument
CY1
CY4
CY12
CY8
TM21
TM21
TM22
TM22
STK1
PC43
PC1
HH3
KC26
SN35
HH10
HH13
PC22
PC16
PC20
PC17
PC25
PC25
FX9
FX1
PC7
PC8
PC14
PC13
PC2
PC9
PC10
PC12
PIC2
No. 19
Funk 1
Instrument
CY2
CY2
CY12
CY8
TM5
TM5
TM5
TM6
STK3
SN1
PC1
HH3
KC4
SN6
HH1
HH2
PC22
CY6
PC20
CY7
PC6
PC6
TM1
TM3
KC5
SN5
PC5
PC5
PC2
PC9
PC11
PC12
SLAP
No. 20
Funk 2
Instrument
CY2
CY5
CY11
CY8
TM21
TM21
TM21
TM22
STK1
SN38
PC1
HH3
KC22
SN18
HH10
HH11
PC22
CY6
PC20
CY7
PC25
PC25
PC5
PC5
KC25
PC8
PC14
PC13
PC2
PC9
PC11
PC12
STCK
No. 21
HipHop
Instrument
CY1
CY2
CY12
CY8
TM1
TM1
TM1
TM3
STK3
PC33
PC1
HH3
KC4
SN9
HH1
HH2
PC22
PC16
PC20
PC17
TM29
TM29
TM29
TM29
SN52
CY15
PC14
PC13
PC2
SN6
PC11
PC12
SLD
No. 22
House
Instrument
CY2
CY17
CY12
CY9
TM31
TM31
TM31
TM31
STK5
PC43
PC44
HH7
KC51
SN61
HH16
HH17
PC22
PC41
PC42
PC17
PC25
PC25
PC37
PC37
KC39
SN60
HH19
HH15
PC38
PC40
PC40
PC40
SLD
No. 23
DrumnBs
Instrument
CY2
CY17
CY12
CY9
TM32
TM32
TM32
TM32
STK5
PC43
PC44
FX4
KC51
SN54
HH18
HH19
PC22
PC41
PC42
CY6
FX8
FX8
PC37
PC37
PC34
SN60
FX15
KC49
KC44
PC40
PC40
PC40
SINE
No. 24
Techno
Instrument
CY2
CY17
CY12
CY9
TM32
TM32
TM32
TM32
STK6
PC43
PC44
HH3
KC51
SN61
HH16
HH17
PC22
PC41
PC42
CY6
PC36
PC36
PC37
PC37
SN60
PC33
PC33
HH19
PC38
PC40
PC40
PC40
PLCK

105
Preset Drum Kit List
Appendices
Pad No.
A 1
A 2
A 3
A 4
A 5
A 6
A 7
A 8
A 9
A10
A11
A12
A13
A14
A15
A16
B 1
B 2
B 3
B 4
B 5
B 6
B 7
B 8
B 9
B10
B11
B12
B13
B14
B15
B16
BASS
No. 25
Brazil
Instrument
CY1
CY2
CY12
CY9
PC9
PC10
PC11
PC11
PC12
PC16
PC2
HH3
KC10
SN4
HH1
HH2
PC22
PC22
PC20
PC17
PC25
PC25
PC18
PC19
PC7
PC8
PC14
PC13
PC15
PC22
PC1
PC1
FNG2
No. 26
India
Instrument
CY1
CY2
CY12
CY9
PC30
PC30
PC31
PC32
STK3
PC43
PC1
HH3
KC35
SN27
HH1
HH2
PC22
PC16
PC20
PC2
PC25
PC25
PC18
PC19
PC7
PC8
PC14
PC13
KC5
PC9
PC11
PC12
ACO2
No. 27
Room 2
Instrument
CY1
CY2
CY12
CY9
TM13
TM13
TM14
TM14
STK2
PC43
PC1
HH3
KC17
SN11
HH1
HH2
PC22
PC16
PC20
PC17
PC6
PC6
PC5
PC5
PC7
SN38
PC14
PC13
PC2
PC9
PC11
PC12
FNG1
No. 28
Room 3
Instrument
CY2
CY5
CY11
CY8
TM27
TM27
TM28
TM28
STK1
PC43
PC1
HH3
KC31
SN14
HH10
HH11
PC22
PC16
PC20
PC17
PC25
PC25
PC18
PC19
PC7
PC8
PC14
PC13
PC2
PC9
PC11
PC12
PIC2
No. 29
Fusion
Instrument
CY1
CY2
CY12
CY9
TM9
TM9
TM10
TM10
STK1
CY6
PC1
HH3
KC7
SN3
HH1
HH9
PC22
PC16
PC20
PC17
PC25
PC25
PC18
PC19
PC7
PC8
PC14
PC13
PC2
PC9
PC11
PC12
PIC1
No. 30
Natural
Instrument
CY1
CY2
CY11
CY8
TM21
TM21
TM22
TM22
STK3
SN23
PC1
HH3
KC25
SN35
HH1
HH2
PC22
PC16
PC20
CY7
PC25
PC25
PC18
PC19
KC26
SN22
PC14
PC13
PC2
PC9
PC11
PC12
PIC2
No. 31
Ballad
Instrument
CY1
CY2
CY11
CY8
TM5
TM5
TM6
TM3
STK3
SN2
PC1
HH7
KC16
SN1
HH4
HH6
PC22
PC16
PC20
PC17
PC25
PC25
PC18
PC19
PC7
PC8
PC14
PC13
PC2
PC9
PC11
PC12
FRLS
No. 32
Groove
Instrument
CY1
CY3
CY12
CY9
TM25
TM25
TM25
TM26
STK3
PC43
PC1
HH3
KC25
SN26
HH10
HH11
PC22
PC16
PC20
PC17
PC25
PC25
PC35
FX8
PC7
PC8
PC14
PC13
PC2
PC9
PC11
PC12
SLAP

106
Preset Drum Kit List
Pad No.
A 1
A 2
A 3
A 4
A 5
A 6
A 7
A 8
A 9
A10
A11
A12
A13
A14
A15
A16
B 1
B 2
B 3
B 4
B 5
B 6
B 7
B 8
B 9
B10
B11
B12
B13
B14
B15
B16
BASS
No. 33
Boom
Instrument
CY17
CY17
CY11
CY9
TM29
TM29
TM29
TM29
STK6
PC43
PC1
HH16
KC50
SN55
HH16
HH17
PC22
PC16
PC20
PC17
PC35
FX6
FX3
PC19
PC7
PC8
PC14
PC13
PC2
PC9
PC11
PC12
PLCK
No. 34
Jazz 2
Instrument
CY4
CY2
CY11
CY10
TM17
TM17
TM18
TM18
STK3
SN34
PC1
HH3
KC16
SN34
HH1
HH2
PC22
PC16
PC20
PC17
PC25
PC25
PC18
PC19
PC7
PC8
PC14
PC13
PC2
PC9
PC11
PC12
ACO2
No. 35
Afro 1
Instrument
CY3
CY6
CY12
CY9
TM2
TM2
TM2
TM4
STK3
PC26
PC1
HH7
KC39
SN39
HH4
HH6
PC20
PC16
PC20
PC19
PC25
PC25
PC15
PC19
PC7
PC8
PC12
PC12
PC2
PC9
PC11
PC11
MTB
No. 36
HvyFunk
Instrument
CY1
CY2
CY11
CY9
TM21
TM21
TM21
TM22
STK3
SN5
PC1
HH3
KC18
SN6
HH1
HH2
PC22
PC16
PC20
PC17
PC25
PC25
PC18
PC19
PC7
PC8
PC14
PC13
PC2
PC9
PC11
PC12
STCK
No. 37
Folk
Instrument
CY4
CY13
CY12
CY14
TM19
TM19
TM19
TM20
STK3
SN47
PC33
HH3
KC35
SN5
HH1
HH2
PC22
PC16
PC20
PC17
PC25
PC25
PC18
PC19
PC7
PC8
PC14
PC13
PC2
PC9
PC11
PC12
MTB
No. 38
Samba 1
Instrument
CY1
CY2
CY12
CY9
PC24
TM1
TM1
TM3
PC23
SN1
PC29
HH3
KC5
SN2
HH1
HH2
PC22
CY7
PC20
PC17
PC25
PC25
PC26
PC27
PC5
PC5
PC14
PC13
PC2
PC9
PC11
PC12
FING1
No. 39
Blues
Instrument
CY1
CY3
CY12
CY10
TM7
TM7
TM7
TM8
STK2
PC33
PC2
HH3
KC11
SN15
HH1
HH2
CY4
CY9
CY8
CY9
PC25
PC25
PC18
PC19
PC7
PC8
PC14
PC13
BS5
SN1
PC11
PC12
ACO2
No. 40
Gospel
Instrument
CY1
CY2
CY12
CY9
TM17
TM17
TM17
TM18
SN23
PC33
PC1
HH3
KC12
SN35
HH1
HH2
PC22
CY6
CY7
CY8
PC25
PC25
PC6
PC6
PC7
PC8
PC14
PC13
PC2
KC5
PC11
PC12
FNG1

107
Preset Drum Kit List
Appendices
Pad No.
A 1
A 2
A 3
A 4
A 5
A 6
A 7
A 8
A 9
A10
A11
A12
A13
A14
A15
A16
B 1
B 2
B 3
B 4
B 5
B 6
B 7
B 8
B 9
B10
B11
B12
B13
B14
B15
B16
BASS
No. 41
Jazz 3
Instrument
CY1
CY2
CY12
CY9
TM7
TM7
TM7
TM8
STK2
PC33
PC2
HH3
KC11
SN2
HH1
HH2
CY4
CY9
CY8
CY9
PC25
PC25
PC18
PC19
PC7
PC8
PC14
PC13
BS5
SN1
PC11
PC12
ACO1
No. 42
BigFunk
Instrument
CY1
CY7
CY12
CY9
TM21
TM21
TM21
TM22
STK2
PC33
PC2
HH3
KC12
SN25
HH10
HH11
CY9
CY9
CY9
CY9
PC25
PC25
PC18
PC19
PC7
PC8
PC14
PC13
KC35
SN15
PC11
PC12
STCK
No. 43
Samba 2
Instrument
CY1
CY2
CY12
CY9
PC23
PC24
PC28
PC29
STK3
SN1
PC1
HH3
KC12
SN2
HH1
HH2
PC22
PC16
PC20
PC17
PC25
PC25
PC26
PC27
PC7
PC8
PC14
PC13
PC2
PC9
PC11
PC12
FRLS
No. 44
Reggae
Instrument
CY6
CY3
CY12
CY9
TM23
TM23
TM23
TM24
STK3
PC33
PC1
HH3
KC25
SN49
HH1
HH2
PC22
PC16
PC20
PC17
PC25
PC25
PC26
PC27
PC7
PC8
PC14
PC13
PC2
PC9
PC11
PC12
MTB
No. 45
Salsa
Instrument
CY1
CY3
CY12
CY9
PC10
TM17
TM17
TM18
STK3
PC6
PC1
HH3
KC9
SN3
HH1
HH2
PC20
PC16
PC21
PC17
PC25
PC25
PC18
PC19
PC7
PC8
PC14
PC13
PC2
PC9
PC11
PC12
ACO1
No. 46
Tabla
Instrument
CY1
CY6
CY12
CY9
PC30
PC30
PC32
PC31
PC32
SN1
PC1
HH3
KC22
SN35
HH1
HH2
PC22
PC16
PC20
PC17
PC25
PC25
PC18
PC19
TM1
TM1
TM1
TM3
STK3
PC7
PC8
PC2
ACO2
No. 47
Elctro2
Instrument
CY2
CY6
CY11
CY8
TM30
TM30
TM30
TM30
STK2
PC43
PC1
HH7
KC38
SN58
HH10
HH11
PC22
PC16
PC20
PC17
PC25
PC25
PC18
PC19
PC7
PC8
PC14
PC13
PC2
PC9
PC11
PC12
101
No. 48
Vintage
Instrument
CY1
CY2
CY11
CY8
TM11
TM11
TM12
TM12
STK2
SN3
PC1
HH3
KC12
SN4
HH1
HH2
PC22
PC16
PC20
CY7
PC25
PC25
PC18
PC19
PC7
PC8
PC14
PC13
PC2
PC9
PC11
PC12
FNG1

108
Preset Drum Kit List
Pad No.
A 1
A 2
A 3
A 4
A 5
A 6
A 7
A 8
A 9
A10
A11
A12
A13
A14
A15
A16
B 1
B 2
B 3
B 4
B 5
B 6
B 7
B 8
B 9
B10
B11
B12
B13
B14
B15
B16
BASS
No. 49
Ring
Instrument
CY4
CY1
CY11
CY8
TM23
TM23
TM24
TM24
STK2
SN33
PC1
HH3
KC7
SN42
HH1
HH2
PC22
PC16
PC20
PC17
PC25
PC25
PC18
PC19
PC7
PC8
PC14
PC13
PC2
PC9
PC11
PC12
FNG2
No. 50
Light
Instrument
CY4
CY1
CY11
CY9
TM19
TM19
TM20
TM20
STK3
SN47
PC1
HH3
KC35
SN27
HH10
HH11
PC22
PC16
PC20
PC17
PC25
PC25
PC18
PC19
PC7
PC8
PC14
PC13
PC2
PC9
PC11
PC12
MTB
No. 51
Afro 2
Instrument
CY2
CY6
CY12
CY9
TM17
TM18
PC28
PC29
STK3
SN4
PC1
HH3
KC26
SN3
HH1
HH2
PC22
PC16
PC20
PC17
PC5
PC5
PC25
PC25
PC7
PC8
PC14
PC13
PC2
PC9
PC11
PC12
ACO2
No. 52
Dance 2
Instrument
CY1
CY17
CY12
CY9
TM31
TM31
TM31
TM31
STK5
SN55
PC44
FX4
KC51
SN56
HH16
HH17
FX8
PC41
PC42
FX11
PC25
PC25
PC37
PC1
FX7
FX9
KC49
SN61
PC2
FX15
PC3
PC38
SINE
No. 53
Delay
Instrument
CY1
CY2
CY12
CY9
TM27
TM27
TM28
TM28
STK2
SN36
PC1
HH3
KC29
SN31
HH10
HH11
PC22
PC16
PC20
PC17
PC25
PC25
PC18
PC19
PC7
PC8
PC14
PC13
PC2
PC9
PC11
PC12
PLCK
No. 54
FlngDly
Instrument
CY6
CY2
CY12
CY9
TM21
TM21
TM22
TM22
STK5
PC43
PC1
HH3
KC40
SN53
HH10
HH11
PC22
PC16
PC20
PC17
PC25
PC25
PC18
PC19
PC7
PC8
PC14
PC13
PC2
PC9
PC11
PC12
FRLS
No. 55
Drm&Prc
Instrument
CY15
CY6
CY12
CY9
TM17
TM17
TM17
TM18
STK3
PC26
PC1
HH3
KC26
SN9
HH8
HH9
BS5
FX10
PC25
PC3
PC7
PC7
PC13
PC14
PC23
PC43
FX9
BS5
PC30
PC2
PC36
PC19
SLD
No. 56
SFX
Instrument
CY2
CY1
CY11
CY9
TM13
TM13
TM13
TM14
STK1
SN11
PC1
HH7
KC18
SN14
HH5
HH6
FX5
FX5
FX6
FX7
FX8
FX9
FX9
FX10
FX11
FX11
FX19
FX20
FX12
FX13
FX14
FX15
MGB

109
Preset Drum Kit List
Appendices
Pad No.
A 1
A 2
A 3
A 4
A 5
A 6
A 7
A 8
A 9
A10
A11
A12
A13
A14
A15
A16
B 1
B 2
B 3
B 4
B 5
B 6
B 7
B 8
B 9
B10
B11
B12
B13
B14
B15
B16
BASS
No. 57
CtryBas
Instrument
CY1
CY2
CY12
CY9
TM21
TM21
TM21
TM22
STK3
PC33
PC1
HH3
KC12
SN21
HH10
HH11
BS1
BS1
BS1
BS1
BS1
BS1
BS1
BS1
BS1
BS1
BS1
BS1
BS1
BS1
BS1
BS1
FNG1
No. 58
SmbaBas
Instrument
CY1
CY2
CY12
CY9
TM1
TM1
TM1
TM3
STK3
SN1
PC1
HH3
KC4
SN2
HH1
HH2
PC22
PC16
PC20
PC17
BS1
BS1
BS1
BS1
PC7
PC8
PC14
PC13
PC2
PC9
PC11
PC12
FNG1
No. 59
BluzBas
Instrument
CY1
CY3
CY12
CY10
TM7
TM7
TM7
TM8
STK3
SN1
PC1
HH3
KC11
SN15
HH1
HH2
BS2
BS2
BS2
BS2
BS2
BS2
BS2
BS2
BS2
BS2
BS2
BS2
BS2
BS2
BS2
BS2
FNG2
No. 60
RockBas
Instrument
CY2
CY7
CY11
CY9
TM13
TM13
TM13
TM14
STK1
SN11
PC1
HH7
KC18
SN14
HH5
HH6
BS3
BS3
BS3
BS3
BS3
BS3
BS3
BS3
BS3
BS3
BS3
BS3
BS3
BS3
BS3
BS3
PIC1
No. 61
FunkBas
Instrument
CY1
CY7
CY12
CY9
TM1
TM1
TM1
TM3
STK3
SN23
PC1
HH3
KC12
SN25
HH10
HH11
BS3
BS3
BS3
BS3
BS3
BS3
BS3
BS3
BS3
BS3
BS3
BS3
BS3
BS3
BS3
BS3
SLAP
No. 62
BrshBas
Instrument
CY13
CY4
CY12
CY14
TM15
TM15
TM15
TM16
STK3
SN45
PC1
HH3
KC8
SN44
HH1
HH2
BS1
BS1
BS1
BS1
BS1
BS1
BS1
BS1
BS1
BS1
BS1
BS1
BS1
BS1
BS1
BS1
ACO2
No. 63
SynBass
Instrument
CY17
CY1
CY12
CY9
TM32
TM32
TM32
TM32
STK6
SN50
PC44
HH17
KC52
SN61
HH16
HH17
BS4
BS4
BS4
BS4
BS4
BS4
BS4
BS4
BS4
BS4
BS4
BS4
BS4
BS4
BS4
BS4
OBB
No. 64
AcoBass
Instrument
CY4
CY2
CY11
CY10
TM7
TM7
TM8
TM8
STK3
SN27
PC1
HH3
KC11
SN34
HH1
HH2
BS1
BS1
BS1
BS1
BS1
BS1
BS1
BS1
BS1
BS1
BS1
BS1
BS1
BS1
BS1
BS1
ACO1

110
(Recommend)
No. Tempo Pattern
(Recommend)
No. Tempo Pattern
(Recommend)
No. Tempo Pattern
Preset Pattern List
001 136 Hard Rock 1-1
002 136 Hard Rock 1-2
003 120 Hard Rock 2-1
004 120 Hard Rock 2-2
005 120 Hard Rock 3-1
006 120 Hard Rock 3-2
007 120 Hard Rock 4-1
008 120 Hard Rock 4-2
009 160 Hard Rock 5-1
010 160 Hard Rock 5-2
011 162 Hard Rock 6-1
012 162 Hard Rock 6-2
013 110 Hard Rock 7-1
014 110 Hard Rock 7-2
015 120 Heavy Metal 1-1
016 120 Heavy Metal 1-2
017 130 Heavy Metal 2-1
018 130 Heavy Metal 2-2
019 120 Fast Hard Rock 1
020 120 Fast Hard Rock 2
021 100 Punk Bass 1
022 100 Punk Bass 2
023 120 Rock 1-1
024 120 Rock 1-2
025 130 Rock 2-1
026 130 Rock 2-2
027 130 Rock 3-1
028 130 Rock 3-2
029 140 Rock 4-1
030 140 Rock 4-2
031 156 Rock 5-1
032 156 Rock 5-2
033 170 Rock 6-1
034 170 Rock 6-2
035 93 Rock 7-1
036 93 Rock 7-2
037 120 Rock 8-1
038 120 Rock 8-2
039 110 Acoustic Rock 1
040 110 Acoustic Rock 2
041 130 Electronic Rock 1
042 130 Electronic Rock 2
043 90 Rock Bass 1
044 90 Rock Bass 2
045 120 8th Note Feel 1-1
046 120 8th Note Feel 1-2
047 120 8th Note Feel 2-1
048 120 8th Note Feel 2-2
049 120 8th Note Feel 3-1
050 120 8th Note Feel 3-2
051 120 16th Note Feel 1-1
052 120 16th Note Feel 1-2
053 120 16th Note Feel 2-1
054 120 16th Note Feel 2-2
055 130 Shuffle 1
056 130 Shuffle 2
057 120 6/8 Feel 1
058 120 6/8 Feel 2
059 104 Ballade 1-1
060 104 Ballade 1-2
061 120 Ballade 2-1
062 120 Ballade 2-2
063 80 Rockabilly 1
064 80 Rockabilly 2
065 125 Bluegrass 1
066 125 Bluegrass 2
067 120 Country 1-1
068 120 Country 1-2
069 120 Country 2-1
070 120 Country 2-2
071 100 Country Bass 1
072 100 Country Bass 2
073 150 Funk 1-1
074 150 Funk 1-2
075 120 Funk 2-1
076 120 Funk 2-2
077 120 Funk 3-1
078 120 Funk 3-2
079 114 Funk 4-1
080 114 Funk 4-2
081 112 Funk Bass 1
082 112 Funk Bass 2
083 120 Blues 1
084 120 Blues 2
085 120 Medium Blues 1
086 120 Medium Blues 2
087 100 6/8 Blues 1
088 100 6/8 Blues 2
089 114 Soul 1-1
090 114 Soul 1-2
091 125 Soul 2-1
092 125 Soul 2-2
093 90 Soul 3-1
094 90 Soul 3-2
095 120 Gospel 1-1
096 120 Gospel 1-2
097 120 Gospel 2-1
098 120 Gospel 2-2
099 120 Jazz 1-1
100 120 Jazz 1-2
101 132 Jazz 2-1
102 132 Jazz 2-2
103 150 Brush 1
104 150 Brush 2
105 120 Big Band 1
106 120 Big Band 2
107 130 Jazz Waltz 1
108 130 Jazz Waltz 2
109 150 Jazz in Five 1
110 150 Jazz in Five 2
111 120 Fusion 1-1
112 120 Fusion 1-2
113 100 Fusion 2-1
114 100 Fusion 2-2
115 135 Fusion 3-1
116 135 Fusion 3-2
117 110 Fusion 4-1
118 110 Fusion 4-2
119 120 Groove In Six-1
120 120 Groove In Six-2

111
Preset Pattern List
(Recommend)
No. Tempo Pattern
(Recommend)
No. Tempo Pattern
Appendices
121 100 Smooth Jazz 1
122 100 Smooth Jazz 2
123 120 Heavy Funk 1
124 120 Heavy Funk 2
125 120 Technical Fusion 1
126 120 Technical Fusion 2
127 98 Hip Hop 1-1
128 98 Hip Hop 1-2
129 122 Hip Hop 2-1
130 122 Hip Hop 2-2
131 95 Hip Hop 3-1
132 95 Hip Hop 3-2
133 115 Hip Hop 4-1
134 115 Hip Hop 4-2
135 160 Drum ’n’ Bass 1-1
136 160 Drum ’n’ Bass 1-2
137 160 Drum ’n’ Bass 2-1
138 160 Drum ’n’ Bass 2-2
139 140 Drum ’n’ Bass 3-1
140 140 Drum ’n’ Bass 3-2
141 130 Techno 1-1
142 130 Techno 1-2
143 140 Techno 2-1
144 140 Techno 2-2
145 130 House 1-1
146 130 House 1-2
147 140 House 2-1
148 140 House 2-2
149 140 Boom 1
150 140 Boom 2
151 110 Disco 1
152 110 Disco 2
153 130 Bossa Nova 1-1
154 130 Bossa Nova 1-2
155 130 Bossa Nova 2-1
156 130 Bossa Nova 2-2
157 120 Samba 1-1
158 120 Samba 1-2
159 120 Samba 2-1
160 120 Samba 2-2
161 140 Samba 3-1
162 140 Samba 3-2
163 115 Samba Bass 1
164 115 Samba Bass 2
165 95 Salsa 1-1
166 95 Salsa 1-2
167 100 Salsa 2-1
168 100 Salsa 2-2
169 110 Mambo 1
170 110 Mambo 2
171 145 Merenge 1
172 145 Merenge 2
173 130 Latin Pop 1-1
174 130 Latin Pop 1-2
175 120 Latin Pop 2-1
176 120 Latin Pop 2-2
177 95 Latin Pop 3-1
178 95 Latin Pop 3-2
179 150 Reggae 1-1
180 150 Reggae 1-2
181 150 Reggae 2-1
182 150 Reggae 2-2
183 150 Reggae 3-1
184 150 Reggae 3-2
185 172 Reggae 4-1
186 172 Reggae 4-2
187 115 Songo 1-1
188 115 Songo 1-2
189 115 Songo 2-1
190 115 Songo 2-2
191 120 Polka 1
192 120 Polka 2
193 135 India 1-1
194 135 India 1-2
195 110 India 2-1
196 110 India 2-2
197 142 Afro 1-1
198 142 Afro 1-2
199 115 Afro 2-1
200 115 Afro 2-2

112
Function...
Basic
Channel
Mode
Note
Number :
Velocity
After
Touch
Pitch Bend
Control
Change
Program
Change
System Exclusive
System
Common
Transmitted Recognized Remarks
Default
Changed
Default
Messages
Altered
True Voice
Note On
Note Off
Key's
Channel's
: True Number
: Song Position
: Song Select
: Tune Request
1–16
1–16
Mode 3
X
O
X
23–87
X
X
X
XX
O
**************
O
O SYNC=INT *1
O SYNC=INT *1
X
1–16
1–16 Storable in Memory
Mode 3
X
O
X9n v=1–127
23–87
X
X
X
O
O
O SYNC=MIDI *2
O SYNC=MIDI *2
X0–99
Dr. Rhythm
Model DR-670
Date : May 18, 2001
Version : 1.00
MIDI Implementation Chart
**************
**************
MIDI Implementation Chart

113
Appendices
Number :
Velocity
After
Touch
Pitch Bend
Control
Change
Program
Change
System Exclusive
System
Common
System
Real Time
Aux
Messages
Notes
True Voice
Note On
Note Off
Key's
Channel's
: True Number
: Song Position
: Song Select
: Tune Request
: Clock
: Commands
: Local On/Off
: All Notes Off
: Active Sensing
: Reset
O
X
X
X
X
XX
O
**************
O
O SYNC=INT *1
O SYNC=INT *1
X
O SYNC=INT *1
O SYNC=INT *1
X
X
O
X
O
X9n v=1–127
X
X
X
O
O
O SYNC=MIDI *2
O SYNC=MIDI *2
X0–99
O SYNC=MIDI *2
O SYNC=MIDI *2
X
X
O
X
* 1 Transmitted when Sync Mode is INT or AUTO and unit is functioning as master
* 2 Received when Sync Mode is MIDI or AUTO and unit is functioning as slave
**************
Mode 1 : OMNI ON, POLY
Mode 3 : OMNI OFF, POLY Mode 2 : OMNI ON, MONO
Mode 4 : OMNI OFF, MONO O : Yes
X : No

114
Specifications
Maximum Polyphony
20 voices
* Depending on the instruments and drum kits
used, maximum polyphony may be lower.
Instruments
Drum: 256
Bass: 16
Rhythm Patterns
User Patterns: 200
Preset Patterns: 200
Songs
Songs: 100
Song Length:
Maximum 250 patterns for a song
Total Patterns for all songs: approx. 3,000
Maximum Note Storage
approx. 8,000 notes
Resolution
Per quater note: 96
Tempo
Quater note: 20-260 bpm
Recording Method
Realtime / Step
Pads
20
Display
Custom LCD
Connectors
Output Jacks L(MONO)/R
Headphones Jack (stereo miniature phone type)
Foot Switch Jack (stereo 1/4 inch phone type)
MIDI Connectors IN/OUT
AC Adaptor Jack (DC 9 V)
Power Supply
DC 9V: Dry Battery x 6, AC Adaptor (PSA series)
Power Consumption
200 mA or less
* Expected battery life under continuous use:
Carbon: approx. 2.5 hours
Alkaline: approx. 6 hours
These figures will vary depending on the actual
conditions of use.
Dimensions
213 (W) x 169 (D) x 53 (H) mm
8-7/16 (w) x 6-11/16 (D) x 2-1/8 (H) inches
Weight
750 g / 1 lb 11 oz (excluding dry batteries)
Accessories
Alkaline Dry Battery (LR6 (AA) type) x 6
Owner’s Manual
Roland Service (Information sheet)
Options
AC Adaptor: PSA series
Foot Switch: FS-5U
Foot Switch cable: PCS-31 (Roland)
(1/4 inches Phone Plug (stereo) -
1/4 inches Phone Plug (mono) x 2)
* In the interest of product improvement, the
specifications and/or appearance of this unit are
subject to change without prior notice.

115
Appendices
Index
A
Assign Type ..........................................................82
Attack .....................................................................83
B
Basic Pattern ...................................................50–51
Basic Pitch .............................................................78
Bass .........................................................................47
Bass Part ........................................56–58, 62, 76, 78
Bass Tone ...................................................36, 42, 83
BEAT ......................................................................53
Beat ...................................................................52–53
Bulk Dump ............................................................89
Bulk Load ........................................................89–90
C
CHAIN ..................................................................74
CLEAR .............................................................60, 70
Click Beat ...............................................................78
Click Level ............................................................78
Continued Play .....................................................20
COPY .........................................................61, 70, 84
Copy ...........................................................61, 70, 84
D
Decay ...............................................................81, 83
DELETE ...........................................................56, 69
Delete .....................................................................69
DEMO ..............................................................20, 41
Demo Mode ..........................................................41
Device ID ...............................................................89
Direct Pattern Play .............................28, 41, 49, 75
DPP ......................................................28, 49, 66, 75
DPP ASSIGN ..................................................41, 75
DPP Assign mode ................................................41
Drum Bank ................................................24, 43, 47
DRUM KIT ............................................................47
Drum Kit .................................36, 42, 47, 54, 62, 84
DRUM KIT EDIT ..................................................41
Drum Kit Edit mode ......................................41, 79
Drum Part .................................................56–57, 76
E
Edit .........................................................................79
Envelope ................................................................83
Erase .....................................................56–58, 60, 70
EX1M .....................................................................82
EX1P .......................................................................82
F
Factory Reset .........................................................19
Fill Pattern .................................................50–51, 59
Fill-In ................................................................32, 50
Flam ............................................................23, 48, 78
Flam Interval .........................................................78
Flam Ratio .............................................................78
Foot Switch ....................................51, 55, 65, 74, 77
Fret Shift ................................................................48
I
Initial Tempo ...................................................64, 74
INSERT ..................................................................69
Insert ......................................................................69
Instrument ...........................................21, 24, 42, 80
K
Key .........................................................................62
Key Transpose ......................................................62
L
Level .................................................................80, 83
M
Master ....................................................................86
MEASURE .............................................................54
Measure ...........................................................52, 54
Metronome ......................................................55, 78
MIDI .................................................................41, 85
MIDI Channel .......................................................88
MIDI IN .................................................................85
MIDI Mode ......................................................41, 86
MIDI OUT .............................................................85
MONO ...................................................................82
Monophonic ..........................................................52
N
Note Messages ......................................................88
Nuance ...................................................................81
O
Output Part ...........................................................76
P
Pad Sens .................................................................78
Pan ....................................................................81, 84
Pattern ..............................................................38, 49
Pattern Clear .........................................................60
Pattern Display .....................................................44
PATTERN EDIT .............................................40, 52
Pattern Edit mode ..........................................40, 52
Pattern Number ....................................................27
PATTERN PLAY ........21, 27–28, 33, 35–36, 40, 47
Pattern Play mode ..........................................40, 47
PCS-31 ....................................................................34
Pitch .......................................................................80

116
Index
Polarity Switch .....................................................34
POLY ......................................................................82
Polyphony .............................................................43
PRESET ..................................................................53
Preset Pattern ..................................................26, 49
Program Change ..................................................88
Q
Quantize ................................................................55
R
Realtime Recording ...............38–39, 56, 59, 65–66
Rehearse ................................................................55
Release .............................................................83–84
REPEAT .................................................................73
Roll .............................................................22, 48, 77
Roll Type ...............................................................77
S
SCALE ...................................................................45
Scale Display .........................................................45
Slave .......................................................................86
Song ..................................................................39, 72
Song Chain ......................................................71, 74
Song Clear .............................................................70
SONG EDIT ....................................................40, 63
Song Edit mode ..............................................40, 63
SONG PLAY ...................................................40, 72
Song Play mode ..............................................40, 72
Song Repeat ....................................................73–74
Step .........................................................................45
Step Recording .............................38–39, 57, 59, 68
Sync Mode .............................................................86
T
Tap Tempo ............................................................50
Tempo ..............................................................30, 50
Tuning ...................................................................78
U
User Pattern ....................................................26, 49
UTILITY ...........................................................41, 76
Utility Mode ....................................................41, 76

117
Memo ...

118
Memo ...

This product complies with the requirements of European Directive 89/336/EEC.
For EU Countries
For EU Countries
Apparatus containing
Lithium batteries
ADVARSEL!
Lithiumbatteri - Eksplosionsfare ved
fejlagtig håndtering.
Udskiftning må kun ske med batteri af
samme fabrikat og type.
Levér det brugte batteri tilbage til
leverandøren.
VARNING
Explosionsfara vid felaktigt batteribyte.
Använd samma batterityp eller en
ekvivalent typ som rekommenderas av
apparattillverkaren.
Kassera använt batteri enligt
fabrikantens instruktion.
CAUTION
Danger of explosion if battery is
incorrectly replaced.
Replace only with the same or
equivalent type recommended by the
manufacturer.
Discard used batteries according to the
manufacturer’s instructions.
ADVARSEL
Eksplosjonsfare ved feilaktig skifte av
batteri.
Benytt samme batteritype eller en
tilsvarende type anbefalt av
apparatfabrikanten.
Brukte batterier kasseres i henhold til
fabrikantens instruks joner.
VAROITUS
Paristo voi räjähtää, jos se on
virheellisesti asennettu.
Vaihda paristo ainoastaan
laitevalmistajan suosittelemaan
tyyppiin. Hävitä käytetty paristo
valmistajan ohjeiden mukaisesti.
For Canada
This Class B digital apparatus meets all requirements of the Canadian Interference-Causing Equipment Regulations.
Cet appareil numérique de la classe B respecte toutes les exigences du Règlement sur le matériel brouilleur du Canada.
NOTICE
AVIS
For the USA
FEDERAL COMMUNICATIONS COMMISSION
RADIO FREQUENCY INTERFERENCE STATEMENT
This equipment has been tested and found to comply with the limits for a Class B digital device, pursuant to Part 15 of the
FCC Rules. These limits are designed to provide reasonable protection against harmful interference in a residential
installation. This equipment generates, uses, and can radiate radio frequency energy and, if not installed and used in
accordance with the instructions, may cause harmful interference to radio communications. However, there is no guarantee
that interference will not occur in a particular installation. If this equipment does cause harmful interference to radio or
television reception, which can be determined by turning the equipment off and on, the user is encouraged to try to correct the
interference by one or more of the following measures:
– Reorient or relocate the receiving antenna.
– Increase the separation between the equipment and receiver.
– Connect the equipment into an outlet on a circuit different from that to which the receiver is connected.
– Consult the dealer or an experienced radio/TV technician for help.
This device complies with Part 15 of the FCC Rules. Operation is subject to the following two conditions:
(1) This device may not cause harmful interference, and
(2) This device must accept any interference received, including interference that may cause undesired operation.
Unauthorized changes or modification to this system can void the users authority to operate this equipment.
This equipment requires shielded interface cables in order to meet FCC class B Limit.
2
USING THE UNIT SAFELY
001
• Before using this unit, make sure to
read the instructions below, and the
Owner’s Manual.
..................................................................................................
002c
• Do not open (or modify in any way)
the unit or its AC adaptor.
..................................................................................................
003
• Do not attempt to repair the unit, or
replace parts within it (except when
this manual provides specific instruc-
tions directing you to do so). Refer all
servicing to your retailer, the nearest
Roland Service Center, or an autho-
rized Roland distributor, as listed on
the "Information" page.
..................................................................................................
004
• Never use or store the unit in places
that are:
• Subject to temperature extremes (e.g.,
direct sunlight in an enclosed vehicle,
near a heating duct, on top of heat-
generating equipment); or are
• Damp (e.g., baths, washrooms, on
wet floors); or are
• Humid; or are
• Exposed to rain; or are
• Dusty; or are
• Subject to high levels of vibration.
..................................................................................................
007
• Make sure you always have the unit
placed so it is level and sure to remain
stable. Never place it on stands that
could wobble, or on inclined surfaces.
..................................................................................................
008b
• Use only the specified AC adaptor
(PSA series), and make sure the line
voltage at the installation matches the
input voltage specified on the AC
adaptor’s body. Other AC adaptors
may use a different polarity, or be
designed for a different voltage, so
their use could result in damage,
malfunction, or electric shock.
..................................................................................................
009
• Do not excessively twist or bend the
power cord, nor place heavy objects
on it. Doing so can damage the cord,
producing severed elements and short
circuits. Damaged cords are fire and
shock hazards!
..................................................................................................
Used for instructions intended to alert
the user to the risk of injury or material
damage should the unit be used
improperly.
* Material damage refers to damage or
other adverse effects caused with
respect to the home and all its
furnishings, as well to domestic
animals or pets.
Used for instructions intended to alert
the user to the risk of death or severe
injury should the unit be used
improperly.
The ● symbol alerts the user to things that must be
carried out. The specific thing that must be done is
indicated by the design contained within the circle. In
the case of the symbol at left, it means that the power-
cord plug must be unplugged from the outlet.
The symbol alerts the user to important instructions
or warnings.The specific meaning of the symbol is
determined by the design contained within the
triangle. In the case of the symbol at left, it is used for
general cautions, warnings, or alerts to danger.
The symbol alerts the user to items that must never
be carried out (are forbidden). The specific thing that
must not be done is indicated by the design contained
within the circle. In the case of the symbol at left, it
means that the unit must never be disassembled.

Owner’s Manual
G6017449 ’00-xx-xx-xxx
Thank you, and congratulations on your choice of the BOSS DR-670 Dr. Rhythm.
Before using this unit, carefully read the sections entitled:
• USING THE UNIT SAFELY (page 2–4)
• IMPORTANT NOTES (page 10–11)
These sections provide important information concerning the proper operation of the unit.
Additionally, in order to feel assured that you have gained a good grasp of every feature provided by
your new unit, Owner's manual should be read in its entirety. The manual should be saved and kept
on hand as a convenient reference.
■
Printing Conventions in This Manual
• Text or numerals enclosed in square brackets [ ] indicate bottons.
[START] START button
[REC] REC button
• Reference such as (p. **) indicate pages in this manual to which you can refer.
Copyright © 2001 BOSS CORPORATION
All rights reserved. No part of this publication may be reproduced in any form without the written permission of BOSS
CORPORATION.
