Bradfordwhite Residential Boiler Wall Mounted Brute Ft Bmftcw Combination Iomanual 1318E Nh User Manual
Canada Residential Boiler Wall Mounted Brute Ft Bmftcw Combination Iomanual 1318E Nh canada_residential_boiler_wall_mounted_brute_ft_bmftcw_combination_iomanual_1318e_nh canada_residential_boiler_wall_mounted_brute_ft_bmftcw_combination_iomanual_1318e_nh uploads wp-content bradfordwhitecorp :
2017-08-21
User Manual: Bradfordwhite Residential Boiler Wall Mounted Brute Ft Bmftcw Combination Iomanual 1318E Nh residential_boiler_wall_mounted_brute_ft_bmftcw_combination_iomanual_1318e_nh uploads wp-content bradfordwhitecorp :
Open the PDF directly: View PDF
.
Page Count: 92

Installation and Operation Instructions Document 1318E
H2372800E
WARNING
If the information in this manual is not
followed exactly, a re or explosion may
result causing property damage, personal
injury or loss of life.
Do not store or use gasoline or other
ammable vapors and liquids in the vicinity of
this or any other appliance.
WHAT TO DO IF YOU SMELL GAS
• Do not try to light any appliance.
• Do not touch any electrical switch; do not
use any phone in your building.
• Immediately call your gas supplier from a
nearby phone. Follow the gas supplier's
instructions.
• If you cannot reach your gas supplier, call
the re department.
Installation and service must be performed
by a qualied installer, service agency, or gas
supplier.
FOR YOUR SAFETY: This product must be installed and serviced by a professional service technician,
qualied in hot water boiler and heater installation and maintenance. Improper installation and/or operation
could create carbon monoxide gas in ue gases which could cause serious injury, property damage, or
death. Improper installation and/or operation will void the warranty.
AVERTISSEMENT
Assurez-vous de bien suivres les instructions
données dans cette notice pour réduire au
minimum le risque d’incendie ou d’explosion
ou pour éviter tout dommage matériel, toute
blessure ou la mort.
Ne pas entreposer ni utiliser d’essence ou ni
d’autres vapeurs ou liquides inammables dans
le à proximité de cet appareil ou de tout autre
appareil.
QUE FAIRE SI VOUS SENTEZ UNE ODEUR DE
GAZ:
• Ne pas tenter d’allumer d’appareils.
• Ne touchez à aucun interrupteur. Ne pas vous servir
des téléphones dans le bâtiment où vous vous
trovez.
• Appelez immédiatement votre fournisseur de
gaz depuis un voisin. Suivez les instructions
du fournisseur.
• Si vous ne pouvez rejoindre le fournisseur de
gaz, appelez le sservice des incendies.
L’installation et l’entretien doivent être assurés par
un installateur ou un service d’entretien qualié
ou par le fournisseur de gaz.
Installation and Operation
Instructions for
Wall-Mounted, Modulating
Gas, Condensing, Combination Boiler
Model FTCW
140,000 BTU/hr
199,000 BTU/hr
• Natural Gas (NG) - Factory Conguration
• Propane Gas (LP) - Field-Convertible
THE FT SERIES

TABLE OF CONTENTS
SECTION 1
Product Accessories
1.1 Introduction ........................................................... 1
1.2 Included with the Appliance ................................... 1
SECTION 2
Product Characteristics
2.1 Model Nomenclature (model number) ................... 3
2.2 Specications ........................................................ 4
2.3 Dimensions ........................................................... 6
2.4 Names of Components ......................................... 8
2.5 Product Flow and Characteristics ....................... 10
2.5.1 Central Heating Flow ..................................10
2.5.2 Domestic Hot Water Flow........................... 11
SECTION 3
Safety Regulations
3.1 Safety Symbols ................................................... 12
3.2 Safety Precautions and Proper Use .................... 14
SECTION 4
Installation
4.1 Location and Clearances .....................................16
4.2 Wall Mount Bracket ..............................................17
4.2.1 Installation Height and Location .................17
4.2.2 Hang the Boiler ..........................................17
4.3 Combustion Air .....................................................18
4.3.1 Combustion Air from Room ........................18
4.3.2 Ducted Combustion Air ..............................18
4.4 Venting (exhaust) .................................................20
4.5 General Location Guidelines ................................21
4.6 Locations for Vent Pipe Terminator ......................22
4.6.1 Direct Venting Clearances ..........................22
4.6.2 Non-Direct Venting Clearances ..................23
4.6.3 Venting Requirements in Massachusetts ...24
4.7 Air Supply and Vent Connections at the Appliance . 26
4.7.1 Vent / Air Pipe Lengths ...............................26
4.7.2 Direct Venting .............................................26
4.7.3 Indoor Combustion Air ................................27
4.8 Vent / Air Pipe Termination ...................................28
4.9 Gas Supply and Piping .........................................30
4.10 Gas Supply Pressure ..........................................33
4.11 Gas Set Up and Adjustment ................................33
4.12 High Altitude Installations. 2,000' to 10,000' ........34
4.13 Natural Gas to Propane Conversion ...................36
4.14 Plumbing Guidelines ...........................................40
4.15 Pressure Relief Valve ..........................................43
4.16 Disposal of Condensate ......................................44
4.17 DHW Flow Restrictors .........................................45
4.18 Electrical Wiring Connections ............................ 46
4.19 DIP Switches ...................................................... 47
4.20
Control Board, Electrical Diagram
...................... 48
4.21 Ladder Diagram ................................................. 49
4.22 Electrical Connections ........................................ 50
SECTION 5
Control Display and Operation
5.1 Control Dial and Buttons .......................................52
5.2 LCD Overview .......................................................53
5.3 Operating Mode ..................................................54
5.4 Status Display Mode ...........................................55
5.5 DHW Set Point Change Mode ............................56
5.6 CH Set Point Change Mode ................................57
5.7 Storage Mode ......................................................57
5.8 Installer Mode ......................................................58
5.9 Outside Temperature (option) ..............................60
5.10 External Set Point Temperature Control ..............60
5.11 Error Mode ..........................................................61
SECTION 6
Error Codes
6.1 Error Codes ......................................................... 62
6.2 Fault Tree Analysis .............................................. 65
SECTION 7
Trouble Shooting
7.1 Diagnostics .......................................................... 67
7.2 Suggested Corrective Actions ............................. 68
SECTION 8
Maintenance
8.1 Annual Startup and General Maintenance .......... 70
8.2 Flushing the Boiler .............................................. 72
8.3 Draining and Cleaning ......................................... 73
SECTION 9
Installation Check
9.1 Quick View .......................................................... 74
9.2 Final Check Lists ................................................. 74
SECTION 10
Repair Part Diagram
10.1 Parts List and Illustrations .............................. 76-81
10.2 Notes: ................................................................... 82

The FT Series Wall Mounted, Combination Boiler Page 1
Item Description Qty
Wall Mounted,
Combination Boiler
FTCW140 / 199
1
Installation Instructions and
User’s Manual 1
SECTION 1
Product Accessories
1.1 Introduction
This manual provides information necessary for the
installation, operation, and maintenance of the FT Series
Wall Mounted, Combination Boiler. All application
and installation procedures must be read and reviewed
completely before proceeding with the installation. Consult
the factory, or your local factory representative, with any
problems or questions regarding this equipment. Experience
has shown that most operating problems are caused by
improper installation.
All installations must be made in accordance with
1) American National Standard Z223.1/NFPA54-Latest Edition
“National Fuel Gas Code” or
2) CSA B149.1 “Natural Gas and Propane Installation Code” and
with the requirement of the local utility or other authorities having
jurisdiction. Such applicable requirements take precedence over
the general instructions contained herein.
All electrical wiring is to be done in accordance with the local
codes, or in the absence of local codes, with: 1) The National
Electrical Code ANSI/NFPA No. 70-latest Edition, or 2) CSA
STD. C22.1 “Canadian Electrical Code - Part 1”. This appliance
must be electrically grounded in accordance with these codes.
1.2 Included with the Appliance
THE FT
THE FT

Page 2
Items Descriptions Qty
Condensate Hose 1
Wall Mount Bracket 1
2 types of Wall Anchors 4
Pressure Relief Valve
(CH LINE 3/4
˝
30psi)
Model: CASH ACME F-82
1
3” Mesh Screens 2
O-Ring and Gasket Kit 1
Outdoor Sensor
with screws and anchors 1
4.5 GPM Flow Restrictor
(dark blue) * N/A 1
Propane Conversion Orice 1
1.2 Included with the Appliance (continued)
*
A 3.2 GPM Flow Restrictor (white) has been factory installed. See Section 4.17
FTCW140 FTCW199
4
FT1894

The FT Series Wall Mounted, Combination Boiler Page 3
Figure 1. Model Nomenclature
Figure 2. Locating the model number
2 3 4 5 6 7 8 9 10 11 12 13
F T C W A 1 X N
SERIES
FT C - Combination
SIZE
MBTU/h
140
199
FUEL
N - Natural
P - Propane
CONFIG
W - Wall Hung
ALTITUDE
A - 0 -10,000 Feet
REVISION
1 - First
OPTIONS
X - Standard
PUMP
N - with Pump
1
M
SECTION 2.
Product Characteristics
2.1 Model Nomenclature (model number)
The Model Nomenclature is shown on your Rating Plate and consists of a series of letters and numbers
( Nomenclature ) that further identies the characteristics of your FT.
MODEL NUMBER

Page 4
Model Name FTCW140
Gas Input Rate
MAX 140,000 Btu/h
MIN 28,000 Btu/h
Hot Water Capacity
35
°F
Rise 7.1 GPM
45
°F
Rise 5.5 GPM
77
°F
Rise 3.2 GPM
Installation Indoor / Wall hung type
Flue System Sealed Combustion Direct / Single Vent / Concentric Vent
Vent Run 2˝(50ft) , 3˝(100ft) Schedule 40 CPVC, PP, PVC
Gas Supply Pressure NG 3.5˝ WC to 10.5˝ WC
LP 8.0˝ WC to 13˝ WC
Manifold Pressure
Gas type NG LP
Vent size 2˝ or 3˝ VENT 2˝ or 3˝ VENT
Max Fire
-0.216
”
WC -0.216
”
WC
Min Fire
0.002
”
WC 0.079
”
WC
Power Supply
Main Supply 120V 60Hz / 4A
Maximum Power
Consumption 160W
Ignition System Direct Electronic Ignition / Automatic Flame Sensing
Burner System Single Orice Premixed Fuel Modulation
Gas Valve System Combination modulating (Current proportional)
Minimum Flow Rate 0.5 GPM
Dimensions W17.25˝ - H29.0˝ - D15.5˝
Weight 110 lbs
Sub Heat Exchanger Water Capacity(DHW) Under 1 Gallon
Main Controller / Control Panel NGTX-900CP / P-920C
Domestic Hot Water Pressure, DHW Min 15 ~ Max 150 PSI
Central Heat Water Pressure, CH Min 15 ~ Max 30 PSI
Connection Sizes
Cold Water Inlet / Hot Water
Outlet 3/4˝ NPT
(CH) Space Heating Supply/Return 1˝ NPT
Gas Inlet 3/4˝ NPT
Materials
Casing Cold Rolled Carbon Steel
Heat Exchanger Primary Heat Exchanger : Stainless Steel
Sub Heat Exchanger : Stainless Steel
Safety Devices
Flame Rod, Overheat Cut Off Device, Gas Valve Opera-
tion Detector, Exhaust Temperature High Limit Switch,
Water Temperature High Limit Switch
2.2 Specications

The FT Series Wall Mounted, Combination Boiler Page 5
Model Name FTCW199
Gas Input Rate
MAX 199,000 Btu/h
MIN 19,900 Btu/h
Hot Water Capacity
35
°F
Rise 9.88 GPM
45
°F
Rise 7.7 GPM
77
°F
Rise 4.8 GPM
Installation Indoor / Wall hung type
Flue System Sealed Combustion Direct / Single Vent / Concentric Vent
Vent Run 2˝(50ft) , 3˝(100ft) Schedule 40 CPVC, PP, PVC
Gas Supply Pressure NG 3.5˝ WC to 10.5˝ WC
LP 8.0˝ WC to 13˝ WC
Manifold Pressure
Gas type NG LP
Vent size 2˝ VENT 3˝ VENT
Max Fire
-0.314
”
WC -0.173
”
WC
Min Fire
-0.015
”
WC -0.015
”
WC
Power Supply
Main Supply 120V 60Hz / 4A
Maximum Power
Consumption 160W
Ignition System Direct Electronic Ignition / Automatic Flame Sensing
Burner System Single Orice Premixed Fuel Modulation
Gas Valve System Combination modulating (Current proportional)
Minimum Flow Rate 0.5 GPM
Dimensions W19.6” - H32.0” - D16.3”
Weight 130 lbs
Sub Heat Exchanger Water Capacity(DHW) Under 1 Gallon
Main Controller / Control Panel NGTX-900CP / P-920C
Domestic Hot Water Pressure, DHW Min 15 ~ Max 150 PSI
Central Heat Water Pressure, CH Min 15 ~ Max 30 PSI
Connection Sizes
Cold Water Inlet / Hot Water
Outlet 3/4˝ NPT
(CH) Space Heating Supply/Return 1˝ NPT
Gas Inlet 3/4˝ NPT
Materials
Casing Cold Rolled Carbon Steel
Heat Exchanger Primary Heat Exchanger : Stainless Steel
Sub Heat Exchanger : Stainless Steel
Safety Devices
Flame Rod, Overheat Cut Off Device, Gas Valve Opera-
tion Detector, Exhaust Temperature High Limit Switch,
Water Temperature High Limit Switch
2.2 Specications(continued)

Page 6
Description Diameter
A
Air Intake collar
3"
B
Vent Pipe Collar
3"
C
‘CH’ Supply
1" NPT
D
‘CH’ Return
1” NPT
E ‘
DHW’ Outlet
3/4” NPT
F
‘DHW’ Inlet
3/4” NPT
G
Gas Inlet
3/4” NPT
H
Condensate Line
1/2" NPT
2.3 Dimensions FTCW140
Air Intake
Vent

The FT Series Wall Mounted, Combination Boiler Page 7
Description Diameter
A
Air Intake collar
3"
B
Vent Pipe Collar
3"
C
‘CH’ Supply
1" NPT
D
‘CH’ Return
1” NPT
E ‘
DHW’ Outlet
3/4” NPT
F
‘DHW’ Inlet
3/4” NPT
G
Gas Inlet
3/4” NPT
H
Condensate Line
1/2" NPT
2.3 Dimensions FTCW199
Air Intake
Vent

Page 8
2.4 Names of Components
# Name of Component
1
Air Vent (air eliminator)
2
Pressure Relief Valve
3
Air Intake Collar
4
Air Gas Mixing Pipe
5
Gas Valve
6
DHW Water Tank
7
Main PCB
8
Manual Power Switch (ON / OFF)
9
Recirculation Pump DHW / CH Primary Pump
10
'CH' Supply Connection
11
'CH' Return Connection
12
CH Pressure Gauge
13
DHW Outlet Connection
14
Gas Inlet Connection
15
DHW Inlet Connection (lter and ow restrictor)
# Name of Component
16
Condensate Connection
17
Condensate Trap
18
Air Pressure Switch (condensate)
19
Mixing Valve
20
Terminal Block
21
Control Panel and Display
22
Heat Exchanger
23
Ignition Trans
24
Flame Detecting Sensor
25
Burner Case
26
BLDC Fan (Blower)
27
Vent Pipe
28
Air Pressure Switch
29
Vent Pipe Collar
30
Sight Glass
30
FTCW140

The FT Series Wall Mounted, Combination Boiler Page 9
# Name of Component
1
Air Vent (air eliminator)
2
Pressure Relief Valve
3
Air Intake Collar
4
Gas Valve
5
Air Gas Mixing Pipe
6
DHW Water Tank
7
Main PCB
8
Manual Power Switch (ON / OFF)
9
Recirculation Pump DHW / CH Primary Pump
10
'CH' Supply Connection
11
'CH' Return Connection
12
CH Pressure Gauge
13
DHW Outlet Connection
14
Gas Inlet Adapter
15
DHW Inlet Connection (lter and ow restrictor)
# Name of Component
16
Condensate Connection
17
Condensate Trap
18
Air Pressure Switch (condensate)
19
Mixing Valve
20
Terminal Block
21
Control Panel and Display
22
Heat Exchanger
23
Ignition Trans
24
Flame Detecting Sensor
25
Burner Case
26
BLDC Fan (Blower)
27
Vent Pipe
28
Air Pressure Sensor
29
Vent Pipe Collar
30
Sight Glass
FTCW199

Page 10
Vent
Combustion
Air
Vent
Combustion
Air
2.5.1 Central Heating ow. Combination Boiler Heating Mode.
Water in the heating pipe is used for space heating.
2.5 Product Flow Paths and Characteristics
FTCW140
Vent
Combustion
Air
Hydronic Supply
Hydronic Return
DHW Supply
Vent
Combustion
Air
DHW Return
FTCW199
Hydronic Supply Hydronic Supply
Hydronic Return Hydronic Return

The FT Series Wall Mounted, Combination Boiler Page 11
2.5.2 Domestic Hot Water ow. Combination Boiler Domestic Hot Water Mode.
Cold water passes through the exchanger and is heated via a mini indirect tank.
The domestic hot water (DHW) is provided on demand.
2.5 Product Flow Paths and Characteristics
DHW Supply DHW Supply
Vent
Combustion
Air
Vent
Combustion
Air
DHW Return DHW Return
FTCW140
Vent
Combustion
Air
Hydronic Supply
Hydronic Return
DHW Supply
Vent
Combustion
Air
DHW Return
FTCW199
Domestic Hot
Water Inlet
Domestic Hot
Water Outlet

Page 12
SECTION 3.
Safety Regulations
3.1 Safety Symbols
WARNING WARNING
To avoid product damage, personal injury, or even
possible death, carefully read, understand, and
follow all the instructions in the Installation and
Operation manual before installation, operation
and service the Boiler.
Manufacturer cannot anticipate every
circumstance that might involve a potential
hazard. Therefore, all possible incidents are not
included in our warnings. Proper installation,
operation, and service are your responsibility.
You must make sure that the operation and
settings of the Boiler are safe for you and for
others.
This manual provides Safety Symbols. When the
user fails to adhere to the following requirement,
it may cause death, serious injury, and substantial
property damage.
For safety symbols, ‘DANGER’, ‘WARNING’,
CAUTION’ are indicated and the denitions for these
terms are as follow:
DANGER
Indicates an imminently hazardous situation
which, if not avoided, will result in death or
serious injury. This signal word is limited to the
most extreme situations.
WARNING
Indicates a potentially hazardous situation
which, if not avoided, could result in death or
serious injury.
CAUTION
Indicates a potentially hazardous situation
which, if not avoided, may result in minor or
moderate injury. It is also used to alert against
unsafe practices and hazards involving only
property damage.
FOR YOUR SAFETY READ BEFORE
OPERATING
If you do not follow these instructions exactly, a
re or explosion could result causing property
damage, personal injury or loss of life.
A. This appliance does not have a pilot. It
is equipped with an ignition device which
automatically lights the burner. Do not try to
light the burner by hand.
B. BEFORE OPERATING smell all around the
appliance area for gas. Be sure to smell next
to the oor because some gas is heavier than
air and will settle on the oor.
WHAT TO DO IF YOU SMELL GAS
• Do not try to light any appliance.
• Do not touch any electric switch; do not use any
phone in your building.
• Immediately call your gas supplier from a
neighbor’s phone. Follow the gas supplier’s
instructions.
• If you cannot reach your gas supplier, call the
re department.
C. Use only your hand to push in or turn the gas
control knob. Never use tools. If the knob will
not push in or turn by hand, don’t try to repair
it, call a qualied service technician. Force
or attempted repair may result in a re or
explosion.
D. Do not use this appliance if any part has
been under water. Immediately call a qualied
service technician to inspect the appliance and
to replace any part of the control system and
any gas control which has been under water.
This appliance must be installed in accordance with
local codes if any; if not, follow ANSI Z224.1/NFPA
54 or CAN/CSA B149.1, Natural Gas and Propane
Installation Code, as applicable.
This appliance is certied for use at altitudes up
to 4,500ft(1,370m) in accordance to the latest CSA/
CGA 2.17-M91 Gas-Fired Appliances for Use at
High Altitudes.

The FT Series Wall Mounted, Combination Boiler Page 13
DANGER
Vapors from ammable liquids will explode and
catch on re. These will cause death or severe
burns.
Do not use or store ammable products such as
gasoline, solvents or adhesives in the same room
or area near the appliance.
Keep ammable products
Far away from boiler
In approved containers
Tightly closed
Out of children’s reach
Vapors
Cannot be seen
are heavier than air
spread on the oor
Can spread from other rooms to the main burner
by air currents
Do not install the appliance where ammable
products will be stored.
Read and follow boiler warnings and instructions
thoroughly. If owner’s manual is missing, contact
the retailer or manufacturer.
This combination boiler must be installed by a
qualied plumber, a licensed gas tter, and/or a
professional service technician.
Improper installation and/or operation will cause a
potentially hazardous situation, such as serious injury
or death. Also, it will void the warranty.
• The National Fuel Gas Code NFPA 54 / ANSI Z224.1
• National Electric Code ANSI/NEPA 70
• All applicable local, state, national and provincial
codes, regulations and laws.
Proper care is your responsibility. Carefully read and
understand the Operating Information in this manual
before operating the Boiler.
Be aware of the location of the gas shut-off valve
and operation method. Close the gas shut-off valve
immediately if the appliance is subjected to re,
overheating, ood, physical damage, or any other
damaging condition that might affect the operation
of the unit. Boiler must be checked by a qualied
technician before resuming operation.
DO NOT use this Boiler if any part has been under
water. Immediately call a qualied technician for
inspecting the Boiler and replacing any part of the
control system and gas control which have been
under water.
Do not power up the unit until the gas and water
supply valves are fully opened. Make sure that the
fresh air intake port and exhaust gas port are opened
and functional.
DO NOT attempt to install, repair, or service this
Boiler by yourself.
Do not change any part of the Boiler.
Contact a qualied technician if the Boiler needs
repair or maintenance.
Ask your gas supplier for a list of qualied service
providers.
DO NOT use spray paint, hair spray, or any other
ammable spray near Boiler or near the exterior fresh
air inlet port. DO NOT place any items in or around
the exterior exhaust gas outlet port and/or fresh air
inlet port. These could restrict or block the ow in or
out of the vent system.
“Caution: While repairing control, all wires are
labeled. You must connect the wires in accordance
with the instruction.
Wiring errors can cause improper and dangerous
operation.
“Verify proper operation after servicing operation”
This consists of the gas ignition system components
which are protected from water (dripping, spraying, rain,
etc.) during operation and service (circulator replacement,
condensate trap, control replacement, etc.).
After installing the heater, safety devices must be
tested.
This boiler is equipped with a blocked vent shutoff
system.
If the error code ‘41’ occurs, follow the instructions
below.
- First, turn off the manual gas valve.
- Make sure that there is no foreign object in the vent
passage or rodent screen.
- If you do not nd any problem, do the following.
- Turn off the error state by pressing the power button
of control panel.
- If the error occurs repeatedly, call your service
technician or gas supplier.

Page 14
Before Operation
1. Check the Gas Type (NG/LP)
When using or moving the unit for the rst time, check
if gas type matches with the gas type of the Boiler.
Check whether the gas type which is supplied is NG
(Natural Gas) or LP (Propane) and also check the
Boiler gas type.
The gas type is indicated on the rating plate on side of
the Boiler.
2. Check the Power (120V 60Hz)
Check that the appliance is connected properly.
3. Check the Cold Water Inlet
valve
Please keep the
appliance water inlet
valve open at all times.
The appliance will not
ignite when insufcient
water or no water is
in the heating pipes.
(valve: always open
position)
4. Check the Gas Valve
Check that the manual gas shut-off valve
that supplies the FT is opened.
5. Check the area around the appliance and remove
any combustible or ammable materials. Remove
laundry or any other items that are on or near the
boiler or vent pipe.
open
When in Operation
CAUTION
1. Caution for Gas leak
Frequently check for a gas leak at the gas connection
portion with soapy water.
Steps to take if you have a Gas leak.
1. Shut down the boiler as soon as gas fumes are
detected.
2. Close the intermediate gas valve.
3. Open windows for ventilation.
4. Call a qualied service technician for immediate
repair.
2. Caution for Ventilation
Make sure that there is sufcient inow and outow of air
ventilation while using the unit.
If the ventilation is improper, combustion quality may
deteriorate inside the appliance and cause shortened life
of the appliance.
3. Burn Warning
Be careful not to burn yourself on the ue or pipes. They
become extremely hot during operation.
SECTION 3.
Safety Regulations
3.2 Safety Precautions and Proper Use

The FT Series Wall Mounted, Combination Boiler Page 15
WARNING
Do not use the appliance for any other purpose
than for heating and hot water.
Do not store combustibles or ammable material
such as gasoline near the appliance.
Do not store other items on or near this boiler.
Do not store combustible (ammable) materials
such as papers.
Do not hang clothes on the vent pipe. This may
start a re.
Burn Protection
Be cautious when opening the
hot water tap. The water is very
hot. Especially, children or the
elderly whose skin is liable to
burn must not use the hot water
without help of a guardian.
Gas leakage test.
Gas supply line must be inspected regularly.
Do not shut off the Boiler.
When you leave home for a long time, do not
shut off Boiler. The Boiler has a freeze protection
function. The ceramic heater is installed inside of
the heater’s internal pipe to protect the heater from
freezing.
Do not wipe the appliance or control panel
with wet cloth. Electric shock may occur, or
internal parts may fail due to the exposure to
moisture.
Do not disassemble the Boiler.
If repair is required, call your local qualied
technician.
After repair of gas pipeline or gas regulator
replacement, call A qualied contractor for inspection
before starting it up.
Carbon monoxide poisoning
If vent pipe fumes enter the room, it could cause
poisoning by carbon monoxide gas. Check that the
vent pipes are properly connected. Open windows
for ventilation. Call a qualied service technician for
immediate repair.

Page 16
SECTION 4.
Installation
4.1 Location and Clearances
The FT must be mounted to a suitable wall by a
qualied heating contractor under the guidelines of a
boiler. The wall may be of concrete or wood. Suitable
fasteners for concrete or wood must be used. Failure to
wall mount this boiler using correct fasteners will affect
the performance and life expectancy of the boiler and
will void the warranty.
Figure 3. Locating the Appliance.
Table 1. Minimum Clearances
For Installation from
Non-Combustibles and
Combustibles
Suggested
Service
Clearance
TOP of appliance 18 in
(46 cm)
18 in
(46 cm)
BACK of appliance 5/8 in
(1.5 cm)
5/8 in
(1.5 cm)
FRONT of appliance 24 in
(61 cm)
40 in
(101 cm)
SIDE of appliance 3 in
(7 cm)
8 in
(20 cm)
BOTTOM of
appliance
12 in
(30 cm)
24 in
(61 cm)
Installations must comply with
• All the local, state, provincial, and national codes,
laws, regulations and ordinances.
• National Fuel Gas Code, ANSI Z223.1 – The latest
version.
• National Electrical Code.
• A National Standard of Canada CAN/CSA-B149.1
Check before placing the Combination boiler
• Always check the connected components which are
near to the heater. The components are below.
Water piping position / Venting adapter / Gas supply
piping / Electrical power / Condensate drain hose.
• Inspect area around Combination boiler. Remove
any combustible materials, gasoline and other
ammable liquids. Failure to keep Combination
boiler area clear and free of combustible materials,
gasoline and other ammable liquids and vapors can
result in severe personal injury, death or substantial
property damage.
• The Combination boiler which has gas control
system components must be protected from any
possible danger during operation and service.
• If new Combination boiler replaces an existing
appliance, check and correct system problems, for
example:
- Do not install if: System leaks causing oxygen
corrosion or heat exchanger cracks from hard water
deposits.
Provide clearances
• If the heater was installed in a narrow space
or corner, please ensure that there is sufcient
space for service and maintenance access. For
regular maintenance, gas and water lines must be
accessible.
The boiler must be installed on a wall that can bear its weight.
WARNING
WARNING
CLEARANCES FOR SERVICE ACCESS
• If you do not provide the minimum clearances
shown, it might not be possible to service the
boiler without removing it from the space.
• Space must be provided with combustion /
ventilation air openings correctly sized for
all other appliances located in the same
space as the boiler. The boiler cover must be
securely fastened to prevent it from drawing
air from the boiler room. This is particularly
important if the boiler is in a room with other
appliances. Failure to comply with the above
warnings could result in substantial property
damage, severe personal injury, or death.
Minimum clearances to Combustibles.
to Combustibles and for Service.
18
46
3
8
3
8
24
61
12
30

The FT Series Wall Mounted, Combination Boiler Page 17
4.2 Wall Mount Bracket
• 4.2.1 The installation height and location for your
FT depends on your installation scenario. With all clearances
considered, and given adequate positioning for air supply
and venting, you will need to determine the best position
to mount the Wall Mount Bracket. The wall must be
concrete, wood, or plywood over studs, and must be
strong enough to hold the boiler!
• Start by familiarizing yourself to how the
included Wall Mount Bracket hooks underneath
the two Hangers that are attached to the back of
the boiler. The ‘hooks’ of the Wall Mount Bracket will
be 3” from the Top of the boiler once the boiler is hung.
• Position the Wall Mount Bracket at the location that it will go,
being sure that it is level, and then drill 4 holes (0.47”dia)
with a 1/2” drill bit, into the wall through the Bracket.
• If mounting to a concrete wall, then use the concrete anchors.
If onto wood or 5/8” (16 mm) plywood, then use the wood
screws. Do not hang the FT onto sheetrock unless it is
possible to fasten directly into
the structural studs. If the
included anchors do not suit
your installation, you must use
‘Field Supplied’ anchors that
are appropriate for the wall’s
construction. Wall Mount
Bracket
Bolts (4) Wall Mount
Bracket
Anchors*
(4)
3" to Top
of Unit
Concrete,
Wood,
or 5/8" Plywood
4.2.2 Hang the Boiler
• Lift the boiler up, align the Hangers on the back
of the boiler with the hooks on the Wall Mount
Bracket, and hang the boiler onto the Wall Mount
Bracket. Do a visual inspection to make sure that
the boiler is hanging properly onto the hooks of
the Wall Mount Bracket.
• Fasten the bottom of the boiler to the wall using
2 suitable wall anchors (eld supplied).
Hangers (2)
(fastened to the back of unit)

Page 18
Table 2. Required Combustion Air Pipe Material.
COMBUSTION AIR INSTALLATION STANDARDS
MATERIAL UNITED STATES CANADA
ABS ANSI/ASTM D1527
PVC, sch 40 ANSI/ASTM D1785 or D2665 Air pipe material must be chosen
CPVC, sch 40 ANSI/ASTM F441 CPVC, sch 40, ANSI/ASTM, Polypropylene
Polypropylene UL1738, ULC S636. based upon the intended application of the boiler.
Single wall galv. steel 26 gauge
SECTION 4.
Installation (continued)
4.3 Combustion Air
FT boilers must have provisions for combustion
and ventilation air in accordance with the applicable
requirements for Combustion Air Supply and Ventilation
in the National Fuel Gas Code, ANSI Z223 1; or in
Canada, the Natural Gas and Propane Installation Code,
CSA B149.1. All applicable provisions of local building
codes must also be adhered to.
A FT unit can take combustion air from the space
in which it is installed, or the combustion air can be
ducted directly to the unit. Ventilation air must be
provided in either case.
4.3.1 Combustion Air from Room
In the United States, the most common requirements
specify that the space shall communicate with the
outdoors in accordance with method 1 or 2, which follow.
Where ducts are used, they shall be of the same cross-
sectional area as the free area of the openings to which
they connect.
Method 1: Two permanent openings, one commencing
within 12” (300mm) of the top and one commencing
within 12” (300mm) of the bottom, of the enclosure
shall be provided. The openings shall communicate
directly, or by ducts, with the outdoors or spaces
that freely communicate with the outdoors. When
directly communicating with the outdoors, or when
communicating to the outdoors through vertical ducts,
each opening shall have a minimum free area of 1
square inch per 4000 Btu/hr (550 square mm/kW) of
total input rating of all equipment in the enclosure. When
communicating to the outdoors through horizontal ducts,
each opening shall have a minimum free area of not
less than 1 square inch per 2000 Btu/hr (1100 square
mm/kW) of total input rating of all equipment in the
enclosure.
Method 2: One permanent opening, commencing
within 12” (300mm) of the top of the enclosure, shall
be permitted. The opening shall directly communicate
with the outdoors or shall communicate through a
vertical or horizontal duct to the outdoors or spaces
that directly communicate with the outdoors and shall
have a minimum free area of 1 square inch per 3000
Btu/hr (734 square mm/kW) of the total input rating of
all equipment located in the enclosure. This opening
must not be less than the sum of the areas of all vent
connectors in the conned space.
Other methods of introducing combustion and
ventilation air are acceptable, providing they conform to
the requirements in the applicable codes listed above.
In Canada, consult local building and safety codes or, in
absence of such requirements, follow CAN/CGA B149.1
4.3.2 Ducted Combustion Air
The combustion air can be taken through the wall, or
through the roof. When taken from the wall, it must be
taken from out-of-doors by means of the horizontal wall
terminal. When taken from the roof, a eld-supplied rain
cap or an elbow arrangement must be used to prevent
entry of rain water.
Use ABS, PVC, CPVC, polypropylene, or galvanized
pipe for the combustion air intake. Route the intake
to the boiler as directly as possible. Seal all joints.
Provide adequate hangers. The unit must not support
the weight of the combustion air intake pipe. Maximum
linear pipe length allowed is shown in Table 6. Subtract
5 allowable linear ft. (1.5m) for every elbow used.
The connection for the intake air pipe is at the top of
the unit.
In addition to air needed for combustion, air shall also
be supplied for ventilation, including air required for
comfort and proper working conditions for personnel.

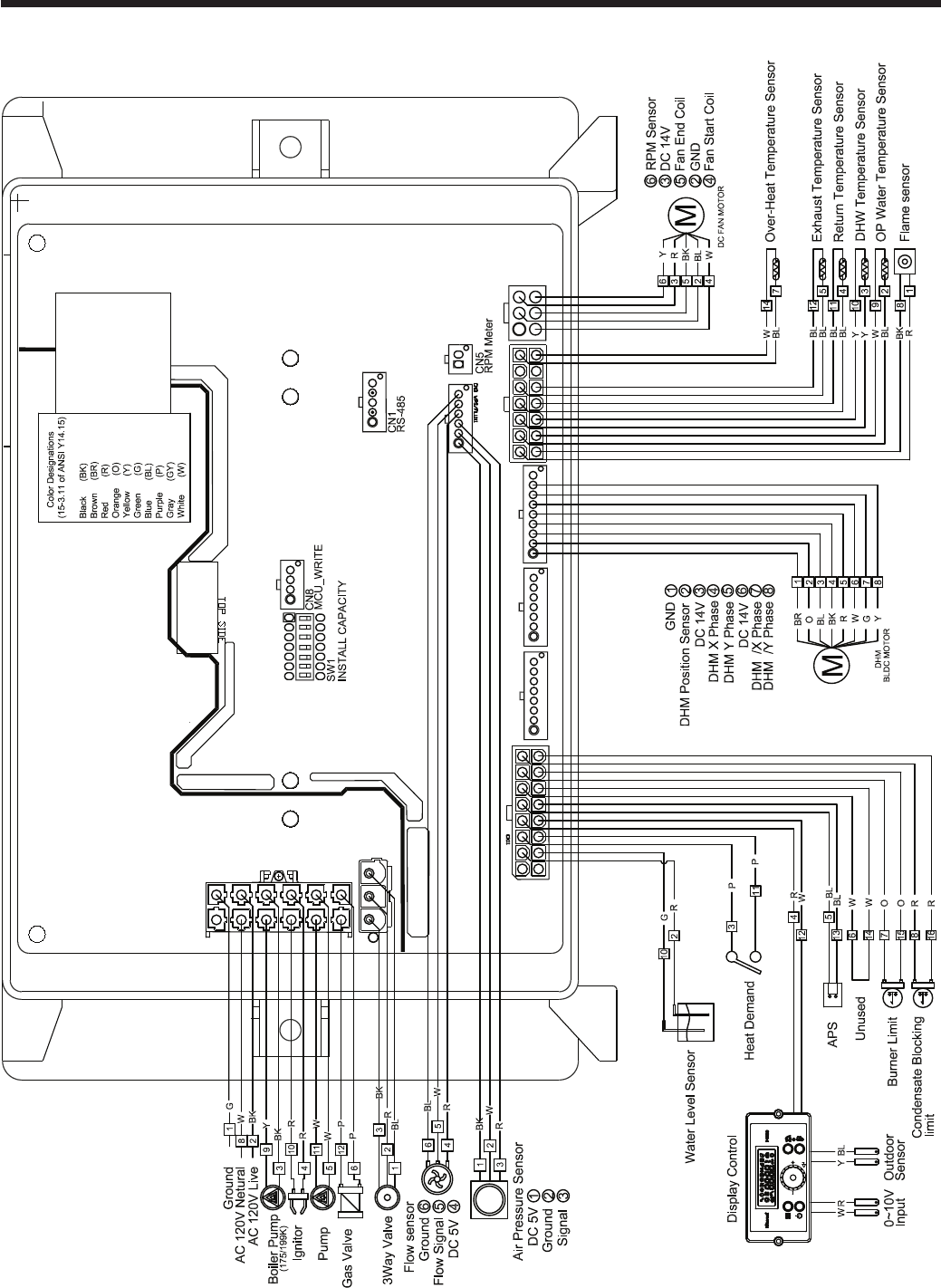
The FT Series Wall Mounted, Combination Boiler Page 19
The FT is standard as a Natural Gas Boiler and
must be converted if propane is the desired gas, unless
specically manufactured for propane.
Adequate drainage
• The appliance should be installed not to damage
the adjacent area. If such locations cannot be
avoided, it is recommended that a suitable drain
pan, adequately drained, be installed under the
appliance. The pan must not block combustion air
ow.
Connecting the Water Supply
• To conserve water and energy, insulate all water
piping—especially the hot and recirculation water
lines. Never cover the drain or pressure relief valve.
Having a backow preventer in the cold water
supply line will prevent thermal expansion
backow. Contact the water supplier or local
plumbing inspector for information about how to
control this situation.
If overheating occurs or the gas supply fails to shut
off, turn off the manual gas valve.
This installation must conform with below section
• “Air for Combustion and Ventilation” of the
National Fuel Gas Code, ANSI Z224.1/NFPA 54,
or Sections 8.2, 8.3 or 8.4 of Natural Gas and
Propane Installation Code, CAN/CSA B149.1, or
applicable provisions of the local building codes.
CAUTION
NOTICE
The instructions for the installation of the venting
system shall specify that the horizontal portions of
the venting system shall be supported to prevent
sagging; the methods of and intervals for support
shall be specied. These instructions shall also
specify that the venting system:
Category I, II and IV boilers must be installed so
that horizontal sections have a slope of at least ¼
inch per foot (21 mm/m) to prevent accumulation of
condensate; and
For Category II and IV boilers, where necessary,
have means provided for drainage of condensate.
AVIS
Les instructions d'installation du système
d'évacuation doivent préciser que les sections
horizontales doivent être supportées pour prévenir
le échissement. Les méthodes et les intervalles
de support doivent être spéciés. Les instructions
doivent aussi indiquer les renseignements suivants:
les chaudières de catégories I, II et IV doivent
présenter des tronçons horizontaux dont la pente
montante est d'au moins ¼ po par pied (21 mm/m)
entre la chaudière et l'évent; les chaudières de
catégories II et IV doivent être installées de façon à
empêcher l'accumulation de condensat;
et si nécessaire, les chaudières de catégories II et IV
doivent être pourvues de dispositifs d'évacuation du
condensat.

Page 20
Table 3. Required Exhaust Vent Material.
VENTING INSTALLATION STANDARDS
MATERIAL UNITED STATES CANADA
Stainless Steel UL 1738 Venting must be ULC-S636 certied for use as
PVC, sch 40 ANSI/ASTM D1785 venting material. The venting material must be chosen
CPVC, sch 40 ANSI/ASTM F441 based upon the intended application of the boiler.
Polypropylene UL1738 or ULC-S636
TheuetemperatureoftheFTchanges
dramatically with changes in operating water
temperature. Therefore, it is necessary to assess
the application of the boiler to determine the
requiredcertiedventclass.IftheFTisinstalled
in an application where the ambient temperature
is elevated, and/or installed in a closet/alcove,
CPVC, polypropylene, or stainless steel material is
required. If the system temperatures are unknown
at the time of installation, stainless, polypropylene
or CPVC material is recommended.
The FT is a Category IV appliance and may be
installed with PVC, CPVC or polypropylene that
complies with ULC-S636, ANSI/ASTM D1785 F441
(see Table 3) or a stainless steel venting system that
complies with UL 1738 Standard and ULC S636.
WARNING
Use of cellular core PVC (ASTM F891), cellular core
CPVC, or Radel® (polyphenolsulfone) in venting
systems shall be prohibited.
WARNING
Failure to use the appropriate vent material,
installation techniques, glues/sealants could lead to
vent failure causing property damage, personal injury
or death.
WARNING
All venting must be installed according to this manual
and any other applicable local codes, including but
not limited to, ANSI Z224.1/NFPA 54, CAN/CSA
B149.1 and ULC-S636. Failure to follow this manual
and applicable codes may lead to property damage,
severe injury, or death.
WARNING
Use of cellular core PVC (ASTM F891), cellular core
CPVC, or Radel® (polyphenolsulfone) in non-metallic
venting systems is prohibited and that covering non-
metallic vent pipe and ttings with thermal insulation is
prohibited.
NOTICE
DO NOT COMMON VENT FT UNITS.FT units are
never permitted to share a vent with Category I
appliances.
AVIS
NE PAS ÉVENT COMMUNE FT UNITÉS. FT
unités ne sont jamais autorisés à partager un
évent Catégorie I avec les appareils.
4.4 Venting (Exhaust)
INSTALLATIONS IN CANADA require the use of
ventingmaterialcertiedtoULCS636.AllGas
vents connected to the FT, plastic, stainless
steelorotherwisemustbecertiedtothisULC
standard. Appropriate selection of vent material is
very important for proper performance and safe
operation of the FT.
TheuetemperatureoftheFTchangesdramatically
with changes in operating water temperature.
Therefore, it is necessary to assess the application
oftheboilertodeterminetherequiredcertied
vent class. If the FT is installed in an application
where the outlet water temperature exceeds 145°F,
and/or installed in a closet, class IIB or higher vent
material is required. If the system temperatures
are unknown at the time of installation, class IIB or
higher venting material is recommended.
IN CANADA all venting used must meet the
following requirements:
1. ULC-S636certiedandmarked
2. Therst3feetofventingmustbeaccessible
for visual inspection.
3. All components used in the vent system must
befromacertiedmanufacturer.

The FT Series Wall Mounted, Combination Boiler Page 21
4.5 General Location Guideline
1. Vent system installation must be in accordance
with Local codes or, in the absence of local codes,
the National Fuel Gas Code, ANSI Z224.1 /NFPA
54 and/or CSA B149.1, Natural Gas and Propane
Installation Code.
2. The Boiler is designed to be installed as a Direct
Vent (sealed combustion) type. The air for
combustion must be supplied directly from the
outside to the burner. Also, the ue gases must be
vented directly to the outdoors (through wall or roof).
3. Do not install venting system components on the
exterior of building except as specically required by
these instructions
- Vent terminals must be at least 1 foot from any door,
window, or gravity inlet into the building.
- Maintain the correct clearance and orientation
between the vent and air intake terminals.
The vent and air intake terminals must be at the
same height and their center lines must be spaced
apart 12˝ minimum.
- The bottom of the vent and air intake terminal must
be at least 12˝ above the normal snow line. In no
case should they be less than 12˝ above grade
level.
WARNING
Failure to vent this Boiler in accordance with
these instructions could cause a re, resulting
in severe property damage, personal injury or
death.
Do not interchange vent systems or materials
unless it is specied.
The use of thermal insulation covering pipe and
ttings is prohibited.
Do not apply an electric damper, draft hood or
vent damper with this Boiler.
Do not locate vent termination where exposed
to prevailing winds. Moisture and ice may fall
on surface around vent termination. To prevent
deterioration, surface must be in good repair
(sealed, painted, etc.).
- Do not install the vent terminal directly over
windows or doors.
- Air intake terminal must not terminate in areas that
might contain combustion air contaminates, such
as near swimming pools.
- For sidewall venting, the minimum horizontal
distance between any adjacent individual Module
(Boiler) vent terminations is twelve (12) inches. It
is better to be far more than 12 inches for avoiding
frost damage to building surfaces where vent
terminations are placed.
- The minimum horizontal distance between any
adjacent individual module (boiler) roof vent
endpiece is one (1) foot.
4 . Vent system components must not be mixed
withalternatemanufacturerscertied
components and/or unlisted components.
5 . The venting must be installed according
to the vent manufacturers installation
instructions.
The unit’s vent can terminate through the roof, or
through an outside wall.
Vent pipe must pitch upward, toward the vent
terminal, not less than 1/4” per foot, so that
condensate will run back to the FT to drain. Route
vent pipe to the heater as directly as possible. Seal
all joints and provide adequate hangers as required
in the venting system manufacturer’s Installation
Instructions. Horizontal portions of the venting
system must be supported to prevent sagging and
may not have any low sections that could trap
condensate. The unit must not support the weight of
the vent pipe.

Page 22
4.6LocationsforVentPipeTerminator
Description US Direct Vent Instal-
lations
Canadian Direct Vent
Installations
AClearance above grade, veranda, porch, deck, or balcony 12 in (30 cm) 12 in (30 cm)
BClearance to window or door that may be opening 12 in (30 cm) 36 in (91 cm)
CClearance to permanently closed window * *
D
Vertical clearance to ventilated soft located above the terminal
within
a horizontal distance of 2 feet from the center line of the terminal
* *
EClearance to unventilated soft * *
FClearance to outside corner * *
GClearance to inside corner * *
HClearance to each side of center line extended above meter/
regulator assembly *
3 ft (91 cm) within a
height 15 ft (457 cm)
above the meter/
regulator assembly
IClearance to service regulator vent outlet * 3 ft (91 cm)
JClearance to non-mechanical air supply inlet to building or the
combustion air inlet to any other appliance 12 in (30 cm) 36 in (91 cm)
KClearance to a mechanical air supply inlet
3 ft (91 cm) above if
within 10 ft (3 m) hori-
zontally
6 ft (1.83 m)
LClearance above paved sidewalk or paved driveway located on
public property * 7 ft (2.13 m)
MClearance under veranda, porch, deck, or balcony * 12 in (30 cm)
* For clearances not specied in ANSI Z224.1 / NFPA 54 or CAN/CSA-B 149.1, please use clearances in
accordance with local installation codes and the requirement of the gas supplier.
4.6.1DirectVentingClearances
Table 4. Direct Vent Clearances

The FT Series Wall Mounted, Combination Boiler Page 23
Description US Non-Direct Canadian Non-Direct
AClearance above grade, veranda, porch, deck, or balcony 12 in (30 cm) 12 in (30 cm)
BClearance to window or door that may be opening
48 in (120 cm) below
or to side of opening;
12 in (30 cm) above
opening
36 in (91 cm)
CClearance to permanently closed window * *
D
Vertical clearance to ventilated soft located above the terminal
within a horizontal distance of 2 feet from the center line of the
terminal
* *
EClearance to unventilated soft * *
FClearance to outside corner * *
GClearance to inside corner * *
HClearance to each side of center line extended above meter/
regulator assembly *
36 in (91 cm) within a
height 15 ft (4.57 m)
above the meter/ regu-
lator assembly
IClearance to service regulator vent outlet * 36 in (91 cm)
JClearance to non-mechanical air supply inlet to building or the
combustion air inlet to any other appliance
48 in (120 cm) below
or to side of opening;
12 in (30 cm) above
opening
36 in (91 cm)
KClearance to a mechanical air supply inlet
36 in (91 cm) above
if within 10 ft (3 m)
horizontally
6 ft (1.83 m)
LClearance above paved sidewalk or paved driveway located on
public property * 7 ft (2.13 m)
MClearance under veranda, porch, deck, or balcony * 12 in (30 cm)
4.6.2Non-DirectVenting(SinglePipe)Clearances
Table 5. Non-Direct Vent Clearances

Page 24
4.6.3VentingRequirementsinthe
Commonwealth of Massachusetts
In Massachusetts the following items are required if
the side-wall exhaust vent termination is less than
seven (7) feet above nished grade in the area
of the venting, including but not limited to decks
and porches. From Massachusetts Rules and
regulations 248 CMR 5.08
1. Installation of Carbon Monoxide Detectors
At the time of installation of the side wall
vented gas fueled appliance, the installing plumber
or gastter shall observe that a hard-wired carbon
monoxide detector with an alarm battery back-up is
installed on the oor level where the gas appliance
is to be installed. In addition, the installing plumber
or gastter shall observe that a battery operated or
hard-wired carbon monoxide detector with an alarm
is installed on each additional level of the dwelling,
building or structure served by the side-wall
horizontally vented gas fueled equipment. It shall
be the responsibility of the property owner to secure
the services of qualied licensed professionals
for installation of hard-wired carbon monoxide
detectors.
a. In the event that the side-wall horizontally
vented gas fueled equipment is installed in a crawl
space or an attic, the hard-wired carbon monoxide
with alarm and battery back-up may be installed on
the next adjacent oor level.
b. In the event that the requirements of the
subdivision cannot be met at the time of completion
of installation, the owner shall have a period of thirty
(30) days to comply with the above requirements,
provided, however, that during said thirty (30) day
period, a battery operated carbon monoxide detector
with an alarm be installed.
2. Approved Carbon Monoxide Detectors
Each carbon monoxide detector shall comply
with NFPA 720 and be ANSI/UL 2034 listed and IAS
certied.
3. Signage. A metal or plastic identication plate
shall be permanently mounted to the exterior of
the building at a minimum height of eight (8) feet
above grade directly in line with the exhaust vent
terminal for horizontally vented gas fueled heating
appliance or equipment. The sign shall read, in
print no less than one-half (1/2) inch in size: “GAS
VENT DIRECTLY BELOW, KEEP CLEAR OF ALL
OBSTRUCTIONS”.
4. Inspection The state or local gas inspector of
the side-wall horizontally vented gas fueled appliance
shall not approve the installation unless, upon
inspection, the inspector observes carbon monoxide
detectors and signage installed in accordance with the
provisions of 248 CMR 5.08(2)(a) 1-4.

The FT Series Wall Mounted, Combination Boiler Page 25
NOTICE
At the time of removal of an existing boiler, the following steps
shall be followed with each appliance remaining connected to
the common venting system placed in operation, while the other
appliances remaining connected to the common venting system
are not in operation.
1. Seal any Not Used openings in the common venting system.
2. Visually inspect the venting system for proper size and
horizontal pitch and determine there is no blockage or
restriction, leakage, corrosion and other deciencies which
could cause an unsafe condition.
3. Insofar as is practical, close all building doors and windows
and all doors between the space in which the appliances
remaining connected to the common venting system are
located and other spaces of the building. Turn on clothes
dryers and any appliance not connected to the common
venting system. Turn on any exhaust fans, such as range
hoods and bathroom exhausts, so they will operate at
maximum speed.
4. Place in operation the appliance being inspected. Follow the
lighting instructions. Adjust thermostat so the appliance will
operate continuously.
5. Operate the main burner for 5 minutes then, determine if the
cut-draw overows to the discharge opening. Use the ame
of a match or a candle or the smoke of a cigarette, a cigar or
a pipe
6. Once it has been determined, according to the method
indicated above, that each device connected to the drainage
system is placed in the open air in an adequate manner.
Install the doors and windows, fans, the registers of chimneys
and gas appliances to their original position
7. Any malfunction of the venting system should be corrected so
that the installation conforms to the National Fuel Gas Code,
ANSI Z223.1/NFPA 54 and (or) the installation codes CAN/
CSA-B149.1. If the size of a section of the evacuation system
must be changed, the system should be modied to comply
with the minimum values of the relevant tables of appendix F
of the National Fuel Gas Code, ANSI Z223.1/NFPA 54 and
(or) the installation codes CAN/CSA-B149.1
Common Vent Test
NOTE: This section does not describe a method for
common venting FT units. It describes what must
be done when an existing unit is removed from a
common vent system. AVIS
Au moment du retrait d'une chaudière existante, les mesures
suivantes doivent être prises pour chaque appareil toujours raccordé
au système d'évacuation commun et qui fonctionne alors que
d'autres appareils toujours raccordés au système d'évacuation ne
fonctionnent pas:
1. Sceller toutes les ouvertures non utilisées du système
d'évacuation.
2. Inspecter de façon visuelle le système d'évacuation pour
déterminer la grosseur et l'inclinaison horizontale qui conviennent
et s'assurer que le système est exempt d'obstruction,
d'étranglement, de fuite, de corrosion et autres défaillances qui
pourraient présenter des risques.
3. Dans la mesure du possible, fermer toutes les portes et les
fenêtres du bâtiment et toutes les portes entre l'espace où les
appareils toujours raccordés au système d'évacuation sont
installés et les autres espaces du bâtiment. Mettre en marche
les sécheuses, tous les appareils non raccordés au système
d'évacuation commun et tous les ventilateurs d'extraction comme
les hottes de cuisinière et les ventilateurs des salles de bain.
S'assurer que ces ventilateurs fonctionnent à la vitesse maximale.
Ne pas faire fonctionner les ventilateurs d'été. Fermer les registres
des cheminées.
4. Mettre l'appareil inspecté en marche. Suivre les instructions
d'allumage. Régler le thermostat de façon que l'appareil fonctionne
de façon continue.
5. Faire fonctionner le brûleur principal pendant 5 min ensuite,
déterminer si le coupe-tirage déborde à l'ouverture de décharge.
Utiliser la amme d'une allumette ou d'une chandelle ou la fumée
d'une cigarette, d'un cigare ou d'une pipe.
6. Une fois qu'il a été déterminé, selon la méthode indiquée ci-
dessus, que chaque appareil raccordé au système d'évacuation
est mis à l'air libre de façon adéquate. Remettre les portes et
les fenêtres, les ventilateurs, les registres de cheminées et les
appareils au gaz à leur position originale.
7. Tout mauvais fonctionnement du système d'évacuation commun
devrait être corrigé de façon que l'installation soit conforme au
National Fuel Gas Code, ANSI Z223.1/NFPA 54 et (ou) aux codes
d'installation CAN/CSA-B149.1. Si la grosseur d'une section
du système d'évacuation doit être modiée, le système devrait
être modié pour respecter les valeurs minimales des tableaux
pertinents de l'appendice F du National Fuel Gas Code, ANSI
Z223.1/NFPA 54 et (ou) les codes d'installation CAN/CSA-B149.1
NOTICE
DO NOT COMMON VENT FT UNITS.FT units are
never permitted to share a vent with Category I
appliances.
AVIS
NE PAS ÉVENT COMMUNE FT UNITÉS. FT unités
ne sont jamais autorisés à partager un évent
Catégorie I avec les appareils.

Page 26
4.7 Air Supply and Vent Connections at the Appliance
4.7.2 Direct Venting
The boiler uses 3˝ or 2˝ diameter exhaust and 3˝
or 2˝diameter intake air ducts. To ensure the draw
of air directly from and exhaust of air directly to the
outside of the building, create an airtight seal from
the boiler collar to the vent termination.
(For installations in Canada) eld-supplied plastic
vent piping must comply with CAN/CSA B149.1
(latest edition) and be certied by the Standard
For Type BH Gas Venting Systems, ULC-S636.
Components of this listed system must not be
interchanged with other vent systems or unlisted
pipes or ttings. All plastic components and
specied primers and glues of the certied vent
system must be from a single system manufacturer
and must not be intermixed with another system
manufacturer’s parts.
Tightening — Boiler Collar (Socket) to Vent
Pipe & Inlet Pipe
- Clean and dry your selected PVC, CPVC vent
pipe and boiler collar (socket).
- You can select to the size of vent pipe(2˝ & 3˝),
according to the installation conditions.
- Push the pipe into the collar (socket) until it
touches the bottom of the socket tting.
- For 2” installations, install a eld supplied 3” to
2” adaptor. Adaptor must be installed in vertical
section of piping only.
Combination Boiler Model 3˝ Combustion Air / Vent Pipe 2˝ Combustion Air / Vent Pipe
Max Elbow Max Max Elbow Max
FTCW140/199 100´ (30M) 6 50´
*
(15M
*
)4
Table6. Maximum Vent / Air Pipe Lengths for either 3” or 2 “ Pipes
2” pipe connected, using an adapter
3” to 2”
adapter
is NOT
included.
3” pipe
4.7.1 Vent / Air Pipe Lengths
NOTE : For additional elbows, reduce maximum allowable length
• 5 feet (1.5M) for each additional 3-inch 90-degree elbow
• 2.5 feet (0.75M) for each additional 3-inch 45-degree elbow
• 8 feet (2.4M) for each additional 2-inch 90-degree elbow
• 4 feet (1.2M) for each additional 2-inch 45-degree elbow
•Thethicknessofthewallventsinstalled:Min4˝~Max20˝
NOTE: When using a 2” vent pipe, DIP Switch 4 must be in the OFF position.
For 3” Pipe vent, the default setting for DIP 4 is ON.
Refer to Section 4.19
Boiler model 3˝ Combustion Air / Vent Pipe 2˝ Combustion Air / Vent Pipe
Max Elbow Max Max Elbow Max
MFTHW (all sizes) 100´ (30M) 6 50´
*
(15M
*
)4
*Propane models are limited to 25 equivalent feet of 2” vent

The FT Series Wall Mounted, Combination Boiler Page 27
4.7.3 Indoor Combustion Air
Read and Follow Sections 4.3 Guidelines First.
1. Insert the termination end cap into the intake air duct.
2. Provide two openings to allow for circulation of
combustion air as specied by ANSI Z224.1/NFPA 54.
In Canada refer to CAN/CSA B-149.1
NOTE: The FT needs fresh air for safe operation and
must be installed so there are provisions for
adequate combustion and ventilation air.
Model FTCW140 FTCW199
Maximum Input (BTU/H) 140,000 199,000
Indoor make up air is provided, a minimum
free area of 1 in 2 per 1,000 BTU/H
140 in2 13 1/4"
(W) x 13 1/4" (H)
199 in2 13 1/4"
(W) x 13 1/4" (H)

Page 28
Horizontal Vent Termination (cont)
• Direct Vent - Optional Sidewall
Snorkel Terminations
4.8 Vent / Air Pipe Termination
Note : For using pipe more than 1 elbow,
reduce maximum allowable length
• 5 feet (1.5M) for each additional 3-inch
90-degree elbow
• 2.5 feet (0.75M) for each additional 3-inch
45-degree elbow
• 8 feet (2.4M) for each additional 2-inch
90-degree elbow
• 4 feet (1.2M) for each additional 2-inch
45-degree elbow
• The thickness of the wall vents installed : Min
4˝ ~ Max 20˝
• Direct Vent - Sidewall Terminations
Horizontal Vent Termination
Vent Termination
1. Rodent Screen Installation
• Install Rodent Screen and Vent Terminal
(additional purchase), see Figure for appropriate
conguration.
• After connecting vent/air inlet terminal, it is
required to install screen for the terminal to
prevent incoming of rodent, which might cause
damage to the unit. (Extra purchase accessory
2/3˝ screen vent 1/4˝ mesh)

The FT Series Wall Mounted, Combination Boiler Page 29
Vertical Vent Termination
• Direct Vent - Vertical Terminations
with Sloped Roof
Concentric Vent Termination
• Direct Vent - Optional Horizontal
and Vertical Concentric Vent
Side wall Vent
(2"or 3")
Side wall Vent
(2"or 3")
Roof Vent
(2"or 3")
4.8 Vent Pipe Termination (cont)

Page 30
WARNING:
Open ame can cause gas to ignite and result in
property damage, severe injury, or loss of life.
NOTE: The FT appliance and all other gas appliances
sharing the gas supply line must be ring at maximum
capacity to properly measure the inlet supply pressure.
The pressure can be measured at the supply pressure
port on the gas valve. Low gas pressure could be an
indication of an undersized gas meter, undersized gas
supply lines and/or an obstructed gas supply line.
SCHED 40 METAL PIPE CAPACITY FOR 1.50 SPECIFIC GRAVITY
UNDILUTED PROPANE
NOMINAL PIPE SIZE @ 11" W.C. INLET AND 0.5" W.C. PRESSURE DROP
SIZE 1/2" 3/4" 1"
LENGTH MAXIMUM CAPACITY IN THOUSANDS OF BTU PER
HOUR
20 200 418 787
40 137 287 541
60 - 231 434
80 - 197 372
100 - 175 330
NOTES: 1. Follow all local and national propane gas codes for line sizing and
equipment requirements. 2. Verify that inlet gas pressure remains between
4 and 13 inches of water column before and during operation.
Source: ANSI Z223.1-80 National Fuel Gas Code.
Table 7. Nominal Pipe Size, Propane
SCH40METALPIPECAPACITYFOR0.60SPECIFICGRAVITYNATURALGAS
NOMINAL PIPE SIZE @ 0.30" W.C. PRESSURE DROP
LENGTH 3/4" 1"
FT CUBIC FEET OF GAS PER HOUR
20 190 350
40 130 245
60 105 195
80 90 170
100
Table 8. Nominal Pipe Size, Natural Gas
4.9 Gas Supply and Piping
Gas piping should be supported by suitable hangers or
oor stands, not the appliance.
Review the following instructions before proceeding with
the installation.
1. Verify that the appliance is tted for the proper type
of gas by checking the rating plate. FT will function
properly at elevations up to 10,000 feet
(3050 m). Refer to Section 4.12 for High Altitude
Settings.
2. The maximum inlet gas pressure must not exceed
13" W.C. (3.2kPa). The minimum inlet gas pressure
is 3.5" W.C. (1.0kPa).
3. Refer to Table 8, Table 7 and Table 9 to size piping.
4. Run gas supply line in accordance with all
applicable codes.
5. Locate and install manual shutoff valves in
accordance with state and local requirements.
6. A sediment trap must be provided upstream of the
gas controls.
7. All threaded joints should be coated with piping
compound resistant to action of liqueed petroleum
gas.
8. The appliance and its individual shutoff valve
must be disconnected from the gas supply piping
during any pressure testing of that system at test
pressures in excess of 1/2 PSIG (3.45kPa).
9. The unit must be isolated from the gas supply
system by closing its individual manual shutoff valve
during any pressure testing of the gas supply piping
system at test pressures equal to or less than 1/2
PSIG (3.45kPa).
10. The appliance and its gas connection must be leak
tested before placing it in operation.
11. Purge all air from gas lines.
EQUIVALENT LENGTHS OF STRAIGHT PIPE FOR TYPICAL SCH 40 FITTINGS
NOMINAL PIPE SIZE
FITTING 1/2" 3/4" 1"
LINEAR FEET
90° ELBOW 3.6 4.4 5.2
TEE 4.2 5.3 6.6
Table 9. Equivalent Pipe Lengths
CAUTION
PRV (included) must be installed immediately at the
top of boiler outlet to PRV, with no valves between.
Refer to Section 4.15
__________________________________________
ATTENTION
PRV (inclus) doit être installé immédiatement en haut
de la chaudière sortie de PRV, sans les vannes entre.
Se reporter à la Section 4.15
__________________________________________

The FT Series Wall Mounted, Combination Boiler Page 31
The gas connection tting is,
3/4” female NPT on FTCW140 models
3/4” female NPT on FTCW199 models
The supply line must be sized for the maximum
output of the combination boiler model being
installed. If there are additional gas appliances
from the main supply line, you must measure
sizes of the supply line according to the
COMBINED total maximum BTUH draw for the
appliances as if they were all operating at the
same time.
Measure the length of the gas supply line from
the gas meter to the Combination boiler.
Use the tables in this manual or refer to the gas
line manufacturers sizing information to determine
the correct supply pipe size.
CLOSED POSTION
UNION FITTING
MANUAL SHUT OFF VALVE
GAS PIPE
Gas Line Valve Detail
The gas shut-off valve in the gas supply line should
be installed close to the unit.
To facilitate any future maintenance, it is also
recommended that an approved gas union tting
be installed in the supply line between the shut-off
valve and the 3/4˝ female NPT connection on the
Combination boiler.
1) Install an approved gas line pipe to gas line
connection under the Combination boiler.
Include manual shut off valve and gas union
connection, as shown.
2) Test gas pressure to make sure it meets the
minimum standards and does not exceed
the maximum standards for the combination
boiler.
3) Leak test the gas line pipe before placing the
unit in operation. Use approved leak detector
liquid solutions only to check for leaks.
Do Not Operate the combination boiler until all
connections have been completed, checked for
leaks, and the heat exchanger is lled with water.
4.9 Gas Supply and Piping (cont)

Page 32
4.9 Gas Supply and Piping (cont)
The combination boiler must be installed downstream of the gas meter for adequate gas supply.
The gas piping must not be less than 1/2” for FTCW140 models and 3/4” female NPT on FTCW199 mod-
els.
Suggested Propane Gas (LP) Layout
SECTION 4. Installation
Suggested Natural Gas (NG) Layout

The FT Series Wall Mounted, Combination Boiler Page 33
FTCW199
4.10 Gas Supply Pressure
Refer to the illustration.
The appliance and its individual shut-off valve must be disconnected from the gas supply piping system during any
pressure testing of the system at test pressures in excess of 1/2 psi (3.5 kPa).
The appliance must be isolated from the gas supply piping system by closing its individual manual shutoff valve
during any pressure testing of the gas supply piping system at test pressures equal to or less than 1/2 psi (3.5 kPa).
Loosen the pressure port bolts before you check the gas inlet pressure.
SECTION 4. Installation
Inlet Gas Pressure Port
Inlet Gas Pressure Port
FTCW140
Offset Adjustment.
Do Not Adjust without using a combustion analyzer
to verify adjustment. Adjust ONLY when in MIN
Fire and when using a combustion analyzer.
See Section 4.13 for step by step details.
Offset Adjustment.
Do Not Adjust without using a combustion
analyzer to verify adjustment. Adjust
ONLY when in MIN Fire and when using a
combustion analyzer.
See Section 4.13 for step by step details.
Gas Outlet Pressure Port
Gas Outlet Pressure Port
CAUTION
The Maximum and Minimum
gas line pressures must be
LP Gas Natural Gas
Maximum Pressure 13.0" WC Maximum Pressure 10.5" WC
Minimum Pressure 8.0" WC Minimum Pressure 3.5" WC

Page 34
800.900.9276 • Fax 800.559.1583 (Customer Service, Service Advisors)
20 Industrial Way, Rochester, NH 03867 • 603.335.6300 • Fax 603.335.3355 (Applications Engineering)
1869 Sismet Road, Mississauga, Ontario, Canada L4W 1W8 • 905.238.0100 • Fax 905.366.0130
www.Laars.com
Document 4288D
The FT Series, Wall Combi, Gas Conversion Kit
pg 4 of 4
Figure F (Conversion label)
This unit was converted on ____/____/___to _____gas
with kit #____________by______________________
(name and company __________________________
accountable)_________________________________
___________________________________________
Cette unité a été converti ____/____/____ten ______gaz
en utilisant le kit numéro _____ par______________
(nom et société_________________________________
responsable)___________________________________
_____________________________________________
CO2 value Natural Gas (NG) Propane Gas (LP)
2˝ VENT 3˝ VENT 2˝ VENT 3˝ VENT
FTCW (ALL Sizes) MAX FIRE 8.5 - 10.5% 9.5 - 11%
MIN FIRE 8 - 10% 9 - 10.5 %
NOTE: Installer is required to verify combustion settings as part of the installation process.
CO should not exceed 200 ppm.
H2373800D
Manifold pressure ‘NG’ type combustibility ‘LP’ type combustibility
2"/3" VENT 2"/3" VENT
FTCW140
MAX FIRE -0.216
"
WC -0.216
"
WC
MIN FIRE 0.002
"
WC 0.079
"
WC
FTCW199
MAX FIRE -0.314
"
WC -0.173
"
WC
MIN FIRE -0.015
"
WC -0.015
"
WC
21. It may be necessary to go back and forth between HI Fire and LOW Fire several times (and making
adjustments only at LOW Fire), before CO2 at both are within acceptable levels. Be sure to put the
adjustment port cap screw back onto the valve when done.
22. Once the CO2 and manifold pressure measurements for both MIN and MAX Fire are acceptable per
Table C, set DIP switches 6 and 7 to the OFF position for Nominal Fire (normal operation).
23. Write in the correct Conversion Date and the Technicians Name to the included gas conversion
sticker. See Figure F. Then apply that sticker adjacent to the rating plate.
24. Remove your combustion analyser from the Test Port and be sure to thread the Test Port plug back
into position.
25. Re-connect outdoor reset if it was disconnected, put the boiler cover back on and assemble/tighten
the 4 screws that hold the cover in place.
Table C
Table D
4.11 Gas Setup and Adjustment
For the Step by step process to measure CO2 values on the FT Section 4.13 of this
Installation Manual.
Table 10. CO2 Values
Table 11. Manifold Pressures
WARNING
Installer is required to verify combustion settings as part of
the installation process.
Standard Factory Setting is for MAX Fire. 9.0%
CO2 @ 0-2,000 ft altitude (Natural Gas).
SECTION 4. Installation

The FT Series Wall Mounted, Combination Boiler Page 35
4.12 High Altitude Installations. 2,000’ to 10,000’
# Altitude of Installation
0 0~1999 ft (0~609 m)
1 2,000~4,499 ft (610~1,645 m)
2 4,500~7,699 ft (1,646~2,346 m)
4 7,700~10,000 ft (2,347~3,048 m)
1. With the Power turned OFF, press the 'Modes
button' for 5 seconds to get into the Installer
Parameters Mode.
2. Turn the dial (E) until ‘28:HA’ appears.
3. Press the dial (E).
4. Set the high altitude value by turning the dial.
Refer to table.
5. Press the dial again (E) to save the setting.
6. Press the ‘Modes button’ for one second, to
Save the number and to go back to initial status.
The FT is shipped with a default factory setting for installation at an
altitude of 0 to 2000’ (approx). For maximum efciencies at higher
altitudes (2,000’ to 10,000’), the FT does have an adjustment in the
Installer Parameters Mode.
Follow these instructions if your installation is at 2,000’ - 10,000’.

Page 36
4.13 Natural Gas to Propane Conversion Kit Document #4288
800.900.9276 • Fax 800.559.1583 (Customer Service, Service Advisors)
20 Industrial Way, Rochester, NH 03867 • 603.335.6300 • Fax 603.335.3355 (Applications Engineering)
1869 Sismet Road, Mississauga, Ontario, Canada L4W 1W8 • 905.238.0100 • Fax 905.366.0130
www.Laars.com
Document 4288D
The FT Series, Wall Combi, Gas Conversion Kit
pg 1 of 4
The FT Series, wall combi, condensing boiler is
con gured for Natural Gas (NG) from the factory.
A Natural Gas to Propane Conversion Kit is included
with every FT. The gas conversion kit will show you
how to convert your FT boiler to propane gas. If your
FT does not have the bag containing the conversion
kit, a replacement kit can be obtained. Contact the
manufacturer and request a replacement conversion kit.
NOTICE
If your installation altitude is greater than 2000 ft, check
that the ‘High Altitude’ Installer Setting has been adjusted
to suit your installation altitude. Refer to Section 4.12 of the
Installation and Operation Instructions (Document 1318).
WARNING
This gas conversion kit shall be installed by a quali ed
service agency in accordance with the manufacturer’s
instructions and all applicable codes and requirements of
the authority having jurisdiction. The information in these
instructions must be followed to minimize the risk of re or
explosion or to prevent property damage, personal injury
or death. The quali ed service agency is responsible for
the proper installation of this kit. The installation is not
proper and complete until the operation of the converted
appliance is checked as speci ed in the manufacturer’s
instructions supplied with the kit.Installation must conform
to local codes and the latest edition of the National Fuel
Gas Code, ANSI Z223.1 and CAN-B149.1. Failure to
follow instructions could result in serious injury or property
damage. The quali ed agency performing this work
assumes responsibility for gas conversion.
CAUTION
This combination boiler has already been set to burn natural
gas, but can be converted to burn LP gas. Before placing the
combination boiler into operation, verify that the type of gas
supplied to your combination boiler.
Steps 1 thru 25
1.
Turn OFF the FT. The ON / OFF button is located at
the bottom left of the Control Display.
2.
Turn OFF the GAS and WATER supply to the FT (valves
are located on the plumbing pipes.)
3.
Using a Phillips screwdriver, remove the 4 screws on the
front cover. See Figure A.
4. Locate the Gas Inlet Pipe at the top left of the unit as
shown in Figure A, and loosen the Brass Fittings at both
ends of the Gas Inlet Pipe.
5. Completely unthread the brass tting on the blower end of
the Gas Inlet Pipe and then carefully swing the Gas Inlet
Pipe to the left or right, just enough so that it is out of the
way. See Figure B.
6. Remove the existing natural gas nozzle or ori ce. If your
unit is a 199, note that the at side of the ori ce is towards
the blower. Save the packing for re-use. See Figure C.
7. Install the new LP (propane) nozzle or ori ce. Re-use the
packing from previous.
8. Return the Gas Inlet Pipe to its original position and tighten
both of the brass ttings.
ON / OFF
H2373800D
Model Natural Gas (NG) part # Propane Gas (LP) part #
FTCW140 FT1412N FT1412P
FTCW199 FT1780 FT1802
Nozzle
Orice
Kit # R20770
Table A. Gas Conversion Parts
SECTION 4. Installation

The FT Series Wall Mounted, Combination Boiler Page 37
800.900.9276 • Fax 800.559.1583 (Customer Service, Service Advisors)
20 Industrial Way, Rochester, NH 03867 • 603.335.6300 • Fax 603.335.3355 (Applications Engineering)
1869 Sismet Road, Mississauga, Ontario, Canada L4W 1W8 • 905.238.0100 • Fax 905.366.0130
www.Laars.com
Document 4288D
The FT Series, Wall Combi, Gas Conversion Kit
pg 2 of 4
WARNING
This conversion shall be installed by a quali ed
service agency in accordance with the manufacturer's
instructions and all applicable codes and requirements
of the authority having jurisdiction. If the information
in these instructions is not followed exactly, a re,
an explosion or production of carbon
monoxide may result causing property
damage, personal injury or loss of
life. The quali ed service agency is
responsible for the proper and complete
installation of this kit. The installation is
not proper and complete until the operation of the
converted appliance is checked as speci ed in the
manufacturer's instruction supplied with the kit.
Figure C
Figure A
AVERTISSEMENT
Ce conversion doit être installé par un organisme de
service conformément aux instructions du fabricant
et tous les codes et les exigences de l’autorité
compétente. Si les informations contenues dans ces
instructions n’est pas suivi à la lettre, un incendie,
une explosion ou de la production de monoxyde
de carbone mais résultat causant des dommages
matériels, des blessures ou des pertes de vie. Le
service est responsable pour la bonne et complète
l’installation de ce kit. L’installation n’est pas correcte
et complète jusqu’à ce que le fonctionnement de
l’appareil converti est véri ée comme spéci é dans
le manuel d’instruction fourni avec le kit.
Figure B
Gas Valve
Gas Valve
ORIFICE
PACKING
FTCW140
FTCW199
Figure C
Figure B
Gas Valve
Combustion
Test Port
4.13 Natural Gas to Propane Conversion
SECTION 4. Installation

Page 38
800.900.9276 • Fax 800.559.1583 (Customer Service, Service Advisors)
20 Industrial Way, Rochester, NH 03867 • 603.335.6300 • Fax 603.335.3355 (Applications Engineering)
1869 Sismet Road, Mississauga, Ontario, Canada L4W 1W8 • 905.238.0100 • Fax 905.366.0130
www.Laars.com
Document 4288D
The FT Series, Wall Combi, Gas Conversion Kit
pg 3 of 4
Gas Valve
Adjustment Port
+
+
-
-
Gas Valve
Adjustment Port
Figure D
Table B DIP Switch Settings
9.
Per Table B, set DIP Switch 5 to OFF for LP Propane.
10. Turn ON the GAS and WATER supply to the FT.
11. Turn ON the FT.
12.
Connect a manometer to the manifold pressure port. For dual port manometers, use the positive pressure
side. Check for proper manifold gas pressure. Refer to Table D.
13.
Establish a call for heat. You may need to disconnect the outdoor reset if you are making this gas conversion
during warm weather.
14. Setup your combustion analyser and place the sensor into the combustion test port
15.
Per Table B for Max Fire, change dip switch 6 to ON and 7 to OFF. The unit will cycle up to MAX re.
16.
WAIT for your combustion analyser to stabilize. This may take up to 3 minutes depending on your
combustion analyser. Then check the CO2 measurement for MAX re. Refer to Table C for acceptable MAX
re combustion readings Do NOT attempt to adjust CO2 at MAX Fire. ONLY in MIN Fire,
so...
17.
Per Table B for MIN Fire, change dip switch 6 to OFF and 7 to ON. The unit will cycle down to MIN Fire.
18.
WAIT for your combustion analyser to stabilize. Then check the CO2 measurement for MIN re. Refer to
Table C for acceptable MIN re combustion readings
19.
Open the Gas Valve Adjustment Port by removing the cap screw with a 4mm Allen wrench.
20.
Then use the 4 mm Allen wrench to make a minor adjustment (1/8 turn) to either increase or decrease CO2.
Figure E
MBH N/A 140 N/A 199
ON OFF
MIN Fire Normal Operation
MAX Fire Normal Operation
NG Natural LP Propane
3” Vent Size 2” Vent Size
ON OFF ON ON
ON OFF OFF ON
OFF ON ON ON
DO
NOT
CHANGE
REFERENCE
ONLY.
FTCW140 FTCW199
4.13 Natural Gas to Propane Conversion
SECTION 4. Installation

The FT Series Wall Mounted, Combination Boiler Page 39
800.900.9276 • Fax 800.559.1583 (Customer Service, Service Advisors)
20 Industrial Way, Rochester, NH 03867 • 603.335.6300 • Fax 603.335.3355 (Applications Engineering)
1869 Sismet Road, Mississauga, Ontario, Canada L4W 1W8 • 905.238.0100 • Fax 905.366.0130
www.Laars.com
Document 4288D
The FT Series, Wall Combi, Gas Conversion Kit
pg 4 of 4
Figure F (Conversion label)
This unit was converted on ____/____/___to _____gas
with kit #____________by______________________
(name and company __________________________
accountable)_________________________________
___________________________________________
Cette unité a été converti ____/____/____ten ______gaz
en utilisant le kit numéro _____ par______________
(nom et société_________________________________
responsable)___________________________________
_____________________________________________
CO2 value Natural Gas (NG) Propane Gas (LP)
2˝ VENT 3˝ VENT 2˝ VENT 3˝ VENT
FTCW (ALL Sizes) MAX FIRE 8.5 - 10.5% 9.5 - 11%
MIN FIRE 8 - 10% 9 - 10.5 %
NOTE: Installer is required to verify combustion settings as part of the installation process.
CO should not exceed 200 ppm.
H2373800D
Manifold pressure ‘NG’ type combustibility ‘LP’ type combustibility
2"/3" VENT 2"/3" VENT
FTCW140
MAX FIRE -0.216
"
WC -0.216
"
WC
MIN FIRE 0.002
"
WC 0.079
"
WC
FTCW199
MAX FIRE -0.314
"
WC -0.173
"
WC
MIN FIRE -0.015
"
WC -0.015
"
WC
21. It may be necessary to go back and forth between HI Fire and LOW Fire several times (and making
adjustments only at LOW Fire), before CO2 at both are within acceptable levels. Be sure to put the
adjustment port cap screw back onto the valve when done.
22. Once the CO2 and manifold pressure measurements for both MIN and MAX Fire are acceptable per
Table C, set DIP switches 6 and 7 to the OFF position for Nominal Fire (normal operation).
23. Write in the correct Conversion Date and the Technicians Name to the included gas conversion
sticker. See Figure F. Then apply that sticker adjacent to the rating plate.
24. Remove your combustion analyser from the Test Port and be sure to thread the Test Port plug back
into position.
25. Re-connect outdoor reset if it was disconnected, put the boiler cover back on and assemble/tighten
the 4 screws that hold the cover in place.
Table C
Table D
4.13 Natural Gas to Propane Conversion
SECTION 4. Installation

Page 40
4.14 Plumbing Guidelines
External Plumbing and Water Connection
Guidelines
- Ensure pipe material meets local codes and
industry standards.
- The pipe end must be clean and free of debris.
- Do not apply torch heat within 12˝ of the bottom
connections of the unit.
- The size of the DHW pipe should be 3/4˝
diameter and central heating water pipe should
be 1˝ diameter.
- Isolation valves(Shutoff valve) will be used.
- All piping should be insulated.
Applicable Backow Preventer
- Apply a backow preventer valve in the DHW
supply inlet (water Inlet) to the unit as required by
local codes.
Use at least the MINIMUM pipe size for the entire
boiler loop piping (connecting boiler to and from
the primary/secondary connection). Use only
primary/secondary piping as shown.
Failure to follow these guidelines could result in
system problems.
CH pipe minimum size : 1˝
DWH pipe minimum size : 3/4˝
CAUTION
SECTION 4. Installation
DHW INLET
DHW OUTLET
Circulation pump
Check valve
Drain valve
Gate valve
Backflow preventer
Pressure Relief Valve
Expansion tank
Air separator
(Diaphragm-type)
Automatic air vent
TO DRAIN
TO DRAIN

The FT Series Wall Mounted, Combination Boiler Page 41
4.14 Plumbing Guidelines
Zoning with circulation pump
- Each heating zone of a pump based system has its own circulator pump which runs when the zone needs it.
- Each zone thermostat goes to a controller which controls the pumps..
SECTION 4. Installation
PRIMARY LOOP
CH SUPPLY
(SPACE HEATING)
DHW INLET
DHW OUTLET
ZONE 1
ZONE 2
ZONE 3
FLOOR HEATING
SECONDARY LOOP (SPACE HEATING)
Do not exceed 12" apart
Circulation pump
Check valve
Drain valve
Gate valve
Backflow preventer
Expansion tank
Air separator
(Diaphragm-type)
Automatic air vent
Pressure Relief Valve
TO DRAIN
TO DRAIN

Page 42
4.14 Plumbing Guidelines
Zoning with zone valve
- In a valve based system, there is one circulator pump at the boiler and each heating zone has a zone
valve which opens when the zone.
- Each thermostat is wired directly to the corresponding zone valve. Contacts in the zone valves provide a
proper signal to the boiler when the valve is opened.
SECTION 4. Installation
Do not exceed 12" apart
PRIMARY LOOP
SECONDARY LOOP (SPACE HEATING)
CH SUPPLY
(SPACE HEATING)
CH RETURN
PRIMARY/SECONDARY
CONNECTION
DHW INLET
DHW OUTLET
ZONE 1
ZONE 2
ZONE 3
FLOOR HEATING
Circulation pump
Check valve
Drain valve
Gate valve
Backflow preventer
Expansion tank
Air separator
(Diaphragm-type)
Automatic air vent
Pressure Relief Valve
TO DRAIN
TO DRAIN

The FT Series Wall Mounted, Combination Boiler Page 43
4.15 Pressure Relief Valve
Ensure that the maximum BTU/H rating on the
pressure relief valve is equal to or greater than the
maximum input BTU/H rating of the combination
boiler.
Pressure Relief Valve must be installed on the CH
supply line & DHW outlet line as close to the unit as
possible. (CH supply line: maximum 30psi, DHW
outlet line : maximum 150psi). No other valves should
be placed between the pressure relief valve and the
appliance.
This appliance has a high-temperature shut off switch
built in as a standard safety feature .Therefore a
“pressure only” relief valve is required.
External pressure relief valves must be installed.
Observe the following. Failure to comply with the
guidelines on installing the pressure relief valve and
discharge piping can result in personal injury, death
or substantial property damage.
WARNING
Do not operate this appliance before the
pressure relief valve supplied is installed with
sufcient relieving capacity in accordance
with the ASME Rating Plate on the boiler.
SECTION 4. Installation
This hot water boiler is provided with 30 psi safety relief
valve that complies with the ANSI/ASME Boiler and
Pressure Vessel Code, Section IV (“Heating Boilers).
(Model : CASE ACME F-82)
This safety relief valve (30 psi) is shipped loose for eld
installation.
An approved ASME HV Pressure Relief Valve must be
installed on the DHW supply line as close to the unit
as possible. Valve size 3/4”, maximum 150 psi. Not
included with boiler.
For safety, the relief valve(s) must be installed into it’s
designed location and not be removed or plugged.
Failure to comply with the guidelines on installing the
pressure relief valves and discharge piping can result in
personal injury, death or substantial property damage.
Direct the discharge piping of the pressure relief valve
so that hot water will not splash on anyone or any
nearby equipment. Attach the discharge line to the
pressure relief valve and run the end of the line within
6-12″ (150-300mm) of the oor.
WARNING
DO NOT install a CH pipe line relief valve with a
pressure higher than 30psi and DHW pipe line relief
valve with a pressure higher than 150psi. This is
the maximum allowable relief valve setting for the
combination boiler.
Test the operation of the valve after lling and
pressurizing system by lifting the lever. Make sure the
valve discharges freely. If the valve fails to operate
correctly, replace it with a new relief valve. Ensure that
the discharge capacity of the pressure relief valve is
equal to or greater than the maximum pressure rating
of the combination boiler.
3/4” 30psi Relief Valve

Page 44
4.16DisposalofCondensate
SECTION 4. Installation
1
2 3 4
Condensate
drain pipe (View is as if side panel
were removed)
Condensate
Trap
High efciency gas condensing Boilers create
condensation when operating. Condensation has
acidic (pH) of approximately 4-5.
Condensate must be drained in accordance with all
local regulations. Follow your local code with regards
to the disposal of condensation.
One of 4 disposal methods must be followed
1.tooordrain
2. to neutralizer (optional kit)
3. to laundry tub
4.tocondensatepump(eldsupplied)
If a neutralizer is installed, periodic replacement of the
lime stone (or neutralizing agent) will be required. The
rate of depletion of the lime stone varies upon usage
of the boiler. During the rst year of operation, please
check the neutralizer every few months for depletion.
Apply only corrosion-resistant materials for the
condensate drain lines such as 1/2˝ PVC, CPVC,
Polypropylene pipe or included plastic hose.
NOTICE
For Category II and IV boilers, be installed so as to
prevent accumulation of condensate; and
For Category II and IV boilers, where necessary, have
means provided for drainage of condensate.
AVIS
les chaudières de catégories II et IV doivent être
installées de façon à empêcher l'accumulation de
condensat; et
si nécessaire, les chaudières de catégories II et IV
doivent être pourvues de dispositifs d'évacuation du
condensat.
CAUTION
Condensate is mildly acidic (pH=5), and may harm
some oor drains and/or pipes, particularly those
that are metal. Ensure that the drain, drainpipe, and
anything that will come in contact with the condensate
can withstand the acidity, or neutralize the condensate
before disposal. Damage caused by failure to install
a neutralizer kit or to adequately treat condensate
will not be the manufacturer’s responsibility.
Contact Manufacturer to order
NeutralizerKit#A2123601
_________________________________________

The FT Series Wall Mounted, Combination Boiler Page 45
4.17 DHW Flow Restrictors
SECTION 4. Installation
A ow restrictor, rated at 3.2 GPM and white in color,
is pre-installed into the FT at the DHW inlet adapter.
An additional ow restrictor, rated at 4.5 GPM,
is blue in color and is packaged with the Product
Accessories. See Section 1.
If 3.2 GPM is not sufcient for your installation,
replace the factory installed white ow restrictor with
the blue ow restrictor by following these instructions.
If the appliance has been lled and operational,
then the gas, water and power must be completely
shut off, and the unit must be drained before
proceeding with this instruction. See Section 8 of
this installation book.
Failure to do so could result in substantial
property damage, sever personal injury, or death.
WARNING
To replace the Flow Restrictor.
1. Being sure that the unit of completely Off and
drained, locate the DHW inlet adapter on the bottom
of the appliance.
2. Pull the two pins to release the DHW inlet lter. See
Illustration. The ow restrictor is attached to the top
of the lter assembly.
3. Remove the installed white ow restrictor and
replace it with the blue ow restrictor included with
the Product Accessories.
4. Reinstall the DHW inlet lter.
5. Re-insert the two pins.
6. Rell and restart your FT as per the Installation
Instructions.
Only on the FTCW140
Only on the FTCW140
6
5
4
3
2
1
0
10 20 30 40 50 60 70 80
U
n
r
e
s
t
r
i
c
t
e
d
4
.
5
G
P
M
(
b
l
u
e
r
e
s
t
r
i
c
t
o
r
)
3
.
2
G
P
M
(
w
h
i
t
e
r
e
s
t
r
i
c
t
o
r
)
Performance Graph
Pressure (PSI)
Flow (GPM)

Page 46
4.18 Electrical Wiring Connections
Manual Switch Terminal Block
SECTION 4. Installation
Thermostat
Connection
External Input
Outdoor
Sensor
0 - 10V
L N T T O / S
0-10V
INPUT
FTCW140
This appliance must be electrically grounded. Ensure the electrical receptacle that the combination boiler will
be plugged into, is properly grounded; if wiring directly.
Do not attach the ground wire to either the gas or the water piping as plastic pipe or dielectric unions may
isolate the Combination boiler electrically.
The wiring diagrams contained in this manual are for reference purposes only.
Refer to these diagrams and diagrams from external controls used with this appliance. Read, understand,
and follow all wiring instructions.
Do not disconnect the power supply when the unit is in normal operation. Damage caused by freezing is not
covered under the warranty.
Manual(Rocker) switch maximum allowable current for each circulator is 16 amps at 125VAC.
( Housing : Nylon #66 UL 94V-2 , Rocker : Nylon #66 UL 94V-2, Terminal : Copper Alloy )
Terminal block (External power connector) : DFT-20A-10P (20 amps at 300VAC)
WARNING
Install wiring and electrically ground boiler in accordance with authority having jurisdiction or, in the
absence of such requirements, follow the National Electrical Code, NFPA 70, and/or CSA C22.1
Electrical Code-Part 1 in Canada.
ELECTRICAL SHOCK HAZARD — For your safety, turn off electrical power supply at service
entrance panel before making any electrical connections to avoid possible electric shock hazard.
Failure to do so can cause severe personal injury or death.

The FT Series Wall Mounted, Combination Boiler Page 47
4.18 Electrical Wiring Connections (cont)
Terminal Blocks
Thermostat
Connection
Main
Power External Input
Outdoor
Sensor
External
CH Pump
0 - 10V
T T O / S
0-10V
INPUT
MAIN POWER CH/BOILER PUMP
4.19 DIP Switches
System Control Setting
Maximum ame detecting voltage 2.4V
Pre-purge time (Tp) Maximum 10s, minimum 1s
Safety Time (igniting time) (Ts) 3s
Igniting interval time 10s
Post-purge time (Tip) 120S (1st : 60s + 2nd 60s)
Over-heating 1,2,3 protection detection time <3s
Pump1 post circulating time (T1pv) 60s
Pump2 post circulating time (T1pv) 60s
High & Low Water Level detection time <6s
High & Low Water Level Recover time <6s
800.900.9276 • Fax 800.559.1583 (Customer Service, Service Advisors)
20 Industrial Way, Rochester, NH 03867 • 603.335.6300 • Fax 603.335.3355 (Applications Engineering)
1869 Sismet Road, Mississauga, Ontario, Canada L4W 1W8 • 905.238.0100 • Fax 905.366.0130
www.Laars.com
Document 4288D
The FT Series, Wall Combi, Gas Conversion Kit
pg 3 of 4
Gas Valve
Adjustment Port
+
+
-
-
Gas Valve
Adjustment Port
Figure D
Table B DIP Switch Settings
9.
Per Table B, set DIP Switch 5 to OFF for LP Propane.
10. Turn ON the GAS and WATER supply to the FT.
11. Turn ON the FT.
12.
Connect a manometer to the manifold pressure port. For dual port manometers, use the positive pressure
side. Check for proper manifold gas pressure. Refer to Table D.
13.
Establish a call for heat. You may need to disconnect the outdoor reset if you are making this gas conversion
during warm weather.
14. Setup your combustion analyser and place the sensor into the combustion test port
15.
Per Table B for Max Fire, change dip switch 6 to ON and 7 to OFF. The unit will cycle up to MAX re.
16.
WAIT for your combustion analyser to stabilize. This may take up to 3 minutes depending on your
combustion analyser. Then check the CO2 measurement for MAX re. Refer to Table C for acceptable MAX
re combustion readings Do NOT attempt to adjust CO2 at MAX Fire. ONLY in MIN Fire,
so...
17.
Per Table B for MIN Fire, change dip switch 6 to OFF and 7 to ON. The unit will cycle down to MIN Fire.
18.
WAIT for your combustion analyser to stabilize. Then check the CO2 measurement for MIN re. Refer to
Table C for acceptable MIN re combustion readings
19.
Open the Gas Valve Adjustment Port by removing the cap screw with a 4mm Allen wrench.
20.
Then use the 4 mm Allen wrench to make a minor adjustment (1/8 turn) to either increase or decrease CO2.
Figure E
MBH N/A 140 N/A 199
ON OFF
MIN Fire Normal Operation
MAX Fire Normal Operation
NG Natural LP Propane
3” Vent Size 2” Vent Size
ON OFF ON ON
ON OFF OFF ON
OFF ON ON ON
DO
NOT
CHANGE
REFERENCE
ONLY.
FTCW140 FTCW199
FTCW199
Manual Switch

Page 48
4.20 Control Board, Electrical Diagram
SECTION 4. Installation
Control Board

The FT Series Wall Mounted, Combination Boiler Page 49
4.21 Ladder Diagram
SECTION 4. Installation
F/B
level
Air Pressure Sensor

Page 50
4.22 Electrical Connections
SECTION 4. Installation
Connector
Description HT SELV
#, Location, Type PIN Label
CN9
65001WS-12
1 - GROUND HT (120V~)
2 L Power Supply Line HT (120V~)
3 CP1 Not Used HT (120V~)
4 IT Igniter HT (120V~)
5 L(HT) Pump : CH HT (120V~)
6 GV Gas Valve HT (120V~)
7-- -
8 N Power Supply Neutral HT (120V~)
9-12 N AC Power COM Line HT (120V~)
CN6
LW6A4-03
1CP3/3Way 3 Way Valve HT (120V~)
3 HT (120V~)
CN1
SMW250-5D
1
RS-485
RS485 + SELV (5V)
2 GND SELV (5V)
3 RS485 - SELV (5V)
CN4
LWD1140-06D
1
FAN
Not Used -
2 GND SELV (30V)
3 VDD SELV (14V)
4 Fan power(start coil) SELV (30V)
5 Fan power(end coil) SELV (30V)
6 Fan speed feedback signal SELV (14V)
CN8
SMW250-04D
1
MCU ISP
GND SELV (5V)
2 ISP /Reset port SELV (5V)
3 ISP TOOL0 Data port SELV (5V)
4 VCC SELV (5V)
CN11
LWD1140-16
1HWL Not Used SELV (12V~)
8
2LWL Low Water Level Leakage Sensor SELV (12V~)
10
3HD Central Heating Demand SELV (5V)
11
4TH Connect to the Display
Control(Thermostat) SELV (14V)
12
5APS Jump SELV (14V)
13
6EL Jump SELV (14V)
14
7BL Burner Limit SELV (14V)
15
8HL Condensate Block SELV (14V)
16

The FT Series Wall Mounted, Combination Boiler Page 51
4.22 Electrical Connections
Connector
Description HT SELV
#, Location, Type PIN Label
CN7
LWD1140-14
1
F.S Flame Detect Sensor SELV (5V)
8
2
OP.S Operating water temperature sensor SELV (5V)
9
3
DH.S DHW temperature sensor SELV (5V)
10
4I.S Return temperature sensor SELV (5V)
11
5
BG.S Venting (Exhaust) temperature sensor SELV (5V)
12
6
ST.S Not Used SELV (5V)
13
7
SP.S Over-Heat temperature sensor SELV (5V)
14
CN14
SMW250-09D
1
DHM
GND SELV (14V)
2 DHM Stepper motor position SELV (14V)
3 VDD SELV (14V)
4 DHM Stepper motor coil X phase SELV (14V)
5 DHM Stepper motor coil Y phase SELV (14V)
6 VDD SELV (14V)
7 DHM Stepper motor coil /X phase SELV (14V)
8DHM power IWM Stepper motor coil /Y phase SELV (14V)
9 Unuse -
CN3
SMW250-06D
1
APS
SENSOR
VCC SELV (5V)
2 GND SELV (5V)
3 Voltage Input SELV (5V)
4
FLUX1
VCC SELV (5V)
5 Water Flow Sensor SELV (5V)
6 GND SELV (5V)
CN5
SMW250-10D
1
RPM
FAN RPM Check SELV (5V)
2 GND SELV (5V)
SECTION 4. Installation

Page 52
SECTION 5. Control Display and Operation 5.1 Control Dial and Buttons
• Temperature Specications
Operating ambient Temperature Range : -10 to 60°C.
Operating Relative Humidity up to: 90% at 40°C.
Shipping & Storage Temperature Range of : -20 to 80°C.
Buttons Functionality
PRESS (Tap) PRESS and HOLD (5 seconds)
A Display Power Turns Control Display ON / OFF
B Modes Tap to return to menu (If Display Power was On ) Status Display Mode
(If Display Power was Off ) Installer Mode
CHot Water DHW Set-Point LOW Range
95 - 120°F (35 - 49°C)
DHW Set-Point HIGH Range
121 - 140°F (49.5 - 60°C)
D Central Heat CH set-point mode (boiler only) Toggle (°C / °F)
EScroll / Select Turn to scroll, tap to select
(clockwise or counterclockwise)
The Control Display has a Control Dial (E), 4 buttons (A, B, C, D), and a Liquid
Crystal Display (with 72 back-lit segments). This section of this manual gives
instruction on how to navigate into the many functions of the FT and to change
temperature set points, set system variables and controller parameters.
Status Light
(constant green
when operating
normally)
The Control Display

The FT Series Wall Mounted, Combination Boiler Page 53
SECTION 5. Control Display and Operation 5.2 LCD Overview
CH mode Central Heat mode icon can be adjusted
Anti-freeze mode Anti-freeze mode icon
Storage Heating mode Stored Water Being Heated, can be adjusted
Lock mode Buttons-locked mode icon
Communication Communication icon
Summer mode Only DHW Mode, can be adjusted (warm weather shutdown)
Status and Installer mode The Status Mode or the Installer Mode is Active (all parameters)
Flame signal Flame Signal icon
Pump icon Water pump operation (CH or DHW) icon
Numeric Display Number and character display, to display all parameters
DHW mode Combination boiler Set Point, can be adjusted
Outside temp or 0-10 V mode Operating by outside temperature or 0-10V
Numeric Display
Domestic Hot Water Mode
Anti-Freeze
Mode Storage
Heating
Lock Communicating
Status and
Installer
Modes
Flame
Signal
Pump
Outside
Temp Mode
or 0-10V
Summer Mode
(warm
weather
shutdown)
CH
Central
Heat
WARNING
Do not use this appliance if any part has been under
water. Immediately call a qualied service technician
to inspect the appliance and to replace any part of
the control system and any gas control that may have
been under water.
The LCD will illuminate when a user action is detected (a button is pressed) and will turn
back off after 20 seconds.
* NOTE: The display will not allow changes when the lock mode is activated.
To exit the Lock mode, press the button.

Page 54
SECTION 5. Control Display and Operation 5.3 Operating Mode
Operating Mode
After the Power is turned on, and/or the Control Display is turned on , the Control Display
will go through a ‘Start Up’ checklist and briey show a sequence of diagnostic codes before
entering into the ‘Operating Mode. It will then display the following information.
Indicate Example
Current Operating Temperature 110°F
Temperature sign Celsius or Fahrenheit letter °C or °F
Display and Controller are communicating
If ame detected
If pump is operating
Outdoor sensor or 0-10V

The FT Series Wall Mounted, Combination Boiler Page 55
5.4 Status Display Mode
AUTODESK � � � � � � � � � �
AUTODESK � � � � � � � � � �
AUTODESK � � � � � � � � � �
AUTODESK � � � � � � � � � �
SECTION 5. Control Display and Operation
Digital Display Status Display Parameter Description
O:ot Outdoor temperature Current Outdoor temperature
A: Li or A: GA Flow unit Current ow value(Li: L/m, GA: GPM)
b: It CH Return Water Temperature Current Return Water Sensor Temperature
C: Fr Fan rpm Current fan rpm value
d: Lc Lock mode Lock mode ON/OFF
E: oP OP temperature Current OP temperature
F: dH DHW temperature Current DHW temperature
H: Eh Exhaust temperature Current Exhaust temperature
I : St N/A Not Used (Default is 0)
J: oH Overheat temperature Current Overheat temperature
L: rt
1: PH
Burner Opera-
tion Time
Supply power time Supply power time x 100 hour
2: rh Burner operation
time Burner operation time x 1 hour
3: rH Burner operation
time Burner operation time x 1,000 hour
4: It Ignition cycles Ignition cycles x 10 times
5: IH Ignition cycles Ignition cycles x 10,000 times
P: Ou
Displays output condition for internal
primary pump and three way valve.
- Off
- On
1st Icon 2nd Icon 3rd Icon
Not Used Internal CH
Pump 3 Way Valve
To change any of the above listed Status Parameters,
Press and Hold Button B to get into the Status Display Mode.
Rotate Dial E until you nd the Parameter that you wish to change. Tap Dial E to enter that Parameter.
Adjust to the setting that you require and then press (tap) Dial E to save and to Exit.

Page 56
SECTION 5. Control Display and Operation 5.5 DHW Set Point Change Mode
DHW Set Point Change Modes
The display shows the following
information when changing water heating
temperature set points.
* Default DHW set-point is 120°F (49°C)
• DHW 95-120°F (35 - 49°C) LOW range (Default)
-To change LOW range, press the C Button. The DHW icon and current DHW LOW will ash (a
ashing value means it can be changed).
-Turn dial E clockwise to increase and counterclockwise to decrease until desired temperature is reached.
-Press dial E to save setpoint changes.
•DHW121-140°F(49.5-60°C)HIGHrange
-To change HIGH range, press and HOLD the C button for more than 5 seconds. The DHW icon
and current DHW HIGH will ash (a ashing value means it can be changed).
-Turn dial E clockwise to increase and counterclockwise to decrease until desired temperature is reached.
-Press dial E to save setpoint changes and to Exit.
Indicate Example
Current DHW set-point temperature 120°F
Temperature sign Celsius or Fahrenheit letter °C or °F
If display is communicating with the main controller normally, the communication icon will
be indicated.
When DHW set-point range is high : from 121°F (49.5°C) to 140°F (60.0°C) H . 140°F
When changing DHW setpoint, the DHW icon will ash S24
Changing between Celsius and Fahrenheit
When the button D is pressed (for more
than 5 seconds), temperature unit will toggle
between °C and °F.
DANGER
Scalding may occur within 5 seconds at a setting of 140°F (60°C). Water temperatures
over 125°F can cause severe burns, or death from scalding. Children, disabled,
and elderly are at highest risk of being scalded. Read all instructions before setting
temperature at appliance. Feel water before bathing or showering.

The FT Series Wall Mounted, Combination Boiler Page 57
To change CH Setpoint, press the D button. The CH Icon and current
CH Setpoint will ash.
Turn the E dial clockwise to increase, and counterclockwise to decrease CH setpoint, until
desired temperature is reached.
Press E dial to save changes and to Exit.
Default CH set-point is 120°F (49°C)
CH set-point range is 86 - 180°F (30.0 ~ 82.0°C)
Indicate Example
Current Operating Temperature 110°F
Temperature sign Celsius or Fahrenheit letter °C or °F
Display and Controller are communicating
If ame detected
If pump is operating
When changing CH Setpoint, the CH Icon will ash
SECTION 5. Control Display and Operation 5.6CHSetPointChangeMode
Changing between Celsius and Fahrenheit
When the button D is pressed (for more than
5 seconds), temperature unit will toggle between
°C and °F.
To change Storage Mode Temp, First turn OFF the power to the Control Display.
Then Press and Hold Button B to get into the Installer Mode.
Rota te Dial E until you nd 5:St Tap Dial E to enter Storage Mode. Storage Mode indicates that the boiler
is heating the water held in the internal storage tank. When Storage Mode is active, the display will
appear as shown.
Turn the E dial clockwise to increase, and counterclockwise to decrease setting.
Press E dial to save changes and to Exit.
Indicate Example
Current Operating Temperature 110°F
Temperature sign Celsius or Fahrenheit letter °C or °F
Display and Controller are communicating
If ame detected
Storage mode indication
If Pump is operating
5.7 Storage Mode

Page 58
5.8 Installer Mode
AUTODESK � � � � � � � � � �
AUTODESK � � � � � � � � � �
AUTODESK � � � � � � � � � �
AUTODESK � � � � � � � � � �
SECTION 5. Control Display and Operation
These changes are to be made only by a qualied technician.
To c hange any of the Installer Parameters, Start by turning OFF the Power
to the Display Control.
Then, with the power OFF, Press and HOLD (more than 5 seconds) the Button B to get into the
Installer Mode.
Rotate Dial E until you nd the Installer Parameter (full list on facing page) that you wish to change.
Tap Dial E to enter that Parameter.
Adjust to the setting that you require and then press (tap) Dial E to save and to Exit.
Finish by pressing button B

The FT Series Wall Mounted, Combination Boiler Page 59
5.8 Installer Mode
The Full List of Installer Mode Parameters
SECTION 5. Control Display and Operation
Index Parameter Description
1: EH History entry History fault code (E0~E9)
2: cE Clear Error History Clearing of error History buffer
3: In System initialize System initialize to default
4: Fu Flow unit gallon / liter
5: St Heat storage function Heat storage function On/Off
6:OH Maximum Outdoor
Temperature
When used with an outdoor sensor, sets the maximum outdoor design temperature for the system
design. Warm weather shut down will disable the appliance if the programmed outdoor temperature is
exceeded. Maximum outdoor temperature must be set 9°F above the minimum outdoor temperature.
Range: (Minimum Outdoor Temperature + 9°F) to 110°F Default 68°F (20°C)
7: OL Minimum Outdoor
Temperature
Sets the minimum outdoor design temperature for the system. Minimum outdoor
temperature must be set 9°F below the maximum outdoor temperature.
Range: -4°F to (Maximum Outdoor Temperature - 9°F)
8: FH Max fan Adjusts Maximum Fan Speed
Range: -30 - +30
9: FL Min fan Adjusts Minimum Fan Speed
Range: -30 -+30
10: dr Delete running time Delete running time
11: dI Delete igniting times Delete igniting times
12: bt Outside Unit Function
Delay Time (boost time)
When heating in the outside unit function for the rst time, there will be a delay.
(0~120 min, Default 0)
13: Ft Delay time for heating
burner operation
Burner does not operate during the delay time when the burner is turned off due to the
temperature during heating operation. (0~20 min, Default 1 min)
14: bo Setting temperature of
burner ON.
Heating temperature setting during heating operation –
Operate in burner ON temperature setting Range:
-12.7°C(9°F)~-2.7°C(27°F), Default 2.7°C(27°F)
15: OF Warm Weather Shutdown This warm weather temperature setting will shut down CH Mode 10°C(50°F)~43°C(110°F),
Default 38°C (100°F)
16:cH Setting for Heating
Maximum Temperature Range:[Minimum Temperature -12.7°C(9°F)]~82°C(180°F), Default 82°C(180°F)
17:cL Setting for Heating
Minimum Temperature Range: 30°C(86°F)~[Maximum Temperature-12.7°C(-9°F)],Default 30°C(86°F)
18:dH Setting for Hot Water
Maximum Temperature 49°C(120°F)~60°C(140°F), Default 60°C(140°F)
19:cb Heating Combustion Rate 50%~100%, Default 100%
20:db Hot Water Combustion Rate 50%~100%, Default 100%
21:PP Pump Post-Purge Time (Heating Pump) 1min ~ 60min, Default 40min
22:Po Pump on Time (Heating Pump Repeat ON Time) 1 min ~60 min, Default 5 min
23:PF Pump off Time (Heating Pump Repeat Off Time) 0min ~60 min, Default 10 min
24:SF Heat storage off
Temperature 60°C(140°F)~75°C(167°F),Default(70°C)158°F
25:So Heat storage on
Temperature.
(off Temperature-Setting Temperature) -12.7°C(9°F)~2.2°C(36°F),
Default (-2.7°C) 27°F
26:dt
Delay time when switching
from DHW mode to CH
mode
Range: 0 – 2 minutes,Default 2min
27:PE
Internal CH Pump Post-
Purge Time,
T/T Satised
Allows the user to set the appliance pump post purge time once the appliance CH setpoint
and thermostat are satised. Range: 1-5 minutes,Default 1min
28: HA High Altitude setting (Normal)0<1<2<4 (High)
29: AP
Internal CH Pump and
3-way valve Pump Test
Mode
This function sets the time to run both the Internal CH and 3-way valve pumps to purge
air from the system. Range: 1 – 30 minutes ,Default 5min
Internal CH Pump and
3-way valve Pump Test
Mode
Turn this function on to activate Internal CH and 3-way valve pump testing.
Only works in installation mode. Turns off when in normal mode. Default OFF
30: dP DHW Timeout Feature Range: 0~12 time, '0' OFF, Default: 4 time

Page 60
5.9 Outdoor Reset Adjustment
SECTION 5. Control Display and Operation
5.10 External Set Point Temperature Control
Outdoor Reset varies the control setpoint based on
the outdoor temperature. The reset function works
as shown in Figure ‘CH Outdoor Reset’. When the
outdoor air temperature reaches 6:OH “high outdoor
temperature setpoint”, the control point setting is
adjusted to 17:cL “low boiler temperature setpoint”.
When the outdoor air temperature reaches 7:OL “low
outdoor temperature setpoint” the control setpoint is
adjusted to 16:cH “high boiler temperature”.
Default outdoor reset setpoint is 100°F (38°C)
A signal from a building management system may be connected to the appliance to enable remote
control. This signal should be a 0-10 volt DC signal. When this input is enabled, a building control
system can be used to control the set point temperature of the appliance.
The control interprets the 0-10 volt signal as follows; when the signal is between 0 and 1.5 volts, the
appliance will be in standby mode, not ring.
When the signal rises above 1.5 volts, the appliance will ignite. As the signal continues to rise
towards its maximum of 10 volts, the appliance will increase in set point temperature. Adjust 16:cH
and 17:cL to set MIN and MAX boiler water temperatures respectively.
Connect a building management system or other auxiliary control signal to the terminals marked
for this purpose on the appliance terminal block (shown in Piping Diagrams, this manual). Caution
should be used to ensure that the 0-10 VOLT + connection does not become connected to ground.
Connect to terminal strip as outlined 4.17 Electrical Connections.
NOTE: 0 - 10VDC terminals may not be used for both outdoor reset and 0 - 10VDC temp
setpoint simultaneously.
The Outdoor Temperature Mode Icon on the display
will ash if an Outdoor Sensor or 0-10 Volt is not
connected to the appliance.
To check the CH Target Temperature while using
Outdoor Temperature Mode, press the button
while the appliance is operational and the display
panel is powered on.
CH Outdoor Reset
Connect to terminal strip as outlined 4.17 Electrical Connections.
NOTE: 0 - 10VDC terminals may not be used for both outdoor reset and 0 - 10VDC temp
setpoint simultaneously.
Operating condition
(warm weather shutdown)

The FT Series Wall Mounted, Combination Boiler Page 61
5.11 Error Mode
Flashing
Indicate Example
Error ‘ Er : ’ will ash Er:11
Error Code Er:11
Display and Controller are communicating
NOTE: When communication between the Control Display and the main controller is lost, the
will not be displayed.

Page 62
SECTION6.Error Codes
Error
Code
Error Code
Description Possible Remedies Recover
methods
10
Flame has
Extinguished 8 (Eight)
Times
Press the Power button to clear the Error Code.
If Error happens again:
1. Monitor the gas pressure to the appliance while in operation. Ensure pressure is
between 3.5 and 14” WC.
2. Check gas valve wire. Ensure connection is secure.
3. Check ame detection sensor. Ensure connections are secure. Normal operating
settings are more than 2.5DC before ignition, less than 2.5DC after ignition.
4. Check vent terminations. Ensure there are no blockages.
5. Assure that the ame is stable when lit.
6. If the problem persists, replace the main control.
Hard
Lock
11 Ignition has Failed 10
(Ten) Times
Press the Power button to clear the Error Code.
If Error happens again:
1. Monitor the gas pressure to the appliance while in operation. Ensure pressure is
between 3.5 and 14” WC.
2. Check gas valve wire. Ensure connection is secure.
3. Check ame detection sensor. Ensure connections are secure. Normal operating
settings are more than 2.5DC before ignition, less than 2.5DC after ignition.
4. Check igniter transformer for proper connection.
5. Clean the spark igniter with steel wool to remove oxides. Ensure proper separation (3-4 mm).
6. Replace the spark igniter if damaged.
7. Assure that the ame is stable when lit.
8. If the problem persists, replace the main control.
Hard
Lock
16
Operating
Temperature Sensor
detects Water
Temperature Greater
than 203°F (95°C)
Press the Power button to clear the Error Code.
If Error happens again:
1. Check if dip switch Max Fire setting is ON. Switches 6 and 7 should be OFF for
normal operation.
2. Check if CH inlet pipe is blocked. Ensure there is enough water owing to the
appliance.
3. Check Operating Temperature sensor at CH heat exchanger outlet. If resistance is
zero, replace the sensor.
4. If the problem persists, replace the main control
Hard
Lock
20
Condensate – Closed
is Normal, Open is
Fault (Condensate
Drain Trap)
Press the Power button to clear the Error Code.
1. Check Condensate and main controller connections. Ensure all are secure.
2. Check Condensate sensor resistance. If resistance is zero, replace the switch.
3. Check Condensate hose. Ensure it is connected and in good condition.
4. Check condensate line and termination for blockages.
5. Check Vent Pipe for blockages.
6. If the problem persists, replace the main control.
Hard
Lock
28 Overheat Sensor Open
or Short
This Error Code will go away when CH temperature decreases.
If Error happens again:
1. Check overheat temperature sensor. Ensure connections are secure.
2. Check overheat sensor resistance. If resistance is zero, replace the sensor.
3. If the problem persists, replace the main control.
Soft Lock
32 DHW Sensor Open or
Short
This Error Code will go away when outlet DHW temperature decreases.
If Error happens again:
1. Check DHW outlet temperature sensor. Ensure connections are secure.
2. Check sensor resistance. If resistance is zero, replace the sensor.
3. If the problem persists, replace the main control.
Soft Lock
33 CH Temperature
Sensor Open or Short
This Error Code will go away when CH temperature decreases.
If Error happens again:
1. Check CH temperature sensor. Ensure connections are secure.
2. Check CH sensor resistance. If resistance is zero, replace the sensor.
3. If the problem persists, replace the main control.
Soft Lock

The FT Series Wall Mounted, Combination Boiler Page 63
Error
Code Error Code Description Possible Remedies Recover
methods
35 Venting (Exhaust) Sensor
Open or Short
This Error Code will go away when exhaust temperature decreases.
If Error happens again:
1. Check Venting (exhaust) temperature sensor. Ensure connections are secure.
2. Check sensor resistance. If resistance is zero, replace the sensor.
3. Check vent pipes for blockage.
4. If the problem persists, replace the main control
Soft Lock
36 Abnormal Supply Voltage
Supply voltage is too low to operate. This Error Code will go away when supply
voltage returns to normal operating range.
If Error happens again:
1. Ensure appliance is properly wired to a power source meeting the
requirements on the rating plate.
2. If problem persists, replace the main control
Soft Lock
37 Abnormal Supply Frequency
Supply frequency is too high to operate. This Error Code will go away when
supply frequency returns to normal operating range.
If Error happens again:
1. Ensure appliance is properly wired to a power source meeting the
requirements on the rating plate.
2. If problem persists, replace the main control.
Soft Lock
38
Error Appears When Control
Stores Data, but Data is not
Saved
Press the Power button to clear the Error Code.
Replace the main control. Hard Lock
40
Gas Leakage is Detected for
Greater than 5 seconds, or
three times within 10 minutes
IMPORTANT: If you smell gas, STOP! Follow the instructions on page 2, this
manual, and call a qualied service technician or the fuel gas utility.
Press the Power button to clear the Error Code.
If Error happens again:
1. Check the appliance cover. Ensure it is secure.
2. Check gas connections for leakage with a soapy solution. Fix any leaks.
3. Check condition of the burner assembly.
4. If the problem persists, replace the main control.
Hard Lock
41 Fan Speed too High with
Flame On
Press the Power button to clear the Error Code.
If Error happens again:
1. Check the vent connections for blockages.
2. Check the burner assembly.
3. Check fan operation. If fan appears to be operating normally but RPMs are too
high, replace the fan.
4. If the problem persists, replace the main control.
Hard Lock
42 Jumped Wire Disconnected
Press the Power button to clear the Error Code.
If Error happens again:
1. Ensure the jumped wire is properly connected.
2. If the problem persists, replace the main control.
Soft Lock
43 Burner Overheat Switch
Open
Press the Power button to clear the Error Code.
If Error happens again:
1. Check burner overheat switch connections. Ensure connections are secure.
2. Check switch resistance. If resistance is zero, replace the switch.
3. If the problem persists, replace the main control.
Hard Lock
44 Air Pressure Sensor (APS)
Fault
Press the power button to reset
If error happens again:
1. Check the vent pipe for blockages.
2. Check the vent pipe for blockages.
3. If error do not clear, replace the APS
4. If the problem persists, replace the main control.
Hard Lock
45 Air Pressure Sensor (APS)
Open
Check the aps connection.
1.If APS is closed and connections are secure, check APS connection.
2. If the problem is not happen, replace the APS
3. If the problem persists, replace the main control.
Soft Lock
61 Fan Speed Feedback Signal
Abnormal
This Error Code will go away when the condition is remedied.
If Error happens again:
1. Check the connections to the fan. Ensure all are secure.
2. If the fan does not rotate during the ignition sequence, check for AC8V~26.5V
power at the fan connection. If AC8V~26.5V power is present at the control,
replace the fan. If the blower does not have AC8V~26.5V power, check power at
the control. If AC8V~26.5V power is not present at the control, replace the control.
3. If the problem persists, replace the main control.
Soft Lock
SECTION6.Error Codes (continued)

Page 64
Error
Code Error Code Description Possible Remedies Recover
methods
66
Mixing Valve Initial Value
Error
(Mixing Valve Cannot Return
to Initial Position)
This Error Code will go away when the condition is remedied.
If Error happens again:
1. Turn power OFF and ON at the main power switch internal to the appliance.
2. Check wiring connections to mixing valve. Ensure all are secure.
3. Replace mixing valve.
4. If the problem persists, replace the main control.
Soft Lock
68
Mixing Valve Operation Error
(Mixing Valve Stuck in Initial
Position)
This Error Code will go away when the condition is remedied.
If Error happens again:
1. Turn power OFF and ON at the main power switch internal to the appliance.
2. Check wiring connections to mixing valve. Ensure all are secure.
3. Replace mixing valve.
4. If the problem persists, replace the main control.
Soft Lock
70
Register, Ram, Rom, I/O
Port, AD Abnormal, Important
EPROM Data or Safe Data
Abnormal
This Error Code will go away when the condition is remedied.
If Error happens again:
1. Turn power OFF and ON at the main power switch internal to the appliance.
2. If the problem persists, replace the main control.
Soft Lock
72 Flame Signal Detected before
Ignition
This Error Code will go away when the condition is remedied.
If Error happens again:
1. Check the appliance cover. Ensure it is secure. Flame detection sensor can detect
an external light source.
2. Check flame detection sensor. Ensure connections are secure. Normal operating
settings are more than 2.5DC before ignition, less than 2.5DC after ignition.
3. If the problem persists, replace the main control.
Soft Lock
76 Poor Communication
This Error Code will go away when the condition is remedied.
If Error happens again:
1. Check connections from main control to display panel.
2. If the problem persists, replace the display and/or the main control.
Soft Lock
80
Low Water Level Sensor
(Low Water Level Detected
Four (4) Consecutive times)
This Error Code will go away when the condition is remedied.
If Error happens again:
1. Ensure all valves are open to the appliance and there are no leaks.
2. Ensure all air has been purged from the system.
3. Check wiring connections to low water level sensor. Ensure all are secure.
4. Check low water level sensor resistance. If resistance is zero, replace the sensor.
5. If the problem persists, replace the main control.
Soft Lock
81 Low Water Level Circuit
This Error Code will go away when the condition is remedied.
If Error happens again:
1. Ensure all valves are open to the appliance and there are no leaks.
2. Check wiring connections to low water level sensor. Ensure all are secure.
3. Check low water level sensor resistance. If resistance is zero, replace the sensor.
4. If the problem persists, replace the main control.
Soft Lock
85
Freeze Protection
(Appliance has detected
water temperature below
34°F(1°C)
This Error Code will go away when the freezing condition is remedied.
If Error happens again:
1. Ensure appliance is located in a mechanical room protected from freezing conditions.
2. Ensure all valves are open to the appliance, there are no leaks.
2. Check wiring connections to low water level sensor. Ensure all are secure.
3. Check low water level sensor resistance. If resistance is zero, replace the sensor.
4. If the problem persists, replace the main control.
Soft Lock
94
Exhaust Sensor detects Vent
Temperature is Greater than
190oF (88oC)
This Error Code will go away when the condition is remedied.
If Error happens again:
1. Check if dip switch Max Fire setting is ON. Switches 6 and 7 should be OFF for
normal operation.
2. Check exhaust temperature sensor. Ensure connections are secure.
3. Check sensor resistance. If resistance is zero, replace the sensor.
4. Check exhaust vent for blockage.
5. If the problem persists, replace the control.
6. If the problem persists, replace the heat exchanger.
Soft Lock
SECTION6.Error Codes (continued)

The FT Series Wall Mounted, Combination Boiler Page 65
6.2FaultTreeAnalysis
1. Flame detection

Page 66
6.2FaultTreeAnalysis
2. Gas Detection
3. ‘Storage’, ‘DHW’, ‘OP’, ‘CH overheat’, ‘Exhaust heat’ Sensor detects
Error code contents
E32 DHW NTC open or short
E33 OP NTC open or short
E35 Exhaust NTC open or short

The FT Series Wall Mounted, Combination Boiler Page 67
Question Answer
Burner dose not ignite
when the hot water is
opened.
Make sure that the ON/OFF button on the Control Panel has been turned ON.
If the monitor on the Control Panel is blank, make sure the power cord is
plugged and 4A fuses on the main controller in the units are good.
Make sure that there is water supplied to the unit. The unit activates once
the inlet water ow is over 0 gpm.
Make sure the cold and hot water lines are not plumbed in reverse side.
Make sure that the cold water and gas supply lines are opened.
Make sure that the water lines are not frozen.
Water is not hot enough.
Check that the setting temperature on the unit is not too low
Make sure that the lter in the cold water supply line is not clogged with
debris.
Make sure that the gas supply type is correct.
Check the supply and manifold gas pressures are in accordance with
specications.
Make sure that the water ow sensor with three wires has been properly
connected on the top of heat exchanger.
Water is too hot.
Make sure that the setting temperature on the unit is not too hot.
Make sure that the lter in the cold water supply line is not clogged with
debris.
Make sure that the gas supply type is correct.
Hot water temperature
uctuates at the opened
tap.
Make sure that the lter in the cold water supply line is clean.
Make sure that the gas supply type is correct.
Check the supply gas pressure is sufcient.
The blower is still
operating after the
combustion stops.
This is normal because the blower keeps operating for 1 minute to vent
(exhaust) the ue gas from the chamber once the combustion has
stopped.
Temperature Rise
too Quickly
Occurs when supply water temperature in heat exchanger rises faster
than 2°F per second during the rst two minutes the burner is on.
Automatically resets after a few minute delay or using manual reset on
control panel. See message displayed TEMPERATURE SENSOR and
follow procedure for loose connections.
Abnormal sounds come
from unit during opera-
tion.
A leak of combustion gas between sealed chamber and exhaust tube
inside the unit. Call a qualied service technician for evaluation.
Improper venting termination, make sure that the venting termination
complies with specication.
Check the supply gas pressure is sufcient. Insufcient gas pressure will
cause unstable burner ame and noise.
SECTION 7. Trouble Shooting 7.1 Diagnostics

Page 68
This controller is able to record information about the boiler’s condition at the time of the ve previous faults or
errors. Refer to the Section ‘5.10 Error Mode’ of this manual.
Display Condition Diagnostic Corrective Action(s)
Nothing shown
on display control
panel and blower
running at full
speed.
Control is not
receiving power.
Check wiring for short
circuit or incorrect
wiring.
Correct wiring per wiring diagram
including connection of transformer to
the control.
Check transformer
connection to the
control per wiring
diagram. Check for
12V output of
transformer.
Replace transformer if it is receiving
120V, but not outputting 12Vac.
Nothing is shown
in display control
panel and no
other boiler
components are
operating.
Control is not
receiving 120V power.
Check service switch
and/or circuit breaker
to boiler turned is on.
Turn on service switch to power boiler.
Is there 120 Volts at
the service switch?
Troubleshoot and correct the power
supply to the manual switch.
Is the ON/OFF
POWER
SWITCH (inside boiler
case) turned on?
Turn ON the manual power switch
inside the boiler case.
Check for 120 volts at
the line voltage
terminal block located
inside the boiler case.
Correct wiring inside the boiler case
using the wiring diagram in this
manual.
Inspect the fuse.
Replace if necessary.
Replace the fuse with proper part
found in the replacement part section
of this manual. If fuse blows again
recheck wiring per diagram.
Nothing is shown
on control panel,
but boiler is
operating.
Occurs when the
communication is lost
from the control to the
display.
Check for loose
connections and
proper pin alignment/
engagement on the
Control's plug.
Check for continuity on the wire
harness from the display to the control.
See repair parts section for proper
replacement part.
Cycle power off and on
using boiler power
switch and check for
operation.
Replace with new display module. See
repair parts section for proper
replacement part.
7.2 Suggested Corrective Actions

The FT Series Wall Mounted, Combination Boiler Page 69
Fault Condition Diagnostic Corrective Action(s)
TEMPERATURE
SENSOR
Occurs when a
temperature
sensor has
electrically
shorted
(SHORT) or has
become
disconnected
(OPEN).
Reset using manual
reset screen on control
panel. (Power button)
Check all the temperature readings of
the boiler on the DIAGNOSTICS
- TEMPERATURES menu to determine
if any sensors are currently displayed
as SHORT or OPEN.
Check wire harness for loose
connections and pin engagement at
sensor Connection and Control
module.
If problem persists after checking items
above replace Control. Refer to repair
parts section for kit number.
FLAME FAULT
Occurs when
ame is
detected when
there should be
no ame.
Reset using manual
reset screen on control
panel.
(Power button)
Burner may be operating too hot due
to incorrect combustion. Inspect ame
and conduct combustion test.
Check for ame at burner via ame
current with burner off. Turn boiler off
and watch ame through observation
port. If ame continues after shutdown
replace gas valve.
BLOWER FAULT
Blower unable
to reach
required speed
or does not
reach 0 RPM
when turned off.
Reset using manual
reset screen on control
panel.
(Power button)
Check wire harness for loose
connections and pin engagement at
blower.
Connections.
Boiler in standby mode and blower not
running. If BLOWER SPEED is not 0
RPM then replace blower.
If blower does not rotate during ignition
sequence check for 120V power at
blower connection. If 120Vac power at
blower motor and it doesn't start
replace blower. Check power at
Control. If 120Vac is not present at
Control when boiler is powered replace
Control.
IGNITION
FAULT
Even if boiler
went through 8
ignitron
attempts, but
cannot detect
ame
Power off and on.
Dirty burner and/or heat exchanger will
cause high back pressure and poor
ignition.
Visual inspection of ue ways often will
not be able to diagnose condition.
Check incoming gas pressure with
boiler off and at Max re. Adjust within
limits on rating label.
Check for ue pipe and intake pipe
restrictions or blockage
Check burner fasteners and gaskets
Check air intake pipe and proper
propane orice
GAS VA LVE
FAULT
The Control has
detected a
problem with it
gas valve
output circuit.
Reset using manual
reset screen on control
panel.
(Power button)
Check wire harness connections
between gas valve and Control.
If lockout re-occurs replace Control.
7.2 Suggested Corrective Actions (continued)
SECTION 7. Trouble Shooting

Page 70
8.1 Annual startup & general maintenance
Regular Maintenance
- This Manual should be placed in a safe and dry
location near the Combination boiler. Maintenance
instructions should be carried out by the following
guidelines.
Maintenance procedures [ Daily ]
- Check that the boiler casing is closed.
Check if there is any problem with the Combination
boiler casing and the two upper and lower screws
are tightened well. Combination boiler casing must
be closed while it is running.
- Check the power source.
Make sure that the power cord is correctly
connected. The main power line is connected to
the manual switch box inside a Combination boiler.
(Power line through the strain relief in the bottom of
the combination boiler casing and x it.)
- Check the status of the control panel
Check status of the power supply. Please check for
any debris on the button.
Maintenance procedures [ Monthly ]
- Check the vent pipe.
Visually inspect the ue gas vent piping for detecting
any signs of blockage, leakage or deterioration
of the piping. Please contact a qualied service
technician immediately if you nd any problem.
- Check the air inlet pipe.
Visually inspect the air inlet to be sure it is
unobstructed. Inspect entire length of air piping
for ensuring that piping is intact and all joints
are properly sealed. Call your qualied service
technician if you notice any problems.
- Check the relief valve.
Inspect the Combination boiler relief valve and
the relief valve discharge pipe for any signs
of weeping or leakage. If the relief valve often
weeps, immediately contact your qualied service
technician for inspecting the Combination boiler and
system.
- Check the condensate outlet.
While the Combination boiler is running, check the
discharge end of the condensate drain tubing.
Make sure that no ue gas is escaping from the
condensate drain tubing.
If ue gas is continuously escaping, it is a serious
problem. Call your qualied service technician for
inspecting the Combination boiler and condensate
line. Also, rell the condensate trap if problem
persists regularly.
- Check the vent terminal screen vent (rodent
screen).
If you encounter a problem of combustion
specications, visually inspect the terminal screen.
And then replace it with spare parts or clean the
screens.
SECTION 8. Maintenance
DO NOT store combustible materials, gasoline
or any other ammable vapors or liquids near
the Water Heater. Remove them immediately or
store them other places.
To prevent potential severe personal injury,
death or substantial property damage,
remove all contaminated materials.
If contaminants are found:
Remove products immediately from the area.
In order to check the status of Combination
boiler, call a qualied service technician to
inspect the Combination boiler for possible
damage from acid corrosion.
WARNING
WARNING

The FT Series Wall Mounted, Combination Boiler Page 71
8.1 Annual startup & general maintenance
- Check the air vent
If the air vent valve seems to work freely without
leaking, replace cap “A” by twisting all the way on.
Loosen cap “A” one turn to allow vent to operate.
If vent does not operate correctly, replace the vent.
A
Maintenance procedures [Every 6 Months]
- Check the boiler piping (gas and water)
Visually inspect for leaks around internal water
piping. Also inspect external water piping,
circulators, relief valve and ttings. Immediately
call a qualied service technician to repair any
leaks. Leaks must be xed by a qualied service
technician immediately.
Failure to comply with this instruction could result in
severe personal injury, death or substantial property
damage.
- Check the pressure relief valve
WARNING
Leaks must be xed by a qualied service technician
immediately. Failure to comply with this instruction
could result in severe personal injury, death or sub-
stantial property damage. This discharge line must
be installed by a qualied heating
installer or a service technician.
Before proceeding, verify that relief valve outlet has
been piped to a safe place of discharge, avoiding
any possibility of scalding from hot water. If water
ows freely, release the lever and allow the valve
to seat. Watch the end of the relief valve discharge
pipe to ensure that the valve does not weep after
the line has had time to drain. If the valve weeps,
lift the seat again to attempt to clean the valve
seat. If the valve continues to weep, contact your
qualied service technician for inspecting the valve
and system. If water does not ow from the valve
even though you have lifted the lever completely, the
valve or discharge line may be blocked. Shut down
the Combination boiler immediately. Call your qualied
service technician to inspect the combination boiler
and system.
- Check the burner state
You can clean the exterior of burner. However, if you
need to clean the inside of the burner stage, you should
call a qualied service technician.
SECTION 8. Maintenance
A

Page 72
8.2 Flushing the Combination Boiler
Flushing the Heat Exchanger is a complicated procedure that should only be done by an authorized technician or
licensed professional. Keep in mind that improper maintenance can void your warranty.
1. Disconnect electric power to the combination boiler.
2. Close the shutoff valves on both hot water outlet
and cold water inlet lines. (V1 & V2)
3. Connect one hose “D1” to the valve “V3” and place
the free end in the bucket. Connect one of the
hoses “D3” to the circulation pump outlet and the
cold water inlet line at the valve “V4”. Connect other
hose “D2” to the circulation pump inlet and place
the free end in the bucket.
8. Disconnect all hoses.
9. Remove the cold water inlet lter from the combination boiler and clean out any residues.
10. Reinsert the lter and ensure the lter cap is securely tightened.
11. Connect electrical power to the combination boiler.
4. Pour the cleaning solution into the bucket. Place the drain hose
(D1) and the hose (D2) to the pump inlet into the cleaning solution.
5. Open service valves (V3 & V4) on the hot water outlet and cold
water inlet lines.
6. Turn on the circulation pump (Operate the pump and allow the
cleaning solution to circulate through the combination boiler for at
least 1 hour at a rate of 4 gallons per minute.)
7. Rinse the cleaning solution from the combination boiler
as follows:
- Remove the free end of the drain hose (D1) from the
bucket.
- Close service valve, (V4), and open shut off valve,
(V2).
Do not open shut off valve, (V1).
- Allow water to ow through the combination boiler for
5 minutes.
- Close shut off valve (V2).
D1
D2
D3
V4 V2
V1
V3

The FT Series Wall Mounted, Combination Boiler Page 73
8.3 Draining and Cleaning
1. Place a bucket under the appliance to collect the residual water inside the combination boiler.
2. Press the Power button on the front control panel to turn OFF the electrical power to the combination boiler.
3. Turn off the gas valve.
4. Close water supply valve on the inlet to the appliance. If there is no valve, turn off main water valve.
5. Open the hot water faucets completely.
6. Remove the cold water inlet lter and 'CH' return lter.
8. To rell the combination boiler, reassemble the lters back into the combination boiler and reverse
steps 6 back to 1.
FTCW199
FTCW140
7. Clean them with a toothbrush and clean running water.

Page 74
9.1 Quick View
Before Installing
- Make sure that there is enough space for
installing Water and gas line.
Verify vent/air termination is located as required.
- All models need for propane Conversion which
requires a separate gas conversion manual.
Install Water Piping
- Boiler loop piping must be sized to the minimums
listed in the Boiler manual. Using smaller piping
will cause performance problems.(page 34)
Install Vent & Air Piping
- Slide the air inlet pipe and vent pipe into the
Boiler pipe connector.
- Make sure the terminations are placed as
required in the manual and that air intakes are at
least 12 inches above normal snow line.
- Refer to the material check list in this guide for a
list of items needed.
Install Condensate Piping / Tubing &
Components
- Fill out the material check list in this guide to
ensure you have the tubing or PVC pipe and all
components needed for the condensate piping.
- Connect internal components that are supplied
with the Boiler.
Install Gas Piping
- Install a union and shutoff valve.
Wire the Boiler
- Connect power wiring and control wiring per
boiler manual wiring diagram.(Section 4.19)
Start up, Adjust & Test
- Follow the Boiler manual instructions to clean
the system if needed, then ll and check water
chemistry.
9.2 Final Check Lists
Final check : Installation Conditions.
• Is the Boiler properly mounted on the wall?
• Is there space for a drain which is close to the
Boiler?
• Are there any combustible materials near the
Boiler and vent pipe?
• Is the air supply sufcient for proper operation of
the Boiler?
• Are the proper service clearances maintained?
• Is the distance between the Boiler and point of
vent termination minimized?
• Is the proper distance from windows, doors, and
other intake vents maintained?
Final check : Gas pipe installation
• Is the gas supply line equipped with a manual
shut off valve?
• Is the gas supply line a minimum of 3/4˝ inner
diameter?
• Is the gas supply line length and diameter
adequate to deliver the required BTU’s?
• Has the gas supply line pressure been
measured?
• Does the supply gas type match the type
indicated on the boiler rating plate?
Final check: Air/Vent pipe installation
• Has the Boiler been vented with 3˝ or 2” PVC,
CPVC, Polypropylene or BH Special
Gas Vent (S636 PVC, CPVC) for Category IV
appliances in accordance with this manual and/or
your local code?
• Is the vent termination at least 12˝ above the
exterior grade?
• Is the total vent length within the maximum vent
length restriction?
• Have you checked the air/vent piping for leaks?
• Have you properly supported the vent
termination?
• Are all vent runs properly supported?
• Is the vent sloped upward toward the vent
termination at a rate of 1/4˝ per foot (2% grade)?
Final check : Condensate drain installation
• Have you installed a condensate drain line from
the Boiler to a drain or laundry tub?
Final check : Setting the DIP switches
• Are all DIP switches correctly set on the main
board?
Section 9 – Installation Check

The FT Series Wall Mounted, Combination Boiler Page 75
9.2 Final Check Lists (continued)
Final check : Connecting the power supply
• Please check that the power is 120V AC.
• Have you checked the polarity of the electrical connection?
Final check : Pressure relief valve
• Have you installed an approved pressure relief valve on the boiler?
• Is the pressure relief valve of CH Plumbing at least 1˝ in diameter?
• Is the pressure relief valve of DHW Plumbing at least 3/4˝ in diameter?
• Have you installed the pressure relief valve on the hot water outlet pipe near the Boiler?
Final check : Burner ames
• The burner ame must be checked periodically for a constant proper blue color.
• If the ame does not appear normal, the burner may need to be cleaned.
• If the burner needs to be cleaned, it must be performed by a qualied service technician.
Sight Glass
Blue ame

LAARS Heating Systems
Page 76
15
16
29
31
19
20
18
23
25
26
28
15
16
SECTION 10. Parts List and Illustrations
KMC# IOM Ref Part Number Description Initials Date Status
CASING
H190200003
15 FT1002 Exhaust Duct Assembly
H190200002
16 FT1010 Air Intake Duct Assembly
S115900025
18 FT1014 Control
S264100065
19 FT1015 Air pressure switch
S223100028
20 FT1016 Ignition transformer
S122100010
23 FT1019 Display Panel
S900140007
25 FT1021 Terminal Block
S264100062
26 FT1022 Condensate Blockage, Air Pressure switch
H850150050
28 FT1024 Display cover window
S325100028
29 FT1025 Pressure gauge
S489100248 31
FT1027 Condensate trap cover
H199990175 A1 FT1100 DHW Hydro block Assembly
S419100042 33 FT1517 DHW Outlet Pipe
S514100107 35 FT1519 DHW nipple
S311200029 36 FT1112 Outlet sensor
S419100041 38 FT1521 DHW Inlet Pipe
S317100009 39 FT1115 Flow sensor
S193000001 40 FT1116 Mixing valve
S549100150 43 FT1119 Flow restrictor
S549100145 44 FT1120 DHW filter mash
S549100141 45 FT1121 DHW filter Cap
S514100105 47 FT1122 DHW connector
H199990176 A2 FT1200 CH hydro Block Assembly
S419100040
55
FT1526 CH return pipe
S311200030 56 FT1219 CH return sensor
S549100155 57 FT1220 3-way valve
S419100039
58
FT1527 CH supply pipe
H160320029
59
FT1222 Pump
HEAT EXCHANGER ASSEMBLY
S549100166
60
FT1304 Exhaust Pipe
H140240002
62
FT1306 Exhaust sensor BK
S311200027
63
FT1307 Exhaust overheat sensor
H130120199
64
FT1068 Heat Exchanger Assembly
S311400021
65
FT1309 Burner Assembly
S311400021
65-1
FT1310 Over heat Sensor
H130210023
65-4
FT1313 Burner
S333100033
65-6
FT1315 Igniter
S554100041
65-7
FT1316 Ignitor gasket
65-8 FT1665 Refractory
S322100020
68
FT1321 Air vent
S419100038
69
FT1322 CH supply upper pipe
H120420007
70
FT1323 DHW tank
S311200026
71
FT1324 Temperature sensor
S312100011
72
FT1325 Low level sensor
S314200007
74
FT1327 Flame detector sensor
S549100134
75
FT1328 Condensate trap
S421200030
76
FT1329 Condensate trap hose
S514100108
77
FT1330 Condensate trap connector
BLOWER & GAS VALVE
H160510020
83
FT1405 Blower Assembly
S242100058
83-1
FT1406 Blower
S549100132 83-2 FT1409 Housing, Gas Mixer
S551200026 83-3 FT1716 O-Ring, Fan Sealing
85 FT1412N Orifice (natural)
85 FT1412P Orifice (propane)
S345100008
86_1
FT1728 Gas valve outlet adaptor
S551200001
86_2
FT1415 Gas valve O-Ring
86_3 FT1416 Gas valve
86_4 FT1538 Gas valve inlet adaptor
86_5 FT1418 Gas valve BK
S412190040 87 FT1419 Gas pipe (down)
S349100039 88 FT1420 Gas inlet adaptor
Kiturami Fire Tube Drawing Number List
KMC# IOM Ref Part Number Description Initials Date Status
CASING
H190200003 15 FT1002 Exhaust Duct Assembly
H190200002 16 FT1010 Air Intake Duct Assembly
S115900025 18 FT1014 Control
S264100065 19 FT1015 Air pressure switch
S223100028 20 FT1016 Ignition transformer
S122100010 23 FT1019 Display Panel
S900140007 25 FT1021 Terminal Block
S264100062 26 FT1022 Condensate Blockage, Air Pressure switch
H850150050 28 FT1024 Display cover window
S325100028 29 FT1025 Pressure gauge
S489100248 31 FT1027 Condensate trap cover
H199990175 A1 FT1100 DHW Hydro block Assembly
S419100042 33 FT1517 DHW Outlet Pipe
S514100107 35 FT1519 DHW nipple
S311200029 36 FT1112 Outlet sensor
S419100041 38 FT1521 DHW Inlet Pipe
S317100009 39 FT1115 Flow sensor
S193000001 40 FT1116 Mixing valve
S549100150 43 FT1119 Flow restrictor
S549100145 44 FT1120 DHW filter mash
S549100141 45 FT1121 DHW filter Cap
S514100105 47 FT1122 DHW connector
H199990176 A2 FT1200 CH hydro Block Assembly
S419100040
55
FT1526 CH return pipe
S311200030 56 FT1219 CH return sensor
S549100155 57 FT1220 3-way valve
S419100039
58
FT1527 CH supply pipe
H160320029
59
FT1222 Pump
HEAT EXCHANGER ASSEMBLY
S549100166
60
FT1304 Exhaust Pipe
H140240002
62
FT1306 Exhaust sensor BK
S311200027
63
FT1307 Exhaust overheat sensor
H130120199
64
FT1068 Heat Exchanger Assembly
S311400021
65
FT1309 Burner Assembly
S311400021
65-1
FT1310 Over heat Sensor
H130210023
65-4
FT1313 Burner
S333100033
65-6
FT1315 Igniter
S554100041
65-7
FT1316 Ignitor gasket
65-8 FT1665 Refractory
S322100020
68
FT1321 Air vent
S419100038
69
FT1322 CH supply upper pipe
H120420007
70
FT1323 DHW tank
S311200026
71
FT1324 Temperature sensor
S312100011
72
FT1325 Low level sensor
S314200007
74
FT1327 Flame detector sensor
S549100134
75
FT1328 Condensate trap
S421200030
76
FT1329 Condensate trap hose
S514100108
77
FT1330 Condensate trap connector
BLOWER & GAS VALVE
H160510020
83
FT1405 Blower Assembly
S242100058
83-1
FT1406 Blower
S549100132 83-2 FT1409 Housing, Gas Mixer
S551200026 83-3 FT1716 O-Ring, Fan Sealing
85 FT1412N Orifice (natural)
85 FT1412P Orifice (propane)
S345100008
86_1
FT1728 Gas valve outlet adaptor
S551200001
86_2
FT1415 Gas valve O-Ring
86_3 FT1416 Gas valve
86_4 FT1538 Gas valve inlet adaptor
86_5 FT1418 Gas valve BK
S412190040 87 FT1419 Gas pipe (down)
S349100039 88 FT1420 Gas inlet adaptor
Kiturami Fire Tube Drawing Number List
FTCW140
FT1894

Mascot FT Combination Boiler Page 77
57
55
58
56
59
47
43
45
44
35
33
36
39 40
38
DHW Assembly A1
CH Assembly A2
KMC# IOM Ref Part Number Description Initials Date Status
CASING
H190200003 15 FT1002 Exhaust Duct Assembly
H190200002 16 FT1010 Air Intake Duct Assembly
S115900025 18 FT1014 Control
S264100065 19 FT1015 Air pressure switch
S223100028 20 FT1016 Ignition transformer
S122100010 23 FT1019 Display Panel
S900140007 25 FT1021 Terminal Block
S264100062 26 FT1022 Condensate Blockage, Air Pressure switch
H850150050 28 FT1024 Display cover window
S325100028 29 FT1025 Pressure gauge
S489100248 31 FT1027 Condensate trap cover
H199990175 A1 FT1100 DHW Hydro block Assembly
S419100042 33 FT1517 DHW Outlet Pipe
S514100107 35 FT1519 DHW nipple
S311200029 36 FT1112 Outlet sensor
S419100041 38 FT1521 DHW Inlet Pipe
S317100009 39 FT1115 Flow sensor
S193000001 40 FT1116 Mixing valve
S549100150 43 FT1119 Flow restrictor
S549100145 44 FT1120 DHW filter mash
S549100141 45 FT1121 DHW filter Cap
S514100105 47 FT1122 DHW connector
H199990176 A2 FT1200 CH hydro Block Assembly
S419100040
55
FT1526 CH return pipe
S311200030 56 FT1219 CH return sensor
S549100155 57 FT1220 3-way valve
S419100039
58
FT1527 CH supply pipe
H160320029
59
FT1222 Pump
HEAT EXCHANGER ASSEMBLY
S549100166
60
FT1304 Exhaust Pipe
H140240002
62
FT1306 Exhaust sensor BK
S311200027
63
FT1307 Exhaust overheat sensor
H130120199
64
FT1068 Heat Exchanger Assembly
S311400021
65
FT1309 Burner Assembly
S311400021
65-1
FT1310 Over heat Sensor
H130210023
65-4
FT1313 Burner
S333100033
65-6
FT1315 Igniter
S554100041
65-7
FT1316 Ignitor gasket
65-8 FT1665 Refractory
S322100020
68
FT1321 Air vent
S419100038
69
FT1322 CH supply upper pipe
H120420007
70
FT1323 DHW tank
S311200026
71
FT1324 Temperature sensor
S312100011
72
FT1325 Low level sensor
S314200007
74
FT1327 Flame detector sensor
S549100134
75
FT1328 Condensate trap
S421200030
76
FT1329 Condensate trap hose
S514100108
77
FT1330 Condensate trap connector
BLOWER & GAS VALVE
H160510020
83
FT1405 Blower Assembly
S242100058
83-1
FT1406 Blower
S549100132 83-2 FT1409 Housing, Gas Mixer
S551200026 83-3 FT1716 O-Ring, Fan Sealing
85 FT1412N Orifice (natural)
85 FT1412P Orifice (propane)
S345100008
86_1
FT1728 Gas valve outlet adaptor
S551200001
86_2
FT1415 Gas valve O-Ring
86_3 FT1416 Gas valve
86_4 FT1538 Gas valve inlet adaptor
86_5 FT1418 Gas valve BK
S412190040 87 FT1419 Gas pipe (down)
S349100039 88 FT1420 Gas inlet adaptor
Kiturami Fire Tube Drawing Number List
KMC# IOM Ref Part Number Description Initials Date Status
CASING
H190200003 15 FT1002 Exhaust Duct Assembly
H190200002 16 FT1010 Air Intake Duct Assembly
S115900025 18 FT1014 Control
S264100065 19 FT1015 Air pressure switch
S223100028 20 FT1016 Ignition transformer
S122100010 23 FT1019 Display Panel
S900140007 25 FT1021 Terminal Block
S264100062 26 FT1022 Condensate Blockage, Air Pressure switch
H850150050 28 FT1024 Display cover window
S325100028 29 FT1025 Pressure gauge
S489100248 31 FT1027 Condensate trap cover
H199990175
A1 FT1100 DHW Hydro block Assembly
S419100042
33 FT1517 DHW Outlet Pipe
S514100107
35 FT1519 DHW nipple
S311200029
36 FT1112 Outlet sensor
S419100041
38 FT1521 DHW Inlet Pipe
S317100009
39 FT1115 Flow sensor
S193000001
40 FT1116 Mixing valve
S549100150
43 FT1119 Flow restrictor
S549100145
44 FT1120 DHW filter mash
S549100141
45 FT1121 DHW filter Cap
S514100105
47 FT1122 DHW connector
H199990176
A2 FT1200 CH hydro Block Assembly
S419100040
55
FT1526 CH return pipe
S311200030
56 FT1219 CH return sensor
S549100155
57 FT1220 3-way valve
S419100039
58
FT1527 CH supply pipe
H160320029
59
FT1222 Pump
HEAT EXCHANGER ASSEMBLY
S549100166
60
FT1304 Exhaust Pipe
H140240002
62
FT1306 Exhaust sensor BK
S311200027
63
FT1307 Exhaust overheat sensor
H130120199
64
FT1068 Heat Exchanger Assembly
S311400021
65
FT1309 Burner Assembly
S311400021
65-1
FT1310 Over heat Sensor
H130210023
65-4
FT1313 Burner
S333100033
65-6
FT1315 Igniter
S554100041
65-7
FT1316 Ignitor gasket
65-8 FT1665 Refractory
S322100020
68
FT1321 Air vent
S419100038
69
FT1322 CH supply upper pipe
H120420007
70
FT1323 DHW tank
S311200026
71
FT1324 Temperature sensor
S312100011
72
FT1325 Low level sensor
S314200007
74
FT1327 Flame detector sensor
S549100134
75
FT1328 Condensate trap
S421200030
76
FT1329 Condensate trap hose
S514100108
77
FT1330 Condensate trap connector
BLOWER & GAS VALVE
H160510020
83
FT1405 Blower Assembly
S242100058
83-1
FT1406 Blower
S549100132 83-2 FT1409 Housing, Gas Mixer
S551200026 83-3 FT1716 O-Ring, Fan Sealing
85 FT1412N Orifice (natural)
85 FT1412P Orifice (propane)
S345100008
86_1
FT1728 Gas valve outlet adaptor
S551200001
86_2
FT1415 Gas valve O-Ring
86_3 FT1416 Gas valve
86_4 FT1538 Gas valve inlet adaptor
86_5 FT1418 Gas valve BK
S412190040 87 FT1419 Gas pipe (down)
S349100039 88 FT1420 Gas inlet adaptor
Kiturami Fire Tube Drawing Number List
FTCW140

LAARS Heating Systems
Page 78
Heat Exchanger & Tank
70
71
72
74
64
60
62
63
75
76
77
69
68
65-1
65-4
65-6
65-7
65
65-8
FTCW140

Mascot FT Combination Boiler Page 79
KMC# IOM Ref Part Number Description Initials Date Status
CASING
H190200003 15 FT1002 Exhaust Duct Assembly
H190200002 16 FT1010 Air Intake Duct Assembly
S115900025 18 FT1014 Control
S264100065 19 FT1015 Air pressure switch
S223100028 20 FT1016 Ignition transformer
S122100010 23 FT1019 Display Panel
S900140007 25 FT1021 Terminal Block
S264100062 26 FT1022 Condensate Blockage, Air Pressure switch
H850150050 28 FT1024 Display cover window
S325100028 29 FT1025 Pressure gauge
S489100248 31 FT1027 Condensate trap cover
H199990175 A1 FT1100 DHW Hydro block Assembly
S419100042 33 FT1517 DHW Outlet Pipe
S514100107 35 FT1519 DHW nipple
S311200029 36 FT1112 Outlet sensor
S419100041 38 FT1521 DHW Inlet Pipe
S317100009 39 FT1115 Flow sensor
S193000001 40 FT1116 Mixing valve
S549100150 43 FT1119 Flow restrictor
S549100145 44 FT1120 DHW filter mash
S549100141 45 FT1121 DHW filter Cap
S514100105 47 FT1122 DHW connector
H199990176 A2 FT1200 CH hydro Block Assembly
S419100040
55
FT1526 CH return pipe
S311200030 56 FT1219 CH return sensor
S549100155 57 FT1220 3-way valve
S419100039
58
FT1527 CH supply pipe
H160320029
59
FT1222 Pump
HEAT EXCHANGER ASSEMBLY
S549100166
60
FT1304 Exhaust Pipe
H140240002
62
FT1306 Exhaust sensor BK
S311200027
63
FT1307 Exhaust overheat sensor
H130120199
64
FT1068 Heat Exchanger Assembly
S311400021
65
FT1309 Burner Assembly
S311400021
65-1
FT1310 Over heat Sensor
H130210023
65-4
FT1313 Burner
S333100033
65-6
FT1315 Igniter
S554100041
65-7
FT1316 Ignitor gasket
65-8 FT1665 Refractory
S322100020
68
FT1321 Air vent
S419100038
69
FT1322 CH supply upper pipe
H120420007
70
FT1323 DHW tank
S311200026
71
FT1324 Temperature sensor
S312100011
72
FT1325 Low level sensor
S314200007
74
FT1327 Flame detector sensor
S549100134
75
FT1328 Condensate trap
S421200030
76
FT1329 Condensate trap hose
S514100108
77
FT1330 Condensate trap connector
BLOWER & GAS VALVE
H160510020
83
FT1405 Blower Assembly
S242100058
83-1
FT1406 Blower
S549100132 83-2 FT1409 Housing, Gas Mixer
S551200026 83-3 FT1716 O-Ring, Fan Sealing
85 FT1412N Orifice (natural)
85 FT1412P Orifice (propane)
S345100008
86_1
FT1728 Gas valve outlet adaptor
S551200001
86_2
FT1415 Gas valve O-Ring
86_3 FT1416 Gas valve
86_4 FT1538 Gas valve inlet adaptor
86_5 FT1418 Gas valve BK
S412190040 87 FT1419 Gas pipe (down)
S349100039 88 FT1420 Gas inlet adaptor
Kiturami Fire Tube Drawing Number List
KMC# IOM Ref Part Number Description Initials Date Status
CASING
H190200003 15 FT1002 Exhaust Duct Assembly
H190200002 16 FT1010 Air Intake Duct Assembly
S115900025 18 FT1014 Control
S264100065 19 FT1015 Air pressure switch
S223100028 20 FT1016 Ignition transformer
S122100010 23 FT1019 Display Panel
S900140007 25 FT1021 Terminal Block
S264100062 26 FT1022 Condensate Blockage, Air Pressure switch
H850150050 28 FT1024 Display cover window
S325100028 29 FT1025 Pressure gauge
S489100248 31 FT1027 Condensate trap cover
H199990175 A1 FT1100 DHW Hydro block Assembly
S419100042 33 FT1517 DHW Outlet Pipe
S514100107 35 FT1519 DHW nipple
S311200029 36 FT1112 Outlet sensor
S419100041 38 FT1521 DHW Inlet Pipe
S317100009 39 FT1115 Flow sensor
S193000001 40 FT1116 Mixing valve
S549100150 43 FT1119 Flow restrictor
S549100145 44 FT1120 DHW filter mash
S549100141 45 FT1121 DHW filter Cap
S514100105 47 FT1122 DHW connector
H199990176 A2 FT1200 CH hydro Block Assembly
S419100040
55
FT1526 CH return pipe
S311200030 56 FT1219 CH return sensor
S549100155 57 FT1220 3-way valve
S419100039
58
FT1527 CH supply pipe
H160320029
59
FT1222 Pump
HEAT EXCHANGER ASSEMBLY
S549100166
60
FT1304 Exhaust Pipe
H140240002
62
FT1306 Exhaust sensor BK
S311200027
63
FT1307 Exhaust overheat sensor
H130120199
64
FT1068 Heat Exchanger Assembly
S311400021
65
FT1309 Burner Assembly
S311400021
65-1
FT1310 Over heat Sensor
H130210023
65-4
FT1313 Burner
S333100033
65-6
FT1315 Igniter
S554100041
65-7
FT1316 Ignitor gasket
65-8 FT1665 Refractory
S322100020
68
FT1321 Air vent
S419100038
69
FT1322 CH supply upper pipe
H120420007
70
FT1323 DHW tank
S311200026
71
FT1324 Temperature sensor
S312100011
72
FT1325 Low level sensor
S314200007
74
FT1327 Flame detector sensor
S549100134
75
FT1328 Condensate trap
S421200030
76
FT1329 Condensate trap hose
S514100108
77
FT1330 Condensate trap connector
BLOWER & GAS VALVE
H160510020
83
FT1405 Blower Assembly
S242100058
83-1
FT1406 Blower
S549100132 83-2 FT1409 Housing, Gas Mixer
S551200026 83-3 FT1716 O-Ring, Fan Sealing
85 FT1412N Orifice (natural)
85 FT1412P Orifice (propane)
S345100008
86_1
FT1728 Gas valve outlet adaptor
S551200001
86_2
FT1415 Gas valve O-Ring
86_3 FT1416 Gas valve
86_4 FT1538 Gas valve inlet adaptor
86_5 FT1418 Gas valve BK
S412190040 87 FT1419 Gas pipe (down)
S349100039 88 FT1420 Gas inlet adaptor
Kiturami Fire Tube Drawing Number List
FTCW140
70
71
72
74
64
60
62
63
75
76
77
69
68
65-1
65-4
65-6
65-7
65
65-8

LAARS Heating Systems
Page 80
Blower and Gas Valve
85
89
84
89
87
89
88
89
83
83
86-1
86-2
86-3
86-2
86-4
86-5
83-1
FTCW140

Mascot FT Combination Boiler Page 81
S551100036 89 FT1421 Packing
OPTIONAL ITEMS
S323100096
90
FT1500 Pressure Relief Valve
S319300014
91
FT1501 Outdoor Temp. Sensor
S114200020
92
FT1502 Bird Screen 3"
S511100118
93
FT1503 Gas Reducing Coupling
H990050007
94
FT1504 Spare Parts Kit
S421200027
95
FT1505 Condensate Hose
S549100149
96
FT1506 Restrictor(5L)
S531100247
97 FT1507 Wall Hung Bracket
S114200021
98
FT1508 Bird Screen 2"
S531100297
99
FT1509 Heat Exchanger Long Bolt
S182100094
100
FT1510 LPG Gas Nozzle 4.85mm
S551100036
89 FT1421 Packing
OPTIONAL ITEMS
S323100096
90
FT1500 Pressure Relief Valve
S319300014
91
FT1501 Outdoor Temp. Sensor
S114200020
92
FT1502 Bird Screen 3"
S511100118
93
FT1503 Gas Reducing Coupling
H990050007
94
FT1504 Spare Parts Kit
S421200027
95
FT1505 Condensate Hose
S549100149
96
FT1506 Restrictor(5L)
S531100247 97 FT1507 Wall Hung Bracket
S114200021
98
FT1508 Bird Screen 2"
S531100297
99
FT1509 Heat Exchanger Long Bolt
S182100094
100
FT1510 LPG Gas Nozzle 4.85mm
KMC# IOM Ref Part Number Description Initials Date Status
CASING
H190200003 15 FT1002 Exhaust Duct Assembly
H190200002 16 FT1010 Air Intake Duct Assembly
S115900025 18 FT1014 Control
S264100065 19 FT1015 Air pressure switch
S223100028 20 FT1016 Ignition transformer
S122100010 23 FT1019 Display Panel
S900140007 25 FT1021 Terminal Block
S264100062 26 FT1022 Condensate Blockage, Air Pressure switch
H850150050 28 FT1024 Display cover window
S325100028 29 FT1025 Pressure gauge
S489100248 31 FT1027 Condensate trap cover
H199990175 A1 FT1100 DHW Hydro block Assembly
S419100042 33 FT1517 DHW Outlet Pipe
S514100107 35 FT1519 DHW nipple
S311200029 36 FT1112 Outlet sensor
S419100041 38 FT1521 DHW Inlet Pipe
S317100009 39 FT1115 Flow sensor
S193000001 40 FT1116 Mixing valve
S549100150 43 FT1119 Flow restrictor
S549100145 44 FT1120 DHW filter mash
S549100141 45 FT1121 DHW filter Cap
S514100105 47 FT1122 DHW connector
H199990176 A2 FT1200 CH hydro Block Assembly
S419100040
55
FT1526 CH return pipe
S311200030 56 FT1219 CH return sensor
S549100155 57 FT1220 3-way valve
S419100039
58
FT1527 CH supply pipe
H160320029
59
FT1222 Pump
HEAT EXCHANGER ASSEMBLY
S549100166
60
FT1304 Exhaust Pipe
H140240002
62
FT1306 Exhaust sensor BK
S311200027
63
FT1307 Exhaust overheat sensor
H130120199
64
FT1068 Heat Exchanger Assembly
S311400021
65
FT1309 Burner Assembly
S311400021
65-1
FT1310 Over heat Sensor
H130210023
65-4
FT1313 Burner
S333100033
65-6
FT1315 Igniter
S554100041
65-7
FT1316 Ignitor gasket
65-8 FT1665 Refractory
S322100020
68
FT1321 Air vent
S419100038
69
FT1322 CH supply upper pipe
H120420007
70
FT1323 DHW tank
S311200026
71
FT1324 Temperature sensor
S312100011
72
FT1325 Low level sensor
S314200007
74
FT1327 Flame detector sensor
S549100134
75
FT1328 Condensate trap
S421200030
76
FT1329 Condensate trap hose
S514100108
77
FT1330 Condensate trap connector
BLOWER & GAS VALVE
H160510020
83
FT1405 Blower Assembly
S242100058
83-1
FT1406 Blower
S549100132
83-2 FT1409 Housing, Gas Mixer
S551200026
83-3 FT1716 O-Ring, Fan Sealing
85 FT1412N Orifice (natural)
85 FT1412P Orifice (propane)
S345100008
86_1
FT1728 Gas valve outlet adaptor
S551200001
86_2
FT1415 Gas valve O-Ring
86_3 FT1416 Gas valve
86_4 FT1538 Gas valve inlet adaptor
86_5 FT1418 Gas valve BK
S412190040
87 FT1419 Gas pipe (down)
S349100039
88 FT1420 Gas inlet adaptor
Kiturami Fire Tube Drawing Number List
KMC# IOM Ref Part Number Description Initials Date Status
CASING
H190200003 15 FT1002 Exhaust Duct Assembly
H190200002 16 FT1010 Air Intake Duct Assembly
S115900025 18 FT1014 Control
S264100065 19 FT1015 Air pressure switch
S223100028 20 FT1016 Ignition transformer
S122100010 23 FT1019 Display Panel
S900140007 25 FT1021 Terminal Block
S264100062 26 FT1022 Condensate Blockage, Air Pressure switch
H850150050 28 FT1024 Display cover window
S325100028 29 FT1025 Pressure gauge
S489100248 31 FT1027 Condensate trap cover
H199990175 A1 FT1100 DHW Hydro block Assembly
S419100042 33 FT1517 DHW Outlet Pipe
S514100107 35 FT1519 DHW nipple
S311200029 36 FT1112 Outlet sensor
S419100041 38 FT1521 DHW Inlet Pipe
S317100009 39 FT1115 Flow sensor
S193000001 40 FT1116 Mixing valve
S549100150 43 FT1119 Flow restrictor
S549100145 44 FT1120 DHW filter mash
S549100141 45 FT1121 DHW filter Cap
S514100105 47 FT1122 DHW connector
H199990176 A2 FT1200 CH hydro Block Assembly
S419100040
55
FT1526 CH return pipe
S311200030 56 FT1219 CH return sensor
S549100155 57 FT1220 3-way valve
S419100039
58
FT1527 CH supply pipe
H160320029
59
FT1222 Pump
HEAT EXCHANGER ASSEMBLY
S549100166
60
FT1304 Exhaust Pipe
H140240002
62
FT1306 Exhaust sensor BK
S311200027
63
FT1307 Exhaust overheat sensor
H130120199
64
FT1068 Heat Exchanger Assembly
S311400021
65
FT1309 Burner Assembly
S311400021
65-1
FT1310 Over heat Sensor
H130210023
65-4
FT1313 Burner
S333100033
65-6
FT1315 Igniter
S554100041
65-7
FT1316 Ignitor gasket
65-8 FT1665 Refractory
S322100020
68
FT1321 Air vent
S419100038
69
FT1322 CH supply upper pipe
H120420007
70
FT1323 DHW tank
S311200026
71
FT1324 Temperature sensor
S312100011
72
FT1325 Low level sensor
S314200007
74
FT1327 Flame detector sensor
S549100134
75
FT1328 Condensate trap
S421200030
76
FT1329 Condensate trap hose
S514100108
77
FT1330 Condensate trap connector
BLOWER & GAS VALVE
H160510020
83
FT1405 Blower Assembly
S242100058
83-1
FT1406 Blower
S549100132 83-2 FT1409 Housing, Gas Mixer
S551200026 83-3 FT1716 O-Ring, Fan Sealing
85 FT1412N Orifice (natural)
85 FT1412P Orifice (propane)
S345100008
86_1
FT1728 Gas valve outlet adaptor
S551200001
86_2
FT1415 Gas valve O-Ring
86_3 FT1416 Gas valve
86_4 FT1538 Gas valve inlet adaptor
86_5 FT1418 Gas valve BK
S412190040 87 FT1419 Gas pipe (down)
S349100039 88 FT1420 Gas inlet adaptor
Kiturami Fire Tube Drawing Number List
FTCW140
Nozzle (natural, NG)
Nozzle (propane, LP)

Page 82
FTCW199
FT1894

The FT Series Wall Mounted, Combination Boiler Page 83
No
aars Part Numbe
Description
Casing
(Green=Shared Part, Blue=175/199 Part)
1FT1601 O-Ring P7
B-3 FT1614 M4*8 TH+ tapping
B-5 FT1544 M4*10 FH+ tapping
B-6 FT1719 M4*10 TH+ tapping
B-8 FT1545 M4*10 Plat Head
B-10 FT1534 M4*12 TH+ M/S
B-13 FT1547 M4*16 TH+ tapping
B-15 FT1814 M4*20 TH+ tapping
15 FT1002 Exhaust Vent Duct Ass'y
15-1 FT1603 Stainless band Φ100
15-2 FT1604 Exhaust packing
15-3 FT1605 Exhaust vent duct
15-4 FT1606 Exhaust testing cap
15-5 FT1607 O-Ring P85
15-6 FT1608 Exhust adaptor
15-7 FT1609 O-Ring P75
16 FT1800 Air Inlet Duct Ass'y
16-1 FT1611 Air inlet Duct
17 FT1321 Air vent
18 FT1548 Air vent rubber cap
19 FT1797 Gasket BK
19-1 FT1013 Safety valve rubber pad
20 FT1804 Air Pressure sensor
21 FT1751 Control BK
FT1751 ?? - Kiturami to confirm if item 21 or 25 is H
22 FT1801 Control Display (P-920C)
23 FT1752 Panel BK
24 ST1006 Ignition transformer
25 FT1014 PCB(NGTX-920CP)
FT1751 ?? - Kiturami to confirm if item 21 or 25 is H
26 FT1795 Bracket
27 FT1020 Power switch
28 FT1827 Terminal Blocks
29 FT1022 Condensate blockage, Air press switch
30 FT1790 Front cover
31 FT1024 Display cover window
32 FT1771 Intake/exhaust sealing pad
33 FT1055 Wall mount bracket (top)
34 FT1791 Casing ASS'Y
35 FT1057 Wall mount bracket (lower)
36 FT1633 Wire adaptor
37 FT1025 Pressure gauge
No
aars Part Numbe
Description
Block Ass’y
(Green=Shared Part, Blue=175/199 Part)
2FT1685 O-Ring P15
3FT1643 O-Ring P16
4FT1687 O-Ring P18
5FT1513 O-Ring P20
6FT1644 O-Ring P22
7FT1515 O-Ring P22A
8FT1516 O-Ring P25
10 FT1646 3/4" packing
11 FT1691 1" packing
12 FT1208 Water flow sensor clip
13 FT1107 Pipe clip
14 FT1108 Pump clip
B-4 FT1520 M4*8 TH+ M/S
B-16 FT1817 M4*9 PH.PW+ Self Tapping
38 FT1805 DHW pipe
39 FT1518 DHW ‘T’ pipe
40 FT1519 DHW nipple
41 FT1112 Outlet sensor
42 FT1806 DHW inlet pipe
43 FT1115 Flow sensor
44 FT1116 Mixing valve
45 FT1522 DHW inlet block
46 FT1549 DHW inlet filter body
47 FT1822 Flow restrictor
48 FT1120 DHW inlet mash
49 FT1121 DHW filter Cap
50 FT1122 DHW nipple
51 FT1121 Return block cap
52 FT1523 Return block
53 FT1524 ‘R’ clip
54 FT1525 Pressure gauge clip
55 FT1215 CH return, supply connector
56 FT1216 CH filter
57 FT1217 U Clip
58 FT1807 CH return pipe
59 FT1219 CH return sensor
60 FT1220 3way valve
61 FT1808 CH supply pipe
62 FT1798 Pump (top case+bk)
No
aars Part Numbe
Description
Heat Exchanger & Tank
(Green=Shared Part, Blue=175/199 Part)
6FT1644 O-Ring p22
10 FT1646 3/4" Packing
11 FT1691 1" Packing
B-1 FT1062 M3*6 PH+ M/S
B-2 FT1063 M4*8 BH+ tapping
B-6 FT1719 M4*10 TH+ tapping
B-17 FT1816 M5*10 TH+ M/S
B-18 FT1820 M5*12 BH+ tapping
B-19 FT1815 M5*12 BH+ M/S
B-21 FT1818
M4*13.5 Wrench Bolt + Spring Washer +
Flat Washer
63 FT1306 Exhaust sensor BK
Is item 63 or 64 Kiturami Part Number H140240002
64 FT1784 Exhaust-adaptor Need Kiturami Part Number
65 FT1307 Exhaust sensor
Is item 63 or 64 Kiturami Part Number H140240002
66 FT1823 Exhaust pipe
67 FT1825 Inner pipe_bottom packing
68 FT1813 Stainless band
69 FT1793 DHW tank BK
70 FT1809 CH supply pipe (top)
71 FT1794 DHW tank ASS'Y
72 FT1324 Temperature sensor
73 FT1325 Low level sensor
74 FT1669 Photo sensor BK
75 FT1327 Photo sensor
76 FT1069 Photo sensor cover
77 FT1792 Heat exchanger ASS'Y
77-1 FT1796 Burner ASS'Y
77-2 FT1760 Burner case(top)
77-3 FT1824 Burner gasket
77-4 FT1838 Burner
77-5 FT1763 Igniter
77-6 FT1663 Igniter gasket
77-7 FT1310 Overheat sensor
77-8 FT1764 Burner case (bottom)
77-9 FT1826 Refractory FT-175W thru FT-199W
78 FT1783 Condensate trap ASS'Y
No
aars Part Numbe
Description
Fan & Gas Valve
(Green=Shared Part, Blue=175/199 Part)
N-2 FT1074 M5 NUT
B-4 FT1779 M4*8 TH+ M/S
B-9 FT1076 M4*12 PH+ M/S
B-22 FT1819 M5*15 Wrench Bolt + Flat Washer
79 FT1769 Fan guide
80 FT1770 Damper packing
81 FT1081 Damper body
82 FT1082 Fan rubber pad
83 FT1772 Fan guide packing
84 FT1799 Fan ASS'Y
84-1 FT1803 Fan
84-2 ST1038 Fan sealing O-ring
84-3 FT1773 AGM VENTURI
84-4 FT1774 AGM O-ring
84-5 FT1775 AGM BODY
85 FT1603 Stainless band Ø100
86 FT1812 Air intake hose
87 FT1777 stainless Ø89
88 FT1821 Air intake orifice
89 FT1778 Gas valve ASS'Y
89-1 FT1728 Gas valve outlet
89-2 FT1727 Gas valve O-ring
89-3 FT1750 Gas valve
89-4 FT1779 Gas valve BK
90 FT1421 1/2" Packing
91 FT1780 Orifice (natural)
91 FT1802 Orifice (propane)
92 FT1810 Gas pipe (up)
93 FT1811 Gas pipe (down)
94 FT1087 Gas inlet nipple
FTCW199
KMC# IOM Ref Part Number Description Initials Date Status
CASING
H190200003 15 FT1002 Exhaust Duct Assembly
H190200002 16 FT1010 Air Intake Duct Assembly
S115900025 18 FT1014 Control
S264100065 19 FT1015 Air pressure switch
S223100028 20 FT1016 Ignition transformer
S122100010 23 FT1019 Display Panel
S900140007 25 FT1021 Terminal Block
S264100062 26 FT1022 Condensate Blockage, Air Pressure switch
H850150050 28 FT1024 Display cover window
S325100028 29 FT1025 Pressure gauge
S489100248 31 FT1027 Condensate trap cover
H199990175 A1 FT1100 DHW Hydro block Assembly
S419100042 33 FT1517 DHW Outlet Pipe
S514100107 35 FT1519 DHW nipple
S311200029 36 FT1112 Outlet sensor
S419100041 38 FT1521 DHW Inlet Pipe
S317100009 39 FT1115 Flow sensor
S193000001 40 FT1116 Mixing valve
S549100150 43 FT1119 Flow restrictor
S549100145 44 FT1120 DHW filter mash
S549100141 45 FT1121 DHW filter Cap
S514100105 47 FT1122 DHW connector
H199990176 A2 FT1200 CH hydro Block Assembly
S419100040
55
FT1526 CH return pipe
S311200030 56 FT1219 CH return sensor
S549100155 57 FT1220 3-way valve
S419100039
58
FT1527 CH supply pipe
H160320029
59
FT1222 Pump
HEAT EXCHANGER ASSEMBLY
S549100166
60
FT1304 Exhaust Pipe
H140240002
62
FT1306 Exhaust sensor BK
S311200027
63
FT1307 Exhaust overheat sensor
H130120199
64
FT1068 Heat Exchanger Assembly
S311400021
65
FT1309 Burner Assembly
S311400021
65-1
FT1310 Over heat Sensor
H130210023
65-4
FT1313 Burner
S333100033
65-6
FT1315 Igniter
S554100041
65-7
FT1316 Ignitor gasket
65-8 FT1665 Refractory
S322100020
68
FT1321 Air vent
S419100038
69
FT1322 CH supply upper pipe
H120420007
70
FT1323 DHW tank
S311200026
71
FT1324 Temperature sensor
S312100011
72
FT1325 Low level sensor
S314200007
74
FT1327 Flame detector sensor
S549100134
75
FT1328 Condensate trap
S421200030
76
FT1329 Condensate trap hose
S514100108
77
FT1330 Condensate trap connector
BLOWER & GAS VALVE
H160510020
83
FT1405 Blower Assembly
S242100058
83-1
FT1406 Blower
S549100132 83-2 FT1409 Housing, Gas Mixer
S551200026 83-3 FT1716 O-Ring, Fan Sealing
85 FT1412N Orifice (natural)
85 FT1412P Orifice (propane)
S345100008
86_1
FT1728 Gas valve outlet adaptor
S551200001
86_2
FT1415 Gas valve O-Ring
86_3 FT1416 Gas valve
86_4 FT1538 Gas valve inlet adaptor
86_5 FT1418 Gas valve BK
S412190040 87 FT1419 Gas pipe (down)
S349100039 88 FT1420 Gas inlet adaptor
Kiturami Fire Tube Drawing Number List

Page 84
FTCW199
DHW Assembly A1
CH Assembly A2

The FT Series Wall Mounted, Combination Boiler Page 85
No
aars Part Numbe
Description
Casing
(Green=Shared Part, Blue=175/199 Part)
1FT1601 O-Ring P7
B-3 FT1614 M4*8 TH+ tapping
B-5 FT1544 M4*10 FH+ tapping
B-6 FT1719 M4*10 TH+ tapping
B-8 FT1545 M4*10 Plat Head
B-10 FT1534 M4*12 TH+ M/S
B-13 FT1547 M4*16 TH+ tapping
B-15 FT1814 M4*20 TH+ tapping
15 FT1002 Exhaust Vent Duct Ass'y
15-1 FT1603 Stainless band Φ100
15-2 FT1604 Exhaust packing
15-3 FT1605 Exhaust vent duct
15-4 FT1606 Exhaust testing cap
15-5 FT1607 O-Ring P85
15-6 FT1608 Exhust adaptor
15-7 FT1609 O-Ring P75
16 FT1800 Air Inlet Duct Ass'y
16-1 FT1611 Air inlet Duct
17 FT1321 Air vent
18 FT1548 Air vent rubber cap
19 FT1797 Gasket BK
19-1 FT1013 Safety valve rubber pad
20 FT1804 Air Pressure sensor
21 FT1751 Control BK
FT1751 ?? - Kiturami to confirm if item 21 or 25 is H
22 FT1801 Control Display (P-920C)
23 FT1752 Panel BK
24 ST1006 Ignition transformer
25 FT1014 PCB(NGTX-920CP)
FT1751 ?? - Kiturami to confirm if item 21 or 25 is H
26 FT1795 Bracket
27 FT1020 Power switch
28 FT1827 Terminal Blocks
29 FT1022 Condensate blockage, Air press switch
30 FT1790 Front cover
31 FT1024 Display cover window
32 FT1771 Intake/exhaust sealing pad
33 FT1055 Wall mount bracket (top)
34 FT1791 Casing ASS'Y
35 FT1057 Wall mount bracket (lower)
36 FT1633 Wire adaptor
37 FT1025 Pressure gauge
No
aars Part Numbe
Description
Block Ass’y
(Green=Shared Part, Blue=175/199 Part)
2FT1685 O-Ring P15
3FT1643 O-Ring P16
4FT1687 O-Ring P18
5FT1513 O-Ring P20
6FT1644 O-Ring P22
7FT1515 O-Ring P22A
8FT1516 O-Ring P25
10 FT1646 3/4" packing
11 FT1691 1" packing
12 FT1208 Water flow sensor clip
13 FT1107 Pipe clip
14 FT1108 Pump clip
B-4 FT1520 M4*8 TH+ M/S
B-16 FT1817 M4*9 PH.PW+ Self Tapping
38 FT1805 DHW pipe
39 FT1518 DHW ‘T’ pipe
40 FT1519 DHW nipple
41 FT1112 Outlet sensor
42 FT1806 DHW inlet pipe
43 FT1115 Flow sensor
44 FT1116 Mixing valve
45 FT1522 DHW inlet block
46 FT1549 DHW inlet filter body
47 FT1822 Flow restrictor
48 FT1120 DHW inlet mash
49 FT1121 DHW filter Cap
50 FT1122 DHW nipple
51 FT1121 Return block cap
52 FT1523 Return block
53 FT1524 ‘R’ clip
54 FT1525 Pressure gauge clip
55 FT1215 CH return, supply connector
56 FT1216 CH filter
57 FT1217 U Clip
58 FT1807 CH return pipe
59 FT1219 CH return sensor
60 FT1220 3way valve
61 FT1808 CH supply pipe
62 FT1798 Pump (top case+bk)
No
aars Part Numbe
Description
Heat Exchanger & Tank
(Green=Shared Part, Blue=175/199 Part)
6FT1644 O-Ring p22
10 FT1646 3/4" Packing
11 FT1691 1" Packing
B-1 FT1062 M3*6 PH+ M/S
B-2 FT1063 M4*8 BH+ tapping
B-6 FT1719 M4*10 TH+ tapping
B-17 FT1816 M5*10 TH+ M/S
B-18 FT1820 M5*12 BH+ tapping
B-19 FT1815 M5*12 BH+ M/S
B-21 FT1818
M4*13.5 Wrench Bolt + Spring Washer +
Flat Washer
63 FT1306 Exhaust sensor BK
Is item 63 or 64 Kiturami Part Number H140240002
64 FT1784 Exhaust-adaptor Need Kiturami Part Number
65 FT1307 Exhaust sensor
Is item 63 or 64 Kiturami Part Number H140240002
66 FT1823 Exhaust pipe
67 FT1825 Inner pipe_bottom packing
68 FT1813 Stainless band
69 FT1793 DHW tank BK
70 FT1809 CH supply pipe (top)
71 FT1794 DHW tank ASS'Y
72 FT1324 Temperature sensor
73 FT1325 Low level sensor
74 FT1669 Photo sensor BK
75 FT1327 Photo sensor
76 FT1069 Photo sensor cover
77 FT1792 Heat exchanger ASS'Y
77-1 FT1796 Burner ASS'Y
77-2 FT1760 Burner case(top)
77-3 FT1824 Burner gasket
77-4 FT1838 Burner
77-5 FT1763 Igniter
77-6 FT1663 Igniter gasket
77-7 FT1310 Overheat sensor
77-8 FT1764 Burner case (bottom)
77-9 FT1826 Refractory FT-175W thru FT-199W
78 FT1783 Condensate trap ASS'Y
No
aars Part Numbe
Description
Fan & Gas Valve
(Green=Shared Part, Blue=175/199 Part)
N-2 FT1074 M5 NUT
B-4 FT1779 M4*8 TH+ M/S
B-9 FT1076 M4*12 PH+ M/S
B-22 FT1819 M5*15 Wrench Bolt + Flat Washer
79 FT1769 Fan guide
80 FT1770 Damper packing
81 FT1081 Damper body
82 FT1082 Fan rubber pad
83 FT1772 Fan guide packing
84 FT1799 Fan ASS'Y
84-1 FT1803 Fan
84-2 ST1038 Fan sealing O-ring
84-3 FT1773 AGM VENTURI
84-4 FT1774 AGM O-ring
84-5 FT1775 AGM BODY
85 FT1603 Stainless band Ø100
86 FT1812 Air intake hose
87 FT1777 stainless Ø89
88 FT1821 Air intake orifice
89 FT1778 Gas valve ASS'Y
89-1 FT1728 Gas valve outlet
89-2 FT1727 Gas valve O-ring
89-3 FT1750 Gas valve
89-4 FT1779 Gas valve BK
90 FT1421 1/2" Packing
91 FT1780 Orifice (natural)
91 FT1802 Orifice (propane)
92 FT1810 Gas pipe (up)
93 FT1811 Gas pipe (down)
94 FT1087 Gas inlet nipple
No
aars Part Numbe
Description
Casing
(Green=Shared Part, Blue=175/199 Part)
1FT1601 O-Ring P7
B-3 FT1614 M4*8 TH+ tapping
B-5 FT1544 M4*10 FH+ tapping
B-6 FT1719 M4*10 TH+ tapping
B-8 FT1545 M4*10 Plat Head
B-10 FT1534 M4*12 TH+ M/S
B-13 FT1547 M4*16 TH+ tapping
B-15 FT1814 M4*20 TH+ tapping
15 FT1002 Exhaust Vent Duct Ass'y
15-1 FT1603 Stainless band Φ100
15-2 FT1604 Exhaust packing
15-3 FT1605 Exhaust vent duct
15-4 FT1606 Exhaust testing cap
15-5 FT1607 O-Ring P85
15-6 FT1608 Exhust adaptor
15-7 FT1609 O-Ring P75
16 FT1800 Air Inlet Duct Ass'y
16-1 FT1611 Air inlet Duct
17 FT1321 Air vent
18 FT1548 Air vent rubber cap
19 FT1797 Gasket BK
19-1 FT1013 Safety valve rubber pad
20 FT1804 Air Pressure sensor
21 FT1751 Control BK
FT1751 ?? - Kiturami to confirm if item 21 or 25 is H
22 FT1801 Control Display (P-920C)
23 FT1752 Panel BK
24 ST1006 Ignition transformer
25 FT1014 PCB(NGTX-920CP)
FT1751 ?? - Kiturami to confirm if item 21 or 25 is H
26 FT1795 Bracket
27 FT1020 Power switch
28 FT1827 Terminal Blocks
29 FT1022 Condensate blockage, Air press switch
30 FT1790 Front cover
31 FT1024 Display cover window
32 FT1771 Intake/exhaust sealing pad
33 FT1055 Wall mount bracket (top)
34 FT1791 Casing ASS'Y
35 FT1057 Wall mount bracket (lower)
36 FT1633 Wire adaptor
37 FT1025 Pressure gauge
No
aars Part Numbe
Description
Block Ass’y
(Green=Shared Part, Blue=175/199 Part)
2FT1685 O-Ring P15
3FT1643 O-Ring P16
4FT1687 O-Ring P18
5FT1513 O-Ring P20
6FT1644 O-Ring P22
7FT1515 O-Ring P22A
8FT1516 O-Ring P25
10 FT1646 3/4" packing
11 FT1691 1" packing
12 FT1208 Water flow sensor clip
13 FT1107 Pipe clip
14 FT1108 Pump clip
B-4 FT1520 M4*8 TH+ M/S
B-16 FT1817 M4*9 PH.PW+ Self Tapping
38 FT1805 DHW pipe
39 FT1518 DHW ‘T’ pipe
40 FT1519 DHW nipple
41 FT1112 Outlet sensor
42 FT1806 DHW inlet pipe
43 FT1115 Flow sensor
44 FT1116 Mixing valve
45 FT1522 DHW inlet block
46 FT1549 DHW inlet filter body
47 FT1822 Flow restrictor
48 FT1120 DHW inlet mash
49 FT1121 DHW filter Cap
50 FT1122 DHW nipple
51 FT1121 Return block cap
52 FT1523 Return block
53 FT1524 ‘R’ clip
54 FT1525 Pressure gauge clip
55 FT1215 CH return, supply connector
56 FT1216 CH filter
57 FT1217 U Clip
58 FT1807 CH return pipe
59 FT1219 CH return sensor
60 FT1220 3way valve
61 FT1808 CH supply pipe
62 FT1798 Pump (top case+bk)
No
aars Part Numbe
Description
Heat Exchanger & Tank
(Green=Shared Part, Blue=175/199 Part)
6FT1644 O-Ring p22
10 FT1646 3/4" Packing
11 FT1691 1" Packing
B-1 FT1062 M3*6 PH+ M/S
B-2 FT1063 M4*8 BH+ tapping
B-6 FT1719 M4*10 TH+ tapping
B-17 FT1816 M5*10 TH+ M/S
B-18 FT1820 M5*12 BH+ tapping
B-19 FT1815 M5*12 BH+ M/S
B-21 FT1818
M4*13.5 Wrench Bolt + Spring Washer +
Flat Washer
63 FT1306 Exhaust sensor BK
Is item 63 or 64 Kiturami Part Number H140240002
64 FT1784 Exhaust-adaptor Need Kiturami Part Number
65 FT1307 Exhaust sensor
Is item 63 or 64 Kiturami Part Number H140240002
66 FT1823 Exhaust pipe
67 FT1825 Inner pipe_bottom packing
68 FT1813 Stainless band
69 FT1793 DHW tank BK
70 FT1809 CH supply pipe (top)
71 FT1794 DHW tank ASS'Y
72 FT1324 Temperature sensor
73 FT1325 Low level sensor
74 FT1669 Photo sensor BK
75 FT1327 Photo sensor
76 FT1069 Photo sensor cover
77 FT1792 Heat exchanger ASS'Y
77-1 FT1796 Burner ASS'Y
77-2 FT1760 Burner case(top)
77-3 FT1824 Burner gasket
77-4 FT1838 Burner
77-5 FT1763 Igniter
77-6 FT1663 Igniter gasket
77-7 FT1310 Overheat sensor
77-8 FT1764 Burner case (bottom)
77-9 FT1826 Refractory FT-175W thru FT-199W
78 FT1783 Condensate trap ASS'Y
No
aars Part Numbe
Description
Fan & Gas Valve
(Green=Shared Part, Blue=175/199 Part)
N-2 FT1074 M5 NUT
B-4 FT1779 M4*8 TH+ M/S
B-9 FT1076 M4*12 PH+ M/S
B-22 FT1819 M5*15 Wrench Bolt + Flat Washer
79 FT1769 Fan guide
80 FT1770 Damper packing
81 FT1081 Damper body
82 FT1082 Fan rubber pad
83 FT1772 Fan guide packing
84 FT1799 Fan ASS'Y
84-1 FT1803 Fan
84-2 ST1038 Fan sealing O-ring
84-3 FT1773 AGM VENTURI
84-4 FT1774 AGM O-ring
84-5 FT1775 AGM BODY
85 FT1603 Stainless band Ø100
86 FT1812 Air intake hose
87 FT1777 stainless Ø89
88 FT1821 Air intake orifice
89 FT1778 Gas valve ASS'Y
89-1 FT1728 Gas valve outlet
89-2 FT1727 Gas valve O-ring
89-3 FT1750 Gas valve
89-4 FT1779 Gas valve BK
90 FT1421 1/2" Packing
91 FT1780 Orifice (natural)
91 FT1802 Orifice (propane)
92 FT1810 Gas pipe (up)
93 FT1811 Gas pipe (down)
94 FT1087 Gas inlet nipple
No
aars Part Numbe
Description
Casing
(Green=Shared Part, Blue=175/199 Part)
1FT1601 O-Ring P7
B-3 FT1614 M4*8 TH+ tapping
B-5 FT1544 M4*10 FH+ tapping
B-6 FT1719 M4*10 TH+ tapping
B-8 FT1545 M4*10 Plat Head
B-10 FT1534 M4*12 TH+ M/S
B-13 FT1547 M4*16 TH+ tapping
B-15 FT1814 M4*20 TH+ tapping
15 FT1002 Exhaust Vent Duct Ass'y
15-1 FT1603 Stainless band Φ100
15-2 FT1604 Exhaust packing
15-3 FT1605 Exhaust vent duct
15-4 FT1606 Exhaust testing cap
15-5 FT1607 O-Ring P85
15-6 FT1608 Exhust adaptor
15-7 FT1609 O-Ring P75
16 FT1800 Air Inlet Duct Ass'y
16-1 FT1611 Air inlet Duct
17 FT1321 Air vent
18 FT1548 Air vent rubber cap
19 FT1797 Gasket BK
19-1 FT1013 Safety valve rubber pad
20 FT1804 Air Pressure sensor
21 FT1751 Control BK
FT1751 ?? - Kiturami to confirm if item 21 or 25 is H
22 FT1801 Control Display (P-920C)
23 FT1752 Panel BK
24 ST1006 Ignition transformer
25 FT1014 PCB(NGTX-920CP)
FT1751 ?? - Kiturami to confirm if item 21 or 25 is H
26 FT1795 Bracket
27 FT1020 Power switch
28 FT1827 Terminal Blocks
29 FT1022 Condensate blockage, Air press switch
30 FT1790 Front cover
31 FT1024 Display cover window
32 FT1771 Intake/exhaust sealing pad
33 FT1055 Wall mount bracket (top)
34 FT1791 Casing ASS'Y
35 FT1057 Wall mount bracket (lower)
36 FT1633 Wire adaptor
37 FT1025 Pressure gauge
No
aars Part Numbe
Description
Block Ass’y
(Green=Shared Part, Blue=175/199 Part)
2FT1685 O-Ring P15
3FT1643 O-Ring P16
4FT1687 O-Ring P18
5FT1513 O-Ring P20
6FT1644 O-Ring P22
7FT1515 O-Ring P22A
8FT1516 O-Ring P25
10 FT1646 3/4" packing
11 FT1691 1" packing
12 FT1208 Water flow sensor clip
13 FT1107 Pipe clip
14 FT1108 Pump clip
B-4 FT1520 M4*8 TH+ M/S
B-16 FT1817 M4*9 PH.PW+ Self Tapping
38 FT1805 DHW pipe
39 FT1518 DHW ‘T’ pipe
40 FT1519 DHW nipple
41 FT1112 Outlet sensor
42 FT1806 DHW inlet pipe
43 FT1115 Flow sensor
44 FT1116 Mixing valve
45 FT1522 DHW inlet block
46 FT1549 DHW inlet filter body
47 FT1822 Flow restrictor
48 FT1120 DHW inlet mash
49 FT1121 DHW filter Cap
50 FT1122 DHW nipple
51 FT1121 Return block cap
52 FT1523 Return block
53 FT1524 ‘R’ clip
54 FT1525 Pressure gauge clip
55 FT1215 CH return, supply connector
56 FT1216 CH filter
57 FT1217 U Clip
58 FT1807 CH return pipe
59 FT1219 CH return sensor
60 FT1220 3way valve
61 FT1808 CH supply pipe
62 FT1798 Pump (top case+bk)
No
aars Part Numbe
Description
Heat Exchanger & Tank
(Green=Shared Part, Blue=175/199 Part)
6FT1644 O-Ring p22
10 FT1646 3/4" Packing
11 FT1691 1" Packing
B-1 FT1062 M3*6 PH+ M/S
B-2 FT1063 M4*8 BH+ tapping
B-6 FT1719 M4*10 TH+ tapping
B-17 FT1816 M5*10 TH+ M/S
B-18 FT1820 M5*12 BH+ tapping
B-19 FT1815 M5*12 BH+ M/S
B-21 FT1818
M4*13.5 Wrench Bolt + Spring Washer +
Flat Washer
63 FT1306 Exhaust sensor BK
Is item 63 or 64 Kiturami Part Number H140240002
64 FT1784 Exhaust-adaptor Need Kiturami Part Number
65 FT1307 Exhaust sensor
Is item 63 or 64 Kiturami Part Number H140240002
66 FT1823 Exhaust pipe
67 FT1825 Inner pipe_bottom packing
68 FT1813 Stainless band
69 FT1793 DHW tank BK
70 FT1809 CH supply pipe (top)
71 FT1794 DHW tank ASS'Y
72 FT1324 Temperature sensor
73 FT1325 Low level sensor
74 FT1669 Photo sensor BK
75 FT1327 Photo sensor
76 FT1069 Photo sensor cover
77 FT1792 Heat exchanger ASS'Y
77-1 FT1796 Burner ASS'Y
77-2 FT1760 Burner case(top)
77-3 FT1824 Burner gasket
77-4 FT1838 Burner
77-5 FT1763 Igniter
77-6 FT1663 Igniter gasket
77-7 FT1310 Overheat sensor
77-8 FT1764 Burner case (bottom)
77-9 FT1826 Refractory FT-175W thru FT-199W
78 FT1783 Condensate trap ASS'Y
No
aars Part Numbe
Description
Fan & Gas Valve
(Green=Shared Part, Blue=175/199 Part)
N-2 FT1074 M5 NUT
B-4 FT1779 M4*8 TH+ M/S
B-9 FT1076 M4*12 PH+ M/S
B-22 FT1819 M5*15 Wrench Bolt + Flat Washer
79 FT1769 Fan guide
80 FT1770 Damper packing
81 FT1081 Damper body
82 FT1082 Fan rubber pad
83 FT1772 Fan guide packing
84 FT1799 Fan ASS'Y
84-1 FT1803 Fan
84-2 ST1038 Fan sealing O-ring
84-3 FT1773 AGM VENTURI
84-4 FT1774 AGM O-ring
84-5 FT1775 AGM BODY
85 FT1603 Stainless band Ø100
86 FT1812 Air intake hose
87 FT1777 stainless Ø89
88 FT1821 Air intake orifice
89 FT1778 Gas valve ASS'Y
89-1 FT1728 Gas valve outlet
89-2 FT1727 Gas valve O-ring
89-3 FT1750 Gas valve
89-4 FT1779 Gas valve BK
90 FT1421 1/2" Packing
91 FT1780 Orifice (natural)
91 FT1802 Orifice (propane)
92 FT1810 Gas pipe (up)
93 FT1811 Gas pipe (down)
94 FT1087 Gas inlet nipple
KMC# IOM Ref Part Number Description Initials Date Status
CASING
H190200003 15 FT1002 Exhaust Duct Assembly
H190200002 16 FT1010 Air Intake Duct Assembly
S115900025 18 FT1014 Control
S264100065 19 FT1015 Air pressure switch
S223100028 20 FT1016 Ignition transformer
S122100010 23 FT1019 Display Panel
S900140007 25 FT1021 Terminal Block
S264100062 26 FT1022 Condensate Blockage, Air Pressure switch
H850150050 28 FT1024 Display cover window
S325100028 29 FT1025 Pressure gauge
S489100248 31 FT1027 Condensate trap cover
H199990175 A1 FT1100 DHW Hydro block Assembly
S419100042 33 FT1517 DHW Outlet Pipe
S514100107 35 FT1519 DHW nipple
S311200029 36 FT1112 Outlet sensor
S419100041 38 FT1521 DHW Inlet Pipe
S317100009 39 FT1115 Flow sensor
S193000001 40 FT1116 Mixing valve
S549100150 43 FT1119 Flow restrictor
S549100145 44 FT1120 DHW filter mash
S549100141 45 FT1121 DHW filter Cap
S514100105 47 FT1122 DHW connector
H199990176 A2 FT1200 CH hydro Block Assembly
S419100040
55
FT1526 CH return pipe
S311200030 56 FT1219 CH return sensor
S549100155 57 FT1220 3-way valve
S419100039
58
FT1527 CH supply pipe
H160320029
59
FT1222 Pump
HEAT EXCHANGER ASSEMBLY
S549100166
60
FT1304 Exhaust Pipe
H140240002
62
FT1306 Exhaust sensor BK
S311200027
63
FT1307 Exhaust overheat sensor
H130120199
64
FT1068 Heat Exchanger Assembly
S311400021
65
FT1309 Burner Assembly
S311400021
65-1
FT1310 Over heat Sensor
H130210023
65-4
FT1313 Burner
S333100033
65-6
FT1315 Igniter
S554100041
65-7
FT1316 Ignitor gasket
65-8 FT1665 Refractory
S322100020
68
FT1321 Air vent
S419100038
69
FT1322 CH supply upper pipe
H120420007
70
FT1323 DHW tank
S311200026
71
FT1324 Temperature sensor
S312100011
72
FT1325 Low level sensor
S314200007
74
FT1327 Flame detector sensor
S549100134
75
FT1328 Condensate trap
S421200030
76
FT1329 Condensate trap hose
S514100108
77
FT1330 Condensate trap connector
BLOWER & GAS VALVE
H160510020
83
FT1405 Blower Assembly
S242100058
83-1
FT1406 Blower
S549100132 83-2 FT1409 Housing, Gas Mixer
S551200026 83-3 FT1716 O-Ring, Fan Sealing
85 FT1412N Orifice (natural)
85 FT1412P Orifice (propane)
S345100008
86_1
FT1728 Gas valve outlet adaptor
S551200001
86_2
FT1415 Gas valve O-Ring
86_3 FT1416 Gas valve
86_4 FT1538 Gas valve inlet adaptor
86_5 FT1418 Gas valve BK
S412190040 87 FT1419 Gas pipe (down)
S349100039 88 FT1420 Gas inlet adaptor
Kiturami Fire Tube Drawing Number List
FTCW199
DHW Assembly A1
CH Assembly A2

Page 86
FTCW199
Heat Exchanger & Tank

The FT Series Wall Mounted, Combination Boiler Page 87
No
aars Part Numbe
Description
Casing
(Green=Shared Part, Blue=175/199 Part)
1FT1601 O-Ring P7
B-3 FT1614 M4*8 TH+ tapping
B-5 FT1544 M4*10 FH+ tapping
B-6 FT1719 M4*10 TH+ tapping
B-8 FT1545 M4*10 Plat Head
B-10 FT1534 M4*12 TH+ M/S
B-13 FT1547 M4*16 TH+ tapping
B-15 FT1814 M4*20 TH+ tapping
15 FT1002 Exhaust Vent Duct Ass'y
15-1 FT1603 Stainless band Φ100
15-2 FT1604 Exhaust packing
15-3 FT1605 Exhaust vent duct
15-4 FT1606 Exhaust testing cap
15-5 FT1607 O-Ring P85
15-6 FT1608 Exhust adaptor
15-7 FT1609 O-Ring P75
16 FT1800 Air Inlet Duct Ass'y
16-1 FT1611 Air inlet Duct
17 FT1321 Air vent
18 FT1548 Air vent rubber cap
19 FT1797 Gasket BK
19-1 FT1013 Safety valve rubber pad
20 FT1804 Air Pressure sensor
21 FT1751 Control BK
FT1751 ?? - Kiturami to confirm if item 21 or 25 is H
22 FT1801 Control Display (P-920C)
23 FT1752 Panel BK
24 ST1006 Ignition transformer
25 FT1014 PCB(NGTX-920CP)
FT1751 ?? - Kiturami to confirm if item 21 or 25 is H
26 FT1795 Bracket
27 FT1020 Power switch
28 FT1827 Terminal Blocks
29 FT1022 Condensate blockage, Air press switch
30 FT1790 Front cover
31 FT1024 Display cover window
32 FT1771 Intake/exhaust sealing pad
33 FT1055 Wall mount bracket (top)
34 FT1791 Casing ASS'Y
35 FT1057 Wall mount bracket (lower)
36 FT1633 Wire adaptor
37 FT1025 Pressure gauge
No
aars Part Numbe
Description
Block Ass’y
(Green=Shared Part, Blue=175/199 Part)
2FT1685 O-Ring P15
3FT1643 O-Ring P16
4FT1687 O-Ring P18
5FT1513 O-Ring P20
6FT1644 O-Ring P22
7FT1515 O-Ring P22A
8FT1516 O-Ring P25
10 FT1646 3/4" packing
11 FT1691 1" packing
12 FT1208 Water flow sensor clip
13 FT1107 Pipe clip
14 FT1108 Pump clip
B-4 FT1520 M4*8 TH+ M/S
B-16 FT1817 M4*9 PH.PW+ Self Tapping
38 FT1805 DHW pipe
39 FT1518 DHW ‘T’ pipe
40 FT1519 DHW nipple
41 FT1112 Outlet sensor
42 FT1806 DHW inlet pipe
43 FT1115 Flow sensor
44 FT1116 Mixing valve
45 FT1522 DHW inlet block
46 FT1549 DHW inlet filter body
47 FT1822 Flow restrictor
48 FT1120 DHW inlet mash
49 FT1121 DHW filter Cap
50 FT1122 DHW nipple
51 FT1121 Return block cap
52 FT1523 Return block
53 FT1524 ‘R’ clip
54 FT1525 Pressure gauge clip
55 FT1215 CH return, supply connector
56 FT1216 CH filter
57 FT1217 U Clip
58 FT1807 CH return pipe
59 FT1219 CH return sensor
60 FT1220 3way valve
61 FT1808 CH supply pipe
62 FT1798 Pump (top case+bk)
No
aars Part Numbe
Description
Heat Exchanger & Tank
(Green=Shared Part, Blue=175/199 Part)
6FT1644 O-Ring p22
10 FT1646 3/4" Packing
11 FT1691 1" Packing
B-1 FT1062 M3*6 PH+ M/S
B-2 FT1063 M4*8 BH+ tapping
B-6 FT1719 M4*10 TH+ tapping
B-17 FT1816 M5*10 TH+ M/S
B-18 FT1820 M5*12 BH+ tapping
B-19 FT1815 M5*12 BH+ M/S
B-21 FT1818
M4*13.5 Wrench Bolt + Spring Washer +
Flat Washer
63 FT1306 Exhaust sensor BK
Is item 63 or 64 Kiturami Part Number H140240002
64 FT1784 Exhaust-adaptor
Need Kiturami Part Number
65 FT1307 Exhaust sensor
Is item 63 or 64 Kiturami Part Number H140240002
66 FT1823 Exhaust pipe
67 FT1825 Inner pipe_bottom packing
68 FT1813 Stainless band
69 FT1793 DHW tank BK
70 FT1809 CH supply pipe (top)
71 FT1794 DHW tank ASS'Y
72 FT1324 Temperature sensor
73 FT1325 Low level sensor
74 FT1669 Photo sensor BK
75 FT1327 Photo sensor
76 FT1069 Photo sensor cover
77 FT1792 Heat exchanger ASS'Y
77-1 FT1796 Burner ASS'Y
77-2 FT1760 Burner case(top)
77-3 FT1824 Burner gasket
77-4 FT1838 Burner
77-5 FT1763 Igniter
77-6 FT1663 Igniter gasket
77-7 FT1310 Overheat sensor
77-8 FT1764 Burner case (bottom)
77-9 FT1826 Refractory FT-175W thru FT-199W
78 FT1783 Condensate trap ASS'Y
No
aars Part Numbe
Description
Fan & Gas Valve
(Green=Shared Part, Blue=175/199 Part)
N-2 FT1074 M5 NUT
B-4 FT1779 M4*8 TH+ M/S
B-9 FT1076 M4*12 PH+ M/S
B-22 FT1819 M5*15 Wrench Bolt + Flat Washer
79 FT1769 Fan guide
80 FT1770 Damper packing
81 FT1081 Damper body
82 FT1082 Fan rubber pad
83 FT1772 Fan guide packing
84 FT1799 Fan ASS'Y
84-1 FT1803 Fan
84-2 ST1038 Fan sealing O-ring
84-3 FT1773 AGM VENTURI
84-4 FT1774 AGM O-ring
84-5 FT1775 AGM BODY
85 FT1603 Stainless band Ø100
86 FT1812 Air intake hose
87 FT1777 stainless Ø89
88 FT1821 Air intake orifice
89 FT1778 Gas valve ASS'Y
89-1 FT1728 Gas valve outlet
89-2 FT1727 Gas valve O-ring
89-3 FT1750 Gas valve
89-4 FT1779 Gas valve BK
90 FT1421 1/2" Packing
91 FT1780 Orifice (natural)
91 FT1802 Orifice (propane)
92 FT1810 Gas pipe (up)
93 FT1811 Gas pipe (down)
94 FT1087 Gas inlet nipple
KMC# IOM Ref Part Number Description Initials Date Status
CASING
H190200003 15 FT1002 Exhaust Duct Assembly
H190200002 16 FT1010 Air Intake Duct Assembly
S115900025 18 FT1014 Control
S264100065 19 FT1015 Air pressure switch
S223100028 20 FT1016 Ignition transformer
S122100010 23 FT1019 Display Panel
S900140007 25 FT1021 Terminal Block
S264100062 26 FT1022 Condensate Blockage, Air Pressure switch
H850150050 28 FT1024 Display cover window
S325100028 29 FT1025 Pressure gauge
S489100248 31 FT1027 Condensate trap cover
H199990175 A1 FT1100 DHW Hydro block Assembly
S419100042 33 FT1517 DHW Outlet Pipe
S514100107 35 FT1519 DHW nipple
S311200029 36 FT1112 Outlet sensor
S419100041 38 FT1521 DHW Inlet Pipe
S317100009 39 FT1115 Flow sensor
S193000001 40 FT1116 Mixing valve
S549100150 43 FT1119 Flow restrictor
S549100145 44 FT1120 DHW filter mash
S549100141 45 FT1121 DHW filter Cap
S514100105 47 FT1122 DHW connector
H199990176 A2 FT1200 CH hydro Block Assembly
S419100040
55
FT1526 CH return pipe
S311200030 56 FT1219 CH return sensor
S549100155 57 FT1220 3-way valve
S419100039
58
FT1527 CH supply pipe
H160320029
59
FT1222 Pump
HEAT EXCHANGER ASSEMBLY
S549100166
60
FT1304 Exhaust Pipe
H140240002
62
FT1306 Exhaust sensor BK
S311200027
63
FT1307 Exhaust overheat sensor
H130120199
64
FT1068 Heat Exchanger Assembly
S311400021
65
FT1309 Burner Assembly
S311400021
65-1
FT1310 Over heat Sensor
H130210023
65-4
FT1313 Burner
S333100033
65-6
FT1315 Igniter
S554100041
65-7
FT1316 Ignitor gasket
65-8 FT1665 Refractory
S322100020
68
FT1321 Air vent
S419100038
69
FT1322 CH supply upper pipe
H120420007
70
FT1323 DHW tank
S311200026
71
FT1324 Temperature sensor
S312100011
72
FT1325 Low level sensor
S314200007
74
FT1327 Flame detector sensor
S549100134
75
FT1328 Condensate trap
S421200030
76
FT1329 Condensate trap hose
S514100108
77
FT1330 Condensate trap connector
BLOWER & GAS VALVE
H160510020
83
FT1405 Blower Assembly
S242100058
83-1
FT1406 Blower
S549100132 83-2 FT1409 Housing, Gas Mixer
S551200026 83-3 FT1716 O-Ring, Fan Sealing
85 FT1412N Orifice (natural)
85 FT1412P Orifice (propane)
S345100008
86_1
FT1728 Gas valve outlet adaptor
S551200001
86_2
FT1415 Gas valve O-Ring
86_3 FT1416 Gas valve
86_4 FT1538 Gas valve inlet adaptor
86_5 FT1418 Gas valve BK
S412190040 87 FT1419 Gas pipe (down)
S349100039 88 FT1420 Gas inlet adaptor
Kiturami Fire Tube Drawing Number List
FTCW199

Page 88
FTCW199
Blower and Gas Valve

The FT Series Wall Mounted, Combination Boiler Page 89
No
aars Part Numbe
Description
Casing
(Green=Shared Part, Blue=175/199 Part)
1FT1601 O-Ring P7
B-3 FT1614 M4*8 TH+ tapping
B-5 FT1544 M4*10 FH+ tapping
B-6 FT1719 M4*10 TH+ tapping
B-8 FT1545 M4*10 Plat Head
B-10 FT1534 M4*12 TH+ M/S
B-13 FT1547 M4*16 TH+ tapping
B-15 FT1814 M4*20 TH+ tapping
15 FT1002 Exhaust Vent Duct Ass'y
15-1 FT1603 Stainless band Φ100
15-2 FT1604 Exhaust packing
15-3 FT1605 Exhaust vent duct
15-4 FT1606 Exhaust testing cap
15-5 FT1607 O-Ring P85
15-6 FT1608 Exhust adaptor
15-7 FT1609 O-Ring P75
16 FT1800 Air Inlet Duct Ass'y
16-1 FT1611 Air inlet Duct
17 FT1321 Air vent
18 FT1548 Air vent rubber cap
19 FT1797 Gasket BK
19-1 FT1013 Safety valve rubber pad
20 FT1804 Air Pressure sensor
21 FT1751 Control BK
FT1751 ?? - Kiturami to confirm if item 21 or 25 is H
22 FT1801 Control Display (P-920C)
23 FT1752 Panel BK
24 ST1006 Ignition transformer
25 FT1014 PCB(NGTX-920CP)
FT1751 ?? - Kiturami to confirm if item 21 or 25 is H
26 FT1795 Bracket
27 FT1020 Power switch
28 FT1827 Terminal Blocks
29 FT1022 Condensate blockage, Air press switch
30 FT1790 Front cover
31 FT1024 Display cover window
32 FT1771 Intake/exhaust sealing pad
33 FT1055 Wall mount bracket (top)
34 FT1791 Casing ASS'Y
35 FT1057 Wall mount bracket (lower)
36 FT1633 Wire adaptor
37 FT1025 Pressure gauge
No
aars Part Numbe
Description
Block Ass’y
(Green=Shared Part, Blue=175/199 Part)
2FT1685 O-Ring P15
3FT1643 O-Ring P16
4FT1687 O-Ring P18
5FT1513 O-Ring P20
6FT1644 O-Ring P22
7FT1515 O-Ring P22A
8FT1516 O-Ring P25
10 FT1646 3/4" packing
11 FT1691 1" packing
12 FT1208 Water flow sensor clip
13 FT1107 Pipe clip
14 FT1108 Pump clip
B-4 FT1520 M4*8 TH+ M/S
B-16 FT1817 M4*9 PH.PW+ Self Tapping
38 FT1805 DHW pipe
39 FT1518 DHW ‘T’ pipe
40 FT1519 DHW nipple
41 FT1112 Outlet sensor
42 FT1806 DHW inlet pipe
43 FT1115 Flow sensor
44 FT1116 Mixing valve
45 FT1522 DHW inlet block
46 FT1549 DHW inlet filter body
47 FT1822 Flow restrictor
48 FT1120 DHW inlet mash
49 FT1121 DHW filter Cap
50 FT1122 DHW nipple
51 FT1121 Return block cap
52 FT1523 Return block
53 FT1524 ‘R’ clip
54 FT1525 Pressure gauge clip
55 FT1215 CH return, supply connector
56 FT1216 CH filter
57 FT1217 U Clip
58 FT1807 CH return pipe
59 FT1219 CH return sensor
60 FT1220 3way valve
61 FT1808 CH supply pipe
62 FT1798 Pump (top case+bk)
No
aars Part Numbe
Description
Heat Exchanger & Tank
(Green=Shared Part, Blue=175/199 Part)
6FT1644 O-Ring p22
10 FT1646 3/4" Packing
11 FT1691 1" Packing
B-1 FT1062 M3*6 PH+ M/S
B-2 FT1063 M4*8 BH+ tapping
B-6 FT1719 M4*10 TH+ tapping
B-17 FT1816 M5*10 TH+ M/S
B-18 FT1820 M5*12 BH+ tapping
B-19 FT1815 M5*12 BH+ M/S
B-21 FT1818
M4*13.5 Wrench Bolt + Spring Washer +
Flat Washer
63 FT1306 Exhaust sensor BK
Is item 63 or 64 Kiturami Part Number H140240002
64 FT1784 Exhaust-adaptor Need Kiturami Part Number
65 FT1307 Exhaust sensor
Is item 63 or 64 Kiturami Part Number H140240002
66 FT1823 Exhaust pipe
67 FT1825 Inner pipe_bottom packing
68 FT1813 Stainless band
69 FT1793 DHW tank BK
70 FT1809 CH supply pipe (top)
71 FT1794 DHW tank ASS'Y
72 FT1324 Temperature sensor
73 FT1325 Low level sensor
74 FT1669 Photo sensor BK
75 FT1327 Photo sensor
76 FT1069 Photo sensor cover
77 FT1792 Heat exchanger ASS'Y
77-1 FT1796 Burner ASS'Y
77-2 FT1760 Burner case(top)
77-3 FT1824 Burner gasket
77-4 FT1838 Burner
77-5 FT1763 Igniter
77-6 FT1663 Igniter gasket
77-7 FT1310 Overheat sensor
77-8 FT1764 Burner case (bottom)
77-9 FT1826 Refractory FT-175W thru FT-199W
78 FT1783 Condensate trap ASS'Y
No
aars Part Numbe
Description
Fan & Gas Valve
(Green=Shared Part, Blue=175/199 Part)
N-2 FT1074 M5 NUT
B-4 FT1779 M4*8 TH+ M/S
B-9 FT1076 M4*12 PH+ M/S
B-22 FT1819 M5*15 Wrench Bolt + Flat Washer
79 FT1769 Fan guide
80 FT1770 Damper packing
81 FT1081 Damper body
82 FT1082 Fan rubber pad
83 FT1772 Fan guide packing
84 FT1799 Fan ASS'Y
84-1 FT1803 Fan
84-2 ST1038 Fan sealing O-ring
84-3 FT1773 AGM VENTURI
84-4 FT1774 AGM O-ring
84-5 FT1775 AGM BODY
85 FT1603 Stainless band Ø100
86 FT1812 Air intake hose
87 FT1777 stainless Ø89
88 FT1821 Air intake orifice
89 FT1778 Gas valve ASS'Y
89-1 FT1728 Gas valve outlet
89-2 FT1727 Gas valve O-ring
89-3 FT1750 Gas valve
89-4 FT1779 Gas valve BK
90 FT1421 1/2" Packing
91 FT1780 Orifice (natural)
91 FT1802 Orifice (propane)
92 FT1810 Gas pipe (up)
93 FT1811 Gas pipe (down)
94 FT1087 Gas inlet nipple
KMC# IOM Ref Part Number Description Initials Date Status
CASING
H190200003 15 FT1002 Exhaust Duct Assembly
H190200002 16 FT1010 Air Intake Duct Assembly
S115900025 18 FT1014 Control
S264100065 19 FT1015 Air pressure switch
S223100028 20 FT1016 Ignition transformer
S122100010 23 FT1019 Display Panel
S900140007 25 FT1021 Terminal Block
S264100062 26 FT1022 Condensate Blockage, Air Pressure switch
H850150050 28 FT1024 Display cover window
S325100028 29 FT1025 Pressure gauge
S489100248 31 FT1027 Condensate trap cover
H199990175 A1 FT1100 DHW Hydro block Assembly
S419100042 33 FT1517 DHW Outlet Pipe
S514100107 35 FT1519 DHW nipple
S311200029 36 FT1112 Outlet sensor
S419100041 38 FT1521 DHW Inlet Pipe
S317100009 39 FT1115 Flow sensor
S193000001 40 FT1116 Mixing valve
S549100150 43 FT1119 Flow restrictor
S549100145 44 FT1120 DHW filter mash
S549100141 45 FT1121 DHW filter Cap
S514100105 47 FT1122 DHW connector
H199990176 A2 FT1200 CH hydro Block Assembly
S419100040
55
FT1526 CH return pipe
S311200030 56 FT1219 CH return sensor
S549100155 57 FT1220 3-way valve
S419100039
58
FT1527 CH supply pipe
H160320029
59
FT1222 Pump
HEAT EXCHANGER ASSEMBLY
S549100166
60
FT1304 Exhaust Pipe
H140240002
62
FT1306 Exhaust sensor BK
S311200027
63
FT1307 Exhaust overheat sensor
H130120199
64
FT1068 Heat Exchanger Assembly
S311400021
65
FT1309 Burner Assembly
S311400021
65-1
FT1310 Over heat Sensor
H130210023
65-4
FT1313 Burner
S333100033
65-6
FT1315 Igniter
S554100041
65-7
FT1316 Ignitor gasket
65-8 FT1665 Refractory
S322100020
68
FT1321 Air vent
S419100038
69
FT1322 CH supply upper pipe
H120420007
70
FT1323 DHW tank
S311200026
71
FT1324 Temperature sensor
S312100011
72
FT1325 Low level sensor
S314200007
74
FT1327 Flame detector sensor
S549100134
75
FT1328 Condensate trap
S421200030
76
FT1329 Condensate trap hose
S514100108
77
FT1330 Condensate trap connector
BLOWER & GAS VALVE
H160510020
83
FT1405 Blower Assembly
S242100058
83-1
FT1406 Blower
S549100132 83-2 FT1409 Housing, Gas Mixer
S551200026 83-3 FT1716 O-Ring, Fan Sealing
85 FT1412N Orifice (natural)
85 FT1412P Orifice (propane)
S345100008
86_1
FT1728 Gas valve outlet adaptor
S551200001
86_2
FT1415 Gas valve O-Ring
86_3 FT1416 Gas valve
86_4 FT1538 Gas valve inlet adaptor
86_5 FT1418 Gas valve BK
S412190040 87 FT1419 Gas pipe (down)
S349100039 88 FT1420 Gas inlet adaptor
Kiturami Fire Tube Drawing Number List
FTCW199

Dimensions and specications subject to change without notice in accordance with our policy of continuous product improvement.
H2372800E
Notes:
For Product and
Service VIDEOS
1706 Document 1318E
Customer Service and Product Support: 800.900.9276•Fax800.559.1583
20IndustrialWay,Rochester,NH,USA03867