Brinkmann Gas Outdoor Grill%0D%0A User Manual To The 4d4535ed 241f 7814 49ca Fdb20ffc2d8c
User Manual: Brinkmann Gas Outdoor Grill%0D%0A to the manual
Open the PDF directly: View PDF
.
Page Count: 64

OWNER’S MANUAL / MANUAL DEL PROPIETARIO
WARNING/ADVERTENCIA
HAZARDOUS EXPLOSION MAY RESULT IF THESE WARNINGS AND INSTRUCTIONS
ARE IGNORED. READ AND FOLLOW ALL WARNINGS AND INSTRUCTIONS IN THIS
MANUAL TO AVOID PERSONAL INJURY, INCLUDING DEATH OR PROPERTY DAMAGE.
SE PUEDE PRODUCIR UNA EXPLOSIÓN PELIGROSA SI SE HACE CASO OMISO A
ESTAS ADVERTENCIAS E INSTRUCCIONES. LEA Y SIGA TODAS LAS ADVERTENCIAS
E INSTRUCCIONES EN ESTE MANUAL PARA EVITAR LESIONES PERSONALES,
INCLUSO LA MUERTE, O LOS DAÑOS MATERIALES.
ASSEMBLY AND OPERATING INSTRUCTIONS
INSTRUCCIONES DE ARMADO Y OPERACIÓN
SAVE THIS MANUAL FOR FUTURE REFERENCE
GUARDE ESTE MANUAL PARA REFERENCIA FUTURA
NOTICE TO INSTALLER:
LEAVE THESE INSTRUCTIONS
WITH THE GRILL OWNER FOR
FUTURE REFERENCE.
AVISO PARA EL
INSTALADOR:
ENTREGUE ESTAS
INSTRUCCIONES AL
PROPIETARIO DE LA PARRILLA
PARA REFERENCIA FUTURA.
Gas Outdoor Grill
Parrilla a Gas para Uso Exterior

1
WE WANT YOU TO ASSEMBLE AND USE YOUR GRILL AS SAFELY AS POSSIBLE.
THE PURPOSE OF THIS SAFETY ALERT SYMBOL IS TO ATTRACT YOUR
ATTENTION TO POSSIBLE HAZARDS AS YOU ASSEMBLE AND USE YOUR GRILL.
WHEN YOU SEE THE SAFETY ALERT SYMBOL
PAY CLOSE ATTENTION TO THE INFORMATION WHICH FOLLOWS!
READ ALL SAFETY WARNINGS AND INSTRUCTIONS CAREFULLY
BEFORE ASSEMBLING AND OPERATING YOUR GRILL.
DANGER
IMPORTANT SAFETY
WARNINGS
IF YOU SMELL GAS:
1. Shut off gas to the appliance.
2. Extinguish any open flame.
3. Open Lid.
4. If odor continues, keep away from the appliance and immediately call your gas supplier or your
fire department.
1. DO NOT store or use gasoline or other flammable liquids or vapors in the vicinity of this or any
other appliance.
2. An LP cylinder not connected for use shall not be stored in the vicinity of this or any other
appliance.
• DO NOT store a spare LP gas cylinder under or near this appliance.
• Never fill the cylinder beyond 80% full.
• A fire causing death or serious injury may occur if the above is not followed exactly.
WARNING
DANGER

2
General Warnings . . . . . . . . . . . . . . . . . . . . . . . . . . . . . . . . . . . . . . . . . . . . . . 3
Installation and LP Cylinder Specifications and Safe Use. . . . . . . . . . . . . . 4–6
Connecting LP Cylinder and Hose / Regulator to Grill . . . . . . . . . . . . . . . . 6–7
Leak Testing. . . . . . . . . . . . . . . . . . . . . . . . . . . . . . . . . . . . . . . . . . . . . . . . . 8–9
Pre-start Check List . . . . . . . . . . . . . . . . . . . . . . . . . . . . . . . . . . . . . . . . . . . . . 9
Lighting Instructions . . . . . . . . . . . . . . . . . . . . . . . . . . . . . . . . . . . . . . . . . 10–11
Operating Grill and Helpful Hints. . . . . . . . . . . . . . . . . . . . . . . . . . . . . . . 12–14
Proper Care and Maintenance . . . . . . . . . . . . . . . . . . . . . . . . . . . . . . . . 14–16
Transporting and Storage . . . . . . . . . . . . . . . . . . . . . . . . . . . . . . . . . . . . . . . 16
Trouble Shooting . . . . . . . . . . . . . . . . . . . . . . . . . . . . . . . . . . . . . . . . . . . . . . 17
Frequently Asked Questions . . . . . . . . . . . . . . . . . . . . . . . . . . . . . . . . . . 18–19
Parts List and Assembly Instructions. . . . . . . . . . . . . . . . . . . . . . . . . . . . 20–32
Warranty Information. . . . . . . . . . . . . . . . . . . . . . . . . . . . . . . . . . . . Back Cover
TABLE OF CONTENTS
DANGER: Indicates an imminently hazardous situation which, if not avoided, will result in death or serious injury.
WARNING: Be alert to the possibility of serious bodily injury if the instructions are not followed. Be sure to read and
carefully follow all of the messages.
CAUTION: Indicates a potentially hazardous situation which, if not avoided, may result in minor or moderate injury.
FOR GRILL REPLACEMENT PART, COVERS & ACCESSORIES, PLEASE EMAIL US AT
GrillZone@brinkmann.net

3
WARNING
• Never use natural gas in a unit designed for liquid propane gas.
• Never use charcoal or wood briquets in a gas grill. Flavoring chips must be contained in a metal
smoking box to contain ash and prevent fires.
• Leak test all connections before first use, even if grill was purchased fully assembled and after
each tank refill.
• Never check for leaks using a match or open flame.
CAUTION! Strong odors, colds, sinus congestion, etc. may prevent the detection of
propane. Use caution and common sense when testing for leaks.
• Always keep your gas grill free and clear of gasoline, lighter fluid, paint thinner, or other
flammable vapors and liquids or combustible materials.
• Always check the grill prior to each use as indicated in the "Pre-Start Check List" section of this
manual.
• DO NOT obstruct the flow of combustion or ventilation air.
• Never place more than 15 pounds on the side burner. DO NOT lean on the side burner shelf.
• Keep children and pets away from hot grill. DO NOT allow children to use or play near this grill.
• DO NOT leave the grill unattended while in use.
• DO NOT allow the gas hose to come in contact with hot surfaces.
• DO NOT allow grease from drain hole to fall on hose or valve regulator assembly.
• Keep any electrical supply cords away from water or heated surfaces.
• Keep a fire extinguisher on hand acceptable for use with gas products. Refer to your local
authority to determine proper size and type.
• For household use only. DO NOT use this grill for anything other than its intended purpose.
• DO NOT use while under the influence of drugs or alcohol.
• Grill is hot when in use. To avoid burns:
• DO NOT attempt to move the grill.
• Lock the wheels so the unit does not accidentally move.
• Wear protective gloves or oven mitts.
• DO NOT touch any hot grill surfaces.
• DO NOT wear loose clothing or allow hair to come in contact with grill.
USE CAUTION AND COMMON SENSE WHEN OPERATING YOUR GAS GRILL.
FAILURE TO ADHERE TO THE SAFETY WARNINGS AND GUIDELINES IN THIS
MANUAL COULD RESULT IN SEVERE BODILY INJURY OR PROPERTY DAMAGE.
SAVE THIS MANUAL FOR FUTURE REFERENCE.
GENERAL WARNINGS

4
WARNING
WARNING
LP GAS CYLINDER (NOT SUPPLIED WITH THIS GRILL)
The LP cylinder is available for purchase at the same location the grill was purchased.
The LP (Liquid Propane) gas cylinder specifically designed to be used with this grill must have
a 20 lb. (9.1 kg) capacity incorporating a Type 1 cylinder valve and an over-filling protection
device (OPD).
• This grill is designed to fit Worthington, Manchester or SMPC brand 20 lb. (9.1 kg) cylinders.
Other brand DOT cylinders may fit this grill if the cylinder has similar dimensions of the top and
bottom rings.
• DO NOT connect this grill to an existing #510 POL cylinder valve with Left Hand threads. The
Type 1 valve can be identified with the large external threads on the valve outlet.
• DO NOT connect to a propane cylinder exceeding this capacity.
• DO NOT connect to a cylinder that uses any other type of valve connection device.
INSTALLATION INFORMATION:
The installation of this appliance must be in accordance with:
All applicable local codes, or in the absence of local codes, either:
• National Fuel Gas Code ANSI Z223.1 NFPA 54
• Natural Gas and Propane Installation Code: CAN/CGA B149.1
• Natural Gas Installation Code: CAN/CGA B149.1 (Canada)
• Propane Installation Code: CAN/CGA B149.2 (Canada)
To check your local codes, see your local LP gas dealer or natural gas company. This grill was not
intended to be connected to a natural gas supply line. If an external electrical source is utilized, it
must be electrically grounded in accordance with local codes, or in the absence of local codes, with
the National Electrical Code, ANSI/NFPA 70, or the Canadian Electrical Code, CSA 22.1.
• FOR OUTDOOR USE ONLY. DO NOT operate indoors or in an enclosed area such as a garage,
shed or breezeway.
• Use your grill OUTDOORS in a well ventilated space away from dwellings or other buildings to
prevent dangers associated with gas accumulation and toxic vapors. We recommend your grill
be situated at least 10 feet (3.1 m) from buildings. Not adhering to these clearances will prevent
proper ventilation and may increase the risk of a fire and/or property damage, which could also
result in personal injury.
• Maintain a minimum clearance of 36 inches (91 cm) between all sides of grill, deck railings,
walls or other combustible material. DO NOT use grill under overhead unprotected combustible
construction.
• DO NOT use or install this grill in or on a recreational vehicle and/or boat.

5
The cylinder must also be equipped with:
• A shut-off valve terminating in a Type 1 gas cylinder valve outlet.
• A Type 1 valve that prevents gas flow until a positive seal is obtained.
• An arrangement for vapor withdrawal.
• A collar to protect the cylinder shut-off valve.
• A safety relief device having direct communication with the vapor space of the cylinder.
• A listed over-filling prevention device (OPD).
• Turn off the cylinder valve when your grill is not in use.
• Handle the tank with care.
• Always secure the cylinder in an upright position.
• Never connect an unregulated LP gas cylinder to your grill.
• DO NOT expose LP gas cylinders to excessive heat or ignition sources.
• DO NOT store a spare LP gas cylinder under or near your grill.
• Allow only qualified LP gas dealers to fill or repair your LP gas cylinder.
• DO NOT allow the cylinder to be filled beyond 80% capacity.
• Read and follow all warnings and instructions that are on the cylinder and that accompany
this product.
• Never store a spare LP gas cylinder under or near your grill. This could cause excess
pressure to be expelled through the vapor relief valve resulting in fire, explosion, or severe
personal injury including death.
Note: PROPANE GAS IS HEAVIER THAN AIR AND WILL COLLECT IN LOW AREAS.
PROPER VENTILATION IS EXTREMELY IMPORTANT.
• Keep the ventilation opening(s) of the LP gas cylinder enclosure free and clear from
obstructions and debris.
• DO NOT insert any foreign objects into the valve outlet. Damage to the back-check could
result. A damaged back-check can cause a leak, possibly resulting in explosion, fire, severe
bodily harm, or death.
WARNING
DANGER
CYLINDER SPECIFICATIONS:
When purchasing or exchanging a cylinder for your gas grill, it must be constructed and marked in
accordance with the specifications for LP gas cylinders of the U.S. Department of Transportation
(DOT) or the National Standard of Canada, CAN/CSA-B339 Cylinders, Spheres and Tubes for
Transportation of Dangerous Goods; and Commission, as applicable; and provided with a listed
over-filling prevention device (OPD), and provided with a cylinder connection device compatible with
the connection for outdoor cooking appliances.

FILLING THE LP GAS CYLINDER:
• Allow only qualified LP gas dealers to properly fill or repair your LP gas cylinder.
• New tanks should be purged prior to filling; inform LP gas dealer if you are using a new tank.
• DO NOT allow the cylinder to be filled beyond 80% capacity. Over-filled tanks can create a
dangerous condition. Over-filled tanks can build-up pressure and cause the relief valve to expel
propane gas vapors. The vapor is combustible and if it comes in contact with a spark source or
flame an explosion causing severe burns, bodily harm, or death could occur.
• Always use a protective cylinder cap when grill is not connected to cylinder.
• If you exchange a cylinder with a qualified exchange program, be sure the cylinder has
a Type 1 valve and an over-filling prevention device (OPD).
INSTALLING THE LP GAS CYLINDER ONTO THE GRILL:
1. Check that the cylinder valve is closed by turning the knob
clockwise.
2. Place the cylinder into the tank holder in the bottom
of cabinet.
3. Orient the cylinder such that the valve opening faces the
side burner, and so that the hose is not kinked or damaged.
4. Fully tighten the cylinder clamp underneath tank holder to
secure tank.
5. Attach or detach regulator to the LP gas cylinder only
when cylinder is at rest in tank holder.
HOSE AND REGULATOR:
Your grill is equipped with a Type 1 connection device with
the following features:
1. The system will not allow gas flow from the cylinder until
a positive connection to the valve has been made.
Note: The cylinder valve must be turned off before any
connection is made or removed.
2. A thermal device that will shut off the gas flow if the device is
subject to temperatures above 240°F to 300°F (115°C to
150°C). If this should happen, remove the entire regulator
assembly and dispose of properly. A replacement regulator
assembly can be purchased by contacting customer service
at 800-294-6076. The cause of the excessive heat should be
determined and corrected before using your grill again.
3. A regulator flow limiting device, when activated, restricts the
flow of gas to 10 cubic feet per hour. If the flow limiting device
is activated, perform Regulator Resetting Procedure.
WARNING
6
REGULATOR RESETTING PROCEDURE
1. Turn burner control knobs to "OFF”, turn off the cylinder valve and disconnect regulator from LP gas
tank. Wait approximately two minutes.
2. Reattach regulator and slowly turn cylinder valve back on. The flow limiting device will now be reset.
Cylinder Clamp
Tank Holder

7
WARNING
• Never use your grill without leak testing all gas connections and hoses. See the section on
"Leak Testing" in this manual for proper procedures.
The pressure regulator and hose assembly supplied with your gas grill must be used.
• DO NOT attempt to connect it to any other fuel supply source such as a natural gas line.
• DO NOT use any other pressure regulator/hose assembly other than the one supplied with your grill.
Replacement pressure regulator/hose assembly must be part No 155-6345-0, which can be obtained
by contacting customer service at 800-294-6076.
• DO NOT attempt to adjust or repair the regulator. The regulator is designed to operate at a
maximum output pressure of 11 inches of water column (2.74 kPa).
During assembly and/or replacement of the gas cylinder, keep the gas supply hose free of kinks and/or
damage.
Visually inspect the hose assembly prior to each use for evidence of damage, excess wear, or
deterioration. If found, replace the assembly before using your grill. Only the manufacturer's supplied
replacement should be used.
CONNECTING HOSE AND REGULATOR TO AN LP GAS CYLINDER
• Ensure the tank valve is CLOSED prior to connecting the LP gas cylinder to your grill. Turn the
valve knob clockwise to properly close the valve. Read and follow all instructions and warnings
on the supply hose safety tags. Read and follow all warnings in this manual concerning the safe
use of LP gas cylinders and the hose and regulator before connecting cylinder to grill. Read
and follow all warnings on the LP cylinder.
CONNECTING HOSE AND REGULATOR
1. Check that the cylinder valve is closed by turning the knob clockwise.
2. Check that the grill’s burner control knobs are in the "OFF" positions.
3. Remove the protective plastic cap from the cylinder valve and the connection device.
4. Hold regulator and insert the nipple of connection device into the LP cylinder valve outlet. Ensure that
the device is centered properly.
5. Turn the large coupling nut clockwise by hand and tighten to a full stop. Take care not to cross thread
the coupling nut onto the cylinder valve. Do not over-tighten the knob onto the valve. Do not use tools
to tighten connection.
Note: If you are unable to make the connection, repeat Steps 4 and 5.
6. Check that the hose does not contain kinks, does not contact sharp edges, and does not contact
surfaces that may become hot during use.
7. Leak check all fittings before lighting your grill. See section on "Leak Testing" in this manual.
WARNING
WARNING

LEAK TESTING:
To prevent fire or explosion hazard:
• DO NOT smoke or permit ignition sources in the area while conducting a leak test.
• Perform test OUTDOORS only in a well ventilated area.
• Never perform a leak test with a match or open flame.
• Never perform a leak test while the grill is in use or while grill is still hot.
WHEN TO PERFORM A LEAK TEST:
• After assembling your grill and before lighting for the first time, even if purchased fully assembled.
• Every time the LP gas cylinder is refilled or if any of the gas components are replaced.
• Any time your grill has been moved.
• At least once per year or if your grill has not been used for more than 60 days.
CHECKING FOR LEAKS:
1. Create a mixture of 50% water and 50% liquid dishwashing soap.
2. Open the lid.
3. Ensure all control knobs are set to the "OFF" position.
4. Turn on the fuel supply at the cylinder valve. Turn the
cylinder valve knob one turn counter-clockwise.
5. Apply the soap water mixture to the following:
Supply tank (cylinder) weld.
Connection nut to tank valve.
Back side of connection nut to brass
nipple.
Brass nipple connection into regulator.
Regulator connections to gas supply
hoses.
Gas supply hose connection to side
burner valve assembly.
Side burner valve stem cap.
Side burner connection to hose.
Hose connection to gas manifold.
The full length of gas supply hose.
Tank valve to cylinder.
8
WARNING
A
B
C
D
E
F
G
H
I
J
K
Watch For Bubbles
DANGER
A
B
C
D
E
FG
H
I
J
K

WARNING
9
6. Check each place listed (A–K) for growing bubbles which indicates a leak.
7. Turn off gas supply at cylinder valve.
8. Turn on control knobs to release gas pressure in hose.
9. Turn control knobs to "OFF" position.
10. Tighten any leaking connections.
11. Repeat soapy water test until no leaks are detected.
12. Turn off gas supply at cylinder valve until you are ready to use your grill.
13. Wash off soapy residue with cold water and towel dry.
14. Wait 5 minutes to allow all gas to evacuate the area before lighting grill.
CAUTION!DO NOT use the grill if leaks cannot be stopped. Contact a qualified gas appliance
repair service.
Note: The leak test must be performed in an area that has adequate lighting in order to see if
bubbles are developing.
PRE-START CHECK LIST:
Property damage, bodily harm, severe burns, and death could result from failure to follow these
safety steps. These steps should be performed after the grill has been assembled and prior to each
use. DO NOT operate this grill until you have read and understand ALL of the warnings and
instructions in this manual.
PRE-START CHECK LIST:
•Ensure that the grill is properly assembled.
•Inspect the gas supply hose for burns, chaffing, kinks, and proper routing before each use. If it is
evident there is excessive abrasion or wear, or the hose is cut, it must be replaced prior the grill being
used. Replace with hose and regulator, Model No. 155-6345-0, which can be obtained by contacting
customer service at 800-294-6076.
•Leak check all gas connections and hose. See section on "Leak Testing".
•Ensure that all electrical supply cords are properly grounded. Keep any electrical supply cord and the
fuel supply hose away from any heated surfaces. Hose should be at least 3 inches from hot surfaces.
•Position your grill on level ground in a well ventilated location, a safe distance from combustible
materials, buildings and overhangs.
•Properly place the empty grease tray under the grease drain hole in the bottom of the
grill to catch grease during use.
• DO NOT obstruct the flow of combustion and ventilation air.

LIGHTING INSTRUCTIONS:
Follow the instructions exactly.
1. OPEN THE GRILL LID before attempting to light a burner so that fumes do not accumulate inside
the grill. An explosion could occur if grill lid is down.
2. Check that all burner control knobs and the cylinder valve are turned to the "OFF" position.
3. Turn on the fuel supply by rotating the cylinder valve knob counter-clockwise to full open.
4. DO NOT stand with head, body, or arms over the grill when lighting.
LIGHTING THE MAIN BURNERS:
1. Open lid before lighting burner.
2. Make sure all control knobs are in the "OFF" position.
Note: The CENTER BURNER must be lit first, then light the left and right
burners.
3. Push and turn the control knob for the CENTER BURNER to the "HIGH" position.
4. Press the electronic igniter and hold for 3–5 seconds to light burner.
5. If ignition does NOT occur in 5 seconds, turn control knob to "OFF", wait 5
minutes to allow gas to dissipate and repeat lighting procedure.
6. If the CENTER BURNER does not ignite using the push-button igniter, wait 5 minutes, see "Match
Lighting the Main Burners" section.
7. To light the left and right burners, push and turn control knobs to HIGH. Follow Step 5.
8. To turn off, turn each control knob clockwise until it locks in the "OFF" position. This does not turn off
the gas flow from the cylinder.
Note: If burner does not light or flame is too low, you may have spider or other insect blockage in
burner, or the flow limiting device has been activated. See "Burner Assembly/Maintenance"
under Proper Care and Maintenance, or "Regulator Resetting Procedure" under Connecting LP
Cylinder and Hose/Regulator to Grill.
MATCH LIGHTING THE MAIN BURNERS:
1. Open lid before lighting.
2. Turn the burner control knobs to "OFF".
3. Place a paper match in the end of the matchlighter. Strike the
match and place through lighting hole in the left hand side of the
grill to approximately 1/2" (1 to 2 cm) from the burner.
4. Turn on the FAR LEFT burner control knob to the "HIGH"
position. The burner should light within 5 seconds.
5. If the burner does not light, turn the control knob to "OFF" and
wait 5 minutes for gas to dissipate and repeat lighting procedure.
6. Once lit, light adjacent burners in sequence by pressing in and rotating the control knob to
the "HIGH" position.
7. If the burner does not light within the first few attempts of match lighting, there is a problem with the
gas supply. Turn off the gas at the burner and cylinder. DO NOT attempt to operate the grill until the
problem is found and corrected. See "Trouble Shooting" section of this manual.
WARNING
10
WARNING
Read, understand and follow all warnings and instructions contained in this manual. DO NOT skip
any of the warnings and instructions contained in the preceding sections of this manual.
Lighting Hole
Matchlighter

LIGHTING THE SIDE BURNER:
1. Open lid before lighting side burner.
2. Make sure control knob is in the "OFF" position.
3. Push and turn side burner control knob to the "HIGH" position.
4. Press the electronic igniter on the main control panel and hold
for 3–5 seconds to light burner.
5. If ignition does NOT occur in 5 seconds, turn control knob to
"OFF", wait 5 minutes to allow gas to dissipate and repeat
lighting procedure.
6. To turn off, turn each control knob clockwise until it locks in the
"OFF" position.
Note: If burner does not light or flame is too low, you may have spider or other insect blockage in
burner, or the flow limiting device has been activated. See "Burner Assembly/Maintenance"
under Proper Care and Maintenance, or "Regulator Resetting Procedure" under Connecting
LP Cylinder and Hose/Regulator to Grill.
MATCH LIGHTING THE SIDE BURNER:
1. Open the lid to the side burner before lighting.
2. Turn the burner control knob to "OFF”.
3. Strike and carefully place a match approximately 1/2" (1 to 2 cm) from the burner.
4. Turn the side burner control knob to the "HIGH" position. The burner should light within 5 seconds.
5. If the burner does not light, turn the control knob to "OFF" and wait 5 minutes for gas to dissipate and
repeat lighting procedure.
6. If the burner does not light within the first few attempts of match lighting, there is a problem with the
gas supply. Turn off the gas at the burner and cylinder. DO NOT attempt to operate the grill until the
problem is found and corrected. See "Trouble Shooting" section of this manual.
Note: Observe flame height when lit: Flame
should be a Blue/Yellow color between 1"–2"
when burner is on "HIGH”.
TURNING OFF THE GRILL:
1. Turn off the cylinder valve.
2. Turn all burner control knobs to the "OFF" position.
Note: Turn off LP cylinder first to prevent gas from being left in the system under pressure.
CAUTION!
•The cylinder valve should always be in the off,
or closed, position when the grill is not in use.
••
11
To turn off the cylinder valve,
turn knob clockwise until it stops.

12
OPERATING THE GRILL:
Never use charcoal or wood briquets in a gas grill. Flavoring chips must be contained in a metal
smoking box to contain ash and prevent fires. Read and follow all warnings and instructions
contained in the preceding sections of this manual.
BREAKING IN YOUR GRILL:
•In manufacturing and preserving the components of your grill, oil residue may be present on the
burner and cooking surfaces of your grill.
•Before cooking on your grill for the first time you should preheat it for 15 minutes on "HIGH" to burn
off these residual oils.
PREHEATING THE GRILL:
•Prior to use, it is recommended that you preheat your grill. This ensures that the grilling surfaces are
at the desired temperatures to sear the food sugars when cooking. After lighting your grill, set the
main burner control knobs to the "HIGH" position for 10 to 15 minutes. Close the cover during the
preheat period.
CONTROLLING FLARE-UPS:
•Flare-ups are a part of cooking meats on a gas grill. This adds to the unique flavor of cooking on a
gas grill. Excessive flare-ups can over-cook your food and cause a dangerous situation for you and
your grill. Excessive flare-ups result from the build-up of grease in the bottom of your grill. If this
should occur, DO NOT pour water onto the flames. This can cause the grease to splatter and could
result in serious burns or bodily harm. If grease fire occurs close the lid and turn off the main burners
until the grease burns out. Use caution when opening the lid as sudden flare-ups may occur.
• DO NOT leave your grill unattended while in use.
• DO NOT move grill when in use. Lock wheels in place to stabilize grill.
• DO NOT use water to extinguish flare-ups.
• Have fire extinguisher readily accessible suitable for use with gas appliances.
TO MINIMIZE FLARE-UPS:
•Trim excess fat from meats prior to cooking.
•Cook meats with high fat contents (chicken or pork) on Low settings or indirectly.
•Ensure that your grill is on level ground and the grease is allowed to evacuate the grill through the
drain hole in the bottom and into grease cup.
INDIRECT COOKING:
•Indirect cooking is the process of cooking your food without the heat source being directly under your
food. You can sear meats over a high flame on one side of the grill while slow cooking a roast on the
other (unlit) side of the grill.
WARNING
WARNING

ROTISSERIE COOKING:
•Your grill was pre-drilled from factory to include mounting holes for a rotisserie (sold separately). Do
not use a rotisserie not specifically manufactured for this grill.
•Read and follow all instructions provided with the rotisserie. Save instructions for future reference.
•Do not use the side burner when using a rotisserie.
• When using an AC current rotisserie, it must be electrically grounded in accordance with local
codes, or in the absence of local codes:
• In the US: The National Electrical Code – ANSI-NFPA No. 70 – Latest Edition
• In Canada: the Canadian Electrical Code – CSA C22.1
• The Rotisserie is equipped with a three pronged plug for your protection against electrical
shock. This plug should be plugged directly into a properly grounded 3 prong receptacle. Never
cut or remove the grounding plug. Any extension cord must also have a 3 prong receptacle.
• All electrical supply cords should be kept away from water and any hot surfaces of the grill.
USING OTHER FEATURES OF THE GRILL:
THE SIDE BURNER:
•The side burner can be used to prepare side dishes such as beans, potatoes, corn, or to warm
sauces.
•The burner valve can be adjusted from high to low depending upon your cooking demands.
• Read instructions on lighting your grill to light the side burner.
• Never close the side burner cover when the burner is lit.
• Use a 10" diameter pot or smaller that does NOT have an extended handle when cooking on the
side burner. Center pot over burner.
• Never place more than 15 pounds on the side burner. The side burner is not constructed to hold
weight exceeding 15 pounds.
• Use caution to avoid bumping grill, side burner or pot to prevent pot from spilling contents
possibly leading to severe burns.
• DO NOT use side burner to deep fry food in oil to avoid dangers associated with oil igniting
creating a very dangerous situation.
WARNING
13
WARNING

14
GRILL COOKING TIPS
CLEANLINESS
• Always wash hands thoroughly with soap and hot water prior to handling food and after handling raw
meat, uncooked poultry or seafood.
• When using a platter to carry raw meat, uncooked poultry or seafood to the grill, make sure to wash the
platter thoroughly with soap and hot water before placing cooked foods back on the platter or use
different platters for raw and cooked foods.
• Never use the same utensils when handling raw meat, uncooked poultry or seafood unless you wash the
utensils thoroughly with soap and hot water.
• Never re-use marinade from raw meat or uncooked poultry on foods that have been cooked and are
ready to be served.
GRILLING TO PROPER TEMPERATURE
• Use a meat thermometer to be sure food has reached a safe internal temperature. You may order a
Commercial-quality thermometer from Brinkmann. For more information on this product and other
Brinkmann accessories, please refer to the accessory pages at the end of this manual.
• The US Department of Agriculture recommends the minimum temperature be reached for the
following food items:
Chops . . . . . . . . . . . . . . . . . . . . .145 degrees F (62.8° C)
Ground Meat . . . . . . . . . . . . . . .160 degrees F (71° C)
Pork . . . . . . . . . . . . . . . . . . . . . . .160 degrees F (71° C)
Poultry . . . . . . . . . . . . . . . . . . . . .180 degrees F (82° C)
Roasts . . . . . . . . . . . . . . . . . . . . .145 degrees F (62.8° C)
Seafood . . . . . . . . . . . . . . . . . . . .140 degrees F (60° C)
Vegetables . . . . . . . . . . . . . . . . .145 degrees F (62.8° C)
HELPFUL HINTS
• If you pre-cook meat or poultry, do so immediately before grilling.
• Never defrost meat at room temperature or on a countertop.
• Refrigerate leftovers within 2 hours of taking food off the grill.
• For additional information, please phone the USDA’s toll free Meat & Poultry Hotline at 800-535-4555.
• To protect your grill from excessive rust, the unit must be kept clean and covered at all times when not
in use.
• Wash cooking grills and heat distribution plates with hot, soapy water, rinse well and dry. Lightly coat
cooking grill with vegetable oil or vegetable oil spray.
• Clean inside and outside of grill by wiping off with a damp cloth. Apply a light coat of vegetable oil or
vegetable oil spray to the interior surface to prevent rusting.
• The stainless steel exterior surface of your grill, can be cleaned with stainless steel cleaner.
• Never apply paint to the interior surface. Rust spots on the interior surface can be buffed, cleaned, then
lightly coated with vegetable oil or vegetable oil spray to minimize rusting.
PROPER CARE & MAINTENANCE

15
BURNER ASSEMBLY/MAINTENANCE
• Although your burners are constructed of stainless steel, they may corrode as a result of the extreme
heat and acids from cooking foods. Regularly inspect the burners for cracks, abnormal holes, and other
signs of corrosion damage. If found, replace the burner.
•DO NOT obstruct the flow of combustion and ventilation air. Burner tubes can become blocked by
spiders and other insects building their nests. Blocked burner tubes can prevent gas flow to the burners and
could result in a burner tube fire or fire beneath the grill. To clean the Burner Assembly follow these
instructions to clean and/or replace parts of burner assembly or if you have trouble igniting the grill.
1. Turn gas off at control knobs and LP cylinder tank valve.
2. Remove cooking grills and heat distribution plates.
3. Remove screw from each burner "foot" using a screwdriver.
4. Carefully lift each burner up and away from valve openings.
5. Use a narrow bottle brush or a stiff wire bent into a small hook
to run through each burner tube and flame port several times.
Note: Wear eye protection when performing procedure 6.
6. Use compressed air to blow into burner tube and out the flame
ports. Check each port to make sure air comes out each hole.
7. Wire brush entire outer surface of burner to remove food
residue and dirt.
8. Check burner for damage, if any large cracks or holes are
found replace burner.
IMPORTANT: Burner opening must slide over valve nozzle.
9. Orient burners CORRECTLY by aligning screw hole in burner
to the left as shown.
Note: Make sure burner tubes align evenly between
crossover channels.
10. Replace screw on each burner and follow the "Gas Leak
Testing" section of this manual. Relight burners to verify proper
operation.
11. Replace heat distribution plates and cooking grills.
CLEANING AND MAINTENANCE:
• Keep the appliance free and clear of combustible materials, gasoline and other flammable vapors
and liquids.
• Keep the ventilation openings of the cylinder enclosure free and clear of debris.
• Visually check burner flames for proper operation (see pictorial in "Burner Assembly/Maintenance"
under Proper Care and Maintenance). Spiders or other insects can nest in the burner causing gas
blockage.
• For safe grilling and peak performance of your grill, perform these checks at least twice per year or after
extended periods of storage.
• Be sure to tighten up all hardware (nuts, bolts, screws, etc.) at least twice per year.
CAUTION: Some parts may contain sharp edges. Wear protective gloves if necessary.
• Remove the cooking grills, heat distribution plates, and burners from inside your grill. Use a brush with
hot water and detergent to remove excess residue. NEVER use a commercial oven cleaner. Rinse
completely with water. Towel dry and replace all components as described in the assembly instructions.
PROPER BURNER OPERATION
Debris
Valve Nozzle
Burner Opening
Crossover Channel
Burner Screw
Aligned Left

16
TRANSPORTING AND STORAGE:
• Never move a grill when it is hot or when objects are on the cooking surfaces.
• Make sure that cylinder valve is shut off. After moving the grill check that all gas connections
are free of leaks. Refer to instructions for Leak Testing.
• DO NOT store a spare LP gas cylinder (filled or empty) under or near the grill.
• Never store flammable liquids or spray canisters under or near the grill.
• DO NOT extinguish grease fires using water.
• If the outdoor cooking gas appliance is not in use, the gas must be turned off at the supply
cylinder.
• Storage of an outdoor cooking gas appliance indoors is permissible only if the cylinder is
disconnected and removed from the outdoor cooking gas appliance.
• Cylinders must be stored outdoors out of reach of children and must not be stored in a
building, garage or any other enclosed area.
• When removing the grill from storage, spider webs or other debris may be blocking the burner.
See "Burner Assembly/Maintenance" under Proper Care and Maintenance.
BEFORE STORING YOUR GRILL:
• Ensure that the cylinder valve is fully closed.
• Clean all surfaces.
• Lightly coat the burners with cooking oil to prevent excess rusting.
• If storing the grill indoors, disconnect the LP tank and leave the LP tank OUTDOORS.
• Place a protective cap cover on the LP tank and store the tank outdoors in a well ventilated area out
of direct sunlight.
• Clean burner prior to use after storing, at the beginning of grilling season or after a period of one
month not being used. Spiders and insects like to build nests in burner tubes (especially during colder
months). These nests can cause fires in burner tubes or under grill.
• If storing the grill outdoors, cover the grill with a grill cover for protection from the weather.
WARNING
COOKING GRILLS
•Clean with mild soap detergent and water. A brass bristled brush or a nylon cleaning pad can be used
to remove residue from the stainless steel surfaces. Do not use steel wire bristles to clean the cooking
grills. Steel can cause the finish to chip or crack. DO NOT use a commercial oven cleaner.
HEAT DISTRIBUTION PLATES
•Periodically, it may be necessary to inspect and clean the heat distribution plate to prevent excess
grease build-up. When the grill is cold, remove the cooking grills. Inspect the heat distribution plates
and replace if broken or damaged. Do not allow heat distribution plates to become damaged to the
extent that they may fall through onto the burners. Replace the heat distribution plates and cooking
grills and light the burners. Operate the grill on "HIGH" for 10 minutes to remove the excess grease.

17
TROUBLE SHOOTING
Problem: Possible Causes:
1. Check LP cylinder fuel level.
2. Bad electrode spark.
Check to see if the grill will match light.
Electrode or collector may need adjustment.
3. Burner may not be properly seated.
4. Burner may be obstructed.
5. The cylinder valve may be closed.
6. Regulator is not properly seated on cylinder valve.
1. Burner holes may be obstructed. See section on
"Burner Assembly/Maintenance" under Proper Care
and Maintenance.
2. Burner is improperly seated on control valve.
3. Gas connections may be loose.
Leak Check and tighten all connections.
1. Burner is obstructed. See section on
"Burner Assembly/Maintenance" under Proper Care
and Maintenance.
1. Burner holes may be obstructed. See section on
"Burner Assembly/Maintenance" under Proper Care
and Maintenance.
2. Grill is not sufficiently preheated.
3. Burner is improperly seated on control valve.
1. Flow control device has been activated in regulator.
See Regulator Resetting Procedure under
Connecting LP Cylinder and Hose/Regulator to Grill.
1. Excess grease build-up causing grease fires.
2. Damaged or faulty regulator.
Replace with factory authorized parts.
3. Cook on a lower temperature setting.
• Burner will not light
• Fire at control knob
• Yellow Flames at burner
• Flame blows out on "LOW"
• Burner does not get hot enough
• Grill is Too Hot

18
Your grill's serial number and model number, and the contact information for Brinkmann Customer Service, are
listed on a silver label found on the back of the grill or on the grill body side, under the side shelf.
These questions and answers are for your general knowledge, and may not be applicable to your model grill.
Question: Why does my grill not light properly?
Answer: Always follow lighting instructions as listed on the control panel or in this manual. Also check these
causes:
• Check LP gas supply.
• Check to ensure all gas connections are secure.
• The igniter AA battery may need replacing.
• Ignition wires may be loose. Remove the battery, inspect the igniter junction box found behind the control
panel and connect any loose wires.
• Spark electrode tips may need repositioning. With the gas supply closed and control knob set to the "OFF"
position, press the igniter button and have another person watch for the presence of a spark at the
electrode tips. The gap between the spark electrode tip and spark receiver should be about 3/16". If the
electrode tip needs to be adjusted, bend it to the appropriate gap distance.
• Check that the end of each burner venturi tube is properly located over its gas valve orifice fitting.
• There may be an obstruction in the gas line. To correct this, remove LP gas hose / regulator or natural gas
fuel line from your grill. Open gas supply for one second to test for obstruction. If no obstruction is present,
reconnect fuel line. If the fuel line is blocked, replace with a new hose / regulator assembly.
• If an obstruction is suspected in the hose / regulator assembly, orifice or gas valves call Brinkmann
Customer Service at 800-294-6076.
Question: Why does my LP gas grill have a low flame or a flame with orange / yellow color?
Answer: You need to purge air from the gas line or reset the regulator's flow limiting device. Opening the
cylinder valve all the way or too quickly triggers the regulator’s flow limiting device to shut down the gas flow,
which prevents excessive gas flow to your grill. NOTE: This procedure should be done every time a new LP
gas tank is connected to your grill:
RESETTING THE REGULATOR FLOW LIMITING DEVICE
• Turn control knob to the "OFF" position.
• Turn off the LP gas tank at the cylinder valve.
• Disconnect regulator from LP gas tank.
• Let tank stand for two minutes.
• Reconnect regulator to the LP gas tank.
• Open grill lid or side burner lid. Turn the cylinder valve on slowly until 1/4 or 1/2 open.
• Light the grill by following the instructions on your control panel or in this owner's manual.
Question: How and when do I clean the interior cooking components of my grill?
Answer: Use a fiber or brass cleaning brush to clean the interior of the grill, cooking grills, heat distribution
plates and grease containers. Never use a wire brush or metal scraper on porcelain-finished parts, as they can
scratch or chip the porcelain finish and promote rusting.
FREQUENTLY ASKED QUESTIONS

Cleaning Stainless Steel Cooking Grills: Wash grills with a mild detergent and rinse with hot water before
initial use and as needed. DO NOT use a commercial oven cleaner. For stubborn food residue, use a
degreaser and fiber or brass cleaning brush.
Cleaning Porcelain-Finished Cast-Iron Cooking Grills: Wash grills with a mild detergent and rinse with hot
water before initial use and as needed. For stubborn food residue, use a degreaser and fiber or brass cleaning
brush. Dry immediately using a soft cloth or paper towels.
Cleaning Heat Distribution Plate: Heat distribution plates should be cleaned whenever food or grease
drippings accumulate to reduce the chance of flare-ups. Wash heat distribution plates with a mild detergent
and rinse with hot water. Use a degreaser and fiber or brass cleaning brush to remove stubborn food residue.
Do not use a wire brush or metal scraper on porcelain-finished heat distribution plates, as they can scratch or
chip the porcelain finish and promote rusting.
Cleaning the Grease Tray and/or Grease Cup: The grease tray and/or grease cup (some models) should be
inspected before each grill use to reduce the chance of fire. Remove grease (a plastic spatula works well) and
wash all parts with a mild soap or degreaser and warm water solution.
Question: What causes grill parts to rust and what effect does it have on the grill materials?
Answer: Rusting is a natural oxidation process and may appear on cast-iron and steel parts. Rust will not
affect the short-term performance of your grill. However, weathering and extreme heat can cause a stainless
steel lid to turn a bronze color. This is discoloration, not rust, and is not considered a manufacturing defect.
Question: What causes my stainless steel grill lid to discolor and how do I clean my grill lid?
Answer: Smoke, weathering and high heat can cause a stainless steel grill lid to turn bronze in color. This is
not to be confused with rust and is not a product defect. Machine oils used in the manufacturing process of
stainless steel as well as cooking oils and a dirty grill lid can also encourage discoloration if the lid is not
cleaned prior to grill use. After your grill is assembled, remove the protective PVC film from your grill lid and
use a stainless steel cleaner and soft cloth to remove residual adhesive and oils from the inside and outside of
your grill lid. Never use abrasive cleaners or scrubbers. In addition to the initial cleaning, routine cleaning to
remove dirt, grease and oils will help discourage lid discoloration.
Question: Can I convert my grill from propane gas to natural gas?
Answer: Most gas grills are manufactured to exact specifications and are certified for either propane gas or
natural gas use only. However, some models can be converted safely with conversion kits available for specific
models. Contact Brinkmann Customer Service at 800-294-6076 to see if your grill can be converted.
Question: Why does the hose / regulator assembly supplied with my grill not fit the older LP gas tank I’ve
used for years?
Answer: U.S. Government regulates gas appliances and LP gas tanks. When regulations were changed, the
LP gas tank fittings were updated to ensure compliance. If your LP gas tank does not fit the hose / regulator
supplied with your new grill, the tank is outdated and must be replaced. NOTE: Effective April 1, 2002, all LP
gas tanks sold must include an "OPD" overflow protection device. This internal device prevents the LP gas
tank from being overfilled. Tanks without an OPD valve cannot be refilled.
Question: Sometimes I hear a humming sound coming from my gas regulator. Should I be concerned?
Answer: The humming sound is gas flowing through the regulator. A low volume of noise is normal and will not
interfere with the operation of your grill. If the humming noise is loud and excessive, you need to purge air from
the gas line or reset the regulator flow limiting device following the Regulator Resetting Procedure under
Connecting LP Cylinder and Hose/Regulator to Grill. This procedure should be done every time a new LP gas
tank is connected to your grill. For help, refer to your owner’s manual or call Brinkmann Customer Service at
800-294-6076.
FREQUENTLY ASKED QUESTIONS
19

20
PARTS BAG CONTENTS
1 Hex Nut Wrench
1 AA/1.5V Alkaline Battery
1 Screwdriver
26 M6 X 12mm Bolts
4 M5 X 10mm Bolts
Make sure you have all items listed under PARTS LIST and PARTS CARD CONTENTS
before you begin the installation process.
PARTS CARD CONTAINS:
Qty.
14 Star Washers
2 Wheel Axle Bolts
2 Wheel Washers
3 #8 Self-Tapping Screws
M6 X 12mm Bolts
M5 X 10mm Bolts
Star Washers
#8 Self-Tapping Screws AA/1.5V Alkaline Battery
Wheel Washers
Wheel Axle Bolts
Screwdriver
Hex Nut Wrench
Qty.

ASSEMBLY INSTRUCTIONS
READ ALL SAFETY WARNINGS & ASSEMBLY INSTRUCTIONS CAREFULLY
BEFORE ASSEMBLING OR OPERATING YOUR GRILL.
WE RECOMMEND TWO PEOPLE WORK TOGETHER WHEN ASSEMBLING THIS UNIT.
The following provided tools are required to assemble this Grill Zone™6345 Gas Grill:
• Flathead Screwdriver
• Hex Nut Wrench
21
PARTS LIST:
1 Grease Cup
1 Left Cart Assembly
1 Right Cart Assembly
1 Side Burner Knob
1 Side Burner Bezel
1 Tank Heat Shield
1 Heat Shield Plate
1 Tank Block Bar
1 Cart Base
2 Locking Casters
1 Hose Heat Shield
2 Hubcaps
2 Wheels
1 Grill Body Assembly
1 Warming Rack
2 Cooking Grills
1 Grease Tray
3 Heat Distribution Plates
1 Electronic Igniter Button
1 Electronic Igniter Spring
1 Left Side Table
1 Left Side Table Front Panel
1 Cart Front Panel
1 Side Burner Grate
1 Side Burner Assembly
1 Side Burner Assembly Front Panel
1
2
3
4
5
6
7
8
9
10
11
12
13
14
15
16
17
18
19
20
21
22
23
24
25
26

22
1
2
3
5
4
12
8
9
67
13
17
10
18
16
19
15
14
23
20
24
21
22
25
26
11
FOR GRILL REPLACEMENT PART, COVERS & ACCESSORIES, PLEASE EMAIL US AT
GrillZone@brinkmann.net
(Proof of purchase will be required.)
Inspect contents of the box to ensure all parts are included and undamaged.

Choose a good, cleared assembly
area and get a friend to help you put
your grill together. Lay cardboard
down to protect grill finish and
assembly area.
CAUTION! Some parts may
contain sharp edges. Wear
protective gloves if necessary.
Step 1
Assemble bottom cart shelf and
right side cart panel by using two
M6 X 12mm bolts and star
washers. (Hand tighten only at
this point.)
Step 2
Assemble bottom cart shelf and left
side cart panel by using two
M6 X 12mm bolts and star washers.
Tighten all four M6 X 12mm bolts at
this time.
Step 3
Attach front panel to lower left and
right leg of cart assembly using two
M6 X 12mm bolts and star
washers.
23

Note: With the help of a friend, turn
the cart over. Try to minimize
the stress to the bottom plate.
Step 4
Attach locking casters to the bottom
of the left side cart panel. Tighten
caster bolts securely using hex nut
wrench provided in parts card.
Step 5
Install the wheels as illustrated, by
inserting the wheel axle bolts
through the wheels, washers and
right side panel axle holes. Tighten
axle bolts securely using hex nut
wrench provided in parts card.
Step 6
Snap wheel hub caps onto the
outside of wheels as illustrated.
Note: With the help of a friend, turn
the cart to its upright position.
24
Locking Caster
Hex Nut Wrench
Leg
Wheel
Washer
Wheel Axle
Bolt
Hubcap
Hubcap

Step 7
Attach tank heat shield to heat
shield plate using one #8 self-
tapping screw.
Step 8
Attach heat shield plate to cart
frame assembly using four
M6 X 12mm bolts with star
washers.
Step 9
Attach tank block bar onto bottom
cart shelf and heat shield plate by
using two M6 X 12mm bolts.
25
Heat Shield Plate
Heat Shield Plate
Tank
Heat Shield
Heat Shield
Plate
Tank Block
Bar

26
Step 10
Place grease cup in middle of hole in
heat shield plate.
Note: When performing Step 11,
Lift grill body from front and rear
panels to avoid injury to hands
and fingers. Be sure to pass
hose/regulator assembly above
cart frame crossbar.
Step 11
With the help of a friend, place grill
body assembly on assembled cart
frame. Grill body will rest on angled
top of vertical supports. Align bolt
holes located on the outside of the
grill body assembly. Secure using
four M6 X 12mm bolts with star
washers.
Grease Cup Heat
Shield
Plate
Grill Body
Assembly

27
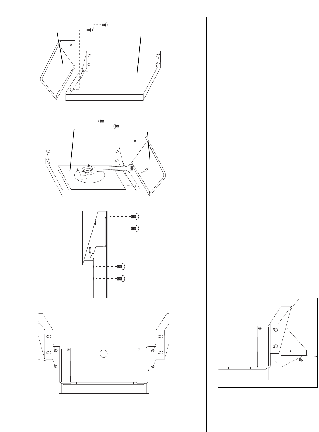
Side Table
Front Panel
Side Burner
Front Panel
Side Table
Side Burner
Step 12
Attach the side table front panel to
side table with two M5 x 10mm
bolts.
Step 13
Attach the side burner front panel
to side burner base with two
M5 x 10mm bolts.
Step 14
Attach the side table assembly to
the left cart frame. Insert two M6 x
12mm bolts halfway into both left
legs. Place table over bolts and
slide toward front of grill, then
tighten securely. Fasten side table
front panel to grill body with one
M6 X 12mm bolt.

Step 15
Attach the side burner assembly to
the right side of the grill body. Insert
two M6 x 12mm bolts halfway into
both right legs. Place side burner
assembly over bolts and slide
toward front of grill, then tighten
securely. Fasten side burner front
panel to grill body with one
M6 X 12mm bolt.
Step 16
Attach the hose heat shield
to the right cart frame using two
#8 self-tapping screws.
Step 17
Remove two screws and washers
from the side burner valve. Insert the
side burner valve assembly through
the hole in the side burner front
panel, then firmly seat the valve
nozzle into the burner venturi. Hold
in place while you perform Step 21.
Warning:
Never use your grill without leak
testing all gas connections and
hoses. See the section on “Leak
Testing” in this manual for proper
procedures.
Side
Burner
Valve
Burner Venturi
Valve
Nozzle
Hose
Heat Shield
28

Grease Tray
Side Burner
Igniter Lead
Electrode
29
Step 18
Place the bezel over the control
knob mounting stem and position
over holes in side burner base and
side burner valve assembly. Attach
with two M4 bolts with lock washers
which come with valve. Then install
the side burner control knob onto
valve stem.
Step 19
Place the side burner grate onto
the side burner table.
Step 20
Attach side burner igniter lead wire
to the electrode as illustrated.
Step 21
Insert grease tray into opening on
backside of grill. Make sure to slide
tray onto tracks as illustrated.
Bezel
Side
Burner
Control
Knob

30
Step 22
Place the heat distribution plates
on lower level of grill body
assembly directly above burners.
Step 23
Place cooking grills on support
ribs directly above heat
distribution plates.
Step 24
Place warming rack in grooves so
that it sits above the cooking grills.
Step 25
Remove igniter button and insert
battery with positive end of battery
toward igniter cap. Replace
electronic igniter button and make
sure the igniter is working properly.
Igniter Button
Battery
Cooking Grills
Heat
Distribution
Plates
Grooves
Warming Rack

Grill Zone™6345 (Assembled)
31

32
ES NUESTRO DESEO QUE ARME Y UTILICE SU PARRILLA EN LA FORMA MÁS
SEGURA POSIBLE. EL PROPÓSITO DE ESTE SÍMBOLO DE ALERTA DE SEGURIDAD
ES QUE USTED PRESTE ATENCIÓN A LOS POSIBLES PELIGROS CUANDO ARME
Y UTILICE SU PARRILLA.
¡CUÁNDO VEA ESTE SÍMBOLO DE ALERTA DE SEGURIDAD PRESTE ESPECIAL
ATENCIÓN A LA INFORMACIÓN A CONTINUACIÓN!
LEA DETENIDAMENTE TODAS LAS ADVER TENCIAS DE SEGURIDAD E
INSTRUCCIONES ANTES DE ARMAR Y USAR LA PARRILLA.
PELIGRO
IMPORTANTES ADVERTENCIAS
DE SEGURIDAD
SI HUELE GAS:
1. Apague el gas al artefacto.
2. Apague cualquier llama expuesta.
3. Abra la tapa.
4. Si el olor persiste, subsistencia lejos de la aplicación y llame de inmediato a su proveedor de gas o
a los bomberos.
1. No guarde ni use gasolina ni otros líquidos inflamables con vapores en las cercanías de este o de
ningún otro artefacto.
2. Un cilindro de propano líquido que no esté conectado para ser utilizado no debe ser mantenido
cerca de éste o ningún otro artefacto.
• NO guarde un cilindro de gas de propano líquido de reserva debajo o cerca de este
artefacto.
• Nunca llene el cilindro más de 80%.
• Se puede producir un incendio y causar lesiones o hasta la muerte si no se siguen estas
instrucciones en forma exacta.
ADVERTENCIA
PELIGRO

33
Advertencias generales . . . . . . . . . . . . . . . . . . . . . . . . . . . . . . . . . . . . . . . . . . . . . . . . . . . . . . . . . . 35
Instalación, especificaciones y uso seguro del cilindro de propano líquido . . . . . . . . . . . . . . . 36–38
Conexión del cilindro de propano líquido y de la manguera / regulador a la parrilla . . . . . . . . 38–39
Pruebas de detección de fugas . . . . . . . . . . . . . . . . . . . . . . . . . . . . . . . . . . . . . . . . . . . . . . . . 40–41
Lista de verificación preliminar al encendido. . . . . . . . . . . . . . . . . . . . . . . . . . . . . . . . . . . . . . . . . . 41
Instrucciones de encendido. . . . . . . . . . . . . . . . . . . . . . . . . . . . . . . . . . . . . . . . . . . . . . . . . . . . 42–43
Funcionamiento de la parrilla y recomendaciones útiles . . . . . . . . . . . . . . . . . . . . . . . . . . . . . 44–46
Cuidado y mantenimiento apropiados . . . . . . . . . . . . . . . . . . . . . . . . . . . . . . . . . . . . . . . . . . . . 46–48
Transporte y almacenaje . . . . . . . . . . . . . . . . . . . . . . . . . . . . . . . . . . . . . . . . . . . . . . . . . . . . . . . . . 48
Identificación y resolución de problemas. . . . . . . . . . . . . . . . . . . . . . . . . . . . . . . . . . . . . . . . . . . . . 49
Preguntas frecuentes. . . . . . . . . . . . . . . . . . . . . . . . . . . . . . . . . . . . . . . . . . . . . . . . . . . . . . . . . 50–51
Lista de partes e instrucciones de armado . . . . . . . . . . . . . . . . . . . . . . . . . . . . . . . . . . . . . . . . 52–64
Información de la garantía. . . . . . . . . . . . . . . . . . . . . . . . . . . . . . . . . . . . . . . . . . . . . Cubierta trasera
ÍNDICE
PELIGRO: Indica una situación peligrosa inminente la cual, si no se evita, producirá lesiones
graves o aún la muerte.
ADVERTENCIA: Manténgase alerta a la posibilidad de lesiones corporales graves si no se siguen las
instrucciones. Asegúrese de leer y seguir cuidadosamente todos los mensajes.
PRECAUCIÓN: Indica una situación posiblemente peligrosa la cual, si no se evita, puede producir
lesiones menores o moderadas.
PARA REEMPLAZO DE CUBIERTOS, ACCESORIOS Y PARTES DE PARRILLA, FAVOR DE MANDAR UN
CORREO ELECTRONICO A GrillZone@brinkmann.net

34
ADVERTENCIA
• Nunca use gas natural en una unidad diseñada para gas de propano líquido.
• Nunca use briquetas de carbón en una parrilla de gas. Los pedacitos de madera para dar sabor
se deben colocar en una cajita de fumar de metal para contener la ceniza y para prevenir fuegos.
• Realice una prueba de detección de fugas en todas las conexiones antes de usar la parrilla por
primera vez, aún si compró la parrilla armada, y después de cada llenado del tanque.
• Nunca use un cerillo o llama expuesta para detectar fugas.
¡CUIDADO!Los olores fuertes, los resfríos o la congestión nasal pueden impedir la detección de
propano. Sea precavido y utilice sentido común cuando realice pruebas de detección de
fugas.
• Siempre mantenga la parrilla de gas alejada de la gasolina, fluido de encendedor, diluyente de
pintura u otros vapores o líquidos inflamables o materiales combustibles.
• Siempre revise la parrilla antes de cada uso, tal como se indica en la sección "Lista de verificación
preliminar al encendido" de este manual.
• NO obstruya el flujo del aire de combustión o ventilación.
• Nunca coloque más de 15 libras sobre la hornilla lateral. NO se apoye sobre el mesón de la hornilla
lateral.
• Mantenga a los niños y las mascotas alejados de la parrilla caliente. NO permita que los niños usen o
jueguen cerca de esta parrilla.
• NO deje la parrilla desatendida mientras está en uso.
• NO permita que la manguera de gas haga contacto con superficies calientes.
• NO permita que la grasa del agujero de drenaje caiga sobre la manguera o el conjunto del regulador
de la válvula.
• Mantenga todos los cables de alimentación eléctrica alejados del agua o superficies calientes.
• Mantenga a mano un extinguidor de incendios aceptable para usar con productos de gas. Consulte
con su autoridad local para determinar el tamaño y tipo correctos.
• Para uso doméstico únicamente. NO use esta parrilla para ningún propósito que no sea el previsto.
• NO use la parrilla bajo la influencia de alcohol o drogas.
• La parrilla está caliente cuando está en uso. Para evitar las quemaduras:
• NO trate de mover la parrilla.
• Trabe las ruedas para que la parrilla no se mueva accidentalmente.
• Use guantes protectores o guantes para el horno.
• NO toque ninguna superficie caliente de la parrilla.
• NO use ropa suelta ni permita que el cabello haga contacto con la parrilla.
SEA PRECAVIDO Y UTILICE SENTIDO COMÚN CUANDO OPERE LA PARRILLA DE GAS.
HACER CASO OMISO A LAS ADVERTENCIAS DE SEGURIDAD E INSTRUCCIONES EN ESTE MANUAL
PUEDE PRODUCIR GRAVES LESIONES PERSONALES O DAÑOS MATERIALES.
GUARDE ESTE MANUAL PARA REFERENCIA FUTURA.
ADVERTENCIAS GENERALES

35
ADVERTENCIA
INFORMACIÓN DE INSTALACIÓN:
Este artefacto debe instalarse de acuerdo con:
Todos los códigos locales relevantes o, si no existen códigos locales, ya sea:
•Código de Gas Combustible de EE.UU. ANSI Z223.1 NFPA 54
•Código de instalación de gas natural y propano: CAN/CGA B149.1
•Código de instalación de gas natural: CAN/CGA B149.1 (Canadá)
•Código de instalación de propano: CAN/CGA B149.2 (Canadá)
Consulte con su distribuidor local de gas de propano líquido o con la compañía de gas natural con
respecto a los códigos locales. Esta parrilla no fue diseñada para conectarla a una línea de
suministro de gas natural. Si se utiliza una fuente eléctrica externa, debe estar conectada a tierra de
acuerdo con los códigos locales o, en caso que no los haya, con el Código Eléctrico de EE.UU.,
ANSI/NFPA 70, o el Código Eléctrico Canadiense, CSA 22.1.
•PARA USO EXTERIOR ÚNICAMENTE. NO opere la parrilla en áreas interiores o en un área cerrada
como un garaje, cobertizo o pasadizo.
•Use la parrilla AL AIRE LIBRE en un espacio bien ventilado alejado de viviendas u otros edificios para
prevenir los peligros asociados con la acumulación de gas y los vapores tóxicos. Recomendamos
que la parrilla se sitúe a una distancia mínima de 10 pies (3,1 m) de los edificios. No adherirse a estas
distancias prevendrá ventilación apropiada y puede aumentar el riesgo de daño de fuego y/o a
propiedad, que podría resultar también en heridas personales.
•Mantenga un espacio mínimo de 36 pulgadas (91 cm) entre todos los costados de la parrilla,
barandas de terraza, paredes u otros materiales combustibles. NO use la parrilla debajo de
construcciones combustibles elevadas desprotegidas.
•NO use ni instale esta parrilla en o sobre un vehículo recreativo y/o un bote.
CILINDRO DE GAS DE PROPANO LÍQUIDO (NO SE INCLUYE CON ESTA PARRILLA)
El cilindro de propano líquido puede comprarse en el mismo lugar donde compró la parrilla.
El cilindro de gas de propano líquido diseñado específicamente para usarse con esta parrilla debe tener
una capacidad de 20 libras (9,1 kg) e incorporar una válvula de cilindro tipo 1 y un dispositivo de
protección contra el llenado excesivo (OPD).
• Esta parrilla esta diseñada para usarse con Worthington, Manchester o marca SMPC 20 libras
(9,1 kg) cilindros. Cilindros de diferentes marcas DOT pueden utilizarse en esta parrilla si el
cilindro tiene las dimensiones semejantes de la cima y anillos inferiores.
• NO conecte esta parrilla a una válvula de cilindro POL #510 existente con roscas izquierdas. La
válvula de tipo 1 puede identificarse con las roscas externas grandes en la salida
de la válvula.
• NO conecte un cilindro de propano que exceda esta capacidad.
• NO conecte la parrilla a un cilindro que utilice cualquier otro tipo de dispositivo de conexión de
válvula.
ADVERTENCIA

36
Además, el cilindro debe estar equipado con:
• Una válvula de cierre que termine en una salida de válvula para cilindro de gas de Tipo 1.
• Una válvula de Tipo 1 que prevenga el flujo de gas hasta que exista un sello positivo.
• Un mecanismo para extraer el vapor.
• Un collar para proteger la válvula de cierre del cilindro.
• Un dispositivo de alivio de seguridad comunicado directamente con el espacio de vapor del cilindro.
• Un dispositivo de protección contra el llenado excesivo (OPD) aprobado.
• Cierre la válvula del cilindro cuando no esté usando la parrilla.
• Maneje el tanque con cuidado.
• Siempre mantenga el cilindro en posición vertical.
• Nunca conecte un cilindro de gas de propano líquido no regulado a la parrilla.
• NO exponga los cilindros de gas de propano líquido a calor excesivo o a fuentes de encendido.
• NO guarde un cilindro de gas de propano líquido de reserva debajo o cerca de la parrilla.
• Sólo los distribuidores de gas de propano líquido capacitados deben llenar o reparar su
cilindro.
• NO permita que el cilindro sea llenado más del 80% de su capacidad.
• Lea y siga todas las advertencias e instrucciones en el cilindro y que acompañan a este
producto.
• Nunca guarde un cilindro de gas de propano líquido de reserva debajo o cerca de la parrilla.
Esto puede causar una descarga de presión excesiva a través de la válvula de alivio de vapor
y producir un incendio, explosión o lesiones personales graves, incluso la muerte.
Nota: EL GAS DE PROPANO ES MÁS PESADO QUE EL AIRE Y SE ACUMULARÁ EN
ÁREAS BAJAS. LA VENTILACIÓN APROPIADA ES EXTREMADAMENTE IMPORTANTE.
• Mantenga el (los) orificio(s) de ventilación del gabinete del cilindro de gas de propano líquido
despejados y sin obstrucciones o residuos.
• NO inserte ningún objeto extraño en la salida de la válvula. Esto puede dañar el mecanismo de
retención de retroceso. Un mecanismo de retención de retroceso puede causar una fuga y
posiblemente producir una explosión, incendio, lesiones corporales graves o aún la muerte.
ADVERTENCIA
PELIGRO
ESPECIFICACIONES DEL CILINDRO
Cuando compre o cambie un cilindro para la parrilla de gas, debe estar construido y marcado de acuerdo
con las especificaciones para cilindros de gas de propano líquido del Departamento de Transporte (DOT)
de EE.UU. o la Norma Nacional de Canadá, CAN/CSA-B339: Cilindros, esferas y tubos para el transporte
de artículos peligrosos; y de la Comisión, según corresponda; y debe estar equipado con un dispositivo de
protección contra el llenado excesivo (OPD) aprobado y con un dispositivo de conexión de cilindro
compatible con la conexión para artefactos para cocinar al aire libre.

37
LLENADO DEL CILINDRO DE GAS DE PROPANO LÍQUIDO:
• Sólo los distribuidores de gas de propano líquido capacitados deben llenar o reparar su cilindro.
• Los tanques nuevos deben ser purgados antes de llenarlos; dígale al distribuidor de gas si está
usando un tanque nuevo.
• NO permita que el cilindro sea llenado más del 80% de su capacidad. Los tanques llenados en exceso
pueden crear una condición peligrosa. Los tanques llenados en exceso pueden acumular presión y
hacer que la válvula de alivio expulse vapores de gas de propano. El vapor es combustible y, si hace
contacto con una fuente de chispas o una llama, puede producirse una explosión y causar
quemaduras graves, lesiones corporales o hasta la muerte.
• Siempre utilice una tapa de protección del cilindro cuando la parrilla no esté conectada al mismo.
• Si cambia un cilindro en un programa de cambio apropiado, verifique que el cilindro tenga una
válvula de Tipo 1 y un dispositivo de protección contra el llenado excesivo (OPD).
INSTALACIÓN DEL CILINDRO DE GAS DE
PROPANO LÍQUIDO EN LA PARRILLA:
1. Verifique que la válvula del cilindro está cerrada girando la
perilla en sentido horario.
2. Coloque el cilindro en el portatanque en el extremo inferior del
gabinete.
3. Sitúe el cilindro de manera que la abertura de la válvula
apunte hacia la hornilla lateral y de modo que la manguera no
esté doblada o dañada.
4. Apriete por completo la abrazadera del cilindro debajo del
portatanque para sujetar el tanque.
5. Conecte o desconecte el regulador al cilindro de gas de
propano líquido sólo cuando el cilindro está asentado en el
portatanque.
MANGUERA Y REGULADOR:
1. El sistema no permitirá que fluya gas desde el cilindro hasta que
haya una conexión positiva a la válvula.
Nota: La válvula del cilindro debe cerrarse
antes de conectar o desconectar.
2. Un dispositivo térmico cerrará el flujo de gas si se expone a
temperaturas de más de 240 ºF a 300 ºF (115 ºC a 150 ºC). Si
esto ocurre, retire el conjunto completo del regular y deséchelo
correctamente. Puede comprar un conjunto de regulador de
repuesto comunicándose con el servicio de atención al cliente al
800-294-6076. Se debe determinar la causa del calor excesivo y
se debe corregir antes de usar la parrilla nuevamente.
3. Cuando está activado, un dispositivo limitador de flujo del
regulador restringe el flujo de gas a 10 pies cúbicos por hora. Si
el dispositivo limitador de flujo está activado, aplique el
Procedimiento de Reposición del Regulador.
ADVERTENCIA
PROCEDIMIENTO DE REPOSICIÓN DEL REGULADOR
1. Gire las perillas de control de las hornillas a "OFF" (apagado), apague la válvula del cilindro y desconecte el
regulador del tanque de gas de propano líquido. Espere aproximadamente dos minutos.
2. Reconecte el regulador y gire lentamente la válvula del cilindro para encenderla. Ahora el dispositivo limitador
de flujo está reposicionado.
Portatanque
Abrazadera del tanque

38
• Nunca use la parrilla sin haber verificado que no hay fugas en las conexiones y mangueras de gas.
Consulte los procedimientos apropiados en la sección de "Pruebas de detección de fugas" en este manual.
Se debe utilizar el conjunto del regulador de presión y manguera suministrado con la parrilla de gas.
• NO intente conectarla a ninguna otra fuente de suministro de combustible, como por ejemplo a una línea de
gas natural.
• NO use ningún otro conjunto de regulador de presión/manguera que no sea el suministrado con la parrilla.
El número de parte del conjunto de regulador de presión/manguera de repuesto debe ser Brinkmann Nº
155-6345-0 y puede obtenerse comunicándose con Brinkmann al 800-294-6076.
• NO intente ajustar o reparar el regulador. El regulador está diseñado para operar a una presión de salida
máxima de 11 pulgadas de columna de agua (2,74 kPa).
Durante la instalación y/o reemplazo del cilindro de gas, mantenga la manguera de suministro sin
dobleces ni daños.
Inspeccione visualmente la manguera antes de cada uso para detectar daños, desgaste excesivo o
deterioro. Si detecta daños, reemplace el conjunto antes de usar la parrilla. Sólo debe usarse el repuesto
suministrado por el fabricante.
CONEXIÓN DE LA MANGUERA Y REGULADOR A UN CILINDRO DE GAS DE PROPANO LÍQUIDO
• Verifique que la válvula del tanque está CERRADA antes de conectar el cilindro de gas de propano líquido a
la parrilla. Gire la perilla de la válvula en sentido horario para cerrarla correctamente. Lea y siga todas las
instrucciones y advertencias en las etiquetas de seguridad de la manguera de suministro. Lea y siga todas
las advertencias en este manual con respecto al uso seguro de los cilindros de gas de propano líquido y de
la manguera y regulador antes de conectar el cilindro a la parrilla. Lea y siga todas las advertencias en el
cilindro de propano líquido.
1. Verifique que la válvula del cilindro está cerrada girando la perilla en sentido horario.
2. Verifique que las perillas de control de las hornillas de la parrilla están en las posiciones OFF (de
apagado).
3. Quite la tapa de protección de plástico de la válvula del cilindro y del dispositivo de conexión.
4. Sujete el regulador e inserte el niple del dispositivo de conexión en la salida de la válvula del cilindro de
propano líquido. Asegúrese de que el dispositivo esté centrado correctamente.
5. Gire la tuerca de acoplamiento grande en sentido horario con la mano y apriétela por completo. Tenga
cuidado de no estropear las roscas de la tuerca de acoplamiento al instalarla en la válvula del cilindro. No
apriete excesivamente la perilla en la válvula. No utilice herramientas para apretar la conexión.
Nota: Si no puede hacer la conexión, repita los Pasos 4 y 5.
6. Asegúrese de que la manguera no esté doblada, que no haga contacto con bordes afilados o superficies
que puedan calentarse durante el uso.
7. Revise todos los accesorios para asegurar que no haya fugas antes de encender la parrilla. Consulte la
sección de "Pruebas de detección de fugas" en este manual.
ADVERTENCIA
ADVERTENCIA
ADVERTENCIA

39
PRUEBAS DE DETECCIÓN DE FUGAS:
Para impedir los peligros de incendio o explosión:
• NO fume ni permita que haya fuentes de encendido en el área mientras realiza la prueba de
detección de fugas.
• Realice la prueba AL AIRE LIBRE únicamente, en un área bien ventilada.
• Nunca realice una prueba para detectar fugas con un cerillo o llama expuesta.
• Nunca realice una prueba para detectar fugas mientras está usando la parrilla o con la
parrilla caliente.
CUÁNDO REALIZAR UNA PRUEBA DE DETECCIÓN DE FUGAS:
• Después de haber armado la parrilla y antes de encenderla por primera vez, aún cuando la haya
comprado totalmente armada.
• Cada vez que se llene nuevamente el cilindro de gas de propano líquido o si se reemplaza alguno
de los componentes de gas.
• Cada vez que haya movido la parrilla.
• Por lo menos una vez al año si no ha usado la parrilla más de 60 días.
VERIFICACIÓN DE AUSENCIA DE FUGAS:
1. Prepare una mezcla de 50% de agua y 50% de jabón
líquido para lavar platos.
2. Abra la tapa.
3. Asegúrese de que todas las perillas de control estén
en la posición "OFF" (de apagado).
4. Encienda el suministro de combustible en la válvula del cilindro.
Gire la perilla de la válvula del cilindro una vuelta en
sentido contrahorario.
5. Aplique la mezcla de agua jabonosa a los siguientes
elementos:
Soldadura del tanque (cilindro) de suministro.
Tuerca de conexión a la válvula del tanque.
Lado posterior de la tuerca de conexión al niple
de latón.
Conexión del niple de latón al regulador.
Conexiones del regulador a las mangueras de
suministro de gas.
Conexión de la manguera de suministro de gas
al conjunto de la válvula de la hornilla lateral.
Tapa del vástago de la válvula de la hornilla
lateral.
Conexión de la hornilla lateral a la manguera.
Conexión de la manguera al múltiple de gas.
El largo completo de la manguera de suministro
de gas.
Válvula del tanque al cilindro.
A
B
C
D
E
F
G
H
I
J
K
Preste atención a las burbujas
ADVERTENCIA
PELIGRO
A
B
C
D
E
FG
H
I
J
K

6. Inspeccione cada uno de los elementos indicados (A-K) para ver si hay burbujas, lo cual indica una fuga.
7. Cierre el suministro de gas en la válvula del cilindro.
8. Gire las perillas de control para descargar la presión de gas en la manguera.
9. Gire las perillas de control a la posición "OFF" (de apagado).
10. Apriete todas las conexiones con fuga.
11. Repita la prueba con agua jabonosa hasta que no detecte ninguna fuga.
12. Apague el suministro de gas en la válvula del cilindro hasta que esté listo para usar la parrilla.
13. Limpie el residuo jabonoso con agua fría y seque con una toalla.
14. Espere 5 minutos para permitir la evacuación de todo el gas del área antes de encender la parrilla.
¡PRECAUCIÓN! NO use la parrilla si no puede eliminar las fugas. Llame a un servicio capacitado
de reparación de artefactos a gas.
Nota: La prueba de detección de fugas debe realizarse en un área con iluminación adecuada
para ver si se forman burbujas.
LISTA DE VERIFICACIÓN PRELIMINAR AL ENCENDIDO:
Si hace caso omiso a estos pasos de seguridad, se pueden causar daños materiales, lesiones
corporales, quemaduras graves o hasta la muerte. Estos pasos deben realizarse después de haber
armado la parrilla y antes de cada uso. NO opere esta parrilla hasta que haya leído y entendido
TODAS las advertencias e instrucciones en este manual.
LISTA DE VERIFICACIÓN PRELIMINAR AL ENCENDIDO:
•Asegúrese de que la parrilla está armada correctamente.
•Inspeccione la manguera de suministro de gas para detectar quemaduras, rozaduras, dobleces y
verificar la trayectoria correcta antes de cada uso. Si hay evidencia de abrasión o desgaste excesivo,
o si la manguera está cortada, debe reemplazarse antes de usar la parrilla. Reemplácela con una
manguera y regulador Modelo Nº 155-6345-0 que puede obtenerse comunicándose con el servicio de
atención al cliente al 800-294-6076.
•Realice una prueba de detección de fugas en todas las conexiones y en la manguera de gas.
Consulte la sección de "Pruebas de detección de fugas".
•Asegúrese de que todos los cables de suministro eléctrico estén adecuadamente conectados a tierra.
Mantenga todos los cables de suministro eléctrico y la manguera de suministro de combustible
alejados de cualquier superficie calentada. La manguera debe estar a una distancia mínima de 3
pulgadas de las superficies calientes.
•Sitúe la parrilla en un sitio con suelo nivelado y con buena ventilación, a una distancia segura de
materiales combustibles, edificios y salientes.
•Instale correctamente la bandeja de recolección de grasa vacía debajo del agujero de drenaje de
grasa en el extremo inferior de la parrilla para contener la grasa durante el uso.
•NO obstruya el flujo del aire de combustión y ventilación.
40
ADVERTENCIA

41
INSTRUCCIONES DE ENCENDIDO:
Siga las instrucciones al pie de la letra.
1. ABRA LA TAPA DE LA PARRILLA antes de tratar de encender una hornilla para que no se acumulen vapores dentro
de la parrilla. Puede producirse una explosión si la tapa de la parrilla no está abierta.
2. Verifique que todas las perillas de control de las hornillas y la válvula del cilindro están en la posición OFF (apagado).
3. Abra el suministro de combustible girando la perilla de la válvula del cilindro en sentido contrahorario a la posición
totalmente abierta.
4. NO se pare con la cabeza, el cuerpo o los brazos sobre la parrilla cuando la encienda.
ENCENDIDO DE LAS HORNILLAS PRINCIPALES:
1. Abra la tapa antes de encender la hornilla.
2. Verifique que todas las perillas de control estén en la posición "OFF" (apagado).
Nota: La HORNILLA DE CENTRO SE ENCENDE PRIMERO,luego se
enciende las hornilla izquierda y derecha.
3. Empuje y gire la perilla de control de la hornilla de centro a la posición
"HIGH" (llama fuerte).
4. Oprima el encendedor electrónico y manténgalo oprimido 3 a 5 segundos para encender la hornilla.
5. Si la hornilla NO se enciende en 5 segundos, gire la perilla de control a la posición "OFF" (apagado),
espere 5 minutos para que se disipe el gas y repita el procedimiento de encendido.
6. Si no se enciende la HORNILLA DE CENTRO al usar el encendedor de botón, espere 5 minutos; consulte
la sección de "Encendido de las hornillas principales con un cerillo".
7. Para encender las hornillas izquierda y derecha, empuje y dé vuelta a las perillas de control al la posición
"HIGH" (llama fuerte). Siga el Paso 5.
8. Para apagar, gire cada perilla de control en sentido horario hasta que se trabe en la posición "OFF"
(apagado). Esto no apaga el flujo de gas del cilindro.
Nota: Si la hornilla no se enciende o la llama es muy baja, quizás esté bloqueada con un insecto o se
haya activado el dispositivo limitador de flujo. Consulte "Instalación/Mantenimiento de las Hornillas"
en la sección Cuidado y mantenimiento apropiados o el "Procedimiento de Reposición del
Regulador" en la sección Conexión del cilindro de propano líquido y de la manguera / regulador
a la parrilla.
ENCENDIDO DE LAS HORNILLAS PRINCIPALES CON UN CERILLO:
1. Abra la tapa antes de encender.
2. Gire las perillas de control de hornillas a posición "OFF" (apagado).
3. Coloque un cerillo de papel en el extremo de encendedor con cerillo. Prenda el
cerillo y colóquelo a través del agujero de encendido en el lado izquierdo de la
parrilla aproximadamente a 1/2 pulgada (1 a 2 cm) de la hornilla.
4. Gire la perilla de control de hornilla de EXTREMA IZQUIERDA a "HIGH" (llama
fuerte). Hornilla debe encender en 5 segundos.
5. Si la hornilla no se enciende, gire la perilla de control a la posición "OFF"
(apagado) y espere 5 minutos para que se disipe el gas y repita el procedimiento de encendido.
6. Una vez encendida, encienda las hornillas adyacentes en secuencia oprimiendo y girando la perilla de control
a la posición "HIGH" (llama fuerte).
7. Si la hornilla no se enciende después de varios intentos con un cerillo, entonces hay un problema con el
suministro de gas. Cierre el gas en la hornilla yen el cilindro. NO trate de operar la parrilla hasta haber
encontrado y corregido el problema. Consulte la sección de "Identificación y corrección de problemas" de
este manual.
Lea, entienda y siga todas las advertencias e instrucciones indicadas en este manual. NO pase por alto ninguna
de las advertencias o instrucciones indicadas en las secciones anteriores de este manual.
ADVERTENCIA
ADVERTENCIA
Agujero de encendido
Encendedor con cerillo

42
ENCENDIDO DE LA HORNILLA LATERAL:
1. Abra la tapa antes de encender la hornilla lateral.
2. Verifique que la perilla de control esté en la posición "OFF"
(apagado).
3. Empuje y gire la perilla de control de la hornilla lateral a la posición
"HIGH" (llama fuerte).
4. Oprima el encendedor electrónico en el panel de control principal y
manténgalo oprimido 3 a 5 segundos para encender la hornilla.
5. Si la hornilla NO se enciende en 5 segundos, gire la perilla de
control a la posición "OFF" (apagado), espere 5 minutos para que
se disipe el gas y repita el procedimiento de encendido.
6. Para apagar, gire cada perilla de control en sentido horario hasta
que se trabe en la posición "OFF" (apagado).
Nota: Si la hornilla no se enciende o la llama es muy baja, quizás esté bloqueada con un insecto o
se haya activado el dispositivo limitador de flujo. Consulte "Instalación/Mantenimiento de las
Hornillas" en la sección Cuidado y mantenimiento apropiados o el "Procedimiento de
Reposición del Regulador" en la sección Conexión del cilindro de propano líquido y de la
manguera / regulador a la parrilla.
ENCENDIDO DE LA HORNILLA LATERAL CON UN CERILLO:
1. Abra la tapa de la hornilla lateral antes de encenderla.
2. Gire la perilla de control de la hornilla a la posición "OFF" (apagado).
3. Prenda y coloque un cerillo aproximadamente a 1/2" pulgada (1 a 2 cm) de la hornilla.
4. Gire la perilla de control de la hornilla lateral a la posición "HIGH" (llama fuerte). La hornilla debe
encenderse en 5 segundos.
5. Si la hornilla no se enciende, gire la perilla de control a la posición "OFF" (apagado) y espere
5 minutos para que se disipe el gas y repita el procedimiento de encendido.
6. Si la hornilla no se enciende después de varios intentos con un cerillo, entonces hay un problema
con el suministro de gas. Cierre el gas en la hornilla y en el cilindro. NO trate de operar la parrilla
hasta haber encontrado y corregido el problema. Consulte la sección de "Identificación y corrección
de problemas" de este manual.
Nota: Observe llame: Llama deberia estar
azul/amarillo entre 1"–2" cuando esta en
"HIGH" (llama fuerte)
APAGADO DE LA PARRILLA:
1. Cierre la válvula del cilindro.
2. Gire todas las perillas de control de las hornillas a la posición "OFF" (apagado).
Nota: Apague el cilindro de propano líquido primero para evitar que quede
gas en el sistema bajo presión.
¡CUIDADO!
•La válvula del cilindro siempre debe estar en la posición de
apagado o cerrada cuando la parrilla no está en uso
Para cerrar la válvula del cilindro, gire la perilla
en sentido horario hasta que se detenga.
••

43
OPERACIÓN DE LA PARRILLA:
Nunca use briquetas de carbón en una parrilla de gas. Los pedacitos de madera para dar sabor se
deben colocar en una cajita de fumar de metal para contener la ceniza y para prevenir fuegos. Lea
y siga todas las advertencias e instrucciones indicadas en las secciones anteriores de este
manual.
PREPARACIÓN DE LA PARRILLA PARA USARLA POR PRIMERA VEZ:
•Debido al proceso de fabricación y preservación de los componentes de la parrilla, puede haber
residuo de aceite presente en la hornillas y en las superficies de cocción de la parilla.
•Antes de cocinar por primera vez en la parrilla, precaliéntela durante 15 minutos en "HIGH" (llama
fuerte) para quemar este aceite residual.
PRECALENTAMIENTO DE LA PARRILLA:
•Se recomienda que precaliente la parrilla antes de usarla. Esto asegura que las superficies para
cocinar estén a las temperaturas deseadas para dorar los azúcares de los alimentos cuando cocine.
Después de encender la parrilla, coloque las perillas de control de las hornillas principales a la
posición "HIGH" (llama fuerte) durante 10 a 15 minutos. Cierre la cubierta durante el período de
precalentamiento.
CONTROL DE LAS LLAMARADAS:
•Las llamaradas son parte de cocinar carnes en una parrilla de gas. Esto agrega un sabor único a los
alimentos cocinados en una parrilla de gas. Las llamaradas excesivas pueden cocinar demasiado los
alimentos y producir una situación peligrosa para usted y la parrilla. Las llamaradas excesivas son el
resultado de la acumulación de grasa en la sección inferior de la parrilla. Si esto ocurre, NO eche
agua a las llamas. Esto puede producir salpicaduras de grasa y causar quemaduras graves o
lesiones corporales. Si la grasa produce un incendio, cierre la tapa y apague las hornillas principales
hasta que la grasa se queme. Tenga cuidado cuando abra la tapa ya que se pueden producir
llamaradas repentinas.
• NO deje la parrilla desatendida mientras está en uso.
• NO mueva la parrilla cuando esté en uso. Trabe las ruedas en posición para estabilizar la
parrilla.
• NO utilice agua para apagar las llamaradas.
• Tenga a mano un extinguidor de incendios adecuado para usar con artefactos a gas.
PARA REDUCIR AL MÍNIMO LAS LLAMARADAS:
•Recorte el exceso de grasa de la carne antes de cocinarla.
•Cocine la carne con alto contenido de grasa (pollo o puerco) con llama suave o indirecta.
•Verifique que la parrilla está sobre suelo nivelado y que la grasa puede salir de la parrilla a través del
agujero de drenaje en la sección inferior y acumularse en la gaveta para grasa.
COCCIÓN INDIRECTA:
•La cocción indirecta es el proceso de cocinar sus alimentos sin que la fuente de calor esté
directamente debajo de los mismos. Puede dorar carnes sobre una llama fuerte en un lado de la
parrilla y cocinar lentamente un asado en el otro lado (sin encender) de la parrilla.
ADVERTENCIA
ADVERTENCIA

44
COCCIÓN ESTILO ROTISSERIE:
•La parrilla viene preparada de la fábrica con agujeros de montaje para instalar un asador estilo
rotisserie (vendido aparte). No use un asador estilo rotisserie que no haya sido fabricado
especialmente para esta parrilla.
•Lea y siga todas las instrucciones incluidas con el asador estilo rotisserie. Guarde las instrucciones
para referencia futura.
•No use la hornilla lateral cuando esté usando un asador estilo rotisserie.
• Cuando use un asador estilo rotisserie de corriente alterna, debe estar conectado a tierra de
acuerdo con los códigos locales o, si no los hay:
• En EE.UU.: El Código Eléctrico de EE.UU. – ANSI-NFPA Nº 70 – última edición
• En Canadá: el Código Eléctrico Canadiense – CSA C22.1
• El asador estilo rotisserie está equipado con un enchufe de tres clavijas para proteger al
usuario contra el electrochoque. Este enchufe debe conectarse directamente a un receptáculo
para tres clavijas conectado correctamente a tierra. Nunca corte o quite el enchufe de conexión
a tierra. Cualquier cable de extensión también debe tener un receptáculo para tres clavijas.
• Todos los cables de suministro eléctrico deben mantenerse alejados del agua y de las
superficies calientes de la parrilla.
USO DE OTRAS FUNCIONES DE LA PARRILLA:
LA HORNILLA LATERAL:
•La hornilla lateral puede usarse para preparar platillos de acompañamiento como frijoles, papas, maíz
o para calentar salsas.
•La válvula de la hornilla debe ajustarse de llama fuerte a llama suave de acuerdo con sus exigencias
de cocina.
• Lea las instrucciones de encendido de la parrilla para encender la hornilla lateral.
• Nunca cierre la tapa de la hornilla lateral cuando esté encendida.
• Utilice una olla de 10 pulgadas de diámetro o más pequeña SIN mango extendido cuando
cocine en la hornilla lateral. Centre la olla sobre la hornilla.
• Nunca coloque más de 15 libras sobre la hornilla lateral. La hornilla lateral no está construida
para soportar más de 15 libras de peso.
• Sea precavido para evitar chocar contra la parrilla, la hornilla lateral o la olla para evitar
derramar el contenido de la olla y prevenir las quemaduras graves.
• NO utilice la hornilla lateral para freír alimentos en aceite, evitando así los peligros asociados
con el encendido del aceite y la creación de una situación peligrosa.
ADVERTENCIA
ADVERTENCIA

45
RECOMENDACIONES PARA COCINAR EN LA PARRILLA
LIMPIEZA
• Siempre lávese bien las manos con agua caliente y jabón antes de manipular alimentos y después de
tocar carne, pollo o mariscos crudos.
• Cuando utilice una fuente para llevar carne, pollo o mariscos crudos a la parrilla, asegúrese de lavar bien
la fuente con agua caliente y jabón antes de colocar alimentos cocidos en ella, o utilice fuentes distintas
para los alimentos crudos y cocidos.
• Nunca utilice los mismos utensilios para manipular carne cruda, pollo crudo o mariscos, a menos que los
lave bien con agua caliente y jabón.
• Nunca reutilice el adobo de la carne o pollo crudo en alimentos ya cocidos y listos para servir.
COCINAR A LA PARRILLA A LA TEMPERATURA APROPIADA
• Utilice un termómetro para carne para verificar que haya alcanzado una temperatura interna segura.
Puede ordenar un termómetro de calidad comercial de Brinkmann. Para obtener más información
sobre este producto y otros accesorios Brinkmann, consulte las páginas de accesorios al final de
este manual.
• El Departamento de Agricultura de EE.UU. recomienda que los siguientes alimentos alcancen las
siguientes temperaturas mínimas:
Chuletas . . . . . . . . . . . . . . . . . . . . . . .145 grados F (62.8° C)
Carne molida . . . . . . . . . . . . . . . . . . .160 grados F (71° C)
Cerdo . . . . . . . . . . . . . . . . . . . . . . . . .160 grados F (71° C)
Pollo . . . . . . . . . . . . . . . . . . . . . . . . . .180 grados F (82° C)
Asados . . . . . . . . . . . . . . . . . . . . . . . .145 grados F (62.8° C)
Mariscos . . . . . . . . . . . . . . . . . . . . . .140 grados F (60° C)
Verduras . . . . . . . . . . . . . . . . . . . . . . .145 grados F (62.8° C)
RECOMENDACIONES ÚTILES
• Si precocina carne o pollo, hágalo inmediatamente antes de cocinarlo en la parrilla.
• Nunca descongele carne a la temperatura ambiente o sobre un mostrador.
• Refrigere los restos a más tardar 2 horas después de haber sacado la comida de la parrilla.
• Para mayor información, llame a la Línea de Información sobre Carne y Pollo de USDA al número sin
cargo 800-535-4555.
• Para proteger su parrilla contra la oxidación excesiva, manténgala limpia y cubierta todo el tiempo cuando
nola esté usando.
• Lave las rejillas para cocinar y las placas de distribución de calor con agua jabonosa caliente, enjuáguelas
bien y séquelas. Aplique una capa ligera de aceite vegetal líquido o en aerosol a las rejillas para cocinar.
• Limpie el interior y exterior de la parrilla con un paño húmedo. Aplique una capa ligera de aceite vegetal
líquido o en aerosol a la superficie interior para impedir la oxidación.
• Mantenga exterior de parrilla limpia utilizando producto de limpieza para superficies de acero inoxidable.
• Nunca aplique pintura a la superficie interior. Las manchas de oxidación en la superficie interior pueden
pulirse, limpiarse y luego cubrirse con una capa ligera de aceite vegetal líquido o en aerosol para reducir al
mínimo la oxidación.
CUIDADO Y MANTENIMIENTO APROPIADOS

46
INSTALACIÓN/MANTENIMIENTO DE LAS HORNILLAS
•Si bien las hornillas están fabricadas de acero Inoxidable, pueden oxidarse debido al calor extremo y a los
ácidos de los alimentos. Inspeccione regularmente las hornillas para ver si tienen agujeros anormales y
otras señales de daños por corrosión. Si detecta daños, reemplace la hornilla.
•NO obstruya el flujo del aire de combustión y ventilación. Las arañas u otros insectos pueden hacer
nidos y bloquear los tubos de las hornillas. Los tubos bloqueados impiden que fluya gas a las hornillas y
puede producirse un incendio en el tubo o debajo de la parrilla. Siga las instrucciones a continuación
para limpiar el tubo y/o reemplazar partes de la hornilla, o si tiene dificultad para encender la parrilla.
1. Apague el gas en las perillas de control y en la válvula del tanque del cilindro de propano líquido.
2. Retire las rejillas para cocinar y las placas de distribución del calor.
3. Retire las clavijas hendidas de debajo del "pie" de cada hornilla con un
destornillador o alicates de punta de aguja.
4. Levante cuidadosamente cada hornilla y retírela de las aberturas de
las válvulas.
5. Introduzca un cepillo angosto para botellas o un alambre doblado en
forma de gancho pequeño en el tubo y en el orificio de la llama de
cada hornilla varias veces.
Nota: Use protección para los ojos cuando ejecute el procedimiento 6.
6. Utilice aire comprimido para soplar el tubo de cada hornilla; el aire
debe salir por los orificios de las llamas. Verifique que salga aire de
cada orificio.
7. Limpie con un cepillo de alambre la superficie exterior completa de la
hornilla para quitar los restos de alimentos y residuos.
8. Revise la hornilla para detectar daños; si nota grietas o agujeros
grandes, reemplace la hornilla.
IMPORTANTE: La abertura de la hornilla debe deslizarse sobre la
boquilla de la válvula.
9. Reinstale CUIDADOSAMENTE las hornillas alineando el agujero del tornillo a la
izquierda como ilustrado.
Nota: Asegúrese que los tubos del quemador estén alineados
bien entre los canales de paso.
10. Instale nuevamente la clavija hendida debajo de cada hornilla y
siga las instrucciones en la sección "Pruebas de detección de
fugas" de este manual. Reencienda
las hornillas para verificar el funcionamiento apropiado.
11. Reinstale las placas de distribución de calor y las rejillas para
cocinar.
LIMPIEZA Y MANTENIMIENTO:
• Mantenga el artefacto alejado de materiales combustibles, gasolina u otros vapores o líquidos inflamables.
• Mantenga los orificios de ventilación del gabinete del cilindro sin residuos.
• Observe las llamas de las hornillas para verificar que estén funcionando bien (consulte el dibujo en
"Instalación/Mantenimiento de las Hornillas" en la sección de Cuidado y mantenimiento apropiados). Las
arañas y otros insectos pueden formar nidos en la hornilla y bloquear el paso del gas.
• Verifique lo siguiente por lo menos dos veces al año o después de largos períodos de almacenaje para cocinar
sin peligro y obtener el mejor rendimiento de su parrilla.
• Asegúrese de apretar toda la tornillería (tuercas, pernos, tornillos, etc.) por lo menos dos veces por año.
¡CUIDADO! Algunas partes pueden tener bordes afilados. Use guantes de protección si es necesario.
•Retire las rejillas para cocinar, las placas de distribución de calor y las hornillas del interior de la parrilla.
Utilice un cepillo con agua caliente y detergente para quitar el exceso de residuos. NUNCA use un
limpiahornos comercial. Enjuague bien con agua. Seque con una toalla y reinstale todos los
componentes en la forma descrita en las instrucciones de armado.
FUNCIONAMIENTO CORRECTO
DE LA HORNILLA
Boquilla de la Válvula
Abertura de la Hornilla
Canal de Paso
Tornillo del Quemador
Alineado a la Izquierda
Residuos

TRANSPORTE Y ALMACENAJE:
• Nunca mueva una parrilla cuando está caliente o con objetos sobre las superficies de cocción.
• Asegúrese de que la válvula del cilindro esté cerrada. Después de mover la parrilla, verifique que no haya
fugas en ninguna de las conexiones de gas. Consulte las instrucciones para las Pruebas de detección de
fugas.
• NO guarde un cilindro de gas de propano líquido de reserva (lleno o vacío) debajo o cerca de la parrilla.
• Nunca guarde líquidos inflamables o latas de aerosol debajo o cerca de la parrilla.
• NO apague incendios de grasa con agua.
• Si el artefacto a gas para cocinar al aire libre no está en uso, se debe apagar el gas en el cilindro de
suministro.
• Se permite guardar un artefacto a gas para cocinar al aire libre en un área interior sólo si el cilindro se
desconecta y se retira del artefacto.
• Los cilindros deben guardarse afuera, fuera del alcance de los niños y no en un área interior, garaje u otra
área cerrada.
• Podría haber nidos de arañas u otros residuos bloqueando la hornilla cuando saque la parrilla del
almacenaje. Consulte "Instalación/Mantenimiento de las Hornillas" en la sección de Cuidado y
mantenimiento apropiados.
ANTES DE GUARDAR LA PARRILLA:
•Verifique que la válvula del cilindro está bien cerrada.
•Limpie todas las superficies.
•Aplique una capa ligera de aceite para cocinar a las hornillas para evitar la oxidación excesiva.
•Si va a guardar la parrilla en un área interior, desconecte el tanque de propano líquido y déjelo
AFUERA.
•Coloque una tapa de protección sobre el tanque de propano líquido y guarde el tanque afuera en un
área bien ventilada y fuera de la luz directa del sol.
•Limpie la hornilla antes de usar después del almacenaje, al comienzo de la temporada de uso de la
parrilla o si no usa la parrilla por un mes. Las arañas y otros insectos pueden formar nidos en los
tubos de las hornillas (especialmente durante los meses de frío). Estos nidos pueden producir
llamaradas en los tubos de las hornillas o debajo de la parrilla.
•Si está guardando la parrilla afuera, cúbrala con la cubierta para protegerla del tiempo.
REJILLAS PARA COCINAR
•Límpielas con agua y detergente de jabón suave. Se puede usar un cepillo con cerdas de latón o una
esponja de limpieza de nilón para quitar los residuos de las superficies de acero inoxidable. No use
cerdas de acero para limpiar las parrillas de porcelana. El acero puede picar o agrietar el acabado.
NO use un limpiahornos comercial.
PLACAS DE DISTRIBUCIÓN DEL CALOR
•Puede ser necesario inspeccionar y limpiar periódicamente la placa de distribución de calor para
evitar la acumulación excesiva de grasa. Retire la rejilla para cocinar cuando la parrilla esté fría.
Inspeccione las placas de distribución de calor y reemplácelas si están rotas o dañadas. No permita
que las placas de distribución de calor se dañen hasta el punto que puedan caerse sobre las
hornillas. Reemplace las placas de distribución de calor y las rejillas para cocinar y encienda las
hornillas. Haga funcionar la parilla en "HIGH" (llama fuerte) durante 10 minutos para quitar el exceso
de grasa.
ADVERTENCIA
47

48
• La hornilla no enciende
• Llamas en la perilla de control
• Llamas amarillas en la hornilla
• La llama se apaga en la
posición "LOW" (llama suave)
• La hornilla no se calienta lo
suficiente
• La parrilla está demasiado
caliente
IDENTIFICACIÓN Y CORRECCIÓN DE PROBLEMAS
Problema: Causas posibles:
1. Revise el nivel de combustible en el cilindro de propano líquido.
2. Chispa de electrodo defectuosa. Vea si puede encender la
parrilla con un cerillo. Puede ser necesario ajustar el electrodo o
colector.
3. Es posible que la hornilla no esté bien asentada.
4. Es posible que la hornilla esté obstruida.
5. Es posible que la válvula del cilindro esté cerrada.
6. El regulador no está asentado correctamente sobre la válvula
del cilindro.
1. Es posible que los agujeros de la hornilla estén obstruidos.
Consulte "Instalación/Mantenimiento de las Hornillas" en la
sección de Cuidado y mantenimiento apropiados.
2. La hornilla está asentada incorrectamente sobre la válvula de
control.
3. Las conexiones de gas pueden estar sueltas. Revise para
verificar que no haya fugas y ajuste todas las conexiones.
1. La hornilla está obstruida. Consulte "Instalación/Mantenimiento
de las Hornillas" en la sección de Cuidado y mantenimiento
apropiados.
1. Es posible que los agujeros de la hornilla estén obstruidos.
Consulte "Instalación/Mantenimiento de las Hornillas" en la
sección de Cuidado y mantenimiento apropiados.
2. La parrilla no se precalentó lo suficiente.
3. La hornilla está asentada incorrectamente sobre la válvula de
control.
1. Se activó el dispositivo de control de flujo en el regulador.
Consulte el Procedimiento de reposición del regulador en la
sección Conexión del cilindro de propano líquido y de la
manguera / regulador a la parrilla.
1. Acumulación excesiva de grasa produce llamaradas.
2. Regulador dañado o defectuoso. Reemplácelo con partes
autorizadas de fábrica.
3. Cocine en una posición de temperatura más baja.

49
El número de modelo y número de serie de la parrilla y la información para contactarse con el Servicio de atención al cliente
de Brinkmann se incluyen en una etiqueta plateada abajo del panal de control o en el costado de la caja de la misma,
debajo del estante lateral y tambien atras del assador en el panal.
Estas preguntas y respuestas son para su conocimiento general y podrían no ser aplicables a su modelo de parrilla.
Pregunta: ¿Por qué mi parrilla no enciende correctamente?
Respuesta: Siempre siga las instrucciones de encendido indicadas en el panel de control o en este manual. También
revise estas causas:
• Revise el suministro de gas de propano líquido.
• Verifique que todas las conexiones de gas están seguras.
• Quizás sea necesario reemplazar la pila AA del encendedor.
• Los cables de encendido pueden estar sueltos. Quite la pila, inspeccione la caja de conexiones del encendedor situada
detrás el panel de control y conecte los cables sueltos.
• Puede ser necesario reemplazar las puntas de los electrodos de chispa. Con el suministro de gas cerrado y la perilla de
control en la posición "OFF" (apagado), presione el botón del encendedor y haga que otra persona verifique la
presencia de una chispa en las puntas de los electrodos. El espacio entre la punta del electrodo de chispa y el receptor
de chispa debe ser de aproximadamente 3/16 pulg. Si es necesario ajustar la punta del electrodo, dóblela para dejar el
espacio apropiado.
• Verifique que el extremo del tubo venturi de cada hornilla está situado correctamente sobre su accesorio del orificio de
la válvula de gas.
• Puede haber una obstrucción en la línea de gas. Para corregirla, quite la manguera / regulador de gas de propano
líquido o la línea combustible de gas natural de la parrilla. Abra el suministro de gas durante un segundo para
determinar si hay obstrucción. Si no hay obstrucción, reconecte la línea de combustible. Si la línea de combustible está
bloqueada, reemplácela con un nuevo conjunto de manguera / regulador.
• Si sospecha una obstrucción en el conjunto de la manguera / regulador, en el orificio o en las válvulas de gas, llame al
Servicio de atención al cliente de Brinkmann al 800-294-6076.
Pregunta: ¿Por qué mi parilla de gas de propano líquido tiene una llama suave o de color anaranjado / amarillo?
Respuesta: Es necesario purgar el aire de la línea de gas o reposicionar el dispositivo limitador de flujo del regulador. Si
se abre la válvula por completo o demasiado rápido, se activa el dispositivo limitador de flujo del regulador para que
apague el flujo de gas, lo cual impide que fluya demasiado gas a la parrilla. Nota: Se debe seguir este procedimiento
cada vez que se conecte un nuevo tanque de gas de propano líquido a la parrilla:
REPOSICIÓN DEL DISPOSITIVO LIMITADOR DE FLUJO DEL REGULADOR
• Gire la perilla de control a la posición "OFF" (apagado).
• Apague el tanque de gas de propano líquido en la válvula del cilindro.
• Desconecte el regulador del tanque de gas de propano líquido.
• Deje estar durante dos minutos.
• Reconecte el regulador al tanque de gas de propano líquido.
• Abra la tapa de la parrilla o de la hornilla lateral. Gire lentamente la válvula del cilindro a 1/4 ó 1/2 abierta.
• Encienda la parrilla siguiendo las instrucciones en el panel de control o en el manual del propietario
Pregunta: ¿Cómo y cuándo limpio los componentes de cocción interiores de la parrilla?
Respuesta: Use un cepillo de limpieza de fibra o latón para limpiar el interior de la parrilla, las rejillas para cocinar, las
placas de distribución de calor y los recipientes de grasa. Nunca use un cepillo de alambre o raspador metálico en las
partes de acabado de porcelana ya que puede rayar o estropear el acabado de porcelana y fomentar la oxidación.
PREGUNTAS FRECUENTES

50
Limpieza de las rejillas para cocinar de acero inoxidable: Lave las rejillas con un detergente suave y enjuáguelas
con agua caliente antes del uso inicial y según sea necesario. NO use un limpiahornos comercial. Para residuos de
alimentos persistentes, utilice un desgrasador y un cepillo de limpieza de fibra o latón.
Limpieza de rejillas para cocinar de hierro fundido con acabado de porcelana: Lave las rejillas con un detergente
suave y enjuáguelas con agua caliente antes del uso inicial y según sea necesario. Para residuos de alimentos
persistentes, utilice un desgrasador y un cepillo de limpieza de fibra o latón. Séquelas de inmediato con un paño suave
o toallas de papel.
Limpieza de la placa de distribución de calor: Las placas de distribución de calor se deben limpiar cada vez que se
acumula comida o gotas de grasa para reducir la posibilidad de llamaradas. Lave las placas de distribución de calor con
un detergente suave y enjuáguelas con agua caliente. Para residuos de alimentos persistentes, utilice un desgrasador y
un cepillo de limpieza de fibra o latón. Nunca use un cepillo de alambre o raspador metálico en las placas de
distribución de calor con acabado de porcelana ya que puede rayar o estropear el acabado de porcelana y fomentar la
oxidación.
Limpieza de la bandeja para grasa y/o la gaveta para grasa: Es necesario inspeccionar la bandeja para grasa y/o
gaveta para grasa (en algunos modelos) antes de cada uso de la parrilla para reducir la probabilidad de incendio. Quite
la grasa (una espátula de plástico funciona bien) y lave todas las partes con jabón suave o desgrasador y una solución
de agua tibia
Pregunta: ¿Qué es lo que causa la oxidación de las partes de la parrilla y cuál es su efecto en los materiales de la
misma?
Respuesta: La oxidación es un proceso natural que puede ocurrir en piezas de hierro fundido y acero. La oxidación no
afectará el funcionamiento a corto plazo de la parrilla. Las partes de la parrilla de acero inoxidable no se oxidarán. Sin
embargo, la exposición a la intemperie y el calor extremo pueden hacer que la tapa de acero inoxidable se torne de un
color bronce. Esto es decoloración, no oxidación, y no se considera un defecto de fabricación.
Pregunta: ¿Por qué la tapa de la parrilla de acero inoxidable se descolora y cómo la puedo limpiar?
Respuesta: El humo, la exposición a la intemperie y el calor extremo pueden hacer que la tapa de acero inoxidable se
torne de un color bronce. Esto no debe confundirse con oxidación y no es un defecto del producto. Los aceites para
maquinaria utilizados en el proceso de fabricación del acero inoxidable, y también el aceite para cocinar y la tapa sucia
de la parrilla pueden fomentar la decoloración de la tapa si no se limpian antes de usar la parrilla. Después de armar la
parrilla, quite la película de protección de PVC de la tapa y utilice un limpiador de acero inoxidable y un paño suave para
quitar el adhesivo residual y los aceites de adentro y afuera de la tapa. Nunca use limpiadores o fregadores abrasivos.
Además de la limpieza inicial, la limpieza de rutina para quitar el polvo, la grasa y los aceites ayudará a prevenir la
decoloración de la tapa.
Pregunta: ¿Puedo convertir la parrilla de gas de propano a gas natural?
Respuesta: La mayoria de parrillas de gas están fabricadas de acuerdo con especificaciones exactas y están
certificadas únicamente para uso con gas de propano o gas natural. Sin embargo, algunos modelos pueden convertirse
con seguridad utilizando juegos de conversión disponibles para ciertos modelos. Por favor llame a servicio al cliente de
Brinkmann al 800-294-6076 para averiguar si su parrilla su puede convertir.
Pregunta: ¿Por qué el conjunto de la manguera / regulador incluido con mi parrilla no calza en el tanque de gas de
propano líquido antiguo que he usado durante años?
Respuesta: El Gobierno de EE.UU. regula los artefactos de gas y los tanques de gas de propano líquido. Los
conectores del tanque de gas de propano líquido fueron actualizados para garantizar el cumplimiento de los
reglamentos que fueron cambiados. Si su tanque de gas de propano líquido no calza en la manguera /regulador
suministrado con su nueva parrilla, el tanque está obsoleto y debe ser reemplazado. Nota: A partir del 1º de abril de
2002, todos los tanques de gas de propano líquido deben incluir un dispositivo "OPD" de protección contra el sobreflujo.
Este dispositivo interno impide que un tanque de gas de propano líquido se llene en exceso. Los tanques sin una
válvula OPD no pueden volver a llenarse.
Pregunta: Algunas veces escucho un zumbido proveniente del regulador de gas. ¿Debo preocuparme de eso?
Respuesta: El zumbido se debe al flujo de gas a través del regulador. Un poco de ruido es normal y no interfiere con el
funcionamiento de la parrilla. Si el zumbido es fuerte y excesivo, puede ser necesario purgar el aire de la línea de gas o
reposicionar el dispositivo limitador de flujo del regulador siguiendo el Procedimiento de reposición del regulador en la
sección "Conexión del cilindro de propano líquido y de la manguera / regulador a la parrilla. Se debe seguir este
procedimiento cada vez que se conecte un nuevo tanque de gas de propano líquido a la parrilla. Si necesita ayuda,
consulte el manual del propietario o llame al Servicio de atención del cliente de Brinkmann al 800-294-6076.
PREGUNTAS FRECUENTES

51
CONTENIDO DE LA BOLSA DE PARTES
1 Llave para Tuercas Hexagonales
1 Pila Alcalina AA/1.5 V
1 Destornillador
26 Pernos M6 X 12mm
4 Pernos M5 X 10mm
Verifique que tiene todos los artículos indicados en la LISTA DE PARTES y en el
CONTENIDO DE LA BOLSA DE PARTES antes de comenzar con el proceso de instalación.
LA BOLSA DE PARTES INCLUIRÁ LO SIGUIENTE:
Cant.
14 Arandelas de Estrella
2 Pernos del Eje de las Ruedas
2 Arandelas de las Ruedas
3 Tornillos Autorroscantes #8
Pernos M6 X 12mm
Pernos M5 X 10mm
Arandelas de Estrella
Tornillos Autorroscantes #8 Pila Alcalina AA/1.5 V
Arandelas de
las Ruedas
Pernos del Eje
de las Ruedas
Destornillador
Llave para Tuercas Hexagonales
Cant.

52
INSTRUCCIONES DE ARMADO
LEA DETENIDAMENTE TODAS LAS ADVERTENCIAS DE SEGURIDAD
E INSTRUCCIONES ANTES DE ARMAR Y USAR LA PARRILLA
RECOMENDAMOS QUE ESTA UNIDAD SEA ARMADA POR DOS PERSONAS
Se necesitan las siguientes herramientas incluidas para armar esta Parrilla Grill Zone™6345
de Gas:
•Destornillador de Punta Plana
•Llave para Tuercas Hexagonales
1 Panel Derecho del Carro
1 Perilla de la Hornilla Lateral
1 Bisel de la Hornilla Lateral
1 Protector Contra el Calor
para el Tanque
1 Placa de Protección Contra el Calor
1 Lazo de Metal
1 Base del Carro
2 Ruedas Trabables
1 Protector Contra el Calor
para la Manguera
2 Tapas de Bujes
2 Ruedas
LISTA DE PARTES:
1 Montaje de la Parrilla
1 Rejilla para Calentar
2 Rejillas para Cocinar
1 Bandeja para Grasa
3 Placas de Distribución de Calor
1 Botón del Encendedor Electrónico
1 Resorte del Encendedor Electrónico
1 Mesa Lateral Izquierda
1 Panel Frontal de la Mesa Lateral Izquierda
1 Panel Delantero
1 Rejilla de la Hornilla Lateral
1 Conjunto de la Hornilla Lateral
1 Panel Frontal de la Hornilla Lateral
1 Gaveta para Grasa
1 Panel Izquierdo del Carro
1
2
3
4
5
6
7
8
9
10
11
12
13
14
16
17
18
19
20
21
22
23
24
25
15
26

(Se requerirá el comprobante de compra.)
Inspeccione el contenido de la caja para verificar que todas las partes estén incluidas e intactas.
53
1
2
3
5
4
12
8
9
67
13
17
10
18
16
19
15
14
23
20
24
22
25
26
11
PARA REEMPLAZO DE CUBIERTOS, ACCESORIOS Y PARTES DE PARRILLA, FAVOR DE MANDAR UN
CORREO ELECTRONICO A GrillZone@brinkmann.net
21

54
Elija un lugar adecuado y despejado
para armar la parrilla y pídale a un
amigo que le ayude. Tienda cartón
sobre el suelo para proteger el
acabado de la parrilla y el área de
armado.
CUIDADO! Algunas partes
pueden tener bordes afilados.
Póngase guantes de protección si
es necesario.
Paso 1
Ensamble el estante inferior del
carro y el panel lateral derecho
del carro utilizando dos tornillos
M6 X 12mm y arandelas de
estrella. (Por el momento ajuste a
mano.)
Paso 2
Ensamble el estante inferior del
carro y el panel lateral izquierdo del
carro utilizando dos tornillos
M6 X 12mm y arandelas de estrella.
Ahora ajuste los cuatro tornillos
M6 X 12mm.
Paso 3
Una el panel delantero para bajar la
pierna izquierda y derecha del
montaje del carro usando dos
pernos M6 X 12mm y arandelas de
la estrella.
¡CUIDADO! Algunas partes pueden
tener bordes afilados. Póngase guantes
de protección si es necesario.

Tapas de
Bujes
Pierna
Ruedas
Arandela
Pernos del
Eje de las
Ruedas
Tapas de
Bujes
55
Llave para Tuercas
Hexagonales
Nota: Voltee el conjunto del carro con
la ayuda de un amigo. Trate de
minimizar la tensión sobre las
patas.
Paso 4
Una la fijación de los echadores al
fondo del panel del carro del lado
izquierdo. Apriete los pernos del
echador que usan con seguridad la
llave de la tuerca hexagonal
proporcionada en tarjeta de las
piezas.
Paso 5
Instale las ruedas tal como se
ilustra, pasando los pernos del eje
de las ruedas a través de las
ruedas, las arandelas y los agujeros
del eje del panel lateral derecho.
Ajuste los pernos del eje con una
llave de cabeza hexagonal provista
con las piezas.
Paso 6
Casquillos rápidos del cubo de la
rueda sobre el exterior de ruedas
según ilustrado.
Nota: Con la ayuda de un amigo, dé
vuelta al carro a su posición
vertical.
Rueda Trabable

56
Protector
Contra el Calor
para el Tanque
Paso 7
Conecte el protector contra el calor
para el tanque a la placa de
protección contra el calor con un
tornillo autorroscante #8.
Paso 8
Instale la placa de protección
contra el calor y panel delantero
en el bastidor del carro con cuatro
pernos M6 X 12mm y arandelas
de estrella.
Paso 9
Una la barra del bloque del tanque
sobre el estante inferior del carro y
la placa del protector de calor
usando dos pernos de
M6 X 12mm.
Placa de Protección
Contra el Calor
Barra
DelBloque
Del Tanque
Placa de
Protección
Contra el Calor
Placa de
Protección
Contra el Calor
Placa de Protección
Contra el Calor

Conjunto
del Cuerpo
de la
Parrilla
57
Gaveta para Grasa Placa de
Protección
Contra el
Calor
Paso 10
Coloque la gaveta para grasa en el
centro del agujero en placa del
protector de calor.
Nota: Cuando ejecute el Paso 14,
levante el caja de la parrilla
desde los paneles delantero y
trasero para prevenir lesiones a
las manos y dedos. Asegúrese
de pasar el montaje de la
manguera/ regulador por encima
del travesaño del armazón del
carro.
Paso 11
Con la ayuda de un amigo, coloque
la caja de la parrilla sobre el bastidor
del carro. La caja de la parrilla se
apoyará sobre la base angular de los
soportes verticales. Alinee los
agujeros de los pernos situados en la
sección exterior de la caja de la
parrilla. Sujete con cuatro pernos M6
X 12mm y arandelas de estrella.

58
Paso 12
Instale el panel delantero de la
mesa lateral en la mesa lateral con
dos pernos M5 X 10mm y
arandelas de estrella.
Paso 13
Instale el panel delantero de la
hornilla lateral en la hornilla lateral
con dos pernos M5 X 10mm y
arandelas de estrella.
Paso 14
Instale la mesa lateral en el lado
izquierdo del bastidor del carro.
Inserte dos pernos M6 X 12mm en
piernas izquierdas la mitad.
Coloque la mesa sobre los pernos
y deslícela hacia adelante de la
parrilla, luego apriete bien.
Conecte el panel delantero de la
mesa lateral a la caja de la parrilla
con un perno M6 X 12mm.
Panel Frontal de la
Mesa Lateral Izquierda
Panel Frontal de la
Hornilla Lateral
Mesa Lateral Izquierda
Conjunto de la
Hornilla Lateral

Válvula
Lateral De
la Hornilla
Venturi De la Hornilla.
Inyector
De la
Válvula
59
Protector Contra el
Calor para la
Manguera
Paso 15
Instale el conjunto de la hornilla
lateral en el lado derecho del
bastidor del carro. Inserte dos
pernos M6 X 12mm en piernas
derechas la mitad. Coloque el
conjunto de la hornilla sobre los
pernos y deslícelo hacia adelante de
la parrilla, luego apriete bien.
Conecte el panel delantero de la
hornilla lateral a la caja de la parrilla
con un perno M6 X 12mm.
Paso 16
Instale el protector contra el calor
para la manguera en el lado
derecho del bastidor del carro con
dos tornillos autorroscantes #8.
Paso 17
Quite dos pernos y arandelas de
resorte de la válvula de la hornilla
lateral. Inserte el conjunto de la
válvula de la hornilla lateral a través
del agujero en la base de la mesa
de la hornilla lateral, luego asiente
firmemente la boquilla de la válvula
en el venturi de la hornilla.
Manténgala en posición mientras
ejecuta el Paso 21.
ADVERTENCIA:
Nunca use la parrilla sin haber
verificado que no hay fugas en las
conexiones y mangueras de gas.
Consulte los procedimientos
apropiados en la sección de "Pruebas
de detección de fugas" en este
manual.

60
Paso 18
Coloque el bisel sobre el vástago
de montaje de la perilla de control
y sitúelo sobre los agujeros en la
base y válvula de la hornilla
lateral. Sujete con dos pernos M4
con arandelas de resorte que
vienen con la válvula. Luego
instale la perilla de control de la
hornilla lateral sobre el vástago de
la válvula.
Paso 19
Coloque la rejilla de la hornilla
lateral sobre la mesa de la hornilla
lateral.
Paso 20
Conecte el cable conductor del
encendedor de la hornilla lateral al
electrodo, tal como se ilustra.
Paso 21
Inserte la bandeja de grasa en la
abertura en el lado trasero de la
parrilla. Asegúrese de deslizar la
bandeja sobre los rieles, tal como
se ilustra.
Bandeja para Grasa
Bisel
Perilla de
Control de
la Hornilla
Lateral
Conductor del
Encendedor de la
Hornilla Lateral
Electrodo

61
Rejillas para
Cocinar
Cubiertas
Térmicas
Revestidas
Soportes
Rejilla para
Calentar
Paso 25
Coloque las placas de distribución
de calor en el nivel inferior de la
caja de la parrilla, directamente
sobre las hornillas.
Paso 26
Coloque las rejillas para cocinar de
hierro fundido revestido sobre las
costillas de apoyo directamente
sobre las placas de distribución
de calor.
Paso 27
Inserte la rejilla para calentar en los
soportes, de modo que quede
asentada sobre las rejillas para
cocinar.
Paso 28
Quite la tapa del encendedor y
coloque la pila con el extremo
positivo hacia la tapa. Verifique que
el resorte está en posición dentro
de la tapa del encendedor. Coloque
nuevamente la tapa y verifique que
el encendedor funcione
correctamente. Pila
Tapa del
Encendedor

Grill Zone™6345 (Armada)
62

©2007 The Brinkmann Corporation
Dallas, Texas 75244 U.S.A
www.brinkmann.net
140-6345-T
11/07
Owner’s Manual for Model:
Manual del Propietario para el Modelo:
810-6345-T
The Brinkmann Corporation warrants to the original purchaser that the Grill Zone™6345 Gas Grillis free from defects due to workmanship or materials for:
Stainless Steel and Die cast parts - Lifetime
Electronic ignition and burners - 1 Year
Remaining parts - 1 Year
The Brinkmann Corporation’s obligations under this warranty are limited to the following guidelines:
• This warranty does not cover grills that have been altered/modified or damaged due to: normal wear, rust, abuse, improper maintenance and/or
improper use.
• This warranty does not cover surface scratches, rust or heat damage to the finish, which is considered normal wear.
• The Brinkmann Corporation may elect to repair or replace damaged units covered by the terms of this warranty.
• This warranty extends to the original purchaser only and is not transferable or assignable to subsequent purchasers.
The Brinkmann Corporation requires reasonable proof of purchase. Therefore, we strongly recommend that you retain your sales receipt or invoice. To obtain
replacement parts for your Grill Zone™6345 Gas Grill under the terms of this warranty, please call Customer Service Department at
800-294-6076. A receipt will be required. The Brinkmann Corporation will not be responsible for any grills forwarded to us without prior
authorization.
EXCEPT AS ABOVE STATED, THE BRINKMANN CORPORATION MAKES NO OTHER EXPRESS WARRANTY.
THE IMPLIED WARRANTIES OF MERCHANTABILITY AND FITNESS FOR A PARTICULAR PURPOSE ARE LIMITED IN DURATION TO THOSE
LISTED ABOVE FROM THE DATE OF PURCHASE. SOME STATES DO NOT ALLOW LIMITATIONS ON HOW LONG AN IMPLIED WARRANTY
LASTS, SO THE ABOVE LIMITATION MAY NOT APPLY TO YOU.
ANY LIABILITY FOR INDIRECT, INCIDENTAL OR CONSEQUENTIAL DAMAGES ARISING FROM THE FAILURE OF THE GRILL ZONE™6345 GAS
GRILLTO COMPLY WITH THIS WARRANTY OR ANY IMPLIED WARRANTY IS EXCLUDED. CUSTOMER ACKNOWLEDGES THAT THE PURCHASE
PRICE CHARGED IS BASED UPON THE LIMITATIONS CONTAINED IN THE WARRANTY SET OUT ABOVE. SOME STATES DO NOT ALLOW THE
EXCLUSION OR LIMITATION OF INCIDENTAL OR CONSEQUENTIAL DAMAGES, SO THE ABOVE LIMITATION OR EXCLUSION MAY NOT APPLY TO
YOU. THIS WARRANTY GIVES YOU SPECIFIC LEGAL RIGHTS, AND YOU MAY ALSO HAVE OTHER RIGHTS WHICH VARY FROM STATE TO STATE.
The Brinkmann Corporation garantiza al comprador original que la parrilla Grill Zone™6345 Parilla de Gas está libre de defectos de materiales o mano de
obra:
Pièces en acier inoxydable et coulées sous pression – à vie
Allumage électronique et brûleurs – 1 an
Autres pièces – 1 an
Las obligaciones de The Brinkmann Corporation con respecto a esta garantía se limitan a lo siguiente:
• Esta garantía no cubre parrillas que hayan sido alteradas/modificado o dañadas debido a: uso normal, herrumbre, maltrato, mantenimiento inadecuado
y/o uso inapropiado.
• Esta garantía no cubre rayones superficiales, daño por herrumbre o por calor al acabado, lo cual se considera como uso normal.
• The Brinkmann Corporation puede decidir reparar o reemplazar las unidades dañadas cubiertas bajo los términos de esta garantía.
• Esta garantía se otorga al comprador original únicamente y no es transferible o asignable a los compradores posteriores.
The Brinkmann Corporation exige un comprobante de compra razonable. Por lo tanto, le recomendamos enfáticamente que retenga su recibo o factura de
venta. Para obtener partes de repuesto para la parrilla Grill Zone™6345 Parilla de Gas bajo los términos de esta garantía, sírvase contactar al Departamento
de Servicio al Cliente al 800-294-6076. Se exigirá la presentación de un recibo. The Brinkmann Corporation no será responsable de ninguna
parrilla devuelta a nosotros sin autorización previa.
EXCEPTO POR LO INDICADO ARRIBA, THE BRINKMANN CORPORATION NO OTORGA NINGUNA OTRA GARANTÍA EXPRESA.
LAS GARANTÍAS IMPLÍCITAS DE COMERCIABILIDAD Y ADECUACIÓN CON UN FIN EN PARTICULAR SON DE DURACIÓN LIMITADA DE ACUERDO
A LO INDICADO ARRIBA A PARTIR DE LA FECHA DE COMPRA. ALGUNOS ESTADOS NO PERMITEN LIMITACIONES DE DURACIÓN DE UNA
GARANTÍA IMPLÍCITA; POR LO TANTO, LA LIMITACIÓN ANTERIOR PODRÍA NO SER APLICABLE EN SU CASO.
SE EXCLUYE CUALQUIER RESPONSABILIDAD POR DAÑOS INDIRECTOS, INCIDENTALES O CONSIGUIENTES DERIVADOS DE LA FALTA DE
CUMPLIMIENTO DE ESTA GARANTÍA O DE CUALQUIER GARANTÍA IMPLÍCITA DE THE GRILL ZONE™6345 PARILLA DE GAS. EL CLIENTE
RECONOCE QUE EL PRECIO DE COMPRA COBRADO SE BASA EN LAS LIMITACIONES CONTENIDAS EN LA GARANTÍAANTERIOR. ALGUNOS
ESTADOS NO PERMITEN LA EXCLUSIÓN O LIMITACIÓN DE LOS DAÑOS INCIDENTALES O CONSIGUIENTES; POR LO TANTO, LA LIMITACIÓN O
EXCLUSIÓN ANTERIOR PODRÍA NO SER APLICABLE EN SU CASO. ESTA GARANTÍA LE OTORGA DERECHOS LEGALES ESPECÍFICOS Y USTED
PUEDE TENER ADEMÁS OTROS DERECHOS QUE VARÍAN DE UN ESTADO A OTRO.
WARRANTY
GARANTÍA
FOR GRILL REPLACEMENT PART, COVERS & ACCESSORIES, PLEASE EMAIL US AT
GrillZone@brinkmann.net
PARA REEMPLAZO DE CUBIERTOS, ACCESORIOS Y PARTES DE PARRILLA, FAVOR DE MANDAR UN
CORREO ELECTRONICO A GrillZone@brinkmann.net