Brother Fax 8050P Users Manual FIG_YL2
FAX-8250P to the manual cf3ffa18-62fa-4f78-bd44-b61b2b4e295e
2015-01-25
: Brother Brother-Fax-8050P-Users-Manual-212928 brother-fax-8050p-users-manual-212928 brother pdf
Open the PDF directly: View PDF .
Page Count: 15

FACSIMILE EQUIPMENT
PARTS REFERENCE LIST
MODEL: FAX-8050P / FAX-8250P /
MFC-9050 / MFC-9550
© Copyright Brother 1998
All rights reserved
No part of this publication may be reproduced in any form
or by any means without permission in writing from the
publisher.
Specifications are subject to change without prior notice.

NOTES FOR USING THIS PARTS REFERENCE LIST
1. In the case of ordering parts, it needs mentioning the following items:
(1) Code
(2) Q' ty
(3) Description
Note: No orders without Parts Code or Tool No. can be accepted.
[Example]
(1) (2) (3)
REF.NO. CODE Q' TY DESCRIPTION REMARKS
2. Parts change will be informed by the technical information.
COUNTRIES
GERMANY ----- GER
UNITED KINGDOM ----- UK
FRANCE ----- FRA
NORWAY ----- NOR
BELGIUM ----- BEL
NETHERLANDS ----- NLD
SWITZERLAND ----- CHE
IRELAND ----- IRL
FINLAND ----- FIN
DENMARK ----- DEN
AUSTRIA ----- AUS
SPAIN ----- SPA
ITALY ----- ITA
SWEDEN ----- SWE
GENERIC ----- GNR


REF.NO. CODE Q'TY DESCRIPTION REMARKS
1SCANNER FRAME ATTACHMENT
2 LH0698001 1GEAR DRIVE UNIT
(2-1) LH0695001 1PAPER FEED SOLENOID ASSY
3UL6300003 1 MULTI-PURPOSE SHEET FEEDER, WHITE(1397) FOR FAX8050P/8250P
3UL6300004 1 MULTI-PURPOSE SHEET FEEDER, WHITE(1138) FOR MFC9050/9550
4UU7134001 1LASER UNIT
5UU7442001 1HEAT-FIXING UNIT, 240V
5-1 UL6880001 1FU LAMP, 240V
(5-2) UL6667001 1THERMISTOR ASSY
(5-3) UL6681001 1PINCH ROLLER ASSY
(5-4) UL6682001 4PINCH ROLLER SPRING
6UG4557001 1LOW-VOLTAGE POWER SUPPLY PCB ASSY, 230V(WITHOUT AC CORD)
7 087412016 3 TAPTITE, CUP B M4X20
8 087311016 2 TAPTITE, CUP B M3X10
9UG4220001 1TONER SENSOR PCB ASSY
10 087310815 1 TAPTITE, CUP B M3X8
11 UG4635001 1TONER SENSOR HARNESS
12 085411215 3 TAPTITE, BIND B M4X12
13 UU7043001 1SCANNER SPONGE
14 085411215 1 TAPTITE, BIND B M4X12
15 UU7044002 1MAIN COVER ASSY, WHITE(1397) FOR FAX8050P/8250P
15 UU7044001 1MAIN COVER ASSY, WHITE(1138) FOR MFC9050/9550
16 UL6887001 1EL BOARD
17 087320616 1 TAPTITE, CUP S M3X6
18 085411215 1 TAPTITE, BIND B M4X12
19 LH0367001 1FAN
20 UU7054001 1FAN SUPPORT
21 UU7055001 1INSULATION FILM
22 085411215 1 TAPTITE, BIND B M4X12
23 UU7056001 1REGISTRATION SENSOR ACTUATOR
24 UU7057001 1SHEET FEEDER COVER SENSOR ACTUATOR
25 UU7058001 1TOP COVER SENSOR ACTUATOR
26 UG4509001 1SPEAKER
27 085411215 1 TAPTITE, BIND B M4X12
28 087320616 1 TAPTITE, CUP S M3X6
29 UF6559001 1SCREW, PAN (WASHER) M4X8DB
30 UU7062001 1BOTTOM PLATE
31 UD4019001 2RUBBER FOOT
32 085411215 7 TAPTITE, BIND B M4X12
33 087320616 3 TAPTITE, CUP S M3X6
34 002300616 2 SCREW, PAN M3X6
35 UU7064001 1OPTION COVER
36 0A5300805 2SCREW, PAN (S/P WASHER) M3X8
37 UU7322001 1SPACER 30X145
38 UL6717001 1PAPER EJECTION SENSOR ACTUATOR
39 UF8165003 1UPPER HANDSET MOUNT, WHITE(1138) FOR MFC9550
40 UF8166003 1LOWER HANDSET MOUNT, WHITE(1138) FOR MFC9550
41 UG5030001 1HOOK SWITCH PCB ASSY FOR MFC9550
42 UF8167003 1ACTUATOR HOOK, WHITE(1138) FOR MFC9550
43 UG4500001 1HOOK SWITCH HARNESS FOR MFC9550
44 087311016 2 TAPTITE, CUP B M3X10
45 UU7065001 1SCANNER GROUNDING PLATE
46 087310815 1 TAPTITE, CUP B M3X8
47 UF7676001 1ANTI-STATIC BRUSH
48 UG3732001 1BATTERY ASSY
FAX8050P/FAX8250P/MFC9050/MFC9550, Ver.Q

REF.NO. CODE Q'TY DESCRIPTION REMARKS
FOR FAX8250P, MFC9050 FOR FRA/BEL, MFC9550
49 UU7006002 1ROM COVER, WHITE(1397) FOR FAX8050P/8250P
49 UU7006001 1ROM COVER, WHITE(1138) FOR MFC9050/9550
50 UU7001002 1TOP COVER, WHITE(1397) FOR FAX8050P/8250P
50 UU7001001 1TOP COVER, WHITE(1138) FOR MFC9050/9550
51 UG4502001 1CIS & PANEL-MAIN HARNESSES
52 UU7168001 2HARNESS SUPPORT SPONGE
53 087411215 2 TAPTITE, CUP B M4X12
54 UU7170001 2TOP COVER STOPPER 12
55 087411215 2 TAPTITE, CUP B M4X12
56 087320616 2 TAPTITE, CUP S M3X6
57 085411215 4 TAPTITE, BIND B M4X12
58 UF7187001 1SHIELD FILM
59 UU7090002 1DOCUMENT GUIDE BASE, WHITE(1397) FOR FAX8050P/8250P
59 UU7090001 1DOCUMENT GUIDE BASE, WHITE(1138) FOR MFC9050/9550
60 UL6740001 1LASER CAUTION LABEL
61 UL6741001 1TONER CAUTION LABEL
62 ----- NOT USED
63 UG4634001 1HEARTER HARNESS (BROWN AND BLUE WIRES)
64 UU7525001 1CONTROL PANEL ASSY, WHITE(1397) FOR FAX8050P
64 UU7088001 1CONTROL PANEL ASSY, WHITE(1397) FOR FAX8250P
64 UU7148001 1CONTROL PNAEL ASSY, WHITE(1138) FOR MFC9050
64 UU7098001 1CONTROL PANEL ASSY, WHITE(1138) FOR MFC9550
64-1 UU7083001 1CONTROL PANEL, WHITE(1397) FOR FAX8050P/8250P
64-1 UU7003001 1CONTROL PANEL, WHITE(1138) FOR MFC9050/9550
64-2 UG4518001 1CONTROL PANEL PCB ASSY FOR FAX8050P/8250P
64-2 UG4519001 1CONTROL PANEL PCB ASSY FOR MFC9050
64-2 UG4517001 1CONTROL PANEL PCB ASSY FOR MFC9550
64-3 UG3062001 1LCD FOR FAX8050P/8250P
64-3 UG4552000 1LCD FOR MFC9050/9550
64-4 UG4553001 1FPC KEY
64-5 UU7004001 1PANEL REAR COVER
64-6 UU7101001 1DOCUMENT PRESSURE BAR
64-7 UU7147001 1DOCUMENT PRESSURE BAR SPRING
64-8 UU7521001 1SEPARATION RUBBER
64-9 UU7105001 1ADF PLATE SPRING
64-10 UU7106001 1SPRING PLATE, ADF FRONT
64-11 UF6116001 1TAPTITE, PAN B M3X6
64-12 UU7107001 1DOCUMENT FRONT SENSOR ACTUATOR
64-13 UU7108001 1DOCUMENT REAR SENSOR ACTUATOR
64-14 UU7505001 1ANTI-STATIC BRUSH 1
64-15 UF7187001 1SHIELD FILM
64-16 UU7285001 1ANTI-VIBRATION RUBBER
64-17 087310815 2 TAPTITE, CUP B M3X8
64-18 UF4393011 1KEY, TEL, WHITE(1397) FOR FAX8050P/8250P
64-18 UF4393003 1KEY, TEL, WHITE(1138) FOR MFC9050/9550
64-19 UU7099002 1KEY, VOLUME, WHITE(1397) FOR FAX8050P/8250P
64-19 UU7099001 1KEY, VOLUME, WHITE(1138) FOR MFC9050/9550
64-20 UF4576007 1KEY, SHIFT, WHITE(1397) FOR FAX8050P/8250P
64-20 UF4576003 1KEY, SHIFT, WHITE(1138) FOR MFC9050/9550
64-21 UF8176002 3KEY, ONE TOUCH, WHITE(1397) FOR FAX8050P/8250P
64-21 UF8176003 3KEY, ONE TOUCH, WHITE(1138) FOR MFC9050/9550
64-22 UF8173002 1KEY, STOP, ORANGE(3172)
64-23 UF8172004 1KEY, START, BLUE(6238)
64-24 UU7100002 1KEY, COPY 2, WHITE(1397) FOR FAX8250P
FAX8050P/FAX8250P/MFC9050/MFC9550, Ver.Q

REF.NO. CODE Q'TY DESCRIPTION REMARKS
64-24 UU7100001 1KEY, COPY 2, WHITE(1138) FOR MFC9050/9550
64-25 UF9118004 2KEY, FUNCTION 1, WHITE(1397) FOR FAX8050P/8250P
64-25 UF9118001 3KEY, FUNCTION 1, WHITE(1138) FOR MFC9050/9550
64-26 UF5581008 1KEY, FUNCTION 2, WHITE(1397) FOR FAX8050P/8250P
64-26 UF5581005 1KEY, FUNCTION 2, WHITE(1138) FOR MFC9050/9550
64-27 ----- NOT USED
64-28 UU7506001 1ANTI-STATIC BRUSH 2
65 UU7519001 1PANEL SHEET, FAX8050P FOR GER
65 UU7222001 1PANEL SHEET, FAX8250P FOR GER/AUS
65 UU7223001 1PANEL SHEET, FAX8250P FOR UK/CHE/IRL
65 UU7224001 1PANEL SHEET, FAX8250P FOR FRA
65 UU7225001 1PANEL SHEET, FAX8250P FOR NOR
65 UU7226001 1PANEL SHEET, FAX8250P FOR BEL
65 UU7405001 1PANEL SHEET, FAX8250P FOR DEN
65 UU7228001 1PANEL SHEET, FAX8250P FOR SWE
65 UU7181001 1PANEL SHEET, MFC9050 FOR GER/AUS
65 UU7183001 1PANEL SHEET, MFC9050 FOR UK/CHE/IRL/GNR
65 UU7184001 1PANEL SHEET, MFC9050 FOR FRA
65 UU7185001 1PANEL SHEET, MFC9050 FOR NOR
65 UU7186001 1PANEL SHEET, MFC9050 FOR BEL
65 UU7187001 1PANEL SHEET, MFC9050 FOR NLD
65 UU7304001 1PANEL SHEET, MFC9050 FOR FIN
65 UU7312001 1PANEL SHEET, MFC9050 FOR DEN
65 UU7316001 1PANEL SHEET, MFC9050 FOR SPA
65 UU7320001 1PANEL SHEET, MFC9050 FOR ITA
65 UU7189001 1PANEL SHEET, MFC9050 FOR SWE
65 UU7323001 1PANEL SHEET, MFC9550 FOR GER
65 UU7324001 1PANEL SHEET, MFC9550 FOR UK/CHE
65 UU7325001 1PANEL SHEET, MFC9550 FOR FRA
65 UU7326001 1PANEL SHEET, MFC9550 FOR NOR
65 UU7327001 1PANEL SHEET, MFC9550 FOR BEL
65 UU7328001 1PANEL SHEET, MFC9550 FOR NLD
65 UU7329001 1PANEL SHEET, MFC9550 FOR FIN
65 UU7363001 1PANEL SHEET, MFC9550 FOR SPA
65 UU7330001 1PANEL SHEET, MFC9550 FOR ITA
65 UU7331001 1PANEL SHEET, MFC9550 FOR SWE
66 UU7139002 1ADDRESS LABEL, WHITE(1397) FOR FAX8050P/8250P
66 UU7139001 1ADDRESS LABEL, WHITE(1138) FOR MFC9050/9550
67 UG4633001 1MASK ROM:PCL/LAN-A,
FAX8250P/MFC9050 FOR BEL AND MFC9550
67 LH7022001 1MASK ROM:FAX8050P FOR GER
67 LH7023001 1MASK ROM:FAX8250P/MFC9050 FOR GER/AUS
67 LH7021001 1MASK ROM:FAX8250P FOR NOR/CHE/IRL/DEN/SWE,
MFC9050 FOR NOR/NLD/CHE/IRL/FIN/DEN/ITA/SWE
68
UG4583001
1
MAIN PCB ASSY, FAX8250P
FOR UK/FRA/BEL,
MFC9050 FOR FRA/BEL (w/ FLASH)
68
UG4684001
1
MAIN PCB ASSY, FAX8250P
FOR GER/NOR/IRL/DEN/AUS/SWE (w/o FLASH)
68
UG4
685001
1
MAIN PCB ASSY, FAX8250P
FOR CHE (w/o FLASH)
68 UG4573001 1 MAIN PCB ASSY, MFC9050 FOR UK/SPA/GNR (w/ FLASH)
68 UG4682001 1MAIN PCB ASSY, FAX8050P, MFC9050
FOR GER/NOR/NLD/IRL/FIN/DEN/AUS/ITA/SWE (w/o FLASH)
68 UG4683001 1MAIN PCB ASSY, MFC9050 FOR CHE (w/o FLASH)
68 UG4574001 1MAIN PCB ASSY, MFC9550
FOR GER/UK/FRA/NOR/BEL/FIN/SPA/ITA/SWE (w/ FLASH)
FAX8050P/FAX8250P/MFC9050/MFC9550, Ver.Q

REF.NO. CODE Q'TY DESCRIPTION REMARKS
68 UG4663001 1 MAIN PCB ASSY, MFC9550 FOR NLD (w/ FLASH)
68 UG4655001 1 MAIN PCB ASSY, MFC9550 FOR CHE (w/ FLASH)
69 UG4585003 1NCU PCB ASSY FOR GER
69 UG4586004 1NCU PCB ASSY FOR UK/GNR
69 UG4590005 1NCU PCB ASSY FOR FRA
69 UG4587007 1NCU PCB ASSY FOR NOR
69 UG4588008 1NCU PCB ASSY FOR BEL
69 UG4589009 1NCU PCB ASSY FOR NLD
69 UG4585010 1NCU PCB ASSY FOR CHE
69 UG4587011 1NCU PCB ASSY FOR IRL
69 UG4588012 1NCU PCB ASSY FOR FIN
69 UG4588013 1NCU PCB ASSY FOR DEN
69 UG4588014 1NCU PCB ASSY FOR AUS
69 UG4644015 1NCU PCB ASSY FOR SPA
69 UG4588016 1NCU PCB ASSY FOR ITA
69 UG4586026 1NCU PCB ASSY FOR SWE
(69-1) UG6776000 1ARRESTER:RA102 (LOCATION:A1)
(69-2) UG6775000 1ARRESTER:RA311 (LOCATION:A2)
(69-3) UG6798000 2PHOTO COUPLER:TLP621 (LOCATION:PH2,PH4)
(69-4) UG3272000 1IC:THS-65 (LOCATION:T3)
(69-5) ----- NOT USED
(69-6) ----- NOT USED
70 UG4505001 1NCU HARNESS
71 UG4527001 1HIGH-VOLTAGE POWER SUPPLY PCB ASSY
72 UG4507001 1HV FLAT CABLE 12
73 UF6857003 1HANDSET, WHITE(1138), MFC9550
FOR GER/FRA/NOR/BEL/NLD/CHE/FIN/SPA/ITA/SWE
73 UU0281003 1HANDSET, WHITE(1138), MFC9550 FOR UK
74 UG3625001 1TELEPHONE LINE CORD FOR GER
74 UG3626001 1TELEPHONE LINE CORD FOR UK
74 UG3627001 1TELEPHONE LINE CORD FOR FRA
74 UG3629001 1TELEPHONE LINE CORD FOR NOR
74 UG1575001 1TELEPHONE LINE CORD FOR BEL
74 UG3631001 1TELEPHONE LINE CORD FOR NLD
74 UG3469000 1TELEPHONE LINE CORD FOR CHE
74 UG1570001 1TELEPHONE LINE CORD FOR IRL/SPA/GNR
74 UG3632001 1TELEPHONE LINE CORD FOR FIN
74 UG3633001 1TELEPHONE LINE CORD FOR DEN
74 UG4205001 1TELEPHONE LINE CORD FOR AUS
74 UG3634001 1TELEPHONE LINE CORD FOR ITA
74 UG3635001 1TELEPHONE LINE CORD FOR SWE
75 UU7114002 2PAPER EJECTION TRAY, WHITE(1397) FOR FAX8050P/8250P
75 UU7114001 2PAPER EJECTION TRAY, WHITE(1138) FOR MFC9050/9550
76 UL8019009 1HANDSET CURLED CORD, WHITE(1255) FOR MFC9550
77 UG4558001 1I/F CABLE, MFC9050/9550 FOR GER/UK/AUS
78 UU7117001 1DUST COVER
79 UU7110002 1KEY, COPY 1, WHITE(1397) FOR FAX8050P/8250P
79 UU7110001 1KEY, COPY 1, WHITE(1138) FOR MFC9050/9550
80 UU7111001 3KEY, MC, WHITE(1138) FOR MFC9550
(81) UU7237001 1OWNER'S MANUAL ASSY, FAX8250P FOR GER/AUS
(INCLUDING OWNER'S MANUAL(REF.NO.81-1),
WARRANTY CARD AND TRAY EXTENSION ASSY(REF.NO.81-2))
(81) LH0301001 1OWNER'S MANUAL ASSY, FAX8050P
(INCLUDING OWNER'S MANUAL(REF.NO.81-1),
WARRANTY CARD AND TRAY EXTENSION ASSY(REF.NO.81-2))
FAX8050P/FAX8250P/MFC9050/MFC9550, Ver.Q

REF.NO. CODE Q'TY DESCRIPTION REMARKS
(81) LH0307001 1OWNER'S MANUAL ASSY, FAX8250P FOR UK
(INCLUDING OWNER'S MANUAL(REF.NO.81-1),
3 WARRANTY CARDS, CAUTION LABEL AND
TRAY EXTENSION ASSY(REF.NO.81-2))
(81) UU7239001 1OWNER'S MANUAL ASSY, FAX8250P FOR FRA
(INCLUDING OWNER'S MANUAL(REF.NO.81-1),
2 WARRANTY CARDS AND TRAY EXTENSION (REF.NO.81-2))
(81) UU7240001 1OWNER'S MANUAL ASSY, FAX8250P FOR NOR
(INCLUDING OWNER'S MANUAL(REF.NO.81-1),
2 WARRANTY CARDS AND TRAY EXTENSION (REF.NO.81-2))
(81) UU7241001 1OWNER'S MANUAL ASSY, FAX8250P FOR BEL
(INCLUDING 2 OWNER'S MANUALS(REF.NO.81-1),
WARRANTY CARD AND TRAY EXTENSION ASSY(REF.NO.81-2))
(81) UU7242001 1OWNER'S MANUAL ASSY, FAX8250P FOR CHE
(INCLUDING 2 OWNER'S MANUALS(REF.NO.81-1),
WARRANTY CARD AND TRAY EXTENSION ASSY(REF.NO.81-2))
(81) UU7400001 1OWNER'S MANUAL ASSY, FAX8250P FOR IRL
(INCLUDING OWNER'S MANUAL(REF.NO.81-1),
WARRANTY CARD AND TRAY EXTENSION ASSY(REF.NO.81-2))
(81) UU7406001 1OWNER'S MANUAL ASSY, FAX8250P FOR DEN
(INCLUDING OWNER'S MANUAL(REF.NO.81-1),
WARRANTY CARD AND TRAY EXTENSION ASSY(REF.NO.81-2))
(81) UU7243001 1OWNER'S MANUAL ASSY, FAX8250P FOR SWE
(INCLUDING OWNER'S MANUAL(REF.NO.81-1),
WARRANTY CARD AND TRAY EXTENSION ASSY(REF.NO.81-2))
(81) LH0312001 1OWNER'S MANUAL ASSY, MFC9050 FOR GER/AUS
(INCLUDING OWNER'S MANUAL(REF.NO.81-1),
WARRANTY CARD AND TRAY EXTENSION ASSY(REF.NO.81-2))
(81) LH0315001 1OWNER'S MANUAL ASSY, MFC9050 FOR UK
(INCLUDING OWNER'S MANUAL(REF.NO.81-1),
3 WARRANTY CARDS, CAUTION LABEL AND
TRAY EXTENSION ASSY(REF.NO.81-2))
(81) LH0317001 1OWNER'S MANUAL ASSY, MFC9050 FOR FRA
(INCLUDING OWNER'S MANUAL(REF.NO.81-1),
2 WARRANTY CARDS AND TRAY EXTENSION (REF.NO.81-2))
(81) LH0319001 1OWNER'S MANUAL ASSY, MFC9050 FOR NOR
(INCLUDING OWNER'S MANUAL(REF.NO.81-1),
2 WARRANTY CARDS AND TRAY EXTENSION (REF.NO.81-2))
(81) LH0321001 1OWNER'S MANUAL ASSY, MFC9050 FOR BEL
(INCLUDING 2 OWNER'S MANUALS(REF.NO.81-1),
WARRANTY CARD AND TRAY EXTENSION ASSY(REF.NO.81-2))
(81) LH0324001 1OWNER'S MANUAL ASSY, MFC9050 FOR NLD
(INCLUDING OWNER'S MANUAL(REF.NO.81-1),
2 WARRANTY CARDS AND TRAY EXTENSION (REF.NO.81-2))
(81) LH0327001 1OWNER'S MANUAL ASSY, MFC9050 FOR CHE
(INCLUDING 2 OWNER'S MANUALS(REF.NO.81-1),
WARRANTY CARD AND TRAY EXTENSION ASSY(REF.NO.81-2))
(81) LH0329001 1OWNER'S MANUAL ASSY, MFC9050 FOR IRL
(INCLUDING OWNER'S MANUAL(REF.NO.81-1),
WARRANTY CARD AND TRAY EXTENSION ASSY(REF.NO.81-2))
(81) LH0345001 1OWNER'S MANUAL ASSY, MFC9050 FOR FIN
(INCLUDING OWNER'S MANUAL(REF.NO.81-1) AND
TRAY EXTENSION ASSY(REF.NO.81-2))
(81) LH0331001 1OWNER'S MANUAL ASSY, MFC9050 FOR DEN
(INCLUDING OWNER'S MANUAL(REF.NO.81-1),
FAX8050P/FAX8250P/MFC9050/MFC9550, Ver.Q

REF.NO. CODE Q'TY DESCRIPTION REMARKS
WARRANTY CARD AND TRAY EXTENSION ASSY(REF.NO.81-2))
(81) LH0335001 1OWNER'S MANUAL ASSY, MFC9050 FOR SPA
(INCLUDING OWNER'S MANUAL(REF.NO.81-1),
WARRANTY CARD AND TRAY EXTENSION ASSY(REF.NO.81-2))
(81) LH0342001 1OWNER'S MANUAL ASSY, MFC9050 FOR ITA
(INCLUDING OWNER'S MANUAL(REF.NO.81-1),
WARRANTY CARD AND TRAY EXTENSION ASSY(REF.NO.81-2))
(81) LH0338001 1OWNER'S MANUAL ASSY, MFC9050 FOR SWE
(INCLUDING OWNER'S MANUAL(REF.NO.81-1),
2 WARRANTY CARDS AND TRAY EXTENSION (REF.NO.81-2))
(81) LH0340001 1OWNER'S MANUAL ASSY, MFC9050 FOR GNR
(INCLUDING OWNER'S MANUAL(REF.NO.81-1) AND
TRAY EXTENSION ASSY(REF.NO.81-2))
(81) UU7348001 1OWNER'S MANUAL ASSY, MFC9550 FOR GER
(INCLUDING OWNER'S MANUAL(REF.NO.81-1),
MULTI FUNCTION LINK MANUAL(REF.NO.81-3),
WARRANTY CARD AND TRAY EXTENSION ASSY(REF.NO.81-2))
(81) UU7349001 1OWNER'S MANUAL ASSY, MFC9550 FOR UK
(INCLUDING OWNER'S MANUAL(REF.NO.81-1),
MULTI FUNCTION LINK MANUAL(REF.NO.81-3),
CAUTION LABEL, WARRANTY CARD AND
TRAY EXTENSION ASSY(REF.NO.81-2))
(81) UU7350001 1OWNER'S MANUAL ASSY, MFC9550 FOR FRA
(INCLUDING OWNER'S MANUAL(REF.NO.81-1),
MULTI FUNCTION LINK MANUAL(REF.NO.81-3),
2 WARRANTY CARDS AND TRAY EXTENSION ASSY(REF.NO.81-2))
(81) UU7351001 1OWNER'S MANUAL ASSY, MFC9550 FOR NOR
(INCLUDING OWNER'S MANUAL(REF.NO.81-1),
MULTI FUNCTION LINK MANUAL(REF.NO.81-3),
2 WARRANTY CARDS AND TRAY EXTENSION ASSY(REF.NO.81-2))
(81) UU7352001 1OWNER'S MANUAL ASSY, MFC9550 FOR BEL
(INCLUDING 2 OWNER'S MANUALS(REF.NO.81-1),
MULTI FUNCTION LINK MANUAL(REF.NO.81-3),
WARRANTY CARD AND TRAY EXTENSION ASSY(REF.NO.81-2))
(81) UU7353001 1OWNER'S MANUAL ASSY, MFC9550 FOR NLD
(INCLUDING OWNER'S MANUAL(REF.NO.81-1),
MULTI FUNCTION LINK MANUAL(REF.NO.81-3),
2 WARRANTY CARDS AND TRAY EXTENSION ASSY(REF.NO.81-2))
(81) UU7354001 1OWNER'S MANUAL ASSY, MFC9550 FOR CHE
(INCLUDING 2 OWNER'S MANUALS(REF.NO.81-1),
MULTI FUNCTION LINK MANUAL(REF.NO.81-3),
WARRANTY CARD AND TRAY EXTENSION ASSY(REF.NO.81-2))
(81) UU7355001 1OWNER'S MANUAL ASSY, MFC9550 FOR FIN
(INCLUDING OWNER'S MANUAL(REF.NO.81-1),
MULTI FUNCTION LINK MANUAL(REF.NO.81-3) AND
TRAY EXTENSION ASSY(REF.NO.81-2))
(81) UU7356001 1OWNER'S MANUAL ASSY, MFC9550 FOR SPA
(INCLUDING OWNER'S MANUAL(REF.NO.81-1),
MULTI FUNCTION LINK MANUAL(REF.NO.81-3),
WARRANTY CARD AND TRAY EXTENSION ASSY(REF.NO.81-2))
(81) UU7357001 1OWNER'S MANUAL ASSY, MFC9550 FOR ITA
(INCLUDING OWNER'S MANUAL(REF.NO.81-1),
MULTI FUNCTION LINK MANUAL(REF.NO.81-3),
WARRANTY CARD AND TRAY EXTENSION ASSY(REF.NO.81-2))
(81) UU7358001 1OWNER'S MANUAL ASSY, MFC9550 FOR SWE
FAX8050P/FAX8250P/MFC9050/MFC9550, Ver.Q

REF.NO. CODE Q'TY DESCRIPTION REMARKS
(INCLUDING OWNER'S MANUAL(REF.NO.81-1),
MULTI FUNCTION LINK MANUAL(REF.NO.81-3),
2 WARRANTY CARDS AND TRAY EXTENSION ASSY(REF.NO.81-2))
(81-1) LH0302003 1OWNER'S MANUAL, FAX8050P
(81-1) UU7244003 1OWNER'S MANUAL, FAX8250P-1 FOR GER/AUS
(81-1) LH0308004 1OWNER'S MANUAL, FAX8250P-1 FOR UK
(81-1) UU7244005 1OWNER'S MANUAL, FAX8250P-1 FOR FRA
(81-1) UU7244007 1OWNER'S MANUAL, FAX8250P-1 FOR NOR
(81-1) UU7244008 1OWNER'S MANUAL, FAX8250P-1 FOR BEL (DUTCH)
(81-1) UU7244010 1OWNER'S MANUAL, FAX8250P-1 FOR CHE (GERMAN)
(81-1) UU7244004 1OWNER'S MANUAL, FAX8250P-1 FOR IRL
(81-1) UU7244013 1OWNER'S MANUAL, FAX8250P-1 FOR DEN
(81-1) UU7244026 1OWNER'S MANUAL, FAX8250P-1 FOR SWE
(81-1) UU7201008 1OWNER'S MANUAL, FAX8250P-2 FOR BEL/CHE (FRENCH)
(81-1) LH0313003 1OWNER'S MANUAL, MFC9050-1 FOR GER/AUS
(81-1) LH0313004 1OWNER'S MANUAL, MFC9050-1 FOR UK/IRL/GNR
(81-1) LH0313005 1OWNER'S MANUAL, MFC9050-1 FOR FRA
(81-1) LH0313007 1OWNER'S MANUAL, MFC9050-1 FOR NOR
(81-1) LH0313008 1OWNER'S MANUAL, MFC9050-1 FOR BEL (DUTCH)
(81-1) LH0323008 1OWNER'S MANUAL, MFC9050-2 FOR BEL/CHE (FRENCH)
(81-1) LH0313009 1OWNER'S MANUAL, MFC9050-1 FOR NLD
(81-1) LH0313010 1OWNER'S MANUAL, MFC9050-1 FOR CHE (GERMAN)
(81-1) LH0313012 1OWNER'S MANUAL, MFC9050-1 FOR FIN
(81-1) LH0313013 1OWNER'S MANUAL, MFC9050-1 FOR DEN
(81-1) LH0313015 1OWNER'S MANUAL, MFC9050-1 FOR SPA
(81-1) LH0313016 1OWNER'S MANUAL, MFC9050-1 FOR ITA
(81-1) LH0313026 1OWNER'S MANUAL, MFC9050-1 FOR SWE
(81-1) UU7478003 1OWNER'S MANUAL, MFC9550-1 FOR GER
(81-1) UU7198004 1OWNER'S MANUAL, MFC9550-1 FOR UK
(81-1) UU7198005 1OWNER'S MANUAL, MFC9550-1 FOR FRA
(81-1) UU7198007 1OWNER'S MANUAL, MFC9550-1 FOR NOR
(81-1) UU7198008 1OWNER'S MANUAL, MFC9550-1 FOR BEL (DUTCH)
(81-1) UU7200008 1OWNER'S MANUAL, MFC9550-2 FOR BEL/CHE (FRENCH)
(81-1) UU7198009 1OWNER'S MANUAL, MFC9550-1 FOR NLD
(81-1) UU7198010 1OWNER'S MANUAL, MFC9550-1 FOR CHE (GERMAN)
(81-1) UU7198012 1OWNER'S MANUAL, MFC9550-1 FOR FIN
(81-1) UU7198015 1OWNER'S MANUAL, MFC9550-1 FOR SPA
(81-1) UU7198016 1OWNER'S MANUAL, MFC9550-1 FOR ITA
(81-1) UU7198026 1OWNER'S MANUAL, MFC9550-1 FOR SWE
(81-1) UU7359003 1OWNER'S MANUAL, MFC9550-1 FOR GER <Eliminated>
(81-1) UU7359004 1OWNER'S MANUAL, MFC9550-1 FOR UK <Eliminated>
(81-1) UU7359005 1OWNER'S MANUAL, MFC9550-1 FOR FRA <Eliminated>
(81-1) UU7359007 1OWNER'S MANUAL, MFC9550-1 FOR NOR <Eliminated>
(81-1) UU7359008 1OWNER'S MANUAL, MFC9550-1 FOR BEL (DUTCH) <Eliminated>
(81-1) UU7359009 1OWNER'S MANUAL, MFC9550-1 FOR NLD <Eliminated>
(81-1) UU7359010 1OWNER'S MANUAL, MFC9550-1 FOR CHE (GERMAN) <Eliminated>
(81-1) UU7359012 1OWNER'S MANUAL, MFC9550-1 FOR FIN <Eliminated>
(81-1) UU7359015 1OWNER'S MANUAL, MFC9550-1 FOR SPA <Eliminated>
(81-1) UU7359016 1OWNER'S MANUAL, MFC9550-1 FOR ITA <Eliminated>
(81-1) UU7359026 1OWNER'S MANUAL, MFC9550-1 FOR SWE <Eliminated>
(81-1) UU7360008 1OWNER'S MANUAL, MFC9550-2 FOR BEL/CHE (FRENCH) <Eliminated>
81-2 UL7157001 2TRAY EXTENSION ASSY (WITH TUBE)
(81-3) UU7361003 1MULTI FUNCTION LINK MANUAL, MFC9550
FOR GER/UK/FRA/BEL/NLD/CHE
(81-3) UU7361007 1MULTI FUNCTION LINK MANUAL, MFC9550
FAX8050P/FAX8250P/MFC9050/MFC9550, Ver.Q

REF.NO. CODE Q'TY DESCRIPTION REMARKS
FOR NOR/FIN/SPA/ITA/SWE
(82) UU1336004 1CD-ROM ASSY, MFC-9550
FOR GER/UK/FRA/NOR/BEL/NLD/CHE/FIN/SPA/ITA/SWE
(83) UU7248001 1FLOPPY DISK ASSY, MFC9050
FOR GER/UK/FRA/BEL/NLD/CHE/IRL/AUS/GNR
(83) UU7248002 1FLOPPY DISK ASSY, MFC9050 FOR NOR/FIN/DEN/SPA/ITA/SWE
(84) LH0294001 1CARTON, BROTHER, FAX8050P <SMALL>
(84) LH0295001 1CARTON, BROTHER, FAX8250P FOR UK
(84) UE1876001 1CARTON, BROTHER, FAX8250P EXCEPT FOR UK
(84) LH0296001 1CARTON, BROTHER, MFC-9050 FOR GER/FRA/AUS <SMALL>
(84) LH0297001 1CARTON, BROTHER, MFC-9050
FOR UK/NOR/BEL/NLD/CHE/IRL/FIN/DEN/SWE/GNR <SMALL>
(84) LH0298001 1CARTON, BROTHER, MFC-9050 FOR SPA/ITA <SMALL>
(84) UE1875001 1CARTON, BROTHER, MFC-9550
(85) UE1852001 1STYROFOAM FOR FAX8250P(EXCEPT FOR UK)/MFC9550
(85) LH0041001 1STYROFOAM FOR FAX8050P/MFC9050,
FAX8250P FOR UK <SMALL>
(86) UE2136001 1BAG, 700X1000H (FOR MACHINE)
(86) UE2136002 1BAG, 700X1000H, ONLY FOR FRA
(87) UE1855001 1CARTON (FOR MANUAL)
FOR FAX8250P(EXCEPT FOR UK)/MFC9550
(87) LH0024001 1CARTON (FOR MANUAL) FOR FAX8050P/MFC9050,
FAX8250P FOR UK <SMALL>
(88) UU0456001 1PROTECTION PAPER
(89) ----- NOT USED
90 UG4575001 1AC CORD ASSY
FOR GER/FRA/NOR/BEL/NLD/FIN/AUS/SPA/ITA/SWE/GNR
90 UG4576001 1AC CORD ASSY FOR UK/IRL
90 UG4578001 1AC CORD ASSY FOR CHE
90 UG4607001 1AC CORD ASSY FOR DEN
91 UG4636001 1NCU HARNESS B
92 UG4641001 1FERRITE CORE NF-80
93 UU7165002 1SIDE COVER, WHITE(1397) FOR FAX8050P/8250P
93 UU7165001 1SIDE COVER, WHITE(1138) FOR MFC9050
94 UF7095000 1MJ COVER, H/S FOR FAX8250P,MFC9050
95 UF5745000 1MJ COVER, EXT
FOR GER/UK/FRA/BEL/NLD/FIN/DEN/AUS/ITA/SWE/GNR
(96) ----- NOT USED
(96) UU7199003 1POP, MFC9050 FOR GER <Eliminated>
(96) UU7199004 1POP, MFC9050 FOR UK/CHE/GNR <Eliminated>
(96) UU7199005 1POP, MFC9050 FOR FRA <Eliminated>
(96) UU7199009 1POP, MFC9050 FOR NLD <Eliminated>
(97) UF0146001 1ECOLOGY STICKER, MFC9050/9550 FOR CHE
(98) LE0019001 1FERRITE CORE BAG ASSY, FAX8050P/8250P FOR GER/UK/FRA/
NOR/BEL/CHE/IRE/DEN/AUS/SWE,
MFC9050/9550 FOR FRA/NOR/BEL/NLD/CHE/IRE/FIN/DEN/
AUS/SPA/ITA/SWE
99 UG4640001 1FERRITE CORE NF-50
FAX8050P/FAX8250P/MFC9050/MFC9550, Ver.Q


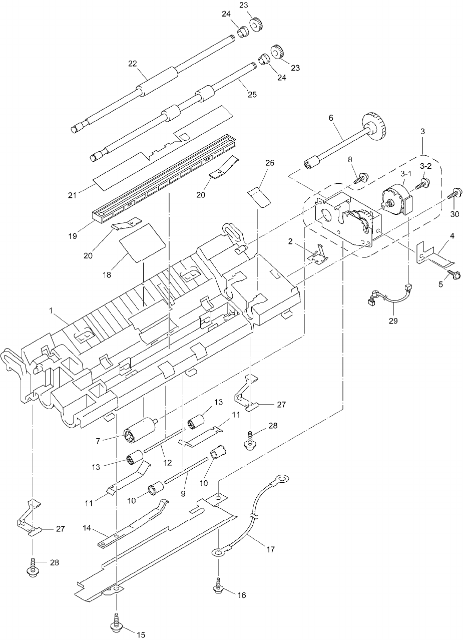
1. SCANNER FRAME ATTACHMENT
REF.NO. CODE Q'TY DESCRIPTION REMARKS
1 UU7002001 1 SCANNER FRAME
2 UU7012001 1 CIS SIDE SPRING
3 UU7014001 1 SCANNER DRIVE UNIT
3-1 UU7024001 1 SCANNER MOTOR
3-2 0A4300605 1 SCREW, PAN (S/P WASHER) M3X6
4 UU7029001 1 SCANNER GROUNDING LEAF SPRING
5 087320616 1 TAPTITE, CUP S M3X6
6 UU7030001 1 SEPARATION ROLLER GEAR
7 UU7031001 1 SEPARATION ROLLER
8 087310815 1 TAPTITE, CUP B M3X8
9 UF4369000 1 PINCH ROLLER SHAFT
10 UL6244002 2 PINCH ROLLER
11 UU7032001 2 PRESSURE ROLLER LEAF SPRING
12 UF4369000 1 PRESSURE ROLLER SHAFT
13 UF9009001 2 PRESSURE ROLLER
14 UU7033001 1 PINCH ROLLER LEAF SPRING
15 087310815 1 TAPTITE, CUP B M3X8
16 087320616 1 TAPTITE, CUP S M3X6
17 UG4595001 1 GROUNDING WIRE
18 UU7364001 1 ROLLER FILM
19 UG4601001 1 CIS UNIT
20 UU7035001 2 CIS LEAF SPRING
21 UU7036001 1 CIS FILM
22 UU7037001 1 DOCUMENT FEED ROLLER
23 UU7039001 2 GEAR 27
24 UU7284001 2 BEARING 6
25 UU7040001 1 DOCUMENT EJECTION ROLLER
26 UF7187001 1 SHIELD FILM
27 UU7013001 2 CONTROL PANEL LOCK (LEAF SPRING)
28 087310815 2 TAPTITE, CUP B M3X8
29 UG4501001 1 SCANNER MOTOR HARNESS
30 087311016 1 TAPTITE, CUP B M3X10
FAX8050P/FAX8250P/MFC9050/MFC9550, Ver.B
