Brother Lk3 B438E Mkii Owner S Manual
Brother-Lk3-B484-Owner-S-Manual brother-lk3-b484-owner-s-manual
2014-07-05
: Brother Brother-Lk3-B438E-Mkii-Owner-S-Manual brother-lk3-b438e-mkii-owner-s-manual brother pdf
Open the PDF directly: View PDF
.
Page Count: 262 [warning: Documents this large are best viewed by clicking the View PDF Link!]
- Go to Instruction Manual Top Page
- SAFETY INSTRUCTIONS
- 1.NAMES OF MAJOR PARTS
- 2.MACHINE SPECIFICATIONS
- 3.SEWING PATTERN TABLE
- 4.OPTIONAL PARTS
- 5.INSTALLATION
- 5-1.Table processing diagram
- 5-2.Installing the control box
- 5-3.Installing the motor
- 5-4.Installing the oil pan
- 5-5.Installing the machine head
- 5-6.Installing the knee lifter plate (Except-901)
- 5-7.Adjusting the knee lifter (Except-901)
- 5-8.Installing the belt
- 5-9.Installing the bobbin winder
- 5-10.Installing the belt cover
- 5-11.Connecting the cords
- 5-12.Installing the cotton stand
- 5-13.Connecting the connecting rod
- 5-14.Lubrication
- 5-15.Test operation (Operating the treadle)
- 5-16.Adjusting the treadle
- 6.PREPARATION BEFORE SEWING
- 7.USING THE OPERATION PANEL
- 7-1.Part names and functions
- 7-2.Pattern setting method
- 7-3.Setting the sewing speed
- 7-4.Correction sewing
- 7-5.Using slow start (ZE-8580, -8570-A01 only)
- 7-6.Setting start backtacking (ZE-8580, -8570-A01 only)
- 7-7.Setting end backtacking (ZE-8580, -8570-A01 only)
- 7-8.Setting fixed stitches/name label sewing (ZE-8580, -8570-A01 only)
- 7-9.Operation panel key locking method
- 8.Using the lower thread counter
- 9.SEWING
- 10.THREAD TENSION
- 11. CLEANING
- 12. REPLACING PARTS
- 13.STANDARD ADJUSTMENTS
- 13-1.Adjusting the thread tension spring
- 13-2.Adjusting the presser foot height
- 13-3.Adjusting the feed dog height
- 13-4.Adjusting the feed dog angle
- 13-5.Adjusting the forward/back position of the feed dog
- 13-6.Adjusting the needle and feed mechanism timing
- 13-7.Adjusting the needle bar height
- 13-8.Needle and rotary hook timing
- 13-9.Hook stopper position
- 13-10.Adjusting the edge knife cutting pressure
- 13-11.Adjusting the synchronizer
- 13-12.Adjusting the rotary hook lubrication amount
- 13-13.Adjusting the thread trailing length after thread trimming (ZE-8580 only)
- 13-14.Adjusting the position of the thread trimming cam (ZE-8580 only)
- 13-15.Adjusting the tension of the lower thread presser spring (ZE-8580 only)
- 13-16.Adjusting the thread wiper (ZE-8580 only)
- 13-17.Setting the DIP switches
- 13-18.Memory switch setting method
- 14.OPTIONAL PARTS
- 15.Changing the base line for pattern sideways movement from right edge to center of pattern
- 16.TROUBLESHOOTING

ZE-8570
ZE-8580
INSTRUCTION MANUAL
BEDIENUNGSANLEITUNG
MANUEL D’INSTRUCTIONS
MANUAL DE INSTRUCCIONES
ELECTRONIC SINGLE NEEDLE ZIGZAG LOCK STITCHER WITH UNDER-EDGE TRIMMER
ELECTRONIC SINGLE NEEDLE ZIGZAG LOCK STITCHER WITH THREAD TRIMMER
AND UNDER-EDGE TRIMMER
Please read this manual before using the machine.
Please keep this manual within easy reach for quick reference.
ELEKTRONISCHE EINNADEL ZICK-ZACK STEPPSTICHMACHINE MIT
UNTERKANTENABSCHNEIDER
ELEKTRONISCHE EINNADEL ZICK-ZACK STEPPSTICHMACHINE MIT
FADENABSCHNEIDER UND UNTERKANTENABSCHNEIDER
Bitte vor Gebrauch der Maschine diese Anleitung lesen!
Bitte halten Sie diese Anleitung stets griffbereit zur schnellen Orientierung!
MACHINE ZIG-ZAG ELECTRONIQUE 1 AIGUILLE - POINT NOUE - COUTEAU SOUS BORD
MACHINE ZIG-ZAG ELECTRONIQUE 1 AIGUILLE - POINT NOUE - COUPE-FILS –
COUTEAU SOUS BORD
Veuillez lire ce manuel avant d’utiliser la machine.
Veuillez garder ce manuel près de vous pour une vérification rapide.
MAQUINA ELECTRONICA DE UNA AGUJA, ZIGZAG, PUNTADA RECTA CORTADOR
DE BORDE INFERIOR
MAQUINA ELECTRONICA DE UNA AGUJA, ZIGZAG, PUNTADA RECTA CORTAHILOS
Y CORTADOR DE BORDE INFERIOR
Por favor lea este manual antes de usar la máquina.
Por favor guarde este manual al alcance de la mano para una rápida referencia.
INSTRUCTION MANUAL
BEDIENUNGSANLEITUNG
MANUEL D’INSTRUCTIONS
MANUAL DE INSTRUCCIONES
Printed in Japan / Gedruckt in Japan / Imprimé au Japon / Impreso en Japón 118-857,858
S92857-102
2001.12. F (1)
15-1, Naeshiro-cho, Mizuho-ku, Nagoya 467-8561, Japan. Phone: 81-52-824-2177
BROTHER INDUSTRIES, LTD.

242
Thank you very much for buying a BROTHER sewing machine. Before using your new machine, please read the safety
instructions below and the explanations given in the instruction manual.
With industrial sewing machines, it is normal to carry out work while positioned directly in front of moving parts such
as the needle and thread take-up lever, and consequently there is always a danger of injury that can be caused by these
parts. Follow the instructions from training personnel and instructors regarding safe and correct operation before
operating the machine so that you will know how to use it correctly.
SAFETY INSTRUCTIONS
1. Safety indications and their meanings
This instruction manual and the indications and symbols that are used on the machine itself are provided in order to
ensure safe operation of this machine and to prevent accidents and injury to yourself or other people.
The meanings of these indications and symbols are given below.
Indications
DANGER The instructions which follow this term indicate situations where failure to follow the
instructions will almost certainly result in death or severe injury.
CAUTION The instructions which follow this term indicate situations where failure to follow the
instructions could cause injury when using the machine or physical damage to equip-
ment and surroundings.
Symbols
................. This symbol ( ) indicates something that you should be careful of. The picture inside the triangle
indicates the nature of the caution that must be taken.
(For example, the symbol at left means “beware of injury”.)
................. This symbol ( ) indicates something that you must not do.
................. This symbol ( ) indicates something that you must do. The picture inside the circle indicates the
nature of the thing that must be done.
(For example, the symbol at left means “you must make the ground connection”.)
iZE-8570,8580 (English)
16. TROUBLESHOOTING
16. FEHLERSUCHE
16. RESOLUTION DES PROBLEMES
16. LOCALIZACION DE AVERIAS
Malfuncionamiento de P-ROM o mala conexión
Transmisión que afecta la transmisión
Malfuncionamiento del tablero del circuito de control
Entrada del panel cuando se
enciende la alimentación
Se conecta la alimentación mientras se mantiene presionando la
tecla de panel
Malfuncionamiento de tablero de circuito del panel o mazo de
conductores
Problema de funcionamiento del
motor de la máquina
Malfuncionamiento de sincronizador o mazo de conductores
del interruptor DIP 1-2 se ajusta a ON
Diámetro de polea incorrecto
Funcionamiento continuo Máquina de coser fue usada continuamente durante 3 minutos o
más
Sobrecarga Demasiada carga durante la costura
Problema de comunicación entre
CPUs
Transmisión que afecta la interferencia
Malfuncionamiento del tablero del circuito de control
Problema de comunicación entre
CPUs
Problema de comunicación entre
CPUs
Transmisión que afecta la interferencia
Malfuncionamiento del tablero del circuito de control
Exhibición
Detalles Causa
Entrada del panel cuando se
enciende la alimentación
Se conecta la alimentación mientras se mantiene presionando la
tecla de panel
Malfuncionamiento de tablero de circuito del panel o mazo de
conductores
Nota:
Si se exhibe un código de error que no identificado, o si se nota un funcionamiento incorrecto o ruidos u olores
extraños al usar la máquina de coser, desenchufar la alimentación inmediatamente y consultar en el lugar donde
la compró.
ZE-8570,8580
v
Se conecta la alimentación cuando se pisa el pedal hacia adelante
Se conecta la alimentación cuando se pisa el pedal hacia atrás
Se conecta la alimentación mientras el impulsor se mantiene presionado
Malfuncionamiento de pedal o mazo de conductores
Entrada de arranque cuando se
conecta la alimentación
(consultar la nota)
Nota:
AA AA
: En este caso, cuando la causa del problema haya sido eliminada (por ejemplo, el pedal vuelva a neutral),
AA AA aparecerá en la exhibición LED. Desconecte la alimentación y luego vuelva a conectarla.
Fusible de solenoide quemado Malfuncionamiento de solenoide o mazo de conductores
Malfuncionamiento del tablero del circuito de control
Capacidad de fusible incorrecta

ZE-8570,8580 (English)
DANGER
2. Notes on safety
CAUTION
Use the sewing machine in an area which is free
from sources of strong electrical noise such as
high-frequency welders.
Sources of strong electrical noise may cause prob-
lems with correct operation.
Any fluctuations in the power supply voltage
should be within ±10% of the rated voltage for
the machine.
Voltage fluctuations which are greater than this
may cause problems with correct operation.
The power supply capacity should be greater than
the requirements for the sewing machine's elec-
trical consumption.
Insufficient power supply capacity may cause
problems with correct operation.
The ambient temperature should be within the
range of 5°C to 35°C during use.
Temperatures which are lower or higher than this
may cause problems with correct operation.
Environmental requirements
The relative humidity should be within the range
of 45% to 85% during use, and no dew formation
should occur in any devices.
Excessively dry or humid environments and dew
formation may cause problems with correct op-
eration.
Avoid exposure to direct sunlight during use.
Exposure to direct sunlight may cause problems
with correct operation.
In the event of an electrical storm, turn off the
power and disconnect the power cord from the
wall outlet.
Lightning may cause problems with correct op-
eration.
Machine installation should only be carried out
by a qualified technician.
Contact your Brother dealer or a qualified electri-
cian for any electrical work that may need to be
done.
The sewing machine weighs more than 43 kg. The
installation should be carried out by two or more
people.
Do not connect the power cord until installation
is complete, othewise the machine may operate
if the treadle is pressed by mistake, which could
result in injury.
Be sure to connect the ground. If the ground con-
nection is not secure, you run a high risk of re-
ceiving a serious electric shock, and problems with
correct operation may also occur.
Installation
All cords should be secured at least 25 mm away
from any moving parts. Furthermore, do not ex-
cessively bend the cords or secure them too
firmly with staples, otherwise there is the danger
that fire or electric shocks could occur.
Install the belt covers to the machine head and
motor.
If using a work table which has casters, the cast-
ers should be secured in such a way so that they
cannot move.
Be sure to wear protective goggles and gloves
when handling the lubricating oil, so that no oil
gets into your eyes or onto your skin, otherwise
inflammation can result.
Furthermore, do not drink the oil under any cir-
cumstances, as it can cause vomiting and diarrhea.
Keep the oil out of the reach of children.
ii
Wait at least 5 minutes after turning off the power switch and disconnecting the power cord from the wall
outlet before opening the face plate of the control box. Touching areas where high voltages are present can
result in severe injury.

ZE-8570,8580 (English)
This sewing machine should only be used by op-
erators who have received the necessary training
in safe use beforehand.
The sewing machine should not be used for any
applications other than sewing.
Be sure to wear protective goggles when using
the machine.
If goggles are not worn, there is the danger that if
a needle breaks, parts of the broken needle may
enter your eyes and injury may result.
Turn off the power switch at the following times,
otherwise the machine may operate if the treadle
is pressed by mistake, which could result in in-
jury.
●When threading the needle
●When replacing the needle and bobbin
●When not using the machine and when leaving
the machine unattended
If the actuator is pressed by mistake when using
the correction sewing function, the needle will
move in a zigzag motion while the machine is
operating, and injury may result.
CAUTION
Sewing
If using a work table which has casters, the cast-
ers should be secured in such a way so that they
cannot move.
Attach all safety devices before using the sewing
machine. If the machine is used without these
devices attached, injury may result.
Do not touch any of the moving parts or press
any objects against the machine while sewing,
as this may result in personal injury or damage
to the machine.
For machines with automatic presser lifter, do not
touch the solenoid section, otherwise burns may
result.
If an error occurs in machine, or if abnormal
noises or smells are noticed, immediately turn
off the power switch. Then contact your nearest
Brother dealer or a qualified technician.
If the machine develops a problem, contact your
nearest Brother dealer or a qualified technician.
Turn off the power switch before carrying out
cleaning, otherwise the machine may operate if
the treadle is pressed by mistake, which could re-
sult in injury.
Cleaning
Be sure to wear protective goggles and gloves
when handling the lubricating oil and grease, so
that they do not get into your eyes or onto your
skin, otherwise inflammation can result.
Furthermore, do not drink the oil or eat the grease
under any circumstances, as they can cause vom-
iting and diarrhoea.
Keep the oil out of the reach of children.
Maintenance and inspection of the sewing ma-
chine should only be carried out by a qualified
technician.
Ask your Brother dealer or a qualified electrician
to carry out any maintenance and inspection of
the electrical system.
Turn off the power switch and disconnect the
power cord from the wall outlet at the following
times, otherwise the machine may operate if the
treadle is pressed by mistake, which could result
in injury.
●When carrying out inspection, adjustment and
maintenance
●When replacing consumable parts such as the
rotary hook
If the power switch needs to be left on when car-
rying out some adjustment, be extremely careful
to observe all safety precautions.
Maintenance and inspection
Turn off the power switch before connecting and
disconnecting the plugs, otherwise damage to the
control box may result.
Use only the proper replacement parts as speci-
fied by Brother.
If any safety devices have been removed, be ab-
solutely sure to re-install them to their original
positions and check that they operate correctly
before using the machine.
Any problems in machine operation which result
from unauthorized modifications to the machine
will not be covered by the warranty.
iii

ZE-8570,8580 (German)
Vielen Dank, daß Sie sich für eine BROTHER-Nähmaschine entschieden haben. Lesen Sie bitte vor der Inbetriebnahme
der neuen Nähmaschine die nachstehenden Sicherheitshinweise und die in der Bedienungsanleitung angegebenen
Erklärungen durch.
Bei industriellen Nähmaschinen ist es üblich direkt vor sich bewegenden Teilen zu arbeiten und deshalb besteht immer
eine gewisse Verletzungsgefahr durch die Nadel und den Fadenabnahmehebel. Befolgen Sie bitte alle die Anweisungen
und Instruktionen für eine sichere und fehlerfreie Bedienung sorgfältig und machen Sie sich vor der Inbetriebnahme
mit der Maschine vertraut.
SICHERHEITSHINWEISE
1. Sicherheitshinweise und ihre Bedeutung
Diese Bedienungsanleitung und die Hinweise und Symbole auf der Maschine sollen einen sicheren Betrieb der Maschine
sicherstellen und die Unfall- und Verletzungsgefahr verringern. Die Bedeutung dieser Hinweise und Symbole wird
nachstehend erklärt.
Hinweise
GEFAHR Die Anweisungen, die diesem Ausdruck folgen, sind für Gefahrensituationen, bei deren
Mißachtung eine hohe Verletzungsgefahr oder sogar Lebensgefahr besteht.
ACHTUNG Diese Anweisungen, die diesem Ausdruck folgen, sind für Situationen, bei deren
Mißachtung Verletzungsgefahr für das Bedienungspersonal vorhanden ist order die
Nähmaschine beschädigt werden kann.
Symbole
................. Bei diesem Symbol ( ) müssen Sie Sorgfalt anwenden. Das Symbol im Dreieck weist auf die Natur
der Gefahr hin.
(Zum Beispiel weist das linksstehende Symbol auf eine Verletzungsgefahr hin.)
................. Dieses Symbol ( ) weist darauf hin, daß Sie etwas nicht machen dürfen.
................. Dieses Symbol ( ) weist darauf hin, daß Sie etwas machen müssen. Das Symbol im Kreis gibt einen
Hinweis darauf, was gemacht werden muß.
(Zum Beispiel bedeutet das linksstehende Symbol, daß der Erdungsanschluß gemacht werden muß.)
iv
v

ZE-8570,8580 (German)
2. Hinweise zur Sicherheit
GEFAHR
ACHTUNG
Verwenden Sie die Nähmaschine an einem Ort,
an dem keine elektrischen Störsignale, wie z.B.
von Hochfrequenz-Schweißgeräten vorhanden
sind.
Durch auftretende elektrische Störsignale können
Betriebsstörungen verursacht werden.
Schwankungen der Netzspannung dürfen nicht
mehr als ±10% der Maschinen-Nennspannung
betragen.
Größere Schwankungen können Betriebsstörungen
verursachen.
Die Kapazität der Stromversorgung muß für die
gesamte Leistungsaufnahme der Maschine
ausreichend sein.
Bei unzureichender Stromversorgungskapazität
können Betriebsstörungen auftreten.
Für den Betrieb muß die Umgebungstemperatur
im Bereich von 5°C bis 35°C liegen.
Bei Umgebungstemperaturen außerhalb dieses
Bereichs können Betriebsstörungen auftreten.
Betriebsbedingungen
Die relative Luftfeuchtigkeit muß im Bereich von
45% bis 85% liegen und auf den Teilen darf sich
keine Luftfeuchtigkeit als Kondensat abscheiden.
Durch eine extrem trockene oder feuchte
Umgebung oder durch Kondensatabscheidung
können Betriebsstörungen auftreten.
Vermeiden Sie direkte Sonneneinstrahlung.
Eine direkte Sonneneinstrahlung kann zu
Betriebsstörungen führen.
Bei einem Gewitter muß die Maschine
ausgeschaltet und das Netzkabel aus der
Steckdose gezogen werden.
Blitzschlag kann Betriebsstörungen verursachen.
Die Nähmaschine darf nur von einem Fachmann
montiert werden.
Falls Elektrikerarbeiten gemacht werden müssen,
wenden Sie sich an Ihren Brother-Händler oder
an einen qualifizierten Elektriker.
Weil die Nähmaschine mehr als 43 kg wiegt, sind
zur Montage mindestens zwei Personen
notwendig.
Schließen Sie das Netzkabel erst nach
abgeschlossener Montage an, weil sonst durch
eine unbeabsichtigte Betätigung des Pedals die
Maschine in Gang gesetzt und Verletzungen
verursachen kann.
Die Maschine muß unbedingt geerdet werden. Bei
einen fehlerhaften Erdungsanschluß besteht die
Gefahr eines schweren elektrischen Schlages und
außerdem können Betriebsstörungen auftreten.
Montage
Alle Kabel müssen mindestens 25 mm von sich
bewegenden Teilen entfernt sicher befestigt
werden. Die Kabel dürfen auch nicht zu stark
gebogen oder zu fest mit Klammern befestigt
werden, weil sonst die Gefahr eines elektrischen
Schlages besteht.
Bringen Sie den Riemenschutz am Maschinenoberteil
und am Motor an.
Falls Sie einen Nähtisch mit Rollen verwenden,
müssen die Rollen richtig blockiert werden, so daß
sich der Nähtisch nicht bewegen kann.
Tragen Sie zur Handhabung von Schmieröl eine
Schutzbrille und Schutzhandschuhe. Falls Öl in die
Augen oder auf die Haut gelangt, können sich
diese Stellen entzünden. Bei irrtümlicher
Einnahme von Öl kann Erbrechen und Durchfall
auftreten.
Bewahren Sie das Öl nicht in Reichweite von
Kindern auf.
v
Warten Sie mindestens 5 Minuten nach dem Ausschalten und Herausziehen des Netzkabels aus der Steckdose,
bevor Sie die Stirnplatte des Schaltkastens öffnen. Beim Berühren von Stellen, an denen Hochspannung
vorhanden ist, besteht Verletzungsgefahr.

ZE-8570,8580 (German)
ACHTUNG
Diese Nähmaschine darf nur von Personen
bedient werden, die zuerst das notwendige Train-
ing zur sicheren Bedienung absolviert haben.
Diese Nähmaschine darf nur zum Nähen
verwendet werden.
Tragen Sie bitte eine beim Bedienen dieser
Nähmaschine eine Schutzbrille, weil im Falle eines
Nadelbruchs eine hohe Verletzungsgefahr für die
Augen vorhanden ist.
Schalten Sie den Netzschalter in den folgenden
Fällen immer aus, weil sonst Verletzungsgefahr
besteht, wenn die Nähmaschine durch
unbeabsichtigtes Betätigen des Pedals in
Ganggesetzt wird.
●Zum Einfädeln der Nadel
●Zum Auswechseln der Nadel und der Spule
●Wenn die Maschine nicht verwendet wird oder
unbeaufsichtigt ist
Falls die Betätigungstaste beim Korrekturnähen
irrtümlich gedrückt wurde, bewegt sich die Nadel
beim Betätigen der Maschine hin und her, so daß
eine Verletzungsgefahr vorhanden ist.
Falls Sie einen Nähtisch mit Rollen verwenden,
müssen die Rollen richtig blockiert werden, so daß
sich der Nähtisch nicht bewegen kann.
Nähen
Vor Inbetriebnahme müssen alle
Sicherheitsvorrichtungen angebracht werden.
Beim Betrieb ohne Sicherheitsvor-richtungen
können Verletzungen verursacht werden.
Berühren Sie keine sich bewegenden Teile und
drücken Sie auch keine Gegenstände an solche
Teile, weil Sie sich verletzen können und die
Nähmaschine beschädigt werden kann.
Bei Maschinen mit einem automatischen
Stoffdrückerfuß dürfen Sie den Teil mit dem So-
lenoid nicht berühren, weil Verbrennungsgefahr
besteht.
Bei einem Bedienungsfahler oder falls abnormale
Geräusche oder Gerüche auftreten, muß der
Netzschalter sofort ausgeschaltet werden.
Wenden Sie sich danach an den nächsten
Brother-Händler oder an einen qualifizierten
Fachmann.
Bei einer Betriebsstörung wenden Sie sich bitte
an den nächsten Brother-Händler oder an einen
qualifizierten Fachmann.
Schalten Sie zum Reinigen immer den
Netzschalter aus. Es besteht Verletzungsgefahr,
wenn die Nähmaschine durch unbeabsichtigtes
Betätigen des Pedals in Gang gesetzt wird.
Reinigen
Tragen Sie zur Handhabung von Schmieröl und
Schmierfett eine Schutzbrille und
Schutzhandschuhe, so daß kein Öl oder Fett in die
Augen oder auf die Haut gelangen kann, weil sich
sonst diese Stellen entzünden können.
Schmieröl und Schmierfett darf nicht
eingenommen werden, weil sonst Erbrechen und
Durchfall verursacht werden können.
Bewahren Sie das Schmieröl nicht in Reichweite
von Kindern auf.
Die Wartung und Inspektion darf nur durch einen
qualifizierten Fachmann ausgeführt werden.
Wenden Sie sich für die Wartung und Inspektion
des elektrischen Systems an Ihren Brother-
Händler oder an einen qualifizierten Elektriker.
Schalten Sie den Netzschalter immer aus und
ziehen Sie das Netzkabel aus der Steckdose, weil
sonst Verletzungsgefahr besteht, wenn die
Nähmaschine durch unbeabsichtigtes Betätigen
des Pedals in Gang gesetzt wird.
●Zum Ausführen von Inspektionen, Einstellungen
und Wartungsarbeiten
●Zum Austauschen von abgenutzten Teilen, wie
des Drehgreifers
Falls der Netzschalter für gewisse Einstellungen
eingeschaltet sein muß, sen die
Vorsichtsmaßnahmen besonders sorgfältig
beachtet werden.
Wartung und Inspektion
Schalten Sie den Netzschalter vor dem
Anschließen und Lösen der Stecker aus, weil sonst
der Schaltkasten beschädigt werden kann.
Verwenden Sie nur die richtigen, von Brother
vorgeschriebenen Austauschteile.
Falls Sicherheitsvorrichtungen entfernt wurden,
müssen sie unbedingt wieder in den
ursprünglichen Positionen montiert werden.
Kontrollieren Sie vor der Inbetriebnahme die
Sicherheitsvor-richtungen auf richtige Funktion.
Störungen der Nähmaschine, die auf unerlaubte
Modifikationen der Nähmaschine zurückgeführt
werden können, werden nicht durch die Garantie
gedeckt.
vi

ZE-8570,8580 (French)
Nous vous remercions d’avoir acheté une machine à coudre BROTHER. Avant d’utiliser votre nouvelle machine, veuillez
lire attentivement les instructions de sécurité ci-dessous et les explications données dans le manuel d’instructions.
Pour utiliser les machines à coudre industrielles, l’opérateur doit se trouver juste en face des parties mobiles telles que
l’aiguille et le levier de releveur de fil; par conséquent, ces pièces présentent un risque permanent de blessures. Pour
utiliser la machine correctement et en toute sécurité, se conformer aux instructions données par les instructeurs et le
personnel de formation.
INSTRUCTIONS DE SECURITE
1. Indications de sécurité et leur signification
Ce manuel d’instructions et les indications et symboles figurant sur la machine elle-même permettent d’utiliser la
machine en toute sécurité et d’éviter des accidents et des blessures à votre entourage et à vous-même. Les significa-
tions de ces indications et de ces symboles sont indiquées ci-dessous.
Indications
DANGER Ce terme désigne les instructions qui, faute d’être respectées, ont de grandes chances
de provoquer un décès ou des blessures graves.
ATTENTION Ces terme désigne les instructions qui, faute d’être respectées, risqueraient de blesser
la machine, ou d’endommager la machine et les objets environnants.
Symboles
................. Ce symbole ( ) indique la chose à laquelle vous devez faire attention. L’image contenue dans le
triangle indique la nature de la précaution à prendre.
(Par exemple, le symbole à gauche signifie “Risque de blessures”.)
................. Ce symbole ( ) indique une chose que vous ne devez pas faire.
................. Ce symbole ( ) indique une chose que vous devez faire. L’image contenue dans le cercle indique la
nature de la chose à effectuer.
(Par exemple, le symbole à gauche signifie “Vous devez effectuer le branchement de terre”.)
vii
v

ZE-8570,8580 (French)
ATTENTION
DANGER
2. Remarques concernant la sécurité
Attendre au moins 5 minutes après avoir mis l’interrupteur d’alimentation sur la position d’arrêt et avoir
débranché le cordon d’alimentation de la prise murale, avant d’ouvrir la plaque frontale du boîtier de
commande. Si on touche des zones sous haute tension, on risque de se blesser gravement.
Utiliser la machine à coudre à un endroit non
soumis à des bruits électriques puissants tels que
ceux produits par des appareils de soudure à
haute fréquence.
Les sources de bruits électriques puissants
risquent d'affecter le bon fonctionnement de la
machine.
Les variations de tension d’alimentation ne
doivent pas excéder une marge de ±10% de la ten-
sion nominale de la machine. Si les variations de
tension dépassent ces limites, le bon
fonctionnement de la machine risquera d’être
affecté.
La capacité d’alimentation électrique doit être
supérieure aux normes de consommation
électrique de la machine à coudre.
Si la capacité d’alimentation électrique est
insuffisante, le bon fonctionnement de la machine
risquera d’être affecté.
La température ambiante doit être comprise en-
tre 5°C et 35°C pendant l’utilisation.
Si la température est en dehors de ces limites, le
bon fonctionnement de la machine risquera d’être
affecté.
Nécessités d’environnement
L’humidité relative doit être comprise entre 45%
et 85% pendant l’utilisation, et il ne doit se former
aucune condensation dans les composants.
Si l’environnement est trop sec ou trop humide
et si de la condensation se forme, le bon
fonctionnement de la machine risquera d’être
affecté.
Eviter d’exposer la machine aux rayons directs
du soleil pendant l’utilisation.
Si la machine est exposée aux rayons directs du
soleil, le bon fonctionnement de la machine
risquera d’être affecté.
Lors d’un orage électrique, couper l’alimentation
électrique et débrancher le cordon d’alimentation de
la prise secteur.
La foudre risque d’affecter le bon fonctionnement de
la machine.
L’installation de la machine doit être confiée
exclusivement à un personnel qualifié.
S’adresser à votre revendeur Brother ou à un
électricien qualifié pour effectuer toute réparation
éventuelle du système électrique.
La machine à coudre pèse plus de 43 kg.
L’installation nécessite donc le concours de deux
personnes ou plus.
Ne pas brancher le cordon d’alimentation avant
d’avoir terminé l’installation, sinon la machine
risquerait de se mettre en marche si on enfonce
accidentellement la pédale, et donc de causer des
blessures.
Veiller à brancher la machine à la masse. Si le
branchement à la masse n’est pas bien effectué,
on risquera une électrocution grave et le bon
fonctionnement de la machine risquera également
d’être affecté.
Installation
Tous les câbles doivent être fixés à au moins 25
mm des parties mobiles. De plus, ne pas plier
excessivement les câbles ni les fixer trop
fermement avec des agrafes, sinon on risquera de
provoquer un choc électrique ou un incendie.
Installer les couvercles de courroie sur la tête de
machine et sur la moteur.
Si on utilise une table de travail équipée de rou-
lettes, il faut veiller à fixer les roulettes de manière
qu’elles soient parfaitement immobilisées.
Veiller à mettre des lunettes et des gants de pro-
tection lors de la manipulation d’huile lubrifiante,
afin de préserver les yeux et la peau de tout con-
tact avec l’huile, et d’éviter tout risque
d’inflammation.
De plus, l’ingestion de l’huile est à proscrire
absolument, car elle pourrait causer des
vomissements et des diarrhées.
Ranger l’huile hors de portée des enfants.
viii

ZE-8570,8580 (French)
ATTENTION
Cette machine à coudre doit être utilisée
seulement par des opérateurs qui ont
préalablement reçu la formation nécessaire à
l’utilisation sûre de la machine.
Cette machine ne doit pas être utilisée pour
d’autres usages que la couture.
Veiller à porter des lunettes de protection lorsqu’on
utilise la machine. Si l’on ne porte pas de telles
lunettes, en cas de rupture d’aiguille, des éclats de
l’aiguille risqueraient d’être projetés et de blesser
les yeux.
Mettre l’interrupteur d’alimentation sur la position
d’arrêt aux moments suivants, sinon la machine
risquera de se mettre en marche si on relâche la
pédale par erreur, et on risquera alors de se
blesser.
●Lors de l’enfilage de l’aiguille
●Lors du remplacement de l’aiguille et de la
canette
●Lorsqu’on n’utilise pas la machine et lorsqu’on
laisse la machine sans surveillance
Si l’actuateur est pressé par erreur alors que la
fonction de correction de couture est utilisée,
l’aiguille se déplacera en zigzag pendant que la
machine fonctionne et des blessures peuvent
s’ensuivre.
Couture
Si on utilise une table de travail équipée de rou-
lettes, il faut veiller à fixer les roulettes de manière
qu’elles soient parfaitement immobilisées.
Fixer tous les dispositifs de sécurité avant
d’utiliser la machine à coudre. Si on utilise la
machine sans avoir d’abord fixé ces dispositifs,
on risquera de se blesser.
Ne toucher aucune des parties mobiles, et ne pas
presser d’objets contre la machine pendant la
couture, car ceci pourrait causer des blessures
ou endommager la machine.
Pour les machines équipées d’un releveur de pied
presseur automatique, ne pas toucher la section
du solénoïde, sinon on risquera de se brûler.
Si une anomalie de fonctionnement se produit,
ou si on remarque des bruits ou des odeurs
anormaux, mettre immédiatement l’interrupteur
d’alimentation en position d’arrêt. S’adresser
ensuite à un concession-naire Brother ou à un
technicien qualifié.
En cas d’anomalie de fonctionnement, s’adresser
à un concessionnaire Brother ou à un technicien
qualifié.
Mettre l’interrupteur d’alimentation sur la position
d’arrêt avant d’entreprendre les travaux de
nettoyage. La machine risquera de se mettre en
marche si on relâche la pédale par erreur, et on
risquera alors de se blesser.
Nettoyage
Veiller à mettre des lunettes et des gants de pro-
tection lors de la manipulation de I’huile et de la
graisse, afin qu’elles n’entrent pas en contact avec
les yeux ou la peau, et d’éviter tout risque
d’inflammation.
De plus, l’ingestion de l’huile ou de la graisse est
à proscrite absolument, car elle pourrait provoquer
des vomissements ou des diarrhées.
Conserver l’huile hors de portée des enfants.
L’entretien et la vérification de la machine à coudre
doivent être confiés exclusivement à un technicien
qualifié.
S’adresser à un concessionnaire Brother ou à un
électricien qualifié pour effectuer des travaux
d’entretien ou de vérification du système
électrique.
Mettre l’interrupteur d’alimentation sur la position
d’arrêt et débrancher le cordon d’alimentation de
la prise murale aux moments suivants, sinon la
machine risquera de se mettre en marche si on
relâche la pédale par erreur, et on risquera alors
de se blesser.
●Lorsqu’on effectue des travaux de vérification,
de réglage ou d’entretien
●Lorsqu’on remplace des pièces accessoires
telles que la crochet rotatif
S’il faut laisserr l’interrupteur d’alimentation sur
la position de marche lorsqu’on effectue des
réglages, veiller absolument à respecter toutes les
précautions de sécurité.
Entretien et vérification
Mettre l’interrupteur principal en position d’arrêt
avant de brancher et de débrancher les fiches,
sinon le boîtier de commande risquera d’être
endommagé.
Utiliser seulement les pièces de rechange
recommandées par Brother.
Si des dispositifs de sécurité ont été déposés,
veiller absolument à les remettre à leur place
initiale et vérifier qu’ils fonctionnent correctement
avant d’utiliser la machine.
Toute anomalie de fonctionnement de la machine
résultant de transformations non autorisées de la
machine ne sera pas couverte par la garantie.
ix

ZE-8570,8580 (Spanish)
Muchas gracias por haber adquirido una máquina de coser BROTHER. Antes de usar su nueva máquina, por favor lea
las instrucciones de seguridad a continuación y las explicaciones en este manual.
Al usar máquinas de coser industriales, es normal trabajar ubicado directamente delante de piezas móviles como la
aguja y de la palanca del tirahilos, y por consiguiente siempre existe peligro de sufrir heridas ocasionadas por estas
partes. Siga las instrucciones para entrenamiento del personal y las instrucciones de seguridad y funcionamiento
correcto antes de usar la máquina de manera de usarla correctamente.
INSTRUCCIONES DE SEGURIDAD
1. Indicaciones de seguridad y sus significados
Las indicaciones y símbolos usados en este manual de instrucciones y en la misma máquina son para asegurar el
funcionamiento seguro de la máquina y para evitar accidentes y heridas. El significado de estas indicaciones y símbolos
se indica a continuación.
Indicaciones
PELIGRO Las instrucciones a continuación de este término representan situaciones en las
cuales el no respetar las instrucciones seguramente resultará en muerte o heridas
serias.
ATENCION Las instrucciones a continuación de este término representan situaciones en las
cuales el no respetar las instrucciones, podría causar heridas al operador durante el
uso de la máquina o podrían dañar la máquina y otros objetos a su alrededor.
Símbolos
................. Este símbolo ( ) indica algo con lo que usted debe tener cuidado. Esta figura dentro del triángulo
indica la naturaleza de la precauciíón que se debe tener.
(Por ejemplo, el símbolo a la izquierda significa “cuidado puede resultar herido”.)
................. Este símbolo ( ) indica algo que no debe hacer.
................. Este símbolo ( ) indica algo que debe hacer. La figura dentro del círculo indica la naturaleza de la
acción a realizar.
(Por ejemplo, el símbolo a la izquierda significa “debe hacer la conexión a tierra”.)
x
v

ZE-8570,8580 (Spanish)
ATENCION
PELIGRO
2. Notas sobre sequridad
Usar la máquina de coser en un área que esté libre
de fuentes de interferencias eléctricas fuertes
como soldadoras de alta frecuencia.
Las fuentes de ruidos eléctricos fuertes pueden
afectar el funcionamiento correcto.
Cualquier fluctuación en el voltaje de la fuente de
alimentación debe ser ±10% del voltaje nominal
de la máquina.
Las fluctuaciones de voltaje mayores que esto
pueden causar problemas con el funcionamiento
correcto.
La capacidad de la fuente de alimentación debe
ser mayor que los requisitos de consumo eléctrico
de la máquina de coser.
Si la capacidad de la fuente de alimentación fuera
insuficiente se puede ver afectado el
funcionamiento correcto.
La temperatura ambiente de funcionamiento debe
estar entre 5°C y 35°C.
Las temperaturas menores o mayores pueden
afectar el funcionamiento correcto.
Requisitos ambientales
La humedad relativa de funcionamiento debe
estar entre 45% y 85%, y no debe haber
condensación en ninguno de los dispositivos.
Los ambientes excesivamente secos o húmedos
y la condensación pueden afectar el
funcionamiento correcto.
Evitar la exposición directa a los rayos solares.
La exposición directa a los rayos solares puede
afectar el funcionamiento correcto.
En el caso de una tormenta eléctrica, desconectar
la alimentación y desenchufar el cable del
tomacorriente de la pared.
Los rayos pueden afectar el funcionamiento
correcto.
La máquina debe ser instalada sólo por personal
especializado.
Consultar a su distribuidor Brother o un electricista
calificado por cualquier trabajo de electricidad que
se debiera realizar.
La máquina de coser pesa más de 43 kg.
La instalación debe ser realizada por dos o más
personas.
No conectar el cable de alimentación hasta haber
completado la instalación, de lo contrario la
máquina podría comenzar a funcionar si por
descuido se pisara el pedal, lo que podría resultar
en heridas.
Asegurarse de realizar la conexión a tierra.
Si la conexión a tierra no es segura, se corre el
riesgo de recibir descargas eléctricas graves, y
también pueden ocurrir problemas para el
funcionamiento correcto.
Instalación
Todos los cables deben mantenerse al menos a
25 mm de las piezas móviles.
Además, no se deben doblar demasiado los cables
o apretarlos demasiado con grapas, de lo contrario
existe el peligro de que ocurra un incendio o
golpes eléctricos.
Instalar las cubiertas de correas en la cabeza de la
máquina y el motor.
Si se usa una mesa de trabajo con ruedas, las
ruedas deben estar trancadas de manera que no
se puedan mover.
Asegurarse de usar anteojos de seguridad y
guantes al manipular aceites lubricantes, de
manera que el aceite lubricante no salpique sus
ojos o la piel, de lo contrario podrían resultar
inflamados.
Además, bajo ningún concepto beba aceite
lubricante pues podría ocasionar vómitos y
diarrea.
Mantener el aceite lubricante lejos del alcance de
los niños.
xi
Después de desconectar el interruptor principal y desenchufar el cable de alimentación del tomacorriente en
la pared esperar al menos 5 minutos antes de abrir la placa delantera de la caja de controles. El tocar las áreas
donde exista alto voltaje puede ocasionar heridas graves.

ZE-8570,8580 (Spanish)
ATENCION
Sólo operarios que hayan sido entrenados
especialmente deben usar esta máquina de coser.
La máquina de coser no debe ser usada para otro
uso que no sea coser.
Asegurarse de usar anteojos de seguridad al usar
la máquina. Si no se usan anteojos se corre el peligro
de que si la aguja se rompe, las partes rotas de la
aguja entren en sus ojos y podría lastimarse.
Desconectar el interruptor principal en los
siguientes casos, de lo contrario la máquina podría
comenzar a funcionar si por descuido se pisara el
pedal, lo que podría resultar en heridas.
●Al enhebrar la aguja
●Al cambiar la aguja o la bobina
●Al no usar la máquina y alejarse de ella
dejándola sin cuidado
Si el impulsor es presionado por error al usar la
función de costura de corrección, la aguja se
moverá en zigzag mientras que la máquina está
funcionando, y puede resultar en heridas.
Si se usa una mesa de trabajo con ruedas, las
ruedas deben estar trancadas de manera que no
se puedan mover.
Costura
Instalar todos los dispositivos de seguridad an-
tes de usar la máquina de coser. Si la máquina
de coser se usa sin los dispositivos de seguridad
podría resultar herido.
No tocar ninguna de las piezas móviles o
presionar ningún objeto contra la máquina al
coser, pues podría resultar en heridas o la
máquina podría resultar dañada.
Para máquinas con levantador automático de
presatelas, no tocar la sección del solenoide, de
lo contrario se podría quemar.
Si se comete un error al usar la máquina, o si se
escuchan ruidos extraños o se sienten olores
extraños, desconectar inmediatamente el
interruptor principal. Luego consultar al
distribuidor Brother más cercano o a un técnico
calificado.
Si la máquina no funcionara correctamente,
consultar al distribuidor Brother más cercano o
a un técnico calificado.
Desconectar el interruptor principal antes de
comenzar cualquier trabajo de limpieza. La
máquina podría comenzar a funcionar si por
descuido se pisara el pedal, lo que podría resultar
en heridas.
Limpieza
Asegurarse de usar anteojos de seguridad y
guantes al manipular aceites lubricantes y grasa,
de manera que no salpiquen sus ojos o la piel, de
lo contrario podrían resultar inflamados.
Además, bajo ningún concepto beba aceite
lubricante o ingiera grasa pues podrían ocasionar
vómitos y diarrea.
Mantener el aceite lubricante lejos del alcance de
los niños.
El mantenimiento y la inspección de la máquina
debe ser realizado sólo por un técnico calificado.
Consultar a su distribuidor Brother o un electricista
calificado por cualquier trabajo de mantenimiento
e inspección eléctrica que se debiera realizar.
Desconectar el interruptor principal y desenchufar
el cable de alimentación del tomacorriente en la
pared en los siguientes casos, de lo contrario la
máquina podría comenzar a funcionar si por
descuido se pisara el pedal, lo que podría resultar
en heridas.
●Al inspeccionar, ajustar o realizar el
mantenimiento.
●Al cambiar piezas como el garfio giratorio.
Si el interruptor principal debiera estar conectado
al realizar un ajuste, se debe tener mucho cuidado
de tener en cuenta las siguientes precauciones.
Mantenimiento e inspección
Desconectar el interruptor principal antes de
conectar o desconectar los enchufes, de lo
contrario se podría dañar la caja de controles.
Usar sólo las piezas de repuesto especificadas por
Brother.
Si se hubieran desmontado alguno de los
dispositivos de seguridad, asegurarse de volver a
instalarlos a su posición original y verificar que
funcionan correctamente antes de usar la
máquina.
Los problemas que resultaran de modificaciones
no autorizadas en la máquina no serán cubiertos
por la garantía.
xii

xiii ZE-8570,8580
Heated cover
may burn hands.
Do not touch when
operating.
Couvercle chaud
risque de br ler les mains.
Ne pas toucher pendant
le fonctionnement.
Verbrennungsgefahr!
Deckel bei Bedienung
nicht ber hren!
La tapa caliente
puede quemarle las manos.
No tocar estando en
marcha.
★The following warning labels appear on the sewing machine.
Please follow the instructions on the labels at all times when using the machine. If the labels have been
removed or are difficult to read, please contact your nearest Brother dealer.
★An der Nähmaschine sind die folgenden Warnschilder angebracht.
Falls Schilder entfernt wurden oder unleserlich geworden sind, wenden Sie sich an den nächsten
Brother-Händler.
★Les étiquettes d’avertissement suivantes sont fixées sur la machine à coudre.
Veiller à suivre les instructions figurant sur les étiquettes à tout moment lors de l’utilisation de la machine. Si
les étiquettes ont été retirées ou si elles sont difficiles à lire, contacter un concessionnaire Brother.
★Las siguientes etiquetas de advertencia se encuentran en la máquina.
Se deben tener en cuenta las instrucciones en las etiquetas en todo momento que se usa la máquina.
Si las etiquetas fueron despegadas o no se pueden leer claramente, consultar al distribuidor Brother más
cercano.
1
2
3
Moving parts
may cause injury.
Operate with safety devices.
Turn off main switch before
changing needle, cleaning
etc.
ACHTUNG
Verletzungsgefahr durch sich bewegende Teile!
Die Maschine darf nut mit angebrachten
Sicherheitsvorrichtungenn in Betrieb genommen
werden. Zum Einfädeln, Spulen-und Nadel-wechseln,
Reinigen suw.
muß der Hauptschalter ausgeschaltet werden.
ATTENTION
Les parties mobiles risquent de provoquer des blessures.
Utiliser la machine équipee de ses dispositifs de sécurité.
Mettre l’interrupteur principal sur la position d’arrét avant
d’entreprendre l’enfilage, le changement de la canette et de
l’aiguille, le nettoyage, etc.
ATENCION
Las piezas móviles pueden provocar heridas.
Trabajar con dispositivos de seguridad. Desconectar el
interruptor principal antes de enhebrar la aguja, cambiar
la bobina y la aguja, limpiar, etc.
Safety devices
qFinger guard
wThread take-up guard cover
eBelt cover
rBelt casting prevention guide
tfinger guard, etc.
Sicherheitsvorrichtungen
qFingerschutz
wFadenabnahmeabdeckung
eRiemenschutz
rRiemenschutzführung
tFingerschutz, usw.
Dispositifs de sécurité
qGarde-doigts
wCouvercle du releveur de fil
eCouvercle de courroie
rGuide de prévention de saute de courroie
tProtège-doigts, etc.
Dispositivos de seguridad
qProtector de dedos
wCubierta de palanca del tirahilos
eCubierta de la correa
rGuía de prevención de salida de la correa
tProtección para dedos, etc.
3. Warning labels 3. Etiquettes dávertissement
3. Warnschilder 3. Etiquettes de advertencia
4•If the actuator is pressed by mistake when us-
ing the correction sewing function, the needle
will move in a zigzag motion while the machine
is operating, and injury may result.
•Falls die Betätigungstaste beim Korrekturnähen
irrtümlich gedrückt wurde, bewegt sich die Nadel
beim Betätigen der Maschine hin und her, so
daß eine Verletzungsgefahr vorhanden ist.
•Si l’actuateur est pressé par erreur alors que la
fonction de correction de couture est utilisée,
l’aiguille se déplacera en zigzag pendant que la
machine fonctionne et des blessures peuvent
s’ensuivre.
•Si el impulsor es presionado por error al usar la
función de costura de corrección, la aguja se
moverá en zigzag mientras que la máquina está
funcionando, y puede resultar en heridas.
Hazardous voltage
will cause injury.
Turn off main
switch and wait 5
minutes before
opening this cover.
Un voltage non adapt
provoque des blessures.
Eteindrel’interrupteur et
attendre 5 minutes
avantd’ ouvrir le capot
Hochspannung
verletzungsgefahr!
Bitte schalten sie den
hauptschalter aus und
warten sie 5 minuten,
bevor sie diese
abdeckung ffnen.
Un voltaje inadecuado
puede provocar las
heridas.
Apagar el interruptor
principal y esperar 5
minutos antes de abrir
esta cubierta.

xiv
ZE-8570,8580
•Automatic presser foot lifter (ZE-8580-901, option)
•Automatische Anhebevorrichtung (ZE-8580-901, Sonderausrüstung)
•Dispositif de relevage automatique de pied presseur (ZE-8580-901,
option)
•Alzador automático del prensatelas (ZE-8580-901, opción)
3
6
•Be sure to connect the ground. If the ground connection is not secure, you run a high risk of
receiving a serious electric shock, and problems with correct operation may also occur.
•Die Maschine muß unbedingt geerdet werden. Bei einen fehlerhaften Erdungsanschluß besteht
die Gefahr eines schweren elektrischen Schlages und außerdem können Betriebsstörungen
auftreten.
•Veiller à brancher la machine à la masse. Si le branchement à la masse n’est pas bien effectué,
on risquera une électrocution grave et le bon fonctionnement de la machine risquera également
d’être affecté.
•Asegurarse de realizar la conexión a tierra. Si la conexión a tierra no es segura, se corre el
riesgo de recibir descargas eléctricas graves, y también pueden ocurrir problemas para el
funcionamiento correcto.
•Direction of operation
•Drehrichtung
•Sens de fonctionnement
•Sentido de uso
5
Oil pan
Ölwanne
Réservoir d'huile
Bandeja de aceite
5
6
4
e
1
1
5
5
3
1
2
5
w
q
t
e
r
1495M
1496M
1429M
0517M
1117S
1. NAMES OF MAJOR PARTS.................................. 1
2. MACHINE SPECIFICATIONS ................................ 3
3. SEWING PATTERN TABLE ................................... 7
4. OPTIONAL PARTS................................................. 9
5. INSTALLATION...................................................... 11
5-1. Table processing diagram .............................. 12
5-2. Installing the control box ............................... 13
5-3. Installing the motor ........................................ 14
5-4. Installing the oil pan ....................................... 15
5-5. Installing the machine head .......................... 16
5-6. Installing the knee lifter plate
(Except-901) .................................................... 17
5-7. Adjusting the knee lifter (Except-901) ........... 17
5-8. Installing the belt ............................................ 19
5-9. Installing the bobbin winder ......................... 20
5-10. Installing the belt cover .................................. 21
5-11. Connecting the cords ..................................... 24
5-11-1. Ground wire connections ................. 25
5-11-2. Connecting the harness ................... 26
5-11-3. Edge trimmer box harness
connection ........................................ 30
5-11-4. Connecting the power cord ............. 33
5-11-5. Connecting the automatic presser
foot lifter harness (ZE-8580
or option) ........................................... 34
5-11-6. Connecting the standing pedal
harness (option) ............................... 35
5-12. Installing the cotton stand .............................. 36
5-13. Connecting the connecting rod ..................... 37
5-14. Lubrication ...................................................... 38
5-15. Test operation (Operating the treadle) ......... 39
5-15-1. Turning on the power ...................... 39
5-15-2. Operating the treadle ....................... 42
5-16. Adjusting the treadle ...................................... 46
6. PREPARATION BEFORE SEWING ........................ 48
6-1. Installing the needle ....................................... 48
6-2. Removing the bobbin case ............................ 49
6-3. Winding the lower thread .............................. 50
6-4. Installing the bobbin case .............................. 52
6-5. Threading the upper thread .......................... 53
6-6. Adjusting the stitch length ............................ 55
6-7. Backtacking ..................................................... 56
6-8. Adjusting the edge knife height ..................... 58
6-9. Using the thread wiper (ZE-8580-401, -901).... 60
7. USING THE OPERATION PANEL ......................... 61
7-1. Part names and functions .............................. 61
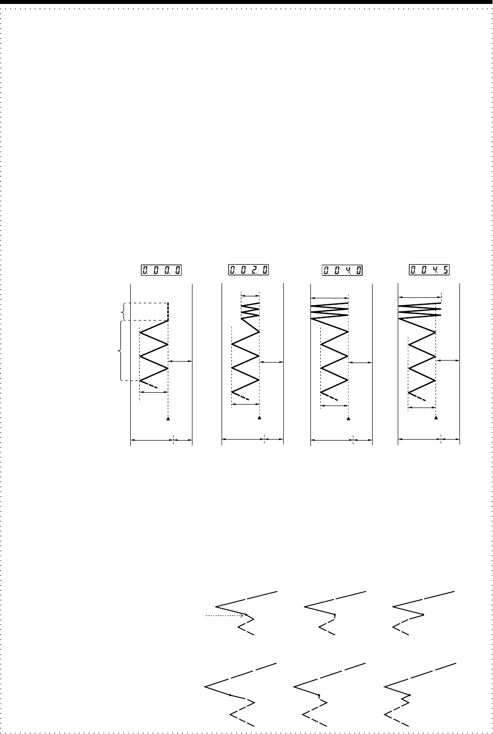
7-2. Pattern setting method .................................. 73
7-2-1. Setting the sewing pattern .............. 73
7-2-2. Setting the zigzag width .................. 81
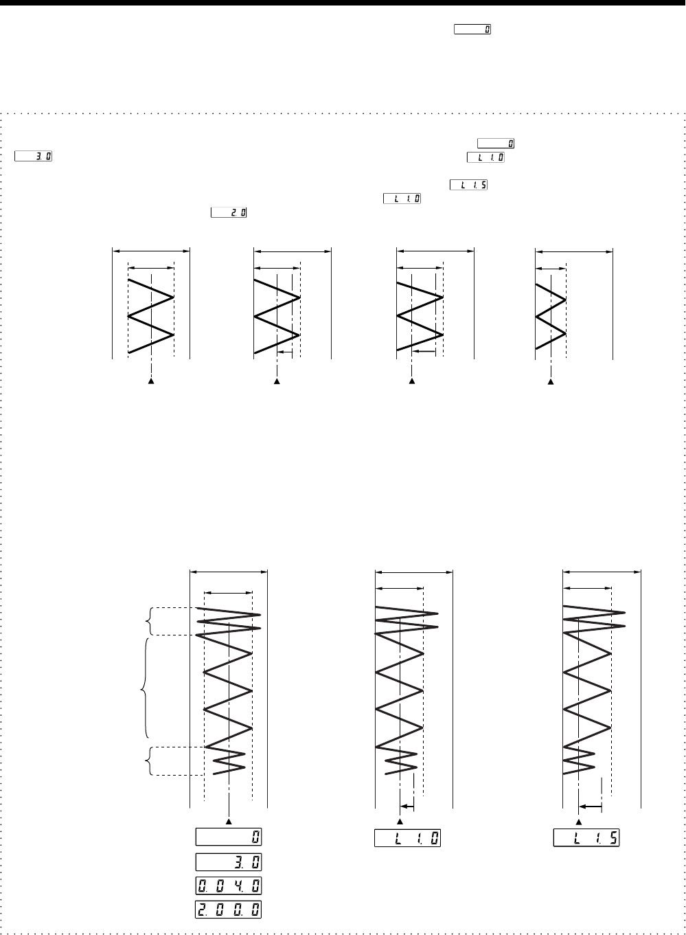
7-2-3. Setting the trimming margin base
line position ...................................... 83
7-2-4. Setting the zigzag stop position ..... 91
7-3. Setting the sewing speed .............................. 92
7-4. Correction sewing ........................................... 99
7-5. Using slow start (ZE-8580, -8570-A01 only) .... 100
7-6. Setting start backtacking
(ZE-8580, -8570-A01 only) .............................. 101
7-7. Setting end backtacking
(ZE-8580, -8570-A01 only) .............................. 113
7-8. Setting fixed stitches/name label sewing
(ZE-8580, -8570-A01 only) .............................. 123
7-9. Operation panel key locking method ............ 132
8. Using the lower thread counter .......................... 133
9. SEWING ................................................................. 136
9-1. Sewing ............................................................ 137
9-2. Under edge trimmer sewing ......................... 138
10. THREAD TENSION ................................................ 139
10-1. Adjusting the thread tension ......................... 139
10-2. Adjusting the presser foot pressure ............. 141
11. CLEANING............................................................. 142
11-1. Daily cleaning procedures .............................. 143
11-2. Applying grease (every three months) ......... 145
12. REPLACING PARTS .............................................. 147
12-1. Fixed knife and movable knife
(ZE-8580 only) ................................................. 148
12-2. Edge knife ........................................................ 149
12-3. Gauge parts (presser foot, needle plate
and feed dog) .................................................. 153
12-4. Compression spring ....................................... 156
13. STANDARD ADJUSTMENTS ............................... 157
13-1. Adjusting the thread tension spring ............. 158
13-2. Adjusting the presser foot height ................. 160
13-3. Adjusting the feed dog height ....................... 161
13-4. Adjusting the feed dog angle ........................ 162
13-5. Adjusting the forward/back position of
the feed dog .................................................... 163
13-6. Adjusting the needle and feed
mechanism timing ......................................... 164
13-7. Adjusting the needle bar height ..................... 165
13-8. Needle and rotary hook timing ..................... 166
13-9. Hook stopper position .................................... 166
13-10. Adjusting the edge knife cutting pressure .... 170
13-11. Adjusting the synchronizer ............................ 171
13-12. Adjusting the rotary hook lubrication
amount ............................................................ 173
13-13. Adjusting the thread trailing length
after thread trimming (ZE-8580 only) ........... 175
13-14. Adjusting the position of the thread
trimming cam (ZE-8580 only) ........................ 179
13-15. Adjusting the tension of the lower thread
presser spring (ZE-8580 only) ....................... 183
13-16. Adjusting the thread wiper (ZE-8580 only) .. 184
13-17. Setting the DIP switches ................................ 185
13-18. Memory switch setting method ..................... 191
14. OPTIONAL PARTS ................................................. 208
14-1. Reflection pattern switch ............................... 208
14-2. Dial lock lever ................................................. 209
14-3. Thread guide F ................................................ 210
15.
CHANGING THE BASE LINE FOR PATTERN SIDEWAYS
MOVEMENT FROM RIGHT EDGE TO CENTER OF PATTERN ...
211
16. TROUBLESHOOTING ........................................... 219
16-1. Machine head ................................................. 219
16-2. Operation panel ............................................... 222
16-3. List of error codes ........................................... 223
CONTENTS
1. HAUPTTEILE ......................................................... 1
2. TECHNISCHE DATEN............................................ 3
3. NÄHMUSTERTABELLE ......................................... 7
4. SONDERZUBEHÖRTEILE ..................................... 9
5. MONTAGE ............................................................. 11
5-1. Nähtischabbildung ......................................... 12
5-2. Montage des Schaltkastens ........................... 13
5-3. Montage des Motors ...................................... 14
5-4. Montage der Ölwanne ................................... 15
5-5. Montage des Maschinenoberteils ................. 16
5-6. Anbringen der Kniehebelplatte (außer-901) . 17
5-7. Einstellen des Kniehebels (außer-901) ......... 17
5-8. Riemenmontage ............................................. 19
5-9. Montage des Spulers ..................................... 20
5-10. Montage des Riemenschutzes ...................... 21
5-11. Anschließen der Kabel ................................... 24
5-11-1. Anschluß des Erdungskabels .......... 25
5-11-2. Anschließen des Kabels .................. 26
5-11-3. Anschließen der
Kantenabschneiderbox ..................... 30
5-11-4. Anschließen des Netzkabels ........... 33
5-11-5. Anschließen des Kabels für den
automatischen
Stoffdrückerfußhebers
(ZE-8580 oder Sonderzubehör) ......... 34
5-11-6. Anschließen des Stehpedalkabels
(Sonderzubehör) .............................. 35
5-12. Montage des Spulenträgers .......................... 36
5-13. Montange der Zwischenstange ..................... 37
5-14. Schmierung .................................................... 38
5-15. Probebetrieb (Berätigung des Pedals) .......... 39
5-15-1. Einschalten ....................................... 39
5-15-2. Bedienung des Pedals ..................... 42
5-16. Einstellen des Pedals ..................................... 46
6. VORBEREITUNGEN ZUM NÄHEN ...................... 48
6-1. Einsetzen der Nadel ....................................... 48
6-2. Herausnehmen der Spulenkapsel ................. 49
6-3. Aufwickeln des Unterfadens ......................... 50
6-4. Einsetzen der Spulenkapsel ........................... 52
6-5. Einfädeln des Oberfadens .............................. 53
6-6. Einstellen der Stichlänge ............................... 55
6-7. Verriegeln ........................................................ 56
6-8. Einstellen des Höhe des unteren
Kantenabschneidermessers .......................... 58
6-9. Verwendung des Fadenwischers
(ZE-8580-401, -901) ......................................... 60
7. VERWENDUNG DER BEDIENUNGSTAFEL ......... 61
7-1. Teilebezeichnung und Funktion ..................... 61
7-2. Musternähen ................................................... 73
7-2-1. Einstellen der Stichmuster .............. 73
7-2-2. Einstellen der Zickzackbreite ........... 81
7-2-3. Einstellen der
Schnittrandgrundlinienposition ...... 85
7-2-4.
Einstellen der Zickzackstopposition .....
93
7-3. Einstellen der Nähgeschwindigkeit .............. 94
7-4. Korrekturnähen ............................................... 99
7-5. Langsamstartfunktion
(nur ZE-8580, -8570-A01) ............................... 100
7-6. Einstellen des Anfangsriegels
(nur ZE-8580, -8570-A01) ............................... 104
7-7. Einstellen des Endsriegels
(nur ZE-8580, -8570-A01) ............................... 115
7-8. Einstellen von Feststichen/Etikettnähen
(nur ZE-8580, -8570-A01) ............................... 125
7-9. Bedienungsfeld-Tastensperre ........................ 132
8. Verwendung des Unterfadenzählers .................. 133
9. NÄHEN .................................................................. 136
9-1. Nähen .............................................................. 137
9-2. Nähen mit unterem Kantenabschneider ...... 138
10. FADENSPANNUNG .............................................. 139
10-1. Einstellen der Fadenspannung...................... 139
10-2. Einstellen des Stoffdrückerfußdrucks ........... 141
11. REINIGUNG ........................................................... 142
11-1. Tägliche Reinigung ........................................ 143
11-2. Anwendung von Fett (alle drei Monate) ........ 145
12. ERSETZEN VON TEILEN ...................................... 147
12-1. Feststehendes und bewegliches Messer
(nur ZE-8580) .................................................. 148
12-2. Kantenmesser ................................................. 150
12-3. Teile (Stoffdrückerfuß, Stichplatte und
Transporteur) .................................................. 153
12-4. Druckfeder ........................................................ 156
13. STANDARDEINSTELLUNGEN ............................. 157
13-1. Einstellen der Fadenspannungsfeder ........... 158
13-2. Einstellen der Stoffdrückerfußhöhe .............. 160
13-3. Einstellen der Transporteurhöhe ................... 161
13-4. Einstellen der Transporteurneigung ............. 162
13-5.
Einstellen der Transporteurposition vorne/hinten .....
163
13-6. Einstellen der Nadel-und
Transporteursynchronisation ........................ 164
13-7. Einstellen der Nadelstangenhöhe ................. 165
13-8. Nadel/Greifer-Synchronisation...................... 167
13-9. Einstellen der Greiferanschlagposition ........ 167
13-10.
Einstellen des Kantenmesserschneidedrucks .....
170
13-11. Einstellen des Synchronisators ..................... 171
13-12. Einstellen der Greiferschmierung ................. 173
13-13. Einstellen des Fadenendes nach dem
Fadenabschneiden (nur ZE-8580) ................. 176
13-14. Einstellen der Position des
Fadenabschneidenockens (nur ZE-8580) ...... 180
13-15. Einstellen der Spannung der
Unterfadenhaltefeder (nur ZE-8580) ............. 183
13-16. Einstellen des Fadenwischers (nur ZE-8580) 184
13-17. Einstellen der DIP-Schalter ............................ 185
13-18. Einstellen der Speichertaste .......................... 191
14. SONDERZUBEHÖRTEILE ..................................... 208
14-1. Musterumkehrschalter ................................... 208
14-2. Einstellscheibensperrhebel ........................... 209
14-3. Fadenführung F ............................................... 210
15.
ÄNDERN DER GRUNDLINIE FÜR SEITWÄRTSBEWEGUNG VON MUSTERN
VON DER RECHTEN KANTE AUF DIE MITTE DES MUSTERS ......................
213
16. FEHLERSUCHE ...................................................... 225
16-1. Nähmaschinenoberteil ................................... 225
16-2. Bedienungsfeld ............................................... 228
16-3. Liste von Fehlercodes .................................... 229
INHALT
1. NOM DES PIECES PRINCIPALES ......................... 1
2. SPECIFICATIONS DE LA MACHINE ..................... 5
3. TABLEAU DES MOTIFS DE COUTURE ............... 7
4. PIECES EN OPTION .............................................. 9
5. INSTALLATION...................................................... 11
5-1. Plan découpé table ......................................... 12
5-2. Installation du boîtier de commande ............ 13
5-3. Installation du moteur .................................... 14
5-4. Installation du réservoir d’huile ..................... 15
5-5. Installation de la tête de machine ................. 16
5-6. Installation de la plaque de releveur au
genou (Sauf-901) ............................................ 17
5-7. Réglage du releveur au genou (Sauf-901) ...... 17
5-8. Installation de la courroie .............................. 19
5-9. Installation du bobineur de canette .............. 20
5-10. Installation du couvercle de courroie ........... 21
5-11. Banchement des câbles .................................. 24
5-11-1. Raccord du câble de mise à la terre .... 25
5-11-2. Branchement du faisceau ................. 26
5-11-3. Branchement du faisceau de
boîtier de couteau de bord .............. 30
5-11-4. Branchement du cordon
d’alimentation .................................. 33
5-11-5. Branchement du faisceau de releveur
de pied presseur automatique
(ZE-8580 ou option) ......................... 34
5-11-6. Branchement du faisceau de pédale
pour opération debout (en option) .... 35
5-12. Installation de la broche porte-bobine ......... 36
5-13. Branchement de la tige de connexion .......... 37
5-14. Lubrification .................................................... 38
5-15. Essai de fonctionnement (utilisation de
la pédale) ......................................................... 39
5-15-1. Mise sous tension ............................ 39
5-15-2. Fonctionnement de la pédale ......... 44
5-16. Réglage de la pédale ...................................... 47
6. PREPARATIFS AVANT LA COUTURE .................. 48
6-1. Installation de l’aiguille .................................. 48
6-2. Retrait de la boîte à canette ........................... 49
6-3. Bobinage du fil inférieur ................................ 51
6-4. Installation de la boîte à canette ................... 52
6-5. Enfilage du fil supérieur .................................. 53
6-6. Réglage de la longueur de point ................... 55
6-7. Point d’arrêt .................................................... 57
6-8. Réglage de la hauteur du couteau de bord .. 59
6-9. Utilisation du tire-fils (ZE-8580-401, -901) ........ 60
7. UTILISATION DU PANNEAU DE COMMANDE ... 61
7-1. Noms et fonctions des pièces ....................... 61
7-2. Réglage des motifs de couture ..................... 73
7-2-1. Réglage du motif de couture .......... 73
7-2-2. Réglage de la largeur de zigzag ...... 82
7-2-3. Réglage de la position de la ligne de
base de marge de coupe ................. 87
7-2-4. Réglage de la position d’arrêt de
zigzag ................................................ 95
7-3. Réglage de la vitesse de couture .................. 96
7-4. Couture de correction .................................... 99
7-5. Utilisation du démarrage à vitesse lente
(ZE-8580, -8570-A01 seulement) ................... 100
7-6. Réglage du point d’arrêt en début de couture
(ZE-8580, -8570-A01 seulement) ................... 107
7-7. Réglage du point d’arrêt en fin de couture
(ZE-8580, -8570-A01 seulement) ................... 117
7-8. Réglage de la couture des point fixe/étiquette
de nom (ZE-8580, -8570-A01 seulement) ..... 127
7-9. Méthode de verrouillage des touches du
panneau de commande .................................. 132
8. Utilisation du compteur de fil inférieur .............. 133
9. COUTURE .............................................................. 136
9-1. Couture ............................................................ 137
9-2. Couture avec couteau sous bord .................. 138
10. TENSION DU FIL ................................................... 139
10-1. Réglage de la tension du fil ........................... 139
10-2. Réglage de la pression du pied presseur ..... 141
11. NETTOYAGE.......................................................... 142
11-1. Méthodes de nettoyage quotidien ................. 143
11-2. Application de graisse (tous les trois mois) . 145
12. REMPLACEMENT DES PIECES ............................ 147
12-1. Couteau fixe et couteau mobile
(ZE-8580 seulement) ...................................... 148
12-2. Couteau de bord ............................................. 151
12-3. Pièces de calibrage (pied presseur, plaque
à aiguille et griffe d’entraînement) ............... 153
12-4. Ressort de compression ................................ 156
13. REGLAGES STANDARD ....................................... 157
13-1. Réglage du ressort de tension du fil ............. 158
13-2. Réglage de la hauteur du pied presseur ...... 160
13-3. Réglage de la hauteur de la griffe
d’entraînement ............................................... 161
13-4. Réglage de I’angle de la griffe
d’entraînement ............................................... 162
13-5. Réglage de la position avant/arrière
de la griffe d’entraînement ............................ 163
13-6. Réglage de la synchronisation de I’aiguille
et du dispositif d’entraînement ..................... 164
13-7. Réglage de la hauteur de la barre à aiguille ..... 165
13-8. Synchronisation de l’aiguille et du
crochet rotatif ................................................. 168
13-9. Réglage de la position de la butée de
crochet rotatif ................................................. 168
13-10. Réglage de la pression de coupe du
couteau de bord ............................................. 170
13-11. Réglage du synchroniseur .............................. 171
13-12. Réglage de la quantité de lubrification du
crochet rotatif ................................................. 173
13-13. Réglage de la longueur de fil en excès après
la coupe des fils (ZE-8580 seulement) .......... 177
13-14. Réglage de la position de la came de
coupe des fils (ZE-8580 seulement) .............. 181
13-15. Réglage de la tension du ressort du pied
presseur de fil inférieur (ZE-8580 seulement) .. 183
13-16. Réglage du tire-fils (ZE-8580 seulement) ..... 184
13-17. Réglage des interrupteurs DIP ...................... 185
13-18. Méthode de réglage des interrupteurs
mémoire .......................................................... 191
14. PIECES EN OPTION .............................................. 208
14-1. Interrupteur de motif en miroir ..................... 208
14-2. Levier de verrouillage du cadran .................. 209
14-3. Guide-fil F ........................................................ 210
15.
MODIFICATION DE LA LIGNE DE BASE DU MOUVEMENT
LATÉRAL DU MOTIF DU BORD DROIT AU CENTRE DU MOTIF ....
215
16. RESOLUTION DES PROBLEMES......................... 231
16-1. Tête de machine ............................................. 231
16-2. Panneau de commande .................................. 234
16-3. Liste des codes d’erreur .................................. 235
TABLE DES MATIERES
1. NOMBRES DE LAS PIEZAS PRINCIPALES .......... 1
2. ESPECIFICACIONES DE LA MAQUINA ............... 5
3. CUADRO DE PATRONES DE COSTURA .............. 7
4. PARTES OPCIONALES.......................................... 9
5. INSTALACION ....................................................... 11
5-1.
Diagrama de procesado para mesa de montaje ....
12
5-2. Instalación de la caja de controles ................. 13
5-3. Instalación del motor ..................................... 14
5-4. Instalación de la bandeja de aceite ............... 15
5-5. Instalación de la cabeza de la máquina ........ 16
5-6. Instalación de la placa del levantador de
rodilla (Excepto-901) ...................................... 17
5-7.
Ajuste del levantador de rodilla (Excepto-901) ..
17
5-8. Instalación de la correa .................................. 19
5-9. Instalación de la bobinadora ......................... 20
5-10. Instalación de la cubierta de la correa .......... 21
5-11. Conexión de los cables .................................. 24
5-11-1. Conexión del cable a tierra ............. 25
5-11-2. Conexión del mazo de conductores .. 26
5-11-3. Conexión del mazo de conductores
de la caja de cortador de borde ...... 30
5-11-4. Conexión del cable de alimentación.. 33
5-11-5. Conexión del mazo de conductores
del levantador del prensatelas
automático (ZE-8580 u opcional) ........ 34
5-11-6. Conexión del mazo de conductores
del pedal de pie (opcional) .............. 35
5-12. Instalación del soporte del carrete ................. 36
5-13. Conexión de la biela ....................................... 37
5-14. Lubricación ..................................................... 38
5-15.
Funcionamiento de prueba (Usando el pedal)...
39
5-15-1. Conectando la alimentación ........... 39
5-15-2. Uso del pedal ................................... 44
5-16. Ajuste del pedal ............................................... 47
6. PREPARATIVOS ANTES DE COSER .................... 48
6-1. Colocación de la aguja ................................... 48
6-2. Manera de sacar la caja de la bobina ........... 49
6-3. Bobinado del hilo inferior .............................. 51
6-4. Instalación de la caja de la bobina ................. 52
6-5. Enhebrado del hilo superior .......................... 53
6-6. Ajuste del largo de puntada .......................... 55
6-7. Rematado ........................................................ 57
6-8. Ajuste de la altura de la cuchilla de borde .... 59
6-9.
Uso del retirador de hilo (ZE-8580-401, -901) .....
60
7. USO DEL TABLERO DE CONTROLES ................. 61
7-1.
Denominación de las piezas y funcionamiento ....
61
7-2. Método de ajuste de patrón .......................... 73
7-2-1. Ajuste del patrón de costura ........... 73
7-2-2.
Ajuste el ancho de la puntada de zigzag ...
82
7-2-3. Ajuste de la posición de la línea de
base del margen de corte ................. 89
7-2-4. Ajuste la posición de parada
de la puntada de zigzag ................... 97
7-3. Ajuste de la velocidad de costura ................. 98
7-4. Costura de corrección .................................... 99
7-5.
Usando comienzo lento (sólo ZE-8580, -8570-A01) ...
100
7-6. Ajuste de rematado por atrás inicial
(Sólo ZE-8580, -8570-A01) .............................. 110
7-7. Ajuste de rematado por atrás final
(Sólo ZE-8580, -8570-A01) .............................. 119
7-8. Ajuste de la costura de puntadas
fijas/etiquetas (sólo ZE-8580, -8570-A01) ..... 129
7-9. Método de bloqueo del teclado del panel de
control ............................................................. 132
8. Uso del contador del hilo inferior ....................... 133
9. COSTURA .............................................................. 136
9-1. Costura ............................................................ 137
9-2. Costura de corte de borde inferior................. 138
10. TENSION DEL HILO .............................................. 139
10-1. Ajuste de la tensión del hilo .......................... 139
10-2. Ajuste de la presión del prensatelas ............. 141
11. LIMPIEZA ............................................................... 142
11-1. Procedimientos diarios de limpieza .............. 143
11-2. Engrasando (cada tres meses) ...................... 145
12. CAMBIO DE PARTES ............................................ 147
12-1. Cuchilla fija y cuchilla móvil (Sólo ZE-8580) .... 148
12-2. Cuchilla de borde ........................................... 152
12-3. Partes calibradas (prensatelas, placa de
agujas y alimentador) .................................... 153
12-4. Resorte de compresión .................................. 156
13. AJUSTES ESTANDARES...................................... 157
13-1. Ajuste del resorte del tirahilos ...................... 158
13-2. Ajuste de la altura del prensatelas ................. 160
13-3. Ajuste de la altura del alimentador ............... 161
13-4. Ajuste del ángulo del alimentador ................. 162
13-5. Ajuste de la posición hacia
adelante/atrás del alimentador ..................... 163
13-6. Ajuste de la sincronización de la
aguja y el mecanismo de alimentación ........ 164
13-7. Ajuste de la altura de la barra de agujas ...... 165
13-8.
Sincronización de la aguja y el garfio giratorio ...
169
13-9.
Ajuste de la posición de tope del garfio giratorio ....
169
13-10. Ajuste de la presión de corte de la
cuchilla de borde ............................................ 170
13-11. Ajuste del sincronizador ................................ 171
13-12. Ajuste de la lubricatión del cangrejo ............ 173
13-13. Ajuste del largo sobrante de hilo después del
corte de hilo (Sólo ZE-8580) .......................... 178
13-14. Ajuste de la posición de la leva de cortahilos
(Sólo ZE-8580) ................................................ 182
13-15. Ajuste de la tensión del resorte prensor
del hilo inferior (Sólo ZE-8580) ..................... 183
13-16. Ajuste del limpiahilos (Sólo ZE-8580) ........... 184
13-17. Ajuste de los interruptores DIP ..................... 185
13-18. Método de ajuste del interruptor de
memoria .......................................................... 191
14. PARTES OPCIONALES.......................................... 208
14-1. Interruptor de patrón reflejado ..................... 208
14-2. Palanca de bloqueo del dial .......................... 209
14-3. Guiahilos F ...................................................... 210
15.
CAMBIO DE LA LÍNEA DE BASE PARA EL MOVIMIENTO LATERAL
DEL PATRÓN DESDE EL BORDE DERECHO AL CENTRO DEL PATRÓN ...
217
16. LOCALIZACION DE AVERIAS............................... 237
16-1. Cabeza de la máquina .................................... 237
16-2. Panel de controles ........................................... 240
16-3. Lista de códigos de error ............................... 241
CONTENIDO

1ZE-8570,8580
q
w
e
r
t
y
!9
u
i
o
!0
@2
!2
!3
!4
!1
!5
@3
@4
@5
!7
!6
@1
@0 !8
[ ZE-8580 ]
1. NAMES OF MAJOR PARTS
1. HAUPTTEILE
1. NOM DES PIECES PRINCIPALES
1. NOMBRES DE LAS PIEZAS PRINCIPALES
1. NAMES OF MAJOR PARTS
1. HAUPTTEILE
1. NOM DES PIECES PRINCIPALES
1. NOMBRES DE LAS PIEZAS PRINCIPALES
1497M
1498M
1274M

2
ZE-8570,8580
qUpper thread feeding device (ZE-8580) wThread wiper (ZE-8580-401, 901) eActuator
rPresser bar lifter lever tPresser foot yControl box
uMotor iCotton stand oOperation panel
!0 Machine pulley !1 Feed adjustment dial !2 Reverse lever
!3 Condense dial !4 Bobbin winder !5 Power switch
!6 Knee lifter assembly !7 Knife unit (ZE-8580) !8 Under edge trimmer
!9 Edge trimmer box
Safety devices
@0 Thread take-up guard cover @1 Finger guard @2 Belt cover
@3 Finger guard @4 Belt casting prevention guide @5 Belt cover
qOberfadenzuführung (ZE-8580) wFadenwischer (ZE-8580-401, 901) eStellglied
rStoffdrückerfußhebel tStoffdrückerfußySchaltkasten
uMoteur iSpulenträger oBedienungstafel
!0 Riemenscheibe !1 Transporteinstellscheibe !2 Umkehrhebel
!3 Verdichtungsstichscheibe !4 Spuler !5 Netzschalter
!6 Kniehebel !7 Messer (ZE-8580) !8 Unterer Kantenabschneider
!9 Kantenabschneiderbox
Sicherheitsvorrichtungen
@0 Fadenabnahmeschutzabdeckung @1 Garde-doigts @2 Riemenschutz
@3 Figerschutz @4 Riemenschutzführung @5 Riemenschutz
qDispositif d’entraînement du fil supérieur wTire-fils (ZE-8580-401, 901) eActuateur
(ZE-8580)
rLevier du releveur de barre de pied pressur tPied presseur yBoîtier de commande
uMotor iBroche porte-bobine oPanneau de commande
!0 Poulie de machine !1 Cadran de réglage de !2 Levier d’inversion de
l’entraînement l’entraînement
!3 Molette de condensation !4 Bobineur de canette !555 Interrupteur
d’alimentation
!6 Ensemble de releveur au genou !7 Couteau (ZE-8580) !8 Couteau sous bord
!9 Boîtier de couteau de bord
Dispositifs de sécurité
@0 Couvercle du protecteur de releveur de fil @1 Fingerschutz @2 Couvercle de courroie
@3 Protège-doigts @4 Guide de prévention de saute @5 Couvercle de courroie
de courroie
qDispositivo de alimentación del hilo superior wRetirador de hilos eAccionador
(ZE-8580) (ZE-8580-401, 901)
rPalanca del levantador de barra de prensatelas tPrensatelas yCaja de controles
uMotor iSoporte del carrete oPanel de controles
!0 Polea de la máquina !1 Dial de ajuste de !2 Palanca de retroceso
alimentación de la alimentación
!3 Dial de puntada condensada !4 Bobinadora !555 Interruptor principal
!6 Conjunto del levantador de rodilla !7 Cuchilla (ZE-8580) !8 Cortador de borde inferior
!9 Caja de cortador de borde
Dispositivos de seguridad
@0 Cubierta de protector del tirahilos @1 Protector de dedos @2 Cubierta de la correa
@3 Protección para dedos @4 Guía de prevención de salida @5 Cubierta de la correa
de la correa
1. NAMES OF MAJOR PARTS
1. HAUPTTEILE
1. NOM DES PIECES PRINCIPALES
1. NOMBRES DE LAS PIEZAS PRINCIPALES

3ZE-8570,8580
2. MACHINE SPECIFICATIONS
2. TECHNISCHE DATEN
2. MACHINE SPECIFICATIONS
2. TECHNISCHE DATEN
2. SPECIFICATIONS DE LA MACHINE
2. ESPECIFICACIONES DE LA MAQUINA
BROTHER INDUSTRIES, LTD.
ZE-8570- 101
MADE IN JAPAN
BROTHER INDUSTRIES, LTD.
MADE IN JAPAN
ZE-8580- 101
*1 ...Used for sewing condensed stitches and backtack stitches.
*2 ...At the time of shipment from the factory, the maximum sewing speed is set to 4,500 rpm. If you would like to sew
at speeds higher than this, change the setting of the DIP switch inside the control box. (Refer to page 185.)
Furthermore, the maximum sewing speed may be limited by the type of sewing pattern and the zigzag width.(Refer
to page 92.)
*3 ... The maximum number of custom-made patterns that can be stored is 99 patterns with a total of 10,000 stitches, at
500 stitches or less per pattern.
*4 ...If you would like to reduce the pressure of the presser foot (such as when sewing light-weight materials), replace
the compression spring with the accessory spring. (Refer to page 156.)
*5 ... At the time of shipment from the factory, the trimming margin is set to 2--6.5 mm. The trimming margin may be
limited by the zigzag width and gauge part size. (Refer to page 84.)
Upper thread feeding device
Oberfadenzuführung
Thread trimmer
Fadenabschneider
Thread wiper
Fadenentferner (Wischer)
Automatic presser foot lifter
Automatische Anhebevorrichtung
Solenoid
Solenoid
Solenoid
Solenoid
Solenoid
Solenoid
ZE-8570
9
Back tack/condense device *1
Verriegelungs/Verdichtungsvorrichtung *1
Solenoid
Solenoid
Solenoid
Solenoid
43A0
ZE-8580

4
ZE-8570,8580
Single-phase/Eine Phase 110V, 220V, 230V
3-phase/Drei Phasen 220V, 240V, 380V, 400V
Maximum electric power consumption: 600 VA
Max. Leistungsaufnahme 600 VA
*1 ...Zum Nähen von verdichteten Stichen und zum Verriegeln.
*2 ...Bei der Auslieferung ist die maximale Nähgeschwindigkeit auf 4500 Stiche pro Minute eingestellt. Für eine höhere
Nähgeschwindigkeit muß der DIP-Schalter im Schaltkasten eingestellt werden. (Siehe Seite 185.)
Die maximale Nähgeschwindigkeit kann durch das Nähmuster und die Zickzackbreite eingeschränkt werden.(Siehe
Seite 94.)
*3 ... Die maximale Anzahl von individuellen Stichmustern, die gespeichert werden können, beträgt 99 mit einer
Gesamtstichzahl von 10 000 Stichen. Die einzelnen Stichmuster können aus bis zu 500 Stichen bestehen.
*4 ...Für eine Verringerung der Andruckkraft des Stoffdrückerfußes (wie bei der Verarbeitung von leichten Materialien),
muß die Andruckfeder gegen die Feder im Zubehör ausgetauscht werden. (Siehe Seite 156.)
*5 ... Bei der Auslieferung ist die Schnittrandbreite auf 2 – 6,5 mm eingestellt. Die Schnittbreite kann durch die
Zickzackbreite und Größe der Zubehörteile eingeschränkt werden. (Siehe Seite 86.)
Use
Verwendung
Maximun stitch length
Max. Stichlänge
Pressser foot height
Stoffdrückerfußhöhe
Automatic
Automatische
Betätigung
Presser foot pressure
Stoffdrückerfußdruck
Needle
Nadel
Motor
Motor
Power supply
Stromversorgung
ZE-8570 ZE-8580
2.5mm
2,5mm
5,000rpm*2 (depends on material and process conditions)
5.000/min*2 (
Abhängig vom Material und den Verarbeitungsbedingungen
)
14 patterns of eight types built-in
(Up to 99 different types of custom-made patterns can be added*3)
14 Muster von 8 Typen (es lassen sich bis zu 99 verschiedene individuelle
Stichmuster hinzufügen*3)
8mm (Factory default 4.5mm)
8mm (Herstellereinstellung 4,5mm)
Rotary thread take-up
Fadenabnahme
33.3mm
33,3mm
1.5mm
1,5mm
4mm
8mm
5mm
Schmets
SY 1965 Nm70/10
Three-phase 400 W induction motor
400 W Dreiphasen-Induktionsmotor
General (foundation)
Allgemeines (Miederwaren)
20-60N*4
Sewing pattern
Nähmuster
Max. zigzag width
Max. Zickzackbreite
Thread take-up lever
Fadenabnahmehebel
Needle bar stroke
Nadelstangenhub
Feed dog height
Transporteurhöhe
Presser bar lifter
Stoffdrückerstange
Knee lifter
Kniehebel
For light-weight materials-medium-weight materials
Für leichte Materrialien-mittlere Materialien
Max. sewing speed
Max. Nähgeschwindigkeit
Trimming margin
Schnittrand 1.5–9.5mm*5
1,5–9,5mm*5
2. MACHINE SPECIFICATIONS
2. TECHNISCHE DATEN
2. SPECIFICATIONS DE LA MACHINE
2. ESPECIFICACIONES DE LA MAQUINA

5ZE-8570,8580
2. SPECIFICATIONS DE LA MACHINE
2. ESPECIFICACIONES DE LA MAQUINA
2. MACHINE SPECIFICATIONS
2. TECHNISCHE DATEN
2. SPECIFICATIONS DE LA MACHINE
2. ESPECIFICACIONES DE LA MAQUINA
BROTHER INDUSTRIES, LTD.
ZE-8570- 101
MADE IN JAPAN
BROTHER INDUSTRIES, LTD.
MADE IN JAPAN
ZE-8580- 101
*1 ...Pour coudre les points condensés et les points d’arrêt.
*2 ...A l’expédition de l’usine, la vitesse de couture maximale a été réglée à 4.500 tr/mn. Si l’on veut coudre à des
vitesses plus grandes que celle-ci, changer le réglage de l’interrupteur DIP dans le boîtier de commande. (Se
reporter à la page 185.)
En outre, il est possible que la vitesse de couture maximale soit limitée par le type de motif de couture et la largeur
de zigzag. (Se reporter à la page 96.)
*3 ... Le nombre maximum de motifs sur mesure pouvant être enregistrés est de 99 motifs avec un total de 10 000
points, à 500 points ou moins par motif.
*4 ...Si l’on veut diminuer la pression de pied presseur (par exemple lors de la couture de tissus légers), remplacer le
ressort de compression par le ressort fourni. (Se reporter à la page 156.)
*5 ... A l'expédition de l'usine, la marge de coupe a été réglée à 2 - 6,5 mm. La marge de coupe peut être limitée par la
largeur de zigzag et la taille des pièces de calibrage. (Se reporter à la page 88.)
Dispositif d’entraînement du fil supérieur
Dispositivo de alimentación del hilo
superior
Coupe-fil
Cortahílos
Tire-fil
Limpia-hílos
Dispositif de relevage automatique de pied
presseur
Alzador automático del prensatelas
Solénoïde
Solenoid
Solénoïde
Solenoid
Solénoïde
Solenoid
ZE-8570
9
Dipositif de point d’arrêt/condensation *1
Dispositivo de rematado por atrás/puntada
condensada *1
Solénoïde
Solenoid
Solénoïde
Solenoid
43A0
ZE-8580

6
ZE-8570,8580
2. MACHINE SPECIFICATIONS
2. TECHNISCHE DATEN
2. SPECIFICATIONS DE LA MACHINE
2. ESPECIFICACIONES DE LA MAQUINA
Monophasé/Monofásico 110V, 220V, 230V
Triphasé/Trifásico 220V, 240V, 380V, 400V
Consommation électrique maximale: 600 VA
Consumo eléctrico máximo: 600 VA
*1 ...Se usa para costura de puntadas condensadas y rematado por atrás.
*2 ...Al salir de la fábrica, la velocidad máxima de costura se ajusta a 4.500 rpm. Si se desea coser a velocidades
mayores que esta, cambiar el ajuste del interruptor DIP dentro de la caja de control. (Consultar la página 185.)
Además, la velocidad máxima de costura puede ser limitada por el tipo de patrón de costura y el ancho del
zigzag.(Consultar la página 98.)
*3 ... El número máximo de patrones a medida que pueden ser almacenados son 99 patrones con un total de 10.000
puntadas, a 500 puntadas o menos por patrón.
*4 ...Si se desea reducir la presión del prensatelas (como al coser materiales de peso ligero), cambiar el resorte de
compresión por un resorte accesorio. (Consultar la página 156.)
*5 ... Al salir de la fábrica, el margen de recorte fue ajustado a 2 - 6,5 mm. El margen de recorte puede estar limitado por
el ancho de zigzag y el tamaño de la pieza calibrada. (Consulte la página 90.)
Utilisation
Uso
Longueur maximale du point
Longitud máxima de la puntada
Hauteur du presseur
Altura del pie del
prensatelas
Automatique
Automático
Pression du pied presseur
Presión del prensatelas
Aiguille
Aguja
Moteur
Motor
Alimentation électrique
Fuente de alimentación
ZE-8570 ZE-8580
2,5mm
5.000tr/mn*2 (dépend du tissu et des conditions de traitement)
5.000rpm*2 (
depende de las condiciones del material y el proceso
)
14 motifs de huit types incorporés
(Il est possible d’ajouter jusqu’à 99 types différents de motifs personnalisés*3)
14 patrones básicos de ocho tipos incorporados
(Se pueden agregar hasta 99 tipos diferentes de patrones a medida*3)
8mm (Défaut usine 4,5mm)
8mm (Preajuste de fábrica 4,5mm)
Releveur de fil rotatif
Tirahilos giratorio
33,3mm
1,5mm
4mm
8mm
5mm
Schmets
SY 1965 Nm70/10
Moteur à induction de 400 W triphasé
Motor a inducción de 400W trifásico
Général (fondation)
General (base)
20-60N*4
Motif de couture
Patrón de costura
Largeur de zigzag maximum
Ancho máximo del zigzag
Levier de releveur de fil
Palanca del tirahilos
Course de la barre à aiguille
Recorrido de barra de aguja
Hauteur de la griffe d’entraînement
Altura del alimentador
Pied de biche
Prensatelas
Releveur au genou
Levantador de rodilla
pour tissus légers-tissus mi-lourds
para materiales de peso ligero-materiales de peso medio
Vitesse max. de couture
Máx. velocidad de costura
Marge de coupe
Margen de corte 1,5–9,5mm

7ZE-8570,8580
3. SEWING PATTERN TABLE
3. NÄHMUSTERTABELLE
3. TABLEAU DES MOTIFS DE COUTURE
3. CUADRO DE PATRONES DE COSTURA
•This sewing machine is equipped with the following built-in sewing patterns. Select the pattern number from the
operation panel to use a pattern. (Refer to page 75.)
•Different zigzag widths and zigzag lengths can be set for each sewing pattern. (Refer to page 55 and 81.)
•Die Nähmaschine ist mit den folgenden Nähmustern ausgerüstet. Wählen Sie die gewünschte Musternummer auf
dem Bedienungsfeld. (Siehe Seite 75.)
•Für die einzelnen Nähmuster lassen sich die Zickzackbreite und die Zickzacklänge einstellen. (Siehe Seiten 55 und
81.)
•Cette machine à coudre est équipée des motifs de couture incorporés suivants. Sélectionner le numéro de motif sur
le panneau de commande pour utiliser un motif. (Se reporter à la page 75.)
•Il est possible de régler différentes largeurs et longueurs de zigzag pour chaque motif de couture. (Se reporter aux
pages 55 et 82.)
•Esta máquina de coser está equipada con los siguientes patrones de costura. Seleccionar el número de patrón en el
panel de controles para usar un patrón. (Consultar la página 75.)
•Se pueden ajustar anchos de zigzag y largos de zigzag diferentes para cada patrón de costura. (Consultar las páginas
55 y 82.)
Pattern no. (LED display)
Musternr. (LED-Anzeige)
N° de motif (affichage LED)
No. de patrón (Exhibición LED)
Straight stitch
Gerade Stiche
Point droit
Puntadas rectas
Plain zigzag
Normale Zickzackstiche
Zigzag ordinaire
Puntadas en zigzag simples
2-step zigzag
2-Stufen-Zickzackstiche
Zigzag 2 pas
Puntadas en zigzag en dos
pasos
3-step zigzag
3-Stufen-Zickzackstiche
Zigzag 3 pas
Puntadas en zigzag en tres
pasos
Notes
Bemerkungen
Remarques
Notas
Sewing pattern
Nähmuster
Motif de couture
Patrón de costura
3. SEWING PATTERN TABLE
3. NÄHMUSTERTABELLE
3. TABLEAU DES MOTIFS DE COUTURE
3. CUADRO DE PATRONES DE COSTURA

8
ZE-8570,8580
In the columns marked with , the number of stitches sewn in a
straight line can be set within the range of 1 to 99 stitches.
In der mit bezeichneten Kolonne kann die in einer geraden Linie
genähte Stichzahl im Bereich von 1 bis 99 eingestellt werden.
Dans la colonne marquée d’un , il est possible de régler le nombre
de points cousus en ligne droite dans la plage de 1 à 99 points.
En las columnas marcadas con , el número de puntadas cosidas
en línea recta puede ser ajustada en un rango de 1 a 99 puntadas.
Sewing patterns created using the BAS-PC/300 (optional device) can
be sewn.
(The pattern number is set in the columns marked with .)
Es lassen sich mit der BAS-PC/300 (Sonderzubehör) hergestellte
Stichmuster nähen.(Die Musternummer wird in der mit A A
bezeichneten Kolonne eingestellt.)
Il est possible de coudre les motifs de couture créés en utilisant la
BAS-PC/300 (dispositif en option).(Le numéro de motif peut être réglé
dans les colonnes marquées d’un .)
Patrones de costura creados usando la BAS-PC/300 (dispositivo opcional).
(El número de patrón se ajusta en las columnas marcadas con .)
✽
✽
Crescent scallop
(24sts.)
Even scallop
(12sts.)
Standard scallop
(24sts.)
Even scallop
(24sts.)
Crescent scallop
(24sts.)
Even scallop
(12sts.)
Scallop (left)
Muschelstiche (links)
Feston (gauche)
Festón (izquierda)
Scallop (right)
Muschelstiche (rechts)
Feston (droit)
Festón (derecha)
Blind stitch (left)
Blindstiche (links)
Point invisible (gauche)
Puntada invisible
(izquierda)
Blind stitch (right)
Blindstiche (rechts)
Point invisible (droit)
Puntada invisible
(derecha)
Custom made pattern
Individuelle Stichmuster
Motif personnalisé
Patrón a medida
If is set in the column marked with +, a reflection pattern can be
sewn by stopping the sewing machine and then pressing the ac-
tuator. (Refer to page 77.)
Falls in der Kolonne + eingestellt ist, wird ein spiegelbildliches
Muster genäht, falls die Maschine gestoppt und Betätigungstaste
gedrückt wird. (Siehe Seite 77.)
Si l’on règle dans la colonne marquée d’un +, un motif à réflexion
pourra être cousu en arrêtant la machine à coudre puis en appuyant
sur l’actuateur. (Se reporter à la page 79.)
Si se ajusta en la columna marcada con +, se puede coser un
patrón de reflexión parando la máquina de coser y accionado el
impulsor. (Consultar la página 79.)
<Reflection pattern>
<Spiegelbildliches Muster>
<Motif à réflexion>
<Patrón de reflexión>
Sewing pattern
Nähmuster
Motif de couture
Patrón de costura
Press the actuator
Die Betätigungstaste drücken
Appuyer sur l’actuateur.
Presionar el impulsor
(Reflection pattern)
(Spiegelbildliches
Muster)
(Motif à réflexion)
(Patrón de reflexión)
(No. of stitches)
(Stichzahl)
(Nombre de points)
(No. de puntadas)
✽
✽
✽
✽
✽
✽
3. SEWING PATTERN TABLE
3. NÄHMUSTERTABELLE
3. TABLEAU DES MOTIFS DE COUTURE
3. CUADRO DE PATRONES DE COSTURA
Standard scallop
(24sts.)
Even scallop
(24sts.)
Sewing direction
Nährichtung
Sens de couture
Dirección de costura
1276M
1430M

9ZE-8570,8580
4. OPTIONAL PARTS
4. SONDERZUBEHÖRTEILE
4. OPTIONAL PARTS
4. SONDERZUBEHÖRTEILE
4. PIECES EN OPTION
4. PARTES OPCIONALES
Rotary hook (carbide reinforced hook tip)
Greifer (mit Hartmetallgreiferspitze)
Crochet rotatif (pointe de crochet renforcée au carbure)
Garfio giratorio (punta de garfio reforzada de carburo metálico)
qThread tension assembly (for lock stitchers)
(Reduces the difference in thread tightening resulting from different
sewing speeds)
qFadenspannvorrichtung (für Steppstichnähmaschinen)
(Ausgleich der Fadenspannung bei verschiedenen
Nähgeschwindigkeiten)
qEnsemble de tension du fil (pour machines à point noué)
(Réduit la différence de resserrement du fil résultant de différentes
vitesses de couture)
qConjunto de tensor de hilo (para máquina de coser doble pespunte)
(reduce las diferencias en la tensión del hilo resultante de diferentes
velocidades de costura)
wTension release pin
wSpannungslösestift
wGoupille de relâchement de la tension
wPasador de liberación de tensión
Part code
Teilecode
Pièce N°
Código de parte
Part name/Bezeichnung/Nom des pièces/Nombre de parte
S51821-901
S51822-901
S55026-901
S55027-901
S51808-001
S51814-001
S54996-001
S51809-000
114941-001
qThread guide F
(for coarse materials. Refer to P.204 for details.)
qFadenführung F
(für grobe Materialien, siehe Seite 204 für Einzelheiten.)
qGuide-fil F
(pour les tissus grossiers. Pour plus de détails, se reporter à la page 204.)
qGuiahilos F
(para materiales gruesos. Consulte la página 204 para más detalles.)
wFelt
wFilz
wFeutre
wFieltro
4. PIECES EN OPTION
4. PARTES OPCIONALES
S
5
1
x
x
x
Thread take-up lever (for plain zigzag and tape attaching)
Fadenabnahmehebel (für normales Zickzacknähen und Aufnähen von Borten)
Levier de releveur de fil (pour zigzag ordinaire et fixation de ruban)
Palanca de tirahilos (para puntadas en zigzag simples y colocación de cintas)
Rotary hook (for medium-weight materials)
Greifer (für mittlere Materialien)
Crochet rotatif (pour tissus mi-lourds)
Garfio giratorio (para materiales de peso medio)
ZE-8570
ZE-8570
ZE-8580
ZE-8580
qw
w
q
0524M
0525M
0526M
1269M
26.2 mm
26,2 mm
S58671-901
S57929-901
Rotary hook (for light-weight and coarse materials)
Greifer (für leichte und grobe Materialien)
Crochet rotatif (pour les tissus légers et grossiers)
Garfio giratorio (para materiales de peso ligero y gruesos)
ZE-8570
ZE-8580

10
ZE-8570,8580
■ Table parts ■ Pièces de la table
■ Nähtischteile ■ Partes de la mesa
J80081-040
J80380-040
S47750-000 (Harness)
(Kabel)
(Faisceau)
(Mazo de conductores)
J80630-001
S47750-000 (Harness)
(Kabel)
(Faisceau)
(Mazo de conductores)
S47750-000 (Harness)
(Kabel)
(Faisceau)
(Mazo de conductores)
Standing operation 2 pedal #6
(Two pedals + kick pedal)
Stehende Bedienung 2 Pedale #6
(zwei Pedale und ein Trittpedal)
Opération debout à 2 pédales #6
(deux pédales + pédale de mise en marche)
2 pedales para hacer funcionar de pie #6
(Dos pedales + pedal de punteo)
Standing operation 3 pedal #40 (Three pedals)
Stehende Bedienung 3 Pedale #40 (drei Pedale)
Opération debout à 3 pédales #40 (trois pédales)
3 pedales para hacer funcionar de pie #40
(Tres pedales)
Standing operation 3 pedal two-speed (Three pedals)
Stehende Bedienung 3 Pedale zwei Geschwindigkeiten
(drei Pedale)
Opération debout à 3 pédales deux vitesses
(trois pédales)
3 pedales para hacer funcionar de pie dos velocidades
(Tres pedales)
183504-009
183501-001
4. OPTIONAL PARTS
4. SONDERZUBEHÖRTEILE
4. PIECES EN OPTION
4. PARTES OPCIONALES
Part name/Bezeichnung/Nom des pièces/Nombre de parte
Part code
Teilecode
Pièce N°
Código de parte
Part name / Bezeichnung / Nom des pièces / Nombre de parte
Dial lock lever set
Hebelsatz für Einstellscheibensperre
Jeu de levier de verrouillage de molette
Juego de palanca de bloqueo del dial
Part code
Teilecode
Pièce N°
Código de parte
Thread wiper set
Fadenspannvorrichtung
Mécanisme de tire-fil
Mecanismo del limpiador de hilo
Reflection pattern switch
Musterumkehrschalter
Interrupteur de motif en miroir
Interruptor de patrón reflejado
0772M
0773M
0528M
0527M
Specer set
Abstandhaltersatz
Jeu d’entretoises
Juego de espaciador
Caster set
Rollensatz
Jeu de roulettes
Juego de ruedas
Tension gauge set
Fadenspannungslehrensatz
Jeu de jauge de tension
Juego de calibrador de tensión
Presser foot lifting solenoid set ID <For ZE-8580>
Solenoidsatz für die anhebung des stoffdrückerfußes ID <Für ZE-8580>
Identité du jeu de solénoïdes releveurs de pied presseur <Pour ZE-8580>
Conjunto solenoide del levantador ID <Para ZE-8580>
183967-001
S47686-000 (Relay harness)
(Relaiskabel)
(Faisceau de relais)
(
Mazo de conductores del relevador
)
S80021-001
Ask the place of purchase.
Wenden Sie sich am das Verkaufsgeschäft.
S'adresser à son revendeur.
Consultar en el lugar de compra.
S80017-101
183922-101

11 ZE-8570,8580
5. INSTALLATION
5. MONTAGE
5. INSTALLATION
5. INSTALACION
Die Nähmaschine darf nur von einem
qualifizierten Fachmann montiert werden.
Falls Elektrikerarbeiten gemacht werden müssen,
wenden Sie sich an lhren Brother-Händler oder an
einen qualifizierten Elektriker.
Weil die Nähmaschine mehr als 43 kg wiegt, sind
zur Montage mindestens zwei Personen
notwendig.
Stellen Sie die Nähmaschine nicht an Orten, an
denen starke elektrische Störsignale auftreten,
wie in der Nähe von Hochfrequenz-
Schweißgeräten auf.
Durch Mißachtung dieser Vorsichtsmaß-nahmen
können Betriebsstörungen der Maschine
verursacht werden.
Machine installation should only be carried out
by a qualified technician.
Contact your Brother dealer or a qualified elec-
trician for any electrical work that may need to
be done.
The sewing machine weights more than 43 kg.
The installation should be carried out by two or
more people.
Avoid setting up the sewing machine near
sources of strong electrical noise such as
highfrequency welding equipment.
If this precaution is not taken, incorrect machine
operation may result.
L’installation de la machine doit être confiée
exclusivement à un technicien qualifié.
S’adresser à votre revendeur Brother ou à un
électricien qualifié pour effectuer toute
réparation éventuelle du système électrique.
La machine à coudre pèse plus de 43 kg.
L’installation nécessite donc le concours de deux
personnes ou plus.
Eviter d’installer la machine près de sources de
bruit électrique intense, telles que des appareils
de soudure haute fréquence.
Si on n’observe pas cette précaution, une
anomalie de fonctionnement risque de
s’ensuivre.
5. INSTALLATION 5. INSTALLATION
5. MONTAGE 5. INSTALACION
No conectar el cable de alimentación hasta haber
completado la instalación, de lo contrario la
máquina podría comenzar a funcionar si por
descuido se pisara el pedal, lo que podría resultar
en heridas.
Todos los cables deben mantenerse al menos a
25 mm de las piezas móviles.
Además, no se deben doblar demasiado los
cables o apretarlos demasiado con grapas, de lo
contrario existe el peligro de que ocurra un
incendio o golpes eléctricos.
Instalar las cubiertas de correas en la cabeza de
la máquina y el motor.
Ne pas brancher le cordon d’alimentation avant
d’avoir terminé l’installation, sinon la machine
risquera de se mettre en marche si on enfonce
accidentellement la pédale, et donc de causer des
blessures.
Tous les câbles doivent être fixés à au moins 25
mm des parties mobiles. De plus, ne pas plier
excessivement les câbles ni les fixer trop
fermement avec des agrafes, sinon on risquera
de provoquer un choc électrique ou un incendie.
Installer les couvercles de courroie sur la tête de
machine et sur le moteur.
Schließen Sie das Netzkabel erst nach
abgeschlossener Montage an, weil sonst durch
eine unbeabsichtigte Betätigung des Pedals die
Maschine in Gang gesetzt und Verletzungen
verursachen kann.
Alle Kabel müssen mindestens 25 mm von sich
bewegenden Teilen entfernt sicher befestigt
werden. Die Kabel dürfen auch nicht zu stark
gebogen oder zu fest mit Klammern befestigt
werden, weil sonst die Gefahr eines elektrischen
Schlages besteht.
Bringen Sie den Riemenschutz am
Maschinenoberteil und am Motor an.
Do not connect the power cord until installation
is complete, otherwise the machine will operate
if the treadle is pressed by mistake, which could
result in injury.
All cords should be secured at least 25 mm away
from any moving parts. Furthermore, do not ex-
cessively bend the cords or secure them too
firmly with staples, otherwise there is the dan-
ger that fire or electric shocks could occur.
Install the belt covers to the machine head and
motor.
CAUTION/ACHTUNG/ATTENTION/ATENCION
La máquina debe ser instalada sólo por personal
especializado.
Consultar a su distribuidor Brother o un
electricista calificado por cualquier trabajo de
electricidad que se debiera realizar.
La máquina de coser pesa más de 43 kg. La
instalactión debe ser realizada por dos o más
personas.
Evitar instalar la máquina de coser próxima a
fuentes de ruidos eléctricos fuertes como
equipos de soldadura de alta frecuencia.
Si no se tienen en cuenta estas precauciones, la
máquina podría funcionar mal.

12
ZE-8570,8580
5. INSTALLATION
5. MONTAGE
5. INSTALLATION
5. INSTALACION
A-A
18
2-21.5
2-20.5
2-18
1
1.5
40 95 100
20045
A
A
140 120
181
110
80
2-R50
8-R6
80.6
280 165
40.3
29.5
4-R10
159 57
103
3-fl8.5 fl42
66
33
20
68.5339
479
4-29
4-29 20
190
205
80
2-R10
(100)
130
18050
52
20 56
fl25
4-fl6.5
4-fl15
3-fl26
1200
590 52
52
fl17
29.5
4-R10
80.6
15157.5
215
5-1. Table processing diagram
5-1. Nähtischabbildung
5-1. Plan découpé table
5-1. Diagrama de procesado para mesa de montaje
•The top of the table should be 40 mm in thickness and should be strong enough to hold the weight and with-stand
the vibration of the sewing machine.
•Drill holes as indicated in the illustration below.
•Die Tischplatte sollte 40 mm dick sein und der Nähtisch sollte stabil genug sein das Gewicht der Nähmaschine
aufnehmen und den Betriebsvibrationen widerstehen zu können.
•Bohren Sie die Löcher wie in der nachstehenden Zeichnung gezeigt.
•La partie supérieure de la table doit avoir 40 mm d’épaisseur et doit être assez solide pour pouvoir supporter le
poids et les vibrations de la machine à coudre.
•Percer les trous comme indiqué dans l’illustration ci-dessous.
•La parte de arriba de la mesa debe ser de 40 mm de espesor y lo suficientemente fuerte como para soportar el
peso y las vibraciones de la máquina de coser.
•Realizar los cortes y perforaciones indicados en la figura a continuación.
■ If using a commercially-available table
■ Verwendung eines im Handel erhältlichen Nähtisches
■ Si on utilise une table commerciale
■ Si usa una mesa en venta
Control box mounting hole
Schaltkastenbefestigungsloch
Trou de montage du boîtier de commande
Orificio de montaje de la caja de controles
Motor mounting holes
Motormontagelöcher
Trous de montage du moteur
Orificios de montaje del motor
Cord hole
Kabelloch
Trou du cordon
Orificio de cable
Cotton stand hole
Spulenständerloch
Trou de la broche porte-bobine
Orificio del soporte del carrete
1561M
Edge trimmer box installation position
Installationsposition der
Kantenabschneiderbox
Position d'installation du boîtier de
couteau de bord
Posición de instalación de la caja de
cortador de borde
Cord clamp installation position
Installationsposition der
Kabelklemme
Position d'installation du serre-fils
Posición de instalación de la
abrazadera del cable

13 ZE-8570,8580
5. INSTALLATION
5. MONTAGE
5. INSTALLATION
5. INSTALACION
5-2. Installing the control box
5-2. Montage des Schaltkastens
5-2. Installation du boîtier de commande
5-2. Instalación de la caja de controles
1. Remove the six screws q, and then remove the box cover w.
2. Remove the six screws q, and then open the cover (main P.C. board mounting plate) e.
Caution:
When opening the cover e, hold it securely so that it does not fall down.
3. Install the control box with the four bolts r, cushions t, rubber collars y, flat washers u, nuts i and nut o as
shown in the illustration above.
1) Tighten the nuts i so that there is a gap of 2.5 - 3 mm between the top of the box and the table.
* If you insert a 2.5 mm hexagonal wrench into the gap between the top of the box and the table at this time, the
correct gap can be obtained when the hexagonal wrench is being lightly clamped.
2) While holding each of the nuts i with a spanner so they do not turn, securely tighten the nuts o.
4. Provisionally tighten the box cover w and the cover e with the screws q.
* The box cover w and cover e will be opened once more during the procedure in “5-11. Connecting the cords”,
so be sure to provisionally tighten them at this time.
5. Install the power switch !0 with the two screws !1.
6. Secure the power switch cord with the five staples !2.
1. Entfernen Sie die sechs Schrauben q und nehmen Sie die Schaltkastenabdeckung w ab.
2. Entfernen Sie die sechs Schrauben q und öffnen Sie die Abdeckung e (Hauptplatineplatte).
Vorsicht:
Halten Sie die Abdeckung e beim Öffnen fest, so daß sie nicht herunterfallen kann.
3. Befestigen Sie den Schaltkasten mit den vier Schrauben r, Dämpfern t, Gummischeiben y, Unterlegscheiben u,
Muttern i und Muttern o wie in der Abbildung gezeigt.
1) Ziehen Sie die Muttern i fest, so daßzwischen der Oberseite des Schaltkastens und dem Nähtisch ein Abstand
von 2,5 bis 3 mm vorhanden ist.
* Falls ein 2,5 mm-lnnensechskantschlüssel in den Zwischenraum zwischen der Schaltkastenoberseite und dem
Nähtisch gesteckt wird, so ist der Abstand richtig, wenn der lnnensechskantschlüssel leicht festgeklemmt wird.
2) Halten Sie die Muttern i mit einem Schlüssel fest und ziehen Sie die Muttern o richtig an.
4. Ziehen Sie die Schaltkastenabdeckung w und die Abdeckung e mit den Schrauben q provisorisch fest.
* Die Schaltkastenabdeckung w und die Abdeckung e werden im Abschnitt “5-11. Anschluß der Kabel” noch
einmal geöffnet, ziehen Sie deshalb die Schrauben nur provisorisch fest.
5. Montieren Sie den Netzschalter !0 mit den beiden Schrauben !1 .
6. Befestigen Sie das Netzkabel mit den fünf Klammern !2.
q
w
q
r
t
y
u
e
!0
!1
!2
o
2.5-3mm
2,5-3mm
1408M
i
o
i

14
ZE-8570,8580
5. INSTALLATION
5. MONTAGE
5. INSTALLATION
5. INSTALACION
1. Retirer les six vis q, puis retirer le couvercle de boîtier w.
2. Retirer les six vis q, puis ouvrir le couvercle (plaque de montage de la carte P.C. principale) e.
Attention:
Pour ouvrir le couvercle e, le tenir fermement afin qu’il ne tombe pas.
3. Installer le boîtier de commande à l’aide des quatre boulons r, des tampons t, des colliers en caoutchouc y, des
rondelles plates u, des écrous i et des écrous o, comme indiqué sur l’illustration ci-dessus.
1) Serrer les écrous i de manière qu’il y ait un écart de 2,5 - 3 mm entre le haut du boîtier et la table.
*Si l’on introduit une clé hexagonale de 2,5 mm dans l’écart entre le haut du boîtier et la table à ce moment, l’écart
correct pourra être obtenu lorsque la clé hexagonale est légèrement serrée.
2) En tenant chacun des écrous i avec une clé de manière qu’ils ne tournent pas, serrer fermement les écrous o.
4. Serrer provisoirement le couvercle de boîtier w et le couvercle e avec les vis q.
* Le couvercle de boîtier w et le couvercle e seront à nouveau ouverts pendant la procédure de la section “5-11.
Branchement des cordons”; veiller donc à les serrer provisoirement à ce moment.
5. Installer l’interrupteur d’alimentation !0 à l’aide des deux vis !1.
6. Fixer le cordon de l’interrupteur d’alimentation à l’aide des cinq agrafes !2.
1. Quitar los seis tornillos q, y luego desmontar la caja de controles w.
2. Quitar los seis tornillos q, y luego abrir la cubierta (placa de montaje de tarjeta PC principal) e.
Precaución:
Al abrir la cubierta e, sostenerla bien de manera que no se caiga.
3. Instale la caja de control con los cuatro tronillos r, los cojines t, los collarines de caucho y, las arandelas planas
u, las tuercas i y las tuercas o como se muestra en la ilustración anterior.
1)
Apriete las tuercas i de manera que quede una separación de 2,5 - 3 mm entre la parte de arriba de la caja y la mesa.
* Si en ese momento inserta una llave hexagonal de 2,5 mm en la separacieón entre la parte de arriba de la caja y
la mesa, podrá obtener la separación correcta apretando ligeramente la llave hexagonal.
2)
Mientras sostiene cada una de las tuercas i con una llave de tuercas de manera que no giren, apriete bien las tuercas o.
4. Apretar provisoriamente la cubierta de la caja w y la cubierta e con los tornillos q.
* La cubierta de la caja w y la cubierta e deberá ser abierta una vez durante el procedimiento en la sección “5-11.
Conexión de los cables”, de manera que se debe asegurar de apretarlos provisoriamente en este momento.
5. Instalar el interruptor principal !0 con los dos tornillos !1.
6. Asegurar el cable del interruptor principal con los cinco ganchos !2.
Install the motor q to the table with the three bolts w as
shown in the illustration.
Bringen Sie den Motor q mit den drei Schrauben w am
Nähtisch an, wie in der Abbildung gezeigt.
Installer le moteur q sur la table à l’aide des trois boulons
w, comme indiqué sur l’illustration.
Instalar el motor q en la mesa con los tres pernos w tal
como se indica en la figura.
5-3. Installing the motor 5-3. Installation du moteur
5-3. Montage des Motors 5-3. Instalación del motor
1409M
!4
!3
!5
q
w
1562M
7. Install the edge trimmer box !3 to the underside of the
table with the four rubber cushions !4 and screws !5.
7. Installieren Sie die Kantenabschneiderbox !3 mit den
vier Gummiunterlagen !4 und den Schrauben !5 an
der Tischunterseite.
7. Installer le boîtier de couteau de bord !3 sous la table
à l'aide des quatre coussinets en caoutchouc !4 et des
vis !5.
7. Instalar la caja de cortador de borde !3 a la parte de
abajo de la mesa con las cuatro almohadillas de caucho
!4 y tornillos !5.

15 ZE-8570,8580
5. INSTALLATION
5. MONTAGE
5. INSTALLATION
5. INSTALACION
HIGH
LOW
4. Insert the two rubber cushions r into the notches in
the table, and then secure them with the four nails t.
4. Setzen Sie die beiden Gummiauflagen r in die
Aussparungen des Nähtisches und befestigen Sie die
mit Nägeln t.
4. Inserer les deux tampons en caoutchouc r dans les
crans de la table, puis les fixer a l’aide des quatre clous
t.
4. Insertar las dos almohadillas de caucho r en las
ranuras de la mesa, y luego asegurarlas con cuatro
clavos t.
1. Insert the two black head cushions w into the right-
side corners of the oil pan q (when looking at the oil
pan q from the direction shown in the illustration).
2. Insert the two white head cushions e into the left-side
corners of the oil pan q.
3. Fit the oil pan q into the table grooves.
1. Bringen Sie die beiden schwarzen Auflagen w an den
rechten Ecken der Ölwanne q an (Blickrichtung auf
die Ölwanne q wie in der Abbildung gezeigt).
2. Bringen Sie die beiden weißen Auflagen e an den
linken Ecken der Ölwanne q an.
3. Passen Sie die Ölwanne q in die Vertiefung des
Nähtisches.
1. Installer les deux tampons de tête noirs w dans les
coins de droite du réservoir d’huile q (lorsqu’on
regarde le réservoir d’huile q depuis la direction
montrée dans l’illustration).
2. Installer les deux tampons de tête blancs e dans les
coins de gauche du réservoir d’huile q.
3. Placer le réservoir d’huile q dans les crans de la table.
1. Insertar las dos almohadillas de cabeza de caucho w
en las esquinas del lado derecho de la bandeja de aceite
q (cuando se mire a la bandeja de aceite q desde la
dirección indicada en la figura).
2. Insertar las dos almohadillas de cabeza blancas e en
las esquinas del lado izquierdo de la bandeja de aceite
q.
3. Calzar la bandeja de aceite q en las ranuras de la mesa.
5-4. Installing the oil pan
5-4. Montage der Ölwanne
5-4. Installation du réservoir d’huile
5-4. Instalación de la bandeja de aceite
q
w
0533M
r
t
r
t
e
e
1270M

16
ZE-8570,8580
5. INSTALLATION
5. MONTAGE
5. INSTALLATION
5. INSTALACION
2. Insert the two hinges w into the holes in the machine
bed.
3. Clamp the hinges w onto the rubber cushions e in
the work table, and then place the machine head onto
the head cushions r which are on top of the oil pan
corners.
2. Setzen Sie die beiden Scharniere w in die Löcher des
Maschinenunterteils.
3. Klemmen Sie die Scharniere w an den Gummiauflagen
e im Nähtisch fest und setzen Sie das Oberteil auf die
Auflagen r, die sich an den Ecken der Ölwanne
befinden.
2. Insérer les deux charnières w dans les trous du pla-
teau de machine.
3. Accrocher les charnières w sur les tampons en caoutch-
ouc e de la table de travail, puis placer la tête de ma-
chine sur les tampons de tête r situés sur les coins du
réservoir d’huile.
2. Insertar las dos bisagras w en los orificions en la mesa
de trabajo.
3. Enganchar las bisagras w en las almohadillas de
caucho e en la mesa de trabajo, y luego colocar la
cabeza de la máquina en las almohadillas de la cabeza
r que se encuentran en la parte de arriba de las
esquinas de la bandeja de aceite.
1. Insert the knee lifter complying bar q.
1. Die Knieheberstange q einsetzen.
1. Introduire la barre de liaison de genouillère q.
1. Introducir la barra de transmisión del levantador de
rodilla q.
5-5. Installing the machine head
5-5. Montage des Maschinenoberteils
5-5. Installation de la tête de machine
5-5. Instalación de la cabeza de la máquina
q
q
ZE-8580-901
e
w
1277M
1279M
1569M
we
r

17 ZE-8570,8580
5. INSTALLATION
5. MONTAGE
5. INSTALLATION
5. INSTALACION
Place the knee lifter assembly q onto the knee lifter bar w
on the oil pan, and then secure it by tightening the bolt e.
* Adjust the position of the knee lifter plate q so that it is
easy to use.
Bringen Sie den Kniehebel q an der Kniehebelstange w
der Olwanne an und befestigen Sie sie mit der Schraube
e.
* Stellen Sie die Position der Kniehebelplatte q für eine
komfortable Bedienung ein.
Place l’ensemble q de releveur au genou sur l’arbre w de
releveur au genou situé sur le réservoir d’huile, puis le
fixer en serrant le boulon e.
*Régler la position de la plaque de releveur au genou
q de manière qu’on puisse l’utiliser facilement.
Colocar el conjunto del levantador de rodilla q en el eje
del levantador de rodilla w en la bandeja de aceite, y luego
asegurarla apretando el perno e.
* Ajustar la posición de la placa del levantador de rodilla
q de manera que sea fácil de usar.
1. Turn the machine pulley so that the feed dog is below
the top of the needle plate.
2. Lower the presser foot w by using the presser bar lifter
q.
3. Loosen the nut e.
4. Turn the screw y to adjust so that the amount of play
in the knee lifter t is approximately 2 mm when the
knee lifter plate r is gently pressed.
5. Securely tighten the nut e.
6. Lossen the nut u.
7. Turn the screw i until the distance between the end
of the screw i and the knee lifter t is approximately
12 mm.
8. Turn the adjusting screw i to adjust so that the presser
foot w is at the desired position within a distance of 8
mm of the needle plate when the knee lifter plate r is
fully pressed.
9. After adjustment is completed, securely tighten the nut
u.
w
e
q
5-7. Adjusting the knee lifter (Except-901)
5-7. Einstellen des Kniehebels (außer-901)
5-7. Réglage du releveur au genou (Sauf-901)
5-7. Ajuste del levantador de rodilla (Excepto-901)
5-6. Installing the knee lifter plate (Except-901)
5-6. Anbringen der Kniehebelplatte (außer-901)
5-6. Installation de la plaque de releveur au genou (Sauf-901)
5-6. Instalación de la placa del levantador de rodilla (Excepto-901)
q
w
r
ie
yut
2mm
12mm
Within 8 mm
innerhalbe 8 mm
A 8 mm au maximum
A 8 mm
0537M
0538M

18
ZE-8570,8580
5. INSTALLATION
5. MONTAGE
5. INSTALLATION
5. INSTALACION
1. Drehen Sie die Riemenscheibe um den Transporteur
unter die Stichplatte abzusenken.
2. Senken Sie den Stoffdrückerfuß w mit dem
Stoffdrückerfßhebel q ab.
3. Lösen Sie die Mutter e.
4. Drehen Sie die Schraube y, um das Kniehebelspiel t
auf ungefähr 2 mm einzustellen, wenn die
Kniehebelplatte r leicht gedrückt wird.
5. Ziehen Sie die Mutter e wieder fest.
6. Lösen Sie die Mutter u.
7. Drehen Sie die Schraube i,um den Abstand zwischen
der Schraube i und dem Kniehebel t auf ungefähr
12 mm einzustellen.
8. Stellen Sie mit der Schraube i den Stoffdrückerfuß
w so ein, daß er sich bei vollständig gedrücktem
Kniehebel r in einem Abstand von 8 mm zur
Stichplatte befindet.
9. Ziehen Sie nach abgeschlossener Einstellung die Mut-
ter u wieder fest.
1. Tourner la poulie de machine de manière que la griffe
d’entraînement soit placée sous le haut de la plaque à
aiguille.
2. Abaisser le pied presseur w en utilisant le releveur q
de barre de pied presseur.
3. Desserrer l’écrou e.
4. Tourner la vis y de manière que la quantité de jeu du
releveur au genou t soit d’environ 2 mm lorsqu’on
appuie doucement sur la plaque r du releveur au
genou.
5. Bien serrer l’écrou e.
6. Desserrer l’écrou u.
7. Tourner la vis i jusqu’à ce que la distance entre
l’extrémité de la vis i et le releveur au genou t soit
d’environ 12 mm.
8. Tourner la vis de réglage i de manière que le pied
presseur w soit à la position désirée à 8 mm au maxi-
mum de la plaque à aiguille lorsque la plaque r du
releveur au genou est complètement enfoncée.
9. Une fois le réglage terminé, bien serrer l’écrou u.
1. Girar la polea de la máquina de manera que el
alimentador se encuentre debajo de la parte superior
de la placa de aguja.
2. Bajar el prensatelas w usando el levantador de barra
de prensatelas q.
3. Aflojar el tornillo e.
4. Girar el tornillo y para ajustar de manera que el juego
del levantador de rodilla t sea aproximadamente 2
mm al presionar suavemente la placa de levantador
de rodilla r.
5. Apretar fuertemente la tuerca e.
6. Aflojar la tuerca u.
7. Girar el tornillo i hasta que la distancia entre el
extremo del tornillo i y el levantador de rodilla t sea
aproximadamente 12 mm.
8. Girar el tornillo de ajuste i para ajustar de manera
que el presatelas w quede en la posición deseada a 8
mm de la placa de aguja cuando se presiona
completamente la placa de levantador de rodilla r.
9. Después de ajustar completamente, apretar
fuertemente la tuerca u.
q
w
r
ie
yut
2mm
12mm
Within 8 mm
innerhalbe 8 mm
A 8 mm au maximum
A 8 mm
0538M

19 ZE-8570,8580
5. INSTALLATION
5. MONTAGE
5. INSTALLATION
5. INSTALACION
1. Tilt back the machine head, and then place the belt q
onto the motor pulley and the machine pulley.
2. Turn the two nuts w to adjust so that there is 10 - 14
mm of deflection in the V-belt q when it is pressed at
the midway point with a force of 5 N.
Note:
While using the machine, the belt will conform to the
pulley and cause the belt tension to loosen. If the belt
tensions is too loose the following faults could occur.
a. The stopping position may shift,
b. The needle bar may drift when the machine stops,
c. An extra stitch may be sewing when the machine
stops,
d. An abnormal noise may be heard due to belt slip-
ping, and
e. The belt may become too loose and contact with
the cover.
1. Klappen Sie das Maschinenoberteil zurück und bringen Sie den Riemen q an der Riemenscheibe des Motors und
der Nähmaschine an.
2. Stellen Sie Riemenspannung mit den beiden Muttern w ein, so daß der Riemen 10 - 14 mm eingedrückt wird, wenn
er in der Mitte mit einer Kraft von 5 N belastet wird.
Hinweis:
Nach einer gewissen Betriebszeit paßt sich der Riemen an die Riemenscheiben an, so daß sich die Riemenspannung
verringert. Falls die Riemenspannung zu gering ist, kann es zu den folgenden Fehlern kommen.
a. Die stopposition Kann sich verschieben.
b. Die Nadelstange kann sich verschieben, wenn die Maschine stoppt.
c. Ein zusätzlicher Strich kann genäht werden, wenn die Machine stoppt.
d. Aufgrund eines durchrutschenden Riemens kann es zu einem ungewöhnlichen Betriebsgeräusch kommen.
e. Der Riemen kann zu locker werden und die Abdeckung berühren.
1. Incliner la tête de machine vers l’arrière, puis placer la courroie q sur la poulie de moteur et sur la poulie de
machine.
2. Tourner les deux écrous w pour régler de manière que la courroie en V q s’enfonce de 10 à 14 mm lorsqu’on appuie
au milieu de la courroie avec une force de 5 N.
Remarque:
Lorsqu’on utilise la machine, la courroie s’adaptera progressivement à la poulie et la tension de la courroie diminuera
alors. Si la tension de la courroie est trop faible, les anomalies suivantes risqueront de se produire.
a. La position d’arrt pourra se décaler,
b. La barre à aiguille pourra se décaler lorsque la machine s’arrête,
c. Un point supplémentaire pourra tre cousu lorsque la machine s’arrête,
d. Un bruit anormal pourra tre émis lorsque la courroie glisse, et
e. La courroie pourra se détendre excessivement et entrer en contact avec le couvercle.
1. Inclinar la cabeza de la máquina hacia aztrás, y luego colocar la correa q sobre la polea del motor y la polea de la
máquina.
2. Girar las dos tuercas w para ajustar de manera que haya una deflexión de 10 - 14 mm en la correa en V q cuando
se presiona en el medio con una fuerza de 5 N.
Nota:
Cuando se utiliza máquina, la correa se adaptará a la forma de la polea y la tensión de la correa disminuirá. Si la
correa queda demasiado floja, pueden producirse los siguientes problemas.
a. La posición de parada puede cambiar,
b. La barra de agujas puede correrse al parar la máquina,
c. Puede coserse una puntada adicional al parar la máquina,
d. Puede escucharse un ruido anormal debido a que la correa patina, y
e. La correa puede aflojarse demasiado y entrar en contacto con la cubierta.
5-8. Installing the belt
5-8. Riemenmontage
5-8. Installation de la courroie
5-8. Instalación de la correa
w
q
10 - 14mm
1280M

20
ZE-8570,8580
5. INSTALLATION
5. MONTAGE
5. INSTALLATION
5. INSTALACION
1. Push down the bobbin presser arm q as far as it will
go.
2. Place the bobbin winder wheel w so that it pushes the
belt e by approximately 5 mm, and then place the
bobbin winder so that it is parallel with the belt hole in
the work table.
3. Install the bobbin winder to the work table with the
two screws r.
4. Pull the bobbin presser arm q back and check that
there is approximately 8 mm of clearance between the
bobbin winder wheel w and the belt e.
1. Drücken Sie den Spulenarm q so weit wie möglich
nach unten.
2. Positionieren Sie das Spulerrad w, so daß der Riemen
e um ungefähr 5 mm eingedrückt wird und richten
Sie den Spuler parallel zur Riemenöffnung im Nähtisch
aus.
3. Befestigen Sie den Spuler mit den beiden Schrauben
r am Nähtisch.
4. Ziehen Sie den Spulenarm q zurück und kontrollieren
Sie, ob der Abstand zwischen dem Spulerrad w und
dem Riemen e ungefähr 8 mm beträgt.
1. Abaisser au maximum le bras q du presseur de canette.
2. Placer la roue w du bobineur de canette de manière
qu’elle pousse la courroie e d’environ 5 mm, puis
placer le bobineur de canette parallèlement au trou de
courroie dans la table de travail.
3. Installer le bobineur de canette sur la table de travail à l’aide des deux vis r.
4. Tirer le bras q du presseur de canette vers l’arrière et vérifier qu’il y ait un écart d’environ 8 mm entre la roue w du
bobineur de canette et la courroie e.
1. Empujar hacia abajo tanto como sea posible el brazo presionador de la bobina q.
2. Colocar la rueda de la bobinadora w de manera que empuje la correa e aproximadamente 5 mm, y luego colocar
la bobinadora de manera que quede paralela con el orificio de la correa en la mesa de trabajo.
3. Instalar la bobinadora en la mesa de trabajo con los dos tornillos r.
4. Tirar del brazo presinador de la bobina q hacia atrás y verificar que exista una separación de aproximadamente 8
mm entre la rueda de la bobinadora w y la correa e.
w
e
q
rr
w
q
e
5mm
8mm
5-9. Installing the bobbin winder
5-9. Montage des Spulers
5-9. Installation du bobineur de canette
5-9. Instalación de la bobinadora
1282M
1281M

21 ZE-8570,8580
5. INSTALLATION
5. MONTAGE
5. INSTALLATION
5. INSTALACION
4. Return the machine head to the upright position.
5. Insert belt cover D t into the belt cover w so that there
is an overlap of 5 to 6 mm and so that the sides of belt
cover D t do not touch the belt cover w. Then provi-
sionally secure belt cover D t with the two screws y.
4. Klappen Sie das Maschinenoberteil wieder zurück.
5. Stecken Sei den Riemenschutz D t in den
Riemenschutz w, so daß eine Überlappung von 5 bis 6
mm vorhanden ist und sich die Seiten des
Riemenschutzes D t und w nicht berühren. Befestigen
Sie den Riemenschutz D t provisorisch mit den beiden
Schrauben y.
4. Remettre la tête de machine en position verticale.
5. Insérer le couvercle de courroie D t dans le couvercle
de courroie w de manière qu’ils se chevauchent sur 5
à 6 mm et que les côtés du couvercle de courroie D t
n’entrent pas en contact avec le couvercle de courroie
w. Ensuite, serrer provisoirement le couvercle de
courroie D t à l’aide des deux vis y.
4. Volver la cabeza de la máquina a su posición derecha.
5. Insertar la cubierta de la correa D t en la cubierta de
la correa w de manera que se superponga 5 a 6 mm y
de manera que los lados de la cubierta de la correa D
t no toquen la cubierta de la correa w. Luego asegurar
provisoriamente la cubierta de la correa D t con los
dos tornillos y.
w
y
y
t
5 - 6mm
wt
■ Machine belt cover
■ Riemenschutz
■ Couvercle de courroie de machine
■ Cubierta de la correa de la máquina
1. Pass the cords q down through the hole in the work
table.
1. Führen Sie die Kabel q durch das Nähtischloch.
1. Passer les cordons q vers le bas à travers le trou de la
table de travail.
1. Pasar los cables q hacia abajo en el agujero de la mesa
de trabajo.
2. Tilt back the machine head.
3. Fit the belt cover w onto the machine pulley e, and
tighten it with the three screws r as shown in the il-
lustration.
2. Klappen Sie das Maschinenoberteil nach hinten.
3. Bringen Sie den Riemenschutz wan der Riemenscheibe
e an und ziehen Sie die drei Schrauben r wie in der
Abbildung gezeigt an.
2. Incliner la tête de machine vers l’arrière.
3. Placer le couvercle de courroie w sur la poulie de ma-
chine e, et le serrer à l’aide des trois vis r, comme
indiqué sur l’illustration.
2. Inclinar hacia atrás la cabeza de la máquina.
3. Encajar la cubierta de la correa w en la polea de la
máquina e, y apretarla con tres tornillos r tal como
se indica en la figura.
w
r
e
5-10. Installing the belt cover
5-10. Montage des Riemenschutzes
5-10. Installation du couvercle de courroie
5-10. Instalación de la cubierta de la correa
q
1283M
1284M
1285M
0543M

22
ZE-8570,8580
5. INSTALLATION
5. MONTAGE
5. INSTALLATION
5. INSTALACION
6. Insert the cover u of belt cover D t in between the
belt cover w and belt cover D t, and then place it into
the groove of belt cover D t.
7. Slide the cover u down along the groove of belt cover
D t as far as it will go.
6. Bringen Sie die Abdeckung u des Riemenschutzes D
t zwischen dem Riemenschutz w und dem
Riemenschutz D t an und setzen Sie sie in die Nutdes
Riemenschutzes D t ein.
7. Schieben Sie die Abdeckung u entlang der Nut des
Riemenschutzes t ganz nach unten.
6. Insérer le couvercle u du couvercle t de courroie D
entre le couvercle w de courroie et le couvercle t de
courroie D, puis le placer dans la rainure du couvercle
t de courroie D.
7. Faire glisser bien à fond le couvercle u vers le bas le
long de la rainure du couvercle t de courroie D.
6. Insertar la cubierta u de la cubierta de la correa D t
entre la cubierta de la correa w y la cubierta de la correa
D t, y luego colocarla en la ranura de la cubierta de la
correa D t.
7. Deslizar la cubierta u hacia abajo a lo largo de la ranura
de la cubierta de la correa D t tanto como sea posible.
8. Pull belt cover D t toward you until there is a clear-
ance of 0.5mm to 1mm between the belt cover w and
the cover u of belt cover D t.
9. Fully tighten the two screws y.
8. Ziehen Sie am Riemenschutz D t, so daB zwischen
dem Riemenschutz w und der Abdeckung u des
Riemenschutzes D t ein Abstand von 0,5 bis 1,0mm
vorhanden ist.
9. Ziehen Sie die beiden Schrauben y fest.
8. Tirer le couvercle de courroie D t vers soi jusqu’à ce qu’il y ait un écart de 0.5mm à 1mm entre le couvercle de
courroie w et le couvercle u du couvercle de courroie D t.
9. Serrer complètement les deux vis y.
8. Tirar de la cubierta de la correa D t hacia adelante hasta que quede una separación de 0.5mm a 1mm entre la
cubierta de la correa w y la cubierta u de la cubierta de la correa D t.
9. Apretar fuertemente los dos tornillos y.
u
w
t
u
u
t
w
u
t
0.5 - 1mm
0,5 - 1mm
1286M
0545M

23 ZE-8570,8580
5. INSTALLATION
5. MONTAGE
5. INSTALLATION
5. INSTALACION
■ Motor belt cover
Secure the motor belt cover q and the auxiliary motor
belt cover w with the four screws e as shown in the illus-
tration.
* Position the belt covers so that they do not touch the
V-belt r at this time.
■ Riemenschutz
Befestigen Sie den Motorriemenschutz q und den
Hilfsriemenschutz w mit den vier Schrauden e wie in der
Abbildung gezeigt.
* Die Riemenschutze mussen so positioniert werden, daB
sie den Keilriemen r nicht beruhren.
■ Couvercle de courroie de moteur
Fixer le couvercle q de courroie de moteur et le couvercle
w de courroie de moteur auxiliaire à l’aide des quatre vis
e comme indiqué sur l’illustration.
* Placer les couvercles de courroie de maniere qu’ils ne
touchent pas la courroie trapezoidale r a ce moment.
■ Cubierta de la correa del motor
Asegurar la cubierta de la correa del motor q y la cubierta
de la correa del motor auxiliar w con los cuatro tornillos
e tal como se indica en la figura.
* Ubicar las cubiertas de la correa de manera que no
toquen la correa en V r.
r
e
w
q
e
y
t
u
i
o
■ Belt retainer and finger protector
1. Loosen the scrrew t.
2. Align the boss of the belt retainer y with the mark u.
3. Tighten the screw t.
4. Loosen the screw i.
5. Align the center of the screw i with the mark o.
6. After adjusting, tighten the screw i.
■ Riemenhalter und Fingerschutz
1. Lösen Sie die Schraube t.
2. Richten Sie den Zapfen des Riemenhalters y auf die
Markierung u aus.
3. Ziehen Sie die Schraube t fest.
4. Lösen Sie die Schraube i.
5. Richten Sie die Schraubenmitte i auf die Markierung
o aus.
6. Ziehen Sie nach dem Einstellen die Schraube i wieder
fest.
■ Retenue de courroie et protège-doigts
1. Desserrer la vis t.
2. Aligner le bossage de la retenue de courroie y sur le
repère u.
3. Serrer la vis t.
4. Desserrer la vis i.
5. Aligner le centre de la vis i sur le repère o.
6. Après le réglage, resserrer la vis i.
■ Retenedor de la correa y protector de dedos
1. Aflojar el tornillo t.
2. Alinear el cubo del retenedor de la correa y con la
marca u.
3. Apretar el tornillo t.
4. Aflojar el tornillo i.
5. Alinear el centro del tornillo i con la marca o.
6. Después de ajustar, apretar el tornillo i.
1287M
1288M

24
ZE-8570,8580
5. INSTALLATION
5. MONTAGE
5. INSTALLATION
5. INSTALACION
Wait at least 5 minutes after turning off the power switch and disconnecting the power cord from the wall
outlet before opening the face plate of the control box. Touching areas where high voltages are present can
result in severe injury.
Warten Sie mindestens 5 Minuten nach dem Ausschalten und Herausziehen des Netzkabels aus der Steckdose,
bevor Sie die Stirnplatte des Schaltkastens öffnen. Beim Berühren von Stellen, an denen Hochspannung
vorhanden ist, besteht Verletzungsgefahr.
Attendre au moins 5 minutes après avoir mis l’interrupteur d’alimentation sur la position d’arrêt et avoir
débranché le cordon d’alimentation de la prise murale, avant d’ouvrir la plaque frontale du boîtier de commande.
Si on touche des zones sours haute tension, on risque de se blesser gravement.
Después de desconectar el interruptor principal y desenchufar el cable de alimentación del tomacorriente en
la pared esperar al menos 5 minutos antes de abrir la placa delantera de la caja de controles. El tocar las áreas
donde exista alto voltaje puede ocasionar heridas graves.
5-11. Connecting the cords
5-11. Anschließen der Kabel
5-11. Banchement des câbles
5-11. Conexión de los cables
DANGER/GEFAHR/DANGER/PELIGRO
Veiller à brancher la machine à la masse. Si le
branchement à la masse n’est pas bien effectué,
on risquera une électrocution grave et le bon
fonctionnement de la machine risquera
également d'être affecté.
Contact your Brother dealer or a qualified elec-
trician for any electrical work that may need to
be done.
All cords should be secured at least 25 mm away
from any moving parts. Furthermore, do not ex-
cessively bend the cords or secure them too
firmly with staples, otherwise there is the dan-
ger that fire or electric shocks could occur.
Falls Elektrikerarbeiten gemacht werden müssen,
wenden Sie sich an lhren Brother Händler oder
an einen qualifizierten Elektriker.
Alle Kabel müssen mindestens 25 mm von sich
bewegenden Teilen entfernt sicher befestigt
werden. Die Kabel dürfen auch nicht zu stark
gebogen oder zu fest mit Klammern befestigt
werden, weil sonst die Gafahr eines elektrischen
Schlages besteht.
S’adresser à votre revendeur Brother ou à un
électricien qualifié pour effectuer toute
réparation éventuelle du système électrique.
Tous les câbles doivent être fixés à au moins 25
mm des parties mobiles. De plus, ne pas plier
excessivement les câbles ni les fixer trop
fermement avec des agrafes, sinon on risquera
de provoquer un choc électrique ou un incendie.
Consultar a su distribuidor Brother o un
electricista calificado por cualquier trabajo de
electricidad que se debiera realizar.
Todos los cables deben mantenerse al menos a
25 mm de las piezas móviles.
Además, no se deben doblar demasiado los
cables o apretarlos demasiado con grapas, de lo
contrario existe el peligro de que ocurra un
incendio o golpes eléctricos.
CAUTION/ACHTUNG/ATTENTION/ATENCION
Be sure to connect the ground. If the ground
connection is not secure, you run a high risk of
receiving a serious electric shock, and problems
with correct operation may also occur.
Die Maschine muß unbedingt geerdet werden.
Bei einen fehlerhaften Erdungsanschluß besteht
die Gefahr eines schweren elektrischen Schlages
und außerdem können Betriebsstörungen
auftreten.
Asegurarse de realizar la conexión a tierra. Si la
conexión a tierra no es segura, se corre el riesgo
de recibir descargas eléctricas graves, y también
pueden ocurrir problemas para el
funcionamiento correcto.

25 ZE-8570,8580
5. INSTALLATION
5. MONTAGE
5. INSTALLATION
5. INSTALACION
Connect the two ground wires q which are coming out from the control box hole to the machine head and oil pan w.
(The attachment location is indicated by a ground symbol e.)
Befestigen Sie die zwei Erdungskabel q vom Schaltkasten am Maschinenoberteil und an der Ölwanne w.
(Die Anschlußstelle ist mit einem Erdungssymbol e bezeichnet.)
Brancher les deux fils de masse q qui sortent du trou du boîtier de commande à la tête de machine et au réservoir
d’huile w.
(L’emplacement de fixation est indiqué par un symbole de mise à la terre e.)
Conectar los dos cables a tierra q que salen del agujero de la caja de controles a la cabeza de la máquina y la bandeja
de aceite w.
(El luger de conexión es indicado mediante el símbolo de conexión a tierra e.)
5-11-1. Ground wire connections
5-11-1. Anschluß des Erdungskabels
5-11-1. Raccord du câble de mise à la terre
5-11-1. Conexión del cable a tierra
Connect together with the ground wire which is already connected.
Am Erdungskabelkabel, das bereits angeschlossen ist, anbringen.
Le brancher sur le fil de masse qui est déjà raccordé.
Conectar junto con el cable a tierra que ya está conectado.
w
q
q
e
1499M

26
ZE-8570,8580
5. INSTALLATION
5. MONTAGE
5. INSTALLATION
5. INSTALACION
1. Screw the cord clamp q to the place above the two
control box holes w underneath the work table.
2. Remove the 12 screws e, and then open control box
cover r A and box cover r B.
Note:
When opening cover r A, hold it securely so that
it does not fall down.
1. Schrauben Sie die Kabelklemme q oberhalb der
beiden Schaltkastenlöcher w an der Unterseite des
Nähtisches fest.
2. Entfernen Sie die 12 Schrauben e und öffnen Sie die
Schaltkastenabdeckung rA und die
Schaltkastenabdeckung r B.
Hinweis:
Beim Öffnen muß die Schaltkastenabdeckung r A
festgehalten werden, so daß sie nicht herunterfallen
kann.
1. Visser le serre-fils q à l’endroit situé au-dessus des
deux trous w du boîtier de commande sous la table
de travail.
2. Retirer les 12 vis e puis ouvrir le couvercle r A du
boîtier de commande et le couvercle r B du boîtier.
Remarque:
En ouvrant le couvercle
r
A, le tenir fermement
afin qu’il ne tombe pas.
1. Atornillar el sujetacables q encima de las dos cajas
de controles w en la parte de abajo de la mesa de
trabajo.
2. Quitar los 12 tornillos
e
, y luego abrir la cubierta de
la caja de controles
r
A y la cubierta de la caja
r
B.
Note:
Al abrir la cubierta
r
A, sostenerla firmemente de
manera que no se caiga.
3. Pull the motor harness t and the treadle unit harness
y into the control box through the lower hole in the
control box, and connect the connectors.
Note:
Each harness should be passed through the cord
clamp as shown in the illustration before the con-
nectors are connected.
3. Ziehen Sie das Motorkabel t und das Pedalkabel y
durch das untere Loch in den Schaltkasten ein und
schließen Sie die Stecker an.
Hinweis:
Die einzelnen Kabel müssen vor dem Anschließen
der Stecker durch die Kabelklemme der
vorhergehenden Abbildung geführt werden.
3. Tirer le faisceau de moteur t et le faisceau de pédale
y dans le boîtier de commande par le trou inférieur
du boîtier de commande, et brancher les connecteurs.
Remarque:
Chacun des faisceau doit être passé par le serre-
fils comme indiqué sur l’illustration avant de
brancher les connecteurs.
3. Tirar del mazo de conductores del motor t y del mazo
de conductores del pedal y en la caja de controles a
través del agujero inferior en la caja de controles, y
conectar los conectores.
Nota:
Cada mazo de conductores debe ser pasado por el
sujetacables tal como se indica en la figura antes
de conectar los conectores.
5-11-2. Connecting the harness
5-11-2. Anschließen des Kabels
5-11-2. Branchement du faisceau
5-11-2. Conexión del mazo de conductores
t
y
e
e
q
wr
r
A
B
1410M
1411M
t
Harness
Kabel
Faiscaeau
Mazo de conductores
P.C. board indication
Platinenmarkierung
Indication de la carte P.C.
Indicación de la tarjeta PC
Motor <4-pin>
Motor <4polig>
Moteur <4 broches>
Motor <4 patillas>
(4-pin connector)
(4poliger Stecker)
(Connecteur 4 broches)
(Conector de 4 patillas)
Treadle unit <4-pin>
(Tube marked “7”)
Pedal <4polig>
(Rohr mit der Bezeichnung “7”)
Pédale <4 broches>
(Tube portant la marque “7”)
Pedal <4 patillas>
(Caño marcado “7”)
7 PEDAL
y

27 ZE-8570,8580
5. INSTALLATION
5. MONTAGE
5. INSTALLATION
5. INSTALACION
4. Pass the solenoid harness (actuator harness for the
ZE-8570) u and the zigzag motor harness i through
the cord clamp q, and then pull them into the control
box through the lower hole in the control box and
connect the connectors.
4. Führen Sie das Solenoidkabel (Stellgliedkabelbaum
für die ZE-8570) u und das Kabel des Zickzackmotors
i durch die Kabelklemme q, ziehen Sie sie durch das
untere Loch in den Schaltkasten ein und schließen Sie
die Stecker an.
4. Passer le faisceau de solénoïde (faisceau d'actuateur
pour le ZE-8570) u et le faisceau de moteur de zigzag
i par le serre-fils q, puis les tirer dans le boîtier de
commande par le trou inférieur du boîtier de
commande et brancher les connecteurs.
4. Pasar el mazo de conductores del solenoide (mazo de
conductores para el ZE-8570) u y el mazo de
conductores del motor del zigzag i a través del
sujetacables q, y luego tirar de ellos en la caja de
controles a través del agujero inferior en la caja de
controles y conectar los conectores.
qu
i
u
Harness
Kabel
Faisceau
Mazo de conductores
P.C. board indication
Platinenmarkierung
Indication de la carte P.C.
Indicación de la tarjeta PC
ZE-8570
(12-pin connector)
(12 poliger Stecker)
(Connecteur 12 broches)
(Conector de 12 patillas)
Zigzag motor <6-pin>
Zickzackmotor <6polig>
Moteur de zigzag <6 broches>
Motor de zigzag <6 patillas>
P16 NPM
i
P18 SOL
P16 NPM
1292M
ZE-8580
(12-pin connector)
(12 poliger Stecker)
(Connecteur 12 broches)
(Conector de 12 patillas)
Actuator <12-pin>
Betätigungstaste <12polig>
Actuateur <12 broches>
Impulsor <12 patillas>
Solenoid <12-pin>
Solenoid <12polig>
Solénoïde <12 broches>
Solenoide <12 patillas>

28
ZE-8570,8580
5. INSTALLATION
5. MONTAGE
5. INSTALLATION
5. INSTALACION
5. Pass the synchronizer harness o, the operation panel
harness !0, the home position sensor harness !1 and
the edge trimmer switch harness !2 through the cord
clamp q, and then pull them into the control box
through the upper hole in the control box and con-
nect the connectors.
5. Führen Sie das Synchronisatorkabel o, das
Bedienungsfeldkabel !0 , das
Ausgangspositionssensorkabel !1 und das
Kantenabschneiderkabel !2 durch die Kabelklemme q,
ziehen Sie die Kabel durch das obere Loch in den
Schaltkasten und schließen Sie die Stecker an.
5. Passer le faisceau de synchroniseur o, le faisceau
de panneau de commande !0, le faisceau de capteur
de position d'origine !1 et le faisceau de commutateur
de couteau de bord !2 par le serre-fils q, puis les
tirer dans le boîtier de commande par le trou
supérieur du boîtier de commande, et brancher les
connecteurs.
5. Pasar el mazo de conductores del sincronizador o,
el mazo de conductores del panel de control !0, el
mazo de conductores del sensor de posición inicial
!1 y el mazo de conductores del interruptor del
cortador de borde !2 a través de la abrazadera del
cable q, y luego tirar de ellas dentro de la caja de
control a través del agujero superior en la caja de
control y conectar los conectores.
P11
ORG
o
Harness
Kabel
Faisceau
Mazo de conductores
P.C. board indication
Platinenmarkierung
Indication de la carte P.C.
Indicación de la tarjeta PC
Synchronizer <5-pin>
(Tube marked “3”)
Synchronisator <5polig>
(Rohr mit der Bezeichnung “3”)
Synchroniseur <5 broches>
(Tube portant la marque “3”)
Sincronizador <5 patillas>
(Caño marcado “3”)
P3 SYNCRO
Operation panel <20-pin>
(Black connector)
Bedienungsfeld <20polig>
(schwarzer Stecker)
Panneau de commande
<20 broches>
(Connecteur noir)
Panel de controles <20 patillas>
(Conector negro)
P4 PANEL
!0
Home position sensor <12-pin>
(Tube marked “11”)
Ausgangspositionssensor
<12polig>
(Rohr mit der Bezeichnung “11”)
Capteur de position d’origine
<12 broches>
(Tube portant la marque “11”)
Sensor de posición inicial
<12 patillas>
(Caño marcado “11”)
P11 ORG
P4 PANEL
P3 SYNCRO
!1
1500M
q
!0
o
!1
!2
P23 EXPAND2
Edge trimmer switch <2-pin>
Kantenabschneiderschalter
<2-polig>
Commutateur de couteau de bord
<2 broches>
Interruptor de cortador de borde
<2-clavijas>
(2-pin connector)
(2 poliger stecker)
(Connecteur 2 broches)
(Conector de 2 patillas)
!2

29 ZE-8570,8580
5. INSTALLATION
5. MONTAGE
5. INSTALLATION
5. INSTALACION
6. Secure the harnesses inside the control box with cord clamps !3 as shown in the illustration.
Note:
•Do not let the harnesses touch the circuit board components or the heat sink !4 .
•
Adjust the harnesses from outside the control box so that there is no slackness in the harnesses inside the control box.
•Tilt the machine head back gently and check that the harnesses do not get pulled at this time.
7. If using an automatic presser foot lifter or a standing pedal, connect their harnesses while referring to pages 34 and
35.
8. Close control box cover r A and box cover r B, and then securely tighten the 12 screws e.
6. Sichern Sie die Kabel im Schaltkasten mit den Kabelklemmen !3 , wie in der Abbildung gezeigt.
Hinweis:
•Die Kabel dürfen die Platine und den Kühlkörper !4 nicht berühren.
•Ziehen Sie von außen etwas an den Kabeln, so daß sie im Schaltkasten nicht locker sind.
•Klappen Sie das Maschinenoberteil vorsichtig zurück und kontrollieren Sie, daß dabei die Kabel nicht gezogen
werden.
7. Bei Verwendung eines automatischen Stoffdrückerfußhebers oder eines Stehpedals müssen die Kabel wie auf Seite
34 und 35 beschrieben angeschlossen werden.
8.
Schließen Sie die Schaltkastenabdeckung r
A
und die Abdeckung r
B
und ziehen Sie die 12 Schrauben e richtig
fest.
6. Fixer les faisceaux dans le boîtier de commande à l’aide des serre-fils !3 comme indiqué sur l’illustration.
Remarque:
•Veiller à ce que les faisceaux n’entrent pas en contact avec les composants de la carte de circuits ou la trappe à
chaleur !4 .
•Régler les faisceaux à partir de l’extérieur du boîtier de commadne de manière qu’il n’y ait aucun mou de tension
des faisceaux dans le boîtier de commande.
•Incliner progressivement la tête de machine vers l’arrière en veillant à ne pas tirer les faisceaux à ce moment.
7. Si l’on utilise un releveur de pied presseur automatique ou une pédale pour opération debout, brancher leurs faisceaux
en se référant aux pages 34 et 35.
8. Fermer le couvercle
r
A du boîtier de commande et le couvercle
r
B du boîtier, puis bien serrer les 12 vis
e
.
6. Asegurar los mazos de conductores dentro de la caja de controles con los sujetacables !3 tal como se indica en la
figura.
Nota:
•No dejar que los mazos de conductores toquen los componentes del circuito o el absorbente de calor !4 .
•Ajustar los mazos de conductores desde afuera de la caja de controles de manera que no haya flojedad en los
mazos de conductores dentro de la caja de controles.
•Inclinar suavemente la cabeza de la máquina hacia atrás y verificar que los mazos de conductores no sean
arrancados en este momento.
7. Si se usa un levantador de prensatelas automático o un pedal de pie, conectar sus mazos de conductores consultando
las páginas 34 y 35.
8.
Cerrar la cubierta de la caja de controles r
A
y la cubierta de la caja r
B
, y luego apretar firmemente los 12 tornillos
e.
1564M
!3
!3
!3
e
r
A
!4
rB
e

30
ZE-8570,8580
5. INSTALLATION
5. MONTAGE
5. INSTALLATION
5. INSTALACION
1. Connect the ground wire !7 coming out from the hole
in the control box e to the edge trimmer box !2.
(The ground mark indicates the connection point.)
1. Schließen Sie das Massekabel !7 vom Schaltkasten e
an der Kantenabschneiderbox !2 an.
(Der Anschlußpunkt ist mit dem Erdungszeichen
bezeichnet.)
1. Brancher le fil de masse !7 sortant de l'orifice du boîtier
de commande e au boîtier de couteau de bord !2.
(La marque de masse indique le point de branchement.)
1. Conectar el cable a tierra !7 que sale del agujero en la
caja de control e a la caja de cortador de borde !2.
(La marca en el piso indica el punto de conexión.)
5-11-3. Edge trimmer box harness connection
5-11-3. Anschließen der Kantenabschneiderbox
5-11-3. Branchement du faisceau de boîtier de couteau de bord
5-11-3. Conexión del mazo de conductores de la caja de cortador de borde
1563M
!2
!7
e
2. Pass the edge trimmer motor harness <4-pin> q around
the side of the oil pan w underneath the work table,
and secure it at point A in the middle of the control box
e with a staple r.
3. Use the cord clamp u to secure the edge trimmer mo-
tor control cable t and the power cable y that are com-
ing out from the control box at point B together with
the edge trimmer motor harness <4-pin> q.
2. Führen Sie das Kantenabschneiderkabel <4-polig> q
an der Nähtischunterseite und die Ölwanne w und
sichern Sie es an der Stelle A mit der Klammer r in der
Mitte des Schaltkastens e.
3. Sichern Sie das Kantenabschneidermotorsteuerkabel t
und das Netzkabel y, die an der Stelle B aus dem
Schaltkasten geführt werden, zusammen mit dem
Kantenabschneidermotorkabel <4-polig> q mit der
Kabelklemme u.
2. Passer le faisceau de moteur de couteau de bord <4
broches> q autour du côté du carter d'huile w sous la
table de travail, et le fixer au point A au milieu du boîtier
de commande e à l'aide d'une agrafe r.
3. Utiliser le serre-fils u pour fixer le câble de commande
du moteur de couteau de bord t et le câble
d'alimentation y qui sortent du boîtier de commande
au point B avec le faisceau de moteur de couteau de
bord <4 broches> q.
2. Pasar el mazo de conductores del motor del cortador
de borde <4-clavijas> q alrededor del costado de la
bandeja de aceite w debajo de la mesa de trabajo, y
asegurarla en el punto A en el medio de la caja de con-
trol e con una grapa r.
3. Usar la abrazadera del cable u para asegurar el cable
de control del motor del cortador de borde t y el cable
de alimentación y que sale de la caja de control en el
punto B junto con el mazo de conductores del motor
del cortador de borde <4-clavijas> q.
1502M
w
u
r
B
A
e
q
t
y

31 ZE-8570,8580
5. INSTALLATION
5. MONTAGE
5. INSTALLATION
5. INSTALACION
4. Wrap the edge trimmer motor harness <4-pin> q
around the core i three times as shown in the illustra-
tion.
5. Secure the core i with the screw o and nut !0.
4. Wickeln Sie das Kantenabschneidermotorkabel <4-
polig> q dreimal um den Ring i, wie in der Abbildung
gezeigt.
5. Sichern Sie den Ring i mit der Schraube o und den
Mutter !0.
4. Enrouler trois fois le faisceau de moteur de couteau de
bord <4 broches> q autour du conducteur i, comme
indiqué sur l'illustration.
5. Fixer le conducteur i à l'aide de la vis o et de l'écrou
!0.
4. Enrollar el mazo de conductores del motor del cortador
de borde <4-clavijas> q alrededor del núcleo i tres
veces tal como se indica en la figura.
5. Asegurar el núcleo i con el tornillo o y tuerca !0.
1503M
o
!0
q
i
6. Remove the two screws !1, and then remove the cover
!3 of the edge trimmer box !2.
7. Connect the edge trimmer motor harness <4-pin> q,
edge trimmer motor control cable t and power cable
y.
6. Entfernen Sie die beiden Schrauben !1 und nehmen
Sie die Abdeckung !3 der Kantenabschneiderbox !2
ab.
7.
Schließen Sie das Kantenabschneidermotorsteuerkabel
<4-polig>
q
, das Kantensbschneidermotorkabel
t
und
das Netzkabel
y
an.
6. Retirer les deux vis !1, puis retirer le couvercle !3 du
boîtier de couteau de bord !2.
7. Brancher le faisceau de moteur de couteau de bord
<4 broches> q, le câble de commande du moteur de
couteau de bord t et le câble d'alimentation y.
6. Quitar los dos tornillos !1, y luego quitar la cubierta
!3 de la caja de cortador de borde !2.
7. Conectar el mazo de conductores del motor del
cortador de borde <4-clavijas> q, el cable de control
del motor del cortador de borde t y el cable de
alimentación y.
1504M
!2
q
yt
!3
!1
P2-MT
P4 CTRL
qEdge trimmer motor harness <4-pin>
Kantenabschneidermotorkabel <4-polig>
Faisceau de moteur de couteau de bord <4 broches>
Mazo de conductores del motor del cortador de borde <4-clavijas>
Harness
Kabel
Faisceau
Mazo de conductores
P.C. board indication
Schaltplatinenbezeichnung
Indication de la carte PC
Indicación de la tarjeta P.C.
P2-MT
tEdge trimmer motor control cable <3-pin>
Kantenabschneidermotorsteuerkabel <3-polig>
Câble de commande du moteur de couteau de bord <3 broches>
Cable de control del motor del cortador de borde <3-clavijas>
P4 CTRL
yPower cable <12-pin>
Netzkabel <12-polig>
Câble d'alimentation <12 broches>
Cable de alimentación <12-clavijas>
(12-pin connector)
(Stecker 12-polig)
(connecteur à 12 broches)
(conector de 12-clavijas)

32
ZE-8570,8580
5. INSTALLATION
5. MONTAGE
5. INSTALLATION
5. INSTALACION
7. Pass the three harnesses through the clamp !4 in the
cover !3 of the edge trimmer box !2.
8. Secure the three harnesses with the cord clamp !5
inside the edge trimmer box !2 so that they do not
become too loose or tight when the cover !3 is closed.
9. Close the cover !3 of the edge trimmer box !2, and
then tighten the two screws !1.
7. Führen Sie die drei Kabel durch die Klemme !4 in der
Abdeckung !3 der Kantenabschneiderbox !2.
8. Sichern Sie die drei Kabel mit der Kabelklemme !5 in
der Kantenabschneiderbox !2, so daß die Kabel beim
Schließen der Abdeckung !3 nicht zu locker oder zu
straff gespannt sind.
9. Schließen Sie Abdeckung !3 der Kantenabscheiderbox
!2 und ziehen Sie die beiden Schrauben !1 fest.
7. Passer les trois faisceaux par la pince !4 dans le
couvercle !3 du boîtier de couteau de bord !2.
8. Fixer les trois faisceaux à l'aide du serre-fils !5 dans le
boîtier de couteau de bord !2 de manière qu'ils ne
soient ni trop détendus ni trop tendus lorsque le
couvercle !3 est fermé.
9. Fermer le couvercle !3 du boîtier de couteau de bord
!2, puis serrer les deux vis !1.
7. Pasar los tres mazos de conductores a través de la
abrazadera !4 en la cubierta !3 de la caja de cortador
de borde !2.
8. Asegurar los tres mazos de conductores con la
abrazadera del cable !5 dentro de la caja de cortador
de borde !2 de manera que no queden demasiado
flojos o apretados cuando la cubierta !3 está cerrada.
9. Cerrar la cubierta !3 de la caja de cortador de borde
!2, y luego apretar los dos tornillos !1.
1506M
!5
!4
!1
!3
!2
10. Secure the three harnesses that are coming out from
the edge trimmer box !2 with the cord clamp !6 at point
C so that they are not hanging loosely.
10. Sichern Sie die Kabel von der Kantenabschneiderbox
!2 mit der Kabelklemme !6 an der Stelle C, sollen daß
sie nicht durchhängen.
10. Fixer les trois faisceaux qui sortent du boîtier de
couteau de bord !2 à l'aide du serre-fils !6 au point C
de manière qu'ils ne soient pas trop mous et ne pen-
dent pas.
10. Asegurar los tres mazos de conductores que salen de
la caja de cortador de borde !2 con la abrazadera del
cable !6 en el punto C de manera que no cuelguen con
libremente.
1507M
!6
!2
C

33 ZE-8570,8580
5. INSTALLATION
5. MONTAGE
5. INSTALLATION
5. INSTALACION
1. Attach an appropriate plug to the power cord q.
(The green and yellow wire is the ground wire.)
2. Insert the plug into a properly-grounded AC power sup-
ply.
Note:
Do not use extension cord, otherwise machine op-
eration problems may result.
1. Bringen Sie am Netzkabel q einen entsprechenden
Stecker an. (Das grüne und das gelbe Kabel sind
Erdungskabel.)
2. Schließen Sie den Stecker an einer richtig geerdeten
Netzsteckdose an.
Hinweis:
Verwenden Sie keine Verlängerungskabel, weil
dadurch Betriebsstörungen verursacht werden
können.
1. Fixer une fiche adéquate au cordon d’alimentation q.
(Le fil vert et jaune est le fil de terre.)
2. Introduire la fiche dans une prise d’alimentation
correctement mise à la terre.
Remarque:
Ne pas utiliser de rallonges, sinon des anomalies de
fonctionnement risqueront de se produire.
1. Colocar un enchufe apropiado al cable de alimentación
q. (El cable verde y amarillo es el cable a tierra.)
2. Insertar el enchufe en una fuente de alimentación de
CA con una conexión a tierra adecuada.
Nota:
No usar cables de extensión de lo contraio prodrían
ocurrir problemas.
5-11-4. Connecting the power cord
5-11-4. Anschließen des Netzkabels
5-11-4. Branchement du cordon d’alimentation
5-11-4. Conexión del cable de alimentación
q
Green and yellow wire
(ground wire)
grünes und gelbes Kabel
(Erdungskabel)
Fil vert et jaune
(fil de terre)
Cable verde y amarillo
(cable de conexión a tierra)
1413M

34
ZE-8570,8580
5. INSTALLATION
5. MONTAGE
5. INSTALLATION
5. INSTALACION
PE
u
q
t
e
y
rr
e
t
w
5-11-5. Connecting the automatic presser foot lifter harness
(ZE-8580 or option)
5-11-5. Anschließen des Kabels für den automatischen Stoffdrückerfußhebers
(ZE-8580 oder Sonderzubehör)
5-11-5. Branchement du faisceau de releveur de pied presseur automatique
(ZE-8580 ou option)
5-11-5.
Conexión del mazo de conductores del levantador del prensatelas automático
(ZE-8580 u opcional)
P18
1. Connect the relay harness q to the connector w coming out from P18, and secure the relay harness q with the cord clamp
e as shown in the illustration.
2. Pass the relay harness q out through the upper hole in the control box.
3. Remove the screw r at the center of the place where "RE" appears, and then install the ground wire t for the relay harness
q. (The green-and-yellow wire is the ground wire.)
4. Pass the automatic presser foot lifter harness y through the cord clamp u and connect it to the relay harness q.
5. Set DIP switch 1-3 to ON. (Refer to page 185.)
1. Schließen Sie das Relaiskabel q am Stecker w von P18 an und befestigen Sie das Relaiskabel q mit der Kabelklemme e,
wie in der Abbildung gezeigt.
2. Führen Sie das Relaiskabel q durch das obere Loch des Schaltkastens.
3. Entfernen Sie die Schraube r bei der Markierung "RE" und bringen Sie das Erdungskabel t für den Relaiskabelbaum q an.
(Das grüngelbe Kabel ist das Erdungskabel.)
4. Führen Sie das Kabel y des automatischen Stoffdrückerfußhebers durch die Kabelklemme u und schließen Sie es am
Relaiskabel q an.
5. Stellen Sie die DIP-Schalter 1-3 auf “ON”. (Siehe Seite 185.)
1. Brancher le faisceau de relais q au connecteur w qui sort de P18, et fixer le faisceau de relais q à l’aide du serre-fils e
comme indiqué sur l’illustration.
2. Passer le faisceau de relais q en le sortant par le trou supérieur du boîtier de commande.
3. Retirer la vis r au centre de l'endroit où l'indication "RE" apparaît, puis installer le fil de masse t du faisceau de relais q.
(Le fil vert et jaune est le fil de masse.)
4. Passer le faisceau de releveur de pied presseur automatique y par le serre-fils u et le brancher au faisceau de relais q.
5. Mettre l’interrupteur DIP 1-3 sur la position de marche. (Se reporter à la page 185.)
1. Conectar el mazo de conductores del relevador q al conector w que sale de P18, y asegurar el mazo de conductores del
relevador q con el sujetacables e tal como se indica en la figura.
2. Pasar el mazo de conductores del relevador q hacia afuera a través del agujero superior en la caja de controles.
3. Retirar el tornillo r en el centro del lugar donde aparece "RE", y luego instalar el cable a tierra t para el mazo de conductores
del relevador q. (El cable verde y amarillo es el cable a tierra.)
4. Pasar el mazo de conductores del levantador del prensatelas automático y a través del sujetacables u y conectarlo al mazo
de conductores del relevador q.
5. Ajustar el interruptor 1-3 a ON. (Consultar la página 185.)
1508M

35 ZE-8570,8580
5. INSTALLATION
5. MONTAGE
5. INSTALLATION
5. INSTALACION
PE
y
r
w
q
e
t
r
e
5-11-6. Connecting the standing pedal harness (option)
5-11-6. Anschließen des Stehpedalkabels (Sonderzubehör)
5-11-6. Branchement du faisceau de pédale pour opération debout (en option)
5-11-6. Conexión del mazo de conductores del pedal de pie (opcional)
P9
1. Pass the marked tube of the relay harness q into the control box through the upper hole in the control box.
2. Connect the relay harness q to connector P9 on the circuit board, and then secure the relay harness q with the cord
clamp w as shown in the illustration.
3. Remove the screw e at the center of the place where "RE" appears, and then install the ground wire r for the relay
harness q (two wires if using the automatic presser foot lifter).
(The green-and-yellow wire is the ground wire.)
4. Pass the standing pedal harness t through the cord clamp y and connect it to the relay harness q.
1. Führen Sie das markierte Rohr des Relaiskabels q durch das obere Schaltkastenloch.
2. Schließen Sie das Relaiskabel q am Stecker P9 der Schaltplatine an und befestigen Sie das Relaiskabel q an der
Kabelklemme w wie in der Abbildung gezeigt.
3. Entfernen Sie die Schraube e bei der Markierung und bringen Sie das Erdungskabel r für den Relaiskabelbaum q
an (zwei Kabel bei Verwendung der automatischen Stoffdrückerfußhebers).
(Das grüngelbe Kabel ist das Erdungskabel.)
4. Führen Sie das Kabel t des Stehpedals durch die Kabelklemme y und schließen Sie es am Relaiskabel q an.
1. Passer le tube marqué du faisceau de relais q dans le boîtier de commande par le trou supérieur du boîtier de
commande.
2. Brancher le faisceau de relais q au connecteur P9 de la carte de circuits, puis fixer le faisceau de relais q à l’aide du
serre-fils w comme indiqué sur l’illustration.
3. Retirer la vis e au centre de l'endroit où l'indication "RE" apparaît, puis installer le fil de masse r du faisceau de
relais q (installer deux fils si l'on utilise le releveur de pied presseur automatique).
(Le fil vert et jaune est le fil de masse.)
4. Passer le faisceau de pédale pour opération debout t par le serre-fils y et le brancher au faisceau de relais q.
1. Pasar el tubo marcado del mazo de conductores del relevador q en la caja de controles a través del agujero superior
en la caja de controles.
2. Conectar el mazo de conductores del relevador q al conector P9 en el circuito, y luego asegurar el mazo de conductores
del relevador q con el sujetacables w tal como se indica en la figura.
3. Retirar el tornillo e en el centro del lugar donde aparece "RE", y luego instalar el cable a tierra r para el mazo de
conductores del relevador q (dos cables si usa el levantador del prensatelas automático).
(El cable verde y amarillo es el cable a tierra.)
4. Pasar el mazo de conductores del pedal de pie t a través del sujetacables y y conectarlo al mazo de conductores
del relevador q.
1509M

36
ZE-8570,8580
5. INSTALLATION
5. MONTAGE
5. INSTALLATION
5. INSTALACION
q
r
e
w
5-12. Installing the cotton stand
5-12. Montage des Spulenträgers
5-12. Installation de la broche porte-bobine
5-12. Instalación del soporte del carrete
Assemble the cotton stand q while referring to the cotton
stand instruction manual, and then install the cotton stand
q to the far right corner of the work table.
* Securely tighten the nut r so that the rubber cushion
w and the washer e are securely clamped and so that
the cotton stand does not move.
Setzen Sie den Spulenträger q, wie in der Anleitung
beschrieben, zusammen und bringen Sie den Spulenträger
q an der rechten Ecke des Nähtisches an.
* Ziehen Sie die Mutter r fest, so daß die
Gummiauflage w und die Unterlegscheibe e
festgeklemmt werden und sich der Spulenträger nicht
bewegen läßt.
Assembler la broche porte-bobine q en se reportant au
manuel d’instructions de la broche porte-bibine, puis in-
staller la broche porte-bobine q sur le coin situé à
l’extrême droite de la table de travail.
* Serrer fermement l’écrou r, de manière que le
coussinet en caoutchouc w et la rondelle e soient
fermement princés et que la broche porte-bobine ne
bouge pas.
Armar el soporte del carrete q consultando el manual de
instrucciones del soporte, y luego instalar el soporte del
carrete q en la esquina derecha de la mesa de trabajo.
* Apretar bien con la tuerca r de manera que la
almohadilla de caucho w y la arandela e queden bien
apretadas y de manera que el soporte del carrete no
se mueva.
0548M

37 ZE-8570,8580
5. INSTALLATION
5. MONTAGE
5. INSTALLATION
5. INSTALACION
•Pass the connecting rod joint q through hole A in the
treadle lever w, and tighten it with the spring washer
e and nut r.
•Adjust the position of the machine treadle plate so
that the connecting rod is perpendicular to the treadle
plate.
Note:
The treadle pressure is adjusted to the position of
hole A at the time of shipment from the factory.
Refer to “Adjusting the treadle” on page 46.
•Stecken Sie das Zwischenstangengelenk q in das Loch
A des Pedalhebels w und befestigen Sie es mit der
federscheibe e und der Mutter r.
• Stellen Sie die Position der Maschinenpedalplatte so
ein, daß die Zwischenstange senkrecht zur Pedalplatte
angeordnet ist.
Hinwies:
Bei der Auslieferung wurde der Pedaldruck of die Po-
sition des Loches A eingestellt. Für die Einstellung wird
auf den Abschnitt “Einstellen des Pedals” auf Seite
46 verwiesen.
5-13. Connecting the connecting rod
5-13. Montange der Zwischenstange
5-13. Branchement de la tige de connexion
5-13. Conexión de la biela
•Faire passer le raccord q de la tige de connexion à travers le trou A du levier w de pédale, puis le serrer à l’aide de
la rondelle à ressort e et de l’écrou r.
•Régler la position de la plaque de pédale de machine de manière que la tige de connexion soit perpendiculaire à la
plaque de pédale.
Remarque:
La pression de la pédale est réglée à la position du trou A au moment de l’expédition de l’nsine. Se reporter à la
section “Réglage de la pédale” à la page 47.
•Pasar la junta de la biela q a través del orificio A en la palanca del pedal w y apretarla con la arandela de resorte e
y la tuerca r.
•
Ajustar la posición de la placa del pedal de la máquina de tal forma que la biela esté perpendicular a la placa del pedal.
Nota:
La presión del pedal ha sido ajustada a la posición del orificio A antes de salir de la fábrica. Para más información.
Consultar la sección “Ajuste del pedal” en la página 47.
q
w
e
r
A
1414M

38
ZE-8570,8580
5. INSTALLATION
5. MONTAGE
5. INSTALLATION
5. INSTALACION
•The sewing machine should always be lubricated and the oil supply replenished before it is used for the first time,
and also after long periods of non-use.
•Use only the lubricating oil (Nisseki Mitsubishi Sewing Lube 10N; VG10) specified by Brother.
•Vor der ersten lnbetriebnahme oder wenn die Maschine längere Zeit nicht verwendet wurde, muß die Maschine
immer geschmiert und Öl nachgefüllt werden.
•Verwenden Sie nur das von Brother vorgeschriebene Schmieröl (Nisseki Mitsubishi Sewing Lube 10N; VG10).
•Il faut toujours effectuer la lubrification de la machine à coudre et faire le plein d’huile avant d’utiliser la machine
pour la première fois, et aussi lousque la machine n’a pas été utilisée pendant une longue période.
•Utiliser seulement l’huile de lubrification (Nisseki Mitsubishi Sewing Lube 10N; VG10) recommandée par Brother.
•La máquina de coser debe ser lubricada y se le debe agregar aceite antes de ser usada por primera vez, también
después de no usarla durante períodos largos de tiempo.
•Usar sólo aceite lubricante (Nisseki Mitsubishi Sewing Lube 10N; VG10) especificado por Brother.
Tilt back the machine head and slowly pour in lubricating
oil until the oil level reaches the “HIGH” mark.
* If the oil level drops below the “LOW” mark, add more
lubricating oil.
Schwenken Sie das Nähmaschinenoberteil zurück und
füllen Sie langsam Öl ein, bis der Ölstand an der
Markierung “HIGH” steht.
* Falls der Ölstand unter die Markierung “LOW” abfällt,
muß Öl nachgefüllt werden.
Incliner la tête de machine vers l’arrière et verser
doucement l’huile de lubrification jusqu’à ce que le niveau
d’huile atteigne le repère “HIGH”.
* Si le niveau d’huile baisse au-dessous du repère
“LOW”, rajouter de l’huile de lubrification.
Inclinar la cabeza de la máquina hacia atrás y volcar
lentamente el aceite lubricante hasta que el nivel de aceite
llegue hasta la marca “HIGH”.
* Si el nivel de aceite baja por debajo de la marca
“LOW”, agregar más aceite lubricante.
HIGH
5-14. Lubrication 5-14. Lubrification
5-14. Schmierung 5-14. Lubricación
Do not connect the power cord until lubrication has been completed, otherwise the machine may operate if
the treadle is pressed by mistake, which could result in injury.
Be sure to wear protective goggles and gloves when handling the lubricating oil, so that no oil gets into your
eyes or onto your skin, otherwise inflammation can result.
Furthermore, do not drink the oil under any circumstances, as it can cause vomiting and diarrhoea.
Keep the oil out of the reach of children.
Schließen Sie das Netzkabel erst nach dem Schmieren an, weil eine hohe Verletzungsgefahr besteht, wenn
die Maschine durch unbeabsichtigtes Betätigen des Pedals in Gang gesetzt wird.
Trangen Sie zur Handhabung von Schmieröl eine Schutzbrille und Schutzhandschuhe. Falls Öl in die Augen
oder auf die Haut gelangt, können sich diese Stellen entzünden. Bei irrtümlicher Einnahme von Öl kann
Erbrechen und Durchfall auftreten.
Bewahren Sie das Öl nicht in Reichweite von Kindern auf.
Ne pas brancher le cordon d’alimentation avant d’avoir terminé la lubrification, sinon la machine risquera de
se mettre en marche si on appuie accidentellement sur la pédale et donc de provoquer des blessures.
Veiller à mettre des lunettes et des gants de protection lors de la manipulation d’huile lubrifiante, afin de
préserver les yeux et la peau de tout contact avec l’huile, et d’eviter tout risque d’inflammation.
De plus, l’ingestion de l’huile est à proscrire absoulument, car elle pourrait causer des vomissements et des
diarrhées.
Ranger l’huile hors de protée des enfants.
No conectar el cable de alimentación antes de haber terminado con la lubricación, de lo contrario la máquina
podría funcionar si por descuido se pisara el pedal, lo que podría resultar en heridas.
Asegurarse de usar anteojos de seguridad y guantes al manipular aceites lubricantes, de manera que el aceite
lubricante no salpique en ojos o la piel, de lo contrario podrían resultar inflamados.
Además, bajo ningún concepto se debe beber aceite lubricante pues podría ocasionar vómitos y diarrea.
Mantener el aceite lubricante lejos del alcance de los niños.
CAUTION/ACHTUNG/ATTENTION/ATENCION
0549M

39 ZE-8570,8580
5. INSTALLATION
5. MONTAGE
5. INSTALLATION
5. INSTALACION
5-15. Test operation (Operating the treadle)
5-15. Probebetrieb (Berätigung des Pedals)
5-15. Essai de fonctionnement (utilisation de la pédale)
5-15. Funcionamiento de prueba (Usando el pedal)
Do not touch any of the moving parts or press any objects against the machine while sewing, as this may
result in personal injury or damage to the machine.
Berühren Sie keine sich bewegenden Teile und drücken Sie anch keine Gegenstände an solche Teile, weil Sie
sich verletzen können und die Nähmaschine beschädigt werden kann.
Ne toucher aucune des parties mobile, et ne pas presser d’objets contre la machine pendant la couture, car
ceci pourrait causer des blessures ou endommager la machine.
No tocar ninguna de las piezas móviles o presionar ningún objeto contra la máquina al coser, pues podría
resultar en heridas o la máquina podría resultar dañada.
CAUTION/ACHTUNG/ATTENTION/ATENCION
5-15-1. Turning on the power
5-15-1. Einschalten
5-15-1. Mise sous tension
5-15-1. Conectando la alimentación
•Release the treadle when turning on the power.
(If the treadle is depressed, 000 000 will appear in the LED display. At this time, 000 000 will appear when you take
your foot off the treadle, so turn the power off and back on again.)
•After the power is turned on, the subsequent operation of the sewing machine will vary according to the needle bar
position at that time.
•Lassen Sie beim Einschalten das Pedal los. (Beim Drücken des Pedals erscheint auf der LED-Anzeige 000 000. Beim
Loslassen des Fußes vom Pedal erscheint 000 000, schalten Sie deshalb die Maschine aus und danach wieder ein.)
•Nach dem Einschalten hängt der folgende Maschinenbetrieb von der eingestellten Stopposition der Nadelstange
ab.
•Relâcher la pédale lorsqu’on met la machine sous tension.
(Si l'on appuie sur la pédale, l'indication 000 000 apparaît sur l'affichage LED. A ce moment, l'indication 000 000
apparaît quand on enlève le pied de la pédale; mettre donc la machine hors tension, puis à nouveau sous tension.)
•Après que la machine ait été mise sous tension, les opérations suivantes de la machine à coudre varieront suivant
la position de la barre à aiguille à ce moment.
•Dejar de pisar el pedal al conectar la alimentación.
(Si se está pisando el pedal, aparecerá 000 000 en la exhibición LED. En este momento, aparecerá 000 000 cuando
se retire el pie del pedal, por lo tanto desconecte la alimentación y vuelva a conectarla.)
•Después de conectar la alimentación, el funcionamiento siguiente de la máquina de coser variará de acuerdo a la
posición de la barra de agujas en ese momento.

40
ZE-8570,8580
5. INSTALLATION
5. MONTAGE
5. INSTALLATION
5. INSTALACION
<If the needle bar is at the needle up stop position>
Turn on the POWER switch q.
The buzzer will sound for about one second, and then the
needle bar will move horizontally to the sewing start po-
sition. Sewing will then be possible.
<Angehobene Nadelstangen-Stopposition>
Schalten Sie den POWER-Schalter q ein.
Ein akustisches Signal ertönt für ungefähr eine Sekunde
und danach bewegt die Nadelstange seitlich in die
Startposition für das Nähen. Danach kann mit dem Nähen
begonnen werden.
<Si la barre à aiguille est en position d’arrêt supérieur de
l’aiguille>
Mettre l’interrupteur d’alimentation q sur la position de
marche.
Le ronfleur émettra un son pendant une seconde environ,
puis la barre à aiguille se déplacera horizontalement jusqu’à
la position de départ de couture. La couture pourra alors
s’enclencher.
<Si la barra de agujas está en la posición de parada con la
aguja levantada>
Encender el interruptor principal q.
La alarma sonará durante aproximadamente un segundo,
y luego la barra de agujas se moverá horizontalmente a la
posición de comienzo de costura. Entonces se podrá coser.
<If the needle bar is not at the needle up stop position>
1. Turn on the POWER switch q.
The buzzer will sound for about one second, and then
“ 000 000 ” will appear in the LED display w.
2. Turn the machine pulley slowly to move the needle bar to
the needle up stop position (until the reference line on the
machine pulley is aligned with the index mark e on the
belt cover).
The needle bar will then move horizontally to the sewing
start position and sewing will then be possible.
<Falls sich die Nadelstange nicht in der Stopposition mit
angehobener Nadel befindet>
1. Schalten Sie den POWER-Schalter q ein.
Ein akustisches Signal ertönt für ungefähr eine Sekunde
und danach erscheint “ 000 000 ” auf der LED-Anzeige w.
2. Drehen Sie die Riemenscheibe langsam, um die
Nadelstange anzuheben (so daß die Bezugslinie der
Riemenscheibe auf die Markierung e des
Riemenschutzes aufgerichtet ist).
Die Nadelstange bewegt sich dann seitlich in die
Startposition für das Nähen. Danach kann mit dem
Nähen begonnen werden.
<Si la barre à aiguille n’est pas à la position d’arrêt supérieur de l’aiguille>
1. Mettre l’interrupteur d’alimentation q sur la position de marche.
Le ronfleur émettra un son pendant une seconde environ, puis l’indication “ 000 000 ” apparaîtra sur l’affichage
LED w.
2. Tourner progressivement la poulie de machine pour déplacer la barre à aiguille jusqu’à la position d’arrêt supérieur de
l’aiguille (jusqu’à ce que la ligne de référence de la poulie de machine soit alignée sur la marque d’index e du couvercle de
courroie).
La barre à aiguille se déplacera alors horizontalement jusqu’à la position de départ de couture, et la couture pourra alors
s’enclencher.
<Si la barra de agujas no está en la posición de parada con la aguja levantada>
1. Encender el interruptor principal q.
La alarma sonará durante aproximadamente un segundo, y luego “ 000 000 ” aparecerá en la exhibición LED w.
2. Girar la polea de la máquina lentamente para mover la barra de agujas a la posición de parada con la aguja levantada (hasta
que la línea de referencia en la polea de la máquina esté alineada con la marca de índice e en la cubierta de la correa).
La barra de agujas se moverá luego horizontalmente a la posición de comienzo de costura y entonces se podrá coser.
q
q
Illuminates
leuchtet
S’allume
Se enciende
e
w
Illuminates
leuchtet
S’allume
Se enciende
1299M
1300M
1298M
1298M

41 ZE-8570,8580
5. INSTALLATION
5. MONTAGE
5. INSTALLATION
5. INSTALACION
●Raising the needle automatically (additional DIP switch function)
(Be sure to turn off the power before changing any of the DIP switch settings. Refer to page 185.)
When DIP switch 1-5 inside the control box is set to ON, pressing the half stitch key or depressing the treadle
backward while 000 000 appears on the LED display will cause the sewing machine motor to operate automati-
cally to raise the needle bar to the needle up stop position.
*However, note that if a workpiece has been set in place, a stitch may be sewn at this time.
Note:
If you are using a presser foot and needle plate for zigzag widths other than 8 mm, the needle may touch the
needle plate at this time, causing the needle to break. If necessary, replace the stopper to one which matches the
gauge part sizes to prevent this from happening. (Refer to page 153.)
●Automatisches Anheben der Nadel (zusätzliche DIP-Schalterfunktion)
(Zum Ändern von DIP-Schaltereinstellungen muß die Maschine ausgeschaltet werden. Siehe Seite 185.)
Wenn die DIP-Schalter 1-5 im Schaltkasten auf “ON” gestellt sind, wird der Nähmaschinenmotor automatisch
zum Anheben der Nadelstange betätigt, wenn die Halbstichtaste oder das Pedal nach hinten gedrückt wird,
während 000 000 auf der LED-Anzeige angezeigt wird.
*Beachten Sie, daß bei eingesetztem Nähgut in diesem Fall der Stich genäht wird.
Hinweis:
Bei Verwendung eines anderen Stoffdrückerfußes und einer anderen Stichplatte als für eine Zickzackbreite von 8
mm kann die Nadel brechen, weil sie die Stichplatte berührt. Falls notwendig, muß der Anschlag gegen einen für
die Teile geeigneten Anschlag ausgetauscht werden. (Siehe Seite 153.)
●Relevage automatique de l’aiguille (fonction d’interrupteur DIP supplémentaire)
(Veiller à mettre la machine hors tension avant de changer l’un quelconque des réglages des interrupteurs DIP.
Se reporter à la page 185.)
Lorsqu’on met l’interrupteur DIP 1-5 se trouvant dans le boîtier de commande sur la position de marche, si l’on
appuie sur la touche de demi-point ou si l’on appuie sur la pédale vers l’arrière pendant que l’indication 000 000
apparaît sur l’affichage LED, le moteur de la machine à coudre fonctionnera automatiquement pour élever la
barre à aiguille jusqu’à la position d’arrêt supérieur de l’aiguille.
*Toutefois, bien noter que si un ouvrage a été mis en place, il est possible qu’un point soit cousu à ce moment.
Remarque:
Si l’on utilise un pied presseur et une plaque à aiguille pour des largeurs de zigzag autres que 8 mm, il est
possible que l’aiguille entre en contact avec la plaque à aiguille à ce moment, et qu’une rupture de l’aiguille se
produise alors. Si besoin est, remplacer la butée par une butée qui corresponde aux tailles des pièces de calibrage
pour éviter que ceci se produise. (Se reporter à la page 153.)
●Levantando la aguja automáticamente (función de interruptor DIP adicional)
(Tener cuidado de desconectar la alimentación antes de cambiar cualquiera de los ajustes del interruptor DIP.
Consultar la página 185.)
Cuando el interruptor DIP 1-5 dentro de la caja de controles está ajustado a ON, presionando el interruptor de
media puntada o pisando el pedal hacia atrás mientras 000 000 aparece en la exhibición LED se hará que el
motor de la máquina de coser funcione automáticamente para levantar la barra de agujas a la posición de
parada con la aguja levantada.
*Sin embargo, se debe tener en cuenta que si la pieza ha sido colocada en su lugar, se debe coser una puntada
en este momento.
Nota:
Si está usando un prensatelas y una placa de agujas para zigzag de ancho mayor de 8 mm, la aguja podría tocar
la placa de agujas en este momento, haciendo que la aguja se rompa. Si fuera necesario, cambiar el tope por uno
que esté de acuerdo con las piezas calibradas para evitar que suceda lo anteriormente indicado. (Consultar la
página 153.)
■ Panel setting status
•The panel setting status will be the same status that was active at the time the power was last turned off.
•“Pattern No.” will appear in the LED display while the buzzer is sounding, and then “Zigzag width” will appear.
■ Bedienungsfeldeinstellungen
•Nach dem Einschalten sind die gleichen Bedienungsfeldeinstellungen, vorhanden die beim letzten Ausschalten
eingeschaltet waren.
•Auf der LED-Anzeige erscheint “Pattern No.” während ein akustisches Signal ertönt und danach erscheint “Zigzag
width”
■ Etat de réglage du panneau
•L’état de réglage du panneau sera identique à celui dans lequel il se trouvait au moment où l’on avait mis la machine
hors tension la dernière fois.
•“N° de motif” apparaît sur l’affichage LED pendant que le ronfleur émet un son, puis “Largeur de zigzag” apparaît.
■ Estado de ajustes del panel
•El estado de ajustes del panel será el mismo que el estado que estuviera activo en el momento en que se desconectó
la corriente.
•“Pattern No.” aparecerá en la exhibición LED mientras la alarma suena, y luego aparecerá “Zigzag width”.

42
ZE-8570,8580
5. INSTALLATION
5. MONTAGE
5. INSTALLATION
5. INSTALACION
5-15-2. Operating the treadle
5-15-2. Bedienung des Pedals
q
e
r
t
y
w
The treadle is at the neutral position q when the treadle is not pressed.
1. When the treadle is gently depressed to position w, the under edge trimmer operates. When the treadle is then
gently depressed to position e, low-speed sewing is carried out. If it is then depressed as far as r, high-speed
sewing is carried out.
2. When the treadle is pressed forward and then back to the neutral position q, the needle will stop below the needle
plate (when needle down stop mode has been set).
3. When the treadle is depressed all the way to position t (or if the treadle is depressed to position t and then
returned to the neutral position q), the mechanism will sew half a stitch or one stitch, and then the needle bar will
stop at the needle up stop position. (With the ZE-8580, the thread will be trimmed at this point.)
Furthermore, no needle zigzagging will be carried out at this time. Furthermore, the under edge trimmer will not
operate either.
(If you would like needle zigzagging to be carried out, refer to page 43.)
< If an automatic presser foot lifter is being used >
(DIP switch 1-3 must be set to ON.)
•The presser foot will rise when the treadle is gently pressed back to the backward position y.
•The presser foot will lower when the treadle is returned to the neutral position q.
•The presser foot will lower if the treadle is gently pressed to the position w while the presser foot is lifted.
Das Pedal befindet sich in der Neutralposition q, wenn das Pedal nicht niedergedrückt wird.
1. Beim langsamen Drücken des Pedals in die Position w wird der untere Kantenabschneider betätigt. Wenn das Pedal
langsam in die Position e gedrückt wird, näht die Nähmaschine mit niedriger Geschwindigkeit. Beim Drücken des
Pedals in die Position r näht die Nähmaschine mit hoher Geschwindigkeit.
2. Falls das Pedal vorwärts und dann wieder zurück indie Neutralposition q gedrückt wird, stoppt die Nähmaschine
mit abgesrnkter Nadel (falls die Stopposition mit abgesenkter Nadel eingestellt ist).
3. Wenn das Pedal ganz in die Position t gedrückt wird (oder wenn das Pedal in die Position t gedrückt und wieder
in die Neutralposition q zurückgestellt wird) so wird ein halber oder ein ganzer Stich genäht und die Maschine
stoppt mit angehobener Nadelstange. (Bei der ZE-8580 wird auch der Faden abgeschnitten.)
Außerdem wird kein Zickzack ausgeführt. Der untere Kantenabschneider wird nicht betätigt.
(Für einen Nadelzickzack wird auf die Seite 43 verwiesen.)
< Bei Verwendung eines automatischen Stoffdrückerfußhebers >
(DIP-Schalter 1-3 müssen auf “ON” gestellt sein.)
•Beim Zurückdrücken des Pedals in die Position y wird der Stoffdrückerfuß angehoben.
•Der Stoffdrückerfuß wird abgesenkt, wenn das Pedal zurück in die Neutralposition q gebracht wird.
•Der Stoffdrückerfuß wird abgesenkt, wenn das Pedal bei angehobenem Stoffdrückerfuß langsam in die Position w
gedrückt wird.
1415M

43 ZE-8570,8580
5. INSTALLATION
5. MONTAGE
5. INSTALLATION
5. INSTALACION
● Needle zigzagging function when the treadle is depressed backward (additional DIP switch function)
● Nadelzickzack beim Zurückdrücken des Pedals (zusätzliche DIP-Schalterfunktion)
With needle zigzagging off
Nadelzickzack ausgeschaltet
With needle zigzagging on
Nadelzickzack eingeschaltet
Example: Plain zigzag
Beispiel: Normale Zickzackstiche
Sewing direction
Nährichtung
Treadle depressed backward
Pedal zurückgedrückt
Next sewing start
Nächster Nähbeginn
(Be sure to turn off the power before changing any of the DIP switch settings. Refer to page 179.)
When DIP switch 2-4 inside the control box is set to ON, needle zigzagging also occurs when the treadle is depressed
backward.
(Reference example)
DIPSW2-4: ON
For the ZE-8570, this sets needle zigzagging to ON if you would like to prevent a flattened zigzag from being sewn
if the treadle is depressed backward by mistake.
DIPSW2-4: OFF
This sets needle zigzagging to OFF if you would like the sewing end and the next sewing start to be at the same
position such as when a zigzag stop position has been set.
(Zum Ändern von DIP-Schaltereinstellungen muß die Maschine ausgeschaltet werden. Siehe Seite 179.)
Wenn der DIP-Schalter 2-4 im Schaltkasten auf “ON” gestellt ist, so wird beim Zurückdrücken des Pedals der
Nadelzickzack eingeschaltet.
(Beispiel)
DIPSW2-4: ON
Damit wird der Nadelzickzack für die ZE-8570 eingeschaltet, um zu vermeiden, daß beim irrtümlichen Zurückdrücken
des Pedals ein flacher Zickzack genäht wird.
DIPSW2-4: OFF
Damit wird der Nadelzickzack ausgeschaltet, so daß das Nähende auf den nächsten Nähbeginn ausgerichtet ist,
wenn die Stopposition für den Zickzack eingestellt ist.
1416M

44
ZE-8570,8580
5. INSTALLATION
5. MONTAGE
5. INSTALLATION
5. INSTALACION
5-15-2. Fonctionnement de la pédale
5-15-2. Uso del pedal
q
e
r
t
y
w
La pédale est en position neutre q lorsqu’on n’appuie pas sur la pédale.
1. Lorsqu'on appuie légèrement sur la pédale jusqu'à la position w, le couteau de bord inférieur est actionné. Si l'on
appuie ensuite légèrement sur la pédale jusqu'à la position e, la couture est effectuée à vitesse lente. Si on appuie
ensuite sur la pédale jusqu'à la position r, la couture est effectuée à vitesse rapide.
2. Lorsqu’on appuie sur la pédale vers l’avant puis vers l’arrière jusqu’à la position neutre q, l’aiguille s’arrêtera
audessous de la plaque à aiguille (lorsqu’on a réglé le mode d’arrêt de position abaissée de l’aiguille).
3. Si l’on enfonce la pédale complètement jusqu’à la position t (ou si l’on enfonce la pédale jusqu’à la position t et
qu’on la remet en position neutre q), le dispositif coudra un demi-point ou un point, puis la barre à aiguille s’arrêtera
à la position d’arrêt supérieur de l’aiguille. (Avec le modèle ZE-8580, le fil sera coupé en ce point.)
En outre, le zigzag de l’aiguille ne sera pas effectué à ce moment. En outre, le couteau de bord inférieur ne fonctionnera
pas non plus. (Si l’on désire effectuer le zigzag de l’aiguille, se reporter à la page 45.)
< Si on utilise un releveur de pied presseur automatique >
(L’interrupteur DIP 1-3 doit être mis sur la position de marche.)
•Le pied presseur se relèvera lorsqu’on appuie doucement sur la pédale vers l’arrière jusqu’àla position y.
•Le pied presseur s’abaissera lorsqu’on ramène la pédale jusqu’à la position neutre q.
•Le pied presseur s’abaissera si on appuie doucement sur la pédale jusqu’à la position w pendant que le pied
presseur est relevé.
El pedal está en la posición neutral q cuando no se pisa el pedal.
1. Cuando se pisa el pedal suavemente a la posición w, el cortador de borde inferior funciona. Cuando luego se pisa el
pedal suavemente a la posición e, se realiza la costura a baja velocidad. Si luego se pisa tan lejos como r, se realiza
la costura a alta velocidad.
2. Si se pisa el pedal hacia adelante y luego hacia atrás a la posición neutral q, la aguja se parará debajo de la placa de
aguja (cuando el modo de parada de aguja en posicion baja ha sido fijado).
3. Cuando se pisa el pedal completamente hasta la posición t (o si se está pisando el pedal a la posición t y luego se
vuelve a la posición neutral q), el mecanismo coserá media puntada o una puntada, y luego la barra de agujas se
parará en la posición de parada con la aguja levantada. (Con la ZE-8580, el hilo será cortado en este momento.)
Además, no se realizará ninguna puntada en zigzag en este momento.
Además, el cortador de borde inferior tampoco funcionará.
(Si se quisiera realizar una puntada en zigzag, consultar la página 45.)
< Si se usa un levantador automático de prensatelas >
(El interruptor DIP 1-3 debe ser ajustado a ON.)
•El prensatelas se levantará cuando se pise suavemente el pedal hacia atrás a la posición y.
•El prensatelas bajará cuando se vuelve el pedal a la posición neutral q.
•El prensatelas bajará cuando se pisa suavemente el pedal a la posición w cuando el prensatelas estaba levantado.
1415M

45 ZE-8570,8580
5. INSTALLATION
5. MONTAGE
5. INSTALLATION
5. INSTALACION
● Fonction de zigzag de l’aiguille lorsqu’on enfonce la pédale vers l’arrière. (fonction d’interrupteur DIP
supplémentaire)
● Función de puntada de zigzag cuando se pisa el pedal hacia atrás (función de interruptor DIP adicional)
Exemple: Zigzag ordinaire
Por ejemplo: Puntadas en zigzag simples
Sens de couture
Dirección de costura
Pédale enfoncée vers l’arrière
Pedal pisado hacia atrás
Début de couture suivant
Comienzo de la siguiente costura
(Veiller à mettre la machine hors tension avant de changer l’un quelconque des réglages des interrupteurs DIP. Se
reporter à la page 179.)
Lorsque l’interrupteur DIP 2-4 situé dans le boîtier de commande est mis sur la position de marche, le zigzag de
l’aiguille est aussi effectué lorsqu’on enfonce la pédale vers l’arrière.
(Exemple de référence)
DIPSW2-4: ON
Pour le modèle ZE-8570, ceci met le zigzag de l’aiguille sur la position de marche si l’on veut empêcher qu’un
zigzag plat soit cousu au cas où l’on enfonce la pédale vers l’arrière par erreur.
DIPSW2-4: OFF
Ceci met le zigzag de l’aiguille sur la position d’arrêt si l’on veut que la fin de couture et le début de couture
suivant soient à la même position, par exemple lorsqu’une position d’arrêt de zigzag a été réglée.
(Tener cuidado de desconectar la alimentación antes de cambiar cualquiera de los ajustes del interruptor DIP. Consultar
la página 179.)
Cuando el interruptor DIP 2-4 dentro de la caja de controles se ajusta a ON, la puntada zigzag también se puede
realizar cuando se pisa el pedal hacia atrás.
(Ejemplo de referencia)
DIPSW2-4: ON
Para la ZE-8570, esto ajusta la función de zigzag a ON si desea impedir que se cosan puntadas en zigzag planas si
el pedal es pisado hacia atrás por error.
DIPSW2-4: OFF
Esto ajusta la función de puntada en zigzag a OFF si se quisiera finalizar y comenzar la costura en la misma
posición como cuando se ha ajustado la posición de parada de zigzag.
Zigzag de l’aiguille désactivé
Con la función de puntada
zigzag sin activar
Zigzag de l’aiguille activé
Con la función de puntada
zigzag activada
1416M

46
ZE-8570,8580
5. INSTALLATION
5. MONTAGE
5. INSTALLATION
5. INSTALACION
■ Adjusting the treadle pressure
■ Einstellen der Pedaldruckkraft
If the machine starts running at a low speed when your
foot is simply resting on the treadle, or if the treadle pres-
sure is too weak, adjust the position (a to c) at which the
treadle spring q is hooked onto the treadle lever w.
Note:
The treadle pressure will increase from position a to
position c.
Falls die Maschine zu laufen beginnt, wenn lhr Fuß auf
dem Pedal ruht oder die Pedalkraft zu gering empfunden
wird, kann die Pedaldruckkraft durch die Position (a bis c),
an welcher die Pedalfeder q am Pedalhebel w eingehängt
ist, eingestellt werden.
Hinweis:
Die Pedaldruckkraft nimmt von Position a nach Posi-
tion c zu.
5-16. Adjusting the treadle
5-16. Einstellen des Pedals
■ Adjusting the treadle return pressure
■ Einstellen der Pedalrückstellkraft
1. Loosen the nut e and turn the bolt r. The treadle return pressure becomes heavier as the bolt r is tightened, and
becomes lighter as the bolt r is loosened.
2. Tighten the nut e.
1. Losen Sie die Mutter e und drehen Sie die Schraube r. Durch Anziehen der Schraube r wird die Pedalrückstellkraft
erhöht, durch Lösen der Schraube r wird sie verringert.
2. Ziehen Sie die Mutter e an.
■ Adjusting the treadle stroke
■ Einstellen des Pedalhubs
Remove the nut t, and then move connecting rod joint y from the position in figure A to the position in figure B.
The treadle stroke will increase by approx. 1.25 times.
Note:
This adjustment will also affect the treadle pressure and the treadle return pressure, so these settings should be
readjusted if necessary.
Entfernen Sie die Mutter t und stellen Sie das Zwischenstangengelenk y von der Position in Abbildung A in die in der
Abbildung B gezeigte Position. Dadurch wird der Pedalhub um ungefähr das 1,25 fache erhöht.
Hinwies:
Durch diese Enstellung wird auch die Pedaldruckkrafr und die Pedalrückstellkraft beeinflußt. Daher müssen diese
Einstellungen nötigenfalls wiederholt werden.
Turn off the power switch before starting work, otherwise the motor may operate, which could result in injury.
Schalten Sie den Netzschalter vor dem Arbeitsbeginn aus, weil const der Motor unbeabsichtigt eingeschaltet
werden und Verletzungen verusachen kann.
CAUTION/ACHTUNG
Figure B
Abbildung B
r
e
w
q
y
t
abc
y
Figure A
Abbildung A
1303M
1302M

47 ZE-8570,8580
5. INSTALLATION
5. MONTAGE
5. INSTALLATION
5. INSTALACION
■ Réglage de la pression de pédale
■ Ajuste de la presión del pedal
Si la machine démarre à vitesse lente lorsque le pied est
simplement posé sur la pédale, ou si on sent que la
pression de la pédale est trop faible, regler la position (a à
c) à laquelle le ressort q de la pédale est accroché sur le
levier w de la pédale.
Remarque:
La pression de pédale s’accroît de la position a à la
position c.
Si la máquina comienza a functonar a baja velocidad
cuando se tiene el pie déscansando sobre el pedal, o si la
presión del pedal es demasiado débil, ajustar la posición
(a a c) en la que el resorte del pedal q se encuentra
enganchado a la palanca del pedal w.
Nota:
La presión del pedal aumentará desde la posición a a
la c.
5-16. Réglage de la pédale
5-16. Ajuste del pedal
■ Réglage de la pression de retour de pédale
■ Ajuste de la presion de retorno del pedal
1. Desserrer l’écrou e et tourner le boulen r. La pression de retour de pédale augmente lorsqu’on serre le boulon r,
et diminue lorsqu’on desserre le boulon r.
2. Serrer l’écrou e.
1 Aflojar la tuerca e y girar el perno r. La presión de retorno del pédal es mayor cuanto más se aprieta el perno r, y
la presión será menor cuanto más se afloja el perno r.
2. Apretar la tuerca e.
■ Réglage de la course de pédale
■ Ajuste del recorrido del pedal
Déposer l’écrou t, puis déplacer le raccord y de la tige de connexion de la position indiquée sur l’illustration A à la
position indiquée sur l’illustration B. La course de la pédale augmentera alors d’environ 1, 25 fois.
Remarque:
Ce réglage affectera aussi la pression de pédale et la pression de retour de pédale, il peut donc être nécessaire de
refaire ces derniers réglages.
Quitar la tuerca t, y luego mover la junta de la biela y de la posicion de la figura A a la posición de la figura B. El
recorrido del pedal aumentará apoximadamente 1, 25 veces.
Nota:
Este ajuste también afectará la presión del pedal y la presión de retorno del pedal, por lo que si fuera necesario se
puede volver a reajustar.
Mettre l’interrupteur principal en position d’arrêt avant d’entreprendre la couture, sinon le moteur pourra de
se mettre en marche, ce qui risque de provoquer des blessures.
Desconectar el interruptor principal antes de comenzar a trabajar, de lo contraio el motor podría comenzar a
funcionar, lo que podría resultar en heridas.
ATTENTION/ATENCION
Illustration B
Figura B
r
e
w
q
y
t
abc
y
Illustration A
Figura A
1302M
1303M

48
ZE-8570,8580
6. PREPARATION BEFORE SEWING
6. VORBEREITUNGEN ZUM NÄHEN
6. PREPARATIFS AVANT LA COUTURE
6. PREPARATIVOS ANTES DE COSER
Turn off the power switch before installing the needle, otherwise the machine may operate if the treadle is
pressed by mistake, which could result in injury.
Schalten Sie den Netzschalter vor dem Einsetzen der Nadel aus, weil Verletzungen entstehen können, wenn
sich die Maschine durch unbeabsichtigtes Drücken des Pedals in Gang setzt.
Mettre l’interrupteur d’alimentation sur la position d’arrêt avant d’installer l’aiguille, sinon la machine risquera
de se mettre en marche si on enfonce accidentellement la pédale, et donc de causer des blessures.
Desconectar el interruptor principal antes de colocar la aguja, de lo contrario la máquina podría comenzar a
funcionar si por descuido se pisara el pedal, lo que podría resultar en heridas.
6-1. Installing the needle
6-1. Einsetzen der Nadel
6-1. Installation de l’aiguille
6-1. Colocación de la aguja
6. PREPARATION BEFORE SEWING
6. VORBEREITUNGEN ZUM NÄHEN
6. PREPARATIFS AVANT LA COUTURE
6. PREPARATIVOS ANTES DE COSER
1. Turn the machine pulley to move the needle bar q to
its highest position.
2. Loosen the screw w.
3. Insert the needle e in a straight line as far as it will
go, making sure that the long groove on the needle is
toward the front, and then securely tighten the screw
w.
1. Stellen Sie die Nadelstange q durch Drehen der
Nähmaschinenriemenscheibe in die höchste Position.
2. Lösen Sie die Schraube w.
3. Stecken Sie die Nadel e mit der langen Nut nach vorne
gerichtet ganz hinein und ziehen Sie die Schraube w
fest.
1. Tourner la poulie de machine de manière à amener la
barre à aiguille q à sa position la plus haute.
2. Desserrer la vis w.
3. Insérer l’aiguille e en ligne droite bien à fond, en
veillant à ce que la rainure longue de l’aiguille soit
orientée vers l’avant, puis bien serrer la vis w.
1. Girar la polea de la máquina para levantar la barra de
aguja q hasta quede en la posición más alta.
2. Aflojar el tornillo w.
3. Insertar la aguja e en línea recta tanto como sea
posible, asegurándose que la ranura larga en la aguja
se encuentre hacia adelante, y luego apretar
firmemente el tornillo w.
Long groove in needle
Lange Nut
Rainure longue de l’aiguille
Ranura larga en la aguja
Front
vorne
Avant
Adelante
CAUTION/ACHTUNG/ATTENTION/ATENCION
1511M
0552M
qw
e

49 ZE-8570,8580
6. PREPARATION BEFORE SEWING
6. VORBEREITUNGEN ZUM NÄHEN
6. PREPARATIFS AVANT LA COUTURE
6. PREPARATIVOS ANTES DE COSER
1. Turn the machine pulley to raise the needle until it is
above the needle plate.
2. Pull the latch q of the bobbin case upward and then
remove the bobbin case.
3. The bobbin w will come out when the latch q is re-
leased.
<ZE-8580>
For ZE-8580 specifications, there is a bobbin tension
spring e inside the bobbin case.
The bobbin tension spring e prevents the bobbin from
racing.
1. Heben Sie die Nabel durch Drehen der Nähmaschinen-
riemenscheibe bis über die Stichplatte an.
2. Ziehen Sie die Lasche q nach oben und nehmen Sie
die Spulenkapsel heraus.
3. Die Spule w fällt heraus, wenn Sie die Sperrlasche q
loslassen.
<ZE-8580>
Bei der Ausführung ZE-8580 ist in der Spulenkapsel
eine Spulenspannfeder e vorhanden.
Durch die Spulenspannfeder e wird ein Weiterdrehen
der Spule verhindert.
6-2. Removing the bobbin case
6-2. Herausnehmen der Spulenkapsel 6-2. Retrait de la boîte à canette
6-2. Manera de sacar la caja de la bobina
Turn off the power switch before removing the bobbin case, otherwise the machine may operate if the treadle
is pressed by mistake, which could result in injury.
Schalten Sie den Netzschalter vor dem Herausnehmen der Spulenkapsel ans, weil Verletzungen entstehen
können, wenn sich die Maschine durch unbeabsichtigtes Drücken des Pedals in Gang setzt.
Mettre l’interruputeur d’alimentation en position d’arrêt avant de retirer la boîte à canette, sinon la machine
risquera de se mettre en marche si on enfonce accidentellement la pédale, et donc de causer des blessures.
Desconectar el interruptor principal antes de sacar la caja de la bobina, de lo contrario la máquina podría
comenzar a funcionar si por descuido se pisara el pedal, lo que podría resultar en heridas.
we
<ZE-8580>
1. Tourner la poulie de machine de manière à relever l’aiguille jusqu’à ce qu’elle soit placée au-dessus de la plaque à
aiguille.
2. Soulever le verrou q de la boîte à canette puis déposer la boîte à canette.
3. La canette w sortira lorsqu’on relâche le verrou q.
<ZE-8580>
Pour les spécifications ZE-8580, un ressort e de tension de canette se trouve dans la boîte à canette.
Un ressort e de tension de canette est monté pour éviter que la canette ne sorte.
1. Girar la polea de la máquina para levantar la aguja hasta quede encima de la placa de aguja.
2. Tirar del seguro q de la caja de la bobina y luego sacar la caja de la bobina.
3. La bobina w saldrá hacia afuera cuando se libere el seguro q.
<ZE-8580>
Para las especificaciones ZE-8580, existe un resorte de tensión de la bobina e dentro de la caja de la bobina.
Se ha colocado un resorte de tensión de la bobina e para evitar que la bobina se embale.
CAUTION/ACHTUNG/ATTENTION/ATENCION
1512M
1308M
1307M
q

50
ZE-8570,8580
6. PREPARATION BEFORE SEWING
6. VORBEREITUNGEN ZUM NÄHEN
6. PREPARATIFS AVANT LA COUTURE
6. PREPARATIVOS ANTES DE COSER
1. Turn on the power switch. (Refer to page 39.)
2. Place the bobbin q onto the bobbin winder shaft w.
3. Wind the thread several times around the bobbin q in
the direction indicated by the arrow.
4. Push down the bobbin presser arm e.
5. Raise the presser foot with the presser foot lifter.
6. Depress the treadle. Lower thread winding will then
start.
7. Once winding of the lower thread is completed, the
bobbin presser arm e will return automatically.
* If the thread cannot be wound on evenly, loosen the
screw r and move the bobbin winder guide t to the
side where there is less thread.
* Turn the adjustment screw y to adjust the bobbin wind-
ing amount.
•To increase the winding amount: Tighten the screw.
•To decrease the winding amount: Loosen the screw.
Note:
The amount of thread wound onto the bobbin should
be a maximum of 80% of the bobbin capacity.
1. Schalten Sie den Netzschalter ein. (Siehe Seite 39.)
2. Setzen Sie die Spule q auf die Spulenachse w.
3. Wickeln Sie den Faden einige Male in Pfeilrichtung um
die Spule q.
4. Drücken Sie den Spulenarm e nach unten.
5. Heben Sie den Stoffdrückerfuß mit den
Stoffdrückerfußheber an.
6. Drücken sie das Pedal, um den Unterfaden auf die
Spule aufzuwickeln.
7. Nach vollständigem Aufwickeln wird der Spulenarm
e automatisch zurückgestellt.
* Falls der Faden ungleichmäßig aufgewickelt wird, lösen
Sie die Schraube r und schieben Sie die Führungsrolle
t auf die Seite, auf der weniger Faden aufgewickelt
wird.
* Stellen Sie die auf die Spule anfgewickelte
Fadenmenge mit der Einstellschraube y ein.
•Zum Erhöhen der Fadenmenge: Ziehen Sie die
Schraube fest.
•Zum Vermindern der Fadenmenge: Lösen Sie die
Schraube.
Hinweis:
Der Faden sollte höchstens zu 80% der Spulenkapazität
aufgewickelt werden.
e
w
y
q
r
t
6-3. Winding the lower thread
6-3. Aufwickeln des Unterfadens
Do not touch any of the moving parts or place any objects against the machine while winding the lower
thread, as this may result in personal injury or damage to the machine.
Berühren Sie beim Aufwickeln des Unterfadens keine sich bewegenden Teile und halten Sie auch keine
Gegenstände an solche Teile, weil Sie sich verletzen können und die Nähmaschine beschädigt werden kann.
CAUTION/ACHTUNG
80%
Thread winding amount
Aufgewickelte Fadenmenge
0554M
0555M

51 ZE-8570,8580
6. PREPARATION BEFORE SEWING
6. VORBEREITUNGEN ZUM NÄHEN
6. PREPARATIFS AVANT LA COUTURE
6. PREPARATIVOS ANTES DE COSER
1. Mettre l’interrupteur d’alimentation sur la position de
marche. (Se reporter à la page 39.)
2. Placer la canette q sur l’arbre w du bobineur de
canette.
3. Bobiner plusieurs fois le fil autour de la canette q dans
le sens indiqué par la flèche.
4. Abaisser le bras e du presseur de canette.
5. Soulever le pied presseur à l’aide du releveur de pied
presseur.
6. Enfoncer la pédale. Le bobinage du fil inférieur com-
mence alors.
7. Une fois que le fil inférieur a été complètement bobiné,
le bras e du presseur de canette reviendra
automatiquement à sa place.
* Si le fil ne se bobine pas uniformément, desserrer la
vis r et déplacer le guide t du bobineur de canette
vers le côté où il y a moins de fil.
* Tourner la vis de réglage y pour régler la quantité de
bobinage de la canette.
• Pour angmenter la quantité de bobinage: Serrer la
vis.
• Pour diminuer la quantité de bobinage: Desserrer
la vis.
Remarque:
La quantité de fil enroulé sur la canette doit être
au plus de 80% de la capacité de la canette.
1. Conectar el interruptor principal. (Consultar la página
39.)
2. Colocar la bobina q en el eje de bobinador w.
3. Enrollar el hilo varias veces alrededor de la bobina q
en la dirección indicada por la flecha.
4. Empujar el brazo del prensor de bobina e.
5. Levantar el prensatelas con el levantador del
prensatelas.
6. Pisar el pedal. Entonces comenzará el bobinado del
hilo inferior.
7. Una vez que se haya terminado el bobinado del hilo
inferior, el brazo del prensor de bobina e volverá
automáticamente a su posición original.
* Si el hilo no se pudiera bobinar parejamente, aflojar
el tornillo r y mover la guía de bobinado t hacia el
lado con menos hilo.
* Girar el tornillo de ajuste y para ajustar la cantidad
de bobinado.
•Para aumentar la cantidad de bobinado: Apretar
el tornillo.
•Para disminuir la cantidad de bobinado: Aflojar el
tornillo.
Nota:
La cantidad de hilo a bobinar en la bobina debe ser
un máximo de 80% de la capacidad de la bobina.
6-3. Bobinage du fil inférieur
6-3. Bobinado del hilo inferior
Ne toucher aucune des parties mobiles ni ne placer aucun objet contre la machine lors du bobinage du fil
inférieur, sinon on risquera de se blesser ou d'endommager la machine.
No tocar ninguna de las piezas móviles o colocar ningún objeto contra la máquina mientras bobina el hilo
inferior, pues podría resultar en heridas o la máquina podría resultar dañada.
Quantité de bobinage de fil
Cantidad de hilo enrollado
ATTENTION/ATENCION
e
w
y
q
r
t
80%
0554M
0555M

52
ZE-8570,8580
6. PREPARATION BEFORE SEWING
6. VORBEREITUNGEN ZUM NÄHEN
6. PREPARATIFS AVANT LA COUTURE
6. PREPARATIVOS ANTES DE COSER
1. Turn the machine pulley to align the reference line on
the machine pulley with the index mark on the belt
cover.
2. Hold the bobbin so that the thread spools out counter-
clockwise, and place the bobbin into the bobbin case.
3. Pass the thread through slot A and hook it under the
tension spring q.
4. Pass the thread back through slot B and then pull it
out from thread guide C.
* Use thread guide C shown in the illustration in ac-
cordance with the type of material being sewn.
5. Check that the bobbin rotate counterclockwise when
the thread is pulled out.
6. While holding the latch w of the bobbin case, insert
the bobbin case into the rotary hook.
1. Drehen Sie die Riemenscheibe, um die Bezugslinie der
Riemenscheibe auf die Markierung des Riemenschutzes
auszurichten.
2. Halten Sie die Spule, so daß sich der Faden nach links
abwickelt und setzen Sie die Spule in die Spulenkapsel
ein.
3. Ziehen Sie den Faden durch den Schlitz A und haken
Sie ihn unter der Spannungsfeder q ein.
4. Ziehen Sie den Faden zurück durch den Schlitz B und
ziehen Sie ihn an der Fadenführung C heraus.
* Verwenden Sie die in der Abbildung gezeigte
Fadenführung C entsprechend der Art des
Nähgutes.
5. Kontrollieren Sie, ob sich beim Herausziehen des Fadens die Spule nach links dreht.
6. Halten Sie die Lasche w der Spulenkapsel, um Sie in den Greifer einzusetzen.
1. Tourner la poulie de machine pour aligner la ligne de référence de la poulie de machine sur la marque d’index du
couvercle de courroie.
2. Tenir la canette de manière que le fil se déroule dans le sens inverse des aiguilles d’une montre, et placer la canette
dans la boîte à canette.
3. Passer le fil par la fente A et l’accrocher sous le ressort de tension q.
4. Repasser le fil par la fente B puis le tirer hors du guide-fil C.
* Utiliser le guide-fil C indiqué sur l’illustration selon le type de tissu que l’on coud.
5. Vérifier si la canette tourne bien dans le sens inverse des aiguilles d’une montre lorsqu’on tire le fil vers soi.
6. Tout en tenant le verrou w de la boîte à canette, insérer la boîte à canette dans le crochet rotatif.
1. Girar la polea de la máquina para alinear la línea de referencia en la polea de la máquina con la marca de índice en
la cubierta de la correa.
2. Sostener la bobina de manera que el hilo salga afuera hacia la izquierda, y colocar la bobina en la caja de la bobina.
3. Pasar el hilo por la ranura A y engancharlo debajo del resorte de tensión q.
4. Pasar el hilo atrás por la ranura B y luego tirar de él hacia el guiahilos C.
* Use el guiahilos C indicado en la figura de acuerdo con el tipo de material a coser.
5. Verificar que la bobina gira hacia la izquierda cuando se saca hacia afuera el hilo.
6. Mientras se sostiene el seguro w de la caja de la bobina, insertar la caja de la bobina en el garfio giratorio.
Turn off the power switch before installing the bobbin case, otherwise the machine may operate if the treadle
is pressed by mistake, which could result in injury.
Schalten Sie den Netzschalter vor dem Einsetzen der Spulenkapsel aus, weil Verletzungen entstehen
können, wenn sich die Maschine durch unbeabsichtigtes Drücken des Pedals in Gang setzt.
Mettre l’interrupteur d’alimentation sur la position d’arrêt avant d’installer la boîte à canette, sinon la ma-
chine risquera de se mettre en marche si on enfonce accidentellement la pédale, et donc de causer des
blessures.
Desconectar el interruptor principal antes de instalar la caja de la bobina, de lo contrario la máquina podría
comenzar a funcionar si por descuido se pisara el pedal, lo que podría resultar en heridas.
w
q
C
B
A
50~60mm
6-4. Installing the bobbin case
6-4. Einsetzen der Spulenkapsel 6-4. Installation de la boîte à canette
6-4. Instalación de la caja de la bobina
CAUTION/ACHTUNG/ATTENTION/ATENCION
( )
( )
Light materials
leichte Materrialien
Tissus legaers
Materiales ligeros
Medium materials
mittlere Materialien
Tissus mi-lourds
Materiales medios
1560M 0558M
0556M

53 ZE-8570,8580
6. PREPARATION BEFORE SEWING
6. VORBEREITUNGEN ZUM NÄHEN
6. PREPARATIFS AVANT LA COUTURE
6. PREPARATIVOS ANTES DE COSER
Turn off the power switch before threading the upper thread, otherwise the machine willl operate if the
treadle is pressed by mistake, which could result in injury.
Furthermore, if the actuator is pressed by mistake when using the correction sewing function, the needle will
move in a zigzag motion while the machine is operating, and injury may result.
Schalten Sie den Netzschalter vor dem Einfädeln des Oberfadens aus, weil sonst durch eine unbeabsichtigte
Betätigung des Pedals die Maschine in Gang gesetzt und Verletzungen verursachen kann.
Falls außerdem die Betätigungstaste beim Korrekturnähen irrtümlich gedrückt wurde, bewegt sich die Nadel
beim Betätigen der Maschine hin und her, so daß eine Verletzungsgefahr vorhanden ist.
Mettre l’interrupteur d’alimentation sur la position d’arrêt avant d’enfiler le fil supérieur, sinon la machine
risquera de se mettre en marche si on enfonce accidentellement la pédale, et donc de causer des blessures.
De plus, si l’actuateur est pressé par erreur alors que la fonction de correction de couture est utilisée, l’aiguille
se déplacera en zigzag pendant que la machine fonctionne et des blessures peuvent s’ensuivre.
Desconectar el interruptor principal antes de enhebrar el hilo superior, de lo contrario la máquina podría
comenzar a funcionar si por descuido se pisara el pedal, lo que podría resultar en heridas.
Además, si el impulsor se presiona por error al usar la función de costura de corrección, la aguja se moverá
en zigzag mientras la máquina está funcionado, y puede resultar en heridas.
CAUTION/ACHTUNG/ATTENTION/ATENCION
6-5. Threading the upper thread
6-5. Einfädeln des Oberfadens
6-5. Enfilage du fil supérieur
6-5. Enhebrado del hilo superior
Turn the machine pulley to align the reference line q on the machine pulley with the index mark on the belt cover
(needle up stop position).
* This will make threading easier and it will prevent the thread from coming out at the sewing start.
Drehen Sie die Riemenscheibe, um die Bezugslinie q der Riemenscheibe auf die Markierung des Riemenschutzes
auszurichten (Stopposition mit angehobener Nadel).
* Außerdem wird dadurch verhütet, daß der Faden am Nähbeginn vorsteht.
Tour la poulie de machine pour aligner la ligne de référence q de la poulie de machine sur la marque d’index du
couvercle de courroie (position d’arrêt supérieur de l’aiguille).
* Ceci facilitera l’enfilage et empêchera le fil de sortir en début de couture.
Girar la polea de la máquina para alinear la línea de referencia q en la polea de la máquina con la marca de índice en
la cubierta de la correa (posición de parada con la aguja levantada).
* Esto permitirá enhebrarlo más fácilmente y evitará que el hilo se salga al comienzo de la costura.

54
ZE-8570,8580
6. PREPARATION BEFORE SEWING
6. VORBEREITUNGEN ZUM NÄHEN
6. PREPARATIFS AVANT LA COUTURE
6. PREPARATIVOS ANTES DE COSER
q
<ZE-8580>
50mm
Leave a 50 mm thread leader.
Das Fadenende muß 50 mm lang sein.
Laisser un bout de fil de 50 mm.
Dejar una gufa de hilo de 50 mm.
Wind around once.
einmal herumwickeln
Enrouler d’un tour.
Envolver una vez.
Actuator
Stellglied
Actuateur
Accionador
Upper thread feeding device
Oberfadenzuführung
Dispositif d’entraînement du
fil supérieur
Dispositivo de alimentación del
hilo superior
1310M
1309M
1513M
1312M
1314M
1313M

55 ZE-8570,8580
6. PREPARATION BEFORE SEWING
6. VORBEREITUNGEN ZUM NÄHEN
6. PREPARATIFS AVANT LA COUTURE
6. PREPARATIVOS ANTES DE COSER
Turn the feed adjustment dial q until the desired stitch
length number is aligned with the index mark w above
the dial.
•The larger the number, the longer the stitch length
will be.
•When turning the feed adjustment dial q from a
larger setting to a smaller setting, it will be easier
to turn the dial if the reverse stitching lever e is
pushed to the halfway-down position.
* The numbers on the dial are for use as a guide. The
length of the finished stitches may vary depending on
the type and thickness of material being sewn. Adjust
while looking at the finished stitches.
w
e
q
6-6. Adjusting the stitch length
6-6. Einstellen der Stichlänge
6-6. Réglage de la longueur de point
6-6. Ajuste del largo de puntada
Drehen Sie die Transporteinstellscheibe q, um die gewünschte Stichlängenzahl auf die Markierung w über der Scheibe
einzustellen.
•Mit zunehmender Zahl wird eine größere Stichlänge eingestellt.
•Das Zurückstellen des Stichlängenreglers q auf eine kleinere Stichlänge ist einfacher, wenn dazu der Umkehrhebel
e in die mittlere Position gedrückt wird.
* Die Nummern auf der Scheibe dienen nur als Anhaltspunkt. Die Stichlänge kann von der Art und der Dicke des
Nähguts abhängen. Führen Sie die Einstellung anhand von Probestichen aus.
Tourner la molette de largo de réglage d’entraînement q jusqu’à ce que le nombre de longueur de point désiré soit
aligné sur la marque d’index w au-dessus de la molette.
•Plus le numéro est grand, plus la longueur de point sera grande.
•Lorsqu’on tourne la molette q de longueur de point d’un numéro plus grand vers un numéro plus petit, il sera plus
facile de tourner la molette si on abaisse d’abord jusqu’à mi-chemin le levier e de couture inverse.
* Les nombres marqués sur la molette servent de guide. La longueur des points finis peut varier selon le type et
l’épaisseur du tissu que l’on coud.
Régler en observant les points terminés.
Girar el dial de alimentación q hasta que el número de largo de puntada deseado esté alineado con la marca de índice
w encima del dial.
•Cuanto mayor sea el número, más larga será la puntada.
•Al girar el dial de largo de puntada q de un ajuste grande a un ajuste menor, será más fácil girar el dial si se empuja
hacia abajo hasta la mitad la palanca de costura hacia atrás e .
* Los números en el dial son para ser usados como guías. El largo de las puntadas terminadas variará dependiendo
del tipo y espesor del material cosido. Ajustar mientras se miran las puntadas terminadas.
1315M

56
ZE-8570,8580
6. PREPARATION BEFORE SEWING
6. VORBEREITUNGEN ZUM NÄHEN
6. PREPARATIFS AVANT LA COUTURE
6. PREPARATIVOS ANTES DE COSER
■ Sewing condensed stitches
•When the condense dial w is set to a positive num-
ber, backtack stitches with a stitch length that matches
the dial setting will be sewn in the normal sewing di-
rection while the reverse lever is pressed.
•If the condense dial w is set to “0”, backtack stitches
will be sewn without the material being fed while the
reverse lever is pressed.
Note:
The condense dial w cannot be set to a number which
is greater than the setting on the feed adjustment dial
r.
■ Nähen von verdichteten Stichen
•Wenn die Verdichtungsstichscheibe w auf eine positive Zahl eingestellt ist, werden beim Betätigen des Umkehrhebels
Verriegelungsstiche mit der eingestellten Stichlänge in der normalen Nährichtung genäht.
•Wenn die Verdichtungsstichscheibe w auf “0” eingestellt wird, werden beim Betätigen des Umkehrhebels
Verriegelungsstiche ohne Materialvorschub genäht.
Hinweis:
Die Verdichtungsstichscheibe w kann nicht auf eine größere Zahl als die mit der Transporteneinstellscheibe r
eingestellte Zahl eingestellt werden.
■ Backtacking
•When the condense dial w is set to a negative num-
ber, backtack stitches with a stitch length that matches
the dial setting will be sewn in the reverse sewing di-
rection while the reverse lever is pressed.
Note:
It is not possible to sew stitches which are longer than
the stitch length set using the feed adjustment dial r.
* The numbers on the dial are for use as a guide. The
length of the finished stitches may vary depending on
the type and thickness of material being sewn. Adjust
while looking at the finished stitches.
■ Verriegeln
•Wenn die Verdichtungsstichscheibe w auf eine negative Zahl eingestellt ist, werden beim Betätigen des Umkehrhebels
Verriegelungsstiche mit der eingestellten Stichlänge in Rückwärtsrichtung genäht.
Hinweis:
Es ist nicht möglich größere Stiche als die mit der Transporteneinstellscheibe r eingestellte Stichlänge zu nähen.
* Die Nummern auf der Scheibe dienen nur als Anhaltspunkt. Die Stichlänge kann von der Art und der Dicke des
Nähguts abhängen. Führen Sie die Einstellung anhand von Probestichen aus.
•Backtack stitches with short stitch lengths can be sewn
easily during sewing just by pressing the reverse lever
q.
This is useful for preventing fraying of the seam at the
sewing end.
•Before sewing, turn the condense dial w to the left or
right to set the stitch length for these shorter backtack
stitches.
<If using the ZE-8580, -8570-A01>
The actuator e can be used instead of the reverse le-
ver q.
•Verriegelungsstiche mit kurzer Stichlänge können einfach durch Drücken des Umkehrhebels q genäht werden.
Damit kann ein Ausfransen am Nahtende verhindert werden.
•Drehen vor dem Nähbeginn die Verdichtungsstichscheibe w nach links oder rechts, um die Stichlänge für diese
kürzeren Verriegelungsstiche einzustellen.
<Verwendung der ZE-8580, -8570-A01>
Anstelle des Umkehrhebels q kann die Betätigungstaste e verwendet werden.
r
q
e
w
6-7. Backtacking
6-7. Verriegeln
-1
1
-2
0
-2.5
<0.5>
0.5mm
When reverse lever is
pressed
Beim Drücken des
Umkehrhebels
Sewing direction
Nährichtung
-1
1
-2
0
-2.5
<-0.5>
0.5mm
Sewing direction
Nährichtung
When reverse lever is
pressed
Beim Drücken des
Umkehrhebels
1316M
1317M
1318M

57 ZE-8570,8580
6. PREPARATION BEFORE SEWING
6. VORBEREITUNGEN ZUM NÄHEN
6. PREPARATIFS AVANT LA COUTURE
6. PREPARATIVOS ANTES DE COSER
■ Couture des points condensés
•Si l’on règle la molette de condensation w sur un
nombre positif, les points d’arrêt dont la longueur de
point correspond au réglage de la molette seront
cousus dans le sens de couture normal lorsqu’on
appuie sur le levier d’inversion.
•Si l’on met la molette de condensation w sur “0”, les
points d’arrêt seront cousus sans que le tissu soit
entraîné quand on appuie sur le levier d’inversion.
Remarque:
Il n’est pas possible de régler la molette de condensa-
tion w sur un nombre supérieur au réglage de la
molette de réglage déntraînement r.
■ Costura de puntadas condensadas
• Cuando el dial de puntadas condensadas w se ajusta a un número positivo, el rematado por atrás con un largo de
puntada de acuerdo con el ajuste del dial será cosido en la dirección de costura normal mientras se presiona la
palanca de retroceso de la alimentación.
• Si el dial de puntadas condensadas w se ajusta a “0”, rematado por atrás serán cosidas sin que se alimente el
material mientras se presiona la palanca de retroceso de la alimentación.
Nota:
El dial de puntadas condensadas w no puede ser ajustado a un número mayor que el ajuste en el dial de ajuste de
alimentación r.
■ Point d’arrêt
• Si l’on met la molette de condensation w sur un nombre
négatif, les points d’arrêt dont la longueur de point cor-
respond au réglage de la molette seront cousus dans
le sens de couture inverse quand on appuie sur le levier
de réglage déntraînement.
Remarque:
Il n’est pas possible de coudre des points dont la
longueur est supérieure à la longueur des points qui
utilisent le cadran d’ajustement d’alimentation.
* Les nombres marqués sur la molette servent de guide.
La longueur des points finis peut varier selon le type
et l’épaisseur du tissu que l’on coud. Régler en obser-
vant les points terminés.
■ Rematado por atrás
Cuando el dial de puntadas condensadas w se ajusta a un número negativo, rematado por atrás con un largo de
puntada de acuerdo con el ajuste del dial serán cosidas en la dirección de costura inversa mientras se presiona la
palanca de retroceso de la alimentación.
Nota:
No es posible coser puntadas que sean más largas que el largo de puntadas ajustado usando el dial de ajuste de
alimentación r.
* Los números en el dial son para ser usados como guías. El largo de las puntadas terminadas variará dependiendo
del tipo y espesor del material cosido. Ajustar mientras se miran las puntadas terminadas.
•Les points d’arrêt à longueurs de point courtes peuvent
être cousus facilement lors de la couture en appuyant
sur le levier d’inversion q.
Ceci est fort pratique pour éviter que la couture ne
s’effiloche en fin de couture.
•Avant de coudre, tourner la molette de condensation
w vers la gauche ou vers la droite pour régler la
longueur de point pour ces points d’arrêt courts.
<Si l’on utilise le modèle ZE-8580, -8570-A01>
Il est possible d’utiliser l’actuateur e au lieu du levier
d’inversion q.
•Rematado por atrás con largos de puntadas cortas pueden ser cosidas fácilmente durante la costura simplemente
presionando la palanca de retroceso de la alimentación q.
Esto es útil para evitar deshilachamiento al final de la costura.
•Antes de coser, girar el dial de puntada condensada w a la izquierda o la derecha para ajustar el largo de puntada
para rematado por atrás más cortas.
<Si se usa la ZE-8580, -8570-A01>
El impulsor e puede ser usado en vez de la palanca de retroceso de la alimentación q.
6-7. Point d’arrêt
6-7. Rematado
r
q
e
w
Sens de couture
Dirección de costura
Lorsqu’on appuie sur
le levier de point
d’arrêt
Mientras se presiona la
palanca de retroceso de
la alimentación
-1
1
-2
0
-2.5
<0.5>
0.5mm
-1
1
-2
0
-2.5
<-0.5>
0.5mm
Lorsqu’on appuie sur
le levier de point
d’arrêt
Mientras se presiona la
palanca de retroceso
de la alimentación
Sens de couture
Dirección de costura
1316M
1317M
1318M

58
ZE-8570,8580
6. PREPARATION BEFORE SEWING
6. VORBEREITUNGEN ZUM NÄHEN
6. PREPARATIFS AVANT LA COUTURE
6. PREPARATIVOS ANTES DE COSER
While gently pushing the lever q to the left, disengage
the pawl w from the notch e, and then move the lever q
up or down to align the pawl w with the desired notch e.
If the lever q is moved up higher, the height of the edge
knife r will be increased.
■ When the edge knife height is increased
The cutting amount will increase.
•When a large feed pitch is used
•When a fast sewing speed is used
•When the material is heavy
■ When the edge knife height is decreased
The cutting amount will decrease.
•When a small feed pitch is used
•When a slow sewing speed is used
•When the material requires a lot of handling
■ When the edge knife is not used
When not using the edge knife r, set the lever q to the
"0" position.
When the lever q is set to the "0" position, the height of
the edge knife r will be lower than the top of the needle
plate, and the edge knife and the edge trimmer drive mo-
tor will not operate.
Drücken Sie den Hebel q sorgfältig nach links, um die
Klinke w aus der Nut e zu lösen und drücken Sie den
Hebel q nach oben oder nach unten, um die Klinke w auf
die gewünschte Nut e auszurichten.
Wenn der Hebel q nach oben gestellt wird, so wird die
Höhe des Kantenmessers r erhöht.
■ Bei erhöhter Kantenmesserhöhe
Die Schneidekapazität wird erhöht.
•Wenn ein großer Transportvorschub verwendet wird
•Wenn eine hohe Nähgeschwindigkeit verwendet wird
•Bei Verarbeitung von schwerem Material
■ Bei geringerer Kantenmesserhöhe
Die Schneidekapazität wird verringert.
•Wenn ein kleiner Transportvorschub verwendet wird
•Wenn eine langsame Nähgeschwindigkeit verwendet
wird
•Wenn die Verarbeitung des Materials aufwendig ist
■ Wenn das Kantenmesser nicht verwendet wird
Stellen Sie den Hebel q in die Position "0", wenn das
Kantenmesser r nicht verwendet wird.
In der Position "0" des Hebels q ist die Höhe des
Kantenmessers r tiefer als die Stichplatte und das
Kantenabschneidemesser und der
Kantenabschneidermotor werden nicht betätigt.
6-8. Adjusting the edge knife height
6-8. Einstellen des Höhe des unteren Kantenabschneidermessers
1514M
w
q
e
r
1515M

59 ZE-8570,8580
6. PREPARATION BEFORE SEWING
6. VORBEREITUNGEN ZUM NÄHEN
6. PREPARATIFS AVANT LA COUTURE
6. PREPARATIVOS ANTES DE COSER
6-8. Réglage de la hauteur du couteau de bord
6-8. Ajuste de la altura de la cuchilla de borde
Tout en poussant légèrement le levier q vers la gauche,
dégager le cliquet w de l'encoche e, puis élever ou
abaisser le levier q pour aligner le cliquet w sur l'encoche
e voulue.
Si l'on élève davantage le levier q, la hauteur du couteau
de bord r augmente.
■ Lorsque la hauteur du couteau de bord augmente
La quantité de coupe augmente.
•Lorsqu'une grande hauteur d'entraînement est utilisée
•Lorsqu'une vitesse de couture rapide est utilisée
•Lorsque le tissu est épais
■ Lorsque la hauteur du couteau de bord diminue
La quantité de coupe diminue.
•Lorsqu'une petite hauteur d'entraînement est utilisée
•Lorsqu'une vitesse de couture lente est utilisée
•Lorsque le tissu exige de nombreuses manipulations
■ Lorsque le couteau de bord n'est pas utilisé
Lorsqu'on n'utilise pas le couteau de bord r, mettre le
levier q sur la position "0".
Lorsque le levier q est mis sur la position "0", la hauteur
du couteau de bord r sera plus basse que le haut de la
plaque à aiguille, et le couteau de bord et le moteur
d'entraînement du couteau de bord ne fonctionneront pas.
Mientras empuja suavemente la palanca q a la izquierda,
desenganche la uña w desde la muesca e, y luego mueva
la palanca q hacia arriba o abajo para alinear la uña w
con la muesca deseada e.
Si se mueve la palanca q más arriba, la altura de la cuchilla
del borde r aumentará.
■ Cuando la altura de la cuchilla del borde aumente
La cantidad de corte aumentará.
•Cuando se use un paso de alimentación grande
•Cuando se use una velocidad de costura rápida
•Cuando el material es pesado
■ Cuando la altura de la cuchilla del borde disminuye
La cantidad de corte disminuirá.
•Cuando se use un paso de alimentación pequeño
•Cuando se use una velocidad de costura lenta
•Cuando el material requiera mucha manipulación
■ Cuando no se use la cuchilla de borde
Cuando no se use la cuchilla de borde r, ajustar la palanca
q a la posición "0".
Cuando se ajusta la palanca q a la posición "0", la altura
de la cuchilla de borde r será más baja que la parte de
arriba de la placa de aguja, y la cuchilla de borde y el motor
accionamiento del cortador de borde no funcionará.
1514M
w
q
e
r
1515M

60
ZE-8570,8580
6. PREPARATION BEFORE SEWING
6. VORBEREITUNGEN ZUM NÄHEN
6. PREPARATIFS AVANT LA COUTURE
6. PREPARATIVOS ANTES DE COSER
Press the thread wiper switch q to the . side. If this is
done, the thread wiper w will operate after the thread is
trimmed.
Drücken Sie den Fadenwischerschalter q auf die Seite
. .
In dieser Position wird der Fadenwischer w nach dem
Abschneiden des Fadens betätigt.
Appuyer sur I’interrupteur de tire-fils q vers le côté . .
Le tire-fils w se mettra alors en marche une fois que le fil
aura été coupé.
Oprimir el interruptor del retirador de hilo q hacia el lado
. . Entonces, el retirador de hilo w funcionará después
que funcione el cortahilos.
6-9. Using the thread wiper (ZE-8580-401, -901)
6-9. Verwendung des Fadenwischers (ZE-8580-401, -901)
6-9. Utilisation du tire-fils (ZE-8580-401, -901)
6-9. Uso del retirador de hilo (ZE-8580-401, -901)
q
¤
¤
¤
1516M
1319M
¤
w

61 ZE-8570,8580
[ZE-8570-001]
7. USING THE OPERATION PANEL
7. VERWENDUNG DER BEDIENUNGSTAFEL
7. UTILISATION DU PANNEAU DE COMMANDE
7. USO DEL TABLERO DE CONTROLES
7. USING THE OPERATION PANEL
7. VERWENDUNG DER BEDIENUNGSTAFEL
7. UTILISATION DU PANNEAU DE COMMANDE
7. USO DEL TABLERO DE CONTROLES
7-1. Part names and functions
7-1. Teilebezeichnung und Funktion
7-1. Noms et fonctions des pièces
7-1. Denominación de las piezas y funcionamiento
1431M
w
@0 !8 e y @7 u i !4 !7 !9!6
rt q@4@5@6
[ZE-8580, -8570-A01]
1432M
w@2@1
@0 !8 e y @7 u i o !1 !3 !2 !4!0 !5 !7 !9!6
@3 r t q @4 @5 @6

62
ZE-8570,8580
q Power indicator !0 End backtack key !9 TEST key
w LED display !1 Fixed stitch/name label key @0 LOCK key
e 쑶 and 쑴 salection keys !2 Thread trimming/needle raising key @1 AB indicator
r PATTERN key !3 AUTO key @2 CD indicator
t PATTERN indicator !4 Sewing speed key @3 Tack width indicator
y Zigzag width key !5 Slow start key @4 Lower thread counter display
u Trimming margin base line !6 Correction key @5 Counter 쑶쑴 (setting) keys
u position key
i Zigzag stop position key !7 Needle up/down key @6 Counter reset key
o Start backtack key !8 Half stitch key @7 M (memory switch) key
q Netzanzeige !0 Zurücknähtaste für das Ende !9 TEST-Taste
w LED-Anzeige !1 Feststich/Etikettaste @0 LOCK-Taste
e Tasten 쑶 und 쑴!2 Fadenabschneide/Nadelanhebetaste @1 AB-Anzeige
r PATTERN-Taste !3 AUTO-Taste @2 CD-Anzeige
t Stichmusteranzeigen !4 Nähgeschwindigkeitstaste @3 Riegelbreitenanzeige
y Zickzackbreitentaste !5 Langsamstarttaste @4 Unterfadenzähleranzeige
u
Schnittrandgrundlinienpositionstaste
!6 Korrekturtaste @5 Zählereinstelltasten 쑶쑴
i Zickzackstoppositionstaste !7 Nadeltaste @6 Zählerrückstelltaste
o Zurücknähtaste für den Anfang !8 Halbstichtaste @7 M-Taste (Speicherschalter)
q Témoin d’alimentation !0 !9 Touche TEST
w Affichage LED !1 @0 Touche LOCK
e Touches de sélection 쑶 et 쑴!2 @1 Témoin AB
r Touche PATTERN !3 Touche AUTO @2 Témoin CD
t Témoins de motifs !4 Touche de vitesse de couture @3 Témoin de largeur de points d'arrêt
y Touche de largeur de zigzag !5
Touche de démarrage à vitesse lente
@4 Affichage du compteur de fil inférieur
u!6 Touche de correction @5 Touches de compteur 쑶쑴 (réglage)
i!7 @6 Touche de remise à zéro du compteur
o!8 Touche de demi-point @7 Touche M (interrupteur mémoire)
Touche de poins d’arrêt en fin de
counter
q Indicador de alimentación!0 Tecla de rematado por atrás final !9 Tecla TEST
w Pantalla LED !1 Tecla de puntadas fijas/etiquetas @0 Tecla LOCK
e Teclas de selectión 쑶 y 쑴!2 Tecla para cortar el hilo/levantar la aguja @1 Indicador AB
r Tecla PATTERN !3 Tecla AUTO @2 Indicador CD
t Indicadores de patrón!4 Tecla de velocidad de costura @3 Indicador de ancho de remate
y!5 Tecla de comienzo lento @4
u!6 Tecla de corrección@5 Teclas de contador 쑶쑴 (ajuste)
i!7 Tecla de aguja arriba/abajo @6 Tecla de reposición del contador
o!8 Tecla de media puntada @7 Tecla M (interruptor de memoria)
7. USING THE OPERATION PANEL
7. VERWENDUNG DER BEDIENUNGSTAFEL
7. UTILISATION DU PANNEAU DE COMMANDE
7. USO DEL TABLERO DE CONTROLES
Touche de position de ligne de
base de marge de coupe
Touche de point fixe/étiquette de
nom
Tecla de ancho de puntada
de zigzag
Tecla de posición de línea de
base del margen de recorte
Tecla de positión de parada de
puntada de zigzag
Touche de points d’arrêt en
début de couture
Touche de position d’arrêt de
zigzag Touche d’élèvement/abaissement
de l’aiguille
Tecla de rematado por atrás
inicial
Touche de coupe des fils / élévation
de l'aiguille
Exhibición de contador de hilo
inferior

63 ZE-8570,8580
7. USING THE OPERATION PANEL
7. VERWENDUNG DER BEDIENUNGSTAFEL
7. UTILISATION DU PANNEAU DE COMMANDE
7. USO DEL TABLERO DE CONTROLES
q Power indicator/Netzanzeige/Témoin d’alimentation/Indicador de alimentación
● When the power switch is turned on, the power indicator q illuminates.
● Beim Einschalten des Netzschalters leuchtet die Netzanzeige q.
● Quand la machine est mise sous tension, le témoin d’alimentation q s’allume.
● Cuando el interruptor principal se enciende, el indicador de alimentación q se enciende.
w LED display/LED-Anzeige/Affichage LED/Pantalla LED
● The zigzag width is normally displayed during sewing.
When setting items such as the pattern number and zigzag width, the current setting value for the pattern
number or zigzag width is displayed numerically.
● Während dem Nähen wird normalerweise die Zickzackbreite angezeigt.
Beim Einstellen, wie der Stichmusterzahl und der Zickzackbreite, wird der eingestellte Wert für die Musterzahl
oder die Zickzackbreite numerisch angezeigt.
● La largeur du zigzag est affichée normalement pendant la couture.
Lorsqu’on règle les éléments de réglage tels que le numéro de motif et la largeur de zigzag, la valeur
actuelle du réglage pour le numéro de motif ou la largeur de zigzag est affichée sous forme numérique.
● El ancho del zigzag se exhibe normalmente durante la costura.
Al ajustar items como el número de patrón y ancho de zigzag, el valor de ajuste actual para el número de
patrón o el ancho de zigzag se exhiben mediante números.
e 쑶 and 쑴 selection keys/Tasten 쑶 und 쑴 /Touches de sélection 쑶 et 쑴 /Teclas de selección 쑶 y 쑴
● These keys are used to change a variety of settings such as the pattern number and zigzag width.
Press the 쑶 and 쑴 selection keys e to change the numeric values and symbols appearing in the LED
display w.
•When the 쑶 key is pressed, the value increases from 0 up to 9.
•When the 쑴 key is pressed, the value decreases from 9 down to 0.
•In the case of symbols, the symbols that can be selected are displayed when the 쑶 or 쑴 selection key is
pressed.
● Diese Taste dienen für viele Einstellungen, wie der Stichmusterzahl und der Zickzackbreite.
Drücken Sie die Tasten e 쑶 und 쑴, um die auf der LED-Anzeige w angezeigten Werte und Symbole
einzustellen.
•Mit der Taste 쑶 wird der Einstellwert von 0 bis 9 erhöht.
•Mit der Taste 쑴 wird der Einstellwert von 9 bis 0 verringert.
•Im Falle von Symbolen werden die einstellbaren Symbole beim Drücken der Tasten 쑶 und 쑴 angezeigt.
● Ces touches permettent de changer divers réglages tels que le numéro de motif et la largeur de zigzag.
Appuyer sur les touches de sélection 쑶 et 쑴 e pour changer les valeurs numériques et les symboles
apparaissant sur l’affichage LED w.
•Quand on appuie sur la touche 쑶, la valeur augmente de 0 jusqu’à 9.
•Quand on appuie sur la touche 쑴, la valeur diminue de 9 jusqu’à 0.
•Dans le cas des symboles, les symboles qui peuvent être sélectionnés sont affichés quand on appuie
sur la touche de sélection 쑶 ou 쑴.
● Estas teclas se usan para cambiar varios ajustes como el número de patrón y ancho de zigzag.
Presionar las teclas 쑶 y 쑴 e para cambiar los valores numéricos y símbolos que aparecen en la exhibición
LED w.
•Cuando se presiona la tecla 쑶, el valor aumenta de 0 hasta 9.
•Cuando se presiona la tecla 쑴, el valor disminuye de 9 a 0.
•En el caso de los símbolos, los símbolos pueden ser seleccionados como se exhiben cuando se presiona
la tecla de selección 쑶 o 쑴.
r PATTERN key/PATTERN-Taste/Touche PATTERN/Tecla PATTERN
●When the PATTERN key r is pressed, the sewing pattern number that is currently set appears.
Each time you press this key r while the pattern number is being displayed, the pattern number changes in
sequence, so that you can change the sewing pattern.
●Beim Drücken der PATTERN-Taste r wird die gegenwärtig eingestellte Stichmusternummer angezeigt.
Wenn die Taste r bei angezeigter Stichmusternummer gedrückt wird. so wird zum Umschalten des
Stichmusters auf die nächste Stichmusterzahl weitergeschaltet.
●Lorsqu'on appuie sur la touche PATTERN r, le numéro du motif de couture actuellement réglé apparaît.
A chaque fois que l'on appuie sur cette touche r pendant que le numéro de motif est affiché, le numéro de
motif change dans l'ordre; on peut ainsi changer le motif de couture.
●Cuando se presiona la tecla PATTERN r, aparecerá el número del patrón de costura que está actualmente
ajustado.
Cada vez que se presiona esta tecla r mientras se está exhibiendo el patrón, el número de patrón cambiará
secuencialmente, de manera de cambiar el patrón de costura.

64
ZE-8570,8580
7. USING THE OPERATION PANEL
7. VERWENDUNG DER BEDIENUNGSTAFEL
7. UTILISATION DU PANNEAU DE COMMANDE
7. USO DEL TABLERO DE CONTROLES
t Pattern indicators/Stichmusteranzeigen/Témoins de motifs/Indicadores de patrón
●The PATTERN indicators t illuminate to show you which pattern is currently selected.
●Zur Anzeige des gewählten Stichmusters leuchtet die entsprechende Stichmusteranzeige t.
● Les témoins PATTERN t s'allument pour indiquer quel motif est actuellement sélectionné.
● Los indicadores PATTERN t se encienden para mostrarle cual patrón ha sido seleccionado.
y Zigzag width key/Zickzackbreitentaste/Touche de largeur de zigzag/Tecla de ancho de puntada de zigzag
●When the zigzag width key y is pressed, the indicator illuminates and the zigzag width which is currently set
appears on the LED display w. Thus AAAAA represents 3.0 mm.
●Beim Drücken der Zickzackbreitentaste y leuchtet die Anzeige und auf der LED-Anzeige w wird der
gegenwärtig eingestellte Wert angezeigt. Eine Anzeige von AAAAA bedeutet deshalb eine Einstellung von
3,0 mm.
●Lorsqu’on appuie sur la touche de largeur de zigzag y, le témoin s’allume et la largeur de zigzag actuellement
réglée apparaît sur l'affichage LED w. Ainsi, AAAAA représente 3,0 mm.
●Cuando tecla de ancho de puntada de zigzag y, el indicador se enciende y el ancho de la puntada de zigzag
que está siendo ajustado aparece en la exhibición LED w. Por lo tanto AAAAA epresenta 3,0 mm.
uTrimming margin base line position key/Schnittrandgrundlinienpositionstaste/
Touche de position de ligne de base de marge de coupe/Tecla de posición de línea de base del margen de recorte
●This key is used to move the pattern sideways. This lets you change the width of the trimming margin.
If the trimming margin base line is set to a value other than the minimum value, the indicator illuminates.
When the trimming margin base line position key u is pressed, the trimming margin base line position
which is currently set appears on the LED display w.
AAAAA indicates that the trimming margin pattern is 2.0 mm.
●Diese Taste wird für die Seitwärtsbewegung des Musters verwendet, um die Breite des Schnittrands ändern
zu können.
Falls die Schnittrandlinie auf einen anderen Wert als den Minimalwert eingestellt ist, leuchtet die Anzeige.
Beim Drücken der Positionierungstaste u der Schnittrandgrundlinie wird die gegenwärtig eingestellte
Schnittrandgrundlinie auf der LED-Anzeige w angezeigt.
AAAAA bedeutet, daß das Schnittrandmuster 2,0 mm beträgt.
●Cette touche permet de déplacer le motif latéralement. On peut ainsi modifier la largeur de la marge de
coupe.
Si la ligne de base de marge de coupe est réglée à une valeur autre que la valeur minimum, le témoin
s'allume. Lorsqu'on appuie sur la touche de position de ligne de base de marge de coupe u, la position de
ligne de base de marge de coupe actuellement établie apparaît sur l'affichage LED w.
AAAAA indique que le motif de marge de coupe est réglé à 2,0 mm.
●Esta tecla se usa para mover el patrón hacia los lados. Esto le ayuda a cambiar el ancho del margen de
corte.
Si la línea de base del margen de recorte se ajusta a un valor diferente del valor mínimo, el indicador se
iluminará. Cuando se presiona la tecla de posición de línea de base del margen de recorte u, la posición de
la línea de base del margen de recorte actualmente ajustado aparece en la exhibición LED w.
AAAAA indica que el patrón de margen de corte es 2,0 mm.
Lr

65 ZE-8570,8580
7. USING THE OPERATION PANEL
7. VERWENDUNG DER BEDIENUNGSTAFEL
7. UTILISATION DU PANNEAU DE COMMANDE
7. USO DEL TABLERO DE CONTROLES
iZigzag stop position key/Zickzackstoppositionstaste/Touche de position d’arrêt de zigzag/
Tecla de posición de parada de puntada de zigzag
● This key i is used to set the needle stop position to the left or the right of the zigzag when the sewing
machine stops.
Each time the zigzag stop position key i is pressed, the indicator display changes in the order 쑮씮쑱씮
(OFF).
•When 쑮 is lit: the needle always moves to the left of the zigzag when the sewing machine stops.
•When 쑱 is lit: the needle always moves to the right of the zigzag when the sewing machine stops.
•When both indicators are off, the needle stops at its current position when the sewing machine stops.
● Mit dieser Taste i kann die Stopposition der Nähmaschine auf die linke oder rechte Seite des Zickzacks
eingestellt werden.
Beim Drücken der Zickzackstoppositionstaste i wird die Anzeige zwischen 쑮쑱 und (AUS) umgeschaltet.
•쑮 leuchtet: Beim Maschinenstopp bewegt sich die Nadel immer auf die linke Seite des Zickzacks
•쑱 leuchtet: Beim Maschinenstopp bewegt sich die Nadel immer auf die rechte Seite des Zickzacks
•Wenn beide Anzeige ausgeschaltet sind, stoppt die Nadel beim Maschinenstopp in der gegenwärtigen
Position.
● Cette touche i permet de régler la position d’arrêt de l’aiguille vers la gauche ou la droite du zigzag lorsque
la machine à coudre s’arrête.
A chaque fois que l'on appuie sur la touche de position d'arrêt de zigzag i, l'affichage d'indication change
dans l'ordre 쑮씮쑱씮 (éteint).
•Lorsque 쑮 est allumé: l'aiguille se déplace toujours vers la gauche du zigzag lorsque la machine à coudre
s'arrête.
•Lorsque 쑱 est allumé: l'aiguille se déplace toujours vers la gauche du zigzag lorsque la machine à coudre
s'arrête.
•Lorsque les deux témoins sont éteints, l'aiguille s'arrête à sa position actuelle lorsque la machine à coudre
s'arrête.
● Esta tecla i se usa para ajustar la posición de parada de la aguja a la izquierda o la derecha de la puntada
de zigzag cuando se para la máquina de coser.
Cada vez que se presiona la tecla de posición de parada de zigzag i, la exhibición del indicador cambiará
en el orden 쑮씮쑱씮 (OFF).
•Cuando 쑮 está encendida: la aguja siempre se mueve a la izquierda del zigzag cuando la máquina de
coser se para.
•Cuando 쑱 está encendida: la aguja siempre se mueve a la derecha del zigzag cuando la máquina de coser
se para.
•Cuando ambos indicadores están apagados, la aguja se para en su posición actual cuando la máquina de
coser se para.

66
ZE-8570,8580
7. USING THE OPERATION PANEL
7. VERWENDUNG DER BEDIENUNGSTAFEL
7. UTILISATION DU PANNEAU DE COMMANDE
7. USO DEL TABLERO DE CONTROLES
oStart backtack key (ZE-8580, -8570-A01)/Zurücknähtaste für den Anfang (ZE-8580, -8570-A01)
Touche de points d’arrêt en début de couture (ZE-8580, -8570-A01)/Tecla de rematado por atrás inicial
(ZE-8580, -8570-A01)
● If the start backtack key o has been pressed so that the indicator is illuminated, start backtacking is carried
out.
When the start backtack key o is pressed, the AB indicator @1 illuminates and the number of start backtack
stitches appears in the LED display w, and the number of start backtack stitches displayed are sewn.
If the start backtack key o is pressed once more when the indicator is illuminated, the indicator switches off
and no start backtacking stitches are sewn.
● Falls die Anfangsriegeltaste o gedrückt wird, so daß die Anzeige w leuchtet, wird ein Anfangsriegel genäht.
Beim Drücken der Anfangsriegeltaste o leuchtet die AB-Anzeige @1 und die Anzahl von Anfangsriegelstichen
erscheint auf der LED-Anzeige w und die Stiche werden genäht.
Bei nochmaligem Drücken der Anfangsriegeltaste o wird die Anzeige ausgeschaltet und es wird kein
Anfangsriegel genäht.
● Si l’on appuie sur la touche de points d’arrêt en début de couture o de manière que le témoin s’allume, le
point d’arrêt en début de couture sera exécuté.
Lorsqu'on appuie sur la touche de points d'arrêt en début de couture o, le témoin AB @1 s'allume et le
nombre de points d'arrêt en début de couture apparaît sur l'affichage LED w; le nombre de points d'arrêt en
début de couture affiché est alors cousu.
Si l’on appuie à nouveau sur la touche de points d’arrêt en début de couture o lorsque le témoin est allumé,
le témoin s’éteint et aucun point d’arrêt en début de couture n'est cousu.
● Si la tecla de rematado por atrás inicial o ha sido presionada de manera que el indicador se encienda, se
realiza el rematado por atrás inicial.
Cuando se presiona la tecla de rematado por atrás inicial o, el indicador AB @1 se enciende y el número de
puntadas de rematado por atrás inicial aparece en la exhibición LED w, y se cose el número de puntadas de
rematado por atrás inicial exhibido.
Si se presiona la tecla de rematado por atrás inicial o una vez más cuando el indicador se enciende, el
indicador se apagará y no se coserá el rematado por atrás inicial.
!0 End backtack key (ZE-8580, -8570-A01)/Zurücknähtaste für das Ende (ZE-8580, -8570-A01)
Touche de points d’arrêt en fin de couture (ZE-8580, -8570-A01)/Tecla de rematado por atrás final (ZE-8580, -8570-A01)
●If the end backtack key !0 has been pressed so that the indicator is illuminated, end backtacking is carried
out.
When the end backtack key !0 is pressed, the CD indicator @2 illuminates and the number of end backtack
stitches appears in the LED display w, and the number of end backtack stitches displayed are sewn.
If the end backtack key !0 is pressed once more when the indicator is illuminated, the indicator switches off
and no end backtacking stitches are sewn.
●Falls die Endriegeltaste !0 gedrückt wird, so daß die Anzeige w leuchtet, wird ein Endriegel genäht.
Beim Drücken der Endriegeltaste !0 leuchtet die CD-Anzeige @2 und die Anzahl von Endriegelstichen erscheint
auf der LED-Anzeige w und die Stiche werden genäht.
Bei nochmaligem Drücken der Endriegeltaste !0 wird die Anzeige ausgeschaltet und es wird kein Endriegel
genäht.
●Si l’on appuie sur la touche de points d’arrêt en fin de couture !0 de manière que le témoin s’allume, le point
d’arrêt en fin de couture est exécuté.
Lorsqu'on appuie sur la touche de points d'arrêt en fin de couture !0, le témoin CD @2 s'allume et le nombre
de points d'arrêt en fin de couture apparaît sur l'affichage LED w; le nombre de points d'arrêt en fin de
couture affiché est alors cousu.
Si l’on appuie à nouveau sur la touche de points d’arrêt en fin de couture !0 lorsque le témoin est allumé, le
témoin s’éteint et aucun point d’arrêt en fin de couture n’est cousu.
●Si la tecla de rematado por atrás final !0 ha sido presionada de manera que el indicador se enciende, se
realizará el rematado por atrás de final.
Cuando se presiona la tecla de rematado por atrás final !0, el indicador CD @2 se enciende y el número de
puntadas de rematado por atrás final aparece en la exhibición LED w, y se cose el número de puntadas de
rematado por atrás final exhibido.
Si se presiona la tecla de rematado por atrás final !0 una vez más cuando el indicador se enciende, el
indicador se apagará y no se coserá el rematado por atrás de final.

67 ZE-8570,8580
7. USING THE OPERATION PANEL
7. VERWENDUNG DER BEDIENUNGSTAFEL
7. UTILISATION DU PANNEAU DE COMMANDE
7. USO DEL TABLERO DE CONTROLES
!1 Fixed stitch/name label key (ZE-8580, -8570-A01)/Feststich/Etikettaste (ZE-8580, -8570-A01)/Touche de point fixe/
étiquette de nom (ZE-8580, -8570-A01)/Tecla de puntadas fijas/etiquetas (ZE-8580, -8570-A01)
●If the fixed stitch/name label key !1 has been pressed so that the indicator is illuminated, fixed stitch sewing
or name label attaching is carried out.
When the fixed stitch/name label key !1 is pressed, AAAAA appears in the LED display w, and the number
of fixed stitches represented by ✽ ✽ (1 to 99) is sewn. (When sewing fixed stitches, check that AAAAA
appears in the LED display w when this key !1 is pressed once more at this time.)
If AAAAA appears in the LED display w, with a number other than 0 (1 to 99) appearing in place of the ✽ ✽,
name label attaching is active with E and F as the number of stitches to be sewn. The number of stitches
represented by E and F are sewn one after the other to attach the label.
If the fixed stitch/name label key !1 is pressed once more when the indicator is illuminated, the indicator
switches off.
●Beim Drücken der Feststich/Etikettaste !1 leuchtet die Anzeige und die Anzahl Feststiche oder das Etikettnähen
wird ausgeführt.
Beim Drücken der Feststich/Etikettaste !1 erscheint AAAAA auf der LED-Anzeige w und die Anzahl Feststiche,
durch ✽ ✽ (1 bis 99) angezeigt, wird genäht. (Kontrollieren Sie beim Feststichnähen, ob auf der LED-Anzeige
w AAAAA erscheint, wenn diese Taste !1 nochmals gedrückt wird.)
Falls auf der LED-Anzeige w AAAAA erscheint, ist das Etikettnähen eingeschaltet und die Stichzahlen E und
F werden genäht. Die Stichzahlen E und F werden zum Annähen eines Etiketts nacheinander genäht.
Beim nochmaligen Drücken der Feststich/Etikettaste !1 wird die Anzeige ausgeschaltet.
●Si l’on appuie sur la touche de point fixe/étiquette de nom !1 de manière que le témoin s’allume, la couture
à points fixes ou la fixation d’étiquette de nom est exécutée.
Lorsqu’on appuie sur la touche de point fixe/étiquette de nom !1 , AAAAA apparaît sur l’affichage LED w, et
le nombre de points fixes représenté par ✽ ✽ (1 à 99) est cousu. (Lorsqu’on coud des points fixes, vérifier si
AAAAA apparaît bien sur l’affichage LED w lorsqu’on appuie à nouveau sur cette touche !1 à ce moment.)
Si AAAAA apparaît sur l’affichage LED w, avec un nombre autre que 0 (1 à 99) apparaissant à la place de ✽
✽, la fixation d’étiquette de nom est activée avec E et F représentant le nombre de points à coudre. Les
points dont le nombre est représenté par E et F sont cousus l’un après l’autre pour fixer l’étiquette.
Si l’on appuie à nouveau sur la touche de point fixe/étiquette de nom !1 lorsque le témoin est allumé, le
témoin s’éteint.
●Si la tecla de puntadas fijas/etiquetas !1 ha sido presionada de manera que el indicador se enciende, se
realizará la costura de puntadas fijas o la colocación de etiquetas.
Cuando se presiona la tecla de puntadas fijas/etiquetas !1 , AAAAA aparece en la exhibición LED w, y el
número de puntadas fijas representada por ✽ ✽ (1 a 99) se cose. (Cuando se cosen puntadas fijas, verificar
que AAAAA aparece en la exhibición LED w cuando se presiona esta tecla !1 una vez más en este momento.)
Si AAAAA aparece en la exhibición LED w, con un número diferente de 0 (1 a 99) apareciendo en lugar de
✽ ✽, la colocación de etiquetas se activa con E y F como el número de puntadas a coser. El número de
puntadas representada por E y F son cosidas una después de la otra para colocar la etiqueta.
Si se presiona la tecla de puntadas fijas/etiquetas !1 una vez más cuando el indicador se enciende, el indicador
se apaga.
!2 Thread trimming/needle raising key (ZE-8580, -8570-A01)/Fadenabschneide/Nadelanhebetaste (ZE-8580, -8570-A01)
Touche de coupe des fils / élévation de l'aiguille (ZE-8580, -8570-A01)/Tecla para cortar el hilo/levantar la aguja (ZE-
8580, -8570-A01)
●This key !2 is used to trim the thread at the sewing end without depressing the treadle backward.
(For ZE-8570-A01 specifications, the needle stops in the up position without the thread being trimmed.)
It is used together with the fixed stitch/name label key !1 for making settings.
When the indicator is illuminated, thread trimming is on; if the thread trimming key !2 is then pressed once
more, the indicator switches off and the thread is not trimmed.
●Mit dieser Taste !2 kann der Faden am Nahtende ohne Drücken des Pedals nach hinten abgeschnitten werden.
(Bei der Ausführung ZE-8570-A01 stoppt die Nadel in der oberen Position ohne den Faden abzuschneiden.)
Die Taste wird zum Einstellen zusammen mit der Feststich/Etikettaste !1 verwendet.
Bei eingeschalteter Anzeige ist die Fadenabschneidefunktion eingeschaltet; bei nochmaligem Drücken der
Fadenabschneidetaste !2 erlischt die Anzeige und die Fadenabschneidefunktion ist ausgeschaltet.
●Cette touche !2 permet de couper le fil en fin de couture sans qu’il soit nécessaire d’appuyer sur la pédale
vers l’arrière.
(Pour les spécifications ZE-8570-A01, l'aiguille s'arrête en position relevée sans que le fil soit coupé.)
Elle est utilisée avec la touche de point fixe/étiquette de nom !1 pour effectuer les réglages.
Lorsque le témoin est allumé, la coupe des fils est activée; si l’on appuie alors à nouveau sur la touche de
coupe des fils !2, le témoin s’éteint et le fil n’est pas coupé.
●Esta tecla !2 se usa cortar el hilo al final de la costura sin pisar el pedal hacia atrás.
(Para especificaciones ZE-8570-A01, la aguja se para en la posición levantada sin cortar el hilo.)
Si se usa junto con la tecla de puntadas fijas/etiquetas !1 para hacer los ajustes.
Cuando el indicador se enciende, el cortahilos está activado; si la tecla del cortahilos !2 se presiona luego
una vez más, el indicador se apaga y el hilo no es cortado.
E
EF

68
ZE-8570,8580
7. USING THE OPERATION PANEL
7. VERWENDUNG DER BEDIENUNGSTAFEL
7. UTILISATION DU PANNEAU DE COMMANDE
7. USO DEL TABLERO DE CONTROLES
!3 AUTO key (ZE-8580, -8570-A01)/AUTO-Taste (ZE-8580, -8570-A01)/Touche AUTO (ZE-8580, -8570-A01)/Tecla AUTO
(ZE-8580, -8570-A01)
●When the AUTO key !3 is pressed so that the indicator is illuminated, automatic sewing of the number of
stitches set for each parameter (start backtack stitches, fixed stitches/name label stitches, end backtack
stitches and thread trimming/needle raising) can be carried out simply by depressing the treadle.
When the indicator is illuminated, automatic sewing is on; if the AUTO key !3 is then pressed once more, the
indicator switches off and automatic sewing is deactivated.
●Wenn die AUTO-Taste !3 gedrückt wird, so daß die Anzeige leuchtet, werden die für die einzelnen Param-
eter eingestellte Anzahl Stiche (Anfangsriegelstiche, feste Stiche/Etikettenstiche, Endriegelstiche und
Fadenabschneiden und Nadelanheben) beim Drücken des Pedals automatisch genäht.
Bei leuchtender Anzeige ist die automatische Nähfunktion eingeschaltet; bei nochmaligem Drücken der AUTO-Taste
!3 erlischt die Anzeige und die automatische Nähfunktion ist ausgeschaltet.
●Lorsqu'on appuie sur la touche AUTO !3 de manière que le témoin s'allume, la couture automatique du
nombre de points réglé pour chaque paramètre (points d'arrêt en début de couture, points fixes/points
d'étiquette de nom, points d'arrêt en fin de couture et coupe des fils/élévation de l'aiguille) peut être exécutée
en appuyant simplement sur la pédale.
Lorsque le témoin est allumé, la couture automatique est activée; si l’on appuie alors à nouveau sur la
touche AUTO !3, le témoin s’éteint et la couture automatique est désactivée.
●Cuando la tecla AUTO !3 ha sido presionada de manera que el indicador está encendido, se realiza la
costura automática del número de puntadas ajustadas para cada parámetro (puntadas de rematado por
atrás inicial, puntadas fijas/puntadas de etiquetas, rematado por atrás final y corte de hilo/levantado de
aguja) simplemente pisando el pedal.
Cuando el indicador se enciende, la costura automática está activada; si la tecla auto !3 se presiona luego
una vez más, el indicador se apaga y la costura automática se desactiva.
!4 Sewing speed key/Nähgeschwindigkeitstate/Touche de vitesse de couture/Tecla de velocidad de costura
●When the sewing speed key !4 is pressed, the sewing speed indicator illuminates and the current sewing
speed setting appears on the LED display w. Thus AAAAA represents 3,500 rpm.
●Beim Drücken der Nähgeschwindigkeitstaste !4 leuchtet die Anzeige und die gegenwärtig eingestellte
Nähgeschwindigkeit wird auf der LED-Anzeige w angezeigt. Eine Anzeige von AAAAA entspricht daher
einer Nähgeschwindigkeit von 3500/min.
●Lorsqu’on appuie sur la touche de vitesse de couture !4, le témoin de vitesse de couture s’allume et le
réglage de vitesse de couture actuel apparaît sur l’affichage LED w. Ainsi, AAAAA représente 3.500 tr/mn.
●Cuando se presiona la tecla de velocidad de costura !4, el indicador de velocidad de costura se enciende y
el ajuste actual de velocidad de costura aparece en la exhibición LED w. Por lo tanto AAAAA representa
3.500 rpm.
!5 Slow start key (ZE-8580, -8570-A01)/Langsamstarttaste (ZE-8580, -8570-A01)/
Touche de démarrage à vitesse lente (ZE-8580, -8570-A01)/Tecla de comienzo lento (ZE-8580, -8570-A01)
●If the slow start key !5 has been pressed so that the indicator is illuminated, the first three stitches sewn after
thread trimming are sewn at slow speed. After this, the stitches are sewn at the speed corresponding to the
treadle position.
When the indicator is illuminated, slow start sewing is on; if the slow start key !5 is then pressed once more,
the indicator switches off and slow start sewing is deactivated.
●Wenn die Langsamstarttaste !5 gedrückt wird, so daß die Anzeige leuchtet, so werden nach dem Fadenabschneiden
die ersten drei Stiche langsam genäht. Danach wird die Nähgeschwindigkeit durch die Pedalposition bestimmt.
Bei leuchtender Anzeige ist die Langsamstartfunktion eingeschaltet; bei nochmaligem Drücken der
Langsamstarttaste !5 erlischt die Anzeige und die Langsamstartfunktion wird ausgeschaltet.
●Si l’on appuie sur la touche de démarrage à vitesse lente !5 de manière que le témoin s’allume, les trois
premiers points cousus après la coupe des fils seront cousus à vitesse lente. Ensuite, les points seront
cousus à la vitesse correspondant à la position de la pédale.
Lorsque le témoin est allumé, la couture avec démarrage à vitesse lente est activé; si l’on appuie alors à
nouveau sur la touche de démarrage à vitesse lente !5, le témoin s’éteint et la couture avec démarrage à
vitesse lente est désactivée.
●Si la tecla de comienzo lento !5 ha sido presionada de manera que el indicador se enciende, las primeras
tres puntadas cosidas después de cortar el hilo son cosidas a poca velocidad. Después de esto, las puntadas
son cosidas a la velocidad correspondiente a la posición del pedal.
Cuando el indicador se enciende, el comienzo lento está activado; si la tecla de comienzo lento !5 se presiona
luego una vez más, el indicador se apaga y la costura de comienzo lento se desactiva.

69 ZE-8570,8580
7. USING THE OPERATION PANEL
7. VERWENDUNG DER BEDIENUNGSTAFEL
7. UTILISATION DU PANNEAU DE COMMANDE
7. USO DEL TABLERO DE CONTROLES
!6 Correction key/Korrekturtaste/Touche de correction/Tecla de corrección
●If the correction key !6 has been pressed so that the indicator is illuminated, correction sewing (220 rpm) is
carried out if the sewing machine is stopped and the actuator is pressed.
However, if the actuator is pressed during sewing, the mode switches to backtacking/condense sewing (ZE-
8580, -8570-A01) mode.
When the indicator is illuminated, correction sewing is on; if the correction key !6 is then pressed once
more, the indicator switches off and correction sewing is deactivated.
●Wenn die Korrekturtaste !6 gedrückt wird, so daß die Anzeige leuchtet, werden Korrekturstiche (220 /min)
genäht, wenn nach dem Stoppen der Maschine die Betätigungstaste gedrückt wird.
Falls jedoch die Betätigungstaste während dem Nähen gedrückt wird, so wird auf das Nähen von
Verriegelungsstichen/verdichteten Stichen (ZE-8580, -8570-A01) umgeschaltet.
Bei leuchtender Anzeige ist die Korrekturnähfunktion eingeschaltet; bei nochmaligem Drücken der
Korrekturtaste !6 erlischt die Anzeige und die Korrekturnähfunktion wird ausgeschaltet.
●Si l’on appuie sur la touche de correction !6 de manière que le témoin s’allume, la couture de correction
(220 tr/mn) est exécutée si la machine à coudre est arrêtée et qu’on appuie sur l’actuateur.
Toutefois, si l’on appuie sur l’actuateur pendant la couture, le mode passe au mode de couture de point
d’arrêt/condensé (ZE-8580, -8570-A01).
Lorsque le témoin est allumé, la couture de correction est activée; si l’on appuie alors à nouveau sur la
touche de correction !6, le témoin s’éteint et la couture de correction est désactivée.
●Si la tecla de corrección !6 ha sido presionada de manera que el indicador se enciende, la costura de corrección
(220 rpm) se realiza si la máquina de coser está parada y el impulsor es presionado.
Sin embargo, si el impulsor es presionado durante la costura, el modo cambia al modo de rematado por
atrás/costura condensada (ZE-8580, -8570-A01).
Cuando el indicador se enciende, costura de corrección está activada; si la tecla de corrección !6 se presiona
luego una vez más, el indicador se apaga y costura de corrección se desactiva.
!7 Needle up/down key/Nadeltaste/Touche d’élèvement/abaissement de l’aiguille/Tecla de aguja arriba/abajo
●When the needle up/down key !7 is pressed and the treadle is stopped at the neutral position, the needle
stop position switches between the needle up stop position and the needle down stop position.
•If the 쑶 indicator is illuminated, the point of the needle will stop above the needle plate.
•If the 쑴 indicator is illuminated, the point of the needle will stop below the needle plate.
●Wenn die Nadeltaste !7 gedrückt und das Pedal in die Neutralposition zurückgestellt wird, so wird die
Nadelstopposition zwischen angehobener und abgesenkter Nadel umgeschaltet.
•Falls die Anzeige 쑶 leuchtet, stoppt die Maschine mit angehobener Nadel.
•Falls die Anzeige 쑴 leuchtet, stoppt die Maschine mit abgesenkter Nadel.
●Lorsqu’on appuie sur la touche d’élévation/abaissement de l’aiguille !7 et que la pédale est arrêtée en
position neutre, la position d’arrêt de l’aiguille passe de la position d’arrêt supérieur de l’aiguille à la posi-
tion d’arrêt inférieur de l’aiguille et vice versa.
•Si le témoin 쑶 est allumé, la pointe de l’aiguille s’arrêtera au-dessus de la plaque à aiguille.
•Si le témoin 쑴 est allumé, la pointe de l’aiguille s’arrêtera au-dessous de la plaque à aiguille.
●Cuando se presiona la tecla de aguja arriba/abajo !7 y el pedal se encuentra en la posición neutral, la
posición de parada de la aguja cambia entre la posición de parada con la aguja levantada y la posición de
parada con la aguja abajo.
•Si el indicador 쑶 se enciende, la punta de la aguja se parará encima de la placa de aguja.
•Si el indicador 쑴 se enciende, la punta de la aguja se parará debajo de la placa de aguja.
!8 Half stitch key/Halbstichtaste/Touche de demi-point/Tecla de media puntada
● Used to raise or lower the needle when machine operation is interrupted.
● Zum Anheben oder Absenken der Nadel bei unterbrochenem Nähvorgang.
● Sert à relever ou à abaisser l’aiguille lorsque le fonctionnement de la machine est interrompu.
● Se usa para levantar o bajar la aguja con la máquina parada.
!9 TEST key/TEST-Taste/Touche TEST/Tecla TEST
●This key !9 is used when adjusting the needle and rotary hook timing.
When the TEST key !9 is pressed, the TEST indicator illuminates. In this condition, the sewing machine
motor will not operate even if the treadle is depressed. Needle zigzag movement can be carried out by
turning the machine pulley by hand.
If the TEST key !9 is pressed once more, the indicator will switch off and the sewing machine will return to
the normal state of operation.
●Diese Taste !9 wird zum Einstellen der Synchronisation zwischen Nadel und Greifer verwendet.
Bei gedrückter TEST-Taste !9 leuchtet die TEST-Anzeige. In diesem Zustand wird der Nähmaschinenmotor beim
Drücken des Pedals nicht eingeschaltet. Die Zickzackbewegung der Nadel kann durch Drehen der Riemenscheibe
von Hand überprüft werden.
Bei nochmaligem Drücken der TEST-Taste !9 erlischt die Anzeige und die Nähmaschine wird wieder auf den
normalen Betriebszustand zurückgeschaltet.
●Cette touche !9 permet de régler la synchronisation de l’aiguille et du crochet rotatif.
Lorsqu’on appuie sur la touche TEST !9, le témoin TEST s’allume. Dans cet état, le moteur de la machine à
coudre ne fonctionnera pas, même si l’on appuie sur la pédale. Le mouvement de zigzag de l’aiguille pourra
être effectué si l’on tourne la poulie de machine avec la main.
Si l’on appuie à nouveau sur la touche TEST !9, le témoin s’éteint et la machine à coudre retourne à l’état de
fonctionnement normal.
●Esta tecla !9 se usa cuando se ajusta la sincronización de la aguja y el garfio giratorio.
Cuando se presiona la tecla TEST !9, el indicador TEST se enciende. En esta condición, el motor de la máquina
de coser no funcionará incluso en esta condición si se está pisando el pedal. El movimiento de zigzag de la
aguja se puede realizar girando la polea de la máquina a mano.
Si se presiona la tecla TEST !9 una vez más, el indicador se apagará y la máquina de coser volverá al modo
normal de funcionamiento.

70
ZE-8570,8580
7. USING THE OPERATION PANEL
7. VERWENDUNG DER BEDIENUNGSTAFEL
7. UTILISATION DU PANNEAU DE COMMANDE
7. USO DEL TABLERO DE CONTROLES
@0 LOCK key/LOCK-Taste/Touche LOCK/Tecla LOCK
●This key is used to disable key entry using the operation panel, in order to prevent settings from being
changed accidentally.
When the LOCK key @0 is pressed for 2 seconds or more, the indicator illuminates.
Key entry operations using the operation panel are disabled while the indicator is illuminated.
(However, the start backtack key o, end backtack key !0, half stitch key !8, TEST key !9, counter 쑶쑴 keys @5
and counter reset key @6 still operate.)
Canceling the lock: Press the LOCK key @0 for 2 seconds or more while the indicator is illuminated. The
indicator will switch off and operation panel key entry will be enabled again.
●Mit dieser Taste kann die Tasteneingabe über das Bedienungsfeld gesperrt werden, um zu verhindern, daß
sich die Einstellungen unabsichtlich ändern können.
Wenn die LOCK-Taste @0 für länger als 2 Sekunden gedrückt gehalten wird, leuchtet die Anzeige.
Bei leuchtender Anzeige ist keine Eingabe mit den Tasten möglich.
(Die Anfangsriegeltaste o, die Endriegeltaste !0, die Halbstichtaste !8, die TEST-Taste !9, die Zählertasten
쑶쑴 @5 und die Zählerrückstelltaste @6 sind jedoch immer noch funktionsfähig.)
Aufhaben der Verriegelung: Halten Sie die LOCK-Taste @0 bei leuchtender Anzeige für mindestens 2
Sekunden gedrückt. Die Anzeige erlischt und die Eingabe mit den Tasten des
Bedienungsfeld ist wieder möglich.
●Cette touche est utilisée pour désactiver l'entrée par touches en utilisant le panneau de commande, afin
d'empêcher que les réglages soient modifiés accidentellement.
Lorsqu'on appuie sur la touche LOCK @0 pendant deux secondes ou plus, le témoin s'allume.
Les opérations d'entrée par touches en utilisant le panneau de commande sont désactivées pendant que le
témoin est allumé.
(Toutefois, la touche de points d'arrêt en début de couture o, la touche de points d'arrêt en fin de couture
!0, la touche de demi-points !8, la touche TEST !9, les touches de compteur 쑶쑴 @5 et la touche de remise à
zéro du compteur @6 fonctionnent toujours.)
Annulation du verrouillage: Appuyer sur la touche LOCK @0 pendant deux secondes ou plus pendant que le
témoin est allumé. Le témoin s'éteint alors et l'entrée par touches du panneau
de commande sera à nouveau activée.
●Esta tecla se usa para desactivar las teclas del panel de control, de manera de evitar que los ajustes sean
cambiados accidentalmente.
Cuando se presiona la tecla LOCK @0 durante 2 segundos o más, el indicador se enciende.
El uso de las teclas del panel de control no será posible mientras el indicador esté encendido.
(Sin embargo, la tecla de rematado por atrás inicial o, tecla de rematado por atrás final !0, tecla de media
puntada !8, tecla TEST !9, teclas contador 쑶쑴 @5 y tecla de reposición del contador @6 funcionarán.)
Cancelando el bloqueo: Presionar la tecla LOCK @0 durante 2 segundos o más mientras el indicador está
encendido. El indicador se apagará y se podrán volver a usar las teclas del panel
de control.
@1 AB indicator (ZE-8580, -8570-A01)/AB-Anzeige (ZE-8580, -8570-A01)/Témoin AB (ZE-8580, -8570-A01)/Indicador AB
(ZE-8580, -8570-A01)
●When the AB indicator @1 is illuminated, it indicates that the LED display w is showing the number of start
backtack stitches.
Furthermore, if the AB indicator @1 and the tack width indicator @3 are both illuminated, it indicates that the
LED display w is showing the zigzag width for the start backtack stitches.
●Bei leuchtender AB-Anzeige @1 wird auf der LED-Anzeige w die Anzahl Anfangsriegelstiche gezeigt.
Falls die AB-Anzeige @1 und die Riegelbreitenanzeige @3 leuchten, wird auf der LED-Anzeige w die
Zickzackbreite des Anfangsriegels angezeigt.
●Lorsque le témoin AB @1 est allumé, ceci indique que l'affichage LED w montre le nombre de points d'arrêt
en début de couture.
En outre, si le témoin AB @1 et le témoin de largeur de points d'arrêt @3 sont tous deux allumés, ceci indique
que l'affichage LED w montre la largeur de zigzag pour les points d'arrêt en début de couture.
●Cuando el indicador AB @1 está encendido, indica que la exhibición LED w está mostrando el número de
puntadas de rematado por atrás inicial.
Además, si el indicador AB @1 y el indicador de ancho de remate @3 están encendidos, indica que la exhibición
LED w está mostrando el ancho de zigzag para las puntadas de rematado por atrás inicial.
@2 CD indicator (ZE-8580, -8570-A01)/CD-Anzeige (ZE-8580, -8570-A01)/Témoin CD (ZE-8580, -8570-A01)/Indicador CD
(ZE-8580, -8570-A01)
●When the CD indicator @2 is illuminated, it indicates that the LED display w is showing the number of end
backtack stitches.
Furthermore, if the CD indicator @2 and the tack width indicator @3 are both illuminated, it indicates that the
LED display w is showing the zigzag width for the end backtack stitches.
●Bei leuchtender CD-Anzeige @2 werden auf der LED-Anzeige w die Anzahl Endriegelstiche angezeigt.
Falls die CD-Anzeige @2 und die Riegelbreitenanzeige @3 leuchten, wird auf der LED-Anzeige w die Zickzackbreite
des Endriegels angezeigt.
●Lorsque le témoin CD @2 est allumé, ceci indique que l'affichage LED w montre le nombre de points d'arrêt
en fin de couture.
En outre, si le témoin CD @2 et le témoin de largeur de points d'arrêt @3 sont tous deux allumés, ceci indique
que l'affichage LED w montre la largeur de zigzag pour les points d'arrêt en fin de couture.
●Cuando el indicador CD @2 está encendido, indica que la exhibición LED w está mostrando el número de
puntadas de rematado por atrás final.
Además, si el indicador CD @2 y el indicador de ancho de remate @3 están encendidos, indica que la exhibición
LED w está mostrando el ancho de zigzag para el rematado por atrás final.

71 ZE-8570,8580
7. USING THE OPERATION PANEL
7. VERWENDUNG DER BEDIENUNGSTAFEL
7. UTILISATION DU PANNEAU DE COMMANDE
7. USO DEL TABLERO DE CONTROLES
@3 Tack width indicator (ZE-8580, -8570-A01)/Riegelbreitenanzeige (ZE-8580, -8570-A01)/Témoin de largeur de points
d'arrêt (ZE-8580, -8570-A01)/Indicador de ancho de remate (ZE-8580, -8570-A01)
●This indicator illuminates at the same time as either the AB indicator @1 or CD indicator @2 to indicate that
the LED display w is showing the zigzag width for the start or end backtack stitches.
●Diese Anzeige leuchtet zusammen mit der AB-Anzeige @1 oder der CD-Anzeige @2, um anzuzeigen, daß auf
der LED-Anzeige w die Zickzackbreite des Anfangs- bzw. des Endriegels angezeigt wird.
●Ce témoin s'allume en même temps que soit le témoin AB @1 soit le témoin CD @2 pour indiquer que l'affichage
LED w montre la largeur de zigzag pour les points d'arrêt en début ou en fin de couture.
●Este indicador se enciende a la misma vez que el indicador AB @1 o el indicador CD @2 para indicar que la
exhibición LED w está mostrando el ancho de zigzag para el rematado por atrás inicial o final.
@4 Lower thread counter display/Unterfadenzähleranzeige/Affichage du compteur de fil inférieur/Exhibición de contador
de hilo inferior
●Shows the lower thread counter value.
The number is reduced by 1 each time the sewing machine sews 10 stitches.
●Auf dieser Anzeige erscheint der Wert des Unterfadenzählers.
Beim Nähen von jeweils 10 Stichen nimmt die Anzeige um 1 ab.
●Indique la valeur du compteur de fil inférieur.
Le nombre diminue d'une unité à chaque fois que la machine à coudre coud dix points.
●Muestra el valor de contador de hilo inferior.
El número se reduce en 1 cada vez que la máquina de coser cose 10 puntadas.
@5 Counter 쑶쑴 (setting) keys/Zählertasten 쑶쑴/Touches de compteur 쑶쑴 (réglage)/Teclas de contador 쑶쑴(ajuste)
●These keys are used to set the initial value for the lower thread counter.
This setting can only be carried out immediately after the lower thread counter has been reset.
•When the 쑶 key is pressed, the setting increases. When the key is held, the setting changes more
quickly.
•When the 쑴 key is pressed, the setting decreases. When the key is held, the setting changes more
quickly.
●Mit diesen Tasten kann der anfängliche Wert des Unterfadenzählers eingestellt werden.
Diese Einstellung läßt sich nur unmittelbar nach dem Zurückstellen des Unterfadenzählers vornehmen.
•Der Einstellwert kann mit der Taste 쑶 erhöht werden. Bei gedrückt gehaltener Taste beginnt die Anzeige
zu laufen.
•Der Einstellwert kann mit der Taste 쑴 vermindert werden. Bei gedrückt gehaltener Taste beginnt die
Anzeige zu laufen.
●Ces touches sont utilisées pour régler la valeur initiale du compteur des fil inférieur.
Ce réglage ne peut être effectué qu'immédiatement après que le compteur de fil inférieur a été remis à zéro.
•Lorsqu'on appuie sur la touche 쑶, la valeur du réglage augmente. Lorsqu'on maintient la touche enfoncée,
la valeur du réglage change plus rapidement.
•Lorsqu'on appuie sur la touche 쑴, la valeur du réglage diminue. Lorsqu'on maintient la touche enfoncée,
la valeur du réglage change plus rapidement.
●Estas teclas se usan para ajustar el valor inicial para el contador de hilo inferior.
Este ajuste sólo puede ser realizado inmediatamente después de haber repuesto el contador de hilo inferior.
•Cuando se presiona la tecla 쑶, el ajuste aumenta. Cuando se mantiene presionando la tecla, el ajuste
cambia más rápidamente.
•Cuando se presiona la tecla 쑴, el ajuste disminuye. Cuando se mantiene presionando la tecla, el ajuste
cambia más rápidamente.

72
ZE-8570,8580
7. USING THE OPERATION PANEL
7. VERWENDUNG DER BEDIENUNGSTAFEL
7. UTILISATION DU PANNEAU DE COMMANDE
7. USO DEL TABLERO DE CONTROLES
@6 Counter reset key/Zählerrückstelltaste/Touche de remise à zéro du compteur/Tecla de reposición del contador
●The counter reset key @6 is used to return the lower thread counter to the initial value.
•If the counter reset key @6 is pressed when the lower thread counter value is 0 or less, the value returns
to the initial setting.
•If the counter reset key @6 is pressed for 2 seconds or more when the lower thread counter value is 1 or
more, the value returns to the initial setting.
●Mit der Zählerrückstelltaste @6 kann der Unterfadenzähler auf den anfänglichen Wert zurückgestellt werden.
•Wenn die Zählerrückstelltaste @6 bei einem Unterfadenzählerwert von 0 oder weniger gedrückt wird, so
wird auf den anfänglichen Wert zurückgeschaltet.
•Wenn die Zählerrückstelltaste @6 bei einem Unterfadenzählerwert von 1 oder mehr für mindestens 2
Sekunden gedrückt wird, so wird auf den anfänglichen Wert zurückgeschaltet.
●La touche de remise à zéro du compteur @6 permet de remettre le compteur de fil inférieur à la valeur
initiale.
•Si l'on appuie sur la touche de remise à zéro du compteur @6 lorsque la valeur du compteur de fil
inférieur est égale à 0 ou moins, la valeur est remise au réglage initial.
•Si l'on appuie sur la touche de remise à zéro du compteur @6 pendant 2 secondes ou plus lorsque la
valeur du compteur de fil inférieur est égale à 1 ou plus, la valeur est remise au réglage initial.
●La tecla de reposición del contador @6 se usa para volver el contador del hilo inferior al valor inicial.
•Si la tecla de reposición del contador @6 se presiona cuando el valor del contador de hilo inferior es 0 o
menos, el valor vuelve al ajuste inicial.
•Si la tecla de reposición del contador @6 se presiona durante 2 segundos o más cuando el valor del
contador de hilo inferior es 1 o más, el valor vuelve al ajuste inicial.
@7 M (memory switch) key/M-Taste (Speicherschalter)/Touche M (interrupteur mémoire)/
Tecla M (interruptor de memoria)
●The memory switch key @7 is used to set special operations.
Refer to "Memory switch setting method" on page 191 for details on using this key.
●Mit der Speichertaste @7 lassen sich spezielle Funktionen einstellen.
Für Einzelheiten zu dieser Taste wird auf den Abschnitt "Einstellen der Speichertaste" auf Seite 191 verwiesen.
●La touche de l'interrupteur mémoire @7 permet de régler les opérations spéciales.
Pour plus de détails concernant l'utilisation de cette touche, se reporter à la section "Méthode de réglage de
l'interrupteur mémoire".
●La tecla del interruptor de memoria @7 se usa para ajustar las operaciones especiales.
Consulte la sección "Método de ajuste del interruptor de memoria" en la página 191 por detalles sobre
como usar esta tecla.

73 ZE-8570,8580
7-2. Pattern setting method
7-2. Musternähen
7-2. Réglage des motifs de couture
7-2. Método de ajuste de patrón
7-2-1. Setting the sewing pattern
7-2-1. Einstellen der Stichmuster
7-2-1. Réglage du motif de couture
7-2-1. Ajuste del patrón de costura
•This sewing machine is equipped with the following built-in sewing patterns. Select the pattern number from the
operation panel to use a pattern. (Refer to page 75.)
•Different zigzag widths and zigzag lengths can be set for each sewing pattern. (Refer to page 55 and 81.)
•Die Nähmaschine ist mit den folgenden Nähmustern ausgerüstet. Wählen Sie die gewünschte Musternummer auf
dem Bedienungsfeld. (Siehe Seite 75.)
•Für die einzelnen Nähmuster lassen sich die Zickzackbreite und die Zickzacklänge einstellen. (Siehe Seiten 55 und
81.)
•Cette machine à coudre est équipée des motifs de couture incorporés suivants. Sélectionner le numéro de motif sur
le panneau de commande pour utiliser un motif. (Se reporter à la page 75.)
•Il est possible de régler différentes largeurs et longueurs de zigzag pour chaque motif de couture. (Se reporter aux
pages 55 et 82.)
•Esta máquina de coser está equipada con los siguientes patrones de costura. Seleccionar el número de patrón en el
panel de controles para usar un patrón. (Consultar la página 75.)
•Se pueden ajustar anchos de zigzag y largos de zigzag diferentes para cada patrón de costura. (Consultar las páginas
55 y 82.)
7. USING THE OPERATION PANEL
7. VERWENDUNG DER BEDIENUNGSTAFEL
7. UTILISATION DU PANNEAU DE COMMANDE
7. USO DEL TABLERO DE CONTROLES
Pattern no. (LED display)
Musternr. (LED-Anzeige)
N° de motif (affichage LED)
No. de patrón (Exhibición LED)
Straight stitch
Gerade Stiche
Point droit
Puntadas rectas
Plain zigzag
Normale Zickzackstiche
Zigzag ordinaire
Puntadas en zigzag simples
2-step zigzag
2-Stufen-Zickzackstiche
Zigzag 2 pas
Puntadas en zigzag en dos
pasos
3-step zigzag
3-Stufen-Zickzackstiche
Zigzag 3 pas
Puntadas en zigzag en tres
pasos
Notes
Bemerkungen
Remarques
Notas
Sewing pattern
Nähmuster
Motif de couture
Patrón de costura

74
ZE-8570,8580
In the columns marked with , the number of stitches sewn in a
straight line can be set within the range of 1 to 99 stitches.
In der mit bezeichneten Kolonne kann die in einer geraden Linie
genähte Stichzahl im Bereich von 1 bis 99 eingestellt werden.
Dans la colonne marquée d’un , il est possible de régler le nombre
de points cousus en ligne droite dans la plage de 1 à 99 points.
En las columnas marcadas con , el número de puntadas cosidas
en línea recta puede ser ajustada en un rango de 1 a 99 puntadas.
Sewing patterns created using the BAS-PC/300 (optional device) can
be sewn.
(The pattern number is set in the columns marked with .)
Es lassen sich mit der BAS-PC/300 (Sonderzubehör) hergestellte
Stichmuster nähen.(Die Musternummer wird in der mit A A
bezeichneten Kolonne eingestellt.)
Il est possible de coudre les motifs de couture créés en utilisant la
BAS-PC/300 (dispositif en option).(Le numéro de motif peut être réglé
dans les colonnes marquées d’un .)
Patrones de costura creados usando la BAS-PC/300 (dispositivo opcional).
(El número de patrón se ajusta en las columnas marcadas con .)
✽
✽
Crescent scallop
(24sts.)
Even scallop
(12sts.)
Standard scallop
(24sts.)
Even scallop
(24sts.)
Crescent scallop
(24sts.)
Even scallop
(12sts.)
Scallop (left)
Muschelstiche (links)
Feston (gauche)
Festón (izquierda)
Scallop (right)
Muschelstiche (rechts)
Feston (droit)
Festón (derecha)
Blind stitch (left)
Blindstiche (links)
Point invisible (gauche)
Puntada invisible
(izquierda)
Blind stitch (right)
Blindstiche (rechts)
Point invisible (droit)
Puntada invisible
(derecha)
Custom made pattern
Individuelle Stichmuster
Motif personnalisé
Patrón a medida
If is set in the column marked with +, a reflection pattern can be
sewn by stopping the sewing machine and then pressing the ac-
tuator. (Refer to page 77.)
Falls in der Kolonne + eingestellt ist, wird ein spiegelbildliches
Muster genäht, falls die Maschine gestoppt und Betätigungstaste
gedrückt wird. (Siehe Seite 77.)
Si l’on règle dans la colonne marquée d’un +, un motif à réflexion
pourra être cousu en arrêtant la machine à coudre puis en appuyant
sur l’actuateur. (Se reporter à la page 79.)
Si se ajusta en la columna marcada con +, se puede coser un
patrón de reflexión parando la máquina de coser y accionado el
impulsor. (Consultar la página 79.)
<Reflection pattern>
<Spiegelbildliches Muster>
<Motif à réflexion>
<Patrón de reflexión>
Sewing pattern
Nähmuster
Motif de couture
Patrón de costura
Press the actuator
Die Betätigungstaste drücken
Appuyer sur l’actuateur.
Presionar el impulsor
(Reflection pattern)
(Spiegelbildliches
Muster)
(Motif à réflexion)
(Patrón de reflexión)
(No. of stitches)
(Stichzahl)
(Nombre de points)
(No. de puntadas)
✽
✽
✽
✽
✽
✽
Standard scallop
(24sts.)
Even scallop
(24sts.)
Sewing direction
Nährichtung
Sens de couture
Dirección de costura
1276M
1430M
7. USING THE OPERATION PANEL
7. VERWENDUNG DER BEDIENUNGSTAFEL
7. UTILISATION DU PANNEAU DE COMMANDE
7. USO DEL TABLERO DE CONTROLES

75 ZE-8570,8580
7. USING THE OPERATION PANEL
7. VERWENDUNG DER BEDIENUNGSTAFEL
7. UTILISATION DU PANNEAU DE COMMANDE
7. USO DEL TABLERO DE CONTROLES
w
rt
qe
1433M
■ Setting the sewing pattern
1. Press the PATTERN key q.
The sewing pattern number that is currently set is dis-
played in the LED display w.
The PATTERN indicator e corresponding to this pat-
tern number also illuminates.
2. Press the PATTERN key q to select the pattern num-
ber.
The sewing pattern setting changes as shown in the
illustration at left each time the PATTERN key q is
pressed.
(For example, if the PATTERN key q is pressed when
the current setting is "2" (plain zigzag), the setting
changes to "3" (2-step zigzag).)
•If no custom-made patterns have been set, AAAAA
cannot be selected.
•If setting scallop, blind stitch or custom-made sew-
ing patterns, refer to the setting details for each
pattern that appear on the following pages.
•Furthermore, the sewing patterns can be changed
by pressing the leftmost 쑶쑴 selection keys r.
If you press the 쑴 selection key at this time, the
pattern number will change in reverse order.
Note:
If the needle bar is at the needle up stop position, the
needle bar will move to the sewing start position when
the sewing pattern settings are changed.
If the needle bar is not at the needle up stop position,
the needle bar will move to the sewing start position
after it next moves to the needle up stop position.
1434M
(1~8)
(1~8)
(1~99)
(1~99)
(1~99)

76
ZE-8570,8580
■ Einstellen des Nähmusters
1. Drücken Sie die PATTERN-Taste
q
.
Auf der LED-Anzeige
w
wird die gegenwärtig eingestellte Nähmusternummer gezeigt.
Die der Musternummer entsprechende PATTERN-Anzeige
e
leuchtet ebenfalls.
2. Drücken Sie die PATTERN-Taste
q
zum Auswählen der Musternummer.
Das Nähmuster wird mit jedem Drücken der PATTERN-Taste
q
wie in der Abbildung gezeigt umgeschaltet.
(Falls z.B. die PATTERN-Taste
q
bei der Mustereinstellung "2" (normaler Zickzack) gedrückt wird, so wird auf "3" (2-
Schritt-Zickzack) umgeschaltet.)
•Falls keine benutzerdefinierten Muster vorhanden sind, läßt sich AAAAA nicht einstellen.
•Für das Einstellen des Muschelstichs, des Blindstichs oder eines benutzerdefinierten Musters wird auf die
Einzelheiten der einzelnen Muster auf den folgenden Seiten verwiesen.
•Die Muster lassen sich außerdem mit den Einstelltasten 쑶쑴
r
ändern.
Beim Drücken der Einstelltaste 쑴 wird das Stichmuster in der umgekehrten Reihenfolge umgeschaltet.
Hinweis:
Falls sich die Nadelstange in der Stopposition für hochgestellte Nadel befindet, wird die Nadelstange beim Ändern
der Nähmusters in die Startposition gestellt.
Falls sich die Nadelstange nicht in der Stopposition für hochgestellte Nadel befindet, wird die Nadelstange in die
Startposition gestellt, sobald sich die Nadel in die Stopposition mit hochgestellter Nadel bewegt.
7. USING THE OPERATION PANEL
7. VERWENDUNG DER BEDIENUNGSTAFEL
7. UTILISATION DU PANNEAU DE COMMANDE
7. USO DEL TABLERO DE CONTROLES
■ Réglage du motif de couture
1. Appuyer sur la touche PATTERN
q
.
Le numéro de motif de couture actuellement établi apparaît sur l'affichage LED
w
.
Le témoin PATTERN
e
correspondant à ce numéro de motif s'allume aussi.
2. Appuyer sur la touche PATTERN
q
pour sélectionner le numéro de motif.
A chaque pression sur la touche PATTERN
q
, le réglage du motif de couture change comme indiqué sur l'illustration
ci-contre à gauche.
(Par exemple, si l'on appuie sur la touche PATTERN
q
lorsque le réglage actuel est "2" (zigzag ordinaire), le réglage
passe à "3" (zigzag à deux pas).
•Si aucun motif personnalisé n'a été réglé, il n'est pas possible de sélectionner AAAAA.
•Pour le point feston, le point invisible ou les motifs de couture personnalisés, se reporter aux détails de réglage
de chaque motif qui figurent dans les pages suivantes.
•En outre, les motifs de couture peuvent être changés en appuyant sur les touches de sélection 쑶쑴
r
situées à
l'extrême-gauche.
Si l'on appuie à ce moment sur la touche de sélection 쑴, le numéro de motif change dans l'ordre inverse.
Remarque:
Si la barre à aiguille est à la position d'arrêt haut de l'aiguille, la barre à aiguille se placera à la position de départ de
couture lorsque les réglages des motifs de couture sont modifiés.
Si la barre à aiguille n'est pas à la position d'arrêt haut de l'aiguille, la barre à aiguille se placera à la position de
départ de couture lorsqu'elle se trouvera à la position d'arrêt haut de l'aiguille la fois suivante.
■ Ajuste del patrón de costura
1. Presionar la tecla PATTERN
q
.
El número del patrón de costura que ha sido ajustado se exhibe en la exhibición LED
w
.
El indicador PATTERN
e
que corresponde con este número de patrón también se enciende.
2. Presionar la tecla PATTERN
q
para seleccionar el número de patrón.
El ajuste del patrón de costura cambia de la manera indicada en la ilustración a la izquierda cada vez que se presiona
la tecla PATTERN
q
.
(Por ejemplo, si se presiona la tecla PATTERN
q
cuando el ajuste actual es "2" (zigzag simple), el ajuste cambia a "3"
(zigzag de 2 pasos).)
•Si no se ha ajustado ningún patrón a medida, AAAAA no puede ser seleccionado.
•Si se ajustan los patrones de festón, puntada invisible o patrones de costura a medida, consulte los detalles de
ajuste para cada patrón que aparece en las siguientes páginas.
•Además, los patrones de costura pueden ser cambiados presionando las teclas de selección 쑶쑴 más a la izquierda
r
.
Si se presiona la tecla de selección 쑴 en este momento, el número de patrón cambiará en el orden inverso.
Nota:
Si la barra de agujas se encuentra en la posición de parada con la aguja levantada, la barra de agujas se moverá a la
posición de comienzo de costura cuando se cambian los ajustes del patrón de costura.
Si la barra de agujas no se encuentra en la posición de parada con la aguja levantada, la barra de agujas se moverá
a la posición de comienzo de costura después de moverse a la posición de parada con la aguja levantada.

77 ZE-8570,8580
■ Muschelstichmuster
Wählen Sie nach dem Einstellen von [5] oder [6] in der
linken Kolonne der LED-Anzeige
q
mit den Einstelltasten
쑶쑴
w
den Muschelstich in der zweiten Kolonne von
rechts auf der LED-Anzeige
q
.
Hinweis:
Falls sich die Nadelstange in der Stopposition für
hochgestellte Nadel befindet, wird die Nadelstange beim
Ändern des Muschelstichs in die Startposition gestellt.
Falls sich die Nadelstange nicht in der Stopposition
für hochgestellte Nadel befindet, wird die Nadelstange
in die Startposition gestellt, sobald sich die Nadel in
die Stopposition für hochgestellte Nadel bewegt.
<Nähen spiegelbildlicher Stichmuster>
Muschelstichmuster können spiegelbildlich genäht werden.
Stellen Sie dazu für das Muschelmuster mit den Tasten 쑶
und 쑴
r
auf der rechten Seite der LED-Anzeige e [A] ein.
(Die Anzeige [A] läßt sich durch nochmaliges Drücken
der Tasten 쑶 und 쑴
r
wieder löschen.)
1. Stoppen Sie die Nähmaschine an der Stelle, von der
Sie das Muster spiegelbildlich nähen wollen.
2. Drücken Sie die Betätigungstaste t.
Auf der LED-Anzeige y erscheint AAAAA und das Mus-
ter wird von dieser Stelle an spiegelbildlich genäht.
* Falls Sie die Betätigungstaste t an einer falschen
Stelle gedrückt haben, können Sie die
Betätigungstaste t nochmals drücken, um die
Anzeige AAAAA zu löschen.
3. Das Muster wird beim Drücken des Pedals von dieser
Stelle an spiegelbildlich genäht.
•Bei der Stichmusternummer AAAAA oder AAAAA
können keine Korrekturstiche durch Drücken der
Betätigungstaste t genäht werden.
•Bei der Stichmusternummer AAAAA oder AAAAA
können keine spiegelbildlichen Muster genäht werden.
Es ist jedoch möglich Korrekturstiche durch Drücken
der Betätigungstaste t zu nähen. (Siehe Seite 99.)
■ Scallop patterns
After selecting [5] or [6] in the left column of the LED display
q
, use the 쑶쑴 selection keys
w
to select the type of scallop in
the second column from the right in the LED display
q
.
Note:
If the needle bar is at the needle up stop position, the
needle bar will move to the sewing start position when
the type of scallop is changed.
If the needle bar is not at the needle up stop position,
the needle bar will move to the sewing start position
after it next moves to the needle up stop position.
<Sewing reflection patterns>
Scallop patterns can be reflected while sewing. To do this,
when selecting a pattern number for a scallop pattern,
press the 쑶 and 쑴 selection keys
r
at the right of the
LED display
e
so that [A] is displayed.
(The [A] can be cleared by pressing the 쑶 and 쑴 selec-
tion keys
r
once more.)
1. While sewing, stop the sewing machine at the point where
you would like the reflection pattern to start being sewn.
2. Press the actuator
t
.
AAAAA will appear in the LED display
y
and the pat-
tern sewn from that point will be a reflection pattern.
* If you make a mistake and press the actuator
t
at
the wrong time, press the actuator
t
once more
to clear the AAAAA display.
3. The reflection pattern can then be sewn by depress-
ing the treadle.
•If the pattern number selected is AAAAA or AAAAA, cor-
rection sewing using the actuator
t
will not be possible.
•If the pattern number selected is AAAAA or AAAAA,
reflection patterns cannot be sewn, but correction sew-
ing using the actuator
t
will be possible instead. (Re-
fer to page 99.)
7. USING THE OPERATION PANEL
7. VERWENDUNG DER BEDIENUNGSTAFEL
7. UTILISATION DU PANNEAU DE COMMANDE
7. USO DEL TABLERO DE CONTROLES
t
y
Example: Pattern number [5-1A]
Beispiel: Stichmusternummer [5-1A]
[5-1 ] with no reflection
[5-1 ] ohne Spiegelbild
Reflection
Sewing direction
Nährichtung
Sewing direction
Spiegelbild
Nährichtung
[5-1A]wenn das Nähgut um 90° gedreht wird und das Muster
spiegelbildlich genäht wird
[5-1A]When material is rotated 90° and a reflection pattern is
sewn
1332M
1331M
1330M
1436M
e
r
Example: Pattern number [5-2 ]
Beispiel: Stichmusternummer [5-2 ]
1435M
q
w

78
ZE-8570,8580
■ Custom-made patterns (option)
For details, refer to the place of purchase.
•Up to a maximum of 99 sewing patterns can be added
by creating sewing patterns using the BAS-PC/300 (op-
tion). (A maximum of 10,000 stitches can be stored,
with each pattern having a maximum of 500 stitches.)
•When custom-made patterns have been added, enter
[9] in the left column of the LED display q, and enter
the pattern number in the two right-side columns w.
(For example, for pattern number 35, enter AAAAAA.)
■ Individuelle Stichmuster (Option)
Für nähere Einzelheiten wenden Sie sich an das
Verkaufsgeschäft.
•Es lassen sich bis zu 99 Stickmuster hinzufügen, die
mit der BAS-PC/300 (Sonderzubehör) hergestellt
wurden. (Insgesamt können bis zu 10000 Stiche
gespeichert werden und jedes Stichmuster kann aus
biz zu 500 Stichen bestehen.)
•Falls individuelle Muster zur Verfügung stehen, geben
Sie [9] auf der linken Seite der LED-Anzeige q und
die Musternummer auf den beiden rechten Feldern
w der Anzeige ein.
(Zum Beispiel müssen Sie für die Musternummer 35
AAAAA eingeben.)
■ Blind stitching
If selecting blind stitching, set the number of stitches to
be sewn in a straight line.
After selecting [7] or [8] in the left column of the LED dis-
play q, use the 쑶쑴 selection keys e to set the number
of straight-line stitches in the two right-side columns of
the LED display w.
(For example, to sew five straight-line stitches, enter
AAAAA; to sew ten straight-line stitches, enter AAAAA.)
7. USING THE OPERATION PANEL
7. VERWENDUNG DER BEDIENUNGSTAFEL
7. UTILISATION DU PANNEAU DE COMMANDE
7. USO DEL TABLERO DE CONTROLES
■ Bildstiche
Stellen Sie beim Einstellen von Blindstichen die Stichzahl,
die gerade genäht werden soll.
Wählen Sie nach dem Einstellen von [7] oder [8] in der
linken Kolonne der LED-Anzeige q mit den Einstelltasten
쑶쑴 e die Stichzahl für die geraden Stiche in den beiden
rechten Kolonne von rechts der LED-Anzeige w.
(Um zum Beispiel 5 gerade Stiche zu nähen, geben Sie
AAAAA ein, für 10 gerade Stiche geben Sie AAAAA ein.)
Example
Beispiel
Example
Beispiel
5 stitches
10 stitches
5 Stiche
10 Stiche
Pattern number (1 to 99)
Stichmusternummer (1 bis 99)
1333M
1437M
wq
e
1494M
qw

79 ZE-8570,8580
■ Patrones de festón
Después de seleccionar [5] o [6] en la columna izquierda de la
exhibición LED q, usar las teclas de selección 쑶쑴 w para
seleccionar el tipo de festón en la segunda columna de la
derecha en la exhibición LED q.
Nota:
Si la barra de agujas se encuentra en la posición de parada con
la aguja levantada, la barra de agujas se moverá a la posición
de comienzo de costura cuando se cambie el tipo de festón.
Si la barra de agujas no se encuentra en la posición de
parada con la aguja levantada, la barra de agujas se moverá
a la posición de comienzo de costura después de moverse
a la posición de parada con la aguja levantada.
<Costura de patrones reflejados>
Los patrones de festón pueden ser reflejados mientras se cose.
Para hacer eso, al seleccionar un número de patrón para un
patrón de festón, presionar las teclas 쑶 y 쑴 r a la derecha de
la exhibición LED e de manera que se exhiba [A].
(La [A] puede ser borrada presionando las teclas 쑶 y 쑴
r una vez más.)
1. Mientras se cose, parar la máquina de coser en el lugar
donde se quiera que el patrón reflejado comience.
2. Presionar el impulsor t.
AAAAA aparecerá en la exhibición LED y y el patrón
cosido desde ese punto será un patrón reflejado.
* Si se comete un error y se presiona el impulsor t
en el momento equivocado, presionar el impulsor
t una vez más para borrar la exhibición AAAAA.
3. El patrón reflejado podrá ser luego cosido pisando el pedal.
•Si el número de patrón seleccionado es AAAAA o
AAAAA, la costura de corrección usando el impulsor
t no podrá ser realizada.
•Si el número de patrón seleccionado es AAAAA o
AAAAA, los patrones reflejados no podrán ser cosidos,
pero la costura de corrección usando el impulsor t en
cambio podrá ser realizada. (Consultar la página 99.)
■ Points feston
Après avoir sélectionné [5] ou [6] dans la colonne de gauche
de l'affichage LED
q
, utiliser les touches de sélection 쑶쑴
w
pour sélectionner le type de feston dans la deuxième
colonne à partir de la droite de l'affichage LED
q
.
Remarque:
Si la barre à aiguille est à la position d'arrêt haut de
l'aiguille, la barre à aiguille se placera à la position de
début de couture lorsque le type de feston est changé.
Si la barre à aiguille n'est pas à la position d'arrêt haut
de l'aiguille, la barre à aiguille se placera à la position
de début de couture après s'être placée la fois suivante
à la position d'arrêt haut de l'aiguille.
<Motifs de réflexion de couture>
Les points festons peuvent être réfléchis pendant la couture. Pour
effectuer ceci, lorsqu’on sélectionne un numéro de motif pour un
motif de feston, appuyer sur les touches de sélection 쑶 et 쑴 r
situées à droite de l’affichage LED e de manière que [A] soit affiché.
(Il est possible d’effacer le [A] en appuyant à nouveau
sur les touches de sélection 쑶 et 쑴 r.)
1.
Pendant la couture, arrêter la machine à coudre au point où
l’on veut que le motif de réflexion commence à être cousu.
2. Appuyer sur l’actuateur t.
AAAA apparaîtra sur l’affichage LED y et le motif de
couture à partir de ce point sera un motif à réflexion.
* Si l’on fait une erreur et qu’on appuie sur l’actuateur t
au mauvais moment, appuyer à nouveau sur l’actuateur
t pour faire disparaître l’affichage AAAAA.
3. Le motif à réflexion pourra alors être cousu en
appuyant sur la pédale.
•Si le numéro de motif sélectionné est AAAA ou
AAAAA, il ne sera pas possible d’effectuer la couture
de correction à l’aide de l’actuateur t.
•Si le numéro de motif sélectionné est AAAA ou
AAAAA, les motifs de correction ne pourront pas être
cousus, mais il sera possible d’effectuer la couture de
correction à l’aide de l’actuateur t à la place. (Se re-
porter à la page 99.)
7. USING THE OPERATION PANEL
7. VERWENDUNG DER BEDIENUNGSTAFEL
7. UTILISATION DU PANNEAU DE COMMANDE
7. USO DEL TABLERO DE CONTROLES
t
y
Exemple: Numéro de motif [5-1A]
Por ejemplo: Número de patrón [5-1A]
Réflexion
Sens de couture
Dirección de costura
Sens de couture
Reflexión
Dirección de costura
[5-1A]Cuando material está girado 90° y se cose un patrón
reflejado
[5-1A]Lorsque le tissu est tourné de 90° et qu’un motif à
réflexion est cousu.
1332M
1331M
1330M
1436M
e
r
Exemple: Numéro de motif [5-2 ]
Por ejemplo: Número de patrón [5-2 ]
1435M
q
w
[5-1 ] sans réflexion
[5-1 ] sin reflexión

80
ZE-8570,8580
7. USING THE OPERATION PANEL
7. VERWENDUNG DER BEDIENUNGSTAFEL
7. UTILISATION DU PANNEAU DE COMMANDE
7. USO DEL TABLERO DE CONTROLES
■ Point invisible
Si l’on sélectionne le point invisible, régler le nombre de
points à coudre en ligne droite.
Après avoir sélectionné [7] ou [8] dans la colonne de
gauche de l'affichage LED q, utiliser les touches de
sélection 쑶쑴 e pour régler le nombre de points droits
dans les deux colonnes de droite de l'affichage LED w.
(Par exemple, pour coudre cinq points en ligne droite,
entrer AAA AA; por coudre dix points en ligne droite, entrer
AAAAA .)
■ Motifs personnalisés (en option)
Pour plus de détails, consulter son revendeur.
•Il est possible d’ajouter jusqu’à 99 motifs de couture
en créant des motifs de couture en utilisant le modèle
BAS-PC/300 (en option). (Il est possible de mémoriser
jusqu’ à 10.000 points, avec chaque motif comportant
500 points au maximum.)
•Lorsque des motifs personnalisés ont été ajoutés,
entrer [9] dans la colonne de gauche de l'affichage
LED q, et entrer le numéro de motif dans les deux
colonnes de droite w.
(Par exemple, pour le motif numéro 35, entrer
AAA AA.)
■ Patrones a medida (opcional)
Por detalles, consultar en el lugar donde compró la
máquina.
•Se pueden agregar hasta un máximo de 99 patrones
de costura creando patrones de costura usando la
BAS-PC/300 (opcional). (Se pueden almacenar un
máximo de 10.000 puntadas, y cada patrón puede
tener un máximo de 500 puntadas.)
•Cuando se han agregado patrones a medida, ingrese
[9] en la columna izquierda de la exhibición LED q, e
ingrese el número de patrón en las dos columnas del
lado derecho w.
(Por ejemplo, para el patrón número 35, ingrese
AAA AA.)
■ Puntada invisible
Si se selecciona la puntada invisible, ajustar el número
de puntadas a ser cosidas en línea recta.
Después de seleccionar [7] o [8] en la columna izquierda
de la exhibición LED q, usar las teclas de selección 쑶쑴
e para ajustar el número de puntadas rectas en las dos
columnas del lado derecho de la exhibición LED w.
(Por ejemplo, para coser cinco puntadas en línea recta,
introducir AAA AA; para coser diez puntadas en línea recta,
introducir AAA AA.)
Example
Por ejemplo
Example
Por ejemplo
5 points
10 points
5 puntadas
10 puntadas
Numéro de motif (1 à 99)
Número de patrón (1 a 99)
1333M
1437M
wq
e
1494M
qw

81 ZE-8570,8580
7. USING THE OPERATION PANEL
7. VERWENDUNG DER BEDIENUNGSTAFEL
7. UTILISATION DU PANNEAU DE COMMANDE
7. USO DEL TABLERO DE CONTROLES
The zigzag width is defined as the distance between the leftmost needle drop point and the rightmost needle drop
point.
If the zigzag width is increased or reduced, the width of the sewing pattern is also increased or reduced by the same
proportion.
Set the zigzag width after selecting the pattern number.
* The zigzag width will be automatically set to AAAA only when the straight stitch has been selected as the sewing
pattern.
Die Zickzackbreite wird als Abstand zwischen dem äußersten Nadeleinstichpunkt links und rechts definiert.
Beim Erhöhen oder Vermindern der Zickzackbreite wird das Stichmuster im gleichen Verhältnis erhöht oder vermindert.
Stellen Sie die Zickzackbreite nach dem Einstellen der Stichmusternummer ein.
* Die Zickzackbreite wird nur automatisch auf AAAA eingestellt, wenn als Stichmuster ein gerader Stich eingestellt
wird.
Zigzag width
Zickzackbreite Zigzag width
Zickzackbreite Zigzag width
Ziackzackbreite Zigzag width
Zickzackbreite 2.5 mm
2,5 mm 4.5 mm
4,5 mm
1. Press the zigzag width key q.
The indicator w will illuminate and the zigzag width
currently set will appear in the LED display e.
(For example, AAA A represents 3.0 mm.)
2. Press the 쑶 and 쑴 selection keys r to change the
zigzag width.
• The standard setting range for the zigzag width is
set to 0 - 4.5 mm at the factory.
• The maximum value that can be set will vary de-
pending on the trimming margin base line position
setting. (Refer to page 83.)
Note:
If the needle bar is at the needle up stop position, the
needle bar will move to the sewing start position when
the zigzag width is changed.
If the needle bar is not at the needle up stop position,
the needle bar will move to the sewing start position
after it next moves to the needle up stop position.
1. Drücken Sie die Zickzackbreitentaste q.
Die Anzeige w leuchtet und auf der LED-Anzeige e wird die eingestellte Zickzackbreite angezeigt.
(Zum Beispiel eine Anzeige von AAA A bedeutet 3,0 mm.)
2. Stellen Sie die Zickzackbreite mit den Tasten r 쑶 und 쑴 ein.
• Der normaler Einstellbereich für de Zickzackbreite wurde bei der Auslieferung auf 0 - 4,5 mm eingestellt.
• Der maximale Einstellwert hängt von der Einstellung der Schnittrandgrundlinie ab. (Siehe Seite 85.)
Hinweis:
Falls sich die Nadelstange in der Stopposition für hochgestellte Nadel befindet, wird die Nadelstange beim Ändern
der Zickzackbreite in die Startposition gestellt.
Falls sich die Nadelstange nicht in der Stopposition für hochgestellte Nadel befindet, wird die Nadelstange in die
Startposition gestellt, sobald sich die Nadel in die Stopposition für hochgestellte Nadel bewegt.
7-2-2. Setting the zigzag width
7-2-2. Einstellen der Zickzackbreite
1335M 1336M
1438M
e
rw q

82
ZE-8570,8580
7. USING THE OPERATION PANEL
7. VERWENDUNG DER BEDIENUNGSTAFEL
7. UTILISATION DU PANNEAU DE COMMANDE
7. USO DEL TABLERO DE CONTROLES
La largeur de zigzag est définie comme la distance entre le point de chute de l’aiguille extrême-gauche et le point de
chute de l’aiguille extrême-droit.
Si l’on augmente ou diminue la largeur de zigzag, la largeur du motif de couture sera aussi augmentée ou diminuée
dans la même proportion.
Régler la largeur de zigzag après avoir sélectionné le numéro de motif.
* La largeur de zigzag sera automatiquement réglée sur AA AA seulement si l’on sélectionne le point droit comme
motif de couture.
El ancho de la puntada de zigzag se define como la distancia entre el punto de bajada más a la izquierda de la aguja y
el punto de bajada más a la derecha de la aguja.
Si el ancho de la puntada de zigzag se aumenta o reduce, el ancho del patrón de costura también se aumenta o reduce
en la misma proporción.
Ajustar el ancho de la puntada de zigzag después de seleccionar el número de patrón.
* El ancho de la puntada de zigzag se ajustará automáticamente a AA AA sólo cuando las puntadas rectas hayan sido
seleccionadas como patrón de costura.
Largeur de zigzag
Ancho de zigzag
Largeur de zigzag
Ancho de zigzag
Largeur de zigzag
Ancho de zigzag
Largeur de zigzag
Ancho de zigzag 2,5 mm 4,5 mm
1. Appuyer sur la touche de largeur de zigzag q.
Le témoin w s'allume et la largeur de zigzag
actuellement réglée apparaît sur l'affichage LED e.
(Par exemple, AA AA représente 3,0 mm.)
2. Appuyer sur les touches de sélection 쑶 et 쑴 r pour
changer la largeur de zigzag.
• La plage de réglage standard pour la largeur de zig-
zag a été réglée à 0 - 4,5 mm en usine.
• La valeur maximale qu'il est possible de régler
dépend du réglage de la position de la ligne de base
de marge de coupe. (Se reporter à la page 87.)
Remarque:
Si la barre à aiguille est à la position d'arrêt haut de
l'aiguille, la barre à aiguille se placera à la position de
début de couture lorsque la largeur de zigzag est
changée.
Si la barre à aiguille n'est pas à la position d'arrêt haut
de l'aiguille, la barre à aiguille se placera à la position
de début de couture après s'être placée la fois suivante
à la position d'arrêt haut de l'aiguille.
1. Presionar la tecla de ancho de puntada de ziagzag q.
El indicador w se encenderá y el ancho de zigzag actualmente ajustado aparecerá en la exhibición LED e.
(Por ejemplo, AA AA representa 3,0 mm.)
2. Presionar las teclas 쑶 y 쑴 r para cambiar el ancho de la puntada de zigzag.
• El rango de ajuste estándar para el ancho de la puntada de zigzag se ajusta a 0 - 4,5 mm en la fábrica.
• El valor máximo que puede ser ajustado variará dependiendo del ajuste de posición de línea de base de margen
de corte. (Consultar la página 89.)
Nota:
Si la barra de agujas se encuentra en la posición de parada con la aguja levantada, la barra de agujas se moverá a la
posición de comienzo de costura cuando se cambie el ancho de zigzag.
Si la barra de agujas no se encuentra en la posición de parada con la aguja, la barra de agujas se moverá a la
posición de comienzo de costura después de moverse a la posición de parada con la aguja levantada.
7-2-2. Réglage de la largeur de zigzag
7-2-2. Ajuste el ancho de la puntada de zigzag
1335M 1336M
1438M
e
rw q

83 ZE-8570,8580
7. USING THE OPERATION PANEL
7. VERWENDUNG DER BEDIENUNGSTAFEL
7. UTILISATION DU PANNEAU DE COMMANDE
7. USO DEL TABLERO DE CONTROLES
The trimming margin base line position is the distance from the edge knife position to the right edge of the sewing
pattern.
By moving the trimming margin base line position, the sewing pattern can be moved sideways within the maximum
zigzag width range. This sets the width of the trimming margin.
■ Trimming margin base line position indicator w
If the trimming margin base line has been set to a value other than the minimum value, the indicator w will always
illuminate while sewing is in progress, so that you can easily check if the trimming margin base line position has been
changed from the minimum value.
Edge knife
Trimming margin
Base material
Max. zigzag width
(4.5mm)
Base line
Base line 2.0mm
(2mm)
Min. trimming margin
(2mm)
Trimming margin
2mm
Zigzag width
3mm
Trimming
margin
2.5mm
Base line 2.5mm
1. Press the trimming margin base line position key q.
The indicator w will illuminate and the current trim-
ming margin base line position setting will appear in
the LED display e.
(For example, AA AA indicates that the trimming mar-
gin pattern is 2.0 mm.)
2. Press the 쑶 and 쑴 selection keys r to change the
value for the trimming margin base line position.
•The minimum trimming margin setting is 1.5 mm
(factory default setting is 2.0 mm).
•The maximum trimming margin setting depends on
the zigzag width setting. (Refer to the explanation
at the bottom of this page.)
Note:
If the needle bar is at the needle up stop position, the
needle bar will move to the sewing start position when
the trimming margin base line position setting is
changed.
If the needle bar is not at the needle up stop position,
the needle bar will move to the sewing start position
after it next moves to the needle up stop position.
If the trimming margin base line position is AA AA, the zigzag width can be set to a maximum of 4.5 mm. (Figure A)
If the trimming margin base line position has been set to AA AA, the zigzag width can be set to a maximum of 3.5
mm. (Figure B)
If the zigzag width has been set to AA AA, the trimming margin base line position can be set to a maximum of 4.5
mm. (Figure C)
7-2-3. Setting the trimming margin base line position
1626M 1519M
1520M
1521M
1517M
(4.5mm)
Zigzag width
3mm
e
wqr
Base line
Zigzag width
(4.5mm) (2mm)
------------ 4.5
---
2mm
4.5mm
A
(4.5mm) (2mm)
3.5
3mm
3.5mm
(4.5mm) (2mm)
H4.5
4.5mm
2mm
BC
Edge knife position

84
ZE-8570,8580
7. USING THE OPERATION PANEL
7. VERWENDUNG DER BEDIENUNGSTAFEL
7. UTILISATION DU PANNEAU DE COMMANDE
7. USO DEL TABLERO DE CONTROLES
■ Changing the minimum trimming margin (Additional DIP switch function)
(Be sure to turn off the power before changing any of the DIP switch settings. Refer to page 185.)
The minimum trimming margin is set to 2.0 mm ( ) at the time of shipment from the factory to make
allowance for the possibility of striking the needle and the fixed edge knife. The minimum trimming margin can be
changed to 1.5 mm ( ) by the procedure below.
At this time, the maximum zigzag width will also increase by 0.5 mm in the right-side direction.
Max. zigzag width
(4.5mm)
Base line 2.0mm
Min. trimming margin
(2mm)
Trimming margin
2mm
Zigzag width
3mm
1626M
Edge knife position
DIPSW1-4...OFF
<Example> Max. zigzag width
(5mm)
Base line 1.5mm
Min. trimming margin
(1.5mm)
Trimming margin
1.5mm
Zigzag width
3mm
1518M
Edge knife position
<Example>
DIPSW1-4...ON
1. Use the setting positions for DIP switches 2-1 and 2-2 (A – C) inside the control box to set the trimming margin
as shown in the table below, and also replace the fixed edge knife and stopper with the parts for use when the
minimum sewing margin is 1.5 mm. (Refer to pages 149 and 153.)
2. Set DIP switch 1-4 to ON. (Refer to pages 185 and 187.)
DIPSW2-1
OFF
OFF
ON
DIPSW2-2
OFF
ON
OFF
Setting
A
B
C
Minimum trimming margin 2.0mm
trimming margin
2.0-4.5mm
2.0-6.5mm
2.0-9.5mm
zigzag width
0-2.5mm
0-4.5mm
0-7.5mm
Minimum trimming margin 1.5mm
trimming margin
1.5-4.5mm
1.5-6.5mm
1.5-9.5mm
zigzag width
0-3.0mm
0-5.0mm
0-8.0mm
Replacement parts
ABC
A
B
C
Fixed edge knife (S56099-001)
Stopper 3R-2 (S56361-000)
Stopper 5R-2 (S56362-000)
Stopper 8R-2 (S56363-000)
DIP switch 1-4 setting OFF
Fixed edge knife 1.5 (S56360-000)
Stopper 3R (S56040-000)
Stopper 5R (S56039-000)
Stopper 8 (S48073-000)
ON
The mark indicates factory default settings.

85 ZE-8570,8580
7. USING THE OPERATION PANEL
7. VERWENDUNG DER BEDIENUNGSTAFEL
7. UTILISATION DU PANNEAU DE COMMANDE
7. USO DEL TABLERO DE CONTROLES
Die Schnittrandgrundlinienposition ist der Abstand zwischen dem Kantenmesser und der rechten Kante des Nähmusters.
Durch das Einstellen der Schnittrandgrundlinienposition kann das Nähmuster innerhalb der maximalen Zickzackbreite
seitwärts bewegt werden, um damit die Schnittrandbreite einzustellen.
■ Schnittrandgrundlinienpositionsanzeige w
Falls die Schnittrandgrundlinie auf einen anderen Wert als den Minimalwert eingestellt ist, leuchtet beim Nähen die
Anzeige w. Damit ist eine einfache Kontrolle möglich, wenn die Einstellung der Schnittrandgrundlinie vom Minimalwert
abweicht.
Kantenmesser
Schnittrand
Basismaterial
maximale
Zickzackbreite
(4,5mm)
Grundlinie
Grundlinie 2,0mm
(2mm)
minimaler Schnittrand
(2mm)
Schnittrand
2mm
Zickzackbreite
3mm
Schnittrand
2,5mm
Grundlinie 2,5mm
1. Drücken Sie die Schnittrandgrundlinienpositionstaste
q.
Die Anzeige w leuchtet und die gegenwärtige
Einstellung der Schnittrandgrundlinienposition wird
auf der LED-Anzeige e angezeigt.
(Zum Beispiel bedeutet AA A, daß das
Schnittrandmuster 2,0 mm beträgt.)
2. Stellen Sie den Wert für die Schnittrandgrundlinienposition
durch Drücken der Einstelltasten r 쑶 und 쑴 ein.
•Die minimale Schnittrandeinstellung beträgt 1,5 mm
(Voreinstellung 2,0 mm).
•Die maximale Schnittrandeinstellung hängt von der
Einstellung der Zickzackbreite ab. (Siehe Erklärungen
am Ende dieser Seite.)
HINWEIS:
Falls sich die Nadelstange in der Stopposition mit
angehobener Nadel befindet, bewegt sich die Nadelstange
beim Einstellen der Schnittrandgrundlinienposition in die
Nähstartposition.
Falls sich die Nadelstange nicht in der Stopposition mit
angehobener Nadel befindet, bewegt sich die
Nadelstange in die Nähstartposition, nachdem sie das
nächste Mal angehoben wird.
Falls die Schnittrandgrundlinienposition AA AA beträgt, läßt sich die Zickzackbreite auf maximal 4,5 mm einstellen
(Abbildung A).
Falls die Schnittrandgrundlinienposition auf AA AA eingestellt ist, kann die Zickzackbreite auf maximal 3,5 mm
eingestellt werden (Abbildung B).
Falls die Zickzackbreite auf AA AA eingestellt ist, läßt sich die Schnittrandgrundlinienposition auf maximal 4, 5 mm
einstellen (Abbildung C).
7-2-3. Einstellen der Schnittrandgrundlinienposition
1626M 1519M
1520M
1521M
1517M
(4,5mm)
Zickzackbreite
3mm
e
wqr
Grundlinie
Zickzackbreite
(4,5mm) (2mm)
------------ 4,5
---
2mm
4,5mm
A
(4,5mm) (2mm)
3,5
3mm
3,5mm
(4,5mm) (2mm)
H4,5
4,5mm
2mm
BC
Kantenmesserposition

86
ZE-8570,8580
7. USING THE OPERATION PANEL
7. VERWENDUNG DER BEDIENUNGSTAFEL
7. UTILISATION DU PANNEAU DE COMMANDE
7. USO DEL TABLERO DE CONTROLES
■ Ändern der minimalen Schnittbreite (zusätzliche DIP-Schalterfunktion)
(Zum Ändern von DIP-Schaltereinstellungen muß die Maschine ausgeschaltet werden. Siehe Seite 185.)
Bei der Auslieferung ist die minimale Schnittbreite auf 2.0 mm ( ) eingestellt, um sicherzustellen, daß die
Nadel das feststehende Messer nicht berührt. Die minimale Schnittbreite kann wie folgt auf 1,5 mm ( )
eingestellt werden.
Gleichzeitig wird die maximale Zickzackbreite auf der rechten Seite um 0,5 mm erhöht.
1626M
DIPSW1-4...OFF
<Beispiel>
1518M
<Beispiel>
DIPSW1-4...ON
1. Verwenden Sie die Einstellungen der DIP-Schalter 2-1 und 2-2 (A – C) im Schaltkasten, um die Schnittbreite wie
in der folgenden Tabelle gezeigt einzustellen und um das feststehende Messer und den Anschlag durch die
entsprechenden Teile zu ersetzen, wenn die minimale Schnittbreite auf 1,5 mm eingestellt wird. (Siehe Seiten
150 bis 153.)
2. Stellen Sie den DIP-Schalter 1-4 auf "ON". (Siehe Seiten 185 und 188.)
DIPSW2-1
OFF
OFF
ON
DIPSW2-2
OFF
ON
OFF
Einstellung
A
B
C
Minimaler Schnittrand 2.0mm
Schnittrand
2,0-4,5mm
2,0-6,5mm
2,0-9,5mm
Zickzackbreite
0-2,5mm
0-4,5mm
0-7,5mm
Minimaler Schnittrand 1.5mm
Schnittrand
1,5-4,5mm
1,5-6,5mm
1,5-9,5mm
Zickzackbreite
0-3,0mm
0-5,0mm
0-8,0mm
Austauschteile
ABC
A
B
C
Feststehendes Messer
(S56099-001)
Anschlag 3R-2 (S56361-000)
Anschlag 5R-2 (S56362-000)
Anschlag 8R-2 (S56363-000)
DIP-Schaltereinstellung 1-4 OFF
Feststehendes Messer 1.5
(S56360-000)
Anschlag 3R (S56040-000)
Anschlag 5R (S56039-000)
Anschlag 8 (S48073-000)
ON
Mit der Markierung werden die Voreinstellungen bei der Auslieferung bezeichnet.
maximale
Zickzackbreite
(4,5mm)
minimaler Schnittrand
(2mm)
Schnittrand
2mm
Zickzackbreite
3mm
Kantenmesserposition
Grundlinie 2,0mm
maximale
Zickzackbreite
(5mm)
minimaler Schnittrand
(1,5mm)
Schnittrand
1,5mm
Zickzackbreite
3mm
Kantenmesserposition
Grundlinie 1,5mm

87 ZE-8570,8580
7. USING THE OPERATION PANEL
7. VERWENDUNG DER BEDIENUNGSTAFEL
7. UTILISATION DU PANNEAU DE COMMANDE
7. USO DEL TABLERO DE CONTROLES
La position de la ligne de base de marge de coupe est la distance entre la position du couteau de bord et le bord droit
du motif de couture.
Si l'on déplace la position de la ligne de base de marge de coupe, il est possible de déplacer latéralement le motif de
couture dans les limites de la plage de largeur du zigzag. Ceci règle la largeur de la marge de coupe.
■ Témoin de position de la ligne de base de marge de coupe w
Si la ligne de base de marge de coupe a été réglée à une valeur autre que la valeur minimum, le témoin w s'allume
toujours pendant que la couture est en cours, de manière qu'on puisse vérifier facilement si la position de la ligne de
base de marge de coupe a été modifiée par rapport à la valeur minimum.
Couteau de bord
Marge de coupe
Tissu de base
Largeur de
zigzag max.
(4,5mm)
Ligne de base
Ligne de base 2,0mm
(2mm)
Marge de coupe min.
(2mm)
Marge de coupe
2mm
Largeur de zigzag
3mm
Marge de
coupe
2,5mm
Ligne de base 2,5mm
1. Appuyez sur la touche de position de ligne de base de
marge de coupe q.
Le témoin w s'allume alors, et le réglage actuel de la
position de ligne de base de marge de coupe apparaît
sur l'affichage LED e.
(Par exemple, AA AA indique que le motif de marge
de coupe est réglé à 2,0 mm.)
2. Appuyer sur les touches de sélection 쑶 et 쑴 r pour
modifier la valeur de la position de la ligne de base de
marge de coupe.
•Le réglage minimum de la marge de coupe est de
1,5 mm (Le réglage par défaut est 2,0 mm.).
•Le réglage maximum de la marge de coupe dépend
du réglage de la largeur de zigzag. (Se reporter à
l'explication figurant en bas de cette page.)
REMARQUE:
Si la barre à aiguille ne se trouve pas à la position d'arrêt
haut de l'aiguille, la barre à aiguille se déplacera jusqu'à la
position de démarrage de couture lorsque le réglage de la
position de la ligne de base de marge de coupe est modifié.
Si la barre à aiguille ne se trouve pas à la position d'arrêt
haut de l'aiguille, la barre à aiguille se déplacera jusqu'à la
position de démarrage de couture après qu'elle se soit
placée ensuite sur la position d'arrêt haut de l'aiguille.
Si la position de la ligne de base de marge de coupe a été réglée à AA AA, la largeur de zigzag peut être réglée à 4,5
mm au maximum. (Illustration A)
Si la position de la ligne de base de marge de coupe a été réglée à AA AA, la largeur de zigzag peut être réglée à 3,5
mm au maximum. (Illustration B)
Si la largeur de zigzag a été réglée à AA AA, la position de la ligne de base de marge de coupe peut être réglée à 4,5
mm au maximum. (Illustration C)
7-2-3. Réglage de la position de la ligne de base de marge de coupe
1626M 1519M
1520M
1521M
1517M
(4,5mm)
Largeur de zigzag
3mm
e
wqr
Ligne de base
Largeur de zigzag
(4,5mm) (2mm)
------------ 4,5
---
2mm
4,5mm
A
(4,5mm) (2mm)
3,5
3mm
3,5mm
(4,5mm) (2mm)
H4,5
4,5mm
2mm
BC
Position du couteau de bord

88
ZE-8570,8580
7. USING THE OPERATION PANEL
7. VERWENDUNG DER BEDIENUNGSTAFEL
7. UTILISATION DU PANNEAU DE COMMANDE
7. USO DEL TABLERO DE CONTROLES
■ Changement de la marge de coupe minimum (fonction d’interrupteur DIP supplémentaire)
(Veiller à mettre la machine hors tension avant de changer l’un quelconque des réglages d’interrupteur DIP. Se
reporter à la page 185.)
La marge de coupe minimum a été réglée à 2,0 mm ( ) au moment de l'expédition de l'usine afin de laisser
un écart suffisant pour éviter que l'aiguille et le couteau de bord fixe entrent en contact. Il est possible de changer
la marge de coupe minimum à 1,5 mm ( ) en procédant comme suit.
A ce moment, la largeur de zigzag maximum augmente aussi de 0,5 mm vers la droite.
1626M
DIPSW1-4...OFF
<Exemple>
1518M
<Exemple>
DIPSW1-4...ON
1. Utiliser les positions de réglage pour les interrupteurs DIP 2-1 et 2-2 (A – C) dans le boîtier de commande pour
régler la marge de coupe comme indiqué dans le tableau ci-dessous, et aussi pour remplacer le couteau de
bord fixe et la butée par les pièces à utiliser lorsque la marge de couture minimum est de 1,5 mm. (Se reporter
aux pages 151 et 153.)
2. Mettre l'interrupteur DIP 1-4 sur la position ON. (Se reporter aux pages 185 et 189.)
DIPSW2-1
OFF
OFF
ON
DIPSW2-2
OFF
ON
OFF
Réglage
A
B
C
Marge de coupe minimum 2.0mm
Marge de coupe
2,0-4,5mm
2,0-6,5mm
2,0-9,5mm
Largeur de zigzag
0-2,5mm
0-4,5mm
0-7,5mm
Marge de coupe minimum 1.5mm
Marge de coupe
1,5-4,5mm
1,5-6,5mm
1,5-9,5mm
Largeur de zigzag
0-3,0mm
0-5,0mm
0-8,0mm
Pièces de
remplacement
ABC
A
B
C
Couteau de bord fixe
(S56099-001)
Butée 3R-2 (S56361-000)
Butée 5R-2 (S56362-000)
Butée 8R-2 (S56363-000)
Réglage de l'interrupteur DIP 1-4 OFF
Couteau de bord fixe 1.5
(S56360-000)
Butée 3R (S56040-000)
Butée 5R (S56039-000)
Butée 8 (S48073-000)
ON
La marque indique les réglages initiaux.
Largeur de
zigzag max.
(4,5mm)
Ligne de base 2,0mm
Marge de coupe min.
(2mm)
Marge de coupe
2mm
Largeur de zigzag
3mm
Position du couteau de bord
Largeur de
zigzag max.
(5mm)
Ligne de base 1,5mm
Marge de coupe min.
(1,5mm)
Marge de coupe
1,5mm
Largeur de zigzag
3mm
Position du couteau de bord

89 ZE-8570,8580
7. USING THE OPERATION PANEL
7. VERWENDUNG DER BEDIENUNGSTAFEL
7. UTILISATION DU PANNEAU DE COMMANDE
7. USO DEL TABLERO DE CONTROLES
La posición de la línea de base del margen de corte es la distancia desde la posición de la cuchilla de borde al borde
derecho del patrón de costura.
Moviendo la posición de la línea de base del margen de corte, se podrá mover el patrón hacia la derecha dentro del
rango de ancho de zigzag máximo. De esta manera se ajusta al ancho del margen de corte.
■ Indicador de posición de línea de base de margen de corte w
Si la línea de base del margen de recorte ha sido ajustada a un valor diferente del valor mínimo, el indicador w siempre
se iluminará mientras se realiza la costura, de manera que podrá verificar fácilmente si la posición de la línea de base
del margen de recorte ha cambiado desde el valor mínimo.
Cuchilla de borde
Margen de corte
Material de base
Ancho de
zigzag máximo
(4,5mm)
Línea de base
Línea de base 2,0mm
(2mm)
Margen de corte mínimo
(2mm)
Margen de corte
2mm
Ancho de zigzag
3mm
Margen de
corte
2,5mm
Línea de base 2,5mm
1. Presionar la tecla de posición de línea de base del
margen de corte q.
El indicador w se iluminará y el ajuste de posición de
línea de base de margen de corte actual aparecerá en
la exhibición LED e.
(Por ejemplo, AA AA indica que el patrón de margen
de corte es 2,0 mm.)
2. Presionar las teclas de selección 쑶 y 쑴 r para cambiar
el valor de la posición de la línea de base de margen
de corte.
•El ajuste de margen de corte mínimo es 1,5 mm (El
ajuste predeterminado de fábrica es 2,0 mm).
•El ajuste de margen de corte máximo depende del
ajuste de ancho de zigzag. (Consultar la explicación
en la parte de abajo de esta página.)
NOTA:
Si la barra de aguja se encuentra en la posición de parada
de aguja levantada, la barra de aguja se moverá a la
posición de comienzo de costura cuando se cambie el
ajuste de posición de línea de base de margen de corte.
Si la barra de aguja no se encuentra en la posición de
parada de aguja levantada, la barra de aguja se moverá
a la posición de comienzo de costura después que se
mueve a la posición de parada de aguja levantada.
Si la posición de la línea de base del margen de corte es AA AA, el ancho de zigzag puede ser ajustado a un máximo
de 4,5 mm. (Figura A)
Si la posición de la línea de base del margen de corte ha sido ajustada a AA AA, el ancho de zigzag puede ser
ajustado a un máximo de 3,5 mm. (Figura B)
Si el ancho de zigzag ha sido ajustado a AA AA, la posición de la línea de base de margen de corte puede ser
ajustada a un máximo de 4,5 mm. (Figura C)
7-2-3. Ajuste de la posición de la línea de base del margen de corte
1626M 1519M
1520M
1521M
1517M
(4,5mm)
Ancho de zigzag
3mm
e
wqr
Línea de base
Ancho de zigzag
(4,5mm) (2mm)
------------ 4,5
---
2mm
4,5mm
A
(4,5mm) (2mm)
3,5
3mm
3,5mm
(4,5mm) (2mm)
H4,5
4,5mm
2mm
BC
Posición de cuchilla de borde

90
ZE-8570,8580
7. USING THE OPERATION PANEL
7. VERWENDUNG DER BEDIENUNGSTAFEL
7. UTILISATION DU PANNEAU DE COMMANDE
7. USO DEL TABLERO DE CONTROLES
■ Cambio del margen de recorte mínimo (función de interruptor DIP adicional)
(Tener cuidado de desconectar la alimentación antes de cambiar cualquiera de los ajustes del interruptor DIP.
Consultar la página 185.)
El margen de recorte mínimo se ajusta a 2,0 mm ( ) al salir de la fábrica para dejar espacio por la posibilidad
de que la aguja y la cuchilla de borde fijo se golpeen. El margen de recorte mínimo puede ser cambiado a 1,5 mm
( ) mediante el procedimiento indicado a continuación.
En este momento, el ancho máximo de zigzag también aumentará en 0,5 mm en dirección en la derecha.
1626M
DIPSW1-4...OFF
<Ejemplo>
1518M
<Ejemplo>
DIPSW1-4...ON
1. Usar las posiciones de ajuste para los interruptores DIP 2-1 y 2-2 (A – C) dentro de la caja de control para ajustar
el margen de recorte tal como se indica en el cuadro a continuación, y también cambie la cuchilla de borde fijo
y el tope con las partes para usar cuando el margen de costura mínimo sea 1,5 mm. (Consultar las páginas 152
y 153.)
2. Ajustar el interruptor DIP 1-4 a ON. (Consultar las páginas 185 y 190.)
DIPSW2-1
OFF
OFF
ON
DIPSW2-2
OFF
ON
OFF
Ajuste
A
B
C
Margen de corte mínimo 2.0mm
Margen de corte
2,0-4,5mm
2,0-6,5mm
2,0-9,5mm
Ancho de zigzag
0-2,5mm
0-4,5mm
0-7,5mm
Margen de corte mínimo 1.5mm
Margen de corte
1,5-4,5mm
1,5-6,5mm
1,5-9,5mm
Ancho de zigzag
0-3,0mm
0-5,0mm
0-8,0mm
Partes de recambio
ABC
A
B
C
Cuchilla de borde fijo
(S56099-001)
Tope 3R-2 (S56361-000)
Tope 5R-2 (S56362-000)
Tope 8R-2 (S56363-000)
Ajuste 1-4 del interruptor DIP OFF
Cuchilla de borde fijo 1.5
(S56360-000)
Tope 3R (S56040-000)
Tope 5R (S56039-000)
Tope 8 (S48073-000)
ON
La marca indica ajustes por defecto de fábrica.
Ancho de
zigzag máximo
(4,5mm)
Línea de base 2,0mm
Margen de corte mínimo
(2mm)
Margen de corte
2mm
Ancho de zigzag
3mm
Posición de cuchilla de borde
Ancho de
zigzag máximo
(5mm)
Línea de base 1,5mm
Margen de corte mínimo
(1,5mm)
Margen de corte
1,5mm
Ancho de zigzag
3mm
Posición de cuchilla de borde

91 ZE-8570,8580
7. USING THE OPERATION PANEL
7. VERWENDUNG DER BEDIENUNGSTAFEL
7. UTILISATION DU PANNEAU DE COMMANDE
7. USO DEL TABLERO DE CONTROLES
When the plain zigzag, 2-step zigzag, 3-step zigzag or scallop sewing patterns are selected, you can set whether the
needle stops when it is at the right side or the left side of the sewing pattern.
(If the right stopping has been set, the needle stop position will be the position shown by n in the illustration below.)
* When the straight stitch, blind stitch or custom-made sewing patterns have been selected, the zigzag stop position
setting is ignored.
■ Sewing machine operation when sewing stops
When right stopping or left stopping is set, the sewing machine will keep running until the set position is reached, even
if the treadle is returned to the neutral position or depressed backward.
•For plain zigzag, 2-step zigzag and 3-step zigzag, the needle will stop at the stitch furthest to the right if right stopping
has been set, or at the stitch furthest to the left if left stopping has been set.
•For the scallop sewing pattern, the needle will stop at the next right-side stitch if right stopping has been set, or at the
next left-side stitch if left stopping has been set.
■ Setting method
Press the zigzag stop position key q to set the needle stop
position.
•The indicator illumination changes as shown in the il-
lustration at left and the zigzag stop position setting
changes each time the zigzag stop position key q is
pressed.
•If right stopping or left stopping has been set, the indi-
cator also illuminates during sewing so that you can
check the setting.
<Example: When right stopping has been set>
Treadle stopped
(Stop)
Plain zigzag 3-step zigzag Scallop
* When the needle stops in the needle up stop
position, the last stitch does not form part
of the seam.
If the treadle is depressed backward at this
time, the seam is formed at that position.
Left stopping
No position specified
Right stopping
7-2-4. Setting the zigzag stop position
1342M
1440M
OFF OFF
ON OFF
OFF ON
q
■ Sewing start position after the treadle is depressed backward
When right stopping has been set, sewing starts from the right side. When left stopping has been set, sewing starts
from the left side.
•If the needle stops in the needle down stop position, the needle will be raised to the needle up stop position when
the treadle is depressed backward. (The workpiece can then be changed.)
The next sewing operation starts from the same position.
Note:
Do not press the half stitch key or correction key or turn the machine pulley by hand to move the needle to the
needle up stop position. Doing so will cancel the effect of the zigzag stop position function.
Furthermore, the effect of starting the next sewing from the zigzag stop position will also be canceled when
DIP switch 2-4 is set to ON.

92
ZE-8570,8580
7. USING THE OPERATION PANEL
7. VERWENDUNG DER BEDIENUNGSTAFEL
7. UTILISATION DU PANNEAU DE COMMANDE
7. USO DEL TABLERO DE CONTROLES
7-3. Setting the sewing speed
•The sewing speed is set using the operation panel.
•The setting range is between 220 rpm and 5,000 rpm.
(Between 300 and 5,000 rpm, the setting can be made in steps of 100 rpm.)
1. Press the sewing speed key q.
The indicator w will illuminate, and the sewing speed
currently set will appear on the LED display e.
(For example, AA AA represents 3,000 rpm.)
2. Press the 쑶 and 쑴 selection keys r to change the sew-
ing speed.
Note:
The sewing speed is limited by the amount of zigzag movement. Accordingly, the actual sewing speed may differ
from the setting speed for the following sewing patterns as a result of the zigzag width setting. The speeds are
controlled automatically as shown below.
* There is no such limit on the sewing speed for straight stitch sewing.
For plain zigzag and blind stitch
For 2-step zigzag
For scallop and custom-made patterns
There may also be some restrictions on the sewing speed when sewing some scallop patterns and custom-made
patterns.
1441M
For 3-step zigzag
e
qw
r
4.1 - 5mmZigzag width 0 - 3mm 5.1 - 6mm 6.1 - 8mm
Sewing speed 5,000rpm
3.1 - 4mm
4,500rpm 4,000rpm 3,500rpm 3,000rpm
Zigzag width
Sewing speed
0 - 6mm
5,000rpm
6.1 - 8mm
4,500rpm
Zigzag width
Sewing speed
0 - 8mm
5,000rpm

93 ZE-8570,8580
7. USING THE OPERATION PANEL
7. VERWENDUNG DER BEDIENUNGSTAFEL
7. UTILISATION DU PANNEAU DE COMMANDE
7. USO DEL TABLERO DE CONTROLES
Bei der Einstellung von einem normalen Zickzack, 2-Stufen-Zickzack, 3-Stufen-Zickzack oder eines Muschelstichmusters
können Sie einstellen, ob sich die Nadel beim Stoppen auf der linken oder der rechten Seite des Stichmusters befindet.
(Für die Stopposition auf der rechten Seite ist die Nadelstopposition in der Abbildung mit n gezeigt.)
*Für einen geraden Stich, Blindstiche oder individuelle Stichmuster braucht die Zickzackstopposition nicht in Betracht
gezogen zu werden.
■ Nähmaschinenbetrieb beim Stoppen
Bei der Stopposition links oder rechts, läuft die Maschine weiter bis die eingestellte Position erreicht ist, selbst wenn
das Pedal in die Neutralstellung zurückgestellt oder nach hinten gedrückt wird.
•Bei einem normalen Zickzack, 2-Stufen-Zickzack oder 3-Stufen-Zickzack stoppt die Nadel am äußersten rechten, bzw.
linken Stich, falls die rechte bzw. linke Stopposition eingestellt wurde.
•Bei einem Muschelstichmuster stoppt die Nadel auf der rechten Seite bzw. linken Seite des Stichs, falls die rechts
bzw. linke Stopposition eingestellt wurde.
<Beispiel: Bei der Einstellung der rechten Stopposition>
Pedal losgelassen
(Stopp)
normaler Zickzack 3-Stufen-Zickzack Muschelstich
* Wenn die Maschine mit angehobener Nadel
stoppt, gehört der letzte Stich nicht zur Naht.
Falls das Pedal in dieser Position nach hinten
gedrückt wird, wird die Naht an dieser Stelle
gebildet.
7-2-4. Einstellen der Zickzackstopposition
1342M
■ Einstellung
Drücken Sie zum Einstellen der Stopposition die
Zickzackstoppositionstaste q.
•Die Anzeigenbeleuchtung ändert sich wie links gezeigt
und die Einstellung der Zickzackstopposition ändert sich
bei jedem Drücken der Zickzackstoppositionstaste q.
•Falls die Stopposition links oder rechts eingestellt ist,
leuchtet die Anzeige zum Überprüfen der Einstellung
während dem Nähen.
Linke Stopposition
Keine Stopposition
Rechte Stopposition
1440M
OFF OFF
ON OFF
OFF ON
q
■ Startposition nach dem Drücken des Pedals nach hinten
Bei Einstellung der rechten Stopposition beginnt das Nähen von der rechten Seite; bei Einstellung der linken Stopposition
beginnt das Nähen von der linken Seite.
•Wenn die Maschine mit abgesenkter Nadel stoppt, kann die Nadel durch Drücken des Pedals nach hinten angehoben
werden (zum Positionieren des Nähguts). Der nächste Schritt beginnt von der gleichen Position.
Hinweis:
Drücken Sie zum Anheben der Nadel nicht die Halbstichtaste oder die Korrekturtaste und drehen nicht die
Riemenscheibe mit der Hand, weil damit die Funktion der Zickzackstopposition aufgehoben wird.
Außerdem wird der Beginn des nächsten Nähens von der Zickzackstopposition in der Position "ON" des DIP-
Schalters 2-4 ebenfalls aufgehoben.

94
ZE-8570,8580
7. USING THE OPERATION PANEL
7. VERWENDUNG DER BEDIENUNGSTAFEL
7. UTILISATION DU PANNEAU DE COMMANDE
7. USO DEL TABLERO DE CONTROLES
7-3. Einstellen der Nähgeschwindigkeit
•Die Nähgeschwindigkeit wird mit Hilfe des Bedienungsfeldes eingestellt.
•Der Einstellbereich beträgt 220/min bis 5000min.
(Zwischen 300 bis 5000/min kann die Einstellung in Schritten von 100/min gemacht werden.)
1. Drücken Sie die Nähgeschwindigkeitstaste q.
Die Anzeige w leuchtet und die gegenwärtig
eingestellte Nähgeschwindigkeit wird auf der LED-
Anzeige e angezeigt.
(Zum Beispiel bedeutet eine Anzeige von AA AA eine
Nähgeschwindigkeit von 3000/min.)
2. Stellen Sie die Nähgeschwindigkeit mit den Tasten r
쑶 und 쑴 ein.
Hinweis:
Die Nähgeschwindigkeit wird durch die Zickzackbewegung begrenzt. Aus diesem Grund kann für die folgenden
Stichmuster wegen der Einstellung der Zickzackbreite die eingestellte Nähgeschwindigkeit von der tatsächlichen
Nähgeschwindigkeit abweichen. Die Nähgeschwindigkeit wird automatisch geregelt, wie nachstehend gezeigt.
*Für gerade Stiche ist keine Geschwindigkeitsbeschränkung vorhanden.
Muschel- und individuelle Stichmuster
Beim Nähen von Muschel- und individuellen Stichmustern kann die Nähgeschwindigkeit beschränkt werden.
Für normale Zickzackstichmuster und Blindstiche
2-Stufen-Zickzack 3-Stufen-Zickzack
1441M
e
qw
r
4,1 - 5mmZickzackbreite 0 - 3mm 5,1 - 6mm 6,1 - 8mm
Nähgeschwindigkeit 5.000rpm
3,1 - 4mm
4.500rpm 4.000rpm 3.500rpm 3.000rpm
Zickzackbreite
Nähgeschwindigkeit
0 - 6mm
5.000rpm
6,1 - 8mm
4.500rpm
Zickzackbreite
Nähgeschwindigkeit
0 - 8mm
5.000rpm

95 ZE-8570,8580
7. USING THE OPERATION PANEL
7. VERWENDUNG DER BEDIENUNGSTAFEL
7. UTILISATION DU PANNEAU DE COMMANDE
7. USO DEL TABLERO DE CONTROLES
Lorsqu’on sélectionne les motifs de couture de zigzag ordinaire, zigzag 2 pas, zigzag 3 pas ou feston, il est possible de
régler si oui ou non l’aiguille s’arrête lorsqu’elle se trouve sur le côté droit ou sur le côté gauche du motif de couture.
(Si l’arrêt à droite a été établi, la position d’arrêt de l’aiguille sera la position indiquée par n sur l’illustration ci-dessous.)
* Lorsqu’on a sélectionné les motifs de couture à point droit, point invisible ou point personnalisé, le réglage de posi-
tion d’arrêt de zigzag ne sera pas pris en compte.
■ Fonctionnement de la machine à coudre quand la couture s’arrête
Lorsque l’arrêt à droite ou à gauche a été réglé, la machine à coudre continuera de fonctionner jusqu’à ce que la
position réglée soit atteinte, même si l’on remet la pédale à la position neutre ou qu’on l’enfonce vers l’arrière.
•Pour le zigzag ordinaire, le zigzag 2 pas et le zigzag 3 pas, l’aiguille s’arrêtera au point situé le plus à droite si l’arrêt à
droite a été établi, ou au point le plus à gauche si l’arrêt à gauche a été établi.
•Pour le motif de couture feston, l’aiguille s’arrêtera à l’avant-dernier point le plus à droite si l’arrêt à droite a été établi,
ou à l’avant-dernier point le plus à gauche si l’arrêt à gauche a été établi.
<Exemple: Quand on a réglé l’arrêt à droite>
Pédale arrêtée
(Arrêt)
Zigzag ordinaire Zigzag 3 pas Feston
* Lorsque l’aiguille s’arrête en position d’arrêt
supérieur de l’aiguille, le dernier point ne fera
pas partie de la couture.
Si l’on appuie sur la pédale vers l’arrière à
ce moment, la couture sera formée à cette
position.
7-2-4. Réglage de la position d’arrêt de zigzag
1342M
■ Méthode de réglage
Appuyer sur la touche de position d'arrêt du zigzag q pour
régler la position d'arrêt de l'aiguille.
•L'éclairage du témoin change comme indiqué sur
l'illustration ci-contre à gauche, et le réglage de la posi-
tion d'arrêt du zigzag change à chaque fois que l'on
appuie sur la touche de position d'arrêt du zigzag q.
•Si l'arrêt à droite ou l'arrêt à gauche a été réglé, le témoin
s'allume aussi pendant la couture de manière qu'on
puisse vérifier le réglage.
Arrêt à gauche
Aucune position spécifiée
Arrêt à droite
1440M
OFF OFF
ON OFF
OFF ON
q
■ Position de début de couture après qu'on a enfoncé la pédale vers l'arrière
Lorsque l’arrêt à droite a été établi, la couture s’enclenche à partir du côté droit. Lorsque l’arrêt à gauche a été établi, la
couture s’enclenche à partir du côté gauche.
•Si l’aiguille s’arrête à la position d’arrêt inférieure de l’aiguille, l’aiguille sera élevée à la position d’arrêt supérieur de
l’aiguille quand on appuiera sur la pédale vers l’arrière. (L’ouvrage pourra alors être changé.)
L’opération de couture suivante commence à partir de la même position.
Remarque:
Ne pas appuyer sur la touche de demi-point ou sur la touche de correction, ou ne pas tourner la poulie de
machine à la main pour déplacer l’aiguille vers la position d’arrêt supérieur de l’aiguille. Sinon, l’effet de la
fonction de position d’arrêt de zigzag sera annulé.
En outre, l'effet de démarrage de la couture suivante à partir de la position d'arrêt du zigzag sera aussi annulé
lorsque l'interrupteur DIP 2-4 est mis sur ON.

96
ZE-8570,8580
7. USING THE OPERATION PANEL
7. VERWENDUNG DER BEDIENUNGSTAFEL
7. UTILISATION DU PANNEAU DE COMMANDE
7. USO DEL TABLERO DE CONTROLES
7-3. Réglage de la vitesse de couture
•La vitesse de couture est réglée à l’aide du panneau de commande.
•La plage de réglage va de 220 tr/mn à 5000 tr/mn.
(Entre 300 et 5000 tr/man, le réglage peut être effectué par pas de 100 tr/mn.)
1. Appuyer sur la touche de vitesse de couture q.
Le témoin w s’allume, et la vitesse de couture
actuellement établie apparaît sur l’affichage LED e.
(Par exemple, AA AA représente 3.000 tr/mn.)
2. Appuyer sur les touches de sélection 쑶 et 쑴 r pour
changer la vitesse de couture.
Remarque:
La vitesse de couture est limitée par la quantité de mouvement de zigzag. Ainsi, la vitesse de couture réelle pourra
différer de la vitesse de réglage pour les motifs de couture suivants par suite du réglage de largeur de zigzag. Les
vitesses sont contrôlées automatiquement, comme indiqué ci-dessous.
* Il n’y a pas de telles limites de vitesse de couture pour la couture à point droit.
Zigzag 2 pas
Motifs feston et personnalisé
Il est possible qu’il y ait certaines restrictions pour la vitesse de couture lorsqu’on coud certains motifs feston et
certains motifs personnalisés.
Pour le point zigzag ordinaire et le point invisible
Zigzag 3 pas
1441M
e
qw
r
4,1 - 5mmLargeur de zigzag 0 - 3mm 5,1 - 6mm 6,1 - 8mm
Vitesse de couture 5.000rpm
3,1 - 4mm
4.500rpm 4.000rpm 3.500rpm 3.000rpm
Largeur de zigzag
Vitesse de couture
0 - 6mm
5.000rpm
6,1 - 8mm
4.500rpm
Largeur de zigzag
Vitesse de couture
0 - 8mm
5.000rpm

97 ZE-8570,8580
7. USING THE OPERATION PANEL
7. VERWENDUNG DER BEDIENUNGSTAFEL
7. UTILISATION DU PANNEAU DE COMMANDE
7. USO DEL TABLERO DE CONTROLES
Cuando las puntadas en zigzag simples, puntadas en zigzag en dos pasos, puntadas en zigzag en tres pasos o patrones
de festón han sido seleccionados, se podrá ajustar si la aguja se para cuando se encuentra del lado derecho o del lado
izquierdo del patrón de costura.
(Si se ha ajustado la parada del lado derecho, la posición de parada de la aguja será una posición indicada por n en la
figura a continuación.)
* Cuando las puntadas rectas, puntada invisible o patrones a medida han sido seleccionados, el ajuste de posición de
parada de la puntada de zigzag es ignorado.
■ Funcionamiento de la máquina de coser cuando se para la costura
Cuando se ajusta parada a la derecha o izquierda, la máquina de coser se mantendrá funcionando hasta que se llegue
a la posición de ajuste, incluso si el pedal se vuelve a la posición neutral o se pisa hacia atrás.
•Para puntadas en zigzag simples, puntadas en zigzag en dos pasos y puntadas en zigzag en tres pasos, la aguja se
parará en la puntada más a la derecha si se ha ajustado parada a la derecha, o a la puntada más a la izquierda si se
ha ajustado parada a la izquierda.
•Para el patrón de costura de festón, la aguja se parará en la siguiente puntada del lado derecho si se ha ajustado
parada a la derecha, o en la siguiente puntada del lado izquierdo si se ha ajustado parada a la izquierda.
<Por ejemplo: Cuando se ha ajustado parada a la derecha>
Pedal parado
(Parada)
Puntadas en zigzag simples Puntadas en zigzag en tres
pasos
Festón
* Cuando la aguja para en la posición de
parada con la aguja levantada, la última
puntada no forma parte de la puntada.
Si se está pisando el pedal hacia atrás en
este momento, la costura se forma en esta
posición.
7-2-4. Ajuste la posición de parada de la puntada de zigzag
1342M
Parada a la izquierda
No se especifica una posición
Parada a la derecha
1440M
OFF OFF
ON OFF
OFF ON
q
■ Método de ajuste
Presionar la tecla de posición de parada de zigzag q para
ajustar la posición de parada de la aguja.
•La iluminación del indicador cambia de la manera
indicada en la ilustración a la izquierda y el ajuste de la
posición de parada de zigzag cambia cada vez que se
presiona la tecla de posición de parada de zigzag q.
•Si se ha ajustado la parada a la derecha o izquierda, el
indicador también se enciende durante la costura de
manera de poder verificar el ajuste.
■ Posición de comienzo de costura después que se pisa el pedal hacia atrás
Cuando la parada a la derecha haya sido ajustada, la costura comienza desde el lado derecho. Cuando la parada a la
izquierda haya sido ajustada, la costura comienza desde el lado izquierdo.
•Si la aguja para en la posición de parada con la aguja abajo, la aguja será levantada a la posición de parada con la
aguja levantada cuando el pedal es pisado hacia atrás. (La pieza de trabajo puede ser luego cambiada.)
La siguiente operación de costura comenzará desde la misma posición.
Nota:
No presionar la tecla de media puntada o la tecla de corrección o girar la polea de la máquina a mano para mover
la aguja a la posición de parada con la aguja levantada. De esa manera se cancelará el efecto de la posición de
parada de la función de la puntada de zigzag.
Además, el efecto de comenzar la siguiente costura desde la posición de parada de zigzag también será cancelada
cuando se ajuste el interruptor DIP 2-4 en ON.

98
ZE-8570,8580
7. USING THE OPERATION PANEL
7. VERWENDUNG DER BEDIENUNGSTAFEL
7. UTILISATION DU PANNEAU DE COMMANDE
7. USO DEL TABLERO DE CONTROLES
7-3. Ajuste de la velocidad de costura
•La velocidad de costura se ajusta usando la panel de controles.
•El rango de ajuste se encuentra entre 220 rpm y 5.000 rpm.
(Entre 300 y 5.000 rpm, el ajuste podrá res realizado en pasos de 100 rpm.)
1. Presionar la tecla de velocidad de costura q.
El indicador w se encenderá, y la velocidad de costura
actualmente ajustada destellará en la exhibición LED
e.
(Por ejemplo, AA AA representa 3.000 rpm.)
2. Presionar las teclas 쑶 y 쑴 r para cambiar la velocidad
de costura.
Nota:
La velocidad de costura está limitada por la cantidad de movimiento de zigzag. De acuerdo con esto, la velocidad de
costura actual puede variar de la velocidad de ajuste para el siguiente patrón de costura como resultado del ajuste
del ancho de la puntada de zigzag. Las velocidades son controladas automáticamente tal como se indica a continuación.
* No existe ese límite en la velocidad de costura para costura de puntadas rectas.
Puntadas en zigzag en dos pasos
Festón y patrones a medida
Pueden existir otras restricciones en la velocidad de costura cuando se cosen algunos patrones de festón y patrones
a medida.
Para puntadas en zigzag simples y puntada invisible
Puntadas en zigzag en tres pasos
1441M
e
qw
r
4,1 - 5mmAncho de zigzag 0 - 3mm 5,1 - 6mm 6,1 - 8mm
Velocidad de costura
5.000rpm
3,1 - 4mm
4.500rpm 4.000rpm 3.500rpm 3.000rpm
Ancho de zigzag
Velocidad de costura
0 - 6mm
5.000rpm
6,1 - 8mm
4.500rpm
Ancho de zigzag
Velocidad de costura
0 - 8mm
5.000rpm

99 ZE-8570,8580
7. USING THE OPERATION PANEL
7. VERWENDUNG DER BEDIENUNGSTAFEL
7. UTILISATION DU PANNEAU DE COMMANDE
7. USO DEL TABLERO DE CONTROLES
When the correction key q is illuminated, you can sew stitch by stitch at low speed (220 rpm) after the treadle has been
released at the neutral position.
Note:
If the actuator is pressed by mistake when using the correction sewing function, the needle will move in a zigzag
motion while the machine is operating, and injury may result.
* Correction sewing cannot be carried out when the treadle has been depressed backward and sewing stops.
Bei leuchtender Korrekturtaste q können Sie nach dem Loslassen des Pedals in die Neutralstellung Stich für Stich mit
niedriger Geschwindigkeit (220/min) nähen.
Hinweis:
Falls die Betätigungstaste beim Korrekturnähen irrtümlich gedrückt wurde, bewegt sich die Nadel beim Betätigen
der Maschine hin und her, so daß eine Verletzungsgefahr vorhanden ist.
* Korrekturnähen ist nicht möglich, wenn das Pedal nach hinten gedrückt ist und die Maschine stoppt.
Lorsque la touche de correction q est allumée, on peut coudre point par point à vitesse lente (220 tr/mn) après avoir
relâché la pédale à la position neutre.
Remarque:
Si l’actuateur est pressé par erreur alors que la fonction de correction de couture est utilisée, l’aiguille se déplacera
en zigzag pendant que la machine fonctionne et des blessures peuvent s’ensuivre.
* La couture de correction ne peut pas être effectuée lorsqu’on a appuyé sur la pédale vers l’arrière et que la couture
s’arrête.
Cuando la tecla de corrección q se enciende, se puede coser puntada por puntada a baja velocidad (220 rpm) después
de que el pedal haya sido liberado en la posición neutral.
Nota:
Si el impulsor es presionado por error al usar la función de costura de corrección, la aguja se moverá en zigzag
mientras que la máquina está funcionando, y puede resultar en heridas.
* La costura de corrección no se puede realizar cuando el pedal haya sido pisado hacia atrá y se para la costura.
1. Press the correction key q.
The indicator w will illuminate and correction sewing
will be possible.
2. After releasing the treadle at the neutral position, gen-
tly press the actuator e once to sew a single stitch. If
the actuator e is pressed continuously, sewing will
continue at low speed.
* If the correction key q is pressed once more, the
indicator w will switch off and correction operation
will stop.
Note:
If the pattern number selected is AA AA or AA AA,
the actuator e is used to change over to sewing
reflection patterns, so that correction sewing can-
not be carried out for these pattern numbers. (Cor-
rection sewing is possible for AA AA and AA AA
pattern numbers.)
1. Drücken Sie die Korrekturtaste q
Die Anzeige w leuchtet und das Korrekturnähen ist
möglich.
2. Drücken Sie nach dem Loslassen des Pedals in die
Neutralstellung einmal langsam die Betätigungstaste
e, um einen einzelnen Stich zu nähen. Wenn die
Betätigungstaste e gedrückt gehalten wird, so wird
mit niedriger Geschwindigkeit genäht.
* Wenn die Korrekturtaste q nochmals gedrückt wird,
erlischt die Anzeige w und die Korrekturnähfunktion
wird ausgeschaltet.
Hinweis:
Bei den Stichmustern AA AA und AA AA wird mit
der Betätigungstaste e auf das spiegelbildliche
Stichmuster umgeschaltet, deshalb ist für diese
Stichmuster kein Korrekturnähen möglich. (Für die
Stichmuster AAAA und AAAA ist das
Korrekturnähen möglich.)
7-4. Correction sewing
7-4. Korrekturnähen
7-4. Couture de correction
7-4. Costura de corrección
1522M
1443M
w
q
e

100
ZE-8570,8580
7. USING THE OPERATION PANEL
7. VERWENDUNG DER BEDIENUNGSTAFEL
7. UTILISATION DU PANNEAU DE COMMANDE
7. USO DEL TABLERO DE CONTROLES
After thread trimming (or after the treadle has been depressed backward for the ZE-8570-A01), or when the treadle is
depressed, you can sew the first three stitches at low speed, regardless of the treadle depression amount. After this,
sewing is carried out at the speed determined by the treadle depression amount.
Nach dem Fadenabschneiden (oder wenn das Pedal nach hinten gedrückt wird bei der ZE-8570-A01) oder dem Drücken
des Pedals werden die ersten drei Stiche langsam genäht, unabhängig davon, wie stark das Pedal gedrückt wird. Danach
wird die Nähgeschwindigkeit durch das Drücken des Pedals bestimmt.
Après la coupe des fils (ou après qu'on ait enfoncé la pédale vers l'arrière pour le modèle ZE-8570-A01), ou lorsqu'on
appuie sur la pédale, onpeut coudre les trois premiers points à vitesse lente, et ce quelle que soit la quantité d'enfoncement
de la pédale. Ensuite, la couture est effectuée à la vitesse déterminée par la quantité d'enfoncement de la pédale.
Después de cortar el hilo (o después de haber pisado el pedal hacia atrás en el caso de la ZE-8570-A01), o cuando se
pisa el pedal, se puede coser las primeras tres puntadas a baja velocidad, sin tener en cuenta la presión del pedal.
Después de esto, la costura se realiza a la velocidad determinada por la presión del pedal.
Press the slow start key q.
The indicator w will illuminate and slow start sewing will
be possible.
* If the slow start key q is pressed once more, the indi-
cator w will switch off and slow start operation will be
disabled.
Drücken Sie die Langsamstarttaste q.
Die Anzeige w leuchtet und die Langsamstartfunktion ist
eingeschaltet.
* Bei nochmaligem Drücken der Langsamstarttaste q
erlischt die Anzeige w und die Langsamstartfunktion
wird ausgeschaltet.
Appuyer sur la touche de démarrage à vitesse lente q.
Le témoin w s’allume et il est alors possible d’effectuer la
couture avec démarrage à vitesse lente.
*Si l’opn appuie à nouveau sur la touche de démarrage
à vitesse lente q, le témoin w s’éteint et l’opération
de démarrage à vitesse lente est désactivée.
Presionar la tecla de comienzo lento q.
El indicador w se encenderá y se podrá realizar la costura
de comienzo lento.
* Si se presiona la tecla de comienzo lento q una vez
más, el indicador w se apagará y se desactivará la
costura de comienzo lento.
1. Appuyer sur la touche de correction q.
Le témoin w s’allume et la couture de correction peut être effectuée.
2. Après avoir relâché la pédale à la position neutre, appuyer une fois légèrement sur l’actuateur e pour coudre un
seul point. Si l’on appuie continuellement sur l’actuateur e, la couture continuera à vitesse lente.
* Si l’on appuie à nouveau sur la touche de correction q, le témoin w s’éteindra et l’opération de correction sera
effectuée.
Remarque:
Si le numéro de motif sélectionné est AA AA ou AA AA, l’actuateur e est utilisé pour passer aux motifs de
réflexion de couture; la couture de correction ne pourra ainsi pas être effectuée pour ces numéros de motifs. (La
couture de correction est possible pour les numéros de motifs AA AA et AA AA.)
1. Presionar la tecla de corrección q.
El indicador w se encenderá y se podrá realizar la costura de corrección.
2. Después de dejar de pisar el pedal en la posición neutral, presionar levemente el impulsor e una vez para coser una
puntada simple. Si el impulsor e es presionado continuamente, la costura continuará a baja velocidad.
* Si se presiona la tecla de corrección q una vez más, el indicador w se apagará y el funcionamiento de corrección
se parará.
Nota:
Si el número de patrón seleccionado es AA AA o AA AA, el impulsor e se usa para cambiar a costura de patrones
reflejados, de manera que la costura de corrección no se puede realizar para este número de patrones. (La costura
de corrección es posible para los números de patrones AA AA y AA AA.)
7-5. Using slow start (ZE-8580, -8570-A01 only)
7-5. Langsamstartfunktion (nur ZE-8580, -8570-A01)
7-5. Utilisation du démarrage à vitesse lente (ZE-8580, -8570-A01 seulement)
7-5. Usando comienzo lento (sólo ZE-8580, -8570-A01)
1442M
wq

101 ZE-8570,8580
7. USING THE OPERATION PANEL
7. VERWENDUNG DER BEDIENUNGSTAFEL
7. UTILISATION DU PANNEAU DE COMMANDE
7. USO DEL TABLERO DE CONTROLES
After thread trimming (or after the treadle has been depressed backward for the ZE-8570-A01), you can sew a set
number of stitches to create start backtack stitches.
7-6. Setting start backtacking (ZE-8580, -8570-A01 only)
1447M
1349M
After thread trimming (or after the treadle has been de-
pressed backward for the ZE-8570-A01), make the follow-
ing settings.
1. Press the start backtack key e.
•The indicator r will illuminate and the start
backtacking function will turn on.
•The AB indicator t will illuminate and the number
of start backtack stitches will appear in the LED dis-
play y. (For example, AA AA indicates 2 stitches for
section A and 6 stitches for section B.)
2. Use the 쑶쑴 selection keys u to change the number
of start backtack stitches.
3. Depress the treadle to start sewing the start backtack
stitches.
After this, stitches will be sewn at the pitch set by the
feed adjustment dial.
Note:
•The sewing machine will continue operating until the
set number of start backtack stitches has been sewn,
even if the treadle is returned to the neutral position.
•If the treadle is depressed backward, the needle will
stop in the needle up stop position at that point. (For
the ZE-8580, the thread will be trimmed and then the
needle will stop in the needle up stop position.)
(If the zigzag stop position has been set, the needle
will stop in the set position.)
q
w
The stitch length for section A is
adjusted by means of the feed
adjustment dial q, and the stitch
length for section B is adjusted by
means of the condense dial w.
(2 stitches)
<Example>
(2 stitches) (6 stitches) (6 stitches)
(6 stitches)
<When the condense dial is set to
a "-" (minus) value> <When number of stitches for
section A is "00">
1444M
1445M 1446M
yt
ure
Number of
stitches for
section A
Number of
stitches for
section B

102
ZE-8570,8580
7. USING THE OPERATION PANEL
7. VERWENDUNG DER BEDIENUNGSTAFEL
7. UTILISATION DU PANNEAU DE COMMANDE
7. USO DEL TABLERO DE CONTROLES
■ Turning the start backtack function on and off
Carry out the following settings after the thread has been trimmed (or after the treadle has been depressed backward
for the ZE-8570-A01).
•The condition changes as shown below each time the start backtack key e is pressed.
•Start backtacking is carried out when the start backtack indicator r is illuminated.
■ Start backtack sewing speed
The sewing machine operates at a speed of 1,200 rpm when sewing start backtack stitches.
r
e
Zigzag width display, etc.
Illuminated
Zigzag width display
Off
Number of start
backtack stitches
1448M
1449M
1450M
■ Changing the setting
•The DIP switch settings can be used to change the zigzag width for start backtack stitches. (Refer to page 103.)
•The memory switches can be used to change the under edge trimmer operation. (Refer to item no. 97 on page 195.)

103 ZE-8570,8580
7. USING THE OPERATION PANEL
7. VERWENDUNG DER BEDIENUNGSTAFEL
7. UTILISATION DU PANNEAU DE COMMANDE
7. USO DEL TABLERO DE CONTROLES
■ Setting the zigzag width for start backtack stitches (additional DIP switch function)
(Be sure to turn off the power before changing any of the DIP switch settings. Refer to page 185.)
<Example> Zigzag width for section A start
backtack stitches (3.0mm)
Zigzag width
When DIP switch 2-5 inside the control box is set to OFF,
the zigzag width for start backtack stitches can be set sepa-
rately from the normal zigzag width.
(You must set the end backtack zigzag width at this time
too. Be sure to make this setting if carrying out end
backtack sewing too.)
1452M
1453M
1454M
Zigzag width for section B start
backtack stitches (1.5mm)
1523M
er
wq
Turning the start backtack function on and off
Carry out the following settings after the thread has been trimmed (or after the treadle has been depressed backward
for the ZE-8570-A01).
•The condition changes as shown below each time the start backtack key q is pressed.
•Start backtacking is carried out when the start backtack indicator w is illuminated.
* The zigzag width at the sewing start will change when the start backtack indicator w is turned on and off, and so
the needle bar will move at this time by the amount of the difference.
1. Press the start backtack key q.
•The indicator w will illuminate and the start
backtacking function will turn on.
•The AB indicator e will illuminate and the number
of start backtack stitches will appear in the LED dis-
play r.
2. To change the number of start backtack stitches, use
the 쑶쑴 selection keys t to change the setting value.
3. Press the start backtack key q once more.
•The indicator w and the AB indicator e will re-
main illuminated, and the tack width indicator y
will also illuminate.
•The zigzag width for the start backtack stitches will
appear in the LED display r. (For example, AA AA
indicates widths of 3.0 mm for section A and 1.5
mm for section B and that start backtacking will be
carried out.)
4. Use the 쑶쑴 selection keys t to change the zigzag
widths.
5. Start backtacking will be carried out when the treadle
is depressed.
ery
twq
Zigzag width
for section A Zigzag width
for section B
Zigzag width display, etc. Zigzag width display
Number of start
backtack stitches
Off
Illuminated
Zigzag width for start
backtack stitches
1448M 1449M 1450M
w
q
1455M
Illuminated

104
ZE-8570,8580
7. USING THE OPERATION PANEL
7. VERWENDUNG DER BEDIENUNGSTAFEL
7. UTILISATION DU PANNEAU DE COMMANDE
7. USO DEL TABLERO DE CONTROLES
Nach dem Fadenabschneiden (oder wenn das Pedal nach hinten gedrückt wird bei der ZE-8570-A01) kann eine festgelegte
Anzahl Stiche als Anfangsriegel genäht werden.
7-6. Einstellen des Anfangsriegels (nur ZE-8580, -8570-A01)
1447M
1349M
Führen Sie nach dem Fadenabschneiden (oder wenn das
Pedal nach hinten gedrückt wird bei der ZE-8570-A01) die
folgenden Einstellungen aus.
1. Drücken Sie die Startriegeltaste e.
•Die Anzeige r leuchtet und die Funktion für den
Anfangsriegel wird eingeschaltet.
•Die AB-Anzeige t leuchtet und die Stichzahl des
Anfangsriegels wird auf der LED-Anzeige y
angezeigt. (Zum Beispiel bedeutet AA AA zwei Stiche
für den Teil A und 6 Stiche für den Teil B.)
2. Stellen Sie die Anzahl der Anfangsriegelstiche mit den
Einstelltasten 쑶쑴 u ein.
3. Drücken Sie das Pedal, um den Anfangsriegel zu
nähen.
Danach wird die Stichlänge durch die Einstellung der
Transporteinstellscheibe bestimmt.
Hinweis:
•Die Maschine näht die eingestellte
Anfangsriegelstichzahl, selbst wenn das Pedal in die
Neutralstellung zurückgestellt wird.
•Wenn das Pedal nach hinten gedrückt wird, stoppt die
Maschine mit hochgestellter Nadel. (Bei der ZE-8580
wird der Faden abgeschnitten und danach stoppt die
Maschine mit hochgestellter Nadel.) (Falls eine
Zickzackstopposition eingestellt ist, stoppt die Nadel
in der eingestellten Position.)
q
w
Die Stichlänge des Teils A wird mit
der Transporteinstellscheibe q und
die Stichlänge des Teils B wird mit
der Verdichtungsstichscheibe w
eingestellt.
(2 Stiche)
(2 Stiche) (6 Stiche) (6 Stiche)
(6 Stiche)
<Wenn die Verdichtungsstichscheibe
auf einen "-"-Wert (Minuswert)
eingestellt wird>
<Wenn die Anzahl Stiche für
den Teil A "00" beträgt>
<Beispiel>
1444M
1445M 1446M
yt
ure
Stichzahl
für Teil A Stichzahl
für Teil B

105 ZE-8570,8580
7. USING THE OPERATION PANEL
7. VERWENDUNG DER BEDIENUNGSTAFEL
7. UTILISATION DU PANNEAU DE COMMANDE
7. USO DEL TABLERO DE CONTROLES
■ Ein- und Ausschalten der Anfangsriegelfunktion
Führen Sie die folgenden Einstellungen nach dem Abschneiden des Fadens (bzw. nachdem das Pedal der ZE-8570-A01
nach hinten gedrückt wurde).
•Die Bedienung ändert sich beim Drücken der Anfangsriegeltaste e wie folgt.
•Bei leuchtender Anfangsriegelanzeige r wird ein Anfangsriegel genäht.
■ Anfangsriegelnähgeschwindigkeit
Der Anfangsriegel wird mit einer Nähgeschwindigkeit von 1200/min genäht.
r
e
Anzeige der Zickzackbreite
usw.
ein
Anzeige der Zickzackbreite
aus
Anzahl
Anfangsriegelstiche
1448M
1449M
1450M
■ Ändern der Einstellung
•Mit dem DIP-Schalter kann die Zickzackbreite für den Anfangsriegel eingestellt werden. (Siehe Seite 106.)
•Der Unterkantenabschneiderbetrieb kann mit den Speicherschaltern eingestellt werden. (Siehe Nr. 97 auf Seite 199.)

106
ZE-8570,8580
7. USING THE OPERATION PANEL
7. VERWENDUNG DER BEDIENUNGSTAFEL
7. UTILISATION DU PANNEAU DE COMMANDE
7. USO DEL TABLERO DE CONTROLES
■ Einstellen der Zickzackbreite für Anfangsriegel (zusätzliche DIP-Schalterfunktion)
(Zum Ändern von DIP-Schaltereinstellungen muß die Maschine ausgeschaltet werden. Siehe Seite 185.)
<Beispiel> Zickzackbreite für Teil A des
Anfangsriegels (3,0mm)
Zickzackbreite
Wenn der DIP-Schalter 2-5 im Schaltkasten auf “OFF”
gestellt ist, läßt sich die Zickzackbreite für den
Anfangsriegel unabhängig von der normalen
Zickzackbreite einstellen. (Die Zickzackbreite für den
Endriegel muß ebenfalls eingestellt werden. Führen Sie
diese Einstellung aus, falls Sie ebenfalls einen Endriegel
nähen.)
1452M
1453M
1454M
Zickzackbreite für Teil B des
Anfangsriegels (1,5mm)
1523M
er
wq
Ein- und Ausschalten der Anfangsriegelfunktion
Führen Sie die folgenden Einstellungen nach dem Abschneiden des Fadens (bzw. nachdem das Pedal der ZE-8570-
A01 nach hinten gedrückt wurde).
•Bei jedem Drücken der Anfangsriegeltaste q ändert sich die Bedienung wie folgt.
•Bei leuchtender Anfangsriegelanzeige w wird ein Anfangsriegel genäht.
* Die Zickzackbreite am Nähbeginn ändert sich, wenn die Anfangsriegelanzeige w ein- und ausgeschaltet wird. Die
Nadelstange bewegt sich um den unterschiedlichen Betrag.
1. Drücken Sie die Startriegeltaste q.
•Die Anzeige w leuchtet und die Funktion für den
Anfangsriegel wird eingeschaltet.
•Die AB-Anzeige e leuchtet und auf der LED-
Anzeige r wird die Stichzahl für den Anfangsriegel
angezeigt.
2. Verwenden Sie die Einstelltasten 쑶쑴 t zum Ändern
der Stichzahl des Anfangsriegels.
3. Drücken Sie die Startriegeltaste q noch einmal.
•Die Anzeige w und die AB-Anzeige e leuchten und
die (Riegelbreitenanzeige y leuchtet ebenfalls.
•Die Zickzackbreite für den Anfangsriegel wird auf
der LED-Anzeige r angezeigt. (Zum Beispiel
bedeutet AA AA eine Breite von 3,0 mm für den
Teil A und 1,5 mm für den Teil B und daß ein
Anfangsriegel genäht wird.)
4. Ändern Sie die Zickzackbreite mit den Tasten 쑶쑴t.
5. Der Anfangsriegel wird beim Drücken des Pedals
genäht.
ery
twq
Zickzackbreite
für den Teil A Zickzackbreite
für den Teil B
Anzeige der
Zickzackbreite usw.
Anzeige der Zickzackbreite
Anzahl
Anfangsriegelstiche
aus
ein
Zickzackbreite für
den Anfangsriegel
1448M 1449M 1450M
w
q
1455M
ein

107 ZE-8570,8580
7. USING THE OPERATION PANEL
7. VERWENDUNG DER BEDIENUNGSTAFEL
7. UTILISATION DU PANNEAU DE COMMANDE
7. USO DEL TABLERO DE CONTROLES
Après la coupe des fils (ou après qu'on ait enfoncé la pédale vers l'arrière pour le modèle ZE-8570-A01), on peut coudre
un nombre réglé de points pour créer des points d'arrêt en début de couture.
7-6. Réglage du point d’arrêt en début de couture (ZE-8580, -8570-A01 seulement)
1447M
1349M
Après la coupe des fils (ou après qu'on ait enfoncé la pédale
vers l'arrière pour le modèle ZE-8570-A01), effectuer les
réglages suivants.
1. Appuyer sur la touche de points d'arrêt en début de
couture e.
•Le témoin r s'allume et la fonction de points d'arrêt
en début de couture est activée.
•Le témoin AB t s'allume et le nombre de points
d'arrêt en début de couture apparaît sur l'affichage
LED y. (Par exemple, AA AA indique 2 points pour
la section A et 6 points pour la section B.)
2. Utiliser les touches de sélection 쑶쑴 u pour changer
le nombre de points d'arrêt en début de couture.
3. Appuyer sur la pédale pour enclencher la couture des
points d’arrêt en début de couture.
Après cela, les points seront cousus avec l’espacement
réglé par la molette de réglage d’entraînement.
Remarque:
•La machine à coudre continuera à fonctionner jusqu’à
ce que le nombre réglé pour les points d’arrêt en début
de couture ait été cousu, même si l’on remet la pédale
à la position neutre.
•Si l’on enfonce la pédale vers l’arrière, l’aiguille
s’arrêtera en position d’arrêt supérieur de l’aiguille en
ce point. (Pour le modèle ZE-8580, le fil sera coupé,
puis l’aiguille s’arrêtera en position d’arrêt supérieur
de l’aiguille.) (Si l’on a réglé la position d’arrêt de zig-
zag, l’aiguille s’arrêtera à la position réglée.)
q
w
La longueur de point pour la section
A est réglée au moyen de la molette
de réglage d'entraînement q, et la
longueur de point pour la section B
est réglée au moyen de la molette de
condensation w.
(2 points)
(2 points) (6 points) (6 points)
(6 points)
<Lorsque la molette de condensation
est mise sur une valeur "-" (moins)> <Lorsque le nombre de points
pour la section A est "00">
<Example>
1444M
1445M 1446M
yt
ure
Nombre de
points pour
la section A
Nombre de
points pour
la section B

108
ZE-8570,8580
7. USING THE OPERATION PANEL
7. VERWENDUNG DER BEDIENUNGSTAFEL
7. UTILISATION DU PANNEAU DE COMMANDE
7. USO DEL TABLERO DE CONTROLES
■ Mise en et hors circuit de la fonction de point d’arrêt en début de couture
Effectuer les réglages suivants après la coupe des fils (ou après qu’on ait enfoncé la pédale vers l’arrière pour le modèle
ZE-8570-A01).
•A chaque pression sur la touche de points d’arrêt en début de couture e, l’état change comme indiqué ci-dessous.
•Le point d’arrêt en début de couture est effectué lorsque le témoin de point d’arrêt en début de couture r est
allumé.
■ Vitesse de couture du point d’arrêt en début de couture
La machine à coudre fonctionne à une vitesse de 1.200 tr/mn lors de la couture des points d’arrêt en début de couture.
r
e
Affichage de la largeur de
zigzag, etc.
Allumé
Affichage de la largeur de
zigzag
Eteint
Nombre de points d’arrêt
en début de couture
1448M
1449M
1450M
■ Changement du réglage
•Les réglages des interrupteurs DIP peuvent être utilisés pour changer la largeur de zigzag pour les points d'arrêt en
début de couture. (Se reporter à la page 109.)
•Les interrupteurs de mémoire peuvent être utilisés pour changer le fonctionnement du couteau sous bord. (Se
reporter à l'élément n°97 à la page 203.)

109 ZE-8570,8580
7. USING THE OPERATION PANEL
7. VERWENDUNG DER BEDIENUNGSTAFEL
7. UTILISATION DU PANNEAU DE COMMANDE
7. USO DEL TABLERO DE CONTROLES
■
Réglage de la largeur de zigzag pour les points d’arrêt en début de couture (fonction d’interrupteur DIP supplémentaire)
(Veiller à mettre la machine hors tension avant de changer l’un quelconque des réglages d’interrupteur DIP. Se
reporter à la page 185.)
<Exemple>
Largeur de zigzag
Lorsque l’interrupteur DIP 2-5 situé dans le boîtier de
commande est mis sur la position d’arrêt, la largeur de
zigzag pour les points d’arrêt en début de couture peut
être réglée séparément de la largeur de zigzag normal.
(Il faut régler la largeur de zigzag du point d’arrêt en début
de couture à ce moment aussi. Veiller à effectuer aussi
ce réglage si l’on effectue la couture de points d’arrêt en
début de couture.)
1452M
1453M
1454M
Largeur de zigzag pour les
points d'arrêt en début de
couture pour la section B
(1,5mm)
1523M
er
wq
■ Mise en et hors circuit de la fonction de points d’arrêt en début de couture.
Effectuer les réglages suivants après la coupe des fils (ou après qu’on ait enfoncé la pédale vers l’arrière pour le
modèle ZE-8570-A01).
•A chaque pression sur la touche de points d’arrêt en début de couture q, l’état change comme indiqué ci-dessous.
•
Le point d’arrêt en début de couture est effectué lorsque le témoin de point d’arrêt en début de couture
w
est allumé.
* La largeur de zigzag en début de couture changera lorsqu’on allume et qu’on éteint le témoin de points d’arrêt en
début de couture w, et donc la barre à aiguille se déplacera à ce moment pour correspondre à la quantité
correspondant à la différence.
1. Appuyer sur la touche de points d'arrêt en début de
couture q.
•Le témoin w s'allume et la fonction de points d'arrêt
en début de couture est activée.
•Le témoin AB e s'allume et le nombre de points
d'arrêt en début de couture apparaît sur l'affichage
LED r.
2. Pour changer le nombre de points d'arrêt en début
de couture, utiliser les touches de sélection 쑶쑴 t
pour changer la valeur du réglage.
3. Appuyer à nouveau sur la touche de points d'arrêt en
début de couture q.
•Le témoin w et le témoin AB e restent allumés, et
le témoin de largeur de points d'arrêt y est aussi
allumé.
•La largeur de zigzag des points d'arrêt en début de
couture apparaît sur l'affichage LED r. (Par
exemple, AA AA indique des largeurs de 3,0 mm
pour la section A et de 1,5 mm pour la section B, et
ces points d'arrêt en début de couture seront
cousus.)
4. Utiliser les touches de sélection 쑶쑴t pour changer
les largeurs de zigzag.
5. Les points d'arrêt en début de couture seront cousus
lorsqu'on appuie sur la pédale.
ery
twq
Largeur de zigzag
pour la section A Largeur de zigzag
pour la section B
Affichage de la largeur de
zigzag, etc.
Affichage de la largeur de
zigzag
Nombre de points d’arrêt
en début de couture
Eteint
Allumé
Largeur de zigzag pour les
points d’arrêt en début de
couture
1448M 1449M 1450M
w
q
1455M
Allumé
Largeur de zigzag pour les points
d'arrêt en début de couture pour
la section A (3,0mm)

110
ZE-8570,8580
7. USING THE OPERATION PANEL
7. VERWENDUNG DER BEDIENUNGSTAFEL
7. UTILISATION DU PANNEAU DE COMMANDE
7. USO DEL TABLERO DE CONTROLES
Después de cortar el hilo (o después de haber pisado el pedal hacia atrás en ZE-8570-A01), se puede coser un número
de puntadas fijadas para rematado por atrás inicial.
7-6. Ajuste de rematado por atrás inicial (Sólo ZE-8580, -8570-A01)
1447M
1349M
Después de cortar el hilo (o después de haber pisado el
pedal hacia atrás en ZE-8570-A01), realizar los siguientes
ajustes.
1. Presionar la tecla de rematado por atrás inicial e.
•El indicador r se encenderá y se activará la función
de rematado por atrás inicial.
•El indicador AB t se encenderá y el número de
puntadas de rematado por atrás inicial aparecerá en
la exhibición LED y. (Por ejemplo, AA AA indica 2
puntadas para la sección A y 6 puntadas para la
sección B.)
2. Use las teclas de selección 쑶쑴 u para cambiar el
número de puntadas de rematado por atrás inicial.
3. Presionar el pedal para comenzar la costura de
rematado por atrás inicial.
Después de esto, las puntadas serán cosidas con la
separación ajustada usando el dial de ajuste de
alimentación.
Nota:
•La máquina de coser continuará funcionando hasta el
número ajustado de puntadas de rematado por atrás
inicial hayan sido cosidas, incluso si el pedal se vuelve
a la posición neutral.
•Si el pedal es pisado hacia atrás, la aguja se parará en
la posición de parada de aguja levantada. (Para la ZE-
8580, el hilo será cortado y luego la aguja se parará en
la posición de parada de aguja levantada.)
(Si la posición
de parada de la puntada de zigzag ha sido ajustada, la
aguja se parará en la posición ajustada.)
q
w
El largo de puntada para la sección
A se ajusta mediante el dial de
ajuste de alimentación q, y el largo
de puntada para la sección B se
ajusta mediante el dial de ajuste de
condensada w.
(2 puntadas)
(2 puntadas) (6 puntadas) (6 puntadas)
(6 puntadas)
<Cuando el dial de ajuste de
condensada se ajusta al valor
"-" (menos)>
<Cuando el número de puntadas
para la sección A es "00">
<Ejemlo>
1444M
1445M 1446M
yt
ure
El número de
puntadas para
la sección A
El número de
puntadas para
la sección B

111 ZE-8570,8580
7. USING THE OPERATION PANEL
7. VERWENDUNG DER BEDIENUNGSTAFEL
7. UTILISATION DU PANNEAU DE COMMANDE
7. USO DEL TABLERO DE CONTROLES
■ Activación y desactivación de la función de rematado por atrás inicial
Realizar los siguientes ajustes después que el hilo haya sido cortado (o después de pisar el pedal hacia atrás para la ZE-
8570-A01).
•La condición cambia tal como se indica a continuación cada vez que se presiona la tecla de rematado por atrás
inicial e.
•Se realiza el rematado por atrás inicial cuando el indicador de rematado por atrás inicial r se enciende.
■ Velocidad de costura de rematado por atrás inicial
La máquina de coser funciona a una velocidad de 1,200 rpm cuando se cose el rematado por atrás inicial.
r
e
Exhibición de ancho de
zigzag, etc.
Encendido
Exhibición de ancho de
zigzag
Apagado
Número de puntadas de
rematado por atrás inicial
1448M
1449M
1450M
■ Cambio del ajuste
•Los ajustes del interruptor DIP pueden ser usados para cambiar el ancho de zigzag para las puntadas de rematado
por atrás inicial. (Consulte la página 112.)
•Los interruptores de memoria pueden ser usados para cambiar el funcionamiento del cortador de borde inferior.
(Consulte el item no. 97 en la página 207.)

112
ZE-8570,8580
7. USING THE OPERATION PANEL
7. VERWENDUNG DER BEDIENUNGSTAFEL
7. UTILISATION DU PANNEAU DE COMMANDE
7. USO DEL TABLERO DE CONTROLES
■ Ajuste del ancho de zigzag para puntadas de rematado por atrás inicial (función de interruptor DIP adicional)
(Tener cuidado de desconectar la alimentación antes de cambiar cualquiera de los ajustes del interruptor DIP.
Consultar la página 185.)
<Ejemplo>
Ancho de zigzag
Cuando el interruptor DIP 2-5 dentro de la caja de
controles se ajusta a OFF, el ancho de zigzag para las
puntadas de rematado por atrás inicial puede ser ajustado
separadamente del ancho de zigzag normal. (En este
momento se debe ajustar el ancho de zigzag de rematado
por atrás final. Asegurarse de realizar estos ajustes si
también se está realizando la costura de rematado por
atrás final.)
1452M
1453M
1454M
Ancho de zigzag para las
puntadas de rematado por atrás
inicial de la sección B (1,5mm)
1523M
er
wq
Activación y desactivación de la función de rematado por atrás inicial
Realizar los siguientes ajustes después que el hilo haya sido cortado (o después de pisar el pedal hacia atrás para la
ZE-8570-A01).
•
La condición cambia tal como se indica a continuación cada vez que se presiona la tecla de rematado por atrás inicial q.
•Se realiza el rematado por atrás inicial cuando el indicador de rematado por atrás inicial w se enciende.
* El ancho de la puntada de zigzag al comienzo de la costura cambiará cuando el indicador de rematado por atrás
inicial w se enciende y apaga, y la barra de agujas se moverá en este momento por la diferencia.
1. Presionar la tecla de rematado por atrás inicial q.
•El indicador w se encenderá y se activará la función
de rematado por atrás inicial.
•El indicador AB e se encenderá y el número de
puntadas de rematado por atrás inicial aparecerá
en la exhibición LED r.
2. Para cambiar el número de puntadas de rematado
por atrás inicial, usar las teclas de selección 쑶쑴 t
para cambiar el valor de ajuste.
3. Presionar la tecla de rematado por atrás inicial q una
vez más.
•El indicador w y el indicador ab e permanecerán
encendidos, y el indicador de ancho de remate y
también se encenderá.
•El ancho de zigzag para las puntadas de rematado
por atrás inicial aparecerá en la exhibición LED r.
(Por ejemplo, AA AA indica anchos de 3,0 mm para
la sección A y 1,5 mm para la sección B y se
realizará el rematado por atrás inicial.)
4. Use las teclas de selección 쑶쑴t para cambiar los
anchos de zigzag.
5. El rematado por atrás inicial se realizará al pisar el
pedal.
ery
twq
Ancho de zigzag
para la sección A Ancho de zigzag
para la sección B
Exhibición de ancho de
zigzag, etc.
Exhibición de ancho de
zigzag
Número de puntadas de
rematado por atrás inicial
Apagado
Encendido
Ancho de zigzag para
rematado por atrás inicial
1448M 1449M 1450M
w
q
1455M
Encendido
Ancho de zigzag para las
puntadas de rematado por atrás
inicial de la sección A (3,0mm)

113 ZE-8570,8580
7. USING THE OPERATION PANEL
7. VERWENDUNG DER BEDIENUNGSTAFEL
7. UTILISATION DU PANNEAU DE COMMANDE
7. USO DEL TABLERO DE CONTROLES
7-7. Setting end backtacking (ZE-8580, -8570-A01 only)
After the treadle has been depressed backward, you can sew a set number of stitches to create end backtack stitches.
1459M
1349M
1. Press the end backtack key e.
•The indicator r will illuminate and the end
backtacking function will turn on.
•The CD indicator t will illuminate and the number
of end backtack stitches will appear in the LED dis-
play y. (For example, AA AA indicates 6 stitches for
section C and 2 stitches for section D.)
2. Use the 쑶쑴 selection keys u to change the number
of end backtack stitches.
3. Carry out sewing. When the treadle is depressed back-
ward, the end backtack stitches will be sewn. (For the
ZE-8580, the thread will then be trimmed.)
Note:
•The sewing machine will continue operating until the
set number of end backtack stitches has been sewn,
even if the treadle is returned to the neutral position.
•The set number of end backtack stitches will be sewn
regardless of the zigzag stop position setting.
q
w
The stitch length for section C is
adjusted by means of the condense
dial q, and the stitch length for
section D is adjusted by means of
the feed adjustment dial w.
(6 stitches)
(2 stitches)(6 stitches) (6 stitches)
(2 stitches)
<When the condense dial is set to
a "-" (minus) value> <When number of stitches
for section D is "00">
<Example>
1456M
1457M 1458M
ty
ure
Number of
stitches for
section C
Number of
stitches for
section D
■ Turning the end backtack function on and off
•The condition changes as shown below each time the end backtack key e is pressed.
•End backtacking is carried out when the end backtack indicator r is illuminated.
r
e
Zigzag width display, etc.
Illuminated
Zigzag width display
Off
Number of end backtack
stitches
1492M
1460M
1493M
■ End backtack sewing speed
The sewing machine operates at a speed of 1,200 rpm when sewing end backtack stitches.
■ Changing the setting
•The DIP switch settings can be used to change the zigzag width for end backtack stitches. (Refer to page 114.)
•The memory switches can be used to change the under edge trimmer operation. (Refer to item no. 98 on page 195.)

114
ZE-8570,8580
7. USING THE OPERATION PANEL
7. VERWENDUNG DER BEDIENUNGSTAFEL
7. UTILISATION DU PANNEAU DE COMMANDE
7. USO DEL TABLERO DE CONTROLES
■ Setting the zigzag width for end backtack stitches (additional DIP switch function)
(Be sure to turn off the power before changing any of the DIP switch settings. Refer to page 185.)
Zigzag width for section D end
backtack stitches
Zigzag width
When DIP switch 2-5 inside the control box is set to OFF,
the zigzag width for end backtack stitches can be set sepa-
rately from the normal zigzag width. (You must set the
start backtack zigzag width at this time too. Be sure to
make this setting if carrying out start backtack sewing
too.)
1462M
1463M
1464M
Zigzag width
for section C
end backtack
stitches
1524M
er
wqt
Turning the end backtack function on and off
•The condition changes as shown below each time the end backtack key q is pressed.
•End backtacking is carried out when the end backtack indicator w is illuminated.
1. Press the end backtack key q.
•The indicator w will illuminate and the end
backtacking function will turn on.
•The CD indicator e will illuminate and the number
of end backtack stitches will appear in the LED dis-
play r.
2. To change the number of end backtack stitches, use
the 쑶쑴 selection keys t to change the setting value.
3. Press the end backtack key q once more.
•The indicator w and the CD indicator e will re-
main illuminated, and the tack width indicator y
will also illuminate.
•The zigzag width for the end backtack stitches will
appear in the LED display r. (For example, AA AA
indicates widths of 1.5 mm for section C and 3.0
mm for section D and that end backtacking will be
carried out.)
4. Use the 쑶쑴 selection keys t to change the zigzag
widths.
5. When sewing is carried out and then the treadle is
depressed backward, end backtacking will be carried
out. (For the ZE-8580, the thread will then be trimmed.)
ery
twq
Zigzag width
for section C Zigzag width
for section D
Zigzag width display, etc. Zigzag width display
Number of end
backtack stitches
Off
Illuminated
Zigzag width for end
backtack stitches
1492M 1460M 1493M
w
q
1465M
Illuminated
<Example>

115 ZE-8570,8580
7. USING THE OPERATION PANEL
7. VERWENDUNG DER BEDIENUNGSTAFEL
7. UTILISATION DU PANNEAU DE COMMANDE
7. USO DEL TABLERO DE CONTROLES
7-7. Einstellen des Endsriegels (nur ZE-8580, -8570-A01)
Nach dem Drücken des Pedals nach hinten können Sie die eingestellte Stichzahl für den Endriegel nähen.
1459M
1349M
1. Drücken Sie die Endriegeltaste e.
•Die Anzeige r leuchtet und die Funktion für den
Endriegel wird eingeschaltet.
•Die CD-Anzeige t leuchtet und die Stichzahl für den
Endriegel wird auf der LED-Anzeige y angezeigt.
(Zum Beispiel bedeutet AA AA zwei Stiche für den
Teil C und 6 Stiche für den Teil D.)
2. Stellen Sie die Anzahl der Endriegelstiche mit den
Einstelltasten 쑶쑴 u ein.
3. Nähen Sie. Beim Drücken des Pedals nach hinten wird
ein Endriegel genäht. (Bei der ZE-8580 wird danach der
Faden abgeschnitten.)
Hinweis:
•Die Maschine näht die eingestellte Endriegelstichzahl,
selbst wenn das Pedal in die Neutralstellung
zurückgestellt wird.
•Die eingestellte Endriegelstichzahl wird genäht
unabhängig von der eingestellten Zickzackstopposition.
q
w
Die Stichlänge des Teils C wird mit
der Verdichtungsstichscheibe q und
die Stichlänge des Teils D wird mit
der Transporteinstellscheibe w
eingestellt.
(6 Stiche)
(2 Stiche)(6 Stiche) (6 Stiche)
(2 stiche)
<Wenn die Verdichtungsstichscheibe
auf einen "-"-Wert (Minuswert)
eingestellt wird>
<Wenn die Anzahl Stiche
für den Teil D "00" beträgt>
<Beispiel>
1456M
1457M 1458M
ty
ure
Stichzahl
für Teil C Stichzahl
für Teil D
■ Ein- und Ausschalten der Endriegelfunktion
•Die Bedienung ändert sich beim Drücken der Endriegeltaste e wie folgt.
•Bei leuchtender Endriegelanzeige r wird ein Endriegel genäht.
r
e
Anzeige der Zickzackbreite
usw.
ein
Anzeige der Zickzackbreite
aus
Endriegelstichzahl
1492M
1460M
1493M
■ Endriegelnähgeschwindigkeit
Der Endriegel wird mit einer Nähgeschwindigkeit von 1200/min genäht.
■ Ändern der Einstellung
•Mit dem DIP-Schalter kann die Zickzackbreite für den Endriegel eingestellt werden. (Siehe Seite 116.)
•Der Unterkantenabschneiderbetrieb kann mit den Speicherschaltern eingestellt werden. (Siehe Nr. 98 auf Seite 199.)

116
ZE-8570,8580
7. USING THE OPERATION PANEL
7. VERWENDUNG DER BEDIENUNGSTAFEL
7. UTILISATION DU PANNEAU DE COMMANDE
7. USO DEL TABLERO DE CONTROLES
■ Einstellen der Zickzackbreite für Endriegel (zusätzliche DIP-Schalterfunktion)
(Zum Ändern von DIP-Schaltereinstellungen muß die Maschine ausgeschaltet werden. Siehe Seite 185.)
Zickzackbreite für Teil D und
Endriegelstiche
Zickzackbreite
Wenn der DIP-Schalter 2-5 im Schaltkasten auf “OFF”
gestellt ist, läßt sich die Zickzackbreite für den Endriegel
unabhängig von der normalen Zickzackbreite einstellen.
(Die Zickzackbreite für den Anfangsriegel muß ebenfalls
eingestellt werden. Führen Sie diese Einstellung aus, falls
Sie ebenfalls einen Anfangsriegel nähen.)
1462M
1463M
1464M
Zickzackbreite
für Teil C und
Endriegelstiche
1524M
er
wqt
Ein- und Ausschalten der Endriegelfunktion
•Bei jedem Drücken der Endriegeltaste q ändert sich die Bedienung wie folgt.
•Bei leuchtender Endriegelanzeige w wird ein Endriegel genäht.
1. Drücken Sie die Endriegeltaste q.
•Die Anzeige w leuchtet und die Funktion für den
Endriegel wird eingeschaltet.
•Die CD-Anzeige e leuchtet und die Stichzahl für
den Endriegel wird auf der LED-Anzeige r
angezeigt.
2. Verwenden Sie die Einstelltasten 쑶쑴 t zum Ändern
der Stichzahl des Endriegels.
3. Drücken Sie die Endriegeltaste q noch einmal.
•Die Anzeige w und die CD-Anzeige e leuchten und
die Riegelbreitenanzeige y leuchtet ebenfalls.
•Die Zickzackbreite des Endriegels wird auf der LED-
Anzeige r angezeigt. (Zum Beispiel bedeutet
AA AA eine Breite von 1,5 mm für den Teil C und
3,0 mm für den Teil D und daß ein Endriegel genäht
wird.)
4. Ändern Sie die Zickzackbreite mit den Tasten 쑶쑴 t.
5. Wenn nach dem Nähen das Pedal nach hinten
gedrückt wird, wird ein Endriegel genäht. (Bei der ZE-
8580 wird danach der Faden abgeschnitten.)
ery
twq
Zickzackbreite
für den Teil C Zickzackbreite
für den Teil D
Anzeige der Zickzackbreite
usw.
Anzeige der Zickzackbreite
Endriegelstichzahl
aus
ein
Zickzackbreite für den
Endriegel
1492M 1460M 1493M
w
q
1465M
ein
<Beispiel>

117 ZE-8570,8580
7. USING THE OPERATION PANEL
7. VERWENDUNG DER BEDIENUNGSTAFEL
7. UTILISATION DU PANNEAU DE COMMANDE
7. USO DEL TABLERO DE CONTROLES
7-7. Réglage du point d’arrêt en fin de couture (ZE-8580, -8570-A01 seulement)
Après qu'on a enfoncé la pédale vers l'arrière, on peut coudre un nombre réglé de points pour créer des points d'arrêt
en fin de couture.
1459M
1349M
1. Appuyer sur la touche de points d'arrêt en fin de cou-
ture e.
•Le témoin r s'allume et la fonction de points d'arrêt
en fin de couture est activée.
•Le témoin CD t s'allume et le nombre de points
d'arrêt en fin de couture apparaît sur l'affichage LED
y. (Par exemple, AA AA indique six points pour la
section C et deux points pour la section D.)
2. Utiliser les touches de sélection 쑶쑴 u pour changer
le nombre de points d'arrêt en fin de couture.
3. Exécuter la couture. Lorsqu’on enfonce la pédale vers
l’arrière, les points d’arrêt en fin de couture seront cousus.
(Pour le modèle ZE-8580, le fil sera ensuite coupé.)
Remarque:
•La machine à coudre continuera à fonctionner jusqu’à
ce que le nombre réglé de points d’arrêt en fin de cou-
ture ait été cousu, même si l’on remet la pédale en
position neutre.
•Le nombre réglé de points d’arrêt en fin de couture
sera cousu, et ce quel que soit le réglage de la position
d’arrêt de zigzag.
q
w
La longueur de point pour la section
C est réglée au moyen de la molette
de condensation q, et la longueur
de point pour la section D est réglée
au moyen de la molette de réglage
d'entraînement w.
(6 points)
(2 points)(6 points) (6 points)
(2 points)
<Lorsque la molette de
condensation est mise sur
une valeur "-" (moins)>
<Lorsque le nombre de points
pour la section D est "00">
<Exemple>
1456M
1457M 1458M
ty
ure
Nombre de
points pour
la section C
Nombre de
points pour
la section D
■ Mise en et hors circuit de la fonction de point d’arrêt en fin de couture
•A chaque pression sur la touche de point d’arrêt en fin de couture e, l’état change comme indiqué ci-dessous.
•Le point d’arrêt en fin de couture est exécuté lorsque le témoin de point d’arrêt en fin de couture r est allumé.
r
e
Affichage de la largeur de
zigzag, etc.
Allumé
Affichage de la largeur de
zigzag
Eteint
Nombre de points d’arrêt
en fin de couture
1492M
1460M
1493M
■ Vitesse de couture des points d’arrêt en fin de couture
La machine à coudre fonctionne à une vitesse de 1.200 tr/mn lors de la couture des points d’arrêt en fin de couture.
■ Changement du réglage
•Les réglages des interrupteurs DIP peuvent être utilisés pour changer la largeur de zigzag pour les points d'arrêt en
fin de couture. (Se reporter à la page 118.)
•Les interrupteurs de mémoire peuvent être utilisés pour changer le fonctionnement du couteau sous bord. (Se
reporter à l'élément n°98 à la page 203.)

118
ZE-8570,8580
7. USING THE OPERATION PANEL
7. VERWENDUNG DER BEDIENUNGSTAFEL
7. UTILISATION DU PANNEAU DE COMMANDE
7. USO DEL TABLERO DE CONTROLES
■
Réglage de la largeur de zigzag pour les points d’arrêt en fin de couture (fonction d’interrupteur DIP supplémentaire)
(Veiller à mettre la machine hors tension avant de changer l’un quelconque des réglages d’interrupteur DIP. Se
reporter à la page 185.)
Largeur de zigzag pour les
points d'arrêt en fin de couture
de la section D
Largeur de zigzag
Lorsque l’interrupteur DIP 2-5 situé dans le boîtier de
commande est mis sur la position d’arrêt, la largeur de
zigzag pour les points d’arrêt en fin de couture peut être
réglée séparément de la largeur de zigzag normal. (Il faut
régler la largeur de zigzag du point d’arrêt en début de
couture à ce moment aussi. Veiller à effectuer aussi ce
réglage si l’on effectue la couture de points d’arrêt en
début de couture.)
1462M
1463M
1464M
Largeur de
zigzag pour
les points
d'arrêt en fin
de couture de
la section C
1524M
er
wqt
Mise en et hors circuit de la fonction de points d’arrêt en fin de couture.
•A chaque pression sur la touche de points d’arrêt en fin de couture q, l’état change comme indiqué ci-dessous.
•Le point d’arrêt en fin de couture est effectué lorsque le témoin de point d’arrêt en fin de couture w est allumé.
1. Appuyer sur la touche de points d'arrêt en fin de cou-
ture q.
•Le témoin w s'allume et la fonction de points d'arrêt
en fin de couture est activée.
•Le témoin CD e s'allume et le nombre de points
d'arrêt en fin de couture apparaît sur l'affichage
LED r.
2. Pour changer le nombre de points d'arrêt en fin de
couture, utiliser les touches de sélection 쑶쑴 t pour
changer la valeur du réglage.
3. Appuyer à nouveau sur la touche de points d'arrêt en
fin de couture q.
•Le témoin w et le témoin CD e restent allumés, et
le témoin de largeur de points d'arrêt y est aussi
allumé.
•La largeur de zigzag des points d'arrêt en fin de
couture apparaît sur l'affichage LED r. (Par
exemple, AA AA indique des largeurs de 1,5 mm
pour la section C et de 3,0 mm pour la section D, et
que les points d'arrêt en fin de couture seront
cousus.)
4. Utiliser les touches de sélection 쑶쑴 t pour changer
les largeurs de zigzag.
5. Lorsqu'on effectue la couture puis qu'on enfonce la
pédale vers l'arrière, les points d'arrêt en fin de cou-
ture seront cousus.
(Pour le modèle ZE-8580, le fil sera alors coupé.)
ery
twq
Largeur de zigzag
pour la section C Largeur de zigzag
pour la section D
Affichage de la largeur de
zigzag, etc.
Affichage de la largeur de
zigzag
Nombre de points
d’arrêt en fin de couture
Eteint
Allumé
Largeur de zigzag pour les points
d’arrêt en fin de couture
1492M 1460M 1493M
w
q
1465M
Allumé
<Exemple>

119 ZE-8570,8580
7. USING THE OPERATION PANEL
7. VERWENDUNG DER BEDIENUNGSTAFEL
7. UTILISATION DU PANNEAU DE COMMANDE
7. USO DEL TABLERO DE CONTROLES
7-7. Ajuste de rematado por atrás final (Sólo ZE-8580, -8570-A01)
Después de pisar el pedal hacia atrás, podrá coser un número ajustado de puntadas para crear el rematado por atrás
final.
1459M
1349M
1. Presionar la tecla de rematado por atrás final e.
•El indicador r se encenderá y la función de
rematado por atrás final se activará.
•El indicador CD t se encenderá y el número de
puntadas de rematado por atrás final aparecerá en
la exhibición LED y. (Por ejemplo, AA AA indica 6
puntadas para la sección C y 2 puntadas para la
sección D.)
2. Use las teclas de selección 쑶쑴 u para cambiar el
número de puntadas de rematado por atrás final.
3. Realizar la costura. Cuando se pisa el pedal hacia atrás,
se realizará el rematado por atrás final. (En la ZE-8580,
el hilo será cortado.)
Nota:
•La máquina de coser continuará funcionando hasta que
el número ajustado de puntadas de rematado por atrás
final hayan sido cosidas, incluso si el pedal se vuelve a
la posición neutral.
•El número ajustado de puntadas de rematado por atrás
final será cosido sin tener en cuenta el ajuste de
posición de parada de la puntada de zigzag.
q
w
El largo de puntada para la sección C
se ajusta mediante el dial de ajuste
de condensada q, y el largo de
puntada para la sección D es
ajustado mediante el dial de ajuste
de alimentación w.
(6 puntadas)
(2 puntadas)(6 puntadas) (6 puntadas)
(2 puntadas)
<Cuando el dial de ajuste de
condensada se ajusta al valor
"-" (menos)>
<Cuando el número de puntadas
para la sección D es "00">
<Ejemplo>
1456M
1457M 1458M
ty
ure
El número de
puntadas para
la sección C
El número de
puntadas para
la sección D
■ Activación y desactivación de la función de rematado por atrás final
•La condición cambia tal como se indica a continuación cada vez que se presiona la tecla de rematado por atrás final e.
•Se realiza el rematado por atrás de final cuando el indicador de rematado por atrás final r se enciende.
r
e
Exhibición de ancho de
zigzag, etc.
Encendido
Exhibición de ancho de
zigzag
Apagado
Número de puntadas de
rematado por atrás final
1492M
1460M
1493M
■ Velocidad de costura de rematado por atrás final
La máquina de coser funciona a una velocidad de 1.200 rpm cuando se cose el rematado por atrás final.
■ Cambio del ajuste
•Los ajustes del interruptor DIP pueden ser usados para cambiar el ancho de zigzag para las puntadas de rematado
final. (Consulte la página 120.)
•Los interruptores de memoria pueden ser usados para cambiar el funcionamiento del cortador de borde inferior.
(Consulte el item no. 98 en la página 207.)

120
ZE-8570,8580
7. USING THE OPERATION PANEL
7. VERWENDUNG DER BEDIENUNGSTAFEL
7. UTILISATION DU PANNEAU DE COMMANDE
7. USO DEL TABLERO DE CONTROLES
■ Ajuste del ancho de zigzag para puntadas de rematado por atrás final (función de interruptor DIP adicional)
(Tener cuidado de desconectar la alimentación antes de cambiar cualquiera de los ajustes del interruptor DIP.
Consultar la página 185.)
Ancho de zigzag para las
puntadas de la sección D de
rematado por atrás final
Ancho de zigzag
Cuando el interruptor DIP 2-5 dentro de la caja de
controles se ajusta a OFF, el ancho del zigzag para las
puntadas de rematado por atrás puede ser ajustado
separadamente del ancho normal de zigzag. (En este
momento debe ajustar el ancho de zigzag de rematado
por atrás inicial. Asegurarse de realizar estos ajustes si
también está realizando la costura de rematado por atrás
inicial.)
1462M
1463M
1464M
Ancho de
zigzag para las
puntadas de la
sección C de
rematado por
atrás final
1524M
er
wqt
Activación y desactivación de la función de rematado por atrás final
•La condición cambia tal como se indica a continuación cada vez que se presiona la tecla de rematado por atrás
final q.
•Se realiza el rematado por atrás de final cuando el indicador de rematado por atrás final w se enciende.
1. Presionar la tecla de rematado por atrás final q.
•El indicador w se encenderá y la función de
rematado por atrás final se activará.
•El indicador CD e se encenderá y el número de
puntadas de rematado por atrás final aparecerá en
la exhibición LED r.
2. Para cambiar el número de puntadas de rematado
por atrás final, usar las teclas de selección 쑶쑴 t
para cambiar el valor de ajuste.
3. Presionar la tecla de rematado por atrás final q una
vez más.
•El indicador w y el indicador CD e permanecerán
encendidos, y el indicador de ancho de remate y
también se encenderá.
•El ancho de zigzag para el rematado por atrás final
aparecerá en la exhibición LED r. (Por ejemplo,
AA AA indica anchos de 1.5 mm para la sección C
y 3.0 mm para la sección D y se realizará el
rematado por atrás final.)
4. Use las teclas de selección 쑶쑴 t para cambiar los
anchos de zigzag.
5. Cuando la costura se realiza y luego se pisa el pedal
hacia atrás, se realizará el rematado por atrás final.
(Para la ZE-8580, luego se cortará el hilo.)
ery
twq
Ancho de zigzag
para la sección C Ancho de zigzag
para la sección D
Exhibición de ancho de
zigzag, etc.
Exhibición de ancho de
zigzag
Número de puntadas
de rematado por atrás
final
Apagado
Encendido
Ancho de zigzag para
rematado por atrás final
1492M 1460M 1493M
w
q
1465M
Encendido
<Ejemplo>

121 ZE-8570,8580
7. USING THE OPERATION PANEL
7. VERWENDUNG DER BEDIENUNGSTAFEL
7. UTILISATION DU PANNEAU DE COMMANDE
7. USO DEL TABLERO DE CONTROLES
■ Relationship between trimming margin base line position and zigzag width for backtack stitches
■ Zusammenhang zwischen Schnittrandgrundlinienposition und Zickzackbreite für Riegel
If the zigzag width for backtack stitches is "0", backtacking will be sewn as a straight line along the right edge of
the sewing pattern. (Figure A)
As the zigzag width for backtack stitches increases, the right edge of the backtack stitches remains aligned with
the right edge of the sewing pattern and extend to the left. (Figures B and C)
If the zigzag width for backtack stitches is set to a value which would make the backtack stitches go past the left
edge of the maximum zigzag width range, the right edge of the backtack stitches will be extended to the right of
the trimming margin base line position. (Figure D)
Falls die Zickzackbreite für Riegel auf "0" eingestellt ist, wird eine gerade Naht am rechten Rand des Nähmusters
genäht (Abbildung A).
Mit zunehmender Zickzackbreite bleibt die rechte Kante des Riegels auf die rechte Kante des Nähmusters
ausgerichtet und der Riegel dehnt sich nach links aus (Abbildungen B und C).
Falls die Zickzackbreite für Riegel auf einen Wert eingestellt wird, bei dem sich die Riegelstiche über die linke
Kante der maximalen Zickzackbreite hinaus ausdehnen, wird die rechte Kante des Riegels nach rechts über die
Schnittrandgrundlinienposition hinaus ausgedehnt (Abbildung D).
■ For 2-step zigzag and 3-step zigzag sewing
■ 2-Stufen- und 3-Stufen-Zickzacknähen
If the zigzag width for backtack stitches is different from the normal zigzag width, the stitches may look as shown
below at the point where the stitch type changes.
Falls die Zickzackbreite für die Riegel von der normalen Zickzackbreite verschieden ist, können die Stiche beim
Ändern der Stichart wie folgt aussehen.
<Example>
<Beispiel>
Point where stitch type changes
Ändern der Stichart
ABC
DEF
1361M
<Example>
<Beispiel>
Zigzag width ........................................... 3.0 mm
Trimming margin base line position .... 2.5 mm
Zickzackbreite ......................................... 3,0 mm
Schnittrandgrundlinienposition ............ 2,5 mm
Zigzag width for start backtack stitches
Zickzackbreite für Anfangsriegelstiche
Start backtack stitches
Anfangsriegelstiche
1525M
2,5mm 2,5mm 2,5mm 2,5mm
2.5mm 2.5mm 2.5mm 2.5mm
2,0mm 4,0mm 4,5mm
2.0mm 4.0mm 4.5mm
3.0mm
3,0mm 3.0mm
3,0mm 3.0mm
3,0mm 3.0mm
3,0mm
ABCD
(4.5mm)
(4,5mm) (2mm) (4.5mm)
(4,5mm) (2mm) (4.5mm)
(4,5mm) (2mm) (4.5mm)
(4,5mm) (2mm)
(2mm) (2mm) (2mm) (2mm)
Main sewing pattern
Nähmuster
Base line
Grundlinie
Max. zigzag width
maximale Zickzackbreite
Min. trimming margin
minimaler Schnittrand

122
ZE-8570,8580
7. USING THE OPERATION PANEL
7. VERWENDUNG DER BEDIENUNGSTAFEL
7. UTILISATION DU PANNEAU DE COMMANDE
7. USO DEL TABLERO DE CONTROLES
■ Relation entre la position de la ligne de base de marge de coupe et la largeur de zigzag pour les points d'arrêt
■ Relación entre la posición de la línea de base de margen de corte y ancho de zigzag para puntadas de remate
Si la largeur de zigzag pour les points d'arrêt est de "0", le point d'arrêt sera cousu en ligne droite le long du bord
droit du motif de couture (Illustration A)
Au fur et à mesure que la largeur de zigzag des points d'arrêt augmente, le bord droit des points d'arrêt reste
aligné sur le bord droit du motif de couture et s'étend vers la gauche. (Illustrations B et C)
Si la largeur de zigzag des points d'arrêt est réglée à une valeur qui ferait dépasser les points d'arrêt du bord
gauche de la plage de largeur de zigzag maximum, le bord droit des points d'arrêt sera étendu vers la droite de la
position de la ligne de base de marge de coupe. (Illustration D)
Si el ancho de zigzag para puntadas de remate es "0", el remate será cosido como una línea recta a lo largo del
borde derecho del patrón de costura. (Figura A)
A medida que el ancho de zigzag para puntadas de remate aumenta, el borde derecho de las puntadas de remate
permanecerá alineado con el borde derecho del patrón de costura y se extenderá a la izquierda. (Figuras B y C)
Si el ancho de zigzag para puntadas de remate se ajusta a un valor que hará que las puntadas de remate pasen del
borde izquierdo de un rango de ancho de zigzag máximo, el borde derecho de las puntadas de remate se extenderá
hacia la derecha de la posición de la línea de base del margen de corte. (Figura D)
■ Pour la couture en zigzag 2 pas et zigzag 3 pas
■ Para puntadas en zigzag en dos pasos y puntadas en zigzag en tres pasos
Si la largeur de zigzag pour les points d’arrêt est différente de la largeur du zigzag normal, les points pourront
ressembler à ceux représentés sur l’illustration ci-dessous au point où le type de point change.
Si el ancho de zigzag para puntadas de rematado por atrás es diferente del ancho de zigzag normal, las puntadas
pueden parecer como se indican a continuación en el lugar que se cambia de tipo de puntada.
<Exemple>
<Ejemplo> Point où le type de point change
Lugar de cambio de tipo de puntada
ABC
DEF
1361M
<Exemple>
<Ejemplo>
Largeur de zigzag ..................................................... 3,0 mm
Position de la ligne de base de marge de coupe ... 2,5 mm
Ancho de zigzag ....................................................... 3,0 mm
Posición de la línea de base de margen de corte .. 2,5 mm
Largeur de zigzag pour les points d'arrêt en début de couture
Ancho de zigzag para puntadas de remate de comienzo
Points d'arrêt en début de couture
Puntadas de remate de comienzo
1525M
2,5mm 2,5mm 2,5mm 2,5mm
2,0mm 4,0mm 4,5mm
3,0mm
3,0mm 3,0mm 3,0mm
ABCD
(4,5mm) (2mm) (4,5mm) (2mm) (4,5mm) (2mm) (4,5mm) (2mm)
Motif de couture principal
Patrón de costura principal
Ligne de base
Línea de base
Largeur de zigzag max.
Ancho de zigzag máximo Marge de coupe min.
Margen de corte mínimo

123 ZE-8570,8580
7. USING THE OPERATION PANEL
7. VERWENDUNG DER BEDIENUNGSTAFEL
7. UTILISATION DU PANNEAU DE COMMANDE
7. USO DEL TABLERO DE CONTROLES
7-8. Setting fixed stitches/name label sewing (ZE-8580, -8570-A01 only)
E = Number of fixed stitches
(✽ ✽)
F = Number of second fixed stitches (✽ ✽)
E
Start point/end point F
E = Number of fixed
stitches (✽ ✽)
The sewing machine can be stopped automatically
once the set number of stitches (✽ ✽) have been sewn.
The sewing machine can be used to attach name labels.
•At the places marked with O, the sewing machine momentarily stops in the needle
down stop position. After turning the material, depress the treadle.
(For -901 specifications, the presser foot rises at each corner.)
•If automatic thread trimming has been set, the thread is trimmed at the sewing end.
1363M
1362M
1466M
1467M
Carry out the following settings after the thread has been
trimmed (or after the treadle has been depressed back-
ward for the ZE-8570-A01).
1. Press the fixed stitch/name label key q.
The indicator w will illuminate, and AA AA will appear
on the LED display e as the current setting for the num-
ber of fixed stitch/name label stitches.
(For example, AA AA represents 20 fixed stitches.)
2. Press the 쑶 and 쑴 selection keys r to change the
setting for the number of fixed stitch/name label
stitches to between 1 and 99.
3. Press the fixed stitch/name label key q once more.
The indicator w will remain illuminated, and AA AA
will appear on the LED display e as the current setting
for the second number of fixed stitch/name label
stitches.
4. <If setting fixed stitches>
Press the 쑶 and 쑴 selection keys r to set to AA AA.
<If setting name label stitches>
Press the 쑶 and 쑴 selection keys r to set the sec-
ond number of stitches to between 1 and 99.
* When AA AA appears in the LED display e, changing
it to AA AA will set fixed stitches, and changing it to a
number other than “0” will set name label stitches.
■ Turning the fixed stitch/name label function on and off
•Carry out the following settings after the thread has been trimmed (or after the treadle has been depressed back-
ward for the ZE-8570-A01).
•The condition changes as shown below each time the fixed stitch/name label key q is pressed.
•Fixed stitch/name label sewing is carried out when the fixed stitch/name label indicator w is illuminated.
e
rwq
e
rw
q
1468M 1469M 1471M
wq
1470M
Zigzag width display, etc. Zigzag width display
Off
Number of
stitches
Number of
stitches
Illuminated Illuminated

124
ZE-8570,8580
7. USING THE OPERATION PANEL
7. VERWENDUNG DER BEDIENUNGSTAFEL
7. UTILISATION DU PANNEAU DE COMMANDE
7. USO DEL TABLERO DE CONTROLES
■ Automatic thread trimming function (ZE-8580 only)
•When setting fixed stitch/name label sewing, if the
thread trimming key r is pressed so that the indicator
t illuminates, the thread is trimmed automatically af-
ter the set number of stitches have been sewn when
the treadle is depressed continuously.
(When attaching name labels, the thread is trimmed
after each cycle.)
•When the fixed stitch/name label function is canceled,
the automatic thread trimming function is also can-
celed, and the thread trimming indicator t switches
off.
■ Automatic sewing (AUTO) function
•When setting fixed stitch/name label sewing, if the
AUTO key y is pressed so that the AUTO indicator u
illuminates, the number of setting stitches is sewn au-
tomatically simply by depressing the treadle once.
•When the fixed stitch/name label function is canceled,
the AUTO function is also canceled, and the AUTO in-
dicator u switches off.
uy
tr
<Fixed stitch sewing> <Name label sewing>
Start point/end point
(Automatic thread trimming)
F
E
F
EE
(Automatic thread timing)
<Example: Fixed stitch sewing>
Start backtack zigzag width
End backtack zigzag width
Number of start
backtack stitches
E= Number of fixed
E= stitches
Number of end
backtack stitches
1526M
1368M
1472M
1367M
■ Combining fixed stitches/name label sewing with
backtacking
The illustration shows an example of stitch combinations
using backtacking.
Note:
The set number of fixed stitches are sewn and sewing
then stops automatically, regardless of the zigzag stop
position setting.
■ Changing the setting
The memory switches can be used to change the under edge trimmer operation. (Refer to item nos. 94, 95 and 96 on
page 195.)

125 ZE-8570,8580
7. USING THE OPERATION PANEL
7. VERWENDUNG DER BEDIENUNGSTAFEL
7. UTILISATION DU PANNEAU DE COMMANDE
7. USO DEL TABLERO DE CONTROLES
Führen Sie die folgenden Einstellungen nach dem
Abschneiden des Fadens (bzw. nachdem das Pedal der
ZE-8570-A01 nach hinten gedrückt wurde).
1. Drücken Sie die Feststich/Etikettaste q.
Die Anzeige w erscheint und auf der LED-Anzeige e
blinkt AA AA, um die gegenwärtig eingestellte Stichzahl
für die Feststiche bzw. das Etikettnähen anzuzeigen.
(Zum Beispiel bedeutet die Anzeige AA AA, daß 20
Feststiche eingestellt sind.
2. Stellen Sie die Stichzahl für die Feststiche bzw. das
Etikettnähen mit den Tasten r 쑶 und 쑴 zwischen 1
und 99 ein.
3. Drücken Sie die Feststich/Etikettaste q nochmals.
Die Anzeige w leuchtet und auf der LED-Anzeige e
blinkt AA AA, um die gegenwärtig eingestellte Stichzahl
für die zweite Einstellung für Feststiche bzw. das
Etikettnähen anzuzeigen.
4. <Einstellung von Feststichen>
Stellen Sie mit den Tasten r 쑶 und 쑴 AA AA ein.
<Einstellung für Etikettnähen>
Stellen Sie die zweite Stichzahl für mit den Tasten
r 쑶 und 쑴 zwischen 1 und 99 ein.
* Wenn AA AA auf der LED-Anzeige e angezeigt wird
und AA AA eingestellt wird, so werden damit die
Feststiche eingestellt. Wenn eine andere Einstellung
als “0” gemacht wird, so wird damit das Etikettnähen
eingestellt.
7-8. Einstellen von Feststichen/Etikettnähen (nur ZE-8580, -8570-A01)
E = Anzahl von
Feststichen (✽ ✽)
F = Anzahl der zweiten Feststiche (✽ ✽)
E
Anfangs/Endpunkt F
E = Anzahl von
Feststichen (✽ ✽)
Mit der Nähmaschine können Etiketts angenäht werden.
•An den mit o bezeichneten Stellen stoppt die Maschine mit abgesenkter Nadel. Drehen Sie
das Nähgut und drücken Sie das Pedal zum Weiternähen.
(Bei der Ausführung –901 wird der Stoffdrückerfuß an jeder Ecke angehoben.)
•Falls das automatische Fadenabschneiden eingestellt ist, wird am Ende der Faden
abgeschnitten.
Die Nähmaschine stoppt automatisch,
nachdem die eingestellte Anzahl von
Feststichen (✽ ✽) genäht ist.
1363M
1362M
1466M
1467M
e
rwq
e
rw
q
1468M 1469M 1471M
wq
1470M
Anzeige der
Zickzackbreite usw. Anzeige der
Zickzackbreite
aus
Stichzahl Stichzahl
ein ein
■ Ein- und Ausschalten der Feststich/Etikettnähfunktion
•Führen Sie die folgenden Einstellungen nach dem Abschneiden des Fadens (bzw. nachdem das Pedal der ZE-
8570-A01 nach hinten gedrückt wurde).
•Die Bedienung ändert sich beim Drücken der Feststich/Etikettaste q wie folgt.
•Bei leuchtender Feststich/Etikettanzeige w werden Feststiche bzw. Etiketten genäht.

126
ZE-8570,8580
7. USING THE OPERATION PANEL
7. VERWENDUNG DER BEDIENUNGSTAFEL
7. UTILISATION DU PANNEAU DE COMMANDE
7. USO DEL TABLERO DE CONTROLES
■ Automatisches Fadenabschneiden (nur ZE-8580)
•Wenn beim Feststich/Etikettnähen die
Fadenabschneidetaste r gedrückt wird, so daß die
Anzeige t leuchtet, so wird nach dem Nähen der
eingestellten Stichzahl der Faden automatisch
abgeschnitten, wenn das Pedal gedrückt gehalten wird.
(Bei Annähen von Etiketten wird der Faden nach jedem
Vorgang abgeschnitten.)
•Wenn die Feststich/Etikettnähfunktion ausgeschaltet
wird, so wird auch das automatische
Fadenabschneiden ausgeschaltet und die Anzeige t
erlischt.
■ Automatisches Nähen (AUTO-Funktion)
•Wenn das Feststich/Etikettnähen eingeschaltet und die
AUTO-Taste y gedrückt wird, so daß die AUTO-
Anzeige u leuchtet, so wird beim Drücken des Pedals
die eingestellte Stichzahl automatisch genäht.
•Wenn die Feststich/Etikettnähfunktion ausgeschaltet
wird, so wird auch die automatische Nähfunktion
ausgeschaltet und die AUTO-Anzeige u erlischt.
<Feststichnähen> <Etikettnähen>
Anfangspunkt/Endpunkt
(automatisches Fadenabschneiden)
F
E
F
EE
(automatisches
Fadenabschneiden)
<Beispiel: Feststichnähen>
Anfangsriegelzickzackbreite
Endriegelzickzackbreite
Anfangsriegelstichzahl
E = Feststichzahl
Endriegelstichzahl
■ Kombinieren von Feststich/Etikettnähen und
Riegelnähen
In der Abbildung ist ein Beispiel einer Naht mit Riegeln
gezeigt.
Hinweis:
Nach dem Nähen der eingestellten Stichzahl stoppt die
Nähmaschine automatisch, ganz unabhängig von der
Einstellung der Zickzackstopposition.
1526M
1368M
1472M
1367M
uy
tr
■ Ändern der Einstellung
Der Unterkantenabschneiderbetrieb kann mit den Speicherschaltern eingestellt werden. (Siehe Nr. 94, 95 und 96 auf
Seite 199.)

127 ZE-8570,8580
7. USING THE OPERATION PANEL
7. VERWENDUNG DER BEDIENUNGSTAFEL
7. UTILISATION DU PANNEAU DE COMMANDE
7. USO DEL TABLERO DE CONTROLES
Effectuer les réglages suivants après la coupe des fils (ou
après qu’on ait enfoncé la pédale vers l’arrière pour le
modèle ZE-8570-A01).
1. Appuyer sur la touche de point fixe/étiquette de nom
q.
Le témoin w s’allume, et AA AA apparaît sur l’affichage
LED e pour indiquer le réglage actuel du nombre de
points pour le point fixe/étiquette de nom.
(Par exemple, AA AA représente 20 points fixes.)
2. Appuyer sur les touches de sélection 쑶 et 쑴 r pour
faire passer le réglage du nombre de points pour le
point fixe/étiquette de nom à une valeur comprise en-
tre 1 et 99.
3. Appuyer à nouveau sur la touche de point fixe/étiquette
de nom q.
Le témoin w reste allumé, et AA AA apparaît sur
l’affichage LED e pour indiquer le réglage actuel du
second nombre de points pour le point fixe/étiquette
de nom.
4. <Si l’on règle les points fixes>
Appuyer sur les touches de sélection 쑶 et 쑴 r pour
passer à AA AA.
<Si l’on règle les points d’étiquette de nom>
Appuyer sur les touches de sélection 쑶 et 쑴 r pour
régler le second nombre de points entre 1 et 99.
* Lorsque l’indication AA AA apparaît sur l’affichage LED
e, si on la fait passer à AA AA les points fixes seront
réglés, et si on la fait passer à un nombre autre que 0
les points d’étiquette de nom seront réglés.
7-8. Réglage de la couture des point fixe/étiquette de nom (ZE-8580, -8570-A01
seulement)
E = Nombre de
points fixes (✽ ✽)
F = Nombre de seconds points fixes (✽ ✽)
E
Point de début/point de fin F
E = Nombre de points
fixes (✽ ✽)
Une fois que le nombre réglé de points (✽ ✽) a été
cousu, la machine à coudre peut être arrêtée
automatiquement.
La machine à coudre peut être utilisée pour fixer des étiquettes de nom.
•Aux endroits marqués d’un O, la machine à coudre s’arrête momentanément à la
position d’arrêt inférieur de l’aiguille. Après avoir tourné le tissu, appuyer sur la
pédale.
(Pour les spécifications -901, le pied presseur s’élève à chaque coin.)
•Si la coupe automatique des fils a été établie, le fil sera coupé en fin de couture.
1363M1362M
1466M
1467M
e
rwq
e
rw
q
1468M 1469M 1471M
wq
1470M
Affichage de la largeur de
zigzag, etc. Affichage de la
largeur de zigzag
Eteint
Nombre de
points Nombre de
points
AlluméAllumé
■ Mise en et hors circuit de la fonction de point fixe/étiquette de nom
•Effectuer les réglages suivants après la coupe des fils (ou après qu’on ait enfoncé la pédale vers l’arrière pour le
modèle ZE-8570-A01).
•A chaque pression sur la touche de point fixe/étiquette de nom q, l’état change comme indiqué ci-dessous.
•La couture de point fixe/étiquette de nom est effectuée quand le témoin de point fixe/étiquette de nom w est allumé.

128
ZE-8570,8580
7. USING THE OPERATION PANEL
7. VERWENDUNG DER BEDIENUNGSTAFEL
7. UTILISATION DU PANNEAU DE COMMANDE
7. USO DEL TABLERO DE CONTROLES
■Fonction de coupe automatique des fils (ZE-8580
seulement)
•Lorsqu’on règle la couture de point fixe/étiquette de
nom, si l’on appuie sur la touche de coupe des fils r
de manière que le témoin t s’allume, le fil sera coupé
automatiquement après que le nombre réglé de points
aura été cousu lorsqu’on maintient la pédale enfoncée.
(Lorsqu’on fixe des étiquettes de nom, le fil est coupé
après chaque cycle.)
•Lorsqu’on annule la fonction de point fixe/étiquette de
nom, la fonction de coupe automatique des fils sera
aussi annulée, et le témoin de coupe des fils t
s’éteindra alors.
■ Fonction de couture automatique (AUTO)
•Lorsqu’on règle la couture de point fixe/étiquette de
nom, si l’on appuie sur la touche AUTO y de manière
que le témoin AUTO u s’allume, le nombre de points
réglé sera cousu automatiquement en appuyant
simplement une fois sur la pédale.
•Lorsqu’on annule la fonction de point fixe/étiquette de
nom, la fonction AUTO sera aussi annulée, et le témoin
AUTO u s’éteindra alors.
<Couture de points fixes>
<Couture d’étiquettes de nom>
Point de début/point de fin (coupe
automatique des fils)
F
E
F
EE
(Coupe automatique des fils)
<Exemple: Couture de points fixes>
Largeur de zigzag de point
d’arrêt en début de couture
Largeur de zigzag de point
d’arrêt en fin de couture
Nombre de points
d’arrêt en début de couture
E = Nombre de points fixes
Nombre de points
d’arrêt en fin de couture
■ Combinaison de la couture de points fixes/étiquette
de nom avec le point d’arrêt
L’illustration donne un exemple de combinaisons de points
en utilisant le point d’arrêt.
Remarque:
Le nombre réglé de points fixes est cousu et leur cou-
ture s’arrête automatiquement, et ce quel que soit le
réglage de la position d’arrêt de zigzag.
1526M
1368M
1472M
1367M
uy
tr
■ Changement du réglage
Les interrupteurs de mémoire peuvent être utilisés pour changer le fonctionnement du couteau sous bord. (Se reporter
aux éléments n° 94, 95 et 96 à la page 203.)

129 ZE-8570,8580
7. USING THE OPERATION PANEL
7. VERWENDUNG DER BEDIENUNGSTAFEL
7. UTILISATION DU PANNEAU DE COMMANDE
7. USO DEL TABLERO DE CONTROLES
7-8. Ajuste de la costura de puntadas fijas/etiquetas (sólo ZE-8580, -8570-A01)
E = Número de
puntadas fijas (✽ ✽)
F = Número de segundas puntadas fijas (✽ ✽)
E
Punto de inicio/punto final F
La máquina de coser puede ser parada
automáticamente una vez que el número ajustado de
puntadas (✽ ✽) ha sido cosido.
La máquina de coser puede ser usada para colocar etiquetas.
•En los lugares marcados con O, la máquina de coser se para momentáneamente en
la posición de parada con la aguja abajo. Después de girar el material, presionar el
pedal.
(Para especificaciones -901, el prensatelas se levanta en cada esquina.)
•Si el corte de hilo automático haya sido ajustado, el hilo será cortado al final de la
costura.
1363M1362M
1466M
1467M
Realizar los siguientes ajustes después que el hilo haya
sido cortado (o después de pisar el pedal hacia atrás para
la ZE-8570-A01).
1. Presionar la tecla de puntadas fijas/etiquetas q.
El indicador w se encenderá, y AA AA aparecerá en la
exhibición LED e como el ajuste actual para el número
de puntadas fijas/etiquetas.
(Por ejemplo, AA AA representa 20 puntadas fijas.)
2. Presionar las teclas 쑶 y 쑴 r para cambiar el ajuste
para el número de puntadas fijas/etiquetas entre 1 y
99.
3. Presionar la tecla de puntadas fijas/etiquetas q una
vez más.
El indicador w permanecerá encendido, y AA AA
aparecerá en la exhibición LED e como el ajuste ac-
tual para el segundo número de puntadas fijas/
etiquetas.
4. <Al ajustar las puntadas fijas>
Presionar las teclas 쑶 y 쑴 r para ajustada a AA AA.
<Al ajustar las puntadas de etiquetas>
Presionar las teclas 쑶 y 쑴 r para ajustar el
segundo número de puntadas entre 1 y 99.
* Cuando AA AA aparece en la exhibición LED e, al
cambiarlo a AA AA se ajustarán las puntadas fijas, y al
cambiarlo a un número diferente de “0” se ajustarán
las puntadas de etiquetas.
■ Activando y desactivando la función de puntadas fijas/etiquetas
•Realizar los siguientes ajustes después que el hilo haya sido cortado (o después de pisar el pedal hacia atrás para la
ZE-8570-A01).
•La condición cambia tal como se indica a continuación cada vez que se presiona la tecla de puntadas fijas/etiquetas
q.
•Costura de puntadas fijas/etiquetas se realiza cuando indicador de puntadas fijas/etiquetas w se enciende.
e
rwq
e
rw
q
1468M 1469M 1471M
wq
1470M
Exhibición de ancho de
zigzag, etc. Exhibición de ancho
de zigzag
Apagado
Número de
puntadas Número de
puntadas
Encendido Encendido
E = Número de
puntadas fijas (✽ ✽)

130
ZE-8570,8580
7. USING THE OPERATION PANEL
7. VERWENDUNG DER BEDIENUNGSTAFEL
7. UTILISATION DU PANNEAU DE COMMANDE
7. USO DEL TABLERO DE CONTROLES
■ Función de corte de hilo automático (sólo ZE-8580)
•Cuando se ajusta la costura de puntadas fijas/etiquetas,
si se presiona la tecla del cortahilos r de manera que
el indicador t se enciende, el hilo será cortado
automáticamente después que el número ajustado de
puntadas ha sido cosido cuando se pisa el pedal
continuamente.
(Cuando se colocan etiquetas, el hilo será cortado
después cada ciclo.)
•Cuando la función de puntadas fijas/etiquetas es
cancelada, la función de corte de hilo automático
también se cancela, y el indicador de corte de hilo t
se apaga.
■ Función de costura automática (AUTO)
•Cuando se ajusta la costura de puntadas fijas/etiquetas,
si se presiona la tecla AUTO y de manera que el
indicador AUTO u se encienda, el número de puntadas
ajustadas se cose automáticamente simplemente
presionando el pedal una vez.
•Cuando la función de puntadas fijas/etiquetas es
cancelada, la función AUTO también se cancela, y el
indicador AUTO u se apaga.
<Costura de puntadas fijas> <Costura de etiquetas>
Punto de inicio/punto final (Corte de hilo
automático)
F
E
F
EE
(Sincronización automática del hilo)
<Por ejemplo: Costura de puntadas fijas>
Ancho de zigzag de
rematado por atrás inicial
Ancho de zigzag de
rematado por atrás final
Número de puntadas
de rematado por atrás
inicial
E = Número de
puntadas fijas
Número de puntadas
de rematado por atrás
final
■ Combinación de costura de puntadas fijas/etiquetas
con rematado por atrás
La figura muestra un ejemplo de combinaciones de
puntadas usando rematado por atrás.
Nota:
El número ajustado de puntadas fijas son cosidas y
luego se detiene automáticamente la costura, sin tener
en cuenta el ajuste de posición de parada de la puntada
de zigzag.
1526M
1368M
1472M
1367M
uy
tr
■ Cambio del ajuste
Los interruptores de memoria pueden ser usados para cambiar el funcionamiento del cortador de borde inferior. (Consulte
los items no. 94, 95 y 96 en la página 207.)

131 ZE-8570,8580
7. USING THE OPERATION PANEL
7. VERWENDUNG DER BEDIENUNGSTAFEL
7. UTILISATION DU PANNEAU DE COMMANDE
7. USO DEL TABLERO DE CONTROLES
■ Settings and operation for backtack, fixed stitch and automatic thread trimming
(B, E and C are the number of stitches. The following examples are for when A=0 and D=0.)
■ Einstellen und Nähen von Riegeln und Feststichen und automatisches Fadenabschneiden
(B, E und C sind Stichzahlen. Die folgenden Beispiele sind für A=0 und D=0.)
■ Réglages et utilisation du point d’arrêt, du point fixe et de la coupe automatique des fils
(B, E et C sont le nombre de points. Les exemples suivants correspondent aux cas où A=0 et D=0.)
■ Ajustes y funcionamiento para rematado por atrás, puntadas fijas y corte de hilo automático
(B, E y C son los números de puntadas. Los siguientes ejemplos son para cuando A=0 y D=0.)
B
C
B
E
C
B
C
E
B
C
B
C
E
E
B
E
E
C
E
E
Normal sewing
Normales Nähen
Couture normale
Costura normal
Start backtacking
Anfangsriegel
Point d’arrêt en début de couture
Rematado por atrás inicial
End backtacking
Endriegel
Point d’arrêt en fin de couture
Rematado por atrás final
Start and end backtacking
Anfangs- und Endriegel
Point d’arrêt en début et en fin de couture
Rematado por atrás inicial y final
When the treadle is depressed backward, the thread is trimmed.
Beim Zurückdrücken des Pedals wird der Faden abgeschnitten.
Lorsqu’on appuie sur la pédale vers l’arrière, le fil est coupé.
Cuando el pedal es pisado hacia atrás, el hilo será cortado.
When the treadle is depressed backward, the thread is trimmed after end
backtack stitches are sewn.
Beim Zurückdrücken des Pedals wird ein Endriegel genäht und danach
wird der Faden abgeschnitten.
Lorsqu’on appuie sur la pédale vers l’arrière, le fil est coupé après que les
points d’arrêt en fin de couture ont été cousus.
Cuando el pedal es pisado hacia atrás, el hilo será cortado después que
las puntadas de rematado por atrás final son cosidas.
Fixed stitches
Feststiche
Points fixes
Puntadas fijas
Fixed stitches with start backtacking
Feststiche mit Anfangsriegel
Points fixes avec point d’arrêt en
début de couture
Puntadas fijas con rematado por
atrás inicial
Fixed stitches with end backtacking
Feststiche mit Endriegel
Points fixes avec point d’arrêt en fin
de couture
Puntadas fijas con rematado por
atrás final
When the treadle is depressed continuously (or once if the AUTO function is on), sewing continues automatically until thread trimming and then stops.
Wenn das Pedal gedrückt gehalten wird (oder bei eingeschalteter automatischer Nähfunktion) wird das Nähen fortgesetzt, der Faden wird abgeschnitten
und die Nähmaschine stoppt.
Lorsqu’on maintient la pédale enfoncée (ou si l’on appuie une fois sur la pédale si la fonction AUTO est activée), la couture continue automatiquement
jusqu’à ce que les fils soient coupés, puis la couture s’arrête.
Cuando se pisa el pedal continuamente (o una vez si la función AUTO está activada), la costura continúa automáticamente hasta el corte de hilo y luego
se detiene.
Fixed stitches with start and end
backtacking
Feststiche mit Anfangs- und
Endriegel
Points fixes avec point d’arrêt en
début et en fin de couture
Puntadas fijas con rematado por
atrás inicial y final
When the treadle is depressed continuously, the fixed stitches are sewn and
operation then stops.
When the treadle is depressed backward, the thread is trimmed.
Wenn das Pedal gedrückt gehalten wird, so werden die eingestellten Feststiche
genäht und danach stoppt die Nähmaschine.
Wenn das Pedal nach hinten gedrückt wird, so wird der Faden abgeschnitten.
Lorsqu’on maintient la pédale enfoncée, les points fixes sont cousus puis la
couture s’arrête.
Lorsqu’on appuie sur la pédale vers l’arrière, le fil est coupé.
Cuando se pisa el pedal continuamente, las puntadas fijas son cosidas y luego
se para.
Cuando el pedal es pisado hacia atrás, el hilo será cortado.
Fixed stitches
(Automatic thread trimming)
Feststiche
(automatisches Fadenabschneiden)
Points fixes
(coupe automatique des fils)
Puntadas fijas
(Corte de hilo automático)
Fixed stitches with start backtacking
(Automatic thread trimming)
Feststiche mit Anfangsriegel
(automatisches Fadenabschneiden)
Points fixes avec point d’arrêt en début
de couture (coupe automatique des fils)
Puntadas fijas con rematado por atrás
inicial (Corte de hilo automático)
Fixed stitches with end backtacking
(Automatic thread trimming)
Feststiche mit Endriegel
(automatisches Fadenabschneiden)
Points fixes avec point d’arrêt en fin de
couture (coupe automatique des fils)
Puntadas fijas con rematado por atrás
final (El corte de hilo automático)
Fixed stitches with start and end
backtacking (Automatic thread trimming)
Feststiche mit Anfangs- und Endriegel
(automatisches Fadenabschneiden)
Points fixes avec point d’arrêt en début et en
fin de couture (coupe automatique des fils)
Puntadas fijas con rematado por atrás
inicial y final (Corte de hilo automático)
When the treadle is depressed continuously, the fixed stitches are sewn
and operation then stops.
When the treadle is depressed backward, the thread is trimmed after end
backtack stitches are sewn.
Wenn das Pedal gedrückt gehalten wird, so werden die eingestellten
Feststiche genäht und danach stoppt die Nähmaschine.
Wenn das Pedal nach hinten gedrückt wird, so wird ein Endriegel genäht
und danach wird der Faden abgeschnitten.
Lorsqu’on maintient la pédale enfoncée, les points fixes sont cousus puis
la couture s’arrête.
Lorsqu’on appuie sur la pédale vers l’arrière, le fil est coupé après que
les points d’arrêt en fin de couture ont été cousus.
Cuando se pisa el pedal continuamente, las puntadas fijas son cosidas y
luego se para.
Cuando el pedal es pisado hacia atrás, el hilo será cortado después que
las puntadas de rematado por atrás final son cosidas.
1373M
1372M1371M
1370M
1377M
1376M
1375M
1374M
1381M
1380M1379M
1378M

132
ZE-8570,8580
7. USING THE OPERATION PANEL
7. VERWENDUNG DER BEDIENUNGSTAFEL
7. UTILISATION DU PANNEAU DE COMMANDE
7. USO DEL TABLERO DE CONTROLES
•If the number of stitches for section A is set to a value other than "0", the start backtack stitches can be used as
return backtacking.
•If the number of stitches for section D is set to a value other than "0", the end backtack stitches can be used as
return backtacking.
•Falls die Stichzahl für den Teil A auf einen anderen Wert als "0" eingestellt ist, kann der Anfangsriegel als
Umkehrriegel verwendet werden.
•Falls die Stichzahl für den Teil D auf einen anderen Wert als "0" eingestellt ist, kann der Endriegel als Umkehrriegel
verwendet werden.
•Si le nombre de points pour la section A est réglé à une valeur autre que "0", les points d'arrêt en début de couture
peuvent être utilisés comme points d'arrêt de retour.
•Si le nombre de points pour la section D est réglé à une valeur autre que "0", les points d'arrêt en début de couture
peuvent être utilisés comme points d'arrêt de retour.
•Si se ajusta a un valor diferente de "0" el número de puntadas para la sección A, las puntadas de rematado por
atrás inicial pueden ser usadas como rematado por atrás de retorno.
•Si se ajusta a un valor diferente de "0" el número de puntadas para la sección D, el rematado por atrás final
pueden ser usado como rematado por atrás de retorno.
7-9. Operation panel key locking method
7-9. Bedienungsfeld-Tastensperre
7-9. Méthode de verrouillage des touches du panneau de commande
7-9. Método de bloqueo del teclado del panel de control
•This procedure disables key entry using the operation panel, in order to prevent settings from being changed accidentally.
•Die Tasteneingabe über das Bedienungsfeld kann gesperrt werden, um zu verhindern, daß sich die Einstellungen
unabsichtlich ändern können.
•Cette procédure désactive l'entrée par touches à partir du panneau de commande, afin d'empêcher que les réglages
soient changés accidentellement.
•Este procedimiento desactiva el uso del teclado del panel de control, de manera de evitar que los ajustes sean
cambiados accidentalmente.
q
w
1473M
Press and hold the LOCK key q for 2 seconds or more.
•The indicator w illuminates and the key locking func-
tion is activated.
•Key entry operations using the operation panel are dis-
abled while the indicator w is illuminated.
(However, the start backtack key, end backtack key, half
stitch key, TEST key, counter 쑶쑴 keys and counter re-
set key still operate.)
Canceling the lock:
Press the LOCK key q for 2 seconds or more while the
indicator w is illuminated. The indicator w will switch off
and operation panel key entry will be enabled again.
Halten Sie die LOCK-Taste q für mindestens 2 Sekunden gedrückt.
•Die Anzeige w leuchtet und die Tastenverriegelung ist eingeschaltet.
•Bei leuchtender Anzeige w ist keine Eingabe mit den Tasten möglich.
(Die Anfangsriegeltaste, die Endriegeltaste, die Halbstichtaste, die TEST-Taste, die Zählertasten 쑶쑴 und die
Zählerrückstelltaste sind jedoch immer noch funktionsfähig.)
Aufheben der Verriegelung:
Halten Sie die LOCK-Taste q bei leuchtender Anzeige w für mindestens 2 Sekunden gedrückt. Die Anzeige w erlischt
und die Eingabe mit den Tasten des Bedienungsfelds ist wieder möglich.
Maintenez la touche LOCK q enfoncée pendant deux secondes ou plus.
•Le témoin w s'allume et la fonction de verrouillage des touches est activée.
•Les opérations d'entrée par touches en utilisant le panneau de commande sont désactivées pendant que le témoin
w est allumé.
(Toutefois, la touche de points d'arrêt en début de couture, la touche de points d'arrêt en fin de couture, la touche de demi-
points, la touche TEST, les touches de compteur 쑶쑴 et la touche de remise à zéro du compteur sont toujours utilisables.)
Annulation du verrouillage:
Appuyer sur la touche LOCK q pendant deux secondes ou plus pendant que le témoin w est allumé. Le témoin w
s'éteint et l'entrée par touches du panneau de commande est à nouveau activée.
Presionar y sostener la tecla LOCK q durante 2 segundos o más.
•El indicador w se enciende y se activa la función de bloqueo del teclado.
•El uso de las teclas del panel de control no será posible mientras el indicador w está encendido.
(Sin embargo, la tecla de rematado por atrás inicial, tecla de rematado por atrás final, tecla de media puntada, tecla
TEST, teclas de contador 쑶쑴 y tecla de reposición del contador funcionarán.)
Cancelando el bloqueo:
Presionar la tecla LOCK q durante 2 segundos o más mientras el indicador w está encendido. El indicador w se
apagará y se podrán volver a usar las teclas del panel de control.

133 ZE-8570,8580
8. Using the lower thread counter
8. Verwendung des Unterfadenzählers
8. Utilisation du compteur de fil inférieur
8. Uso del contador del hilo inferior
8. Using the lower thread counter
8. Verwendung des Unterfadenzählers
8. Utilisation du compteur de fil inférieur
8. Uso del contador del hilo inferior
•The lower thread counter can be used to let you know approximately how much lower thread is remaining.
•The value displayed by the lower thread counter display is reduced by 1 from the initial setting value each time
the sewing machine sews 10 stitches, and a warning is given when the counter reaches zero ("0")
•Der Unterfadenzähler gibt Aufschluss über die ungefähre Menge des verbleibenden Unterfadens.
•Der angezeigte Wert des Unterfadenzählers verringert sich, nach dem Nähen von jeweils 10 Stichen um 1 und
wenn die Anzeige Null ("0") erreicht ist ertönt ein Warnsignal.
•Le compteur de fil inférieur peut être utilisé pour indiquer quelle est la quantité approximative de fil restant.
•La valeur apparaissant sur l'affichage du compteur de fil inférieur diminue d'une unité par rapport à la valeur du
réglage initial à chaque fois que la machine coud dix points, et une alarme est produite lorsque le compteur
atteint la valeur zéro ("0").
•El contador del hilo inferior puede ser usado para permitirle saber aproximadamente cuanto hilo inferior hay
restante.
•El valor exhibido en la exhibición de contador de hilo inferior se reduce en 1 desde el valor de ajuste inicial cada
vez que la máquina de coser cose 10 puntadas, y habrá una advertencia cuando el contador llegue a cero ("0").
q
e
w
1474M
■ Initial value setting
1. Press and hold the counter reset key q for 2 seconds
or more.
After about 2 seconds, the buzzer will sound and the
lower thread counter display w will show the initial
value which was set previously.
2. Use the counter 쑶쑴 keys e to set the initial value.
•If you hold down the keys e, the setting will change
more quickly.
•If a value of "0" is set, the lower thread counter will
not operate.
•The initial setting value will be accepted when sew-
ing starts.
■ Anfangseinstellung
1. Halten Sie die Zählerrückstelltaste q für mindestens 2 Sekunden gedrückt.
Nach ungefähr 2 Sekunden ertönt ein akustisches Signal und auf dem Unterfadenzähler w wird wieder der
anfängliche Wert angezeigt, der zuvor eingestellt war.
2. Stellen Sie den anfänglichen Wert mit den Zählertasten 쑶쑴e ein.
•Wenn die Taste e gedrückt gehalten wird, beginnt die Anzeige zu laufen.
•Wenn der Wert "0" erreicht, funktioniert der Unterfadenzähler nicht.
•Der anfängliche Einstellwert wird beim Nähbeginn festlegt.
■ Réglage de la valeur initiale
1. Maintenir enfoncée la touche de remise à zéro du compteur q pendant 2 secondes ou plus.
Environ 2 secondes plus tard, le ronfleur sonne et l'affichage du compteur de fil inférieur w indique la valeur
initiale qui a été réglée précédemment.
2. Utiliser les touches de compteur 쑶쑴e pour régler la valeur initiale.
•Si l'on maintient les touches e enfoncées, le réglage change plus rapidement.
•Si la valeur "0" est réglée, le compteur de fil inférieur ne fonctionne pas.
•La valeur du réglage initial est acceptée lorsque la couture démarre.
■ Ajuste de valor inicial
1. Mantener presionada la tecla de reposición del contador q durante 2 segundos o más.
Después de aproximadamente 2 segundos, el zumbador sonará y la exhibición de contador de hilo inferior w
mostrará el valor inicial que había sido ajustado previamente.
2. Use las teclas de contador 쑶쑴 e para ajustar el valor inicial.
•Si se mantiene presionadas las teclas e, el ajuste cambiará más rápidamente.
•Si se ajusta un valor "0", el contador del hilo inferior no funcionará.
•El valor de ajuste inicial será aceptado cuando comience la costura.

134
ZE-8570,8580
8. Using the lower thread counter
8. Verwendung des Unterfadenzählers
8. Utilisation du compteur de fil inférieur
8. Uso del contador del hilo inferior
1475M
Reduces by 1 for every 10 stitches sewn
Nimmt bei jeweils 10 Stichen um 1 ab.
Diminue d'une unité chaque fois que 10
points sont cousus.
Se reduce en 1 para cada 10 puntadas
cosidas
Warning operation
Warnung
Opération d'alarme
Funcionamiento de advertencia
Reset after lower thread bobbin is replaced
Zurückstellung bei Auswechseln der Unterfadenspule
Effectuer la remise à zéro après avoir remplacé la canette de fil inférieur.
Reponer después de cambiar la bobina de hilo inferior
■ Lower thread counter operation
•When sewing is carried out, the setting shown in the lower thread counter display is reduced by 1 for every 10
stitches sewn.
(After the setting reaches zero ("0"), a minus sign appears and counting continues to a maximum of "-999".)
•When the setting reaches zero ("0"), the lower thread counter display flashes and a buzzer sounds for 10 seconds.
•If you depress the treadle backward while the lower thread counter display is showing a setting of less than zero, the
sewing machine will stop working. (You will need to reset the lower thread counter.)
■ Unterfadenzählerbetrieb
•Beim Nähen verringert sich die Anzeige des Unterfadenzählers um 1, wenn jeweils 10 Stiche genäht werden.
(Beim Erreichen von Null ("0") erscheint ein Minuszeichen und das Zählen wird bis maximal "-999" fortgesetzt.)
•Beim Erreichen von Null ("0") blinkt die Unterfadenzähleranzeige und ein akustisches Signal ertönt für 10 Sekunden.
•Falls das Pedal bei einer negativen Unterfadenzähleranzeige nach hinten gedrückt wird, so wird der Betrieb der
Nähmaschine unterbrochen. (Der Unterfadenzähler muß in diesem Fall zurückgestellt werden.)
■ Fonctionnement du compteur de fil inférieur
•Lorsque la couture est effectuée, le réglage apparaissant sur l'affichage du compteur de fil inférieur diminue d'une
unité chaque fois que 10 points sont cousus.
(Après que le réglage atteint zéro ("0"), un signe moins apparaît et le compte continue jusqu'à "-999" au maximum.)
•Lorsque le réglage atteint zéro ("0"), l'affichage du compteur de fil inférieur clignote et un ronfleur sonne pendant 10
secondes.
•Si l'on enfonce la pédale vers l'arrière pendant que l'affichage du compteur de fil inférieur montre une valeur inférieure
à zéro, la machine à coudre arrête de fonctionner. (Il faut alors remettre le compteur de fil inférieur à zéro.)
■ Funcionamiento del contador de hilo inferior
•Cuando se realiza la costura, el ajuste mostrado en la exhibición de contador de hilo inferior se reduce en 1 para
cada 10 puntadas cosidas.
(Después que el ajuste llega a cero ("0"), aparecerá un signo de menos y el conteo continuará a un máximo de "-
999".)
•Cuando el ajuste llega a cero ("0"), la exhibición de contador de hilo inferior destella y suena un zumbador durante
10 segundos.
•Si se presiona el pedal hacia atrás mientras la exhibición de contador de hilo inferior está mostrando un ajuste de
menos de cero, la máquina de coser dejará de funcionar. (Se deberá reponer el contador del hilo inferior.)
Initial value
anfängliche Wert
Valeur initiale
Valor inicial

135 ZE-8570,8580
8. Using the lower thread counter
8. Verwendung des Unterfadenzählers
8. Utilisation du compteur de fil inférieur
8. Uso del contador del hilo inferior
w
q
e
1476M
■ Resetting the lower thread counter
1. When the lower thread counter display w is flashing
(warning operation), press the counter reset key q.
•The lower thread counter display w will stop flash-
ing and the initial setting value will appear.
•If the buzzer is sounding, it will stop and the sewing
machine can then be started again.
2. To change the initial value, use the counter 쑶쑴 keys
e to change the setting.
* If you would like to reset the lower thread counter dis-
play w to the initial value before it has gone below
zero, press the counter reset key q for 2 seconds or
more.
■ Zurückstellendes Unterfadenzählers
1. Drücken Sie bei blinkender Unterfadenanzeige w (Warnung) die Zählerrückstelltaste q.
•Die Unterfadenzähleranzeige w hört auf zu blinken und der anfängliche Einstellwert erscheint.
•Das akustische Warnsignal wird ausgeschaltet und die Nähmaschine kann wieder in Betrieb genommen werden.
2. Verwenden Sie die Zählertasten 쑶쑴 e, um den anfänglichen Wert einzustellen.
* Um die Unterfadenzähleranzeige w nach dem Erreichen von Null zurückzustellen, können Sie die Zählerrückstelltaste
q für mindestens 2 Sekunden gedrückt halten.
■ Remise à zéro du compteur de fil inférieur
1. Lorsque l'affichage du compteur de fil inférieur w clignote (opération d'alarme), appuyer sur la touche de remise à
zéro du compteur q.
•L'affichage du compteur de fil inférieur w arrête de clignoter et la valeur du réglage initiale apparaît.
•Si le ronfleur sonne, il s'arrêtera et la machine à coudre pourra alors être redémarrée.
2. Pour changer le réglage initial, utiliser les touches de compteur 쑶쑴 e pour changer le réglage.
* Si l'on veut remettre l'affichage du compteur de fil inférieur w à la valeur initiale avant qu'il indique une valeur
inférieure à zéro, appuyer sur la touche de remise à zéro du compteur q pendant 2 secondes ou plus.
■ Reponiendo el contador del hilo inferior
1. Cuando la exhibición de contador de hilo inferior w destella (funcionamiento de advertencia), presione la tecla de
reposición del contador q.
•La exhibición de contador de hilo inferior w dejará de destellar y aparecerá el valor de ajuste inicial.
•Si el zumbador está sonando, dejará de hacerlo y la máquina de coser podrá ser vuelta a usar.
2. Para cambiar el valor inicial, usar las teclas de contador 쑶쑴 e para cambiar el ajuste.
* Si quisiera reponer la exhibición de contador de hilo inferior w al valor inicial antes de que haya bajado por debajo
de cero, presione la tecla de reposición del contador q durante 2 segundos o más.

136
ZE-8570,8580
9. SEWING
9. NÄHEN
9. COUTURE
9. COSTURA
Attach all safety devices before using the sewing machine. If the machine is used without these devices
attached, injury may result.
Turn off the power switch at the following times, otherwise the machine may operate if the treadle is pressed
by mistake, which could result in injury.
•When threading the needle
•When replacing the needle and bobbin
•When not using the machine and when leaving the machine unattended
Do not touch any of the moving parts or place any objects against the machine while sewing, as this may
result in personal injury or damage to the machine.
For machines with automatic presser lifter, do not touch the solenoid section, otherwise burns may result.
Vor Inbetriebnahme müssen alle Sicherheitsvorrichtungen angebracht werden.
Beim Betrieb ohne Sicherheitsvorrichtungen können Verletzungen verursacht werden.
Schalten Sie den Netzschalter der Maschine unter den folgenden Bedingungen aus, weil sonst durch eine
unbeabsichtigte Betätigung des Pedals die Maschine in Gang gesetzt und Verletzungen verursachen kann.
•Zum Einfädeln der Nadel
•Zum Auswechseln der Nadel und der Spule
•Wenn die Maschine nicht verwendet wird oder unbeaufsichtigt ist
Berühren Sie beim Nähen keine sich bewegenden Teile und halten Sie auch keine Gegenstände an solche
Teile, weil Sie sich verletzen können und die Nähmaschine beschädigt werden kann.
Bei Maschinen mit einem automatischen Stoffdrückerfuß dürfen Sie den Teil mit dem Solenoid nicht berühren,
weil Verbrennungsgefahr besteht.
Fixer tous les dispositifs de sécurité avant d’utiliser la machine à coudre. Si on utilise la machine sans avoir
d’abord fixé ces dispositifs, on risquera de se blesser.
Mettre I’interrupteur d’alimentation en position d’arrêt aux moments suivants, sinon la machine risquera de
se mettre en marche si on enfonce accidentellement la pédale, et donc de causer des blessures.
•Lors de l’enfilage de I’aiguille
•Lors du remplacement de I’aiguille et de la canette
•Lorsqu’on n’utilise pas la machine et lorsqu’on laisse la machine sans surveillance
Ne toucher aucune des parties mobiles ni ne placer aucun objet contre la machine lors de la couture, sinon on
risquera de se blesser ou d’endommager la machine.
Pour les machines équipées d’un releveur de pied presseur automatique, ne pas toucher la section du solénoïde,
sinon on risquera de se brûler.
Instalar todos los dispositivos de seguridad antes de usar la máquina de coser. Si la máquina de coser se usa
sin los dispositivos de seguridad podría resultar herido.
Desconectar el interruptor principal en los siguientes casos, de lo contrario la máquina podría comenzar a
funcionar si por descuido se pisara el pedal, lo que podría resultar en heridas.
•Al enhebrar la aguja
•Al cambiar la aguja o la bobina
•Al no usar la máquina y alejarse de ella dejándola sin cuidado
No tocar ninguna de las piezas móviles o colocar ningún objeto sobre la máquina al coser, pues podría resultar
en heridas o la máquina podría resultar dañada.
Para máquinas con levantador automático de prensatelas, no tocar la sección del solenoide, de lo contrario se
podría quemar.
9. SEWING
9. NÄHEN
9. COUTURE
9. COSTURA
CAUTION/ACHTUNG/ATTENTION/ATENCION

137 ZE-8570,8580
9. SEWING
9. NÄHEN
9. COUTURE
9. COSTURA
9-1. Sewing
9-1. Nähen
9-1. Couture
9-1. Costura
1. Turn on the power switch. (Refer to page 39.)
2. Make any necessary settings such as the sewing pat-
tern and zigzag width using the operation panel. (Re-
fer to page 75.)
3. Set the stitch length using the feed adjustment dial.
(Refer to page 55.)
4. Depress the treadle to start sewing.
1. Schalten Sie den Netzschalter ein. (Siehe Seite 39.)
2. Führen Sie alle notwendigen Einstellungen, wie das
Stichmuster und die Zickzackbreite mit Hilfe des
Bedienungsfeldes aus. (Siehe Seite 75.)
3. Stellen Sie die Stichlänge mit der Transporteinstellscheibe
ein. (Siehe Seite 55.)
4. Drücken Sie das Pedal, um mit dem Nähen zu
beginnen.
1. Mettre I’interrupteur d’alimentation sur la position de
marche. (Se reporter à la page 39.)
2. Effectuer les réglages nécessaires tels que le motif de
couture et la largeur de zigzag à l’aide du panneau de
commande. (Se reporter à la page 75.)
3. Régler la longueur de point à l’aide de la molette de
réglage d’entraînement. (Se reporter à la page 55.)
4. Enfoncer la pédale pour enclencher la couture.
1. Conectar el interruptor principal. (Consultar la página
39.)
2. Realizar cualquier ajuste necesario como los de patrón
de costura y ancho de zigzag usando el panel de
controles. (Consultar la página 75.)
3. Ajustar el largo de puntada usando el dial de ajuste de
alimentación. (Consultar la página 55.)
4. Pisar el pedal para comenzar a coser.
<Example> Pattern number
<Beispiel> Stichmusternummer
<Exemple> Numéro de motif
<Por ejemplo> Número de patrón
Zigzag width ⁄.⁄ mm
Zickzackbreite ⁄,⁄ mm
Largeur de zigzag ⁄,⁄ mm
Ancho de zigzag ⁄,⁄ mm
Stitch length ⁄.⁄ mm
Stichlänge ⁄,⁄ mm
Longuewr de point ⁄,⁄ mm
Largo de puntada ⁄,⁄ mm
1382M

138
ZE-8570,8580
9. SEWING
9. NÄHEN
9. COUTURE
9. COSTURA
9-2. Under edge trimmer sewing
9-2. Nähen mit unterem Kantenabschneider
9-2. Couture avec couteau sous bord
9-2. Costura de corte de borde inferior
Set the material as shown in the illustration, and then start
sewing.
Caution
Keep the cutting width A for the base material at 15
mm or more, or baste the top material (such as lace)
to the base material beforehand.
If this is not done, the cut-off material may go through
the gap in the needle plate and get inside the bed, or it
may get tangled up with the rotary hook.
NOTE:
This sewing machine (ZE-8570, -8580) has been de-
signed for trimming the base material when attaching
lace to foundation garments.
If cutting heavy materials or if using the under edge
trimmer as a side cutter, it may not be possible to ob-
tain the desired cutting performance, and Brother takes
no responsibility for any problems that may occur as a
result of such use.
Legen Sie das Material wie in der Abbildung gezeigt ein
und beginnen Sie mit dem Nähen.
Vorsicht
Halten Sie die Schnittbreite A des Grundmaterials
mindestens 15 mm oder heften Sie das Obermaterial
(wie z.B. Spitzen) vorher auf das Grundmaterial.
Falls dies nicht gemacht wird, kann das abgeschnittene
Material in den Spalt der Stickplatte gelangen und sich
im Bett oder im Greifer verfangen.
HINWEIS:
Diese Nähmaschine (ZE-8570, -8580) ist beim Annähen
von Spitzen an Unterwäsche zum Abschneiden des
Grundmaterials vorgesehen.
Falls schwere Materialien geschnitten werden oder der
untere Kantenabschneider als Seitenabschneider
verwendet wird, ist es möglich, daß die gewünschte
Schnittleistung nicht erzielt wird. Brother übernimmt
keine Haftung für Probleme, die als Resultat von
solchen Anwendungen entstehen.
Placer le tissu comme indiqué sur l'illustration, puis commencer à coudre.
Attention
Garder la largeur de coupe A pour le tissu de base à 15 mm ou plus, ou faufiler le tissu supérieur (tel que la dentelle)
sur le tissu de base préalablement.
Si l'on ne fait pas ceci, le tissu coupé risque de passer par l'espace de la plaque à aiguille et de pénétrer dans le
plateau, ou il risque de se coincer dans le crochet rotatif.
REMARQUE:
Cette machine à coudre (ZE-8570, -8580) a été conçue pour couper le tissu de base lorsqu'on fixe de la dentelle sur
les gaines.
Si l'on coupe des tissus épais ou si l'on utilise le couteau sous bord comme couteau latéral, il pourra être impossible
d'obtenir les performances de coupe voulues, et Brother décline toute responsabilité pour tout problème qui pourrait
se produire à la suite d'une telle utilisation.
Ajuste el material tal como se indica en la figura, y luego comience a coser.
Precaución
Mantener el ancho de corte A para el material de base a 15 mm o más, o hilvanar el material superior (como un
encaje) al material de base de antemano.
Si no se realiza eso, el material sobrante podría pasarse a través de la separación en la placa de aguja y entrar dentro
de la cama, o se podría enredar con el garfio giratorio.
NOTA:
Esta máquina de coser (ZE-8570, -8580) fue diseñada para cortar el material de base al colocar el encaje en fajas enteras.
Al cortar materiales pesados o al usar el cortador de borde inferior como un cortador lateral, no será posible obtener
el rendimiento de corte deseado, y Brother no se hace responsable por cualquier problema que pueda ocurrir como
resultado de ese uso.
(15 mm or more)
(15 mm oder mehr)
(15 mm ou plus)
(15 mm o más)
Base material
Grundmaterial
Tissu de base
Material de base
Lace
Spitze
Dentelle
Encaje
1527M
Edge knife
Kantenmesser
Couteau de bord
Cuchilla de borde
A
1528M
A
Base material
Grundmaterial
Tissu de base
Material de base Lace
Spitze
Dentelle
Encaje
1529M

139 ZE-8570,8580
10. THREAD TENSION
10. FADENSPANNUNG
10. TENSION DU FIL
10. TENSION DEL HILO
Good even stitches
Schöne gleichmäßige Stitche
Points corrects
Puntadas parejas
Upper thread tension too weak or lower thread tension too strong
Zu schwache Oberfadenspannung bzw. zu hohe Unterfadenspannung
La tension du fil supérieur est trop importante ou celle du fil inférieur est trop
faible
La tensión del hilo superior es muy grande o la del hilo inferior es poca
Upper thread tension too strong or lower thread tension too weak
Zu hohe Oberfadenspannung bzw. zu schwache Unterfadenspannung
La tension du fil supérieur est trop faible ou celle du fil supérieur est top
importante
La tensión del hilo superior es muy poca o la del hilo inferior es demasidado
grande.
0573M
Turn off the power switch before removing or inserting the bobbin case, otherwise the machine may operate
if the treadle is pressed by mistake, which could result in injury.
Schalten Sie den Netzschalter der Maschine vor dem Entfernen oder Einsetzen einer Squlenkapsel aus, weil
die Maschine durch Drücken des Pedals unabsichtlich in Gang gesetzt werden kann und Verletzungen
entstehen können.
Mettre I’interrupteur d’alimentation en position d’arrêt avant de déposer ou d’inserer la boîte à canette,
sinon la machine pourra se mettre en marche si on enfonce accidentellement la pédale, et donc causer des
blessures.
Desconectar el interruptor principal antes de sacar o instalar la caja de la bobina, de lo contrario la máquina
podría comenzar a funcionar si por descuido se pisara el pedal, lo que podría resultar en heridas.
CAUTION/ACHTUNG/ATTENTION/ATENCION
10. THREAD TENSION
10. FADENSPANNUNG
10-1. Adjusting the thread tension
10-1. Einstellen der Fadenspannung
■ Lower thread tension
Turn the thread tension screw q to adjust the lower thread
tension so that the bobbin drops by its own weight with
no resistance when the end of the thread is held.
■ Unterfadenspannung
Stellen Sie die Unterfadenspannung mit der
Fadenspannungsschraube q ein, so daß die Spule durch
das Eigengewicht herunterfällt, wenn das Fadenende
hochgehalten wird.
■ Tension du fil inférieur
Tourner la vis de tension de fil q pour régler la tension du
fil inférieur de manière que la canette tombe de son propre
poids sans résistance lorsqu’on tient l’extrémité du fil.
■ Tensión del hilo inférior
Girar el tornillo de tensión del hilo q para ajustar la tensión
del hilo inferior de manera que la bobina baja por su propio
peso sin resistencia cuando se sostiene el final del hilo.
q
Becomes stronger
stärker
Plus forte
Aumenta
Becomes weaker
schwächer
Plus faible
Disminuye
10. TENSION DU FIL
10. TENSION DEL HILO
10-1. Réglage de la tension du fil
10-1. Ajuste de la tensión del hilo
0576M
0575M
0572M
0574M

140
ZE-8570,8580
10. THREAD TENSION
10. FADENSPANNUNG
10. TENSION DU FIL
10. TENSION DEL HILO
■ Upper thread tension
After the lower thread tension has been adjusted, adjust
the upper thread tension so that a good, even stitch is
obtained.
1. Lower the presser foot.
2. Adjust by turning the thread tension nut w.
3. After adjusting the upper thread tension, pull the up-
per thread in the direction of the arrow and check that
the rotary disc e turns together with the upper thread.
* If it does not turn, tighten the pre-tension r.
Note:
If the tension of the pre-tension r is too weak the
thread will slip and the rotary disc e will not rotate.
The pre-tension r should be adjusted to as weak a
tension as possible while still allowing the rotary disc
e to rotate smoothly.
■ Oberfadenspannung
Stellen Sie nach dem Einstellen der Unterfadenspannung
die Oberfadenspannung ein, so daß gleichmäßige Stiche
genäht werden.
1. Senken Sie den Stoffdrückerfuß ab.
2. Stellen Sie die Fadenspannung mit der Faden-
spannungsmutter w ein.
3. Ziehen Sie nach dem Einstellen der Oberfadenspannung
den Oberfaden in Pfeilrichtung und kontrollieren Sie, ob
sich die Scheibe e zusammen mit dem Oberfaden dreht.
* Falls sich die Scheibe nicht dreht, muß die
Vorspannung r erhöht werden.
Hinweis:
Bei zu geringer Vorspannung r schlupft der Faden und
die Scheibe e dreht sich nicht. Die Vorspannung r
sollte so gering wie möglich eingestellt werden, so daß
sich die Scheibe e aber noch richtig dreht.
■ Tension du fil supérieur
Une fois que la tension du fil inférieur a été réglée, régler
la tension du fil supérieur de manière à obtenir un beau
point bien régulier.
1. Abaisser le pied presseur.
2. Régler en tournant l’écrou w de tension du fil.
3. Après avoir réglé la tension du fil supérieur, tirer le fil
supérieur dans le sens de la flèche et vérifier si le disque
rotatif e tourne bien avec le fil supérieur.
* S’il ne tourne pas, serrer la pré-tension r.
Remarque:
Si la tension de la pré-tension r est trop faible, le fil
glissera et le disque rotatif e ne tournera pas. La pré-
tension r doit être réglée de manière à être aussi faible
que possible en permettant toutefois au disque rotatif
e de tourner bien régulièrement.
■ Tensión del hilo superior
Después de ajustar la tensión del hilo inferior, ajustar la
tensión del hilo superior de manera de obtaner puntadas
parejas.
1. Bajar el prensatelas.
2. Ajustar girando la tuerca de tensión del hilo w .
3. Después de ajustar la tensión del hilo superior, tirar
del hilo superior en la dirección de la flecha y verificar
que el disco giratorio e gira junto con el hilo superior.
* Si no girará, apretar la tensión preliminar r.
Nota:
Si la tensión preliminar r es demasiado débil el hilo
se deslizará y el disco giratorio e no girará.
La tensión preliminar r debe ser ajustada tan débil
como sea posible mientras se permite que el disco
giratorio e gire suavemente.
r
e
Weaker
verringern
Plus faible
Más débil
Stronger
erhöhen
Plus forte
Más fuerte
w
Weaker
verringern
Plus faible
Más débil
Stronger
erhöhen
Plus forte
Más fuerte
1383M

141 ZE-8570,8580
10. THREAD TENSION
10. FADENSPANNUNG
10. TENSION DU FIL
10. TENSION DEL HILO
•The presser foot pressure should be as weak as possible,
but strong enough so that the material does not slip.
•The scale on the adjustment screw q indicates the
height of the adjustment screw q, and should be use
as a guide to adjustment.
1. Loosen the adjustment nut w.
2. Turn the adjustment screw q to adjust the presser foot
pressure.
3. Tighten the adjustment nut w.
•Der Stoffdrückerfußdruck sollte so gering wie möglich
einstellt werden, aber so, daß das Nähgut nicht schlupft.
•Mit der Skala auf der Einstellschraube q wird die
Schraubenhöhe q bezeichnet, die als Richtwert für die
Einstellung dient.
1. Die Mutter w lösen.
2. Den Stoffdrückerfußdruck mit der Schraube q einstellen.
3. Die Mutter w wieder festziehen.
•La pression du pied presseur doit être aussi faible que
possible, mais cependant assez forte pour que le tissu
ne glisse pas.
•L’échelle de la vis d’ajustement q indique la hauteur
de la vis d’ ajustement q et doit être utilisée comme
guide pour l’ajustement.
1. Desserrer l’écrou de réglage w .
2. Tourner la vis de réglage q pour régler la pression du
pied presseur.
3. Serrer l’écrou de réglage w .
•La presión del prensatelas debe ser tan débil como sea posible, pero suficientemente fuerte como para que la tela
no se resbale.
•La escala en el tornillo de ajuste q indica la altura del tornillo de ajuste q, y debe ser usada como una guía para el ajuste.
1. Alojar la tuerca de ajuste w .
2. Girar el tornillo de ajuste q para ajustar la presión del prensatelas.
3. Apretar la tuerca de ajuste w .
Relationship between adjustment screw height and presser foot pressure (guide)
Beziehung zwischen der Einstellschraubenhöhe und dem Stoffdrückerfußdruck (Richtwert)
Relation entre la hauteur de la vis d’ajustement et la pression du pied presseur (guide)
Relación entre la altura del tornillo de ajuste y la presión del prensatelas (guía)
20
30
20
30
2020
q
q
q
ww
w
30mm 25mm
10-2.
Adjusting the presser foot pressure
10-2.
Réglage de la pression du pied presseur
10-2.
Einstellen des Stoffdrückerfußdrucks
10-2.
Ajuste de la presión del prensatelas
Skipped stitches occur
übersprungene Stiche
Des points sont sautés
Se saltan puntadas •Increase the pressure.
•Den Stoffdrückerfußdruck erhöhen.
•Augmenter la pression.
•Aumentar la presión.
Uneven stitch length
ungleichmässige Stiche
Longueur des points
irrégulière
Puntadas desparejas
Stitches are puckered
zusammengzogene Stiche
Les points sont froncés
Puntadas encarrujadas
•Decrease the pressure.
•Den Stoffdrückerfußdruck verringern.
•Diminuer la pression.
•Disminuir la presión.
Becomes weaker
Schwächer
Plus faible
Disminyue
Becomes stronger
Stärker
Plus forte
Aumenta
0580M
0579M
0578M
0581M
Correct Stitches/ richrige Naht
Points corrects/ Puntadas correctas
Adjustment screw height
Einstellschraubenhöhe
Hauteur de la vis d’ajustement
Altura del tornillo de ajuste
Presser foot pressure
Stoffdrückerfußdruck
Pression du pied presseur
Presión del prensatelas
Adjustment range
Einstellbereich
Plage d’ajustement
Rango de ajuste
25mm 40N 20 - 60N

142
ZE-8570,8580
11. CLEANING
11. REINIGUNG
11. NETTOYAGE
11. LIMPIEZA
Turn off the power switch before carrying out cleaning, otherwise the machine may operate if the treadle is
pressed by mistake, which could result in injury.
Be sure to wear protective goggles and gloves when handling the lubricating oil and grease, so that they do
not get into your eyes or onto your skin, otherwise inflammation can result.
Furthermore, do not drink the oil or eat the grease under any circumstances, as they can cause vomiting and
diarrhoea.
Keep the oil out of the reach of children.
Schalten Sie vor dem Reinigen zuerst den Netzschalter aus, weil sonst durch eine unbeabsichtigte Betätigung
des Pedals die Maschine in Gang gesetzt und Verletzungen verursachen kann.
Tragen Sie zur Handhabung von Schmieröl und Schmierfett eine Schutzbrille und Schutzhandschuhe, so
daß kein Öl oder Fett in die Augen oder auf die Haut gelangen kann, weil sich sonst diese Stellen entzünden
können.
Schmieröl und Schmierfett darf nicht eingenommen werden, weil sonst Erbrechen und Durchfall verursacht
werden können.
Bewahren Sie das Schmieröl nicht in Reichweite von Kindern auf.
Mettre I’interrupteur d’alimentation en position d’arrêt avant d’entreprendre le nettoyage, sinon la machine
risquera de se mettre en marche si on enfonce accidentellement la pédale, et donc de causer des blessures.
Veiller à mettre des lunettes et des gants de protection lors de la manipulation de I’huile et de la graisse, afin
qu’elles n’entrent pas en contact avec les yeux ou la peau, et d’éviter tout risque d’inflammation.
De plus, l’ingestion de l’huile ou de la graisse est à proscrite absolument, car elle pourrait provoquer des
vomissements ou des diarréhes.
Conserver l’huile hors de portée des enfants.
Desconectar el interruptor principal antes de limpiar, de lo contrario la máquina podría comenzar a funcionar
si por descuido se pisara el pedal, lo que podría resultar en heridas.
Asegurarse de usar anteojos de seguridad y guantes al manipular aceites lubricantes y grasa, de manera
que no salpiquen sus ojos o la piel, de lo contrario podrían resultar inflamados.
Además, bajo ningún concepto beba aceite lubricante o ingiera grasa pues podrían ocasionar vómitos y
diarrea.
Mantener el aceite lubricante lejos del alcance de los niños.
CAUTION/ACHTUNG/ATTENTION/ATENCION
11. CLEANING
11. REINIGUNG
11. NETTOYAGE
11. LIMPIEZA

143 ZE-8570,8580
11. CLEANING
11. REINIGUNG
11. NETTOYAGE
11. LIMPIEZA
•The following cleaning operations should be carried out each day in order to maintain the performance of this ma-
chine and to ensure a long service life.
Furthermore, if the sewing machine has not been used for a long period of time, carry out the following cleaning
procedures before using it again.
•Für eine hohe Nähmaschinenleistung und eine lange Lebensdauer muß die Nähmaschine täglich wie folgt gereinigt
werden.
Falls die Nähmaschine für längere Zeit nicht verwendet wurde, müssen vor der Wiederinbetriebsnahme die folgenden
Reinigungsarbeiten ausgeführt werden.
•Les opérations de nettoyage suivantes doivent être effectuées tous les jours afin de maintenir cette machine en bon
état de marche et d’assurer sa longue durée de vie.
En outre, si la machine à coudre n’a pas été utilisée pendant une longue période, effectuer les opérations de nettoyage
suivantes avant de I’utiliser à nouveau.
•Los siguientes procedimientos de limpieza se deben realizar todos los días para mantener el rendimiento correcto
de la máquina y asegurar una vida útil prolongada.
Además, si la máquina de coser no hubiera sido usada durante un largo período de tiempo se deberá limpiar antes
de volver a usarla.
11-1. Daily cleaning procedures
11-1. Tägliche Reinigung
11-1. Méthodes de nettoyage quotidien
11-1. Procedimientos diarios de limpieza
1. Raise the presser foot.
2. Remove the two screws q ,and then remove the needle
plate w .
3. Use a soft wire brush to clean any dust from the feed
dog e .
4. Install the needle plate w with the two screws q .
1. Stellen Sie den Stoffdrückerfuß hoch.
2. Lösen Sie die beiden Schrauben q und entfernen Sie
die Stichplatte w .
3. Entfernen Sie den Staub mit einer weichen Drahtbürste
vom Greifer e .
4. Bringen Sie die Stichplatte w wieder mit den beiden
Schrauben q an.
1. Relever le pied presseur.
2. Retirer les deux vis q , puis déposer la plaque à aiguille w .
3. A I'aide d'une brosse métallique douce, éliminer les impuretés de la griffe d'entraînement e .
4. Installer la plaque à aiguille w à l'aide des deux vis q .
1. Levantar el prensatelas.
2. Quitar los dos tornillos q ,y luego desmontar la placa de aguja w .
3. Usar un cepillo de alambre suave para limpiar el alimentador e .
4. Instalar la placa de aguja w con los dos tornillos q .
1530M
q
w
e

144
ZE-8570,8580
11. CLEANING
11. REINIGUNG
11. NETTOYAGE
11. LIMPIEZA
5. Remove the bobbin case r .
6. Wipe off any dust from the rotary hook t with a soft
cloth, and check that there is no damage to the rotary
hook t .
7. Remove the bobbin from the bobbin case r and clean
the bobbin case r with a cloth.
8. Insert the bobbin into the bobbin case r , and then
place the bobbin case r back into the machine.
5. Entfernen Sie die Spulenkapsel r .
6. Entfernen Sie den Staub mit einem weichen Tuch vom
Greifer t und kontrollieren Sie, ob der Greifer t nicht
beschädigt ist.
7. Nehmen Sie die Spule aus der Spulenkapsel r und
reinigen Sie die Spulenkapsel r mit einem weichen
Tuch.
8. Setzen Sie die Spule wieder in die Spulenkapsel r ein
und setzen Sie die Spulenkapsel r in die Maschine
ein.
5. Déposer la boîte à canette r .
6. Essuyer les impuretés pouvant se trouver sur le crochet rotatif t à l’aide d’un chiffon doux, puis vérifier si le crochet
rotatif t n’est pas endommagé.
7. Retirer la canette de la boîte à canette r et nettoyer la boîte à canette r avec un chiffon.
8. Insérer la canette dans la boîte à canette r , puis remettre la boîte à canette r en place dans la machine.
5. Desmontar la caja de la bobina r .
6. Limpiar el polvo del garfio giratorio t con un paño suave, y verificar que el garfio giratorio t no esté dañada.
7. Retirar la bobina de la caja de la bobina r y limpiar la caja de la bobina r con un paño.
8. Insertar la bobina en la caja de la bobina r , y luego colocar otra vez la caja de la bobina r en la máquina.
9. Tilt back the machine head.
10. Clean the oil sump y with a cloth.
11. If the oil level drops below the LOW mark, add more
lubricating oil.
•Use only the lubricating oil(Nisseki Mitsubishi Sew-
ing Lube 10N; VG10) specified by Brother.
•If the lubricating oil is contaminated, remove the oil
cap screw u and drain the oil.
•Clean off any dirt on the collection magnet i and in
the oil pan o .
y
o
i
u
<LOW>
9. Schwenken Sie das Maschinenoberteil nach hinten.
10. Reinigen Sie den Ölwannenteil y mit einem Tuch.
11. Falls der Ölstand unter die Markierung “LOW” abgefallen ist, muß Öl nachgefüllt werden.
•Verwenden Sie nur das von Brother vorgeschriebene Nähmaschinenöl (Nisseki Mitsubishi Sewing Lube 10N;
VG10).
•Falls das Öl verschmutzt ist, entfernen Sie den Ölkappenschraube u und lassen Sie das Öl ab.
•Wischen Sie den Magnet i und die Ölwanne o sauber.
9. Incliner la tête de machine vers I’arrière.
10. Nettoyer le carter d'huile y avec un chiffon.
11. Si le niveau d’huile baisse au-dessous du repère LOW, ajouter de I’huile de lubrification.
•Utiliser seulement I’huile de lubrification (Nisseki Mitsubishi Sewing Lube 10N; VG10) recommandée par Brother.
•Si l’huile de lubrification est contaminée,retier la vis u du bouchon d’huile et évacuez I’huile.
•Eliminer les impuretés pouvant se trouver sur I’aimant de récupération i et dans le réservoir d’huile o .
9. Inclinar la cabeza de la máquina hacia atrás.
10. Limpiar el colector de aceite y con un paño.
11. Si el nivel de aceite baja por debajo de la marca LOW, agregar más aceite lubricante.
•Usar sólo aceite lubricante (Nisseki Mitsubishi Sewing Lube 10N; VG10) especificado por Brother.
•Si el aceite lubricante está sucio, quitar el tornillo tapa de aceite u y drenar el aceite.
•Limpiar la suciedad acumulada en el imán de recolección i y en el depósito de aceite o .
0586M
r
0585M
1532M
1512M
r
t

145 ZE-8570,8580
11. CLEANING
11. REINIGUNG
11. NETTOYAGE
11. LIMPIEZA
12. Return the machine head to its original position.
13. Check that the rotary hook lubrication amount is cor-
rect. (Refer to page 173.)
If it is not correct, re-adjust.
14. Replace the needle if it is bent or it the tip is broken.
15. Check that the upper thread is threaded correctly.
16. Carry out a test sewing.
12. Schwenken Sie das Maschiennoberteil zurück.
13. Kontrollieren Sie die Greiferschmierung. (Siehe Seite
173.)
Falls notwendig, muß die Greiferschmierung
eingestellt werden.
14. Tauschen Sie die Nadel aus, falls Sie verbogen oder
die Spitze abgebrochen ist.
15. Kontrollieren Sie, ob der Oberfaden richtig eingefädelt
ist.
16. Führen Sie eine Nähprobe aus.
12. Remettre la tête de machine à sa position initiale.
13. Vérifier si la quantité de lubrification du crochet rotatif
est bien correcte. (Se reporter à la page 173.)
Si elle n’est pas correcte, refaire le réglage.
14. Remplacer I’aiguille si elle est tordue ou si sa pointe
est cassée.
15. S'assurer que le fil supérieur soit correctement enfilé.
16. Effectuer une couture d'essai.
12. Volver la cabeza de la máquina a la posición original.
13.Verificar que la lubricación del garfio giratorio es
correcta. (Consultar la página 173.)
Si no es correcta, volver a ajustar.
14. Cambiar la aguja si está doblada o si la punta está rota.
15. Verificar que el hilo superior está correctamente
enhebrado.
16. Realizar una costura de prueba.
<ZE-8580>
1386M
1312M
1533M
11-2. Applying grease (every three months)
11-2. Anwendung von Fett (alle drei Monate)
11-2. Application de graisse (tous les trois mois)
11-2. Engrasando (cada tres meses)
The under edge trimmer mechanism is not self-lubricating. You should apply grease to the mechanism about once
every three months.
Der untere Kantenabscheider ist nicht selbst-schmierend. Deshalb muß die Vorrichtung ungefähr alle drei Monate mit
Fett behandelt werden.
Le dispositif du couteau sous bord n'est pas auto-lubrifiant. Il faut appliquer de la graisse sur le dispositif une fois tous
les trois mois environ.
El mecanismo de cortador de borde inferior no se autolubrica. Se debe de engrasar el mecanismo al menos una vez
cada tres meses.

146
ZE-8570,8580
11. CLEANING
11. REINIGUNG
11. NETTOYAGE
11. LIMPIEZA
1. Remove the two screws q and the screw w, and then remove the cover e.
2. Remove the two screws r, and then remove the bed plate t.
3. Apply an appropriate amount of grease to the locations marked with A in the illustration.
4. Remove the two screws y, and then remove the cam cover u and the bearing i.
5. Apply an appropriate amount of grease to the locations marked with B.
NOTE:
When applying grease to the bearing i, fill the groove to only about 30%. If too much grease is added, it will
slow down the edge trimmer motor and may cause it to overheat.
6. Install the cam cover u and the bearing i with the screws y.
7. Install the bed plate t and the cover e.
1. Entfernen Sie die beiden Schrauben q und die Schraube w und nehmen Sie die Abdeckung e ab.,
2. Entfernen Sie die beiden Schrauben r und die Platte t.
3. Behandeln Sie die in der Abbildung mit A bezeichneten Stellen mit Schmierfett.
4. Entfernen Sie die beiden Schrauben y und entfernen Sie danach die Nockenscheibe u und das Lager i.
5. Behandeln Sie die in der Abbildung mit B bezeichneten Stellen mit Schmierfett.
HINWEIS:
Beim Auftragen von Fett in das Lager i darf die Nut nur zu etwas 30% gefüllt werden. Beim Auftragen von zu
viel Fett kann sich der Betrieb des Kantenabschneidermotors verlangsamen und der Motor kann sich überhitzen.
6. Bauen Sie die Nockenscheibe u und das Lager i wieder mit den Schrauben y ein.
7. Bringen Sie die Platte t und die Abdeckung e wieder an.
1. Retirer les deux vis q et la vis w, puis retirer le couvercle e.
2. Retirer les deux vis r, puis retirer la plaque du plateau t.
3. Appliquer une quantité de graisse adéquate aux emplacements portant la marque A indiqués sur l'illustration.
4. Retirer les deux vis y, puis retirer le couvercle de came u et le roulement i.
5. Appliquer une quantité de graisse adéquate aux emplacements portant la marque B.
REMARQUE:
Lorsqu'on applique de la graisse sur le roulement i, remplir la rainure d'environ 30% seulement. Si l'on ajoute
trop de graisse, ceci ralentira le moteur du couteau de bord et risquera de le faire surchauffer.
6. Installer le couvercle de came u et le roulement i à l'aide des vis y.
7. Installer la plaque du plateau t et le couvercle e.
1535M
y
u
i
B
A
AAAA
A
B
B
r
t
w
qe
1534M
1. Quitar los dos tornillos q y el tornillo w, y luego quitar
la cubierta e.
2. Quitar los dos tornillos r, y luego quitar la placa de la
cama t.
3. Aplicar una cantidad apropiada de lubricante en los
lugares marcados con A en la figura.
4. Quitar los dos tornillos y, y luego quitar la cubierta de
la leva u y el cojinete i.
5. Aplicar una cantidad apropiada de lubricante en los
lugares marcados con B.
NOTA:
Cuando engrase el cojinete i, llenar la ranura
solamente aprox. 30%. Si agrega demasiada grasa,
se enllentecerá el motor del cortador de borde y
puede provocar el sobrecalentamiento.
6. Instalar la cubierta de la leva u y el cojinete i con los
tornillos y.
7. Instalar la placa de la cama t y la cubierta e.

147 ZE-8570,8580
12. REPLACING PARTS
12. ERSETZEN VON TEILEN
12. REMPLACEMENT DES PIECES
12. CAMBIO DE PARTES
Replacement of parts should only be carried out
by a qualified technician.
Use only the proper replacement parts as speci-
fied by Brother.
Teile dürfen nur von einem qualifizierten
Fachmann ausgetauscht werden.
Verwenden Sie nur die richtigen,von Brother
vorgeschriebenen Austauschteile.
Le remplacement des pièces doit être confié
exclusivement à un technicien qualifié.
Utiliser seulement les pièces de rechange
recommandées par Brother.
El cambio de partes sólo debe ser realizado por
personal técnico calificado.
Usar sólo las piezas de repuesto especificadas por
Brother.
Turn off the power switch and disconnect the
power cord from the wall outlet before replacing
any parts, otherwise the machine may operate if
the treadle is pressed by mistake, which could re-
sult in injury.
Schalten Sie zum Austauschen den Netzschalter
aus und ziehen Sie den Netzstecker aus der
Netzsteckdose,weil Verletzungsgefahr
besteht,wenn sich die Maschine durch
unbeabsichtigtes Drücken des Pedals in Betriebs
setzt.
Mettre I’interrupteur d’alimentation sur la position
d’arrêt et débrancher le cordon d’alimentation de
la prise murale avant d’entreprendre le
remplacement des pièces,sinon la machine
risquera de se mettre en marche si on enfonce
accidentellement la pédale, ce qui pourrait causer
des blessures.
Desconectar el interruptor principal y desenchufar
el cable del tomacorriente de la pared antes de
cambiar una parte cualquiera, de lo contrario la
máquina podría comenzar a funcionar si por
descuido se pisara el pedal, lo que podría resultar
en heridas.
12. REPLACING PARTS
12. ERSETZEN VON TEILEN
12. REMPLACEMENT DES PIECES
12. CAMBIO DE PARTES
CAUTION/ACHTUNG/ATTENTION/ATENCION

148
ZE-8570,8580
12. REPLACING PARTS
12. ERSETZEN VON TEILEN
12. REMPLACEMENT DES PIECES
12. CAMBIO DE PARTES
■ Removal
1. Remove the two screws q, and then remove the bed
plate w.
2. Remove the two screws e, and then remove the knife
unit r.
3. Remove the four screws t, and then remove the knife
holder y.
4. Remove the fixed knife u and the movable knife i.
■ Installation
1. Install the fixed knife u and the movable knife i to
the knife base plate o.
2. Install the knife holder y with the four screws t.
3. Install the needle plate !0 if it is not already installed.
4. Install the knife unit r securely to the edge of the
needle plate !0 with the two screws e.
5. Install the bed plate w with the two screws q.
■ Ausbau
1. Entfernen Sie die beiden Schrauben q und nehmen
Sie die Platte w ab.
2. Entfernen Sie die beiden Schrauben e und nehmen
Sie die Messereinheit r ab.
3. Entfernen Sie die vier Schrauben t und nehmen Sie
den Messerhalter y ab.
4. Entfernen Sie das feststehende u und das bewegliche
i Messer.
■ Einbau
1. Bringen Sie das feststehende u und das bewegliche
Messer i an der Messerplatte o an.
2. Befestigen Sie den Messerhalter y mit den
vierSchrauben t.
3. Bauen Sie die Stichplatte !0 ein, falls sie noch nicht
eingebaut ist.
4. Befestigen Sie die Messereinheit r mit den beiden
Schrauben e an der Kante der Stichplatte !0.
5. Bringen Sie die Platte w wieder mit den beiden
Schrauben q an.
■ Dépose
1. Retirer les deux vis q, puis retirer la plaque du pla-
teau w.
2. Retirer les deux vis e, puis retirer le couteau r.
3. Retirer les quatre vis t, puis retirer le support de
couteau y.
4. Retirer le couteau fixe u et le couteau mobile i.
■ Pose
1. Installer le couteau fixe u et le couteau mobile i sur
la plaque de base de couteau o.
2. Installer le support de couteau y avec les quatre vis
t.
3. Installer la plaque à aiguille !0 si elle n’est pas déjà
installée.
4. Installer solidement le couteau r sur le bord de la
plaque à aiguille !0 avec les deux vis e.
5. Installer la plaque du plateau w à l'aide des deux vis
q.
■ Desmontaje
1. Quitar los dos tornillos q, y luego quitar la placa de la cama w.
2. Desmontar los dos tornillos e, y luego desmontar la cuchilla r.
3. Desmontar los cuatro tornillos t, y luego desmontar el soporte de la cuchilla y.
4. Desmontar la cuchilla fija u y la cuchilla móvil i.
■ Instalación
1. Instalar la cuchilla fija u y la cuchilla móvil i la placa de base de la cuchilla o.
2. Instalar el soporte de la cuchilla y con los cuatro tornillos t.
3. Instalar la placa de aguja !0 si todavía no está instalada.
4. Instalar la cuchilla r bien segura al borde de la placa de aguja !0 con los dos tornillos e.
5. Instalar la placa de la cama w con los dos tornillos q.
t
y
i
u
o
12-1. Fixed knife and movable knife (ZE-8580 only)
12-1. Feststehendes und bewegliches Messer (nur ZE-8580)
12-1. Couteau fixe et couteau mobile (ZE-8580 seulement)
12-1. Cuchilla fija y cuchilla móvil (Sólo ZE-8580)
1085S
1536M
e
r
!0
1537M
q
w

149 ZE-8570,8580
12. REPLACING PARTS
12. ERSETZEN VON TEILEN
12. REMPLACEMENT DES PIECES
12. CAMBIO DE PARTES
■ Removal
1. Remove the two screws q, and then remove the bed
plate w.
2. Loosen the set screw r of the set collar e to release
the cutting pressure of the edge knife t.
3. Remove the screw y, and then remove the needle
plate cover u.
4. Use the accessory Z-shape screwdriver to remove the
screw i, and then remove the edge knife t.
5. Remove the two screws o, and then remove the fixed
edge knife !0.
■ Installation
NOTE:
Either side of the standard fixed edge knife can be
used.
1. Place the fixed edge knife !0 into the groove in the
needle plate !1 so that dimensions A and B in the il-
lustration are equal to each other, and then secure it
by tightening the two screws o.
2. Use the Z-shaped screwdriver to tighten the screw i
to install the edge knife t so that it gap between it
and the fixed edge knife !0 is 0.03 to 0.05 mm.
* If the edge knife t cannot be installed at a slight
angle, or if it does not cut properly, install the edge
knife t to the edge knife bracket !2, and then loosen
the two screws !3 and tilt the edge knife bracket !2
so that the edge knife t is at a slight angle.
However, if the angle is too large, the blade will
reach the end of its useful life more quickly.
3. Adjust the cutting pressure of the edge knife t using
the set screw r of the set collar e. (Refer to page 170.)
4. Install the needle plate cover u with the screw y.
5. Install the bed plate w with the two screws q.
o
12-2. Edge knife
1539M
1536M
1538M
q
w
er
y
u
i
o
!1
!0
o
o
!0
o
i
t
t
!2
0.03~0.05mm
!2 !3
1627M
!1
!0
Align centers of
grooves !0 and !1.
<For optional fixed edge knife>

150
ZE-8570,8580
12. REPLACING PARTS
12. ERSETZEN VON TEILEN
12. REMPLACEMENT DES PIECES
12. CAMBIO DE PARTES
■ Ausbau
1. Entfernen Sie die beiden Schrauben q und nehmen
Sie die Platte w ab.
2. Lösen Sie die Schraube r der Muffe e, um den
Schneidedruck des Kantenmessers t aufzuheben.
3. Entfernen Sie die Schraube y und nehmen Sie die
Stichplattenabdeckung u ab.
4. Verwenden Sie den Z-förmigen Schraubendreher aus
dem Zubehör, um die Schraube i zu lösen und
entfernen Sie das Kantenmesser t.
5. Entfernen Sie die beiden Schrauben o und nehmen
Sie das feststehende Kantenmesser !0 ab.
■ Einbau
HINWEIS:
Es können beide Seiten des feststehenden Messers
verwendet werden.
1. Setzen Sie das feststehende Messer !0 in die Nut der
Stichplatte !1 ein, so daß die Abstände A und B in der
Abbildung gleich sind und sichern Sie das Messer mit
den beiden Schrauben o.
2. Ziehen Sie die Schraube i mit dem Z-förmigen
Schraubendreher fest und richten Sie dabei das
Kantenmesser t so, daß der Abstand zum
feststehenden Messer !0 0,03 bis 0,05 mm beträgt.
* Falls das Kantenmesser t nicht leicht geneigt
eingebaut werden kann oder das Messer nicht
richtig schneidet, muß das Kantenmesser t an der
Kantenmesserhalterung !2 eingebaut werden.
Lösen Sie die beiden Schrauben !3 und neigen Sie
die Kantenmesserhalterung !2 , um das
Kantenmesser t leicht zu neigen.
Beachten Sie, daß bei zu großer Neigung die
Lebensdauer des Messers verkürzt wird.
3. Stellen Sie den Schneidedruck des Kantenmessers t mit
der Schrauben r und der Muffe e ein. (Siehe Seite 170.)
4. Bauen Sie die Stichplattenabdeckung u wieder mit
der Schraube y ein.
5. Bauen Sie die Platte w mit den beiden Schrauben q ein.
o
12-2. Kantenmesser
1539M
1536M
1538M
q
w
er
y
u
i
o
!1
!0
o
o
!0
o
i
t
t
!2
0,03~0,05mm
!2 !3
1627M
!1
!0
Die Mitte der Nuten
!0 und !1 ausrichten.
<Für optionales feststehendes Messer>

151 ZE-8570,8580
12. REPLACING PARTS
12. ERSETZEN VON TEILEN
12. REMPLACEMENT DES PIECES
12. CAMBIO DE PARTES
■ Dépose
1. Retirer les deux vis q, puis retirer la plaque du plateau w.
2. Desserrer la vis de réglage r du collier de réglage e
pour libérer la pression de coupe du couteau de bord t.
3. Retirer la vis y, puis retirer le couvercle de plaque à
aiguille u.
4. Utiliser le tournevis en Z fourni pour retirer la vis i,
puis retirer le couteau de bord t.
5.
Retirer les deux vis o, puis retirer le couteau de bord fixe !0.
■ Pose
REMARQUE:
Il est possible d'utiliser l'un ou l'autre côté du couteau
de bord fixe standard.
1. Placer le couteau de bord fixe !0 dans la rainure de la
plaque à aiguille !1 de manière que les dimensions A
et B indiquées sur l'illustration soient égales, puis le
fixer en serrant les deux vis o.
2. Utiliser le tournevis en Z pour serrer la vis i afin de
poser le couteau de bord t de manière que l'écart
entre celui-ci et le couteau de bord fixe !0 soit compris
entre 0,03 mm et 0,05 mm.
* Si l'on ne peut pas poser le couteau de bord t en
faisant un angle léger, ou s'il ne coupe pas
correctement, poser le couteau de bord t sur le sup-
port de couteau de bord !2, puis desserrer les deux vis
!3 et incliner le support de couteau de bord !2 de
manière que le couteau de bord t fasse un angle léger.
Toutefois, si l'angle est trop grand, la lame atteindra
la fin de sa durée de vie plus rapidement.
3. Régler la pression de coupe du couteau de bord t en
utilisant la vis de réglage r du collier de réglage e.
(Se reporter à la page 170.)
4.
Poser le couvercle de plaque à aiguille u à l'aide de la vis y.
5. Poser la plaque du plateau w à l'aide des deux vis q.
12-2. Couteau de bord
1539M
1536M
1538M
q
w
er
y
u
i
o
!1
!0
o
o
!0
o
i
t
t
!2
0,03~0,05mm
!2 !3
1627M
<Pour le couteau de bord fixe en option>
!1
!0
Aligner les centres
des rainures !0 et !1.

152
ZE-8570,8580
12. REPLACING PARTS
12. ERSETZEN VON TEILEN
12. REMPLACEMENT DES PIECES
12. CAMBIO DE PARTES
■ Desmontaje
1.
Quitar los dos tornillos q, y luego quitar la placa de la cama w.
2. Aflojar el tornillo de ajuste r del cuello de ajuste e para
reducir la presión de corte de la cuchilla de borde t.
3. Quitar el tornillo y, y luego quitar la cubierta de la
placa de aguja u.
4. Usar el destornillador con forma de Z accesorio para quitar
el tornillo i, y luego quitar la cuchilla de borde t.
5. Quitar los dos tornillos o, y luego quitar la cuchilla
de borde fija !0.
■ Instalación
NOTA:
Se puede usar cada lado de la cuchilla de borde fijo
estándar.
1. Colocar la cuchilla de borde fija !0 en la ranura en la
placa de aguja !1 de manera que las dimensiones A y
B en la figura sean iguales entre sí, y luego asegurarla
apretando los dos tornillos o.
2. Usar el destornillador con forma de Z para apretar el
tornillo i para instalar la cuchilla de borde t de
manera que haya una separación entre ella y la cuchilla
de borde fija !0 de 0,03 a 0,05 mm.
* Si la cuchilla de borde t no puede ser instalada en
un ligero ángulo, o si no corta correctamente, instalar
la cuchilla de borde t en la ménsula de la cuchilla de
borde !2, y luego aflojar los dos tornillos !3 e inclinar
la ménsula de la cuchilla de borde !2 de manera que
la cuchilla de borde t quede en un ligero ángulo.
Sin embargo, si el ángulo es demasiado grande, la
hoja llegará al final de su vida útil más rápidamente.
3. Ajustar la presión de corte de la cuchilla de borde t
usando el tornillo de ajuste r del cuello de ajuste e.
(Consultar la página 170.)
4. Instalar la cubierta de la placa de aguja u con el tor-
nillo y.
5. Instalar la placa de la cama w con los dos tornillos q.
12-2. Cuchilla de borde
1539M
1536M
1538M
q
w
er
y
u
i
o
!1
!0
o
o
!0
o
i
t
t
!2
0,03~0,05mm
!2 !3
1627M
<Para cuchilla de borde fijo opcional>
!1
!0
Alinear los centros
de las ranuras !0 y !1.

153 ZE-8570,8580
12. REPLACING PARTS
12. ERSETZEN VON TEILEN
12. REMPLACEMENT DES PIECES
12. CAMBIO DE PARTES
Optional part
Sonderzubehörteil
Pièce en option
Parte opcional
Standard part
(Installed to the sewing machine at the time of purchase)
Standardteil
(bei der Auslieferung der Nähmaschine eingebaut)
Pièce standard
(installée sur la machine à coudre au moment de l’achat)
Parte estándar
(Instalada en la máquina de coser en el momento de salir de la
fábrica)
Optional part
Sonderzubehörteil
Pièce en option
Parte opcional
12-3. Gauge parts (presser foot, needle plate and feed dog)
12-3. Teile (Stoffdrückerfuß, Stichplatte und Transporteur)
12-3. Pièces de calibrage (pied presseur, plaque à aiguille et griffe d’entraînement)
12-3. Partes calibradas (prensatelas, placa de agujas y alimentador)
•
Notes when replacing gauge parts (Points which must be noted)
•
Punkte, die beim Austausch der Teile zu beachten sind
•
Remarques pour le remplacement des pièces de calibrage (points à noter)
•
A tener en cuenta cuando se cambian las partes calibradas (Puntos que
deben ser tenidos en cuenta)
If you are using a presser foot, needle plate and feed dog other than the standard ones, the needle may touch the needle
plate while the sewing machine is operating, causing the needle to break. Use the DIP switches to limit the zigzag width,
and replace the stopper. (Refer to pages 154 and 155.)
Bei Verwendung eines anderen Stoffdrückerfußes und Stichplatte als normal kann die Nadel während des Betriebs die
Stichplatte berühren und brechen. Verwenden Sie die DIP-Schalter zum Begrenzen der Zickzackbreite und tauschen Sie
den Anschlag aus. (Siehe Seiten 154 und 155.)
Si l'on utilise un pied presseur, une plaque à aiguille et une griffe d'entraînement autres que les pièces standard,
l'aiguille risquera d'entrer en contact avec la plaque à aiguille pendant que la machine à coudre fonctionne et de causer
une rupture de l'aiguille. Utiliser les interrupteurs DIP pour limiter la largeur de zigzag, et remplacer la butée. (Se
reporter aux pages 154 et 155.)
Si está usando un prensatelas, la placa de aguja y el alimentador diferente de los estándares, la aguja podría tocar la
placa de aguja mientras la máquina de coser está funcionando, haciendo que la aguja se rompa. Usar los interruptores
DIP para limitar el ancho de zigzag, y cambiar el tope. (Consulte las páginas 154 y 155.)
Stopper
Anschlag
Butée
Tope
Min. trimming margin
Minimaler Schmittrand
Marge de coupe min.
Margen de corte minimo
For 2.0mm
Für 2,0mm
Pour 2,0mm
Para 2,0mm
For 1.5mm
Für 1,5mm
Pour 1,5mm
Para 1,5mm
Zigzag width
Zickzackbreite
Largeur de zigzag
Ancho de zigzag
For 7.5mm
Für 7,5mm
Pour 7,5mm
Para 7,5mm
(A=15.9mm)
(A=15,9mm)
For 4.5mm
Für 4,5mm
Pour 4,5mm
Para 4,5mm
(A=12.9mm)
(A=12,9mm)
For 2.5mm
Für 2,5mm
Pour 2,5mm
Para 2,5mm
(A=10.9mm)
(A=10,9mm)
For 8.0mm
Für 8,0mm
Pour 8,0mm
Para 8,0mm
(A=16.4mm)
(A=16,4mm)
For 5.0mm
Für 5,0mm
Pour 5,0mm
Para 5,0mm
(A=13.4mm)
(A=13,4mm)
For 3.0mm
Für 3,0mm
Pour 3,0mm
Para 3,0mm
(A=11.4mm)
(A=11,4mm)
1388M
Black (No index mark)
Schwarz (Keine Markierung)
Noir (Sans marque d’index)
Negro (Sin marca índice)
Black (Index mark 5)
Schwarz (Markierung 5)
Noir (Marque d’index 5)
Negro (Marca índice 5)
Black (Index mark 3)
Schwarz (Markierung 3)
Noir (Marque d’index 3)
Negro (Marca índice 3)
White (No index mark)
Weiß (Keine Markierung)
Blanc (Sans marque d’index)
Blanco (Sin marca índice)
White (Index mark 5)
Weiß (Markierung 5)
Blanc (Marque d’index 5)
Blanco (Marca índice 5)
White (Index mark 3)
Weiß (Markierung 3)
Blanc (Marque d’index 3)
Blanco (Marca índice 3)
Stopper
Anschlag
Butée
Tope
A

154
ZE-8570,8580
12. REPLACING PARTS
12. ERSETZEN VON TEILEN
12. REMPLACEMENT DES PIECES
12. CAMBIO DE PARTES
1. Remove the two screws q, and then remove the stop-
per plate w.
2. Remove the stopper e which is inserted into the stop-
per plate w, and then install the stopper e which
matches the presser foot and needle plate.
3. Install the stopper plate w to the machine head, and
then securely tighten the two screws q.
4. Turn on the power.
5. Set the zigzag width to the maximum width for the
gauge parts.
6. Turn the machine pulley by hand and check that the
needle does not touch any of the needle holes in the
gauge parts, and that the needle bar does not touch
the stopper e.
1. Entfernen Sie die beiden Schrauben q und nehmen Sie die Anschlagplatte w ab.
2. Entfernen Sie den Anschlag e, der in der Anschlagplatte w eingesetzt ist und bringen Sie den für den Stoffdrückerfuß
und die Stichplatte passenden Anschlag e an.
3. Bringen Sie die Anschlagplatte w am Maschinenoberteil an und ziehen Sie die beiden Schrauben q fest.
4. Schalten Sie die Nähmaschine ein.
5. Stellen Sie die maximale Zickzackbreite für die eingebauten Teile ein.
6. Drehen Sie die Riemenscheibe von Hand und kontrollieren Sie, daß die Nadel die Nadellochkanten nicht berührt,
und daß der Nadelstange den Anschlag e nicht berührt.
1. Retirer les deux vis q puis retirer la plaque de butée w.
2. Retirer la butée e qui est insérée dans la plaque de butée w, puis installer la butée e qui correspond au pied
presseur et à la plaque à aiguille.
3. Installer la plaque de butée w sur la tête de machine, puis bien serrer les deux vis q.
4. Mettre la machine sous tension.
5. Régler la largeur de zigzag à la largeur maximale pour les pièces de calibrage.
6. Tourner la poulie de machine avec la main et vérifier si l’aiguille n’entre en contact avec aucun des trous d’aiguille
des pièces de calibrage, et si la barre à aiguille n’entre pas en contact avec la butée e.
1. Desmontar los dos tornillos q, y luego desmontar la placa de tope w.
2. Desmontar el tope e que está insertado en la placa de tope w, y luego instalar el tope e que esté de acuerdo con el
prensatelas y una placa de agujas.
3. Instalar la placa de tope w a la cabeza de la máquina, y luego apretar firmemente los dos tornillos q.
4. Encender la alimentación.
5. Ajustar el ancho de la puntada de zigzag al ancho máximo para las partes calibradas.
6. Girar la polea de la máquina a mano y verificar que la aguja no toca ninguno de los agujeros de agujas en las partes
calibradas, y que la barra de agujas no toque el tope e.
q
w
e
1389M
■ Replacing the stopper
■ Austauschen des Anschlags
■ Remplacement de la butée
■ Cambio del tope
* Depending on specifications, some sewing machines may have a stopper for sizes other than 4.5 mm installed as a
standard part. In such cases, check the size by means of dimension A, the index mark and the color.
* Je nach der Ausführung können bei gewissen Nähmaschinen Anschläge für andere Größen als 4,5 mm als
Standardteile montiert sein. In diesen Fällen müssen Sie die Größe anhand der Abmessung A, der Indexmarkierung
und der Farbe kontrollieren.
* Selon les spécifications, certaines machines à coudre peuvent être équipées d'une butée pour les tailles autres que
4,5 mm installée en équipement standard. Dans ce cas, vérifier la taille au moyen de la dimension A, de la marque
d'index et de la couleur.
* Dependiendo de las especificaciones, algunas máquinas de coser pueden tener instalado un tope para tamaños
diferentes de 4,5 mm como una pieza estándar. En esos casos, verifique el tamaño mediante la medida A, el índice
y el color.

155 ZE-8570,8580
12. REPLACING PARTS
12. ERSETZEN VON TEILEN
12. REMPLACEMENT DES PIECES
12. CAMBIO DE PARTES
●Limiting the zigzag width (additional DIP switch function)
If using a presser foot and needle plate with different sizes and the zigzag width is set by mistake to be wider than the
width of the needle holes in the presser foot and needle plate, the needle bar may touch the stopper or needle
breakages may occur.
In order to prevent setting errors such as this at the operation panel, change the setting of the DIP switches inside the
control box to match the width of the needle holes in the presser foot and needle plate. (Refer to pages 185 and 187
[Table 2].)
●Begrenzung der Zickzackbreite (zusätzliche DIP-Schalterfunktion)
Bei Verwendung eines Stoffdrückerfußes und einer Stichplatte anderer Größe und wenn die Zickzackbreite
irrtümlicherweise größer als das in der Stichplatte vorhandene Nadelloch eingestellt ist, kann die Nadelstange den
Anschlag berühren oder die Nadel kann brechen.
Um solche Einstellfehler mit dem Bedienungsfeld zu verhindern, können Sie die entsprechende Lochbreite für den
Stoffdrückerfuß und die Stichplatte mit den DIP-Schaltern im Schaltkasten einstellen. (Siehe Seiten 185 und 188
[Tabelle 2].)
●Limitation de la largeur de zigzag (fonction d’interrupteur DIP supplémentaire)
Si l'on utilise un pied presseur et une plaque à aiguille de tailles différentes et que la largeur de zigzag est réglée par
erreur à une largeur plus grande que celle des trous d'aiguille du pied presseur et de la plaque à aiguille, la barre à
aiguille risquera d'entrer en contact avec la butée ou l'aiguille risquera de rompre.
Afin d’éviter toute erreur de réglage sur le panneau de commande, changer le réglage des interrupteurs DIP dans le
boîtier de commande de manière qu’il corresponde à la largeur des trous d’aiguille du pied presseur et de la plaque
à aiguille. (Se reporter aux pages 185 et 189 [Tableau 2].)
●Limitando el ancho de la puntada de zigzag (función de interruptor DIP adicional)
Si usa un prensatelas y una placa de agujas con diferentes tamaños y el ancho de zigzag se ajusta para ser más
ancho que el ancho de los agujeros de aguja en el prensatelas y la placa de aguja, la barra de agujas puede tocar el
tope y pueden ocurrir rupturas de agujas.
Para evitar errores de ajuste como estos en el panel de controles, cambiar los ajustes del interruptor DIP dentro de la
caja de controles para estar de acuerdo con el ancho de los agujeros de agujas en el prensatelas y una placa de
agujas. (Consultar las páginas 185 y 190 [Cuadro 2].)

156
ZE-8570,8580
12. REPLACING PARTS
12. ERSETZEN VON TEILEN
12. REMPLACEMENT DES PIECES
12. CAMBIO DE PARTES
12-4. Compression spring
12-4. Druckfeder
12-4. Ressort de compression
12-4. Resorte de compresión
•When sewing light-weight materials such as foundation, sewing performance will be better if a light presser foot
pressure is used during sewing. It is recommended that you replace the compression spring with the weaker spring
which is provided as an accessory.
•Bei Verarbeitung von leichten Stoffen, wie Miederwaren ist es zum Nähen besser einen geringeren
Stoffdrückerfußdruck zu verwenden. In diesem Fall wird empfohlen die Druckfeder gegen eine schwächere Druckfeder
aus dem Zubehör auszutauschen.
•Lorsqu’on coud des tissus légers tels que la fondation, les performances de couture seront meilleures si une pression
de pied presseur légère est utilisée pendant la couture. Il est recommandé de remplacer le ressort de compression
par le ressort plus faible fourni comme accessoire.
•Cuando se cosen materiales de peso ligero como una base, el rendimiento de costura será mejor si se usa una
presión suave del prensatelas durante la costura. Se recomienda cambiar el resorte de compresión por un resorte
más débil provisto como un accesorio.
1. Remove the thread take-up guard q, thread take-up lever w and face plate e.
2. Remove the adjustment screw r and replace the compression spring t with the weaker compression spring.
* Be sure not to forget to insert the washer y at this time.
3. Install the face plate e, thread take-up lever w and thread take-up guard q.
4. Adjust the pressure while referring to page 141.
1. Entfernen Sie den Fadenabnahmeschutz q den Fadenabnahmehebel w und die Stirnplatte e.
2. Entfernen Sie die Einstellschraube r und ersetzen Sie die Druckfeder t gegen eine schwächere Druckfeder.
* Vergessen Sie nicht die Unterlegscheibe y einzusetzen.
3. Bringen Sie die Stirnplatte e, den Fadenabnahmehebel w und den Fadenabnahmeschutz q an.
4. Stellen Sie den Stoffhalterdruck wie auf Seite 141 beschrieben ein.
1. Retirer le protecteur de releveur de fil q, le levier de releveur de fil w et la plaque frontale e.
2. Retirer la vis de réglage r et remplacer le ressort de compression t par le ressort de compression plus faible.
* Ne pas oublier d’insérer la rondelle y à ce moment.
3. Installer la plaque frontale e, le levier de releveur de fil w et le protecteur de releveur de fil q.
4. Régler la pression de la griffe à ouvrage en se reportant à la page 141.
1. Desmontar el protector del tirahilos q, la palanca del tirahilos w y la placa delantera e.
2. Quitar el tornillo de ajuste r y cambiar el resorte de compresión t por un resorte de compresión más débil.
* Tener en cuenta de no olvidarse de insertar la arandela y en este momento.
3. Instalar la placa delantera e, la palanca del tirahilos w y el protector del tirahilos q.
4. Ajustar la presión del prensatelas consultando la página 141.
D
T
B
U
Z
A
q
w
e
r
t
y
1417M

157 ZE-8570,8580
13. STANDARD ADJUSTMENTS
13. STANDARDEINSTELLUNGEN
13. REGLAGES STANDARD
13. AJUSTES ESTANDARES
13. STANDARD ADJUSTMENTS 13. REGLAGES STANDARD
13. STANDARDEINSTELLUNGEN 13. AJUSTES ESTANDARES
Maintenance and inspection of the sewing ma-
chine should only be carried out by qualified per-
sonnel.
Ask your Brother dealer or a qualified electrician
to carry out any maintenance and inspection of
the electrical system.
If any safety devices have been removed, be ab-
solutely sure to re-install them to their original
positions and check that they operate correctly
before using the machine.
CAUTION/ACHTUNG/ATTENTION/ATENCION
Turn off the power switch and disconnect the
power cord from the wall outlet at the follwing
times, otherwise the machine may operate if the
treadle is pressed by mistake, which could result
in injury.
• When carrying out inspection, adjustment and
maintenance
• When replacing consumable parts such as
If the power switch needs to be left on when car-
rying out some adjustment, be extremely careful
to observe all safety precautions.
Die Wartung und Inspektion darf nur durch einen
qualifizierten Fachmann ausgeführt werden.
Wenden Sie sich für die Wartung und Inspektion
des elektrischen Systems an lhren Brother-Händler
oder an einen qualifizierten Elektriker.
Falls Sicherheitsvorrichtungen entfernt wurden,
müssen sie unbedingt wieder in den
ursprünglichen Positionen montiert werden.
Kontrollieren Sie vor der Inbetriebnahme die
Sicherheitsvorrichtungen auf richtige Funktion.
Schalten Sie in den folgenden Fällen zuerst den
Netzschalter aus oder ziehen Sie den Netzstecker
aus der Steckdose. Wenn die Maschine nicht
ausgeschaltet wird,kann sie sich durch
unbeabsichtigtes Drücken des Pedals in
Bewegung setzen und Verletzungen verursachen.
• Zum Ausführen von Inspektionen, Einstellungen
und Wartungsarbeiten
• Zum Austauschen von abgenutzten Teilen, wie
des Drehgreifers
Falls der Netzschalter für gewisse Einstellungen
eingeschaltet sein muß, müssen Sie mit größter
Sorgfalt, unter strenger Beachtung der
Sicherheitshinweise vorgehen.
L’entretien et la vérification de la machine à coudre
doivent être confiés exclusivement à un person-
nel qualifié.
S’adresser à un concessionnaire Brother ou à un
électricien qualifié pour effectuer des travaux
d’entretien ou de vérification du système
électrique.
Si des dispositifs de sécurité ont été déposés,
veiller absolument à les remettre à leur place
initiale et vérifier qu’ils fonctionnent correctement
avant d’utiliser la machine.
Mettre I’interrupteur d’alimentation sur la position
d’arrêt et débrancher le cordon d'alimentation de
la prise murale aux moments suivants, sinon la
machine risquera de se mettre en marche si on
appuie accidentellement sur la pédale, et donc de
causer des blessures.
• Lorsqu’on effectue des travaux de vérification,
de réglage ou d’entretien
• Lorsqu’on remplace des pièces accessoires telles
que le crochet rotatif
S'il faut que la machine soit laissée sous tension
pendant qu’on effectue des réglages, veiller à re-
specter scrupuleusement toutes les précautions
de sécurité.
El mantenimiento y la inspección de la máquina
debe ser realizado sólo por personal especializado.
Consultar a su distribuidor Brother o un electricista
calificado por cualquier trabajo de mantenimiento
e inspección eléctrica que se debiera realizar.
Si se hubieran desmontado alguno de los
dispositivos de seguridad, asegurarse de volver
a instalarlos a su posición original y verificar que
funcionan correctamente antes de usar la
máquina.
Desconectar el interruptor principal y desenchufar
el cable del tomacorriente de la pared en los
siguientes casos, de lo contrario la máquina podría
comenzar a funcionar si por descuido se pisara el
pedal, lo que podría resultar en heridas.
• Al inspeccionar, ajustar o realizar el mantenimiento.
• Al cambiar piezas como la lanzadera.
Si el interruptor principal debiera estar conectado
al realizar un ajuste, se debe tener mucho cuidado
de tener en cuenta las siguientes precauciones.

158
ZE-8570,8580
13. STANDARD ADJUSTMENTS
13. STANDARDEINSTELLUNGEN
13. REGLAGES STANDARD
13. AJUSTES ESTANDARES
■ Thread tension spring position
The standard position of the thread tension spring q is 6-
8 mm above the surface of the thread guide e when the
presser foot w is lowered.
1. Lower the presser foot w.
2. Loosen the set screw r.
3. Turn the thread tension bracket t to adjust the spring
position.
4. Securely tighten the set screw r.
■ Position der Fadenspannungsfeder
Die Standardposition der Fadenspannungsfeder q beträgt
6-8 mm überhalb der Fadenführung e bei abgesenktem
Stoffdrückerfuß w.
1. Senken Sie den Stoffdrückerfuß w ab.
2. Lösen Sie die Schraube r.
3. Drehen Sie die Fadenspannungshalterung t , um die
Federposition einzustellen.
4. Ziehen Sie die Schraube r wieder fest.
■ Position du ressort de tension du fil
La position normale du ressort q de tension du fil est 6-8 mm au-dessus de la surface du guide-fil e lorsque le pied
presseur w est abaissé.
1. Abaisser le pied presseur w.
2. Desserrer la vis de fixation r.
3. Tourner le support t de tension du fil de manière à règler la position du ressort.
4. Bien serrer la vis de fixation r.
■ Position de resorte de tensión de hilo
La posición estándar del resorte del tirahilos q es 6-8 mm encima de la superficie del guiahilos e cuando el prensatelas
w está abajo.
1. Bajar el prensatelas w.
2. Aflojar el tornillo de ajuste r.
3. Girar la mensula de tension de tensión del hilo t para ajustar la posición del resorte.
4. Apretar fuertemente el tornillo de ajuste r.
13-1. Adjusting the thread tension spring
13-1. Einstellen der Fadenspannungsfeder
13-1. Réglage du ressort de tension du fil
13-1. Ajuste del resorte del tirahilos
r
q
t
e
w
6 - 8mm
Less
weniger
Moins
Menos
More
mehr
Plus
Mas
1390M0588M

159 ZE-8570,8580
13. STANDARD ADJUSTMENTS
13. STANDARDEINSTELLUNGEN
13. REGLAGES STANDARD
13. AJUSTES ESTANDARES
0.2
0.8
0.6
0.4
0.1
0.2
(N)
■ Thread tension spring tension
The standard tension of the thread tension spring q is
0.15 to 0.25 N.
1. Press the upper thread slightly above the thread ten-
sion bracket t with a finger to stop the thread spool-
ing out.
2. Pull the upper thread down until the thread tension
spring q starts to move down, and measure he ten-
sion of the thread tension spring q at this point.
3. Insert the tip of a screwdriver into the groove in the
thread tension stud y and turn it to adjust the tension
of the thread tension spring q.
Note:
If using a tension gauge u (sold separately) to mea-
sure the tension, take the reading from the scale on
the side of the red line.
■ Spannung der Fadenspannungsfeder
Die normale Spannung der Fadenspannungsfeder q
beträgt 0,15 bis 0,25 N.
1. Drücken Sie den Oberfaden mit dem Finger etwas über
die Fadenspannungshalterung t, um zu verhindern,
daß sich der Faden abwickeln kann.
2. Ziehen Sie den Oberfaden bis sich die
Fadenspannungsfeder q bewegt heraus und messen
Sie an diesem Punkt die Spannung der
Fadenspannungsfeder q.
3. Setzen Sie einen Schraubenzieher in die Nut des
Fadenspannungsstifts y und drehen Sie ihn, um die
Spannung der Fadenspannungsfeder q einzustellen.
Hinweis:
Falls eine Spannungslehre u (separat erhältlich)
verwendet wird, lesen Sie die Spannung von der Skala
auf der Seite mit der roten Linie ab.
■ Tension du ressort de tension du fil
La tension standard du ressort de tension de fil q est de
0,15 à 0,25 N.
1. Appuyer légèrement sur le fil supérieur au-dessus du
support de tension de fil t avec un doigt pour
empêcher le fil de sortir.
2. Tirer le fil supérieur vers le bas jusqu’à ce que le ressort
de tension de fil q commence à s’abaisser, et mesurer
la tension du ressort de tension de fil q à ce point.
3. Insérer la pointe d’un tournevis dans la rainure du clou
de tension de fil y et le tourner pour régler la tension
du ressort de tension de fil q.
Remarque:
Si I’on utilise la jauge de tension u (vendue
séparément) pour mesurer la tension, effectuer la lec-
ture sur I’échelle située sur le côté de la ligne rouge.
■ Tensión de resorte de tensión de hilo
La tensión estándar del resorte de tensión del hilo q es 0,15 a 0,25 N.
1. Levantar el hilo superior ligeramente encima de la ménsula de tensión del hilo t con un dedo para que no se
continúe desenrollando.
2. Tirar del hilo superior hacia abajo hasta que el resorte de tensión del hilo q comience a moverse hacia abajo, y
medir la tensión del resorte de tensión del hilo q en este momento.
3. Insertar la punta de un destornillador en la ranura en el espárrago de tensión del hilo y y girarlo para ajustar la
tensión del resorte de tensión del hilo q.
Nota:
Si se usa un medidor de tensión u (en venta por separado) para medir la tensión, realizar la lectura desde la escala
del lado de la línea roja.
qt
y
u
0.15 - 0.25N
0,15 - 0,25N
Becomes stronger
starker
Plus forte
Aumenta
Becomes weaker
schwacher
Plus faible
Disminuye
Scale
Skala
Echelle
Escala
1391M

160
ZE-8570,8580
13. STANDARD ADJUSTMENTS
13. STANDARDEINSTELLUNGEN
13. REGLAGES STANDARD
13. AJUSTES ESTANDARES
The standard height of the presser foot q is 4 mm when
the presser foot q is raised by means of the presser bar
lifter w.
1. Loosen the two screws e and then remove the thread
take-up guard r.
2. Loosen the nut t of the adjustment screw y , and
then turn the adjustment screw y so that there is no
pressure applied to the presser foot.
3. Raise the presser bar lifter lever w. The presser foot q
will also rise.
4. Loosen the screw u and move the presser bar i up
and down to adjust the height of the presser foot q to
4 mm.
5. Tighten the bolt u.
6. Adjust the presser foot pressure using the adjustment
screw y, and then tighten the nut t. (Refer to page
141.)
7. Install the thread take-up guard r with the two screws
e.
Die Standardhöhe des Stoffdrückerfusses q beträgt 4 mm, wenn er mit dem Stoffdrückerfußheber w angehoben wird.
1. Lösen Sie die beiden Schrauben e und nehmen Sie den Fadenabnahmeschutz r ab.
2. Lösen Sie die Mutter t der Schraube y und drehen Sie die Schraube y, so daß kein Druck auf den Stoffdrückerfuß
ausgeübt wird.
3. Stellen Sie den Stoffdrückerfußheber w hoch, um den Stoffdrückerfuß q anzuheben.
4. Lösen Sie die Schraube u und stellen Sie mit der Stoffdrückerfußstange i den Stoffdrückerfuß q auf eine Höhe
von 4 mm ein.
5. Ziehen Sie die Schraube u fest.
6. Stellen Sie den Stoffdrückerfußdruck mit der Schraube y ein und ziehen Sie die Mutter t fest. (Siehe Seite 141.)
7. Bringen Sie den Fadenabnahmeschutz r mit den beiden Schrauben e an.
La hauteur normale du pied presseur q est de 4 mm lorsque le pied presseur q est relevé au moyen du releveur w de
barre de pied presseur.
1. Desserrer les deux vis e puis retirer le protecteur de releveur de fil r.
2. Desserrer I’écrou t de la vis de réglage y, puis tourner la vis de réglage y de manière qu’aucune pression ne soit
appliquée sur le pied presseur.
3. Soulever le releveur w de barre de pied presseur. Le pied presseur q s’élèvera aussi.
4. Desserrer la vis u et déplacer la barre de pied presseur i vers le haut et le bas pour régler la hauteur du pied
presseur q à 4 mm.
5. Serrer le boulon u.
6. Régler la pression du pied presseur à I’aide de la vis de réglage y, puis serrer I’écrou t. (Se reporter à la page 141.)
7. Installer le protecteur de releveur de fil r avec les deux vis e.
La altura normal del prensatelas q es 4 mm cuando el prensatelas q se levanta mediante el levantador de la barra del
prensatelas w.
1. Aflojar los dos tornillos e y luego desmontar el protector del tirahilos r.
2. Aflojar la tuerca t del tornillo de ajuste y, y luego girar el tornillo de ajuste y de manera de no aplicar presión al
prensatelas.
3. Levantar el levantador de la barra del prensatelas w. El prensatelas q también se levantará.
4. Aflojar el tornillo u y mover la barra del prensatelas i hacia arriba y abajo para ajustar la altura del prensatelas q
a 4 mm.
5. Apretar el perno u.
6. Ajustar la presión del prensatelas usando el tornillo de ajuste y, y luego apretar la tuerca t. (Consultar la página
141.)
7. Instalar el protector del tirahilos r con los dos tornillos e.
13-2. Adjusting the presser foot height
13-2. Einstellen der Stoffdrückerfußhöhe
13-2. Réglage de la hauteur du pied presseur
13-2. Ajuste de la altura del prensatelas
e
y
t
u
w
i
q
r
4mm
1392M

161 ZE-8570,8580
13. STANDARD ADJUSTMENTS
13. STANDARDEINSTELLUNGEN
13. REGLAGES STANDARD
13. AJUSTES ESTANDARES
The standard height when the feed dog q is at its highest
position above the needle plate is 1.1 mm at the side clos-
est to the operator.
1. Turn the machine pulley to move the feed dog to its
highest position above the needle plate.
2. Tilt back the machine head.
3. Loosen the screw w.
4. Turn the pin e to move the feed bar r up and down in
order to adjust the height.
5. Securely tighten the screw w.
Der Standardabstand des Transporteurs q in der höchsten
Position zur Stichplatte beträgt 1,1 mm in der Position am
nächsten zur bedienenden Person.
1. Stellen Sie den Transporteur durch Drehen der
Riemenscheibe in die höchste Position.
2. Klappen Sie das Maschinenoberteil nach hinten.
3. Lösen Sie die Schraube w.
4. Drehen Sie den Stift e, um die Transporteurhöhe mit
der Transporteurstange r einzustellen.
5. Ziehen Sie die Schraube w wieder fest.
La hauteur normale lorsque la griffe d’entraînement q est
à sa position la plus haute au-dessus de la plaque à aigu-
ille est de 1,1 mm du côté le plus proche de l’opérateur.
1. Tourner la poulie de machine de manière à amener la
griffe d’entraînement à sa position la plus haute au-
dessus de la plaque à aiguille.
2. Incliner la tête de machine vers l’arrière.
3. Desserrer la vis w.
4. Tourner la broche e pour déplacer la barre
d’entraînement r vers le haut et le bas afin de régler
la hauteur.
5. Bien resserrer la vis w.
La altura estándar cuando el alimentador q se encuentra
en su posición más alta encima de la placa de aguja es 1,1
mm del lado más próximo al operario.
1. Girar la polea de la máquina para mover el alimentador
a su posición más alta encima de la placa de aguja.
2. Inclinar hacia atrás la cabeza de la máquina.
3. Aflojar el tornillo w.
4. Girar el pasador e para mover la barra de alimentación
r hacia arriba y abajo de manera de ajustar la altura.
5. Apretar bien el tornillo w.
13-3. Adjusting the feed dog height
13-3. Einstellen der Transporteurhöhe
13-3. Réglage de la hauteur de la griffe d’entraînement
13-3. Ajuste de la altura del alimentador
1565M
1531M
1.1mm
1,1mm
Highest position
höchste Position
Position la plus haute
Posición más alta
Standard
normal
Standard
Estandar
Approx. 45°
ca. 45°
Environ 45°
Aprox. 45°
Lowest position
tiefste Position
Position la plus basse
Posición más baja
r
e
e
w
w

162
ZE-8570,8580
13. STANDARD ADJUSTMENTS
13. STANDARDEINSTELLUNGEN
13. REGLAGES STANDARD
13. AJUSTES ESTANDARES
q
The standard angle for the feed dog q is for the top of
the needle plate to be raised slightly at the side closest to
the operator when the feed dog q is raised to its highest
position above the needle plate (with the O mark on the
feed bracket shaft w aligned with the mark on the feed
rocker bracket arm e).
1. Turn the machine pulley to move the feed dog q to its
highest position above the needle plate.
2. Loosen the two set screws w.
3. Turn the feed bracket shaft e within the range indi-
cated by the arrows with respect to the standard posi-
tion.
• Tilting the feed dog q so that the front is lowered
tends to prevent puckering(gathering). (Figure A)
• Tilting the feed dog q so that the front is raised
tends to prevent material from slipping (uneven
material feeding). (Figure B)
4. Securely tighten the set screws w.
* When the angle of the feed dog q is adjusted, the
height and forward/back position of the feed dog q
will also change and will need to be readjusted.
Der Standardwinkel des Transporteurs q ist, wenn der
Transporteur an der Oberseite der Stichplatte auf der
vordere Seite leicht vorsteht, wenn der Transporteur q
vollständig über die Stichplatte angehoben wird (wenn
die Markierung O an der Transporteurhalterungswelle w
auf die Markierung am Transporteurhalterungsarm e
ausgerichtet ist).
1. Stellen Sie den Transporteur q durch Drehen der
Riemenscheibe in die höchste Position.
2. Lösen Sie die beiden Schrauben w.
3.
Drehen Sie die Vorschubhalterungswelle e in Bezug auf die Standardposition innerhalb des mit den Pfeilen angegebenen Bereichs.
•Durch Neigen des Transporteurs q, so daß die Vorderseite abgesenkt wird, kann ein Zusammenziehen (Kräuseln)
des Nähgutes verhindert werden (Abb. A).
•Durch Neigen des Transporteurs q, so daß die Vorderseite angehoben wird, kann ein Materialschlupf
(ungleichmäßige Materialzufuhr) verhindert werden (Abb. B).
4. Ziehen Sie die Schrauben w wieder fest.
* Beim Einstellen der Transporteurneigung ändert sich die Höhe und die Position vorne/hinten des Transporteurs q,
deshalb müssen diese Einstellungen erneut vorgenommen werden.
L'angle standard pour la griffe d'entraînement q est l'état où le haut de la plaque à aiguille est légèrement élevé sur le
côté le plus proche de l'opérateur lorsque la griffe d'entraînement q est élevée à sa position la plus haute au-dessus de
la plaque à aiguille (avec le repère O marqué sur l'arbre du support d'entraînement w aligné sur le repère marqué sur
le bras du support de balancier d'entraînement e).
1. Tourner la poulie de machine de manière à amener la griffe d’entraînement q à sa position la plus haute au-dessus
de la plaque à aiguille.
2. Desserrer les deux vis de fixation w.
3. Tourner l'arbre du support d'entraînement e dans les limites de la plage indiquée par les flèches par rapport à la
position normale.
• Si I’on incline la griffe d’entraînement q de manière que I’avant soit abaissé, on évitera de produire des fronces
(fronçage). (lllustration A)
• Si I’on incline la griffe d’entraînement q de manière que I’avant soit relevé, on évitera de produire des glissements
de tissu (entrainement du tissu irrégulier). (lllustration B)
4. Bien serrer les vis de fixation w.
* Lorsque l’angle de la griffe d’entraînement q est réglé, la hauteur et la position avant/arrière de la griffe d’entraînement
q changera aussi, et il faudra les régler à nouveau.
El ángulo estándar para el alimentador q es para que la parte superior de la placa de aguja se levante ligeramente del
lado más cerca del operario cuando el alimentador q se levanta a su posición más alta encima de la placa de aguja (con
la marca O en el eje de la ménsula de alimentación w alineada con la marca en el brazo de la ménsula oscilante de
alimentación e).
1. Girar la polea de la máquina para mover el alimentador q a su posición más alta encima de la placa de aguja.
2. Aflojar los dos tornillos de ajuste w.
3.
Girar el eje de la ménsula de alimentación e dentro del rango indicado por las flechas con respecto a la posición estándar.
• Inclinando el alimentador q de manera que la parte delantera se baja impidiendo los encarrujamientos (fruncidos).
(Figura A).
• Inclinando el alimentador q de manera que la parte delantera se levanta para evitar que el material se resbale
(material alimentado desparejo). (Figura B).
4. Apretar fuertemente los tornillos de instalación w.
* Cuando el ángulo del alimentador q está ajustado, la altura y la posición hacia adelante/atrás del alimentador q
también cambiará y será necesario volver a ajustarla.
13-4. Adjusting the feed dog angle 13-4.
Réglage de I’angle de la griffe d’entraînement
13-4.
Einstellen der Transporteurneigung
13-4.
Ajuste del ángulo del alimentador
w
e
Approx. 45°
ca. 45°
Environ 45°
Aprox. 45°
(A)
(B)
e
w
standard
standardeinstellung
Normale
Estanda
Lower the front
Vorderseite tiefer stellen
Abaisser I'avant
Bajar la parte delantera
Raise the front
Vorderseite hoher stellen
Lever I'avant
Subir la parte delantera
1545M
1540M
1566M
Raise slightly at front
Vorderseite leicht anheben
Elever légèrement à l'avant
Levantar ligeramente en la
parte de adelante

163 ZE-8570,8580
13. STANDARD ADJUSTMENTS
13. STANDARDEINSTELLUNGEN
13. REGLAGES STANDARD
13. AJUSTES ESTANDARES
q
ew
The clearance between the feed dog and the needle plate
should be the same at the front and back of the feed dog
q when the feed dog q is moved to its furthest forward
and furthest back positions by turning the machine pul-
ley.
1. Tilt back the machine head.
2. Loosen the two screws w.
3. Turn the feed rocker bracket arm e to adjust the for-
ward/back position of the feed dog q.
4. Securely tighten the two screws w.
Der Abstand zwischen dem Transporteur und der
Stichplatte muß vorne und hinten am Transporteur q
gleich sein, wenn der Transporteur durch Drehen der
Riemenscheibe ganz nach vorne und ganz nach hinten
gestellt wird.
1. Klappen Sie das Maschineneoberteil nach hinten.
2. Lösen Sie die beiden Schrauben w.
3. Drehen Sie den Transporteurhalterungsarm e, um die
Position vorne/hinten des Transporteurs q
einzustellen.
4. Ziehen Sie die beiden Schrauben w wieder fest.
L’écart entre la griffe d’entraînement et la plaque à aigu-
ille doit être identique à l’avant et à l’arrière de la griffe
d’entraînement q lorsqu’on déplace la griffe
d’entraînement q à fond vers l’avant et à fond vers l’arrière
en tournant la poulie de machine.
1. Incliner la tête de machine vers l’arrière.
2. Desserrer les deux vis w.
3. Tourner le bras de support de balancier d’entraînement
e pour régler la position avant/arrière de la griffe
d’entraînement q.
4. Bien resserrer les deux vis w.
La separación entre el alimentador y la placa de aguja debe
ser la misma en la parte de atrás y adelante del alimentador
q cuando el alimentador q se encuentra movido a su
posición más de atrás y adelante girando la polea de la
máquina.
1. Inclinar hacia atrás la cabeza de la máquina.
2. Aflojar los dos tornillos w.
3. Girar el eje de ménsula de alimentación e para ajustar
la posición hacia adelante/atrás del alimentador q.
4. Apretar bien los dos tornillos w.
13-5. Adjusting the forward/back position of the feed dog
13-5. Einstellen der Transporteurposition vorne/hinten
13-5. Réglage de la position avant/arrière de la griffe d’entraînement
13-5. Ajuste de la posición hacia adelante/atrás del alimentador
0598M
1568M

164
ZE-8570,8580
13. STANDARD ADJUSTMENTS
13. STANDARDEINSTELLUNGEN
13. REGLAGES STANDARD
13. AJUSTES ESTANDARES
q
w
e
r
The ⁄ mark on the eccentric cam w should be aligned
with the ⁄ mark on the eccentric cam e when the refer-
ence line on the thread take-up lever q is aligned with the
C mark on the face plate.
1. Tilt back the machine head.
2. Align the reference line on the thread take-up lever q
with the C mark on the face plate.
3. Loosen the four screws r.
4. Turn the eccentric cam w to align the ⁄ mark with the
⁄ mark on the eccentric cam e.
5. Securely tighten the four screws r.
* If the needle and feed timing has been adjusted, you
should also adjust the needle and rotary hook timing.
(Refer to page 166.)
For the ZE-8580, the thread trimming cam rotation di-
rection should also be adjusted. (Refer to page 179.)
Die Markierung o des Exzenternockens
w
muß auf die
Markierung der Exzenterwelle
e
ausgerichtet sein, wenn
die Bezugslinie des Fadenabnahmehebels
q
auf die
Markierung C der Stirnplatte ausgerichtet ist.
1. Klappen Sie das Maschinenoberteil nach hinten.
2. Richten Sie die Bezugslinie des Fadenabnahmehebels
q auf die Markierung C der Stirnplatte aus.
3. Lösen Sie die vier Schrauben r.
4. Drehen Sie den Exzenternocken w, um die
Nockenmarkierung auf die Markierung der
Exzenterwelle e auszurichten.
5. Ziehen Sie die vier Schrauben r wieder fest.
* Falls die Nadel- und die Transporteursynchronisation
eingestellt wurde, so muß auch die Nadel- und die
Greifersynchronisation eingestellt werden. (Siehe Seite
167.)
Bei der ZE-8580 muß ebenfalls die Drehrichtung des
Fadenabschneidernockens eingestellt werden. (Siehe
Seite 180.)
Le repère ⁄ marqué sur la came excentrée w doit être aligné sur le repère ⁄ marqué sur la came excentrée e lorsque
la ligne de référence marquée sur le levier de releveur de fil q est aligné sur le repère C marqué sur la plaque frontale.
1. Incliner la tête de machine vers l’arrière.
2. Aligner la ligne de référence du levier de releveur de fil q sur le repère repère C sur la plaque frontale.
3. Desserrer les quatre vis r.
4. Tourner la came excentrée w pour aligner le repère ⁄ sur le repère ⁄ marqué sur la came excentrée e.
5. Bien resserrer les quatre vis r.
* Si la synchronisation de l’aiguille et de l’entraînement a été réglée, il faut alors aussi régler la synchronisation de
l’aiguille et du crochet rotatif. (Se reporter à la page 168.)
Pour le modèle ZE-8580, il faut aussi régler le sens de rotation de la came de coupe des fils. (Se reporter à la page
181.)
La marca ⁄ en la leva excéntrica w debe de estar alineada con la marca ⁄ en la leva excéntrica e cuando la línea de
referencia en la palanca del tirahilos q está alineada con la marca C en la placa delantera.
1. Inclinar hacia atrás la cabeza de la máquina.
2. Alinear la línea de referencia en la palanca del tirahilos q con la marca C en la placa delantera.
3. Aflojar los cuatro tornillos r.
4. Girar la leva excéntrica w para alinear la marca ⁄ con la marca ⁄ en la leva excéntrica e.
5. Apretar bien los cuatro tornillos r.
* Si la sincronización de la aguja y la alimentación han sido ajustadas, también se deberá ajustar la sincronización de
la aguja y el garfio giratorio. (Consultar la página 169.)
Para la ZE-8580, la dirección de rotación de la leva de cortahilos también debe ser ajustada. (Consulte la página 182.)
13-6. Adjusting the needle and feed mechanism timing
13-6. Einstellen der Nadel-und Transporteursynchronisation
13-6. Réglage de la synchronisation de I’aiguille et du dispositif d’entraînement
13-6. Ajuste de la sincronización de la aguja y el mecanismo de alimentación
C
0600M
1541M

165 ZE-8570,8580
13. STANDARD ADJUSTMENTS
13. STANDARDEINSTELLUNGEN
13. REGLAGES STANDARD
13. AJUSTES ESTANDARES
When the needle bar q is at its lowest position, the dis-
tance from the top of the needle plate w to the bottom
edge of the needle bar q should be the same as the height
of accessory timing gauge D-1 e.
1. Remove the presser foot r.
2. Turn the machine pulley to move the needle bar q to
its lowest position.
3. Loosen the screw t.
4. Move the needle bar q up or down to adjust the dis-
tance from the top of the needle plate w to the bottom
edge of the needle bar q so that it is the same as the
height of accessory timing gauge D-1 e.
5. Securely tighten the screw t.
6. Install the presser foot r.
* When adjusting the needle bar height, be sure to ad-
just the needle and rotary hook timing also. (Refer to
page 166.)
Wenn sich die Nadelstange q in der tiefsten Position
befindet, muß der Abstand von der Oberseite der
Stichplatte w zur unteren Kante der Nadelstange q der
Höhe der Lehre D-1 e aus dem Zubehör entsprechen.
1. Entfernen Sie den Stoffdrückerfuß r.
2. Drehen Sie die Riemenscheibe, um die Nadelstange
q in die tiefste Position zu stellen.
3. Lösen Sie die Schraube t.
4. Stellen Sie die Höhe der Nadelstange q so ein, daß
der Abstand zwischen der Oberseite der Stichplatte w
und der unteren Kante der Nadelstange q der Höhe
der Lehre D-1 e aus dem Zubehör entspricht.
5. Ziehen Sie die Schraube t wieder fest.
6. Bringen Sie den Stoffdrückerfuß r.
* Beim Einstellen der Nadelstangenhöhe muß die
Synchronisation zwischen Nadel und Greifer ebenfalls
eingestellt werden. (Siehe Seite 167.)
Lorsque la barre à aiguille q se trouve à sa position la plus basse, l’écart entre le haut de la plaque à aiguille w et le bord
inférieur de la barre à aiguille q doit être identique à la hauteur du calibre de synchronisation D-1 e fourni.
1. Retirer le pied presseur r.
2. Tourner la poulie de machine pour déplacer la barre à aiguille q jusqu’à sa position la plus basse.
3. Desserrer la vis t.
4. Déplacer la barre à aiguille q vers le haut ou le bas pour régler l’écart entre le haut de la plaque à aiguille w et le
bord inférieur de la barre à aiguille q de manière qu’il soit identique à la hauteur du calibre de synchronisation D-1
e fourni.
5. Bien resserrer la vis t.
6. Installer le pied presseur r.
* Lorsqu’on règle la hauteur de la barre à aiguille, veiller à régler aussi la synchronisation de l’aiguille et du crochet
rotatif. (Se reporter à la page 168.)
Cuando la barra de agujas q se encuentra en su posición más baja, la distancia desde la parte superior de la placa de
agujas w al borde inferior de la barra de agujas q debe ser la misma que la altura del medidor de sincronización
accesorio D-1 e.
1. Desmontar el prensatelas r.
2. Girar la polea de la máquina para mover la barra de agujas q a su posición más baja.
3. Aflojar el tornillo t.
4. Mover la barra de agujas q hacia arriba o abajo para ajustar la distancia desde la parte superior de la placa de
agujas w al borde inferior de la barra de agujas q de manera que quede a la misma altura del medidor de
sincronización accesorio D-1 e.
5. Apretar bien el tornillo t.
6. Instalar el prensatelas r.
* Cuando se ajuste la altura de la barra de agujas, se debe asegurar de ajustar también la sincronización de la aguja y
el garfio giratorio. (Consultar la página 169.)
13-7. Adjusting the needle bar height
13-7. Einstellen der Nadelstangenhöhe
13-7. Réglage de la hauteur de la barre à aiguille
13-7. Ajuste de la altura de la barra de agujas
1543M
1542M
t
r
q
e
w

166
ZE-8570,8580
13. STANDARD ADJUSTMENTS
13. STANDARDEINSTELLUNGEN
13. REGLAGES STANDARD
13. AJUSTES ESTANDARES
Adjust so that the end of the rotary hook holder q is 0 to
0.5 mm back from end A of the inner rotary hook w.
* The end of the rotary hook holder q must never ex-
tend to the right of end A of the inner rotary hook w.
1. Loosen the screw e and adjust the position of the ro-
tary hook holder q.
2. Securely tighten the screw e.
11. Turn on the power switch.
12. Press the TEST key qand check that the TEST indica-
tor w is illuminated.
(For safety purposes, be sure to carry out this step, as
it prevents the motor from operating even if the treadle
is depressed.)
13. Set the zigzag width to AA AA and the trimming mar-
gin base line position to AA AA. (Refer to pages 75-83)
14. Remove the presser foot e, needle plate r, and feed
dog t.
15. Place the needle plate r on the needle plate installa-
tion surface of the machine bed.
16. Turn the machine pulley to move the needle bar y from
its lowest position, and check the following when the
distance from the top of the needle plate r to the bot-
tom edge of the needle bar y is the same as the height
of accessory timing gauge D-2 u.
• The tip of the rotary hook i should be aligned with
the center of the needle.
• The distance from the tip of the rotary hook i to
the needle should be 0 to 0.05 mm.
17. If the above are not correct, loosen the two screws o
and adjust the position of the rotary hook !0.
After adjustment, securely tighten the two screws o.
18. Set the zigzag width to the maximum setting, and set
the trimming margin base line position to the mini-
mum value.
19. Turn the machine pulley to move the needle to its fur-
thest left position so that the tip of the rotary hook i
is aligned with the center of the needle, and check that
the distance from the upper edge of the needle hole to
the tip of the rotary hook i is 0.2 to 0.5 mm at this
time.
* If the distance is not correct, adjust the height of
the needle bar. (Refer to page 165.)
10. If needle deflection occurs when sewing material with
joints, bend the needle guard !1 as shown in the illus-
tration A so that it touches the needle.
* After this, check that the clearance between the tip of
the rotary hook i and the needle is 0 to 0.05 mm.
11. Press the TEST key q so that the TEST indicator w
switches off.
Normal sewing will then be possible.
Turn off the power to continue adjustment.
q
eq
e
w
A
w
q
i
i
i
!0
o
i
!1
A
13-9. Hook stopper position
Maximum zigzag width
0 to 0.05 mm
0.2 to 0.5 mm
0 to 0.05 mm
0 - 0.5 mm
13-8. Needle and rotary hook timing
0608M
0607M
0606M
0604M
0605M
1544M
1477M
Zigzag width 0mm
e
r
t
y
u
r
1546M

167 ZE-8570,8580
13. STANDARD ADJUSTMENTS
13. STANDARDEINSTELLUNGEN
13. REGLAGES STANDARD
13. AJUSTES ESTANDARES
13-9. Einstellen der Greiferanschlagposition
Das Ende des Greiferanschlags
q
muß sich 0 bis 0,5 mm
hinter dem Ende
A
des inneren Greifers
w
befinden.
* Das Ende des Greiferanschlags
q
darf nicht rechts am
Ende
A
des inneren Greifers
w
vorstehen.
1. Lösen Sie die Schraube
e
und stellen Sie die Position
des Greiferanschlags
q
ein.
2. Ziehen Sie die Schraube
e
wieder fest.
11. Schalten Sie den Netzschalter ein.
12. Drücken sie die TEST-Taste q und kontrollieren Sie,
ob die TEST-Anzeige w leuchtet.
(Dieser Schritt muß zur Sicherheit ausgeführt werden,
weil damit verhindert wird, daß der Motor beim
Drücken des Pedals in Betrieb gesetzt werden kann.)
13.
Stellen Sie die Zickzackbreite auf AA AA und die
Schnittrandgrundlinienposition auf AA AA. (Siehe
Seiten 75 - 85.)
14. Entfernen Sie den Stoffdrückerfuß e, die Stichplatte
r und den Transporteur t.
15. Setzen Sie die Stichplatte r auf die Einbaufläche des
Maschinenbetts.
16. Drehen Sie die Riemenscheibe, um die Nadelstange
y von der tiefste Position anzuheben und kontrollieren
Sie die folgenden Punkte, wenn der Abstand zwischen
der Oberseite der Stichplatte r und der unteren Kante
der Nadelstange y der Höhe der Lehre D-2 u aus dem
Zubehör entspricht.
•Die Greiferspitze i muß auf die Nadelmitte ausgerichtet
sein.
•Der Abstand zwischen der Greiferspitze i und der
Nadel muß 0 bis 0,05 mm betragen.
17. Lösen Sie zum Einstellen die beiden Schrauben o und
stellen Sie die Position des Greifers !0 ein.
Ziehen Sie nach der Einstellung die beiden Schrauben
o wieder fest.
18. Stellen Sie die Zickzackbreite auf den Maximalwert und
stellen Sie die Schnittrandgrundlinienposition auf den
Minimalwert ein.
19. Drehen Sie die Riemenscheibe, so daß die Greiferspitze
i auf die Nadelmitte ausgerichtet ist und kontrollieren
Sie, ob der Abstand zwischen der oberen Kante des
Nadellochs und der Greiferspitze i 0,2 bis 0,5 mm
beträgt.
* Falls der Abstand nicht stimmt, muß die Höhe der
Nadelstange eingestellt werden. (Siehe Seite 165.)
10. Falls sich die Nadel beim Nähen von Überlappungen
biegt, muß der Nadelschutz !1 wie gezeigt
A
gebogen
werden, so daß er die Nadel berührt.
* Kontrollieren Sie danach, ob der Abstand zwischen
der Greiferspitze i und der Nadel 0 bis 0,05 mm
beträgt.
11. Drücken Sie die TEST-Taste q, um die TEST-Anzeige
w auszuschalten.
Danach kann normal genäht werden.
Für weitere Einstellungen muß die Nähmaschine
ausgeschaltet werden.
q
e
i
i
i
!0
o
A
13-8. Nadel/Greifer-Synchronisation
max. Zickzackbreite
0 bis 0,05 mm
0,2 bis 0,5 mm
0 bis 0,05 mm
1477M
0608M
0607M
q
e
w
A
i
!1
0606M
0 - 0,5 mm
Zickzackbreite 0mm
0604M
0605M
1544M
e
r
t
y
u
r
1546M
w
q

168
ZE-8570,8580
13. STANDARD ADJUSTMENTS
13. STANDARDEINSTELLUNGEN
13. REGLAGES STANDARD
13. AJUSTES ESTANDARES
Régler de manière que l’extrémité de la butée
q
du cro-
chet rotatif soit placée entre 0 et 0,5 mm en arrière de
l’extrémité
A
du crochet rotatif interne
w
.
*L’extrémité de la butée
q
du crochet rotatif ne doit
jamais atteindre le côté droit de l’extrémité
A
du cro-
chet rotatif interne
w
.
1. Desserrer la vis
e
et régler la position de la butée
q
du crochet rotatif.
2. Bien resserrer la vis
e
.
11. Mettre l’interrupteur d’alimentation sur la position de
marche.
12. Appuyer sur la touche TEST q et vérifier si le témoin
TEST w est bien allumé.
(Par mesure de sécurité, veiller à effectuer cette étape,
car ceci empêche le moteur de se mettre en marche
même si l’on appuie sur la pédale.)
13. Régler la largeur de zigzag à AA AA et la position de
ligne de base de marge de coupe à AA AA. (Se reporter
aux pages 75 à 87.)
14. Retirer le pied presseur e, la plaque à aiguille r et la
griffe d’entraînement t.
15. Placer la plaque à aiguille r sur la surface d’installation
de la plaque à aiguille du plateau de machine.
16. Tourner la poulie de machine pour déplacer la barre à
aiguille y à partir de sa position la plus basse, et vérifier
les points suivants lorsque l’écart entre le haut de la
plaque à aiguille r et le côté inférieur de la barre à
aiguille y est identique à la hauteur du calibre de
synchronisation D-2 u fourni.
• La pointe du crochet rotatif i doit être alignée sur
le centre de l’aiguille.
• L’écart entre la pointe du crochet rotatif i et l’aiguille
doit être de 0 à 0,05 mm.
17.Si les positions ci-dessus ne sont pas correctes,
desserrer les deux vis o et régler la position du cro-
chet rotatif !0.
Une fois le réglage effectué, bien resserrer les deux
vis o.
18. Régler la largeur de zigzag à la valeur maximum, et
régler la position de la ligne de base de marge de coupe
à la valeur minimum.
19. Tourner la poulie de machine pour déplacer l’aiguille
jusqu’à sa position extrême-gauche de manière que la
pointe du crochet rotatif i soit alignée sur le centre
de l’aiguille, et vérifier si l’écart entre le bord supérieur
de l’orifice d’aiguille et la pointe du crochet rotatif i
est bien de 0,2 à 0,5 mm à ce moment.
* Si l’écart n’est pas correct, régler la hauteur de la
barre à aiguille. (Se reporter à la page 165.)
10. Si une déviation de l’aiguille se produit lorsqu’on coud
des tissus comportant des raccords, plier le protecteur
d’aiguille !1 comme indiqué sur l’illustration A de
manière qu’il entre en contact avec l’aiguille.
* Ensuite, vérifier si l’écart entre la pointe du crochet
rotatif i et l’aiguille est bien de 0 à 0,05 mm.
11. Appuyer sur la touche TEST q de manière que le
témoin TEST w s’éteigne.
La couture normale pourra alors être effectuée.
Pour continuer le réglage, mettre la machine hors ten-
sion.
q
e
i
i
i
!0
o
A
13-8. Synchronisation de l’aiguille et du crochet rotatif
Largeur de zigzag maximum
0 à 0,05 mm
0,2 à 0,5 mm
0 à 0,05 mm
0 - 0,5 mm
13-9. Réglage de la position de la butée de crochet rotatif
0608M
0607M
0606M
0604M
0605M
1477M
q
e
w
A
i
!1
Largeur de zigzag 0mm
w
q
1544M
e
r
t
y
u
r
1546M

169 ZE-8570,8580
13. STANDARD ADJUSTMENTS
13. STANDARDEINSTELLUNGEN
13. REGLAGES STANDARD
13. AJUSTES ESTANDARES
Ajustar de manera que el tope del extremo del garfio
giratorio q esté 0 a 0,5 mm hacia atrás del extremo A del
garfio giratorio interior w.
* El tope del extremo del garfio giratorio q nunca se
debe extender a la derecha del extremo A del garfio
giratorio interior w.
1. Aflojar el tornillo e y ajustar la posición del tope del
garfio giratorio q.
2. Apretar bien el tornillo e.
11. Encender el interruptor principal.
12. Presionar la tecla TEST q y verificar que el indicador
TEST w se enciende.
(Por razones de seguridad, se debe tener cuidado de
realizar este paso, ya que impide que el motor funcione
incluso si se está pisando el pedal.)
13. Ajustar el ancho de zigzag a AA AA y la posición de la
línea de base de margen de corte a AA AA. (Consultar
las páginas 75 - 89.)
14. Desmontar el prensatelas e, la placa de agujas r y el
alimentador t.
15.Colocar la placa de agujas r en la superficie de
instalación de la placa de agujas de la cama de la
máquina.
16. Girar la polea de la máquina para mover la barra de
agujas y desde su posición más baja, y verificar lo
siguiente cuando la distancia desde la parte superior
de la placa de agujas r al borde inferior de la barra de
agujas y sea igual que la altura del medidor de
sincronización accesorio D-2 u.
•La punta del garfio giratorio i debe de estar
alineada con el centro de la aguja.
•La distancia desde la punta del garfio giratorio i a
la aguja debe ser 0 a 0,05 mm.
17. Si lo anterior no es correcto, aflojar los dos tornillos o
y ajustar la posición del garfio giratorio !0.
Después de ajustar, apretar bien los dos tornillos o.
18. Ajuste el ancho del zigzag al ajuste máximo, y ajuste
la posición de línea de base de margen de recorte al
valor mínimo.
19. Girar la polea de la máquina para mover la aguja a su
posición de más a la izquierda de manera que la punta
del garfio giratorio i esté alineada con el centro de la
aguja, y verificar que la distancia desde el borde supe-
rior del agujero de la aguja a la punta del garfio giratorio
i sea 0,2 a 0,5 mm en este momento.
* Si la distancia no es correcta, ajustar la altura de la
barra de agujas. (Consultar la página 165.)
10. Si ocurre una deflexión de la aguja cuando se cose
material con uniones, doblar el protector de aguja !1
tal como se indica en la figura A de manera que toque
la aguja.
* Después de esto, verificar que la separación entre
la punta del garfio giratorio i y la aguja sea 0 a
0,05 mm.
11. Presionar la tecla TEST q de manera que el indicador
TEST w se apague.
Se podrá coser normalmente.
Desconectar la alimentación para continuar el ajuste.
q
e
i
i
i
!0
o
A
13-8. Sincronización de la aguja y el garfio giratorio
Ancho máximo de zigzag
0 a 0,05 mm
0,2 a 0,5 mm
0 a 0,05 mm
0 - 0,5 mm
13-9. Ajuste de la posición de tope del garfio giratorio
0608M
0607M
0606M
0604M
0605M
1477M
q
e
w
A
i
!1
Ancho de zigzag 0mm
w
q
1544M
e
r
t
y
u
r
1546M

170
ZE-8570,8580
13. STANDARD ADJUSTMENTS
13. STANDARDEINSTELLUNGEN
13. REGLAGES STANDARD
13. AJUSTES ESTANDARES
The standard edge knife cutting pressure is when the
length of the spring q is 11 mm.
1. Loosen the two screws w, and then remove the bed
plate e.
2. Loosen the set screw r and move the set collar t to
the left or right to adjust the cutting pressure. Then
tighten the set screw r.
•If the set collar t is moved to the left, the cutting
pressure becomes weaker.
•If the set collar t is moved to the right, the cutting
pressure becomes stronger.
3. Install the bed plate e with the two screws w.
NOTE:
If the cutting pressure is increased, the cutting perfor-
mance will be improved but the edge knife will reach
the end of its useful life more quickly.
Bei normalem Kantenmesserschneidedruck muß die
Länge der Feder q 11 mm betragen.
1. Lösen Sie die beiden Schrauben w und entfernen Sie
die Platte e.
2. Lösen Sie die Schraube r und stellen Sie den
Schneidedruck durch seitliches Verschieben der Muffe
t ein. Ziehen Sie danach die Schraube r wieder fest.
•Durch Verschieben der Muffe t nach links wird der
Schneidedruck verringert.
•Durch Verschieben der Muffe t nach rechts wird
der Schneidedruck erhöht.
3. Bringen Sie die Platte e wieder mit den beiden
Schrauben w an.
HINWEIS:
Bei höherem Schneidedruck verbessert sich die
Schnittleistung, jedoch wird damit die Lebensdauer des
Kantenmessers verkürzt.
La pression de coupe standard du couteau de bord est celle où la longueur du ressort q est de 11 mm.
1. Desserrer les deux vis w, puis retirer la plaque du plateau e.
2. Desserrer la vis de réglage r et déplacer le collier de réglage t vers la gauche ou vers la droite pour régler la
pression de coupe. Ensuite, resserrer la vis de réglage r.
•Si l'on déplace le collier de réglage t vers la gauche, la pression de coupe diminue.
•Si l'on déplace le collier de réglage t vers la droite, la pression de coupe augmente.
3. Poser la plaque du plateau e à l'aide des deux vis w.
REMARQUE:
Si l'on augmente la pression de coupe, les performances de coupe seront améliorées mais le couteau de bord
atteindra la fin de sa durée de vie plus rapidement.
La presión de corte estándar de cuchilla de borde es cuando el largo del resorte q es 11 mm.
1. Aflojar los dos tornillos w, y luego quitar la placa de la cama e.
2. Aflojar el tornillo de ajustar r y mover el collar de ajuste t a la izquierda o la derecha para ajustar la presión de
corte. Luego apretar el tornillo de ajuste r.
•Si el collar de ajuste t se mueve a la izquierda, la presión de corte será menor.
•Si el collar de ajuste t se mueve a la derecha, la presión de corte será mayor.
3. Instalar la placa de la cama e con los dos tornillos w.
NOTA:
Si la presión de corte aumenta, el rendimiento de corte será mejorado pero la cuchilla de borde llegará al final de su
vida útil más rápidamente.
13-10. Adjusting the edge knife cutting pressure
13-10. Einstellen des Kantenmesserschneidedrucks
13-10. Réglage de la pression de coupe du couteau de bord
13-10. Ajuste de la presión de corte de la cuchilla de borde
1547M
1536M
w
e
t
r
q
11mm

171 ZE-8570,8580
13. STANDARD ADJUSTMENTS
13. STANDARDEINSTELLUNGEN
13. REGLAGES STANDARD
13. AJUSTES ESTANDARES
13-11. Adjusting the synchronizer
13-11. Einstellen des Synchronisators
13-11. Réglage du synchroniseur
13-11. Ajuste del sincronizador
Needle up stop
Nadelstopposition, oben
Position d’arrêt
supérieure de I’aiguille
Parada con la aguja arriba
Needle down stop
Nadelstopposition, unten
Position d’arrêt
inférieure de I’aiguille
Parada con la aguja abajo
Direction of machine pulley rotation
Riemenscheibendrehrichtung
Sens de rotation de la poulie de machine
Dirección de rotación de
la polea de la máquina
U
D
0.5mm
0,5mm
•The synchronizer consists of two elements which are used to detect the needle position. One of these elements is
used to control the needle down signal and the thread trimmer signal.
•When the power is turned on and the sewing machine stops in the needle up stop position, the reference line on the
thread take-up lever should stop near the U mark on the face plate (± 3 mm).
Furthermore, when the sewing machine stops in the needle down stop position, the reference line on the thread
take-up lever should stop near the D mark on the face plate (± 4 mm).
■ Needle up stop position adjustment
1. Turn off the power switch.
2. Loosen the two set screws
q
.
3. Move set screw
q
in the direction of normal puley rotation to raise the needle bar
w
. Move the screw
q
in the
opposite direction to lower the needle bar.
4. Tighten the set screws
q
.
■ Needle down and thread trimmer signals
Do not adjust the needle down stop position.
■ Note
•The synchronizer is preadjusted at the factory. Do not remove the synchronizer after removing the pulley.
•When mounting the pulley be sure to leave a 0.5 mm gap between the pulley edge and synchronizer.
Furthermore, tighten the two machine pulley set screws so that the rear set screw is at the screw stop on the upper
shaft when seen from the machine pulley turning direction.
1021S 1022S 1023S
1024S 1025S 1026S
2
1
-2.5
q

172
ZE-8570,8580
13. STANDARD ADJUSTMENTS
13. STANDARDEINSTELLUNGEN
13. REGLAGES STANDARD
13. AJUSTES ESTANDARES
•Der Synchronisator besteht aus zwei Elementen, welche die Nadelposition erfassen.Ein Element ist für das Auslösen
der Signale zum Absenken der Nadel und zum Abschneiden des Fadens.
•Wenn die Maschine eingeschaltet ist und mit angehobener Nadel stoppt, muß sich die Bezugslinie auf dem
Fadenabnahmehebel in der Nähe der Markierung U auf der Stirnplatte (± 3 mm) befinden.
Wenn die Maschine mit abgesenkter Nadel stoppt, muß sich die Bezugslinie auf dem Fadenabnahmehebel in der
Nähe der Markierung D auf der Stirnplatte (± 4 mm) befinden.
■ Einstellen der oberen Nadelstopposition
1. Schalten Sie den Netzschalter aus.
2. Die beiden Schrauben q lösen.
3. Die Schraube q in der Drehrichtung der Riemenscheibe drehen,um die Nadelstange w hochzustellen.Wenn die
Schraube q in entgegengesetzter Richtung gedreht wird,wird die Nadelstange tiefer gestellt.
4. Ziehen Sie die Schraube q fest.
■ Signale zum Herunterstellen der Nadel und für den Fadenabschneider
Die untere Nadelstopposition nicht einstellen.
■ Hinweis
•Der Synchronisator wird im Herstellungswerk eingestellt. Bei abgenommener Riemenscheibe darf der Synchronisator
nicht enfernt werden.
•Wenn die Riemenscheibe angebracht wird,muß zwischen der Scheibe
und dem Synchronisator ein Abstand von 0.5 mm vorhanden sein.
Ziehen Sie die beiden Riemenscheibenschrauben fest,so daß sich die hintere Schraube am Anschlag der oberen
Welle befindet, gesehen von der Riemenscheibendrehrichtung.
•Le synchroniseur se compose de deux éléments qui ont pour fonction de détecter la position de I’aiguille. Un de ces
éléments sert à détecter le signal de descente de I’aiguille, I’autre à détecter le signal du coupe-fils.
•Lorsque la machine à coudre est sous tension et qu’elle est arrêtée à la position d’arrêt supérieur de l’aiguille, la
ligne de référence marquée sur le levier de releveur de fil doit s’arrêter en face du repère U marqué sur la plaque
frontale (± 3 mm)
En outre, lorsque la machine à coudre est arrêtée à la position d’arrêt inférieur de l’aiguille, la ligne de référence
marquée sur le levier de releveur de fil doit s’arrêter à proximité du repère D marqué sur la plaque frontale (± 4 mm).
■ Reglage d’arrêt d’aiguille en position relevée
1. Mettre I’interrupteur d’alimentation sur la position d’arrêt.
2. Desserrer les deux vis de réglage q.
3. Déplacer la vis de réglage q dans la direction de rotation normale de la poulie, afin d’élever la barre à aiguille w.
Déplacer la vis q dans la direction opposée pour abaisser la barre à aiguille.
4. Serrer les vis de fixation q.
■ Signal de descente d’aiguille et signal de coupe-fils
Ne pas régler la position d’arrêt de I’aiguille en position descendue.
■ Remarque
•
Le synchroniseur a été préréglé en usine. En conséquence,ne pas retirer le synchroniseur après avoir déposé la poulie.
•Lors de la mise en place de la poulie, faire attention de laisser un jeu de 0,5 mm entre le bord de la poulie et le
synchroniseur.
En outre, serrer les deux vis de fixation de poulie de machine de manière que la vis de fixation arrière soit sur la
butée de vis de I’arbre supérieur lorsqu’on regarde à partir du sens de rotation de la poulie.
•El sincronizador consiste de dos elementos que se usan para detectar la posición de la aguja. Uno de estos elementos
se utiliza para controlar la señal de aguja baja y la señal del cortahilos.
•Cuando la alimentación se enciende y se para la máquina de coser en la posición de parada con la aguja levantada,
la línea de referencia en la palanca del tirahilos debe parar próximo a la marca U en la placa delantera (± 3 mm).
Además, cuando se para la máquina de coser en la posición de parada con la aguja abajo, la línea de referencia en
la palanca del tirahilos debe parar próximo a la marca D en la placa delantera (± 4 mm).
■ Ajuste de la posición de parada de la aguja levantada
1. Desconectar el interruptor principal.
2. Aflojar los dos tornillos de fijacion q.
3. Mover el tornillos de fijación q en el sentido de la rotación normal de la polea para levantar la barra de aguja w.
Mover los tornillos q en el sentido opuesto para bajar la barra de aguja.
4. Apretar los tornillos de fijacion q.
■ Señales de aguja baja y del cortahilos
No ajustar la posición de parada de aguja baja.
■ Nota
•Se ha ajustado el sincronizador en fabrica. No quitar el sincronizador luego de quitar la polea.
•Cuando se instala la polea dejar una distancia de 0,5 mm entre el borde de la polea y el sincronizador.
Además, apretar la polea de las dos máquinas ajustar los tornillos de forma que el tornillo de ajuste trasero se
encuentre en el tope de tornillo en el eje superior cuando se ve desde la dirección de giro de la polea de la máquina.

173 ZE-8570,8580
13. STANDARD ADJUSTMENTS
13. STANDARDEINSTELLUNGEN
13. REGLAGES STANDARD
13. AJUSTES ESTANDARES
■ Checking the lubrication amount
1. Run the machine at the normal sewing speed for ap-
proximately 1 minute without sewing any material (fol-
lowing the same start/stop pattern as when actually
sewing).
2. Place the lubrication amount check sheet q to the left
of the rotary hook w and hold it there. Then run the
sewing machine at the normal sewing speed for 10
seconds.
(Any type of paper can be used as the lubrication
amount check sheet q.)
3. Check the amount of oil which has spattered onto the
sheet.
* Be sure to repeat this operation three to four times to
check average lubrication amounts.
■ Kontrolle der Schmierölmenge
1. Lassen Sie die Nähmaschine mit normaler
Nähgeschwindigkeit ohne Nähgut (mit Start/
Stoppoperationen wie im tatsächlichen Betrieb) für
ungefähreine Minute laufen.
2. Halten Sie ein Blatt Papier q zum Kontrollieren der
Greiferschmierung auf die linken Seite des Greifers w.
Lassen Sie die Nähmaschine für 10 Sekunden mit
normaler Geschwindigkeit laufen.
3. Kontrollieren Sie die Ölmenge,die auf das Papier
gespritzt wurde.
* Wiederholen Sie diese Prüfung drei oder vier Mal, um
die durchschnittliche Schmierung zu kontrollieren.
Be careful not to touch your fingers or the lubrication amount check sheet against moving parts such as the
rotary hook or the feed mechanism when checking the amount of oil supplied to the rotary hook, otherwise
injury may result.
Bei der Kontrolle der Schmierölzufuhr für die Greiferschmierung dürfen Sie die Finger oder das Testpapier
nicht gegen sich bewegende Teile, wie den Greifer oder die Tranportvorrichtung halten, weil sonst eine große
Verletzungsgefahr vorhanden ist.
Veillez à ce que vos doigts ou la feuille de vérification de quantité de lubrification ne touchent pas les parties
mobiles telles que le crochet rotatif ou le dispositif d’entraînement lors de la vérification de la quantité de
lubrification parvenant au crochet rotatif, car vous risqueriez de vous blesser.
Asegurarse de no tocar con sus dedos o la hoja de verificación de lubricante partes en movimiento como el
garfio giratorio o el mecanismo de alimentación al verificar la cantidad de aceite suministrado al garfio giratorio,
de lo contrario podria sufrir una herida.
13-12. Adjusting the rotary hook lubrication amount
13-12. Einstellen der Greiferschmierung
13-12. Réglage de la quantité de lubrification du crochet rotatif
13-12. Ajuste de la lubricatión del cangrejo
CAUTION/ACHTUNG/ATTENTION/ATENCION
•Use the following procedure to check the amount of oil being supplied to the rotary hook when replacing the rotary
hook or when changing the sewing speed.
•Kontrollieren Sie nach dem Austausch des Greifers oder dem Ändern der Nähgeschwindigkeit die Schmierölzufuhr
für die Greiferschmierung wie folgt.
•Pour vérifier la quantité de lubrification parvenant au crochet rotatif lors du remplacement du crochet rotatif ou lors
du changement de la vitesse de couture, utiliser la procédure suivante.
•Usar el siguiente procedimiento para verificar la cantidad de aceite suministrado al garfio giratorio al cambiar el
garfio giratorio o al cambiar la velocidad de costura.
q
Approx.25 mm
ca.25 mm
Approx.50 mm
ca.50 mm
Too much
zu viel Correct
richtig Too little
zu wenig
Spattered oil
verspritztes ol
0609M
0611M
1548M
5 - 15mm
w
q

174
ZE-8570,8580
13. STANDARD ADJUSTMENTS
13. STANDARDEINSTELLUNGEN
13. REGLAGES STANDARD
13. AJUSTES ESTANDARES
■ Vérification de la quantité de lubrification
1. Faire fonctionner la machine à la vitesse de couture
normale pendant environ une minute sans coudre de
tissu (en suivant le même modèle de démarrage/arrêt
que pour une couture réelle).
2. Placer la feuille de vérification de quantité de
lubrification 1 à gauche du crochet rotatif 2 et la
maintenir à cet emplacement. Ensuite, faire fonctionner
la machine à coudre à la vitesse de couture normale
pendant 10 secondes.
3. Vérifier la quantité d’huile projetée sur la feuille.
* Veiller à répéter cette opération trois à quatre fois pour
vérifier les quantités de lubrification moyennes.
■ Verificación de la cantidad de lubricante
1. Hacer funcionar la máquina a la velocidad normal de
costura durante aproximadamente 1 minuto sin coser
ningún material (siguiendo el mismo patrón de
comienzo/parada que durante una costura real).
2. Colocar la hoja de verificación de lubricante 1 a la
izquierda del garfio giratorio 2 y sostenerla en esa
posición. Luego hacer funcionar la máquina de coser
a la velocidad de costura normal durante 10 segundos.
3. Verificar la cantidad de lubricante que se ha salpicado
sobre la hoja.
* Se debe asegurar de repetir este funcionamiento tres
o cuatro veces para verificar la cantidad de lubricante
promedial.
■ Adjusting the lubrication amount
1. Tilt back the machine head.
2. Turn the lubrication adjustment screw 3 to adjust the
lubrication amount.
3. Check the lubrication amount again according to the
procedure given in “Checking the lubrication amount”
above.
* Turn the lubrication adjustment screw 3 and check
the lubrication amount repeatedly until the lubri-
cation amount is correct.
4. Check the lubrication amount again after the sewing
machine has been used for approximately two hours.
■ Einstellen der Schmierolzufuhr
1. Klappen Sie das Nähmaschinenoberteil zurück.
2. Stellen Sie die Schmierung mit der Schraube 3 ein.
3. Kontrollieren Sie die Schmierölzufuhr nochmals, wie
im vorstehenden Abschnitt “Kontrolle der
Schmierölmenge” beschrieben.
* Drehen Sie die Schmierölschraube 3 und
kontrollieren Sie die Schmierölzufuhr wiederholt,
um die Greiferschmierung richtig einzustellen.
4. Kontrollieren Sie nach einer Betriebsdauer von
ungefähr 2 Stunden die Greiferschmierung erneut.
■ Réglage de la quantité de lubrification
1. Incliner la tête de machine vers I’arrière.
2. Tourner la vis de réglage de lubrification 3 pour régler
la quantité de lubrification.
3. Vérifier à nouveau la quantité de lubrification en suivant
la procédure figurant dans la section “Vérification de
la quantité de lubrification” ci-dessus.
* Tourner la vis 3 de réglage de lubrification et
vérifier à plusieurs reprises la quantité de
lubrification jusqu’à ce que la quantité de
lubrification soit adéquate.
4. Vérifier à nouveau la quantité de lubrification après
avoir utilisé la machine pendant deux heures environ.
■ Ajuste de la cantidad de lubricante
1. Inclinar la cabeza de la maquina.
2. Girar el tornillo de ajuste de lubricación 3 para ajustar
la cantidad de lubricante.
3. Verificar otra vez la cantidad de lubricante de acuerdo
con el procedimiento indicado en “Verificacion de la
cantidad de lubricante.”
* Girar el tornillo de ajuste de lubricación 3 y verificar
la cantidad de lubricante repetidamente hasta que
la cantidad de lubricante sea la correcta.
4. Verificar otra vez la cantidad de lubricante después de
usar la máquina de coser durante aproximadamente
dos horas.
q
Environ 25 mm
Aprox. 25 mm
Environ 50 mm
Aprox. 50 mm
Trop
Demasiado Correcte
Correcto Pas assez
Poco
Huile projetée
Aceite salpicado
e
Less oil
Weniger ôl
Moins d’huile
Menos aceite
More oil
Mehr ôl
Plus d’huile
Mas aceite 0612M
0611M
1548M
0609M
5 - 15mm
w
q

175 ZE-8570,8580
13. STANDARD ADJUSTMENTS
13. STANDARDEINSTELLUNGEN
13. REGLAGES STANDARD
13. AJUSTES ESTANDARES
■ Standard position for upper thread feeding device
The standard position for the upper thread feeding device
is as shown in the illustration.
1. Loosen the set screw q.
2. Turn the base w so that the end of the wire e is at a
position 5 mm below the position where the upper
thread r passes.
3. Tighten the set screw q.
* At this time, keep the end of the wire e 0.5 mm
away from surface A of the part where the thread
guide t is installed.
4. Loosen the two bolts y.
5. Move the wire e to the left or right so that the end of
the wire e is 2 to 4 mm from the top-left edge of the
thread guide t.
6. Tighten the bolts y.
■ Adjusting the upper thread trailing amount
The standard upper thread trailing amount after thread
trimming varies as shown below depending on the type
of thread used.
If adjustment is necessary, adjust the position of the wire
e as described below.
1. Loosen the set screw q.
2. Turn the base w to adjust the vertical position of the
end of the wire e.
• To increase the upper thread trailing amount, raise
the position of the wire e without letting it touch
the upper thread r.
• To decrease the upper thread trailing amount, lower
the position of the wire e without letting it touch
the thread guide t.
3. After adjusting, tighten the set screw q.
* At this time, keep the end of the wire e 0.5 mm
away from surface A of the part where the thread
guide t is installed.
Note:
If the tension of the pre-tension y is to strong, it
will be more difficult to adjust the upper thread trail-
ing amount.
The pre-tension y should be adjusted to as weak a
tension as possible while still allowing the rotary
disc u to rotate smoothly.
* The thread tension will change at this time, so
be sure to re-adjust the upper thread tension.
(Refer to page 140.)
Upper thread
Upper thread trailing amount
nylon 100D 1 X 3(Z) 50 - 60mm
#60 spun 40 - 50mm
q
t
y
w
e
r
B
A
A
r
e
t
e
e
r
e
r
u
w
q
t
B
A
A
t
e
13-13. Adjusting the thread trailing length after thread trimming (ZE-8580 only)
Seen from direction B
0.5 mm
5 mm
Stronger
Weaker
Should not touch
Longer
Shorter Seen from direction B
0.5 mm
2 - 4 mm
5 mm
y
1032S
1033S
1034S
1033S

176
ZE-8570,8580
13. STANDARD ADJUSTMENTS
13. STANDARDEINSTELLUNGEN
13. REGLAGES STANDARD
13. AJUSTES ESTANDARES
■ Normale Position der Oberfadenzuführung
Die normale Position der Oberfadenzuführung ist in der
Abbildung gezeigt.
1. Lösen Sie die Schraube q.
2. Drehen Sie die Basis w, so daß sich das Stangenende
e 5 mm unterhalb der Position befindet, an welcher
der Oberfaden r durchgeführt wird.
3. Ziehen Sie die Schraube q fest.
* Halten Sie das Stangenende e 0,5 mm von der
Oberfläche A des Teils, an dem die Fadenführung
t angebracht ist entfernt.
4. Lösen Sie die beiden Schrauben y.
5. Bewegen Sie die Stange e nach links und rechts, so
daß sich das Ende e 2 bis 4 mm von der oberen linken
Kante der Fadenführung t entfernt befindet.
6. Ziehen Sie die beiden Schrauben y wieder fest.
■ Einstellen des Oberfadenendes
Die Länge des Fadenendes nach dem Abschneiden hängt
vom verwendeten Faden ab, wie nachstehend gezeigt.
Falls eine Einstellung notwendig ist, stellen Sie die Posi-
tion der Stange e wie nachstehend beschrieben ein.
1. Lösen Sie die Schraube q.
2. Drehen Sie die Basis w, um die Vertikalposition des
Stangenendes e einzustellen.
• Um die Länge des vorstehenden Fadenendes zu
erhöhen, heben Sie die Stange e an, ohne daß sie
den Oberfaden r berührt.
• Um die Länge des vorstehenden Fadenendes zu
vermindern, senken Sie die Stange e ab, ohne daß
sie die Oberfadenführung t berührt.
3. Ziehen Sie nach dem Einstellen die Schraube q wieder
fest.
* Halten Sie das Stangenende e 0,5 mm von der
Oberfläche A des Teils an dem die Fadenführung
t angebracht ist entfernt.
Hinweis:
Bei zu starker Vorspannung y ist es schwieriger
die Länge des Fadenendes einzustellen.
Die Vorspannung y sollte so gering wie möglich
eingestellt werden, so daß sich die Scheibe u
gerade noch richtig dreht.
* Die Oberfadenspannung verändert sich, deshalb
muß sie erneut eingestellt werden. (Siehe Seite
140.)
Oberfaden Oberfadenende
Nylon 100D 1 X 3(Z) 50 - 60mm
Garn #60 40 - 50mm
q
t
y
w
e
r
B
A
A
r
e
t
e
e
r
e
r
u
w
q
t
B
A
A
t
e
13-13. Einstellen des Fadenendes nach dem Fadenabschneiden (nur ZE-8580)
Ansicht von Richtung B
0,5 mm
5 mm
erhöhen
vermindern
keine Berührung
länger
kürzer
Ansicht von Richtung B
0,5 mm
5 mm
2 - 4 mm
y
1032S
1033S
1034S
1033S

177 ZE-8570,8580
13. STANDARD ADJUSTMENTS
13. STANDARDEINSTELLUNGEN
13. REGLAGES STANDARD
13. AJUSTES ESTANDARES
■Position standard pour le dispositif d’entraînement du
fil supérieur
La position standard pour le dispositif d’entraînement du
fil supérieur est comme indiqué sur l’illustration.
1. Desserrer la vis de réglage q.
2. Tourner la base w de manière que l’extrémité du câble
e soit située à 5 mm sous la position où le fil supérieur
r passe.
3. Resserrer la vis de réglage q.
* A ce moment, maintenir l’extrémité du câble e à
0,5 mm de la surface A de la partie où le guide-fil
t est installé.
4. Desserrer les deux boulons y.
5. Déplacer le câble e vers la gauche ou vers la droite de
manière que l’extrémité du câble e soit située entre 2
et 4 mm du bord supérieur gauche du guide-fil t.
6. Resserrer les boulons y.
■ Réglage de la quantié de fil supérieur en excès
La quantité de fil supérieur en excès standard après que
le fil ait été coupé varie comme indiqué ci-dessous en
fonction du type de fil utilisé.
S’il est nécessaire d’effectuer le réglage, régler la position
du câble e comme indiqué ci-dessous.
1. Desserrer la vis de réglage q.
2. Tourner la base w pour régler la position verticale de
l’extrémité du câble e.
• Pour augmenter la quantité de fil supérieur en excès,
élever la position du câble e en veillant toutefois à
ce qu’il ne touche pas le guide-fil r.
• Pour diminuer la quantité de fil supérieur en excès,
abaisser la position du câble e en veillant toutefois
à ce qu’il ne touche pas le guide-fil t.
3. Une fois le réglage effectué, resserrer la vis de réglage
q.
* A ce moment, veiller à éloigner l’extrémité du câble
e de 0,5 mm de la surface A de la partie où le
guide-fil t est installé.
Remarque:
Si la tension de la pré-tension y est trop forte, il
sera plus difficile de régler la quantité de fil
supérieur en excès.
La pré-tension y doit être réglée de manière à être
aussi faible que possible en permettant toutefois
au disque rotatif u de tourner bien régulièrement.
* La tension du fil changera à ce moment; veiller
donc à refaire le réglage de la tension du fil
supérieur. (Se reporter à la page 140.)
Fil supérieur
Quantité de fil supérieur en excès
Nylon 100D 1 X 3(Z) 50 - 60mm
Fil filé #60 40 - 50mm
q
t
y
w
e
r
B
A
A
r
e
t
e
e
r
e
r
u
w
q
t
B
A
A
t
e
13-13.
Réglage de la longueur de fil en excès après la coupe des fils (ZE-8580 seulement)
Vue de la direction B
0,5 mm
5 mm
Plus forte
Plus faible
Ne doit pas entrer en contact
Plus long
Plus court
Vue de la direction B
0,5 mm
5 mm
2 - 4 mm
y
1032S
1033S
1034S
1033S

178
ZE-8570,8580
13. STANDARD ADJUSTMENTS
13. STANDARDEINSTELLUNGEN
13. REGLAGES STANDARD
13. AJUSTES ESTANDARES
■ Posición estándar para dispositivo de alimentación del
hilo superior
La posición estándar del dispositivo de alimentación del
hilo superior es la que se indica en la figura.
1. Aflojar el tornillo de ajuste q.
2. Girar la base w de manera que el extremo del cable e
se encuentre en una posición 5 mm debajo de la
posición donde pasa el hilo superior r.
3. Apretar el tornillo de ajuste q.
* En este momento, mantener el extremo del cable
e 0,5 mm afuera de la superficie A de la parte
donde el guiahilos t está instalado.
4. Aflojar los dos pernos y.
5. Mover el cable e a la izquierda o la derecha de manera
que el extremo del cable e esté 2 a 4 mm del borde
superior izquierdo del guiahilos t.
6. Apretar los pernos y.
■ Ajuste de la cantidad de sobrante de hilo superior
La cantidad de sobrante de hilo superior estándar después
del corte de hilo varía tal como se indica a continuación
dependiendo del tipo de hilo usado.
Si fuera necesario realizar el ajuste, ajustar la posición del
cable e tal como se describe a continuación.
1. Aflojar el tornillo de ajuste q.
2. Girar la base w para ajustar la posición vertical del
extremo del cable e.
• Para aumentar la cantidad de sobrante de hilo su-
perior, levantar la posición del cable e sin dejarlo
tocar el hilo superior r.
• Para reducir la cantidad de sobrante de hilo supe-
rior, bajar la posición del cable e sin dejarlo tocar
el guiahilos t.
3. Después de ajustar, apretar el tornillo de ajuste q.
* En este momento, mantener el extremo del cable
e 0,5 mm afuera de la superficie A de la parte
donde está instalado el guiahilos t.
Nota:
Si la tensión preliminar y es demasiado fuerte, será
más difícil para ajustar la cantidad de sobrante de
hilo superior.
La tensión preliminar y debe ser ajustada tan débil
como sea posible mientras se permita que el disco
giratorio e gire suavemente.
* La tensión del hilo cambiará en este momento,
por lo tanto se debe tener cuidado de volver a
ajustar la tensión del hilo superior. (Consultar
la página 140.)
Hilo superior
Cantidad sobrante de hilo superior
Nailón 100D 1 X 3(Z) 50 - 60mm
Hilado #60 40 - 50mm
q
t
y
w
e
r
B
A
A
r
e
t
e
e
r
e
r
u
w
q
t
B
A
A
t
e
13-13. Ajuste del largo sobrante de hilo después del corte de hilo (Sólo ZE-8580)
Visto desde la dirección B
0,5 mm
5 mm
Más fuerte
Más débil
No debe tocar
Más largo
Más corto
Visto desde la dirección B
0,5 mm
5 mm
2 - 4 mm
y
1032S
1033S
1034S
1033S

179 ZE-8570,8580
13. STANDARD ADJUSTMENTS
13. STANDARDEINSTELLUNGEN
13. REGLAGES STANDARD
13. AJUSTES ESTANDARES
■ Rotating direction adjustment
1. While still pushing thread trimming driving rod u by
hand, turn the machine pulley slowly by hand toward
you until the reference line on the thread take-up lever
!2 is aligned with the T mark on the face plate. Adjust
the position of the thread trimming cam !0 so that the
knife begins to move at this point.
2. Securely tighten the two set screws t.
3. While still pushing thread trimming driving rod u by
hand, turn the machine pulley slowly by hand toward
you until the reference line on the thread take-up lever
is aligned with the T mark on the face plate. Check that
the knife begins to move at this point, and that it re-
turns when the reference line is aligned with the U
mark.
13-14. Adjusting the position of the thread trimming cam (ZE-8580 only)
The knife unit q should already be installed in the correct way when the following adjustments are carried out.
q
w
r
t
y
!0
!1
o
u
i
A
!2
t
!0
u
■ Horizontal position adjustment
1. Tilt back the machine head.
2. Loosen the two screws w.
3. Move the stopper r to adjust so that the edge of the
movable knife e is 0.5 mm inside the edge of the knife
unit q.
4. Securely tighten the screws w.
5. Loosen the two set screws t and the two set screws
y.
6. While pushing the thread trimming driving rod u by
hand, adjust the horizontal position of the thread trim-
ming cam !0 so that the roller o of the main lever i
moves smoothly in and out of the straight section A
of the groove in the thread trimming cam !0.
7. Provisionally tighten the two set screws t.
8. Place the set screw collar !1 firmly against the thread trim-
ming cam !0, and then securely tighten the two set screws
y.
0.5 mm
U
T
1035S
1036S
1037S
1038S

180
ZE-8570,8580
13. STANDARD ADJUSTMENTS
13. STANDARDEINSTELLUNGEN
13. REGLAGES STANDARD
13. AJUSTES ESTANDARES
■ Einstellen der Drehrichtung
1. Drücken Sie die Fadenabschneidestange u mit der
Hand und drehen Sie die Riemenscheibe langsam mit
der Hand gegen sich, so daß die Bezugslinie des
Fadenabnahmehebels !2auf die Markierung T der
Stirnplatte ausgerichtet ist. Stellen Sie die Position des
Fadenabschneidenockens !0 so ein, daß sich das Messer
zu bewegen beginnt.
2. Ziehen Sie die beiden Schrauben t fest.
3. Drücken Sie die Fadenabschneidestange u immer
noch mit der Hand und drehen Sie die Riemenscheibe
langsam mit der Hand gegen sich, so daß die
Bezugslinie des Fadenabnahmehebels auf die
Markierung T der Stirnplatte ausgerichtet ist.
Kontrollieren Sie, ob sich das Messer zu bewegen
beginnt und ob es zurückgestellt ist, wenn die
Bezugslinie auf die Markierung U ausgerichtet ist.
■ Horizontaleinstellung
1. Klappen Sie das Maschinenoberteil nach hinten um.
2. Lösen Sie die beiden Schrauben w.
3. Stellen Sie die Kante des beweglichen Messers e mit
dem Anschlag r so ein, daß sie sich 0,5 mm innen an
der Kante der Messereinheit q befindet.
4. Ziehen Sie die Schraube w wieder fest.
5. Lösen Sie die beiden Schrauben t und die beiden
Schrauben y.
6. Drücken Sie die Fadenabschneidestange u mit der
Hand und stellen Sie die Horizontalposition des
Fadenabschneidenockens !0 so ein, daß sich die Rolle
o des Haupthebels i richtig im geraden Teil A der
Nut im Fadenabschneidenocken !0 bewegt.
7. Ziehen Sie die beiden Schrauben t provisorisch fest.
8. Setzen Sie die Muffe !1 richtig gegen den
Fadenabschneidenocken !0 und ziehen Sie die beiden
Schrauben y richtig fest.
13-14. Einstellen der Position des Fadenabschneidenockens (nur ZE-8580)
Die Messereinheit q muß für diese Einstellung richtig installiert sein.
q
w
r
t
y
!0
!1
o
u
i
A
!2
t
!0
u
0,5 mm
U
T
1035S
1036S
1037S
1038S

181 ZE-8570,8580
13. STANDARD ADJUSTMENTS
13. STANDARDEINSTELLUNGEN
13. REGLAGES STANDARD
13. AJUSTES ESTANDARES
■ Réglage de la position horizontale
1. Incliner la tête de machine vers l’arrière.
2. Desserrer les deux vis w.
3. Déplacer la butée r pour régler de manière que le bord
du couteau mobile e soit situé à 0,5 m à l’intérieur du
bord du couteau q.
4. Bien resserrer les vis w.
5. Desserrer les deux vis de réglage t et les deux vis de
réglage y.
6. Tout en poussant la tige d’entraînement de coupe des
fils u avec la main, régler la position horizontale de la
came de coupe des fils !0 de manière que le rouleau
o du levier principal i se déplace bien régulièrement
vers l’intérieur et l’extérieur de la partie droite A de la
rainure dans la came de coupe des fils !0.
7. Resserrer provisoirement les deux vis de réglage t.
8. Placer le collier de la vis de réglage !1 fermement contre
la came de coupe des fils !0 , puis resserrer fermement
les deux vis de réglage y.
13-14. Réglage de la position de la came de coupe des fils (ZE-8580 seulement)
Le couteau q doit déjà être correctement installé lorsqu’on effectue les réglages suivants.
q
w
r
t
y
!0
!1
o
u
i
A
■ Réglage du sens de rotation
1. Tout en continuant à pousser la tige d’entraînement
de coupe des fils u avec la main, tourner
progressivement la poulie de machine avec la main
jusqu’à ce que la ligne de référence marquée sur le
levier de releveur de fil !2 soit alignée sur le repère T
marqué sur la plaque frontale. Régler la position de la
came de coupe des fils !0 de manière que le couteau
commence à se déplacer à ce point.
2. Bien resserrer les deux vis de réglage t.
3. Tout en continuant à pousser la tige d’entraînement
de coupe des fils u avec la main, tourner
progressivement la poulie de machine avec la main
jusqu’à ce que la ligne de référence marquée sur le
levier de releveur de fil !2 soit alignée sur le repère T
marqué sur la plaque frontale. Vérifier si le couteau
commence bien à se déplacer à ce point, et s’il retourne
bien vers sa position initiale quand la ligne de référence
est alignée sur le repère U.
0,5 mm
!2
t
!0
u
U
T
1035S
1036S
1037S
1038S

182
ZE-8570,8580
13. STANDARD ADJUSTMENTS
13. STANDARDEINSTELLUNGEN
13. REGLAGES STANDARD
13. AJUSTES ESTANDARES
■ Ajuste de posición horizontal
1. Inclinar hacia atrás la cabeza de la máquina.
2. Aflojar los dos tornillos w.
3. Mover el tope r para ajustar de manera que el borde
de la cuchilla móvil e esté 0,5 mm dentro del borde
de la cuchilla q.
4. Apretar bien los tornillos w.
5. Aflojar los dos tornillos de ajuste t y los dos tornillos
de ajuste y.
6. Mientras se empuja la varilla impulsora del cortahilos
u a mano, ajustar la posición horizontal de la leva de
cortahilos !0 de manera que el rodillo o de la palanca
principal i se mueva suavemente hacia adentro y
afuera de la sección derecha A de la ranura en la leva
del cortahilos !0.
7. Apretar provisoriamente los dos tornillos de ajuste t.
8. Colocar el cuello del tornillo de ajuste !1 firmemente con-
tra la leva del cortahilos !0, y luego apretar firmemente los
dos tornillos de ajuste y.
13-14. Ajuste de la posición de la leva de cortahilos (Sólo ZE-8580)
La cuchilla q debe estar instalada de la manera correcta cuando se vaya a realizar el siguiente ajuste.
q
w
r
t
y
!0
!1
o
u
i
A
■ Ajuste de la dirección de rotación
1. Mientras se continúa empujando la varilla impulsora
del cortahilos u a mano, girar la polea de la máquina
lentamente a mano hacia adelante hasta que la línea
de referencia en la palanca del tirahilos !2 esté alineada
con la marca T en la placa delantera. Ajustar la posición
de la leva de cortahilos !0 de manera que la cuchilla se
comience a mover en este momento.
2. Apretar bien los dos tornillos de ajuste t.
3. Mientras se continúa empujando la varilla impulsora
del cortahilos u a mano, girar la polea de la máquina
lentamente a mano hacia adelante hasta que la línea
de referencia en la palanca del tirahilos esté alineada
con la marca T en la placa delantera. Verificar que la
cuchilla se comience a mover en este momento, y que
vuelva cuando la línea de referencia esté alineada con
la marca U.
0,5 mm
!2
t
!0
u
U
T
1035S
1036S
1037S
1038S

183 ZE-8570,8580
13. STANDARD ADJUSTMENTS
13. STANDARDEINSTELLUNGEN
13. REGLAGES STANDARD
13. AJUSTES ESTANDARES
Adjust the tension of the lower thread presser spring q
so that the tension is 0.03 to 0.11 N when the lower thread
presser spring q is pulling the lower thread (nylon thread:
100D 1 X 3 (Z)) after thread trimming.
1. Remove the knife unit w. (Refer to page 148.)
2. Move the knob e to slide out the movable knife r,
and then hook the thread as shown in the illustration.
3. Return the movable knife r to trim the thread. After
this, measure the tension of the lower thread presser
spring q while it is pulling the lower thread.
4. Turn the screw t to adjust the tension of the lower
thread presser spring q to 0.03 to 0.11 N.
Note:
If using a tension gauge (sold separately) to measure
the tension, take the reading from the scale on the side
of the red line.
Die Spannung der Unterfadenhaltefeder q muß 0,03 bis
0,11 N betragen, wenn die Unterfadenhaltefeder q den
Unterfaden (Nylonfaden: 100D 1 x 3 (Z)) nach dem
Fadenabschneiden herauszieht.
1. Entfernen Sie die Messereinheit w. (Siehe Seite 148.)
2. Bewegen Sie den Knopf e, um das bewegliche Messer
r herauszuschieben und bringen Sie den Faden wie
in der Abbildung gezeigt an.
3. Stellen Sie das bewegliche Messer r zurück, um den
Faden abzuschneiden. Messen Sie danach die
Spannung drücken Unterfadenhaltefeder q während
sie den Unterfaden herauszieht.
4. Stellen Sie die Spannung der Unterfadenhaltefeder q
durch Drehen der Schraube t auf 0,03 bis 0,11 N ein.
Hinweis:
Falls eine Spannungslehre (separat erhältlich)
verwendet wird, lesen Sie die Spannung von der Skala
auf der Seite mit der roten Linie ab.
Régler la tension du ressort q du pied presseur de fil inférieur de manière que la tension soit comprise entre 0,03 et 0,11
N lorsque le ressort q du pied presseur de fil inférieur tire le fil inférieur (fil de nylon: 100D 1 x 3 (Z)) après que les fils
aient été coupés.
1. Retirer le couteau w. (Se reporter à la page 148.)
2. Déplacer le bouton e pour faire glisser le couteau mobile r vers l’extérieur, puis accrocher le fil comme indiqué sur
l’illustration.
3. Remettre le couteau mobile r à sa position initiale pour couper le fil. Ensuite, mesurer la tension du ressort q du
pied presseur de fil inférieur pendant qu'il tire le fil inférieur.
4. Tourner la vis t pour régler la tension du ressort q du pied presseur de fil inférieur entre 0,03 et 0,11 N.
Remarque:
Si l’on utilise la jauge de tension (vendue séparément) pour mesurer la tension, effectuer la lecture sur l’échelle
située sur le côté de la ligne rouge.
Ajustar la tensión del resorte prensor del hilo inferior q de manera que la tensión sea 0,03 a 0,11 N cuando el resorte
prensor del hilo inferior q esté tirando del hilo inferior (hilo de nailón: 100D 1 x 3 (Z)) después del corte de hilo.
1. Desmontar la cuchilla w. (Consultar la página 148.)
2. Mover la perilla e para deslizar hacia afuera la cuchilla móvil r, y luego enganchar el hilo tal como se indica en la
figura.
3. Volver a mover la cuchilla móvil r para cortar el hilo. Después de esto, medir la tensión del resorte prensor del hilo
inferior q mientras esté tirando del hilo inferior.
4. Girar el tornillo t para ajustar la tensión del resorte prensor del hilo inferior q de 0,03 a 0,11 N.
Nota:
Si se usa un medidor de tensión (en venta por separado) para medir la tensión, realizar la lectura desde la escala del
lado de la línea roja.
13-15. Adjusting the tension of the lower thread presser spring (ZE-8580 only)
13-15. Einstellen der Spannung der Unterfadenhaltefeder (nur ZE-8580)
13-15. Réglage de la tension du ressort du pied presseur de fil inférieur (ZE-8580
seulement)
13-15. Ajuste de la tensión del resorte prensor del hilo inferior (Sólo ZE-8580)
ew
q
e
r
t
q
0.03 - 0.11N
0,03 - 0,11N
Becomes stronger
stärker
Plus forte
Aumenta
Nylon thread
Nylonfaden
Fil de nylon
Hilo de nailón
Becomes weaker
achwächer
Plus faible
Disminuye
1039S
1040S
1041S

184
ZE-8570,8580
13. STANDARD ADJUSTMENTS
13. STANDARDEINSTELLUNGEN
13. REGLAGES STANDARD
13. AJUSTES ESTANDARES
■ Horizontal position adjustment
The front corner of the thread wiper w and the left edge
of the needle hole of the presser foot e (or the needle
hole of the needle plate r) should be aligned when the
solenoid plunger q is pushed up as far as it will go.
Loosen the two screws t and move the setting plate 6
up or down to adjust.
■ Height adjustment
Check that the distance from the bottom edge of the tread
wiper w to the top of the needle plate r is 6 to 8 mm, and
that the thread wiper w catches the thread firmly.
Loosen the screw 7 and move the thread wiper w up or
down to adjust.
■ Einstellung der Horizontalposition
Die vordere Ecke des Fadenwischers w und die linke Kante
des Nadellochs im Stoffdrückerfuß e (oder Nadelloch der
Stichplatte r müssen aufeinander ausgerichtet sein, wenn
das Solenoid q so weit wie möglich gedrückt wird.
Lösen Sie die beiden Schrauben t und stellen Sie die Höhe
der Platte 6 ein.
■ Einstellen der Höhe
Kontrollieren Sie, ob der Abstand zwischen der unteren
Kante des Fadenwischers w und der Oberseite der
Stichplatte r 6 bis 8 mm beträgt und ob der Fadenwischer
w den Faden richtig erfaßt.
Lösen Sie zum Einstellen die Schraube 7 und stellen Sie
die den Fadenwischer w auf die richtige Höhe.
■ Réglage de la position horizontale
Le coin avant du tire-fils w et le bord gauche de l’orifice d’aiguille du pied presseur e (ou l’orifice d’aiguille de la plaque
à aiguille r) doivent être alignés lorsque le plongeur de solénoïde q est poussé à fond vers le haut.
Desserrer les deux vis t et déplacer la plaque de réglage 6 vers le haut ou le bas pour effectuer le réglage.
■ Réglage de la hauteur
Vérifier si l'écart entre le bord inférieur du tire-fils w et le haut de la plaque à aiguille r est bien de 6 à 8 mm, et si le tire-
fils w saisit bien fermement le fil.
Desserrer la vis 7 et déplacer le tire-fils w vers le haut ou le bas pour effectuer le réglage.
■ Ajuste de posición horizontal
La esquina delantera del limpiahilos w y el borde izquierdo del agujero de la aguja del prensatelas e (o el agujero de
la aguja de la placa de aguja r) debe de estar alineada cuando el émbolo del solenoide q se empuja hacia arriba tanto
como sea posible.
Aflojar los dos tornillos t y mover la placa de ajuste 6 hacia arriba o abajo para ajustar.
■ Ajuste de la altura
Verificar que la distancia desde el borde inferior del limpiahilos w a la parte superior de la placa de aguja r sea 6 a 8
mm, y que el limpiahilos w tome el hilo firmemente.
Aflojar el tornillo 7 y mover el limpiahilos w hacia arriba o abajo para ajustar.
13-16. Adjusting the thread wiper (ZE-8580 only)
13-16. Einstellen des Fadenwischers (nur ZE-8580)
13-16. Réglage du tire-fils (ZE-8580 seulement)
13-16. Ajuste del limpiahilos (Sólo ZE-8580)
t
y
q
w
<When seen from the front>
<Ansicht von vorne>
<Vue de l’avant>
<Vista desde adelante>
6 - 8mm
<When seen from the rear>
<Ansicht von hinten>
<Vue de l’arriere>
<Vista desde atras>
Align / Alinear /
ausrichten / Aligner
1042S
1549M 1550M
r
u
w
w
e
r

185 ZE-8570,8580
13. STANDARD ADJUSTMENTS
13. STANDARDEINSTELLUNGEN
13. REGLAGES STANDARD
13. AJUSTES ESTANDARES
DANGER/GEFAHR/DANGER/GEFAHR
Do not clamp the cords inside the control box when closing the cover.
Klemmen Sie beim Schließen der Schaltkastenabdeckung nicht die Kabel ein.
Ne pas pincer les câbles dans le boîtier de commande lorsqu’on referme le couvercle.
No apretar los cables dentro de la caja de controles al cerrar la tapa.
CAUTION/ACHTUNG/CAUTION/ACHTUNG
13-17. Setting the DIP switches
13-17. Einstellen der DIP-Schalter
13-17. Réglage des interrupteurs DIP
13-17. Ajuste de los interruptores DIP
Wait at least 5 minutes after turning off the power switch before opening the cover of the control box.
Touching areas where high voltages are present can result in severe injury.
Warten Sie nach dem Ausschalten des Netzschalters mindestens 5 Minuten, bevor Sie die
Schaltkastenabdeckung öffnen. Weil Hochspannung vorhanden ist, besteht bei Berührung von Teilen eine
hohe Verletzungsgefahr.
Attendre au moins 5 minutes après avoir mis l’interrupteur principal en position d’arrêt avant d’ouvrir le
couvercle du boîtier de commande. Certains composants se trouvant sous haute tension, on risque de
graves blessures si on les touche.
Después de desconectar el interruptor principal esperar al menos 5 minutos antes de abrir la tapa de la
caja de controles. El tocar las áreas donde exista alto voltaje puede ocasinar heridas graves.

186
ZE-8570,8580
13. STANDARD ADJUSTMENTS
13. STANDARDEINSTELLUNGEN
13. REGLAGES STANDARD
13. AJUSTES ESTANDARES
DIPSW1
DIPSW2
Accurately set the DIP switches, otherwise abnormal op-
eration may result.
1. Remove the six screws q and then open the control
box cover w.
Note:
When opening the cover w, hold it securely so that
it does not fall down.
2. Set DIP switches.
Refer to the table on page 187 for details of the DIP
switch functions.
3. Close the cover w and tighten the screw q.
Die DIP-Schalter genau einstellen, da es sonst zu
Fehlbetrieb kommen kann.
1. Entfernen Sie die sechs Schrauben q und öffnen Sie
die Schaltkastenabdeckung w.
Hinweis:
Halten Sie die Abdeckung w beim Öffnen fest, so
daß sie nicht herunterfallen kann.
2. Stellen Sie die DIP-Schalter.
Für weitere Einzelheiten zu den DIP-Schalterfunktionen
wird auf die Tabelle auf Seite 188 verwiesen.
3. Die Abdeckung w schließen und die Sehraube q
festziehen.
Régler précisément les interrupteurs DIP, sinon la machine risquera de fonctionner anormalement.
1. Retirer les six vis
q
puis ouvrir le couvercle
w
du boîtier de commande.
Remarque:
Lorsqu’on ouvre le couvercle
w
, le tenir fermement afin qu’il ne tombe pas.
2. Régler les interrupteurs DIP.
Pour plus de détails concernant les fonctions des interrupteurs DIP, se reporter au tableau de la page 189.
3. Refermer le couvercle
w
et resserrer la vis
q
.
Ajustar correctamente los interruptores DIP porque, de lo contrario, puede funcionar mal.
1. Quitar los seis tornillos
q
y luego abrir la cubierta de la caja de controles
w
.
Nota:
Al abrir la cubierta
w
, sostenerla bien de manera que no se caiga.
2. Ajustar los interruptores DIP.
Consultar el cuadro en la página 190 para más detalles sobre las funciones de los interruptores DIP.
3. Cerrar la tapa
w
y apretar el tornillo
q
.
1551M
q
w

187 ZE-8570,8580
13. STANDARD ADJUSTMENTS
13. STANDARDEINSTELLUNGEN
13. REGLAGES STANDARD
13. AJUSTES ESTANDARES
The ▲ mark indicates factory default settings.
■ DIPSW1
(Table 1) maximum sewing speed limit (rpm)
■ DIPSW2
DIPSW1-6 OFF ON OFF ON OFF ON ▲ OFF ON
DIPSW1-7 OFF OFF ON ON OFF OFF ▲ ON ON
DIPSW1-8 OFF OFF OFF OFF ON ON ▲ ON ON
Maximum sewing speed
1000 2000 2500 3000 3500 4000 ▲ 4500 5000
Treadle specifications Domestic Japan ▲ Export
(Spare) ▲ Do not set to ON Do not set to ON
Automatic presser lifter ▲ Not used Used
Min. trimming margin ▲ 2.0mm 1.5mm
Motor operation when “UP” displayed
▲
Does not operate (turning by hand only)
Operates (treadle depressed backwards, half stitch key)
Maximum sewing speed limit
Table 1 below Table 1 below
Maximum sewing speed limit
Table 1 below Table 1 below
Maximum sewing speed limit
Table 1 below Table 1 below
No. Function Operation when OFF Operation when ON
1
2
3
4
5
6
7
8
(Table 2) Zigzag width limit
(Table 3) Sewing start position when power is turned on and after setting memory switches
Zigzag stop position Left stopping
No position specified
Right stopping
DIPSW2-3 ▲ OFF Left Right Right
Å£ON Right Left Left
*1 ... Refer to page 211 for details.
*2 ... When the panel is locked, AA AA is displayed at all times.
Zigzag width limit Table 2 below Table 2 below
Zigzag width limit Table 2 below Table 2 below
Sewing start position ▲ Table 3 below Table 3 below
Needle zigzagging when
▲ OFF ON
treadle is depressed backward
.
Backtack zigzag width setting
Enabled ▲ Disabled
Voltage specifications 220V, 230V, 240V, 380V, 400V 110V
Base line position
Center of sewing pattern (zigzag base
▲ Right edge of sewing pattern (trimming
line position display)
*1▲ margin base line position display)
Panel key lock ▲ Not locked
No. Function Operation when OFF Operation when ON
1
2
3
4
5
6
7
8
ON ON ▲ OFF OFF
ON OFF ▲ ON OFF
7.5mm ▲ 4.5mm 2.5mm
7.0mm 5.0mm 3.0mm
8.0mm 5.0mm 3.0mm
Do not make this setting.
(If this setting is made, error AA AA will appear.)
Locked (Except for counter keys
and counter reset key.) *2
When DIP switch 1-4 is OFF and
DIP switch 2-7 is ON
When DIP switch 1-4 is OFF and
DIP switch 2-7 is OFF
When DIP switch 1-4 is ON
Maximum
zigzag width
DIPSW2-1
DIPSW2-2

188
ZE-8570,8580
13. STANDARD ADJUSTMENTS
13. STANDARDEINSTELLUNGEN
13. REGLAGES STANDARD
13. AJUSTES ESTANDARES
Mit der Markierung ▲ werden die Voreinstellungen bei der Auslieferung bezeichnet.
*1 ... Für Einzelheiten wird auf die Seite 213 verwiesen.
*2 ... bei verriegeltem Pedal, AA AA dauernd angezeigt
■ DIPSW1
(Tabelle 1) Begrenzung der maximalen Nähgeschwindigkeit (/min)
■ DIPSW2
(Tabelle 2) Begrenzung der Zickzackbreite
(Tabelle 3) Nähbeginnposition bei eingeschalteter Maschine und eingestellten Speicherschaltern
Pedal Inland Japan ▲ Export
(Ersatz) ▲ nicht auf “ON” stellen nicht auf “ON” stellen
Automatischer Stoffdrückerfußheber
▲ nicht verwendet verwendet
Minimaler Schnittrand ▲ 2,0mm 1,5mm
Motorbetrieb bei Anzeige “UP”
▲
keine Betätigung (nur von Hand drehen)
Betätigung (Pedal nach hinten gedrückt, Halbstichtaste)
Begrenzung der max. Nähgeschwindigkeit
nachstehende Tabelle 1 nachstehende Tabelle 1
Begrenzung der max. Nähgeschwindigkeit
nachstehende Tabelle 1 nachstehende Tabelle 1
Begrenzung der max. Nähgeschwindigkeit
nachstehende Tabelle 1 nachstehende Tabelle 1
Nr. Funktion Betätigung in Position “OFF”Betätigung in Position “ON”
1
2
3
4
5
6
7
8
DIPSW1-6 OFF ON OFF ON OFF ON ▲ OFF ON
DIPSW1-7 OFF OFF ON ON OFF OFF ▲ ON ON
DIPSW1-8 OFF OFF OFF OFF ON ON ▲ ON ON
Max. Nähgeschwindigkeit
1000 2000 2500 3000 3500 4000 ▲ 4500 5000
Nr. Funktion Betätigung in Position "OFF" Betätigung in Position “ON”
1
2
3
4
5
6
7
8
Begrenzung der Zickzackbreite
nachstehende Tabelle 2 nachstehende Tabelle 2
Begrenzung der Zickzackbreite
nachstehende Tabelle 2 nachstehende Tabelle 2
Nähbeginn ▲ nachstehende Tabelle 3 nachstehende Tabelle 3
Nadelzickzack beim ▲ Aus Ein
Zurückdrücken des Pedals
Riegelzickzackbreite möglich ▲ nicht möglich
Spannung 220V, 230V, 240V, 380V, 400V 110V
Grundlinienposition
Mitte des Nähmusters (Anzeige der
▲ Rechte Kante des Nähmusters (Anzeige
▲
Zickzackgrundlinienposition) *1
der Schnittrandgrundlinienposition)
Bedienungsfeldtastenverrieglung
▲ nicht verriegelt
Zickzackstopposition Linke stopposition
Keine stopposition
Rechte stopposition
DIPSW2-3 ▲ OFF links rechts rechts
Å£ON rechts links links
verriegelt (Außer für die Zählertasten
und die Zählerrückstelltaste.)*2
ON ON ▲ OFF OFF
ON OFF ▲ ON OFF
7,5mm ▲ 4,5mm 2,5mm
7,0mm 5,0mm 3,0mm
8,0mm 5,0mm 3,0mm
Nehmen Sie diese Einstellung nicht vor. (Wenn diese
Einstellung gemacht wird, erscheint der Fehler AA AA.)
Wenn der DIP-Schalter 1-4 auf "OFF" und der
DIP-Schalter 2-7 auf "ON" gestellt ist
Wenn der DIP-Schalter 1-4 auf "OFF" und der
DIP-Schalter 2-7 auf "OFF" gestellt ist
Wenn DIP-Schalter 1-4 auf "ON" gestellt ist
maximale
Zickzackbreite
DIPSW2-1
DIPSW2-2

189 ZE-8570,8580
13. STANDARD ADJUSTMENTS
13. STANDARDEINSTELLUNGEN
13. REGLAGES STANDARD
13. AJUSTES ESTANDARES
La marque ▲ indique les réglages initiaux.
■ DIPSW1
(Tableau 1) limite de vitesse de couture maximum (tr/mn)
■ DIPSW2
(Tableau 2) Limite de largeur de zigzag
Spécifications de la pédale Sur le territoire japonais ▲
Exportation
(Rechange) ▲
Ne pas mettre sur la position de marche
Ne pas mettre sur la position de marche
Releveur automatique de pied presseur
▲
Non utilisé Utilisé
Marge de coupe min. ▲
2,0mm 1,5mm
Fonctionnement du moteur quand “UP” est affiché
▲
Ne fonctionne pas (tourner à la main seulement)
Fonctionne (pédale enfoncée vers l’arrière, touche de demi-point)
Limite de vitesse de couture maximum
Tableau 1 ci-dessous Tableau 1 ci-dessous
Limite de vitesse de couture maximum
Tableau 1 ci-dessous Tableau 1 ci-dessous
Limite de vitesse de couture maximum
Tableau 1 ci-dessous Tableau 1 ci-dessous
N°Fonction Fonctionnement à l’état hors circuit Fonctionnement à l’état en circuit
1
2
3
4
5
6
7
8
DIPSW1-6 OFF ON OFF ON OFF ON ▲ OFF ON
DIPSW1-7 OFF OFF ON ON OFF OFF ▲ ON ON
DIPSW1-8 OFF OFF OFF OFF ON ON ▲ ON ON
Vitesse de couture maximum
1000 2000 2500 3000 3500 4000 ▲ 4500 5000
Limite de largeur de zigzag Tableau 2 ci-dessous Tableau 2 ci-dessous
Limite de largeur de zigzag Tableau 2 ci-dessous Tableau 2 ci-dessous
Position de début de couture
▲
Tableau 3 ci-dessous Tableau 3 ci-dessous
Zigzag de l’aiguille lorsque
▲
Arrêt Marche
la pédale est enfoncée vers l’arrière
Réglage de la largeur de zigzag à point d’arrêt
Activée▲ Désactivée
Spécifications de la tension 220V, 230V, 240V, 380V, 400V 110V
Position de ligne de base
Centre du motif de couture (affichage de la
▲ Bord droit du motif de couture (affichage de la
▲
position de ligne de base de zigzag) *1
position de ligne de base de marge de coupe)
Verrouillage de touche de panneu
▲ Non verrouillé
(Tableau 3) Position de début de couture lorsque la machine est mise sous tension et après avoir réglé les
interrupteurs mémoire
Position d’arrêt de zigzag Arrêt à gauche
Aucune position spécifiée
Arrêt à droite
DIPSW2-3 ▲ OFF Gauche Droite Droite
Å£ON Droite Gauche Gauche
N°Fonction Fonctionnement à l’état hors circuit Fonctionnement à l’état en circuit
1
2
3
4
5
6
7
8
*1 ... Pour plus de détails, se reporter à la page 215.
*2 ... Lorsque le panneau est verrouillé, AA AA est toujours affiché.
Verrouillé (Sauf pour les touches de compteur
et pour la touche de remise à zéro du compteur.)*2
ON ON ▲ OFF OFF
ON OFF ▲ ON OFF
7,5mm ▲ 4,5mm 2,5mm
7,0mm 5,0mm 3,0mm
8,0mm 5,0mm 3,0mm
Ne pas effectuer ce réglage. (Si l'on effectue ce
réglage, l'erreur AA AA apparaîtra.)
Lorsque l'interrupteur DIP 1-4 est sur OFF
et que l'interrupteur DIP 2-7 est sur ON
Lorsque l'interrupteur DIP 1-4 est sur OFF
et que l'interrupteur DIP 2-7 est sur OFF
Lorsque l'interrupteur DIP 1-4 est sur ON
Largeur de
zigzag
maximum
DIPSW2-1
DIPSW2-2

190
ZE-8570,8580
13. STANDARD ADJUSTMENTS
13. STANDARDEINSTELLUNGEN
13. REGLAGES STANDARD
13. AJUSTES ESTANDARES
La marca ▲ indica ajustes por defecto de fábrica.
■ DIPSW1
(Cuadro 1) Límite máximo de velocidad de costura (rpm)
■ DIPSW2
(Cuadro 2) Límite de ancho de zigzag
Especificaciones del pedal Para Japón▲ Para exportación
(Libre) ▲ No ajustar a ON No ajustar a ON
Levantador automático del prensatelas
▲ Sin usar Usado
Margen de corte mínimo ▲ 2,0mm 1,5mm
Motor funciona cuando se exhibe “UP”
▲
No funciona (sólo girando a mano)
Funciona (pedal pisado hacia atrás, tecla de media puntada)
Límite máximo de velocidad de costura
Cuadro 1 a continuación Cuadro 1 a continuación
Límite máximo de velocidad de costura
Cuadro 1 a continuación Cuadro 1 a continuación
Límite máximo de velocidad de costura
Cuadro 1 a continuación Cuadro 1 a continuación
No. Función Funcionamiento cuando OFF Funcionamiento cuando ON
1
2
3
4
5
6
7
8
DIPSW1-6 OFF ON OFF ON OFF ON ▲ OFF ON
DIPSW1-7 OFF OFF ON ON OFF OFF ▲ ON ON
DIPSW1-8 OFF OFF OFF OFF ON ON ▲ ON ON
Máximo de velocidad de costura
1000 2000 2500 3000 3500 4000 ▲ 4500 5000
Límite de ancho de zigzag Cuadro 2 a continuación Cuadro 2 a continuación
Límite de ancho de zigzag Cuadro 2 a continuación Cuadro 2 a continuación
Posición de parada de costura
▲ Cuadro 3 a continuación Cuadro 3 a continuación
Puntadas zigzag cuando se ▲ OFF ON
pisa el pedal hacia atrás
Ajuste de ancho de zigzag de rematado por atrás
Activado ▲ Desactivado
Especificaciones de voltaje 220V, 230V, 240V, 380V, 400V 110V
Posición de la línea de base
Centro del patrón de costura (exhibición de
▲
Borde derecho del patrón de costura (exhibición de la
▲
la posición de línea de base de zigzag) *1
posición de la línea de base de margen de corte)
Bloqueo del panel ▲ Sin bloquear
No. Función Funcionamiento cuando OFF Funcionamiento cuando ON
1
2
3
4
5
6
7
8
(Cuadro 3) Posición de comienzo de costura cuando se conecta la alimentación y después de ajustar
los interruptores de memoria.
Posición de parada de la puntada de zigzag Parada a la izquierda
No se especifica una posición
Parada a la derecha
DIPSW2-3 ▲ OFF Izquierda Derecha Derecha
Å£ON Derecha Izquierda Izquierda
*1 ... Consultar la página 217 por detalles.
*2 ... Cuando el panel está bloqueado, AA AA se exhibe en todo momento.
Bloqueado (Excepto para las teclas
del
contador y la tecla de reposición del contador.) *2
ON ON ▲ OFF OFF
ON OFF ▲ ON OFF
7,5mm ▲ 4,5mm 2,5mm
7,0mm 5,0mm 3,0mm
8,0mm 5,0mm 3,0mm
No realice este ajuste. (Si realiza este ajuste,
aparecerá la indicación AA AA.)
Con el interruptor DIP 1-4 en OFF
y el interruptor DIP 2-7 en ON
Con el interruptor DIP 1-4 en OFF
y el interruptor DIP 2-7 en OFF
Con el interruptor DIP 1-4 en ON
Ancho
máximo de
zigzag
DIPSW2-1
DIPSW2-2

191 ZE-8570,8580
13. STANDARD ADJUSTMENTS
13. STANDARDEINSTELLUNGEN
13. REGLAGES STANDARD
13. AJUSTES ESTANDARES
13-18. Memory switch setting method
13-18. Einstellen der Speichertaste
13-18. Méthode de réglage des interrupteurs mémoire
13-18. Método de ajuste del interruptor de memoria
1. Turn on the power and set the LED display q so that it
shows the zigzag width.
2. Press and hold the M (memory switch) key w for 2
seconds or more.
The indicator e will illuminate and a memory switch
number and its ON/OFF status will appear in the LED
display q.
3. Use the selection keys r to display the memory
switch number to be changed.
4. Use the selection keys t to change the memory
switch setting to on or off.
5. Repeat steps 3 and 4 to change the settings for other
memory switches.
6. When all memory switch settings are complete, press
the M (memory switch) key w.
The indicator e will switch off and the settings will be
accepted. Normal operation will then continue from
the operation that was in progress when the power
was turned on.
1. Schalten Sie die Maschine ein und stellen Sie die LED-Anzeige q so ein, daß die Zickzackbreite angezeigt wird.
2. Halten Sie die M-Taste (Speichertaste) w für mindestens 2 Sekunden gedrückt.
Die Anzeige e leuchtet und eine Speichertastennummer und der Einschaltzustand werden auf der LED-Anzeige q
angezeigt.
3. Stellen Sie die Nummer den einzustellenden Speicherschalter mit den Einstelltasten r ein.
4. Stellen Sie die Nummer den einzustellenden Speicherschalter mit den Einstelltasten t ein.
5. Wiederholen Sie die Schritte 3 und 4, um die Einstellungen für die anderen Tasten auszuführen.
6. Drücken Sie nach abgeschlossener Speichertasteneinstellung die M-Taste w (Speichertaste).
Die Anzeige e wird ausgeschaltet und die Einstellung wird eingegeben. Der normale Betrieb wird vom Betriebszustand
beim Einschalten aus fortgesetzt.
1. Mettre la machine sous tension et régler l'affichage LED q de manière qu'il indique la largeur de zigzag.
2. Maintenir la touche M (interrupteur mémoire) w enfoncée pendant 2 secondes ou plus.
Le témoin e s'allume et un numéro d'interrupteur mémoire et son état activé/désactivé apparaît sur l'affichage LED
q.
3. Utiliser les touches de sélection r pour afficher le numéro d'interrupteur mémoire à changer.
4. Utiliser les touches de sélection t pour faire passer le réglage de l'interrupteur mémoire à l'état activé ou
désactivé.
5. Effectuer à nouveau les étapes 3 et 4 pour changer les réglages pour d'autres interrupteurs mémoire.
6. Lorsque tous les réglages des interrupteurs mémoire sont terminés, appuyer sur la touche M (interrupteur mémoire)
w.
Le témoin e s'éteint et les réglages seront acceptés. Le fonctionnement normal continuera alors à partir de l'opération
qui était en cours lorsque l'alimentation électrique a été établie auparavant.
1. Conectar la alimentación y ajuste la exhibición LED q de manera que muestre el ancho de zigzag.
2. Mantener presionada la tecla M (interruptor de memoria) w durante 2 segundos o más.
El indicador e se encenderá y aparecerá un número de interruptor de memoria y su estado ON/OFF en la exhibición
LED q.
3. Use las teclas de selección r para exhibir el número de interruptor de memoria a cambiar.
4. Use las teclas de selección t para cambiar el ajuste del interruptor de memoria a ON u OFF.
5. Repetir los pasos 3 y 4 para cambiar los ajustes para otros interruptores de memoria.
6. Cuando haya completado todos los ajustes de interruptores de memoria, presione la tecla M (interruptor de memo-
ria) w.
El indicador e se apagará y los ajustes serán aceptados. El funcionamiento normal continuará desde la operación
que estaba en progreso cuando se conectó la alimentación.
1478M
q
rtew
Memory switch number
Speichertastennummer
Numéro d'interrupteur mémoire
Número de interruptor de memoria

192
ZE-8570,8580
13. STANDARD ADJUSTMENTS
13. STANDARDEINSTELLUNGEN
13. REGLAGES STANDARD
13. AJUSTES ESTANDARES
*1:Items to the left of the "/" are when the correction sewing indicator is on, and to the right are when it is off.
■ Memory switches 01~18
01 ON (Cannot be changed)
OFF
02 Interlock release when treadle is depressed ON
Forward treadle operations enabled when depressing treadle
backward (during thread trimming / needle rising)
OFF
Forward treadle operations disabled when depressing treadle
backward (during thread trimming / needle rising)
03 ON (Do not change)
OFF
04 Independent backtack speed setting ON
Backtacking speed is not limited by panel setting speed
OFF
Backtacking speed is limited by pannel setting speed
05 ON (Do not change)
OFF
06 Increased piercing force ON No increased piercing force operation
OFF Increased piercing force operation
07 ON (Do not change)
OFF
08 ON (Do not change)
OFF
11 No thread trimming/thread wiping ON
Operation selection possible using thread trimming / needle raising key
OFF Thread trimming and thread wiping operate
12 Presser foot status after thread trimming ON Presser foot rises at neutral position
OFF Presser foot lowered at neutral position
13 Presser foot status when treadle stopped ON Raised
at neutral position OFF Lowered
14 Actuator function ON Operates as thread trimming switch
OFF Normal functioning
15 Decelerated stop control ON No decelerated stop control
OFF Control prevents extra stitch from being sewn
16 ON (Do not change)
OFF
17 Half-stitch correction ON
One stitch forward correction/Half-stitch forward correction (*1)
OFF One stitch forward correction/No correction (*1)
18 Reverse correction ON
One stitch forward correction/Reverse correction (*1)
OFF One stitch forward correction/No correction (*1)
■ Memory switches 21~28
21 ON (Do not change)
OFF
22 ON (Do not change)
OFF
23 ON (Do not change)
OFF
24 ON (Do not change)
OFF
25 ON (Do not change)
OFF
26 End backtacking movement control ON
Moves to end backtacking without decelerating to low speed
OFF
Decelerates to low speed, and then moves to end backtacking
27 ON (Do not change)
OFF
28 ON (Do not change)
OFF

193 ZE-8570,8580
13. STANDARD ADJUSTMENTS
13. STANDARDEINSTELLUNGEN
13. REGLAGES STANDARD
13. AJUSTES ESTANDARES
■ Memory switches 31~58
31 Neutral stop during start backtacking ON
Stopping during backtacking possible when treadle is at neutral
OFF
Stopping during backtacking not possible when treadle is at neutral
32 ON (Do not change)
OFF
33 ON (Do not change)
OFF
34 ON (Do not change)
OFF
35 ON (Do not change)
OFF
36 Presser foot timer off function setting ON Timer off function disabled
OFF Timer off function enabled
37 ON (Do not change)
OFF
38 ON (Do not change)
OFF
41 Presser lifter operation when treadle ON
Presser foot does not rise when treadle is
depressed backward
depressed backward to 1st step from neutral
OFF Presser foot rises when treadle is depressed
backward to 1st step from neutral
42 Operation when treadle depressed backward ON
Backward operation disabled (no thread trimming, needle lifting)
OFF
Normal operation (thread trimming, needle lifting)
43 ON (Do not change)
OFF
44 High-speed pedal operation during ON High-speed operation
standing operation OFF Variable speed operation
45 Delay start during standing operation ON Delay disabled
OFF Delay enabled
46 Presser pedal stopping during standing ON Stopping not possible using presser pedal
operation OFF
Stopping possible using presser pedal during automatic sewing
47 Variable-speed pedal stopping during ON
Stopping not possible using variable-speed pedal
standing operation OFF
Stopping possible using variable-speed pedal during automatic sewing
48 Presser foot lifting during standing operation ON Always disabled after presser pedal used
using thread trimming pedal OFF Always enabled
51 Correction sewing operation ON Correction sewing always possible
OFF
Correction sewing disabled after treadle depressed backward
52 ON (Do not change)
OFF
53 ON (Do not change)
OFF
54 Slow start ON Slow start always carried out
OFF Depends on panel settings
55 Presser foot operation when treadle ON After presser foot is lowered, it does not rise
depressed forward when treadle is at neutral
OFF
After presser foot is lowered, it rises when treadle is at neutral
56 ON (Do not change)
OFF
57 Presser foot operation when treadle ON
Presser foot is not lowered when treadle is pressed to 1st step
depressed forward OFF
Presser foot is lowered when treadle is pressed to 1st step
58 ON (Do not change)
OFF

194
ZE-8570,8580
13. STANDARD ADJUSTMENTS
13. STANDARDEINSTELLUNGEN
13. REGLAGES STANDARD
13. AJUSTES ESTANDARES
■ Memory switches 61~88
61 ON (Do not change)
OFF
62 ON (Do not change)
OFF
63 ON (Do not change)
OFF
64 ON (Do not change)
OFF
65 3-step backtacking ON
When plan zigzagging is selected, backtacking is 3-step zigzag
OFF Backtacking is same as normal pattern
66 Pattern reset ON
Returns to start of pattern after treadle depressed backward
OFF
Continues sewing pattern after treadle depressed backward
67 Pattern reset for specified patterns ON
For patterns 5~9, returns to start of pattern after
treadle depressed backward
OFF
Continues sewing pattern after treadle depressed backward
68 Blind stitch pattern ON Straight-line section is at start of pattern
OFF Zigzag section is at start of pattern
71 ON (Do not change)
OFF
72 ON (Do not change)
OFF
73 ON (Do not change)
OFF
74 ON (Do not change)
OFF
75 ON (Do not change)
OFF
76 ON (Do not change)
OFF
77 ON (Do not change)
OFF
78 ON (Do not change)
OFF
81 Variable feed pitch ON
Sewing patterns with varying feed pitch (T stitch) possible
OFF Normal operation
82 Lower thread counter operation ON Lower thread counter operates
OFF Lower thread counter does not operate
83 Lower thread counter warning operation ON When stopped in neutral position during
warning operation, machine cannot restart
OFF When treadle is depressed backward during
warning operation, machine cannot restart
84 Lower thread counter warning operation ON Starting not prevented during warning operation
OFF Starting prevented during warning operation
85 ON (Do not change)
OFF
86 ON (Do not change)
OFF
87 ON (Do not change)
OFF
88 ON (Do not change)
OFF

195 ZE-8570,8580
13. STANDARD ADJUSTMENTS
13. STANDARDEINSTELLUNGEN
13. REGLAGES STANDARD
13. AJUSTES ESTANDARES
91 Trimming margin priority input ON Zigzag width may become smaller depending
on trimming margin input
OFF Trimming margin input value is limited by
zigzag width
92 ON (Do not change)
OFF
93 ON (Do not change)
OFF
94 Edge knife operation during fixed length ON Under edge trimmer also stops when machine
sewing stops after fixed length sewn
OFF Under edge trimmer operates when treadle
depressed
95 Fixed length setting and under edge trimmer ON Under edge trimmer does not operate when
operation fixed length sewing function is on
OFF Normal operation
96 AUTO setting and under edge trimmer ON Under edge trimmer does not operate when
operation AUTO function is on
OFF Normal operation
97 Treadle forward operation and under edge ON
Under edge trimmer does not operate when treadle
trimmer operation
is at neutral position (half-stitch operation, etc.)
OFF Under edge trimmer operates when machine
motor operates
98 Treadle backward operation and under edge ON Under edge trimmer does not operate when
trimmer operation treadle is depressed backward
OFF Under edge trimmer operates when machine
motor operates
■ Memory switches 91~98

196
ZE-8570,8580
13. STANDARD ADJUSTMENTS
13. STANDARDEINSTELLUNGEN
13. REGLAGES STANDARD
13. AJUSTES ESTANDARES
*1:Angaben vor dem Schrägstrich "/" beziehen sich auf die eingeschaltete Nähanzeige, Angaben nach dem Schrägstrich "/" beziehen sich auf die ausgeschaltete Anzeige.
■ Speicherschalter 01~18
01 ON (Kann nicht geändert werden)
OFF
02 Verriegelungsaufhebung beim Drücken des ON
Vorwärtsdrücken des Pedals durch Drücken des Pedals nach hinten
Pedals
möglich (beim Fadenabschneiden/Anheben der Nadel)
OFF
Vorwärtsdrücken des Pedals durch Drücken des Pedals nach hinten
nicht möglich (beim Fadenabschneiden/Anheben der Nadel)
03 ON (Nicht ändern)
OFF
04 Unabhängige Einstellung der ON
Riegelgeschwindigkeit nicht durch Einstellung des Bedienungsfeldes bestimmt
Riegelgeschwindigkeit OFF
Riegelgeschwindigkeit durch Einstellung des Bedienungsfeldes bestimmt
05 ON (Nicht ändern)
OFF
06 Erhöhte Einstichkraft ON Betrieb mit nicht erhöhter Einstichkraft
OFF Betrieb mit erhöhter Einstichkraft
07 ON (Nicht ändern)
OFF
08 ON (Nicht ändern)
OFF
11 Kein Fadenabschneiden/Fadenwischen ON
Betriebswahl mit der Fadenabschneide/Nadelanhebetaste
OFF Fadenabschneiden und Fadenwischen
12 Stoffdrückerfuß nach dem Fadenabschneiden ON
Stoffdrückerfuß wird in die Neutralposition angehoben
OFF
Stoffdrückerfuß wird in die Neutralposition abgesenkt
13 Stoffdrückerfuß wenn sich die Nadel in der ON Angehoben
Neutralposition befindet OFF Abgesenkt
14 Stellgliedfunktion ON Betrieb als Fadenabschneideschalter
OFF Normale Funktion
15 Verzögerungssteuerung ON Keine Verzögerungssteuerung
OFF Verhinderung des Nähens zusätzlicher Stiche
16 ON (Nicht ändern)
OFF
17 Halbstichkorrektur ON
Korrektur Einzelstich vorwärts/Halbstich vorwärts (*1)
OFF
Korrektur Einzelstich vorwärts/Halbstich vorwärts (*1)
18 Umkehrkorrektur ON
Korrektur Einzelstich vorwärts/Halbstich rückwärts (*1)
OFF
Korrektur Einzelstich vorwärts/Halbstich vorwärts (*1)
■ Speicherschalter 21~28
21 ON (Nicht ändern)
OFF
22 ON (Nicht ändern)
OFF
23 ON (Nicht ändern)
OFF
24 ON (Nicht ändern)
OFF
25 ON (Nicht ändern)
OFF
26 Endriegelsteuerung ON
Endriegelnähen ohne Verzögerung auf niedrige Geschwindigkeit
OFF
Vor dem Endriegelnähen Verzögerung auf niedrige Geschwindigkeit
27 ON (Nicht ändern)
OFF
28 ON (Nicht ändern)
OFF

197 ZE-8570,8580
13. STANDARD ADJUSTMENTS
13. STANDARDEINSTELLUNGEN
13. REGLAGES STANDARD
13. AJUSTES ESTANDARES
■ Speicherschalter 31~58
31 Stop in der Neutralstellung beim ON
Stopp während des Riegelnähens möglich in der Pedalneutralstellung
Anfangsriegelnähen OFF
Stopp während des Riegelnähens nicht möglich in der Pedalneutralstellung
32 ON (Nicht ändern)
OFF
33 ON (Nicht ändern)
OFF
34 ON (Nicht ändern)
OFF
35 ON (Nicht ändern)
OFF
36 Einstellung der Stoffdrückerfuß- ON Timerausschaltfunktion nicht aktiviert
Timerausschaltfunktion OFF Timerausschaltfunktion aktiviert
37 ON (Nicht ändern)
OFF
38 ON (Nicht ändern)
OFF
41 Stoffdrückerfußbetätigung, wenn das Pedal ON
Stoffdrückerfuß wird nicht angehoben, wenn das Pedal
nach hinten gedrückt wird
von der Neutralstellung in die erste Stufe gedrückt wird
OFF
Stoffdrückerfuß wird angehoben, wenn das Pedal von
der Neutralstellung in die erste Stufe gedrückt wird
42 Betätigung wenn das Pedal nach hinten ON
Keine Betätigung wenn das Pedal nach hinten gedrückt wird
gedrückt wird
(kein Fadenabschneiden, Anheben des Stoffdrückerfußes)
OFF
Normale Betätigung (kein Fadenabschneiden, Anheben des Stoffdrückerfußes)
43 ON (Nicht ändern)
OFF
44 Hochgeschwindigkeitsbetätigung bei ON Hochgeschwindigkeitsbetätigung
stehendem Betrieb OFF Betätigung mit variabler Geschwindigkeit
45 Verzögerter Start bei stehendem Betrieb ON Verzögerung aufgehoben
OFF Verzögerung aktiviert
46 Stoffdrückerfußpedalstop bei stehendem ON Kein Stoffdrückerfußpedalstop
Betrieb OFF
Stoffdrückerfußpedalstop während des automatischen Nähens möglich
47 Pedalstopp bei variabler Geschwindigkeit ON Kein Pedalstopp bei variabler Geschwindigkeit
und stehendem Betrieb OFF
Pedalstopp bei variabler Geschwindigkeit während dem automatischen Nähen möglich
48
Anheben des Stoffdrückerfußes bei stehendem
ON
Nach der Stoffdrückerfußpedalbetätigung immer deaktiviert
Betrieb mit dem Fadanabschneiderpedal
OFF Immer aktiviert
51 Korrekturnähen ON Korrekturnähen immer möglich
OFF
Korrekturnähen nach dem Drücken des Pedals nach hinten deaktiviert
52 ON (Nicht ändern)
OFF
53 ON (Nicht ändern)
OFF
54 Langsamstart ON Langsamstart immer aktiviert
OFF Abhängig von den Bedienungsfeldeinstellungen
55 Stoffdrückerfußbetätigung wenn das ON
Nach dem Absenken wird der Stoffdrückerfuß in der
Pedal nach vorne gedrückt wird
Neutralstellung des Pedals nicht angehoben
OFF
Nach dem Absenken wird der Stoffdrückerfuß in der Neutralstellung des Pedals angehoben
56 ON (Nicht ändern)
OFF
57 Stoffdrückerfußbetätigung, wenn das Pedal ON
Stoffdrückerfuß wird nicht abgesenkt, wenn sich das Pedal in der ersten Stufe befindet
nach vorne gedrückt wird OFF
Stoffdrückerfuß wird abgesenkt, wenn sich das Pedal in der ersten Stufe befindet
58 ON (Nicht ändern)
OFF

198
ZE-8570,8580
13. STANDARD ADJUSTMENTS
13. STANDARDEINSTELLUNGEN
13. REGLAGES STANDARD
13. AJUSTES ESTANDARES
■ Speicherschalter 61~88
61 ON (Nicht ändern)
OFF
62 ON (Nicht ändern)
OFF
63 ON (Nicht ändern)
OFF
64 ON (Nicht ändern)
OFF
65 3-Stufen-Riegel ON
Bei normalem Zickzack wird der Riegel mit 3-Stufen-Zickzack ausgeführt
OFF Riegel gleich wie normales Muster
66 Muster zurückgestellt ON
Rückkehr an der Musteranfang wenn das Pedal nach hinten gedrückt wird
OFF
Fortsetzen des Musters wenn das Pedal nach hinten gedrückt wird
67 Musterrückstellung für bestimmte Muster ON
Für Muster 5~9 Rückkehr an der Musteranfang,
wenn das Pedal nach hinten gedrückt wird
OFF
Fortsetzen des Musters wenn das Pedal nach hinten gedrückt wird
68 Blindstichmuster ON Geradstichteil am Musteranfang
OFF Zickzackstichteil am Musteranfang
71 ON (Nicht ändern)
OFF
72 ON (Nicht ändern)
OFF
73 ON (Nicht ändern)
OFF
74 ON (Nicht ändern)
OFF
75 ON (Nicht ändern)
OFF
76 ON (Nicht ändern)
OFF
77 ON (Nicht ändern)
OFF
78 ON (Nicht ändern)
OFF
81 Variabler Vorschub ON Nähmuster mit variablem Vorschub möglich
OFF Normaler Betrieb
82 Unterfadenzählerbetrieb ON Unterfadenzähler in Betrieb
OFF Kein Unterfadenzählerbetrieb
83 Unterfadenzählerwarnung ON Wenn bei Warnung in Neutralposition gestoppt,
kann die Maschine nicht gestartet werden
OFF
Wenn bei Warnung das Pedal nach hinten gedrückt
wird, kann die Maschine nicht gestartet werden
84 Unterfadenzählerwarnung ON Bei Warnung wird ein Start nicht verhindert
OFF Bei Warnung wird ein Start verhindert
85 ON (Nicht ändern)
OFF
86 ON (Nicht ändern)
OFF
87 ON (Nicht ändern)
OFF
88 ON (Nicht ändern)
OFF

199 ZE-8570,8580
13. STANDARD ADJUSTMENTS
13. STANDARDEINSTELLUNGEN
13. REGLAGES STANDARD
13. AJUSTES ESTANDARES
91 Schnittrandeingabe ON Je nach Schnittrandeingabe kann sich die
Zickzackbreite verringern
OFF Die Schnittrandeingabe wird durch die
Zickzackbreite begrenzt
92 ON (Nicht ändern)
OFF
93 ON (Nicht ändern)
OFF
94 Kantenmesserbetätigung beim Nähen einer ON
Der Unterkantenabschneider stoppt, wenn die
festen Länge
Maschine nach dem Nähen einer festen Länge stoppt
OFF Der Unterkantenabschneider wird mit dem
Pedal betätigt
95 Einstellung der festen Länge und der ON
Der Unterkantenabschneider funktioniert nicht, wenn die
Unterkantenabschneiderbetätigung
Funktion zum Nähen einer festen Länge eingestellt ist
OFF Normaler Betrieb
96 AUTO-Funktion und ON
Der Unterkantenabschneider wird bei eingeschalteter
Unterkantenabschneiderbetätigung
AUTO-Funktion nicht betätigt
OFF Normaler Betrieb
97 Vorwärtsdrücken des Pedals und ON
Der Unterkantenabschneider wird nicht betätigt, wenn sich das Pedal
Unterkantenabschneiderbetätigung
in der Neutralstellung (Halbstichbetätigung usw.) befindet
OFF Unterkantenabschneider wird beim Betätigen
des Motors betätigt
98 Nach hinten Drücken des Pedals und ON
Der Unterkantenabschneider wird nicht betätigt,
Unterkantenabschneiderbetätigung
wenn das Pedal nach hinten gedrückt wird
OFF Unterkantenabschneider wird beim Betätigen
des Motors betätigt
■ Speicherschalter 91~98

200
ZE-8570,8580
13. STANDARD ADJUSTMENTS
13. STANDARDEINSTELLUNGEN
13. REGLAGES STANDARD
13. AJUSTES ESTANDARES
*1:Les éléments situés à gauche du signe "/" sont pour le cas où le témoin de couture de correction est allumé; ceux situés à droite sont pour le cas où le témoin est éteint.
■ Interrupteurs mémoire 01~18
01 ON (Ne peut pas être changé)
OFF
02 Libération du verrouillage réciproque lorsque ON
Opérations avec pédale enfoncée vers l'avant activées lorsqu'on enfonce
la pédale est enfoncée
la pédale vers l'arrière (pendant la coupe des fils/élévation de l'aiguille)
OFF
Opérations avec pédale enfoncée vers l'avant désactivées lorsqu'on enfonce
la pédale vers l'arrière (pendant la coupe des fils/élévation de l'aiguille)
03 ON (Ne change pas)
OFF
04 Réglage indépendant de la vitesse de ON
La vitesse de couture des points d'arrêt n'est pas limitée par le réglage de vitesse du panneau
couture de points d'arrêtOFF
La vitesse de couture des points d'arrêt est limitée par le réglage de vitesse du panneau
05 ON (Ne change pas)
OFF
06 Force de perçage accrue ON
Opération sans augmentation de force de perçage
OFF
Opération avec augmentation de force de perçage
07 ON (Ne change pas)
OFF
08 ON (Ne change pas)
OFF
11 Sans coupe de fils/tirage de fils ON
Sélection des opérations possible en utilisant la touche de coupe des fils/élévation de l'aiguille
OFF
Fonctionnement de la coupe des fils et du tirage des fils
12 Etat du pied presseur après la coupe des fils ON
Le pied presseur est élevé en position neutre
OFF
Le pied presseur est abaissé en position neutre
13 Etat du pied presseur lorsque la pédale est ON Elevé
arrêtée en position neutre OFF Abaissé
14 Fonction de l'actuateur ON
Fonctionne comme interrupteur de coupe des fils
OFF Fonctionnement normal
15 Commande d'arrêt en décélération ON Pas de commande d'arrêt en décélération
OFF
La commande empêche la couture de points supplémentaires
16 ON (Ne change pas)
OFF
17 Correction de demi-points ON
Correction d'un point vers l'avant/correction d'un demi-point vers l'avant (*1)
OFF
Correction d'un point vers l'avant/Sans correction (*1)
18 Correction de points vers l'arrière ON
Correction d'un point vers l'avant/Correction de couture arrière (*1)
OFF
Correction d'un point vers l'avant/Sans correction (*1)
■ Interrupteurs mémoire 21~28
21 ON (Ne change pas)
OFF
22 ON (Ne change pas)
OFF
23 ON (Ne change pas)
OFF
24 ON (Ne change pas)
OFF
25 ON (Ne change pas)
OFF
26 Commande de mouvement de points ON
Passe à la couture des points d'arrêt en fin de couture sans ralentir jusqu'en vitesse lente
d'arrêt en fin de couture OFF
Ralentit jusqu'en vitesse lente, puis passe à la couture des points d'arrêt en fin de couture
27 ON (Ne change pas)
OFF
28 ON (Ne change pas)
OFF

201 ZE-8570,8580
13. STANDARD ADJUSTMENTS
13. STANDARDEINSTELLUNGEN
13. REGLAGES STANDARD
13. AJUSTES ESTANDARES
■ Interrupteurs mémoire 31~58
31 Arrêt neutre pendant la couture des points ON
L'arrêt est possible pendant la couture des points d'arrêt lorsque la pédale est en position neutre
d'arrêt en début de couture OFF
L'arrêt n'est pas possible pendant la couture des points d'arrêt lorsque la pédale est en position neutre
32 ON (Ne change pas)
OFF
33 ON (Ne change pas)
OFF
34 ON (Ne change pas)
OFF
35 ON (Ne change pas)
OFF
36 Réglage de la fonction de désactivation du ON
Fonction de désactivation du programmateur désactivée
programmateur de pied presseur OFF
Fonction de désactivation du programmateur activée
37 ON (Ne change pas)
OFF
38 ON (Ne change pas)
OFF
41 Fonctionnement du releveur de pied presseur ON
Le pied presseur ne s'élève pas lorsqu'on enfonce la pédale vers
lorsqu'on enfonce la pédale vers l'arrière
l'arrière jusqu'au premier degré à partir de la position neutre
OFF
Le pied presseur s'élève lorsqu'on enfonce la pédale vers
l'arrière jusqu'au 1er degré à partir de la position neutre
42 Fonctionnement lorsqu'on enfonce la pédale ON Fonctionnement en marche arrière désactivé (pas de
vers l'arrière coupe des fils, élévation de l'aiguille)
OFF
Fonctionnement normal (pas de coupe des fils, élévation de l'aiguille)
43 ON (Ne change pas)
OFF
44 Utilisation de la pédale à haute vitesse ON Fonctionnement à haute vitesse
pendant l'opération debout OFF Fonctionnement à vitesse variable
45 Démarrage retardé pendant l'opération ON Retard désactivé
debout OFF Retard activé
46 Arrêt de la pédale de pied presseur pendant ON
Arrêt impossible en utilisant la pédale de pied presseur
l'opération debout OFF
Arrêt possible en utilisant la pédale de pied presseur pendant la couture automatique
47 Arrêt de la pédale à vitesse variable pendant ON
Arrêt impossible en utilisant la pédale à vitesse variable
l'opération debout OFF
Arrêt possible en utilisant la pédale à vitesse variable pendant la couture automatique
48
Elévation du pied presseur pendant l'opération
ON
Toujours désactivé après avoir utilisé la pédale de pied presseur
debout en utilisant la pédale de coupe des fils
OFF Toujours activé
51 Opération de couture de correction ON Couture de correction toujours possible
OFF
Couture de correction désactivée après qu'on ait enfoncé la pédale vers l'arrière
52 ON (Ne change pas)
OFF
53 ON (Ne change pas)
OFF
54 Démarrage lent ON Démarrage lent toujours effectué
OFF Dépend des réglages du panneau
55 Opération du pied presseur lorsqu'on ON
Après que le pied presseur ait été abaissé, il ne s'élève
enfonce la pédale vers l'avant
pas lorsque la pédale est en position neutre
OFF
Après que le pied presseur ait été abaissé, il s'élève lorsque la pédale est en position neutre
56 ON (Ne change pas)
OFF
57 Opération du pied presseur lorsqu'on ON
Le pied presseur n'est pas abaissé lorsqu'on enfonce la pédale jusqu'au premier degré
enfonce la pédale vers l'avant OFF
Le pied presseur est abaissé lorsqu'on enfonce la pédale jusqu'au premier degré
58 ON (Ne change pas)
OFF

202
ZE-8570,8580
13. STANDARD ADJUSTMENTS
13. STANDARDEINSTELLUNGEN
13. REGLAGES STANDARD
13. AJUSTES ESTANDARES
■ Interrupteurs mémoire 61~88
61 ON (Ne change pas)
OFF
62 ON (Ne change pas)
OFF
63 ON (Ne change pas)
OFF
64 ON (Ne change pas)
OFF
65 Point d'arrêt à trois pas ON
Lorsque le zigzag ordinaire est sélectionné, le point d'arrêt est un zigzag à 3 pas
OFF Le point d'arrêt est identique au motif normal
66 Remise à zéro des motifs ON
Retourne au début du motif après qu'on ait enfoncé la pédale vers l'arrière
OFF
Continue à coudre le motif après qu'on ait enfoncé la pédale vers l'arrière
67 Remise à zéro du motif pour les motifs ON
Pour les motifs 5~9, retourne au début du motif
spécifiés
après qu'on ait enfoncé la pédale vers l'arrière
OFF
Continue à coudre le motif après qu'on ait enfoncé la pédale vers l'arrière
68 Motif à points invisibles ON La section en ligne droite est au début du motif
OFF La section en zigzag est au début du motif
71 ON (Ne change pas)
OFF
72 ON (Ne change pas)
OFF
73 ON (Ne change pas)
OFF
74 ON (Ne change pas)
OFF
75 ON (Ne change pas)
OFF
76 ON (Ne change pas)
OFF
77 ON (Ne change pas)
OFF
78 ON (Ne change pas)
OFF
81 Hauteur d'entraînement variable ON
Couture de motifs avec hauteur d'entraînement variable (points en T) possibles
OFF Fonctionnement normal
82 Fonctionnement du compteur de fil inférieur ON Le compteur de fil inférieur fonctionne
OFF Le compteur de fil inférieur ne fonctionne pas
83 Fonctionnement d'alarme du compteur de fil ON
Lorsque la machine est arrêtée en position neutre pendant
inférieur
le fonctionnement d'alarme, la machine ne redémarre pas
OFF
Lorsqu'on enfonce la pédale vers l'arrière pendant le
fonctionnement d'alarme, la machine ne redémarre pas
84 Fonctionnement d'alarme du compteur de fil ON
Le démarrage n'est pas empêché pendant le fonctionnement d'alarme
inférieur OFF
Le démarrage est empêché pendant le fonctionnement d'alarme
85 ON (Ne change pas)
OFF
86 ON (Ne change pas)
OFF
87 ON (Ne change pas)
OFF
88 ON (Ne change pas)
OFF

203 ZE-8570,8580
13. STANDARD ADJUSTMENTS
13. STANDARDEINSTELLUNGEN
13. REGLAGES STANDARD
13. AJUSTES ESTANDARES
91 Entrée de priorité de marge de coupe ON La largeur de zigzag peut diminuer selon
l'entrée de marge de coupe
OFF La valeur de l'entrée de marge de coupe est
limitée par la largeur de zigzag
92 ON (Ne pas changer)
OFF
93 ON (Ne pas changer)
OFF
94 Utilisation du couteau de bord pendant la ON
Le couteau sous bord s'arrête aussi lorsque la
couture à longueur fixe
machine s'arrête après la couture à longueur fixe
OFF Le couteau sous bord est actionné lorsqu'on
appuie sur la pédale
95 Réglage de la longueur fixe et ON
Le couteau sous bord ne fonctionne pas lorsque
fonctionnement du couteau sous bord
la fonction de couture à longueur fixe est activée
OFF Fonctionnement normal
96 Réglage AUTO et fonctionnement du ON
Le couteau sous bord ne fonctionne pas lorsque la
couteau sous bord
fonction AUTO est activée
OFF Fonctionnement normal
97 Enfoncement de la pédale vers l'avant et ON
Le couteau sous bord ne fonctionne pas lorsque la pédale est en
fonctionnement du couteau sous bord
position neutre (utilisation du demi-point, etc.)
OFF Le couteau sous bord est actionné lorsque le
moteur de la machine fonctionne
98 Enfoncement de la pédale vers l'arrière et ON
Le couteau sous bord ne fonctionne pas lorsque
fonctionnement du couteau sous bord
la pédale est enfoncée vers l'arrière
OFF
Le couteau sous bord est actionné lorsque le
moteur de la machine fonctionne
■ Interrupteurs mémoire 91~98

204
ZE-8570,8580
13. STANDARD ADJUSTMENTS
13. STANDARDEINSTELLUNGEN
13. REGLAGES STANDARD
13. AJUSTES ESTANDARES
*1:Items a la izquierda de "/" indican cuando el indicador de costura de corrección está activado, y a la izquierda es cuando está desactivado.
■ Interruptores de memoria 01~18
01 ON (No se puede cambiar)
OFF
02 Liberación de interbloqueo cuando se pisa el ON
Las operaciones con el pedal hacia adelante están activadas cuando se
pedal
pisa el pedal hacia atrás (durante el corte de hilo/la elevación de la aguja)
OFF
Las operaciones con el pedal hacia adelante están desactivadas cuando se
pisa el pedal hacia atrás (durante el corte de hilo/la elevación de la aguja)
03 ON (No cambiar)
OFF
04 Ajuste de velocidad de rematado por atrásON
La velocidad de rematado por atrás no está limitada por el ajuste de velocidad del panel
independiente OFF
La velocidad de rematado por atrás está limitada por el ajuste de velocidad del panel
05 ON (No cambiar)
OFF
06 Fuerza de penetración aumentada ON Sin fuerza de penetración aumentada
OFF Con fuerza de penetración aumentada
07 ON (No cambiar)
OFF
08 ON (No cambiar)
OFF
11 No hay corte/ni limpieza de hilo ON
Selección de operación posible usando la tecla de cortahilos/aguja
OFF El cortahilos y limpiahilos funcionan
12 Estado del prensatelas después de cortar el ON El prensatelas se levanta en la posición neutral
hilo OFF El prensatelas se baja en la posición neutral
13 Estado del prensatelas cuando el pedal se ON Levantado
para en posición neutral OFF Abajo
14 Función de impulsor ON
Funciona como un interruptor de cortahilos
OFF Funcionamiento normal
15 Control de parada desacelerada ON Sin control de parada desacelerada
OFF
El control impide la costura de una puntada extra
16 ON (No cambiar)
OFF
17 Corrección de media puntada ON
Corrección de una puntada hacia adelante/Corrección de media puntada hacia adelante (*1)
OFF
Corrección de una puntada hacia adelante/Sin corrección (*1)
18 Corrección de puntada hacia atrásON
Corrección de una puntada hacia adelante/Corrección de puntada hacia atrás (*1)
OFF
Corrección de una puntada hacia adelante/Sin corrección (*1)
■ Interruptores de memoria 21~28
21 ON (No cambiar)
OFF
22 ON (No cambiar)
OFF
23 ON (No cambiar)
OFF
24 ON (No cambiar)
OFF
25 ON (No cambiar)
OFF
26 Control de movimiento de rematado por ON
Se mueve a rematado por atrás final sin desacelerar a baja velocidad
atrás final OFF
Desacelera a baja velocidad, y luego se mueve a rematado por atrás final
27 ON (No cambiar)
OFF
28 ON (No cambiar)
OFF

205 ZE-8570,8580
13. STANDARD ADJUSTMENTS
13. STANDARDEINSTELLUNGEN
13. REGLAGES STANDARD
13. AJUSTES ESTANDARES
■ Interruptores de memoria 31~58
31 Parada neutral durante el rematado por ON
Para durante el rematado por atrás es posible cuando el pedal está en neutral
atrás inicial OFF
Para durante el rematado por atrás no es posible cuando el pedal está en neutral
32 ON (No cambiar)
OFF
33 ON (No cambiar)
OFF
34 ON (No cambiar)
OFF
35 ON (No cambiar)
OFF
36 Ajuste de la función de desconexión de ON
Función de desconexión de temporizador desactivada
temporizador del prensatelas OFF
Función de desconexión de temporizador activada
37 ON (No cambiar)
OFF
38 ON (No cambiar)
OFF
41 Funcionamiento del levantador del ON El prensatelas no se levanta cuando se pisa el
prensatelas cuando se pisa el pedal hacia atrás pedal hacia atrás al primer paso desde neutral
OFF El prensatelas se levanta cuando se pisa el
pedal hacia atrás al primer paso desde neutral
42 Funcionamiento cuando se pisa el pedal ON Funcionamiento hacia atrás desactivado (no hay
hacia atráscorte de hilo, no se levanta el hilo)
OFF
Funcionamiento normal (hay corte de hilo, se levanta el hilo)
43 ON (No cambiar)
OFF
44 Funcionamiento de pedal a alta velocidad ON Funcionamiento a alta velocidad
durante el funcionamiento de pie OFF Funcionamiento a velocidad variable
45 Arranque demorado durante el ON Demora desactivada
funcionamiento de pie OFF Demora activada
46 Parada de pedal del prensatelas durante el ON
No se puede parar usando el pedal del prensatelas
funcionamiento de pie OFF
Se puede parar usando el pedal del prensatelas durante la costura automática
47 Parada de pedal de velocidad variable ON
No se puede parar usando el pedal de velocidad variable
durante el funcionamiento de pie OFF
Se puede parar usando el pedal de velocidad variable durante la costura automática
48
Elevación del prensatelas durante el funcionamiento
ON
Siempre desactivado después de usar el pedal del prensatelas
de pie usando el pedal del cortahilos
OFF Siempre activado
51 Funcionamiento de costura de corrección ON Costura de corrección siempre posible
OFF
Costura de corrección desactivada después de pisar el pedal hacia atrás
52 ON (No cambiar)
OFF
53 ON (No cambiar)
OFF
54 Comienzo lento ON Comienzo lento siempre es posible
OFF Depende de los ajustes del panel
55 Funcionamiento del prensatelas cuando se ON
Después que el prensatelas está abajo, no se levanta
pisa el pedal hacia adelante
cuando el pedal está en neutral
OFF
Después que el prensatelas está abajo, se levanta cuando el pedal está en neutral
56 ON (No cambiar)
OFF
57 Funcionamiento del prensatelas cuando se ON
El prensatelas no está abajo cuando se presiona el pedal al primer paso
pisa el pedal hacia adelante OFF
El prensatelas está abajo cuando se presiona el pedal al primer paso
58 ON (No cambiar)
OFF

206
ZE-8570,8580
13. STANDARD ADJUSTMENTS
13. STANDARDEINSTELLUNGEN
13. REGLAGES STANDARD
13. AJUSTES ESTANDARES
■ Interruptores de memoria 61~88
61 ON (No cambiar)
OFF
62 ON (No cambiar)
OFF
63 ON (No cambiar)
OFF
64 ON (No cambiar)
OFF
65 Rematado por atrás de 3 pasos ON
Cuando se selecciona zigzag sencillo, el rematado por atrás es en zigzag de 3 pasos
OFF
Rematado por atrás es lo mismo que el patrón normal
66 Reposición de patrónON
Volver a comenzar un patrón después de pisar el pedal hacia atrás
OFF
Continúa cosiendo el patrón después de pisar el pedal hacia atrás
67 Reposición de patrón para patrones ON
Para los patrones 5~9, volver al comienzo del
especificados
patrón después de pisar el pedal hacia atrás
OFF
Continúa cosiendo el patrón después de pisar el pedal hacia atrás
68 Patrón de puntada invisible ON
La sección de línea recta está en el comienzo del patrón
OFF
La sección zigzag se encuentra al comienzo del patrón
71 ON (No cambiar)
OFF
72 ON (No cambiar)
OFF
73 ON (No cambiar)
OFF
74 ON (No cambiar)
OFF
75 ON (No cambiar)
OFF
76 ON (No cambiar)
OFF
77 ON (No cambiar)
OFF
78 ON (No cambiar)
OFF
81 Paso de alimentación variable ON
Es posible coser patrones con paso de alimentación variable (Puntada en T)
OFF Funcionamiento normal
82 Funcionamiento del contador de hilo inferior ON Contador de hilo inferior funciona
OFF Contador de hilo inferior no funciona
83 Funcionamiento de advertencia del contador ON
Cuando se para en posición neutral durante el funcionamiento
de hilo inferior
de advertencia, la máquina no puede volver a funcionar
OFF
Cuando se pisa el pedal hacia atrás durante el funcionamiento
de advertencia, la máquina no puede volver a funcionar
84 Funcionamiento de advertencia del contador ON
No se puede comenzar durante el funcionamiento de advertencia
de hilo inferior OFF
Se puede comenzar durante el funcionamiento de advertencia
85 ON (No cambiar)
OFF
86 ON (No cambiar)
OFF
87 ON (No cambiar)
OFF
88 ON (No cambiar)
OFF

207 ZE-8570,8580
13. STANDARD ADJUSTMENTS
13. STANDARDEINSTELLUNGEN
13. REGLAGES STANDARD
13. AJUSTES ESTANDARES
91 Entrada de prioridad de margen de corte ON El ancho de zigzag puede volverse menor
dependiendo del valor de margen de recorte
OFF El valor de entrada de margen de corte está
limitado por el ancho de zigzag
92 ON (No cambiar)
OFF
93 ON (No cambiar)
OFF
94 Funcionamiento de la cuchilla de borde ON
El cortador de borde inferior también se para cuando
durante la costura de largo fijo
la máquina se para luego de la costura de largo fijo
OFF El cortador de borde inferior funciona cuando
se pida el pedal
95 Ajuste de largo fijo y funcionamiento del ON
El cortador de borde inferior no funciona cuando la
cortador de borde inferior
función de costura de largo fijo está activada
OFF Funcionamiento normal
96 Ajuste AUTO y funcionamiento del cortador ON El cortador de borde inferior no funciona
de borde inferior cuando la función AUTO está en ON
OFF Funcionamiento normal
97 Funcionamiento hacia adelante del pedal y ON
El cortador de borde inferior no funciona cuando el pedal se encuentra
funcionamiento del cortador de borde inferior
en la posición neutral (funcionamiento de media puntada, etc.)
OFF El cortador de borde inferior funciona cuando el
motor de la máquina funciona
98 Funcionamiento hacia atrás del pedal y ON El cortador de borde inferior no funciona
funcionamiento del cortador de borde inferior cuando se pisa hacia atrás el pedal
OFF
El cortador de borde inferior funciona cuando el
motor de la máquina funciona
■ Interruptores de memoria 91~98

208
ZE-8570,8580
14. OPTIONAL PARTS
14. SONDERZUBEHÖRTEILE
14. PIECES EN OPTION
14. PARTES OPCIONALES
14. OPTIONAL PARTS
14. SONDERZUBEHÖRTEILE
14. PIECES EN OPTION
14. PARTES OPCIONALES
Installation of optional parts should only be car-
ried out by a qualified technician.
Contact your Brother dealer or a qualified elec-
trician for any electrical work that may need to
be done.
Zubehörteile dürfen nur von einem qualifizierten
Fachmann installiert werden.
Falls Elektrikerarbeiten gemacht werden müssen,
wenden Sie sich an lhren Brother Händler oder
an einen qualifizierten Elektriker.
L’installation des pièces en option doit être
confiée exclusivement à un technicien qualifié.
S’adresser à votre revendeur Brother ou à un
électricien qualifié pour effectuer toute
réparation éventuelle du système électrique.
La instalación de las piezas opcionales debe ser
realizado por personal técnico calificado.
Consultar a su distribuidor Brother o un
electricista calificado por cualquier trabajo de
electricidad que se debiera realizar.
CAUTION/ACHTUNG/ATTENTION/ATENCION
Turn off the power switch and disconnect the
power cord before installing any optional parts,
otherwise the machine will operate if the treadle
is pressed by mistake, which could result in in-
jury.
Vor der Installation von Zubehórteilen muß der
Netzschalter ausgeschaltet und das Netzkabel
aus der Steckdose gezogen werden, weil sonst
durch eine unbeabsichtigte Betätigung des Ped-
als die Maschine in Gang gesetzt und
Verletzungen Vernursachen kann.
Couper l’alimentation électrique et débrancher
le cordon d’alimentation avant d’installer les
pièces en option, sinon la machine risquera de
se mettre en marche si on enfonce
accidentellement la pédale, et donc de causer
des blessures.
Desconectar el interruptor principal y
desconectar el cable de alimentación antes de
cambiar las piezas opcionales, de lo contrario la
máquina podría comenzar a funcionar si por
descuido se pisara el pedal, lo que podria resultar
en heridas.
14-1. Reflection pattern switch
14-1. Musterumkehrschalter
14-1. Interrupteur de motif en miroir
14-1. Interruptor de patrón reflejado
Ask the place of purchase for details.
Wenden Sie sich für Einzelheiten an das Verkaufsgeschäft.
Pour plus de détails, s'adresser à son revendeur.
Consultar en el lugar de compra por detalles.

209 ZE-8570,8580
14. OPTIONAL PARTS
14. SONDERZUBEHÖRTEILE
14. PIECES EN OPTION
14. PARTES OPCIONALES
14-2. Dial lock lever
14-2. Einstellscheibensperrhebel
14-2. Levier de verrouillage du cadran
14-2. Palanca de bloqueo del dial
The dial lock lever can be used to keep the feed adjustment dial firmly in place when fine dial settings have been made.
* Refer to the Instruction Manual for the dial lock lever set for details on installing the dial lock lever.
Der Einstellscheibensperrhebel kann beim Feineinstellen zum Feststellen der Einstellscheibe verwendet werden.
*Für Einzelheiten zur Installation Einstellscheibensperrhebels wird auf die Bedienungsanleitung des
Einstellscheibensperrhebels verwiesen.
Le levier de verrouillage de molette peut être utilisé pour maintenir la molette de réglage d’entraînement fermement en
place lorsque les réglages fins de la molette sont effectués.
* Pour plus de détails concernant l’installation du levier de verrouillage de molette, se reporter au mode d’emploi du
jeu de levier de verrouillage de molette.
La palanca de bloqueo del dial puede ser usada para mantener el dial de ajuste de alimentación firme en su lugar
cuando se realizan los ajustes finos.
* Consulte el manual de instrucciones del juego de palanca de bloqueo del dial por detalles sobre la instalación de la
palanca de bloqueo del dial.
■ Using the dial lock lever
Disengage the dial lock lever as described below when
you would like to adjust the stitch length.
1. Push the dial lock lever q up until it clicks to release
the lock.
2. Turn the feed adjustment dial w to adjust the stitch
length.
3. Push the dial lock lever q down firmly to lock it.
* Check that the feed adjustment dial w does not ro-
tate.
■ Verwendung des Einstellscheibensperrhebels
Lösen Sie den Einstellscheibensperrhebel zum Einstellen der Stichlänge wie nachstehend beschrieben.
1. Drücken Sie den Einstellscheibensperrhebel q zum Aufheben der Sperre nach oben, bis er klickt.
2. Stellen Sie die Stichlänge durch Drehen des Einstellscheibensperrhebels w ein.
3. Drücken Sie den Einstellscheibensperrhebel q zum Einschalten der Sperre fest nach unten.
* Kontrollieren Sie, ob sich die Transporteinstellscheibe w nicht drehen läßt.
■ Utilisation du levier de verrouillage de molette
Désengager le levier de verrouillage de molette comme indiqué ci-dessous pour régler la longueur de point.
1. Pousser le levier de verrouillage q du cadran jusqu’à ce qu’il s’encliquette pour libérer le verrouillage.
2. Tourner la molette de réglage d’entraînement w pour régler la longueur de point.
3. Abaisser fermement le levier de verrouillage q du cadran pour le verrouiller.
*S’assurer que le cadran de réglage de l’entraînement w ne tourne pas.
■ Uso de la palanca de bloqueo del dial
Desenganchar la palanca de bloqueo del dial de la manera indicada a continuación cuando quiera ajustar el largo de la
puntada.
1. Empujar la palanca de bloqueo del dial q hacia arriba hasta que haga clic para liberar la palanca.
2. Girar el dial de ajuste de alimentación w para ajustar el largo de la puntada.
3. Empujar la palanca de bloqueo del dial q hacia abajo de manera de bloquear la palanca.
* Verificar que el dial de ajuste de alimentación w no gira.
q
w
1400M

210
ZE-8570,8580
14. OPTIONAL PARTS
14. SONDERZUBEHÖRTEILE
14. PIECES EN OPTION
14. PARTES OPCIONALES
■ Threading the upper thread
Pass the upper thread through the rear side of the felt t.
■ Einfädeln des Oberfadens
Führen Sie den Oberfaden durch die Rückseite des Filzes
t.
■ Enfilage du fil supérieur
Faire passer le fil supérieur par le côté arrière du feutre t.
■ Enhebrado del hilo superior
Pase el hilo superior por el lado de atrás del fieltro t.
3. Install the felt t to thread guide F r.
4. Use the screw q which was installing the standard
thread guide w to install thread guide F r to the hole
y left by the screw e.
3. Bringen Sie den Filz t an der Fadenführung F r an.
4. Verwenden Sie die Schraube q, mit der die Standard-
Fadenführung w an der Fadenführung F r im Loch y
von der Schraube e befestigt war.
3. Installer le feutre t sur le guide-fil F r.
4. Utiliser la vis q qui installait le guide-fil standard w
pour installer le guide-fil F r sur l´orifice y laissé par
la vis e.
3. Instale el fieltro t en el guiahilos F r.
4. Use el tornillo q que se usaba para el guiahilos
estándar w para instalar el guiahilos F r en el agujero
y dejado por el tornillo e.
14-3. Thread guide F 14-3. Guide-fil F
14-3. Fadenführung F 14-3. Guiahilos F
•Thread guide F prevents flapping of the upper thread, which can otherwise cause skipped stitches and thread break-
ages when sewing coarse materials.
•Mit der Fadenführung F wird ein Schwingen des Oberfadens verhindert, was bei der Verarbeitung von grobem
Material zu übersprungenen Stichen oder Fadenbrüchen führen kann.
•Le guide-fil F empêche le battement du fil supérieur qui pourrait entraîner des points sautés et des cassures de fil lors
de la couture de tissus grossiers.
•El guiahilos F evita los movimientos del hilo superior, que de otra manera puede provocar puntadas saltadas y
rupturas de hilos al coser materiales gruesos.
1. Remove the screw q, and then remove the standard
thread guide w.
2. Remove the screw e which is securing the face plate.
1. Entfernen Sie die Schraube q und nehmen Sie die
Standardfadenführung w ab.
2. Entfernen Sie die Schraube e, mit welcher die
Stirnplatte gesichert ist.
1. Retirer la vis q, puis retirer le guide-fil standard w.
2. Retirer la vis e qui fixe la plaque de face.
1. Quite el tornillo q, y luego desmonte el guiahilos
estándar w.
2. Quite el tornillo e que sostiene la placa delantera.
1552M
0526M
1553M
t
0620M
e
q
w
y
q
r
t
t
r

211 ZE-8570,8580
15. Changing the base line for pattern sideways movement from right edge to center of pattern
15. Ändern der Grundlinie für Seitwärtsbewegung von Mustern von der rechten Kante auf die Mitte des Musters
15. Modification de la ligne de base du mouvement latéral du motif du bord droit au centre du motif
15. Cambio de la línea de base para el movimiento lateral del patrón desde el borde derecho al centro del patrón
15.
Changing the base line for pattern sideways movement from right edge to center of pattern
When DIP switch 2-7 is set to OFF, the base line for moving the sewing pattern sideways changes from the right edge of
the pattern (the trimming margin base line position) to the center of the pattern (zigzag base line position). (Refer to
page 185 for details on changing DIP switch settings.)
● When DIP switch 2-7 is ON
The setting value represents the trimming margin taken
from the trimming margin base line position at the right
edge of the sewing pattern.
<Example>
● When DIP switch 2-7 is OFF
The setting value represents the distance that the sew-
ing pattern is moved sideways from the center of the
maximum zigzag width range (base line = 0), taken from
the zigzag base line position at the center of the sewing
pattern (including the backtack portion).
<Example>
1554M 1555M
Base line 0
Moved 1.5 mm to the left
Base line 1.5
Max. zigzag width
(5 mm)
Start backtack
End backtack
Trimming margin
(2 mm)
Base line 2
■ Setting the zigzag base line position
The zigzag base line is the “center” of the zigzag stitch, or in other words, it is like a center line drawn through the
sewing pattern.
By moving the zigzag base line position, you can move the sewing pattern to the left and right within the maximum
range for the pattern width.
Zigzag width Zigzag width Zigzag width Zigzag width
Base line Base line Base line Base line
1338M 1556M
<Example: For maximum zigzag width of 5 mm>
1. Press the trimming margin base line position key q.
The indicator w will illuminate and the current zigzag base
line position setting will appear in the LED display e.
(For example, AA AA means that the base line is moved
1.2 mm to the left, and AA AA means that it is moved
1.2 mm to the right.)
2. Press the 쑶 and 쑴 selection keys r to change the
zigzag base line position.
• If changing the setting from AA AA, first change the
numerals, and then set “L” or “r”.
• Use the 쑶쑴 selection keys to set [L] or [r] in the
second column from the left in the LED display e.
Note:
If the needle bar is at the needle up stop position, the
needle bar will move to the sewing start position when
the zigzag base line position is changed.
If the needle bar is not at the needle up stop position,
the needle bar will move to the sewing start position
after it next moves to the needle up stop position.
[L] or [r]
e
rwq
1557M
Maximum zigzag width (5 mm) (5 mm)
Zigzag width
2mm
2mm
Base line 0
Base line 0 1.2 mm to the left
Base line
Edge knife position

212
ZE-8570,8580
15. Changing the base line for pattern sideways movement from right edge to center of pattern
15. Ändern der Grundlinie für Seitwärtsbewegung von Mustern von der rechten Kante auf die Mitte des Musters
15. Modification de la ligne de base du mouvement latéral du motif du bord droit au centre du motif
15. Cambio de la línea de base para el movimiento lateral del patrón desde el borde derecho al centro del patrón
■ Zigzag base line position indicator w
If the zigzag base line position has been set to something other than AA AA, the zigzag base line position indicator w
will illuminate so that you can check whether the zigzag base line position has been set to a position other than the
center.
■ Zigzag width
When DIP switch 2-7 is set to OFF, the trimming margin base line position changes to the zigzag base line position.
Accordingly, the zigzag width setting range has no effect on the trimming margin.
● Relationship between zigzag base line position and zigzag width (when the maximum zigzag width is 5 mm)
By way of example, consider a sewing pattern (Figure A) with a zigzag base line position set to AA AA and a zigzag
width set to AA AA. If the zigzag base line position is set to AA AA, the pattern will be moved over toward the left
edge (Figure B). The sewing pattern cannot move any further to the left even if a larger setting is made. (Even if the
zigzag base line position is set to AA AA, the sewing pattern position will be the same as if the setting had been
AA AA (Figure C.)
However, in this case, if the zigzag width is set to
AA AA,
a sewing pattern such as that shown in Figure
D
will be
produced.
<Example>
Base line
Zigzag width
1558M
3.0
(5mm)
--------3.0
-------- 0 L1.0 L1.5
3.0
3mm
(5mm)
3mm
(5mm)
3mm
(5mm)
2mm
ABCD
L1.5
2.0
● Relationship between zigzag base line position and zigzag width for backtack stitches
If the zigzag width for backtack stitches is different from the normal zigzag width and the zigzag base line is set in
such a way that the sewing pattern exceeds the maximum zigzag width, the zigzag width limit setting (see above)
can be made separately for normal zigzag stitches and zigzag backtack stitches.
(The three examples given below show situations where the zigzag base line position is changed while the normal
zigzag width and zigzag width for backtacking remain the same.)
<Example>
Start backtacking
Normal zigzag sewing
End backtacking
Base line .............................................
Zigzag width .......................................
Zigzag width for start backtacking ...
Zigzag width for end backtacking .....
(5mm)
3mm
A
(5mm)
3mm
B
(5mm)
3mm
C
1559M

213 ZE-8570,8580
15. Changing the base line for pattern sideways movement from right edge to center of pattern
15. Ändern der Grundlinie für Seitwärtsbewegung von Mustern von der rechten Kante auf die Mitte des Musters
15. Modification de la ligne de base du mouvement latéral du motif du bord droit au centre du motif
15. Cambio de la línea de base para el movimiento lateral del patrón desde el borde derecho al centro del patrón
15.
Ändern der Grundlinie für Seitwärtsbewegung von Mustern von der rechten Kante auf die Mitte des Musters
Wenn der DIP-Schalter 2-7 auf "OFF" gestellt ist, wird die Grundlinie zum Seitwärtsverschieben des Nähmusters von der
rechten Kante (Schnittrandgrundlinienposition) auf die Mitte (Zickzackgrundlinienposition) geändert. (Für Einzelheiten
zum Umschalten der DIP-Schalter wird auf die Seite 185 verwiesen.)
● Wenn der DIP-Schalter 2-7 auf "ON" gestellt ist
Der Einstellwert entspricht dem Schnittrand von der
Schnittrandgrundlinienposition an der rechten Kante des
Nähmusters.
<Beispiel>
● Wenn der DIP-Schalter 2-7 auf "OFF" gestellt ist
Der Einstellwert entspricht dem Betrag der
Seitwärtsbewegung des Musters von der Mitte der
maximalen Zickzackbreite (Grundlinie = 0), wenn sich
die Zickzackgrundlinienposition auf der Mitte des
Nähmusters befindet (einschließlich Riegel).
<Beispiel>
1554M 1555M
Grundlinie 0
1,5 mm nach rechts verschoben
Grundlinie 1,5
maximale Zickzackbreite
(5 mm)
Anfangsriegel
Endriegel
Schnittrand (2 mm)
Grundlinie 2
■ Einstellen der Zickzackgrundlinienposition
Die Zickzackgrundlinie ist die “Mitte” der Zickzackstiche, eine Linie die durch die Mitte des Stichmusters gezogen ist.
Durch Einstellen der Zickzackgrundlinienposition kann das Stichmuster innerhalb des maximalen Bereichs für die
Stichmusterbreite nach links oder nach rechts verschoben werden.
Zickzackbreite Zickzackbreite Zickzackbreite Zickzackbreite
Grundlinie Grundlinie Grundlinie Grundlinie
1338M 1556M
<Beispiel: Maximale Zickzackbreite 5 mm>
1. Drücken Sie die Schnittrandgrundlinienpositionstaste q.
Die Anzeige w leuchtet und die gegenwärtige Einstellung der
Zickzackgrundlinienposition wird auf der LED-Anzeige e angezeigt.
(Zum Beispiel bedeutet AA AA, daß die Grundlinie um
1,2 mm nach links bzw. AA AA, daß die Grundlinie um
1,2 mm nach rechts verschoben ist.)
2.
Stellen Sie die Zickzackgrundlinie mit den Tasten r 쑶 und 쑴 ein.
• Bei der Einstellung von AA AA muß zuerst die Zahl
und erst danach “L” oder “r” eingestellt werden.
• Verwenden Sie die Einstelltasten 쑶쑴, um [L] oder
[r] in der zweiten Kolonne von links auf der LED-
Anzeige e einzustellen.
Hinweis:
Falls sich die Nadelstange in der Stopposition für
hochgestellte Nadel befindet, wird die Nadelstange beim
Ändern der Zickzackgrundlinie in die Startposition gestellt.
Falls sich die Nadelstange nicht in der Stopposition für
hochgestellte Nadel befindet, wird die Nadelstange in
die Startposition gestellt, sobald sich die Nadel in die
Stopposition für hochgestellte Nadel bewegt.
[L] oder [r]
e
rwq
1557M
maximale Zickzackbreite (5 mm) (5 mm)
Zickzackbreite
2mm
2mm
Grundlinie 0
Grundlinie 0 1,2 mm nach links
Grundlinie
Kantenmesserposition

214
ZE-8570,8580
15. Changing the base line for pattern sideways movement from right edge to center of pattern
15. Ändern der Grundlinie für Seitwärtsbewegung von Mustern von der rechten Kante auf die Mitte des Musters
15. Modification de la ligne de base du mouvement latéral du motif du bord droit au centre du motif
15. Cambio de la línea de base para el movimiento lateral del patrón desde el borde derecho al centro del patrón
■ Zickzackgrundlinienanzeige w
Falls die Zickzackgrundlinienposition auf einen anderen Wert als AAAA eingestellt ist, leuchtet die
Zickzackgrundlinienanzeige r, um Sie darauf aufmerksam zu machen und die Einstellung zu überprüfen.
■ Zickzackbreite
Wenn der DIP-Schalter 2-7 auf "OFF" gestellt ist, wird die Schnittrandgrundlinienposition auf die
Zickzackgrundlinienposition gestellt. Deshalb hat der Zickzackbreitenbereich keinen Einfluß auf das Abschneiden.
●
Verhältnis zwischen der Zickzackgrundlinienposition und der Zickzackbreite (bei einer maximalen Breite von 5 mm)
um Beispiel im Stichmuster (Abb. A) ist die Zickzackgrundlinienposition auf AA AA und die Zickzackbreite auf
AA AA eingestellt. Bei einer Einstellung der Zickzackgrundlinienposition auf AA AA wird das Stichmuster an die
linke Kante verschoben (Abb. B). Das Stichmuster läßt sich nicht weiter nach links verschieben, selbst wenn die
Einstellung erhöht wird. (Selbst wenn die Zickzackgrundlinienposition auf AA AA eingestellt wird, bleibt die Posi-
tion des Stichmusters unverändert wie bei der Einstellung von AA AA (Abb. C.)
Falls jedoch die Zickzackbreite auf AA AA eingestellt wird, so wird das Stichmuster wie gezeigt (Abb. D) verschoben.
<Beispiel>
Grundlinie
Zickzackbreite
1558M
3,0
(5mm)
--------3,0
-------- 0 L1,0 L1,5
3,0
3mm
(5mm)
3mm
(5mm)
3mm
(5mm)
2mm
ABCD
L1,5
2,0
● Zickzackgrundlinie und Zickzackbreite der Riegel
Falls die Zickzackbreite der Riegel von der normalen Zickzackbreite verschieden ist und die Zickzackgrundlinie so
eingestellt ist, daß die maximale Zickzackbreite überschritten wird, läßt sich die Zickzackbreitenbegrenzung (siehe
oben) für die normalen Zickzackstiche und die Riegel separat einstellen.
(Nachstehend sind drei Beispiele für eine Änderung der Zickzackgrundlinie gezeigt. Die Zickzackbreite und die
Riegelzickzackbreite bleiben dabei unverändert.)
<Beispiel>
Anfangsriegel
normales Zickzacknähen
Endriegel
Grundlinie ...........................................
Zickzackbreite .....................................
Zickzackbreite für Anfangsriegel ......
Zickzackbreite für Endriegel ..............
(5mm)
3mm
A
(5mm)
3mm
B
(5mm)
3mm
C
1559M

215 ZE-8570,8580
15. Changing the base line for pattern sideways movement from right edge to center of pattern
15. Ändern der Grundlinie für Seitwärtsbewegung von Mustern von der rechten Kante auf die Mitte des Musters
15. Modification de la ligne de base du mouvement latéral du motif du bord droit au centre du motif
15. Cambio de la línea de base para el movimiento lateral del patrón desde el borde derecho al centro del patrón
15.
Modification de la ligne de base du mouvement latéral du motif du bord droit au centre du motif
Lorsque l'interrupteur DIP 2-7 réglé sur OFF, la ligne de base pour le déplacement latéral du motif de couture passe du
bord latéral du motif (position de ligne de base de marge de coupe) au centre du motif (position de ligne de base de
zigzag). (Pour plus de détails concernant le changement des réglages des interrupteurs DIP, se reporter à la page 185.)
● Lorsque l'interrupteur DIP 2-7 est réglé sur ON
La valeur du réglage représente la marge de coupe prise
à partir de la position de ligne de base de marge de coupe
sur le bord droit du motif de couture.
<Exemple>
● Lorsque l'interrupteur DIP 2-7 est réglé sur OFF
La valeur du réglage représente la distance à laquelle le mo-
tif de couture est déplacé latéralement à partir du centre de
la plage de largeur de zigzag maximum (ligne de base = 0),
prise à partir de la position de ligne de base de zigzag au
centre du motif de couture (partie de points d'arrêt comprise).
<Exemple>
1554M 1555M
Ligne de base 0
Déplacé de 1,5 mm vers la gauche
Ligne de base 1,5
Largeur max. de zigzag
(5 mm)
Point d'arrêt en
début de couture
Point d'arrêt en fin
de couture Marge de coupe (2 mm)
Ligne de base 2
■ Réglage de la position de ligne de base de zigzag
La ligne de base de zigzag est le “centre” du point zigzag; autrement dit, elle est comparable à une ligne centrale tirée
à travers le motif de couture.
En déplaçant la position de ligne de base de zigzag, on peut déplacer le motif de couture vers la gauche ou vers la droite
dans les limites de la plage maximum pour la largeur de motif.
Largeur de zigzag Largeur de zigzag Largeur de zigzag Largeur de zigzag
Ligne de base Ligne de base Ligne de base Ligne de base
1338M 1556M
<Exemple: Pour une largeur de zigzag maximum de 5 mm>
1.
Appuyer sur la touche de position de ligne de base de marge de coupe q.
Le témoin w s'allume et le réglage actuel de la position de
ligne de base de zigzag apparaît sur l'affichage LED e.
(Par exemple, AA AA signifie que la ligne de base est
déplacée de 1,2 mm vers la gauche, et AA AA signifie
qu'elle est déplacée de 1,2 mm vers la droite.)
2. Appuyer sur les touches de sélection 쑶 et 쑴 r pour
changer la position de ligne de base de zigzag.
•
Si l’on change le réglage à partir de
AA AA
, changer d’abord
les chiffres, puis régler “L” ou “r”.
•
Utiliser les touches de sélection 쑶쑴 pour régler [L] ou [r] dans la
deuxième colonne à partir de la gauche dans l'affichage LED e.
Remarque:
Si la barre à aiguille est à la position d'arrêt haut de l'aiguille, la
barre à aiguille se placera à la position de début de couture lorsque
la position de la ligne de base du zigzag est changée.
Si la barre à aiguille n'est pas à la position d'arrêt haut de l'aiguille,
la barre à aiguille se placera à la position de début de couture après
s'être placée la fois suivante à la position d'arrêt haut de l'aiguille.
[L] ou [r]
e
rwq
1557M
Largeur de zigzag maximum (5 mm) (5 mm)
Largeur de zigzag
2mm
2mm
Ligne de base 0
Ligne de base 0 1,2 mm vers la gauche
Ligne de base
Position du couteau de bord

216
ZE-8570,8580
15. Changing the base line for pattern sideways movement from right edge to center of pattern
15. Ändern der Grundlinie für Seitwärtsbewegung von Mustern von der rechten Kante auf die Mitte des Musters
15. Modification de la ligne de base du mouvement latéral du motif du bord droit au centre du motif
15. Cambio de la línea de base para el movimiento lateral del patrón desde el borde derecho al centro del patrón
■ Témoin de position de ligne de base de zigzag w
Si la position de ligne de base de zigzag a été réglée à une valeur autre que AA AA, le témoin de position de ligne de
base de zigzag w s’allumera de manière qu’on puisse vérifier si la position de ligne de base de zigzag a été établie à une
position autre qu’au centre.
■ Largeur de zigzag
Lorsque l'interrupteur DIP 2-7 est réglé sur OFF, la position de ligne de base de marge de coupe passe à la position de
ligne de base de zigzag. La plage de réglage de largeur de zigzag n'affecte donc pas sur la marge de coupe.
●
Relation entre la position de ligne de base de zigzag et la largeur de zigzag (lorsque la largeur maximum de zigzag est de 5 mm)
A titre d’exemple, considérons un motif de couture (illustration A) avec une position de ligne de base de zigzag réglée
à AA AA et une largeur de zigzag réglée à AA AA. Si la ligne de base de position de zigzag est réglée sur AA AA, le motif
sera déplacé vers le bord gauche (illustration B). Le motif de couture ne peut pas être déplacé davantage vers la gauche
même si l’on effectue un réglage de valeur plus grande. (Même si l’on règle la position de ligne de base de zigzag sur
AA AA, la position du motif de couture sera la même que si l’on avait mis le réglage sur AA AA (illustration C).
Toutefois, dans ce cas, si la largeur de zigzag est réglée à AA AA, un motif de couture tel que celui montré sur
l’illustration D sera produit.
<Exemple>
Ligne de base
Largeur de zigzag
1558M
3,0
(5mm)
--------3,0
-------- 0 L1,0 L1,5
3,0
3mm
(5mm)
3mm
(5mm)
3mm
(5mm)
2mm
ABCD
L1,5
2,0
● Relation entre la position de la ligne de base de zigzag et la largeur de zigzag pour les points d’arrêt
Si la largeur de zigzag pour les points d’arrêt est différente de la largeur de zigzag normale, et que la ligne de base
de zigzag est réglée de manière que le motif de couture dépasse la largeur de zigzag maximale, le réglage de la
limite de largeur de zigzag (Voir ci-dessus.) peut être effectué séparément pour les points de zigzag normaux et les
points d’arrêt de zigzag.
(Les trois exemples donnés ci-dessous s’appliquent à des situations dans lesquelles la position de la ligne de base
de zigzag est changée pendant que la largeur de zigzag normal et la largeur de zigzag pour le point d’arrêt restent
les mêmes.)
<Exemple>
Point d’arrêt en début
de couture
Couture de zigzag normal
Point d’arrêt en fin de
couture
Ligne de base .....................................
Largeur de zigzag ...............................
Largeur de zigzag pour le point
d’arrêt en début de couture ..............
Largeur de zigzag pour le point
d’arrêt en fin de couture ....................
(5mm)
3mm
A
(5mm)
3mm
B
(5mm)
3mm
C
1559M

217 ZE-8570,8580
15. Changing the base line for pattern sideways movement from right edge to center of pattern
15. Ändern der Grundlinie für Seitwärtsbewegung von Mustern von der rechten Kante auf die Mitte des Musters
15. Modification de la ligne de base du mouvement latéral du motif du bord droit au centre du motif
15. Cambio de la línea de base para el movimiento lateral del patrón desde el borde derecho al centro del patrón
15.
Cambio de la línea de base para el movimiento lateral del patrón desde el borde derecho al centro del patrón
Cuando el interruptor DIP 2-7 se ajusta a OFF, la línea de base para mover el patrón de costura lateralmente cambia
desde el borde derecho del patrón (la posición de la línea de base de margen de corte) al centro del patrón (posición de
la línea de base de zigzag). (Consultar la página 185 por detalles sobre como cambiar los ajustes del interruptor DIP.)
● Cuando el interruptor DIP 2-7 está en ON
El valor de ajuste representa el margen de corte tomado
desde la posición de la línea de base de margen de corte
al borde derecho del patrón de costura.
<Por ejemplo>
● Cuando el interruptor DIP 2-7 está en OFF
El valor de ajuste representa la distancia del patrón de costura que se
mueve lateralmente desde el centro del rango de ancho de zigzag máximo
(línea de base = 0), tomado desde la posición de la línea de base de zigzag
al centro del patrón de costura (incluyendo la parte de remate).
<Por ejemplo>
1554M 1555M
Línea de base 0
Se mueve 1,5 mm a la izquierda
Línea de base 1,5
Ancho de zigzag máximo
(5 mm)
Inicio de remate
Final de remate
Margen de corte (2 mm)
Línea de base 2
■ Ajuste la posición de línea de base de zigzag
La posición de línea de base de zigzag es el “centro” de la puntada de zigzag, o en otras palabras, es la línea central
dibujada a través del patrón de costura.
Moviendo la posición de línea de base de zigzag, se podrá mover el patrón de costura a la izquierda y derecha dentro
del rango máximo para el ancho del patrón.
Ancho de zigzag Ancho de zigzag Ancho de zigzag Ancho de zigzag
Ancho máximo de zigzag (5 mm)
Línea de base Línea de base Línea de base Línea de base
(5 mm)
Ancho de zigzag
2mm
2mm
Línea de base 0
Línea de base 0
1,2 mm a la izquierda
Línea de base
1338M 1556M
<Ejemplo: Para un ancho de zigzag máximo de 5 mm>
1. Presionar la tecla de posición de línea de base del margen
de corte q.
El indicador w se iluminará y el ajuste de posición de la línea
de base de zigzag actual aparecerá en la exhibición LED e.
(Por ejemplo, AA AA significa que la línea de base se
mueve 1,2 mm a la izquierda, y AA AA significa que se
mueve 1,2 mm a la derecha.)
2. Presionar las teclas 쑶 y 쑴 r para cambiar la posición
de la línea de base de zigzag.
• Si se cambia el ajuste de AA AA, primero cambiar
los numerales, y luego ajustar “L” o “r”.
•
Use las teclas de selección 쑶쑴 para ajustar [L] o [r] en la
segunda columna desde la izquierda en la exhibición LED e.
Nota:
Si la barra de agujas se encuentra en la posición de parada con la aguja
levantada, la barra de agujas se moverá a la posición de comienzo de
costura cuando se cambie la posición de la línea de base de zigzag.
Si la barra de agujas no se encuentra en la posición de parada con la
aguja, la barra de agujas se moverá a la posición de comienzo de costura
después de moverse a la posición de parada con la aguja levantada.
[L] or [r]
e
rwq
1557M
Posición de cuchilla de borde

218
ZE-8570,8580
15. Changing the base line for pattern sideways movement from right edge to center of pattern
15. Ändern der Grundlinie für Seitwärtsbewegung von Mustern von der rechten Kante auf die Mitte des Musters
15. Modification de la ligne de base du mouvement latéral du motif du bord droit au centre du motif
15. Cambio de la línea de base para el movimiento lateral del patrón desde el borde derecho al centro del patrón
■ Indicador de la posición de línea de base de zigzag w
Si la posición de línea de base de zigzag ha sido ajustada a uno diferente de AA AA, el indicador de la posición de línea
de base de zigzag w se encenderá de manera que se podrá verificar si la posición de línea de base de zigzag ha sido
ajustada a otra posición que la posición central.
■ Ancho de zigzag
Cuando el interruptor DIP 2-7 se ajusta a OFF, la posición de la línea de base de margen de corte cambia a la posición de
la línea de base de zigzag. De acuerdo con eso, el rango de ajuste de ancho de zigzag no tiene efecto en el margen de
corte.
● Relación entre la posición de línea de base de zigzag y el ancho de zigzag (cuando el ancho máximo es 5 mm)
A manera de ejemplo, considerar un patrón de costura (Figura A) con la posición de línea de base de zigzag
ajustada a AA AA y un ancho de zigzag ajustado a AA AA. Si la posición de línea de base de zigzag se ajusta a
AA AA, el patrón se moverá hacia el borde izquierdo (Figura B). El patrón de costura no se podrá mover más a la
izquierda incluso si se realiza un ajuste más grande. (Incluso si la posición de línea de base de zigzag se ajusta a
AA AA, la posición del patrón de costura será el mismo si se ha ajustado a AA AA (Figura C).)
Sin embargo, en este caso, si el ancho de zigzag se ajusta a AA AA, se realizará un patrón de costura como el que
se muestra en la figura D.
<Por ejemplo>
Línea de base
Ancho de zigzag
1558M
3,0
(5mm)
--------3,0
-------- 0 L1,0 L1,5
3,0
3mm
(5mm)
3mm
(5mm)
3mm
(5mm)
2mm
ABCD
L1,5
2,0
● Relación entre la posición de la línea de base de zigzag y ancho de zigzag para las puntadas de rematado por atrás
Si el ancho de zigzag para puntadas de rematado por atrás son diferentes del ancho de zigzag normal y la línea de
base de zigzag se ajusta de manera que el patrón de costura exceda el ancho de zigzag máximo, el ajuste de límite
de ancho de zigzag (ver a continuación) puede ser realizado separadamente para puntadas de zigzag normales y
puntadas de rematado por atrás con zigzag.
(Los tres ejemplos indicados a continuación muestran situaciones donde al posición de la línea de base de zigzag
se cambia mientras el ancho de zigzag normal y el ancho de zigzag para rematado por atrás permanece igual.)
<Ejemplo>
Rematado por atrás inicial
Costura en zigzag normal
Rematado por atrás final
Línea de base .....................................
Ancho de zigzag .................................
Ancho de zigzag para rematado por atrás inicial ......
Ancho de zigzag para rematado por atrás final ........
(5mm)
3mm
A
(5mm)
3mm
B
(5mm)
3mm
C
1559M

219 ZE-8570,8580
16. TROUBLESHOOTING
16. FEHLERSUCHE
16. RESOLUTION DES PROBLEMES
16. LOCALIZACION DE AVERIAS
Problem Possible cause Page
139
–
48
53
141
–
160
165
166
159
16. TROUBLESHOOTING
•Please check the following points before calling for repairs or service.
•If the following suggestions do not solve the problem, turn off the machine power supply and contact your nearest
Brother service center.
16-1. Machine head
DANGER
CAUTION
Wait at least 5 minutes after turning off the power switch and disconnecting the power cord from the wall
outlet before opening the face plate of the control box. Touching areas where high voltages are present can
result in severe injury.
Turn off the power switch and disconnect the power cord before carrying out troubleshooting, otherwise the
machine will operate if the treadle is pressed by mistake, which could result in injury.
1. Upper thread is not tight. •Is the upper thread tension too weak, or is the lower thread ten-
sion too strong?
Adjust the upper thread tension or lower thread tension.
2. Lower thread is not tight. •Is the lower thread tension too weak, or is the upper thread ten-
sion too strong?
Adjust the lower thread tension or upper thread tension.
3. Skipped stitches occur
while sewing
•Is the needle tip bent? Is the needle tip blunt?
If the needle tip is bent or broken, replace the needle.
•Is the needle properly installed?
If it is incorrect, install the needle correctly.
•Is the machine properly threaded?
If it is incorrect, thread the thread correctly.
•Is the presser foot pressure too weak?
Adjust the presser foot pressure.
•Is the needle too thin?
Replace the needle with a needle that is one rank thicker.
•Is the presser foot too high?
Adjust the height of the presser foot.
•Is the needle and rotary hook timing incorrect?
Adjust the height of the needle bar.
Adjust the clearance between the needle and the rotary hook.
•Is the thread tension spring too weak?
Adjust the tension of the thread tension spring.
4. Flattened zigzags appear
in the stitch during inter-
mittent sewing (ZE-8570)
•Has the treadle been depressed backward?
Do not press the treadle backward when the sewing machine is
stopped.
(When DIP switch 2-4 is set to ON, needle zigzagging also oc-
curs when the treadle is depressed backward, in order to pre-
vent a flattened zigzag from being sewn if the treadle is depressed
backward by mistake.)
•Does the treadle move too easily when it is depressed back-
ward?
Adjust the force required to depress the treadle backward so
that it is a bit heavier.
139
–
43
46
0573M
0574M
0621M
1406M

220
ZE-8570,8580
16. TROUBLESHOOTING
16. FEHLERSUCHE
16. RESOLUTION DES PROBLEMES
16. LOCALIZACION DE AVERIAS
159
158
–
53
54
175
148
49
183
171
141
161
–
139
140
159
158
164
165
166
–
–
Upper
thread
Upper
thread
Lower
thread
Problem Possible cause Page
5. Skipped stitches at sewing
start
Thread unravelling at
sewing start
•Are the thread take-up spring tensions too strong?
Reduce the tension of the thread take-up springs.
•Is the thread tension spring operating range too large?
Lower the position of the thread tension spring.
•Is the needle too wide?
Try using a needle with a count that is one lower than the cur-
rent needle.
<ZE-8570>
•Is the needle bar at the needle up stop position at the sewing
start?
Set the needle bar to the needle up stop position at the sewing
start.
•Is the length of the upper thread trailing from the needle hole
too short?
Pull about 50 mm of thread through the needle hole at the sew-
ing start.
<ZE-8580>
•Is the trailing length of the upper thread too short after thread
trimming?
Adjust the upper thread feeding device.
•Are the threads not being trimmed cleanly?
Sharpen the fixed knife with a whetstone, or replace the fixed
knife.
Replace the movable knife.
•Is the length of thread trailing out from the bobbin case after
thread trimming too short?
If the bobbin is spinning loosely, replace the bobbin tension
spring in the bobbin case.
Adjust the tension of the lower thread presser spring.
•Is the needle up stop position too high?
Adjuste the synchronizer.
6. Uneven seam •Is the presser foot pressure too weak?
Adjuste the presser foot pressure.
•Is the feed dog too low?
Adjust the feed dog height.
•Is the bobbin scratched?
If the bobbin is damaged, smooth it with an oiled grindstone or
replace it.
7. Horizontal thread tightening
not balanced •Is the upper thread tension or lower thread tension too strong
or to weak?
Adjust the upper thread tension or lower thread tension.
•Does the rotary disc rotate smoothly?
Adjust the pre-tension.
•Is the tension of the thread take-up spring correct?
Adjust the tension of the thread take-up spring.
•Is the stroke of the thread take-up spring correct?
Adjust the position of the thread take-up spring.
•Is the needle and rotary hook timing correct?
Adjust the needle and rotary hook timing.
•Is the needle and rotary hook timing correct?
Adjust the height of the needle bar.
Adjust the distance between the needle and the tip of the rotary
hook.
•Is the thread too thick for the needle?
Use the correct needle or the correct thread.
•Is the rotary hook, bobbin case, thread take-up lever or some
other part in the thread path damaged?
Repair the damage, or replace the part with a new one.
0622M
0623M
0625M
0626M

221 ZE-8570,8580
16. TROUBLESHOOTING
16. FEHLERSUCHE
16. RESOLUTION DES PROBLEMES
16. LOCALIZACION DE AVERIAS
139
139
–
–
159
158
141
92
162
52
50
49
–
–
–
48
53
139
158
165
166
–
–
80%
Problem Possible cause Page
8. Large degree of puckering
(excess tension)
•Is the upper thread tension too strong?
Make the upper thread tension as weak as possible.
•Is the lower thread tension too strong?
Make the lower thread tension as weak as possible.
•Is the point of the needle broken?
If the point of the needle is broken, replace the needle.
•Is the needle too thick?
Replace with as thin a needle as possible.
•Are the thread take-up spring tensions too strong?
Make the thread take-up spring tension as weak as possible.
•Is the thread tension spring operating range too large?
Lower the position of the thread tension spring to as low a posi-
tion as possible.
•Is the presser foot pressure too strong?
Adjust the presser foot pressure.
•Is the sewing speed too fast?
Reduce the sewing speed slightly.
•Is the angle of the feed dog incorrect?
Tilt the front of the feed dog down slightly.
9. Lower thread is tangled at
the sewing start.
Lower
thread
•Is the bobbin spinning direction correct when the lower thread
is being pulled?
Set the bobbin so that it turns in the opposite direction to the
rotary hook.
•Is there too much thread wound onto the bobbin?
The bobbin winding amount should not be more than 80%.
•Is the bobbin tension spring attached? (ZE-8580)
Attach the bobbin tension spring.
•Is the bobbin turning smoothly?
If the bobbin is not turning smoothly, replace the bobbin.
•Is a bobbin other than the light-alloy bobbins specified by Brother
being used? (ZE-8580)
Use only bobbins which are specified by Brother.
Sprinning of bobbin during
thread trimming (ZE-8580)
10. Upper and lower threads
are breaking. •Is the needle bent or is the needle tip broken?
Replace the needle if it is bent or broken.
•Is the needle properly installed?
If it is incorrect, install the needle correctly.
•Is the needle properly threaded?
If it is incorrect, thread the needle correctly.
•Is the upper or lower thread tension too weak or too strong?
Adjust the upper thread or lower thread tension.
•Is the upper thread may be loose because the thread tension
spring operating range is too small?
Adjust the position of the thread tension spring.
•Is the needle and rotary hock timing incorrect?
Adjust the height of the needle bar.
Adjust the clearance between the needle and the rotary hock.
•Is the thread too thick for the needle?
Use the correct needle or the correct thread.
•Is the rotary hook, bobbin case, thread take-up lever or some
other part in the thread path damaged?
Repair the damage, or replace the part with a new one.
0627M
0628M
0629M
0471M

222
ZE-8570,8580
16. TROUBLESHOOTING
16. FEHLERSUCHE
16. RESOLUTION DES PROBLEMES
16. LOCALIZACION DE AVERIAS
–
48
–
165
166
48
148
219
Caution
16-2. Operation panel
Problem Possible cause Page
11. Broken needles •Is the material being pushed or pulled with excessive force dur-
ing sewing?
•Is the needle properly installed?
If it is incorrect, install the needle correctly.
•Is the needle bent, is the needle tip broken, or is the needle hole
blocked?
Replace the needle.
•Is the needle and rotary hook timing incorrect?
Adjust the height of the needle bar.
Adjust the clearance between the needle and the rotary hook.
•It is extremely dangerous to leave any pieces of broken
needle sticking in the material. If the needle breaks, search
for all pieces until the whole of the needle is found again.
•Furthermore, we recommend that through steps be taken to
account for such needles to comply with product liability
regulations.
12. Incorrect thread trimming
(upper and lower threads
are both not being
trimmed). (ZE-8580)
•Is the fixed knife or movable knife damaged or worn?
Replace the fixed knife or the movable knife.
•Is the thread trimming timing correct?
Adjust the rotating direction of the thread trimming cam.
13. Incorrect thread trimming
(upper thread or lower
thread is not being
trimmed). (ZE-8580)
•Is the neelde properly installed?
If it is incorrect, install the needle correclty.
•Is the fixed knife or movable knife blunt?
Replace the fixed knife or the movable knife.
•Do skipped stitches occur during sewing?
Refer to “Skipped stitches during sewing”.
14. The thread wiper does not
wipe the thread.
(ZE-8580-401, 901)
•Is the length of thread trailing from the needle hole too long
after thread trimming?
Adjust the upper thread feeding device.
Problem Possible cause Page
1. Operation panel keys do
not operate. •Is AA AA appearing in the LED display?
If this display appears, key operation has been locked because
of a DIP switch setting, so the keys cannot be operated.
When DIP switch 2-8 is set to OFF, the lock is released.
•Is the LOCK key indicator illuminated?
If the indicator is illuminated, the key operation has been locked
by the LOCK key, so key operation is not possible.
Press the LOCK key for 2 seconds or more to cancel the lock.
185
132
148
179
175
0469M

223 ZE-8570,8580
16. TROUBLESHOOTING
16. FEHLERSUCHE
16. RESOLUTION DES PROBLEMES
16. LOCALIZACION DE AVERIAS
Display Details Cause
16-3. List of error codes
DANGER
CAUTION
Wait at least 5 minutes after turning off the power switch and disconnecting the power cord from the wall
outlet before opening the face plate of the control box. Touching areas where high voltages are present can
result in severe injury.
Turn off the power switch and disconnect the power cord before carrying out troubleshooting, otherwise the
machine will operate if the treadle is pressed by mistake, which could result in injury.
If an error code appears in the LED display on the operation panel, check the error code and then turn off the power.
(However, the error display will not disappear immediately when the power is turned off.)
After the panel display turns off, remove the cause of the error and then turn the power back on. (Except for error A AAA)
Needle zigzag position cannot be
found. Malfunction of home position sensor or harness
Malfunction of zigzag motor or harness
Malfunction of control circuit board
Zigzag motor overcurrent Zigzag mechanism operation is heavy
Malfunction of zigzag motor or harness
Malfunction of control circuit board
Overheating of control circuit
board heata sink
Malfunction of cooling fan
Blocked air inlet in control box
Malfunction of control circuit board temperature sensor
Exhaust fan problem Malfunction of right-side fan (when looking from the rear) or har-
ness
Inside air recirculation fan prob-
lem Malfunction of left-side fan (when looking from the rear)
or harness
Needle zigzag data problem Malfunction of P-ROM or poor connection
Problem with custom data
Malfunction of control circuit board
Communication problem
between CPUs Noise affecting transmission
Malfunction of control circuit board or P-ROM version does not match
Machine motor IC problem Blocked air inlet in control box
Malfunction of machine motor or harness
Malfunction of power supply circuit board
Power supply voltage abnormal-
ity (high) Power supply voltage is too high
Power supply voltage abnormal-
ity (low)a Power supply voltage is too low
Machine motor locked Timing belt is not fitted
Loose pulley
Load too great during sewing
Malfunction of synchronizer or harness
Memory element problem Malfunction of control circuit board
Version mismatch Mismatch between control circuit board and P-ROM versions
DIP switch setting problem DIP switch 2-1 and 2-2 are both set to ON.
CPU operation problem Interference affecting operation

224
ZE-8570,8580
16. TROUBLESHOOTING
16. FEHLERSUCHE
16. RESOLUTION DES PROBLEMES
16. LOCALIZACION DE AVERIAS
Display Details Cause
Malfunction of P-ROM or poor connection
Interference affecting transmission
Malfunction of control circuit board
Panel input when power is turned
on Power turned on while panel key was being pressed
Malfunction of panel circuit board or harness
Machine motor operating prob-
lem
Malfunction of synchronizer or harness
DIP switch 1-2 is set to ON
Incorrect pulley diameter
Panel input when power is
turned on
Power turned on while panel key was being pressed
Malfunctiona of panel circuit board or harness
Continuous operation Sewing machine was operated continuously for 3 minutes or more
Overload Load too great during sewing
Communication problem
between CPUs Interference affecting transmission
Malfunction of control circuit board
Communication problem be-
tween CPUs
Communication problem be-
tween CPUs Interference affecting transmission
Malfunction of control circuit board
Note:
If any error codes which are not listed above are displayed, or if you notice any incorrect operations or strange
sounds or smells when using the sewing machine, turn off the power immediately and contact the place of pur-
chase.
Power turned on when treadle was depressed forward
Power turned on when treadle was depressed backward
Power turned on while actuator was being pressed
Malfunction of treadle unit or harness
Starting input when power
turned on (see note)
Note:
AAAA : In this case, when the cause of the problem is eliminated (for example, the treadle is returned to neutral),
AA AA will appear on the LED display. Turn the power off and then back on again.
Blown solenoid fuse Malfunction of solenoid or harness
Malfunction of control circuit board
Incorrect fuse rating

225 ZE-8570,8580
16. TROUBLESHOOTING
16. FEHLERSUCHE
16. RESOLUTION DES PROBLEMES
16. LOCALIZACION DE AVERIAS
Störung Mögliche Ursache Seite
16. FEHLERSUCHE
•Überprüfen Sie bei einer Störung bitte zuerst die folgenden Punkte, bevor Sie einen Reparaturdienst rufen.
•Falls die Störung mit den nachstehenden Maßnahmen nicht behoben werden kann, schalten Sie die Stromversorgung
der Nähmaschine aus und wenden Sie sich an die nächste Brother-Reparaturdienststelle.
16-1. Nähmaschinenoberteil
GEFAHR
ACHTUNG
Warten Sie mindestens 5 Minuten nach dem Ausschalten und Herausziehen des Netzkabels aus der Steckdose,
bevor Sie die Stirnplatte des Schaltkastens öffen. Beim Berühren von Stellen, an denen Hochspannung
vorhanden ist, besteht Verletzungsgefahr.
Vor Beginn der Fehlersuche muß der Netzschalter ausgeschaltet und das Netzkabel aus der Steckdose gezogen
werden, weil sonst durch eine unbeabsichtigte Betätigung des Pedals die Maschine in Gang gesetzt und
Verietzungen verursachen kann.
1. Oberfaden ist nicht straff
gespannt •Ist die Oberfadenspannung zu schwach oder die Unterfaden-
spannung zu stark?
Die Oberfaden-bzw. die Unterfadenspannung einstellen.
2. Unterfaden ist nicht straff
gespannt •Ist die Unterfadenspannung zu schwach oder die Oberfaden-
spannung zu stark?
Die Unterfaden-bzw. die Oberfadenspannung einstellen.
3. Übersprungene Stiche
beim Nähen
•Verbogene Nadelspitze? Stumpfe Nadelspitze?
Bei verbogener oder abgebrochener Nadelspitze muß die Nadel
ersetzt werden.
•Falsche Nadelmontage?
Gegebenenfalls muß die Nadel richtig installiert werden.
•Falsch eingefädelte Maschine?
Gegebenenfalls muß der Faden richtig eingefädelt werden.
•Zu geringer Stoffdrückerfußdruck?
Den Stoffdrückerfußdruck einstellen.
•Ist die Nadel zu dünn?
Die Nadel gegen die nächstdickere Nadel austauschen.
•Ist der Stoffdrückerfuß zu hoch?
Die Höhe des Stoffdrückerfusses einstellen.
•Ist die Nadel richtig mit dem Greifer synchronisiert?
Die Nadelstangenhöhe einstellen.
Den Abstand zwischen der Nadel und dem Greifer einstellen.
•Ist die Fadenspannungsfeder zu schwach?
Die Spannung der Fadenspannungsfeder einstellen.
139
–
48
53
141
–
160
165
167
159
4. Flache Zickzackstiche werden
beim intermittierenden
Nähen erzeugt. (ZE-8570)
•Wurde das Pedal nach hinten gedrückt?
Bei gestoppter Maschine darf das Pedal nicht nach hinten
gedrückt werden.
(Wenn der DIP-Schalter 2-4 im Schaltkasten auf “ON” gestellt
ist, so wird beim Zurückdrücken des Pedals der Nadelzickzack
eingeschaltet, um zu vermeiden, daß beim irrtümlichen
Zurückdrücken des Pedals ein flacher Zickzack genäht wird.)
•Bewegt sich das Pedal beim Drücken nach hinten zu leicht?
Die Betätigungskraft des Pedals etwas höher einstellen.
139
–
43
46
0573M
0574M
0621M
1406M

226
ZE-8570,8580
16. TROUBLESHOOTING
16. FEHLERSUCHE
16. RESOLUTION DES PROBLEMES
16. LOCALIZACION DE AVERIAS
Oberfaden
Oberfaden
Unterfaden
Störung Mögliche Ursache Seite
5. Übersprungene Stiche am
Nähbeginn
Ausgefranster Faden am
Nähbeginn
•Ist die Spannung der Fadenabnahmefedern zu stark?
Die Spannung der Fadenabnahmefedern verringern.
•Ist der Bewegungsbereich der Fadenspannungsfeder zu groß?
Die Position der Fadenspannungsfeder tiefer einstellen.
•Ist die Nadel zu dick?
Versuchen eine Nadel mit einer kleineren Zahl als der
gegenwärtigen zu verwenden.
<ZE-8570>
•Befindet sich die Nadelstange am Nähbeginn in der
angehobenen Stopposition?
Die Nadelstange am Nähbeginn in die Stopposition mit
angehobener Nadel einstellen.
•Ist das am Nadelöhr herausragende Fadenende zu kurz?
Den Faden am Nadelöhr um 50 mm herausziehen.
<ZE-8580>
•Ist das verbleibende Fadenende nach dem Abschneiden des
Fadens zu kurz?
Die Oberfadenzuführung einstellen.
•Werden die Fäden nicht sauber abgeschnitten?
Das feststehende Messer mit einem Schleifstein schärfen oder
das Messer ersetzen.
Das bewegliche Messer ersetzen.
•Ist nach dem Fadenabscheiden das aus der Spulenkapsel
herausragende Fadenende zu kurz?
Falls sich die Spule locker dreht, muß die Spulenspannfeder in
der Spulenkapsel ersetzt werden.
Die Spannung der Unterfadenhaltefeder einstellen.
•Ist die obere Nadelstopposition zu hoch?
Den Synchronisator einstellen.
6. Ungleichmäßige Nähte •Zu schwacher Stoffdrückerfußdruck?
Den Stoffdrückerfußdruck einstellen.
•Zu tief eingesteller Transporteur?
Die Transporteurhöhe einstellen.
•Zerkratzte Spule?
Bei Beschädigung der Spule muß die Spule mit elnem
Schleifstein glattgeschliffen oder ersetzt werden.
7. Horizontale Fadenspannung
nicht ausgeglichen. •Ist die Ober- oder Unterfadenspannung zu stark oder zu schwach?
Die Ober- bzw. die Unterfadenspannung einstellen.
•Dreht sich die Scheibe richtig?
Die Vorspannung einstellen.
•Ist die Spannung der Fadenabnahmefeder richtig eingestellt?
Die Spannung der Fadenabnahmefeder einstellen.
•Ist der Hub der Fadenabnahmefeder richtig eingestellt?
Die Position der Fadenabnahmefeder einstellen.
•Ist die Synchronisation zwischen Nadel und Greifer richtig
eingestellt?
Die Nadel/Greifer-Synchronisation einstellen.
•Ist die Synchronisation zwischen Nadel und Greifer richtig
eingestellt?
Die Höhe der Nadelstange einstellen.
Den Abstand zwischen Nadel und Greiferspitze einstellen.
•Ist der Faden für die Nadel zu dick?
Die richtige Nadel bzw. Faden verwenden.
•Ist der Greifer, die Spulenkapsel, der Fadenabnahmehebel oder
ein anderes Teil im Fadenweg beschädigt?
Das Teil reparieren oder gegen ein neuesTeil austauschen.
159
158
–
53
54
176
148
49
183
171
141
161
–
139
140
159
158
164
165
167
–
–
0622M
0623M
0625M
0626M

227 ZE-8570,8580
16. TROUBLESHOOTING
16. FEHLERSUCHE
16. RESOLUTION DES PROBLEMES
16. LOCALIZACION DE AVERIAS
80%
Störung Mögliche Ursache Seite
8. Starkes Zusammenziehen
(zu hohe Spannung) •Ist die Oberfadenspannung zu stark?
Die Oberfadenspannung so gering wie möglich einstellen.
•Ist die Unterfadenspannung zu stark?
Die Unterfadenspannung so gering wie möglich einstellen.
•Ist die Nadelspitze abgebrochen?
Bei abgebrochener Nadelspitze muß die Nadel ersetzt werden.
•Ist die Nadel zu dick?
Eine möglichst dünne Nabel verwenden.
•Ist die Spannung der Fadenabnahmefedern zu stark?
Die Spannung der Fadenabnahmefedern so gering wie möglich
einstellen.
•Ist der Bewegungsbereich der Fadenspannungsfeder zu groß?
Die Position der Fadenspannungsfeder so tief wie möglich
einstellen.
•Ist der Stoffdrückerfußdruck zu groß?
Den Druck des Stoffdrückerfusses einstellen.
•Ist die Nähgeschwindigkeit zu hoch?
Die Nähgeschwindigkeit etwas verringern.
•Ist der Winkel des Transporteus falsch eingestellt?
Die Vorderseite des Transporteus etwas absenken.
9. Beim Nähbeginn ist der
Unterfaden verwickelt
Unterfaden
•Ist die Drehrichtung beim Ziehen des Unterfadens richtig?
Die Spule so einsetzen, daß Sie sich in die Gegenrichtung des
Greifers dreht.
•Ist zu veil Faden auf der Spule aufgewickelt?
Die Spule darf nur zu 80% der Kapazität aufgewickelt werden.
•Ist Spulenspannfeder vorhanden? (ZE-8580)
Die Spulenspannfeder anbringen.
•Dreht sich die Spule ohne Widerstand?
Bei ungleichmäßiger Drehung die Spule ersetzen.
•Wird eine andere als die vorgeschriebenen
Leichtmetallspulen von Brother verwendet? (ZE-8580)
Nur die von Brother vorgeschriebenen Spulen verwenden.
Spule dreht sich beim
Fadenabschneiden (ZE-8580)
10. Gerissener Ober- bzw.
Unterfaden •Ist die Nadel verbogen oder die Nadelspritze gebrochen?
Die Nadel durch eine neue ersetzen.
•Ist die Nadel richtig montiert?
Die Nadel richtig montieren.
•Ist die Nadel richtig eingefädelt?
Die Nadel richtig einfädeln.
•Ist die Ober- bzw. die Unterfadenspannung zu schwach oder zu
stark?
Die Oberfaden- bzw. die Unterfadenspannung einstellen.
•Ist der Oberfaden wegen zu kleinem Bewegungsbereich der
Fadenspannungsfeder locker?
Die Position der Fadenspannungsfeder einstellen.
•Ist die Synchronisation zwischen Nadel und Greifer richtig
eingestellt?
Die Höhe der Nadelstange einstellen.
Den Abstand zwischen Nadel und Greiferspitze einstellen.
•Ist der Faden für die Nadel zu dick?
Die richtige Nadel bzw. Faden verwenden.
•Ist der Greifer, die Spulenkapsel, der Fadenabnahmehebel oder
ein anderes Teil im Fadenweg beschädigt?
Das Teil reparieren oder gegen ein neuesTeil austauschen.
139
139
–
–
159
158
141
94
162
52
50
49
–
–
–
48
53
139
158
165
167
–
–
0627M
0629M
0628M
0471M

228
ZE-8570,8580
16. TROUBLESHOOTING
16. FEHLERSUCHE
16. RESOLUTION DES PROBLEMES
16. LOCALIZACION DE AVERIAS
Achtung
16-2. Bedienungsfeld
Störung Mögliche Ursache Seite
11. Nadelbruch •Wird das Material beim Nähen mit übermäßiger Kraft gezogen
oder gedrückt?
•Falsche Nadelmontage?
Gegebenenfalls muß die Nadel richtig installiert werden.
•Ist die Nadel verbogen, die Nadelspitze abgebrochen oder das
Nadelöhr verstopft?
Die Nadel ersetzen.
•Ist die Nadel richtig mit dem Greifer synchronisiert?
Die Nadelstangenhöhe einstellen.
Den Abstand zwischen der Nadel und dem Greifer einstellen.
•Es ist gefährlich ein Stück einer abgebrochenen Nadel im
Nähgut zu belassen. Bei einem Nadelbruch muß das Nähgut
darauf untersucht werden, daß alle Teile der abgebrochenen
Nadel entfernt werden.
•Es wird außerdem empfohien geeignete Schritte zu
unternehmen, daß immer alle Teile von abgebrochenen
Nadeln gesammelt werden, um die Vorschriften für
Qualitätsanforderungen richtig zu erfüllen.
12. Fehlerhaftes Abschneiden
des Fadens (Ober- und
Unterfaden werden beide
nicht abgeschnitten)
(ZE-8580)
•Ist das feststehende oder das bewegliche Messer stumpf oder
beschädigt?
Das feststehende oder das bewegliche Messer ersetzen.
•Ist der Zeitpunkt des Fadenabschneidens richtig?
Die Drehrichtung des Fadenabschneidenockens einstellen.
13. Fehlerhaftes Abschneiden
des Fadens (Ober oder
Unterfaden werden nicht
abgeschnitten). (ZE-8580)
•Falsche Nadelmontage?
Gegebenenfalls muß die Nadel richtig installiert werden.
•Ist das feststehende oder das bewegliche Messer stumpt?
Das feststehende oder das bewegliche Messer ersetzen.
•Treten beim Nähen übersprungene Stiche auf?
Siehe “Übersprungene Stiche beim Nähen”.
14. Fadenwischer wischt den
Faden nicht
(ZE-8580-401, 901)
•Ist das Fadenende am Nadelöhr nach dem Abschneiden des
Fadens zu lang?
Die Oberfadenzuführung einstellen.
1. Keine Funktion der
Bedienungsfeldtaste. •Wird auf der LED-Anzeige AA AA angezeigt?
Falls diese Anzeige erscheint sind die Bedienungstasten durch
die DIP-Schaltereinstellung verriegelt und die Tasten lassen sich
nicht betätigen.
Wenn der DIP-Schalter 2 – 8 auf "OFF" gestellt ist, so ist die Sperre
aufgehoben
•Leuchtete die LOCK-Tastenanzeige?
Falls die Anzeige leuchtet ist die Tastenbetätigung mit der LOCK-
Taste gesperrt.
Halten Sie die LOCK-Taste für mindestens 2 Sekunden gedrückt,
um die Tastensperre aufzuheben.
Störung Mögliche Ursache Seite
–
48
–
165
167
48
148
225
185
132
148
180
176
0469M

229 ZE-8570,8580
16. TROUBLESHOOTING
16. FEHLERSUCHE
16. RESOLUTION DES PROBLEMES
16. LOCALIZACION DE AVERIAS
Anzeige Einzelheiten Ursache
16-3. Liste von Fehlercodes
GEFAHR
ACHTUNG
Warten Sie mindestens 5 Minuten nach dem Ausschalten und Herausziehen des Netzkabels aus der Steckdose,
bevor Sie die Stirnplatte des Schaltkastens offnen. Beim Berühren von Stellen, an denen Hochspannung
vorhanden ist, besteht Verletzungsgefahr.
Vor Beginn der Fehiersuche muß der Netzschalter ausgeschaltet und das Netzkabel aus der Steckdose gezogen
werden, weil sonst durch eine unbeabsichtigte Betätigung des Pedals die Maschine in Gang gesetzt und
Verletzungen verursachen kann.
Falls auf der LED-Anzeige des Bedienungsfeldes ein Fehlercode angezeigt wird, muß der Code kontrolliert und danach
die Maschine ausgeschaltet werden. (Beim Ausschalten erlischt die Fehlercodeanzeige nicht sofort.) Nach dem
Ausschalten der Bedienungsfeldanzeige die Ursache des Fehlercodes beheben und die Maschine wieder einschalten
(außer für Fehlercode AA AA).
Keine Nadelzickzackposition Defekt des Ausgangspositionssensors oder des Kabels
Defekt des Zickzackmotors oder des Kabels
Defekt der Schaltplatine
Überstrom des
Zickzackmotors
Zickzackmechanismus schwergängig
Defekt des Zickzackmotors oder des Kabels
Defekt der Schaltplatine
Überhitzung des
Schaltplatinenkühlkörpers
Defekt des Kühlgebläses
Verstopfter Lufteinlaß des Schaltkastens
Defekt des Schaltplatinentemperatursensors
Störung des Gebläses Defekt des rechten Gebläses (von hinten gesehen) oder
des Kabels
Störung des
Luftzirkulationsgebläses Defekt des linken Gebläses (von hinten gesehen) oder des
Kabels
Störung von
Nadelzickzackdaten
Defekt des P-ROM oder schlechte Anschlußverbindung
Störung der individuellen Daten
Defekt der Schaltplatine
Kommunikationsproblem
zwischen den Steuergeräten Störung bei der Übermittlung
Defekt in der Steuerschaltplatine oder unpassende P-ROM-Versi-
on
Störung des
Maschinenmotorschaltkreises
Verstopfter Lufteinlaß des Schaltkastens
Defekt des Motors oder des Kabels
Defekt der Stromversorgungsplatine
Unregelmäßigkeit der
Stromversorgung (hoch) Zu hohe Versorgungsspannung
Unregelmäßigkeit der
Stromversorgung (tief) Zu niedrige Versorgungsspannung
Maschinenmotor blockiert Steuerriemen nicht angebracht
Lockere Riemenscheibe
Zu starke Belastung beim Nähen
Defekt des Synchronisators oder des Kabels
Störung des Speicherelements Störung der Steuerschaltplatine
Kein Anpassung Steuerschaltplatine und P-ROM passen nicht zusammen
Problem mit dem Steuergerätebetrieb
Störung beim Betrieb
Problem mit der DIP-Schaltereinstellung
Die DIP-Schalter 2-1 und 2-2 sind auf "ON" gestellt.

230
ZE-8570,8580
16. TROUBLESHOOTING
16. FEHLERSUCHE
16. RESOLUTION DES PROBLEMES
16. LOCALIZACION DE AVERIAS
Defekt des P-ROM oder schlechte Anschlußverbindung
Störung bei der Übertragung
Defekt der Schaltplatine
Eingang vom Bedienungsfeld
beim Einschalten Beim Einschalten wird eine Taste gedrückt
Defekt der Schaltplatine oder des Kabels
Störung des
Nähmaschinenmotors
Defekt des Synchronisators oder des Kabels
DIP-Schalter 1 - 2 auf “ON” gestellt
Falsche Riemenscheibengröße
Eingang vom Bedienungsfeld
beim Einschalten
Beim Einschalten wird eine Taste gedrückt
Defekt der Schaltplatine oder des Kabels
Kontinuierlicher Betrieb Die Nähmaschine wird seit mindestens drei Minuten
kontinuierlich betrieben
Überlastung Zu große Belastung beim Nähen
Kommunikationsstörungen
zwischen den Steuergeräten Störung bei der Übertragung
Defekt der Schaltplatine
Kommunikationsstörungen
zwischen den Steuergeräten
Kommunikationsstörungen
zwischen den Steuergeräten Störung bei der Übertragung
Defekt der Schaltplatine
Anzeige Einzelheiten Ursache
Hinweis:
Falls nicht aufgelistete Fehlercodes angezeigt werden, oder Betriebsstörungen, außergewöhnliche Geräusche
oder Gerüche festgestellt werden, müssen Sie die Stromversorgung sofort ausschalten und sich an das
Verkaufsgeschäft wenden.
Einschalten bei nach vorwärts gedrückten Pedal
Einschalten bei nach rückwärts gedrückten Pedal
Einschalten bei gedrückter Betätigungstaste
Defekt des Pedals oder des Kabels
Anfangsbelastung beim
Einschalten (siehe
Bemerkung)
Hinweis:
AA AA: Falls in diesem Fall die Störungsursache beseitigt wird (zum Beispiel das Pedal in die Neutralposition
zurückgestellt wird), wird auf der LED-Anzeige AA AA angezeigt. Die Maschine aus- und danach wieder
einschalten.
Durchgebrannte
Solenoidsicherung
Defekt des Solenoids oder des Kabels
Defekt der Schaltplatine
Falsche Sicherung

231 ZE-8570,8580
16. TROUBLESHOOTING
16. FEHLERSUCHE
16. RESOLUTION DES PROBLEMES
16. LOCALIZACION DE AVERIAS
Problème Cause possible Page
16. RESOLUTION DES PROBLEMES
•Vérifier les points suivants avant de faire appel à un technicien.
•Si les suggestions suivantes ne vous permettent pas de résoudre le problème, mettez l’interrupteur d’alimentation
de la machine sur la position d’arrêt et contactez le centre technique Brother ie plus proche.
16-1. Tête de machine
DANGER
ATTENTION
Attendre au moins 5 minutes après avoir mis l’interrupteur d’alimentation sur la position d’arrêt et avoir
débranché le cordon d’alimentation de la prise murale, avant d’ouvrir la plaque frontale du boîtier de commande.
Si on touche des zones sous haute tension, on risque de se blesser.
Le moteur continuera de tourner en raison de sa propre inertie après qu’on ait coupé l’alimentation électrique,
sinon la machine risquera de se mettre en marche si on enfonce accidentellement la pédale, et donc de causer
des blessures.
1. Le fil supérieur n’est pas
bien tendu. •La tension du fil supérieur est-elle trop faible, ou la tension du fil
inférieur est-elle trop forte?
Régler la tension du fil supérieur ou la tension du fil inférieur.
2. Le fil inférieur n’est pas
bien tendu. •La tension du fil inférieur est-elle trop faible, ou la tension du fil
supérieur est-elle trop forte?
Régler la tension du fil inférieur ou la tension du fil supérieur.
3. Des points sont sautés
pendant la couture.
•La pointe de l’aiguille est-elle tordue? La pointe de l’aiguille est-
elle émoussée?
Si l’extrémité de l’aiguille est tordue ou cassée, remplacer
l’aiguille.
•L’aiguille est-elle correctement montée?
S’il est incorrect, installer correctement l’aiguille.
•L’enfilage de la machine est-il correct?
S’il est incorrect, enfiler correctement le fil.
•La pression du presseur est-elle trop faible?
Régler la pression du pied presseur.
•L’aiguille est-elle trop fine?
Remplacer l’aiguille par une aiguille du calibre immédiatement
supérieur.
•Le pied presseur est-il placé trop haut?
Régler la hauteur du pied presseur.
•La synchronisation de l’aiguille et du crochet rotatif est-elle
incorrecte?
Régler la hauteur de la barre à aiguille.
Régler l’ecart entre l’aiguille et le crochet rotatif.
•Le ressort de tension de fil est-il trop faible?
Régler la tension du ressort de tension de fil.
139
–
48
53
141
–
160
165
168
159
4. Des zigzags aplatis
apparaissent dans les
points après la couture
intermittente. (ZE-8570)
•La pédale a-t-elle été pressée vers l’arrière?
Ne pas presser la pédale vers l’arrière alors que la machine est
arrêtée.
(Lorsque l’interrupteur DIP 2-4 est mis sur la position de marche,
le zigzag de l’aiguille est aussi effectué lorsqu’on enfonce la
pédale vers l’arrière, afin d’éviter qu’un zigzag plat soit cousu
au cas où l’on enfonce la pédale vers l’arrière par erreur.)
•La pédale bouge-t-elle trop facilement lorsqu’elle est pressée
vers l’arrière?
Ajuster la force requise pour presser la pédale vers l’arrière de
façon à ce qu’elle soit un peu plus lourde.
139
–
45
47
1406M
0621M
0574M
0573M

232
ZE-8570,8580
16. TROUBLESHOOTING
16. FEHLERSUCHE
16. RESOLUTION DES PROBLEMES
16. LOCALIZACION DE AVERIAS
Fil
supérieur
Fil
supérieur
Fil inférieur
Problème Cause possible Page
5. Des points sont sautés en
début de couture
Les fils s’emmèlent en
début de couture
•Les tensions des ressorts de releveur de fil sont-elles trop fortes?
Diminuer les tensions des ressorts de releveur de fil.
•La plage de fonctionnement du ressort de tension de fil est-elle
trop grande?
Abaisser la position du ressort de tension de fil.
•L’aiguille est-elle trop grosse?
Utiliser une aiguille d’un calibre immédiatement inférieur à celui
de l’aiguille actuellement utilisée.
<ZE-8570>
•La barre à aiguille est-elle à la position d’arrêt supérieur de l’aigu-
ille en début de couture?
Mettre la barre à aiguille à la position d’arrêt supérieur de
l’aiguille en début de couture.
•La longueur du fil supérieur dépassant de l’orifice d’aiguille est-
elle trop courte?
Tirer environ 50 mm de fil par l’orifice d’aiguille en début de
couture.
<ZE-8580>
•La longueur en excès du fil supérieur est-elle trop courte après
la coupe du fil?
Régler le dispositif d’entraînement du fil supérieur.
•Les fils ne sont-ils pas bien coupés?
Aiguiser le couteau fixe avec une pierre à aiguiser, ou remplacer
le couteau fixe.
Remplacer le couteau mobile.
•La longueur de fil restant dépassant de la boîte à canette après
que le fil a été coupé est-elle trop courte?
Si la canette a du jeu en tournant, remplacer le ressort de ten-
sion de canette de la boîte à canette.
Régler la tension du ressort du pied presseur de fil inférieur.
•La position d’arrêt supérieure de l’aiguille est-elle trop haute?
Régler le synchronizeur.
6. Couture irrégulière •La pression du presseur est-elle trop faible?
Régler la pression du pied presseur.
•La griffe d’entraînement est-elle placée trop bas?
Régler la hauteur de la griffe d’entraînement.
•La cannette est-elle rayée?
Si la canette est endommagée, la meuler avec une meule
huilée ou la remplacer.
7. Tension horizontale du fil mal
équilibrée•La tension du fil supérieur ou la tension du fil inférieur est-elle
trop faible ou trop forte?
Régler la tension du fil supérieur ou la tension du fil inférieur.
•Le disque rotatif tourne-t-il bien régulièrement?
Régler la pré-tension.
•La tension du ressort du releveur de fil est-elle correcte?
Régler la tension du ressort du releveur de fil.
•La course du ressort du releveur de fil est-elle correcte?
Régler la position du ressort du releveur de fil.
•La synchronisation de l’aiguille et du crochet rotatif est-elle
correcte?
Régler la synchronisation de l’aiguille et du crochet rotatif.
•La synchronisation de l’aiguille et du crochet rotatif est-elle
correcte?
Régler la hauteur de la barre à aiguille.
Régler l’écart entre l’aiguille et la pointe du crochet rotatif.
•Le fil est-il trop épais pour l’aiguille?
Utiliser l’aiguille correcte ou le fil correct.
•Le crochet rotatif, la boîte à canette ou le levier du releveur de fil
ou une autre pièce du passage du fil sont-ils endommagés?
Réparer la pièce endommagée, ou remplacer la pièce.
159
158
–
53
54
177
148
49
183
171
141
161
–
139
140
159
158
164
165
168
–
–
0623M
0622M
0625M
0626M

233 ZE-8570,8580
16. TROUBLESHOOTING
16. FEHLERSUCHE
16. RESOLUTION DES PROBLEMES
16. LOCALIZACION DE AVERIAS
80%
Problème Cause possible Page
8. Plissements excessifs
(tension excessive) •La tension de fil supérieur est-elle trop forte?
Diminuer au maximum la tension de fil supérieur.
•La tension de fil inférieur est-elle trop forte?
Diminuer au maximum la tension de fil inférieur.
•La pointe de l’aiguille est-elle cassée?
Si la pointe de l’aiguille est cassée, remplacer l’aiguille.
•L’aiguille est-elle trop grosse?
La remplacer par la plus fine aiguille possible.
•Les tensions des ressorts de releveur de fil sont-elles trop fortes?
Réduire au maximum les tensions des ressorts de releveur de fil.
•La plage de fonctionnement du ressort de tension de fil est-elle
trop grande?
Abaisser au maximum la position du ressort de tension de fil.
•La pression du pied presseur est-elle trop forte?
Régler la pression du pied presseur.
•La vitesse de couture est-elle excessive?
Diminuer légèrement la vitesse de couture.
•L’angle de la griffe d’entraînement est-il incorrect?
Incliner la griffe d’entraînement légèrement vers le bas.
9. Le fil inférieur s’emmêle en
début de couture.
Fil
inférieur
•Le sens de rotation de la canette est-il correct lorsque le fil
inférieur est tiré?
Régler la canette de manière qu’elle tourne dans le sens opposé
de celui du crochet rotarif.
•Y a-t-il trop de fil enroulé sur la canette?
La quantité de fil enroulé sur la canette ne doit pas dépasser
80%.
•Le ressort de tension de canette est-il fixé? (ZE-8580)
Fixer le ressort de tension de canette.
•La canette tourne-t-elle bien souplement?
Si la canette ne tourne pas bien souplement, la remplacer.
•Utilise-t-on une canette autre que la canette en alliage léger
spécifiée par Brother? (ZE-8580)
Utiliser seulement des canettes spécifiées par Brother.
Rotation de la canette pen-
dant la coupe des fils (ZE-
8580)
10. Les fils supérieur et
inférieur cassent. •L’aiguille est-elle tordue ou la pointe de l’aiguille est-elle cassée?
Remplacer l’aiguille si elle est tordue ou cassée.
•L’aiguille est-elle correctement installée?
Si elle n’est pas bien installée, l’installer correctement.
•L’aiguille est-elle correctement enfilée?
Si elle n’est pas bien enfilée, l’enfiler correctement.
•La tension du fil inférieur ou supérieur est-elle trop faible ou
trop forte?
Régler la tension du fil inférieur ou supérieur.
•Le fil supérieur est-il détendu parce que la plage de
fonctionnement du ressort de tension de fil est trop courte?
Régler la position du ressort de tension de fil.
•La synchronisation de l’aiguille et du crochet rotatif est-elle
correcte?
Régler la hauteur de la barre à aiguille.
Régler l’écart entre l’aiguille et la pointe du crochet rotatif.
•Le fil est-il trop épais pour l’aiguille?
Utiliser l’aiguille correcte ou le fil correct.
•Le crochet rotatif, la boîte à canette ou le levier du releveur de fil
ou une autre pièce du passage du fil sont-ils endommagés?
Réparer la pièce endommagée, ou remplacer la pièce.
139
139
–
–
159
158
141
96
162
52
51
49
–
–
–
48
53
139
158
165
168
–
–
0627M
0629M
0628M
0471M

234
ZE-8570,8580
16. TROUBLESHOOTING
16. FEHLERSUCHE
16. RESOLUTION DES PROBLEMES
16. LOCALIZACION DE AVERIAS
Précaution
16-2. Panneau de commande
Problème Cause possible Page
11. Aiguilles cassées •Faut-il exercer trop de force pour tirer ou pousser le tissu pen-
dant la couture?
•L’aiguille est-elle correctement montée?
S’il est incorrect, installer correctement l’aiguille.
•L’aiguille est-elle tordue, la pointe de l’aiguille est-elle cassée ou
le trou d’aiguille est-il obstrué?
Remplacer l’aiguille.
•La synchronisation de l’aiguille et du crochet rotatif est-elle
incorrecte?
Régler la hauteur de la barre à aiguille.
Régler l’écart entre l’aiguille et le crochet rotatif.
•Il est très dangereux de laisser des morceaux d’aiguille cassée
plantés dans le tissu. Si l’aiguille casse, recueillir tous les
morceaux cassés de l’aiguille toute entière.
•En outre, nous recommandons de veiller à ce que ces aigu-
illes soient bien conformes aux règlements de responsabilité
du produit.
12. Coupe du fil incorrecte (les
fils inférieur et supérieur
ne sont pas coupés).
(ZE-8580)
•Le couteau fixe ou le couteau mobile sont-ils endommagés ou
usés?
Remplacer le couteau fixe ou le couteau mobile.
•La synchronisation de la coupe des fils est-elle correcte?
Régler le sens de rotation de la came de coupe des fils.
13. Coupe du fil incorrecte (les
fils inférieur et supérieur
ne sont pas coupés).
(ZE-8580)
•L’aiguille est-elle correctement montée?
S’il est incorrect, installer correctement l’aiguille.
•Le couteau fixe ou le couteau mobile sont-ils émoussés?
Remplacer le couteau fixe ou le couteau mobile.
•Des points sont-ils sautés pendant la couture?
Se reporter à la section “Points sautés pendant la couture”.
14. Le tire-fils ne tire pas le fil.
(ZE-8580-401, 901)
•La longueur de fil dépassant du trou d’aiguille est-elle trop longue
après la coupe du fil?
Régler le dispositif d’entraînement du fil supérieur.
1. Les touches du panneau de
commande ne fonctionnent
pas.
•L’indication AA AA apparaît-elle sur l’affichage LED?
Si cet affichage apparaît, le fonctionnement des touches a été
verrouillé en raison du réglage d’un interrupteur DIP, et il est alors
impossible d’utiliser les touches.
Lorsque l'interrupteur DIP 2-8 est mis sur OFF, le verrouillage est
libéré.
•Le témoin de la touche LOCK est-il allumé?
Si le témoin est allumé, le fonctionnement par touches a été
verrouillé par la touche LOCK, et donc le fonctionnement par
touches est impossible.
Appuyer sur la touche LOCK pendant 2 secondes ou plus pour
annuler le verrouillage.
Problème Cause possible Page
–
48
–
165
168
48
148
231
185
132
148
181
177
0469M

235 ZE-8570,8580
16. TROUBLESHOOTING
16. FEHLERSUCHE
16. RESOLUTION DES PROBLEMES
16. LOCALIZACION DE AVERIAS
Affichage
Détails Cause
16-3. Liste des codes d’erreur
DANGER
ATTENTION
Attendre au moins 5 minutes après avoir mis l’interrupteur d’alimentation sur la position d’arrêt et avoir
débranché le cordon d’alimentation de la prise murale, avant d’ouvrir la plaque frontale du boîtier de commande.
Si on touche des zones sous haute tension, on risque de se blesser.
Le moteur continuera de tourner en raison de sa propre inertie après qu’on ait coupé l’alimentation électrique,
sinon la machine risquera de se mettre en marche si on enfonce accidentellement la pédale, et donc de causer
des blessures.
Si un code d’erreur apparaît sur l’affichage LED du panneau de commande, vérifier le code d’erreur puis mettre la
machine hors tension. (Toutefois, le message d’erreur ne disparaîtra pas immédiatement quand on met la machine
hors tension.) Après que l’affichage du panneau ait disparu, éliminer la cause de l’erreur puis remettre la machine sous
tension. (Sauf pour l’erreur AA AA).
Impossible de trouver la position
de zigzag de l’aiguille. Anomalie du capteur ou du faisceau de position d’origine
Anomalie du moteur ou du faisceau de zigzag
Anomalie de la carte des circuits de commande
Surintensité de courant
Le fonctionnement du dispositif de zigzag manque de souplesse.
Anomalie du moteur ou du faisceau de zigzag
Anomalie de la carte des circuits de commande
Surchauffe de la trappe à chaleur
de la carte de circuits
Anomalie du ventilateur de refroidissement
Orifice d’entrée d’air bouché dans le boîtier de commande
Anomalie du capteur de température de la carte des circuits de commande
Problème du ventilateur
d’expulsion
Anomalie du ventilateur droit (quand on regarde à partir de
l’arrière) ou du faisceau
Problème du ventilateur de
récirculation d’air intérieur Anomalie du ventilateur gauche (quand on regarde à partir de
l’arrière) ou du faisceau
Problème de données de zigzag
de l’aiguille
Anomalie du P-ROM ou raccordement défectueux
Problème de données personnalisées
Anomalie de la carte des circuits de commande
Problème de communication en-
tre les unités centrales Bruit affectant la transmission
Anomalie de la carte des circuits de commande, ou bien la ver-
sion du P-ROM ne correspond pas
Problème de circuits intégrés du
moteur de la machine
Orifice d’entrée d’air bouché dans le boîtier de commande
Anomalie du moteur ou du faisceau de la machine
Anomalie de la carte des circuits de l’alimentation électrique
Anomalie de la tension d’alimentation
électrique (trop haute)
Tension d'alimentation électrique trop haute
Anomalie de la tension d’alimentation
électrique (trop basse)
Tension d’alimentation éalectrique trop basse
Moteur de machine verrouilléLa courroie de synchronisation n’est pas bien en place.
Poulie desserrée
Charge excessive pendant la couture
Anomalie du synchroniseur ou du faisceau
Problème d'élément de mémoire Anomalie de la carte de circuits de commande
Version incompatible Incompatibilité entre les versions de la carte de circuits de
commande et du P-ROM
Problème de réglage des
interrupteurs DIP Les interrupteurs DIP 2-1 et 2-2 sont tous deux réglés sur ON.
Problème de fonctionnement de
l'unité centrale Interférences affectant la fonctionnement

236
ZE-8570,8580
16. TROUBLESHOOTING
16. FEHLERSUCHE
16. RESOLUTION DES PROBLEMES
16. LOCALIZACION DE AVERIAS
Anomalie du P-ROM ou raccordement défectueux
Interférences affectant la transmission
Anomalie de la carte des circuits de commande
Entrée de panneau quand la ma-
chine est mise sous tension
Machine sous tension quand on a appuyé sur la touche de panneau
Anomalie de la carte des circuits de panneau ou du faisceau
Problème de fonctionnement du
moteur de la machine
Anomalie du synchroniseur ou du faisceau
L'interrupteur DIP 1-2 est mis sur la position de marche
Diamètre de poulie incorrect
Entrée de panneau quand la
machine est mise sous tension
Machine sous tension quand on a appuyé sur la touche de panneau
Anomalie de la carte des circuits de panneau ou du faisceau
Fonctionnement continu La machine à coudre a été utilisée de façon continue pendant 3
minutes ou plus
Surcharge Charge excessive pendant la couture
Problème de communication
entre les unités centrales Interférences affectant la transmission
Anomalie de la carte des circuits de commande
Problème de communication
entre les unités centrales
Problème de communication
entre les unités centrales Interférences affectant la transmission
Anomalie de la carte des circuits de commande
Affichage
Détails Cause
Remarque:
Si des erreurs de code qui ne sont pas listées ci-dessus sont affichées, ou si des fonctionnements incorrects ou
des bruits ou des odeurs étranges se produisent pendant l’utilisation de la machine, mettre immédiatement
l’alimentation hors circuit et contacter le lieu d’achat.
Machine sous tension quand on a appuyé sur la pédale vers l’avant
Machine sous tension quand on a appuyé sur la pédale vers l’arrière
Machine sous tension quand on a appuyé sur l’actuateur
Anomalie de la pédale ou du faisceau
Entrée de démarrage quand la
machine est mise sous tension
(voir la remarque)
Remarque:
AA AA: Dans ce cas, lorsque la cause du problème est éliminée (par exemple, lorsque la pédale est remise en position
neutre), l'indication AA AA apparaît sur l'affichage LED. Mettre la machine hors tension puis à nouveau sous
tension.
Fusible de solénoïde grilléAnomalie du solénoïde ou du faisceau
Anomalie de la carte des circuits de commande
Taille nominale de fusible incorrecte

237 ZE-8570,8580
16. TROUBLESHOOTING
16. FEHLERSUCHE
16. RESOLUTION DES PROBLEMES
16. LOCALIZACION DE AVERIAS
Problema Causa posible Página
16. LOCALIZACION DE AVERIAS
• Se recomienda verificar los siguientes puntos antes de acudir a un centro de servicio autorizado.
• Si las sugerencias a continuación no sirven para solucionar el problema, desconectar el interruptor principal y
consultar al centro de servicio Brother más cercano.
16-1. Cabeza de la máquina
PELIGRO
ATENCION
Después de desconectar el interruptor principal y desenchufar el cable de alimentación del tomacorriente en
la pared esperar al menos 5 minutos antes de abrir la placa delantera de la caja de controles. El tocar las àreas
donde exista alto voltaje puede ocasionar heridas graves.
Desconectar el interruptor principal y desconectar el cable de alimentación antes de localizar averías, de lo
contrario la máquina podría comenzar a funcionar si por descuido se pisara el pedal, lo que podría resultar en
heridas.
1.
Hilo superior no está tenso.
•¿La tension del hilo superior es demasiado débil, o la tensión
del hilo inferior es demasiado fuerte?
Ajustar la tensión del hilo superior o la tensión del hilo inferior.
2.
Hilo inferior no está tenso.
•¿La tensión del hilo inferior es demasiado debil, o la tensión del
hilo superior es demasiado fuerte?
Ajustar la tension del hilo inferior o la tension del hilo superior.
3. Se saltan puntadas al
coser.
•¿La punta de la aguja está doblada? ¿La punta de la aguja está
mellada?
Si la punta de la aguja está doblada o rota, combiar la aguja.
•¿La aguja está correctamente instalada?
Si estuviera mal, instalar la aguja correcta.
•¿La máquina está correctamente enhebrada?
Si estuviera mal, enhebrar el hilo correctamente.
•¿La presión del prensatelas es demasiado débil?
Ajustar la presión del presatelas.
•¿La aguja es demasiado fina?
Cambiar la aguja por una aguja que sea un poco más gruesa.
•¿El prensatelas está demasiado alto?
Ajustar la altura del prensatelas.
•¿La sincronización de la aguja y el garfio giratorio es la correcta?
Ajustar la altura de la barra de agujas.
Ajustar la separación entre la aguja y el garfio giratorio.
•¿La tensión del resorte del hilo es demasiado débil?
Ajustar la tensión del resorte de tensión del hilo.
139
–
48
53
141
–
160
165
169
159
4. Los zigzags aplanados
aparecen en la puntada
durante la costura
intermitente. (ZE-8570)
•¿Se ha pisado el pedal hacia atrás?
No pisar el pedal hacia atrás cuando la máquina de coser está
parada.
(Cuando el interruptor DIP 2-4 es ajustado a ON, las puntadas en
zigzag ocurren cuando se pisa el pedal hacia atrás, de manera de
impedir que se cosan puntadas en zigzag planas si el pedal es
pisado hacia atrás por error.)
•¿El pedal se mueve demasiado fácilmente cuando se pisa hacia
atrás?
Ajustar la fuerza necesaria para pisar el pedal hacia atrás de
manera que se sienta un poco más pesado.
139
–
45
47
0573M
0574M
0621M
1406M

238
ZE-8570,8580
16. TROUBLESHOOTING
16. FEHLERSUCHE
16. RESOLUTION DES PROBLEMES
16. LOCALIZACION DE AVERIAS
Hilo
superior
Hilo superior
Hilo inferior
Problema Causa posible Página
El hilo se enreda al
comienzo de la costura.
•¿La tensión de los resortes de tirahilos es demasiada?
Reducir la tensión de los resortes de tirahilos.
•¿El rango de funcionamiento del resorte de tensión del hilo es
demasiado grande?
Bajar la posición del resorte de tensión del hilo.
•¿La aguja es demasiado grande?
Usar una aguja un poco más pequeña que la aguja que está
usando.
<ZE-8570>
•¿La barra de agujas está en la posición de parada con la aguja
levantada al comienzo de la costura?
Ajustar la barra de agujas a la posición de parada con la aguja
levantada al comienzo de la costura.
•¿El largo del hilo que sale de la bobina después de cortar el hilo
es demasiado corto?
Sacar aproximadamente 50 mm de hilo por el orificio de la aguja
al comienzo de la costura.
<ZE-8580>
•¿El largo libre de los hilos superiores es demasiado corto después
de cortar el hilo?
Ajuste el dispositivo de alimentación del hilo superior.
•¿Los hilos no se cortan limpiamente?
Afilar la cuchilla fija con una piedra de afilar, o cambiar la cuchilla
fija.
Cambiar la cuchilla móvil.
•¿El largo del hilo que sale de la bobina después de cortar el hilo
es demasiado corto?
Si la bobina gira libremente, cambiar el resorte de tensión de la
bobina en la caja de la bobina.
Ajustar la tensión del resorte prensor del hilo inferior.
•¿La posición levantada de la aguja no es demasiado alta?
Ajustar el sincronizador.
6. Costura despareja •¿La presión del prensatelas es muy poca?
Ajustar la presión del prensatelas.
•¿El alimentador está demasiado abajo?
Ajustar la altura del alimentador.
•¿La bobina está rayada?
Si la bobina está rayada, pulirla con una piedra de pulir o
combiarla si fuera necesario.
7. Tensión del hilo horizontal no
balanceada •¿La tensión del hilo superior o hilo inferior es demasiado fuerte o
demasiado débil?
Ajustar la tensión del hilo superior o hilo inferior.
•¿El disco giratorio gira suavemente?
Ajustar la tensión preliminar.
•¿La tensión del resorte del tirahilos es correcta?
Ajustar la tensión del resorte del tirahilos.
•¿El recorrido del resorte del tirahilos es correcto?
Ajustar la posición del resorte del tirahilos.
•¿La sincronización de la aguja y el garfio giratorio es correcta?
Ajustar la sincronización de la aguja y el garfio giratorio.
•¿La sincronización de la aguja y el garfio giratorio es correcta?
Ajustar la altura de la barra de agujas.
Ajustar la distancia entre la aguja y la punta del garfio giratorio.
•¿El hilo es demasiado grueso para la aguja?
Use la aguja correcta o el hilo correcto.
•¿El garfio giratorio, la caja de la bobina, la palanca del tirahilos o
alguna otra parte en el pasaje del hilo está dañada?
Reparar el daño, o cambiar la parte por una nueva.
5. Se saltan puntadas al
comienzo de la constura. 159
158
–
53
54
178
148
49
183
171
141
161
–
139
140
159
158
164
165
169
–
–
0622M
0623M
0625M
0626M

239 ZE-8570,8580
16. TROUBLESHOOTING
16. FEHLERSUCHE
16. RESOLUTION DES PROBLEMES
16. LOCALIZACION DE AVERIAS
80%
Problema Causa posible Página
8. El material se frunce mucho
(demasiada tensión) •¿La tensión del hilo superior es demasiada?
Aflojar todo lo posible la tensión del hilo superior.
•¿La tensión del hilo inferior es démasiada?
Aflojar todo lo posible la tensión del hilo inferior.
•¿La punta de la aguja está rota?
Si la punta de la aguja está rota, cambiar la aguja.
•¿Si la aguja es demasiado gruesa?
Cambiarla por una aguja lo más fina posible.
•¿Las tensiones de los resortes de tirahilos son demasiadas?
Aflojar todo lo posible las tensiones de los resortes de tirahilos.
•¿El rango de funcionamiento del resorte de tensión de hilo es
demasiado grande?
Bajar la posición del resorte de tensión del hilo tanto como sea
posible.
•¿La presión del presatelas es demasiado grande?
Ajustar la presión del prensatelas.
•¿La velocidad de costura es muy rápida?
Reducir ligeramente la velocidad de costura.
•¿El ángulo del alimentador no es correcto?
Bajar la parte delantera del alimentador.
9. El hilo inferior está
enredado al comienzo de la
costura.
Hilo
inferior
•¿La dirección de bobinado es correcta al tirar del hilo inferior?
Ajustar la bobina de manera que gire en la dirección opuesta al
garfio giratorio.
•¿Hay demasiado hilo en la bobina?
La cantidad de hilo en la bobina no debe ser mayor a 80%.
•¿Está enganchado el resorte de tensión de la bobina? (ZE-8580)
Colocar el resorte de tensión de bobina.
•¿Gira la bobina suavemente?
Si la bobina no gira suavemente, cambiar de bobina.
•¿Se está usando otro tipo de bobinas de aleación liviana diferente
de las especificadas por Brother? (ZE-8580)
Usar solo el tipo de bobinas especificadas por Brother.
Bobinado durante el corte del
hilo (ZE-8580)
10. Los hilos superior e
inferior se rompen. •¿La aguja está, doblada o la punta de la aguja esta rota?
Cambiar la aguja si está doblada o rota.
•¿La aguja está bien instalada?
Si la aguja está mal instalada, instalarla correctamente.
•¿La aguja está bien enhebrada?
Si la aguja está mal enhebrada, enhebrarla correctamente.
•¿La tensión del hilo superior o inferior es demasiado débil o
demasiado fuerte?
Ajustar la tensión del hilo superior o hilo inferior.
•¿El hilo superior está suelto debido a que el rango de
funcionamiento del resorte de tensión del hilo es demasiado
pequeño?
Ajustar la posición del resorte de tensión del hilo.
•¿La sincronización de la aguja y el garfio giratorio es correcta?
Ajustar la altura de la barra de agujas.
Ajustar la distancia entre la aguja y la punta del garfio giratorio.
•¿El hilo es demasiado grueso para la aguja?
Use la aguja correcta o el hilo correcto.
•¿El garfio giratorio, la caja de la bobina, la palanca del tirahilos o
alguna otra parte en el pasaje del hilo está dañada?
Reparar el daño, o cambiar la parte por una nueva.
139
139
–
–
159
158
141
98
162
52
51
49
–
–
–
48
53
139
158
165
169
–
–
0627M
0628M
0629M
0471M

240
ZE-8570,8580
16. TROUBLESHOOTING
16. FEHLERSUCHE
16. RESOLUTION DES PROBLEMES
16. LOCALIZACION DE AVERIAS
Precaucion
16-2. Panel de controles
Problema Causa posible Página
11. Agujas rotas •¿Se empuja o tira demasiado del material al coser?
•¿La aguja está correctamente instalada?
Si estuviera mal, instalar la aguja correctamente.
•¿La aguja está doblada, la punta de la aguja está rota, o el ojo de
la aguja está tapado?
Cambiar la aguja.
•¿La sincronización de la aguja y el garfio giratorio es la correcta?
Ajustar la altura de la barra de agujas.
Ajustar la separación entre la aguja y el garfio giratorio.
•Es extremadamente peligroso dejar pedazos de agujas
rotas en el material. Si se rompe una aguja, se deben
buscar todos los pedazos hasta haber encontrado toda la
aguja.
•Además, recomendamos que se tengan en cuenta todas las
precauciones necesarias para complir con la
reglamentaciones de responsabilidad civil de los productos
respecto a agujas rotas.
12. Corte de hilo incorrecto (los
hilos inferior y superior no
son cortados juntos).
(ZE-8580)
•¿La cuchilla fija o la cuchilla móvil están dañadas o gastadas?
Cambiar la cuchilla fija o la cuchilla móvil.
•¿La sincronización del hilo es correcta?
Ajustar la dirección de rotación de la leva de cortahilos.
13. Corte de hilo incorrecto
(los hilos inferior y supe-
rior no son cortados)
(ZE-8580)
•¿La aguja está correctamente instalada?
Si estuviera mal, instalar la aguja correctamente.
•¿La cuchilla fija o la cuchilla móvil están desafiladas?
Cambiar la cuchilla fija o la cuchilla móvil.
•¿Se saltan puntadas durante la costura?
Consultar la sección “Puntadas saltadas durante la costura”.
14. El impiador de hilo no
funciona correctamente.
(ZE-8580-401, 901)
•¿El largo libre del hilo que sale del orificio de la aguja es demasiado
largo después de cortar ei hilo?
Ajuste del dispositivo de alimentación del hilo superior.
1. Las teclas del panel de
controles no funcionan. •¿ AA AA aparece en la exhibición LED?
Si aparece esta exhibición, el funcionamiento de las teclas ha sido
bloqueado mediante el interruptor DIP, por lo tanto las teclas no
pueden ser usadas.
Cuando el interruptor DIP 2-8 se ajusta a OFF, se libera el bloqueo.
•El indicador de la tecla LOCK está encendido?
Si el indicador está encendido, el uso del teclado a sido bloqueado
mediante la tecla LOCK, por lo tanto no será posible usar el
teclado.
Presionar la tecla LOCK durante 2 segundos o más para cancelar
el bloqueo.
Problema Causa posible Página
–
48
–
165
169
48
148
237
185
132
148
182
178
0469M

241 ZE-8570,8580
16. TROUBLESHOOTING
16. FEHLERSUCHE
16. RESOLUTION DES PROBLEMES
16. LOCALIZACION DE AVERIAS
Exhibición
Detalles Causa
16-3. Lista de códigos de error
PELIGRO
ATENCION
Después de desconectar el interruptor principal y desenchufar el cable de alimentación del tomacorriente en
la pared esperar al menos 5 minutos antes de abrir la placa delantera de la caja de controles. El tocar las àreas
donde exista alto voltaje puede ocasionar heridas graves.
Desconectar el interruptor principal y desconectar el cable de alimentación antes de localizar averías, de lo
contrario la máquina podria comenzar a funcionar si por descuido se pisara el pedal, lo que podria resultar en
heridas.
Si aparece un código de error en la exhibición LED del panel de controles, verificar el código de error y luego desconectar
la alimentación. (Sin embargo, la exhibición del error no desaparecerá inmediatamente cuando la alimentación haya sido
desconectada.) Después que se apaga la exhibición del panel, desmontar la causa del error y luego conectar de nuevo la
alimentación. (Excepto para el error AA AA)
No se encuentra la posición de
zigzag de la aguja.
Malfuncionamiento del sensor de posición inicial o mazo de conductores
Malfuncionamiento de motor de zigzag o mazo de conductores
Malfuncionamiento del tablero del circuito de control
Sobrecorriente en motor de
zigzag
El funcionamiento del mecanismo de zigzag es pesado
Malfuncionamiento de motor de zigzag o mazo de conductores
Malfuncionamiento del tablero del circuito de control
Sobrecalentamiento del
absorbente de calor del tablero
del circuito de control
Malfuncionamiento del ventilador de enfriamiento
Entrada de aire bloqueada en caja de controles
Malfuncionamiento del sensor de temperatura del tablero del circuito de control
Problema del ventilador de
escape
Malfuncionamiento del ventilador del lado derecho (cuando se
mira desde atrás) o mazo de conductores
Problema de ventilador de
recirculación de aire interior Malfuncionamiento del ventilador del lado izquierdo (cuando se
mira desde atrás) o mazo de conductores
Problema de datos del zigzag
de aguja
Malfuncionamiento de P-ROM o mala conexión
Problema con datos a medida
Malfuncionamiento del tablero del circuito de control
Problema de comunicación
entre CPUs Ruido afectando la transmisión
Malfuncionamiento del tablero del circuito de control o la versión
del P-ROM no coincide.
Problema en el CI del motor de
la máquina
Entrada de aire bloqueada en caja de controles
Malfuncionamiento del motor de la máquina o mazo de conductores
Malfuncionamiento del tablero de circuito de la fuente de alimentación
Voltaje de la fuente de
alimentación anormal (alto) Voltaje de la fuente de alimentación es demasiado alto
Voltaje de la fuente de
alimentación anormal (bajo) Voltaje de la fuente de alimentación es
demasiado bajo
Motor de máquina bloqueado Correa de distribución no instalada
Polea floja
Demasiada carga durante la costura
Malfuncionamiento de sincronizador o mazo de conductores
Diferencias de versiónDiferencias entre el tablero del circuito de control y las
versiones P-ROM
Problema con elemento de la
memoria Malfuncionamiento del tablero del circuito de control
Problema de funcionamiento
de la CPU Funcionamiento que afecta la interferencia
Problema de ajuste del
interruptor DIP Los interruptores DIP 2-1 y 2-2 se deben ajustar ambos a ON

242
Thank you very much for buying a BROTHER sewing machine. Before using your new machine, please read the safety
instructions below and the explanations given in the instruction manual.
With industrial sewing machines, it is normal to carry out work while positioned directly in front of moving parts such
as the needle and thread take-up lever, and consequently there is always a danger of injury that can be caused by these
parts. Follow the instructions from training personnel and instructors regarding safe and correct operation before
operating the machine so that you will know how to use it correctly.
SAFETY INSTRUCTIONS
1. Safety indications and their meanings
This instruction manual and the indications and symbols that are used on the machine itself are provided in order to
ensure safe operation of this machine and to prevent accidents and injury to yourself or other people.
The meanings of these indications and symbols are given below.
Indications
DANGER The instructions which follow this term indicate situations where failure to follow the
instructions will almost certainly result in death or severe injury.
CAUTION The instructions which follow this term indicate situations where failure to follow the
instructions could cause injury when using the machine or physical damage to equip-
ment and surroundings.
Symbols
................. This symbol ( ) indicates something that you should be careful of. The picture inside the triangle
indicates the nature of the caution that must be taken.
(For example, the symbol at left means “beware of injury”.)
................. This symbol ( ) indicates something that you must not do.
................. This symbol ( ) indicates something that you must do. The picture inside the circle indicates the
nature of the thing that must be done.
(For example, the symbol at left means “you must make the ground connection”.)
iZE-8570,8580 (English)
16. TROUBLESHOOTING
16. FEHLERSUCHE
16. RESOLUTION DES PROBLEMES
16. LOCALIZACION DE AVERIAS
Malfuncionamiento de P-ROM o mala conexión
Transmisión que afecta la transmisión
Malfuncionamiento del tablero del circuito de control
Entrada del panel cuando se
enciende la alimentación
Se conecta la alimentación mientras se mantiene presionando la
tecla de panel
Malfuncionamiento de tablero de circuito del panel o mazo de
conductores
Problema de funcionamiento del
motor de la máquina
Malfuncionamiento de sincronizador o mazo de conductores
del interruptor DIP 1-2 se ajusta a ON
Diámetro de polea incorrecto
Funcionamiento continuo Máquina de coser fue usada continuamente durante 3 minutos o
más
Sobrecarga Demasiada carga durante la costura
Problema de comunicación entre
CPUs
Transmisión que afecta la interferencia
Malfuncionamiento del tablero del circuito de control
Problema de comunicación entre
CPUs
Problema de comunicación entre
CPUs
Transmisión que afecta la interferencia
Malfuncionamiento del tablero del circuito de control
Exhibición
Detalles Causa
Entrada del panel cuando se
enciende la alimentación
Se conecta la alimentación mientras se mantiene presionando la
tecla de panel
Malfuncionamiento de tablero de circuito del panel o mazo de
conductores
Nota:
Si se exhibe un código de error que no identificado, o si se nota un funcionamiento incorrecto o ruidos u olores
extraños al usar la máquina de coser, desenchufar la alimentación inmediatamente y consultar en el lugar donde
la compró.
ZE-8570,8580
v
Se conecta la alimentación cuando se pisa el pedal hacia adelante
Se conecta la alimentación cuando se pisa el pedal hacia atrás
Se conecta la alimentación mientras el impulsor se mantiene presionado
Malfuncionamiento de pedal o mazo de conductores
Entrada de arranque cuando se
conecta la alimentación
(consultar la nota)
Nota:
AA AA
: En este caso, cuando la causa del problema haya sido eliminada (por ejemplo, el pedal vuelva a neutral),
AA AA aparecerá en la exhibición LED. Desconecte la alimentación y luego vuelva a conectarla.
Fusible de solenoide quemado Malfuncionamiento de solenoide o mazo de conductores
Malfuncionamiento del tablero del circuito de control
Capacidad de fusible incorrecta

ZE-8570
ZE-8580
INSTRUCTION MANUAL
BEDIENUNGSANLEITUNG
MANUEL D’INSTRUCTIONS
MANUAL DE INSTRUCCIONES
ELECTRONIC SINGLE NEEDLE ZIGZAG LOCK STITCHER WITH UNDER-EDGE TRIMMER
ELECTRONIC SINGLE NEEDLE ZIGZAG LOCK STITCHER WITH THREAD TRIMMER
AND UNDER-EDGE TRIMMER
Please read this manual before using the machine.
Please keep this manual within easy reach for quick reference.
ELEKTRONISCHE EINNADEL ZICK-ZACK STEPPSTICHMACHINE MIT
UNTERKANTENABSCHNEIDER
ELEKTRONISCHE EINNADEL ZICK-ZACK STEPPSTICHMACHINE MIT
FADENABSCHNEIDER UND UNTERKANTENABSCHNEIDER
Bitte vor Gebrauch der Maschine diese Anleitung lesen!
Bitte halten Sie diese Anleitung stets griffbereit zur schnellen Orientierung!
MACHINE ZIG-ZAG ELECTRONIQUE 1 AIGUILLE - POINT NOUE - COUTEAU SOUS BORD
MACHINE ZIG-ZAG ELECTRONIQUE 1 AIGUILLE - POINT NOUE - COUPE-FILS –
COUTEAU SOUS BORD
Veuillez lire ce manuel avant d’utiliser la machine.
Veuillez garder ce manuel près de vous pour une vérification rapide.
MAQUINA ELECTRONICA DE UNA AGUJA, ZIGZAG, PUNTADA RECTA CORTADOR
DE BORDE INFERIOR
MAQUINA ELECTRONICA DE UNA AGUJA, ZIGZAG, PUNTADA RECTA CORTAHILOS
Y CORTADOR DE BORDE INFERIOR
Por favor lea este manual antes de usar la máquina.
Por favor guarde este manual al alcance de la mano para una rápida referencia.
INSTRUCTION MANUAL
BEDIENUNGSANLEITUNG
MANUEL D’INSTRUCTIONS
MANUAL DE INSTRUCCIONES
Printed in Japan / Gedruckt in Japan / Imprimé au Japon / Impreso en Japón 118-857,858
S92857-102
2001.12. F (1)
15-1, Naeshiro-cho, Mizuho-ku, Nagoya 467-8561, Japan. Phone: 81-52-824-2177
BROTHER INDUSTRIES, LTD.