CIDMATE Technology XG24001 2.4 GHz Analog Cordless Phone User Manual a
CIDMATE International Technology Inc. 2.4 GHz Analog Cordless Phone a
Contents
- 1. user manual a
- 2. user manual b
user manual a

1
Safety Instructions ------------------------------------------------------------------------------------------- 4
Getting Started ----------------------------------------------------------------------------------------------- 6
Desk Mounting ----------------------------------------------------------------------------------------------- 9
Wall Mounting ----------------------------------------------------------------------------------------------- 10
Cordless Telephone Operation ------------------------------------------------------------------------- 12
Preparing for Use ---------------------------------------------------------------------------------------12
NO LINE Indicator -------------------------------------------------------------------------------------- 12
Receiving Calls ------------------------------------------------------------------------------------------12
Placing Calls --------------------------------------------------------------------------------------------- 13
Headset Feature ---------------------------------------------------------------------------------------- 14
Redial Feature -------------------------------------------------------------------------------------------14
Caller ID System Operation ----------------------------------------------------------------------------- 15
Caller ID System ----------------------------------------------------------------------------------------15
Viewing Caller Information During Incoming Calls -----------------------------------------15
MSG WAITING (Message Waiting) ------------------------------------------------------------15
Call Waiting ------------------------------------------------------------------------------------------ 16
Voice Mail Function --------------------------------------------------------------------------------16
C-F (Forwarded Call) ------------------------------------------------------------------------------16
L-D-C (Long Distance Call) ----------------------------------------------------------------------16
Caller List ------------------------------------------------------------------------------------------------- 16
Viewing the Caller List ---------------------------------------------------------------------------- 17
Placing a Call From the Caller List ------------------------------------------------------------ 17
Editing the Caller List before Dialing ----------------------------------------------------------17
Saving the Name and Number in the Caller List into the DIRECTORY --------------18
Deleting All Records in the Caller List -------------------------------------------------------- 18
Selective Deleting in the Caller List ----------------------------------------------------------- 18
Name and Telephone Number DIRECTORY ----------------------------------------------------18
Viewing the DIRECTORY ------------------------------------------------------------------------ 18
Speed Viewing the DIRECTORY ---------------------------------------------------------------19
Contents

2
Saving in the DIRECTORY ---------------------------------------------------------------------- 19
PREFERRED CALLS ----------------------------------------------------------------------------- 19
BLOCKED CALLS --------------------------------------------------------------------------------- 19
Editing a Name and Number in the DIRECTORY ----------------------------------------- 20
Editing the Number in the DIRECTORY before Dialing ----------------------------------21
Placing Calls from the DIRECTORY ---------------------------------------------------------- 22
Deleting All Records in the DIRECTORY ---------------------------------------------------- 22
Selective Deleting in the DIRECTORY ------------------------------------------------------- 22
Function Operation ------------------------------------------------------------------------------------- 23
A. Language ---------------------------------------------------------------------------------------- 24
B. Silent On/Off ------------------------------------------------------------------------------------ 24
C. Time Set ----------------------------------------------------------------------------------------- 24
D. Ringer Volume ----------------------------------------------------------------------------------25
E. LCD Contrast ----------------------------------------------------------------------------------- 25
F. PBX Number ------------------------------------------------------------------------------------25
G. Flash Time ---------------------------------------------------------------------------------------26
H. Pause Time --------------------------------------------------------------------------------------26
I. Voice Mail ----------------------------------------------------------------------------------------27
J. MSG Waiting (Message Waiting) ----------------------------------------------------------27
Telephone Keypad Characters ---------------------------------------------------------------------- 28
Answering System Operation --------------------------------------------------------------------------- 29
Resetting the Answering System ------------------------------------------------------------------- 29
Setting the Day/Time Stamp--------------------------------------------------------------------------29
Recording your Outgoing Messages ---------------------------------------------------------------30
Turning the Answering System ON/OFF ----------------------------------------------------------31
Setting to Answer Calls --------------------------------------------------------------------------------31
Setting to Announce Only -----------------------------------------------------------------------------32
Screening Incoming Calls -----------------------------------------------------------------------------32
Message Alert --------------------------------------------------------------------------------------------32
Contents

Setting Ring Select ------------------------------------------------------------------------------------- 32
Recording a Memo ------------------------------------------------------------------------------------- 33
Playing of Messages/Memos ------------------------------------------------------------------------ 33
Saving Messages ---------------------------------------------------------------------------------------34
Erasing Messages --------------------------------------------------------------------------------------35
When the Memory is Full ----------------------------------------------------------------------------- 35
Two-Way Recording ------------------------------------------------------------------------------------35
Remote Control Operation -------------------------------------------------------------------------------36
Remote Operation through a Tone Telephone -------------------------------------------------- 36
Remote Access Codes -------------------------------------------------------------------------------- 36
Changing of the Remote Access Code ----------------------------------------------------------- 36
Using the Remote Instruction Code --------------------------------------------------------------- 37
Security ------------------------------------------------------------------------------------------------------- 38
Recharging the Battery Pack ----------------------------------------------------------------------------39
Changing the Battery Pack ------------------------------------------------------------------------------ 40
Problem Solving -------------------------------------------------------------------------------------------- 41
Technical Information ------------------------------------------------------------------------------------- 43
FCC Requirements ---------------------------------------------------------------------------------------- 44
Warranty ------------------------------------------------------------------------------------------------------ 46
Wall Mounting Template ---------------------------------------------------------------------------------- 48
3
Contents

4
IMPORTANT SAFETY INSTRUCTIONS
To reduce the risk of fire, electric shock and/or injury, always follow these
basic safety precautions when using your cordless telephone equipment.
1. Read and understand all instructions.
2. Follow all warnings and instructions marked on the telephone.
3. Unplug this telephone from the wall outlet before cleaning or replacing the BATTERY
PACK. Do not use liquid cleaners or aerosol cleaners on the telephone. Use a damp cloth
for cleaning.
4. Do not use this telephone near water, for example, near a bath tub, wash bowl, kitchen
sink, or laundry tub, in a wet basement, or near a swimming pool.
5. Place this telephone on a stable surface. Serious damage and/or injury may result if the
telephone falls.
6. Do not cover the slots and openings on this telephone. This telephone should not be
placed near or over a radiator or heat register. This telephone should not be placed in a
built-in installation unless proper ventilation is provided.
7. Operate this telephone using the electrical voltage as stated on the BASE UNIT of the
telephone or in the Owner’s Manual. If you are not sure of the voltage in your home,
consult your dealer or local power company.
8. Do not place anything on the power cord. Install the telephone where no one will step or
trip on the cord.
9. Do not overload wall outlets or extension cords as this can increase the risk of fire or
electric shock.
10. Never push objects of any kind through the slots in the telephone. They could touch
dangerous voltage points or short out parts that could result in a risk of fire or electric
shock. Never spill liquid of any kind on the telephone.
11. To reduce the risk of electric shock, do not disassemble this telephone. Take it to a
qualified serviceman when service or repair work is required. Opening or removing covers
may expose you to dangerous voltages or other risks. Incorrect reassembly can cause
electric shock when the telephone is subsequently used.
12. Unplug this telephone from the wall outlet and consult a qualified service representative in
any of the following situations:
A. When the power supply cord is frayed or damaged.
B. If liquid has been spilled into the telephone.
C. If the telephone has been exposed to rain or water.
D. If the telephone does not operate normally by following the operating instructions.
Adjust only those controls that are covered by the operating instructions. Improper
adjustment of other controls may result in damage and will often require extensive
work by a qualified technician to restore the telephone to normal operation.
Safety Instructions

E. If the telephone has been dropped or the case has been damaged.
F. If the telephone exhibits a distinct change in performance.
13. Do not use the telephone to report a gas leak in the vicinity of the leak.
14. Never install telephone wiring during a lightning storm.
15. Never install telephone jacks in wet locations unless the jack is specifically designed for
wet locations.
16. Never touch uninsulated telephone wires or terminals unless the telephone line has been
disconnected at the network interface.
17. Use caution when installing or modifying telephone lines.
Battery Safety
CAUTION:
Danger of explosion if the BATTERY PACK is replaced with incorrect type.
Replace only with the same or equivalent type. To reduce the risk of fire
or personal injury, read and follow these instructions:
1. Use only the following type and size of BATTERY PACK:
Cordless Telephone BATTERY PACK
3.6V, 600mAh
U.S. Electronics Inc.
Ni-MH BATTERYPACK: Model B655
(See page 39 for ordering information.)
2. Do not dispose of the BATTERYPACK in a fire. The BATTERYPACK may explode. Check
with local codes for possible special disposal instructions.
3. Do not open or mutilate the BATTERY PACK. Released electrolyte is corrosive and may
cause damage to the eyes or skin. Electrolyte may be toxic if swallowed.
4. Exercise care in handling the BATTERY PACK to prevent shorting the BATTERY PACK
with conductive materials such as rings, bracelets, and keys. The BATTERY PACK or
conductor may overheat and cause burns.
5. Charge the BATTERY PACK provided with (or identified for use with) this telephone only
in accordance with the instructions and limitations specified in this manual.
6. Observe proper polarity orientation between the BAT T E RY PACK and BAT T E RY
CHARGER.
SAVE THESE INSTRUCTIONS
ATTENTION:
The telephone that you have purchased contains a rechargeable BATTERY PACK. The
BATTERYPACK is recyclable. At the end of its useful life, under various state and local laws, it
may be illegal to dispose of this BATTERY PACK into the municipal waste stream. Check with
your local solid waste officials for details in your area for recycling options or proper disposal.
5
Safety Instructions

6
Connecting Your Phone
This section is a reference guide to the basic functions and operations of your cordless
telephone. For more detailed descriptions of the operations and features of this telephone, refer
to the Contents on page 1.
1. Carefully remove your cordless telephone from its shipping carton. If there is any visible
damage, do not attempt to operate this equipment. Return it to the place of purchase.
2. Check to be sure you have all items that come with this cordless telephone system. You
should have a H A N D S E T , BASE UNIT, AC ADAPTER, MOUNTING BRACKET,
TELEPHONE LINE CORD, SHORT TELEPHONE LINE CORD, BELT CLIP, and an
Owner’s Manual.
3. Insert the small plug on the end of the AC ADAPTER into the POWER-IN CONNECTION
JACK at the back of the BASE UNIT.
4. Plug the AC ADAPTER into a 120V AC wall outlet.
USE ONLY WITH CLASS 2 POWER SOURCE 9V DC, 500 mA.
5. Insert one plug of the TELEPHONE LINE CORD into the house TELEPHONE JACK and
the other end into the TELEPHONE LINE CONNECTION JACK at the back of the BASE
UNIT. (If you have an older 4-prong TELEPHONE JACK, you will need an RJ-11C
TELEPHONE JACK ADAPTER. This adapter is available at the same place you purchased
your telephone.)
6. We recommend not placing this unit next to appliances. Doing so may cause interference.
Getting Started
TELEPHONE
LINE CORD SHORT TELEPHONE
LINE CORD
MOUNTING
BRACKET BELT CLIP
AC ADAPTER BATTERY
PACK
HANDSET BASE UNIT
!

7. Install the H A N D S E T B AT T E RY PACK by
plugging it into the BATTERY CONNECTOR
inside the BAT T E RY C O M PA RT M E N T. T h e
HANDSET LCD Screen will display “RING: HI”.
8. Place the BATTERYPACK inside the BATTERY
COMPARTMENT.
9. Slide the H A N D S E T B AT T E RY
COMPARTMENTCOVER firmly into place in its
closed position.
10. IMPORTANT: Before initial use, charge the
HANDSET for 12 hours. Do not charge the
HANDSET with the KEYPAD face down.
11. TONE/PULSE Select Switch:
A. If your home is equipped with a tone dialing
system, set the TONE/PULSE Select Switch
to the TONE position.
B. If you have a rotary dialing system, set the
TONE/PULSE Select Switch to the PULSE
position.
C. If you are unsure which system you have, set
the TONE/PULSE Select Switch to the TONE
position. Press the button on the
HANDSET to get a dial tone and make a call.
If the call connects, leave the switch as is;
otherwise set to the PULSE position.
TALK
7
Getting Started
RING: HI

12. Set the date and time on the HANDSET. (See page 24 for details.)
13. Press and hold the button to initiate your Answering System. (See details on page
29.)
14. Set the date and time on the BASE UNIT. (See page 29 for details.)
You are now ready to use your new
Cordless Telephone.
STOP
8
Press the button to confirm that
you have a dial tone. If you do not get a
dial tone, review steps 3 through 11. If you
still do not have a dial tone, refer to the
Problem Solving section on page 41.
With the back of the HANDSET facing up,
insert one side of the BELT CLIP HOOK
into the matching slot at the top side of the
HANDSET. Press down on the opposite
side of the BELT CLIP until the other
HOOK locks into the slot on the side of the
HANDSET.
TALK
IMPORTANT
In order to utilize the Caller ID feature, you must
subscribe to Caller ID service from your local
telephone company.
Getting Started
ANTENNA
HANDSET
BELT CLIPHOOK

Desk Mounting
One of the special features of your telephone is the unique design of the MOUNTING
BRACKET which can hold your phone at an angle when desk mounting or wall mounting.
With the back of the BASE UNIT facing up, rotate the MOUNTING BRACKETto the position as
in figure 1 (follow the arrow direction for the DESK MOUNT). Place your telephone on any flat
surface of desk as in figure 2.
IMPORTANT: Attach the MOUNTING BRACKET when using your phone on a desk.
9
Desk Mounting
FIGURE 2FIGURE 1
IMPORTANT
Placing your BASE UNIT near appliances such as
televisions, refrigerators, radios, or microwave ovens
may cause interference.

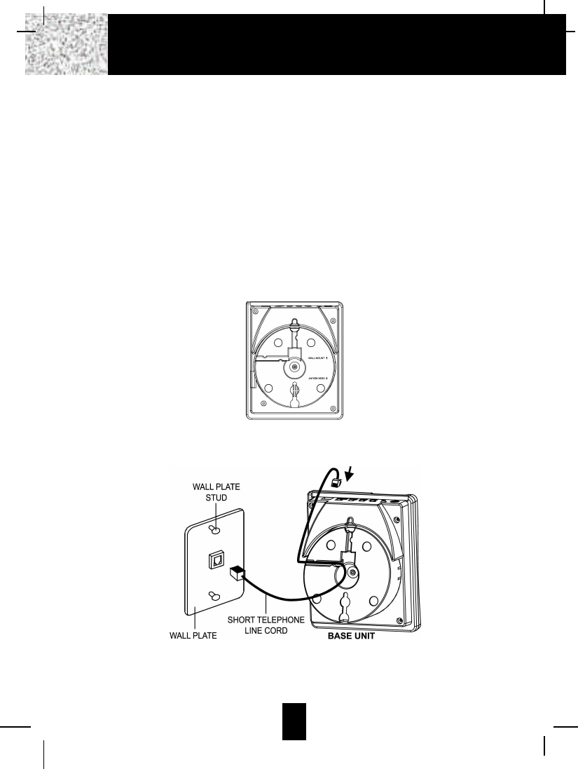
Wall Mounting
You may choose to put the BASE UNIT of your cordless telephone on a wall.
1. With the back of the BASE UNIT facing up, rotate the MOUNTING BRACKETto the position
as in figure 1 (follow the arrow direction for the WALLMOUNT).
2. Connect the SHORT TELEPHONE LINE CORD to the TELEPHONE LINE CONNECTION
JACK.
3. Insert the free end of the SHORT TELEPHONE LINE CORD through the holes of the
MOUNTING BRACKET as figure 2.
4. Insert the hooks of the MOUNTING BRACKET into the matching slots of the BASE UNIT
(as shown below). Then slide the MOUNTING BRACKET into place as indicated by the
arrows. Plug the free end of the SHORT TELEPHONE LINE CORD into the MODULAR
WALL JACK.
10
Wall Mounting
FIGURE 1
FIGURE 2

5. Align the upper keyhole on the MOUNTING BRACKETwith the upper stud of the wall plate,
so that the opening end of the MOUNTING BRACKETmatches the lower stud, then pull the
BASE UNIT down until it is securely seated.
IMPORTANT: A “beep” will be heard when the HANDSET is properly positioned in the
BASE UNIT CHARGE CRADLE and charging. Securely positioning the
HANDSET in the BASE UNIT will also prevent the HANDSET from falling.
11
Wall Mounting

Preparing for Use
Before you can use your cordless telephone, you must charge the HANDSET for 12 hours.
Failure to do so will require recharging of the BATTERY PACK more often.
1. Place the HANDSET on the BASE UNIT for 12 hours.
2. After 12 hours, remove the HANDSET from the BASE UNIT.
Before you can use your cordless telephone, you must charge the HANDSET for 12
hours. Failure to do so will require more frequent charging of the BATTERY PACK. See
page 39 for more information on the BATTERY PACK.
NOTE:
Depending on the frequency of use, once the HANDSET is fully charged, it remains functional
for approximately 4 hours of continuous use and approximately 5 days when the HANDSET is
off the BASE UNIT in STANDBY mode.
NO LINE Indicator
This telephone checks for an active TELEPHONE LINE
connection. If “NO LINE” appears on the LCD Screen,
when the HANDSET is in STANDBYmode, no calls can
be made or received from this telephone. Check that the
TELEPHONE LINE CORD plugs are connected to the
wall TELEPHONE JACK and the BASE UNIT
TELEPHONE LINE CONNECTION JACK. If “NO LINE”
continues to be displayed, check that the other phones
in the house are working. If none of the phones work,
contact your local phone company.
Receiving Calls
1. When the phone rings, lift the HANDSET and press
the button. The HANDSET LCD Screen will
display “CALLS” and “TALKING”, and the BASE
UNIT IN USE LED indicator will light up.
2. Start your conversation.
3. To end your conversation, either press the
button or place the HANDSET on the BASE UNIT. If
you place the H A N D S E T on the BASE UNIT
CHARGE CRADLE, you activate the automatic
STANDBYfeature.
TALK
TALK
12
Cordless Telephone Operation
NO LINE
TALKING. . . .
CALLS

NOTE:
1. The Call Timer will start to count once you press the button.
2. The LCD Screen emits light for 5 seconds every time you press any buttons on the
HANDSET.
3. When “CALLS” appears on the LCD Screen, it means that the HANDSET is OFF-HOOK
(connected to the telephone line).
Placing Calls
1. Press the button, the Call Timer starts to count.
The HANDSET LCD Screen will display “CALLS”, and
“TALKING”, and the BASE UNIT IN USE LED indicator
will light up.
2. Listen for a dial tone.
3. Dial the phone number.
4. When you have finished with your call, press the
button again or place the HANDSET on the BASE UNIT.
OR
1. Dial the phone number.
2. Press and hold down the DIAL 7 or the DIAL 10
or the DIAL1+ button. The BASE UNIT IN
USE LED indicator will light up.
3. When you have finished with your call, press the
button again or place the HANDSET on the BASE UNIT.
TALK
#
1+
0
10
OPER
*
7
TALK
TALK
TALK
13
CALLS
00MIN 1SEC 14
Minutes
Seconds
Channel
Cordless Telephone Operation
IMPORTANT
In order to utilize the Caller ID feature, you must
subscribe to Caller ID service from your local
telephone company.
TALKING. . . .
CALLS

Headset Feature
Your telephone can utilize a headset (not included) to be
connected to your HANDSET for you to enjoy hands-free
communication. Pull out the HEADSET JACK COVER then
insert the small plug at the end of the headset into the
HEADSETJACK at the right side of the HANDSET. Follow the
procedures discussed in “Receiving Calls” and “Placing Calls”
to receive and place a call.
NOTE:When you plug the headset plug into the HEADSET
JACK it automatically mutes the MICROPHONE and
SPEAKER of the HANDSET. Unplug the headset to
return the HANDSET to normal use.
Headsets are available at most retail outlets that sell telephone
equipment. The HEADSET JACK is compatible with 2.5mm
headset plugs only.
Redial Feature
1. If you get a busy tone, press the button or
place the HANDSET on the BASE UNIT to hang up.
2. Later, press the button again.
3. Listen for a dial tone.
4. Press the button. This will automatically redial
the last telephone number you called in TALK mode.
5. When you have finished with your call, press the
button again (the BASE UNIT IN USE LED
indicator will turn off) or place the HANDSET on the
BASE UNIT.
NOTE:
If you are too far away from the BASE UNIT, the HANDSET emits “beep” sounds to warn you
that the background noise level is too high for proper communication between the HANDSET
and the BASE UNIT. When you hear this sound, you should move closer to the BASE UNIT to
reduce the noise level. Otherwise, the call will automatically cut off.
TALK
RE/PA
SAVE
TALK
TALK
14
Cordless Telephone Operation

Caller ID System
This telephone automatically displays an incoming caller’s name and telephone number
together with the date and time of the call. It records up to 80 calls and stores the data in
Memory.
IMPORTANT: You must subscribe to the Caller ID service from your local telephone company
to utilize this feature.
Viewing Caller Information During Incoming Calls
1. When there is an incoming call, the name and the telephone number of the caller will
automatically appear after the second ring. Press the SHIFTRIGHT button to view
a name of more than 11 characters.
OR
Caller’s telephone number will appear if the caller’s name is not available.
OR
“OUT OF AREA” will appear if the origin of the
incoming call does not support the Caller ID system.
OR
“UNKNOWN” will appear if the origin of the incoming
call has no name and does not support the Caller ID
system.
OR
“PRIVATE” and/or “P---------” will appear if the caller’s
name and/or telephone number is blocked.
OR
“DATAERROR” will appear if wrong data was received from the telephone line.
OR
The name stored in the DIRECTORY will appear for an incoming call with matching
telephone numbers.
MSG WAITING (Message Waiting)
The MSG WAITING GREEN LED indicator will blink when there is a message for you from
your telephone company if you have subscribed to Voice Mail message service and if you
have requested Visual Message Indication from your local telephone company. “MSG
WAITING” will appear on the LCD Screen in STANDBY mode. (To remove the MESSAGE
WAITING indicator, see page 27 for detail.)
15
MICHAEL BROW
6 0 4 - 5 5 5 - 1 2 1 2
10:00AM 8/24 NEW #1
Time
BROWING
6 0 4 - 5 5 5 - 1 2 1 2
10:00AM 8/24 NEW #1
Month/Date Number of calls recorded
OUT OF A R E A
O - - - - - - - - - -
10:00AM 8/24 NEW #13 TOTAL 42
e.g.
U N K N O W N
U - - - - - - - - - -
10:00AM 8/24 NEW #13 TOTAL 42
e.g.
Caller ID System Operation

Call Waiting
When you subscribe to a Call Waiting service from your local telephone company, this
telephone will display the name and number of the second caller while you are having a
conversation with your first caller.
1. When you are having a conversation, this
telephone will automatically display the name and
number of the second caller. The name will blink.
2. Press the button to answer the second
caller. The first caller’s name and number will be
displayed. The name will blink.
3. When you have finished, press the button
to continue your conversation with the first caller.
If you do not want to interrupt your phone conversation
with the first caller, you can advise the second caller to
leave a Voice Mail message instead.
Voice Mail Function
When there is a Voice Mail message for you, this telephone detects a Stutter Dial Tone (if
applicable) and the “MSG” icon on the LCD Screen and the MESSAGE WAITING LED
indicator will blink.
1. To access your Voice Mail message, press the button.
2. After you hear a dial tone, press the button. This will automatically dial the
Voice Mail Post Code in your area and connect you to the Voice Mail service provider.
NOTE: You must store the Voice Mail Post Code number by using the VOICE MAIL
function on page 27. You can also call your Voice Mail service provider by dialing
the Voice Mail Access Code number after pressing the button.
C-F (Forwarded Call)
Appears on the upper left hand side of the LCD Screen, when the incoming call has been
assigned to your telephone number.
L-D-C (Long Distance Call)
Appears on the upper left hand side of the LCD Screen, when the incoming call is a long
distance call and the service is provided by your local telephone company.
Caller List
Records call information for up to 80 incoming calls such as caller’s name and telephone
number together with the date and time of the call. After recording a new incoming call, the NEW
CALLindicator will blink and the LCD Screen will display:
TALK
FUNC
VOICE MAIL
TALK
FLASH
FLASH
16
JOHN BROWN
2 3 5 - 6 0 7 - 5 5 1 2
10:00AM 8/24 NEW 13
e.g.
ALEX BROWTH
5 0 4 - 5 5 5 - 1 2 1 2
10:00AM 8/24 NEW 14
e.g.
1st Caller
2nd Caller
RING: HI
10:00AM 8/24 NEW 13 TOTAL 42
No. of new calls
Maximum calls= 80
Caller ID System Operation

Viewing the Caller List
1. Press the SCROLL DOWN button to view the latest Caller ID record, or press the
SCROLLUP button to view the first Caller ID record, press the SHIFT RIGHT
button if the name has more than 11 characters.
2. Press the button to go back to STANDBYmode. (If no active buttons are pressed
for 20 seconds or you have viewed the last Caller ID record in the Caller’s List, the LCD
Screen will automatically return to STANDBYmode.)
Placing a Call from the Caller List
1. With the HANDSET in STANDBYmode, press the SCROLLDOWN button to select
from the latest Caller ID record, or press the SCROLLUP button to select from the
first Caller ID record.
2. Press and hold down the DIAL 7 button for a local call, or the DIAL 10
button for a local call with area code, or the DIAL1+ button for a long distance call.
3. To end your conversation, either press the button or place the HANDSET on the
BASE UNIT.
To place a call from the Caller List in TALK mode, press the button, then follow
steps 1 through 3.
NOTE: You can edit the number before dialing, but you can not SAVE any changes in the
Caller List.
Editing the Caller List before Dialing
1. Press the SCROLLUP or DOWN button to find the Caller ID record.
2. Press the button.
3. Move the cursor by pressing the SHIFT LEFT or RIGHT button to the digit
you want to change. To erase digits, press the button. To add digits, use
theTELEPHONE KEYPAD ~ buttons.
4. Press and hold down the DIAL 7 button for a local call, or the DIAL 10
button for a local call with area code, or the DIAL 1 + button for a long distance
call.
5. To end your conversation, either press the button or place the HANDSET on the
BASE UNIT.
To save the edited record from the Caller List, follow steps 1 through 3 then press and hold
down the button.
RE/PA
SAVE
TALK
#
1+
0
10
OPER
*
7
9WXY
0
10
OPER
DELETE
SCAN
EDIT
TALK
TALK
#
1+
0
10
OPER
*
7
DIR
17
MICHAEL BROW
6 0 4 - 5 5 5 - 1 2 1 2
10:00AM 8/24 NEW
#1
BROWING
6 0 4 - 5 5 5 - 1 2 1 2
10:00AM 8/24 NEW
#1
Caller ID System Operation

Saving the Name and Number in the Caller List into the DIRECTORY
1. Press the SCROLL UP or DOWN button to find the Caller ID record.
2. Press and hold down the button. The LCD Screen will show “SAVED”.
NOTE:It is not advisable to save a telephone number without the corresponding name.
This will lead to improper display on PRIVATE and OUTOF AREAcalls.
Deleting All Records in the Caller List
1. Press and hold down the button for at
least 3 seconds while in STANDBY mode.
2. The LCD Screen will automatically return to
STANDBY mode.
Selective Deleting in the Caller List
1. Press the SCROLLUP or DOWN button to find the Caller ID record while in
STANDBY mode.
2. Press and hold down the button for at
least 3 seconds, then the LCD Screen will display
the next Caller ID record in the CALLER LIST.
3. Press the button to return to STANDBY
mode.
Name and Telephone Number DIRECTORY
This DIRECTORY lets you scroll through the list to find the record you need for one touch
dialing. You can store up to 40 names and telephone numbers in the memory.
Viewing the DIRECTORY
1. Press the button.
2. Press the SCROLL UP or DOWN
button to find the record you wish to view.Press the
SHIFT RIGHT button to view a name or
telephone number of more than 11 characters.
NOTE: To exit the DIRECTORY List at anytime,
press the button.
DIR
DIR
DIR
DELETE
SCAN
DELETE
SCAN
RE/PA
SAVE
18
ALL DELET
E
10:00AM 8/24 NEW 0TOTAL 0
DELET
E
10:00AM 8/24 #2
DIRECTORY
10:00AM 8/24 TOTAL 12
DIR
No. of records stored
MICHAEL BROW
6 0 4 - 5 5 5 - 1 2 1 2
#8TOTAL12
BROWING
6 0 4 - 5 5 5 - 1 2 1 2
#8TOTAL12
DIR DIR
Caller ID System Operation

Speed Viewing the DIRECTORY
1. Press the button.
2. Enter the first letter of a name. (See Page 28 for detail of entering a letter.)
3. Press the SCROLLUP button to view all names with the same first letter.
Saving in the DIRECTORY
1. Press the button.
2. Press the button.
3. Use the TELEPHONE KEYPAD ~ buttons to enter the name, (see page
28 for detail) you can store up to 15 characters. To move the cursor to the right, create
a space, or to enter a new letter, press the SHIFT RIGHT button.
4. Press the SCROLLDOWN button once.
5. Enter the telephone number using the TELEPHONE KEYPAD ~ buttons.
You can store up to 16 digits.
6. Press and hold down the button.
7. Press the button to go back to STANDBYmode.
(If no active buttons are pressed for 20 seconds, the LCD Screen will automatically return
to STANDBY mode.)
NOTES: 1. It will not save a duplicate telephone number or a name without the
corresponding telephone number in the DIRECTORY.
2. To delete a character or number inside the cursor, press the button.
PREFERRED CALLS
You can assign stored numbers a PREFERRED CALLstatus which will generate a special
ringer sound at the start of the second ring to any welcome caller in the DIRECTORY.
When you are saving the name and number into the DIRECTORY, add a “#” symbol at the
beginning of the name by pressing the button.
BLOCKED CALLS
You can assign stored numbers a BLOCKED CALL status which will disable the ringer
sound after the second ring to any caller in the DIRECTORY.
When you are saving the name and number into the DIRECTORY, add an “*” symbol at the
beginning of the name by pressing the 7 button.
*
7
#
1+
DELETE
SCAN
DIR
RE/PA
SAVE
9WXY
0
10
OPER
9WXY
0
10
OPER
EDIT
DIR
DIR
19
Caller ID System Operation

Editing a Name and Number in the DIRECTORY
1. Press the button.
2. Press the SCROLLUP or DOWN button to find the record you want to edit.
3. Press the button to edit the name, and the cursor will blink over the first
character.
4. Press the SCROLLLEFT or RIGHT button to move the cursor to the letter or
number you want to change. To erase, press the button. To add, use the
TELEPHONE KEYPAD ~ buttons. (See page 28 for details.)
5. Press the SCROLLUP or DOWN button to edit the number.
6. Press the SCROLLLEFT or RIGHT button to move the cursor to the number
you want to change. To erase, press the button. To add, use the TELEPHONE
KEYPAD ~ buttons. (See page 28 for details.)
7. Press and hold down the button to confirm.
IMPORTANT:It is not advisable to save a telephone number without the corresponding
name in the DIRECTORY. This will lead to improper displays on PRIVATE
and OUT OF AREAcalls.
NOTE:When no active buttons are pressed for 20 seconds, the LCD Screen will
automatically return to STANDBY mode.
RE/PA
SAVE
9WXY
0
10
OPER
DELETE
SCAN
9WXY
0
10
OPER
DELETE
SCAN
EDIT
DIR
20
MICHAEL BROW
6 0 4 - 5 5 5 - 1 2 1 2
#8TOTAL12
DIR
MICHAELBROW
6 0 4 5 5 5 1 2 1 2
#8TOTAL12
DIR
cursor is blinking
MICHAEL BROW
6 0 4 5 5 5 1 2 1 2
#8TOTAL12
DIR
6cursor is blinking
Caller ID System Operation

Editing the Number in the DIRECTORY before Dialing
1. Press the button.
2. Press the SCROLLUP or DOWN button to find the caller.
3. Press the button to edit the name.
4. Press the SCROLLDOWN button.
e.g.
5. Press the SCROLLLEFT or RIGHT button to move the cursor to the number
you want to change.
To erase, press the button.
To add, use the TELEPHONE KEYPAD ~ buttons.
6. Press and hold down the DIAL 7 button for a local call, or press and hold down
the DIAL 10 button for a local call with area code, or press and hold down the
DIAL1+ button for a long distance call.
7. To end your conversation, either press the button or place the HANDSET on the
BASE UNIT.
NOTE:If you want to save the edited number in the DIRECTORY, follow steps 1 through
5 and then press and hold down the button.
RE/PA
SAVE
TALK
#
1+
0
10
OPER
*
7
9WXY
0
10
OPER
DELETE
SCAN
EDIT
DIR
21
Caller ID System Operation
MICHAELBROW
6 0 4 5 5 5 1 2 1 2
#1TOTAL12
DIR
6cursor is blinking
IMPORTANT
Placing your BASE UNIT near appliances such as
televisions, refrigerators, radios, or microwave ovens
may cause interference.

Placing Calls from the DIRECTORY
1. Press the button.
2. Press the SCROLLUP or DOWN button to find the record you want to call.
3. Press and hold down the DIAL 7 button for a local call, or press and hold down
the DIAL 10 button for a local call with area code, or press and hold down the
DIAL1+ button for a long distance call.
4. To end the call, either press the button or place the HANDSET on the BASE
UNIT.
Deleting All Records in the DIRECTORY
1. Press the button.
2. Press and hold down the button for at least 3 seconds while in DIRECTORY
mode.
3. Press the button to return to STANDBY mode.
Selective Deleting in the DIRECTORY
1. Press the button.
2. Press the SCROLLUP or DOWN button to find the record you want to delete.
3. Press and hold down the button for at least 3 seconds, then the LCD Screen will
display the next record in the DIRECTORY.
4. Press the button to return to STANDBYmode.
DIR
DELETE
SCAN
DIR
DIR
DELETE
SCAN
DIR
TALK
#
1+
0
10
OPER
*
7
DIR
22
ALL DELET
E
10:00AM 8/24 TOTAL 0
DELET
E
#5TOTAL 12
Caller ID System Operation

Function Operation
You can change the settings on the HANDSET through the functions menu.
This unit contains the following special functions:
A. LANGUAGE F. PBX NUMBER
B. SILENT ON/OFF G. FLASH TIME
C. TIME SET H. PAUSE TIME
D. RINGER VOLUME I. VOICE MAIL
E. LCD CONTRAST J. MSG WAITING
To access, press the button at STANDBY mode, then press the TELEPHONE
KEYPAD ~ button or the SCROLL UP or DOWN button.
9WXY
0
10
OPER
FUNC
VOICE MAIL
23
ENGLISH
#1TOTAL10
KEYPAD Button
1
SILENT
OFF
#2TOTAL10
KEYPAD Button
2ABC
TIME SET
10:00AM 8/24 #3TOTAL10
KEYPAD Button
3DEF
RING: HI
#4TOTAL10
KEYPAD Button
4GHI
CONTRAST
5
#5TOTAL10
KEYPAD Button
5JKL
PBX NO.
OFF
#6TOTAL10
KEYPAD Button
6MNO
FLASH TIME
600
#7TOTAL10
KEYPAD Button
7PRS
PAUSE TIME
4
#8TOTAL10
KEYPAD Button
8TUV
MSG WAITING
OFF
#10 TOTAL10
KEYPAD Button
0
10
OPER
VOICE MAIL
#9TOTAL10
KEYPAD Button
9WXY
Caller ID System Operation

A. Language
This telephone offers English, Spanish, and French languages for your convenience.
1. Press the button.
2. Press the TELEPHONE KEYPAD button.
3. Press the button.
4. Press the SCROLL UP or DOWN button to select the language you desire.
You can also set the language by pressing the following TELEPHONE KEYPAD buttons;
for English, for Spanish, or for French. English is the preset
language.
5. Press and hold down the button.
6. Press the button to return to STANDBYmode.
B. Silent On/Off
This telephone will generate the first ring sound even in the BLOCKED CALL mode to
indicate that you have an incoming call. To keep the ringer silent in BLOCKED CALLmode,
you can turn off the first ring sound.
1. Press the button.
2. Press the TELEPHONE KEYPAD button.
3. Press the button.
4. Press the SCROLL UP or DOWN button to select the SILENT ON/OFF
setting. You can also press the TELEPHONE KEYPAD buttons; for ON or
for OFF. SILENT OFF is the preset mode.
5. Press and hold down the button.
6. Press the button to return to STANDBY mode.
C. Time Set
Set the date and time.
1. Press the button.
2. Press the TELEPHONE KEYPAD button.
3. Press the button.
4. Use the TELEPHONE KEYPAD button to enter the month, date, hour, and minute. The
cursor moves automatically after entering each item. Press the TELEPHONE KEYPAD
for AM setting, or press the TELEPHONE KEYPAD for PM setting.
2ABC
1
EDIT
3DEF
FUNC
VOICE MAIL
FUNC
VOICE MAIL
RE/PA
SAVE
2ABC
1
EDIT
2ABC
FUNC
VOICE MAIL
FUNC
VOICE MAIL
RE/PA
SAVE
3DEF
2ABC
1
EDIT
1
FUNC
VOICE MAIL
24
Caller ID System Operation

5. Press and hold down the button.
6. Press the button to return to STANDBY mode.
NOTE:The date and time will automatically set, if you have subscribed to the Caller ID
service from your local telephone company.
D. Ringer Volume
This function enables you to adjust the ringer volume from HI, LOW, and OFF as desired.
1. Press the button.
2. Press the TELEPHONE KEYPAD button.
3. Press the button.
4. Press the SCROLLUP or DOWN button to adjust the ringer volume suitable
for your convenience. You can also adjust the ringer volume by pressing the following
TELEPHONE KEYPAD buttons; for HI, for LOW, or for OFF. HI
is the preset ringer volume.
5. Press and hold down the button.
6. Press the button to go back to STANDBY mode.
E. LCD Contrast
This unit enables you to select 8 brightness levels for the Large LCD Screen.
1. Press the button.
2. Press the TELEPHONE KEYPAD button.
3. Press the button.
4. Press the SCROLLUP or DOWN button to adjust the brightness of the LCD
Screen. Level 5 is the preset brightness.
5. Press and hold down the button.
6. Press the button to go back to STANDBY mode.
F. PBX Number
This unit enables you to preset the PBX number (such as an 8 or 9) while you are using a
switchboard system.
1. Press the button.
2. Press the TELEPHONE KEYPAD button.
3. Press the button.
EDIT
6MNO
FUNC
VOICE MAIL
FUNC
VOICE MAIL
RE/PA
SAVE
EDIT
5JKL
FUNC
VOICE MAIL
FUNC
VOICE MAIL
RE/PA
SAVE
3DEF
2ABC
1
EDIT
4GHI
FUNC
VOICE MAIL
FUNC
VOICE MAIL
RE/PA
SAVE
25
Caller ID System Operation

4. Press the SCROLLUP or DOWN button. (OFF is the preset PBX number.)
PBX MODE OFF - set for direct line access.
5. Press and hold down the button.
6. Press the button to go back to STANDBY mode.
NOTE:When placing a call by using the DIAL 7 , or the DIAL 10 , or the
DIAL1+ button, this telephone will automatically add the PBX number and a
pause time before the dialed telephone numbers.
G. Flash Time
This unit enables you to select the standard FLASH TIME applicable to your calling area. If
you are not sure of the FLASH TIME you are using, call your local telephone company.
1. Press the button.
2. Press the TELEPHONE KEYPAD button.
3. Press the button.
4. Press the SCROLLUP or DOWN button to select the FLASH TIME. You can
also set the FLASH TIME by entering the FLASH TIME number using the TELEPHONE
KEYPAD ~ buttons. The preset FLASH TIME is 600 milliseconds.
5. Press and hold down the button.
6. Press the button to go back to STANDBY mode.
H. Pause Time
This unit enables you to adjust the PAUSE TIME when placing a call using a switchboard
system or dialing long distance calls.
1. Press the button.
2. Press the TELEPHONE KEYPAD button.
3. Press the button.
4. Press the SCROLL UP or DOWN button to adjust the pausing time. The
preset pause time is 4 seconds.
5. Press and hold down the button.
6. Press the button to return to STANDBY mode.
FUNC
VOICE MAIL
RE/PA
SAVE
EDIT
8TUV
FUNC
VOICE MAIL
FUNC
VOICE MAIL
RE/PA
SAVE
9WXY
0
10
OPER
EDIT
7PRS
FUNC
VOICE MAIL
#
1+
0
10
OPER
*
7
FUNC
VOICE MAIL
RE/PA
SAVE
26
Caller ID System Operation

I. Voice Mail
This telephone enables you to store the Voice Mail Access Code number in your area. This
will automatically connect you to the Voice Mail service provider with one-touch dialing.
1. Press the button.
2. Press the TELEPHONE KEYPAD button.
3. Press the button.
4. Enter the Voice Mail Post Code number by using the TELEPHONE KEYPAD ~
buttons.
5. Press and hold down the button.
6. Press the button to go back to STANDBY mode.
J. MSG Waiting (Message Waiting)
To turn off the Message Waiting LCD Screen indicator.
1. Press the button.
2. Press the TELEPHONE KEYPAD button.
3. Press the button.
4. Press the SCROLLUP or DOWN button.
5. Press and hold down the button.
6. Press the button to go back to STANDBYmode.
IMPORTANT: The Message Waiting LCD indicator will automatically turn ON, if you have
subscribed to Voice Mail message service and if you have Visual Message
Indication from your local telephone company.
FUNC
VOICE MAIL
RE/PA
SAVE
EDIT
0
10
OPER
FUNC
VOICE MAIL
FUNC
VOICE MAIL
RE/PA
SAVE
9WXY
0
10
OPER
EDIT
9WXY
FUNC
VOICE MAIL
27
IMPORTANT
In order to utilize the Caller ID feature, you must
subscribe to Caller ID service from your local
telephone company.
Caller ID System Operation

Telephone Keypad Characters
The TELEPHONE KEYPAD ~ buttons are used to enter characters when
entering names. Press the appropriate TELEPHONE KEYPAD button to get the following
characters.
EXAMPLE:
If you want to enter the characters “ACE” on the HANDSETLCD Screen.
1. Press the button.
2. Press the button.
3. Press the TELEPHONE KEYPAD button, “A” will be displayed. Press the SHIFT
RIGHT button to move the cursor to the right to enter the next character (See NOTES
below.).
4. Press the TELEPHONE KEYPAD button three times to display “C”.
5. Press the TELEPHONE KEYPAD button two times to display “E”.
NOTES:
1. To enter the next character, press the appropriate button. If, however, the next character is
on the same button as the previous character, you will first need to press the SHIFT RIGHT
button. Pressing the SHIFT RIGHT button a second time will produce a space.
2. If you want to change any character, you can go back to the incorrect character by pressing
the SHIFT LEFT button. To delete the character inside the cursor “ ”,press the
button.
3. You can store a maximum of 15 characters on the letter icon.
4. You can store a maximum of 16 digits on the number icon.
DELETE
SCAN
3DEF
2ABC
2ABC
EDIT
DIR
9WXY
0
10
OPER
28
KEYPAD
BUTTONS
1
2
3
4
5
6
7
8
9
*
0
#
CHARACTERS
SPACE & ’( ) * . 1
AB C 2
D E F 3
G H I 4
J K L 5
M N O 6
P Q R S 7
T U V 8
W X Y Z 9
*
0
#
Caller ID System Operation

Resetting the Answering System
After connecting your phone, press and hold down the button for at least 3 seconds.
Release the button and the unit will “beep”. Your unit will now reset itself. Then your unit will
announce, “Please enter new time and record your announcement.” You can now set the
day/time and record your new announcement. See the details in following paragraphs.
NOTE:If the Answering System stops functioning or is not functioning normally, unplug and
then plug the AC ADAPTER into its power source. Then follow the procedure in the
preceding paragraph to reset the Answering System.
Setting the Day/Time Stamp
Press and hold down the button until you hear the announcement “Time is off, please
enter new time.” Then enter the current day and time.
1. Day Setting
Press and hold down the button. Release the button when the desired day is
announced.
2. Hour Setting
Press and hold down the button. Release the button when the desired hour is
announced.
3. Minute Setting
Press and hold down the button. Release the button when the desired minute is
announced.
Press the button to confirm the selected day and time. The system will announce the day
and time.
You must set the Day and Time in order to have correct Day/Time stamp at the end of each
incoming message. Anytime you have a power failure or power interruption, you must set the
Day and Time again.
SET
MIN
HOUR
DAY
SET
STOP
29
Answering System Operation