COMPUTIME CT-EM2503 ZigBee Module User Manual CT EM2503
Computime Limited ZigBee Module CT EM2503
User Manual

CT-EM250 ZigBee-Ready RF Transceiver Modules
Computime Ltd. All rights reserved Confidential Page 1 of 15
ZigBee- Ready SoC RF Transceiver Modules
Table of Content
General Description…………………………………………………………………………2
Applications…………………………………………………………………………………..2
Features………………………………………………………………………………………2
Absolute Maximum Ratings………………………………………………………………...3
Recommended Operating Conditions……………………………………………………..3
Electrical Specifications……………………………………………………………………..3
Introduction…………………………………………………………………………………...5
Typical Application Block…………………………………………………………………....5
Pin Assignment……………………………………………………………………………….6
Block Diagram………………………………………………………………………………..8
Circuit Description……………………………………………………………………………8
SIF Module Programming and Debug Interface………………………………………….9
Power Management…………………………………………………………………………9
RF Frequency, Output Power Levels and Data Rates…………………………………10
Antenna Design Considerations…………………………………………………………..11
PCB Layout Recommendations…………………………………………………………..13
FCC Approvals……………………………………………………………………………...13
FCC statement………………………………… ………………………………………….14
Operating description………………………………………………………………………14
Mechanical Dimensions……………………………………………………………………15
Ordering Information……………………………………………………………………….15
Document Revision History………………………………………………………………..15

CT-EM250 ZigBee-Ready RF Transceiver Modules
Computime Ltd. All rights reserved Confidential Page 2 of 15
ZigBee- Ready SoC RF Transceiver Modules
General Description
The CT-EM250 SoC RF Transceiver Modules is a compact surface mounted module
specially designed for Ember’s ZigBee™ protocol stack for wireless networks,
EmberZNet, based on IEEE 802.15.4 standard in the 2.4GHz world-wide ISM band. It
provides 16 channels and compliant PHY and MAC layers. The complete module is
only 20.32 x 25.52 x 3 mm(integrated antenna version)and 20.32 x 19.53 x 3 mm
(External Antenna version). They both integrate a 2.4GHz, IEEE 802.15.4-compliant
transceiver with a 16-bit XAP2b microprocessor. They consist of integrated Flash and
RAM memory and peripherals. A number of peripherals such as GPIO, UART, SPI,
I2C, ADC, and general purpose timers are integrated to support user-defined
applications.
Applications
Home
automation &
building control
Home
appliances &
alarms
Monitoring of
remote
systems
Security
systems
& lighting
controls
Sensor data
capture
in embedded
networks
Features
Complete ZigBee-ready module with or without integrated antenna
IEEE 802.15.4 compliant PHY and MAC layer
12MHz XAP2b 16-bit microcontroller core
128kB Flash and 5kB RAM, emulation EEPROM
17 GPIO , 4 channel 12 bit ADC
UART, SPI, I2C and debug interfaces
External 32.768 kHz real time clock or internal RC oscillator for timer
High performance direct sequence spread spectrum (DSSS) RF transceiver
16 channels in the 2.4 GHz ISM band
on-chip regulator for 2.1-3.6V operation, two sleep low power modes

CT-EM250 ZigBee-Ready RF Transceiver Modules
Computime Ltd. All rights reserved Confidential Page 3 of 15
Absolute Maximum Ratings
Parameter Test Conditions Min. Max. Unit
Regulator voltage (VDD_PADS) - 0.3 3.6 V
Voltage on any GPIO[16:0], SIF_CLK,
SIF_MISO, SIF_MOSI, nSIF_LOAD, OSC32A,
OSC32B, nRESET,
- 0.3 VDD_PADS+
0.3
V
Storage temperature - 40 + 140 °C
Under no circumstances should the absolute maximum ratings given above be violated. Stress
exceeding one or more of the limiting values may cause permanent damage to the device.
Recommended Operating Conditions
Parameter Test Conditions Min. Typ. Max. Unit
Regulator input voltage (VDD_PADS) 2.1 3.6 V
Core input voltage (VDD_24MHZ, VDD_VCO,
VDD_RF, VDD_IF, VDD_PADSA,
VDD_FLASH, VDD_PRE, VDD_SYNTH,
VDD_CORE)
1.7 1.8 1.9 V
Temperature range - 40 + 85 °C
Electrical Specifications
T=25 ℃, VCC = 3.0V, fo=2450Mhz, if nothing else stated.
Parameter Min. Typ. Max Unit Condition / Note
Operating frequency 2405 2480 M Programmable in 5 MHz steps for
IEEE 802.15.4 compliance
Number of channels 16 For IEEE 802.15.4 compliance
Channel spacing 5 MHz For IEEE 802.15.4 compliance
Input/output impedance 50 Ohm
Data rate 250 kbit/s
DSSS chip rate 2 Mc/s
Frequency stability +/-40 ppm
Transmit power -32 5 dBm Programmable from firmware
Harmonics
2nd harmonic TBD dBm
3rd harmonic TBD dBm

CT-EM250 ZigBee-Ready RF Transceiver Modules
Computime Ltd. All rights reserved Confidential Page 4 of 15
Parameter Min. Typ. Max Unit Condition / Note
Spurious emission,
TX 30 – 1000 MHz
TBD dBm
1-12.75 GHz TBD
1.8-1.9 GHz TBD
5.15-5.3 GHz TBD
Complies with EN 300 328, EN
300 440, FCC CRF47 Part 15
and ARIB STD-T66
Sensitivity -98 dBm PER = 1% Boost Mode
Adjacent channel rejection
+/-5 MHz
35/35
dB
IEEE 802.15.4 signal at - 82dBm
Adjacent channel rejection
+/-10 MHz
40/40
dB
IEEE 802.15.4 signal at - 82dBm
Co-channel rejection
-6
dB
IEEE 802.15.4 signal at - 82dBm
Spurious emission,
RX 30 -1000 MHz TBD
1-12.75 GHz TBD
dBm
Complies with EN 300 328, EN
300 440, FCC CRF47 Part 15
and ARIB STD-T66
Supply voltage 2.1 3.6 V
Current consumption, RX 36 mA Max RX sensitivity (boost mode)
Current consumption, TX 36 mA At max. TX power
(+ 5dBm boost)
Quiescent current,
Mode1
1.0 μA including internal RC
oscillator
Quiescent current,
Mode2
1.5 μA including 32.768k
oscillator
Flash memory 128 KB
RAM memory 5 kB
Simulated EEPROM
memory
8 kB
MCU clock frequency 12 MHz
RC OSCILATOR
FREQUENCY
10 KHZ
MCU low frequency
crystal
32.768 kHz

CT-EM250 ZigBee-Ready RF Transceiver Modules
Computime Ltd. All rights reserved Confidential Page 5 of 15
Introduction
The CT-EM250 series of modules are specially designed for ZigBee application. They
provide a fast jump start design for system integrators or electronic designers wishing
to use ZigBee wireless technologies. The module contains qualified RF hardware and
enough processor power to run the EmberZNet stack or other ZigBee network stack
(depending on version), making it a powerful platform for building wireless networking
products. ZigBee Coordinators (ZC), ZigBee Routers (ZR), and ZigBee End Devices
(ZED) are all supported and are programmed onto the module together with a custom
application. Minimal RF design experience is need to use CT-EM250 modules.
Typical application block
Figure 1 Example of application block
Pin Assignment
CT-EM2500
RF Module
Temp.
sensor
Hum.
sensor
VDD_PADS=2.1—3.6V
4 General A/D pin
Debug and
programming
interface
SIF PIN
MCU or/and
Peripheral
Equipment
SIF PIN
GPIO PIN

CT-EM250 ZigBee-Ready RF Transceiver Modules
Computime Ltd. All rights reserved Confidential Page 6 of 15
Pin Description
Pin# Signal Direction Description
1 SIF_MISO O Serial interface, master in/slave out
2 SIF_MOSI I Serial interface, master out/slave in
3 SIF_LOADB I/O Serial interface, load strobe (open-collector with internal pull-up)
4 GND Ground Ground supply
5 GPIO16
I/O
Digital I/O
Enable GPIO16 with GPIO_CFG[3]
6 GPIO15
I/O
Digital I/O
Enable GPIO15 with GPIO_CFG[2]
7 GPIO14
I/O
Digital I/O
Enable GPIO14 with GPIO_CFG[1]
8 GPIO13
I/O
Digital I/O
Enable GPIO13 with GPIO_CFG[0]
9 GND Ground Ground supply
10 GND Ground Ground supply
11 ANT I/O receiver input/transmitter output
12 GND Ground Ground supply
13 nRESET I Active low chip reset (internal pull-up)
14 OSCB I/O 24MHz crystal oscillator or left open when using external clock input on
OSCA
15 OSCA I/O 24MHz crystal oscillator or external clock input
16 VBRD Power Pads supply (2.1-3.6V)
17 GPIO11 I/O
Digital I/O
Enable GPIO11 with GPIO_CFG[7:4]
18 GPIO12 I/O
Digital I/O
Enable GPIO12 with GPIO_CFG[7:4]
19 GPIO0
I/O
Digital I/O
Enable GPIO0 with GPIO_CFG[7:4]
20 GPIO1
I/O
Digital I/O
Enable GPIO1 with GPIO_CFG[7:4]
21 GPIO2 I/O Digital I/O

CT-EM250 ZigBee-Ready RF Transceiver Modules
Computime Ltd. All rights reserved Confidential Page 7 of 15
Enable GPIO2 with GPIO_CFG[7:4]
22 GPIO3
I/O
Digital I/O
Enable GPIO3 with GPIO_CFG[7:4]
23 GPIO4
I/O
Digital I/O
Enable GPIO4 with GPIO_CFG[12] and GPIO_CFG[8]
24 GPIO5
I/O
Digital I/O
Enable GPIO5 with GPIO_CFG[12] and GPIO_CFG[9]
25 GPIO6 I/O
Digital I/O
Enable GPIO6 with GPIO_CFG[10]
26 GPIO7
I/O
Digital I/O
Enable GPIO7 with GPIO_CFG[13] and GPIO_CFG[11]
27 GPIO8
I/O
Digital I/O
Enable GPIO8 with GPIO_CFG[14]
28 TXD
O
UART transmit data of Serial Controller SC1
Enable SC1-4A or SC1-2 with GPIO_CFG[7:4], select UART with
SC1_MODE
29 RXD
I
UART receive data of Serial Controller SC1
Enable SC1-4A or SC1-2 with GPIO_CFG[7:4], select UART with
SC1_MODE
30 SIF_CLK I Serial interface, clock (internal pull-down)

CT-EM250 ZigBee-Ready RF Transceiver Modules
Computime Ltd. All rights reserved Confidential Page 8 of 15
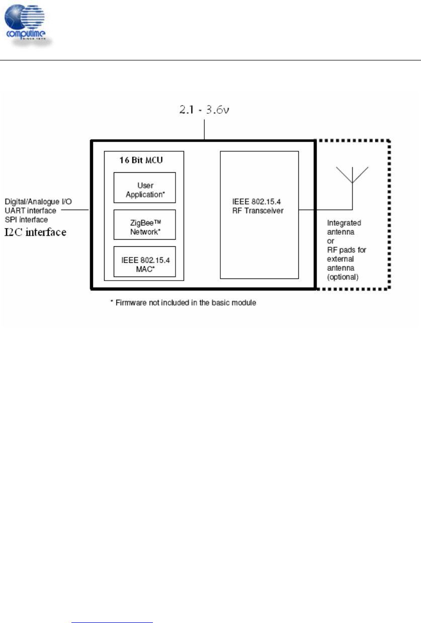
Block Diagram
Circuit Description
The module contains an IEEE 802.15.4 compliant SoC RF transceiver, internal
memory, high speed oscillator, RC oscillator and an external 32 kHz oscillator. The
module is intended to run the EmberZNet ZigBee software or other ZigBee network
implementation, depending on the specific version.
The application software together with the ZigBee protocol software stack can be
programmed in Flash memory through the SIF module, using an evaluation board
from Ember InSight Desktop.
To support user-defined applications, a number of peripherals such as GPIO, UART,
SPI, I2C, ADC, and general-purpose timers are integrated. Also, an integrated voltage
regulator, power-on-reset circuitry, sleep timer, and low-power sleep modes are
available. The deep sleep mode draws less than 1μA (need to further verification),
allowing products to achieve long battery life.
For further details on the SoC transceiver (Ember EM250), please consult the data
sheet at http://www.ember.com

CT-EM250 ZigBee-Ready RF Transceiver Modules
Computime Ltd. All rights reserved Confidential Page 9 of 15
SIF Module Programming and Debug Interface
SIF is a synchronous serial interface developed by Cambridge Consultants Ltd. It is
the primary programming and debug interface of the CT-EM250. The SIF module
allows external devices to read and write memory-mapped registers in real-time
without changing the functionality or timing of the XAP2b core.
The SIF interface provides the following:
IC production test (especially analog)
PCB production test
XAP2b code development
Product control and characterization
The pins are:
SIF_LOADB
SIF_CLK
SIF_MOSI
SIF_MISO
The maximum serial shift speed for the SIF interface is 48MHz. SIF interface
accesses can be initiated even when the chip is in idle and deep sleep modes. An
edge on SIF_LOADB wakes the chip to allow SIF cycles.
Power Management
The CT-EM250 supports three different power modes: processor ACTIVE,
processor IDLE, and DEEP SLEEP.
The IDLE power mode stops code execution of the XAP2b until any interrupt occurs
or an external SIF wakeup command is seen. All peripherals including the radio
continue to operate normally.
The DEEP SLEEP power mode powers off most of the module but leaves the critical
chip functions, such as the GPIO pads and RAM powered by the High Voltage Supply
(VDD_PADS). The module can be woken by configuring the sleep timer to generate
an interrupt after a period of time, using an external interrupt, or with the SIF interface.
Activity on a serial interface may also be configured to wake up the module, though
actual reception of data is not re-enabled until the module has finished waking up.
Depending on the speed of the serial data, it is possible to finish waking up in the
middle of a byte. Care must be taken to reset the serial interface between bytes and
discard any garbage data before the rest. Another condition for wakeup is general
activity on GPIO pins.

CT-EM250 ZigBee-Ready RF Transceiver Modules
Computime Ltd. All rights reserved Confidential Page 10 of 15
RF Frequency, Output Power Levels and Data Rates
The following table shows the RF channels as defined by the IEEE 802.15.4
The output power level can be configured in the range -32 to 5 dBm. The RF
transceiver uses direct sequence spread spectrum (DSSS) with a raw data rate of 250
kbit/s. The modulation format is Offset – Quadrature Phase Shift Keying (O-QPSK). It
is robust even under noisy environments when sharing the same frequency band with
other applications.
The use of RF frequencies and maximum allowed RF power should according to
different national regulations. The CT-EM250 is complying with the applicable
regulations for the world wide 2.4GHz ISM band.
[Subject to final approval: Specifically it complies with the European Union R&TTE
directive meeting EN 300 328 and EN300 440 class 2. It also meets the FCC CFR47
Part15 regulations for use in the US and the ARIB T-66 for use in Japan.]

CT-EM250 ZigBee-Ready RF Transceiver Modules
Computime Ltd. All rights reserved Confidential Page 11 of 15
Antenna Design Considerations
CT-EM250 provides an integrated antenna. The design should be effective for many
applications requiring a compact solution containing all the critical RF parts within the
module. Applications requiring better range may consider an external antenna or
possibly even an external booster circuit (power amplifier).
The range testing using the integrated antenna shows a typical distance of 100 m
outdoor line-of-sight (LOS). If the application is used indoor, the range will be around
10 to 30 m, depending on structure and building materials.
The module with antenna is matched for use in the 2.4 GHz band. Due to the
dielectric ceramic material the antenna is shorter than a normal quarter wave antenna.
However, it can still provide high radiation efficiency (typical 1 dBi). The radiating part
of the antenna is located on one side of the PCB. The radiation pattern from the
antenna is shown in figure 2. The maximum radiation is in the plane normal to the
length axis of the antenna. For best possible omni-directional radiation the module
should be oriented so that the antenna is vertical. In order to achieve best range the
transmitting and receiving antenna should be oriented the same way with same
polarity. Indoors reflections of the radio waves will affect the range.
Figure 2 : Integrated chip antenna radiation pattern at different orientations

CT-EM250 ZigBee-Ready RF Transceiver Modules
Computime Ltd. All rights reserved Confidential Page 12 of 15
The antenna should be kept away (> 10mm) from metallic or other conductive and
dielectric materials, and should never be used inside a metallic enclosure.
Compared to lower frequencies, operation at 2.4GHz usually has a shorter LOS.
However, the ZigBee mesh network topology provides a more flexible and reliable
network topology to end users. The farther end device can easily be reached over a
mesh network through other full function (routing) devices. Reflections from walls and
other objects may give multi-path fading resulting in dead-zones. With mesh network,
other nodes in the network can reach devices in dead-zones. Furthermore, in the
case of any failure of a single node, the system can easily reroute to other paths. The
mesh network is therefore highly recommended for increased reliability and extended
coverage.
In applications where the module must be placed in a metallic enclosure, an external
antenna must be used. The external antenna must match to 50 Ohm.
A PCB antenna can be made as a copper track where the ground plane is removed on
the back side. The rest of the PCB board should have a ground plane as large as
possible, preferably as large (in one dimension) as the antenna itself, to make it act as
a reflector mirror to the antenna. A quarter-wavelength antenna on a PCB must be
shorter than the wire antenna due to the influence of the dielectric material of the PCB.
The length reduction depends on the PCB thickness and material, as well as how
close to the edge of the board the antenna is placed. Typical reduction is to 75-90 %
but specific results may vary.
The length of a quarter-wave antenna is given in the table below.
Frequency
( MHZ ) Length of whip
antenna
( cm )
Length of PCB track
( cm )
2450 2.9 2.2---2.7
If, for space reasons, the track is made even shorter than the resonating quarter of
wavelength, the antenna should be matched to 50 ohms using a series inductor and a
shunt capacitor.

CT-EM250 ZigBee-Ready RF Transceiver Modules
Computime Ltd. All rights reserved Confidential Page 13 of 15
PCB Layout Recommendations
For recommended layout pads for the module, please reference Mechanical
Dimensions.
The area underneath the module should be covered with solder resist in order to
prevent short circuiting the test pads on the back side of the module. A solid ground
plane is preferred. Unconnected pins should be soldered to the pads, and the pads
should be left floating. For the module with integrated antenna, the RF pad can be
soldered, but the pad should not be connected further. The two ground pads (pin10
and pin12 should be grounded for all variants.)
When using the onboard chip antenna, careful attention is required to the layout of the
PCB where the module is mounted. In Figure 3 a mother PCB is shown with a
recommended placement of the module.
Figure 3 A recommended placement of the module on a mother PCB (Shaded area is ground-plane
on mother PCB)
FCC Approvals
The CT-EM2503 has been designed to meet all national regulations for World-wide
use. Using the integrated antenna it conforms to FCC CFR 47 Part 15 (USA).
This device complies with Part 15 of the FCC rules. Operation is subject to the
following two conditions: (1) this device may not cause harmful interference,
and (2) this device must accept any interference received, including
interference that may cause undesired operation.
The device CT-EM2503 carries FCC authorization and is marked with the FCC ID
Number. Whilst any device into which this authorized module is installed will not

CT-EM250 ZigBee-Ready RF Transceiver Modules
Computime Ltd. All rights reserved Confidential Page 14 of 15
normally be required to obtain FCC authorization, this does not preclude the
possibility that some other form of authorization or testing may be required for the
finished device.
When the CT-EM2503 module is integrated inside another device/product, then the
outside surface of that device/product must display a label referring to the enclosed
module. This exterior label can use wording such as “Contains Transmitter Module
FCC ID: DI2CT-EM2503” or “Contains FCC ID: DI2CT-EM2503” although any
similar wording that expresses the same meaning may be used.
FCC statement
Changes or modifications not expressly approved by the party responsible for
compliance could void the user's authority to operate the equipment.
If this equipment does cause harmful interference to radio or television reception, which can be
determined by turning
the equipment off and on, the user is encouraged to try to correct the interference by one or
more of the following measures:
—Reorient or relocate the receiving antenna.
—Increase the separation between the equipment and receiver.
—Connect the equipment into an outlet on a circuit different from that to which the receiver is
connected.
—Consult the dealer or an experienced radio/TV technician for help.
Operating description
1. Power-On, the module stand by TX mode, transmit the continued single signal, and all
lamp turn off. Push switch S1, the green lamp turn on, the module transmit the modulated
signal. Push switch S1 again, the green lamp turn of , the module stand by RX mode,
2. Power-On, The module work at Ch11 automated. Push switch S2, the red lamp turn on,
and the worked channel of module turn to Ch12, Push switch S2 again, the red lamp turn
off, the worked channel of module turn to Ch13,……..,when the worked channel of
module is Ch26, Push switch S2, the worked channel of module turn to Ch11.and so
cycle ,etc.

CT-EM250 ZigBee-Ready RF Transceiver Modules
Computime Ltd. All rights reserved Confidential Page 15 of 15
Mechanical Dimensions
CT-EM2500 CT-EM2501/2/3
Figure 4 Mechanical Dimensions of CT-EM2500 and CT-EM2501 modules
Ordering Information
Ordering Part
Number Description
CT-EM2500 ZigBee-ready RF module, 128 KB Flash , external
antenna
CT-EM2501 ZigBee-ready RF module, 128 KB Flash, integrated
antenna
CT-EM2502 ZigBee-ready RF module, 128 KB Flash, integrated
meander line antenna
CT-EM2503 ZigBee-ready RF module, 128 KB Flash, integrated
antenna FCC approved
Document Revision History
Document Revision change
1.0 Draft