CRAFTSMAN Saw Table Manual L0102049
User Manual: CRAFTSMAN CRAFTSMAN Saw Table Manual CRAFTSMAN Saw Table Owner's Manual, CRAFTSMAN Saw Table installation guides
Open the PDF directly: View PDF
.
Page Count: 70

Owner's Manual
ICRAFTSMAN°I
10 in. Stationary
TABLE SAW
Model No.
315.228590
Save this manual for
future reference.
CAUTION: Read and follow all
Safety Rules and Operating
Instructions before first use of this
product.
Customer Help Line: 1-800-932-3188
•Safety
•Features
•Assembly
•Operation
•Maintenance
•Parts List
Sears, Roebuck and Co., Hoffman Estates, IL 60179 USA
Visit the Craftsman web page: www.sears.com/craftsman
972000-782
10-00
C_@ us

FULL ONE YEAR WARRANTY ON CRAFTSMAN TABLE SAW
If this rRRFTSMRN Table Saw fails due to adefect in material or workmanship within one year from the date of
purchase, Sears will repair it, free of charge.
Contact a Sears Service Center for repair.
if this product is used for commercial or rental purposes, this warranty applies only for 90 days from the date of
purchase.
This warranty gives you specific legal rights, and you may also have other rights which vary from state to state.
Sears, Roebuck and Co., Dept. 817WA, Hoffman Estates, IL 60179
Your saw has many features for making cutting operations more pleasant and enjoyable. Safety , performance
and dependability have been given top priority in the design of this saw making it easy to maintain and operate.
,_ CAUTION: Carefully read through this entire owner's manual before using your new saw . Pay close
attention to the Rules For Safe Operation, and all Safety Alert Symbols, including Danger, Warning and
Caution. If you use your saw properly and only for what it is intended, you will enjoy years of safe, reliable
service.
_, Look for this symbol to point out important safety precautions. It means attention!!! Your safety is involved.
_k WARNING:
The operation of any power tool can result in foreign objects being thrown into your eyes,
which can result in severe eye damage. Before beginning power tool operation, always
wear safety goggles or safety glasses with side shields and a full face shield when needed.
We recommend a Wide Vision Safety Mask for use over eyeglasses or standard safety
glasses with side shields, available at Sears Retail Stores.
rRRFTSMRN" TABLESAW315.228590
• Warranty and Introduction .................................................................................................................... 2
• TableOf Contents ............................................................................................................................. 2-3
• Rules For Safe Operation .................................................................................................................. 4-6
• Electrical ............................................................................................................................................. 7
• GIossaryand ProductSpecifications ..................................................................................................... 8
• UnpackingandAccessories .................................................................................................................. 9
• Loose Parts List ............................................................................................................................. 10-11
• Small Parts List .............................................................................................................................. 11-13
• Tools Needed .................................................................................................................................... 14
• Labels ........................................................................................................................................... 15-16
• Features ........................................................................................................................................ 17-18
• Assembly ....................................................................................................................................... 19-33
Installing Handwheels on Table Saw Base .......................................................................................... 19
Assembling Steel Leg Stand ........................................................................................................... 19-20
2

MountingtheLegStandontheTableSawBase ..................................................................................20
TableExtensions...............................................................................................................................21
AssemblingCastIronTableExtension................................................................................................21
AligningCastIronTableExtension .....................................................................................................21
InstallingtheRearRail.......................................................................................................................22
InstallingtheFrontRail .......................................................................................................................23
AssemblingMDFTableExtension..................................................................................................23-24
AssemblingStorageHangers.............................................................................................................24
InstallingtheMicro-Adjust...............................................................................................................24-25
AligningRipFenceandRails..............................................................................................................25
MountingtheMotorandSwitch ...........................................................................................................26
InstallingtheBeltandBeltGuard ........................................................................................................27
InstallingtheBladeGuard ..................................................................................................................28
CheckingtheThroatPlate ..................................................................................................................29
AligningtheRivingKnifewiththeBlade ...............................................................................................29
CheckingHeeling(Paralleling)oftheSawbladetoMiterGageGroove .................................................30
Checking Rip Fence and Blade Alignment ........................................................................................... 31
Changingthe Motor Voltage ............................................................................................................... 32
Assembling the Hold Down Clamp on the Miter Gage .......................................................................... 33
• Adjustments ................................................................................................................................... 34-37
Replacing the Blade ........................................................................................................................... 34
Heeling (Paralleling) the Sawblade to Miter Gage Groove .................................................................... 35
Setting the Bevel Stops and Indicator .................................................................................................. 36
Adjusting the Miter Gage .................................................................................................................... 37
Removing /Replacing the Throat Plate ............................................................................................... 37
• Basic Operation of the Table Saw ................................................................................................... 38-47
Causes of Kickback ............................................................................................................................ 38
Avoiding Kickback .............................................................................................................................. 38
CuttingAids ....................................................................................................................................... 38
Resetting Thermal Overload Protector ................................................................................................ 39
Causes of Overload ........................................................................................................................... 39
Types of Cuts .................................................................................................................................... 40
Making a Cross Cut ........................................................................................................................ 41-42
Making a Rip Cut ............................................................................................................................... 42
Making a Miter Cut ............................................................................................................................. 43
Making a Bevel Cross Cut .............................................................................................................. 43-44
Making a Bevel Rip Cut ...................................................................................................................... 44
Making a Compound (Bevel) Miter Cut ................................................................................................ 45
Making a Large Panel Cut .................................................................................................................. 46
Making a Non-Through Cut ................................................................................................................. 47
Making a Dado Cut ............................................................................................................................ 47
• Maintenance ...................................................................................................................................... 48
• Lubrication ......................................................................................................................................... 48
• Troubleshooting ............................................................................................................................. 49-51
• Exploded View and Repair Pauls List ............................................................................................... 52-69
• PartsOrdering/Service .......................................................................................................... back page
3CRRFTSMRN" TABLESAW 315.228590

The purpose of safety symbols is to attract your attention to possible dangers. The safety symbols, and the
explanations with them, deserve your careful attention and understanding. The safety warnings do not by
themselves eliminate any danger. The instructions or warnings they give are not substitutes for proper accident
prevention measures.
SYMBOL
A
A
A
A
MEANING
SAFETY ALERT SYMBOL
Indicates danger, warning, or caution. May be used in conjunction with other symbols or
pictographs.
DANGER: Failure to obey a safety warning will result in serious injury to yourself or to others.
Always follow the safety precautions to reduce the risk of fire, electric shock and personal injury.
WARNING: Failure to obey a safety warning can result in serious injury to yourself or to others.
Always follow the safety precautions to reduce the risk of fire, electric shock and personal injury.
CAUTION: Failure to obey a safety warning may result in property damage or personal injury to
yourself or to others. Always follow the safety precautions to reduce the risk of fire, electric shock
and personal injury.
Note: Advises you of information or instructions vital to the operation or maintenance of the equipment.
IMPORTANT
Servicing requires extreme care and knowledge of the
system and should be performed only by a qualified
service technician. For service we suggest you return
the tool to your nearest Sears store or repair center.
Always use original factory replacement parts when
servicing.
AWARNING: Do not attempt tooperate thistool
until you have read thoroughly and understand
completely all instructions, safety rules, etc.
contained in this manual. Failure to comply can
result in accidents involving fire, electrical shock,
or serious personal injury. Save the owner's
manual and review frequently for continuing safe
operation, and instructing others who may use
thistool.
READ ALL INSTRUCTIONS
• KNOW YOUR POWER TOOL. Read the owner's
manual carefully. Learn the saw's applications
and limitations as well as the specific potential
hazards related tothistool.
DO NOT USE IN DANGEROUS ENVIRON-
MENT. Do not use power tools near gasoline or
other flammable liquids, in damp or wet loca-
tions, orexpose them to rain. Keep the work
area well lit.
•MAKE WORKSHOP CHILD-PROOF with
padlocks and master switches or by removing
starter keys.
•KEEP CHILDREN AND VISITORS AWAY. All
visitors should wear safety glasses and be kept a
safe distance from work area. Do notlet visitors
contacttoolorextension cordwhile operating.
KEEP THE WORK AREA CLEAN. Cluttered
work areas and work benches invite accidents.
DO NOT leave tools or pieces of wood on the
saw while it is in operation.
CRRFTSMRN" TABLESAW315.228590 4
•MAINTAIN TOOLS WITH CARE. Keep tools
sharp and clean for better and safer perfor-
mance. Follow instructionsfor lubricatingand
changing accessories.
•USE THE RIGHT TOOL FOR THE JOB. Do not
force the tool orattachment to doa job itwas not
designed for. Use itonly the way itwas intended.
•DRESS PROPERLY. Do not wear loose clothing,
gloves, neckties, rings, bracelets, orother
jewelry. They can get caught and draw you into
moving parts. Rubber gloves and nonslipfoot-
wear are recommended. Also wear protective
hair coveringto contain longhair.
• ALWAYS WEAR SAFETY GLASSES WITH
SIDE SHIELDS. Everyday eyeglasses have only
impact-resistant lenses; they are NOT safety
glasses.
•NEVER STAND ON TOOL. Serious injury could
occur ifthe tool is tipped or ifthe blade is unin-
tentionallycontacted.
DO NOT OVERREACH. Keep proper footing and
balance at all times.

RULES FOR SAFE OPERATION (Continued)
•SECURE WORK. Use clamps or a vise to hold
work when practical. It's safer than using your
hand and frees both hands to operate tool.
USE THE PROPER EXTENSION CORD. Make
sure yourextension cord isin good condition.
Use only a cord heavy enough to carry the
current you r product will draw. An undersized
cord will cause a drop in line voltage resulting in
loss of power and overheating. Awire gage size
(A.W.G.) of at least 14 is recommended foran
extension cord 25 feet orless inlength. If in
doubt, use the next heavier gage. The smaller
the gage number, the heavier the cord.
AVOID ACCIDENTAL STARTING. Be sure
switch isoffwhen plugging in.
REMOVE WRENCHES AND ADJUSTING
KEYS. Get inthe habit of checking - before
turning ontool -that hex keys and adjusting
wrenches are removed from tool.
CHECK DAMAGED PARTS. Before using the
tool again, check any damaged parts, including
guards, for proper operationand performance.
Check alignment of moving parts, binding of
moving parts, breakage of parts, saw stability,
mounting and any other conditions that may
affect its operation. A damaged part must be
properly repaired or replaced by a qualified
service technician at a Sears store or repair
centerto avoid riskof personal injury.
USE ONLY CORRECT BLADES. Use the right
blade size, style and cutting speed for the
material and the type of cut. Blade teeth should
point downtoward the front ofthe table.
USE RECOMMENDED ACCESSORIES. Using
improper accessories may risk injury.
USE ONLY SEARS REPLACEMENT PARTS.
All repairs, whether electrical or mechanical,
should be made by a qualified service technician
at a Sears store or repair center.
•KEEP GUARDS IN PLACE and ingood working
order. This includes the blade guard, riving knife,
and anti-kickback pawls.
•CHECK DIRECTION OF FEED. Feed work into
a blade or cutter against the direction of rotation
ofthe blade orcutteronly.
•DISCONNECT ALL TOOLS. When not in use,
before servicing, orwhen changing attachments,
blades, bits, cutters, etc., all tools should be
disconnected from powersupply.
•DO NOT FORCE THE TOOL. It will do the job
better and more safely at the rate for which it
was designed.
A
NEVER LEAVE TOOL RUNNING UNAT-
TENDED. TURN THE POWER OFF. Do not
leave tool until itcomes to a complete stop.
BEFORE MOUNTING, DISCONNECTING OR
REMOUNTING THE MOTOR; unplug the saw
and remove the switch key.
WARNING: When servicing, use only identical
Craftsman replacement parts. Use of any other
parts may create a hazard or cause product
damage.
NEVER USE THIS TOOL IN AN EXPLOSIVE
ATMOSPHERE. Normal sparking of the motor
could ignite fumes.
•MAKE SURE THE WORK AREA HAS AMPLE
LIGHTING to see the work and that noobstruc-
tionswill interfere withsafe operation BEFORE
performing any work usingthistool.
•DO NOT USE TOOL IF SWITCH DOES NOT
TURN IT ON AND OFF. Have defective switches
replaced by a qualified service technician at a
Sears store or repair center.
GUARD AGAINST ELECTRICAL SHOCK by
preventing bodycontact withgrounded surfaces
such as pipes, radiators, ranges, refrigerator
enclosures.
GROUND ALL TOOLS. See Electrical page.
WEAR A DUST MASK to keep from inhaling fine
particles.
PROTECT YOUR HEARING. Wear hearing
protection during extended periods of operation.
DO NOT OPERATE THIS TOOL WHILE UN-
DER THE INFLUENCE OF DRUGS, ALCOHOL,
OR ANY MEDICATION.
STAY ALERT AND EXERCISE CONTROL.
Watch what you are doing and use common
sense. Do not operate tool when you are tired.
Do not rush.
AVOID AWKWARD OPERATIONS AND HAND
POSITIONS where a sudden slip could cause
your hand to move into the blade. ALWAYS
make sure you have good balance.
ALWAYS SUPPORT LARGE WORK PIECES
while cutting to minimize risk of blade pinching
and kickback. Saw may slip, walk or slide while
cuttinglarge orheavyboards,
GUARD AGAINST KICKBACK. Kickback can
occur when the blade stalls, driving the work
piece back toward the operator. It can pull your
hand into the blade, resulting in serious personal
injury. Stay out ofthe blade path and turn switch
off immediately if blade binds orstalls.
5 CRAFTSMAN' TABLESAW 315.228590

RULES FOR SAFE OPERATION (Continued)
•USE A SUPPORT FOR THE SIDES AND BACK
OF THE SAW TABLE when sawing wide or long
workpieces. Use asturdy"outrigger" support if a
table extensLonis more than 24 inches longand
isattached to the saw, to prevent tipping.
CUT ONLY WOOD, PLASTIC OR WOOD-LIKE
MATERIALS. Do notcut metal.
NEVER cut more than one piece at a time. DO
NOT STACK more than one workpiece on the
saw table at a time.
DO NOT REMOVE THE SAW'S BLADE
GUARDS. Never operate the saw withany guard
or cover removed. Make sure all guards are
operating properly before each use.
NEVER PERFORM ANY OPERATION FREE-
HAND. Always place the workpiece to be cut on
the saw table and position itfirmly against the
fence as a backstop.
USE THE RIP FENCE. Always use a fence or
straight edge guide when ripping.
BEFORE MAKING A CUT, be sure all adjust-
ments are secure.
BE SURE THE BLADE PATH IS FREE OF
NAILS. Inspect for and remove all nails from
lumber before cutting.
•BE SURE THE BLADE CLEARS THE
WORKPIECE. Never start the saw with the blade
touchingthe workpiece.
•KEEP HANDS AWAY FROM CUTTING AREA.
Do not reach underneath work or in blade cutting
path withyour hands and fingers for any reason.
Always turnthe power off.
•USE A PUSHBLOCK OR PUSH STICK for
workpieces so small that your fingers go under
the blade guard. NEVER TOUCH BLADE or
other moving parts during use, for any reason.
_, WARNING: Blade coasts after being turned off.
ALLOW THE MOTOR TO COME UP TO FULL
SPEED before starting acut to avoid blade
binding orstalling.
ALWAYS PUSH THE WORKPIECE; never pull it
toward the saw.
DO NOT FEED THE MATERIAL TOO QUICKLY.
Do notforce the workpiece against the blade.
ALWAYS TURN OFF SAW before disconnecting
it, to avoid accidental starting when reconnecting
to power supply. NEVER leave the table saw
unattended while connectedto a power source.
BEFORE CHANGING THE SETUP, REMOVING
COVERS, GUARDS, OR BLADE; unplug the
saw and remove the switch key.
KEEP TOOL DRY, CLEAN, AND FREE FROM
OIL AND GREASE. Always use a clean cloth
when cleaning. Never use brake fluids, gasoline,
petroleum-based products, orany solvents to
cleantool.
•KEEP BLADES CLEAN, SHARP AND WITH
SUFFICIENT SET. Sharp blades minimize
stalling and kickback.
•USE ONLY OUTDOOR EXTENSION CORDS.
Use only extension cords withthe marking
"Acceptable for use with outdoorappliances;
store cords indoors while not inuse." Use
extension cords with an electrical ratingnot less
than the saw's rating. Always disconnect the
extension cordfrom the outlet before disconnect-
ingthe productfrom the extensioncord.
•INSPECT TOOL CORDS AND EXTENSION
CORDS PERIODICALLY and, if damaged, have
repaired by a qualified service technician at a
Sears store or repair center. Stay constantly
aware of cord location and keep it well away
from the moving blade.
DO NOT ABUSE CORD. Never yank cord to
disconnect it from receptacle. Keep cord from
heat, oil, and sharp edges.
SAVE THESE INSTRUCTIONS. Refer to them
frequently and use to instructother users. Ifyou
loan someone this tool, loan them these instruc-
tionsalso.
,_ WARNING: Some dust created by power
sanding, sawing, grinding, drilling, and other
construction activities contains chemicals known
to cause cancer, birth defects or other
reproductive harm. Some examples of these
chemicals are:
• lead from lead-based paints,
• crystalline silica from bricks and cement and
other masonry products, and
• arsenic and chromium from chemically-treated
lumber.
Your risk from these exposures varies,
depending on how often you do this type of
work. To reduce your exposure to these
chemicals: work in a well ventilated area, and
work with approved safety equipment, such as
those dust masks that are specially designed to
filter out microscopic particles.
SAVE THESE INSTRUCTIONS
CRRFTSMRN" TABLESAW 315.228590 6

EXTENSION CORDS
Use only 3-wire extension cords that have 3-prong
grounding plugs and 3-pole receptacles that accept
the tool's plug. When using a power tool at a consid-
erable distance from the power source, use an
extension cord heavy enough to carrythe current that
the tool will draw. An undersized extension cord will
cause a drop in line voltage, resulting in a loss of
power and causing the motor to overheat. Use the
chart provided below to determine the minimum wire
size required in an extension cord, Only round jack-
eted cords listed by Underwriter's Laboratories (UL)
should be used.
Length of Extension Cord
Up to 25 feet
Wire Size (A.W.G.)
14
26-100feet 12
When working with the tool outdoors, use an exten-
sion cord that is designed for outside use. This is
indicated by the letters WA on the cord'sjacket.
Before using an extension cord, inspect it for loose or
exposed wires and cut orworn insulation.
,_ CAUTION: Keepthecordawayfromthecutting
area and position the cord so that itwill not be
caught on lumber, tools,orotherobjecteduring
cuttingoperations.
ELECTRICAL CONNECTION
Your Sears Craftsman Table Saw is powered by a
precision built electric motor. Itshould be connected
to a power supply that is 120 volts, 60 Hz, AC only
(normal household current). It should be connected
to a240 volt power supply only if it has been reset
according to the instructions in this manual. The
motor has been set at the factory for 120 volts; if it is
reconnected to operate at 240 volts, all attachment
plugs and any receptacles must be replaced with
devices rated for 240 volts. Do not operate this tool on
direct current (DC). A substantial voltage drop will
cause a loss of power and the motor will overheat, If
the saw does not operate when plugged into an
outlet, double check the power supply.
SPEED AND WIRING
The no-load speed of your table saw is approximately
3,600 rpm. This speed is not constant and decreases
under a load or with lower voltage. For voltage, the
wiring in a shop is as important as the motor's horse-
power rating. A line intended only for lights cannot
properly carry a power tool motor. Wire that is heavy
enough for a short distance will be too light for a
greater distance. A line that can support one power
tool may not be able to support two or three tools.
GROUNDING INSTRUCTIONS
In the event of a malfunction or breakdown, grounding
provides a path of least resistance for electriccurrent
to reduce the risk of electric shock. This tool is
equipped with an electric cord having an equipment-
grounding conductor and a grounding plug. The plug
must be plugged into a matching outlet that is properly
installed and grounded in accordance with all local
codes and ordinances.
Do not modifythe plug provided. Ifit will notfitthe
outlet, have the proper outlet installed by a qualified
electrician. Improper connection of the equipment-
grounding conductor can result in a risk of electric
shock. The conductor with insulation having an outer
surface that is green with or without yellow stripes is
the equipment-grounding conductor. Ifrepairor
replacement of the electric cord or plug is necessary,
do not connect the equipment-grounding conductor to
a live terminal.
Check with a qualified electrician or service personnel
ifthe grounding instructions are not completely
understood, or if indoubt as to whether the tool is
properly grounded.
Repair or replace a damaged or worn cord immedi-
ately.
This tool is intended for use on a circuit that has an
outlet like the one shown in Figure 1. It also has a
grounding pin like the one shown.
WARNING: Instructions are given in the
Assemblysection forchanging the motorvoltage
to 240 volts. Follow them carefully ... Electrical
shock can kill.
COVEROF GROUNDED
OUTLETBOX Fig. 1
7 rRRFTSMRN" TABLESAW 315.228590

Anti-Kickback Pawls
Toothed safety devices behind the blade designed to
stop a workpiece from being kicked back at the
operator during a ripping operation.
Arbor
The shaft on which a blade or cutting tool is mounted.
Bevel Cut
A cutting operation made with the blade at any angle
other than 90°to the saw table.
Compound Cut
A cut with both a miter angle and a bevel angle.
Crosscut
A cutting operation made across the grain or the width
of the workpiece.
Dado
A non-through cut that gives a square notch or trough;
requires a special blade.
Featherboard
A device to help guide workpieces during rip cuts.
Freehand (for table saw)
Dangerous practice of making a cut without using rip
or miter fences. See Safety Rules.
Gum
A sticky, sap-based residue from wood products.
Heel
Alignment of the blade.
Kerf
The material removed by the blade in a through cut or
the slot produced by the blade in a non-through cut.
Kickback
A hazard that can occur when blade binds or stalls,
throwing workpiece back toward operator.
Leading End
The end of the workpiece pushed into the cutting tool
first.
Miter Cut
A cutting operation made with the miter gage using
any angle other than 0° on the miter gage.
Molding
A non-through cut that gives a varied shape to the
workpiece and requires a special blade.
Push Stick
A device used to feed the workpiece through the saw
blade during narrow cutting operations. It helps keep
the operator's hands well away from the blade.
Rabbet
A notch in the edge of a workpiece.
Resaw
A cutting operation to reduce the thickness of the
workpiece in order to make thinner pieces.
Resin
A sticky, sap-based substance.
Rip Cut
A cut made with the the grain of the workpiece.
Sawblade Path
The area directly in line with the blade -- over, under,
behind, or in front of it. Also, the workpiece area
which will be or has been cut by the blade.
Set
The distance that the tip of the saw blade tooth is bent
(or set) outward from the face of the blade.
Throw-Back
Saw throwing back a workpiece; similar to kickback.
Through Sawing
Any cutting operation where the blade extends
completely through the workpiece.
Trailing End
The workpiece end last cut by the blade in a rip cut.
Workpiece
The item on which the cutting operation is being done.
The surfaces of a workpiece are commonly referred to
as faces, ends, and edges.
Worktable
The surface on which the workpiece rests while
performing a cutting operation.
Blade Arbor 5/8 in.
Blade Diameter 10 in.
Blade Tilt 0° - 45 °
Table Size without table extensions 20 in. x 27 in.
Table Size with table extensions 53-1/2 in. x 27 in.
Rating 120 /240 V, 60 Hz - AC only
Input 13/6.5 Amperes
No Load Speed 3,600 RPM
Cutting Capacity with Miter at 0"/Bevel 0": 3-3/8 in.
Cutting Capacity with Miter at 0"/Bevel 45=: 2-!/4 in.
CRRFTSMRH"TABLE SAW 315.228590 8

Your new table saw has been designed to give you
many years of high quality performance. To insure
this goal, proper care and treatment is important.
Careful treatment begins with removing all parts from
the carton and checking them against the list of loose
parts. The long box contains the rails. The large box
holds all other parts, which are detailed in the Loose
Parts List.
• Separate the saw and all parts from the packing
materials and check each against the packing list,
especially the small parts that can be hidden in the
packing material.
Note: Do not discard the packing materials until you
have carefully inspected the saw, identified all
parts, and satisfactorily operated your new saw.
_1, WARNING: Never use gasoline, naptha, or
other highly volatile solvents. Do not ever let
brake fluids, gasoline, petroleum-based
products, or penetrating oils contact plastic parts.
Such chemicals can weaken or destroy plastic.
• Remove the wax paper covering on the table. Use
any ordinary household type grease and spot
remover. Immediately apply a coat of automotive
type paste wax to the table and table exensions.
AWARNING: To prevent accidental starting that
could cause possible serious personal injury,
assemble all parts to your saw before connecting
it to power supply. Saw should never be
connected to power supply when you are
assembling parts, making adjustments, installing
or removing blades, or when not in use.
WARNING: If any parts are missing, do not
operate this tool until the missing parts are
replaced. Failure to do so could result in possible
serious personal injury.
The following recommended accessories are currently available
• Fence Guide System
• Guide Master
• Box Joint & Miter Guide
• Universal Jig
•Taper Jig
• 10 in. Sanding Disc
• 8 in. Sanding Disc
• Elite Dado
• Excalibur Dado
• 7 in. Adj. Dado 36 tip
at Sears Retail Stores.
• 7 in. Adj. Dado 24 tip
• 7 in. Stack Steel Dado
• 7 in. x 9/16 in. Stack Dado
• 7 in. Molding Head Set
2 Bit Molding Head Set
• Saw Baskets
• Jointer Clamps
• Specialty Threat Plate
Accessory Table
_1 WARNING: The use of attachments or accessories not listed might be hazardous.
9 £RRFTSHRN" TABLESAW 315.228590

The following items are included with your Table Saw.
DGI
H J
M
' i
b0
K
PQ
A. Table Saw Base ....................................................
B, Belt ....................................................................... 1
C, Belt Guard
(Hardware Shown Separately) ............................. !
D, Blade Guard Assemb)y
(`Hardware Shown Separately) ............................. 1
E. Wrench ................................................................. 1
F, Handwheel
(.Hardware Shown Separately) ............................. 2
G. Leg Brace, lower {short) ....................................... 2
H, Leg Brace, lower I_o_g) ........................................ 2
I. Leg Brace, upper (short) ....................................... 2
J. Leg Brace, upper (long) ........................................ 2
K, Leg ........................................................................ 4
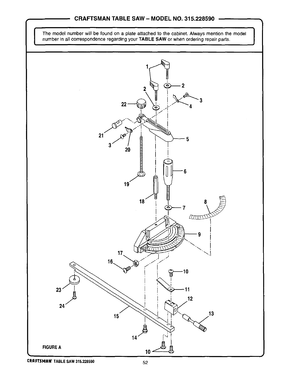
L, Miter Gage (some assembty required) ................. 1
M. Motor and Switch (Hardware Shown Se._)arately). 1
N. Switch Key ............................................................ 1
O. Rip Fence .............................................................
Rail, Front (Hardware Showr_ Separately) ............ 1
Q. R,_il, Rear (Hardware Shown Separately) ............ 1
_RgFT._NgN'TAgL,E._AW3t_.228_ _0

The following items are included with your Table Saw.
S
U
_2 b
R. Motor Mounting Plate
(Hardware Shown Separately) ............................. 1
S. Blade Guard Bracket ............................................ 1
T. Table Extension (Hardware Shown Separately) ... 1
U. Hangers (Hardware Shown Separately) ............... 4
V. Micro-Adjust Gear Rack
(Hardware Shown Separately) ............................. 1
W. Micro-Adjust Knob
(Hardware Shown Separately) ............................. 1
X. MDFTable Extension
(Hardware Shown Separately) ............................. 1
'4 Dust Bag (not shown) ........................................... 1
Z. Owner's Manual (not shown) ................................ 1
AA. Hardware for Leg Stand, Leveling Feet, and
Mounting Saw Base (Shown Separately) ............. 1
BB. Hardware for Blade Guard Bracket and
Blade Guard Assembly (Shown Separately) ........ 1
Check all loose parts from the box with the list on pages 10 - 13. Small items such as fasteners and end caps
are shown in figures 2 c, 2 d, and 2 e. Follow the instructions in the Assembly section to assemble your new
saw,
C. Hardware for Belt Guard .................................... 1
hex nut (#10-24) ................................................. 4
flat washer (#10) ................................................. 4
F. Hardware for Handwheel ................................... 2
screw (#10-24 x 1/2 in.) ...................................... 2
lock washer (#10) ............................................... 2
M. Hardware for Mounting Motor and Switch Box
Hardware for Mounting Motor ............................ 1
hex bolt (5/16-18 x 1 in.) .................................... 4
flat washer (5/16 in.) ........................................... 8
lock washer (5/16 in.) ......................................... 4
hex nut (5/16-18) ................................................ 4
Hardware for Mounting Switch Assembly
square head nut (1/4-20) .................................... 2
screw (1/4-20 x 3/8 in.) ....................................... 2
Figure 2 c
11 CRRFTJ;MRN"TABLESAW315.228590

Check all loose parts from the box with the list on pages 10 - 13. Small items such as fasteners and end caps are
shown in figures 2 c, 2 d, and 2 e. Follow the instructions in the Assembly section to assemble your new saw.
P,
Q,
Hardware for Front Rail and MDF
Table Extension .................................................. 1
square head bolt (5/16-18 x 3/4 in..) .................. 7
end cap for front rail ........................................... 2
screw (#8-32 x 1/2 in.) ........................................ 4
hex nut (5/16-18) ................................................ 7
flat washer (5/16 in.) ........................................... 7
O
O
Hardware For Rear Rail and MDF
Table Extension .................................................. 1
square head bolt (5/16-18 x 3/4 in.) ................... 7
flat washer (5/16 in.) ........................................... 7
hex nut (5/16-18) ................................................ 7
end cap for rear rail ............................................ 2
screw (#8-32 x 1/2 in.) ........................................ 2
O
T*
U,
Hardware for Cast Iron Table Extension ............ 1
hex bolt (5/16-18 x 1 in.) .................................... 4
flat washer (5/16 in.) ........................................... 8
hex nut (5/16-18) ................................................ 4
Hardware for Hangers
carriage bolts (5/16-18 x 3/4 in.) ........................ 4
V. Hardware for Micro-Adjust Gear Rack
square nut (1/4-20) ............................................. 8
screw (1/4-20 x 3/8 in.) ....................................... 8
W. Hardware for Micro-Adjust Knob
screw (1/4-20 x 3/8 in.) ....................................... 2
Fig. 2 d
R. Hardware for Motor Mounting Plate ................... 1
hex bolt (5/16-18 x 3/4 in.) ................................. 2
rRRFTSMRH" TABLE SAW315.228590 12

Check all loose parts from the box with the list on pages 10 - 13. Small items such as fasteners and end caps are
shown in figures 2 c, 2 d, and 2 e. Follow the instructions in the Assembly section to assemble your new saw.
AA. Hardware for Leg Stand, Leveling Feet, and
Mounting Saw Base
BB. Hardware for Blade Guard Bracket and Blade
Guard Assembly
Hardware for Leg Stand ..................................... 1
carriage bolt (5/16-18 x 3/4 in.) ........................ 24
flat washer (5/16 in.) ......................................... 24
hex nut (5/16-18) .............................................. 24
Hardware for Leveling Feet ................................ 1
leveling foot ........................................................ 4
flat washer (5/16 in.) ........................................... 8
hex nut (5/16-18) ................................................ 8
Blade Guard Bracket .......................................... 1
hex bolt (5/16-18 x 1/2 in.) ................................. 2
lock washer (5/16 in.) ......................................... 2
Blade Guard Assembly ....................................... 1
socket head cap screw {1/4-20 × 3/8 in.) ......... :. 3
flat washer (1/4 in.) ............................................. 3
Fig. 2e
Hardware for Mounting Saw Base ..................... 1
hex bolt (5/16-18 x 3/4 in.) ................................. 4
flat washer (5/16 in.) ........................................... 8
hex nut (5/16-18) ................................................ 4
13 I;RRFTSHRN" TABLE SAW315.228590

The following tools are needed for assembly and alignment. Note: The five hex keys listed below have been
provided with your saw. The remaining tools are typical shop tools and are not included with your saw.
SMALL /MEDIUM
PHILLIPSSCREWDRIVER
=9
NUTDRIVER
8 mm, 10 ram,and12mm
HEX KEYS(PROVIDED)
and6 mm
COMBINATIONSQUARE
HAMMER
45oTRIANGLE
_WREN_HES: 8 mm,10 mm,and_2mnl
FRAMINGSQUARE
CRAFTSMAN"TABLE SAW315.228590
ADJUSTABLEWRENCH
14

BF
C
D
G
E
H
B
A
10 inch Table Saw
3600 R.P.M. 120/240 VOLTS60 HzACONLY13 A/6.5 A
I&WARNINGIW.E.SERV.C.NOOSEONL*
IDENTICALCRAFTSMAN REPLACEMENT PARTS. L._
MODEL 315.228590 EER. NO. (_
MADE IN TAPNAN ;Cv US
SEARS, ROEBUCKAND CO, i _ STA13ONARyTOOL
Customer Help Line 1-800-932-3188 J
&WARNINI
• RaisedGuard
CanDropon
Spinning
Bladeand
Break.
•ToreduceThe
RiskofInjury,
GuardMust
beinPlace
DuringUse.
•Alignand
Tighten
RivingKnife
Fasteners
BeforeUse
Fig. 4 a
15 ERRFTSNRN" TABLESAW 315,228590

I<_ [_WARNING
When Mounting an Auxiliary Fence Face, Position Mounting Hardware Beyond Arrow at Right and Left as indicated.
Keep Fasteners Away From Blade,
CD
Do Not Lift Saw With Rails 1
or Extension Tables.
F
AWARNING
•Attach Blade Guard
Assembly Before
Operating this Saw
•Read Owner's
G
E
WARNING
Debris on rail can misalign
the rip fence• Workpiece
could bind or suddenly
kick back• You could be
hit or cut. Clean debris
off fence rail before
positioning fence•
H
CRAFTSMAN*
I P R 0 F E S S I 0 N A L
AWARNING
i • Rud m=nUal b_ usln9 m •W_ dp_no, u4e p_sh stick when fer.c_ is I4R 2 _-,¢h4g _ k._ f_ml I
,wMr _g_lg_s ahat rmml ANS; Zrt 1 bLide
=_ds. • KnOO hO_ to rtd_ t_ risk of Iddd_DCk. _Instr=_tl_ll _rl_ng.
I Do ,1or _lch around m"O.lW m bll,dll. * Ipr_Bnriling, uaMmpulh b4O_k ip;d luxllmW hpnce 11,_4mfqm_ll I_ _
_ _p blDde _p*mrddOOma_<l bl p_lr,¢oPot behv_n 1/2 lad 2 InChel from bt_e.
_h =_m • DO not _kl dp ¢U_ _l_ th=_ 1/2 Ir_h.
K_p h=nds _C_ _W_ C_m _=de.
Fig. 4b
CRAFTSMAN" TABLE SAW315.228590 16

KNOW YOUR TABLE SAW
ANTI-KICKBACKPAWLS
BLADEGUARD
TABLE
EXTENSION
RIVINGKNIFE
BLADE
REARRAIL
ALIGN-A-CUT
INSERT
RIPFENCE MDFTABLE
EXTENSION
SCALE
FRONT
RAIL
MITER
GAGE
HANDWHEEL
SWITCH
WITH KEY
MICRO-
ADJUST
KNOB
SCALE RIPFENCE
HANDLE
HEIGHT
HANDWHEEL
HANGER
BELTCOVER
LEGSTAND
LEVELINGFOOT
MOTOR
BEVEL
LOCKHANDLE
Fig. 5
OVERVIEW
The upper portion of the blade projects up through the
table, surrounded by an insert called the threat plate.
The height of the blade is set with a handwheel on the
front of the cabinet. To accommodate wide panels,
the tabletop has extensions on each side. Detailed
instructions are provided in the Operation section of
this manual for the basic cuts: cross cuts, miter cuts,
bevel cuts, and compound cuts.
For cuts with the blade straight up and cutting across
the grain (cross cuts or miter cuts), use the miter gage
to set the angle and push the wood into the blade. To
cut with the b_ade straight up, along the grain of the
wood (rip cuts), use the rip fence to guide the wood.
Push smaller pieces with a pushbtock or pushstick.
To tilt the blade for a bevel cut, use the bevel
handwheel on the side of the cabinet. Abevel scale
on the front of the cabinet shows the blade angle.
17 tRRFTSMRW TABLE SAW 315,228590

Inside the cabinet, adjustable positive stops control
the degree of tilt.
Use the miter gage with a bevel cross cut (compound
cut) and the rip fence with a bevel rip cut. Other cuts
require special attachments, which have detailed
instructions to reduce risk of injury and ensure the
best performance from your new saw.
Before attempting to use your saw, familiarize yourself
with all operating features and safety requirements of
your Sears Craftsman table saw. The saw's features
are described below.
ALIGN-A-CUT INSERT - A plastic insert on which
marks may be made to indicate the location of the
sawcut on the workpiece.
ANTI-KICKBACK PAWLS - Kickback is a hazard in
which the workpiece is thrown back toward the
operator. The toothed pawls are designed to snag the
workpiece to prevent or reduce injury should kickback
occur.
BEVEL HANDWHEEL - This handwheel, on the right
side of the cabinet, tilts the blade for a bevel cut.
BEVEL SCALE - The easy-to-read scale on the front
of the workstand shows the exact blade angle.
BLADE -This saw is provided with a Craftsman 40
tooth, 10 in. carbide tipped blade. The blade is
adjusted with bevel and height handwheels on the
cabinet. Bevel angles are locked with a handle below
the front rail.
&WARNING: Be sure to use only blades rated for
at least 5,000 rpm and recommended for use on
this saw. Check with your nearest Sears retail
store.
BLADE COVER - The internal cover contains sawdust
so it can be directed into the sawdust bag.
BLADE GUARD - Always keep the guard down over
the blade for through-sawing cuts.
BEVEL LOCK HANDLE - This handle, placed just
under the worktable surface on the front of the cabi-
net, locks the angle setting of the blade. Be sure the
handle is hanging straight down before tilting the
blade. If it is not straight down, it may jam and bend
the locking bolt.
DUAL VOLTAGE - Your table saw can be set up to
operate at either 120 or 240 volts. Use extreme
caution when changing the voltage.
DUST BAG - Saw dust can be directed into this
detachable bag or into a wet/dry vacuum.
HEIGHT HANDWHEEL - Use this handwheel to lower
and raise the blade for adjustments or replacement. It
is located on the front of the cabinet.
MICRO-ADJUST INDEX - A rip fence gear and track
that provides precise indexing.
MITER GAGE - This gage aligns the wood for a
crosscut. The easy-to-read indicator shows the exact
angle for a miter cut, with positive stops at 90 ° and
45°.
MITER GAGE GROOVES - The miter gage rides in
these grooves on either side of the blade.
MITER GAGE HOLD-DOWN - A clamp assembly that
fits onto the miter gage to provide additional stability.
MITER GAGE KNOB - Located on the miter gage,
this knob locks in the cutting angle after selection.
MOTOR (13/6.5 AMP) - The powerful induction motor
is 3HP, with capacitor start and V-belt drive, and is
housed in a sturdy steel base.
OVERLOAD PROTECTOR - This device switches off
the saw if it overheats. See the Operation section.
RAILS - Front and rear rails provide support for large
workpieces and the rip fence.
RIP FENCE - A sturdy metal fence guides the
workpiece and is secured with the rip fence handle.
Grooves run along the top and sides of the rip fence
for use with optional clamps and accessories.
MICRO-ADJUST KNOB - The micro-adjust knob on
the front of the rip fence makes fine adjustments to
the desired measurement for precise cutting. Push in
the knob and turn to position the rip fence.
RIP FENCE HANDLE - The handle on the front of the
rip fence releases the rip fence or locks it in place.
RIVING KNIFE OR SPREADER - Located directly
behind the blade, it keeps cut edges from binding and
supports the blade guard.
SCALE - Found on the front rail, the easy-to-read
scale provides precise measurements in rip cuts.
SWITCH WITH KEY - Your table saw has an easy
access power switch located below the front rail. The
yellow switch key must be removed from the hard-
ware bag and inserted into the switch before saw can
be operated. To lock the switch in the OFF position,
remove the switch key from the switch. Place the key
in a location that is inaccessible to children and others
not qualified to use the tool.
TABLE EXTENSIONS - Two removable table exten-
sions provide support for larger workpieces. One is a
cast iron table extension, 12 in. by 27 in. The other is
a larger, mdf table extension, 21-1/4 in. by 27 in.
CRAFTSMAN" TABLESAW 315.228590 18

Assembly is best done in the area where the saw will be used. When you remove the table saw base, loose
parts, and hardware from the packing materials, check all items with the loose parts list and drawing. If you are
unsure about the description of any part, refer to the drawing. If any parts are missing, delay assembling until
you have obtained the missing part(s).
INSTALLING HANDWHEELS ON SAW BASE
See Figure 6.
• Each handwheel bag contains a metal handwheel,
a screw (#10-24 x 1/2 in.), and a lock washer (#10).
• Align the handwheels to the shaft ends that extend
from the front and right side of the table saw base.
Match the flat spots on the shaft and inside the
handwheel. Insert a screw and alock washer in the
handwheel center and tighten with a 4 mm hex
key.
BEVEL
HANDWHEEL
TABLE
HANDWHEEL
SHAFTEND LOCK
WASHER
SCREW
Fig. 6
Note: Prior to assembly; clean the
protective coating from the
top, sides, and ends of the
table top on your saw. Also
clean protective coating from
the cast iron extension table.
CARRIAGE
BOLT
I
Note: If you mount the saw base on a bench instead
of the legs, go to Table Extensions, page 21.
The bench surface must have an opening for
sawdust to fall through, as large as the opening
in the bottom of the saw base. A height of 36 in.
from the top of the saw table to the floor is
recommended.
ASSEMBLING STEEL LEG STAND
See Figures 7 and 8.
• Take the following hardware from the leg stand
hardware bag:
24 carriage bolts (5/16-18 x 3/4 in.)
4leveling feet
32 flat washers (5/16 in.)
32 hex nuts (5/16-18)
Note: Remaining hardware from this bag is used for
mounting leg stand on the table saw base.
• Take 4 legs and 8 braces from loose parts.
• Place a short upper brace inside two of the legs,
with the legs wide end up. (Upper braces have two
large holes in each end.) Make sure the two posts
on the leg align with the small holes on the brace.
UPPERBRACE WASHER
HEXNUT
\
LOWERBRACE
LEVELINGFOOT
WASHER
Fig. 7
19 rlIIIFI"IMAN'TABLESAW315.228590

•Align the two large holes on the brace and the
legs. Insert the carriage bolts. Add flat washers
and hex nuts and hand tighten. Repeat for the
other short upper brace. These are the front and
back sets.
• For the side sets, install a long upper brace on two
legs. Add hardware and finger tighten. Repeat for
the other long upper brace.
•Use the same steps to install the lower braces.
Tighten all hex nuts with a 12 mm wrench.
• Place a hex nut and flat washer on each leveling
foot. Install the leveling feet from the bottom of
each leg with the bolts pointing up. Cap with the
remaining flat washers and hex nuts but do not
tighten.
• Move the leg set to desired location. Adjust the
leveling feet with a 12 mm wrench, then tighten the
top hex nut. UPPER
BRACE
,_ WARNING: Do not lift the saw without help.
The saw base weighs approximately 95 Ibs. Hold
it close to your body. Keep your knees bent and
lift with your legs, not your back. Ignoring these
precautions can result in back injury.
•Place the leg stand on the table saw base. Align
the holes in the table with the holes in the end
braces. Make sure the Craftsman label faces the
front of the saw which has the height handwheel.
• Place a flat washer on a bolt and insert through
hole. Add a flat washer and a hex nut. Hand
tighten.
Repeat for three remaining holes. Tighten all
hardware with a 12 mm wrench. You may find it
helpful to use one wrench to hold the head of the
bolt and one to tighten the hex nut. Leave the saw
upside down to add the cast iron extension.
LEG
FLATWASHER
LEG LOWERBRACE
LEGSTANDASSEMBLED Fig. 8
MOUNTING THE LEG STAND ON THE TABLE
SAW BASE
See Figure 9.
• Take the following from a small hardware bag:
4 hex bolts (5/16-18 x 3/4 in.)
4 hex nuts (5/16-18)
8 flat washers (5/16 in.)
Note: This hardware was in the bag with hardware for
assembling the leg stand and leveling feet.
• Place the saw table upside clown on a smooth
surface, such as cardboard, on the floor.
FLATWASHER
HEXBOLT
Fig. 9
[RAFTSMRH'TABLESAW 315.228590 20

TABLE EXTENSIONS
Two different table extensions have been supplied
with your saw; one is made of cast iron and the other
made of MDF material. The cast iron table extension
attaches to the saw table. It must be assembled first.
The MDF table is assembled after assembly of the
front and rear rails. It attaches to the front and rear
rails on the opposite side of the saw table.
The cast iron table should be assembled to the left
side of the saw table when viewing from normal
operating position. The MDF table extension should
be assembled to the right side ofthe saw table when
viewing from normal operating position.
ASSEMBLING CAST IRON TABLE EXTENSION
See Figure 10.
• Locate the cast iron table extension and the small
hardware bag with the following:
4 hexbolts(5/16-18x 1 in.)
4 hex nuts (5/16-18)
8 flat washers (5/16 in.)
,_ WARNING: The table extensions not only
provide a better cut on the workpiece but help
protect you. Serious injury can result from
workpiece binding or kickback due to twisted
rails or a misaligned rip fence.
• With the saw upside down, align cast iron table
extension with saw table. Put a flat washer on each
bolt. Attach the table extension to the saw table by
inserting the bolts from the direction of the table.
• Slip the remaining flat washers and hex nuts on the
bolts. Lightly tighten them with a 12 mm wrench.
• Get help to stand the saw assembly upright using
the center saw table. Do not grasp the saw by the
table extension.
,_ WARNING: The saw is very heavy. Do not lift
the saw table without help. Keep your knees
bent and lift with your legs, not your back.
Ignoring these precautions can result in back
injury.
ALIGNING CAST IRON TABLE EXTENSION
See Figure 11.
A good alignment allows the rails to slide on easily.
•Stand at the front of the saw and line up the front
edges of the table and extension.
•To align extension without damaging the table saw,
put a block of wood at the front of the table where
the extension meets the table, and tap the block
with a hammer. Check and repeat untilthe front
edges are even.
•Lift extension slightly until it is higher than the table
(if necessary, place ablock of wood below and tap
upward). Center the block of wood over the front
and rear edges and tap until both are even (flush)
with saw table. Recheck the front alignment. If it is
even, tighten the screws with a 12 mm wrench.
BLOCKOF WOOD SAWTABLE
EXTENSION
SAW
BASE
TABLE
EXTENSION
VIEWED FROM SIDE
SAWTABLEEDGE
TABLEEXTENSIONEDGE
FORWARD
VIEWED FROM FRONT
TAP HERE
II
SAWTABLEEDGE _"
_lm TAP
HERE
TABLEEXTENSION
HEXBOLT
FLATWASHER HEX
NUT Fig. 10
21
Fig. 11
(;RAFt'._MAN"TABLESAW315.228590

INSTALLING THE REAR RAIL
See Figures 12, 13, and 14.
,_ WARNING: Front and rear rails must be
carefully aligned to reduce the risk of kickback,
which can cause serious injury.
• From the carton, remove the rear rail and the
following hardware:
5 square head bolts (5/16-18 x 3/4 in.)
5 hex nuts (5/16-18)
5 flat washers (5/16 in.)
Right and left end caps for rear rail
2 screws (#8-32 x 1/2 in.) for end caps
Note: Remaining hardware from this hardware bag is
used for installing the front rail, MDF table
extension, and end caps.
SQUAREHEAD
BOLT
'HEXNUT
FLATWASHER
• At the back of the table, put the square head bolts
in the holes in the edge of the table and cast iron
extension so the bolt heads extend outward 1/2 in.
• Under the table, loosely attach the flat washers
and hex nuts onto bolts. Slide the slot on the rear
rail over the bolts. Adjust each bolt to fit the rail
closely to the table.
• Position rail so that the left hand edge extends 5 in.
beyond the table extension.
Push the rail against table and tighten each hex
nut with a 12 mm wrench. If the rail jams or does
not slide easily over the bolts, re-align the table
extension.
Note: Make sure there are no gaps between the rail
and edge of table or extension.
TABLEEXTENSION
SLOTFORBOLT
REARRAIL
HEX NUT
SQUAREHEADBOLT FLATWASHER Fig. 13
5 in.
SCREW REARRAILINSTALLED Fig. 14
Fig. 12
CRRFTSNRH"TABLESAW315.228590 22

INSTALLING THE FRONT RAIL
See Figures 15, 16, and 17.
• Locate the front rail, the switch assembly, and the
following hardware:
5 square head bolts (5/16-18 x 3/4 in.)
5 flat washers (5/16 in.)
5 hex nuts (5/16-18)
Right and left end caps for front rail
4 screws (#8-32 x 1/2 in.) for end caps
•Set aside the end caps and four screws until the
MDF table extension and switch have been
installed.
• Insert the five square head bolts into the table and
extension, so the bolt heads extend out 1/2 in.
• Loosely attach a flat washer and a hex nut to each
bolt. See Figure 15.
• The back of the rail has two slots, See Figure 16.
Slide the upper slot over the bolts. (Bottom slot is
for switch.)
• Align the rail left to right - Match the 6-7/8 in. mark
on the right scale to the right edge of the saw base
(main table). See Figure 17.
• Snug the rail against table. Finger-tighten each nut
on the table and extension.
SCALE
RAIL SLOT HEXNUT
FRONTRAIL Fig. 16
TABLETOP VIEWEDFROMABOVE
SCALE
J
FRONTRAIL
HEIGHT
HANDWHEEL
SQUAREHEAD
BOLT
HEXNUT
FLATWASHER
Fig. 15
Fig. 17
ASSEMBLING MDF TABLE EXTENSION
See Figure 18.
• Locate the MDF table extension and the small
hardware bag with the following:
4square head bolts (5/16-18 x 3/4 in.)
4hex nuts (5/16-18)
4flat washers (5/16 in.)
•Insert the four square head borts into the holes
located on the front and rear edges of the MDF
table extension. The square bolt heads must
extend out.
• Attach aflat washer and a hex nut to each bolt.
Finger-tighten each nut on the MDF table exten-
sion until head of bolt is approximately 1/8 in. from
the frame of MDF table extension. Leave just
enough clearance so that bolts do not rotate and
bind when sliding in rail slots.
•The back of the front rail has two slots. See Figure
16. Slide the bolt heads into the upper slot of front
rail. (Bottom slot is for switch.)
23 CRRFTSMRWTABLESAW315.228590

ASSEMBLINGMDFTABLE EXTENSION
(Continued)
•At the same time, slide the belt heads into the rear
rail slot.
•Slide MDF extension table along front and rear
rails to desired location.
•Using a framing square, check to make sure MDF
extension table is level with saw table. It should be
flush or slightly below saw table.
•Loosen hex nuts as needed and adjust table using
loose play in bolt holes.
• Tighten hex nuts securely.
SAWTABLE
REARRAIL MDF
EXTENSION
TABLE
HEX NUT
SQUARE
HEADBOLTS
WASHER Fig. 18
• On the front at the top of the leg stand, remove one
of the lower carriage bolts. See Figure 19.
• Insert carriage bolt in a small hanger and install in
front leg. Attach the washer and hex nut from the
back and tighten. Repeat for the other small
hanger.
• Install the large hangers on the left side. See
Figure 19.
INSTALLING THE MICRO-ADJUST
See Figure 20.
The micro-adjust indexes the rip fence. It includes a
gear o[i the rip fence and gear racks mounted to the
front rail.
• Locate the micro-adjust assembly, two racks, and
the following hardware:
10 pan head screws (#10-32 x 3/8 in.)
8 square nuts (#10-32)
• Hold a rack so the teeth point down and insert the
pan head screws from the bottom. Put a square
nut on each screw. Finger tighten, leaving a small
gap between the nut and the rack.
• Still holding the rack with teeth down, slide the
square nuts into the right side of the front slot of
the front rail until the end of the rack is near the
center of the table.
• Slide the other gear rack into the front rail from the
left until the two racks meet in the middle. Securely
tighten screws.
Note: The two racks must be touching for the micro-
adjust assembly to roll from one gear rack to
the other.
ASSEMBLING STORAGE HANGERS _
See Figure 19.
The large hangers are for storing the rip fence and the
small hangers are for storing the miter gage.
• Locate the storage hangers.
SMALL
STORAGE
FRONTRAIL
_SQUARENUTS
,i T
MICRO-ADJUST
TRACKSLOT
GEARRACK
GEARRACK
T
T
I
SCREWS Fig. 20
LARGE
STORAGEHANGER
Fig. 19
tRRFTSMRN°TABLESAW315.228590 24

•Insert the two remaining pan head screws into
holes in the micro-adjust knob bracket.
• Attach the micro-adjust knob bracket to the bottom
of the fence head on the right or the left side of the
fence handle. Securely tighten the two screws.
MICRO-ADJUSTKNOBBRACKET_
SCREWS ge
Fig. 21
ALIGNING THE RIP FENCE AND RAILS
See Figures 22 and 23.
The rip fence scale indicator is installed on the right
side of the rip fence but can be removed and rein-
stalred on the left side if needed. If a cutting operation
requires placing the rip fence on the left side of the
blade, and you find relocating the indicator necessary,
simply unscrew and re-attach it.
• Hook the back of the rip fence over the rear rail.
Lower the front of the rip fence into the groove on
the front rail. See Figure 22.
• Slide the rip fence back and forth. It should move
freely with about 1/16 in. clearance between the rip
fence and table surface. If it doesn't, loosen the
nuts holding the front and rear rails and adjust the
rails up or down. See Figure 15.
RIPFENCE HOOKOVER REARRAILHERE
• Remove the rip fence and repeat on the other side
of the blade. When the fence rides smoothly,
tighten all rail hex nuts with a 12 mm wrench.
• Push in the micro-adjust knob and turn it. The gear
on the shaft assembly will engage the rack teeth
on the rack and will move the fence assembly left
or right.
• Push down on the rip fence handle to lock the rip
fence in place.
TO INSTALL
SCALE ON
RIPFENCE
FRONTRAIL
RIPFENCEHANDLE Fig. 23
REARRAIL
Fig. 22
25 CRIIFTSHaN'TABLESAW 315.228590

MOUNTING THE MOTOR AND SWITCH
See Figures 24, 25, and 26.
• Locate the motor and switch assembly, the motor
mounting plate and the following hardware:
4 hex bolts (5/16-18 x 1in.)
8flat washers (5/16 in.)
4 lock washers (5/16 in.)
4hex nuts (5/16-18)
2hex bolts (5/16-18 x 3/4 in.)
2 screws (1/4-20 X 3/8 in.)
2 square nuts (1/4-20)
Yellow Switch key
Note: Remaining hardware from this bag is used for
installing the belt guard.
•Release the bevel lock handle (front of the cabinet)
and turn the bevel handwheel (right side of the
cabinet) until the blade is fully vertical. Retighten
the bevel lock handle.
• Align the holes in the motor mounting plate and the
motor bracket so the top edges are even. Place a
flat washer on the four 1 in. bolts and insert them
into the holes.
•Install a flat washer, a lock washer, and a hex nut
on each bolt. Hand tighten only. This is the motor
support assembly.
•Center the motor side to side on the motor mount-
ing plate. Tighten the nuts with a 12 mm wrench.
•Insert the two rods on the motor support assembly
into holes in the cradle. Push the motor in as far as
it will go. Thread the two 3/4 in. hex bolts into the
cradle to clamp down on the rods. Do not
securely tighten bolts yet.
3/4 in. HEX BOLTS
MOTORSUPPORT
ASSEMBLYROD
CRADLE
•Locate the switch assembly, two screws (1/4-20 x
3/8 in.) and two square nuts (1/4-20). Insert the
screws from the rear of the switch plate and add
the square nuts on the front.
• Holding the switch to the front, insert and slide the
two square nuts into the lower slot of the front rail.
_1= WARNING: Place the switch out of the immedi-
ate work area to avoid accidentally turning it off
during operation.
• Slide the switch assembly to a convenient position,
leaving ample clearance for the handwheel.
Tighten securely with a screwdriver.
• Install the yellow switch key on the switch. See
Figure 60.
• Put the end caps on the rail ends. Insert the
screws and tighten with a phillips screwdriver. See
Figure 26.
FRONTRAIL \TABLE
EXTENSION
SWITCHSCREW
SWITCH
ASSEMBLY UARENUT
SWITCHKEY Fig. 25
lin. HEXBOLT MOTOR
MOUNTING
PLATE SCREW_
BRACKET
Fig. 24
Fig. 26
rlIRFT$1411N'TABLE SAW315.228590 26

INSTALLING THE BELT AND BELT GUARD
See Figures 27 and 28.
• Locate the belt, belt guard, 4 flat washers (#10)
and 4 small hex nuts (#10-24). Locate the dust
cover and hardware.
• Lower the blade by turning the height handwheel
on the front of cabinet.
• Slip the belt on the saw pulley inside the saw
cabinet. Lift the motor forward and place the belt on
the motor pulley.
• Check that the belt is straight and both pulleys are
aligned with each other. If not, adjust the motor on
the motor support assembly. Refer to Mounting the
Motor.
• Raise the saw blade all the way up.
• Pull the motor out until the belt is taut. Securely
tighten the hex bolts above the rods with a 12 mm
wrench.
• Put your hand around the belt halfway between the
two pulleys and squeeze the belt until both sides of
the belt touch. The motor should move freely as
you squeeze the belt. If it does not, loosen the
clamp screws and readjust the belt tension.
HEX
SAW
PULLEY
MOTOR
SUPPORT"
ASSEMBLY
BELTGUARD
_ELT
WASHER
Fig. 28
• Lower the blade by turning the height handwheel.
Lift the motor forward and remove the belt.
Open the hinged belt guard and place it over the
motor screws on the motor pulley. Secure with flat
washers and hex nuts. Tighten the hex nuts with a
8 mm wrench.
• Replace the belt and snap the guard closed.
• Check clearances by indexing the blade. Release
the bevel lock handle on the front of the cabinet
and turn the bevel handwheel on the right side of
cabinet to 45 °and back. Use the height handwheel
to fully lower and raise the blade.
MOTOR IELT
MOTOR
PULLEY
MOTORSCREW Fig. 27
27 CRRFTSMRN'TABLESAW315.228590

INSTALLING THE BLADE GUARD
See Figures 29, 30, and 31.
_h, WARNING: If the blade is not fully lowered, turn
the height handwheel on the front of the cabinet
to lower the blade to prevent the risk of injury.
•Locate the blade guard, the blade guard bracket,
and the following hardware:
2 hex bolts (5/16-18 x 1/2 in.)
2 lock washers (5/16 in.)
3 socket head screws (1/4-20 x 3/8 in.)
3 flat washers (1/4 in.)
• Align the lower end of the blade guard bracket and
the threaded holes of the cradle and insert the two
hex bolts and lock washers. Securely tighten with a
12 mm wrench. See Figure 29.
• Remove the throat plate. See Removing/Replac-
ing the Throat Plate in the Adjustments section.
• Put the blade guard assembly in place on the
tabletop, aligning the screwholes in the riving knife
to the holes in the blade guard bracket. Align the
hole in the front of the riving knife base with screw
hole in the cradle. See Figure 30.
Note: The screw hole is located under the slot in back
of the throat plate.
CRADLE
BLADE
GUARD
HEX
BOLTS
SOCKETHEADCAPSCREWS(3) BLADEGUARD
FLATWASHER
Io
BLADE
GUARD
BRACKET
Fig. 30
• Insert two socket head screws and two flat wash-
ers in the two holes at the back of the riving knife
base. Securely tighten with a 5 mm hex key.
• Insert the third socket head screw and a flat
washer into the screw hole in the cradle under the
throat plate. Securely tighten with a 5 mm hex key.
See Figure 31.
• Replace the throat plate.
SOCKETHEAD
CAPSCREW'x_
FLATWASHER,_
BLADEGUARD
ANTI-KICKBACK
PAWLS
LOCKWASHEF
Fig. 29
Fig. 31
[RRFT$14RN'TABLESAW 315.228590 28

CHECKING THE THROAT PLATE
See Figure 32. BLADEGUARD
CAUTION: The throat plate must be even with the
table surface. Ifit is too high or too low, the workpiece
can catch on uneven edges and cause kickback.
• Make sure the throat plate is flush with the table top.
To change the height of the throat plate, loosen the flat
head screw that secures the throat plate and adjust
the four setscrews on the throat plate with a 2 mm hex
key. Do not allow the throat plate to bow up above the
table surface.
2 mm SETSCREWS
(4)
HE_// gFRAMING SQUARE
THROATPLATE
C_/ FLAT
HEAD
Fig. 34
_I, WARNING: It is important to install and adjust
the riving knife correctly. Poor alignment could
cause kickback and throw the workpiece at the
operator.
HEIGHT
HANDWHEEL
,BEVEL
HANDWHEEL
Fig. 32
The riving knife must be aligned with and centered
over the blade.
• Raise the blade and the blade guard.
• Place a framing square or straightedge beside the
blade on the left. See Figure 33.
• Loosen front screw on riving knife with a 5 mm hex
key. See Figure 34.
ALIGNING RIVING KNIFE WITH THE BLADE
See Figures 33, 34, and 35.
•1= WARNING: Make sure the switch is off, the
switch key is removed, and the saw is
unplugged. Failure to do so could result in
accidental starting, causing serious injury.
,_ WARNING: Do not loosen the screws holding
the riving knife to the blade guard bracket.
Unsecured pawls or riving knife could cause
personal injury while you are adjusting the riving
knife.
• Center riving knife over the blade. See Figure 35.
• Securely tighten screw with a 5 mm hex key.
PAWLS
FRAMINGSQUARE
BLADE
Fig. 33
RIVINGKNIFE,
FRAMINGSQUARE
VIEWED FROM TOP OF SAW
WITH RIVING KNIFE SHOWN
CENTERED OVER BLADE
BLADE
Fig. 35
29 [RAFTSMAN'TABLESAW 315.228590

CHECK HEELING (PARALLELING) OF THE
SAWBLADE TO THE MITER GAGE GROOVE
See Figures 36 and 37.
Do Not loosen any screws until you have checked
with a square and made sure adjustments are
necessary. Once the screws are loosened, these
items must be reset.
_k WARNING: Make sure the switch is off, switch
key is removed and saw is unplugged. Failure to
do so could result in accidental starting causing
serious personal injury.
,_ WARNING: The sawblade must be parallel to
the miter gage groove so the wood does net
bind, resulting in kickback. You could be hit or
cut.
• Lift the blade guard. Raise the blade all the way by
turning the height handwheel.
• Mark beside one of the sawblade teeth at the front
of the blade. Place a framing square beside the
blade on the mark. Be sure the framing square is
between the teeth and flat against the blade.
Measure the distance to the right gage groove.
• Turn the sawblade so the marked tooth is at the
back.
• Move the square to the rear and again measure
the distance to the right miter gage groove. If the
distances are the same, the blade and the miter
gage groove are parallel. No adjustments are
needed.
• If the distances measured are different, adjust the
table bracket underneath the saw. See "Heeling
(Paralleling) The Sawblade To The Miter Gage
Groove" in the Adjustments section,
BLADEGUARDIS NOTSHOWNFORCLARITY
MARKEDTOOTH MITERGAGEGROOVE
ATFRONT
FRAMINGSQUARE
11 I
Fig. 36
MARKEDTOOTH
AT BACK
MITERGAGEGROOVE
(_ FRAMINGSQUARE
1/
Fig. 37
tRRFTSMRN'TABLESAW315.228590 30

CHECKING RIP FENCE AND
BLADE ALIGNMENT
See Figures 38, 39, and 40.
The rip fence is self-aligning but should be checked
before first use.
WARNING: Failure to align the rip fence to the
blade can cause jams and kickback, resulting in
serious personal injury.
• Slide the rip fence to the miter gage groove, which
is parallel to blade. Do not lock the rip fence.
• Place a framing square against the rip fence, with
the long end towards the front of the blade. See
Figure 38. Measure the distance from the rip fence
to the edge of the blade.
• Move the square to the back of the blade and
measure the length from other end of the rip fence
to the blade. See Figure 39.
• If the distances are different, loosen the four
screws around the rip fence handle with a 6 mm
hex key. Alternate the order (remove the screw
opposite, not next to the first one). See Figure 40.
• Hold the fence handle against the front rail and
arign the rip fence with the blade.
• Retighten the screws in alternating order and
check the alignment.
RIPFENCE
BLADE,
FRAMINGSQUARE
MITERGAGE
GROOVE
MITERGAGEGROOVE
Fig. 38
MITERGAGEGROOVE
FRAMING
SQUARE
IP FEN_
ADJUSTMENTSCREWS
RIPFENCE
Fig. 39
ADJUSTMENT
(4)
RIPFENCE
HANDLE
Fig. 40
• Repeat until the rip fence is aligned.
• Lock the rip fence handle in desired position by
rotating the handle down.
Note: To insure proper self alignment when position-
ing rip fence, push sides of scale indicator
housing against front rail before locking rip
fence handle.
31 tRRFTSMAN'TABLESAW 315.228590

CHANGING THE MOTOR VOLTAGE
See Figures 41 and42.
_b, WARNING: If you are unfamiliar with the basic
fundamentals of electricity do not attempt this
procedure. Use a qualified electrician to change
the voltage of the saw to avoid electric shock or
possibly a fire.
Your saw is set at the factory for 120V usage. See
Figure 41. Use extreme caution in changing to 240V,
as with any electrical procedure. Check the receptacle.
It must be a 220-240V, 15 amp, 3-blade unit -- con-
nected to a 240V AC power supply -- through a 240V
branch circuit -- with at least a 15 amp capacity -- and
protected by a 15 amp time-delay fuse or circuit
breaker. All attachment plugs and any receptacles
designed for 120 volt usage must be replaced with
devices rated for 240 volts.
WARNING: Never connect the plug to the
power source outlet until all assembly steps are
completed. Unplug the saw before changing any
connections.
• Open the motor connector box cover on the end of
the motor with a phillips screwdriver. Remove the
brown motor lead from terminal #2 and attach it to
the #3 terminal.
Note: The brown lead is not needed in 240V usage.
• Remove the yellow motor lead from terminal #1 and
attach it to terminal #2.
• Cut off the 120V power cord plug and replace it
with a three-blade 240V, 15 amp U.L. listed ptug.
• Connect the power cord white and black leads to
the "hot" plug blade terminals.
• Connect the power cord green grounding wire to
the plug ground prong terminal.
• Close the motor connector box. Be careful to place
the power cord in the strain relief groove. Tighten
the box cover screws.
• Plug the saw into the appropriate 220-240V,
15 amp, 3-blade receptacle.
• Make sure the receptacle is connected to a 240V
AC power supply through a 240V branch circuit
having at least a 15 amp capacity and protected by
a time delay fuse or circuit breaker of the correct
size.
GREENGROUNDING
WIRE
BROWNLEAD
GREENGROUNDING
WIRE
BROWNLEAD
BLACKLEAD
WHITELEAD
CONNECTOR
BOXCOVER
120 VOLT WIRING
Fig. 41
BLACKLEAD
CONNECTOR
BOXCOVER
240 VOLT WIRING
Fig. 42
rRRFTSMRN"TABLESAW 315.228590 32

ASSEMBLING THE HOLD DOWN CLAMP ON
THE MITER GAGE
See Figures 43, 44, and 45.
The miter gage should be used when making cross
cuts in the workpiece. The hold down clamp with
quick release button helps hold the workpiece against
the miter gage for controlled cutting.
• Locate the bag with the hold down clamp parts.
• Slide the quick release button into the clamp
housing aligning the holes for the clamp screw.
Note: The quick release button must be oriented with
the solid side toward the long body of the clamp
housing, as shown. See Figures 43 and 44.
QUICKRELEASEBUTTONVIEWEDFROMABOVE
SOLIDSIDE Fig. 43
• Insert the clamp screw through the clamp housing
and quick release button from the bottom. Thread
the round knob on top of the clamp screw.
•Install the spring with a screw on the back side of
the quick release button. Do not over tighten.
• Push the quick release button. The clamp screw
with knob should drop.
Note: If the clamp screw does not move freely the
quick release button may be oriented incor-
rectly. Remove the clamp screw and roll the
quick release button 180". Insert the clamp
screw and attach knob.
•Install the lock tab with a screw next to the quick
release button.
• Thread the spacer into the hole on top of the miter
gage base,
• Align the clamp housing on top of the miter gage
knob and the spacer.
• Place a washer on each lock knob and attach one
lock knob to the top of the spacer and one lock
knob to the top of the miter gage knob.
LOCKKNOBS
KNOB
QUICKBUTTONRELEASE
j_
SCREW_'_ j
LOCKTAB
CLAMPSCREW_
)
QUICKRELEASE
BUTTON
WASHER
SCREW
J j SPRING
i
CsLAMP HOUSING
PACER
Fig. 44
HOLDDOWN
CLAMP
BASE
Fig. 45
33 I:RIII:TINIIN' TABLESAW 315.228590

To avoid unnecessary setups and adjustments, a good practice is to check your setups carefully with a framing
square and make practice cuts in scrap wood before making finish cuts in good workpieces. Do not start any
adjustments until you have checked with a square and made test cuts to be sure adjustments are needed.
REPLACING THE BLADE
See Figures 46, 47, and48.
_1, WARNING: Be sure the switch is off, the switch
key is removed, and your saw is unplugged.
Failure to do so could result in accidental starting
resulting Lnpossible serious personal injury.
• Raise the blade guard and remove the throat plate
by loosening the screw at the front with a phillips
screwdriver and lifting the front of the throat plate.
Pull it out toward the front.
• Raise the blade to its highest position by turning
the height handwheel clockwise. Angle the blade
straLght up by loosening the bevel lock handle
(front of the cabinet) and turning the bevel
handwheel. Wedge a piece of scrap wood against
the front of the blade. See Figure 46.
• Loosen the blade nut with the blade wrench
provided with your saw. Remove the blade nut and
blade washer. Carefully remove the scrap wood
block and blade.
• To replace the blade with an accessory blade, use
the instructions provided with the accessory.
• To install a standard blade, place the new blade on
the arbor shaft, with teeth pointing down toward the
front of the saw. See Figure 47.
• Wedge a block of wood at the back of the blade.
See Figure 48.
CAUTION: The teeth must point down toward
Hthe front of the saw to work properly. Otherwise,
damage to the blade, saw, or workpiece can
occur.
• Place blade washer and blade nut over blade arbor.
Be sure the dome side of blade washer faces out
from the blade and that all items are snug against
the arbor housing. Tighten securely.
• Remove wood and rotate the blade by hand to
make sure it turns freely.
• Lower the blade and slip the throat plate into the
opening and push it toward the back of the saw to
engage the spring clip. Securely tighten the screw.
If the throat plate is not flush with the table, adjust
the setscrews with a 2 mm hex key. Do not let the
throat plate bow up above the table surface.
BLADEGUARD
THROATPLATE
REMOVED
BLADEATHIGHEST
POSITION
TO LOOSENBLADENI
SCRAPWOOD
WEDGEDAT FRONT
NEWBLADE,TEETH
DOWNAT FRONT
SCRAPWOOD
WEDGEDAT BACK
TO TIGHTEN
BLADENUT
Fig. 46
BLADEWASHER,
BLADENUT
BLADE
ARBOR
Fig. 47
Fig. 48
[RRFTSMItN'TABLE SAW315.228590 34

HEELING (PARALLELING) THE SAWBLADE
TO THE MITER GAGE GROOVE
See Figures 49, 50 and 51.
Do Not loosen any screws for this adjustment until
you have checked with a square and made test
cuts to be sure adjustments are necessary. Once
the screws are loosened, these items must be
reset.
WARNING: Make sure the switch is off, switch
key is removed and saw is unplugged. Failure to
do so could result in accidental starting causing
serious personal injury.
,_, WARNING: The sawbiade must parallel the
miter gage groove so the wood does not bind,
resulting in kickback. You could be hit or cut.
• Lift the blade guard. Raise the blade all the way by
turning the height handwheel.
• Mark beside one of the sawblade teeth at the front
of the blade. Place a framing square beside the
blade on the mark. Be sure the framing square is
between the teeth and flat against the blade.
Measure the distance to the right miter gage
groove.
• Turn the sawblade so the mark is at the back of the
saw table.
• Move the square to the rear and again measure the
distance to the right miter gage groove. If the
distances are the same, the blade and the miter
gage groove are parallel.
• If the distances measured are different, adjust the
table brackets underneath the saw.
_1, WARNING: When reaching under the saw
table, wear gloves. Accidental contact with the
blade could cause a cut resulting in serious
personal injury.
BLADEGUARDIS NOTSHOWNFORCLARITY
0oo
II t FRAMING
.. SQUARE
(_ MITERGAGE
GROOVE
Fig. 50
• Remove the throat plate by loosening the front
screw with a phillips screwdriver. Lift the throat
plate and pull it out by the front end.
• Lower the blade completely with the height
handwheel. You can then access the table brackets
through the throat plate opening.
• From the back of the saw, )oosen the three screws
on the rear table bracket with a 12 mm wrench. See
Figure 51.
• If the blade was too far from the miter gage groove,
move the bracket toward the miter gage groove.
Tap with a wood block and hammer.
• If the blade was too close to the miter gage groove,
back the bracket away with the block of wood and
hammer.
• Tighten the screws, raise the blade and recheck.
SAWTABLEVIEWEDFROMBACKBELOWTABLE
REARTABLEBRACKET REARBRACKETSCREW
BLADEGUARDIS NOTSHOWNFORCLARITY
I MARKEDTOOTH
/tE/
Fig. 49
REAR
BRACKET
SCREW
FRONTTABLE
BRACKET FRONTTABLE
BRACKETSCREWS Fig. 51
35 CRAFTSMAN'TABLESAW 315.228590

• If the blade is still not parallel, adjust the front table
bracket. Tilt the blade to 45" with the bevel lock
handle and bevel handwheel.
• From the back of the saw, loosen bolts holding the
front table bracket, as welt as the rear table
bracket.
• Reposition the blade to 90" with the bevel hand-
wheel and bevel lock handle.
• Lower the blade and move the brackets as needed.
Retighten all bracket screws.
• Raise the blade and recheck. Repeat until the
blade is parallel to the miter gage groove.
• Place the throat plate in the opening and push it
toward the rear of saw base to engage the spring
clip.
Note: The keyslot in the throat plate will drop over the
front screw.
• Tighten the screw. Do not allow the throat plate to
bow up above the table surface.
SETTING THE BEVEL STOPS AND INDICATOR
See Figures 52 and 53.
Wait to loosen any screws for the adjustments until
you have checked with a square and made test cuts
to be sure adjustments are necessary. Once the
screws are loosened, these items must be reset.
WARNING: Make sure the switch is off, the
switch key is removed, and the saw is
unplugged. Failure to do so could result in
serious personal injury.
The bevel scale should show 0 when the blade is set
at 90" and 45" when blade is at a 45" tilt.
• Raise the blade all the way up by turning the height
handwheel. Lift the blade guard.
• Loosen the bevel lock handle and turn the bevel
handwheel clockwise to tilt the blade. Reverse it
and turn the handwheel counterclockwise until it
stops.
• Check the blade angle with a combination square.
Don't let the square touch a blade tooth. The blade
should be at 90" and the scale indicator at 0.
Note: The scale indicator is the plastic plate on the
scale at the front of the cabinet.
•If the scale indicator does not point to 0, loosen the
scale indicator with a screwdriver, adjust it within
the slot and retighten the screw.
BEVELLOCK
HANDLE
(NOTSHOWN)
HEIGHT
HANDWHEEL
SCALE
INDICATOR
Fig. 52
• If the blade angle is wrong, adjust the 90" stop
screw (left of the blade, looking from the front). See
Figure 53. Start by turning the 90" stop screw three
or four times with a 4 mm hex key.
• Turn the bevel handwheel clockwise once, then
back counterclockwise to square blade with table.
• Tighten the 90" stop screw and recheck that the
blade is square in a 90" position. If not, repeat.
When blade is square, check scale indicator. If it is
not at zero, reset scale indicator as before.
• Check the 45" setting. Tilt the blade with the bevel
handwheel as far as it will go left. Place the square
against the blade (be sure the square is not against
one of the saw teeth). If the blade is not at 45°,
unscrew the 45" stop screw (right of blade), turn the
handwheel until the blade is correct, and tighten the
screw. Recheck and repeat if necessary.
• Check that the scale indicator is at 45 °.
• If not, loosen the scale indicator with ascrewdriver,
adjust it within the slot and retighten the screw.
4mm HEXKEY
90°STOPSCREW
45°STOPSCREW
HEIGHT
HANDWHEEL
BEVELHANDWHEEL
Fig. 53
CRRFTSMgN°TABLE SAW315.228590 36

ADJUSTING THE MITER GAGE
See Figure 54.
The miter gage is used in making cross cuts in the
workpiece. To use the miter gage at an angle other
than 0, loosen the lock knob over the miter gage knob.
Loosen the miter gage knob and pull out the stop pin.
Move the miter gage rod to the desired angle and
securely tighten the miter gage knob and the lock
knob.
_1= WARNING: Make sure the switch is off, the
switch key is removed and the saw is unplugged.
Failure to do so could result in serious personal
injury.
• To check for alignment, set the miter gage at 0 and
plus or minus 45" by pulling the miter gage stop
pin. Adjust the stop screws, if needed.
Note: The miter gage provides close accuracy in
angled cuts. For very close tolerances, test cuts
are recommended.
•Loosen the lock nut of the 0 stop screw at the stop
pin with an 8 mm wrench.
• Place a 90" square against the miter gage rod and
the miter gage base.
• if the rod is not square, loosen both lock knobs on
the top of the miter gage, adjust the rod, and
tighten the lock knobs.
• Adjust the 0 stop screw until it rests against the
stop pin. Adjust the plus and minus 45" stop screws
using a 45 ° triangle and the steps above.
• Push the quick release to quickly move the hold
down clamp onto the wood you are about to cut. To
prevent the use of the quick release roll the quick
release stop around to the top of the quick release.
This prevents the hold down clamp from dropping
on your workpiece.
REMOVING /REPLACING THE THROAT PLATE
See Figure 55.
WARNING: Make sure the switch is off, the
switch key is removed, and the saw is
unplugged. Failure to do so could result in
serious personal injury.
• Loosen the screw in the throat plate with a phillips
screwdriver and lift the front end of the throat plate.
Pull it out toward the front of the saw.
• To re-install the throat plate, place it in the opening.
Push it toward the rear of the saw base to engage
the spring clip.
Note: The keyslot in the throat plate will drop over the
screw.
QUICKRELEASE
QUICKRELEASE
STOP
(
LOCKKNOBS
MITERGAGEROD
MITERGAGEBASE
STOPPIN LOCKNUT
45°STOPSCREW Fig. 54
• Check that the throat plate is even with the table
top. If not, adjust the four corner setscrews with a
2 mm hex key. See the procedure in the Assembly
section.
• Securely tighten the throat plate screw. Do not
allow the throat plate to bow up above the table
surface.
THROATPLATE SPRINGCLIP
KEYSLOT
SETSCREW(4)
/
/
TABLETOP
SCREW Fig. 55
37 CRRFTSNIIN'TABLE SAW315.228590

BASIC OPERATION OFTHE TABLE SAW
Atable saw can be used for straight-line cutting
operations such as cross cutting, ripping, mitering,
beveling, compound cutting, and resawing. It can
make dado or molding cuts with optional accessories.
The three-prong plug must be plugged into a match-
ing outlet that is properly installed and grounded
according to all local codes and ordinances. Improper
connection of the equipment can result in electric
shock. Check with an electrician or service personnel
if you are unsure about proper grounding. Do not
modify the plug; if it will not fit the outlet, have the
correct outlet installed by a qualified electrician. Refer
to the Electrical page of this manual.
Note: This table saw is designed to cut wood and
wood composition products only.
CAUSES OF KICKBACK
Kickback can occur when the blade stalls or binds,
kicking the workpiece back toward you with great
force and speed. If your hands are near the sawblade,
they may be jerked loose from the workpiece and may
contact the blade. Obviously, kickback can cause
serious injury, and it is well worth using precautions to
avoid the risks.
Kickback can be caused by any action that pinches
the blade in the wood, such as the following:
• Making a cut with incorrect blade depth
•Sawing into knots or nails in the workpiece
•Twisting the wood while making a cut
• Failing to support work
•Forcing acut
• Cutting warped or wet lumber
•Using the wrong blade for the type of cut
•Not following correct operating procedures
•Misusing the saw
•Failing to use the anti-kickback pawls
•Cutting with a dull, gummed-up, or improperly set
blade
AVOIDING KICKBACK
• Always use the correct blade depth setting. The top
of the blade teeth should clear the workpiece by 1/8
in. to 1/4 in.
• Inspect the work for knots or nails before beginning
a cut. Knock out any loose knots with a hammer.
Never saw into a loose knot or nail.
• Always use the rip fence when rip cutting and the
miter gage when cross cutting. This helps prevent
twisting the wood in the cut.
• Always use clean, sharp, and properly-set blades.
Never make cuts with dull blades.
• To avoid pinching the blade, support the work
propedy before beginning a cut.
• When making a cut, use steady, even pressure.
Never force cuts.
• Do not cut wet or warped lumber.
• Always hold your workpiece firmly with both hands
or with pushsticks. Keep your body in a balanced
position to be ready to resist kickback should it
occur. Never stand directly in line with the blade.
• Use the right type of blade for the cut being made.
• Use the blade guard assembly for all through cuts.
CUTTING AIDS
See Figure 56.
Pushsticks are devices used for safely pushing a
workpiece through the blade instead of using your
hands. They can be made in various sizes and
shapes from scrap wood to use in a specific project.
The stick must be narrower than the workpiece, with a
90" notch in one end and shaping for a grip on the
other end.
A pushblock has a handle fastened by recessed
screws from the underside. Use on non-through cuts.
CAUTION: Be sure the screw is recessed to
avoid damaging the saw or workpiece.
PUSHSTICKS
PUSHBLOCKS Fig. 56
A featherboard is a device used to help control the
workpiece by guiding it securely against the table or
fence. Featherboards are especially useful when
ripping small workpieces and for completing non-
through cuts.The end is angled, with a number of
short kerfs to give a friction hold on the workpiece.
Lock it in place on the table with a C-clamp. Test that
it could resist kickback.
_I, WARNING: Place the featherboard against the
uncut portion of the workpiece, to avoid kickback
that could cause serious personal injury.
CP,AI:TSNI_N"TABLE SAW315.228590 38

RESETTING THE THERMAL OVERLOAD
PROTECTOR
See Figure 57.
Your table saw is equipped with an overload protector
to shut off the saw when a power circuit limit is
reached and the motor temperature begins to rise.
Otherwise, overheating can occur and cause poor
performance, machine damage or fire. Be prepared to
deal with overload should it occur, first in the immedi-
ate situation and then in locating the cause.
If the motor overheats, the overload protector shuts
down the power. Use the steps listed below to restarf.
•Turn the switch off to eliminate any possibility of
the blade restarting when the motor has cooled.
Remove any objects, including the workpiece, from
contact with the blade to prevent binding when you
do restart operation.
_i, WARNING: If the overload protector shuts off,
immediately turn the saw switch off and remove
anything contacting the blade to prevent the risk
of injury. When the motor cools off, it could
unexpectedly restart the blade, throwing an
object or cutting your hand if you are touching
the blade.
• Allow time for the motor to cool. You may have to
let the motor cool for as long as it had run before
the protector shut it down.
• While the motor is cooling, refer to the section
below to try to determine the reason for overload.
Correct the problem before resuming operation,
• Press hard on the red button on the end of the
motor (opposite end from the pulley). If the motor
has cooled enough, you will hear a click. If you do
not hear a click, let the motor cool longer.
• When you hear the click, the motor has been reset
and you can continue your project.
CAUSES OF OVERLOAD
Overload and overheating result from a number of
sources. Always check the connections, the load and
the supply circuit if motor performance is not satisfac-
tory. Check wire sizes and length in the chart below.
Refer to the Electrical page and check your work area
for problem conditions such as the following:
• Loose or incorrect connections (see Connecting
the Motor and Changing the Motor Voltage in the
Assembly section)
• Wrong type of plug (use only 3-prong grounding
type) or receptacle (matching receptacle for 3-
prong plug)
• Reduced input voltage (too small a wire or too
many items on the circuit)
• Extension cord is too long or wrong type (use only
outdoor extension cords sized by the chart.)
• Using a dull blade or forcing a cutting operation.
WARNING: Use the correct cord and plug to
prevent overload and motor burnout.
EXTENSION CORD AWG WIRE SIZE FOR
LENGTH 110-120V 220-240V
0-25 ft 14 18
26-50 ft. 12 18
MOTORRESETBUTTON Fig. 57
Note: This motor should be blown out or vacuumed
frequently to prevent saw dust build-up which
could interfere with motor cooling.
39 [RAFTSMRN' TABLE SAW315.228590

TYPES OF CUTS
See Figure 58.
There are six basic cuts: 1) the cross cut, 2) the rip
cut, 3) the miter cut, 4) the bevel cross cut, 5) the
bevel rip cut, and 6) the compound (bevel) miter cut.
All other cuts are combinations of these basic opera-
tions. Operating procedures for making each kind of
cut are given later in this section.
,_ WARNING: Always make sure the blade guard
and anti-kickback pawls are in place and working
properly when making these cuts to avoid
possible injury.
Cross cuts are straight 90 ° cuts made across the grain
of the workpiece. The wood is fed into the cut at a 90"
angle to the blade, and the blade is vertical.
Rip cuts are made with the grain of the wood. To
avoLd kickback while making a rip cut, make sure one
side of the wood rides firmly against the rip fence.
The rip fence features a micro-adjust knob, which
allows for precise adjustments of the rip fence and
fine tolerances in the woodwork.
Miter cuts are made with the wood at any angle to the
blade other than 90 °. The blade is vertical. Miter cuts
tend to "creep" away from the miter fence during
cutting. This can be controlled by holding the
workpiece securely against the miter fence.
_, WARNING: Always use a push stick with small
pieces of wood, and also to finish the cut when
ripping a long narrow piece of wood, to prevent
your hands from getting close to the blade.
Bevel cuts are made with an angled blade. Bevel
cross cuts are across the wood grain, and bevel rip
cuts are with the grain. The rip fence must always be
on the right side of the blade for bevel rip cuts.
Compound (or bevel) miter cuts are made with an
angled blade on wood that is angled to the blade. Be
thoroughly familiar with making straight cross cuts, rip
cuts, bevel cuts, and miter cuts before trying a com-
pound miter cut.
,_ WARNING: All blades and cutting accessories
must be rated for at least 5,000 rpm to prevent
possible injury.
©
®
®
®
®
®
CROSSCUT
RIPCUT
MITERCUT
BEVELCROSSCUT
BEVELRIPCUT
COMPOUND(BEVEL)MITERCUT
Fig. 58
[RAFT3MRN*TABLE SAW 315.228590 40

MAKING A CROSS CUT
See Figures 59, 60, 61, and 62.
_, WARNING: Make sure the blade guard is
lowered over the blade and is working properly to
prevent possible injury.
It is recommended that you make test cuts on scrap
wood. Stand at the front of the saw and push the
wood with the miter gage.
• Set blade to the right depth for workpiece by
turning height handwheel.
• Set the miter gage to 0. See Figure 59. Make sure
miter gage knob is securely tightened.
• Place a support the same height as top of saw
table behind the saw for cut work.
• The miter gage may be used in either of the two
grooves in the table. When using left groove, hold
workpiece firmly against the miter gage base with
your left hand and grip the knob with your right
hand. When using right groove, hold workpiece
firmly against the miter gage base with your right
hand and grip the knob with your left hand. See
Figure 59.
CROSSCUT
INSERTSWITCHKEY
Fig. 60
Fig. 61
Fig. 62
WHENMITERGAGEIS ON
LEFTSIDEOF BLADE
PLACERIGHTHANDON
MITERGAGEKNOBHERE
PLACELEFT HANDON
WORKPIECEANDMITER
GAGEHERE
41
Fig. 59
I:RRFTSNRN'TABLESAW315.228590

• Check that the wood is not touching the blade.
Insert switch key and lift switch to ON position. See
Figures 60 and 61.
• Let blade obtain full speed before feeding
workpiece into the blade with the miter gage.
• Hold work firmly against miter gage and push miter
gage to feed work into the blade.
• When work is completed, press switch off and
remove switch key. See Figure 62.
MAKING A RIP CUT
See Figure 63.
Making a test cut on scrap wood is highly recom-
mended. From the front of the saw, position the wood
against the rip fence and push it to the blade with a
pushstick. Be sure the end of the wood is square.
,_ WARNING: NEVER stand directly in the line of
cut. Stand to the sLde to reduce risk of injury.
_k WARNING: Make sure the blade guard is
lowered over the blade and is working properly to
prevent possible injury.
• Remove miter gage and attach rip fence over rails.
• Place a support the same height as top of saw
table behind the saw for cut work.
• Position rip fence the correct distance from blade
for cut.
• For small pieces of wood, use a pushstick to move
wood into and past blade.
• Make sure wood is not touching blade. Insert
sw'itch key and lift switch to ON position. Let blade
obtain full speed before feeding workpiece into the
blade.
• When work is completed, press switch off and
remove switch key.
,_ WARNING: NEVER push a small piece of wood
into the blade with your hand.
RIPCUT
BLADE
SCALE
RIPFENCE
Fig. 63
(RAFTSMAN' TABLESAW 315.228590 42

MAKING A MITER CUT
See Figure 64.
_, WARNING: Make sure the blade guard is
lowered over the blade and is working properly to
prevent possible injury.
Make a test cut on scrap wood. From the front of the
saw, push the wood to the blade with the miter gage.
The miter gage may be used in either of the grooves.
When using the left groove, hold the workpiece firmly
against the miter gage base with your left hand and
grip the miter gage knob with your right hand. When
using the right groove, hold the work piece with your
right hand and the miter gage knob with your left
hand.
•Check that the blade is at the correct height for the
workpiece. To change the blade height, turn the
height handwheel.
• If blade is not at 90" to the table, loosen bevel lock
handle and turn bevel handwheel. Reset bevel lock
handle.
• To set the wood angle, loosen miter gage knob, set
the angle with the indicator on the miter gage, then
retighten miter gage knob.
• Place a support the same height as top of saw
table behind the saw for cut work.
• Make sure wood is not touching the blade
before turning on the saw. Insert switch key and lift
switch to ON position. Let the blade obtain full
speed before moving the miter gage to feed the
workpiece into the blade.
MITERCUT
BLADE MITERGAGE
ANGLED
STRAIGHT __
• Hold work firmly against the miter gage and push to
feed work into the blade.
• When work is completed, press switch off and
remove switch key.
MAKING A BEVEL CROSS CUT
See Figures 65 and 66.
_lb WARNING: Make sure the blade guard is
lowered and is working properly to prevent
possible injury.
Make a test cut on scrap wood. From the front of the
saw, push the wood to the blade with the miter gage.
When using the miter gage in the left groove, hold the
workpiece firmly against the miter gage base with
your left hand and grip the miter gage knob with your
right hand. When using the right groove, hold the work
piece with your right hand.
BEVELCROSSCUT
BLADE
ANGLED
MITER
STRAIGHT
BEVELLOCK
HANDLE
HANDWHEEL
Fig. 65
• Raise rip fence handle and remove rip fence.
• Set blade angle by loosening bevel lock handle
and turning bevel handwheel until scale on the
cabinet front reads desired angle. Retighten bevel
lock handle.
HEIGHT
HANDWHEEL Fig. 64
43 CRnFTSMRN'TABLESAW 315.228590

•Set miter gage to 0° if needed. Loosen miter gage
knob and use indicator on the miter gage. Re-
tighten miter gage knob.
• Place a support the same height as top of saw table
behind the saw for cut work.
• Make sure wood is clear of blade before turning on
saw. Insert switch key and lift switch to ON posi-
tion. Let blade obtain full speed before feeding
wood into blade with miter gage.
• Hold the work firmly against the miter gage and
push the miter gage to feed the work into the blade.
• When work is completed, press the switch off and
remove the key.
• Set blade angle by loosening bevel lock handle
and turning bevel handwheel. Retighten blade lock
handle.
AWARNING: When making a bevel rip cut, the
rip fence must be on the right side of the blade.
Otherwise the fence could trap the workpiece,
possibly causing kickback and resulting in injury.
• Attach rip fence on the right side of the blade at
correct distance from blade for cut. Use micro-
adjust knob on front rail.
• Place a support the same height as the top of saw
table behind the saw for the cut work.
VIEWED FROM THE FRONT, BELOW THE SAW TAB_I_
u
HEIGHT BEVELLOCK
HANDWHEEL HANDLE
Fig. 66
MAKING A BEVEL RIP CUT
See Figures 66 and 67.
Try this cut on a piece of scrap wood before cutting
'your workpiece. Use a pushstick to move small pieces
of wood into and past the blade.
,_ WARNING: Make sure the blade guard is
lowered and is working properly to prevent
possible injury.
WARNING: NEVER stand directly in the line of
cut. Stand to the side to reduce the risk of injury
should kickback occur.
• Make sure wood is clear of the blade before turning
on saw. Insert switch key and lift switch to ON
position. Let blade obtain fun speed before feeding
workpiece into the blade.
_1, WARNING: NEVER push a small piece of wood
into the blade with your hand. Use a pushstick as
the end of the workpiece nears the blade to
avoid serious personal injury.
• When work is completed, press switch off and
remove switch key.
BEVELRIPCUT
BLADE
ANGLED
SCALE
\
RIPFENCEON
RIGHTOF BLADE
MICRO-
ADJUST
KNOB
Fig. 67
£RRFTSNRH"TABLE SAW 315.228590 44

MAKING A COMPOUND (BEVEL) MITER CUT
See Figure 68.
Practice on scrap wood. From the front of the saw,
push the wood to the blade with the miter gage. Do
not use the rip fence.
_1, WARNING: Make sure the blade guard is
lowered over the blade and is working properly to
prevent possible injury.
,_, WARNING: When the blade is angled to the
left, the miter gage must be on the right side of
the blade. Otherwise the gage could trap the
workpiece, possibly causing kickback and
resulting in injury.
• Set blade angle and height by loosening the bevel
lock handle and turning the height and bevel
handwheels. Retighten bevel lock handle.
• Set wood angle by loosening miter gage knob and
setting it to desired angle.
• Retighten miter gage knob.
• Place a support the same height as top of saw
table behind the saw for cut work.
• Make sure wood is not touching the blade.
• Insert switch key and lift switch to ON position. Let
blade obtain full speed.
• Hold work firmly against miter gage with both
hands and push miter gage to feed work into blade.
• When work is completed, press switch off and
remove switch key.
COMPOUND(BEVEL)MITERCUT
PLACERIGHTHAND
\
|ON WORKPIECEAND
MITERGAGEHERE
WHENMITERGAGEIS
ON RIGHTSIDEOF BLADE
PLACELEFTHANDON
MITERGAGEKNOBHERE
Fig. 68
45 CRRFTSMRN"TABLE SAW315.228590

MAKING A LARGE PANEL CUT
See Figure 69.
Make sure the saw is properly secured to a work
surface to avoid tipping from the weight of a large
panel.
_I, WARNING: Make sure the blade guard is
lowered over the blade and is working properly to
prevent possible injury.
• Place a support the same height as top of saw
table behind the saw for cut work. Add supports to
the sides as needed.
• Depending on the shape of panel, use rip fence or
miter gage. If panel is too large to use either rip
fence or miter gage, it is too large for this saw.
,_ WARNING: Never make freehand cuts (cuts
without the miter gage or rip fence), which can
result in serious injury.
• Make sure wood does not touch blade before you
turn on saw. Let blade obtain full speed before
feeding wood into blade.
• When work is completed, press switch off and
remove switch key.
LARGEPANELCUT RIPFENCE
SUPPORTS
BEVEL
HANDWHEEL
HEIGHTHANDWHEEL Fig. 69
rRRFTSNRN"TABLE SAW 315.228590 46

MAKING A NON-THROUGH CUT
See Figure 70.
This is the only type of cut made without the blade
guard.
,_, WARNING: Unplug saw while removing or
replacing the blade guard to prevent accidental
starting and injury.
_1= WARNING: Never put your hands within 3 in. of
the blade when it is on or you could be seriously
hurt.
•Lift the blade guard out of the way.
• Adjust blade angle and height by releasing bevel
lock handle and turning height and bevel
handwheels. Reset bevel lock handle.
• Remove riving knife and guard assembly as
shown. Take out throat plate by removing the
screw with a phillips screwdriver. Be sure to
reinstall throat plate before moving to the next
step.
• Place a support the same height as top of saw
table behind the saw for cut work. Add supports to
the sides as needed.
WARNING: Always use pushsticks or
pushblocks when making non-through cuts to
avoid the risk of serious injury. Never feed wood
with your hands.
MAKING A DADO CUT
See Figure 71.
An optional dado throat plate is required for this
procedure. See the Accessories section of this
manual and check with your nearest Sears Retail
Store. All blades and dado sets must be rated at least
5,000 RPM.
_1, WARNING: Unplug saw before working around
the blade. Accidental starting could cause
serious injury.
• Take out throat plate by removing the screw.
• Remove riving knife and blade guard assembly.
Remove the blade.
• Mount dado blade according to instructions pro-
vided with it.
• Test blade nut and blade washer tightness.
• Install optional dado throat plate.
• Plug in saw and follow dado instructions. Always
use pushsticks with dado cuts.
• Make sure wood does not touch the blade before
you turn on saw. Let blade obtain full speed before
feeding wood into the blade.
• When the work is completed, press the switch off
and remove the key. Unplug the saw, remove the
dado insert and dado blade. Reinstall the blade,
riving knife, blade guard and throat plate.
DADOCUT
• Make sure wood is not touching blade. Insert _PUSHSTICK
switch key and lift switch to ON position. Let the R_D _ _/
blade obtain full speed before feeding workpiece BLADEGUA
into blade.
•When the work is completed, press the switch off
and remove the key. Unplug the saw, reinstall the
riving knife, and blade guard.
NON-THROUGHCUT
BLADEGUARD_ PUSHSTICK
REMOVED
Fig. 71
Fig. 70
47 tRAF'rSNAM"TABLESAW315.228590

GENERAL MAINTENANCE
_i, WARNING: When servicing, use only identical
Craftsman replacement pads. Use of any other
part may create a hazard or cause product
damage.
_i, WARNING: To prevent accidental starting that
could cause possible serious personal injury,
turn oft the saw, remove the switch key, and
unplug the saw before working on the table saw.
• Remove sawdust from the rails, top surface, and
inside of saw frequently.
• Clean plastic parts with a soft damp cloth. Do not
use any strong solvents.
_I, WARNING: Do not at any time let brake fluids,
gasoline, petroleum-based products, penetrating
oils, etc. contact plastic pads. They contain
chemicals that can damage, weaken or destroy
plastic.
• Periodically clean the table, rails, and rip fence with
gum and pitch remover. Do not allow pitch to
accumulate on the saw.
• Apply a thin coat of paste wax to the table top so
the wood slides easily while cutting.
• Regularly check all nuts, bolts, screws, and belts
for tightness and condition. Make sure the throat
plate (s in good condition.
MOTOR /ELECTRICAL
• Frequently vacuum or blow out any sawdust from
the motor.
_k, WARNING: If the power cord is worn, cut, or
damaged in any way, have it replaced immedi-
ately by a qualified service technician at a Sears
store or repair center. Failure to do so could
result in serious personal injury.
,_, WARNING: To avoid fire or electrocution,
reassemble electric parts with only identical
.Craftsman replacement parts. Reassemble
exactly as originally assembled.
This saw has been lubricated at the factory prior to
shipment. After extended use, you should inspect,
clean, and lubricate the areas shown in the drawing.
Clean before lubricating with a solvent recommended
for gum and pitch removal. Lubricate with SAE no. 20
or no. 30 engine oil.
See Figure 72.
• Table brackets. (a)
• Bevel handwheel rod threads and knuckle. (b)
• Height handwheel threads and trunnion. (c)
ERnFTSMllN" TABLESAW 315.228590 48
\/
"_ FRONTOF SAW
B
_.C
Fig. 72

PROBLEM CAUSE SOLUTION
Saw does not start. 1. Motor cord or wall cord is not 1. PJugin motor cord or wail cord.
plugged in.
2, Circuit fuse is blown.
3, Circuit breaker is tripped.
2. Replace circuit fuse.
3+ Reset circuit breaker.
4, Cord or switch is damaged. 4. Have the cord or switch re-
placed at your nearest Sears
Service Center.
Saw is noisy when running. 1, Motor needs attention. 1. Have the motor checked at
your nearest Sears Service
Center.
Motor is slow or weak. 1, Voltage from source is low.
2, Windings are burned out or
open.
!. Request a voltage check from
the power company.
2. Have the motor checked at
your nearest Sears Service
Center.
Motoroverheats.
3. Start switch is defective.
4. Circuit is overloaded with
appliances, lights, or other
motors,
5. May be wired for 240 volts
instead of 120 volts.
1. Motor is overloaded.
2. Dull blade.
3. Sawdust inside saw is blocking
air flow.
3. Have the switch replaced.
4. Do not use other appliances or
motors on the same circuit
when using the saw.
5. Check wiring of the saw with
info and diagrams in Changing
the motor voltage in the
Assembly Section.
1. Request a voltage check from
the power company.
2. Replace the blade.
3. Clean out the saw base.
Motor stalls, blows fuses, or trips
circuit breakers.
1. Starter switch is defective.
2. Voltage from source is low.
3. Dull blade.
1. Have the switch replaced.
2. Request a voltage check from
the power company.
3. Replace the blade.
4. Fuses or circuit breakers are
wrong size or defective.
4. Replace fuses or circuit
breakers.
5. Feeding workpiece too rapidly. 5+ Feed workpiece into blade
slower.
49 £RRFTSMRN' TABLESAW315.228590

PROBLEM CAUSE SOLUTION
Fuses or circuit breakers open
frequently.
Saw vibrates excessively.
Start switch does not operate.
Handwheels are hard to turn.
Blade does not lower when turning
height handwheel.
Miter gage does not move smoothly.
Cut binds, burns or stalls motor when
1. Motor is overloaded.
2. Fuses or circuit breakers are
wrong size or defective.
3. Dull blade.
4. Start switch is defective.
1. Blade is warped.
2. Belt is damaged.
3. Saw is not mounted securely.
4. Work surface is uneven.
1. Switch contacts are burned out.
2. Capacitor is defective
3. Connections are loose or dam-
aged.
1. Sawdust has collected on the
mechanism inside saw.
1. Blade lock handle is not fully
released.
1. Miter gage assembly is dirty or
sticky.
1. Blade or teeth are dull.
1. Feed work more slowly.
2. Replace fuses or circuit break-
ers.
3. Replace the blade.
4. Have the switch replaced.
1. Replace the blade.
2. Replace the belt.
3. Tighten all hardware.
4. Reposition on a flat surface. Ad-
just the leveling feet on legs.
1. Have the switch replaced and re-
quest a voltage check from the
power company.
2. Have the capacitor replaced.
3. Have the wiring checked and re-
paired.
1. Clean and lubricate the mecha-
nism.
1. Fully release the blade lock
handle.
1. Releasethe miter gage knob and
wax the miter gage base and
sides.
1. Sharpen or replace the blade.
ripping.
2. Blade is heeling. 2. See Heeling the Sawblade in the
Adjustments section.
3. Board is warped. 3. Replace the board.
4. Ripfencedoesnotparallelblade. 4. SeeAligningtheRipFenceinthe
Assembly section.
Saw blade does not cut true at 90 °or
45" positions. 1. Indicators are not properly ad-
justed.
2. Positive stops inside base are
not accurate.
1. See Setting the Bevel Stops and
Indicator inthe Adjustments sec-
tion.
2. See Setting the Bevel Stops and
Indicator in the Adjustments sec-
tion.
CRBFTSMBN" TABLE SAW315.228590 50

PROBLEM CAUSE SOLUTION
Rip fence does not move smoothly. 1. Rip fence is not mounted cor- 1.
ractly. Remove and reposition the rip
fence. See Aligning Rip Fence
and Front Rail in the Assembly
section.
2. Rails are dirty or sticky. 2, Clean and wax the rails.
Wood edges away from rip fence
when ripping. 1. Rip fence is misaligned. 1, See the Assembly section for
Checking Rip Fence and Blade
Alignment and Aligning Rip
Fence and Front Raft
procedures.
51 [RRI:TSMRN" TABLE SAW315.228590

CRAFTSMAN TABLE SAW - MODEL NO. 315.228590
The model number will be found on a plate attached to the cabinet. Always mention the model Inumber in all correspondence regarding your TABLE SAW or when ordering repair parts, I
21
320
19
I
17 J
23
12
FIGURE A
rRRFTSMRN" TABLESAW 315.228590
15
52
(_13

CRAFTSMAN TABLE SAW - MODEL NO. 315.228590
IThe model number will be found on aplate attached to the cabinet. Always mention the model Inumber in all correspondence regarding your TABLE SAW or when ordering repair parts. I
PARTS LIST FOR FIGURE A
Key Pad
No. Number
1 980673-002
2 **STD551025 *
3 982289-001 *
4 989679-001
5980677-001
6 980672-OO2
7 ** STD551031 *
8 982277-001
9 982119-001
10 ** STD511003 *
11 979978-001
12 979979-001
13 979980-001
14 979984-001
15 979981-002
16 **STD510807 *
17 **STD541008 *
18 980675-001
19 980680-001
20 980678-001
21 980674-001
22 980676-002
23 982087-001
24 982088-001 *
981286-001
Description Quan.
Knob Assembly .............................................................................. 2
Washer (1/4 in.) ............................................................................. 2
Screw (#8-32 x 3/8 in.) .................................................................. 2
Spring ............................................................................................ 1
Clamp Housing .............................................................................. 1
Miter Gage Knob ........................................................................... 1
Washer (5/16 in.) ........................................................................... 1
Miter Scale Label ........................................................................... 1
Miter Gage ..................................................................................... 1
Screw (#10-24 x 3/8 in.) ................................................................ 3
Miter Scale Indicator ...................................................................... 1
Miter Gage Block ........................................................................... 1
Stop Pin ......................................................................................... 1
Shoulder Screw ............................................................................. 1
Miter Gage Rod ............................................................................. 1
Screw (#8-32 x 5/8 in.) .................................................................. 3
Hex Nut (#8-32) ............................................................................. 3
Spacer ........................................................................................... 1
Clamp Screw ................................................................................. 1
Lock Tab ........................................................................................ 1
Quick Release Button .................................................................... 1
Knob .............................................................................................. 1
Sliding Washer .............................................................................. 1
Screw (1/4-20 x 1/4 in. Flat Hd.) ................................................... 1
Miter Gage Assembly (Includes Key Nos, 1-24) ........................... 1
Standard Hardware Item -- May Be Purchased Locally
Available From Div. 98 -- Source 980.00
53 rRBFTSMAN"TABLESAW315.228590

x
z.
--4
:1>
IDO
r"
Jli
t#3
:1>
#J1
o
CRAFTSMAN TABLE SAW - MODEL NO. 315.228590
The model number will be found on a plate attached to the cabinet. Always mention the model number in all correspondence regarding your TABLE I
I
SAW or when ordering repair parts. I
2
FIGUREB
6
5
2
3
12 8
&
12 11
11

CRAFTSMAN TABLE SAW- MODEL NO. 315.228590
The model number will be found on a plate attached to the cabinet. Always mention the model number in all correspondence regarding your TABLE |
i
SAW or when ordering repair parts. J
w
t-
rtl
=E
k_
DID
ul
PARTS LIST FOR FIGURE B
Key Part
No. Number Description Quan.
Leveling Foot ..................................................................................................................................................... 4
* Hex Nut (5/16-18) ........................................................................................................................................... 36
* Washer (5/16 in.) ............................................................................................................................................. 40
Leg .................................................................................................................................................................... 4
* Carriage Bolt (5/16-18 x 3/4 in.) ...................................................................................................................... 24
Large Storage Hanger ...................................................................................................................................... 2
End Brace ......................................................................................................................................................... 2
Side Brace ......................................................................................................................................................... 2
Long Leg Brace ............................................................................................... .................................................. 2
* Belt (5/16-18 x 3/4 in. Hex Hd.) ........................................................................................................................ 4
Small Storage Hanger ....................................................................................................................................... 2
Short Leg Brace ................................................................................................................................................ 2
1 979999-001
2 ** STD541031
3 ** STD551031
4 979995-002
5 ** STD533107
6 982273-001
7 979993-002
8 979997-002
9 979998-002
10 ** STD523107
11 982274-001
12 979996-002
Standard Hardware Item -- May Be Purchased Locally
** Available From Div. 98-- Source 980.00

!
Z
s
z
.-4
_o
r'-
m
o_
c.n
FIGUREC
CRAFTSMAN TABLE SAW - MODEL NO. 315.228590
_Them_deJnumberwiiIbef_und_napiateattachedt_theCabinet_A__aysmenti_nthem_de_numberina__c_rresp_ndenceregardingy_urTABLE_SAwor when ordering repair parts.
34
33
32
31
I
16
27
19
17 18

"IR
X
=.
.-I
ff-
rtl
3r_
=E
.D
CRAFTSMAN TABLE SAW - MODEL NO. 315.228590
The model number will be found on a plate attached to the cabinet. Always mention the model number in all correspondence regarding your TABLESAW or when ordering repair parts.
Key Part
No. Number
1 980681-001
2 979945-001
3 ** STD541425
4 979970-001
5 979969-001
6 979968-001
7 979972-001
8 980319-001
9 ** STD551008
10 979961-001
11 979962-001
12 980683-001
13 979881-001
14 979964-001
15 980964-001
16 980596-001
17 980595-001
18 979965-002
PARTS LIST FOR FIGURE C
Description Quan.
Fence End Cap ........................................ 1
* Screw (#8-32 x 1/2 in.) ............................. 4
* Lock Nut (1/4-20) ..................................... 1
Lock Plate ................................................ 1
Lock Spring .............................................. 1
Fence Lock Rod ....................................... 1
Rear Fence Slide ..................................... 1
Fence Label ............................................. 1
* Washer (#8) ............................................. 1
Scale Indicator ......................................... 1
Fence Plate .............................................. 1
Rip Fence Cover ...................................... 1
*Screw (5/16-18 x 1/2 in. Socket Hd.) ....... 4
Fence Handle Bracket ............................. 1
Cam Sleeve .............................................. 1
Retaining Ring ......................................... 2
Pin ............................................................ 1
Rip Fence Handle .................................... 1
Key Part
No. Number Description
19 980688-001
20 980953-002
21 980322-001
22 979967-001
23 980952-001
24 980951-001
25 ** STD512503
26 980949-001
27 980948-001
28 980684-001
29 980945-001
30 980966-001
31 980598-001
32 980965-001
33 980685-001
34 980682-001
981283-001
981280-001
Quan.
Roll Pin (8 x 60 mm) ................................ 2
Fence Adjustment Knob ........................... 1
Warning Label .......................................... 1
* Screw (1/4-20 x 3/4 in. Socket Hd.) ......... 4
Spring ....................................................... 1
Bushing .................................................... 1
* Screw (1/4-20 x 3/8 in.) ............................ 2
Fence Adjusting Bracket .......................... 1
Push Nut .................................................. 1
Gear ......................................................... 1
* Screw (#10-24 x 3/8 in.) ........................... 1
Rear Glide ................................................ 2
* Screw (#8-32 x 1/4 in.) ............................. 4
Front Glide ............................................... 2
Scale Indicator Housing ........................... 1
Rip Fence ................................................. 1
Complete Rip Fence Assembly ................ 1
Complete Micro Adjust Assembly ............ 1
Standard Hardware Item -- May Be Purchased Locally
** Available From Div. 98 -- Source 980.00 #

CRAFTSMAN TABLE SAW - MODEL NO. 315.228590
I The model number will be found on a ptate attached to the cabinet. Always mention the model number in all correspondence regarding your TABLE |
!
SAW or when ordering repair parts. J
10
11
FIGURED

CRAFTSMAN TABLE SAW - MODEL NO. 315.228590
The model number will be found on a plate attached to the cabinet. Always mention the model number in all correspondence regarding your TABLE |
I
SAW or when ordering repair parts. J
PARTS LIST FOR FIGURE D
Key Part
No. Number Description Quan.
1 979935-001
2 979940-001
3 979944-001
4 ** STD551025
5 979942-001
6 979941-001
7 979937-001
8 979939-001
9 979938-001
10 979934-001
11 979936-001
12 980955-001
13 980400-001
14 980324-001
981279-001
Push Nut ........................................................................................................................................................... 4
Anti-Kickback Pawl ........................................................................................................................................... 2
Spacer ............................................................................................................................................................... 2
Washer (1/4 in.) ................................................................................................................................................. 3
Bolt (1/4-20 x 3/8 in. Socket Head) ................................................................................................................... 3
Hiving Knife ....................................................................................................................................................... 1
Blade Guard Bracket ......................................................................................................................................... 1
Spring ................................................................................................................................................................ 1
Pin ..................................................................................................................................................................... 1
Blade Guard ...................................................................................................................................................... 1
Pin ..................................................................................................................................................................... 1
Roll Pin .............................................................................................................................................................. 1
Warning Label ................................................................................................................................................... 1
Blade Guard Label ............................................................................................................................................ 1
Blade Guard Assembly (Includes Key Nos. 1-14) ............................................................................................ 1
Standard Hardware Item -- May Be Purchased Locally
** Available From Div. 98 -- Source 980.00
m ,g

r
==
z
3=
11
=.
=d
30
=E
u.
=o
J_
,D
CRAFTSMAN TABLE SAW- MODEL NO. 315.228590
Ihe model number will be found on a plate attached to the cabinet. Always mention the model number in all correspondence regarding your TABLE ISAW or when ordering repair parts. I
FIGUREE

CRAFTSMAN TABLE SAW - MODEL NO. 315.228590
The model number will be found on a plate attached to the cabinet. Always mention the model number in all correspondence regarding your TABLE |
I
SAW or when ordering repair parts. J
Key Pad
No. Number
1 979945-001
2 ** STD512503
3 980652-001
4 980594-001
5 979986-001
6 979991-001
7 976863-001
8 980001-001
9 979987-001
10 ** STD511003
11 979990-001
12 980321-001
PARTS LIST FOR FIGURE E
Description Quan.
*Screw (#8-32 x 1/2 in.) ....................................................................................................................................... 3
*Screw (1/4-20 x 3/8 in.) ...................................................................................................................................... 2
Switch Plate ....................................................................................................................................................... 1
*Square Nut (1/4-20) ........................................................................................................................................... 2
Strain Relief ........................................................................................................................................................ 2
Power Cord (Power Source) .............................................................................................................................. 1
Switch Key ......................................................................................................................................................... 1
Switch (Includes Key No. 7) ............................................................................................................................... 1
Switch Housing .................................................................................................................................................. 1
*Screw (#10-24 x 5/16 in.) .................................................................................................................................... 2
* Star Washer (#10) .............................................................................................................................................. 2
On/Off Label ....................................................................................................................................................... 1
Standard Hardware Item -- May Be Purchased Locally
** Available From Div. 98 -- Source 980.00

I
-11
Z
I
z.
,-I
r-
rn
[/)
I>
;31
CRAFTSMAN TABLE SAW - MODEL NO. 315.228590
The model number will be found on a plate attached to the cabinet. Always mention the model number in all correspondence regarding your TABLE |
I
SAW or when ordering repair parts. !
5
24
@
FIGUREF
I

CRAFTSMAN TABLE SAW- MODEL NO. 315.228590
I The model number will be found on a plate attached to the cabinet. Always mention the model number in all correspondence regarding your TABLE i
I
SAW or when ordering repair parts. J
O:
=l=
==
"11
"4
3C
s
=.
,-I
w
II"1
=E
o_
o
Key PaN
No. Number
1 ** STD541010
2 ** STD551010
3981382-001
4 979900-001
5 ** STD502502
6 980962-001
7 980960-00t
PARTS LIST FOR FIGURE F
Description Quan.
* Hex Nut (#10) .................................................................................................................................................... 4
* Flat Washer (#10) ............................................................................................................................................. 4
Belt Guard ......................................................................................................................................................... 1
Pulley ................................................................................................................................................................ 1
* Setscrew (1/4-20 x 1/4 in.) ................................................................................................................................ 2
Motor ................................................................................................................................................................. 1
Power Cord (Motor) .......................................................................................................................................... 1
Standard Hardware Item -- May Be Purchased Locally
** Available From Div. 98 -- Source 980.00

CRAFTSMAN TABLE SAW - MODEL NO. 315.228590
The model number will be found on a plate attached to the cabinet. Always mention the model number in all correspondence regarding your TABLE I
I
SAW or when ordering repair parts. J
11
8
9
j4
5
FIGUREG

CRAFTSMAN TABLE SAW- MODEL NO. 315.228590
The model number will be found on a plate attached to the cabinet. Always mention the model number inall correspondence regarding your TABLE ISAW or when ordering repair parts. I
O3
O1
z
s
=.
,-I
I:o
I'-
Ill
_q
io
M1
u_
Key Pad
No. Number
1 979992-002
2 ** STD523105
3 980588-001
4 977227-002
5 977229-002
6 977491-001
7977481-001
8 980602-001
9 ** STD55!110
10 982222-001
11 982128-001
PARTS LIST FOR FIGURE G
Description Quan.
Base ................................................................................................................................................................... 1
* Bolt (5/16-18 x 1/2 in. Hex Hd.) ......................................................................................................................... 3
* Star Washer (5/16 in.) ........................................................................................................................................ 3
Handwheel Assembly (Includes Key Nos. 5, 6, and 7) ...................................................................................... 2
Handle ................................................................................................................................................................ 2
Screw (M8 x 1-t/4 in.) ........................................................................................................................................ 2
End Cap ............................................................................................................................................................. 2
* Screw (#10-24 x 1/2 in.) ..................................................................................................................................... 2
* Lock Washer (#10) ............................................................................................................................................. 2
Front Panel Label ............................................................................................................................................... 1
Data Plate .......................................................................................................................................................... 1
Standard Hardware Item -- May Be Purchased Locally
** Available From Div. 98 -- Source 980.00

-t
33
z.
*-I
GO
r-
Ill
u)
:E
tJI
(.n
o
CRAFTSMAN TABLE SAW- MODEL NO. 315.228590
I he model number will be found on a plate attached to the cabinet. Always mention the model number in all correspondence regarding your TABLESAW or when ordering repair parts. J
6
3
FIGUREH
10
18
9 2
8
I0

CRAFTSMAN TABLE SAW - MODEL NO. 315.228590
Ihe model number will be found on a plate attached to the cabinet. Always mention the model number in all correspondence regarding your TABLESAW or when ordering repair parts. J
X
ZI
=.
--4
I'ti
o_
k_
GO
t.3t
Key PaN
No. Number
1 979879-00t
2 979945-001
3 979946-001
4 980323-901
5 980691-001
6 979948-001
7982147-001
8 980695-901
9 990692-001
10 980693-001
11 980950-001
12 980594-001
13 980690-001
14 ** STD551131
15 ** STD541031
16 ** STD523110
17 982122-001
18 982271-001
19 979875-001
20 979874-001
21 980956-002
22 979872-001
23 979871-001
24 979873-001
25 982099-001
26 980694-001
PARTS LIST FOR FIGURE H
Description Quan.
* Bolt (5/16-18 x 1 in. Square Hd.) .................................................................................................................... 14
* Screw (#8-32 x 1/2 in.) ...................................................................................................................................... 6
End Cap (Left Rear) .......................................................................................................................................... 1
Label ................................................................................................................................................................. 1
Rear Rail ........................................................................................................................................................... 1
End Cap (Right Rear) ....................................................................................................................................... 1
MDF Extension Table Assembly ....................................................................................................................... 1
Front Rail (Includes Key Nos. 17 and 18) ......................................................................................................... 1
End Cap (Right Front) ....................................................................................................................................... 1
Gear Rack ......................................................................................................................................................... 2
*Screw (1/4-20 x 3/8 in.) ..................................................................................................................................... 8
*Square Nut (1/4-20) .......................................................................................................................................... 8
End Cap (Left Front) ......................................................................................................................................... 1
* Washer (5/18 in.) ............................................................................................... ".............................................. 22
* Hex Nut (5/16-18) ........................................................................................................................................... 18
* Bolt (5/16-18 x 1 in. Hex Hd.) ........................................................................................................................... 4
Scale (Left) ........................................................................................................................................................ 1
Scale (Right) ..................................................................................................................................................... 1
Align-A-Cut Insert .............................................................................................................................................. 1
*Setscrew (5/16-18 x 5/8 in.) .............................................................................................................................. 2
Saw Table .......................................................................................................................................................... 1
* Screw (#10-24 x 3/4 in.) .................................................................................................................................... 1
Throat Plate ....................................................................................................................................................... 1
*Setscrew (#10-24 x 3/16 in.) ............................................................................................................................. 4
Throat Plate Label ............................................................................................................................................. 1
Extension Table ................................................................................................................................................. 1
Standard Hardware Item -- May Be Purchased Locally
** Available From Div. 98 -- Source 980.00

CRAFTSMAN TABLE SAW - MODEL NO. 315.228590
The model number will be found on a plate attached to the cabinet. Always mention the model number in all correspondence regarding your TABLE |
I
SAW or when ordering repair parts. I
52
155
47 14 16
6 8 \15
\
38
37
18,,_
8
21
27 22
24
19
25
FIGUREI
j

CRAFTSMAN TABLE SAW - MODEL NO. 315.228590
Ihe model number will be found on a plate attached to the cabinet. Always mention the model number in all correspondence regarding your TABLE ISAW or when ordering repair parts. I
PARTS LIST FOR FIGURE I
Key Part Key Part
No. Number Description Quan. No. Number
* Lock Washer (5/16 in.) ............................ 6
* Bolt (5/16-18 x 1/2 in. Hex Hd.) .............. 2
Riving Knife/Blade Guard Bracket .......... 1
* Bolt (1/4-20) ............................................ 1
Spring ...................................................... 1
Washer .................................................... 1
Table Bracket .......................................... 2
Star Washer ............................................ 6
* Bolt (5/16-18 x 1 in. Hex Hd.) ................ 10
Retaining Ring ......................................... 2
Ball Bearing (6202Z) ............................... 2
Key .......................................................... 1
Arbor Shaft .............................................. 1
10 in. Blade (item No. 928874) .............. 1
Outer Blade Washer ................................ 1
Blade Nut ................................................. 1
Blade Cover Assembly ............................ 1
* Screw (#10-24 x 3/8 in.) .......................... 8
Blade Cover Label ................................... 1
Blade Wrench .......................................... 1
Shaft ........................................................ 1
Bevel Lock Handle .................................. 1
* Washer (#8) ............................................. 5
* Screw (#8-32 x 3/8 in.) ............................ 5
Threaded Rod ......................................... 1
Bracket .................................................... 1
Spring ...................................................... 1
Retaining Ring ......................................... 1
Washer .................................................... 1
1 ** STD551131
2 ** STD523105
3 979880-001
4 979883-001
5 979884-001
6 979885-001
7 979886-001
8 980588-001
9** STD523110
10 979896-001
11 979895-001
12 979894-001
13 979893-001
14 ***
15 979891-001
16 979890-001
17 982272-001
18 ** STD511003
19 982278-001
20 979889-001
21 979906-001
22 979907-002
23 979912-001
24 979910-001
25 979917-001
26 979915-001
27 979905-001
28 979904-001
29 979885-001
30 980946-001
31 979908-001
32 979911-001
33 979914-001
34 980589-001
35 979924-001
36 979923-001
37 979922-001
38 979897-001
39 979898-001
40 979902-001
41 979903-001
42 ** STD502502
43 ** STD304420
44 979900-001
45 980593-001
46 ** STD523107
47 979925-001
48 979926-001
49 980760-001
50 979904-001
51 979927-001
52 979928-001
53 979929-001
54 ** STD541031
55 ** STD551031
56 980757-001
972000-782
Description Quan.
* Washer (#10) ........................................... 3
Bracket .................................................... 1
Bevel Scale indicator .............................. 1
Knuckle .................................................... 1
Retaining Ring ......................................... 1
Height Adjustment Rod ........................... 1
"O" Ring ................................................... 2
Washer .................................................... 1
Cradle (Trunnion) .................................... 1
Arbor Housing ......................................... 1
Washer .................................................... 1
Retaining Ring ......................................... 1
* Setscrew (1/4-20 x 1/4 in.) ...................... 4
V-Belt (4L-420) ........................................ 1
Pulley ....................................................... 1
Retaining Ring ......................................... 1
* Bolt (5/16-18 x 3/4 in. Hex Hd.) .............. 2
Motor Support Base ................................ 1
Spring ...................................................... 1
Elbow ....................................................... 1
Retaining Ring ......................................... 2
Pivot Shaft ............................................... 1
Screw ...................................................... 1
Motor Mounting Plate .............................. 1
* Hex Nut (5/16-18) .................................... 4
* Washer (5/16 in.) ..................................... 8
Dust Bag (Not Shown) ............................ 1
Owner's Manual
Standard Hardware Item -- May Be Purchased Locally ** Available From Div. 98 -- Source 980.00
*** Corn ]ble At

Get it fixed, at your home or ours!
For repair of major brand appliances in your own home...
no matter who made it, no matter who sold it!
1-800-4-MY-HOME sMAnytime, day or night
(1-800-469-4663)
www.sears.com
To bring in products such as vacuums, lawn equipment and electronics
for repair, call for the location of your nearest Sears Parts & Repair Center.
1-800-488-1222 Anytime, day or night
www.sears.com
For the replacement parts, accessories and owner's manuals
that you need to do-it-yourself, call Sears PartsDirect sM!
1-800-366-PART 6a.m.- 11 p.m. CST,
(1-800-366-7278) 7 days a week
www.sears.corn/partsdirect
To purchase or inquire about a Sears Service Agreement:
1-800-827-6655
7 a.m. - 5 p.m. CST, Men. - Sat.
Para pedir servicio de reparacion a domicilio,
y para ordenar piezas con entrega a domicilio:
1-888-SU-HOGAR sM
(1-888-784-6427)
Au Canada pour service en fran_ais:
1-877-LE-FOYER sM
(1-877-533-6937)
i.M
®Registered Trademark /Trademark of Sears, Roebuck and Co.
© Sears, Roebuck and CO. ® Marca Registrada /TM Marca de F_brica de Sears, Roebuck and Co.