Canam Technology M4-CHOLC-800UL Mark IV Class A Narrowband Signal Booster User Manual
Canam Technology, Inc Mark IV Class A Narrowband Signal Booster Users Manual
Users Manual

MARK-IV CHANNELIZED RADIO REBROADCAST
SYSTEM
MARK-IV NARROWBAND (CHANNELIZED) CLASS A SIGNAL
BOOSTER WITH AUTOMATIC OUTPUT LEVEL CONTROL
M4-ChOLC
USER’S OPERATION & MAINTENANCE MANUAL
PRELIMINARY
SUBMITTED BY:
CANAM TECHNOLOGY, INC.
April 2005

Canam Technology, Inc. (CTI)
MARK-IV CHANNELIZED (Class A Narrowband) SIGNAL BOOSTER WITH AUTOMATIC
OUTPUT LEVEL CONTROL M4-ChOLC
User’s Operations and Maintenance Manual (O&M)
I
I.
.
T
TA
AB
BL
LE
E
O
OF
F
C
CO
ON
NT
TE
EN
NT
TS
S
Section A. Introduction............................................................................................ 3
Section B. GLOSSARY OF TERMS ............................................................................4
Section C. THEORY OF OPERATION ........................................................................ 5
C.1 DESCRIPTION.................................................................................................. 5
C.2 FEATURES & APPLICATIONS.......................................................................... 6
C.3 INPUT (Rx) INTERMODULATION REJECTION ................................................ 7
C.4 THE CHANNEL PROCESSOR.......................................................................... 7
C.5 CHANNEL SELECTIVITY .................................................................................. 8
C.6 MARK-IV MODULE SPECIFICATIONS............................................................ 9
Section D. INSTALLATION .......................................................................................10
D.1 Equipment Installation ...............................................................................10
D.2 Antenna Installation ...................................................................................11
Section E. OPERATION...........................................................................................12
Section F. M4-ChOLC Adjustments.....................................................................13
F.1 M4-ChOLC Channel Frequency Programming ..................................... 13
F.2 M4-ChOLC Output Level...........................................................................15
F.3 M4-ChOLC RX Threshold Level .................................................................16
F.4 M4-ChOLC Status and Alarms .................................................................. 16
Section G. TROUBLESHOOTING ......................................................................... 18
G.1 DC POWER ALARM .....................................................................................18
G.2 RF STATUS ALARM ........................................................................................18
G.3 COM PORT ................................................................................................... 18
MARK-IV CHANNELIZED Signal Booster module (M4-ChOLC) O&M Manual Page 2 of 20

Canam Technology, Inc. (CTI)
MARK-IV CHANNELIZED (Class A Narrowband) SIGNAL BOOSTER WITH AUTOMATIC
OUTPUT LEVEL CONTROL M4-ChOLC
User’s Operations and Maintenance Manual (O&M)
I
II
I.
.
U
US
SE
ER
R’
’S
S
O
OP
PE
ER
RA
AT
TI
IO
ON
NS
S
&
&
M
MA
AI
IN
NT
TE
EN
NA
AN
NC
CE
E
Section A. Introduction
The MARK-IV is a Class A Narrowband (Channelized) Signal Booster module equipped with
automatic Output Level Control (ChOLC), for operation under FCC Part 90.219 in the
frequency bands of VHF, UHF and 800 MHz.
The MARK-IV module could also be used to retrofit Class B Broadband Bi-directional
Amplifiers (BDAs), converting them into Class A Narrowband (Channelized) Boosters
compliant with the FCC Part 90.219(d) requirements to transmit outdoors.
M4-ChOLC Key Features:
• Narrowband Class A Signal Booster, per FCC Part 90.219 and 90.7
• Maximum Output Power = 0 dBm.
• Out-of-Band emissions < –13 dBm, compliant with FCC requirements.
• AGC circuit provides a constant output power, regardless of the input power.
This document is the MARK-IV module Operations and Maintenance Manual, intended for
the Radio Technical Personnel.
It contains detailed descriptions of each one of the M4-ChOLC subsystems down to their
Lowest Replaceable Units (LRU). This manual is intended to be used with the M4-ChOLC
Equipment only. It is not to be used with any other equipment unless it is authorized by
Canam Technology, Inc.
Canam Technology, Inc provide this document “as is” without any warranty of any kind.
This document may contain typographical errors and technical inaccuracies. Canam
Technology will not accept any liability from the use and misuse of this manual, the
information contained within, or the consequences of any actions resulting from the use of
this information.
The user can not make any modifications to the unit(s). Changes or modifications not
expressly approved by the party responsible for compliance voids the user’s authority to
operate the equipment.
Signal boosters such as the M4-ChOLC generate radio signals and, therefore,
electromagnetic fields. The technical personnel should have a complete understanding of
FCC CFR Title 47 sections 1.1307 and 1.1310. Recommendations are included in this Manual,
but they do not substitute the FCC guidelines.
This device may require the use of antennas for proper functioning, depending on the
application. The installation of the antennas should be performed by qualified technical
personnel. All antennas should be fixed mounted and physically secured to one location.
The people must be away from the antennas at least 0.25 meters to comply with the RF
Human Maximum Permissible Exposure limits, as long as the antenna system gain is lower
than 33 dBi. If greater gain is used the separation should be increased, please refer to the
FCC Rules.
If service should be performed on the antenna, please shut down the transmitter or lower its
power in order to comply with the maximum permissible exposure.
MARK-IV CHANNELIZED Signal Booster module (M4-ChOLC) O&M Manual Page 3 of 20

Canam Technology, Inc. (CTI)
MARK-IV CHANNELIZED (Class A Narrowband) SIGNAL BOOSTER WITH AUTOMATIC
OUTPUT LEVEL CONTROL M4-ChOLC
User’s Operations and Maintenance Manual (O&M)
Section B. GLOSSARY OF TERMS
AC: Alternating Current.
Base station: A station at a specified site authorized to communicate with mobile stations.
Broadband Bidirectional Amplifier (BDA): Device that automatically receives amplifies and
retransmit on a two-way basis all the signals within the passband of the amplifier’s filter.
Narrowband (Channelized) Signal Booster: Device that automatically receives, amplifies and
retransmits on a one-way or two-way basis only the discrete frequencies intended for
retransmission.
DC: Direct Current.
Downlink: Transmission link from the base station to the mobile station.
Mobile station: A station in the mobile service intended to be used while in motion or during
halts at unspecified points. This includes hand carried transmitters.
Rx: Receiver.
Tx: Transmitter.
Uplink: Transmission link from the mobile station to the base station.
MARK-IV CHANNELIZED Signal Booster module (M4-ChOLC) O&M Manual Page 4 of 20

Canam Technology, Inc. (CTI)
MARK-IV CHANNELIZED (Class A Narrowband) SIGNAL BOOSTER WITH AUTOMATIC
OUTPUT LEVEL CONTROL M4-ChOLC
User’s Operations and Maintenance Manual (O&M)
Section C. THEORY OF OPERATION
C.1 DESCRIPTION
The CTI MARK-IV CHANNELIZED REBROADCAST
SYSTEM is designed for multi-carrier two-way
rebroadcast systems, where significantly high
dynamic range is required.
The M4-ChOLC is a Narrowband Class A
(Channelized or Channel Selective) Signal
Booster with a 100 dB Automatic Output Level
Control, fully compliant with the FCC
requirements to transmit signals outdoors back
to the donor sites or basestations.
Per FCC 90.219(d) only narrowband (class A)
signal boosters can be used for that
application, the broadband BDAs are not allowed to transmit outdoors.
INPUT SPLITTER
OUTPUT COMBINER
RF INPUT
SIGNAL
RF OUTPUT
SIGNAL
CH-1 OLC
CH-2 OLC
CH-n OLC
It can also be used as a front-end filter system to
retrofit Broadband BiDirectional Amplifiers (BDAs). Figure 1: Channelized Rebroadcast System
When several M4-ChOLC modules are combined to process multiple channels within a
desired band, the RF signals going into the BDA are set at a constant level by the 100 dB
Automatic Output Level Control, regardless of their input level, which significantly improves
the system dynamic range.
The M4-ChOLC modules reduce high power carriers that can saturate the BDAs and create
Intermodulation (IM) Products in the system. On the other hand, the M4-ChOLC modules
boost up weak carriers that would be otherwise lost in a broadband BDA system. See next
Figure 2.
The M4-ChOLC modules turn a Broadband BDA into a Narrowband Class A “channelized
BDA” that can be used to transmit signals outdoors, without the limitations set forth by the
FCC in Part 90.219(d).
M4-ChOLC modules can be programmed for processing any communications channel in
the two-way mobile radio UHF or 800 MHz SMR bands, while maintaining system flexibility.
Multiple modules are combined into a single output signal with Low-Level passive combining,
which improves BDA efficiency and cost effectiveness by reducing combiner costs.
The M4-ChOLC modules are a very cost-effective upgrade to existing BDA systems that both
improves their performance and makes them compliant with FCC 90-219(d).
Figure 2 shows, as example, the operation of an integrated system with only four M4-ChOLCs
programmed on F1, F3, F0 and F5 frequencies. The signals on F2, F4 and F6 are filtered out,
since there are no M4-ChOLCs tuned to them.
MARK-IV CHANNELIZED Signal Booster module (M4-ChOLC) O&M Manual Page 5 of 20

Canam Technology, Inc. (CTI)
MARK-IV CHANNELIZED (Class A Narrowband) SIGNAL BOOSTER WITH AUTOMATIC
OUTPUT LEVEL CONTROL M4-ChOLC
User’s Operations and Maintenance Manual (O&M)
-100
-90
-80
-70
-60
-50
-40
-30
-20
-10
0
Level
dBm
f1FREQ
MHz
f2f3f0f4f5f6
-100
-90
-80
-70
-60
-50
-40
-30
-20
-10
0
Level
dBm
f1FREQ
MHz
f2f3f0f4f5f6
INPUT SPECTRUM OUTPUT SPECTRUM
Figure 2: 4-channels Integrated System Input and Output Spectrum
C.2 FEATURES & APPLICATIONS
• M4-ChOLC modules are a front-end Channelized Signal Conditioner System
(Channel Selective, class A narrowband signal boosters per FCC definition) that
effectively and efficiently converts broadband BDAs into Channelized Class A
boosters compliant with FCC 90.219(d) rule.
• M4-ChOLC modules, Higher Input Dynamic Range, reduce the impact of strong
interfering input carriers (those that create 3rd order IM products landing right on
another system desired channel). Two interfering carriers could be up to -30 dBm at
the module’s input without causing harmful interference in the desired channel.
• M4-ChOLC modules, Higher Input (Rx) Intermodulation Rejection, -30 dBm maximum
input for two undesired carriers causing 3rd order IM interference.
• M4-ChOLC modules, 100 dB Automatic Output Level Control equalizes the output
signal at a fixed level regardless of the input level = improves the system dynamic
range to feed RF-over-Fiber optic links or remote boosters with constant levels to
overcome the link losses and the RF/Optic converter’s very high noise figures.
• M4-ChOLC modules Frequency and Phase Tracking follow exactly the input signal’s
frequency and modulation (analog or digital), with minimum delay.
• M4-ChOLC modules are Field-programmable Operating Frequency = PLL-based
Synthesizer.
• M4-ChOLC module Manual Input (Rx) Threshold and Output Power Level controls
provide easy field adjustments and Status Indicators (visual LED and Discrete Signals).
• M4-ChOLC modules, Small Foot-print & Simple Installation,
• M4-ChOLC stand-alone modules require only +15 VDC.
MARK-IV CHANNELIZED Signal Booster module (M4-ChOLC) O&M Manual Page 6 of 20

Canam Technology, Inc. (CTI)
MARK-IV CHANNELIZED (Class A Narrowband) SIGNAL BOOSTER WITH AUTOMATIC
OUTPUT LEVEL CONTROL M4-ChOLC
User’s Operations and Maintenance Manual (O&M)
C.3 INPUT (Rx) INTERMODULATION REJECTION
The M4-ChOLC delivers an
outstanding Input (Rx)
Intermodulation Rejection, which
combined with its Input Sensitivity
of -100 dBm allows the module to
tolerate strong undesired input
carriers of up to -30 dBm with no
interference on the desired
channel, as per TIA standards.
Figure 3 illustrates this case’s input
spectrum.
This is particularly important for
critical applications where the
frequency plan contains channels
that would create 3rd and 5th order
Intermodulation Products landing
in-band right on other desired
system channel(s), since two or more
very strong signals at F1 and F2
frequencies impacting the M4-
ChOLC’s front-end would cause
interference on the desired F0
channel.
C.4 THE CHANNEL PROCESSOR
The architecture of the M4-ChOLC is based on down&up heterodyne frequency converters,
featuring narrowband Intermediate Frequency (IF) filters and Automatic Gain Control signal
conditioner.
The output signal reproduces the exact input’s frequency and modulation (analog or
digital), as received at the module’s input.
The next diagram in Figure 4 shows the simplified M4-ChOLC architecture.
Figure 3: Input (Rx) Intermodulation Rejection 3rd
ORDER on-channel IM interference 2*F1 ± F2 = F0
0
Level
dBm
-110
-100
-90
-80
-70
-60
-50
-40
-30
-20
-10 OTHER NEAR-BY
USERS STRONG
SIGNALS NOT
INTENDED FOR
THIS MODULE
FREQ
MHz
f0f1f2
ON-CHANNEL
UNDESIRED
Interference
2*f1 +/- f2 = fo
DESIRED
SIGNAL
MARK-IV CHANNELIZED Signal Booster module (M4-ChOLC) O&M Manual Page 7 of 20

Canam Technology, Inc. (CTI)
MARK-IV CHANNELIZED (Class A Narrowband) SIGNAL BOOSTER WITH AUTOMATIC
OUTPUT LEVEL CONTROL M4-ChOLC
User’s Operations and Maintenance Manual (O&M)
Figure 4: M4-ChOLC Block Diagram
C.5 CHANNEL SELECTIVITY
The M4-ChOLC is a channel selective signal processor that filters and conditions only the
desired channel output power level. Other channels are filtered out, rejected and not
affected. The Output Signal is equalized to a steady and fixed level, regardless of the input
signal level variations.
The following Figure illustrates the M4-ChOLC operation on f0 frequency.
-100
-90
-80
-70
-60
-50
-40
-30
-20
-10
0
Level
dBm
f1FREQ
MHz
f2f3f0f4f5f6
-100
-90
-80
-70
-60
-50
-40
-30
-20
-10
0
Level
dBm
f1FREQ
MHz
f2f3f0f4f5f6
INPUT SPECTRUM OUTPUT SPECTRUM
Figure 5: Single ChOLC Input and Output Spectrum
MARK-IV CHANNELIZED Signal Booster module (M4-ChOLC) O&M Manual Page 8 of 20

Canam Technology, Inc. (CTI)
MARK-IV CHANNELIZED (Class A Narrowband) SIGNAL BOOSTER WITH AUTOMATIC
OUTPUT LEVEL CONTROL M4-ChOLC
User’s Operations and Maintenance Manual (O&M)
C.6 MARK-IV MODULE SPECIFICATIONS
MARK-IV Channelized (Class A Narrowband) Signal Booster module
with Automatic Output Level Control – model M4-ChOLC
• Channel Specs
Frequency range:
a. M4-ChOLC-800UL FCC ID: TCJM4-ChOLC-800UL
b. M4-ChOLC-800DL FCC ID: TCJM4-ChOLC-800DL
c. M4-ChOLC-UHF FCC ID: TCJM4-ChOLC-UHF
a: 806 – 824 MHz
b: 851 to 869 MHz
c: 460 to 490 MHz
Frequency Programming Steps 12.5 kHz
Channel Spacing 25 kHz
• RF Input
Input impedance (typ) 50 ohms
Sensitivity for greater than 20 dB output SINAD (DAQ 3.4) -90 dBm
Maximum input power (composite) for no-damage -10 dBm
• RF Output
Output impedance (typ) 50 ohms
Output power (maximum)
a. M4-ChOLC-800UL FCC ID: TCJM4-ChOLC-800UL
b. M4-ChOLC-800DL FCC ID: TCJM4-ChOLC-800DL
c. M4-ChOLC-UHF FCC ID: TCJM4-ChOLC-UHF
0 dBm
-2 dBm
-5 dBm
Output level adjustment range 10 dB
Maximum output level variation with input level variations within range +/- 2 dB
Distortion ≤ 4%
Spurious & harmonics outputs < -13 dBm
Duty cycle Continuous
• Field Adjustments and Status Indicators
Operating Frequency (serial port interface)
Input (Rx) Threshold level
Output Power level
RF output OK signal (open-collector, “fail-safe” indication)
DC current draw OK signal (open-collector, “fail-safe” indication)
Receive Signal Strenght Indicator – RSSI (DC voltage)
• Power Requirements
Power Supply +15 VDC
Power Consumption 10 W max.
• Environmental
Operating Temperature range 0° to 50° C
• Mechanical
Module footprint (typical) 273x234x27.2 mm
RF coaxial connectors are “SMA” type, female.
MARK-IV CHANNELIZED Signal Booster module (M4-ChOLC) O&M Manual Page 9 of 20

Canam Technology, Inc. (CTI)
MARK-IV CHANNELIZED (Class A Narrowband) SIGNAL BOOSTER WITH AUTOMATIC
OUTPUT LEVEL CONTROL M4-ChOLC
User’s Operations and Maintenance Manual (O&M)
Section D. INSTALLATION
D.1 Equipment Installation
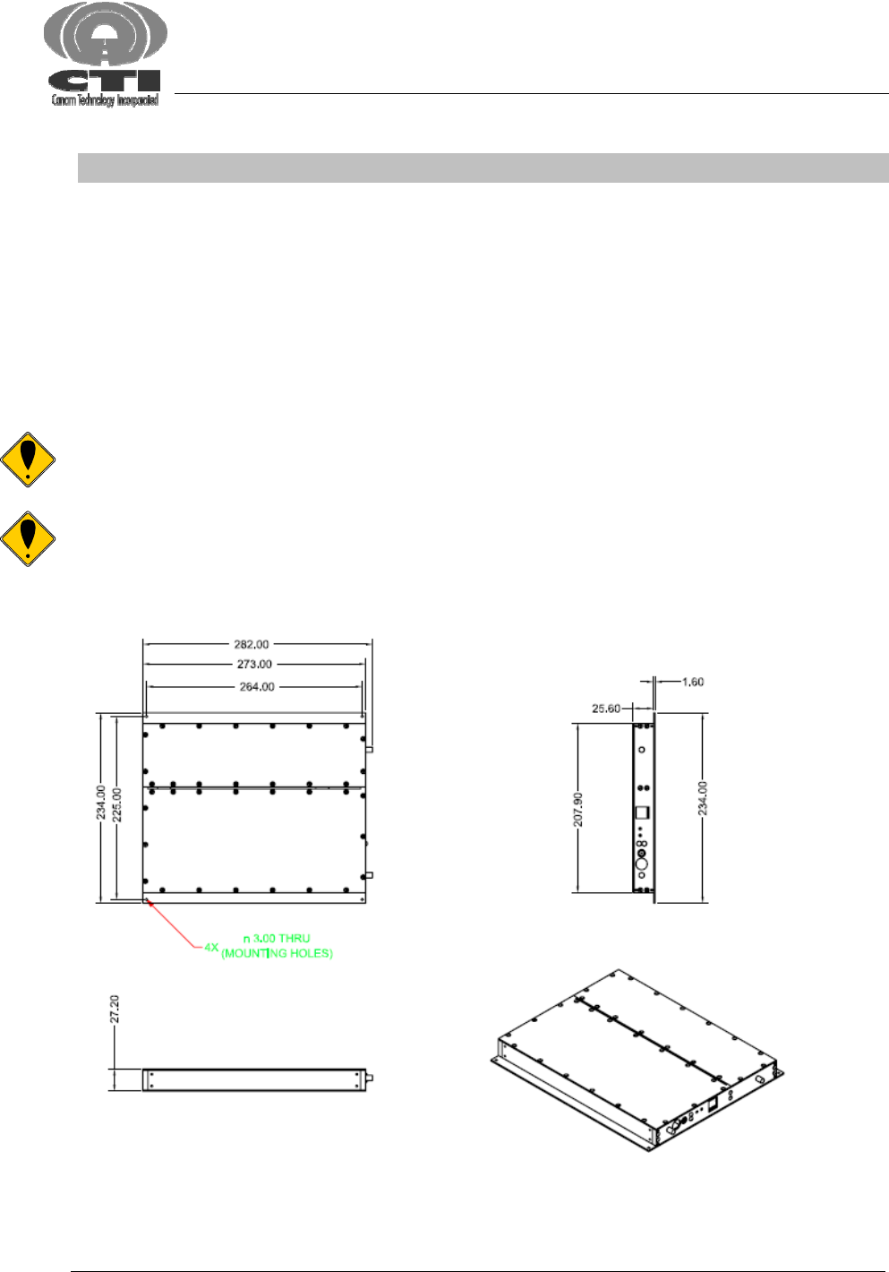
The mechanical drawing is shown in Figure 6. The M4-ChOLC can be installed in several
forms:
a. Up to 14 units can be mounted vertically in a 6RU standard card-cage.
b. Up to 2 units can be mounted horizontally in a 1RU shelf.
c. The modules could also be stack up in a wall-mount enclosure, according to the
costumer’s needs.
Canam Technology’s Equipment is factory configured. All setup and wiring is performed by
Canam’s Personnel. There is no need to disconnect the equipment unless the units should
be serviced.
Warning: if any module should be disconnected, it should only be done by qualified
technical personnel.
Figure 6: M4-ChOLC Mechanical Specifications (Units in mm)
MARK-IV CHANNELIZED Signal Booster module (M4-ChOLC) O&M Manual Page 10 of 20

Canam Technology, Inc. (CTI)
MARK-IV CHANNELIZED (Class A Narrowband) SIGNAL BOOSTER WITH AUTOMATIC
OUTPUT LEVEL CONTROL M4-ChOLC
User’s Operations and Maintenance Manual (O&M)
D.2 Antenna Installation
The Input antenna and output antenna are not included with this equipment. Nevertheless,
if this device is used in an application that requires direct connection to an antenna, Canam
Technology recommends following the FCC guidelines for its installation:
• Antenna Installation should be performed by qualified technical personnel.
• The installations instructions are for the purpose of complying with FCC RF Exposure
and are not optional.
• All antennas (Donor and Service) should be fixed mounted and physically secured to
one location.
• Non-building mounted donor antennas must be greater than 10 meters above
ground.
• Minimum Separation to any body’s part of any person is 25cm, as long as the System
Antenna Gain is lower than 33 dBi.
• The Maximum System Antenna Gain should be as follows for each model:
o For M4-ChOLC-800UL model, G < 33.69 dBi.
o For M4-ChOLC-800DL model, G < 36.44 dBi.
o For M4-ChOLC-UHF model, G < 36.86 dBi.
MARK-IV CHANNELIZED Signal Booster module (M4-ChOLC) O&M Manual Page 11 of 20

Canam Technology, Inc. (CTI)
MARK-IV CHANNELIZED (Class A Narrowband) SIGNAL BOOSTER WITH AUTOMATIC
OUTPUT LEVEL CONTROL M4-ChOLC
User’s Operations and Maintenance Manual (O&M)
Section E. OPERATION
All the controls and connections of the M4-ChOLC can be access through the front panel,
as show in Figure 7.
Figure 7: M4-ChOLC Front Panel
Item Description Function
1 RF Out Female SMA Connector used to drive the RF Signal out of the
M4-ChOLC
2 Status Indicator
Connector, plus
alternative DC In.
8 Pins Mini-DIN. Three output status signals are available:
a. RSSI
b. RF IN&OUT Status Alarm
c. DC Status Alarm
The DC In could also be supplied at this connector. For the
connector pin out and a detailed description refer to the
section F.4.
3 DC In DC Input. The module requires a +15VDC supply.
4 RF Out Ok LED This visual indicator will be on when there is an RF signal being
transmitted within the preset power limits.
5 Rx Ok LED This visual indicator is on when the Module receives an RF
signal above the preset Rx Threshold level.
6 Out Level
Adjustment
This adjustment allows decreasing or increasing the preset
Module’s RF Output Power.
7 Rx Threshold
Adjustment
This adjustment is used to increase or decrease the RF level
required to trigger the output on.
8 Communications
Input Port
This is an RJ-11 connector used to interface a computer’s
serial port in order to program the module’s operating
frequency.
9 RF In Female SMA Connector used to drive the RF Signal into the
M4-ChOLC
MARK-IV CHANNELIZED Signal Booster module (M4-ChOLC) O&M Manual Page 12 of 20

Canam Technology, Inc. (CTI)
MARK-IV CHANNELIZED (Class A Narrowband) SIGNAL BOOSTER WITH AUTOMATIC
OUTPUT LEVEL CONTROL M4-ChOLC
User’s Operations and Maintenance Manual (O&M)
Section F. M4-ChOLC Adjustments
The equipment adjustments should only be performed by qualified technical personel.
These adjustments are set through the system optimization, and they may be changed only
during equipment service and repair.
F.1 M4-ChOLC Channel Frequency Programming
The M4-ChOLC Operating Frequency can be changed using Canam Technology’s
proprietary software application.
WARNING: The application is intended to be used with Canam’s M4-ChOLC
only. The use of this software with any other equipment may cause the
equipment and / or the application to function incorrectly.
Please follow the next steps in order to install it.
1. Go to “My PC”, then click on the CD-ROM Drive.
2. Double click on the setup.exe application in the CTI CD-ROM, see Figure 8.
Figure 8: Installing the application utility for the M4-ChOLC
MARK-IV CHANNELIZED Signal Booster module (M4-ChOLC) O&M Manual Page 13 of 20

Canam Technology, Inc. (CTI)
MARK-IV CHANNELIZED (Class A Narrowband) SIGNAL BOOSTER WITH AUTOMATIC
OUTPUT LEVEL CONTROL M4-ChOLC
User’s Operations and Maintenance Manual (O&M)
3. Follow the installation instructions that appear on the screen.
After the application has been installed, it can be access by going to Start ► All Programs ►
CTI ► Serial. The application main window should appear as shown in Figure 9.
Figure 9: M4-ChOLC Frequency Programming G.U.I. Application
The tab Port Selection shows the detected COM ports in the host computer. To choose the
desire output port, click on the corresponding icon.
The icon meanings are as follows:
This icon means that the port is available and it can be used to connect to the
M4-ChOLC.
This icon means that the port is being used by another application or service.
These ports are not available to connect to the M4-ChOLC.
This icon means that the communications port is a MODEM. This port cannot be
used to connect to the M4-ChOLC.
NOTE: In order to connect the host Computer with the M4-ChOLC, use the interface cable
provided by Canam Technology part number CT-M4-ChOLC-COMCABLE. Connect the PC
RS-232 Port to the M4-ChOLC COM IN port. Do not connect a telephone line to the
equipment, the port may get damaged.
Once the COM port is selected, the user can change the M4-ChOLC operating frequency.
By using the tab Communications, it is possible to program the module’s operating
frequency, as shown in Figure 10.
MARK-IV CHANNELIZED Signal Booster module (M4-ChOLC) O&M Manual Page 14 of 20

Canam Technology, Inc. (CTI)
MARK-IV CHANNELIZED (Class A Narrowband) SIGNAL BOOSTER WITH AUTOMATIC
OUTPUT LEVEL CONTROL M4-ChOLC
User’s Operations and Maintenance Manual (O&M)
The frequency is given in MHz, and it can be changed in steps of 12.5, 25, 50 or 100 kHz.
After the frequency has been selected or entered, click on the Send button to change
the M4-ChOLC’s operating frequency.
Figure 10: Programming the M4-ChOLC Operating Frequency
F.2 M4-ChOLC Output Level
This front panel potentiometer adjustment can be accessed using a small flat screwdriver.
By turning it clockwise, the output power level will be increased up to the maximum gain.
Turning the potentiometer counter-clockwise, the output power will decrease up to 10 dB,
which is the gain control range.
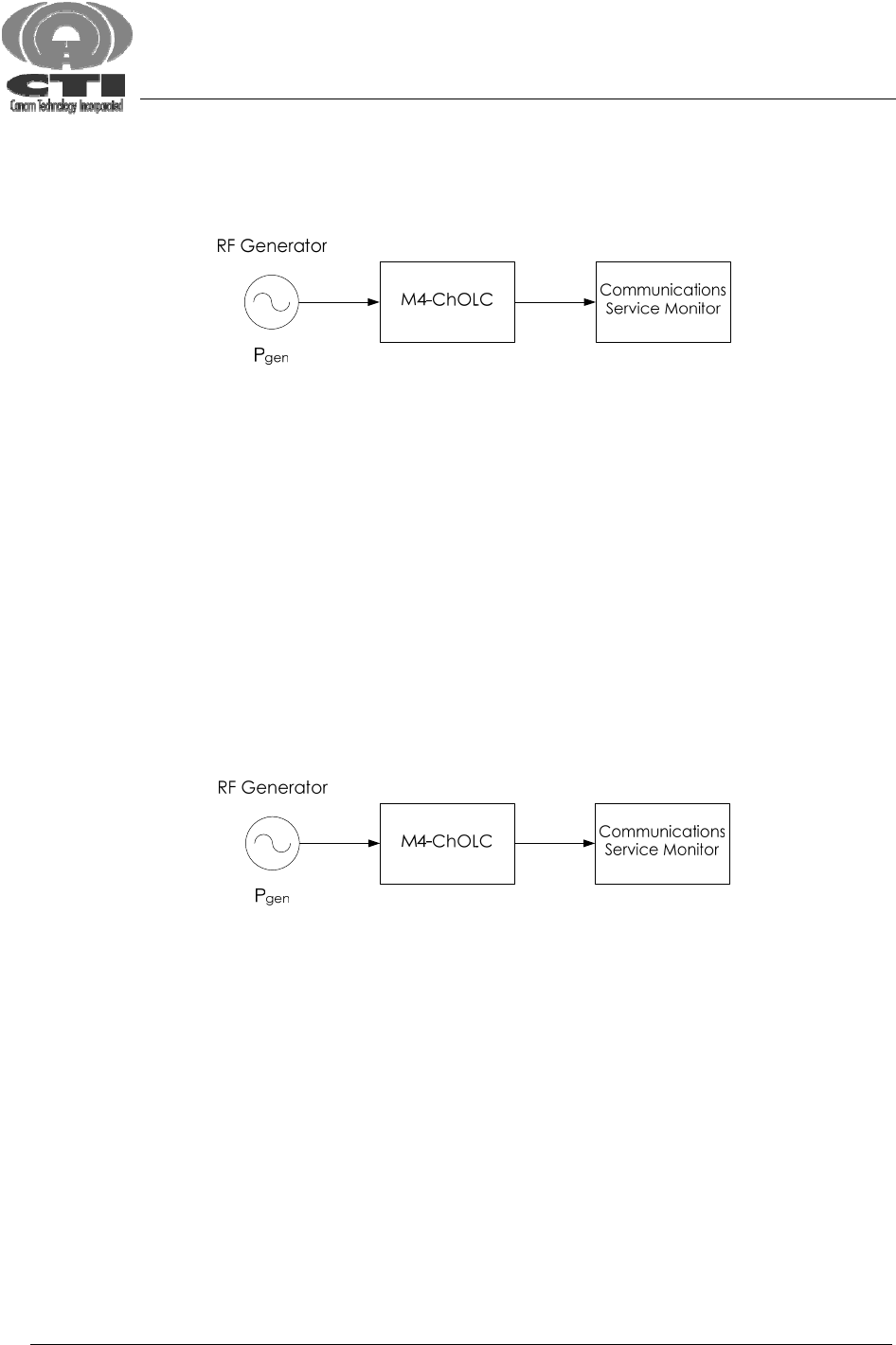
To adjust the Output Power level, use the test circuit shown in Figure 11. Adjust the RF
Generator frequency to match the M4-ChOLC operating frequency, and the Generator
Power (Pgen) to – 50 dBm.
Turn counter-clockwise the RF Power Level adjustment until it reaches the lowest power
output.
Using a Spectrum Analyzer or a Communications Service Monitor, measure the M4-ChOLC
Output Power, and turn the Out Adjustment clockwise until reaching the desired output
power.
MARK-IV CHANNELIZED Signal Booster module (M4-ChOLC) O&M Manual Page 15 of 20

Canam Technology, Inc. (CTI)
MARK-IV CHANNELIZED (Class A Narrowband) SIGNAL BOOSTER WITH AUTOMATIC
OUTPUT LEVEL CONTROL M4-ChOLC
User’s Operations and Maintenance Manual (O&M)
After this adjustment, the M4-ChOLC will provide the same Power Output regardless of the
input signal power (the input power should not be higher than -10 dBm, otherwise the M4-
ChOLC may damage).
Figure 11: Output Power Adjustment Setup
F.3 M4-ChOLC RX Threshold Level
The Rx Threshold Level is used to set up the Input Power Level required for a signal to be
retransmitted by the device. Input signals below this threshold are not amplified.
In order to adjust this level, use the circuit shown in Figure 12. Set the RF Generator
frequency to the same M4-ChOLC frequency and its output level to the desired threshold.
Turn the M4-ChOLC Rx Threshold Level potentiometer all the way clockwise. The RX OK Led
should be off. There should be no signal present at the output of the M4-ChOLC.
Turn the Rx Threshold Level Adjustment counter-clockwise until the RF OK Indicator turns on
and the module delivers the signal out.
Figure 12: Rx Threshold Level Setup
F.4 M4-ChOLC Status and Alarms
The M4-ChOLC provides TTL Compatible output signals that can be used by a SCADA system
to monitor the status of the M4-ChOLC unit.
The signals can be accessed through an 8-pin mini-DIN connector located on the M4-
ChOLC Front Panel (Refer to Figure 7). The connector’s pin out is shown in Figure 13.
MARK-IV CHANNELIZED Signal Booster module (M4-ChOLC) O&M Manual Page 16 of 20

Canam Technology, Inc. (CTI)
MARK-IV CHANNELIZED (Class A Narrowband) SIGNAL BOOSTER WITH AUTOMATIC
OUTPUT LEVEL CONTROL M4-ChOLC
User’s Operations and Maintenance Manual (O&M)
*All Black Pins are Ground
DC IN
DC Power Alarm RSSI
STATUS ALARM
Figure 13: Status/Alarm Connector pin out.
Table 1: Status/Alarm Signal Description
Signal name Function
DC IN DC Input. The module requires a +15VDC supply.
DC POWER ALARM This signal is a “fail safe” type alarm. The Open-Collector is conducting
to ground during normal operation, and it will be an open circuit (not
conducting) during an alarm condition.
GND Power Supply Ground or reference for the output signals. This ground
pins are connected to the equipment chassis.
RF STATUS ALARM This signal is a “fail safe” type alarm. The Open-Collector is conducting
to ground during normal operation, and it will be an open circuit (not
conducting) during an alarm condition.
RSSI This signal provides a DC level proportional to the RF Input power.
MARK-IV CHANNELIZED Signal Booster module (M4-ChOLC) O&M Manual Page 17 of 20

Canam Technology, Inc. (CTI)
MARK-IV CHANNELIZED (Class A Narrowband) SIGNAL BOOSTER WITH AUTOMATIC
OUTPUT LEVEL CONTROL M4-ChOLC
User’s Operations and Maintenance Manual (O&M)
Section G. TROUBLESHOOTING
This section is intended for problem-solving that can be addressed on the field. If the
problem is not solved using this guide, do not open the equipment and try to repair it by
yourself. Please contact Canam Technology for service and repair.
G.1 DC POWER ALARM
1. Check that the external +15VDC power supply is connected to the correct AC
power outlet and it is turned on. Measure the Power Supply DC output using a
multimeter to ensure that the 15V are present.
2. If the power supply is connected but no 15V were present, change the power
supply to another power outlet. If this solves the problem, repair the power outlet.
3. If there are no 15V at the Power Supply output, replace the power supply.
4. If the 15V are present, check the cable that connects the power supply to the
M4-ChOLC. If it is damaged, replace the cable.
5. If cable replacement does not fix the problem, please contact Canam
Technology.
G.2 RF STATUS ALARM
1. Use the test circuit shown in Figure 14.
2. Adjust the RF Generator frequency to match the frequency of the M4-ChOLC
Module.
3. Adjust the RF Generator Power (Pgen) to -50 dBm.
4. If there is no output signal present, verify that the RF Threshold level is properly
adjusted. See section F.3 for details.
5. If after adjusting the RF Threshold there is no signal, use Canam’s C-PROG
software to set the M4-ChOLC Operating Frequency.
6. If no output signal is still present, contact Canam Technology for repair.
Figure 14: Status alarm troubleshooting test setup
G.3 COM PORT
1. Connect the M4-ChOLC COM Port to the computer RS-232 Port using the
interface cable provided by Canam.
2. Open the application C-PROG, click on the button corresponding to the port
used to connect the computer.
MARK-IV CHANNELIZED Signal Booster module (M4-ChOLC) O&M Manual Page 18 of 20

Canam Technology, Inc. (CTI)
MARK-IV CHANNELIZED (Class A Narrowband) SIGNAL BOOSTER WITH AUTOMATIC
OUTPUT LEVEL CONTROL M4-ChOLC
User’s Operations and Maintenance Manual (O&M)
3. If the message “There isn’t connection with the device” appears, make sure that
the M4-ChOLC is powered, and try again.
4. If the message “There isn’t connection with the device” still appears, change the
cable used to connect the M4-ChOLC with the computer.
5. If replacing the cable does not fix the problem, contact Canam for repair.
MARK-IV CHANNELIZED Signal Booster module (M4-ChOLC) O&M Manual Page 19 of 20

Canam Technology, Inc. (CTI)
MARK-IV CHANNELIZED (Class A Narrowband) SIGNAL BOOSTER WITH AUTOMATIC
OUTPUT LEVEL CONTROL M4-ChOLC
User’s Operations and Maintenance Manual (O&M)
(This page is intentionally left blank)
MARK-IV CHANNELIZED Signal Booster module (M4-ChOLC) O&M Manual Page 20 of 20