Canam Technology M4BBDAV MARK-IV Broadband (Class-B) Signal Booster User Manual UHF CHANNELIZED OUTPUT LIMIT CONTROL
Canam Technology, Inc MARK-IV Broadband (Class-B) Signal Booster UHF CHANNELIZED OUTPUT LIMIT CONTROL
Contents
- 1. Users Manual
- 2. Operation and Maintenance Manual
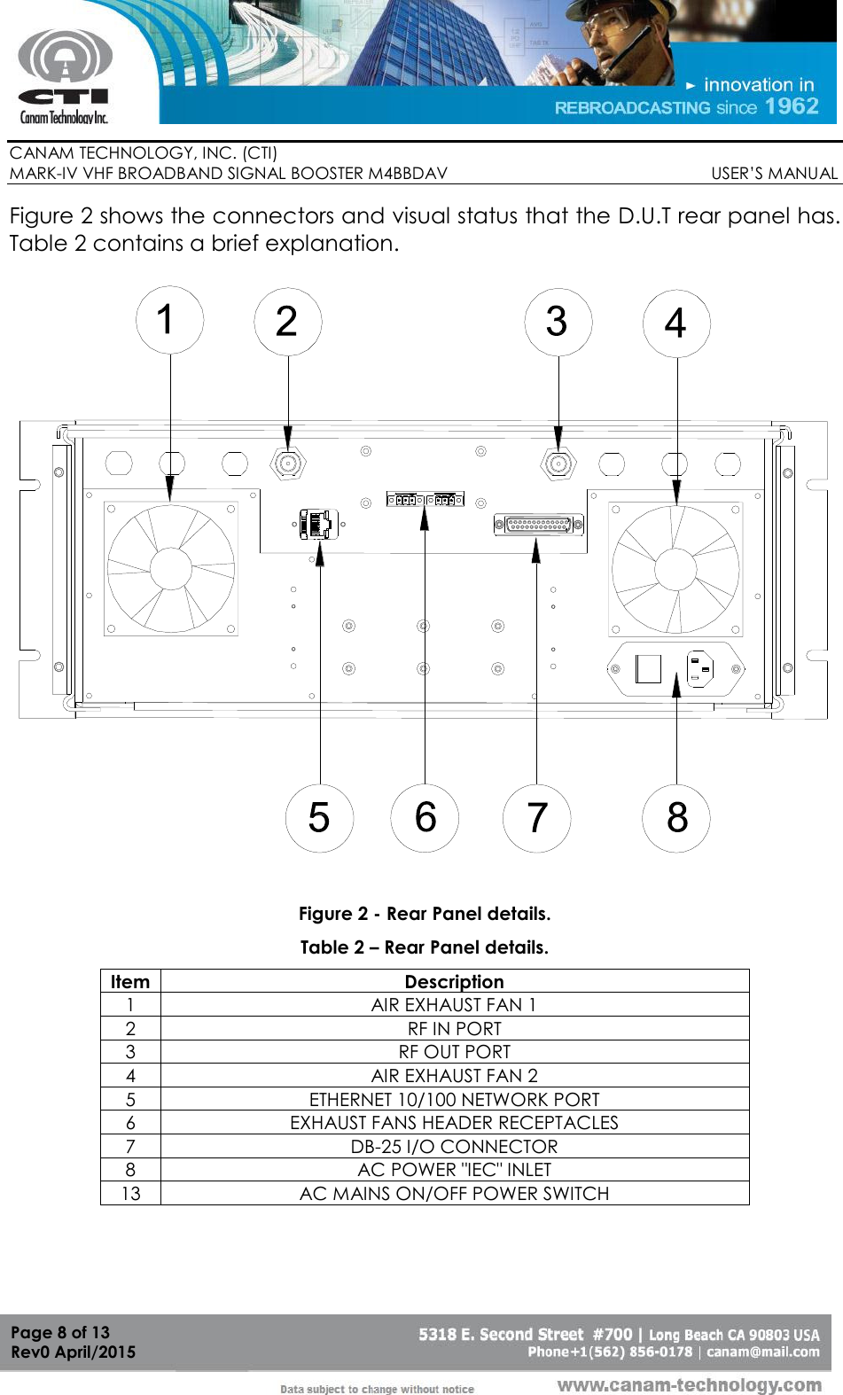
Users Manual












