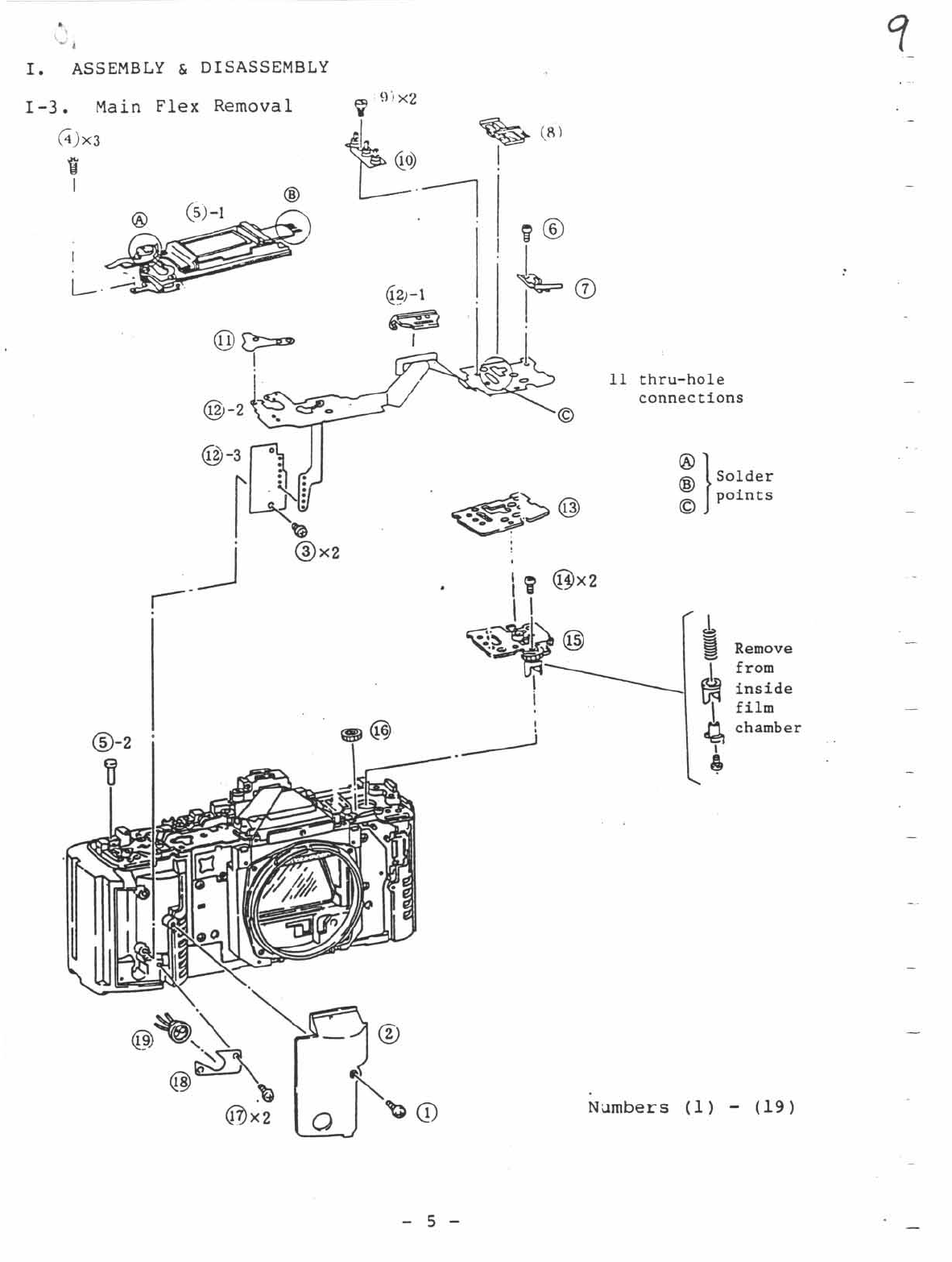
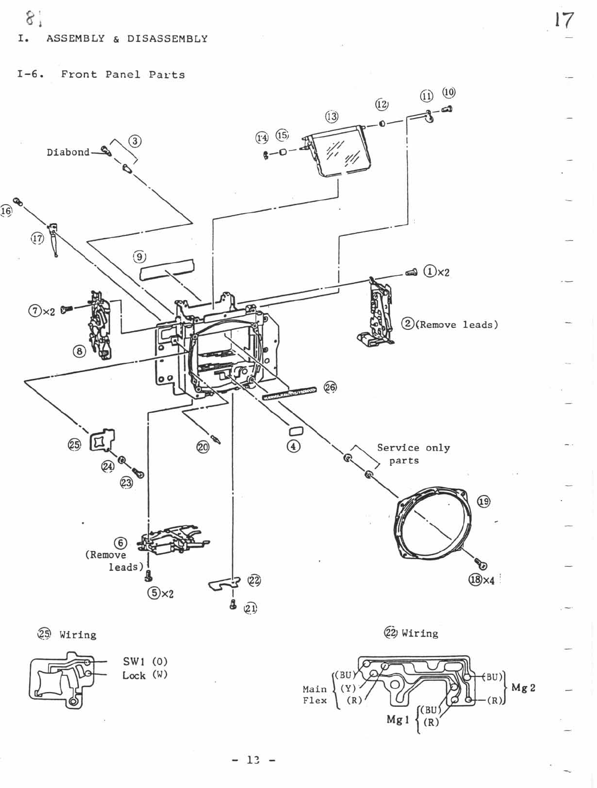
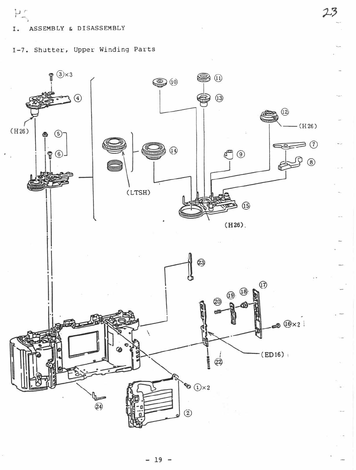
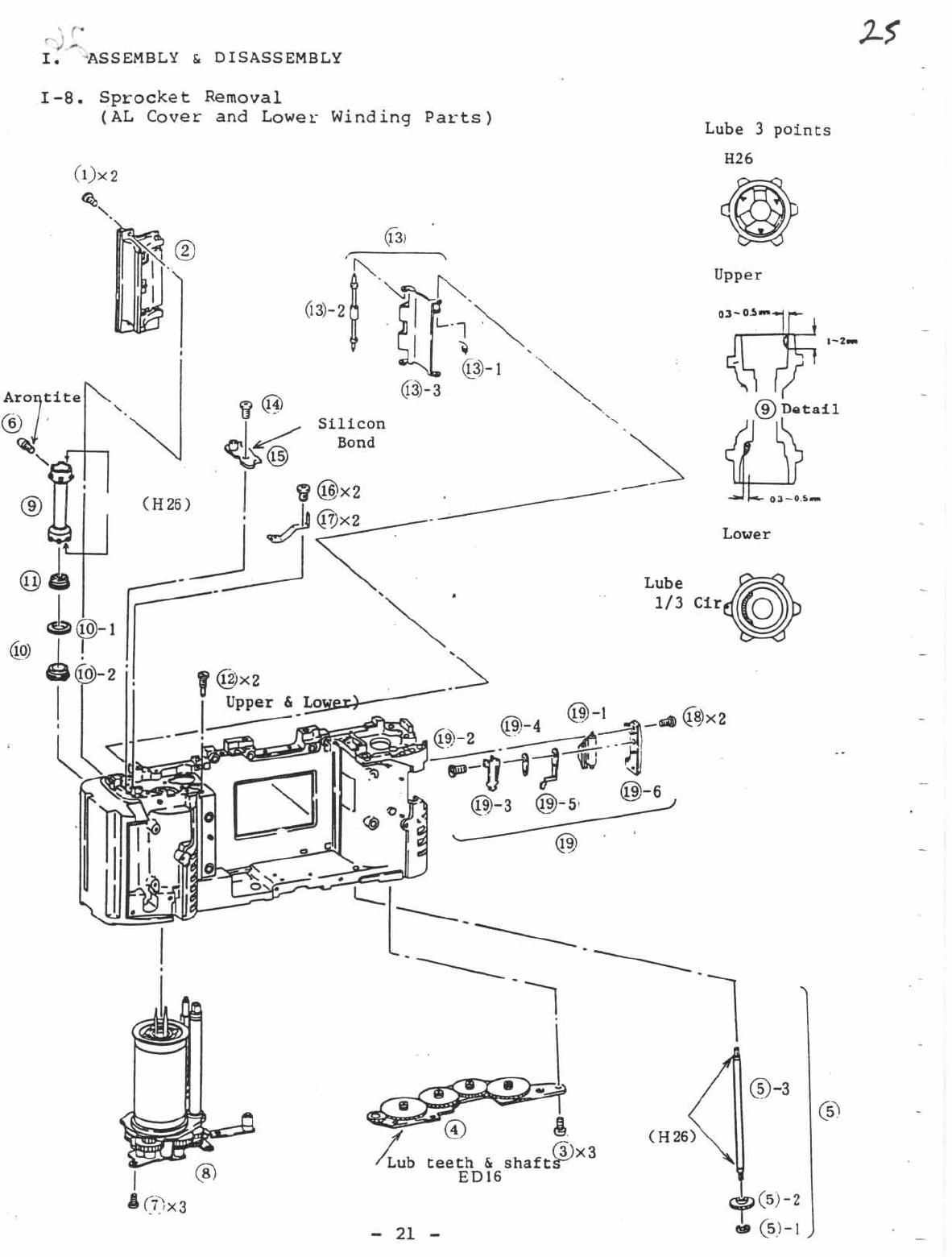
Canon T 70 Repair Manual 1
T-70 - Repair Guide T70_SM Free User Guide for Canon POWERSHOT Series Camera, Manual - page5
2015-08-11
: Canon Canon-T-70-Repair-Manual-784160 canon-t-70-repair-manual-784160 canon pdf
Open the PDF directly: View PDF
.
Page Count: 74









































































