Canon DIM 463C User Manual To The 3beda351 C286 412c 9410 A90b6b854020
User Manual: Canon DIM-463C to the manual
Open the PDF directly: View PDF
.
Page Count: 159 [warning: Documents this large are best viewed by clicking the View PDF Link!]
- XM2 DIGITAL-VIDEO-CAMCORDER Bedienungsanleitung
- Einführung
- Vorbereitungen
- Aufnahme
- Aufnahme
- Tipps für bessere Videoaufnahmen
- Zoomen
- Gebrauch des LCD-Bildschirms
- Ausschalten der optischen Bildstabilisierung
- Gebrauch des Neutralfilters
- Bandaufzeichnung von Standbildern
- Auswählen des Laufbildmodus (Halbbilder/Vollbilder)
- Aufnahme-Suchlauf und Aufnahmeprüfung
- Filmen mit den verschiedenen Aufnahmeprogrammen
- Tonaufnahmefunktionen
- Gebrauch der Funktionstaste (CUSTOM KEY)
- Verwendung der digitalen Effekte
- Gebrauch der Farbbalken
- Verwendung eines Canon Speedlite (Sonderzubehör) für Blitzaufnahmen
- Aufnahme mit dem Intervall-Timer
- Gebrauch der Selbstauslöserfunktion
- Gebrauch der DV-Steuerung
- Verwendung der Videoleuchte VL-3 (Sonderzubehör)
- Verwendung des Mikrofons DM-50 (Sonderzubehör)
- Verwendung des Mikrofonadapters MA-300 (Sonderzubehör)
- Manuelle Belichtungseinstellung
- Manuelle Scharfeinstellung
- Manueller Weißabgleich
- Belichtungskorrektur
- Gebrauch der programmierbaren Voreinstellung (CSTM PRESET)
- Gebrauch des Zebramusters
- Aufzeichnung von PC- und anderen Schirmbildern mit CLEAR SCAN
- Aufzeichnung der Displayanzeigen
- Wiedergabe
- Überspielen
- Überspielen auf einen Videorecorder
- Überspielen von/auf Band mit DV-Komponenten
- Aufnahme von Videorecorder, Fernsehgerät oder analogem Camcorder (analoger Eingang)
- Digitale Ausgabe von analogen Video- und Audiosignalen (Analog/Digital-Wandler)
- Überspielen von neuem Material über vorhandene Szenen (AV-Insert-Schnitt)
- Nachvertonung
- Auswählen der Tonmischung
- Anschluss an einen PC über ein DV-Kabel
- Verwendung einer Speicherkarte
- Speicherkarte
- Aufzeichnung von Standbildern auf Speicherkarte
- Wiedergabe des Speicherkarteninhalts
- Einstellungen der Standbilder auf einer Speicherkarte
- Verhindern versehentlichen Löschens (Löschschutz)
- Markieren eines Standbildes zum Drucken (Druckmarkierung)
- Löschen von Standbildern
- Kombinieren von Bildern und Aufzeichnen auf Kassette (Titel-Mischen)
- Überspielung von Standbildern von Speicherkarte auf Band
- Formatieren einer Speicherkarte
- Anschluss an einen PC über USB-Kabel
- Weitere Informationen und Vorsichtsmaßregeln
- Zusätzliche Information

PUB. DIM-463C
DIGITAL-VIDEO-CAMCORDER
Bedienungsanleitung DEUTSCH
Mini Digital
Video
Cassette
PAL
D

Einführung
2
D
WARNUNG:
UM DAS RISIKO VON ELEKTRISCHEN SCHLÄGEN AUSZUSCHLIESSEN, ÖFFNEN SIE
DAS CAMCORDER-GEHÄUSE NICHT. INNERHALB DES GERÄTS GIBT ES KEINE VOM
BENUTZER ZU REPARIERENDE TEILE. DAFÜR IST AUSSCHLIESSLICH DER
QUALIFIZIERTE KUNDENDIENST ZUSTÄNDIG.
Wichtige Hinweise zum Gebrauch
WARNUNG:
DAS GERÄT DARF AUS SICHERHEITSGRÜNDEN WEDER REGEN NOCH
FEUCHTIGKEIT AUSGESETZT WERDEN.
VORSICHT:
ZUR VERMEIDUNG VON FUNKTIONSSTÖRUNGEN VERWENDEN SIE BITTE
AUSSCHLIESSLICH DAS EMPFOHLENE ZUBEHÖR.
VORSICHT:
ZIEHEN SIE NACH GEBRAUCH STETS DEN NETZSTECKER.
Das Geräteschild befindet sich an der Unterseite des CA-920.
• Die technischen Anforderungen der EMV-Richtlinie werden nur bei Gebrauch des DV-Kabels CV-
150F/CV-250F erfüllt.
Hinweise für Deutschland
Batterien und Akkumulatoren gehören nicht in den Hausmüll!
Im Interesse des Umweltschutzes sind Sie als Endverbraucher gesetzlich verpflichtet
(Batterieverordnung), alte und gebrauchte Batterien und Akkumulatoren zurückzugeben.
Sie können die gebrauchten Batterien an den Sammelstellen der öffentlich-rechtlichen
Entsorgungsträger in Ihrer Gemeinde oder überall dort abgeben, wo Batterien der
betreffenden Art verkauft werden. Die Batterien werden unentgeltlich für den Verbraucher
zurückgenommen.
Nur Europäische Union (und EWR).
Dieses Symbol weist darauf hin, dass dieses Produkt gemäß Richtlinie über Elektro- und Elektronik-Altgeräte
(2002/96/EG) und nationalen Gesetzen nicht über den Hausmüll entsorgt werden darf. Dieses Produkt muss
bei einer dafür vorgesehenen Sammelstelle abgegeben werden. Dies kann z. B. durch Rückgabe beim Kauf
eines ähnlichen Produkts oder durch Abgabe bei einer autorisierten Sammelstelle für die Wiederaufbereitung
von Elektro- und Elektronik-Altgeräten geschehen. Der unsachgemäße Umgang mit Altgeräten kann aufgrund poten-
tiell gefährlicher Stoffe, die häufig in Elektro- und Elektronik-Altgeräte enthalten sind, negative Auswirkungen auf die
Umwelt und die menschliche Gesundheit haben. Durch die sachgemäße Entsorgung dieses Produkts tragen
außerdem Sie zu einer effektiven Nutzung natürlicher Ressourcen bei. Informationen zu Sammelstellen für Altgeräte
erhalten Sie bei Ihrer Stadtverwaltung, dem öffentlich-rechtlichen Entsorgungsträger, einer autorisierten Stelle für die
Entsorgung von Elektro- und Elektronik-Altgeräten oder Ihrer Müllabfuhr. Weitere Informationen zur Rückgabe und
Entsorgung von Elektro- und Elektronik-Altgeräten finden Sie unter www.canon-europe.com/environment.
(EWR: Norwegen, Island und Liechtenstein)
Der Netzstecker wird zum Abschalten des Geräts benutzt. Der Netzstecker sollte immer erreichbar sein,
damit er im Notfall herausgezogen werden kann.

Einführung
3
D
Bedienungsschritte und Referenzanleitung
Digital-Video-Camcorder XM2
Bedienungsanleitung
Vorbereitungen
Aufnahme
Wiedergabe
Überspielen
Nutzung der Speicherkarte
Digital Video Solution Disk
Software-Bedienungsanleitung
Software Installation
Anschluss des Camcorders an einen PC
Herunterladen von Standbildern auf einen PC
Ihr Camcorder wird mit zwei Anleitungen geliefert: “Digital-Video-Camcorder XM2
Bedienungsanleitung” und “Digital Video Solution Disk Software-Bedienungsanleitung”.

Einführung
4
D
Verwendung des Mikrofons DM-50
(Sonderzubehör) ........................................72
Verwendung des Mikrofonadapters MA-300
(Sonderzubehör) ........................................73
Manuelle Einstellungen
Manuelle Belichtungseinstellung ..................74
Manuelle Scharfeinstellung ..........................77
Manueller Weißabgleich ..............................78
Belichtungskorrektur....................................80
Gebrauch der programmierbaren
Voreinstellung ............................................81
Gebrauch des Zebramusters ........................83
Aufzeichnung von PC- und anderen
Schirmbildern mit CLEAR SCAN ..................84
Aufzeichnung der Displayanzeigen ..............84
Wiedergabe von Kassetten ..........................85
Anzeige von Datum, Zeit und Kameradaten
(Data Code) ................................................88
Suchlauf-Funktionen
(Photo-/Datums-/Index-Signal-Suchlauf) ......91
Zurückkehren zu einer vorher markierten
Position (Nullstellung-Speicherfunktion) ......92
Anschluss für Wiedergabe auf einem
Fernsehbildschirm ......................................93
Überspielen auf einen Videorecorder ..........95
Überspielen von/auf Band mit
DV-Komponenten ......................................97
Aufnahme von Videorecorder,
Fernsehgerät oder analogem Camcorder
(analoger Eingang)......................................99
Digitale Ausgabe von analogen Video- und
Audiosignalen (Analog/Digital-Wandler)....101
Überspielen von neuem Material über
vorhandene Szenen (AV-Insert-Schnitt) ....103
Nachvertonung..........................................106
Auswählen der Tonmischung ....................109
Anschluss an einen PC über ein DV-Kabel..111
Wichtige Hinweise zum Gebrauch ................2
Bedienungsschritte und Referenzanleitung ....3
Vielen Dank für Ihr Vertrauen in den Namen
Canon! ........................................................6
Hauptmerkmale des XM2 ..............................7
Camcorderteile ..............................................8
Vorbereitung des Camcorders......................12
Stromversorgung des Camcorders ..............14
Videokassetten ............................................16
Verwendung der Menüs ..............................18
Gebrauch der Fernbedienung/
Kontrollleuchte ..........................................27
Einstellen des Datums und der Uhrzeit ........30
Aufnahme ..................................................33
Tipps für bessere Videoaufnahmen ..............38
Zoomen ......................................................40
Gebrauch des LCD-Bildschirms ....................41
Ausschalten der optischen Bildstabilisierung
....44
Gebrauch des Neutralfilters..........................45
Bandaufzeichnung von Standbildern............46
Auswählen des Laufbildmodus
(Halbbilder/Vollbilder)..................................48
Aufnahme-Suchlauf und Aufnahmeprüfung
..49
Filmen mit den verschiedenen
Aufnahmeprogrammen ..............................50
Tonaufnahmefunktionen..............................54
Gebrauch der Funktionstaste ......................56
Verwendung der digitalen Effekte................60
Gebrauch der Farbbalken ............................65
Verwendung eines Canon Speedlite
(Sonderzubehör) für Blitzaufnahmen ..........66
Aufnahme mit dem Intervall-Timer ..............67
Gebrauch der Selbstauslöserfunktion ..........69
Gebrauch der DV-Steuerung........................70
Verwendung der Videoleuchte VL-3
(Sonderzubehör) ........................................71
Inhaltsverzeichnis
Einführung
Vorbereitungen
Aufnahme
Wiedergabe
Überspielen

Einführung
5
D
Formatieren einer Speicherkarte ................131
Anschluss an einen PC über USB-Kabel......132
Weitere Informationen und
Vorsichtsmaßregeln ..................................133
Anmerkungen zum Gebrauch der Akkus ..134
Wartung ....................................................137
Probleme und Fehlersuche ........................141
XM2 Videosystem......................................145
Sonderzubehör ..........................................146
Bildschirmanzeigen ....................................148
Warnmeldungen........................................151
Technische Daten ......................................153
Stichwortverzeichnis ..................................155
Speicherkarte ............................................112
Aufzeichnung von Standbildern auf
Speicherkarte............................................116
Wiedergabe des Speicherkarteninhalts ......118
Einstellungen der Standbilder auf einer
Speicherkarte............................................120
Verhindern versehentlichen Löschens
(Löschschutz) ............................................122
Markieren eines Standbildes zum Drucken
(Druckmarkierung)....................................123
Löschen von Standbildern..........................125
Kombinieren von Bildern und
Aufzeichnen auf Kassette (Titel-Mischen)
..127
Überspielung von Standbildern von
Speicherkarte auf Band ............................130
Zusätzliche Information
Verwendung einer Speicherkarte
Um die Bestimmungen der EMV-Direktive zu
erfüllen, müssen die zum Lieferumfang des
Camcorders gehörenden Ferritkerne an das Stereo-
Videokabel STV-250N und das S-Videokabel S-150
angebracht werden.
Befestigen Sie die beiden mitgelieferten Ferritkerne
bevor Sie die Stereo-Videokabel STV-250N und S-
Videokabel S-150 an den Camcorder anschließen.
Die Ferrikerne werden jeweils etwa 6 cm vor dem
camcorderseitigen Stecker des Stereo-Videokabel
STV-250N und des S-Videokabel S-150 angebracht.
•Legen Sie das Kabel in die mittlere Nut des
offenen Ferritkerns, wickeln Sie es einmal der
Länge nach um den Kern, und drücken Sie die
beiden Hälften dann fest zusammen, so dass sie
mit einem Klicken einrasten.
•Die beiden Ferritkerne unterscheiden sich in ihrer
Ausführung; der kleinere wird an das Stereo-
Videokabel STV-250N und der größere an das S-
Videokabel S-150 angebracht.
Anbringen der Ferritkerne
6 cm
6 cm
Stereo-Videokabel STV-250N
S-Videokabel S-150

Einführung
6
D
Vielen Dank für Ihr Vertrauen in den Namen Canon!
Ihr Camcorder wird mit den folgenden
Zubehörteilen geliefert:
Zunächst möchten wir uns bei Ihnen für den
Kauf dieses Canon-Camcorders bedanken.
Seine moderne technische Konzeption sorgt für
problemlosen Einsatz, so dass Sie im
Handumdrehen hochwertige Heimvideos
machen können, an denen Sie dann in den
kommenden Jahren noch viel Spaß haben
werden.
Wir empfehlen Ihnen, diese
Bedienungsanleitung aufmerksam
durchzulesen, um sich mit der Handhabung
Ihres neuen Camcorders vertraut zu machen —
das Gerät bietet eine Reihe fortschrittlicher
Funktionen, die das Filmen erleichtern und
interessante Effekte ermöglichen.
: Seitennummer
: Funktionen, die vom Camcordergehäuse
aus gesteuert werden.
: Funktionen, die von der Fernbedienung
aus gesteuert werden.
: Ergänzende Hinweise zur Bedienung des
Camcorders
`: Signaltöne zur Bestätigung der Bedienung
( 37)
Beachten Sie bitte, dass Tasten- und
Menübezeichnungen im Text groß geschrieben
sind. Beispiel: Drücken Sie die MENU-Taste.
•Nutzen Sie zum Anschluss des Camcorders
an den PC ein optionales DV-Kabel CV-150F
oder CV-250F.
Wenn der PC einen USB-Anschluss hat,
nutzen Sie das mitgelieferte USB-Kabel
IFC-300PCU.
In dieser Bedienungsanleitung
verwendet Symbole
Sonnenblende Große Augenmuschel
Lithium-Knopfzelle
CR2025
Fernbedienung
WL-D77
Zwei Mignonzellen
(AA)
Stereo-Videokabel
STV-250N
S-Videokabel S-150 USB-Kabel*
IFC-300PCU
SCART-Adapter
PC-A10
(Europa, Asien)
Kompakt-Netz/Ladegerät
CA-920 (mit Netzkabel)
Gleichstromkuppler
DC-920
Akku BP-915
SD-Speicherkarte
SDC-8M
Etui für SD-Speicherkarte
Software auf CD-ROM:
Digital Video Solution
Disk*
Schulterriemen
SS-650
* Erforderlich, wenn die mit Camcorder auf
Speicherkarte aufgezeichneten Standbilder
mit einem PC bearbeitet werden sollen.

Einführung
7
D
Hauptmerkmale des XM2
Der DV-Anschluss ermöglicht eine
hochwertige Bildübertragung
praktisch ohne jede
Qualitätseinbuße. Nach dem
Anschluss des Camcorders an die
IEEE 1394-Schnittstelle eines PC lassen sich die
Bilder editieren und weiterverarbeiten.
IEEE 1394 DV Terminal
Aufzeichnung über den
Analogeingang
Schließen Sie einen Videorecorder oder
Analogcamcorder an und überspielen Sie
Videomaterial auf eine DV-Kassette im XM2.
3-CCD-System mit Pixel Shift-
Technik
Speicherkarte
Sie können Standbilder auf einer SD-
Speicherkarte oder MultiMediaCard
aufzeichnen. Die Speicherkarte ermöglicht die
einfache Übertragung von Standbildern auf
einen PC, wo sie mit der mitgelieferten
Software editiert oder an E-Mail-Mitteilungen
angehängt werden können.
Zeigen Sie Ihre Kreativität mit Spezial- und
digitalen Ausblendeffekten. Mit diesen Mitteln
können Sie Ihre Aufnahmen visuell noch
attraktiver und vielfältiger gestalten.
Digitale Effekte
Der XM2 hat 7 Aufnahmeprogramme: Leichte
Aufnahme, Automatik, Tv, Av, Manuell, Sand u.
Schnee und Spotlight.
Aufnahmeprogramme
Sie können der Funktionstaste unabhängig von
den einzelnen Betriebsarten verschiedene
Funktionen zuordnen.
Funktionstaste
Sie können Farbverstärkung, Farbphase, Schärfe
und Einstellpegel voreinstellen und die
Parameterkombination der
Programmvoreinstell-Taste zuordnen.
Programmierte Voreinstellung
Intervallaufzeichnung ermöglicht
Zeitrafferaufnahmen mit dem Camcorder. Der
XM2 lässt sich für unterschiedliche Zeitspannen
auf verschiedene Aufnahmeintervalle einstellen.
Intervallaufzeichnung
USB-Anschluss
Ermöglicht die schnelle Übertragung von
Speicherkartendaten auf einen PC mit USB-
Anschluss. Mit der mitgelieferten Software
können Sie dann die Standbilder auf dem PC
archivieren und bearbeiten.
Optisches 20-fach Fluorit-
Zoomobjektiv der L-Serie
Der XM2 ist mit einem optischem 20-fach
Fluorit-Zoomobjektiv der professionellen L-Serie
ausgerüstet. Fluorit bietet hervorragende
Auflösung, Kontrast und Farbwiedergabe für
außergewöhnliche Klarheit und Bildqualität.
Der Canon XM2 verfügt über drei CCD-Chips
die sich durch hervorragende Bildqualität,
hochpräzise Farbwiedergabe und weiten
Dynamikbereich praktisch ohne Farbrauschen
auszeichnen. Darüber hinaus nutzt Canon vom
professionellen Fernsehen bekannte Technik
“Pixel-Shift” für eine bessere Bildqualität als
Camcorder, die über CCD-Sensoren mit fast der
doppelten Pixelzahl verfügen.
Bildstabilisierung
Der optische Bildstabilisator sorgt auch bei
langen Teleaufnahmen aus der Hand für
unverwackelte Bilder.
Nachvertonung/AV-Insertschnitt

8
D
Vorbereitungen
AUDIO DUB.-Taste (S. 106)
AV INSERT-Taste (S. 103)
REC PAUSE-Taste (S. 98, 100)
(Wiedergabe/Pause)-Taste(S. 85)/
Titelmischungs-Taste (S. 128)/
SLIDE SHOW -Taste (S. 119)
(Stopp)-Taste (S. 85)/
INDEX SCREEN-Taste
(S. 119)
(Rückspulen)-Taste (S. 85)/
CARD – -Taste (S. 118)
(Vorspulen)-Taste (S. 85)/
CARD + -Taste (S. 118)
LCD-Bildschirm
(S. 41)
Funktionstaste
(CUSTOM KEY) (S. 56)
Programmvoreinstell-Taste
(CUSTOM PRESET) (S. 81)
Deckel des Speicherkartenfachs
LCD-Tafel-OPEN-Taste
(S. 41)
AUDIO LEVEL-Wählräder
(S. 55)
Lautsprecher (S. 87)
BATT (Akku)
RELEASE-Taste (S. 14)
START/STOP-Taste (S. 33)
PHOTO-Taste (S. 46, 116)
Sucher (S. 12)
DISPLAY-Taste (S. 36)/
DATA CODE-Taste (S. 88)
MENU-Taste (S. 19)
Zoom-Regler (S. 40)
SELECT-Wählrad (S. 19)
Speicherbatterie-Abdeckung
(S. 136)
AUDIO REC LEVEL-Schalter
(S. 55)
Programm-Wahlschalter
(S. 50)
Camcorderteile

9
D
Vorbereitungen
Sucher-
Scharfeinstellhebel (S. 12)
PHOTO-Taste (S. 46, 116)
Zoom-Regler (S. 40)
TAPE/CARD Schalter
(S. 18, 33
)
Kassettenfach (S. 16)
Kassettenfachdeckel
(S. 16)
OPEN/EJECT-Schalter
(S.16)
Start/Stopp-Taste (S. 33)
S-Video
IN/OUT-Buchse
(S. 93, 99, 101)
MIC (Mikrofon)-
Buchse (S. 55, 106)
Gleichspannungs-
Buchse
u (LANC)-Buchse
(S. 96)
USB-Buchse
(S. 132)
AV IN/OUT-Buchse
(S. 93, 95, 99, 101)
DV IN/OUT-Buchse
(S.
97, 101, 103, 111)
Tragegriff
Riemenbefestigung (S. 13)
Augenmuschel-Halterung
(S. 13)
STANDBY-Hebel (S. 34)
(Kopfhörer)-Buchse
(S. 87)
Gegenlichtblenden-
Arretierschraube
(S. 12)
Gegenlichtblende
(S. 12)
Stereomikrofon
(S. 54)
LOCK (Sperr) Hebel
(S. 33)
Griffriemen (S. 13)

10
D
Vorbereitungen
Stativgewinde (S. 38)
POWER-Schalter (S. 33)
D.EFFECTS
ON/OFF-Taste (S. 61)
D.EFFECTS
SELECT-Taste (S. 61)
REC SEARCH -Taste (S. 49)/
(Aufnahmeprüfung)
-Taste (S. 49)
FOCUS A/M (Scharfeinstellung
automatisch/manuell)-Taste (S. 77)
Scharfstellring (S. 77)
ND FILTER ON/OFF-Taste (S. 45)
Fortschrittlicher
Zubehörschuh (S. 66, 71-73)
Riemenöse (S. 13)
Audiopegelanzeige
(S. 55)
EXP-Wählrad (Belichtung)
(S. 74)
Fernbedienungssensor
(S. 27)
WHITE BALANCE SELECT
(Weißabgleich)- Taste
(S. 78)
WHITE BALANCE-Taste W
(Einstellung) (S. 78)
Kontrollleuchte (S. 29)

SET
REW
PLAY
FF
START
/STOP
PHOTO
SELF
TIMER MENU
TV
SCREEN
DATA
CODE
–
CARD
+
AUDIO
MONITOR
REC
PAUSE
SEARCH
SELECT
SLIDESHOW
ZERO SET
MEMORY
AUDIO
DUB.
STOP
MIX
BALANCE
ST-1 ST-2
ON/OFFD.EFFECTS
SET
ZOOM
WT
AV
INSERT
PAUSE
SLOW
REMOTE SET
+/
–/
×
2
WIRELESS CONTROLLER WL-D77
D.EFFECTS SELECT-Taste (S. 61)
START/STOP-Taste (S. 33)
PHOTO-Taste (S. 46, 116)
MENU-Taste (S. 19)
TV SCREEN-Taste (S. 148)
SELF TIMER-Taste (S. 69)
DATA CODE-Taste (S. 88)
REC PAUSE-Taste (S. 98, 100)
ZERO SET MEMORY-Taste (S. 92)
Sender
Zoom-Tasten (S. 28, 40)
SET-Taste (S. 19)
MIX BALANCE-Tasten (S. 109)
SLIDE SHOW-Taste (S. 119)
Regeltasten (S. 19)
Suchlauftasten (S. 91)
SEARCH SELECT-Taste (S. 91)
AUDIO MONITOR-Taste (S. 109)
AUDIO DUB.-Taste (S. 106)
AV INSERT-Taste (S. 103)
REMOTE SET-Taste (S. 28)
-Taste (S. 86)
-Taste (S. 86)
STOP -Taste (S. 85)
SLOW -Taste (S. 86)
PAUSE -Taste (S. 85)
REW -Taste (S. 86)
2-Taste (S. 86)
PLAY -Taste (S. 85)
FF -Taste (S. 85)
CARD / -Tasten (S. 118)
D.EFFECTS ON/OFF-Taste (S. 61)
11
D
Vorbereitungen

12
D
Vorbereitungen
Vorbereitung des Camcorders
1. Nehmen Sie den Objektivdeckel ab.
•Beim Kauf des XM2 ist die Objektivdeckelschnur in der Mitte des Klettverschluss-Griffriemens
angebracht. Öffnen Sie den Klettverschluss und schieben Sie den die Objektivdeckelschnur in
die in der Abbildung gezeigten Position.
2. Setzen Sie die Gegenlichblende so am Objektiv an, dass der Canon-Schriftzug
nach links weist.
3. Drehen Sie die Gegenlichtblende (nach rechts), so dass der Canon-Schriftzug
oben ist.
•Sie brauchen dabei nicht zu drücken – die Gegenlichtblende wird durch leichtes Drehen am
Objektiv angebracht.
4. Ziehen Sie abschließend noch die Arretierschraube an.
•Zum Abnehmen der Gegenlichtblende gehen Sie in umgekehrter Reihenfolge vor.
Da die Gegenlichtblende Streulicht reduziert, das Reflexe und Nebenbilder verursachen kann, und
das Objektiv zusätzlich schützt, sollten Sie sie beim Filmen stets aufsetzen.
Anbringen der Gegenlichtblende
Einstellung des Suchers
•
Drehen Sie bei Aufnahmepause am Sucher-
Scharfeinstellhebel, bis das Sucherbild scharf ist.
•Der Sucher kann gerade herausgezogen
werden und lässt sich für bequemes Betrachten
nach oben drehen. Bewahren Sie den
Camcorder so auf, dass der Sucher zurück
geklappt ist und bündig zurückgeschoben mit
dem Camcordergehäuse abschließt.
•Wenn Sie das Bild im Sucher betrachten
möchten, müssen Sie die LCD-Tafel entweder
nach vorne drehen, so dass die aufgenommene
Personen das Bild mitverfolgen können, oder
mit dem Bildschirm nach innen ganz schließen.
•Der Sucher darf keinesfalls direkter
Sonneneinstrahlung ausgesetzt werden, da er
sonst schmelzen kann. (Das Licht wird durch
die Okularlinse gebündelt.)

Einstellung des Griffriemens
•Stellen Sie die Länge des Griffriemens so ein,
dass Sie die Start/Stopp-Taste und den
Zoomregler bequem bedienen können.
Anbringen des Schulterriemens
•Im Interesse höherer Sicherheit und besserer
Transportierbarkeit bringen Sie den
Schulterriemen vor Einsatz des Camcorders
an.
•Führen Sie die Enden durch die
Riemenbefestigung und stellen Sie die Länge
wie abgebildet ein.
•Der Sucher darf keinesfalls direkter
Sonneneinstrahlung ausgesetzt werden, da er
sonst schmelzen kann. (Das Licht wird durch
die Okularlinse gebündelt.)
Anbringen der großen Augenmuschel
Bei Aufnahmen bei sehr hellem
Umgebungslicht oder beim Tragen einer Brille
empfiehlt sich das Anbringen der großen
Augenmuschel.
1. Nehmen Sie die mitgelieferte
Augenmuschel vom Camcorder ab.
2. Ersetzen Sie sie durch die große
Augenmuschel.
•Die Augenmuschel lässt sich von rechts
oder links am Sucher anbringen.
13
D
Vorbereitungen

14
D
Vorbereitungen
Stromversorgung des Camcorders
Für den ersten Camcordereinsatz benötigen Sie das Netz/Ladegerät, um:
den Camcorder über Netzstrom zu betreiben
oder
einen Akku aufzuladen.
Hinweise:
•Das Netz/Ladegerät wandelt die Netzspannung (100-240 V Wechselspannung, 50/60 Hz) in die
Betriebsspannung (Gleichspannung) des Camcorders um.
•In der Nähe eines Fernsehgeräts kann das Netz/Ladegerät Empfangsstörungen verursachen.
Halten Sie in einem solchen Fall einen größeren Abstand zum Fernsehgerät oder dessen
Antennenzuleitung ein.
Mit dem Netz-/Ladegerät und dem Gleichstromkuppler lässt sich der Camcorder direkt über eine
Netzsteckdose betreiben.
1. Verbinden Sie das Netzkabel mit dem Netz-/Ladegerät.
2. Verbinden Sie das Netzladegerät mit einer Netzsteckdose.
3. Stecken Sie den Gleichstromkuppler in das Netz-/Ladegerät ein.
4. Bringen Sie den Gleichstromkuppler am Camcorder an.
•Ziehen Sie den Sucher heraus und drehen Sie ihn nach oben.
•Fluchten Sie die Kante des Gleichstromkupplers mit der Führung am Camcorder.
•Schieben Sie den Kuppler in Pfeilrichtung nach unten, bis er hörbar einrastet.
5Nach Gebrauch schalten Sie den Camcorder aus, ziehen den Gleichstromkuppler
ab und lösen ihn vom Netz-/Ladegerät. Ziehen Sie das Netzkabel aus der
Steckdose und trennen Sie es dann vom Netz-/Ladegerät.
•Halten Sie während des Abziehen des Kupplers die BATT. RELEASE-Taste gedrückt.
•Vor dem Abtrennen von der Stromquelle ist stets der Camcorder auszuschalten und der
Sucher nach oben zu stellen.
Netzbetrieb des Camcorders (Anschluss an eine Netzsteckdose)
4
3
1
5
2

15
D
Vorbereitungen
Der Akku wurde werkseitig teilgeladen. Seine Kapazität sollte daher für eine Funktionsprüfung des
Camcorders ausreichen. Bevor Sie den Camcorder zum Aufnehmen nutzen können, müssen Sie
den Akku voll aufladen.
1. Setzen Sie den Akku auf das Netz-/Ladegerät auf.
•Dabei darf der Gleichstromkuppler nicht angeschlossen sein.
•Fluchten Sie das Dreieck am Akku mit der Führung am Netz-/Ladegerät.
•Schieben Sie den Akku so weit auf, bis er hörbar einrastet.
2. Verbinden Sie das Netzkabel mit dem Netz-/Ladegerät.
3. Verbinden Sie das Netz-/Ladegerät mit einer Netzsteckdose.
•Während des Ladevorgangs blinkt zur Bestätigung die Ladeanzeige Rot. Einzelblinkimpulse
bedeuten, dass der Akku weniger als 50 % aufgeladen ist. Bei Doppelblinkimpulsen ist er
zwischen 50 und 75 % aufgeladen. Dreifachblinkimpulse zeigen eine Ladekapazität von über
75 % an.
•Nachdem der Akku voll aufgeladen ist, leuchtet die Anzeige kontinuierlich.
4.
Trennen Sie den Akku vom Netz-/Ladegerät und bringen Sie ihn am Camcorder an.
•Ziehen Sie den Sucher heraus und stellen Sie ihn nach oben.
•Fluchten Sie das Dreieck am Akku mit der Führung am Camcorder und schieben Sie den Akku
so weit auf, bis er hörbar einrastet.
5. Trennen Sie den Akku nach Gebrauch ab.
•Halten Sie die BATT. RELEASE-Taste gedrückt, während Sie den Akku nach oben schieben.
•Vor dem Trennen von der Stromquelle ist stets der Camcorder auszuschalten und der Sucher
nach oben zu stellen.
Hinweise:
•Näheres zur Handhabung des Akkus finden Sie unter “Anmerkungen zum Gebrauch des Akkus”
(134). Dort werden u.a. Lade- und Aufnahmezeiten sowie das Einsetzen der Speicherbatterie
behandelt.
•Mit dem optionalen Doppel-Akkulader/-halter CH-910 lässt sich der Camcorder für
Daueraufzeichnung über zwei Akkus betreiben. Sie können die Akkus unabhängig voneinander
austauschen, ohne die Stromversorgung des Camcorders zu unterbrechen. Außerdem kann der
CH-910 bei Anschluss an eine Netzsteckdose nacheinander zwei Akkus aufladen.
Laden und Anbringen des Akkus
1
3
2
4
5

16
D
Vorbereitungen
Videokassetten
1. Schließen Sie eine Stromquelle an.
2. Schieben Sie den OPEN/EJECT-Schalter, um den Kassettenfachdeckel zu öffnen.
•Warten Sie, bis sich das Kassettenfach automatisch öffnet.
•Sobald das Fach vollständig geöffnet ist, ist ein Bestätigungston zu hören.
3. Legen Sie die Kassette ein oder nehmen Sie sie heraus.
•Drücken Sie die Kassette behutsam mit dem Klarsichtfenster nach außen hinein.
•Zum Entnehmen ziehen Sie die Kassette gerade aus dem Fach heraus.
4. Drücken Sie auf die Beschriftung Pauf dem Kassettenfach, bis ein Klicken zu
hören ist.
5. Schließen Sie den Deckel, bis er hörbar einrastet.
Hinweise:
•Während das Kassettenfach automatisch aus- oder einfährt, dürfen Sie es nicht mit der Hand
festhalten und auch nicht versuchen, den Deckel zu schließen.
•Seien Sie vorsichtig, damit Sie Ihre Finger nicht im Kassettenfachdeckel einklemmen.
•Lassen Sie die Videokassette nach Gebrauch nicht im Camcorder, sondern bewahren Sie sie stets
in ihrem Etui an einem kühlen, sauberen und trockenen Ort auf.
•Wenn keine Kassette eingelegt ist, blinkt vauf dem Bildschirm.
•Je nach dem Bandtyp wird die restliche Zeit möglicherweise nicht korrekt angezeigt. Auf jeden
Fall sind jedoch Aufnahmen für die auf der Videokassette angegebene Minutenanzahl möglich
(z.B. 85 Minuten).
Verwenden Sie ausschließlich Videokassetten mit dem Zeichen D*
CLOSE THIS FIRST.
* Das Logo Dist ein Warenzeichen.
Einlegen und Entnehmen einer Videokassette

17
D
Vorbereitungen
Diese Funktion steht bei diesem Camcorder nicht zur Verfügung.
Zum Schutz von Aufnahmen vor versehentlichem Löschen verstellen Sie den Schieber an der
hinteren Schmalseite der Kassette so, dass die Öffnung darunter freigelegt wird. (Diese
Schieberposition ist gewöhnlich durch "SAVE"oder "ERASE OFF" gekennzeichnet.)
Wird eine schreibgeschützte Kassette eingelegt und der Camcorder auf Aufnahmepause geschaltet
(33), so erscheint zunächst ca. 4 Sekunden lang die Anzeige "THE TAPE IS SET FOR ERASURE
PREVENTION", woraufhin dann das Symbol vauf dem Bildschirm blinkt. Der Camcorder zeigt die
obige Fehlermeldung auch dann an, wenn Sie versehentlich die Taste 2(Aufnahme) drücken und
der Modus TAPE PLAY (VCR) eingeschaltet ist.
Wenn Sie die Kassette danach wieder für neue Aufnahmen verwenden möchten, bringen Sie den
Schieber wieder in seine ursprüngliche Position, so dass die Öffnung verdeckt ist.
Löschsperre
SAVE
REC
SAVE
REC
Handhabung von Kassetten
Kassetten-Memory
•Zum Schutz der Videoköpfe transferieren Sie die Kassetten direkt von ihrem Etui in den
Camcorder – vermeiden Sie dabei ein Öffnen der Bandschutzklappe und ein Berühren des Bands.
•Verwenden Sie keine Kassetten, deren Band beschädigt ist oder geklebt wurde – solche Kassetten
können den Camcorder beschädigen.
•Stecken Sie nichts in die kleinen Öffnungen am Kassettengehäuse und decken Sie die Löcher
auch nicht mit Klebeband o. dgl. zu.
•Gehen Sie vorsichtig mit den Kassetten um – ein Fall oder Stoß kann die Kassettenmechanik
beschädigen.
•Bewahren Sie die Kassetten bei Nichtgebrauch mit bis zum Anfang zurückgespultem Band in
ihrem Schutzetui und senkrecht stehend auf.
•Die metallbeschichteten Kontakte der Kassette können bei längerem Gebrauch schmutzig
werden, was den Datenaustausch beeinträchtigt. Sie sollten diese Kontakte daher nach jeweils
etwa 10maligem Gebrauch der Kassette mit einem Wattestäbchen säubern.

18
D
Vorbereitungen
Viele der fortschrittlichen Camcorderfunktionen werden auf dem Bildschirm über Menüs eingestellt.
Die Verfügbarkeit von Menüpunkten hängt von der Betriebsart des Camcorders ab. Nicht
verfügbare Punkte erscheinen in Lila.
Es gibt 4 Hauptmenüs:
CAM.MENU Camcordermenü ( 20)
VCR MENU Rekordermenü ( 22)
C.CAM. MENU Karten-Camcordermenü ( 23)
C.PLAY MENU Kartenwiedergabemenü ( 25)
2CAM. MENU +
CAMERA
TAPE
CAM. SET UP
CSTM PRESET
VCR SET UP
DISP. SET UP
SYSTEM
CUSTOM KEY
TITLE MIX
RETURN
CAM. MENU SEL. SETSET
MENUCLOSE
CARD TAPE
2VCR MENU +
PLAY
(VCR)
TAPE
VCR SET UP
DISP. SET UP
SYSTEM
CUSTOM KEY
RETURN
VCR MENU SEL. SETSET
MENUCLOSE
CARD TAPE
2C.CAM. MENU +
CAMERA
CARD
CAM. SET UP
CSTM PRESET
CARD SET UP
DISP. SET UP
SYSTEM
CUSTOM KEY
RETURN
C. CAM. MENU SEL. SETSET
MENUCLOSE
CARD TAPE
2C. PLAY MENU +
PLAY
(VCR)
CARD
CARD OPER.
VCR SET UP
DISP. SET UP
SYSTEM
CUSTOM KEY
RETURN
C. PLAY MENU SEL. SETSET
MENUCLOSE
CARD TAPE
Verwendung der Menüs

19
D
Vorbereitungen
1. Schieben Sie den POWER-Schalter und den TAPE/CARD-Schalter jeweils in die
gewünschte Position.
2. Öffnen Sie das Menü mit der MENU-Taste.
•
Daraufhin erscheint je nach Einstellung von POWER- und TAPE/CARD-Schalter eines der Hauptmenüs.
3. Bewegen Sie das SELECT-Wählrad nach oben bzw. unten, um den Pfeil auf das
gewünschte Untermenü zu stellen.
4. Drücken Sie das SELECT-Wählrad hinein.
•Daraufhin erscheint das Untermenü.
5. Bewegen Sie das SELECT-Wählrad nach oben bzw. unten, um den Pfeil auf die
gewünschte Funktion zu stellen.
6. Drücken Sie das SELECT-Wählrad hinein.
•Daraufhin erscheint die Funktion und ihre Einstellungen.
7. Bewegen Sie das SELECT-Wählrad nach oben bzw. unten, um den Pfeil auf die
gewünschte Einstellung zu stellen.
8. Drücken Sie das SELECT-Wählrad hinein.
9. Bewegen Sie das SELECT-Wählrad nach unten und wählen Sie bRETURN.
10.Drücken Sie das SELECT-Wählrad hinein.
•Daraufhin wird auf das Hauptmenü zurückgeschaltet.
11.Drücken Sie die MENU-Taste.
•Daraufhin verschwindet das Hauptmenü.
Hinweise:
•Durch Drücken der MENU-Taste kann das Menü jederzeit geschlossen werden.
•bReturn führt eine Ebene im Menü zurück oder schließt das Hauptmenü.
•
Einstellungen, die aufgrund der Band- oder Kartensituation nicht verfügbar sind, erscheinen violett.
•Häufig ist es einfacher, die Menüs mit Hilfe der Fernbedienung durchzugehen. Mit der MENU-
Taste an der Fernbedienung lässt sich das Menü öffnen/schließen und statt des SELECT-Wählrads
können Sie die Pfeiltasten betätigen. Die Einstellungen erfolgt dann durch Drücken der SET-Taste.
•Durch Drücken der Start/Stopp-Taste oder PHOTO-Taste wird das Menü geschlossen und die
Aufnahme gestartet.
•Sie können die Menüs auf einem angeschlossenen Fernsehgerät anzeigen, indem Sie TV SCREEN
(148) über das Menu einschalten oder die TV SCREEN-Taste an der Fernbedienung drücken.
Näheres über den Anschluss von Fernsehgeräten finden Sie auf S. 93.
TV
SCREEN
SET
MENU
2, 11
3-10
Auswahl von den Menüs

20
D
Vorbereitungen
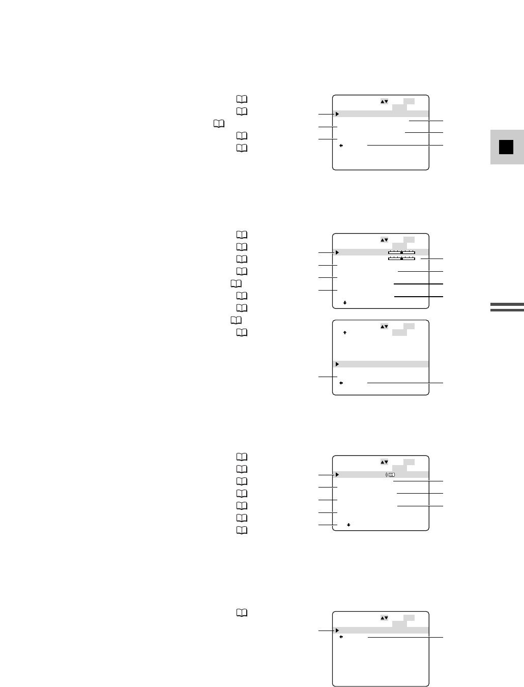
CAM. SET UP
CSTM PRESET
VCR SET UP
DISP. SET UP
SYSTEM
CUSTOM KEY
TITLE MIX
RETURN
CAM. MENU SEL. SETSET
MENUCLOSE
1
3
5
2
4
6
78
1Zum Untermenü Kameraeinstellung
2Zum Untermenü Programmeinstellung
3Zum Untermenü Videorecorder-Einstellung
4Zum Untermenü Display-Einrichtung
5Zum Untermenü System
6Zum Untermenü Funktionstaste
7Zum Untermenü Titel-Mischen
8Hauptmenü schließen
2CAM.MENU
Stellen Sie den POWER-Schalter auf und den TAPE/CARD-Schalter auf .
Das CAM. MENU enthält 7 Untermenüs.
TAPE
CAMERA
D. ZOOM
MOVIE MODE
IMAGE S.
i
AE SHIFT
16:9
ZEBRA
ZEBRA LEVEL
ZOOM GRIP
OFF
NORMAL
ON
±0
OFF
OFF
90
VARIABLE
CAM. SET UP SEL. SETSET
MENUCLOSE
••••••
••
••
••••
••••••••
•••••••
•
•••
q
e
t
u
w
r
y
i
ZEBRA
ZEBRA LEVEL
ZOOM GRIP
ZOOM HANDLE
CLEAR SCAN
SELF-TIMER
INTERVAL
RETURN
OFF
90
VARIABLE
MEDIUM
–––
OFF
CAM. SET UP SEL. SETSET
MENUCLOSE
•••••••
•
•••
•
••
••
o
!1
!3
!0
!2
1Zum Untermenü Kameraeinstellung
qDigitales Zoom....................................... 40
wLaufbildmodus ....................................... 48
eBildstabilisierung .................................... 44
rBelichtungsregelung .............................. 80
t16:9-Effekt ............................................ 35
yZebramuster .......................................... 83
uZebramusterpegel .................................. 83
iSeitengriff-Zoomgeschwindigkeit ........... 40
oHandgriff-Zoomgeschwindigkeit ............ 40
!0 Clear Scan-Funktion............................... 84
!1 Selbstauslöser ........................................ 69
!2 Intervall-Timer........................................ 67
!3 Zurück
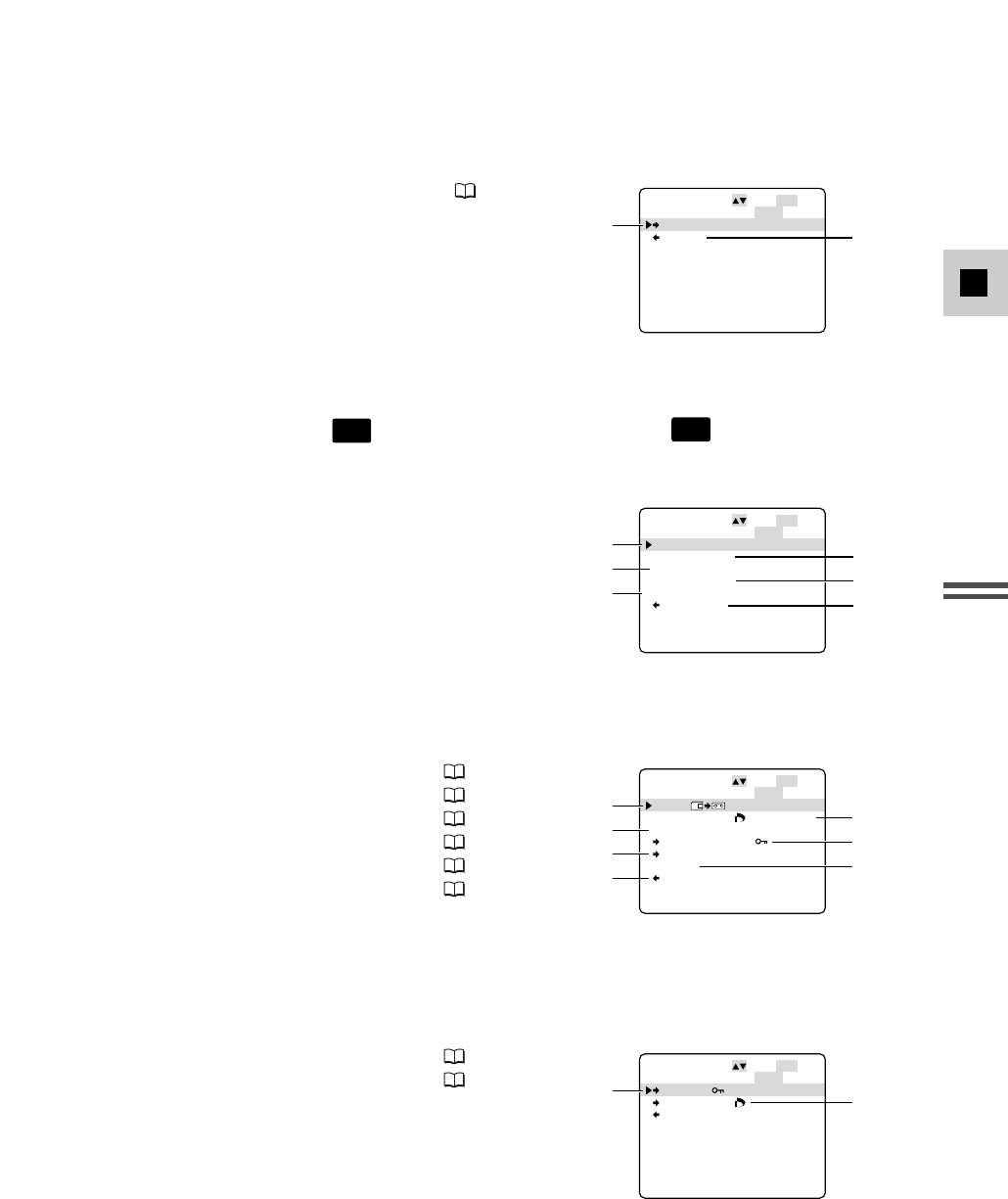
COLOR GAIN
COLOR PHASE
SHARPNESS
SETUP LEVEL
RETURN
–+
GR
–+
–+
CSTM PRESET SEL. SETSET
MENUCLOSE
••
•
•••
•
!4
!6
!8
!5
!7
2Zum Untermenü Programmeinstellung
!4 Farbverstärkung ..................................... 81
!5 Farbphase .............................................. 81
!6 Schärfe .................................................. 81
!7 Einstellpegel........................................... 82
!8 Zurück
Mehr zu den einzelnen Funktionen finden Sie auf den zur Bezugnahme angegebenen Seiten.
Liste der Menüs

21
D
Vorbereitungen
REC MODE
MIC
MIC ATT
AUDIO MODE
PWR SAVE
RETURN
SP
NORMAL
OFF
16bit
SHUT OFF
VCR SET UP SEL. SETSET
MENUCLOSE
••••
•••••••••
•••••
••
••••
!9
@1
@3
@0
@2
@4
3Zum Untermenü Videorecorder-Einstellung
!9 Aufnahmemodus ................................... 35
@0 Mikrofon ............................................... 54
@1 Mikrofondämpfung ....................... 55, 106
@2 Tonaufzeichnungsmodus........................ 54
@3 Energiesparbetrieb ................................. 34
@4 Zurück
LCD BRIGHT
EVF BRIGHT
LCD MIRROR
16:9 GUIDES
TV SCREEN
AUDIO LEVEL
GUIDE INFO
CARD ACCESS
DISP. SET UP SEL. SETSET
MENUCLOSE
••
••
••
•
•••
•
••
•
–+
–+
ON
OFF
OFF
ON
OFF
ON
@5
@7
@9
#1
@6
@8
#0
#2
LCD MIRROR
16:9 GUIDES
TV SCREEN
AUDIO LEVEL
GUIDE INFO
CARD ACCESS
DEMO MODE
RETURN
DISP. SET UP SEL. SETSET
MENUCLOSE
••
•
•••
•
••
•
•••
ON
OFF
OFF
ON
OFF
ON
ON
#3 #4
4Zum Untermenü Display-Einrichtung
@5 LCD-Helligkeit........................................ 42
@6 Sucherhelligkeit ..................................... 42
@7 LCD-Seitenverkehrt-Modus .................... 42
@8 16:9-Effekt ............................................ 36
@9 Fernsehbildschirm ................................ 148
#0 Audiopegelanzeige ................................ 55
#1 Datum/Uhrzeit Anzeige.......................... 32
#2 Kartenzugriffsanzeige .......................... 114
#3 Demonstrationsmodus ........................... 37
#4 Zurück
WL. REMOTE
TALLY LAMP
BEEP
CHAR. REC
DV CONTROL
T. ZONE/DST
D/TIME SET
SYSTEM SEL. SETSET
MENUCLOSE
•••
••
••••••••
••••
••
••
••
1
ON
ON
OFF
OFF
–––
––. –––. ––––
––:––:–– ––
#5
#7
#9
$1
$2
#6
#8
$0
5Zum Untermenü System
#5 Infrarot-Fernbedienung .......................... 28
#6 Kontrollleuchte ...................................... 29
#7 Signalton ............................................... 37
#8 Sucherdatenaufzeichnung...................... 84
#9 DV-Steuerung ........................................ 70
$0 Zeitzone/Sommerzeit ............................. 30
$1 Datum/Uhrzeit-Einstellung ..................... 32
$2 Zurück
CUSTOM KEY
RETURN
CUSTOM KEY SEL. SETSET
MENUCLOSE
••
INDEX WRITE
$3 $4
6Zum Untermenü Funktionstaste
$3 Funktionstaste ....................................... 56
$4 Zurück

22
D
Vorbereitungen
TITLE SELECT
CREATE TITLE
RETURN
TITLE MIX SEL. SETSET
MENUCLOSE
$5
$7 $6
7Zum Untermenü Titel-Mischen
$5 Titel wählen......................................... 128
$6 Titel erstellen ....................................... 127
$7 Zurück
REC MODE
OUTPUT CH
AUDIO DUB.
MIC
MIC ATT
AUDIO ATT
AUDIO MODE
AV
a
DV OUT
SP
L/R
AUDIO IN
NORMAL
OFF
OFF
16bit
OFF
VCR SET UP SEL. SETSET
MENUCLOSE
••••
•••
••
•••••••••
•••••
•••
••
•••
q
e
t
u
o
w
r
y
i
1Zum Untermenü Videorecorder-Einstellung
qAufnahmemodus ................................... 35
wAusgabekanal ...................................... 110
eNachvertonung .................................... 106
rMikrofon ............................................... 54
tMikrofondämpfung ....................... 55, 106
yAudiodämpfung .................................. 106
uTonaufzeichnungsmodus........................ 54
iAnalog/Digital-Wandler........................ 102
oZurück
2VCR MENU
Stellen Sie den POWER-Schalter auf und den TAPE/CARD-Schalter auf .
Das VCR MENU enthält 4 Untermenüs.
TAPE
PLAY
(VCR)
VCR SET UP
DISP. SET UP
SYSTEM
CUSTOM KEY
RETURN
VCR MENU SEL. SETSET
MENUCLOSE
1
32
4
5
1Zum Untermenü Videorecorder-Einstellung
2Zum Untermenü Display-Einrichtung
3Zum Untermenü System
4Zum Untermenü Funktionstaste
5Hauptmenü schließen
LCD BRIGHT
EVF BRIGHT
DISPLAYS
6SEC. DATE
DATA CODE
D/TIME SEL.
CUSTOM KEY
AUDIO LEVEL
DISP. SET UP SEL. SETSET
MENUCLOSE
••
••
••••
•••
•••
•
••
•
–+
–+
ON
OFF
DATE/TIME
DATE & TIME
ON
OFF
!0
!2
!4
!6
!1
!3
!5
!7
2Zum Untermenü Display-Einrichtung
!0 LCD-Helligkeit........................................ 42
!1 Sucherhelligkeit ..................................... 42
!2 Anzeigen ............................................. 148
!3 Automatische 6-Sekunden-Anzeige ....... 90
!4 Datencode ............................................. 89
!5 Wahl von Datum/Uhrzeit........................ 88
!6 Funktionstasten-Anzeige........................ 56
!7 Audiopegelanzeige ................................ 55

23
D
Vorbereitungen
2C.CAM. MENU
Stellen Sie den POWER-Schalter auf und den TAPE/CARD-Schalter auf
Das C. CAM. MENU enthält 6 Untermenüs.
CARD
CAMERA
WL. REMOTE
TALLY LAMP
BEEP
T. ZONE/DST
D/TIME SET
RETURN
SYSTEM SEL. SETSET
MENUCLOSE
•••
••
••••••••
••
••
1
ON
ON
–––
––. –––. ––––
––:––:–– ––
!8
@0
@2
!9
@1
@3
3Zum Untermenü System
!8 Infrarot-Fernbedienung .......................... 28
!9 Kontrollleuchte ...................................... 29
@0 Signalton ............................................... 37
@1 Zeitzone/Sommerzeit ............................. 30
@2 Datum/Uhrzeit-Einstellung ..................... 32
@3 Zurück
CUSTOM KEY
RETURN
CUSTOM KEY SEL. SETSET
MENUCLOSE
••
TV SCREEN
@4 @5
4Zum Untermenü Funktionstaste
@4 Funktionstaste ....................................... 56
@5 Zurück
CAM. SET UP
CSTM PRESET
CARD SET UP
DISP. SET UP
SYSTEM
CUSTOM KEY
RETURN
C. CAM. MENU SEL. SETSET
MENUCLOSE
1
32
4
5
76
1Zum Untermenü Kamera-Einrichtung
2Zum Untermenü Programmierung
3Zum Untermenü Karteneinrichtung
4Zum Untermenü Display-Einrichtung
5Zum Untermenü System
6Zum Untermenü Funktionstaste
7Hauptmenü schließen
IMAGE S.
i
AE SHIFT
ZEBRA
ZEBRA LEVEL
ZOOM GRIP
ZOOM HANDLE
SELF-TIMER
RETURN
ON
±0
OFF
90
VARIABLE
MEDIUM
OFF
CAM. SET UP SEL. SETSET
MENUCLOSE
••
••••
•••••••
•
•••
•
••
q
e
t
u
w
r
y
i
1Zum Untermenü Kamera-Einrichtung
qBildstabilisierung .................................... 44
wBelichtungsregelung .............................. 80
eZebramuster .......................................... 83
rZebramusterpegel .................................. 83
tSeitengriff-Zoomgeschwindigkeit ........... 40
yHandgriff-Zoomgeschwindigkeit ............ 40
uSelbstauslöser ........................................ 69
iZurück

24
D
Vorbereitungen
COLOR GAIN
COLOR PHASE
SHARPNESS
SETUP LEVEL
RETURN
–+
GR
–+
–+
CSTM PRESET SEL. SETSET
MENUCLOSE
••
•
•••
•
o
!1
!3
!0
!2
2Zum Untermenü Programmeinstellung
oFarbverstärkung ..................................... 81
!0 Farbphase .............................................. 81
!1 Schärfe .................................................. 81
!2 Einstellpegel........................................... 82
!3 Zurück
QUALITY
IMAGES RES.
FILE NOS.
SHTR SOUND
RETURN
FINE
1488
×
1128
CONTINUOUS
ON
CARD SET UP SEL. SETSET
MENUCLOSE
•••••
•
•••
••
!4
!6
!8
!5
!7
3Zum Untermenü Karteneinrichtung
!4 Bildqualität .......................................... 113
!5 Bildauflösung....................................... 114
!6 Dateinummern..................................... 115
!7 Verschlussgeräusch .............................. 115
!8 Zurück
LCD BRIGHT
EVF BRIGHT
LCD MIRROR
TV SCREEN
GUIDE INFO
CARD ACCESS
DEMO MODE
RETURN
DISP. SET UP SEL. SETSET
MENUCLOSE
••
••
••
•••
••
•
•••
–+
–+
ON
OFF
ON
ON
ON
!9
@1
@3
@5
@0
@2
@4
@6
4Zum Untermenü Display-Einrichtung
!9 LCD-Helligkeit........................................ 42
@0 Sucherhelligkeit ..................................... 42
@1 LCD-Seitenverkehrt-Modus .................... 42
@2 Fernsehbildschirm ................................ 148
@3 Datum/Uhrzeit Anzeige.......................... 32
@4 Kartenzugriffsanzeige .......................... 114
@5 Demonstrationsmodus ........................... 37
@6 Zurück
WL. REMOTE
BEEP
T. ZONE/DST
D/TIMR SET
RETURN
SYSTEM SEL. SETSET
MENUCLOSE
•••
••••••••
••
••
1
ON
–––
––. –––. ––––
––:––:–– ––
@7
@9
#1
@8
#0
5Zum Untermenü System
@7 Infrarot-Fernbedienung .......................... 28
@8 Signalton ............................................... 37
@9 Zeitzone/Sommerzeit ............................. 30
#0 Datum/Uhrzeit-Einstellung ..................... 32
#1 Zurück

25
D
Vorbereitungen
CUSTOM KEY
•
ZEBRA
RETURN
CUSTOM KEY SEL. SETSET
MENUCLOSE
#2 #3
6Zum Untermenü Funktionstaste
#2 Funktionstaste ....................................... 56
#3 Zurück
COPY[ ]
PRINT MARKS ALL ERASE
IMAGE ERASE
TITLE PROTECT
TITLE ERASE
FORMAT
RETURN
CARD OPER. SEL. SETSET
MENUCLOSE
q
e
t
u
w
r
y
1-1 Untermenü Kartenbetrieb (bei Wiedergabe von Einzelbildern)
q
Überspielen von Speicherkarte auf Band
.... 130
wAlle Druckmarkierungen löschen.......... 124
eLöschen von Bildern............................. 125
rSchutz eines Titels................................ 128
tLöschen eines Titels ............................. 129
yFormatierung ....................................... 131
uZurück
2C.PLAY MENU
Den POWER-Schalter auf und den TAPE/CARD-Schalter auf stellen.
Es gibt 5 Untermenüs innerhalb des C.PLAY MENU.
CARD
PLAY
(VCR)
CARD OPER.
VCR SET UP
DISP. SET UP
SYSTEM
CUSTOM KEY
RETURN
C. PLAY MENU SEL. SETSET
MENUCLOSE
1
32
4
5
6
1Zum Untermenü Kartenbetrieb
2Zum Untermenü Videorecorder-Einrichtung
3Zum Untermenü Display-Einrichtung
4Zum Untermenü System
5Zum Untermenü Funktionstaste
6Hauptmenü schließen
PROTECT
PRINT MARK
RETURN
CARD OPER. SEL. SETSET
MENUCLOSE
io
1-2 Untermenü Kartenbetrieb (bei Anzeige von Indexbildern)
iBildschutz ............................................ 122
oDruckmarkierung ................................. 123

26
D
Vorbereitungen
LCD BRIGHT
EVF BRIGHT
DISPLAYS
D/TIME SEL.
CUSTOM KEY
CARD ACCESS
RETURN
DISP. SET UP SEL. SETSET
MENUCLOSE
••
••
••••
•
••
•
–+
–+
ON
DATE & TIME
ON
ON
!2
!4
!6
!8
!3
!5
!7
3Zum Untermenü Display-Einrichtung
!2 LCD-Helligkeit........................................ 42
!3 Sucherhelligkeit ..................................... 42
!4 Anzeigen ............................................. 148
!5 Wahl von Datum/Uhrzeit........................ 88
!6 Funktionstasten-Anzeige........................ 56
!7 Kartenzugriffsanzeige .......................... 114
!8 Zurück
WL. REMOTE
TALLY LAMP
BEEP
T. ZONE/DST
D/TIME SET
RETURN
SYSTEM SEL. SETSET
MENUCLOSE
•••
••
••••••••
••
••
1
ON
ON
–––
––. –––. ––––
––:––:–– ––
!9
@1
@3
@0
@2
@4
4Zum Untermenü System
!9 Infrarot-Fernbedienung .......................... 28
@0 Kontrollleuchte ...................................... 29
@1 Signalton ............................................... 37
@2 Zeitzone/Sommerzeit ............................. 30
@3 Datum/Uhrzeit-Einstellung ..................... 32
@4 Zurück
CUSTOM KEY
RETURN
CUSTOM KEY SEL. SETSET
MENUCLOSE
••
TV SCREEN
@5 @6
5Zum Untermenü Funktionstaste
@5 Funktionstaste ....................................... 56
@6 Zurück
REC MODE
RETURN
SP
VCR SET UP SEL. SETSET
MENUCLOSE
••••
!0 !1
2Zum Untermenü Videorecorder-Einrichtung
!0 Aufnahmemodus ................................... 35
!1 Zurück

27
D
Vorbereitungen
Gebrauch der Fernbedienung/Kontrollleuchte
Die mitgelieferte Fernbedienung kann den
Camcorder bis zu einem Abstand von 5 m
ansteuern. Halten Sie beim Drücken der Tasten
die Fernbedienung auf den
Fernbedienungssensor gerichtet.
Aufblinken der Kontollleuchte zeigt an, dass der
Camcorder das übermittelte
Fernbedienungssignal empfangen und
verarbeitet hat.
Es gibt vier Funktionen, die nur per
Fernbedienung ausgeführt werden können:
•Spezielle Wiedergabefunktionen ( 86)
•Photo-/Datum-/Index-Suchlauf ( 91)
•Nullstellung-Speicher ( 92)
•Tonmischung ( 109)
Legen Sie zwei R6-Batterien (AA) den Polmarkierungen
=und -entsprechend ein. Die Batterien dürfen nicht
falsch herum eingelegt werden!
Hinweise:
•Wenn die Fernbedienung an einem hell beleuchteten Ort oder im Freien verwendet wird, verkürzt
sich die Reichweite.
•Bei extrem kurzen Entfernungen kann der Camcorder Probleme mit der Auswertung
empfangener Signale haben.
•Schützen Sie die Fernbedienung vor direkt einfallendem Sonnenlicht, hoher Wärme und
Feuchtigkeit.
•Wenn die Batterien leer sind, wechseln Sie stets beide Batterien gleichzeitig aus.
•Achten Sie darauf, dass der Schulterriemen den Fernbedienungssensor nicht blockiert.
5m
Einlegen der Batterien

28
D
Vorbereitungen
Zur Vermeidung von Störungen durch andere Canon-
Infrarot-Fernbedienungen in der Nähe können Sie zwischen 2
Fernbedienungssensormodi wählen oder den Sensor ganz
ausschalten. Eine Fernbedienung ist nur dann möglich, wenn
der Camcorder und seine Infrarot-Fernbedienung auf
denselben Modus eingestellt sind.
Zum Ausschalten des Fernbedienungssensors:
Öffnen Sie das Menü und wählen Sie SYSTEM. Dann wählen Sie WL.REMOTE,
stellen auf OFF Bund schließen das Menü.
•Bwird auf dem Bildschirm angezeigt.
Zum Ändern des Modus ...
... am Camcorder:
Öffnen Sie das Menü und wählen Sie SYSTEM. Dann wählen Sie WL.REMOTE,
stellen auf A1 oder A2 und schließen das Menü.
•Der gewählte Modus wird 4 Sekunden lang auf dem Bildschirm angezeigt.
... an der Fernbedienung:
Halten Sie die REMOTE SET-Taste an der Fernbedienung gedrückt, und betätigen Sie
dabei die ZOOM W-Taste (Modus 1) oder die ZOOM T-Taste (Modus 2). Die beiden
Tasten müssen mindestens 2 Sekunden lang gleichzeitig gedrückt gehalten werden.
•Achten Sie darauf, dass die Infrarot-Fernbedienung auf denselben Modus eingestellt wird wie
der Camcorder.
Sollte die Fernbedienung nicht arbeiten:
Sorgen Sie zunächst dafür, dass Camcorder und Fernbedienung auf denselben Modus eingestellt sind.
Die Einstellung des Camcorders kann durch Drücken einer beliebigen Taste außer REMOTE SET an der
Fernbedienung kontrolliert werden. Der aktuell eingestellte Camcordermodus wird dabei Dunkelrot
etwa 4 Sekunden lang angezeigt. Stellen Sie dann die Fernbedienung auf denselben Modus ein,
indem Sie die beiden entsprechenden Tasten wie oben beschrieben gedrückt halten. Wenn die
Fernbedienung auch nach dieser Einstellung nicht funktioniert, tauschen Sie die Batterien aus.
Hinweise:
•Der Modus des Camcorders wird auch beim Einschalten 4 Sekunden lang angezeigt.
•Beim Auswechseln der Batterien schaltet die Fernbedienung auf Modus 1 zurück. Ändern Sie den
Modus erforderlichenfalls erneut.
A1:Modus 1
A2:Modus 2
OFFB:Sensor AUS
WL.REMOTE••• A1SYSTEM
( 18)
Die Infrarot-Fernbedienung und der Camcorder sind auf Modus 1 voreingestellt. Wenn Sie den
Modus am Camcorder ändern, müssen Sie auch die Fernbedienung auf denselben Modus einstellen.
REMOTE SET
ZOOM
WT
+,+,+,+
PLAY
(VCR)
CARD
CAMERA
CARD
PLAY
(VCR)
TAPE
CAMERA
TAPE
Beim Betrieb von 2 Canon-DV-Camcordern (Fernsensor-Modus)

29
D
Vorbereitungen
Die Kontrollleuchte zeigt an, dass der Camcorder aufnimmt.
Das Blinken der Lampe kann jedoch bei Nahaufnahmen
sowie beim Filmen durch eine Fensterscheibe in das Objektiv
reflektiert werden und so die Aufnahme stören.
In einem solchen Fall können Sie die Kontrollleuchte
ausschalten.
TALLY LAMP•• ONSYSTEM
( 18)
1. Öffnen Sie das Menü und wählen Sie TALLY LAMP.
2. Wählen Sie Einstellung “OFF”, und schließen Sie das Menü.
•Die Kontrollleuchte blinkt nun nicht mehr während der Aufnahme, bestätigt jedoch nach wie
vor durch kurzes Aufblinken den Empfang von Fernbedienungssignalen.
+,+,+
PLAY
(VCR)
CARD
PLAY
(VCR)
TAPE
CAMERA
TAPE
Ausschalten der Kontrollleuchte

30
D
Vorbereitungen
Das Datum und die Uhrzeit werden als Teil der Datencode-Information aufgezeichnet. Sie können
die Datum/Uhrzeit-Anzeige bei der Wiedergabe wahlweise ein- oder ausblenden ( 88).
Stellen Sie Datum und Uhrzeit bei der ersten Inbetriebnahme ein. Setzen Sie die Speicherbatterie
ein, bevor Sie beginnen ( 136).
•Bevor Sie die Uhr stellen, müssen Sie zunächst die örtliche Zeitzone im Menü spezifizieren.
T.ZONE/DST•• N.Y.SYSTEM
( 18)
1. Drücken Sie die MENU-Taste.
•Daraufhin erscheint das Hauptmenü.
2. Bewegen Sie das SELECT-Wählrad nach oben bzw. unten, wählen Sie SYSTEM
und drücken Sie dann das SELECT-Wählrad hinein.
•Daraufhin erscheint das SYSTEM-Untermenü.
3. Bewegen Sie das SELECT-Wählrad nach oben bzw. unten, wählen Sie
T.ZONE/DST und drücken Sie das SELECT-Wählrad hinein.
•Daraufhin erscheinen die Zeitzoneneinstellungen.
•Die Zeitzone des Camcorders ist werkseitig auf Paris eingestellt. In einer anderen Zeitzone
wählen Sie zunächst die geltende Zeitzone und ggf. auch die Sommerzeiteinstellung.
4. Gehen Sie die Liste der Zeitzonen durch Bewegen des SELECT-Wählrads nach
oben bzw. unten. Zur Einstellung der vor Ort geltenden Zeitzone drücken Sie
das SELECT-Wählrad hinein.
•Gilt vor Ort auch die Sommerzeit, so wählen Sie die Zeitzone mit dem Sommerzeitsymbol U
neben dem Namen .
5. Drücken Sie die MENU-Taste.
+,+,+,+
PLAY
(VCR)
CARD
CAMERA
CARD
PLAY
(VCR)
TAPE
CAMERA
TAPE
Einstellen des Datums und der Uhrzeit
Zeitzonen/Sommerzeit-Einstellung

31
D
Vorbereitungen
Time zone
LONDON
PARIS
CAIRO
MOSCOW
DUBAI
KARACHI
DACCA
BANGKOK
H. KONG (Hong Kong)
TOKYO
SYDNEY
SOLOMON
WELLGTN (Wellington)
SAMOA
HONOLU. (Honolulu)
ANCHOR. (Anchorage)
L.A. (Los Angeles)
DENVER
CHICAGO
N.Y. (New York)
CARACAS
RIO (Rio de Janeiro)
FERNAN. (Fernando de Noronha)
AZORES
No. Time zone
No.
Hinweise:
•Wenn Sie Ihre Zeitzone ausgewählt und das Datum sowie die Uhrzeit eingestellt haben, brauchen
Sie die Uhr bei Reisen in andere Zeitzonen nicht neu zu stellen. Wählen Sie im Menü einfach die
betreffende Zeitzone — der Camcorder gibt dann automatisch die dortige Uhrzeit vor.
•Die Zahl an Tagen pro Monat und Schaltjahre werden bei der Zeitmessung automatisch
berücksichtigt.
1
24 1 2 3 4 5 6 7 8 9 10 11 12 1314 15 16 17 18 19 20 21 22 23
2
3
5
679
8
10
4
12
11
13
24
19
20
18
17
21
23
22
15
14
16

32
D
Vorbereitungen
1. Drücken Sie die MENU-Taste.
•Daraufhin erscheint das Hauptmenü.
2. Bewegen Sie das SELECT-Wählrad nach oben bzw. unten, wählen Sie SYSTEM
und drücken Sie das SELECT-Wählrad hinein.
•Daraufhin erscheint das SYSTEM-Untermenü.
3. Bewegen Sie das SELECT-Wählrad nach oben bzw. unten, wählen Sie D/TIME
SET und drücken Sie das SELECT-Wählrad hinein.
•Daraufhin beginnt die Jahresanzeige zu blinken.
4. Zur Wahl der Jahreszahl bewegen Sie das SELECT-Wählrad entsprechend nach
oben bzw. unten. Springen Sie durch Drücken des SELECT-Wählrads zu einem
anderen Teil des Displays.
•Nach erfolgter Einstellung der Jahreszahl beginnt der nächste Teil des Displays zu blinken.
5. Stellen Sie Monat, Tag, Stunden und Minuten ebenso ein.
6. Drücken Sie anschließend die MENU-Taste zum Starten der Uhr.
•Das Datum lässt sich auf ein beliebiges Jahr zwischen 2002 und 2030 einstellen.
•Wird die MENU-Taste während der Einstellung gedrückt, so werden die Sekunden auf Null
gestellt, das Menü geschlossen und die Uhr gestartet.
•Wird nach der Minuteneinstellung das SELECT-Wählrad hineingedrückt, so lassen sich Datum
und Uhrzeit erneut von Anfang an einstellen.
D/TIME SET•• 1.JAN.2002
12:00 AM
SYSTEM
( 18)
Während der Aufnahme lässt sich die Datum- und Uhrzeitanzeige aktivieren oder deaktivieren. Ist
sie aktiviert, so erscheinen Datum und Uhrzeit in der linken unteren Ecke des Displays, wobei
jedoch die Zeitzone nach ca. 4 Sekunden verschwindet. Datum und Uhrzeit werden nicht
automatisch in die Aufnahme eingeblendet.
GUIDE INFO•• OFFDISP.SET UP
( 18)
Zum Einschalten öffnen Sie das Menü und wählen DISP.SET UP. Danach wählen Sie
GUIDE INFO, stellen D/T DISPLAY ein und schließen das Menü.
Wenn Sie das Datum und die Uhrzeit eingestellt haben, werden beim Einschalten des Camcorders
(im TAPE CAMERA- und CARD CAMERA-Modus) das Datum und die Uhrzeit Ihrer Zeitzone etwa
vier Sekunden lang angezeigt.
+,+,+,+
PLAY
(VCR)
CARD
CAMERA
CARD
PLAY
(VCR)
TAPE
CAMERA
TAPE
+,+
CAMERA
CARD
CAMERA
TAPE
Stellen der Uhr
Datum/Uhrzeit-Anzeige

33
D
Aufnahme
•Stromquelle anschießen ( 14).
•Kassette einlegen ( 16).
•Griffriemen einstellen ( 13).
•Gegenlichtblende anbringen ( 12).
•Anzeigemedium wählen: Sucher- ( 12) oder LCD-Bildschirm ( 41).
•Sucher- bzw. LCD-Bildschirm einstellen.
Sie sollten auch die Speicherschutzbatterie einsetzen ( 136), um danach Datum und Uhrzeit
einzustellen ( 30). Näheres zur Einstellung des Laufbildmodus finden Sie auf Seite ( 48).
1.
Schieben Sie den POWER-Schalter auf CAMERA und den TAPE/CARD-Schalter auf TAPE.
2. Drehen Sie den STANDBY-Hebel auf STANDBY.
•Die Camcorder-Betriebsleuchte leuchtet Rot auf und PAUSE erscheint auf dem Display — der
Camcorder ist nun auf “Aufnahmepause” geschaltet.
•Näheres zur Aufzeichnung von Standbildern unter “Aufzeichnen von Standbildern auf Band”
(46) und “Aufzeichnen von Standbildern auf Speicherkarte” ( 116).
3. Drehen Sie den Programm-Wahlschalter auf [ “Leichte Aufnahme”.
•
Der Camcorder arbeitet nun mit dem Programm “Leichte Aufnahme”. Damit können Sie einfach
das gewünschte Motiv anvisieren und ohne irgendwelche manuelle Einstellungen losfilmen ( 51).
4. Drücken Sie die Start/Stopp-Taste einmal, um die Aufnahme zu starten.
•Es gibt zwei Start/Stopp-Tasten, damit Sie die Aufnahme aus beiden Griffhaltepositionen
kontrollieren können.
•Die Kontrollleuchte blinkt in schnellem Takt und REC erscheint auf dem Display.
•Beim Aufnahmestart zählt der Camcorder von 0 bis 10 SEC. Aufnahmen, die kürzer als 10
Sekunden dauern, sind u.U. später nur schwierig zu editieren.
5.
Zum Zurückschalten auf Aufnahmepause drücken Sie erneut die Start/Stopp-Taste.
•
Der Camcorder schaltet erneut auf Aufnahmepause, und PAUSE erscheint zur Bestätigung auf dem Display.
•
Die Aufnahme kann beim Filmen mit der Start/Stopp-Taste beliebig oft gestoppt und wieder gestartet werden.
Der Camcorder ist auch für Aufnahmen aus niedrigem Winkel ausgelegt. Am Handgriff sitzen
Start/Stopp-Taste, PHOTO-Taste und Zoomregler. Die Geschwindigkeit der Zoomregler am Handgriff
lässt sich im Menü auf langsam, mittel oder schnell einstellen ( 40).
Schieben Sie den LOCK-Hebel in Pfeilrichtung, um die Handgriffregler gegen versehentliche
Betätigung zu sperren.
Vor Aufnahmebeginn
CARD TAPE
LOCK
STANDBY
LOCK
STANDBY
START
STOP
2
3
114
Aufnahme
Aufnahme
Aufnahmen aus niedrigem Winkel

34
D
Aufnahme
Solange der POWER-Schalter auf CAMERA steht, können Sie mit dem STANDBY-Hebel den
Camcorder ein- und ausschalten. Dadurch wird die Akkukapazität geschont und eine versehentliche
Betätigung der Start/Stopp-Taste ausgeschlossen.
Drehen Sie den STANDBY-Hebel auf LOCK oder STANDBY, um den Bereitschaftsbetrieb ein-
/auszuschalten.
Zum Schutz von Band und Videoköpfen wird der Camcorder automatisch ausgeschaltet, wenn er
über 5 Minuten lang auf Aufnahmepause geschaltet ist.
Sie können wählen, ob der Camcorder insgesamt (SHUT OFF) oder nur der Recorder (VCR STOP)
ausgeschaltet werden soll.
Bei VCR STOP bleibt die Stromversorgung des Camcorders eingeschaltet, so dass
Camcordereinstellungen wie Blendenstufe und Verschlusszeit erhalten bleiben. Drücken Sie die
Start/Stopp-Taste, um die Aufnahme aus dem VCR STOP-Status zu starten. Drücken Sie die VCR
STOP-Funktionstaste, um auf Aufnahmepause zu schalten ( 56).
Wenn bei Wahl von SHUT OFF der Camcorder ausgeschaltet wird, drehen Sie den STANDBY-Hebel
auf LOCK und zurück auf STANDBY, um den Camcorder einzuschalten.
VCR STOP
Wählen Sie VCR STOP als Funktion für die Funktionstaste im Menü. Daraufhin wird nur der
Recorder-Bereich mit der Funktionstaste ausgeschaltet, während der Camcorder aktiviert bleibt.
Dadurch können Sie die Camcorder-Einstellungen ohne Störung durch die Ausschaltautomatik
ändern.
Zum Starten der Aufnahme drücken Sie die VCR STOP-Taste, woraufhin der Camcorder auf
Aufnahmepause schaltet.
•Die LCD-Tafel schließen.
•Die Kassette herausnehmen.
•Den STANDBY-Hebel auf LOCK stellen.
•Den POWER-Schalter auf OFF stellen.
•Die Stomquelle abklemmen.
•Wenn der Sucher verwendet wurde, diesen wieder nach unten schwenken und in den Camcorder
schieben.
Hinweise:
•Überzeugen Sie sich anhand einer Testaufnahme davon, dass der Camcorder einwandfrei
funktioniert, bevor Sie mit dem Filmen beginnen.
•Vor einer wichtigen Aufnahme empfiehlt es sich, die Videoköpfe mit der Canon Digital-
kopfreinigungskassette DVM-CL oder einer anderen handelsüblichen Reinigungskassette für
Digital-Camcorder zu reinigen.
•Zum Schließen drehen Sie die LCD-Tafel in senkrechte Stellung, bis der Bildschirm zu lhnen weist,
und drücken Sie sie dann gegen die Seite des Camcorders, bis sie fest einrastet.
•Der Ton kann beim Filmen üder den eingebauten Lautsprecher nicht mitgehört werden.
•Tipps für bessere Videoaufnahmen finden Sie auf Seite 38.
•Für zusätzliche Aufnahmezeit siehe “Änderung der Aufnahmezeit” ( 35)
•Das Blinken der Kontrollleuchte kann bei Nahaufnahmen oder bei Aufnahmen durch eine
Fensterscheibe als störender Lichtreflex in das Objektiv zurückgeworfen werden. Zur Abhilfe
können Sie die Kontrollleuchte in solchen Fällen ausschalten ( 29).
Nach Gebrauch
Gebrauch des STANDBY-Hebels
Energiesparfunktion

35
D
Aufnahme
Sie könne zum Filmen als Bandgeschwindigkeit entweder SP (Standard Play = normale Spielzeit)
oder LP (Long Play = lange Spielzeit) wählen. Bei LP verlängert sich die Spielzeit der Kassette auf
das 1,5-fache.
Bänder, die Sie mit LP-Bandgeschwindigkeit bespielen, können nicht nachvertont oder per AV-
Insertschnitt bearbeitet werden. Aufnahmen, die Sie nachträglich mit diesen Funktionen
bearbeiten möchten, müssen Sie mit SP-Bandgeschwindigkeit machen.
Zum Umschalten auf LP-Modus öffnen Sie zunächst das Menü und wählen VCR
SET UP. Anschließend wählen Sie REC MODE, stellen auf LP ein und schließen
dann das Menü.
Hinweise:
•Je nach Art und Gebrauchsbedingungen des Bands sind bei Aufnahme/Wiedergabe im LP-Modus
Bild- (Mosaikrauschen) bzw. Tonverzerrungen möglich. Daher empfiehlt sich für wichtige
Aufnahmen stets die Wahl des SP-Modus.
•Wenn Sie eine Kassette abwechselnd in beiden Betriebsarten bespielen, können während der
Wiedergabe Bildverzerrungen auftreten, und die Zeitcode-Information wird unter Umständen
nicht korrekt aufgezeichnet.
•Ist der Camcorder auf LP-Modus gestellt, so kann es bei Leerstellen zwischen Aufnahmen u.U. zu
Mosaikrauschen kommen.
•Das Abspielen einer im LP-Modus auf einem anderen Camcorder aufgezeichneten Kassette kann
u.U. bei diesem Camcorder zu Mosaikrauschen führen und umgekehrt.
REC MODE•••• SPVCR SET UP
( 18)
+,+,+
CAMERA
CARD
PLAY
(VCR)
TAPE
CAMERA
TAPE
Auswählen der Aufnahme-Bandgeschwindigkeit (SP/LP)
16:9 (TV-Breitbild-Aufnahme)
Mit dieser Funktion können Sie das Bild für Wiedergabe auf einem Breitbildfernseher im 16:9-
Format aufnehmen.
1. Öffnen Sie das Menü und wählen Sie DISP. SET UP.
2. Wählen Sie 16:9 und die Einstellung ON und schließen Sie dann das Menü.
+,+
PLAY
(VCR)
TAPE
CAMERA
TAPE
16:9•••••••• OFFCAM.SET UP
( 18)

36
D
Aufnahme
Ein-/Ausschalten der Camcorder-Aufnahmedisplays
Durch Drücken der DISPLAY/DATA CODE-Taste lässt sich
die Displayanzeige wechseln.
Bei jedem Drücken der DISPLAY/DATA CODE-Taste wird
die Displayanzeige wie folgt gewechselt:
*Erscheint, wenn GUIDE INFO im DISP. SET UP-Untermenü (CAMERA-Menü) auf D/T DISPLAY
gesetzt ist.
Hinweise:
•Die Displayanzeige wird rückgesetzt, wenn Sie die Stromversorgung mit dem POWER-Schalter
oder dem STANDBY-Hebel ausschalten.
•Dieselbe Information wird auf dem Bildschirm eines angeschlossenen Fernsehgeräts angezeigt (TV
SCREEN-Funktion).
•Die Audiopegelanzeige lässt sich unabhängig von der DISPLAY/DATA CODE-Taste über das Menü
ein- oder ausblenden.
Die 16:9-Markierungen ermöglichen Ihnen beim normalen 4:3-Bildseitenverhältnis die Anzeige des
16:9-Breitbildschirms. Die 16:9-Markierungen werden nicht mit aufgenommen.
1. Öffnen Sie das Menü und wählen Sie DISP. SET UP.
2. Wählen Sie 16:9 GUIDES, stellen Sie ON ein und schließen Sie das Menü.
Hinweise:
•“16:9” erscheint auf dem Display, wenn der 16:9-Effekt aktiviert wird.
•Wenn Sie eine 16:9-Aufnahme auf einem normalen Fernseher wiedergeben, wird das Bild vertikal
“zusammengedrückt” (komprimiert).
+,+
PLAY
(VCR)
TAPE
CAMERA
TAPE
16:9GUIDES•• OFFDISP.SET UP
( 18)
DISPLAY/
DATA CODE
Normalanzeige
Aufnahmemodus, Betriebsart, Zeitcode,
Warnanzeigen, Datum und Uhrzeit*
Datum und Uhrzeit*
Keine Anzeige

37
D
Aufnahme
Die kurzen Bestätigungstöne des Camcorders sind in den Abbildungen durch `gekennzeichnet.
Beim Einschalten des Camcorders, bei Selbstauslöserzählung, vor der automatischen Abschaltung
und bei ungewöhnlichen Betriebszuständen des Camcorders erklingen Signaltöne, die nicht auf
Band aufgezeichnet werden.
Zum Ausschalten der Bestätigungstöne öffnen Sie das Menü und wählen SYSTEM.
Dann wählen Sie BEEP, stellen OFF ein und schließen das Menü.
Wenn Sie sich die Hauptfunktionen des Camcorder zunächst einmal vorführen lassen möchten,
bevor Sie eine Kassette einlegen, so führen Sie einen der beiden folgenden Bedienvorgänge aus.
•Aktivieren Sie ohne eingelegte Kassette oder Speicherkarte DEMO MODE im CAM.MENU oder
C.CAM.MENU und schließen Sie das Menü.
•Lassen Sie den Camcorder nach dem Einschalten fünf Minuten lang ruhen, ohne dass eine
Kassette oder Speicherkarte eingesetzt ist.
Um den Demonstrationsmodus auszuschalten, öffnen Sie das Menü und wählen
DISP. SET UP. Wählen Sie dann DEMO MODE, setzen Sie die Einstellung auf OFF
und schließen Sie das Menü.
Hinweise:
•Bei ausgeschaltetem Demonstrationsmodus unterbleibt die einleitende Bildschirmanimation.
•Zum Abbrechen der laufenden Demonstrationsvorführung drücken Sie eine beliebige Taste,
schalten den Camcorder aus, legen eine Kassette ein oder setzen eine Speicherkarte ein.
BEEP••• ONSYSTEM
( 18)
DEMO MODE••• ONDISP. SET UP
( 18)
+,+,+,+
PLAY
(VCR)
CARD
CAMERA
CARD
PLAY
(VCR)
TAPE
CAMERA
TAPE
+,+
CAMERA
CARD
CAMERA
TAPE
Bestätigungs-/Warntöne
Demonstrationsmodus

38
D
Aufnahme
Tipps für bessere Videoaufnahmen
Zur optimalen Stabilisierung des Camcorders halten Sie ihn mit der rechten
Hand und drücken dabei den rechten Ellbogen gegen den Oberkörper. Falls
erforderlich, können Sie den Camcorder zusätzlich mit der linken Hand
abstützen. Mit ein wenig Übung finden Sie die benötigten Tasten auch
dann, wenn Sie das Motiv nicht aus den Augen lassen.
Für absolut unverwackelte Aufnahmen können Sie den Camcorder auf ein
Stativ setzen (oder auf eine ebene Fläche in geeigneter Höhe stellen) und
per Fernbedienung steuern.
•Bei Verwendung eines Stativs müssen Sie darauf achten, dass der Sucher
keinesfalls direkter Sonneneinstrahlung ausgesetzt ist, damit er nicht
schmilzt. (Denn das Licht wird durch die Okularlinse gebündelt.) Bringen
Sie ggf. den Sucher in eine andere Stellung, so dass ihn die Sonne nicht
direkt bescheint.
•Die Feststellschraube des Stativs darf keinesfalls länger als 5,5 mm sein, da
sonst der Camcorder beschädigt wird.
Für kreativere Tongestaltung können Sie ein externes
Mikrofon an den Camcorder über die MIC-
Mikrofonbuchse oder den Zubehörschuh anschließen.
Bei Verwendung der MIC-Buchse verwenden Sie ein
Mikrofon mit eingebauter Stromversorgung
(Kondensatormikrofon). Es ist möglich, fast jedes
Stereomikrofon mit einem Steckerdurchmesser von
3,5 mm anzuschließen, aber der Tonpegel ist dabei
anders als beim eingebauten Mikrofon.
Halten des Camcorders
Verwendung eines Stativs
Tonaufzeichnung

39
D
Aufnahme
Der Mittelpunkt einer Szene muss nicht unbedingt in der Mitte des Bildes
liegen. Ein wenig zu einer Seite versetzte Aufnahmegegenstände wirken in
den meisten Fällen interessanter. Beim Filmen von Personen sollte man auch
etwas Platz auf der Seite der Bildeinrahmung lassen, der sie zugewandt sind
oder in deren Richtung sie sich bewegen.
Achten Sie beim Filmen von Gesichtern darauf, dass der gesamte Kopf ins Bild
kommt und nicht in Stirn- oder Kinnhöhe abgeschnitten wird. Auch
Bildausschnitte, die genau am Hals, der Hüfte oder den Knien enden, sollte man
vermeiden (wählen Sie lieber einen etwas größeren oder kleineren Bildausschnitt).
Vermeiden Sie Gegenstände im Hintergrund, die den Betrachter vom
gefilmten Geschehen ablenken.
Anstatt während der Aufnahme zu zoomen, versuchen Sie,
Bildwinkel und Standpunkte vorauszuplanen. Eine gute Lösung zum
attraktiven Gestalten eines Videos ist beispielsweise eine einleitende
Fernaufnahme, die dem Betrachter einen Überblick verschafft,
wonach man dann näher an das Motiv herangeht, um abschließend
noch Details ganz aus der Nähe einzufangen. Vergessen Sie dabei
nicht, für jede Aufnahme einen anderen Standpunkt zu wählen.
Denken Sie daran, dass jede Kamerabewegung einem bestimmten
Zweck dienen soll. Vermeiden Sie daher unnötige oder nur halbherzig
ausgeführte Kamerabewegungen.
Landschaften und bewegte Objekte lassen sich am
wirkungsvollsten mit einer Schwenkbewegung einfangen.
Wählen Sie zunächst die Motivfläche, über die der
Camcorder geschwenkt werden soll, und nehmen Sie dann
am Ende des Schwenkwinkels eine normale
Aufnahmehaltung ein. Drehen Sie nun den Oberkörper
zurück, bis Sie den Startpunkt im Sucher haben. Lassen Sie
die Aufnahme in dieser Position einige Sekunden lang
anlaufen, um den Oberkörper dann langsam
zurückzudrehen. Nach dem Schwenk lassen Sie die
Aufnahme einige Sekunden lang auslaufen.
Durch Neigen des Camcorders nach oben wird bei hoch
aufragenden Objekten der Eindruck einer größeren Höhe
erzielt. Eine Neigung nach unten, beispielsweise beim
Filmen von einem hohen Gebäude aus, kann als
wirkungsvolle Einleitung beim Aufnehmen von Personen
auf dem Boden dienen.
Wahl des Bildausschnitts
Bildwinkel
Der Camcorder in Bewegung
Fernaufnahme
Mittlere Entfernung
Nahaufnahme
Schwenken
Neigen

40
D
Aufnahme
T
W
ZOOM
WT
T
W
Zoomen
Dieser Camcorder ist mit einem optischen 20-fach-Zoom und digitalem 100-fach-Zoom
ausgestattet. Optisches und digitales Zoom lassen sich entweder über Seitengriff, Handgriff oder
Fernbedienung betätigen.
•Im CARD CAMERA-Modus ist das digitale Zoom nicht verfügbar.
Zum Wegzoomen auf Weitwinkel drücken Sie den Zoomregler in Richtung W.
Zum Heranzoomen auf Tele drücken Sie ihn in Richtung T.
•Sie können über das CAMERA SET UP-Untermenü (Seitengriff-Zoom: variabel, langsam, mittel und
schnell; Handgriff-Zoom: langsam, mittel und schnell) mit verschiedenen Geschwindigkeiten
zoomen.
•Beim Zoomregler an der Fernbedienung ist die Zoomgeschwindigkeit fest vorgegeben.
Das digitale Zoom vergrößert den Zoombereich des Camcorders bis zum 5-fachen.
Zum Einschalten des digitalen Zooms öffnen Sie das Menü und wählen CAM.SET
UP. Dann wählen Sie DIGITAL ZOOM, stellen den Wert auf 40×oder 100×ein und
schließen das Menü.
Dabei arbeitet der Zoomregler normal. Sie können eine beliebige Vergrößerung zwischen 1×und
40×oder 1×und 100×einstellen — der Camcorder schaltet automatisch zwischen optischem Zoom
(bis zu 20×) und digitalem Zoom (20×bis 100×) um.
Hinweise:
•Beim Zoomen sollten Sie in der Regel mindestens 1 m Abstand zum Motiv einhalten. Ist das
Zoom jedoch in Weitwinkelposition, so können Sie auf Motive bis zu 1 cm Abstand fokussieren.
•
Je weiter Sie im digitalen Zoombereich in Richtung 100fach zoomen, um so geringer wird die Bildauflösung.
•Wenn Sie das digitale 40fach-Zoom zuschalten, verlängert sich die Zoomanzeige (um einen
hellblauen Abschnitt).
Wenn Sie dann auf das digitale 100fach-Zoom umschalten, verlängert sich die Zoomanzeige
erneut (um einen dunkelblauen Abschnitt).
Optisches 20fach-Zoom
Digitales 40fach/100fach-Zoom
D.ZOOM••• OFFCAM. SET UP
( 18)
Herazoomen
Wegzoomen
+
CAMERA
TAPE

41
D
Aufnahme
Gebrauch des LCD-Bildschirms
Öffnen Sie die LCD-Tafel durch Verschieben der OPEN-
Taste und klappen Sie die Tafel aus dem Camcorder
heraus. Dabei wird automatisch der Bildschirm ein- und
der Sucher ausgeschaltet. Zum Schließen drücken Sie die
LCD-Tafel fest gegen den Camcorder, bis sie hörbar
einrastet. Beim Einklappen der LCD-Tafel wird
automatisch der Bildschirm aus- und der Sucher
eingeschaltet.
Klappen Sie zunächst die LCD-Tafel im Winkel von 90°
zum Camcorder aus.
Sie können nun den aufgeklappten LCD-Bildschirm auf
den optimalen Blickwinkel einstellen, und zwar durch
Drehen um seine Achse nach hinten (um bis zu 180°)
oder nach vorn (um bis zu 90°).
Bei Drehung des Bildschirms nach hinten um etwa 180°
kann das Aufnahmeobjekt die Aufnahme auf dem
Bildschirm verfolgen oder Sie selbst können auch auf
dem Bild erscheinen. Außerdem wird in dieser Stellung
auch der Sucher aktiviert.
Von dieser Position aus lässt sich der Bildschirm auch
flach gegen den Camcorder drücken, bis er seitlich
anliegt und dabei nach außen weist.
Hinweise:
•Vermeiden Sie beim Verstellen der LCD-Tafel ein Berühren des LCD-Bildschirms.
•Halten Sie den Camcorder keinesfalls an der LCD-Tafel oder Sucher.
•
Die LCD-Tafel muss vor dem Drehen nach vorne oder hinten bis zum rechten Winkel (90°) aufgeklappt werden.
•Vor dem Schließen oder dem Andrücken an die Camcorderseite ist die LCD-Tafel stets zunächst
vertikal zu stellen.
•Bei Nichtgebrauch sollten Sie die LCD-Tafel stets vollständig schliessen.
•LCD, Sucher oder Objektiv dürfen keinesfalls im Freien oder durch ein Fenster direkter
Sonneneinstrahlung ausgesetzt werden. Andernfalls droht Beschädigungsgefahr.
•Helles Umlicht verursacht Spiegelungen auf dem LCD-Bildschirm, die ein Betrachten des Bilds
erschweren. In solchem Fall sollten Sie den Sucherbildschirm verwenden. Sie haben außerdem die
Möglichkeit, die Helligkeit des LCD-Bildschirms einzustellen.
Öffnen des LCD-Bildschirms
Winkelverstellung des LCD-Bildschirms

42
D
Aufnahme
Sie können die Helligkeit vom LCD-Bildschirm und Sucherschirm unabhängig voneinander
einstellen.
1. Öffnen Sie das Menü und wählen Sie DISP. SET UP.
2. Wählen Sie LCD BRIGHT oder EVF BRIGHT und stellen Sie die Helligkeit ein.
•Bewegen Sie das SELECT-Wählrad nach oben, um die Displayhelligkeit zu erhöhen, und nach
unten, um sie zu verringern.
3. Schließen Sie das Menü.
Hinweise:
•
Die aktuelle Helligkeitseinstellung bleibt beim Ausschalten des Camcorders (POWER-Schalter auf OFF) erhalten.
•Die Helligkeit des LCD-Bildschirms/Sucherschirms hat keinen Einfluss auf das Aufnahmebild.
Über den LCD-Bildschirm
LCDs (Flüssigkristallanzeigen) werden mit höchster Präzision gefertigt.
Es gibt jedoch immer einige fehlerhafte Bildelemente, die in Form kleiner schwarzer oder heller
Punkte auf dem Bildschirm erscheinen. Dies ist kein Defekt des LCD-Bildschirms und beeinflusst die
Aufnahme in keiner Weise. (Effektive Bildpunkte: 99,99%)
Wenn Sie die LCD-Tafel umkehren, so dass sie in die
gleiche Richtung wie das Objektiv weist, können Sie sich
mit ins Bild bringen und die Aufnahme dabei auf dem
Bildschirm überwachen oder der aufgenommenen Person
Gelegenheit geben, das Aufnahmebild mitzuverfolgen.
•Sie können wählen, ob das Bild seitenverkehrt (LCD
MIRROR ON) oder nicht seitenverkehrt (LCD MIRROR
OFF) angezeigt werden soll.
Einstellung der Bildschirmhelligkeit
Wenn die aufgenommenen Personen das Bild mitverfolgen möchten
LCD BRIGHT••DISP. SET UP
–+
EVF BRIGHT••
–+
( 18)
LCD MIRROR••• ONDISP. SET UP
( 18)
+,+,+,+
PLAY
(VCR)
CARD
CAMERA
CARD
PLAY
(VCR)
TAPE
CAMERA
TAPE
+,+
CAMERA
CARD
CAMERA
TAPE

43
D
Aufnahme
Zum Ausschalten des Seitenverkehrt-Modus das Menü öffnen und DISP.SET UP wählen.
Danach wählen Sie MIRROR, stellen auf OFF und schließen das Menü.
•LCD MIRROR ON: Das Bild erscheint seitenverkehrt wie in einem Spiegel.
•LCD MIRROR OFF: Das Bild erscheint genauso wie bei der Aufnahme.
•Die Wahl von LCD MIRROR ON hat keinen Einfluss auf die eigentliche Aufnahme.
Die Anzeigen, die bei eingeschaltetem Seitenverkehrt-Modus auf dem LCD-
Bildschirm erscheinen:
Die Audiopegelanzeige ist wie folgt:
Auf dem LCD-Bildschirm:
Automatisch Manuell
Im Sucher:
Automatisch Manuell
Keine Karte
Aufzeichnung auf
Speicherkarte
Modus CARD CAMERA
TAPE CAMERA-Modus:
REC
REC PAUSE
EJECT
Modus CARD CAMERA
Aufzeichnung auf
Speicherkarte

44
D
Aufnahme
Bei den meisten Camcordern haben im Telebereich selbst die kleinsten ungewollten
Handbewegungen heftiges Zittern des Wiedergabebilds zur Folge. Die optische Bildstabilisierung
des XM2 ermöglicht auch bei starker Vergrößerung wackelfreie Aufnahmen. Im Gegensatz zu
elektronischen Bildstabilisierungssystemen müssen darüber hinaus keine Bildqualitätseinbußen in
Kauf genommen werden. Die optische Bildstabilisierung gleicht eine Reihe ungewollter
Bewegungen aus
–
sogar das schnelle Ruckeln beim Filmen aus einem fahrenden Auto.
Zum Ausschalten des Bildstabilisators öffnen Sie das Menü und wählen CAM.SET
UP. Dann wählen Sie IMAGE S. i, stellen OFF ein und schließen das Menü.
•Bei eingeschalteter Bildstabilisierung wird das Symbol iauf dem Bildschirm angezeigt.
•Wenn der Programm- Wahlschalter auf [(Leichte Aufnahme) gestellt ist, kann die
Bildstabilisierung nicht ausgeschaltet werden.
Hinweise:
•Der Camcorder behält die gewählte Einstellung auch bei ausgeschalteter Stromversorgung bei.
•Die Bildstabilisierung ist so ausgelegt, dass sie normales Verwackeln des Camcorders ausgleicht.
•Sitzt der Camcorder auf einem Stativ, sollte der Bildstabilisator ausgeschaltet sein.
IMAGE S.i••• ONCAM.SET UP
( 18)
+,+
CAMERA
CARD
CAMERA
TAPE
Ausschalten der optischen Bildstabilisierung

45
D
Aufnahme
An hellen Tagen oder beim Filmen von extrem hellen Szenen kann das Bild auch bei kleinster
Blende verschwimmen. Ein Neutralgrau-Filter schafft in solchen Fällen gewöhnlich Abhilfe.
Schalten Sie das ND-Filter mit der Taste ND FILTER ON/OFF ein.
•Bei zugeschaltetem Neutralfilter wird “ND” kontinuierlich auf dem Bildschirm angezeigt.
–Blinken von “ND ON” auf dem Bildschirm weist darauf hin, dass das Neutralfilter aktiviert werden
sollte. (Die Blinkanzeige erscheint jedoch nicht bei Betrieb mit manuellen Einstellungen oder
Belichtungssperre.)
–“ND ON” mit blinkendem “ON” im Sucher weist darauf hin, dass das aktivierte eingebaute
Neutralgrau-Filter wegen der extremen Helligkeit nicht ausreicht und Sie daher ein externes
Neutralgrau-Filter* vorsetzen sollten.
–ND OFF mit blinkendem "OFF” weist darauf hin, dass das ND-Filter unter den aktuellen
Bedingungen nicht mehr länger geeignet ist. Erscheint diese Meldung, schalten Sie das ND-Filter
aus, indem Sie erneut die ND FILTER ON/OFF-Taste drücken.
*Ist kein externes Neutralgrau-Filter vorhanden, verkürzen Sie die Verschlusszeit im Tv-Modus oder
öffnen die Blende im Av-Modus.
Hinweise:
•Bei aktivierter Belichtungssperre oder halb angedrückter PHOTO-Taste kann das Neutralfilter nicht
ein- oder ausgeschaltet werden.
•Der Camcorder speichert die gewählte Einstellung, wenn Sie den STANDBY-Hebel auf LOCK
stellen. Allerdings schaltet er auf ON zurück, wenn Sie den POWER-Schalter auf OFF schieben.
ND FILTER
ON /OFF
Gebrauch des Neutralfilters

46
D
Aufnahme
Sie können Standbilder wie gewöhnliche Fotos aufnehmen. Der Camcorder zeichnet mehrere
Sekunden lang die Bildinformation zusammen mit dem Ton auf. Dabei wird die Belichtung
automatisch eingestellt.
Wird die Aufnahme mit einem Standbild begonnen, so ist es später einfacher, den Anfang mit der
Fotosuchlauffunktion wiederzufinden ( 91).
Sie können während der laufenden Aufnahme jederzeit ein Standbild einfügen oder auch den
Camcorder zunächst auf Aufnahmepause schalten und dann die Standbildaufnahme machen.
Bei Drücken der PHOTO-Taste bis zum Anschlag erfolgt die Standbildaufnahme
sofort.
•Daraufhin nimmt der Camcorder das Bild sofort auf und zeichnet das “Foto” ca. 6 Sekunden lang
auf dem Band auf. Während dieser Zeit zeichnet der Camcorder auch den Ton auf, und auf dem
Bildschirm erscheint das Standbild.
•Außerdem erscheint auch eine Zählanzeige, die während der Bildaufzeichnung vorwärtsgezählt
wird.
•Der Camcorder schaltet auf Aufnahmepause zurück.
1. Drücken Sie die PHOTO-Taste halb ein und halten Sie sie gedrückt.
•“PHOTO” blinkt unten rechts auf dem Bildschirm.
•Die Belichtung wird gespeichert.
•Während der Scharfeinstellung des Camcorders blinkt das Autofokus-Symbol Fin Weiss auf
dem Bildschirm und wechselt auf Dauerleuchten in Grün über, sobald der Camcorder
aufnahmebereit ist.
•
Ist das Motiv ungeeignet für Autofokus ( 142), so kann der Camcorder u.U. nicht
fokussieren, und das Symbol Fblinkt weiter in Weiss auf dem Display. Halten Sie die PHOTO-
Taste angetippt, und stellen Sie dann den Fokus manuell mit dem Scharfstellring ein.
•Bei manueller Fokussierung ( 77) leuchtet das Symbol Fzunächst beständig in Grün.
Fokussieren Sie mit dem Scharfstellring.
PHOTO
Zur Überspielung von Standbildern auf Speicherkarte siehe S. 116.
Während der Aufnahme
Im Aufnahmepause-Betrieb
+
CAMERA
TAPE
Bandaufzeichnung von Standbildern

47
D
Aufnahme
2. Die PHOTO-Taste bis zum Anschlag drücken, um die Standbildaufnahme zu
machen.
•Der Camcorder macht die Aufnahme unverzüglich und zeichnet dann das “Foto” ca. 6
Sekunden lang auf Band auf. Gleichzeitig erfolgt während dieser Zeit auch die Tonaufnahme
und die Anzeige des Standbilds auf dem Bildschirm.
•Außerdem erscheint auch eine Zählanzeige, die während der Standbildaufzeichnung
vorwärtsgezählt wird. Das Symbol Fverschwindet vom Bildschirm.
•Der Camcorder schaltet auf Aufnahmepause zurück.
Hinweise:
•Der Camcorder schaltet automatisch auf Aufnahmepause zurück, nachdem ein Standbild etwa 6
Sekunden lang aufgezeichnet wurde. Wenn der POWER-Schalter während dieser Zeit auf OFF
gestellt wird, reagiert der Camcorder erst, nachdem die Aufzeichnung beendet ist.
•Die PHOTO-Taste an der Infrarot-Fernbedienung hat keine Zwischenposition. Das “Photo” wird
beim Betätigen dieser Taste sofort gemacht.

48
D
Aufnahme
Mit Hilfe des Vollbildmodus (FRAME) können Sie sich Videoaufnahmen szenenweise ohne jeden
“Halbbildschlupf” (“Flackern”, das normalerweise bei der Videowiedergabepause auftritt)
anschauen. Die Vertikalauflösung des Bildes wird um das 1,5-Fache verbessert. Sie können die
Videowiedergabe jederzeit unterbrechen, um auf Wunsch kristallklare Standbilder auf dem LCD-
Display oder dem Bildschirm eines angeschlossenen Fernsehgeräts zu betrachten. Außerdem lassen
sich auch bevorzugte Standbilder für Bildeditierung und -ausdruck auf einen PC überspielen. Da die
Bildfrequenz praktisch der von Kinofilmen entspricht, ist in diesem Modus die Kreierung eines
“kinoähnlichen Eindrucks” möglich.
Das Standbild lässt sich auch zur Nachbearbeitung auf einen PC übertragen und anschließend
ausdrucken.
1. Schieben Sie den Programm-Wahlschalter auf Q(Programm AE).
2. Öffnen Sie das Menü und wählen Sie CAM. SET UP.
3. Wählen Sie MOVIE MODE, stellen Sie FRAME ein und schließen Sie das Menü.
•Daraufhin erscheint FRAME auf dem Display.
Hinweise:
•Um auf normale Videoaufnahme zurückzuschalten, müssen Sie erneut NORMAL aus der Zeile
MOVIE MODE im CAMERA-Menü wählen.
•Der FRAME-Modus kann nicht in Verbindung mit dem Programm “Leichte Aufnahme” eingesetzt
werden.
•FRAME-Videoaufnahmen können bei normaler Wiedergabe ein wenig ruckartig wirken.
•Die digitalen Effekte WIPE, OVERLAP, STROBE und TRAIL sind funktionslos, wenn MOVIE MODE
auf FRAME eingestellt ist.
MOVIE MODE•• NORMALCAM.SET UP
( 18)
+
CAMERA
TAPE
Auswählen des Laufbildmodus (Halbbilder/Vollbilder)

49
D
Aufnahme
Aufnahme-Suchlauf und Aufnahmeprüfung
Bei Aufnahmepause können Sie durch
Bandwiedergabe in Vorwärts- oder
Rückwärtsrichtung die Bandstelle, an der die
Aufnahme gestartet bzw. fortgesetzt werden soll,
ausfindig machen. Die Funktion ist besonders
dann hilfreich, wenn Sie eine bereits teilweise
bespielte Kassette für weitere Aufnahmen
wiederverwenden möchten. Der Aufnahme-
Suchlauf garantiert darüber hinaus auch saubere
und rauschfreie Szenenübergänge.
1. Halten Sie die REC SEARCH-Taste + oder – gedrückt und betrachten Sie dabei
das Bild auf dem Bildschirm.
•Für Suchlauf vorwärts drücken Sie die Taste +, für Suchlauf rückwärts die Taste – .
2. Lassen Sie die Taste am gewünschten Aufnahme-Startpunkt los.
•Der Camcorder schaltet auf Aufnahmepause zurück.
Bei Aufnahmepausen können Sie mit dieser Funktion die letzten paar Sekunden der letzten
Aufnahme zur Kontrolle wiedergeben, wonach der Camcorder automatisch wieder auf
Aufnahmepause schaltet. Auf diese Weise haben Sie beim Filmen stets Gelegenheit, die
Aufnahmequalität der gerade aufgenommenen Szenen zu prüfen, ohne dabei Gefahr zu laufen,
dass der Übergang zur nächsten Szene durch Bildrauschen gestört wird.
1. Tippen Sie die c(Aufnahmeprüfung)-Taste kurz an, um das Bild dann auf dem
Bildschirm zu prüfen.
•Der Camcorder läßt das Band kurz zurücklaufen, gibt die letzten Sekunden der Szene wieder
und schaltet dann wieder auf Aufnahmepause.
Hinweis:
•Bei Aufnahme-Suchlauf und Aufnahmeprüfung kann Bildrauschen auftreten.
REC SEARCH
+
CAMERA
TAPE
+
CAMERA
TAPE
Aufnahme-Suchlauf
Aufnahmeprüfung

50
D
Aufnahme
Filmen mit den verschiedenen Aufnahmeprogrammen
Der Camcorder bietet sieben Aufnahmeprogramme. Jedes dieser Programme arbeitet mit
unterschiedlichen Kombinationen von Kameraeinstellungen, um eine flexible Anpassung von
Belichtungs- und anderen Funktionseinstellungen an die jeweilige Aufnahmesituation zu
ermöglichen.
Verfügbarkeit von Funktionen in jedem Aufnahmeprogramm
h= Verfügbar, i= Nicht verfügbar
1): Lässt sich bei Belichtungssperre nutzen.
2): Frequenzwahl möglich, wenn Clear Scan aktiviert ist.
3): Bei Belichtungssperre und gleichzeitig aktiviertem Clear Scan ist ein Wechsel der Verschlusszeit
nicht möglich.
Aufnahmeprogramm Leichte Auto Tv Av Manuell
Sand u. Schnee
Spotlight
Aufnahme
EXP-Wählrad: Belichtungssperre
ihihh
EXP-Wählrad: Blendeneinstellung
iii
1) hhi
1) i1)
EXP-Wählrad: Verschlusszeit iihi
1) hi
1) i
EXP-Wählrad:
Verstärkungseinstellung iihi
1) i
W. BALANCE SELECT-Taste
i
(Automatik)
h
W. BALANCE SET-Taste ih
Programmeinstellung ih
CSTM PRESET-Taste ih
FOCUS A/M-Taste ih
Scharfeinstellungsring ih
CSTM KEY-Taste hh
Laufbildmodus i
(Normal) h
16:9 i
(OFF) h
Clear Scan-Frequenz iih
2) ih
2) i
Clear Scan-Aktivierung iih
3) ih i
Digitaleffekte ih
Farbbalken h
Digitalzoom (nur im
TAPE CAMERA-Modus) h

51
D
Aufnahme
Automatik (AUTO)
Wenn Sie den Programm-Wahlschalter auf [stellen, können
Sie einfach drauflosfilmen. Der Camcorder übernimmt dabei
alle für Scharfeinstellung, Belichtung und andere Funktionen
erforderlichen Einstellungen, so daß Sie sich voll auf die zu
filmende Szene konzentrieren können.
Unter normalen Aufnahmebedingungen ist der Programm-
Wahlschalter auf AUTO zu stellen. Dies entspricht praktisch
dem Programm Leichte Aufnahme, wobei Sie nun allerdings
auch eine beliebige manuelle Funktion des Camcorders
aufrufen können.
[
AUTO
1. Stellen Sie den Programm-Wahlschalter auf Q(Programm AE).
2. Drücken Sie das SELECT-Wählrad hinein, um das Programm-Menü aufzurufen.
3. Bewegen Sie das SELECT-Wählrad nach oben bzw. unten und verschieben Sie
so den Pfeil im Menü.
4. Wählen Sie mit der SELECT-Taste das gewünschte Programm.
• Das Programm erscheint auf dem Bildschirm.
Hinweise:
•Der Name des gewählten Aufnahmeprogramms erscheint ständig links auf dem Display, mit
Ausnahme der Anzeige AUTO, die nach 4 Sekunden wieder verschwindet.
•Vermeiden Sie eine Umschaltung zwischen den Programmen während der Aufnahme, da sich die
Bildhelligkeit dabei sprungartig ändern kann.
•Die Spezialprogramme sind nur für gewisse Aufnahmesituationen geeignet – bei Gebrauch in
unpassenden Lichtverhältnissen kann das erhaltene Wiedergabebild flimmern und durch einen
hellen Streifen gestört sein.
+,+
CAMERA
CARD
CAMERA
TAPE
Belichtungsprogramm Einstellung
Leichte Aufnahme
[
AUTO

52
D
Aufnahme
Dieses Programm ermöglicht die Wahl der Blendenöffnung, damit
Sie maximale Kontrolle über die Schärfentiefe haben. Im TAPE
CAMERA-Modus können Sie zwischen 10 Blendenwerten (f/1,6,
f/2,0, f/2,4, f/2,8, f/3,4, f/4,0, f/4,8, f/5,6, f/6,7, f/8,0) und im
CARD CAMERA-Modus zwischen 9 (f/2,0 bis f/8,0) wählen. Verschlusszeit und
Verstärkung werden automatisch eingestellt.
Wählen Sie den Av-Modus und stellen Sie die Blende durch Bewegen des EXP-
Wählrads nach oben oder unten ein.
•Bewegen Sie es nach + zum Öffnen der Blende (kleinere Blendenzahl) und nach – zum Schließen
der Blende (größere Blendenzahl).
•Bei Einstellung einer Blendenzahl, die zu groß/klein für die Aufnahmebedingungen ist, blinkt die
Anzeige auf dem Display. In diesem Fall erhöhen oder verringern Sie die Einstellung so lange, bis
das Blinken stoppt.
Hinweise:
•Der gewählte Blendenwert wird rückgesetzt, wenn die Stromversorgung ausgeschaltet, das
Aufnahmeprogramm gewechselt oder Belichtung eingestellt wird.
•Ist das ND-Filter auf ON eingestellt, kann die Wahl einer größeren Blendenzahl zu einem
dunkleren Bild führen. Setzen Sie das ND-Filter auf OFF und wiederholen Sie die Einstellung.
Blendenpriorität (Av)
Av
Dieses Programm ermöglicht die Wahl der Verschlusszeit. Blende
und Verstärkung werden automatisch eingestellt.
Wählen Sie den Tv-Modus und stellen Sie die
Verschlusszeit durch Bewegen des EXP-Wählrads nach oben oder
unten ein.
•Bewegen Sie das Rad nach + für längere Verschlusszeit (das Bild wird heller) und nach – für
kürzere Verschlusszeit (das Bild wird dunkler).
Verschlusszeiten
•Sie können unter 12 Verschlusszeiten zwischen 1/6 und 1/16000 wählen. Die verfügbaren
Verschlusszeiten im CARD CAMERA-Modus liegen zwischen 1/50 und 1/500. Beim Umschalten vom
TAPE CAMERA- auf CARD CAMERA-Modus wechselt die Verschlusszeit automatisch:
- Verschlusszeiten von 1/1000 und länger im TAPE CAMERA-Modus /1/500
- Verschlusszeiten von 1/25 und kürzer im TAPE CAMERA-Modus /1/50
•Bei Aufnahmen im Freien an einem klaren und hellen Tag wählt der Camcorder zur Regelung der
einfallenden Lichtmenge oft eine große Blendenzahl, was die Scharfeinstellung beeinträchtigt.
Durch Einstellung einer kürzeren Verschlusszeit oder Verringerung der einfallenden Lichtmenge
mit dem ND-Filter ist in diesem Fall Abhilfe möglich.
•Wird eine Verschlusszeit eingestellt, die für die Aufnahmebedingungen zu hoch oder zu niedrig
sind, so blinkt die Anzeige auf dem Display. Erhöhen oder verringern Sie in diesem Fall die
Einstellung so lange, bis das Blinken stoppt.
•Das Bild erscheint u.U. nicht flüssig, wenn eine zu kurze Verschlusszeit eingestellt ist.
Hinweise:
•Bei Aufnahme unter extrem schwacher Beleuchtung empfiehlt sich der Einsatz eines Canon
Speedlite ( 66) oder Videoleuchte ( 71), die beide als Sonderzubehör erhältlich sind.
•Die gewählte Verschlusszeit wird rückgesetzt, wenn Sie die Stromversorgung ausschalten oder
das Aufnahmeprogramm bzw. die Belichtung einstellen.
Verschlusszeit-Priorität (Tv)
Tv
Av
Tv

53
D
Aufnahme
Manuelle Einstellung (MANUAL) (Siehe auch 74)
Sand und Schnee (SAND & SNOW)
Schlaglicht (SPOTLIGHT)
Die Wahl dieses Programm gibt Ihnen bei der Bedienung des Camcorders volle
kreative Freiheit. Sie können Blende, Verschlusszeit und Verstärkung separat
einstellen, damit Sie genau die erforderliche Belichtung erzielen.
Im TAPE CAMERA-Modus können Sie unter 30 Verschlusszeiten (1/6 bis 1/16000),
19 Blendenwerten (f/1,6 bis f/8,0) und 4 Verstärkungswerten (0 bis +18 dB)
wählen.
Wählen Sie den MANUAL-Modus und stellen Sie Verschlusszeit,
Blende und Verstärkung ein.
•Näheres hierzu finden Sie unter “Manuelle Belichtungseinstellung” ( 74).
Dieses Programm ist zum Filmen hell beleuchteter
Szenen vorgesehen, wie beispielsweise Personen im
Scheinwerferlicht einer Bühne. Die Belichtung wird
automatisch so eingestellt, dass mit konzentrierten
Lichtquellen beleuchtete Motive effektiv und ohne
Überstrahlung aufgenommen werden.
Verwenden Sie dieses Programm an Orten, wo der
Hintergrund so hell ist, dass der Aufnahmegegenstand
unterbelichtet wirkt
–
beispielsweise am Stand oder im
Skigelände. Bewegungen können bei diesem Programm
jedoch abgehakt wirken.
SPOTLIGHT
SAND&SNOW
MANUAL
SAND&SNOW
SPOTLIGHT

Der Mikrofonklang lässt sich so wählen, dass er zu der Aufnahmesituation passt.
*Nur verfügbar, wenn AUDIO DUB. auf MIC. IN eingestellt ist.
1. Öffnen Sie das VCR SET UP-Untermenü und wählen Sie MIC.
2. Wählen Sie die Einstellung und schließen Sie das Menü.
NORMAL: Allgemeine Aufnahmen.
VOICE: Bei Tonaufnahmen von Stimmen.
W. SCREEN: An windigen Orten wie am Strand oder in der Nähe von hohen Gebäuden.
Beachten Sie, dass dabei u.U. niedrige Frequenzen zusammen mit dem
Windgeräusch reduziert werden.
54
D
Aufnahme
Tonaufnahmefunktionen
Der XM2 bietet zwei Modi für die Aufzeichnung von Ton:
•16-Bit (48 kHz, 2 Kanäle) für bestmögliche Tonqualität
•12-Bit (32 kHz, 2 von 4 Kanälen) für Aufnahme auf zwei Kanälen (Stereo 1), wobei zwei weitere
Kanäle (Stereo 2) für nachträgliche Vertonung freigehalten werden
*Nur verfügbar, wenn AUDIO DUB auf MIC. IN gestellt ist.
1. Zum Ändern des Modus öffnen Sie das Kamera- oder Videorecordermenü und
wählen AUDIO MODE.
2. Wählen Sie den gewünschten Modus, um das Menü dann wieder zu schließen.
•Der Name des gewählten Modus wird etwa 4 Sekunden lang angezeigt.
Hinweis:
•Wie Sie bei der Wiedergabe den Ton wählen und nachträglich auf Stereo 2 aufgenommenes
Tonmaterial abspielen, erfahren Sie auf Seite 109.
+,+*
PLAY
(VCR)
TAPE
CAMERA
TAPE
AUDIO MODE•• 16bit VCR SET UP
( 18)
+,+*
PLAY
(VCR)
TAPE
CAMERA
TAPE
Auswählen des Tonaufzeichnungsmodus
Wahl des Klangs für das eingebaute Mikrofon
MIC••••••••••NORMAL VCR SET UP
( 18)

55
D
Aufnahme
Der Camcorder stellt den Audioaufnahmepegel automatisch ein, wenn der REC LEVEL-Schalter auf
A steht. Allerdings können Sie den Aufnahmepegel des eingebauten Mikrofons oder eines externen
Mikrofons, das über die MIC-Buchse oder den fortschrittlichen Zubehörschuh (einschließlich
Mikrofon am optionalen Mikrofonadapter MA-300) angeschlossen ist, manuell einstellen.
Der Camcorder verfügt über eine seitliche Audiopegelanzeige. Die Audiopegelanzeige lässt sich
auch auf dem LCD-Bildschirm oder Sucherschirm anzeigen (öffnen Sie das Menü, wählen Sie
DISPLAY SET UP und setzen Sie AUDIO LEVEL auf ON).
Über das eingebaute Mikrofon: Bei der Aufnahme in der Nähe lauter Schallquellen (z.B. Feuerwerk,
Trommeln oder Konzerte), besteht die Gefahr, dass der Ton verzerrt oder nicht mit dem
tatsächlichen Schallpegel aufgezeichnet wird.
Mit der Mikrofondämpfung lässt sich bei Bedarf der Lautstärkepegel senken oder die Verzerrung
des Audioeingangssignals bei Aufnahme oder Audioüberspielung korrigieren. Sie können den
Audioeingangspegel über Kopfhörer kontrollieren. Setzen Sie ggf. im VCR SET UP-Untermenü des
CAMERA- oder VCR-Menüs die Dämpfung auf ON.
Audiopegelanzeige an der Seite des Camcorders:
Auf automatisch gestellt: Auf manuell gestellt:
Audiopegelanzeige auf dem LCD-Display oder dem Sucherschirm:
Auf automatisch gestellt: Auf manuell gestellt:
1. Schieben Sie den REC LEVEL-Schalter auf M.
2. Stellen Sie mit dem L/R LEVEL-Wählrad den Aufnahmepegel ein.
•Stellen Sie den Pegel so ein, dass er geringfügig über dem 12er-Punkt liegt (der größere 2auf
dem LCD-Display oder Sucherschirm).
•Stellen Sie ggf. die Balance mit dem L/R LEVEL-Wählrad ein.
•Trotz Drehen des LEVEL-Wählrads nach unten kann die Klangwiedergabe verzerrt sein, wenn
der Eingangspegel immer noch zu hoch ist. In solchen Fällen ist die Mikrofondämpfung
einzuschalten.
Einstellung des Audioaufnahmepegels
L
-dB 50 40 30 20 12 620
R
L
-dB 50 40 30 20 12 620
R
MANU

56
D
Aufnahme
1. Öffnen Sie das Menü und wählen Sie CUSTOM KEY.
2. Nun die Funktion wählen.
3. Das Menü schließen.
+,+,+,+
PLAY
(VCR)
CARD
CAMERA
CARD
PLAY
(VCR)
TAPE
CAMERA
TAPE
CUSTOM KEY
( 18)
Gebrauch der Funktionstaste (CUSTOM KEY)
Häufig benötigte Funktionen (separat für TAPE CAMERA-, TAPE PLAY (VCR)-, CARD CAMERA- und
CARD PLAY (VCR)-Modus) lassen sich der Funktionstaste (CSTM KEY) zuordnen. Auf diese Weise
können Sie den Camcorder genau an Ihre spezifischen Aufnahmesituationen anpassen.
Werkseitige Einstellungen:
Zur Überprüfung der aktuellen CSTM KEY-Einstellung im TAPE CAMERA- oder CARD CAMERA-
Modus öffnen Sie das Menü und wählen DISPLAY SET UP, GUIDE INFO und CUSTOM KEY. Im TAPE
PLAY (VCR)- oder CARD PLAY (VCR)-Modus, öffnen Sie das Menü, wählen DISPLAY SET UP und
stellen CUSTOM KEY auf ON. Die aktuelle Einstellung wird auf dem Display angezeigt.
Die nachstehend aufgeführten Funktionen können der Funktionstaste zugeordnet werden.
* Mit Sternchen gekennzeichnete Funktionen lassen sich nur mit der Funktionstaste aufrufen.
TAPE CAMERA-Modus: INDEX WRITE
TAPE PLAY (VCR)-Modus: TV SCREEN
CARD CAMERA-Modus: ZEBRA PATTERN
CARD PLAY (VCR)-Modus: TV SCREEN
TAPE + CAMERA
Index-Setzen*
Zebramuster
Videorecorderstopp*
Fernsehbildschirm
Mikrofon
Mikrofondämpfung
Seitengriff-
Zoomgeschwindigkeit
Handgriff-
Zoomgeschwindigkeit
Audiopegelanzeige
AE-Verschiebung
Bildstabilisator
TAPE + PLAY (VCR)
Fernsehbildschirm
Mikrofon
Mikrofondämpfung
Audiodämpfung
Audiopegelanzeige
CARD + CAMERA
Zebramuster
Fernsehbildschirm
Seitengriff-
Zoomgeschwindigkeit
Handgriff-
Zoomgeschwindigkeit
AE-Verschiebung
Bildstabilisator
CARD + PLAY (VCR)
Fernsehbildschirm
Einstellungsänderung der Funktionstaste

57
D
Aufnahme
Zur leichteren Suche im Wiedergabe/Rekorder-Modus lässt sich ein Indexsignal einfügen.
•Danach lässt sich das Indexsignal nicht mehr löschen oder erneut setzen.
•Bei Standbild- oder Intervall-Timeraufnahmen ist die “INDEX WRITE”-Taste funktionslos.
•Die Funktion Index-Setzen ist nur über die Funktionstaste aufrufbar.
• Bei Aufnahmebetrieb
Drücken Sie die “INDEX WRITE”-Taste, woraufhin das Indexsignal ca. 6 Sekunden lang
aufgezeichnet wird. Dabei erscheint gleichzeitig die Anzeige “INDEX” im Sucher.
• Bei Aufnahmepause
1. Drücken Sie die “INDEX WRITE”-Taste, woraufhin “INDEX” auf dem Display
erscheint.
2. Drücken Sie die Start/Stopp-Taste zum Starten der Aufnahme.
•Daraufhin wird ca. 6 Sekunden lang das Indexsignal aufgezeichnet. Anschließend verschwindet
INDEX vom Display.
Das Zebramuster ist eine Reihe von diagonal verlaufenden Streifen, die auf dem Display
überbelichtete Bereiche hervorheben. Es ist ein Anhalt zur Einstellung von Blendenöffnung und
Verschlusszeit.
Diese Funktion kann auch über CAM. SET UP im CAMERA- oder CARD CAMERA-Menü (ZEBRA)
gewählt werden. Der Zebramusterpegel lässt sich über dasselbe Untermenü (ZEBRA LEVEL)
einstellen ( 83).
Drücken Sie die “ZEBRA”-Taste zur Anzeige des Zebramusters. Drücken Sie die Taste erneut damit
das Muster wieder verschwindet.
•Der Camcorder zeichnet das Zebramuster nicht auf, sondern es erscheint nur auf dem Display.
Sie können den Recorder-Bereich ausschalten und dabei den Camcorder-Bereich eingeschaltet
lassen. Auf diese Weise lässt sich der Camcorder unabhängig vom 5-Minuten-Timer einstellen.
•VCR STOP lässt sich nur über die Funktionstaste aufrufen.
Drücken Sie die “VCR STOP”-Taste, um den Recorder-Bereich auszuschalten. Durch erneutes
Drücken der Taste wird auf Aufnahmepause zurückgeschaltet.
Setzen von Indexsignalen KAMERA-MODUS
Zebramuster KAMERA-MODUS
•Funktionen, die einer Funktionstaste zugeordnet werden, werden jeweils als Taste für den
zugehörigen Effekt bezeichnet (z.B. “INDEX WRITE”-Taste).
VCR-Stopp KAMERA-MODUS
+,+
CAMERA
CARD
CAMERA
TAPE
+
CAMERA
TAPE
+
CAMERA
TAPE
Betätigung der Funktionstaste

58
D
Aufnahme
Sie können die Informationen auf dem LCD-Display/Sucher auf dem Bildschirm eines
angeschlossenen Fernsehgeräts anzeigen lassen. Drücken Sie die “TV SCREEN”-Taste zur Anzeige
der Informationen auf dem Fernsehschirm. Drücken Sie die Taste erneut zum Löschen der
Informationen.
* Nur verfügbar, wenn AUDIO DUB. auf MIC. IN gesetzt ist.
Drücken Sie die “MIC”-Taste. Wählen Sie die Klangqualität (NORMAL, VOICE, W. SCREEN) durch
Bewegen des SELECT-Wählrads nach oben bzw. unten und drücken Sie das SELECT-Wählrad hinein.
* Nur verfügbar, wenn AUDIO DUB. auf MIC. IN gesetzt ist.
Nutzen Sie die Mikrofondämpfung, falls bei Aufnahme oder Audioüberspielung der Lautstärkepegel
gesenkt oder die Klangverzerrung über das Mikrofon reduziert werden muss.
Drücken Sie die “MIC ATT”-Taste. Wählen Sie ON oder OFF, indem Sie das SELECT-Wählrad nach
oben bzw. unten bewegen und das SELECT-Wählrad hineindrücken.
Drücken Sie die “ZOOM GRIP”-Taste. Wählen Sie die Seitengriff-Zoomgeschwindigkeit (VARIABLE,
LOW, MEDIUM, FAST) durch Bewegen des SELECT-Wählrads nach oben bzw. unten und drücken
Sie das SELECT-Wählrad hinein.
Drücken Sie die “ZOOM HANDLE”-Taste. Wählen Sie die Seitengriff-Zoomgeschwindigkeit (LOW,
MEDIUM, FAST) durch Bewegen des SELECT-Wählrads nach oben bzw. unten und drücken Sie das
SELECT-Wählrad hinein.
Seitengriff-Zoomgeschwindigkeit
Handgriff-Zoomgeschwindigkeit
Fernsehbildschirm
Mikrofon
Mikrofondämpfung
+,+
CAMERA
CARD
CAMERA
TAPE
+,+,+,+
PLAY
(VCR)
CARD
CAMERA
CARD
PLAY
(VCR)
TAPE
CAMERA
TAPE
+,+*
PLAY
(VCR)
TAPE
CAMERA
TAPE
+,+*
PLAY
(VCR)
TAPE
CAMERA
TAPE
+,+
CAMERA
CARD
CAMERA
TAPE

59
D
Aufnahme
Drücken Sie die “AUDIO LEVEL”-Taste zur Anzeige der Audiopegelanzeige auf dem LCD-
Display/Sucher. Drücken Sie die Taste erneut zum Löschen der Anzeige.
•Nur verfügbar, wenn das Aufnahmeprogramm auf AUTO, Tv oder Av gesetzt ist.
Drücken Sie die “AE SHIFT”-Taste zur Anzeige des AE SHIFT-Menüs. Bewegen Sie das SELECT-
Wählrad nach oben bzw. unten und wählen Sie einen Wert zwischen –2,0 und +2,0. Durch
Hineindrücken des SELECT-Wählrads schließen Sie das Menü.
Drücken Sie die “Image Stabilizer”-Taste zum Ein/Ausschalten des Bildstabilisators.
Mit der Audiodämpfung lässt sich bei Bedarf der Lautstärkepegel senken oder die Verzerrung des
Audioeingangssignals bei Aufnahme oder Audioüberspielung korrigieren.
Drücken Sie die “AUDIO ATT”-Taste. Wählen Sie ON oder OFF durch Bewegen des SELECT-
Wählrads nach oben bzw. unten und drücken Sie das SELECT-Wählrad hinein.
Audiopegelanzeige
AE-Verschiebung
Audiodämpfung
+,+
PLAY
(VCR)
TAPE
CAMERA
TAPE
+,+
CAMERA
CARD
CAMERA
TAPE
Bildstabilisator +,+
CAMERA
CARD
CAMERA
TAPE
+
CAMERA
TAPE

60
D
Aufnahme
Verwendung der digitalen Effekte
Die Spezialeffekte und digitalen Fader des Camcorders ermöglichen interessante und effektvolle
Videoproduktionen und unterstützen Ihre Kreativität.
Fader:
Beginnen oder beenden Sie Szenen auf Band mit Einblenden oder Ausblenden nach Schwarz
( 60)
Fade-Auslöser, Wischblende*, Überblendung*
Effekte: Gestalten Sie Ihre Aufnahmen nach persönlichem Geschmack ( 63).
Schwarzweiss, Sepia, Kunst, Spiegel, Mosaik, Stroboskop*, Spur*
Farbbalken: Anzeige und Aufnahme von SMPTE-Farbbalken nach Branchenstandard ( 65).
*Nicht verfügbar, wenn der Laufbildmodus auf FRAME gesetzt ist oder eine lange Verschlusszeit
eingestellt ist (1/8, 1/15, 1/30).
h= Verfügbar, i= Nicht verfügbar
Hinweise:
•Wenn Sie keine Digitaleffekte verwenden wollen, drücken Sie die Taste D.EFFECTS/BARS SELECT
und wählen D.EFFECTS |. Drücken Sie die Taste D.EFFECTS ON/OFF, um das Menü zu schließen.
• Der Camcorder speichert den gewählten Digitaleffekt, auch wenn die Stromversorgung
ausgeschaltet ist.
•Die Digitaleffekte können auch über die Fernbedienung ausgelöst werden.
Fader
Das Bild wird allmählich eingeblendet. Bei Stopp der
Aufnahme wird es allmählich ausgeblendet.
Der Camcorder speichert die zuletzt aufgezeichnete
Szene als Standbild, bevor er auf Aufnahmepause
umschaltet. Beim Starten der Aufzeichnung erscheint die
neue Videoszene von der rechten Seite des Bildschirms,
bis der ganze Schirm ausgefüllt ist.
Fade-Auslöser
Wischblende
TAPE CAMERA CARD CAMERA
Film Standbild Standbild
Fader hii
Effekte hhi
Farbbalken hhi

61
D
Aufnahme
Der Camcorder hält die letzte aufgezeichnete Szene vor
dem Umschalten auf Aufnahmepause als Standbild fest.
Beim Starten der Aufnahme geht dieses Standbild allmäh-
lich in die aufgezeichnete Szene über.
Ton und Bild werden gleichzeitig ausgeblendet. Bei Bedienung der Fader im TAPE CAMERA-Modus
muss der Programm-Wahlschalter auf Qgestellt sein.
1. Drücken Sie die D.EFFECTS/BARS SELECT-Taste.
•Daraufhin erscheint das Digitaleffekte-Menü.
2. Wählen Sie FADER und drücken Sie das SELECT-Wählrad hinein.
•Daraufhin erscheinen die Einstellungen für FADE-T, WIPE und OVERLAP.
3. Wählen Sie FADE-T und drücken Sie die D.EFFECTS/BARS SELECT-Taste.
•Daraufhin wird das Menü geschlossen und FADE-T blinkt auf dem Display.
4. Drücken Sie die D.EFFECTS/BARS SELECT-Taste.
•Der Name des gewählten Faders hört auf zu blinken.
•Bei jedem Drücken der D.EFFECTS/BARS ON/OFF-Taste wird der Fader aktiviert (Display
leuchtet kontinuierlich) oder deaktiviert (Display blinkt).
5. Die Start/Stopp-Taste drücken.
+
CAMERA
TAPE
Überblenden
Bedienung des Fade-Auslösers
FADER••••••• FADE-TFADER
( 18)

62
D
Aufnahme
+
CAMERA
TAPE
Bei Bedienung der Fader im TAPE CAMERA-Modus muss der Programm-Wahlschalter auf Qgestellt
sein.
1. Drücken Sie die D.EFFECTS/BARS SELECT-Taste.
•Daraufhin erscheint das Digitaleffekte-Menü.
2. Wählen Sie FADER und drücken Sie das SELECT-Wählrad hinein.
•Daraufhin erscheinen die Einstellungen für FADE-T, WIPE und OVERLAP.
3. Wählen Sie WIPE oder OVERLAP und drücken Sie die D.EFFECTS/BARS SELECT-
Taste.
•Daraufhin wird das Menü geschlossen und der gewählte Fader blinkt auf dem Display.
4. Drücken Sie die D.EFFECTS/BARS ON/OFF-Taste während der Aufnahme.
•Daraufhin hört die Namensanzeige des gewählten Effekts auf zu blinken.
•Bei jedem Drücken der D.EFFECTS ON/OFF-Taste wird der gewählte Fadereffekt aktiviert
(Display leuchtet kontinuierlich) oder deaktiviert (Display blinkt).
5. Drücken Sie die Start/Stopp-Taste.
•Die letzte Szene wird als Standbild gespeichert und der Camcorder schaltet auf
Aufnahmepause um.
6. Drücken Sie die Start/Stopp-Taste.
•Daraufhin setzt die Aufnahme ein, und das Standbild geht allmählich in die aufgezeichnete
Szene über.
Während der Aufnahme
Bedienung von Wischblende und Überblendung
FADER••••••• OVERLAPFADER
( 18)

63
D
Aufnahme
Effekte
Das Bild wird Schwarzweiß.
Das Bild wird monochrom und nimmt eine rötlich-
bräunliche Tönung (Sepia) an.
Verleiht dem Bild einen gemäldeähnlichen Ausdruck
(Solarisation).
Führt zu einem symmetrischen Bild, als ob sich in der
Mitte des Bildschirms ein Spiegel befinden würde.
Das Bild wird unscharf durch Vergrößerung einiger Pixel.
Die Szene erscheint als eine Reihe
von Standbildern, wodurch sich
eine Art Zeitlupeneffekt ergibt.
Beim Bewegen des Camcorders bzw. bei Motiven in
Bewegung entsteht ein Nachbild, das wie eine Bildspur
wirkt.
Schwarzweiß (BLK & WHT)
Sepia (SEPIA)
Kunst (ART)
Spiegel (MIRROR)
Mosaik (MOSAIC)
Stroboskop (STROBE)
Spur (TRAIL)

64
D
Aufnahme
1. Drücken Sie die D.EFFECTS/BARS SELECT-Taste.
•Daraufhin erscheint das Digitaleffekte-Menü.
2. Wählen Sie EFFECT und drücken Sie das SELECT-Wählrad hinein.
•Daraufhin erscheinen die Einstellungen.
3. Wählen Sie die Effekteinstellung und drücken Sie die D.EFFECTS/BARS SELECT-
Taste.
•Daraufhin wird das Menü geschlossen und der Name des gewählten Effekts blinkt auf dem
Display.
4. Drücken Sie die D.EFFECTS/BARS ON/OFF-Taste.
•Daraufhin hört der Name des gewählten Effekts zu blinken auf und der Effekt ist aktiviert.
•Bei jedem Drücken der D.EFFECTS/BARS ON/OFF-Taste wird der jeweilige Effekt aktiviert
(Display leuchtet kontinuierlich) oder deaktiviert (Display blinkt).
+
CAMERA
TAPE
Bedienung der Effekte
EFFECT•••••••BLK&WHTEFFECT
( 18)

65
D
Aufnahme
Gebrauch der Farbbalken
Sie können SMPTE-Farbbalken nach Branchenstandard anzeigen lassen bzw. aufzeichnen.
1. Drücken Sie die D. EFFECTS/BARS SELECT-Taste.
•Daraufhin erscheint das Digitaleffekte-Menü.
2. Wählen Sie COLOR BARS und drücken Sie das SELECT-Wählrad hinein.
•Daraufhin wird das Menü geschlossen und COLOR BARS blinkt auf dem Display.
3. Drücken Sie die D. EFFECTS/BARS ON/OFF-Taste.
•Daraufhin erscheinen die Farbbalken auf dem Display.
•Bei jedem Drücken der D.EFFECTS/BARS ON/OFF-Taste werden die Farbbalken ein- oder
ausgeblendet.
Aktivierung der Farbbalken
+
CAMERA
TAPE
COLOR BARS
( 18)

66
D
Aufnahme
Für Blitzaufnahmen wie bei einer SLR-Kamera stecken Sie ein Canon Speedlite 220EX, 420EX oder
550EX auf den Zubehörschuh des Camcorders.
Ziehen Sie auch die Speedlite-Bedienungsanleitung zu Rate.
Schalten Sie vor Anbringen/Abtrennen des Speedlite die
Stromversorgung des Camcorders aus.
Schieben Sie das Speedlite auf den Zubehörschuh und
arretieren Sie den Schuh.
Anbringen des Speedlite
Handhabung des Speedlite
1. Schalten Sie die Stromversorgung des Speedlite ein.
•Warten Sie, bis das Speedlite aufgeladen ist.
•Während des Ladevorgangs blinkt das Symbol Sin Weiss auf dem Display.
•Nach erfolgter Aufladung leuchtet das Symbol Sin Grün auf dem Display.
•Tauschen Sie die Batterien des Speedlite aus, wenn das Symbol Sweiterhin in Weiss blinkt.
2. Drücken Sie die PHOTO-Taste zur Aufzeichnung von Standbildern
•Sorgen Sie dafür, dass vor der Aufnahme von Standbildern das Speedlite voll aufgeladen ist.
Zwar sind auch noch während der Ladevorgangs Aufnahmen möglich, allerdings ohne die
Möglichkeit zum Blitzen. Bei angetippter PHOTO-Taste wird das Speedlite nicht aufgeladen.
•Während der Standbildaufnahme ist das Symbol Svom Display verschwunden.
•Erscheint das Symbol Sbeim Einschalten des Speedlite nicht auf dem Display, so vergewissern
Sie sich, dass das Speedlite einwandfrei auf dem Zubehörschuh sitzt.
Hinweise:
•Schalten Sie bei Aufnahme ohne Blitzen stets das Speedlite aus.
•In den folgenden Fällen lässt sich das Speedlite nicht einsetzen:
- Bei Aufnahmeprogramm MANUAL
- Bei Belichtungssperre (Beim Hineindrücken des EXPOSURE-Wählrads verschwindet S; bei
erneutem Hineindrücken des Wählrads erscheint das Symbol wieder.)
•Bei Verschlusszeit-Priorität (Tv-Modus) können Sie eine beliebige Verschlusszeit zwischen 1/50 und
1/1000 sowie Clear Scan wählen (Speicherkarte: 1/50 und 1/500)
•Das Externe Blitzkabel No. 2 für EOS-Kameras ist nicht kompatibel mit dem XM2.
•
Die Funktion Indirektes Blitzen bei Speedlite 420EX und 550EX kann mit dem XM2 nicht genutzt
werden.
•Drahtlose Blitzsteuerung mit Speedlite Transmitter ST-E2 bzw. Speedlite 550EX/420EX ist beim
XM2 nicht nutzbar.
•In Abhängigkeit der Aufnahmesituation in dunkler Umgebung während der Autofokus-
Scharfstellung sendet das Speedlite ein AF-Hilfslicht aus bei halb gedrückter PHOTO-Taste am
Camcorder.
Verwendung eines Canon Speedlite (Sonderzubehör) für Blitzaufnahmen

67
D
Aufnahme
Mit dem Intervall-Timer können Sie Bilder über eine bestimmte Zeit in einem vorgegebenen Intervall
aufnehmen. Diese Funktion ist hilfreich bei der Aufnahme von Blumen, Tieren und anderen
Naturmotiven.
Es lassen sich Intervalle von 30 Sekunden, 1 Minute, 5 Minuten oder 10 Minuten wählen, und zwar
während einer Aufnahmezeit von 0,5 Sekunden, 1 Sekunde, 1,5 Sekunden oder 2 Sekunden.
Beispiel: 2 Sekunden Aufnahmezeit in einem Intervall von 5 Minuten
(= Bereitschaftsbetriebszeit von 5 Minuten einschließlich der Aufnahmezeit von 2 Sekunden)
Werkseitige Einstellung:
Aufnahmezeit: 0,5 Sekunden
Intervalldauer: 30 Sekunden
1. Schieben Sie den POWER-Schalter auf CAMERA und den TAPE/CARD-Schalter
auf TAPE.
•Legen Sie eine Kassette ein.
2. Öffnen Sie das CAM. SET UP-Untermenü und wählen Sie aINTERVAL.
•Daraufhin erscheint das Intervall-Timer-Menü.
3. Wählen Sie INTERVAL T. und stellen Sie ON ein.
•Es wird auf das Intervall-Timer-Menü zurückgeschaltet.
4. Wählen Sie INTERVAL und legen Sie das Intervall fest.
•Es wird auf das Intervall-Timer-Menü zurückgeschaltet.
5. Wählen Sie REC TIME und stellen Sie die Aufnahmezeit ein.
6. Schließen Sie das Menü.
7. Drücken Sie die Start/Stopp-Taste zum Starten der Aufnahme.
•Daraufhin setzt die Intervall-Aufnahme ein und INT T. erscheint auf dem Display.
•Bei einer Intervallzeit von 30 Sekunden oder 1 Minute schaltet der Camcorder zwischen den
einzelnen Aufzeichnungen auf Aufnahmepause. Bei der Einstellung auf 5 oder 10 Minuten
stoppt der Camcorder zwischen den einzelnen Aufzeichnungen.
Intervalldauer
5 Minuten 5 Minuten
Aufnahme
2 Sekunden
4 Minuten, 58 Sekunden
Intervalldauer
Aufnahme
2 Sekunden
4 Minuten, 58 Sekunden
+
CAMERA
TAPE
INTERVALCAM.SET UP INTERVAL T.• ON
INTERVAL•••• 30sec
REC TIME•••• 0.5sec
( 18)
Aufnahme mit dem Intervall-Timer

68
D
Aufnahme
Drücken Sie die Start/Stopp-Taste.
•Der Camcorder schaltet auf Aufnahmepause zurück und INT T. blinkt auf dem Display.
•Zur Fortsetzung der Aufnahme drücken Sie erneut die Start/Stopp-Taste.
Schalten Sie den Camcorder auf Aufnahmepause und im Intervall-Menü INTERVAL
T auf OFF.
Hinweise:
•Die Anzeige der restlichen Aufnahmezeit erscheint u.U. nicht auf dem Display.
Abschluss der Intervall-Aufnahme
Unterbrechen der Intervall-Aufnahme

69
D
Aufnahme
Der Selbstauslöser ist hilfreich, wenn Sie beim Filmen oder der Aufnahme von Standbildern auf
Band oder Speicherkarte selbst auf dem Bild erscheinen möchten.
1. Das Menü öffnen, VCR SET UP wählen und SELF-TIMER auf ON stellen.
oder
die SELF TIMER-Taste an der Fernbedienung drücken.
•Daraufhin erscheint SELF T. auf dem Display.
•Wenn die aufgenommene Person das Bild mitverfolgen möchte, drehen Sie die LCD-Tafel um
180° ( 42).
2. Die Start/Stopp-Taste drücken.
•Der Camcorder startet die Aufnahme nach einem 10 Sekunden langen Countdown (bei
Verwendung der Infrarot-Fernbedienung nach 2 Sekunden). Die bis zum Aufnahmestart
verbleibende Zeit wird auf dem Bildschirm angezeigt (z.B. “5 SEC”).
•Beim Einsetzen der Aufnahme verschwindet die Anzeige SELF T vom Display.
•Die Kontrollleuchte beginnt zu blinken.
3. Zum Stoppen der Aufnahme die Start/Stopp-Taste ein weiteres Mal drücken.
2. Drücken Sie die PHOTO-Taste am Camcorder oder an der Fernbedienung.
•Der Camcorder stellt das Objektiv 2 Sekunden vor dem Ende des Countdowns automatisch
scharf ein. Nach beendeter Scharf- und Belichtungseinstellung wird das anfänglich weiß
blinkende Symbol Fgrün angezeigt. Wenn Sie die Fernbedienung verwenden, blinkt das F-
Symbol sofort nach dem Drücken der PHOTO-Taste.
•Der Camcorder zeichnet Standbilder ca. 6 Sekunden lang auf.
•Im TAPE CAMERA-Modus schaltet der Camcorder nach der Bandaufzeichnung auf
Aufnahmepause zurück. Im CARD CAMERA-Modus erscheint das aktuelle Aufnahmebild nach
der Aufzeichnung auf Speicherkarte.
Hinweise:
•Zum Ausschalten der Selbstauslöser-Funktion über das Menü SELF-TIMER auf OFF stellen oder die
SELF-TIMER-Taste an der Fernbedienung drücken.
•Zum Abbrechen des Selbstauslöser-Timers drücken Sie die Start/Stopp-Taste (beim Filmen) oder
die PHOTO-Taste (bei Standbildaufzeichnung).
Standbilder
Filmen
START
/STOP
PHOTO
MENU
SELF
TIMER
MENU
LOCK
STANDBY
Standbilder
Filmen
+,+
CAMERA
CARD
CAMERA
TAPE
Gebrauch der Selbstauslöserfunktion

70
D
Aufnahme
Gebrauch der DV-Steuerung
Ist eine andere Komponente, z.B. ein Camcorder oder ein Videorecorder, mit dem XM2 über DV-
Kabel verbunden, so können Sie die andere Komponente auf Aufnahme oder Aufnahmepause mit
der Start/Stopp-Taste am XM2 schalten.
1. Öffnen Sie das Menü und wählen Sie SELECT.
2. Wählen Sie DV CONTROL, stellen Sie ON ein und schließen Sie das Menü.
Drücken der Start/Stopp-Taste:
A. Wenn der XM2 auf Aufnahmepause geschaltet ist:
XM2: Aufnahme Angeschlossene Komponente: Aufnahme
B. Wenn der XM2 aufnimmt:
XM2: Aufnahmepause Angeschlossene Komponente: Aufnahmepause
C. Wenn der XM2 nicht aufnahmebereit ist (z.B. keine Kassette eingelegt):
Angeschlossene Komponente: Aufnahme/Aufnahmepause
D. Nach dem Einlegen einer Kassette, während die andere Komponente aufnimmt:
XM2: Aufnahme Angeschlossene Komponente: Daueraufnahme
Erneutes Drücken der Start/Stopp-Taste:
XM2: Aufnahmepause Angeschlossene Komponente: Aufnahmepause
Bei laufender Aufnahme der angeschlossenen Komponente erscheint [REC] auf dem Display des
Camcorders. Wird sie gestoppt, so erscheint [STOP]. Ist die andere Komponente nicht auf
Aufnahme, Aufnahmepause oder Stopp geschaltet, so erscheint [- - -]. Die Anzeige [DV IF] blinkt,
wenn DV CONTROL auf ON gestellt und keine andere Komponente über DV-Kabel angeschlossen
ist.
Hinweise:
•Stoppt der XM2, ohne dass die Start/Stopp-Taste gedrückt wird (z.B. bei Erreichen des
Bandendes), während er und die angeschlossene Komponente aufnehmen, so wird die Aufnahme
der anderen Komponente fortgesetzt.
•Bei Verbindung zweier XM2 über DV-Kabel, muss unbedingt DV CONTROL der angeschlossenen
Komponente auf OFF gestellt werden.
•Nur eine einzige Komponente lässt sich am XM2 für DV-Steuerung anschließen.
•Bei manchen angeschlossenen Komponenten arbeitet u.U. die DV-Steuerung nicht.
•Die Einstellung der DV-Steuerung bleibt erhalten, auch wenn die Stromversorgung des
Camcorders ausgeschaltet wird. Überprüfen Sie die Einstellung nach Gebrauch der DV-
Steuerfunktion, da sonst u.U. das Band in der angeschlossenen Komponente überschrieben wird.
•Das DV-Kabel darf nicht länger als 4,5 m sein.
+
CAMERA
TAPE
DV CONTROL•• OFFSYSTEM
( 18)

LOCK
LOCK
ON
OFF
AUTO
LOCK
3
1
1
LOCK
71
D
Aufnahme
Verwendung der Videoleuchte VL-3 (Sonderzubehör)
1. Schieben Sie die Videoleuchte auf den Zubehörschuh und ziehen Sie sie mit der
Rändelschraube fest.
•Führen Sie die Videoleuchte in der Richtung des Pfeils auf der Unterseite ein, bis sie hörbar
einrastet.
•Achten Sie beim Anziehen der Schraube darauf, dass sich die Videoleuchte nicht ablöst.
2. Stellen Sie den Camcorder auf TAPE CAMERA- oder CARD CAMERA-Modus.
3. Schalten Sie den Betriebsschalter der Videoleuchte auf AUTO oder ON.
•(Verbindung) erscheint auf dem Display.
•ON: Die Videoleuchte leuchtet kontinuierlich.
•AUTO: Die Videoleuchte wird je nach Helligkeitsgrad oder Aufnahmebedingungen
automatisch ein/ausgeschaltet. Bei Aufnahmeprogramm MANUAL: War die Videoleuchte beim
Umschalten auf MANUAL eingeschaltet, so bleibt sie in diesem Betriebszustand. Andernfalls
bleibt sie weiterhin ausgeschaltet.
Achtung:
•Berühren Sie nicht die Lampe oder den Umgebungsbereich während oder unmittelbar nach der
Verwendung; sie erhitzten sich sehr stark. Halten Sie die Videoleuchte von leicht brennbaren
Materialien (z.B. Kunststoff) fern.
•Blicken Sie nicht direkt in die Lampe, solange die Videoleuchte eingeschaltet ist.
•Tragen Sie den Camcorder keinesfalls an der Videoleuchte.
C
Mit Hilfe der optionalen Videoleuchte sind selbst in dunklen Räumen Aufnahmen möglich. Die VL-3
wird ohne Kabelverbindung direkt auf den fortschrittlichen Zubehörschuh des Camcorders
aufgesteckt und über den Camcorder mit Strom versorgt.
Näheres über die Videoleuchte VL-3 finden Sie in der zugehörigen Bedienungsanleitung.
Schalten Sie den Camcorder vor dem Anbringen/Abnehmen der Videoleuchte aus.

72
D
Aufnahme
Das hochempfindliche Stereo-Richtmikrofon DM-50 wird ohne Kabelverbindung direkt auf den
fortschrittlichen Zubehörschuh aufgesteckt und über den Camcorder mit Strom versorgt. Es
kann während der Aufnahme oder zur Nachvertonung eingesetzt werden.
Näheres zum Einsatz des Mikrofons DM-50 finden Sie in der zugehörigen Bedienungsanleitung.
Schalten Sie den Camcorder vor dem Anbringen/Abnehmen des Mikrofons aus.
1. Schieben Sie das Mikrofon auf den Zubehörschuh und ziehen Sie es mit der
Rändelschraube fest.
•Führen Sie das Mikrofon in der Richtung des Pfeils auf der Unterseite ein, bis es hörbar
einrastet.
•Achten Sie beim Anziehen der Schraube darauf, dass sich das Mikrofon nicht ablöst.
2. Stellen Sie den Camcorder auf TAPE CAMERA-Modus.
•(Verbindung) erscheint auf dem Display.
3. Stellen Sie die Richtwirkung am Schalter des Mikrofons ein.
SHOTGUN: Nimmt den Ton gerichtet auf (Mono).
STEREO 1: Nimmt den Ton sowohl gerichtet als auch die Umgebungsgeräusche auf.
STEREO 2: Nimmt den Ton in der Umgebung des Mikrofons in einem breiteren Bereich als bei
STEREO 1 auf.
Hinweise:
•Tragen Sie den Camcorder keinesfalls am Mikrofon.
•Das DM-50 nimmt keinen Ton auf, wenn ein anderes Mikrofon an der MIC-Buchse des
Camcorders angeschlossen ist.
C
Verwendung des Mikrofons DM-50 (Sonderzubehör)

73
D
Aufnahme
Verwendung des Mikrofonadapters MA-300 (Sonderzubehör)
Der Mikrofonadapter MA-300 ermöglicht die Tonaufzeichnung mit dem Camcorder über Mikrofone
mit XLR-Steckverbinder und die Umsetzung von Videosignalen für BNC-Steckverbinder.
Näheres zum Einsatz des Mikrofonadapters MA-300 finden Sie in der zugehörigen
Bedienungsanleitung.
Schalten Sie den Camcorder vor dem Anbringen/Abnehmen des Mikrofonadapters aus.
1. Schieben Sie den Mikrofonadapter gerade auf den Zubehörschuh.
•Richten Sie den Mikrofonadapter in der Richtung des Pfeils auf der Unterseite aus und
schieben Sie ihn so weit auf, bis er hörbar einrastet.
2. Ziehen Sie die Rändelschraube in Pfeilrichtung fest.
Mikrofone mit einem Durchmesser von 25 mm lassen sich direkt am Mikrofonadapter anbringen. Je
nach der Art, wie das Mikrofon angebracht ist, kann es u.U. etwas Vibrationsrauschen aufnehmen.
1. Lösen Sie die Mikrofonklemmschraube und öffnen Sie die Mikrofonklemme.
2. Setzen Sie das Mikrofon in die Klemme und ziehen Sie die Schraube fest.
•Positionieren Sie das Mikrofon so, dass es nicht versehentlich auf dem LCD-Display oder dem
Sucherschirm des Camcorders erscheint.
3. Verbinden Sie das Mikrofon mit dem Audioeingang.
4. Schalten Sie die Stromversorgung des Camcorders ein.
•Bei Aufnahme oder Aufnahmepause des Camcorders erscheint (Verbindung) auf dem LCD-
Display oder Sucherschirm.
•Das eingebaute Mikrofon des Camcorders wird automatisch ausgeschaltet.
Hinweise:
•Der Zubehörschuh des Mikrofonadapters ist ausschließlich für den Gebrauch mit Mikrofonen
bestimmt, die mit einem Kamerafuß versehen sind.
•Zur Ausgabe von Videosignalen über BNC-Buchse ist das mitgelieferte Videokabel mit dem
Eingang VIDEO IN und dem AV-Anschluss am Camcorder zu verbinden.
C
Anbringen des Mikrofonadapters am Camcorder
Anbringen des Mikrofons

74
D
Aufnahme
1. Stellen Sie das Aufnahmeprogramm auf
MANUAL.
2. Drücken Sie das EXP-Wählrad hinein.
•Daraufhin erscheint ein Pfeil neben dem Wert
für die Verschlusszeit.
3. Bewegen Sie das EXP-Wählrad nach oben
bzw. unten, um die Verschlusszeit zu
verlängern oder zu verkürzen.
•Sie können unter 30 Verschlusszeiten (1/6 bis
1/16000) im TAPE CAMERA-Modus und 15
Verschlusszeiten (1/50 bis 1/700) im CARD
CAMERA-Modus wählen.
•Siehe hierzu “Verschlusszeiten” ( 75).
4. Drücken Sie das EXP-Wählrad hinein.
•Daraufhin erscheint das Pfeilsymbol neben der Blendenzahl.
5. Bewegen Sie das EXP-Wählrad nach oben bzw. unten, um die Blende zu öffnen
oder zu schließen.
•Sie haben die Wahl unter 19 Blendenwerten (f/1,6 bis f/8) im TAPE CAMERA-Modus und 17
(f/2,0 bis 1/8) im CARD CAMERA-Modus, oder Sie können die Blendenöffnung auch
vollständig schließen.
•Siehe hierzu “Blendenöffnungen” ( 75).
6. Drücken Sie das EXP-Wählrad hinein.
•Daraufhin springt der Pfeil zum Verstärkungswert.
7. Bewegen Sie das EXP-Wählrad nach oben bzw. unten, um die Verstärkung zu
erhöhen oder zu verringern.
•Setzen Sie die Verstärkung auf 0 dB, +6 dB, +12 dB oder +18 dB im TAPE CAMERA-Modus
oder 0 dB, +6 dB oder +12 dB im CARD CAMERA-Modus.
•Siehe hierzu “Verstärkungen” ( 75).
Hinweise:
•Verschlusszeit, Blendenzahl und Verstärkungswerte werden rückgesetzt, wenn der POWER-
Schalter auf OFF gestellt wird. Bei Betätigung des STANDBY-Hebels behält der Camcorder die
gewählten Werte bei.
•Daraufhin erscheint ein Balken mit der Standardbelichtung auf dem Display.
•
Die Belichtung lässt sich in den Betriebsarten Auto, Tv und Av auch manuell einstellen, wobei jedoch
zunächst die Belichtung zu sperren ist, um Verschlusszeit und Blendenöffnung einstellen zu können.
EXP
Verschlusszeit
Keine
anzeige
Blende
Verstärkung
Manuelle Belichtungseinstellung

75
D
Aufnahme
● Verschlusszeiten
Durch Bewegen des EXP-Wählrads nach + wird die Verschlusszeit verlängert bzw. durch Bewegen nach – verkürzt.
Verfügbare Verschlusszeiten im TAPE CAMERA-Modus:
Verfügbare Verschlusszeiten im CARD CAMERA-Modus:
● Blendenöffnungen
Durch Bewegen des EXPOSURE-Wählrads nach + wird die Schärfentiefe verkürzt bzw. durch
Bewegen nach – verlängert.
Verfügbare Blendenzahlen im TAPE CAMERA-Modus:
Verfügbare Blendenzahlen im CARD CAMERA-Modus:
* Ist je nach Zoomposition u.U. nicht verfügbar.
● Verstärkungen
Durch Bewegen des EXPOSURE-Wählrads nach + wird die Verstärkung erhöht bzw. durch
Bewegen nach – verringert.
Verfügbare Verstärkungswerte im TAPE CAMERA-Modus: 0 dB, +6 dB, +12 dB, +18 dB
Verfügbare Verstärkungswerte im CARD CAMERA-Modus: 0 dB, +6 dB, +12 dB
F1.6* F1.8* F2* F2.2* F2.4* F2.6* F2.8 F3.2
F6.2 F5.6 F5.2 F4.8 F4.4 F4 F3.7 F3.4
F6.7 F7.3 F8 CLOSE
F2* F2.2* F2.4* F2.6* F2.8 F3.2
F6.2 F5.6 F5.2 F4.8 F4.4 F4
F3.7F3.4
F6.7F7.3
F8 CLOSE
1/6sec 1/12 sec 1/25 sec 1/50 sec 1/60 sec 1/75 sec 1/90 sec
1/300 sec 1/250 sec 1/210 sec 1/180 sec 1/150 sec 1/120 sec
1/350 sec 1/400 sec 1/500 sec 1/600 sec 1/700 sec 1/800 sec
1/2800 sec 1/3200 sec
1/2300 sec 1/2000 sec 1/1600 sec
1/4000 sec 1/8000 sec
1/1400 sec 1/1200 sec 1/1000 sec
1/16000 sec CS
1/75 sec1/60 sec1/50 sec 1/90 sec
1/300 sec 1/250 sec 1/210 sec 1/180 sec
1/150 sec1/120 sec
1/350 sec1/400 sec
1/500 sec 1/600 sec 1/700 sec

76
D
Aufnahme
●Belichtungssperre
Wenn Sie die automatische
Belichtungsregelung an der aktuellen
Einstellung sperren, können Sie die Helligkeit
des Bilds verändern.
Zum Sperren der Belichtung drücken Sie das
EXP-Wählrad hinein. Durch erneutes Drücken
wird auf Belichtungsautomatik
zurückgeschaltet.
Hinweise:
•Wenn Sie mit dem Programm [(Leichte Aufnahme) oder MANUAL (Manuelle Einstellung)
filmen, arbeitet die Belichtungssperre nicht.
•Der Standard-Belichtungswert hängt vom jeweils gewählten Programm ab; der Verschluss arbeitet
im Normalfall mit 1/50 Sek.
•Wenn Sie bei aktivierter Belichtungssperre zoomen, kann sich die Helligkeit des Motivs ändern.
•Wenn Sie den POWER-Schalter auf OFF oder den STANDBY-Hebel auf LOCK stellen, schaltet der
Camcorder wieder auf automatische Belichtung zurück.
●Belichtungseinstellung
Bei Belichtungssperre ist manuelle Einstellung
möglich, so dass Sie durch Aufhellen oder
Abdunkeln des Bildes schwierige
Beleuchtungsverhältnisse kompensieren
können oder die Stimmung der Szene
manipulieren können. Die Blende des
Camcorders ist manuell auf eine beliebige
Position zwischen vollständig geschlossen und
vollständig offen einstellbar.
Um das Aufnahmebild aufzuhellen, bewegen
Sie das EXP-Wählrad nach oben (bis maximal
+11). Dies ist u.U. bei einem sehr hellen
Hintergrund oder bei Motiven mit Beleuchtung
von hinten erforderlich.
Um das Aufnahmebild abzudunkeln, bewegen
Sie das EXP-Wählrad nach unten (bis maximal
-11). Dies ist u.U. bei einem sehr dunklem
Hintergrund oder bei Motiven mit
Punktlichtbeleuchtung erforderlich.
EXP
EXP
Belichtungssperre/-einstellung
E.LOCK
E.LOCK
±0 E.LOCK ±0
E.LOCK ±0
E.LOCK +11
E.LOCK +11
E.LOCK +11
E.LOCK –11

77
D
Aufnahme
Der Camcorder stellt sich normalerweise automatisch ein. Sie brauchen nur den Bildausschnitt zu
wählen, woraufhin gewöhnlich das Motiv im Sucherzentrum scharf abgebildet wird. Unter
Umständen eignet sich das Motiv nicht für die Autofokus-Funktion ( 142). Außerdem kann die
effiziente Arbeitsweise des Autofokus auch bei Verwendung eines Filters außer UV- oder ND-Filter
beeinträchtigt werden.
1. Schieben Sie den Programm-
Wählschalter auf Q.
2. Drücken Sie die FOCUS A/M-Taste,
so dass “MF” (manuelle
Scharfeinstellung) auf dem
Bildschirm erscheint.
3. Zoomen Sie bis an den Tele-
Endanschlag.
4. Stellen Sie das Bild mit dem
Scharfstellring scharf.
5. Zoomen Sie bis zum gewünschten
Bildausschnitt zurück.
•Zum erneuten Einschalten des Autofokus
drücken Sie die FOCUS A/M-Taste ein
weiteres Mal.
Hinweise:
•Beim Filmen im Dunkeln kann es vorkommen, dass das Bild auf dem LCD-Bildschirm unscharf
erscheint.
•Bei Zoomen während der manuellen Scharfeinstellung, zoomen Sie in die Weitwinkelstellung erst
nach Scharfeinstellung am Tele-Endanschlag.
•Wenn Sie das Objektiv in einer mittleren oder kleinen Brennweite scharfstellen und dann in Tele-
Richtung zoomen, kann das Bild unscharf werden.
•Beim Zoomen vom Weitwinkel- in den Telebereich sollten Sie stets mit Autofokus arbeiten.
•Wenn Sie den POWER-Schalter auf OFF oder den STANDBY-Hebel auf LOCK stellen, schaltet der
Camcorder wieder auf automatische Scharfeinstellung zurück.
FOCUS
A/M
Manuelle Scharfeinstellung

78
D
Aufnahme
Die kontinuierlich arbeitende Weißabgleich-
Automatik des Camcorders liefert unter den
verschiedensten Lichtbedingungen
zufriedenstellende Ergebnisse. Obwohl
geringfügige Variationen unvermeidbar sind,
werden die Farben in praktisch allen
Aufnahmesituationen naturgetreu eingefangen
und aufgezeichnet.
In bestimmten Fällen werden bessere
Ergebnisse erzielt, wenn man den
Weißabgleich manuell vornimmt oder eine der
beiden werkseitigen Einstellungen nutzt:
xInnen-Modus
• Bei Halogen- oder Studio-/Videobeleuchtung
• Wenn das Motiv eine domminante Farbe hat
• Nahaufnahmen
UAußen-Modus
•
Bei Tageslicht, insbesondere bei Nahaufnahmen,
und wenn das Motiv eine dominante Farbe hat.
1. Stellen Sie den Programm-Wählschalter auf Q.
2. a) Wählen Sie Auto-, Innen- oder Außen-Einstellungen mit der W. BALANCE
SELECT-Taste.
•Das Symbol x/Uerscheint auf dem Display, wenn Sie den Weißabgleich auf Innen/Außen-
Modus stellen.
b) Zur manuellen Einstellung des Weißabgleichs:
qRichten Sie den Camcorder auf einen weissen Gegenstand (z.B. ein Blatt Papier) und zoomen
Sie so lange heran, bis das Display ausgefüllt ist.
wDrücken Sie die WHITE BALANCE SELECT-Taste.
• Werscheint auf dem Bildschirm.
eDrücken Sie die WHITE BALANCE W-Einstelltaste.
• Das Symbol Wblinkt zunächst in schnellem Takt auf dem Display und leuchtet dann
kontinuierlich weiter zur Bestätigung, dass der Camcorder-Weißabgleich abgeschlossen ist.
• Bei gewissen Lichtquellen wechselt die Anzeige lediglich zu langsamerem Blinken, wird
jedoch nicht kontinuierlich angezeigt. Das Aufnahmeergebnis ist jedoch besser als mit
automatischem Weißabgleich, so dass Sie mit der Aufnahme fortfahren können.
W.BALANCE
SELECT
+,+
CAMERA
CARD
CAMERA
TAPE
Manueller Weißabgleich

79
D
Aufnahme
In den folgenden Fällen liefert der manuelle Weißabgleich ein besseres Ergebnis als die
Weißabgleich-Automatik:
Bei Motiven mit einer dominanten Farbe, wie z.B. Himmel, Meer
oder Wald
Bei Nahaufnahmen
In Situationen mit rasch wechselnden
Lichtverhältnissen
Bei Beleuchtung mit bestimmten Arten von Leuchtstoff- oder
Quecksilberdampflampen
Hinweise:
•Schalten Sie das digitale Zoom aus (falls erforderlich), um einen präziseren Weißabgleich zu
erzielen.
•Wenn sich die Lichtverhältnisse ändern, führen Sie den Weißabgleich erneut aus, indem Sie
zunächst auf Automatik umschalten und dann wieder den manuellen Weißabgleich wählen.
•Es empfiehlt sich, mit gleichförmiger Beleuchtung zu filmen. Wenn unterschiedliche Lichtquellen
gleichzeitig eingesetzt werden, ist ein korrekter Weißabgleich nicht möglich.
•Wenn der Programm-Wahlschalter auf [(Leichte Aufnahme) gestellt ist, können Sie weder den
Weißabgleich manuell vornehmen noch den Innen/Außen-Modus wählen.
•Der Weißabgleich kehrt zur AUTO-Einstellung zurück, wenn Sie den Programm-Wahlschalter auf
[(Leichte Aufnahme) stellen.
•Beim Einschalten des Camcorders wird wieder auf AUTO-Weißabgleich umgestellt. Wird dann die
Taste WHITE BALANCE Wgedrückt, so speichert der Camcorder die letzte Einstellung.
•Wenn Sie mit Studio-/Videobeleuchtung aufnehmen, verwenden Sie den Modus x(Innen).
•Bei normalen Außenaufnahmen liefert die Weißabgleich-Automatik unter Umständen die
besseren Aufnahmeergebnisse.

80
D
Aufnahme
Mit dieser Funktion können Sie die von der Belichtungsautomatik (AE) ermittelten Werte
geringfügig versetzen, um das Bild leicht aufzuhellen oder abzudunkeln. Sie haben damit die
Möglichkeit, Gegenlicht oder Überbelichtung auszugleichen.
1. Stellen Sie das Aufnahmeprogramm auf Auto, Tv oder Av.
2. Öffnen Sie das Menü und wählen Sie AE SHIFT.
3. Bewegen Sie das SELECT-Wählrad nach oben bzw. unten, um den gewünschten
Wert zu wählen.
•Der Einstellbereich geht von –2 bis +2, in Schritten zu 0,25 (mit Ausnahme der Werte –1,75
und +1,75).
•Je höher der Einstellwert, um so heller wird das Bild.
4. Schließen Sie das Menü.
Hinweis:
•Die AE-SHIFT Belichtungskorrektur ist bei den Aufnahmeprogrammen Leichte Aufnahme,
Manuell, Sand u. Schnee oder Spotlight nicht verfügbar.
+,+
CAMERA
CARD
CAMERA
TAPE
Belichtungskorrektur
AE SHIFT•••• ±0 CAM. SET UP
( 18)

81
D
Aufnahme
Gebrauch der programmierbaren Voreinstellung (CSTM PRESET)
Sie können Farbverstärkung, Farbphase, Schärfe und Einstellpegel festlegen und so Ihre Aufnahmen
noch kreativer gestalten.
In Plusrichtung (+) wird die Farbe intensiver und in Minusrichtung (–) blasser.
Einstellung der Farbverstärkung
In R-Richtung wird das Bild rotstichiger und in G-Richtung grünstichiger.
Einstellung der Farbphase
In Plusrichtung (+) wird die Bildkontur härter und in Minusrichtung (–) weicher.
Einstellung der Schärfe
Bei Einstellung der Programmfunktionen ist unbedingt vor dem Aufnahmestart das Bild zu
überprüfen. Die gewählten Einstellungen lassen sich dann unter der CSTM PRESET-Taste abspeichern.
1. Öffnen Sie das Menü und wählen Sie CSTM PRESET.
•Daraufhin erscheint das Programmiermenü.
2. Wählen Sie die einzustellende Funktion.
3. Stellen Sie die gewählte Funktion ein.
•Näheres zu den einzelnen Funktionen finden Sie nachstehend.
•Wiederholen Sie ggf. Schritt 2 und 3 zur Einstellung anderer Funktionen.
4. Schließen Sie das Menü.
•Die Einstellungen bleiben gespeichert, bis Änderungen erfolgen.
+,+
CAMERA
CARD
CAMERA
TAPE
CSTM PRESET
( 18)
COLOR GAIN••
CSTM PRESET
-
+
( 18)
COLOR PHASE•
CSTM PRESET GR
( 18)
SHARPNESS•••
CSTM PRESET
-
+
( 18)
Einstellung der Programmfunktionen

82
D
Aufnahme
1. Drehen Sie den Programm-Wahlschalter auf Q.
2. Drücken Sie die CSTM PRESET-Taste.
•Das Bild ist nun nach Ihren Wünschen modifiziert.
In Plusrichtung (+) wird das Bild heller und in Minusrichtung (–) dunkler.
Einstellung des Einstellpegels
SETUP LEVEL•
CSTM PRESET
-
+
( 18)
Aktivierung der Programmfunktionen

83
D
Aufnahme
Das Zebramuster ist eine Reihe von diagonal verlaufenden Streifen, die auf dem Bildschirm
überbelichtete Bereiche hervorheben. Es ist ein Anhalt zur Einstellung von Blende (Öffnung) und
Verschlusszeit.
Sie können auch den Muster-Anzeigepegel unter 80, 85, 90, 95 und 100 % wählen.
Gebrauch des Zebramusters
Hinweis:
•Das Zebramuster wird vom Camcorder nicht aufgezeichnet, sondern nur auf dem Bildschirm
angezeigt.
1. Das Menü öffnen und CAM.SET UP wählen.
2. Nun ZEBRA LEVEL und dann den Pegelwert wählen.
3. Das Menü schließen.
1. Das Menü öffnen und CAM.SET UP wählen.
2. Wählen Sie ZEBRA LEVEL und stellen Sie ON ein.
3. Das Menü schließen.
ZEBRA LEVEL• 90
CAM. SET UP
( 18)
ZEBRA••••••• OFFCAM. SET UP
( 18)
+,+
CAMERA
CARD
CAMERA
TAPE
+,+
CAMERA
CARD
CAMERA
TAPE
Wahl des Zebramusterpegels
Aktivierung des Zebramusters

84
D
Aufnahme
Mit Hilfe der Clear Scan-Funktion können Sie PC- oder andere Schirmbilder ohne schwarze Streifen
aufzeichnen, die sonst wegen unterschiedlicher Halbbildfrequenzen auf dem Schirm entstehen.
1. Stellen Sie das Aufnahmeprogramm auf Tv oder MANUAL.
2. Bewegen Sie das EXP-Wählrad so weit nach unten, bis CS auf dem Display
erscheint.
3. Öffnen Sie das Menü und wählen Sie CAM. SET UP.
4. Wählen Sie CLEAR SCAN und stellen Sie die Frequenz so ein, dass keine
schwarze Streifen auf dem Display erscheinen.
•Sie haben die Wahl unter 170 Frequenzen zwischen 50,3 und 200,0 Hz.
5. Schließen Sie das Menü.
+
CAMERA
TAPE
Aufzeichnung von PC- und anderen Schirmbildern mit CLEAR SCAN
CLEAR SCAN•• 50.3Hz
CAM. SET UP
( 18)
Sie können die Informationen (wie Datum und Uhrzeit) auf dem LCD-Display/Sucherschirm mit auf
das Bild aufzeichnen.
Im Gegensatz zum Datencode lassen sich Anzeigeinformationen später nicht mehr ausblenden.
1. Öffnen Sie das Menü und wählen Sie SYSTEM.
2. Wählen Sie CHAR. REC, stellen Sie ON ein und schließen Sie das Menü.
Hinweis:
•Bei Einstellung auf ON bleiben die Informationen auf dem Bild aufgezeichnet, bis Sie OFF wählen.
Beachten Sie unbedingt, dass sich die Informationen später nicht mehr ausblenden lassen.
CHAR. REC••• OFFSYSTEM
( 18)
Aufzeichnung der Displayanzeigen
+
PLAY
(VCR)
TAPE

85
D
Wiedergabe
Sie können gemachte Aufnahmen vor Ort sofort wiedergeben und auf dem LCD-Bildschirm
betrachten. Der Camcorder gibt auch den aufgenommenen Ton über den eingebauten Lautsprecher
wieder ( 87).
•Bei der Wiedergabe von Kassetten können Sie auch das LCD-Display schließen, wobei sein
Bildschirm nach außen weist.
•Wenn Sie das Wiedergabebild im Sucher betrachten möchten, schließen Sie die LCD-Tafel.
Näheres zur Wiedergabe Ihrer Aufnahmen über ein Fernsehgerät finden Sie auf S. 93.
Der Gebrauch der Fernbedienung wird auf S. 27 erklärt.
Hinweis:
•Um ein versehentliches Löschen einer Aufnahme zu vermeiden, verstellen Sie den Schieber an der
hinteren Schmalseite der Kassette so, dass die Öffnung darunter freigelegt wird (diese Position ist
normalerweise durch SAVE oder ERASE OFF gekennzeichnet).
1. Schieben Sie den POWER-Schalter auf PLAY (VCR) und den TAPE/CARD-Schalter
auf TAPE.
•Die Betriebsleuchte des Camcorders leuchtet grün auf.
• Der Bestätigungston ist zu hören.
2. Legen Sie die Kassette ein.
3. Drücken Sie die e(Wiedergabe) - Taste, um die Wiedergabe zu starten.
•Öffnen Sie die Abdeckung am Handgriff, damit Zugang zu den Tasten besteht.
•Zum Beenden der Wiedergabe drücken Sie die 3(Stopp) -Taste.
•Zum Vorspulen des Bands stoppen Sie die Wiedergabe und drücken dann die 1(Vorspulen) -
Taste.
•Zum Zurückspulen des Bands stoppen Sie die Wiedergabe und drücken dann die `
(Rückspulen) -Taste.
•Wenn das Wiedergabebild nicht sauber ist (Mosaik-Bildrauschen), reinigen Sie die Videoköpfe
mit der Canon Digital-Videokopfreinigungskassette DVM-CL oder einer anderen
handelsüblichen Reinigungskassette für Digital-Camcorder.
CARD TAPE
/
+
PLAY
(VCR)
TAPE
Wiedergabe von Kassetten

86
D
Wiedergabe
Einzelbild-Weiterschaltung in Vorwärtsrichtung
Zum Vorgehen in Einzelbildschritten drücken Sie bei
Wiedergabepause wiederholt auf die +/ ae-Taste.
Zum übergangslosen Weiterschalten können Sie die Taste
auch gedrückt halten.
Einzelbild-Weiterschaltung in Rückwärtsrichtung
Zum Zurückgehen in Einzelbildschritten drücken Sie bei
Wiedergabepause wiederholt auf die –/4a-Taste
Zum übergangslosen Weiterschalten können Sie die Taste auch gedrückt halten.
Zeitlupen-Wiedergabe in Vorwärtsrichtung
Für Vorwärtswiedergabe mit etwa 1/3 Normalgeschwindigkeit drücken Sie während der normalen
Wiedergabe zunächst die SLOW M-Taste.
Mit der PLAY e-Taste können Sie danach wieder auf normale Wiedergabe zurückschalten.
Zeitlupen-Wiedergabe in Rückwärtsrichtung
Für Rückwärtswiedergabe mit etwa 1/3 Normalgeschwindigkeit drücken Sie während der normalen
Wiedergabe zunächst die –/4a-Taste und dann die SLOW M-Taste.
Mit der PLAY e-Taste können Sie wieder auf normale Wiedergabe zurückschalten.
REW
PLAY
FF
STOP
PAUSE
SLOW
×2
+ /
– /
Wiedergabepause
Drücken Sie die a(Pause)-Taste. Zum Fortsetzen der normalen Wiedergabe drücken Sie die Taste
ein weiteres Mal, oder drücken Sie die e (Wiedergabe)-Taste. Nach fünf Minuten Wiedergabepause
schaltet der Camcorder automatisch auf Stopp.
Schnelle Vorwärtswiedergabe
Für Vorwärtswiedergabe mit etwa 11,5 facher Normalgeschwindigkeit halten Sie bei normaler
Wiedergabe oder beim normalen Vorspulen die 1(Vorspulen)-Taste gedrückt.
Schnelle Rückwärtswiedergabe
Für Rückwärtswiedergabe mit etwa 11,5 facher Normalgeschwindigkeit halten Sie bei normaler
Wiedergabe oder beim normalen Zurückspulen die `(Rückspulen)-Taste gedrückt.
Andere Wiedergabefunktionen
Spezielle Wiedergabefunktionen

87
D
Wiedergabe
Der Camcorder hat einen eingebauten Lautsprecher und eine Kopfhörerbuchse, so dass gleichzeitig
Bild- und Tonwiedergabe möglich ist. Nutzen Sie Lautsprecher oder Kopfhörer bei LCD-
Bildwiedergabe bzw. den Kopfhörer bei Sucher-Bildwiedergabe. Die Tonwiedergabe über den
eingebauten Lautsprecher erfolgt in Mono und über den Kopfhörer in Stereo.
Eingebauter Lautsprecher und Kopfhörerbuchse
Stellen Sie die Lautstärke von Lautsprecher und Kopfhörer durch Bewegen des
SELECT-Wählrads nach oben bzw. unten ein.
•Bewegen Sie das SELECT-Wählrad zur Erhöhung der Lautstärke nach oben und zu ihrer
Reduzierung nach unten.
•Eine Lautstärkeleiste erscheint auf dem Display zur Anzeige der aktuellen Lautstärke und
verschwindet wieder nach 4 Sekunden.
•Sie können die Lautstärke vollständig zurückdrehen, indem Sie das SELECT-Wählrad nach unten
bewegen, bis OFF erscheint.
•Außerdem lässt sich auch die Kopfhörerlautstärke separat vom eingebauten Lautsprecher
einstellen.
•Die eingestellten Lautstärkepegel für eingebauten Lautsprecher und Kopfhörer werden separat
abgespeichert. Der Camcorder behält die Speicherwerte auch nach dem Ausschalten seiner
Stromversorgung fest.
Hinweise:
•Bei Anschluss von Kopfhörern ist der Lautsprecher stummgeschaltet.
•Unter Umständen ist die Klangwiedergabe verzerrt, wenn die Lautstärke hochgedreht ist. In
solchen Fällen reduzieren Sie einfach die Lautstärke.
Eingebauter Lautsprecher

88
D
Wiedergabe
DATA
CODE
Im TAPE PLAY (VCR) -Modus können Sie die Datencode-Information im Stopp-Betriebszustand, bei
Wiedergabe-, Zeitlupen- oder Standbildbetrieb ein- oder ausblenden.
Beim Vor- und Zurückspulen sowie bei Vorwärts/Rückwärts-Wiedergabe und Rückwärts-Wiedergabe
mit doppelter Normalgeschwindigkeit werden Kameradaten unter Umständen als “– – –”angezeigt.
Drücken Sie die DISPLAY/DATA CODE-Taste. Bei Verwendung einer Kassette
drücken Sie die Taste, während der Camcorder im Wiedergabe-, Zeitlupe- oder
Standbildbetrieb ist.
•Drücken Sie die Taste einmal, um die Information einzublenden, ein weiteres Mal, um sie wieder
auszublenden.
Der Datencode, der das Datum und Uhrzeit sowie andere Aufnahmedaten (Verschlusszeit und
Belichtungseinstellungen) vermerkt, wird automatisch auf einer speziellen Spur auf dem Band
aufgezeichnet.
•Bei Verwendung einer Speicherkarte erscheinen nur Datum und Uhrzeit im Datencode.
Zum Ändern von Datum- und Uhrzeitkombination öffnen Sie das Menü und
wählen DISP.SET UP. Dann wählen Sie D/TIME SEL, stellen auf DATE, TIME oder
DATE & TIME und schließen das Menü.
Wählen Sie nun, ob das Datum, die Uhrzeit oder beides auf der Datencode-Anzeige erscheinen soll.
D/TIME SEL.• DATE & TIMEDISP.SET UP
( 18)
+,+
PLAY
(VCR)
CARD
PLAY
(VCR)
TAPE
Anzeige von Datum, Zeit und Kameradaten (Data Code)
Wählen von Datum/Zeit

89
D
Wiedergabe
Die Camcorderdaten (Verschlusszeit und Belichtungseinstellungen) können auch im Datencode
angezeigt werden.
Zum Ändern öffnen Sie das Menü und wählen DISP.SET UP. Dann wählen Sie DATA
CODE, stellen DATE/TIME, CAMERA DATA oder CAM. & D/T ein und schließen das
Menü.
DATA CODE••• DATE/TIMEDISP.SET UP
( 18)
1.JAN.2002
12:00:00 AM
12:00 AM
1.JAN.2002
12dB
F11
1/250
12dB
F11
1/250
1.JAN.2002
12dB
F11
1/250
12:00:00 AM
12dB
F11
1/250
12:00 AM
1.JAN.2002
12dB
F11
1/250
12dB
F11
1/250
Datum/Zeit Kamera-Daten
Datum/Zeit &
Kamera-Daten
Zeit
Datum und Zeit
Datum
DATA CODE
D/TIME SEL.
(Nur Kassette)
Hinweise:
•In den folgenden Situationen wird anstelle der Datencode-Information “– – –” angezeigt:
–Während der Wiedergabe an unbespielten Bandstellen.
–Bei Kassetten, die vor Eingeben des Datums und der Uhrzeit bespielt wurden.
–Bei Aufnahmen, die mit einem Camcorder ohne Datencode-Funktion gemacht wurden.
–Wenn Rauschen oder ein Bandschaden ein korrektes Ablesen der Datencode-Information
unmöglich macht.
•Wenn Sie eine mit dem XM2 gemachte Aufnahme auf einem anderen DV-Camcorder abspielen,
wird die Datencode-Information unter Umständen nicht korrekt angezeigt.
•Der Datencode erscheint im Display, auch wenn DISPLAYS ( 148) im Menü auf OFF gestellt ist.
Mögliche Datencode-Kombinationen für Kassetten im TAPE PLAY (VCR)-Modus:
+
PLAY
(VCR)
TAPE
Einstellung des Datencodes
Im CARD PLAY (VCR)-Modus ist lediglich die Anzeige von Datum und Uhrzeit möglich.

90
D
Wiedergabe
Beim Starten der Wiedergabe oder zur Anzeige, dass Datum oder Zeitzone für die Aufnahme
gewechselt haben, lässt sich das Datum 6 Sekunden lang einblenden. Die automatische 6-Sekunden-
Datumseinblendung berücksichtigt alle Zeitzonenwechsel, die Sie eventuell spezifiziert haben.
Zum Einschalten der 6-Sekunden-Datumseinblendung öffnen Sie das Menü und
wählen DISP.SET UP. Dann wählen Sie 6SEC.DATE, stellen ON ein und schließen
das Menü.
Hinweis:
•Die 6-Sekunden-Datumseinblendung erscheint auch dann, wenn DISPLAYS im Menü auf OFF
gestellt und der Datencode deaktiviert ist.
Automatische 6-Sekunden-Datumseinblendung
+
PLAY
(VCR)
TAPE
6SEC.DATE••• OFFDISP.SET UP
( 18)

91
D
Wiedergabe
Mit dieser Funktion können Sie rasch die auf Band aufgezeichneten Standbilder durchgehen (Photo-
Suchlauf) oder das Band nach Datum bzw. Aufnahmegebiet (Datum-Suchlauf) oder beliebig auf
Band gesetzte Indexsignale ( 57) (Index-Suchlauf) durchsuchen.
1. Drücken Sie die SEARCH SELECT-Taste, um unter Photo/Datum/Index-Suchlauf
zu wählen.
•Daraufhin wird PHOTO SEARCH, DATE SEARCH oder INDEX SEARCH vier Sekunden lang auf
dem Display angezeigt.
2. Gehen Sie mit den Tasten -und +in Rückwärts- oder Vorwärtsrichtung das
Band nach Bild, Aufnahmedatum oder aufgezeichneten Indexmarken durch.
•Bei jedem Tastendruck läuft das Band jeweils zum vorhergehenden/nächsten Standbild,
Aufnahmetag oder Indexsignal.
•Durch entsprechend häufige Tastenbetätigung (max. zehnmal) wird das entsprechende
Standbild, Aufnahmetag oder Index angefahren. Beispiel: Durch fünfmaliges Drücken der +-
Taste läuft das Band um 5 Standbilder, Tage bzw. Indexsignale vor.
•Während des Suchlaufs wird PHOTO SEARCH/DATE SEARCH/INDEX SEARCH zusammen mit
Symbol -oder +sowie der Anzahl der Suchlauf-Sprünge in der Mitte des Displays
angezeigt. Zum Wechseln der Suchlaufrichtung drücken Sie einfach die Taste für die
Gegenrichtung.
Hinweis:
•Zum Beenden des Suchlaufs drücken Sie die 3(Stopp) -Taste.
•Wird der Photo-Suchlauf sehr nahe beim Aufnahmeanfang eines Standbilds gestartet, so kann
dieses u.U. übergangen werden.
•Wenn Sie die Zeitzone eingestellt haben, berücksichtigt der Datum-Suchlauf auch zeitbedingte
Datumsänderungen.
•Das Datum/die Zeitzone kann nicht lokalisiert werden, wenn die gesamte Aufnahmezeit für dieses
Datum/diese Zeitzone weniger als eine Minute beträgt.
•Die Wiedergabe bei Datum-/Index-Suchlauf kann kurz vor dem Anfang der aufgefundenen
Passage beginnen.
•Wenn der Datencode nicht richtig angezeigt werden kann, arbeitet auch der Datum-Suchlauf
nicht einwandfrei.
REW
PLAY
FF
REMOTE SET
SEARCH
SELECT
ZERO SET
MEMORY
AUDIO
DUB.
STOP
AV
INSERT
PAUSE
SLOW
×2
+ /
– /
+
PLAY
(VCR)
TAPE
Suchlauf-Funktionen (Photo-/Datums-/Index-Signal-Suchlauf)

92
D
Wiedergabe
Verwenden Sie die Fernbedienung, um zu einer bestimmten Stelle auf dem Band nach der
Wiedergabe zurückzukehren.
1. Drücken Sie bei der Wiedergabe die ZERO SET MEMORY-Taste an der
Fernbedienung an der Stelle, zu der Sie später zurückkehren wollen.
•Die Time Code-Anzeige wird durch eine auf Null gestellte Bandzählwerkanzeige mit dem
Symbol
Â
.ersetzt.
•Zum Aufheben der Nullstellung-Speicherfunktion drücken Sie die ZERO SET MEMORY-Taste ein
weiteres Mal.
2. Spulen Sie das Band nach beendeter Wiedergabe vor- oder zurück. Der
Spulvorgang stoppt automatisch an der Nullzählerposition.
•`RTN oder RTN1wird auf dem Bildschirm angezeigt.
•Die Bandzählwerkanzeige mit dem Symbol
Â
verschwindet und wird durch die Time Code-
Anzeige ersetzt.
Hinweis:
•Der Nullstellung-Speicher arbeitet möglicherweise nicht richtig, wenn sich Pausen zwischen den
Aufnahmen auf dem Band befinden.
•Sie können auch den Nullstellung-Speicher zur Markierung einer Position auf dem Band im
Betrieb TAPE CAMERA verwenden. Wenn Sie das Band abspielen, fahren Sie durch Drücken von
Rückspulen zur markierten Position zurück.
•Wenn Sie das Band entnehmen, während zero set memory eingestellt ist, wird die Änderung nicht
gespeichert und das Zählwerk wird auf die vorherige Einstellung gesetzt.
REW
PLAY
FF
SEARCH
SELECT
STOP
PAUSE
SLOW
×2
+ /– /
REMOTE SET
ZERO SET
MEMORY
AUDIO
DUB.
AV
INSERT
+,+
PLAY
(VCR)
TAPE
CAMERA
TAPE
Zurückkehren zu einer vorher markierten Position (Nullstellung-Speicherfunktion)

93
D
Wiedergabe
Anschluss für Wiedergabe auf einem Fernsehbildschirm
Im Interesse höherer Bildqualität empfiehlt sich die Wiedergabe Ihrer Aufnahmen auf einem
Fernsehgerät mit S (S1)-Buchse. Bei Anschluss des Camcorders an ein Fernsehgerät mit S1-Buchse
oder Videosystem ID-1 werden Aufnahmen im 16:9-Format für TV-Breitbildschirm automatisch im
Breitbildschirmformat wiedergegeben.
Weiteres entnehmen Sie bitte der Bedienungsanleitung des Fernsehers/Videorecorders.
•
Den SCART-Adapter PC-A10 an die SCART-Buchse des Fernsehers oder Videorecorders anschließen.
•Den Camcorder an den Adapter anschließen.
Verwenden Sie für den Anschluss des Camcorders das Stereo-Videokabel STV-250N. Schließen Sie
den weißen Stecker an die weiße Audiobuchse L(links) an. Schließen Sie den roten Stecker an die
rote Audiobuchse R(rechts) an. Schließen Sie den gelben Stecker an die gelbe Videobuchse
VIDEO an.
•Beim Anschließen des Camcorders an ein Fernsehgerät den TV/VIDEO-Wahlschalter am
Fernsehgerät auf “VIDEO” stellen.
•Bei Anschluss an einen Videorecorder dessen Eingangswahlschalter auf “LINE” stellen.
Fernsehgerät (oder Videorecorder) mit SCART-Buchse (ohne S (S1)-Video)
•Verbinden Sie die S-Video-Buchsen über das S-Videokabel S-150 miteinander. Verwenden Sie ein
Stereo-Videokabel STV-250N zur Verbindung der AUDIO-Buchsen. Stecken Sie den weissen
Stecker in die weisse AUDIO-Buchse L(links) und den roten in die rote AUDIO-Buchse R(rechts).
Der gelbe Stecker wird nicht eingesteckt.
•Stellen Sie den TV/VIDEO-Wahlschalter am Fernsehgerät auf VIDEO.
•Bei Anschluss des Camcorders an einen Videorecorder stellen Sie den Eingangswähler am
Videorecorder auf LINE.
Fernsehgerät (oder Videorecorder) mit S-Video-Eingangsbuchse
S-VIDEO
VIDEO
R
L
AUDIO
Stereo-VideoKabel STV-250N
S-Videokabel S-150
AUDIO
(L/ MONO)
AUDIO
(R)
VIDEO
SCART Adapter
PC-A10
Stereo-Videokabel STV-250N

94
D
Wiedergabe
Fernsehgerät (oder Videorecorder) mit Audio/Video-Eingangsbuchsen
•Schließen Sie den Camcorder über das Stereo-Videokabel STV-250N an. Stecken Sie den weissen
Stecker in die weisse AUDIO-Buchse L(links) und den roten in die rote AUDIO-Buchse R(rechts).
Und der gelbe Stecker wird in die gelbe Videobuchse VIDEO gesteckt.
•Stellen Sie den TV/VIDEO-Wahlschalter am Fernsehgerät VIDEO.
•Bei Anschluss des Camcorders an einen Videorecorder stellen Sie den Eingangswähler am
Videorecorder auf “LINE”.
Hinweis:
•Bei Gebrauch des Fernsehgeräts als Monitor während der Aufnahme muss die Lautstärke des
Fernsehgeräts zurückgedreht sein, damit keine Rückkopplung auftritt, solange die Camcorder-
Audioausgänge angeschlossen sind.
•Ist das Fernsehgerät bereits an einen Videorecorder angeschlossen, so lässt sich der Camcorder
mit dem Videorecorder statt mit dem Fernsehgerät verbinden. Folgen Sie den obigen
Anweisungen.
R
L
AUDIO
VIDEO
Stereo-VideoKabel STV-250N

95
D
Überspielen
S-VIDEO
VIDEO
R
L
AUDIO
Überspielen auf einen Videorecorder
1. Lassen Sie das Band der bespielten Kassette bis kurz vor den zu überspielenden
Bandabschnitt zurück laufen.
2. Starten Sie die Wiedergabe und verfolgen Sie das Bild auf dem Fernsehschirm.
3. Starten Sie die Aufnahme am Videorecorder, sobald die ersten Bilder des zu
überspielenden Abschnitts auf dem Bildschirm erscheinen.
4. Schalten Sie den Videorecorder am Ende des Abschnitts auf Pause und stoppen
Sie dann am Camcorder die Wiedergabe.
5. Schritte 1 bis 4 wiederholt ausführen, bis der Schnitt komplett ist.
Hinweis:
•Die Qualität der beim Bandschnitt erhaltenen Kopie ist nicht ganz so gut wie die der
Originalaufnahme.
Durch Anschluss des Camcorders an einen Videorecorder können Sie Ihre Aufnahme editieren, um
so unerwünschte Szenen zu löschen oder verschiedene Aufnahmen zu eigenen Videoproduktionen
zusammenzustellen.
1. Verbinden Sie den Camcorder mit dem Videorecorder.
•Schalten Sie das Fernsehgerät ein und stellen Sie den TV/VIDEO-Wähler auf VIDEO ( 93).
2. Fernsehgerät und Videorecorder vorbereiten.
•Schalten Sie das Fernsehgerät ein und stellen Sie den TV/VIDEO-Wähler auf VIDEO.
•Den Videorecorder einschalten und seinen Eingangswahlschalter auf “LINE” stellen. Eine
Leerkassette einlegen und den Videorecorder auf Aufnahmepause schalten.
•Richten Sie sich hierbei bitte nach den Angaben in den Bedienungsanleitungen von
Fernsehgerät und Videorecorder.
3. Schieben Sie den POWER-Schalter auf PLAY (VCR) und den TAPE/CARD-Schalter
auf TAPE.
Vorbereitungen
Überspielen
Die Kassette auf dem
Camcorder wiedergeben.
Aufzeichnung der Szenen
auf dem Videorecorder
Stereo-VideoKabel STV-250N
S-Videokabel S-150

96
D
Überspielen
Über die Buchse mlässt sich der Camcorder an
Bildschnittgeräte anschließen, die LANC-kompatibel
sind. Manchen Tasten an den anderen Komponenten
sind unter Umständen andere Funktionen als am
Camcorder zugeordnet.
m(LANC)-Buchse
Hinweise:
•m(LANC) ist ein Warenzeichen und steht für “Local Application Control Bus System”.
•Wir können keine guten Ergebnisse garantieren, wenn Anschlüsse an Geräte vorgenommen
werden, die nicht das LANC mZeichen tragen.

97
D
Überspielen
1. Verbinden Sie den Camcorder mit der anderen DV-Komponente.
•Schließen Sie das Canon-DV-Kabel CV-150F (Option) an.
2. Die andere Komponente vorbereiten.
•Die Stromversorgung einschalten und eine bespielte Kassette einlegen.
3. Schieben Sie den POWER-Schalter am Camcorder auf PLAY (VCR) und den
TAPE/CARD-Schalter auf TAPE.
•Daraufhin erscheint DV IN auf dem Display.
4. Eine Leerkassette einlegen.
DV-Komponenten mit einer DV-Buchse ermöglichen digitales Editieren, Kopieren und Übertragen
von Daten praktisch ohne jede Einbuße an Bild- und Tonqualität. Die DV-Buchse wirkt gleichzeitig
als Ein- und Ausgang, da der Datenaustausch in beide Richtungen über ein einzelnes DV-Kabel
erfolgen kann.
•Bei Empfang eines unzulässigen Signals von einem angeschlossenen Digital-Videorecorder wird
u.U. das Bild verfälscht (selbst bei einwandfreiem Fernsehbild) oder überhaupt nicht auf Band
aufgezeichnet.
•Kassetten mit Urheberrechtsschutzsignal können nicht kopiert werden.
Vorbereitungen
Beispiel: Überspielen auf Camcorder
Überspielen von/auf Band mit DV-Komponenten
REW
PLAY
FF
REC
PAUSE
SEARCH
SELECT
ZERO SET
MEMORY
AUDIO
DUB.
STOP
AV
INSERT
PAUSE
SLOW
+ /
– /
×2
/
: Signalfluss

98
D
Überspielen
1. Fahren Sie eine Stelle auf der bespielten Kassette kurz vor der zu
überspielenden Passage an und schalten Sie auf Wiedergabepause.
2. Drücken Sie die REC PAUSE-Taste am Camcorder.
•Daraufhin schaltet der Camcorder auf Aufnahmepause um.
3. Die Wiedergabe auf der anderen Digitalkomponente starten und dabei das Bild
überwachen.
4. Drücken Sie die Taste e/a(Wiedergabe/Wiedergabepause) am Camcorder oder
die PAUSE a-Taste an der Fernbedienung.
•Daraufhin startet die Aufnahme.
5. Sobald das Ende der zu überspielenden Passage erreicht ist, die Stopp- oder
Pause-Taste drücken.
•Daraufhin stoppt die Aufnahme.
6. Die Wiedergabe auf der anderen Komponente stoppen.
Hinweise:
•Ist das Kabel überhaupt nicht oder nicht einwandfrei angeschlossen, wenn Sie die REC PAUSE-
Taste drücken, so zeigt der Camcorder die Warnmeldung “CHECK THE DV INPUT” an. Außerdem
kann auch ein anomales Bild auf dem Schirm erscheinen.
•Leerstellen zwischen Aufnahmen auf dem Wiedergabeband werden als verfälschte Bilder auf das
Aufnahmeband überspielt.
Urheberrechtlich geschütztes Material
Gewisse vorbespielte Videobänder, Filme und andere Materialien sowie manche Fernsehsendungen
sind urheberrechtlich geschützt. Die unberechtigte Aufzeichnung solcher Materialien kann
Urheberrechte verletzen.
Urheberrecht-Signale
Wiedergabe:
Wenn Sie versuchen, ein Band abzuspielen, das Urheberrecht-Signale zum Schutz der Software
enthält, wird “COPYRIGHT PROTECTED PLAYBACK IS RESTRICTED” einige Sekunden auf dem
Display angezeigt, wonach der Camcorder ein leeres blaues Bild anzeigt; der Inhalt des Bandes kann
nicht betrachtet werden.
Aufzeichnen:
Wenn Sie versuchen, von einer durch Urheberrecht-Signale geschützten Software-Kassette
aufzunehmen, wird “COPYRIGHT PROTECTED DUBBING RESTRICTED” im Display angezeigt; der
Inhalt dieser Software kann nicht aufgezeichnet werden. Ein Aufzeichnen von Urheberrecht-
Signalen ist mit diesem Camcorder nicht möglich.
Urheberrechte
Überspielen

99
D
Überspielen
Vorbereitungen
1. Schließen Sie den Camcorder an den Videorecorder an.
2. Die Komponente vorbereiten. (Beispiel: Anschluss an Videorecorder)
•Den TV/Video-Wahlschalter am Fernsehgerät auf Video stellen. Näheres hierzu finden Sie unter
“Anschluss für Wiedergabe auf einem Fernsehbildschirm” ( 93).
•Schalten Sie den Videorecorder ein. Legen Sie die bespielte Kassette ein und stellen Sie den
Videorecorder auf Wiedergabepause.
•Näheres hierzu finden Sie in den Bedienungsanleitungen von Fernsehgerät und Videorecorder.
3. Schieben Sie den POWER-Schalter am Camcorder auf PLAY (VCR) und den
TAPE/CARD-Schalter auf TAPE.
4. Eine Leerkassette einlegen.
Das Überspielen von Videomaterial von Videorecorder, Fernsehgerät oder Analog-Camcorder
(Näheres für Digital-Camcorder siehe auf S. 97) auf Band im XM2 ist möglich, wenn die jeweilige
andere Komponente über Audio-/Videoausgänge verfügt.
•Bei Empfang eines anomalen Signals von einem Fernsehgerät oder Videorecorder wird u.U. das
Aufnahmebild auf dem Band verfälscht (selbst bei einwandfreiem Fernsehbild) oder überhaupt
nicht auf Band aufgezeichnet; auch die Meldung “COPYRIGHT PROTECTED DUBBING
RESTRICTED” kann im Bildschirm erscheinen.
•Das Überspielen von Bändern mit Urheberrecht-Schutzsignal ist nicht möglich.
Aufnahme von Videorecorder, Fernsehgerät oder analogem
Camcorder (analoger Eingang)
S-VIDEO
VIDEO
R
L
AUDIO
/
Stereo-VideoKabel STV-250N
S-Videokabel S-150
: Signalfluss

100
D
Überspielen
1. Fahren Sie eine Stelle auf der bespielten Kassette kurz vor der zu
überspielenden Passage an und schalten Sie auf Wiedergabepause.
2. Die REC PAUSE-Taste drücken.
•Die Buchsen S-Video und AV IN/OUT dienen als Eingangsbuchsen.
•Der Camcorder schaltet auf Aufnahmepausebetrieb.
3. Die Wiedergabe auf der anderen Komponente starten bzw. das Fernsehgerät
mit dem zu überspielenden Programm einschalten und dabei das Bild
überwachen.
4. Drücken Sie die e/a-Taste (Wiedergabe/Wiedergabepause) am Camcorder
oder die PAUSE a-Taste an der Fernbedienung.
•Daraufhin startet die Aufnahme.
5. Bei Erreichen der Stelle, an der die Überspielung stoppen soll, drücken Sie die
Stopp-Taste oder die Pause-Taste.
•Daraufhin stoppt die Aufnahme.
6. Die Wiedergabe auf der anderen Komponente stoppen.
Hinweis:
•Sie können das Bild im Sucher oder auf dem LCD-Display betrachten.
Überspielen

101
D
Überspielen
Wenn Sie den Camcorder an einen Videorecorder oder eine 8-mm-Videokamera anschließen,
können Sie die analog aufgezeichneten Video- und Audiosignale sofort in digitale Signale
umwandeln. Die digitalen Signale können dann an ein anderes digitales Videogerät mit DV-Buchse
ausgegeben werden. Die DV-Buchse des Camcorders kann nur als Ausgangsbuchse verwendet
werden.
•Je nach der Signalausgabe von der angeschlossenen Komponente ist u.U. eine einwandfreie A/D-
Umsetzung nicht möglich.
Beispiel: Signale, die das Urheberrecht-Schutzsignal enthalten, oder anomale Signale, z.B. solche,
die Phantombildsignale enthalten.
•Bei Analogüberspielung empfiehlt sich Netzbetrieb über den Netzadapter.
•Schalten Sie alle Geräte aus, bevor Sie die Anschlüsse durchführen.
•Betreiben Sie den Camcorder nicht mit eingesetzter Kassette.
•Nehmen Sie auch auf die Bedienungsanleitungen der anderen angeschlossenen Geräte Bezug.
Digitale Ausgabe von analogen Video- und Audiosignalen
(Analog/Digital-Wandler)
DV
IN/OUT
S-VIDEO
VIDEO
R
L
AUDIO
OUTPUT
Stereo-VideoKabel STV-250N
: Signalfluss
: Signalfluss
S-Videokabel S-150
Signalfluss :
In Pfeilrichtung
schieben
Die obige Abbildung zeigt den Anschluss der Komponenten über S-Videokabel. Statt dessen kann
auch die VIDEO-Buchse beschaltet werden.

102
D
Überspielen
Einschalten des Analog/Digital-Wandlers
AV DV OUT••• OFFVCR SET UP
( 18)
Um den Analog/Digital-Wandler einzuschalten, öffnen Sie das Menü, und wählen
Sie VCR SET UP. Wählen Sie dann AV \DV OUT, setzen Sie die Einstellung auf
ON, und schließen Sie das Menü.
Achtung:
•Setzen Sie den Menüposten AV \DV OUT für normalen Gebrauch auf OFF. Wird er auf ON
gesetzt, können keine digitalen Signale über die DV-Buchse des Camcorders eingegeben werden.
•Falls Sie versuchen, eine Analog/Digital-Konversion durchzuführen, während eine Kassette in den
Camcorder eingelegt ist, werden die umgewandelten Signale möglicherweise nicht an das
angeschlossene digitale Videogerät ausgegeben.
•Wenn Sie den Camcorder an einen PC anschließen, der mit einer DV-Buchse ausgestattet ist,
können die umgewandelten Signale je nach der verwendeten Software oder den Spezifikationen
und Einstellungen des PCs eventuell nicht zum PC übertragen werden.
+
PLAY
(VCR)
TAPE

103
D
Überspielen
Über die Analog- oder DV-Eingänge lassen sich neue Szenen vom Videorecorder oder einem
anderen Camcorder auf einem bespielten Band einfügen. Dabei werden die ursprünglichen Audio-
und Videoaufnahmen mit dem neuen Material ersetzt.
Das neue Video- und Audiomaterial ersetzt das zuvor aufgezeichnete Material.
Wiedergabeband
Vor dem Einfügen
Nach dem Einfügen
Kassette im
Camcorder
Kassette im
Camcorder
Einfügungsstart Einfügungsende
Einzufügende Szene
Überspielen von neuem Material über vorhandene Szenen (AV-Insert-Schnitt)
S-VIDEO
VIDEO
R
L
AUDIO
Stereo-VideoKabel STV-250N
S-Videokabel S-150
: Signalfluss
: Signalfluss

104
D
Überspielen
Vorbereitungen
Kassette im Camcorder:
Die AV-Insert-Schnittfunktion des XM2 sollte ausschließlich bei Bändern angewendet werden, die im
SP-Modus mit laufenden Zeitcodes bespielt sind.
Bei Leerstellen oder Stellen, die im LP-Modus auf dem Band aufgezeichnet wurden, setzt die
Aufnahme aus.
Wiedergabekassette:
Verwenden Sie ausschließlich Bänder, die keine unbespielten Abschnitte enthalten.
Bänder mit unbespielten oder in unterschiedlichen Bandgeschwindigkeiten bespielten Abschnitten
lassen sich mit der AV-Insert-Schnittfunktion unter Umständen nicht einwandfrei schneiden.
In den folgenden Fällen ist ein AV-Insertschnitt nicht möglich:
•Die Wiedergabekassette ist durch schlechte Aufnahmequalität beeinträchtigt.
•Bei spezieller Wiedergabefunktionen: z.B. schnelle Vorwärtswiedergabe, Schnelle
Rückwärtswiedergabe oder Zeitlupenwiedergabe usw. (nur analog).
Fernsehgerät:
AV-Insert-Schnitte von Fernsehprogrammen mit anomalen Synchronsignalen sind nicht möglich, z.B.
bei zu schwachem Empfang.
1. Schließen Sie den Camcorder an den Videorecorder an.
2. Den Videorecorder und das Fernsehgerät vorbereiten.
•Den TV/Video-Wahlschalter am Fernsehgerät auf Video stellen. Näheres hierzu finden Sie unter
“Anschluss für Wiedergabe auf einem Fernsehbildschirm” ( 93).
•Den Videorecorder einschalten und eine bespielte Kassette einlegen.
•Näheres hierzu finden Sie in den Bedienungsanleitungen von Fernsehgerät und Videorecorder.
3. Stellen Sie den POWER-Schalter am Camcorder auf PLAY (VCR) und legen Sie
eine bespielte Kassette ein.
•Sicherstellen, dass der REC/SAVE-Schieber an der Kassette auf REC geschoben ist (geschlossene
Stellung).
4. Schieben Sie den TAPE/CARD-Schalter auf TAPE.
Beispiel: AV-Insert-Schnitt von einem Videorecorder

105
D
Überspielen
1. Auf dem Videorecorder die Stelle auf dem Band ca. 3 Sekunden vor dem Beginn
der einzufügenden Szene anfahren und dann auf Wiedergabepause schalten.
2. Drücken Sie am Camcorder die PLAY-Taste und fahren Sie den
Aufnahmestartpunkt an. Schalten Sie den Camcorder auf Wiedergabepause.
•Sie können die Wiedergabe-Tasten am Camcorder oder die speziellen Wiedergabefunktionen
der Fernbedienung auf gleiche Weise wie im Wiedergabebetrieb nutzen.
3. Drücken Sie die AV INSERT (AV-Insertschnitt) -Taste.
•AV INSERT und 2a erscheinen Auf dem Display.
4. Spielen Sie die Kassette im Videorecorder ab.
5. Zum Starten des AV-Insertschnitts drücken Sie die e/a
(Wiedergabe/Wiedergabepause) -Taste am Camcorder.
•Daraufhin wechselt 2a auf 2 um.
6. Zum Stoppen des AV-Insertschnitts drücken Sie die STOP-Taste am Camcorder.
•Daraufhin wird der Insert-Schnitt beendet und AV INSERT verschwindet vom Bildschirm. Der
Camcorder schaltet auf Stopp-Betrieb zurück.
•Wenn Sie anstelle der STOP-Taste die e/a-Taste (Wiedergabe/Wiedergabepause) drücken,
schaltet der Camcorder wieder auf AV-Insertschnittpause.
•Wenn Sie die Nullpunkt-Speicherfunktion an der Bandstelle setzen, an der die Insert-
Überspielung stoppen soll, beendet der Camcorder jedesmal, wenn Sie zu diesem Punkt
zurückgehen, den AV-Schnittvorgang und schaltet auf Stopp-Betrieb um.
7. Die Wiedergabe am Videorecorder stoppen.
Editierung

106
D
Überspielen
OUTPUT
AUDIO
L
R
Sie können den Originalton eines bespielten Bands von Audio-Tonträgern (AUDIO IN) oder über das
interne oder externe Mikrofon (MIC. IN) ergänzen. Dabei wird der Originalton nicht gelöscht.
Bei Leerstellen oder Bandpassagen, die nicht im SP-Modus oder mit 16-Bit- oder 12-Bit-4-Kanalton
bespielt sind, stoppt der Überspielvorgang. Ist das Band nicht im SP-Modus mit 12-Bit-Ton bespielt,
empfiehlt sich, zunächst das ursprüngliche Material mittels der Analogüberspielfunktion auf eine
Leerkassette aufzunehmen und dann die Nachvertonung auf dem neuen Band vorzunehmen. Dabei
sollten Sie unbedingt sicherstellen, dass der Audio-Modus auf 12-Bit-Ton und der Aufnahmemodus
auf SP eingestellt ist.
Anschluss anderer Audiokomponenten:
Hinweis:
•Über die AV-Buchse erfolgt keine Videobildausgabe. Überprüfen Sie das Bild auf dem LCD-
Display, Sucher oder einem Fernsehgerät am S-Video-Anschluss. Überprüfen Sie den Ton über
Lautsprecher oder Kopfhörer.
Bei Anschluss eines externen Mikrofons:
Stereo-videokabel
STV-250N
Audio-Ausgang
(z. B. CD-Player)
: Signalfluss
Hinweise:
•Bei Nutzung des internen Mikrofons zur Überspielung darf die MIC-Buchse nicht beschaltet sein.
•Bei Anschluss eines Fernsehgeräts über die S-Videobuchse lässt sich das Bild auf dem
Fernsehschirm überprüfen. Kontrollieren Sie den Klang über die Kopfhörer.
Nachvertonung
Nachvertonung nur mit Bändern vornehmen, die mit diesem Camcorder im SP-Modus mit 12-Bit-Ton aufgenommen
wurden.

107
D
Überspielen
1. Öffnen Sie das Menü und wählen Sie VCR SET UP.
2. Wählen Sie AUDIO DUB.
3. AUDIO IN bzw. MIC. IN wählen und das Menü schließen.
4. Fahren Sie die Stelle an, wo die Nachvertonung einsetzen soll, und drücken Sie
dann die Taste e/aoder die PAUSE-Taste.
•Sie können die Wiedergabe-Tasten am Camcorder oder die speziellen Wiedergabefunktionen
an der Fernbedienung auf gleiche Weise wie im Wiedergabebetrieb nutzen.
•Der Camcorder wird dadurch auf Wiedergabepause geschaltet.
5. Die AUDIO DUB (Nachvertonung) -Taste drücken.
•AUDIO DUB. und erscheinen auf dem Display.
AUDIO DUB.••• AUDIO INVCR SET UP
( 18)
REW
PLAY
FF
REMOTE SET
SEARCH
SELECT
ZERO SET
MEMORY
AUDIO
DUB.
STOP
AV
INSERT
PAUSE
SLOW
+ /
– /
×2
/
AUDIO
REC LEVEL
AM
Bitte während des Nachvertonens oder der Vorbereitung zum Nachvertonen keine Kabel am
Camcorder anschließen/vom Camcorder abtrennen.
Den POWER-Schalter am Camcorder auf PLAY (VCR) stellen und dann eine bespielte Kassette
einlegen.
•Stellen Sie sicher, dass der REC/SAVE-Schieber der Kassette auf REC steht (Schieber ist
zugeschoben).
Vorbereitungen
+
PLAY
(VCR)
TAPE
Überspielen

108
D
Überspielen
6. Stellen Sie den Eingangssignalpegel ein.
Automatische Einstellung:
1.Schieben Sie den REC LEVEL-Schalter auf A.
Manuelle Einstellung:
1.Schieben Sie den REC LEVEL-Schalter auf M.
2.Stellen Sie mit dem L/R LEVEL-Wählrad den Aufnahmepegel ein.
•Der Pegel ist so einzustellen, dass er leicht über der 12-er-Stufe liegt.
•Stellen Sie ggf. die Balance mit dem L/R LEVEL-Wählrad.
•Auch bei Drehen des LEVEL-Wählrads nach unten sind u.U. Klangverzerrungen möglich, wenn
der Eingangspegel immer noch zu hoch ist. Stellen Sie in solch einem Fall im VCR SET UP-
Untermenü vom VCR MENU die Audiodämpfung (AUDIO ATT) auf ON.
Bei Nutzung des internen Mikrofons ( 106) können Sie den Mikrofonklang wählen und den
Aufnahmepegel einzustellen. Bei Nutzung eines externen Mikrofons können Sie nur den
Aufnahmepegel einstellen.
7. Die PAUSE-Taste drücken (und bei Wahl von AUDIO IN die Wiedergabe am
anderen Audiogerät starten).
•Die Tonüberspielung beginnt.
•Sprechen Sie in das Mikrofon.
•Anstelle von wird nun angezeigt.
8. Am gewünschten Nachvertonungs-Endpunkt drücken Sie die STOP-Taste (und
stoppen dann bei Wahl von AUDIO IN die Wiedergabe am anderen
Audiogerät).
•Die Tonüberspielung wird beendet und AUDIO DUB. verschwindet vom Display.
•Der Camcorder schaltet in den Stopp-Betriebszustand zurück.
•Sie können auch den Nullstellung-Speicher ( 92) an der Stelle setzen, woraufhin jedesmal,
wenn diese Stelle wieder erreicht wird, die Nachvertonung aussetzt.
•Wenn Sie anstelle der STOP-Taste die PAUSE-Taste drücken, schaltet der Camcorder wieder auf
Wiedergabepause.
Hinweise:
•Die DV-Buchse kann für Nachvertonungszwecke nicht verwendet werden.
•Bei Bändern, die nachträglich vertont wurden, können Sie die Tonsignale bei der Wiedergabe
wunschgemäß mischen ( 109).
•Bei der nachträglichen Vertonung einer Kassette, die mit einem anderen Camcorder als dem XM2
bespielt wurde, können Tonqualitätsverluste auftreten.
•Bei mehrmaliger Nachvertonung derselben Bandstelle können sich Tonqualitätsverluste bemerkbar
machen.
MIC IN
AUDIO IN

109
D
Überspielen
AUDIO
MONITOR
MIX
BALANCE
ST-1 ST-2
Beim Abspielen einer Kassette, die im 12-Bit-Modus bespielt wurde, können Sie den
wiederzugebenden Ton wählen: Stereo 1 (Originalton), Stereo 2 (nachträgliche Vertonung) oder ein
Gemisch der beiden Tonsignale.
•Beim 16-Bit-Modus gibt es nur Stereo-1-Ton, so dass eine Tonmischung nicht möglich/erforderlich
ist. Dasselbe gilt für 12-Bit Stereo-1, es sei denn, die Aufnahme wurde nachträglich vertont.
Wählen Sie den Ausgang
•Drücken Sie die AUDIO MONITOR-Taste an der Infrarot-Fernbedienung.
•Beginnend mit der letzten gewählten Einstellung erscheinen vier Einstellungen, wenn Sie die
Taste drücken:
– STEREO1 nur für Stereo 1
– STEREO2 nur für Stereo 2
– MIX/FIXED für eine Mischung von Stereo 1 und Stereo 2 im gleichen Verhältnis
– MIX/VARI. für eine Mischung von Stereo 1 und Stereo 2 mit veränderbarem Verhältnis
•Wenn Sie MIX/VARI. wählen, können Sie das Mischverhältnis einstellen.
•Mit der ST-1/ST-2-Taste können Sie das Mischverhältnis einstellen. Eine Leiste zeigt dabei die
aktuelle Mischung etwa 4 Sekunden lang auf dem Bildschirm an.
Hinweis:
•Nach der Wahl des Tonsignals wird STEREO1, STEREO2, MIX/FIXED bzw. MIX/VARI. einige
Sekunden lang oben links auf dem Bildschirm eingeblendet. Nach dem Ausschalten des
Camcorders wird wieder STEREO1 vorgegeben.
+
PLAY
(VCR)
TAPE
Auswählen der Tonmischung

110
D
Überspielen
Wenn Sie eine mit mehreren Kanälen bespielte Kassette abspielen, können Sie den gewünschten
Wiedergabeton wählen.
1. Eine mit mehreren Tonkanälen bespielte Kassette einlegen.
2. Öffnen Sie das Menü und wählen Sie VCR SET UP. Dann wählen Sie OUTPUT
CH, wählen die gewünschte Einstellung und schließen das Menü.
•Richten Sie sich dabei nach der folgenden Übersicht.
OUTPUT CH••• L/RVCR SET UP
( 18)
OUTPUT CH-Einstellung Mit Stereoton
bespielte Kassette
Tonwiedergabe
L- und R-Kanal Haupt- und NebenkanalL/R
L/L nur L-Kanal nur Hauptkanal
R/R nur R-Kanal nur Nebenkanal
Mehrspurig bespielte
Kassette
+
PLAY
(VCR)
TAPE
Auswählen des Tonkanals für Wiedergabe

111
D
Überspielen
Über ein DV-Kabel können Sie den Camcorder zur Übertragung Ihrer Aufnahmen an einen PC mit
IEEE 1394-gerechter DV-Buchse/DV-kompatiblem Capture-Board anschließen.
•Wir empfehlen, den Camcorder während dieser Zeit mit Hilfe des Kompakt-Netz-/Ladegerätes
über Netzstrom zu betreiben.
•Vor dem Anschließen Camcorder und PC ausschalten.
•Optionale Software erforderlich.
•Zur Übertragung von Standbildern von einer Speicherkarte zum PC über USB-Kabel siehe S. 132.
Hinweise:
•Die Funktionsfähigkeit kann durch die verwendete Software sowie die Systemvoraussetzungen
des PCs eingeschränkt sein.
•Weiteres entnehmen Sie bitte der zugehörigen Softwareanleitung.
Achtung:
•Keinesfalls während der Datenübertragung zum PC das DV-Kabel abtrennen.
Anschluss an einen PC über ein DV-Kabel
DV
IN/OUT
Kabel CV-150F oder CV-250F DV C (Option)

112
D
Verwendung einer
Speicherkarte
Der Camcorder kann Standbilder auf 2 Typen von Speicherkarten aufzeichnen, abspeichern und
verwalten: SD-Speicherkarte (im Lieferumfang des Camcorders enthalten) und MultiMediaCard (im
Fachhandel erhältlich). Die SD-Speicherkarte verfügt über einen Schutzschalter zum Schutz der
Aufnahme gegen versehentliches Löschen. SD-Speicherkarte und MultiMediaCard passen in
denselben Schacht.
Sie können folgende Vorgänge mit einer Speicherkarte ausführen:
•Standbilder aufnehmen ( 116)
•Wiedergabe von Standbildern: Einzelbild ( 118),
Diaschau ( 119), Indexbildschirm ( 119)
•Wahl der Bildqualität ( 113)
•Schutz wichtiger Standbilder vor versehentlichem Löschen,
Druckmarkierung und Löschen von Standbildern ( 120-
126).
•Kombination von Titelbildern auf Speicherkarte mit
Camcorderaufnahmen (Titel-Mischen) ( 127)
•Überspielung mehrerer Standbilder von Speicherkarte auf Band ( 130)
•Übertragung von Speicherkarten-Standbildern zum PC ( 132)
Sie können die meisten der Camcorderfunktionen verwenden, wenn Sie auf Speicherkarte
aufzeichnen, wie verschiedene Aufnahmeprogramme ( 50), Selbstauslöser ( 69), Verschlusszeit
(75), Weißabgleich ( 78) oder andere manuelle Einstellungen. Die verfügbaren Funktionen
sind durch die Symbole + bzw. + gekennzeichnet.
2Andere als mit dem Camcorder mitgelieferte Speicherkarten müssen vor ihrer Verwendung mit
dem Camcorder formatiert werden ( 131).
PLAY
(VCR)
CARD
CAMERA
CARD
Speicherkarte
Kontakte
Schutzschalter
Vorderseite
SD-Speicherkarte
Rückseite
Wichtig
•Wenn versucht wird, die Speicherkarte einzusetzen oder zu entnehmen, ohne dass vorher der
POWER-Schalter auf OFF gestellt wurde, können Datenschäden entstehen.
•Dieser Camcorder ist ausschließlich für SD-Speicherkarten ( *) und MultiMedia-Karten
ausgelegt, so dass sich andersartige Speicherkarten nicht verwenden lassen.
*Das -Logo ist ein Warenzeichen.

Einsetzen und Entfernen der Speicherkarte
1. Stellen Sie den POWER-Schalter auf OFF.
•Vergewissern Sie sich vor dem Entfernen der Speicherkarte, dass die Kartenzugriffslampe
erloschen ist.
2. Öffnen Sie den Deckel des Speicherkartenfachs in Pfeilrichtung.
3. Setzen Sie die Speicherkarte ein bzw. entnehmen Sie sie.
•Die Speicherkarte muss vollständig eingedrückt werden.
•Entfernen Sie die Speicherkarte durch Eindrücken und Herausspringen lassen.
4. Schließen Sie den Deckel des Speicherkartenfachs.
•Versuchen Sie beim Einsetzen der Speicherkarte nicht, den Deckel gewaltsam zu schließen,
wenn die Speicherkarte nicht richtig eingesetzt ist.
Hinweise:
•Wenn der Camcorder auf CARD PLAY (VCR) gestellt ist, erscheint das zuletzt aufgezeichnete Bild.
Wenn keine Bilder auf der Speicherkarte aufgezeichnet sind, erscheint NO IMAGES im Display.
•Nicht die Kontakte der Speicherkarte berühren.
Nicht versuchen, die Speicherkarte herauszuziehen.
Standbildqualität: Fine, Standard
Zum Wechsel der Bildqualität öffnen Sie das Menü und wählen CARD SET UP . Danach
wählen Sie QUALITY, stellen STANDARD ein und schließen das Menü.
•Je nach Standbild ist u.U. auch bei verschiedenen Qualitätseinstellungen kein merklicher
Unterschied der Bildqualität zu sehen.
QUALITY••••• FINECARD SET UP
( 18)
113
D
Verwendung einer
Speicherkarte
+,+
CAMERA
CARD
PLAY
(VCR)
TAPE
Wahl der Bildqualität

Die Betriebszustände der Speicherkarte werden in der Mitte des Displays angezeigt.
CARD ACCESS• ONDISP.SET UP
( 18)
Um die Kartenzugriffsanzeige auszuschalten, öffnen Sie das Menü, und wählen Sie DISP.
SET UP. Wählen Sie dann CARD ACCESS, setzen Sie die Einstellung auf OFF, und schließen
Sie das Menü.
114
D
Verwendung einer
Speicherkarte
Bildformat: 1488 ×1128 Pixel/640 ×480 Pixel
Zum Wechsel des Formats eines Standbildes öffnen Sie das Menü und wählen CARD SET
UP. Dann wählen Sie IMAGES RES., stellen “640 ×480” ein und schließen das Menü.
•Daraufhin erscheint “640” auf dem Display.
Maximale Zahl von Standbildern auf einer 8-MB-Speicherkarte und zugehörige Dateiformate
*Die tatsächliche Zahl richtet sich jeweils nach den Aufnahmebedingungen und Motiven.
Hinweise::
•Standbilder werden im JPEG-Format (Joint Photographic Experts Group) komprimiert und
aufgezeichnet.
•Näheres zur Anzeige des Speicherkarteninhalts findet sich auf Seite 117.
•Die Zahl der noch auf der Speicherkarte aufzeichenbaren Bilder kann u.U. um 2 Bilder auf einmal
abnehmen.
Standbilder
IMAGES RES.• 1488×1128CARD SET UP
( 18)
Bildformat
1488 ×1128 640 ×480
Bildqualität
Zahl der Bilder Dateiformat pro Bild Zahl der Bilder Dateiformat pro Bild
Fine ca. 6 860 KB ca. 47 125 KB
Standard ca. 10 580 KB
ca. 93
65 KB
Wahl des Bildformats
Kartenzugriffsanzeige
+,+,+
PLAY
(VCR)
CARD
CAMERA
CARD
CAMERA
TAPE
+
CAMERA
CARD

1KONTINUIERLICH
Wenn die Dateinummerierung auf CONTINUOUS gestellt ist, wird
jedem Bild eine eigene Nummer zugewiesen und auf diese Weise
die Duplikation von Nummern vermieden. Enthält eine
Speicherkarte bereits Dateien, so wird eine ggf. neu angehängte
Datei durch die niedrigste verfügbare Nummer gekennzeichnet.
Dies ist praktisch, wenn Sie Ihre Bilder auf einem PC verwalten
wollen. Wir empfehlen daher, die Dateinummerierung auf
CONTINUOUS geschaltet zu lassen.
Geben Sie die Bilddateinummern so ein, dass sie bei jedem Einsetzen einer neuen Speicherkarte
rückgesetzt oder kontinuierlich hochgezählt werden.
Die Standbilder erhalten automatisch Dateinummern von 0001 bis 9999 und werden in Ordnern
mit jeweils 9999 Bildern abgelegt. Die einzelnen Ordner sind von 100 bis 999 durchnummeriert
und auf der Speicherkarte aufgezeichnet.
100-0001
100
100-0002
100-0003
100-0004
100 100-0001
100
3 Bilder werden auf Karte
aufgezeichnet.
Wenn eine neue leere Karte eingesetzt
und ein Bild aufgenommen wird.
12
115
D
Verwendung einer
Speicherkarte
2RÜCKSETZEN
Bei jedem Einsetzen einer neuen Speicherkarte wird die Dateinummer auf den Vorgabewert
zurückgesetzt (100 bis 0001). Wenn die Karte bereits Dateien enthält, wird die niedrigste
verfügbare Dateinummer im Ordner mit der höchsten Nummer der zusätzlichen Datei zugewiesen.
Zum Ändern der Zählweise für die Bilddateinummern öffnen Sie das Menü und
wählen Sie CARD SET UP. Dann wählen Sie FILE NOS., stellen auf RESET und
schließen das Menü.
FILE NOS.••• CONTINUOUS
CARD SET UP
( 18)
SHTR SOUND•• ONCARD SET UP
( 18)
Zum Ausschalten des Verschlussgeräusches öffnen Sie das Menü und wählen
CARD SET UP. Dann wählen Sie SHTR SOUND, stellen auf OFF und schließen das
Menü.
Erzeugt ein Geräusch wie ein mechanischer Kameraverschluss, wenn ein Standbild auf
Speicherkarte aufgezeichnet wird.
Dateinummern
+
CAMERA
CARD
Ausschalten des Verschlussgeräusches
+
CAMERA
CARD

116
D
Verwendung einer
Speicherkarte
Sie können Standbilder auf eine Speicherkarte aufzeichnen.
•Videoaufnahmen lassen sich nicht auf einer Speicherkarte aufzeichnen.
•Speicherkarten lassen keine Audioaufzeichnungen zu.
•Bei Verwendung einer SD-Speicherkarte muss der Löschschutz deaktiviert sein.
Außerdem ist sicherzustellen, dass die Restspeicherkapazität der eingesteckten Karte für die
Aufnahme ausreicht. Während die Kartenzugriffsanzeige blinkt, darf weder die Stromversorgung
unterbrochen, noch die Speicherkarte herausgenommen werden, da sonst die Gefahr von
Datenverlust droht.
1. Schieben Sie den POWER-Schalter auf CAMERA und den TAPE/CARD-Schalter
auf CARD.
•Die Anzahl der noch auf der Speicherkarte aufnehmbaren Bilder sowie weitere Informationen
erscheinen auf dem Display.
•Bei Akkubetrieb wird der Camcorder automatisch ausgeschaltet, wenn über 5 Minuten lang
kein Bedienvorgang erfolgt. Stellen Sie den STANDBY-Hebel auf STANDBY.
2. Drücken Sie die PHOTO-Taste halb ein und halten Sie sie gedrückt.
•Die Belichtung ist gesperrt.
•Beim Autofokusbetrieb blinkt Fweiß im Display, während der Camcorder die Scharfstellung
einstellt und erscheint kontinuierlich als grüne Markierung, wenn der Camcorder zur
Aufnahme des Standbilds bereit ist.
3. Drücken Sie die PHOTO-Taste vollständig ein, um das Standbild aufzunehmen.
•Fverschwindet aus dem Display. Das Verschlussgeräusch ertönt und gleichzeitig erfolgt auf
dem Display ein optisches ‚Schließen‘ in Nachahmung eines mechanischen Verschlusses.
•Die Kartenzugriffsanzeige blinkt, und das Kartenzugriffssymbol erscheint auf dem Display.
Hinweise:
•Zum Einsatz des Selbstauslösers ( 69) stellen Sie zunächst den Selbstauslöser vor Schritt 3 über
das Menü oder an der Fernbedienung ein und drücken Sie dann die PHOTO-Taste voll bis zum
Anschlag.
•Die PHOTO-Taste an der Infrarot-Fernbedienung hat keine Zwischenposition. Das Bild wird beim
Betätigen dieser Taste sofort aufgezeichnet.
Aufzeichnung von Standbildern auf Speicherkarte
CARD TAPE
Kartenzugriffsanzeige

117
D
Verwendung einer
Speicherkarte
>>>> 50
1488
FINE
Bildgröße ( 114)
Bildqualität ( 113)
Speicherschutzbatterie
(136)
Restladung des Akkus
(135)
Anzahl der Bilder, die noch auf
der Speicherkarte
aufgezeichnet werden können
Die Anzeigen, die im Display erscheinen, wenn auf eine Speicherkarte aufgezeichnet wird,
sind:
Siehe auch “Die Anzeige, die auf dem Display erscheint, wenn der LCD-Seitenverkehrt-Modus
aktiviert ist” ( 42).
Speicherkartenanzeige:
Blinken in Rot: keine Karte eingesetzt
6in Grün: 6 oder mehr Bilder
5in Gelb: 1 bis 5 Bilder
0in Rot: keine weiteren Bilder
6Blinken in Rot: SD-Speicherkarte schreibgeschützt
–Blinken in Rot: Speicherkartendeckel offen
•Alle Anzeigen leuchten Grün, wenn der Inhalt der Speicherkarte wiedergegeben wird.
•Die Restkapazitätsanzeige richtet sich nach den Aufnahmebedingungen. Die verbleibende Zahl
kann u.U. um 2 Bilder auf einmal abnehmen oder gar nicht abnehmen.

118
D
Verwendung einer
Speicherkarte
/
CARD TAPE
CARD
SLIDE
SHOW
Wiedergabe und Betrachten von auf Speicherkarte aufgezeichneten Standbildern. (Näheres über
den Anschluss an ein Fernsehgerät findet sich unter “Anschlüsse zur Wiedergabe auf einem
Fernsehschirm” ( 93).
•Unter Umständen sind Funktionen wie Überspielung oder Wiedergabe von nicht mit Canon-
Camcordern aufgezeichneten Bildern nicht möglich.
Verändern Sie nicht die auf einer Speicherkarte aufgezeichneten Daten.
•In folgenden Fällen kann es bei der Wiedergabe von Standbildern auf diesem Camcorder zu
Problemen kommen:
−Standbilder, die nicht mit diesem Camcorder aufgezeichnet, sondern von einem PC herunterge-
laden wurden.
−Standbilder, die zwar mit diesem Camcorder aufgezeichnet, aber anschließend mit einem PC
bearbeitet wurden.
-Standbilder, deren Bilddateien auf einem PC umbenannt wurden.
Es gibt 3 Möglichkeiten zur Betrachtung von Standbildern:
•Einzelbild
•Diaschau: Ein Bild nach dem anderen in der Reihenfolge der Aufnahme
•Indexbild: Sechs Bilder auf einmal
Ist der Camcorder auf Wiedergabepause geschaltet, so können Sie mit der Karten-Suchfunktion
rasch den Inhalt einer Speicherkarte nach einem bestimmten Standbild durchsuchen, das angezeigt
werden soll (Direktanzeigefunktion).
Stellen Sie sicher, dass eine mit Bildern bespielte Speicherkarte im Camcorder eingesetzt ist.
Bei blinkender Kartenzugriffsanzeige darf keinesfalls die Stromversorgung unterbrochen oder die
Speicherkarte herausgenommen werden, da sonst Datenverfälschung die Folge sein kann.
2Einzelbild
1. Stellen Sie den POWER-Schalter auf PLAY (VCR).
2. Stellen Sie den TAPE/CARD-Schalter auf CARD.
•Das zuletzt aufgenommene Bild erscheint im Display.
3.
Suchen Sie das gewünschte Standbild durch Drücken der CARD +/– (Karte) Tasten
auf.
•Drücken Sie +, um das nächste Bild zu betrachten, und – um das vorherige Bild zu betrachten.
•Durch Drücken von + beim letzten Bild wird zum ersten Bild weitergeschaltet. Durch Drücken
von – beim ersten Bild wird zum letzten Bild weitergeschaltet.
Wiedergabe des Speicherkarteninhalts

119
D
Verwendung einer
Speicherkarte
2Direktanzeigefunktion
Sie können vom aktuellen Bild aus direkt zu der gewünschten Bildnummer weiterspringen, ohne
die einzelnen Bilder nacheinander anzeigen zu lassen.
Die Zahlen in der oberen rechten Ecke auf dem Display im CARD PLAY (VCR)-Modus geben jeweils
die Nummer des aktuellen Standbilds und der Gesamtzahl der Standbilder auf der Speicherkarte an.
Halten Sie bei Standbildanzeige auf dem Display die Taste CARD +/– gedrückt.
•Bei Drücken von Taste + erfolgt die Bildsuche in Vorwärtsrichtung und bei Drücken von Taste – in
Rückwärtsrichtung.
•Die Bildnummer wird vorwärts und rückwärts gezählt.
•Bei Freigabe der Taste erscheint auf dem Display das Standbild, zu dem die aktuell angezeigte
Nummer zugewiesen ist.
2Diaschau
Bei der Displayanzeige eines Standbilds drücken Sie die MIX/SLIDE SHOW-Taste.
•Daraufhin werden die Standbilder nacheinander wiedergegeben.
Zum Stoppen der Diaschau drücken Sie erneut die MIX/SLIDE SHOW-Taste.
•Die Diaschau startet oder stoppt bei jedem Drücken der SLIDE SHOW (Diaschau)-Taste.
2Indexbild
Bis zu 6 Bilder erscheinen auf einmal, so dass Sie schnell ein Bild
aufsuchen können.
1. Bei angezeigtem Standbild drücken Sie die
INDEX SCREEN-Taste.
•Bis zu 6 Bilder erscheinen auf dem Display.
2. Wählen Sie ein Standbild mit dem SELECT-Wählrad oder den Tasten CARD +/-.
•Daraufhin erscheint das gewählte Bild in einem roten Rahmen.
•Bewegen Sie das SELECT-Wählrad nach oben bzw. nach unten, um das nachfolgende bzw.
vorherige Bild aufzurufen.
•Durch Bewegen des SELECT-Wählrads nach oben beim letzten Bild wird zum nächsten
Indexschirm weitergeschaltet. Durch Bewegen des SELECT-Wählrads nach unten beim ersten
Bild wird zum vorhergehenden Indexbild zurückgeschaltet.
•Sie können auch mit den Tasten CARD+/– zwischen Indexbildern umschalten. Durch Drücken
der Taste CARD- wird zum vorherigen Indexbild zurück- und mit Taste CARD+ zum nächsten
weitergesprungen.
3. Drücken Sie die INDEX SCREEN-Taste bei Anzeige des eingerahmten Bilds.
•Das gewählte Bild füllt nun das gesamte Display aus.
+
PLAY
(VCR)
CARD
+
PLAY
(VCR)
CARD
+
PLAY
(VCR)
CARD
INDEX 100–0143
SEL.INDEXEND
1488 1488 1488
1488 1488 1488

120
D
Verwendung einer
Speicherkarte
Sie können Standbilder betrachten und dabei unerwünschte Standbilder löschen, Standbilder vor
versehentlichem Löschen schützen oder zum Ausdrucken markieren (Dateibetrieb).
●Verhindern versehentlichen Löschens (Löschschutz )
Sie können wichtige Bilder wählen und diese vor versehentlichem Löschen schützen.
•Beim Formatieren von Speicherkarten werden allerdings sämtliche Bilder – auch solche, die mit
einem Löschschutz versehen sind - permanent gelöscht.
1. + ➡Menü FILE OPER. ( 121)
2. + ➡Untermenu Kartenbetrieb (CARD OPER.) ( 122)
●Markieren eines Standbildes zum Drucken (Druckmarkierung )
Auf Speicherkarte aufgezeichnete Standbilder müssen entsprechend gekennzeichnet werden, bevor
sie ausgedruckt werden können. Der Camcorder unterstützt das DPOF-Format (Digital Print
Order Format). So können Bilder automatisch auf einem Canon-Drucker mit DPOF-Unterstützung
ausgedruckt werden.
Sie können Standbilder auf 3 verschiedene Weisen zum Ausdruck markieren.
Bild zum Druck markieren bzw. einzelne Druckmarkierung löschen
1. + ➡Menü FILE OPER. ( 121)
2. + ➡Untermenu Kartenbetrieb (CARD OPER.) ( 123)
Alle Druckmarkierungen löschen
3. + ➡Untermenu Kartenbetrieb (CARD OPER.) ( 124)
●Löschen von Standbildern
Sie können einzelne oder alle Bilder löschen.
•Geschützte Bilder können nicht gelöscht werden. Sie müssen zuerst den Löschschutz aufheben
um ein solches Bild zu löschen.
•Beim Löschen von Standbildern umsichtig vorgehen. Wenn ein Bild einmal gelöscht ist, kann es
nicht wiederhergestellt werden.
Bilder einzeln löschen
1. + ➡Menü FILE OPER. ( 121)
Bilder einzeln löschen bzw. alle Bilder auf der Speicherkarte gleichzeitig löschen
2. + ➡Untermenu Kartenbetrieb (CARD OPER.) ( 125)
: Bei Wiedergabe eines Bilds im Modus CARD PLAY (VCR)
: Bei Wiedergabe eines Indexbilds im Modus CARD PLAY (VCR)
INDEX
SINGLE
SINGLE
PLAY
(VCR)
CARD
SINGLE
PLAY
(VCR)
CARD
SINGLE
PLAY
(VCR)
CARD
INDEX
PLAY
(VCR)
CARD
SINGLE
PLAY
(VCR)
CARD
INDEX
PLAY
(VCR)
CARD
SINGLE
PLAY
(VCR)
CARD
/
Einstellungen der Standbilder auf einer Speicherkarte

121
D
Verwendung einer
Speicherkarte
1. Drücken Sie bei angezeigtem Bild das Wählrad ein um das Menü FILE OPER. zu
öffnen.
•Die Einstellungen PROTECT , PRINT MARK , and IMAGE ERASE erscheinen.
•Wenn Sie |RETURN wählen, verschwindet das Menü vom Display.
2. Wählen Sie PROTECT und drücken Sie das Wählrad ein.
•Daraufhin erscheint die Schutzmarkierung auf dem Bild als Bestätigung dafür, dass das
Bild nicht gelöscht werden kann.
•Drücken Sie zum Aufheben der Schutzmarkierung das Wählrad erneut ein.
•Wenn Sie |RETURN wählen, verschwindet das Menü vom Display.
•Wählen Sie zum Aufheben des Löschschutzes PROTECT und drücken Sie das Wählrad ein.
verschwindet und das Bild kann wieder gelöscht werden.
2. Wählen Sie PRINT MARK und drücken Sie das Wählrad ein.
•Die Druckmarkierung erscheint auf dem Bild.
•Drücken Sie zum Löschen der Schutzmarkierung das Wählrad erneut ein.
•Wenn Sie |RETURN wählen, verschwindet das Menü vom Display.
•Zum Löschen einer Druckmarkierung wählen Sie PRINT MARK und drücken das Wählrad
ein. verschwindet.
2. Wählen Sie IMAGE ERASE und drücken Sie das Wählrad ein.
•ERASE THIS IMAGE? NO YES erscheint im Display.
•Wenn Sie |RETURN wählen, verschwindet das Menü vom Display.
3. Wählen Sie YES und drücken Sie das Wählrad ein.
•Das Bild wird gelöscht.
•Das Bild nach dem gelöschten Bild erscheint.
Löschen von Bildern
Markieren von Bildern für den Druck (Druckmarkierung)
Schützen von Bildern
+
PLAY
(VCR)
CARD
Dateibetrieb (FILE OPER.)

122
D
Verwendung einer
Speicherkarte
REC SEARCH
CARD
SLIDE
SHOW
In diesem Abschnitt erfahren Sie, wie Sie, ausgehend von der Anzeige von Indexbildern im Modus
CARD PLAY (VCR), über das Untermenü Kartenbetrieb (CARD OPER.) Standbilder schützen (bzw.
den Schutz wieder aufheben).
Sie können Standbilder auch über das Dateibetrieb-Menü schützen ( 121).
PROTECT
CARD OPER.
( 18)
Stellen Sie sicher, dass eine mit Bildern bespielte Speicherkarte im Camcorder eingesetzt ist.
1. Drücken Sie bei angezeigtem Bild die INDEX SCREEN-Taste.
•Auf dem Display erscheinen bis zu 6 Bilder.
•Wählen Sie das zu schützende Bild (Indexbild 119).
2. Öffnen Sie das Menü und wählen Sie CARD OPER.
3. Wählen Sie \PROTECT .
4. Drücken Sie das Wählrad ein.
•Die Schutzmarkierung erscheint auf dem Bild, so dass das Bild nicht gelöscht werden
kann.
•Drücken Sie zum Löschen der Schutzmarkierung das Wählrad erneut ein.
5. Schließen Sie das Menü.
Hinweis:
•Zum Aufheben des Löschschutzes wählen Sie das geschützte Bild und drücken das SELECT-
Wählrad hinein. Daraufhin verschwindet die Schutzmarkierung .
Schützen von Bildern bei Anzeige von Indexbildern
+
PLAY
(VCR)
CARD
Verhindern versehentlichen Löschens (Löschschutz)

123
D
Verwendung einer
Speicherkarte
In diesem Abschnitt erfahren Sie, wie Sie im CARD PLAY (VCR)-Modus über das Untermenü
Kartenbetrieb Standbilder für den Druck markieren (und die Markierung wieder entfernen) können.
–Bei angezeigten Indexbildern lassen sich Standbilder zum Ausdrucken markieren.
–Bei Wiedergabe von Einzelbildern können Sie alle Druckmarkierungen löschen.
Sie können Standbilder auch über das Dateibetrieb-Menü ( 121) für den Druck markieren.
Markieren von Standbildern für den Druck bei Anzeige von Indexbildern
Stellen Sie sicher, dass eine mit Bildern bespielte Speicherkarte im Camcorder eingesetzt ist.
1. Drücken Sie bei Standbildanzeige die INDEX SCREEN-Taste.
•Auf dem Display erscheinen bis zu 6 Bilder.
•Wählen Sie das für den Ausdruck zu markierende Bild (Indexbild 119).
2. Öffnen Sie das Menü und wählen Sie CARD OPER.
3. Wählen Sie \PRINT MARK .
4. Drücken Sie das Wählrad ein.
•Die Druckmarkierung erscheint.
•Drücken Sie zum Löschen der Schutzmarkierung das Wählrad erneut ein.
5. Schließen Sie das Menü.
Hinweise:
•Zum Aufheben einer Druckmarkierung wählen Sie das markierte Bild und drücken das SELECT-
Wählrad hinein. Daraufhin verschwindet die Druckmarkierung .
•Wenn zahlreiche Bilder auf der Speicherkarte aufgezeichnet sind, kann es eine Zeit lang dauern,
bevor eine Druckmarkierung auf dem Bild erscheint.
CARD OPER. PRINT MARKS
( 18)
+
PLAY
(VCR)
CARD
Markieren eines Standbildes zum Drucken (Druckmarkierung)

124
D
Verwendung einer
Speicherkarte
Stellen Sie sicher, dass eine mit Bildern bespielte Speicherkarte im Camcorder eingesetzt ist.
1. Bei angezeigtem Standbild öffnen Sie das Menü und wählen CARD OPER.
2. Wählen Sie PRINT MARKS ALL ERASE.
•ERASE ALL PRINT MARKS ? YES NO erscheint im Display.
3. Wählen Sie YES.
•Die -Druckmarkierung verschwindet vom Bild.
4. Schließen Sie das Menü.
PRINT MARKS ALL ERASE
CARD OPER.
( 18)
Löschen aller Druckmarkierungen
+
PLAY
(VCR)
CARD

125
D
Verwendung einer
Speicherkarte
REC SEARCH
CARD
SLIDE
SHOW
Dieser Abschnitt beschreibt, wie Standbilder aus dem Kartenbetrieb-Untermenü zu löschen sind,
wenn ein einzelnes Bild im CARD PLAY (VCR)-Modus wiedergegeben wird.
Standbilder lassen sich außerdem auch über das Dateibetrieb-Menü ( 121) löschen.
Stellen Sie sicher, dass eine mit Bildern bespielte Speicherkarte im Camcorder eingesetzt ist.
1. Wählen Sie das zu löschende Standbild.
•Nutzen Sie ggf. das Indexbild ( 119) oder die Karten-Suchfunktion ( 119) und stellen Sie
sicher, dass das zu löschende Standbild das Display ganz ausfüllt.
•Bei Anzeige der Indexbilder drücken Sie nach der Wahl des Bildes die INDEX SCREEN-Taste.
Daraufhin füllt das gewählte Bild das gesamte Display aus.
2. Öffnen Sie das Menü und wählen Sie CARD OPER.
3. Wählen Sie IMAGE ERASE.
•Die Einstellungen CANCEL, SINGLE und ALL erscheinen.
•Zum Aufheben des Löschens wählen Sie CANCEL und schließen das Menü.
4. Wählen Sie SINGLE.
•ERASE THIS IMAGE? NO YES erscheint im Display.
5. Wählen Sie YES.
•Das Bild wird gelöscht, und das vorherige Bild erscheint zur Löschung.
•Zum Löschen eines weiteren einzelnen Bildes gehen Sie mit den CARD +/– (Karte) Tasten zu
dem zu löschenden Bild und wählen Sie YES.
•Wenn das zu löschende Bild ein geschütztes Bild ist, erscheint YES in Purpur, und es lässt sich
nicht mehr wählen.
•Wenn Sie NO wählen, gehen Sie zu Schritt 4 zurück.
6. Schließen Sie das Menü.
Löschen von einzelnen Standbildern
IMAGE ERASE
CARD OPER.
( 18)
+
PLAY
(VCR)
CARD
Löschen von Standbildern

126
D
Verwendung einer
Speicherkarte
1. Öffnen Sie das Menü und wählen Sie CARD OPER.
2. Wählen Sie IMAGE ERASE.
•Die Einstellungen CANCEL, SINGLE und ALL erscheinen.
•Wählen Sie zum Abbrechen des Löschvorgangs CANCEL und schließen Sie das Menü.
3. Wählen Sie ALL.
•ERASE ALL IMAGES? [EXCEPT FOR IMAGES] NO YES erscheint im Display.
4. Wählen Sie YES.
•Daraufhin werden im Ordner alle Kopien des Anzeigebilds außer den geschützten gelöscht.
•Wenn Sie NO wählen, gehen Sie zu Schritt 2 zurück.
5. Schließen Sie das Menü.
Gleichzeitiges Löschen aller Standbilder in einem Ordner

127
D
Verwendung einer
Speicherkarte
Kombinieren Sie ein auf Speicherkarte aufgezeichnetes Titelbild mit Camcorderaufzeichnungen.
Dabei lässt sich die Farbe des Titelbilds ändern und der Mischbildpegel einstellen.
•Bei Herstellung eines Titelbilds ist der Einsatz von Speedlite und Videoleuchte nicht möglich.
1. Setzen Sie eine Speicherkarte in den Camcorder ein.
2. Schieben Sie den POWER-Schalter auf CAMERA und den TAPE/CARD-Schalter
auf TAPE.
3. Öffnen Sie das Menü und wählen Sie \TITLE MIX.
•Daraufhin erscheint das TITLE MIX-Menü.
4. Wählen Sie \ CREATE TITLE.
•Daraufhin erscheint das CREATE TITLE-Menü.
5. Tippen Sie die PHOTO-Taste an.
•Das Symbol Fblinkt zunächst in Weiss und leuchtet dann kontinuierlich in Grün.
6. Drücken Sie die PHOTO-Taste ganz bis zum Anschlag.
•Daraufhin verschwindet das Symbol Fund der Camcorder zeichnet das Titelbild auf.
1. Wählen Sie COLOR SELECT aus dem CREATE TITLE-Menü.
2. Wählen Sie die Farbe durch Bewegen des SELECT-Wählrads nach bzw. oder
unten.
3. Drücken Sie das SELECT-Wählrad hinein.
1. Wählen Sie MIX LEVEL aus dem CREATE TITLE-Menü.
2. Wählen Sie den Mischpegel durch Bewegen des SELECT-Wählrads nach oben
bzw. unten.
3. Drücken Sie das SELECT-Wählrad hinein.
•Zum Titel-Mischen muss das Titelbild zuerst auf die Speicherkarte aufgezeichnet werden.
1. Wählen Sie RECORD aus dem CREATE TITLE-Menü.
2. Drücken Sie das SELECT-Wählrad hinein.
•Daraufhin zeichnet der Camcorder das Titelbild auf die Speicherkarte auf.
Hinweis:
•Titelbildern kann je nach der Farbwahl dieselbe Dateinummer zugeordnet werden.
Aufzeichnung des Titelbilds auf die Speicherkarte
Einstellung des Mischpegels
Einstellung der Farbe
Kombinieren von Bildern und Aufzeichnen auf Kassette (Titel-Mischen)
Herstellung eines Titelbilds
+
CAMERA
TAPE
TITLE MIX
( 18)

128
D
Verwendung einer
Speicherkarte
1. Schieben Sie den POWER-Schalter auf CAMERA und den TAPE/CARD-Schalter
auf TAPE.
2. Öffnen Sie das Menü und wählen Sie \TITLE MIX
•Daraufhin erscheint das TITLE MIX-Menü.
3. Wählen Sie \TITLE SELECT.
•Daraufhin erscheinen bis zu 6 Titelbilder.
4. Wählen Sie das Titelbild für die Kombination.
5. Drücken Sie das SELECT-Wählrad hinein.
•Das TITLE MIX-Menü erscheint.
1. Schieben Sie den Programm-Wahlschalter auf Qund wählen Sie ein
Aufnahmeprogramm.
•Kombinationen lassen sich bei [(Leichte Aufnahme) nicht verwenden.
2. Drücken Sie die MIX/SLIDE SHOW-Taste.
•Das gewählte Titelbild erscheint nun kombiniert mit der Aufnahme.
1. Drücken Sie die START/STOP-Taste.
1. Tippen Sie die PHOTO-Taste an.
•Das Symbol Fblinkt zunächst in Weiss und leuchtet dann kontinuierlich in Grün.
2. Drücken Sie die PHOTO-Taste ganz bis zum Anschlag.
•Daraufhin verschwindet das Symbol Fund der Camcorder zeichnet das Standbild auf.
Überspielung des Kombinationsbilds auf Band als Standbild
Überspielung des Kombinationsbilds auf Band als Film
Wahl eines Titelbilds
Aktivierung der Kombination
+
CAMERA
TAPE
Löschschutz von Titelbildern
Sie können Titelbilder vor versehentlichem Löschen schützen.
•Beim Formatieren von Speicherkarten werden alle Bilder einschließlich der geschützten gelöscht.
1. Öffnen Sie das Menü und wählen Sie CARD OPER.
2. Wählen Sie \ TITLE PROTECT und drücken Sie das SELECT-Wählrad hinein.
•Daraufhin erscheint die Titelbild-Indexbildanzeige.
3. Wählen Sie das zu schützende Titelbild und drücken Sie das SELECT-Wählrad
hinein.
•Die Schutzmarkierung erscheint und das Titelbild lässt sich nicht mehr löschen.
•Drücken Sie erneut auf das SELECT-Wählrad, um die Schutzfunktion aufzuheben.

129
D
Verwendung einer
Speicherkarte
1. Öffnen Sie das Menü und wählen Sie CARD OPER.
2. Wählen Sie \TITLE ERASE und drücken Sie das SELECT-Wählrad hinein.
•Daraufhin erscheint die Titelbild-Löschindexbildanzeige.
3. Wählen Sie das zu löschende Titelbild und drücken Sie das SELECT-Wählrad
hinein.
•Überprüfen Sie das Titelbild bei der Wahl auf der Indexbildanzeige.
•Daraufhin erscheint Erase this title? NO YES und das Titelbild blinkt.
4. Wählen Sie YES und drücken Sie das SELECT-Wählrad hinein.
•Das Titelbild wird gelöscht.
•Soll ein weiteres Titelbild gelöscht werden, so wählen Sie das nächste Titelbild, dann YES und
drücken Sie das SELECT-Wählrad hinein.
•Bei Wahl von NO wird auf die Titelbild-Löschindexbildanzeige zurückgeschaltet.
Löschen von Titelbildern

130
D
Verwendung einer
Speicherkarte
/
Stellen Sie sicher, dass eine Speicherkarte mit aufgezeichneten Standbildern und eine bespielbare
Kassette im Camcorder eingesetzt ist.
1. Fahren Sie die Bandstelle auf der Kassette an, an der der Überspielvorgang
einsetzen soll, und stoppen Sie das Band.
2. Wählen Sie das erste zu kopierende Bild mit den Tasten CARD +/–.
•Alle Standbilder auf der Speicherkarte ab diesem Bild werden auf Band überspielt.
•Wenn Sie alle Standbilder auf der Speicherkarte kopieren wollen, wählen Sie das erste Bild.
3. Öffnen Sie das Menü und wählen Sie CARD OPER.
4. Wählen Sie COPY und drücken Sie die SET-Taste.
•Die Einstellungen CANCEL und EXECUTE werden angezeigt.
5. Wählen Sie EXECUTE und drücken Sie die SET-Taste.
•Wählen Sie CANCEL zum Stoppen des Kopiervorgangs.
•Die Informationen über Kassette und Speicherkarte erscheinen auf dem Display und der
Überspielvorgang setzt ein.
•NOW COPYING erscheint im Display.
•Die einzelnen Bilder werden jeweils ca. 6 Sekunden lang auf Band überspielt.
•Der Kopiervorgang stoppt, wenn alle Bilder kopiert sind oder das Band voll ist.
6. Drücken Sie die 3-Taste , sobald die gewünschten Bilder kopiert sind.
[ ]
[ ]
COPY
CARD OPER. [ ]
( 18)
Sie können mehrere Standbilder von der Speicherkarte auf Band überspielen.
•Die Datencodes der Standbilder speichern Datum und Zeit der Erstellung der Kopien.
+
PLAY
(VCR)
TAPE
+
PLAY
(VCR)
CARD
Überspielung von Standbildern von Speicherkarte auf Band

131
D
Verwendung einer
Speicherkarte
Formatieren Sie neue Speicherkarten bei der Fehlermeldung CARD ERROR oder zum permanenten
und schnellen Löschen aller Standbilder auf einer Speicherkarte, einschließlich der geschützten.
Die SD-Speicherkarte im Lieferumfang dieses Camcorders ist bereits formatiert.
•Seien Sie beim Formatieren von bespielten Speicherkarten vorsichtig. Alle darauf vorhandenen
Bilder werden permanent gelöscht.
•Stellen Sie vor der Verwendung anderer als mit dem Camcorder mitgelieferter Speicherkarten
sicher, dass diese mit dem Camcorder - nicht mit einem PC - formatiert werden.
Stellen Sie sicher, dass eine Speicherkarte im Camcorder eingesetzt ist.
1. Öffnen Sie das Menü und wählen Sie CARD OPER.
2. Wählen Sie FORMAT.
•Die Einstellungen CANCEL und EXECUTE werden angezeigt.
3. Wählen Sie EXECUTE.
•Wählen Sie CANCEL, um die Formatierung abzubrechen.
•FORMAT THIS CARD? NO YES erscheint zur Bestätigung.
4. Wählen Sie YES..
•Daraufhin beginnt die Formatierung und die Anzeige NOW FORMATTING erscheint auf dem
Display.
•Wenn Sie NO wählen, gehen Sie zu Schritt 3 zurück.
5. Schließen Sie das Menü.
FORMAT
CARD OPER.
( 18)
+
PLAY
(VCR)
CARD
Formatieren einer Speicherkarte

132
D
Verwendung einer
Speicherkarte
Anschluss an einen PC über USB-Kabel
Sie können Standbilder über eine USB-Schnittstelle von einer Speicherkarte auf PC herunterladen.
Mit Hilfe der mitgelieferten Software lassen sich Standbilder bearbeiten, speichern und ausdrucken.
Verwenden Sie das USB-Kabel und die Canon Digital Video Solution Disk Software, die im
Lieferumfang des Camcorders enthalten sind.
Einzelheiten über den Anschluss des Camcorders an einen PC sowie Installation
und Gebrauch der Software finden Sie in der Anleitung der Canon Digital Video
Solution Disk.
•Schlagen Sie auch in der Bedienungsanleitung Ihres PCs nach.
“PC CONNECT [USB]” erscheint zur Bestätigung, dass der
Camcorder mit dem PC über ein USB-Kabel verbunden ist.
Vorsicht
•Während der Übertragung von Daten (bei blinkender Kartenzugriffsanzeige am Camcorder) darf
das USB-Kabel keinesfalls abgetrennt werden. Andernfalls droht eine Verfälschung der Daten auf
der Speicherkarte.
•Die Verbindung funktioniert je nach den Spezifikationen und Einstellungen der Software und des
PCs eventuell nicht einwandfrei.
•Die auf Ihrer Speicherkarte und auf der Festplatte Ihres Computers gespeicherten
(heruntergeladenen) Bilddateien sind Ihre wertvollen Original-Bilddateien. Wenn Sie Bilddateien
auf Ihrem Computer verwenden wollen, sollten Sie Kopien von den Originalen anfertigen und
dann die Kopien anstelle der Originale verwenden.
Hinweise:
Während der USB-Verbindung:
•Die Tasten am Camcorder außer POWER- und TAPE/CARD-Schalter sind funktionslos.
USB-Kabel IFC-300PCU
:Signalfluss
PC CONNECT[USB]

133
D
Verwendung einer
Speicherkarte
Weitere Informationen und Vorsichtsmaßregeln
Der Camcorder formatiert Speicherkarten entsprechend DCF (Design rule for Camera File system).
Die mit diesem Camcorder auf einer Speicherkarte aufgezeichneten Bilder können auch mit einem
der folgenden Produkte für SD-Speicherkarte und MultiMediaCard zu einem PC übertragen werden:
PC-Kartenadapter: Adaptiert eine Speicherkarte zum Einsetzen in den PC-Kartenschacht, wie er
bei den meisten Laptop-PCs vorhanden ist.
Diskettenadapter: Adaptiert eine Speicherkarte zum Einsetzen in das Diskettenlaufwerk eines PC.
Die folgenden Speicherkarten wurden mit diesem Camcorder getestet (Stand: Juni 2002):
SD-Speicherkarte—
Panasonic: 8 MB, 16 MB, 32 MB, 64 MB
SanDisk: 8 MB, 16 MB, 32 MB, 64 MB
MultiMediaCard—
SanDisk: 8 MB, 16 MB, 32 MB, 64 MB
•Wir können jedoch keine Garantie für die einwandfreie Funktion all dieser Speicherkarten
übernehmen.
•Falls Sie später weitere Speicherkarten zukaufen, müssen Sie diese im Camcorder formatieren und
nicht in einem PC oder einer sonstigen Komponente. Andernfalls funktionieren derartig
formatierte Speicherkarten u.U. nicht einwandfrei.
•Wir empfehlen, Sicherungskopien der Bilder auf Speicherkarte auf der Festplatte Ihres PCs oder
einem anderen externen Datenträger zu erstellen. Bilddaten können aufgrund von Defekten in
der Speicherkarte oder aufgrund von Einwirkung statischer Elektrizität auf die Speicherkarte
beschädigt werden oder verloren gehen. Der Inhalt einer Speicherkarte kann nicht wieder
hergestellt werden, wenn Bilddaten beschädigt werden oder verloren gehen.
•Unterbrechen Sie nicht die Stromversorgung des Camcorders und entfernen Sie nicht die
Speicherkarte, solange die Kartenzugriffslampe blinkt.
•Schützen Sie die Speicherkarte vor starken Magnetfeldern.
•Zerlegen Sie Speicherkarten nicht.
•Biegen Sie Speicherkarten nicht, lassen Sie sie nicht fallen und schützen Sie sie vor starken
Vibrationen oder externen Erschütterungen.
•Schützen Sie Speicherkarten vor Nässe.
•Entfernen Sie nicht Beschriftungen von Speicherkarten oder bringen Sie Aufkleber an.
Erforderliche Aufkleber dürfen nur auf der Schutzhülle der Speicherkarte angebracht werden.
•
Lassen Sie Speicherkarten nicht an Orten mit hoher Temperatur oder hoher Luftfeuchtigkeit liegen.
•
Wenn eine Speicherkarte schnell von warmen zu kalten Orten gebracht wird, kann sich Kondensation
darauf bilden, was zu Fehlfunktionen führt. Um dies zu vermeiden, stecken Sie die Speicherkarte in
eine Plastiktüte und lassen Sie sie langsam an die Temperatur angleichen. Erst danach nehmen Sie die
Speicherkarte aus der Plastiktüte. Falls sich doch Kondensation auf der Speicherkarte bildet, lassen Sie
die Speicherkarte so lange bei konstanter Temperatur liegen, bis die Kondensation verschwunden ist.
•
Berühren Sie nicht die Kontakte der Speicherkarte oder lassen diese staubig oder schmutzig werden.
Bei Lagerung legen Sie die Speicherkarte immer in ihrer Schutzhülle ab, um die Kontakte zu schützen.
•Speicherkarten können nur auf eine Weise richtig in den Camcorder eingesetzt werden. Drücken
Sie auf keinen Fall eine verkehrt eingesetzte Speicherkarte gewaltsam in das Gerät. Dadurch kann
sowohl die Speicherkarte als auch der Camcorder beschädigt werden.
Vorsichtsmaßregeln zum Betrieb einer Speicherkarte
Speichervermögen 8 MB
Schnittstelle SD-Speicherkarte-Standard
Betriebstemperatur 0 bis 40 °C
Abmessungen 32 ×24 ×2,1 mm
Gewicht 2 g
Technische Daten der SD-Speicherkarte SDC-8M

134
D
Zusätzliche
Information
Anmerkungen zum Gebrauch der Akkus
Lade- und Aufnahmezeiten
•Die zur Verfügung stehende Aufnahmezeit kann unter Umständen kürzer sein. Es empfiehlt sich
daher, stets ausreichend Akkus für das 2 bis 3-fache der geplanten Aufnahmezeit mitzunehmen.
•Wenn Sie den Camcorder zwischen den Szenen ausschalten (statt ihn auf Aufnahmepause
geschaltet zu lassen), können Sie länger aufnehmen.
•Die Ladezeit richtet sich nach den Ladebedingungen. (Bei 0 Grad z.B. beträgt die Ladezeit ca.
doppelt so lange wie bei Zimmertemperatur.)
•Akkus können bei Umgebungstemperaturen von 0° bis 40°C eingesetzt werden, sind jedoch bei
Temperaturen zwischen 10° und 30° C am leistungsfähigsten. Außerhalb dieses Bereichs nimmt
die Betriebszeit drastisch ab. Eine bessere Leistung kann erzielt werden, indem der Akku vor der
Verwendung an einer geeigneten Stelle wie beispielsweise in einer Manteltasche leicht erwärmt
wird.
•Wenn sich die Betriebszeit des Akkus (bei normalen Temperaturen) deutlich verkürzt, ist das Ende
seiner Lebensdauer erreicht und der Akku muss ersetzt werden.
Hinweis:
•Die Wiedergabezeiten gelten für einen voll geladenen Akku und bei Betrachtung des Bildes auf
dem LCD-Bildschirm. Bei niedrigen Temperaturen verkürzt sich die Wiedergabezeit.
Voll geladen nachAkku
BP-915 1 Std. 25 Min.
BP-930
2 Std. 25 Min.
BP-945
3 Std. 40 Min.
Akku
BP-915 2 Std. 1 Std. 35 Min. 1 Std. 5 Min. 55 Min.
BP-930
BP-945
4 Std. 40 Min.
7 Std.
3 Std. 55 Min.
5 Std. 55 Min.
2 Std. 35 Min.
3 Std. 55 Min.
2 Std. 15 Min.
3 Std. 25 Min.
Max. Aufnahmezeit
Mit Sucher Mit LCD-Display
Typische Aufnahmezeit*
Mit Sucher Mit LCD-Display
Wiedergabezeit (über LCD-Bildschirm)Akku
BP-915 1 Std. 45 Min.
BP-930
BP-945
4 Std. 15 Min.
6 Std. 25 Min.
* Typische Aufnahmezeit: Ungefähre Zeiten bei der Aufzeichnung mit wiederholten Bedienschritten
wie Start/Stopp, Zoomen und Ein-/Ausschalten der Stromversorgung. Die tatsächliche Zeit ist u.U.
kürzer.

135
D
Zusätzliche
Information
Laden des Akkus
Der Lithiumionen-Akku kann jederzeit nachgeladen werden — ein vollständiges Entladen wie bei
herkömmlichen Akkus ist nicht erforderlich. Da sich der Akku jedoch auch bei Nichtgebrauch
allmählich entlädt, sollte er am Einsatztag (oder zumindest am Vortag) aufgeladen werden.
Richtige Handhabung des Akkus
Immer den Schutzdeckel anbringen
•Die Kontakte des Akkus dürfen nicht mit
Metallgegenständen in Berührung kommen, da dies einen
Kurzschluss verursachen und den Akku beschädigen kann.
Der Schutzdeckel sollte daher stets angebracht werden,
wenn der Akku nicht gebraucht wird.
Die Kontakte am Akku sauber halten.
•Für einwandfreie Funktion von Camcorder-Netz-/Ladegerät und Akku müssen die Kontakte stets
sauber gehalten werden. Setzen Sie daher stets die Kontakt-Schutzabdeckung auf, wenn der Akku
nicht verwendet wird.
Aufbewahrung des Akkus
•Bei längerer Lagerung (ca. 1 Jahr) kann sich die Lebensdauer des Akkus verkürzen oder sein
Leistungsvermögen beeinträchtigt werden. Wir empfehlen die vollständige Entladung des Akkus
im Camcorder und seine Aufbewahrung an einem trockenen Ort. Bei längerem Nichtgebrauch
sollte der Akku mindestens einmal pro Jahr im Camcorder ganz aufgeladen und vor erneuter
Lagerung vollständig entladen werden.
↓
↓
↓
↓
100%
75%
50%
25%
0%
CHANGET
HE BATTERYPAC
K
Die Anzeige auf dem Bildschirm gibt die ungefähre
Restladung des Akkus an:
Hinweise:
•Wenn der Akku ganz leer ist, wird “CHANGE THE
BATTERY PACK” (Akku austauschen) 4 Sekunden lang
angezeigt und das Akku-Warnsymbol beginnt zu blinken.
Die Betriebsanzeigelampe blinkt ebenfalls.
•Die Anzeige ist nicht konstant — sie richtet sich nach den
Bedingungen, unter denen Akku und Camcorder
eingesetzt werden.
Wie viel Restladung verbleibt?

136
D
Zusätzliche
Information
Einsetzen der Speicherschutzbatterie
Öffnen Sie die Abdeckung der
Speicherschutzbatterie und setzen Sie eine Lithium-
Knopfzelle CR2025 mit dem Pluspol (+) nach
außen ein. Schließen Sie die Abdeckung, bis sie
hörbar einrastet.
Die Speicherbatterie sorgt dafür, dass Datum,
Uhrzeit und andere Einstellungen auch dann
erhalten bleiben, wenn keine Stromquelle am
Camcorder angeschlossen ist. Die Batterie hat eine
Lebensdauer von ungefähr einem Jahr.
Wenn die Speicherbatterie erschöpft (oder keine
Speicherschutzbatterie eingesetzt) ist, blinkt das
Symbol “y” auf dem Display. Entnehmen Sie
dann die alte Batterie durch Hochdrücken,
Freigeben, und Herausnehmen. Sorgen Sie
zunächst dafür, dass die Stromversorgung des
Camcorders sichergestellt ist, so dass die
Einstellungen beim Batteriewechsel erhalten
bleiben.
GEFAHR!
Den Akku mit Umsicht handhaben.
•Von Feuer fernhalten (Explosionsgefahr!)
•Den Akku keinen Temperaturen über 60 °C aussetzen. Er sollte daher nicht in der Nähe eines
Heizkörpers oder an heißen Tagen in einem geschlossenen Fahrzeug aufbewahrt werden.
•Nicht zerlegen oder modifizieren.
•Nicht fallen oder anstoßen lassen.
•Vor Nässe schützen.
WARNUNG!
•Bei falscher Handhabung kann die Batterie in diesem Camcorder einen Brand oder chemische
Verätzung verursachen. Die Batterie darf auf keinen Fall aufgeladen, zerlegt, über 100°C erhitzt
oder verbrannt werden.
•Die Batterie darf nur gegen eine CR2025 eines der folgenden Hersteller ausgetauscht werden:
Panasonic, Hitachi Maxell, Sony und Sanyo oder Duracell DL2025. Bei Verwendung von
Batterien anderer Herkunft droht u.U. Brand- oder Explosionsgefahr.
•Die verbrauchte Batterie sollte an den Bezugshändler zur sicheren Entsorgung abgegeben
werden.
Vorsichtsmaßregeln:
•Die Batterie nicht mit einer Pinzette oder einem ähnlichen Werkzeug halten, da hierbei
Kurzschlussgefahr besteht.
•
Die Batterie mit einem sauberen und trockenen Lappen abwischen, um für guten Kontakt zu sorgen.
•Batterien gehören nicht in Kinderhände — bei versehentlichem Verschlucken sofort einen Arzt
aufsuchen. Die Außenhülle kann sich auflösen, und die Chemikalien im Inneren der Batterie
können Magen und Därme schwer schädigen.
•Die Batterie nicht auseinander nehmen, erhitzen oder in Wasser tauchen, da hierbei
Explosionsgefahr besteht!

137
D
Zusätzliche
Information
Wartung
Vorsicht bei Hitze und hoher Luftfeuchtigkeit.
•Lassen Sie den Camcorder beispielsweise an heißen Tagen nicht im Auto liegen.
•Beleuchtungsquellen strahlen oft extrem hohe Wärme ab.
•Den Camcorder nicht in einen feuchten Raum bringen.
Vorsicht bei starken Temperaturwechseln.
•Wenn der Camcorder aus der Kälte ins Warme gebracht wird, kann sich auf dem Objektiv und im
Geräteinneren Feuchtigkeit niederschlagen ( 140).
Objektiv und Sucher vor starker Lichteinwirkung schützen.
•Richten Sie das Objektiv niemals direkt auf die Sonne oder für längere Zeit auf ein hell
beleuchtetes Objekt.
•Seien Sie diesbezüglich bei Verwendung eines Stativs bitte besonders vorsichtig.
Starke magnetische oder elektrische Felder vermeiden.
•Den Camcorder nicht in der Nähe von Fernsehtürmen, mobilen Funkgeräten und anderen Quellen
von magnetischen oder elektrischen Feldern verwenden, da dies Bildstörungen zur Folge haben
und den Camcorder im Extremfall permanent beschädigen kann.
Camcorder vor Nässe schützen.
•Decken Sie den Camcorder beim Filmen an regnerischen oder diesigen Tagen mit einem
Regenschutz ab.
•Falls Wasser ins Geräteinnere gelangen sollte, wenden Sie sich bitte sofort an den Kundendienst,
da in einem solchen Fall elektrische Schläge nicht auszuschließen sind.
Vorsicht bei Sand/Staub
•Sand und Staub können das Objektiv und den Camcorder beschädigen — seien Sie besonders an
windigen Tagen vorsichtig.
Vorsicht bei der Handhabung.
•Stöße und Erschütterungen schaden dem Camcorder.
•Tragen Sie den Camcorder nicht am Sucher oder an der LCD-Tafel.
Den Camcorder nicht zerlegen.
•Unsachgemäße Eingriffe gefährden Sie und das Gerät. Wartungs — und Reparaturarbeiten dürfen
nur von geschultem Fachkräften ausgeführt werden. Überlassen Sie solche Arbeiten bitte dem
geschulten Canon Kundendienstpersonal.
Vorsichtsmaßregeln

138
D
Zusätzliche
Information
Sucher
•Reinigen Sie den Sucherschirm. Drehen Sie den Sucher nach
oben.
Nehmen Sie die Sucher-Schutzabdeckung ab und reinigen Sie
sie z.B. mit einem Wattebausch. Nach erfolgter Reinigung
drehen Sie den Sucher so zurück, dass er bündig mit dem
Camcorder abschließt.
•Der Sucherschirm ist sehr empfindlich gegenüber Kratzern.
Gehen Sie daher bei der Reinigung äußerst behutsam vor.
LCD-Bildschirm
•Säubern Sie den LDC-Bildschirm mit einem handelsüblichen
Glasreinigungstuch.
•Bei sprunghaften Temperaturänderungen kann der LCD-
Bildschirm (mit Wassertröpfchen) beschlagen. Wischen Sie die
Feuchtigkeit mit einem weichen, trockenen Tuch auf.
•Bei niedrigen Temperaturen wirkt der LCD-Bildschirm dunkler
als gewöhnlich. Dies ist jedoch keine Störung. Wenn sich der
Bildschirm erwärmt, wird das Bild wieder normal.
Camcordergehäuse und Objektiv
•Wischen Sie Staub und Schmutz mit einem weichen,
trockenen Tuch von Gehäuse und Objektiv ab. Verwenden Sie
keine imprägnierten Tücher oder Chemikalien, wie z. B.
Verdünner, da diese die Gehäuseoberfläche angreifen.
Wartung
q
w
q
w
Wenn der Camcorder voraussichtlich längere Zeit nicht gebraucht wird, bewahren Sie ihn an einem
Ort auf, wo er vor Staub, Feuchtigkeit und hohen Temperaturen (über 30 °C) sicher ist. Bei der
Wiederinbetriebnahme prüfen Sie dann zunächst alle Teile und Funktionen, um sicherzustellen, dass
der Camcorder voll einsatzbereit ist.
Hinweis:
•Diese Vorsichtsmaßregeln gelten auch für Zubehörteile wie Akkus und Kassetten.
Aufbewahrung

139
D
Zusätzliche
Information
Stromquellen
•Sie können das Kompakt-Netz-/Ladegerät weltweit als Netzadapter bzw. Ladegerät verwenden,
solange die örtliche Netzspannung zwischen 100 und 240 V (50/60 Hz) liegt. Einzelheiten über
Steckeradapter für Verwendung im Ausland erfahren Sie bei Ihrem Canon oder Elektro-
Fachhändler.
Fernsehnorm
•Sie können das Wiedergabebild jederzeit und überall auf dem LCD-Bildschirm betrachten. Zum
Wiedergeben über einen Fernseher muss ein PAL-Gerät verwendet werden. Die PAL-Farbnorm
wird in den folgenden Ländern/Regionen verwendet:
Algerien, Australien, Bahrain, Bangladesch, Belgien, Brunei, China, Dänemark, Deutschland,
Finnland, Großbritannien, Holland, Regierungsbezirk Hong Kong, Indien, Indonesien, Irland,
Island, Italien, Jemen, Jordanien, ehem. Jugoslawien, Kenia, Kuwait, Liberia, Malaysia, Malta,
Mozambique, Neuseeland, Nordkorea, Norwegen, Oman, Österreich, Pakistan, Paraguay, Portugal,
Qatar, Schweden, Schweiz, Sierra Leone, Sambia, Singapur, Spanien, Sri Lanka, Südafrika,
Swaziland, Tansania, Thailand, Türkei, Uganda, Vereinigte Arabische Emirate.
Verwendung des Camcorders im Ausland
Videoköpfe
•Wenn mosaikähnliche Störungen im Wiedergabebild auftreten, sind die
Videoköpfe unter Umständen verschmutzt. Bei extremer Verschmutzung ist
ein leeres, blaues Bild zu sehen.
•Für optimale Bildqualität des Camcorders nach Verwendung von etwa 20
Stunden säubern Sie die Videoköpfe mit der Canon Digital-Video-
Kopfreinigungskassette DVM-CL. Wenn das “Rauschen” verbleibt, führen Sie die Reinigung
wiederholt aus (maximal 5 mal).
•Verwenden Sie keine Nassreinigungskassette, da diese Schäden am Gerät verursachen kann.

140
D
Zusätzliche
Information
Kondensation
Wenn der Camcorder von einem kalten an einen warmen Ort gebracht wird, kann sich Feuchtigkeit
auf Metallflächen im Geräteinneren niederschlagen. Wird das Gerät in diesem Zustand betrieben,
kann sowohl das Videoband als auch der Camcorder Schaden leiden.
Bildung von Kondensation:
Wenn der Camcorder aus einem klimatisierten
Raum an einen feuchtwarmen Ort gebracht wird.
Vorbeugende Maßnahmen:
•Entnehmen Sie die Videokassette, und stecken Sie den Camcorder in einen Plastikbeutel, bevor
Sie ihn an einen warmen oder feuchten Ort bringen, wo mit Kondensation zu rechnen ist. Warten
Sie, bis sich das Gerät auf Zimmertemperatur erwärmt hat, bevor Sie es aus dem Beutel nehmen.
Bei Auftreten von Kondensation:
•Die Meldung “CONDENSATION HAS BEEN DETECTED” wird etwa 4 Sekunden lang angezeigt.
Danach blinkt die Betriebsanzeige, und das Symbol hwird blinkend auf dem Display angezeigt.
Ist eine Kassette eingelegt, so stoppt der Bandlauf automatisch, und die Meldung
“REMOVE THE CASSETTE” wird etwa 4 Sekunden lang angezeigt, wonach das Symbol vauf
dem Display blinkt. Bei eingeschalteter Bestätigungstongabe ist ein Warnton zu hören.
Entnehmen Sie in diesem Fall wegen der drohenden Beschädigungsgefahr unbedingt die Kassette.
•Kondensation wird unter Umständen mit Verzögerung erkannt — zuweilen erscheint die
Warnanzeige erst 10 bis 15 Minuten nach der Kondensatbildung.
•Solange im Camcorder Kondensat vorhanden ist, kann keine Videokassette eingelegt werden.
Abhilfemaßnahme:
•Entnehmen Sie die Kassette, und schalten Sie den Camcorder dann mit offenstehendem
Kassettenfach aus.
•Lassen Sie das Gerät an einem trockenen Platz stehen, bis sich die Feuchtigkeit verflüchtigt hat.
Auch wenn die Kondensations-Warnanzeige nicht mehr blinkt, sollten Sie noch mindestens eine
Stunde warten, bevor Sie den Camcorder wieder in Betrieb nehmen.
Wenn der Camcorder von einem kalten an einen
warmen Ort gebracht wird.
Wenn der Camcorder in einen feuchten Raum
gebracht wird.
Wenn ein kalter Raum schnell aufgeheizt wird.

Probleme und Fehlersuche
Ursachen und/oder Abhilfemaßnahmen
•Der Camcorder ist nicht auf den richtigen
Modus gestellt ( 33, 85).
•Es ist keine Kassette eingelegt, oder die
Löschsperre der eingelegten Kassette ist aktiviert
(16-17).
•Das Ende der Kassette wurde erreicht.
•Die Betriebsstromquelle ist nicht richtig
angeschlossen, oder der Akku ist verbraucht
oder nicht richtig angebracht ( 14-15, 135)
•Die Funktion kann beim gewählten
Aufnahmeprogramm nicht verwendet werden
(50).
•Der Camcorder war länger als 5 Minuten auf
Aufnahmepause geschaltet ( 34, 116).
•Der Akku ist erschöpft ( 15, 135).
•Der Akku ist verbraucht. Neuladen oder einen
neuen Akku einsetzen ( 15).
•Es ist keine Kassette eingelegt, oder die
Löschsperre der eingelegten Kassette ist aktiviert
(16-17).
•Das Ende der Kassette wurde erreicht.
•Der Camcorder ist nicht auf den richtigen
Modus gestellt ( 33, 85).
•Es wurde versucht, kopiergeschütztes Material
abzuspielen bzw. aufzunehmen ( 98).
•Die Videoköpfe sind stark verschmutzt ( 139).
•Der Camcorder ist auf manuelle
Scharfeinstellung geschaltet ( 77).
•Die Sucherlinse muss eingestellt werden ( 12).
•Das Objektiv ist schmutzig ( 138).
Falls Probleme mit dem Camcorder auftreten, richten Sie sich bei der Fehlersuche nach der
folgenden Checkliste. Mögliche Ursachen für die Störungen werden unter dem jeweiligen Problem
angegeben. Für nähere Informationen schlagen Sie auf den in Klammern angegebenen Seiten nach.
Wenn der Camcorder an einem Fernseher oder Videorecorder angeschlossen ist, prüfen Sie bitte
auch die Anschlüsse. Sollte sich das Problem nicht beheben lassen, wenden Sie sich an Ihren Händler
oder den Kundendienst.
Aufnahme/Wiedergabe auf Kassette
Problem
?Beim Drücken der Tasten passiert nichts.
?Der Camcorder schaltet selbsttätig ab.
?Das Kassettenfach stoppt während des
Betriebs beim Einsetzen/
Entnehmen einer Kassette.
?Start/Stopp-Taste funktioniert nicht.
?Kein Bild auf dem Display.
?Anzeige eines leeren, blauen Displaybilds.
?Keine Scharfeinstellung des Camcorders.
141
D
Zusätzliche
Information

142
D
Zusätzliche
Information
Hinweis:
•Gewisse Motive sind für eine Autofokus-Einstellung ungeeignet. In den untengenannten Situationen
erzielt man mit manueller Scharfeinstellung oftmals bessere Ergebnisse ( 77). Alternativ stellen Sie
das Objektiv per Autofokus auf einen anderen Gegenstand in derselben Entfernung ein, um dann die
Autofokus-Sperre zu aktivieren und zum ursprünglichen Bildausschnitt zurückzuschwenken.
Motive mit
waagerechten Linien
Mehrere
Aufnahmegegenstände in
unterschiedlicher Entfernung
Aufnahme durch eine
Fensterscheibe
Kontrastarme Motive
(z.B. weiße Wand)
Viel Licht reflektierende
Flächen (z.B. Fahrzeuge in
der Sonne)
Sich schnell bewegende
Gegenstände
Dunkle Motive Nächtliche Szenen
Aufnahme/Wiedergabe (Fortsetzung)
Ursachen und/oder Abhilfemaßnahmen
•Beim Gebrauch der digitalen Effekte sind
gewisse Einschränkungen zu beachten. Siehe
(60).
•Der Camcorder steht nicht auf TAPE PLAY (VCR)-
Betrieb ( 85).
•Es ist keine Kassette eingelegt ( 16).
•Das Ende der Kassette wurde erreicht.
•Beim Filmen in dunkler Umgebung kann ein
heller, vertikaler Streifen (eine sogenannte
Fahne) im Bild erscheinen. Dies kommt bei allen
Camcordern vor und sollte nicht als Defekt
ausgelegt werden.
•Die Videoköpfe müssen gereinigt werden
(139).
•AV
\DV OUT (Analog/Digital-Wandler) ist im
Menü nicht auf OFF eingestellt ( 101).
•Die Videoköpfe müssen gereinigt werden
(139).
•Der TV/VIDEO-Wahlschalter am Fernsehgerät ist
nicht auf VIDEO gestellt ( 93-94).
•Der Lautsprecher wurde mit dem Wählrad
ausgeschaltet ( 87).
•Kopfhörer sind angeschlossen.
Problem
?Manche/alle digitalen Effekte
funktionieren nicht.
?Taste 3(Wiedergabe) funktionslos.
?Ein heller Streifen erscheint im Bild.
?Unsauberes Wiedergabebild
(mosaikähnliche Bildstörungen).
?Kein Bild auf dem Fernsehschirm.
?Kein Bild auf dem Fernsehbildschirm
trotz Bandtransport.
?Keine Klang vom Lautsprecher bei
Wiedergabe.

143
D
Zusätzliche
Information
Speicherkarten-Betrieb
Ursachen und/oder Abhilfemaßnahmen
•Sie ist nicht in der richtigen Stellung ( 113).
Drehen Sie sie in die richtige Stellung, und setzen
Sie sie erneut ein, oder setzen Sie eine neue
Speicherkarte ein.
•Schalten Sie den Camcorder aus und wieder ein,
entnehmen Sie die Karte und setzen Sie diese
wieder ein. Wenn das Symbol weiterhin blinkt,
Speicherkarte formatieren.
•Der Camcorder ist nicht auf CARD CAMERA
oder CARD PLAY gestellt ( 116, 118).
•Die Speicherkarte ist nicht eingesetzt ( 113).
•Sie benutzen eine SD-Speicherkarte mit
aktiviertem Löschschutz. Bringen Sie den
Löschschutzschalter in die andere
Schalterstellung.
•Die Speicherkarte ist voll. Bilder löschen ( 120)
oder eine neue Speicherkarte einsetzen.
•Die Betriebsstromversorgung ist nicht richtig
angeschlossen, oder der Akku verbraucht oder
nicht richtig angebracht ( 14-15, 135).
•Die Funktion kann nicht in diesem
Aufnahmeprogramm verwendet werden
(50).
•Die Speicherkarte ist nicht eingesetzt ( 113).
•Sie benutzen eine SD-Speicherkarte mit
aktiviertem Löschschutz. Bringen Sie den
Löschschutzschalter in die andere
Schalterstellung.
•Die Speicherkarte ist voll. Bilder löschen ( 120)
oder eine neue Speicherkarte einsetzen.
•Die maximale Dateienanzahl wurde erreicht.
Setzen Sie die Dateinummerierung über das
Menü ( 115) zurück, und setzen Sie eine neue
Speicherkarte ein.
•Sie verwenden eine unformatierte Speicherkarte.
Formatieren Sie die Karte ( 131).
•Das Bild ist geschützt ( 120).
•Sie benutzen eine SD-Speicherkarte mit
aktiviertem Löschschutz. Bringen Sie den
Löschschutzschalter in die andere Schalterstellung.
Problem
?Die Speicherkarte lässt sich nicht
einsetzen.
?Das rote Symbol blinkt im Display,
obwohl eine Speicherkarte eingesetzt
ist.
?Beim Drücken der Tasten passiert nichts.
?PHOTO-Taste funktionslos.
?Das Bild kann nicht gelöscht werden.

144
D
Zusätzliche
Information
Verschiedenes
Ursachen und/oder Abhilfemaßnahmen
•Der Fernbedienungssensor wurde im Menü
ausgeschaltet (OFFB) ( 28).
•Die Infrarot-Fernbedienung und der Camcorder
sind nicht auf denselben Fernbedienungsmodus
eingestellt ( 28).
•Die Batterien sind verbraucht oder nicht
eingelegt.
•Die Bildschirmanzeigen überprüfen ( 135).
•Eine sehr seltene Erscheinung, die auftreten
kann, wenn der Camcorder an Orten mit sehr
niedrigem Luftdruck eingesetzt wird, wie z.B. in
einem Flugzeug. Die Blasen verschwinden
innerhalb von etwa einer Woche, nachdem der
Camcorder wieder normalem atmosphärischem
Druck ausgesetzt ist.
•Externe Störungen können vorübergehende
Fehlfunktionen der Mikroprozessoren im
Camcorder hervorrufen. Falls z. B. wahllos
Buchstaben auf dem Bildschirm erscheinen oder
der normale Betrieb unterbrochen wird, einmal
die Betriebsstromquelle abtrennen und dann
wieder anschließen.
•Das Kabel abtrennen und wieder anschließen
oder den Camcorder aus- und wieder
einschalten.
•Dies ist keine Fehlfunktion.
Problem
?Die Fernbedienung arbeitet nicht.
?Die Betriebsanzeige blinkt.
?Luftblasen im Objektiv.
?Fehlfunktionen des Camcorders.
?Das DV-Kabel ist richtig angeschlossen,
es erscheint jedoch nichts auf dem
Bildschirm.
? Der Camcorder erwärmt sich beim
Betrieb.

145
D
Zusätzliche
Information
Stereomikrofon
(im Fachhandel
erhältlich)
Fernbedienung
WL-D77
Digital-
Videokassette
Zoom-Fernbedienung
ZR-1000
Weitwinkelkonverter
WD-58H
Mikrofonadapter
MA-300
Stereo-Richtmikrofon
DM-50
Videoleuchte VL-3
Autobatterieadapter CB-920
(in Kürze erhältlich)
Gleichspannungskoppler
DC-920
Schulterriemen SS-650
Kompakt-Netz/
Ladegerät CA-920
Doppel-Ladegerät/
Batteriemagazin CH-910
Speedlight
220EX/420EX/550EX
Akku der Serie
BP-900
SD-Speicherkarte
oder
MultiMedia-Karte
USB-Kabel IFC-300PCU
Kartenadapter
Diskettenadapter
Fernsehgerät
Videorecorder
Systemkoffer
HC-4100
S-Videokabel S-150
Digitalgerät
Personal Computer
DV-Kabel CV-150F
Stereo-Videokabel
STV-250N
DV-Kabel CV-150F/CV-250F
SCART-
Adapter
PC-A10
Akkus der
Serie BP-900 Akku-
Videoleuchte
VL-10Li
Akku der Serie
BP-900
XM2 Videosystem (Lieferbarkeit je nach Land unterschiedlich)

146
D
Zusätzliche
Information
Sonderzubehör
Dieser Digital-Camcorder wurde so konstruiert, dass er bei Verwendung von Original-Digital-Camcorder-
Zubehör von Canon (“Canon-Markenzubehör”) seine optimale Leistungsfähigkeit entfaltet.
Sie können diesen Digital-Camcorder auch mit Zubehörteilen anderer Hersteller verwenden. Jedoch
übernimmt Canon keine entsprechende Gewährleistung und keine Verantwortung bei möglichen
Schadensersatzansprüchen aufgrund der Verwendung von Zubehör, das kein Canon-Markenzubehör ist.
Stereo-Richtmikrofon DM-50
Dieses hochempfindliche Mikrofon mit überragender
Richtwirkung wird auf den fortschrittlichen
Zubehörschuh des Camcorders aufgesteckt. Es hat die
umschaltbaren Funktionen Richtmikrofon (Mono) und
Stereomikrofon, wobei im Interesse eines vollen
Aufnahmeklangs auch von vorn einfallender Schall klar
aufgenommen wird.
Weitwinkelkonverter WD-58H
Der Weitwinkelkonverter verringert die Brennweite um
einen Faktor von 0,7, was eine Weitwinkelperspektive
für Innen-oder Panoramaaufnahmen erlaubt.
Doppel-Akkulader/-halter CH-910
Fasst zwei Akkus, die beide nacheinander aufgeladen
werden können. Der CH-910 lässt sich mit dem XM2
elektrisch verbinden und ermöglicht dann das
Zweifache der normalen Aufnahme/Wiedergabezeit.
Zusammen mit dem Hochleistungsakku BP-945 bietet
er bis zu 14 Stunden Aufnahmezeit.
Autobatterieadapter CB-920
Unterwegs lassen sich die Akkus im Pkw über den
Autobatterieadapter aufladen. Der Adapter wird
einfach an den Zigarettenanzünder des Autos
angeschlossen und eignet sich für Fahrzeuge mit 12-
oder 24 Volt Bordnetz (Minus an Masse).
Akku BP-915, BP-930, BP-945
Zusatzakkus für XM2.

147
D
Zusätzliche
Information
420EX220EX 550EX
Dieses Zeichen identifiziert Original-Canon-Zubehör. Wir empfehlen Ihnen, für Ihre
Canon-Videogeräte stets Original-Canon-Zubehör mit diesem Zeichen zu verwenden.
C
A
N
O
N
G
E
N
U
I
N
E
V
I
D
E
O
A
C
C
E
S
S
O
R
Y
Systemkoffer HC-4100
Ein stabiler, verschließbarer, eleganter Alukoffer, der den
Camcorder bei Transport und Lagerung zuverlässig
schützt.
Mikrofonadapter MA-300
Ermöglicht den Anschluss von Mikrofonen mit XLR-
Anschlüssen an den XM2 und die Umsetzung von
Videosignalen auf den BNC-Anschluss.
Speedlite 220EX/420EX/550EX
Für Blitzlichtaufnahmen mit dem XM2 wie mit einer
SLR-Kamera.
Akku-Videoleuchte VL-10Li
Diese kompakte, jedoch leistungsstarke Videoleuchte
kann für Aufnahmen sowohl innen als auch im Freien
verwendet werden.
•
Die Leuchte wird mit Akkus der Serie BP-900 betrieben.
Ungefähre Betriebsdauer:
BP-915 60 Min., BP-930 120 Min. und BP-945 170 Min.
Videoleuchte VL-3
Bringen Sie bei Aufnahmen in dunklen Räumen die
Videoleuchte auf dem Camcorder an. Bei Einstellung
auf Automatik wird die Videoleuchte je nach
Aufnahmehelligkeit automatisch ein- oder
ausgeschaltet.

148
D
Zusätzliche
Information
Wahlweise können Sie den Betriebszustand des
Camcorders auf LCD-Display/Sucherschirm ein- oder
ausblenden. Diese Anzeige erscheint entsprechend auch
auf dem Bildschirm eines angeschlossenen Fernsehgeräts.
Mit der TV SCREEN-Taste an der Fernbedienung oder durch Stellen von TV SCREEN auf OFF im
Menü lassen sich die Anzeigen auf dem Fernsehschirm ausblenden. Zu diesem Zweck können Sie
auch auf die Funktionstaste zurückgreifen, sofern sie auf TV SCREEN gesetzt ist ( 56). (Die
Anzeigen erscheinen in Weiss auf dem Schirm.)
Die Anzeigen werden nicht in die Aufnahmen mit diesem Camcorder eingeblendet.
Öffnen Sie zum Ausschalten der TV SCREEN Funktion zunächst das Menü, und
wählen Sie DISP.SET UP. Danach wählen Sie TV SCREEN, stellen OFF ein und
schließen das Menü.
Wie Sie den Camcorder an Ihr Fernsehgerät anschließen, ist auf Seite 93 beschrieben.
Für die Bildwiedergabe auf dem LCD-Bildschirm können Sie die Anzeigen ausblenden.
Öffnen Sie zum Ausblenden der Displayanzeigen zunächst das Menü, und wählen
Sie DISP.SET UP. Danach wählen Sie DISPLAYS, stellen OFF <PLAYBK> ein und
schließen das Menü.
•Werden die Displayanzeigen ausgeblendet, so erscheint das LCD-Display vollständig leer (ebenso
der Bildschirm des angeschlossenen Fernsehgeräts), wobei allerdings der Camcorder nach wie vor
Warn-/Vorsichtsmeldungen anzeigt.
•Bei Camcorderbetrieb werden die Betriebsstatusanzeigen 2 Sekunden lang eingeblendet. Wird ein
Indexbild aufgerufen, werden die Anzeigen nicht ausgeblendet.
Bildschirmanzeigen
TV
SCREEN
DATA
CODE
TV SCREEN••• ON
DISP. SET UP
( 18)
DISPLAYS•••• ON
DISP. SET UP
( 18)
Ausschalten der LCD-Displayanzeigen
Fernsehschirmanzeigen

149
D
Zusätzliche
Information
Displayanzeigen im TAPE CAMERA-Modus
S1/500 10
sec
F1.8 SELF–T
0
REC
0:12:34
60
min
1
VOICE
16
bit
[DV IF]16:9
PHOTO
F
MANUAL
CP NDMF
MF CHAR.REC
FADE–T
N.Y.
12:00 AM
15.JAN.2002
ON
U
jhA
T
W
PS
dB
qwe
#1
rt y
u
!7!8!9#2 @0
i
o
!0
!1
!2
!3
!4
!5
!6
#0
@9
@8
@7
@6
@5
@4
@3
@2
@1
C
qWeißabgleich ( 78)
wAufnahmeanzeige ( 33)/
Selbstauslöser-Zählung ( 69)/
Foto-Aufnahme-Timer
eBildstabilisator ( 44)
rSpeicherschutzbatterie
(136)
tAufnahmemodus ( 35)
y
Kondensationswarnung
(140)
uBetriebsart ( 33)
[REC, PAUSE, EJECT, STOP, K
(Aufnahmesuche)]
iBandzähler
oRestliche Aufnahmezeit
!0
Restliche Akkuladung ( 135)
!1
Fernbediensensor-Modus
( 28)
!2 Mikrofontyp ( 54)/
Mikrofondämpfung ( 55)
!3 Audio-Modus ( 54)
!4 Breitbildmodus ( 35)
!5 Photo- ( 91), Indexbild- (
91), Movie-Modus ( 48)
!6 Audiopegelanzeige ( 55)
!7 Selbstauslöser ( 69)/
Intervall-Timer ( 67)
!8 Optionale Videoleuchte,
Mikrofon oder Mikrofonadapter
angeschlossen
!9 AF/AE-Sperre im Photo-Modus
(46, 116)
@0 Zeichenaufzeichnung ( 84)
@1 Datencode ( 88)
@2 Zeitzone/Sommerzeit ( 30)
@3 Digitale Effekte ( 60)
@4 Manueller Fokus ( 77)
@5 Programmeinstellung ( 81)
@6 Verstärkung ( 74)
@7 Blendenzahl ( 74)
@8 Verschlusszeit ( 75)/
Belichtungssperre ( 76)/
AE-Verschiebung ( 80)
@9 Aufnahmeprogramm ( 50)
#0 Zoom ( 40)
#1 DV-Steuerung ( 70)
#2 ND-Filter ( 45)
Displayanzeigen im TAPE PLAY (VCR)-Modus
STOP
0:00:00:00
60
min
1
NORMAL
16
bit
16:9
DV IN
SPEAKER
MIX/VARI.
ST–1 ST–2
INDEX SEARCH
TV SCREEN
0
F1.8
1/500
12:00 AM
1.JAN.2002
jh A
PS
dB
!
3
qw
e
r
t
y
u
i
o
!0
!1
!2
!8
!7
!6
!5
!4
qAufnahme-Modus ( 35)
w
Kondensationswarnung
(140)
eBetriebsart ( 85)
[REC, PAUSE, EJECT, STOP,
Spezielle Wiedergabe, Audio-
Überspielung, AV-Insert-Schnitt
usw.]
rBandzähler
tRestliche Aufnahmezeit
yRestliche Akkuladung ( 135)
u
Fernbediensensor-Modus
( 28)
iMikrofontyp ( 54)
oAudio-Modus ( 54)
!0 Breitbildmodus ( 35)
!1 DV IN ( 97)
!2
Lautstärke von Lautsprecher/
Kopfhörern ( 87)/
Audiopegelanzeige ( 55)
!3 Speicherbatterie ( 136)
!4 Datencode ( 88)
!5 Funktionstaste ( 56)
!6 Photo-Suchlauf /
Datum-Suchlauf
Index-Suchlauf ( 91)/
Audio-Überspielung ( 106)/
AV-Insert-Schnitt ( 103)/
!7 Mischungs-Balance ( 109)
!8 Tonmischung ( 109)

150
D
Zusätzliche
Information
Displayanzeigen im CARD CAMERA-Modus
S1/720 10SEC
F2.0 SELF–T
0
FINE
9999
1488
1
F
MANUAL
CP NDMF
MF
12:00 AM
15.JAN.2002
ON
jhA
T
W
dB
qw
!
0
e
r
o!
1
!
2
!
3
!
4
t
y
u
i
@2
@1
@0
!9
!8
!7
!6
!5
qWeißabgleich ( 78)
wSelbstauslöser-Zählung ( 69)
eBildstabilisator ( 44)
rBildqualität ( 113)
tRestliche Kartenkapazität
(117)
yBildgröße ( 114)
uRestliche Akkuladung ( 135)
iFernbediensensor-Modus
( 28)
o
Kondensationswarnung
(140)
!0 Speicherbatterie ( 136)
!1 Selbstauslöser-Timer ( 69)
!2 Aufzeichnung auf Karte
(116)
!3 AF/AE-Sperre ( 46, 116)
!4 ND-Filter ( 45)
!5 Datum und Uhrzeit ( 32)
!6 Manueller Fokus ( 77)
!7 Programmeinstellung ( 81)
!8 Verstärkung ( 74)
!9 Blendenzahl ( 74)
@0 Verschlusszeit ( 75)/
Belichtungssperre ( 76)/
AE-Verschiebung ( 80)
@1 Aufnahmeprogramm ( 50)
@2 Zoom ( 40)
Displayanzeigen im CARD PLAY (VCR)-Modus
101–0001
9999/9999
1488
1
TV SCREEN
12:00 AM
15.JAN.2002
jhA
qw
e
io
r
t
y
u
!1
!0
!2
qDruckmarkierung ( 123)
wSchutzmarkierung ( 122)
eDateinummer ( 115)
rAktuelles Bild/Gesamtbildzahl
(119)
tBildgröße ( 114)
yRestliche Akkuladung ( 135)
u
Fernbediensensor-Modus
( 28)
i
Kondensationswarnung
(140)
oSpeicherbatterie ( 136)
!0 Datum und Uhrzeitanzeige
( 88)
!1 Funktionstaste ( 56)
!2 Auslesen von der Karte

151
D
Zusätzliche
Information
Warnmeldungen
Zeitzone, Datum und Uhrzeit sind nicht eingestellt. Erscheint
beim Einschalten, bis Sie die Zeitzone, das Datum und die
Uhrzeit einstellen ( 30).
Der Akku ist erschöpft. Akku austauschen oder aufladen.
Die Kassette austauschen oder den Löschschutz deaktivieren
(16, 17).
Zum Schutz der Kassette vor Beschädigung hat der Camcorder
gestoppt. Die Kassette entnehmen und die Operation von
Anfang an wiederholen ( 140).
Es ist kein DV-Kabel angeschlossen oder die angeschlossene
Digitalkomponente ist ausgeschaltet ( 97).
Feststellung von Kondensation im Camcorder ( 140).
Bandende erreicht. Das Band zurückspulen oder die Kassette
herausnehmen ( 86).
Aufzeichnung erfolgte in einem anderen als dem SP-Modus.
Nachvertonung bzw. AV-Insertschnitt nicht möglich
(103, 106).
Aufzeichnung erfolgte im 16-Bit- oder 12-Bit-4-Kanalmodus.
Nachvertonung nicht möglich ( 106).
Leerstelle auf dem Band durch den Camcorder erkannt.
Nachvertonung bzw. AV-Insertschnitt nicht möglich
(103, 106).
Anzeige erscheint direkt nach dem Aufnahmestart, wenn die
Videoköpfe verschmutzt sind. Die Videoköpfe reinigen
(139).
Versuch der Wiedergabe einer urheberrechtlich geschützten
Kassette ( 98).
Der Camcorder zeigt in bestimmten Fällen Meldungen an, die jeweils ca. 4 Sekunden lang
eingeblendet werden.
SET THE TIME ZONE,
DATE AND TIME
CHANGE THE BATTERY PACK
THE TAPE IS SET FOR ERASURE
PREVENTION
REMOVE THE CASSETTE
CHECK THE DV INPUT
CONDENSATION
HAS BEEN DETECTED
TAPE END
CHECK THE CASSETTE
[REC MODE]
CHECK THE CASSETTE
[AUDIO MODE]
CHECK THE CASSETTE
[BLANK]
HEADS DIRTY,
USE CLEANING CASSETTE
COPYRIGHT PROTECTED
PLAYBACK IS RESTRICTED

152
D
Zusätzliche
Information
Versuch der Überspielung von einer urheberrechtlich
geschützten Kassette. Wird u.U. auch dann angezeigt, wenn
bei Analogaufzeichnung unzulässige Eingangssignale vorliegen
(98, 99).
Speicherkarten-Meldungen
Es ist keine Speicherkarte in den Camcorder eingesetzt
(113).
Der Löschschutz der SD-Speicherkarte ist aktiviert. Die Karte
austauschen oder den Löschschutz deaktivieren ( 112).
Keine Titelpassagenbilder auf der Speicherkarte aufgezeichnet.
Keine Bilder auf der Speicherkarte aufgezeichnet ( 116).
Speicherkartenfehler aufgetreten. Keine Aufnahme/Wiedergabe mit
dem Camcorder. Der Fehler ist u.U. nicht permanent. Verschwindet
CARD ERROR nach 4 Sekunden und blinkt Anzeige Rot, die
Stromversorgung des Camcorders ausschalten, die Karte herausnehmen
und wieder einsetzen. Wechselt Anzeige auf Grün, so ist die
Fortsetzung von Aufnahme/Wiedergabe möglich
(116, 118).
Kein Speicherplatz mehr auf der Speicherkarte. Mit einer
anderen Speicherkarte austauschen oder Bilder löschen
(125).
Höchstmögliche Datei- oder Ordnernummern bereits erreicht
(115).
Bildaufzeichnung im JPEG-Format oder einem anderen nicht
mit dem Camcorder kompatiblen Format oder verfälschte
Bilddaten.
Die markierte Datei lässt sich nicht editieren ( 123).
Erscheint beim Drücken der Start/Stopp-Taste im CARD
CAMERA-Modus als Hinweis darauf, dass kein Bild
aufgezeichnet ist.
Der Deckel des Speicherkartenfachs ist offen.
COPYRIGHT PROTECTED
DUBBING RESTRICTED
NO CARD
THE CARD IS SET FOR
ERASURE PREVENTION
NO TITLES
NO IMAGES
CARD ERROR
CARD FULL
NAMING ERROR
UNIDENTIFIABLE IMAGE
PRINT MARK ERROR
IN CARD POSITION
MEMORY CARD COVER
IS OPEN

153
D
Zusätzliche
Information
Technische Daten
Stromversorgung (Nennspannung):
Leistungsaufnahme
(bei aktiviertem Autofokus):
Fernsehnorm:
Video-Aufnahmesystem:
Audio-Aufnahmesystem:
Bildsensor:
Bandformat:
Bandgeschwindigkeit:
Max. Aufnahmezeit
(80-Minuten-Kassette):
Vor-/Rückspulzeit:
Objektiv:
Scharfeinstellsystem:
Kürzeste Einstellentfernung:
Kürzeste Verschlusszeit:
Mindestbeleuchtung:
Empfohlene Beleuchtungsstärke:
Filterdurchmesser:
Sucher:
LCD-Display:
Mikrofon:
Aufzeichnungsmedien:
Zahl der Aufzeichnungspixel:
Bildformat:
Dateiformat:
Kapazität* der SD-Speicherkarte
SDC-8M:
USB-Buchse
DV-Anschluss :
XM2
7,2 V Gleichspannung
4,8 W (mit Sucher), 5,7 W (mit LCD-Display)
CCIR-Standard (625 Zeilen, 50 Teilbilder), PAL Farbsignal
2 rotierende Videoköpfe, DV-System mit
Schrägspuraufzeichnung (digitales Videorecorder-SD-System),
Digitale Komponentenaufzeichnung
PCM-Digitalton: 16-Bit (48 kHz/ 2 Kanäle);
12-Bit (32 kHz/ 4 Kanäle)
3 ×π-Zoll CCD mit PixelShift-Technik, ca. 3 ×470.000 Pixel
(3 ×440.000 Pixel effektiv)
Videokassetten mit dem “Mini DV”-Zeichen
SP: 18,83 mm/s, LP: 12,56 mm
SP: 80 Minuten, LP: 120 Minuten
Ca. 2 Minuten 20 Sekunden (60-min-Kassette)
F/1,6 - 2,9, 10-fach-Motorzoom, f = 4,2 - 84 mm
TTL-Autofokus, manuelle Scharfeinstellung möglich
1 m (1 cm am Weitwinkel-Endanschlag)
1/16.000 Sek. (1/700 Sek. mit Speicherkarte)
0,37 Lux (bei langer Verschlusszeit von 1/6 Sek.)
Über 100 Lux
58 mm
0,44 Zoll, TFT-Farb-LCD, ca. 180.000 Bildelemente
2,5 Zoll, TFT-Farb-LCD, ca. 200.000 Bildelemente
Stereo-Elektret-Kondensatormikrofon
SD-Speicherkarte, MultiMediaCard
1488 ×1128 Pixel, 640 ×480 Pixel
Kompatibel mit “Design rule for Camera File”-System (DCF),
kompatibel mit Exif 2.2*, kompatibel mit Digital Print Order
Format (DPOF) (nur für Standbilder mit Druckmarkierung)
* Dieser Camcorder unterstützt Exif 2.2 (auch als “Exif Print”
bezeichnet). Exif Print ist ein Standard zur Verbesserung der
Kommunikation zwischen Camcordern und Druckern. Bei
Anschluss an einen mit Exif Print kompatiblen Drucker
werden die ursprünglichen Aufnahmebilddaten des
Camcorders genutzt und optimiert, so dass sich äußerst
hochwertige Prints ergeben.
Standbild: JPEG (Komprimierungsmodus: Fine/Standard)
1488 ×1128: Fine 6 Bilder/ Standard 10 Bilder
640 ×480: Fine 47 Bilder/ Standard 93 Bilder
*Die Speicherkapazität ist motivabhängig.
Mini-B
Spezielle 4-polige Steckverbindung (gemäß IEEE1394)

154
D
Zusätzliche
Information
AV/Kopfhörer-Buchse:
S-Video-Buchse, Ein/Ausgang:
MIC-Buchse (Eingang:
Kopfhörerbuchse:
LANC-Anschluss:
Betriebstemperatur:
Abmessungen:
Gewicht:
ø3,5 mm, Minibuchse
Audio-Eingang: 0 dBV/ (47 kOhm Last)/, 47 kOhm (AUDIO
ATT ON)
–10 dBV (47 kOhm Last)/, 47 kOhm (AUDIO
ATT OFF)
Audio-Ausgang: 4 dBm (47 kOhm Last)/höchstens 3 kOhm,
Video: 1 Vss/75 Ohm unsymmetrisch
1 Vss (Y-Signal), 0,3 Vss (C-Signal)
ø3,5 mm Stereo-Minibuchse,
-35 dBV (mit 600 Ohm Mic)/5,6 kOhm (MIC ATT ON)
-55 dBV (mit 600 Ohm Mic)/5,6 kOhm (MIC ATT OFF)
ø3,5 mm Stereo-Minibuchse
ø 2,5 mm Minibuchse
0 bis 40 °C
118 ×136 ×306 mm
1,12 kg (ohne Netzkabel)
Stromversorgung:
Leistungsaufnahme:
Nennausgangsspannung:
Betriebstemperatur:
Abmessungen:
Gewicht:
Kompakt-Netz-/Ladegerät CA-920
Batterieart:
Nennspannung:
Betriebstemperatur:
Akkuleistung:
Abmessungen:
Gewicht:
Akku BP-915
Gewichtsangaben und Abmessungen sind ungefähre Werte.
Irrtümer und Auslassungen vorbehalten.
Änderungen vorbehalten.
100 bis 240 V Wechselspannung, 50/60 Hz
24 W
Netzgerät-Modus: 7,2 V Gleichspannung, 2,0 A
Ladegerät-Modus: 8,4 V Gleichspannung, 1,5 A
0 bis 40 °C
75 ×99 ×51 mm
215 g (ohne Netzkabel)
Lithium-Ionen-Akku
7,2 V Gleichspannung
0 bis 40 °C
1500 mAh
38,2 ×20,5 ×70,5 mm
96 g

155
D
Zusätzliche
Information
Stichwortverzeichnis
16:9, Breitbild ············································35
16:9-Markierung········································36
6-sekündige automatische
Datumseinblendung·································90
Å
AE-Verschiebung········································80
Akku··················································15, 134
Akkuladegerät············································15
Analog/Digital-Wandler ····························101
Analoger Eingang ······································99
Anschlüsse·································93, 111, 134
Audiodämpfung·······································106
Audiomischung········································109
Audiomodus ··············································54
Audiomonitor ··········································109
Audiopegelanzeige ······························43, 55
Aufnahme
auf Band········································33, 46
auf Speicherkarte·······························116
Aufnahmemodus ·······································35
Aufnahmepause·········································33
Aufnahmeprogramme································50
Aufnahme-Suchlauf ···································49
Aufnahmeüberprüfung ······························49
Ausgangskanal·········································109
Ausland, Verwendung des ·······················139
Autofokus··················································77
Automatik··················································51
AV Insertschnitt········································103
ı
Bestätigungstöne ·······································37
Bildauflösung ···········································114
Bildqualität···············································113
Bildschirmanzeigen···································148
Bildstabilisierung ········································44
Blendenpriorität Av ····································52
Breitbildschirm ···········································35
Ç
Clear Scan··················································84
Î
Dateinummern·········································115
Dateioperation ·········································121
Datencode ·················································88
Datum/Uhrzeit-Anzeige······························30
Datum-Suchlauf ·········································91
Demonstrationsmodus ·······························37
Diaschau ··················································119
Digitale Effekte ··········································60
Digitales Zoom ···········································40
Druckmarkierung ·····································123
DV-Überspielung ········································97
DV-Steuerung ············································70
‰
Effekte ·······················································60
Einstellpegel···············································82
Energiesparen ············································34
Ï
Fader··························································60
Farbbalken ·················································65
Farbphase ··················································81
Farbverstärkung ·········································81
Fehlersuche··············································141
Fernbedienung···········································27
Fernbedienungssensor································28
Fernsehbildschirm ······································93
Formatierung ···········································131
Funktionstaste············································56
Ì
Gleichstromkuppler····································14
Griffriemen ················································13
Ó
Handgriff-Zoom ·········································40
Helligkeit····················································42
È
Indexbeschreibung ·····································56
Indexbilder ···············································119
Intervall-Timer ············································67
Kartenzugriffsanzeige·······························114
Kondensation···········································140
Kontrollleuchte···········································29
Kopfhörer ··················································87
Ò
LANC ·························································96
Laufbildmodus ···········································48
Lautsprecher ··············································87
LCD-Bildschirm···········································41
LCD-Helligkeit ············································42
LCD-Seitenverkehrt-Modus·························42
Leichte Aufnahme······································51
LP-Modus···················································35
Löschen aller Druckmarkierungen·············124
Löschen von Standbildern ························125
Löschen von Titelpassagen ·······················129
Löschsperre················································17

156
D
Zusätzliche
Information
˜
Manuell ·····················································53
Manuelle Scharfeinstellung ························77
Menüs ·······················································18
Mikrofon····················································54
Mikrofondämpfung····································55
Mischbalance ···········································109
ˆ
Nachvertonung ········································106
ND-Filter·····················································45
Netzgerät···················································14
Nulleinstellungsspeicher ·····························92
Ø
Objektivdeckel············································12
∏
Photo-Suchlauf···········································91
Programmvoreinstellung·····························81
Â
Rückspulen ················································85
Í
S1 Videobuchse ·········································93
Sand und Schnee ·······································53
Scharfeinstellung,·······································77
Schnellvorlauf·············································85
Schutz von Bildern ···································122
Schutz von Titelpassagen ·························128
Schärfe·······················································81
SD-Speicherkarte······································112
Seitengriff-Zoom ········································40
Selbstauslöser·············································69
Sommerzeit················································30
Sonnenblende············································12
Speedlite····················································66
Speicherbatterie ·······································136
Speicherkarte ···········································112
SP-Modus ··················································35
Spotlight ····················································53
STANDBY-Hebel··········································34
Stativ··························································38
Sucher························································12
Sucherhelligkeit··········································42
S-Video/S1-Video ·······························93, 101
Ê
Teleaufnahmen···········································40
Titel-Mischen ···········································127
Ë
Überspielen auf einen Videorecorder··········95
Überspielen von Standbildern···················130
◊
Verschlussgeräusch···································115
Verschlusspriorität Tv··································52
Verschlusszeit·············································75
Verstärkung················································74
Videokassetten···········································16
Videokopfreinigung··································139
Videosystem ID-1 ·································36, 93
Vollbild-Modus···········································48
„
Wartung ··················································137
Weißabgleich ·············································78
Wiedergabe
von Kassetten ······································85
von Speicherkarten ····························118
Wiedergabepause ······································86
Windschutz················································81
Û
Zebramuster···············································83
Zebramusterpegel ······································83
Zeichenaufzeichnung ·································84
Zeitcode···············································36, 92
Zeitzonen···················································30
Zoomen ·····················································40
Zoomgeschwindigkeit ································40
Zubehör ···············································6, 146

157
D
Zusätzliche
Information
Menüs auf einen Blick
Funktion
16:9-Effekt
16:9-Markierung
6-sekündige
Datumseinblendung
AE-Verschiebung
Alle Druckmarkierungen
löschen
Analog-/Digital-Wandler
Audiodämpfung
Audiomodus
Audiopegelanzeige
Aufnahmemodus
Ausgangskanal
Überspielen von
Speicherkarte auf Band
Bestätigungstöne
Bildqualität
Bildauflösung
Bildstabilisierung
Clear Scan
Dateinummern
Datencode
Demonstrationsmodus
Digitalzoom
Displayanzeigen
Druckmarkierung
DV-Steuerung
Einstellpegel
Einstellung von
Datum/Uhrzeit
Energiesparen
Farbphase
Farbverstärkung
Fernbedienung
Fernsehschirm
Formatierung
Funktionstaste
Funktionstaste Ein/Aus
Handgriff-
Zoomgeschwindigkeit
Intervall-Timer
Kartenzugriffsanzeige
Laufbildmodus
LCD-Helligkeit
LCD-Seitenverkehrt-Modus
Löschen von Bildern
Löschen von Titeln
h
h
h
h
h
h
h
h
h
h
h
h
h
h
h
h
h
h
h
h
h
h
h
h
h
h
h
h
h
h
h
h
h
h
h
h
h
h
h
h
h
h
h
h
h
h
h
h
h
h
h
h
h
h
h
h
h
h
h
h
h
h
h
h
h
h
h
h
h
h
h
h
h
h
h
Untermenü
CAM. SET UP
DISP. SET UP
DISP. SET UP
CAM. SET UP
CARD OPERATION
VCR SET UP
VCR SET UP
VCR SET UP
DISP. SET UP
VCR SET UP
VCR SET UP
CARD OPERATION
SYSTEM
CARD SET UP
CARD SET UP
CAM. SET UP
CAM. SET UP
CARD SET UP
DISP. SET UP
DISP. SET UP
CAM. SET UP
DISP. SET UP
CARD OPERATION
SYSTEM
CUSTOM PRESET
SYSTEM
VCR SET UP
CUSTOM PRESET
CUSTOM PRESET
SYSTEM
DISP. SET UP
CARD OPERATION
CUSTOM KEY
DISP. SET UP
CAM. SET UP
CAM. SET UP
DISP. SET UP
CAM. SET UP
DISP. SET UP
DISP. SET UP
CARD OPERATION
CARD OPERATION
Camcorder-Einstellung

158
D
Zusätzliche
Information
h
h
h
h
h
h
h
h
h
h
h
h
Funktion
Mikrofon
Mikrofondämpfung
Nachvertonung
Schutz von Titeln
Schärfe
Seitengriff-
Zoomgeschwindigkeit
Selbstauslöser
Signallampe
Sucherhelligkeit
Titel-Mischen
Verschlussgeräusch
Wahl von Datum/Uhrzeit
Zebramuster
Zebramusterpegel
Zeichenaufzeichnung
Zeitzone/Sommerzeit
h
h
h
h
h
h
h
h
h
h
h
h
h
h
h
h
h
h
h
h
h
Untermenü
VCR SET UP
VCR SET UP
VCR SET UP
CARD OPERATION
CUSTOM PRESET
CAM. SET UP
CAM. SET UP
SYSTEM
DISP. SET UP
→TITLE MIX
CARD SET UP
DISP. SET UP
CAM. SET UP
CAM. SET UP
SYSTEM
SYSTEM
Camcorder-Einstellung

Canon Europa N.V.
P. O. Box 2262,
1180 EG Amstelveen
the Netherlands
www.canon-europa.com
France:
Canon Communication & Image France S.A.
102 Avenue du Général de Gaulle 92257
LA GARENNE COLOMBES CEDEX
Tél: (1)-41-30-15-15
www.canon.fr
Suisse:
Canon Schweiz AG
Division vente indirecte
Industriestrasse 12
8305 Dietlikon
Tél: (01)-835 68 00
Fax: (01)-835 68 88
www.canon.ch
Belgique:
Canon Belgium N.V./S.A.
Bessenveldstraat 7
1831 Diegem (Machelen)
Tél: (02)-7220411
Fax: (02)-7213274
www.canon.be
Luxembourg:
Canon Luxembourg SA
Rue de joncs, 21
L-1818 Howald
Tel: (352) 48 47 961
www.canon.lu
Deutschland:
Canon Deutschland GmbH
Europark Fichtenhain A10
47807 Krefeld, Germany
Infodesk: 02154- 495 580
www.canon.de
Schweiz:
Canon Schweiz AG
Geschäftsbereich Wiederverkauf
Industriestrasse 12
8305 Dietlikon
Telefon: (01)-835 68 00
Fax: (01)-835 68 88
www.canon.ch
Österreich:
Canon GmbH
Zetschegasse 11
1232 Wien
Telefon: (1)-66146
Fax: (1)-66146308
Telex: 136 860
www.canon.at
Italia:
Canon Italia S.p.A.
Divisione Photo Video
Palazzo L, Strada 6
20089 Milanofiori-Rozzano (MI)
Tel: (02)-82481
Fax: (02)-82484600
www.canon.it
©CANON INC. 2002
DY8-9120-348-000
0031W545
PUB.DIM-463C
0000Ni0.0
CANON INC.
Document réalisé avec du papier recyclé à 100%.
Gedruckt zu 100% auf Recyclingpapier.
Stampato su carta riutilizzata al 100%